Movatterモバイル変換


[0]ホーム

URL:





F-22A Raptor, FB-22, F-22E, F-22N and Variants Index Page [Click for more ...]People's Liberation Army Air Power Index Page  [Click for more ...]
Military Ethics, Culture, Education and Training Index Page [Click for more ...]
Russian / Soviet Weapon Systems Index Page [Click for more ...]














 Air Defence System Defensive Aids

Technical Report APA-TR-2009-0604

byDr Carlo Kopp, AFAIAA, SMIEEE, PEng
June2009
Updated April, 2012
Text,Line Art © 2009 - 2012 Carlo Kopp



While mobility hasbecome,since the 1980s, the principal defence employed by Surface to AirMissile batteries to evade attack, defensive aids are being deployedincreasinglyas standalone components or as partofintegrated defensive packages on radars and other key IADS components.Deployed S-300PMU/SA-10C 5P85SU smart TEL of the Slovakian Army (Image© Miroslav Gyűrösi).



Introduction


The 1990s were a period of importantchanges in how Russian designersand technological strategists viewed the problem of air defence. Whilemobility emerged as a design issue during the 1980s, as the Soviet PVOmoved from static semi-mobile SAM batteries to fully mobile batterieswith the deployment of theS-300PS/PM SA-10B/CGrumble, theintroduction of more comprehensive defensive aids for air defencesystem components became a priority after Desert Storm.

The 1999 Allied Force air campaign was a pivotal event. Serbian 9M9Kvadrat / SA-6 Gainful SAM batteries largely evaded destruction by useof disciplined shoot-and-scoot tactics, and the Serbians claimed thatmanyAGM-88 HARM anti-radiation missileswere seduced by emittingdecoys.

Current Russian thinking, emulated closely by the Chinese PLA, is toconstruct air defence systems withcomprehensivedefences to maximisethe survivability of all system components.

This technological strategy is centred in several key ideas:
  1. Maximummobilityfor all IADS components, encompassing notonly missile battery engagement radars and TEL vehicles, but alsobattery and sector acquisition and surveillance radars and passivesensors.
  2. Active defence of high value IADS components such as radarsby the deployment of optimised point defence SAMs and SPAAGs, such astheTor M2/M2E / SA-15,Pantsir S1E /SA-22 orLD-2000,intended tokill inbound PGMs such as the AGM-88 anti-radiation missile family, andthe Paveway, JDAM, JSOW and SDB families of weapons.
  3. Deployment of dedicated mobile counter-ISR ElectronicCounter Measuresequipment such as theSPN-2/3/4 andSPN-30/40 systems, todefeat highresolution multimode radars in combat aircraft.
  4. Deployment of often comprehensive defensive aids suites onradars or with SAM batteries, to frustrate terminal seekers in PGMs aswell as ISR systems used to target such PGMs.
Defensive aids, whether operated individually or as part of a suite,usually comprise a mix of decoys, camouflage, and specificcountermeasures intended to disrupt or degrade the operation ofspecific categories of sensor or guided weapon terminal seeker.

A broad array of products is now on offer, some as standalonecomponents listed in catalogues, and some as part of existingequipments. Unclassified technical literature discusses a range oftechniques for defeating ARMs and emitter locating receivers, rangingfrom coherent decoy emitters to intentional distortion of the wavefrontproduced by a radar to introduce errors into interferometric DFreceivers.

What we are observing in IADS component protection is mirror image ofthe 1960s effort to equip combat aircraft with onboard threat warningsystems and defensive aids, reflecting the reality that a modern longrange SAM battery is an expensive asset, with a late model S-300PMU1/2battery priced at US$100M to US$200M, depending on configuration.

This webpage is intended to describe many of the better documenteddefensiveaids available for IADS components.


RWE-1 MissileApproach WarningSystem




RWE-1MAWS with its four low UHF band Yagi antennas deployed
(via R.D. Fisher).

The Chinese RWE-1 is a radio-frequency band active MAWS intended toprotect SAMbatteries from attack by anti-radiation missiles such as the AGM-88HARM/AARGM series. It is employed to trigger emitter shutdown andactivation of active emitting decoys. The manufacturer's brochureclaims a detection range of 40 km / 21.6 NMI.

DF capability is likely to be viaamplitude comparison between channels, providing ~10° DF accuracy,adequate for cueing decoys, or cueing point defence weapons like theLD-2000 toacquire, track and engage the inbound missiles.


VNIIRT 34Ya6EGazetchik E MAWS, Decoy and CountermeasuresSystem




The VNIIRT 34Ya6E Gazetchik E series of systems combine a MAWS andradiating decoy capability intended to defeat seekers in anti-radiationmissiles, with acapability to deploy aerosols and chaff to defeat radar andelectro-optical targeting systems and guided munition seekers.

The system provides the following capabilities:
  1. Missile Approach Warning System (MAWS) to detect inboundARMs.
  2. Chaff dispenser to defeat MMWI weapon seekers.
  3. Aerosol (smoke) generator to defeat electro-optical seekers/ sensors.
  4. Decoy emitter operating in the band of the defended emitter.
The system is keyed to emit by the radar system it is defending. Todate there have been no disclosures on whether the Gazetchik is acoherent emitter using a reference signal from the radar, or whether itsynthesizes its own decoy waveform. VNIIRT statements on the Gamma DEwould indicate a coherent capability.

A number of configurations are offered with and without dispensercapability, and with band specific emitter capability. VNIIRT offer thesystem integrated with the Gamma DE series of L-band AESA radars.



Зона обзора:
Coverage: 
обнаружителя ПРР:
MAWS:
 
по азимутуград.
Azimuth [deg]
360
по углуместа, град.
Elevation [deg]
+10 - +90
излучения отвлекающих устройств:
Decoy Emitter:
по азимуту,град.
Azimuth [deg]
360
по углуместа, град.
Elevation [deg]
+10 - +60
Вероятность защиты:
Pk
от одной ПРР типа ХАРМ
Single HARM Missile
не менее 0,85
not less than 85%
от одной ПРР с тепловой, телевизионнойили активной радиолокационной головками самонаведения
Single ARM with heatseeking, television or active radar seeker
0,85-0,95
85% - 95%
Режим боевой работы
Operating Mode
автоматической
automatic
Система электропитания
Power Supply
от защищаемой РЛС
provided by radar
Наработка на отказ, ч:
MTBF [hr]
обнаружителя ПРР
MAWS
500
отвлекающих устройств
Countermeasures
500
Среднее время восстановления, ч
MTTR [hr]
0,5
Время включения, с
Setup time
30
Время свертывания (развертывания), мин.
Stow/Deploy Time [min]
60-90 (в зависимости от комплектации)
Dependent on defended system



GazetchikE accessory components.




KBR Integrated Anti-RadiationMissile Defensive Suite





The ByeloRussian KBR Integrated Defensive Suite combines a DopplerMAWS, multiple emitting decoys and a chaff dispenser / smoke generatorto provide a defensive capability against ARMs and MMWI / EO guidedPGMs.

It is intended to degrade the accuracy of airborne emitter locatingsystems and ARM seekers, and provide a radar crew with early warning ofan attack in progress.

Параметры
Parameters
Значение
Value
Зонаобнаружения ПРР по азимуту
MAWS Detection Azimuth
360°
Зонаобнаружения ПРР по углу места
MAWS Detection Elevation
10-90°
Дальностьобнаружения ПРР типа HARM c вероятностью P=0.95
Detection Range vs HARM Type ARM with Pd=95%
7.5 км
Радиальнаяскорость обнаруживаемых целей
Radial Velocity of Detected Targets
200-800 м/с
Частотныйдиапазон детектора ПРР
Frequency Range ARM Detector
Срывает наведение ПРР
Disrupts ARM Seeker
Времясканирования (просмотра) зоны обнаружения
Search Volume Scan Duration [sec]
0.15 c
Времяготовности без проверки функционирования
Startup time without BIT [sec]
4 c
Времяготовности с проверкой функционирования
Startup time with BIT [sec]
30 c


Tetraedr SRTZ-2TM Anti-RadiationMissileDecoy System



Tetraedr in Belarus offer the SRTZ-2TMAnti-Radiation Missile defensive package for the upgraded Pechora 2TM /mobile SA-3 Goa SNR-125-2TM engagement radar. They have also statedthat derivatives are available for the S-75 / SA-2 Guidelineand legacy S-125 / SA-3 Goa SAM systems. The system is intended todefeat theAGM-88A/B/C HARM, the AS.37 Martel, MBDA ALARM, Delilah, Kh-31 andKh-58, as well as loitering ARMs in the class of the AGM-137 TacitRainbow.

The system is claimed to be effective against ARM homing seekers, ARMguidance packages with GPS midcourse control, and is claimed to providea capabilityto defeat MMWI and EO/IR seekers. Claimed Pk is 95% for a single roundHARM attack, 93% for a two round attack and 90% for a four roundattack, with Ps for the SRTZ-2TM cited at 93%, 92% and 90% respectively.

Unlike competing decoys which are deployable, the SRTZ-2TM is a selfpropelled design carried on a MAZ-6317 6 x 6 truck, with an integral 20kW diesel generator and 5 minute shoot-and-scoot capability.

The design is unusual in that it employs a pair of antennas, each withpressurised waveguide feeds, one is mounted on the roof of the truck,the other on a deployable telescoping 5 metre boom. A phase controlmodule is employed to create a virtual phase centre for the emitterpair, with the decoy acting as a false target generator. The decoyreceives emissions from the defended radar via a separate receiverchannel and uses these to synthesize the coherent seduction waveform.Antenna azimuth coverage is 360° and elevation coverage between 15° and80°.

Tetraedr have not disclosed whether DRFM technology is used in thewaveform generator, nor have they disclosed what other countermeasuresmay be carried by the system.


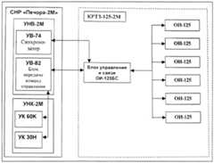
Defense Systems KRTZ-125-2MAnti-RadiationMissile Decoy System





KRTZ-125-2M OI-125EmitterModule.

The joint Russian-ByeloRussianDefense Systems company is producing an emitting decoy system for theirupgraded S-125M Pechora M / mobile SA-3 Goa system. Designated theKRTZ-125-2M, the decoy was developed to protect the UNV-1 Low Blowengagement radar from ARM attacks. It has been exported to Egypt andderivative designs for other former Soviet SAM systems are on offer[2].

The system comprises an OI-125BS control unit which drives via radiolink interfaces six OI-125 Emitter Modules, which are typicallyarranged in a ~300 metre diameter circle, with configurations of fourto twelve emitters available. The OI-125BS is has cable or radio linkinterfaces to the UNV-1 engagement radar's UV-74 synchronisationcontroller and UV-82 missile uplink transmitter. A test set, spareparts package and mains/generator power supply/charger are included.The OI-125 emitter modules can be powered by cable or from internalbatteries. The whole system is transported by Ural-4320 6 x 6 truck.

In operation, the emitters are under the control of the OI-125BS whichderives its timing information for emission from the UNV-1 Low Blow.Each V-pol emitter will match or exceed the EIRP of the Low Blowtransmit channels. Each emitter has an internal frequency synthesiserwhich is tuned to within ±1 MHz of the UNV-1 carrier frequency. Thecontroller monitors the status of the emitters, and if an incoming ARMdestroys an emitter, automatically reconfigures the array.

Cited Pk is ~90% for a single round ARM attack, and ~80% fora two round attack.

DefenseSystems via Miroslav Gyűrösi.



The KRTZ-125-2M decoy system istransported by Ural-4320 6 x 6 truck (Avtomobilniy Zavod Ural).

Almaz-AnteyOU-1 Relocatable Decoy for Osa AKM / SA-8 Gecko




OU-1decoy (Images© Miroslav Gyűrösi).

Revealed first at the MAKS2005show, the OU-1 is a relocatable decoy system designed for the Osa AKM /SA-8 Gecko SAM system upgrade package. It employs a circular array withtwelve paired transmit and receive antennas operating at 7.5 GHz, andeach covering 30° in azimuth and 40° in elevation. Average power iscited at 50 W with peak pulse power at 40 kW, and power consumption iscited at 300 W.





Upgraded9K33M3 Osa AKM / SA-8 Gecko.


Aviakonversiya GPS/GLONASS GNSSSignal Jammers




Aviakonversiyahigh power GNSS jammer.



Aviakonversiyalow power GNSS jammer.

Aviakonversiya have widelymarketed their satellite navigation signal jammers, and these deviceswere claimed to have been used by Saddam's regime during the 2003 OIFbombing campaign to degrade the accuracy of US JDAMs and other GPSaided PGMs.

The Head of Aviakonversia, Dr Oleg Antonov, in a Russian mediainterview stated that their low power jammer design has an EIRP of ~2-3Watts and an effective range of ~50 km, and the high power derivativehas an EIRP of 20 Watts and effective range of ~150 km. The jammingwaveform has not been disclosed.

While more sophisticated CRPA antenna technology and active nullingwill be effective in rejecting the jammers, less sophisticatedequipment, especially low cost man portable and vehicular equipment islikely to be susceptible.



LPPU-83 SelfPropelled TELAR Decoy




The Belarus built LPPU-83 is aself propelled decoy intended to visually emulate the 9A83 TELAR usedby the S-300V/V-1 / SA-12 Giant/Gladiator SAM systems. The decoy isbuilt on an extended PT-76 light tank chassis, and uses actual launchtubes from expended missile rounds.


MKT-2, MKT-3 and Volchitsa-KRCamouflage Netting




Stowed 30N6-1 Flap Lid engagement radarcovered with camouflage netting  (© Miroslav Gyűrösi).

The MKT-2, MKT-3 and Volchitsa-KR camouflage netting are designed toconceal air defence equipment from electro-optical/thermal imaging andmicrowave band ISR systems. Band coverage includes longwave, midwaveand shortwave infrared bands, and microwave radar bands from MMW downto L-band.

Rosoboronexport Description(Cite):

Camouflage sets are designed to conceal air defence assets andinstallations from reconnaissance carried out with:
  • optical devices - against vegetation (MKT-2L, MKT-3L),desert/steppe (MKT-2P) and snowy (MKT-2C) backgrounds;
  • optical and radar systems (MKT-3LR);
  • optical, thermal imaging and radar assets (light-weightradio-dispersing camouflaging sets: VolchitsaKR-L and Volchitsa-KR-LG –against summer vegetative, Volchitsa-KR-P – desert/steppe andVolchitsa-KR-C – snowy backgrounds).
Typical camouflage sets consist of 6-12 standard 3x6m sheets joinedwith quickly undone seams made of stitched cords. Standard sheetscomprise a kapron netlike base with 50x50mm mesh size, backlined with a3-5mm diameter kapron cord along the perimeter.



The net base holds different items interweaved in accordance withdistortion-painting pattern:
  1. MKT-2L (P,C,3L) 50x220mm strips/festoons made from dyed inmass and matted polyethylene film;
  2. MKT-3LR festoons made from two-side conducting, dyed inmass and matted polyethylene film;
  3. Volchitsa-KR 50x220mm strips or festoons from metallizedtwo-side painted polyethylene terephtalate film.
The above sets provide the following advantages:
  • resistance to water (moisture), fuel/lubricant (petrol,diesel fuel, oil) and detergent effects;
  • operability in a wide temperature range from -40°C to+50°C;
  • self-extinguishing cover material (without residualsmouldering);
  • adaptability to camouflaging structures of different sizeand configuration;
  • availability of spare part kits for in-field repairs;
  • convenient deliver packages (in covered rolls with spareparts and documentation).






References/Sources


  1. Manufacturer's Websites
  2. Miroslav Gyűrösi, Russia DevelopsDecoy to Counter US HARM Missiles,Janes Missiles and Rockets,Vol.10, No.3, March, 2006.
  3. Miroslav Gyűrösi, Decoy Vehicle Can Mimic S-300V Launcher, Janes Missiles and Rockets,Vol.6,No.8, August, 2002.
  4. Miroslav Gyűrösi, SRTZ-2TM protection system offersanti-radiation missile defence, JanesMissiles and Rockets,Vol.11,No.11, November, 2007.
Imagery Sources:RussianMoD, Rosoboronexport, manufacturers, Miroslav Gyűrösi.
Line Artwork:© 2000 -2009Carlo Kopp


TechnicalReport APA-TR-2009-0604






People's Liberation Army Air Power Index Page [Click for more ...]
Military Ethics, Culture, Education and Training Index Page [Click for more ...]
Russian / Soviet Weapon Systems Index Page [Click for more ...]









TweetFollow@APA_Updates




[8]ページ先頭

©2009-2025 Movatter.jp