















本発明は、カテーテルに関する。The present invention relates to a catheter.
 人体の病変部を検査・処置するために血管等に挿入することが可能なカテーテルが用いられている。このようなカテーテルとして、例えば特許文献1には、長手方向に延び、遠位端と近位端とを有し、ワイヤが挿入される第1筒状部材と、遠位端と近位端とを有し、前記第1筒状部材と径方向に隣接する第2筒状部材とを備え、前記第1筒状部材の遠位端は、前記第2筒状部材の遠位端よりも近位側に位置し、前記第1筒状部材の近位端は、前記第2筒状部材の近位端よりも近位側に位置し、前記第1筒状部材は、ポリテトラフルオロエチレン、及びテトラフルオロエチレン・パーフルオロアルキルビニルエーテル共重合体よりなる群から選択される少なくとも1種を含む内層と補強部材とを有する補強部を有し、前記第1筒状部材は、前記補強部の遠位端よりも遠位側には前記ポリテトラフルオロエチレンと前記テトラフルオロエチレン・パーフルオロアルキルビニルエーテル共重合体と前記補強部材とを含まない樹脂製の延在部を有するカテーテルが開示されている。Catheters that can be inserted into blood vessels, etc., are used to examine and treat lesions in the human body. For example,
 特許文献1のような従来のカテーテルは、冠動脈のように3次元の蛇行が連続するような血管に挿入する際に、挿入し難い場合があった。本発明は上記事情に鑑みてなされたものであり、その目的は、体内の蛇行部に挿入し易いカテーテルを提供することにある。 Conventional catheters such as those described in
 上記課題を解決することのできた本発明の実施の形態に係るカテーテルは、以下の通りである。
 [1]長手方向に延在する第1筒状部材と、
 前記長手方向に延在し、前記第1筒状部材と径方向に隣り合う第2筒状部材と、
 前記長手方向に延在し、前記第1筒状部材の少なくとも一部と前記第2筒状部材の少なくとも一部とを内包する部分を有する外側部材と、を有するカテーテルであって、
 前記第1筒状部材の遠位端は、前記第2筒状部材の遠位端よりも近位側に位置し、
 前記第1筒状部材の近位端は、前記第2筒状部材の近位端よりも近位側に位置し、
 前記外側部材は、前記第2筒状部材の前記近位端から遠位側において、前記長手方向に延在する第1領域と、前記長手方向に延在し、前記第1領域よりも遠位側に位置する第2領域とを有しており、前記第1領域の前記径方向の断面における短径に対する長径の比の値は1.0~1.1であり、前記第2領域の前記径方向の断面における短径に対する長径の比の値は1.2~2.0であるカテーテル。A catheter according to an embodiment of the present invention that can solve the above problems is as follows.
 [1] A first tubular member extending in a longitudinal direction;
 a second cylindrical member extending in the longitudinal direction and adjacent to the first cylindrical member in a radial direction;
 an outer member extending in the longitudinal direction and having a portion that contains at least a portion of the first tubular member and at least a portion of the second tubular member,
 a distal end of the first tubular member is located proximal to a distal end of the second tubular member;
 a proximal end of the first tubular member is located proximal to a proximal end of the second tubular member;
 The catheter has an outer member having a first region extending in the longitudinal direction distal to the proximal end of the second tubular member, and a second region extending in the longitudinal direction and located distal to the first region, wherein a ratio of the major axis to the minor axis in the radial cross section of the first region is 1.0 to 1.1, and a ratio of the major axis to the minor axis in the radial cross section of the second region is 1.2 to 2.0.
 本発明者の検討により、特許文献1のような径方向の断面形状が円状のカテーテルは、冠動脈のように3次元の蛇行が連続する蛇行部において、蛇行部の形状に沿って湾曲し難いことが分かった。更に、本発明者の検討により、径方向の断面形状を楕円状にすれば、蛇行部の形状に沿ってカテーテルは湾曲し易くなる一方で、押し込み難くなることが分かった。更に本発明者が検討した結果、径方向の断面における長径/短径の値が1.2~2.0である第2領域を、長径/短径の値が1.0~1.1である第1領域よりも遠位側に配置することにより、カテーテルは蛇行部の形状に沿って湾曲し易くなり、且つ押し込み易くなることが分かった。これによりカテーテルは体内の蛇行部に挿入し易くなる。The inventor's research has revealed that a catheter with a circular radial cross-sectional shape, such as that of
 更に実施の形態に係るカテーテルは、以下の[2]~[22]のいずれかであることが好ましい。
 [2]前記第1領域の前記径方向の断面における外縁の形状は、円または楕円であり、
 前記第2領域の前記径方向の断面における外縁の形状は、楕円または楕円の一部形状である[1]に記載のカテーテル。
 [3]前記外側部材は、前記長手方向における前記第1領域と前記第2領域の間に第3領域を有しており、前記第3領域の前記径方向の断面における短径に対する長径の比の値が1.1超、1.2未満である[1]または[2]に記載のカテーテル。
 [4]前記第2領域の前記長手方向における長さは、前記第1領域の前記長手方向における長さよりも短い[1]~[3]のいずれかに記載のカテーテル。
 [5]前記第1領域の前記径方向の断面における外縁により囲まれた領域の面積は、前記第2領域の前記径方向の断面における外縁により囲まれた領域の面積よりも大きいか、または同じである[1]~[4]のいずれかに記載のカテーテル。
 [6]前記第2領域の前記長径は、前記第1領域の前記長径よりも大きいか、または同じ長さである[1]~[5]のいずれかに記載のカテーテル。
 [7]前記第2領域の前記長径は、前記第1領域の前記長径よりも小さい[1]~[5]のいずれかに記載のカテーテル。
 [8]前記径方向において、前記外側部材の前記第2領域の外縁から前記第1筒状部材の外縁までの最短距離は、前記外側部材の前記第1領域の外縁から前記第1筒状部材の外縁までの最短距離よりも長いか、または同じ長さである[1]~[7]のいずれかに記載のカテーテル。
 [9]前記径方向において、前記外側部材の前記第2領域の外縁から前記第1筒状部材の外縁までの最短距離は、前記外側部材の前記第1領域の外縁から前記第1筒状部材の外縁までの最短距離よりも短い[1]~[7]のいずれかに記載のカテーテル。
 [10]前記径方向において、前記外側部材の前記第2領域の外縁から前記第2筒状部材の外縁までの最短距離は、前記外側部材の前記第1領域の外縁から前記第2筒状部材の外縁までの最短距離よりも長いか、または同じ長さである[1]~[9]のいずれかに記載のカテーテル。
 [11]前記径方向において、前記外側部材の前記第2領域の外縁から前記第2筒状部材の外縁までの最短距離は、前記外側部材の前記第1領域の外縁から前記第2筒状部材の外縁までの最短距離よりも短い[1]~[9]のいずれかに記載のカテーテル。
 [12]前記外側部材は、筒状であり、前記長手方向に延在する内腔を有しており、前記内腔に前記第1筒状部材の少なくとも一部と前記第2筒状部材の少なくとも一部が配置されている[1]~[11]のいずれかに記載のカテーテル。
 [13]前記外側部材は、前記長手方向に延在し樹脂を含む柱体を有し、
 前記第1筒状部材の少なくとも一部と前記第2筒状部材の少なくとも一部が前記柱体内に配置されている[1]~[11]のいずれかに記載のカテーテル。
 [14]更に、前記長手方向に延在している外側筒状部材を有し、
 前記外側筒状部材は、前記長手方向に延在する内腔を有しており、前記内腔に前記第1筒状部材の一部が配置されている[1]~[13]のいずれかに記載のカテーテル。
 [15]前記外側筒状部材は、前記第2筒状部材の前記近位端よりも近位側に位置する[14]に記載のカテーテル。
 [16]前記外側筒状部材は、前記第2筒状部材の前記近位端から近位側において、前記長手方向に延在する第4領域を有しており、前記第4領域の前記径方向の断面における短径に対する長径の比の値は1.0~1.1である[14]または[15]に記載のカテーテル。
 [17]前記第2領域の前記長径は、前記第4領域の前記長径よりも小さい[16]に記載のカテーテル。
 [18]前記第4領域の前記長手方向における長さは、前記第1領域の前記長手方向における長さと前記第2領域の前記長手方向における長さの合計よりも長い[16]または[17]に記載のカテーテル。
 [19]前記長手方向に延在し、少なくとも前記第1領域と前記第4領域内に配置されており、且つ遠位端が前記第1領域内に位置する線状部材を有している[16]~[18]のいずれかに記載のカテーテル。
 [20]前記外側部材は、前記長手方向に延在し、前記第2領域よりも遠位側に位置する第5領域を有しており、前記第5領域の前記径方向の断面における短径に対する長径の比の値は1.0~1.1である[1]~[19]のいずれかに記載のカテーテル。
 [21]前記第1筒状部材と前記第2筒状部材は前記径方向において互いに固定されている[1]~[20]のいずれかに記載のカテーテル。
 [22]前記第1筒状部材の近位端部にはハンドル部が配置されている[1]~[21]のいずれかに記載のカテーテル。Furthermore, the catheter according to the embodiment is preferably any one of the following [2] to [22].
 [2] The shape of the outer edge of the first region in the radial cross section is a circle or an ellipse,
 The catheter according to
 [3] A catheter described in [1] or [2], wherein the outer member has a third region between the first region and the second region in the longitudinal direction, and the ratio of the major axis to the minor axis in the radial cross section of the third region is greater than 1.1 and less than 1.2.
 [4] A catheter described in any of [1] to [3], wherein the length of the second region in the longitudinal direction is shorter than the length of the first region in the longitudinal direction.
 [5] A catheter described in any of [1] to [4], wherein the area of the region surrounded by the outer edge in the radial cross-section of the first region is greater than or equal to the area of the region surrounded by the outer edge in the radial cross-section of the second region.
 [6] A catheter described in any of [1] to [5], wherein the major axis of the second region is greater than or the same as the major axis of the first region.
 [7] A catheter described in any of [1] to [5], wherein the major axis of the second region is smaller than the major axis of the first region.
 [8] A catheter described in any of [1] to [7], wherein, in the radial direction, the shortest distance from the outer edge of the second region of the outer member to the outer edge of the first tubular member is longer than or the same as the shortest distance from the outer edge of the first region of the outer member to the outer edge of the first tubular member.
 [9] A catheter described in any of [1] to [7], wherein in the radial direction, the shortest distance from the outer edge of the second region of the outer member to the outer edge of the first tubular member is shorter than the shortest distance from the outer edge of the first region of the outer member to the outer edge of the first tubular member.
 [10] A catheter described in any of [1] to [9], wherein, in the radial direction, the shortest distance from the outer edge of the second region of the outer member to the outer edge of the second tubular member is longer than or the same as the shortest distance from the outer edge of the first region of the outer member to the outer edge of the second tubular member.
 [11] A catheter described in any of [1] to [9], wherein in the radial direction, the shortest distance from the outer edge of the second region of the outer member to the outer edge of the second tubular member is shorter than the shortest distance from the outer edge of the first region of the outer member to the outer edge of the second tubular member.
 [12] A catheter described in any of [1] to [11], wherein the outer member is tubular and has an inner cavity extending in the longitudinal direction, and at least a portion of the first tubular member and at least a portion of the second tubular member are disposed in the inner cavity.
 [13] The outer member has a columnar body extending in the longitudinal direction and containing a resin,
 The catheter according to any one of [1] to [11], wherein at least a portion of the first tubular member and at least a portion of the second tubular member are disposed within the cylindrical body.
 [14] further comprising an outer tubular member extending in the longitudinal direction,
 The catheter according to any one of [1] to [13], wherein the outer tubular member has an inner cavity extending in the longitudinal direction, and a portion of the first tubular member is disposed in the inner cavity.
 [15] A catheter as described in [14], wherein the outer tubular member is located proximal to the proximal end of the second tubular member.
 [16] A catheter described in [14] or [15], wherein the outer tubular member has a fourth region extending in the longitudinal direction proximal to the proximal end of the second tubular member, and the ratio of the major axis to the minor axis in the radial cross section of the fourth region is 1.0 to 1.1.
 [17] The catheter described in [16], wherein the major axis of the second region is smaller than the major axis of the fourth region.
 [18] A catheter described in [16] or [17], wherein the length of the fourth region in the longitudinal direction is longer than the sum of the length of the first region in the longitudinal direction and the length of the second region in the longitudinal direction.
 [19] A catheter described in any of [16] to [18], having a linear member extending in the longitudinal direction, positioned within at least the first region and the fourth region, and having a distal end located within the first region.
 [20] A catheter described in any of [1] to [19], wherein the outer member has a fifth region extending in the longitudinal direction and located distal to the second region, and the ratio of the major axis to the minor axis in the radial cross section of the fifth region is 1.0 to 1.1.
 [21] A catheter described in any one of [1] to [20], wherein the first tubular member and the second tubular member are fixed to each other in the radial direction.
 [22] A catheter described in any one of [1] to [21], wherein a handle portion is disposed at the proximal end of the first tubular member.
本発明によれば、上記構成により、体内の蛇行部に挿入し易いカテーテルを提供することができる。The present invention provides a catheter with the above configuration that is easy to insert into tortuous areas inside the body.
以下では、下記実施の形態に基づき本発明をより具体的に説明するが、本発明はもとより下記実施の形態によって制限を受けるものではなく、前・後記の趣旨に適合し得る範囲で適当に変更を加えて実施することも勿論可能であり、それらはいずれも本発明の技術的範囲に包含される。なお、各図面において、便宜上、部材符号等を省略する場合もあるが、かかる場合、明細書や他の図面を参照するものとする。また、図面における種々部材の寸法は、本発明の特徴の理解に資することを優先しているため、実際の寸法とは異なる場合がある。The present invention will be described in more detail below based on the following embodiment, but the present invention is of course not limited to the following embodiment, and can of course be implemented with appropriate modifications within the scope of the intent described above and below, all of which are included in the technical scope of the present invention. Note that in each drawing, component reference numbers may be omitted for convenience, but in such cases, reference should be made to the specification or other drawings. Furthermore, the dimensions of various components in the drawings may differ from the actual dimensions, as priority is given to contributing to an understanding of the features of the present invention.
実施の形態に係るカテーテルは、長手方向に延在する第1筒状部材と、長手方向に延在し、第1筒状部材と径方向に隣り合う第2筒状部材と、長手方向に延在し、第1筒状部材の少なくとも一部と第2筒状部材の少なくとも一部とを内包する部分を有する外側部材と、を有するカテーテルであって、第1筒状部材の遠位端は、第2筒状部材の遠位端よりも近位側に位置し、第1筒状部材の近位端は、第2筒状部材の近位端よりも近位側に位置し、外側部材は、第2筒状部材の近位端から遠位側において、長手方向に延在する第1領域と、長手方向に延在し、第1領域よりも遠位側に位置する第2領域とを有しており、第1領域の径方向の断面における短径に対する長径の比の値は1.0~1.1であり、第2領域の径方向の断面における短径に対する長径の比の値は1.2~2.0である。The catheter according to the embodiment has a first tubular member extending in the longitudinal direction, a second tubular member extending in the longitudinal direction and adjacent to the first tubular member in the radial direction, and an outer member extending in the longitudinal direction and having a portion containing at least a part of the first tubular member and at least a part of the second tubular member, the distal end of the first tubular member being located proximal to the distal end of the second tubular member, the proximal end of the first tubular member being located proximal to the proximal end of the second tubular member, the outer member having a first region extending in the longitudinal direction distal to the proximal end of the second tubular member, and a second region extending in the longitudinal direction and located distal to the first region, the ratio of the major axis to the minor axis in the radial cross section of the first region being 1.0 to 1.1, and the ratio of the major axis to the minor axis in the radial cross section of the second region being 1.2 to 2.0.
本発明者の検討により、径方向の断面形状が円状のカテーテルは、冠動脈のように3次元の蛇行が連続する蛇行部において、蛇行部の形状に沿って湾曲し難いことが分かった。更に、本発明者の検討により、径方向の断面形状を楕円状にすれば、蛇行部の形状に沿ってカテーテルは湾曲し易くなる一方で、押し込み難くなることが分かった。更に本発明者が検討した結果、径方向の断面における長径/短径の値が1.2~2.0である第2領域を、長径/短径の値が1.0~1.1である第1領域よりも遠位側に配置することにより、カテーテルは蛇行部の形状に沿って湾曲し易くなり、且つ押し込み易くなることが分かった。これによりカテーテルは体内の蛇行部に挿入し易くなる。The inventors' investigations have revealed that a catheter with a circular radial cross-sectional shape is difficult to bend along the shape of a meandering section where three-dimensional meandering continues, such as in a coronary artery. The inventors' investigations have also revealed that if the radial cross-sectional shape is elliptical, the catheter will be easier to bend along the shape of the meandering section, but will be harder to push in. The inventors' investigations have further revealed that by positioning the second region, where the major axis/minor axis value in the radial cross-section is 1.2 to 2.0, more distally than the first region, where the major axis/minor axis value is 1.0 to 1.1, the catheter will be easier to bend along the shape of the meandering section and easier to push in. This makes it easier to insert the catheter into a meandering section inside the body.
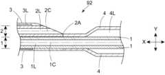
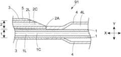
以下では図1~図9、図16を参照して、第1の実施の形態に係るカテーテルについて説明する。図1は、第1の実施の形態に係るカテーテルの側面図である。図2は、図1の領域R1の長手方向の断面図である。図3は、図1の領域R2の長手方向の断面図である。図4は、図1のカテーテルのA-A断面図である。図5は、図1のカテーテルのB-B断面図である。図6は、図1のカテーテルのC-C断面図である。図7は、図1のカテーテルのD-D断面図である。図8は、図1のカテーテルのE-E断面図である。図9は、図1のカテーテルの変形例における領域R2の長手方向の断面図である。図16は、図5のカテーテルの変形例の断面図である。Below, a catheter according to a first embodiment will be described with reference to Figs. 1 to 9 and 16. Fig. 1 is a side view of a catheter according to a first embodiment. Fig. 2 is a longitudinal cross-sectional view of region R1 in Fig. 1. Fig. 3 is a longitudinal cross-sectional view of region R2 in Fig. 1. Fig. 4 is a cross-sectional view A-A of the catheter in Fig. 1. Fig. 5 is a cross-sectional view B-B of the catheter in Fig. 1. Fig. 6 is a cross-sectional view C-C of the catheter in Fig. 1. Fig. 7 is a cross-sectional view D-D of the catheter in Fig. 1. Fig. 8 is a cross-sectional view E-E of the catheter in Fig. 1. Fig. 9 is a longitudinal cross-sectional view of region R2 in a modified version of the catheter in Fig. 1. Fig. 16 is a cross-sectional view of a modified version of the catheter in Fig. 5.
 図1、図2、図3に示す通り、第1の実施の形態に係るカテーテルは、長手方向Xに延在する第1筒状部材1と、長手方向Xに延在し、第1筒状部材1と径方向Yに隣り合う第2筒状部材2とを有するカテーテル91である。具体的には、第1筒状部材1の外側面と第2筒状部材2の外側面が径方向Yにおいて互いに隣り合っていることが好ましい。第1筒状部材1は、長手方向Xに延在する内腔1Lを有していることが好ましい。第2筒状部材2は、長手方向Xに延在する内腔2Lを有していることが好ましい。内腔1Lと内腔2Lのそれぞれに、例えばガイドワイヤを挿入することにより、多方向にカテーテル91を誘導することができるため、例えば冠状動脈血管の様々な分岐部にカテーテル91を挿入し易くすることができる。また、内腔1Lまたは内腔2Lに探索用のワイヤを挿入することにより、病変部である狭窄部の入り口等を探索し易くすることができる。このうち内腔1Lに探索用のワイヤを挿入することが好ましい。探索用のワイヤの先端部は屈曲していてもよい。1, 2, and 3, the catheter according to the first embodiment is a
 第1筒状部材1と第2筒状部材2は、それぞれ、長手方向Xに延在する1つまたは複数の層を有していることが好ましく、複数の層を有していることがより好ましい。複数の層は、内層と、内層の少なくとも一部を内包する外層とを有していることが好ましい。複数の層は、更に、内層と外層の間に位置する中間層を有していてもよい。中間層の数は、1つに限らず2つ以上であってもよい。複数の層は、それぞれ隣接する層と異なる素材を含むことが好ましい。第1筒状部材1の内層と第2筒状部材2の内層は、それぞれ、ポリオレフィン系樹脂とフッ素系樹脂よりなる群から選択される少なくとも1種の樹脂を含むことが好ましい。これにより内腔1L、内腔2Lに挿入するワイヤの摺動性を向上させることができる。ポリオレフィン系樹脂は、ポリエチレン、ポリプロピレン、エチレン-プロピレン共重合体、またはこれらの混合物が好ましい。ポリエチレンは比重0.942以上の高密度ポリエチレンであることが好ましい。フッ素系樹脂は、ポリテトラフルオロエチレン、テトラフルオロエチレン・パーフルオロアルキルビニルエーテル共重合体、テトラフルオロエチレン・ヘキサフルオロプロピレン共重合体、テトラフルオロエチレン・エチレン共重合体、ポリビニリデンフルオライド、ポリクロロトリフルオロエチレン、エチレン-クロロトリフロオロエチレンコポリマー、またはこれらの混合物であることが好ましい。第1筒状部材1の内層と第2筒状部材2の内層は、それぞれ、ポリアミド系樹脂、ポリエステル系樹脂、ポリウレタン系樹脂、ポリオレフィン系樹脂、フッ素系樹脂、塩化ビニル系樹脂、シリコーン系樹脂、及び天然ゴムよりなる群から選択される少なくとも1種を含んでいてもよい。第1筒状部材1の内層と第2筒状部材2の内層は、互いに異なる樹脂を含んでいてもよく、同じ樹脂を含んでいることが好ましく、同じ樹脂からなることがより好ましい。The first
 第1筒状部材1の外層と第2筒状部材2の外層は、それぞれ柔軟性樹脂を含むことが好ましい。外層が柔軟性樹脂を含むことによりカテーテル91は湾曲し易くなる。柔軟性樹脂は、ポリエチレン、ポリウレタン、ポリウレタン系熱可塑性エラストマー、スチレン系熱可塑性エラストマー、ポリアミドエラストマー、及びポリアミドからなる群より選ばれる少なくとも1種を含むことが好ましく、ポリウレタン及びポリアミドエラストマーからなる群より選ばれる少なくとも1種を含むことがより好ましい。ポリエチレンは、比重が0.91~0.92の低密度ポリエチレンであることが好ましい。The outer layer of the first
 外層の素材のショアD硬度は、内層の素材のショアD硬度よりも小さいか、または同じであることが好ましく、小さいことがより好ましい。これにより、カテーテル91は湾曲し易くなる。ショアD硬度は、例えばデュロメータタイプDでISO7619に沿って測定すればよい。The Shore D hardness of the material of the outer layer is preferably smaller than or equal to the Shore D hardness of the material of the inner layer, and is preferably smaller. This makes the
中間層は、内層または外層と異なる素材を含んでいることが好ましいが、内層または外層と同じ素材を含んでいてもよい。The intermediate layer preferably contains a different material than the inner or outer layer, but may contain the same material as the inner or outer layer.
内層、中間層、外層は、それぞれ隣接する層に固定されていることが好ましい。これにより各層がよれたり捻れたりし難くなる。固定の態様としては、例えば溶着、接着等が挙げられる。図示していないが、中間層として補強部材が配置されていてもよい。The inner layer, middle layer, and outer layer are preferably fixed to the adjacent layers. This makes it difficult for each layer to twist or kink. Examples of the manner of fixing include welding and adhesion. Although not shown, a reinforcing member may be disposed as the middle layer.
 第1筒状部材1は、補強部材を備えていることが好ましい。これによりワイヤによる第1筒状部材1の突き破りを防止し易くすることができる。一方、第2筒状部材2は、補強部材を備えていないことが好ましい。これにより第2筒状部材2の柔軟性を向上し易くすることができる。The first
 補強部材は、線材が編組された編組体、線材が螺旋状に巻回されたコイル体、またはこれらの組み合わせであることが好ましい。これにより、ワイヤによる第1筒状部材1の突き破りを防止し易くすることができる。これらのうち編組体が剛性を向上し易いため、補強部材は編組体であることがより好ましい。補強部材に含まれる線材として、例えば金属線、繊維等が挙げられる。金属線は、ステンレス鋼、チタン、ニッケルチタン合金、コバルトクロム合金、タングステン合金、またはこれらの合金を含むことが好ましい。このうちステンレス鋼がより好ましい。金属線は、単線であってもよいし、撚線であってもよい。繊維として、ポリアリレート繊維、アラミド繊維、超高分子量ポリエチレン繊維、PBO繊維、炭素繊維、またはこれらの混繊が好ましい。繊維は、モノフィラメントであってもよいし、マルチフィラメントであってもよい。補強部材は、第1筒状部材1の位置をX線透視下等で確認し易くするため、X線不透過性物質を含んでいてもよい。X線不透過性物質は、鉛、バリウム、ヨウ素、タングステン、金、白金、イリジウム、白金イリジウム合金、ステンレス、チタン、コバルトクロム合金、パラジウム、ビスマス、及びタンタルよりなる群から選択される少なくとも1種であることが好ましい。The reinforcing member is preferably a braided body in which wire is braided, a coil body in which wire is wound in a spiral shape, or a combination of these. This makes it easier to prevent the wire from breaking through the first
 図示していないが、補強部材の遠位端は、第1開口部1Eの近位端よりも近位側であって、第2筒状部材2の近位端2Aより遠位側に位置することが好ましい。一方、補強部材の近位端は、第2筒状部材2の近位端2Aよりも近位側に位置することが好ましく、ハンドル部8内に位置することがより好ましい。これによりワイヤによる第1筒状部材1の突き破りを防止し易くできる。Although not shown, the distal end of the reinforcing member is preferably located closer to the proximal end of the
 図2に示す通り、第1筒状部材1の遠位端1Bは、第2筒状部材2の遠位端2Bよりも近位側に位置している。これにより、カテーテル91は第1筒状部材1の遠位端1Bよりも遠位側の部分において湾曲し易くなる。As shown in FIG. 2, the
 図1、図3に示す通り、第1筒状部材1の近位端1Aは、第2筒状部材2の近位端2Aよりも近位側に位置している。これにより、カテーテル91のうち第2筒状部材2の近位端2Aよりも近位側の部分を、例えば二重管構造(コアキシャル構造)の構造として、第2筒状部材2の近位端2Aよりも遠位側の第1筒状部材1と第2筒状部材2とが径方向Yに重なっている構造とは異なる構造とすることができ、異なる機能を発揮させることができる。As shown in Figures 1 and 3, the
 図1、図2、図3に示す通り、カテーテル91は、長手方向Xに延在し、第1筒状部材1の少なくとも一部と第2筒状部材2の少なくとも一部とを内包する部分を有する外側部材3を有している。外側部材3により、第1筒状部材1と第2筒状部材2を保護することができると共に、カテーテル91の内部からのワイヤの突き破りを防止し易くすることができる。As shown in Figures 1, 2, and 3, the
 外側部材3は、ポリエチレン、ポリウレタン、ポリウレタン系熱可塑性エラストマー、スチレン系熱可塑性エラストマー、ポリアミドエラストマー、及びポリアミドからなる群から選択される少なくとも1種を含むことが好ましい。このうちポリウレタン、及びポリアミドエラストマーよりなる群から選択される少なくとも1種がより好ましい。The
 図1に示す通り、外側部材3は、第2筒状部材2の近位端2Aから遠位側において、長手方向Xに延在する第1領域A1と、長手方向Xに延在し、第1領域A1よりも遠位側に位置する第2領域A2とを有している。図4に示す通り、第1領域A1の径方向Yの断面における短径A1mに対する長径A1lの比の値は1.0~1.1である。図5に示す通り、第2領域A2の径方向Yの断面における短径A2mに対する長径A2lの比の値は1.2~2.0である。第1領域A1の長径A1l/短径A1mの値が1.0~1.1であることにより、カテーテル91は体内の蛇行部において捻れ難くなるため、近位側から遠位側に向かう力を伝達し易くなる。一方、第1領域A1よりも遠位側の第2領域A2の長径A2l/短径A2mの値が1.2~2.0であることにより、カテーテル91は体内の蛇行部の形状に沿って湾曲し易くなる。長径A2l/短径A2mの値は、好ましくは1.2~1.9であり、より好ましくは1.2~1.7であり、更に好ましくは1.2~1.5である。なお外側部材3は、第2筒状部材2の近位端2Aから遠位側において、第1領域A1を有していればよく、第1領域A1は、第2筒状部材2の近位端2Aよりも遠位側に位置していてもよい。第1領域A1の長径A1lの長さは、0.5mm以上、2.0mm以下であることが好ましく、0.7mm以上、1.6mm以下であることがより好ましい。1, the
本書において、各領域の径方向Yの断面における長径は、各領域の径方向Yの断面における外縁上の2点を結び且つ図心を通る線分のうち最も長い線分の長さのことを意味する。また当該断面形状が、後述する楕円の一部形状である場合には、外接する仮想楕円の長径を、径方向Yの断面における長径とする。また本書において、各領域の径方向Yの断面における短径は、各領域の径方向Yの断面における外縁上の2点を結び且つ図心を通る線分のうち最も短い線分の長さのことを意味する。また当該断面形状が、後述する楕円の一部形状である場合には、外接する仮想楕円の短径を、径方向Yの断面における短径とする。なお径方向Yの断面における外縁の形状が円形である場合には、長径と短径の長さは同じ長さとなる。In this document, the major axis of each region in the radial Y cross section refers to the length of the longest line segment that connects two points on the outer edge of each region in the radial Y cross section and passes through the centroid. If the cross section is a part of an ellipse, as described below, the major axis of the circumscribing imaginary ellipse is the major axis in the radial Y cross section. In this document, the minor axis of each region in the radial Y cross section refers to the length of the shortest line segment that connects two points on the outer edge of each region in the radial Y cross section and passes through the centroid. If the cross section is a part of an ellipse, as described below, the minor axis of the circumscribing imaginary ellipse is the minor axis in the radial Y cross section. If the outer edge of the radial Y cross section is a circle, the major and minor axes are the same length.
 図4に示す通り、第1領域A1の径方向Yの断面における外縁A1eの形状は、円または楕円であることが好ましく、円であることがより好ましい。これにより、第1領域A1は体内の蛇行部において捻れ難くなるため、カテーテル91は近位側から遠位側に向かう力を伝達し易くなる。第1領域A1の径方向Yの断面における外縁A1eの形状は、角丸多角形等の形状であってもよい。第1領域A1は、径方向Yの断面形状が互いに異なる部分を有していてもよい。As shown in FIG. 4, the shape of the outer edge A1e in the cross section in the radial direction Y of the first region A1 is preferably a circle or an ellipse, and more preferably a circle. This makes it difficult for the first region A1 to twist in meandering parts inside the body, making it easier for the
 図5に示す通り、第2領域A2の径方向Yの断面における外縁A2eの形状は、楕円であることが好ましい。これにより、第2領域A2は体内の蛇行部の形状に沿って湾曲し易くなるため、カテーテル91は、体内の蛇行部の形状に沿って湾曲し易くなる。また例えば第1開口部1E近傍では、第2領域A2の径方向Yの断面における外縁A2eの形状は、楕円の一部形状であることが好ましい。楕円の一部形状とは、楕円の一部を切り欠いた後の形状である。なお第2領域A2の径方向Yの断面における外縁A2eの形状は、角丸多角形等の形状であってもよい。第2領域A2は、径方向Yの断面形状が互いに異なる部分を有していてもよい。As shown in FIG. 5, the shape of the outer edge A2e in the cross section in the radial direction Y of the second region A2 is preferably an ellipse. This allows the second region A2 to bend easily along the shape of the meandering part inside the body, and the
 図4、図5に示す通り、第1領域A1の径方向Yの断面における外縁A1eにより囲まれた領域の面積は、第2領域A2の径方向Yの断面における外縁A2eにより囲まれた領域の面積よりも大きいか、または同じであることが好ましく、大きいことがより好ましい。これにより、カテーテル91は体内の蛇行部に一層、挿入し易くなる。第1領域A1の径方向Yの断面における外縁A1eにより囲まれた領域の面積は、第2領域A2の径方向Yの断面における外縁A2eにより囲まれた領域の面積の1.00倍以上、2.00倍以下であることが好ましく、1.01倍以上、1.50倍以下であることがより好ましい。As shown in Figures 4 and 5, the area of the region surrounded by the outer edge A1e in the radial Y cross section of the first region A1 is preferably larger than or equal to the area of the region surrounded by the outer edge A2e in the radial Y cross section of the second region A2, and more preferably larger. This makes it easier to insert the
第2領域A2の長径A2lは、第1領域A1の長径A1lよりも大きいか、または同じ長さであることが好ましく、第1領域A1の長径A1lよりも大きいことがより好ましい。これにより、第2領域A2は、近位側から遠位側に向かう力を伝達し易くなる。The major axis A2l of the second region A2 is preferably larger than or equal to the major axis A1l of the first region A1, and more preferably larger than the major axis A1l of the first region A1. This makes it easier for the second region A2 to transmit force from the proximal side to the distal side.
図4、図16に示す通り、第2領域A2の長径A2lは、第1領域A1の長径A1lよりも小さくてもよい。この場合、第2領域A2の柔軟性が向上する。As shown in Figures 4 and 16, the major axis A2l of the second region A2 may be smaller than the major axis A1l of the first region A1. In this case, the flexibility of the second region A2 is improved.
 図4、図5に示す通り、径方向Yにおいて、外側部材3の第2領域A2の外縁A2eから第1筒状部材1の外縁1eまでの最短距離は、外側部材3の第1領域A1の外縁A1eから第1筒状部材1の外縁1eまでの最短距離よりも長いか、または同じ長さであることが好ましく、外縁A1eから外縁1eまでの最短距離よりも長いことがより好ましい。これにより、例えば第2領域A2の蛇行している部分にワイヤを挿入しても、ワイヤは第1筒状部材1と第2領域A2とを突き破り難くなる。第2領域A2の当該最短距離は、第2領域A2のうち径方向Yの断面形状が楕円である部分において測定するものとする。以下、第2領域A2の当該最短距離について同様である。As shown in Figures 4 and 5, the shortest distance in the radial direction Y from the outer edge A2e of the second region A2 of the
 図4、図16に示す通り、径方向Yにおいて、外側部材3の第2領域A2の外縁A2eから第1筒状部材1の外縁1eまでの最短距離は、外側部材3の第1領域A1の外縁A1eから第1筒状部材1の外縁1eまでの最短距離よりも短くてもよい。この場合、第1筒状部材1近傍における第2領域A2が蛇行部への挿入時によれ難くなる。As shown in Figures 4 and 16, in the radial direction Y, the shortest distance from the outer edge A2e of the second region A2 of the
 径方向Yにおいて、外側部材3の第2領域A2の外縁A2eから第2筒状部材2の外縁2eまでの最短距離は、外側部材3の第1領域A1の外縁A1eから第2筒状部材2の外縁2eまでの最短距離よりも長いか、または同じ長さであることが好ましく、外縁A1eから外縁2eまでの最短距離よりも長いことがより好ましい。これにより、例えば第2領域A2の蛇行している部分にワイヤを挿入しても、ワイヤは第2筒状部材2と第2領域A2とを突き破り難くなる。第2領域A2の当該最短距離は、第2領域A2のうち径方向Yの断面形状が楕円である部分において測定するものとする。以下、第2領域A2の当該最短距離について同様である。In the radial direction Y, the shortest distance from the outer edge A2e of the second region A2 of the
 図4、図16に示す通り、径方向Yにおいて、外側部材3の第2領域A2の外縁A2eから第2筒状部材2の外縁2eまでの最短距離は、外側部材3の第1領域A1の外縁A1eから第2筒状部材2の外縁2eまでの最短距離よりも短くてもよい。この場合、第2筒状部材2近傍における第2領域A2が蛇行部への挿入時によれ難くなる。As shown in Figures 4 and 16, in the radial direction Y, the shortest distance from the outer edge A2e of the second region A2 of the
 図1に示す通り、第2領域A2の長手方向Xにおける長さは、第1領域A1の長手方向Xにおける長さよりも短いことが好ましい。これにより、カテーテル91を体内の蛇行部に一層、挿入し易くなる。具体的には、第1領域A1の長手方向Xにおける長さは、第2領域A2の長手方向Xにおける長さの1.1倍以上、30倍以下であることが好ましく、1.2倍以上、20倍以下であることがより好ましい。As shown in FIG. 1, it is preferable that the length of the second region A2 in the longitudinal direction X is shorter than the length of the first region A1 in the longitudinal direction X. This makes it easier to insert the
 図1、図6に示す通り、外側部材3は、長手方向Xにおける第1領域A1と第2領域A2の間に第3領域A3を有しており、第3領域A3の径方向Yの断面における短径A3mに対する長径A3lの比の値が1.1超、1.2未満であることが好ましい。第3領域A3により、第1領域A1と第2領域A2の間の急な形状変化に伴う屈曲を回避し易くなる。そのため、長手方向Xにおいて第1領域A1と第3領域A3は隣接し、且つ長手方向Xにおいて第3領域A3と第2領域A2は隣接していることがより好ましい。長手方向Xにおける第3領域A3の長さは、1mm以上、20mm以下であることが好ましく、3mm以上、10mm以下であることがより好ましい。As shown in Figs. 1 and 6, the
第3領域A3は、近位側から遠位側に向かうに従って長径A3l/短径A3mの値が小さくなることが好ましい。これにより第1領域A1と第2領域A2の間の急な形状変化に伴う屈曲をより一層、回避し易くなる。第3領域A3の径方向Yの断面における外縁A3eの形状は楕円であることが好ましい。これにより上記効果が発揮され易くなる。なお第3領域A3の径方向Yの断面における外縁A3eの形状は、角丸多角形等の形状であってもよい。It is preferable that the value of major axis A3l/minor axis A3m of the third region A3 decreases from the proximal side to the distal side. This makes it easier to avoid bending due to the sudden change in shape between the first region A1 and the second region A2. It is preferable that the shape of the outer edge A3e of the third region A3 in the cross section in the radial direction Y is elliptical. This makes it easier to achieve the above-mentioned effects. The shape of the outer edge A3e of the third region A3 in the cross section in the radial direction Y may be a rounded polygon or the like.
 図2に示す通り、外側部材3の遠位端3Bは、第2筒状部材2の遠位端2Bよりも遠位側に位置していることが好ましい。柔軟な素材により形成された外側部材3をこのように配置することにより、カテーテル91の第2筒状部材2の遠位端2Bよりも遠位側の部分の柔軟性を向上させることができる。As shown in FIG. 2, it is preferable that the
 外側部材3の内側面の少なくとも一部は、第1筒状部材1と第2筒状部材2の外側面に固定されていることが好ましい。これにより外側部材3がよれたり捻れたりし難くなる。固定の態様としては、例えば溶着、接着等が挙げられる。It is preferable that at least a portion of the inner surface of the
 外側部材3の遠位端3Bから第2筒状部材2の遠位端2Bまでの長手方向Xにおける長さは、第2筒状部材2の最大厚みよりも大きいことが好ましい。これにより、カテーテル91の遠位端の近傍の柔軟性を向上させることができる。The length in the longitudinal direction X from the
 図4、図5、図6等に示す通り、第1筒状部材1と第2筒状部材2の外側面は、互いに接触していなくてもよいし、互いに接触して固定されていてもよい。固定の態様としては、例えば溶着、接着等が挙げられる。第1筒状部材1の外側面と第2筒状部材2の外側面が接触していない場合には、これらは外側部材3の樹脂を介して互いに固定されていることが好ましい。また図4、図5、図6等に示す通り、カテーテル91の径方向Yの断面において、第1内腔1Lと第2内腔2Lの形状は、それぞれ円形、楕円形、弓形、またはこれらの組み合わせ形状であることが好ましく、円形または楕円形であることがより好ましい。これによりカテーテル91は湾曲し易くなる。カテーテル91内において、第1内腔1Lと第2内腔2Lは連通していないことが好ましい。径方向Yの断面において、第1内腔1Lは、第2内腔2Lより面積が大きくてもよく、第2内腔2Lより面積が小さくてもよく、第2内腔2Lと面積が同じであってもよい。As shown in Figures 4, 5, 6, etc., the outer surfaces of the first
 図2に示す通り、第1筒状部材1は、内腔1Lに連通する第1開口部1Eを有していることが好ましい。第1開口部1Eをワイヤの入口、または出口とすることができる。As shown in FIG. 2, the first
 図2に示す通り、第2筒状部材2は、内腔2Lに連通する第2開口部2Eを有していることが好ましい。第2開口部2Eをワイヤの入口、または出口とすることができる。As shown in FIG. 2, the second
 外側部材3は、第1筒状部材1の遠位端1Bよりも遠位側であって、径方向Yにおける第1筒状部材1に近い側において、中心軸2Cから離れる方向に隆起している隆起部34を有することが好ましい。これにより第1筒状部材1に挿入するワイヤの先端を第2筒状部材2に挿入するワイヤの先端とは異なる向きに誘導することができるため、分岐部病変等に対する処置を行い易くすることができる。またこれにより、それぞれのワイヤを絡み難くすることができる。隆起部34は第1筒状部材1の遠位端1Bに隣接していることが好ましい。これにより第1開口部1Eから出てきたワイヤを隆起部34により誘導し易くなる。The
 図2に示す通り、第1筒状部材1の中心軸1Cと第2筒状部材2の中心軸2Cとを含む長手方向Xの断面を断面Xとしたとき、隆起部34は、断面Xにおいて、遠位側に向かうに従って中心軸2Cから離れる方向に傾斜している第1傾斜部と、遠位側に向かうに従って中心軸2Cに近づくように傾斜している第2傾斜部とを有していることが好ましい。第2傾斜部は、第1傾斜部よりも遠位側に位置することが好ましい。第1傾斜部により、第1開口部1Eから出てきたワイヤを誘導し易くなる。第2傾斜部により、体内に挿入し易くなる。断面Xにおける第1傾斜部と第2傾斜部の外側面の形状は、直線状または湾曲状であることが好ましく、直線状であることがより好ましい。断面Xの第2傾斜部の外側面が直線状である場合、第2傾斜部の形状はいわゆるテーパ形状である。2, when the cross section X is a cross section in the longitudinal direction X including the
 一方、図示していないが第2筒状部材2は、第1筒状部材1の遠位端1Bよりも遠位側であって、径方向Yにおける第1筒状部材1に近い側において、中心軸2Cから離れる方向に隆起している隆起部を有していなくてもよい。これにより、隆起部の分だけカテーテル91の外径が小さくなるため、カテーテル91が湾曲し易くなる。On the other hand, although not shown, the second
 第1筒状部材1と第2筒状部材2の外径は、それぞれ、0.2mm以上、0.8mm以下であることが好ましく、0.3mm以上、0.7mm以下であることがより好ましい。これによりカテーテル91を冠状動脈血管の蛇行部に一層、挿入し易くなる。The outer diameters of the first
 図1に示す通り、第1筒状部材1の近位端部1aにはハンドル部8が配置されていることが好ましい。具体的にはハンドル部8内に第1筒状部材1の近位端部1aが配置されていることが好ましい。施術者は、ハンドル部8を把持して押すことにより、カテーテル91を体内に挿入することができる。ハンドル部8の外形は、施術者が指で把持できるような形状になっていればよい。ハンドル部8は、射出成形等により得られる樹脂成形品であることが好ましい。樹脂として、例えば、ポリエチレン、ポリプロピレン等のポリオレフィン系樹脂、ポリカーボネート系樹脂、(メタ)アクリル系樹脂等が挙げられる。これらの樹脂のうちポリカーボネート、ポリメタクリル酸メチル等の透明性樹脂が好ましい。これによりハンドル部8の内部が見え易くなって、ワイヤを挿入し易くすることができる。As shown in FIG. 1, a
 第1筒状部材1の近位端1Aは、ハンドル部8内に位置することが好ましい。これによりプッシャビリティーを向上させることができる。The
 ハンドル部8は、第1筒状部材1の内腔1Lに連通し、長手方向Xに延在する内腔を有していることが好ましい、当該内腔からワイヤを挿入することができる。The
 図1、図3に示す通り、カテーテル91は、更に、長手方向Xに延在している外側筒状部材4を有していることが好ましい。外側筒状部材4は、長手方向Xに延在する内腔4Lを有しており、内腔4Lに第1筒状部材1の一部が配置されていることが好ましい。外側筒状部材4により、二重管構造(コアキシャル構造)を形成することができ、第1筒状部材1を保護しつつ、押し込み力の伝達性を向上することができる。具体的には、外側筒状部材4は、遠位端部において第1筒状部材1に固定されている固定部と、固定部よりも近位側において第1筒状部材1に固定されていない非固定部を有していることが好ましい。非固定部により、第1筒状部材1へのワイヤの挿入に伴う力を逃がし易くすることができる。そのため、長手方向Xにおいて非固定部は固定部よりも長いことが好ましい。これによりワイヤによる第1筒状部材1の突き破りのリスクを低減することができる。また、外側筒状部材4は、近位端部においてハンドル部8に固定されている固定部を有していることが好ましい。1 and 3, the
 外側筒状部材4は、第2筒状部材2の近位端2Aよりも近位側に位置することが好ましい。これにより外側筒状部材4の外径を低減することができる。The outer
 外側筒状部材4は、外側部材3と同じ樹脂かより硬い樹脂を含んでいることが好ましく、より硬い樹脂からなることがより好ましい。より硬い樹脂によりプッシャビリティーを向上させることができる。また、外側筒状部材4の遠位端と外側部材3の近位端は、互いに固定されいることが好ましい。The outer
 図1、図7に示す通り、外側筒状部材4は、第2筒状部材2の近位端2Aから近位側において、長手方向Xに延在する第4領域A4を有しており、第4領域A4の径方向Yの断面における短径A4mに対する長径A4lの比の値は1.0~1.1であることが好ましい。長径A4l/短径A4mの値が1.0~1.1であることにより、カテーテル91は体内の蛇行部において捻れ難くなるため、近位側から遠位側に向かう力を伝達し易くなる。As shown in Figures 1 and 7, the outer
 外側筒状部材4は、第2筒状部材2の近位端2Aから近位側において、第4領域A4を有していればよく、第4領域A4は、第2筒状部材2の近位端2Aよりも近位側に位置していてもよい。The outer
図5、図7に示す通り、第2領域A2の長径A2lは、第4領域A4の長径A4lよりも小さいことが好ましい。これにより第2領域A2は体内の蛇行部において一層、湾曲し易くなる。長径A2lは、長径A4lの0.99倍以下であることが好ましく、0.98倍以下であることがより好ましい。一方、長径A2lは、長径A4lの0.5倍以上であることが好ましく、0.6倍以上であることがより好ましい。これにより第2領域A2のプッシャビリティーを向上させることができる。As shown in Figures 5 and 7, it is preferable that the major axis A2l of the second region A2 is smaller than the major axis A4l of the fourth region A4. This makes it easier for the second region A2 to bend in meandering areas within the body. It is preferable that the major axis A2l is 0.99 times or less, and more preferably 0.98 times or less, of the major axis A4l. On the other hand, it is preferable that the major axis A2l is 0.5 times or more, and more preferably 0.6 times or more, of the major axis A4l. This can improve the pushability of the second region A2.
 図1に示す通り、第4領域A4の長手方向Xにおける長さは、第1領域A1の長手方向Xにおける長さと第2領域A2の長手方向Xにおける長さの合計よりも長いことが好ましい。これにより、カテーテル91のプッシャビリティーを向上させることができる。長手方向Xにおいて、第4領域A4の長さは、第1領域A1と第2領域A2の長さの合計の2倍以上であることが好ましく、3倍以上であることがより好ましい。一方、当該倍率は、14倍以下であることが好ましく、6倍以下であることがより好ましい。これによりカテーテル91の長さを低減することができる。長手方向Xにおける第1領域A1と第2領域A2の長さの合計は、5cm以上、50cm以下であることが好ましく、10cm以上、40cm以下であることがより好ましい。As shown in FIG. 1, it is preferable that the length of the fourth region A4 in the longitudinal direction X is longer than the sum of the length of the first region A1 in the longitudinal direction X and the length of the second region A2 in the longitudinal direction X. This can improve the pushability of the
 図1、図8に示す通り、外側部材3は、長手方向Xに延在し、第2領域A2よりも遠位側に位置する第5領域A5を有しており、第5領域A5の径方向Yの断面における短径A5mに対する長径A5lの比の値は1.0~1.1であることが好ましい。長径A5l/短径A5mの値が1.0~1.1であることにより、カテーテル91の遠位端近傍の捻れ等の変形を防止し易くなる。そのため第5領域A5は、カテーテル91の遠位端を含んでいることが好ましい。長手方向Xにおいて第5領域A5は第2領域A2と隣接していることが好ましいが、第5領域A5と第2領域A2の間に他の領域が存在していてもよい。他の領域の径方向Yの断面における短径に対する長径の比の値は1.1超、1.2未満であることが好ましい。これにより急な形状変化に伴う屈曲を回避し易くなる。1 and 8, the
 図4~図6等に示す通り、外側部材3は、長手方向Xに延在し樹脂を含む柱体5を有し、第1筒状部材1の少なくとも一部と第2筒状部材2の少なくとも一部が柱体5内に配置されていることが好ましい。即ち、第1筒状部材1と第2筒状部材2の少なくとも一部は、長手方向Xに延在し樹脂を含む柱体5により封止されていることが好ましい。これにより、カテーテル91が湾曲しても長手方向Xに延在する内腔1Lと内腔2Lの形状が維持され易くなる。柱体5は、少なくとも第1領域A1と第2領域A2を有し、更に第3領域A3および/または第5領域A5を有していることがより好ましい。各領域の詳細については、上述した筒状の外側部材3の各領域の記載を参照すればよい。なお第1筒状部材1と第2筒状部材2の間には、柱体5の樹脂が存在していてもよい。As shown in Figs. 4 to 6, the
 柱体5は、楕円柱状部、円柱状部、または楕円柱状部と円柱状部を有していることが好ましい。柱体5は、長径/短径の値が互いに異なる複数の楕円柱状部を有していることがより好ましい。複数の楕円柱状部は長手方向Xに隣り合っていることが好ましい。各楕円柱状部は、長径/短径の値が一定である部分であってもよく、長径/短径の値が遠位側に向かうに従って変化する部分であってもよい。また柱体5が楕円柱状部と円柱状部を有する場合、楕円柱状部と円柱状部は長手方向Xに隣り合っていることが好ましい。The
 柱体5は、例えば長径/短径の値が異なる2つ以上のチューブを長手方向Xに隣り合うように配置し、第1筒状部材1と第2筒状部材2を径方向Yに重ねた状態でこれらのチューブの内部に配置し、これらのチューブを加熱して第1筒状部材1と第2筒状部材2に溶着させることによって形成することができる。その他に柱体5は、長径/短径の値が1.0~1.1であるチューブを用意し、第1筒状部材1と第2筒状部材2を径方向Yに重ねた状態でチューブの内部に配置し、チューブを加熱しながらチューブの一部を径方向の両側から内側に向かって板等により挟みながら、チューブを第1筒状部材1と第2筒状部材2に溶着させることによって形成することができる。この場合、板等により挟んだ部分の長径/短径の値が1.2~2.0とすることにより第2領域A2を形成することもできる。他の領域についても同様である。The
 図2に示す通り、第1筒状部材1は、第1開口部1Eの近位端よりも近位側であって、第1開口部1Eの近位端から近位側に1cm離れた点よりも遠位側において、X線不透過性マーカー6Aを有していてもよい。これにより、第1開口部1Eの位置を把握し易くすることができる。As shown in FIG. 2, the first
 第2筒状部材2は、第1筒状部材1の遠位端1Bよりも遠位側であって、第2筒状部材2の遠位端2Bよりも近位側の位置に、X線不透過性マーカー6Bを有していてもよい。これにより、体内の蛇行部にカテーテル91を挿入するときに、カテーテル91の湾曲部の位置を把握し易くなるため、挿入し易くなる。The second
X線不透過性マーカーは、リング状であることが好ましい。X線不透過性マーカーは、X線不透過性物質を含むことが好ましく、X線不透過性物質からなることがより好ましい。X線不透過性物質は、鉛、バリウム、ヨウ素、タングステン、金、白金、イリジウム、白金イリジウム合金、ステンレス、チタン、コバルトクロム合金、パラジウム、ビスマス、及びタンタルよりなる群から選択される少なくとも1種であることが好ましい。The radiopaque marker is preferably ring-shaped. The radiopaque marker preferably contains a radiopaque material, and more preferably consists of a radiopaque material. The radiopaque material is preferably at least one selected from the group consisting of lead, barium, iodine, tungsten, gold, platinum, iridium, platinum-iridium alloy, stainless steel, titanium, cobalt-chromium alloy, palladium, bismuth, and tantalum.
 図9に示す通り、カテーテル91は、長手方向Xに延在し、少なくとも第1領域A1と第4領域A4内に配置されており、且つ遠位端11Bが第1領域A1内に位置する線状部材11を有していることが好ましい。これによりプッシャビリティーを向上することができる。As shown in FIG. 9, it is preferable that the
 線状部材11は、金属を含むことが好ましく、金属からなることがより好ましい。金属は、ステンレス、ニッケルチタン、コバルトクロム、またはこれらの合金が好ましい。これによりプッシャビリティーを一層、向上することができる。The
 線状部材11の形状は、直線状であることが好ましい。線状部材11は、内腔を有していない中実部材であることが好ましい。これによりプッシャビリティーを一層、向上することができる。カテーテル91が有する線状部材11の数は、1本であってもよいし、2本以上であってもよい。The
 線状部材11は、長手方向Xに延在し径方向の長さが一定である定径部11Uを有していることが好ましい。線状部材11は、更に、定径部11Uよりも遠位側に位置し、遠位側に向かって先細り形状になっているテーパ部11Tを有していることがより好ましい。It is preferable that the
 図示していないが線状部材11の近位端は、ハンドル部8内に位置することが好ましい。線状部材11の近位端部は、第1筒状部材1、ハンドル部8、または外側筒状部材4に固定されていることが好ましい。これによりプッシャビリティーを一層、向上することができる。Although not shown, the proximal end of the
 図示していないが、カテーテル91は、更に、長手方向Xに延在するチップを有していてもよい。チップは、長手方向Xに延在する内腔を有し、内腔内に少なくとも第2筒状部材2の遠位端部が配置されていることが好ましい。これにより、チップと第2筒状部材2は、一体的に湾曲し易くなる。Although not shown, the
 チップの内側面の少なくとも一部は、第2筒状部材2の外側面に固定されていることが好ましい。これによりチップと第2筒状部材2は、より一層、一体的に湾曲し易くなる。固定の態様としては、例えば溶着、接着等が挙げられる。It is preferable that at least a portion of the inner surface of the tip is fixed to the outer surface of the second
チップは、柔軟性樹脂を含むことが好ましい。柔軟性樹脂は、ポリエチレン、ポリウレタン、ポリウレタン系熱可塑性エラストマー、スチレン系熱可塑性エラストマー、ポリアミドエラストマー、及びポリアミドからなる群より選ばれる少なくとも1種を含むことが好ましく、ポリウレタン及びポリアミドエラストマーからなる群より選ばれる少なくとも1種を含むことがより好ましい。ポリエチレンは、比重が0.91~0.92の低密度ポリエチレンであることが好ましい。The chip preferably contains a flexible resin. The flexible resin preferably contains at least one selected from the group consisting of polyethylene, polyurethane, polyurethane-based thermoplastic elastomer, styrene-based thermoplastic elastomer, polyamide elastomer, and polyamide, and more preferably contains at least one selected from the group consisting of polyurethane and polyamide elastomer. The polyethylene is preferably a low-density polyethylene having a specific gravity of 0.91 to 0.92.
チップは、径方向Yの断面における短径に対する長径の比の値が1.0~1.1である領域を有していることが好ましい。当該領域は、チップの遠位端を含むことが好ましい。これによりチップの遠位端部の捻れ等の変形を防止し易くなる。チップは当該領域からなることがより好ましい。It is preferable that the tip has a region in which the ratio of the major axis to the minor axis in a cross section in the radial direction Y is 1.0 to 1.1. It is preferable that this region includes the distal end of the tip. This makes it easier to prevent deformation, such as twisting, of the distal end of the tip. It is more preferable that the tip consists of this region.
 カテーテル91は、体内の血管等の通路の狭窄や閉塞部位を拡張する治療に好ましく用いることができ、冠状動脈血管の分岐部病変等に対する冠血管インターベンション(PCI)の施行により好ましく用いることができる。The
以下では、図10~図15を参照しながら、第2の実施の形態に係るカテーテルについて説明する。図10は、第2の実施の形態に係るカテーテルの側面図である。図11は、図10の領域R1の長手方向の断面図である。図12は、図10の領域R2の長手方向の断面図である。図13は、図10のカテーテルのA-A断面図である。図14は、図10のカテーテルのB-B断面図である。図15は、図10のカテーテルのC-C断面図である。第2の実施の形態に係るカテーテルのうち、第1の実施の形態に係るカテーテルと重複する部分の詳細な説明は省略する。Below, a catheter according to the second embodiment will be described with reference to Figures 10 to 15. Figure 10 is a side view of a catheter according to the second embodiment. Figure 11 is a longitudinal cross-sectional view of region R1 in Figure 10. Figure 12 is a longitudinal cross-sectional view of region R2 in Figure 10. Figure 13 is a cross-sectional view of the catheter in Figure 10 taken along line A-A. Figure 14 is a cross-sectional view of the catheter in Figure 10 taken along line B-B. Figure 15 is a cross-sectional view of the catheter in Figure 10 taken along line C-C. A detailed description of portions of the catheter according to the second embodiment that overlap with the catheter according to the first embodiment will be omitted.
 第2の実施の形態に係るカテーテルは、長手方向Xに延在する第1筒状部材1と、長手方向Xに延在し、第1筒状部材1と径方向Yに隣り合う第2筒状部材2と、長手方向Xに延在し、第1筒状部材1の少なくとも一部と第2筒状部材2の少なくとも一部とを内包する部分を有する外側部材3を有するカテーテル92である。各部の詳細はカテーテル91の説明を参照すればよい。The catheter according to the second embodiment is a
 図10~図15に示すようにカテーテル92において、外側部材3は、筒状であり、長手方向Xに延在する内腔3Lを有しており、内腔3Lに第1筒状部材1の少なくとも一部と第2筒状部材2の少なくとも一部が配置されていることが好ましい。これにより、第1筒状部材1と第2筒状部材2を保護することができると共に、外側部材3と第1筒状部材1の間の隙間、外側部材3と第2筒状部材2との間の隙間により、各筒状部材がある程度動くことができるためカテーテル92の内部からのワイヤの力を逃がすことができる。その結果、ワイヤの突き破りを防止し易くすることができる。筒状の外側部材3は、遠位端部が第1筒状部材1と第2筒状部材2に固定されていることが好ましい。筒状の外側部材3は、近位端部が第1筒状部材1と第2筒状部材2に固定されていることが好ましい。これにより筒状の外側部材3は、よれたり捻れたりし難くなる。固定の態様としては、例えば溶着、接着等が挙げられる。As shown in Figs. 10 to 15, in the
 筒状の外側部材3の第1領域A1と第2領域A2等は、例えば長径/短径の値が異なる2つ以上のチューブを長手方向Xに結合することにより形成することができる。その他に、長径/短径の値が1.0~1.1であるチューブを用意し、チューブの一部を加熱しながら径方向の両側から内側に向かって板等により挟みこむことにより、長径/短径の値が1.2~2.0である第2領域A2を形成してもよい。他の領域についても同様である。The first region A1 and second region A2 of the cylindrical
 筒状の外側部材3は、少なくとも第1領域A1と第2領域A2を有し、更に第3領域A3および/または第5領域A5を有していることがより好ましい。各領域の詳細については、上述した筒状の外側部材3の各領域の記載を参照すればよい。The cylindrical
 カテーテル92において、第1筒状部材1と第2筒状部材2は径方向Yにおいて互いに固定されていることが好ましい。具体的には、第1筒状部材1の外側面と第2筒状部材2の外側面は径方向Yにおいて互いに固定されていることが好ましい。これにより第1筒状部材1と第2筒状部材2は、よれたり捻れたりし難くなる。固定の態様としては、例えば溶着、接着等が挙げられる。In the
本願は、2023年8月1日に出願された日本国特許出願第2023-125557号に基づく優先権の利益を主張するものである。2023年8月1日に出願された日本国特許出願第2023-125557号の明細書の全内容が、本願に参考のため援用される。This application claims the benefit of priority based on Japanese Patent Application No. 2023-125557, filed on August 1, 2023. The entire contents of the specification of Japanese Patent Application No. 2023-125557, filed on August 1, 2023, are incorporated by reference into this application.
 1 第1筒状部材
 1a 近位端部
 1e 外縁
 1A 近位端
 1B 遠位端
 1C 中心軸
 1E 第1開口部
 1L 内腔
 2 第2筒状部材
 2e 外縁
 2A 近位端
 2B 遠位端
 2C 中心軸
 2E 第2開口部
 2L 内腔
 3 外側部材
 3B 遠位端
 3L 内腔
 4 外側筒状部材
 4L 内腔
 5 柱体
 6A、6B X線不透過性マーカー
 8 ハンドル部
 11 線状部材
 11B 遠位端
 11U 定径部
 11T テーパ部
 34 隆起部
 91、92 カテーテル
 A1 第1領域
 A1e 外縁
 A1l 長径
 A1m 短径
 A2 第2領域
 A2e 外縁
 A2l 長径
 A2m 短径
 A3 第3領域
 A3e 外縁
 A3l 長径
 A3m 短径
 A4 第4領域
 A4l 長径
 A4m 短径
 A5 第5領域
 A5l 長径
 A5m 短径
 X 長手方向
 Y 径方向
 1 First
| Application Number | Priority Date | Filing Date | Title | 
|---|---|---|---|
| JP2023125557 | 2023-08-01 | ||
| JP2023-125557 | 2023-08-01 | 
| Publication Number | Publication Date | 
|---|---|
| WO2025028186A1true WO2025028186A1 (en) | 2025-02-06 | 
| Application Number | Title | Priority Date | Filing Date | 
|---|---|---|---|
| PCT/JP2024/024770PendingWO2025028186A1 (en) | 2023-08-01 | 2024-07-09 | Catheter | 
| Country | Link | 
|---|---|
| WO (1) | WO2025028186A1 (en) | 
| Publication number | Priority date | Publication date | Assignee | Title | 
|---|---|---|---|---|
| WO2020255736A1 (en)* | 2019-06-19 | 2020-12-24 | 株式会社カネカ | Catheter and method of manufacturing catheter | 
| JP2023004052A (en)* | 2021-06-25 | 2023-01-17 | 朝日インテック株式会社 | catheter | 
| Publication number | Priority date | Publication date | Assignee | Title | 
|---|---|---|---|---|
| WO2020255736A1 (en)* | 2019-06-19 | 2020-12-24 | 株式会社カネカ | Catheter and method of manufacturing catheter | 
| JP2023004052A (en)* | 2021-06-25 | 2023-01-17 | 朝日インテック株式会社 | catheter | 
| Publication | Publication Date | Title | 
|---|---|---|
| AU2002354761B8 (en) | Torqueable soft tip medical device and method of usage | |
| JP4547374B2 (en) | Medical device including unbalanced reinforcing member and method for manufacturing the same | |
| KR102315805B1 (en) | Large lumen guide catheter | |
| AU2002354761A1 (en) | Torqueable soft tip medical device and method of usage | |
| JPWO2020162287A1 (en) | Extension catheter and its manufacturing method | |
| CN115666698B (en) | catheter | |
| JP7444879B2 (en) | Catheter and catheter manufacturing method | |
| WO2022158418A1 (en) | Catheter | |
| CN113993569B (en) | catheter | |
| JP7524080B2 (en) | Extension catheter and method for manufacturing same | |
| WO2025028186A1 (en) | Catheter | |
| JP2025023674A (en) | catheter | |
| JP2025023675A (en) | catheter | |
| WO2025033067A1 (en) | Catheter | |
| WO2025028183A1 (en) | Catheter | |
| WO2025028184A1 (en) | Catheter | |
| WO2025028185A1 (en) | Catheter | |
| WO2025197466A1 (en) | Catheter | |
| JP7693332B2 (en) | catheter | |
| JP7738429B2 (en) | catheter | |
| CN222056127U (en) | Microcatheter | |
| CN216022317U (en) | Radiography guide wire | |
| WO2022158417A1 (en) | Catheter | |
| WO2025204939A1 (en) | Catheter and method for manufacturing same | |
| JP2018201575A (en) | Catheter and manufacturing method thereof | 
| Date | Code | Title | Description | 
|---|---|---|---|
| 121 | Ep: the epo has been informed by wipo that ep was designated in this application | Ref document number:24848845 Country of ref document:EP Kind code of ref document:A1 | |
| ENP | Entry into the national phase | Ref document number:2025537797 Country of ref document:JP Kind code of ref document:A | |
| WWE | Wipo information: entry into national phase | Ref document number:2025537797 Country of ref document:JP |