













































































本発明は、アナログスティックを備えたコントローラに関する。The present invention relates to a controller equipped with an analog stick.
アナログスティックは、操作者が指を用いて垂直方向に立てられたスティック(操作レバー)を任意の方向に傾倒操作することにより、スティックが傾倒された方向と、スティックが傾倒された角度(傾倒角度)に応じたアナログ値とを出力する操作子である。An analog stick is a control device that outputs an analog value according to the direction in which the stick is tilted and the angle at which the stick is tilted (tilt angle) when the operator uses his or her finger to tilt a vertically-positioned stick (operating lever) in any direction.
アナログスティックは、指で押す力を緩めたり指を離したりすると、例えば、バネの復元力によりスティックが中立位置(垂直方向)に戻る、オートセンタリング機構が設けられていることが多い。Analog sticks often have an auto-centering mechanism that returns the stick to a neutral position (vertical) by the restoring force of a spring, for example, when you release the pressure on the stick with your finger.
しかし、オートセンタリング機構には、以下に示す課題がある。
1)バネの復元力が操作の手がかりとして物足りない
バネの復元力は、スティックを中立位置に戻すためだけでなく、操作者がアナログスティックを操作するときの手がかりにもなっている。例えば、操作者がアナログスティックを途中で止めたりゆっくり傾倒させたりする場合、指にバネの復元力を感じるので容易にアナログスティックを操作できる。However, the auto-centering mechanism has the following problems.
1) The spring's restoring force is not enough as a clue for operation The spring's restoring force is not only for returning the stick to the neutral position, but also serves as a clue for the operator when operating the analog stick. For example, when the operator stops the analog stick halfway or tilts it slowly, the operator can easily operate the analog stick because they can feel the spring's restoring force with their fingers.
ただ、筋力の弱い操作者でも容易にアナログスティックを操作できるように、バネの復元力が弱めに設定されているため、大多数の操作者は、バネの復元力が操作の手がかりとして物足りなく感じてしまう。However, because the spring's restoring force is set to be weak so that even players with weak muscles can easily operate the analog stick, the majority of players find the spring's restoring force insufficient to provide a sufficient cue for operation.
2)アナログスティックの傾倒角度を一定に維持しにくい
ゲーム装置用のコントローラでは、ゲームの状況によりアナログスティックの傾倒角度を一定に維持したい場合がある。例えば、自動車を運転するレースゲームでは、アナログスティックの傾倒角度によりハンドルの操舵角を制御している。道路のカーブの曲率が一定の場合、ハンドルの操舵角を一定に保って道路のカーブをスムーズに曲がるためには、アナログスティックの傾倒角度を一定に維持する必要がある。2) It is difficult to maintain a constant tilt angle of the analog stick In a controller for a game device, there are cases where it is desired to maintain a constant tilt angle of the analog stick depending on the game situation. For example, in a racing game in which the player drives a car, the steering angle of the steering wheel is controlled by the tilt angle of the analog stick. When the curvature of a curve in a road is constant, it is necessary to maintain a constant tilt angle of the analog stick in order to keep the steering angle of the steering wheel constant and turn smoothly around the curve in the road.
また、ドローン用のコントローラでは、ドローンを一定速度で飛行させる場合(例えば、動画の撮影)、アナログスティックの傾倒角度を一定に維持する必要がある。Furthermore, when flying a drone at a constant speed (for example, when shooting video), it is necessary to maintain a constant tilt angle of the analog stick on a drone controller.
アナログスティックの傾倒角度を一定に維持するためには、操作者は、指によりバネの復元力と釣り合う力をアナログスティックにかけ続ける操作を行う必要がある。
ところが、人間の筋肉は前記した操作を行うのに適した構造をしていないため、アナログスティックがぐらぐら動いたり、指が震えたりして、操作者は、アナログスティックの傾倒角度を一定に維持しにくい。In order to maintain a constant tilt angle of the analog stick, the operator needs to continue to apply a force to the analog stick with his/her finger that balances the restoring force of the spring.
However, human muscles are not structured to perform the above-mentioned operations, so the analog stick may wobble or the operator's fingers may tremble, making it difficult for the operator to maintain a constant tilt angle of the analog stick.
3)アナログスティックの中立位置付近の傾倒がゲームに反映されない
操作者がアナログスティックから指を離し、バネの復元力によりスティックが中立位置に戻るとき、アナログスティックは、中立位置付近において、わずかな時間、目視できない程度で振動している。例えば、ゲーム装置用のコントローラでは、アナログスティックから出力される前記振動に対応したアナログ値をゲームに反映させると、操作者が意図しない処理が行われるおそれがある。そこで、多くのゲーム装置用のコントローラでは、アナログスティックの中立位置付近の傾倒角度に対応したアナログ値を無効にする、いわゆる不感帯を設けている。3) The tilt of the analog stick near the neutral position is not reflected in the game When the operator releases his/her finger from the analog stick and the stick returns to the neutral position due to the restoring force of the spring, the analog stick vibrates for a short time near the neutral position, but not to the point of being visible to the naked eye. For example, in a controller for a game device, if an analog value corresponding to the vibration output from the analog stick is reflected in the game, there is a risk that processing unintended by the operator will be performed. Therefore, many controllers for game devices are provided with a so-called dead zone that invalidates the analog value corresponding to the tilt angle of the analog stick near the neutral position.
したがって、操作者が、例えば、ゲーム空間でキャラクタや射撃の照準をわずかに移動させることを意図して、中立位置からわずかにアナログスティックを傾倒させても、前記不感帯ではアナログ値は0のままであり、キャラクタや射撃の照準は移動しない。また、操作者が、例えば、アナログスティックから出力されるアナログ値を一定の割合で変化させることを意図して、中立位置を挟んでアナログスティックを一定速度で傾倒させた場合、前記不感帯ではアナログ値は0であるため、前記アナログ値は操作者が意図しない値になってしまう。Therefore, even if the operator tilts the analog stick slightly from the neutral position with the intention of slightly moving a character or a shooting aim in the game space, the analog value remains at 0 in the dead zone, and the character or shooting aim does not move. Also, if the operator tilts the analog stick at a constant speed around the neutral position with the intention of changing the analog value output from the analog stick at a constant rate, the analog value will be 0 in the dead zone, and so the analog value will become a value not intended by the operator.
4)アナログスティックの戻し操作がゲームに反映されない
操作者がある傾倒角度で傾倒した位置から中立位置にアナログスティックを戻す操作をした場合と、操作者が前記傾倒角度と同一の傾倒角度で傾倒した位置でアナログスティックから指を離した場合とにおいて、アナログスティックは、同一のアナログ値を出力する。ゲーム装置用のコントローラにおいて、操作者がアナログスティックを戻す操作をした場合はそのアナログ値をゲームに反映させる必要がある。一方、操作者が単に指を離した場合にアナログスティックから出力されるアナログ値はオートセンタリング機構の作動に起因するので、そのアナログ値をゲームに反映させる必要はない。4) Analog stick return operation is not reflected in the game When an operator returns the analog stick from a position tilted at a certain tilt angle to a neutral position, the analog stick outputs the same analog value when the operator releases his/her finger from the analog stick at a position tilted at the same tilt angle as the tilt angle. In a controller for a game device, when an operator returns the analog stick, that analog value needs to be reflected in the game. On the other hand, the analog value output from the analog stick when the operator simply releases his/her finger is due to the operation of the auto-centering mechanism, so there is no need to reflect that analog value in the game.
しかし、いずれの場合もコントローラから同一のアナログ値が供給されるので、ゲーム装置は、いずれの場合であるか判別できず、アナログスティックの戻し操作をゲームに反映できない。However, because the same analog value is supplied from the controller in either case, the game device cannot distinguish between the two cases and cannot reflect the return operation of the analog stick in the game.
そこで、従来、アナログスティックを用いてゲーム空間でキャラクタ等を移動させる場合には、速度制御を採用することが多い。速度制御は、スティックの傾倒角度に応じたアナログ値をキャラクタ等の移動速度に変換する方法であり、スティックの傾倒角度が大きいほどキャラクタ等の移動速度が速くなる。So, conventionally, when using an analog stick to move a character or the like in a game space, speed control is often used. Speed control is a method of converting an analog value according to the tilt angle of the stick into the movement speed of the character or the like, and the greater the tilt angle of the stick, the faster the character or the like moves.
速度制御を採用するメリットは、アナログスティックが中立位置に戻った場合、操作者がアナログスティックを戻す操作をしたのか、操作者が単に指を離したのかで違いが生じないことである。アナログスティックが中立位置に戻れば、キャラクタ等の移動速度がゼロとなり、キャラクタ等は停止する。The advantage of using speed control is that when the analog stick returns to the neutral position, it makes no difference whether the operator returns the analog stick or simply releases it. When the analog stick returns to the neutral position, the character's movement speed becomes zero and the character stops.
つまり、アナログスティックが中立位置に戻ったときにキャラクタ等が停止することは、操作者のアナログスティックを戻す操作に起因するのか、操作者が指を離したことによるオートセンタリング機構の作動に起因するのかに関わらず、操作者の意図に沿っていると考えられるのである。In other words, if a character stops when the analog stick is returned to the neutral position, this is considered to be in line with the operator's intention, regardless of whether this is due to the operator returning the analog stick or the auto-centering mechanism being activated when the operator releases their finger.
一方、速度制御を採用するデメリットは、キャラクタ等をそれまでの移動方向とは反対の方向へ移動させることを意図して、操作者がアナログスティックを中立位置側に戻す操作した場合に発生する。例えば、アナログスティックをある傾倒角度で左方向に傾倒操作してキャラクタ等をゲーム空間の左方向に移動させていたが、キャラクタ等が目的の位置よりも左に行き過ぎたために、右方向に少しだけ戻すことを意図して、操作者がアナログスティックを中立位置側に戻す操作した場合である。On the other hand, a disadvantage of using speed control occurs when the operator returns the analog stick to the neutral position with the intention of moving a character in the opposite direction from its previous movement. For example, if the operator tilts the analog stick to the left at a certain angle to move a character to the left in the game space, but the character goes too far to the left of the desired position, the operator returns the analog stick to the neutral position with the intention of moving it slightly to the right.
しかし、速度制御は、アナログスティックを中立位置側に戻す操作がされた場合、キャラクタ等の移動速度を遅くするだけで移動方向を変更せず、キャラクタ等の左方向への移動を継続する。つまり、キャラクタ等の移動方向の変更という操作者の意図は実現されない。However, when the analog stick is returned to the neutral position, the speed control only slows down the character's movement speed without changing the direction of movement, and the character continues to move to the left. In other words, the operator's intention of changing the direction of movement of the character is not realized.
この点、速度制御において、キャラクタ等を右方向に少しだけ戻すためには、操作者は、アナログスティックを中立位置を超えて右方向へ大きく傾倒操作するか、一旦アナログスティックから指を離してオートセンタリング機構により中立位置へ戻らせた後、アナログスティックを右方向へ傾倒操作する必要がある。In this regard, in order to move a character or the like slightly to the right in speed control, the operator must either tilt the analog stick far beyond the neutral position to the right, or release the finger from the analog stick and allow the auto-centering mechanism to return it to the neutral position, and then tilt the analog stick to the right.
ただ、キャラクタ等を目的の位置に移動させた後、直ちにアナログスティックから指を離さないと、キャラクタ等は目的の位置よりも右に行き過ぎてしまう。つまり、キャラクタ等を目的の位置に正確に移動させることは、速度制御では実現されにくい。However, if you do not immediately release your finger from the analog stick after moving the character to the desired position, the character will move too far to the right of the desired position. In other words, it is difficult to accurately move a character to the desired position using speed control.
これに対し、キャラクタ等の初期位置(原点)の座標(以下「原点座標」という。)をゲーム画面中央等に定め、スティックの傾倒角度に応じたアナログ値をキャラクタ等の原点座標からの距離に変換するとともに、スティックが傾倒した方向を原点からの方向に変換して求めた座標にキャラクタ等を移動させる位置制御がある。In contrast to this, there is position control in which the coordinates (hereafter referred to as "origin coordinates") of the initial position (origin) of a character, etc., are set at the center of the game screen, etc., and an analog value according to the tilt angle of the stick is converted into a distance from the origin coordinates of the character, etc., and the character, etc. is moved to the coordinates obtained by converting the direction in which the stick is tilted into a direction from the origin.
位置制御では、操作者がアナログスティックの傾倒角度を維持している限り、キャラクタ等は移動した位置で停止している。この状態において、操作者がアナログスティックの傾倒角度及び傾倒方向を僅かに変化させると、変化させた分だけキャラクタ等が停止していた位置から上下左右に移動する。また、位置制御では、操作者がアナログスティックから指を離すと、アナログスティックがオートセンタリング機構により中立位置に戻るので、キャラクタ等はゲーム画面中央の位置、すなわち、原点座標に戻り、停止する。With position control, as long as the operator maintains the tilt angle of the analog stick, the character will remain stopped in the position to which it was moved. In this state, if the operator slightly changes the tilt angle and direction of the analog stick, the character will move up, down, left, or right from the stopped position by the amount of the change. Also, with position control, when the operator releases his or her finger from the analog stick, the auto-centering mechanism returns the analog stick to its neutral position, so the character will return to the center of the game screen, i.e., the origin coordinates, and stop there.
しかし、アナログスティックに位置制御を採用した場合には、前記した操作者がアナログスティックから指を離すとキャラクタ等がゲーム画面中央の位置に戻るという課題の他、前記2)及び前記3)の課題がある。However, when position control is used with an analog stick, in addition to the issue of the character returning to the center of the game screen when the player releases his/her finger from the analog stick, issues 2) and 3) above also arise.
この点、従来のゲーム装置用のコントローラには、アナログスティックのアナログ値の感度が調整可能なものとして、例えば、以下に示すものがある。In this regard, conventional controllers for game devices include those that allow the sensitivity of the analog value of the analog stick to be adjusted, such as those shown below.
特許文献1に記載されたコントローラの平面には、操作者の左手親指で操作される左アナログスティック、操作者の右手親指で操作される右アナログスティック、十字キー等が設けられている。一方、コントローラの底面には、操作者の左手中指で操作可能な位置に感度調整ボタンが設けられている。また、コントローラの側面には、左アナログスティック及び右アナログスティックのアナログ値の感度を切り替え可能な感度切替ダイヤルが設けられている。The flat surface of the controller described in
操作者は、例えば、シューティングゲームのプレイ中に、射撃の照準を標的に重ね合わせたい方向に右アナログスティックを傾倒させ、右アナログスティックのアナログ値を変化させることにより、表示画面上において、照準が標的に重なるように移動させる。For example, while playing a shooting game, the operator tilts the right analog stick in the direction in which he or she wants the reticle to be superimposed on the target, and by changing the analog value of the right analog stick, the operator can move the reticle on the display screen so that it is superimposed on the target.
この状態において、射撃の照準の感度を減少させたい場合、操作者は、右アナログスティックの操作を実行した状態において左手中指で感度調整ボタンを押圧する。これにより、右アナログスティックのアナログ値の感度が減少し、射撃の照準が微細に調整される。In this state, if the operator wishes to reduce the sensitivity of the aiming for shooting, the operator operates the right analog stick and then presses the sensitivity adjustment button with the middle finger of the left hand. This reduces the sensitivity of the analog value of the right analog stick, allowing for fine adjustment of the aiming for shooting.
特許文献1に記載されたコントローラでは、アナログスティックのオートセンタリング機構に起因する以下に示す課題1)~4)を解決することはできない。
1)バネの復元力が操作の手がかりとして物足りない
2)アナログスティックの傾倒角度を一定に維持しにくい
3)アナログスティックの中立位置付近の傾倒がゲームに反映されない
4)アナログスティックの戻し操作がゲームに反映されないThe controller described in
1) The spring's restoring force is not strong enough to provide a clue for operation. 2) It is difficult to maintain a constant tilt angle of the analog stick. 3) The tilt of the analog stick near the neutral position is not reflected in the game. 4) The return operation of the analog stick is not reflected in the game.
本発明は、十分な操作の手がかりが得られ、アナログスティックの傾倒角度を一定に維持可能であり、アナログスティックの中立位置付近の傾倒や戻し操作がゲーム等に反映可能なコントローラを提供することを目的とする。The objective of the present invention is to provide a controller that provides sufficient operational clues, can maintain a constant tilt angle of the analog stick, and enables tilting and returning of the analog stick near the neutral position to be reflected in games, etc.
(1)本発明に係るコントローラは、スティックが傾倒された方向と、前記スティックが傾倒された角度に応じたアナログ値とを出力するアナログスティックと、前記スティック、前記スティックの一端に取り付けられたキャップ又は前記スティックの傾倒に伴って回動する従動部のいずれかに取り付けられた被制動部材と、前記被制動部材の動きを抑えることにより前記アナログスティックを制動する制動部と、を備える。(1) A controller according to the present invention includes an analog stick that outputs an analog value corresponding to the direction in which the stick is tilted and the angle at which the stick is tilted, a braked member attached to either the stick, a cap attached to one end of the stick, or a driven part that rotates in response to tilting of the stick, and a braking part that brakes the analog stick by suppressing the movement of the braked member.
(2)本発明に係るコントローラは、スティックが傾倒された方向と、前記スティックが傾倒された角度に応じたアナログ値とを出力するアナログスティックと、前記スティック、前記スティックの一端に取り付けられたキャップ又は前記スティックの傾倒に伴って回動する従動部のいずれかに取り付けられた押し付け受部材と、前記押し付け受部材に押し付け可能な押し付け部材により前記アナログスティックを制動する制動部と、を備える。(2) The controller of the present invention includes an analog stick that outputs an analog value corresponding to the direction in which the stick is tilted and the angle at which the stick is tilted, a pressure receiving member attached to either the stick, a cap attached to one end of the stick, or a follower that rotates in response to tilting of the stick, and a braking unit that brakes the analog stick with a pressure member that can be pressed against the pressure receiving member.
(3)本発明(2)に係るコントローラにおいて、前記押し付け受部材は、前記スティックの他端に取り付けられ、前記制動部は、前記押し付け受部材に接近離間する方向に操作可能な操作板を有し、前記押し付け部材は、前記操作板に取り付けられている。(3) In the controller according to the present invention (2), the pressure receiving member is attached to the other end of the stick, the braking section has an operation plate that can be operated in a direction to move toward or away from the pressure receiving member, and the pressure member is attached to the operation plate.
(4)本発明(2)に係るコントローラにおいて、前記押し付け受部材は、前記スティックの他端に取り付けられ、前記制動部は、少なくとも1個の前記押し付け部材と、前記押し付け受部材に、少なくとも1個の前記押し付け部材を押し付ける少なくとも1個の電磁アクチュエータと、を有する。(4) In the controller according to the present invention (2), the pressure receiving member is attached to the other end of the stick, and the braking unit has at least one of the pressure members and at least one electromagnetic actuator that presses the at least one pressure member against the pressure receiving member.
(5)本発明(3)に係るコントローラにおいて、前記押し付け受部材は半球状であり、前記半球の曲率半径は、前記アナログスティックの傾倒中心から前記半球の頂点までの距離より短い。(5) In the controller of the present invention (3), the pressure receiving member is hemispherical, and the radius of curvature of the hemisphere is shorter than the distance from the tilt center of the analog stick to the apex of the hemisphere.
(6)本発明(4)に係るコントローラにおいて、前記押し付け受部材は半球状であり、前記半球の曲率半径は、前記アナログスティックの傾倒中心から前記半球の頂点までの距離より短い。(6) In the controller of the present invention (4), the pressure receiving member is hemispherical, and the radius of curvature of the hemisphere is shorter than the distance from the tilt center of the analog stick to the apex of the hemisphere.
(7)本発明(2)に係るコントローラにおいて、前記押し付け受部材は、前記従動部に取り付けられ、前記制動部は、少なくとも1個の前記押し付け部材と、前記押し付け受部材に、少なくとも1個の前記押し付け部材を押し付ける少なくとも1個の電磁アクチュエータと、を有する。(7) In the controller according to the present invention (2), the pressure receiving member is attached to the driven part, and the brake part has at least one of the pressure members and at least one electromagnetic actuator that presses the at least one pressure member against the pressure receiving member.
(8)本発明(7)に係るコントローラにおいて、前記スティックは、前記コントローラの垂直方向の中立位置を中心として360°の任意の方向へ傾倒可能であり、前記従動部は、前記スティックの傾倒に伴って前記コントローラの平面の水平方向へ回動する第1の従動部と、前記スティックの傾倒に伴って前記コントローラの平面の上下方向へ回動する第2の従動部と、を有し、前記押し付け受部材は、前記第1の従動部に取り付けられた第1の押し付け受部材と、前記第2の従動部に取り付けられた第2の押し付け受部材と、を有し、前記押し付け部材は、前記第1の押し付け受部材に押し付けられる少なくとも1個の第1の押し付け部材と、前記第2の押し付け受部材に押し付けられる少なくとも1個の第2の押し付け部材と、を有し、前記電磁アクチュエータは、前記第1の押し付け受部材に少なくとも1個の前記第1の押し付け部材を押し付ける少なくとも1個の第1の電磁アクチュエータと、前記第2の押し付け受部材に少なくとも1個の前記第2の押し付け部材を押し付ける少なくとも1個の第2の電磁アクチュエータと、を有する。(8) In the controller of the present invention (7), the stick can be tilted in any direction within 360° around a neutral position in the vertical direction of the controller, the driven part has a first driven part that rotates in the horizontal direction of the plane of the controller as the stick is tilted, and a second driven part that rotates in the vertical direction of the plane of the controller as the stick is tilted, and the pressure receiving member has a first pressure receiving member attached to the first driven part and a second pressure receiving member attached to the second driven part. The pressing member has at least one first pressing member pressed against the first pressing receiving member and at least one second pressing member pressed against the second pressing receiving member, and the electromagnetic actuator has at least one first electromagnetic actuator that presses the at least one first pressing member against the first pressing receiving member and at least one second electromagnetic actuator that presses the at least one second pressing member against the second pressing receiving member.
(9)本発明(1)に係るコントローラにおいて、前記被制動部材は、前記キャップに取り付けられ、前記スティックの傾倒に伴って前記コントローラの平面の水平方向へ移動する第1の被制動部材と、前記キャップに取り付けられ、前記スティックの傾倒に伴って前記コントローラの平面の上下方向へ移動する第2の被制動部材と、を有し、前記制動部は、前記第1の被制動部材の移動を抑止する第1の抑止部と、前記第2の被制動部材の移動を抑止する第2の抑止部と、を有する。(9) In the controller of the present invention (1), the braked member includes a first braked member attached to the cap and moving horizontally on the plane of the controller as the stick is tilted, and a second braked member attached to the cap and moving vertically on the plane of the controller as the stick is tilted, and the braking section includes a first restraining section that restrains movement of the first braked member, and a second restraining section that restrains movement of the second braked member.
(10)本発明(1)に係るコントローラにおいて、前記従動部は、前記スティックの傾倒に伴って前記コントローラの平面の水平方向へ回動する第1の従動部と、前記スティックの傾倒に伴って前記コントローラの平面の上下方向へ回動する第2の従動部と、を有し、前記被制動部材は、前記第1の従動部に取り付けられた第1のブレーキロータと、前記第2の従動部に取り付けられた第2のブレーキロータと、を有し、前記制動部は、前記第1のブレーキロータに巻き付けられた第1の制動部材と、前記第2のブレーキロータに巻き付けられた第2の制動部材と、前記第1の制動部材を引き寄せる第1の引き寄せ部と、前記第2の制動部材を引き寄せる第2の引き寄せ部と、を有する。(10) In the controller of the present invention (1), the driven part has a first driven part that rotates horizontally on the plane of the controller as the stick is tilted, and a second driven part that rotates vertically on the plane of the controller as the stick is tilted, the braked member has a first brake rotor attached to the first driven part and a second brake rotor attached to the second driven part, and the braking part has a first braking member wrapped around the first brake rotor, a second braking member wrapped around the second brake rotor, a first attracting part that attracts the first braking member, and a second attracting part that attracts the second braking member.
(11)本発明(1)に係るコントローラにおいて、前記従動部は、前記スティックの傾倒に伴って前記コントローラの平面の水平方向へ回動する第1の従動部と、前記スティックの傾倒に伴って前記コントローラの平面の上下方向へ回動する第2の従動部と、を有し、前記被制動部材は、前記第1の従動部に取り付けられた第1のディスクロータと、前記第2の従動部に取り付けられた第2のディスクロータと、を有し、前記制動部は、前記第1のディスクロータに押し付け可能な第1のブレーキシューと、前記第2のディスクロータに押し付け可能な第2のブレーキシューと、前記第1のブレーキシューを前記第1のディスクロータに押し付ける第1の押し付け部と、前記第2のブレーキシューを前記第2のディスクロータに押し付ける第2の押し付け部と、を有する。(11) In the controller of the present invention (1), the driven part has a first driven part that rotates horizontally on the plane of the controller in response to tilting of the stick, and a second driven part that rotates vertically on the plane of the controller in response to tilting of the stick, the braked member has a first disc rotor attached to the first driven part and a second disc rotor attached to the second driven part, and the braking part has a first brake shoe that can be pressed against the first disc rotor, a second brake shoe that can be pressed against the second disc rotor, a first pressing part that presses the first brake shoe against the first disc rotor, and a second pressing part that presses the second brake shoe against the second disc rotor.
(12)本発明(1)から本発明(11)のいずれかに係るコントローラにおいて、前記制動部が動作していることを示す信号を出力する。(12) In a controller according to any one of the present inventions (1) to (11), a signal indicating that the braking unit is operating is output.
本発明によれば、操作の手がかりとして十分であり、アナログスティックの傾倒角度を一定に維持可能であり、アナログスティックの中立位置付近の傾倒や戻し操作がゲーム等に反映可能である。The present invention provides sufficient clues for operation, allows the tilt angle of the analog stick to be maintained constant, and allows tilting and returning of the analog stick near the neutral position to be reflected in games, etc.
以下、図面を参照して、本発明の実施形態について説明する。
1.第1実施形態
[コントローラ1の構成]
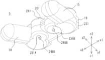
図1は本発明の第1実施形態に係るコントローラ1の外観構成の一例を示す平面側の斜視図、図2はコントローラ1の外観構成の一例を示す底面側の斜視図である。また、図3はコントローラ1の外観構成の一例を示す正面図、図4は図3の断面図である。Hereinafter, an embodiment of the present invention will be described with reference to the drawings.
1. First embodiment [Configuration of controller 1]
Fig. 1 is a perspective view of the top side showing an example of the external configuration of a
コントローラ1は、ゲーム装置の操作に用いられるものであり、平面側操作部11と、背面側操作部12と、底面側操作部13と、グリップ部14及び15と、上ケース16と、下ケース17と、プリント基板18とから概略構成されている。The
図1に示すように、平面側操作部11の右側には、Aボタン21と、Bボタン22と、Xボタン23と、Yボタン24とが配置されている。As shown in FIG. 1, an
図1におけるxyz座標系は、コントローラ1を基準とした座標系であり、コントローラ1の平面に垂直な方向において、例えば、Aボタン21の押下方向をz1方向、z1方向の逆方向をz2方向として定める。The xyz coordinate system in FIG. 1 is a coordinate system based on the
同様に、コントローラ1の左右方向において、例えば、Xボタン23からBボタン22へ向かう方向をx1方向、x1方向の逆方向をx2方向として定める。さらに、コントローラ1の上下方向において、例えば、Aボタン21からYボタン24へ向かう方向をy1方向、y1方向の逆方向をy2方向として定める。図2~図4、図7~図9、図13、図14、図18及び図19におけるxyz座標系も図1におけるxyz座標系と同様である。Similarly, in the left-right direction of the
平面側操作部11の中央領域には、スタートボタン25と、セレクトボタン26とが配置されている。平面側操作部11の左側には、十字キー27が配置されている。平面側操作部11の中央下側には、アナログスティック28及び29が配置されている。A
Aボタン21、Bボタン22、Xボタン23、Yボタン24、スタートボタン25及びセレクトボタン26は、上ケース16から図1のz2方向へ突出しており、z1方向に押下可能なボタンである。The
十字キー27は、上ボタン27A、下ボタン27B、左ボタン27C及び右ボタン27Dから構成されている。上ボタン27A、下ボタン27B、左ボタン27C及び右ボタン27Dは、上ケース16から図1のz2方向へ突出しており、それぞれ図1のz1方向に押下可能なボタンである。The cross key 27 is composed of an up
アナログスティック28及び29は、操作者が指を用いてz2方向(中立位置)に立てられたスティック54(図4参照)に嵌合されたキャップ51を任意の方向、すなわち、x1-x2方向、y1-y2方向及び斜め方向(中立位置を中心として360°)に傾倒操作することにより、スティック54が傾倒された方向と、スティック54の傾倒角度に応じたアナログ値とを出力する操作子である。Analog sticks 28 and 29 are controls that output an analog value according to the direction in which stick 54 is tilted and the angle at which stick 54 is tilted, when the operator uses his or her finger to tilt
アナログスティック28及び29は、キャップ51が上ケース16から図1のz2方向へ突出している。なお、アナログスティック28及び29は、z1方向に押下可能であっても良い。アナログスティック28及び29の詳細な構造、組立方法及び動作については、図5~図9を参照して後述する。The analog sticks 28 and 29 have
コントローラ1の背面側操作部12は、肩ボタン30、31、32及び33とから構成されている。コントローラ1の背面左端近傍には、平面側(z2方向側)に肩ボタン30が配置され、底面側(z1方向側)に肩ボタン31が配置されている。The
コントローラ1の背面右端近傍には、平面側(z2方向側)に肩ボタン32が配置され、底面側(z1方向側)に肩ボタン33が配置されている。A
図2~図4に示すように、コントローラ1の下ケース17において、アナログスティック28及び29に対向する位置には、底面側操作部13を構成する制動部41及び42が配置されている。制動部41はアナログスティック28を制動させるために用いられ、制動部42はアナログスティック29を制動させるために用いられる。As shown in Figures 2 to 4,
制動部41及び42の詳細な構造、制動部41及び42が取り付けられる下ケース17の構造、制動部41及び42の組立方法、制動部41及び42の下ケース17への取り付け方法、アナログスティック28及び29並びに制動部41及び42の操作方法については、図2~図4及び図10~図14を参照して後述する。The detailed structure of the
[コントローラ1の操作方法の一例]
操作者は、左手でグリップ部14を把持し、右手でグリップ部15を把持した状態において、Aボタン21等の各種ボタン、アナログスティック28及び29並びに制動部41及び42を操作可能である。一例を挙げると、以下の通りである。[One example of a method for operating the controller 1]
The operator can operate various buttons such as the
操作者は、左手親指で、セレクトボタン26、十字キー27及びアナログスティック28を操作可能である。また、操作者は、左手の人差し指又は中指で、肩ボタン30及び31を操作可能である。また、操作者は、左手の薬指又は中指で、制動部41を操作可能である。The operator can operate the
さらに、操作者は、右手親指で、Aボタン21、Bボタン22、Xボタン23、Yボタン24、スタートボタン25及びアナログスティック29を操作可能である。また、操作者は、右手の人差し指又は中指で、肩ボタン32及び33を操作可能である。また、操作者は、右手の薬指又は中指で、制動部42を操作可能である。Furthermore, the operator can operate the
[アナログスティック28及び29の構造]
図5はアナログスティック28及び29の外観構成の一例を示す平面側の斜視図、図6はアナログスティック28及び29の外観構成の一例を示す底面側の斜視図である。また、図7はアナログスティック28及び29の分解斜視図である。[Structure of analog sticks 28 and 29]
Fig. 5 is a perspective view of the top side showing an example of the external configuration of the analog sticks 28 and 29, and Fig. 6 is a perspective view of the bottom side showing an example of the external configuration of the analog sticks 28 and 29. Also, Fig. 7 is an exploded perspective view of the analog sticks 28 and 29.
アナログスティック28及び29は、同一構造であり、キャップ51と、上ケース52と、x軸従動部53と、スティック54と、y軸従動部55と、下ケース56と、結合ピン57と、押し付け受部材58と、x軸ポテンショメータ59と、y軸ポテンショメータ60と、x軸センタリング部61と、y軸センタリング部62とが組み立てられて構成されている。Analog sticks 28 and 29 have the same structure and are constructed by assembling a
キャップ51は、円板状であり、操作者の親指で操作される操作部51Aと、ドーム状であり、ゴミ等の内部混入を防止するためのカバー51Bとが一体に形成されて構成されている。上ケース52は、矩形状であり、下端が開口している。上ケース52は、上面中央に円形状の貫通孔52Aが形成されているとともに、下端各辺中央に切り欠き52Bが形成されている。The
x軸従動部53は、円弧状の作動部53Aと、作動部53Aの一端に接続する軸部53Bと、作動部53Aの他端に接続する軸部53Cとが一体に結合されて構成されている。作動部53Aが円弧状であるのは、y軸従動部55との干渉を避けるためである。作動部53Aには、長手方向に矩形状の貫通孔53Dが形成されている。The
スティック54は、円柱状の軸部54A及び54Bと、角柱状であり、軸部54Aと軸部54Bとの間に設けられた結合部54Cとが一体に結合されて構成されている。結合部54Cの中央には結合ピン57が嵌合する孔54Dが形成されている。The
y軸従動部55は、作動部55Aと、作動部55Aの長手方向の一端に接続する軸部55Bと、作動部55Aの長手方向の他端に接続する軸部55Cとが一体に結合されて構成されている。作動部55Aには、矩形状の貫通孔55Dが形成されている。作動部55Aの長手方向の中央であって、短手方向の対称となる位置には結合ピン57が嵌合する2つの孔55Eが形成されている。The y-
下ケース56は、角枡状であり、平面側の外形寸法が上ケース52と同一であり、上端が開口している。下ケース56には、上端各辺中央に切り欠き56Aが形成されているとともに、底面中央に円形状の貫通孔56Bが形成されている。また、下ケース56の下端四角には、各種部品が搭載されたプリント基板18(図4参照)に固定するための脚部56Cが形成されている。The
結合ピン57は、円柱状であり、y軸従動部55を構成する作動部55Aの短手方向の長さと同一の長さを有している。押し付け受部材58は、半球状の押し付け受部58Aと、円柱状の結合部58Bとが一体に形成されて構成されている。結合部58Bの上面中央には、スティック54の軸部54Bの下端が嵌合される孔58Cが形成されている。The connecting
x軸ポテンショメータ59は、中央に形成された貫通孔59Aに、x軸従動部53の軸部53Cの端部が嵌合され、スティック54が傾倒されて生じるx軸従動部53のx1-x2方向への回動に応じた電気信号(アナログ値)を出力する。The end of the
y軸ポテンショメータ60は、中央に形成された貫通孔60Aに、y軸従動部55の軸部55Cの端部が嵌合され、スティック54が傾倒されて生じるy軸従動部55のy1-y2方向への回動に応じた電気信号(アナログ値)を出力する。The y-
x軸センタリング部61には、中央に貫通孔(図示略)が形成されているとともに、y2方向側に一対の板バネ61Aが設けられている。y軸センタリング部62には、中央に貫通孔62Aが形成されているとともに、x2方向側に一対の板バネ(図示略)が設けられている。The
[アナログスティック28及び29の組立方法]
(a)まず、作業者は、スティック54の結合部54Cに形成された孔54Dの軸線と、y軸従動部55の作動部55Aに形成された2つの孔55Eの軸線とが一致するように、スティック54を作動部55Aの貫通孔55Dに遊嵌させ、この状態において、結合ピン57を孔54D及び孔55Eに嵌合する。これにより、スティック54とy軸従動部55とが結合される。[Method of Assembling Analog Sticks 28 and 29]
(a) First, the worker loosely fits the
(b)次に、作業者は、図7に示す向きに配置された下ケース56に対して、スティック54の軸部54Bが下ケース56の貫通孔56Bからz1方向へ突出し、かつ、y軸従動部55の軸部55Bがx2側の切り欠き56Aに支持されるとともに、y軸従動部55の軸部55Cがx1側の切り欠き56Aに支持されるように、スティック54と結合されたy軸従動部55を載置する。(b) Next, the worker places the y-
(c)次に、作業者は、長手方向をy1-y2方向と平行に向け、かつ、円弧の頂点をz2方向に向けた状態のx軸従動部53を、貫通孔53Dにスティック54の軸部54Aを挿通しつつ、軸部53Bが下ケース56のy2側の切り欠き56Aに支持されるとともに、軸部53Cが下ケース56のy1側の切り欠き56Aに支持されるように、下ケース56に載置する。(c) Next, the worker places the
(d)次に、作業者は、上ケース52の貫通孔52Aにスティック54の軸部54Aを挿通しつつ、上ケース52の4つの切り欠き52Bを下ケース56の4つの切り欠き56Aに対向させて、上ケース52と下ケース56とを結合させる。上ケース52と下ケース56との結合は、接着、融着、圧着、係止爪及び係止孔による係止等のいずれでも良い。(d) Next, the worker inserts the
上ケース52、x軸従動部53、スティック54、y軸従動部55、下ケース56及び結合ピン57が組み立てられた状態では、x軸従動部53の軸部53Bの端部が上ケース52及び下ケース56からy2側に突出し、x軸従動部53の軸部53Cの端部が上ケース52及び下ケース56からy1側に突出している。また、前記状態では、y軸従動部55の軸部55Bの端部が上ケース52及び下ケース56からx2側に突出し、y軸従動部55の軸部55Cの端部が上ケース52及び下ケース56からx1側に突出している。When the
(e)次に、作業者は、上ケース52及び下ケース56からy1側に突出したx軸従動部53の軸部53Cの端部を、x軸ポテンショメータ59の中央に形成された貫通孔59Aに嵌合させる。同様に、作業者は、上ケース52及び下ケース56からx1側に突出したy軸従動部55の軸部55Cの端部を、y軸ポテンショメータ60の中央に形成された貫通孔60Aに嵌合させる。(e) Next, the worker fits the end of the
(f)次に、作業者は、上ケース52及び下ケース56からy2側に突出したx軸従動部53の軸部53Bの端部を、x軸センタリング部61の中央に形成された貫通孔(図示略)に挿通させてy2方向側に突出させ、前記軸部53Bの端部を一対の板バネ61Aと当接させる。同様に、作業者は、上ケース52及び下ケース56からx2側に突出したy軸従動部55の軸部55Bの端部を、y軸センタリング部62の中央に形成された貫通孔62Aに挿通させてx2方向側に突出させ、前記軸部55Bの端部を一対の板バネ(図示略)と当接させる。(f) Next, the worker inserts the end of the
(g)次に、作業者は、上ケース52の貫通孔52Aから上方に突出したスティック54の軸部54Aの上端を、キャップ51の操作部51A下端に形成された孔(図示略)に嵌合させる。また、作業者は、下ケース56の貫通孔56Bから下方に突出したスティック54の軸部54Bの下端を、押し付け受部材58の結合部58B上面に形成された孔58Cに嵌合させる。(g) Next, the worker fits the upper end of the
なお、アナログスティック28及び29をコントローラ1に実装する際には、まず、作業者は、前記(f)の行程まで組み立てたものを、下ケース56の4つの脚部56Cをプリント基板18(図4参照)に固定して取り付ける。次に、作業者は、x軸ポテンショメータ59、y軸ポテンショメータ60、x軸センタリング部61及びy軸センタリング部62のそれぞれの下端から突出した端子とプリント基板18に形成されたパターンとを半田付けする。次に、作業者は、前記(g)の行程を行う。When mounting the analog sticks 28 and 29 on the
[アナログスティック28及び29の動作]
前記したように組み立てられたアナログスティック28及び29は、操作者が親指でキャップ51の操作部51Aを操作すると、キャップ51の操作部51A下端に形成された孔(図示略)に嵌合されたスティック54が傾倒する。[Action of analog sticks 28 and 29]
When the operator operates the operating
スティック54が傾倒した際、スティック54の軸部54Aがx軸従動部53の貫通孔53Dのx1方向の側に接触するとx軸従動部53がx1方向に回動し、スティック54の軸部54Aがx軸従動部53の貫通孔53Dのx2方向の側に接触するとx軸従動部53がx2方向に回動する。x軸ポテンショメータ59は、x軸従動部53のx1-x2方向への回動に応じた電気信号(アナログ値)を出力する。When the
スティック54が傾倒した際、スティック54と結合されたy軸従動部55は、スティック54の傾倒におけるy1-y2方向の移動量に応じてy1-y2方向に回動する。y軸ポテンショメータ60は、y軸従動部55のy1-y2方向への回動に応じた電気信号(アナログ値)を出力する。When the
x軸従動部53及びy軸従動部55は、それぞれ独立して動作しているため、xy平面上360°のいずれかの方向に操作者が親指でキャップ51の操作部51Aを操作すれば、x軸ポテンショメータ59及びy軸ポテンショメータ60は、その操作に応じた電気信号を出力する。The
また、操作者がキャップ51に対して親指で押す力を緩めたりキャップ51から親指を離したりすると、x軸センタリング部61は、x軸従動部53の軸部53Bの端部によって押圧されていた板バネ61Aの復元力によりスティック54を中立位置に戻し、y軸センタリング部62は、y軸従動部55の軸部55Bの端部によって押圧されていた板バネ(図示略)の復元力によりスティック54を中立位置に戻す。In addition, when the operator releases the pressure of the thumb on the
図8はx2方向に傾倒させた状態のアナログスティック28及び29の外観構成の一例を示す斜視図である。図8では、x軸センタリング部61のx2方向の板バネ61Aがx2方向へ湾曲していることが示されている。一方、図9はx1方向に傾倒させた状態のアナログスティック28及び29の外観構成の一例を示す斜視図である。図9では、x軸センタリング部61のx1方向の板バネ61Aがx1方向へ湾曲していることが示されている。Figure 8 is a perspective view showing an example of the external configuration of the analog sticks 28 and 29 when tilted in the x2 direction. In Figure 8, it is shown that the x2-
[制動部41及び42の構造]
図10は、コントローラ1を構成する制動部41及び42の分解斜視図である。制動部41及び42は同一構造であり、操作板71と、押し付け部材72と、コイルバネ73と、調整ネジ74とが組み立てられて構成されている。[Structure of
10 is an exploded perspective view of the
操作板71は、平面形状が略I字状であり、基部71Aと、基部71Aの一端に接続された操作端部71Bと、基部71Aの他端に接続された軸部71Cとが一体に形成されて構成されている。基部71Aの略中央に貫通孔71Dが形成され、貫通孔71Dの内周面には雌ネジ71Eが形成されている。The operating
押し付け部材72は、円板状の押し付け部72Aと、一端が押し付け部72Aに接続された軸部72Bと、軸部72Bの他端外周に形成された一対の嵌合部72Cとが一体に形成されて構成されている。押し付け部72Aの上面には、例えば、フェルトを貼付しても良い。一方、押し付け受部材58を構成する押し付け受部58Aの半球面には、研磨された金属シートを貼付しても良い。このように構成すれば、制動部41及び42が操作された状態においても、操作者は、アナログスティック28及び29をスムーズに傾倒操作することができる。The pressing
コイルバネ73は、外径が押し付け部材72の押し付け部72Aの外径より小さく、内径が押し付け部材72の一方の嵌合部72Cから他方の嵌合部72Cまでの距離より大きい。また、押し付け部材72の軸部72Bの嵌合部72Cを除いた長さは、コイルバネ73の自由高さより僅かに短い。The
調整ネジ74は、円柱部74Aと、六角柱状の頭部74Bとが一体に形成されて構成されている。円柱部74Aの外周面には、操作板71の貫通孔71Dの内周面に形成された雌ネジ71Eに螺合する雄ネジ74Cが形成されている。円柱部74Aには、コイルバネ73を収容する有底の円孔74Dが形成されている。円孔74Dの底面には、押し付け部材72の軸部72Bの他端及び一対の嵌合部72Cが嵌合する嵌合孔74Eが形成されている。The
[下ケース17の構造]
図2~図4に示すように、下ケース17の中央には、下ケース17の短手方向(y1-y2方向)と平行に、梁部17Aが下ケース17と一体に形成されている。梁部17Aの下端には、操作板71の軸部71Cが挿入されることにより軸部71Cを回転中心として操作板71をz1-z2方向に回動可能に取り付けるための凹部17B1と、操作板71が所定角度以上にz1方向へ回動することを規制するための規制板17B2とが形成されている。凹部17B1の両端には、操作板71を構成する軸部71Cの両端部が挿入される有底孔(図示略)が形成されている。[Structure of lower case 17]
2 to 4, a
図4に示すように、下ケース17において、アナログスティック28及び29を構成する押し付け受部材58に対向する位置には、貫通孔17C及び17Dが形成されている。貫通孔17C及び17Dの内径は、制動部41及び42を構成する押し付け部材72の押し付け部72Aが挿通可能な大きさである。As shown in FIG. 4, through
また、下ケース17において、制動部41及び42を構成する操作板71の操作端部71Bに対向する位置には、貫通孔(図示略)が形成され、センサピン43の本体部43Aが貫通孔の周縁に固定され、z2方向に押し込み可能な作動部43Bがz1方向へ突出している。In addition, a through hole (not shown) is formed in the
センサピン43は、操作板71の操作端部71Bがz2方向に操作されることにより、操作端部71Bが作動部43Bを本体部43A内に押し込むと、操作板71が操作されていることを示す検出信号を出力する。When the operating
この検出信号に基づいて、コントローラ1は、制動部41又は42が動作していることを示す信号を、アナログスティック28又は29の傾倒角度に応じたアナログ値とともに、ゲーム装置2(図11参照)へ供給する。Based on this detection signal, the
ゲーム装置2は、制動部41又は42が動作していることを示す信号が供給されない場合は、前記アナログ値をキャラクタ等の移動速度に変換する速度制御を採用する。一方、制動部41又は42が動作していることを示す信号が供給された場合は、ゲーム装置2は、前記アナログ値をキャラクタ等の原点座標からの距離に変換する位置制御を採用する。When the
センサピン43と貫通孔17C及び17Dとの間の下ケース17の底面には、円柱状のストッパ44がz1方向へ突出して設けられている。ストッパ44は、下ケース17と一体に形成されていても、下ケース17と別体に形成されていてもよい。ストッパ44は、操作板71を一定以上z2方向側へ操作できないようにするためのものであり、押し付け受部58と押し付け部72Aとの間で生じる摩擦力の上限を設定するために設けられている。A
下ケース17の底面であって、ストッパ44の外周近傍は、ストッパ44を囲うように、戻しバネ45の上端が取り付けられている。戻しバネ45の最大荷重高さ(最も圧縮された高さ)は、ストッパ44の長さより僅かに大きい。The upper end of the
[制動部41及び42の組立方法並びに下ケース17への取り付け方法]
まず、作業者は、調整ネジ74の円孔74Dにコイルバネ73を収容した後、押し付け部材72の軸部72Bをコイルバネ73に挿入し、押し付け部72Aの底面でコイルバネ73を押圧しつつ、軸部72Bの他端及び一対の嵌合部72Cを嵌合孔74Eに嵌合させる。[Method of assembling the
First, the worker places the
次に、作業者は、組み立てられた、押し付け部材72、コイルバネ73及び調整ネジ74のセットを、操作板71の底面側から貫通孔71Dに挿入し、調整ネジ74の雄ネジ74Cを雌ネジ71Eに螺合させる。雄ネジ74Cと雌ネジ71Eとの螺合状態は、コイルバネ73の復元力により調整ネジ74が外れない程度で良い。Next, the worker inserts the assembled set of pressing
次に、作業者は、前記したように組み立てられた制動部41を、操作板71の軸部71Cを梁部17Aの凹部17B1に挿入し、下ケース17へ取り付ける。また、作業者は、制動部41と同様に組み立てられた制動部42を、梁部17Aを対称軸として、制動部41と面対称となるように、下ケース17へ取り付ける。Next, the worker inserts the
制動部41及び42が操作されていない状態では、戻しバネ45の復元力により、図3及び図4に示すように、操作板71の操作端部71Bの平面と、センサピン43を構成する作動部43Bの下端との間に隙間が形成されている。When the
また、制動部41及び42が操作されていない状態では、戻しバネ45の復元力により、アナログスティック28及び29を構成する押し付け受部材58の底面と、制動部41及び42を構成する押し付け部材72の押し付け部72Aの上面との間に隙間が形成されている。すなわち、制動部41及び42が操作されていない状態では、アナログスティック28及び29は、制動部41及び42によって制動されることなく、任意の方向へ操作可能である。In addition, when the
[アナログスティック28及び29並びに制動部41及び42の操作方法]
次に、コントローラ1をゲーム装置の操作に用いた場合のアナログスティック28及び29並びに制動部41及び42の操作方法について説明する。[Method of operating the analog sticks 28 and 29 and the
Next, a method of operating the analog sticks 28 and 29 and the
図11は、コントローラ1を備えるゲームシステム100の構成の一例を示す概念図である。図11に示すように、ゲームシステム100は、コントローラ1と、ゲーム装置2と、表示装置3とを備えている。ゲーム装置2は、ゲームシステム100における各種の処理(例えば、ゲーム処理)を実行して当該処理の結果を表示装置3へ表示する。FIG. 11 is a conceptual diagram showing an example of the configuration of a
ゲーム装置2とコントローラ1とは有線又は無線により接続され、操作者がコントローラ1を操作したことによって生成された操作データがコントローラ1からゲーム装置2へ供給される。ゲーム装置2は、ネットワーク4を介してゲームサーバ(図示略)と接続可能に構成されている。表示装置3は、例えば、液晶表示装置や有機EL表示装置から構成されている。The
各種のゲームの中には、シューティングゲームというものがある。シューティングゲームには、FPS(First-person Shooter)と、TPS(Third-person Shooter)とがある。FPSとは、操作するキャラクタの腕や武器等のみがゲーム画面に表示され、キャラクタ本人(First-person)の視点でゲーム空間を移動し、武器や素手等を用いて戦うゲームをいう。一方、TPSとは、操作するキャラクタ全体がゲーム画面に表示され、キャラクタを追う第三者(Third-person)の視点でゲーム空間を移動し、武器や素手等を用いて戦うゲームをいう。Among the various types of games, there are shooting games. Shooting games are divided into FPS (First-person Shooter) and TPS (Third-person Shooter). In an FPS, only the arms and weapons of the controlled character are displayed on the game screen, and the player moves through the game space from the character's (First-person) perspective, fighting with weapons or bare hands. On the other hand, in a TPS, the entire character being controlled is displayed on the game screen, and the player moves through the game space from the perspective of a third person chasing the character, fighting with weapons or bare hands.
このようなシューティングゲームでは、例えば、アナログスティック28はキャラクタ本人又は第三者をゲーム空間で移動させるように設定され、アナログスティック29はキャラクタ本人又は第三者の視点や照準を移動させるように設定されている。In such shooting games, for example,
図12は、シューティングゲームのFPSにおいて表示装置3に表示されるゲーム画面の一例を示す図である。図12には、キャラクタが所持する武器101の一部と、武器101の照準102と、標的であるモンスター103とが表示されている。FIG. 12 is a diagram showing an example of a game screen displayed on the
このような状況のゲーム画面では、操作者は、照準102を標的であるモンスター103に重ね合わせたい方向に、右手親指を用いてアナログスティック29のキャップ51を傾倒させてアナログスティック29のアナログ値を変化させることにより、照準102が標的であるモンスター103に重なるように移動させる。In this situation on the game screen, the operator uses the thumb of the right hand to tilt the
図12の例では、照準102とモンスター103との距離が僅かであるので、操作者は、アナログスティック29のキャップ51をx2方向(図1参照)に僅かに傾倒させれば良い。しかし、アナログスティック29を構成するx軸センタリング部61の板バネ61Aの復元力があるため、この復元力に抗して照準102をモンスター103に重なるようにアナログスティック29のキャップ51を僅かに傾倒させるのは難しい。In the example of Figure 12, the distance between the
そこで、操作者は、右手の薬指又は中指を用いて制動部42を構成する操作板71を操作しつつ、アナログスティック29のキャップ51をx2方向(図1参照)に傾倒させる。これにより、図13及び図14に示すように、アナログスティック29を構成する押し付け受部材58の底面に、制動部42を構成する押し付け部材72の押し付け部72Aが押し付けられる。Then, the operator tilts the
この結果、押し付け受部材58と押し付け部72Aとの間で摩擦力が生じるので、操作者は、この摩擦力を操作の手がかりとして、制動部42を使用しない場合と比較して容易に照準102をモンスター103に重ねることができる。この際、操作者は、押し付け受部材58と押し付け部72Aとの間で生じる摩擦力を、ゲームのプレイ中に、右手の薬指又は中指による操作端部71Bへの力の加え加減により適宜調整できる。As a result, frictional force is generated between the
また、操作者は、前記摩擦力の上限を、ゲームのプレイ中でないときに、調整ネジ74を回動して調整ネジ74の雄ネジ74Cと操作板71の雌ネジ71Eとの螺合状態を変更することにより適宜調整できる。In addition, the operator can adjust the upper limit of the frictional force as needed by rotating the
x軸センタリング部61を構成する板バネ61A及びy軸センタリング部62を構成する板バネ(図示略)の復元力は、押し付け受部58と押し付け部72との間で生じる最大の摩擦力、すなわち、操作板71の上面がストッパ44の下端に当接する状態で押し付け受け部58と押し付け部72の間で生じる摩擦力よりも小さいことが好ましい。これにより、操作者が操作板71を操作している状態でアナログスティック28又は29を構成するキャップ51から指を離しても、アナログスティック28又は29の傾倒角度が一定に維持されるからである。The restoring force of the
[第1実施形態の効果]
以上説明したように、本発明に係る第1実施形態に係るコントローラ1は、スティック54が傾倒された方向と、スティック54が傾倒された角度に応じたアナログ値とを出力するアナログスティック28及び29と、スティック54に取り付けられた押し付け受部材58と、押し付け受部材58に押し付け可能な押し付け部材72によりアナログスティック28及び29を制動する制動部41及び42と、を備えている。[Effects of the First Embodiment]
As described above, the
また、本発明に係る第1実施形態に係るコントローラ1は、制動部41又は42が動作していることを示す信号を出力する。In addition, the
さらに、第1実施形態に係るコントローラ1は、スティック54の一端に操作者により傾倒操作されるキャップ51が取り付けられ、押し付け受部材58がスティック54の他端に取り付けられ、制動部41及び42が押し付け受部材58に接近離間する方向に操作可能な操作板71を有し、押し付け部材72が操作板71に取り付けられている。Furthermore, the
したがって、第1実施形態によれば、以下に示す効果が得られる。
1)十分な操作の手がかりが得られる。
x軸センタリング部61の板バネ61A及びy軸センタリング部62の板バネ(図示略)の復元力を筋力の弱い操作者でも容易にアナログスティック28及び29を操作できるように、弱めに設定できる。Therefore, according to the first embodiment, the following effects can be obtained.
1) Sufficient operational clues are provided.
The restoring forces of the
このため、筋力の弱い操作者は、前記板バネ61A等の復元力だけを操作の手がかりとして、例えば、アナログスティック28又は29を途中で止めたりゆっくり傾倒させたりする場合、容易にアナログスティック28又は29を操作できる。また、前記板バネ61A等の復元力を弱めに設定できるため、アナログスティック28又は29を中立位置へ戻す操作が従来と比較して容易になる。As a result, an operator with weak muscles can easily operate the
一方、前記板バネ61A等の復元力が操作の手がかりとして物足りなく感じる操作者は、アナログスティック28又は29を操作する際同時に操作板71を操作して押し付け部材72を押し付け受部材58に押し付ければ良い。これにより、押し付け受部材58と押し付け部材72との間で摩擦力が生じるため、操作のし辛さ、重さを感じつつ、操作者は、アナログスティック28又は29を操作することになる。On the other hand, if an operator feels that the restoring force of the
また、操作の重さは、操作者が押し付け部材72を押し付け受部材58へ押し付ける程度で調整できるので、操作者の好みに応じた操作の手がかりが得られる。例えば、アナログスティック28又は29を操作してキャラクタ等を目的の位置に移動させる場合、目的の位置に近づくに従って押し付け部材72を押し付け受部材58に押し付ける力を強くすることにより、正確にキャラクタ等を目的の位置に到達させることができる。The strength of the operation can be adjusted by the degree to which the operator presses the pressing
2)アナログスティック28又は29の傾倒角度を一定に維持できる。
操作者がアナログスティック28又は29の傾倒角度を一定に維持したい場合、操作者は、アナログスティック28又は29を操作して所望の傾倒角度に傾倒させた後、操作板71を操作して、アナログスティック28又は29が静止する程度に、押し付け部材72を押し付け受部材58に押し付ければ良い。2) The tilt angle of the
When the operator wishes to maintain a constant tilt angle of the
これにより、操作者は、x軸センタリング部61の板バネ61A及びy軸センタリング部62の板バネ(図示略)の復元力と釣り合う力を指によりキャップ51にかけ続ける必要がなく、キャップ51を指で押す力を緩めたり指を離したりすることができる。As a result, the operator does not need to continue to apply a force to the
このため、アナログスティック28又は29がぐらぐら動いたり、指が震えたりすることはないので、操作者は、アナログスティック28又は29の傾倒角度を一定に維持できる。その後、アナログスティック28又は29を中立位置に戻す場合は、操作者は押し付け部材72を押さえている指を離せば良い。As a result, the
3)アナログスティック28又は29の中立位置付近の傾倒をゲームに反映できる。
例えば、キャラクタや射撃の照準をわずかに移動させることを意図して、中立位置からわずかにアナログスティック28又は29を傾倒させた後、キャップ51を指で押す力を緩めたり指を離したりする場合、操作者は、操作板71を操作して、アナログスティック28又は29が徐々に中立位置に戻って静止する程度に、押し付け部材72を押し付け受部材58に押し付ければ良い。この場合、x軸センタリング部61及びy軸センタリング部62は機能しない。3) The tilt of the
For example, when tilting the
これにより、アナログスティック28又は29は、x軸センタリング部61の板バネ61A及びy軸センタリング部62の板バネ(図示略)の復元力に起因する振動を起こすことなく、滑らかに中立位置に戻って静止する。このため、コントローラ1又はゲーム装置2は、図15に示すように、アナログスティック28又は29の中立位置付近の傾倒角度に対応したアナログ値について不感帯を設ける必要がない。図15は、アナログスティック28及び29のx1-x2方向の傾倒角度と、アナログスティック28及び29から出力されるアナログ値との関係の一例を示すグラフである。As a result, the
したがって、コントローラ1は、制動部41又は42が動作していることを示す信号とともに、アナログスティック28又は29の傾倒角度に対応したアナログ値をゲーム装置2へ供給すれば良い。ゲーム装置2は、制動部41又は42が動作していることを認識するので、前記位置制御を採用して、コントローラ1から供給されたアナログ値に基づいて、操作者の意図通りに、例えば、ゲーム空間でキャラクタや射撃の照準をわずかに移動させることができる。Therefore, the
また、アナログスティック28又は29が中立位置を挟んで一定速度で傾倒操作された場合、コントローラ1は、制動部41又は42が動作していることを示す信号とともに、前記アナログ値をゲーム装置2へ供給する。これにより、ゲーム装置2は、制動部41又は42が動作していることを認識するので、前記位置制御を採用して、コントローラ1から供給されたアナログ値に基づいて、操作者の意図通りに、例えば、ゲーム空間でキャラクタ等をスムーズに移動させることができる。In addition, when the
4)アナログスティック28又は29の戻し操作をゲームに反映できる。
制動部41又は42を構成する操作板71を操作しつつ、操作者がある傾倒角度で傾倒した位置から中立位置にアナログスティック28又は29を戻す操作をした場合、コントローラ1は、制動部41又は42が動作していることを示す信号とともに、アナログスティック28又は29の傾倒角度に対応したアナログ値をゲーム装置2へ供給する。4) The return operation of the
When the operator operates the operating
これにより、ゲーム装置2は、制動部41又は42が動作していることを認識するので、コントローラ1から供給されたアナログ値が前記戻し操作に起因するものであって、x軸センタリング部61又はy軸センタリング部62の作動に起因するものではないと判別できる。As a result, the
この結果、ゲーム装置2は、前記位置制御を採用して、前記戻し操作に起因する前記アナログ値をゲームに反映できる。例えば、キャラクタ等をそれまでの移動方向とは反対の方向へ移動させることを意図して、操作者がアナログスティック28又は29を中立位置側に戻す操作した場合、操作者の意図通りに、キャラクタ等を反対の方向へ移動させることができる。この場合、x軸センタリング部61及びy軸センタリング部62は機能していないので、キャラクタ等はゲーム画面中央の位置に戻ることはなく、操作者が操作板71を操作している限り、キャラクタ等は移動した位置に留まり続ける。As a result, the
また、FPSでは、武器で射撃を続けると反動で射撃の照準が縦横にぶれるように設定されていることが多いので、その都度アナログスティック28又は29を操作して射撃の照準を合わせなければならない。しかし、第1実施形態によれば、操作者は、制動部41又は42を構成する操作板71を操作しつつ、アナログスティック28又は29をわずかに傾倒操作することにより、射撃の照準を容易に合わせることができる。Furthermore, in FPS games, the recoil caused by continuing to fire a weapon often causes the aim of the shot to move vertically and horizontally, so the player must adjust the aim of the shot each time by operating the
2.第2実施形態
図16は、本発明の第2実施形態に係るコントローラを構成するアナログスティック28及び29並びに制動部46及び47の外観構成の一例を示す正面図である。第2実施形態では、前記第1実施形態の制動部41及び42に代えて、アナログスティック28を制動する制動部46及びアナログスティック29を制動する制動部47が下ケース17内にそれぞれ新たに設けられている。
他の部分のコントローラの構造及び動作は、前記第1実施形態と同様であるので、その説明を省略する。16 is a front view showing an example of the external configuration of the analog sticks 28 and 29 and the braking units 46 and 47 constituting a controller according to a second embodiment of the present invention. In the second embodiment, a braking unit 46 for braking the
The structure and operation of the other parts of the controller are similar to those of the first embodiment, and therefore a description thereof will be omitted.
制動部46は、円板状の押し付け部材81と、オンされることにより作動軸82Aが突出して押し付け部材81を所定の押し付け力で押し付け受部58に押し付ける電磁アクチュエータ82とを有している。押し付け部材81は、電磁アクチュエータ82の作動軸82Aの端部に取り付けられている。The brake unit 46 has a disk-shaped pressing
また、制動部46は、押し付け部材81と、オンされることにより作動軸83Aが突出して押し付け部材81を電磁アクチュエータ82よりも大きい押し付け力で押し付け受部58に押し付ける電磁アクチュエータ83とを有している。押し付け部材81は、電磁アクチュエータ83の作動軸83Aの端部に取り付けられている。The brake unit 46 also has a pressing
制動部47は、制動部46と同一構造である。押し付け部材81は、2個に限らず、1個又は3個以上設けても良い。電磁アクチュエータ82及び83についても、それぞれ押し付け力が異なるものを1個以上設けても良い。また、電磁アクチュエータ83に取り付けられる押し付け部材の表面積は、押し付け部材81の表面積と同一でも大きくても良い。The braking unit 47 has the same structure as the braking unit 46. The number of
ここで、電磁アクチュエータ82及び83のオン、オフの状態と、押し付け受部58と押し付け部材81との間で生じる摩擦力との関係の一例を表1に示す。表1に示すように、押し付け受部58と押し付け部材81との間で生じる摩擦力は、電磁アクチュエータ82及び83のオン、オフの状態に応じて4段階に変更できる。表1では、オンの状態を○により表し、オフの状態を×により表している。表2についても同様である。Here, Table 1 shows an example of the relationship between the on/off state of the
電磁アクチュエータ82及び83をオン、オフするためのボタンは、電磁アクチュエータ82及び83近傍であって、左手又は右手の中指又は薬指で操作可能な箇所に設けても良い。また、電磁アクチュエータ82及び83をオン、オフする機能を平面側操作部11を構成する各種のボタン(例えば、Aボタン21及びBボタン22)に設定しても良い。The buttons for turning the
上記構成において、操作者がアナログスティック28又は29の傾倒角度を一定に維持したい場合、操作者は、アナログスティック28又は29を操作して所望の傾倒角度に傾倒させた後、アナログスティック28又は29を静止させるために、例えば、電磁アクチュエータ83をオンするためのボタンを押下すれば良い。In the above configuration, if the operator wishes to maintain a constant tilt angle of the
図17は、電磁アクチュエータ82がオフ、電磁アクチュエータ83がオンの状態におけるアナログスティック28及び29並びに制動部46及び47の外観構成の一例を示す正面図である。図17の例では、電磁アクチュエータ82に取り付けられた押し付け部材81と押し付け受部58との間には隙間があるが、電磁アクチュエータ83に取り付けられた押し付け部材81と押し付け受部58との間には隙間はなく、押し付け部材81が押し付け受部58に押し付けられている。FIG. 17 is a front view showing an example of the external configuration of the analog sticks 28 and 29 and the brake units 46 and 47 when the
x軸センタリング部61を構成する板バネ61A及びy軸センタリング部62を構成する板バネ(図示略)の復元力は、押し付け受部58と押し付け部材81との間で生じる最大の摩擦力、すなわち、電磁アクチュエータ82及び83がいずれもオンの状態(表1の最下段参照)よりも小さいことが好ましい。これにより、操作者が電磁アクチュエータ82又は83をオンさせている状態でアナログスティック28又は29を構成するキャップ51から指を離しても、アナログスティック28又は29の傾倒角度が一定に維持されるからである。The restoring force of the
[第2実施形態の効果]
以上説明したように、本発明に係る第2実施形態では、コントローラは、スティック54が傾倒された方向と、スティック54が傾倒された角度に応じたアナログ値とを出力するアナログスティック28及び29と、スティック54に取り付けられた押し付け受部材58と、アナログスティック28及び29を制動する制動部46及び47と、を備えている。[Effects of the second embodiment]
As described above, in the second embodiment of the present invention, the controller comprises analog sticks 28 and 29 that output an analog value corresponding to the direction in which stick 54 is tilted and the angle at which stick 54 is tilted, a
操作者により傾倒操作されるキャップ51がスティック54の一端に取り付けられ、押し付け受部材58がスティック54の他端に取り付けられている。制動部46及び47は、2個の押し付け部材81と、押し付け受部材58に、各押し付け部材81を押し付ける電磁アクチュエータ82及び83と、を有している。The
したがって、第2実施形態によれば、操作者は自らの筋力に頼ることなく、所定のボタンを操作するだけで、前記第1実施形態により得られる効果が得られる。Therefore, according to the second embodiment, the operator can obtain the effect obtained by the first embodiment by simply operating a specified button, without relying on his/her own muscle strength.
3.第3実施形態
図18は、本発明の第3実施形態に係るコントローラを構成するアナログスティック84及び制動部48の外観構成の一例を示す斜視図である。また、図19は、図18のアナログスティック84からキャップ51を取り除いた状態におけるアナログスティック84及び制動部48の外観構成の一例を示す平面図である。3. Third embodiment Fig. 18 is a perspective view showing an example of the external configuration of an
第3実施形態では、前記第1実施形態のアナログスティック28及び29に代えて、アナログスティック84が新たに設けられている。また、第3実施形態では、前記第1実施形態の制動部41及び42に代えて、アナログスティック84を制動する制動部48がプリント基板18上に新たに設けられている。
他の部分のコントローラの構造及び動作は、前記第1実施形態と同様であるので、その説明を省略する。In the third embodiment, an
The structure and operation of the other parts of the controller are similar to those of the first embodiment, and therefore a description thereof will be omitted.
アナログスティック84がアナログスティック28及び29と異なる点は、以下の通りである。まず、スティック54は、軸部54B(図7参照)が取り除かれ、軸部54Aと結合部54Cとが一体に結合されて構成されている。また、図7に示す押し付け受部58は取り除かれている。The
さらに、x軸従動部53を構成する軸部53Cは、x軸ポテンショメータ59の貫通孔59Aに挿通され、y1方向側に突出するように長さが延長されている。軸部53Cには、回転軸911の一端が連結されている。回転軸911は、一端以外は円柱状である。回転軸911の円柱状の部分は、枡形状のハウジング93のy1-y2方向に形成された2箇所の軸受(図示略)により回転可能に軸支されている。回転軸911の円柱状の部分であって、ハウジング93に収容された箇所には、円柱状の押し付け受部921が嵌合されている。Furthermore, the
また、y軸従動部55を構成する軸部55Cは、y軸ポテンショメータ60の貫通孔60A(図7参照)に挿通され、x1方向側に突出するように長さが延長されている。軸部55Cには、回転軸912の一端が連結されている。回転軸912は、一端以外は円柱状である。回転軸912の円柱状の部分は、枡形状のハウジング96のx1-x2方向に形成された2箇所の軸受96B(x2側は図示略)により回転可能に軸支されている。回転軸912の円柱状の部分であって、ハウジング96に収容された箇所には、円柱状の押し付け受部922が嵌合されている。Further, the
制動部48は、x軸従動部53のx1-x2方向の回動を制動するx軸制動部48Aと、y軸従動部55のy1-y2方向の回動を制動するy軸制動部48Bとから構成されている。The
x軸制動部48Aは、押し付け部材941及び951と、前記第2実施形態で説明した電磁アクチュエータ82及び83と同一機能を有する電磁アクチュエータ821及び831とから構成されている。ハウジング93のx1側の壁部93A外側には、電磁アクチュエータ821及び831が取り付けられている。電磁アクチュエータ821の作動軸821Aは、ハウジング93の壁部93Aに形成された貫通孔(図示略)からハウジング93の内部に挿通され、端部に押し付け部材941が取り付けられている。The
電磁アクチュエータ831の作動軸831Aは、ハウジング93の壁部93Aに形成された貫通孔(図示略)からハウジング93の内部に挿通され、端部に押し付け部材951が取り付けられている。押し付け部材941及び951は、いずれも円板状であり、押し付け部材951の表面積は、押し付け部材941の表面積よりも大きい。An operating shaft831A of the electromagnetic actuator831 is inserted into the
y軸制動部48Bは、押し付け部材942及び952と、前記第2実施形態で説明した電磁アクチュエータ82及び83と同一機能を有する電磁アクチュエータ822及び832とから構成されている。ハウジング96のy1側の壁部96A外側には、電磁アクチュエータ822及び832が取り付けられている。電磁アクチュエータ822の作動軸822Aは、ハウジング96の壁部96Aに形成された貫通孔(図示略)からハウジング96の内部に挿通され、端部に押し付け部材942が取り付けられている。The y-
電磁アクチュエータ832の作動軸832Aは、ハウジング96の壁部96Aに形成された貫通孔(図示略)からハウジング96の内部に挿通され、端部に押し付け部材952が取り付けられている。押し付け部材942及び952は、いずれも円板状であり、押し付け部材952の表面積は、押し付け部材942の表面積よりも大きい。An operating shaft832A of the electromagnetic actuator832 is inserted into the
x軸制動部48Aに設けられる押し付け部材941及び951並びにy軸制動部48Bに設けられる押し付け部材942及び952は、それぞれ2個に限らず、それぞれ1個又は3個以上設けても良い。電磁アクチュエータ821、822、831及び832についても、それぞれ押し付け力が異なるものを1個以上設けても良い。また、電磁アクチュエータ821、822、831及び832に取り付けられる押し付け部材941、942、951及び952は、同一の表面積のものでも、異なる表面積のものでも良い。The pressing members94-1 and95-1 provided in the
ここで、制動部48を構成する電磁アクチュエータ821、822、831及び832のオン、オフの状態と、押し付け受部921及び922と押し付け部材941、942、951及び952との間で生じる摩擦力と、操作者が感じる操作の重さとの関係の一例を表2に示す。表2に示すように、各押し付け受部921及び922と押し付け部材941、942、951及び952との間で生じる摩擦力は、電磁アクチュエータ821、822、831及び832のオン、オフの状態に応じて16通りに変更でき、操作者が感じる操作の重さは9段階に変更できる。Here, an example of the relationship between the on/off states of the electromagnetic actuators821 ,822 ,831 , and832 constituting the
電磁アクチュエータ821、822、831及び832をオン、オフするためのボタンは、下ケース17の底面側であって、左手又は右手の中指又は薬指で操作可能な箇所に設けても良い。また、電磁アクチュエータ821、822、831及び832をオン、オフする機能を平面側操作部11を構成する各種のボタン(例えば、Aボタン21及びBボタン22)に設定しても良い。Buttons for turning on and off the electromagnetic actuators821 ,822 ,831 , and832 may be provided on the bottom side of the
x軸センタリング部61を構成する板バネ61A及びy軸センタリング部62を構成する板バネ(図示略)の復元力は、押し付け受部921及び922と押し付け部材941、942、951及び952との間で生じる最大の摩擦力、すなわち、電磁アクチュエータ821、822、831及び832がいずれもオンの状態(表2の最下段参照)よりも小さいことが好ましい。これにより、操作者が電磁アクチュエータ821、822、831又は832のいずれかをオンさせている状態でアナログスティック84を構成するキャップ51から指を離しても、アナログスティック84の傾倒角度が一定に維持されるからである。The restoring force of the
[第3実施形態の効果]
以上説明したように、本発明に係る第3実施形態では、コントローラは、スティック54が傾倒された方向と、スティック54が傾倒された角度に応じたアナログ値とを出力するアナログスティック84と、アナログスティック84を制動する制動部48と、を備えている。[Effects of the third embodiment]
As described above, in the third embodiment of the present invention, the controller comprises an
アナログスティック84は、z2方向の中立位置を中心として360°の任意の方向へ傾倒可能なスティック54と、スティック54の傾倒に伴ってx1-x2方向へ回動するx軸従動部53と、スティック54の傾倒に伴ってy1-y2方向へ回動するy軸従動部55と、を有している。The
押し付け受部材921はx軸従動部53に取り付けられ、押し付け受部材922はy軸従動部55に取り付けられている。制動部48は、x軸制動部48Aと、y軸制動部48Bとから構成されている。x軸制動部48Aは押し付け部材941及び951と、電磁アクチュエータ821及び831とから構成され、y軸制動部48Bは押し付け部材942及び952と、電磁アクチュエータ822及び832とから構成されている。The pressure receiving member92-1 is attached to the
押し付け部材941は電磁アクチュエータ821により押し付け受部材921に押し付けられ、押し付け部材942は電磁アクチュエータ822により押し付け受部材922に押し付けられる。また、押し付け部材951は電磁アクチュエータ831により押し付け受部材921に押し付けられ、押し付け部材952は電磁アクチュエータ832により押し付け受部材922に押し付けられる。The pressing member94-1 is pressed against the pressure receiving member92-1 by the electromagnetic actuator82-1 , and the pressing member94-2 is pressed against the pressure receiving member92-2 by the electromagnetic actuator82-2 . In addition, the pressing member95-1 is pressed against the pressure receiving member92-1 by the electromagnetic actuator83-1 , and the pressing member95-2 is pressed against the pressure receiving member92-2 by the electromagnetic actuator83-2 .
したがって、第3実施形態によれば、操作者は自らの筋力に頼ることなく、ボタンを操作するだけで、前記第1実施形態により得られる効果が得られる。また、第3実施形態によれば、アナログスティック84は、前記第1及び第2実施形態に係るアナログスティック28及び29と異なり、軸部54B及び押し付け受部58が取り除かれているので、コントローラ全体のz1-z2方向の厚さを薄くでき、汎用性が大きい。Therefore, according to the third embodiment, the operator can obtain the effects obtained by the first embodiment by simply operating the button, without relying on his/her own muscle strength. Also, according to the third embodiment, unlike the analog sticks 28 and 29 according to the first and second embodiments, the
さらに、第3実施形態によれば、操作者は、x軸従動部53及びy軸従動部55をそれぞれ別個独立して制動できる。例えば、操作者がアナログスティック84をy1方向又はy2方向に傾倒操作した場合、y軸従動部55に取り付けられた押し付け受部材922は回動するが、x軸従動部53に取り付けられた押し付け受部材921は回動しない。したがって、押し付け受部材921に押し付け部材941及び951を押し付けても、アナログスティック84をy1方向又はy2方向に傾倒するのに必要な力は変化しない。Furthermore, according to the third embodiment, the operator can brake the
このことを利用して、例えば、ゲームプログラムは、ゲームの状況に応じて、アナログスティック84のy1-y2方向の傾倒操作のみを有効とする制限を設けたい場合、電磁アクチュエータ822及び832を強制的にオンとすることにより、操作者に前記制限の存在を明確に伝えることができる。By utilizing this, for example, if a game program wants to impose a restriction that only enables tilting operations of the
4.第4実施形態
まず、本発明の第4実施形態に係るコントローラの外観構成は、アナログスティック28及び29に代えてアナログスティック201及び202(図20等参照)が新たに設けられている点以外、図1~図3に示すコントローラ1の外観構成と異なるところはない。つまり、第4実施形態では、図1~図3に示す制動部41はアナログスティック201を制動させるために用いられ、図1~図3に示す制動部42はアナログスティック202を制動させるために用いられる。4. Fourth embodiment First, the external configuration of a controller according to a fourth embodiment of the present invention does not differ from the external configuration of the
図20は本発明の第4実施形態に係るコントローラを構成するアナログスティック201及び202並びにこれらが取り付けられたプリント基板203等の構成の一例を示す平面側の斜視図である。また、図21は図20に示すアナログスティック201及び202並びにプリント基板203等の構成の一例を示す底面側の斜視図、図22は図20のA-A断面図である。図20~図22及び、後述する図27~図29におけるxyz座標系は図1におけるxyz座標系と同様である。FIG. 20 is a top perspective view showing an example of the configuration of the analog sticks 201 and 202 and the printed
アナログスティック201及び202を構成するキャップ211の下端近傍であって、キャップ211の中心に関して互いに対称な位置には、アナログスティック201及び202の傾倒状態をプリント基板203の底面側に伝達する傾倒伝達部材2041~2048の各一端が取り付けられている。プリント基板203には、各傾倒伝達部材2041~2048が挿入される貫通孔203A1~203A8が形成されている。Near the lower end of the
後述するように、傾倒伝達部材2041~2048、キャップ211の孔211C1~211C8及び押し付け受部材206の孔206C1~206C8のそれぞれにおける添え字「1~8」は、キャップ211及び押し付け受部材206への傾倒伝達部材204の取り付け状態を明確にするためにプリント基板203の貫通孔203A1~203A8の添え字「1~8」に対応させて便宜的に付したものである。As described later, the suffixes "1 to 8" of the tilt transmission members 2041 to 2048 , the
プリント基板203の貫通孔203A1~203A8には、アナログスティック201の実装位置においてx2側、y1側、x1側及びy2側の順に添え字「1~4」が付され、アナログスティック202の実装位置においてx2側、y1側、x1側及びy2側の順に添え字「5~8」が付されている。The through holes203A1 to203A8 of the printed
一方、傾倒伝達部材2041~2048は同一形状、同一素材及び同一寸法であり、キャップ211及び押し付け受部材206はいずれも対称な形状をしており、プリント基板203への実装前は各符号の添え字「1~8」は意味をなさない。しかし、プリント基板203への実装後においては、プリント基板203の貫通孔203A1~203A8の添え字「1~8」と同一の添え字が付されたもの同士が取り付けられていることを意味する。傾倒伝達部材2041~2048を総称する場合には傾倒伝達部材204を用いる。On the other hand, the tilt transmission members204-1 to204-8 are of the same shape, material and dimensions, the
図20では、貫通孔203A3、203A4、203A7及び203A8、傾倒伝達部材2043、2044、2047及び2048、孔206C3、206C4、206C7及び206C8並びに孔211C3、211C4、211C7及び211C8のみが表されている。In FIG. 20, only the through
図21では、傾倒伝達部材2043、2044、2047及び2048、孔206C3、206C4、206C7及び206C8並びに孔211C4及び211A8のみが表されている。In FIG. 21, only the tilt transmission members 2043 , 2044 , 2047 and 2048 , the
図22では、貫通孔203A1、203A3、203A5及び203A7、傾倒伝達部材2041、2043、2045及び2047、孔206C1、206C3、206C5及び206C7並びに孔211C1、211C3、211C5及び211C7のみが表されている。In FIG. 22, only the through
傾倒伝達部材2041~2048は、屈曲可能であるが伸縮性が低いことが望ましい。前記条件を満足するならば、傾倒伝達部材2041~2048の形状は、例えば、糸状、複数種類の糸状部材の撚り合わせ、板状又は棒状のいずれでも良い。It is desirable that the tilt transmission members 2041 to 204 8 are bendable but have low elasticity. As long as the above conditions are satisfied, the shape of the tilt transmission members 204 1to 204 8maybe , for example, a thread, a twisted combination of multiple types of thread-like members, a plate shape, or a rod shape.
同様に、前記条件を満足するならば、傾倒伝達部材2041~2048の素材は、例えば、天然繊維、ポリフッ化ビニリデン等の合成繊維、天然繊維又は合成繊維に天然素材又は合成素材をコーティングしたもの、金属、あるいは、天然繊維、合成繊維、金属のいずれかを組み合わせたもののいずれでも良い。Similarly, so long as the above conditions are satisfied, the material of the tilt transmission members 2041 to 2048 may be, for example, natural fibers, synthetic fibers such as polyvinylidene fluoride, natural or synthetic fibers coated with natural or synthetic materials, metal, or a combination of natural fibers, synthetic fibers, and metal.
なお、傾倒伝達部材2041~2048は、全体が同一形状、同一素材及び同一寸法である必要はなく、使用する部位(例えば、他の部材と接触する可能性のある部位)に応じて、形状、素材又は寸法を異ならせても良い。Incidentally, the tilt transmission members 2041 to 2048 do not need to be of the same shape, material, or dimensions overall, and may have different shapes, materials, or dimensions depending on the areas where they are used (e.g., areas that may come into contact with other members).
プリント基板203の底面側であって、アナログスティック201及び202に対向する位置には、案内・支持部材205及び押し付け受部材206が設けられている。案内・支持部材205は、プリント基板203の底面に取り付けられている。案内・支持部材205は、傾倒伝達部材2041~2048を押し付け受部材206に案内するとともに、押し付け受部材206を支持する。A guide/
図23は、案内・支持部材205の構成の一例を示す底面側の斜視図である。案内・支持部材205は、円柱状の中央部205Aと、4つの腕部205Bと、4つの円柱端部205Cとが一体に形成されて構成されている。各腕部205Bの各一端は、中央部205Aの上端近傍の外周面であって、中央部205Aに関して互いに対称な位置に接続されている。これにより、案内・支持部材205は、平面視で十字状を呈している。Figure 23 is a perspective view of the bottom side showing an example of the configuration of the guide/
各腕部205Bの各他端には、円柱端部205Cが形成されている。各円柱端部205Cには、対応する傾倒伝達部材204が挿入される貫通孔205Dが形成されている。傾倒伝達部材204が接触した場合に摩擦により傾倒伝達部材204が摩耗しないように、各貫通孔205Dの内周面は滑らかに仕上げられている。A
中央部205Aの底面には、支持凹部205Eが形成されている。支持凹部205Eに押し付け受部材206を構成する円柱部206Bの先端部206Dが当接されるとともに、キャップ211と押し付け受部材206との間に傾倒伝達部材204が張設されることにより、案内・支持部材205は支持凹部205Eを支点として押し付け受部材206を回動自在に支持する。A
図24は、押し付け受部材206の構成の一例を示す平面側の斜視図である。押し付け受部材206は、上端が開口した半球殻体部206Aと、半球殻体部206Aの内面最低部に垂直に立設された円柱部206Bとが一体に形成されて構成されている。半球殻体部206Aの上端近傍であって、円柱部206Bに関して互いに対称な位置に4つの孔206Cが形成されている。各孔206Cには、対応する傾倒伝達部材204の他端が取り付けられる。円柱部206Bの先端部206Dは、半球状を呈している。アナログスティック201及び202の傾倒動作に従って押し付け受部材206がスムーズに回動するように、先端部206Dの表面は滑らかに仕上げられている。24 is a perspective view of the top side showing an example of the configuration of the
[アナログスティック201及び202の構造]
図25は、アナログスティック201及び202の構成の一例を示す分解斜視図である。アナログスティック201及び202は、同一構造であり、キャップ211と、アナログスティックユニット212とから構成されている。アナログスティックユニット212には、市販又は公知のアナログスティックユニットを用いることができ、その構造は図25に示す構造に限定されるものではない。公知のアナログスティックユニットは、例えば、特許第7113133号公報に開示されている。[Structure of analog sticks 201 and 202]
Fig. 25 is an exploded perspective view showing an example of the configuration of the analog sticks 201 and 202. The analog sticks 201 and 202 have the same structure and are composed of a
図25における座標系は、アナログスティック201及び202単体の座標系である。図25に示すアナログスティックユニット212を構成する矩形状の上ケース221において、平面側の角a及び角bを通る第1の直線と平行な軸を第1軸A1と定める。また平面側の角a及び角cを通り、前記第1の直線と直交する第2の直線と平行な軸を第2軸A2と定める。さらに、平面側の角a及び底面側の角dを通り、前記第1及び第2の直線と直交する第3の直線と平行な軸を第3軸A3と定める。The coordinate system in FIG. 25 is the coordinate system for the analog sticks 201 and 202 alone. In the rectangular
そして、角bから角aへ向かう方向をA11方向、A11方向の逆方向をA12方向として定める。また、角cから角aへ向かう方向をA21方向、A21方向の逆方向をA22方向として定める。さらに、角aから角dへ向かう方向をA31方向、A31方向の逆方向をA32方向として定める。Then, the direction from angle b to angle a is defined as the A11 direction, and the opposite direction of the A11 direction is defined as the A12 direction. The direction from angle c to angle a is defined as the A21 direction, and the opposite direction of the A21 direction is defined as the A22 direction. Furthermore, the direction from angle a to angle d is defined as the A31 direction, and the opposite direction of the A31 direction is defined as the A32 direction.
このように、アナログスティック201及び202単体のA1-A3座標系をコントローラを基準としたxyz座標系と異ならせているのは、以下に示す理由による。すなわち、設計等の理由により、例えば、図22に示すy1-y2方向(紙面に直交する方向)に平行な面を対称面として面対称となるように、アナログスティック201及び202がプリント基板203の平面に取り付けられる場合があるからである。The reason why the A1-A3 coordinate system of the analog sticks 201 and 202 alone is different from the xyz coordinate system based on the controller is as follows. That is, for design reasons, for example, the analog sticks 201 and 202 may be attached to the flat surface of the printed
図22の例では、アナログスティック201のA1-A3座標系のA11-A12方向はxyz座標系のy1-y2方向と平行であり、アナログスティック202のA1-A3座標系のA11-A12方向はxyz座標系のx1-x2方向と平行である。In the example of FIG. 22, the A11-A12 direction of the A1-A3 coordinate system of the
キャップ211は、円板状であり、操作者の親指で操作される操作部211Aと、下端が開口した半球殻体状であり、ゴミ等がコントローラ内部へ混入することを防止するためのカバー211Bとが一体に形成されて構成されている。カバー211Bの直径は、押し付け受部材206を構成する半球殻体部206Aの直径と等しい。カバー211Bの下端近傍であって、カバー211Bの中心に関して互いに対称な位置に4つの孔211Cが形成されている。図25には2つの孔211Cのみが表されている。各孔211Cには、図20~図22に示す傾倒伝達部材2041~2048の各一端が取り付けられる。The
アナログスティックユニット212は、上ケース221と、第1軸従動部222と、スティック223と、第2軸従動部224と、下ケース225と、結合ピン226と、センタリング部227と、第1軸ポテンショメータ228と、第2軸ポテンショメータ229とが組み立てられて構成されている。The
上ケース221は、矩形状であり、下端が開口している。上ケース221は、平面中央に円形状の貫通孔221Aが形成されているとともに、下端各辺中央に切り欠き221Bが形成されている。図25には2つの切り欠き221Bのみが表されている。The
第1軸従動部222は、円弧状の作動部222Aと、作動部222Aの一端に接続する軸部222Bと、作動部222Aの他端に接続する軸部222Cとが一体に形成されて構成されている。作動部222Aが円弧状であるのは、第2軸従動部224との干渉を避けるためである。作動部222Aには、長手方向に矩形状の貫通孔222Dが形成されている。The
スティック223は、円柱部223Aと、角柱部223Bと、円板部223Cとが一体に形成されて構成されている。角柱部223Bの下端近傍には結合ピン226が嵌合する孔223Dが形成されている。The
第2軸従動部224は、作動部224Aと、作動部224Aの長手方向の一端に接続する軸部224Bと、作動部224Aの長手方向の他端に接続する軸部224Cとが一体に形成されて構成されている。作動部224Aには、矩形状の貫通孔224Dが形成されている。作動部224Aの長手方向の中央であって、短手方向の対称となる位置には結合ピン226が嵌合する2つの孔224Eが形成されている。The second shaft driven
下ケース225は、角枡状であり、平面側の外形寸法が上ケース221の外形寸法と同一であり、上端が開口している。下ケース225には、上端各辺中央に切り欠き225Aが形成されているとともに、底面中央に円形状の有底孔225Bが形成されている。また、下ケース225の下端四角には、各種部品が搭載されたプリント基板203(図20参照)に固定するための脚部225Cが形成されている。The
結合ピン226は、円柱状であり、第2軸従動部224を構成する作動部224Aの短手方向の長さと同一の長さを有している。The connecting
図26は、センタリング部227の構成の一例を示す底面側の斜視図である。センタリング部227は、円板部227Aと、4つの板バネ部227Bとが一体に形成されて構成されている。円板部227Aの外径は、スティック223を構成する円板部223Cの外径とほぼ等しく、下ケース225の有底孔225Bの内径より僅かに小さい。各板バネ部227Bは、円板部227Aの底面の四隅に基部227Cを残すとともに、先端部227Dが隣接する板バネ部227Bの基部227Cに対向するように板状に切り取られ、先端部227Dが斜め下方に引き出されている。Figure 26 is a bottom perspective view showing an example of the configuration of centering
図25に示す第1軸ポテンショメータ228は、中央に形成された貫通孔228Aに、第1軸従動部222の軸部222Cの端部が嵌合され、スティック223が傾倒されて生じる第1軸従動部222のA11-A12方向への回動に応じた電気信号(アナログ値)を出力する。The
第2軸ポテンショメータ229は、中央に形成された貫通孔229Aに、第2軸従動部224の軸部224Bの端部が嵌合され、スティック223が傾倒されて生じる第2軸従動部224のA21-A22方向への回動に応じた電気信号(アナログ値)を出力する。The
[アナログスティックユニット212の組立方法の一例]
(a)まず、作業者は、図25に示す向きに配置された下ケース225の有底孔225Aに、円板部227AをA32方向に向けて、センタリング部227を載置する。[An example of a method for assembling the analog stick unit 212]
(a) First, the worker places the centering
(b)次に、作業者は、スティック223の角柱部223Bに形成された孔223Dの軸線と、第2軸従動部224の作動部224Aに形成された2つの孔224Eの軸線とが一致するように、スティック223を第2軸従動部224の下方から作動部224Aの貫通孔224Dに挿入して遊嵌させ、この状態において、結合ピン226を孔223D及び孔224Eに嵌合する。これにより、スティック223と第2軸従動部224とが結合される。(b) Next, the worker inserts the
(c)次に、作業者は、図25に示す向きに配置された下ケース225に対して、第2軸従動部224の軸部224BがA12側の切り欠き225Aに支持されるとともに、第2軸従動部224の軸部224CがA11側の切り欠き225Aに支持されるように、スティック5223と結合された第2軸従動部224を載置する。(c) Next, the worker places the
(d)次に、作業者は、長手方向をA21-A22方向と平行に向け、かつ、円弧の頂点をA32方向に向けた状態の第1軸従動部222を、貫通孔222Dにスティック223の円柱部223Aを挿通しつつ、軸部222Bが下ケース225のA22側の切り欠き225Aに支持されるとともに、軸部222Cが下ケース225のA21側の切り欠き225Aに支持されるように、下ケース225に載置する。(d) Next, the worker places the
(e)次に、作業者は、上ケース221の貫通孔221Aにスティック223の円柱部223Aを挿通しつつ、上ケース221の4つの切り欠き221Bを下ケース225の4つの切り欠き225Aに対向させて、上ケース221と下ケース225とを結合させる。上ケース221と下ケース225との結合は、接着、融着、圧着、係止爪及び係止孔による係止等のいずれでも良い。(e) Next, the worker inserts the
上ケース221、第1軸従動部222、スティック223、第2軸従動部224、下ケース225、結合ピン226及びセンタリング部227が組み立てられた状態では、第1軸従動部222の軸部222Cの端部が上ケース221及び下ケース225からA21側に突出している。また、前記状態では、第2軸従動部224の軸部224Bの端部が上ケース221及び下ケース225からA12側に突出している。When the
(f)次に、作業者は、上ケース221及び下ケース225からA21側に突出した第1軸従動部222の軸部222Cの端部を、第1軸ポテンショメータ228の中央に形成された貫通孔228Aに嵌合させる。同様に、作業者は、上ケース221及び下ケース225からA12側に突出した第2軸従動部224の軸部224Bの端部を、第2軸ポテンショメータ229の中央に形成された貫通孔229Aに嵌合させる。(f) Next, the worker fits the end of the
[アナログスティック201及び202等の実装方法の一例]
(a)まず、作業者は、2個のアナログスティックユニット212について、下ケース225の4つの脚部225C、第1軸ポテンショメータ228及び第2軸ポテンショメータ229のそれぞれの下端から突出した端子をプリント基板203(図20参照)に形成されている貫通孔(図示略)に挿入し、プリント基板203の底面側に突出させる。[One example of a method for mounting analog sticks 201 and 202, etc.]
(a) First, the worker inserts the terminals protruding from the lower ends of the four
この際、作業者は、2個のアナログスティックユニット212について、図22に示すように、y1-y2方向(紙面に直交する方向)に平行な面を対称面として面対称となるようにプリント基板203に取り付ける。At this time, the worker attaches the two
(b)次に、作業者は、各アナログスティックユニット212について、下ケース225の各脚部225C並びに、第1軸ポテンショメータ228及び第2軸ポテンショメータ229の各端子と、プリント基板203の平面又は底面の各貫通孔周辺に形成された各ランド(図示略)とを半田付けする。(b) Next, the worker solders each
(c)次に、作業者は、各アナログスティックユニット212について、上ケース221の貫通孔221Aから上方に突出したスティック223の円柱部223Aの上端を、キャップ211の操作部211A下端に形成された孔211D(図22参照)に嵌合させる。(c) Next, for each
(d)次に、作業者は、プリント基板203の底面であって、x2側のアナログスティックユニット212に対向する位置に、貫通孔203A1~203A4の各軸線と、案内・支持部材205に形成されている4個の貫通孔205Dの各軸線とが一致するように、各案内・支持部材205を取り付ける。(d) Next, the worker attaches each of the guide/
次に、作業者は、プリント基板203の底面であって、x1側のアナログスティックユニット212に対向する位置に、貫通孔203A5~203A8の各軸線と、案内・支持部材205に形成されている4個の貫通孔205Dの各軸線とが一致するように、もう1個の案内・支持部材205を取り付ける。Next, the worker attaches another guide/
プリント基板203への各案内・支持部材205の取り付けは、嵌合、接着、ネジ止め、係止爪及び係止孔による係止等のいずれでも良い。図22の例では、プリント基板203の貫通孔203A1、203A3、203A5及び203A7に各案内・支持部材205の各円柱端部205Cの上端を嵌合させている。The guide/
(e)次に、作業者は、各押し付け受部材206について、半球殻体部206Aに形成されている4つの孔206Cに4本の傾倒伝達部材204の他端をそれぞれ取り付ける。(e) Next, the worker attaches the other ends of the four tilt transmission members 204 to the four
(f)次に、作業者は、1つの押し付け受部材206を一方の手で保持し、半球殻体部206Aの円柱部206Bの先端部206Dを案内・支持部材205の支持凹部205Eに当接させつつ、半球殻体部206Aに取り付けられた4本の傾倒伝達部材204の各一端を他方の手の指で摘んで、案内・支持部材205に形成されている4個の貫通孔205D及び対応するプリント基板203の貫通孔203A1~203A4に挿入して、プリント基板203の平面側に突出させる。(f) Next, the worker holds one of the
(g)次に、作業者は、プリント基板203の平面側に突出させた4本の傾倒伝達部材204の各一端を、アナログスティック201を構成するキャップ211のカバー211Bの下端近傍に形成された孔211C1~211C4に、傾倒伝達部材2041~2044が同様の張力となるように取り付ける。次に、作業者は、アナログスティック202を構成することになるもう1つの押し付け受部材206について、前記(f)及び(g)の行程を行う。(g) Next, the worker attaches one end of each of the four tilt transmission members 204 protruding from the flat side of the printed
作業者が以上説明した行程を行うことにより、図20~図22に示すように、アナログスティック201及び202、傾倒伝達部材204、案内・支持部材205並びに押し付け受部材206がプリント基板203に実装される。When the worker performs the steps described above, the analog sticks 201 and 202, tilt transmission member 204, guide/
[アナログスティック201及び202等の動作]
図27は、傾倒させていない状態のアナログスティック201、x2方向に傾倒させた状態のアナログスティック202及びプリント基板203等の構成の一例を示す平面側の斜視図である。また、図28は図27に示すアナログスティック201及び202並びにプリント基板203等の構成の一例を示す底面側の斜視図、図29は図27のA-A断面図である。[Operation of analog sticks 201 and 202, etc.]
Fig. 27 is a perspective view of the top side showing an example of the configuration of the
前記したように実装されたアナログスティック201及び202等は、操作者が親指でキャップ211の操作部211Aを操作すると、キャップ211の操作部211A下端に形成された孔211Dに嵌合されたスティック223が傾倒する。この際、センタリング部227の板バネ部227Bは、スティック223の円板部223Cによって下方へ押圧される。When the operator operates the operating
スティック223が傾倒した際、スティック223の角柱部223Bが第1軸従動部222の貫通孔222Dのx1方向の側に接触すると第1軸従動部222がx1方向に回動し、スティック223の角柱部223Bが第1軸従動部222の貫通孔222Dのx2方向の側に接触すると第1軸従動部222がx2方向に回動する。第1軸ポテンショメータ228は、第1軸従動部222のx1-x2方向への回動に応じた電気信号(アナログ値)を出力する。When the
スティック223が傾倒した際、スティック223と結合された第2軸従動部224は、スティック223の傾倒におけるy1-y2方向の移動量に応じてy1-y2方向に回動する。第2軸ポテンショメータ229は、第2軸従動部224のy1-y2方向への回動に応じた電気信号(アナログ値)を出力する。When the
第1軸従動部222及び第2軸従動部224は、それぞれ独立して動作しているため、xy平面上360°のいずれかの方向に操作者が親指でキャップ211の操作部211Aを操作すれば、第1軸ポテンショメータ228及び第2軸ポテンショメータ229は、その操作に応じた電気信号を出力する。The
キャップ211と押し付け受部材206との間に4つの傾倒伝達部材204が張設されているので、スティック223が傾倒するのに伴って、押し付け受部材206は、スティック223の傾倒方向とは反対方向に傾倒する。Four tilt transmission members 204 are stretched between the
また、操作者がキャップ211に対して親指で押す力を緩めたりキャップ211から親指を離したりすると、センタリング部227は、スティック223の円板部223Cによって押圧されていた板バネ部227Bの復元力によりスティック223を中立位置に戻す。In addition, when the operator releases the pressure of the thumb on the
前記第1実施形態では、スティック54の上下端にキャップ51及び押し付け受部材58を取り付け、制動部41又は42の押し付け部72を被制動部材としての押し付け受部材58に押し付ける、すなわち、被制動部材としての押し付け受部材58に押し付け部材72を押し付けて押し付け受部材58の動きを抑えることにより、アナログスティック28又は29を制動している。In the first embodiment, a
一方、第4実施形態では、スティック223の上端にキャップ211を取り付けるとともに、キャップ211と押し付け受部材206とを傾倒伝達部材204により接続し、制動部41又は42の押し付け部72を押し付け受部材206に押し付ける、すなわち、被制動部材としての押し付け受部材206に押し付け部材72を押し付けて押し付け受部材206の動きを抑えることにより、アナログスティック201又は202を制動する。On the other hand, in the fourth embodiment, a
アナログスティック201及び202並びに制動部41及び42の操作方法については、以上説明した以外は前記第1実施形態と異なる点はないので、その説明を省略する。The method of operating the analog sticks 201 and 202 and the
[第4実施形態の効果]
以上説明したように、本発明に係る第4実施形態では、コントローラは、スティック223が傾倒された方向と、スティック223が傾倒された角度に応じたアナログ値とを出力するアナログスティック201及び202と、スティック223の一端に取り付けられたキャップ211と、キャップ211に取り付けられた被制動部材としての押し付け受部材206と、押し付け受部材206に押し付け部材72を押し付けて押し付け受部材206の動きを抑えることによりアナログスティック201及び202を制動する制動部41及び42と、を備えている。[Effects of the Fourth Embodiment]
As described above, in the fourth embodiment of the present invention, the controller comprises analog sticks 201 and 202 which output an analog value corresponding to the direction in which stick 223 is tilted and the angle at which stick 223 is tilted, a
したがって、第4実施形態によれば、前記第1実施形態により得られる効果と同様の効果が得られる。Therefore, the fourth embodiment provides the same effect as the first embodiment.
また、第4実施形態では、アナログスティックユニット212等の市販又は公知のアナログスティックユニットを用いることができるので、前記第1実施形態に係るコントローラ1と比較して、コントローラを安価にかつ短期間で、開発、設計及び製造することができる。In addition, in the fourth embodiment, a commercially available or well-known analog stick unit such as the
5.第5実施形態
[コントローラ5の構成]
図30は本発明の第5実施形態に係るコントローラ5の外観構成の一例を示す平面側の斜視図、図31はコントローラ5の外観構成の一例を示す底面側の斜視図である。また、図32は図30のB-B断面図である。図30~図32において、図1~図4の各部に対応する部分には同一の符号を付け、その説明を省略する。図30~図32並びに、後述する図33、図34及び図39におけるxyz座標系は図1におけるxyz座標系と同様である。5. Fifth embodiment [Configuration of controller 5]
Figure 30 is a perspective view of the top side showing an example of the external configuration of a
図30に示すコントローラ5の平面側の外観構成は、アナログスティック28及び29に代えて、アナログスティック201及び202(図25参照)が新たに設けられている点及び、下ケース17に代えて下ケース231が新たに設けられている点以外、概ね、図1に示すコントローラ1の平面側の外観構成と同様である。つまり、第5実施形態では、第1実施形態に係るアナログスティック28及び29に代えて第4実施形態に係るアナログスティック201及び202を用いる。なお、図30では図1に示す肩ボタン30~33は表していない。The external configuration of the planar side of the
一方、図31に示すコントローラ5の底面側の外観構成は、図2に示すコントローラ1の底面側の外観構成とは、下ケース17に代えて下ケース231が新たに設けられている点と、制動部41及び42が設けられていない点とが異なる。下ケース231には、図2に示す梁部17Aに相当する部位が形成されていない。On the other hand, the external configuration of the bottom side of the
また、下ケース231において、アナログスティック201及び202に対向する位置には、貫通孔231A及び231Bが形成されている。貫通孔231A及び231Bからは、後述する制動部233及び234を構成する制動部材248の制動ボタン248B(図35参照)の一部がz1方向へ突出している。In addition, through
図33はコントローラ5を構成するアナログスティック201及び202、制動部233及び234並びにこれらが取り付けられたプリント基板203等の構成の一例を示す平面側の斜視図である。また、図34は図33に示すアナログスティック201及び202、制動部233及び234並びにプリント基板203等の構成の一例を示す底面側の斜視図である。FIG. 33 is a perspective view of the top side showing an example of the configuration of the analog sticks 201 and 202, the braking
第5実施形態では、前記第4実施形態に係るアナログスティック201及び202並びにプリント基板203をそのまま用いる一方、前記第4実施形態に係る傾倒伝達部材2041~2048、案内・支持部材205、押し付け受部材206並びに制動部41及び42に代えて、傾倒伝達部材2321~2324並びに制動部233及び234が新たに設けられている。In the fifth embodiment, the analog sticks 201 and 202 and the printed
傾倒伝達部材2321~2324を総称する場合には傾倒伝達部材232を用いる。傾倒伝達部材232の形状及び素材は、傾倒伝達部材204の形状及び素材と同様である。The tilt transmission members 2321 to 2324 are collectively referred to as tilt transmission member 232. The shape and material of the tilt transmission member 232 are similar to the shape and material of the tilt transmission member 204.
キャップ211の孔211C1~211C8のそれぞれにおける添え字「1~8」の意味並びに、傾倒伝達部材2321~2324における添え字「1~4」の意味は、前記第4実施形態において説明した、傾倒伝達部材2041~2048、キャップ211の孔211C1~211C8及び押し付け受部材206の孔206C1~206C8のそれぞれにおける添え字「1~8」の意味と同様である。The meaning of the suffixes "1 to 8" in each of the holes 211C1 to211C8 of the
図32では、傾倒伝達部材2321及び2323並びに貫通孔203A1、203A3、203A5及び203A7のみが表されている。図33では、貫通孔203A3、203A4、203A7及び203A8のみが表されている。Fig. 32 shows only the tilt transmission members2321 and2323 and the through holes203A1 ,203A3 ,203A5 , and203A7 . Fig. 33 shows only the through holes203A3 ,203A4 ,203A7 , and203A8 .
プリント基板203の底面であって、アナログスティック201及び202に対向する位置には、制動部233及び234が取り付けられている。制動部233及び234は、傾倒伝達部材232をz2方向へ押圧することにより、アナログスティック201又は202を制動する。Braking
前記第4実施形態では、アナログスティック201において、傾倒伝達部材2041~2044は、各一端がキャップ211に形成された孔211C1~211C4に取り付けられ、プリント基板203の対向する貫通孔203A1~203A4を経て、各他端が、半球殻体部206Aにおける孔211C1~211C4に対向する位置に形成された、孔206C1~206C4に取り付けられている。In the fourth embodiment, in the
また、アナログスティック202において、傾倒伝達部材2045~2048は、各一端がキャップ211に形成された孔211C5~211C8に取り付けられ、プリント基板203の対向する貫通孔203A5~203A8を経て、各他端が、半球殻体部206Aにおける孔211C5~211C8に対向する位置に形成された、孔206C5~203A8に取り付けられている。In the
これに対し、第5実施形態では、アナログスティック201において、傾倒伝達部材2321は、一端がキャップ211のx2側に形成された孔211C1(図32参照)に取り付けられ、プリント基板203の対向する貫通孔203A1を経てx2側から制動部233内部に入り、制動部233のx2側から出て貫通孔203A3を経て、他端がキャップ211のx1側に形成された孔211C3に(図32及び図33参照)に取り付けられている。In contrast, in the fifth embodiment, in the
また、アナログスティック201において、傾倒伝達部材2322は、一端がキャップ211のy1側に形成された孔211C2(図示略)に取り付けられ、プリント基板203の対向する貫通孔203A2(図示略)を経てy1側から制動部233内部に入り、制動部233のy2側から出て貫通孔203A4を経て、他端がキャップ211のy2側に形成された孔211C4(図33参照)に取り付けられている。In the
一方、アナログスティック202において、傾倒伝達部材2323は、一端がキャップ211のx2側に形成された孔211C5(図32参照)に取り付けられ、プリント基板203の対向する貫通孔203A5を経てx2側から制動部234内部に入り、制動部234のx2側から出て貫通孔203A7を経て、他端がキャップ211のx1側に形成された孔211C7(図32及び図33参照)に取り付けられている。On the other hand, in the
また、アナログスティック202において、傾倒伝達部材2324は、一端がキャップ211のy1側に形成された孔211C6(図示略)に取り付けられ、プリント基板203の対向する貫通孔203A6(図示略)を経てy1側から制動部234内部に入り、制動部234のy2側から出て貫通孔203A8を経て、他端がキャップ211のy2側に形成された孔211C8(図33参照)に取り付けられている。In the
前記第4実施形態では、アナログスティック201及び202に傾倒伝達部材2041~2048を介して取り付けられた押し付け受部材206に押し付け部材72を押し付けて被制動部材としての押し付け受部材206の動きを抑えることにより、アナログスティック201及び202を間接的に制動している。In the fourth embodiment, the analog sticks 201 and 202 are indirectly braked by pressing the
これに対し、第5実施形態では、制動部233及び234を用いて、アナログスティック201及び202に取り付けられた傾倒伝達部材232のテンションを調整する、すなわち、被制動部材としての傾倒伝達部材232の動きを抑えることにより、アナログスティック201及び202を間接的に制動する。In contrast, in the fifth embodiment, the braking
図35は、制動部233及び234の構成の一例を示す分解斜視図である。制動部233及び234は、同一構造であり、ハウジング241と、4本のボルト242と、4個のナット243と、4個の調整バネ244と、2個のテンション調整部材245と、4個のナット246と、2個の戻しバネ247と、制動部材248と、カバー249と、5本のネジ250とが組み立てられて構成されている。Figure 35 is an exploded perspective view showing an example of the configuration of the
図35における座標系は、制動部233及び234単体の座標系である。図35に示すハウジング241において、後述する案内部241B1及び241B3を通る第1の直線と平行な軸を第1軸A1と定める。また、後述する案内部241B2及び241B4を通り、前記第1の直線と直交する第2の直線と平行な軸を第2軸A2と定める。さらに、前記第1及び第2の直線と直交する第3の直線と平行な軸を第3軸A3と定める。The coordinate system in Fig. 35 is a coordinate system for braking
そして、案内部241B3から案内部241B1へ向かう方向をA11方向、A11方向の逆方向をA12方向として定める。また、案内部241B4から案内部241B2へ向かう方向をA21方向、A21方向の逆方向をA22方向として定める。さらに、平面側から底面側へ向かう方向をA31方向、A31方向の逆方向をA32方向として定める。The direction from guide portion241B3 to guide portion241B1 is defined as the A11 direction, and the opposite direction to the A11 direction is defined as the A12 direction. The direction from guide portion241B4 to guide portion241B2 is defined as the A21 direction, and the opposite direction to the A21 direction is defined as the A22 direction. Furthermore, the direction from the top surface side to the bottom surface side is defined as the A31 direction, and the opposite direction to the A31 direction is defined as the A32 direction.
このように、制動部233及び234単体のA1-A3座標系をコントローラを基準としたxyz座標系と異ならせている理由は、図25におけるアナログスティック201及び202単体におけるA1-A3座標系の場合と同様である。後述する図36~図38におけるA1-A3座標系は図35におけるA1-A3座標系と同様である。The reason why the A1-A3 coordinate system of the
図36はハウジング241の構成の一例を示す平面側の斜視図である。ハウジング241のハウジング本体241Aには、4本のボルト242がそれぞれ挿入される貫通孔241AA1~241AA4が形成されている。貫通孔241AA1~241AA4の上端周辺には、各ボルト242の頭部底面が当接する有底孔が形成されている。36 is a perspective view of the planar side showing an example of the configuration of the
ハウジング本体241Aの側部には、ハウジング本体241Aの中心に関して対称であって、ハウジング241がプリント基板203に実装された際にプリント基板203の貫通孔203A1~203A4又は貫通孔203A5~203A8に対応する位置に、案内部241B1~241B4がハウジング本体241Aと一体に形成されている。On the side of the housing
各案内部241B1~241B4のA31-A32方向には、貫通孔241BA1~241BA4が形成されている。案内部241B1と案内部241B3とが組み合わされ、案内部241B2と案内部241B4とが組み合わされ、傾倒伝達部材232をハウジング本体241A内外に案内する。Through holes 241BA1 to 241BA4 are formed in the A31-A32 direction of each of the guide portions 241B1 to 241B4. The guide portion 241B1 and the guide portion 241B3 are combined, and the guide portion 241B2 and the guide portion 241B4 are combined to guide the tilt transmission member 232 into and out of the housing
すなわち、一方の貫通孔241BA1又は241BA3あるいは貫通孔241BA2又は241BA4から挿入された傾倒伝達部材232はハウジング本体241A内部に案内され、他方の貫通孔241BA3又は241BA1あるいは貫通孔241BA4又は241BA2からハウジング本体241A外部へ案内される。That is, the tilt transmission member 232 inserted from one of the through holes 241BA1or241BA3 or 241BA2 or241BA4 is guided into the housing
案内部241B1~241B4の各上部には、嵌合突起241C1~241C4が対応する案内部241B1~241B4と一体に形成されている。嵌合突起241C1~241C4は、嵌合部241CA1~241CA4と、対応する嵌合部241CA1~241CA4の各下端に接続する当接部241CB1~241CB4とが一体に形成されて構成されている。At the upper portions of the guide portions 241B1 to241B4 , mating projections241C1 to241C4 are integrally formed with the corresponding guide portions241B1 to241B4 . The mating projections241C1to241C4 are configured by integrally forming mating portions241CA1 to241CA4 and abutment portions241CB1 to 241CB4 connected to the lower ends of the corresponding mating portions 241CA1to241CA4.
嵌合部241CA1~241CA4は、円柱状を呈し、それぞれの中心に対応する貫通孔241BA1~241BA4が形成され、プリント基板203の貫通孔203A1~203A4又は貫通孔203A5~203A8に嵌合する。Thefitting portions 241CA1to 241CA4 are cylindrical and havecorresponding through holes 241BA1 to 241BA4 formed in theircenters .
当接部241CB1~241CB4は、外径が対応する嵌合部241CA1~241CA4の外径より大きい円柱状を呈し、それぞれの中心に対応する貫通孔241BA1~241BA4が形成されている。当接部241CB1~241CB4は、対応する嵌合部241CA1~241CA4がプリント基板203の貫通孔203A1~203A4又は貫通孔203A5~203A8に嵌合した際、各上面がプリント基板203の底面であって、貫通孔203A1~203A4又は貫通孔203A5~203A8の各周縁に当接する。The contact portions241CB1 to241CB4 are cylindrical with an outer diameter larger than that of the corresponding fitting portions241CA1 to241CA4 , and have corresponding through holes 241BA1 to241BA4 formed in their centers. When the corresponding fitting portions241CA1 to241CA4 are fitted into the through holes203A1to203A4 or the through holes203A5to203A8 of the printed
ハウジング本体241Aの上面中央及び上面端部近傍には、当接部241D1及び241D2がハウジング本体241Aと一体に形成されている。当接部241D1及び241D2は、外径は異なるが、いずれも円柱状を呈している。当接部241D1及び241D2は、嵌合部241CA1~241CA4がプリント基板203の貫通孔203A1~203A4又は貫通孔203A5~203A8に嵌合した際、各上面がプリント基板203の底面に当接する。Contact portions241D1 and241D2 are formed integrally with the
当接部241CB1~241CB4並びに241D1及び241D2は、プリント基板203の底面側であって、制動部233及び234に対向する位置に実装されている部品やハンダ付け部分との干渉を避けるために形成されている。The contact portions 241CB1 to 241CB4 and 241D1 and 241D2 are formed on the bottom side of the printed
図35に示すように、ハウジング本体241Aの底面側には、調整バネ244、テンション調整部材245、戻しバネ247及び制動部材248等が収容される収容部241Eが形成されている。ハウジング本体241Aの底面側周縁には、カバー249をハウジング241底面に取り付けるための5個の円孔241Fが形成されている。As shown in FIG. 35, the bottom side of the
各ナット243は、各ボルト242に螺合され、対応するボルト242をハウジング241に固定するために用いられる。Each
図35に示すように、各テンション調整部材245には、両端近傍にボルト242が挿入される貫通孔245Aが形成されている。また、各テンション調整部材245の上面中央には、傾倒伝達部材232に押し付けられることにより、制動部233及び234が使用されていない状態における傾倒伝達部材232のテンションを調整するための凸部245Bが形成されている。As shown in FIG. 35, each
各調整バネ244は、各ボルト242に遊嵌され、その復元力により、各テンション調整部材245による傾倒伝達部材232のテンション調整状態を維持するために用いられる。各ナット246は、各ボルト242に螺合され、その螺合程度により、各テンション調整部材245による傾倒伝達部材232のテンションを調整するために用いられる。Each
図37は、制動部材248の構成の一例を示す平面側の斜視図である。制動部材248は、押し付け部248Aと、円柱状の制動ボタン248Bとが一体に形成されて構成されている。押し付け部248Aは、押し付け突起248C1~248C3と、押し付け突起248D1及び248D2と、板部248E1及び248E2とが一体に形成されて構成されている。37 is a perspective view of a planar side showing an example of the configuration of the
押し付け突起248C1~248C3は、A11-A12方向と平行な第1直線上に同一の高さで並設されており、押し付け突起248C2と押し付け突起248C3との間には、溝248C4が形成されている。押し付け突起248D1及び248D2は、前記第1直線と直交し、A21-A22方向と平行な第2直線上に同一の高さで並設されている。The pressing protrusions248C1 to248C3 are arranged side by side at the same height on a first straight line parallel to the A11-A12 direction, and a groove248C4 is formed between the pressing protrusions248C2 and248C3 . The pressing protrusions248D1 and248D2 are arranged side by side at the same height on a second straight line that is perpendicular to the first straight line and parallel to the A21-A22 direction.
押し付け突起248C1~248C3は、制動ボタン248Bが操作されることにより、ハウジング本体241Aの収容部241Eに案内され、前記第1直線上に配置された一方の傾倒伝達部材232に押し付けられる。押し付け突起248D1及び248D2は、制動ボタン248Bが操作されることにより、ハウジング本体241Aの収容部241Eに案内され、第2直線上に配置された他方の傾倒伝達部材232に押し付けられる。When the
溝248C4は、直交する2本の傾倒伝達部材232が互いに接触しないようにするために形成されている。一方、ハウジング241A本体の収容部241E内部には、溝248C4と同様の理由により、第1の高さを有する突起241G1及び241G3と、第1の高さより高い第2の高さを有する突起241G2及び241G4とがハウジング本体241Aと一体に形成されている(図38参照)。The groove248C4 is formed to prevent the two orthogonal tilt transmission members 232 from contacting each other. Meanwhile, inside the
図35に示す各戻しバネ247は、ハウジング241の収容部241Eと、制動部材248を構成する押し付け部248Aの板部248E1及び248E2(図37参照)との間に収容され、その復元力により、操作された制動部材248を元の位置に戻すために用いられる。Each
カバー249は、ハウジング241の底面全体を覆うために、ハウジング241と同一の外径形状及び同一寸法である。カバー249は、カバー本体249Aと、拡張部249B1~249B4とが一体に形成されて構成されている。カバー本体249Aのほぼ中央には、制動部材248の制動ボタン248Bが遊嵌される貫通孔249Cが形成されている。カバー本体249Aにおいて、ハウジング本体241Aの底面側周縁に形成された5個の円孔241Fに対応する位置には、5個の貫通孔249Dが形成されている。The
各ネジ250は、カバー本体249Aの各貫通孔249Dに挿入され、対応するハウジング本体241Aの各円孔241Fにねじ込まれることにより、カバー249をハウジング241に取り付けるために用いられる。Each
[アナログスティック201及び202並びに制動部233及び234等の実装方法の一例]
まず、アナログスティック201及び202のプリント基板203への実装方法については、前記第4実施形態の段落0210~段落0213において説明した[アナログスティック201及び202等の実装方法の一例]の(a)~(c)の工程と同一であるので、その説明を省略する。以下、(d)の工程以降について説明する。[One example of a method for mounting the analog sticks 201 and 202 and the
First, the method of mounting the analog sticks 201 and 202 on the printed
(d)次に、作業者は、2個のハウジング241について、平面側から4つの貫通孔241AA1~241AA4(図36参照)に4本のボルト242を挿入し、底面側から4つのナット243を各ボルト242に螺合させ、締結することにより、各ボルト242を各ハウジング241に固定する。この作業により、各ハウジング241について、4本のボルト242が収容部241Eの内部に突出する。(d) Next, the worker inserts the four
(e)次に、作業者は、プリント基板203の貫通孔203A1~203A4に、一方のハウジング241に形成されている嵌合部241CA3、241CA2、241CA1及び241CA4をそれぞれ嵌合させて当該ハウジング241を取り付ける。(e) Next, the worker attaches one of the
また、作業者は、プリント基板203の貫通孔203A5~203A8に、他方のハウジング241に形成されている嵌合部241CA4、241CA3、241CA3及び241CA1をそれぞれ嵌合させて当該ハウジング241を取り付ける。The worker also attaches the
つまり、作業者は、各ハウジング241について、図32及び図34に示すように、y1-y2方向に平行な面を対称面して面対称となるようにプリント基板203の底面に取り付ける。プリント基板203への各ハウジング241の取り付けは、前記嵌合の他、接着、ネジ止め、係止爪及び係止孔による係止等のいずれでも良い。In other words, the worker attaches each
以上の作業により、各ハウジング241に形成されている当接部241CB1~241CB4、241D1及び241D2がプリント基板203の底面に当接する。By the above operations, the contact portions 241CB1 to 241CB4 , 241D1 and 241D2 formed on each
(f)次に、作業者は、アナログスティック201を構成するキャップ211のカバー211Bの下端近傍に形成された孔211C1及び211C2に傾倒伝達部材2321及び2322の各一端をそれぞれ取り付ける。(f) Next, the worker attaches one end of each of the tilt transmission members 2321 and 2322 to
また、作業者は、アナログスティック202を構成するキャップ211のカバー211Bの下端近傍に形成された孔211C5及び211C6に傾倒伝達部材2323及び2324の各一端をそれぞれ取り付ける。The worker also attaches one end of each of the tilt transmission members 2323 and 2324 to
(g)次に、作業者は、傾倒伝達部材2321及び2322の各他端を、プリント基板203の貫通孔203A1及び203A2に嵌合されているハウジング241の嵌合部241CA3及び241CA2に形成されている貫通孔241BA3及び241BA2にそれぞれ挿入して、プリント基板203の底面側に取り付けられているハウジング241の収容部241Eの内部に突出させる。(g) Next, the worker inserts the other ends of the tilt transmission members232-1 and232-2 into the through holes 241BA-3 and 241BA-2 formed in the fitting portions 241CA-3 and 241CA-2 of the
(h)次に、作業者は、ハウジング241の収容部241Eの内部に突出させた傾倒伝達部材2321について、突起241G3及び241G1の下方を順次通過させた後、傾倒伝達部材2321の他端を貫通孔241BA1に挿入して、プリント基板203の平面側に突出させる。(h) Next, the worker passes the tilt transmission member 2321 , which protrudes into the inside of the
次に、作業者は、アナログスティック201を構成するキャップ211のカバー211Bの下端近傍に形成された孔211C3に傾倒伝達部材2321の他端を取り付ける。Next, the worker attaches the other end of the tilt transmission member 2321 to the
(i)次に、作業者は、ハウジング241の収容部241Eの内部に突出させた傾倒伝達部材2322について、突起241G2、傾倒伝達部材2321及び突起241G4の下方を順次通過させた後、傾倒伝達部材2322の他端を貫通孔241BA4に挿入して、プリント基板203の平面側に突出させる。(i) Next, the worker passes the tilt transmission member 2322, which protrudes into the inside of the
次に、作業者は、アナログスティック201を構成するキャップ211のカバー211Bの下端近傍に形成された孔211C4に、傾倒伝達部材2321と同様の張力となるように、傾倒伝達部材2322の他端を取り付ける。Next, the worker attaches the other end of the tilt transmission member 2322 to the
図38は、傾倒伝達部材2321及び2322が挿入されたハウジング241の構成の一例を示す底面側の斜視図である。FIG. 38 is a perspective view of the bottom side showing an example of the configuration of the
次に、作業者は、アナログスティック202及びプリント基板203の貫通孔203A5~203A8に取り付けられたハウジング241について、前記(g)~(i)の行程と同様の工程を行うことにより、傾倒伝達部材2323及び2324を当該ハウジング241取り付ける。Next, the worker performs steps similar to those of (g) to (i) above on the
(j)次に、作業者は、各ハウジング241について、収容部241Eの内部に突出した4本のボルト242に調整バネ244をそれぞれ遊嵌させた状態において、テンション調整部材245の両端により調整バネ244を押圧しつつ、ナット246をボルト242に螺合させて、テンション調整部材245を取り付ける。(j) Next, for each
次に、作業者は、アナログスティック201及び202を操作して、傾倒伝達部材2321~2324のテンションを確認する。次に、作業者は、必要に応じて、ナット246のボルト242への螺合状態を変更することにより、テンション調整部材245の凸部245Bの傾倒伝達部材2321~2324への当接状態を変更して傾倒伝達部材2321~2324のテンションを調整する。Next, the operator operates the analog sticks 201 and 202 to check the tension of the tilt transmission members232-1 to232-4 . Next, if necessary, the operator changes the state of engagement of the
(k)次に、作業者は、カバー249の貫通孔249Cに制動部材248の制動ボタン248Bを遊嵌させつつ、制動部材248を構成する押し付け部248Aの板部248E1及び248E2の上に各戻しバネ247を載置させる。(k) Next, the worker places each
次に、作業者は、前記した状態のカバー249、制動部材248及び戻しバネ247について、カバー249の5個の貫通孔249Dの軸線と、ハウジング241の5個の円孔241Fの軸線とを一致させ、かつ、カバー249及び制動部材248により戻しバネ247を押圧しつつ、カバー249の各貫通孔249Dに各ネジ250を挿入して、ハウジング241の各円孔241Fにねじ込むことにより、カバー249、制動部材248及び戻しバネ247をハウジング241に取り付ける。Next, with the
作業者が以上説明した行程を行うことにより、図33及び図34に示すように、アナログスティック201及び202、傾倒伝達部材2321~2324、制動部233及び234がプリント基板203に実装される。When the worker performs the steps described above, the analog sticks 201 and 202, the tilt transmission members 2321 to 2324 and the
[アナログスティック201及び202並びに制動部233及び234の動作]
図39は、コントローラ5の断面図であり、アナログスティック201を傾倒させていない状態、アナログスティック202をx2方向に傾倒させた状態、制動部233が操作されていない状態及び制動部234が操作されている状態を示している。[Operation of analog sticks 201 and 202 and
Figure 39 is a cross-sectional view of the
まず、アナログスティック201及び202の動作については、前記第4実施形態において図27~図29を参照して説明した動作と同一であるので、その説明を省略する。First, the operation of the analog sticks 201 and 202 is the same as that described in the fourth embodiment with reference to Figures 27 to 29, so a description of this will be omitted.
前記したように、2本の傾倒伝達部材232は、アナログスティック201を構成するキャップ211のカバー211Bに形成された2組の対向する孔211Cに両端がそれぞれ取り付けられ、プリント基板203の底面側に設けられている制動部233内で所定間隔隔てて直交して張設されている。アナログスティック202及び制動部234においても同様である。As mentioned above, the two tilt transmission members 232 are attached at both ends to two pairs of opposing
このため、アナログスティック201及び202が操作されてスティック223が傾倒すると、2本の傾倒伝達部材232が制動部233及び234内で接触することなく移動する。As a result, when the analog sticks 201 and 202 are operated to tilt the
そこで、例えば、図39に示すように、アナログスティック202をx2方向に傾倒させた状態を維持する場合、操作者は、右手の中指又は薬指を用いて、コントローラ5の底面側に設けられている制動ボタン248Bを戻しバネ247の復元力に逆らってz2方向へ押し込む。For example, as shown in FIG. 39, to maintain the
これにより、制動部234を構成するハウジング241の収容部241E内において、制動部材248を構成する押し付け突起248D1及び248D2が傾倒伝達部材2323に押し付けられ、押し付け突起248C1~248C3が傾倒伝達部材2324に押し付けられるため、アナログスティック202が制動される。この結果、アナログスティック202のx2方向への傾倒状態が維持される。As a result, within the
一方、アナログスティック202の制動を解除する場合には、操作者は、制動ボタン248Bから右手の中指又は薬指を離せば良い。これにより、戻しバネ247の復元力により制動ボタン248Bがz1方向へ押し戻されるので、制動部234による傾倒伝達部材2323及び2324への押し付けが解除される。On the other hand, to release the braking of the
アナログスティック201及び202の操作方法については、以上説明した以外は前記第1実施形態と異なる点はないので、その説明を省略する。The method of operating the analog sticks 201 and 202 is the same as in the first embodiment except as described above, so a description of this method will be omitted.
[第5実施形態の効果]
以上説明したように、本発明に係る第5実施形態では、コントローラ5は、スティック223が傾倒された方向と、スティック223が傾倒された角度に応じたアナログ値とを出力するアナログスティック201及び202と、スティック223の一端に取り付けられたキャップ211と、キャップ211に取り付けられた被制動部材としての傾倒伝達部材2321~2324と、傾倒伝達部材2321~2324に制動部材248を押し付けて傾倒伝達部材2321~2324の動きを抑えることによりアナログスティック201及び202を制動する制動部233及び234と、を備えている。[Effects of the Fifth Embodiment]
As described above, in the fifth embodiment of the present invention, the
したがって、第5実施形態によれば、前記第4実施形態により得られる効果と同様の効果が得られる。また、第5実施形態では、前記第4実施形態に係る案内・支持部材205及び押し付け受部材206が取り除かれ、制動部233及び234内に傾倒伝達部材23231~2324の動きを抑えるほとんどの部材をコンパクトに収容することができる。このため、第5実施形態によれば、前記第4実施形態に係るコントローラと比較して、コントローラ5全体のz1-z2方向の厚さを薄くでき、汎用性が大きい。Therefore, according to the fifth embodiment, the same effects as those obtained by the fourth embodiment can be obtained. Also, in the fifth embodiment, the guide/
6.第6実施形態
[コントローラ6の構成]
図40は本発明の第6実施形態に係るコントローラ6の外観構成の一例を示す平面側の斜視図、図41はコントローラ6の外観構成の一例を示す底面側の斜視図である。図40及び図41において、図30~図32の各部に対応する部分には同一の符号を付け、その説明を省略する。図40及び図41並びに、後述する図42~図44及び図49~図51におけるxyz座標系は図1におけるxyz座標系と同様である。6. Sixth embodiment [Configuration of controller 6]
Figure 40 is a perspective view of the top side showing an example of the external configuration of a
図40に示すコントローラ6の平面側の外観構成は、下ケース231に代えて下ケース251が新たに設けられている点以外、概ね、図30に示すコントローラ5の平面側の外観構成と同様である。なお、図40では、図30と同様、図1に示す肩ボタン30~33は表していない。The external configuration of the planar side of the
一方、図41に示すコントローラ6の底面側の外観構成は、図31に示すコントローラ5の底面側の外観構成とは、下ケース231に代えて下ケース251が新たに設けられている点と、制動部233及び234を構成する制動ボタン248Bの一部が下方へ突出していない点と、後述する制動部254~257をそれぞれ制御させるためのスイッチ261~264が新たに設けられている点とが異なる。On the other hand, the external configuration of the bottom side of
第6実施形態では、制動部233及び234に代えて、アナログスティック201及び202を制動する制動部254~257(図42~図45参照)がコントローラ6内部に収容されて新たに設けられている。In the sixth embodiment, braking
図42はコントローラ6を構成するアナログスティック201及び202、制動部254及び256並びにこれらが取り付けられたプリント基板252等の構成の一例を示す平面側の斜視図である。Figure 42 is a perspective view of the top side showing an example of the configuration of the analog sticks 201 and 202, braking
また、図43はアナログスティック201及び202、制動部255及び257並びにプリント基板252等の構成の一例を示す底面側の斜視図、図44はアナログスティック201及び202、制動部254及び256並びにプリント基板252等の構成の一例を示す平面図である。FIG. 43 is a bottom perspective view showing an example of the configuration of the analog sticks 201 and 202, the braking
第6実施形態では、前記第5実施形態に係るアナログスティック201及び202がそのまま用いられている。また、第6実施形態では、前記第5実施形態に係るプリント基板203、傾倒伝達部材2321~2324並びに制動部233及び234に代えて、プリント基板252、被制動部材2531~2534及び制動部254~257が新たに設けられている。In the sixth embodiment, the analog sticks 201 and 202 according to the fifth embodiment are used as is. Also, in the sixth embodiment, a printed
被制動部材2531~2534を総称する場合には被制動部材253を用いる。被制動部材253の形状及び素材は、傾倒伝達部材204及び232の形状及び素材と同様である。The braked
前記第5実施形態では、制動部233及び234を用いて、アナログスティック201及び202に取り付けられた2本の傾倒伝達部材232のテンションを同時に調整する、すなわち、被制動部材としての2本の傾倒伝達部材232の動きを同時に抑えることにより、アナログスティック201及び202を間接的に制動している。In the fifth embodiment, the braking
これに対し、第6実施形態では、制動部254~257を用いて、アナログスティック201及び202に取り付けられ、x1-x2方向とy1-y2方向とに直交する2本の被制動部材253のテンションを別個に調整する、すなわち、2本の被制動部材253の動きを別個に抑えることにより、アナログスティック201及び202を間接的に制動する。In contrast, in the sixth embodiment, the braking
具体的には、制動部254は、プリント基板252の平面に取り付けられ、アナログスティック201を構成するキャップ211の孔211C1及び孔211C3に取り付けられた被制動部材2531のテンションを調整してアナログスティック201のx1-x2方向の傾倒を制動する。Specifically, the
一方、制動部255は、プリント基板252の底面に取り付けられ、アナログスティック201を構成するキャップ211の孔211C2及び孔211C4に取り付けられた被制動部材2532のテンションを調整してアナログスティック201のy1-y2方向の傾倒を制動する。On the other hand, the
また、制動部256は、プリント基板252の平面に取り付けられ、アナログスティック202を構成するキャップ211の孔211C5及び孔211C7に取り付けられた被制動部材2533のテンションを調整してアナログスティック202のx1-x2方向の傾倒を制動する。The
一方、制動部257は、プリント基板252の底面に取り付けられ、アナログスティック202を構成するキャップ211の孔211C6及び孔211C8に取り付けられた被制動部材2534のテンションを調整してアナログスティック202のy1-y2方向の傾倒を制動する。On the other hand, the
キャップ211の孔211C1~211C8のそれぞれにおける添え字「1~8」の意味及び、被制動部材2531~2534における添え字「1~4」の意味は、前記第4実施形態において説明した、傾倒伝達部材2041~2048、キャップ211の孔211C1~211C8及び押し付け受部材206の孔206C1~206C8のそれぞれにおける添え字「1~8」の意味と同様である。The meaning of the suffixes "1 to 8" in each of the holes 211C1 to211C8 of the
また、図42及び図43並びに、後述する図44、図46及び図49~図51において、制動部254~257を構成するモータ272Lx、272Ly、272Rx及び272Ry等における添え字「Lx、Ly、Rx及びRy」の意味は以下の通りである。添え字「Lx」は、コントローラ6のx2側、すなわち、左側に設けられているアナログスティック201のx1-x2方向の傾倒を制動することを意味する。また、添え字「Ly」は、アナログスティック201のy1-y2方向の傾倒を制動することを意味する。42 and 43, as well as 44, 46, and 49 to 51 described later, the meanings of the suffixes "Lx,Ly , Rx, andRy " in the motors272Lx , 272Ly,272Rx , and 272Ry constituting the
一方、添え字「Rx」は、コントローラ6のx1側、すなわち、右側に設けられているアナログスティック202のx1-x2方向の傾倒を制動することを意味する。また、添え字「Ry」は、アナログスティック202のy1-y2方向の傾倒を制動することを意味する。On the other hand, the suffix "Rx" means that the tilt of the
プリント基板252には、貫通孔252A1~252A4が形成されている。貫通孔252A1~252A4は、前記第4及び第5実施形態において説明したプリント基板203の貫通孔203A2、203A4、203A6及び203A8と同一の位置にそれぞれ形成されている。貫通孔252A1及び252A2には被制動部材2532が挿入され、貫通孔252A3及び252A4には被制動部材2534が挿入されている。Through holes252A1 to252A4 are formed in the printed
図42では貫通孔252A2及び252A4のみが表されている。一方、図43では被制動部材2532及び2534のみが表されている。また、図44では被制動部材2531及び2533のみが表されている。In Fig. 42, only the through holes252A2 and252A4 are shown, while in Fig. 43, only the braked members2532 and2534 are shown, and in Fig. 44, only the braked members2531 and2533 are shown.
アナログスティック201において、被制動部材2531の一端は、キャップ211のx2側に形成された孔211C1(図示略)に取り付けられている。被制動部材2531は、孔211C1から垂下した後、孔211C1に対向するプリント基板252上の位置に設けられた案内部材2581(図44参照)を経た後にy1方向に経路を変更されてx2側から制動部254内に入っている。制動部254内における被制動部材2531の扱いについては、図45を参照して後述する。In the
次に、被制動部材2531は、制動部254のx1側から出て、キャップ211のx1側に形成された孔211C3(図42参照)に対向するプリント基板252上の位置に設けられた案内部材2582を経てz2方向に経路を変更された後、他端が前記孔211C3に取り付けられている。Next, the braked member253-1 exits from the x1 side of the
また、アナログスティック201において、傾倒伝達部材2322の一端は、キャップ211のy1側に形成された孔211C2(図示略)に取り付けられている。傾倒伝達部材2322は、孔211C2から垂下した後、孔211C2に対向するプリント基板252上の位置に設けられた貫通孔252A1(図44参照)を経て、プリント基板252の底面側に至っている。In the
プリント基板252の底面側であって、貫通孔252A1と貫通孔252A2とを結ぶ直線上の位置には、図43に示すように、案内部材259が取り付けられている。案内部材259の両端近傍には、貫通孔252A1及び252A2の各軸線と一致する軸線を有する貫通孔259A及び259Bが形成されている。43, a
また、案内部材259の両端には、貫通孔259Aを通過した被制動部材2532を制動部255へ案内する案内部259Cと、制動部255から出た被制動部材2532を貫通孔259B側へ案内する案内部259Dとが案内部材259と一体に形成されている。In addition, at both ends of the
プリント基板252の貫通孔252A1を通過した被制動部材2532は、案内部材259の貫通孔259Aを経た後、案内部259Cにより、制動部255へ案内される。制動部255内における被制動部材2532の扱いは、図45を参照して後述する。The braked member2532 that has passed through the through hole252A1 of the printed
次に、制動部255から出た被制動部材2532は、案内部259Dにより、貫通孔259B側へ案内された後、貫通孔259Bを経て、プリント基板252の貫通孔252A2から平面側へ出て、他端がキャップ211のy2側に形成された孔211C4(図42参照)に取り付けられている。Next, the braked member253-2 coming out of the
一方、アナログスティック202において、被制動部材2533の一端は、キャップ211のx2側に形成された孔211C5(図示略)に取り付けられている。被制動部材2533は、孔211C5から垂下した後、孔211C5に対向するプリント基板252上の位置に設けられた案内部材2583(図44参照)を経た後にy1方向に経路を変更されてx2側から制動部256内に入っている。制動部256内における被制動部材2533の扱いは、図45を参照して後述する。Meanwhile, in the
次に、被制動部材2533は、制動部256のx1側から出て、キャップ211のx1側に形成された孔211C7(図42参照)に対向するプリント基板252上の位置に設けられた案内部材2584を経てz2方向に経路を変更された後、他端が前記孔211C7に取り付けられている。Next, the braked member2533 exits from the x1 side of the
また、アナログスティック202において、傾倒伝達部材2324の一端は、キャップ211のy1側に形成された孔211C6(図示略)に取り付けられている。傾倒伝達部材2324は、孔211C6から垂下した後、孔211C6に対向するプリント基板252上の位置に設けられた貫通孔252A3(図44参照)を経て、プリント基板252の底面側に至っている。In the
プリント基板252の底面側であって、貫通孔252A3と貫通孔252A4とを結ぶ直線上の位置には、図43に示すように、案内部材259が、制動部255側の案内部材259と、y1-y2方向に平行な面を対称面として面対称となるように、取り付けられている。As shown in FIG. 43, on the bottom side of the printed
プリント基板252の貫通孔252A3を通過した被制動部材2534は、案内部材259の貫通孔259Bを経た後、案内部259Dにより、制動部257へ案内される。制動部257内における被制動部材2534の扱いは、図45を参照して後述する。The braked member253-4 , which has passed through the through hole 252A-3 of the printed
次に、制動部257から出た被制動部材2534は、案内部259Cにより、貫通孔259A側へ案内された後、貫通孔259Aを経て、プリント基板252の貫通孔252A4から平面側へ出て、他端がキャップ211のy2側に形成された孔211C8(図42参照)に取り付けられている。Next, the braked member253-4 coming out of the
[制動部254~257の構造]
図45は、制動部254~257の構成の一例を示す平面図である。制動部254~257は、同一構造であり、ベースプレート271と、モータ272と、軸受273と、ウォーム(Worm)274と、押圧部材275と、回転軸276と、ストッパ277と、案内部材278とが組み立てられて構成されている。[Structure of
45 is a plan view showing an example of the configuration of the
ベースプレート271は、概ね長方平板形状を呈している。ベースプレート271の一角近傍の平面には、回転軸272Aがベースプレート271の長手方向と平行となるように、モータ272がマウント部材272B(図42及び図43参照)を介して取り付けられている。ベースプレート271の平面において、モータ272の取り付け位置とは反対側の長辺両端には、被制動部材253を案内する案内部271A及び271Bが一体に形成されている。The
モータ272の回転軸272Aには、ウォーム274が嵌合されている。回転軸272Aの一端は、軸受273で軸支されている。モータ272の一端には、コード272Cが接続され、コネクタ272Dを介してプリント基板252からモータ272へ電力が供給されるように構成されている。A
ウォーム274の近傍には、ウォーム274に直角に螺合するウォームホイール部275Aを有する押圧部材275が回転軸276に軸支されて設けられている。回転軸276の軸線は、回転軸272Aの軸線と直交している。A
押圧部材275は、前記ウォームホイール部275Aと、舌状部275Bとが一体に形成されている。舌状部275Bの弧状側面には、被制動部材253に押し付けられることにより、被制動部材253のテンションを調節するための押圧溝部275C(図42参照)が形成されている。舌状部275Bのウォームホイール部275Aと接続する側には、平坦側面275D及び275Eが形成されている。The pressing
モータ272が時計回りに正転した場合、押圧部材275が図45に示すA方向へ回動し、押圧溝部275Cが被制動部材253のテンションを高めるように被制動部材253を押圧する。一方、モータ272が反時計回りに逆転した場合、押圧部材275が図45に示すB方向へ回動し、押圧溝部275Bが被制動部材253のテンションを緩めるように被制動部材253への圧力を低減させる。When the
軸受273の近傍には、円柱状のストッパ277が取り付けられている。ストッパ277は、押圧部材275の平坦側面275Dが当接することにより、押圧部材275のB方向への回動を規制する。A
ウォーム274及びウォームホイール部275Aは、ウォームギアを構成している。ウォームギアは、ウォームホイール部275A側からウォーム274を回転させようとしてもセルフロック現象が発生して動作しない、バックラッシが他の歯車機構よりも少ないという特徴を有している。The
このため、モータ272が停止した場合でも、被制動部材253のテンションを一定に保つことができる。As a result, the tension of the braked
ベースプレート271の案内部271A及び271Bのそれぞれの近傍には、2つの案内部材278がそれぞれ設けられている。各案内部材278は、被制動部材253が挿通される面が、案内部271A及び271Bにおける被制動部材253が挿通される面と直交し、かつ、ベースプレート271の短手方向と平行となるように設けられている。 Two
制動部254に入った被制動部材2531は、案内部271Bに案内され、近傍に設けられている案内部材278によって案内され、ベースプレート271の長手方向に平行となるように向きを変えられる。The braked
次に、被制動部材2531は、押圧部材275を構成する舌状部275Bの弧状側面に形成されている押圧溝部275C(図42参照)に当接しつつ、対向する案内部材278に到達し、当該案内部材278によって案内部271Aに案内され、ベースプレート271の短手方向に平行となるように向きを変えられた後、制動部254から出る。Next, the braked member253-1 comes into contact with the
制動部255及び256に入った被制動部材2532及び2533の扱いは、前記制動部254に入った被制動部材2531の扱いと同様である。一方、制動部257に入った被制動部材2534の扱いは、前記制動部254に入った被制動部材2531の扱いとは逆であり、案内部271Aから入り、案内部271Bから出る。The braked members253-2 and253-3 that enter the
[制御部265の構成]
図46は、スイッチ261~264のオン又はオフを示す信号SNFLx、SNFLy、SNFRx及びSNFRyに基づいて制動部254~257を構成するモータ272を制御する制御部265の構成の一例を示すブロック図である。[Configuration of control unit 265]
FIG. 46 is a block diagram showing an example of the configuration of a
制御部265は、制御回路281と、駆動回路282Lx、282Ly、282Rx及び282Ryと、電流検出回路283Lx、283Ly、283Rx及び283Ryとから構成されている。以下では煩雑を避けるために、添え字を除いて説明する。The
制御回路281は、例えば、マイクロコンピュータ等から構成されている。また、コントローラ6において各種処理を実行する制御回路が制御回路281の機能を実行するように構成しても良い。The
制御回路281は、スイッチ261~264のいずれかから供給される信号SNFに基づいて、対応する駆動回路282に対して、対応するモータ272を起動又は停止させるための信号SSM及び、当該モータ272の回転方向(正転又は逆転)を指示するための信号RPRを供給する。Based on a signal SNF supplied from one of the switches 261-264, the
各駆動回路282は、例えば、アンプ等から構成されている。各駆動回路282は、制御回路281から供給される信号SSM及び信号RPRに基づいて、指示された回転方向により対応するモータ272を起動させたり、停止させたりするために、対応する電流検出回路283を介して当該モータ272へ電力の供給又は停止を行う。Each
各電流検出回路283は、対応するモータ272の消費電流を監視している。図47は、あるモータ272の消費電流の特性の一例を示す図である。モータ272を正転させる場合、モータ272の消費電流は、図47に示すように、起動区間STにおいて急激に増加した後、減少する。次に、モータ272の回転に従って押圧部材275が図45に示すA方向に回動し、押圧部材275を構成する舌状部275Bの押圧溝部275Bが被制動部材253を押圧し、被制動部材253の緩みが少なくなるのに従ってモータ272の負荷(回転抵抗)が大きくなるので、前記消費電流は徐々に上昇する。Each current detection circuit 283 monitors the current consumption of the
そして、被制動部材253の緩みが取れる緩み消去区間SSを経過した後、被制動部材253の張力が一定値に到達すると、舌状部275Bの押圧溝部275Bが被制動部材253を押圧することができなくなるため、モータ272の負荷が急激に大きくなり、それに従って前記消費電流は急上昇し、予め設定した過電流レベルLOCに到達する。Then, after passing the slack elimination section SS where the slack in the braked
一方、モータ272を逆転させる場合、モータ272の消費電流は、図47に示す例と同様、起動区間STにおいて急激に増加した後に減少する。次に、モータ272の回転に従って押圧部材275が図45に示すB方向に回動し、押圧部材275を構成する舌状部275Bの平坦側面275Dがストッパ277に当接するまでは、前記消費電流は、ほぼ一定である。On the other hand, when the
次に、前記舌状部275Bの平坦側面275Dがストッパ277に当接すると、モータ272の負荷が急激に大きくなり、それに従って前記消費電流は急上昇し、過電流レベルLOCに到達する。Next, when the
各電流検出回路283は、前記消費電流が過電流レベルLOCに到達すると、その旨を示す信号DOCを制御回路281へ供給する。When the current consumption reaches the overcurrent level LOC, each current detection circuit 283 supplies a signal DOC indicating this to the
制御回路281は、各電流検出回路283から供給される信号DOCに基づいて、対応する駆動回路282に対して、対応するモータ272を停止させるための信号SSMを供給する。The
[制動処理]
図48は、制御回路281が実行する制動処理を説明するためのフローチャートである。なお、図48に示すフローチャートにおける各ステップの処理は、単なる一例に過ぎず、同様の結果が得られるのであれば、各ステップの処理順序を入れ替えてもよいし、各ステップの処理に加えて(または代えて)別の処理が実行されてもよい。[Braking process]
Fig. 48 is a flowchart for explaining the braking process executed by the
コントローラ6に電源が投入されると、まず、制御回路281は、図48に示すステップS1へ進み、あるスイッチ(例えば、スイッチ261)がオンされて当該スイッチのオンを示す信号SNFが供給されたか否かを判断する。ステップS1の判断結果が「YES」の場合には、制御回路281は、ステップS2へ進む。When the
ステップS2では、制御回路281は、前記信号SNFに対応する駆動回路282に対して、対応するモータ272の回転方向(今の場合、正転)を指示するための信号RPRを供給した後、ステップS3へ進む。In step S2, the
ステップS3では、制御回路281は、前記信号SNFに対応する駆動回路282に対して、対応するモータ272を起動させるための信号SSMを供給した後、ステップS4へ進む。In step S3, the
制御回路281から信号SSM及び信号RPRが供給された駆動回路282は、対応するモータ272を正転で起動させるために、対応する電流検出回路283を介して当該モータ272へ電力の供給を行う。また、対応する電流検出回路283は、対応するモータ272の消費電流を監視する。The
ステップS4では、制御回路281は、当該スイッチがオフされて当該スイッチのオフを示す信号SNFが供給されたか否かを判断する。ステップS4の判断結果が「NO」の場合には、制御回路281は、ステップS5へ進む。In step S4, the
ステップS5では、制御回路281は、当該スイッチに対応した電流検出回路283から消費電流が過電流レベルLOCに到達した旨を示す信号DOCが供給されたか否かを判断する。ステップS5の判断結果が「YES」の場合には、制御回路281は、ステップS6へ進む。In step S5, the
ステップS6では、制御回路281は、前記信号DOCに対応する駆動回路282に対して、対応するモータ272を停止させるための信号SSMを供給する。その後、制御回路281は、ステップS4へ戻り、ステップS4以降の処理を繰り返す。In step S6, the
例えば、アナログスティック202のy1-y2方向の傾倒を制動するためのスイッチ264がオンされた後、電流検出回路283Ryから信号DOCRyが供給された場合には、制御回路281は、駆動回路282Ryに対して、モータ272Ryを停止させるための信号SSMRyを供給した後、ステップS4へ戻る。For example, when a signal DOCRy is supplied from the current detection circuit 283Ry after the
これにより、駆動回路282Ryは、電流検出回路283Ryを介してモータ272Ryへ電力の供給を停止するので、モータ272Ryは停止する。As a result, the
一方、ステップS5の判断結果が「NO」の場合、すなわち、当該スイッチに対応した電流検出回路283から信号DOCが供給されなかった場合には、制御回路281は、ステップS4へ戻り、ステップS4以降の処理を繰り返す。On the other hand, if the result of the determination in step S5 is "NO", that is, if the signal DOC is not supplied from the current detection circuit 283 corresponding to the switch, the
また、ステップS1の判断結果が「NO」の場合、すなわち、コントローラ6に電源が投入された後、あるスイッチ(例えば、スイッチ261)がオンされずに当該スイッチのオンを示す信号SNFが供給されなかった場合には、制御回路281は、ステップS7へ進む。Also, if the result of the determination in step S1 is "NO", that is, if a certain switch (e.g., switch 261) is not turned on and a signal SNF indicating that the switch is on is not supplied after power is applied to the
さらに、ステップS4の判断結果が「YES」の場合、すなわち、当該スイッチがオフされて当該スイッチのオフを示す信号SNFが供給された場合にも、制御回路281は、ステップS7へ進む。Furthermore, if the determination result in step S4 is "YES", that is, if the switch is turned off and a signal SNF indicating that the switch is off is supplied, the
ステップS7では、制御回路281は、前記信号SNFに対応する駆動回路282に対して、対応するモータ272の回転方向(今の場合、逆転)を指示するための信号RPRを供給した後、ステップS8へ進む。In step S7, the
ステップS8では、制御回路281は、前記信号SNFに対応する駆動回路282に対して、対応するモータ272を起動させるための信号SSMを供給した後、ステップS9へ進む。In step S8, the
制御回路281から信号SSM及び信号RPRが供給された駆動回路282は、対応するモータ272を逆転で起動させるために、対応する電流検出回路283を介して当該モータ272へ電力の供給を行う。また、対応する電流検出回路283は、対応するモータ272の消費電流を監視する。The
ステップS9では、制御回路281は、当該スイッチがオンされて当該スイッチのオンを示す信号SNFが供給されたか否かを判断する。ステップS9の判断結果が「NO」の場合には、制御回路281は、ステップS10へ進む。In step S9, the
ステップS10では、制御回路281は、当該スイッチに対応した電流検出回路283から消費電流が過電流レベルLOCに到達した旨を示す信号DOCが供給されたか否かを判断する。ステップS10の判断結果が「YES」の場合には、制御回路281は、ステップS11へ進む。In step S10, the
ステップS11では、制御回路281は、前記信号DOCに対応する駆動回路282に対して、対応するモータ272を停止させるための信号SSMを供給する。その後、制御回路281は、ステップS9へ戻り、ステップS9以降の処理を繰り返す。In step S11, the
一方、ステップS10の判断結果が「NO」の場合、すなわち、当該スイッチに対応した電流検出回路283から信号DOCが供給されなかった場合には、制御回路281は、ステップS9へ戻り、ステップS9以降の処理を繰り返す。On the other hand, if the result of the determination in step S10 is "NO", that is, if the signal DOC is not supplied from the current detection circuit 283 corresponding to the switch, the
また、ステップS9の判断結果が「YES」の場合、すなわち、当該スイッチがオンされて当該スイッチのオンを示す信号SNFが供給された場合には、制御回路281は、ステップS2へ進み、前記したステップS2以降の処理を繰り返す。Also, if the determination result in step S9 is "YES", that is, if the switch is turned on and a signal SNF indicating that the switch is on is supplied, the
制御回路281は、すべてのスイッチ261~264の操作に応じて、以上説明した制動処理をパラレルに実行する。The
[アナログスティック201及び202、制動部254~257並びに制御部265の動作]
図49はコントローラ6を構成するアナログスティック201及び202、制動部254及び256並びにプリント基板252等の構成の一例を示す平面側の斜視図である。[Operations of the analog sticks 201 and 202, the braking
FIG. 49 is a perspective view of the top side showing an example of the configuration of the analog sticks 201 and 202, braking
また、図50はアナログスティック201及び202、制動部255及び257並びにプリント基板252等の構成の一例を示す底面側の斜視図、図51はアナログスティック201及び202、制動部254及び256並びにプリント基板252等の構成の一例を示す平面図である。FIG. 50 is a perspective view of the bottom side showing an example of the configuration of the analog sticks 201 and 202, the braking
図49~図51は、アナログスティック201を傾倒させていない状態及びアナログスティック202をx2方向に傾倒させている状態を示している。また、図49及び図51は、制動部254が動作していない状態及び制動部256が動作している状態を示している。さらに、図50は、制動部255及び257のいずれもが動作していない状態を示している。Figures 49 to 51 show the state where the
まず、アナログスティック201及び202の動作については、前記第4実施形態において図27~図29を参照して説明した動作と同一であるので、その説明を省略する。First, the operation of the analog sticks 201 and 202 is the same as that described in the fourth embodiment with reference to Figures 27 to 29, so a description of this will be omitted.
例えば、図49~図51に示すように、アナログスティック202をx2方向に傾倒させた状態を維持する場合、操作者は、右手の中指又は薬指を用いて、コントローラ6の底面側に設けられているスイッチ263をオンする。For example, as shown in Figures 49 to 51, to maintain the
これにより、スイッチ263のオンを示す信号SNFRxが制御回路281へ供給されるので、図48に示すフローチャートでは、制御回路281は、ステップS1の判断処理を経てステップS2へ進む。As a result, a signalSNF_Rx indicating that the
制御回路281は、ステップS2では、駆動回路282Rxに対して、モータ272Rxの回転方向(今の場合、正転)を指示するための信号RPRRxを供給し、ステップS3では、モータ272Rxを起動させるための信号SSMRxを供給する。In step S2, the
信号SSMRx及び信号RPRRxが供給された駆動回路282Rxは、モータ272Rxを正転で起動させるために、電流検出回路283Rxを介してモータ272Rxへ電力の供給を行う。これにより、モータ272Rxが正転するので、押圧部材275が図45に示すA方向へ回動し、押圧溝部275Cが被制動部材2533のテンションを高めるように被制動部材2533を押圧する。The drive circuit282Rx , to which the signalsSSM_Rx andRPR_Rx are supplied, supplies power to the motor272Rx via the current detection circuit283Rx in order to start the motor272Rx in the normal rotation. As a result, the motor272Rx rotates in the normal direction, so that the
この結果、アナログスティック202が制動されるので、アナログスティック202のx2方向への傾倒状態が維持される。この後、被制動部材2533のテンションがさらに高まり、電流検出回路283Rxから信号DOCRxが供給されると、ステップS5の判断結果が「YES」となる。As a result, the
したがって、制御回路281は、ステップS6へ進み、駆動回路282Rxに対して、モータ272Rxを停止させるための信号SSMRxを供給する。これにより、駆動回路282Rxは、電流検出回路283Rxを介してモータ272Rxへ電力の供給を停止するので、モータ272Rxは停止する。しかし、ウォーム274及びウォームホイール部275Aから構成されたウォームギアは、セルフロック現象が発生して動作しないので、被制動部材2533のテンションが一定に保持され、アナログスティック202のx2方向への傾倒状態が維持される。Therefore, the
一方、アナログスティック202の制動を解除する場合には、操作者は、スイッチ263をオフする。これにより、スイッチ263のオフを示す信号SNFRxが制御回路281へ供給されるので、図48に示すフローチャートでは、制御回路281は、ステップS4の判断処理を経てステップS7へ進む。On the other hand, to release the braking of the
制御回路281は、ステップS7では、駆動回路282Rxに対して、モータ272Rxの回転方向(今の場合、逆転)を指示するための信号RPRRxを供給し、ステップS8では、モータ272Rxを起動させるための信号SSMRxを供給する。In step S7, the
信号SSMRx及び信号RPRRxが供給された駆動回路282Rxは、モータ272Rxを逆転で起動させるために、電流検出回路283Rxを介してモータ272Rxへ電力の供給を行う。これにより、モータ272Rxが逆転するので、押圧部材275が図45に示すB方向へ回動し、押圧溝部275Bが被制動部材253のテンションを緩めるように被制動部材253への圧力を低減させる。The drive circuit282Rx , to which the signalsSSMRx andRPRRx have been supplied, supplies power to the motor272Rx via the current detection circuit283Rx in order to start the motor272Rx in the reverse direction. As a result, the motor272Rx rotates in the reverse direction, so that the
この結果、アナログスティック202の制動が解除される。この後、図45に示す押圧部材275を構成する舌状部275Bの平坦側面275Dがストッパ277に当接すると、モータ272Rxの負荷が急激に大きくなり、それに従って消費電流は急上昇し、過電流レベルLOCに到達する。As a result, the braking of the
このため、電流検出回路283Rxから信号DOCRxが供給され、ステップS10の判断結果が「YES」となる。Therefore, the signal DOCRx is supplied from the current detection circuit 283Rx , and the determination result in step S10 becomes "YES".
したがって、制御回路281は、ステップS11へ進み、駆動回路282Rxに対して、モータ272Rxを停止させるための信号SSMRxを供給する。これにより、駆動回路282Rxは、電流検出回路283Rxを介してモータ272Rxへ電力の供給を停止するので、モータ272Rxは停止する。これにより、消費電流を削減することができる。Therefore, the
アナログスティック201及び202の操作方法については、以上説明した以外は前記第1実施形態と異なる点はないので、その説明を省略する。The method of operating the analog sticks 201 and 202 is the same as in the first embodiment except as described above, so a description of this method will be omitted.
[第6実施形態の効果]
以上説明したように、本発明に係る第6実施形態では、コントローラ6は、スティック223が傾倒された方向と、スティック223が傾倒された角度に応じたアナログ値とを出力するアナログスティック201及び202と、スティック223の一端に取り付けられたキャップ211に取り付けられた被制動部材2531~2534と、被制動部材2531~2534の動きを抑えることによりアナログスティック201及び202を制動する制動部254~257と、を備えている。[Effects of the Sixth Embodiment]
As described above, in the sixth embodiment of the present invention, the
被制動部材2531~2534は、スティック223の傾倒に伴ってx1-x2方向へ移動する被制動部材2531及び2533と、スティック223の傾倒に伴ってy1-y2方向へ移動する被制動部材2532及び2534と、からなる。The braked
制動部254~257は、ウォームホイール部275Aを有し、被制動部材2531~2534を押圧する押圧部材275と、ウォームホイール部275Aと螺合するウォーム274と、ウォーム274を回転させるモータ272と、を有している。制動部254及び256は請求項9の第1の抑止部を構成し、制動部255及び257は請求項9の第2の抑止部を構成している。Braking
したがって、第6実施形態によれば、操作者は自らの筋力に頼ることなく、ボタンを操作するだけで、前記第4実施形態により得られる効果と同様の効果が得られる。また、第6実施形態によれば、操作者は第1軸従動部222及び第2軸従動部224をそれぞれ別個独立して制動できるので、前記第3実施形態により得られる効果と同様の効果が得られる。Therefore, according to the sixth embodiment, the operator can obtain the same effect as that obtained by the fourth embodiment by simply operating the button without relying on his/her own muscle strength. Also, according to the sixth embodiment, the operator can brake the
7.第7実施形態
まず、本発明の第7実施形態に係るコントローラの外観構成は、アナログスティック201及び202に代えてアナログスティック301及び302(図52等参照)が新たに設けられている点以外、図40及び図41に示すコントローラ6の外観構成と異なるところはない。すなわち、第7実施形態では、後述する制動部304~307をそれぞれ制御させるためにスイッチ261~264を用いる。7. Seventh embodiment First, the external configuration of a controller according to a seventh embodiment of the present invention is no different from the external configuration of the
図52は本発明の第7実施形態に係るコントローラを構成するアナログスティック301及び302並びにこれらが取り付けられたプリント基板303等の構成の一例を示す平面側の斜視図である。また、図53は図52に示すアナログスティック301及び302並びにプリント基板303等の構成の一例を示す底面側の斜視図である。図52及び図53並びに、後述する図55及び図56におけるxyz座標系は図1におけるxyz座標系と同様である。FIG. 52 is a top perspective view showing an example of the configuration of analog sticks 301 and 302 and printed
アナログスティック301のy1側近傍には、アナログスティック301のx1-x2方向の傾倒を制動する制動部304を構成する副制動部3211が設けられている。また、アナログスティック301のx2側近傍には、アナログスティック301のy1-y2方向の傾倒を制動する制動部305を構成する副制動部3212が設けられている。An auxiliary braking unit321-1 constituting
一方、アナログスティック302のy1側近傍には、アナログスティック302のx1-x2方向の傾倒を制動する制動部306を構成する副制動部3213が設けられている。また、アナログスティック302のx1側近傍には、アナログスティック302のy1-y2方向の傾倒を制動する制動部307を構成する副制動部3214が設けられている。副制動部3211~3214の構造については、図55及び図56を参照して後述する。Meanwhile, auxiliary braking unit321-3 constituting braking unit 306 that brakes tilt of analog stick 302 in the x1-x2 directions is provided near the y1 side of analog stick 302. Also, auxiliary braking unit 321-4constituting braking unit 307 that brakes tilt of
プリント基板303には、副制動部3211~3214のそれぞれの近傍に、制動部材3231~3234が挿入される貫通孔303A1~303A4が形成されている。図52には、貫通孔303A1、303A3及び303A4のみが表されている。The printed
制動部材3231~3234を総称する場合には制動部材323を用いる。制動部材323の形状及び素材は、傾倒伝達部材204及び232並びに被制動部材253の形状及び素材と同様である。The
プリント基板303の底面であって、副制動部3211~3214に対向する位置には、制動部304を構成する主制動部3221、制動部305を構成する主制動部3222、制動部306を構成する主制動部3223及び制動部307を構成する主制動部3224が取り付けられている。主制動部3221~3224の構造については、図57を参照して後述する。On the bottom surface of printed
プリント基板303の底面であって、主制動部3221~主制動部3224のそれぞれの近傍には、案内部材3081~3084が貫通孔303A1~303A4に嵌合されて取り付けられている。案内部材3081~3084は、L字状の管により構成されている。案内部材3081~3084は、貫通孔303A1~303A4から挿入された制動部材3231~3234を対応する主制動部3221~主制動部3224に案内する。Guide members 308-1 to308-4 are fitted into through
第7実施形態では、スイッチ261~264がオン又はオフされた場合の制動部304~307の動作制御は、前記第6実施形態における図46に示す制御部265が行う。すなわち、第7実施形態では、図46に示すモータ272Lx、モータ272Ly、モータ272Rx及びモータ272Ryに代えて、主制動部3221~主制動部3224を構成する、後述するモータ342Lx、モータ342Ly、モータ342Rx及びモータ342Ryが制御対象となる。In the seventh embodiment, the operation control of braking
図53において、主制動部3221~3224を構成するモータ342Lx、モータ342Ly、モータ342Rx及びモータ342Ryにおける添え字「Lx、Ly、Rx及びRy」の意味は、前記第6実施形態において説明した、モータ272Lx、272Ly、272Rx及び272Ry等における添え字「Lx、Ly、Rx及びRy」の意味と同様である。In FIG.53 , the meanings of the suffixes “Lx, Ly, Rx, and Ry” of motors342Lx ,342Ly ,342Rx , and342Ry constituting main braking units 322-1 to322-4 are the same as the meanings of the suffixes “Lx, Ly, Rx, and Ry” of motors272Lx ,272Ly ,272Rx ,272Ry , etc. described in the sixth embodiment.
したがって、第7実施形態では、図46に示す制御部265を構成する制御回路281が図48に示すフローチャートに従って制動部304~307の制動処理を実行する。Therefore, in the seventh embodiment, the
[アナログスティック301及び302の構造]
図54は、アナログスティック301及び302の構成の一例を示す底面側の斜視図である。図54におけるA1-A3座標系は、図25におけるA1-A3座標系と同様であるが、第3軸A3を回転軸として時計回りに90度回転している点で異なっている。[Structure of analog sticks 301 and 302]
Fig. 54 is a perspective view of the bottom side showing an example of the configuration of the analog sticks 301 and 302. The A1-A3 coordinate system in Fig. 54 is similar to the A1-A3 coordinate system in Fig. 25, but differs in that it is rotated 90 degrees clockwise around the third axis A3 as the rotation axis.
図54において、図25に示すアナログスティック201及び202の各部に対応する部分には同一の符号を付け、その説明を省略する。アナログスティック301及び302がアナログスティック201及び202と異なる点は、以下の通りである。In FIG. 54, parts corresponding to the analog sticks 201 and 202 shown in FIG. 25 are given the same reference numerals, and their explanations are omitted. The analog sticks 301 and 302 differ from the analog sticks 201 and 202 in the following ways.
まず、キャップ211に代えてキャップ311が新たに設けられている。また、第1軸従動部222を構成する軸部222Cが第1軸ポテンショメータ228の貫通孔228Aに挿通され、A12方向側に突出するように長さが延長されている。さらに、第2軸駆動部224を構成する軸部224Bが第2軸ポテンショメータ229の貫通孔229A(図示略)に挿通され、A21方向側に突出するように長さが延長されている。First,
なお、図54に示すアナログスティック301及び302を構成するアナログスティックユニット212に代えて、前記第3実施形態において説明した、図18及び図19に示すアナログスティック84からキャップ51を取り除いたものを用いても良い。In addition, instead of the
キャップ311は、円板状であり、操作者の親指で操作される操作部311Aと、下端が開口した半球殻体状であり、ゴミ等がコントローラ内部へ混入することを防止するためのカバー311Bとが一体に形成されて構成されている。カバー311Bの下端であって、カバー311Bの中心に関して互いに対称な位置に4つの円弧状の切り欠き311Cが形成されている。各切り欠き311Cが円弧状であるのは、第1軸従動部222の軸部222C及び第2軸駆動部224の軸部224Bとの干渉を避けるためである。The
[副制動部3211~3214の構造]
図55は、図52に示すアナログスティック302からキャップ311及び上ケース221を取り除いた状態における構成の一例を示す平面側の斜視図である。図56は、図55のCの部分を拡大した平面側の斜視図、すなわち、アナログスティック302、制動部306を構成する副制動部3213及び制動部307を構成する副制動部3214の構成の一例を示す斜視図である。副制動部3211~3214は、同一構造であるので、以下では煩雑を避けるために、添え字を除いて説明する。[Structure of the auxiliary braking parts 3211 to 3214 ]
Fig. 55 is a planar perspective view showing an example of the configuration when the
副制動部321は、被制動部材としてのブレーキロータ331と、軸支部材332と、固定部材333とが組み立てられて構成されている。ブレーキロータ331は、円板状を呈しており、中心に形成されている貫通孔(図示略)に、第1軸従動部222を構成する軸部222C又は、第2軸駆動部224を構成する軸部224Bが嵌合されている。軸部222C又は軸部224Bは、軸支部材332により、回動可能に軸支されている。The auxiliary braking unit 321 is constructed by assembling a brake rotor 331 as a braked member, a
制動部材323は、一端が固定部材333を介して軸支部材332に固定されている。制動部材323は、ブレーキロータ331に巻き付けられ、副制動部321の近傍に形成された貫通孔303Aに挿入されて、プリント基板303の底面側に至っている。One end of the
[主制動部3221~3224の構造]
図57は、図53の底面側のDの部分を拡大した底面図、すなわち、制動部307を構成する主制動部3224の構成の一例を示す底面図である。主制動部3221~3224は、同一構造であるので、以下では煩雑を避けるために、添え字を除いて説明する。[Structure of main braking parts 3221 to 3224 ]
Figure 57 is an enlarged bottom view of part D on the bottom side of Figure 53, that is, a bottom view showing an example of the configuration of main braking section322-4 that constitutes
主制動部322は、ベースプレート341と、モータ342と、軸受343と、ウォーム(Worm)344と、ワインダー345と、回転軸346と、ストッパ347及び348とが組み立てられて構成されている。The main braking section 322 is constructed by assembling a base plate 341, a motor 342, a bearing 343, a worm 344, a winder 345, a rotating shaft 346, and stoppers 347 and 348.
ベースプレート341は、概ね長方平板形状を呈している。ベースプレート341の一角近傍の平面には、回転軸342Aがベースプレート341の長手方向と平行となるように、モータ342がマウント部材342B(図53参照)を介して取り付けられている。The base plate 341 is generally rectangular and flat. A motor 342 is attached to a flat surface near one corner of the base plate 341 via a mount member 342B (see FIG. 53) so that the
モータ342の回転軸342Aには、ウォーム344が嵌合されている。回転軸342Aの一端は、軸受343で軸支されている。モータ342の一端には、コード342Cが接続され、コネクタ342Dを介してプリント基板303からモータ342へ電力が供給されるように構成されている。A worm 344 is fitted to the
ウォーム344の近傍には、ウォーム344に直角に螺合するウォームホイール部345Aを有するワインダー345が回転軸346に軸支されて設けられている。回転軸346の軸線は、回転軸342Aの軸線と直交している。A winder 345 having a worm wheel portion 345A that screws into the worm 344 at a right angle is provided near the worm 344 and is supported by a rotating shaft 346. The axis of the rotating shaft 346 is perpendicular to the axis of the
ワインダー345は、前記ウォームホイール部345Aと、円板部345Bとが一体に形成されて構成されている。プリント基板303の貫通孔303Aに挿入され、案内部材308により案内された制動部材323は、円板部345Bの周面に巻き付けられ、他端が円板部345Bに固定されている。円板部345Bのウォームホイール部345Aと接続する側には、平坦側面345D及び345Eが形成されている。The winder 345 is configured by integrally forming the worm wheel portion 345A and the disk portion 345B. The
モータ342が時計回りに正転した場合、ワインダー345が図57に示すA方向へ回動し、円板部345Bが制動部材323のテンションを高めるように制動部材323を巻き取る。一方、モータ342が反時計回りに逆転した場合、円板部345Bが図57に示すB方向へ回動し、円板部345Bが制動部材323のテンションを緩めるように制動部材323を巻き戻す。When the motor 342 rotates clockwise, the winder 345 rotates in the direction A shown in FIG. 57, and the disc portion 345B winds up the
ワインダー345の近傍には、円柱状のストッパ347及び348が取り付けられている。ストッパ347は、ワインダー345の平坦側面345Dが当接することにより、ワインダー345のA方向への回動を規制する。一方、ストッパ348は、ワインダー345の平坦側面345Eが当接することにより、ワインダー345のB方向への回動を規制する。Cylindrical stoppers 347 and 348 are attached near winder 345. Flat side surface 345D of winder 345 abuts stopper 347, restricting rotation of winder 345 in direction A. Flat side surface 345E of winder 345 abuts stopper 348, restricting rotation of winder 345 in direction B.
ウォーム344及びウォームホイール部345Aは、ウォームギアを構成している。このため、モータ342が停止した場合でも、セルフロック現象が発生し、制動部材323のテンションを一定に保つことができる。The worm 344 and the worm wheel portion 345A form a worm gear. Therefore, even if the motor 342 stops, a self-locking phenomenon occurs, and the tension of the
[制動部304~307並びに制御部265の動作]
例えば、アナログスティック302をy1方向に傾倒させた状態を維持する場合、操作者は、右手の中指又は薬指を用いて、コントローラの底面側に設けられているスイッチ264(図41参照)をオンする。[Operation of
For example, to maintain the
これにより、スイッチ264のオンを示す信号SNFRyが供給されるので、制御回路281(図46参照)は、駆動回路282Ryに対して、モータ342Ryの回転方向(今の場合、正転)を指示するための信号RPRRy及びモータ342Ryを起動させるための信号SSMRyを供給する。As a result, a signal SNFRy indicating that the
信号SSMRy及び信号RPRRyが供給された駆動回路282Ryは、モータ342Ryを正転で起動させるために、電流検出回路283Ryを介してモータ342Ryへ電力の供給を行う。これにより、モータ342Ryが正転するので、ワインダー3454が図57に示すA方向へ回動し、円板部345B4が制動部材3234を巻き取る。The drive circuit282Ry , to which the signalsSSM_Ry andRPR_Ry are supplied, supplies power to the motor342Ry via the current detection circuit283Ry to start the motor342Ry in the forward direction. As a result, the motor342Ry rotates forward, so that the winder3454 rotates in the A direction shown in FIG. 57, and the disk portion345B4 winds up the braking member3234 .
これにより、制動部材3234が巻き付けられたブレーキロータ3314が図56に示すC方向へ回動し、アナログスティック302が制動されるので、アナログスティック302のy1方向への傾倒状態が維持される。この後、図57に示すワインダー3454の平坦側面345D4がストッパ3474に当接すると、モータ342Ryの負荷が急激に大きくなり、それに従って消費電流は急上昇し、過電流レベルLOCに到達する。As a result, the brake rotor3314 around which the braking member3234 is wound rotates in the C direction shown in Fig. 56, braking the
このため、電流検出回路283Ryから信号DOCRyが供給され、図48に示すステップS5の判断結果が「YES」となる。Therefore, the signal DOCRy is supplied from the current detection circuit 283Ry , and the determination result of step S5 shown in FIG. 48 becomes "YES".
したがって、制御回路281は、ステップS6へ進み、駆動回路282Ryに対して、モータ272Ryを停止させるための信号SSMRyを供給する。これにより、駆動回路282Ryは、電流検出回路283Ryを介してモータ342Ryへ電力の供給を停止するので、モータ342Ryは停止する。しかし、ウォーム3444及びウォームホイール部345A4から構成されたウォームギアは、セルフロック現象が発生して動作しないので、制動部材3234のテンションが一定に保持され、アナログスティック302のy1方向への傾倒状態が維持される。Therefore, the
一方、アナログスティック302の制動を解除する場合には、操作者は、スイッチ264をオフする。これにより、スイッチ264のオフを示す信号SNFRyが制御回路281へ供給されるので、図48に示すフローチャートでは、制御回路281は、ステップS4の判断処理を経てステップS7へ進む。On the other hand, to release the braking of the
制御回路281は、ステップS7では、駆動回路282Ryに対して、モータ342Ryの回転方向(今の場合、逆転)を指示するための信号RPRRyを供給し、ステップS8では、モータ342Ryを起動させるための信号SSMRyを供給する。In step S7, the
信号SSMRy及び信号RPRRyが供給された駆動回路282Ryは、モータ342Ryを逆転で起動させるために、電流検出回路283Ryを介してモータ342Ryへ電力の供給を行う。これにより、モータ342Ryが逆転するので、円板部345B4が図57に示すB方向へ回動し、円板部345B4が制動部材3234を巻き戻す。The drive circuit282Ry , to which the signals SSM--Ry and RPR--Ry are supplied, supplies power to the motor342Ry via the current detection circuit283Ry to start the motor342Ry in the reverse direction. As a result, the motor342Ry rotates in the reverse direction, so that the disk portion345B4 rotates in the B direction shown in FIG. 57, and the disk portion345B4 rewinds the brake member3234 .
これにより、制動部材3234が巻き付けられたブレーキロータ3314が図56に示すD方向へ回動し、アナログスティック302の制動が解除される。この後、図57に示すワインダー3454の平坦側面345E4がストッパ3484に当接すると、モータ342Ryの負荷が急激に大きくなり、それに従って消費電流は急上昇し、過電流レベルLOCに到達する。As a result, the brake rotor3314 around which the braking member3234 is wound rotates in the direction D shown in Fig. 56, releasing the braking of the
このため、電流検出回路283Ryから信号DOCRyが供給され、ステップS10の判断結果が「YES」となる。Therefore, the signal DOCRy is supplied from the current detection circuit 283Ry , and the determination result in step S10 becomes "YES".
したがって、制御回路281は、ステップS11へ進み、駆動回路282Ryに対して、モータ342Ryを停止させるための信号SSMRyを供給する。これにより、駆動回路282Ryは、電流検出回路283Ryを介してモータ342Ryへ電力の供給を停止するので、モータ342Ryは停止する。これにより、消費電流を削減することができる。Therefore, the
アナログスティック301及び302の操作方法については、以上説明した以外は前記第1実施形態と異なる点はないので、その説明を省略する。The method of operating the analog sticks 301 and 302 is the same as in the first embodiment except as described above, so a description thereof will be omitted.
[第7実施形態の効果]
以上説明したように、本発明に係る第7実施形態では、コントローラは、スティック223が傾倒された方向と、スティック223が傾倒された角度に応じたアナログ値とを出力するアナログスティック301及び302と、アナログスティック301及び302を制動する制動部304~307と、を備えている。[Effects of the Seventh Embodiment]
As described above, in the seventh embodiment of the present invention, the controller comprises analog sticks 301 and 302 which output analog values corresponding to the direction in which stick 223 is tilted and the angle at which stick 223 is tilted, and
アナログスティック301及び302は、スティック223の傾倒に伴ってx1-x2方向へ回動する第1の従動部としての第1軸従動部222と、スティック223の傾倒に伴ってy1-y2方向へ回動する第2の従動部としての第2軸従動部224と、を有している。The analog sticks 301 and 302 have a
制動部304~307は、副制動部3211~3214と、主制動部3221~3224とから構成されている。副制動部3211~3214は、被制動部材としてのブレーキロータ3311~3314を有している。ブレーキロータ3311~3314は、アナログスティック301及び302の第1軸従動部222及び第2軸従動部224に取り付けられている。The
主制動部3221~3224は、ブレーキロータ3311~3314に巻き付けられた制動部材3231~3234を巻き取ってブレーキロータ3311~3314の動きを抑えることによりアナログスティック301及び302を制動する。The main braking units 3221 to 3224 brake the analog sticks 301 and 302 by winding up the
主制動部3221~3224は、ウォームホイール部345A1~345A4を有し、制動部材3231~3234を巻き取るワインダー3451~3454と、ウォームホイール部345A1~345A4と螺合するウォーム3441~3444と、ウォーム3441~3444を回転させるモータ342Lx、342Ly、342Rx及び342Ryと、を有している。主制動部3221及び3223は請求項10の第1の引き寄せ部を構成し、主制動部3222及び3224は請求項10の第2の引き寄せ部を構成している。The main braking units322-1 to322-4 have worm wheel units 345A-1 to 345A-4 , and have winders345-1 to345-4 that wind up the braking members323-1 to323-4 , worms 344-1 to344-4 that screw into the worm wheel units 345A-1to 345A-4 , and motors 342-Lx , 342-Ly , 342-Rx , and 342-Ry that rotate the worms344-1 to344-4 . The main braking units322-1 and322-3 constitute a first pulling unit of claim 10, and the main braking units322-2 and322-4 constitute a second pulling unit of claim 10.
したがって、第7実施形態によれば、操作者は自らの筋力に頼ることなく、ボタンを操作するだけで、前記第4実施形態により得られる効果と同様の効果が得られる。また、第7実施形態によれば、操作者は第1軸従動部222及び第2軸従動部224をそれぞれ別個独立して制動できるので、前記第3実施形態により得られる効果と同様の効果が得られる。Therefore, according to the seventh embodiment, the operator can obtain the same effect as that obtained by the fourth embodiment by simply operating the button without relying on his/her own muscle strength. Also, according to the seventh embodiment, the operator can brake the
8.第8実施形態
まず、本発明の第8実施形態に係るコントローラの外観構成は、アナログスティック201及び202に代えてアナログスティック401及び402(図58等参照)が新たに設けられている点以外、図40及び図41に示すコントローラ6の外観構成と異なるところはない。すなわち、第8実施形態では、後述する制動部405~408をそれぞれ制御させるためにスイッチ261~264を用いる。8. Eighth Embodiment First, the external configuration of a controller according to an eighth embodiment of the present invention is the same as the external configuration of the
図58は本発明の第8実施形態に係るコントローラを構成するアナログスティック401及び402並びにこれらが取り付けられたプリント基板403等の構成の一例を示す平面側の斜視図である。また、図59は図58に示すアナログスティック401及び402並びにプリント基板403等の構成の一例を示す底面側の斜視図である。図58及び図59において、図52及び図53の各部に対応する部分には同一の符号を付け、その説明を省略する。図58及び図59並びに、後述する図65及び図66におけるxyz座標系は図1におけるxyz座標系と同様である。FIG. 58 is a top perspective view showing an example of the configuration of analog sticks 401 and 402 and printed
第8実施形態では、アナログスティック401及び402を制動する制動部405~408として、第7実施形態における制動部304~307を構成する主制動部3221~3224を用いるとともに、案内部材3081~3084を用いる。ただし、制動部405~408及び案内部材3081~3084のプリント基板403への取り付け位置が図53とは異なっている。In the eighth embodiment, main braking units 322-1 to322-4 constituting the braking units304 to 307 in the seventh embodiment are used as braking
また、第8実施形態では、スイッチ261~264がオン又はオフされた場合の制動部405~408の動作制御は、前記第6実施形態における図46に示す制御部265が行う。すなわち、第8実施形態では、図46に示すモータ272Lx、モータ272Ly、モータ272Rx及びモータ272Ryに代えて、制動部405~408を構成する、後述するモータ342Lx、モータ342Ly、モータ342Rx及びモータ342Ryが制御対象となる。In the eighth embodiment, the operation control of the
図59において、制動部405~408を構成するモータ342Lx、モータ342Ly、モータ342Rx及びモータ342Ryにおける添え字「Lx、Ly、Rx及びRy」の意味は、前記第6実施形態において説明した、モータ272Lx、272Ly、272Rx及び272Ry等における添え字「Lx、Ly、Rx及びRy」の意味と同様である。In FIG. 59, the meanings of the suffixes “Lx, Ly, Rx, and Ry” of the motors 342Lx , 342Ly , 342Rx , and 342Ry that constitute the
したがって、第8実施形態では、図46に示す制御部265を構成する制御回路281が図48に示すフローチャートに従って制動部405~408の制動処理を実行する。Therefore, in the eighth embodiment, the
[アナログスティック401及び402の構造]
図60は、アナログスティック401及び402の構成の一例を示す分解斜視図である。図60において、図25の各部に対応する部分には同一の符号を付け、その説明を省略する。図60におけるA1-A3座標系は図25、図35~図38及び図54におけるA1-A3座標系と同様である。[Structure of analog sticks 401 and 402]
Figure 60 is an exploded perspective view showing an example of the configuration of the analog sticks 401 and 402. In Figure 60, parts corresponding to those in Figure 25 are given the same reference numerals, and their description will be omitted. The A1-A3 coordinate system in Figure 60 is the same as the A1-A3 coordinate system in Figures 25, 35 to 38, and 54.
アナログスティック401及び402は、同一構造であり、キャップ411と、アナログスティックユニット412とから構成されている。Analog sticks 401 and 402 have the same structure and are composed of a
キャップ411は、図7に示すアナログスティック28及び29を構成するキャップ51と同様に、円板状であり、操作者の親指で操作される操作部411Aと、ドーム状であり、ゴミ等の内部混入を防止するためのカバー411Bとが一体に形成されて構成されている。The
アナログスティックユニット412は、上ケース421と、第1軸従動部422と、ブレーキシュー423と、スティック424と、第2軸従動部425と、ブレーキシュー426と、下ケース427と、結合ピン226と、センタリング部227と、第1軸ポテンショメータ228と、第2軸ポテンショメータ229とが組み立てられて構成されている。The
上ケース421は、矩形状であり、下端が開口している。上ケース421の上面中央には、スティック424の円柱部424Aを突出させるための円形状の貫通孔421Aが形成されている。上ケース421の下端各辺中央には、第1軸従動部422の軸部422B及び422D並びに、第2軸従動部425の軸部425B及び425Dを突出させるための半円状の切り欠き421Bが形成されている。図60には2つの切り欠き421Bのみが表されている。The
また、上ケース421において、A21側の側面であって、A12側の側面となす角部近傍並びに、A11側の側面であって、A22側の側面となす角部近傍には、ブレーキシュー423及び426を構成する作動部442を突出させるための矩形状の切り欠き421Cが形成されている。図60には1つの切り欠き421Cのみが表されている。In addition, in the
第1軸従動部422は、円弧状の作動部422Aと、作動部422Aの一端に接続する軸部422Bと、作動部422Aの他端に接続するディスクロータ422Cと、ディスクロータ422Cに接続する軸部422Dとから構成されている。作動部422Aが円弧状であるのは、第2軸従動部425との干渉を避けるためである。作動部422Aには、長手方向に矩形状の貫通孔422Eが形成されている。The
ブレーキシュー423は、第1軸従動部422を構成するディスクロータ422Cに押し付けられることにより、ディスクロータ422C、すなわち、第1軸従動部422のA11-A12方向の回動を制動する。ブレーキシュー423の構造については、ブレーキシュー426の構造とともに、図61及び図62を参照して後述する。The
スティック424は、円柱部424Aと、角柱部424Bと、円板部424Cとが一体に形成されて構成されている。角柱部424Bの下端近傍には結合ピン226が嵌合する孔424Dが形成されている。The
第2軸従動部425は、矩形状の作動部425Aと、作動部425Aの長手方向の一端に接続する軸部425Bと、作動部425Aの他端に接続するディスクロータ425Cと、ディスクロータ425Cに接続する軸部425Dとから構成されている。作動部425Aには、矩形状の貫通孔425Eが形成されている。作動部425Aの長手方向の中央であって、短手方向の対称となる位置には結合ピン226が嵌合する2つの孔425Fが形成されている。The second shaft driven
ブレーキシュー426は、第2軸従動部425を構成するディスクロータ425Cに押し付けられることにより、ディスクロータ425C、すなわち、第2軸従動部425のA21-A22方向の回動を制動する。The
図61はブレーキシュー426の構成の一例を示す平面側の斜視図、図62はブレーキシュー426の構成の一例を示す底面側の斜視図である。ブレーキシュー426は、ブレーキシュー本体441と、作動部442と、固定部443と、ブレーキパッド444とから構成されている。Fig. 61 is a perspective view of the top side showing an example of the configuration of the
ブレーキシュー本体441は、扇形板部441A及び441Bと、円弧板部441Cとから構成されている。円弧板部441Cの内周面にブレーキパッド444が取り付けられている。The
作動部442は、L字板部442Aと、円弧板部442Bとから構成されている。円弧板部442Bは、L字板部442Aの一端部に取り付けられ、ブレーキシュー本体441を構成する円弧板部441Cの一端部近傍の外周面に取り付けられている。L字板部442Aの他端部近傍には、貫通孔442Cが形成されている。固定部443は、平坦板部443A、円弧板部443B及び443Cとから構成されている。円弧板部443Bの一端部は、平坦板部443Aの一端部に取り付けられている。円弧板部443Cは、円弧板部443Bの他端部に取り付けられ、ブレーキシュー本体441を構成する円弧板部441Cの他端部近傍の外周面に取り付けられている。固定部443は、弾性を有し、例えば、板バネ等から構成されている。The operating
ブレーキシュー423は、ブレーキシュー426とは互いに面対称となるような形状をしているだけであり、構造上は異なるところはないので、その構造の説明は省略する。
図60に示す下ケース427は、角枡状であり、平面側の外形寸法が上ケース421の外形寸法と同一であり、上端が開口している。下ケース427には、上端各辺中央に半円状の切り欠き427Aが形成されているとともに、底面中央に円形状の有底孔427Bが形成されている。The
また、下ケース427において、A11側の側面とA21側の側面となす角部内面並びに、A12側の側面とA22側の側面となす角部内面には、ブレーキシュー423及び426を構成する固定部443の平坦板部443Aが固定される角柱部材427C1及び427C2が取り付けられている。In addition, in the
さらに、下ケース427の下端四角には、各種部品が搭載されたプリント基板403(図58等参照)に固定するための脚部427Dが形成されている。Furthermore,
[アナログスティックユニット412の組立方法の一例]
(a)まず、作業者は、図60に示す向きに配置された下ケース427の有底孔427Aに、円板部227AをA32方向に向けて、センタリング部227を載置する。[An example of a method for assembling the analog stick unit 412]
(a) First, the worker places the centering
(b)次に、作業者は、スティック424の角柱部424Bに形成された孔424Dの軸線と、第2軸従動部425の作動部425Aに形成された2つの孔425Fの軸線とが一致するように、スティック424を第2軸従動部425の下方から作動部425Aの貫通孔425Eに挿入して遊嵌させ、この状態において、結合ピン226を孔424D及び孔425Fに嵌合する。これにより、スティック424と第2軸従動部425とが結合される。(b) Next, the worker inserts the
(c)次に、作業者は、図60に示す向きに配置された下ケース427に対して、第2軸従動部425の軸部425BがA12側の切り欠き427Aに支持されるとともに、第2軸従動部425の軸部425DがA11側の切り欠き427Aに支持されるように、スティック424と結合された第2軸従動部425を載置する。(c) Next, the worker places the
(d)次に、作業者は、下ケース427において、A11側の側面とA21側の側面となす角部内面に取り付けられている角柱部材427C1のA22側の側面に、ブレーキシュー426を構成する固定部443の平坦板部443Aを固定する。(d) Next, the worker fixes the
これにより、図63に示すように、ブレーキシュー426を構成するブレーキシュー本体441は、第2軸従動部425を構成するディスクロータ425Cの上方に配置される。図63は、作動していない状態のブレーキシュー426とディスクロータ425Cとの関係を示す斜視図である。図64は、図63に示す構成からブレーキシュー426を構成するブレーキシュー本体441の扇形板部441Aを取り除いた斜視図である。As a result, as shown in FIG. 63, the
ブレーキシュー426を構成する固定部443が弾性を有しているので、固定部443の復元力により、図64に示すように、ブレーキシュー本体441を構成する円弧板部441Cの内周面に取り付けられているブレーキパッド444と、第2軸従動部425を構成するディスクロータ425Cの周面との間には、隙間が存在する。The fixed
なお、図63、図64及び後述する図69では、理解の妨げになるため、第2軸従動部425及びブレーキシュー426以外の部品は表していない。Note that in Figures 63, 64, and Figure 69 described below, parts other than the
(e)次に、作業者は、長手方向をA21-A22方向と平行に向け、かつ、円弧の頂点をA32方向に向けた状態の第1軸従動部422を、貫通孔422Eにスティック424の円柱部424Aを挿通しつつ、軸部422Bが下ケース427のA22側の切り欠き427Aに支持されるとともに、軸部422Dが下ケース427のA21側の切り欠き427Aに支持されるように、下ケース427に載置する。(e) Next, the worker places the
(f)次に、作業者は、下ケース427において、A11側の側面とA21側の側面となす角部内面に取り付けられている角柱部材427C1のA12側の側面に、ブレーキシュー423を構成する固定部443の平坦板部443Aを固定する。これにより、ブレーキシュー423を構成するブレーキシュー本体441は、第1軸従動部422を構成するディスクロータ422Cの上方に配置される。(f) Next, the worker fixes the
(g)次に、作業者は、上ケース421の貫通孔421Aにスティック424の円柱部424Aを挿通しつつ、上ケース421の4つの切り欠き421Bを下ケース427の4つの切り欠き427Aに対向させ、さらに、上ケース421の2つの切り欠き421Cをブレーキシュー423及び426を構成するL字板部442Aに対向させて、上ケース421と下ケース427とを結合させる。上ケース421と下ケース427との結合は、接着、融着、圧着、係止爪及び係止孔による係止等のいずれでも良い。(g) Next, the worker inserts the
上ケース421、第1軸従動部422、ブレーキシュー423、スティック424、第2軸従動部425、ブレーキシュー426、下ケース427、結合ピン226及びセンタリング部227が組み立てられた状態では、第1軸従動部422の軸部422Dの端部が上ケース421及び下ケース427からA21側に突出している。また、前記状態では、第2軸従動部425の軸部425Dの端部が上ケース421及び下ケース427からA11側に突出している。When the
さらに、前記状態では、ブレーキシュー423を構成する作動部442のL字板部442Aが上ケース421及び下ケース427からA21側に突出している。また、前記状態では、ブレーキシュー426を構成する作動部442のL字板部442Aが上ケース421及び下ケース427からA11側に突出している。Furthermore, in the above-mentioned state, the L-shaped
(h)次に、作業者は、上ケース421及び下ケース427からA21側に突出した第1軸従動部422の軸部422Dの端部を、第1軸ポテンショメータ228の中央に形成された貫通孔228Aに嵌合させる。同様に、作業者は、上ケース421及び下ケース427からA11側に突出した第2軸従動部425の軸部425Dの端部を、第2軸ポテンショメータ229の中央に形成された貫通孔229Aに嵌合させる。(h) Next, the worker fits the end of the
[アナログスティック401及び402並びに制動部405~408等の実装方法の一例]
(a)まず、作業者は、2個のアナログスティックユニット412について、下ケース427の4つの脚部427D、第1軸ポテンショメータ228及び第2軸ポテンショメータ229のそれぞれの下端から突出した端子をプリント基板403(図58参照)に形成されている貫通孔(図示略)に挿入し、プリント基板403の底面側に突出させる。[One example of a method for mounting the analog sticks 401 and 402 and the
(a) First, the worker inserts the terminals protruding from the lower ends of the four
この際、作業者は、2個のアナログスティックユニット412について、図58に示すように、y1-y2方向に平行な面を対称面として面対称となるようにプリント基板403に取り付ける。At this time, the worker attaches the two
(b)次に、作業者は、各アナログスティックユニット412について、下ケース427の各脚部427D並びに、第1軸ポテンショメータ228及び第2軸ポテンショメータ229の各端子と、プリント基板403の平面又は底面の各貫通孔周辺に形成された各ランド(図示略)とを半田付けする。(b) Next, the worker solders each
(c)次に、作業者は、プリント基板403に形成されている貫通孔403A1~403A4に、案内部材3081~3084を、各開口部が図59に示す方向へ向くように嵌合させる。つまり、作業者は、案内部材3081の開口部をx1方向へ向け、案内部材3082の開口部をy1方向へ向け、案内部材3083の開口部をx2方向へ向け、案内部材3084の開口部をy1方向へ向ける。(c) Next, the worker fits guide members308-1 to308-4 into through holes 403A-1 to 403A-4 formed in printed
(d)次に、作業者は、図59に示すように、プリント基板403の底面であって、案内部材3081~3084の各開口部に対向する位置に、制動部405~408を取り付ける。次に、作業者は、制動部405~408について、各モータ342に接続されたコード342Cに取り付けられているコネクタ342Dをプリント基板403に設けられているコネクタ(図示略)に取り付ける。59, the worker attaches braking parts 405-408 to the bottom surface of printed
(e)次に、作業者は、各アナログスティックユニット412から突出している、ブレーキシュー423及び426をそれぞれ構成する各作動部442のL字板部442Aに形成されている貫通孔442C(図61及び図62参照)に制動部材4041~4044の各一端をそれぞれ取り付ける。(e) Next, the worker attaches one end of each of the braking members 404-1 to 404-4 to the through
(f)次に、作業者は、制動部材4041~4044の各他端を、プリント基板403の貫通孔403A1~403A4に嵌合されている案内部材3081~3084にそれぞれ挿入して、プリント基板403の底面側に突出させる。(f) Next, the worker inserts the other ends of the
(g)次に、作業者は、プリント基板403の底面側に突出させた制動部材4041~4044を、対応する制動部405~408を構成するワインダー345の円板部345Bの周面に巻き付けた後、制動部材4041~4044の各他端を各円板部345Bにピン345Fを用いて固定する(図67、図68及び図70参照)。(g) Next, the worker winds the braking members404.sub.1 to404.sub.4 protruding from the bottom side of the printed
図65は、図58に示すアナログスティック402からキャップ411及び上ケース421を取り除いた状態における構成の一例を示す平面側の斜視図である。図66は、図65のEの部分を拡大した平面側の斜視図である。FIG. 65 is a perspective view of the top side showing an example of the configuration of the
また、図67は図65に示す構成をx1側から視た側面図、図68は図67に示す構成からブレーキシュー426を構成するブレーキシュー本体441の扇形板部441Aを取り除いた側面図である。なお、図67及び図68では、ブレーキシュー423を構成する作動部442のL字板部442Aに形成されている貫通孔442Cには制動部材4043が取り付けられていない。Fig. 67 is a side view of the configuration shown in Fig. 65 as viewed from the x1 side, and Fig. 68 is a side view of the configuration shown in Fig. 67 with the
図65~図68から分かるように、制動部408が作動していない状態では、ブレーキシュー426を構成する固定部443が弾性を有しているので、固定部443の復元力により、ブレーキシュー本体441を構成する円弧板部441Cの内周面に取り付けられているブレーキパッド444と、第2軸従動部425を構成するディスクロータ425Cの周面との間には、隙間が存在している。As can be seen from Figures 65 to 68, when the
また、図65~図68には表されていないが、制動部408が作動していない状態では、ブレーキシュー423を構成する固定部443が弾性を有しているので、固定部443の復元力により、ブレーキシュー本体441を構成する円弧板部441Cの内周面に取り付けられているブレーキパッド444と、第1軸従動部422を構成するディスクロータ422Cの周面との間には、隙間が存在している。Although not shown in Figures 65 to 68, when the
制動部408におけるブレーキパッド444とディスクロータ425Cの周面との関係及び、ブレーキパッド444とディスクロータ422Cの周面との関係は、他の制動部406~407においても同様である。The relationship between the
(h)次に、作業者は、各アナログスティックユニット412について、上ケース421の貫通孔421Aから上方に突出したスティック424の円柱部424Aの上端を、キャップ411の操作部411A下端に形成された孔(図示略)に嵌合させる。(h) Next, for each
作業者が以上説明した行程を行うことにより、図58及び図59に示すように、案内部材3081~3084、アナログスティック401及び402、制動部材4041~4044並びに制動部405~408がプリント基板403に実装される。When the worker performs the steps described above, the guide members 3081 to 3084 , analog sticks 401 and 402, braking
[制動部405~408並びに制御部265の動作]
例えば、アナログスティック402をy1方向に傾倒させた状態を維持する場合、操作者は、右手の中指又は薬指を用いて、コントローラの底面側に設けられているスイッチ264(図41参照)をオンする。[Operation of
For example, to maintain the
これにより、スイッチ264のオンを示す信号SNFRyが供給されるので、制御回路281(図46参照)は、駆動回路282Ryに対して、モータ342Ryの回転方向(今の場合、正転)を指示するための信号RPRRy及びモータ342Ryを起動させるための信号SSMRyを供給する。As a result, a signal SNFRy indicating that the
信号SSMRy及び信号RPRRyが供給された駆動回路282Ryは、モータ342Ryを正転で起動させるために、電流検出回路283Ryを介してモータ342Ryへ電力の供給を行う。これにより、モータ342Ryが正転するので、ワインダー3454が図59に示すE方向へ回動し、円板部345B4が制動部材4044を巻き取る。The drive circuit282Ry , to which the signalsSSM_Ry andRPR_Ry are supplied, supplies power to the motor342Ry via the current detection circuit283Ry to start the motor342Ry in the forward direction. As a result, the motor342Ry rotates forward, so that the winder3454 rotates in the E direction shown in FIG. 59, and the disk portion345B4 winds up the braking member4044 .
これにより、制動部材4044が取り付けられたブレーキシュー426が固定部443の復元力に抗して図66のz1方向へ回動し、図69及び図70に示すように、第2軸従動部425を構成するディスクロータ425Cに押し付けられる。As a result, the
図69は、作動している状態のブレーキシュー426とディスクロータ425Cとの関係を示す斜視図である。図70は、図68に示す構成においてブレーキシュー426を作動させた状態を示す側面図である。Figure 69 is a perspective view showing the relationship between the
図69及び図70では、ブレーキシュー本体441を構成する円弧板部441Cの内周面に取り付けられているブレーキパッド444が第2軸従動部425を構成するディスクロータ425Cの周面に圧接している。In Figures 69 and 70, the
なお、図69及び図70では、ブレーキシュー本体441を構成する扇形板部441Aが取り除かれている。また、図70では、ブレーキシュー423を構成する作動部442のL字板部442Aに形成されている貫通孔442Cには制動部材4043が取り付けられていない。69 and 70, the
この結果、アナログスティック402が制動されるので、アナログスティック402のy1方向への傾倒状態が維持される。この後、図59に示すワインダー3454の平坦側面345D4(図示略)がストッパ3474に当接すると、モータ342Ryの負荷が急激に大きくなり、それに従って消費電流は急上昇し、過電流レベルLOCに到達する。As a result, the
このため、電流検出回路283Ryから信号DOCRyが供給され、図48に示すステップS5の判断結果が「YES」となる。Therefore, the signal DOCRy is supplied from the current detection circuit 283Ry , and the determination result of step S5 shown in FIG. 48 becomes "YES".
したがって、制御回路281は、ステップS6へ進み、駆動回路282Ryに対して、モータ342Ryを停止させるための信号SSMRyを供給する。これにより、駆動回路282Ryは、電流検出回路283Ryを介してモータ342Ryへ電力の供給を停止するので、モータ342Ryは停止する。しかし、ウォーム3444及びウォームホイール部345A4から構成されたウォームギアは、セルフロック現象が発生して動作しないので、制動部材4044のテンションが一定に保持され、アナログスティック402のy1方向への傾倒状態が維持される。Therefore, the
一方、アナログスティック402の制動を解除する場合には、操作者は、スイッチ264をオフする。これにより、スイッチ264のオフを示す信号SNFRyが制御回路281へ供給されるので、図48に示すフローチャートでは、制御回路281は、ステップS4の判断処理を経てステップS7へ進む。On the other hand, to release the braking of the
制御回路281は、ステップS7では、駆動回路282Ryに対して、モータ342Ryの回転方向(今の場合、逆転)を指示するための信号RPRRyを供給し、ステップS8では、モータ342Ryを起動させるための信号SSMRyを供給する。In step S7, the
信号SSMRy及び信号RPRRyが供給された駆動回路282Ryは、モータ342Ryを逆転で起動させるために、電流検出回路283Ryを介してモータ342Ryへ電力の供給を行う。これにより、モータ342Ryが逆転するので、円板部345B4が図59に示すF方向へ回動し、円板部345B4が制動部材4044を巻き戻す。The drive circuit282Ry , to which the signals SSM--Ry and RPR--Ry are supplied, supplies power to the motor342Ry via the current detection circuit283Ry to start the motor342Ry in the reverse rotation. As a result, the motor342Ry rotates in the reverse direction, so that the disk portion345B4 rotates in the F direction shown in FIG. 59, and the disk portion345B4 rewinds the brake member4044 .
これにより、制動部材4044が取り付けられたブレーキシュー426が固定部443の復元力により図66のz2方向へ回動し、図64及び図68に示すように、ブレーキシュー本体441を構成する円弧板部441Cの内周面に取り付けられているブレーキパッド444と、第2軸従動部425を構成するディスクロータ425Cの周面との間に隙間が生じる。As a result, the
この結果、アナログスティック402の制動が解除される。この後、図59に示すワインダー3454の平坦側面345E4がストッパ3484(いずれも図示略)に当接すると、モータ342Ryの負荷が急激に大きくなり、それに従って消費電流は急上昇し、過電流レベルLOCに到達する。As a result, the braking of the
このため、電流検出回路283Ryから信号DOCRyが供給され、ステップS10の判断結果が「YES」となる。Therefore, the signal DOCRy is supplied from the current detection circuit 283Ry , and the determination result in step S10 becomes "YES".
したがって、制御回路281は、ステップS11へ進み、駆動回路282Ryに対して、モータ342Ryを停止させるための信号SSMRyを供給する。これにより、駆動回路282Ryは、電流検出回路283Ryを介してモータ342Ryへ電力の供給を停止するので、モータ342Ryは停止する。これにより、消費電流を削減することができる。Therefore, the
アナログスティック401及び402の操作方法については、以上説明した以外は前記第1実施形態と異なる点はないので、その説明を省略する。The method of operating the analog sticks 401 and 402 is the same as in the first embodiment except as described above, so a description of this method will be omitted.
[第8実施形態の効果]
以上説明したように、本発明に係る第8実施形態では、コントローラは、スティック424が傾倒された方向と、スティック424が傾倒された角度に応じたアナログ値とを出力するアナログスティック401及び402と、アナログスティック401及び402を制動する制動部405~408と、を備えている。[Effects of the Eighth Embodiment]
As described above, in the eighth embodiment of the present invention, the controller comprises analog sticks 401 and 402 that output an analog value corresponding to the direction in which stick 424 is tilted and the angle at which stick 424 is tilted, and
アナログスティック401及び402は、スティック424の傾倒に伴ってx1-x2方向へ回動する第1の従動部としての第1軸従動部422と、スティック424の傾倒に伴ってy1-y2方向へ回動する第2の従動部としての第2軸従動部425と、を有している。The analog sticks 401 and 402 have a
第1軸従動部422の作動部422Aには、被制動部材としてのディスクロータ422Cが接続されている。ディスクロータ422Cの上方には、制動部材としてのブレーキシュー423が設けられている。また、第2軸従動部425の作動部425Aには、被制動部材としてのディスクロータ425Cが接続されている。ディスクロータ425Cの上方には、制動部材としてのブレーキシュー426が設けられている。A
制動部405~408は、ディスクロータ422C又は425Cにブレーキシュー423又は426を押圧してディスクロータ422C又は425Cの動きを抑えることによりアナログスティック401及び402を制動する。The
ブレーキシュー423及び426を構成するL字板部442Aの他端部近傍に形成された貫通孔442Cには、制動部材4041~4044が取り付けられている。
制動部405~408は、ウォームホイール部345Aを有し、制動部材4041~4044を巻き取るワインダー345と、ウォームホイール部345Aと螺合するウォーム344と、ウォーム344を回転させるモータ342とを有している。制動部材4041及び4043並びに、制動部405及び407は請求項11の第1の押し付け部を構成し、制動部材4042及び4044並びに、制動部406及び408は請求項11の第2の押し付け部を構成している。The
したがって、第8実施形態によれば、操作者は自らの筋力に頼ることなく、ボタンを操作するだけで、前記第4実施形態により得られる効果と同様の効果が得られる。また、第8実施形態によれば、操作者は第1軸従動部422及び第2軸従動部425をそれぞれ別個独立して制動できるので、前記第3実施形態により得られる効果と同様の効果が得られる。Therefore, according to the eighth embodiment, the operator can obtain the same effect as that obtained by the fourth embodiment by simply operating the button without relying on his/her own muscle strength. Also, according to the eighth embodiment, the operator can brake the
9.応用例
以上、本発明の各実施形態について図面を参照して詳述してきたが、具体的な構成はこれらの実施形態に限られるものではなく、本発明の要旨を逸脱しない範囲の設計の変更等があっても本発明に含まれる。9. Application Examples While each embodiment of the present invention has been described in detail above with reference to the drawings, the specific configuration is not limited to these embodiments, and the present invention also includes design changes and the like that do not deviate from the gist of the present invention.
[第1応用例]
前記第1実施形態では、アナログスティック28及び29の押し付け受部材58を構成する押し付け受部58Aの曲率半径については特に言及していない。押し付け受部58Aの曲率半径は、通常、アナログスティック28及び29の傾倒中心、すなわち、スティック54を構成する結合部54Cに形成された孔54Dから押し付け受部58Aの半球面の頂点までの距離に一致させる。[First Application Example]
In the first embodiment, no particular reference is made to the radius of curvature of the
何故なら、押し付け受部58Aの曲率半径を前記傾倒中心から押し付け受部58Aの半球面の頂点までの距離に一致させることにより、アナログスティック28又は29を傾倒操作しても、押し付け受部58Aの半球面と、制動部41又は42の押し付け部材72を構成する押し付け部72Aの上面との距離が、アナログスティック28又は29が中立位置にある場合と変化しないため、操作しやすいからである。This is because, by making the radius of curvature of the
しかし、押し付け受部58Aの曲率半径を、アナログスティック28又は29の傾倒中心から押し付け受部58Aの半球面の頂点までの距離より短くすることにより、x軸センタリング部61を構成する板バネ61A及びy軸センタリング部62を構成する板バネ(図示略)の影響を小さくでき、操作性がさらに向上する。以下、その理由について説明する。However, by making the radius of curvature of the
ここで、傾倒中心から押し付け受部の半球面の頂点までの距離が23mmであるアナログスティックを例にとる。
図71は、本発明の第1応用例に係るコントローラを構成するアナログスティックにおいて、押し付け受部の半球面の曲率半径が異なる押し付け受部材を備えた可動部111及び112の一例を示す正面図である。図71(A)は、押し付け受部113Aの半球面の曲率半径が18mmである押し付け受部材113を備えた可動部111の一例を示す正面図である。一方、図71(B)は、押し付け受部114Aの半球面の曲率半径が23mmである押し付け受部材114を備えた可動部112の一例を示す正面図である。Here, an analog stick in which the distance from the tilt center to the apex of the hemispherical surface of the pressure receiving portion is 23 mm is taken as an example.
Fig. 71 is a front view showing an example of
図71(A)において、可動部111とは、図7に示すアナログスティック28及び29のうち、上ケース52、x軸従動部53、y軸従動部55、下ケース56、結合ピン57、x軸ポテンショメータ59、y軸ポテンショメータ60、x軸センタリング部61及びy軸センタリング部62を取り除くとともに、押し付け受部材58に代えて、押し付け受部材113を新たに設けたものである。In FIG. 71(A), the
一方、図71(B)において、可動部112とは、図7に示すアナログスティック28及び29のうち、上ケース52、x軸従動部53、y軸従動部55、下ケース56、結合ピン57、x軸ポテンショメータ59、y軸ポテンショメータ60、x軸センタリング部61及びy軸センタリング部62を取り除くとともに、押し付け受部材58に代えて、押し付け受部材114を新たに設けたものである。In FIG. 71(B), the
可動部111及び112は、操作されていない中立位置では、図71(A)と図71(B)とを比較して分かるように、傾倒中心から押し付け受部材113の押し付け受部113Aの半球面の頂点までの距離と、傾倒中心から押し付け受部材114の押し付け受部114Aの半球面の頂点までの距離とはいずれも23mmである。As can be seen by comparing Figures 71(A) and 71(B), when the
図72は、図71の可動部111及び112について同一の傾倒角度に傾倒させた状態における一例を示す正面図である。図72(A)は可動部111を傾倒させた状態における一例を示す正面図、図72(B)は可動部112を傾倒させた状態における一例を示す正面図である。FIG. 72 is a front view showing an example of the
図72(A)と図72(B)とを比較して分かるように、可動部111及び112を同一の傾倒角度に傾倒させた場合には、可動部111における傾倒中心から押し付け受部113Aの半球面までの距離が、可動部112における傾倒中心から押し付け受部114Aの半球面までの距離と比較して、距離Dだけ僅かに短い。As can be seen by comparing Figures 72(A) and 72(B), when
言い替えれば、押し付け受部113Aの半球面と制動部41又は42の押し付け部材72を構成する押し付け部72Aの上面との距離は、押し付け受部114Aの半球面と前記押し付け部72Aの上面との距離と比較して、距離Dだけ僅かに長くなる。In other words, the distance between the semi-spherical surface of the
このため、調整ネジ74Cと雌ネジ71Eとの螺合状態が同一に設定された制動部41又は42の操作板71を操作して、押し付け受部113Aの半球面に押し付け部72Aの上面を押し付ける場合は、押し付け受部114Aの半球面に押し付け部72Aの上面を押し付ける場合と比較して、距離Dの分だけ、制動部41又は42を構成するコイルバネ73が伸びることなる。For this reason, when the operating
この結果、押し付け部72Aが押し付け受部113Aに押し付けられる力は、押し付け部72Aが押し付け受部114Aに押し付けられる力と比較して、弱くなるため、押し付け部72Aと押し付け受部113Aとの間で生じる摩擦力は、押し付け部72Aと押し付け受部114Aとの間で生じる摩擦力と比較して、小さくなる。As a result, the force with which the
つまり、制動部41又は42の操作板71を操作しつつ、アナログスティックを傾倒操作する際、押し付け受部材113を用いたアナログスティックは、押し付け受部材114を用いたアナログスティックと比較して、小さい力で傾倒操作できる。In other words, when tilting the analog stick while operating the operating
一方、制動部41又は42の操作板71を操作しつつ、ある傾倒角度で傾倒したアナログスティックを中立位置に戻す操作をする際、押し付け受部材113を用いたアナログスティックは、押し付け受部材114を用いたアナログスティックと比較して、大きい力で中立位置に戻す操作をする必要がある。On the other hand, when operating the operating
何故なら、図71に示すように、可動部111及び112は、中立位置では、傾倒中心から押し付け受部113Aの半球面の頂点までの距離と、傾倒中心から押し付け受部114Aの半球面の頂点までの距離とは同一であるため、押し付け受部113Aには、押し付け受部114Aと比較して、一旦伸びたコイルバネ73の復元力がより強く及ぼされ、その分、押し付け部72Aと押し付け受部113Aとの間で生じる摩擦力が大きくなるからである。This is because, as shown in FIG. 71, when
また、前記可動部111を備えたアナログスティックでは、最大傾倒角度に傾倒させた可動部111の押し付け受部113Aに押し付け部72Aを押し付けて静止させている状態で押し付け受部113Aへの押し付け部72Aの押し付けを緩めても、アナログスティックが短時間で中立位置に戻らない。Furthermore, in an analog stick equipped with the
何故なら、アナログスティックが中立位置に近づくに従って押し付け受部113Aの半球面と押し付け部72Aの上面との距離が短くなるので、一旦押し付け受部113Aの半球面から押し付け部72Aの上面が離れても、アナログスティックが中立位置に戻る際に押し付け受部113Aの半球面に押し付け部72Aの上面が再び接触し、アナログスティックが静止するからである。これにより、操作板71の操作だけでアナログスティックの中立位置への戻りを制御できると思われる。This is because the distance between the hemispherical surface of
一方、前記可動部112を備えたアナログスティックでは、最大傾倒角度に傾倒させた可動部112の押し付け受部114Aに押し付け部72Aを押し付けて静止させている状態で押し付け受部114Aへの押し付け部72Aの押し付けを緩めた場合、押し付け受部114Aの半球面から押し付け部72Aの上面が離れた瞬間にアナログスティックが短時間で中立位置へ戻ってしまう。On the other hand, in an analog stick equipped with the
何故なら、可動部112の傾倒角度に関わらず、押し付け受部114Aの半球面と押し付け部72Aの上面との距離が一定であるからである。また、アナログスティックが短時間で中立位置へ戻ってしまうため、戻る前に再度押し付け受部114Aへ押し付け部72Aを押し付けることは事実上不可能である。This is because the distance between the hemispherical surface of the
[第2応用例]
前記第1実施形態では、制動部41又は42が動作していることを示す信号は、ゲーム装置2側において、スティック54の傾倒角度に応じたアナログ値をキャラクタ等の原点座標からの距離に変換する位置制御を採用するために利用される例を示したが、これに限定されない。[Second Application Example]
In the first embodiment, an example was shown in which a signal indicating that the
従来、多くのFPSでは、コントローラ1の肩ボタン30(図1参照)を押下した場合、操作者が操作するキャラクタが所持する武器に装備されている照準用のスコープを覗き込むことができる機能が設けられている。しかし、肩ボタン30の押下操作と、アナログスティック28又は29の傾倒操作とは同時に行う必要がある。In many conventional FPS games, when the shoulder button 30 (see Figure 1) on the
そこで、この第2応用例では、前記FPSにおいて、制動部41又は42の操作板71を操作しつつ、アナログスティック28又は29が傾倒操作された場合には、コントローラ1は、前記肩ボタン30が押下されているか否かに関わらず、前記肩ボタン30が押下されていることを示す信号を、制動部41又は42が動作していることを示す信号及び前記アナログ値とともに、ゲーム装置2へ供給する。In this second application example, in the FPS, when the
このように構成すれば、操作者は、前記肩ボタン30(図1参照)を押下する操作をすることなく、照準用のスコープを覗き込んで、操作板71を操作しつつ、アナログスティック28又は29の細かな傾倒操作に専念でき、操作性が向上する。With this configuration, the operator can concentrate on finely tilting the
[第3応用例]
前記第1実施形態では、制動部41及び42のすべてが下ケース17のz1方向の外部に設けられている例を示したが、これに限定されず、操作板71以外を下ケース17内に収容しても良い。また、操作板71及び調整ネジ74を設けずに、押し付け部材72を下ケース17内に収容するとともに、押し付け部材72の他端を下ケース17のz1方向へ突出させ、押し付け部材72の他端にキャップ51と類似した形状の操作部を取り付けても良い。[Third Application Example]
In the first embodiment, an example has been shown in which all of the
このように構成すれば、制動部41及び42の必要最小限の部品を下ケース17のz1方向の外部に設けるだけで良いので、制動部41及び42を不用意に壊してしまう危険性が小さくなる。With this configuration, it is only necessary to provide the minimum necessary parts of the
[第4応用例]
前記第1実施形態では、操作板71は下ケース17の梁部17Aに回動自在に取り付けられている例を示したが、これに限定されず、例えば、操作板71をz1-z2方向に平行移動可能に下ケース17に取り付けても良い。[Fourth Application Example]
In the first embodiment, an example is shown in which the
[第5応用例]
前記第1及び第4実施形態では、センサピン43が操作板71が操作されていることを検出し、その旨を示す検出信号を出力し、この検出信号に基づいて、コントローラ1が制動部41又は42が動作していることを示す信号をゲーム装置2へ供給する例を示したが、これに限定されない。[Fifth Application Example]
In the first and fourth embodiments, an example is shown in which the
例えば、下ケース17底面の操作板71に対向する位置に圧電素子を設け、操作板71のいずれかの箇所により前記圧電素子が押圧されて発生する電圧に基づいて、制動部41又は42が動作していることを示す信号をコントローラ1がゲーム装置2へ供給しても良い。For example, a piezoelectric element may be provided at a position facing the
また、下ケース17底面の操作板71に対向する位置に、下ケース17と操作板71との距離を測定する測距部を設け、前記距離が短くなったことを検出した前記測距部から出力される検出信号に基づいて、制動部41又は42が動作していることを示す信号をコントローラ1がゲーム装置2へ供給しても良い。In addition, a distance measuring unit that measures the distance between the
あるいは、操作板71に磁石を取り付けるとともに、下ケース17底面の前記磁石に対向する位置にコイルを取り付け、操作板71が操作されて磁石が前記コイルに近づくことで前記コイルに誘起される電流に基づいて、制動部41又は42が動作していることを示す信号をコントローラ1がゲーム装置2へ供給しても良い。Alternatively, a magnet may be attached to the
一方、前記第2及び第3実施形態では、制動部46及び47並びに制動部48を構成する電磁アクチュエータ82及び83は専用のボタン又は平面側操作部11のいずれかのボタンの操作によってオン、オフされる。また、前記第6~第8実施形態では、制動部254~257、主制御部3221~3224及び制動部405~408を構成するモータ272及び342はボタン261~264の操作によってオン、オフされる。したがって、コントローラは、これらのボタンの操作結果を制動部46~48、254~257、405~408又は主制御部3221~3224が動作していることを示す信号としてゲーム装置2へ供給すれば良い。On the other hand, in the second and third embodiments, the
[第6応用例]
前記第1~第3実施形態では、x軸センタリング部61及びy軸センタリング部62をそれぞれ設け、板バネ61A等の復元力によりスティック54を中立位置に戻す例を示したが、これに限定されない。例えば、スティック54にコイルバネを遊嵌し、コイルバネの上端又は下端をプリント基板等に固定し、このコイルバネの復元力によりスティック54を中立位置に戻すように構成しても良い。[Sixth Application Example]
In the first to third embodiments, an example has been shown in which the
[第7応用例]
前記第2、第3及び第6~第8実施形態において、ゲームプログラムは、ゲームの状況に応じて、例えば、コントローラに対して以下に示す処理をしても良い。
(i)レースゲーム等において、操作者がアナログスティック28、29、84、201、202、301、302、401又は402を操作して、キャラクタが運転する自動車が舗装道路を走行している場合はすべての電磁アクチュエータをオフのままとし、又は、すべてのモータ272及び342を停止のままとし、自動車が路肩にはみ出した場合は少なくとも1個の電磁アクチュエータをオンする、又は、少なくとも1個のモータ272及び342を正転起動することにより、アナログスティック28、29、84、201、202、301、302、401又は402の操作を重くする。このように構成すれば、実際に自動車を運転している感覚を操作者に与えることができる。[Seventh Application Example]
In the second, third and sixth to eighth embodiments, the game program may perform the following processes on the controller depending on the game situation.
(i) In a racing game or the like, when an operator operates the
(ii)操作者がアナログスティック28、29、84、201、202、301、302、401又は402を特定の方向へ傾倒操作しようとした場合だけ、少なくとも1個の電磁アクチュエータをオンする、又は、少なくとも1個のモータ272又は342を正転起動する。具体的には、ゲームプログラムが、アナログスティック28、29、84、201、202、301、302、401又は402のアナログ値を所定間隔で監視し、例えば、y1方向のアナログ値が増加した場合に少なくとも1個の電磁アクチュエータをオンし、あるいは、モータ272Ly、272Ry、342Ly又は342Ryを正転起動し、y1方向のアナログ値が増加しないか又は減少した場合には当該電磁アクチュエータをオフする、あるいは、当該モータ272Ly、272Ry、342Ly又は342Ryを正転起動する。このように構成すれば、アナログスティック28、29、84、201、202、301、302、401又は402をy1方向にだけ傾倒操作しにくい感覚を操作者に与えることができる。(ii) Only when the operator attempts to tilt the
(iii)操作者が操作しているアナログスティックを制動する制動部を構成する電磁アクチュエータ又はモータのいずれかについて、短い間隔でオン、オフを切り替えることにより、アナログスティックに振動を発生させたり、前記間隔を変更したりする。このように構成すれば、ゲームの臨場感を操作者に与えることができる。(iii) Either the electromagnetic actuator or the motor that constitutes the braking unit that brakes the analog stick being operated by the operator is switched on and off at short intervals to generate vibrations in the analog stick or to change the intervals. This configuration can give the operator a sense of realism in the game.
[第8応用例]
前記第1~第8実施形態では、本発明をゲーム装置用のコントローラに適用する例を示したが、これに限定されず、本発明をドローン用のコントローラに適用しても良い。このように構成すれば、ドローン用のコントローラにおいて段落0004~段落0022に記載したゲーム装置用のコントローラの課題と同様な課題を解決できる。[Eighth Application Example]
In the first to eighth embodiments, the present invention is applied to a controller for a game device, but the present invention is not limited to this and may be applied to a controller for a drone. If configured in this way, the drone controller can solve the same problems as those of the controller for a game device described in paragraphs 0004 to 0022.
[第9応用例]
前記第5実施形態では、制動部233及び234を用いて、アナログスティック201及び202に取り付けられた2本の傾倒伝達部材232のテンションを同時に調整する例を示したが、これに限定されない。[Ninth Application Example]
In the fifth embodiment, an example is shown in which the
例えば、制動部233及び234を構成する制動部材248について、ハウジング本体241Aの収容部241Eに収容された2本の傾倒伝達部材232に別個独立して押し付けられる部材により構成しても良い。このように構成すれば、アナログスティック201及び202に取り付けられた2本の傾倒伝達部材232のテンションを別個独立して調整することができるので、前記第3実施形態により得られる効果と同様の効果が得られる。For example, the
[第10応用例]
前記第6実施形態では、制動部254~257は、ウォームホイール部275Aを有し、被制動部材2531~2534を押圧する押圧部材275と、ウォームホイール部275Aと螺合するウォーム274と、ウォーム274を回転させるモータ272と、を有する例を示したが、これに限定されない。[Tenth Application Example]
In the sixth embodiment, the braking
第6実施形態に係る制動部は、被制動部材2531~2534の移動を抑止する抑止部として機能するものであればどのような構成を有していても良い。The braking portion according to the sixth embodiment may have any configuration as long as it functions as a restraining portion that restrains the movement of the braked
図73は、本発明の第10応用例に係る制動部501の構成の一例を示す斜視図である。制動部501は、ベースプレート511と、ソレノイド512と、シリンダ513と、ブレーキベース514と、調整ネジ515と、緩衝バネ516と、ブレーキブロック517と、案内部材518とが組み立てられて構成されている。Figure 73 is a perspective view showing an example of the configuration of the
ベースプレート511は、概ね長方平板形状を呈している。ベースプレート511の一角近傍の平面には、プランジャ512Aの移動方向がベースプレート511の短手方向と平行となるように、ソレノイド512が取り付けられている。ベースプレート271の平面において、ソレノイド512の取り付け位置とは反対側の長辺両端には、被制動部材253を案内する案内部511A及び511Bが一体に形成されている。The
ソレノイド512のプランジャ512Aの先端には、シリンダ513が取り付けられている。シリンダ513には、楕円状の貫通孔513Aが形成されている。貫通孔513Aには、被制動部材253が挿通される。A
ソレノイド512の近傍のベースプレート511の平面には、ブレーキベース514が取り付けられている。ブレーキベース514は、長方体形状のブレーキベース本体514Aを有している。ブレーキベース514A本体の短手方向下端両端には、フランジ514Bが一体に形成されている。The
各フランジ514Bには、ブレーキベース本体514Aの短手方向と平行であって、フランジ514Bのほぼ全域に亘って長孔514Cが形成されている。ブレーキベース514は、各長孔514Cに挿入される2本の調整ネジ515によって、ベースプレート511に固定されている。Each
ブレーキベース本体514Aには、正面から背面に至るまで、円形状の2個の貫通孔514Dが所定間隔をあけて形成されている。各貫通孔514Dには、2本のシャフト514Eが挿入されている。各シャフト514Eは、緩衝バネ516が遊嵌され、一端にはブレーキブロック517が取り付けられている。Two circular through
各シャフト514Eの各他端は、ブレーキベース本体514Aの背面から突出している。各シャフト514Eの各他端近傍には、緩衝バネ516の復元力によって、各シャフト514Eがブレーキベース本体514Aの正面側から飛び出ないように、ストッパ514F(図75及び図76参照)が取り付けられている。The other end of each
ブレーキブロック517は、平面形状がほぼ半円状を呈している。ブレーキブロック517の正面には、緩衝バネ516の復元力によって被制動部材253に押し付けられることにより、被制動部材253のテンションを調節するための溝部517Aが形成されている。The
ブレーキブロック517は、ソレノイド512が作動した際に被制動部材253に必要以上の力が加えられると、緩衝バネ516の復元力に抗して後退することにより、被制動部材253が破損することを防止する。If excessive force is applied to the braked
ベースプレート511の案内部511Aの近傍には、案内部材518が設けられている。案内部材518は、被制動部材253が挿通される面が、案内部511Aにおける被制動部材253が挿通される面と直交し、かつ、ベースプレート511の短手方向と平行となるように設けられている。A
制動部501に入った被制動部材253は、案内部511Bに案内された後、近傍に位置しているシリンダ513の貫通孔513Aに挿通され、ベースプレート511の長辺方向に平行となるように向きを変えられる。The braked
次に、被制動部材253は、ブレーキブロック517の正面に形成されている溝部517Aに当接しつつ、案内部材518に到達し、当該案内部材518によって案内部511Aに案内され、ベースプレート511の短手方向に平行となるように向きを変えられた後、制動部501から出る。The braked
ソレノイド512は、通電されていない状態では、図73に示すように、プランジャ512Aの大部分がソレノイド512外部に突出している。この状態において、ソレノイド512が通電されると、図74に示すように、プランジャ512Aの一部がソレノイド512内部に引き込まれ、それに伴ってシリンダ513がソレノイド512側に平行移動するので、被制動部材253がソレノイド512側に引き寄せられる。図74は、制動部501が作動した状態を示す斜視図である。その結果、被制動部材253がブレーキブロック517の溝部517Aに強く押し付けられる。When the
一方、ソレノイド512への通電が停止された場合、プランジャ512Aの大部分がソレノイド512外部に突出するので、被制動部材253が緩み、被制動部材253のブレーキブロック517の溝部517Aへの押し付けが小さくなる。On the other hand, when the current to the
ブレーキベース514は、2本の調整ネジ515を緩め、ベースプレート511の短手方向へ平行移動させた後に2本の調整ネジ515を締めることにより、図75及び図76に示すように、ブレーキブロック517を前進又は後退させて、制動部501が使用されていない状態における被制動部材253の長さやテンションのバラツキを調整することができる。The
図75はブレーキブロック517が前進した状態を示す平面図、図76はブレーキブロック517が後退した状態を示す平面図である。なお、図75及び図76では、ソレノイド512及びシリンダ513は表していない。FIG. 75 is a plan view showing the
また、第6実施形態に係る制動部は、図73に示すブレーキブロック517自体をソレノイド512によって前進又は後退させる構成の他、被制動部材253の一部を把持する構成、被制動部材253を弾性部材からなるチューブ内に挿通させ、チューブの一部の内径を縮小させる構成、あるいは、被制動部材253の一部に磁石又は強磁性体を取り付け、前記磁石又は前記強磁性体を磁力により吸着する構成のいずれを有していても良い。In addition, the braking unit according to the sixth embodiment may have a configuration in which the
[第11応用例]
前記第7実施形態では、図56に示すように、制動部材323の一端を固定部材333を介して軸支部材332に固定する例を示したが、これに限定されない。例えば、制動部材323の一端を、例えば、コイルバネ等の弾性部材及び固定部材333を介して軸支部材332に固定しても良い。このように構成すれば、主制御部3221~3224を構成するモータ3421~3424の消費電流の変化を図47に示す特性よりも時間的に緩やかにすることができるので、ブレーキロータ331が制動部材323を巻き取る量を調整することができる。[Eleventh Application Example]
In the seventh embodiment, as shown in Fig. 56, an example has been shown in which one end of the
[第12応用例]
前記第7実施形態に係る主制動部322及び第8実施形態に係る制動部405~408は、ウォームホイール部345Aを有し、制動部材3231~3234又は4041~4044を巻き取るワインダー345と、ウォームホイール部345Aと螺合するウォーム344と、ウォーム344を回転させるモータ342と、を有する例を示したが、これに限定されない。[Twelfth Application Example]
The main braking unit 322 according to the seventh embodiment and the
第7実施形態に係る主制動部は、制動部材3231~3234を引き寄せる引き寄せ部として機能するものであればどのような構成を有していても良い。同様に、第8実施形態に係る制動部は、制動部材4041~4044とともに、ブレーキシュー423及び426をディスクロータ422C及び425Cに押し付ける押し付け部として機能するものであればどのような構成を有していても良い。The main braking portion according to the seventh embodiment may have any configuration as long as it functions as an attracting portion that attracts the braking members323-1 to323-4 . Similarly, the braking portion according to the eighth embodiment may have any configuration as long as it functions as a pressing portion that presses the
図77は本発明の第12応用例に係る制動部531の構成の一例を示す斜視図である。制動部531は、ベースプレート541と、ソレノイド542と、調整ネジ543と、シリンダ544と、回転軸545及び546と、ガイドホイール547及び548と、固定部材549とが組み立てられて構成されている。Figure 77 is a perspective view showing an example of the configuration of a
ベースプレート541は、概ね長方平板形状を呈している。ベースプレート541の一方の短辺近傍の平面には、プランジャ542Bの移動方向がベースプレート541の長手方向と平行となるように、ソレノイド542が取り付けられている。ベースプレート541の他方の短辺の平面において、一方の角には、制動部材323又は404を案内する案内部541Aが一体に形成されている。The
ソレノイド542は、長方体形状のソレノイド本体542Aを有している。ソレノイド542A本体の長手方向下端両端には、フランジ542Cが一体に形成されている。各フランジ542Cには、ソレノイド本体542Aの長手方向と平行であって、フランジ542Cのほぼ全域に亘って長孔542Dが形成されている。ソレノイド542は、各長孔542Dに挿入される2本の調整ネジ543によって、ベースプレート541に固定されている。The
ソレノイド542のプランジャ542Bの先端には、シリンダ544が取り付けられている。シリンダ544は、プランジャ542Bに接続する基端部544Aと、基端部544Aからそれぞれ所定間隔を開けて平行に伸びる軸支部544B及び544Cとが一体に形成されている。A
軸支部544B及び544Cは、ガイドホイール547が回転可能に取り付けられた回転軸545を軸支している。ガイドホイール547の周面には、制動部材323又は404が巻き付けられる。The
ベースプレート541の他方の短辺の平面において、シリンダ544と対向する位置には、固定部材549が取り付けられている。固定部材549には、ガイドホイール547の周面に巻き付けられた制動部材323又は404の終端が固定される。A fixed
ベースプレート541の他方の短辺の平面において、固定部材549と案内部541Aとの間には、回転軸546が取り付けられている。回転軸546の上部には、ガイドホイール548が回転可能に取り付けられている。ガイドホイール548の周面には、制動部材323又は404が巻き付けられる。A
制動部531に入った制動部材323又は404は、案内部541Aに案内された後、近傍に位置しているガイドホイール548の周面及びガイドホイール547の周面に順次巻き付けられた後、終端が固定部材549に固定される。The braking
ソレノイド542は、通電されていない状態では、図77に示すように、プランジャ542Bの大部分がソレノイド542外部に突出している。この状態において、ソレノイド542が通電されると、図78に示すように、プランジャ542Bの一部がソレノイド542内部に引き込まれ、それに伴ってシリンダ544がソレノイド542側に平行移動するので、制動部材323又は404がソレノイド542側に引き寄せられる。図78は、制動部531が作動した状態を示す斜視図である。その結果、制動部材323又は404がソレノイド542側に引き寄せられる。ガイドホイール547及び548を用いることにより、滑車の原理により、シリンダ544の移動量の約2倍も制動部材323又は404を引き寄せることができる。When solenoid 542 is not energized, most of
一方、ソレノイド542への通電が停止された場合、プランジャ542Bの大部分がソレノイド542外部に突出するので、制動部材323又は404が緩み、制動部531の外部へ戻る。On the other hand, when the current to the
ソレノイド542は、2本の調整ネジ543を緩め、ベースプレート541の長手方向へ平行移動させた後に2本の調整ネジ543を締めることにより、ソレノイド542を前進又は後退させて、制動部531が使用されていない状態における制動部材323又は404の長さやテンションのバラツキを調整することができる。The
[第13応用例]
前記第8実施形態では、ディスクロータ422C及び425Cの上方に配置されたブレーキシュー423及び426をディスクロータ422C及び425Cに押し付ける例を示したが、これに限定されず、例えば、以下に示すように構成しても良い。[Thirteenth Application Example]
In the eighth embodiment, an example is shown in which the
ディスクロータ422C及び425Cの下方にブレーキシュー423及び426を配置するとともに、プリント基板403のブレーキシュー423及び426に対向する位置に貫通孔を形成する。また、前記各貫通孔に棒状のプッシュロッドを挿入し、ブレーキシュー423及び426に前記各プッシュロッドの上端を近接させた状態で保持する。操作者が前記プッシュロッドを操作する構成では、コントローラを構成する下ケースにも貫通孔を形成し、前記各プッシュロッドの下端を下ケースから下方へ突出させる。
そして、ソレノイド等の電気制御デバイス又は操作者が前記プッシュロッドを上方向に移動させ、前記プッシュロッドの上端でブレーキシュー423又は426を押し上げることにより、ブレーキシュー423又は426をディスクロータ422C又は425Cに押し付ける。前記プッシュロッド及び前記電気制御デバイスは、請求項11の第1及び第2の押し付け部を構成している。Then, an electric control device such as a solenoid or an operator moves the push rod upward and pushes up the
以上説明した前記各実施形態及び前記各応用例は、その目的及び構成等に特に矛盾や問題がない限り、互いの技術を流用することができる。The above-described embodiments and applications can share the same technology as each other, as long as there are no particular contradictions or problems in their purpose and configuration.
1,5,6…コントローラ、2…ゲーム装置、3…表示装置、4…ネットワーク、11…平面側操作部、12…背面側操作部、13…底面側操作部、14,15…グリップ部、16,52…上ケース、17,56…下ケース、17A…梁部、17B1…凹部、17B2…規制板、17C,17D,52A,53D,55D,56B,59A,60A,62A,71D…貫通孔、18…プリント基板、21…Aボタン、22…Bボタン、23…Xボタン、24…Yボタン、25…スタートボタン、26…セレクトボタン、27…十字キー、27A…上ボタン、27B…下ボタン、27C…左ボタン、27D…右ボタン、28,29,84,201,202,301,302,401,402…アナログスティック、30~33…肩ボタン、41,42,46,47,48,233,234,254~257,304~307,405~408,501,531…制動部、43…センサピン、43A…本体部、43B,53A,55A…作動部、44…ストッパ、45…戻しバネ、48A…x軸制動部、48B…y軸制動部、51,211,311,411…キャップ、51A…操作部、51B…カバー、52B,56A…切り欠き、53…x軸従動部(第1の従動部)、53B,53C,54A,54B,55B,55C,71C,72B…軸部、54,223,424…スティック、54C,58B,113B,114B…結合部、54D,55E,58C…孔、55…y軸従動部(第2の従動部)、56C…脚部、57…結合ピン、58,921,922,113,114,206…押し付け受部材(被制動部材)、58A,113A、114A…押し付け受部、59…x軸ポテンショメータ、60…y軸ポテンショメータ、61…x軸センタリング部、61A…板バネ、62…y軸センタリング部、71…操作板、71A…基部、71B…操作端部、71E…雌ネジ、72,81,941、942、951,952…押し付け部材、72A…押し付け部、72C…嵌合部、73…コイルバネ、74…調整ネジ、74A…円柱部、74B…頭部、74C…雄ネジ、74D…円孔、74E…嵌合孔、82,821,822,83,831,832…電磁アクチュエータ、82A,821A,822A,83A,831A,832A…作動軸、911,912…回転軸、93,96…ハウジング、93A,96A…壁部、96B…軸受、100…ゲームシステム、101…武器、102…照準、103…モンスター、111,112…可動部、222,422…第1軸従動部(第1の従動部)、224,425…第2軸従動部(第2の従動部)、2321~2324…傾倒伝達部材(被制動部材)、2531~2534…被制動部材、272,272Lx,272Ly,272Rx,272Ry,342,342Lx,342Ly,342Rx,342Ry…モータ、274,344,3441~3444…ウォーム、275…押圧部材、275A,345A,345A1~345A4…ウォームホイール部、3231~3234,4041~4044…制動部材、331,3311~3314…ブレーキロータ、345,3451~3454…ワインダー、423,426…ブレーキシュー、425C…ディスクロータ、512,542…ソレノイド、512A,542B…プランジャ、513,544…シリンダ、514…ブレーキベース、517…ブレーキブロック547,548…ガイドホイール。1, 5, 6...controller, 2...game device, 3...display device, 4...network, 11...flat side operation section, 12...back side operation section, 13...bottom side operation section, 14, 15...grip section, 16, 52...upper case, 17, 56...lower case, 17A...beam section,17B1 ...recess,17B2 ...Restriction plate, 17C, 17D, 52A, 53D, 55D, 56B, 59A, 60A, 62A, 71D...Through hole, 18...Printed circuit board, 21...A button, 22...B button, 23...X button, 24...Y button, 25...Start button, 26...Select button, 27...Cross key, 27A...Up button, 27B...Down button, 27C...Left button, 27D...Right button, 28, 29, 84, 201, 202, 301, 302, 401, 402...Analog stick, 30 to 33...Shoulder button, 41, 42, 46, 47, 48, 233, 234, 254 to 257, 304 to 307, 405 to 408, 501, 531 ...braking portion, 43...sensor pin, 43A...main body portion, 43B, 53A, 55A...operating portion, 44...stopper, 45...return spring, 48A...x-axis braking portion, 48B...y-axis braking portion, 51, 211, 311, 411...cap, 51A...operating portion, 51B...cover, 52B, 56A...notch, 53...x-axis follower portion (first follower portion), 53B, 53C, 54A, 54B, 55B, 55C, 71C, 72B...shaft portion, 54, 223, 424...stick, 54C, 58B, 113B, 114B...connecting portion, 54D, 55E, 58C...hole, 55...y-axis follower portion (second follower portion), 56C...leg portion, 57...connecting pin, 58, 921 , 922 , 113, 114, 206...pressure receiving member (brake receiving member), 58A, 113A, 114A...pressure receiving portion, 59...x-axis potentiometer, 60...y-axis potentiometer, 61...x-axis centering portion, 61A...leaf spring, 62...y-axis centering portion, 71...operation plate, 71A...base portion, 71B...operation end portion, 71E...female screw, 72, 81, 941 , 942 , 951 , 952 ...pressure member, 72A...pressure portion, 72C...fitting portion, 73...coil spring, 74...adjustment screw, 74A...cylindrical portion, 74B...head portion, 74C...male screw, 74D...circular hole, 74E...fitting hole, 82, 821 , 822 , 83, 831 , 832 ... electromagnetic actuator, 82A, 821 A, 822 A, 83A, 831 A, 832 A ... operating shaft, 911 , 912 ... rotating shaft, 93, 96 ... housing, 93A, 96A ... wall portion, 96B ... bearing, 100 ... game system, 101 ... weapon, 102 ... aiming, 103 ... monster, 111, 112 ... moving part, 222, 422 ... first axis driven part (first driven part), 224, 425 ... second axis driven part (second driven part), 2321 to 2324 ... tilt transmission member (brake receiving member), 2531 to 2534 ... brake receiving member, 272, 272Lx , 272Ly , 272Rx , 272Ry , 342, 342Lx , 342Ly , 342Rx , 342Ry ...motors, 274,344 , 344 1 to 3444 ...worms, 275...pressure members, 275A, 345A, 345A1 to 345A4 ...worm wheel portions, 3231 to 3234 , 4041 to 4044 ...braking members, 331, 3311 to 3314 ...brake rotors, 345, 3451 to 3454 ...winders, 423, 426...brake shoes, 425C...disc rotors, 512, 542...solenoids, 512A, 542B...plungers, 513, 544...cylinders, 514...brake bases, 517...brake blocks 547, 548...guide wheels.
| Application Number | Priority Date | Filing Date | Title |
|---|---|---|---|
| JP2023093594 | 2023-06-07 | ||
| JP2023-093594 | 2023-06-07 |
| Publication Number | Publication Date |
|---|---|
| WO2024252764A1true WO2024252764A1 (en) | 2024-12-12 |
| Application Number | Title | Priority Date | Filing Date |
|---|---|---|---|
| PCT/JP2024/012545PendingWO2024252764A1 (en) | 2023-06-07 | 2024-03-28 | Controller |
| Country | Link |
|---|---|
| WO (1) | WO2024252764A1 (en) |
| Publication number | Priority date | Publication date | Assignee | Title |
|---|---|---|---|---|
| JP2000296263A (en)* | 1999-04-15 | 2000-10-24 | Sony Corp | Loading device and fishing game controller |
| JP2006102010A (en)* | 2004-10-01 | 2006-04-20 | Futaba Corp | Stick lever unit for radio controller and radio controller with the same |
| JP2011210034A (en)* | 2010-03-30 | 2011-10-20 | Sony Corp | Joystick device |
| WO2013047186A1 (en)* | 2011-09-26 | 2013-04-04 | オリンパスメディカルシステムズ株式会社 | Endoscope |
| JP2014061225A (en)* | 2012-09-24 | 2014-04-10 | Hori Co Ltd | Controller for game machine |
| JP2016007345A (en)* | 2014-06-24 | 2016-01-18 | 株式会社ソニー・コンピュータエンタテインメント | Game system |
| US20190176033A1 (en)* | 2016-08-11 | 2019-06-13 | Ironburg Inventions Limited | Input apparatus for a computer |
| WO2022123737A1 (en)* | 2020-12-10 | 2022-06-16 | 任天堂株式会社 | Information processing system, controller, information processing method, and information processing program |
| Publication number | Priority date | Publication date | Assignee | Title |
|---|---|---|---|---|
| JP2000296263A (en)* | 1999-04-15 | 2000-10-24 | Sony Corp | Loading device and fishing game controller |
| JP2006102010A (en)* | 2004-10-01 | 2006-04-20 | Futaba Corp | Stick lever unit for radio controller and radio controller with the same |
| JP2011210034A (en)* | 2010-03-30 | 2011-10-20 | Sony Corp | Joystick device |
| WO2013047186A1 (en)* | 2011-09-26 | 2013-04-04 | オリンパスメディカルシステムズ株式会社 | Endoscope |
| JP2014061225A (en)* | 2012-09-24 | 2014-04-10 | Hori Co Ltd | Controller for game machine |
| JP2016007345A (en)* | 2014-06-24 | 2016-01-18 | 株式会社ソニー・コンピュータエンタテインメント | Game system |
| US20190176033A1 (en)* | 2016-08-11 | 2019-06-13 | Ironburg Inventions Limited | Input apparatus for a computer |
| WO2022123737A1 (en)* | 2020-12-10 | 2022-06-16 | 任天堂株式会社 | Information processing system, controller, information processing method, and information processing program |
| Publication | Publication Date | Title |
|---|---|---|
| US8987620B2 (en) | Haptic steering wheel switch apparatus | |
| CN1285984C (en) | Stalk switch | |
| US8263882B2 (en) | Electrical control device | |
| WO2017052806A1 (en) | Adjustable force tactile switch | |
| WO2024252764A1 (en) | Controller | |
| US20220137617A1 (en) | Integrated control apparatus for autonomous vehicle | |
| AU706158B2 (en) | Control lever device | |
| EP4176948A1 (en) | Game controller with onboard calibration | |
| US11298611B2 (en) | User input device and related methods | |
| CN100447031C (en) | joystick device | |
| US20040056842A1 (en) | Trackball and in-vehicle device controller using the trackball | |
| US4045630A (en) | Chin activated switch | |
| US20240012229A1 (en) | Surgical microscope system | |
| WO2013136540A1 (en) | Operating device | |
| JP2001005545A (en) | Multi-directional inputting device | |
| JPWO2004036080A1 (en) | Brake mechanism for hoisting machine | |
| JPH0434262A (en) | Shift lever of variable lever ratio | |
| KR20220115750A (en) | Integrated control apparatus for autonomous driving vehicle | |
| JP6619887B2 (en) | Operating device | |
| US20250161803A1 (en) | Gamepad for head-mounted device, and head-mounted device | |
| EP4406629A1 (en) | Input device with variable grip | |
| JP3272008B2 (en) | Optical observation device | |
| JP7411141B2 (en) | input device | |
| WO2001029646A1 (en) | Fictitious control and hand manoeuvre device | |
| JP2725271B2 (en) | Joystick device for electric wheelchair |
| Date | Code | Title | Description |
|---|---|---|---|
| 121 | Ep: the epo has been informed by wipo that ep was designated in this application | Ref document number:24819003 Country of ref document:EP Kind code of ref document:A1 |