











本発明は、液体吐出口と液体吸引口を有するカテーテルに関するものである。また、本発明は、液体吐出口と液体吸引口を有するカテーテルと、当該カテーテルが挿入される医療用長尺体とを有するカテーテルシステムに関するものである。The present invention relates to a catheter having a liquid discharge port and a liquid suction port. The present invention also relates to a catheter system having a catheter having a liquid discharge port and a liquid suction port, and a medical elongated body into which the catheter is inserted.
従来、体内管腔に挿入して用いられ、体内管腔内で液体を吐出したり体液等を吸引するカテーテルが知られている。そのようなカテーテルとして、胆管内に挿入して用いられ、胆汁を吸引するカテーテルが知られている。胆管は、胆石や腫瘍等によって閉塞したり胆汁の流れが阻害されることによって、胆汁が胆管内に停滞し、細菌感染を引き起こす場合がある。胆汁の細菌感染は胆管炎を招き、さらに細菌を含んだ胆汁が肝臓を通って全身の血液中に流入すると敗血症を引き起こすおそれがある。このような場合、胆管内から胆汁を排出する処置が必要となり、経皮経肝胆道ドレナージ(PTCD)や内視鏡的胆管ドレナージ(ERBD)などが行われる。 Conventionally, catheters are known that are inserted into bodily lumens to discharge liquids or aspirate bodily fluids within the bodily lumens. One such catheter is a catheter that is inserted into the bile duct to aspirate bile. When the bile duct is blocked or the flow of bile is hindered by gallstones or tumors, bile may stagnate in the bile duct, causing bacterial infection. Bacterial infection of the bile can lead to cholangitis, and if bile containing bacteria passes through the liver and enters the bloodstream throughout the body, it can cause sepsis. In such cases, a procedure is required to drain the bile from the bile duct, and percutaneous transhepatic biliary drainage (PTCD) or endoscopic biliary drainage (ERBD) is performed.
体内管腔内で液体を吐出したり体液等を吸引するカテーテルとして、例えば特許文献1には、体内から体液を排出するための内側内腔を備えた流体案内要素と、体腔内でカテーテル区域を保持するためのバルーンを備え、前記流体案内要素が開放気孔性材料から成る少なくとも1つの壁区域を有し、前記材料が内側内腔と流体結合されており、流体案内要素の近位端に陰圧を印加することによって体液が前記材料を通して内側内腔内に吸引可能であるカテーテルが開示されている。特許文献2には、所定の医療行為を行う作業用処置具が挿通自在な複数のルーメンが配設された長尺な挿入部と、挿入部の先端から延設され挿入部を案内するガイド部とを具備し、ガイド部の先端面に開口部が形成され、挿入部およびガイド部に流体供給ルーメンが形成された細長医療部材が開示されている。For example,
本発明は、新規な機構により体液等を吸引することができるカテーテルを提供することを目的とする。本発明はまた、液体吐出口と液体吸引口を有するカテーテルを備えたカテーテルシステムであって、新規な機構により体液等を吸引することができるカテーテルシステムを提供することを目的とする。The present invention aims to provide a catheter that can aspirate bodily fluids and the like using a novel mechanism. The present invention also aims to provide a catheter system that includes a catheter having a liquid discharge port and a liquid suction port, and that can aspirate bodily fluids and the like using a novel mechanism.
前記課題を解決することができた本発明のカテーテルおよびカテーテルシステムは、下記の通りである。
[1] 近位側から遠位側へ長手方向に延在するシャフトと、前記シャフトより近位側に設けられたハンドルとを有し、
前記シャフトは、遠位端に液体吐出口を有する第1チューブと、遠位端に液体吸引口を有する第2チューブと、前記第1チューブと前記第2チューブの外側に配置されたバルーンとを有し、
前記第2チューブの近位端は前記ハンドルの遠位端よりも遠位側に位置し、
前記第2チューブは、前記バルーンの近位端よりも近位側において、前記第2チューブの内部空間がカテーテルの外部空間と繋がっているカテーテル。
[2] 前記カテーテルは、前記シャフトを、別体の医療用長尺体の内腔に挿入して用いられ、前記バルーンを前記別体の医療用長尺体の内腔内で拡張し、前記内腔を近位側から吸引することにより、前記第2チューブの前記液体吸引口から吸引することができる[1]に記載のカテーテル。
[3] 前記医療用長尺体は内視鏡であり、前記医療用管状体の内腔は、吸引機構を備えた内視鏡の鉗子チャネルである[2]に記載のカテーテル。
[4] 前記シャフトはさらに第3チューブを有し、前記第3チューブの遠位側開口が前記バルーンの内部空間に連通している[1]~[3]のいずれかに記載のカテーテル。
[5] 前記第1チューブの側面に前記バルーンの内部空間に連通する穴が形成されている[1]~[4]のいずれかに記載のカテーテル。
[6] 前記バルーンは、前記シャフトの長手方向の異なる位置に複数設けられている[1]~[5]のいずれかに記載のカテーテル。
[7] 前記液体吐出口は前記液体吸引口よりも遠位側に位置する[1]~[6]のいずれかに記載のカテーテル。
[8] 前記シャフトは、前記第2チューブが配されている上側と、前記第1チューブが配されている下側を有し、前記液体吸引口の外縁は上側から下側に向かって遠位側に傾斜している[1]~[7]のいずれかに記載のカテーテル。
[9] 前記液体吸引口の外縁は上側から下側に向かって遠位側に直線状に傾斜した傾斜部を有し、当該傾斜部に切欠き部および/または突出部が形成されている[8]に記載のカテーテル。
[10] 前記第2チューブの外面には、前記液体吸引口の近位側近傍に、複数の突起部が設けられている[1]~[9]のいずれかに記載のカテーテル。
[11] 前記第1チューブの内腔は遠位端部に絞り部を有し、前記絞り部における前記第1チューブの内腔の断面積がその遠位側および近位側よりも狭く形成されている[1]~[10]のいずれかに記載のカテーテル。
[12] 前記カテーテルは、胆管に挿入して胆汁を吸引する胆汁吸引カテーテルである[1]~[11]のいずれかに記載のカテーテル。
[13] 前記バルーンの拡張可能部分の遠位端は、前記シャフトの遠位端より近位側に20cm以上50cm以下の範囲に位置する[12]に記載のカテーテル。
[14] 前記液体吐出口は、前記液体吸引口よりも3mm以上10mm以下遠位側に位置し、前記シャフトは、前記バルーンよりも遠位側における外径が4.0mm以下である[12]または[13]に記載のカテーテル。
[15] 近位側から遠位側へ長手方向に延在する第1シャフトと、前記第1シャフトよりも近位側に設けられたハンドルとを有するカテーテルと、
前記長手方向に延在する第2シャフトを有し、前記第2シャフトの内腔に前記カテーテルの前記第1シャフトが挿入される医療用長尺体と
を有するカテーテルシステムであって、
前記第2シャフトの内腔は近位側から吸引可能となっており、
前記第1シャフトは、遠位端に液体吐出口を有する第1チューブと、遠位端に液体吸引口を有する第2チューブとを有し、前記第1チューブと前記第2チューブの外側に、拡張により前記第2シャフトの内面に接するバルーンが設けられているカテーテルシステム。
[16] 前記第2チューブの近位端は前記ハンドルの遠位端よりも遠位側に位置する[15]に記載のカテーテルシステム。
[17] 前記第1シャフトはさらに第3チューブを有し、前記第3チューブの遠位側開口が前記バルーンの内部空間に連通している[15]または[16]に記載のカテーテルシステム。
[18] 前記第1チューブの側面に前記バルーンの内部空間に連通する穴が形成されている[15]~[17]のいずれかに記載のカテーテルシステム。
[19] 前記バルーンは、前記第1シャフトの長手方向の異なる位置に複数設けられている[15]~[18]のいずれかに記載のカテーテルシステム。
[20] 前記液体吐出口は前記液体吸引口よりも遠位側に位置する[15]~[19]のいずれかに記載のカテーテルシステム。
[21] 前記第1シャフトは、前記第2チューブが配されている上側と、前記第1チューブが配されている下側を有し、前記液体吸引口の外縁は上側から下側に向かって遠位側に傾斜している[15]~[20]のいずれかに記載のカテーテルシステム。
[22] 前記液体吸引口の外縁は上側から下側に向かって遠位側に直線状に傾斜した傾斜部を有し、当該傾斜部に切欠き部および/または突出部が形成されている[21]に記載のカテーテルシステム。
[23] 前記第2チューブの外面には、前記液体吸引口の近位側近傍に、複数の突起部が設けられている[15]~[22]のいずれかに記載のカテーテルシステム。
[24] 前記第1チューブの内腔は遠位端部に絞り部を有し、前記絞り部における前記第1チューブの内腔の断面積がその遠位側および近位側よりも狭く形成されている[15]~[23]のいずれかに記載のカテーテルシステム。
[25] 前記カテーテルは、胆管に挿入して胆汁を吸引する胆汁吸引カテーテルである[15]~[24]のいずれかに記載のカテーテルシステム。
[26] 前記バルーンの拡張可能部分の遠位端は、前記第1シャフトの遠位端より近位側に20cm以上50cm以下の範囲に位置する[25]に記載のカテーテルシステム。
[27] 前記液体吐出口は、前記液体吸引口よりも3mm以上10mm以下遠位側に位置し、前記第1シャフトは、前記バルーンよりも遠位側における外径が4.0mm以下である[25]または[26]に記載のカテーテルシステム。
[28] 前記医療用長尺体は内視鏡であり、前記カテーテルが挿入される前記医療用管状体の内腔は、吸引機構を備えた内視鏡の鉗子チャネルである[15]~[27]のいずれかに記載のカテーテルシステム。
[29] [1]~[14]のいずれかに記載のカテーテルと、前記カテーテルが挿入される内腔を有する医療用長尺体とを有するカテーテルシステムであって、前記バルーンを前記医療用長尺体の内腔内で拡張し、前記内腔を近位側から吸引することにより、前記第2チューブの前記液体吸引口から吸引することができるカテーテルシステム。The catheter and catheter system of the present invention that can solve the above problems are as follows.
[1] A surgical instrument having a shaft extending in a longitudinal direction from a proximal side to a distal side and a handle provided proximally of the shaft,
The shaft has a first tube having a liquid discharge port at a distal end, a second tube having a liquid suction port at a distal end, and a balloon disposed outside the first tube and the second tube,
a proximal end of the second tube is located distal to a distal end of the handle;
A catheter in which the internal space of the second tube is connected to the external space of the catheter proximal to the proximal end of the balloon.
[2] The catheter is used by inserting the shaft into the inner cavity of a separate medical elongated body, and the balloon can be expanded within the inner cavity of the separate medical elongated body to suction the inner cavity from the proximal side, thereby suctioning liquid from the liquid suction port of the second tube.
[3] The catheter according to [2], wherein the medical elongate body is an endoscope, and the lumen of the medical tubular body is a forceps channel of the endoscope equipped with a suction mechanism.
[4] The catheter according to any one of [1] to [3], wherein the shaft further has a third tube, and a distal opening of the third tube communicates with the internal space of the balloon.
[5] The catheter according to any one of [1] to [4], wherein a hole communicating with the internal space of the balloon is formed on a side surface of the first tube.
[6] The catheter according to any one of [1] to [5], wherein a plurality of the balloons are provided at different positions in the longitudinal direction of the shaft.
[7] The catheter according to any one of [1] to [6], wherein the liquid discharge port is located distal to the liquid suction port.
[8] A catheter described in any of [1] to [7], wherein the shaft has an upper side on which the second tube is arranged and a lower side on which the first tube is arranged, and the outer edge of the liquid suction port is inclined distally from the upper side to the lower side.
[9] The catheter described in [8], wherein the outer edge of the liquid suction port has an inclined portion that slopes linearly from the top to the bottom toward the distal side, and a notch and/or a protrusion is formed in the inclined portion.
[10] The catheter according to any one of [1] to [9], wherein a plurality of protrusions are provided on the outer surface of the second tube near the proximal side of the liquid suction port.
[11] The catheter according to any one of [1] to [10], wherein the inner cavity of the first tube has a constricted portion at a distal end thereof, and the cross-sectional area of the inner cavity of the first tube at the constricted portion is narrower than that on the distal side and the proximal side thereof.
[12] The catheter according to any one of [1] to [11], which is a bile aspiration catheter that is inserted into a bile duct to aspirate bile.
[13] The catheter according to [12], wherein the distal end of the expandable portion of the balloon is located within a range of 20 cm to 50 cm proximal to the distal end of the shaft.
[14] The catheter described in [12] or [13], wherein the liquid discharge port is located 3 mm to 10 mm distal to the liquid suction port, and the shaft has an outer diameter of 4.0 mm or less distal to the balloon.
[15] A catheter having a first shaft extending in a longitudinal direction from a proximal side to a distal side and a handle provided proximally of the first shaft;
a medical elongate body having a second shaft extending in the longitudinal direction, the first shaft of the catheter being inserted into an inner cavity of the second shaft,
The inner cavity of the second shaft is capable of being aspirated from a proximal side,
The first shaft has a first tube having a liquid outlet at its distal end and a second tube having a liquid suction port at its distal end, and a balloon is provided on the outside of the first tube and the second tube so that it contacts the inner surface of the second shaft when expanded.
[16] The catheter system described in [15], wherein the proximal end of the second tube is located distal to the distal end of the handle.
[17] The catheter system according to [15] or [16], wherein the first shaft further has a third tube, and a distal opening of the third tube is in communication with the internal space of the balloon.
[18] The catheter system according to any one of [15] to [17], wherein a hole communicating with the internal space of the balloon is formed on a side surface of the first tube.
[19] The catheter system according to any one of [15] to [18], wherein a plurality of the balloons are provided at different positions in the longitudinal direction of the first shaft.
[20] The catheter system according to any one of [15] to [19], wherein the liquid discharge port is located distal to the liquid suction port.
[21] A catheter system described in any of [15] to [20], wherein the first shaft has an upper side on which the second tube is arranged and a lower side on which the first tube is arranged, and an outer edge of the liquid suction port is inclined distally from the upper side to the lower side.
[22] The catheter system described in [21], wherein the outer edge of the liquid suction port has an inclined portion that slopes linearly from the top to the bottom toward the distal side, and a notch and/or a protrusion is formed in the inclined portion.
[23] The catheter system according to any one of [15] to [22], wherein a plurality of protrusions are provided on the outer surface of the second tube near the proximal side of the liquid suction port.
[24] The catheter system according to any one of [15] to [23], wherein the inner lumen of the first tube has a constricted portion at a distal end thereof, and the cross-sectional area of the inner lumen of the first tube at the constricted portion is narrower than that on the distal side and the proximal side thereof.
[25] The catheter system according to any one of [15] to [24], wherein the catheter is a bile suction catheter that is inserted into a bile duct to suction bile.
[26] The catheter system according to [25], wherein the distal end of the expandable portion of the balloon is located within a range of 20 cm to 50 cm proximal to the distal end of the first shaft.
[27] The catheter system described in [25] or [26], wherein the liquid discharge port is located 3 mm to 10 mm distal to the liquid suction port, and the first shaft has an outer diameter of 4.0 mm or less distal to the balloon.
[28] The catheter system according to any one of [15] to [27], wherein the medical elongated body is an endoscope, and the lumen of the medical tubular body into which the catheter is inserted is a forceps channel of an endoscope equipped with a suction mechanism.
[29] A catheter system comprising the catheter according to any one of [1] to [14] and a medical elongated body having an inner cavity into which the catheter is inserted, wherein the balloon is expanded within the inner cavity of the medical elongated body, and the inner cavity is aspirated from the proximal side, thereby allowing suction to be performed through the liquid suction port of the second tube.
本発明のカテーテルは、シャフトを別体の医療用長尺体の内腔に挿入して、当該内腔を吸引することにより、体液等を吸引することができる。胆汁吸引カテーテルである場合は、胆管内に溜まった胆汁を好適に吸引することができ、胆管内を洗浄することができる。The catheter of the present invention can aspirate bodily fluids by inserting the shaft into the inner cavity of a separate long medical body and aspirating the inner cavity. In the case of a bile aspiration catheter, it can effectively aspirate bile that has accumulated in the bile duct and clean the inside of the bile duct.
本発明のカテーテルシステムは、医療用長尺体の第2シャフトの内腔にカテーテルの第1シャフトを挿入し、カテーテルのバルーンを第2シャフトの内腔で拡張させて第2シャフトの内面に接させ、この状態で第2シャフトの内腔を近位側から吸引することにより、カテーテルの第2チューブの内腔を吸引することができる。本発明のカテーテルシステムを体内管腔に挿入し、第1シャフトを第2シャフトの遠位端よりも遠位側に延出させて使用することにより、カテーテルの第1チューブの遠位端から液体を吐出したり、第2チューブの遠位端から液体を吸引することができ、これにより体内管腔を洗浄したりすることができる。The catheter system of the present invention can aspirate the inner lumen of the second tube of the catheter by inserting the first shaft of the catheter into the inner lumen of the second shaft of the medical elongated body, expanding the balloon of the catheter in the inner lumen of the second shaft to contact the inner surface of the second shaft, and aspirating the inner lumen of the second shaft from the proximal side in this state. By inserting the catheter system of the present invention into a body lumen and using the first shaft extending distally beyond the distal end of the second shaft, it is possible to eject liquid from the distal end of the first tube of the catheter or aspirate liquid from the distal end of the second tube, thereby cleaning the body lumen.
以下、下記実施の形態に基づき本発明のカテーテルおよびカテーテルシステムを具体的に説明するが、本発明はもとより下記実施の形態によって制限を受けるものではなく、前・後記の趣旨に適合し得る範囲で適当に変更を加えて実施することも勿論可能であり、それらはいずれも本発明の技術的範囲に包含される。なお、各図面において、便宜上、ハッチングや部材符号等を省略する場合もあるが、かかる場合、明細書や他の図面を参照するものとする。また、図面における種々部材の寸法は、本発明の特徴の理解に資することを優先しているため、実際の寸法とは異なる場合がある。The catheter and catheter system of the present invention will be described in detail below based on the following embodiment, but the present invention is not limited to the following embodiment, and can of course be modified appropriately within the scope of the intent described above and below, all of which are included in the technical scope of the present invention. In addition, hatching and component symbols may be omitted in each drawing for convenience, but in such cases, reference should be made to the specification or other drawings. Furthermore, the dimensions of various components in the drawings may differ from the actual dimensions, as priority is given to contributing to an understanding of the features of the present invention.
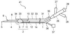
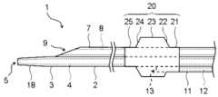
図1~図4を参照して、本発明の実施の形態に係るカテーテルとカテーテルシステムについて説明する。図1は、本発明の実施の形態に係るカテーテルおよびカテーテルシステムに用いられるカテーテルの一例であって、カテーテルの側面図を表し、図2は、図1に示したカテーテルを医療用長尺体に挿入した状態のカテーテルシステムの側面図(医療用長尺体は断面図)を表し、図3は、図1に示したカテーテルの遠位部の側面図を表し、図4は、図1に示したカテーテルの遠位端部の斜視図を表す。A catheter and a catheter system according to an embodiment of the present invention will be described with reference to Figs. 1 to 4. Fig. 1 shows a side view of an example of a catheter used in a catheter and a catheter system according to an embodiment of the present invention, Fig. 2 shows a side view of the catheter system in which the catheter shown in Fig. 1 is inserted into a medical elongated body (the medical elongated body is a cross-sectional view), Fig. 3 shows a side view of the distal portion of the catheter shown in Fig. 1, and Fig. 4 shows a perspective view of the distal end portion of the catheter shown in Fig. 1.
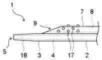
カテーテル1は液体吐出口5と液体吸引口9を有する。カテーテル1は、液体吐出口5から液体(例えば洗浄液)を吐出して体内管腔に液体を供給し、液体吸引口9から体内管腔に供給された液体(洗浄液)や体内管腔に溜まった体液、粘液、異物等を吸引したりすることができる。体内管腔としては、胆管、膵管、腸管、食道、尿管、血管等が挙げられる。カテーテル1を用いることにより体内管腔を洗浄したりすることができる。The
カテーテル1は胆汁吸引カテーテルとして好適に用いられる。胆汁吸引カテーテルは、胆管に挿入して胆汁を吸引するために用いられ、胆管内に液体を供給して胆管内を洗浄しながら、胆管内に溜まった胆汁を吸引することができる。胆汁は比較的粘度が高く、細菌感染した胆汁であればさらに粘度が高くなるところ、カテーテル1を胆汁吸引カテーテルに適用することにより、胆管内の洗浄および胆管内に溜まった胆汁の吸引が容易になる。The
カテーテル1は、長手方向に延在するシャフト2と、シャフト2より近位側に設けられたハンドル26を有する。カテーテル1の使用の際、シャフト2が体内に挿入され、使用者はハンドル26によりカテーテル1を操作することができる。The
カテーテル1において、長手方向は、シャフト2の延在方向に基づき定められる。カテーテル1は、長手方向に対する一方側と他方側として、近位側と遠位側を有する。近位側とは、カテーテル1の使用者、すなわち術者の手元側の方向を指し、遠位側とは近位側の反対方向、すなわち処置対象側の方向を指す。シャフト2は、長手方向に対する直交方向として、径方向を有する。各図面では、図の右側が近位側に相当し、図の左側が遠位側に相当する。In the
シャフト2は、遠位端に液体吐出口5を有する第1チューブ3と、遠位端に液体吸引口9を有する第2チューブ7とを有する。第1チューブ3と第2チューブ7はそれぞれ長手方向に延在しており、径方向に並んで配置されることが好ましい。第1チューブ3は、長手方向に延在する内腔として第1ルーメン4を有し、第2チューブ7は、長手方向に延在する内腔として第2ルーメン8を有する。第1チューブ3と第2チューブ7は互いに溶着または接着されて一体化されることが好ましい。The
シャフト2の長手方向の長さは、例えば1500mm以上が好ましく、1800mm以上がより好ましく、また3000mm以下が好ましく、2800mm以下がより好ましい。The longitudinal length of the
カテーテル1を使用の際、第1チューブ3の第1ルーメン4には体内管腔に供給する液体(洗浄液)が流通し、第1チューブ3の遠位端の液体吐出口5から液体が体内管腔内に吐出される。カテーテル1が胆汁吸引カテーテルである場合は、第1チューブ3の第1ルーメン4に胆管内に供給する液体(洗浄液)が流通し、第1チューブ3の遠位端の液体吐出口5から液体が胆管内に吐出される。従って、第1チューブ3は近位側開口を有し、第1チューブ3の近位側開口に連通して液体供給部が設けられることが好ましい。液体供給部としては、シリンジやポンプ等が挙げられる。When the
第1ルーメン4はガイドワイヤルーメンを兼ねるものであってもよい。第1ルーメン4がガイドワイヤルーメンを兼ねることにより、シャフト2の外径を小さくすることができる。また、ガイドワイヤを抜去することなく体液等を吸引したり、体内管腔を洗浄することができ、手技の簡素化、手術時間の短縮につながる。The
第2チューブ7の遠位端の液体吸引口9からは、体内管腔に供給された液体(洗浄液)や体内管腔に溜まった体液、粘液、異物等が吸引される。カテーテル1が胆汁吸引カテーテルである場合は、胆管内に溜まった胆汁等が第2チューブ7の遠位端の液体吸引口9から吸引され、第2チューブ7の第2ルーメン8を通って胆管から排出される。The
シャフト2には、第1チューブ3と第2チューブ7の外側にバルーン20が設けられ、バルーン20の近位端よりも近位側において、第2チューブ7の内部空間がカテーテル1の外部空間と繋がっている。具体的には、第2チューブ7は、バルーン20の近位端よりも近位側かつハンドル26よりも遠位側の部分において、第2チューブ7の内部空間がカテーテル1の外部空間と繋がっている。図1では、第2チューブ7の近位端がハンドル26の遠位端よりも遠位側に位置し、バルーン20の近位端よりも近位側において、第2チューブ7の内部空間がカテーテル1の外部空間と繋がっている。カテーテル1はこのように構成されることにより、図2に示すように、シャフト2を別体の医療用長尺体31の内腔33に挿入し、バルーン20を内腔33で拡張させて内腔33の内面に当接させ、医療用長尺体31の内腔33を近位側から吸引することにより、カテーテル1の第2チューブ7の液体吸引口9から体液等を吸引することができる。なお、カテーテル1と医療用長尺体31との組み合わせを「カテーテルシステム」と称し、本発明は、カテーテル1と医療用長尺体31を有するカテーテルシステム41も提供する。A
医療用長尺体31は、カテーテル1のシャフト2を挿入することができる内腔33を備え、近位側から内腔33を吸入できるものであれば特に限定されない。医療用長尺体31は長手方向に延在する第2シャフト32を有し、第2シャフト32に内腔33が形成される。内腔33は長手方向に延在し、第2シャフト32は内腔33の遠位側開口34と近位側挿入口35を有する。医療用長尺体31における長手方向は、第2シャフト32の延在方向に基づき定められ、カテーテル1のシャフト2を医療用長尺体31の第2シャフト32の内腔33に挿入して用いる際、医療用長尺体31の長手方向はカテーテル1の長手方向と一致する。The medical
バルーン20を使用する際は、第2シャフト32の近位側挿入口35からシャフト2を挿入し、シャフト2の遠位端部を第2シャフト32の遠位側開口34から延出させた後、カテーテル1のバルーン20を第2シャフト32の内腔33で拡張させて第2シャフト32の内面に当接させる。そして、この状態で第2シャフト32の内腔33を近位側から吸引することにより、カテーテル1の第2チューブ7の内腔が減圧され、第2チューブ7の遠位端の液体吸引口9から体液等を吸引することができる。吸引された体液等は、カテーテル1の第2チューブ7の内腔である第2ルーメン8を通り、さらに医療用長尺体31の内腔33を通って、体外に排出することができる。When using the
カテーテルシステム41は、長手方向に延在するシャフト2を有するカテーテル1と、長手方向に延在する第2シャフト32を有し、第2シャフト32の内腔33にカテーテル1のシャフト2が挿入される医療用長尺体31とを有する。第2シャフト32の内腔33は近位側から吸引可能となっており、シャフト2は、遠位端に液体吐出口5を有する第1チューブ3と、遠位端に液体吸引口9を有する第2チューブ7とを有し、第1チューブ3と第2チューブ7の外側に、拡張により第2シャフト32の内面に接するバルーン20が設けられている。カテーテルシステム41において、長手方向は、カテーテル1のシャフト2の延在方向に基づき定められる。The
カテーテルシステム41は、第2シャフト32の近位側挿入口35からカテーテル1のシャフト2を挿入し、シャフト2の遠位端部を第2シャフト32の遠位側開口34から延出させて用いられる。カテーテルシステム41を使用の際、カテーテル1のシャフト2を医療用長尺体31の第2シャフト32に挿入し、使用者は、ハンドル26によりカテーテル1を操作することができる。医療用長尺体31の第2シャフト32の内腔33にカテーテル1のシャフト2を挿入し、シャフト2を第2シャフト32の遠位端よりも遠位側に延出させてカテーテルシステム41を使用することにより、カテーテル1の第1チューブ3の遠位端から液体を吐出したり、第2チューブ7の遠位端から液体を吸引することができる。カテーテルシステム41は、カテーテル1のシャフト2と医療用長尺体31の第2シャフト32を体内管腔に挿入することにより、体内管腔を洗浄したりすることができる。The
医療用長尺体31において、第2シャフト32の近位側挿入口35は、開口であってもよく、開口を形成可能な弾性膜であってもよい。弾性膜にはスリットやピンホールが形成されていてもよく、これにより、近位側挿入口35からカテーテル1のシャフト2を第2シャフト32の内腔33に挿入することが容易になるとともに、第2シャフト32の近位部において内腔33の気密性を高めることができる。In the medical
第2シャフト32は近位部に吸引口36が設けられ、吸引口36から第2シャフト32の内腔33を吸引できるように構成されていることが好ましい。吸引口36は、第2シャフト32の近位側1/3の部分に設けられることが好ましく、近位側1/4の部分に設けられることがより好ましい。The
第2シャフト32の長手方向の長さは、例えば1500mm以上が好ましく、1800mm以上がより好ましく、また3000mm以下が好ましく、2800mm以下がより好ましい。なお、第2シャフト32の長手方向の長さは、カテーテル1のシャフト2の長手方向の長さよりも短いことが好ましい。第2シャフト32の内腔33の形状(長手方向の垂直断面の形状)は特に限定されず、円形、楕円形、長円形、卵形、多角形、不定形等が挙げられる。The longitudinal length of the
医療用長尺体31は、第2シャフト32の内腔33に連通して吸引機構37が設けられることが好ましい。そのために、第2シャフト32は近位部において内腔33が分岐し、分岐した一方が近位側開口35につながり、他方が吸引機構37につながるように構成されることが好ましい。図2では、吸引口36で第2シャフト32の内腔33が分岐し、吸引口36に連通して吸引機構37が設けられている。The medical
吸引機構37を有する医療用長尺体31としては、内視鏡が好適に用いられる。内視鏡には吸引ポンプを備えたものが知られており、吸引ポンプは、内視鏡の近位部に内視鏡の鉗子チャネルに連通して設けられる。吸引ポンプにより、内視鏡の鉗子チャネルを近位側から吸引することができる。医療用長尺体31はガイディングカテーテル等であってもよい。An endoscope is preferably used as the medical
カテーテル1のバルーン20について詳しく説明する。バルーン20は、シャフト2の長手方向の垂直断面において、第1チューブ3と第2チューブ7の外側に配置される。バルーン20は、長手方向と径方向を有し、近位側と遠位側に開口を有する筒状に形成されている。バルーン20の長手方向は、シャフト2の長手方向に相当する。バルーン20の径方向とは、長手方向に垂直な方向であって、バルーン20の中心から放射方向に向かって延びる方向を意味する。The
バルーン20の拡張状態の形状は特に限定されないが、図3に示されるように、バルーン20は少なくとも直管部23を有し、直管部23が拡縮可能に形成されていることが好ましい。このようにバルーン20が形成されていれば、バルーン20を第2シャフト32の内腔33で拡張させたときに、直管部23が第2シャフト32の内面に十分に接触して、バルーン20が液密可能に第2シャフト32の内面に接しやすくなる。その結果、第2シャフト32の内腔33を近位側から吸引したときに、内腔33内を陰圧にすることができ、第2チューブ7の液体吸引口9から体液等を効率的に吸引することが容易になる。The shape of the
バルーン20は、直管部23よりも近位側に位置する近位側スリーブ部21と、直管部23よりも遠位側に位置する遠位側スリーブ部25を有し、近位側スリーブ部21の内面と遠位側スリーブ部25の内面がシャフト2の外面に接合されていることが好ましい。これにより、バルーン20は、近位側スリーブ部21よりも遠位側かつ遠位側スリーブ部25よりも近位側の部分を拡縮可能に形成することができる。バルーン20はさらに、長手方向に対して、直管部23と近位側スリーブ部21の間に近位側テーパー部22を有することが好ましく、直管部23と遠位側スリーブ部25の間に遠位側テーパー部24を有することが好ましい。バルーン20は、直管部23において径方向の長さ(外径)が最も大きく形成され、近位側テーパー部22と遠位側テーパー部24は、直管部23から離れるに従って外径が小さくなるように形成されることが好ましい。このようにバルーン20が形成されていれば、バルーン20を収縮させた際にバルーン20の近位端部と遠位端部の外径を小さくしてシャフト2とバルーン20との段差を小さくすることができ、バルーン20を収縮させた状態で、バルーン20を第2シャフト32の内腔33に挿通させやすくなる。なお、バルーン20の拡縮可能な部分、すなわち近位側スリーブ部21よりも遠位側かつ遠位側スリーブ部25よりも近位側の部分を、バルーン20の拡張可能部分と称する。The
バルーン20の拡張可能部分の遠位端は、シャフト2の遠位端より近位側に20cm以上50cm以下の範囲に位置することが好ましい。特にカテーテル1が胆汁吸引カテーテルである場合は、バルーン20がこのような位置に設けられることが好ましい。バルーン20が複数設けられる場合は、最も近位側に位置するバルーン20の拡張可能部分の遠位端が、シャフト2の遠位端より近位側に20cm以上50cm以下の範囲に位置することが好ましい。バルーン20の拡張可能部分の遠位端は、より好ましくは、シャフト2の遠位端より近位側に25cm以上45cm以下の範囲に位置し、さらに好ましくは30cm以上40cm以下の範囲に位置する。The distal end of the expandable portion of the
胆管内にカテーテル1を導入する場合は、通常、内視鏡の鉗子チャネルを通してカテーテル1が胆管内に導入されるが、この場合、内視鏡の鉗子チャネルを医療用長尺体31の内腔33とすることができる。この場合、内視鏡の先端を胆管の入口近傍まで搬送し、内視鏡の鉗子チャネルにカテーテル1のシャフト2を挿入し、鉗子チャネルの遠位側開口からカテーテル1を延出させる。これにより、十二指腸の内壁の側面に開いた胆管の入口から胆管内にカテーテル1を挿入することができる。この場合において、バルーン20の拡張可能部分の遠位端がシャフト2の遠位端より近位側に20cm以上50cm以下の範囲に位置していれば、バルーン20を内視鏡の鉗子チャネル内に位置させつつ、カテーテル1のバルーン20よりも遠位側の部分を鉗子チャネルの遠位側開口から延出させ、カテーテル1を胆管内の奥まで挿入することが容易になる。そのため、バルーン20を拡張して内視鏡の鉗子チャネル(すなわち医療用長尺体31の第2シャフト32の内腔33)の内面に当接させ、第1チューブ3の液体吐出口5から液体(洗浄液)を胆管内に吐出し、第2チューブ7の液体吸引口9から吸引することにより、胆管の内部を洗浄したり、胆管内に溜まった胆汁や胆石を好適に吸引することができる。When the
なお、カテーテル1が胆汁吸引カテーテルでない場合は、バルーン20の拡張可能部分の遠位端は、シャフト2の遠位端より近位側に20cm未満の範囲に位置していてもよいが、第1チューブ3の液体吐出口5および第2チューブ7の液体吸引口9よりも遠位側に位置する。If the
バルーン20は樹脂から構成されることが好ましい。バルーン20を構成する樹脂としては、例えば、ポリエチレン、ポリプロピレン、エチレン-プロピレン共重合体等のポリオレフィン樹脂、ポリエチレンテレフタレート、ポリエステルエラストマー等のポリエステル樹脂、ポリウレタン、ポリウレタンエラストマー等のポリウレタン樹脂、ポリフェニレンサルファイド樹脂、ポリアミド、ポリアミドエラストマー等のポリアミド樹脂、フッ素系樹脂、シリコーン樹脂、ラテックスゴム等の天然ゴム等が挙げられる。これらは1種のみを用いてもよく、2種以上を併用してもよい。なかでも、ポリアミド樹脂、ポリエステル樹脂、ポリウレタン樹脂が好適に用いられる。特に、バルーン20の薄膜化や柔軟性の点から、エラストマー樹脂を用いることが好ましい。例えばポリアミド樹脂の中でバルーン20に好適な材料として、ナイロン12、ナイロン11等が挙げられ、ブロー成形する際に比較的容易に成形可能である点から、ナイロン12が好適に用いられる。また、バルーン20の薄膜化や柔軟性の点から、ポリエーテルエステルアミドエラストマー、ポリアミドエーテルエラストマー等のポリアミドエラストマーが好ましく用いられる。また、降伏強度が高く、バルーン20の寸法安定性が良好な点から、ポリエーテルエステルアミドエラストマーを用いることも好ましい。The
バルーン20は、シャフト2を通じて内部に流体が供給されるように構成され、インデフレーター(バルーン用加減圧器)を用いてバルーン20の拡張および収縮を制御することができる。流体は、液体であっても気体であってもよく、ポンプ等により加圧された加圧流体であってもよい。以下、バルーン20の内部に供給される流体を「バルーン拡張流体」と称する。The
バルーン20の内部にバルーン拡張流体を供給するために、図1~図3に示されるように、シャフト2は第3チューブ11をさらに有し、第3チューブ11の遠位側開口13がバルーン20の内部空間に連通していることが好ましい。第3チューブ11は、長手方向に延在する内腔として第3ルーメン12を有しており、シャフト2の近位部からバルーン20の内部まで延在している。シャフト2の遠位部において、第1チューブ3と第2チューブ7がバルーン20の遠位端よりも遠位側に延在し、第3チューブ11がバルーン20まで延在し、第3チューブ11の遠位側開口13がバルーン20の内部空間に位置する。このようにシャフト2が構成されることにより、第3チューブ11を通してバルーン拡張流体を供給することで、バルーン20を拡張することができる。一方、第3チューブ11を通してバルーン20の内部からバルーン拡張流体を引き抜くことにより、バルーン20を収縮することができる。In order to supply balloon expansion fluid to the inside of the
第3チューブ11は、例えば、第1チューブ3と第2チューブ7と径方向に並んで配置される。この場合、第1チューブ3と第2チューブ7と第3チューブ11が互いに溶着または接着されて一体化されることが好ましい。第3チューブ11は、図1および図2に示されるように、第2チューブ7の近位端よりも近位側において、第1チューブ3とともに保護チューブ14の内腔に配置され、保護チューブ14によって第1チューブ3と第3チューブ11が一体化されてもよい。あるいは、図面には示されていないが、第3チューブ11の第3ルーメン12に第1チューブ3が配置され、第1チューブ3が第3チューブ11の遠位端より遠位側に延在するように形成されていてもよい。The
第1チューブ3と第2チューブ7について詳しく説明する。第2チューブ7は、バルーン20よりも近位側および遠位側に延在し、バルーン20の近位端よりも近位側において、第2チューブ7の内部空間すなわち第2ルーメン8がカテーテル1の外部空間と繋がるように構成されている。従って、カテーテル1のシャフト2を医療用長尺体31の内腔33に挿入して使用する際は、第2チューブ7は、バルーン20の近位端よりも近位側において、第2ルーメン8が第2シャフト32の内腔33と繋がることとなる。The
第2チューブ7は、例えば図1に示されるように、バルーン20の近位端よりも近位側に延在し、第2チューブ7の近位端に近位側開口10を有するように構成される。第2チューブ7の近位側開口10は、カテーテル1の外部に面している。あるいは、第2チューブ7はバルーン20の近位端よりも近位側に延在し、バルーン20よりも近位側において、第2チューブ7の側面にカテーテル1の外部に連通した穴が形成されていてもよい。この場合は、第2チューブ7の近位端には近位側開口が設けられなくてもよい。このように第2チューブ7が構成されることにより、バルーン20を第2シャフト32の内腔33で拡張させて内腔33の内面に当接させ、第2シャフト32の内腔33を近位側から吸引することにより、第2チューブ7の第2ルーメン8が近位側から吸引され、第2チューブ7の液体吸引口9から体液等を吸引することができる。なお、第2チューブ7は前者の態様、すなわち、第2チューブ7はバルーン20の近位端よりも近位側に延在し、第2チューブ7の近位端に近位側開口10を有することが好ましい。これにより、第2チューブ7の液体吸引口9から吸引された体液等が、第2チューブ7の第2ルーメン8と医療用長尺体31の内腔33を通って、スムーズに体内から排出されやすくなる。この場合、第2チューブ7の近位端(近位側開口10)はハンドル26の遠位端よりも遠位側に位置することとなる。The
第2チューブ7の近位側開口10は、シャフト2の遠位側1/3の部分に位置することが好ましく、遠位側1/4の部分に位置することがより好ましい。あるいは、第2チューブ7は、バルーン20の近位端から第2チューブ7の近位側開口10までの長さが、バルーン20の遠位端から第2チューブ7の液体吸引口9までの長さよりも短くなるように形成されてもよい。これにより、シャフト2を医療用長尺体31の内腔33に挿入して、バルーン20を第2シャフト32の内腔33で拡張させて内腔33の内面に当接させ、第2シャフト32の内腔33を近位側から吸引した際に、第2チューブ7の液体吸引口9から体液等を効果的に吸引することができる。第2チューブ7の第2ルーメン8の断面積は医療用長尺体31の内腔33の断面積よりも小さくなるため、第2チューブ7の近位側開口10の位置を、バルーン20の近位端よりも近位側において比較的遠位側に位置させることにより、第2チューブ7の長さを短くして、第2チューブ7の第2ルーメン8での圧損を抑えることができる。これにより、第2チューブ7の液体吸引口9から体液等を効果的に吸引することができる。なかでも、第2チューブ7の近位側開口10は、バルーン20の近位端(好ましくはバルーン20の拡張可能部分の近位端)より近位側に100mm以内に位置することが好ましく、50mm以内がより好ましく、30mm以内がさらに好ましく、10mm以内が特に好ましい。なお、近位側開口10を設ける代わりに第2チューブ7の側面にカテーテル1の外部に連通した穴を形成する場合は、当該穴も上記の近位側開口10と同様の位置に形成されることが好ましい。The
シャフト2の長手方向に垂直な断面において、第2チューブ7の第2ルーメン8の断面積は第1チューブ3の第1ルーメン4の断面積よりも大きく形成されることが好ましい。これにより、第2チューブ7の第2ルーメン8での圧損を抑えることができ、液体吸引口9から体液等を効果的に吸引することができるとともに、体液等を吸引する際に第2ルーメン8が詰まることが起こりにくくなる。また、第1ルーメン4の液体吐出口5から洗浄液を勢いよく吐出しやすくなり、体内管腔のより奥まで洗浄することが容易になる。第2ルーメン8の断面積は、例えば、第1ルーメン4の断面積の1.1倍以上が好ましく、1.2倍以上がより好ましく、また4.0倍以下が好ましく、3.0倍以下がより好ましく、2.5倍以下がさらに好ましい。In a cross section perpendicular to the longitudinal direction of the
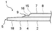
液体吸引口9の外縁、すなわち第2チューブ7の遠位側端縁は、傾斜状に形成されていることが好ましい。具体的には、シャフト2において、第2チューブ7が配されている側を上側とし、第1チューブ3が配されている側を下側としたとき、液体吸引口9の外縁は、上側から下側に向かって遠位側に傾斜していることが好ましい。このように液体吸引口9が形成されていれば、液体吸引口9の大きさを広くとることができ、体液等を吸引しやすくなる。また、液体吸引口9の外縁が上側から下側に向かって遠位側に傾斜していることにより、液体吸引口9より近位側にある体液等を吸引しやすくなる。液体吸引口9の外縁は、直線状に形成されていてもよく、非直線状に形成されていてもよい。The outer edge of the
一方、液体吐出口5の外縁、すなわち第1チューブ3の遠位側端縁は、長手方向に対して垂直に延びるように形成されていることが好ましい。また、液体吐出口5の外縁は、面取りされたり、側面視で丸まって形成されていることが好ましい。このように液体吐出口5の外縁が形成されていれば、体内管腔にシャフト2を挿入する際に、体内管腔を傷つけにくくなる。On the other hand, it is preferable that the outer edge of the
シャフト2は、液体吸引口9が液体吐出口5よりも近位側に位置することが好ましい。これにより、液体吐出口5をシャフト2の先端に設けることができ、第1チューブ3の遠位端を体内管腔のより奥まで挿入し、洗浄・吸引することが容易になる。液体吐出口5が第1チューブ3の遠位端に形成されることにより、第1ルーメン4を通って第1チューブ3の遠位端まで運ばれた洗浄液が液体吐出口5から遠位側に吐出され、液体吐出口5よりも遠位側の体内管腔を洗浄することが可能となる。粘度の高い体液や粘液等を吸引する場合は、液体吐出口5から洗浄液を体内管腔に吐出することにより、体内管腔内の体液が希釈され、粘度を下げることができる。一方、液体吸引口9が液体吐出口5よりも近位側に位置することにより、体内管腔に溜まった体液等の吸引が容易になる。すなわち、液体吸引口9が液体吐出口5よりも近位側に位置することにより、液体吸引口9からは、洗浄液により希釈され粘度が低下した体液等を吸引しやすくなる。また、吸引した体液等が第2ルーメン8内で詰まりにくくなる。さらに、第2チューブ7の長さを短くして、第2チューブ7の第2ルーメン8での圧損を抑えることができる。カテーテル1が胆汁吸引カテーテルである場合は、特に効果的に胆汁を吸引することができる。胆汁は比較的粘度が高く、細菌感染した胆汁であればさらに粘度が高くなるところ、液体吐出口5から洗浄液を胆管内に吐出することにより、胆管内に溜まった胆汁が希釈され、粘度を下げることができる。一方、液体吸引口9が液体吐出口5よりも近位側に位置することにより、液体吸引口9からは、洗浄液により希釈され粘度が低下した胆汁を吸引しやすくなる。そのため、液体吸引口9から胆汁を吸引することが容易になる。The
液体吸引口9は液体吐出口5よりも3mm以上近位側に位置することが好ましく、4mm以上がより好ましく、5mm以上がさらに好ましく、また30mm以下が好ましく、20mm以下がより好ましく、15mm以下がさらに好ましい。このように液体吸引口9と液体吐出口5が位置することにより、未希釈の体液等を吸引することが抑えられ、洗浄液で希釈された体液等を吸引しやすくなる。また、体内管腔のより奥にある体液等を吸引しやすくなり、体液等の取り残しを少なくすることができる。なお、液体吸引口9と液体吐出口5の離隔距離は、液体吸引口9の遠位端と液体吐出口5の近位端の間の長手方向の離隔距離を計測することにより求める。The
カテーテル1のデリバリー性を高める点からは、液体吐出口5は液体吸引口9よりも10mm以下遠位側に位置することも好ましい。これにより、シャフト2の遠位端部において、液体吸引口9よりも遠位側の部分の長さ(すなわち第1チューブ3が存在し第2チューブ7が存在しない部分の長さ)が長くなりすぎず、シャフト2の遠位端部の剛性を確保しやすくなり、カテーテル1のデリバリー性を高めることができる。In terms of improving the deliverability of the
カテーテル1が胆汁吸引カテーテルである場合は、上記のように液体吐出口5と液体吸引口9が位置することにより、胆管内のより奥まで洗浄することが容易になるとともに、胆管内の奥に溜まった胆汁を吸引しやすくなり、胆汁の取り残しを少なくすることができる。また、未希釈の胆汁を吸引することが抑えられ、洗浄液で希釈された胆汁を吸引しやすくなる。好ましくは液体吐出口5は液体吸引口9よりも8mm以下遠位側に位置し、7mm以下がより好ましい。When the
カテーテル1を胆管内の奥、例えば総胆管を通って肝内胆管まで挿入することが容易になる点から、シャフト2は、バルーン20(バルーン20が複数設けられる場合は、最も遠位側にあるバルーン20)よりも遠位側における外径が4.0mm以下であることが好ましい。肝内胆管は総胆管よりも内部空間が狭いため、例えば最大外径が5.0mmのシャフト2では胆管の奥にある肝内胆管まで挿入することが難しい。しかし、バルーン20よりも遠位側におけるシャフト2の外径を4.0mm以下に形成することにより、総胆管を通って肝内胆管の奥までシャフト2を挿入することができる。シャフト2のバルーン20よりも遠位側における最大外径は、3.5mm以下であることが好ましく、3.0mm以下がより好ましい。一方、液体吸引口9の近位端よりも近位側かつバルーン20よりも遠位側におけるシャフト2の最大外径の下限は、1.0mm以上が好ましく、1.3mm以上がより好ましく、1.5mm以上がさらに好ましい。これにより、カテーテル1のデリバリー性を高めることができる。In order to facilitate the insertion of the
液体吸引口9よりも遠位側において、シャフト2は遠位端に向かって外径が小さくなるテーパー部18を有することが好ましい。具体的には、第1チューブ3は、液体吸引口9よりも遠位側において、液体吐出口5に向かって外径が小さくなるテーパー部18を有することが好ましい。このようにシャフト2の遠位端部を形成することにより、体内管腔にシャフト2を挿入しやすくなる。テーパー部18は、シャフト2が先細りになるように加工してもよく、テーパー形状を有する別部材をシャフト2の先端に取り付けてもよい。It is preferable that the
カテーテル1のハンドル26について説明する。カテーテル1は、シャフト2よりも近位側にハンドル26が設けられる。ハンドル26はカテーテル1を操作するために設けられ、カテーテル1の使用の際、医療用長尺体31の第2シャフト32の内腔33に挿入されないことが好ましい。第1チューブ3の近位端部はハンドル26に接続し、カテーテル1に第3チューブ11が設けられる場合は、第3チューブ11の近位端部もハンドル26に接続することが好ましい。The
ハンドル26は、例えば、第1ルーメン4に連通した液体供給ポート27を有し、液体供給部が液体供給ポート27に接続されることが好ましい。ハンドル26は、ガイドワイヤポート28をさらに有することが好ましい。ガイドワイヤポート28は第1ルーメン4に連通して設けられることが好ましい。この場合、ハンドル26の内部で、第1ルーメン4に連通した内部通路が分岐し、分岐した一方が液体供給ポート27につながり、他方がガイドワイヤポート28につながるように構成される。ハンドル26は、他の医療用具を挿入することができる補助ポートをさらに有していてもよい。他の医療用具の例としては細胞診用のブラシ等が挙げられ、これにより、細胞診のための検体採取を行うことができる。The
カテーテル1に第3チューブ11が設けられる場合は、ハンドル26は、第3ルーメン12に連通し、バルーン拡張流体を導入するための流体注入ポート29を有することが好ましい。カテーテル1を使用の際、流体注入ポート29にはインデフレーターが接続されることが好ましい。If the
ハンドル26の内部通路には逆止弁が設けられてもよい。例えば、ハンドル26の第1ルーメン4と液体供給ポート27とをつなぐ内部通路に逆止弁を設けることにより、液体供給ポート27から第1ルーメン4に向かう一方向に液体を流すことができる。A check valve may be provided in the internal passage of the
カテーテル1は、バルーン20の内部にバルーン拡張流体を供給するための手段として、第3チューブ11を設ける代わりに第1チューブ3を利用してもよい。そのように構成されたカテーテルの構成例を図5~図7に示した。The
図5は、本発明の実施の形態に係るカテーテルおよびカテーテルシステムに用いられるカテーテルの他の構成例であって、カテーテルの側面図を表し、図6は、図5に示したカテーテルを医療用長尺体に挿入した状態のカテーテルシステムの側面図(医療用長尺体は断面図)を表し、図7は、図6に示したカテーテルの遠位部の側面図を表す。なお、下記の説明において、上記の図1~図4に示したカテーテルおよびカテーテルシステムと重複する部分の説明は省略する。FIG. 5 shows another example of the configuration of a catheter used in a catheter and catheter system according to an embodiment of the present invention, showing a side view of the catheter, FIG. 6 shows a side view of the catheter system in which the catheter shown in FIG. 5 has been inserted into a medical elongated body (the medical elongated body is a cross-sectional view), and FIG. 7 shows a side view of the distal portion of the catheter shown in FIG. 6. In the following explanation, explanations of parts that overlap with the catheter and catheter system shown in FIGS. 1 to 4 above will be omitted.
図5~図7に示されるように、カテーテル1は、第3チューブ11を設ける代わりに、第1チューブ3の側面にバルーン20の内部空間に連通する穴6を形成してもよい。すなわち、バルーン20は第1チューブ3の外側に設けられるが、第1チューブ3のバルーン20の内部空間に位置する部分に穴6が形成されていてもよい。このようにシャフト2が構成されていれば、第1チューブ3の第1ルーメン4に液体を供給することにより、バルーン20が拡張するとともに、第1チューブ3の遠位端の液体吐出口5から液体を吐出することができる。また、シャフト2の細径化を図ることもできる。As shown in Figures 5 to 7, instead of providing a
シャフト2に第3チューブ11が設けられない場合、カテーテル1のハンドル26には、図1および図2に示されるような流体注入ポート29は設けられなくてよい。If the
カテーテル1は、シャフト2にバルーン20が複数設けられてもよい。そのように構成されたカテーテルの構成例を図8および図9に示した。図8および図9には、図1~図4に示したカテーテル1のシャフト2に複数のバルーン20が設けられた構成例が示されている。The
図8は、本発明の実施の形態に係るカテーテルおよびカテーテルシステムに用いられるカテーテルの他の構成例であって、カテーテルの側面図を表し、図9は、図8に示したカテーテルを医療用長尺体に挿入した状態のカテーテルシステムの側面図(医療用長尺体は断面図)を表す。なお、下記の説明において、上記の図1~図4に示したカテーテルおよびカテーテルシステムと重複する部分の説明は省略する。FIG. 8 shows another example of the configuration of a catheter used in a catheter and catheter system according to an embodiment of the present invention, showing a side view of the catheter, and FIG. 9 shows a side view of the catheter system in which the catheter shown in FIG. 8 has been inserted into a medical elongated body (the medical elongated body is a cross-sectional view). In the following explanation, explanations of parts that overlap with the catheter and catheter system shown in FIGS. 1 to 4 above will be omitted.
図8および図9に示されるように、カテーテル1において、バルーン20は、シャフト2の長手方向の異なる位置に複数設けられていてもよい。図8および図9では、バルーン20として、第1バルーン20Aと、第1バルーン20Aよりも遠位側に位置する第2バルーン20Bが設けられているが、第2バルーン20Bよりも遠位側にさらに別のバルーンが設けられてもよい。As shown in Figures 8 and 9, in the
第1バルーン20Aと第2バルーン20Bはいずれも、シャフト2を通じて内部にバルーン拡張流体が供給されるように構成されている。具体的には、シャフト2は、バルーン拡張流体を流通させるための第3チューブ11を有し、第3チューブ11の第3ルーメン12が第1バルーン20Aの内部空間と第2バルーン20Bの内部空間にそれぞれ連通している。第3チューブ11は、シャフト2の近位部から第1バルーン20Aの内部を通り第2バルーン20Bの内部まで延在している。第3チューブ11は、第1バルーン20Aの内部空間において、第3チューブ11の側面に穴が形成され、第3チューブ11の遠位側開口13が第2バルーン20Bの内部空間に位置する。このようにシャフト2が構成されることにより、第3チューブ11を通してバルーン拡張流体を供給することで、第1バルーン20Aと第2バルーン20Bを拡張することができる。一方、第3チューブ11を通して第1バルーン20Aの内部と第2バルーン20Bの内部からバルーン拡張流体を引き抜くことにより、第1バルーン20Aと第2バルーン20Bを収縮することができる。Both the
カテーテル1を使用の際、第1バルーン20Aは医療用長尺体31の第2シャフト32の内腔33に位置し、第2バルーン20Bは医療用長尺体31の遠位側開口34から延出させるように用いる。第1バルーン20Aと第2バルーン20Bを拡張させると、第1バルーン20Aが第2シャフト32の内面に接し、第2バルーン20Bが体内管腔の内壁に接するように、カテーテル1を使用することができる。このようにカテーテル1を構成することにより、液体吐出口5から洗浄液を体内管腔に吐出した際に第2バルーン20Bによって洗浄液がせき止められ、体内管腔内の体液や粘液を効率よく希釈することができる。そのため、体内管腔の洗浄や吸引を効果的に行うことができる。When the
なお、図8および図9には、図1~図4に示したカテーテル1のシャフト2に複数のバルーン20が設けられた構成例が示されているが、図5~図7に示されるように、カテーテル1のシャフト2が第3チューブ11を有さず、第1チューブ3の側面に第1バルーン20Aの内部空間に連通する穴と第2バルーン20Bの内部空間に連通する穴が形成されていてもよい。Note that Figures 8 and 9 show an example configuration in which
カテーテル1の各構成部材について説明する。シャフト2の外径は、カテーテル1の用途、すなわちカテーテル1が挿入される体内管腔の種類に応じて適宜設定すればよい。シャフト2の外径は、例えば1.2mm以上が好ましく、1.3mm以上がより好ましく、1.4mm以上がさらに好ましく、また8.0mm以下が好ましく、7.0mm以下がより好ましく、6.0mm以下がさらに好ましい。シャフト2の外径はさらに小さくてもよく、例えば4.0mm以下、3.6mm以下または3.2mm以下であってもよい。第1ルーメン4と第2ルーメン8と第3ルーメン12の内径は、例えば1.0mm以上が好ましく、1.1mm以上がより好ましく、1.3mm以上がさらに好ましく、また3.5mm以下が好ましく、3.0mm以下がより好ましく、2.5mm以下がさらに好ましい。第1ルーメン4と第2ルーメン8と第3ルーメン12の内径はさらに小さくてもよく、例えば2.2mm以下、2.0mm以下または1.9mm以下であってもよい。Each component of the
シャフト2の長手方向に対する垂直断面において、シャフト2の外縁の形状、第1チューブ3の外縁の形状、第2チューブ7の外縁の形状、第3チューブ11の外縁の形状、第1ルーメン4の形状、第2ルーメン8の形状、第3ルーメン12の形状は特に限定されず、円形、楕円形、長円形、卵形、多角形、不定形等が挙げられる。シャフト2の外縁の形状や第1ルーメン4と第2ルーメン8と第3ルーメン12の形状が円形以外の場合、上記に説明したシャフト2の外径と第1ルーメン4と第2ルーメン8と第3ルーメン12の内径は、長径と短径の平均値を意味する。長径と短径について、シャフト2の外縁を例に取ると、シャフト2の外縁の長径とは、シャフト2の外縁の長軸方向の長さ(外縁の最大径)を意味し、シャフト2の外縁の短径とは、シャフト2の長軸方向に対して垂直方向となる短軸方向の長さのうちの最も長くなる長さを意味する。なお、シャフト2の外縁の形状、第1チューブ3の外縁の形状、第2チューブ7の外縁の形状、第3チューブ11の外縁の形状、第1ルーメン4の形状、第2ルーメン8の形状、第3ルーメン12の形状は、円形、長円形、楕円形または卵形であることが好ましい。In a vertical cross section relative to the longitudinal direction of the
第1チューブ3の内外径は、長手方向の全体にわたって略同一に形成されてもよく、長手方向の一部と他部で異なるように形成されてもよい。第2チューブ7と第3チューブ11の内外径も、長手方向の全体にわたって外径が略同一に形成されてもよく、長手方向の一部と他部で外径が異なるように形成されてもよい。実施形態の一つとして、第1チューブ3は、シャフト2の近位部における第1チューブ3の内径がシャフト2の遠位部における第1チューブ3の内径よりも大きく形成されてもよい。このように第1チューブ3が構成されることにより、より効果的に洗浄液を吐出することができる。The inner and outer diameters of the
第1チューブ3、第2チューブ7、第3チューブ11、保護チューブ14は、樹脂から構成することができる。樹脂としては、例えば、ポリエチレン、ポリプロピレン等のポリオレフィン樹脂、ナイロン等のポリアミド樹脂、ポリエチレンテレフタレート等のポリエステル樹脂、PEEK等の芳香族ポリエーテルケトン樹脂、ポリエーテルポリアミド樹脂、ポリウレタン樹脂、ポリイミド樹脂、ポリアミドイミド樹脂、PTFE、PFA、ETFE等のフッ素系樹脂、ポリ塩化ビニル樹脂、シリコーン樹脂等の合成樹脂が挙げられる。The
第1チューブ3、第2チューブ7、第3チューブ11、保護チューブ14は、単層から構成されていてもよく、複数層から構成されていてもよい。第1チューブ3、第2チューブ7、第3チューブ11、保護チューブ14は、長手方向の一部が単層から構成されており、他部が複数層から構成されていてもよい。The
第1チューブ3、第2チューブ7、第3チューブ11、保護チューブ14は、補強層を有していてもよい。補強層により、シャフト2の剛性を高めることができる。補強層は、樹脂から構成された内層と外層の間に配置されることが好ましい。The
補強層は、金属線や繊維等から構成することができる。金属線を構成する素材としては、例えば、ステンレス鋼、チタン、ニッケルチタン合金、コバルトクロム合金、タングステン合金等が挙げられる。なかでも、ステンレス鋼が好ましい。金属線は、単線であってもよいし、撚線であってもよい。繊維としては、例えば、ポリアリレート繊維、アラミド繊維、超高分子量ポリエチレン繊維、PBO繊維、炭素繊維等が挙げられる。繊維は、モノフィラメントであってもよいし、マルチフィラメントであってもよい。The reinforcing layer can be made of metal wire, fiber, etc. Examples of materials that can be used to make the metal wire include stainless steel, titanium, nickel-titanium alloy, cobalt-chromium alloy, and tungsten alloy. Of these, stainless steel is preferable. The metal wire can be a solid wire or a twisted wire. Examples of fibers include polyarylate fiber, aramid fiber, ultra-high molecular weight polyethylene fiber, PBO fiber, and carbon fiber. The fiber can be a monofilament or a multifilament.
補強層の形状は、特に限定されないが、らせん状、網目状、編組状が好ましい。なかでも、補強層によってシャフト2の剛性を効果的に高めることができる点から、補強層の形状は編組状であることがより好ましい。The shape of the reinforcing layer is not particularly limited, but a spiral, mesh, or braided shape is preferred. Of these, a braided shape is more preferred because the reinforcing layer can effectively increase the rigidity of the
シャフト2は、X線透視下等での位置を確認しやすくするために、放射線不透過物質を含んでいてもよい。放射線不透過物質としては、例えば、鉛、バリウム、ヨウ素、タングステン、金、白金、イリジウム、白金イリジウム合金、ステンレス、チタン、コバルトクロム合金、パラジウム、タンタル等が挙げられる。例えば、シャフト2の近位端部や遠位端部に放射線不透過マーカーが設けられることが好ましく、これにより、X線透視下で体腔内におけるシャフト2の位置を確認することができる。The
シャフト2は、外面が親水性ポリマーによりコーティングされていてもよい。これにより、シャフト2を内視鏡の鉗子口から鉗子チャンネルに挿入する際に、鉗子チャンネルへの挿入を容易にすることができる。親水性ポリマーとして、例えば、ポリエチレングリコール、ポリ2-ヒドロキシエチルメタアクリレート、ポリアクリルアミド、ポリビニルピロリドン、メチルビニルエーテル無水マレイン酸共重合体等の無水マレイン酸共重合体等の親水性ポリマーが挙げられる。The outer surface of the
カテーテル1のシャフト2の遠位端部の様々な構成例について説明する。液体吸引口9の外縁は、上側から下側に向かって遠位側に直線状に傾斜した傾斜部を有し、当該傾斜部に切欠き部や突出部が形成されていてもよい。傾斜部には、切欠き部と突出部のどちらか一方のみ形成されていてもよく、両方が形成されていてもよい。このように液体吸引口9の外縁が形成されていれば、液体吸引口9に胆石等の異物が嵌まり込んだり、異物によって液体吸引口9が塞がることが起こりにくくなる。Various configuration examples of the distal end of the
図10には、液体吸引口9の外縁に切欠き部16を設けた例を示した。図10では、液体吸引口9の外縁は、上側から下側に向かって遠位側に直線状に形成された傾斜部15を有し、傾斜部15に切欠き部16が形成されている。傾斜部15では、液体吸引口9の外縁は、液体吸引口9の上端と下端を結ぶ仮想直線と重なるように形成され、切欠き部16では、当該仮想直線よりも液体吸引口9の外縁が近位側に位置する。なお、傾斜部15に突出部が形成される場合は、突出部では、液体吸引口9の上端と下端を結ぶ仮想直線よりも液体吸引口9の外縁が遠位側に位置する。Figure 10 shows an example in which a
図11に示すように、第2チューブ7の側面には、液体吸引口9の近位側近傍に、複数の突起部17が設けられていてもよい。このように液体吸引口9の近位側近傍の第2チューブ7の外面に突起部17が設けられることにより、液体吸引口9の近位側近傍に胆石等の異物が溜まりにくくなり、異物が液体吸引口9に入り込みにくくなる。また、液体吸引口9の近位側近傍に異物が集まっても、液体吸引口9より近位側にある体液等が、突起部17の間の隙間を通って液体吸引口9から吸引されやすくなる。As shown in FIG. 11, a plurality of
突起部17は、液体吸引口9の近位側近傍として、シャフト2の長手方向に対して、液体吸引口9の遠位端よりも近位側かつ液体吸引口9の近位端から近位側に50mmの地点よりも遠位側の範囲に設けられることが好ましい。突起部17は、当該範囲の少なくとも一部に設けられればよい。また、突起部17は、当該範囲より遠位側および近位側には設けられないことが好ましい。突起部17は、液体吸引口9の遠位端よりも近位側かつ液体吸引口9の近位端から近位側に30mmの地点よりも遠位側の範囲に設けられることがより好ましく、液体吸引口9の遠位端よりも近位側かつ液体吸引口9の近位端から近位側に20mmの地点よりも遠位側の範囲に設けられることがさらに好ましい。The
シャフト2の外面から見て、シャフト2の長手方向に垂直な方向の突起部17の長さは、液体吸引口9の近位側近傍における第2チューブ7の外径の0.02倍以上が好ましく、0.04倍以上がより好ましく、また0.15倍以下が好ましく、0.10倍以下がより好ましい。このような大きさで突起部17が形成されることにより、シャフト2の外面において、液体吸引口9の近位側近傍に胆石等の異物が溜まりにくくなり、また液体吸引口9より近位側にある体液等が、突起部17の間の隙間を通って液体吸引口9から吸引されやすくなる。When viewed from the outer surface of the
突起部17の高さは、液体吸引口9の近位側近傍における第2チューブ7の外径の0.02倍以上が好ましく、0.04倍以上がより好ましい。このような高さで突起部17が形成されることにより、シャフト2の外面において、液体吸引口9の近位側近傍に胆石等の異物が溜まりにくくなり、また液体吸引口9より近位側にある体液等が、突起部17の間の隙間を通って液体吸引口9から吸引されやすくなる。突起部17の高さは、液体吸引口9の近位側近傍における第2チューブ7の外径の0.15倍以下が好ましく、0.10倍以下がより好ましいく、0.08倍以下がさらに好ましい。これにより突起部17が過剰に大きく形成されず、シャフト2を体内管腔の奥まで挿入しやすくなる。The height of the
第2チューブ7の外面には、複数の突起部17が第2チューブ7の周方向の異なる位置に配置されることが好ましい。例えば、シャフト2を遠位側から見て、突起部17は第2チューブ7の周方向の異なる3ヶ所以上に配置されることが好ましく、4ヶ所以上がより好ましく、5ヶ所以上がさらに好ましい。第2チューブ7の外面には、複数の突起部17が第2チューブ7の長手方向の異なる位置に配置されることも好ましい。突起部17は、第2チューブ7の長手方向の異なる2ヶ所以上に配置されてもよく、3ヶ所以上に配置されてもよい。It is preferable that
図12に示すように、第1ルーメン4は遠位端部に絞り部19を有し、絞り部19における第1ルーメン4の断面積がその遠位側および近位側よりも狭く形成されていてもよい。このように第1ルーメン4の遠位端部を形成することにより、洗浄液を液体吐出口5から遠位側に向けて径方向に広がりながら吐出することができる。これにより、体内管腔の内壁に付着した体液や粘液を洗い流すことが容易になる。カテーテル1が胆汁吸引カテーテルである場合は、胆管内のより奥まで洗浄することができるとともに、胆管内壁に付着した胆汁を洗い流すことが容易になる。As shown in FIG. 12, the
絞り部19は、第1ルーメン4の遠位端部として、液体吐出口5よりも近位側かつ液体吸引口9よりも遠位側に形成されることが好ましい。なお、絞り部19とは、第1ルーメン4の遠位端部において、断面積が最も狭まった部分を意味する。このように絞り部19が形成されることにより、洗浄液が液体吐出口5から径方向に広がりながら遠位側に吐出されやすくなる。絞り部19はまた、液体吐出口5(具体的には液体吐出口5の近位端)より1mm以上近位側に位置することが好ましく、2mm以上がより好ましく、また15mm以下が好ましく、12mm以下がより好ましく、10mm以下がさらに好ましい。The
液体吐出口5から吐出する液体は、生理食塩水であることが好ましい。カテーテル1が胆汁吸引カテーテルである場合は、生理食塩水で胆管内の胆汁を希釈しながら、胆管内の胆汁を液体吸引口9から吸引することができ、胆管内の洗浄を効果的に行うことができる。例えば胆管内に感染胆汁がある場合は、胆管内を洗浄することにより、結石の発生や胆汁のうっ滞を抑えることができる。The liquid discharged from the
洗浄液として生理食塩水を用いることにより、胆汁との比重差により胆汁を効率的に吸引できるという効果も得られる。内視鏡的逆行性胆道膵管造影(ERCP)の際などには患者は主に腹臥位または左側臥位の状態で処置が施されるが、この状態では、胆管の入口は胆管の内部よりも上側に位置することとなる。この状態でカテーテル1を使用し、液体吐出口5から生理食塩水を吐出すると、生理食塩水は胆汁よりも比重が軽いため、生理食塩水を胆管の奥まで流入したとき、生理食塩水が上澄みとして上がってきて、胆汁を生理食塩水と効率的に混合し希釈することができる。そのため、希釈した胆汁を液体吸引口9から吸引することにより、胆管内の胆汁を効率的に除去することができる。By using saline as the cleaning liquid, it is possible to efficiently aspirate bile due to the difference in specific gravity with bile. During endoscopic retrograde cholangiopancreatography (ERCP), the patient is usually treated in the prone or left lateral position, in which case the entrance to the bile duct is located above the inside of the bile duct. When using
液体吐出口5からの液体の吐出と液体吸引口9からの吸引は、同じタイミングで行ってもよく、異なるタイミングで行ってもよく、また交互に行ってもよい。カテーテル1が胆汁吸引カテーテルである場合、このように胆管内を洗浄することにより、胆管内の胆汁を効率よく吸引することができ、また胆管内の内圧が過度に高まることを防止できる。そのため、感染胆汁が肝臓を通って全身の血管内に流入することによる敗血症の発生を抑えることができる。The discharge of liquid from the
液体吐出口5からは造影剤を吐出してもよい。例えば、生理食塩水により体内管腔を洗浄した後、引き続き液体吐出口5から造影剤を体内管腔に注入することにより、体内管腔の画像診断をより行いやすくなる。A contrast agent may be discharged from the
本願は、2023年2月10日に出願された日本国特許出願第2023-018860号と2023年2月10日に出願された日本国特許出願第2023-018861号に基づく優先権の利益を主張するものである。2023年2月10日に出願された日本国特許出願第2023-018860号と2023年2月10日に出願された日本国特許出願第2023-018861号の明細書の全内容が、本願に参考のため援用される。This application claims the benefit of priority based on Japanese Patent Application No. 2023-018860 filed on February 10, 2023, and Japanese Patent Application No. 2023-018861 filed on February 10, 2023. The entire contents of the specifications of Japanese Patent Application No. 2023-018860 filed on February 10, 2023, and Japanese Patent Application No. 2023-018861 filed on February 10, 2023 are incorporated by reference into this application.
1:カテーテル
2:シャフト
3:第1チューブ
4:第1ルーメン
5:液体吐出口
6:穴
7:第2チューブ
8:第2ルーメン
9:液体吸引口
10:(第2チューブの)近位側開口
11:第3チューブ
12:第3ルーメン
13:(第3チューブの)遠位側開口
14:保護チューブ
15:傾斜部
16:切欠き部
17:突起部
18:テーパー部
19:絞り部
20:バルーン、20A:第1バルーン、20B:第2バルーン
26:ハンドル
27:液体供給ポート
28:ガイドワイヤポート
29:流体注入ポート
31:医療用長尺体
32:第2シャフト
33:(医療用長尺体の)内腔
37:吸引機構
41:カテーテルシステム1: Catheter 2: Shaft 3: First tube 4: First lumen 5: Liquid outlet 6: Hole 7: Second tube
8: Second lumen 9: Liquid suction port 10: Proximal opening (of second tube) 11: Third tube 12: Third lumen 13: Distal opening (of third tube) 14: Protective tube 15: Inclined portion 16: Notch portion 17: Protrusion portion 18: Tapered portion 19: Constriction portion 20: Balloon, 20A: First balloon, 20B: Second balloon 26: Handle 27: Liquid supply port 28: Guidewire port 29: Fluid injection port 31: Medical elongated body 32: Second shaft 33: Inner cavity (of medical elongated body) 37: Suction mechanism 41: Catheter system
| Application Number | Priority Date | Filing Date | Title |
|---|---|---|---|
| JP2023-018860 | 2023-02-10 | ||
| JP2023018860 | 2023-02-10 | ||
| JP2023018861 | 2023-02-10 | ||
| JP2023-018861 | 2023-02-10 |
| Publication Number | Publication Date |
|---|---|
| WO2024166890A1true WO2024166890A1 (en) | 2024-08-15 |
| Application Number | Title | Priority Date | Filing Date |
|---|---|---|---|
| PCT/JP2024/003803PendingWO2024166890A1 (en) | 2023-02-10 | 2024-02-06 | Catheter and catheter system |
| Country | Link |
|---|---|
| WO (1) | WO2024166890A1 (en) |
| Publication number | Priority date | Publication date | Assignee | Title |
|---|---|---|---|---|
| US5928181A (en)* | 1997-11-21 | 1999-07-27 | Advanced International Technologies, Inc. | Cardiac bypass catheter system and method of use |
| JP2008504897A (en)* | 2004-07-02 | 2008-02-21 | シー・アール・バード・インコーポレイテツド | Multi-lumen catheter tip configuration |
| JP2008264120A (en)* | 2007-04-18 | 2008-11-06 | Kaneka Corp | Catheter with pushability |
| JP2009513246A (en)* | 2005-10-26 | 2009-04-02 | メドトロニック ヴァスキュラー インコーポレイテッド | Catheter having an elliptical suction cavity and method for producing the same |
| JP2010057831A (en)* | 2008-09-05 | 2010-03-18 | Kaneka Corp | Suction catheter |
| JP2017519536A (en)* | 2014-05-19 | 2017-07-20 | ウォーク バスキュラー, エルエルシーWalk Vascular, Llc | System and method for removing blood and thrombotic substances |
| Publication number | Priority date | Publication date | Assignee | Title |
|---|---|---|---|---|
| US5928181A (en)* | 1997-11-21 | 1999-07-27 | Advanced International Technologies, Inc. | Cardiac bypass catheter system and method of use |
| JP2008504897A (en)* | 2004-07-02 | 2008-02-21 | シー・アール・バード・インコーポレイテツド | Multi-lumen catheter tip configuration |
| JP2009513246A (en)* | 2005-10-26 | 2009-04-02 | メドトロニック ヴァスキュラー インコーポレイテッド | Catheter having an elliptical suction cavity and method for producing the same |
| JP2008264120A (en)* | 2007-04-18 | 2008-11-06 | Kaneka Corp | Catheter with pushability |
| JP2010057831A (en)* | 2008-09-05 | 2010-03-18 | Kaneka Corp | Suction catheter |
| JP2017519536A (en)* | 2014-05-19 | 2017-07-20 | ウォーク バスキュラー, エルエルシーWalk Vascular, Llc | System and method for removing blood and thrombotic substances |
| Publication | Publication Date | Title |
|---|---|---|
| CN102205161B (en) | Aspiration catheter | |
| CN1893997B (en) | Suction catheter | |
| CN102056532B (en) | body passage clearing device | |
| US8029494B2 (en) | Method of removing biliary stones with coaxial catheter device | |
| JP6837971B2 (en) | Catheter patency system and method | |
| JP2006087643A (en) | Apparatus for sucking foreign substance from blood vessel | |
| KR20170122756A (en) | Endoscopic treatment tool | |
| JPS59502134A (en) | Opening device to body cavity | |
| WO2012176189A1 (en) | A catheter with an enhanced pushability | |
| BR112018073976B1 (en) | MINI-INVASIVE DEVICE FOR ENDOUROLOGICAL AND ENDOSCOPE TREATMENT | |
| JP2009542413A (en) | Vascular catheter apparatus and method | |
| US20150196738A1 (en) | Medical instrument | |
| JP7616062B2 (en) | Balloon catheter for foreign body removal | |
| US10765439B2 (en) | Treatment method and medical device | |
| WO2024166890A1 (en) | Catheter and catheter system | |
| JP2019097596A (en) | Balloon catheter | |
| JP5112466B2 (en) | Catheter system | |
| US20200069921A1 (en) | Device for occlusion isolation and removal | |
| US11529497B1 (en) | Centering device for a catheter | |
| JP2024077453A (en) | Bile aspiration catheter | |
| JP2023135252A (en) | Bile aspiration catheter | |
| JP2019097595A (en) | Balloon catheter | |
| JP7395843B2 (en) | drain catheter | |
| JP2023135253A (en) | Bail aspiration catheter | |
| KR200411754Y1 (en) | Catheter for Revascularization in Acute Occlusion of Internal Carotid Artery. |
| Date | Code | Title | Description |
|---|---|---|---|
| 121 | Ep: the epo has been informed by wipo that ep was designated in this application | Ref document number:24753333 Country of ref document:EP Kind code of ref document:A1 | |
| WWE | Wipo information: entry into national phase | Ref document number:2024576346 Country of ref document:JP |