Movatterモバイル変換


[0]ホーム

URL:


WO2024113355A1 - Nitride-based semiconductor device and method for manufacturing thereof - Google Patents

Nitride-based semiconductor device and method for manufacturing thereof
Download PDF

Info

Publication number
WO2024113355A1
WO2024113355A1PCT/CN2022/136187CN2022136187WWO2024113355A1WO 2024113355 A1WO2024113355 A1WO 2024113355A1CN 2022136187 WCN2022136187 WCN 2022136187WWO 2024113355 A1WO2024113355 A1WO 2024113355A1
Authority
WO
WIPO (PCT)
Prior art keywords
nitride
based semiconductor
layers
layer
semiconductor device
Prior art date
Legal status (The legal status is an assumption and is not a legal conclusion. Google has not performed a legal analysis and makes no representation as to the accuracy of the status listed.)
Ceased
Application number
PCT/CN2022/136187
Other languages
French (fr)
Inventor
Shangqing QIU
Kai Cao
Jianping Zhang
Current Assignee (The listed assignees may be inaccurate. Google has not performed a legal analysis and makes no representation or warranty as to the accuracy of the list.)
Innoscience Suzhou Semiconductor Co Ltd
Original Assignee
Innoscience Suzhou Semiconductor Co Ltd
Priority date (The priority date is an assumption and is not a legal conclusion. Google has not performed a legal analysis and makes no representation as to the accuracy of the date listed.)
Filing date
Publication date
Application filed by Innoscience Suzhou Semiconductor Co LtdfiledCriticalInnoscience Suzhou Semiconductor Co Ltd
Priority to PCT/CN2022/136187priorityCriticalpatent/WO2024113355A1/en
Priority to CN202280080693.2Aprioritypatent/CN118369770A/en
Publication of WO2024113355A1publicationCriticalpatent/WO2024113355A1/en
Anticipated expirationlegal-statusCritical
Ceasedlegal-statusCriticalCurrent

Links

Images

Classifications

Definitions

Landscapes

Abstract

A nitride-based semiconductor device includes a nitride-based semiconductor die, first connecting layers, second connecting layers, and a metal layer. The nitride-based semiconductor die comprises a first nitride-based semiconductor layer, a second nitride-based semiconductor layer, a top surface, first conductive pads, second conductive pads, a bottom surface, and side surfaces. The second nitride-based semiconductor layer and the first nitride-based semiconductor layer form a 2DEG region. The first and second conductive pads are embedded in the top surface. The second conductive pads are located between the first conductive pads. The side surfaces are oblique. The first connecting layers are connected to the first conductive pads. The second connecting layers are connected to the second conductive pads. The metal layer is disposed on the bottom surface. The first connecting layers cover the side surfaces. Part of every second connecting layer is located right above one of the first connecting layers.

Description

NITRIDE-BASED SEMICONDUCTOR DEVICE AND METHOD FOR MANUFACTURING THE SAME
Inventors: Shangqing QIU; Kai CAO; Jianping ZHANG
Field of the Disclosure:
The present disclosure generally relates to a nitride-based semiconductor device. More specifically, the present disclosure relates to a nitride-based semiconductor device having side surfaces covered by conductive layer.
Background of the Disclosure:
In recent years, intense research on high-electron-mobility transistors (HEMTs) has been prevalent, particularly for high power switching and high frequency applications. III-nitride-based HEMTs utilize a heterojunction interface between two materials with different bandgaps to form a quantum well-like structure, which accommodates a two-dimensional electron gas (2DEG) region, satisfying demands of high power/frequency devices. In addition to HEMTs, examples of devices having heterostructures further include heterojunction bipolar transistors (HBT) , heterojunction field effect transistor (HFET) , and modulation-doped FETs (MODFET) .
Summary of the Disclosure:
In accordance with one aspect of the present disclosure, a nitride-based semiconductor device is provided. The nitride-based semiconductor device includes a nitride-based semiconductor die, a plurality of first connecting layers, a plurality of second connecting layers, and a metal layer. The nitride-based semiconductor die comprises a first nitride-based semiconductor layer, a second nitride-based semiconductor layer, a top surface, a plurality of first conductive pads, a plurality of second conductive pads, a bottom surface, and a plurality of side surfaces. The second nitride-based semiconductor layer is disposed on the first nitride-based semiconductor layer. A bandgap of the second nitride-based semiconductor layer is greater than a bandgap of the first nitride-based semiconductor layer, and a 2DEG region is formed near an interface between the first nitride-based semiconductor layer and the second nitride-based semiconductor layer. The first and second conductive pads are embedded in the top surface. The second conductive pads are located between the first conductive pads. The bottom surface is opposite to the top surface. The side surfaces connect the top surface and the bottom surface. The side surfaces are oblique. The first connecting layers are connected to the first conductive pads. The second connecting layers are connected to the second conductive pads. The metal layer is  disposed on the bottom surface. The first connecting layers cover the side surfaces. Part of every second connecting layer is located right above one of the first connecting layers.
In accordance with one aspect of the present disclosure, a method of manufacturing a nitride-based semiconductor device is provided. The method has steps as follow: disposing a metal layer on a bottom surface of a nitride-based semiconductor die; connecting the metal layer to a substrate; disposing a plurality of fist connecting layers on a plurality of side surfaces and a top surface of the nitride-based semiconductor die; disposing a plurality of second connecting layers on the top surface of the nitride-based semiconductor die; and removing the substrate. The nitride-based semiconductor die comprises a first nitride-based semiconductor layer, a second nitride-based semiconductor layer, the top surface, a plurality of first conductive pads, a plurality of second conductive pads, the bottom surface, and the side surfaces. The second nitride-based semiconductor layer is disposed on the first nitride-based semiconductor layer. A bandgap of the second nitride-based semiconductor layer is greater than a bandgap of the first nitride-based semiconductor layer, and a 2DEG region is formed near an interface between the first nitride-based semiconductor layer and the second nitride-based semiconductor layer. The bottom surface is opposite to the top surface, and the side surfaces connect the top surface and the bottom surface, and the side surfaces are oblique. The first conductive pads are embedded in the top surface, and the second conductive pads are embedded in the top surface, and the second conductive pads are located between the first conductive pads. The first connecting layers are connected to the first conductive pads, and the first connecting layers cover the side surfaces. The second connecting layers are connected to the second conductive pads, and part of every second connecting layer is located right above one of the first connecting layers.
In accordance with one aspect of the present disclosure, a nitride-based semiconductor device is provided. The nitride-based semiconductor device includes a nitride-based semiconductor die, a plurality of first connecting layers, and a plurality of second connecting layers. The nitride-based semiconductor die includes a first nitride-based semiconductor layer, a second nitride-based semiconductor layer, a top surface, and a plurality of side surfaces. The second nitride-based semiconductor layer is disposed on the first nitride-based semiconductor layer. A bandgap of the second nitride-based semiconductor layer is greater than a bandgap of the first nitride-based semiconductor layer, and a 2DEG region is formed near an interface between the first nitride-based semiconductor layer and the second nitride-based semiconductor layer. The side surfaces are connected to the top surface. The first connecting layers are electrically connected to the nitride-based semiconductor die through the top surface. The second connecting layers are electrically connected to the nitride-based semiconductor die through the top surface. Every first connecting layer covers one of the side surfaces and has a first connecting surface at  its end. Every second connecting layer extends upward and has a second connecting surface at its end. The first connecting surfaces are located at a first altitude, and the second connecting surfaces are located at a second altitude. The second altitude is higher than the first altitude.
By the above configuration, the nitride-based semiconductor die may form electrical connection through the first connecting layers and the second connecting layers, and the first connecting layers and the second connecting layers provide multiple location around the die for connection. The connection between the nitride-based semiconductor die and other devices can be formed easily and properly, and the design of the connection have high flexibility.
Brief Description of the Drawings:
Aspects of the present disclosure are readily understood from the following detailed description when read with the accompanying figures. It should be noted that various features may not be drawn to scale. That is, the dimensions of the various features may be arbitrarily increased or reduced for clarity of discussion. Embodiments of the present disclosure are described in more detail hereinafter with reference to the drawings, in which:
FIG. 1 is a side sectional view of a nitride-based semiconductor device according to some embodiments of the present disclosure;
FIGS. 2-9 are side sectional views of steps of a manufacturing method of a nitride-based semiconductor device according to some embodiments of the present disclosure;
FIG. 10 is a side sectional view of a nitride-based semiconductor device according to some embodiments of the present disclosure;
FIG. 11 is a side sectional view of a nitride-based semiconductor device according to some embodiments of the present disclosure;
FIG. 12 is a side sectional view of a nitride-based semiconductor device according to some embodiments of the present disclosure;
FIG. 13 is a side sectional view of a nitride-based semiconductor device according to some embodiments of the present disclosure;
FIG. 14 is a side sectional view of a nitride-based semiconductor device according to some embodiments of the present disclosure;
FIGS. 15-20 are side sectional views of steps of a manufacturing method of a nitride-based semiconductor device according to some embodiments of the present disclosure;
FIG. 21 is a side sectional view of a nitride-based semiconductor device according to some embodiments of the present disclosure;
FIG. 22 is a side sectional view of a nitride-based semiconductor device according to some embodiments of the present disclosure;
FIG. 23 is a side sectional view of a nitride-based semiconductor device according to some embodiments of the present disclosure;
FIG. 24 is a side sectional view of a nitride-based semiconductor device according to some embodiments of the present disclosure;
FIG. 25 is a side sectional view of a nitride-based semiconductor device according to some embodiments of the present disclosure; and
FIG. 26 is a side sectional view of a nitride-based semiconductor device according to some embodiments of the present disclosure.
Detailed Description:
Common reference numerals are used throughout the drawings and the detailed description to indicate the same or similar components. Embodiments of the present disclosure will be readily understood from the following detailed description taken in conjunction with the accompanying drawings.
Spatial descriptions, such as "on, " "above, " "below, " "up, " "left, " "right, " "down, " "top, " "bottom, " "vertical, " "horizontal, " "side, " "higher, " "lower, " "upper, " "over, " "under, " and so forth, are specified with respect to a certain component or group of components, or a certain plane of a component or group of components, for the orientation of the component (s) as shown in the associated figure. It should be understood that the spatial descriptions used herein are for purposes of illustration only, and that practical implementations of the structures described herein can be spatially arranged in any orientation or manner, provided that the merits of embodiments of this disclosure are not deviated from by such arrangement.
Further, it is noted that the actual shapes of the various structures depicted as approximately rectangular may, in actual device, be curved, have rounded edges, have somewhat uneven thicknesses, etc. due to device fabrication conditions. The straight lines and right angles are used solely for convenience of representation of layers and features.
In the following description, semiconductor devices/dies/packages, methods for manufacturing the same, and the likes are set forth as preferred examples. It will be apparent to those skilled in the art that modifications, including additions and/or substitutions may be made without departing from the scope and spirit of the present disclosure. Specific details may be omitted so as not to obscure the present disclosure; however, the disclosure is written to enable one skilled in the art to practice the teachings herein without undue experimentation.
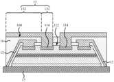
FIG. 1 is a side sectional view of a nitride-based semiconductor device 1A according to some embodiments of the present disclosure. Referring to FIG. 1, the nitride-based semiconductor  device 1A includes a nitride-based semiconductor die 11, a plurality of connecting layers 12, a plurality of connecting layers 13, and a metal layer 14.
In this embodiment, the nitride-based semiconductor die 11 has a nitride-based semiconductor layer 110, and a nitride-based semiconductor layer 111. The nitride-based semiconductor layer 111 is disposed on the nitride-based semiconductor layer 110. A bandgap of the nitride-based semiconductor layer 111 is greater than a bandgap of the nitride-based semiconductor layer 110, and a 2DEG region is formed near an interface between the nitride-based semiconductor layer 110 and the nitride-based semiconductor layer 111.
In this embodiment, the nitride-based semiconductor die 11 has a top surface 112, a bottom surface 115, and a plurality of side surfaces 116. The bottom surface 115 is opposite to the top surface 112, and the side surfaces 116 connect the top surface 112 and the bottom surface 115. The side surfaces 116 are oblique. To be specific, the top surface 112 is located above the nitride-based semiconductor layer 111, and the nitride-based semiconductor layer 111 is located between the top surface 112 and the nitride-based semiconductor layer 110, and the nitride-based semiconductor layer 110 is located between the nitride-based semiconductor layer 111 and the bottom surface 115. The side surfaces 116 form slopes that located at the sides of the nitride-based semiconductor die 11.
In this embodiment, the nitride-based semiconductor die 11 has a plurality of conductive pads 113, and a plurality of conductive pads 114. The conductive pads 113 and the conductive pads 114 are embedded in the top surface 112, and the conductive pads 114 are located between the conductive pads 113. The conductive pads 113, 114 can include, for example but are not limited to, metals, alloys, doped semiconductor materials (such as doped crystalline silicon) , compounds such as silicide and nitrides, other conductive materials, or combinations thereof.
The connecting layers 12 are connected to the conductive pads 113, and the connecting layers 13 are connected to the conductive pads 114. To be specific, every connecting layer 12 is electrically connected to one of the conductive pads 113, and every connecting layer 13 is electrically connected to one of the conductive pads 114. The connecting layers 12 cover the side surfaces 116. Part of every connecting layer 13 is located right above one of the connecting layers 12. The metal layer 14 is disposed on the bottom surface.
In other words, the connecting layers 12 and the connecting layers 13 are electrically connected to the nitride-based semiconductor die 11 through the top surface 112. The side surfaces 116 are connected to the top surface 112. Every connecting layer 12 covers one of the side surfaces 116 and has a connecting surface 120 at its end, and every connecting layer 13 extends upward and has a connecting surface 130 at its end. The connecting surfaces 120 are located at an altitude (at the bottom of the nitride-based semiconductor device 1A) , and the connecting surfaces 130 are  located at another altitude (at the top of the nitride-based semiconductor device 1A) , and the altitudes of the connecting surfaces 130 are higher than the altitudes of the connecting surfaces 120.
In this embodiment, the connecting layers 12, 13 are electrically connected to the nitride-based semiconductor die 11. The connecting layers 12 form connections at the bottom of the nitride-based semiconductor device 1A, and the connecting layers 13 form connections at the top of the nitride-based semiconductor device 1A. Therefore, the nitride-based semiconductor die 11 of the nitride-based semiconductor device 1A can be connected to other devices easily and efficiently. In other words, the connecting surfaces 120, 130 of the connecting layers 12, 13 are highly separated, and, therefore; provide good connecting interfaces.
Also, in this embodiment, the connecting layers 12, 13 extend towards different directions, and signals transmission in the connecting layers 12, 13 won’ t be affect by each other. Also, the connecting layers 12, 13 form connections with larger dimension, and the connecting layers 12, 13 can provide connections with low resistance. Also, the metal layer 14 and the connecting layers 12, 13 surround the nitride-based semiconductor die 11, and the heat dissipation of the nitride-based semiconductor device 1A is improved.
In one aspect, the nitride-based semiconductor die 11 in this embodiment has a plurality of HEMTs, and the nitride-based semiconductor layer 110 can form the tunnel layers of these HEMTs, and the nitride-based semiconductor layer 111 can form the barrier layers of these HEMTs. For example, the nitride-based semiconductor layer 110 may include gallium nitride (GaN) , and the nitride-based semiconductor layer 111 may include aluminum gallium nitride (AlGaN) .
To be specific, the exemplary materials of the nitride-based semiconductor layers 110, 111 can include, for example but are not limited to, nitrides or group III-V compounds, such as GaN, AlN, InN, InAlN, InxAlyGa (1–x–y) N where x+y ≤ 1, AlyGa (1–y) N where y ≤ 1.
The exemplary materials of the nitride-based semiconductor layers 110, 111 are selected such that the nitride-based semiconductor layer 111 has the bandgap (i.e., forbidden band width) greater than the bandgap of the nitride-based semiconductor layer 110, which causes electron affinities thereof different from each other and forms a heterojunction therebetween. As such, the nitride-based semiconductor layers 110, 111 can serve as the channel layer and the barrier layer, respectively. A triangular well potential is generated at a bonded interface between the channel and barrier layers, so that electrons accumulate in the triangular well potential, thereby generating the two-dimensional electron gas (2DEG) region adjacent to the heterojunction.
In one aspect, the bottom surface 115 of the nitride-based semiconductor die 11 is larger than the top surface 112 of the nitride-based semiconductor die 11. To be specific, a shape of a  cross-section of the nitride-based semiconductor die 11 is a trapezoid, and the top surface 112 and the bottom surface 115 are parallel, and the side surfaces 116 are disposed aslant. The bottom surface 115 is larger than the top surface 112, and the side surfaces 116 connecting the top surface 112 and the bottom surface 115 are oblique. Therefore, the connecting layers 12 can be properly disposed on the side surfaces 116 through deposition. Also, obtuse angles are formed between the top surface 112 and the side surfaces 116, and, therefore; the connecting layers 12 can be properly disposed on both the top surface 112 and the side surfaces 116, and the connecting layers 12 can cover the obtuse angles.
Furthermore, the side surfaces 116 of the nitride-based semiconductor die 11 are straight and slanted. Therefore, the connecting layers 12 can be formed on the side surfaces 116 with the same thickness, and the resistance of the connecting layers 12 can be controlled properly. Also, the connecting layers 12 on the side surfaces 116 can be patterned, and a plurality of circuit can be formed by the connecting layers 12.
For example, the connecting layers 12 may include copper, and the connecting layers 13 may include alloy of copper and nickel. In some embodiments, the exemplary materials of the connecting layers 12, 13 can include, for example but are not limited to, conductive material. In some embodiments, the connecting layers 13 may include gold. In some embodiment, the connecting layers 12, 13 may include a single film or multilayered film having Ag, Al, Cu, Mo, Ni, Ti, alloys thereof, oxides thereof, nitride thereof, or combinations thereof. The metal layer 14 may include alloy of titanium, nickel, and silver. In some embodiments, the exemplary materials of the metal layer 14 can include, for example but are not limited to, conductive material. In some embodiments, the metal layer 14 may include alloy of titanium, nickel, and gold. In some embodiments, the metal layer 14 may include alloy of chromium, nickel, and silver. In some embodiments, the metal layer 14 may include alloy of chromium, nickel, and gold. In some embodiments, the metal layer 14 may include a single film or multilayered film having Ag, Al, Cu, Mo, Ni, Ti, alloys thereof, oxides thereof, nitride thereof, or combinations thereof.
In one aspect, the connecting layers 12 extend towards the bottom of the nitride-based semiconductor device 1A, and the connecting layers 13 extend towards the top of the nitride-based semiconductor device 1A. To be specific, the side surfaces 116 are oblique, and the connecting layers 12 are conformally disposed on the side surfaces 116. Therefore, the connecting layers 12 are inclined on the side surfaces 116, and the connecting layers 12 can form connections at the bottom of the nitride-based semiconductor device 1A. Connections of the nitride-based semiconductor die 11 can be move away from the top surface 112, and the circuit design can be flexible.
Also, the connecting layers 13 of this embodiment can form connections at the top of the nitride-based semiconductor device 1A. The connecting layers 13 are extended upward and horizontally, and part of every connecting layer 13 is floated above the top surface 112. Moreover, the connecting layers 13 may form circuits above the top surface 112 or provide a wide connecting surface 130. Therefore, the connection design of the nitride-based semiconductor die 11 may be flexible.
In one aspect, the connecting layers 12 and the connecting layers 13 are not connected. The connecting layers 12, 13 are extending towards different directions, and the connecting layers 12, 13 are separate. The connecting layers 12 form separated connecting routes in the nitride-based semiconductor device 1A, and the connecting layers 13 form separated connecting routes in the nitride-based semiconductor device 1A. The connecting surfaces formed by the connecting layers 12, 13 are greatly separated, and, therefore; the connecting layers 12, 13 won’ t affect each other, and the connecting layers 12, 13 may form proper connections.
To be specific, the connecting surfaces 120 of the connecting layers 12 are located at the bottom of the nitride-based semiconductor device 1A. Therefore, other devices may form connections with the nitride-based semiconductor die 11 through the bottom of the nitride-based semiconductor device 1A. Also, the connecting surfaces 120 at the bottom are separated, and the electrical connections can be formed properly.
In this embodiment, the metal layer 14 has a bottom surface 140, and the bottom surface 140 is facing backward towards the nitride-based semiconductor die 11. The bottom surface 140 of the metal layer 14 and the connecting surfaces 120 of the connecting layers 12 are coplanar, and the metal layer 14 and the connecting layers 12 both touch the nitride-based semiconductor die 11 directly. Therefore, heat from the nitride-based semiconductor die 11 can be dissipated efficiently through the bottom surface 140 and the connecting surfaces 120.
To be specific, the connecting surface 120 is located at an end of every connecting layer 12, and the connecting layers 12 cover the side surface 116. Therefore, in this embodiment, the connecting surfaces 120 are located near the bottom of the side surfaces 116, and electrical connection can be formed easily at the bottom of the nitride-based semiconductor device 1A. In other words, heat dissipating structures and electrically connecting structures can be formed easily at the bottom of the nitride-based semiconductor device 1A.
Also, in this embodiment, the connecting surfaces 120 of the connecting layers 12 surround the bottom surface 140 of the metal layer 14. The connection of the nitride-based semiconductor device 1A can be formed easily through the connecting surfaces 120, and the bottom surface 140 between the connecting surfaces 120 can provide good heat dissipation.
In this embodiment, the connecting surfaces 120 are separate by the bottom surface 140, and the bottom surface 140 has large dimension. Therefore, electrical connections of the connecting surfaces 120 won’t affect each other.
Also, in the connecting layers 12 of this embodiment, only the connecting surface 120 is exposed in every connecting layer 12, and, therefore; the connecting layers 12 are well protected.
The connecting layers 13 of this embodiment are connected to the conductive pads 114 that are located between the conductive pads 113, and every connecting layer 13 has the connecting surface 130. The connecting surfaces 130 and the top surface 112 of the nitride-based semiconductor die 11 are parallel. In other words, the connecting surfaces 130 of the connecting layers 13 and the top surface 112 of the nitride-based semiconductor die 11 are horizontally disposed, and the connecting surfaces 130 are located at the top of the nitride-based semiconductor device 1A. The connecting surfaces 130 provide a large area for connection, and, therefore; other devices can be easily connected to the nitride-based semiconductor die 11 through the connecting surfaces 130 of the connecting layers 13.
In this embodiment, every connecting surface 130 occupies a large area above the nitride-based semiconductor die 11, and the heat dissipation of the nitride-based semiconductor device 1A is improved.
To be specific, the connecting surfaces 130 are located above the nitride-based semiconductor die 11, and the top surface 112 of the nitride-based semiconductor die 11 is located between the connecting surfaces 130 and the connecting surfaces 120. Therefore, the nitride-based semiconductor device 1A provides a three-dimensional electrical connection design with high flexibility.
In some embodiment, the connecting surfaces 130 can be patterned, and the connecting layers 13 can form a plurality of circuits on the nitride-based semiconductor die 11, and other devices can be connected to the nitride-based semiconductor die 11 through the connecting surfaces 130 easily.
Referring to FIG. 1, in this embodiment, the connecting layers 13 are extended to the top corners of the nitride-based semiconductor device 1A, and the connecting layers 12 are extended to the bottom corners of the nitride-based semiconductor device 1A. Therefore, the electrical connection of the nitride-based semiconductor device 1A can be formed through the corners which are well-separated, and the connections won’ t affect each other.
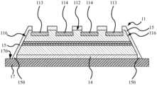
In one aspect, the nitride-based semiconductor device 1A further comprises a plurality of dielectric layers 15. The dielectric layers 15 are disposed between the side surfaces 116 and the connecting layers 12. To be specific, every dielectric layer 15 is conformally disposed on one of the side surfaces 116 of the nitride-based semiconductor die 11, and at least one of the connecting layers 12 is conformally disposed on the dielectric layer 15. The dielectric layers 15 form a plurality of dielectric slopes around the nitride-based semiconductor die 11, and the dielectric layers 15 may separate the side surfaces 116 from the connecting layers 12.
Furthermore, the dielectric layers 15 also cover part of the top surface 112 of the nitride-based semiconductor die 11. The top surfaces of the conductive pads 113, 114 are free from the dielectric layers 15, and the top surface 112 surrounding the conductive pads 113, 114 are covered by the dielectric layers 15. In other words, the dielectric layers 15 and the top surface 112 expose the conductive pads 113, 114. The dielectric layers 15 cover the top surface 112 and the side surfaces 116, and the top surface 112 exposes the conductive pads 113, 114 that are connected to the connecting layers 12, 13.
In this embodiment, a bottom part 150 of every dielectric layer 15 is located between the metal layer 14 and one of the connecting layers 12. To be specific, at the bottom of the nitride-based semiconductor device 1A, every connecting layer 12 is separated from the metal layer 14 by one of the dielectric layers 15, and the bottom part 150 separates the bottom surface 140 of the metal layer 14 and the connecting surface 120 of the connecting layer 12. The bottom parts 150 surround the bottom surface 140 of the metal layer 14, and the connecting surfaces 120 of the connecting layers 12 surround the bottom parts 150 and the bottom surface 140 of the metal layer 14.
Therefore, at the bottom of the nitride-based semiconductor device 1A, the areas for electrical connection are separated from the area for heat dissipation. Heat dissipating structures and electrically connecting structures can be formed easily and properly on the bottom surface 140 and the connecting surfaces 120.
In this embodiment, the nitride-based semiconductor device 1A includes a plurality of dielectric layers 16. The dielectric layers 16 are disposed between the connecting layers 12 and the connecting layers 13. To be specific, the dielectric layers 16 separate the connecting layers 12 and the connecting layers 13. Every connecting layer 12 is covered by one of the dielectric layers 16, and every connecting layer 13 is disposed on one of the dielectric layers 16. Therefore, the connecting layers 12 and the connecting layers 13 are not connected, and the connecting layers 12, 13 can properly form a plurality of connecting surfaces around the nitride-based semiconductor die 11.
Moreover, a top surface 160 of every dielectric layer 16 and the top surface 112 of the nitride-based semiconductor die 11 are parallel, and the connecting layers 13 cover the top surfaces 160 of the dielectric layers 16. Every dielectric layer 16 covers one of the connecting layers 12 that covers one of the side surfaces 116 of the nitride-based semiconductor die 11, and the dielectric layer 16 carries at least one of the connecting layers 12. The dielectric layer 16 provide a horizontal base, and the connecting layer 13 can be properly disposed thereon through deposition.
The dielectric layer 16 forms a plane above the connecting layer 12, and, therefore; the connecting layer 13 can form electrical connection above the connecting layer 12, and the dielectric layer 16 insulate the connecting layer 12 from the connecting layer 13. Therefore, the connecting layers 12, 13 can form three-dimensional electrical connection in the nitride-based semiconductor device 1A.
Moreover, the dielectric layers 16 also cover the top surface 112 of the nitride-based semiconductor die 11. The dielectric layers 16 cover the top surface 112 that located among the conductive pads 113, 114, and the dielectric layers 16 may fully isolate the connecting layers 12, 13.
In some embodiments, the material of the dielectric layers 15, 16 can include, for example but are not limited to, dielectric materials. For example, the dielectric layers 15, 16 can include SiNx, SiOx, SiON, SiC, SiBN, SiCBN, oxides, nitrides, plasma enhanced oxide (PEOX) , or combinations thereof.
FIGS. 2-9 are side sectional views of steps of a manufacturing method of the nitride-based semiconductor device 1A according to some embodiments of the present disclosure. In the following descriptions, deposition techniques can include, for example but are not limited to, atomic layer deposition (ALD) , physical vapor deposition (PVD) , chemical vapor deposition (CVD) , metal organic CVD (MOCVD) , plasma enhanced CVD (PECVD) , low-pressure CVD (LPCVD) , plasma-assisted vapor deposition, epitaxial growth, or other suitable processes. Referring to FIG. 2 and FIG. 3, the manufacturing method of this embodiment includes: disposing the metal layer 14 on the bottom surface 115 of the nitride-based semiconductor die 11.
Referring to FIG. 2, the nitride-based semiconductor die 11 is provided. The nitride-based semiconductor die 11 has the top surface 112, the bottom surface 115, and the side surfaces 116 connecting the top surface 112 and the bottom surface 115.
The side sectional view of the nitride-based semiconductor die 11 is shaped like a trapezoid. The top surface 112 and the bottom surface 115 are parallel, and the top surface 112 is smaller than the bottom surface 115. The side surfaces 116 are not parallel, and the side surfaces 116 are oblique. In other words, in this step, the manufacturing method slants the side surfaces 116.
The nitride-based semiconductor die 11 has the nitride-based semiconductor layer 110, the nitride-based semiconductor layer 111, the conductive pads 113, and the conductive pads 114. The nitride-based semiconductor layers 110, 111 are horizontally disposed in the nitride-based semiconductor die 11, and the nitride-based semiconductor layers 110, 111, the top surface 112,  and the bottom surface 115 are parallel. The conductive pads 113, 114 are embedded in the top surface 112, and top surfaces of the conductive pads 113, 114 are exposed.
The conductive pads 113, 114 are electrically connected to the nitride-based semiconductor layers 110, 111. To be specific, the nitride-based semiconductor die 11 may comprise a plurality of circuits (not shown in FIG. 3) that connect the conductive pads 113, 114 and the nitride-based semiconductor layers 110, 111.
Width of the nitride-based semiconductor die 11 of this embodiment is increasing towards the bottom, and the side surfaces 116 form a plurality of slopes. In the side sectional view of the nitride-based semiconductor die 11, the side surface 116 and the bottom surface 115 form an angle a1, and the angle a1 is an acute angle. For example, the angle a1 can be 60°. In some embodiments, the angle a1 falls in a range from 45° to 75°. Therefore, the side surface 116 may form a proper oblique platform for deposition.
Referring to FIG. 3, the metal layer 14 is disposed on the bottom surface 115 of the nitride-based semiconductor die 11. The bottom surface 115 is fully covered by the metal layer 14, and the bottom surface 140 of the metal layer 14 occupied a large area, and, therefore; the metal layer 14 may dissipate the heat generated from the nitride-based semiconductor die 11.
In this step, only the bottom surface 115 of the nitride-based semiconductor die 11 is covered, and the top surface 112 and the side surfaces 116 are exposed, and the conductive pads 113, 114 are exposed by the top surface 112.
Referring to FIG. 4, after the metal layer 14 is disposed, the manufacturing method of the nitride-based semiconductor device 1A (as shown in FIG. 1) connects the metal layer 14 to a substrate 17.
In this embodiment, the metal layer 14 is located between the nitride-based semiconductor die 11 and the substrate 17. The nitride-based semiconductor die 11 and the metal layer 14 are disposed on the top surface 170 of the substrate 17. The bottom surface 140 of the metal layer 14 and the top surface 170 of the substrate 17 are connected.
The bottom surface 115 of the nitride-based semiconductor die 11 is facing towards the substrate 17, and the top surface 112 and the conductive pads 113, 114 are facing away from the substrate 17. The side surfaces 116 are oblique, and the nitride-based semiconductor die 11 is becoming wider towards the substrate 17. Therefore, the side surfaces 116, and the top surface 112 are adapted to receive material in a deposition process.
Referring to FIGS. 5, and 6, after connecting the metal layer 14 and the substrate 17, the manufacturing method disposes the connecting layers 12 on the side surfaces 116 and the top surface 112 of the nitride-based semiconductor die 11. The connecting layers 12 cover the side surfaces 116, and the connecting layers 12 are connected to the conductive pads 113.
Referring to FIG. 5, in this embodiment, the step of disposing the connecting layers 12 may comprise: disposing the dielectric layers 15 on the side surfaces 116 and the top surface 112. The top surface 112 is a flat surface exposing the conductive pads 113, 114, and the side surfaces 116 are slanted surfaces connected to the top surface 112, and, therefore; the dielectric layers 15 may be properly disposed on the top surface 112, and the side surfaces 116 through deposition.
The side surfaces 116 of the nitride-based semiconductor die 11 and side surfaces of the metal layer 14 are connected. Therefore, through deposition, the bottom parts 150 of the dielectric layers 15 may be disposed around the bottom of the nitride-based semiconductor die 11, and the bottoms parts 150 may covered the side surfaces of the metal layer 14.
The dielectric layers 15 forms a plurality of openings above the nitride-based semiconductor die 11, and the dielectric layers 15 expose the conductive pads 113 and the conductive pads 114. Also, the dielectric layers 15 form a plurality of oblique surfaces on the side surface 116, and the oblique surfaces are connected to the top surface 170 of the substrate 17.
Referring to FIG. 6, the connecting layers 12 are disposed. Since the conductive pads 113 are exposed by the dielectric layers 15, the connecting layers 12 may be disposed on the conductive pads 113. To be specific, the step of disposing the connecting layers 12 comprises: extending the connecting layers 12 towards the bottom surface 115. Since the side surfaces 116 and the dielectric layers 15 thereon are oblique, the connecting layers 12 are extended towards the bottom surface 115 of the nitride-based semiconductor die 11. Therefore, the conductive pads 113 can be electrically connected to different altitude, and the circuit design of the nitride-based semiconductor device 1A may be flexible.
Furthermore, in this embodiment, the step of disposing the connecting layers 12 comprises: forming the connecting surfaces 120 at the bottom. In this embodiment, the connecting layers 12 are extended along the side surfaces 116, and part of every connecting layer 12 touches the top surface 170 of the substrate 17, and the connecting surfaces 120 are formed.
Every connecting surface 120 of the connecting layer 12 is located beside one of the bottom parts 150 of the dielectric layers 15, and the connecting surfaces 120 of the connecting layers 12 and the bottom surface 140 of the metal layer 14 are coplanar.
Referring to FIGS. 7, 8, and 9, after the connecting layers 12 are disposed, the manufacturing method disposes the connecting layers 13 on the top surface 112 of the nitride-based semiconductor die 11. The connecting layers 13 are connected to the conductive pads 114, and part of every connecting layer 13 is located right above one of the connecting layers 12. To be specific, every connecting layer 13 covers the top surface 160 of the dielectric layer 16, and the top surface 160 of the dielectric layer 16 covers at least one of the connecting layers 12.
Referring to FIG. 7, the step of disposing the connecting layers 13 comprises: disposing the dielectric layer 16 on the connecting layers 12. The dielectric layer 16 covers the connecting layers 12, the conductive pads 114 and part of the dielectric layer 15 on the top surface 112, and the top surface 160 is formed. The dielectric layer 16 encapsulate the connecting layers 12 on the nitride-based semiconductor die 11, and the gaps formed by the dielectric layer 15 and the connecting layers 12 are filled.
The dielectric layer 16 covers the slanted surface of every connecting layer 12, and form a horizontal top surface 160 above the connecting layer 12, and the top surface 160 form a proper base for deposition. The connecting layer 12 has a top surface 121 formed above the conductive pad 113, and a thickness T1 of the dielectric layer 16 above the top surface 121 falls in a range from 5 μm to 20 μm. Therefore, the dielectric layer 16 can insulate the top surface 121 of the connecting layer 12.
Referring to FIG. 8, the step of disposing the connecting layers 13 comprises: etching the dielectric layer 16 and expose the conductive pads 114. A plurality of openings 161 are formed between the dielectric layers 16, and the openings 161 are located right above the conductive pads 114.
Referring to FIG. 9, the connecting layers 13 are disposed. The connecting layer 13 covers the conductive pads 114 and the top surface 160 of one of the dielectric layers 16, and part of the connecting layer 13 is located right above the connecting layer 12.
To be specific, every connecting layer 13 has a vertical portion 131 and a horizontal portion 132, and the vertical portion 131 and the horizontal portion 132 are connected. The vertical portion 131 is connected to the conductive pad 114, and the horizontal portion 132 is disposed on the top surface 160 of the dielectric layer 16. At least one of the connecting layers 12 is covered by the horizontal portion 132 of the connecting layer 13, and, therefore; the connecting layers 12, 13 can form a three-dimensional connection.
After the connecting layers 13 are disposed, the manufacturing method remove the substrate 17, and the nitride-based semiconductor device 1A as shown in FIG. 1 is provided. Since the connecting layers 12 touch the substrate 17, the connecting surfaces 120 as shown in FIG. 1 are free form any material after the substrate 17 is removed. The connecting surfaces 130 of the connecting layers 13 are located at the top of the nitride-based semiconductor device 1A, and the connecting surfaces 120 of the connecting layers 12 are located at the bottom of the nitride-based semiconductor device 1A. Therefore, the manufacturing method of this embodiment can manufacture the nitride-based semiconductor device 1A with multiple connecting surfaces located around the nitride-based semiconductor die 11, and the nitride-based semiconductor device 1A can connect with other device easily and properly.
FIG. 10 is a side sectional view of a nitride-based semiconductor device 1B according to some embodiments of the present disclosure. Referring to FIG. 10, the nitride-based semiconductor device 1B is similar to the nitride-based semiconductor device 1A as shown in FIG. 1. The nitride-based semiconductor device 1B has a nitride-based semiconductor die 11, a plurality of connecting layers 12B, a plurality of connecting layers 13, and a metal layer 14. The nitride-based semiconductor die 11 has a nitride-based semiconductor layer 110 and a nitride-based semiconductor layer 111. The nitride-based semiconductor layer 111 is disposed on the nitride-based semiconductor layer 110, and a 2DEG region is formed near an interface between the nitride-based semiconductor layers 110, 111. The nitride-based semiconductor die 11 has a top surface 112, a bottom surface 115, and a plurality of side surfaces 116 connecting the top surface 112 and the bottom surface 115. The side surfaces 116 are oblique, and the connecting layers 12B cover the side surfaces 116, and the connecting layers 12B are connected to the conductive pads 113 that are embedded in the top surface 112. The connecting layers 13 are connected to the conductive pads 114 that are embedded in the top surface 112.
In this embodiment, the metal layer 14 and the connecting layers 12B are connected. To be specific, the part of the connecting layers 12B that’s below the bottom surface 115 touch the metal layer 14 directly, and the metal layer 14 and the connecting layers 12B are electrically connected, which is different from the nitride-based semiconductor device 1A as shown in FIG. 1. Therefore, the nitride-based semiconductor device 1B may have flexibility to have different designs, and the manufacturing method of the present disclosure may have the flexibility to make the nitride-based semiconductor device 1B with design that is different from the designs of the nitride-based semiconductor devices above.
The connecting layers 12B enclosed a plurality of dielectric layers 15B on the side surfaces 116 and the periphery of the top surface 112, so the nitride-based semiconductor die 11 is electrically connected to the connecting layers 12B through the conductive pads 113 only.
The connecting layers 12B have connecting surfaces 120B located at the bottom, and the connecting surfaces 120B of the connecting layers 12B and the bottom surface 140 of the metal layer 14 are coplanar. The connecting surfaces 120B and the bottom surface 140 are connected, and the nitride-based semiconductor device 1B provides a large area for connection. Therefore, the connection of the nitride-based semiconductor device 1B can be formed easily through the connecting surfaces 120B and the bottom surface 140.
FIG. 11 is a side sectional view of a nitride-based semiconductor device 1C according to some embodiments of the present disclosure. Referring to FIG. 11, the nitride-based semiconductor device 1C is similar to the nitride-based semiconductor device 1A as shown in FIG. 1. The nitride-based semiconductor device 1C has a nitride-based semiconductor die 11, a  plurality of connecting layers 12C, a plurality of connecting layers 13, and a metal layer 14. The nitride-based semiconductor die 11 has a nitride-based semiconductor layer 110 and a nitride-based semiconductor layer 111. The nitride-based semiconductor layer 111 is disposed on the nitride-based semiconductor layer 110, and a 2DEG region is formed near an interface between the nitride-based semiconductor layers 110, 111. The nitride-based semiconductor die 11 has a top surface 112, a bottom surface 115, and a plurality of side surfaces 116 connecting the top surface 112 and the bottom surface 115. The side surfaces 116 are oblique, and the connecting layers 12C cover the side surfaces 116, and the connecting layers 12C are connected to the conductive pads 113 that are embedded in the top surface 112. The connecting layers 13 are connected to the conductive pads 114 that are embedded in the top surface 112.
In this embodiment, the nitride-based semiconductor device 1C has a plurality of dielectric layers 15C, and the dielectric layers 15C are disposed on the side surfaces 116 of the nitride-based semiconductor die 11. Every dielectric layer 15C has a bottom part 150C, and the bottom parts 150C surround the metal layer 14. A connecting surface 120C of every connecting layer 12C is located above the bottom part 150C of one of the dielectric layers 15C, and the connecting surfaces 120C of the connecting layers 12C are located at sides of the nitride-based semiconductor device 1C, which is different from the nitride-based semiconductor device 1A as shown in FIG. 1. Therefore, the nitride-based semiconductor device 1C may have flexibility to have different designs, and the manufacturing method of the present disclosure may have the flexibility to make the nitride-based semiconductor device 1C with design that is different from the designs of the nitride-based semiconductor devices above.
To be specific, in the manufacturing method of the nitride-based semiconductor device 1C, the step of disposing the connecting layers 12C comprises: forming the connecting surfaces 120C on the sides of the nitride-based semiconductor device 1C. Part of every connecting layer 12C is disposed on one of the bottom parts 150C through deposition, and these parts of connecting layers have the connecting surfaces 120C that are free from any other materials.
The connecting surfaces 120C of the connecting layers 12C at the sides of the nitride-based semiconductor device 1C provide proper interfaces to form electrical connection, and the connecting layers 13 at the top of the nitride-based semiconductor device 1C provide proper interfaces to form electrical connection as well. The connecting layers 12C and the connecting layers 13 can form 3-dimensional electrical connection, and multiple electrical connection can be form properly without affecting each other.
FIG. 12 is a side sectional view of a nitride-based semiconductor device 1D according to some embodiments of the present disclosure. Referring to FIG. 12, the nitride-based semiconductor device 1D is similar to the nitride-based semiconductor device 1A as shown in FIG.  1. The nitride-based semiconductor device 1D has a nitride-based semiconductor die 11D, a plurality of connecting layers 12D, a plurality of connecting layers 13, and a metal layer 14. The nitride-based semiconductor die 11D has a nitride-based semiconductor layer 110 and a nitride-based semiconductor layer 111. The nitride-based semiconductor layer 111 is disposed on the nitride-based semiconductor layer 110, and a 2DEG region is formed near an interface between the nitride-based semiconductor layers 110, 111. The nitride-based semiconductor die 11D has a top surface 112, a bottom surface 115D, and a plurality of side surfaces 116D connecting the top surface 112 and the bottom surface 115D. The side surfaces 116D are oblique, and the connecting layers 12D cover the side surfaces 116D, and the connecting layers 12D are connected to the conductive pads 113 that are embedded in the top surface 112. The connecting layers 13 are connected to the conductive pads 114 that are embedded in the top surface 112.
In this embodiment, the nitride-based semiconductor die 11D has a plurality of protruding structures 117D. The protruding structures 117D are located at the bottom of the side surfaces 116D, and the protruding structures 117D form a plurality of step-like structures around the bottom of the nitride-based semiconductor die 11D. A plurality of dielectric layers 15D are disposed on the side surfaces 116D of the nitride-based semiconductor die 11D, and the bottom parts 150D of the dielectric layers 15D cover the protruding structures 117D. The connecting surface 120D of every connecting layer 12D is located above the bottom part 150D of the dielectric layer 15D, and the connecting surface 120D is located above the protruding structure 117D, which is different from the nitride-based semiconductor device 1A as shown in FIG. 1. Therefore, the nitride-based semiconductor device 1D may have flexibility to have different designs, and the manufacturing method of the present disclosure may have the flexibility to make the nitride-based semiconductor device 1D with design that is different from the designs of the nitride-based semiconductor devices above.
The connecting surfaces 120D are formed at the sides of the nitride-based semiconductor device 1D, and the bottom surface 140 and the connecting surfaces 120D are separated by the bottom parts 150D that are elevated by the protruding structures 117D. Therefore, the connecting layers 12D and the connecting layers 13 provide multiple connecting interfaces in different altitudes, and the connecting surface 120D of the connecting layers 12D are further separated from the bottom surface 140 of the metal layer 14, and good connection and good heat dissipation are provided.
FIG. 13 is a side sectional view of a nitride-based semiconductor device 1E according to some embodiments of the present disclosure. Referring to FIG. 13, the nitride-based semiconductor device 1E is similar to the nitride-based semiconductor device 1A as shown in FIG. 1. The nitride-based semiconductor device 1E has a nitride-based semiconductor die 11, a plurality  of connecting layers 12E, a plurality of connecting layers 13, and a metal layer 14. The nitride-based semiconductor die 11 has a nitride-based semiconductor layer 110 and a nitride-based semiconductor layer 111. The nitride-based semiconductor layer 111 is disposed on the nitride-based semiconductor layer 110, and a 2DEG region is formed near an interface between the nitride-based semiconductor layers 110, 111. The nitride-based semiconductor die 11 has a top surface 112, a bottom surface 115, and a plurality of side surfaces 116 connecting the top surface 112 and the bottom surface 115. The side surfaces 116 are oblique, and the connecting layers 12E cover the side surfaces 116, and the connecting layers 12E are connected to the conductive pads 113 that are embedded in the top surface 112. The connecting layers 13 are connected to the conductive pads 114 that are embedded in the top surface 112.
In this embodiment, every connecting layer 12E has a connecting part 122E and a connecting part 123E. The connecting part 122E is connected to one of the conductive pads 113. The connecting part 123E is disposed on one of the side surfaces 116 of the nitride-based semiconductor die 11, and the connecting parts 123E are connected to the metal layer 14. The connecting part 122E and the connecting part 123E are not connected, which is different from the nitride-based semiconductor device 1A as shown in FIG. 1. Therefore, the nitride-based semiconductor device 1E may have flexibility to have different designs, and the manufacturing method of the present disclosure may have flexibility to make the nitride-based semiconductor device 1E with design that is different from the designs of the nitride-based semiconductor devices above.
The connecting parts 122E of the connecting layers 12E are disposed on the top surface 112 of the nitride-based semiconductor die 11, and the connecting parts 122E may form a plurality of circuit on the top surface 112. The connecting parts 123E of the connecting layers 12E covers the side surfaces 116, and the materials of the connecting parts 123E may include metal or any other material with good thermal conductivity. Therefore, the connecting parts 123E may perform good heat dissipation on the side surfaces 116 of the nitride-based semiconductor die 11. Moreover, the connecting parts 123E and the metal layer 14 are connected. The connecting parts 123E have connecting surfaces 120E at the bottom, and the bottom surface 140 of the metal layer 14 and the connecting surfaces 120E are coplanar. Therefore, the metal layer 14 and the connecting parts 123E cover a large area on the nitride-based semiconductor die 11, and the nitride-based semiconductor device 1E may perform good heat dissipation.
In this embodiment, a plurality of dielectric layers 15E are disposed between the side surfaces 116 and the connecting parts 123E. In some other embodiments, the connecting parts 123E are disposed on the side surfaces 116 directly, so as to dissipate the heat from the nitride-based semiconductor die 11.
FIG. 14 is a side sectional view of a nitride-based semiconductor device 2A according to some embodiments of the present disclosure. Referring to FIG. 14, the nitride-based semiconductor device 2A includes a nitride-based semiconductor die 20, and a metal layer 21.
The nitride-based semiconductor die 20 has a nitride-based semiconductor layer 200, and a nitride-based semiconductor layer 201. The nitride-based semiconductor layer 201 is disposed on the nitride-based semiconductor layer 200. A bandgap of the nitride-based semiconductor layer 201 is less than a bandgap of the nitride-based semiconductor layer 200, and a 2DEG region is formed near an interface between the nitride-based semiconductor layers 200, 201.
The nitride-based semiconductor die 20 has a top surface 202, a bottom surface 203, and a plurality of side surfaces 204. The bottom surface 203 is opposite to the top surface 202, and the top surface 202 is smaller than the bottom surface 203. The side surfaces 204 connect the top surface 202 and the bottom surface 203, and the side surfaces 204 are oblique. The metal layer 21 cover the top surface 202 and the side surfaces 204.
The metal layer 21 covers a large area on the nitride-based semiconductor die 20, and the heat generated from the nitride-based semiconductor die 20 can be dissipated through the metal layer 21 efficiently. Therefore, the nitride-based semiconductor device 2A can perform good heat dissipation.
Also, the metal layer 21 may be patterned and form a plurality of circuits on the side surfaces 204, and the metal layer 21 may be patterned and form a plurality of circuits on the top surface 202. Since the metal layer 21 is extended to the bottom of the nitride-based semiconductor device 2A, the nitride-based semiconductor die 20 can be connected to the metal layer 21 easily. Therefore, the metal layer 21 can provide a three-dimensional electrical connection in the nitride-based semiconductor device 2A.
In one aspect, the nitride-based semiconductor die 20 in this embodiment has a plurality of HEMTs, and the nitride-based semiconductor layer 201 can form the tunnel layers of these HEMTs, and the nitride-based semiconductor layer 200 can form the barrier layers of these HEMTs. For example, the nitride-based semiconductor layer 201 may include GaN, and the nitride-based semiconductor layer 200 may include AlGaN.
To be specific, the exemplary materials of the nitride-based semiconductor layers 200, 201 can include, for example but are not limited to, nitride or group III-V compounds, such as GaN, AlN, InN, InAlN, InxAlyGa (1-x-y) N where x+y ≤ 1, AlyGa (1–y) N where y ≤ 1.
The exemplary materials of the nitride-based semiconductor layers 200, 201 are selected such that the nitride-based semiconductor layer 200 has the bandgap (i.e., forbidden band width) greater than the bandgap of the nitride-based semiconductor layer 201, which causes electron  affinities thereof different from each other and forms a heterojunction therebetween. As such, the nitride-based semiconductor layers 201, 200 can serve as the channel layer and the barrier layer, respectively. A triangular well potential is generated at a bounded interface between the channel and barrier layers, so that electrons accumulate in the triangular well potential, thereby generating a 2DEG region adjacent to the heterojunction.
In this embodiment, the top surface 202 is located above the nitride-based semiconductor layer 201, and the bottom surface 203 is located below the nitride-based semiconductor layer 200. Therefore, a substrate may be disposed between the nitride-based semiconductor layer 201 and the top surface 202, and a plurality of circuits may be disposed between the nitride-based semiconductor layer 200 and the bottom surface 203. The nitride-based semiconductor die 20 provide a sufficient space for the HEMTs and the electrical connection thereof. Also, the structural design of the nitride-based semiconductor die 20 is firm and stable.
In this embodiment, the metal layer 21 is conformally formed on the nitride-based semiconductor die 20. To be specific, the metal layer 21 covers the top surface 202, the side surfaces 204, and the angles between the top surface 202 and the side surfaces 204. Therefore, the metal layer 21 can provide good heat dissipation.
In one aspect, the side surfaces 204 of the nitride-based semiconductor die 20 are formed through an etching process. Therefore, a plurality of micro-structures may be formed on the side surfaces 204, and the side surfaces 204 are adapted to carry the metal layer 21 through deposition.
Moreover, the side surfaces 204 of the nitride-based semiconductor die 20 are straight and slanted. Therefore, the metal layer 21 can be properly disposed on the side surfaces 204 through deposition, and the structural stability of the nitride-based semiconductor die 20 is improved.
In this embodiment, the metal layer 21 is conformally formed on the top surface 202 and the side surfaces 204. For example, the metal layer 21 may include copper. In some embodiments, the exemplary materials of the metal layer 21 can include, for example but are not limited to, conductive material. The metal layer 21 may include a single film or multilayered film having Ag, Al, Cu, Mo, Ni, Ti, alloys thereof, oxides thereof, nitride thereof, or combinations thereof.
Referring to FIG. 14, the metal layer 21 has a plurality of bottom parts 210, and the bottom parts 210 are located below the bottom surface 203 of the nitride-based semiconductor die 20. The bottom parts 210 are horizontally extended, and the bottom parts 210 provide a proper interface for electrical connection, and electrical connection between the nitride-based semiconductor die 20 and the metal layer 21 can be formed easily.
To be specific, the nitride-based semiconductor device 2A comprises a plurality of connectors 22, and a plurality of connectors 23. The connectors 23 are disposed between the connectors 22. The connectors 22 and the connectors 23 are electrically connected to the nitride-based semiconductor die 20 through the bottom surface 203. To be specific, the nitride-based semiconductor 20 has a plurality of conductive pads 205, and the conductive pads 205 are embedded in the bottom surface 203. The conductive pads 205 are electrically connected to the HEMTs in the nitride-based semiconductor die 20, and the conductive pads 205 are electrically connected to the nitride-based semiconductor layers 200, 201. The connectors 22, 23 are disposed on the conductive pads 205, and the connectors 22, 23 pass through the bottom surface 203.
In this embodiment, the connectors 22 have bottom surfaces 220, and the connectors 23 have bottom surfaces 230. The bottom parts 210 of the metal layer 21 have bottom surfaces 2101. The bottom surfaces 2101 of the bottom parts 210 and the bottom surfaces 220 of the connectors 22 and the bottom surfaces 230 of the connectors 23 are coplanar. Therefore, the connection between the bottom surfaces 2101, 220, 230 can be formed easily. Also, the nitride-based semiconductor device 2A can be connected to other devices through the bottom surfaces 2101, 220, 230 easily and efficiently.
To be specific, the nitride-based semiconductor device 2A has a dielectric layer 24, and the dielectric layer 24 is disposed on the bottom surface 203. The dielectric layer 24 is disposed among the connectors 22, 23, and the dielectric layer 24 separates the connectors 22, 23. The material of the dielectric layer 24 can include, for example but are not limited to, dielectric materials. For example, the dielectric layer 24 can include SiNx, SiOx, SiON, SiC, SiBN, SiCBN, oxides, nitrides, plasma enhanced oxide (PEOX) , or combinations thereof.
In this embodiment, the shortest distance W1 between the metal layer 21 and the connectors 22 fall in a range from 100 μm to 900 μm in a direction d1. The direction d1 is perpendicular to a normal of the top surface 202. Therefore, the bottom part 210 of the metal layer 21 and the connector 22 are separated, but an electrical connection can be formed easily between the bottom part 210 and the connector 22.
FIGS. 15-20 are side sectional views of steps of a manufacturing method of the nitride-based semiconductor device 2A according to some embodiments of the present disclosure. In the following descriptions, deposition techniques can include, for example but are not limited to, atomic layer deposition (ALD) , physical vapor deposition (PVD) , chemical vapor deposition (CVD) , metal organic CVD (MOCVD) , plasma enhanced CVD (PECVD) , low-pressure CVD (LPCVD) , plasma-assisted vapor deposition, epitaxial growth, or other suitable processes. Referring to FIGS. 15-18, the manufacturing method of this embodiment includes: disposing a substrate 25 on the bottom surface 203 of the nitride-based semiconductor die 20. The substrate  25 covers the connectors 22, 23, and the substrate 25 covers the dielectric layer 24 on the bottom surface 203. The top surface 202 and a plurality of side surfaces 2040 connecting the top surface 202 and the bottom surface 203 are exposed.
To be specific, referring to FIG. 15, the step of disposing the substrate 25 (as shown in FIG. 18) comprises: providing the nitride-based semiconductor die 20. In this step, the nitride-based semiconductor die 20 has the top surface 202, the bottom surface 203, and the side surfaces 2040. The top surface 202 is opposite to the bottom surface 203, and the side surfaces 2040 are vertically disposed while the top surface 202 is horizontally disposed.
The nitride-based semiconductor die 20 has a plurality of the conductive pads 205, the nitride-based semiconductor layer 200, and the nitride-based semiconductor layer 201. The conductive pads 205 are embedded in the bottom surface 203, and the top surfaces of the conductive pads 205 are located below the bottom surface 203. In this step, the nitride-based semiconductor layer 200 is disposed on the nitride-based semiconductor layer 201, and the nitride-based semiconductor layer 200 is disposed between the bottom surface 203 and the nitride-based semiconductor layer 201, and the nitride-based semiconductor layer 201 is disposed between the top surface 202 and the nitride-based semiconductor layer 200.
Referring to FIG. 16, in this embodiment, the step of disposing the substrate 25 (as shown in FIG. 18) comprises: disposing a dielectric layer 240. To be specific, the bottom surface 203 of the nitride-based semiconductor die 20 is insulated, and the conductive pads 205 are free from the dielectric layer 240. The dielectric layer 240 is thinner than the dielectric layer 24 as shown in FIG. 14.
Referring to FIG. 17, in this embodiment, the step of disposing the substrate 25 (as shown in FIG. 18) comprises: disposing the connectors 22, 23. The connectors 22, 23 are disposed on the bottom surface 203 of the nitride-based semiconductor die 20, and the connectors 22, 23 are electrically connected to the nitride-based semiconductor die 22. To be specific, the connectors 22 are disposed on some of the conductive pads 205, and the connectors 23 are disposed on the rest of the conductive pads 205. The conductive pads 205 and the connectors 22, 23 are made of conductive material, and the conductive pads 205 and the connectors 22, 23 are electrically connected. For example, the conductive pads 205 and the connectors 22, 23 may include metals. The conductive pads 205 and the connectors 22, 23 can include, for example but are not limited to, metals, alloys, doped semiconductor materials (such as doped crystalline silicon) , compounds such as silicide and nitrides, other conductive materials, or combinations thereof.
In this embodiment, the bottom surfaces 220 of the connectors 22, the bottom surfaces 230 of the connectors 23, and a surface 241 of the dielectric layer 24 are coplanar. To be specific, the step of disposing the connectors 22, 23 comprises disposing dielectric material and forming  the dielectric layer 24 among the connectors 22, 23. Therefore, a proper interface for connection is formed on the bottom surface 203 of the nitride-based semiconductor die 20.
Referring to FIG. 18, the step of disposing the substrate 25 comprises: flipping the nitride-based semiconductor die 20. The nitride-based semiconductor die 20 is flipped, and the bottom surface 203 is facing towards the substrate 25, and the top surface 202 and the side surfaces 2040 are exposed.
Referring to FIG. 19, after the substrate 25 is disposed, the manufacturing method of this embodiment comprises: etching a periphery of the nitride-based semiconductor die 20 and form the side surfaces 204. After etching, the top surface 202 is smaller than the bottom surface 203. The periphery of the top surface 202 is etched, and the side surfaces 204 are slanted.
To be specific, the side surface 204 and the bottom surface 203 form an angle a2, and the angle a2 is an acute angle. For example, the angle a2 can be 60°. In some embodiments, the angle a2 falls in a range from 45° to 75°. Therefore, the side surfaces 204 may form a proper oblique platform for deposition.
In some embodiment, the step of etching the periphery of the nitride-based semiconductor die 20 may comprises: reducing the thickness of the nitride-based semiconductor die 20 through etching. Therefore, the nitride-based semiconductor die 20 may be thinner, and a semiconductor with low thickness may be provided after packaging the nitride-based semiconductor die 20.
Referring to FIG. 20, after the nitride-based semiconductor die 20 is etched, the manufacturing method of this embodiment comprises: disposing the metal layer 21 on the top surface 202 and the side surfaces 204 of the nitride-based semiconductor die 20. The metal layer 21 is disposed through deposition, and the top surface 202 and the side surfaces 204 are all covered by the metal layer 21. Moreover, the bottom parts 210 are formed on the substrate 25, and the surfaces covered by the substrate 25 formed the bottom surface 2101. Therefore, the bottom surfaces 2101 of the bottom parts 210, the bottom surfaces 220 of the connectors 22, and the bottom surfaces 230 of the connectors 23 are coplanar.
After the metal layer 21 is disposed, the manufacturing method of this embodiment comprises: removing the substrate 25, and the nitride-based semiconductor device 2A as shown in FIG. 14 is formed. After the substrate 25 is removed, the bottom surfaces 2101 of the bottom parts 210, the bottom surfaces 220 of the connectors 22, and the bottom surfaces 230 of the connectors 23 are exposed, and a proper interface for connection is formed. Also, the bottom surfaces 220, 230, 2101 are separated, and the bottom surfaces 220 and the bottom surfaces 2101 can be adjacent to each other. Therefore, the nitride-based semiconductor device 2A may have good interface for  electrical connection, and the connectors 22 can be connected to the metal layer 21 easily, and the metal layer 21 provide a good heat dissipation.
FIG. 21 is a side sectional view of a nitride-based semiconductor device 2B according to some embodiments of the present disclosure. Referring to FIG. 21, the nitride-based semiconductor device 2B is similar to the nitride-based semiconductor device 2A in FIG. 14. The nitride-based semiconductor device 2B has a nitride-based semiconductor die 20, and a metal layer 21. The nitride-based semiconductor die 20 has a nitride-based semiconductor layer 200 and a nitride-based semiconductor layer 201, and a 2DEG region is formed near the interface between the nitride-based semiconductor layers 200, 201. The nitride-based semiconductor die 20 has a top surface 202, a bottom surface 203, and a plurality of side surfaces 204 that are oblique. The metal layer 21 covers the top surface 202 and the side surfaces 204.
In this embodiment, the nitride-based semiconductor device 2B comprises a plurality of connectors 22B and a plurality of connectors 23, and the connectors 23 are disposed between the connectors 22B. The connectors 22B and the metal layer 21 are connected, and the metal layer 21 form a large interface for electrical connection. Moreover, the metal layer 21 on the top surface 202 and the side surfaces 204 can be patterned and form a plurality of circuits, and the electrical connection of the connectors 22B can be guided to the top surface 202 and the side surfaces 204. Therefore, the nitride-based semiconductor device 2B may have flexibility to have different designs, and the manufacturing method of the present disclosure may have the flexibility to make the nitride-based semiconductor device 2B with design that is different from the designs of the nitride-based semiconductor devices above.
In the manufacturing method of the nitride-based semiconductor device 2B, before the step of disposing a substrate on the bottom surface 203 of the nitride-based semiconductor die 20, the manufacturing method comprises: disposing the connectors 22B, 23, and the connectors 22B are extended to the location above the edge of the bottom surface 203. After the step of disposing the metal layer 21, the connectors 22B and the metal layer 21 are connected.
FIG. 22 is a side sectional view of a nitride-based semiconductor device 2C according to some embodiments of the present disclosure. Referring to FIG. 22, the nitride-based semiconductor device 2C is similar to the nitride-based semiconductor device 2A in FIG. 14. The nitride-based semiconductor device 2C has a nitride-based semiconductor die 20, and a metal layer 21. The nitride-based semiconductor die 20 has a nitride-based semiconductor layer 200 and a nitride-based semiconductor layer 201, and a 2DEG region is formed near the interface between the nitride-based semiconductor layers 200, 201. The nitride-based semiconductor die 20 has a top surface 202, a bottom surface 203, and a plurality of side surfaces 204 that are oblique. The metal layer 21 covers the top surface 202 and the side surfaces 204.
In this embodiment, the nitride-based semiconductor device 2C comprises a plurality of connectors 22, a plurality of connectors 23, and a circuit layer 26, and the connectors 23 are disposed between the connectors 22. The circuit layer 26 covers the connectors 22, 23, and the circuit layer 26 electrically connects the connectors 22 and the metal layer 21. Therefore, the metal layer 21 can form an interface for electrical connection of the connectors 22, and the metal layer 21 can form at least one circuit connecting the connectors 22. Therefore, the nitride-based semiconductor device 2C may have flexibility to have different designs, and the manufacturing method of the present disclosure may have the flexibility to make the nitride-based semiconductor device 2C with design that is different from the designs of the nitride-based semiconductor devices above.
To be specific, the circuit layer 26 has a plurality of circuits 260, a dielectric layer 261, and a plurality of circuits 262. The circuits 260 connect the connectors 22 and the metal layer 21, and the circuits 262 are connected to the connectors 23. The dielectric layer 261 is disposed among the circuits 260 and the circuits 262, and the dielectric layer 261 is connected to the dielectric layer 24.
In the manufacturing method of the nitride-based semiconductor device 2C, after disposing the connectors 22, 23, the manufacturing method comprises: disposing the circuit layer 26 on the bottom surface 203. Therefore, the metal layer 21 can form a proper connection of the connectors 22.
FIG. 23 is a side sectional view of a nitride-based semiconductor device 2D according to some embodiments of the present disclosure. Referring to FIG. 23, the nitride-based semiconductor device 2D is similar to the nitride-based semiconductor device 2A in FIG. 14. The nitride-based semiconductor device 2D has a nitride-based semiconductor die 20, and a metal layer 21. The nitride-based semiconductor die 20 has a nitride-based semiconductor layer 200 and a nitride-based semiconductor layer 201, and a 2DEG region is formed near the interface between the nitride-based semiconductor layers 200, 201. The nitride-based semiconductor die 20 has a top surface 202, a bottom surface 203, and a plurality of side surfaces 204 that are oblique. The metal layer 21 covers the top surface 202 and the side surfaces 204.
In this embodiment, the nitride-based semiconductor device 2D comprises a plurality of connectors 22, a plurality of connectors 23, and a circuit layer 26D, and the connectors 23 are disposed between the connectors 22. The circuit layer 26D covers the connectors 22, 23, and the circuit layer 26D electrically connects the connectors 23 and the metal layer 21. Therefore, the metal layer 21 can form an interface for electrical connection of the connectors 23, and the metal layer 21 can form at least one circuit connecting the connectors. Therefore, the nitride-based semiconductor device 2D may have flexibility to have different designs, and the manufacturing  method of the present disclosure may have the flexibility to make the nitride-based semiconductor device 2D with design that is different from the designs of the nitride-based semiconductor devices above.
To be specific, the circuit layer 26D has a plurality of circuits 260D, a dielectric layer 261D, and a plurality of circuits 262D. The circuits 260D are connected to the connectors 22, and the circuits 262D connect the connectors 23 and the metal layer 21. The dielectric layer 261D is disposed among the circuits 260D and the circuits 262D, and the dielectric layer 261D is connected to the dielectric layer 24. Therefore, the nitride-based semiconductor device 2D provide a large and good interface that is electrically connected to the connectors 23, and the metal layer 21 can form a good circuit design.
In the manufacturing method of the nitride-based semiconductor device 2D, after disposing the connectors 22, 23, the manufacturing method comprises: disposing the circuit layer 26D on the bottom surface 203. Therefore, the metal layer 21 can form a proper connection of the connectors 23.
FIG. 24 is a side sectional view of a nitride-based semiconductor device 2E according to some embodiments of the present disclosure. Referring to FIG. 24, the nitride-based semiconductor device 2E is similar to the nitride-based semiconductor device 2C in FIG. 22. The nitride-based semiconductor device 2E has a nitride-based semiconductor die 20, a metal layer 21E, a plurality of connectors 22, a plurality of connectors 23, and a circuit layer 26. The nitride-based semiconductor die 20 has a nitride-based semiconductor layer 200 and a nitride-based semiconductor layer 201, and a 2DEG region is formed near the interface between the nitride-based semiconductor layers 200, 201. The nitride-based semiconductor die 20 has a top surface 202, a bottom surface 203, and a plurality of side surfaces 204 that are oblique. The metal layer 21 covers the top surface 202 and the side surfaces 204. The connectors 22, 23 are electrically connected to the nitride-based semiconductor die 20. The circuit layer 26 covers the connectors 22, 23, and the circuit layer 26 electrically connects the connectors 22 and the metal layer 21E.
In this embodiment, the metal layer 21E has a plurality of circuits 211, and each of the circuits 211 is connected to one of the connectors 22. To be specific, the circuit layer 26 has a plurality of circuits 260, a plurality of circuits 262, and a dielectric layer 261 disposed among the circuits 260 and circuits 262. Every circuit 260 electrically connects one of the connectors 22 and one of the circuits 211. Therefore, the metal layer 21E can form a plurality of circuits 211 that are individually connected to one of the connectors 22, and the electrical connection of the connectors 22 can be formed easily. In other words, the electrical connection of the nitride-based semiconductor die 22 is more available. Therefore, the nitride-based semiconductor device 2E may have flexibility to have different designs, and the manufacturing method of the present  disclosure may have the flexibility to make the nitride-based semiconductor device 2E with design that is different from the designs of the nitride-based semiconductor devices above.
FIG. 25 is a side sectional view of a nitride-based semiconductor device 2F according to some embodiments of the present disclosure. Referring to FIG. 25, the nitride-based semiconductor device 2F is similar to the nitride-based semiconductor device 2A in FIG. 14. The nitride-based semiconductor device 2F has a nitride-based semiconductor die 20, and a metal layer 21. The nitride-based semiconductor die 20 has a nitride-based semiconductor layer 200 and a nitride-based semiconductor layer 201, and a 2DEG region is formed near the interface between the nitride-based semiconductor layers 200, 201. The nitride-based semiconductor die 20 has a top surface 202, a bottom surface 203, and a plurality of side surfaces 204F that are oblique. The metal layer 21 covers the top surface 202 and the side surfaces 204F.
In this embodiment, every side surface 204F has a plurality of stage structures 2040, and each of the stage structures 2040 has a flat top surface 2041. The stage structures 2040 are protruding structures, and the metal layer 21 fully covers the flat top surfaces 2041. Therefore, the side surfaces 204F can carry more metal material and form the metal layer 21 properly. Therefore, the nitride-based semiconductor device 2F may have flexibility to have different designs, and the manufacturing method of the present disclosure may have the flexibility to make the nitride-based semiconductor device 2F with design that is different from the designs of the nitride-based semiconductor devices above.
FIG. 26 is a side sectional view of a nitride-based semiconductor device 2G according to some embodiments of the present disclosure. Referring to FIG. 26, the nitride-based semiconductor device 2G is similar to the nitride-based semiconductor device 2A in FIG. 14. The nitride-based semiconductor device 2G has a nitride-based semiconductor die 20, and a metal layer 21G. The nitride-based semiconductor die 20 has a nitride-based semiconductor layer 200 and a nitride-based semiconductor layer 201, and a 2DEG region is formed near the interface between the nitride-based semiconductor layers 200, 201. The nitride-based semiconductor die 20 has a top surface 202G, a bottom surface 203, and a plurality of side surfaces 204 that are oblique. The metal layer 21G covers the top surface 202G and the side surfaces 204.
In this embodiment, the top surface 202G has a plurality of concave structures 2020. The metal layer 21G is conformally formed on the top surface 202G. Therefore, the metal layer 21G has a plurality of concave structures as well, and the nitride-based semiconductor device 2G can provide a heat dissipation with high efficiency. Therefore, the nitride-based semiconductor device 2G may have flexibility to have different designs, and the manufacturing method of the present disclosure may have the flexibility to make the nitride-based semiconductor device 2G with design that is different from the designs of the nitride-based semiconductor devices above.
The embodiments were chosen and described in order to best explain the principles of the disclosure and its practical application, thereby enabling others skilled in the art to understand the disclosure for various embodiments and with various modifications that are suited to the particular use contemplated.
As used herein and not otherwise defined, the terms "substantially, " "substantial, " "approximately" and "about" are used to describe and account for small variations. When used in conjunction with an event or circumstance, the terms can encompass instances in which the event or circumstance occurs precisely as well as instances in which the event or circumstance occurs to a close approximation. For example, when used in conjunction with a numerical value, the terms can encompass a range of variation of less than or equal to ±10%of that numerical value, such as less than or equal to ±5%, less than or equal to ±4%, less than or equal to ±3%, less than or equal to ±2%, less than or equal to ±1%, less than or equal to ±0.5%, less than or equal to ±0.1%, or less than or equal to ±0.05%. The term “substantially coplanar” can refer to two surfaces within micrometers of lying along a same plane, such as within 40 μm, within 30 μm, within 20 μm, within 10 μm, or within 1 μm of lying along the same plane.
As used herein, the singular terms “a, ” “an, ” and “the” may include plural referents unless the context clearly dictates otherwise. In the description of some embodiments, a component provided “on” or “over” another component can encompass cases where the former component is directly on (e.g., in physical contact with) the latter component, as well as cases where one or more intervening components are located between the former component and the latter component.
While the present disclosure has been described and illustrated with reference to specific embodiments thereof, these descriptions and illustrations are not limiting. It should be understood by those skilled in the art that various changes may be made and equivalents may be substituted without departing from the true spirit and scope of the present disclosure as defined by the appended claims. The illustrations may not necessarily be drawn to scale. There may be distinctions between the artistic renditions in the present disclosure and the actual apparatus due to manufacturing processes and tolerances. Further, it is understood that actual devices and layers may deviate from the rectangular layer depictions of the FIGS. and may include angles surfaces or edges, rounded corners, etc. due to manufacturing processes such as conformal deposition, etching, etc. There may be other embodiments of the present disclosure which are not specifically illustrated. The specification and the drawings are to be regarded as illustrative rather than restrictive. Modifications may be made to adapt a particular situation, material, composition of matter, method, or process to the objective, spirit and scope of the present disclosure. All such modifications are intended to be within the scope of the claims appended hereto. While the  methods disclosed herein have been described with reference to particular operations performed in a particular order, it will be understood that these operations may be combined, sub-divided, or re-ordered to form an equivalent method without departing from the teachings of the present disclosure. Accordingly, unless specifically indicated herein, the order and grouping of the operations are not limitations.

Claims (25)

PCT/CN2022/1361872022-12-022022-12-02Nitride-based semiconductor device and method for manufacturing thereofCeasedWO2024113355A1 (en)

Priority Applications (2)

Application NumberPriority DateFiling DateTitle
PCT/CN2022/136187WO2024113355A1 (en)2022-12-022022-12-02Nitride-based semiconductor device and method for manufacturing thereof
CN202280080693.2ACN118369770A (en)2022-12-022022-12-02 Nitride-based semiconductor device and method for manufacturing the same

Applications Claiming Priority (1)

Application NumberPriority DateFiling DateTitle
PCT/CN2022/136187WO2024113355A1 (en)2022-12-022022-12-02Nitride-based semiconductor device and method for manufacturing thereof

Publications (1)

Publication NumberPublication Date
WO2024113355A1true WO2024113355A1 (en)2024-06-06

Family

ID=91322855

Family Applications (1)

Application NumberTitlePriority DateFiling Date
PCT/CN2022/136187CeasedWO2024113355A1 (en)2022-12-022022-12-02Nitride-based semiconductor device and method for manufacturing thereof

Country Status (2)

CountryLink
CN (1)CN118369770A (en)
WO (1)WO2024113355A1 (en)

Citations (5)

* Cited by examiner, † Cited by third party
Publication numberPriority datePublication dateAssigneeTitle
US20150187886A1 (en)*2013-12-302015-07-02Electronics And Telecommunications Research InstituteNitride semiconductor device
WO2022183512A1 (en)*2021-03-052022-09-09Innoscience (Suzhou) Technology Co., Ltd.Nitride semiconductor device and method for manufacturing the same
US20220302296A1 (en)*2020-09-302022-09-22Innoscience (Suzhou) Technology Co., Ltd.Semiconductor device and method for manufacturing the same
US20220376042A1 (en)*2021-04-122022-11-24Innoscience (Suzhou) Technology Co., Ltd.Semiconductor device and method for manufacturing the same
US20220376084A1 (en)*2020-12-182022-11-24Innoscience (Suzhou) Technology Co., Ltd.Semiconductor device and method for manufacturing the same

Patent Citations (5)

* Cited by examiner, † Cited by third party
Publication numberPriority datePublication dateAssigneeTitle
US20150187886A1 (en)*2013-12-302015-07-02Electronics And Telecommunications Research InstituteNitride semiconductor device
US20220302296A1 (en)*2020-09-302022-09-22Innoscience (Suzhou) Technology Co., Ltd.Semiconductor device and method for manufacturing the same
US20220376084A1 (en)*2020-12-182022-11-24Innoscience (Suzhou) Technology Co., Ltd.Semiconductor device and method for manufacturing the same
WO2022183512A1 (en)*2021-03-052022-09-09Innoscience (Suzhou) Technology Co., Ltd.Nitride semiconductor device and method for manufacturing the same
US20220376042A1 (en)*2021-04-122022-11-24Innoscience (Suzhou) Technology Co., Ltd.Semiconductor device and method for manufacturing the same

Also Published As

Publication numberPublication date
CN118369770A (en)2024-07-19

Similar Documents

PublicationPublication DateTitle
US10163707B2 (en)Method for forming group III-V device structure
US8916962B2 (en)III-nitride transistor with source-connected heat spreading plate
KR101856687B1 (en)High electron mobility transistor and fabrication method thereof
JPWO2020255259A1 (en) Semiconductor devices and their manufacturing methods
US12040244B2 (en)Nitride semiconductor device and method for manufacturing the same
WO2024113355A1 (en)Nitride-based semiconductor device and method for manufacturing thereof
CN220341210U (en) semiconductor structure
US11967521B2 (en)Integrated semiconductor device and method for manufacturing the same
CN111063656A (en) Manufacturing method of semiconductor device
US20240047536A1 (en)Semiconductor device and method for manufacturing the same
WO2024103312A1 (en)Nitride-based semiconductor circuit and method for manufacturing the same
WO2024098355A1 (en)Nitride-based semiconductor circuit and method for manufacturing the same
WO2024098356A1 (en)Nitride-based semiconductor circuit and method for manufacturing thereof
WO2024113108A1 (en)Nitride-based semiconductor device and method for manufacturing thereof
WO2024087083A1 (en)Semiconductor packaged device and method for manufacturing the same
WO2024011439A1 (en)Semiconductor packaged device and method for manufacturing the same
WO2024092612A1 (en)Semiconductor packaged structure and method for manufacturing thereof
CN115663025B (en)Nitride-based semiconductor device and method of manufacturing the same
WO2024011623A1 (en)Nitride-based semiconductor circuit and method for manufacturing the same
WO2024000475A1 (en)Semiconductor packaged device and method for manufacturing thereof
US20240030156A1 (en)Semiconductor device and method for manufacturing the same
CN115732555B (en)Nitride semiconductor device, interconnection structure and manufacturing method thereof
WO2024055276A1 (en)Nitride-based semiconductor device and method for manufacturing thereof
WO2024087005A1 (en)Nitride-based semiconductor device and method for manufacturing the same
KR20210054435A (en)Methods of fabricating semiconductor device

Legal Events

DateCodeTitleDescription
WWEWipo information: entry into national phase

Ref document number:202280080693.2

Country of ref document:CN

121Ep: the epo has been informed by wipo that ep was designated in this application

Ref document number:22966943

Country of ref document:EP

Kind code of ref document:A1

NENPNon-entry into the national phase

Ref country code:DE


[8]ページ先頭

©2009-2025 Movatter.jp