Movatterモバイル変換


[0]ホーム

URL:


WO2023248560A1 - Total heat exchange element and ventilator - Google Patents

Total heat exchange element and ventilator
Download PDF

Info

Publication number
WO2023248560A1
WO2023248560A1PCT/JP2023/010777JP2023010777WWO2023248560A1WO 2023248560 A1WO2023248560 A1WO 2023248560A1JP 2023010777 WJP2023010777 WJP 2023010777WWO 2023248560 A1WO2023248560 A1WO 2023248560A1
Authority
WO
WIPO (PCT)
Prior art keywords
exchange element
heat exchange
humidity control
heat
heat storage
Prior art date
Legal status (The legal status is an assumption and is not a legal conclusion. Google has not performed a legal analysis and makes no representation as to the accuracy of the status listed.)
Ceased
Application number
PCT/JP2023/010777
Other languages
French (fr)
Japanese (ja)
Inventor
洋香 濱田
哲也 井出
透 菅野
繁 青森
Current Assignee (The listed assignees may be inaccurate. Google has not performed a legal analysis and makes no representation or warranty as to the accuracy of the list.)
Sharp Corp
Original Assignee
Sharp Corp
Priority date (The priority date is an assumption and is not a legal conclusion. Google has not performed a legal analysis and makes no representation as to the accuracy of the date listed.)
Filing date
Publication date
Application filed by Sharp CorpfiledCriticalSharp Corp
Publication of WO2023248560A1publicationCriticalpatent/WO2023248560A1/en
Anticipated expirationlegal-statusCritical
Ceasedlegal-statusCriticalCurrent

Links

Images

Classifications

Definitions

Landscapes

Abstract

The present invention provides: a total heat exchange element having a humidity-regulating function and making efficient heat exchange possible; and a ventilator. This total heat exchange element includes a heat-storage base equipped with a humidity-regulating material, and is characterized in that the humidity-regulating material comprises a water-absorbing resin and a humidity-regulating component infiltrated into the water-absorbing resin and the heat-storage base comprises a latent-heat part supporting the humidity-regulating material and a sensible-heat part not supporting the humidity-regulating material, the latent-heat part and the sensible-heat part having been formed consecutively.

Description

Translated fromJapanese
全熱交換素子及び換気装置Total heat exchange element and ventilation system

 本開示は、全熱交換素子及び換気装置に関する。本出願は、2022年6月21日に日本に出願された特願2022-099304号に優先権を主張し、その内容をここに援用する。The present disclosure relates to a total heat exchange element and a ventilation device. This application claims priority to Japanese Patent Application No. 2022-099304 filed in Japan on June 21, 2022, the contents of which are incorporated herein.

 従来から様々な全熱交換素子が開示されている。Various total heat exchange elements have been disclosed in the past.

 例えば、特許文献1では、多孔質部材で構成され内部に流入する気体から熱と湿気を吸入しながら所定温度まで蓄熱する蓄熱エレメント等を備えた換気システムが開示されている。For example, Patent Document 1 discloses a ventilation system including a heat storage element that is made of a porous member and stores heat up to a predetermined temperature while absorbing heat and moisture from gas flowing into the ventilation system.

特開2013-113463号公報Japanese Patent Application Publication No. 2013-113463

 しかしながら、上記蓄熱エレメントは、多孔質部材のみで構成されるため、潜熱交換が不十分である。また、調湿機能も不十分である。よって、効率的な全熱交換素子が求められている。However, since the heat storage element is composed only of porous members, latent heat exchange is insufficient. Furthermore, the humidity control function is also insufficient. Therefore, there is a need for an efficient total heat exchange element.

 そこで、本開示は上記問題に鑑み、調湿機能を有し、効率的に熱交換可能な全熱交換素子及び換気装置を提供する。Therefore, in view of the above problems, the present disclosure provides a total heat exchange element and a ventilation device that have a humidity control function and can efficiently exchange heat.

 本開示の一態様では、蓄熱基材に調湿材を備える全熱交換素子であって、前記調湿材は吸水性樹脂と、前記吸水性樹脂に含浸される調湿成分を有し、前記蓄熱基材は、前記調湿材を担持する潜熱部と、前記調湿材を担持していない顕熱部が連続して形成されることを特徴とする。In one aspect of the present disclosure, there is provided a total heat exchange element including a humidity control material in a heat storage base material, wherein the humidity control material includes a water-absorbing resin and a humidity control component impregnated in the water-absorbing resin; The heat storage base material is characterized in that a latent heat section carrying the humidity control material and a sensible heat section not carrying the humidity control material are continuously formed.

 以上説明したように本開示によれば、調湿機能を有し、効率的に熱交換可能な全熱交換素子及び換気装置を提供することができる。As described above, according to the present disclosure, it is possible to provide a total heat exchange element and a ventilation device that have a humidity control function and can efficiently exchange heat.

図1は、本開示に係る全熱交換素子の概略を示す斜視図である。FIG. 1 is a perspective view schematically showing a total heat exchange element according to the present disclosure.図2は、図1のA-A断面図である。FIG. 2 is a sectional view taken along line AA in FIG.図3は、調湿材を模式的に示した断面図である。FIG. 3 is a cross-sectional view schematically showing the humidity control material.図4は、調湿材を模式的に示した図である。FIG. 4 is a diagram schematically showing a humidity control material.図5は、バインダ中に調湿材を分散させたシートの断面図である。FIG. 5 is a cross-sectional view of a sheet in which a humidity control material is dispersed in a binder.図6は、調湿材を模式的に示した断面図である。FIG. 6 is a cross-sectional view schematically showing the humidity control material.図7は、本開示に係る全熱交換素子における空気中の熱及び水分が移動する様子を模式的に示した図である。FIG. 7 is a diagram schematically showing how heat and moisture in the air move in the total heat exchange element according to the present disclosure.図8は、スラリー添着及びエアーブロー、乾燥、90%湿度下における潜熱部を模式的に示した図である。FIG. 8 is a diagram schematically showing a latent heat section under slurry impregnation, air blowing, drying, and 90% humidity.図9は、スラリー添着及びエアーブロー、乾燥、90%湿度下における潜熱部及び顕熱部を備える全熱交換素子を模式的に示した図である。FIG. 9 is a diagram schematically showing a total heat exchange element including a latent heat section and a sensible heat section under slurry impregnation, air blowing, drying, and 90% humidity.図10は、顕熱部に潜熱蓄熱材が添着されている全熱交換素子の概略を示す断面図である。FIG. 10 is a cross-sectional view schematically showing a total heat exchange element in which a latent heat storage material is attached to a sensible heat portion.図11は、蓄熱基材の斜視図である。FIG. 11 is a perspective view of the heat storage base material.図12は、蓄熱基材の正面図である。FIG. 12 is a front view of the heat storage base material.図13は、蓄熱基材の側面図である。FIG. 13 is a side view of the heat storage base material.図14は、蓄熱基材の変形例を示す斜視図である。FIG. 14 is a perspective view showing a modification of the heat storage base material.図15は、蓄熱基材の変形例を示す正面図である。FIG. 15 is a front view showing a modification of the heat storage base material.図16は、蓄熱基材の別の変形例を示す斜視図である。FIG. 16 is a perspective view showing another modification of the heat storage base material.図17は、蓄熱基材の別の変形例を示す正面図である。FIG. 17 is a front view showing another modification of the heat storage base material.図18は、蓄熱基材の別の変形例を示す斜視図である。FIG. 18 is a perspective view showing another modification of the heat storage base material.図19は、蓄熱基材の別の変形例を示す斜視図である。FIG. 19 is a perspective view showing another modification of the heat storage base material.図20は、蓄熱基材の別の変形例を示す正面図である。FIG. 20 is a front view showing another modification of the heat storage base material.図21は、本開示に係る換気装置の概略を示す側面図である。FIG. 21 is a side view schematically showing a ventilation device according to the present disclosure.図22は、本開示に係る換気装置の変形例の概略を示す側面図である。FIG. 22 is a side view schematically showing a modification of the ventilation device according to the present disclosure.

 以下、図面を参照して、本開示の好適な実施の形態について詳細に説明する。なお、以下に説明する本実施形態は、特許請求の範囲に記載された本開示の内容を不当に限定するものではなく、本実施形態で説明される構成の全てが本開示の解決手段として必須であるとは限らない。なお、図面中では、X軸を奥行方向で送風方向、Y軸を幅方向、Z軸を高さ方向とする。Hereinafter, preferred embodiments of the present disclosure will be described in detail with reference to the drawings. Note that this embodiment described below does not unduly limit the content of the present disclosure described in the claims, and all of the configurations described in this embodiment are essential as a solution to the present disclosure. Not necessarily. In the drawings, the X-axis is the depth direction, which is the blowing direction, the Y-axis is the width direction, and the Z-axis is the height direction.

[全熱交換素子]
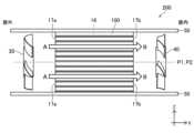
 図1は、本開示に係る全熱交換素子100の概略を示す斜視図である。図2は、図1のA-A断面図である。本開示に係る全熱交換素子100は、図2に示すように、蓄熱基材10に調湿材20を備える。また、図1及び図2に示すように、蓄熱基材10は、調湿材20を担持する潜熱部11と、調湿材20を担持していない顕熱部12が連続して形成されることを特徴とする。なお、調湿材20は薄い膜等であるので、図1では符号で示されていない。
[Total heat exchange element]
FIG. 1 is a perspective view schematically showing a totalheat exchange element 100 according to the present disclosure. FIG. 2 is a sectional view taken along line AA in FIG. A totalheat exchange element 100 according to the present disclosure includes ahumidity control material 20 on a heatstorage base material 10, as shown in FIG. Further, as shown in FIGS. 1 and 2, the heatstorage base material 10 has alatent heat section 11 carrying thehumidity control material 20 and asensible heat section 12 not carrying thehumidity control material 20, which are continuously formed. It is characterized by Note that since thehumidity control material 20 is a thin film or the like, it is not shown with a reference numeral in FIG.

 蓄熱基材10は、潜熱部11と顕熱部12とを連続して形成されることにより、潜熱部11の調湿材20によって水分を吸湿又は放出して調湿機能を持たせ、顕熱部12によって放熱等の熱交換をさせて吸湿又は放出する調湿材20の水分を調整する。このようにすれば、本開示に係る全熱交換素子100は、調湿機能を有し、効率的に熱交換可能となる。また、顕熱部12は、露出されていることが好ましい。なお、蓄熱基材10は、図1に示すように、筒状の構造としてもよい。また、蓄熱基材10は、板状、波板状の構造としてもよい。また、蓄熱基材10の断面形状は限定されない。The heatstorage base material 10 has a humidity control function by absorbing or releasing moisture through thehumidity control material 20 of thelatent heat section 11 by continuously forming alatent heat section 11 and asensible heat section 12, and has a sensible heat control function. Theportion 12 performs heat exchange such as heat radiation to adjust the moisture content of thehumidity control material 20 that absorbs or releases moisture. In this way, the totalheat exchange element 100 according to the present disclosure has a humidity control function and can efficiently exchange heat. Moreover, it is preferable that thesensible heat section 12 is exposed. Note that the heatstorage base material 10 may have a cylindrical structure, as shown in FIG. Further, the heatstorage base material 10 may have a plate-like or corrugated structure. Moreover, the cross-sectional shape of the heatstorage base material 10 is not limited.

 また、潜熱部11と顕熱部12は、図1に示すように、送風方向に対して平行に隣接して配置されもよい。係る場合、図1に示すように、境界Oから-X側を潜熱部11、+X側を顕熱部12とする。また、潜熱部11と顕熱部12は、送風方向に対して垂直に隣接して配置されてもよい。図1では、潜熱部11と顕熱部12と示したが、潜熱部11と顕熱部12を複数用いて、潜熱部11と顕熱部12とを複数用いて連続して配置されてもよい。例えば、潜熱部11、顕熱部12、潜熱部11としたり、潜熱部11、顕熱部12、潜熱部11、顕熱部12と連続して繰り返してもよい。潜熱部11、顕熱部12の順番には限定されない。Furthermore, thelatent heat section 11 and thesensible heat section 12 may be arranged adjacent to each other in parallel to the air blowing direction, as shown in FIG. In this case, as shown in FIG. 1, the −X side from the boundary O is thelatent heat section 11, and the +X side is thesensible heat section 12. Furthermore, thelatent heat section 11 and thesensible heat section 12 may be arranged adjacent to each other perpendicularly to the air blowing direction. In FIG. 1, thelatent heat section 11 and thesensible heat section 12 are shown. good. For example, thelatent heat section 11, thesensible heat section 12, and thelatent heat section 11 may be arranged, or thelatent heat section 11, thesensible heat section 12, thelatent heat section 11, and thesensible heat section 12 may be repeated continuously. The order of thelatent heat section 11 and thesensible heat section 12 is not limited.

 調湿材20は後述する調湿液に吸水性樹脂を添加し、攪拌、膨潤させることで、粘性を有する調湿材20の添着スラリーを作製する。そのスラリーを蓄熱基材10に含浸塗布、乾燥、固着させることで潜熱部11とする。このように、そのスラリーを蓄熱基材10の一部に含浸塗布させることで、所望の面積の潜熱部11とすることができる。Thehumidity control material 20 is prepared by adding a water-absorbing resin to a humidity control solution to be described later, and stirring and swelling the mixture to create a viscous slurry of thehumidity control material 20. The slurry is impregnated and coated on the heatstorage base material 10, dried, and fixed to form thelatent heat section 11. In this way, by impregnating and coating a portion of the heatstorage base material 10 with the slurry, thelatent heat portion 11 can have a desired area.

 次に、蓄熱基材10に備える調湿材20について説明する。Next, thehumidity control material 20 provided in the heatstorage base material 10 will be explained.

 図3は、調湿材20を模式的に示した断面図である。調湿材20は、図3に示すように、樹脂及び/又は粘土鉱物を含む吸水材21と、水分を吸湿又は放出し調湿機能を有する調湿成分である調湿液22と、を含む。調湿液22は、吸水材21に含浸されている。調湿材20は、置かれた環境の湿度に応じて、その場所の空気に含まれる水分を吸収して吸湿、又は調湿材20に含まれる水分を空気中に放出して加湿する。なお、調湿液22は、吸水材21のみならず、調湿材20(吸水材21)を担持する担持体23に含浸されていてもよい。担持体23については、後述する。FIG. 3 is a cross-sectional view schematically showing thehumidity control material 20. As shown in FIG. 3, thehumidity control material 20 includes awater absorbing material 21 containing a resin and/or a clay mineral, and ahumidity control liquid 22, which is a humidity control component that absorbs or releases moisture and has a humidity control function. . The moisture-adjustingliquid 22 is impregnated into the water-absorbingmaterial 21 . Depending on the humidity of the environment in which it is placed, thehumidity control material 20 absorbs and absorbs moisture contained in the air, or releases moisture contained in thehumidity control material 20 into the air for humidification. Note that thehumidity control liquid 22 may be impregnated not only in the waterabsorbent material 21 but also in thecarrier 23 that supports the humidity control material 20 (water absorbent material 21). Thecarrier 23 will be described later.

 調湿材20の形状としては、粉末状、粒子状、ブロック状にしてもよいし、樹脂を通気基材に担持させることで効率的に空気と接触させて使用してもよい。The shape of thehumidity control material 20 may be powder, particulate, or block, or it may be used by supporting the resin on a ventilation base material so that it can be brought into efficient contact with air.

 吸水材21は、調湿液22を保持する機能を有する。吸水材21が調湿液22を保持しているため、体積に対する表面積の割合が高い調湿材20を実現することができる。よって、水分の吸収又は放出の速度を高くし得る。従って、高い調湿速度を有する調湿材20とすることができる。Thewater absorbing material 21 has a function of holding thehumidity control liquid 22. Since the water-absorbingmaterial 21 holds thehumidity control liquid 22, it is possible to realize thehumidity control material 20 having a high ratio of surface area to volume. Therefore, the rate of moisture absorption or release can be increased. Therefore, thehumidity control material 20 can have a high humidity control speed.

 吸水材21は、吸水性樹脂(粒子、粉末)であることが好ましい。このようにすれば、吸水材21が調湿液22を好適に含浸することができ、調湿効果をより高めることができる。吸水性樹脂材の具体例としては、イオン性樹脂、非イオン性樹脂が好ましい。イオン性樹脂としては、ポリアクリル酸のアルカリ金属塩、デンプン-アクリル酸塩グラフトポリマー等があげられる。ポリアクリル酸のアルカリ金属塩の具体例としては、ポリアクリル酸ナトリウム等が挙げられる。非イオン性樹脂としては、酢酸ビニル共重合体、無水マレイン酸共重合体、ポリビニルアルコール、ポリアルキレンオキサイド等が挙げられる。Thewater absorbing material 21 is preferably a water absorbing resin (particles, powder). In this way, thewater absorbing material 21 can be suitably impregnated with thehumidity control liquid 22, and the humidity control effect can be further enhanced. As specific examples of the water-absorbing resin material, ionic resins and nonionic resins are preferred. Examples of the ionic resin include alkali metal salts of polyacrylic acid, starch-acrylate graft polymers, and the like. Specific examples of alkali metal salts of polyacrylic acid include sodium polyacrylate. Examples of the nonionic resin include vinyl acetate copolymer, maleic anhydride copolymer, polyvinyl alcohol, polyalkylene oxide, and the like.

 調湿液22としては、空気中の水分を吸収し、潮解する潮解性物質及び多価アルコールからなる群より選択される少なくとも1種を含むことが好ましい。このようにすれば、調湿効果をより高めることができる。The humidity control liquid 22 preferably contains at least one selected from the group consisting of a deliquescent substance that absorbs moisture in the air and deliquesces, and a polyhydric alcohol. In this way, the humidity control effect can be further enhanced.

 多価アルコールの具体例としては、グリセリン、プロパンジオール、ブタンジオール、ペンタンジオール、トリメチロールプロパン、ブタントリオール、エチレングリコール、ジエチレングリコール、トリエチレングリコール、及び乳酸等からなる群より選択される少なくとも一種を含み、なかでも、グリセリン等の水酸基を3つ以上有する多価アルコールがより好ましく用いられる。なお、多価アルコールは、二量体または重合体を構成していてもよい。Specific examples of polyhydric alcohols include at least one selected from the group consisting of glycerin, propanediol, butanediol, pentanediol, trimethylolpropane, butanetriol, ethylene glycol, diethylene glycol, triethylene glycol, and lactic acid. Among them, polyhydric alcohols having three or more hydroxyl groups such as glycerin are more preferably used. Note that the polyhydric alcohol may constitute a dimer or a polymer.

 潮解性物質としては、塩類と水溶性有機物に分類される。塩類の具体例としては、例えば、ギ酸ナトリウム、ギ酸カリウム、ギ酸アンモニウム、酢酸ナトリウム、酢酸カリウム、酢酸リチウム、酢酸アンモニウム、乳酸ナトリウム、乳酸カリウム、安息香酸ナトリウム、安息香酸カリウム、プロピオン酸ナトリウム、プロピオン酸カリウム、塩化カルシウム、塩化リチウム、塩化マグネシウム、塩化カルシウム、塩化リチウム、塩化カリウム、塩化ナトリウム、塩化亜鉛、塩化アルミニウム、臭化リチウム、臭化カルシウム、臭化カリウム、水酸化ナトリウム、ピロリドンカルボン酸ナトリウム、炭酸カリウム、クエン酸カルシウム、クエン酸ナトリウム、クエン酸カリウム、クエン酸リチウム等が挙げられる。これらの塩のうち、1種のみを含んでいてもよいし、2種以上を含んでいてもよい。これらの中でも、重量あたりの吸放湿する水分量の多い、ギ酸ナトリウム、ギ酸カリウム、酢酸ナトリウム、酢酸カリウム、炭酸カリウムが好ましい。さらにはこれらの中でも、使用環境相対湿度30~80%の湿度範囲で水和物結晶を形成することで、特定の湿度範囲を閾値として急激な吸放湿を促す、カルボン酸塩(ギ酸ナトリウム、酢酸ナトリウム、プロピオン酸ナトリウム)から成る群から選択されるものが、好ましい。水溶性有機物の具体例としては、例えば、スクロース、プルラン、グルコース、キシロール、フラクトース、マンニトール、ソルビトール等の糖類、クエン酸などのカルボン酸、尿素などのアミド類が挙げられる。Deliquescent substances are classified into salts and water-soluble organic substances. Specific examples of salts include sodium formate, potassium formate, ammonium formate, sodium acetate, potassium acetate, lithium acetate, ammonium acetate, sodium lactate, potassium lactate, sodium benzoate, potassium benzoate, sodium propionate, propionic acid. Potassium, calcium chloride, lithium chloride, magnesium chloride, calcium chloride, lithium chloride, potassium chloride, sodium chloride, zinc chloride, aluminum chloride, lithium bromide, calcium bromide, potassium bromide, sodium hydroxide, sodium pyrrolidone carboxylate, Examples include potassium carbonate, calcium citrate, sodium citrate, potassium citrate, lithium citrate, and the like. Among these salts, only one type may be included, or two or more types may be included. Among these, preferred are sodium formate, potassium formate, sodium acetate, potassium acetate, and potassium carbonate, which absorb and desorb a large amount of moisture per weight. Furthermore, among these, carboxylates (sodium formate, sodium formate, Sodium acetate, sodium propionate) are preferred. Specific examples of water-soluble organic substances include sugars such as sucrose, pullulan, glucose, xylol, fructose, mannitol, and sorbitol, carboxylic acids such as citric acid, and amides such as urea.

 吸水材21に対する調湿液22の量は、吸水材100重量部に対して、1重量部以上1000重量部以下であることが好ましい。このようにすれば、吸水材21と調湿液22の量が適切となり、より調湿機能を高めることができる。また、吸水材21は、粉末状又は粒子状であることが好ましい。The amount of thehumidity control liquid 22 relative to the water-absorbingmaterial 21 is preferably 1 part by weight or more and 1000 parts by weight or less based on 100 parts by weight of the water-absorbing material. In this way, the amounts of thewater absorbing material 21 and thehumidity control liquid 22 will be appropriate, and the humidity control function can be further enhanced. Further, thewater absorbing material 21 is preferably in the form of powder or particles.

 図4は、調湿材20を模式的に示した図である。図4に示すように、調湿材20(吸水材21)は、担持体23に担持されてもよい。さらに、吸水材21との間に調湿成分を内在させてもよい。このようにすれば、体積に対する表面積の割合が高い調湿材20を実現することができ、水分の吸収又は放出の速度を速くし得る。また、担持体23に水分を含浸させることもできる。FIG. 4 is a diagram schematically showing thehumidity control material 20. As shown in FIG. 4, the humidity control material 20 (water absorbing material 21) may be supported on acarrier 23. Furthermore, a humidity control component may be included between thewater absorbing material 21 and thewater absorbing material 21. In this way, ahumidity control material 20 having a high ratio of surface area to volume can be realized, and the rate of moisture absorption or release can be increased. Further, thecarrier 23 can also be impregnated with moisture.

 本開示に係る全熱交換素子100は、上述した調湿材20を蓄熱基材10に塗布し、又は調湿材20を含む液体に蓄熱基材10を浸漬して、調湿材20を蓄熱基材10に添着させる。なお、蓄熱基材10は、後述するが、蓄熱容量の大きい熱交換素子が用いられることが好ましい。The totalheat exchange element 100 according to the present disclosure is produced by applying the above-describedhumidity control material 20 to the heatstorage base material 10 or by immersing the heatstorage base material 10 in a liquid containing thehumidity control material 20. It is attached to thebase material 10. In addition, as for the heatstorage base material 10, although it will be mentioned later, it is preferable that a heat exchange element with a large heat storage capacity is used.

 図5は、調湿材20の別形態を模式的に示した図であり、吸水体24の間にバインダ(担持体23)、バインダ中に調湿材20を分散させたシートの断面図である。図5に示すように、調湿材20(吸水材21)は、担持体23に担持されてもよい。また、吸水体24は吸水材21を含んでよい。さらに、吸水材21との間に調湿液22を内在させてもよい。このようにすれば、体積に対する表面積の割合が高い調湿材20を実現することができ、水分の吸収又は放出の速度を速くし得る。また、担持体23に水分を含浸させることもできる。図5に示すような調湿材20を含む材料を熱交換素子(蓄熱基材10)に設ければよい。FIG. 5 is a diagram schematically showing another form of thehumidity control material 20, and is a cross-sectional view of a sheet in which a binder (carrier 23) is disposed betweenwater absorbers 24 and ahumidity control material 20 is dispersed in the binder. be. As shown in FIG. 5, the humidity control material 20 (water absorbing material 21) may be supported on acarrier 23. Further, the waterabsorbent body 24 may include thewater absorbing material 21. Furthermore, ahumidity control liquid 22 may be contained between thewater absorbing material 21 and themoisture absorbing material 21 . In this way, ahumidity control material 20 having a high ratio of surface area to volume can be realized, and the rate of moisture absorption or release can be increased. Further, thecarrier 23 can also be impregnated with moisture. A material containing ahumidity control material 20 as shown in FIG. 5 may be provided in the heat exchange element (heat storage base material 10).

 また、調湿材20を担持する担持体23は、用途によって最適なものを選択することが好ましい。全熱交換素子100のように、熱の移動を伴う場合は、アルミのような金属材料やセラミックスであることが好ましく、湿度制御が目的で吸放湿の容量を大きく取りたい場合は、調湿液22を湿潤して保持する素材が好ましい。後者の場合、例えば、多孔質体、不織布、織布などの親水性繊維からなる。特に、水蒸気透過性の高い不織布のようなものが好ましい。また、担持体23は、バインダを含むこともできる。Furthermore, it is preferable that thecarrier 23 supporting thehumidity control material 20 be selected optimally depending on the application. When the totalheat exchange element 100 involves the movement of heat, it is preferable to use a metal material such as aluminum or ceramics, and when a large capacity for moisture absorption and release is desired for the purpose of humidity control, it is preferable to use a humidity control element. A material that moistens and retains the liquid 22 is preferred. In the latter case, it is made of, for example, a porous material, a nonwoven fabric, a woven fabric, or other hydrophilic fiber. In particular, nonwoven fabrics with high water vapor permeability are preferred. Further, thecarrier 23 can also include a binder.

 担持体23の形状としては、シート状であり、平板状あるいはプリーツ状あるいは、ハニカム状等の種々の形状に成形されて使用されてもよい。例えば、シート状材料は、まずコルゲーターにより、波形(フルート)等の形状に成形され、次に、このシートと同一或いは異種の材料からなる、平板状のライナーと、接着剤により固着され、一体化される。また、担持体23は、可撓性を持ってもよい。担持体23は、変形可能であってもよい。換言すれば、任意の形状(折れ曲がり形状や、湾曲形状等)に保持可能であってもよい。The shape of thecarrier 23 is a sheet, and it may be formed into various shapes such as a flat plate, pleated shape, or honeycomb shape. For example, a sheet material is first formed into a corrugated (flute) shape using a corrugator, and then fixed with an adhesive and integrated with a flat liner made of the same or different material as the sheet. be done. Furthermore, thecarrier 23 may have flexibility. Thecarrier 23 may be deformable. In other words, it may be possible to hold it in any shape (bent shape, curved shape, etc.).

 図6は、調湿材20を模式的に示した断面図である。図6に示すように、調湿材20を担持体23に担持させ吸水体24に保持し、熱交換素子(蓄熱基材10)に設ければよい。このようにすれば、空気と触れ面積が増加し、調湿機能を向上させることができる。FIG. 6 is a cross-sectional view schematically showing thehumidity control material 20. As shown in FIG. 6, thehumidity control material 20 may be supported on acarrier 23, held on awater absorbent 24, and provided on a heat exchange element (heat storage base material 10). In this way, the area in contact with the air increases, and the humidity control function can be improved.

 吸水体24は吸水材21を含んでよい。また、吸水体24は、粉末状、粒状、又はシート状としてもよい。Thewater absorbing body 24 may include thewater absorbing material 21. Further, the waterabsorbent body 24 may be in the form of powder, particles, or sheet.

 また、調湿材20は、上記の他、B型シリカゲル、高分子収着材等を用いてもよい。In addition to the above, thehumidity control material 20 may also be made of B-type silica gel, polymer sorbent, or the like.

 また、調湿成分としては、上記潮解性物質を含んでいることを前提とし、結晶化閾値湿度を調節するための添加剤として他の成分を加えてもよい。例として、他潮解性物質や多価アルコール、または水和物結晶の核材となるようなものが挙げられる。各発生材の具体例としては、2つ以上のカルボキシル基を有するカルボン酸類および2つ以上のアミド基を有するアミド類などが挙げられる。カルボン酸類は上述した物質を用いればよい。結晶化閾値湿度とは、低湿度になると調湿材が結晶化する場合があるが、結晶化する湿度における閾値である。Further, it is assumed that the humidity control component contains the above-mentioned deliquescent substance, and other components may be added as additives for adjusting the crystallization threshold humidity. Examples include deliquescent substances, polyhydric alcohols, or substances that serve as nucleating materials for hydrate crystals. Specific examples of each generating material include carboxylic acids having two or more carboxyl groups and amides having two or more amide groups. As the carboxylic acids, the substances mentioned above may be used. The crystallization threshold humidity is the threshold value at the humidity at which the humidity control material crystallizes, although there are cases where the humidity control material crystallizes when the humidity is low.

 なお、「調湿」とは、所定の湿度帯に近づくように相対湿度を調整することを意味する。具体的には、例えば、50%RHを所定の相対湿度とすると、相対湿度が50%RHよりも高いときには、調湿材20は、水分を吸収(吸湿)し、相対湿度が50%RHよりも低いときには、調湿材20は、水分を放出(放湿)する。通常、所定の相対湿度帯は、調湿材20の材質と水分量に相関する。具体的には、例えば、所定の相対湿度帯は、調湿液22中の水分含有量に相関する。Note that "humidity control" means adjusting the relative humidity so that it approaches a predetermined humidity range. Specifically, for example, assuming that 50% RH is a predetermined relative humidity, when the relative humidity is higher than 50% RH, thehumidity control material 20 absorbs moisture (moisture absorption), and when the relative humidity is higher than 50% RH. When the humidity is low, thehumidity control material 20 releases moisture (releases moisture). Usually, the predetermined relative humidity range correlates with the material and moisture content of thehumidity control material 20. Specifically, for example, the predetermined relative humidity range correlates with the water content in thehumidity control liquid 22.

 以下、本開示に係る全熱交換素子100についてさらに説明する。Hereinafter, the totalheat exchange element 100 according to the present disclosure will be further described.

 図7は、本開示に係る全熱交換素子100における空気中の熱及び水分が移動する様子を模式的に示した図である。上述したが、図7に示すように、全熱交換素子100は、蓄熱基材10に調湿材20を備え、蓄熱基材10に潜熱部11と顕熱部12とが連続して形成されている。そして、全熱交換素子100は、空気中の高湿及び高温空気から水分を調湿材20が吸湿し(A)、その吸湿した時の吸着熱や脱離熱及び潜熱部11付近の空気中の熱(D)が潜熱部11の蓄熱基材10に伝わり(B)、それらの熱が顕熱部12に伝わり(C)、また顕熱部12付近の空気中の熱が顕熱部12に伝わり(C)、顕熱部12に伝わった全ての熱が顕熱部12から放出され熱交換される。蓄熱基材10は、潜熱部11と顕熱部12が分割されている場合とは異なり、潜熱部11と顕熱部12が連続して形成されることによって、熱抵抗がないので、顕熱交換効率が向上できる。よって、全熱交換素子100は、調湿機能を有し、効率的に熱交換可能となる。FIG. 7 is a diagram schematically showing how heat and moisture in the air move in the totalheat exchange element 100 according to the present disclosure. As described above, as shown in FIG. 7, the totalheat exchange element 100 includes the heatstorage base material 10 and thehumidity control material 20, and the heatstorage base material 10 has thelatent heat section 11 and thesensible heat section 12 formed continuously. ing. In the totalheat exchange element 100, thehumidity control material 20 absorbs moisture from the high humidity and high temperature air in the air (A), and when the humidity is absorbed, the adsorption heat, desorption heat, and heat in the air near thelatent heat section 11 are absorbed. The heat (D) is transferred to the heatstorage base material 10 of the latent heat section 11 (B), the heat is transferred to the sensible heat section 12 (C), and the heat in the air near thesensible heat section 12 is transferred to thesensible heat section 12. (C), and all the heat transmitted to thesensible heat section 12 is released from thesensible heat section 12 and heat exchanged. Unlike the case where thelatent heat part 11 and thesensible heat part 12 are separated, the heatstorage base material 10 has no thermal resistance because thelatent heat part 11 and thesensible heat part 12 are formed continuously. Exchange efficiency can be improved. Therefore, the totalheat exchange element 100 has a humidity control function and can efficiently exchange heat.

 潜熱部11と顕熱部12が連続して形成されていない場合、顕熱をメインで担う蓄熱部材を別途で設けることとなるので、ダクトレスとする装置では装置構成が大きくなる。例えば、住居用として用いられるような壁内部に設置してダクトレスとすることは困難である。また、高伝熱素材で潜熱交換部材と蓄熱部材を接続することが考えられるが、調湿材20と空気の接触効率を向上させるために肉薄に構成されたハニカム構造素子の場合、空気流を乱さず、セルをふさがないように蓄熱基材断面を接続させるのは困難である。If thelatent heat section 11 and thesensible heat section 12 are not formed continuously, a heat storage member that mainly handles sensible heat will be provided separately, so the device configuration will become larger in a ductless device. For example, it is difficult to install it inside a wall used for residential purposes to make it ductless. It is also possible to connect the latent heat exchange member and the heat storage member using a high heat transfer material, but in the case of a thin honeycomb structure element to improve the contact efficiency between thehumidity control material 20 and air, the air flow can be reduced. It is difficult to connect the cross sections of the heat storage substrate without disturbing or blocking the cells.

 そこで、本開示に係る全熱交換素子100によれば、蓄熱基材10に調湿材20を備え、蓄熱基材10が潜熱部11と顕熱部12が連続して形成されているので、調湿機能を有し、効率的に熱交換可能となる。また、本開示に係る全熱交換素子100は、ダクトレスとする装置においても小型化することができ、例えば、住居用として用いられるような壁内部に適切に設置することができる。Therefore, according to the totalheat exchange element 100 according to the present disclosure, the heatstorage base material 10 is provided with thehumidity control material 20, and the heatstorage base material 10 has thelatent heat section 11 and thesensible heat section 12 continuously formed. It has a humidity control function and enables efficient heat exchange. Further, the totalheat exchange element 100 according to the present disclosure can be miniaturized even in a ductless device, and can be appropriately installed inside a wall used for a residence, for example.

 本開示に係る全熱交換素子100についてさらに詳述する。The totalheat exchange element 100 according to the present disclosure will be described in further detail.

 図8は、スラリー添着及びエアーブロー、乾燥、90%湿度下における潜熱部11を模式的に示した図である。図8は、顕熱部12を有さない熱交換素子(蓄熱基材10)である。図8の上段に示すように、潜熱部11にスラリー添着し調湿材20を設ける。このとき調湿材20は水分25を吸湿する。また、エアーブロー等を行い、図8の中段に示すように、調湿材20は乾燥する。また、図8の下段に示すように、例えば90%湿度下に潜熱部11を置いた場合、調湿材20は空気中の水分25を吸収する。そして、使用中に調湿材20が保持しきれない水分を吸収し、潜熱部11の調湿材20から離水して調湿材20の剥がれやキャリーオーバーとなり、液だれとなる。FIG. 8 is a diagram schematically showing thelatent heat section 11 under slurry impregnation, air blowing, drying, and 90% humidity. FIG. 8 shows a heat exchange element (heat storage base material 10) that does not have asensible heat section 12. As shown in the upper part of FIG. 8, ahumidity control material 20 is provided by adhering slurry to thelatent heat section 11. At this time, themoisture control material 20 absorbs moisture 25. Further, air blowing or the like is performed to dry thehumidity control material 20 as shown in the middle part of FIG. Further, as shown in the lower part of FIG. 8, when thelatent heat section 11 is placed under, for example, 90% humidity, thehumidity control material 20 absorbs moisture 25 in the air. Then, during use, thehumidity control material 20 absorbs moisture that it cannot hold, and the water is separated from thehumidity control material 20 in thelatent heat section 11, resulting in peeling or carryover of thehumidity control material 20, resulting in dripping.

 また、図8の上段に示すように、潜熱部11にスラリー添着し調湿材20を設ける。調湿材20は粘性を有するため、エアーブローで余剰に添着したスラリー液の除去を行う。図8の中段に示すように、調湿材20は乾燥し、蓄熱基材10に固定される。この潜熱部11を例えば90%湿度下に置いた様子を図8の下段に示す。調湿材20は空気中の水分25を吸収する。添着工程でスラリー液の除去が不十分であった場合、使用中に調湿材20が保持しきれない水分を吸収し、離水して潜熱部11に水滴が生じる。それにより、潜熱部11の調湿材20が一部剥がれたりキャリーオーバーとなり、液だれとなる。Further, as shown in the upper part of FIG. 8, ahumidity control material 20 is provided by adhering slurry to thelatent heat section 11. Since thehumidity control material 20 has viscosity, excess slurry liquid attached thereto is removed by air blowing. As shown in the middle part of FIG. 8, thehumidity control material 20 is dried and fixed to the heatstorage base material 10. The lower part of FIG. 8 shows how thislatent heat section 11 is placed under, for example, 90% humidity. Thehumidity control material 20 absorbs moisture 25 in the air. If the slurry liquid is insufficiently removed in the impregnation step, themoisture control material 20 absorbs the moisture that cannot be retained during use, and water is separated, forming water droplets in thelatent heat section 11. As a result, thehumidity control material 20 in thelatent heat section 11 is partially peeled off or carries over, resulting in dripping.

 一方で、図9は、スラリー添着及びエアーブロー、乾燥、90%湿度下における潜熱部11及び顕熱部12を備える全熱交換素子100を模式的に示した図である。図9は、潜熱部11及び顕熱部12を備える熱交換素子(蓄熱基材10)である。図9では、潜熱部11及び顕熱部12を備えるため、スラリー添着及びエアーブロー、乾燥の後、90%湿度下においても、潜熱部11の調湿材20で水分25を多く吸収しても、顕熱部12によって、その水分25を放出できる。よって、潜熱部11及び顕熱部12を備える熱交換素子(蓄熱基材10)は、上述した顕熱部12を有さない熱交換素子(蓄熱基材10)とは異なり、潜熱部11の調湿材20から離水して調湿材20の剥がれや液だれによるキャリーオーバーとなることを抑制することができる。On the other hand, FIG. 9 is a diagram schematically showing a totalheat exchange element 100 including alatent heat section 11 and asensible heat section 12 under slurry impregnation, air blowing, drying, and 90% humidity. FIG. 9 shows a heat exchange element (heat storage base material 10) including alatent heat section 11 and asensible heat section 12. In FIG. 9, since thelatent heat section 11 and thesensible heat section 12 are provided, even under 90% humidity after slurry impregnation, air blowing, and drying, thehumidity control material 20 of thelatent heat section 11 absorbs a large amount of moisture 25. , the moisture 25 can be released by thesensible heat section 12. Therefore, the heat exchange element (heat storage base material 10) including thelatent heat part 11 and thesensible heat part 12 is different from the heat exchange element (heat storage base material 10) without thesensible heat part 12 described above. It is possible to suppress water from separating from thehumidity control material 20 and causing carryover due to peeling of thehumidity control material 20 or dripping.

 また一方で、図9では、潜熱部11及び顕熱部12を備えるため、エアーブローで余剰に添着したスラリー液の除去が効果的に行われる。よって、潜熱部11及び顕熱部12を備える熱交換素子(蓄熱基材10)は、上述した顕熱部12を有さない熱交換素子(蓄熱基材10)とは異なり、潜熱部11の調湿材20から離水して調湿材20の剥がれや液だれによるキャリーオーバーとなることを抑制することができる。On the other hand, in FIG. 9, since thelatent heat section 11 and thesensible heat section 12 are provided, the excess slurry liquid attached is effectively removed by air blowing. Therefore, the heat exchange element (heat storage base material 10) including thelatent heat part 11 and thesensible heat part 12 is different from the heat exchange element (heat storage base material 10) without thesensible heat part 12 described above. It is possible to suppress water from separating from thehumidity control material 20 and causing carryover due to peeling of thehumidity control material 20 or dripping.

 潜熱部11における蓄熱基材10面は、図9に示すように、親水性処理面13であることが好ましい。親水性処理面13は、蓄熱基材10の表面(すなわち蓄熱基材10の一部)で、親水性を有する面である。調湿材20を添着するためのスラリーは水溶媒であるので、蓄熱基材10が親水表面とすることで、潜熱部11における蓄熱基材10と調湿材20との接着が接着剤なしでの担持が可能となり、吸着熱の蓄熱基材10への伝熱効率が向上する。また、全熱交換素子100の生産効率性が向上する。蓄熱基材10の表面処理における親水性処理方法としては、水ガラスなどを主成分としたシリカ系被膜を設ける方法や、親水性樹脂を用いた樹脂系被膜を設ける方法、ベーマイト被膜や陽極酸化被膜を設ける方法が挙げられる。さらに、調湿材20を蓄熱基材10に添着し潜熱部とする製造が容易になる。As shown in FIG. 9, the surface of the heatstorage base material 10 in thelatent heat section 11 is preferably a hydrophilic treatedsurface 13. The hydrophilic treatedsurface 13 is a surface of the heat storage base material 10 (that is, a part of the heat storage base material 10) that has hydrophilic properties. Since the slurry for adhering thehumidity control material 20 is a water solvent, by making the heat storage base material 10 a hydrophilic surface, the heatstorage base material 10 and thehumidity control material 20 can be bonded together in thelatent heat section 11 without using an adhesive. can be supported, and the heat transfer efficiency of adsorption heat to the heatstorage base material 10 is improved. Moreover, the production efficiency of the totalheat exchange element 100 is improved. Hydrophilic treatment methods for surface treatment of the heatstorage base material 10 include a method of providing a silica-based film mainly composed of water glass, a method of providing a resin-based film using a hydrophilic resin, a boehmite film, and an anodic oxide film. An example of this method is to provide a. Furthermore, it becomes easy to manufacture a latent heat section by attaching thehumidity control material 20 to the heatstorage base material 10.

 また、空気から伝熱する熱、水分の吸脱着により生じる熱を蓄熱基材10に効果的に伝熱するためには、蓄熱基材10と調湿材20と密着していることが好ましい。Furthermore, in order to effectively transfer heat transferred from the air and heat generated by adsorption and desorption of moisture to the heatstorage base material 10, it is preferable that the heatstorage base material 10 and thehumidity control material 20 are in close contact with each other.

 なお、調湿材20は空気中の水分の吸脱着を行うため、表面に露出して存在することが好ましい。空気との接触効率向上を考慮すると表面積が大きいほうがよく、そのためには吸水性樹脂の存在により凸凹が生じ、表面積を大きくすることが優位である。Note that since thehumidity control material 20 adsorbs and desorbs moisture in the air, it is preferable that thehumidity control material 20 be exposed on the surface. In consideration of improving the efficiency of contact with air, it is better to have a larger surface area, and for this purpose, the presence of the water-absorbing resin causes unevenness, and it is advantageous to increase the surface area.

 吸水性樹脂の粒径は大きいほど、吸水性樹脂内の含浸することのできる調湿塩の量(=吸放湿できる水分量)が多いが、蓄熱基材10表面に担持したときの表面積は小さく、トレードオフの関係にある。粒径の小さい吸水性樹脂は、自身の粘性と乾燥時における蓄熱基材10との融着により、接着剤を用いることなく基材に固着することが可能となる。以上を考慮すると、吸水性樹脂の平均粒径は、好ましくは10~100μm、さらに好ましくは30~50μmである。上記粒径サイズの範囲の吸水性樹脂を選択すると、表面積の拡大による顕熱交換効率の向上とバインダレスによる伝熱効率の向上による潜熱交換効率の向上を両立することができる。なお、平均粒径は、乾燥状態における粒子径としており、無作為に選出した数十個の吸水性樹脂粒子を画像解析により粒径測定を行い、算出した平均値を平均粒径とする。The larger the particle size of the water-absorbing resin is, the greater the amount of humidity control salt that can be impregnated into the water-absorbing resin (=the amount of moisture that can be absorbed and released), but the surface area when supported on the surface of the heatstorage base material 10 is It is small and there is a trade-off relationship. The water-absorbing resin having a small particle size can be fixed to the base material without using an adhesive due to its own viscosity and fusion with the heatstorage base material 10 during drying. Considering the above, the average particle size of the water absorbent resin is preferably 10 to 100 μm, more preferably 30 to 50 μm. When a water-absorbing resin having the above particle size range is selected, it is possible to simultaneously improve the sensible heat exchange efficiency by increasing the surface area and improve the latent heat exchange efficiency by increasing the heat transfer efficiency by not using a binder. Note that the average particle size is the particle size in a dry state, and the particle size of dozens of randomly selected water-absorbing resin particles is measured by image analysis, and the calculated average value is taken as the average particle size.

 調湿液スラリー中の吸水性樹脂に含浸されていない吸湿成分が乾燥時に蓄熱基材10上に残存して固着していると、高湿時の吸湿による液だれや低湿時の調湿塩結晶化により、吸湿速度の低下のおそれがある。そのためにはスラリー中の吸水性樹脂に含浸されていない調湿成分が基材上から除去され、調湿成分が含浸された吸水性樹脂が添着することが好ましい。効果的な除去法として、エアーブローによる余剰スラリー吹き飛ばしがあるが、その場合、蓄熱基材10に疎水性部があると、表面状態の親和性の違いにより、余剰スラリー及び調湿液が除去されやすい。If the moisture-absorbing components that are not impregnated into the water-absorbing resin in the humidity control liquid slurry remain and adhere to theheat storage substrate 10 during drying, dripping due to moisture absorption at high humidity and humidity control salt crystals at low humidity may occur. There is a risk that the rate of moisture absorption may decrease due to oxidation. For this purpose, it is preferable that the humidity control component that is not impregnated with the water absorbent resin in the slurry is removed from the base material, and the water absorbent resin impregnated with the humidity control component is attached. An effective removal method is to blow away the excess slurry with air blowing, but in that case, if the heatstorage base material 10 has a hydrophobic part, the excess slurry and humidity conditioning liquid will be removed due to the difference in affinity of the surface condition. Cheap.

 図9及び図10に示すように、顕熱部12における蓄熱基材10面は、撥水性処理面14であることが好ましい。撥水性処理面14は、蓄熱基材10の表面(すなわち蓄熱基材10の一部)で、撥水性を有する面である。このようにすれば、撥水性処理面14である顕熱部12で余剰スラリーの液切れが促進されることより、調湿材20における調湿成分の担持量制御が容易になり、蓄熱基材10を被膜する吸水性樹脂に含浸されていない調湿成分が減少することで、高湿の吸湿による液だれによるキャリーオーバーや低湿時の調湿塩結晶化による吸湿速度の低下を抑制することができ、潜熱交換効率向上になる。撥水性処理面14としては、パラフィン類を塗布してもよい。パラフィン類としては、直鎖状、分岐状等が挙げられ、直鎖状のn-パラフィンが好ましい。n-パラフィンとしては、例えばn-ペンタデカン、n-ヘキサデカン、n-ヘプタデカン、n-オクタデカン、n-ノナデカン等が挙げられる。As shown in FIGS. 9 and 10, the surface of theheat storage substrate 10 in thesensible heat section 12 is preferably a water-repellent treatedsurface 14. The water-repellent treatedsurface 14 is a surface of the heat storage base material 10 (that is, a part of the heat storage base material 10) that has water repellency. In this way, draining of the excess slurry is promoted in thesensible heat section 12 which is the water-repellent treatedsurface 14, thereby making it easier to control the amount of humidity control components carried in thehumidity control material 20, and making the heat storage base material By reducing the amount of moisture conditioning components that are not impregnated into the water-absorbing resin coating No. 10, it is possible to suppress carryover due to dripping due to moisture absorption at high humidity and a decrease in moisture absorption rate due to moisture conditioning salt crystallization at low humidity. This improves latent heat exchange efficiency. As the water-repellent treatedsurface 14, paraffins may be applied. Paraffins include linear and branched paraffins, with linear n-paraffins being preferred. Examples of n-paraffins include n-pentadecane, n-hexadecane, n-heptadecane, n-octadecane, and n-nonadecane.

 また、図10に示すように、顕熱部12は、潜熱蓄熱材15が添着されていることが好ましい。このようにすれば、蓄熱容量が増加し、顕熱部12の顕熱交換効率が向上する。また、疎水性の潜熱蓄熱材15の活用が可能になり、同一蓄熱基材10上での熱の伝達のため、伝熱性が向上する。さらに、顕熱部12と潜熱部11の水親和性の違いにより、調湿材20と潜熱蓄熱材15が単独で添着制御でき、全熱交換素子100の生産効率性が向上する。Furthermore, as shown in FIG. 10, it is preferable that thesensible heat section 12 has a latentheat storage material 15 attached thereto. In this way, the heat storage capacity increases and the sensible heat exchange efficiency of thesensible heat section 12 improves. Further, it becomes possible to utilize the hydrophobic latentheat storage material 15, and heat transfer is improved because heat is transferred on the same heatstorage base material 10. Furthermore, due to the difference in water affinity between thesensible heat section 12 and thelatent heat section 11, the adhesion of thehumidity control material 20 and the latentheat storage material 15 can be controlled independently, and the production efficiency of the totalheat exchange element 100 is improved.

 潜熱蓄熱材15は、物質の相変化、転移の際に外部とやり取りされる潜熱を熱エネルギーとして蓄える材料である。それらの融点での融解熱、及び凝固熱を利用する。これらの材料は固-液体間の相変化を伴う。潜熱蓄熱材15は相変化温度で蓄熱を行うため、境域での蓄熱が可能である(一定温度での蓄熱が可能である)。これは、相変化の際に固体と液体の二層が混在する限り外部より熱を奪い続けるため、融点以上に温度が上がらなくなるという現象のためである。The latentheat storage material 15 is a material that stores latent heat exchanged with the outside during phase change or transition of a substance as thermal energy. The heat of fusion and heat of solidification at their melting points are utilized. These materials undergo a phase change between solid and liquid. Since the latentheat storage material 15 stores heat at a phase change temperature, it is possible to store heat in a boundary region (it is possible to store heat at a constant temperature). This is due to the phenomenon that as long as the two layers of solid and liquid coexist during phase change, heat continues to be taken from the outside, and the temperature no longer rises above the melting point.

 潜熱蓄熱材15の融点としては、10~35℃であり、20~35℃が好ましい。この範囲であれば全熱交換素子100として例えば屋内の空気と室外の空気との間で熱交換をさせる際に効果的に蓄熱することができる。また、潜熱蓄熱材15は、25~35℃に相転移温度を有することが好ましい。The melting point of the latentheat storage material 15 is 10 to 35°C, preferably 20 to 35°C. Within this range, the totalheat exchange element 100 can effectively store heat when exchanging heat between indoor air and outdoor air, for example. Further, it is preferable that the latentheat storage material 15 has a phase transition temperature of 25 to 35°C.

 また、潜熱蓄熱材15としては、パルミチン酸、ミリスチン酸等の脂肪酸類、ベンゼン、p-キシレン等の芳香族炭化水素化合物、脂肪族炭化水素、水和物、パルミチン酸イソプロピル、ステアリン酸ブチル、ステアリン酸ステアリル、ミリスチン酸ミリスチル等のエステル化合物、ステアリルアルコール、グリセロール等のアルコール類、d-乳酸、酢酸、カプリン酸、エチレンジアミン等が挙げられる。脂肪族炭化水素としては、例えばパラフィン類が挙げられる。パラフィン類としては、直鎖状、分岐状等が挙げられ、直鎖状のn-パラフィンが好ましい。n-パラフィンとしては、例えばn-ペンタデカン、n-ヘキサデカン、n-ヘプタデカン、n-オクタデカン、n-ノナデカン等が挙げられる。水和物としては、Zn(NO・6H0、NaHPO・12H0、NaCO・10H0、NaSO・10H0、LiNO・3H0、CaCl・6H0、CaCO・10H0、FeBr・6H0などが挙げられる。これらの潜熱蓄熱成分は1種を単独で用いてもよく、2種以上を組み合わせて用いてもよい。化学的、物理的に安定でしかも安価な物質の使用が好ましい。In addition, the latentheat storage material 15 includes fatty acids such as palmitic acid and myristic acid, aromatic hydrocarbon compounds such as benzene and p-xylene, aliphatic hydrocarbons, hydrates, isopropyl palmitate, butyl stearate, and stearin. Examples include ester compounds such as stearyl acid and myristyl myristate, alcohols such as stearyl alcohol and glycerol, d-lactic acid, acetic acid, capric acid, and ethylenediamine. Examples of aliphatic hydrocarbons include paraffins. Paraffins include linear and branched paraffins, with linear n-paraffins being preferred. Examples of n-paraffins include n-pentadecane, n-hexadecane, n-heptadecane, n-octadecane, and n-nonadecane. Hydrates include Zn(NO3 )2.6H2 0, NaHPO 4.12H2 0, Na2 CO3.10H2 0, Na2 SO 4.10H2 0, Li2 NO3.3H20. , Ca2 Cl2 .6H2 0, Ca2 CO3 .10H2 0, FeBr3 .6H2 0, and the like. These latent heat storage components may be used alone or in combination of two or more. It is preferable to use chemically and physically stable and inexpensive substances.

 n-パラフィン等のパラフィン類は、水となじまない疎水性であるため、水分のやり取りをする調湿材20の潜熱蓄熱材15と混在して蓄熱基材10上に担持することは困難であったが、蓄熱基材10面に撥水性処理面14とすること、又は顕熱部12に潜熱蓄熱材15が添着されることによって、潜熱蓄熱材15が疎水性の顕熱交換部に担持させ、親和性の調湿材20と疎水性の潜熱蓄熱材15と単独で制御して担持させることが可能になるので、全熱交換素子100の生産効率性が向上する。また、蓄熱基材10の表面水親和性の違いにより、調湿材20の担持最適化と潜熱蓄熱材15の担持を両立することができる。また、パラフィン類は、蓄熱基材10に形成すれば、撥水性処理面14とすることもできるし、同時に潜熱蓄熱材15とすることもできる。Since paraffins such as n-paraffin are hydrophobic and do not mix with water, it is difficult to support them on the heatstorage base material 10 together with the latentheat storage material 15 of thehumidity control material 20 that exchanges moisture. However, by providing the water-repellent treatedsurface 14 on the heatstorage base material 10 surface, or by attaching the latentheat storage material 15 to thesensible heat section 12, the latentheat storage material 15 can be carried by the hydrophobic sensible heat exchange section. Since it becomes possible to independently control and support the compatiblehumidity control material 20 and the hydrophobic latentheat storage material 15, the production efficiency of the totalheat exchange element 100 is improved. Further, due to the difference in the surface water affinity of the heatstorage base material 10, it is possible to optimize the support of thehumidity control material 20 and support the latentheat storage material 15 at the same time. Further, if paraffins are formed on the heatstorage base material 10, they can be used as the water-repellent treatedsurface 14, and can also be used as the latentheat storage material 15 at the same time.

 また、水和物の塩を潜熱蓄熱材15として用いる場合も、調湿成分の水分のやり取りにより影響を受ける可能性があったが、調湿材20と潜熱蓄熱材15とが混在することなくかつ蓄熱基材10上に連続して存在する形で全熱交換することにより、それぞれの制御を可能にする。Furthermore, when using a hydrated salt as the latentheat storage material 15, there was a possibility that it would be affected by the exchange of moisture in the humidity control component, but thehumidity control material 20 and the latentheat storage material 15 would not mix. In addition, by exchanging total heat while continuously existing on the heatstorage base material 10, each control becomes possible.

 潜熱蓄熱材15がゲル状樹脂に保持されている調温物質として、潜熱蓄熱材15を顕熱部12に担持させることも可能である。それによりゲル状で相変化を行うため、流動性が改善されており、より多くの蓄熱容量を保持することが可能になる。また、潜熱蓄熱材15がマイクロカプセルに内包されている調温物質として、潜熱蓄熱材15を顕熱部12に担持させることも可能である。それによりマイクロカプセル内で相変化を行うため、流動性が改善されており、より多くの蓄熱容量を保持することが可能になる。It is also possible to have the latentheat storage material 15 supported in thesensible heat section 12 as a temperature regulating substance in which the latentheat storage material 15 is held in a gel-like resin. Since it undergoes a phase change in a gel-like state, its fluidity is improved and it becomes possible to retain more heat storage capacity. Further, it is also possible to have the latentheat storage material 15 supported in thesensible heat section 12 as a temperature regulating substance in which the latentheat storage material 15 is encapsulated in microcapsules. As a result, a phase change occurs within the microcapsules, improving fluidity and making it possible to retain more heat storage capacity.

 以下に蓄熱基材10について詳述する。The heatstorage base material 10 will be explained in detail below.

 図11は、蓄熱基材10の斜視図である。図12は、蓄熱基材10の正面図である。図13は、蓄熱基材10の側面図である。図における送風方向は、AからB(-Xから+X方向)又はBからA(+Xから-X方向)である。図11、図12及び図13に示す蓄熱基材10は、波板と平板とを組み合わせて形成されたコルゲート構造である。コルゲート構造は、蓄熱基材10の表面積を大きくすることができる。蓄熱基材10はA側に設けられた第1の開口17aとB側に設けられた第2の開口17bを有する。そして、第1の開口17aから送風して第2の開口17bに抜けるように、蓄熱基材10内には送風路16が設けられている。FIG. 11 is a perspective view of the heatstorage base material 10. FIG. 12 is a front view of the heatstorage base material 10. FIG. 13 is a side view of the heatstorage base material 10. The air blowing direction in the figure is from A to B (from -X to +X direction) or from B to A (from +X to -X direction). The heatstorage base material 10 shown in FIGS. 11, 12, and 13 has a corrugated structure formed by combining a corrugated plate and a flat plate. The corrugated structure can increase the surface area of the heatstorage base material 10. The heatstorage base material 10 has afirst opening 17a provided on the A side and asecond opening 17b provided on the B side. Anair passage 16 is provided in the heatstorage base material 10 so that air is blown from thefirst opening 17a and exits to thesecond opening 17b.

 また、図11、図12及び図13に示すように、蓄熱基材10は、複数の送風路16を設けるために層状となっている。また、送風路16は、蓄熱基材10を熱交換しやすくするため、直線的である。蓄熱基材10は、セラミックス、金属、紙・繊維などで多孔質な形状で表面積を増加させて熱交換効率を高めるものが用いられる。なお、熱交換素子は、アルミニウム、鉄、銅等の熱伝導率の高い金属から構成される。熱交換素子は、上記の金属で構成されているので、蓄熱容量が大きい。また、蓄熱基材10の潜熱部11と顕熱部12は同一材料としてもよく、異なる材料としてもよい。上述した蓄熱基材10及び後述する蓄熱基材10も同様の材質のものが用いられる。Furthermore, as shown in FIGS. 11, 12, and 13, the heatstorage base material 10 is layered in order to provide a plurality ofair passages 16. Moreover, theair passage 16 is linear in order to facilitate heat exchange with the heatstorage base material 10. The heatstorage base material 10 is made of ceramics, metal, paper/fiber, or the like and has a porous shape to increase the surface area and improve the heat exchange efficiency. Note that the heat exchange element is made of a metal with high thermal conductivity, such as aluminum, iron, or copper. Since the heat exchange element is made of the above-mentioned metal, it has a large heat storage capacity. Further, thelatent heat portion 11 and thesensible heat portion 12 of the heatstorage base material 10 may be made of the same material or may be made of different materials. The heatstorage base material 10 described above and the heatstorage base material 10 described below are also made of the same material.

 蓄熱基材10は、境界O1で分割してK側を潜熱部11、L側を顕熱部12とし、潜熱部11と顕熱部12が送風方向に対して平行に隣接して配置してもよい。係る場合、潜熱部11、顕熱部12の順に送風される。このようにすれば、蓄熱基材10への調湿材20の担持や潜熱蓄熱材15の添着、蓄熱基材10の撥水性処理面14の形成プロセスを簡易にできる。また、蓄熱基材10の原反シートをエレメント化した蓄熱基材10の材料であっても、上記の後添着が容易である。潜熱部11及び顕熱部12の配置は、上記と逆でもよい。また、蓄熱基材10は、境界O2で分割してM側を潜熱部11、N側を顕熱部12とし、潜熱部11と顕熱部12が送風方向に対して垂直に隣接して配置してもよい。係る場合、潜熱部11、顕熱部12の両方が同時に送風される。潜熱部11及び顕熱部12の配置は、上記と逆でもよい。The heatstorage base material 10 is divided at a boundary O1, with alatent heat part 11 on the K side and asensible heat part 12 on the L side, and thelatent heat part 11 and thesensible heat part 12 are arranged adjacently in parallel to the air blowing direction. Good too. In this case, the air is blown to thelatent heat section 11 and thesensible heat section 12 in this order. In this way, the process of supporting thehumidity control material 20 on the heatstorage base material 10, attaching the latentheat storage material 15, and forming the water-repellent treatedsurface 14 of the heatstorage base material 10 can be simplified. Further, even if the material of the heatstorage base material 10 is made by forming the raw sheet of the heatstorage base material 10 into elements, the above-mentioned post attachment is easy. The arrangement of thelatent heat section 11 and thesensible heat section 12 may be reversed to the above. In addition, the heatstorage base material 10 is divided at the boundary O2, with the M side as thelatent heat part 11 and the N side as thesensible heat part 12, and thelatent heat part 11 and thesensible heat part 12 are arranged adjacent to each other perpendicularly to the air blowing direction. You may. In this case, both thelatent heat section 11 and thesensible heat section 12 are blown at the same time. The arrangement of thelatent heat section 11 and thesensible heat section 12 may be reversed to the above.

 図14は、蓄熱基材10の変形例を示す斜視図である。図15は、蓄熱基材10の変形例を示す正面図である。図14及び図15に示すように、蓄熱基材10はハニカム構造としてもよい。FIG. 14 is a perspective view showing a modification of the heatstorage base material 10. FIG. 15 is a front view showing a modification of the heatstorage base material 10. As shown in FIGS. 14 and 15, the heatstorage base material 10 may have a honeycomb structure.

 図16は、蓄熱基材10の別の変形例を示す斜視図である。図17は、蓄熱基材10の別の変形例を示す正面図である。図16及び図17に示すように2つの蓄熱基材10’、10’’を用い、それぞれをX方向で重ねた構造としてもよい。また、図17に示すように、X方向での重ねる位置を、Z方向又はY方向でずらしたオフセット構造としてもよい。上記オフセット構造は、図17に示すように、手前に配置した蓄熱基材10’の開口17’aと、奥に配置した蓄熱基材10’’の開口17’’aとがオフセットしている。FIG. 16 is a perspective view showing another modification of the heatstorage base material 10. FIG. 17 is a front view showing another modification of the heatstorage base material 10. As shown in FIGS. 16 and 17, two heat storage substrates 10' and 10'' may be used and each may be stacked in the X direction. Further, as shown in FIG. 17, an offset structure may be used in which the overlapping position in the X direction is shifted in the Z direction or the Y direction. In the above offset structure, as shown in FIG. 17, the opening 17'a of the heat storage base material 10' placed at the front is offset from the opening 17''a of the heat storage base material 10'' placed at the back. .

 図18は、蓄熱基材10の別の変形例を示す斜視図である。図18に示す蓄熱基材10は、1枚のプレート上にいくつかの突起(ピンフィン)が設けられた構造であり、ピン構造である。蓄熱基材10は、境界O1で分割してK側を潜熱部11、L側を顕熱部12とし、潜熱部11と顕熱部12が送風方向に対して平行に隣接して配置してもよい。FIG. 18 is a perspective view showing another modification of the heatstorage base material 10. The heatstorage base material 10 shown in FIG. 18 has a structure in which several protrusions (pin fins) are provided on one plate, and has a pin structure. The heatstorage base material 10 is divided at a boundary O1, with alatent heat part 11 on the K side and asensible heat part 12 on the L side, and thelatent heat part 11 and thesensible heat part 12 are arranged adjacently in parallel to the air blowing direction. Good too.

 図19は、蓄熱基材10の別の変形例を示す斜視図である。図19に示す蓄熱基材10は、1枚のプレート上に、そのプレートと垂直にいくつかのプレートが設けられた構造であり、フィン構造である。蓄熱基材10は、境界O1で分割してK側を潜熱部11、L側を顕熱部12とし、潜熱部11と顕熱部12が送風方向に対して平行に隣接して配置してもよい。その他、プリーツ構造としてもよい。FIG. 19 is a perspective view showing another modification of the heatstorage base material 10. The heatstorage base material 10 shown in FIG. 19 has a structure in which several plates are provided perpendicularly to one plate, and has a fin structure. The heatstorage base material 10 is divided at a boundary O1, with alatent heat part 11 on the K side and asensible heat part 12 on the L side, and thelatent heat part 11 and thesensible heat part 12 are arranged adjacently in parallel to the air blowing direction. Good too. In addition, a pleated structure may be used.

 図20は、蓄熱基材10の別の変形例を示す正面図である。図20に示すように、波板の潜熱部11と、平板の顕熱部12とを重ねて、丸めて形成した構造としてもよい。係る構造は、調湿材20を備えた潜熱部11と、調湿材20を備えない顕熱部12の表面積が大きくなり、より効率的に熱交換可能となる。FIG. 20 is a front view showing another modification of the heatstorage base material 10. As shown in FIG. 20, a corrugatedlatent heat section 11 and a flatsensible heat section 12 may be stacked and rolled to form a structure. In such a structure, the surface areas of thelatent heat section 11 provided with thehumidity control material 20 and thesensible heat section 12 not provided with thehumidity control material 20 are increased, and heat exchange becomes possible more efficiently.

 以上より、本開示に係る全熱交換素子100によれば、調湿機能を有し、効率的に熱交換可能とすることができる。As described above, the totalheat exchange element 100 according to the present disclosure has a humidity control function and can efficiently exchange heat.

[換気装置]
 図21は、本開示に係る換気装置200の概略を示す側面図である。図21に示すように、本開示に係る換気装置200は、全熱交換素子100を備える。また、換気装置200は、全熱交換素子100を送風する送風ファンと、全熱交換素子100と送風ファンとを収容する管50を備えてもよい。
[Ventilation system]
FIG. 21 is a side view schematically showing aventilation device 200 according to the present disclosure. As shown in FIG. 21, aventilation device 200 according to the present disclosure includes a totalheat exchange element 100. Further, theventilation device 200 may include a blower fan that blows air through the totalheat exchange element 100, and apipe 50 that accommodates the totalheat exchange element 100 and the blower fan.

 送風ファンは、図21に示すように1つの第1のファン30を設けてもよい。第1のファン30は全熱交換素子100をAからBに向けて送風する。図21に示すように、第1のファン30によって、送風空気は第1のファン30側の全熱交換素子100の第1の開口17aから入り、送風路16を通って、全熱交換素子100の第2の開口17bへと抜ける。As the ventilation fan, onefirst fan 30 may be provided as shown in FIG. 21. Thefirst fan 30 blows air through the totalheat exchange element 100 from A to B. As shown in FIG. 21, the air blown by thefirst fan 30 enters through thefirst opening 17a of the totalheat exchange element 100 on the side of thefirst fan 30, passes through theair passage 16, and passes through the totalheat exchange element 100. through thesecond opening 17b.

 このようにすれば、調湿機能を有し、効率的に熱交換可能とすることができる。また、風速ムラを防止して効率的に熱交換可能とすることができる。In this way, it has a humidity control function and can efficiently exchange heat. Moreover, it is possible to prevent unevenness in wind speed and to enable efficient heat exchange.

 第1のファン30の軸P1は、全熱交換素子100内を送風させる送風路16と平行であることが好ましい。つまり、第1のファン30の送風方向を送風路16が平行である。また、第1のファン30の軸P1上に全熱交換素子100の中心部が、配置される。The axis P1 of thefirst fan 30 is preferably parallel to theair passage 16 that blows air inside the totalheat exchange element 100. That is, theair blowing path 16 is parallel to the air blowing direction of thefirst fan 30. Further, the center of the totalheat exchange element 100 is arranged on the axis P1 of thefirst fan 30.

 また、本開示に係る換気装置200は、図22に示すように、全熱交換素子100に送風する送風方向の一方A及び他方Bを挟み込むように配置され、全熱交換素子100内を送風させる第1のファン30及び第2のファン40と、を備えてもよい。図22に示すように、第1のファン30及び第2のファン40によって、送風空気は第1のファン30側の蓄熱基材10の第1の開口17aから入り、送風路16を通って、第2のファン40側の蓄熱基材10の第2の開口17bへと抜ける。第1のファン30及び第2のファン40の送風方向は、同じである。Further, as shown in FIG. 22, theventilation device 200 according to the present disclosure is arranged so as to sandwich one side A and the other B of the air blowing direction to the totalheat exchange element 100, and blows air inside the totalheat exchange element 100. Afirst fan 30 and asecond fan 40 may be included. As shown in FIG. 22, by thefirst fan 30 and thesecond fan 40, the blown air enters from thefirst opening 17a of the heatstorage base material 10 on the side of thefirst fan 30, passes through theair passage 16, It passes through to thesecond opening 17b of the heatstorage base material 10 on thesecond fan 40 side. Thefirst fan 30 and thesecond fan 40 blow in the same direction.

 このようにすれば、調湿機能を有し、風速ムラをより防止して効率的に熱交換可能とすることができる。In this way, it has a humidity control function, can further prevent uneven wind speed, and can efficiently exchange heat.

 また、第1のファン30の軸P1及び第2のファン40の軸P2は、全熱交換素子100内を送風させる送風路16と平行であることが好ましい。つまり、第1のファン30及び第2のファン40の送風方向を送風路16が平行である。また、第1のファン30の軸P1及び第2のファン40の軸P2上に全熱交換素子100の中心部が、配置される。Furthermore, it is preferable that the axis P1 of thefirst fan 30 and the axis P2 of thesecond fan 40 be parallel to theair passage 16 that blows air inside the totalheat exchange element 100. In other words, the air blowing directions of thefirst fan 30 and thesecond fan 40 are parallel to theair blowing path 16 . Further, the center of the totalheat exchange element 100 is arranged on the axis P1 of thefirst fan 30 and the axis P2 of thesecond fan 40.

 第1のファン30及び第2のファン40は、プロペラを設けた軸流ファンやブロアファンが用いられる。As thefirst fan 30 and thesecond fan 40, an axial fan or a blower fan equipped with a propeller is used.

 また、第1のファン30及び第2のファン40は、回転の向き及びファンの角度が異なり、送風方向が同じであることとしてもよい。つまり第1のファン30の回転は右周りで、第2のファン40の回転が左周りであり、かつ第1のファン30及び第2のファン40のそれぞれのファンの角度が逆であることで、同一の送風方向となる構成である。このようにすることで、後述する蓄熱基材10の中心部とその外側における風速ムラをさらに改善することができる。また、調湿材20の過吸湿による結露をより防止することができる。Furthermore, thefirst fan 30 and thesecond fan 40 may have different rotational directions and fan angles, but may blow air in the same direction. In other words, thefirst fan 30 rotates clockwise, thesecond fan 40 rotates counterclockwise, and the angles of thefirst fan 30 and thesecond fan 40 are opposite. , the air is blown in the same direction. By doing so, it is possible to further improve the unevenness of wind speed in the central part of the heatstorage base material 10 and the outside thereof, which will be described later. Moreover, dew condensation due to excessive moisture absorption of thehumidity control material 20 can be further prevented.

 図21及び22に示すような換気装置200は、住宅や車載等に用いることができる。また、住宅や車載に限らず、空間を隔てられた境に全熱交換素子100を設置し、換気装置200とすることができる。Aventilation system 200 as shown in FIGS. 21 and 22 can be used in homes, vehicles, etc. Moreover, the totalheat exchange element 100 can be installed not only in a house or in a vehicle, but also in a space separated from each other, and can be used as aventilation system 200.

 また、換気装置200は、所定時間ファンの送風方向を図21に示すAからBとした後、BからAに切り替わる時分割式とすることもできる。例えば、所定時間、屋外から屋内に空気を入れて給気し、所定時間経過後に屋内から屋外に空気を出して排気し、所定時間の経過後に給気と排気が入れ替わる。このようにすれば、より効率的に熱交換しながら空間部の換気を行うことができる。Further, theventilation device 200 can also be of a time-sharing type in which the direction of the fan is changed from A to B shown in FIG. 21 for a predetermined period of time, and then switched from B to A. For example, air is supplied from outdoors to indoors for a predetermined time, and after a predetermined time elapses, air is exhausted from indoors to outdoors, and after a predetermined time, the air supply and exhaust are switched. In this way, the space can be ventilated while exchanging heat more efficiently.

 また、換気装置200は、全熱交換素子100を複数備えることができる。全熱交換素子100を少なくとも第1の全熱交換素子100と第2の全熱交換素子100とすると、第1の全熱交換素子100が空間部の給気を行っているとき、第2の全熱交換素子100は空間部の排気を行う。また、所定時間経過後、例えば数十秒経過後、第1の全熱交換素子100が空間部の排気を行い、第2の全熱交換素子100は空間部の給気を行う。そして所定時間の周期で第1の全熱交換素子100と第2の全熱交換素子100の給気と排気が切り替わる。このように、本開示に係る換気装置200は、所定時間経過後に給気及び排気が切り替わる時分割式とすることができる。このようにすれば、より効率的に熱交換しながら空間部の換気を行うことができる。Furthermore, theventilation device 200 can include a plurality of totalheat exchange elements 100. When the totalheat exchange elements 100 are at least the first totalheat exchange element 100 and the second totalheat exchange element 100, when the first totalheat exchange element 100 is supplying air to the space, the second totalheat exchange element 100 The totalheat exchange element 100 evacuates the space. Further, after a predetermined period of time has elapsed, for example, several tens of seconds, the first totalheat exchange element 100 exhausts the space, and the second totalheat exchange element 100 supplies air to the space. Then, the air supply and exhaust air of the first totalheat exchange element 100 and the second totalheat exchange element 100 are switched at a period of a predetermined time. In this way, theventilation device 200 according to the present disclosure can be of a time-sharing type in which air supply and exhaust are switched after a predetermined period of time has passed. In this way, the space can be ventilated while exchanging heat more efficiently.

 以上より、本開示に係る換気装置200によれば、調湿機能を有し、効率的に熱交換可能とすることができる。As described above, theventilation device 200 according to the present disclosure has a humidity control function and can efficiently exchange heat.

 なお、上記のように本開示の各実施形態及び各実施例について詳細に説明したが、本開示の新規事項及び効果から実体的に逸脱しない多くの変形が可能であることは、当業者には、容易に理解できるであろう。従って、このような変形例は、全て本開示の範囲に含まれるものとする。Although each embodiment and each example of the present disclosure has been described in detail as above, those skilled in the art will appreciate that many modifications can be made without substantially departing from the novelty and effects of the present disclosure. , it will be easy to understand. Therefore, all such modifications are included within the scope of the present disclosure.

 例えば、明細書又は図面において、少なくとも一度、より広義又は同義な異なる用語と共に記載された用語は、明細書又は図面のいかなる箇所においても、その異なる用語に置き換えることができる。また、全熱交換素子及び換気装置の構成、動作も本開示の各実施形態及び各実施例で説明したものに限定されず、種々の変形実施が可能である。For example, a term that is described at least once in the specification or drawings together with a different term with a broader or synonymous meaning can be replaced by that different term anywhere in the specification or drawings. Further, the configuration and operation of the total heat exchange element and the ventilation device are not limited to those described in each embodiment and each example of the present disclosure, and various modifications are possible.

Claims (15)

Translated fromJapanese
 蓄熱基材に調湿材を備える全熱交換素子であって、
 前記調湿材は吸水性樹脂と、前記吸水性樹脂に含浸される調湿成分を有し、
 前記蓄熱基材は、前記調湿材を担持する潜熱部と、前記調湿材を担持していない顕熱部が連続して形成されることを特徴とする全熱交換素子。
A total heat exchange element comprising a humidity control material in a heat storage base material,
The humidity control material includes a water absorbent resin and a humidity control component impregnated into the water absorbent resin,
The total heat exchange element is characterized in that the heat storage base material is continuously formed with a latent heat section carrying the humidity control material and a sensible heat section not carrying the humidity control material.
 前記潜熱部における蓄熱基材面は、親水性処理面であることを特徴とする請求項1に記載の全熱交換素子。The total heat exchange element according to claim 1, wherein the heat storage base material surface in the latent heat section is a hydrophilic treated surface. 前記顕熱部における蓄熱基材面は、撥水性処理面であることを特徴とする請求項1に記載の全熱交換素子。The total heat exchange element according to claim 1, wherein the heat storage substrate surface in the sensible heat section is a water-repellent treated surface. 前記潜熱部と前記顕熱部は、送風方向に対して平行に隣接して配置されることを特徴とする請求項1に記載の全熱交換素子。The total heat exchange element according to claim 1, wherein the latent heat section and the sensible heat section are arranged adjacent to each other in parallel to the air blowing direction. 前記潜熱部と前記顕熱部は、送風方向に対して垂直に隣接して配置されることを特徴とする請求項1に記載の全熱交換素子。The total heat exchange element according to claim 1, wherein the latent heat section and the sensible heat section are arranged adjacent to each other perpendicularly to the air blowing direction. 前記顕熱部は、潜熱蓄熱材が添着されていることを特徴とする請求項1に記載の全熱交換素子。The total heat exchange element according to claim 1, wherein the sensible heat section has a latent heat storage material attached thereto. 前記潜熱蓄熱材は、25~35℃に相転移温度を有することを特徴とする請求項6に記載の全熱交換素子。The total heat exchange element according to claim 6, wherein the latent heat storage material has a phase transition temperature of 25 to 35°C. 前記潜熱蓄熱材は、パラフィン類からなることを特徴とする請求項6に記載の全熱交換素子。The total heat exchange element according to claim 6, wherein the latent heat storage material is made of paraffins. 前記蓄熱基材は、金属であることを特徴とする請求項1に記載の全熱交換素子。The total heat exchange element according to claim 1, wherein the heat storage base material is metal. 前記吸水性樹脂の平均粒径は、10~100μmであることを特徴とする請求項1に記載の全熱交換素子。The total heat exchange element according to claim 1, wherein the water absorbent resin has an average particle size of 10 to 100 μm. 前記調湿成分は、水和物結晶を形成するカルボン酸塩を含むことを特徴とする請求項1に記載の全熱交換素子。The total heat exchange element according to claim 1, wherein the humidity control component includes a carboxylic acid salt that forms hydrate crystals. 前記調湿成分は、水和物結晶を形成するカルボン酸塩と結晶化閾値湿度を調整する添加剤を含むことを特徴とする請求項1に記載の全熱交換素子。The total heat exchange element according to claim 1, wherein the humidity control component includes a carboxylic acid salt that forms hydrate crystals and an additive that adjusts the crystallization threshold humidity. 請求項1~12のいずれか1項に記載の全熱交換素子を備えた時分割式であることを特徴とする換気装置。A ventilation system characterized by being a time-sharing type equipped with the total heat exchange element according to any one of claims 1 to 12. 前記全熱交換素子と、前記全熱交換素子を送風する送風ファンとを収容する管をさらに備えたことを特徴とする請求項13に記載の換気装置。The ventilation device according to claim 13, further comprising a pipe that accommodates the total heat exchange element and a blower fan that blows air through the total heat exchange element. 住宅用又は車載用であることを特徴とする請求項14に記載の換気装置。The ventilation device according to claim 14, which is for residential use or for vehicle use.
PCT/JP2023/0107772022-06-212023-03-20Total heat exchange element and ventilatorCeasedWO2023248560A1 (en)

Applications Claiming Priority (2)

Application NumberPriority DateFiling DateTitle
JP2022-0993042022-06-21
JP20220993042022-06-21

Publications (1)

Publication NumberPublication Date
WO2023248560A1true WO2023248560A1 (en)2023-12-28

Family

ID=89379478

Family Applications (1)

Application NumberTitlePriority DateFiling Date
PCT/JP2023/010777CeasedWO2023248560A1 (en)2022-06-212023-03-20Total heat exchange element and ventilator

Country Status (1)

CountryLink
WO (1)WO2023248560A1 (en)

Cited By (1)

* Cited by examiner, † Cited by third party
Publication numberPriority datePublication dateAssigneeTitle
WO2025164074A1 (en)*2024-01-312025-08-07シャープ株式会社Total heat exchange ventilation device and total heat exchange ventilation system

Citations (7)

* Cited by examiner, † Cited by third party
Publication numberPriority datePublication dateAssigneeTitle
JPS58175797A (en)*1982-04-081983-10-15Matsushita Electric Ind Co Ltd Total heat exchange element
JPH11248389A (en)*1998-02-261999-09-14Sharp Corp Total heat exchange element and total heat exchanger
JP2000292085A (en)*1999-04-062000-10-20Chubu Electric Power Co Inc Heat storage body, heat storage device and method of manufacturing heat storage device
JP2005291571A (en)*2004-03-312005-10-20Daikin Ind Ltd Air conditioner
JP2008043899A (en)*2006-08-182008-02-28Mitsubishi Chemicals Corp Dehumidifying / humidifying rotor, dehumidifying / humidifying device and operation method thereof
JP2009097837A (en)*2007-10-192009-05-07Shin Nippon Air Technol Co LtdHumidistat and temperature control desiccant rotor and desiccant ventilation system using the same
JP2020153647A (en)*2019-03-222020-09-24三菱製紙株式会社 Total heat exchange element

Patent Citations (7)

* Cited by examiner, † Cited by third party
Publication numberPriority datePublication dateAssigneeTitle
JPS58175797A (en)*1982-04-081983-10-15Matsushita Electric Ind Co Ltd Total heat exchange element
JPH11248389A (en)*1998-02-261999-09-14Sharp Corp Total heat exchange element and total heat exchanger
JP2000292085A (en)*1999-04-062000-10-20Chubu Electric Power Co Inc Heat storage body, heat storage device and method of manufacturing heat storage device
JP2005291571A (en)*2004-03-312005-10-20Daikin Ind Ltd Air conditioner
JP2008043899A (en)*2006-08-182008-02-28Mitsubishi Chemicals Corp Dehumidifying / humidifying rotor, dehumidifying / humidifying device and operation method thereof
JP2009097837A (en)*2007-10-192009-05-07Shin Nippon Air Technol Co LtdHumidistat and temperature control desiccant rotor and desiccant ventilation system using the same
JP2020153647A (en)*2019-03-222020-09-24三菱製紙株式会社 Total heat exchange element

Cited By (1)

* Cited by examiner, † Cited by third party
Publication numberPriority datePublication dateAssigneeTitle
WO2025164074A1 (en)*2024-01-312025-08-07シャープ株式会社Total heat exchange ventilation device and total heat exchange ventilation system

Similar Documents

PublicationPublication DateTitle
TWI311636B (en)
US5770295A (en)Phase change thermal insulation structure
BR112013020255B1 (en) chemical heat pump for absorption, use of a particle and method for making a particle
WO2023248560A1 (en)Total heat exchange element and ventilator
US11819823B2 (en)Super-adsorbing porous thermo-responsive desiccants
JP2008057953A (en)Air conditioning system
BR112012008825A2 (en) alveolar matrix comprising a macroporous desiccator, its process and use.
US4915715A (en)Humidity conditioner
WO2023248995A1 (en)Cleaning method and cleaning device
JP2008043899A (en) Dehumidifying / humidifying rotor, dehumidifying / humidifying device and operation method thereof
JP2011143358A (en)Moisture absorption filter and humidifier
JP4919498B2 (en) Air conditioning system
JPS62297647A (en)Dehumidification system of building
WO2025197658A1 (en)Humidity control element and total heat exchange device
WO2024252775A1 (en)Heat exchange type ventilation device, and total heat exchange ventilation system
CN120659957A (en) Heat exchange device and full heat exchange ventilation system
EP4624856A1 (en)Total heat exchanger and ventilator
JP5360714B2 (en) Moisture absorption and desorption functional pipe, pipe inner wall condensation prevention method using the same, and geothermal exchanger using the same
WO2024004319A1 (en)Total heat exchanger and ventilator
WO2023119722A1 (en)Humidity controlling material
WO2025089059A1 (en)Total heat exchange unit
JPH0115780B2 (en)
WO2025197442A1 (en)Dehumidifier
WO2025100185A1 (en)Humidity controlling device
CN202032696U (en) A solar air conditioner

Legal Events

DateCodeTitleDescription
121Ep: the epo has been informed by wipo that ep was designated in this application

Ref document number:23826749

Country of ref document:EP

Kind code of ref document:A1

NENPNon-entry into the national phase

Ref country code:DE

122Ep: pct application non-entry in european phase

Ref document number:23826749

Country of ref document:EP

Kind code of ref document:A1

NENPNon-entry into the national phase

Ref country code:JP


[8]ページ先頭

©2009-2025 Movatter.jp