














本申请涉及物联网技术领域,特别涉及一种订阅控制方法、装置、计算机设备及存储介质。The present application relates to the technical field of the Internet of Things, and in particular to a subscription control method, device, computer equipment, and storage medium.
随着物联网(Internet of Things,IoT)技术的不断发展,越来越多的物联网设备在智能家居、工业生产等诸多领域给用户的生产生活带来了极大的便利性。With the continuous development of Internet of Things (IoT) technology, more and more IoT devices have brought great convenience to users' production and life in many fields such as smart home and industrial production.
在相关技术中,物联网中的客户端设备可以通过代理设备订阅目标设备(比如服务端设备)上的资源,以实现对目标设备的控制和管理。在上述订阅过程中,代理设备中可以维护客户端设备与目标设备之间的订阅关系,并基于该订阅关系,为客户端设备提供资源的代理订阅服务。In related technologies, a client device in the Internet of Things may subscribe to resources on a target device (such as a server device) through a proxy device, so as to control and manage the target device. In the above subscription process, the proxy device may maintain a subscription relationship between the client device and the target device, and provide the client device with a resource proxy subscription service based on the subscription relationship.
发明内容Contents of the invention
本申请实施例提供了一种订阅控制方法、装置、计算机设备及存储介质。该方案能够提高通过代理进行资源订阅的安全性。所述技术方案如下:Embodiments of the present application provide a subscription control method, device, computer equipment, and storage medium. This solution can improve the security of resource subscription through proxy. Described technical scheme is as follows:
一方面,本申请实施例提供了一种订阅控制方法,所述方法由代理设备执行,所述方法包括:On the one hand, an embodiment of the present application provides a subscription control method, the method is executed by a proxy device, and the method includes:
接收配置设备发送的指示信息,所述指示信息用于指示所述代理设备对目标设备的订阅权限的变化情况;receiving indication information sent by the configuration device, where the indication information is used to indicate changes in the subscription rights of the proxy device to the target device;
当所述指示信息指示移除所述代理设备对所述目标设备的订阅权限时,移除与所述目标设备对应的订阅关系。When the indication information indicates to remove the subscription right of the proxy device to the target device, remove the subscription relationship corresponding to the target device.
一方面,本申请实施例提供了一种订阅控制方法,所述方法配置设备执行,所述方法包括:On the one hand, an embodiment of the present application provides a subscription control method, the method is executed by configuring a device, and the method includes:
向代理设备发送指示信息,所述指示信息用于指示所述代理设备对目标设备的订阅权限的变化情况,以使得所述代理设备在所述指示信息指示移除所述代理设备对所述目标设备的订阅权限时,移除与所述目标设备对应的订阅关系。Sending indication information to the proxy device, where the indication information is used to indicate the change of the subscription authority of the proxy device to the target device, so that the proxy device removes the proxy device from the target device when the indication information indicates When subscribing to the device, the subscription relationship corresponding to the target device is removed.
一方面,本申请实施例提供了一种订阅控制方法,所述方法目标设备执行,所述方法包括:On the one hand, an embodiment of the present application provides a subscription control method, the method is executed by a target device, and the method includes:
接收代理设备发送的取消订阅请求,所述取消订阅请求用于指示取消向所述目标设备订阅资源;receiving an unsubscription request sent by the proxy device, where the unsubscription request is used to indicate cancellation of resource subscription to the target device;
其中,所述取消订阅请求是所述代理设备接收到配置设备发送的指示信息,且所述指示信息指示移除所述代理设备对所述目标设备的订阅权限时发送的请求。Wherein, the unsubscribe request is a request sent by the proxy device when it receives indication information sent by the configuration device, and the indication information indicates that the proxy device's subscription right to the target device is removed.
另一方面,本申请实施例提供了一种订阅控制装置,所述装置包括:On the other hand, the embodiment of the present application provides a subscription control device, the device includes:
接收模块,用于接收配置设备发送的指示信息,所述指示信息用于指示所述代理设备对目标设备的订阅权限的变化情况;A receiving module, configured to receive indication information sent by the configuration device, where the indication information is used to indicate changes in the subscription authority of the proxy device to the target device;
移除模块,用于当所述指示信息指示移除所述代理设备对所述目标设备的订阅权限时,移除与所述目标设备对应的订阅关系。A removing module, configured to remove the subscription relationship corresponding to the target device when the indication information indicates to remove the subscription right of the proxy device to the target device.
另一方面,本申请实施例提供了一种订阅控制装置,所述装置包括:On the other hand, the embodiment of the present application provides a subscription control device, the device includes:
发送模块,用于向代理设备发送指示信息,所述指示信息用于指示所述代理设备对目标设备的订阅权限的变化情况,以使得所述代理设备在所述指示信息指示移除所述代理设备对所述目标设备的订阅权限时,移除与所述目标设备对应的订阅关系。A sending module, configured to send indication information to the proxy device, where the indication information is used to indicate changes in the subscription authority of the proxy device to the target device, so that the proxy device removes the proxy when the indication information indicates When the subscription authority of the device to the target device is removed, the subscription relationship corresponding to the target device is removed.
另一方面,本申请实施例提供了一种订阅控制装置,所述装置包括:On the other hand, the embodiment of the present application provides a subscription control device, the device includes:
接收模块,用于接收代理设备发送的取消订阅请求,所述取消订阅请求用于指示取消向所述目标设备订阅资源;A receiving module, configured to receive an unsubscribe request sent by a proxy device, where the unsubscribe request is used to indicate cancellation of subscribing resources to the target device;
其中,所述取消订阅请求是所述代理设备接收到配置设备发送的指示信息,且所述指示信息指示移除所述代理设备对所述目标设备的订阅权限时发送的请求。Wherein, the unsubscribe request is a request sent by the proxy device when it receives indication information sent by the configuration device, and the indication information indicates that the proxy device's subscription right to the target device is removed.
另一方面,本申请实施例提供了一种计算机设备,所述计算机设备实现为信息上报设备,所述计算机设备包括处理器、存储器和收发器;On the other hand, an embodiment of the present application provides a computer device, the computer device is implemented as an information reporting device, and the computer device includes a processor, a memory, and a transceiver;
存储器中存储有计算机程序,处理器执行所述计算机程序,以使得计算机设备实现上述订阅控制方法。A computer program is stored in the memory, and the processor executes the computer program, so that the computer device implements the above subscription control method.
再一方面,本申请实施例提供了一种计算机设备,所述计算机设备包括处理器、存储器和收发器,所述存储器存储有计算机程序,所述计算机程序用于被所述处理器执行,以实现上述订阅控制方法。In another aspect, an embodiment of the present application provides a computer device, the computer device includes a processor, a memory, and a transceiver, the memory stores a computer program, and the computer program is used to be executed by the processor to Implement the above subscription control method.
又一方面,本申请实施例还提供了一种计算机可读存储介质,所述存储介质中存储有计算机程序, 所述计算机程序由处理器加载并执行以实现上述订阅控制方法。In yet another aspect, an embodiment of the present application further provides a computer-readable storage medium, where a computer program is stored in the storage medium, and the computer program is loaded and executed by a processor to implement the foregoing subscription control method.
又一方面,本申请还提供了一种芯片,所述芯片用于在计算机设备中运行,以使得所述计算机设备执行上述订阅控制方法。In yet another aspect, the present application also provides a chip, which is configured to run in a computer device, so that the computer device executes the above subscription control method.
又一方面,本申请提供了一种计算机程序产品,该计算机程序产品包括计算机指令,该计算机指令存储在计算机可读存储介质中。计算机设备的处理器从计算机可读存储介质读取该计算机指令,处理器执行该计算机指令,使得该计算机设备执行上述订阅控制方法。In yet another aspect, the present application provides a computer program product comprising computer instructions stored in a computer readable storage medium. The processor of the computer device reads the computer instruction from the computer-readable storage medium, and the processor executes the computer instruction, so that the computer device executes the above subscription control method.
又一方面,本申请提供了一种计算机程序,该计算机程序由计算机设备的处理器执行,以实现上述订阅控制方法。In yet another aspect, the present application provides a computer program, which is executed by a processor of a computer device, so as to implement the above subscription control method.
本申请实施例提供的技术方案可以带来如下有益效果:The technical solutions provided in the embodiments of the present application can bring the following beneficial effects:
当配置设备通过指示信息指示移除代理设备对目标设备的订阅权限时,对于代理设备中与该目标设备对应的订阅关系,代理设备可以对该订阅关系进行移除,避免后续继续对该目标设备进行代理订阅,从而节约物联网系统的通信资源和运算资源,并且提高物联网系统的安全性。When the configuration device instructs to remove the subscription authority of the proxy device to the target device through the instruction information, for the subscription relationship corresponding to the target device in the proxy device, the proxy device can remove the subscription relationship to avoid continuing to subscribe to the target device Proxy subscription is performed, thereby saving the communication resources and computing resources of the IoT system, and improving the security of the IoT system.
为了更清楚地说明本申请实施例中的技术方案,下面将对实施例描述中所需要使用的附图作简单地介绍,显而易见地,下面描述中的附图仅仅是本申请的一些实施例,对于本领域普通技术人员来讲,在不付出创造性劳动的前提下,还可以根据这些附图获得其他的附图。In order to more clearly illustrate the technical solutions in the embodiments of the present application, the drawings that need to be used in the description of the embodiments will be briefly introduced below. Obviously, the drawings in the following description are only some embodiments of the present application. For those skilled in the art, other drawings can also be obtained based on these drawings without creative effort.
图1是本申请一个实施例提供的物联网的网络架构的示意图;FIG. 1 is a schematic diagram of a network architecture of the Internet of Things provided by an embodiment of the present application;
图2是本申请一个实施例提供的代理订阅发起流程示意图;FIG. 2 is a schematic diagram of a proxy subscription initiation process provided by an embodiment of the present application;
图3是本申请一个实施例提供的订阅控制方法的流程图;Fig. 3 is a flowchart of a subscription control method provided by an embodiment of the present application;
图4是本申请一个实施例提供的订阅控制方法的流程图;FIG. 4 is a flowchart of a subscription control method provided by an embodiment of the present application;
图5是本申请一个实施例提供的订阅控制方法的流程图;Fig. 5 is a flowchart of a subscription control method provided by an embodiment of the present application;
图6是本申请一个实施例提供的订阅关系移除的框架图;Fig. 6 is a framework diagram of removing a subscription relationship provided by an embodiment of the present application;
图7是本申请一个实施例提供的订阅控制方法的流程图;FIG. 7 is a flowchart of a subscription control method provided by an embodiment of the present application;
图8是图7所示实施例涉及的一种移除订阅关系流程的示意图;FIG. 8 is a schematic diagram of a procedure for removing a subscription relationship involved in the embodiment shown in FIG. 7;
图9是图7所示实施例涉及的另一种移除订阅关系流程的示意图;FIG. 9 is a schematic diagram of another process for removing a subscription relationship involved in the embodiment shown in FIG. 7;
图10是图7所示实施例涉及的另一种移除订阅关系流程的示意图;FIG. 10 is a schematic diagram of another process for removing a subscription relationship involved in the embodiment shown in FIG. 7;
图11是图7所示实施例涉及的另一种移除订阅关系流程的示意图;Fig. 11 is a schematic diagram of another process for removing a subscription relationship involved in the embodiment shown in Fig. 7;
图12是本申请一个实施例提供的订阅控制装置的框图;Fig. 12 is a block diagram of a subscription control device provided by an embodiment of the present application;
图13是本申请一个实施例提供的订阅控制装置的框图;Fig. 13 is a block diagram of a subscription control device provided by an embodiment of the present application;
图14是本申请一个实施例提供的订阅控制装置的框图;Fig. 14 is a block diagram of a subscription control device provided by an embodiment of the present application;
图15是本申请一个实施例提供的计算机设备的结构示意图。Fig. 15 is a schematic structural diagram of a computer device provided by an embodiment of the present application.
为使本申请的目的、技术方案和优点更加清楚,下面将结合附图对本申请实施方式作进一步地详细描述。In order to make the purpose, technical solution and advantages of the present application clearer, the implementation manners of the present application will be further described in detail below in conjunction with the accompanying drawings.
本申请实施例描述的网络架构以及业务场景是为了更加清楚地说明本申请实施例的技术方案,并不构成对本申请实施例提供的技术方案的限定,本领域普通技术人员可知,随着网络架构的演变和新业务场景的出现,本申请实施例提供的技术方案对于类似的技术问题,同样适用。The network architecture and business scenarios described in the embodiments of the present application are for more clearly illustrating the technical solutions of the embodiments of the present application, and do not constitute limitations on the technical solutions provided by the embodiments of the present application. The evolution of the technology and the emergence of new business scenarios, the technical solutions provided in the embodiments of this application are also applicable to similar technical problems.
请参考图1,其示出了本申请一个实施例提供的物联网的网络架构的示意图。该物联网的网络架构可以包括:源节点设备110(图1中示出为源节点设备110a和源节点设备110b)、客户端设备120(图1中示出为客户端设备120a和客户端设备120b)、代理设备130以及配置设备140;可选的,该网络架构还可以包括云端服务器150;Please refer to FIG. 1 , which shows a schematic diagram of a network architecture of the Internet of Things provided by an embodiment of the present application. The network architecture of the Internet of Things may include: a source node device 110 (shown as a
源节点设备110可以是在物联网中,用于提供物联网协议对应的服务端功能的设备。源节点设备是指资源订阅的订阅源,可以对外提供可订阅的资源。The
比如,源节点设备110可以是智能家居设备,例如,智能灯具、智能电视、智能空调、智能冰箱、智能微波炉、智能电饭煲、扫地机器人、智能音箱、智能开关等等。For example, the
或者,源节点设备110可以是工业生产设备,例如,车床、工业机器人、太阳能面板、风力发电机等等。Alternatively, the
或者,源节点设备110可以是商业服务设备,例如,无人售货机等等。Alternatively, the
或者,源节点设备110可以是智能监控设备,例如,监控摄像头、红外传感器、声音传感器、温度传感器等等。Alternatively, the
在一种可能的实现方式中,客户端设备120可以是用户侧的终端设备。比如,客户端设备120可以是智能控制器、智能遥控器、智能手机、平板电脑、智能手表、智能电视、网关等等;或者,客户端设备120也可以是个人电脑,比如台式电脑、便携式计算机、个人工作站等等。In a possible implementation manner, the
或者,客户端设备120也可以是另一个提供物联网协议对应的服务端功能的设备。Alternatively, the
在另一种可能的实现方式中,客户端设备120是基于终端设备运行的客户端实体(可以是虚拟实体),例如,客户端设备120可以是运行在终端设备中,用于对物联网设备进行访问、控制、以及管理等操作的应用程序(Application,APP)。In another possible implementation, the
在一种可能的实现方式中,上述代理设备130同时连接源节点设备110和客户端设备120,并为客户端设备120提供向源节点设备110代理订阅资源的服务。In a possible implementation manner, the
配置设备140可以是用户侧的终端设备。比如,配置设备140可以是智能手机、平板电脑、智能手表、智能电视等等。The
在另一种可能的实现方式中,配置设备140也可以是基于终端设备运行的客户端实体(可以是虚拟实体),例如,配置设备140可以是运行在智能手机中,用于对源节点设备110、客户端设备120以及代理设备130进行管理配置的APP。In another possible implementation, the
云端服务器150是部署在网络侧的服务器。比如,云端服务器150可以存储各个源节点设备110的相关信息,比如当前资源状态、绑定账号等等;云端服务器150还可以提供对源节点设备110进行远程访问的服务接口,以便用户对源节点设备110进行远程管理或控制。The
在本申请实施例中,上述源节点设备110、客户端设备120、代理设备130、配置设备140、云端服务器150可以是满足相同或者不同的物联网协议的电子设备,比如,可以是满足连接标准联盟(Connectivity Standards Alliance,CSA)(或称Zigbee联盟)下的Matter协议(或称通过IP(Internet Protocol,网际互联协议)连接家庭工作组(Connected Home over IP Working Group,CHIP)项目)的电子设备。In this embodiment of the application, the above-mentioned
以上述源节点设备110、客户端设备120、代理设备130以及配置设备140等物联网设备是Matter设备为例,Matter设备的数据模型具有如下特点:Taking the aforementioned IoT devices such as
1)Matter设备包含一个或者多个端点Endpoint,使用端点号(Endpoint Number,也可以简写为endpoint-no)表示。1) The Matter device contains one or more endpoints Endpoint, represented by an Endpoint Number (Endpoint Number, which can also be abbreviated as endpoint-no).
比如,一个Matter设备为射灯,该射灯有三个灯泡,则每个灯泡对应一个端点,也就是一个实际的物理设备可以包含多个端点(当然也可以只包含一个端点);再比如,一个Matter设备为插座,该插座有4个插孔,则每个插孔可以对应一个Endpoint。For example, if a Matter device is a spotlight, and the spotlight has three bulbs, each bulb corresponds to an endpoint, that is, an actual physical device can contain multiple endpoints (of course, it can only contain one endpoint); another example, a The Matter device is a socket, which has 4 jacks, and each jack can correspond to an Endpoint.
2)每个Endpoint下对应一个或者多个设备类型(Device Type),使用设备标识(Device ID)表示。2) Each Endpoint corresponds to one or more device types (Device Type), which are represented by a device ID (Device ID).
比如,一个Matter设备为空调设备,该空调设备包含恒温器和风扇,其中,上述恒温器和风扇对应在同一个Endpoint下,恒温器对应一个设备类型,风扇对应另一个设备类型,且恒温器和风扇可以通过同一个Endpoint进行控制。For example, a Matter device is an air conditioner, and the air conditioner includes a thermostat and a fan. The thermostat and the fan correspond to the same Endpoint, the thermostat corresponds to one device type, and the fan corresponds to another device type. Fans can be controlled through the same Endpoint.
3)每个Endpoint包含多种簇(Cluster),Cluster分为服务端(Server)和客户端(Client)两种,且对应的Cluster ID相同。3) Each Endpoint contains a variety of clusters (Cluster), and the Cluster is divided into two types: Server and Client, and the corresponding Cluster IDs are the same.
4)每个Cluster包含多种属性(Attribute)、事件(Event)、指令(Command),分别使用Attribute ID、Event ID、Command ID表示,Attribute和Event具有相应的数据类型。4) Each Cluster contains a variety of attributes (Attribute), events (Event), and instructions (Command), which are represented by Attribute ID, Event ID, and Command ID, and Attribute and Event have corresponding data types.
上述源节点设备110、客户端设备120、代理设备130以及配置设备140等物联网设备还可以是Zigbee设备,Zigbee设备的数据模型与Matter设备的数据模型结构类似,区别在于Zigbee设备的数据模型中没有Event。The Internet of Things devices such as the
1)代理订阅:1) Proxy Subscription:
在本申请各个实施例中,物联网中的客户端设备可以通过代理设备向源节点设备订阅资源;比如,在上述图1所示的网络架构中,客户端设备120b可以通过代理设备130向源节点设备110b订阅资源。In various embodiments of the present application, the client device in the Internet of Things can subscribe resources to the source node device through the proxy device; for example, in the network architecture shown in FIG. The
请参考图2,其示出了本申请一个实施例提供的代理订阅发起流程示意图。如图2所示,客户端设备发起代理订阅的过程如下:Please refer to FIG. 2 , which shows a schematic diagram of a proxy subscription initiation process provided by an embodiment of the present application. As shown in Figure 2, the process of a client device initiating a proxy subscription is as follows:
S21,客户端设备(Client)向代理设备(Proxy)发送向目标设备(某个源节点设备)发起资源订阅的订阅请求(SubscribeRequest),以请求订阅上述目标设备上的C1资源。S21. The client device (Client) sends to the proxy device (Proxy) a subscription request (SubscribeRequest) for initiating resource subscription to a target device (a certain source node device), so as to request to subscribe to the C1 resource on the target device.
其中,C1资源可以是目标设备上的任何资源,包括功能资源,例如开关等。Wherein, the C1 resource may be any resource on the target device, including functional resources such as switches.
在某些场景中,客户端设备也可以被称为订阅设备,上述目标设备也可以简称为目标源(Source)设备或者目标源节点等。In some scenarios, the client device may also be called a subscribing device, and the above-mentioned target device may also be simply called a target source (Source) device or a target source node.
S22,代理设备向目标设备发送报告数据(ReportData)消息,以通知客户端设备其暂时没有目标设备的资源。S22. The proxy device sends a report data (ReportData) message to the target device to notify the client device that it has no resources of the target device temporarily.
在此过程中,代理设备可以检查客户端设备是否有对目标设备上C1资源的订阅权限,比如浏览(View)权限。其中,当代理设备在目标设备的访问控制列表(Access Control Lists,ACL)簇(cluster)资源上具有代理浏览(ProxyView)的权限时,可以订阅或者读取该ACL Cluster。基于此,代理设备可以获取客户端设备对目标设备上的C1资源的订阅权限,进而判定客户端设备是否可以订阅该C1资源。可选的,订阅设备直接订阅上述目标设备上的C1资源,或者,通过代理设备代理订阅上述C1资源时,需要具有订阅该目标设备上的C1资源的权限(View权限),比如,在目标设备的ACL Cluster上需要具有客户端设备对应的访问控制条目(Access Control Entry,ACE)。During this process, the proxy device can check whether the client device has subscription rights to the C1 resource on the target device, such as browsing (View) rights. Wherein, when the proxy device has the proxy browsing (ProxyView) authority on the access control list (Access Control Lists, ACL) cluster (cluster) resource of the target device, it can subscribe or read the ACL Cluster. Based on this, the proxy device can obtain the subscription authority of the client device to the C1 resource on the target device, and then determine whether the client device can subscribe to the C1 resource. Optionally, the subscribing device directly subscribes to the C1 resource on the target device, or, when subscribing to the above C1 resource through a proxy device, it needs to have the permission to subscribe to the C1 resource on the target device (View permission), for example, on the target device The ACL Cluster needs to have the corresponding access control entry (Access Control Entry, ACE) of the client device.
其中,客户端设备接收到ReportData消息后,可以向代理设备发送状态响应(StatusResponse),代理设备接收到该状态响应后,向客户端设备发送订阅响应(SubscribeResponse)。Wherein, after receiving the ReportData message, the client device may send a status response (StatusResponse) to the proxy device, and after receiving the status response, the proxy device sends a subscription response (SubscribeResponse) to the client device.
S23,代理设备发起对目标设备上C1资源的订阅。S23. The proxy device initiates subscription to the C1 resource on the target device.
在此过程中,代理设备可以向目标设备发送订阅请求,以请求订阅上述目标设备上的C1资源。目标设备向代理设备发送ReportData消息,其中包含C1资源的订阅数据,比如C1资源的状态等。During this process, the proxy device may send a subscription request to the target device, so as to request to subscribe to the C1 resource on the target device. The target device sends a ReportData message to the proxy device, which includes subscription data of the C1 resource, such as the status of the C1 resource.
可选的,代理设备接收到目标设备发送的ReportData消息后,向目标设备发送StatusResponse消息,目标设备接收到该StatusResponse消息后,向代理设备发送SubscribeResponse消息。Optionally, after receiving the ReportData message sent by the target device, the proxy device sends a StatusResponse message to the target device, and after receiving the StatusResponse message, the target device sends a SubscribeResponse message to the proxy device.
S24,代理设备向目标设备订阅成功后,处理客户端设备的订阅流程。S24. After successfully subscribing to the target device, the proxy device processes the subscription process of the client device.
在此过程中,代理设备可以向客户端设备发送ReportData消息,其中包含订阅的C1资源的订阅数据;客户端设备接收到该ReportData消息后,可以向代理设备发送StatusResponse消息。During this process, the proxy device can send a ReportData message to the client device, which includes subscription data of the subscribed C1 resource; after receiving the ReportData message, the client device can send a StatusResponse message to the proxy device.
2)代理配置簇(proxyconfiguration Cluster):2) Proxy configuration cluster (proxyconfiguration Cluster):
代理设备上保存一个proxyconfiguration Cluster,其中包含有代理设备可以代理订阅的设备列表。A proxyconfiguration Cluster is saved on the proxy device, which contains a list of devices that the proxy device can subscribe to.
其中,proxyconfiguration cluster的簇服务端属性(Cluster Server Attributes)如表1所示。Among them, the cluster server attributes (Cluster Server Attributes) of the proxy configuration cluster are shown in Table 1.
表1Table 1
如表1所示,proxyconfiguration cluster的簇服务端属性中包含配置列表(ConfigurationList),该配置列表中包含若干条配置记录(ConfigurationStruct)。As shown in Table 1, the cluster server attribute of the proxyconfiguration cluster includes a configuration list (ConfigurationList), and the configuration list includes several configuration records (ConfigurationStruct).
上述每条配置记录的内容可以如表2所示。The content of each of the above configuration records may be shown in Table 2.
表2Table 2
如表2所示,configurationList属性中保存有代理设备可以代理订阅的Node的标识。其中源列表SourceList用于指定一些代理设备可以代理订阅的Nodes。ProxyAllNodes标识可以代理所有的Nodes。As shown in Table 2, the configurationList attribute stores the identifiers of the Nodes that the proxy device can proxy to subscribe to. Among them, the source list SourceList is used to specify the Nodes that some proxy devices can subscribe to. ProxyAllNodes flag can proxy all Nodes.
其中一个代理设备可以直接订阅一个Node;在一个物联网系统内可以通过一个代理设备订阅另一个代理设备的方式来最终完成Client设备对Source设备的资源订阅,即存在Client设备→代理设备1→代理设备2….→Source设备的订阅路径。在该订阅路径中,代理设备向Source设备方向的订阅可以称为上行订阅,而Client设备向代理设备方向的订阅可以称为下行订阅。One of the proxy devices can directly subscribe to a Node; in an IoT system, one proxy device can subscribe to another proxy device to finally complete the resource subscription of the Client device to the Source device, that is, there is a Client device→Proxy device 1→Proxy Device 2...→The subscription path of the Source device. In this subscription path, the subscription from the proxy device to the Source device may be called uplink subscription, and the subscription from the Client device to the proxy device may be called downlink subscription.
3)访问控制列表簇ACL Cluster:3) Access control list cluster ACL Cluster:
ACL Cluster部署在每一个节点Node(对应上述Source设备)上,且对应有一个实例。当该Node收到一个订阅请求时,会首先在ACL中检查请求方是否具有订阅权限。ACL Cluster is deployed on each node Node (corresponding to the above-mentioned Source device), and there is one corresponding instance. When the Node receives a subscription request, it will first check whether the requester has the subscription permission in the ACL.
ACL Cluster中属性Attributes可以如下述表3所示。Attributes in the ACL Cluster can be shown in Table 3 below.
表3table 3
其中,上述表3中的ACL中的访问控制表项条目AccessControlEntryStruct的定义可以如下述表4所 示。Wherein, the definition of the access control entry AccessControlEntryStruct in the ACL in the above Table 3 may be as shown in the following Table 4.
表4Table 4
上述表4中的访问控制表项权限列举AccessControlEntryPrivilegeEnum的定义可以如下:The definition of access control entry privilege enumeration AccessControlEntryPrivilegeEnum in the above table 4 can be as follows:
查看权限View:读取和订阅(除ACL Cluster);View permission View: read and subscribe (except ACL Cluster);
代理浏览权限Proxy view:读取和订阅(含ACLCluster);Proxy browsing rights Proxy view: read and subscribe (including ACLCluster);
操作权限Operate:View+执行设备的主要功能(除ACL Cluster);Operation authority Operate: View+ executes the main functions of the device (except ACL Cluster);
管理权限Manage:Operate+修改配置数据(除ACL Cluster);Management rights Manage: Operate + modify configuration data (except ACL Cluster);
管理权限Administer:Manage+订阅和修改ACL Cluster。Management authority Administer: Manage+subscribe and modify ACL Cluster.
表4中的访问控制表项认证模式列举AccessControlEntryAuthmodeEnum的定义可以如表5所示。The enumeration of access control entry authentication modes in Table 4 may be defined in Table 5 as shown in AccessControlEntryAuthmodeEnum.
表5table 5
例如,Access Control Cluster的代码可以如下:For example, the code for Access Control Cluster could be as follows:
在上述方案中,当代理设备上的configurationList属性被修改之后,尤其是删除一个Source时(比如,从SourceList删除一个Node ID时),对应代理设备已经发生了直接或者间接订阅到已删除的Node ID对应的源节点设备的情况,并没有规定如何处理已经发生的订阅关系,这就导致代理设备有可能继续对该源节点设备进行代理订阅,从而浪费物联网系统的通信资源和运算资源,并且影响物联网系统的安全性。In the above scheme, when the configurationList attribute on the proxy device is modified, especially when a Source is deleted (for example, when a Node ID is deleted from the SourceList), the corresponding proxy device has directly or indirectly subscribed to the deleted Node ID The situation of the corresponding source node device does not stipulate how to deal with the subscription relationship that has occurred, which leads to the possibility that the proxy device may continue to subscribe to the source node device, thereby wasting the communication resources and computing resources of the IoT system, and affecting Security of IoT systems.
对于上述方案,本申请后续实施例提供了一种设备订阅的控制方案,可以在代理设备代理订阅某个Node的权限被移除时,对该Node的订阅关系也进行相应的处理,从而节约物联网系统的资源,并提高物联网系统的安全性。For the above solution, the subsequent embodiments of this application provide a device subscription control solution, which can handle the subscription relationship of the Node when the proxy device’s authority to subscribe to a Node is removed, thereby saving money. resources of networked systems and improve the security of IoT systems.
请参考图3,其示出了本申请一个实施例提供的订阅控制方法的流程图,该方法可以由代理设备执 行,比如,该代理设备可以是图1所示的网络架构中的代理设备130;该方法可以包括如下几个步骤:Please refer to FIG. 3 , which shows a flowchart of a subscription control method provided by an embodiment of the present application. The method can be executed by a proxy device. For example, the proxy device can be the
步骤301,接收配置设备发送的指示信息,指示信息用于指示代理设备对目标设备的订阅权限的变化情况。Step 301: Receive indication information sent by the configuration device, where the indication information is used to indicate the change of the subscription authority of the proxy device to the target device.
在本申请实施例中,配置设备可以是智能手机等用户侧的终端设备,比如,该终端设备中可以安装有对物联网中的各个物联网设备进行管理配置的APP,用户可以通过APP对代理设备可以代理订阅的源节点设备进行配置,包括且不限于增加代理设备可以代理订阅的源节点设备,删除代理设备可以代理订阅的源节点设备等等,此时,终端设备可以向代理设备发送指示信息,以指示修改代理设备对源节点设备的订阅权限,比如,增加代理设备对源节点设备的订阅权限,或者,移除代理设备对源节点设备的订阅权限。In this embodiment of the application, the configuration device may be a user-side terminal device such as a smart phone. For example, the terminal device may be installed with an APP that manages and configures each IoT device in the Internet of Things. The device can configure the source node device that the proxy device subscribes to, including but not limited to adding the source node device that the proxy device can subscribe to, deleting the source node device that the proxy device can subscribe to as a proxy, etc. At this time, the terminal device can send instructions to the proxy device information to indicate modification of the proxy device's subscription authority to the source node device, for example, to increase the proxy device's subscription authority to the source node device, or to remove the proxy device's subscription authority to the source node device.
步骤302,当指示信息指示移除代理设备对目标设备的订阅权限时,移除与目标设备对应的订阅关系。
在本申请实施例中,当用户通过配置设备中的APP对代理设备进行配置,以移除代理设备对目标设备(即某个源节点设备)的订阅权限时,代理设备可以移除已经发生的,与目标设备对应的订阅关系。In the embodiment of this application, when the user configures the proxy device through the APP in the configuration device to remove the proxy device's subscription authority to the target device (that is, a certain source node device), the proxy device can remove the existing , the subscription relationship corresponding to the target device.
综上所述,本申请实施例所示的方案,当配置设备通过指示信息指示移除代理设备对目标设备的订阅权限时,对于代理设备中与该目标设备对应的订阅关系,代理设备可以对该订阅关系进行移除,避免后续继续对该目标设备进行代理订阅,从而节约物联网系统的通信资源和运算资源,并且提高物联网系统的安全性。To sum up, in the solution shown in the embodiment of this application, when the configuration device instructs to remove the subscription authority of the proxy device to the target device through the instruction information, for the subscription relationship corresponding to the target device in the proxy device, the proxy device can The subscription relationship is removed to avoid subsequent proxy subscription of the target device, thereby saving communication resources and computing resources of the IoT system, and improving the security of the IoT system.
请参考图4,其示出了本申请一个实施例提供的订阅控制方法的流程图,该方法可以由配置设备执行,比如,该配置设备可以是图1所示的网络架构中的配置设备140;该方法可以包括如下步骤:Please refer to FIG. 4 , which shows a flow chart of a subscription control method provided by an embodiment of the present application. The method can be executed by a configuration device. For example, the configuration device can be the
步骤401,向代理设备发送指示信息,指示信息用于指示代理设备对目标设备的订阅权限的变化情况,以使得代理设备在指示信息指示移除代理设备对目标设备的订阅权限时,移除与目标设备对应的订阅关系。Step 401: Send indication information to the proxy device, the indication information is used to indicate the change of the subscription authority of the proxy device to the target device, so that when the indication information indicates that the proxy device's subscription right to the target device is removed, the proxy device removes the The subscription relationship corresponding to the target device.
综上所述,本申请实施例所示的方案,配置设备通过指示信息指示移除代理设备对目标设备的订阅权限时,对于代理设备中与该目标设备对应的订阅关系,可以触发代理设备对该订阅关系进行移除,避免后续该代理设备继续对该目标设备进行代理订阅,从而节约物联网系统的通信资源和运算资源,并且提高物联网系统的安全性。To sum up, in the solution shown in the embodiment of this application, when the configuration device indicates to remove the subscription authority of the proxy device to the target device through the instruction information, the proxy device can trigger the proxy device to subscribe to the target device for the subscription relationship corresponding to the target device. The subscription relationship is removed to prevent the proxy device from continuing to subscribe to the target device, thereby saving communication resources and computing resources of the Internet of Things system, and improving the security of the Internet of Things system.
在本申请上述图3或图4所示的方案中,代理设备在移除与目标设备对应的订阅关系时,可以对目标设备进行通知。In the solution shown in FIG. 3 or FIG. 4 above in this application, when the proxy device removes the subscription relationship corresponding to the target device, it may notify the target device.
请参考图5,其示出了本申请一个实施例提供的订阅控制方法的流程图,该方法可以由目标设备执行,比如,该目标设备可以是图1所示的网络架构中的源节点设备110;该方法可以包括如下步骤:Please refer to FIG. 5 , which shows a flow chart of a subscription control method provided by an embodiment of the present application. The method can be executed by a target device. For example, the target device can be a source node device in the network architecture shown in FIG. 1 110; the method may include the following steps:
步骤501,接收代理设备发送的取消订阅请求,取消订阅请求用于指示取消向目标设备订阅资源;取消订阅请求是代理设备接收到配置设备发送的指示信息,且指示信息指示移除代理设备对目标设备的订阅权限时发送的请求。Step 501: Receive the unsubscribe request sent by the proxy device, the unsubscribe request is used to instruct to cancel the subscription of resources to the target device; the unsubscribe request is that the proxy device receives the instruction information sent by the configuration device, and the instruction information indicates to remove the proxy device from the target device A request sent when a device subscribes to permissions.
综上所述,本申请实施例所示的方案,配置设备通过指示信息指示移除代理设备对目标设备的订阅权限时,当代理设备中已经存在与该目标设备对应的订阅关系时,目标设备可以接收到代理设备发送的取消订阅请求,进而可以实现在目标设备侧结束该订阅关系,避免后续该代理设备继续对该目标设备进行代理订阅,从而节约物联网系统的通信资源和运算资源,并且提高物联网系统的安全性。To sum up, in the scheme shown in the embodiment of this application, when the configuration device indicates to remove the subscription authority of the proxy device to the target device through the instruction information, when the subscription relationship corresponding to the target device already exists in the proxy device, the target device The unsubscribe request sent by the proxy device can be received, and then the subscription relationship can be terminated on the target device side, preventing the proxy device from continuing to subscribe to the target device, thereby saving communication resources and computing resources of the Internet of Things system, and Improve the security of IoT systems.
通过本申请上述图3和图4所示的方案,当代理设备对目标设备进行了代理订阅,并且后续代理设备被移除了对目标设备进行代理订阅的权限时,可以对代理设备中已经发生的,与目标设备相关的订阅关系进行移除。Through the solutions shown in Figure 3 and Figure 4 above in this application, when the proxy device subscribes to the target device, and the subsequent proxy device is removed from the proxy subscription authority of the target device, the proxy device that has occurred in the proxy device can , the subscription relationship related to the target device is removed.
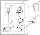
请参考图6,其示出了本申请一个实施例提供的订阅关系移除的框架图。在一种可能的应用场景中,如图6所示,代理设备61具有对源节点设备1、源节点设备2以及源节点设备3进行代理订阅的权限,也就是说,客户端设备62可以通过代理设备61,对源节点设备1、源节点设备2或者源节点设备3进行资源订阅。Please refer to FIG. 6 , which shows a framework diagram of removing a subscription relationship provided by an embodiment of the present application. In a possible application scenario, as shown in FIG. 6, the
比如,在图6中,代理设备61中的proxyconfiguration cluster的Cluster Server Attributes中包含源列表61a,该源列表61a中包含源节点设备1的标识(比如Node ID1)、源节点设备2的标识(比如Node ID2)或者源节点设备3的标识(比如Node ID3),表示代理设备61有权限对源节点设备1、源节点设备2或者源节点设备3的资源进行代理订阅。Such as, in Fig. 6, the Cluster Server Attributes of the proxyconfiguration cluster in the
其中,上述代理设备61中已经存在与源节点设备1对应的订阅关系1,以及,与源节点设备2对应 的订阅关系2。其中,订阅关系的移除过程可以如下:Wherein, the subscription relationship 1 corresponding to the source node device 1 and the subscription relationship 2 corresponding to the source node device 2 already exist in the
S1,配置设备63向代理设备61发送指示信息,该指示信息指示移除代理设备61对源节点设备1(即上述目标设备)进行代理订阅的权限。S1, the
比如,上述指示信息可以用于指示从源列表61a中移除源节点设备1的标识。For example, the above indication information may be used to indicate to remove the identifier of the source node device 1 from the
S2,代理设备61移除对源节点设备1进行代理订阅的权限。S2, the
比如,代理设备61可以将源列表61a中的源节点设备1的标识删除。For example, the
S3,代理设备61移除订阅关系1。S3, the
其中,如图6所示,代理设备61删除源列表61a中的源节点设备1的标识,并移除订阅关系1之后,代理设备61的源列表61a中剩余源节点设备2的标识或者源节点设备3的标识,且代理设备61中剩余订阅关系2。Wherein, as shown in FIG. 6, after the
请参考图7,其示出了本申请一个实施例提供的订阅控制方法的流程图,该方法可以由代理设备、配置设备和目标设备交互执行,比如,该代理设备、配置设备和目标设备分别可以是图1所示的网络架构中的代理设备130、配置设备140以及源节点设备110;该方法可以包括如下几个步骤:Please refer to FIG. 7 , which shows a flowchart of a subscription control method provided by an embodiment of the present application. The method can be executed interactively by a proxy device, a configuration device, and a target device. For example, the proxy device, the configuration device, and the target device are respectively It may be the
步骤701,配置设备向代理设备发送指示信息,相应的,代理设备接收该指示信息。In step 701, the configuration device sends indication information to the proxy device, and the proxy device receives the indication information accordingly.
其中,该指示信息用于指示代理设备对目标设备的订阅权限的变化情况。Wherein, the indication information is used to indicate the change of the subscription authority of the proxy device to the target device.
在本申请实施例中,用户可以通过配置设备中安装的APP触发对代理设备的配置,包括增加代理设备可以代理订阅的源节点设备(即添加代理设备对目标设备的订阅权限),或者,删除代理设备可以代理订阅的源节点设备(即移除代理设备对目标设备的订阅权限)。In the embodiment of this application, the user can trigger the configuration of the proxy device through the APP installed in the configuration device, including adding the source node device that the proxy device can subscribe to (that is, adding the subscription authority of the proxy device to the target device), or deleting The proxy device can proxy the subscribed source node device (that is, remove the subscription authority of the proxy device to the target device).
比如,当用户新安装或拆除了一个源节点设备,或者,当用户需要换一个代理设备来代理订阅已有的源节点设备上的资源时,可以通过配置设备中安装的APP触发对代理设备的配置。For example, when the user newly installs or removes a source node device, or when the user needs to change a proxy device to proxy and subscribe to the resources on the existing source node device, the APP installed in the configuration device can be used to trigger the activation of the proxy device. configuration.
在一种可能的实现方式中,上述指示信息用于指示代理设备中的源列表的修改情况;源列表位于代理配置簇包含的配置列表中;源列表中包含代理设备可代理订阅的源节点设备的标识。其中,上述代理订阅是指为客户端设备提供对源节点设备上的资源的订阅服务。In a possible implementation, the above indication information is used to indicate the modification of the source list in the proxy device; the source list is located in the configuration list contained in the proxy configuration cluster; the source list includes the source node devices that the proxy device can subscribe to logo. Wherein, the above-mentioned proxy subscription refers to providing a client device with a subscription service for resources on the source node device.
在一种可能的实现方式中,配置设备可以向代理设备发送配置列表修改指示信息;配置列表修改指示信息用于指示对代理配置簇中的配置列表进行修改;相应的,代理设备可以接收该配置设备发送的配置列表修改指示信息。In a possible implementation, the configuration device may send configuration list modification indication information to the proxy device; the configuration list modification indication information is used to indicate that the configuration list in the proxy configuration cluster should be modified; correspondingly, the proxy device may receive the configuration Configuration list modification instruction information sent by the device.
在本申请实施例中,配置设备具有对配置设备中的代理配置簇进行读写的权限,用户可以通过配置设备对代理设备的代理配置簇中的配置列表(比如,如上述表1所示的簇服务端属性中的配置列表)进行修改,此时,配置设备可以向代理设备发送配置列表修改指示信息(比如,可以是修改proxyconfiguration cluster中的ConfigurationList属性的指示信息),以触发配置设备根据该配置列表修改指示信息,对代理配置簇中的配置列表进行修改,从而实现以配置列表的粒度,对代理设备中的代理配置簇进行修改。In this embodiment of the application, the configuration device has the authority to read and write the proxy configuration cluster in the configuration device, and the user can use the configuration device to configure the configuration list in the proxy configuration cluster of the proxy device (for example, as shown in Table 1 above) The configuration list in the cluster server attribute) is modified, at this time, the configuration device can send the configuration list modification instruction information (for example, it can be the instruction information to modify the ConfigurationList attribute in the proxyconfiguration cluster) to the proxy device, to trigger the configuration device according to the The configuration list modification instruction information modifies the configuration list in the proxy configuration cluster, so that the proxy configuration cluster in the proxy device can be modified at the granularity of the configuration list.
其中,在对代理配置簇中的配置列表进行修改的过程中,可能会涉及到从配置列表包含的源列表(比如,如表2所示的配置记录中的源列表)中移除一个或者多个Node ID,相当于移除代理设备对这些被移除的Node ID对应的源节点设备进行代理订阅的权限。Among them, in the process of modifying the configuration list in the proxy configuration cluster, it may involve removing one or more Node ID, which is equivalent to removing the authority of the proxy device to perform proxy subscription to the source node device corresponding to the removed Node ID.
在另一种可能的实现方式中,配置设备可以向代理设备发送源节点修改命令;相应的,代理设备可以接收配置设备发送的源节点修改命令;其中,该源节点修改命令用于指示在代理配置簇中的配置列表包含的源列表中移除或者增加源节点设备的标识。In another possible implementation, the configuration device may send a source node modification command to the proxy device; correspondingly, the proxy device may receive the source node modification command sent by the configuration device; wherein, the source node modification command is used to indicate Remove or add the identifier of the source node device from the source list included in the configuration list in the configuration cluster.
在本申请实施例中,用户也可以通过配置设备直接对代理配置簇的配置列表包含的源列表中,移除一个或者多个Node ID。此时,配置设备向代理设备发送源节点修改命令(比如,可以是RemoveSourceNode命令或者AddSourceNode命令),从而以Node ID的粒度,对代理设备中的代理配置簇进行修改。In this embodiment of the application, the user can also directly remove one or more Node IDs from the source list contained in the configuration list of the proxy configuration cluster through the configuration device. At this point, the configuration device sends a source node modification command (for example, a RemoveSourceNode command or an AddSourceNode command) to the proxy device, so as to modify the proxy configuration cluster in the proxy device at the granularity of the Node ID.
在一种可能的实现方式中,上述源节点修改命令中包含移除或者增加的源节点设备的标识。In a possible implementation manner, the foregoing source node modification command includes the identifier of the removed or added source node device.
例如,在本申请实施例中,物联网中可以增加RemoveSourceNode命令和AddSourceNode命令。For example, in the embodiment of the present application, a RemoveSourceNode command and an AddSourceNode command may be added in the Internet of Things.
RemoveSourceNode:输入参数为SourceList,包含删除的Node的Node ID;RemoveSourceNode: The input parameter is SourceList, which contains the Node ID of the deleted Node;
AddSourceNode:输入参数为SourceList,其中包含增加的Node的Node ID。AddSourceNode: The input parameter is SourceList, which contains the Node ID of the added Node.
在本申请实施例中,当指示信息指示移除代理设备对目标设备的订阅权限,且代理设备中存在与目标设备对应的订阅关系时,代理设备可以移除与目标设备对应的订阅关系,该过程可以如下述步骤702至步骤704所示。In the embodiment of the present application, when the indication information indicates that the subscription authority of the proxy device to the target device is removed, and there is a subscription relationship corresponding to the target device in the proxy device, the proxy device may remove the subscription relationship corresponding to the target device. The process can be shown as step 702 to step 704 below.
步骤702,代理设备判断该指示信息是否指示移除代理设备对目标设备的订阅权限,若是,进入步骤703,否则结束。In step 702, the agent device judges whether the indication information indicates to remove the subscription authority of the agent device to the target device, and if so, proceeds to step 703, otherwise ends.
在一种可能的实现方式中,当上述源列表的修改情况包括移除目标设备的标识时,代理设备可以执行移除与目标设备对应的订阅关系。In a possible implementation manner, when the modification of the source list includes removing the identifier of the target device, the proxy device may remove the subscription relationship corresponding to the target device.
在本申请实施例中,当配置设备根据上述指示信息,对代理配置簇的配置列表进行修改,或者,对代理配置簇的配置列表包含的源列表进行修改前、修改过程中或者修改后,可以判断指示信息是否指示移除代理设备对目标设备的订阅权限。In this embodiment of the application, when the configuration device modifies the configuration list of the proxy configuration cluster according to the above indication information, or before, during or after modification of the source list included in the configuration list of the proxy configuration cluster, it may It is judged whether the indication information indicates to remove the subscription right of the proxy device to the target device.
比如,配置设备根据上述指示信息,对代理配置簇的配置列表进行修改,或者,对代理配置簇的配置列表包含的源列表进行后,可以对修改后的源列表进行比对,确定是否存在被从源列表中删除的Node ID,若是,则确定指示信息指示移除代理设备对目标设备的订阅权限,并将该Node ID对应的设备,确定为上述目标设备。For example, the configuration device modifies the configuration list of the proxy configuration cluster according to the above instruction information, or, after performing the modification on the source list included in the configuration list of the proxy configuration cluster, it can compare the modified source list to determine whether there is a Delete the Node ID from the source list, if so, determine that the instruction information indicates to remove the subscription authority of the proxy device to the target device, and determine the device corresponding to the Node ID as the above-mentioned target device.
步骤703,代理设备判断是否存在与目标设备对应的订阅关系,若是,进入步骤704,否则结束。In step 703, the proxy device judges whether there is a subscription relationship corresponding to the target device, and if so, proceeds to step 704, otherwise ends.
在本申请实施例中,当代理设备中发生了对上述目标设备的代理订阅的情况下,代理设备中可以维护有与目标设备对应的订阅关系。在本申请实施例中,代理设备判断出指示信息指示移除代理设备对目标设备的订阅权限后,可以进一步查询本地维护的订阅关系,以判断其中是否存在与目标设备对应的订阅关系。In the embodiment of the present application, when the proxy device subscribes to the target device, the proxy device may maintain a subscription relationship corresponding to the target device. In the embodiment of the present application, after the proxy device determines that the indication information indicates removal of the proxy device's subscription authority to the target device, it may further query the locally maintained subscription relationship to determine whether there is a subscription relationship corresponding to the target device.
比如,代理设备中可以存储有各条已经发生的订阅关系,其中,每条订阅关系与相应的源节点设备的标识(Node ID)对应存储,代理设备判断出指示信息指示移除代理设备对目标设备的订阅权限后,可以通过该目标设备的Node ID进行查询,如果查询到与该目标设备的Node ID对应的订阅关系,则确定本地存在与目标设备对应的订阅关系。For example, each subscription relationship that has occurred may be stored in the proxy device, wherein each subscription relationship is stored corresponding to the identification (Node ID) of the corresponding source node device, and the proxy device judges that the indication information indicates to remove the proxy device from the target After the subscription permission of the device, you can query through the Node ID of the target device. If the subscription relationship corresponding to the Node ID of the target device is found, it is determined that there is a subscription relationship corresponding to the target device locally.
步骤704,代理设备移除与目标设备对应的订阅关系。Step 704, the proxy device removes the subscription relationship corresponding to the target device.
在本申请实施例中,代理设备判断出存在与目标设备对应的订阅关系,即可以将与目标设备对应的订阅关系移除。In the embodiment of the present application, the proxy device determines that there is a subscription relationship corresponding to the target device, that is, the subscription relationship corresponding to the target device may be removed.
比如,在一种可能的实现方式中,当上述指示信息是源节点修改命令,且该源节点修改命令包括移除源节点命令时,代理设备可以移除与目标设备对应的订阅关系;For example, in a possible implementation manner, when the above indication information is a source node modification command, and the source node modification command includes a remove source node command, the proxy device may remove the subscription relationship corresponding to the target device;
其中,移除源节点命令用于指示在源列表中移除目标设备的标识。Wherein, the remove source node command is used to instruct to remove the identifier of the target device from the source list.
其中,在代理订阅的场景下,目标设备与客户端设备之间可能存在一个或者多个代理设备,其中,从客户端设备开始,经过一个或者多个代理设备到达目标设备的路径可以称为订阅路径。Among them, in the scenario of proxy subscription, there may be one or more proxy devices between the target device and the client device, and the path from the client device to the target device through one or more proxy devices can be called subscription path.
比如,一条订阅路径A可以为:客户端设备→代理设备1→目标设备。再比如,另一条订阅路径B可以为:客户端设备→代理设备1→代理设备2→目标设备。For example, a subscription path A may be: client device→agent device 1→target device. For another example, another subscription path B may be: client device→proxy device 1→proxy device 2→target device.
在一种可能的实现方式中,当指示信息指示移除代理设备对目标设备的订阅权限时,移除与目标设备对应的订阅关系,包括:In a possible implementation manner, when the indication information indicates to remove the subscription right of the proxy device to the target device, removing the subscription relationship corresponding to the target device includes:
当指示信息指示移除代理设备对目标设备的订阅权限时,移除与目标设备对应的上行订阅关系;When the indication information indicates to remove the subscription authority of the proxy device to the target device, remove the uplink subscription relationship corresponding to the target device;
其中,上行订阅关系包括代理设备与目标设备之间的直接订阅关系或者间接订阅关系。Wherein, the uplink subscription relationship includes a direct subscription relationship or an indirect subscription relationship between the proxy device and the target device.
在本申请实施例中,对于代理设备而言,客户端设备通过该代理设备订阅上述目标设备中的资源的订阅关系,可以分为上行订阅关系和下行订阅关系,其中,上行订阅关系可以是指代理设备向目标设备订阅资源;而下行订阅关系可以是指代理设备向客户端设备提供代理订阅的服务。In this embodiment of the application, for the proxy device, the subscription relationship of the client device to subscribe to the resource in the target device through the proxy device can be divided into an uplink subscription relationship and a downlink subscription relationship, wherein the uplink subscription relationship may refer to The proxy device subscribes resources to the target device; and the downlink subscription relationship may mean that the proxy device provides a proxy subscription service to the client device.
对于上行订阅关系来说,如果一个代理设备与目标设备相邻,则可以认为该代理设备与目标设备之间的上行订阅关系为直接订阅关系,比如,上述订阅路径A中的代理设备1,或者,上述订阅路径B中的代理设备2,与目标设备之间的上行订阅关系即为直接订阅关系。For the uplink subscription relationship, if a proxy device is adjacent to the target device, the uplink subscription relationship between the proxy device and the target device can be considered as a direct subscription relationship, for example, proxy device 1 in the subscription path A above, or , the uplink subscription relationship between the proxy device 2 in the subscription path B and the target device is a direct subscription relationship.
相应的,如果一个代理设备与目标设备不相邻,则可以认为该代理设备与目标设备之间的上行订阅关系为间接订阅关系,比如,上述订阅路径B中的代理设备1,与目标设备之间的上行订阅关系即为间接订阅关系。Correspondingly, if a proxy device is not adjacent to the target device, the uplink subscription relationship between the proxy device and the target device can be considered as an indirect subscription relationship, for example, the relationship between the proxy device 1 in the subscription path B and the target device The uplink subscription relationship between is the indirect subscription relationship.
在本申请实施例中,代理设备移除与目标设备对应的订阅关系时,可以移除与目标设备对应的上行订阅关系,也就是移除代理设备向目标设备进行资源订阅的订阅关系。In this embodiment of the present application, when the proxy device removes the subscription relationship corresponding to the target device, it may remove the uplink subscription relationship corresponding to the target device, that is, remove the subscription relationship in which the proxy device subscribes resources to the target device.
在一种可能的实现方式中,当指示信息指示移除代理设备对目标设备的订阅权限时,移除与目标设备对应的上行订阅关系,包括:In a possible implementation manner, when the indication information indicates to remove the subscription right of the proxy device to the target device, removing the uplink subscription relationship corresponding to the target device includes:
向目标设备发送取消订阅请求,取消订阅请求用于指示取消向目标设备订阅资源。An unsubscribe request is sent to the target device, and the unsubscribe request is used to indicate to cancel the resource subscription to the target device.
相应的,目标设备可以接收代理设备发送的取消订阅请求,取消订阅请求用于指示取消向目标设备订阅资源。Correspondingly, the target device may receive an unsubscribe request sent by the proxy device, where the unsubscribe request is used to indicate to cancel the resource subscription to the target device.
在本申请实施例的一个示例性的方案中,在移除与目标设备对应的上行订阅关系时,代理设备可以向目标设备请求取消代理订阅,相应的,目标设备在接收到上述取消订阅请求后,可以在目标设备侧取消该代理设备的代理订阅,后续不再像代理设备发送订阅的资源(比如,不再发送资源更新通知)。In an exemplary solution of the embodiment of the present application, when removing the uplink subscription relationship corresponding to the target device, the proxy device may request the target device to cancel the proxy subscription. Correspondingly, after the target device receives the above unsubscribe request , the proxy subscription of the proxy device can be canceled on the target device side, and the subscribed resource will no longer be sent to the proxy device (for example, no resource update notification will be sent).
在一种可能的实现方式中,当指示信息指示移除代理设备对目标设备的订阅权限时,移除与目标设 备对应的上行订阅关系,包括:In a possible implementation, when the indication information indicates to remove the subscription authority of the proxy device to the target device, removing the uplink subscription relationship corresponding to the target device includes:
接收到目标设备发送的资源更新通知时,取消对资源更新通知的响应。When receiving the resource update notification sent by the target device, cancel the response to the resource update notification.
在本申请实施例的另一个示例性的方案中,在移除与目标设备对应的上行订阅关系时,代理设备可以通过在接收到目标设备发送的资源更新通知时,取消对资源更新通知的响应的方式来移除上行订阅关系。比如,代理设备判断出存在与目标设备对应的订阅关系后,后续再接收到目标设备发送的资源更新通知后,可以将资源更新通知丢弃,从而取消对资源更新通知的响应。In another exemplary solution of the embodiment of the present application, when removing the uplink subscription relationship corresponding to the target device, the proxy device may cancel the response to the resource update notification when receiving the resource update notification sent by the target device to remove the uplink subscription relationship. For example, after the proxy device determines that there is a subscription relationship corresponding to the target device, and subsequently receives the resource update notification sent by the target device, it may discard the resource update notification, thereby canceling the response to the resource update notification.
在一种可能的实现方式中,当指示信息指示移除代理设备对目标设备的订阅权限时,移除与目标设备对应的订阅关系,包括:In a possible implementation manner, when the indication information indicates to remove the subscription right of the proxy device to the target device, removing the subscription relationship corresponding to the target device includes:
当指示信息指示移除代理设备对目标设备的订阅权限时,移除与目标设备对应的下行订阅关系;When the instruction information indicates to remove the subscription authority of the proxy device to the target device, remove the downlink subscription relationship corresponding to the target device;
其中,下行订阅关系包括代理设备与客户端设备之间的直接订阅关系或者间接订阅关系;客户端设备是通过代理设备向目标设备订阅资源的设备。Wherein, the downlink subscription relationship includes a direct subscription relationship or an indirect subscription relationship between the proxy device and the client device; the client device is a device that subscribes resources to the target device through the proxy device.
对于下行订阅关系来说,如果一个代理设备与客户端设备相邻,则可以认为该代理设备与客户端设备之间的下行订阅关系为直接订阅关系,比如,上述订阅路径A或订阅路径B中的代理设备1,与客户端设备之间的下行订阅关系即为直接订阅关系。For the downlink subscription relationship, if a proxy device is adjacent to the client device, the downlink subscription relationship between the proxy device and the client device can be considered as a direct subscription relationship, for example, in the above-mentioned subscription path A or subscription path B The downlink subscription relationship between the proxy device 1 and the client device is a direct subscription relationship.
相应的,如果一个代理设备与客户端设备不相邻,则可以认为该代理设备与客户端设备之间的下行订阅关系为间接订阅关系,比如,上述订阅路径B中的代理设备2,与客户端设备之间的下行订阅关系即为间接订阅关系。Correspondingly, if a proxy device is not adjacent to the client device, the downlink subscription relationship between the proxy device and the client device can be considered as an indirect subscription relationship. The downlink subscription relationship between end devices is an indirect subscription relationship.
其中,上述代理设备与客户端设备之间的直接订阅关系或者间接订阅关系。是指客户端设备通过代理设备订阅该目标设备中的资源的订阅路径上,从代理设备到客户端设备之间的直接订阅关系或者间接订阅关系。Wherein, the above-mentioned direct subscription relationship or indirect subscription relationship between the proxy device and the client device. Refers to the direct subscription relationship or indirect subscription relationship between the proxy device and the client device on the subscription path where the client device subscribes to resources in the target device through the proxy device.
在本申请实施例中,代理设备移除与目标设备对应的订阅关系时,可以移除与目标设备对应的下行订阅关系。也就是说,当代理设备与客户端设备之间存在上述订阅路径上的直接订阅关系时,移除上述订阅路径上,从代理设备到客户端设备之间的直接订阅关系;当代理设备与客户端设备之间存在上述订阅路径上的订阅关系时,代理设备移除上述订阅路径上,从代理设备到下一级代理设备(即另一个代理设备)之间的订阅关系。In the embodiment of the present application, when the proxy device removes the subscription relationship corresponding to the target device, it may remove the downlink subscription relationship corresponding to the target device. That is to say, when there is a direct subscription relationship on the above-mentioned subscription path between the proxy device and the client device, the direct subscription relationship between the proxy device and the client device on the above-mentioned subscription path is removed; when the proxy device and the client device When there is a subscription relationship on the subscription path between the end devices, the proxy device removes the subscription relationship from the proxy device to the next-level proxy device (that is, another proxy device) on the subscription path.
在一种可能的实现方式中,当指示信息指示移除代理设备对目标设备的订阅权限时,移除与目标设备对应的下行订阅关系,包括:停止发送目标设备的资源更新通知。In a possible implementation manner, when the indication information indicates to remove the subscription right of the proxy device to the target device, removing the downlink subscription relationship corresponding to the target device includes: stopping sending a resource update notification of the target device.
例如,当下行订阅关系包括代理设备与客户端设备之间的直接订阅关系时,停止向客户端设备发送目标设备的资源更新通知;For example, when the downstream subscription relationship includes a direct subscription relationship between the proxy device and the client device, stop sending the resource update notification of the target device to the client device;
当行订阅关系包括代理设备与客户端设备之间的间接订阅关系时,停止向与订阅关系对应的下行路径发送目标设备的资源更新通知。When the line subscription relationship includes an indirect subscription relationship between the proxy device and the client device, stop sending the resource update notification of the target device to the downlink path corresponding to the subscription relationship.
比如,在上述订阅路径A或者订阅路径B中,代理设备1与客户端设备之间的下行订阅关系为直接订阅关系,则在移除与目标设备对应的下行订阅关系时,代理设备1的做法是停止向客户端设备发送目标设备的资源更新通知。For example, in the above-mentioned subscription path A or subscription path B, the downlink subscription relationship between the proxy device 1 and the client device is a direct subscription relationship, then when removing the downlink subscription relationship corresponding to the target device, what the proxy device 1 does Yes Stop sending resource update notifications for the target device to the client device.
再比如,在上述订阅路径B中,代理设备2与客户端设备之间的下行订阅关系为间接订阅关系,则在移除与目标设备对应的下行订阅关系时,代理设备2的做法是停止向下行路径发送目标设备的资源更新通知,也就是,停止向代理设备1发送目标设备的资源更新通知。其中,上述下行路径可以是一条完整的订阅路径中,当前代理设备到客户端设备之间的路径。For another example, in the subscription path B above, the downlink subscription relationship between the proxy device 2 and the client device is an indirect subscription relationship. When removing the downlink subscription relationship corresponding to the target device, the proxy device 2 will stop submitting The downlink path sends the resource update notification of the target device, that is, stops sending the resource update notification of the target device to the proxy device 1 . Wherein, the above-mentioned downlink path may be a path between the current proxy device and the client device in a complete subscription path.
在本申请实施例中,在移除与目标设备对应的下行订阅关系时,代理设备可以通过停止向订阅路径的下一级设备发送资源更新通知的方式来实现下行订阅关系的移除。In the embodiment of the present application, when removing the downlink subscription relationship corresponding to the target device, the proxy device may realize the removal of the downlink subscription relationship by stopping sending resource update notifications to the lower-level device of the subscription path.
在一种可能的实现方式中,代理设备中包含订阅关系表,订阅关系表中包含客户端设备与目标设备之间的对应关系表项;In a possible implementation manner, the proxy device includes a subscription relationship table, and the subscription relationship table includes a corresponding relationship entry between the client device and the target device;
当指示信息指示移除代理设备对目标设备的订阅权限时,移除与目标设备对应的订阅关系,包括:When the instruction information indicates to remove the subscription authority of the proxy device to the target device, remove the subscription relationship corresponding to the target device, including:
当指示信息指示移除代理设备对目标设备的订阅权限时,从订阅关系表删除客户端设备与目标设备之间的对应关系表项。When the indication information indicates that the subscription right of the proxy device to the target device is removed, the corresponding relationship entry between the client device and the target device is deleted from the subscription relationship table.
在本申请实施例中,代理设备中可以维护一个订阅关系表,对于每一个已经产生了订阅关系的目标设备,代理设备可以在该订阅关系表中存储一条相应的对应关系表项,在代理订阅过程中,代理设备可以通过查询订阅关系表的方式进行代理订阅,比如,代理设备接收到目标设备发送的资源更新通知后,可以查询对应关系表中对应关系表项,确定订阅该资源的客户端设备,并向客户端设备发送该资源更新通知。In the embodiment of this application, the proxy device can maintain a subscription relationship table. For each target device that has generated a subscription relationship, the proxy device can store a corresponding corresponding relationship entry in the subscription relationship table. During the process, the proxy device can perform proxy subscription by querying the subscription relationship table. For example, after receiving the resource update notification sent by the target device, the proxy device can query the corresponding relationship entry in the corresponding relationship table to determine the client that subscribes to the resource. device, and send the resource update notification to the client device.
相应的,代理设备在移除与目标设备对应的订阅关系时,可以将订阅关系表中与该目标设备相对应的对应关系表项删除,以实现订阅关系的移除。Correspondingly, when removing the subscription relationship corresponding to the target device, the proxy device may delete the corresponding relationship entry corresponding to the target device in the subscription relationship table, so as to realize the removal of the subscription relationship.
比如,上述对应关系表项可以对应Node ID存储在订阅关系表中,代理设备可以通过目标设备的标识(Node ID)查询上述订阅关系表,并将查询到的对应关系表删除。For example, the above-mentioned corresponding relationship table items can be stored in the subscription relationship table corresponding to the Node ID, and the proxy device can query the above-mentioned subscription relationship table through the identification (Node ID) of the target device, and delete the queried corresponding relationship table.
在一种可能的实现方式中,客户端设备与目标设备之间的对应关系表项中还包含以下三种信息中的至少一种:In a possible implementation manner, the correspondence entry between the client device and the target device further includes at least one of the following three types of information:
目标设备中的资源的标识、目标设备的资源更新通知的最大发送间隔、以及目标设备的资源更新通知的最小发送间隔。The identifier of the resource in the target device, the maximum sending interval of the resource update notification of the target device, and the minimum sending interval of the resource update notification of the target device.
步骤705,配置设备向目标设备发送权限控制指令。Step 705, the configuration device sends a permission control instruction to the target device.
其中,权限控制指令用于去除代理设备的以下两种权限中的至少一种:Wherein, the permission control instruction is used to remove at least one of the following two permissions of the proxy device:
代理浏览权限(Proxyview权限),以及,浏览权限(view权限,即访问目标设备上除了ACL相关的簇之外的其它资源的权限)。Proxy browsing permission (Proxyview permission), and browsing permission (view permission, that is, permission to access other resources on the target device except clusters related to the ACL).
在本申请实施例中,配置设备移除了代理设备对目标设备的代理订阅权限之后,还可以移除代理设备对目标设备的访问权限,包括,移除代理设备对目标设备的代理浏览权限(即移除代理设备对目标设备的Proxyview权限),以及,移除代理设备对目标设备的View权限。其中,上述代理设备对目标设备的访问权限可以存储在目标设备中,配置设备通过向目标设备发送权限控制指令的方式,触发目标设备去除代理设备的访问权限。In the embodiment of the present application, after the configuration device removes the proxy subscription authority of the proxy device to the target device, it can also remove the access permission of the proxy device to the target device, including removing the proxy browsing permission of the proxy device to the target device ( That is, remove the Proxyview permission of the proxy device to the target device), and remove the View permission of the proxy device to the target device. Wherein, the access authority of the proxy device to the target device may be stored in the target device, and the configuration device triggers the target device to remove the access authority of the proxy device by sending a permission control instruction to the target device.
例如,上述权限控制指令,可以是对目标设备中的ACL簇进行修改,以去除代理设备对目标设备的访问权限的指令。For example, the above permission control instruction may be an instruction to modify the ACL cluster in the target device to remove the proxy device's access right to the target device.
在一种可能的实现方式中,上述权限控制指令用于对目标设备的ACL簇中的访问控制条目记录(AccessControlEntryStruct)进行更新,以去除代理设备对目标设备的代理浏览权限和浏览权限中的至少一种。In a possible implementation manner, the above permission control instruction is used to update the access control entry record (AccessControlEntryStruct) in the ACL cluster of the target device, so as to remove at least A sort of.
例如,上述权限控制指令可以用于对目标设备中的ACL簇中的AccessControlEntryStruct进行更新,从AccessControlEntryStruct包含的,与代理浏览权限和/或浏览权限对应的设备标识(比如Node ID)中删除代理设备的标识,从而去除代理设备对目标设备的代理浏览权限和/或浏览权限中。For example, the above-mentioned permission control instruction can be used to update the AccessControlEntryStruct in the ACL cluster in the target device, and delete the proxy device from the AccessControlEntryStruct, which is included in the proxy browsing permission and/or the device identification (such as Node ID) corresponding to the browsing permission. identification, thereby removing the proxy device's proxy browsing permission and/or browsing permission for the target device.
请参考图8,其示出了本申请实施例涉及的一种移除订阅关系流程的示意图。如图8所示,该流程包括如下步骤:Please refer to FIG. 8 , which shows a schematic diagram of a procedure for removing a subscription relationship involved in an embodiment of the present application. As shown in Figure 8, the process includes the following steps:
S801,具有访问代理设备中Proxy Configuration Cluster权限的手机应用,发送修改Proxy Configuration Cluster中Configuration List属性的请求。S801. The mobile phone application having the permission to access the Proxy Configuration Cluster in the proxy device sends a request for modifying the Configuration List attribute in the Proxy Configuration Cluster.
其中,该请求可能在Source List中增加一个或多个Node ID(例如新安装的设备等),还有可能删除一个或者多个NodeID(例如设备移除,或者单纯的需要更换代理设备)。Among them, the request may add one or more Node IDs in the Source List (such as newly installed equipment, etc.), and may also delete one or more NodeIDs (such as equipment removal, or simply need to replace the proxy device).
S802,代理设备收到上述请求之后,判断上述请求是否移除了Node ID。S802. After receiving the above request, the proxy device determines whether the above request removes the Node ID.
代理设备可以判定上述请求是增加了Node ID还是移除了Node ID。The agent device can determine whether the above-mentioned request has increased the Node ID or removed the Node ID.
比如,代理设备在修改Configuration List属性之前可以通过对比(原有内容和要更新内容)的方式来进行判断。For example, before the agent device modifies the Configuration List attribute, it can judge by comparing (the original content and the content to be updated).
S803,如果是在SourceList中移除一个或者多个Node ID,则代表该代理设备不能对上述移除的Node ID对应的设备上的Cluster进行直接或者间接的订阅。则代理设备需要检查自身是否存在关于上述Node ID的订阅关系:包含上行订阅关系和下行订阅关系。S803, if one or more Node IDs are removed from the SourceList, it means that the proxy device cannot directly or indirectly subscribe to the Cluster on the device corresponding to the removed Node IDs. Then the proxy device needs to check whether there is a subscription relationship about the above Node ID: including the uplink subscription relationship and the downlink subscription relationship.
S804,如果存在与移除的Node ID关联的订阅关系,则代理设备发起移除订阅关系流程。其中,代理设备可以先移除上行订阅关系。移除订阅关系的方法包括:主动发起取消订阅请求,或者,对于Source发起的通知消息不做回复两种方式。S804. If there is a subscription relationship associated with the removed Node ID, the proxy device initiates a procedure for removing the subscription relationship. Wherein, the proxy device may remove the uplink subscription relationship first. The methods for removing the subscription relationship include: actively initiate an unsubscribe request, or do not reply to the notification message initiated by the Source.
S805,代理设备移除与上述被删除的Node ID相关联的下行订阅关系;比如,可以通过不再向订阅的客户端设备或者下一级代理设备发送通知消息的方法来解除订阅关系。S805. The proxy device removes the downlink subscription relationship associated with the deleted Node ID; for example, the subscription relationship can be canceled by not sending a notification message to the subscribed client device or the next-level proxy device.
S806,完成上述步骤之后,代理设备应答1步骤中手机应用发送的请求消息。S806, after the above steps are completed, the agent device responds to the request message sent by the mobile phone application in step 1.
请参考图9,其示出了本申请实施例涉及的一种移除订阅关系流程的示意图。如图9所示,该流程与图8所示方案的流程的区别为:代理设备先应答1步骤的请求消息,后续处理流程与上述图8所示方案中的流程相同或类似。也就是在图9所示的方案中,将S806的执行时序移到S802之前。Please refer to FIG. 9 , which shows a schematic diagram of a procedure for removing a subscription relationship involved in the embodiment of the present application. As shown in FIG. 9 , the difference between this flow and the flow of the solution shown in FIG. 8 is that: the proxy device first responds to the request message in step 1, and the subsequent processing flow is the same or similar to the flow in the solution shown in FIG. 8 above. That is, in the scheme shown in FIG. 9 , the execution sequence of S806 is moved before S802 .
请参考图10,其示出了本申请实施例涉及的一种移除订阅关系流程的示意图。如图10所示,该流程与图8所示方案的流程的区别为:Please refer to FIG. 10 , which shows a schematic diagram of a procedure for removing a subscription relationship involved in the embodiment of the present application. As shown in Figure 10, the difference between this process and the process of the solution shown in Figure 8 is:
在步骤1中发送的请求为RemoveSourceNode命令,该请求的目的是修改Proxy Configuration Cluster的Configuration List属性中的SourceList内容。The request sent in step 1 is the RemoveSourceNode command. The purpose of this request is to modify the SourceList content in the Configuration List property of the Proxy Configuration Cluster.
也就是在图10所示的方案中,将S801替换为S1001,也就是向代理设备发送RemoveSourceNode命令。That is, in the solution shown in FIG. 10 , S801 is replaced with S1001 , that is, the RemoveSourceNode command is sent to the proxy device.
在该方案中,可以对Proxy Configuration Cluster做一些修改,修改内容为如下述表6所示:In this solution, some modifications can be made to the Proxy Configuration Cluster, as shown in Table 6 below:
表6Table 6
如上述表6所示,在本申请实施例中,当Proxy Configuration Cluster中的SourceList通过RemoveSourceNode命令或者AddSourceNode命令进行修改时,Proxy Configuration Cluster中的SourceList的访问权限由读写(RW)权限改为读(R)权限,即无法通过RemoveSourceNode命令和AddSourceNode命令之外的方式对SourceList进行写操作。也就是说,上述表6中的访问(Access)栏中,对应SourceList的访问权限“RW—>R”,是指将SourceList的访问权限由相关标准中的RW修改为R。As shown in the above table 6, in the embodiment of the present application, when the SourceList in the Proxy Configuration Cluster is modified by the RemoveSourceNode command or the AddSourceNode command, the access authority of the SourceList in the Proxy Configuration Cluster is changed from read-write (RW) authority to read (R) permission, that is, the SourceList cannot be written by means other than the RemoveSourceNode command and the AddSourceNode command. That is to say, in the Access (Access) column in the above Table 6, the access right corresponding to SourceList "RW—>R" refers to modifying the access right of SourceList from RW in the relevant standard to R.
请参考图11,其示出了本申请实施例涉及的一种移除订阅关系流程的示意图。如图11所示,该流程与图8所示方案的流程的区别为:Please refer to FIG. 11 , which shows a schematic diagram of a procedure for removing a subscription relationship involved in the embodiment of the present application. As shown in Figure 11, the difference between this process and the process of the solution shown in Figure 8 is:
在执行图8所示的方案之后,移除目标设备上的ACL中代理设备的权限,比如,对于ACL访问的ProxyView权限和/或访问其他资源的权限。After the solution shown in FIG. 8 is executed, the permissions of the proxy device in the ACL on the target device are removed, for example, the ProxyView permission for ACL access and/or the permission to access other resources.
也就是在图11所示的方案中,在S806之后添加步骤S807,即移除目标设备上的ACL中代理设备的权限。That is, in the solution shown in FIG. 11 , step S807 is added after S806 , that is, removing the authority of the proxy device in the ACL on the target device.
在一种可能的实现方式中,在执行图8至11任一所示的方案之后,手机应用可以配置目标设备的ACL Cluster,去除该代理设备的Proxyview权限以及访问该设备上的资源的权限。In a possible implementation, after executing any of the solutions shown in Figures 8 to 11, the mobile phone application can configure the ACL Cluster of the target device, and remove the Proxyview permission of the proxy device and the permission to access resources on the device.
综上所述,本申请实施例所示的方案,当配置设备通过指示信息指示移除代理设备对目标设备的订阅权限时,对于代理设备中与该目标设备对应的订阅关系,代理设备可以对该订阅关系进行移除,避免后续继续对该目标设备进行代理订阅,从而节约物联网系统的通信资源和运算资源,并且提高物联网系统的安全性。To sum up, in the solution shown in the embodiment of this application, when the configuration device instructs to remove the subscription authority of the proxy device to the target device through the instruction information, for the subscription relationship corresponding to the target device in the proxy device, the proxy device can The subscription relationship is removed to avoid subsequent proxy subscription of the target device, thereby saving communication resources and computing resources of the IoT system, and improving the security of the IoT system.
请参考图12,其示出了本申请一个实施例提供的订阅控制装置的框图。该装置具有实现上述图3或图7所示的方法中,由代理设备执行的功能。如图12所示,该订阅控制装置1200可以包括:Please refer to FIG. 12 , which shows a block diagram of a subscription control device provided by an embodiment of the present application. The apparatus has the functions executed by the agent device in the method shown in FIG. 3 or FIG. 7 . As shown in Figure 12, the subscription control device 1200 may include:
接收模块1201,用于接收配置设备发送的指示信息,所述指示信息用于指示所述代理设备对目标设备的订阅权限的变化情况;The
移除模块1202,用于当所述指示信息指示移除所述代理设备对所述目标设备的订阅权限时,移除与所述目标设备对应的订阅关系。The removing
在一种可能的实现方式中,所述指示信息用于指示所述代理设备中的源列表的修改情况;所述源列表位于代理配置簇包含的配置列表中;所述源列表中包含所述代理设备可代理订阅的源节点设备的标识;所述代理订阅是指为客户端设备提供对所述源节点设备上的资源的订阅服务。In a possible implementation manner, the indication information is used to indicate the modification of the source list in the proxy device; the source list is located in the configuration list contained in the proxy configuration cluster; the source list contains the The proxy device may proxy the identifier of the source node device for subscription; the proxy subscription refers to providing a client device with a subscription service for resources on the source node device.
在一种可能的实现方式中,所述移除模块1202,用于当所述源列表的修改情况包括移除所述目标设备的标识时,移除与所述目标设备对应的订阅关系。In a possible implementation manner, the removing
在一种可能的实现方式中,所述移除模块1202,用于当所述指示信息指示移除所述代理设备对所述目标设备的订阅权限,且所述代理设备中存在与所述目标设备对应的订阅关系时,移除与所述目标设备对应的订阅关系。In a possible implementation manner, the
在一种可能的实现方式中,所述移除模块1202,用于移除与所述目标设备对应的上行订阅关系;In a possible implementation manner, the removing
其中,所述上行订阅关系包括所述代理设备与所述目标设备之间的直接订阅关系或者间接订阅关系。Wherein, the uplink subscription relationship includes a direct subscription relationship or an indirect subscription relationship between the proxy device and the target device.
在一种可能的实现方式中,所述移除模块1202,用于向所述目标设备发送取消订阅请求,所述取消订阅请求用于指示取消向所述目标设备订阅资源。In a possible implementation manner, the removing
在一种可能的实现方式中,所述移除模块1202,用于接收到所述目标设备发送的资源更新通知时,取消对所述资源更新通知的响应。In a possible implementation manner, the removing
在一种可能的实现方式中,所述移除模块1202,用于移除与所述目标设备对应的下行订阅关系;In a possible implementation manner, the removing
其中,所述下行订阅关系包括所述代理设备与客户端设备之间的直接订阅关系或者间接订阅关系;所述客户端设备是通过所述代理设备向所述目标设备订阅资源的设备。Wherein, the downlink subscription relationship includes a direct subscription relationship or an indirect subscription relationship between the proxy device and the client device; the client device is a device that subscribes resources to the target device through the proxy device.
在一种可能的实现方式中,所述移除模块1202,用于停止发送所述目标设备的资源更新通知。In a possible implementation manner, the removing
在一种可能的实现方式中,所述移除模块1202,用于,In a possible implementation manner, the removing
当所述下行订阅关系包括所述代理设备与所述客户端设备之间的直接订阅关系时,停止向所述客户端设备发送所述目标设备的资源更新通知;When the downlink subscription relationship includes a direct subscription relationship between the proxy device and the client device, stop sending the resource update notification of the target device to the client device;
当所述行订阅关系包括所述代理设备与所述客户端设备之间的间接订阅关系时,停止向与所述订阅 关系对应的下行路径发送所述目标设备的资源更新通知。When the line subscription relationship includes an indirect subscription relationship between the proxy device and the client device, stop sending the resource update notification of the target device to the downlink path corresponding to the subscription relationship.
在一种可能的实现方式中,所述代理设备中包含订阅关系表,所述订阅关系表中包含所述客户端设备与所述目标设备之间的对应关系表项;In a possible implementation manner, the proxy device includes a subscription relationship table, and the subscription relationship table includes a correspondence relationship entry between the client device and the target device;
所述移除模块1202,用于当所述指示信息指示移除所述代理设备对所述目标设备的订阅权限时,从所述订阅关系表删除所述客户端设备与所述目标设备之间的对应关系表项。The removing
在一种可能的实现方式中,所述客户端设备与所述目标设备之间的对应关系表项中还包含以下三种信息中的至少一种:In a possible implementation manner, the correspondence entry between the client device and the target device further includes at least one of the following three types of information:
所述目标设备中的资源的标识、所述目标设备的资源更新通知的最大发送间隔、以及所述目标设备的资源更新通知的最小发送间隔。The identifier of the resource in the target device, the maximum sending interval of the resource update notification of the target device, and the minimum sending interval of the resource update notification of the target device.
在一种可能的实现方式中,所述接收模块1201,用于接收所述配置设备发送的配置列表修改指示信息;所述配置列表修改指示信息用于指示对代理配置簇中的配置列表进行修改。In a possible implementation manner, the
在一种可能的实现方式中,所述接收模块1201,用于接收所述配置设备发送的源节点修改命令;所述源节点修改命令用于指示在源列表中移除或者增加源节点设备的标识。In a possible implementation manner, the
在一种可能的实现方式中,所述移除模块1202,用于当所述源节点修改命令包括移除源节点命令时,移除与所述目标设备对应的订阅关系;In a possible implementation manner, the removing
其中,所述移除源节点命令用于指示在所述源列表中移除所述目标设备的标识。Wherein, the remove source node command is used to instruct to remove the identifier of the target device from the source list.
在一种可能的实现方式中,所述源节点修改命令中包含移除或者增加的源节点设备的标识。In a possible implementation manner, the source node modification command includes the identifier of the removed or added source node device.
请参考图13,其示出了本申请一个实施例提供的订阅控制装置的框图。该装置具有实现上述图4或图7所示的方法中,由配置设备执行的功能。如图13所示,该订阅控制装置1300可以包括:Please refer to FIG. 13 , which shows a block diagram of a subscription control device provided by an embodiment of the present application. The apparatus has the functions executed by the configuration device in the method shown in FIG. 4 or FIG. 7 . As shown in Figure 13, the subscription control device 1300 may include:
发送模块1301,用于向代理设备发送指示信息,所述指示信息用于指示所述代理设备对目标设备的订阅权限的变化情况,以使得所述代理设备在所述指示信息指示移除所述代理设备对所述目标设备的订阅权限时,移除与所述目标设备对应的订阅关系。The sending
在一种可能的实现方式中,所述发送模块1301,用于向所述代理设备发送配置列表修改指示信息;所述配置列表修改指示信息用于指示对代理配置簇中的配置列表进行修改。In a possible implementation manner, the sending
在一种可能的实现方式中,所述发送模块1301,用于向所述代理设备发送源节点修改命令;所述源节点修改命令用于指示在源列表中移除或者增加源节点设备的标识;所述源列表位于代理配置簇包含的配置列表中;所述源列表中包含所述代理设备可代理订阅的源节点设备的标识。In a possible implementation manner, the sending
在一种可能的实现方式中,所述发送模块1301,还用于向所述目标设备发送权限控制指令,所述权限控制指令用于去除所述代理设备的以下两种权限中的至少一种:In a possible implementation manner, the sending
代理浏览权限,以及,浏览权限。proxy browsing permissions, and, browsing permissions.
在一种可能的实现方式中,所述权限控制指令用于对所述目标设备的ACL簇中的访问控制条目记录进行更新,以去除所述代理设备对所述目标设备的代理浏览权限和浏览权限中的至少一种。In a possible implementation manner, the permission control instruction is used to update the access control entry record in the ACL cluster of the target device, so as to remove the proxy browsing permission and browsing rights of the proxy device to the target device. at least one of the permissions.
请参考图14,其示出了本申请一个实施例提供的订阅控制装置的框图。该装置具有实现上述图5或图7所示的方法中,由目标设备执行的功能。如图14所示,该订阅控制装置1400可以包括:Please refer to FIG. 14 , which shows a block diagram of a subscription control device provided by an embodiment of the present application. The apparatus has the functions executed by the target device in the method shown in FIG. 5 or FIG. 7 . As shown in Figure 14, the subscription control device 1400 may include:
接收模块1401,用于接收代理设备发送的取消订阅请求,所述取消订阅请求用于指示取消向所述目标设备订阅资源;A
其中,所述取消订阅请求是所述代理设备接收到配置设备发送的指示信息,且所述指示信息指示取消所述代理设备对所述目标设备的订阅权限时发送的请求。Wherein, the unsubscribe request is a request sent by the proxy device when it receives indication information sent by the configuration device, and the indication information indicates to cancel the subscription right of the proxy device to the target device.
需要说明的一点是,上述实施例提供的装置在实现其功能时,仅以上述各个功能模块的划分进行举例说明,实际应用中,可以根据实际需要而将上述功能分配由不同的功能模块完成,即将设备的内容结构划分成不同的功能模块,以完成以上描述的全部或者部分功能。It should be noted that when the device provided by the above embodiment realizes its functions, it only uses the division of the above-mentioned functional modules as an example for illustration. In practical applications, the above-mentioned function allocation can be completed by different functional modules according to actual needs. That is, the content structure of the device is divided into different functional modules to complete all or part of the functions described above.
关于上述实施例中的装置,其中各个模块执行操作的具体方式已经在有关该方法的实施例中进行了详细描述,此处将不做详细阐述说明。Regarding the apparatus in the foregoing embodiments, the specific manner in which each module executes operations has been described in detail in the embodiments related to the method, and will not be described in detail here.
请参考图15,其示出了本申请一个实施例提供的计算机设备1500的结构示意图。该计算机设备1500可以包括:处理器1501、接收器1502、发射器1503、存储器1504和总线1505。Please refer to FIG. 15 , which shows a schematic structural diagram of a computer device 1500 provided by an embodiment of the present application. The computer device 1500 may include: a
处理器1501包括一个或者一个以上处理核心,处理器1501通过运行软件程序以及模块,从而执行各种功能应用以及信息处理。The
接收器1502和发射器1503可以实现为一个通信组件,该通信组件可以是一块通信芯片。该通信芯 片也可以称为收发器。The
存储器1504通过总线1505与处理器1501相连。The
存储器1504可用于存储计算机程序,处理器1501用于执行该计算机程序,以实现上述方法实施例中的各个步骤。The
此外,存储器1504可以由任何类型的易失性或非易失性存储设备或者它们的组合实现,易失性或非易失性存储设备包括但不限于:磁盘或光盘,电可擦除可编程只读存储器,可擦除可编程只读存储器,静态随时存取存储器,只读存储器,磁存储器,快闪存储器,可编程只读存储器。In addition, the
在一个示例性的方案中,当计算机设备1500实现为代理设备时,所述收发器1502,用于接收配置设备发送的指示信息,所述指示信息用于指示所述代理设备对目标设备的订阅权限的变化情况;In an exemplary solution, when the computer device 1500 is implemented as a proxy device, the
所述处理器1501,用于当所述指示信息指示移除所述代理设备对所述目标设备的订阅权限时,移除与所述目标设备对应的订阅关系。The
其中,上述计算机设备1500中的处理器1501和/或收发器1502执行的过程可以参考上述图3或图7任一所示的方法中,由代理设备执行的各个步骤。Wherein, the processes performed by the
在另一个示例性的方案中,当计算机设备1500实现为配置设备时,所述收发器1501,用于向代理设备发送指示信息,所述指示信息用于指示所述代理设备对目标设备的订阅权限的变化情况,以使得所述代理设备在所述指示信息指示移除所述代理设备对所述目标设备的订阅权限时,移除与所述目标设备对应的订阅关系。In another exemplary solution, when the computer device 1500 is implemented as a configuration device, the
其中,上述计算机设备1500中的处理器1501和/或收发器1502执行的过程可以参考上述图4或图7任一所示的方法中,由配置设备执行的各个步骤。Wherein, the process executed by the
在另一个示例性的方案中,当计算机设备1500实现为目标设备时,所述收发器1501,用于接收代理设备发送的取消订阅请求,所述取消订阅请求用于指示取消向所述目标设备订阅资源;In another exemplary solution, when the computer device 1500 is implemented as a target device, the
其中,所述取消订阅请求是所述代理设备接收到配置设备发送的指示信息,且所述指示信息指示移除所述代理设备对所述目标设备的订阅权限时发送的请求。Wherein, the unsubscribe request is a request sent by the proxy device when it receives indication information sent by the configuration device, and the indication information indicates that the proxy device's subscription right to the target device is removed.
其中,上述计算机设备1500中的处理器1501和/或收发器1502执行的过程可以参考上述图5或图7任一所示的方法中,由目标设备执行的各个步骤。Wherein, the process executed by the
本申请实施例还提供了一种计算机可读存储介质,所述存储介质中存储有计算机程序,所述计算机程序由处理器加载并执行以实现上述图3、图4、图5或者图7所示的方法中,由代理设备、配置设备或者目标设备执行的全部或者部分步骤。The embodiment of the present application also provides a computer-readable storage medium, where a computer program is stored in the storage medium, and the computer program is loaded and executed by a processor to implement the above-mentioned information in FIG. 3 , FIG. 4 , FIG. 5 or FIG. 7 . In the method shown, all or part of the steps are performed by the agent device, configuration device or target device.
本申请还提供了一种芯片,该芯片用于在计算机设备中运行,以使得计算机设备执行上述图3、图4、图5或者图7所示的方法中,由代理设备、配置设备或者目标设备执行的全部或者部分步骤。The present application also provides a chip, which is used to run in a computer device, so that the computer device executes the method shown in FIG. 3, FIG. 4, FIG. 5 or FIG. All or part of the steps performed by the device.
本申请还提供了一种计算机程序产品,该计算机程序产品或计算机程序包括计算机指令,该计算机指令存储在计算机可读存储介质中。计算机设备的处理器从计算机可读存储介质读取该计算机指令,处理器执行该计算机指令,使得计算机设备执行上述图3、图4、图5或者图7所示的方法中,由代理设备、配置设备或者目标设备执行的全部或者部分步骤。The present application also provides a computer program product, the computer program product or the computer program includes computer instructions, and the computer instructions are stored in a computer-readable storage medium. The processor of the computer device reads the computer instruction from the computer-readable storage medium, and the processor executes the computer instruction, so that the computer device executes the method shown in FIG. 3, FIG. 4, FIG. 5 or FIG. All or part of the steps performed by the configuration device or the target device.
本申请还提供了一种计算机程序,该计算机程序由计算机设备的处理器执行,以实现上述图3、图4、图5或者图7所示的方法中,由代理设备、配置设备或者目标设备执行的全部或者部分步骤。The present application also provides a computer program, the computer program is executed by the processor of the computer device, so as to implement the method shown in FIG. 3, FIG. 4, FIG. 5 or FIG. All or part of the steps performed.
本领域技术人员应该可以意识到,在上述一个或多个示例中,本申请实施例所描述的功能可以用硬件、软件、固件或它们的任意组合来实现。当使用软件实现时,可以将这些功能存储在计算机可读介质中或者作为计算机可读介质上的一个或多个指令或代码进行传输。计算机可读介质包括计算机存储介质和通信介质,其中通信介质包括便于从一个地方向另一个地方传送计算机程序的任何介质。存储介质可以是通用或专用计算机能够存取的任何可用介质。Those skilled in the art should be aware that, in the foregoing one or more examples, the functions described in the embodiments of the present application may be implemented by hardware, software, firmware or any combination thereof. When implemented in software, the functions may be stored on or transmitted over as one or more instructions or code on a computer-readable medium. Computer-readable media includes both computer storage media and communication media including any medium that facilitates transfer of a computer program from one place to another. A storage media may be any available media that can be accessed by a general purpose or special purpose computer.
以上所述仅为本申请的示例性实施例,并不用以限制本申请,凡在本申请的精神和原则之内,所作的任何修改、等同替换、改进等,均应包括在本申请的保护范围之内。The above are only exemplary embodiments of the application, and are not intended to limit the application. Any modifications, equivalent replacements, improvements, etc. made within the spirit and principles of the application shall be included in the protection of the application. within range.
| Application Number | Priority Date | Filing Date | Title | 
|---|---|---|---|
| PCT/CN2021/133720WO2023092504A1 (en) | 2021-11-26 | 2021-11-26 | Subscription control method and apparatus, and computer device and storage medium | 
| CN202180102137.6ACN117917103A (en) | 2021-11-26 | 2021-11-26 | Subscription control method, device, computer equipment and storage medium | 
| Application Number | Priority Date | Filing Date | Title | 
|---|---|---|---|
| PCT/CN2021/133720WO2023092504A1 (en) | 2021-11-26 | 2021-11-26 | Subscription control method and apparatus, and computer device and storage medium | 
| Publication Number | Publication Date | 
|---|---|
| WO2023092504A1true WO2023092504A1 (en) | 2023-06-01 | 
| Application Number | Title | Priority Date | Filing Date | 
|---|---|---|---|
| PCT/CN2021/133720CeasedWO2023092504A1 (en) | 2021-11-26 | 2021-11-26 | Subscription control method and apparatus, and computer device and storage medium | 
| Country | Link | 
|---|---|
| CN (1) | CN117917103A (en) | 
| WO (1) | WO2023092504A1 (en) | 
| Publication number | Priority date | Publication date | Assignee | Title | 
|---|---|---|---|---|
| WO2024254877A1 (en)* | 2023-06-16 | 2024-12-19 | Oppo广东移动通信有限公司 | Vehicle management method and apparatus, and device, storage medium and program product | 
| Publication number | Priority date | Publication date | Assignee | Title | 
|---|---|---|---|---|
| CN101645881A (en)* | 2008-08-06 | 2010-02-10 | 中兴通讯股份有限公司 | Method for processing subscription notification based on application server permission | 
| CN107113225A (en)* | 2015-01-09 | 2017-08-29 | 华为技术有限公司 | The method and entity of subscribing notification in machine communication system | 
| CN107431722A (en)* | 2015-03-09 | 2017-12-01 | 瑞典爱立信有限公司 | Dynamic event subscription for M2M communication | 
| CN111865888A (en)* | 2019-04-29 | 2020-10-30 | 华为技术有限公司 | A kind of authorization method and device for proxy subscription | 
| WO2021160547A1 (en)* | 2020-02-14 | 2021-08-19 | Telefonaktiebolaget Lm Ericsson (Publ) | Change request with indication that no notification of subscribed data change is to be sent to requesting network function | 
| Publication number | Priority date | Publication date | Assignee | Title | 
|---|---|---|---|---|
| CN101645881A (en)* | 2008-08-06 | 2010-02-10 | 中兴通讯股份有限公司 | Method for processing subscription notification based on application server permission | 
| CN107113225A (en)* | 2015-01-09 | 2017-08-29 | 华为技术有限公司 | The method and entity of subscribing notification in machine communication system | 
| CN107431722A (en)* | 2015-03-09 | 2017-12-01 | 瑞典爱立信有限公司 | Dynamic event subscription for M2M communication | 
| CN111865888A (en)* | 2019-04-29 | 2020-10-30 | 华为技术有限公司 | A kind of authorization method and device for proxy subscription | 
| WO2021160547A1 (en)* | 2020-02-14 | 2021-08-19 | Telefonaktiebolaget Lm Ericsson (Publ) | Change request with indication that no notification of subscribed data change is to be sent to requesting network function | 
| Publication number | Priority date | Publication date | Assignee | Title | 
|---|---|---|---|---|
| WO2024254877A1 (en)* | 2023-06-16 | 2024-12-19 | Oppo广东移动通信有限公司 | Vehicle management method and apparatus, and device, storage medium and program product | 
| Publication number | Publication date | 
|---|---|
| CN117917103A (en) | 2024-04-19 | 
| Publication | Publication Date | Title | 
|---|---|---|
| CN110463164B (en) | System and method for resolving credentials for a device | |
| CN108353094B (en) | Cross-resource subscription for M2M service layer | |
| US20230327954A1 (en) | Systems and methods for network device management using device clustering | |
| EP3493485B1 (en) | Method, apparatus and system for notification | |
| CN110324399B (en) | Incorporating cluster awareness into the facility management portal | |
| CN110324400A (en) | System and method for on-demand solution level management via logical architecture awareness | |
| US11928349B2 (en) | Access control configurations for shared memory | |
| JP7510429B2 (en) | Cloud-enable legacy trusted network devices for zero-touch provisioning and enterprise-as-a-service | |
| CN107835089A (en) | The method and apparatus for managing resource | |
| WO2023092504A1 (en) | Subscription control method and apparatus, and computer device and storage medium | |
| WO2023082113A1 (en) | Method and apparatus for configuring bridging device, device, and storage medium | |
| CN103595573B (en) | Method and device for issuing strategy rules | |
| WO2023108653A1 (en) | Subscription access information processing method and apparatus, computer device and storage medium | |
| CN114051029B (en) | Authorization method, authorization device, electronic equipment and storage medium | |
| WO2023201587A1 (en) | Device control method and apparatus, device, and storage medium | |
| CN113783823B (en) | Method, device and storage medium for obtaining network address of MUD file | |
| WO2024103374A1 (en) | Processing method and apparatus for proxy subscription, and computer device and storage medium | |
| CN115396246B (en) | Data center access method, system, computer equipment and storage medium | |
| CN111818111B (en) | A host and server | |
| WO2024011634A1 (en) | Subscription message processing method and apparatus, device, storage medium, and program product | |
| CN117061393B (en) | Test system, test method and computer program product | |
| CN118103838A (en) | Information reporting method, device, equipment and storage medium | |
| US11736348B2 (en) | System and method for network services based functionality provisioning in a VDI environment | |
| CN119654631A (en) | Device unbinding method, apparatus, equipment, storage medium and program product | |
| US20240236056A1 (en) | Authenticating work order requests in a multiple node environment | 
| Date | Code | Title | Description | 
|---|---|---|---|
| 121 | Ep: the epo has been informed by wipo that ep was designated in this application | Ref document number:21965237 Country of ref document:EP Kind code of ref document:A1 | |
| WWE | Wipo information: entry into national phase | Ref document number:202180102137.6 Country of ref document:CN | |
| NENP | Non-entry into the national phase | Ref country code:DE | |
| 122 | Ep: pct application non-entry in european phase | Ref document number:21965237 Country of ref document:EP Kind code of ref document:A1 |