






本申请要求于2021年7月30日提交中国国家知识产权局、申请号为202110875360.6、发明名称为“一种问卷投放方法、系统、设备、介质及产品”的中国专利申请的优先权,其全部内容通过引用结合在本申请中。This application claims the priority of the Chinese patent application submitted to the State Intellectual Property Office of China on July 30, 2021, with the application number 202110875360.6, and the title of the invention is "a questionnaire delivery method, system, equipment, medium and product", all of which The contents are incorporated by reference in this application.
本发明属于计算机技术领域,具体涉及一种问卷投放方法、系统、设备、介质及产品。The invention belongs to the technical field of computers, and in particular relates to a questionnaire delivery method, system, equipment, medium and product.
随着计算机技术的不断发展,基于计算机技术开发的计算机程序产品,例如各种功能的应用应运而生。其中,应用可以根据适用的设备或平台分为网页端、桌面端、移动端或者小程序端等不同类型。With the continuous development of computer technology, computer program products developed based on computer technology, such as applications of various functions, emerge as the times require. Among them, the application can be divided into different types such as web page, desktop, mobile or applet according to the applicable device or platform.
为了更好地满足用户对于应用等计算机程序产品的诉求,通常需要收集用户在使用上述产品过程中的真实感受,以帮助挖掘产品的优化方向。目前,主流的方式是向用户发送问卷页面的统一定位符(uniform resource locator,URL)。当用户通过URL访问问卷页面,并通过问卷页面提交答复时,可以通过该答复收集用户对于产品使用的反馈。In order to better meet users' demands for computer program products such as applications, it is usually necessary to collect users' real feelings in the process of using the above-mentioned products, so as to help explore product optimization directions. Currently, the mainstream method is to send a uniform resource locator (URL) of the questionnaire page to the user. When a user accesses the questionnaire page through the URL and submits an answer through the questionnaire page, the user's feedback on product use can be collected through the answer.
然而,上述方法存在回收率低的问题,并且用户可能是在使用应用等产品一段时间后再在问卷页面进行答复。由此导致难以实时获取用户使用产品时的真实感受,也即通过问卷页面的URL收集的信息的置信度相对较低。如此难以满足业务需求。However, the above method has the problem of low recovery rate, and the user may reply on the questionnaire page after using the application and other products for a period of time. As a result, it is difficult to obtain the real feeling of the user when using the product in real time, that is, the confidence level of the information collected through the URL of the questionnaire page is relatively low. So difficult to meet business needs.
发明内容Contents of the invention
提供该发明内容部分以便以简要的形式介绍构思,这些构思将在后面的具体实施方式部分被详细描述。该发明内容部分并不旨在标识要求保护的技术方案的关键特征或必要特征,也不旨在用于限制所要求的保护的技术方案的范围。This Summary is provided to introduce a simplified form of concepts that are described in detail later in the Detailed Description. This summary of the invention is not intended to identify key features or essential features of the claimed technical solution, nor is it intended to be used to limit the scope of the claimed technical solution.
第一方面,本公开提供一种问卷投放方法,应用于问卷投放SDK,包括:接收与应用匹配的问卷配置信息;当问卷投放条件被触发时,根据所述问卷配置信息在所述应用的页面内呈现问卷,所述问卷用于收集用户对所述应用的反馈。In the first aspect, the present disclosure provides a questionnaire delivery method, which is applied to the questionnaire delivery SDK, including: receiving questionnaire configuration information that matches the application; A questionnaire is presented in the , and the questionnaire is used to collect user feedback on the application.
第二方面,本公开提供一种问卷投放SDK,包括:通信模块,用于接收与应用匹配的问卷配置信息;展示模块,用于当问卷投放条件被触发时,根据所述问卷配置信息在所述应用的页面内呈现问卷,所述问卷用于收集用户对所述应用的反馈。In the second aspect, the present disclosure provides a questionnaire delivery SDK, including: a communication module, configured to receive questionnaire configuration information that matches the application; A questionnaire is presented on the page of the application, and the questionnaire is used to collect user feedback on the application.
第三方面,本公开提供一种电子设备,包括:存储装置,其上存储有计算机程序;处理装置,用于执行所述存储装置中的所述计算机程序,以实现本公开第一方面所述方法的步骤。In a third aspect, the present disclosure provides an electronic device, including: a storage device, on which a computer program is stored; a processing device, configured to execute the computer program in the storage device, so as to implement the first aspect of the present disclosure. method steps.
第四方面,本公开提供一种计算机可读介质,其上存储有计算机程序,该程序被处理装置执行时实现本公开第一方面所述方法的步骤。In a fourth aspect, the present disclosure provides a computer-readable medium on which a computer program is stored, and when the program is executed by a processing device, the steps of the method described in the first aspect of the present disclosure are implemented.
第五方面,本公开提供了一种包含指令的计算机程序产品,当其在设备上运行时,使得设备执行上述第一方面所述方法的步骤。In a fifth aspect, the present disclosure provides a computer program product containing instructions, which, when run on a device, causes the device to execute the steps of the method described in the first aspect above.
通过上述技术方案,问卷投放SDK接收与应用匹配的问卷配置信息,当问卷投放条件被触发时,根据问卷配置信息在应用的页面内呈现问卷。一方面,该方法采用在应用的页面内呈现问卷的方式,代替向用户推送独立的问卷页面的URL,并在用户访问URL时向用户呈现独立的问卷页面的方式,无需用户进行额外的操作,简化了用户答复问卷的流程,提升了用户答复问卷的意愿,从而提高了问卷的回收率。另一方面,该方法是在应用的页面内呈现问卷,也即是在用户使用应用时呈现问卷,因而能够实时获取用户使用产品的真实感受,提高了问卷答复的置信度。如此,满足了业务对问卷投放效率和问卷答复置信度的要求。Through the above technical solution, the questionnaire delivery SDK receives the questionnaire configuration information that matches the application, and when the questionnaire delivery condition is triggered, the questionnaire is presented on the application page according to the questionnaire configuration information. On the one hand, this method adopts the method of presenting the questionnaire in the application page, instead of pushing the URL of the independent questionnaire page to the user, and presenting the independent questionnaire page to the user when the user accesses the URL, without requiring the user to perform additional operations. It simplifies the process of users answering questionnaires, improves users' willingness to answer questionnaires, and thus improves the recovery rate of questionnaires. On the other hand, this method is to present the questionnaire in the application page, that is, to present the questionnaire when the user uses the application, so that the real feeling of the user using the product can be obtained in real time, and the confidence of the questionnaire answer is improved. In this way, the business requirements for questionnaire delivery efficiency and questionnaire response confidence are met.
本公开的其他特征和优点将在随后的具体实施方式部分予以详细说明。Other features and advantages of the present disclosure will be described in detail in the detailed description that follows.
附图用来提供对本发明的进一步理解,并且构成说明书的一部分,与本发明实施例一起用于解释本发明,并不构成对本发明的限制。在附图中:The accompanying drawings are used to provide a further understanding of the present invention, and constitute a part of the description, and are used together with the embodiments of the present invention to explain the present invention, and do not constitute a limitation to the present invention. In the attached picture:
图1为本公开实施例提供的一种问卷投放系统的系统架构图;FIG. 1 is a system architecture diagram of a questionnaire delivery system provided by an embodiment of the present disclosure;
图2为本公开实施例提供的一种问卷投放SDK的示意图;FIG. 2 is a schematic diagram of a questionnaire delivery SDK provided by an embodiment of the present disclosure;
图3为本公开实施例提供的一种问卷投放方法的流程示意图;FIG. 3 is a schematic flow diagram of a questionnaire delivery method provided by an embodiment of the present disclosure;
图4为本公开实施例提供的一种问卷投放的手机端应用呈现页面的示意图;FIG. 4 is a schematic diagram of a mobile terminal application display page for questionnaire placement provided by an embodiment of the present disclosure;
图5为本公开实施例提供的一种问卷投放的web端应用呈现页面的示意图;FIG. 5 is a schematic diagram of a web-side application presentation page for questionnaire delivery provided by an embodiment of the present disclosure;
图6为本公开实施例提供的一种免打扰设置的界面示意图;FIG. 6 is a schematic diagram of an interface of a do-not-disturb setting provided by an embodiment of the present disclosure;
图7是根据本公开一种实施例的电子设备的结构示意图。Fig. 7 is a schematic structural diagram of an electronic device according to an embodiment of the present disclosure.
本公开实施例中的术语“第一”、“第二”仅用于描述目的,而不能理解为指示或暗示相对重要性或者隐含指明所指示的技术特征的数量。由此,限定有“第一”、“第二”的特征可以明示或者隐含地包括一个或者更多个该特征。The terms "first" and "second" in the embodiments of the present disclosure are used for description purposes only, and cannot be interpreted as indicating or implying relative importance or implicitly indicating the quantity of indicated technical features. Thus, a feature defined as "first" and "second" may explicitly or implicitly include one or more of these features.
首先对本公开实施例中所涉及到的一些技术术语进行介绍。First, some technical terms involved in the embodiments of the present disclosure are introduced.
应用是指针对用户的某种特殊应用目的所撰写的计算机程序。应用可以根据目的分为办公、娱乐、电商、金融、社交或者游戏等不同类型。每种类型可以包括不同应用,例如娱乐类型的应用可以包括短视频、长视频、新闻、小说、听书等应用。An application refers to a computer program written for a specific application purpose of a user. Applications can be divided into different types such as office, entertainment, e-commerce, finance, social networking or games according to their purpose. Each type may include different applications. For example, entertainment-type applications may include applications such as short videos, long videos, news, novels, and audiobooks.
应用也可以根据适用的设备或平台(例如软件平台)分为网页端应用、桌面端应用、移动端应用或者小程序端应用等不同类型。其中,网页端应用是一种基于web页面生成的应用。桌面端应用是运行于桌面操作系统的应用。移动端应用是运行于移动操作系统的应用。小程序端应用是指寄生在特定软件平台,并在该特定软件平台上运行的应用。Applications can also be classified into different types such as web-side applications, desktop-side applications, mobile-side applications, or applet-side applications according to applicable devices or platforms (such as software platforms). Wherein, the web page application is an application generated based on web pages. A desktop application is an application running on a desktop operating system. Mobile applications are applications that run on mobile operating systems. The applet application refers to an application that is parasitic on a specific software platform and runs on the specific software platform.
为了使应用能够更好地满足用户的诉求,通常需要收集用户在使用应用过程中的真实感受,以帮助挖掘产品的优化方向。一种典型的方式是向用户投放问卷,通过问卷收集用户在使用应用时的感受。In order to make the application better meet the demands of the users, it is usually necessary to collect the real feelings of the users in the process of using the application, so as to help discover the optimization direction of the product. A typical way is to send questionnaires to users, and collect users' feelings when using the application through the questionnaires.
问卷是指以问题的形式进行资料收集的工具。调查人员可以根据自己想要获取的信息制定问卷,然后将问卷投放至所要调查的目标人群,根据 目标人群对于问卷的答复获取自己想要收集的资料。例如,为了获取用户在产品使用过程中的感受,调查人员可以制定包括使用过程中感受的问卷,将问卷投放至使用过该产品的用户,根据用户对于问卷的答复获取用户在产品使用过程中的感受。A questionnaire is a tool for collecting data in the form of questions. Investigators can formulate questionnaires according to the information they want to obtain, and then put the questionnaires to the target population to be investigated, and obtain the information they want to collect according to the responses of the target population to the questionnaire. For example, in order to obtain the user's feelings during the use of the product, investigators can formulate a questionnaire that includes the feeling during the use of the product, distribute the questionnaire to users who have used the product, and obtain the user's experience during the use of the product based on the user's answers to the questionnaire. feel.
通常情况下,关于用户在产品使用过程中的感受的问卷投放通常采用向用户发送问卷页面的URL的方式。例如是通过邮件、短信或者其他渠道向用户发送独立的问卷页面的URL。然而,这种方法需要用户在相应渠道访问URL。例如需要用户登录邮箱,然后访问邮箱中的邮件携带的上述URL,操作比较繁琐,降低了用户答复问卷的意愿,导致问卷回收率较低。并且用户可能是在使用该产品一段时间后再访问URL进行问卷答复。因此难以实时获得用户使用产品的真实感受,也即通过问卷页面的URL收集的信息的置信度较低,难以满足业务需求。Usually, the delivery of the questionnaire about the feeling of the user during the use of the product usually adopts the method of sending the URL of the questionnaire page to the user. For example, the URL of an independent questionnaire page is sent to the user by email, short message or other channels. However, this method requires the user to visit the URL in the corresponding channel. For example, the user is required to log in to the mailbox, and then access the above-mentioned URL carried in the mail in the mailbox. The operation is cumbersome, which reduces the willingness of the user to answer the questionnaire, resulting in a low return rate of the questionnaire. And the user may visit the URL to answer the questionnaire after using the product for a period of time. Therefore, it is difficult to obtain the real feeling of the user using the product in real time, that is, the confidence level of the information collected through the URL of the questionnaire page is low, and it is difficult to meet business needs.
有鉴于此,本公开实施例提供了一种问卷投放方法,该方法可以由问卷投放软件开发工具包(software development kit,SDK)执行。具体地,问卷投放SDK接收与应用匹配的问卷配置信息。当问卷投放条件被触发时,问卷投放SDK根据问卷配置信息在该应用的页面内呈现用于收集用户对于该应用的反馈的问卷。In view of this, an embodiment of the present disclosure provides a questionnaire delivery method, which can be executed by a questionnaire delivery software development kit (software development kit, SDK). Specifically, the questionnaire delivery SDK receives questionnaire configuration information that matches the application. When the questionnaire delivery condition is triggered, the questionnaire delivery SDK presents a questionnaire for collecting user feedback on the application in the page of the application according to the questionnaire configuration information.
一方面,该方法采用在应用的页面内呈现问卷的方式,代替向用户推送独立的问卷页面的URL,并在用户访问URL时向用户呈现独立的问卷页面的方式,无需用户进行额外的操作,简化了用户答复问卷的流程,提升了用户答复问卷的意愿,从而提高了问卷的回收率。另一方面,该方法是在应用的页面内呈现问卷,也即是在用户使用应用时呈现问卷。因而能够实时获取用户使用产品的真实感受,提高了问卷答复的置信度。如此,满足了业务对问卷投放效率和问卷答复置信度的要求。On the one hand, this method adopts the method of presenting the questionnaire in the application page, instead of pushing the URL of the independent questionnaire page to the user, and presenting the independent questionnaire page to the user when the user accesses the URL, without requiring the user to perform additional operations. It simplifies the process of users answering questionnaires, improves users' willingness to answer questionnaires, and thus improves the recovery rate of questionnaires. On the other hand, the method is to present the questionnaire in the page of the application, that is, to present the questionnaire when the user uses the application. Therefore, it is possible to obtain the real feeling of the user using the product in real time, which improves the confidence of the questionnaire answer. In this way, the business requirements for questionnaire delivery efficiency and questionnaire response confidence are met.
为了使得本公开实施例的技术方案更加清楚、易于理解,下面结合附图对本公开实施例提供的问卷投放方法的系统架构进行介绍。In order to make the technical solutions of the embodiments of the present disclosure clearer and easier to understand, the system architecture of the method for placing questionnaires provided by the embodiments of the present disclosure will be introduced below with reference to the accompanying drawings.
参见图1所示的问卷投放系统100的架构示意图,问卷投放系统100包括终端102和服务器104。其中,终端102包括但不限于台式电脑、笔记本电脑、个人数字助理(personal digital assistant,PDA)、平板电脑、智 能手机或者智能穿戴设备等。服务器104可以是云服务器,例如是中心云计算集群中的中心服务器,或者是边缘云计算集群中的边缘服务器。当然,服务器104也可以是本地数据中心中的服务器。本地数据中心是指用户直接控制的数据中心。Referring to the schematic architecture diagram of the
终端102上部署有应用,例如是第一应用和第二应用。其中,第一应用中安装有与第一应用对应的问卷投放SDK。第二应用可以为平台应用,该平台应用可以运行小程序端应用。例如第二应用可以运行第一小程序、第二小程序。类似地,第一小程序中可以安装与第一小程序对应的问卷投放SDK。服务器104上部署有问卷投放服务端。终端102中的问卷投放SDK可以与服务器104中的问卷投放服务端交互,从而实现问卷投放。Applications, such as a first application and a second application, are deployed on the
具体地,终端102中的问卷投放SDK可以接收与应用匹配的问卷配置信息。例如终端102中的问卷投放SDK可以向服务器104发送问卷配置请求。该问卷配置请求用于请求问卷配置信息,该问卷配置信息具体可以是与应用匹配的问卷配置信息。例如第一应用对应的问卷投放SDK可以请求与第一应用匹配的问卷配置信息,第二应用中第一小程序对应的问卷投放SDK可以请求与第一小程序匹配的问卷配置信息。然后终端102中的问卷投放SDK接收服务器104返回的问卷配置信息。Specifically, the questionnaire delivery SDK in the terminal 102 can receive questionnaire configuration information that matches the application. For example, the questionnaire delivery SDK in the terminal 102 can send a questionnaire configuration request to the
当问卷投放条件被触发时,问卷投放SDK可以根据问卷配置信息在应用的页面内呈现问卷。该问卷用于收集用户对应用的反馈,该反馈例如可以是用户对应用的使用感受或者建议等。具体地,用户可以通过终端102对问卷进行答复,终端102中的问卷投放SDK可以基于接收用户对问卷的答复,从而收集用户对应用的反馈。When the questionnaire delivery condition is triggered, the questionnaire delivery SDK can present the questionnaire in the application page according to the questionnaire configuration information. The questionnaire is used to collect user feedback on the application, and the feedback may be, for example, the user's experience or suggestion on the application. Specifically, the user can reply to the questionnaire through the terminal 102, and the questionnaire delivery SDK in the terminal 102 can collect the user's feedback on the application based on receiving the user's reply to the questionnaire.
进一步地,问卷投放系统100还可以支持问卷投放者自定义问卷。具体地,问卷投放系统100还可以包括服务器106和终端108。其中,服务器106中部署有问卷管理平台。该问卷管理平台支持问卷投放者对问卷进行管理,例如支持问卷投放者创建新的问卷,修改或删除已有的问卷。具体地,问卷投放者可以通过终端108访问服务器106中的问卷管理平台,以创建新的问卷或者删除已有的问卷。Furthermore, the
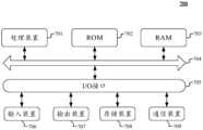
接下来,结合附图,对问卷投放SDK进行详细说明。参见图2所示的问卷投放SDK的结构示意图,问卷投放SDK200包括通信模块202和展示模块206。其中,通信模块202用于与服务器104通信,例如和服务器104中部署的问卷投放服务端通信,从而接收与应用匹配的问卷配置信息。展示模块206用于当问卷投放条件被触发时,根据所述问卷配置信息在所述应用的页面内呈现问卷。该问卷用于收集用户对所述应用的反馈。进一步地,问卷投放SDK200还包括逻辑处理模块204。逻辑处理模块204用于根据问卷展示逻辑进行处理,从而确定是否触发问卷投放条件。Next, the questionnaire delivery SDK will be described in detail in combination with the attached drawings. Referring to the schematic structural diagram of the questionnaire delivery SDK shown in FIG. 2 , the questionnaire delivery SDK 200 includes a
需要说明的是,针对不同类型应用,问卷投放SDK200可以有不同的实现方式。下面以web应用和小程序端应用进行示例说明。It should be noted that, for different types of applications, the questionnaire delivery SDK 200 can be implemented in different ways. The following uses a web application and an applet application as examples for illustration.
针对web端应用,通信模块202可以提供用于上报用户标识和事件的应用程序编程接口(application programming interface,API),例如是用户标识上报API、事件上报API。其中,应用(例如是应用的客户端)可以获取用户标识。该用户标识可以通过属性和属性值的键值对(key-value)表示。问卷投放SDK200的通信模块202可以从应用获得用户标识,然后通过用户标识上报API向服务器104(例如是服务器104中的问卷投放服务端)上报用户标识。For web-side applications, the
类似地,应用还可以设置自定义事件,该自定义事件例如可以是加入购物车、提交评论等。其中,自定义事件可以通过简单的字符串表示,以用于表征特定的用户交互场景。例如,提交评论这一自定义事件可以通过“submit_comment”表示。当应用检测到自定义事件发生时,可以发送该自定义事件至问卷投放SDK200。问卷投放SDK200的通信模块202可以通过事件上报API,向服务器104上报检测到的自定义事件。Similarly, the application can also set custom events, such as adding to the shopping cart, submitting comments, and so on. Among them, custom events can be represented by simple strings to represent specific user interaction scenarios. For example, a custom event for submitting a comment could be represented by "submit_comment". When the application detects that a custom event occurs, the custom event can be sent to the questionnaire delivery SDK 200 . The
如此,服务器104可以基于通信模块202上报的用户标识、自定义事件判断是否问卷投放条件是否被触发。在一些实施例中,问卷投放SDK200也可以自行判断问卷投放条件是否被触发。具体地,问卷投放SDK200可以通过逻辑处理模块204判断问卷投放条件是否触发。In this way, the
需要说明的是,问卷投放SDK200还可以包括行为收集模块208。该行为收集模块208用于检测页面URL变化、页面停留时长等行为,然后将上 述行为上报至服务器104,以便于服务器104判断问卷投放条件是否被触发。It should be noted that the questionnaire delivery SDK 200 may also include a behavior collection module 208 . The behavior collection module 208 is used to detect behaviors such as page URL changes, page stay time, and then report the above-mentioned behaviors to the
在本实施例中,展示模块206可以包括表单渲染器FormBuilder。其中,FormBuilder可以使用Svelte框架,将问卷管理平台中配置的问卷配置信息渲染为超文本标记语言(hyper text markup language,HTML)用户界面,从而实现通过该HTML用户界面向用户呈现问卷。In this embodiment, the presentation module 206 may include a form renderer FormBuilder. Among them, FormBuilder can use the Svelte framework to render the questionnaire configuration information configured in the questionnaire management platform into a hyper text markup language (hyper text markup language, HTML) user interface, so as to present the questionnaire to the user through the HTML user interface.
针对小程序端应用,问卷投放SDK200的通信模块202可以提供不同接入API,以使得小程序端应用可以通过对应的接入API接入该问卷投放SDK200。例如,小程序端应用可以通过小程序接入API接入问卷投放SDK200,或者是通过lynx API接入问卷投放SDK200。For the applet application, the
其中,小程序运行环境不支持动态渲染视图,所以通信模块202可以提供占位组件的机制。业务方如小程序端应用事先将占位组件放在指定页面中,通信模块202在使用小程序接入API获取到问卷配置信息之后发送全局事件,唤醒检测全局事件的占位组件,即可在对应页面渲染出表单。Wherein, the applet operating environment does not support dynamic rendering of views, so the
lynx API可以借助Lynx openPopupView提供的能力,在不引入组件代码的情况下,获取到问卷配置信息之后,通过openDialogCard方法直接打开表单,以实现在相应页面中展示问卷。The lynx API can use the capabilities provided by Lynx openPopupView to directly open the form through the openDialogCard method after obtaining the questionnaire configuration information without introducing component codes, so as to display the questionnaire on the corresponding page.
考虑到小程序运行时(runtime)和lynx runtime的模块差异,问卷投放SDK200还可以包括跨平台模块210。该跨平台模块210用于提供统一的网络接口、统一的组件、统一的通知接口以及事件系统,以解决小程序runtime和lynx runtime的模块差异。Considering the module differences between the applet runtime (runtime) and lynx runtime, the questionnaire delivery SDK 200 may also include a cross-platform module 210. The cross-platform module 210 is used to provide a unified network interface, a unified component, a unified notification interface and an event system, so as to solve the module differences between the applet runtime and the lynx runtime.
下面对小程序runtime和lynx runtime的模块差异以及相应的解决方案进行示例说明。具体请参见如下表格:The following is an example of the module differences between the applet runtime and lynx runtime and the corresponding solutions. Please refer to the table below for details:
表1小程序runtime和lynx runtime的模块差异及解决方案Table 1 Module differences and solutions between applet runtime and lynx runtime
以上对执行问卷投放方法的问卷投放系统100进行了介绍,接下来,将从搭载在应用上的问卷投放SDK200的角度对本公开实施例提供的问卷投放方法进行详细说明。The
参见图3所示的问卷投放方法的交互流程图,该方法包括:Referring to the interactive flow chart of the questionnaire delivery method shown in Figure 3, the method includes:
S302:问卷投放SDK200从服务器104中接收与应用匹配的问卷配置信息。S302: The questionnaire delivery SDK 200 receives the questionnaire configuration information matching the application from the
其中,应用为搭载该问卷投放SDK200的应用。在一些可能的实现方式中,同一个终端可以包括多个应用,需要进行问卷投放的每一个应用包括一个对应的问卷投放SDK200。问卷投放SDK200搭载在该应用上,用于 为该应用提供问卷投放功能。Wherein, the application is an application equipped with the questionnaire delivery SDK 200 . In some possible implementation manners, the same terminal may include multiple applications, and each application requiring questionnaire delivery includes a corresponding questionnaire delivery SDK200. The questionnaire delivery SDK200 is carried on the application, and is used to provide the application with a questionnaire delivery function.
问卷配置信息可以由问卷投放者通过问卷管理平台106配置。如图1所示,问卷投放者可以通过第二终端108实现对于问卷配置信息的设置,并上传至问卷管理平台106中。问卷投放SDK200可以通过其所搭载应用的应用密钥appKey,从服务器106中接收与应用匹配的问卷配置信息。其中,应用密钥例如可以是产品标识。The questionnaire configuration information can be configured by the questionnaire provider through the
问卷配置信息可以包括投放对象的描述信息。例如,对该页面的页面访问量大于20次的用户,对该页面的页面停留时长大于20s的用户,或者购买了预设商品的用户。又例如,投放对象可以是用户群,例如是某公司的员工、某小区的居民等等。The questionnaire configuration information may include description information of delivery objects. For example, users who visit the page for more than 20 times, users who stay on the page for more than 20 seconds, or users who have purchased preset products. For another example, the delivery target may be a user group, such as employees of a certain company, residents of a certain community, and so on.
问卷配置信息也可以包括投放内容。投放内容可以包括想要获得答复的问卷内容,即问卷投放者需要通过问卷收集的信息。在一些可能的实现方式中,投放内容可以包括用户对于该产品的使用体验。例如问卷可以包括:“最近,你对本应用的“内容”是否满意?”,并提供对应不同梯度的满意等级评价供用户选择其一。进一步地,还可以自定义设置对于不同梯度的满意等级的评价。例如将满意等级分为5个等级,从最满意到不满意分别为:“棒呆了!我非常满意”、“挺满意”、“一般般”、“我不是很满意”以及“太糟糕了!我非常不满意”。在另一些可能的实现方式中,问卷内容还可以包括多选题。例如当用户的满意等级评价为:“我不是很满意”或者“太糟糕了!我非常不满意”时,为用户提供包括“不满意的原因是?”的多选问题,对应选项可以为“推送我不感兴趣的内容”、“广告较多”以及“运行卡顿”以供用户进行多选。The questionnaire configuration information may also include delivery content. The posting content may include the content of the questionnaire to be answered, that is, the information that the questionnaire poster needs to collect through the questionnaire. In some possible implementation manners, the delivery content may include the user's experience with the product. For example, the questionnaire may include: "Recently, are you satisfied with the "content" of this application?", and provide satisfaction ratings corresponding to different gradients for the user to choose one of. Further, it is also possible to customize the evaluation of the satisfaction levels of different gradients. For example, the satisfaction level is divided into 5 levels, from the most satisfied to the dissatisfied respectively: "Awesome! I am very satisfied", "Very satisfied", "So-so", "I am not very satisfied" and "Too bad ! I am very dissatisfied". In some other possible implementation manners, the content of the questionnaire may also include multiple-choice questions. For example, when the user's satisfaction rating is: "I'm not very satisfied" or "Too bad! I'm very dissatisfied", provide the user with a multiple-choice question including "What is the reason for dissatisfaction?", and the corresponding option can be " Push content that I'm not interested in", "More ads" and "Running freeze" for users to make multiple choices.
问卷配置信息也可以包括目标页面,目标页面可以为投放该问卷的页面。例如可以在论坛的多个讨论中嵌入,或者在某一段小视频播放结束的页面中显示。投放人员可以通过调研测试等活动,确定出回收率最高的投放页面。The questionnaire configuration information may also include a target page, and the target page may be a page on which the questionnaire is delivered. For example, it can be embedded in multiple discussions in the forum, or displayed on the page after a certain short video is played. The delivery personnel can determine the delivery page with the highest recovery rate through activities such as research and testing.
在一些可能的实现方式中,问卷配置信息还可以显示该应用的页面的页面设置。例如皮肤设置,根据应用显示页面,设置适宜于应用页面的皮肤颜色。问卷配置信息也可以包括免打扰条件,当免打扰条件触发时,停 止在应用的页面内呈现问卷。In some possible implementation manners, the questionnaire configuration information may also display the page settings of the pages of the application. For example, skin settings, according to the application display page, set the skin color suitable for the application page. The questionnaire configuration information may also include a do-not-disturb condition, and when the do-not-disturb condition is triggered, the presentation of the questionnaire in the application page is stopped.
S304:问卷投放SDK200从应用获取用户标识。S304: The questionnaire delivery SDK 200 acquires the user identifier from the application.
问卷投放SDK200能够提供有对不同技术栈的API。因此,问卷投放可以通过二次封装的API从安装在不同类型的操作系统(例如桌面操作系统、移动操作系统、小程序操作系统等)上的应用中获取应用数据。The questionnaire delivery SDK200 can provide APIs for different technology stacks. Therefore, questionnaire delivery can obtain application data from applications installed on different types of operating systems (such as desktop operating systems, mobile operating systems, applet operating systems, etc.) through secondary packaged APIs.
当问卷配置信息中包括投放对象的描述信息时,问卷投放SDK200从应用获取用户标识。当投放对象的描述信息包括投放对象的用户标识时,判断从应用中获取用户标识是否满足投放对象的描述信息中的用户标识。其中,用户标识对应的用户可以为该应用的登录用户,也可以为该应用的未登录用户。当用户为登录用户时,问卷投放SDK200从应用获取预先存储的登录用户的用户标识。当用户为未登录用户时,问卷投放SDK200可以为未登录用户分配一个标识值作为用户标识,以记录未登录用户的行为数据。When the questionnaire configuration information includes the description information of the delivery object, the questionnaire delivery SDK 200 obtains the user identifier from the application. When the description information of the delivery object includes the user identifier of the delivery object, it is determined whether the user identifier acquired from the application satisfies the user identifier in the description information of the delivery object. Wherein, the user corresponding to the user identifier may be a logged-in user of the application, or may be a non-logged-in user of the application. When the user is a logged-in user, the questionnaire delivery SDK 200 obtains the pre-stored user ID of the logged-in user from the application. When the user is not logged in, the questionnaire delivery SDK 200 can assign an identification value to the logged-out user as the user ID to record the behavior data of the logged-out user.
在一些可能的实现方式中,问卷配置信息中可以设置用户群的标识。问卷投放SDK200可以通过登录用户的用户标识与用户群中用户的标识的匹配结果确定是否向该用户群中的用户展示特定的问卷。例如,投放者可以在问卷管理平台106中创建“近3个月曾有下单记录”的用户群,并将问卷投放范围设置为该用户群。该用户群中可以包括近3个月曾有下单记录的用户对应的用户标识。当用户使用该应用时,问卷投放SDK200获取登录用户的用户标识,当用户的标识在该用户群范围内时则向用户投放对应的问卷。In some possible implementation manners, the identity of the user group may be set in the questionnaire configuration information. The questionnaire delivery SDK200 can determine whether to display a specific questionnaire to the users in the user group according to the matching result between the user ID of the logged-in user and the IDs of the users in the user group. For example, the sender can create a user group "has placed an order in the past 3 months" in the
其中,问卷配置信息中的投放对象的描述信息可以仅包括对于用户标识的描述,也可以既包括用户标识,也包括对应的用户行为。当投放对象的描述信息包括用户行为时,执行S306。Wherein, the description information of the delivery object in the questionnaire configuration information may only include the description of the user ID, or may include both the user ID and the corresponding user behavior. When the description information of the delivery object includes user behavior, execute S306.
S306:问卷投放SDK200根据用户标识从应用中获得用户的行为数据。S306: The questionnaire delivery SDK 200 obtains the user's behavior data from the application according to the user identifier.
用户的行为数据可以用来对问卷投放条件是否被触发进行判断。问卷投放SDK200可以根据用户标识,建立用户标识与行为数据的对应关系,根据该对应关系判断是否符合配置信息中投放对象的描述信息。用户的行为数据可以包括页面浏览(page view,PV)次数和页面停留时长。The user's behavior data can be used to judge whether the questionnaire delivery condition is triggered. The questionnaire delivery SDK200 can establish a corresponding relationship between the user identification and the behavior data according to the user identification, and judge whether it conforms to the description information of the delivery object in the configuration information according to the corresponding relationship. User behavior data may include page view (page view, PV) times and page stay time.
例如,在页面进行切换时,问卷投放SDK200获取PV次数、停留时长等数据,并发送至服务器104。服务器104接收并返回可以触发的任务,触发方式可以包括自动触发、延迟触发和场景触发等。自动触发可以为任务满足条件时无需用户操作即自动触发。延迟触发指任务满足条件后延迟预设时间进行触发。场景触发还需要有特定的场景条件,当满足场景条件时进行触发。For example, when the page is switched, the questionnaire delivery SDK 200 acquires data such as the number of PVs and the length of stay, and sends them to the
具体地,投放对象的描述信息可以为“在该页面停留时长超过20s的用户”。当用户登录应用时,问卷投放SDK200从应用中获取用户的用户标识,并根据用户标识获取该用户的行为数据,建立用户标识与行为数据的对应关系。当用户标识与行为数据的对应关系满足投放对象的描述信息时,进行下一步操作。例如,问卷投放SDK200可以获取用户的用户标识:用户ID1、用户ID2、用户ID3。并根据用户标识获得对应的行为数据:用户ID1,停留10s;用户ID2,停留5s;用户ID3,停留25s。根据投放对象的描述信息,可以认为用户ID3对应的用户为目标呈现问卷用户。Specifically, the description information of the delivery object may be "users who stay on this page for more than 20 seconds". When a user logs in to the application, the questionnaire delivery SDK 200 obtains the user ID of the user from the application, and obtains the user's behavior data according to the user ID, and establishes a corresponding relationship between the user ID and the behavior data. When the corresponding relationship between the user identifier and the behavior data satisfies the description information of the delivery object, proceed to the next step. For example, the questionnaire delivery SDK 200 can obtain user IDs of users: user ID1, user ID2, and user ID3. And obtain the corresponding behavior data according to the user ID: user ID1, stay for 10s; user ID2, stay for 5s; user ID3, stay for 25s. According to the description information of the delivery object, it can be considered that the user corresponding to the user ID3 is the target user for presenting the questionnaire.
S308:当问卷投放条件被触发时,问卷投放SDK200根据问卷配置信息在应用的页面内呈现问卷。S308: When the questionnaire delivery condition is triggered, the questionnaire delivery SDK 200 presents the questionnaire in the application page according to the questionnaire configuration information.
其中,问卷用于收集用户对应用的反馈。例如可以为用户对应用的使用体验是否满意的反馈,或者为用户使用应用过程中是否遇到卡顿等问题的反馈。Among them, the questionnaire is used to collect user feedback on the application. For example, it can be feedback on whether the user is satisfied with the application experience, or feedback on whether the user encounters problems such as freezing when using the application.
问卷投放条件可以包括问卷的配置信息中投放对象的描述信息。投放对象的描述信息可以仅包括用户标识的描述,也可以包括用户对应的行为数据。即本公开实施例可以仅通过用户的用户标识确定问卷投放条件是否被触发,即仅需要执行S302、S304以及S308。本公开实施例也可以通过用户的用户标识以及对应的行为数据确定问卷投放条件是否被触发,即执行S302、S304、S306以及S308。The questionnaire delivery condition may include description information of delivery objects in the configuration information of the questionnaire. The description information of the delivery object may only include a description of the user identifier, or may include behavior data corresponding to the user. That is, the embodiment of the present disclosure can determine whether the questionnaire delivery condition is triggered only through the user identifier of the user, that is, only S302, S304, and S308 need to be executed. In the embodiment of the present disclosure, it is also possible to determine whether the questionnaire delivery condition is triggered through the user ID of the user and the corresponding behavior data, that is, execute S302, S304, S306 and S308.
进一步地,问卷投放条件可以为投放者自定义设置的自定义事件。例如某一视频播放完成后,问卷投放SDK200可以接收应用通过API上报的自定义事件。当自定义事件发生时,确定问卷投放条件被触发。Further, the questionnaire delivery condition may be a custom event set by the distributor. For example, after a certain video is played, the questionnaire delivery SDK 200 can receive custom events reported by the application through the API. When a custom event occurs, it is determined that the questionnaire delivery condition is triggered.
也就是说,投放者可以通过问卷的配置信息中设置投放对象的描述信 息作为自定义事件,也可以设置其他类型的自定义事件。问卷管理平台106可以提供固定的选项下拉栏为投放者提供预设的自定义事件,也可以提供自定义编辑页面,使投放者可以更加灵活地设置自定义事件。That is to say, the publisher can set the description information of the delivery object as a custom event through the configuration information of the questionnaire, or set other types of custom events. The
问卷投放条件可以被抽象为自定义事件,当自定义事件发生时,确定问卷投放条件被触发。在一些可能的实现方式中,自定义事件可以由投放者预先设置。例如投放者可以设置自定义事件包括提交评论。该自定义事件可以通过一个简单的字符串“submit_comment”表示。当问卷投放SDK200获取到上报的自定义事件时,将该自定义事件上报至服务器104。服务器104将该自定义事件确定为可触发的任务并发送至问卷投放SDK200。问卷投放SDK200基于该自定义事件将对应的问卷配置信息存储在代码运行环境中。Questionnaire delivery conditions can be abstracted as custom events, and when a custom event occurs, it is determined that the questionnaire delivery conditions are triggered. In some possible implementations, custom events can be preset by the caster. For example, posters can set custom events including submitting comments. This custom event can be represented by a simple string "submit_comment". When the questionnaire delivery SDK 200 obtains the reported custom event, it reports the custom event to the
其中,问卷投放SDK200提供有对不同技术栈的API,应用能够通过API向问卷投放SDK200上报自定义事件。问卷投放SDK200接收应用上报的自定义事件,进而确定问卷投放条件被触发。Among them, the questionnaire delivery SDK200 provides APIs for different technology stacks, and the application can report custom events to the questionnaire delivery SDK200 through the API. The questionnaire delivery SDK 200 receives the custom event reported by the application, and then determines that the questionnaire delivery condition is triggered.
在一些可能的实现方式中,自定义事件可以为除页面浏览次数和页面停留时长等非通用的页面行为。例如购买物品、加入购物车、提交评论等,本实施例在此不作限制。但是需要说明的是,无论自定义事件是否由问卷管理平台106配置,均需要提前写入问卷投放SDK200中。In some possible implementation manners, the custom events may be non-generic page behaviors such as the number of page views and the duration of the page stay. For example, purchasing items, adding to a shopping cart, submitting comments, etc., are not limited in this embodiment. However, it should be noted that no matter whether the custom event is configured by the
问卷配置信息中包括投放内容,当问卷投放条件被触发时,根据投放内容在应用的页面内呈现问卷。其中,当应用作用于小程序端时,问卷条件被触发,问卷投放SDK200经过服务器104的投放频控系统过滤后,获取对应的问卷,并将问卷展示在占位的组件内。The questionnaire configuration information includes delivery content. When the questionnaire delivery condition is triggered, the questionnaire will be displayed on the application page according to the delivery content. Wherein, when the application acts on the applet end, the questionnaire condition is triggered, and the questionnaire delivery SDK 200 obtains the corresponding questionnaire after being filtered by the delivery frequency control system of the
具体可以通过将投放内容在目标页面内以弹窗的方式呈现,或者将投放内容以嵌入页面的方式呈现。例如,手机端的显示可以如图4所示。在图4的A中,显示界面400正常显示页面信息,当进行问卷投放后,问卷通过弹窗402的形式显示在该应用的页面中。在图4的B中,显示界面400正常显示包括页面信息A和页面信息B两部分内容。当进行问卷投放后,问卷通过显示组件404的方式,嵌入到页面的页面信息A和页面信息B中。类似地,web端的显示可以如图5所示。在图5的A中,显示界面400正 常显示页面信息,当进行问卷投放后,问卷通过弹窗402的形式显示在该应用的页面中。在图5的B中,显示界面400正常显示包括页面信息A和页面信息B两部分内容。当进行问卷投放后,问卷通过显示组件404的方式,嵌入到页面的页面信息A和页面信息B中。进一步地,应用页面内还可以包括多语言翻译显示组件。多语言翻译组件用于当用户对界面语言进行切换时,问卷内容也能进行相应切换。Specifically, the delivered content can be presented in the form of a pop-up window in the target page, or presented in a manner of embedding the delivered content in the page. For example, the display on the mobile phone terminal may be as shown in FIG. 4 . In A of FIG. 4 , the
问卷投放SDK200还可以用于对多个问卷投放进行呈现。当一个问卷呈现后,问卷投放SDK更新可触发的任务。为了减少时长检测器的存储空间,还可以更新单次停留时长检测器,进入下一个周期的触发条件判断中。The questionnaire delivery SDK 200 can also be used to present multiple questionnaire delivery. When a questionnaire is presented, the task that can be triggered by the questionnaire delivery SDK update. In order to reduce the storage space of the duration detector, the single-stay duration detector can also be updated to enter the trigger condition judgment of the next cycle.
同样地,问卷配置信息中的触发条件可以为用户对该页面的停留时长。当用户对该页面的停留时长满足触发条件时,根据问卷配置信息在应用的页面内呈现问卷,并清除计时器,同时移除该事件。Likewise, the trigger condition in the questionnaire configuration information may be the length of time the user stays on the page. When the user's stay on the page meets the trigger conditions, the questionnaire will be displayed on the application page according to the questionnaire configuration information, the timer will be cleared, and the event will be removed at the same time.
在一些可能的实现方式中,为了实现问卷更精准地投放,还可以设置免打扰条件。当免打扰条件被触发时,问卷投放SDK200停止在应用的页面内呈现问卷。In some possible implementations, in order to achieve more accurate delivery of questionnaires, do-not-disturb conditions may also be set. When the do-not-disturb condition is triggered, the questionnaire delivery SDK 200 stops presenting the questionnaire in the application page.
其中,免打扰条件可以由投放者在问卷管理平台中设置,如图6所示。当用户满足免打扰条件时,停止在应用的页面内呈现问卷,避免频繁为用户呈现问卷对于用户使用体验的影响。Wherein, the do-not-disturb condition can be set by the sender in the questionnaire management platform, as shown in FIG. 6 . When the user meets the do-not-disturb conditions, stop presenting the questionnaire on the application page, so as to avoid the impact of frequently presenting the questionnaire on the user experience.
在一些可能的实现方式中,免打扰条件可以包括:向同一用户呈现问卷的次数达到预设次数;最近一次向同一用户呈现问卷的时间小于或等于第一预设时间;最近一次检测到同一用户针对问卷的答复操作的时间小于或等于第二预设时间;或者,检测到同一用户针对问卷的答复操作等其中的一种或多种。例如可以将免打扰条件设置为:当符合以下任意条件时,不再展示该问卷:条件1:同一用户看到该问卷内容达到2次;条件2:同一用户标识上次看到问卷间隔时间2天内;条件3:同一用户标识上次提交问卷间隔时间4天内。In some possible implementations, the do-not-disturb condition may include: the number of times the questionnaire is presented to the same user reaches a preset number of times; the last time the questionnaire is presented to the same user is less than or equal to the first preset time; the last time the same user is detected The time for answering the questionnaire is less than or equal to the second preset time; or, one or more of the same user's answering operation for the questionnaire is detected. For example, the do-not-disturb condition can be set as: when any of the following conditions are met, the questionnaire will not be displayed: condition 1: the same user has seen the content of the questionnaire twice; condition 2: the interval between the last time the same user ID saw the questionnaire is 2 Within days; Condition 3: The interval between the last questionnaire submission by the same user ID is within 4 days.
具体地,在对于投放对象的描述信息的判断中,免打扰条件具有较高的优先级。当用户满足投放对象的描述信息的全部条件但是同时满足免打扰条件时,停止向用户呈现问卷。Specifically, in judging the description information of the delivery object, the do-not-disturb condition has a higher priority. When the user satisfies all the conditions of the description information of the delivery object but simultaneously satisfies the do-not-disturb condition, stop presenting the questionnaire to the user.
进一步地,免打扰条件还可以包括同一用户针对问卷的答复操作。例如:同一用户已经提交过该问卷,因此问卷投放SDK200还可以记录问卷投放后用户对应的回答,并可以将其持久化存储至服务器104中作为问卷投放频率的控制依据。Further, the do-not-disturb condition may also include the answer operation of the same user for the questionnaire. For example, the same user has already submitted the questionnaire, so the questionnaire delivery SDK 200 can also record the user's corresponding answer after the questionnaire delivery, and store it persistently in the
在一些可能的实现方式中,可能存在对于同一应用投放多种问卷的情况。因此免打扰条件还可以与其他问卷的投放相关,例如:1天内已经向该用户呈现过其他类型的问卷。In some possible implementation manners, there may be situations where multiple questionnaires are delivered to the same application. Therefore, the do-not-disturb condition may also be related to the delivery of other questionnaires, for example, other types of questionnaires have been presented to the user within one day.
基于上述内容描述,本公开实施例提供了一种问卷投放方法。该方法由问卷投放SDK200执行,具体地,问卷投放SDK200接收与应用匹配的问卷配置信息。当问卷投放条件被触发时,根据问卷配置信息在应用的界面内呈现问卷。一方面,该方法能够直接在应用的界面内呈现问卷,避免了用户需要点击URL才能获取问卷所要进行的操作,简化了用户答复问卷的流程,提升了用户答复问卷的意愿,提高了问卷的回收率。另一方面,该方法通过问卷条件被触发,在用户使用该应用时为用户呈现问卷。因此能够实时获取用户使用产品的真实感受,避免了在用户停止使用应用后再答复问卷所带来的感受偏差,提高了问卷的置信度。基于此,该方法能够满足业务对于问卷投放效率以及问卷答复置信度的要求。Based on the above content description, the embodiment of the present disclosure provides a questionnaire delivery method. The method is executed by the questionnaire delivery SDK 200, specifically, the questionnaire delivery SDK 200 receives questionnaire configuration information matched with the application. When the questionnaire delivery condition is triggered, the questionnaire is presented in the interface of the application according to the configuration information of the questionnaire. On the one hand, this method can directly present the questionnaire in the application interface, avoiding the need for the user to click the URL to obtain the operation of the questionnaire, simplifying the process of the user answering the questionnaire, improving the willingness of the user to answer the questionnaire, and improving the recovery of the questionnaire Rate. On the other hand, the method is triggered by a questionnaire condition, presenting a questionnaire to the user when the user uses the application. Therefore, the real feeling of the user using the product can be obtained in real time, avoiding the feeling bias caused by answering the questionnaire after the user stops using the application, and improving the confidence of the questionnaire. Based on this, the method can meet the business requirements for questionnaire delivery efficiency and questionnaire answer confidence.
上文结合图1至图6对本公开实施例提供的问卷投放方法进行了详细介绍。下面将结合附图对本公开实施例提供的装置、设备进行介绍。The questionnaire delivery method provided by the embodiment of the present disclosure has been introduced in detail above with reference to FIG. 1 to FIG. 6 . The apparatus and equipment provided by the embodiments of the present disclosure will be described below with reference to the accompanying drawings.
参见图2所示的问卷投放SDK200的结构示意图,该问卷投放SDK200可以为软件装置,软件装置部署在终端中实现图3所示实施例对应的问卷投放方法,该装置200包括:Referring to the schematic structural diagram of the questionnaire delivery SDK200 shown in FIG. 2, the questionnaire delivery SDK200 can be a software device, and the software device is deployed in the terminal to implement the questionnaire delivery method corresponding to the embodiment shown in FIG. 3. The device 200 includes:
通信模块202,用于接收与应用匹配的问卷配置信息;A
展示模块206,用于当问卷投放条件被触发时,根据所述问卷配置信息在所述应用的页面内呈现问卷,所述问卷用于收集用户对所述应用的反馈。The presentation module 206 is configured to present a questionnaire in the application page according to the questionnaire configuration information when the questionnaire delivery condition is triggered, and the questionnaire is used to collect user feedback on the application.
在一些可能的实现方式中,所述问卷配置信息包括投放对象的描述信息和投放内容;In some possible implementations, the questionnaire configuration information includes description information and delivery content of delivery objects;
所述通信模块202还用于:获取用户标识;The
所述装置还包括:The device also includes:
行为收集模块208,用于根据所述用户标识获得用户的行为数据;A behavior collection module 208, configured to obtain user behavior data according to the user identifier;
所述展示模块206具体用于:The display module 206 is specifically used for:
当所述用户的行为数据与所述投放对象的描述信息匹配时,根据所述投放内容在所述应用的页面内向所述用户呈现问卷。When the behavior data of the user matches the description information of the delivery object, a questionnaire is presented to the user in the page of the application according to the delivery content.
在一些可能的实现方式中,所述问卷配置信息包括目标页面和投放内容;In some possible implementation manners, the questionnaire configuration information includes a target page and delivery content;
所述展示模块206具体用于:The display module 206 is specifically used for:
根据所述投放内容在所述应用的目标页面内向所述用户呈现问卷。A questionnaire is presented to the user on the target page of the application according to the delivery content.
在一些可能的实现方式中,所述问卷投放条件被抽象为自定义事件,所述装置还包括:In some possible implementations, the questionnaire delivery condition is abstracted as a custom event, and the device further includes:
逻辑处理模块204,用于当所述自定义事件发生时,确定所述问卷投放条件被触发。The logic processing module 204 is configured to determine that the questionnaire delivery condition is triggered when the custom event occurs.
在一些可能的实现方式中,所述问卷投放SDK200提供有应用程序编程接口API;In some possible implementations, the questionnaire delivery SDK200 provides an application programming interface API;
所述通信模块202还用于:The
接收所述应用通过所述API上报的所述自定义事件。receiving the custom event reported by the application through the API.
在一些可能的实现方式中,所述问卷投放SDK200提供有对不同技术栈的原始应用程序编程接口API进行二次封装的统一API。In some possible implementation manners, the questionnaire delivery SDK 200 provides a unified API that re-encapsulates original application programming interface APIs of different technology stacks.
在一些可能的实现方式中,所述展示模块206具体用于:In some possible implementation manners, the presentation module 206 is specifically configured to:
根据所述问卷配置信息在所述应用的页面内,通过弹窗方式呈现问卷;或者,Presenting the questionnaire in a pop-up window in the page of the application according to the configuration information of the questionnaire; or,
根据所述问卷配置信息在所述应用的页面内,通过嵌入页面方式呈现问卷。According to the configuration information of the questionnaire, the questionnaire is presented in the page of the application by embedding it in a page.
在一些可能的实现方式中,所述问卷配置信息由投放者通过问卷管理平台配置。In some possible implementation manners, the questionnaire configuration information is configured by the sender through the questionnaire management platform.
在一些可能的实现方式中,所述装置还包括:In some possible implementations, the device further includes:
逻辑处理模块204,用于当免打扰条件被触发时,停止在所述应用的页面内呈现所述问卷。The logic processing module 204 is configured to stop presenting the questionnaire in the page of the application when the do-not-disturb condition is triggered.
在一些可能的实现方式中,所述免打扰条件包括以下任意一种或多种:In some possible implementation manners, the do-not-disturb conditions include any one or more of the following:
向同一用户呈现所述问卷的次数达到预设次数;presenting the questionnaire to the same user reaches a predetermined number of times;
最近一次向同一用户呈现所述问卷的时间小于或等于第一预设时间;The last time when the questionnaire was presented to the same user is less than or equal to the first preset time;
最近一次检测到同一用户针对所述问卷的答复操作的时间小于或等于第二预设时间;或者,The last time it is detected that the same user responds to the questionnaire is less than or equal to the second preset time; or,
检测到同一用户针对所述问卷的答复操作。An answer action by the same user was detected for the questionnaire in question.
根据本公开实施例的问卷投放SDK200可对应于执行本公开实施例中描述的方法,并且问卷投放SDK200的各个模块/单元的上述和其它操作和/或功能分别为了实现图3所示实施例中的各个方法的相应流程,为了简洁,在此不再赘述。The questionnaire delivery SDK200 according to the embodiment of the present disclosure may correspond to the implementation of the method described in the embodiment of the present disclosure, and the above-mentioned and other operations and/or functions of each module/unit of the questionnaire delivery SDK200 are respectively in order to realize the embodiment shown in FIG. 3 For the sake of brevity, the corresponding processes of each method are not repeated here.
下面参考图7,其示出了适于用来实现本公开实施例的电子设备700的结构示意图。本公开实施例中的终端设备可以包括但不限于诸如移动电话、笔记本电脑、数字广播接收器、PDA(个人数字助理)、PAD(平板电脑)、PMP(便携式多媒体播放器)、车载终端(例如车载导航终端)等等的移动终端以及诸如数字TV、台式计算机等等的固定终端。图7示出的电子设备仅仅是一个示例,不应对本公开实施例的功能和使用范围带来任何限制。Referring now to FIG. 7 , it shows a schematic structural diagram of an
如图7所示,电子设备700可以包括处理装置(例如中央处理器、图形处理器等)701,其可以根据存储在只读存储器(ROM)702中的程序或者从存储装置708加载到随机访问存储器(RAM)703中的程序而执行各种适当的动作和处理。在RAM703中,还存储有电子设备700操作所需的各种程序和数据。处理装置701、ROM 702以及RAM 703通过总线704彼此相连。输入/输出(I/O)接口705也连接至总线704。As shown in FIG. 7 , an
通常,以下装置可以连接至I/O接口705:包括例如触摸屏、触摸板、键盘、鼠标、摄像头、麦克风、加速度计、陀螺仪等的输入装置706;包括例如液晶显示器(LCD)、扬声器、振动器等的输出装置707;包括例如磁带、硬盘等的存储装置708;以及通信装置709。通信装置709可以允许电子设备700与其他设备进行无线或有线通信以交换数据。虽然图7示出了具有各种装置的电子设备700,但是应理解的是,并不要求实施或具备 所有示出的装置。可以替代地实施或具备更多或更少的装置。Typically, the following devices can be connected to the I/O interface 705:
特别地,根据本公开的实施例,上文参考流程图描述的过程可以被实现为计算机软件程序。例如,本公开的实施例包括一种计算机程序产品,其包括承载在非暂态计算机可读介质上的计算机程序,该计算机程序包含用于执行流程图所示的方法的程序代码。在这样的实施例中,该计算机程序可以通过通信装置709从网络上被下载和安装,或者从存储装置708被安装,或者从ROM 702被安装。在该计算机程序被处理装置701执行时,执行本公开实施例的方法中限定的上述功能。In particular, according to an embodiment of the present disclosure, the processes described above with reference to the flowcharts can be implemented as computer software programs. For example, embodiments of the present disclosure include a computer program product, which includes a computer program carried on a non-transitory computer readable medium, where the computer program includes program code for executing the method shown in the flowchart. In such an embodiment, the computer program may be downloaded and installed from a network via communication means 709, or from storage means 708, or from
需要说明的是,本公开上述的计算机可读介质可以是计算机可读信号介质或者计算机可读存储介质或者是上述两者的任意组合。计算机可读存储介质例如可以是——但不限于——电、磁、光、电磁、红外线、或半导体的系统、装置或器件,或者任意以上的组合。计算机可读存储介质的更具体的例子可以包括但不限于:具有一个或多个导线的电连接、便携式计算机磁盘、硬盘、随机访问存储器(RAM)、只读存储器(ROM)、可擦式可编程只读存储器(EPROM或闪存)、光纤、便携式紧凑磁盘只读存储器(CD-ROM)、光存储器件、磁存储器件、或者上述的任意合适的组合。在本公开中,计算机可读存储介质可以是任何包含或存储程序的有形介质,该程序可以被指令执行系统、装置或者器件使用或者与其结合使用。而在本公开中,计算机可读信号介质可以包括在基带中或者作为载波一部分传播的数据信号,其中承载了计算机可读的程序代码。这种传播的数据信号可以采用多种形式,包括但不限于电磁信号、光信号或上述的任意合适的组合。计算机可读信号介质还可以是计算机可读存储介质以外的任何计算机可读介质,该计算机可读信号介质可以发送、传播或者传输用于由指令执行系统、装置或者器件使用或者与其结合使用的程序。计算机可读介质上包含的程序代码可以用任何适当的介质传输,包括但不限于:电线、光缆、RF(射频)等等,或者上述的任意合适的组合。It should be noted that the above-mentioned computer-readable medium in the present disclosure may be a computer-readable signal medium or a computer-readable storage medium or any combination of the above two. A computer readable storage medium may be, for example, but not limited to, an electrical, magnetic, optical, electromagnetic, infrared, or semiconductor system, apparatus, or device, or any combination thereof. More specific examples of computer-readable storage media may include, but are not limited to, electrical connections with one or more wires, portable computer diskettes, hard disks, random access memory (RAM), read-only memory (ROM), erasable Programmable read-only memory (EPROM or flash memory), optical fiber, portable compact disk read-only memory (CD-ROM), optical storage device, magnetic storage device, or any suitable combination of the above. In the present disclosure, a computer-readable storage medium may be any tangible medium that contains or stores a program that can be used by or in conjunction with an instruction execution system, apparatus, or device. In the present disclosure, however, a computer-readable signal medium may include a data signal propagated in baseband or as part of a carrier wave carrying computer-readable program code therein. Such propagated data signals may take many forms, including but not limited to electromagnetic signals, optical signals, or any suitable combination of the foregoing. A computer-readable signal medium may also be any computer-readable medium other than a computer-readable storage medium, which can transmit, propagate, or transmit a program for use by or in conjunction with an instruction execution system, apparatus, or device . Program code embodied on a computer readable medium may be transmitted by any appropriate medium, including but not limited to wires, optical cables, RF (radio frequency), etc., or any suitable combination of the above.
在一些实施方式中,客户端、服务器可以利用诸如HTTP(HyperText Transfer Protocol,超文本传输协议)之类的任何当前已知或未来研发的网络协议进行通信,并且可以与任意形式或介质的数字数据通信(例如,通 信网络)互连。通信网络的示例包括局域网(“LAN”),广域网(“WAN”),网际网(例如,互联网)以及端对端网络(例如,ad hoc端对端网络),以及任何当前已知或未来研发的网络。In some embodiments, the client and the server can communicate using any currently known or future network protocols such as HTTP (HyperText Transfer Protocol, Hypertext Transfer Protocol), and can communicate with digital data in any form or medium Communications (eg, communication networks) are interconnected. Examples of communication networks include local area networks ("LANs"), wide area networks ("WANs"), internetworks (e.g., the Internet), and peer-to-peer networks (e.g., ad hoc peer-to-peer networks), as well as any currently known or future developed network of.
上述计算机可读介质可以是上述电子设备中所包含的;也可以是单独存在,而未装配入该电子设备中。The above-mentioned computer-readable medium may be included in the above-mentioned electronic device, or may exist independently without being incorporated into the electronic device.
上述计算机可读介质承载有一个或者多个程序,当上述一个或者多个程序被该电子设备执行时,使得该电子设备:接收与应用匹配的问卷配置信息;当问卷投放条件被触发时,根据所述问卷配置信息在所述应用的页面内呈现问卷,所述问卷用于收集用户对所述应用的反馈。The above-mentioned computer-readable medium carries one or more programs, and when the above-mentioned one or more programs are executed by the electronic device, the electronic device: receives questionnaire configuration information matching the application; when the questionnaire delivery condition is triggered, according to The questionnaire configuration information presents a questionnaire in a page of the application, and the questionnaire is used to collect user feedback on the application.
可以以一种或多种程序设计语言或其组合来编写用于执行本公开的操作的计算机程序代码,上述程序设计语言包括但不限于面向对象的程序设计语言—诸如Java、Smalltalk、C++,还包括常规的过程式程序设计语言——诸如“C”语言或类似的程序设计语言。程序代码可以完全地在用户计算机上执行、部分地在用户计算机上执行、作为一个独立的软件包执行、部分在用户计算机上部分在远程计算机上执行、或者完全在远程计算机或服务器上执行。在涉及远程计算机的情形中,远程计算机可以通过任意种类的网络——包括局域网(LAN)或广域网(WAN)——连接到用户计算机,或者,可以连接到外部计算机(例如利用因特网服务提供商来通过因特网连接)。Computer program code for carrying out operations of the present disclosure may be written in one or more programming languages, or combinations thereof, including but not limited to object-oriented programming languages—such as Java, Smalltalk, C++, and Includes conventional procedural programming languages - such as "C" or similar programming languages. The program code may execute entirely on the user's computer, partly on the user's computer, as a stand-alone software package, partly on the user's computer and partly on a remote computer or entirely on the remote computer or server. In cases involving a remote computer, the remote computer may be connected to the user computer through any kind of network, including a local area network (LAN) or a wide area network (WAN), or may be connected to an external computer (for example, using an Internet service provider to connected via the Internet).
附图中的流程图和框图,图示了按照本公开各种实施例的系统、方法和计算机程序产品的可能实现的体系架构、功能和操作。在这点上,流程图或框图中的每个方框可以代表一个模块、程序段、或代码的一部分,该模块、程序段、或代码的一部分包含一个或多个用于实现规定的逻辑功能的可执行指令。也应当注意,在有些作为替换的实现中,方框中所标注的功能也可以以不同于附图中所标注的顺序发生。例如,两个接连地表示的方框实际上可以基本并行地执行,它们有时也可以按相反的顺序执行,这依所涉及的功能而定。也要注意的是,框图和/或流程图中的每个方框、以及框图和/或流程图中的方框的组合,可以用执行规定的功能或操作的专用的基于硬件的系统来实现,或者可以用专用硬件与计算机指令的组合来实 现。The flowchart and block diagrams in the Figures illustrate the architecture, functionality, and operation of possible implementations of systems, methods and computer program products according to various embodiments of the present disclosure. In this regard, each block in a flowchart or block diagram may represent a module, program segment, or portion of code that contains one or more logical functions for implementing specified executable instructions. It should also be noted that, in some alternative implementations, the functions noted in the block may occur out of the order noted in the figures. For example, two blocks shown in succession may, in fact, be executed substantially concurrently, or they may sometimes be executed in the reverse order, depending upon the functionality involved. It should also be noted that each block of the block diagrams and/or flowchart illustrations, and combinations of blocks in the block diagrams and/or flowchart illustrations, can be implemented by a dedicated hardware-based system that performs the specified functions or operations , or may be implemented by a combination of dedicated hardware and computer instructions.
描述于本公开实施例中所涉及到的模块可以通过软件的方式实现,也可以通过硬件的方式来实现。其中,模块的名称在某种情况下并不构成对该模块本身的限定。The modules involved in the embodiments described in the present disclosure may be implemented by software or by hardware. Wherein, the name of the module does not constitute a limitation on the module itself under certain circumstances.
本文中以上描述的功能可以至少部分地由一个或多个硬件逻辑部件来执行。例如,非限制性地,可以使用的示范类型的硬件逻辑部件包括:现场可编程门阵列(FPGA)、专用集成电路(ASIC)、专用标准产品(ASSP)、片上系统(SOC)、复杂可编程逻辑设备(CPLD)等等。The functions described herein above may be performed at least in part by one or more hardware logic components. For example, without limitation, exemplary types of hardware logic components that may be used include: Field Programmable Gate Arrays (FPGAs), Application Specific Integrated Circuits (ASICs), Application Specific Standard Products (ASSPs), System on Chips (SOCs), Complex Programmable Logical device (CPLD) and so on.
在本公开的上下文中,机器可读介质可以是有形的介质,其可以包含或存储以供指令执行系统、装置或设备使用或与指令执行系统、装置或设备结合地使用的程序。机器可读介质可以是机器可读信号介质或机器可读储存介质。机器可读介质可以包括但不限于电子的、磁性的、光学的、电磁的、红外的、或半导体系统、装置或设备,或者上述内容的任何合适组合。机器可读存储介质的更具体示例会包括基于一个或多个线的电气连接、便携式计算机盘、硬盘、随机存取存储器(RAM)、只读存储器(ROM)、可擦除可编程只读存储器(EPROM或快闪存储器)、光纤、便捷式紧凑盘只读存储器(CD-ROM)、光学储存设备、磁储存设备、或上述内容的任何合适组合。In the context of the present disclosure, a machine-readable medium may be a tangible medium that may contain or store a program for use by or in conjunction with an instruction execution system, apparatus, or device. A machine-readable medium may be a machine-readable signal medium or a machine-readable storage medium. A machine-readable medium may include, but is not limited to, electronic, magnetic, optical, electromagnetic, infrared, or semiconductor systems, apparatus, or devices, or any suitable combination of the foregoing. More specific examples of machine-readable storage media would include one or more wire-based electrical connections, portable computer discs, hard drives, random access memory (RAM), read only memory (ROM), erasable programmable read only memory (EPROM or flash memory), optical fiber, compact disk read only memory (CD-ROM), optical storage, magnetic storage, or any suitable combination of the foregoing.
根据本公开的一个或多个实施例,示例1提供了一种问卷投放方法,应用于问卷投放SDK,所述方法包括:接收与应用匹配的问卷配置信息;当问卷投放条件被触发时,根据所述问卷配置信息在所述应用的页面内呈现问卷,所述问卷用于收集用户对所述应用的反馈。According to one or more embodiments of the present disclosure, Example 1 provides a questionnaire delivery method, which is applied to the questionnaire delivery SDK. The method includes: receiving questionnaire configuration information matching the application; when the questionnaire delivery condition is triggered, according to The questionnaire configuration information presents a questionnaire in a page of the application, and the questionnaire is used to collect user feedback on the application.
根据本公开的一个或多个实施例,在示例1基础上,所述问卷配置信息包括投放对象的描述信息和投放内容,所述方法还包括:获取用户标识;根据所述用户标识获得用户的行为数据;所述根据所述问卷配置信息在所述应用的页面内呈现问卷,包括:当所述用户的行为数据与所述投放对象的描述信息匹配时,根据所述投放内容在所述应用的页面内向所述用户呈现问卷。根据本公开的一个或多个实施例,在示例1基础上,所述问卷配置信息包括目标页面和投放内容;所述根据所述问卷配置信息在所述应用 的页面内呈现问卷,包括:根据所述投放内容在所述应用的目标页面内向所述用户呈现问卷。According to one or more embodiments of the present disclosure, on the basis of Example 1, the questionnaire configuration information includes the description information of the delivery object and delivery content, and the method further includes: obtaining a user ID; obtaining the user's ID according to the user ID Behavior data: presenting the questionnaire in the application page according to the questionnaire configuration information includes: when the user’s behavior data matches the description information of the delivery object, displaying the questionnaire in the application according to the delivery content A questionnaire is presented to the user within the page of . According to one or more embodiments of the present disclosure, on the basis of Example 1, the questionnaire configuration information includes the target page and delivery content; the presenting the questionnaire in the page of the application according to the questionnaire configuration information includes: The delivery content presents a questionnaire to the user in the target page of the application.
根据本公开的一个或多个实施例,在示例1基础上,所述问卷投放条件被抽象为自定义事件,所述方法还包括:当所述自定义事件发生时,确定所述问卷投放条件被触发。According to one or more embodiments of the present disclosure, on the basis of Example 1, the questionnaire delivery condition is abstracted as a custom event, and the method further includes: when the custom event occurs, determining the questionnaire delivery condition is triggered.
根据本公开的一个或多个实施例,在示例1基础上,所述问卷投放SDK提供有应用程序编程接口API;所述方法还包括:接收所述应用通过所述API上报的所述自定义事件。According to one or more embodiments of the present disclosure, on the basis of Example 1, the questionnaire delivery SDK provides an application programming interface API; the method further includes: receiving the customized event.
根据本公开的一个或多个实施例,在示例1基础上,所述问卷投放SDK提供有对不同技术栈的原始应用程序编程接口API进行二次封装的统一API。According to one or more embodiments of the present disclosure, on the basis of Example 1, the questionnaire delivery SDK provides a unified API that re-encapsulates original application programming interface APIs of different technology stacks.
根据本公开的一个或多个实施例,在示例1基础上,所述根据所述问卷配置信息在所述应用的页面内呈现问卷,包括:根据所述问卷配置信息在所述应用的页面内,通过弹窗方式呈现问卷;或者,根据所述问卷配置信息在所述应用的页面内,通过嵌入页面方式呈现问卷。According to one or more embodiments of the present disclosure, on the basis of Example 1, the presenting the questionnaire in the page of the application according to the configuration information of the questionnaire includes: presenting the questionnaire in the page of the application according to the configuration information of the questionnaire , presenting the questionnaire in a pop-up window; or presenting the questionnaire in a page-embedded manner in the application page according to the configuration information of the questionnaire.
根据本公开的一个或多个实施例,在示例1基础上,所述问卷配置信息由投放者通过问卷管理平台配置。According to one or more embodiments of the present disclosure, on the basis of Example 1, the questionnaire configuration information is configured by the sender through the questionnaire management platform.
根据本公开的一个或多个实施例,在示例1基础上,当免打扰条件被触发时,停止在所述应用的页面内呈现所述问卷。According to one or more embodiments of the present disclosure, on the basis of Example 1, when the do-not-disturb condition is triggered, stop presenting the questionnaire in the page of the application.
根据本公开的一个或多个实施例,在示例1基础上,所述免打扰条件包括以下任意一种或多种:向同一用户呈现所述问卷的次数达到预设次数;最近一次向同一用户呈现所述问卷的时间小于或等于第一预设时间;最近一次检测到同一用户针对所述问卷的答复操作的时间小于或等于第二预设时间;或者,检测到同一用户针对所述问卷的答复操作。According to one or more embodiments of the present disclosure, on the basis of Example 1, the do-not-disturb conditions include any one or more of the following: the number of times the questionnaire is presented to the same user reaches a preset number of times; The time at which the questionnaire is presented is less than or equal to the first preset time; the last time the same user’s response to the questionnaire is detected is less than or equal to the second preset time; or, the same user’s response to the questionnaire is detected Reply action.
根据本公开的一个或多个实施例,示例2提供了一种问卷投放SDK,所述装置包括:According to one or more embodiments of the present disclosure, Example 2 provides a questionnaire delivery SDK, the device includes:
通信模块,用于接收与应用匹配的问卷配置信息;展示模块,用于当问卷投放条件被触发时,根据所述问卷配置信息在所述应用的页面内呈现问卷,所述问卷用于收集用户对所述应用的反馈。A communication module, configured to receive questionnaire configuration information that matches the application; a display module, configured to present a questionnaire in the application page according to the questionnaire configuration information when the questionnaire delivery condition is triggered, and the questionnaire is used to collect user Feedback on said app.
根据本公开的一个或多个实施例,在示例2基础上,所述问卷配置信息包括投放对象的描述信息和投放内容;所述通信模块还用于:获取用户标识;所述装置还包括:行为收集模块,用于根据所述用户标识获得用户的行为数据;所述展示模块具体用于:当所述用户的行为数据与所述投放对象的描述信息匹配时,根据所述投放内容在所述应用的页面内向所述用户呈现问卷。According to one or more embodiments of the present disclosure, on the basis of Example 2, the questionnaire configuration information includes the description information of the delivery object and delivery content; the communication module is also used to: obtain a user identification; the device also includes: The behavior collection module is used to obtain the user's behavior data according to the user identification; the display module is specifically used to: when the user's behavior data matches the description information of the delivery object, according to the delivery content in the A questionnaire is presented to the user within a page of the application.
根据本公开的一个或多个实施例,在示例2基础上,所述问卷配置信息包括目标页面和投放内容;所述展示模块具体用于:根据所述投放内容在所述应用的目标页面内向所述用户呈现问卷。According to one or more embodiments of the present disclosure, on the basis of Example 2, the questionnaire configuration information includes the target page and delivery content; The user presents a questionnaire.
根据本公开的一个或多个实施例,在示例2基础上,所述问卷投放条件被抽象为自定义事件,所述装置还包括:逻辑处理模块,用于当所述自定义事件发生时,确定所述问卷投放条件被触发。According to one or more embodiments of the present disclosure, on the basis of Example 2, the questionnaire delivery condition is abstracted as a custom event, and the device further includes: a logic processing module, configured to, when the custom event occurs, It is determined that the questionnaire delivery condition is triggered.
根据本公开的一个或多个实施例,在示例2基础上,所述问卷投放SDK提供有应用程序编程接口API;所述通信模块还用于:接收所述应用通过所述API上报的所述自定义事件。According to one or more embodiments of the present disclosure, on the basis of Example 2, the questionnaire delivery SDK provides an application programming interface API; the communication module is further configured to: receive the Custom events.
根据本公开的一个或多个实施例,在示例2基础上,所述问卷投放SDK提供有对不同技术栈的原始应用程序编程接口API进行二次封装的统一API。According to one or more embodiments of the present disclosure, on the basis of Example 2, the questionnaire delivery SDK provides a unified API that re-encapsulates original application programming interface APIs of different technology stacks.
根据本公开的一个或多个实施例,在示例2基础上,所述展示模块具体用于:根据所述问卷配置信息在所述应用的页面内,通过弹窗方式呈现问卷;或者,根据所述问卷配置信息在所述应用的页面内,通过嵌入页面方式呈现问卷。According to one or more embodiments of the present disclosure, on the basis of Example 2, the display module is specifically configured to: present the questionnaire in a pop-up window in the page of the application according to the configuration information of the questionnaire; or, according to the questionnaire configuration information The configuration information of the questionnaire is displayed in the page of the application by embedding the questionnaire.
根据本公开的一个或多个实施例,在示例2基础上,所述问卷配置信息由投放者通过问卷管理平台配置。According to one or more embodiments of the present disclosure, on the basis of Example 2, the questionnaire configuration information is configured by the sender through the questionnaire management platform.
根据本公开的一个或多个实施例,在示例2基础上,所述展示模块还用于:当免打扰条件被触发时,停止在所述应用的页面内呈现所述问卷。According to one or more embodiments of the present disclosure, on the basis of Example 2, the presentation module is further configured to: stop presenting the questionnaire in the page of the application when the do not disturb condition is triggered.
根据本公开的一个或多个实施例,在示例2基础上,所述免打扰条件包括以下任意一种或多种:向同一用户呈现所述问卷的次数达到预设次数;最近一次向同一用户呈现所述问卷的时间小于或等于第一预设时间;最近 一次检测到同一用户针对所述问卷的答复操作的时间小于或等于第二预设时间;或者,检测到同一用户针对所述问卷的答复操作。According to one or more embodiments of the present disclosure, on the basis of Example 2, the do-not-disturb conditions include any one or more of the following: the number of times the questionnaire is presented to the same user reaches a preset number of times; The time at which the questionnaire is presented is less than or equal to the first preset time; the last time the same user’s response to the questionnaire is detected is less than or equal to the second preset time; or, the same user’s response to the questionnaire is detected Reply action.
以上描述仅为本公开的较佳实施例以及对所运用技术原理的说明。本领域技术人员应当理解,本公开中所涉及的公开范围,并不限于上述技术特征的特定组合而成的技术方案,同时也应涵盖在不脱离上述公开构思的情况下,由上述技术特征或其等同特征进行任意组合而形成的其它技术方案。例如上述特征与本公开中公开的(但不限于)具有类似功能的技术特征进行互相替换而形成的技术方案。The above description is only a preferred embodiment of the present disclosure and an illustration of the applied technical principles. Those skilled in the art should understand that the disclosure scope involved in this disclosure is not limited to the technical solution formed by the specific combination of the above-mentioned technical features, but also covers the technical solutions formed by the above-mentioned technical features or Other technical solutions formed by any combination of equivalent features. For example, a technical solution formed by replacing the above-mentioned features with technical features disclosed in this disclosure (but not limited to) having similar functions.
此外,虽然采用特定次序描绘了各操作,但是这不应当理解为要求这些操作以所示出的特定次序或以顺序次序执行来执行。在一定环境下,多任务和并行处理可能是有利的。同样地,虽然在上面论述中包含了若干具体实现细节,但是这些不应当被解释为对本公开的范围的限制。在单独的实施例的上下文中描述的某些特征还可以组合地实现在单个实施例中。相反地,在单个实施例的上下文中描述的各种特征也可以单独地或以任何合适的子组合的方式实现在多个实施例中。In addition, while operations are depicted in a particular order, this should not be understood as requiring that the operations be performed in the particular order shown or performed in sequential order. Under certain circumstances, multitasking and parallel processing may be advantageous. Likewise, while the above discussion contains several specific implementation details, these should not be construed as limitations on the scope of the disclosure. Certain features that are described in the context of separate embodiments can also be implemented in combination in a single embodiment. Conversely, various features that are described in the context of a single embodiment can also be implemented in multiple embodiments separately or in any suitable subcombination.
尽管已经采用特定于结构特征和/或方法逻辑动作的语言描述了本主题,但是应当理解所附权利要求书中所限定的主题未必局限于上面描述的特定特征或动作。相反,上面所描述的特定特征和动作仅仅是实现权利要求书的示例形式。关于上述实施例中的装置,其中各个模块执行操作的具体方式已经在有关该方法的实施例中进行了详细描述,此处将不做详细阐述说明。Although the subject matter has been described in language specific to structural features and/or methodological acts, it is to be understood that the subject matter defined in the appended claims is not necessarily limited to the specific features or acts described above. Rather, the specific features and acts described above are merely example forms of implementing the claims. Regarding the apparatus in the foregoing embodiments, the specific manner in which each module executes operations has been described in detail in the embodiments related to the method, and will not be described in detail here.
| Application Number | Priority Date | Filing Date | Title |
|---|---|---|---|
| CN202110875360.6 | 2021-07-30 | ||
| CN202110875360.6ACN113609413A (en) | 2021-07-30 | 2021-07-30 | A questionnaire delivery method, system, equipment, medium and product |
| Publication Number | Publication Date |
|---|---|
| WO2023005508A1true WO2023005508A1 (en) | 2023-02-02 |
| Application Number | Title | Priority Date | Filing Date |
|---|---|---|---|
| PCT/CN2022/100052CeasedWO2023005508A1 (en) | 2021-07-30 | 2022-06-21 | Questionnaire delivery method, system and device, medium and product |
| Country | Link |
|---|---|
| CN (1) | CN113609413A (en) |
| WO (1) | WO2023005508A1 (en) |
| Publication number | Priority date | Publication date | Assignee | Title |
|---|---|---|---|---|
| CN113609413A (en)* | 2021-07-30 | 2021-11-05 | 北京有竹居网络技术有限公司 | A questionnaire delivery method, system, equipment, medium and product |
| CN114329186A (en)* | 2021-12-08 | 2022-04-12 | 苏州众言网络科技股份有限公司 | Questionnaire delivery method, system, electronic device and storage medium |
| CN117236301A (en)* | 2023-09-14 | 2023-12-15 | 北京字跳网络技术有限公司 | Method, apparatus, device and medium for information processing |
| CN119277162A (en)* | 2024-09-06 | 2025-01-07 | 北京达佳互联信息技术有限公司 | Page display method, device, equipment and storage medium |
| Publication number | Priority date | Publication date | Assignee | Title |
|---|---|---|---|---|
| JP2014052846A (en)* | 2012-09-07 | 2014-03-20 | Colopl Inc | Program and system for implementation of questionnaire |
| US20140108095A1 (en)* | 2012-10-15 | 2014-04-17 | Iperceptions Inc. | System and method for generating and providing customized survey questionnaires |
| CN108197305A (en)* | 2018-01-30 | 2018-06-22 | 深圳壹账通智能科技有限公司 | Questionnaire test and appraisal processing method, device, computer equipment and storage medium |
| US10013492B1 (en)* | 2010-09-24 | 2018-07-03 | Amazon Technologies, Inc. | Categorization based on user questionnaire |
| CN108763391A (en)* | 2018-05-21 | 2018-11-06 | 天津字节跳动科技有限公司 | Questionnaire page surface treatment method and apparatus |
| CN110032698A (en)* | 2019-02-03 | 2019-07-19 | 阿里巴巴集团控股有限公司 | Information display method and device, and information processing method and device |
| CN113609413A (en)* | 2021-07-30 | 2021-11-05 | 北京有竹居网络技术有限公司 | A questionnaire delivery method, system, equipment, medium and product |
| Publication number | Priority date | Publication date | Assignee | Title |
|---|---|---|---|---|
| CN105959325B (en)* | 2016-07-14 | 2019-07-26 | 精硕科技(北京)股份有限公司 | A kind of method and system of automatic push investigation questionnaire |
| CN108287921A (en)* | 2018-02-27 | 2018-07-17 | 苏州竹语网络科技有限公司 | Information recommendation method and device |
| CN110490644A (en)* | 2019-07-31 | 2019-11-22 | 恒大智慧科技有限公司 | A kind of online questionnaire method of investigation and study, device and storage medium |
| Publication number | Priority date | Publication date | Assignee | Title |
|---|---|---|---|---|
| US10013492B1 (en)* | 2010-09-24 | 2018-07-03 | Amazon Technologies, Inc. | Categorization based on user questionnaire |
| JP2014052846A (en)* | 2012-09-07 | 2014-03-20 | Colopl Inc | Program and system for implementation of questionnaire |
| US20140108095A1 (en)* | 2012-10-15 | 2014-04-17 | Iperceptions Inc. | System and method for generating and providing customized survey questionnaires |
| CN108197305A (en)* | 2018-01-30 | 2018-06-22 | 深圳壹账通智能科技有限公司 | Questionnaire test and appraisal processing method, device, computer equipment and storage medium |
| CN108763391A (en)* | 2018-05-21 | 2018-11-06 | 天津字节跳动科技有限公司 | Questionnaire page surface treatment method and apparatus |
| CN110032698A (en)* | 2019-02-03 | 2019-07-19 | 阿里巴巴集团控股有限公司 | Information display method and device, and information processing method and device |
| CN113609413A (en)* | 2021-07-30 | 2021-11-05 | 北京有竹居网络技术有限公司 | A questionnaire delivery method, system, equipment, medium and product |
| Publication number | Publication date |
|---|---|
| CN113609413A (en) | 2021-11-05 |
| Publication | Publication Date | Title |
|---|---|---|
| US10719837B2 (en) | Integrated tracking systems, engagement scoring, and third party interfaces for interactive presentations | |
| US10985853B2 (en) | Method and system for real-time broadcast audience engagement | |
| WO2023005508A1 (en) | Questionnaire delivery method, system and device, medium and product | |
| US10454863B2 (en) | Data processing device and data processing method based on user emotion icon activity | |
| CN110061909A (en) | Method and apparatus for handling information | |
| US20140372179A1 (en) | Real-time social analysis for multimedia content service | |
| CN108574618B (en) | Pushed information display method and device based on social relation chain | |
| US20120221407A1 (en) | Systems, Methods, and Media for Executing and Optimizing Online Marketing Initiatives | |
| CN110807710A (en) | Method and system for managing invitation data of user inviting friends | |
| WO2021129157A1 (en) | Video-based interaction realization method and apparatus, device and medium | |
| CN105915599B (en) | Interface display method and device | |
| US20160072466A1 (en) | Information processing apparatus, control method, and non-transitory computer readable storage medium | |
| US9870538B2 (en) | Optimizing placement of advertisements across multiple platforms | |
| JP2021096814A (en) | Method and device for generating summaries | |
| US20190253468A1 (en) | Parallel Execution of Request Tracking and Resource Delivery | |
| CN112312225A (en) | Information display method and device and electronic equipment | |
| WO2020199749A1 (en) | Feedback-based information pushing method and apparatus, and electronic device | |
| WO2023056850A1 (en) | Page display method and apparatus, and device and storage medium | |
| WO2021164540A1 (en) | Page operation processing method and apparatus, device, and storage medium | |
| US20130238974A1 (en) | Online polling methodologies and platforms | |
| JP2022040355A (en) | System, information processing method, information processing device, terminal, and program | |
| CN112084447B (en) | Data distribution method, device, medium and electronic equipment | |
| CN110704151A (en) | Information processing method and device and electronic equipment | |
| JP7288253B1 (en) | Program, device and method | |
| CN116828247A (en) | Media content stream processing method, device, equipment and storage medium |
| Date | Code | Title | Description |
|---|---|---|---|
| 121 | Ep: the epo has been informed by wipo that ep was designated in this application | Ref document number:22848115 Country of ref document:EP Kind code of ref document:A1 | |
| NENP | Non-entry into the national phase | Ref country code:DE | |
| 122 | Ep: pct application non-entry in european phase | Ref document number:22848115 Country of ref document:EP Kind code of ref document:A1 |