


















本発明は、乗用型田植機や乗用型直播機等の作業機に関する。The present invention relates to a working machine such as a riding type rice transplanter and a riding type direct seeding machine.
作業機の一例である乗用型田植機では、特許文献1に開示されているように、機体から上側に延出された支持フレームに、合成樹脂製の屋根が支持されて、屋根により運転座席を含む機体の上方を覆うように構成されたものがある。In a passenger-type rice transplanter, which is an example of a working machine, as disclosed in Patent Document 1, a synthetic resin roof is supported by a support frame extending upward from the machine body, and the driver's seat is provided by the roof. Some are configured to cover the top of the including aircraft.
 また、特許文献2に開示されるように、作業地である圃場を作業走行する作業機(農作業機)には、あらかじめ設定された走行経路を自動走行しながら作業を行うものがある。この様な作業機は、衛星信号により走行中の自車位置を特定しながら、あらかじめ設定された作業地の走行経路を走行する。Further, as disclosed in
さらに、特許文献3に示すように、作業機には、施肥計画マップを作成し、作業地内の各領域に施肥する肥料の量を施肥計画マップに基づいて決定する作業機もある。Further, as shown in Patent Document 3, there is also a working machine that creates a fertilizer application plan map and determines the amount of fertilizer to be applied to each area in the work site based on the fertilizer application plan map.
特許文献1のように、屋根により運転座席を含む機体の上方を覆うように構成すると、屋根が比較的大きなものになる。これによって、例えば強風が屋根の下側に吹き込んだ場合、屋根が持ち上げられるような状態となるので、屋根の破損防止の面で改善の余地がある。As in Patent Document 1, if the roof is configured to cover the upper part of the aircraft including the driver's seat, the roof becomes relatively large. As a result, for example, when a strong wind blows under the roof, the roof is lifted, so there is room for improvement in terms of preventing damage to the roof.
本発明は、運転座席を含む機体の上方を覆う屋根が備えられた作業機において、強風が屋根の下側に吹き込んだ場合の屋根の破損防止を図ることを第1の目的としている。The first object of the present invention is to prevent damage to the roof when a strong wind blows under the roof in a working machine provided with a roof that covers the upper part of the machine body including the driver's seat.
作業機が目的の作業地から逸脱すると、作業機が畦等と衝突したり、隣接する作業地に不要な作業を行ってしまう場合がある。そのため、作業機が作業地内に存在するか否かをより精度良く検知することが求められている。If the work machine deviates from the target work place, the work machine may collide with ridges or perform unnecessary work on the adjacent work place. Therefore, it is required to more accurately detect whether or not the work machine exists in the work site.
本発明は、作業機が作業地内に存在するか否かを精度良く検知すること第2の目的とする。The second object of the present invention is to accurately detect whether or not the working machine exists in the working area.
上記第1の目的を達成するために、本発明の一実施形態に係る作業機は、機体に支持された運転座席と、前記機体から上側に延出された支持フレームと、前記運転座席を含む前記機体の上方を覆うように、前記支持フレームに支持された屋根とが備えられ、前記屋根に、前記屋根の上面に沿った方向に向いた開口部と、前記屋根に対して下側の領域と前記開口部とを連通させる連通路とが設けられている。In order to achieve the first object, the working machine according to the embodiment of the present invention includes a driver's seat supported by the machine body, a support frame extending upward from the machine body, and the driver's seat. A roof supported by the support frame is provided so as to cover the upper part of the airframe, and the roof has an opening oriented in a direction along the upper surface of the roof and an area below the roof. A communication passage is provided to communicate the opening with the opening.
このような構成によると、例えば強風が屋根の下側に吹き込んだ場合、強風の一部が屋根の連通路を通り開口部から屋根の上側に抜け出る状態を得ることができる。これにより、屋根が持ち上げられるような状態が弱められるのであり、屋根の破損防止の面で有利である。According to such a configuration, for example, when a strong wind blows into the lower side of the roof, it is possible to obtain a state in which a part of the strong wind passes through the continuous passage of the roof and escapes from the opening to the upper side of the roof. As a result, the state in which the roof is lifted is weakened, which is advantageous in terms of preventing damage to the roof.
このような構成によると、屋根の開口部が、屋根の上面に沿った方向に向いており、上に向いていない。これにより、雨天において、雨水が屋根の開口部に入り込む可能性は小さく、雨水が屋根の開口部から連通路を通って機体に落ちるようなことは少ない。According to such a configuration, the opening of the roof faces in the direction along the upper surface of the roof, not upward. As a result, in rainy weather, it is unlikely that rainwater will enter the opening of the roof, and it is unlikely that rainwater will fall from the opening of the roof through the passageway to the aircraft.
本発明において、側面視で、前記屋根の前部が前記屋根の後部よりも低くなる前傾姿勢となるように、前記屋根が前記支持フレームに支持され、前記開口部が前方向に向いていると好適である。In the present invention, the roof is supported by the support frame and the opening faces forward so that the front portion of the roof is in a forward leaning posture lower than the rear portion of the roof in a side view. Is suitable.
このような構成によると、例えば強風が前側から機体に向けて吹いた場合、屋根が前傾姿勢であることによって、屋根が下側に押し付けられるような状態となる点、及び、強風の一部が屋根の開口部から連通路を通り屋根の下側に抜け出る状態を得ることができる点により、屋根の破損防止の面で有利である。According to such a configuration, for example, when a strong wind blows from the front side toward the aircraft, the roof is in a forward leaning posture so that the roof is pressed downward, and a part of the strong wind. It is advantageous in terms of preventing damage to the roof, because it is possible to obtain a state in which the roof escapes from the opening of the roof through a continuous passage to the lower side of the roof.
 例えば強風が後側から機体に向けて吹いた場合、屋根が前傾姿勢であることにより、強風が屋根の下側に吹き込む状態となる。しかしながら、強風の一部が屋根の連通路を通り開口部から屋根の上側に抜け出る状態を得ることができるので、屋根が持ち上げられるような状態が弱められ、屋根の破損防止の面で有利である。
 この場合、屋根の開口部が屋根の上面に沿った方向である前方向に向いていることにより、前述のように強風が後側から機体に向けて吹いた場合、強風の一部が屋根の開口部から前方向に円滑に抜け出るようになるので、屋根の破損防止の面で有利である。For example, when a strong wind blows from the rear side toward the aircraft, the roof is in a forward leaning posture, so that the strong wind blows into the lower side of the roof. However, since it is possible to obtain a state in which a part of the strong wind passes through the continuous passage of the roof and escapes from the opening to the upper side of the roof, the state in which the roof is lifted is weakened, which is advantageous in terms of preventing damage to the roof. ..
 In this case, since the opening of the roof faces the front direction, which is the direction along the upper surface of the roof, when a strong wind blows from the rear side toward the aircraft as described above, a part of the strong wind is on the roof. Since it can be smoothly pulled out from the opening in the forward direction, it is advantageous in terms of preventing damage to the roof.
本発明において、分割された複数個の屋根部分が、前後方向に沿って並んで配置されるように、前記屋根に設けられ、前後方向で隣接する前記屋根部分において、前の前記屋根部分の後部が、後の前記屋根部分の前部に対して下側に位置するように、前の前記屋根部分の後部と後の前記屋根部分の前部とが重ねて配置され、前の前記屋根部分の後部と後の前記屋根部分の前部とが重なる部分において、前の前記屋根部分の後部と後の前記屋根部分の前部とが上下方向に沿って離れる部分が設けられて、前記開口部と前記連通路とが設けられていると好適である。In the present invention, a plurality of divided roof portions are provided on the roof so as to be arranged side by side along the front-rear direction, and in the roof portions adjacent in the front-rear direction, the rear portion of the front roof portion. Is arranged so that the rear portion of the front roof portion and the front portion of the rear roof portion are overlapped with each other so as to be located below the front portion of the rear roof portion. In the portion where the rear portion and the front portion of the rear roof portion overlap, a portion is provided in which the rear portion of the front roof portion and the front portion of the rear roof portion are separated from each other in the vertical direction. It is preferable that the connecting passage is provided.
このような構成によると、複数個の分割された屋根部分が設けられており、1個の屋根部分は比較的小さいものとなるので、屋根部分は、取り扱いが容易なものとなり、生産も容易なものとなる。これにより、複数個の屋根部分に分割されていない大きな屋根を取り扱う構成に比べて、生産性の向上の面で有利である。According to such a configuration, a plurality of divided roof portions are provided, and one roof portion is relatively small, so that the roof portion is easy to handle and easy to produce. It becomes a thing. This is advantageous in terms of improving productivity as compared with a configuration in which a large roof that is not divided into a plurality of roof portions is handled.
 このような構成によると、前述のように複数個の分割された屋根部分が設けられた場合に、前後方向で隣接する屋根部分において、前の屋根部分の後部と後の屋根部分の前部とが重ねられ、前の屋根部分の後部と後の屋根部分の前部とが上下方向に沿って離れる部分が設けられて、屋根の開口部及び連通路が設けられている。
 この場合、前の屋根部分の後部が後の屋根部分の前部の下側に位置するように重ねられるので、前方向に向く屋根の開口部が容易に構成される。According to such a configuration, when a plurality of divided roof portions are provided as described above, in the roof portions adjacent to each other in the front-rear direction, the rear portion of the front roof portion and the front portion of the rear roof portion , And a portion is provided in which the rear portion of the front roof portion and the front portion of the rear roof portion are separated from each other in the vertical direction, and an opening of the roof and a connecting passage are provided.
 In this case, since the rear portion of the front roof portion is overlapped so as to be located below the front portion of the rear roof portion, the opening of the roof facing forward is easily constructed.
前述のように、前の屋根部分の後部が後の屋根部分の前部の下側に位置するように重ねられた場合、屋根が前傾状態に支持されているので、前の屋根部分の後部と後の屋根部分の前部との間に、雨水が入っても、雨水が前の屋根部分の後端部に達して機体に落ちるようなことは少ない。As mentioned above, when the rear part of the front roof part is stacked so as to be located below the front part of the rear roof part, the roof is supported in a forward leaning state, so that the rear part of the front roof part is supported. Even if rainwater enters between the front part of the roof part and the front part of the rear roof part, it is unlikely that the rainwater will reach the rear end part of the front roof part and fall on the aircraft.
本発明において、前の前記屋根部分の後部と後の前記屋根部分の前部との間に、緩衝材が設けられていると好適である。In the present invention, it is preferable that a cushioning material is provided between the rear portion of the front roof portion and the front portion of the rear roof portion.
このような構成によると、走行時の機体の振動等により、前の屋根部分や後の屋根部分が振動しても、前の屋根部分の後部と後の屋根部分の前部との衝突が、緩衝材により抑えられるので、前の屋根部分の後部と後の屋根部分の前部との衝突音が抑えられる。According to such a configuration, even if the front roof part and the rear roof part vibrate due to the vibration of the aircraft during traveling, the collision between the rear part of the front roof part and the front part of the rear roof part can occur. Since it is suppressed by the cushioning material, the collision noise between the rear part of the front roof part and the front part of the rear roof part is suppressed.
本発明において、前記屋根の前部及び後部の一方を支持する第1の前記支持フレームと、前記屋根の前部及び後部の他方を支持する第2の前記支持フレームとが設けられ、航法衛星の測位信号に基づいて前記機体の位置を示す測位データを出力する測位ユニットが、側面視で前記屋根の前部及び後部の一方と同じ高さに位置するように、第1の前記支持フレームに支持されていると好適である。In the present invention, a first support frame that supports one of the front and rear parts of the roof and a second support frame that supports the other of the front and rear parts of the roof are provided, and the navigation satellite is provided with a second support frame. A positioning unit that outputs positioning data indicating the position of the aircraft based on the positioning signal is supported by the first support frame so as to be located at the same height as one of the front part and the rear part of the roof in a side view. It is preferable that the roof is used.
作業機では、航法衛星の測位信号に基づいて機体の位置を示す測位データを出力する測位ユニットを装備して、機体の位置をディスプレイに表示したり、測位データに基づいて機体の自動運転が行われるように構成することがある。The work equipment is equipped with a positioning unit that outputs positioning data indicating the position of the aircraft based on the positioning signal of the navigation satellite, displays the position of the aircraft on the display, and automatically operates the aircraft based on the positioning data. May be configured to be
このような構成によると、屋根の前部及び後部の一方及び他方を支持する第1及び第2の支持フレームにおいて、測位ユニットが第1の支持フレームに支持されるので、第1の支持フレームが屋根の支持用と測位ユニットの支持用に兼用されて、構造の簡素化の面で有利になる。According to such a configuration, in the first and second support frames supporting one and the other of the front part and the rear part of the roof, the positioning unit is supported by the first support frame, so that the first support frame can be used. It is used for both roof support and positioning unit support, which is advantageous in terms of structural simplification.
このような構成によると、測位ユニットが側面視で屋根の前部及び後部の一方と同じ高さに位置するように支持されるので、測位ユニットが屋根の前部及び後部の一方から上側や下側に大きく突出することがなく、測位ユニットと屋根とがコンパクトに支持される。According to such a configuration, the positioning unit is supported so as to be positioned at the same height as one of the front part and the rear part of the roof in a side view, so that the positioning unit is above or below one of the front part and the rear part of the roof. The positioning unit and the roof are compactly supported without protruding significantly to the side.
本発明において、平面視で前記測位ユニットが入り込み可能な凹部が、前記屋根の前部及び後部の一方に設けられていると好適である。In the present invention, it is preferable that a recess into which the positioning unit can enter is provided in one of the front portion and the rear portion of the roof in a plan view.
このような構成によると、測位ユニットが屋根の前部から前側に大きく突出することがないので(測位ユニットが屋根の後部から後側に大きく突出することがないので)、測位ユニットと屋根とがコンパクトに支持される。With such a configuration, the positioning unit and the roof do not protrude significantly from the front of the roof to the front (because the positioning unit does not protrude significantly from the rear to the rear of the roof). It is supported compactly.
本発明において、前記凹部の左右幅が、前記測位ユニットの左右幅よりも大きなものに設定されていると好適である。In the present invention, it is preferable that the left-right width of the recess is set to be larger than the left-right width of the positioning unit.
 作業機では、測位ユニットを装備することに加えて、通信用等の別の機器を装備することがある。
 このような構成によると、屋根の凹部の左右幅が測位ユニットの左右幅よりも大きなものに設定されているので、測位ユニットに加えて別の機器を、屋根の凹部に入り込むように支持フレームに支持させることが容易に行える。In addition to being equipped with a positioning unit, the work equipment may be equipped with another device for communication or the like.
 According to such a configuration, the left-right width of the recess of the roof is set to be larger than the left-right width of the positioning unit, so that another device in addition to the positioning unit is placed in the support frame so as to enter the recess of the roof. It can be easily supported.
本発明において、第1の前記支持フレームと前記屋根とを連結及び解除可能な連結機構と、第1の前記支持フレームと前記屋根とが前記連結機構により連結可能になる作業位置、並びに、前記連結機構の解除状態で前記測位ユニットから前後方向に沿って離れた非作業位置に亘って、前記屋根を位置変更可能に第2の前記支持フレームに支持可能な支持機構と、前記屋根が前記作業位置に位置した状態で、第1の前記支持フレームと前記屋根とが前記連結機構により連結可能な第1作業高さ、並びに、前記第1作業高さよりも低い第1非作業高さに亘って、第1の前記支持フレームを高さ変更可能な第1高さ変更機構と、前記屋根が前記作業位置に位置した状態で、第1の前記支持フレームと前記屋根とが前記連結機構により連結可能な第2作業高さ、並びに、前記第2作業高さよりも低い第2非作業高さに亘って、第2の前記支持フレームを高さ変更可能な第2高さ変更機構とが備えられていると好適である。In the present invention, a connecting mechanism capable of connecting and disconnecting the first support frame and the roof, a working position where the first support frame and the roof can be connected by the connecting mechanism, and the connection. A support mechanism capable of repositioning the roof over a non-working position separated from the positioning unit in the front-rear direction in the released state of the mechanism, and a support mechanism capable of supporting the roof on the second support frame, and the roof being the working position. The first working height at which the first support frame and the roof can be connected by the connecting mechanism and the first non-working height lower than the first working height in the state of being located at The first height changing mechanism capable of changing the height of the first support frame and the first support frame and the roof can be connected by the connecting mechanism while the roof is located at the working position. A second height changing mechanism capable of changing the height of the second support frame over a second working height and a second non-working height lower than the second working height is provided. Is suitable.
このような構成によると、例えば作業機をトラックの荷台に載せて運搬する場合や、作業機を倉庫等に保管する場合、以下の説明のような操作を行うことにより、第1及び第2の支持フレーム、測位ユニットや屋根の高さを低くすることができる。According to such a configuration, for example, when the work machine is carried on a truck bed or when the work machine is stored in a warehouse or the like, the first and second operations are performed as described below. The height of the support frame, positioning unit and roof can be lowered.
作業機により通常の作業を行う場合、第1及び第2の支持フレームは第1作業高さ及び第2作業高さに設定され、屋根は、作業位置に設定されて、連結機構により屋根が第1の支持フレームに連結されている。When performing normal work with a work machine, the first and second support frames are set to the first work height and the second work height, the roof is set to the work position, and the roof is set to the first by the connecting mechanism. It is connected to the support frame of 1.
前述の状態において、連結機構が解除状態に操作されて、屋根が第1の支持フレームから外される。つまり、第1の支持フレームの高さを、第1高さ変更機構により第1作業高さから、第1作業高さよりも低い第1非作業高さに変更するのであり、第1の支持フレームに支持された測位ユニットも、第1の支持フレームと一緒に低い位置に設定される。In the above-mentioned state, the connecting mechanism is operated in the released state, and the roof is removed from the first support frame. That is, the height of the first support frame is changed from the first working height to the first non-working height lower than the first working height by the first height changing mechanism, and the first supporting frame The positioning unit supported by the above is also set at a low position together with the first support frame.
 また、第2の支持フレームの高さを、第2高さ変更機構により第2作業高さから、第2作業高さよりも低い第2非作業高さに変更するのであり、第2の支持フレームに支持された屋根も、第2の支持フレームと一緒に低い位置に設定される。
 この際、屋根を支持機構により非作業位置に設定しておくことにより、屋根が第1の支持フレームから離れる。Further, the height of the second support frame is changed from the second working height to the second non-working height lower than the second working height by the second height changing mechanism, and the second supporting frame is changed. The roof supported by the roof is also set at a low position together with the second support frame.
 At this time, by setting the roof to a non-working position by the support mechanism, the roof is separated from the first support frame.
以上のように、第1及び第2の支持フレーム、測位ユニットや屋根の高さを低くすることができるのであり、例えば作業機をトラックの荷台に載せての運搬や、作業機の倉庫等での保管が、無理なく行える。As described above, the heights of the first and second support frames, the positioning unit, and the roof can be lowered. For example, in the case of transporting a work machine on a truck bed, carrying a work machine in a warehouse, or the like. Can be stored without difficulty.
本発明において、断面凹状の右の前後排水路が、前記屋根の上面の右部に前後方向に沿って設けられ、断面凹状の左の前後排水路が、前記屋根の上面の左部に前後方向に沿って設けられ、断面凹状の複数の左右排水路が、前記屋根の上面に左右方向に沿って設けられて、前記前後排水路に接続され、雨水が右及び左の前記前後排水路から排水されると好適である。In the present invention, a right front-rear drainage channel having a concave cross section is provided along the front-rear direction on the right portion of the upper surface of the roof, and a left front-rear drainage channel having a concave cross section is provided on the left portion of the upper surface of the roof in the front-rear direction. A plurality of left and right drainage channels having a concave cross section are provided along the left and right directions on the upper surface of the roof and are connected to the front and rear drainage channels, and rainwater is drained from the front and rear drainage channels on the right and left sides. It is preferable to be done.
 このような構成によると、屋根の上面に前後排水路及び左右排水路が設けられ、雨水は主に前後排水路から排水される。
 この場合、断面凹状の前後排水路及び断面凹状の左右排水路が、互いに交差するように屋根の上面に配置されるので、前後排水路及び左右排水路が屋根の補強部として機能することになり、屋根の剛性を向上させることができる。According to such a configuration, front and rear drainage channels and left and right drainage channels are provided on the upper surface of the roof, and rainwater is mainly drained from the front and rear drainage channels.
 In this case, since the front and rear drainage channels having a concave cross section and the left and right drainage channels having a concave cross section are arranged on the upper surface of the roof so as to intersect each other, the front and rear drainage channels and the left and right drainage channels function as reinforcing portions of the roof. , The rigidity of the roof can be improved.
本発明において、作業装置が前記機体の後部に支持され、雨水が右及び左の前記前後排水路の前部から排水されると好適である。In the present invention, it is preferable that the working device is supported by the rear part of the machine body and rainwater is drained from the front part of the front and rear drainage channels on the right and left sides.
 乗用型田植機や乗用型直播機等の作業機では、苗植付装置や播種装置、施肥装置等の作業装置が機体に後部に支持されることが多い。
 上記構成によると、雨水が屋根の右及び左の前後排水路の前部から排水されるので、前後排水路からの雨水が作業装置に掛かることは少ない。
 雨水が屋根の右及び左の前後排水路の前部から排水されることにより、屋根の前部の左右中央部から落ちる雨水が少なくなるので、運転座席の作業者の前方視界の確保の面で有利である。In working machines such as riding-type rice transplanters and riding-type direct sowing machines, working devices such as seedling planting devices, sowing devices, and fertilizer application devices are often supported by the machine body at the rear.
 According to the above configuration, since rainwater is drained from the front part of the front and rear drainage channels on the right and left sides of the roof, it is unlikely that rainwater from the front and rear drainage channels will be applied to the work equipment.
 By draining rainwater from the front of the front and rear drainage channels on the right and left of the roof, less rainwater falls from the left and right center of the front of the roof, so in terms of ensuring the front visibility of the driver's seat worker. It is advantageous.
上記第2の目的を達成するために、本発明の一実施形態に係る作業機は、作業指示値に応じて作業地を作業走行する作業機であって、衛星からの衛星信号を受信する衛星アンテナと、前記衛星信号に基づいて自車位置に対応する測位データを出力する衛星測位モジュールと、前記作業地に対応付けられてメッシュ状に区切られた区画毎に前記作業指示値が入力される作業計画マップを保存する記憶部と、前記自車位置に対応する前記区画に入力された前記作業指示値に応じて前記自車位置が前記作業地内であるか否かを判定する自車位置判定部とを備える。In order to achieve the second object, the work machine according to the embodiment of the present invention is a work machine that runs on the work site according to the work instruction value, and is a satellite that receives a satellite signal from the satellite. The work instruction value is input to each of an antenna, a satellite positioning module that outputs positioning data corresponding to the position of the own vehicle based on the satellite signal, and a mesh-shaped section associated with the work site. Own vehicle position determination for determining whether or not the own vehicle position is within the work site according to the storage unit for storing the work plan map and the work instruction value input to the section corresponding to the own vehicle position. It has a part.
衛星からの衛星信号に基づいて自車位置を特定する作業機は、作業地マップ等と自車位置とを対応付けて作業地中の自車位置を確認しながら作業走行する。このような作業機においても、作業地マップの不具合や衛星アンテナ等の測位ユニットの誤動作、自車位置の検出誤差等により、作業機は作業地を逸脱して走行する場合もある。The work machine that identifies the position of the own vehicle based on the satellite signal from the satellite runs while checking the position of the own vehicle in the work area by associating the work area map and the position of the own vehicle with the position of the own vehicle. Even in such a work machine, the work machine may deviate from the work place due to a malfunction of the work place map, a malfunction of a positioning unit such as a satellite antenna, a detection error of the position of the own vehicle, or the like.
上記構成では、作業計画マップのいずれの区画に自車位置が対応するかを確認し、その区画に入力された作業指示値から、自車位置が作業地内であるか否かを判定する。そのため、作業地マップ等に対応した自車位置の確認に加えて、作業計画マップにおける自車位置に対応する区画に入力された作業指示値に基づいて、自車位置が作業地内であるか否かを判定することにより、自車位置が作業地内であるか否かを二重に確認できる。その結果、作業地マップに不具合がある場合や、自車位置に多少の誤差がある場合であっても、自車位置が作業地内であるか否かを精度良く確認することができる。In the above configuration, it is confirmed which section of the work plan map the own vehicle position corresponds to, and whether or not the own vehicle position is within the work area is determined from the work instruction value input to that section. Therefore, in addition to confirming the position of the own vehicle corresponding to the work site map, whether or not the position of the own vehicle is within the work area based on the work instruction value input to the section corresponding to the position of the own vehicle in the work plan map. By determining whether or not the vehicle is located within the work area, it is possible to double-check whether or not the vehicle is located within the work area. As a result, even if there is a problem in the work area map or there is some error in the position of the own vehicle, it is possible to accurately confirm whether or not the position of the own vehicle is within the work area.
また、前記作業指示値は作業を行わないための非作業値を含み、前記自車位置判定部は、前記作業指示値が前記非作業値である場合に前記自車位置が前記作業地外であると判定しても良い。Further, the work instruction value includes a non-work value for not performing the work, and the own vehicle position determination unit indicates that the own vehicle position is outside the work area when the work instruction value is the non-work value. It may be determined that there is.
このような構成により、自車位置が作業地外であると判定される作業指示値が明確となり、自車位置が作業地内であるか否かの判定をより容易に行うことができ、自車位置が作業地内であるか否かを精度良く確認することができる。With such a configuration, the work instruction value for determining that the vehicle position is outside the work area is clarified, and it is possible to more easily determine whether or not the vehicle position is inside the work area. It is possible to accurately confirm whether or not the position is within the work area.
また、前記作業計画マップを修正するマップ修正部を備え、作業を行う前記作業指示値は前記非作業値より大きい所定の範囲の作業値であり、前記マップ修正部は、作業地の外周位置が示される作業地マップを参照可能であり、前記マップ修正部は、前記外周位置に対応する前記区画の前記作業値を前記非作業値と前記作業値との間の値に修正しても良い。Further, a map correction unit for modifying the work plan map is provided, and the work instruction value for performing the work is a work value in a predetermined range larger than the non-work value. The work area map shown can be referred to, and the map correction unit may correct the work value of the section corresponding to the outer peripheral position to a value between the non-work value and the work value.
このような構成により、自車が畔等の作業地の外周領域の近傍を走行していることが、自車位置に対応する区画に入力された作業指示値から容易に確認される。その結果、畔等の作業地の外周領域の近傍を走行する際に適切な走行を行う契機とすることができ、作業地から逸脱することを容易に回避することが可能となる。With such a configuration, it can be easily confirmed from the work instruction value input to the section corresponding to the position of the own vehicle that the own vehicle is traveling in the vicinity of the outer peripheral region of the work area such as the shore. As a result, when traveling in the vicinity of the outer peripheral region of the work site such as a shore, it can be used as an opportunity to perform appropriate travel, and it is possible to easily avoid deviating from the work site.
また、前記自車位置判定部により前記自車位置が前記作業地外であると判定された場合に警告を報知する報知部を備えることが好ましい。Further, it is preferable to provide a notification unit that notifies a warning when the vehicle position is determined to be outside the work site by the vehicle position determination unit.
このような構成により、運転者や作業者は、自車位置が作業地外であることを認知でき、適切な対応を行う契機とすることができる。With such a configuration, the driver and the worker can recognize that the position of the own vehicle is outside the work area, and can be an opportunity to take an appropriate response.
また、前記自車位置判定部により前記自車位置が前記作業地外であると判定され、かつ作業状態である場合に警告を報知する報知部を備えても良い。Further, a notification unit may be provided to notify a warning when the vehicle position is determined by the vehicle position determination unit to be outside the work area and the vehicle is in a working state.
作業走行中は、資材や燃料の補給等のため、作業地を逸脱して走行する場合もあり、この走行は問題がない。作業地外を走行して問題となるのは、作業地外を走行しているにもかかわらず、作業が継続されている場合である。作業地外で作業を行うと、作業装置が畔等に衝突して破損したり、隣接する作業地等に不適切な作業を行ってしまったりする。During work driving, there may be cases where the vehicle deviates from the work site due to replenishment of materials and fuel, etc., and this driving is not a problem. The problem of traveling outside the work area is when the work is continued even though the vehicle is traveling outside the work area. If the work is performed outside the work area, the work device may collide with the shore or the like and be damaged, or the work may be inappropriately performed on the adjacent work area or the like.
上記構成によると、作業走行しながら作業地を逸脱して初めて警告が行われるため、不要な警告を抑制し、より適切な警告のみを行うことができる。その結果、適切な警告に応じて、適切な対処を行うことができ、効率的に作業走行を行うことができる。According to the above configuration, since the warning is given only after deviating from the work place while working, it is possible to suppress unnecessary warnings and give only more appropriate warnings. As a result, it is possible to take appropriate measures in response to an appropriate warning, and it is possible to carry out work traveling efficiently.
また、前記作業指示値には、所定の基準作業値が定められ、前記警告が報知された後、作業状態が継続する場合は、前記基準作業値で作業を行っても良い。Further, if a predetermined reference work value is set for the work instruction value and the work state continues after the warning is notified, the work may be performed with the reference work value.
作業地を逸脱しても作業走行を継続する必要がある状況は、あらかじめ決まった特定の作業を行う場合が多い。上記構成によると、このような特定の作業における基準作業値をあらかじめ定めておき、作業地を逸脱して作業走行する場合は、自動的に基準作業値にて作業を行うことができるため、効率的に作業走行を行うことができる。In situations where it is necessary to continue working even after deviating from the work site, it is often the case that specific work is performed in advance. According to the above configuration, the standard work value for such a specific work is set in advance, and when the work deviates from the work site and the work is carried out, the work can be automatically performed at the standard work value, which is efficient. It is possible to carry out work running.
また、前記作業走行に係る作業は施肥作業であり、前記作業指示値は施肥する肥料の量であっても良い。Further, the work related to the work running is a fertilizer application work, and the work instruction value may be the amount of fertilizer to be fertilized.
このような構成により、施肥作業を行う作業走行においても、自車位置が作業地内であるかの判定を精度良く行うことができる。With such a configuration, it is possible to accurately determine whether or not the position of the own vehicle is within the work area even during work running where fertilization work is performed.
(実施形態1)
 図1~図13に、作業機の一例である乗用型田植機が示されている。図1~図13において、Fは前方向を示し、Bは後方向を示し、Uは上方向を示し、Dは下方向を示し、Rは右方向を示し、Lは左方向を示している。(Embodiment 1)
 1 to 13 show a passenger-type rice transplanter, which is an example of a working machine. In FIGS. 1 to 13, F indicates a forward direction, B indicates a backward direction, U indicates an upward direction, D indicates a downward direction, R indicates a right direction, and L indicates a left direction. ..
(乗用型田植機の全体構成)
 図1及び図2に示すように、乗用型田植機は、右及び左の前輪1、右及び左の後輪2を備えた機体11の後部に、リンク機構3及びリンク機構3を昇降操作する油圧シリンダ4が備えられ、リンク機構3の後部に苗植付装置5(作業装置に相当)が支持されて、苗植付装置5が機体11の後部に支持されている。(Overall configuration of passenger rice transplanter)
 As shown in FIGS. 1 and 2, the passenger-type rice transplanter moves the link mechanism 3 and the link mechanism 3 up and down to the rear part of the
 苗植付装置5に、左右方向に所定間隔を置いて配置された植付伝動ケース6、植付伝動ケース6の右部及び左部に回転可能に支持された回転ケース7、回転ケース7の両端に支持された植付アーム8、フロート9、苗のせ台10等が設けられている。A
 機体11の後部及び苗植付装置5に亘って、施肥装置12(作業装置に相当)が支持されており、施肥装置12に、ホッパー13、繰り出し部14、ブロア15、作溝器16及びホース17等が設けられている。A fertilizer application device 12 (corresponding to a work device) is supported over the rear part of the
 運転座席18が、機体11の後部に支持されている。施肥装置12において、機体11における運転座席18の後側の部分に、肥料を貯留するホッパー13及び繰り出し部14が設けられており、繰り出し部14の左の横外側にブロア15が設けられている。フロート9に作溝器16が取り付けられており、繰り出し部14と作溝器16とに亘ってホース17が接続されている。The driver's
 苗植付装置5において、苗のせ台10が往復横送り駆動されながら、植付アーム8(回転ケース7)が回転駆動されるのであり、植付アーム8が苗のせ台10の下部から苗を取り出して田面に植え付ける。In the
 施肥装置12において、ホッパー13の肥料が繰り出し部14により繰り出されて、ブロア15の搬送風によりホース17を通って作溝器16に供給されるのであり、作溝器16により田面に溝が形成されながら、作溝器16から田面の溝に肥料が供給される。In the
(機体の前部の構成)
 図1,2,3に示すように、機体11の前部に、エンジン(図示せず)が支持され、エンジンを覆うボンネット19が設けられており、前輪1を操向操作する操縦ハンドル20がボンネット19の後部に設けられている。ボンネット19の右側及び左側に、乗降用の右及び左のステップ21が設けられている。(Structure of the front part of the aircraft)
 As shown in FIGS. 1, 2 and 3, an engine (not shown) is supported at the front portion of the
 右及び左の予備苗のせ台フレーム22(第1の支持フレームに相当)が、機体11の前部の下部に連結されて横外側に延出され、右及び左のステップ21の横外側を上側に延出されている。予備苗のせ台フレーム22は、側面視でアーチ状(二股状)に構成されており、3個の予備苗のせ台23が予備苗のせ台フレーム22に支持されている。The right and left spare seedling cradle frames 22 (corresponding to the first support frame) are connected to the lower part of the front part of the
 3個の予備苗のせ台23のうち、中央の予備苗のせ台23が予備苗のせ台フレーム22に支持されており、前の予備苗のせ台23が中央の予備苗のせ台23の前部に前後方向に揺動可能に支持され、後の予備苗のせ台23が中央の予備苗のせ台23の後部に前後方向に揺動可能に支持されている。Of the three spare seedling pedestals 23, the central
 図1,2,3に示す状態は、中央の予備苗のせ台23に対して、前の予備苗のせ台23が後側に操作され、後の予備苗のせ台23が前側に操作されて、中央の予備苗のせ台23の上部に前及び後の予備苗のせ台23が積み重ねられた状態である。In the state shown in FIGS. 1, 2 and 3, the front spare seedling stand 23 is operated to the rear side and the rear spare seedling stand 23 is operated to the front side with respect to the center
 図1,2,3に示す状態から、中央の予備苗のせ台23に対して、前の予備苗のせ台23が前側に操作され、後の予備苗のせ台23が後側に操作されることにより、3個の予備苗のせ台23が一列状に展開された状態に設定することができる。From the state shown in FIGS. 1, 2 and 3, the front
(機体の前部の第1の支持フレームの構成)
 図1~図4に示すように、正面視でアーチ状の支持フレーム24(第1の支持フレームに相当)が設けられている。支持フレーム24は、丸パイプが折り曲げられて構成されており、左右方向に沿った横向き部24a、右及び左の縦向き部24b、右及び左の前後向き部24cが設けられている。(Structure of the first support frame at the front of the aircraft)
 As shown in FIGS. 1 to 4, an arch-shaped support frame 24 (corresponding to the first support frame) is provided in a front view. The
 右及び左の予備苗のせ台フレーム22の上部に、チャンネル状のブラケット22aが連結されており、支持フレーム24の前後向き部24cの端部が、左右方向に沿った軸芯P1周りに揺動可能に、予備苗のせ台フレーム22のブラケット22aに支持されている。A channel-shaped
 図1,2,3,11に示す状態は、予備苗のせ台フレーム22のブラケット22aに対して、支持フレーム24(縦向き部24b)が上側に向いた状態であり、予備苗のせ台フレーム22及び支持フレーム24が第1作業高さH11に設定された状態である。予備苗のせ台フレーム22のブラケット22aと支持フレーム24の前後向き部24cとに亘って、固定部材(図示せず)を取り付けることにより、支持フレーム24を第1作業高さH11で固定することができる。In the states shown in FIGS. 1, 2, 3 and 11, the support frame 24 (
 固定部材を取り外して、支持フレーム24を軸芯P1周りに後側に揺動させることによって、図12及び図13に示すように、支持フレーム24の縦向き部24bが下側に向けて、予備苗のせ台フレーム22及び支持フレーム24を、第1作業高さH11よりも低い第1非作業高さH12に設定することができる。By removing the fixing member and swinging the
 第1非作業高さH12において、支持フレーム24の縦向き部24bが予備苗のせ台フレーム22の後部に当たるので、支持フレーム24は図12及び図13に示す状態から前側に揺動することはできない。取り外した固定部材を、予備苗のせ台フレーム22のブラケット22aと支持フレーム24の前後向き部24cとに亘って取り付けることにより、支持フレーム24を第1非作業高さH12で固定することができる。At the first non-working height H12, since the
 以上のように、予備苗のせ台フレーム22及び支持フレーム24を、第1作業高さH11及び第1非作業高さH12に亘って高さ変更可能な第1高さ変更機構31が設けられている。第1高さ変更機構31に、予備苗のせ台フレーム22のブラケット22a、支持フレーム24の前後向き部24c及び固定部材等が設けられている。As described above, the first
(測位ユニットの構成)
 図1~図4に示すように、支持フレーム24の横向き部24aの左右中央部に、測位ユニット25が取り付けられている。前述の(機体の前部の第1の支持フレームの構成)に記載のように、予備苗のせ台フレーム22及び支持フレーム24が第1作業高さH11及び第1非作業高さH12に亘って高さ変更されると、測位ユニット25は支持フレーム24と一体で移動する。(Positioning unit configuration)
 As shown in FIGS. 1 to 4, the
 測位ユニット25に、衛星測位システムにより位置情報を取得する受信装置(図示せず)と、機体11の傾き(ピッチ角、ロール角)を検出する慣性計測装置(図示せず)とが設けられており、測位ユニット25は機体11の位置を示す測位データを出力する。The
前述の衛星測位システム(GNSS:Global Navigation Satellite System)には、代表的なものとしてGPS(Global Positioning System)がある。GPSは、地球の上空を周回する複数のGPS衛星や、GPS衛星の追跡と管制を行う管制局や、測位を行う対象(機体11)が備える受信装置を使用して、受信装置の位置を計測するものである。The above-mentioned satellite positioning system (GNSS: Global Navigation Satellite System) has GPS (Global Positioning System) as a typical example. GPS measures the position of a receiving device by using a plurality of GPS satellites orbiting the earth, a control station that tracks and controls GPS satellites, and a receiving device provided in a positioning target (airframe 11). To do.
(機体の後部の第2の支持フレームの構成)
 図1,3,5に示すように、右及び左の支持フレーム26(第2の支持フレームに相当)が、機体11の後部の下部に連結されて横外側に延出され、ホッパー13の横外側を上側に延出されている。右及び左の接続部29が、支持フレーム26の上部に連結されている。(Structure of the second support frame at the rear of the fuselage)
 As shown in FIGS. 1, 3 and 5, the right and left support frames 26 (corresponding to the second support frame) are connected to the lower part of the rear part of the
 右及び左の支持フレーム27(第2の支持フレームに相当)が、接続部29に接続されて上側に延出されている。補強フレーム28が、機体11の後部の下部と支持フレーム26とに亘って連結されている。The right and left support frames 27 (corresponding to the second support frame) are connected to the
 図5及び図6に示すように、接続部29は、板材が折り曲げられて構成されており、切り欠き部29a及び接続孔29bが設けられ、接続孔29bよりも大径の開口部29cが設けられている。接続部29の開口部29cに対向する部分に、ブラケット30が連結されており、丸パイプ状の案内部材33がブラケット30に連結されている。As shown in FIGS. 5 and 6, the connecting
 丸棒材がチャンネル状に折り曲げられた固定部材34が設けられ、固定部材34が案内部材33の前後方向に沿った軸芯P2周りに揺動可能、及び軸芯P2に沿ってスライド可能に、案内部材33に支持されている。A fixing
 バネ35が、接続部29の開口部29cに通されながら、固定部材34に固定されたバネ受け部34bとブラケット30とに亘って取り付けられている。固定部材34の端部34aが接続部29の接続孔29bに入る側に、固定部材34がバネ35により付勢されている。The
 図5に示すように、支持フレーム27の下部に、接続ピン27a及び接続孔27bが設けられており、支持フレーム27の上下中間部に、接続ピン27c及び接続孔27dが設けられている。As shown in FIG. 5, a
 図1,3,5,6,11に示す状態は、支持フレーム26,27が第2作業高さH21に設定された状態である。
 支持フレーム27の接続ピン27aが、接続部29の切り欠き部29aに上側から挿入され、支持フレーム27が接続部29の内部に入れられ、固定部材34の端部34aが支持フレーム27及び接続部29の接続孔27b,29bに亘って挿入されることにより、支持フレーム27が接続部29に接続されるのであり、支持フレーム26,27が第2作業高さH21に設定される。The states shown in FIGS. 1, 3, 5, 6 and 11 are states in which the support frames 26 and 27 are set to the second working height H21.
 The
 図12及び図13に示す状態は、支持フレーム26,27が第2作業高さH21よりも低い第2非作業高さH22に設定された状態である。
 支持フレーム27の接続ピン27cが、接続部29の切り欠き部29aに上側から挿入され、支持フレーム27が接続部29の内部に入れられ、固定部材34の端部34aが支持フレーム27及び接続部29の接続孔27d,29bに亘って挿入されることにより、支持フレーム27が接続部29に接続されるのであり、支持フレーム26,27が第2非作業高さH22に設定される。The states shown in FIGS. 12 and 13 are states in which the support frames 26 and 27 are set to the second non-working height H22, which is lower than the second working height H21.
 The
 以上のように、支持フレーム26,27を、第2作業高さH21及び第2非作業高さH22に亘って高さ変更可能な第2高さ変更機構32が設けられている。第2高さ変更機構32に、支持フレーム27の接続ピン27a,27c及び接続孔27b,27d、接続部29、固定部材34及びバネ35等が設けられている。As described above, the second
(屋根の全体構成)
 図1,2,3に示すように、屋根36が設けられており、屋根36が、運転座席18を含む機体11の上方を覆うように、予備苗のせ台フレーム22及び支持フレーム24、並びに、支持フレーム26,27に支持されている。(Overall composition of the roof)
 As shown in FIGS. 1, 2 and 3, a
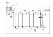
 図8,9,10に示すように、屋根36に、金属製の丸パイプ状の部材及び細長い板材により構成された枠状部分37と、合成樹脂により構成された2個の屋根部分38,39とが設けられており、枠状部分37と屋根部分38,39とがボルトで連結されている。As shown in FIGS. 8, 9 and 10, the
(屋根における枠状部分の構成)
 図9及び図10に示すように、枠状部分37において、丸パイプ状の前部分40と、丸パイプ状の右及び左の横部分41と、丸パイプ状の後部分42とが、連結されて枠状の部材が構成されている。丸パイプ状の中間部分43が、前部分40と後部分42とに亘って連結されている。細長い板材状の前及び後の左右部分44が、横部分41の前部及び中間部分43の前部に亘って連結され、横部分41の後部及び中間部分43の後部に亘って連結されている。(Structure of frame-shaped part on the roof)
 As shown in FIGS. 9 and 10, in the frame-shaped
 枠状部分37において、多数のブラケット45が、前部分40、横部分41、後部分42、中間部分43及び左右部分44に、上向きに連結されている。連結ブラケット47,48が、右及び左の横部分41の後部及び前後中間部に、下向きに連結されている。In the frame-shaped
 連結ブラケット46が、前部分40の右部及び左部に、前向きに連結されている。前部分40における右及び左の連結ブラケット46の間の部分が後側に折り曲げられて、前側に開放された凹部40aが構成されている。The connecting
(屋根における屋根部分の構成)
 図8,9,10に示すように、分割された2個の屋根部分38,39が、前後方向に沿って並んで配置されるように、屋根36に設けられている。(Structure of the roof part in the roof)
 As shown in FIGS. 8, 9 and 10, the two divided
 前の屋根部分38は、合成樹脂により一体的に構成されている。前側に開放された凹部38cが、屋根部分38(屋根36)の前部に設けられ、前の屋根部分38の後部38dが平面状に構成されている。The
 前の屋根部分38において、断面凹状の右の前後排水路38aが、前の屋根部分38(屋根36)の上面の右部に前後方向に沿って設けられており、断面凹状の左の前後排水路38aが、前の屋根部分38(屋根36)の上面の左部に前後方向に沿って設けられている。断面凹状の2個の左右排水路38bが、前の屋根部分38(屋根36)の上面に左右方向に沿って設けられて、右及び左の前後排水路38aに接続されている。In the
 後の屋根部分39は、合成樹脂により一体的に構成されている。断面凹状の右の前後排水路39aが、後の屋根部分39(屋根36)の上面の右部に前後方向に沿って設けられており、断面凹状の左の前後排水路39aが、後の屋根部分39(屋根36)の上面の左部に前後方向に沿って設けられている。断面凹状の左右排水路39bが、後の屋根部分39(屋根36)の上面に左右方向に沿って設けられて、右及び左の前後排水路39aに接続されている。The
 前及び後の屋根部分38,39において、前の屋根部分38の後部38dが、後の屋根部分39の前部39cに対して下側に位置するように、前の屋根部分38の後部38dと後の屋根部分39の前部39cとが、接触して重ねて配置されている。この状態で、前の屋根部分38の右及び左の前後排水路38aと、後の屋根部分39の右及び左の前後排水路39aとが接続される。In the front and
 前の屋根部分38の後部38dと後の屋根部分39の前部39cとが重なる部分において、後の屋根部分39の前部39cにおける右及び左の前後排水路39aの間の部分が、上側に盛り上げられており、前の屋根部分38の後部38dと後の屋根部分39の前部39cとが上下方向に沿って離れる部分が設けられている。In the portion where the
 前の屋根部分38の後部38dと、後の屋根部分39の前部39cにおける右及び左の前後排水路39aの間の部分とにおいて、前の屋根部分38(屋根36)の上面に沿った方向である前方向に向いた開口部49が、前及び後の屋根部分38,39(屋根36)に設けられており、前及び後の屋根部分38,39(屋根36)に対して下側の領域と開口部49とを連通させる連通路50が、前及び後の屋根部分38,39(屋根36)に設けられている。Direction along the upper surface of the front roof portion 38 (roof 36) at the portion between the
 前述のように前及び後の屋根部分38,39が配置された状態で、枠状部分37のブラケット45に、前及び後の屋根部分38,39がボルトで連結されている。
 前の屋根部分38の後部38dと、後の屋根部分39の前部39cにおける右及び左の前後排水路39aの間の部分との間に、ゴムや少し硬いスポンジ等の緩衝材51が、挟み込まれるようにして設けられている。With the front and
 A cushioning
(屋根を第1の支持フレームに支持させる為の構成)
 図1,3,4に示すように、支持フレーム24の横向き部24aの右部及び左部に、連結ブラケット24dが連結されている。(Structure for supporting the roof by the first support frame)
 As shown in FIGS. 1, 3 and 4, the connecting
 屋根36の連結ブラケット46が支持フレーム24の連結ブラケット24dに挿入された状態で、屋根36の連結ブラケット46と支持フレーム24の連結ブラケット24dとに亘って、固定部材(図示せず)が取り付けられることにより、屋根36の連結ブラケット46と支持フレーム24の連結ブラケット24dとが連結される。固定部材が取り外されることにより、屋根36の連結ブラケット46が支持フレーム24の連結ブラケット24dから取り外される。With the connecting
 以上のように、予備苗のせ台フレーム22及び支持フレーム24と、屋根36とを連結及び解除可能な連結機構53が設けられている。連結機構53に、屋根36の連結ブラケット46、支持フレーム24の連結ブラケット24d及び固定部材等が設けられている。As described above, the connecting
(屋根を第2の支持フレームに支持させる為の構成)
 図5及び図7に示すように、板材が折り曲げられて構成された支持部54が、支持フレーム27の上部に連結されており、連結孔54aが支持部54に設けられている。丸棒材がチャンネル状に折り曲げられた固定部材55が設けられ、固定部材55が支持部54の左右方向に沿った軸芯P3周りに揺動可能、及び軸芯P3に沿ってスライド可能に、支持部54に支持されている。(Structure for supporting the roof by the second support frame)
 As shown in FIGS. 5 and 7, a
 バネ56が、固定部材55に固定されたバネ受け部55bと支持部54とに亘って取り付けられており、固定部材55の端部55aが支持部54の連結孔54aに入る側に、固定部材55がバネ56により付勢されている。屋根36において、連結ブラケット47,48に、左右方向に沿った連結孔47a,48aが設けられている。The
 屋根36の連結ブラケット47,48が支持部54に挿入された状態で、固定部材55の端部55aが支持部54の連結孔54aと、連結ブラケット47,48の連結孔47a,48aとに亘って挿入されることにより、屋根36(連結ブラケット47,48)が支持フレーム27(支持部54)に連結される。固定部材55が取り外されることにより、屋根36(連結ブラケット47,48)が支持フレーム27(支持部54)から取り外される。With the connecting
 図11に示すように、屋根36の連結ブラケット47が支持部54に連結された状態において、屋根36が作業位置A1に位置した状態となる。
 屋根36が作業位置A1に位置した状態において、前述の(屋根を第1の支持フレームに支持させる為の構成)に記載のように、屋根36の連結ブラケット46と支持フレーム24の連結ブラケット24dとが、連結機構53により連結可能となる。As shown in FIG. 11, in a state where the connecting
 In the state where the
 図13に示すように、連結機構53の解除状態で、屋根36の連結ブラケット48が支持部54に連結された状態において、屋根36が非作業位置A2に位置した状態となる。屋根36が非作業位置A2に位置した状態で、屋根36は、予備苗のせ台フレーム22及び支持フレーム24、測位ユニット25から前後方向に沿って後側に離れる。As shown in FIG. 13, in the state where the connecting
 以上のように、予備苗のせ台フレーム22及び支持フレーム24と屋根36とが連結機構53により連結可能になる作業位置A1、並びに、連結機構53の解除状態で、予備苗のせ台フレーム22及び支持フレーム24、測位ユニット25から前後方向に沿って離れた非作業位置A2に亘って、屋根36を位置変更可能に支持フレーム26,27に支持可能な支持機構57が設けられている。支持機構57に、支持部54、固定部材55及びバネ56、連結ブラケット47,48等が設けられている。As described above, the spare
(屋根における第1及び第2の支持フレームでの支持状態)
 図1,2,3,11に示す状態が、予備苗のせ台フレーム22及び支持フレーム24が第1作業高さH11に設定された状態であり、支持フレーム26,27が第2作業高さH21に設定された状態である。(Supported state by the first and second support frames on the roof)
 The states shown in FIGS. 1, 2, 3 and 11 are the states in which the spare
 図1,2,3,11に示す状態において、屋根36の連結ブラケット46と支持フレーム24の連結ブラケット24dとが、連結機構53により連結され、屋根36の連結ブラケット47が支持部54に連結されて、屋根36が作業位置A1に設定されている。In the state shown in FIGS. 1, 2, 3 and 11, the connecting
 前述の状態において、側面視で、屋根36の前部が屋根36の後部よりも低くなる前傾姿勢となるように、屋根36の前部が、予備苗のせ台フレーム22及び支持フレーム24に支持され、屋根36の後部が、支持フレーム26,27に支持されている。
 測位ユニット25が側面視で屋根36の前部と同じ高さに位置するように、屋根36の前部が、予備苗のせ台フレーム22及び支持フレーム24に支持されている。In the above-mentioned state, the front part of the
 The front part of the
 平面視で、屋根36の前の屋根部分38の凹部38c及び前部分40の凹部40aに、測位ユニット25が入り込んでおり、平面視で測位ユニット25が入り込み可能な凹部38c,40aが、屋根36の前部に設けられた状態となっている。この場合、屋根36の前の屋根部分38の凹部38c及び前部分40の凹部40aの左右幅が、測位ユニット25の左右幅よりも大きなものに設定されている。The
 平面視で、屋根36と、運転座席18、ボンネット19の後部及び操縦ハンドル20、施肥装置12のホッパー13及び繰り出し部14とが重複しており、運転座席18、ボンネット19の後部及び操縦ハンドル20、施肥装置12のホッパー13及び繰り出し部14を含む機体11の領域の上方が、屋根36により覆われている。In a plan view, the
 図8,9,10に示すように、例えば強風が屋根36の下側に吹き込んだ場合に、強風の一部が屋根36の連通路50を通り開口部49から屋根36の上側に抜け出るようになる。As shown in FIGS. 8, 9 and 10, for example, when a strong wind blows to the lower side of the
 雨天時において、屋根36の上面に落ちた雨水は、屋根36の前後排水路38a,39aに流れ込んだり、屋根36の左右排水路38b,39bから前後排水路38a,39aに流れ込んだりして、屋根36の前後排水路38a,39aに主に集められる。
 屋根36が前傾姿勢であることにより、屋根36の前後排水路38a,39aに集められた雨水は、屋根36の前後排水路38a,39aに沿って前側に流れ、屋根36の前後排水路38aの前部から排水されて、予備苗のせ台23に落ちる。In rainy weather, rainwater that has fallen on the upper surface of the
 Since the
(例えば乗用型田植機をトラックの荷台に載せて運搬する場合や、乗用型田植機を倉庫等に保管する場合の状態)
 前述の(屋根における第1及び第2の支持フレームでの支持状態)及び図11に示す状態から、以下の説明のような操作を行うことにより、屋根36等の高さを低くすることができる。(For example, when the passenger-type rice transplanter is placed on the truck bed for transportation, or when the passenger-type rice transplanter is stored in a warehouse, etc.)
 The height of the
 図11に示す状態において、連結機構53が解除状態に設定されて、屋根36の連結ブラケット46が支持フレーム24の連結ブラケット24dから取り外される。支持機構57の固定部材55が取り外されて、屋根36の連結ブラケット47が支持部54から取り外される。これにより、屋根36が、予備苗のせ台フレーム22及び支持フレーム24、並びに、支持フレーム26,27から取り外される。In the state shown in FIG. 11, the connecting
 次に、前述の(機体の前部の第1の支持フレームの構成)及び図12に示すように、第1高さ変更機構31により、予備苗のせ台フレーム22及び支持フレーム24、測位ユニット25が、第1非作業高さH12に設定される。
 前述の(機体の後部の第2の支持フレームの構成)及び図12に示すように、第2高さ変更機構32により、支持フレーム26,27が、第2非作業高さH22に設定される。Next, as described above (configuration of the first support frame at the front portion of the machine body) and FIG. 12, the preliminary
 As described above (configuration of the second support frame at the rear of the machine body) and FIG. 12, the support frames 26 and 27 are set to the second non-working height H22 by the second
 次に図13に示すように、取り外していた屋根36において、屋根36の連結ブラケット48が、支持部54に連結されて、屋根36が非作業位置A2に位置される。屋根36が非作業位置A2に位置した状態において、屋根36は、予備苗のせ台フレーム22及び支持フレーム24、測位ユニット25から前後方向に沿って後側に離れるので、屋根36の前部が、予備苗のせ台フレーム22及び支持フレーム24や測位ユニット25に干渉することはない。
 この場合、屋根36が前後に揺れないように、屋根36の前部と操縦ハンドル20とに亘って、ベルトやロッド等の固定部材(図示せず)を取り付けておくとよい。Next, as shown in FIG. 13, in the removed
 In this case, a fixing member (not shown) such as a belt or a rod may be attached to the front portion of the
(実施形態1の別実施形態)
(1)屋根36の前及び後の屋根部分38,39において、前の屋根部分38の後部38dが後の屋根部分39の前部39cに対して上側に位置するように、前の屋根部分38の後部38dと後の屋根部分39の前部39cとが、接触して重ねて配置されてもよい。(Another Embodiment of Embodiment 1)
 (1) In the front and
 この構成によると、前の屋根部分38の後部38dと後の屋根部分39の前部39cとが重なる部分において、前の屋根部分38の後部38dに、上側に盛り上がる部分が設けられて、後の屋根部分39(屋根36)の上面に沿った方向である後方向に向いた開口部49が、前及び後の屋根部分38,39(屋根36)に設けられる。According to this configuration, in the portion where the
(2)屋根36において、3個以上の屋根部分38,39が設けられて、図8,9,10に示すように構成されたり、前述の(実施形態1の第1別形態)のように構成されてもよい。(2) In the
 この構成によると、屋根36の上面に沿った方向である前方向に向いた複数個の開口部49や、屋根36の上面に沿った方向である後方向に向いた複数個の開口部49が、屋根36に設けられる。
 前方向に向いた開口部49と、後方向に向いた開口部49とが、屋根36に混在して設けられるように構成することもできる。According to this configuration, a plurality of
 The
(3)屋根36に分割された屋根部分38,39を設けるのではなく、1個の屋根36が一体的に構成されてもよい。
 この構成によると、1個又は複数個の開口部49を、屋根36の上面に沿った方向である前方向や後方向、右方向や左方向に向けて設けることができる。(3) One
 According to this configuration, one or
(4)前の屋根部分38の後部38dと後の屋根部分39の前部39cとが接触して重ねて配置された部分に、薄いシート状の緩衝材51が、挟み込まれるようにして設けられてもよい。(4) A thin sheet-shaped
(5)予備苗のせ台フレーム22及び支持フレーム24(第1の支持フレーム)、測位ユニット25、第1高さ変更機構31の構成が、機体11の後部に設けられ、支持フレーム26,27(第2の支持フレーム)及び第2高さ変更機構32の構成が、機体11の前部に設けられてもよい。(5) The configuration of the spare
 この構成によると、屋根36の後部が第1の支持フレームに支持され、屋根36の前部が第2の支持フレームに支持される。
 測位ユニット25が、側面視で屋根36の後部と同じ高さに位置するように支持され、平面視で測位ユニット25が入り込み可能な凹部が、屋根36の後部に設けられる。
 支持機構57において、屋根36が、作業位置A1と、予備苗のせ台フレーム22及び支持フレーム24、測位ユニット25から前後方向に沿って前側に離れた非作業位置A2とに亘って、位置変更可能に支持される。According to this configuration, the rear portion of the
 The
 In the
(6)支持機構57において、屋根36の横部分41が支持部54に前後方向に沿ってスライド可能に支持されることにより、屋根36が作業位置A1と非作業位置A2とに亘って位置変更可能に支持されるように構成されてもよい。(6) In the
(7)屋根36において、3個以上の前後排水路38a,39aが設けられてもよく、4個以上の左右排水路38b,39bが設けられてもよい。(7) The
(実施形態2)
 以下、本発明の作業機の実施形態2として、圃場(「作業地」に相当)を作業走行する田植機を例に説明する。また、この田植機は、施肥計画マップ(「作業計画マップ」に相当)に基づいて、圃場に施肥を行う。(Embodiment 2)
 Hereinafter, as the second embodiment of the working machine of the present invention, a rice transplanter that runs in a field (corresponding to a “working area”) will be described as an example. In addition, this rice transplanter applies fertilizer to the field based on the fertilizer application plan map (corresponding to the "work plan map").
(全体構造)
 図14に示すように、田植機は、乗用型で四輪駆動形式の走行機体(以下、機体101と称する)を備えている。機体101は、機体101の後部に昇降揺動可能に連結された平行四連リンク形式のリンク機構111、リンク機構111を揺動駆動する油圧式の昇降シリンダ111a、リンク機構111の後端部領域にローリング可能に連結される苗植付装置103、および、機体101の後端部領域から苗植付装置103にわたって架設されている施肥装置104等を備えている。苗植付装置103および施肥装置104は、作業装置の一例である。(Overall structure)
 As shown in FIG. 14, the rice transplanter is provided with a passenger-type, four-wheel drive type traveling machine (hereinafter, referred to as machine 101). The
 機体101は、走行のための機構として車輪112、エンジン113、および油圧式の無段変速装置114を備えている。車輪112は、操舵可能な左右の前輪112Aと、操舵不能な左右の後輪112Bとを有する。エンジン113および無段変速装置114は、機体101の前部に搭載されている。エンジン113からの動力は、無段変速装置114等を介して前輪112A、後輪112B、作業装置等に供給される。The
 苗植付装置103は、一例として8条植え形式に構成されている。苗植付装置103は、苗載せ台131、8条分の植付機構132等を備えている。なお、この苗植付装置103は、図示されていない各条クラッチの制御により、2条植え、4条植え、6条植え等の形式に変更可能である。The
 苗載せ台131は、8条分のマット状苗を載置する台座である。苗載せ台131は、マット状苗の左右幅に対応する一定ストロークで左右方向に往復移動し、縦送り機構133は、苗載せ台131が左右のストローク端に達するごとに、苗載せ台131上の各マット状苗を苗載せ台131の下端に向けて所定ピッチで縦送りする。8個の植付機構132は、ロータリ式で、植え付け条間に対応する一定間隔で左右方向に配置されている。そして、各植付機構132は、機体101からの動力により、苗載せ台131に載置された各マット状苗の下端から一株分の苗を切り取って、整地後の泥土部に植え付ける。これにより、苗植付装置103の作動状態では、苗載せ台131に載置されたマット状苗から苗を取り出して水田の泥土部に植え付けることができる。The
 図14に示すように、施肥装置104は、横長のホッパー141、繰出機構142、電動式のブロワ143、複数の施肥ホース144、および、条毎に備えられた作溝器145を備えている。ホッパー141は、粒状または粉状の肥料を貯留する。繰出機構142は、エンジン113から伝達される動力で作動し、ホッパー141から2条分の肥料を所定量ずつ繰り出す。As shown in FIG. 14, the
 ブロワ143は、機体101に搭載されたバッテリ(図示せず)からの電力で作動し、各繰出機構142により繰り出された肥料を圃場の泥面に向けて搬送する搬送風を発生させる。施肥装置104は、ブロワ143等の断続操作により、ホッパー141に貯留した肥料を所定量ずつ圃場に供給する作動状態と、供給を停止する非作動状態とに切り換えることができる。The
 各施肥ホース144は、搬送風で搬送される肥料を各作溝器145に案内する。各作溝器145は、各整地フロート115に配備されている。そして、各作溝器145は、各整地フロート115と共に昇降し、各整地フロート115が接地する作業走行時に、水田の泥土部に施肥溝を形成して肥料を施肥溝内に案内する。Each
 図14に示すように、機体101は、その後部側領域に運転部120を備えている。運転部120は、前輪操舵用のステアリングホイール121、無段変速装置114の変速操作を行うことで車速を調節する主変速レバー122、副変速装置の変速操作を可能にする副変速レバー123、苗植付装置103の昇降操作と作動状態の切り換え等を可能にする作業操作レバー125、各種の情報を表示(報知)してオペレータに報知(出力)すると共に、各種の情報の入力を受け付けるタッチパネルを有する汎用端末109、および、オペレータ(運転者)用の運転座席116等を備えている。さらに、運転部120の前方に、予備苗を収容する予備苗フレーム117が設けられている。As shown in FIG. 14, the
 ステアリングホイール121は、非図示の操舵機構を介して前輪112Aと連結されており、ステアリングホイール121の回転操作を通じて、前輪112Aの操舵角が調節される。The
(走行経路)
 この田植機による苗植付作業(圃場作業の一例)において用いられる走行経路を以下に説明する。図15に示すように、圃場は、周回走行経路が設定される外周領域と、往復走行経路が設定される中央領域とに区分けされる。田植機は、最初に往復走行経路に沿って中央領域に対する苗植付作業を行い、その後に、周回走行経路に沿って外周領域に対する苗植付作業を行う。(Driving route)
 The traveling route used in the seedling planting work (an example of field work) by this rice transplanter will be described below. As shown in FIG. 15, the field is divided into an outer peripheral region in which the orbital travel route is set and a central region in which the reciprocating travel route is set. The rice transplanter first performs seedling planting work on the central region along the reciprocating travel route, and then performs seedling planting operation on the outer peripheral region along the circular travel route.
図16には周回走行経路が示されている。周回走行経路は、圃場境界線(畔)に平行に延びる周回直線経路と、周回直線経路どうしをつなぐために前進と後進とを取り入れた方向転換経路とからなる。なお、図16において、周回直線経路には符号R1が付与され、方向転換経路には符号R2が付与されている。図17には往復走行経路が示されている。往復走行経路は、多数の互いに略平行な往復経路と、往復経路どうしをつなぐ旋回経路(Uターン経路)からなる。なお、図17において、往復経路にはR3が付与され、旋回経路には符号R5が付与されている。図16および図17において、往復走行経路から周回走行経路に移行するための移行経路には符号R4が付与されている。ここでの例では、移行経路は、旋回経路と類似している。さらに、図16および図17には、田植機の作業幅が符号Wで示され、田植機の圃場への出入口GAが斜線で描かれている。図17には、出入口GAから往復走行経路の走行開始位置Sまでの開始案内経路(符号R6が付与されている)が示されている。旋回経路R5、方向転換経路R2、開始案内経路R6、移行経路R4では、田植機は作業を行わずに走行するので、これらの経路は点線で示される。周回直線経路R1および往復経路R3では、田植機は作業を行いながら走行するので、これらの経路は実線で示される。FIG. 16 shows a circuit traveling route. The orbital travel route consists of an orbital straight route that extends parallel to the field boundary (shore) and a direction change route that incorporates forward and reverse directions to connect the orbital straight routes. In FIG. 16, the code R1 is assigned to the circular straight path, and the code R2 is assigned to the direction change path. FIG. 17 shows a round-trip travel route. The reciprocating travel path consists of a large number of reciprocating paths that are substantially parallel to each other and a turning path (U-turn path) that connects the reciprocating paths. In FIG. 17, R3 is assigned to the reciprocating path, and the symbol R5 is assigned to the turning path. In FIGS. 16 and 17, reference numeral R4 is assigned to the transition route for transitioning from the reciprocating travel route to the orbital travel route. In the example here, the transition path is similar to the turning path. Further, in FIGS. 16 and 17, the working width of the rice transplanter is indicated by reference numeral W, and the entrance / exit GA of the rice transplanter to the field is drawn with diagonal lines. FIG. 17 shows a start guide route (with reference numeral R6) from the entrance / exit GA to the travel start position S of the reciprocating travel route. In the turning path R5, the turning path R2, the starting guide path R6, and the shifting path R4, the rice transplanter travels without any work, so these routes are indicated by dotted lines. In the circular straight route R1 and the round-trip route R3, the rice transplanter travels while performing work, so these routes are shown by solid lines.
(制御系)
 次に、図14を参照しながら図18を用いて、田植機の制御系について説明する。(Control system)
 Next, the control system of the rice transplanter will be described with reference to FIG.
 田植機の制御系の中核をなす制御ユニット106は、測位ユニット108、自動切換スイッチ127、走行センサ群128、作業センサ群129からの信号が入力されている。制御ユニット106から走行機器群101Aと作業機器群101Bと汎用端末109と報知部110とに制御信号が出力される。Signals from the
 測位ユニット108は、機体101の位置および方位を算出するための測位データを出力する。測位ユニット108には、全地球航法衛星システム(GNSS)の衛星からの電波を受信する衛星測位モジュール108Aと、機体101の三軸の傾きや加速度を検出する慣性計測モジュール108Bが含まれている。The
 自動切換スイッチ127は運転部120に設けられ、機体101を自動で走行させる自動走行モードと手動で走行させる手動走行モードとを選択するスイッチである。走行センサ群128には、操舵角、主変速レバー122や副変速レバー123の操作位置、車速、エンジン回転数等の状態およびそれらに対する設定値を検出する各種センサが含まれている。作業センサ群129には、リンク機構111、苗植付装置103、施肥装置104の状態およびそれらに対する設定値を検出する各種センサが含まれている。The automatic changeover switch 127 is provided in the
 走行機器群101Aには、例えば、前輪112Aや無段変速装置114が含まれる。制御ユニット106からの制御信号に基づいて、前輪112Aの操舵角が制御されると共に、無段変速装置114が操作されることで車速が制御される。The traveling
 作業機器群101Bには、例えば、昇降シリンダ111aや苗植付装置103や施肥装置104が含まれている。制御ユニット106からの制御信号に基づいて、苗植付装置103の苗取り量が調節されると共に、施肥装置104が施肥する施肥量が調節される。The
 制御ユニット106は、走行制御部161、作業制御部162、自車位置算出部163、走行経路設定部164、作業パラメータ設定部165、記憶部166、自車位置判定部167を備える。制御ユニット106は、ECUやCPU等のプロセッサを含んで構成される。The
 自車位置算出部163は、測位ユニット108から逐次送られてくる衛星測位データに基づいて、機体101の地図座標(自車位置)を算出する。The own vehicle
 この田植機は、自動走行と手動走行とが可能である。そのため、走行制御部161は、自動切換スイッチ127による指令に基づいて、自動走行が行われる自動走行モード、または手動走行が行われる手動走行モードでの制御を行う。走行制御部161は自動走行制御部611および手動走行制御部612を備え、自動走行モードでは自動走行制御部611が動作し、手動走行モードでは手動走行制御部612が動作する。自動走行モードにおいて、自動走行制御部611は、自車位置と目標走行経路とを比較して算出された横偏差および方位偏差に基づいて、横偏差および方位偏差が縮小するように、操舵制御量を演算する。操舵制御量に基づいて、前輪112Aの操舵角が調節される。手動走行モードにおいて、手動走行制御部612は、ステアリングホイール121の操作量に基づいて、前輪112Aの操舵角を調節する。手動走行制御部612は、主変速レバー122や副変速レバー123の操作位置に応じた走行速度で走行するように無段変速装置114等を制御する。This rice transplanter is capable of automatic driving and manual driving. Therefore, the
 走行経路設定部164は、自動走行における目標走行経路である走行経路を設定し、自動走行制御部611に与える。The travel
 作業パラメータ設定部165は、植付機構132の調節量を設定し、作業制御部162に送信する。植付機構132の調節量は、自動走行モードにおいては目標走行経路の走行位置に応じて設定された作業機器群101Bが行う作業に応じて設定され、手動走行モードにおいては作業センサ群129で検出された設定値に応じて設定される。作業制御部162は、作業パラメータ設定部165から受信した信号に基づいて、苗植付装置103の植付機構132を制御する。The work
 また、作業パラメータ設定部165は、後述の施肥計画マップ150と自車位置に基づいて、施肥装置104が施肥する施肥量を設定し、作業制御部162に送信する。作業パラメータ設定部165は、自車位置に対応する施肥計画マップ150の区画を確認し、その区画に入力された施肥量に応じた繰出機構142の設定値を決定する。決定された設定値は、作業制御部162に送信される。作業制御部162は、作業パラメータ設定部165から受信した信号に基づいて、施肥装置104の繰出機構142を制御して施肥量を制御する。Further, the work
 記憶部166は、後述の施肥計画マップ150を記憶する。自車位置判定部167は、後述のように、自車位置が属する施肥計画マップ150の区画の施肥量に基づいて、自車位置(機体101の位置)が圃場内であるか否かを判定する。自車位置(機体101の位置)が圃場外である場合、自車位置判定部167は、報知部110に警告を行わせることもできる。The
(施肥計画マップ)
 次に、図14,図18を参照しながら図19を用いて、自動走行における走行制御について説明する。(Fertilization plan map)
 Next, traveling control in automatic traveling will be described with reference to FIGS. 14 and 18 with reference to FIG. 19.
 圃場において、日当たりその他の気象条件、土壌の状態等により、圃場の領域毎に作物の発育状態が一定ではない。作物の十分な発育を促し、圃場内での作物の発育を一定とするために、圃場の領域毎に施肥量が調節される。そのために、圃場毎に施肥計画マップ150が作成され、施肥計画マップ150に基づいて施肥作業が行われる。In the field, the growth state of crops is not constant for each area of the field due to sunlight and other weather conditions, soil conditions, etc. The amount of fertilizer applied is adjusted for each area of the field in order to promote the sufficient growth of the crop and to keep the growth of the crop constant in the field. Therefore, a fertilizer
 施肥計画マップ150は、任意の大きさの矩形の区画がマトリクス状に並んだ構成である。施肥計画マップ150は作業対象となる圃場に対応しており、各区画は圃場の特定の領域に対応する。言い換えると、圃場はマトリクス状の領域に区切られ、それぞれの圃場の領域が施肥計画マップ150の区画と一対一で対応付けられる。The fertilizer
 施肥計画マップ150の区画には、対応する圃場の領域に施肥すべき肥料の施肥量が入力される。例えば、施肥が実施される区画における施肥量は、作業値として40kg/a以上100kg/a以下の施肥量が入力される。日当たりが悪く、土壌条件も劣る領域には、100kg/aの施肥量が入力され、日当たりが良く、土壌条件も優れる領域には、50kg/aの施肥量が入力される。その他の領域も条件に応じて適切な値の施肥量が入力される。In the section of the
 また、施肥量は、昨年の穀粒の収穫量の分布に応じて求められても良いし、作業者が経験から決定しても良く、任意の方法で定められる。なお、圃場外に相当する区画には施肥量として非作業値に相当する“0”が入力される。作業パラメータ設定部165は、機体101が圃場を作業走行する際に、自車位置に対応する区画に入力された施肥量を読み込み、読み込んだ施肥量に応じて設定値を決定することにより、施肥装置104の繰出機構142を制御して施肥量を制御する。In addition, the amount of fertilizer applied may be determined according to the distribution of the yield of grains last year, or may be determined by the worker from experience, and is determined by an arbitrary method. In addition, "0" corresponding to the non-working value is input as the fertilizer application amount to the section corresponding to the outside of the field. The work
 さらに、施肥計画マップ150は、自車位置(機体101の位置)が圃場内であるか否かの判定にも用いられる。施肥計画マップ150は、圃場内の領域には施肥量が入力され、圃場外の領域には施肥作業が行われないため施肥量として非作業値に相当する“0”が入力される。そのため、自車位置判定部167は、施肥計画マップ150を確認することにより、自車位置(機体101の位置)が圃場内であるか、圃場外であるかを判定することができる。具体的には、自車位置判定部167は、自車位置算出部163から自車位置を取得し、自車位置に対応する施肥計画マップ150の区画に入力された施肥量を読み出す。そして、自車位置判定部167は、読みだした施肥量が“0”である場合には自車位置(機体101の位置)が圃場外であると判定する。なお、非作業値は“0”に限らず、任意の範囲の数値や任意の文字列、あるいは空白等であっても良い。Further, the fertilizer
 自車位置算出部163が算出した自車位置と圃場マップとを比較すると共に、あるいは、これとは別に、上記のように、自車位置算出部163が算出した自車位置に対応する区画に入力された施肥量を確認することにより、機体101が圃場の外にいるか圃場内にいるかを判定することができる。これにより、自車位置(機体101の位置)が圃場外であるか否かを、容易かつ精度良く検知することができる。Compare the vehicle position calculated by the vehicle
(実施形態2の別実施形態)
(1)上記田植機は、自動走行に限らず、手動走行においても実現可能である。手動走行においては、自車位置判定部167からの通知によって報知部110から警告が行われ、運転者は警告に応じて機体101を停車させ、圃場に戻る操作を行うことができる。なお、自動走行においては、必ずしも報知部110は必要ではなく、自動走行制御部611により必要な制御が行われれば良い。(Another Embodiment of Embodiment 2)
 (1) The rice transplanter can be realized not only in automatic driving but also in manual driving. In manual driving, a warning is given from the
(2)上記各実施形態において、施肥計画マップ150は、畦等の圃場の外周辺Lが含まれる領域に対応する区画には、外周部分であることが認識できる値が入力されても良い。この際、制御ユニット106はマップ修正部168をさらに備え、マップ修正部168は、圃場マップと比較して、圃場の外周部分に相当する区画の値を修正する構成としても良い。例えば、この区画には、非作業値と作業値との間の値、例えば“20”が入力される。(2) In each of the above embodiments, in the fertilizer
 圃場の外周部分には水口等の障害物が存在する場合がある。施肥計画マップ150にこのような値を入力することにより、自車位置判定部167は、圃場の外周部分を走行していることを容易に判定でき、自動走行制御部611にその旨を通知したり、報知部110等によりその旨を報知したりすることができる。これにより、自動走行においては自動走行制御部611により、手動走行においては運転者の操作により、走行速度を低減させる等の処置を行うことができる。その結果、機体101を障害物から容易に回避させることが可能となる。There may be obstacles such as water outlets on the outer circumference of the field. By inputting such a value into the fertilizer
(3)上記各実施形態において、警告は、自車位置判定部167が自車位置(機体101の位置)が圃場外であると判定したことに加え、施肥作業が継続されている際に行われても良い。この様な構成においては、作業制御部162は施肥装置104から施肥作業中であるか否かの状態を取得し、施肥作業中にはその旨を報知部110に送信する。そして、報知部110は、自車位置判定部167から自車位置(機体101の位置)が圃場外である旨の通知を受信することに加え、作業制御部162から施肥作業中である旨の通知を受けている際に警告を行う。(3) In each of the above embodiments, the warning is given when the own vehicle
田植機は、苗の補給や燃料の補給等の際に圃場から逸脱することがあり、圃場の移動等も行われる。圃場から逸脱して問題となるのは、施肥作業を行いながら圃場から逸脱する場合である。逆に、苗の補給や燃料の補給、圃場の移動の際に警告が行われると煩わしく、必要な警告を見逃す原因ともなる。そのため、実際に警告を要する、施肥作業中のみに圃場を逸脱した際に警告が行われることが好ましい。The rice transplanter may deviate from the field when replenishing seedlings or refueling, and the field is also moved. The problem of deviating from the field is when deviating from the field while performing fertilization work. On the contrary, if a warning is given when replenishing seedlings, refueling, or moving a field, it is troublesome and may cause the necessary warning to be overlooked. Therefore, it is preferable that a warning is given when the person deviates from the field only during the fertilization work, which actually requires a warning.
(4)上記各実施形態において、施肥計画マップ150に限らず、任意の作業計画マップが用いられても良い。つまり、田植機に限らず、施肥作業以外の作業を行う、種々の作業機に適用することができる。作業計画マップは、作業地に対応してメッシュ状の区画が想定され、作業地内の各区画に作業量を調整する作業値が入力される。(4) In each of the above embodiments, not only the fertilizer
(5)上記各実施形態において、報知部110を設けず、汎用端末109から警告が行われても良い。これにより、報知部110を設けず、汎用端末109を流用して、簡単な構成で警告を行うことができる。(5) In each of the above embodiments, a warning may be issued from the general-
(6)上述されるように、施肥計画マップ150は作業対象となる圃場に対応する。そのため、施肥計画マップ150(作業計画マップ)は、圃場(作業地)の位置・座標を示す地図情報である、任意のマップにあてはめられても良い。このようなマップは、既存の汎用マップであっても良い。これにより、測位ユニット108の誤動作等により、判定された自車位置が実際の位置からずれていいたとしても、施肥計画マップ150の作業指示値から田植機が圃場の内部に位置するのか外部に位置するのかを判断することができる。(6) As described above, the fertilizer
(7)また、施肥計画マップ150(作業計画マップ)は、同じ圃場の収穫作業を行うコンバイン(収穫機)が取得する食味や収量が関連付けられた収量マップと共用されても良い。田植機やコンバインは、同じ圃場に対して継続的に作業を行う。そのため、コンバインが生成する収量マップと、田植機が用いる施肥計画マップ150が対応付けられることが好ましい。これにより、より計画的で精密な農作業の計画を行うことが可能となる。なお、コンバインが生成する収量マップの区画は、田植機が用いる施肥計画マップ150の区画と同等、または施肥計画マップ150の区画より小さくても良い。(7) Further, the fertilizer application plan map 150 (work plan map) may be shared with the yield map associated with the taste and yield acquired by the combine (harvester) that performs the harvesting work in the same field. Rice transplanters and combines work continuously on the same field. Therefore, it is preferable that the yield map generated by the combine and the fertilizer
(8)制御ユニット106が備える、走行制御部161、作業制御部162、自車位置算出部163、走行経路設定部164、作業パラメータ設定部165、自車位置判定部167、マップ修正部168は、このような機能ブロックに分割されても良いが、これらのうちの1または複数の機能を備える機能ブロックがまとめられても良く、複数の機能ブロックに分割されても良い。また、制御ユニット106の機能の全部または一部は、ソフトウェアで実現されても良い。ソフトウェア(プログラム)は、記憶部166または図示しない任意の記憶部に記憶され、制御ユニット106が備えるプロセッサまたは他のプロセッサにより実行される。(8) The
本発明の作業機は、田植機に限らず、トラクター等の作業地を走行しながら作業を行う農作業機であっても良く、特定の作業地を走行しながら作業を行う種々の作業機に適用することもできる。The work machine of the present invention is not limited to a rice transplanter, but may be an agricultural work machine that performs work while traveling on a work site such as a tractor, and is applied to various work machines that perform work while traveling on a specific work site. You can also do it.
   5  苗植付装置(作業装置)
  11  機体
  12  施肥装置(作業装置)
  18  運転座席
  22  予備苗のせ台フレーム(支持フレーム、第1の支持フレーム)
  24  支持フレーム(第1の支持フレーム)
  26  支持フレーム(第2の支持フレーム)
  25  測位ユニット
  27  支持フレーム(第2の支持フレーム)
  31  第1高さ変更機構
  32  第2高さ変更機構
  36  屋根
  38  屋根部分
 38a  前後排水路
 38b  左右排水路
 38c  凹部
 38d  後部
  39  屋根部分
 39a  前後排水路
 39b  左右排水路
 39c  前部
 40a  凹部
  49  開口部
  50  連通路
  51  緩衝材
  53  連結機構
  57  支持機構
  A1  作業位置
  A2  非作業位置
108A  衛星測位モジュール
 110  報知部
 150  施肥計画マップ(作業計画マップ)
 166  記憶部
 167  自車位置判定部
 168  マップ修正部
 H11  第1作業高さ
 H12  第1非作業高さ
 H21  第2作業高さ
 H22  第2非作業高さ
 5 Seedling planting device (working device)
 11
 18 Driver's
 24 Support frame (first support frame)
 26 Support frame (second support frame)
 25
 31 1st
 166
| Application Number | Priority Date | Filing Date | Title | 
|---|---|---|---|
| CN202080084809.0ACN114786463A (en) | 2019-12-25 | 2020-12-08 | Working machine | 
| KR1020227019112AKR20220116164A (en) | 2019-12-25 | 2020-12-08 | working machine | 
| Application Number | Priority Date | Filing Date | Title | 
|---|---|---|---|
| JP2019234767AJP7191004B2 (en) | 2019-12-25 | 2019-12-25 | work machine | 
| JP2019-234767 | 2019-12-25 | ||
| JP2020-003699 | 2020-01-14 | ||
| JP2020003699AJP7325344B2 (en) | 2020-01-14 | 2020-01-14 | work machine | 
| Publication Number | Publication Date | 
|---|---|
| WO2021131670A1true WO2021131670A1 (en) | 2021-07-01 | 
| Application Number | Title | Priority Date | Filing Date | 
|---|---|---|---|
| PCT/JP2020/045664CeasedWO2021131670A1 (en) | 2019-12-25 | 2020-12-08 | Work machine | 
| Country | Link | 
|---|---|
| KR (1) | KR20220116164A (en) | 
| CN (1) | CN114786463A (en) | 
| WO (1) | WO2021131670A1 (en) | 
| Publication number | Priority date | Publication date | Assignee | Title | 
|---|---|---|---|---|
| US11529920B2 (en)* | 2018-12-20 | 2022-12-20 | Kubota Corporation | Work vehicle | 
| EP4140821A1 (en)* | 2021-08-31 | 2023-03-01 | Yanmar Holdings Co., Ltd. | Work vehicle | 
| US20230365072A1 (en)* | 2022-05-12 | 2023-11-16 | Yanmar Holdings Co., Ltd. | Work Vehicle | 
| WO2025052717A1 (en)* | 2023-09-08 | 2025-03-13 | 株式会社クボタ | Field work machine | 
| Publication number | Priority date | Publication date | Assignee | Title | 
|---|---|---|---|---|
| JPS53114716U (en)* | 1977-02-21 | 1978-09-12 | ||
| JPH10297545A (en)* | 1997-04-25 | 1998-11-10 | Iseki & Co Ltd | Simple cabin for moving vehicles | 
| JP2005178777A (en)* | 2005-02-03 | 2005-07-07 | Wise Gear:Kk | Roof device of small vehicle for low-speed traveling | 
| JP2017184640A (en)* | 2016-04-01 | 2017-10-12 | 株式会社トプコン | Fertilization map creation method, fertilization map creation system, fertilization map creation device and fertilization map creation program | 
| JP2019085058A (en)* | 2017-11-10 | 2019-06-06 | ヤンマー株式会社 | Spray implement | 
| Publication number | Priority date | Publication date | Assignee | Title | 
|---|---|---|---|---|
| CN2356542Y (en)* | 1998-12-18 | 2000-01-05 | 游清泉 | Improved Umbrella Structure | 
| CN2383385Y (en)* | 1999-06-02 | 2000-06-21 | 游清泉 | Combined wind-proof umbrella | 
| CN2380080Y (en)* | 1999-06-18 | 2000-05-31 | 游清泉 | Master-slave wind-proof umbrella | 
| CN1264560A (en)* | 2000-01-12 | 2000-08-30 | 张鸿辉 | Umbrella able to resist strong wind | 
| KR100366715B1 (en)* | 2000-04-15 | 2003-01-14 | 강성찬 | Plastic house | 
| JP4027575B2 (en)* | 2000-06-22 | 2007-12-26 | 鬼怒川ゴム工業株式会社 | Water drainage structure for roof side weather strip | 
| JP3666488B2 (en)* | 2003-02-28 | 2005-06-29 | 株式会社ワイズギア | Roof device for small vehicle for low speed running | 
| JP2005315070A (en)* | 2005-05-30 | 2005-11-10 | Takashi Suzuki | Outside tent | 
| KR100802501B1 (en)* | 2007-02-23 | 2008-02-13 | 박스칸 | Removable coffee beans | 
| KR20100131132A (en)* | 2009-06-05 | 2010-12-15 | 주식회사 경호엔지니어링 종합건축사사무소 | Pedestrian Road Block | 
| CN203120592U (en)* | 2012-09-01 | 2013-08-14 | 山西农业大学 | Stepped one-span-multi-row viticulture rain-proof shed | 
| JP2014150749A (en) | 2013-02-06 | 2014-08-25 | Kubota Corp | Sulky rice transplanter | 
| JP6408265B2 (en)* | 2014-06-26 | 2018-10-17 | 株式会社クボタ | Paddy field machine | 
| JP2019176801A (en) | 2018-03-30 | 2019-10-17 | 株式会社クボタ | Field work vehicle | 
| Publication number | Priority date | Publication date | Assignee | Title | 
|---|---|---|---|---|
| JPS53114716U (en)* | 1977-02-21 | 1978-09-12 | ||
| JPH10297545A (en)* | 1997-04-25 | 1998-11-10 | Iseki & Co Ltd | Simple cabin for moving vehicles | 
| JP2005178777A (en)* | 2005-02-03 | 2005-07-07 | Wise Gear:Kk | Roof device of small vehicle for low-speed traveling | 
| JP2017184640A (en)* | 2016-04-01 | 2017-10-12 | 株式会社トプコン | Fertilization map creation method, fertilization map creation system, fertilization map creation device and fertilization map creation program | 
| JP2019085058A (en)* | 2017-11-10 | 2019-06-06 | ヤンマー株式会社 | Spray implement | 
| Publication number | Priority date | Publication date | Assignee | Title | 
|---|---|---|---|---|
| US11529920B2 (en)* | 2018-12-20 | 2022-12-20 | Kubota Corporation | Work vehicle | 
| EP4140821A1 (en)* | 2021-08-31 | 2023-03-01 | Yanmar Holdings Co., Ltd. | Work vehicle | 
| US20230076382A1 (en)* | 2021-08-31 | 2023-03-09 | Yanmar Holdings Co., Ltd. | Work vehicle | 
| JP2023034968A (en)* | 2021-08-31 | 2023-03-13 | ヤンマーホールディングス株式会社 | work vehicle | 
| JP7658858B2 (en) | 2021-08-31 | 2025-04-08 | ヤンマーホールディングス株式会社 | Work vehicles | 
| US20230365072A1 (en)* | 2022-05-12 | 2023-11-16 | Yanmar Holdings Co., Ltd. | Work Vehicle | 
| WO2025052717A1 (en)* | 2023-09-08 | 2025-03-13 | 株式会社クボタ | Field work machine | 
| Publication number | Publication date | 
|---|---|
| KR20220116164A (en) | 2022-08-22 | 
| CN114786463A (en) | 2022-07-22 | 
| Publication | Publication Date | Title | 
|---|---|---|
| WO2021131670A1 (en) | Work machine | |
| KR20200096503A (en) | Slip determination system, travel path generation system, and pavement vehicle | |
| JP6253538B2 (en) | Work vehicle | |
| JP7191004B2 (en) | work machine | |
| JP2015112070A (en) | Field work machine | |
| JP2020110108A (en) | Management system for agricultural material supplementation | |
| JP7678042B2 (en) | agricultural vehicle | |
| JP7664996B2 (en) | Agricultural vehicle | |
| JP2018117563A (en) | Agricultural work vehicle | |
| JP2023113947A (en) | field work machine | |
| JP7044477B2 (en) | Automatic steering control device | |
| JP6694017B2 (en) | Rice transplanter | |
| JP6519614B2 (en) | Work vehicle | |
| KR102539946B1 (en) | Agricultural working vehicle | |
| JP7344453B2 (en) | work vehicle | |
| JP7515260B2 (en) | Agricultural vehicle | |
| KR20190104311A (en) | Combine harvesters, harvesters, and automatic steering systems | |
| JP7074794B2 (en) | Field work machine | |
| JP7612561B2 (en) | Farm Work Vehicle | |
| JP7660492B2 (en) | Autopilot System | |
| JP7325344B2 (en) | work machine | |
| JP7641834B2 (en) | Paddy field farming machine | |
| JP7591998B2 (en) | Automatic driving control system and farm work vehicle | |
| JP2025085464A (en) | Work vehicle | |
| JP2025085463A (en) | Driving control system, work vehicle, and driving control method | 
| Date | Code | Title | Description | 
|---|---|---|---|
| 121 | Ep: the epo has been informed by wipo that ep was designated in this application | Ref document number:20905672 Country of ref document:EP Kind code of ref document:A1 | |
| NENP | Non-entry into the national phase | Ref country code:DE | |
| 122 | Ep: pct application non-entry in european phase | Ref document number:20905672 Country of ref document:EP Kind code of ref document:A1 |