Movatterモバイル変換


[0]ホーム

URL:


WO2021129058A1 - Interventional locking device - Google Patents

Interventional locking device
Download PDF

Info

Publication number
WO2021129058A1
WO2021129058A1PCT/CN2020/120853CN2020120853WWO2021129058A1WO 2021129058 A1WO2021129058 A1WO 2021129058A1CN 2020120853 WCN2020120853 WCN 2020120853WWO 2021129058 A1WO2021129058 A1WO 2021129058A1
Authority
WO
WIPO (PCT)
Prior art keywords
push rod
chuck
interventional
locking device
outer tube
Prior art date
Legal status (The legal status is an assumption and is not a legal conclusion. Google has not performed a legal analysis and makes no representation as to the accuracy of the status listed.)
Ceased
Application number
PCT/CN2020/120853
Other languages
French (fr)
Chinese (zh)
Inventor
李阳
梁伟林
张庭超
Current Assignee (The listed assignees may be inaccurate. Google has not performed a legal analysis and makes no representation or warranty as to the accuracy of the list.)
Hangzhou Valgen Medtech Co Ltd
Original Assignee
Hangzhou Valgen Medtech Co Ltd
Priority date (The priority date is an assumption and is not a legal conclusion. Google has not performed a legal analysis and makes no representation as to the accuracy of the date listed.)
Filing date
Publication date
Priority claimed from CN201911399040.7Aexternal-prioritypatent/CN113040844B/en
Priority claimed from CN201922393431.XUexternal-prioritypatent/CN211934163U/en
Application filed by Hangzhou Valgen Medtech Co LtdfiledCriticalHangzhou Valgen Medtech Co Ltd
Publication of WO2021129058A1publicationCriticalpatent/WO2021129058A1/en
Anticipated expirationlegal-statusCritical
Ceasedlegal-statusCriticalCurrent

Links

Images

Classifications

Definitions

Landscapes

Abstract

An interventional locking device (100), comprising a clamping head (22), a push rod assembly (40), a transmission assembly (60), and an outer sleeve assembly (80). The push rod assembly (40) comprises a push rod (42) disposed outside the clamping head (22), and the clamping head (22) has a fixed axial position and is elastic. In an initial state, a lock pin (300) in which a suture is threaded is received in the clamping head (22), and the part of the clamping head (22) close to the push rod (42) is gradually inclined outward from a proximal end to a distal end; the transmission assembly (60) comprises a threaded transmission member (62) and a flexible inner tube (64) fixedly connected to the threaded transmission member (62), and the threaded transmission member (62) is rotatably connected to the push rod assembly (40); the flexible inner tube (64) rotates to drive the threaded transmission member (62) to rotate, and the rotation of the threaded transmission member (62) drives the push rod assembly (40) to move in the axial direction, so that the push rod (42) pushes the clamping head (22), so as to force the clamping head (22) to compress the lock pin (300) to be deformed and lock the suture threaded in the lock pin (300); the outer sleeve assembly (80) comprises a rigid outer tube (84) sleeved outside the transmission assembly (60) and the flexible inner tube (64), and a plurality of first slot units (840) are arranged in the axial direction on the tube wall of the outer tube (84) to make the outer tube (84) both rigid and flexible.

Description

Translated fromChinese
介入式锁结装置Interventional locking device技术领域Technical field

本申请涉及医疗器械技术领域,尤其涉及一种介入式锁结装置。This application relates to the technical field of medical devices, and in particular to an interventional locking device.

背景技术Background technique

在手术中经常需要对缝合线进行打结并固定的操作步骤,传统外科手术是在开刀直视条件下操作,通常由医生手动打结。随着技术的进步,各种微创手术及介入手术日益普遍,例如腔镜下手术、经导管介入手术等。这些手术只需在患者身体上切开较小的操作窗口,由此将内窥镜或介入导管等器械伸入患者体内,到达预定位点进行治疗。在这类手术中,如需对患者体内的缝合线进行打结或固定操作,通常需要操作者通过所述较小的操作窗口,在患者体外进行操作来对患者体内的缝合线进行打结或固定,这就需要用到缝合线锁结装置。In the operation, it is often necessary to knot and fix the sutures. Traditional surgical operations are performed under the condition of open surgery and direct vision, usually by the doctors to manually tie the knots. With the advancement of technology, various minimally invasive and interventional operations have become increasingly common, such as endoscopic surgery and transcatheter interventional surgery. These operations only need to cut a small operating window on the patient's body, thereby extending the endoscope or interventional catheter and other instruments into the patient's body to reach a predetermined location for treatment. In this type of operation, if the suture thread in the patient needs to be knotted or fixed, the operator is usually required to perform the operation outside the patient through the small operating window to knot or fix the suture thread in the patient's body. Fixed, which requires the use of suture locking device.

现有的缝合线锁结装置,通过一个具有中空内腔的锁钉及与锁钉配套并对锁钉施加压力、迫使锁钉变形的夹头来固定穿设在锁钉内腔中的缝合线。由于需介入人体内,为配合人体管腔的生理解剖结构,缝合线锁结装置的夹头与手柄之间的管体及设于管体内的部件必需具有一定的柔性。通常,现有的缝合线锁结装置通过操作手柄来向远端推动一设于管体内的柔性部件及固定于该柔性部件远端的一刚性件来驱动夹头压迫锁钉。然而,一方面由于采用直接推力来实现锁紧缝合线,推力在所述柔性部件上传递的过程中,柔性部件易弯曲打折,推力会被极大的损耗,推力无法有效传递到位于所述柔性部件远端的刚性件上,造成夹头不能够有效压迫锁钉,从而不能保证缝合线被锁钉可靠地锁紧;另一方面,锁钉变形所需驱动力较大时,柔性的外管提供不了足够的支撑力,柔性部件在外管内弯曲、打折,会影响外管形态,使得外管发生变形,从而挤压患者的内部血管及组织,风险性较高。The existing suture locking device fixes the suture thread inserted in the inner cavity of the lock nail through a lock nail with a hollow inner cavity and a chuck matched with the lock nail to apply pressure to the lock nail to force the lock nail to deform . Due to the need to intervene in the human body, in order to match the physiological anatomical structure of the human body's lumen, the tube body between the chuck and the handle of the suture locking device and the parts provided in the tube body must have a certain degree of flexibility. Generally, the existing suture locking device pushes a flexible part arranged in the tube body and a rigid part fixed on the distal end of the flexible part to the distal end by operating a handle to drive the chuck to compress the locking nail. However, on the one hand, due to the use of direct thrust to lock the suture, the flexible part is easy to bend and break during the transfer of the thrust on the flexible part, the thrust will be greatly lost, and the thrust cannot be effectively transmitted to the flexible part. On the rigid part at the distal end of the component, the chuck cannot effectively compress the locking nail, which cannot ensure that the suture is reliably locked by the locking nail; on the other hand, when the deformation of the locking nail requires a large driving force, the flexible outer tube Insufficient support is not provided, and the flexible part is bent or buckled inside the outer tube, which will affect the shape of the outer tube, causing the outer tube to deform, thereby squeezing the patient's internal blood vessels and tissues, which poses a higher risk.

申请内容Application content

本申请要解决的技术问题在于,针对现有技术的缺陷,提供一种介入式锁结装置,其兼具刚性和柔性,既能减少推力损耗、确保缝合线被锁钉可靠地锁紧,又能够使外管具有足够的支撑力。The technical problem to be solved by this application is to provide an interventional locking device which has both rigidity and flexibility in view of the defects of the prior art, which can not only reduce thrust loss, ensure that the suture is reliably locked by the locking nail, but also It can make the outer tube have sufficient supporting force.

为了解决上述技术问题,本申请提供了一种介入式锁结装置,包括夹头、设于所述夹头外的推杆组件、连接于所述推杆组件的传动组件,以及套设于所述夹头、推杆组件与传动组件外的外套组件;所述推杆组件包括设于所述夹头外的推杆;所述夹头的轴向位置固定且自身具有弹性,初始状态时,所述夹头内容纳穿设有缝合线的锁钉,所述夹头靠近所述推杆的部分自近端至远端逐渐向外倾斜;所述传动组件驱使所述推杆组件沿轴向移动,以使得所述推杆抵推所述夹头,以迫使所述夹头压迫锁钉变形而锁紧穿设于所述锁钉内的缝合线;所述外套组件包括套设于所述传动组件外的硬质的外管,所述外管的管壁上沿轴向排列设置多个第一狭槽单元。In order to solve the above-mentioned technical problems, the present application provides an interventional locking device, which includes a chuck, a push rod assembly arranged outside the chuck, a transmission assembly connected to the push rod assembly, and a sleeve attached to the chuck. The chuck, the push rod assembly and the outer jacket assembly of the transmission assembly; the push rod assembly includes a push rod arranged outside the chuck; the axial position of the chuck is fixed and its own elasticity, in the initial state, The chuck contains a lock nail with suture thread in it, and the part of the chuck close to the push rod gradually slopes outward from the proximal end to the distal end; the transmission assembly drives the push rod assembly in the axial direction Move so that the push rod pushes against the chuck, so as to force the chuck to press the lock nail to deform and lock the suture thread inserted in the lock nail; A hard outer tube outside the transmission assembly, and a plurality of first slot units are arranged on the tube wall of the outer tube in an axial direction.

进一步地,所述传动组件包括螺纹传动件及固定连接所述螺纹传动件的柔性内管,所述螺纹传动件转动连接所述推杆组件;所述柔性内管旋转以带动所述螺纹传动件旋转,所述螺纹传动件的旋转驱使所述推杆组件沿轴向移动。Further, the transmission assembly includes a threaded transmission part and a flexible inner tube fixedly connected to the threaded transmission part, the threaded transmission part is rotatably connected to the push rod assembly; the flexible inner tube rotates to drive the threaded transmission part Rotation, the rotation of the threaded transmission member drives the push rod assembly to move in the axial direction.

本申请提供的介入式锁结装置,一方面通过所述柔性内管及螺纹传动件的旋转来带动推杆沿轴向相对于夹头向远端移动,推杆滑动地抵推夹头,使夹头发生变形而压迫锁钉变形,以锁紧穿设于锁钉的空腔内的缝合线,所述柔性内管及螺纹传动件的旋转扭矩转变成了螺纹传动件带动推杆轴向移动的轴向推力,以驱动推杆沿轴向滑动地抵推或放松所述夹头,由于所述螺纹传动件是刚性的、长度相较柔性内管极短,因此,推力无损耗,推力可 顺畅及有效地传递给推杆,从而夹头能够有效压迫锁钉使得锁钉变形充分,保证缝合线被锁钉可靠地锁紧;另一方面,由于硬质的外管的管壁上沿轴向排列设置多个第一狭槽单元,使得所述外管兼具刚性和柔性,柔性使得所述外管能在人体管腔内发生适应性的弯曲,刚性使得所述外管能够提供足够的支撑力,即使柔性内管带动螺纹传动件旋转时在柔性外管内进一步弯曲、打折,也不会影响外管的形态,防止所述外管在柔性内管的影响下而挤压患者的内部血管及组织,降低手术风险性。The interventional locking device provided by the present application, on the one hand, drives the push rod to move distally relative to the chuck in the axial direction through the rotation of the flexible inner tube and the threaded transmission member, and the push rod slides against the chuck to make The chuck deforms and presses the lock nail to deform to lock the suture thread inserted in the cavity of the lock nail. The rotating torque of the flexible inner tube and the threaded transmission member is transformed into the threaded transmission member to drive the push rod to move axially The axial thrust force is used to drive the push rod to slide in the axial direction to push or loosen the chuck. Because the threaded transmission member is rigid and has a very short length compared with the flexible inner tube, the thrust is not lost and the thrust can be Smooth and effective transmission to the push rod, so that the chuck can effectively press the lock nail to make the lock nail fully deform, and ensure that the suture is reliably locked by the lock nail; on the other hand, because the rigid outer tube wall is along the axis A plurality of first slot units are arranged in a row, so that the outer tube has both rigidity and flexibility. The flexibility enables the outer tube to bend adaptively in the body lumen, and the rigidity enables the outer tube to provide sufficient Supporting force, even if the flexible inner tube drives the threaded transmission member to further bend and fold in the flexible outer tube when it rotates, it will not affect the shape of the outer tube and prevent the outer tube from squeezing the patient's internal blood vessels under the influence of the flexible inner tube And tissues, reducing the risk of surgery.

附图说明Description of the drawings

为了更清楚地说明本申请实施例中的技术方案,下面将对实施例中所需要使用的附图作简单地介绍,显而易见地,下面描述中的附图仅仅是本申请的一些实施例,对于本领域普通技术人员来讲,在不付出创造性劳动的前提下,还可以根据这些附图获得其他的明显变形方式。In order to more clearly describe the technical solutions in the embodiments of the present application, the following will briefly introduce the drawings needed in the embodiments. Obviously, the drawings in the following description are only some embodiments of the present application. For those of ordinary skill in the art, without creative work, other obvious variants can be obtained based on these drawings.

图1是本申请第一实施例提供的介入式锁结装置的立体结构示意图。Fig. 1 is a schematic diagram of the three-dimensional structure of the interventional locking device provided by the first embodiment of the present application.

图2是图1中沿II-II线的剖视图。Fig. 2 is a cross-sectional view taken along line II-II in Fig. 1.

图3是图1中的外管的立体结构示意图。FIG. 3 is a schematic diagram of the three-dimensional structure of the outer tube in FIG. 1.

图4是图3中的外管的侧面结构示意图。Fig. 4 is a schematic side view of the outer tube in Fig. 3.

图5是外管的第二种结构形式的立体示意图;Figure 5 is a three-dimensional schematic diagram of the second structure of the outer tube;

图6是外管的第三种结构形式的立体示意图;Figure 6 is a three-dimensional schematic diagram of the third structure of the outer tube;

图7是图6中外管的侧面结构示意图;Fig. 7 is a schematic side view of the outer tube in Fig. 6;

图8是图2中的柔性内管的立体结构示意图。FIG. 8 is a schematic diagram of the three-dimensional structure of the flexible inner tube in FIG. 2.

图9是图8中的柔性内管的剖视图。Fig. 9 is a cross-sectional view of the flexible inner tube in Fig. 8.

图10是图2中VII部分的放大图。Fig. 10 is an enlarged view of part VII in Fig. 2.

图11是本申请第一实施例提供的介入式锁结装置的夹头所挤压的锁钉的立体结构示意图。FIG. 11 is a schematic diagram of a three-dimensional structure of the locking nail squeezed by the chuck of the interventional locking device provided by the first embodiment of the present application.

图12是图11中的锁钉的剖视图。Fig. 12 is a cross-sectional view of the lock nail in Fig. 11.

图13是图10中的介入式锁结装置的夹头的结构示意图。Fig. 13 is a schematic diagram of the structure of the chuck of the interventional locking device in Fig. 10.

图14是图10中的介入式锁结装置的推杆组件的立体结构示意图。Fig. 14 is a three-dimensional structural diagram of the push rod assembly of the interventional locking device in Fig. 10.

图15是图14中的推杆组件的剖视结构示意图。Fig. 15 is a schematic cross-sectional view of the push rod assembly in Fig. 14.

图16是图2中的介入式锁结装置的推杆组件、传动组件及驱动件的剖视图。Fig. 16 is a cross-sectional view of the push rod assembly, the transmission assembly and the driving member of the interventional locking device in Fig. 2.

图17是图16中的推杆组件及部分传动组件的放大图。Fig. 17 is an enlarged view of the push rod assembly and part of the transmission assembly in Fig. 16.

图18是图2中的手柄与导杆的立体结构示意图。FIG. 18 is a schematic diagram of the three-dimensional structure of the handle and the guide rod in FIG. 2.

图19是图18中的手柄与导杆的分解示意图。Fig. 19 is an exploded schematic view of the handle and the guide rod in Fig. 18.

图20是图19中的手柄的剖视结构示意图。20 is a schematic sectional view of the structure of the handle in FIG. 19.

图21是图2中的手柄、导杆、外管、连接筒、套筒及端盖的组装结构立体示意图。21 is a perspective view of the assembled structure of the handle, the guide rod, the outer tube, the connecting barrel, the sleeve and the end cover in FIG. 2.

图22是图21中的手柄、导杆、外管、连接件、套筒及端盖的剖视结构示意图。22 is a schematic sectional view of the handle, guide rod, outer tube, connecting piece, sleeve and end cover in FIG. 21.

图23-图25是本申请第一实施例提供的介入式锁结装置用于三尖瓣瓣膜修复过程的示意图。Figures 23-25 are schematic diagrams of the interventional locking device provided in the first embodiment of the present application used in the tricuspid valve repair process.

图26-图28是本申请第一实施例提供的介入式锁结装置的用于固定缝合线在锁钉的过程示意图。Figures 26-28 are schematic diagrams of the process of fixing the suture on the locking nail of the interventional locking device provided by the first embodiment of the present application.

图29是图26中的介入式锁结装置的局部放大图。Fig. 29 is a partial enlarged view of the interventional locking device in Fig. 26.

图30是图27中的介入式锁结装置的局部放大图。Fig. 30 is a partial enlarged view of the interventional locking device in Fig. 27.

图31是图28中的介入式锁结装置的局部放大图。Fig. 31 is a partial enlarged view of the interventional locking device in Fig. 28.

图32是图25中XXIX部分的放大图。Fig. 32 is an enlarged view of the part XXIX in Fig. 25.

图33是本申请第二实施例提供的介入式锁结装置的剖视结构示意图。FIG. 33 is a schematic cross-sectional structure diagram of the interventional locking device provided by the second embodiment of the present application.

图34是图33的介入式锁结装置的柔性内管的立体结构示意图。FIG. 34 is a schematic diagram of the three-dimensional structure of the flexible inner tube of the interventional locking device of FIG. 33.

图35是图33中XXXIII部分的放大图。Fig. 35 is an enlarged view of part XXXIII in Fig. 33.

图36是本申请第三实施例提供的介入式锁结装置的结构示意图。Fig. 36 is a schematic structural diagram of an interventional locking device provided by a third embodiment of the present application.

图37是图36中柔性内管的立体结构示意图。Fig. 37 is a schematic diagram of the three-dimensional structure of the flexible inner tube in Fig. 36.

图38是图37中柔性内管的剖视图。FIG. 38 is a cross-sectional view of the flexible inner tube in FIG. 37. FIG.

图39是本申请第四实施例提供的介入式锁结装置中柔性内管的立体结构示意图。FIG. 39 is a schematic diagram of the three-dimensional structure of the flexible inner tube in the interventional locking device provided by the fourth embodiment of the present application.

图40是图39中柔性内管的侧视图。Fig. 40 is a side view of the flexible inner tube of Fig. 39;

图41是图40中XLIII部分的放大图。Fig. 41 is an enlarged view of part XLIII in Fig. 40.

具体实施方式Detailed ways

下面将结合本申请实施例中的附图,对本申请实施例中的技术方案进行清楚、完整地描述,显然,所描述的实施例仅仅是本申请一部分实施例,而不是全部的实施例。基于本申请中的实施例,本领域普通技术人员在没有付出创造性劳动前提下所获得的所有其他实施例,都属于本申请保护的范围。The technical solutions in the embodiments of the present application will be clearly and completely described below in conjunction with the accompanying drawings in the embodiments of the present application. Obviously, the described embodiments are only a part of the embodiments of the present application, rather than all the embodiments. Based on the embodiments in this application, all other embodiments obtained by a person of ordinary skill in the art without creative work shall fall within the protection scope of this application.

此外,以下各实施例的说明是参考附加的图示,用以例示本申请可用以实施的特定实施例。本申请中所提到的方向用语,例如,“上”、“下”、“前”、“后”、“左”、“右”、“内”、“外”、“侧面”等,仅是参考附加图式的方向,因此,使用的方向用语是为了更好、更清楚地说明及理解本申请,而不是指示或暗指所指的装置或元件必须具有特定的方位、以特定的方位构造和操作,因此不能理解为对本申请的限制。In addition, the description of the following embodiments refers to the attached drawings to illustrate specific embodiments that can be implemented in the present application. The directional terms mentioned in this application, for example, "upper", "lower", "front", "rear", "left", "right", "inner", "outer", "side", etc., only It refers to the direction of the attached drawings. Therefore, the direction terms used are for better and clearer description and understanding of this application, rather than indicating or implying that the device or element referred to must have a specific orientation and a specific orientation. The structure and operation cannot therefore be understood as a limitation of this application.

方位定义:为了描述清晰,以下将手术过程中,靠近操作者的一端称为“近端”,将远离操作者的一端称为“远端”;轴向指平行于医疗器械远端中心和近端中心连线的方向;上述定义只是为了表述方便,并不能理解为对本申请的限制。Definition of orientation: For clarity of description, the end close to the operator during the operation is referred to as the "proximal end", and the end far away from the operator is referred to as the "distal"; the axial direction refers to the center and the proximal end of the distal end of the medical device. The direction of the connection between the terminal and the center; the above definition is only for the convenience of presentation, and cannot be understood as a limitation of the application.

请参阅图1及图2,本申请第一实施例提供一种介入式锁结装置100,包括夹头22、设于夹头22外的推杆组件40、连接于推杆组件40的近端的传动组件60、驱动传动组件60带动推杆组件40沿轴向移动的驱动件70、套设于夹头22、推杆组件40及传动组件60外的外套组件80,以及设于外套组件80近端的手柄90。夹头22的远端设置用于放置锁钉300的空隙25,锁钉300沿轴向设有穿线腔301,穿线腔301用于穿设缝合线。推杆组件40包括设于夹头22外的推杆42;夹头22的轴向位置固定且自身具有弹性,初始状态时,夹头22内容纳穿设有缝合线的锁钉300,夹头22靠近推杆42的部分自近端至远端逐渐向外倾斜;传动组件60包括螺纹传动件62及固定连接螺纹传动件62的柔性内管64,螺纹传动件62转动连接推杆组件40;柔性内管64旋转以带动螺纹传动件62旋转,螺纹传动件62的旋转驱使推杆组件40沿轴向移动,以使得推杆42抵推或放松夹头22,以迫使夹头22压迫锁钉300变形而锁紧穿设于锁钉300内的缝合线或释放锁钉300;外套组件80包括套设于传动组件60及所述柔性内管64外的硬质的外管84,外管84的管壁上沿轴向排列设置多个第一狭槽单元840,以使得外管84兼具刚性和柔性,适用于介入式锁结过程。1 and 2, the first embodiment of the present application provides aninterventional locking device 100, including achuck 22, apush rod assembly 40 provided outside thechuck 22, and a proximal end connected to thepush rod assembly 40 Thetransmission assembly 60, thedrive transmission assembly 60 drives thepush rod assembly 40 to move in the axial direction, thesleeve assembly 80 sleeved on thechuck 22, thepush rod assembly 40 and thetransmission assembly 60, and thesleeve assembly 80 Theproximal handle 90. The distal end of thechuck 22 is provided with agap 25 for placing the lockingnail 300, the lockingnail 300 is provided with athreading cavity 301 along the axial direction, and thethreading cavity 301 is used for threading sutures. Thepush rod assembly 40 includes apush rod 42 arranged outside thechuck 22; thechuck 22 has a fixed axial position and has elasticity. In the initial state, thechuck 22 contains alock nail 300 with suture thread in it, and thechuck 22 22 The part close to thepush rod 42 gradually slopes outward from the proximal end to the distal end; thetransmission assembly 60 includes a threadedtransmission part 62 and a flexibleinner tube 64 fixedly connected to the threadedtransmission part 62, and the threadedtransmission part 62 is rotatably connected to thepush rod assembly 40; The flexibleinner tube 64 rotates to drive the threadedtransmission member 62 to rotate. The rotation of the threadedtransmission member 62 drives thepush rod assembly 40 to move in the axial direction, so that thepush rod 42 pushes or loosens thechuck 22 to force thechuck 22 to press the lock nail. 300 deforms to lock the suture thread inserted in thelock pin 300 or release thelock pin 300; theouter jacket assembly 80 includes a hardouter tube 84 and anouter tube 84 sheathed outside thetransmission assembly 60 and the flexible inner tube 64 A plurality offirst slot units 840 are arranged along the axial direction on the wall of the tube, so that theouter tube 84 has both rigidity and flexibility, and is suitable for the interventional locking process.

本申请提供的介入式锁结装置100,一方面通过所述柔性内管64及螺纹传动件62的旋转来带动推杆42沿轴向相对于夹头22向远端移动,推杆42滑动地抵推夹头22,使夹头22发生变形而压迫锁钉300变形,以锁紧穿设于锁钉300的穿线腔301内的缝合线,所述柔性内管64及螺纹传动件62的旋转扭矩转变成了螺纹传动件62带动推杆42轴向移动的轴向推力,以驱动推杆42沿轴向滑动地抵推或放松所述夹头22,由于所述螺纹传动件62是刚性的、长度相较柔性内管64极短,因此,推力无损耗,推力可顺畅及有效地传递给推杆42,从而夹头22能够有效压迫锁钉300使得锁钉300变形充分,保证缝合线被锁钉300可靠地锁紧;另一方面,由于硬质的外管84的管壁上沿轴向排列设置多个第一 狭槽单元840,使得所述外管84兼具刚性和柔性,柔性使得所述外管84能在人体管腔内发生适应性的弯曲,刚性使得所述外管84能够提供足够的支撑力,即使柔性内管64带动螺纹传动件62旋转时在外管84内进一步弯曲、打折,也不会影响外管84的形态,防止所述外管84在柔性内管64的影响下而挤压患者的内部血管及组织,降低手术风险性。另外,由于柔性内管64只是旋转并不受推力,不会引发推杆42及夹头22相对柔性内管64摆动或晃动,从而能够避免对缝合点的撕裂。Theinterventional locking device 100 provided by the present application, on the one hand, drives thepush rod 42 to move distally relative to thechuck 22 in the axial direction through the rotation of the flexibleinner tube 64 and the threadedtransmission member 62, and thepush rod 42 slides. Push thechuck 22 to deform thechuck 22 and press thelock pin 300 to deform to lock the suture thread inserted in thethreading cavity 301 of thelock pin 300. The flexibleinner tube 64 and the threadedtransmission member 62 rotate The torque is transformed into an axial thrust that the threadedtransmission member 62 drives thepush rod 42 to move axially to drive thepush rod 42 to slide in the axial direction to push or loosen thechuck 22, because the threadedtransmission member 62 is rigid , The length is extremely short compared to the flexibleinner tube 64, therefore, the thrust is not lost, and the thrust can be smoothly and effectively transmitted to thepush rod 42, so that thechuck 22 can effectively compress thelock nail 300 so that thelock nail 300 is fully deformed, and the suture is guaranteed The lockingnail 300 is securely locked; on the other hand, because a plurality offirst slot units 840 are arranged along the axial direction on the tube wall of the rigidouter tube 84, theouter tube 84 is both rigid and flexible. Theouter tube 84 can be bent adaptively in the human body lumen, and the rigidity enables theouter tube 84 to provide sufficient supporting force, even if the flexibleinner tube 64 drives the threadedtransmission member 62 to rotate, theouter tube 84 is further bent The discount will not affect the shape of theouter tube 84, and prevent theouter tube 84 from squeezing the patient's internal blood vessels and tissues under the influence of the flexibleinner tube 64, thereby reducing the risk of surgery. In addition, since the flexibleinner tube 64 only rotates without being pushed, thepush rod 42 and thechuck 22 will not be caused to swing or shake relative to the flexibleinner tube 64, thereby avoiding tearing of the suture point.

可选地,外管84的管壁上沿轴向均匀排列设置或非均匀排列设置多个第一狭槽单元840。Optionally, a plurality offirst slot units 840 are arranged uniformly or non-uniformly arranged on the tube wall of theouter tube 84 along the axial direction.

所述外管84采用激光切割设备在硬质管的管壁上切割出多个沿轴向排列的第一狭槽单元840。请参阅图1及图3至图7,每一第一狭槽单元840包括N个沿轴向相互间隔且穿透外管84的管壁的弧形的狭槽841,其中N为大于等于2的正整数。每一第一狭槽单元840内的每一狭槽841沿外管84的周向延伸,相邻的两个狭槽841在外管84的周向上相互错位;外管84对应于每一狭槽841的部位具有柔性,外管84对应于每相邻两个狭槽841之间的部位具有刚性。N值不同,则允许外管84弯曲的方向及程度是不同的,N值越大,则外管84的弯曲方向可越多,外管84的整体柔性会更明显。Theouter tube 84 uses a laser cutting device to cut a plurality offirst slot units 840 arranged in the axial direction on the tube wall of the hard tube. 1 and FIGS. 3 to 7, eachfirst slot unit 840 includes N arc-shapedslots 841 spaced apart from each other in the axial direction and penetrating the wall of theouter tube 84, where N is greater than or equal to 2. Is a positive integer. Eachslot 841 in eachfirst slot unit 840 extends along the circumferential direction of theouter tube 84, and twoadjacent slots 841 are offset from each other in the circumferential direction of theouter tube 84; theouter tube 84 corresponds to each slot Thepart 841 has flexibility, and theouter tube 84 has rigidity corresponding to the part between every twoadjacent slots 841. The different values of N allow different directions and degrees of bending of theouter tube 84. The larger the value of N, the more bending directions of theouter tube 84 and the more obvious the overall flexibility of theouter tube 84.

每一所述第一狭槽单元840内,每一狭槽841是沿外管84的周向延伸的圆弧形的开槽,每一狭槽841并没有绕外管84周向开设完整的一圈,但所有狭槽841在外管84的周向上至少围成一圈。由于切割出的多个狭槽841使得外管84具有柔性,因此外管84能在曲折的人体管腔内发生适应性的弯曲,外管84上未被狭槽841贯穿的部分使得外管84仍具有一定的刚性,且外管84上未被狭槽841贯穿的部分对应于外管84的不同外周部位,使得外管84具有足够的支撑力来抵抗柔性内管64形态变化时对外管84的影响。外管84可以由不锈钢、镍钛合金、钴铬合金等材料制成,本实施例中,外管84采用镍钛合金管通过激光切割设备切割而成。In each of thefirst slot units 840, eachslot 841 is an arc-shaped slot extending along the circumferential direction of theouter tube 84, and eachslot 841 is not completely opened in the circumferential direction of theouter tube 84 One circle, but all theslots 841 enclose at least one circle in the circumferential direction of theouter tube 84. Since thecut slots 841 make theouter tube 84 flexible, theouter tube 84 can be bent adaptively in the tortuous body lumen. The part of theouter tube 84 that is not penetrated by theslots 841 makes theouter tube 84 It still has a certain rigidity, and the part of theouter tube 84 that is not penetrated by theslot 841 corresponds to the different peripheral parts of theouter tube 84, so that theouter tube 84 has sufficient supporting force to resist theouter tube 84 when the shape of the flexibleinner tube 64 changes. Impact. Theouter tube 84 may be made of stainless steel, nickel-titanium alloy, cobalt-chromium alloy and other materials. In this embodiment, theouter tube 84 is made by cutting a nickel-titanium alloy tube by a laser cutting device.

具体地,请参阅图3及图4,在所述外管84的第一种结构形式中,N值取3,即每一第一狭槽单元840包括3个弧形的狭槽841。每一第一狭槽单元840内,3个狭槽841沿外管84的轴向相互间隔,且相邻的两个狭槽841在外管84的周向上相互交错。每一狭槽841沿外管84的周向延伸的弧长大于或等于外管84的周长的1/2,小于或等于外管84的周长的2/3;每一狭槽841沿外管84的周向延伸的弧长大于或等于外管84的周长的1/2,能保证狭槽841的弧长不会过短,能确保外管84具有较好的柔性;每一狭槽841沿外管84的周向延伸的弧长小于或等于外管84的周长的2/3,能保证狭槽841的弧长不会过长,能确保外管84也具有较好的刚性。每一第一狭槽单元840的所有狭槽841的弧长之和大于或等于外管84的周长。外管84上的每一第一狭槽单元840内的各狭槽841为外管84提供柔性属性,外管84的管壁于每相邻的两个第一狭槽841之间的实体区域为外管84提供刚性属性,从而使外管84兼具刚性和柔性。优选的,每一第一狭槽单元840内,每一狭槽841的弧长相等。Specifically, referring to FIGS. 3 and 4, in the first structure of theouter tube 84, the value of N is 3, that is, eachfirst slot unit 840 includes three arc-shapedslots 841. In eachfirst slot unit 840, threeslots 841 are spaced apart from each other along the axial direction of theouter tube 84, and twoadjacent slots 841 are staggered in the circumferential direction of theouter tube 84. The arc length of eachslot 841 extending in the circumferential direction of theouter tube 84 is greater than or equal to 1/2 of the circumference of theouter tube 84 and less than or equal to 2/3 of the circumference of theouter tube 84; The circumferentially extending arc length of theouter tube 84 is greater than or equal to 1/2 of the circumference of theouter tube 84, which can ensure that the arc length of theslot 841 is not too short, and can ensure that theouter tube 84 has better flexibility; The arc length of theslot 841 extending in the circumferential direction of theouter tube 84 is less than or equal to 2/3 of the circumference of theouter tube 84, which can ensure that the arc length of theslot 841 will not be too long, and can ensure that theouter tube 84 has a better shape.的rigidity. The sum of the arc lengths of all theslots 841 of eachfirst slot unit 840 is greater than or equal to the circumference of theouter tube 84. Eachslot 841 in eachfirst slot unit 840 on theouter tube 84 provides theouter tube 84 with a flexible property, and the tube wall of theouter tube 84 is in the physical area between every two adjacentfirst slots 841 Theouter tube 84 is provided with a rigid property, so that theouter tube 84 has both rigidity and flexibility. Preferably, in eachfirst slot unit 840, the arc length of eachslot 841 is equal.

进一步地,每一第一狭槽单元840内,相邻的两个狭槽841之间相对旋转360/N度,即每一第一狭槽单元840内相邻的两个狭槽841之间的相对旋转角度值等于360度除以N。具体到如图3与图4所示的外管84,每一第一狭槽单元840包括3个狭槽841,那么相邻的两个狭槽841之间的相对旋转角度值为120度。Further, in eachfirst slot unit 840, the relative rotation between twoadjacent slots 841 is 360/N degrees, that is, between twoadjacent slots 841 in eachfirst slot unit 840 The relative rotation angle value of is equal to 360 degrees divided by N. Specifically, for theouter tube 84 shown in FIGS. 3 and 4, eachfirst slot unit 840 includes threeslots 841, and the relative rotation angle value between twoadjacent slots 841 is 120 degrees.

每一狭槽841的槽宽范围为0.15毫米~0.5毫米,相邻两个狭槽841之间的间距范围为1毫米~3.5毫米,以使得所述外管84具有较优的柔性以及适度的刚性。本实施例中,每一狭槽841的槽宽为0.3毫米,每相邻的两个狭槽841之间的间距为1.0毫米。The slot width of eachslot 841 ranges from 0.15 mm to 0.5 mm, and the distance between twoadjacent slots 841 ranges from 1 mm to 3.5 mm, so that theouter tube 84 has better flexibility and moderate rigidity. In this embodiment, the width of eachslot 841 is 0.3 mm, and the distance between every twoadjacent slots 841 is 1.0 mm.

请参阅图5,外管83的第二种结构形式,每一第一狭槽单元840包括4个狭槽841,即N值为4,相邻的两个狭槽841之间的相对旋转角度值为90度,其余结构均与外管84 的第一种结构形式相同,此处不再赘述。值得注意的是,图5所示的第二种结构形式的外管84相比图3与图4所示的第一种结构形式的外管84,弯曲的方向更多,外管84整体的柔性更优。5, the second structure of the outer tube 83, eachfirst slot unit 840 includes 4slots 841, that is, the N value is 4, the relative rotation angle between twoadjacent slots 841 The value is 90 degrees, and the rest of the structure is the same as the first structure of theouter tube 84, and will not be repeated here. It is worth noting that theouter tube 84 of the second structure shown in FIG. 5 has more bending directions than theouter tube 84 of the first structure shown in FIG. 3 and FIG. Better flexibility.

请参阅图6与图7,外管83的第三种结构形式,每一第一狭槽单元840包括6个狭槽841,即N值为6,相邻的两个狭槽841之间的相对旋转角度值为60度,其余结构均与外管84的第一种结构形式相同,此处不再赘述。值得注意的是,该第三种结构形式的外管84在前述三种结构形式的外管84中,弯曲方向是最多的,外管84整体的柔性是最优的。6 and 7, the third structure of the outer tube 83, eachfirst slot unit 840 includes 6slots 841, that is, the N value is 6, and the gap between twoadjacent slots 841 The relative rotation angle value is 60 degrees, and the rest of the structure is the same as the first structure of theouter tube 84, which will not be repeated here. It is worth noting that theouter tube 84 of the third structural form has the most bending direction among theouter tubes 84 of the aforementioned three structural forms, and the overall flexibility of theouter tube 84 is the best.

当然,每一第一狭槽单元840内狭槽841的数量也可以根据实际需要设定为2个、5个或多于6个。Of course, the number ofslots 841 in eachfirst slot unit 840 can also be set to 2, 5 or more than 6 according to actual needs.

请参阅图2及图8至图10,传动组件60还包括固定连接螺纹传动件62的柔性内管64,外管84套设于柔性内管64外。柔性内管64可以采用不锈钢、镍钛合金、钴铬合金等材料制成。本实施例中,柔性内管64采用丝材螺旋缠绕形成,柔性内管64的外径小于外管84的内径,柔性内管64的丝层数为2层~6层,丝材的丝径为0.25mm~1.2mm,螺距为0.25mm~1.5mm,同层丝材之间的间隙为0mm~0.15mm。本实施例中,柔性内管64的丝材采用不锈钢丝,柔性内管64的壁厚为层叠的两层丝材的厚度。旋转柔性内管64能够带动螺纹传动件62边旋转边沿轴向移动,以带动推杆42沿轴向移动来抵推或放松所述夹头22。Referring to FIGS. 2 and 8 to 10, thetransmission assembly 60 further includes a flexibleinner tube 64 fixedly connected to the threadedtransmission member 62, and theouter tube 84 is sleeved outside the flexibleinner tube 64. The flexibleinner tube 64 can be made of stainless steel, nickel titanium alloy, cobalt chromium alloy and other materials. In this embodiment, the flexibleinner tube 64 is formed by spirally winding wires. The outer diameter of the flexibleinner tube 64 is smaller than the inner diameter of theouter tube 84. The number of silk layers of the flexibleinner tube 64 is 2-6 layers. It is 0.25mm~1.2mm, the pitch is 0.25mm~1.5mm, and the gap between the same layer of wire is 0mm~0.15mm. In this embodiment, the wire material of the flexibleinner tube 64 is stainless steel wire, and the wall thickness of the flexibleinner tube 64 is the thickness of two layers of laminated wire materials. The rotating flexibleinner tube 64 can drive the threadedtransmission member 62 to move in the axial direction while rotating, so as to drive thepush rod 42 to move in the axial direction to push or loosen thechuck 22.

进一步地,柔性内管64的内腔插接有具有一定柔性的芯棒66,优选的,芯棒66可以由不锈钢、镍钛合金、钴铬合金等材料制成。本实施例中,芯棒66采用不锈钢,柔性内管64与芯棒66的远端固定连接于螺纹传动件62,柔性内管64与芯棒66的近端固定连接驱动件70;驱动件70能驱动柔性内管64、芯棒66及螺纹传动件62转动。芯棒66的设置既方便绕丝形成柔性内管64,又能增强旋转柔性内管64与芯棒66时的扭控性。Further, the inner cavity of the flexibleinner tube 64 is inserted with acore rod 66 having a certain degree of flexibility. Preferably, thecore rod 66 may be made of stainless steel, nickel-titanium alloy, cobalt-chromium alloy and other materials. In this embodiment, thecore rod 66 is made of stainless steel, the flexibleinner tube 64 and the distal end of thecore rod 66 are fixedly connected to the threadedtransmission member 62, and the flexibleinner tube 64 and the proximal end of thecore rod 66 are fixedly connected to the drivingmember 70; the drivingmember 70 It can drive the flexibleinner tube 64, thecore rod 66 and the threadedtransmission member 62 to rotate. The arrangement of thecore rod 66 not only facilitates the winding of the wire to form the flexibleinner tube 64, but also enhances the torsion control when the flexibleinner tube 64 and thecore rod 66 are rotated.

如图2及图10所示,螺纹传动件62与外套组件80之间转动连接,螺纹传动件62相对于外套组件80转动能带动推杆42沿轴向移动。具体地,外套组件80还包括连接筒82、套设于夹头22及推杆组件40外并固定连接连接筒82的远端的套筒86,以及覆盖于套筒86远端的端盖88。外管84的远端固定连接所述连接筒82的近端,外管84的近端固定连接于手柄90的远端,外管84的内腔连通连接筒82的内腔,连接筒82与螺纹传动件62螺接。套筒86内容置夹头22及推杆组件40,夹头22固定连接套筒86以使得夹头22的轴向位置固定。螺纹传动件62可转动地插接于连接筒82内,具体地,螺纹传动件62与连接筒82之间通过螺纹配合传动。本实施例中,连接筒82的内周面开设内螺纹,螺纹传动件62是配合于所述内螺纹的传动丝杆,螺纹传动件62的远端固定连接一连接件67,连接件67转动连接推杆组件40,螺纹传动件62同步旋转及轴向移动以驱使推杆组件40沿轴向移动。本实施例中,连接筒82的内螺纹为三角形螺纹,所述传动丝杆上设置为配合连接筒82的内螺纹的三角形螺纹。当然,所述连接筒82的内螺纹与所述传动丝杆上的外螺纹还可以是锯齿形螺纹、矩形螺纹、梯形螺纹等。As shown in FIGS. 2 and 10, the threadedtransmission member 62 is rotatably connected with theouter casing assembly 80, and the rotation of the threadedtransmission member 62 relative to theouter casing assembly 80 can drive thepush rod 42 to move in the axial direction. Specifically, theouter sleeve assembly 80 further includes a connectingbarrel 82, asleeve 86 sleeved on thechuck 22 and thepush rod assembly 40 and fixedly connected to the distal end of the connectingbarrel 82, and anend cap 88 covering the distal end of thesleeve 86 . The distal end of theouter tube 84 is fixedly connected to the proximal end of the connectingcylinder 82, the proximal end of theouter tube 84 is fixedly connected to the distal end of thehandle 90, the inner cavity of theouter tube 84 communicates with the inner cavity of the connectingcylinder 82, and the connectingcylinder 82 is connected to the The threadedtransmission member 62 is screwed. Thesleeve 86 houses thechuck 22 and thepush rod assembly 40, and thechuck 22 is fixedly connected to thesleeve 86 so that the axial position of thechuck 22 is fixed. The threadedtransmission member 62 is rotatably inserted into the connectingbarrel 82. Specifically, the threadedtransmission member 62 and the connectingbarrel 82 are driven by threaded cooperation. In this embodiment, the inner peripheral surface of the connectingcylinder 82 is provided with internal threads, the threadedtransmission member 62 is a transmission screw that fits the internal threads, and the distal end of the threadedtransmission member 62 is fixedly connected with a connectingmember 67, and the connectingmember 67 rotates. Connected to thepush rod assembly 40, the threadedtransmission member 62 rotates and moves axially simultaneously to drive thepush rod assembly 40 to move in the axial direction. In this embodiment, the internal thread of the connectingbarrel 82 is a triangular thread, and the driving screw rod is provided with a triangular thread that matches the internal thread of the connectingbarrel 82. Of course, the internal thread of the connectingbarrel 82 and the external thread on the driving screw rod may also be a sawtooth thread, a rectangular thread, a trapezoidal thread, and the like.

结合图10及图26至图31,套筒86是中空管,套筒86的近端于其内腔的周围开设卡接环槽,连接筒82的远端固定连接于套筒86的卡接环槽;套筒86的远端于其内腔的周围向远端凸设卡接环,所述卡接环用于固定连接端盖88。套筒86的周壁靠近夹头22处开设穿线槽860,穿线槽860用于穿设于锁钉300内的缝合线的穿出。10 and 26 to 31, thesleeve 86 is a hollow tube, the proximal end of thesleeve 86 is provided with a snap ring groove around its inner cavity, and the distal end of the connectingcylinder 82 is fixedly connected to the card of thesleeve 86 Adapter ring groove; thesleeve 86 has a snap ring protruding to the distal end around its inner cavity, and the snap ring is used to fix theconnection end cover 88. A threadinggroove 860 is provided on the peripheral wall of thesleeve 86 near thechuck 22, and the threadinggroove 860 is used for threading the suture thread through thelock nail 300.

端盖88的远端开设连通套筒86的内腔的缝合线入口880,锁钉300能经缝合线入口880插入套筒86的内腔。具体地,端盖88包括圆形的盖板881及设置于盖板881周缘的环形的连接板883,连接板883连接套筒86的远端,缝合线入口880轴向开设于盖板881的中部。The distal end of theend cap 88 is provided with asuture inlet 880 communicating with the inner cavity of thesleeve 86, and the lockingnail 300 can be inserted into the inner cavity of thesleeve 86 through thesuture inlet 880. Specifically, theend cover 88 includes acircular cover plate 881 and an annular connectingplate 883 arranged on the periphery of thecover plate 881. The connectingplate 883 is connected to the distal end of thesleeve 86. Thesuture inlet 880 is axially opened on thecover plate 881. Central.

请参阅图11及图12,锁钉300的穿线腔301沿轴向穿通锁钉300相对的两端,穿线腔301用于容纳并通过缝合线。锁钉300受到机械外力作用时可被压瘪,以将缝合线固定在锁钉300的穿线腔301中。锁钉300可以是多种形状,例如,圆柱形、棱柱形、椭圆形等,只要具有穿线腔301用于容纳缝合线即可。本实施例中,锁钉300采用中空的圆柱形以减小压握阻力并避免划伤人体组织。锁钉300的远端外壁径向凸设环形的圆台303,圆台303的外周面的近端边缘及远端边缘均设置倒角,以避免划伤患者身体内部组织,优选的,圆台303的外周面的近端边缘及远端边缘均倒圆角。锁钉300的穿线腔301远端开口与锁钉300的远端面之间光滑过渡,避免二者之间的连接处切割缝合线或划伤患者身体内部组织。锁钉300由不锈钢、纯钛、镍钛、钴铬合金等生物相容性材料制成,优选由纯钛或不锈钢制成。Referring to FIGS. 11 and 12, thethreading cavity 301 of the lockingnail 300 penetrates through opposite ends of the lockingnail 300 in the axial direction, and thethreading chamber 301 is used for receiving and passing the suture thread. Thelock nail 300 can be compressed when subjected to mechanical external force to fix the suture thread in thethreading cavity 301 of thelock nail 300. The lockingnail 300 can be in various shapes, for example, cylindrical, prismatic, elliptical, etc., as long as it has athreading cavity 301 for accommodating sutures. In this embodiment, the lockingnail 300 adopts a hollow cylindrical shape to reduce the pressing resistance and avoid scratching the human tissue. The outer wall of the distal end of the lockingnail 300 is radially protruded with an annular round table 303. The proximal and distal edges of the outer peripheral surface of the round table 303 are both chamfered to avoid scratching the internal tissues of the patient's body. Preferably, the outer circumference of the round table 303 Both the proximal and distal edges of the face are rounded. There is a smooth transition between the distal opening of thethreading cavity 301 of the lockingnail 300 and the distal surface of the lockingnail 300, so as to avoid cutting sutures at the connection between the two or scratching the internal tissue of the patient. Thelock nail 300 is made of biocompatible materials such as stainless steel, pure titanium, nickel-titanium, and cobalt-chromium alloy, and is preferably made of pure titanium or stainless steel.

在其他实施例中,为了提高被压握后的锁钉300与缝合线之间的连接力,可以在锁钉300的穿线腔301设置至少一对互锁结构,例如,在穿线腔301相对的两个位置,分别设置凸起的锁台和凹入的锁孔,当锁钉300受到外部的压握力作用,开始变形时,凸起的锁台被压入凹入的锁孔中,当锁钉300继续变形,锁台和锁孔同时变形直至无法分离,此时,缝合线被牢固地固定在锁钉300的穿线腔301中。In other embodiments, in order to improve the connection force between thepin 300 and the suture after being crimped, at least a pair of interlocking structures may be provided in thethreading cavity 301 of the lockingnail 300, for example, thethreading cavity 301 is opposite to each other. Two positions are respectively provided with a raised lock table and a concave lock hole. When thelock pin 300 is subjected to an external pressing force and begins to deform, the raised lock table is pressed into the concave lock hole. Thenail 300 continues to deform, and the lock platform and the key hole are deformed at the same time until they cannot be separated. At this time, the suture is firmly fixed in thethreading cavity 301 of thelock nail 300.

为了提高被压握后的锁钉300与缝合线之间的连接力,还可以在穿线腔301的内周面上设置防滑结构,如在穿线腔301的内周面上设置防滑纹或粗糙处理,在锁钉300受到外部的压握力作用变形后,缝合线与穿线腔301的内周面的摩擦力增大,使缝合线被更加牢固地固定在锁钉300的穿线腔301中。In order to improve the connection force between the pressedlock nail 300 and the suture thread, an anti-skid structure can also be provided on the inner peripheral surface of thethreading cavity 301, such as anti-skid patterns or rough treatment on the inner peripheral surface of thethreading cavity 301 After thelock nail 300 is deformed by the external pressing force, the friction between the suture thread and the inner peripheral surface of thethreading cavity 301 increases, so that the suture thread is more firmly fixed in thethreading cavity 301 of thelock nail 300.

请一并参阅图10及图13,夹头22包括一体成型且相对设置的第一夹头221及第二夹头223,空隙25形成于第一夹头221与第二夹头223之间。当驱动件70驱动螺纹传动件62转动,由于所述连接筒82的位置固定,螺纹传动件62边旋转边轴向移动并推动推杆42沿轴向移动,即螺纹传动件62的旋转转化为推杆42的轴向移动,使推杆42抵推夹头22的第一夹头221与第二夹头223相向靠拢,第一夹头221与第二夹头223能挤压锁钉300,使锁钉300变形以锁紧缝合线。Please refer to FIGS. 10 and 13 together. Thechuck 22 includes afirst chuck 221 and asecond chuck 223 that are integrally formed and disposed opposite to each other, and agap 25 is formed between thefirst chuck 221 and thesecond chuck 223. When the drivingmember 70 drives the threadedtransmission member 62 to rotate, because the position of the connectingcylinder 82 is fixed, the threadedtransmission member 62 moves axially while rotating and pushes thepush rod 42 to move in the axial direction, that is, the rotation of the threadedtransmission member 62 is transformed into The axial movement of thepush rod 42 makes thepush rod 42 abut against thefirst chuck 221 and thesecond chuck 223 of thepush chuck 22, and thefirst chuck 221 and thesecond chuck 223 can squeeze thelock nail 300, The lockingnail 300 is deformed to lock the suture.

本实施例中,第一夹头221与第二夹头223由具有弹性的硬质材料一体成型制成,当推杆42沿轴向朝近端移动而滑动地抵推第一夹头221时,使第一夹头221发生弹性变形朝第二夹头223靠拢而挤压锁钉300。夹头22的近端封闭且夹头22近端内穿设一垂直于轴向的销钉24,销钉24相对的两端均固定至套筒86。具体地,销钉24插接于空隙25的近端,销钉24相对的两端分别固定连接于套筒86;套筒86沿其径向开设相对的两个连接孔,销钉24相对的两端分别固定插接于两个连接孔,销钉24定位夹头22,阻止夹头22沿轴向移动。In this embodiment, thefirst chuck 221 and thesecond chuck 223 are integrally formed of a rigid material with elasticity. When thepush rod 42 moves toward the proximal end in the axial direction to slide against thefirst chuck 221 , Thefirst chuck 221 is elastically deformed toward thesecond chuck 223 to squeeze thelock nail 300. The proximal end of thechuck 22 is closed and apin 24 perpendicular to the axial direction passes through the proximal end of thechuck 22. The opposite ends of thepin 24 are both fixed to thesleeve 86. Specifically, thepin 24 is inserted into the proximal end of thegap 25, and the opposite ends of thepin 24 are respectively fixedly connected to thesleeve 86; thesleeve 86 defines two opposite connecting holes along its radial direction, and the opposite ends of thepin 24 are respectively Thepin 24 is fixedly inserted into the two connecting holes, and thepin 24 positions thechuck 22 to prevent thechuck 22 from moving in the axial direction.

如图13所示,第一夹头221与第二夹头223间隔相对设置,且两者近端相互连接。第一夹头221与第二夹头223之间围成空隙25,空隙25邻近第一夹头221与第二夹头223的连接处开设有销孔2211,销钉24插接于销孔2211内,优选的,所述销孔2211所对应的圆心角大于180度,以阻止夹头22沿轴向朝近端或远端移动。第一夹头221背离第二夹头223的一侧设置倾斜的导滑面2213,导滑面2213位于第一夹头221的远端并朝远离空隙25的一侧倾斜延伸。具体地,第一夹头221远端朝空隙25内凸设有凸块,凸块面朝第二夹头223的侧面设有第一夹齿2215,具体地,第一夹齿2215位于第一夹头221面朝第二夹头223的侧面的远端,第一夹齿2215包括多个齿槽,每一齿槽沿大致垂直于轴向方向延伸。As shown in FIG. 13, thefirst chuck 221 and thesecond chuck 223 are arranged opposite to each other at intervals, and the proximal ends of the two are connected to each other. Agap 25 is enclosed between thefirst chuck 221 and thesecond chuck 223. Thegap 25 is adjacent to the connection of thefirst chuck 221 and thesecond chuck 223 with apin hole 2211, and thepin 24 is inserted into thepin hole 2211 Preferably, the central angle corresponding to thepin hole 2211 is greater than 180 degrees to prevent thechuck 22 from moving axially toward the proximal end or the distal end. The side of thefirst chuck 221 facing away from thesecond chuck 223 is provided with an inclined slidingguide surface 2213. The slidingguide surface 2213 is located at the distal end of thefirst chuck 221 and extends obliquely toward the side away from thegap 25. Specifically, the distal end of thefirst chuck 221 is provided with a protrusion protruding into thegap 25, and the side of the protrusion facing thesecond chuck 223 is provided with afirst clamping tooth 2215. Specifically, thefirst clamping tooth 2215 is located in the first Thechuck 221 faces the distal end of the side surface of thesecond chuck 223, and thefirst chuck teeth 2215 include a plurality of tooth grooves, and each tooth groove extends in a direction substantially perpendicular to the axial direction.

第二夹头223面朝第一夹头221的侧面邻近远端处设置第二夹齿2235,具体地,第二夹齿2235位于第二夹头223面朝空隙25的侧面邻近远端处,第二夹齿2235包括多个齿槽,第二夹齿2235的每一齿槽的延伸方向与第一夹齿2215的齿槽的延伸方向相同。当 第一夹头221与第二夹头223相互靠拢时,第一夹头221的第一夹齿2215与第二夹头223的第二夹齿2235错位并能相互啮合,因此,第一夹头221弹性变形朝第二夹头223靠拢,第一夹齿2215及第二夹齿2235将放置于空隙25内的锁钉300挤压成具有曲率的形状。第二夹头223背离第一夹头221的侧面的近端设置平行于轴向的导滑面2236。具体地,导滑面2236上开设连通空隙25的穿线孔2237,穿线孔2237邻近第二夹齿2235的近端,便于穿过锁钉300后的缝合线自穿线孔2237穿出。第二夹头223背离第一夹头221的侧面的远端凸设一定位块2233,定位块2233的近端面靠近穿线孔2237,定位块2233的近端面为切线面2238。The side of thesecond chuck 223 facing thefirst chuck 221 is provided with asecond clamping tooth 2235 adjacent to the distal end. Specifically, thesecond clamping tooth 2235 is located at the side of thesecond chuck 223 facing thegap 25 adjacent to the distal end, Thesecond clamping tooth 2235 includes a plurality of tooth grooves, and the extending direction of each tooth groove of thesecond clamping tooth 2235 is the same as the extending direction of the tooth groove of thefirst clamping tooth 2215. When thefirst chuck 221 and thesecond chuck 223 are close to each other, thefirst chuck teeth 2215 of thefirst chuck 221 and thesecond chuck teeth 2235 of thesecond chuck 223 are misaligned and can mesh with each other. Therefore, the first chuck Thehead 221 is elastically deformed to move closer to thesecond clamping head 223, and thefirst clamping teeth 2215 and thesecond clamping teeth 2235 squeeze thelock nail 300 placed in thegap 25 into a shape having a curvature. The proximal end of the side surface of thesecond chuck 223 facing away from thefirst chuck 221 is provided with a slidingguide surface 2236 parallel to the axial direction. Specifically, the slidingguide surface 2236 is provided with athreading hole 2237 communicating with thegap 25. Thethreading hole 2237 is adjacent to the proximal end of thesecond clamping tooth 2235, so that the suture after passing through thelock nail 300 can pass through thethreading hole 2237. Apositioning block 2233 protrudes from the distal end of thesecond chuck 223 facing away from the side of thefirst chuck 221, the proximal surface of thepositioning block 2233 is close to thethreading hole 2237, and the proximal surface of thepositioning block 2233 is atangent surface 2238.

在其他实他实施例中,定位块2233的近端面开设切线槽,所述切线槽沿垂直于轴向方向穿通第二夹头223相对的两侧面。In other embodiments, the proximal surface of thepositioning block 2233 is provided with a tangent groove, and the tangent groove penetrates two opposite sides of thesecond chuck 223 in a direction perpendicular to the axial direction.

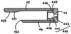
请一并参阅图10、图14-图15及图26-图31,推杆组件40还包括与螺纹传动件62同轴的基座44及固定连接于基座44的切线刀片46,推杆42固定连接于基座44并沿轴向延伸;连接件67转动连接基座44,且连接件67与基座44之间设有轴向限位结构。切线刀片46与推杆42间隔相对设置,切线刀片46可沿轴向贴着导滑面2236滑动。基座44沿轴向滑动地收纳于套筒86内。基座44沿轴向滑动地收纳于套筒86内,推杆42沿轴向滑动地抵接于第一夹头221的导滑面2213。本实施例中,基座44为圆柱杆,切线刀片46于推杆42的对侧固定连接在基座44上。基座44的中部沿轴向开设台阶孔440,台阶孔440相对的两端分别穿通基座44的近端面及远端面,台阶孔440包括位于基座44远端的大孔441及位于基座44远端的小孔443;基座44于大孔441与小孔443之间形成台阶面445。基座44的外周壁于台阶孔440相对的两侧分别开设固定槽446,推杆42的近端及切线刀片46的近端分别固定于两个固定槽446。Please refer to Figure 10, Figure 14-15 and Figure 26-Figure 31, thepush rod assembly 40 also includes a base 44 coaxial with the threadedtransmission member 62 and acutting blade 46 fixedly connected to thebase 44, apush rod 42 is fixedly connected to thebase 44 and extends in the axial direction; the connectingmember 67 rotates to connect to thebase 44, and an axial limiting structure is provided between the connectingmember 67 and thebase 44. Thethread cutting blade 46 is arranged opposite to thepush rod 42 at intervals, and thethread cutting blade 46 can slide against the slidingguide surface 2236 in the axial direction. Thebase 44 is slidably received in thesleeve 86 in the axial direction. Thebase 44 is slidably received in thesleeve 86 in the axial direction, and thepush rod 42 is slidably abutted against the slidingsurface 2213 of thefirst chuck 221 in the axial direction. In this embodiment, thebase 44 is a cylindrical rod, and thetangent blade 46 is fixedly connected to the base 44 on the opposite side of thepush rod 42. A steppedhole 440 is formed in the middle of thebase 44 along the axial direction. The opposite ends of the steppedhole 440 respectively penetrate the proximal and distal surfaces of thebase 44. The steppedhole 440 includes alarge hole 441 located at the distal end of thebase 44 and Thesmall hole 443 at the distal end of thebase 44; the base 44 forms a steppedsurface 445 between thelarge hole 441 and thesmall hole 443. The outer peripheral wall of thebase 44 is respectively provided with fixinggrooves 446 on opposite sides of thestep hole 440, and the proximal end of thepush rod 42 and the proximal end of thecutting blade 46 are respectively fixed to the two fixinggrooves 446.

推杆42面朝切线刀片46的一侧远离基座44的端部设置弧形的助滑面420,助滑面420用于滑动地抵接第一夹头221的导滑面2213。推杆42的远端向内凸设抵推块421,抵推块421用于抵推夹头22时压迫锁钉300变形,具体地,推杆42远离基座44的一端向切线刀片46的一侧凸设抵推块421,助滑面420设置于抵推块421面朝切线刀片46的侧面,切线刀片46的远端设置刀刃461。本实施例中,推杆42的外侧面与基座44的外侧面共面;切线刀片46的外侧面与基座44的外侧面共面。在夹头22弹性变形而挤压锁钉300变形以锁紧缝合线的过程中,切线刀片46相对于夹头22的导滑面2236滑动至刀刃461挤压于切线面2238上,以切断穿过穿线孔2237的缝合线。The end of thepush rod 42 facing thetangent blade 46 away from thebase 44 is provided with an arc-shaped slidingsurface 420, and the slidingsurface 420 is used to slidably abut the slidingsurface 2213 of thefirst chuck 221. The distal end of thepush rod 42 is provided with apush block 421 protruding inward, and thepush block 421 is used to press thelock nail 300 to deform when thechuck 22 is pushed. Specifically, the end of thepush rod 42 away from the base 44 faces thetangent blade 46. A pushingblock 421 is protrudingly provided on one side, the slidingsurface 420 is arranged on the side of the pushingblock 421 facing thethread cutting blade 46, and the distal end of thethread cutting blade 46 is provided with aknife edge 461. In this embodiment, the outer surface of thepush rod 42 is coplanar with the outer surface of thebase 44; the outer surface of thetangent blade 46 is coplanar with the outer surface of thebase 44. When thechuck 22 is elastically deformed and the lockingnail 300 is deformed to lock the suture, thethread cutting blade 46 slides relative to the slidingsurface 2236 of thechuck 22 until theblade 461 is pressed against the cuttingsurface 2238 to cut the thread. The suture through thethreading hole 2237.

请一并参阅图2及图16-图17,连接件67连接于螺纹传动件62的远端与推杆组件40之间;螺纹传动件62包括位于远端的传动丝杆621及设置于传动丝杆621近端的连接部623,传动丝杆621螺接于连接筒82的内螺纹。传动丝杆621的远端面的中部沿轴向开设定位孔624,连接部623的近端面开设连接孔626,柔性内管64的远端固定连接于螺纹传动件62的连接孔626内,柔性内管64的近端固定连接于驱动件70,驱动件70用于驱动柔性内管64及螺纹传动件62转动。Please refer to FIGS. 2 and 16-17 together, the connectingmember 67 is connected between the distal end of the threadedtransmission member 62 and thepush rod assembly 40; the threadedtransmission member 62 includes atransmission screw rod 621 located at the distal end and is arranged on the transmission At the proximal end of the connectingportion 623 of thescrew rod 621, the drivingscrew rod 621 is screwed to the internal thread of the connectingbarrel 82. Apositioning hole 624 is formed in the middle of the distal end surface of thetransmission screw 621 in the axial direction, a connectinghole 626 is formed in the proximal end surface of the connectingportion 623, and the distal end of the flexibleinner tube 64 is fixedly connected to the connectinghole 626 of the threadedtransmission member 62. The proximal end of the flexibleinner tube 64 is fixedly connected to the drivingmember 70, and the drivingmember 70 is used to drive the flexibleinner tube 64 and the threadedtransmission member 62 to rotate.

本实施例中,连接件67为连接钉,连接件67包括插接于台阶孔440的小孔443及定位孔624内的连接杆672,及设置于连接杆672的远端且收容于台阶孔440的大孔441内的挡块674。连接杆672固定连接于定位孔624,连接杆672可转动地插接于小孔443内,挡块674可转动地收容于大孔441且挡块674止挡于台阶面445。所述连接件67与基座44之间的轴向限位结构即指所述台阶孔440及挡块674。传动丝杆621旋转并沿轴向移动以带动连接件67在台阶孔440内转动,同时传动丝杆621的远端抵推推杆组件40沿轴向朝远端移动,或者挡块674拉动推杆组件40沿轴向朝近端移动。In this embodiment, the connectingmember 67 is a connecting nail. The connectingmember 67 includes asmall hole 443 inserted into the steppedhole 440 and a connectingrod 672 inserted in thepositioning hole 624, and is arranged at the distal end of the connectingrod 672 and is accommodated in the stepped hole. Thestop 674 in thelarge hole 441 of 440. The connectingrod 672 is fixedly connected to thepositioning hole 624, the connectingrod 672 is rotatably inserted into thesmall hole 443, thestopper 674 is rotatably received in thelarge hole 441, and thestopper 674 is stopped by thestep surface 445. The axial limiting structure between the connectingmember 67 and thebase 44 refers to the steppedhole 440 and thestop 674. Thedrive screw 621 rotates and moves in the axial direction to drive the connectingmember 67 to rotate in the steppedhole 440. At the same time, the distal end of thedrive screw 621 pushes thepush rod assembly 40 and moves toward the distal end in the axial direction, or thestop 674 pulls and pushes. Therod assembly 40 moves toward the proximal end in the axial direction.

在其他实施例中,螺纹传动件62也为传动丝杆,但设置螺纹传动件62直接螺接基座44(未图示),且螺纹传动件62相对套筒86的轴向位置固定,螺纹传动件62仅旋转以 驱使推杆组件40沿轴向移动,具体地,螺纹传动件62与套筒86的近端之间可设置限制螺纹传动件62轴向运动但允许螺纹传动件62旋转的限位结构,如适配的凹槽与凸缘。In other embodiments, the threadedtransmission member 62 is also a transmission screw rod, but the threadedtransmission member 62 is directly screwed to the base 44 (not shown), and the axial position of the threadedtransmission member 62 relative to thesleeve 86 is fixed. Thetransmission member 62 only rotates to drive thepush rod assembly 40 to move in the axial direction. Specifically, between the threadedtransmission member 62 and the proximal end of thesleeve 86, a device that restricts the axial movement of the threadedtransmission member 62 but allows the threadedtransmission member 62 to rotate may be provided. Limiting structures, such as matching grooves and flanges.

如图2及图16所示,驱动件70连接于传动组件60的近端,具体地,驱动件70是可转动地设置于手柄90的近端的旋转件,柔性内管64及芯棒66的近端固定连接于驱动件70。驱动件70的远端面的中部沿轴向凸设旋转轴72,驱动件70的远端面的边缘沿轴向设置环形的凸缘74,旋转轴72的延伸长度大于凸缘74的延伸长度,旋转轴72与凸缘74之间围成环形的收容槽75。驱动件70的中部沿轴向开设通孔76,通孔76位于旋转轴72的中部,通孔76用于穿装柔性内管64及芯棒66的近端。驱动件70的近端面于通孔76的周围开设定位孔77,定位孔77内固定有定位块78,柔性内管64及芯棒66的近端穿过通孔76后固定连接于定位块78,所述定位块78优选为方形块,驱动件70的旋转通过定位块78带动柔性内管64及芯棒66一并旋转。驱动件70的外壁设置防滑机构79,手握防滑机构79方便转动驱动件70。As shown in FIGS. 2 and 16, the drivingmember 70 is connected to the proximal end of thetransmission assembly 60. Specifically, the drivingmember 70 is a rotating member rotatably disposed at the proximal end of thehandle 90, the flexibleinner tube 64 and thecore rod 66 The proximal end is fixedly connected to the drivingmember 70. A rotatingshaft 72 is protruded from the middle of the distal surface of thedriver 70 along the axial direction, and anannular flange 74 is provided on the edge of the distal surface of thedriver 70 in the axial direction. The extension length of therotating shaft 72 is greater than the extension length of theflange 74 , An annular receivinggroove 75 is enclosed between therotating shaft 72 and theflange 74. A throughhole 76 is formed in the middle of the drivingmember 70 along the axial direction. The throughhole 76 is located in the middle of therotating shaft 72. The throughhole 76 is used to pass through the flexibleinner tube 64 and the proximal end of thecore rod 66. The proximal surface of the drivingmember 70 is provided with apositioning hole 77 around the throughhole 76. Apositioning block 78 is fixed in thepositioning hole 77. The proximal end of the flexibleinner tube 64 and thecore rod 66 passes through the throughhole 76 and is fixedly connected to the positioning block. 78. Thepositioning block 78 is preferably a square block, and the rotation of the drivingmember 70 drives the flexibleinner tube 64 and thecore rod 66 to rotate together through thepositioning block 78. The outer wall of the drivingmember 70 is provided with ananti-skid mechanism 79, and theanti-skid mechanism 79 is held by hand to facilitate rotating the drivingmember 70.

请一并参阅图1-图2及图18-图20,驱动件70转动连接于手柄90的近端,手柄90沿轴向开设通槽910,柔性内管64及芯棒66的近端穿过通槽910固定连接于驱动件70。手柄90包括壳体91及固定插接于壳体91内的导杆96,导杆96用于定位柔性内管64。本实施例中,壳体91的横截面为多边形的杆状结构,壳体91的近端面于通槽910的周围开设旋转孔93,旋转孔93用于转动连接驱动件70的远端,具体地,驱动件70的旋转轴72可转动地插接于旋转孔93内。手柄90的远端面于通槽910的周围开设定位孔95,导杆96插接于定位孔95内,导杆96沿轴向开设导槽962,柔性内管64的近端可活动地收容于导槽962内,防止柔性内管64的近端旋转时发生扭结、翘曲。导杆96的远端设置盖板964。盖板964的远端面的中部凸设连接管966,导槽962穿过盖板964后与连接管966的内腔连通,柔性内管64的近端穿过连接管966、导槽962及通槽910后连接于驱动件70;外管84的近端固定连接于连接管966。导杆96的外周壁的近端开设至少一固定孔967,壳体91的外周壁开设连通定位孔95的连接孔913,当导杆96插接于定位孔95内后,盖板964覆盖于壳体91的远端面,导杆96的固定孔967对应壳体91的连接孔913,锁固杆插入连接孔913及固定孔967内,以使导杆96与壳体91固定连接。在其他实施例中,壳体91的横截面也可以是圆形、椭圆形、矩形或不规则形的杆状结构。Please refer to Figures 1 to 2 and 18 to 20 together, the drivingmember 70 is rotatably connected to the proximal end of thehandle 90, thehandle 90 is provided with a throughslot 910 in the axial direction, and the flexibleinner tube 64 and the proximal end of themandrel 66 penetrate The throughslot 910 is fixedly connected to the drivingmember 70. Thehandle 90 includes ahousing 91 and aguide rod 96 fixedly inserted into thehousing 91, and theguide rod 96 is used for positioning the flexibleinner tube 64. In this embodiment, the cross section of thehousing 91 is a polygonal rod-shaped structure. The proximal surface of thehousing 91 defines arotating hole 93 around the throughslot 910. The rotatinghole 93 is used to rotatably connect the distal end of the drivingmember 70. Specifically, the rotatingshaft 72 of the drivingmember 70 is rotatably inserted into the rotatinghole 93. The distal end of thehandle 90 is provided with apositioning hole 95 around the throughgroove 910, theguide rod 96 is inserted into thepositioning hole 95, theguide rod 96 is provided with aguide groove 962 along the axial direction, and the proximal end of the flexibleinner tube 64 can be movably received In theguide groove 962, the proximal end of the flexibleinner tube 64 is prevented from kinking and warping when rotating. Acover plate 964 is provided at the distal end of theguide rod 96. A connectingtube 966 is protruding from the middle of the distal surface of thecover plate 964. Theguide groove 962 passes through thecover plate 964 and communicates with the inner cavity of the connectingtube 966. The proximal end of the flexibleinner tube 64 passes through the connectingtube 966, theguide groove 962, and the inner cavity of the connectingtube 966. The throughslot 910 is then connected to the drivingmember 70; the proximal end of theouter tube 84 is fixedly connected to the connectingtube 966. The proximal end of the outer peripheral wall of theguide rod 96 is provided with at least one fixinghole 967, and the outer peripheral wall of thehousing 91 is provided with a connectinghole 913 communicating with thepositioning hole 95. When theguide rod 96 is inserted into thepositioning hole 95, thecover plate 964 covers On the distal end of thehousing 91, the fixinghole 967 of theguide rod 96 corresponds to the connectinghole 913 of thehousing 91, and the locking rod is inserted into the connectinghole 913 and the fixinghole 967, so that theguide rod 96 and thehousing 91 are fixedly connected. In other embodiments, the cross section of thehousing 91 may also be a circular, elliptical, rectangular or irregular rod-shaped structure.

结合图21与图22,手柄90邻近驱动件70处沿轴向设置至少一长度刻度915,至少一长度刻度915用于显示驱动件70沿轴向移动的位移量。具体地,壳体91的外周面的近端设置多个长度刻度915,多个长度刻度915沿壳体91的周向排列一圈,以方便观察驱动件70沿轴向移动的位移量。当驱动件70的凸缘74的远端面与长度刻度915上的0正对时,夹头22的第一夹头221与第二头223处于完全张开状态,推杆42没有对夹头22施加沿轴向的推力;当驱动件70旋转并沿轴向移动至凸缘74的远端面与长度刻度915上的某一刻度值如5正对时,推杆42抵推夹头22,夹头22的第一夹头221与第二头223挤压锁钉300变形而固定穿设于锁钉300内的缝合线。上述某一刻度值指第一夹头221与第二头223挤压锁钉300变形以实现锁钉300牢固地固定缝合线的刻度值,所述某一刻度值可以根据现实需要自行设定。驱动件70旋转以带动柔性内管64及螺纹传动件62旋转,螺纹传动件62螺接于连接筒82的内螺纹,且连接筒82在轴向位置是固定的,因此,螺纹传动件62在旋转同时沿轴向移动,从而推杆42、柔性内管64及驱动件70随之轴向移动,当驱动件70沿轴向移动至凸缘74的远端面正对所述某一刻度值时,夹头22已经压迫锁钉300变形而固定穿设于锁钉300内的缝合线,此时可停止旋转驱动件70。手柄90的外周面设置有防滑机构917,方便握持。21 and 22, thehandle 90 is provided with at least onelength scale 915 along the axial direction adjacent to the drivingmember 70, and the at least onelength scale 915 is used to display the displacement amount of the drivingmember 70 along the axial direction. Specifically, the proximal end of the outer peripheral surface of thehousing 91 is provided with a plurality of length scales 915, and the plurality of length scales 915 are arranged in a circle along the circumferential direction of thehousing 91 to facilitate the observation of the displacement of the drivingmember 70 in the axial direction. When the distal surface of theflange 74 of the drivingmember 70 is directly opposite to the 0 on thelength scale 915, thefirst chuck 221 and thesecond head 223 of thechuck 22 are in a fully opened state, and thepush rod 42 does not align with the chuck. 22 applies an axial thrust; when the drivingmember 70 rotates and moves in the axial direction until the distal end of theflange 74 is in direct alignment with a certain scale value on thelength scale 915, such as 5, thepush rod 42 pushes against thechuck 22 , Thefirst chuck 221 and thesecond head 223 of thechuck 22 squeeze thelock nail 300 to deform to fix the suture thread passing through thelock nail 300. The above-mentioned certain scale value refers to the scale value for thefirst chuck 221 and thesecond head 223 to squeeze thelock nail 300 to deform so that thelock nail 300 can firmly fix the suture thread. The certain scale value can be set by itself according to actual needs. The drivingmember 70 rotates to drive the flexibleinner tube 64 and the threadedtransmission member 62 to rotate. The threadedtransmission member 62 is screwed to the internal thread of the connectingbarrel 82, and the connectingbarrel 82 is fixed in the axial position. Therefore, the threadedtransmission member 62 is Rotate and move in the axial direction at the same time, so that thepush rod 42, the flexibleinner tube 64 and the drivingmember 70 move axially accordingly. When the drivingmember 70 moves in the axial direction until the distal end of theflange 74 is directly facing the certain scale value At this time, thechuck 22 has pressed thelock pin 300 to deform to fix the suture thread inserted in thelock pin 300, and the rotation of the drivingmember 70 can be stopped at this time. The outer peripheral surface of thehandle 90 is provided with ananti-skid mechanism 917, which is convenient to hold.

请一并参阅图1、图2、图10及图19-图22,组装该锁结装置100时,将导杆96插入手柄90的定位孔95内,使导槽962正对通槽910,且固定孔967正对连接孔913,锁 固杆插入连接孔913及固定孔967;将驱动件70的旋转轴72可转动地插入手柄90的旋转孔93内;将柔性内管64及芯棒66的近端依次穿过连接管966、导槽962、通槽910及通孔76后,通过定位块78固定于驱动件70的定位孔77内;将柔性内管64及芯棒66的远端固定于螺纹传动件62的连接孔626,将外管84套接于螺纹传动件62及柔性内管64外,将外管84的近端固定连接于导杆96的连接管966;将螺纹传动件62的传动丝杆621螺接于连接筒82的内螺纹后,将外管84的远端通过连接筒82固定连接于套筒86的近端;将推杆组件40放置于连接筒82的远端,使推杆组件40的近端面正对连接筒82的远端面,将连接件67的连接杆672插入基座44的台阶孔440后固定连接于螺纹传动件62的定位孔624内;将夹头22固定于套筒86内的远端,使第二夹头223的穿线孔2237正对套筒86的穿线槽860,且销钉24相对的两端分别固定于套筒86;将套筒86套接于推杆组件40外,并且套筒86的近端固定连接于连接筒82的远端,使夹头22位于推杆42与切线刀片46之间,推杆42接触第一夹头221,切线刀片46的刀刃461正对切线面2238;再将端盖88覆盖于套筒86的远端,使端盖88的近端固定连接于套筒86的远端,端盖88的缝合线入口880正对空隙25即可。Please refer to Figure 1, Figure 2, Figure 10, and Figure 19-22 together. When assembling thelocking device 100, insert theguide rod 96 into thepositioning hole 95 of thehandle 90 so that theguide groove 962 is facing the throughgroove 910. And the fixing hole 967 is facing the connecting hole 913, the locking rod is inserted into the connecting hole 913 and the fixing hole 967; the rotating shaft 72 of the driving member 70 is rotatably inserted into the rotating hole 93 of the handle 90; the flexible inner tube 64 and the core rod After the proximal end of 66 passes through the connecting tube 966, the guide groove 962, the through groove 910 and the through hole 76 in sequence, it is fixed in the positioning hole 77 of the driving member 70 by the positioning block 78; the flexible inner tube 64 and the distal end of the mandrel 66 The end is fixed to the connecting hole 626 of the threaded transmission member 62, the outer tube 84 is sleeved outside the threaded transmission member 62 and the flexible inner tube 64, and the proximal end of the outer tube 84 is fixedly connected to the connecting tube 966 of the guide rod 96; After the drive screw 621 of the transmission member 62 is screwed to the internal thread of the connecting barrel 82, the distal end of the outer tube 84 is fixedly connected to the proximal end of the sleeve 86 through the connecting barrel 82; the push rod assembly 40 is placed on the connecting barrel 82 The proximal end of the push rod assembly 40 faces the distal end of the connecting cylinder 82, and the connecting rod 672 of the connecting member 67 is inserted into the step hole 440 of the base 44 and then fixedly connected to the positioning hole of the threaded transmission member 62 624; fix the chuck 22 at the distal end of the sleeve 86 so that the threading hole 2237 of the second chuck 223 faces the threading groove 860 of the sleeve 86, and the opposite ends of the pin 24 are respectively fixed to the sleeve 86 The sleeve 86 is sleeved outside the push rod assembly 40, and the proximal end of the sleeve 86 is fixedly connected to the distal end of the connecting barrel 82, so that the chuck 22 is located between the push rod 42 and the cutting blade 46, and the push rod 42 is in contact The first chuck 221, the cutting edge 461 of the tangent blade 46 is facing the tangent surface 2238; and then the end cap 88 is covered on the distal end of the sleeve 86, so that the proximal end of the end cap 88 is fixedly connected to the distal end of the sleeve 86. Thesuture entrance 880 of thecover 88 can be directly opposite to thegap 25.

请参阅图23至图32,以下以三尖瓣的瓣膜修复术为例,说明本申请提供的介入式锁结装置100的使用过程。Please refer to Figs. 23 to 32. The following takes a tricuspid valve repair operation as an example to illustrate the use process of theinterventional locking device 100 provided in the present application.

三尖瓣为右心房(简称:RA)和右心室(简称:RV)之间的单向“阀门”,可以保证血液从右心房流向右心室。正常健康的三尖瓣具有多根腱索。三尖瓣的瓣叶分为前叶、后叶和隔叶,右心室处于舒张状态时,三者处于张开状态,血液从右心房流向右心室;右心室处于收缩状态时,腱索被拉伸,保证瓣叶不会被血流冲到心房侧,前叶、后叶和隔叶闭合良好,从而保证血液从右心室经过肺动脉瓣(简称:PV)流向肺动脉。若三尖瓣出现病变,当右心室处于收缩状态时,三尖瓣不能像正常状态时恢复完全关闭状态,而是出现关闭不全现象,血流的冲力会进一步导致瓣叶脱入右心房,造成血液返流。针对三尖瓣返流,可采用介入方式向各个瓣叶植入缝合线,然后使用本申请中的锁结装置将各个瓣叶上的缝和线锁结在一起,以实施缘对缘修复,具体过程如下:The tricuspid valve is a one-way "valve" between the right atrium (abbreviation: RA) and the right ventricle (abbreviation: RV), which can ensure blood flow from the right atrium to the right ventricle. A normal healthy tricuspid valve has multiple chordae. The leaflets of the tricuspid valve are divided into anterior leaflets, posterior leaflets and septal leaflets. When the right ventricle is in a diastolic state, the three are in an open state, and blood flows from the right atrium to the right ventricle; when the right ventricle is in a contracted state, the chordae tendons are pulled Extend to ensure that the valve leaflets will not be rushed to the atrium side by blood flow, and the anterior leaflets, posterior leaflets and septal leaflets are closed well, thus ensuring that blood flows from the right ventricle to the pulmonary artery through the pulmonary valve (referred to as PV). If the tricuspid valve is diseased, when the right ventricle is in a contracted state, the tricuspid valve cannot return to a fully closed state as in the normal state, but insufficiency occurs. The impulse of blood flow will further cause the valve leaflets to fall into the right atrium, causing Reflux of blood. For tricuspid regurgitation, an interventional method can be used to implant sutures into each leaflet, and then use the locking device in this application to lock the sutures and threads on each leaflet together to implement edge-to-edge repair. The specific process is as follows:

第一步:如图23所示,首先向患者的三尖瓣的前叶、后叶和隔叶分别植入一根或多根带有弹性垫片501的缝合线500,缝合线500与瓣叶之间的点接触被转变为弹性垫片501与瓣叶之间的面接触,可有效降低瓣叶撕裂的风险;Step 1: As shown in Figure 23, firstly, one ormore sutures 500 withelastic spacers 501 are implanted into the anterior, posterior and septal leaflets of the tricuspid valve of the patient. The point contact between the leaflets is converted into the surface contact between theelastic gasket 501 and the leaflets, which can effectively reduce the risk of leaflet tearing;

第二步:如图24、图26及图29所示,在患者体外把三个瓣叶上的多根缝合线500均穿入锁钉300的穿线腔301中,并将缝合线500近端依次穿过锁钉300的穿线腔301、第一夹头221与第二夹头223之间的空隙25及穿线孔2237,从套筒86的穿线槽860穿出;Step 2: As shown in Figure 24, Figure 26 and Figure 29, themultiple sutures 500 on the three valve leaflets are inserted into thethreading cavity 301 of thelock nail 300 outside the patient's body, and thesutures 500 are placed at the proximal end Pass through thethreading cavity 301 of thelock nail 300, thegap 25 between thefirst chuck 221 and thesecond chuck 223, and thethreading hole 2237 in turn, and pass through the threadinggroove 860 of thesleeve 86;

第三步:借助调弯鞘管(图未示出)将介入式锁结装置100远端经股静脉推入心脏右心房,向三尖瓣的瓣叶移动靠近,同时拉动缝合线500,直至锁结装置100远端在右心房内到达预定位置;Step 3: Push the distal end of theinterventional locking device 100 into the right atrium of the heart through the femoral vein with the aid of a bending sheath (not shown), move it closer to the leaflets of the tricuspid valve, and pull thesuture 500 at the same time until The distal end of thelocking device 100 reaches a predetermined position in the right atrium;

第四步:分别调节前、后以及隔叶三个瓣叶缝合线500的松紧度,同时通过超声确定三尖瓣返流最轻的状态,当到达该状态时,停止调节并保持三组缝合线500的松紧状态,即,保持三尖瓣的前叶、后叶和隔叶之间的相对位置;Step 4: Adjust the tightness of thesutures 500 of the front, back, and septal leaflets respectively, and determine the lightest state of tricuspid regurgitation through ultrasound. When this state is reached, stop the adjustment and maintain the three sets of sutures The tightness of theline 500, that is, maintaining the relative position between the anterior, posterior and septal leaflets of the tricuspid valve;

第五步:如图27及图30所示,旋转手柄90上的驱动件70,驱动件70的旋转带动柔性内管64及螺纹传动件62旋转,由于螺纹传动件62螺接于连接筒82的内螺纹,且连接筒82在轴向位置是固定的,因此,螺纹传动件62在旋转同一并沿轴向移动,从而带动驱动件70、柔性内管64及螺纹传动件62边旋转边沿轴向朝远端移动,螺纹传动件62抵推推杆组件40沿轴向朝远端移动,推杆42相对夹头22向远端移动,推杆42的助滑面420持续挤压夹头22上的导滑面2213,使得夹头22的第一夹头221向第二夹头223靠拢,第一夹齿2215与第二夹齿2235压握容置于空隙25内的锁钉300,直至锁钉300变形,将锁 钉300中的三组缝合线500锁结在一起,同时,切线刀片46的刃口461顶到第二夹头223的切线面2238,切线刀片46顺利切断锁钉300近端侧的三组缝合线500,然后将这三组多余的缝合线500抽出患者体外;Step 5: As shown in Figures 27 and 30, the drivingmember 70 on thehandle 90 is rotated. The rotation of the drivingmember 70 drives the flexibleinner tube 64 and the threadedtransmission member 62 to rotate. The threadedtransmission member 62 is screwed to the connectingcylinder 82 The inner thread of the connectingcylinder 82 is fixed in the axial position. Therefore, the threadedtransmission member 62 rotates the same and moves in the axial direction, thereby driving the drivingmember 70, the flexibleinner tube 64 and the threadedtransmission member 62 to rotate along the axis Moving toward the distal end, the threadedtransmission member 62 moves toward the distal end in the axial direction against thepush rod assembly 40, thepush rod 42 moves distally relative to thechuck 22, and the slidingsurface 420 of thepush rod 42 continues to squeeze thechuck 22 The upper slidingsurface 2213 makes thefirst chuck 221 of thechuck 22 move closer to thesecond chuck 223, and thefirst clamping teeth 2215 and thesecond clamping teeth 2235 press and hold thelock nail 300 contained in thegap 25 until The lockingnail 300 is deformed to lock the three sets ofsutures 500 in the lockingnail 300 together. At the same time, thecutting edge 461 of thethread cutting blade 46 is pressed against thetangent surface 2238 of thesecond chuck 223, and thethread cutting blade 46 smoothly cuts the lockingnail 300 Three sets ofsutures 500 on the proximal side, and then these three sets ofredundant sutures 500 are drawn out of the patient's body;

第六步:如图25、图28、图31及图32所示,驱动手柄90上的驱动件70反向旋转,驱动件70的反向旋转带动柔性内管64及螺纹传动件62反向旋转,使驱动件70、柔性内管64及螺纹传动件62沿轴向朝近端移动,螺纹传动件62通过连接件67拉动推杆组件40沿轴向朝近端移动;在推杆组件40沿轴向近端移动的过程中,推杆42的助滑面420持续从夹头22上的导滑面2213释放挤压力,直至夹头22通过自身的弹力回弹性至初始位置。变形后的锁钉300自夹头22的空隙25与外套组件80的远端解脱出来,与锁结装置100分离;Step 6: As shown in Figure 25, Figure 28, Figure 31 and Figure 32, thedrive member 70 on thedrive handle 90 rotates in the reverse direction, and the reverse rotation of thedrive member 70 drives the flexibleinner tube 64 and the threadeddrive member 62 to reverse direction. Rotate to make the drivingmember 70, the flexibleinner tube 64 and the threadedtransmission member 62 move toward the proximal end in the axial direction. The threadedtransmission member 62 pulls thepush rod assembly 40 through the connectingmember 67 to move toward the proximal end in the axial direction; In the process of moving proximally in the axial direction, the slidingsurface 420 of thepush rod 42 continuously releases the squeezing force from the slidingguide surface 2213 on thechuck 22 until thechuck 22 rebounds to the initial position by its own elastic force. Thedeformed locking nail 300 is released from thegap 25 of thechuck 22 and the distal end of theouter cover assembly 80, and is separated from thelocking device 100;

第七步:将锁结装置100远端撤出患者体外,锁钉300留在患者体内,此时锁钉300将分别穿过前叶、后叶和隔叶的三组缝合线500固定在一起,三尖瓣的前叶、后叶和隔叶完成修复。Step 7: Withdraw the distal end of thelocking device 100 out of the patient's body, and the lockingnail 300 is left in the patient's body. At this time, the lockingnail 300 will fix the three sets ofsutures 500 through the anterior, posterior and septal leaves together , The anterior, posterior and septal leaflets of the tricuspid valve are repaired.

可以理解的是,上述仅以介入式锁结装置用于进行介入式的三尖瓣修复过程为例,说明其使用过程,本申请的介入式锁结装置也可用于其他介入式手术过程中的缝合线的锁紧及固定。It is understandable that the above-mentioned interventional locking device is only used for an interventional tricuspid valve repair process as an example to illustrate its use process. The interventional locking device of the present application can also be used in other interventional surgical procedures. Locking and fixing of sutures.

本申请的介入式锁结装置100尤其适用于以下场景,如:Theinterventional locking device 100 of the present application is particularly suitable for the following scenarios, such as:

经股静脉-右心房-房间隔-左心房-二尖瓣的路径进行介入式二尖瓣修复手术;Interventional mitral valve repair surgery through the path of femoral vein-right atrium-atrial septum-left atrium-mitral valve;

经股动脉-主动脉弓-主动脉瓣-左心室-二尖瓣的路径进行介入式二尖瓣修复手术;Interventional mitral valve repair surgery through the path of femoral artery-aortic arch-aortic valve-left ventricle-mitral valve;

经颈静脉-右心房-房间隔-左心房-二尖瓣的路径进行介入式二尖瓣修复手术。Interventional mitral valve repair surgery was performed through the path of jugular vein-right atrium-atrial septum-left atrium-mitral valve.

也适用于如下场景:经颈静脉-右心房-三尖瓣的路径进行介入式三尖瓣修复手术。通过微创介入的方式,在患者体外操作介入式锁结装置100将植入在瓣叶上的缝合线500通过锁钉300固定。It is also suitable for the following scenarios: interventional tricuspid valve repair surgery through the jugular vein-right atrium-tricuspid valve path. By means of minimally invasive intervention, theinterventional locking device 100 is operated outside the patient's body to fix thesuture 500 implanted on the valve leaflet with the lockingnail 300.

在其他实施例中,推杆组件40与套筒86之间通过沿轴向延伸的导槽及导条连接,以确保推杆组件40在套筒86内仅沿轴向滑动而不发生转动;具体地,推杆42的外壁设置沿轴向延伸的导条,套筒86的内周面对应导条设置导槽;或者推杆42的外壁设置沿轴向延伸的导槽,套筒86的内周面设置对应导槽的导条,导条能在导槽内沿轴向滑动。In other embodiments, thepush rod assembly 40 and thesleeve 86 are connected by an axially extending guide groove and a guide bar to ensure that thepush rod assembly 40 only slides in the axial direction in thesleeve 86 without rotating; Specifically, the outer wall of thepush rod 42 is provided with a guide bar extending in the axial direction, and the inner peripheral surface of thesleeve 86 is provided with a guide groove corresponding to the guide bar; or the outer wall of thepush rod 42 is provided with a guide groove extending in the axial direction, the sleeve 86 A guide bar corresponding to the guide groove is provided on the inner peripheral surface of the guide bar, and the guide bar can slide axially in the guide groove.

请参阅图33至图35,本申请第二实施例提供的介入式锁结装置的结构与第一实施例的结构相似,不同之处在于:第二实施例中的柔性内管64a的结构与第一实施例中的柔性内管64的结构不同。具体地,该实施例中,柔性内管64a与外管84的结构相似,也采用激光切割设备在硬质管的管壁上切割出多个第二狭槽单元641以获取柔性属性。Referring to FIGS. 33 to 35, the structure of the interventional locking device provided by the second embodiment of the present application is similar to the structure of the first embodiment, except that the structure of the flexibleinner tube 64a in the second embodiment is similar to that of the first embodiment. The structure of the flexibleinner tube 64 in the first embodiment is different. Specifically, in this embodiment, the flexibleinner tube 64a has a similar structure to theouter tube 84, and a laser cutting device is also used to cut a plurality ofsecond slot units 641 on the tube wall of the rigid tube to obtain flexibility.

具体地,每一第二狭槽单元641包括M个沿轴向相互间隔且穿透柔性内管64a的管壁的狭槽642,M为大于或等于2的正整数,柔性内管64a对应于每一狭槽642的部位具有柔性,对应于每相邻两个狭槽642之间的部位具有刚性。本实施例中,M的取值为4,在其他实施例中,M的取值还可为2、3、5、6等,M值越大,则柔性内管64a的柔性越好。至于每一狭槽642的结构、相邻两狭槽642之间的关系等均与外管84上相应的结构及关系一致,此处不再展开赘述。Specifically, eachsecond slot unit 641 includes Mslots 642 spaced apart from each other in the axial direction and penetrating the tube wall of the flexibleinner tube 64a. M is a positive integer greater than or equal to 2, and the flexibleinner tube 64a corresponds to The part of eachslot 642 has flexibility, which corresponds to the rigidity of the part between every twoadjacent slots 642. In this embodiment, the value of M is 4. In other embodiments, the value of M can also be 2, 3, 5, 6, etc. The larger the value of M, the better the flexibility of the flexibleinner tube 64a. As for the structure of eachslot 642, the relationship between twoadjacent slots 642, etc., are consistent with the corresponding structure and relationship on theouter tube 84, and will not be repeated here.

请参阅图36至图38,本申请第三实施例提供的介入式锁结装置的结构与第一实施例的结构相似,不同之处在于:第三实施例中的柔性内管64d的结构与第一实施例中的柔性内管64的结构略有不同,具体地,柔性内管64d由多股丝螺旋绕制而成的、具有一定抗扭性能的中空管状的柔性管体。所述中空管状柔性管体的参数:丝组数为3组-6组,丝径为0.3mm-0.75mm,螺距为0.3mm-0.8mm,丝间隙为0mm-0.15mm,所述中空管状柔性管体相对的两端分别设置金属套645,可以采用设备直接把金属套645分别焊接于所述中空管状柔性管体相对的两端。本实施例中,选用6组丝紧密绕制而成中空的柔性内管64d, 这种结构的柔性内管64d柔韧性更好,在保证足够抗扭力的情况下,器械的重量可适度减轻。柔性内管64d的近端穿过通孔76后固定连接于定位块78,柔性内管64d的远端穿过外管84后固定于螺纹传动件62的近端。Referring to FIGS. 36 to 38, the structure of the interventional locking device provided by the third embodiment of the present application is similar to that of the first embodiment, except that the structure of the flexibleinner tube 64d in the third embodiment is similar to that of the first embodiment. The structure of the flexibleinner tube 64 in the first embodiment is slightly different. Specifically, the flexibleinner tube 64d is a hollow tubular flexible tube body that is spirally wound from multiple strands and has a certain torsion resistance. The parameters of the hollow tubular flexible pipe body: the number of wire groups is 3-6 groups, the wire diameter is 0.3mm-0.75mm, the thread pitch is 0.3mm-0.8mm, and the wire gap is 0mm-0.15mm. The hollow tube is flexible The opposite ends of the pipe body are respectively provided withmetal sleeves 645, and themetal sleeve 645 can be directly welded to the opposite ends of the hollow tubular flexible pipe body by using equipment. In this embodiment, 6 sets of wires are selected to be tightly wound to form a hollow flexibleinner tube 64d. The flexibleinner tube 64d of this structure is more flexible, and the weight of the device can be moderately reduced under the condition of ensuring sufficient torsion resistance. The proximal end of the flexibleinner tube 64d passes through the throughhole 76 and is fixedly connected to thepositioning block 78, and the distal end of the flexibleinner tube 64d passes through theouter tube 84 and is fixed to the proximal end of the threadedtransmission member 62.

请参阅图39至图41,本申请第四实施例提供的介入式锁结装置的结构与第一实施例的结构相似,不同之处在于:第四实施例中的柔性内管64e的结构与第一实施例中的柔性内管64的结构不同,具体地,本实施例中的柔性内管64e包括多个铰接筒646,相邻的两个铰接筒646之间嵌套连接,多个铰接筒646连接成柔性内管64e,所述柔性内管64e能朝嵌套部位相对的两侧弯曲。柔性内管64e的近端穿过通孔76后固定连接于定位块78,柔性内管64e的远端穿过外管84后固定于螺纹传动件62的近端。Referring to FIGS. 39 to 41, the structure of the interventional locking device provided by the fourth embodiment of the present application is similar to the structure of the first embodiment, except that the structure of the flexibleinner tube 64e in the fourth embodiment is similar to that of the first embodiment. The structure of the flexibleinner tube 64 in the first embodiment is different. Specifically, the flexibleinner tube 64e in this embodiment includes a plurality of hingedcylinders 646, and two adjacent hingedcylinders 646 are nested and connected. Thebarrel 646 is connected to a flexibleinner tube 64e, which can be bent toward two opposite sides of the nesting site. The proximal end of the flexibleinner tube 64e passes through the throughhole 76 and is fixedly connected to thepositioning block 78, and the distal end of the flexibleinner tube 64e passes through theouter tube 84 and is fixed to the proximal end of the threadedtransmission member 62.

具体地,每一铰接筒646的一端凸设相对的两个嵌接片6461,每一铰接筒646相对的另一端开设相对的两个连接口6463。相邻的两个铰接筒64中,一铰接筒646的两个嵌接片6461分别嵌套于另一铰接筒646的两个连接口6463,相邻的两个铰接筒64之间于铰接部位的两侧具有轴向间隙,以方便柔性内管64e发生弯曲。每一铰接筒646的连接口6463大致为C形开口,每一铰接筒646的嵌接片6461为嵌套于对应的连接口6463的类圆形凸片。Specifically, one end of eachhinge cylinder 646 is protruded with two opposite embeddingpieces 6461, and the opposite end of eachhinge cylinder 646 is provided with twoopposite connection ports 6463. Among the two adjacent hingedcylinders 64, the two embeddingpieces 6461 of one hingedcylinder 646 are respectively nested in the two connectingports 6463 of the other hingedcylinder 646, and the two adjacent hingedcylinders 64 are located between the hinged parts. There are axial gaps on both sides of the spool to facilitate bending of the flexibleinner tube 64e. The connectingport 6463 of each hingedcylinder 646 is substantially a C-shaped opening, and the embeddingpiece 6461 of each hingedcylinder 646 is a circular-like convex piece nested in the corresponding connectingport 6463.

以上是本申请实施例的实施方式,应当指出,对于本技术领域的普通技术人员来说,在不脱离本申请实施例原理的前提下,还可以做出若干改进和润饰,这些改进和润饰也视为本申请的保护范围。The above is the implementation of the embodiments of the present application. It should be pointed out that for those of ordinary skill in the art, without departing from the principle of the embodiments of the present application, several improvements and modifications can be made, and these improvements and modifications are also Treated as the scope of protection of this application.

Claims (16)

Translated fromChinese
一种介入式锁结装置,其特征在于,包括夹头、设于所述夹头外的推杆组件、连接于所述推杆组件的传动组件,以及套设于所述夹头、推杆组件与传动组件外的外套组件;所述推杆组件包括设于所述夹头外的推杆;所述夹头的轴向位置固定且自身具有弹性,初始状态时,所述夹头内容纳穿设有缝合线的锁钉,所述夹头靠近所述推杆的部分自近端至远端逐渐向外倾斜;所述传动组件驱使所述推杆组件沿轴向移动,以使得所述推杆抵推所述夹头,以迫使所述夹头压迫锁钉变形而锁紧穿设于所述锁钉内的缝合线;所述外套组件包括套设于所述传动组件外的硬质的外管,所述外管的管壁上沿轴向排列设置多个第一狭槽单元。An interventional locking device, which is characterized by comprising a chuck, a push rod assembly arranged outside the chuck, a transmission assembly connected to the push rod assembly, and sleeves on the chuck and the push rod Assembly and the outer jacket assembly of the transmission assembly; the push rod assembly includes a push rod arranged outside the chuck; the axial position of the chuck is fixed and its own elasticity, in the initial state, the chuck is contained The lock nail with suture thread is inserted, the part of the chuck close to the push rod is gradually inclined outward from the proximal end to the distal end; the transmission assembly drives the push rod assembly to move in the axial direction, so that the The push rod pushes against the chuck to force the chuck to press the lock nail to deform and lock the suture thread inserted in the lock nail; the outer cover assembly includes a rigid body sleeved outside the transmission assembly A plurality of first slot units are arranged along the axial direction on the outer tube of the outer tube.根据权利要求1所述的介入式锁结装置,其特征在于,所述外管的管壁上沿轴向均匀排列设置或非均匀排列设置所述多个第一狭槽单元。The interventional locking device according to claim 1, wherein the plurality of first slot units are arranged uniformly or non-uniformly arranged on the tube wall of the outer tube along the axial direction.根据权利要求1所述的介入式锁结装置,其特征在于,每一所述第一狭槽单元包括N个沿轴向相互间隔且穿透所述外管的管壁的弧形的狭槽,N为大于等于2的正整数,每一所述第一狭槽单元内,每一所述狭槽沿所述外管的周向延伸,相邻的两个所述狭槽在所述外管的周向上相互错位。The interventional locking device according to claim 1, wherein each of the first slot units includes N arc-shaped slots spaced apart from each other in the axial direction and penetrating the wall of the outer tube , N is a positive integer greater than or equal to 2. In each of the first slot units, each of the slots extends along the circumferential direction of the outer tube, and two adjacent slots are in the outer The circumferential direction of the tubes are misaligned with each other.根据权利要求3所述的介入式锁结装置,其特征在于,每一所述第一狭槽单元内,每个所述狭槽的弧长相等,每一所述第一狭槽单元的所有狭槽在所述外管的周向上至少围成一圈。The interventional locking device according to claim 3, wherein, in each of the first slot units, the arc lengths of each of the slots are equal, and all of the first slot units have the same arc length. The slot encloses at least one circle in the circumferential direction of the outer tube.根据权利要求4所述的介入式锁结装置,其特征在于,每一所述第一狭槽单元内,相邻的两个所述狭槽之间相对旋转360/N度。The interventional locking device according to claim 4, wherein in each of the first slot units, two adjacent slots rotate 360/N degrees relative to each other.根据权利要求5所述的介入式锁结装置,其特征在于,N为2、3、4、5或6,每一所述第一狭槽单元内,相邻的两个所述狭槽之间相应地相对旋转180度、120度、90度、72度或60度。The interventional locking device according to claim 5, wherein N is 2, 3, 4, 5, or 6, and in each of the first slot units, one of two adjacent slots is Correspondingly rotate 180 degrees, 120 degrees, 90 degrees, 72 degrees or 60 degrees relative to each other.根据权利要求4所述的介入式锁结装置,其特征在于,每一所述狭槽沿所述外管的周向延伸的弧长大于或等于所述外管的周长的1/2,小于或等于所述外管的周长的2/3。The interventional locking device according to claim 4, wherein the arc length of each slot extending in the circumferential direction of the outer tube is greater than or equal to 1/2 of the circumference of the outer tube, Less than or equal to 2/3 of the circumference of the outer tube.根据权利要求3所述的介入式锁结装置,其特征在于,每一所述狭槽的槽宽范围为0.15毫米~0.5毫米,每相邻两个所述狭槽的间距范围为1毫米~3.5毫米。The interventional locking device according to claim 3, wherein the slot width of each of the slots ranges from 0.15 mm to 0.5 mm, and the distance between every two adjacent slots ranges from 1 mm to 1 mm. 3.5 mm.根据权利要求1-8任一项所述的介入式锁结装置,其特征在于,所述外套组件还包括固定连接所述外管的远端的套筒,所述套筒内容置所述夹头及所述推杆组件,所述夹头固定连接所述套筒。The interventional locking device according to any one of claims 1-8, wherein the outer sleeve assembly further comprises a sleeve fixedly connected to the distal end of the outer tube, and the clamp is placed in the sleeve. The head and the push rod assembly, and the chuck is fixedly connected to the sleeve.根据权利要求9所述的介入式锁结装置,其特征在于,所述传动组件包括螺纹传动件及固定连接所述螺纹传动件的柔性内管,所述螺纹传动件转动连接所述推杆组件;所述柔性内管旋转以带动所述螺纹传动件旋转,所述螺纹传动件的旋转驱使所述推杆组件沿轴向移动。The interventional locking device according to claim 9, wherein the transmission assembly comprises a threaded transmission part and a flexible inner tube fixedly connected to the threaded transmission part, and the threaded transmission part is rotatably connected to the push rod assembly The flexible inner tube rotates to drive the threaded transmission member to rotate, and the rotation of the threaded transmission member drives the push rod assembly to move in the axial direction.根据权利要求10所述的介入式锁结装置,其特征在于,所述螺纹传动件为传动丝杆;所述螺纹传动件固定连接一连接件,所述连接件转动连接所述推杆组件,所述螺纹传动件同步旋转及轴向移动以驱使所述推杆组件沿轴向移动;或者所述螺纹传动件直接螺接所述推杆组件,所述螺纹传动件仅旋转以驱使所述推杆组件沿轴向移动。The interventional locking device according to claim 10, wherein the threaded transmission member is a transmission screw rod; the threaded transmission member is fixedly connected to a connecting member, and the connecting member is rotatably connected to the push rod assembly, The threaded transmission member rotates synchronously and moves in the axial direction to drive the push rod assembly to move in the axial direction; or the threaded transmission member is directly screwed to the push rod assembly, and the threaded transmission member only rotates to drive the push rod assembly. The rod assembly moves in the axial direction.根据权利要求10所述的介入式锁结装置,其特征在于,还包括驱动所述柔性内管及螺纹传动件转动的驱动件,所述驱动件固定连接于所述柔性内管的近端。The interventional locking device according to claim 10, further comprising a driving member for driving the flexible inner tube and the threaded transmission member to rotate, and the driving member is fixedly connected to the proximal end of the flexible inner tube.根据权利要求12所述的介入式锁结装置,其特征在于,还包括手柄,所述驱动件可转动地设置于所述手柄的近端,所述手柄沿轴向开设通槽,所述柔性内管的近端穿过所述通槽固定连接于所述驱动件。The interventional locking device according to claim 12, further comprising a handle, the driving member is rotatably arranged at the proximal end of the handle, the handle is provided with a through groove in the axial direction, and the flexible The proximal end of the inner tube passes through the through slot and is fixedly connected to the driving member.根据权利要求13所述的介入式锁结装置,其特征在于,所述手柄的近端面于所述通槽的周围开设旋转孔,所述驱动件的远端设置转动插接于所述旋转孔内的旋转轴。The interventional locking device according to claim 13, wherein the proximal surface of the handle is provided with a rotating hole around the through slot, and the distal end of the driving member is provided with a rotating insert to be connected to the rotating The axis of rotation in the hole.根据权利要求14所述的介入式锁结装置,其特征在于,所述手柄内固定插接有导杆,所述导杆沿轴向开设导槽,所述柔性内管的近端可活动地收容于所述导槽内,所述外管的近端固定连接所述导杆的远端。The interventional locking device according to claim 14, wherein a guide rod is fixedly inserted into the handle, the guide rod is provided with a guide groove along the axial direction, and the proximal end of the flexible inner tube is movably It is contained in the guide groove, and the proximal end of the outer tube is fixedly connected to the distal end of the guide rod.根据权利要求11所述的介入式锁结装置,其特征在于,所述推杆组件还包括与所述螺纹传动件同轴的基座,所述推杆固定连接于所述基座并沿轴向延伸;所述连接件转动连接所述基座,且所述连接件与所述基座之间设有轴向限位结构;或者所述螺纹传动件直接螺接所述基座,且所述螺纹传动件相对所述套筒的轴向位置固定。The interventional locking device according to claim 11, wherein the push rod assembly further comprises a base coaxial with the threaded transmission member, and the push rod is fixedly connected to the base and extends along the axis. Extend toward the base; the connecting member is rotated to connect the base, and an axial limiting structure is provided between the connecting member and the base; or the threaded transmission member is directly screwed to the base, and The axial position of the threaded transmission member relative to the sleeve is fixed.
PCT/CN2020/1208532019-12-262020-10-14Interventional locking deviceCeasedWO2021129058A1 (en)

Applications Claiming Priority (4)

Application NumberPriority DateFiling DateTitle
CN201922393431.X2019-12-26
CN201911399040.72019-12-26
CN201911399040.7ACN113040844B (en)2019-12-262019-12-26Insertion type locking device
CN201922393431.XUCN211934163U (en)2019-12-262019-12-26Insertion type locking device

Publications (1)

Publication NumberPublication Date
WO2021129058A1true WO2021129058A1 (en)2021-07-01

Family

ID=76572928

Family Applications (1)

Application NumberTitlePriority DateFiling Date
PCT/CN2020/120853CeasedWO2021129058A1 (en)2019-12-262020-10-14Interventional locking device

Country Status (1)

CountryLink
WO (1)WO2021129058A1 (en)

Citations (6)

* Cited by examiner, † Cited by third party
Publication numberPriority datePublication dateAssigneeTitle
US5449367A (en)*1993-08-021995-09-12Kadry; OthmanPre-tied knot for surgical use and method of using same
CN202892020U (en)*2012-10-232013-04-24北京迈迪顶峰医疗科技有限公司Minimally invasive knot-tying device system
CN203914987U (en)*2014-06-132014-11-05江苏唯德康医疗科技有限公司Stitching thread locking device
CN105682729A (en)*2013-10-252016-06-15直观外科手术操作公司Flexible instrument with grooved steerable tube
CN106073836A (en)*2016-06-012016-11-09北京迈迪顶峰医疗科技有限公司A kind of wire twister and there is the knotting system of this wire twister
CN205814366U (en)*2016-06-012016-12-21北京迈迪顶峰医疗科技有限公司A kind of wire twister and there is the knotting system of this wire twister

Patent Citations (6)

* Cited by examiner, † Cited by third party
Publication numberPriority datePublication dateAssigneeTitle
US5449367A (en)*1993-08-021995-09-12Kadry; OthmanPre-tied knot for surgical use and method of using same
CN202892020U (en)*2012-10-232013-04-24北京迈迪顶峰医疗科技有限公司Minimally invasive knot-tying device system
CN105682729A (en)*2013-10-252016-06-15直观外科手术操作公司Flexible instrument with grooved steerable tube
CN203914987U (en)*2014-06-132014-11-05江苏唯德康医疗科技有限公司Stitching thread locking device
CN106073836A (en)*2016-06-012016-11-09北京迈迪顶峰医疗科技有限公司A kind of wire twister and there is the knotting system of this wire twister
CN205814366U (en)*2016-06-012016-12-21北京迈迪顶峰医疗科技有限公司A kind of wire twister and there is the knotting system of this wire twister

Similar Documents

PublicationPublication DateTitle
CN113329719B (en) Heart repair device
JP5646333B2 (en) System using a helical retainer in direct annuloplasty procedure for mitral regurgitation
CN111938870A (en)Valve clamping device with locking mechanism and valve repair system
CN212490016U (en)Forward-pushing releasing type suture locking device
CN212630823U (en)Bendable suture locking device
WO2018049828A1 (en)Puncture catheter and tissue compression system
US20230414214A1 (en)Suturing device state indicator
CN111839626A (en)Suture locking device with improved locking mode and suture lock catch thereof
CN211934163U (en)Insertion type locking device
US20210315565A1 (en)Locking device with locking feedback function and heart valve repair system
AU2019215458B2 (en)Suturing device for minimally invasive surgery
CN112206022B (en)Intervention type remote locking and thread cutting device
WO2022068202A1 (en)Medical lock catch and medical locking device
CN210612172U (en)Suture locking device with improved locking mode and suture lock catch thereof
CN114305551A (en)Medical hasp and medical locking device
CN110313951B (en)Suture shackle and suture locking system
CN113892986A (en)Bendable suture locking device
CN113317832B (en) Adjustable seam lock buckle
CN211934162U (en)Driving conversion type locking device
CN212346606U (en)Pulling force driving type locking device
CN112206021A (en)Intervention type remote suture locking device
WO2022121647A1 (en)Surgical suture cutting device and valve repair method
CN113040844B (en)Insertion type locking device
CN113491547A (en)Forward-pushing releasing type suture locking device
CN114617591B (en)Medical thread cutting device

Legal Events

DateCodeTitleDescription
121Ep: the epo has been informed by wipo that ep was designated in this application

Ref document number:20904998

Country of ref document:EP

Kind code of ref document:A1

NENPNon-entry into the national phase

Ref country code:DE

122Ep: pct application non-entry in european phase

Ref document number:20904998

Country of ref document:EP

Kind code of ref document:A1


[8]ページ先頭

©2009-2025 Movatter.jp