







본 발명은 도어락의 자동 개방 기술에 관한 것으로서, 상세하게는 사용자가 도어락의 레버를 터치하는 것만으로 페어링 없이 휴대 단말에서 도어락으로 인증 정보가 전송되어 도어락의 잠금 상태가 자동으로 해제될 수 있는 도어락의 자동 개방 장치 및 방법에 관한 것이다.The present invention relates to an automatic opening technology of a door lock, and more particularly, to a door lock that can be automatically unlocked by transmitting authentication information from a mobile terminal to the door lock without pairing simply by touching the lever of the door lock by the user. It relates to an automatic opening device and method.
기계식 도어락의 경우 열쇠를 가지고 다녀야 하는 불편함이 있기 때문에 근래에는 대부분 비밀번호나 지문 입력을 통해 문을 열 수 있는 전기 작동식 도어락이 널리 사용되고 있다.In the case of mechanical door locks, since it is inconvenient to carry a key, most recently, electrically operated door locks that can open the door by inputting a password or fingerprint are widely used.
전기 작동식 도어락은 일반적으로 번호를 입력할 수 있는 본체, 본체와 연결되는 외측 레버 및 내측 레버로 구성되어 있으며, 본체에는 도어락의 잠금을 전기적으로 제어할 수 있는 회로기판이 내장되어 있다.An electrically operated door lock is generally composed of a main body that can input a number, an outer lever connected to the main body, and an inner lever, and the main body has a built-in circuit board that can electrically control the lock of the door lock.
종래의 전기 작동식 도어락은 입력된 비밀번호가 기 저장된 정보와 일치하면 잠금 해제를 위한 전기신호를 생성하는 단순한 기능을 수행하고 있다.Conventional electrically operated door lock performs a simple function of generating an electric signal for unlocking when the input password matches pre-stored information.
이에 대하여 등록특허 제10-1414773호를 보면 휴대 단말과 도어락 간 페어링이 연결되어 휴대단말이 도어락으로 인식정보를 전송하면 도어락이 인식정보를 비교하여 도어락의 개폐를 제어하는 기술이 개시되어 있다.In contrast, Patent Registration No. 10-1414773 discloses a technology for controlling the opening and closing of the door lock by comparing the recognition information when the mobile terminal transmits recognition information to the door lock as the pairing between the mobile terminal and the door lock is connected.
휴대 단말과 도어락 간에 블루투스 통신이 적용되는 경우 데이터 통신을 위한 페어링 절차가 필요한데, 이러한 페어링 절차는 보안 링크 설정을 통해 수행되므로 페어링 과정이 지연될 수 있어서 사용자가 휴대 단말을 이용해 도어락을 개방할 때 지연으로 인한 답답함과 불편함을 느낄 수 있다.When Bluetooth communication is applied between the portable terminal and the door lock, a pairing procedure for data communication is required. Since this pairing procedure is performed through a secure link setting, the pairing procedure may be delayed, so there is a delay when the user opens the door lock using the portable terminal. This can cause discomfort and discomfort.
더욱이 만약 페어링에 실패한 경우 휴대 단말과 도어락 간에 데이터 통신이 이루어지지 않아서 사용자가 한참 동안 문을 열지 못하는 경우가 발생할 수 있다.Moreover, if pairing fails, data communication between the mobile terminal and the door lock is not performed, so that the user cannot open the door for a long time.
또한, 사용자가 도어락에 접근하면 휴대 단말과 도어락 간에 자동 페어링이 이루지는데 이러한 자동 페어링을 위해서는 블루투스 통신 기능이 항시 활성화되어 있고 도어락이 외부 장치로 주기적으로 신호를 송출해야 하므로 배터리 소모가 크다는 문제점이 있다.In addition, when the user approaches the door lock, automatic pairing is performed between the mobile terminal and the door lock. For this automatic pairing, the Bluetooth communication function is always activated and the door lock has to periodically transmit a signal to an external device, so there is a problem that battery consumption is large. .
본 발명은 상기와 같은 문제점을 해결하기 위해 창안된 것으로서, 본 발명의 목적은 사용자가 휴대 단말을 이용해 무선으로 도어락을 개방할 때 휴대 단말과 도어락 간의 통신 절차의 지연으로 인한 불편감이 없게 하는 것이다.The present invention has been devised to solve the above problems, and an object of the present invention is to avoid discomfort due to the delay of the communication procedure between the mobile terminal and the door lock when the user wirelessly opens the door lock using the mobile terminal. .
본 발명의 다른 목적은 휴대 단말과 무선으로 통신하며 자동 개방되는 도어락의 배터리 소모를 줄이는 것이다.Another object of the present invention is to reduce battery consumption of a door lock that is automatically opened while communicating wirelessly with a mobile terminal.
이를 위해, 본 발명에 따른 도어락의 자동 개방 장치는 휴대 단말과 통신하는 블루투스 통신모듈과, 사용자에 의한 터치를 감지하는 접촉 감지부와, 상기 접촉 감지부에 의해 터치가 감지되면 상기 블루투스 통신 모듈을 활성화시켜 상기 블루투스 통신모듈을 통해 광고 패킷(advertising packet)을 송출하고, 블루투스 통신의 페어링 절차 없이 상기 휴대 단말로부터 상기 블루투스 통신모듈을 통해 인증정보가 포함된 응답 패킷을 수신하여 인증정보를 이용해 사용자 인증을 처리하는 제어부를 포함한다.To this end, the door lock automatic opening device according to the present invention includes a Bluetooth communication module communicating with a mobile terminal, a touch sensing unit sensing a touch by a user, and the Bluetooth communication module when a touch is detected by the touch sensing unit. Activate to transmit an advertisement packet through the Bluetooth communication module, receive a response packet including authentication information from the mobile terminal through the Bluetooth communication module from the portable terminal without a pairing procedure for Bluetooth communication, and authenticate the user using authentication information It includes a control unit for processing.
본 발명에 따른 도어락의 자동 개방 방법은 도어락과 휴대 단말이 블루투스 프로토콜에 따라 통신하면서 도어락의 잠금 동작을 제어하는 도어락의 자동 개방 방법으로서, 상기 도어락이 사용자 터치를 감지하면 광고 패킷을 송출하는 단계와, 상기 도어락이 블루투스 프로토콜에 따른 페어링 절차 없이 상기 사용자 단말로부터 인증정보가 포함된 응답 패킷을 수신하는 단계와, 상기 응답 패킷에 포함된 인증정보가 기 저장된 정보와 일치하면 상기 도어락이 잠금을 해제하는 단계를 포함한다.The automatic opening method of a door lock according to the present invention is an automatic opening method of a door lock in which a door lock and a mobile terminal communicate according to a Bluetooth protocol and control the locking operation of the door lock, comprising the steps of: transmitting an advertisement packet when the door lock detects a user's touch; , receiving, by the door lock, a response packet including authentication information from the user terminal without a pairing procedure according to the Bluetooth protocol, and when the authentication information included in the response packet matches pre-stored information, the door lock releases the lock includes steps.
본 발명에 따른 도어락의 자동 개방 방법을 실행하기 위한 프로그램을 저장한 컴퓨터 판독 매체는 도어락과 휴대 단말이 블루투스 프로토콜에 따라 통신하면서 도어락의 잠금 동작을 제어하는 휴대 단말에서의 도어락 자동 개방 방법을 실행하기 위한 프로그램을 저장한 컴퓨터 판독 매체로서, 상기 도어락으로부터 암호화된 광고 패킷을 수신하면 광고 패킷을 복호화하는 단계와, 상기 도어락과의 페어링 요청 없이 상기 복호화한 광고 패킷에 근거해 응답 패킷을 생성하고 응답 패킷을 암호화하여 전송하는 단계를 실행하기 위한 프로그램을 저장한다.The computer readable medium storing the program for executing the automatic opening method of the door lock according to the present invention executes the automatic door lock opening method in the portable terminal which controls the locking operation of the door lock while the door lock and the portable terminal communicate according to the Bluetooth protocol. A computer-readable medium storing a program for the purpose of: decrypting an advertisement packet upon receiving an encrypted advertisement packet from the door lock; generating a response packet based on the decrypted advertisement packet without a pairing request with the door lock; Stores a program for executing the step of encrypting and transmitting.
상술한 바와 같이, 본 발명에 따르면 도어락의 외기와 휴대 단말 간에 블루투스 프로토콜에 따라 통신이 수행될 대 페어링 절차 없이 신호의 송수신이 가능하여 휴대 단말과 도어락 간의 페어링 절차에 기인한 지연 현상이 발생하지 않기 때문에 사용자가 휴대 단말을 이용해 무선으로 도어락을 개방할 때 지연감 없이 신속하게 도어락을 개방할 수 있는 효과가 있다.As described above, according to the present invention, when communication is performed between the outside of the door lock and the portable terminal according to the Bluetooth protocol, signals can be transmitted and received without a pairing procedure, so that a delay caused by the pairing procedure between the portable terminal and the door lock does not occur Therefore, when a user wirelessly opens the door lock using a mobile terminal, there is an effect that the door lock can be opened quickly without a sense of delay.
또한, 본 발명에 따르면 사용자가 도어락의 외부 레버를 손을 잡을 때 비로소 블루투스 통신 기능이 활성화되기 때문에 종래 자동 페어링을 위해 항시 블루투스 통신이 활성화되어 도어락의 배터리 소모가 많았던 단점을 해결할 수 있는 효과가 있다.In addition, according to the present invention, since the Bluetooth communication function is activated only when the user holds the external lever of the door lock, Bluetooth communication is always activated for automatic pairing in the prior art, thereby solving the disadvantage of high battery consumption of the door lock. .
도 1은 본 발명에 따른 도어락의 외관을 나타낸 도면.1 is a view showing the exterior of a door lock according to the present invention.
도 2는 본 발명에 따른 도어락의 외기와 내기가 휴대 단말과 통신하는 모습을 나타낸 도면.Figure 2 is a view showing a state in which the outside air and the bet of the door lock according to the present invention communicate with the mobile terminal.
도 3은 본 발명에 따른 도어락의 자동 개방 장치의 내부 구성을 나타낸 도면.Figure 3 is a view showing the internal configuration of the automatic opening device of the door lock according to the present invention.
도 4는 본 발명에 따른 도어락의 내기와 휴대 단말 간의 블루투스 통신을 통한 도어락의 자동 개방 과정을 나타낸 도면.Figure 4 is a view showing the automatic opening process of the door lock through Bluetooth communication between the bet and the portable terminal of the door lock according to the present invention.
도 5는 본 발명에 따른 도어락의 외기와 휴대 단말 간의 블루투스 통신을 통한 도어락의 자동 개방 과정을 나타낸 도면.5 is a view showing an automatic opening process of the door lock through Bluetooth communication between the outside and the portable terminal of the door lock according to the present invention.
도 6은 본 발명에 따른 도어락에서 송출되는 광고 패킷의 구성을 나타낸 도면.6 is a view showing the configuration of an advertisement packet transmitted from the door lock according to the present invention.
도 7은 본 발명에 따른 휴대 단말에서 도어락으로 전송되는 응답 패킷의 구성을 나타낸 도면.7 is a view showing the configuration of a response packet transmitted from the mobile terminal to the door lock according to the present invention.
도 8은 본 발명에 따른 도어락의 자동 개방 장치에서 도어락의 자동 개방을 위한 처리 과정을 나타낸 순서도.8 is a flowchart showing a process for automatically opening the door lock in the automatic door opening device according to the present invention.
이하, 첨부된 도면을 참조하여 본 발명에 따른 실시 예를 상세하게 설명한다. 본 발명의 구성 및 그에 따른 작용 효과는 이하의 상세한 설명을 통해 명확하게 이해될 것이다.Hereinafter, an embodiment according to the present invention will be described in detail with reference to the accompanying drawings. The configuration of the present invention and the effects thereof will be clearly understood through the following detailed description.
본 발명의 상세한 설명에 앞서, 동일한 구성요소에 대해서는 다른 도면상에 표시되더라도 가능한 동일한 부호로 표시하며, 공지된 구성에 대해서는 본 발명의 요지를 흐릴 수 있다고 판단되는 경우 구체적인 설명은 생략하기로 함에 유의한다.Prior to the detailed description of the present invention, the same components are denoted by the same reference numerals as possible even if they are shown on different drawings, and the detailed description will be omitted if it is determined that the subject matter of the present invention may be obscured for known components. do.
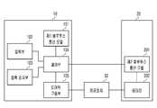
도 1은 본 발명에 따른 도어락의 외관을 나타낸 것이고, 도 2는 본 발명에 따른 도어락의 외기와 내기가 사용자 단말과 통신하는 모습을 나타낸 것이고, 도 3은 본 발명에 따른 도어락의 자동 개방 장치의 내부 구성을 나타낸 것이다.Figure 1 shows the exterior of a door lock according to the present invention, Figure 2 shows a state that the outside air and the bet of the door lock according to the present invention communicate with the user terminal, Figure 3 is an automatic opening device of the door lock according to the present invention It shows the internal configuration.
도 1 및 도 2를 참조하면, 도어락은 도어의 외부에 설치되는 외기(10)와 도어의 내부에 설치되는 내기(20)로 구성되며, 외기(10)에는 외부 레버(100)가 설치되고 내기(20)에는 내부 레버(200)가 설치되어 있다. 외부 레버(100)에는 버튼 어레이가 구비되어 있어서, 사용자가 버튼 어레이의 번호를 눌러 비밀번호를 입력할 수 있다.1 and 2, the door lock is composed of an
사용자는 외부 레버(100)의 버튼 어레이를 통해 도어락의 잠금을 해제할 수 있으나, 휴대단말(30)을 통해서도 도어락의 잠금을 해제할 수 있다.The user may unlock the door lock through the button array of the
휴대 단말(30)은 도어락의 외기(10) 및 내기(20)와 각각 블루투스 통신을 할 수 있다. 휴대 단말(30)과 도어락의 내기(20) 간의 블루투스 통신은 일반적인 페어링(pairing) 절차를 거쳐 수행되는 반면, 휴대 단말(30)과 도어락의 외기(10) 간의 블루투스 통신은 페어링 절차 없이 수행된다.The
도 3을 참조하면, 도어락의 외기(10)는 제1 블루투스 통신모듈(101), 입력부(102), 접촉 감지부(103), 도어락 구동부(104), 제어부(105) 등을 포함하고, 내기(20)는 제2 블루투스 통신모듈(201), 배터리(202) 등을 포함한다.Referring to FIG. 3 , the
제1 블루투스 통신모듈(101)은 휴대 단말(30)과 페어링 절차 없이 블루투스 통신을 수행하는 부분이다.The first Bluetooth
입력부(102)는 도어락의 비밀번호을 입력하기 위한 부분으로 도 1에 도시된 바와 같이 푸시 버튼으로 구성되나, 접촉 감지부(103)의 구성에 따라 정전용량식의 터치 버튼으로 구성될 수 있다.The
접촉 감지부(103)는 사용자의 손이 외부 레버(100)에 접촉된 상태를 감지하는 부분으로 입력부(102)와 별도로 설치되거나 입력부(102)의 터치 버튼과 같이 일체로 구성될 수 있다.The
제어부(104)는 도어락의 각 구성요소를 제어하는 부분이다. 제어부(104)는 기본적으로 입력부(102)에 입력된 비밀번호가 기 저장된 비밀번호와 일치하는지 확인하여 일치하는 경우 도어락 구동부(105)로 개방 명령을 출력하고 도어의 닫힘이 확인되면 도어락 구동부(28)로 폐쇄 명령을 출력한다.The
본 발명에 따른 제어부(104)의 구체적인 동작은 외기(10) 및 내기(20)가 휴대 단말(30)과 통신하면서 신호 처리하는 내용을 중심으로 후술하기로 한다.Specific operations of the
도어락 구동부(105)는 제어부(104)의 제어 명령에 따라 잠금장치(500)가 열리거나 닫히도록 한다. 도어락 구동부(105)는 제어부(104)로부터 개방 명령을 받으면 잠금장치(50)의 잠금 상태를 해제하고, 제어부(104)로부터 폐쇄 명령을 받으면 잠금장치(50)를 잠금 상태로 만든다.The door
제2 블루투스 통신모듈(201)은 휴대 단말(30)과 페어링 절차를 통해 블루투스 통신을 수행하는 부분이다.The second Bluetooth
배터리(202)는 도어락의 각 부분에 전력을 공급하는 부분이다. 배터리(202)로는 건전지나 2차 전지가 사용될 수 있다. 본 발명에 따른 배터리(202)의 전력은 잠금장치(50)의 연결 구조를 통해 외기(10)에 공급된다.The
도 4는 도어락의 내기(20)와 휴대 단말(30) 간의 블루투스 통신을 통해 도어락의 잠금 상태가 개방되는 과정을 나타낸 것이다.4 illustrates a process in which the lock state of the door lock is opened through Bluetooth communication between the
기본적으로 휴대 단말(30)이 도어락에 접근하면 도어락의 내기(20)와 휴대 단말(30) 간에 자동으로 페어링이 이루어져 데이터 통신이 가능한 상태가 되고, 이러한 상태에서 휴대 단말(30)이 비밀번호와 같은 인증정보를 내기(20)로 전송하여 도어락의 개방을 요청하게 된다.Basically, when the
휴대 단말(30)과 도어락의 내기(20) 간에 블루투스 통신의 자동 페어링이 되기 위해서는 휴대 단말(30)에 도어락 앱이 설치되고 도어락 앱을 통해 사전에 도어락에 사용자 등록이 완료되어야 한다.For automatic pairing of Bluetooth communication between the
사용자가 휴대 단말(30)에 설치한 도어락 앱을 실행하면 블루투스 통신이 활성화되고 사용자가 도어락에 접근하여 휴대 단말(30)과 도어락의 내기(20) 간에 자동 페어링이 되면, 사용자가 도어락 앱을 통해 인증정보를 전송하거나 사용자의 개입 없이 페어링과 함께 인증정보가 자동으로 전송될 수 있다.When the user runs the door lock app installed on the
이와 같이 휴대 단말(30)에서 내기(20)로 인증정보가 전송되면 내기(20)는 수신한 인증정보와 기 저장된 정보가 일치하는지 확인하는 절차를 진행하여 인증정보가 일치하는 경우 도어락의 잠금 상태를 해제하고 인증정보가 일치하지 않는 경우 도어락의 잠금 상태를 유지하게 된다.As such, when the authentication information is transmitted from the
도 4를 참조하여 내기(20)와 휴대 단말(30)의 신호 처리 과정을 구체적으로 설명한다.The signal processing process of the
먼저 도어락의 내기(20)의 제2 블루투스 통신모듈(201)이 활성화되어 있어서, 내기(20)로부터 광고 패킷(advertising packet)이 주기적으로 송출된다(S11).First, since the second Bluetooth
내기(20)로부터 광고 패킷이 송출되는 동안 휴대 단말(30)이 도어락에 접근하게 되면 휴대 단말(30)이 광고 패킷을 수신하게 되고 이에 대해 응답 패킷을 내기(20)로 전송하여 페어링을 요청하게 한다(S13).When the
내기(20)가 휴대 단말(30)로부터 응답 패킷을 수신하면 내기(20)가 링크 보안을 설정한 후 내기(20)와 휴대 단말(30) 간에 페어링이 이루어지고(S15), 페어링 이후 휴대 단말(30)은 내기(20)로 인증정보를 전송할 수 있게 된다(S17).When the
내기(20)는 휴대 단말(30)로부터 인증정보를 수신하면 기 저장된 정보와 비교하는 사용자 인증 절차를 수행하여(S19), 도어락의 잠금 상태의 해제 여부를 결정한다.When the
설명의 편의상, 도 4에 도시된 과정을 내기(20)가 처리하는 것으로 설명하였으나, 이러한 신호 처리 과정은 외기(10)의 제어부(104)에서 수행된다.For convenience of description, the process shown in FIG. 4 has been described as being processed by the
즉, 제어부(104)는 제2 블루투스 통신모듈(201)과 휴대 단말(20) 간의 페어링 절차를 제어하고 휴대 단말(20)로부터 수신된 인증정보를 기 저장된 정보와 비교하여 도어락 구동부(105)의 동작을 제어한다.That is, the
도 5는 도어락의 외기(10)와 휴대 단말(30) 간의 블루투스 통신을 통해 도어락의 잠금 상태가 개방되는 과정을 나타낸 것이다.5 illustrates a process in which the lock state of the door lock is opened through Bluetooth communication between the
도 5를 참조하면, 먼저 사용자가 문을 열기 위해 외기(10)의 외부 레버(100)을 손으로 잡게 되면 외기(10)는 사용자의 터치를 감지한다.Referring to FIG. 5 , when the user first holds the
사용자의 터치는 사용자가 외부 레버(100)를 단순히 손으로 잡는 경우에 인식될 수 있으나, 사용자가 외부 레버(100)의 버튼 레이어 부분을 손으로 쓸면서(swipe) 터치할 때 인식되도록 할 수 있다. 즉, 외부 레버(100)에서 접촉이 연속적으로 감지되는 경우에만 사용자의 터치가 감지되도록 할 수 있다.The user's touch may be recognized when the user simply holds the
이와 같이 사용자의 터치가 감지되면(S30), 외기(10)의 제1 블루투스 통신모듈(101)이 활성화되고 외기(10)는 광고 패킷을 암호화하여(S32), 암호화된 광고 패킷을 송출한다(S34).As such, when the user's touch is sensed (S30), the first
광고 패킷은 도 6에 도시된 바와 같이, 회사 ID(Company ID), 디바이스 종류(Device Type), 난수(Random Number), 외기 주소(Outer MAC)를 포함한다.As shown in FIG. 6 , the advertisement packet includes a company ID, a device type, a random number, and an external address (Outer MAC).
난수는 제1 블루투스 통신모듈(101)이 활성화될 때 난수 발생기(미도시)에 의해 생성되며, 외기 주소는 제1 블루투스 통신모듈(101)의 MAC 어드레스이다.The random number is generated by a random number generator (not shown) when the first
여기서, 난수와 외기 주소가 암호화된다. 구체적으로 외기 주소는 자체 암호화(1차 암호화)되고, 자체 암호화된 외기 주소는 난수와 함께 AES-128 방식 등으로 암호화(2차 암호화)될 수 있다.Here, the random number and the external address are encrypted. Specifically, the external address may be self-encrypted (primary encryption), and the self-encrypted external address may be encrypted (secondary encryption) together with a random number using the AES-128 method.
휴대 단말(30)이 광고 패킷에 포함된 회사 ID 및 디바이스 종류에 근거해 광고 패킷을 수신하면, 휴대 단말(30)은 광고 패킷을 1차적으로 AES-128 방식으로 복호화하여 난수 및 자체 암호화된 외기 주소를 추출하고, 이어서 2차적으로 자체 복호화하여 외기 주소를 추출하는 과정을 통해 광고 패킷에 대한 복호화를 수행한다(S36)When the
복호화가 완료되면 휴대 단말(30)은 도 7에 도시된 바와 같이, 회사 ID, 디바이스 종류, 난수, 현재시간(Time), 사용자 ID(ID Index), 외기 주소로 구성된 응답 패킷을 생성하고 이를 암호화하여(S38), 암호화된 응답 패킷을 외기(10)로 전송한다(S40). 여기서, 난수, 현재 시간, 사용자 ID 및 외기 주소가 암호화된다. 구체적으로 현재 시간, 사용자 ID  및 외기 주소는 자체 암호화되고, 자체 암호화된 현재 시간, 사용자 ID 및 외기 주소는 난수와 함께 AES-128 방식 등으로 암호화될 수 있다.When the decryption is completed, as shown in FIG. 7 , the
도어락의 외기(10)는 회사 ID 및 디바이스 종류에 근거해 응답 패킷을 수신하면, 외기(10)는 응답 패킷을 1차적으로 AES-128 방식으로 복호화하여 난수 및 자체 암호화된 현재 시간, 사용자 ID 및 외기 주소를 추출하고, 이어서 2차적으로 자체 복호화하여 현재 시간, 사용자 ID 및 외기 주소를 추출하는 과정을 통해 응답 패킷에 대한 복호화를 수행한다(S42)When the
복호화가 완료되면 외기(10)는 난수, 사용자 ID 및 외기 주소를 확인하는 사용자 인증 절차를 진행하여(S44) 정보가 일치하면 도어락의 잠금 상태를 해제한다.When the decryption is completed, the
마찬지로 설명의 편의상, 도 5에 도시된 과정을 외기(10)가 처리하는 것으로 설명하였으나, 이러한 신호 처리 과정은 외기(10)의 제어부(104)에서 수행된다.Similarly, for convenience of explanation, the process shown in FIG. 5 has been described as being processed by the
즉, 제어부(104)는 제1 블루투스 통신모듈(201)과 휴대 단말(20) 간의 페어링 없는 통신 절차를 제어하고, 휴대 단말(20)로부터 수신된 응답 패킷 내의 인증정보(사용자 ID)를 기 저장된 정보와 비교하여 도어락 구동부(105)의 동작을 제어한다.That is, the
도 8은 본 발명에 따른 도어락의 자동 개방 장치에서 도어락의 자동 개방을 위한 처리 과정을 나타낸 것이다.8 is a view showing a process for automatically opening the door lock in the automatic door opening device according to the present invention.
우선 사용자는 외기(10)의 입력부(102)나 별도의 스위치(미도시)를 통해서 또는 휴대 단말(30)에 설치된 도어락 앱을 통해서 도어락과 휴대 단말(30) 간의 통신 모드를 설정할 수 있다.First, the user can set the communication mode between the door lock and the
제1 통신 모드는 외기(10)와 휴대 단말(30)의 블루투스 통신으로서 페어링 없이 통신 절차가 진행되는 것이다. 도어락에 제1 통신 모드가 설정되어 있는 경우 도 5와 같이 도어락의 자동 개방 처리 과정이 수행된다.The first communication mode is Bluetooth communication between the
제2 통신 모드는 내기(20)와 휴대 단말(30)의 블루투스 통신으로서 페어링을 통해 통신 절차가 진행되는 것이다. 도어락에 제2 통신 모드가 설정되어 있는 경우 도 4와 같이 도어락의 자동 개방 처리 과정이 수행된다.The second communication mode is Bluetooth communication between the
도 8을 참조하면, 외기(10)의 제어부(104)는 도어락에 어떠한 통신 모드가 설정되어 있는지 확인한다(S100).Referring to FIG. 8 , the
제1 통신 모드인 경우 제어부(104)는 제1 블루투스 통신모듈(101) 및 제2 블루투스 통신모듈(201)을 모두 비활성화시킨다. 이후 제어부(104)는 접촉 감지부(103)를 통해 터치가 감지되는지 확인한다(S102).In the first communication mode, the
접촉 감지부(103)를 통해 터치 신호가 들어오면, 제어부(104)는 제1 블루투스 통신모듈(101)을 활성화시키고(S104) 제1 블루투스 통신모듈(101)을 통해 광고 패킷을 송출한다(S106). 이때 제어부(104)는 광고 패킷을 암호화하여 송출한다.When a touch signal is received through the
이후 제어부(104)는 응답 패킷이 수신되는지 확인하여(S108), 응답 패킷이 수신되면 응답 패킷 내의 인증정보를 이용해 인증 절차를 수행한다(S112). 인증 절차가 완료되면 제어부(104)는 제1 블루투스 통신모듈(101)을 다시 비활성화시킨다(S114).Then, the
응답 패킷이 수신되지 않았으면 일정 시간이 경과했는지 확인하여(S110), 일정 시간이 아직 경과하지 않았으면 광고 패킷 송출 단계(S106)로 돌아가고, 일정한 시간이 경과한 경우 제1 블루투스 통신모듈(101)을 비활성화시킨다(S114).If a response packet is not received, it is checked whether a predetermined time has elapsed (S110), and if the predetermined time has not yet elapsed, the process returns to the advertisement packet sending step (S106), and when a predetermined time has elapsed, the first
제2 통신 모드인 경우 제어부(104)는 제1 블루투스 통신모듈(101)을 비활성화 상태로 두고 제2 블루투스 통신모듈(201)을 활성화시킨 후 일정한 주기마다 광고 패킷을 송출한다(S120).In the second communication mode, the
일정한 주기마다 광고 패킷을 송출하는 동안, 제어부(104)는 휴대 단말(30)로부터 응답 패킷이 수신되는지 확인하여(S122), 응답 패킷이 수신되었으면 제어부(104)는 블루투스 표준에 따른 링크 보안을 설정하여 제2 블루투스 통신모듈(201)과 휴대 단말(30) 간의 페어링 절차를 수행한다(S124). 만약 응답 패킷이 수신되지 않았으면 광고 패킷 송출 단계(S120)로 돌아간다.While transmitting the advertisement packet at regular intervals, the
제2 블루투스 통신모듈(201)과 휴대 단말(30) 간에 페어링이 이루어지면 제어부(104)는 휴대 단말(30)로부터 인증정보를 수신하여 인증 절차를 수행한다(S126).When pairing is made between the second
만약, 제2 블루투스 통신모듈(201)과 휴대 단말(30) 간에 페어링이 실패하면 광고 패킷 송출 단계(S120)로 돌아가 상기 과정을 반복하게 된다.If pairing fails between the second
이상의 설명은 본 발명을 예시적으로 설명한 것에 불과하며, 본 발명이 속하는 기술 분야에서 통상의 지식을 가진 자에 의해 본 발명의 기술적 사상에서 벗어나지 않는 범위에서 다양한 변형이 가능할 것이다.The above description is merely illustrative of the present invention, and various modifications may be made by those of ordinary skill in the art to which the present invention pertains without departing from the technical spirit of the present invention.
따라서 본 발명의 명세서에 개시된 실시 예들은 본 발명을 한정하는 것이 아니다. 본 발명의 범위는 아래의 특허청구범위에 의해 해석되어야 하며, 그와 균등한 범위 내에 있는 모든 기술도 본 발명의 범위에 포함되는 것으로 해석해야 할 것이다.Therefore, the embodiments disclosed in the specification of the present invention do not limit the present invention. The scope of the present invention should be interpreted by the following claims, and all technologies within the scope equivalent thereto should be interpreted as being included in the scope of the present invention.
본 발명은 도어락뿐만 아니라 배터리 소모를 줄이고 지연감 없이 신속하게 잠금 상태를 해제할 필요가 있는 차량 도어나 캐비넷 또는 물품 보관함 등의 다양한 잠금장치에 활용할 수 있다.The present invention can be applied not only to door locks, but also to various locking devices such as vehicle doors, cabinets, or article storage boxes that need to reduce battery consumption and quickly release the lock without a sense of delay.
| Application Number | Priority Date | Filing Date | Title | 
|---|---|---|---|
| PCT/KR2019/017281WO2021117916A1 (en) | 2019-12-09 | 2019-12-09 | Device and method for automatically opening door lock | 
| Application Number | Priority Date | Filing Date | Title | 
|---|---|---|---|
| PCT/KR2019/017281WO2021117916A1 (en) | 2019-12-09 | 2019-12-09 | Device and method for automatically opening door lock | 
| Publication Number | Publication Date | 
|---|---|
| WO2021117916A1true WO2021117916A1 (en) | 2021-06-17 | 
| Application Number | Title | Priority Date | Filing Date | 
|---|---|---|---|
| PCT/KR2019/017281CeasedWO2021117916A1 (en) | 2019-12-09 | 2019-12-09 | Device and method for automatically opening door lock | 
| Country | Link | 
|---|---|
| WO (1) | WO2021117916A1 (en) | 
| Publication number | Priority date | Publication date | Assignee | Title | 
|---|---|---|---|---|
| CN120302271A (en)* | 2025-06-11 | 2025-07-11 | 浙江德施曼科技智能股份有限公司 | A method and system for collaborative voice transfer between door locks | 
| Publication number | Priority date | Publication date | Assignee | Title | 
|---|---|---|---|---|
| US20160189454A1 (en)* | 2014-03-12 | 2016-06-30 | August Home Inc. | Intellegent door lock system in communication with mobile device that stores associated user data | 
| KR20160132168A (en)* | 2015-05-06 | 2016-11-17 | (주)아이엘비에스 | Smart doorlock | 
| KR101861057B1 (en)* | 2017-01-31 | 2018-05-28 | 주식회사 코맥스 | Digital door lock based on composite signal and the method for operating the same | 
| KR20190014719A (en)* | 2017-08-03 | 2019-02-13 | 김종각 | System for controlling admission and the method thereof | 
| KR20190107448A (en)* | 2018-03-12 | 2019-09-20 | 주식회사 에스원 | Access authentication method and device | 
| Publication number | Priority date | Publication date | Assignee | Title | 
|---|---|---|---|---|
| US20160189454A1 (en)* | 2014-03-12 | 2016-06-30 | August Home Inc. | Intellegent door lock system in communication with mobile device that stores associated user data | 
| KR20160132168A (en)* | 2015-05-06 | 2016-11-17 | (주)아이엘비에스 | Smart doorlock | 
| KR101861057B1 (en)* | 2017-01-31 | 2018-05-28 | 주식회사 코맥스 | Digital door lock based on composite signal and the method for operating the same | 
| KR20190014719A (en)* | 2017-08-03 | 2019-02-13 | 김종각 | System for controlling admission and the method thereof | 
| KR20190107448A (en)* | 2018-03-12 | 2019-09-20 | 주식회사 에스원 | Access authentication method and device | 
| Publication number | Priority date | Publication date | Assignee | Title | 
|---|---|---|---|---|
| CN120302271A (en)* | 2025-06-11 | 2025-07-11 | 浙江德施曼科技智能股份有限公司 | A method and system for collaborative voice transfer between door locks | 
| Publication | Publication Date | Title | 
|---|---|---|
| WO2018066961A1 (en) | Trusted execution environment secure element communication | |
| WO2015174583A1 (en) | Access management system and method | |
| WO2014010928A1 (en) | Portable storage device using fingerprint recognition and method for controlling same | |
| WO2022019668A1 (en) | Safety helmet management device for shared personal mobility device and safety helmet management server for shared personal mobility device | |
| WO2015119417A1 (en) | Electronic key device capable of wirelessly controlling lock system and transmitting control authentication of lock system, system therefor, and method therefor | |
| WO2015034325A1 (en) | Apparatus and method for recognizing fingerprint | |
| WO2018117442A1 (en) | Fingerprint recognition card and method for operating power source by using fingerprint recognition card | |
| WO2022203328A1 (en) | Smart locking device, locking management system including same device, and locking management method using same system | |
| WO2019189986A1 (en) | Method and system for authenticating electronic lock device based on usage pattern | |
| WO2021117916A1 (en) | Device and method for automatically opening door lock | |
| WO2016036070A1 (en) | Reverse trace-preventing wireless recognition secure entry method and secure entry system using same | |
| WO2022166305A1 (en) | Traction battery compatible with new energy vehicles and electric bicycles, and battery swap apparatus compatible with new energy vehicles and electric bicycles | |
| WO2016076487A1 (en) | Usb security device having fingerprint sensor and insertable smart card and memory card, and security method thereof | |
| WO2018230922A1 (en) | Door robot having security function and method for monitoring security using same | |
| WO2017164494A1 (en) | Method for authenticating user of user terminal accessing access control device, application for method, and application distribution server in which application is stored | |
| WO2025154981A1 (en) | Touch-type door lock for visually impaired person | |
| WO2014092259A1 (en) | Home network system having wirelessly rechargeable digital door lock | |
| WO2022145817A1 (en) | User authentication and theft detection method for transportation means using smart helmet | |
| WO2015167268A1 (en) | Article loss prevention device and method for configuring article loss prevention device | |
| WO2019050085A1 (en) | Integrated authentication method and authentication system which use wearable terminal connected to mobile terminal | |
| WO2016003024A1 (en) | Wearable device and control method therefor | |
| WO2022124709A1 (en) | Electronic key interlocked with smart device | |
| WO2020091149A1 (en) | Door lock apparatus | |
| WO2021221225A1 (en) | User authentication-based electronic key using external terminal apparatus, and operation method for same | |
| WO2012121441A1 (en) | Portable device for saving personal health records and method for controlling same | 
| Date | Code | Title | Description | 
|---|---|---|---|
| 121 | Ep: the epo has been informed by wipo that ep was designated in this application | Ref document number:19955677 Country of ref document:EP Kind code of ref document:A1 | |
| NENP | Non-entry into the national phase | Ref country code:DE | |
| 122 | Ep: pct application non-entry in european phase | Ref document number:19955677 Country of ref document:EP Kind code of ref document:A1 | |
| 122 | Ep: pct application non-entry in european phase | Ref document number:19955677 Country of ref document:EP Kind code of ref document:A1 | |
| 32PN | Ep: public notification in the ep bulletin as address of the adressee cannot be established | Free format text:NOTING OF LOSS OF RIGHTS PURSUANT TO RULE 112(1) EPC (EPO FORM 1205A DATED 13/12/2022) | |
| 122 | Ep: pct application non-entry in european phase | Ref document number:19955677 Country of ref document:EP Kind code of ref document:A1 |