Movatterモバイル変換


[0]ホーム

URL:


WO2021106515A1 - 基板処理装置 - Google Patents

基板処理装置
Download PDF

Info

Publication number
WO2021106515A1
WO2021106515A1PCT/JP2020/041381JP2020041381WWO2021106515A1WO 2021106515 A1WO2021106515 A1WO 2021106515A1JP 2020041381 WJP2020041381 WJP 2020041381WWO 2021106515 A1WO2021106515 A1WO 2021106515A1
Authority
WO
WIPO (PCT)
Prior art keywords
substrate
substrate processing
suction
suction holding
holding mechanism
Prior art date
Legal status (The legal status is an assumption and is not a legal conclusion. Google has not performed a legal analysis and makes no representation as to the accuracy of the status listed.)
Ceased
Application number
PCT/JP2020/041381
Other languages
English (en)
French (fr)
Inventor
陽介 安武
弘晃 石井
渉 酒井
裕 池上
Current Assignee (The listed assignees may be inaccurate. Google has not performed a legal analysis and makes no representation or warranty as to the accuracy of the list.)
Screen Holdings Co Ltd
Original Assignee
Screen Holdings Co Ltd
Priority date (The priority date is an assumption and is not a legal conclusion. Google has not performed a legal analysis and makes no representation as to the accuracy of the date listed.)
Filing date
Publication date
Application filed by Screen Holdings Co LtdfiledCriticalScreen Holdings Co Ltd
Priority to CN202080081549.1ApriorityCriticalpatent/CN114746993A/zh
Priority to US17/778,895prioritypatent/US12293935B2/en
Priority to KR1020227017851Aprioritypatent/KR102670261B1/ko
Publication of WO2021106515A1publicationCriticalpatent/WO2021106515A1/ja
Anticipated expirationlegal-statusCritical
Ceasedlegal-statusCriticalCurrent

Links

Images

Classifications

Definitions

Landscapes

Abstract

基板処理装置は吸着保持機構と回転機構と複数のリフトピンと上下移動機構と水平移動機構とを備える。吸着保持機構は基板を吸着保持する。回転機構は、基板を保持した吸着保持機構を、回転軸を中心に回転させる。上下移動機構は、複数のリフトピンを上下方向に移動させる。センサは吸着保持機構に保持された基板Wの偏心状態を測定する。上下移動機構は、複数のリフトピンを移動させることで吸着保持機構から基板を支持し、水平移動機構は、基板を支持した状態において、センサにより測定された基板の偏心状態に基づいて複数のリフトピンを水平方向に移動させる。

Description

基板処理装置
 本願は、基板処理装置に関する。
 従来から、円板状の基板を水平に保持し、基板の中心を通る鉛直な回転軸のまわりで基板を回転させつつ、当該基板に対する処理を行う基板処理装置が提案されている(例えば特許文献1~3)。これらの基板処理装置は、基板の下面を吸着する真空チャック部と、真空チャック部を当該回転軸のまわりで回転させる回転部と、基板の位置を調整するための位置決め機構とを含んでいる。位置決め機構は、真空チャック部の上に載置された基板の端部を水平方向に押すことにより、基板を真空チャック部に対して摺動させて、基板の中心を回転軸に一致させる。これにより、基板は、自身の中心を通る回転軸のまわりで回転する。
特開2011-258924号公報特開2011-258925号公報特開2019-149423号公報
 特許文献1~3では、位置決め機構は基板を真空チャック部に対して摺動させるので、基板の下面が損傷または汚染される可能性がある。
 そこで、本願は、基板の下面の損傷または汚染を低減して基板の偏心状態を低減できる基板処理装置を提供することを目的とする。
 基板処理装置の第1の態様は、基板を処理するための基板処理装置であって、基板の裏面を吸着し前記基板を水平に保持する吸着保持機構と、前記基板を保持した前記吸着保持機構を前記基板の中心を通る鉛直方向の回転軸を中心に回転させる回転機構と、前記吸着保持機構によって保持された前記基板よりも下方において、当該基板と対向する位置に設けられた複数のリフトピンと、前記複数のリフトピンの上端を、前記吸着保持機構の吸着面よりも上方である第1位置と、前記吸着保持機構の前記吸着面よりも下方である第2位置との間で上下方向に移動させる上下移動機構と、前記複数のリフトピンを前記吸着保持機構に対して水平方向に移動させる水平移動機構と、前記吸着保持機構に保持された前記基板の偏心状態を測定するセンサとを備え、前記上下移動機構は、前記複数のリフトピンを前記第1位置に移動させることで前記吸着保持機構から前記基板を支持し、前記水平移動機構は、前記基板を支持した状態において、前記センサにより測定された前記基板の偏心状態に基づいて前記複数のリフトピンを水平方向に移動させる。
 基板処理装置の第2の態様は、第1の態様にかかる基板処理装置であって、前記回転機構は、前記吸着保持機構から下方に延在するシャフトに連結され、前記上下移動機構および前記水平移動機構は、前記回転機構を収納する収納部材に連結されている。
 基板処理装置の第3の態様は、第2の態様にかかる基板処理装置であって、前記上下移動機構および前記水平移動機構は、前記収納部材の上面部に設けられている。
 基板処理装置の第4の態様は、第1から第3のいずれか一つの態様にかかる基板処理装置であって、前記複数のリフトピンは互いに連結されて一体で移動する。
 基板処理装置の第5の態様は、第1から第4のいずれか一つの態様にかかる基板処理装置であって、前記複数のリフトピンは、前記回転軸を中心とした仮想円上に等間隔で並んで設けられる。
 基板処理装置の第6の態様は、第1から第5のいずれか一つの態様にかかる基板処理装置であって、前記複数のリフトピンは、平面視において、前記吸着保持機構によって保持された前記基板の半径の4分の1の半径を有する仮想内円と、当該基板の半径の4分の3の半径を有する仮想外円とで挟まれる環状領域内に位置する。
 基板処理装置の第7の態様は、第1から第6のいずれか一つの態様にかかる基板処理装置であって、前記複数のリフトピンは、平面視において、前記吸着保持機構よりも外側に位置する。
 基板処理装置の第8の態様は、第1から第6のいずれか一つの態様にかかる基板処理装置であって、前記吸着保持機構には、前記複数のリフトピンによって上下方向に貫通される貫通孔が形成されている。
 基板処理装置の第9の態様は、第1から第6のいずれか一つの態様にかかる基板処理装置であって、前記吸着保持機構は、前記回転軸を囲む環状の形状を有しており、前記複数のリフトピンは、平面視において、前記吸着保持機構よりも内側に位置する。
 基板処理装置の第10の態様は、第1から第9のいずれか一つの態様にかかる基板処理装置であって、前記複数のリフトピンの少なくとも一つの上端には、前記基板を吸着する吸着口が形成されている。
 基板処理装置によれば、基板の下面の損傷または汚染を低減して基板の偏心状態を低減できる。
基板処理システムの全体構成の一例を概略的に示す平面図である。基板処理装置の構成の一例を概略的に示す図である。基板処理装置の構成の一部の一例を拡大して示す図である。吸着保持機構およびリフトピンの構成の一例を概略的に示す平面図である。センサおよび基板の構成の一例を概略的に示す図である。受光量と基板の回転位置との関係の一例を示すグラフである。制御部の内部構成の一例を概略的に示すブロック図である。基板処理装置の動作の一例を示すフローチャートである。基板の構成の一例を概略的に示す平面図である。基板の位置調整処理の具体的な一例を示すフローチャートである。リフトピンおよび吸着保持機構の構成の他の一例を概略的に示す平面図である。吸着保持機構の構成の他の一例を概略的に示す平面図である。リフトピンの構成の一例を概略的に示す平面図である。基板処理装置1の動作の他の一例を示すフローチャートである。センサ60Aの構成の一例を概略的に示す図である。
 以下、添付の図面を参照しながら、実施形態について説明する。なお、この実施形態に記載されている構成要素はあくまでも例示であり、本開示の範囲をそれらのみに限定する趣旨のものではない。図面においては、理解容易のため、必要に応じて各部の寸法や数が誇張または簡略化して図示されている場合がある。
 相対的または絶対的な位置関係を示す表現(例えば「一方向に」「一方向に沿って」「平行」「直交」「中心」「同心」「同軸」など)は、特に断らない限り、その位置関係を厳密に表すのみならず、公差もしくは同程度の機能が得られる範囲で相対的に角度または距離に関して変位された状態も表すものとする。等しい状態であることを示す表現(例えば「同一」「等しい」「均質」など)は、特に断らない限り、定量的に厳密に等しい状態を表すのみならず、公差もしくは同程度の機能が得られる差が存在する状態も表すものとする。形状を示す表現(例えば、「四角形状」または「円筒形状」など)は、特に断らない限り、幾何学的に厳密にその形状を表すのみならず、同程度の効果が得られる範囲で、例えば凹凸や面取りなどを有する形状も表すものとする。一の構成要素を「備える」「具える」「具備する」「含む」または「有する」という表現は、他の構成要素の存在を除外する排他的表現ではない。「A,BおよびCの少なくともいずれか一つ」という表現は、Aのみ、Bのみ、Cのみ、A,BおよびCの任意の2つ、ならびに、A,BおよびCの全てを含む。
 第1の実施の形態
 <基板処理システムの概略構成>
 図1は、基板処理システム100の構成の一例を概略的に示す図である。基板処理システム100は、薬液またはリンス液などの処理液によって半導体ウエハ等の略円形の基板Wを一枚ずつ処理する枚葉式の基板処理システムである。基板処理システム100は、インデクサブロック110と、インデクサブロック110に結合された処理ブロック120と、基板処理システム100に設けられた装置の動作およびバルブの開閉を制御する制御部130とを含んでいる。
 インデクサブロック110は、キャリア保持部111と、インデクサロボットIRと、IR移動機構112とを含んでいる。キャリア保持部111は、複数枚の基板Wを収納できるキャリアCを保持する。複数のキャリアCは、水平なキャリア配列方向Dに配列された状態でキャリア保持部111に保持される。IR移動機構112は、キャリア配列方向DにインデクサロボットIRを移動させる。インデクサロボットIRは、キャリア保持部111に保持されたキャリアCに基板Wを搬入する搬入動作、および基板WをキャリアCから搬出する搬出動作を行う。基板Wは、インデクサロボットIRによって水平姿勢で搬送される。ここでいう水平姿勢とは、基板Wの厚み方向が鉛直方向に沿う状態をいう。
 一方、処理ブロック120は、基板Wを処理する複数(たとえば、4つ以上)の処理ユニット121と、センターロボットCRとを含んでいる。複数の処理ユニット121は、平面視において、センターロボットCRを取り囲むように配置されている。複数の処理ユニット121は、例えば、基板Wに薬液を供給する薬液供給ユニット121aと、基板Wと薬液との反応を進行させる反応ユニット121bと、基板Wに供給された薬液を洗い流すリンスユニット121cとを含む。センターロボットCRは、処理ユニット121に基板Wを搬入する搬入動作、および基板Wを処理ユニット121から搬出する搬出動作を行う。さらに、センターロボットCRは、複数の処理ユニット121間で基板Wを搬送する。基板Wは、センターロボットCRによって水平姿勢で搬送される。センターロボットCRは、インデクサロボットIRから基板Wを受け取るとともに、インデクサロボットIRに基板Wを渡す。
 <基板処理装置1の構成>
 図2は、処理ユニット121の一例である基板処理装置1の構成の一例を概略的に示す図であり、図3は、基板処理装置1の一部の構成を拡大して概略的に示す図である。基板処理装置1は吸着保持機構10と回転機構20とリフトピン30と上下移動機構40と水平移動機構50とセンサ60と処理部90とを含んでいる。
 吸着保持機構10は、基板Wの裏面を吸着し、基板Wを水平に保持する。ここでいう「裏面」とは、例えば基板Wの主面のうち、デバイスが形成されていない面である。基板Wは、裏面が下方を向く姿勢で吸着保持機構10によって保持される。図2の例では、吸着保持機構10は吸着部材11を含んでおり、基板Wは吸着部材11の吸着面11aの上に載置される。図2の例では、吸着部材11は、吸着面11aを上面に有する板状部材12と、板状部材12の下面の中央部から下方に延在する円筒部材13とを含んでいる。吸着部材11の吸着面11aは平面視において例えば円形状を有する。吸着部材11の吸着面11aの直径は基板Wの直径よりも小さく、例えば、基板Wの直径の4分の1以下である。
 吸着部材11の吸着面11aには、不図示の吸着口が形成されている。吸着面11aには、複数の吸着口が分散して形成されていてもよい。吸着部材11の内部には、吸着口に繋がる不図示の内部流路が形成されている。当該内部流路は、吸引管15を介して吸引機構16に接続される。吸引機構16は例えばポンプを含んでおり、吸引管15の内部から気体を吸引する。これにより、吸着面11aの吸着口から気体が吸引されて、基板Wが吸着部材11に吸着保持される。吸引機構16は制御部130によって制御される。
 回転機構20は吸着保持機構10(より具体的には、吸着部材11)を、回転軸Q1のまわりで回転させる。これにより、吸着保持機構10に吸着保持された基板Wも回転軸Q1のまわりで回転する。回転軸Q1は鉛直方向に沿って延在する仮想的な軸である。
 回転機構20はモータ21を含んでいる。モータ21はシャフト22を介して吸着部材11に連結される。シャフト22は回転軸Q1に沿って延在しており、その上端が吸着部材11に連結される。具体的には、シャフト22の上端が吸着部材11の円筒部材13に連結される。シャフト22は例えば円筒形状を有する中空シャフトであり、吸引管15は当該シャフト22の中空部を通って吸着部材11の内部流路に接続される。
 モータ21はシャフト22に連結されており、シャフト22を回転軸Q1のまわりで回転させる。図2の例では、モータ21はシャフト22と同軸に設けられている。シャフト22はモータ21から上方に延在している。モータ21がシャフト22を回転させることにより、吸着部材11を回転軸Q1のまわりで回転させることができる。モータ21は制御部130によって制御される。
 モータ21は、モータ収納部材70に収納されている。モータ収納部材70は少なくとも上面部71と側面部72とを有している(図3も参照)。上面部71はモータ21よりも上方に位置している。上面部71は略板状の形状を有しており、例えば回転軸Q1を中心とした円板状の形状を有している。上面部71の中央部には、シャフト22によって貫通される貫通孔71aが形成されている。上面部71の貫通孔71aには、不図示のシール軸受が設けられてもよい。具体的には、当該シール軸受の内輪がシャフト22の外周面に取り付けられ、外輪が上面部71に取り付けられる。これにより、シャフト22が回転可能にモータ収納部材70に連結される。
 側面部72は筒状の形状を有しており、上面部71の外周縁から下方に延在する。側面部72はモータ21の側面を囲む。側面部72の下端周縁は例えばモータ21の下端と同じ高さ位置であってもよく、あるいは、下方に位置してもよい。側面部72の下端周縁は例えば基板処理装置1の床面に連結される。基板処理装置1の床面は、例えば、複数の処理ユニット121(基板処理装置1)が設けられた支持台の上面である。モータ収納部材70は基板処理装置1の床面に直接に連結されてもよく、あるいは、他の固定体(例えば板状の土台)を介して当該床面に連結されていてもよい。
 モータ収納部材70は基板処理装置1内において固定されており、実質的な変位を行わない非駆動体である。つまり、モータ収納部材70と基板処理装置1の床面との間には、駆動体が設けられていない。
 モータ収納部材70はモータ21を外部の処理雰囲気から保護することができる。具体的な一例として、後述のノズル91から吐出された薬液およびリンス用ノズル(不図示)から吐出されたリンス液からモータ21を保護することができる。
 処理部90は、吸着保持機構10によって吸着保持された基板Wに対して処理を行う。ここでは、処理部90は、基板Wの周縁部に処理液を供給するベベル処理を行う。図2の例では、処理部90はノズル91と配管92とバルブ93とを含んでいる。ノズル91は、吸着保持機構10によって保持された基板Wの周縁部に向かって処理液を吐出する。図2の例では、ノズル91は基板Wの周縁部よりも上方に位置している。
 基板Wの周縁部とは、基板Wの周縁から所定幅を有する環状領域に相当する。基板Wの直径は例えば数百mmであり、所定幅は例えば数mm程度以下である。処理液は、例えば、基板Wの周縁部に付着した不純物(金属など)を除去可能なエッチング液などの薬液を含む。
 ノズル91は配管92を介して処理液供給源94に接続されている。処理液供給源94は配管92を介してノズル91に薬液を供給する。ノズル91は薬液を基板Wの表面の周縁部に吐出する。配管92の途中には、バルブ93が介挿されている。バルブ93は配管92の内部流路の開閉を切り替える。バルブ93は制御部130によって制御される。バルブ93は配管92の内部を流れる薬液の流量を調整可能なバルブであってもよい。
 回転機構20が吸着保持機構10および基板Wを回転させた状態で、バルブ93が開くことにより、ノズル91は回転中の基板Wの周縁部に薬液を供給する。これにより、薬液が基板Wの周縁部の全周に亘って供給され、基板Wの周縁部の不純物が除去される(いわゆるベベル処理)。薬液は、基板Wの回転に伴う遠心力を受けて基板Wの周縁から外側に飛散する。
 図2の例では、ノズル91は、ノズル移動機構95によって処理位置と待機位置との間で移動可能である。ノズル移動機構95は例えばモータを含んでおり、制御部130によって制御される。処理位置は、ノズル91が薬液を吐出する位置であり、図2の例では、基板Wよりも上方あって基板Wの周縁部と対向する位置である。待機位置は、ノズル91が薬液を吐出しない位置であって、例えば基板Wと上下方向で対向しない位置である。つまり、例えば待機位置は平面視において、基板Wの周縁よりも外側の位置である。
 処理部90は複数種類の処理液を基板Wの周縁部に吐出してもよい。例えば処理部90は処理液の種類に応じた複数のノズルを備えていてもよい。例えば処理液として薬液およびリンス液を採用することができる。また、薬液として2種の薬液(例えばアルカリ性の薬液および酸性の薬液)を採用することができる。リンス液としては、例えば純水を採用することができる。これらのノズルは基板Wの周方向に沿って並んで配置され、互いに一体に連結されてもよい。このように複数のノズルが連結された構造体は、ノズルヘッドとも呼ばれる。
 以下では、ノズル91の他にリンス用ノズルが設けられる態様について述べる。具体的には、処理部90は例えばいずれも不図示のリンス用ノズル、リンス用配管およびリンス用バルブをさらに含む。リンス用ノズルは、吸着保持機構10によって保持された基板Wの周縁部に向かってリンス液を吐出する。リンス液は、基板Wの周縁部上の薬液を洗い流すための処理液である。
 リンス用ノズルはリンス用配管を介してリンス液供給源に接続される。リンス用バルブはリンス用配管に介挿されており、リンス用配管の内部流路の開閉を切り替える。リンス用バルブは制御部130によって制御される。リンス用バルブは、リンス用配管の内部を流れるリンス液の流量を調整可能なバルブであってもよい。
 処理部90は基板Wの周縁部に薬液を供給した後にリンス液を供給することにより、基板Wの周縁部上の薬液を洗い流すことができる。言い換えれば、基板Wの周縁部上の薬液をリンス液に置換することができる。リンス液は、基板Wの回転に伴う遠心力を受けて基板Wの周縁から外側に飛散する。リンス用ノズルは例えばノズル91と連結されており、ノズル移動機構95によって処理位置と待機位置との間で移動可能である。
 図2の例では、基板処理装置1はガード96をさらに含んでいる。ガード96は平面視において基板Wを囲む筒状の形状を有している。このガード96は、基板Wの周縁から飛散した処理液を受け止めて、当該処理液を不図示の回収部に流す。ガード96は、ガード移動機構97によって上下方向に移動可能である。ガード移動機構97は、ガード96の上端が基板Wよりも上方に位置する上位置と、ガード96の上端が基板Wよりも下方に位置する下位置との間でガード96を移動させる。ガード移動機構97は例えばシリンダ機構またはボールねじ機構などを含む。
 ところで、上述のベベル処理において、基板Wの周縁部の不純物は薬液によって除去される。一方で、基板Wの表面のうち周縁部よりも内側の領域は、デバイスが形成されるデバイス領域に相当するので、当該デバイス領域には薬液が侵入しないことが望まれる。よって、基板Wに対する薬液の着液位置が重要である。例えば基板Wの中心が回転軸Q1からずれていると、つまり、基板Wが偏心していると、基板Wに対する着液位置は基板Wの回転に伴って径方向に変動する。この変動が大きくなると、薬液のデバイス領域への進入を招くので、基板Wの中心と回転軸Q1とのずれ(偏心量)は小さいことが望ましい。
 本実施の形態では、基板処理装置1は、基板Wの水平面における位置を調整して基板Wの偏心状態を解消するための位置調整機構を含んでいる。具体的には、基板処理装置1は当該位置調整機構として、複数のリフトピン30と上下移動機構40と水平移動機構50とを含んでいる。
 複数のリフトピン30は、吸着保持機構10によって保持された基板Wの裏面と対向する位置に設けられている。つまり、複数のリフトピン30は、基板Wよりも下方、かつ、基板Wの周縁よりも回転軸Q1側に設けられている。各リフトピン30は、上下方向に延在する長尺状の形状を有している。具体的には、リフトピン30は、上下方向における長さが水平方向よりも長い棒状の形状を有している。ここでは、上下方向は鉛直方向に平行である。リフトピン30の先端部は、上方に向かうにしたがって幅狭となる先細形状を有していてもよい。図2の例では、リフトピン30の上端は半球面に沿う形状を有している。
 複数のリフトピン30は回転軸Q1のまわりに配置されており、より具体的には、回転軸Q1を中心とした仮想円上に等間隔で配置される。図4は、吸着保持機構10およびリフトピン30の構成の一例を概略的に示す平面図である。図4の例では、3つのリフトピン30が120度間隔で配置されている。なお、リフトピン30の個数は適宜に変更可能である。
 複数のリフトピン30は上下方向に移動可能に設けられている。上下移動機構40は複数のリフトピン30を上位置と下位置との間で往復移動させる。下位置は、リフトピン30の上端が吸着保持機構10の吸着面11aよりも下方となる位置である。図2および図3では、リフトピン30は下位置に位置している。上位置は、リフトピン30の上端が吸着保持機構10の吸着面11aよりも上方となる位置である。複数のリフトピン30は上位置に位置する状態で、基板Wを支持することができる。図3の例では、上位置に位置するリフトピン30および基板Wを仮想線で示している。上下移動機構40の構成は特に制限されないものの、例えばリニアモータ機構、ボールねじ機構またはシリンダ機構を含んでおり、制御部130によって制御される。
 複数のリフトピン30は例えば連結部材31によって相互に連結されてもよい。連結部材31は、回転軸Q1を囲む環状の板状形状を有している。図3および図4の例では、リフトピン30は連結部材31の上面から上方に向かって突出している。上下移動機構40は連結部材31を上下方向に移動させる。これにより、連結部材31に連結された複数のリフトピン30が一体に上下方向に移動する。
 上下移動機構40は固定体41と可動体42と駆動機構43とを含んでいる。図3の例では、固定体41、可動体42および駆動機構43を模式的にブロックで示している。なお、図3に示す各ブロックの形状、大きさおよび位置関係は、固定体41、可動体42および駆動機構43の構成の形状、大きさおよび位置関係を示すものではない。この点は後述する水平移動機構50についても同様である。
 可動体42は固定体41に対して上下方向に沿って移動可能に設けられる。駆動機構43は、可動体42を固定体41に対して上下方向に移動させるための駆動力を可動体42に作用させる。駆動機構43は例えばモータを含む。例えば可動体42は、適宜にリンク部材等を介してモータの回転子に連結されており、当該リンク部材がモータによって変位することにより、可動体42が固定体41に対して上下方向に移動する。可動体42は連結部材31に連結される。駆動機構43が可動体42を固定体41に対して上下方向に移動させることにより、可動体42に連結された連結部材31、および、連結部材31に連結された複数のリフトピン30が一体的に上下方向に移動する。
 基板Wが吸着保持機構10の吸着面11aの上に載置された状態で、複数のリフトピン30が下位置から上位置に一体的に移動することにより、基板Wを吸着保持機構10から持ち上げることができる。このとき、複数のリフトピン30の上端が基板Wの裏面に当接し、複数のリフトピン30が基板Wを水平に支持する。リフトピン30は点接触で基板Wの下面に当接してもよい。これによれば、リフトピン30による基板Wの下面の汚染を低減することができる。
 水平移動機構50は複数のリフトピン30を水平に移動させる。水平移動機構50は、例えば水平な一方向に複数のリフトピン30を一体的に移動させる。以下では、この一方向を水平移動方向と呼ぶ。水平移動方向は、回転軸Q1についての径方向に沿う方向である。水平移動機構50は特に制限されないものの、例えばリニアモータ機構、ボールねじ機構またはシリンダ機構を含んでおり、制御部130によって制御される。
 水平移動機構50は固定体51と可動体52と駆動機構53とを含んでいる。可動体52は固定体51に対して水平移動方向に沿って移動可能に設けられる。駆動機構53は、可動体52を固定体51に対して移動させるための駆動力を可動体52に作用させる。例えば、水平移動機構50がリニアモータ機構を有する場合、駆動機構53はリニアモータである。リニアモータは固定子と移動子とを含み、移動子を固定子に対して水平移動方向に移動させる。例えばリニアモータは、固定子に取り付けられたコイルと、移動子に取り付けられた永久磁石とを含み、これらの磁気作用により、移動子を固定子に対して水平移動方向に移動させる。固定体51はリニアモータの固定子に連結され、可動体52は、リニアモータの移動子に連結される。
 水平移動機構50の可動体52は上下移動機構40の固定体41に連結される。よって、可動体52が水平移動方向に移動することにより、上下移動機構40、連結部材31および複数のリフトピン30が一体的に水平移動方向に移動する。
 基板処理装置1には、水平移動機構50の可動体52の水平移動方向における位置を検出する位置測定センサ55が設けられていてもよい。位置測定センサ55は、リニアエンコーダとも呼ばれる。例えば位置測定センサ55は、水平移動方向に延びるスケールと、当該スケールに対して水平移動方向に移動可能に設けられた走査部材とを含んでいる。走査部材は可動体52に連結され、可動体52と一体的に移動する。走査部材は例えばスケールに対して光を照射する光源と、スケールを透過または反射した光を受光する受光素子とを内蔵し、当該光がスケールに照射されることにより、当該スケールに対する走査部材の位置、つまり、可動体52の水平移動方向における位置が検出される。位置測定センサ55は、可動体52の位置を示す電気信号を制御部130に出力する。位置測定センサ55は水平移動機構50に内蔵されていてもよい。制御部130は、位置測定センサ55によって測定された可動体52の位置に基づいて、水平移動機構50を制御する。
 上下移動機構40が複数のリフトピン30を下位置から上位置に移動させることで、複数のリフトピン30が基板Wを吸着保持機構10から持ち上げて支持することができる。この状態で、水平移動機構50が複数のリフトピン30を水平移動方向に移動させることにより、基板Wの水平移動方向における位置を調整することができる。水平移動機構50によって基板Wの位置を調整した後に、上下移動機構40が複数のリフトピン30を上位置から下位置に移動させる。これにより、基板Wが吸着保持機構10の吸着面11aの上に載置される。以上のように、基板Wの水平移動方向における位置を調整して基板Wを吸着保持機構10の吸着面11aに置き直すことができる。
 なお、本実施の形態の一例では、回転機構20による基板Wの回転も基板Wの水平位置の調整に利用する。この点は後に詳述する。
 図3の例では、上下移動機構40および水平移動機構50はモータ収納部材70に連結されている。より具体的な一例として、上下移動機構40および水平移動機構50はモータ収納部材70の上面部71の上面に設けられている。図3の例では、水平移動機構50の固定体51がモータ収納部材70の上面部71に連結される。固定体51は、基板処理装置1の床面に固定されたモータ収納部材70(つまり非駆動体)に連結されるので、駆動されない。つまり、図2の例では、固定体51も非駆動体である。
 なお、上述の例では、上下移動機構40が水平移動機構50によって水平移動方向に移動するものの、必ずしもこれに限らない。例えば、上下移動機構40と水平移動機構50の位置関係が逆であってもよい。つまり、上下移動機構40が水平移動機構50および複数のリフトピン30を一体的に上下方向に沿って移動させてもよい。言い換えれば、上下移動機構40の固定体41がモータ収納部材70に連結され、可動体42が水平移動機構50の固定体51に連結され、可動体52が連結部材31に連結されていてもよい。
 図3に例示するように、基板処理装置1には、上下移動機構40および水平移動機構50を収納する移動機構収納部材75が設けられてもよい。図3の例では、移動機構収納部材75は、上面部76と内周壁77と外周壁78とを含んでいる。内周壁77はシャフト22の外周面を囲む筒状の形状を有している。内周壁77はシャフト22と間隔を空けて対向している。内周壁77の下端周縁はモータ収納部材70の上面部71に連結されている。
 外周壁78は間隔を空けて内周壁77の外周面を囲む筒状の形状を有している。外周壁78の下端周縁もモータ収納部材70の上面部71に連結されている。上下移動機構40および水平移動機構50は、内周壁77と外周壁78との間に設けられている。
 上面部76は、上下移動機構40および水平移動機構50の両方よりも上方に位置しており、外周壁78の上端周縁と内周壁77の上端周縁とに連結される。上面部76には、各リフトピン30によって貫通される貫通孔76aが形成されている。貫通孔76aの個数はリフトピン30の個数と等しい。上述の例では、3つのリフトピン30が設けられているので、上面部76には、3つの貫通孔76aが形成される。平面視において、貫通孔76aはリフトピン30よりも広く、リフトピン30は貫通孔76aを貫通した状態で水平移動方向に移動可能である。
 リフトピン30が水平移動方向に移動して、上面部76のうち貫通孔76aのまわりの周縁部に当接すると、リフトピン30はこれ以上移動することができない。つまり、リフトピン30の移動可能距離は、平面視におけるリフトピン30の大きさおよび貫通孔76aの大きさによって規定される。この移動可能距離は、基板Wの偏心状態を解消するのに十分な値に設定されればよく、例えば数mm以下である。
 移動機構収納部材75の上面部76と各リフトピン30との間には、貫通孔76aを封止するシール80が設けられる。シール80は、リフトピン30が上下方向および水平移動方向に移動可能に、上面部76とリフトピン30との間を封止する。シール80は弾性変形可能な材質(例えばゴムなどの樹脂)によって構成されており、密着部81と密着部82と変形部83とを含んでいる。密着部81は環状の形状を有しており、リフトピン30の長手方向の一部において全周に密着する。密着部82は密着部81よりも大きな環状の形状を有しており、上面部76のうち貫通孔76aを形成する周縁部に密着する。図4の例では、密着部82は、上面部76の下面に密着しており、例えば所定の固定部材(不図示)により上面部76に固定される。
 変形部83は密着部81および密着部82に連結されている。密着部81、密着部82および変形部83は同一の材質で一体に構成され得る。変形部83は、密着部81および密着部82よりも薄い薄膜部であり、略蛇腹状の形状を有している。具体的な一例として、変形部83は、密着部81の周縁から遠ざかるにつれて下方に延在する第1傘部と、第1傘部の外周縁から遠ざかるにつれて上方に延在する第1逆傘部と、第1逆傘部の外周縁から遠ざかるにつれて下方に延在して密着部82に連結される第2傘部とを含んでいる。第1傘部および第1逆傘部の連結角度、第1逆傘部および第2傘部の連結角度はそれぞれ変形部83の弾性変形により可変である。このようなシール80はブーツとも呼ばれ得る。
 この変形部83は、リフトピン30の上下方向および水平移動方向への移動に伴って弾性変形する。具体的には、変形部83は連結角度が適宜に変化するように弾性変形する。この変形部83の弾性変形によって、リフトピン30が上下方向および水平移動方向に移動しても、密着部81はリフトピン30に密着し続け、密着部82は上面部76に密着し続ける。つまり、シール80は貫通孔76aを封止することができる。
 移動機構収納部材75およびシール80は上下移動機構40および水平移動機構50を外部の処理雰囲気から保護することができる。具体的な一例として、ノズル91から吐出された薬液およびリンス用ノズルから吐出されたリンス液から上下移動機構40および水平移動機構50を保護することができる。
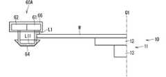
 図2の例では、基板処理装置1には、基板Wの偏心状態を検出するためのセンサ60が設けられている。ここでいう偏心状態とは、基板Wの中心と回転軸Q1との間のずれ量(以下、偏心量とも呼ぶ)、および、ずれ方向(以下、偏心方向とも呼ぶ)を示す。
 図2の例では、基板処理装置1はセンサ移動機構65を含んでいる。センサ移動機構65はセンサ60を後述の測定位置と待機位置との間で往復移動させる。センサ移動機構65は例えばリニアモータ機構、ボールねじ機構またはシリンダ機構を含み、制御部130によって制御される。
 センサ60の待機位置は、センサ60が基板Wの偏心状態を測定しない位置であり、例えば基板Wと上下方向において対向しない位置である。図2の例では、センサ60は待機位置に位置している。
 センサ60の測定位置は、基板Wの偏心状態を測定する際のセンサ60の位置である。図5は、センサ60および基板Wの構成の一例を概略的に示す図である。図5では、センサ60は測定位置で停止している。図5の例では、センサ60は発光部61および受光部62を含んでいる。発光部61は、吸着保持機構10によって吸着保持された基板Wよりも上方に位置している。センサ60が測定位置で停止した状態において、発光部61は当該基板Wの周縁部と上下方向において対向する。発光部61は光L1を基板Wの周縁部に向かって光を照射する。発光部61は、例えばLEDなどの光源を含む。光L1の波長は特に制限されないものの、例えば光L1として赤外線を採用することができる。光L1は少なくとも回転軸Q1についての径方向に広い。この光L1のうち径方向内側の一部は基板Wの周縁部で遮られ、光L1の残りの一部(以下、光L11と呼ぶ)は基板Wの外側を上下方向に沿って進行する。
 図5の例では、受光部62は、吸着保持機構10によって吸着保持された基板Wの周縁部に対して発光部61とは反対側に位置している。つまり、基板Wの周縁部は発光部61と受光部62との間に位置する。受光部62は、発光部61からの光L1のうち、基板Wの径方向外側を進行する光L11を受光する。受光部62は、例えばフォトトランジスタおよびフォトダイオードなどの受光素子(光電変換素子ともいう)を含む。受光部62は、受光した光L11の光量(例えば強度)を示す電気信号を制御部130に出力する。
 基板Wの中心が回転軸Q1に一致している場合、基板Wの1回転中に受光部62が受光する光L11の受光量は理想的には常に一定である。一方、基板Wの中心が回転軸Q1からずれている場合、基板Wの1回転中に受光部62が受光する光L11の光量は、基板Wの回転位置に応じて変化する。
 図6は、光L11の光量と基板Wの回転位置との関係の一例を示すグラフである。図6は、基板Wの中心が回転軸Q1からずれている場合のグラフを示している。図6に例示するように、受光量は基板Wの回転位置に対して正弦波状に変化する。この受光量の波形において、受光量の振幅は基板Wの偏心量を示し、受光量が最大値または最小値をとるときの回転位置は偏心方向を示す。言い換えれば、制御部130は、基板Wの1回転中においてセンサ60によって取得される受光量の波形に基づいて、基板Wの偏心状態を求めることができる。具体的には、制御部130はセンサ60からの信号に基づいて、受光量の振幅を求め、この振幅に基づいて偏心量を求める。また制御部130は、受光量が最大値または最小値をとる回転角度を偏心方向として求める。この制御部130の偏心状態算出機能は、センサ60に属しているともいえる。つまり、発光部61、受光部62および制御部130の偏心状態算出機能がセンサ60を構成しているといえる。なお、偏心状態算出機能を有する演算処理部が制御部130とは別体で設けられてもよい。
 また、センサ60の待機位置は測定位置と同一水平面内に含まれてもよい。つまり、センサ移動機構65はセンサ60を水平に移動させてもよい。ただし、図2に例示するように、ガード96が上位置で停止する場合には、センサ60とガード96が衝突し得る。よって、センサ移動機構65は、ガード96が下位置に退避した状態で、センサ60を待機位置と測定位置との間で水平に移動させる。これにより、センサ60とガード96との間の衝突を避けることができる。
 制御部130は基板処理装置1を制御する。制御部130は制御回路とも言える。図7は、制御部130の内部構成の一例を概略的に示すブロック図である。制御部130は演算処理部131と記憶媒体132とを含む。演算処理部131は、例えばCPU(Central Processing Unit)などの処理装置を含む。記憶媒体132は例えば非一時的な記憶媒体1321と一時的な記憶媒体1322とを含む。非一時的な記憶媒体1321は、例えばROM(Read Only Memory)などのメモリを含む。一時的な記憶媒体1322は、例えばRAM(Random Access Memory)などのメモリを含む。図7の例では、演算処理部131および記憶媒体132はバス133によって相互に接続されている。制御部130に電気的に接続される上述の各種構成は、直接または通信回路を介してバス133に接続される。
 非一時的な記憶媒体1321には、演算処理部131によって実行されるプログラムが格納されている。演算処理部131が当該プログラムを実行することにより、制御部130は各種の機能を実行することができる。ただし、制御部130が実行する機能の一部または全部は、プログラムなどのソフトウェアが不要なハードウェア回路によって実現されてもよい。
 <基板処理装置の動作>
 次に、基板処理装置1の動作の一例について述べる。図8は、基板処理装置1の動作の一例を示すフローチャートである。初期的には、ノズル91、リンス用ノズルおよびセンサ60はそれぞれの待機位置に位置し、リフトピン30およびガード96はそれぞれの下位置に位置する。
 まず、センターロボットCRが基板Wを吸着保持機構10に渡し、吸着保持機構10が基板Wを吸着保持する(ステップS1)。具体的には、吸引機構16が気体の吸引を行うことで、吸着保持機構10が基板Wを吸着保持する。次に、制御部130は偏心測定処理を行う(ステップS2)。具体的には、まずセンサ移動機構65がセンサ60を水平に移動させて待機位置から測定位置に移動させる。次に、発光部61が光L1を照射し、回転機構20が基板Wを回転させつつ、受光部62が受光量を順次に測定し、その測定結果を制御部130に出力する。受光部62は例えば所定の回転角度ごとに受光量を測定する。受光量の波形を取得すると、回転機構20は基板Wの回転を停止し、センサ移動機構65はセンサ60を測定位置から待機位置に移動させる。制御部130は受光量の波形に基づいて基板Wの偏心状態(具体的には、偏心量および偏心方向)を求める。
 次に、制御部130は基板Wの位置調整処理が必要であるか否かを判断する(ステップS3)。具体的には、制御部130は基板Wの偏心量が基準値よりも小さいか否かを判断する。基準値は例えば百μmオーダー以下であり、予め設定され得る。偏心量が基準値よりも小さい場合には、基板Wはほとんど偏心していないと判断されるので、制御部130は基板Wの調整を不要と判断する。この場合、制御部130は後述の位置調整処理(ステップS4)を実行せずに、ベベル処理(ステップS5)を実行する。
 一方で、偏心量が基準値よりも大きいときには、基板Wが偏心しているので、制御部130は基板Wの位置調整処理が必要であると判断する。図9は、基板Wの構成の一例を概略的に示す平面図である。図9の例では、基板Wの中心Q2は回転軸Q1からずれている。具体的には、基板Wの中心Q2は回転軸Q1に対して紙面右斜め上方向にずれている。この場合、制御部130は基板Wの位置調整処理が必要と判断し、基板Wの位置調整処理を実行する(ステップS4)。
 図10は、基板Wの位置調整処理の具体的な一例を示すフローチャートである。まず、回転機構20は、基板Wの偏心方向が水平移動機構50による水平移動方向D1(図9も参照)に沿うように、基板Wを回転させる(ステップS41)。図9の例では、回転後の基板Wを二点鎖線で示している。図9の例では、回転後の基板Wの中心Q2は水平移動方向D1において回転軸Q1と並んでいる。
 次に、リフトピン30が基板Wを吸着保持機構10から持ち上げる(ステップS42)。具体的には、吸引機構16が気体の吸引を停止して基板Wの吸着を解除した上で、上下移動機構40が複数のリフトピン30を下位置から上位置に移動させる。この移動により、複数のリフトピン30が吸着保持機構10から基板Wを受け取って持ち上げる。よって、基板Wは複数のリフトピン30によって支持される。
 次に、水平移動機構50は、基板Wの偏心量が低減する方向に基板Wを水平移動方向D1に沿って移動させる(ステップS43)。図9の例では、回転後の基板Wを紙面下方に移動させる。基板Wの移動量としては、センサ60によって測定された基板Wの偏心量を採用するとよい。これにより、理想的には、平面視において、基板Wの中心Q2が回転軸Q1に一致する。
 次に、リフトピン30が基板Wを吸着保持機構10の吸着面11aの上に載置する(ステップS44)。具体的には、上下移動機構40がリフトピン30を上位置から下位置に移動させる。この移動により、基板Wが吸着保持機構10の吸着面11aの上に再び載置される。次に、水平移動機構50は水平移動方向D1においてリフトピン30を元の位置に移動させてもよい。
 以上のように、基板Wの偏心量を低減した状態で、リフトピン30が下位置に移動して基板Wを吸着面11aの上に載置するので、吸着保持機構10は偏心量が小さい状態で基板Wを吸着保持することができる。
 次に、制御部130はベベル処理を実行する(ステップS5)。具体的には、ノズル移動機構95がノズル91およびリンス用ノズルを処理位置に移動させ、ガード移動機構97がガード96を下位置から上位置に移動させる。次に、回転機構20が、ベベル処理に適した回転速度で基板Wを回転させる。次に、バルブ93が開くことにより、ノズル91から薬液が基板Wの周縁部に供給されて、基板Wの周縁部の不純物が除去される。不純物が十分に除去されると、バルブ93を閉じ、リンス用バルブを開く。これにより、リンス用ノズルからリンス液が基板Wの周縁部に供給される。リンス液は基板Wの周縁部上の薬液を洗い流す。言い換えれば、基板Wの周縁部上の薬液がリンス液に置換される。十分に薬液が洗い流されると、リンス用バルブを閉じる。次に、基板Wを乾燥すべく、回転機構20は基板Wの回転速度を増加させ、乾燥に適した回転速度で基板Wを回転する(いわゆるスピン乾燥)。乾燥処理が終了すると、回転機構20は基板Wの回転を終了させる。
 次に、処理済みの基板Wが搬出される(ステップS6)。具体的には、吸引機構16が基板Wの吸着を解除し、センターロボットCRが基板Wを吸着保持機構10から受け取って外部に搬送する。
 以上のように、基板処理装置1によれば、基板Wの偏心量を低減することができる。よって、偏心量が小さい状態で基板Wに対するベベル処理を実行することができる。したがって、薬液が基板Wのデバイス領域に進入する可能性を低減することができる。
 しかも、基板処理装置1によれば、リフトピン30が基板Wを持ち上げた状態で、リフトピン30および基板Wを一体的に水平移動方向D1に沿って移動させて、基板Wの偏心量を低減する。よって、先行技術文献1,2のように、基板Wが吸着面11a上に載置された状態で基板Wを吸着保持機構10に対して水平方向に摺動させる場合に比して、基板Wと吸着面11aとの間の擦れを回避することができる。よって、擦れによる基板Wの下面の汚染または損傷を低減することができる。
 また、上述の例によれば、リフトピン30を移動させるピン移動機構(上下移動機構40および水平移動機構50)は、モータ収納部材70に設けられている。モータ収納部材70は吸着保持機構10の直下に位置しているので、ピン移動機構を基板Wの近くに設けることができる。図3の例では、ピン移動機構はモータ収納部材70の上面部71に設けられている。これによれば、ピン移動機構を基板Wのより近くに配置することができる。これによれば、ピン移動機構は基板Wの近くで基板Wの位置を調整するので、基板Wの位置調整の精度を向上することができる。例えばセンターロボットCRが基板Wの水平面の位置を調整する場合に比して、より高い精度で基板Wの位置を調整できる。
 また上述の例では、ピン移動機構は、基板処理装置1の床面に固定された非駆動体であるモータ収納部材70に連結されている。つまり、ピン移動機構とモータ収納部材70(非駆動体)との間に他の駆動体が介在していない。よって、基板の水平面内の位置を調整する調整機構が、例えばガード96などの駆動体に連結されている場合に比して、より高い精度で基板Wの位置を調整することができる。つまり、調整機構がガード96などの駆動体に連結されている場合には、その駆動体における恒常的な微小変位が調整機構に影響し、調整機構の位置調整に誤差を生じさせ得る。これに対して、ピン移動機構が非駆動体(例えばモータ収納部材70)に連結されている場合には、そのような誤差を回避することができる。
 また、上述の例では、基板Wの位置調整に必要なピン移動機構(上下移動機構40および水平移動機構50)、連結部材31およびリフトピン30は、平面視において、基板Wの周縁よりも回転軸Q1側に位置している。よって、平面視において基板Wよりも外側の空間を他の部材の配置に利用することができる。
 また、上述の例では、複数のリフトピン30は連結部材31によって連結され、ピン移動機構によって一体で移動する。よって、各リフトピン30に対して個別にピン移動機構が設けられる場合に比して、ピン移動機構を小型化できる。
 <リフトピンの位置>
 リフトピン30は平面視において次に説明する領域内に位置しているとよい。具体的には、基板Wの直径の4分の1を直径とする仮想内円と、基板Wの直径の4分の3を直径とする仮想外円とで挟まれる環状領域内に、複数のリフトピン30が位置しているとよい。
 比較のために、リフトピン30が平面視において基板Wの周縁に位置している場合について考察する。この場合、リフトピン30は基板Wの下面の周縁を支持する。よって、基板Wを支持する支持点(つまり基板の周縁)と、基板Wの中心部との間の距離は比較的に長い。したがって、リフトピン30が基板Wを持ち上げた状態で、基板Wの中心部が支持点に対して下方に大きく撓む。このように基板Wが大きく撓むと、基板Wを吸着保持機構10の吸着面11aの上に載置する際に、基板Wが吸着面11aに対して水平方向にずれる可能性が高くなる。
 これに対して、リフトピン30が上記環状領域内に位置する場合には、リフトピン30による基板Wの支持点と、基板Wの中心部との間の距離を低減することができる。よって、基板Wの撓み量を低減することができる。したがって、吸着面11aへの載置時に生じる基板Wの位置ずれを低減することができる。
 <リフトピンと吸着保持機構との位置関係>
 上述の例では、リフトピン30は吸着保持機構10(吸着部材11)よりも径方向外側に位置している。しかしながら、必ずしもこれに限らない。図11は、リフトピン30および吸着保持機構10の構成の他の一例を概略的に示す平面図である。吸着保持機構10の吸着部材11には、リフトピン30と対向する位置に貫通孔11bが形成されている。貫通孔11bは吸着部材11(より具体的には、板状部材12)を上下方向に貫通している。この貫通孔11bは、吸着部材11内に形成される吸着用の内部流路と干渉しないように形成される。貫通孔11bは平面視においてリフトピン30よりも大きく、リフトピン30が貫通孔11bを貫通した状態で、水平移動方向D1に沿って移動可能である。貫通孔11bの大きさは、リフトピン30の移動可能範囲を確保できるように設定される。
 図12は、吸着保持機構10の構成の他の一例を概略的に示す平面図である。吸着保持機構10は吸着部材11Aを含んでいる。吸着部材11Aは回転軸Q1を囲む筒状の形状を有している。よって、吸着部材11Aの吸着面11Aaは平面視において環状の形状を有する。吸着部材11Aの吸着面11Aaの上には基板Wが載置される。吸着面11Aaの外径は例えば基板Wの直径よりも小さい。吸着面11Aaには、不図示の吸着口が形成される。吸着部材11Aには、吸着口に繋がる内部流路が形成されており、当該内部流路は不図示の吸引管を介して不図示の吸引機構に接続される。吸引機構が気体を吸引することにより、基板Wの裏面が吸着部材11Aの吸着面11Aaに吸引される。これにより、基板Wが吸着部材11Aに吸着保持される。
 吸着部材11Aの下端はシャフト22を介してモータ21に連結される。モータ21はシャフト22を回転させることにより、吸着部材11Aを回転軸Q1のまわりで回転させる。シャフト22は中空シャフトである。
 モータ21はモータ収納部材70Aに収納されている。モータ収納部材70Aの上面部には、シャフト22によって貫通される貫通孔70Aaが形成されている。貫通孔70Aaには不図示のシール軸受が設けられてもよい。シャフト22はこのシール軸受を介して回転可能にモータ収納部材70Aに連結される。
 図12では、基板処理装置1には、複数のピン30Aが設けられている。複数のピン30Aは、リフト部材31Aの上面31Aaに立設されている。複数のピン30Aは回転軸Q1を中心とした仮想円上に等間隔で配置される。例えば3つのピン30Aが120度間隔で配置される。各ピン30Aは上面31Aaから上方に突出する。リフト部材31Aは複数のピン30Aを連結する連結部材として機能する。
 リフト部材31Aは、吸着部材11Aおよびシャフト22の中空部内において、上下方向に沿って延在している。よって、複数のピン30Aは平面視において、吸着部材11Aの吸着面11Aaよりも回転軸Q1側に位置している。
 複数のピン30Aは上下移動機構40Aによって上下方向に移動可能である。図12の例では、上下移動機構40Aはリフト部材31Aを上下方向に移動させることにより、複数のピン30Aを一体的に上下方向に移動させる。上下移動機構40Aは、リフト部材31Aを上位置と下位置との間で移動させる。上位置は、ピン30Aの上端が吸着面11Aaよりも上方となる位置であり、下位置は、ピン30Aの上端が吸着面11Aaよりも下方となる位置である。上下移動機構40Aの構成は上下移動機構40と同様である。ピン30Aは上下方向に移動するので、リフトピンであると言える。
 上下移動機構40Aがリフト部材31Aを下位置から上位置に移動させることにより、複数のピン30Aが基板Wの裏面に当接して基板Wを持ち上げる。これにより、基板Wは複数のピン30Aによって支持される。
 複数のピン30Aは水平移動機構50Aによって水平移動方向に移動可能である。図12の例では、水平移動機構50Aは上下移動機構40Aを水平移動方向に移動させることにより、複数のピン30Aを一体的に水平移動方向に移動させる。複数のピン30Aが基板Wを持ち上げた状態で、複数のピン30Aが水平移動方向に移動することにより、基板Wも水平移動方向に移動する。複数のピン30Aの水平移動方向における移動可能距離は、平面視におけるリフト部材31Aの大きさ、吸着部材11Aの中空部の大きさ、および、シャフト22の中空部の大きさによって規定される。この移動可能距離は、基板Wの偏心状態を解消するのに十分な値に予め設定されればよい。
 図12の例では、水平移動機構50Aはモータ収納部材70Aの下面部に連結されている。モータ収納部材70Aは非駆動体(言い換えれば、固定体)である。つまり、複数のピン30Aを移動させるピン移動機構(上下移動機構40Aおよび水平移動機構50A)は非駆動体に連結される。より具体的には、ピン移動機構は他の駆動体を介さずに非駆動体に連結されている。よって、ピン移動機構は高い精度で基板Wの位置を調整することができる。なお、モータ収納部材70が下面部を有さずに、その側面部の下端周縁が基板処理装置1の床面に連結されている場合には、ピン移動機構(上下移動機構40Aおよび水平移動機構50A)は基板処理装置1の床面に直接に連結されていてもよい。また、上下移動機構40Aおよび水平移動機構50Aの位置関係は逆であってもよい。
 <リフトピンの吸着機構>
 複数のリフトピン30の少なくともいずれか一つの上端には、吸着口が形成されていてもよい。図13は、リフトピン30の構成の一例を概略的に示す平面図である。図13の例では、3つのリフトピン30のいずれもが、吸着口30aを有している。各リフトピン30の上端面は基板Wの下面に平行であり、吸着口30aはリフトピン30の上端面に形成される。リフトピン30には、吸着口30aに繋がる内部流路が形成されており、当該内部流路は吸引管38を介して吸引機構39に接続されている。吸引管38は可撓性を有しており、リフトピン30の移動に応じて変形する。吸引機構39はポンプを含んでおり、吸引管38の内部の気体を吸引する。これにより、吸着口30aから気体が吸引される。吸引機構39は制御部130によって制御される。
 複数のリフトピン30が上位置に移動して基板Wを支持した状態で、吸引機構39が気体を吸引することにより、基板Wはリフトピン30によって吸着保持される。これにより、リフトピン30の移動に伴うリフトピン30と基板Wとの間に位置ずれが生じる可能性を低減することができる。
 <基板の位置調整>
 基板Wの位置を調整した後に、基板Wの偏心状態を再度確認してもよい。図14は、基板処理装置1の動作の他の一例を示すフローチャートである。まず、未処理の基板Wが搬入されて吸着保持機構10によって吸着保持される(ステップS1)。次に、センサ60が基板Wの偏心状態を測定し(ステップS2)、制御部130が基板Wの位置調整処理の必要性を判断し(ステップS3)、必要に応じて、制御部130が基板Wの位置調整処理を実行する(ステップS4)。
 基板Wの位置調整処理が終了すると、センサ60は再び偏心状態を測定する(ステップS2A)。つまり、制御部130は、ステップS3の基板Wの位置調整処理によって適切に基板Wの偏心状態を解消したかどうかを確認する。ステップS2Aの具体的な処理はステップS2と同じである。
 次に、制御部130は再度の基板Wの位置調整処理が必要であるか否かを判断する(ステップS3A)。ステップS3Aの具体的な処理はステップS3と同じである。偏心量が基準値よりも小さいときには、ステップS3の位置調整処理によって基板Wの偏心状態が解消されているので、制御部130は再度の位置調整処理は不要と判断し、ステップS5のベベル処理を実行する。
 一方で、偏心量が基準値よりも大きいときには、制御部130は再度の位置調整処理が必要であると判断し、基板Wの位置調整処理を再び実行する(ステップS4A)。ステップS4Aの具体的な処理は例えばステップS4と同じであってもよい。次に、制御部130はベベル処理を実行する(ステップS5)。ベベル処理の後に、処理済みの基板Wが基板処理装置1から搬出される(ステップS6)。
 上述の動作によれば、1回目の基板Wの位置調整処理後に再び基板Wの偏心状態を測定し、その測定結果に応じて、再び基板Wの位置調整処理を行う。よって、基板Wの偏心量をより適切に低減することができる。
 なお、上述の例では、必要に応じて2回の位置調整処理を行っているものの、必ずしも2回に限らない。制御部130は、基板Wの偏心量が基準値を下回るまで、繰り返し基板Wの位置調整処理を行ってもよい。
 また、2回目以降の基板Wの調整処理においては、基板Wの水平移動方向D1の移動量として、直前に測定された偏心量をそのまま採用するのではなく、当該偏心量を補正した値を採用してもよい。例えば、ステップS4の位置調整処理の直前(ステップS2)および直後(ステップS2A)で測定した基板Wの偏心方向が互いに反対であり、位置調整の直前および直後に測定した基板Wの偏心量がそれぞれ1mm,0.2mmである場合を想定する。この数値は実際に即したものではなく、説明のために誇張した値である。
 この場合、水平移動方向の移動量1mmに応じて0.2mmの誤差が生じていると考えられ得る。つまり、ステップS4の位置調整処理での1mmの移動に対して2割の誤差(0.2mm)が生じているとも考えられる。要するに、設定された移動量の1mmに対して、実際の移動量が2割増しの1.2mmとなっていると考えられ得る。
 そこで、ステップS2で測定された偏心量に対するステップS2Aで測定された偏心量の割合に基づいて、ステップS4Aでの基板Wの移動量を求めてもよい。つまり、2割増しで基板Wが移動するのであれば、ステップS4Aの移動量として、2割減の0.16{=(0.2)・(1-0.2/1)}mmを採用する。これにより、ステップS4Aの位置調整処理によって、基板Wの偏心状態をより適切に解消することができる。
 また、制御部130は、位置調整処理の前後の偏心量を都度、データベースとして記憶媒体132に記憶し、次回以降の位置調整処理における基板Wの移動量を当該データベースに基づいて決定してもよい。
 第2の実施の形態
 第2の実施の形態にかかる基板処理装置1の構成は、センサ60の構成を除いて第1の実施の形態と同様である。第2の実施の形態では、センサ60に替えてセンサ60Aが設けられる。ただし、第2の実施の形態は必ずしも第1の実施の形態を前提とする必要はなく、センサ60Aは、適宜、他の基板処理装置に適応可能である。
 図15は、センサ60Aの構成の一例を概略的に示す図である。図15の例では、センサ60Aは測定位置に位置しており、基板Wの周縁部と対向する。図15の例では、センサ60Aは発光部61と受光部62と光路変更素子64とを含んでいる。以下、センサ60Aが測定位置に位置する状態での発光部61、受光部62および光路変更素子64について述べる。発光部61は第1の実施の形態と同様に、測定位置において光L1を基板Wの周縁部に照射する。発光部61は基板Wの表面に対して上方に位置している。
 第2の実施の形態では、受光部62も基板Wの表面に対して上方に位置している。受光部62は平面視において発光部61および基板Wと隣り合っており、これらと重ならない。図15の例では、受光部62は発光部61よりも径方向外側に位置しており、発光部61と径方向において並んでいる。なお、受光部62は回転軸Q1の周方向において発光部61と隣り合っていてもよい。
 光路変更素子64は、発光部61から照射された光L1のうち基板Wの外側を通過した光L11の進路を変更し、光L11を受光部62へ向かって進行させる。つまり、受光部62は、光L1のうち基板Wの外側を通過した光L11を、光路変更素子64を介して受光する。光路変更素子64は例えばプリズムである。この光路変更素子64は発光部61および受光部62よりも高い耐薬品性を有している。例えばプリズムは石英またはサファイアガラスなどによって形成される。なお、光路変更素子64は複数のミラーによって構成されていてもよい。
 発光部61、受光部62および光路変更素子64は不図示の連結部材によって互いに連結されていてもよい。これによれば、センサ移動機構65は、発光部61、受光部62および光路変更素子64を一体に移動させることができる。
 センサ60による基板Wの偏心状態の測定アルゴリズムは第1の実施の形態と同様である。
 第2の実施の形態によれば、基板Wよりも上方に発光部61および受光部62が設けられており、基板Wよりも下方に光路変更素子64が設けられている。基板Wよりも下方の部材には、処理液が付着したり、あるいは、基板Wよりも下方の空間には、処理液(例えば薬液)の揮発成分を多く含んだ雰囲気が形成され得る。もし、基板Wよりも下方に発光部61または受光部62が設けられていると、処理液または揮発成分が発光部61または受光部62に付着し、これを腐食させる場合がある。これにより、センサ60の測定精度が低下し得る。
 これに対して、第2の実施の形態では、発光部61および受光部62が基板Wよりも上方に位置しており、処理液または揮発成分が付着しにくい。よって、処理液または揮発成分が発光部61および受光部62に付着することに伴う不都合が生じにくい。
 図15の例では、発光部61および受光部62は、薬液耐性の大きい保護部材66で覆われている。保護部材66のうち、少なくとも、発光部61の発光面と対向する部分、および、受光部62の受光面と対向する部分は、光L1に対する透光性を有している。発光面とは、光源と対向する面であり、光源で発光した光L1が透過する。受光面とは、受光素子と対向する面であり、光L11が透過する面である。保護部材66を構成する材料としては、例えばフッ素系の樹脂などが例示される。
 発光部61および受光部62は基板Wよりも上方に位置するので、発光部61および受光部62に対して保護部材66を設けたとしても、発光部61または受光部62が基板Wの下方に設けられる場合に比してスペース的な困難が生じにくい。その理由について簡単に説明する。基板Wよりも下方の空間には、例えば基板Wの周縁部を全周に亘って加熱するヒータなどの他の部材が設けられ得る。当該ヒータは、平面視において環状形状を有しており、基板Wの周縁部に対して略全周で対向する。これに対して、基板Wの周縁部よりも上方空間では、下方空間に比べて大きな部材が設けられない。よって、スペース的に、発光部61および受光部62を大きい保護部材66で容易に覆うことが可能である。
 一方、光路変更素子64が発光部61および受光部62よりも高い耐薬品性を有している場合には、光路変更素子64に対しては保護部材を設けていなくてもよい。あるいは、光路変更素子64に対しても適宜に保護部材を設けてもよい。光路変更素子64は発光部61および受光部62に比して簡易な構造を有しているので、簡単にこれらよりも薄く作製することができる。よって、基板Wよりも下方に位置する光路変更素子64に対して保護部材を設けても、スペース的に問題が生じにくい。
 この基板処理装置1は詳細に説明されたが、上記の説明は、すべての局面において、例示であって、基板処理装置1がそれに限定されるものではない。例示されていない無数の変形例が、この開示の範囲から外れることなく想定され得るものと解される。上記各実施形態および各変形例で説明した各構成は、相互に矛盾しない限り適宜組み合わせたり、省略したりすることができる。
 例えば、第1の実施の形態においては、センサ60はカメラを含んでいてもよい。カメラが、吸着保持機構10に保持された基板Wを撮像して画像データを取得し、制御部130が当該画像データに対して画像処理を行うことで、基板Wの中心を特定してもよい。
 また、第1および第2の実施の形態において、リフトピン30が吸着口30aを有している場合には、リフトピン30は基板Wよりも上方に設けられてもよい。この場合、リフトピン30は吸着口30aを基板Wの表面に向けて配置される。リフトピン30が下位置に移動して吸着口30aが基板Wの表面に当接した状態で、吸着口30aから気体が吸引されることにより、リフトピン30が基板Wを吸着保持することができる。この状態で、リフトピン30が上位置に移動して基板Wを持ち上げて、水平移動方向に移動した後に、下位置に移動して、基板Wを吸着保持機構10に受け渡してもよい。
 1 基板処理装置
 10 吸着保持機構
 20 回転機構
 30,30A リフトピン
 40,40A 上下移動機構
 50,50A 水平移動機構
 60 センサ
 70 収納部材(モータ収納部材)

Claims (10)

  1.  基板を処理するための基板処理装置であって、
     基板の裏面を吸着し前記基板を水平に保持する吸着保持機構と、
     前記基板を保持した前記吸着保持機構を前記基板の中心を通る鉛直方向の回転軸を中心に回転させる回転機構と、
     前記吸着保持機構によって保持された前記基板よりも下方において、当該基板と対向する位置に設けられた複数のリフトピンと、
     前記複数のリフトピンの上端を、前記吸着保持機構の吸着面よりも上方である第1位置と、前記吸着保持機構の前記吸着面よりも下方である第2位置との間で上下方向に移動させる上下移動機構と、
     前記複数のリフトピンを前記吸着保持機構に対して水平方向に移動させる水平移動機構と、
     前記吸着保持機構に保持された前記基板の偏心状態を測定するセンサと
    を備え、
     前記上下移動機構は、前記複数のリフトピンを前記第1位置に移動させることで前記吸着保持機構から前記基板を支持し、
     前記水平移動機構は、前記基板を支持した状態において、前記センサにより測定された前記基板の偏心状態に基づいて前記複数のリフトピンを水平方向に移動させる、基板処理装置。
PCT/JP2020/0413812019-11-272020-11-05基板処理装置CeasedWO2021106515A1 (ja)

Priority Applications (3)

Application NumberPriority DateFiling DateTitle
CN202080081549.1ACN114746993A (zh)2019-11-272020-11-05基板处理装置
US17/778,895US12293935B2 (en)2019-11-272020-11-05Substrate processing apparatus
KR1020227017851AKR102670261B1 (ko)2019-11-272020-11-05기판 처리 장치

Applications Claiming Priority (2)

Application NumberPriority DateFiling DateTitle
JP2019-2140032019-11-27
JP2019214003AJP7426808B2 (ja)2019-11-272019-11-27基板処理装置

Publications (1)

Publication NumberPublication Date
WO2021106515A1true WO2021106515A1 (ja)2021-06-03

Family

ID=76088116

Family Applications (1)

Application NumberTitlePriority DateFiling Date
PCT/JP2020/041381CeasedWO2021106515A1 (ja)2019-11-272020-11-05基板処理装置

Country Status (6)

CountryLink
US (1)US12293935B2 (ja)
JP (1)JP7426808B2 (ja)
KR (1)KR102670261B1 (ja)
CN (1)CN114746993A (ja)
TW (1)TWI794675B (ja)
WO (1)WO2021106515A1 (ja)

Families Citing this family (3)

* Cited by examiner, † Cited by third party
Publication numberPriority datePublication dateAssigneeTitle
JP7426808B2 (ja)*2019-11-272024-02-02株式会社Screenホールディングス基板処理装置
JP7731250B2 (ja)*2021-09-222025-08-29株式会社Screenホールディングス基板処理装置
EP4535410A1 (en)*2023-10-042025-04-09VAT Holding AGPin-lifter with positioning compensation

Citations (9)

* Cited by examiner, † Cited by third party
Publication numberPriority datePublication dateAssigneeTitle
WO2008029608A1 (fr)*2006-09-052008-03-13Tokyo Electron LimitedDispositif de transfert de substrat, dispositif de traitement de substrat, et procédé de transfert de substrat
WO2009084406A1 (ja)*2007-12-272009-07-09Tokyo Electron Limited液処理装置、液処理方法および記憶媒体
WO2009104568A1 (ja)*2008-02-182009-08-27Kojima Kenichi単軸駆動アライナー
JP2010182966A (ja)*2009-02-062010-08-19Sinfonia Technology Co Ltdワークの中心位置合わせ装置
JP2011124298A (ja)*2009-12-092011-06-23Yaskawa Electric Corpプリアライナ装置およびそれを備えた搬送システム
WO2012046397A1 (ja)*2010-10-072012-04-12キヤノンアネルバ株式会社基板処理装置
JP2012195427A (ja)*2011-03-162012-10-11Ulvac Japan Ltd基板処理装置及び基板処理方法
JP2017069414A (ja)*2015-09-302017-04-06信越半導体株式会社エピタキシャル成長装置及びエピタキシャルウェーハの製造方法
JP2018157039A (ja)*2017-03-162018-10-04キヤノン株式会社基板保持装置、リソグラフィ装置、物品の製造方法

Family Cites Families (12)

* Cited by examiner, † Cited by third party
Publication numberPriority datePublication dateAssigneeTitle
JPH1092912A (ja)*1996-09-111998-04-10Dainippon Screen Mfg Co Ltd基板回転保持装置および回転式基板処理装置
JPH10303110A (ja)*1997-04-301998-11-13Dainippon Screen Mfg Co Ltd基板処理方法および基板処理装置
US6146463A (en)*1998-06-122000-11-14Applied Materials, Inc.Apparatus and method for aligning a substrate on a support member
JP4410119B2 (ja)2005-02-032010-02-03東京エレクトロン株式会社洗浄装置、塗布、現像装置及び洗浄方法
US8057153B2 (en)*2006-09-052011-11-15Tokyo Electron LimitedSubstrate transfer device, substrate processing apparatus and substrate transfer method
JP5572575B2 (ja)2010-05-122014-08-13東京エレクトロン株式会社基板位置決め装置、基板処理装置、基板位置決め方法及びプログラムを記録した記憶媒体
JP5449239B2 (ja)2010-05-122014-03-19東京エレクトロン株式会社基板処理装置、基板処理方法及びプログラムを記録した記憶媒体
JP2015079812A (ja)*2013-10-162015-04-23キヤノン株式会社基板保持装置および露光装置
JP6660202B2 (ja)*2016-02-192020-03-11株式会社Screenホールディングス基板処理装置および基板処理方法
JP6841188B2 (ja)*2017-08-292021-03-10東京エレクトロン株式会社塗布処理装置及び塗布液捕集部材
JP6934435B2 (ja)2018-02-262021-09-15株式会社Screenホールディングスセンタリング装置、センタリング方法、基板処理装置、および基板処理方法
JP7426808B2 (ja)*2019-11-272024-02-02株式会社Screenホールディングス基板処理装置

Patent Citations (9)

* Cited by examiner, † Cited by third party
Publication numberPriority datePublication dateAssigneeTitle
WO2008029608A1 (fr)*2006-09-052008-03-13Tokyo Electron LimitedDispositif de transfert de substrat, dispositif de traitement de substrat, et procédé de transfert de substrat
WO2009084406A1 (ja)*2007-12-272009-07-09Tokyo Electron Limited液処理装置、液処理方法および記憶媒体
WO2009104568A1 (ja)*2008-02-182009-08-27Kojima Kenichi単軸駆動アライナー
JP2010182966A (ja)*2009-02-062010-08-19Sinfonia Technology Co Ltdワークの中心位置合わせ装置
JP2011124298A (ja)*2009-12-092011-06-23Yaskawa Electric Corpプリアライナ装置およびそれを備えた搬送システム
WO2012046397A1 (ja)*2010-10-072012-04-12キヤノンアネルバ株式会社基板処理装置
JP2012195427A (ja)*2011-03-162012-10-11Ulvac Japan Ltd基板処理装置及び基板処理方法
JP2017069414A (ja)*2015-09-302017-04-06信越半導体株式会社エピタキシャル成長装置及びエピタキシャルウェーハの製造方法
JP2018157039A (ja)*2017-03-162018-10-04キヤノン株式会社基板保持装置、リソグラフィ装置、物品の製造方法

Also Published As

Publication numberPublication date
JP7426808B2 (ja)2024-02-02
JP2021086894A (ja)2021-06-03
TWI794675B (zh)2023-03-01
US12293935B2 (en)2025-05-06
CN114746993A (zh)2022-07-12
KR20220088774A (ko)2022-06-28
US20220415697A1 (en)2022-12-29
TW202125685A (zh)2021-07-01
KR102670261B1 (ko)2024-05-29

Similar Documents

PublicationPublication DateTitle
JP6316082B2 (ja)基板処理装置および基板処理方法
WO2021106515A1 (ja)基板処理装置
KR102127045B1 (ko)기판 처리 장치 및 기판 처리 방법
KR102119281B1 (ko)기판 처리 장치 및 기판 처리 방법
US9962744B2 (en)Substrate holding and rotating device, substrate processing device equipped with same, and substrate processing method
US9385020B2 (en)Substrate holding and rotating device, substrate treatment apparatus including the device, and substrate treatment method
JP6422695B2 (ja)基板処理装置および基板処理方法
TWI619586B (zh)基板搬送機器人及基板檢測方法
KR102646567B1 (ko)기판 처리 장치 및 기판 위치 조정 방법
TWI690015B (zh)定心裝置、定心方法、基板處理裝置及基板處理方法
TWI682474B (zh)基板處理裝置以及基板處理方法
KR102626035B1 (ko)기판 스피닝 장치 및 그 제어방법
JP5091687B2 (ja)基板処理装置
JP2014022558A (ja)基板処理装置および基板処理方法
JP2007221070A (ja)基板位置決め方法、基板位置決め装置および基板処理装置
JP7297558B2 (ja)基板処理装置および基板処理方法
JP2018142675A (ja)基板処理装置および基板処理方法
CN109256343B (zh)基板处理装置以及基板处理方法
JP6756600B2 (ja)基板処理装置および基板処理方法
KR101047894B1 (ko)기판 제조용 분사 노즐 장치
US12205837B2 (en)Apparatus for treating a substrate
KR20200122690A (ko)토출 확인 지그 및 이를 이용한 토출 확인 방법
KR20020096537A (ko)반도체 공정용 스피너 설비의 웨이퍼 반송 장치

Legal Events

DateCodeTitleDescription
121Ep: the epo has been informed by wipo that ep was designated in this application

Ref document number:20893252

Country of ref document:EP

Kind code of ref document:A1

ENPEntry into the national phase

Ref document number:20227017851

Country of ref document:KR

Kind code of ref document:A

NENPNon-entry into the national phase

Ref country code:DE

122Ep: pct application non-entry in european phase

Ref document number:20893252

Country of ref document:EP

Kind code of ref document:A1

WWGWipo information: grant in national office

Ref document number:17778895

Country of ref document:US


[8]ページ先頭

©2009-2025 Movatter.jp