














本開示は、マルチバンド型のアンテナ装置、アンテナモジュールおよび通信装置に関する。The present disclosure relates to a multi-band antenna device, an antenna module, and a communication device.
複数の周波数帯域での通信に対応可能なマルチバンド型の通信装置に適用可能なアンテナ装置が、たとえば特開2003-283240号公報(特許文献1)に開示されている。An antenna device applicable to a multi-band type communication device capable of supporting communication in a plurality of frequency bands is disclosed, for example, in Japanese Patent Application Laid-Open No. 2003-283240 (Patent Document 1).
特開2003-283240号公報に開示されたアンテナ装置は、多層基板と、多層基板の下層に配置される平板状の接地板(接地電極)と、各々が互いに異なる周波数の高周波信号を放射する3つの平板状の放射板(放射素子)と、3つの放射板のうちの最も上層に配置される放射板の給電点に接続され、3つの放射板に共用される1本の給電線とを備える。3つの放射板は、接地板の法線方向からアンテナ装置を透視したときに互いに重なり合うように積層される。これにより、アンテナ装置の長さ方向(接地板の延在方向)の小型化が図られている。The antenna device disclosed in Japanese Patent Application Laid-Open No. 2003-283240 emits high-frequency signals having different frequencies from a multilayer substrate and a flat plate-shaped grounding plate (grounding electrode) arranged under the multilayer substrate3. It is provided with one flat radiation plate (radiating element) and one feeding line connected to the feeding point of the radiation plate arranged at the uppermost layer of the three radiation plates and shared by the three radiation plates. .. The three radiation plates are laminated so as to overlap each other when the antenna device is viewed through from the normal direction of the ground plate. As a result, the length direction of the antenna device (extending direction of the ground plate) is reduced.
特開2003-283240号公報に開示された3つの放射板は、いずれも接地板には接続されない、いわゆる通常のパッチアンテナである。一般的に、通常のパッチアンテナにおいては、放射板の長さをアンテナが放射する波長の2分の1未満にすると放射特性が劣化してしまう。そのため、放射板の長さを波長の2分の1未満にすることは難しく、アンテナ装置の更なる小型化は難しい。The three radiation plates disclosed in Japanese Patent Application Laid-Open No. 2003-283240 are so-called ordinary patch antennas that are not connected to the ground plate. Generally, in a normal patch antenna, if the length of the radiation plate is set to less than half of the wavelength emitted by the antenna, the radiation characteristics deteriorate. Therefore, it is difficult to reduce the length of the radiation plate to less than half of the wavelength, and it is difficult to further reduce the size of the antenna device.
さらに、特開2003-283240号公報に開示された3つの放射板は、1本の給電線を共用しているため、給電線の長さを放射板毎に別々に調整することができない。そのため、インピーダンス調整を容易に行なうことができず、放射特性を改善し難い。Further, since the three radiation plates disclosed in Japanese Patent Application Laid-Open No. 2003-283240 share one power supply line, the length of the power supply line cannot be adjusted separately for each radiation plate. Therefore, impedance adjustment cannot be easily performed, and it is difficult to improve the radiation characteristics.
本開示は、このような課題を解決するためになされたものであって、その目的は、小型化が可能で、かつ放射特性を改善し易い、マルチバンド型のアンテナ装置を提供することである。The present disclosure has been made to solve such a problem, and an object of the present invention is to provide a multi-band type antenna device which can be miniaturized and whose radiation characteristics can be easily improved. ..
本開示によるアンテナ装置は、平板状の接地板と、接地板と対向する平板状の第1放射板と接地板と対向する平板状の第2放射板とを有するアンテナユニットと、第1放射板の給電点に接続される第1給電線と、第1給電線とは別に設けられ、第2放射板の給電点に接続される第2給電線とを備える。第1放射板は、接地板に接続される第1接地端部を有する。第2放射板は、接地板に接続される第2接地端部を有する。接地板の法線方向からアンテナ装置を透視したとき、第1放射板と第2放射板とは互いに重なり合う部分を有する。The antenna device according to the present disclosure includes an antenna unit having a flat plate-shaped ground plate, a flat plate-shaped first radiation plate facing the ground plate, and a flat plate-shaped second radiation plate facing the ground plate, and a first radiation plate. It is provided with a first feeder line connected to the feeding point of the above and a second feeding line provided separately from the first feeding line and connected to the feeding point of the second radiation plate. The first radiation plate has a first grounding end that is connected to the grounding plate. The second radiation plate has a second grounding end that is connected to the grounding plate. When the antenna device is viewed through from the normal direction of the ground plate, the first radiation plate and the second radiation plate have portions that overlap each other.
上記のアンテナ装置においては、接地板の法線方向からアンテナ装置を透視したとき、第1放射板と第2放射板とは互いに重なり合う部分を有する。これにより、アンテナ装置の長さ方向(接地板の延在方向)の小型化が可能になる。In the above antenna device, when the antenna device is viewed from the normal direction of the ground plate, the first radiation plate and the second radiation plate have a portion that overlaps with each other. This makes it possible to reduce the size of the antenna device in the length direction (extending direction of the ground plate).
さらに、上記のアンテナ装置においては、第1放射板および第2放射板が、接地板に接続される第1接地端部および第2接地端部をそれぞれ有する。すなわち、第1放射板および第2放射板は、接地板に接続されない通常のパッチアンテナではなく、片側の端部が接地板に接続された片側短絡型パッチアンテナ(板状の逆Fアンテナ)である。一般的に、片側短絡型パッチアンテナにおいては、放射板の長さを、放射板が放射する波長の4分の1程度にすることで良好な放射特性が得られる。そのため、通常のパッチアンテナを用いる場合に比べて、各放射板の長さを約半分にすることができ、アンテナ装置をより小型化することが可能となる。Further, in the above antenna device, the first radiation plate and the second radiation plate have a first grounding end and a second grounding end connected to the grounding plate, respectively. That is, the first radiation plate and the second radiation plate are not a normal patch antenna that is not connected to the ground plate, but a one-sided short-circuit type patch antenna (plate-shaped inverted F antenna) in which one end is connected to the ground plate. is there. Generally, in a one-sided short-circuit type patch antenna, good radiation characteristics can be obtained by reducing the length of the radiation plate to about one-fourth of the wavelength emitted by the radiation plate. Therefore, the length of each radiation plate can be halved as compared with the case of using a normal patch antenna, and the antenna device can be further miniaturized.
さらに、上記のアンテナ装置においては、第1放射板の給電点に接続される第1給電線と、第2放射板の給電点に接続される第2給電線とが、別々に設けられる。これにより、給電線の長さを放射板毎に個別に調整することができるため、インピーダンス調整を容易に行なうことができる。その結果、放射特性を改善し易くすることができる。Further, in the above antenna device, a first feeder line connected to the feeding point of the first radiation plate and a second feeding line connected to the feeding point of the second radiation plate are separately provided. As a result, the length of the feeder line can be adjusted individually for each radiation plate, so that impedance adjustment can be easily performed. As a result, the radiation characteristics can be easily improved.
本開示によれば、小型化が可能で、かつ放射特性を改善し易い、マルチバンド型のアンテナ装置を提供することができる。According to the present disclosure, it is possible to provide a multi-band type antenna device that can be miniaturized and whose radiation characteristics can be easily improved.
以下、本開示の実施の形態について、図面を参照しながら詳細に説明する。なお、図中同一または相当部分には同一符号を付してその説明は繰り返さない。Hereinafter, embodiments of the present disclosure will be described in detail with reference to the drawings. The same or corresponding parts in the drawings are designated by the same reference numerals, and the description thereof will not be repeated.
(通信装置の基本構成)
図1は、本実施の形態に係るアンテナ装置120が適用される通信装置10の一例のブロック図である。通信装置10は、たとえば、携帯電話、スマートフォンあるいはタブレットなどの携帯端末や、通信機能を備えたパーソナルコンピュータなどである。(Basic configuration of communication device)
FIG. 1 is a block diagram of an example of a
図1を参照して、通信装置10は、アンテナモジュール100と、ベースバンド信号処理回路を構成するBBIC200とを備える。アンテナモジュール100は、給電回路の一例であるRFIC110と、アンテナ装置120とを備える。通信装置10は、BBIC200からアンテナモジュール100へ伝達された信号を高周波信号にアップコンバートしてアンテナ装置120から放射するとともに、アンテナ装置120で受信した高周波信号をダウンコンバートしてBBIC200にて信号を処理する。With reference to FIG. 1, the
アンテナ装置120は、複数のアンテナユニット125を含む。本実施の形態においては、複数のアンテナユニット125が所定間隔を隔てて直線状に並べて配置される。アンテナユニット125の各々は、第1放射板121および第2放射板122を含む。第1放射板121および第2放射板122は、どちらも、平板形状を有する、片側短絡型パッチアンテナである。The
アンテナ装置120は、アンテナユニット125の第1放射板121および第2放射板122から、それぞれ異なる周波数帯域の電波を放射することが可能に構成されている。すなわち、アンテナ装置120は、デュアルバンド型のアンテナ装置である。第1放射板121は、第1周波数f1の帯域の高周波信号を放射可能に構成される。第2放射板122は、第1周波数f1よりも低い第2周波数f2の帯域の高周波信号を放射可能に構成される。第1周波数f1および第2周波数f2は、特に限定されないが、たとえば60GHzおよび28GHzにそれぞれ設定され得る。The
図1では、説明を容易にするために、アンテナ装置120を構成する複数のアンテナユニット125のうち、4つのアンテナユニット125に対応する構成のみ示され、同様の構成を有する他のアンテナユニット125に対応する構成については省略されている。In FIG. 1, for the sake of simplicity, only the configurations corresponding to the four
RFIC110は、スイッチ111A~111H,113A~113H,117A,117Bと、パワーアンプ112AT~112HTと、ローノイズアンプ112AR~112HRと、減衰器114A~114Hと、移相器115A~115Hと、信号合成/分波器116A,116Bと、ミキサ118A,118Bと、増幅回路119A、119Bとを備える。このうち、スイッチ111A~111D,113A~113D,117A、パワーアンプ112AT~112DT、ローノイズアンプ112AR~112DR、減衰器114A~114D、移相器115A~115D、信号合成/分波器116A、ミキサ118A、および増幅回路119Aの構成が、第1放射板121から放射される第1周波数帯域の高周波信号のための回路である。また、スイッチ111E~111H,113E~113H,117B、パワーアンプ112ET~112HT、ローノイズアンプ112ER~112HR、減衰器114E~114H、移相器115E~115H、信号合成/分波器116B、ミキサ118B、および増幅回路119Bの構成が、第2放射板122から放射される第2周波数帯域の高周波信号のための回路である。The
高周波信号を送信する場合には、スイッチ111A~111H,113A~113Hがパワーアンプ112AT~112HT側へ切換えられるとともに、スイッチ117A,117Bが増幅回路119A,119Bの送信側アンプに接続される。高周波信号を受信する場合には、スイッチ111A~111H,113A~113Hがローノイズアンプ112AR~112HR側へ切換えられるとともに、スイッチ117A,117Bが増幅回路119A,119Bの受信側アンプに接続される。When transmitting a high frequency signal, the
BBIC200から伝達された信号は、増幅回路119A,119Bで増幅され、ミキサ118A,118Bでアップコンバートされる。アップコンバートされた高周波信号である送信信号は、信号合成/分波器116A,116Bで4分波され、対応する信号経路を通過して、それぞれ異なる第1放射板121および第2放射板122に給電される。各信号経路に配置された移相器115A~115Hの移相度が個別に調整されることにより、アンテナ装置120の指向性を調整することができる。The signal transmitted from the
第1放射板121および第2放射板122で受信された高周波信号である受信信号はRFIC110に伝達され、それぞれ異なる4つの信号経路を経由して信号合成/分波器116A,116Bにおいて合波される。合波された受信信号は、ミキサ118A,118Bでダウンコンバートされ、増幅回路119A,119Bで増幅されてBBIC200へ伝達される。The received signal, which is a high-frequency signal received by the
RFIC110は、例えば、上記回路構成を含む1チップの集積回路部品として形成される。あるいは、RFIC110における各アンテナユニット125に対応する機器(スイッチ、パワーアンプ、ローノイズアンプ、減衰器、移相器)については、対応するアンテナユニット125毎に1チップの集積回路部品として形成されてもよい。The
(アンテナ装置の配置)
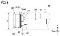
図2は、通信装置10の内部を透視した斜視図である。通信装置10は、筐体11で覆われている。筐体11の内部には、アンテナ装置120、アンテナ装置120を実装する実装基板20が設けられる。アンテナ装置120は、実装基板20の主面21ではなく、実装基板20の側面22に隣接して配置される。(Arrangement of antenna device)
FIG. 2 is a perspective view of the inside of the
図3は、通信装置10の内部を、実装基板20の主面21および側面22に沿う方向から透視した側面図である。上述したように、アンテナ装置120は、実装基板20の側面22に隣接して配置される。アンテナ装置120と実装基板20とは接続線160によって接続される。FIG. 3 is a side view of the inside of the
アンテナ装置120は、内側表面131と外側表面132とを有する誘電体130によって形成される。誘電体130は、内側表面131から外側表面132に向かう方向を積層方向として、複数の誘電体層が積層方向に積層されて形成される。誘電体130は、たとえば、エポキシ、ポリイミドなどの樹脂で形成される。なお、誘電体130は、より低い誘電率を有する液晶ポリマー(Liquid Crystal Polymer:LCP)あるいはフッ素系樹脂を用いて形成されてもよい。RFIC110は、誘電体130の内側表面131に実装される。The
誘電体130の内側表面131に近い層には、内側表面131に沿う方向に延在する平板状の2枚の接地板GND1,GND2が設けられる。以下では、接地板GND1の法線方向を「X軸方向」、接地板GND1の延在方向であってアンテナ装置120の長さ方向に沿う方向を「Y軸方向」、X軸方向およびY軸方向に垂直な方向を「Z軸方向」とも称する。In the layer close to the
通信装置10の筐体11の厚さ(Z軸方向の長さ)Tは、筐体11のX軸方向の長さおよびY軸方向の長さに比べて、かなり短い。アンテナ装置120のZ軸方向の長さは、筐体11の薄い厚さTの制約を受ける。この点に鑑み、本実施の形態によるアンテナ装置120においては、Z軸方向の長さを小型化するための工夫が施されている。The thickness (length in the Z-axis direction) T of the
図4は、アンテナ装置120の内部をX軸方向から透視した図である。アンテナ装置120の内部には、複数のアンテナユニット125が、接地板の延在方向と平行なY軸方向に沿って並べて配置される。X軸方向からアンテナ装置120を透視したとき、各アンテナユニット125における第1放射板121と第2放射板122とは、互いに重なり合う部分を有する。FIG. 4 is a perspective view of the inside of the
図5は、アンテナ装置120の内部を透視した斜視図である。図6は、図4におけるアンテナ装置120のVI-VI断面図である。図5、図6を参照して、アンテナ装置120の構成についてさらに説明する。アンテナ装置120の説明においては、X軸の正方向を「上」とし、X軸の正方向を「下」として説明する場合がある。FIG. 5 is a perspective view of the inside of the
アンテナ装置120は、平板状の2枚の接地板GND1,GND2と、アンテナユニット125と、第1給電線141と、第2給電線142と、複数の第1接地ビア151と、複数の第2接地ビア152とを備える。The
接地板GND1,GND2は、誘電体130の下層に配置され、下層全体に亘ってY軸方向およびZ軸方向に延在するように構成される。接地板GND1,GND2は、互いに所定距離を隔ててX軸方向に並べて配置される。The ground plates GND1 and GND2 are arranged in the lower layer of the dielectric 130, and are configured to extend in the Y-axis direction and the Z-axis direction over the entire lower layer. The ground plates GND1 and GND2 are arranged side by side in the X-axis direction with a predetermined distance from each other.
アンテナユニット125に含まれる第1放射板121および第2放射板122は、どちらも、接地板GND1と対向するように配置される。第1放射板121は、第2放射板122よりも上層(接地板GND1から離れた位置)に配置される。Both the
第1放射板121のZ軸の負方向側の端部121aは、複数の第1接地ビア151によって接地板GND1に接続される。なお、図5には端部121aの全体が接地板GND1に接続される例が示されるが、端部121aの一部が接地板GND1に接続されるものであってもよい。以下では、第1接地ビア151によって接地板GND1に接続される、第1放射板121の端部121aを、「第1放射板121の接地端部121a」とも称する。The
第2放射板122のZ軸の負方向側の端部122aは、複数の第2接地ビア152によって接地板GND1に接続される。なお、図5には端部122aの全体が接地板GND1に接続される例が示されるが、端部122aの一部が接地板GND1に接続されるものであってもよい。以下では、第2接地ビア152によって接地板GND1に接続される、第2放射板122の端部122aを、「第2放射板122の接地端部122a」とも称する。The
第1放射板121の接地端部121aと第2放射板122の接地端部122aとは、Z軸方向において揃えられている。言い換えれば、X軸方向(接地板GND1の法線方向)からアンテナ装置120を透視したとき、第1放射板121の接地端部121aと第2放射板122の接地端部122aとは、互いに重なり合う部分を有する。The
さらに、第1接地ビア151は、第2放射板122の接地端部122aにも接続されている。したがって、第1接地ビア151と第2接地ビア152とは、互いに共用される部分を有する。すなわち、第1接地ビア151の一部(接地板GND1から第2放射板122の接地端部122aまでの部分)は、第2接地ビア152の一部としても機能する。さらに、第1放射板121の接地端部121aと第2放射板122の接地端部122aとは、第1接地ビア151の残りの一部(第1放射板121の接地端部122aから第2放射板122の接地端部121aまでの部分)によってX軸方向に直線的に接続される。Further, the first grounding via 151 is also connected to the
第1給電線141の下側の端部は、RFIC110に接続される。第1給電線141の上側の端部は、第1放射板121の給電点SP1に接続される。第1放射板121とRFIC110との間に配置される第2放射板122および接地板GND1,GND2は第1給電線141との接触を避けるための貫通穴を有しており、第1給電線141はこれらの貫通穴を通るように配置される。The lower end of the
RFIC110からの信号が第1給電線141を通って第1放射板121の給電点SP1に供給されることによって、第1放射板121からは、第1周波数f1(たとえば60GHz)帯域の高周波信号が放射される。なお、第1放射板121の給電点SP1が接地端部121aよりもZ軸の正方向の位置に配置されているため、第1放射板121からは、Z軸方向を励振方向とする偏波が、X軸の正方向(第1放射板121の法線方向)よりもZ軸の正方向側に傾いた方向に向けて放射される。By supplying the signal from the
第2給電線142は、第1給電線141とは別々に設けられる。第2給電線142の下側の端部は、RFIC110に接続される。第2給電線142の上側の端部は、第2放射板122の給電点SP2に接続される。第2放射板122とRFIC110との間に配置される接地板GND1,GND2は第2給電線142との接触を避けるための貫通穴を有しており、第2給電線142はこれらの貫通穴を通るように配置される。The
RFIC110からの信号が第2給電線142を通って第2放射板122の給電点SP2に供給されることによって、第2放射板122からは、第2周波数f2(たとえば28GHz)帯域の高周波信号が放射される。なお、第2放射板122の給電点SP2が接地端部122aよりもZ軸の正方向に配置されているため、第2放射板122からは、Z軸方向を励振方向とする偏波が、X軸の正方向(第2放射板122の法線方向)よりもZ軸の正方向側に傾いた方向に向けて放射される。By supplying the signal from the
一般的に、通常のパッチアンテナの放射板の長さは波長の2分の1程度とされるが、片側短絡型パッチアンテナの放射板の長さは波長の4分の1程度とされる。そのため、第1放射板121のZ軸方向の長さL1は、第1周波数f1(60GHz)の信号の波長の4分の1程度に設定される。第2放射板122のZ軸方向の長さL2は、第2周波数f2(28GHz)の信号の波長の4分の1程度に設定される。したがって、第1放射板121のZ軸方向の長さL1は、第2放射板122のZ軸方向の長さL2よりも短い。Generally, the length of the radiation plate of a normal patch antenna is about half of the wavelength, but the length of the radiation plate of a one-sided short-circuit type patch antenna is about one-fourth of the wavelength. Therefore, the length L1 of the
(アンテナ装置の特性)
以上のような構成を有するアンテナ装置120の特性について説明する。(Characteristics of antenna device)
The characteristics of the
上述のように、本実施の形態に係るアンテナ装置120においては、X軸方向(接地板GND1の法線方向)からアンテナ装置120を透視したとき、第1放射板121と第2放射板122とは互いに重なり合う部分を有する。これにより、たとえば第1放射板121と第2放射板122とが重なり合うことなくZ軸方向に並べて配置される場合に比べて、アンテナユニット125のZ軸方向のサイズを小さくすることが可能になる。なお、アンテナユニット125、第1放射板121、第2放射板122、および接地板GND1は、本開示の「アンテナユニット」、「第1放射板」、「第2放射板」、および「接地板」にそれぞれ対応し得る。As described above, in the
さらに、第1放射板121は、接地板GND1に接続されない通常のパッチアンテナではなく、片側の接地端部121aが接地板GND1に接続された片側短絡型パッチアンテナである。また、第2放射板122も、接地板GND1に接続されない通常のパッチアンテナではなく、片側の接地端部122aが接地板GND1に接続された片側短絡型パッチアンテナである。そのため、本実施の形態に係るアンテナ装置120においては、通常のパッチアンテナを用いる場合に比べて、第1放射板121のZ軸方向の長さL1および第2放射板122のZ軸方向の長さL2をそれぞれ約半分にすることができ、アンテナ装置120のZ軸方向のサイズをより小さくすることが可能となる。なお、接地端部121aおよび接地端部122aは、本開示の「第1接地端部」および「第2接地端部」にそれぞれ対応し得る。Further, the
さらに、第1放射板121の給電点SP1に接続される第1給電線141と、第2放射板122の給電点SP2に接続される第2給電線142とが、別々に設けられる。これにより、第1給電線141の長さと第2給電線142の長さとを個別に調整することができるため、インピーダンス調整を容易に行なうことができ、放射特性を改善し易くすることができる。なお、第1給電線141および第2給電線142は、本開示の「第1給電線」および「第2給電線」にそれぞれ対応し得る。Further, a
以上のように、本実施の形態においては、小型化が可能で、かつ放射特性を改善し易い、デュアルバンド型のアンテナ装置120が実現される。As described above, in the present embodiment, the dual band
さらに、本実施の形態に係るアンテナ装置120においては、第1放射板121の接地端部121aと第2放射板122の接地端部122aとは、Z軸方向において揃えられている。言い換えれば、X軸方向からアンテナ装置120を透視したとき、第1放射板121の接地端部121aと第2放射板122の接地端部122aとは、互いに重なり合う部分を有する。そのため、たとえば第1放射板121の接地端部121aが第2放射板122の接地端部122aよりもZ軸の負方向にずれている場合に比べて、アンテナ装置120のZ軸方向のサイズをより小さくすることが可能となる。Further, in the
さらに、本実施の形態に係るアンテナ装置120においては、第1接地ビア151と第2接地ビア152とは互いに共用される部分を有する。すなわち、第1接地ビア151の一部(接地板GND1から第2放射板122の接地端部122aまでの部分)は、第2接地ビア152の一部としても機能する。そのため、第1接地ビア151と第2接地ビア152とが互いに共用される部分を有しない場合に比べて、第1接地ビア151および第2接地ビア152の構成を簡素化できる。なお、第1接地ビア151および第2接地ビア152は、本開示の「第1接地線」および「第2接地線」にそれぞれ対応し得る。Further, in the
さらに、本実施の形態に係るアンテナ装置120においては、第1放射板121の接地端部121aと第2放射板122の接地端部122aとが、第1接地ビア151の残りの一部(第1放射板121の接地端部122aから第2放射板122の接地端部121aまでの部分)によって、X軸方向に直線的に接続される。そのため、第1接地ビア151の長さを短くすることができる。Further, in the
さらに、本実施の形態に係るアンテナ装置120においては、複数のアンテナユニット125が接地板GND1の延在方向と平行なY軸方向に沿って並べて配置される。これにより、デュアルバンド型のアレイアンテナが実現される。Further, in the
<変形例1>
上述の実施の形態に係るアンテナ装置120においては、誘電体130が1つの基板で形成されており、接地端部121a,122aと接地板GND1,GND2とが1つの基板に設けられる。しかしながら、誘電体130をX軸方向に所定間隔を隔てて配置された複数の基板で形成し、接地端部121a,122aと接地板GND1,GND2とを別々の基板に設けるようにしてもよい。<Modification example 1>
In the
図7は、本変形例1に係るアンテナ装置120Hの断面図である。アンテナ装置120Hは、上述のアンテナ装置120の誘電体130を、誘電体130Hに変更したものである。誘電体130Hは、X軸方向に所定間隔を隔てて配置された第1基板130aおよび第2基板130bを備える。第1基板130aと第2基板130bとは、はんだバンプ160もしくは接着により接続される。第1放射板121の接地端部121aおよび第2放射板122の接地端部122aは第1基板130aに設けられ、接地板GND1,GND2は第2基板130bに設けられる。接地端部121a,122aは、はんだバンプ160もしくは接着により接地板GND1に接続される。このようなアンテナ装置120Hであってもよい。FIG. 7 is a cross-sectional view of the
なお、第1放射板121および第2放射板122が形成される第1基板130aは、筐体(たとえば通信装置10を覆う樹脂製のハウジング)の一部によって構成されてもよい。また、はんだバンプ160は、ポゴピンなどの電気接点部であってもよい。The
<変形例2>
上述の実施の形態に係るアンテナ装置120においては、第1放射板121の接地端部121aと第2放射板122の接地端部122aとがZ軸方向において揃えられている。しかしながら、第1放射板121の接地端部121aと第2放射板122の接地端部122aとがZ軸方向にずれていてもよい。<Modification 2>
In the
図8は、本変形例2に係るアンテナ装置120Aの断面図である。アンテナ装置120Aは、上述のアンテナ装置120のアンテナユニット125および第1接地ビア151を、それぞれアンテナユニット125Aおよび第1接地ビア151Aに変更したものである。FIG. 8 is a cross-sectional view of the
アンテナユニット125Aは、上述のアンテナユニット125に対して、第1放射板121の接地端部121aが第2放射板122の接地端部122aよりもZ軸の負方向にずれている点が異なる。アンテナユニット125Aのその他の点は上述のアンテナユニット125と同じである。The
第1接地ビア151Aは、上述の第1接地ビア151に対して、第2放射板122の接地端部122aから第1放射板121の接地端部121aまでの部分が、Z軸の負方向にずれている点が異なる。第1接地ビア151Aのその他の点は上述の第1接地ビア151と同じである。In the first grounding via 151A, the portion from the grounding
このように、第1放射板121の接地端部121aと第2放射板122の接地端部122aとがZ軸方向にずれていてもよい。In this way, the ground
図9は、本変形例2に係る他のアンテナ装置120Bの断面図である。アンテナ装置120Bは、上述のアンテナ装置120のアンテナユニット125、第1接地ビア151および第2接地ビア152を、それぞれアンテナユニット125B、第1接地ビア151Bおよび第2接地ビア152Bに変更したものである。その他の構造は、上述のアンテナ装置120と同じであるため、ここでの詳細な説明は繰返さない。FIG. 9 is a cross-sectional view of another
アンテナユニット125Bは、上述のアンテナユニット125に対して、第1放射板121の接地端部121aが第2放射板122の接地端部122aよりもZ軸の負方向にずれている点が異なる。アンテナユニット125Bのその他の点は上述のアンテナユニット125と同じである。The
第1接地ビア151Bは、第2放射板122の接地端部122aには接続されていない。すなわち、第1接地ビア151Bと第2接地ビア152Bとは別々に設けられ、互いに共有する部分を有しない。The first grounding via 151B is not connected to the
このように、第1放射板121の接地端部121aと第2放射板122の接地端部122aとがZ軸方向にずれており、かつ第1接地ビア151Bと第2接地ビア152Bとが別々に設けられるようにしてもよい。In this way, the grounding
<変形例3>
上述の変形例2に係る他のアンテナ装置120B(図9参照)においては、第1接地ビア151Bと第2接地ビア152Bとが別々に設けられるが、第1接地ビア151Bと第2接地ビア152Bとがどちらも各放射板121,122の面中心に対して同じ側(Z軸負方向側)に設けられる。<Modification example 3>
In the
しかしながら、第1接地ビア151Bと第2接地ビア152Bとが各放射板121,122の面中心に対して互いに異なる側に設けられるようにしてもよい。However, the first grounding via 151B and the second grounding via 152B may be provided on different sides of the surface centers of the
図10は、本変形例3に係るアンテナ装置120Iの断面図である。アンテナ装置120Iは、上述のアンテナ装置120Bの第2接地ビア152Bを、第2放射板122の面中心よりも右側(Z軸正方向側)に移動させたものである。これにより、アンテナ装置120Iにおいては、第1接地ビア151Bが第1放射板121の面中心よりも左側(Z軸負方向側)に設けられ、第2接地ビア152Bが第2放射板122の面中心よりも右側(Z軸正方向側)に設けられる。このような配置によって、第1放射板121の放射方向と第2放射板122の放射方向とを互いに異ならせることができる。FIG. 10 is a cross-sectional view of the antenna device 120I according to the third modification. The antenna device 120I is a device in which the second grounding via 152B of the above-mentioned
<変形例4>
上述の実施の形態においてはデュアルバンド型のアンテナ装置120について説明したが、トリプルバンド型のアンテナ装置に変形してもよい。<Modification example 4>
Although the dual-band
図11は、本変形例4によるアンテナ装置120Cの断面図である。アンテナ装置120Cにおいては、上述のアンテナ装置120のアンテナユニット125が、アンテナユニット125Cに変更されている。FIG. 11 is a cross-sectional view of the
アンテナユニット125Cは、第1放射板121と第2放射板122に加えて、放射板123を含む。すなわち、アンテナユニット125Cは、上述のアンテナユニット125に対して、放射板123が追加されている。なお、アンテナユニット125Cおよび放射板123は、本開示の「アンテナユニット」および「第5放射板」にそれぞれ対応し得る。The
放射板123は、第1放射板121と第2放射板122との間に配置される。放射板123の給電点SP3は、第3給電線143を介してRFIC110に接続される。放射板123の接地端部(Z軸の負方向側の端部)123aは、第3接地ビア153Cを介して接地板GND1に接続される。放射板123は、第1放射板121および第2放射板122と同様、片側短絡型パッチアンテナ(板状の逆Fアンテナ)である。The
X軸方向(接地板GND1の法線方向)からアンテナ装置120を透視したとき、第1放射板121、第2放射板122および放射板123は、互いに重なり合う部分を有する。第1放射板121の接地端部121a、第2放射板122の接地端部122a、および放射板123の接地端部123aは、Z軸方向において揃えられている。なお、第1放射板121の接地端部121aは、第1接地ビア151Cを介して接地板GND1に接続される。第2放射板122の接地端部122aは、第2接地ビア152Cを介して接地板GND1に接続される。When the
第1接地ビア151Cは、第2放射板122の接地端部122aおよび放射板123の接地端部123aにも接続される。第3接地ビア153Cは、第2放射板122の接地端部122aにも接続される。したがって、第1接地ビア151C、第2接地ビア152Cおよび第3接地ビア153Cは、互いに共用される部分を有する。The first grounding via 151C is also connected to the
RFIC110からの信号が第3給電線143を通って放射板123の給電点SP3に供給されることによって、放射板123からは、第1周波数f1(たとえば60GHz)帯域と第2周波数f2(たとえば28GHz)帯域との間の第3周波数f3(たとえば39GHz)帯域の高周波信号が放射される。By supplying the signal from the
放射板123のZ軸方向の長さL3は、第3周波数f3(たとえば39GHz)の高周波信号の波長の4分の1程度に設定される。したがって、放射板123のZ軸方向の長さL3は、第1放射板121のZ軸方向の長さL1よりも長く、第2放射板122のZ軸方向の長さL2よりも短い。The length L3 of the
以上のように、異なる周波数を放射する3つの片側短絡型パッチアンテナを重ねたトリプルバンド型のアンテナ装置120Cとしてもよい。As described above, the triple band
<変形例5>
上述の実施の形態においては、複数のアンテナユニット125がY軸方向に沿って並べて配置される例について説明した。<Modification 5>
In the above-described embodiment, an example in which a plurality of
しかしながら、複数のアンテナユニット125の間に、アンテナユニット125とは異なるアンテナを配置するようにしてもよい。However, an antenna different from the
図12は、本変形例5によるアンテナ装置120Dの内部をX軸方向から透視した図である。アンテナ装置120Dにおいては、複数のアンテナユニット125が、接地板GND1の延在方向と平行なY軸方向に沿って並べて配置される。さらに、複数のアンテナユニット125の間には、アンテナユニット125とは異なるアンテナユニット125Dがそれぞれ配置される。FIG. 12 is a perspective view of the inside of the
アンテナユニット125の各々は、第1放射板121と放射板123とを含み、第1周波数f1(たとえば60GHz)帯域と第2周波数f2(たとえば28GHz)帯域との高周波信号を放射するように構成される。Each of the
また、アンテナユニット125Dの各々は、第1放射板121と放射板123とを含み、第1周波数f1(たとえば60GHz)帯域と第3周波数f3(たとえば39GHz)帯域との高周波信号を放射するように構成される。アンテナユニット125Dは、上述のアンテナユニット125Cから、第2放射板122および第2給電線142を取り除いたものである。アンテナユニット125Dにおける第1放射板121および放射板123は、本開示の「第3放射板」および「第4放射板」にそれぞれ対応し得る。Further, each of the
アンテナユニット125の第1放射板121および第2放射板122の接地端部、並びに、アンテナユニット125Dの第1放射板121および放射板123の接地端部は、Z軸方向において揃うように配置される。The grounding ends of the
以上のように、第1周波数f1と第2周波数f2とに対応可能なデュアルバンド型のアンテナユニット125と、第1周波数f1と第3周波数f3とに対応可能なデュアルバンド型のアンテナユニット125Dとを、Y軸方向に交互に配置するようにしてもよい。これにより、第1周波数f1、第2周波数f2および第3周波数f3に対応可能なトリプルバンド型のアレイアンテナを形成することができる。As described above, the dual band
特に、アンテナ装置120Dにおいては、第1周波数f1、第2周波数f2および第3周波数f3のうち、最も高い第1周波数f1の信号を放射する第1放射板121が、アンテナユニット125およびアンテナユニット125Dの双方に含まれる。そのため、最も高い第1周波数f1に対応する第1放射板121の配置間隔を、他の第2放射板122、放射板123の配置間隔よりも小さくすることができる。これにより、第1周波数f1の信号が放射される際のサイドローブレベルを低減することができる。In particular, in the
一般的に、アレイアンテナを形成する場合、隣接するアンテナの面中心同士の距離を波長の2分の1程度にすることが望ましく、面中心同士の距離が波長の2分の1よりも大きいほど、サイドローブレベルが悪化することが懸念される。この点を踏まえ、アンテナ装置120Dにおいては、最も波長の短い第1周波数f1の信号を放射する第1放射板121をアンテナユニット125およびアンテナユニット125Dの双方に含めることで、第1放射板121の配置間隔を小さくしている。これにより、第1周波数f1の信号が放射される際のサイドローブレベルを低減することができる。Generally, when forming an array antenna, it is desirable that the distance between the surface centers of adjacent antennas is about half of the wavelength, and the distance between the surface centers is larger than one half of the wavelength. , There is concern that the side lobe level will deteriorate. Based on this point, in the
図13は、本変形例5による他のアンテナ装置120Eの内部をX軸方向から透視した図である。アンテナ装置120Eにおいては、複数のアンテナユニット125Cが、接地板GND1の延在方向と平行なY軸方向に沿って並べて配置される。さらに、複数のアンテナユニット125Cの間には、アンテナユニット125Cとは異なるアンテナ125Eが配置される。FIG. 13 is a perspective view of the inside of the
アンテナユニット125Cの各々は、上述の図11に示したように、第1放射板121、第2放射板122および放射板123を含み、第1周波数f1、第2周波数f2および第3周波数f3に対応可能なトリプルバンド型のアンテナである。As shown in FIG. 11 above, each of the
また、アンテナ125Eの各々には、第1周波数f1帯域の高周波信号を放射する第1放射板121が配置される。アンテナ125Eは、上述のアンテナユニット125から、第2放射板122および第2給電線142を取り除いたものである。アンテナ125Eにおける第1放射板121は、本開示の「第3放射板」に対応し得る。Further, a
アンテナユニット125Cの第1放射板121、第2放射板122および放射板123の接地端部、並びに、アンテナ125Eの第1放射板121の接地端部は、Z軸方向において揃うように配置される。The ground ends of the
以上のように、第1周波数f1、第2周波数f2および第3周波数f3に対応可能なトリプルバンド型のアンテナユニット125Cと、第1周波数f1に対応可能なシングルバンド型のアンテナ125Eとを、Y軸方向に交互に配置するようにしてもよい。これにより、第1周波数f1、第2周波数f2および第3周波数f3に対応可能なトリプルバンド型のアレイアンテナを形成することができる。As described above, the triple band
また、アンテナ装置120Eにおいても、上述のアンテナ装置120Dと同様に、第1周波数f1、第2周波数f2および第3周波数f3のうち、最も高い第1周波数f1の信号を放射する第1放射板121が、アンテナユニット125Cおよびアンテナ125Eの双方に含まれる。これにより、最も波長が短い第1周波数f1の信号を放射する第1放射板121の配置間隔を短くすることができる。そのため、第1周波数f1の信号が放射される際のサイドローブレベルを低減することができる。Further, also in the
<変形例6>
上述の実施の形態においては片側短絡型パッチアンテナを設ける例について説明したが、片側短絡型パッチアンテナに加えて通常のパッチアンテナを設けるようにしてもよい。<Modification 6>
In the above-described embodiment, an example in which a one-sided short-circuit type patch antenna is provided has been described, but a normal patch antenna may be provided in addition to the one-sided short-circuit type patch antenna.
図14は、本変形例6によるアンテナ装置120Fの内部をX軸方向から透視した図である。アンテナ装置120Fは、上述のアンテナ装置120Eに対して、複数のアンテナユニット128,128Dを追加したものである。その他の構造は、上述のアンテナ装置120Eと同じであるため、ここでの詳細な説明は繰返さない。FIG. 14 is a perspective view of the inside of the
アンテナユニット128とアンテナユニット128Dとは、Y軸方向に交互に並べられた状態で、アンテナユニット125,125Dに対してZ軸の負方向側に隣接して配置される。なお、アンテナユニット128,128Dは、本開示の「放射電極」に対応し得る。The
アンテナユニット128は、第1周波数f1および第2周波数f2に対応可能なデュアルバンド型のアンテナである。具体的には、アンテナユニット128は、第1周波数f1帯域の高周波信号を放射する放射板126と、第2周波数f2帯域の高周波信号を放射する放射板127とを含む。放射板126,127は、どちらも、接地板GND1に対向して配置され、接地板GND1には接続されない通常のパッチアンテナである。言い換えれば、アンテナユニット128は、片側短絡型パッチアンテナである上述のアンテナユニット125を、通常のパッチアンテナのユニットに変更したものである。The
アンテナユニット128Dは、第1周波数f1および第3周波数f3に対応可能なデュアルバンド型のアンテナである。具体的には、アンテナユニット128Dは、第1周波数f1帯域の高周波信号を放射する放射板126と、第3周波数f3帯域の高周波信号を放射する放射板129とを含む。放射板126,129は、どちらも、接地板GND1に対向して配置され、接地板GND1には接続されない通常のパッチアンテナである。言い換えれば、アンテナユニット128Dは、片側短絡型パッチアンテナである上述のアンテナユニット125Dを、通常のパッチアンテナのユニットに変更したものである。The
このように、片側短絡型パッチアンテナのユニットであるアンテナユニット125,125Dに加えて、通常のパッチアンテナのユニットであるアンテナユニット128,128Dを追加することによって、X軸の正方向に放射される信号強度を増加させることができる。具体的には、片側短絡型パッチアンテナであるアンテナユニット125,125Dに含まれる放射板の接地端部は、いずれも、アンテナユニット128,128Dが設けられる側、すなわちZ軸の負方向側に配置されている。この場合、アンテナユニット125,125Dからは、X軸の正方向よりもZ軸の正方向側に傾いた方向に強い信号が放射される。これに対し、通常のパッチアンテナであるアンテナユニット128,128Dからは、X軸の正方向に強い信号が放射される。これにより、より広い範囲に強い電波を放射することが可能になる。In this way, by adding the
図15は、本変形例6による他のアンテナ装置120Gの内部をX軸方向から透視した図である。アンテナ装置120Gは、上述のアンテナ装置120Fに対して、アンテナユニット128,128DのZ軸の負方向側にも、アンテナユニット125,125Dを追加したものである。その他の構造は、上述のアンテナ装置120Fと同じであるため、ここでの詳細な説明は繰返さない。FIG. 15 is a perspective view of the inside of the
図15に示すように、アンテナ装置120Gにおいては、アンテナユニット125,125Dが、アンテナユニット128,128Dを挟んで、アンテナユニット128,128DのZ軸の正方向側と負方向側の両方に設けられる。なお、アンテナユニット128,128DのZ軸の正方向側に設けられるアンテナユニット125,125Dは、本開示の「第1のアンテナユニット」に対応し得る。アンテナユニット128,128DのZ軸の負方向側に設けられるアンテナユニット125,125Dは、本開示の「第2のアンテナユニット」に対応し得る。As shown in FIG. 15, in the
アンテナユニット128,128DのZ軸の正方向側に設けられるアンテナユニット125,125Dに含まれる放射板の接地端部は、アンテナユニット128,128Dが設けられる側(Z軸の負方向側)に配置されている。The grounding end of the radiation plate included in the
また、アンテナユニット128,128DのZ軸の負方向側に設けられるアンテナユニット125,125Dに含まれる放射板の接地端部も、アンテナユニット128,128Dが設けられる側(Z軸の正方向側)に配置されている。Further, the grounding end of the radiation plate included in the
このように、通常のパッチアンテナであるアンテナユニット128,128Dの両側に、片側短絡型パッチアンテナであるアンテナユニット125,125Dを配置することによって、より広い範囲に強い電波を放射することが可能になる。具体的には、X軸の正方向よりもZ軸の正方向側に傾いた方向、X軸の正方向、およびX軸の正方向よりもZ軸の負方向側に傾いた方向に、より強い電波を放射することができる。In this way, by arranging the
なお、上述の図14,図15においては、片側短絡型パッチアンテナに加えて通常のパッチアンテナが追加される例を示したが、追加されるアンテナは、通常のパッチアンテナに限定されない。たとえば、通常のパッチアンテナに代えてあるいは加えて、ダイポールアンテナが追加されるようにしてもよい。Note that, in FIGS. 14 and 15 described above, an example in which a normal patch antenna is added in addition to the one-sided short-circuit type patch antenna is shown, but the added antenna is not limited to the normal patch antenna. For example, a dipole antenna may be added in place of or in addition to the normal patch antenna.
今回開示された実施の形態は、すべての点で例示であって制限的なものではないと考えられるべきである。本開示の範囲は、上記した実施の形態の説明ではなくて請求の範囲によって示され、請求の範囲と均等の意味および範囲内でのすべての変更が含まれることが意図される。The embodiments disclosed this time should be considered to be exemplary in all respects and not restrictive. The scope of the present disclosure is indicated by the claims rather than the description of the embodiments described above, and is intended to include all modifications within the meaning and scope equivalent to the claims.
10 通信装置、11 筐体、20 実装基板、21 主面、22 側面、100 アンテナモジュール、111A~111H,113A~113H,117A,117B スイッチ、112AR~112HR ローノイズアンプ、112AT~112HT パワーアンプ、114A,114D,114E,114H 減衰器、115A,115D,115E,115H 移相器、116A,116B 分波器、118A,118B ミキサ、119A,119B 増幅回路、120,120A~120I アンテナ装置、121 第1放射板、121a,122a,123a 接地端部、122 第2放射板、123,126,127,129 放射板、125,125A~125D,128,128D アンテナユニット、125E アンテナ、130,130H 誘電体、131 内側表面、132 外側表面、141 第1給電線、142 第2給電線、143 第3給電線、151,151A,151B,151C 第1接地ビア、152,152B,152C 第2接地ビア、153C 第3接地ビア、160 接続線、GND1,GND2 接地板、SP1,SP2,SP3 給電点。10 communication device, 11 housing, 20 mounting board, 21 main surface, 22 side surface, 100 antenna module, 111A to 111H, 113A to 113H, 117A, 117B switch, 112AR to 112HR low noise amplifier, 112AT to 112HT power amplifier, 114A, 114D, 114E, 114H attenuator, 115A, 115D, 115E, 115H phase shifter, 116A, 116B demultiplexer, 118A, 118B mixer, 119A, 119B amplification circuit, 120, 120A to 120I antenna device, 121 first radiation plate , 121a, 122a, 123a Grounding end, 122 second radiator plate, 123,126,127,129 radiator plate, 125,125A to 125D, 128,128D antenna unit, 125E antenna, 130,130H dielectric, 131 inner surface , 132 outer surface, 141 1st feed line, 142 2nd feed line, 143 3rd feed line, 151, 151A, 151B, 151C 1st ground via, 152, 152B, 152C 2nd ground via, 153C 3rd ground via , 160 connection line, GND1, GND2 ground plate, SP1, SP2, SP3 feed point.
| Application Number | Priority Date | Filing Date | Title |
|---|---|---|---|
| JP2019138713 | 2019-07-29 | ||
| JP2019-138713 | 2019-07-29 |
| Publication Number | Publication Date |
|---|---|
| WO2021019899A1true WO2021019899A1 (en) | 2021-02-04 |
| Application Number | Title | Priority Date | Filing Date |
|---|---|---|---|
| PCT/JP2020/021683CeasedWO2021019899A1 (en) | 2019-07-29 | 2020-06-02 | Antenna device, antenna module, and communication device |
| Country | Link |
|---|---|
| WO (1) | WO2021019899A1 (en) |
| Publication number | Priority date | Publication date | Assignee | Title |
|---|---|---|---|---|
| JP2023106136A (en)* | 2022-01-20 | 2023-08-01 | タイコエレクトロニクスジャパン合同会社 | Antenna composite body |
| US20240266738A1 (en)* | 2021-07-29 | 2024-08-08 | Lg Electronics Inc. | Antenna module and electronic device comprising same |
| Publication number | Priority date | Publication date | Assignee | Title |
|---|---|---|---|---|
| GB2147744A (en)* | 1983-10-04 | 1985-05-15 | Dassault Electronique | A radiating device with an improved microstrip structure and its application to an adaptable antenna |
| JPS63144606A (en)* | 1986-11-29 | 1988-06-16 | ノーザン テレコム リミテッド | Circularly polarized wave antenna |
| JPS63131408U (en)* | 1987-02-18 | 1988-08-29 | ||
| JPH05211406A (en)* | 1991-07-01 | 1993-08-20 | Ball Corp | Stacked microstrip antenna for multi- frequency use |
| JPH11150415A (en)* | 1997-11-17 | 1999-06-02 | Toshiba Corp | Multi-frequency antenna |
| JP2001028511A (en)* | 1999-07-13 | 2001-01-30 | Hitachi Ltd | Planar antenna and applied device using the same |
| Publication number | Priority date | Publication date | Assignee | Title |
|---|---|---|---|---|
| GB2147744A (en)* | 1983-10-04 | 1985-05-15 | Dassault Electronique | A radiating device with an improved microstrip structure and its application to an adaptable antenna |
| JPS63144606A (en)* | 1986-11-29 | 1988-06-16 | ノーザン テレコム リミテッド | Circularly polarized wave antenna |
| JPS63131408U (en)* | 1987-02-18 | 1988-08-29 | ||
| JPH05211406A (en)* | 1991-07-01 | 1993-08-20 | Ball Corp | Stacked microstrip antenna for multi- frequency use |
| JPH11150415A (en)* | 1997-11-17 | 1999-06-02 | Toshiba Corp | Multi-frequency antenna |
| JP2001028511A (en)* | 1999-07-13 | 2001-01-30 | Hitachi Ltd | Planar antenna and applied device using the same |
| Publication number | Priority date | Publication date | Assignee | Title |
|---|---|---|---|---|
| US20240266738A1 (en)* | 2021-07-29 | 2024-08-08 | Lg Electronics Inc. | Antenna module and electronic device comprising same |
| US12119564B2 (en)* | 2021-07-29 | 2024-10-15 | Lg Electronics Inc. | Antenna module and electronic device comprising same |
| JP2023106136A (en)* | 2022-01-20 | 2023-08-01 | タイコエレクトロニクスジャパン合同会社 | Antenna composite body |
| Publication | Publication Date | Title |
|---|---|---|
| US11631936B2 (en) | Antenna device | |
| CN112640209B (en) | Antenna module and communication device equipped with the same | |
| JP7047918B2 (en) | Antenna module | |
| WO2019163419A1 (en) | Antenna module and communication device installed therein | |
| WO2020261920A1 (en) | Flexible substrate and antenna module provided with flexible substrate | |
| WO2020145392A1 (en) | Antenna module and communication device with same mounted thereon | |
| WO2023037806A1 (en) | Antenna module and communication device having same mounted thereon | |
| WO2020217971A1 (en) | Antenna module, and communication device equipped with same | |
| WO2023047801A1 (en) | Antenna module and communication device equipped with same | |
| WO2022185917A1 (en) | Antenna module and communication device equipped with same | |
| US20250260157A1 (en) | Antenna module and communication apparatus including the same | |
| JP7544251B2 (en) | Antenna module and communication device equipped with same | |
| WO2021019899A1 (en) | Antenna device, antenna module, and communication device | |
| WO2021039075A1 (en) | Antenna module, communication device having antenna module mounted thereon, and circuit board | |
| US12126089B2 (en) | Antenna device, antenna module, and communication device | |
| WO2020240998A1 (en) | Antenna module, and communication device equipped with same | |
| JP6798656B1 (en) | Antenna module and communication device equipped with it | |
| US20240178567A1 (en) | Antenna module and communication apparatus equipped with the same | |
| WO2023188785A1 (en) | Antenna module, and communication device having same mounted thereon | |
| CN115136413B (en) | Antenna module and communication device equipped with same | |
| WO2023090182A1 (en) | Antenna module, and communication device equipped with same | |
| WO2022230383A1 (en) | Antenna module and communication device equipped with same | |
| WO2022004111A1 (en) | Antenna module and communication device equipped with same | |
| US20250183555A1 (en) | Antenna module and communication device equipped with the same | |
| WO2025033014A1 (en) | Antenna module, substrate connection structure, and communication device |
| Date | Code | Title | Description |
|---|---|---|---|
| 121 | Ep: the epo has been informed by wipo that ep was designated in this application | Ref document number:20847506 Country of ref document:EP Kind code of ref document:A1 | |
| NENP | Non-entry into the national phase | Ref country code:DE | |
| 122 | Ep: pct application non-entry in european phase | Ref document number:20847506 Country of ref document:EP Kind code of ref document:A1 | |
| NENP | Non-entry into the national phase | Ref country code:JP |