Movatterモバイル変換


[0]ホーム

URL:


WO2021018271A1 - Mobile ultrasound imaging systems - Google Patents

Mobile ultrasound imaging systems
Download PDF

Info

Publication number
WO2021018271A1
WO2021018271A1PCT/CN2020/106074CN2020106074WWO2021018271A1WO 2021018271 A1WO2021018271 A1WO 2021018271A1CN 2020106074 WCN2020106074 WCN 2020106074WWO 2021018271 A1WO2021018271 A1WO 2021018271A1
Authority
WO
WIPO (PCT)
Prior art keywords
imaging system
ultrasound
display unit
ultrasound imaging
mobile
Prior art date
Legal status (The legal status is an assumption and is not a legal conclusion. Google has not performed a legal analysis and makes no representation as to the accuracy of the status listed.)
Ceased
Application number
PCT/CN2020/106074
Other languages
French (fr)
Inventor
Jinli Qu
Wenjie Liu
Current Assignee (The listed assignees may be inaccurate. Google has not performed a legal analysis and makes no representation or warranty as to the accuracy of the list.)
Shandong Medsensing Technologies Co Ltd
Original Assignee
Shandong Medsensing Technologies Co Ltd
Priority date (The priority date is an assumption and is not a legal conclusion. Google has not performed a legal analysis and makes no representation as to the accuracy of the date listed.)
Filing date
Publication date
Application filed by Shandong Medsensing Technologies Co LtdfiledCriticalShandong Medsensing Technologies Co Ltd
Publication of WO2021018271A1publicationCriticalpatent/WO2021018271A1/en
Anticipated expirationlegal-statusCritical
Ceasedlegal-statusCriticalCurrent

Links

Images

Classifications

Definitions

Landscapes

Abstract

Mobile ultrasound imaging systems are provided, each of which includes a display unit (3); an ultrasound probe (1); and a multi-directional pivot (2) connecting the display unit (3) and the ultrasound probe (1). The multi-directional pivot (2) comprises a hollow structure, through which an internal cable passes and connects the display unit (3) and the ultrasound probe (1), thereby obviating having an external cable for connecting the display unit (3) and the ultrasound probe (1). The multi-directional pivot (2) enables rotation of the display unit (3) about at least two different rotation axes (21, 22) with respect to the ultrasound probe (1).

Description

MOBILE ULTRASOUND IMAGING SYSTEMS
Cross-Reference to Related Application
This application claims priority to PCT Application No. PCT/CN2019/098919, filed on August 1, 2019, the contents of which are incorporated herein by reference in their entirety.
Field of the Invention
The present invention generally relates to the field of ultrasound imaging systems, and more specifically relates to mobile ultrasound imaging systems with multi-directional pivot.
Background of the Invention
Conventionally, an ultrasound imaging system usually includes a host workstation and several ultrasound probes. Generally, each probe is connected to the host workstation through a coaxial cable. The ultrasound probe includes ultrasound transducer array arranged in multiple rows and columns, for converting the electrical signals into ultrasound signals and to the coaxial cable with a connector. These array elements are driven by one or a series of electrical high-voltage pulses to send an ultrasound pressure signal into a human body, thereby generating reflected and scattered echo waves at boundaries between different human tissues. Typically, the back-scattered echo waves are received by the transducer array elements, which are then called echo signals. The echo signals are converted to electrical signals by the transducers, then transmitted to the host workstation by a flexible coax cable, and further processed by the host workstation to generate 2D or 3D images of the field of interest. Such host workstations in the conventional approaches are usually inconvenient to move due to their large sizes, and therefore are only suitable for medical examinations in designated offices of hospitals. Nevertheless, sometimes doctors need to perform an ultrasound examination by the patient's bedside when they are checking the ward, or give the patient an examination outside of the hospital. As such, a lightweight, portable ultrasound imaging system is needed in those situations. Moreover, there are many other medical applications, such as emergency care, primary care, and sport medicine, all requiring the contribution of a portable ultrasound system.
Recently some portable ultrasound imaging devices have been developed, which help the doctors examine and diagnose a patient in the patient’s room or outside of the hospital. However,  there are many drawbacks for the conventional mobile ultrasound imaging devices. Fig. 1 illustrates a typical conventional mobile ultrasound imaging system. As shown in Fig. 1, the conventional mobile ultrasound imaging system includes display unit 300, ultrasound probe 100, and flexible coax cable 200 connecting display unit 300 and probe 100. When in use, the system requires an operator to use one hand to hold probe 100 to scan on a patient’s body, and to use the other hand to hold display unit 300. As a result, during the scanning process, the operator cannot operate probe 100 and operate display unit 300 simultaneously, such as zooming in and out images, switching mode and/or inserting a biopsy needle.
More approaches have been utilized for portable ultrasound imaging. U.S. Patent Application Publication No. 2015/0245816 describes an ultrasound imaging system comprising an ultrasound image acquisition station and a mobile display device. U.S. Patent Application Publication No. 2015/0038844 describes a portable ultrasound imaging system including a mobile computing device and a detachable front-end component movably mounted to the mobile computing device. U.S. Patent No. 9,545,240 describes a portable ultrasound system including a keyboard unit and a display united, both mounted on a main body unit. Chinese Patent Application Publication No. 107822659A describes an idea for a portable ultrasound system including an ultrasonic main frame and a small probe module with limited single-axis rotation.
The present invention provides further improved mobile ultrasound imaging systems, which could be held by one hand, and are easy and convenient to carry, use and store.
Summary of the Invention
The present invention in general relates to a novel type of mobile ultrasound imaging systems with multi-directional pivot connection.
One aspect of this invention utilizes a multi-directional pivot, which can be a hollow structure, for directly connecting a display unit and an ultrasound probe mechanically. The hollow structure can be used as a secured internal passage for electrical connection wires between the display unit and the ultrasound probe, thereby obviating the use of any external flexible coax cable for such connections. As such, the integrated structure of the system allows the operator to hold the system (e.g., by holding the probe part) using a single hand. As such, during the scanning process, the operator may simultaneously use the other hand to operate on the touch screen and/or perform a needle intervention surgery.
Another aspect of this invention provides a multi-directional pivot connection between the display unit and the ultrasound probe. Due to the novel structures and uses of the multi-directional pivot as described in this invention, the display unit of the system is able to rotate about two or more different rotation axes with respect to the probe. This provides great advantages and improved convenience for the operator to position and adapt the portable system, for more accurately and easily performing the scanning process and/or other desired operations.
A further aspect of this invention provides integrated, preferred shapes of the mobile ultrasound imaging system. For instance, the relatively flat-shaped display unit and probe, together with the multi-directional pivot connecting thereto, can allow easier handling and storage of the apparatus.
As further described in this document, the present invention provides varies assemblies of mobile ultrasound imaging systems (with varies assemblies of the multi-directional pivot and different locations and positioning of the subcomponents, such as battery and LED light) .
In one aspect, the present invention provides a mobile ultrasound imaging system comprising: a display unit; an ultrasound probe; and a multi-directional pivot connecting the display unit and the ultrasound probe, wherein the multi-directional pivot comprises a hollow structure, through which an internal cable passes and connects the display unit and the ultrasound probe (e.g., to provide electrical wire connections between the display unit and the ultrasound probe) , thereby obviating having an external cable for connecting the display unit and the ultrasound probe. The multi-directional pivot enables rotation of the display unit about at least two different rotation axes with respect to the ultrasound probe.
In some embodiments, the multi-directional pivot supports the display unit both in a rotatable manner about the first rotation axis with respect to the ultrasound probe, and in a rotatable manner about the second rotation axis with respect to the ultrasound probe.
In some embodiments, the first rotation axis is substantially in perpendicular to the second ration axis.
In some further embodiment, the first rotation axis permits the display unit to rotate about the first rotation axis and provide a roll movement with respect to the ultrasound probe; and the second rotation axis permits the display unit to rotate about the second rotation axis and provide a pitch movement with respect to the ultrasound probe.
In some embodiments, the multi-directional pivot comprises a first pivot part rotatable around the first rotation axis, and a second rotatable pivot part rotatable around the second rotation axis.
In some further embodiments, the first pivot part rotatable round the first rotation axis is inserted into a recessed area of the second pivot part rotatable around the second rotation axis. In some alternative embodiments, the first pivot part rotatable around the first rotation axis is positioned in a proximity to the second pivot part rotatable around the second rotation axis.
In some embodiments, the multi-directional pivot comprises one or more damping elements and/or one or more stop blacks, in at least one of the first and second rotation axes.
In some embodiments, display unit comprises a computing device, possibly having a touch screen display and interface. For instance, the computing device can be a smart phone (e.g., with flashlight and/or camera functions) .
In some embodiments, the ultrasound probe is a hand-held probe part configured to be held by an operator. In some embodiments, the ultrasound probe comprises a circuit, an ultrasound transducer array, and/or a digital control chip. For instance, the ultrasound probe may include a circuit, an ultrasound transducer array, and a digital control chip, and may have a size suitable to be held by an operator (e.g., by his or her hand) . The ultrasound probe may also be sealed and waterproof.
In some embodiments, the ultrasound transducer array included by the probe may be a linear array, a convex array, a phased array, and/or an endo-cavity array. For instance, the ultrasound probe may include a linear array type of ultrasound transducer (e.g., as shown in FIG. 3) .
In some embodiments, the ultrasound probe further comprises one or more recessed areas on the side, allowing an operator to easily hold the ultrasound probe.
The mobile ultrasound imaging system of claim 1, wherein the internal cable comprises a USB cable with no more than five lines.
In some embodiments, at least one of the display unit and the ultrasound probe has a relatively flat shape. For instance, the ultrasound probe may have a relative flat shape, thereby allowing the ultrasound probe and the display unit foldable with respect to each other, e.g., into a fully folded position.
In some embodiments, the mobile ultrasound imaging system further includes battery module and/or a watchdog module, which can be positioned in the display unit or the ultrasound probe.
In some embodiments, the ultrasound imaging system further comprises at least one LED light, positioned in at least one of the display unit, the ultrasound probe, and the multi-directional pivot. In some further embodiments, the system also includes a light guide tube for directing lights to a scanned area on a patient’s body.
In some embodiments, the mobile ultrasound imaging system has an integrated shape, allowing the operator to hold the system by the single hand.
As used herein, the term “or” is meant to include both “and” and “or. ” In other words, the term “or” may also be replaced with “and/or. ”
As used herein, the singular forms “a, ” “an” and “the” are intended to include the plural forms as well, unless the context clearly indicates otherwise.
As used herein, the spatially relative terms, such as “top” , “bottom” , “inside” , “outside” , “above” , and “under” may be used herein for ease of description to describe one element or feature's relationship to another element (s) or feature (s) as illustrated in the figures. Similarly, the terms “vertical” and “horizonal” and the like are used for the purpose of explanation only unless specifically indicated. The terms are not intended to require the described elements or structures in a specific direction, and are not intended to limit the scope of this invention as such.
Brief Descriptions of the Figures
The following drawings illustrate by way of example and not limitation. For the sake of brevity and clarity, every feature of a given structure is not always labeled in every figure in which that structure appears. Identical reference numbers do not necessarily indicate an identical structure. Rather, the same reference number may be used to indicate a similar feature or a feature with similar functionality, as may non-identical reference numbers.
FIG. 1 provides a perspective illustration of a conventional hand-held ultrasound imaging system.
FIG. 2 provides a perspective illustration of a mobile ultrasound imaging system of this invention.
FIG. 3 illustrates an exemplary functional module system for a mobile ultrasound imaging system of this invention.
FIG. 4 illustrates a mobile ultrasound imaging system of this invention with at least two adjustable rotational degrees of freedom.
FIG. 5 provides a perspective illustration of a mobile ultrasound imaging system of this invention with a camera.
FIG. 6 provides a perspective illustration of a mobile ultrasound imaging system of this invention held by an operator.
FIG. 7 provides another perspective illustration of the mobile ultrasound imaging system of this invention held by an operator.
FIG. 8 provides a perspective illustration of an ultrasound-guided needle intervention using a mobile ultrasound imaging system of this invention.
FIG. 9 provides another perspective illustration of the ultrasound-guided needle intervention using a mobile ultrasound imaging system of this invention.
FIG. 10 provides a perspective, structural illustration of an ultrasound probe according to this invention.
FIG. 11 provides a perspective illustration of an ultrasound probe with a control button.
FIG. 12 provides a perspective, structural illustration of a display unit according to this invention.
FIG. 13 provides a perspective illustration of an embodiment of a multi-directional pivot of this invention.
FIG. 14 provides a perspective illustration of another embodiment of a multi-directional pivot of this invention.
FIG. 15 provides a perspective illustration of a mobile ultrasound imaging system with the multi-directional pivot shown in FIG. 12.
FIG. 16 provides a perspective illustration of a mobile ultrasound imaging system with the multi-directional pivot shown in FIG. 13.
FIG. 17 provides an external view of the mobile ultrasound imaging system of FIG. 14.
FIG. 18 provides an external view of the mobile ultrasound imaging system of FIG. 15.
FIGS. 19A and 19B illustrate an embodiment of a mobile ultrasound imaging system of this invention with a LED light located on its pivoting structure.
FIG. 20 provides an external view of the mobile ultrasound imaging system of FIGS. 18A-18B.
FIGS. 21 and 22 provide perspective illustrations of an embodiment of a mobile ultrasound imaging system of this invention with a LED light or indicator located on its watchdog module.
FIGS. 23 and 24 provide perspective illustrations of another embodiment of a mobile ultrasound imaging system of this invention with a LED light or indicator located on its watchdog module.
FIG. 25 provides a perspective illustration of an embodiment of a mobile ultrasound imaging system of this invention using the flashlight function of its computing device.
FIGS. 26 and 27 provide perspective illustrations of an embodiment of a mobile ultrasound imaging system of this invention with a LED light located on its ultrasound probe.
Detailed Description of the Invention
One aspect of this invention relates a novel type of mobile ultrasound imaging systems. The mobile ultrasound imaging system of this invention utilize a multi-directional pivot, to support and connect an ultrasound probe unit and a display unit, without the use of an external connecting cable or wire. The multi-directional pivot allows the ultrasound probe to be rotatable with respect to the display unit about two or more axes. For example, the rotation may be around at least two axes (e.g., about axes perpendicular to one another) .
Set forth below are several illustrations or examples of apparatus of this invention containing mobile ultrasound imaging systems with multi-directional pivot.
FIG. 2 illustrates an exemplary mobile ultrasound imaging system of this invention. The system includes ultrasound probe 1, display unit 3, and multi-directional pivot 2 for supporting and connecting ultrasound probe 1 and display unit 3. Ultrasound probe 1 is used for converting electrical signals into ultrasound acoustic pressure, and transducing echo pressure back into electrical signals. Multi-directional pivot 2 may have two or more rotation axes. The system may be powered by a small, lightweight battery, which can be mounted inside either display unit 3 or ultrasound probe 2.
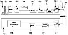
FIG. 3 illustrates an exemplary module system for the mobile ultrasound imaging system of this invention, which includes the following three major functional modules: active ultrasound  probe module 400, pivot assembly 500 and display module 600. As shown in FIG. 3, active ultrasound probe module 400 is configured to electrically drive ultrasound transducers 401 (e.g., a linear type of transducers) by pulser 404. Due to the power and thermal limitations, the channel number of pulser 404 is much smaller than the element number of ultrasound transducers 401, and high-voltage MUX 402 is necessary to connect circuit channels to transducers elements. In order to protect ATGC 405 from the high voltage generated by pulser 404, the T/R switch 403 is required. The ATGC 405 is used not only to amplify the ultrasound echo signals received from ultrasound transducers 401, but also to balance the high signal dynamic range to match the input dynamic range of ADC 406. The analog echo signals are digitized by ADC 406 and then feeded into FPGA/ARM processor 407. The FPGA/ARM 407 performs coherent ultrasound processing such as beamforming, IQ demodulation, and doppler processing, etc. –which are essential for ultrasound modalities like B-mode, color flow and Doppler spectral. The processed ultrasound signals have much lower data rate than that of ADC 106 outputs, thereby being feasible to transfer through USB interface 408. Mechanically, pivot assembly 500 can define rotational degree of freedom between active ultrasound probe 400 and the display module 600, and is also in charge of electrical transferring processed ultrasound signals and scan instructions between the two modules. The proprietorial USB cable 601 has no more than 5 lines (e.g., 4 lines) for electrical connections. Notably, conventional imaging systems typically have cable connections requiring a high number of lines –at least 64 lines –and thus are not able to provide flexible rotations at those connecting points. On the hand, the USB cable (e.g., 4-pin USB cable) included by the mobile ultrasound imaging system of this invention can make the connection very thin and flexible, thereby enabling the desired rotation movements. Display module 600 consists of an off-the-shelf commercial smart phone or pad 601, battery 602 for active ultrasound probe 400, the watchdog module 603 and necessary USB interface 604. Smart phone/pad 601 has the capability of back-end ultrasound processing and managing GUI. Battery 602 provides power for the active probe 400. The watchdog module 603 is in charge of monitoring the status of the active probe 400 and hosting a master state machine for the whole system.
In some embodiments, the relative position between display unit 3 and ultrasound probe 1 may provide two (or more) rotational degrees of freedom, to be adjusted by an operator. FIG. 4 shows a system of this invention with first rotational degree of freedom p1 and second rotational degree of freedom p2. In some embodiments, p1 and p2 are perpendicular to each other.  Specifically, the first rotational degree of freedom p1 allows display unit 3 to perform a pitch movement (in two directions) with respect to probe 1; and the second rotational degree of freedom p2 allows display unit 3 to perform a roll movement (in two further directions) with respect to probe 1. Preferably, each of rotational degrees of freedom p1 and p2 is damped (e.g., by frictions) , thereby allowing ultrasound probe 1 or display unit 3 to be positioned or held at any desired angle in a stable manner (without unwanted creeping or moving) . This feature would help the operator’s scanning and/or observation to be more accurate and easier. Moreover, one or more stop elements may be provided at some common viewing angles, in order to lock probe 1 or display unit 3 at particular position (s) , thereby making the operator’s operation on display unit 3 (e.g., on its touch screen) to be more convenient.
In some embodiments, as shown in FIG. 5, the display unit may also include camera 31. Camera 31 can be used for scanning a barcode on a medical report or patient’s ID cards, and simplifying the doctor’s work.
FIGS. 6-7 illustrate an operator holding the mobile ultrasound imaging system by a single hand. As shown in FIGS. 6-7, the display unit is rotated as needed (at different angles) in order to provide a comfortable angle and space between the operator’s eyes and the screen of the display unit. By doing so, the operator can use one hand to hold the ultrasound imaging system, while using the other hand to operate on the touch screen of the display unit. Particularly, the display unit is able to rotate about at least two different axes (e.g., the pitch axis and the roll axis) -in four different directions-respective to the ultrasound probe. This multi-directional structure can achieve great advantages by providing an intuitive view to perform ultrasound scanning, as well as an improved ultrasound scanning work flow in an ergonomic manner, which can reduce work hazards for operators.
FIGS. 8-9 illustrate applications of the ultrasound imaging system of this invention for ultrasound-guided needle intervention, e.g., using needle 4. The ultrasound needle intervention has two typical operation manners: (i) out-of-plane operation (as shown in FIG. 8) and (ii) in-plane operation (as shown in Fig. 9) . For both operations, the ultrasound imaging system of this invention can provide intuitive guidance to an operator with improved paradigm. As also shown in FIG. 9, at some rotational orientations, the operator’s hand holding probe 1 may also serve as a support for display unit 3. Compared to a conventional hand-held ultrasound systems with a flexible external cable (as shown in FIG. 1) , which requires the operator to hold a probe in one  hand and hold a display unit in another hand and thus cannot allow a single operator to operate ultrasound-guided needle intervention, the mobile ultrasound imaging systems of this invention achieve great improvements by enabling a single operator to hold the ultrasound system in one hand, while operating the needle intervention using another hand.
FIG. 10 shows internal structures of an exemplary ultrasound probe. As shown in FIG. 10, the ultrasound probe includes internal circuit control board 12, and acoustic component 15 on the front-end part of circuit control board 12. The circuit control board 12 is connected to display unit of the system by internal wires, and is used for driving and controlling the generation and transmission of an ultrasound signal into a human body and transducing /receiving echo signals from human body. The acoustic component 15 includes ultrasound transducer array, which is driven by the circuit to transmit ultrasound signals and receive echo signals. The probe is covered by external shells, including probe front handle 11, probe rear handle 14, and probe nosepiece 13. These three cover parts may be made of plastic or other suitable materials, and are tightly bonded by an adhesive glue or connected by fasteners such as bolts, snaps and/or screws. Accordingly, the probe is assembled to be a rigid, integrated structure. For example, the integrated probe has a flat shape (e.g., relatively rectangular prism) , making it easier to fully fold and store the system. As shown in FIG. 10, the cover of the probe may have curved or recessed sides, to serve as hand-held areas for the operator. Moreover, the whole probe structure shall be sealed (e.g., by applying RTV potting adhesive along connections) in order to be waterproof. This is important for the disinfection process of the ultrasound probe.
Additionally, the ultrasound probe may include one or more buttons. As shown in FIG. 11, control circuit board 12 may include control button 121, which is covered by flexible button seal 111 on front handle 11. Button 111 may also be sealed and waterproof. Accordingly, the operator may define the functionality of the button as a short-cut key, such as a “freeze” button to capture an ultrasound echo signal. Alternatively, the user may also operate the touch screen of the display unit using his other free hand.
FIG. 12 shows exemplary structures of a display unit. The display unit includes top =frame 31 and bottom cover 35, inside which are computing device 32, battery module 33, and watchdog module 34 connected to the battery. Similar to the cover /external shells of the probe, the top and bottom covers 31 and 35 may also be made of a plastic or other suitable material. The cover parts are connected to assembly a rigid, integrated display unit. The display unit may also  have a flat shape (e.g., rectangular prism) , so that the display unit and the probe unit can be fully folded and easily stored. Computing device 32 can be a smart phone, with a touch screen to be a display and interface area for the operator, as well as a storage unit. Battery module 33 includes one or more battery packs, which may be connected in series or parallel. In some other alternative embodiments, battery module 33 can be placed in probe 1 instead. Watchdog module 34 is used as a state machine host and for power distribution of the system, and may further include external connector 341 for possibly connecting an external power supply (not shown in FIG. 12) to charge the battery module. In some embodiments, watchdog module 34 can be a wireless charging module, without requiring the physical connection between the system and an external power source. Moreover, connecter 341 may be plugged into a data cable and connected to a computer or printer. As such, the ultrasound echo images can be exported to a computer or printed out. Additionally, the ultrasound echo images may be directly uploaded by computing device 32 to a cloud for remote consultation by the doctor, or be sent to the printer or computer via the computing device’s WIFI or Bluetooth module. In some embodiments, bottom cover 35 is at least partly transparent (e.g., with transparent or opening area 352) to allow the use of a camera of the computing device (e.g., mobile phone) . Such a camera can be used for scanning a barcode on a medical report. Bottom cover 35 may also include opening 351 to correspond to connector 341, for plugging in the charging cable or data cable.
Turning to the multi-directional pivot of the system, FIG. 13 shows an embodiment of the structures of the multi-directional pivot. In this embodiment, the pivot includes two different directions of rotations. Other embodiments may involve more or fewer rotational axes. Particularly, FIG. 13 shows multiple pivot parts or rotation axis elements, involving roll axis (or vertical axis) 21 and pitch axis (horizonal axis) 22. More specifically, there is a central pivot part rotatable around axis 21, which is inserted at the central (recessed) area of another pivot part that is rotatable around axis 22. The pivot or shaft in each direction includes a hole, in which internal cable (s) may pass through. Accordingly, internal cable /wire connects display unit 3 and ultrasound probe 1 of the system. Axes 21 and 22 have damping structures 212 and 222 or a ratchet structure (not shown in FIG. 13) , to allow the display unit to stay at a desired angle without unwanted moving. Also, axes 21 and 22 may have positioning or locking structures 213 and 223 at common angles (e.g., 90 degrees and/or 180 degrees) , to help the operator position or lock the system at common operating angles. In addition, each pivoting direction can have a stop  element (e.g., stop block 214) . When the rotating shaft hit the stop element, it blocks or stops the pivoting. As such, this protection structure prevents excessive rotation which may cause damages or falling of the internal cables. As shown in FIG. 13, pivoting cover 23 is also provided for covering and aesthetic purposes. It can be made of a plastic or metal material.
FIG. 14 shows another embodiment of the multi-directional pivot structure. As shown in FIG. 14, the pivot includes two shafts or tubes in perpendicular to each other, which include holes to allow an internal cable to pass through. There are two pivoting parts close to each other at the respective ends of the tubes, which involve two perpendicular rotation axes. The corner space between the two pivoting parts is covered by a right-angle shaped cover structure. Similar to the embodiment of FIG. 13, the pivot of FIG 14 also include a damping structure and a stop block in each of the rotation axes.
FIG. 15 shows an embodiment of the mobile ultrasound imaging system assembly with the multi-directional pivot of FIG. 13. Its external view is also shown in FIG. 17. The multi-directional pivot connects the display unit and the probe by respective pivoting joints that are rotatable about different (vertical and horizonal /roll and pitch) axes. More specifically, the display unit is able to rotate substantially around the central vertical line of the probe-to provide a roll movement with respect to be probe) , and to rotate about the horizonal side line (which connects the pivot) of the probe-to provide a pitch movement with respective to the probe. As shown in FIG. 15, the internal cable passing through the holes of the pivot structure is used to connect between the display unit and the probe.
FIG. 16 shows another embodiment of the mobile ultrasound imaging system assembly with the multi-directional pivot of FIG. 14. FIG. 18 also shows an external view of the system of FIG. 16. This embodiment also allows both vertical rotation and horizonal rotation-i.e., roll and pitch movements-between the display unit and the probe. In this embodiment, the pivot structure has two pivoting parts, the ends of which are close to each other. Notably, the pivot structure may be connected to the corner (rather than the central) part of a side of the probe. As such, the display unit is able to rotate around a vertical side line (rather than the vertical central line) of the probe.
In some embodiments, the system of this invention may include a LED light (e.g., on the pivot structure) , to assist the user to operate the system in a relatively dark environment. FIGS. 19A and 19B illustrate the assembly of the pivoting shaft with light guide tube 24. LED light 25  is assembled inside the pivoting cover, and its lights are guided to an operating area by light guide tube 24 –thereby avoiding the scatter of the lights or any direct contact between the operator’s eyes and the lights. The side surface 241 of light guide tube 24 may include a coating in order to prevent the transmission or scatter of the lights. End surfaces 242 of light guide tube 24 does not need to be coated, but may include frosted surfaces in order to soften strong lights. FIG. 20 also shows an external, overall view of the mobile ultrasound imaging system with light guide tube 24.
A LED light or indicator may be positioned at other parts or locations of the mobile ultrasound imaging system of this invention. For instance, the system may include a LED light on its watchdog module 34 at varies locations. FIGS. 21-22 show an embodiment of the system with LED light 25 on the charging module. The lights are guided by the corresponding area 24 (e.g., a light guide tube with a frosted surface) on the bottom cover of the display unit. In another embodiment, FIGS. 23-24 show LED light 25 located near the end corner of the watchdog module. The lights are then guided by the corresponding light guide area 24 located on the front end cover of the display unit. Notably, the locations, shapes, and sizes of a LED light may vary according to different design needs.
In some other embodiments, as shown in FIG. 25, the computing device (e.g., a smart phone) incorporated in the system includes a flashlight function. As such, a light guide tube can be placed at the corresponding area of bottom cover 35, in order to directly providing flashlight form the phone to the scanning area for the probe.
Still in some other embodiments, the mobile ultrasound imaging system of this invention includes a LED light in its probe 1. For example, as shown in FIGS. 26-27, LED light 25 may be directly welded on control board 12 of the probe. A light guide tube 24 may also be mounted on the top cover of the probe in order to guide the lights. Alternatively, a LED light may be fixed on the cover case of the probe, and possibly powered by a flexible wire.
Although specific embodiments of this invention have been illustrated herein, it will be appreciated by those skilled in the art that any modifications and variations can be made without departing from the spirit of the invention. The examples and illustrations above are not intended to limit the scope of this invention. Any combination of embodiments of this invention, along with any obvious their extension or analogs, are within the scope of this invention. Further, it is intended that this invention encompass any arrangement, which is calculated to achieve that  same purpose, and all such variations and modifications as fall within the scope of the appended claims.
All the features disclosed in this specification (including any accompanying claims, abstract and drawings) may be replaced by alternative features serving the same, equivalent or similar purpose, unless expressly stated otherwise. Thus, unless expressly stated otherwise, each feature disclosed is one example of a generic series of equivalent or similar features.
Other Embodiments
It is to be understood that while the invention has been described in conjunction with the detailed description thereof and accompanying figures, the foregoing description and accompanying figures are only intended to illustrate, and not limit the scope of the invention, which is defined by the scope of the appended claims. Other aspects, advantages, and modifications are within the scope of the following claims. All publications referenced herein are incorporated by reference in their entireties.

Claims (24)

PCT/CN2020/1060742019-08-012020-07-31Mobile ultrasound imaging systemsCeasedWO2021018271A1 (en)

Applications Claiming Priority (2)

Application NumberPriority DateFiling DateTitle
CN20190989192019-08-01
CNPCT/CN2019/0989192019-08-01

Publications (1)

Publication NumberPublication Date
WO2021018271A1true WO2021018271A1 (en)2021-02-04

Family

ID=74228781

Family Applications (1)

Application NumberTitlePriority DateFiling Date
PCT/CN2020/106074CeasedWO2021018271A1 (en)2019-08-012020-07-31Mobile ultrasound imaging systems

Country Status (1)

CountryLink
WO (1)WO2021018271A1 (en)

Cited By (3)

* Cited by examiner, † Cited by third party
Publication numberPriority datePublication dateAssigneeTitle
WO2022183118A1 (en)*2021-02-262022-09-01Moore Justin EarlMount for enabling one-handed control of a medical device that provides imaging data and a handheld electronic device displaying that imaging data
US12121395B2 (en)2021-02-262024-10-22Oculine Inc.Mount for enabling one-handed control of a medical device that provides imaging data and an electronic device displaying that imaging data, the mount providing for in-plane and out-of-plane viewing configurations for the electronic device
USD1066658S1 (en)2021-12-202025-03-11Oculine Inc.Mount for a medical imaging device

Citations (6)

* Cited by examiner, † Cited by third party
Publication numberPriority datePublication dateAssigneeTitle
KR20060106054A (en)*2005-04-062006-10-12주식회사 메디슨 Portable Ultrasonic Diagnostic Machine with Multi-Rotational Display
CN103442648A (en)*2011-03-282013-12-11株式会社日立医疗器械Portable ultrasound system
JP2014150936A (en)*2013-02-072014-08-25Hitachi Aloka Medical LtdUltrasonic diagnostic system
CN107249469A (en)*2015-02-092017-10-13株式会社日立制作所Diagnostic ultrasound equipment
CN107822659A (en)*2017-09-222018-03-23无锡祥生医疗科技股份有限公司Pivot structure and portable ultrasound device
US20190142377A1 (en)*2008-07-182019-05-16Glo-Tip, LlcHandheld imaging devices and related methods

Patent Citations (6)

* Cited by examiner, † Cited by third party
Publication numberPriority datePublication dateAssigneeTitle
KR20060106054A (en)*2005-04-062006-10-12주식회사 메디슨 Portable Ultrasonic Diagnostic Machine with Multi-Rotational Display
US20190142377A1 (en)*2008-07-182019-05-16Glo-Tip, LlcHandheld imaging devices and related methods
CN103442648A (en)*2011-03-282013-12-11株式会社日立医疗器械Portable ultrasound system
JP2014150936A (en)*2013-02-072014-08-25Hitachi Aloka Medical LtdUltrasonic diagnostic system
CN107249469A (en)*2015-02-092017-10-13株式会社日立制作所Diagnostic ultrasound equipment
CN107822659A (en)*2017-09-222018-03-23无锡祥生医疗科技股份有限公司Pivot structure and portable ultrasound device

Cited By (3)

* Cited by examiner, † Cited by third party
Publication numberPriority datePublication dateAssigneeTitle
WO2022183118A1 (en)*2021-02-262022-09-01Moore Justin EarlMount for enabling one-handed control of a medical device that provides imaging data and a handheld electronic device displaying that imaging data
US12121395B2 (en)2021-02-262024-10-22Oculine Inc.Mount for enabling one-handed control of a medical device that provides imaging data and an electronic device displaying that imaging data, the mount providing for in-plane and out-of-plane viewing configurations for the electronic device
USD1066658S1 (en)2021-12-202025-03-11Oculine Inc.Mount for a medical imaging device

Similar Documents

PublicationPublication DateTitle
WO2021018271A1 (en)Mobile ultrasound imaging systems
CN101366662B (en)Multi-headed imaging probe and imaging system using same
CN106999149B (en)Multi-sensor ultrasound probe and related methods
US7591786B2 (en)Dock for connecting peripheral devices to a modular diagnostic ultrasound apparatus
RU2529889C2 (en)Ultrasonic device and system comprising replaceable transducers and displays
US8414495B2 (en)Ultrasound patch probe with micro-motor
US8514567B2 (en)Portable ultrasonic diagnostic apparatus
US10265048B2 (en)Interchangeable probes for portable medical ultrasound scanning systems
US20080281206A1 (en)Ultrasound Measurement System and Method
US8257263B2 (en)Ultrasonic diagnostic apparatus and ultrasonic probe
US20150257733A1 (en)Wearable imaging system
EP2144082A1 (en)Modular apparatus for diagnostic ultrasound
EP2510880A1 (en)Ultrasound diagnostic system
US10265050B2 (en)Dual display presentation apparatus for portable medical ultrasound scanning systems
US9532768B2 (en)Multi-headed imaging probe and imaging system using same
WO2017150484A1 (en)Portable ultrasound image diagnostic device
CA2979624C (en)Remotely controlled ultrasound transducer
US20230309964A1 (en)Transducer with rotatable head and reconfigurable array curvature
AU2006308729B2 (en)Ultrasound measurement system and method

Legal Events

DateCodeTitleDescription
121Ep: the epo has been informed by wipo that ep was designated in this application

Ref document number:20846272

Country of ref document:EP

Kind code of ref document:A1

NENPNon-entry into the national phase

Ref country code:DE

122Ep: pct application non-entry in european phase

Ref document number:20846272

Country of ref document:EP

Kind code of ref document:A1


[8]ページ先頭

©2009-2025 Movatter.jp