Movatterモバイル変換


[0]ホーム

URL:


WO2019170152A1 - Connection assembly and slave operation device - Google Patents

Connection assembly and slave operation device
Download PDF

Info

Publication number
WO2019170152A1
WO2019170152A1PCT/CN2019/077540CN2019077540WWO2019170152A1WO 2019170152 A1WO2019170152 A1WO 2019170152A1CN 2019077540 WCN2019077540 WCN 2019077540WWO 2019170152 A1WO2019170152 A1WO 2019170152A1
Authority
WO
WIPO (PCT)
Prior art keywords
joint
assembly
coupled
joint assembly
assemblies
Prior art date
Legal status (The legal status is an assumption and is not a legal conclusion. Google has not performed a legal analysis and makes no representation as to the accuracy of the status listed.)
Ceased
Application number
PCT/CN2019/077540
Other languages
French (fr)
Chinese (zh)
Inventor
王建辰
高元倩
Current Assignee (The listed assignees may be inaccurate. Google has not performed a legal analysis and makes no representation or warranty as to the accuracy of the list.)
Shenzhen Edge Medical Co Ltd
Original Assignee
Shenzhen Edge Medical Co Ltd
Priority date (The priority date is an assumption and is not a legal conclusion. Google has not performed a legal analysis and makes no representation as to the accuracy of the date listed.)
Filing date
Publication date
Priority claimed from CN201810195985.6Aexternal-prioritypatent/CN108498173A/en
Priority claimed from CN201810211359.1Aexternal-prioritypatent/CN110269682B/en
Application filed by Shenzhen Edge Medical Co LtdfiledCriticalShenzhen Edge Medical Co Ltd
Publication of WO2019170152A1publicationCriticalpatent/WO2019170152A1/en
Anticipated expirationlegal-statusCritical
Ceasedlegal-statusCriticalCurrent

Links

Images

Classifications

Definitions

Landscapes

Abstract

Disclosed are a connection assembly and a slave operation device. The connection assembly comprises multiple connection units connected in sequence, wherein at least two of the connection units form a rotatable joint assembly, and at least two of the joint assemblies are coupled and correspondingly rotated according to a coupling relationship; and when the coupled joint assemblies are rotated, the posture of the connection unit, at a remote end, in the coupled joint assemblies remains substantially unchanged.

Description

Translated fromChinese
连接组件及从操作设备Connecting component and slave operating device

本申请要求于2018年03月14日提交中国专利局、申请号为201810211359.1、申请名称为“连接组件、操作臂、从操作设备及手术机器人”的中国专利申请的优先权,其全部内容通过引用结合在本申请中。The present application claims priority to Chinese Patent Application No. 201810211359.1, filed on March 14, 2018, the entire disclosure of which is incorporated herein by reference. Combined in this application.

技术领域Technical field

本申请涉及微创手术领域,特别是涉及一种连接组件及从操作设备。The present application relates to the field of minimally invasive surgery, and in particular to a connection assembly and a slave operation device.

背景技术Background technique

微创手术是指利用腹腔镜、胸腔镜等现代医疗器械及相关设备在人体腔体内部施行手术的一种手术方式。相比传统手术方式微创手术具有创伤小、疼痛轻、恢复快等优势。Minimally invasive surgery refers to a surgical procedure in which a modern medical device such as a laparoscope or a thoracoscope is used to perform surgery inside a human cavity. Compared with traditional surgical methods, minimally invasive surgery has the advantages of less trauma, less pain, and quicker recovery.

随着科技的进步,微创手术机器人技术逐渐成熟,并被广泛应用。微创手术机器人通常包括主操作台及从操作设备,主操作台用于根据医生的操作向从操作设备发送控制命令,以控制从操作设备,从操作设备用于响应主操作台发送的控制命令,并进行相应的手术操作。With the advancement of technology, minimally invasive surgical robot technology has matured and is widely used. The minimally invasive surgery robot usually includes a main operation console and a slave operation device for transmitting a control command to the slave operation device according to the doctor's operation to control the slave operation device, and the slave operation device is configured to respond to the control command sent by the master console. And carry out the corresponding surgical operation.

从操作设备通常包括机械臂及设置于机械臂上的操作臂,机械臂用于调节操作臂的位置,操作臂用于伸入体内,并执行手术操作,其中,操作臂具有连接组件以灵活地进行手术操作。然而,目前从操作设备的连接组件灵活性较差,令手术机器人在一些手术中受到限制。The operating device generally includes a mechanical arm for adjusting the position of the operating arm and an operating arm disposed on the mechanical arm for extending into the body and performing a surgical operation, wherein the operating arm has a connecting component for flexibility Perform a surgical procedure. However, the flexibility of the connection assembly from the operating device is currently poor, and the surgical robot is limited in some operations.

发明内容Summary of the invention

根据本申请的各种实施例,提供一种连接组件及从操作设备,能够在手术过程中灵活操纵末端手术器械。According to various embodiments of the present application, there is provided a connection assembly and a slave operation device capable of flexibly manipulating a distal surgical instrument during a surgical procedure.

一种连接组件包括多个依次连接的连接单元,至少两个所述连接单元形成可转动的关节组件,且至少两个所述关节组件耦合,并根据耦合关系相应 转动,耦合的所述关节组件转动时,耦合的所述关节组件中位于远端的所述连接单元的姿态基本保持不变。A connection assembly includes a plurality of connection units connected in series, at least two of which form a rotatable joint assembly, and at least two of the joint assemblies are coupled and correspondingly rotated according to a coupling relationship, the coupled joint assembly When rotated, the attitude of the connecting unit at the distal end of the coupled joint assembly remains substantially unchanged.

一种从操作设备包括:A slave operating device includes:

操作臂,所述操作臂具有连接组件及与所述连接组件相连接的末端器械,所述连接组件包括多个依次连接的连接单元,至少两个所述连接单元形成可转动的关节组件,且至少两个所述关节组件耦合,并根据耦合关系相应转动,耦合的所述关节组件转动时,耦合的所述关节组件中位于远端的所述连接单元的姿态基本保持不变;An operating arm having a connecting assembly and an end instrument coupled to the connecting assembly, the connecting assembly including a plurality of connecting units sequentially connected, at least two of the connecting units forming a rotatable joint assembly, and At least two of the joint assemblies are coupled and rotate correspondingly according to the coupling relationship, and when the coupled joint assembly rotates, the posture of the connecting unit located at the distal end of the coupled joint assembly remains substantially unchanged;

动力机构,与所述操作臂相连接,用于驱动所述操作臂;a power mechanism connected to the operating arm for driving the operating arm;

机械臂,与所述动力机构相连接,用于调节所述操作臂的位置。A robot arm is coupled to the power mechanism for adjusting a position of the operating arm.

上述连接组件在能够在不改变远端连接单元的姿态下平移与其连接的单元或末端器械,令连接组件更加灵活。The above-mentioned connecting assembly is capable of translating the unit or the end device connected thereto without changing the posture of the distal connecting unit, thereby making the connecting assembly more flexible.

附图说明DRAWINGS

为了更清楚地说明本申请实施例或现有技术中的技术方案,下面将对实施例或现有技术描述中所需要使用的附图作简单地介绍,显而易见地,下面描述中的附图仅仅是本申请的一些实施例,对于本领域普通技术人员来讲,在不付出创造性劳动的前提下,还可以根据这些附图获得其他实施例的附图。In order to more clearly illustrate the embodiments of the present application or the technical solutions in the prior art, the drawings to be used in the embodiments or the prior art description will be briefly described below. Obviously, the drawings in the following description are only It is a certain embodiment of the present application, and those skilled in the art can obtain drawings of other embodiments according to the drawings without any creative work.

图1为本申请手术机器人一实施例的结构示意图;1 is a schematic structural view of an embodiment of a surgical robot of the present application;

图2、图3分别为本申请从操作设备不同实施例的局部示意图;2 and 3 are partial schematic views of different embodiments of the operating device according to the present application;

图4为本申请操作臂一实施例的结构示意图;4 is a schematic structural view of an embodiment of an operating arm of the present application;

图5至图15分别为本申请连接组件不同实施例的结构示意图;5 to FIG. 15 are schematic structural views of different embodiments of the connection assembly of the present application;

图16、图17为本申请连接组件中关节组件不同实施例的结构示意图;16 and FIG. 17 are schematic structural views of different embodiments of a joint assembly in a connection assembly of the present application;

图18为本申请连接组件的连接单元一实施例的结构示意图;18 is a schematic structural view of an embodiment of a connection unit of a connection assembly of the present application;

图19至图24分别为本申请连接组件不同实施例的结构示意图;19 to 24 are schematic structural views of different embodiments of the connection assembly of the present application;

图25至图34分别为本申请操作臂一实施例的局部结构示意图。25 to 34 are schematic partial structural views of an embodiment of an operating arm of the present application.

具体实施方式Detailed ways

为了便于理解本申请,下面将参照相关附图对本申请进行更全面的描述。附图中给出了本申请的较佳实施方式。但是,本申请可以以许多不同的形式来实现,并不限于本文所描述的实施方式。相反地,提供这些实施方式的目的是使对本申请的公开内容理解的更加透彻全面。In order to facilitate the understanding of the present application, the present application will be described more fully hereinafter with reference to the accompanying drawings. Preferred embodiments of the present application are given in the accompanying drawings. However, the application can be embodied in many different forms and is not limited to the embodiments described herein. Rather, these embodiments are provided so that this disclosure will be more thorough and comprehensive.

需要说明的是,当元件被称为“设置于”另一个元件,它可以直接在另一个元件上或者也可以存在居中的元件。当一个元件被认为是“连接”另一个元件,它可以是直接连接到另一个元件或者可能同时存在居中元件。当一个元件被认为是“耦合”另一个元件,它可以是直接耦合到另一个元件或者可能同时存在居中元件。本文所使用的术语“垂直的”、“水平的”、“左”、“右”以及类似的表述只是为了说明的目的,并不表示是唯一的实施方式。本文所使用的术语“远端”、“近端”作为方位词,该方位词为介入医疗器械领域惯用术语,其中“远端”表示手术过程中远离操作者的一端,“近端”表示手术过程中靠近操作者的一端。It should be noted that when an element is referred to as being "disposed on" another element, it may be directly on the other element or the element may be present. When an element is considered to be "connected" to another element, it can be directly connected to the other element or. When an element is considered to be "coupled" to another element, it can be directly coupled to the other element or the. The terms "vertical", "horizontal", "left", "right", and the like, as used herein, are for the purpose of illustration and are not intended to be the only embodiment. As used herein, the terms "distal" and "proximal" are used as azimuth words, which are terms used in the field of interventional medical devices, where "distal" refers to the end away from the operator during surgery, and "proximal" refers to surgery. Approaching the operator's end during the process.

除非另有定义,本文所使用的所有的技术和科学术语与属于本申请的技术领域的技术人员通常理解的含义相同。本文中在本申请的说明书中所使用的术语只是为了描述具体的实施方式的目的,不是旨在于限制本申请。本文所使用的术语“及/或”包括一个或多个相关的所列项目的任意的和所有的组合。All technical and scientific terms used herein have the same meaning as commonly understood by one of ordinary skill in the art to which this invention applies, unless otherwise defined. The terminology used herein is for the purpose of describing particular embodiments, and is not intended to be limiting. The term "and/or" used herein includes any and all combinations of one or more of the associated listed items.

如图1至图3所示,其分别为本申请手术机器人一实施例的结构示意图,及从操作设备不同实施例的局部示意图。FIG. 1 to FIG. 3 are respectively a schematic structural view of an embodiment of the surgical robot of the present application, and a partial schematic view of different embodiments of the operating device.

手术机器人包括主操作台1000及从操作设备2000。其中,主操作台1000用于根据医生的操作向从操作设备2000发送控制命令,以控制从操作设备2000,其还用于显示从设备2000获取的影像。从操作设备2000用于响应主操作台1000发送的控制命令,并进行相应的操作,并且从操作设备2000还用于获取体内的影像。The surgical robot includes amain console 1000 and aslave operating device 2000. Themain console 1000 is configured to send a control command from theoperating device 2000 according to the operation of the doctor to control theslave operating device 2000, which is also used to display the image acquired from thedevice 2000. Theslave operating device 2000 is responsive to the control commands sent by themaster console 1000 and performs corresponding operations, and theslave operating device 2000 is also used to acquire images in the body.

具体地,从操作设备2000包括机械臂1、设置于机械臂1上的动力机构 2、设置于动力机构2上的操作臂3,以及套设操作臂3的套管4。机械臂1用于调节操作臂3的位置;动力机构2用于驱动操作臂3执行相应操作;操作臂3用于伸入体内,并通过其位于远端的末端器械20执行手术操作,及/或获取体内影像。具体地,如图2、图3所示,操作臂3穿设套管4,其末端器械20伸出套管4外,并通过动力机构2驱动其执行操作。图2中,操作臂3位于套管4内的区域为刚性区域;图3中,操作臂3位于套管4内的区域为柔性区域,套管随柔性区域弯曲。其他实施例中,也可以省略套管4,此时,无需套管。Specifically, theslave operating device 2000 includes arobot arm 1, a power mechanism 2 disposed on the robot arm 2, anoperating arm 3 disposed on the power mechanism 2, and asleeve 4 sleeved with theoperating arm 3. Themechanical arm 1 is used to adjust the position of theoperating arm 3; the power mechanism 2 is used to drive theoperating arm 3 to perform a corresponding operation; theoperating arm 3 is used to extend into the body, and the surgical operation is performed by itsdistal end instrument 20, and / Or get in vivo images. Specifically, as shown in Figures 2 and 3, theoperating arm 3 is threaded through asleeve 4 whoseend instrument 20 extends out of thesleeve 4 and is driven by the power mechanism 2 to perform the operation. In Fig. 2, the region of theoperating arm 3 located within thesleeve 4 is a rigid region; in Fig. 3, the region of theoperating arm 3 within thesleeve 4 is a flexible region, and the sleeve is curved with the flexible region. In other embodiments, thesleeve 4 can also be omitted, in which case no sleeve is required.

一实施例中,操作臂3为多个,均设置于同一个动力机构2上,多个操作臂3的远端通过人体上的一个切口伸入体内,以使其末端器械20移动至病灶3000附近进行手术操作。具体地,动力机构具有多个动力部,每个动力部与一操作臂对应连接。其他实施例中,动力机构为多个,每个动力机构2上设置一个操作臂3,且多个操作臂从一个切口伸入体内,此时多个动力机构2既可以设置于一个机械臂1上,也可以设置于多个机械臂1上。需要说明的是,多个操作臂3也可以从多个切口伸入体内,例如,每个切口内伸入两个操作臂,再如,每个切口内伸入一个操作臂。In one embodiment, the plurality of operatingarms 3 are disposed on the same power mechanism 2, and the distal ends of the plurality ofoperating arms 3 extend into the body through a slit in the human body to move theend device 20 to thelesion 3000. Surgery is performed nearby. Specifically, the power mechanism has a plurality of power units, and each of the power units is connected to an operating arm. In other embodiments, there are a plurality of power mechanisms, one of the operatingarms 3 is disposed on each of the power mechanisms 2, and a plurality of operating arms extend into the body from a slit. At this time, the plurality of power mechanisms 2 can be disposed on one of therobot arms 1 Upper, it can also be provided on a plurality ofrobot arms 1. It should be noted that the plurality of operatingarms 3 can also extend into the body from a plurality of slits, for example, two operating arms are inserted into each of the slits, and, for example, one operating arm is protruded into each of the slits.

一实施例中,从操作设备2还包括戳卡,戳卡用于穿设人体上的切口,并固定设置于切口区域,操作臂通过戳卡伸入到体内。In an embodiment, the slave operating device 2 further includes a stamping card for piercing the incision on the human body and fixedly disposed in the incision area, and the operating arm extends into the body through the stamping card.

如图4所示,其为本申请操作臂3一实施例的结构示意图。As shown in FIG. 4, it is a schematic structural view of an embodiment of theoperating arm 3 of the present application.

操作臂3包括:依次连接的末端器械20、连接组件10、连杆90及驱动机构91,其中,末端器械20用于执行手术操作,连接组件10用于改变末端器械20的位置及姿态,驱动机构91用于驱动连接组件10及末端器械20。其他实施例中,也可以省略连杆90,此时连接组件直接与驱动机构连接。Theoperating arm 3 includes: anend device 20, aconnecting assembly 10, a connectingrod 90 and adriving mechanism 91 which are sequentially connected, wherein theend device 20 is used for performing a surgical operation, and the connectingassembly 10 is used for changing the position and posture of theend device 20, and drivingMechanism 91 is used to driveconnection assembly 10 andend instrument 20. In other embodiments, thelink 90 can also be omitted, in which case the connection assembly is directly coupled to the drive mechanism.

如图5至图9所示,其为本申请连接组件不同实施例的结构示意图。As shown in FIG. 5 to FIG. 9 , it is a schematic structural diagram of different embodiments of the connection component of the present application.

连接组件10包括多个依次连接的连接单元100。其中,相邻连接单元100形成可转动的关节组件,关节组件包括第一关节组件210,且至少两个第一关节组件210耦合,耦合的第一关节组件210根据耦合关系相应转动。如图 5、图6所示,当耦合的第一关节组件210转动时,耦合的第一关节组件210中,位于远端的连接单元100的姿态基本保持不变,以使与其连接的单元或末端器械姿态保持不变,即与耦合的第一关节组件中远端连接单元100连接的其他单元或者末端器械随远端连接单元平移。Theconnection assembly 10 includes a plurality ofconnection units 100 that are sequentially connected. Wherein, the adjacent connectingunit 100 forms a rotatable joint assembly, the joint assembly includes a firstjoint assembly 210, and at least two firstjoint assemblies 210 are coupled, and the coupled firstjoint assembly 210 is correspondingly rotated according to the coupling relationship. As shown in FIG. 5 and FIG. 6, when the coupled firstjoint assembly 210 is rotated, the posture of the distaljoint unit 100 in the coupled firstjoint assembly 210 remains substantially unchanged, so that the unit connected thereto or The end instrument orientation remains the same, i.e., other units or end instruments that are coupled to the distaljoint unit 100 in the coupled first joint assembly are translated with the distal connection unit.

其他实施例中,关节组件也可以包括多个连接单元,例如,三个或四个依次连接的连接单元形成一个关节组件。其中,耦合的关节组件中,各关节组件所具有的连接单元数量可相异,例如,两个关节组件耦合,其中一个关节组件包括两个连接单元,另一个关节组件包括三个连接单元。In other embodiments, the joint assembly may also include a plurality of connection units, for example, three or four sequentially connected connection units form a joint assembly. Wherein, in the coupled joint assembly, each joint assembly has a different number of connecting units, for example, two joint assemblies are coupled, one joint assembly includes two connecting units, and the other joint assembly includes three connecting units.

上述连接组件10在能够在不改变远端连接单元100的姿态下平移与其连接的单元或末端器械,令连接组件10更加灵活。The above-describedconnection assembly 10 makes theconnection assembly 10 more flexible in that it can translate the unit or the end device connected thereto without changing the attitude of thedistal connection unit 100.

如图7、图8所示,关节组件包括两组第一关节组件210,每组具有两个耦合的第一关节组件210,且每组中耦合的第一关节组件210旋转轴平行,两组第一关节组件210的旋转轴非平行设置,以使与耦合的第一关节组件210远端连接单元100连接的末端器械或单元具有两个自由度。例如,两组第一关节组件210的旋转轴正交;或者,两组第一关节组件210的旋转轴非正交设置。其中,每组中两个耦合的第一关节组件210转动方向相反,角度相同。As shown in FIGS. 7 and 8, the joint assembly includes two sets of firstjoint assemblies 210, each set having two coupled firstjoint assemblies 210, and the firstjoint assembly 210 coupled in each group has a parallel axis of rotation, two groups. The axes of rotation of the firstjoint assembly 210 are non-parallel to provide two degrees of freedom for the end instrument or unit to which the coupled firstjoint assembly 210distal connection unit 100 is coupled. For example, the axes of rotation of the two sets of firstjoint assemblies 210 are orthogonal; or the axes of rotation of the two sets of firstjoint assemblies 210 are non-orthogonal. Wherein the two coupled firstjoint assemblies 210 in each group rotate in opposite directions and have the same angle.

耦合的第一关节组件既可以相邻设置,也可以间隔设置。当第一关节组件210包括两组时,两组第一关节组件210既可以交叉排列,也可以依次顺序排列。具体地,如图7所示,一实施例中,第一组中两个彼此耦合的第一关节组件210A位于第二组中两个彼此耦合的第一关节组件210B之间。如图8所示,一实施例中,第一组中两个彼此耦合的第一关节组件210A与第二组中两个彼此耦合的第一关节组件210B依次交替排列。其他实施例中,也可以第一组中两个彼此耦合的第一关节组件210与第二组中两个彼此耦合的第一关节组件210依次排列,即第一、第二个第一关节组件210耦合,第三、第四个第一关节组件210耦合(图未视)。The coupled first joint components can be arranged adjacently or at intervals. When the firstjoint assembly 210 includes two groups, the two sets of firstjoint assemblies 210 may be arranged in a cross or in sequence. Specifically, as shown in FIG. 7, in one embodiment, two firstjoint assemblies 210A coupled to each other in the first set are located between two firstjoint assemblies 210B coupled to each other in the second set. As shown in FIG. 8, in one embodiment, two firstjoint assemblies 210A coupled to each other in the first group and two firstjoint assemblies 210B coupled to each other in the second group are alternately arranged in sequence. In other embodiments, the firstjoint assembly 210 coupled to each other and the two firstjoint assemblies 210 coupled to each other in the second group may be sequentially arranged, that is, the first and second first joint assemblies. 210 is coupled, and the third and fourth firstjoint assemblies 210 are coupled (not shown).

其他实施例中,第一关节组件210的组数也可以为其他数量,例如三组、四组等,其中,每组中的第一关节组件210旋转轴均相异,这样,令连接组 件10更加灵活。In other embodiments, the number of groups of the firstjoint assembly 210 may also be other numbers, such as three groups, four groups, etc., wherein the rotation axes of the firstjoint assembly 210 in each group are different, so that theconnection assembly 10 is made More flexible.

其他实施例中,每组中耦合的第一关节组件210也可以为其他数量,其中,耦合的第一关节组件210转动时各方向转动角之和基本相同。具体地,每组中各正向转动的第一关节组件210的转动角之和与各反向转动的第一关节组件210的转动角之和相同,其中,正向与反向可根据需要自行设定。例如,每组中耦合的第一关节组件210为三个,其中两个第一关节组件210正向转动,一个第一关节组件210反向转动,两个正向转动的第一关节组件210转动角之和为反向转动第一关节组件210的转动角,此时远端的连接单元100为反向转动的第一关节组件210中位于远端的连接单元100。In other embodiments, the firstjoint assemblies 210 coupled in each group may also be other numbers, wherein the coupled firstjoint assemblies 210 rotate substantially the same in the direction of rotation. Specifically, the sum of the rotation angles of the firstjoint assemblies 210 of each of the forward rotations in each group is the same as the sum of the rotation angles of the firstjoint assemblies 210 of the opposite rotations, wherein the forward and reverse directions can be self-contained as needed. set up. For example, there are three firstjoint assemblies 210 coupled in each group, wherein the two firstjoint assemblies 210 are rotated in the forward direction, one firstjoint assembly 210 is rotated in the reverse direction, and the two forwardly rotating firstjoint assemblies 210 are rotated. The sum of the corners is the rotational angle of the firstjoint assembly 210 in the reverse direction, at which time the distal connectingunit 100 is the distally connected connectingunit 100 of the firstjoint assembly 210 that is rotated in the opposite direction.

关节组件既可以为主动关节组件,也可以为随动关节组件。一实施例中,耦合的第一关节组件210中包括主动关节组件和随动关节组件,即耦合的第一关节组件210中,至少一个为主动关节组件,一个为随动关节组件,其中,主动关节组件转动驱动随动关节组件转动,随动关节组件根据与主动关节组件的耦合关系相应转动。例如,当一个随动关节组件与一个主动关节组件耦合时,两关节组件的转动角度相同,方向相反。再如,当两个主动关节组件与一个随动关节组件耦合时,两个主动关节组件转动方向相同,与随动关节组件转动方向相反,随动关节组件转动角度为两个主动关节组件转动角度之和。又如,当两个主动关节组件与一个随动关节组件耦合时,两个主动关节组件转动方向相反,随动关节组件与其中一个主动关节组件转向相同。其中,主动关节组件指通过驱动机构控制而转动的关节组件,随动关节组件指由于主动转接转动而跟随转动的关节组件。The joint component can be either an active joint component or a follower joint component. In one embodiment, the coupled firstjoint assembly 210 includes an active joint assembly and a follower joint assembly, that is, at least one of the coupled firstjoint assemblies 210, at least one of which is an active joint assembly, and one of which is a follower joint assembly, wherein The joint assembly rotates to drive the follower joint assembly to rotate, and the follower joint assembly rotates according to the coupling relationship with the active joint assembly. For example, when a follower joint assembly is coupled to an active joint assembly, the two joint assemblies rotate at the same angle and in opposite directions. For another example, when the two active joint assemblies are coupled with a follower joint assembly, the two active joint assemblies rotate in the same direction, and the rotation angle of the follower joint assembly is the rotation angle of the two active joint assemblies. Sum. As another example, when two active joint assemblies are coupled to a follower joint assembly, the two active joint assemblies rotate in opposite directions, and the follower joint assembly turns to the same as one of the active joint assemblies. Wherein, the active joint assembly refers to a joint assembly that is rotated by a drive mechanism, and the follower joint assembly refers to a joint assembly that follows rotation due to active transfer rotation.

耦合的第一关节组件210也可以均为主动关节组件。例如,耦合的第一关节组件210中包括两个耦合的主动关节组件,其中,两个主动关节组件转动角度相同,方向相反。再如,耦合的第一关节组件210包括三个主动关节组件,其中两个主动关节组件正向转动,一个主动关节组件反向转动,其中反向转动的主动关节组件的转动角为两个正向转动的主动关节组件转动角之和。The coupled firstjoint components 210 can also all be active joint components. For example, the coupled firstjoint assembly 210 includes two coupled active joint assemblies, wherein the two active joint assemblies rotate at the same angle and in opposite directions. For another example, the coupled firstjoint assembly 210 includes three active joint assemblies, wherein the two active joint assemblies rotate in the forward direction, and one active joint assembly rotates in the reverse direction, wherein the rotational angle of the reversely rotating active joint assembly is two positive The sum of the angles of rotation of the rotating active joint assembly.

当耦合的第一关节组件210中包括随动关节组件时,一实施例中,连接组件10还包括调节关节组件,用于对随动关节组件的转动进行补偿,以令耦合的第一关节组件210中远端的连接单元100平移更加精准,其中调节关节组件为主动关节组件。需要说明的是,调节关节组件既可以与随动关节组件耦合,也可以独立于随动关节组件转动。When the coupled firstjoint assembly 210 includes a follower joint assembly, in one embodiment, thejoint assembly 10 further includes an adjustment joint assembly for compensating for rotation of the follower joint assembly to couple the first joint assembly Theconnection unit 100 at the distal end of the 210 is more accurately translated, wherein the adjustment joint assembly is an active joint assembly. It should be noted that the adjustment joint assembly can be coupled to the follower joint assembly or can be rotated independently of the follower joint assembly.

如图9所示,其为本申请连接组件10一实施例的结构示意图。As shown in FIG. 9, it is a schematic structural diagram of an embodiment of theconnection component 10 of the present application.

连接组件10包括多个依次连接的连接单元100,相邻连接单元100形成可转动的关节组件。其中,关节组件包括两个耦合的第二关节组件220,耦合的第二关节组件220根据耦合关系相应转动,且均为主动关节组件。这样,能够令运动更加精准,且易于控制。其他实施例中,关节组件也可以包括三个以上连接单元,此处不再复述。Theconnection assembly 10 includes a plurality ofconnection units 100 that are sequentially connected, andadjacent connection units 100 form a rotatable joint assembly. Wherein, the joint assembly includes two coupled secondjoint assemblies 220, and the coupled secondjoint assemblies 220 rotate correspondingly according to the coupling relationship, and are both active joint assemblies. In this way, the movement can be made more precise and easy to control. In other embodiments, the joint assembly may also include more than three connecting units, which are not repeated here.

一实施例中,耦合的两个第二关节组件220转动角度成比例,并且转动方向相同,这样,能够简化连接组件10的控制。其他实施例中,两个耦合的第二关节组件220转动方向也可以不同。例如,两个第二关节组件转动方向相反;再如,两个第二关节组件转动轴非平行设置。此外,耦合的第二关节组件的转动角度也可以为函数关系。In one embodiment, the two secondjoint assemblies 220 that are coupled are angularly proportional and the direction of rotation is the same, thus simplifying the control of theconnection assembly 10. In other embodiments, the two coupled secondjoint assemblies 220 may also have different directions of rotation. For example, the two second joint assemblies rotate in opposite directions; for example, the two second joint assembly rotation axes are non-parallel. Furthermore, the angle of rotation of the coupled second joint assembly can also be a functional relationship.

需要说明的是,耦合的第二关节组件220也可以为其他数量,例如,为三个或四个,多个第二关节组件220转动角均成正比。或者部分第二关节组件转动角大小相同,与至少一个第二关节组件转动角成正比。It should be noted that the coupled secondjoint components 220 may also be other numbers, for example, three or four, and the plurality of secondjoint assemblies 220 are all proportional to the rotation angle. Or a portion of the second joint assembly has the same rotation angle and is proportional to the rotation angle of the at least one second joint assembly.

如图9所示,第二关节组件220包括两组,每组具有两个耦合的第二关节组件220,且每组中耦合的第二关节组件220转动方向相同,两组第二关节组件220的旋转轴非平行设置,以使与耦合的第二关节组件220中远端连接单元100连接的末端器械或单元具有两个自由度。与第一关节组件210相同,第二关节组件220也可以为多组,以使末端器械或单元具有多个自由度。As shown in FIG. 9, the secondjoint assembly 220 includes two sets, each set having two coupled secondjoint assemblies 220, and the secondjoint assemblies 220 coupled in each group rotate in the same direction, and the two sets of secondjoint assemblies 220 The axes of rotation are non-parallel to provide two degrees of freedom for the end instrument or unit to which thedistal connection unit 100 in the coupled secondjoint assembly 220 is coupled. Like the firstjoint assembly 210, the secondjoint assembly 220 can also be in multiple sets such that the end instrument or unit has multiple degrees of freedom.

需要说明的是,耦合的第二关节组件220既可以相邻设置,也可以间隔设置。当第二关节组件220包括两组时,两组第二关节组件220既可以依次排列,即第一组中的两个关节组件与第二组中的两个第二关节组件220依次 顺序排列,也可以交叉排列,例如,图9中第一组中的两个第二组件220与第二组中的两个第二关节组件220依次交替排列;再如,第一组中的一个第二关节组件220位于第二组中的两个第二关节组件220之间。It should be noted that the coupled secondjoint components 220 may be disposed adjacent to each other or at intervals. When the secondjoint assembly 220 includes two groups, the two sets of secondjoint assemblies 220 may be sequentially arranged, that is, the two joint assemblies in the first group and the two secondjoint assemblies 220 in the second group are sequentially arranged. The twosecond components 220 in the first group in FIG. Theassembly 220 is located between the two secondjoint assemblies 220 in the second set.

一实施例中,连接组件10包括多个依次连接的连接单元100,至少两个连接单元100形成可转动的关节组件。其中,关节组件包括耦合的两个第一关节组件210,以及耦合的两个第二关节组件220。In one embodiment, theconnection assembly 10 includes a plurality ofconnection units 100 that are sequentially connected, and at least two of theconnection units 100 form a rotatable joint assembly. Therein, the joint assembly includes two firstjoint assemblies 210 coupled, and two secondjoint assemblies 220 coupled.

如图10所示,每个关节组件包括相邻的两个连接单元100,耦合的第一关节组件210为两组,每组包括两个第一关节组件210,耦合的第二关节组件220为两组,每组包括两个第二关节组件220。具体地,第一关节组件210与第二关节组件220相邻,且相邻的第一关节组件210与第二关节组件220耦合同一个连接单元100,即第一关节组件210与第二关节组件220在相邻区域共用一个连接单元100。第一关节组件210转动时,耦合的第一关节组件210中,位于远端的连接单元100姿态基本保持不变。第一关节组件210、第二关节组件220的相关内容,包括但不限于结构、分布及数量,请参见上述各实施例,此处不再复述。As shown in FIG. 10, each joint assembly includes two adjacentjoint units 100, and the firstjoint assembly 210 is coupled into two groups, each set including two firstjoint assemblies 210, and the coupled secondjoint assembly 220 is Two groups, each set including two secondjoint assemblies 220. Specifically, the firstjoint assembly 210 is adjacent to the secondjoint assembly 220, and the adjacent firstjoint assembly 210 and the secondjoint assembly 220 are coupled to the samejoint unit 100, that is, the firstjoint assembly 210 and the second joint assembly. 220 shares aconnection unit 100 in an adjacent area. When the firstjoint assembly 210 is rotated, the position of the connectingunit 100 at the distal end of the coupled firstjoint assembly 210 remains substantially unchanged. For the related content of the firstjoint component 210 and the secondjoint component 220, including but not limited to the structure, the distribution and the quantity, please refer to the above embodiments, and will not be repeated here.

本实施例中,第二关节组件220均位于两个第一关节组件210的远端,即位于远端的第一关节组件210的远端连接单元100为位于近端的第二关节组件220的近端连接单元100。同理,其他实施例中,第二关节组件220也可以均位于第一关节组件210的近端。或者,第二关节组件220也可以位于耦合的第一关节组件210之间,此时,第一关节组件210远端及近端的连接单元100均与第二关节组件220共用。或者,两个第一关节组件与两个所述第二关节组件依次交替排列。In this embodiment, the secondjoint assembly 220 is located at the distal end of the two firstjoint assemblies 210, that is, the distaljoint unit 100 of the firstjoint assembly 210 at the distal end is the secondjoint assembly 220 at the proximal end. Theproximal connection unit 100. Similarly, in other embodiments, the secondjoint assembly 220 can also be located at the proximal end of the firstjoint assembly 210. Alternatively, the secondjoint assembly 220 can also be located between the coupled firstjoint assemblies 210, at which point the distal andproximal connection units 100 of the firstjoint assembly 210 are shared with the secondjoint assembly 220. Alternatively, the two first joint assemblies and the two second joint assemblies are alternately arranged in sequence.

如图11所示,其为本申请连接组件10一实施例的结构示意图。连接组件10包括多个依次连接的连接单元100,相邻连接单元100形成可转动的关节组件200。其中,多个关节组件200形成至少两个耦合的关节段300,多个关节段300既可以相邻设置,也可以间隔设置。其他实施例中,关节组件也可以包括三个以上连接单元,此处不再复述。As shown in FIG. 11 , it is a schematic structural diagram of an embodiment of theconnection component 10 of the present application. Theconnection assembly 10 includes a plurality ofconnection units 100 that are sequentially connected, and theadjacent connection units 100 form a rotatablejoint assembly 200. Wherein, the plurality ofjoint assemblies 200 form at least two coupledjoint segments 300, and the plurality ofjoint segments 300 may be disposed adjacent to each other or at intervals. In other embodiments, the joint assembly may also include more than three connecting units, which are not repeated here.

当关节段300中的关节组件转动时,耦合的关节段300中位于远端的连接单元100姿态基本保持不变,即多个耦合的关节段中位于远端的关节组件,其远端姿态保持不变。具体地,耦合的关节段转动时,各耦合的关节段中的关节组件在各方向转动角之和基本相同。When the joint assembly in thejoint segment 300 is rotated, the distally connectedunit 100 in the coupledjoint segment 300 remains substantially unchanged, ie, the distally located joint assembly of the plurality of coupled joint segments, the distal end of which remains constant. Specifically, when the coupled joint segments are rotated, the sum of the rotational angles of the joint assemblies in each coupled joint segment in each direction is substantially the same.

一实施例中,关节段具有两个摆动方向,且两个摆动方向正交。即关节段中的关节组件包括两组,两组关节组件的转动轴正交,以使与关节段远端连接的末端器械或者其他关节组件具有两个自由度。其他实施例中,两个摆动方向可非正交设置,或者关节段的摆动方向也可以为多个。In one embodiment, the joint segment has two swing directions and the two swing directions are orthogonal. That is, the joint assembly in the joint segment includes two groups, and the rotational axes of the two sets of joint assemblies are orthogonal so that the end instrument or other joint assembly connected to the distal end of the joint segment has two degrees of freedom. In other embodiments, the two swing directions may be non-orthogonal, or the joint direction may be a plurality of swing directions.

耦合的关节段300中至少一个关节段300包括两个主动关节组件200。例如,两个关节段300耦合,其中一个关节段300包括两个耦合的第二关节组件220,另一个关节段300包括两个随动关节组件,与两个第二关节组件220对应耦合,即随动关节组件与对应的第二关节组件转动方向相反,转动角相同。再如,两个关节段300耦合,其中一个关节段300包括两个耦合的第二关节组件220,另一个关节段300包括一个主动关节组件,一个随动关节组件。At least one of the coupledjoint segments 300 includes two activejoint assemblies 200. For example, twojoint segments 300 are coupled, one of which includes two coupled secondjoint assemblies 220, and the otherjoint segment 300 includes two follower joint assemblies that are coupled to the two secondjoint assemblies 220, ie, The follower joint assembly and the corresponding second joint assembly rotate in opposite directions, and the rotation angle is the same. As another example, twojoint segments 300 are coupled, one of which includes two coupled secondjoint assemblies 220, and the otherjoint portion 300 includes an active joint assembly and a follower joint assembly.

当耦合的关节段中包括随动关节组件时,一实施例中,连接组件还包括调节关节组件,以对随动关节组件的转动进行补偿。调节关节组件既可以位于具有随动关节的关节段中,也可以位于与其耦合的关节段中。In the embodiment, when the coupled joint segment includes a follower joint assembly, in one embodiment, the joint assembly further includes an adjustment joint assembly to compensate for rotation of the follower joint assembly. The adjustment joint assembly can be located either in the joint segment with the follower joint or in the joint segment to which it is coupled.

需要说明的是,一实施例中,连接组件也可以仅包括一个关节段,该关节段中包括两个第二关节组件,此时连接组件还包括第三关节组件,第三关节组件与关节段耦合,以使关节段转动时,第三关节组件远端的姿态保持不变。具体地,第三关节组件转动角为第二关节组件转动角之和,转动方向与第二关节组件转动方向相反。It should be noted that, in an embodiment, the connecting component may also include only one joint segment, and the joint segment includes two second joint components, and the connecting component further includes a third joint component, a third joint component and a joint segment. When coupled so that the joint segment rotates, the attitude of the distal end of the third joint assembly remains unchanged. Specifically, the third joint assembly rotation angle is the sum of the rotation angles of the second joint assembly, and the rotation direction is opposite to the rotation direction of the second joint assembly.

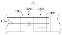
如图12至图14所示,其分别为本申请连接组件不同实施例的结构示意图。连接组件10包括:多个依次连接的连接单元100以及主驱动丝。其中,相邻连接单元100形成可转动的关节组件,关节组件具有主动关节组件,主驱动丝驱动主动关节组件转动。其他实施例中,关节组件也可以包括三个以 上连接单元,此处不再复述。12 to FIG. 14 are respectively schematic structural views of different embodiments of the connection assembly of the present application. Theconnection assembly 10 includes a plurality ofconnection units 100 connected in series and a main drive wire. Wherein, the adjacent connectingunit 100 forms a rotatable joint assembly, the joint assembly has an active joint assembly, and the main drive wire drives the active joint assembly to rotate. In other embodiments, the joint assembly may also include more than three connection units, which are not repeated here.

主驱动丝包括第一主驱动丝410A、第二主驱动丝410a。第一主驱动丝410A的远端设置于位于其驱动的主动关节组件200A远端的一个连接单元100上,近端用于连接驱动机构,以驱动主动关节组件200A转动。第二主驱动丝410a的远端设置于其驱动的主动关节组件200a中位于远端的连接单元100上,近端用于连接驱动机构。其中,位于主动关节组件200A远端的连接单元100,不包括形成该主动单元的连接单元100。并且,第一主驱动丝410A驱动的主动关节组件200A独立于设置第一主驱动丝410A的连接单元100与连接组件10近端的连接单元100之间的其余关节组件转动。The main drive wire includes a firstmain drive wire 410A and a secondmain drive wire 410a. The distal end of the firstprimary drive wire 410A is disposed on aconnection unit 100 at the distal end of theactive articulation assembly 200A that it drives, and the proximal end is used to connect the drive mechanism to drive the activejoint assembly 200A to rotate. The distal end of the secondmain drive wire 410a is disposed on thedistal connection unit 100 in the activejoint assembly 200a that it drives, and the proximal end is used to connect the drive mechanism. Theconnection unit 100 located at the distal end of the activejoint assembly 200A does not include theconnection unit 100 forming the active unit. Also, the activejoint assembly 200A driven by the firstmain drive wire 410A is rotated independently of the remaining joint assemblies between theconnection unit 100 in which the firstmain drive wire 410A is disposed and theconnection unit 100 at the proximal end of theconnection assembly 10.

需要说明的是,第一主驱动丝与第二主驱动丝驱动也可以驱动同一个关节组件,此时该关节组件具有两个自由度。It should be noted that the first main drive wire and the second main drive wire drive can also drive the same joint assembly, and the joint assembly has two degrees of freedom.

如图12所示,一实施例中,近端的主动关节组件200A通过第一主驱动丝410A驱动,远端的主动关节组件200a通过第二主驱动丝410a驱动。其中,两个主动关节组件的转动轴非平行设置,即连接组件10具有两个自由度。具体地,第一主驱动丝410A、第二主驱动丝410a的远端均设置于远端的主动关节组件200a的连接单元100上。当近端的主动关节组件200A转动时,其并不会带动远端的主动关节组件200a转动,同理当远端的主动关节组件200a转动时,并不会带动近端的主动关节组件200A转动。其他实施例中,第一主驱动丝410A、第二主驱动丝410a也可以设置于不同的连接单元100上。As shown in FIG. 12, in one embodiment, the proximal activejoint assembly 200A is driven by a firstprimary drive wire 410A and the distal activejoint assembly 200a is driven by a secondprimary drive wire 410a. Wherein, the rotating axes of the two active joint assemblies are arranged non-parallel, that is, the connectingassembly 10 has two degrees of freedom. Specifically, the distal ends of the firstmain driving wire 410A and the secondmain driving wire 410a are disposed on the connectingunit 100 of the distal activejoint assembly 200a. When the proximal activejoint assembly 200A rotates, it does not drive the distal activejoint assembly 200a to rotate. Similarly, when the distal activejoint assembly 200a rotates, the proximal activejoint assembly 200A is not rotated. In other embodiments, the firstmain driving wire 410A and the secondmain driving wire 410a may also be disposed on different connectingunits 100.

如图13所示,一实施例中,连接组件包括四个依次连接的连接单元100,其形成三个主动关节组件,位于近端的主动关节组件200A通过第一主驱动丝410A驱动,位于中间及远端的主动关节组件200a通过第二主驱动丝410a驱动。其中,多个主动关节组件的转动轴平行设置。具体地,第一主驱动丝410A设置于连接组件10中远端的连接单元100上,即远端主动关节组件中位于远端的连接单元100上。当第一主驱动丝410A驱动近端的主动关节组件转动时,第二主驱动丝420B锁定位于中间及远端的主动关节组件,以使近端的关节组件独立于另外两个关节组件转动。As shown in FIG. 13, in one embodiment, the connection assembly includes fourconnection units 100 connected in series, which form three active joint assemblies, and the activejoint assembly 200A at the proximal end is driven by the firstmain drive wire 410A. The distal activejoint assembly 200a is driven by the secondmain drive wire 410a. Wherein, the rotation axes of the plurality of active joint assemblies are arranged in parallel. Specifically, the firstmain drive wire 410A is disposed on theconnection unit 100 at the distal end of theconnection assembly 10, that is, on thedistal connection unit 100 of the distal active joint assembly. When the firstmain drive wire 410A drives the proximal active joint assembly to rotate, the second main drive wire 420B locks the active joint assembly at the center and distal ends to rotate the proximal joint assembly independently of the other two joint assemblies.

需要说明的是,前述各实施例中的主动关节组件均可通过主驱动丝驱动。例如,关节组件中包括两个耦合的第一关节组件210,两个第一关节组件210均为主动关节组件,并通过第一主驱动丝410A驱动。又如,关节组件中包括两组第一关节组件210,每组中具有两个耦合的第一关节组件210,且至少其一为主动关节组件,其中,第一组第一关节组件210中的主动关节组件通过第一主驱动丝410A驱动,第二组第一关节组件210中的主动关节组件通过第二主驱动丝410a驱动,此处不再复述。It should be noted that the active joint components in the foregoing embodiments can be driven by the main drive wire. For example, the joint assembly includes two coupled firstjoint assemblies 210, both of which are active joint assemblies, and are driven by a firstmain drive wire 410A. As another example, the joint assembly includes two sets of firstjoint assemblies 210, each having two coupled firstjoint assemblies 210, and at least one of which is an active joint assembly, wherein the first set of firstjoint assemblies 210 The active joint assembly is driven by the firstmain drive wire 410A, and the active joint assembly of the second set of firstjoint assemblies 210 is driven by the secondmain drive wire 410a, and will not be described again herein.

如图14所示,一实施例中,连接组件10还包括与至少一个主动关节组件200A耦合的随动关节组件200B,以及驱动随动关节组件200B的从驱动丝420。具体地,从驱动丝420为定长驱动丝,其一端设置于该随动关节组件200B中远端的连接单元100上,另一端设置于与其耦合的主动关节组件200A中的位于近端的连接单元100上。As shown in FIG. 14, in one embodiment, theconnector assembly 10 further includes a followerjoint assembly 200B coupled to the at least one activejoint assembly 200A, and aslave drive wire 420 that drives the followerjoint assembly 200B. Specifically, thedriving wire 420 is a fixed length driving wire, one end of which is disposed on the connectingunit 100 at the distal end of the followerjoint assembly 200B, and the other end is disposed at the proximal end of the activejoint assembly 200A coupled thereto. Onunit 100.

其他实施例中,从动丝420的一端也可以设置于位于随动关节组件200B远端的连接单元100上,另一端也可以设置于位于主动关节组件200A近端的连接单元100上。In other embodiments, one end of the drivenwire 420 may also be disposed on the connectingunit 100 at the distal end of the followerjoint assembly 200B, and the other end may also be disposed on the connectingunit 100 at the proximal end of the activejoint assembly 200A.

需要说明的是,当关节组件包括三个或三个以上连接单元时,主驱动丝及/或从驱动丝依次穿设其驱动的连接单元,并驱动其转动。如图15所示,一实施例中,主动关节组件200a包括三个连接单元100,驱动其转动的主驱动丝410a依次穿设三个连接单元100,并设置于该主动关节组件200a中远端的连接单元100上。其他实施例中,与随动关节组件耦合的一个主动关节组件包括三个连接单元,此时,驱动随动关节组件的从驱动丝设置于与其耦合的主动关节组件中近端或者中间的连接单元上。It should be noted that when the joint assembly includes three or more connecting units, the main driving wire and/or the connecting unit driven from the driving wire are sequentially driven and driven to rotate. As shown in FIG. 15, in an embodiment, the activejoint assembly 200a includes three connectingunits 100, and themain driving wire 410a for driving the rotation thereof is sequentially disposed with three connectingunits 100 and disposed at the distal end of the activejoint assembly 200a. On theconnection unit 100. In other embodiments, an active joint assembly coupled to the follower joint assembly includes three connection units, at which point the drive unit of the follower joint assembly is disposed in the proximal or intermediate connection unit of the active joint assembly coupled thereto. on.

一实施例中,关节组件通过两根或三根驱动丝驱动,即每个主动关节组件通过两根或者三根主驱动丝驱动其转动,每个随动关节组件通过两根或者三根从驱动丝驱动其转动。其中,驱动同一个关节组件的驱动丝,设置于同一个连接单元100上,如图12至图15所示驱动同一个主动关节组件的多根驱动丝的远端均设置于同一个连接单元100上,如图14所示驱动同一个随动 关节组件的多根驱动丝的近端设置于同一个连接单元100上,远端也设置于同一个连接单元100上。其他实施例中,驱动同一个关节组件的多根驱动丝也可以设置于不同的连接单元100上,只要保证其能够正常工作即可。需要说明的是,驱动丝既可以通过驱动连接单元进而驱动关节组件转动,也可以通过驱动转动部进而驱动关节组件转动,其中转动部将在下文中详述。In one embodiment, the joint assembly is driven by two or three drive wires, ie each active joint assembly drives its rotation by two or three main drive wires, each driven joint assembly being driven by two or three slave drive wires Turn. Wherein, the driving wires for driving the same joint assembly are disposed on the same connectingunit 100, and the distal ends of the plurality of driving wires for driving the same active joint assembly as shown in FIG. 12 to FIG. 15 are all disposed on the same connectingunit 100. In the above, as shown in FIG. 14, the proximal ends of the plurality of driving wires for driving the same follower joint assembly are disposed on the same connectingunit 100, and the distal end is also disposed on the same connectingunit 100. In other embodiments, a plurality of drive wires that drive the same joint assembly may also be disposed ondifferent connection units 100 as long as they are properly operated. It should be noted that the driving wire can drive the joint assembly to rotate by driving the connecting unit, or can drive the joint assembly to rotate by driving the rotating portion, wherein the rotating portion will be described in detail below.

如图16至图17所示,其为本申请连接组件10关节组件不同实施例的结构示意图。关节组件200还包括转动部230,用于连接相邻的连接单元100。具体地,转动部230包括两个转动轴231,及连接转动轴的连接件232,两个转动轴分别位于其连接的相邻的两个连接单元100上,以使相邻两个连接单元100通过两个转动轴231转动。其中,转动轴231既可以形成于连接单元上,也可以独立设置。其他实施例中,也可以省略连接件232,此时无需连接件232。需要说明的是,当关节组件包括多个连接单元时,转动部为多个,用于连接多个连接单元。16 to 17, which are schematic structural views of different embodiments of the joint assembly of thejoint assembly 10 of the present application. Thejoint assembly 200 also includes arotating portion 230 for connecting adjacent connectingunits 100. Specifically, the rotatingportion 230 includes tworotating shafts 231 and a connectingmember 232 connecting the rotating shafts, and the two rotating shafts are respectively located on the adjacent two connectingunits 100 connected thereto, so that the adjacent two connectingunits 100 are It is rotated by the tworotating shafts 231. Therotating shaft 231 may be formed on the connecting unit or independently. In other embodiments, theconnector 232 can also be omitted, in which case theconnector 232 is not required. It should be noted that when the joint assembly includes a plurality of connecting units, the rotating portion is plural for connecting the plurality of connecting units.

相比相邻两个连接单元仅通过一个转动轴转动的连接组件,上述关节接组件200转动更加稳定,且寿命更长。Thejoint assembly 200 is more stable in rotation and has a longer life than a connecting assembly in which two adjacent connecting units are rotated by only one rotating shaft.

其他实施例中,转动部也可以仅具有一个转动轴,此时,省略连接件232。或者,关节组件中部分转动部具有两个转动轴,部分转动部具有一个转动轴。In other embodiments, the rotating portion may have only one rotating shaft, and at this time, the connectingmember 232 is omitted. Alternatively, the partial rotation portion of the joint assembly has two rotation shafts, and the partial rotation portion has one rotation shaft.

本实施例中,关节组件中相邻两个连接单元上的两个转动轴231平行设置。其他实施例中,关节组件中相邻两个连接单元上的两个转动轴231也可以非平行设置,例如两个转动轴231之间的夹角为5度~45度。非平行设置的转动轴231进一步增大了连接组件10的活动范围。In this embodiment, two rotatingshafts 231 on two adjacent connecting units in the joint assembly are disposed in parallel. In other embodiments, the tworotating shafts 231 on two adjacent connecting units in the joint assembly may also be non-parallel, for example, the angle between the tworotating shafts 231 is 5 to 45 degrees. The non-parallelly disposedrotating shaft 231 further increases the range of motion of the connectingassembly 10.

关节组件200的转动角度为关节组件中多个转动轴231转动角度之和。一实施例中,关节组件包括两个连接单元,关节组件的转动角为两个转动轴转动角度之和,其中,两个转动轴231转动时转动角度相同,即关节组件200转动时,其每个转动轴231的转动角度为关节组件200转动角度的一半。其他实施例中,连接相邻两个连接单元的两个转动轴231转动时转动角度相异。The angle of rotation of thejoint assembly 200 is the sum of the angles of rotation of the plurality ofrotating shafts 231 in the joint assembly. In one embodiment, the joint assembly includes two connecting units, and the rotation angle of the joint assembly is the sum of the rotation angles of the two rotating shafts, wherein the tworotating shafts 231 rotate at the same angle, that is, when thejoint assembly 200 rotates, each of them The rotation angle of therotation shaft 231 is half the rotation angle of thejoint assembly 200. In other embodiments, the tworotating shafts 231 connecting the adjacent two connecting units rotate at different angles of rotation.

当关节组件200包括两个耦合的第一关节组件210,且第一关节组件210 具有两个连接单元时,两个第一关节组件210中的转动轴231对应耦合,耦合的两个转动轴231转动角度相同,方向相反。具体地,耦合的第一关节组件中,位于近端关节组件的近端转动轴231与位于远端关节组件的远端转动轴231耦合,近端关节组件的远端转动轴231与远端关节组件的近端转动轴231耦合。当关节组件200包括耦合的两个第二关节组件,且第二关节组件210具有两个连接单元时,两个第二关节组件相应的转动轴231对应耦合,耦合的转动轴231转动角度成比例,方向相同。When thejoint assembly 200 includes two coupled firstjoint assemblies 210, and the firstjoint assembly 210 has two connecting units, the rotatingshafts 231 of the two firstjoint assemblies 210 are coupled, and the tworotating shafts 231 are coupled. The angle of rotation is the same and the direction is opposite. Specifically, of the coupled first joint assembly, the proximalrotational axis 231 of the proximal joint assembly is coupled to the distalrotational axis 231 of the distal joint assembly, and the distalrotational axis 231 and distal joint of the proximal joint assembly The proximalrotational axis 231 of the assembly is coupled. When thejoint assembly 200 includes two coupled second joint assemblies, and the secondjoint assembly 210 has two connecting units, the correspondingrotating shafts 231 of the two second joint assemblies are coupled, and the rotational axes of the coupled rotatingshafts 231 are proportionally rotated. The same direction.

需要说明的是,当一个关节组件通过多个驱动丝驱动时,若该关节组件200转动,则驱动该关节组件200的各驱动丝长度变化相同。例如,如图14所示,主动关节组件200A通过两根第一主驱动丝410A驱动,当位于上方的第一主驱动丝410A缩短以使转动单元100朝向该侧旋转时,位于下方第一主驱动丝410A相应伸长相同的长度。同理,驱动关节组件200B的两根从驱动丝420在转动时长度变化相同。本实施例中,连接件使两个转动轴231之间的距离恒定,驱动同一个关节组件200的驱动丝相对于连接件对称设置。It should be noted that when a joint assembly is driven by a plurality of drive wires, if thejoint assembly 200 is rotated, the lengths of the respective drive wires that drive thejoint assembly 200 are the same. For example, as shown in FIG. 14, the activejoint assembly 200A is driven by two firstmain drive wires 410A, and when the firstmain drive wire 410A located above is shortened to rotate therotary unit 100 toward the side, the first main lower portion is located Thedrive wire 410A is correspondingly elongated by the same length. Similarly, the lengths of the twodrive wire assemblies 420 that drive thejoint assembly 200B change the same as they rotate. In the present embodiment, the connecting member makes the distance between the tworotating shafts 231 constant, and the driving wires for driving the samejoint assembly 200 are symmetrically disposed with respect to the connecting member.

如图17所示,一实施例中,关节组件200还具有与关节组件200中的连接单元100均连接的加强轴240。其中,加强轴形成于关节组件200中的一个连接单元100上,与其相邻的连接单元100具有与其匹配的凹槽,以与其配合连接。其他实施例中,加强轴240也可以为独立部件。As shown in FIG. 17, in one embodiment, thejoint assembly 200 also has a stiffeningshaft 240 that is coupled to thecoupling unit 100 in thejoint assembly 200. Wherein, the reinforcing shaft is formed on one of the connectingunits 100 in thejoint assembly 200, and the connectingunit 100 adjacent thereto has a groove matched thereto to be coupled thereto. In other embodiments, thereinforcement shaft 240 can also be a separate component.

一实施例中,至少一个关节组件具有两个或两个以上自由度。例如,如图19所示,两组耦合的第一关节组件中,包括三个关节组件,其中一个关节组件为随动关节组件200B,具有两个自由度,另外两个关节组件为主动关节组件200A,均具有一个自由度,并且两主动关节组件转动方向正交。两组耦合的关节组件均包括该随动关节组件,即第一组关节组件包括一个主动关节组件和随动关节组件,第二组关节组件包括另一个主动关节组件和随动关节组件。两组耦合的关节组件共用同一个随动关节组件,当任意一个主动关节组件转动时,其均能相应转动,随动关节组件具有两个自由度,一方面能够缩短连接组件10的长度,另一方面由于其与两个具有一个自由度的主动关节 组件耦合,还够保证随动关节组件的转动精度。需要说明的是,具有两个或两个以上自由度的关节组件也可以为主动关节,其中,各自由度的运动均通过驱动机构驱动;或者具有两个或两个以上自由度的关节组件其至少一个自由度的运动通过驱动机构驱动。In one embodiment, the at least one joint assembly has two or more degrees of freedom. For example, as shown in FIG. 19, two sets of coupled first joint assemblies include three joint assemblies, one of which is a followerjoint assembly 200B having two degrees of freedom, and the other two joint assemblies being active joint assemblies. 200A, both have one degree of freedom, and the two active joint components rotate in a direction orthogonal. Both sets of coupled joint assemblies include the follower joint assembly, ie, the first set of joint assemblies includes an active joint assembly and a follower joint assembly, and the second set of joint assemblies includes another active joint assembly and follower joint assembly. The two sets of coupled joint components share the same follower joint assembly. When any one of the active joint assemblies rotates, they can rotate correspondingly. The follower joint assembly has two degrees of freedom, on the one hand, the length of thejoint assembly 10 can be shortened, and On the one hand, due to its coupling with two active joint assemblies having one degree of freedom, it is also possible to ensure the rotational accuracy of the follower joint assembly. It should be noted that the joint assembly having two or more degrees of freedom may also be an active joint, wherein each movement of the degree is driven by a driving mechanism; or a joint assembly having two or more degrees of freedom At least one degree of freedom of motion is driven by the drive mechanism.

如图18所示,连接单元100具有主体110及位于主体110上的连接区120,转动部将相邻两个所述连接单元100的连接区120转动连接,以使关节组件转动。本实施例中,主体110与连接区120一体成型;其他实施例中,主体110与连接区120也可以非一体成型,例如,连接区焊接于主体上,或者粘贴于主体上。需要说明的是,各连接单元100的主体110长度既可以相同,也可以相异。例如,耦合的两个第一关节组件210中,其中一个第一关节组件210中的一个连接单元100的主体110长度大于其他连接单元100的主体110长度,且主体110长度较长的连接单元100为非近端的连接单元100,以增加远端的平移范围。此外,各连接单元100的结构既可以相同也可以相异,以适应不同需求。As shown in FIG. 18, the connectingunit 100 has amain body 110 and a connectingarea 120 on themain body 110. The rotating part rotationally connects the connectingareas 120 of two adjacent connectingunits 100 to rotate the joint assembly. In this embodiment, themain body 110 and the connectingportion 120 are integrally formed. In other embodiments, themain body 110 and the connectingportion 120 may also be non-integrally formed. For example, the connecting portion is welded to the main body or pasted on the main body. It should be noted that the lengths of themain bodies 110 of theconnection units 100 may be the same or different. For example, among the two firstjoint assemblies 210 coupled, one of the firstjoint assemblies 210 has a length greater than that of themain body 110 of the other connectingunit 100, and the connectingunit 100 having a longermain body 110 length. It is anon-proximal connection unit 100 to increase the translation range of the distal end. In addition, the structures of theconnection units 100 may be the same or different to suit different needs.

如图20所示,一实施例中,连接组件10中的一个连接单元101与多个连接单元100相连接,此时,该连接单元101的一端具有两组连接区120,分别与两个连接单元100的连接区连接。当连接单元101为耦合的第一关节组件中远端的连接单元时,与其远端连接的两个连接单元,在耦合的第一关节组件转动时,姿态均保持不变。As shown in FIG. 20, in one embodiment, one of theconnection units 101 is connected to the plurality ofconnection units 100. At this time, one end of theconnection unit 101 has twoconnection areas 120, which are respectively connected to two. The connection areas ofunit 100 are connected. When the connectingunit 101 is the connecting unit at the distal end of the coupled first joint assembly, the two connecting units connected to the distal end thereof remain unchanged when the coupled first joint assembly rotates.

如图21、图22所示,其他实施例中,连接组件中的连接单元也可以省略连接区120,此时,连接单元可为盘状结,多个连接单元100通过驱动丝依次连接。具体地,连接组件10包括:多个连接单元100以及驱动丝400。其中,驱动丝400将多个连接单元100依次连接,至少两个连接单元100形成可弯曲的关节组件200。图21中的关节组件包括两个连接单元,图22中的关节组件包括四个连接单元100。关节组件200可包括第一关节组件、第二关节组件、第三关节组件中至少其一。各关节组件的相关内容与上述各实施例相似,此处不再复述。As shown in FIG. 21 and FIG. 22, in other embodiments, the connection unit in the connection component may also omit theconnection area 120. In this case, the connection unit may be a disk-shaped junction, and the plurality ofconnection units 100 are sequentially connected by a drive wire. Specifically, theconnection assembly 10 includes a plurality ofconnection units 100 and adrive wire 400. Wherein, thedriving wire 400 sequentially connects the plurality of connectingunits 100, and at least two connectingunits 100 form a bendablejoint assembly 200. The joint assembly in Fig. 21 includes two connection units, and the joint assembly in Fig. 22 includes fourconnection units 100. Thejoint assembly 200 can include at least one of a first joint assembly, a second joint assembly, and a third joint assembly. The relevant content of each joint component is similar to the above embodiments, and will not be repeated here.

本实施例中,主动关节组件200a通过主驱动丝410a驱动其转动。具体地,主驱动丝410a的远端设置于其驱动的主动关节组件200a中位于远端的连接单元100上,近端用于连接驱动机构,主驱动丝410a通过驱动主动关节组件中的连接单元100运动,从而驱动主动关节组件200a弯曲。In the present embodiment, the activejoint assembly 200a drives its rotation by themain drive wire 410a. Specifically, the distal end of themain drive wire 410a is disposed on thedistal connection unit 100 of the activejoint assembly 200a that is driven, the proximal end is used to connect the drive mechanism, and themain drive wire 410a is driven by the connection unit in the active joint assembly. 100 moves to drive the activejoint assembly 200a to bend.

随动关节组件200B通过从驱动丝420驱动其转动。其中,从驱动丝420的远端设置于其驱动的随动关节组件200B中位于远端的连接单元100上,近端设置于驱动其转动的主动关节组件200a中位于近端的连接单元100上,驱动其转动的主动关节组件200a位于随动关节组件200B的近端。当随动关节组件200B与多个主动关节组件200A耦合时,从驱动丝420的近端设置于多个主动关节组件中位于近端的主动关节组件上。The followerjoint assembly 200B drives its rotation by driving thewire 420. Wherein, the distal end of thedriving wire 420 is disposed on the distal connectingunit 100 in the driven articulatingjoint assembly 200B, and the proximal end is disposed on the proximal connectingunit 100 in the activejoint assembly 200a that drives the rotation thereof. The activejoint assembly 200a that drives its rotation is located at the proximal end of the followerjoint assembly 200B. When the followerjoint assembly 200B is coupled to the plurality of activejoint assemblies 200A, the proximal end of thedrive wire 420 is disposed on the proximal active joint assembly of the plurality of active joint assemblies.

如图23至图24所示,其分别为本申请连接组件不同实施例的结构示意图。一实施例中,连接组件还包括骨架500,其连接多个连接单元100,用于保持多个连接单元100之间的间距。如图23所示,骨架500包括柔性杆,柔性杆穿设多个连接单元100,并随关节组件200可弯曲。具体地,多个连接单元100设置于柔性杆上,当驱动丝400驱动连接单元转动时,柔性杆随连接单元弯曲。其中,多个连接单元既可以与柔性杆固定连接件,也可以活动设置于连接杆上,以在保证多个连接单元之间间距的同时,减小柔性杆的弯曲程度,进而减小弯曲时的阻力。一实施例中,骨架包括钢丝,其与柔性杆相似,此处不再复述。需要说明的是,一实施例中,驱动丝也可以为钢丝。一实施例中,如图24所示,骨架500包括弹性件,弹性件的两端分别连接相邻的两个连接单元100。具体地,相邻两个连接单元100之间设有多个弹性件,多个弹性件相对于连接组件的轴线对称设置。本实施例中,两个连接单元之间设有两个弹性件。23 to 24 are respectively schematic structural views of different embodiments of the connection component of the present application. In one embodiment, the connection assembly further includes askeleton 500 that connects the plurality ofconnection units 100 for maintaining a spacing between the plurality ofconnection units 100. As shown in FIG. 23, theskeleton 500 includes a flexible rod that is threaded through the plurality of connectingunits 100 and that is bendable with thejoint assembly 200. Specifically, the plurality of connectingunits 100 are disposed on the flexible rod, and when thedriving wire 400 drives the connecting unit to rotate, the flexible rod is bent with the connecting unit. Wherein, the plurality of connecting units can be fixedly connected with the flexible rod or can be movably disposed on the connecting rod to reduce the bending degree of the flexible rod while reducing the distance between the plurality of connecting units, thereby reducing the bending time. Resistance. In one embodiment, the skeleton comprises a steel wire similar to a flexible rod and will not be repeated here. It should be noted that, in an embodiment, the driving wire may also be a steel wire. In one embodiment, as shown in FIG. 24, theskeleton 500 includes an elastic member, and two ends of the elastic member are respectively connected to the adjacent two connectingunits 100. Specifically, a plurality of elastic members are disposed between the adjacent two connectingunits 100, and the plurality of elastic members are symmetrically disposed with respect to the axis of the connecting assembly. In this embodiment, two elastic members are disposed between the two connecting units.

图25、图26所示,其分别为本申请不同实施例的局部结构示意图。驱动机构91包括驱动部600及滚轮610,其中,驱动部600驱动滚轮610转动,驱动丝400设置于滚轮610上,以使驱动部600驱动连接组件运动。其他实施例中,也可以省略驱动机构内的滚轮610,此时驱动丝与驱动部直接连接。25 and FIG. 26 are respectively partial schematic views of different embodiments of the present application. Thedriving mechanism 91 includes a drivingportion 600 and aroller 610. The drivingportion 600 drives theroller 610 to rotate, and thedriving wire 400 is disposed on theroller 610 to drive the drivingportion 600 to drive the connecting assembly to move. In other embodiments, theroller 610 in the drive mechanism may be omitted, and the drive wire is directly connected to the drive unit.

如图25所示,一实施例中,一个驱动部600驱动一个滚轮610转动,该滚轮610上设置多根驱动丝。具体地,滚轮610具有不同的直径区域,多个直径区域的直径相异,并且均设置一驱动丝,即一驱动丝缠绕于该直径区域。这样,能够驱动耦合的多个关节组件转动,其中多个耦合的关节组件的转动角成比例,例如驱动第二关节组件。其他实施例中,一个直径区域上也可以设置多根驱动丝,以驱动对应的关节组件。As shown in FIG. 25, in one embodiment, a drivingportion 600 drives aroller 610 to rotate, and theroller 610 is provided with a plurality of driving wires. Specifically, theroller 610 has different diameter regions, and the diameters of the plurality of diameter regions are different, and each is provided with a driving wire, that is, a driving wire is wound around the diameter region. In this manner, a plurality of coupled joint assemblies can be driven to rotate, wherein the rotational angles of the plurality of coupled joint assemblies are proportional, such as to drive the second joint assembly. In other embodiments, a plurality of drive wires may also be provided on one diameter region to drive the corresponding joint assembly.

驱动丝400既可以顺时针缠绕于滚轮610上,也可以逆时针缠绕于滚轮610上,本实施例中,设置于滚轮610不同直径区域上的驱动丝400缠绕方向不同,当滚轮610转动时,若顺时针缠绕的驱动丝释放长度,则逆时针缠绕的驱动丝缩短长度。其中释放长度指令驱动丝缠绕于滚轮610上的部分长度变短,非缠绕部分长度变长;缩短长度指令驱动丝缠绕于滚轮610上的部分长度变长,非缠绕部分长度变短。例如,两个耦合的第一关节组件均为主动关节组件,其驱动丝均缠绕于滚轮的相同直径区域,且缠绕方向相反,进而当驱动丝驱动两个第一关节组件转动时,两个第一关节组件转动角相同,方向相反。又如,一个关节组件通过两根驱动丝驱动,其均缠绕于滚轮的相同的直径区域,缠绕方向相反,此时当该关节组件转动时,两根驱动丝一根伸长一根缩短,以保证其稳定旋转。Thedriving wire 400 can be wound on theroller 610 clockwise or on theroller 610. In this embodiment, thedriving wire 400 disposed on different diameter regions of theroller 610 is wound in different directions. When theroller 610 rotates, If the drive wire wound clockwise releases the length, the drive wire wound counterclockwise shortens the length. The length of the portion in which the release length command driving wire is wound around theroller 610 becomes shorter, and the length of the non-wound portion becomes longer; the length of the portion where the shortening length command driving wire is wound around theroller 610 becomes longer, and the length of the non-wound portion becomes shorter. For example, the two coupled first joint components are active joint assemblies, the drive wires are wound around the same diameter region of the roller, and the winding directions are opposite, and when the driving wire drives the two first joint assemblies to rotate, the two One joint assembly has the same angle of rotation and the opposite direction. For another example, a joint assembly is driven by two drive wires, which are wound around the same diameter region of the roller, and the winding direction is opposite. At this time, when the joint assembly rotates, the two drive wires are elongated one by one to shorten Ensure its stable rotation.

如图26所示,一实施例中,一个驱动部600驱动多个滚轮610转动,多个滚轮610的转动方向相同,转动轴平行。其中,驱动部600通过传动组件620驱动多个滚轮610转动,具体地,传动组件620为齿轮机构,每个驱动部600的端部均与传动组件620中的一个主齿轮相连接,以驱动与主齿轮啮合的从齿轮转动,从齿轮与滚轮610连接,以带动滚轮转动。其他实施例中,同一个驱动部600驱动的多个滚轮610转动方向也可以相反,并且多个滚轮610的转动轴也可以非平行设置,或者部分平行部分非平行。As shown in FIG. 26, in one embodiment, onedrive unit 600 drives a plurality ofrollers 610 to rotate, and the plurality ofrollers 610 have the same rotational direction and the rotational axes are parallel. The drivingpart 600 drives the plurality ofrollers 610 to rotate through thetransmission component 620. Specifically, thetransmission component 620 is a gear mechanism, and the end of each drivingpart 600 is connected with one main gear of thetransmission component 620 to drive and The main gear meshes from the gear and the gear is coupled to theroller 610 to drive the roller to rotate. In other embodiments, the plurality ofrollers 610 driven by thesame driving portion 600 may also have opposite rotation directions, and the rotation axes of the plurality ofrollers 610 may also be non-parallel, or the partial parallel portions may be non-parallel.

上述驱动机构,简化了对连接组件10的控制,且令驱动机构内部结构更加紧凑,减小驱动机构的体积。The above-mentioned driving mechanism simplifies the control of the connectingassembly 10, and makes the internal structure of the driving mechanism more compact, reducing the volume of the driving mechanism.

如图27所示,其为本申请一实施例的局部结构示意图。操作臂3包括: 末端器械20、连接组件10及第一驱动单元30。其中,末端器械20的远端用于执行操作,近端与连接组件10的远端旋转连接;第一驱动单元30的远端连接末端器械20,并驱动末端器械20相对连接组件10旋转,以使末端器械20基本沿第一驱动单元30的轴向旋转,即末端器械的旋转轴与第一驱动单元轴向同轴或平行;连接组件为上述任意一实施例的连接组件。FIG. 27 is a partial structural diagram of an embodiment of the present application. Theoperating arm 3 comprises: anend device 20, a connectingassembly 10 and afirst driving unit 30. Wherein the distal end of thedistal instrument 20 is for performing an operation, the proximal end is rotationally coupled to the distal end of theconnection assembly 10; the distal end of thefirst drive unit 30 is coupled to thedistal end instrument 20 and drives theend instrument 20 to rotate relative to theattachment assembly 10 to Theend instrument 20 is rotated substantially in the axial direction of thefirst drive unit 30, that is, the rotational axis of the end instrument is coaxial or parallel with the first drive unit; the connection assembly is the connection assembly of any of the above embodiments.

本实施例中,第一驱动单元30沿连接组件10的轴向穿设连接组件10,并随连接组件10可弯曲。例如,第一驱动单元30为可弹性弯曲的钢杆;再如,第一驱动单元30为多个钢丝编织或缠绕而成的钢杆。当第一驱动单元30转动时,与其连接的末端器械20随之旋转。其他实施例中,第一驱动单元也可以为其他结构。In the present embodiment, thefirst driving unit 30 passes through the connectingassembly 10 along the axial direction of the connectingassembly 10 and is bendable with the connectingassembly 10. For example, thefirst driving unit 30 is an elastically bendable steel rod; for example, thefirst driving unit 30 is a steel rod in which a plurality of steel wires are woven or wound. When thefirst drive unit 30 is rotated, theend instrument 20 connected thereto rotates therewith. In other embodiments, the first driving unit may also be other structures.

如图28至图30所示,操作臂3还包括驱动齿轮组40,其主动齿轮41固定设置于第一驱动单元30的远端,其从动齿轮42驱动末端器械20转动。当第一驱动单元30转动时,其驱动主动齿轮41旋转,进而驱动从动齿轮42旋转,以驱动末端器械旋转。As shown in FIGS. 28 to 30, theoperating arm 3 further includes a driving gear set 40 whosedriving gear 41 is fixedly disposed at the distal end of thefirst driving unit 30, and the drivengear 42 drives theend instrument 20 to rotate. When thefirst drive unit 30 rotates, it drives thedrive gear 41 to rotate, thereby driving the drivengear 42 to rotate to drive the end instrument to rotate.

具体地,图28中驱动齿轮组40为行星齿轮机构,各齿轮的转轴均与第一驱动单元30的远端平行,其中,主动齿轮41为太阳轮,从动齿轮42为行星齿轮,齿轮圈43设置于连接组件10远端的连接单元100上,或者远端的连接单元100内设置齿轮圈,即连接单元100具有齿轮圈结构。从动齿轮42与末端器械20固定设置,以使末端器械20随从动齿轮42旋转。本实施例中,从动齿轮42为多个,相对于主动齿轮41对称设置,主动齿轮41与第一驱动单元30同轴。其他实施例中,从动齿轮也可以仅为一个。Specifically, the driving gear set 40 in FIG. 28 is a planetary gear mechanism, and the rotating shafts of the respective gears are parallel to the distal end of thefirst driving unit 30, wherein thedriving gear 41 is a sun gear, and the drivengear 42 is a planetary gear, a gear ring. 43 is disposed on the connectingunit 100 at the distal end of the connectingcomponent 10, or a gear ring is disposed in the connectingunit 100 at the distal end, that is, the connectingunit 100 has a gear ring structure. The drivengear 42 is fixedly disposed with theend instrument 20 such that theend instrument 20 rotates with the drivengear 42. In the present embodiment, the plurality of drivengears 42 are symmetrically disposed with respect to thedriving gear 41, and thedriving gear 41 is coaxial with thefirst driving unit 30. In other embodiments, the driven gear may also be only one.

图29中驱动齿轮组40中的各齿轮均为锥齿轮,其中,主动齿轮41与第一驱动单元30的远端同轴,第一从动齿轮42A的旋转轴与主动齿轮41垂直,第二从动齿轮42B的旋转轴与主动齿轮41平行或同轴,并且末端器械20固定设置于第二从动齿轮42B上。具体地,第一从动轮42A为多个,并相对主动齿轮41对称设置,第二从动齿轮42B为一个,与多个第一从动齿轮42A啮合,当主动齿轮41驱动第一从动齿轮42A转动时,第一从动齿轮42A驱 动第二从动齿轮42B转动,进而驱动末端器械20转动。其他实施例中,第二从动齿轮也可以为多个,多个第二从动齿轮共同驱动末端器械。Each of the gears in the drive gear set 40 of FIG. 29 is a bevel gear, wherein thedrive gear 41 is coaxial with the distal end of thefirst drive unit 30, and the rotational axis of the first drivengear 42A is perpendicular to thedrive gear 41, and second The rotating shaft of the drivengear 42B is parallel or coaxial with thedriving gear 41, and theend instrument 20 is fixedly disposed on the second drivengear 42B. Specifically, the first drivenwheel 42A is plural and symmetrically disposed with respect to thedriving gear 41. The second drivengear 42B is one, and meshes with the plurality of first drivengears 42A, and thedriving gear 41 drives the first driven gear. When the 42A rotates, the first drivengear 42A drives the second drivengear 42B to rotate, thereby driving theend instrument 20 to rotate. In other embodiments, the second driven gear may also be multiple, and the plurality of second driven gears jointly drive the end instrument.

如图30所示,一实施例中,也可以省略第二从动齿轮,此时,末端器械20的旋转轴与第一从动齿轮42A的旋转轴平行或同轴,与主动齿轮41的旋转轴垂直。具体地,第一驱动单元30包括驱动杆31、器械驱动丝32。其中,驱动杆31一端设置于主动齿轮上,另一端转动设置于连接组件上;器械驱动丝32沿连接组件10延伸,其远端设置于驱动杆31上,近端设置于驱动机构上,以驱动所述驱动杆31转动,进而驱动主动齿轮41转动,例如,器械驱动丝32远端缠绕于驱动杆31上。As shown in FIG. 30, in an embodiment, the second driven gear may be omitted. At this time, the rotation axis of theend instrument 20 is parallel or coaxial with the rotation axis of the first drivengear 42A, and the rotation of thedriving gear 41. The axis is vertical. Specifically, thefirst driving unit 30 includes a drivingrod 31 and an instrument driving wire 32. Wherein, the drivingrod 31 is disposed on the driving gear at one end and the other end is rotatably disposed on the connecting component; the instrument driving wire 32 extends along the connectingcomponent 10, the distal end thereof is disposed on the drivingrod 31, and the proximal end is disposed on the driving mechanism, The drivingrod 31 is driven to rotate, thereby driving thedriving gear 41 to rotate. For example, the distal end of the instrument driving wire 32 is wound around the drivingrod 31.

如图28所示,末端器械20包括连接部21及设置于连接部21上的两个夹持部22,其中,连接部21与连接组件10的远端连接,夹持部21用于执行相应操作。本实施例中,连接部21通过驱动齿轮组40与连接组件10相连接。具体地,连接部与从动齿轮固定连接,其中,连接部21为盘状结构,盘状结构上设有固定凸起,以与从动齿轮固定连接。其他实施例中,连接部也可以为连杆结构,其一端穿设从动齿轮,另一端设置于夹持部上。As shown in FIG. 28, theend instrument 20 includes a connectingportion 21 and two clampingportions 22 disposed on the connectingportion 21, wherein the connectingportion 21 is connected to the distal end of the connectingassembly 10, and the clampingportion 21 is configured to perform the corresponding operating. In the present embodiment, the connectingportion 21 is connected to the connectingassembly 10 via the driving gear set 40. Specifically, the connecting portion is fixedly connected to the driven gear, wherein the connectingportion 21 is a disc-shaped structure, and the disc-shaped structure is provided with a fixing protrusion for fixed connection with the driven gear. In other embodiments, the connecting portion may also be a connecting rod structure, one end of which is driven by the driven gear, and the other end of which is disposed on the clamping portion.

进一步的,操作臂3还包括第二驱动单元50,用于驱动末端器械20开合。具体地,第二驱动单元50穿设连接组件10,其远端与末端器械20相连接。本实施例中,第一驱动单元30为中空结构,具有收容腔,第二驱动单元50穿设第一驱动单元30,收容于收容腔内,即连接组件10、第一驱动单元30、第二驱动单元50依次套设。此时,夹持部22的近端开设有滑槽23,两个滑槽均套设第二驱动单元的远端,以使第二驱动单元沿轴向移动时,驱动两个夹持部开启或闭合。Further, theoperating arm 3 further includes asecond driving unit 50 for driving theend instrument 20 to open and close. Specifically, thesecond drive unit 50 is threaded through theconnection assembly 10 with its distal end coupled to theend instrument 20. In this embodiment, thefirst driving unit 30 has a hollow structure and has a receiving cavity. Thesecond driving unit 50 is disposed in the receivingcavity 30, that is, the connectingcomponent 10, thefirst driving unit 30, and the second. Thedrive unit 50 is sequentially sleeved. At this time, the proximal end of the clampingportion 22 is provided with a slidingslot 23, and both sliding slots are sleeved with the distal end of the second driving unit to drive the two clamping portions to open when the second driving unit moves in the axial direction. Or closed.

一实施例中,第一驱动单元、第二驱动单元均为驱动杆,驱动杆均随连接组件可弯曲。其他实施例中,第二驱动单元也可以为驱动丝,此时夹持部上设有复位机构,以使驱动丝驱动其开启或闭合后复位。In one embodiment, the first driving unit and the second driving unit are both driving rods, and the driving rods are all bendable with the connecting assembly. In other embodiments, the second driving unit may also be a driving wire, and the clamping portion is provided with a reset mechanism to reset the driving wire after it is opened or closed.

如图31、图32所示,其分别为本申请操作臂不同实施例的局部结构示意图。操作臂3包括:末端器械20、连接组件10及第一驱动单元30。其中, 末端器械20开设有螺旋槽24,且末端器械20与连接组件10旋转连接;第一驱动单元30的远端收容于螺旋槽24内,以驱动末端器械20旋转,令末端器械20基本沿第一驱动单元30远端部分的轴向旋转。具体地,当第一驱动单元30沿轴向运动时,其远端在螺旋槽24内滑动,并驱动末端器械20转动。31 and FIG. 32 are respectively partial schematic structural views of different embodiments of the operating arm of the present application. Theoperating arm 3 includes anend device 20, a connectingassembly 10, and afirst driving unit 30. Theend device 20 is provided with aspiral groove 24, and theend instrument 20 is rotatably connected with the connectingcomponent 10; the distal end of thefirst driving unit 30 is received in thespiral groove 24 to drive theend instrument 20 to rotate, so that theend device 20 is substantially along The axial rotation of the distal end portion of thefirst drive unit 30. Specifically, as thefirst drive unit 30 moves in the axial direction, its distal end slides within thehelical groove 24 and drives theend instrument 20 to rotate.

末端器械20包括连接部21及设置于连接部上的两个夹持部22。其中,连接部具有柱状结构及连接盘,连接盘与连接组件10的远端连接,螺旋槽24开设于连接部21的柱状结构上,以使连接部被第一驱动单元30驱动旋转;夹持部22设置于连接部21上,并随连接部21旋转。Theend instrument 20 includes a connectingportion 21 and two holdingportions 22 provided on the connecting portion. The connecting portion has a columnar structure and a connecting plate, and the connecting plate is connected to the distal end of the connectingcomponent 10. Thespiral groove 24 is opened on the columnar structure of the connectingportion 21, so that the connecting portion is driven to rotate by thefirst driving unit 30; Theportion 22 is disposed on the connectingportion 21 and rotates with the connectingportion 21.

如图31所示,一实施例中,连接部21套设第一驱动单元30,以令第一驱动单元驱动连接部转动。例如,螺旋槽24为通槽,以使第一驱动单元30的远端从连接部21内伸出螺旋槽24,并收容于螺旋槽24内。再如,螺旋槽设置于连接部的内表面上,第一驱动单元的远端收容于螺旋槽内。As shown in FIG. 31, in an embodiment, the connectingportion 21 is sleeved with thefirst driving unit 30 to cause the first driving unit to drive the connecting portion to rotate. For example, thespiral groove 24 is a through groove so that the distal end of thefirst driving unit 30 protrudes from the inside of the connectingportion 21 and is received in thespiral groove 24. For another example, the spiral groove is disposed on the inner surface of the connecting portion, and the distal end of the first driving unit is received in the spiral groove.

如图32所示,一实施例中,第一驱动单元30从末端器械20的外部驱动其转动。具体地,第一驱动单元30为驱动杆,其远端从连接部21的外部延伸至连接部的滑槽24内,且第一驱动单元30的轴向与末端器械20的旋转轴平行间隔设置,此时螺旋槽设置于连接部的外表面上,或者为通槽结构。As shown in FIG. 32, in one embodiment, thefirst drive unit 30 drives its rotation from the exterior of theend instrument 20. Specifically, thefirst driving unit 30 is a driving rod whose distal end extends from the outside of the connectingportion 21 into the slidingslot 24 of the connecting portion, and the axial direction of thefirst driving unit 30 is parallel to the rotational axis of theend instrument 20 At this time, the spiral groove is disposed on the outer surface of the connecting portion or is a through groove structure.

上述实施例中,第一驱动单元30为驱动杆,其远端具有弯折,以收容于螺旋槽内,其他实施例中,第一驱动单元也可以为其他结构。如图33所示,一实施例中,第一驱动单元30包括依次连接的滑块33、连接丝,以及第一驱动单元主体35。其中,滑块33收容于螺旋槽24内,当第一驱动单元主体35沿轴向将滑块33拉向近端时,连接丝张紧,并通过滑块33驱动末端器械旋转。此时,操作臂还包括与滑块33连接的复位件60,第一驱动单元的主体35将滑块33拉到近端后,需向远端移动滑块33时,复位件60使滑块朝向远端移动。本实施例中,复位件为弹簧,具体地弹簧一端设置于连接组件上,一端设置于滑块上,当滑块朝向近端移动时,弹簧压缩。In the above embodiment, thefirst driving unit 30 is a driving rod, and the distal end thereof is bent to be received in the spiral groove. In other embodiments, the first driving unit may also have other structures. As shown in FIG. 33, in an embodiment, thefirst driving unit 30 includes aslider 33, a connecting wire, and a first driving unitmain body 35 which are sequentially connected. Theslider 33 is received in thespiral groove 24. When the first driving unitmain body 35 pulls theslider 33 toward the proximal end in the axial direction, the connecting wire is tensioned, and the end instrument is driven to rotate by theslider 33. At this time, the operating arm further includes a resettingmember 60 connected to theslider 33. After themain body 35 of the first driving unit pulls theslider 33 to the proximal end, when theslider 33 needs to be moved distally, the resettingmember 60 makes the slider Move towards the far end. In this embodiment, the reset member is a spring. Specifically, one end of the spring is disposed on the connecting assembly, and one end is disposed on the slider. When the slider moves toward the proximal end, the spring is compressed.

需要说明的是,第一驱动单元也可以省略第一驱动单元主体,此时,通过连接丝驱动滑块朝向近端移动。此外,其他实施例中,也可以省略连接丝, 此时滑块直接设置于第一驱动单元的主体上。It should be noted that the first driving unit may also omit the first driving unit main body, and at this time, the connecting rod drives the slider to move toward the proximal end. In addition, in other embodiments, the connecting wire may also be omitted, and the slider is directly disposed on the main body of the first driving unit.

操作臂还包括用于驱动末端器械开合的第二驱动单元,其结构与上述各实施例相同,此处不再复述。需要说明的是,图31至图33所示实施例中,第二驱动单元无需穿设第一驱动单元,其与第一驱动个单元并列设置。The operating arm further includes a second driving unit for driving the opening and closing of the end instrument, the structure of which is the same as that of the above embodiments, and will not be repeated here. It should be noted that, in the embodiment shown in FIG. 31 to FIG. 33, the second driving unit does not need to be provided with the first driving unit, and is disposed side by side with the first driving unit.

如图34所示,其为本申请操作臂一实施例的结构示意图。FIG. 34 is a schematic structural view of an embodiment of an operating arm of the present application.

操作臂3包括:末端器械20、连接组件10及旋转驱动丝70。其中,连接组件10的远端与末端器械20旋转连接;旋转驱动丝70一端缠绕于末端器械20上,一端且用于连接驱动机构,以驱动末端器械20相对连接组件10转动。当驱动机构驱动旋转驱动丝70沿连接组件10的轴向运动时,旋转驱动丝70驱动末端器械20转动。例如,末端器械20沿连接组件10的轴向旋转。Theoperating arm 3 includes anend instrument 20, a connectingassembly 10, and arotary drive wire 70. Wherein, the distal end of the connectingassembly 10 is rotatably coupled to theend instrument 20; one end of therotational driving wire 70 is wound around theend instrument 20, and one end is used to connect the driving mechanism to drive theend instrument 20 to rotate relative to the connectingassembly 10. When the drive mechanism drives therotary drive wire 70 to move in the axial direction of thecoupling assembly 10, therotary drive wire 70 drives theend instrument 20 to rotate. For example, theend instrument 20 rotates in the axial direction of theconnection assembly 10.

末端器械20包括:连接部21以及夹持部22,其中,连接部21与连接组件22的远端旋转连接,旋转驱动丝70缠绕于连接部21上;夹持部22设置于连接部21上,以随连接部21旋转。具体地,远端连接单元的侧壁上设有凹槽,连接部21的边沿收容于凹槽内,并沿凹槽滑动,以使连接部相对该连接单元100转动。例如,连接部21具有连接盘21A以及设置于连接盘21A上的绕线件21B,连接盘的周缘收容于凹槽内,旋转驱动丝70缠绕于绕线件上。Theend device 20 includes a connectingportion 21 and a clampingportion 22, wherein the connectingportion 21 is rotatably connected to the distal end of the connectingassembly 22, and therotary driving wire 70 is wound around the connectingportion 21; the clampingportion 22 is disposed on the connectingportion 21. To rotate with the connectingportion 21. Specifically, the side wall of the distal connecting unit is provided with a groove, and the edge of the connectingportion 21 is received in the groove and slides along the groove to rotate the connecting portion relative to the connectingunit 100. For example, the connectingportion 21 has aland 21A and a windingmember 21B provided on theland 21A. The periphery of the land is received in the groove, and therotary driving wire 70 is wound around the wire.

操作臂3还包括相对连接组件10远端静止的滑轮80。例如,滑轮80设置于连接组件10远端的连接单元上。滑轮80临近末端器械10设置,且滑轮80的旋转轴与末端器械10的旋转轴垂直,即与连接部21的旋转轴垂直,以使沿连接组件延伸的旋转驱动丝70改变方向,缠绕于末端器械的连接部上。Theoperating arm 3 also includes apulley 80 that is stationary relative to the distal end of the connectingassembly 10. For example, thepulley 80 is disposed on the connecting unit at the distal end of theconnection assembly 10. Thepulley 80 is disposed adjacent to theend instrument 10, and the rotational axis of thepulley 80 is perpendicular to the rotational axis of theend instrument 10, that is, perpendicular to the rotational axis of the connectingportion 21, so that therotational driving wire 70 extending along the connecting assembly is redirected and wound at the end. On the connection of the instrument.

本实施例中,滑轮80为两个,旋转驱动丝为一根,两个滑轮80的旋转轴平行,旋转驱动丝70的两端分别经过两个滑轮80,以驱动末端器械20的连接部21沿其旋转轴正向或反向旋转。其他实施例中,驱动丝也可以为两根,两根驱动丝均一端设置于驱动机构上,另一端固定设置于末端器械上,并且两个驱动丝分别经过两个滑轮中对应的滑轮。In this embodiment, there are twopulleys 80 and one rotating driving wire. The rotating shafts of the twopulleys 80 are parallel, and the two ends of therotating driving wire 70 respectively pass through the twopulleys 80 to drive the connectingportion 21 of theend device 20. Rotate forward or reverse along its axis of rotation. In other embodiments, the driving wires may also be two. The two driving wires are all disposed on the driving mechanism at one end, and the other end is fixedly disposed on the end device, and the two driving wires respectively pass through corresponding ones of the two pulleys.

其他实施例中,滑轮也可以为其他数量;或者也可以省略滑轮,此时延 伸至末端器械的旋转驱动丝直接缠绕于连接部上。In other embodiments, the pulleys may be of other numbers; or the pulleys may be omitted, in which case the rotary drive wire extending to the end instrument is wound directly onto the joint.

一实施例中,操作臂还包括用于驱动末端器械20执行操作的第二驱动单元,其远端与末端器械相连接,且第二驱动单元穿设连接组件。其中,第二驱动单元与前述各实施例中的第二驱动单元结构相似,此处不再复述。需要说明的是,第二驱动单元穿设末端器械缠绕旋转驱动丝的区域,即穿设连接部。In one embodiment, the operating arm further includes a second drive unit for driving theend instrument 20 to perform an operation, the distal end of which is coupled to the end instrument and the second drive unit is threaded through the connection assembly. The second driving unit is similar in structure to the second driving unit in the foregoing embodiments, and is not repeated herein. It should be noted that the second driving unit pierces the region where the end instrument is wound around the rotating driving wire, that is, the connecting portion is pierced.

以上所述实施例的各技术特征可以进行任意的组合,为使描述简洁,未对上述实施例中的各个技术特征所有可能的组合都进行描述,然而,只要这些技术特征的组合不存在矛盾,都应当认为是本说明书记载的范围。The technical features of the above-described embodiments may be arbitrarily combined. For the sake of brevity of description, all possible combinations of the technical features in the above embodiments are not described. However, as long as there is no contradiction between the combinations of these technical features, All should be considered as the scope of this manual.

以上所述实施例仅表达了本申请的几种实施方式,其描述较为具体和详细,但并不能因此而理解为对申请专利范围的限制。应当指出的是,对于本领域的普通技术人员来说,在不脱离本申请构思的前提下,还可以做出若干变形和改进,这些都属于本申请的保护范围。因此,本申请专利的保护范围应以所附权利要求为准。The above-mentioned embodiments are merely illustrative of several embodiments of the present application, and the description thereof is more specific and detailed, but is not to be construed as limiting the scope of the claims. It should be noted that a number of variations and modifications may be made by those skilled in the art without departing from the spirit and scope of the present application. Therefore, the scope of the invention should be determined by the appended claims.

Claims (20)

Translated fromChinese
一种连接组件,包括多个依次连接的连接单元,至少两个所述连接单元形成可转动的关节组件,且至少两个所述关节组件耦合,并根据耦合关系相应转动,耦合的所述关节组件转动时,耦合的所述关节组件中位于远端的所述连接单元的姿态基本保持不变。A connection assembly comprising a plurality of connection units connected in series, at least two of which form a rotatable joint assembly, and at least two of the joint assemblies are coupled and correspondingly rotated according to a coupling relationship, the joints being coupled When the assembly is rotated, the attitude of the connecting unit at the distal end of the coupled joint assembly remains substantially unchanged.根据权利要求1所述的连接组件,耦合的所述关节组件相邻设置,或者间隔设置。The connection assembly of claim 1 wherein the coupled joint assemblies are disposed adjacent to each other or spaced apart.根据权利要求1所述的连接组件,所述关节组件包括两组,每组包括两个耦合的所述关节组件,两组所述关节组件的旋转轴非平行设置。The joint assembly of claim 1, the joint assembly comprising two sets, each set comprising two coupled joint assemblies, the sets of rotation axes of the joint assemblies being non-parallel.根据权利要求3所述的连接组件,两组所述关节组件的旋转轴正交。The connection assembly of claim 3 wherein the axes of rotation of the two sets of joint assemblies are orthogonal.根据权利要求1所述的连接组件,耦合的所述关节组件转动时各方向转动角之和基本相同。The connection assembly of claim 1 wherein the coupled joint assembly rotates with substantially the same sum of the rotational angles in each direction.根据权利要求1所述的连接组件,耦合的所述关节组件中包括主动关节组件和随动关节组件,所述主动关节组件转动驱动所述随动关节组件转动。The connection assembly of claim 1, wherein the coupled joint assembly includes an active joint assembly and a follower joint assembly, the active joint assembly rotationally driving the follower joint assembly to rotate.根据权利要求6所述的连接组件,一个所述随动关节组件与一个所述主动关节组件耦合,两所述关节组件的转动角度相同,方向相反。The connection assembly of claim 6 wherein one of said follower joint assemblies is coupled to one of said active joint assemblies, said two joint assemblies having the same angle of rotation and opposite directions.根据权利要求6所述的连接组件,耦合的所述关节组件包括两个随动关节组件。The connection assembly of claim 6 wherein the coupled joint assembly comprises two follower joint assemblies.根据权利要求6所述的连接组件,耦合的所述关节组件包括一个所述随动关节组件、两个所述主动关节组件,两所述主动关节组件转动方向相同,与所述随动关节组件转动方向相反。The joint assembly according to claim 6, wherein said joint assembly includes one of said follower joint assembly and two of said active joint assemblies, said two active joint assemblies having the same direction of rotation, and said follower joint assembly The direction of rotation is reversed.根据权利要求6所述的连接组件,所述连接组件还包括调节关节,以对所述随动关节的转动进行补偿,所述调节关节为主动关节。The connection assembly of claim 6 further comprising an adjustment joint to compensate for rotation of the follower joint, the adjustment joint being an active joint.根据权利要求1所述的连接组件,耦合的所述关节组件中包括两个耦合的主动关节组件,两个所述主动关节组件转动角度相同,方向相反。The connection assembly of claim 1 , wherein the coupled joint assembly includes two coupled active joint assemblies, the two of the active joint assemblies having the same angle of rotation and opposite directions.根据权利要求1述的连接组件,三个主动关节组件耦合,其中一个所述主动关节组件与另外两个所述主动关节组件转动方向相反。The connection assembly of claim 1 wherein three active joint assemblies are coupled, one of said active joint assemblies being rotated in opposite directions from the other two of said active joint assemblies.根据权利要求1所述的连接组件,所述关节组件包括主动关节组件,所述连接组件还包括主驱动丝,用于驱动所述主动关节组件;The joint assembly of claim 1 , the joint assembly comprising an active joint assembly, the joint assembly further comprising a main drive wire for driving the active joint assembly;及/或,所述关节组件包括随动关节组件,所述连接组件还包括从驱动丝,用于驱动所述随动关节组件。And/or, the joint assembly includes a follower joint assembly, the connection assembly further including a slave drive wire for driving the follower joint assembly.根据权利要求1所述的连接组件,至少一个所述关节组件具有两个或两个以上自由度。The connection assembly of claim 1 wherein at least one of said joint assemblies has two or more degrees of freedom.根据权利要求1所述的连接组件,耦合的所述关节组件中位于远端的所述连接单元用于与至少两个单元或者末端器械连接。The connection assembly of claim 1 wherein said coupling unit at the distal end of said coupled joint assembly is for connection with at least two units or end instruments.根据权利要求1所述的连接组件,所述关节组件包括耦合的两个第一关节组件,以及耦合的两个第二关节组件,所述第一关节组件与所述第二关节组件相邻,且相邻的所述第一关节组件与所述第二关节组件耦合同一个所述连接单元,耦合的所述第一关节组件转动时,耦合的所述第一关节组件中位于远端的所述连接单元的姿态基本保持不变。The joint assembly of claim 1 , the joint assembly comprising two first joint assemblies coupled, and two second joint assemblies coupled, the first joint assembly being adjacent to the second joint assembly, And the adjacent first joint component and the second joint component are coupled to the same connecting unit, and when the coupled first joint component rotates, the first joint component of the coupled joint is located at the distal end The posture of the connecting unit remains substantially unchanged.根据权利要求16所述的连接组件,耦合的两个所述第二关节组件转动方向相同,且转动角度成比例。The connection assembly of claim 16 wherein the two coupled second joint assemblies are rotated in the same direction and the angle of rotation is proportional.根据权利要求17所述的连接组件,耦合的所述第二关节组件均为主动关节组件。The connection assembly of claim 17 wherein said second joint assemblies are all active joint assemblies.根据权利要求18所述的连接组件,所述连接组件还包括主驱动丝,驱动耦合的所述第二关节组件的所述主驱动丝用于与同一个驱动机构连接。The connection assembly of claim 18, further comprising a main drive wire for driving the coupled main drive wire of the second joint assembly for connection to the same drive mechanism.一种从操作设备,包括:A slave operating device comprising:操作臂,所述操作臂具有连接组件及与所述连接组件相连接的末端器械,所述连接组件包括多个依次连接的连接单元,至少两个所述连接单元形成可转动的关节组件,且至少两个所述关节组件耦合,并根据耦合关系相应转动,耦合的所述关节组件转动时,耦合的所述关节组件中位于远端的所述连接单元的姿态基本保持不变;An operating arm having a connecting assembly and an end instrument coupled to the connecting assembly, the connecting assembly including a plurality of connecting units sequentially connected, at least two of the connecting units forming a rotatable joint assembly, and At least two of the joint assemblies are coupled and rotate correspondingly according to the coupling relationship, and when the coupled joint assembly rotates, the posture of the connecting unit located at the distal end of the coupled joint assembly remains substantially unchanged;动力机构,与所述操作臂相连接,用于驱动所述操作臂;a power mechanism connected to the operating arm for driving the operating arm;机械臂,与所述动力机构相连接,用于调节所述操作臂的位置。A robot arm is coupled to the power mechanism for adjusting a position of the operating arm.
PCT/CN2019/0775402018-03-092019-03-08Connection assembly and slave operation deviceCeasedWO2019170152A1 (en)

Applications Claiming Priority (4)

Application NumberPriority DateFiling DateTitle
CN201810195985.6ACN108498173A (en)2018-03-092018-03-09Motion arm with rotatable end instrument, from operation equipment and operating robot
CN201810195985.62018-03-09
CN201810211359.1ACN110269682B (en)2018-03-142018-03-14Connecting assembly, operating arm, slave operating equipment and surgical robot
CN201810211359.12018-03-14

Publications (1)

Publication NumberPublication Date
WO2019170152A1true WO2019170152A1 (en)2019-09-12

Family

ID=67845870

Family Applications (1)

Application NumberTitlePriority DateFiling Date
PCT/CN2019/077540CeasedWO2019170152A1 (en)2018-03-092019-03-08Connection assembly and slave operation device

Country Status (1)

CountryLink
WO (1)WO2019170152A1 (en)

Citations (3)

* Cited by examiner, † Cited by third party
Publication numberPriority datePublication dateAssigneeTitle
WO2014147556A1 (en)*2013-03-182014-09-25Scuola Superiore Di Studi Universitari E Di Perfezionamento Sant'annaA miniature robotic device applicable to a flexible endoscope for the surgical dissection of gastro-intestinal tract surface neoplasms
CN106923902A (en)*2017-03-302017-07-07微创(上海)医疗机器人有限公司Operating robot snakelike joint, operating theater instruments and endoscope
CN206967474U (en)*2017-06-262018-02-06南京航空航天大学Rope driving multiple degrees of freedom series connection mechanical arm

Patent Citations (3)

* Cited by examiner, † Cited by third party
Publication numberPriority datePublication dateAssigneeTitle
WO2014147556A1 (en)*2013-03-182014-09-25Scuola Superiore Di Studi Universitari E Di Perfezionamento Sant'annaA miniature robotic device applicable to a flexible endoscope for the surgical dissection of gastro-intestinal tract surface neoplasms
CN106923902A (en)*2017-03-302017-07-07微创(上海)医疗机器人有限公司Operating robot snakelike joint, operating theater instruments and endoscope
CN206967474U (en)*2017-06-262018-02-06南京航空航天大学Rope driving multiple degrees of freedom series connection mechanical arm

Similar Documents

PublicationPublication DateTitle
CN110269686B (en)Connecting assembly with rotating part, operating arm and surgical robot
US6666854B1 (en)Endoscopic surgical instrument
JP5567115B2 (en) Surgical instruments
JP5615994B1 (en) Actuating knob for surgical instruments
CN110269694B (en)Connecting assembly, operating arm, slave operating equipment and surgical robot
CN115551434B (en)Continuum instrument and surgical robot
CN110269689B (en)Connecting assembly, operating arm, slave operating equipment and surgical robot
CN108567489B (en)Operation arm, slave operation device and surgical robot
CN114652261A (en)Endoscope and surgical robot
CN110269693B (en)Connecting assembly driven by driving wire, operating arm and surgical robot
CN110269682B (en)Connecting assembly, operating arm, slave operating equipment and surgical robot
CN110269685B (en)Connecting assembly, operation arm, slave operation equipment and operation robot for minimally invasive surgery
CN110269687B (en)Translational connecting assembly, operating arm, slave operating equipment and surgical robot
CN110269692B (en)Connecting assembly, operating arm, slave operating equipment and surgical robot
US12121217B2 (en)Endoscope and operating arm
CN111714162A (en)Surgical device and surgical instrument
CN108814713A (en)Minimally Invasive Surgery motion arm, from operation equipment and operating robot
WO2019170152A1 (en)Connection assembly and slave operation device
CN108567488B (en)Operating arm
CN110236676B (en)Surgical robot
CN110269688B (en)Connecting assembly capable of translating, operating arm and surgical robot
CN110269691B (en)Wire drive connecting assembly, operating arm and surgical robot
CN110269696B (en)Connecting assembly, operating arm, slave operating equipment and surgical robot
CN110269690B (en)Connecting assembly with driving wire, operating arm and surgical robot
CN110269695B (en)Coupling assembling, operation arm and surgical robot

Legal Events

DateCodeTitleDescription
121Ep: the epo has been informed by wipo that ep was designated in this application

Ref document number:19763906

Country of ref document:EP

Kind code of ref document:A1

NENPNon-entry into the national phase

Ref country code:DE

32PNEp: public notification in the ep bulletin as address of the adressee cannot be established

Free format text:NOTING OF LOSS OF RIGHTS PURSUANT TO RULE 112(1) EPC (EPO FORM 1205 DATED 30.10.2020)

122Ep: pct application non-entry in european phase

Ref document number:19763906

Country of ref document:EP

Kind code of ref document:A1


[8]ページ先頭

©2009-2025 Movatter.jp