












本申请涉及触控技术领域,特别涉及一种触摸控制器、装置、终端及触控方法。The present application relates to the field of touch technologies, and in particular, to a touch controller, a device, a terminal, and a touch method.
随着科技的发展,触控技术在中、大尺寸屏幕的终端,例如大屏手机、平板电脑等的应用越来越普及。With the development of technology, touch technology is becoming more and more popular in the application of medium and large-size screen terminals, such as large-screen mobile phones and tablet computers.
发明人发现现有技术至少存在以下问题:在操作终端时(例如使用触控笔输入时),用户的部分手掌(例如虎口位置)时常会停留在触控面板上,当手掌停留在触控面板的中心位置附近时,由于手掌接触屏体的面积较大,所以可通过屏体数据(触摸面积以及形状等)将手掌与用户手指区别开来,但是当手掌靠近触控面板的边缘位置时,手掌与触控面板的接触特征与手指变得很接近,此时便难以区分是手掌接触还是手指触摸,由此造成终端会响应类似的无意识触摸动作,给用户输入带来不便,并降低用户输入效率。The inventors have found that at least the following problems exist in the prior art: when operating the terminal (for example, when using a stylus input), part of the user's palm (for example, the position of the tiger's mouth) often stays on the touch panel when the palm rests on the touch panel. When the center position is near, since the area of the palm touch screen is large, the palm can be distinguished from the user's finger by the screen data (touch area and shape, etc.), but when the palm is close to the edge of the touch panel, The contact characteristics of the palm and the touch panel become very close to the finger, and it is difficult to distinguish whether the palm touch or the finger touch, thereby causing the terminal to respond to similar unintentional touch actions, causing inconvenience to the user input and reducing user input. effectiveness.
发明内容Summary of the invention
本申请部分实施例的目的在于提供一种触摸控制器、装置、终端及触控方法,以解决现有技术中用户手掌等接触触控面板的边缘区域时容易产生误响应的问题。A part of the embodiments of the present invention provides a touch controller, a device, a terminal, and a touch control method to solve the problem that a user's palm or the like is likely to cause a false response when contacting an edge region of the touch panel.
本申请实施例提供了一种触摸控制器,包括:相连的驱动感应单元以及 处理单元;所述驱动感应单元用于连接触控面板的触控区域以及边框区域,并接收所述触控区域以及边框区域的感应信号;所述处理单元用于根据所述感应信号以及预设条件判断是否存在边缘误操作,并屏蔽所述边缘误操作,所述预设条件至少包括:同时触摸在所述触控区域以及所述边框区域,或者所述处理单元用于将所述感应信号上报至主处理器,供所述主处理器根据所述感应信号以及所述预设条件判断是否存在所述边缘误操作,并屏蔽所述边缘误操作。The embodiment of the present application provides a touch controller, including: a connected driving sensing unit and a processing unit; the driving sensing unit is configured to connect a touch area and a frame area of the touch panel, and receive the touch area and a sensing signal of the frame area; the processing unit is configured to determine whether there is an edge erroneous operation according to the sensing signal and a preset condition, and to block the edge erroneous operation, the preset condition at least: simultaneously touching the touch The control area and the frame area, or the processing unit is configured to report the sensing signal to the main processor, where the main processor determines whether the edge error exists according to the sensing signal and the preset condition Operate and block the edge misoperation.
本申请实施例还提供了一种触控装置,包括:触控面板以及如上所述的触摸控制器;所述触控面板包括触控区域以及位于所述触控区域周侧的边框区域,所述触控区域形成有用于检测触控输入信息的触控检测单元,所述边框区域形成有用于检测边框触摸信息的边框检测单元,所述触控检测单元以及边框检测单元均连接所述触摸控制器。The embodiment of the present invention further provides a touch device, including: a touch panel and a touch controller as described above; the touch panel includes a touch area and a frame area on a circumference side of the touch area. The touch detection area is formed with a touch detection unit for detecting touch input information, and the frame area is formed with a frame detection unit for detecting touch information of the frame, and the touch detection unit and the frame detection unit are connected to the touch control. Device.
本申请实施例还提供了一种触控终端,包括:主处理器以及如上所述的触控装置;所述主处理器与所述触控装置相连。The embodiment of the present application further provides a touch terminal, including: a main processor and a touch device as described above; the main processor is connected to the touch device.
本申请实施例还提供了一种触控方法,应用于如前所述的触控终端,所述触控方法包括:获取触控区域的触控输入信息以及边框区域的边框触摸信息;根据所述触控输入信息以及所述边框触摸信息检测是否存在满足预设条件的边缘误操作,所述预设条件至少包括同时触摸在所述触控区域以及所述边框区域;若检测到边缘误操作,则屏蔽检测到的所述边缘误操作。The embodiment of the present invention further provides a touch method, which is applied to the touch terminal as described above, the touch method includes: acquiring touch input information of the touch area and frame touch information of the border area; The touch input information and the frame touch information detect whether there is an edge erroneous operation that satisfies a preset condition, the preset condition at least including simultaneously touching the touch area and the border area; if an edge erroneous operation is detected , the detected edge misoperation is masked.
本申请实施例相对于现有技术而言,通过检测触控面板的触控区域的触控输入信息以及边框区域的边框触摸信息,并根据触控输入信息以及边框触摸信息判断是否存在同时触摸在触控区域以及边框区域的触摸操作,并将同时触摸在触控区域以及边框区域的触摸操作视为边缘误操作。由于本实施例基于触 摸操作的触摸位置(即是否同时触摸在触控区域以及边框区域)即可实现边缘误操作的检测,相对于现有需要计算触摸操作的触摸面积以及形状而言,不仅可以提高边缘误操作的检测效率,而且有利于提高边缘误操作检测的准确性,进而可以通过更准确地屏蔽边缘误操作减少终端对误触动作的响应,有利于提高用户输入的效率。Compared with the prior art, the embodiment of the present application detects the touch input information of the touch area of the touch panel and the frame touch information of the frame area, and determines whether there is a simultaneous touch according to the touch input information and the frame touch information. The touch operation of the touch area and the border area, and the touch operation of touching the touch area and the border area at the same time is regarded as an edge misoperation. Since the touch operation is performed based on the touch position of the touch operation (that is, whether the touch area and the frame area are simultaneously touched), the detection of the edge erroneous operation can be performed, and the touch area and the shape of the touch operation can be calculated not only in the existing needs. The detection efficiency of the edge misoperation is improved, and the accuracy of the edge misoperation detection is improved, and the response of the terminal to the mis-touch action can be reduced by more accurately shielding the edge misoperation, thereby improving the efficiency of the user input.
另外,所述预设条件还包括:在所述触控区域上的触摸面积大于预设阈值。从而可以准确地将同时触摸在触控区域以及边框区域且触控区域上的触摸面积较大的边缘误操作屏蔽掉。In addition, the preset condition further includes: a touch area on the touch area is greater than a preset threshold. Therefore, it is possible to accurately mask the edge misoperation of the touch area and the border area and the touch area on the touch area at the same time.
另外,所述驱动感应单元包括:第一驱动感应单元以及第二驱动感应单元;所述第一驱动感应单元以及第二驱动感应单元均连接所述处理单元;所述第一驱动感应单元用于向所述触控区域提供激励信号,并接收所述触控区域的感应信号;所述第二驱动感应单元用于向所述边框区域提供激励信号,并接收所述边框区域的感应信号;所述处理单元和所述主处理器两者之一用于根据所述第一驱动感应单元以及所述第二驱动感应单元提供的感应信号以及所述预设条件判断是否存在边缘误操作,并屏蔽所述边缘误操作。通过各自独立的驱动感应单元分别驱动触控区域以及边框区域,有利于简化驱动控制方法。In addition, the driving sensing unit includes: a first driving sensing unit and a second driving sensing unit; the first driving sensing unit and the second driving sensing unit are both connected to the processing unit; the first driving sensing unit is used for Providing an excitation signal to the touch area and receiving a sensing signal of the touch area; the second driving sensing unit is configured to provide an excitation signal to the frame area, and receive a sensing signal of the frame area; One of the processing unit and the main processor is configured to determine whether there is an edge misoperation according to the sensing signals provided by the first driving sensing unit and the second driving sensing unit, and the preset condition, and shielding The edge is mishandled. Driving the touch area and the frame area separately by the independent driving sensing units facilitates the simplified driving control method.
另外,所述第一驱动感应单元与所述第二驱动感应单元的激励信号频率不同;或者,所述第一驱动感应单元与所述第二驱动感应单元异步工作。从而可以避免边框检测单元与触控检测单元相互干扰。In addition, the excitation signal of the first driving sensing unit and the second driving sensing unit are different in frequency; or the first driving sensing unit and the second driving sensing unit operate asynchronously. Therefore, the frame detecting unit and the touch detecting unit can be prevented from interfering with each other.
另外,所述边框检测单元包括P个电容检测导线;所述P个电容检测导线环设于所述触控区域的外侧,P为大于或者等于1的自然数。从而可以通过少量的电容检测导线检测出边框区域各个位置上的触摸操作。In addition, the frame detecting unit includes P capacitor detecting wires; the P capacitor detecting wire rings are disposed outside the touch area, and P is a natural number greater than or equal to 1. Thereby, the touch operation at various positions of the bezel area can be detected by a small number of capacitance detecting wires.
另外,所述P个电容检测导线的其中至少一个同时作为所述触控面板的屏蔽导线。从而可以简化触控面板结构。In addition, at least one of the P capacitance detecting wires simultaneously serves as a shield wire of the touch panel. Thereby, the touch panel structure can be simplified.
另外,所述电容检测导线连接至所述触摸控制器的驱动通道和感应通道以形成自容式传感器;或者所述电容检测导线其中之一连接到所述驱动通道,另一电容检测导线连接到感应通道从而形成互容式传感器。电容式传感器结构简单、易于实现,有利于节省成本。Additionally, the capacitance detecting wire is connected to a driving channel and a sensing channel of the touch controller to form a self-capacitance sensor; or one of the capacitance detecting wires is connected to the driving channel, and another capacitance detecting wire is connected to The sensing channel thus forms a mutual capacitance sensor. The capacitive sensor is simple in structure and easy to implement, which is conducive to cost saving.
另外,所述边框检测单元包括Q个触摸传感器;Q为大于或者等于2的自然数;所述Q个触摸传感器分布在所述边框区域的不同位置上,且分别用于检测所述不同位置是否被触摸。从而,可以检测出多个边框触摸操作。In addition, the frame detecting unit includes Q touch sensors; Q is a natural number greater than or equal to 2; the Q touch sensors are distributed at different positions of the frame area, and are respectively used to detect whether the different positions are touch. Thereby, a plurality of frame touch operations can be detected.
一个或多个实施例通过与之对应的附图中的图片进行示例性说明,这些示例性说明并不构成对实施例的限定,附图中具有相同参考数字标号的元件表示为类似的元件,除非有特别申明,附图中的图不构成比例限制。The one or more embodiments are exemplified by the accompanying drawings in the accompanying drawings, and FIG. The figures in the drawings do not constitute a scale limitation unless otherwise stated.
图1是根据本申请第一实施例触摸控制器的结构以及应用示意图;1 is a schematic diagram showing the structure and application of a touch controller according to a first embodiment of the present application;
图2是根据本申请第一实施例触摸控制器所应用的触控面板的结构示意图;2 is a schematic structural diagram of a touch panel applied by a touch controller according to a first embodiment of the present application;
图3是根据本申请第二实施例触控装置的结构以及应用示意图;3 is a schematic diagram showing the structure and application of a touch device according to a second embodiment of the present application;
图4是根据本申请第二实施例中自电容式边框检测单元的一种结构示意图;4 is a schematic structural diagram of a self-capacitive frame detecting unit according to a second embodiment of the present application;
图5是根据本申请第二实施例中互电容式边框检测单元的一种结构示意图;FIG. 5 is a schematic structural diagram of a mutual capacitance type frame detecting unit according to a second embodiment of the present application; FIG.
图6是根据本申请第二实施例中触摸控制器的又一种结构示意图;6 is a schematic structural diagram of still another touch controller according to a second embodiment of the present application;
图7是根据本申请第二实施例中用于自电容式传感器的第二驱动感应单元一种结构示意图;7 is a schematic structural view of a second driving sensing unit for a self-capacitance sensor according to a second embodiment of the present application;
图8是根据本申请第二实施例中用于自电容式传感器的第二驱动感应单元又一种结构示意图;8 is a schematic structural diagram of a second driving sensing unit for a self-capacitance sensor according to a second embodiment of the present application;
图9是根据本申请第二实施例中用于互电容式传感器的第二驱动感应单元一种结构示意图;9 is a schematic structural diagram of a second driving sensing unit for a mutual capacitance sensor according to a second embodiment of the present application;
图10是根据本申请第二实施例中用于互电容式传感器的第二驱动感应单元又一种结构示意图;10 is a schematic structural diagram of a second driving sensing unit for a mutual capacitance sensor according to a second embodiment of the present application;
图11是根据本申请第三实施例中边框检测单元的一种结构示意图;11 is a schematic structural diagram of a bezel detecting unit according to a third embodiment of the present application;
图12是根据本申请第五实施例触控方法的流程图;FIG. 12 is a flowchart of a touch method according to a fifth embodiment of the present application; FIG.
图13是根据本申请第六实施例触控方法的流程图。FIG. 13 is a flowchart of a touch method according to a sixth embodiment of the present application.
为了使本申请的目的、技术方案及优点更加清楚明白,以下结合附图及实施例,对本申请部分实施例进行进一步详细说明。应当理解,此处所描述的具体实施例仅仅用以解释本申请,并不用于限定本申请。In order to make the objects, the technical solutions and the advantages of the present application more clear, some embodiments of the present application will be further described in detail below with reference to the accompanying drawings and embodiments. It is understood that the specific embodiments described herein are merely illustrative of the application and are not intended to be limiting.
本申请第一实施例涉及一种触摸控制器,应用于触控装置,例如集成有中、大尺寸触摸屏的触控装置。The first embodiment of the present application relates to a touch controller applied to a touch device, such as a touch device integrated with a medium and large size touch screen.
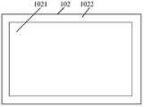
请参阅图1所示的触摸控制器的结构及其应用示意图。触摸控制器101包括:处理单元1011以及驱动感应单元1012,处理单元1011与驱动感应单元1012相连。请参阅图2所示的触控装置的触控面板102的结构示意图,驱动感 应单元1012用于连接触控装置10中的触控面板102的触控区域1021以及边框区域1022。其中,触控区域1021上形成有触控检测单元1023(图2中未示出),触控检测单元1023用于检测触控区域1021上的触控输入信息。边框区域1022上设有边框检测单元1024(图2中未示出),用于检测边框区域1022上的边框触摸信息。Please refer to the structure of the touch controller shown in Figure 1 and its application schematic. The
驱动感应单元1012用于向触控检测单元1023以及边框检测单元1024提供激励信号,并接收触控区域1021以及边框区域1022的感应信号,驱动感应单元1012将接收到的感应信号发送至处理单元1011,处理单元1011用于接收来自触控区域1021以及边框区域1022的感应信号,或者还可以用于屏蔽检测到的满足预设条件的边缘误操作,即处理单元1011用于根据触控区域1021的触控输入信息获取触摸操作的触摸坐标,并在判断出触摸操作同时触摸在边框区域1022时,抑制触摸坐标。具体的,处理单元1011可以根据获取的触控输入信息得到触控区域1021的触控坐标,以及根据所述触控输入信息和边框触摸信息判断本次触摸是否为边缘误操作,如果判定为边缘误操作,则抑制或者屏蔽本次触摸操作,即不将所得到的触控坐标上报至系统,从而屏幕不会响应本次触摸操作。The
在一个例子中,处理单元1011还可以用于将触控输入信息与边框触摸信息上报至主处理器11,供主处理器11屏蔽检测到的边缘误操作,其中,主处理器11属于触控终端,主处理器11与处理单元1011的通信方式为本领域技术人员所熟知,此处不再赘述。也就是说,本文的触摸控制器,既可以包括用于判定或抑制边缘误操作的处理单元,也可以不包括用于判定、抑制边缘误操作的处理单元而由外部处理器来处理判定或者抑制的功能。In an example, the
具体而言,驱动感应单元1012可以为一个整体,驱动感应单元1012用于向触控检测单元1023以及边框检测单元1024提供激励信号,并用于接收触控检测单元1023反馈的感应信号,处理单元1011用于根据从触控检测单元1023反馈的感应信号得到触控输入信息,驱动感应单元1012用于接收边框检测单元1024反馈的感应信号,处理单元1011用于根据从边框检测单元1024反馈的感应信号得到边框触摸信息。触控输入信息例如包括:触控笔的触控输入信息、用户手指的触控输入信息以及其他触控检测单元1023可以检测到的触控输入信息(例如手掌的触摸信息)。Specifically, the driving
处理单元1011具体用于根据触控区域1021上的触控输入信息以及边框区域1022的边框触摸信息检测是否存在满足预设条件的边缘误操作,并屏蔽检测到的边缘误操作。边缘误操作主要是指发生在触控区域1021边缘的非用户期望的触摸操作。例如,在使用触控笔输入时,用户的手掌可能会停留在触控区域1021,而手掌的触摸操作非用户期望,可能会造成终端误响应。当手掌停留在触控区域1021的中心位置附近时,由于手掌的形状以及面积明显大于手指,所以通过获取屏体数据(例如触摸区域1021上被触摸的形状以及面积),并将获取的触摸形状以及面积与预设的形状以及面积,例如手指的形状以及面积进行比对,即可识别出由于手掌触摸而引起的屏体数据;当手掌向触控区域1021的边缘移动且停留在触控区域1021边缘处的形状以及面积与用户的手指接近时,则难以将此时的手掌数据与手指数据区别开来。The
本实施例中,预设条件例如是同时触摸在触控区域以及边框区域。具体而言,处理单元1011在获取触控输入信息以及边框触摸信息后,可以根据边框触摸信息判断边框区域1022是否被触摸,如果边框区域1022被触摸,则可以 根据触控输入信息继续检测触控区域1021上的触摸操作的数量,如果触控区域1021上的触摸操作的数量与边框区域1022被触摸的位置的数量一致,则屏蔽掉触控区域1021上的全部触摸操作,例如边框区域1022上的一个位置被触摸,且触控区域1021上仅检测到一个触摸操作,则屏蔽该触摸操作。当触控区域1021上的触摸操作的数量大于边框区域1022上的触摸位置的数量时,可以继续检测触控区域1021上的触摸操作的触摸位置,并屏蔽掉与边框区域1022上的触摸位置的数量相同且触摸在触控区域1021边缘位置处的触摸操作。因此,本实施方式无需计算触控区域上的触摸操作的触摸形状以及面积,仅根据边框区域1022是否被触摸以及触控区域1021上的触摸操作的触摸位置即可快速检测出边缘误操作。当根据边框区域1022上的触摸位置的数量以及触控区域1021上的触摸操作的触摸位置无法识别边缘误操作时,还可以进一步根据触控区域1021上的触摸操作的触摸面积继续检测边缘误操作。例如,当触控区域1021的边缘位置同时存在多个触摸操作且边框区域1022仅能提供其是否被触摸但是不能提供其上的触摸位置的数量时,处理单元1011还可以比较触控区域1021的边缘位置的多个触摸操作的触摸面积的大小,例如两个触摸操作的触摸面积的大小,进而将触摸面积较大的一个触摸操作作为边缘误操作,从而屏蔽该边缘误操作。对于中、大尺寸的触控终端而言,由于用户手指同时触摸在触控区域以及边框区域的机会很小,而手掌同时触摸在触控区域以及边框区域的机会相对很大,所以通过检测满足上述预设条件的触摸操作,可更为快速、准确地检测出边缘误操作。In this embodiment, the preset condition is, for example, simultaneous touch on the touch area and the border area. Specifically, after acquiring the touch input information and the frame touch information, the
作为一种替换,预设条件还可以为同时触摸在触控区域以及边框区域且在触控区域上的触摸面积大于预设阈值。预设阈值例如为用户手指的面积,这 样,在检测出触控区域1021上的触摸操作同时触摸在边框区域1022上时,继续计算本次触摸操作在触控区域1021上的触摸面积,如果本次触摸操作在触控区域1021上的触摸面积大于用户手指的面积,则屏蔽本次触摸操作。由于手指同时触摸在触控区域1021以及边框区域1022时,触摸在触控区域1021上的触摸面积会变小,所以可更为准确地识别出手掌同时触摸在触控区域1021以及边框区域1022时的边缘误操作。在实际应用中,还可以利用其他操作主体与手指大小的不同,从而识别出其在触控区域1021边缘引起的边缘误操作,本实施方式对于触摸主体不做具体限制。对于面积大于手指的手掌而言,结合触控区域1021上的触控输入信息(即手掌在触控区域1021上产生的屏体数据)以及边框区域1022上的边框触摸信息,例如边框是否被触摸,即可以更为准确地识别出由手掌触摸引起的屏体数据(即边缘误操作)。As an alternative, the preset condition may also be that the touch area in the touch area and the border area and the touch area are simultaneously greater than a preset threshold. The preset threshold is, for example, the area of the user's finger. When the touch operation on the
在实际应用中,由于手掌对触控区域1021的接触常常伴随触控笔的输入操作,所以预设条件还可以进一步包含检测到触控笔开启或者检测到触控笔输入信号等。本实施方式对于预设条件不做具体限制,只要预设条件是基于触控输入信息以及边框触摸信息作出即可。In practical applications, since the contact of the palm with the
本实施例相对于现有技术而言,通过检测触控面板的触控区域上的触控输入信息以及边框区域上的边框触摸信息,可以快速检测出是否存在同时触摸在触控区域以及边框区域的触摸操作,并屏蔽掉同时触摸在触控区域以及边框区域的触摸操作。由于本实施方式基于触摸操作的触摸位置是否同时触摸在触控区域以及边框区域来确定其是否为边缘误操作,所以相对于检测触摸操作的形状以及面积而言,可以大幅简化计算,提高检测效率。因此,本实施方式在快速、准确检测出边缘误操作的基础上,有利于降低边缘误触发,提高用户输 入效率。Compared with the prior art, the touch input information on the touch area of the touch panel and the touch information on the frame area of the touch panel can quickly detect whether there is a simultaneous touch in the touch area and the border area. Touch operation and mask off touch operations while touching the touch area as well as the border area. Since the touch position of the touch operation is simultaneously touched in the touch area and the frame area to determine whether it is an edge misoperation, the calculation can greatly simplify the calculation and improve the detection efficiency with respect to detecting the shape and the area of the touch operation. . Therefore, the present embodiment is useful for reducing the edge false trigger and improving the user input efficiency on the basis of quickly and accurately detecting the edge misoperation.
本申请第二实施例涉及一种触控装置,应用于触控终端,例如具有中、大尺寸触摸屏的触控终端,比如智能手机、平板电脑等,本实施方式对于触控终端的类型不作具体限制。The second embodiment of the present application relates to a touch device, such as a touch terminal having a medium and large size touch screen, such as a smart phone or a tablet computer. The present embodiment does not specifically describe the type of the touch terminal. limit.
请参阅图3所示的触控装置10的结构及应用示意图。触控装置10包括:如第一实施例所述的触摸控制器101以及触控面板,触摸控制器101与触控面板相连。请继续参阅图2所示,触控面板102包括触控区域1021以及边框区域1022,触控区域1021上形成有触控检测单元1023(图2中未示出),触控检测单元1023用于检测触控区域1021上的触控输入信息。边框区域1022上设有边框检测单元1024(图2中未示出),用于检测边框区域1022上的边框触摸信息。触摸控制器101的功能请参考第一实施例,此处不再赘述。Please refer to the structure and application schematic of the
触控检测单元1023一般采用矩阵式传感结构,传感结构的类型例如包括:电容式、电阻式、超声波式以及光学式等,触控检测单元1023的结构为本领域技术人员所熟知,此处不再赘述。边框检测单元1024用于检测边框区域1022的边框触摸信息。举例而言,边框检测单元1024可以采用自电容式或者互电容式传感器,电容式传感器结构简单,易于实现,有利于节省成本。在一些例子中,边框检测单元1024还可以采用前述触控检测单元1023中的传感结构,即将触控检测单元1023位于边缘位置的传感单元用于检测边框区域的触摸信息,本实施方式对于边框检测单元1024不作具体限制,只要能够检测到边框区域1022的边框触摸信息即可。The
当边框检测单元1024采用自电容式传感器时,自电容式传感器的检测电极连接触摸控制器101的驱动感应单元1012的驱动通道以及感应通道,触摸控 制器101的处理单元1011通过检测检测电极上的电容变化量检测边框触摸信息。当边框检测单元1024采用互电容式传感器时,互电容式传感器的驱动电极以及感应电极分别与驱动感应单元1012的驱动通道以及感应通道连接,处理单元1011通过检测驱动电极以及感应电极之间的电容变化量检测边框触摸信息。When the
请参阅图4所示,在实际应用中,触控面板102的边框检测单元1024例如包括P个电容检测导线10241,其中P可以是1,本实施例对于P不作具体限制。该电容检测导线10241环设于触控区域1021的外侧。具体地,该电容检测导线10241连接至触摸控制器101的驱动通道和感应通道以形成自容式传感器,即电容检测导线10241连接驱动感应单元1012(图4中未示出)的驱动通道以及感应通道,从而形成自容式传感器。驱动感应单元1012自打自收通过电容检测导线10241检测边框区域1022上的边缘触摸信息。在一个例子中,电容检测导线10241的其中至少一个同时作为触控面板102的屏蔽导线,从而可以简化工艺。As shown in FIG. 4 , in the actual application, the
请参阅图5所示的触控装置的触控面板102的结构示意图,提供了边框检测单元1024的一种替换实施例,边框检测单元1024至少包括两个电容检测导线,电容检测导线其中之一连接到驱动通道,另一电容检测导线连接到感应通道从而形成互容式传感器10242,互电容式传感器10242的两个电容检测导线间隔设置。处理单元1011通过检测两个电容检测导线所形成的互电容的电容变化量获取边框区域1022上的边框触摸信息。在实际应用中,边框检测单元1024也可以包括多个电容检测导线,例如2个,且各个电容检测导线均为自电容式传感器,或者通过对电容检测导线与驱动感应单元1012的连接方式的设置,边框检测单元1024可以在自电容和互电容模式之间切换,例如在边框检测单元 1024和驱动感应单元1012之间加入多路复用器,多条导线通过复用器可选的连接到驱动通道、感应通道。Referring to the structural schematic diagram of the
由于电容检测导线环设在触控区域1021的外侧,所以,只要边框区域1022的任何位置被触摸,触摸控制器101均能检测出,从而可以利用数量较少的触摸传感器实现边框区域1022整体的触摸信息的检测。触控检测单元1023可以采用本领域技术人员所熟知的结构,此处不再赘述。Since the capacitance detecting wire loop is disposed outside the
结合图4所示,当图4中实线圆圈区域所示的触摸操作同时触摸在触控区域1021以及边框区域1022时,触摸控制器101的处理单元1011或者主处理器11即可判断其为边缘误操作,而虚线圆圈区域所示的触摸操作由于未触摸到边框区域1022,所以可视为正常的触摸操作,这样可以快速地识别出手掌等的边缘误操作。As shown in FIG. 4, when the touch operation shown by the solid circle area in FIG. 4 simultaneously touches the
结合图5所示,当图5中的两个电容检测导线形成互电容式传感器时,只要圆圈区域所示的触摸操作触摸在边框区域1022上的互电容式传感器上,即可判定为边缘误操作。在实际应用中,当图5所示的两个电容检测导线均为自电容式传感器时,随着电容检测导线数量的增加,可以提高边框区域1022上的边框触摸信息检测的准确度。As shown in FIG. 5, when the two capacitance detecting wires in FIG. 5 form a mutual capacitance type sensor, as long as the touch operation shown by the circle area touches the mutual capacitance sensor on the
请参阅图6所示的触摸控制器101的结构示意图,提供了触摸控制器101的一种替换实施例。触摸控制器101包括:处理单元1011、第一驱动感应单元1013以及第二驱动感应单元1014,即第一驱动感应单元1013以及第二驱动感应单元1014为两个相互独立的驱动感应单元,第一驱动感应单元1013以及第二驱动感应单元1014均与处理单元1011相连。第一驱动感应单元1013用于向触控区域1021的触控检测单元1023提供激励信号,并接收触控区域1021的感 应信号。第二驱动感应单元1014用于向边框检测单元1024提供激励信号,并接收边框区域1022的感应信号。Referring to the structural schematic diagram of the
请参阅图7所示的用于驱动自电容式边框检测单元的第二驱动感应单元1014的结构示意图,第二驱动感应单元1014包括:激励信号电路10141、放大电路10142、模数转换电路10143、收发切换开关10144。处理单元1011与激励信号电路10141的输入端连接,激励信号电路10141的输出端与收发切换开关10144的第一端连接,收发切换开关10144的第二端与电容检测导线10241连接,收发切换开关10144的第三端与放大电路10142的输入端连接,放大电路10142的输出端与模数转换电路10143的输入端连接,模数转换电路10143的输出端与处理单元1011连接。处理单元1011控制激励信号电路10141通过收发切换开关10144向电容检测导线10241输入驱动信号,电容检测导线10241输出的电信号通过收发切换开关10144输入放大电路10142,经放大电路10142放大后输入模数转换电路10143,并经模数转换电路10143转换为数字信号后输入处理单元1011。处理单元1011根据数字信号的变化计算电容检测导线10241的电容变化量,并根据电容变化量判断边框区域1024是否被触摸。如果只有一个电容检测导线10241,收发切换开关10144可直接与放大电路10142的输入端连接。请继续参阅图7所示,在一个例子中,当边框检测单元包括多个电容检测导线10241时,第二驱动感应单元1014中可加入多路复用开关10145。多路复用开关10145是一个多通道的输入输出开关,通过多路复用开关10145可以支持多个通道(即多个自电容式的电容检测导线10241)的触摸检测。这时,如图7所示,收发切换开关10144可通过多路复用开关10145与放大电路10142的输入端连接。Please refer to FIG. 7 for a schematic diagram of a second
请参阅图8,是另一个实施方式的用于驱动自电容式边框检测单元的第二驱动感应单元1014的结构示意图,在一个例子中,当边框检测单元包括多个电容检测导线10241时,第二驱动感应单元1014中的放大电路10142以及模数转换电路10143的数量与电容检测导线10241的数量相同,即为每个电容检测导线10241单独配置放大电路以及数转换电路。这时,如图8所示,各电容检测导线10241分别与放大电路10142连接。Please refer to FIG. 8 , which is a schematic structural diagram of a second
图9所示为基于互电容式边框检测单元的第二驱动感应单元的结构示意图,互电容式传感器10242的一端与激励信号电路10141的输出端连接,互电容式传感器10242的另一端与放大电路10142的输入端连接,从而实现第二驱动感应单元1014向互电容式传感器10242的驱动电极施加驱动信号,并通过互电容式传感器10242的感应电极接收感应信号。如果边框检测单元1024只有一个互电容式传感器10242,互电容式传感器10242可直接与放大电路10142的输入端连接。请继续参阅图9所示,在一个例子中,当边框检测单元1024包括多个互电容式传感器10242时,第二驱动感应单元1014中需加入多路复用开关10145。多路复用开关10145相当于是一个多通道的输入输出开关,通过多路复用开关10145可以支持多个通道(即多个互电容式传感器10242)的触摸检测。这时,如图9所示,各个(例如3个)互电容式传感器10242均需通过多路复用开关10145与放大电路10142的输入端连接。FIG. 9 is a schematic structural diagram of a second driving sensing unit based on a mutual capacitance type frame detecting unit. One end of the mutual capacitance type sensor 1042 is connected to an output end of the
请参阅图10所示的基于互电容式边框检测单元的第二驱动感应单元的另一个结构示意图,在一个例子中,当边框检测单元1024包括多个互电容式传感器10242时,第二驱动感应单元1014中的放大电路10142以及模数转换电路10143的数量与互电容式传感器10242的数量相同,即为每个互电容式传感器 10242单独配置放大电路以及数转换电路。这时,如图10所示,各互电容式传感器10242分别与放大电路10142连接。Please refer to FIG. 10 for another structural diagram of the second driving sensing unit based on the mutual capacitance type frame detecting unit. In one example, when the
其中,第一驱动感应单元1013的结构为本领域技术人员所熟知,此处不再赘述。The structure of the first
值得一提的是,第一驱动感应单元1013与第二驱动感应单元1014的激励信号频率不同,这样,边框检测单元1024与触控检测单元1023同时工作时互相不会产生干扰。作为一种替换例,第一驱动感应单元1013与第二驱动感应单元1014还可以异步工作,从而使得边框检测单元1024与触控检测单元1023之间不会相互干扰。It is worth mentioning that the excitation signal frequency of the first
需要说明的是,在实际应用中,还可以在边框检测单元1024与触控检测单元1023之间设置屏蔽层或者屏蔽导线,这样,边框检测单元1024与触控检测单元1023可以以相同激励频率同步工作,从而不会相互干扰。It should be noted that, in practical applications, a shielding layer or a shielding wire may be disposed between the
本实施例的边框检测单元的电容检测导线均环设于触控区域外侧,因此,通过设置少量的电容检测导线即可在边框区域的任何位置被触摸时,检测到边框区域被触摸,并且,可以通过同一个驱动感应单元或者独立的驱动感应单元(即第二驱动感应单元)实现对边框检测单元的驱动。The capacitance detecting wires of the frame detecting unit of the embodiment are all disposed outside the touch area. Therefore, when a small amount of the capacitance detecting wire is disposed, the frame area can be touched when being touched at any position of the frame area, and The driving of the bezel detecting unit can be realized by the same driving sensing unit or a separate driving sensing unit (ie, the second driving sensing unit).
本实施例相对于现有技术而言,通过在触控面板的边框区域增设边框检测单元以检测边框区域是否被触摸,从而可以根据触控操作的触摸位置判断其是否为边缘误操作,因此相对于检测触摸操作的形状以及面积而言,可以大幅简化计算,提高检测效率。Compared with the prior art, the present invention adds a frame detecting unit to the frame area of the touch panel to detect whether the frame area is touched, so that it can be determined according to the touch position of the touch operation whether it is an edge misoperation, and thus In terms of detecting the shape and area of the touch operation, the calculation can be greatly simplified and the detection efficiency can be improved.
本申请第三实施例涉及一种触控装置,本实施例可作为第二实施例的替换实施例,本实施例与第二实施例的主要区别在于,在第二实施例中,边框检 测单元中的各个电容检测导线均环设于触控区域的外侧,即整个边框区域中任意位置,比如位于左边、右边、上边、下边的边缘触摸可以通过同一个或者同一组环状电容检测导线测得,而在第三实施例中,边框检测单元包括多个电容式传感器,且各个电容式传感器能够对边框区域不同位置进行检测。The third embodiment of the present application relates to a touch device. This embodiment can be used as an alternative embodiment of the second embodiment. The main difference between the present embodiment and the second embodiment is that, in the second embodiment, the frame detecting unit is Each of the capacitance detecting wires is disposed on the outer side of the touch area, that is, at any position in the entire frame area, for example, the edge touches on the left side, the right side, the upper side, and the lower side can be measured by the same or the same set of annular capacitance detecting wires. In the third embodiment, the bezel detecting unit includes a plurality of capacitive sensors, and each of the capacitive sensors is capable of detecting different positions of the bezel area.
请参阅图11所示的触控面板的结构示意图,边框检测单元包括Q个触摸传感器10243,Q为大于或者等于2的自然数。Q个触摸传感器分布在边框区域1022的不同位置上,且分别用于检测不同位置是否被触摸。Referring to the structural diagram of the touch panel shown in FIG. 11 , the frame detecting unit includes
在实际应用中,触摸传感器可以连接至触摸控制器的驱动通道和感应通道以形成Q个自容式传感器,或者,Q个触摸传感器其中一部分连接到驱动通道,其中的另一部分连接到感应通道,以形成至少一个互容式传感器。随着触摸传感器的数量越多,触摸控制器能够检测到的边框区域1022的触摸位置的精度就越高。例如,边框区域1022的上、下、左、右等的四个边框位置均设置有多个触摸传感器(图11中小方框表示触摸传感器)。这样,当边框区域1022的多个位置被同时触摸时均可以检测到。在一个例子中,边框检测单元包括4个触摸传感器,4个触摸传感器分别设置在边框区域的上、下、左、右等的四个边,且分别用于检测边框区域的各个边是否被触摸,这样,当检测到边框区域被触摸时,即可分辨出边框区域的哪个边被触摸,由于边框区域的各个边均可以单独检测到触摸,所以当在多个边上同时发生边缘误操作时,可以更为准确地检测到全部的边缘误操作。例如,当边框区域上的2个不同位置均检测到触摸时,即可进一步根据触控区域上的屏体数据检测出最多2个边框触摸。In practical applications, the touch sensor can be connected to the driving channel and the sensing channel of the touch controller to form Q self-capacitive sensors, or a part of the Q touch sensors is connected to the driving channel, and the other part is connected to the sensing channel. To form at least one mutual capacitive sensor. As the number of touch sensors increases, the accuracy with which the touch controller can detect the touch position of the
本实施例通过不同位置的触摸传感器区分边框区域的不同位置被触摸,从而可以在边框区域的多个位置同时发生边缘误操作时,更为快速、准确地屏 蔽全部的边缘误操作。In this embodiment, different positions of the frame area are touched by the touch sensors at different positions, so that all edge error operations can be screened more quickly and accurately when edge misoperation occurs at multiple positions of the frame area.
本申请第四实施例涉及一种触控终端,例如平板电脑、智能手机、车载影音等。本实施例的触控终端包括如第二或者第三实施例所述的触控装置以及主处理器。The fourth embodiment of the present application relates to a touch terminal, such as a tablet computer, a smart phone, a car audio, and the like. The touch terminal of this embodiment includes the touch device and the main processor as described in the second or third embodiment.
其中,触摸控制器可用于屏蔽检测到的满足预设条件的边缘误操作,或者,触摸控制器用于将其获取的触控输入信息与边框触摸信息上报至主处理器,供主处理器屏蔽检测到的边缘误操作。The touch controller can be used to mask the detected edge misoperation that meets the preset condition, or the touch controller is configured to report the touch input information and the frame touch information obtained by the touch controller to the main processor for shielding detection by the main processor. The edge to the wrong operation.
本实施例的触控终端可通过检测边框区域上的边框触摸信息,并结合触控区域上的触控输入信息,更为快速或者准确地检测出边缘误操作,从而有利于提高用户输入效率。The touch terminal of the embodiment can detect the edge misoperation more quickly or accurately by detecting the touch information of the frame on the frame area and combining the touch input information on the touch area, thereby facilitating the user input efficiency.
本申请第五实施例涉及一种触控方法,应用于如第四实施例所述的触控终端,例如平板电脑。The fifth embodiment of the present application relates to a touch method, which is applied to a touch terminal, such as a tablet computer, as described in the fourth embodiment.
请参阅图12所示的触控方法的流程图,该触控方法包括:Please refer to the flowchart of the touch method shown in FIG. 12, the touch method includes:
步骤201:获取触控区域的触控输入信息以及边框区域的边框触摸信息。Step 201: Acquire touch input information of the touch area and border touch information of the border area.
其中,触控输入信息例如包括:触控笔的触控输入信息、用户手指的触控输入信息以及其他可以检测到的触控输入信息(例如手掌的触摸信息)。边框触摸信息例如包括:边框区域被触摸或者边框区域未被触摸。在一个例子中,边框触摸信息还可以包括:边框区域的触摸位置信息,例如边框区域的左边或者右边被触摸,同时,还可以根据边框触摸信息获取边框触摸操作的数量,例如0个、1个或者2个等。具体地,边框区域上设有多个触摸传感器,触摸传感器可以均匀分布在边框区域,或者根据实际需要或疏或密地分布在边框区域,从而能够检测出边框区域上不同位置的触摸信息,例如,当左手手掌触摸在平 板电脑的边框区域的左边,而右手手掌触摸在边框区域的右边时,就产生了2个边框触摸。The touch input information includes, for example, touch input information of the stylus, touch input information of the user's finger, and other touch input information that can be detected (for example, touch information of the palm). The frame touch information includes, for example, that the bezel area is touched or the bezel area is not touched. In an example, the frame touch information may further include: touch position information of the frame area, for example, the left side or the right side of the frame area is touched, and the number of touch operations of the frame may be acquired according to the touch information of the frame, for example, 0 or 1 Or 2 etc. Specifically, a plurality of touch sensors are disposed on the frame area, and the touch sensors may be evenly distributed in the frame area, or distributed in the frame area according to actual needs or in a densely spaced manner, so that touch information at different positions on the frame area can be detected, for example, When the palm of the left hand touches the left side of the border area of the tablet, and the palm of the right hand touches the right side of the border area, two border touches are generated.
步骤202:根据触控输入信息以及边框触摸信息检测是否存在满足预设条件的边缘误操作,若检测到边缘误操作,执行步骤203,否则返回步骤201。Step 202: Detect whether there is an edge erroneous operation that satisfies the preset condition according to the touch input information and the frame touch information. If an edge erroneous operation is detected,
具体而言,边缘误操作是指发生在触控区域边缘的非用户期望的触摸操作。具体地,例如在使用触控笔输入时,用户的手掌可能会停留在触控区域,而手掌的触摸操作非用户期望,可能会造成触控终端误响应。当手掌停留在触控区域的中心位置附近时,由于手掌的形状以及面积明显大于手指,所以通过获取屏体数据(例如触控区域上被触摸的形状以及面积),并将获取的触摸形状以及面积与预设的形状以及面积(例如手指的形状以及面积)进行比对,即可识别出由于手掌触摸而引起的屏体数据;当手掌向触控区域的边缘移动且停留在触控区域边缘处的形状以及面积与用户的手指接近时,则难以将此时的手掌数据与手指数据(即手指触摸产生的屏体数据)区别开来。因此,对于面积大于手指的手掌而言,结合触控区域上的触控输入信息(例如手掌产生的屏体数据)以及边框区域上的边框触摸信息(例如边框是否被触摸),即可以更为准确地识别出由手掌触摸引起的屏体数据。具体地,预设条件例如是同时触摸在触控区域以及边框区域,对于屏体尺寸偏大的触控终端(例如平板电脑)而言,由于用户手指同时触摸触控区域以及边框区域的机会远比手掌同时触摸在触控区域以及边框区域的机会少,将同时触摸在触控区域以及边框区域的操作视为边缘误操作可以降低终端误响应。Specifically, edge misoperation refers to a non-user-desired touch operation that occurs at the edge of the touch area. Specifically, for example, when using a stylus input, the palm of the user may stay in the touch area, and the touch operation of the palm is not desired by the user, which may cause the touch terminal to respond incorrectly. When the palm rests near the center of the touch area, since the shape and area of the palm are significantly larger than the finger, the screen data (for example, the shape and area touched on the touch area) is acquired, and the acquired touch shape and The area is compared with the preset shape and the area (such as the shape and area of the finger) to identify the screen data caused by the palm touch; when the palm moves toward the edge of the touch area and stays at the edge of the touch area When the shape and the area are close to the user's finger, it is difficult to distinguish the palm data at this time from the finger data (ie, the screen data generated by the finger touch). Therefore, for a palm having an area larger than a finger, combining the touch input information on the touch area (for example, the screen data generated by the palm) and the frame touch information on the border area (for example, whether the border is touched) may be more Accurately identify the screen data caused by the palm touch. Specifically, the preset condition is, for example, simultaneous touch on the touch area and the border area. For a touch terminal (such as a tablet) with a large screen size, the user's finger touches the touch area and the border area at the same time. There is less chance of touching the touch area and the border area at the same time than the palm, and the operation of touching the touch area and the border area at the same time is regarded as an edge misoperation, which can reduce the terminal error response.
本实施例中,根据触控输入信息以及边框触摸信息检测满足预设条件的边缘误操作例如包括:根据边框触摸信息检测边框区域上是否存在边框触摸操 作,若存在边框触摸操作,则根据触控输入信息检测满足预设条件的边缘误操作,若不存在边框触摸操作,则可快速判断出不存在边缘误操作,返回执行步骤201。In this embodiment, detecting the edge erroneous operation that meets the preset condition according to the touch input information and the frame touch information includes: detecting whether there is a frame touch operation on the frame area according to the frame touch information, and if there is a frame touch operation, according to the touch The input information detects an edge misoperation that satisfies a preset condition. If there is no border touch operation, it can quickly determine that there is no edge misoperation, and returns to step 201.
在一个例子中,根据触控输入信息检测满足预设条件的边缘误操作具体包括:根据边框触摸信息得到边框触摸操作的数量,根据边框触摸操作的数量检测边缘误操作。例如,当根据边框触摸信息判断出边框触摸操作的数量为1时,则根据触控输入信息判断触控区域是否存在多个触摸操作,若存在1个触摸操作,则可以直接判断该触摸操作为边缘误操作,若存在多个触摸操作,则可以根据触控输入信息进一步分析各个触摸操作的触摸位置,从而筛选出同时触摸在触控区域以及边框区域的1个边缘误操作。In an example, detecting the edge erroneous operation that meets the preset condition according to the touch input information specifically includes: obtaining the number of the frame touch operations according to the frame touch information, and detecting the edge erroneous operation according to the number of the frame touch operations. For example, when it is determined that the number of touch operations of the frame is 1 according to the touch information of the frame, it is determined whether there are multiple touch operations in the touch area according to the touch input information. If there is one touch operation, the touch operation may be directly determined as If the edge is mis-operated, if there are multiple touch operations, the touch position of each touch operation can be further analyzed according to the touch input information, thereby filtering out one edge misoperation in the touch area and the border area at the same time.
当检测到2个边框触摸操作,且根据触控输入信息检测到触控区域上仅有两个触摸时,即可判断出触控区域的两个触摸均为边缘误操作,若检测到触控区域上存在3个触摸时,则可以进一步根据屏体数据区别2个边缘误操作以及1个正常触摸操作,因此,根据边框触摸数量可以快速、准确地识别出全部的边缘误操作。When two frame touch operations are detected, and only two touches are detected on the touch area according to the touch input information, it can be determined that the two touches of the touch area are edge misoperations, and if the touch is detected When there are three touches on the area, the two edge misoperations and one normal touch operation can be further distinguished according to the screen data. Therefore, all edge misoperations can be quickly and accurately identified according to the number of frame touches.
在实际应用中,为了更准确地识别手掌等引起的边缘误操作,预设条件还可以为同时触摸在触控区域以及边框区域且在触控区域上的触摸面积大于预设阈值,预设阈值例如为用户手指的面积,这样,由于手指同时触摸在触控区域以及边框区域时,触摸在触控区域上的触摸面积会变小,所以可更为准确地识别出手掌同时触摸在触控区域以及边框区域且触摸面积接近手指的触摸面积时引起的边缘误操作。在一些例子中,还可以利用其他操作主体与手指大小的不同,从而识别出其在触控区域边缘引起的边缘误操作,本实施方式对于触摸 主体以及预设条件均不做具体限制。In the actual application, in order to more accurately identify the edge misoperation caused by the palm or the like, the preset condition may also be that the touch area in the touch area and the border area and on the touch area is greater than a preset threshold, and the preset threshold is preset. For example, the area of the user's finger is such that when the finger touches the touch area and the frame area at the same time, the touch area on the touch area becomes smaller, so that the palm can be more accurately recognized while touching the touch area. And an edge misoperation caused by the bezel area and the touch area is close to the touch area of the finger. In some examples, the difference between the size of the other operating body and the size of the finger may be utilized to identify the edge misoperation caused by the edge of the touch area. The present embodiment does not specifically limit the touch body and the preset condition.
步骤203:屏蔽检测到的边缘误操作。Step 203: Mask the detected edge misoperation.
具体地,若触摸控制器检测到边缘误操作,则触摸控制器不向主处理器上报该边缘误操作的坐标,若主处理器检测到该边缘误操作,则主处理器不向应用程序或者操作系统上报该边缘误操作对应的坐标。Specifically, if the touch controller detects an edge misoperation, the touch controller does not report the coordinates of the edge misoperation to the main processor. If the main processor detects the edge misoperation, the main processor does not apply to the application or The operating system reports the coordinates corresponding to the edge misoperation.
本实施例的触控终端可通过检测边框区域上的边框触摸信息,并结合触控区域上的触控输入信息,更为快速或者准确地检测出边缘误操作,从而有利于提高用户输入效率。The touch terminal of the embodiment can detect the edge misoperation more quickly or accurately by detecting the touch information of the frame on the frame area and combining the touch input information on the touch area, thereby facilitating the user input efficiency.
本申请第六实施例涉及一种触控方法,在第五实施例的基础上做出改进,进一步限定了边缘误操作的检测条件。The sixth embodiment of the present application relates to a touch method, which is improved on the basis of the fifth embodiment, and further defines a detection condition of edge misoperation.
请参阅图13所示,本实施例的触控方法包括步骤301至步骤304。其中,步骤301与步骤201相同,步骤303、304与步骤202、203对应相同,此处不再赘述。Referring to FIG. 13 , the touch method of this embodiment includes
步骤302:判断触控输入信息是否包括触控笔输入信息,若包括触控笔输入信息,则继续执行步骤303,若不包括触控笔输入信息,则返回步骤301。Step 302: Determine whether the touch input information includes stylus input information. If the stylus input information is included, proceed to step 303. If the stylus input information is not included, return to step 301.
本实施例与第六实施例相比,由于手掌对触控区域的接触常常伴随触控笔的输入操作,所以本实施例在检测到触控笔输入信息时,表明用户在使用触控笔,此时通过执行步骤303、304,可以有效地屏蔽手掌引起的边缘误操作,在用户未使用触控笔时,不执行步骤303以及步骤304,有利于降低系统功耗。本领域的普通技术人员可以理解,上述各实施例是实现本申请的具体实施例,而在实际应用中,可以在形式上和细节上对其作各种改变,而不偏离本申请的精神和范围。Compared with the sixth embodiment, the contact between the palm and the touch area is often accompanied by the input operation of the stylus. Therefore, when detecting the input information of the stylus, the embodiment indicates that the user is using the stylus. At this time, by performing
| Application Number | Priority Date | Filing Date | Title |
|---|---|---|---|
| CN201780078153.XACN110192170B (en) | 2017-12-11 | 2017-12-11 | Touch controller, device, terminal and touch method |
| PCT/CN2017/115409WO2019113725A1 (en) | 2017-12-11 | 2017-12-11 | Touch controller, apparatus, terminal and touch control method |
| Application Number | Priority Date | Filing Date | Title |
|---|---|---|---|
| PCT/CN2017/115409WO2019113725A1 (en) | 2017-12-11 | 2017-12-11 | Touch controller, apparatus, terminal and touch control method |
| Publication Number | Publication Date |
|---|---|
| WO2019113725A1true WO2019113725A1 (en) | 2019-06-20 |
| Application Number | Title | Priority Date | Filing Date |
|---|---|---|---|
| PCT/CN2017/115409CeasedWO2019113725A1 (en) | 2017-12-11 | 2017-12-11 | Touch controller, apparatus, terminal and touch control method |
| Country | Link |
|---|---|
| CN (1) | CN110192170B (en) |
| WO (1) | WO2019113725A1 (en) |
| Publication number | Priority date | Publication date | Assignee | Title |
|---|---|---|---|---|
| CN113010042A (en)* | 2021-02-26 | 2021-06-22 | 武汉华星光电半导体显示技术有限公司 | Touch display panel |
| CN116048300A (en)* | 2023-01-06 | 2023-05-02 | 京东方科技集团股份有限公司 | A touch chip and display |
| CN116204085A (en)* | 2021-11-30 | 2023-06-02 | 广州视源电子科技股份有限公司 | A touch display control method and an interactive panel |
| Publication number | Priority date | Publication date | Assignee | Title |
|---|---|---|---|---|
| CN110737357A (en)* | 2019-09-02 | 2020-01-31 | Oppo(重庆)智能科技有限公司 | touch screen point reporting method, terminal and storage medium |
| CN115515345B (en)* | 2021-06-22 | 2024-10-25 | Oppo广东移动通信有限公司 | Proximity sensing module and electronic equipment |
| CN114265518B (en)* | 2021-12-28 | 2023-06-27 | 武汉华星光电半导体显示技术有限公司 | Display panel |
| CN114499487A (en)* | 2022-01-04 | 2022-05-13 | 奇瑞汽车股份有限公司 | Touch switch and control method thereof, and vehicle |
| Publication number | Priority date | Publication date | Assignee | Title |
|---|---|---|---|---|
| US20080308323A1 (en)* | 2007-06-14 | 2008-12-18 | Chun-Chung Huang | Object Location Sensor of Touch Panel |
| CN101719038A (en)* | 2009-12-30 | 2010-06-02 | 友达光电股份有限公司 | Touch display panel and touch substrate |
| CN103336637A (en)* | 2013-06-17 | 2013-10-02 | 业成光电(深圳)有限公司 | Touch sensing electrode structure and touch display device |
| CN103914162A (en)* | 2012-12-28 | 2014-07-09 | 联想(北京)有限公司 | Electronic device and mistaken touch determination method and device of touch screen |
| CN105786391A (en)* | 2016-03-24 | 2016-07-20 | 京东方科技集团股份有限公司 | Touch method and device as well as touch display equipment |
| CN106569709A (en)* | 2016-10-31 | 2017-04-19 | 努比亚技术有限公司 | Device and method for controlling mobile terminal |
| Publication number | Priority date | Publication date | Assignee | Title |
|---|---|---|---|---|
| US8446374B2 (en)* | 2008-11-12 | 2013-05-21 | Apple Inc. | Detecting a palm touch on a surface |
| CN102955614B (en)* | 2012-11-02 | 2016-06-08 | 深圳市汇顶科技股份有限公司 | A kind of for touching the anti-interference method of detection, system and touch terminal |
| CN103279218A (en)* | 2012-12-24 | 2013-09-04 | 李永贵 | Tablet computer without frame |
| CN104375685B (en)* | 2013-08-16 | 2019-02-19 | 中兴通讯股份有限公司 | A kind of mobile terminal screen edge touch-control optimization method and device |
| WO2015125170A1 (en)* | 2014-02-18 | 2015-08-27 | ニューコムテクノ株式会社 | Pointed-to position detection device |
| CN105117020A (en)* | 2015-09-23 | 2015-12-02 | 努比亚技术有限公司 | Edge interactive operation processing method and mobile terminal |
| CN106648190B (en)* | 2015-10-30 | 2019-07-02 | 深圳市汇顶科技股份有限公司 | Prevent the device and method for touching platen edge maloperation |
| CN106814901A (en)* | 2015-11-30 | 2017-06-09 | 小米科技有限责任公司 | Touching signals response method and device |
| JP6546111B2 (en)* | 2016-03-15 | 2019-07-17 | アルプスアルパイン株式会社 | INPUT DEVICE, ITS CONTROL METHOD, AND PROGRAM |
| CN106201304A (en)* | 2016-06-23 | 2016-12-07 | 乐视控股(北京)有限公司 | A kind of method and device of false-touch prevention operation |
| CN106406701B (en)* | 2016-09-14 | 2020-07-21 | Tcl科技集团股份有限公司 | Method and system for preventing misoperation of touch terminal and touch terminal |
| CN106775084B (en)* | 2016-12-16 | 2019-04-16 | Oppo广东移动通信有限公司 | A kind of false-touch prevention method, device and mobile terminal of touch screen |
| CN107340910B (en)* | 2017-06-26 | 2020-09-01 | Oppo广东移动通信有限公司 | A method, device, storage medium and electronic device for responding to a touch key |
| CN107390923B (en)* | 2017-06-30 | 2020-05-12 | Oppo广东移动通信有限公司 | Screen false touch prevention method and device, storage medium and terminal |
| Publication number | Priority date | Publication date | Assignee | Title |
|---|---|---|---|---|
| US20080308323A1 (en)* | 2007-06-14 | 2008-12-18 | Chun-Chung Huang | Object Location Sensor of Touch Panel |
| CN101719038A (en)* | 2009-12-30 | 2010-06-02 | 友达光电股份有限公司 | Touch display panel and touch substrate |
| CN103914162A (en)* | 2012-12-28 | 2014-07-09 | 联想(北京)有限公司 | Electronic device and mistaken touch determination method and device of touch screen |
| CN103336637A (en)* | 2013-06-17 | 2013-10-02 | 业成光电(深圳)有限公司 | Touch sensing electrode structure and touch display device |
| CN105786391A (en)* | 2016-03-24 | 2016-07-20 | 京东方科技集团股份有限公司 | Touch method and device as well as touch display equipment |
| CN106569709A (en)* | 2016-10-31 | 2017-04-19 | 努比亚技术有限公司 | Device and method for controlling mobile terminal |
| Publication number | Priority date | Publication date | Assignee | Title |
|---|---|---|---|---|
| CN113010042A (en)* | 2021-02-26 | 2021-06-22 | 武汉华星光电半导体显示技术有限公司 | Touch display panel |
| CN113010042B (en)* | 2021-02-26 | 2023-11-28 | 武汉华星光电半导体显示技术有限公司 | Touch display panel |
| CN116204085A (en)* | 2021-11-30 | 2023-06-02 | 广州视源电子科技股份有限公司 | A touch display control method and an interactive panel |
| CN116048300A (en)* | 2023-01-06 | 2023-05-02 | 京东方科技集团股份有限公司 | A touch chip and display |
| Publication number | Publication date |
|---|---|
| CN110192170A (en) | 2019-08-30 |
| CN110192170B (en) | 2022-10-14 |
| Publication | Publication Date | Title |
|---|---|---|
| WO2019113725A1 (en) | Touch controller, apparatus, terminal and touch control method | |
| CN111480139B (en) | Dual electrode touch button with multi-stage capacitance measurement process | |
| CN106775087B (en) | A touch screen control method, device and mobile terminal of a mobile terminal | |
| US9274652B2 (en) | Apparatus, method, and medium for sensing movement of fingers using multi-touch sensor array | |
| US10884550B2 (en) | Method, mobile terminal and non-transitory computer-readable storage medium for response control of touch screen | |
| CN107294522B (en) | Response method, device, storage medium and electronic device based on touch key | |
| TWI463386B (en) | A method and an apparatus for improving noise interference of a capacitive touch device | |
| JP5476368B2 (en) | Multi-touch detection | |
| CN107463289B (en) | Calibration method and device of touch screen, storage medium and terminal | |
| CN107340910B (en) | A method, device, storage medium and electronic device for responding to a touch key | |
| US20130278547A1 (en) | Electronic device | |
| CN107463290B (en) | Response control method and device for touch operation, storage medium and mobile terminal | |
| TW201510804A (en) | Control method for touch panel | |
| US20110216030A1 (en) | Signal sensing structure for touch panels | |
| TW201435691A (en) | Capacitive touch device | |
| WO2016041429A1 (en) | Method and device for avoiding touch-screen key failure and computer storage medium | |
| CN105739794A (en) | Operation Mode Switching Method of Capacitive Touch Panel Module | |
| TWI700624B (en) | Method for calculating center of touch area, touch system and touch device | |
| CN207571719U (en) | Touch panels, devices and terminals | |
| CN106713572B (en) | Data reporting control method, device and terminal | |
| TWI444881B (en) | A touch device and a control method thereof, and an electronic device having the touch device | |
| US9483137B2 (en) | Touch mouse and input method thereof | |
| CN107016338B (en) | The method of mobile terminal, fingerprint mould group and fingerprint false-touch prevention | |
| KR101210991B1 (en) | Touch-screen controller integrated circuit | |
| CN106775406A (en) | Anti-incorrect touch control method and device for touch screen of mobile terminal, and mobile terminal |
| Date | Code | Title | Description |
|---|---|---|---|
| 121 | Ep: the epo has been informed by wipo that ep was designated in this application | Ref document number:17934860 Country of ref document:EP Kind code of ref document:A1 | |
| NENP | Non-entry into the national phase | Ref country code:DE | |
| 122 | Ep: pct application non-entry in european phase | Ref document number:17934860 Country of ref document:EP Kind code of ref document:A1 |