












本発明は、内視鏡を経由して生体内に導入される高周波処置具に関するものである。より詳しくは、内視鏡用高周波処置具であって、ワイヤ状の切断部を備えるものに関する。The present invention relates to a high frequency treatment tool introduced into a living body via an endoscope. More particularly, the present invention relates to a high-frequency treatment tool for endoscope, which comprises a wire-like cutting portion.
従来、人体内に挿入し、先端に対物レンズや照明レンズを備え、体腔内を観察しつつ、手元側から先端側に通じる処置具挿通チャンネルを経由して体腔内で処置を行う処置具を導入する内視鏡がある。このような内視鏡を用いた処置として、ESD(内視鏡的粘膜下層剥離術)やEMR(内視鏡的粘膜切除術)が知られている。Conventionally, a treatment tool which is inserted into a human body, has an objective lens and an illumination lens at its tip, and observes the body cavity, and introduces a treatment tool to perform treatment in the body cavity via a treatment tool insertion channel communicating from the proximal side to the distal end There is an endoscope to do. As treatment using such an endoscope, ESD (endoscopic submucosal dissection) and EMR (endoscopic mucous membrane dissection) are known.
内視鏡を通じて用いる処置具には、ナイフやスネアがある。ナイフは、体腔表面を切開するためのものである。細かい切除作業を行うためには、ナイフはシースに安定的に固定されており、手元側の操作部による操作を確実に伝達する必要がある。スネアは、ループ状のワイヤを備え、体腔表面の隆起部をループで囲い、ループ径を小さくして隆起部の根元を絞り、切除するためのものである。スネアのループワイヤは、病変部の根元部分を引き絞って絞扼するため、ループワイヤがシースから出し入れ可能であり、ループワイヤは弾性変形可能なワイヤで構成される必要がある。いずれの処置具も、手元側から電力を供給し、電流を発生させて体腔表面を切除、焼灼等する高周波処置具として用いられる。Treatment tools used through an endoscope include a knife and a snare. The knife is for incising the body cavity surface. In order to perform a fine excision operation, the knife is stably fixed to the sheath, and it is necessary to reliably transmit the operation by the operation unit on the near side. The snare is provided with a wire in the form of a loop, and is for enclosing the ridge on the surface of the body cavity with a loop, reducing the diameter of the loop to narrow and remove the root of the ridge. Since the snare loop wire pulls in and narrows the root portion of the lesion, the loop wire needs to be able to be moved in and out of the sheath, and the loop wire needs to be composed of an elastically deformable wire. Each treatment tool is used as a high-frequency treatment tool which supplies power from the proximal side and generates an electric current to cut and cauterize the surface of the body cavity.
内視鏡を通じて用いるナイフとして、特許文献1に開示される高周波処置具がある。このナイフは、シースと、シース内部から突出可能に設けられ先端に高周波電流が印加される針状の電極を備える。このナイフは、針状電極からなるナイフの突出量を規制し、切開の処置が行われるナイフの部位の安定性を確保するために、シース内にナイフの外径より大きい孔径を有する硬質筒体を設け、ナイフの手元側の箇所に複数のストッパ突起を設けている。硬質筒体とストッパ突起とが面接触することにより、シースの先端面からのナイフの突出長を規制し、ナイフをシースの長軸中心上に安定的に保持できる。As a knife used through an endoscope, there is a high frequency treatment tool disclosed in
内視鏡を通じて用いるスネアとして、特許文献2に開示される高周波スネアがある。このスネアは、シースと、シース内に進退可能に挿通配置された導電性のループワイヤを備える。このスネアは、病変部の根元部分を高周波電流で中心部分まで出血なく確実に焼灼絞断するために、シース先端に先端電極を設けている。また、このスネアは、ループワイヤ先端の曲げ戻し部分への応力集中の程度を小さくするために、ループワイヤの先端に先端チップを通している。As a snare used through an endoscope, there is a high frequency snare disclosed in
ナイフはESD(内視鏡的粘膜下層剥離術)に用いられる。ESDは、経内視鏡的に消化器の病変部を徐々に剥離させていく手技で病変部を細かに切除できる利点がある。一方で、処置に時間がかかり、術者の技術も要求される。スネアはEMR(内視鏡的粘膜切除術)に用いられる。EMRは、経内視鏡的に病変部をループで囲い、引き絞ることで切除する手技で広範囲を容易に切除できる。しかし、狙った箇所のみを正確に切除することが困難であり、使用できる病変部の形状も限られる。The knife is used for ESD (endoscopic submucosal dissection). ESD is advantageous in that the lesion can be finely excised by a procedure of gradually ablating the lesion of the digestive tract trans-endoscopically. On the other hand, treatment takes time and the skill of the operator is also required. Snares are used for EMR (endoscopic mucosal resection). EMR can easily resect a wide area by a procedure in which a lesion is transected endoscopically by looping and squeezing. However, it is difficult to accurately remove only the target area, and the shape of the lesion that can be used is also limited.
そこで、まずナイフを用いて狙った病変部の周りを切開して少量剥離させ、一旦ナイフを内視鏡から引き抜いた後、スネアに交換し、ナイフで剥離した箇所にスネアのループを当て、病変部を引き絞ることで、病変部の切除の精度を維持しつつ手技の時間の短縮を図る手法が検討されている。Therefore, first use a knife to incise around the target lesion area to make a small amount of exfoliation, and once pull out the knife from the endoscope, replace it with a snare and place a snare loop on the exfoliated area with a knife. A method of shortening the time of the procedure while maintaining the accuracy of the resection of the lesion by narrowing the part has been considered.
このような手技に用いるための処置具として、スネアのループワイヤの先端に尖頭部を設けたものが提案されている。特許文献3では、シースと、シース内に引き込まれた際には弾性変形して窄まるスネアループを備える内視鏡用高周波スネアが開示されている。このスネアは、このスネアループの先端部分に、ワイヤの先端部分が貫通する状態に電気絶縁性の先端チップを固定的に取り付けて、ワイヤを先端チップから前方へ突出させ、その突出部分を棒状先端電極とする。このスネアの棒状先端電極はナイフとして用いることができる。ナイフとして用いる場合には、スネアループを、先端部分を残してシース内に引き込み、先端部分のみをシースから突出して切開用ナイフとして用いる。As a treatment tool for use in such a procedure, one having a pointed end provided at the tip of a snare loop wire has been proposed.
ナイフを用いてESDを行う場合には、病変部を細かく切除するために、手技中にナイフ先端がぶれない構造であることが必要である。また、手元の操作部の動きを確実に先端の操作部に伝えるためには、ナイフの先端部が、シース先端部に安定的に固定されていることが必要である。一方で、処置具を病変部まで搬送する間に不用意に内視鏡の処置具挿通チャンネル内や、体腔内を傷つけないように、処置時以外は通電、非通電に関わらず処置部はシース内に保持され、処置時にシース先端から突出可能であるように、シース長軸に沿って移動可能であることが望ましい。When performing ESD using a knife, it is necessary that the knife tip has a structure that does not shake during the procedure in order to finely remove the lesion. Also, in order to reliably transmit the movement of the operation unit at hand to the operation unit at the tip, it is necessary that the tip of the knife be stably fixed to the sheath tip. On the other hand, the treatment section is a sheath regardless of energization or non-energization except during treatment so as not to damage the treatment instrument insertion channel of the endoscope and body cavity carelessly while transporting the treatment instrument to the lesion area. It is desirable to be movable along the sheath longitudinal axis so as to be retained therein and to be able to protrude from the sheath tip at the time of treatment.
また、スネアの先端にナイフ部を設けた処置具をナイフとして使用する場合には、ナイフ部の手元側は弾性変形可能なワイヤで構成させるスネアであること、ナイフ部で切開後にスネアループを展開し、病変部を絞扼することを考慮して、ナイフ部がシース先端部に固定される必要がある。In addition, when using a treatment tool having a knife at the tip of the snare, the proximal side of the knife is a snare that is made of an elastically deformable wire, and the snare loop is deployed after incision by the knife. The knife portion needs to be fixed to the distal end of the sheath in consideration of narrowing the lesion.
ナイフ部をシースに固定する構造として、特許文献4にはシース内に摩擦抵抗付与部材を配置する構造が開示されている。シース内周面とナイフ部に繋がる操作ワイヤの外周面で摩擦抵抗付与部材を押し潰す構造とすることで、摩擦抵抗による負荷を生じさせ、ナイフを用いる際のナイフ部固定構造としている。As a structure which fixes a knife part to a sheath, the structure which arrange | positions a frictional resistance provision member in a sheath by
特許文献1に示される高周波ナイフでは、ナイフをシース先端に固定するために、シースに硬質筒体を設け、ナイフにストッパ突起を設けている。硬質筒体とストッパとの面接触により、ナイフが固定される。このような構成とした場合、処置具の部品点数が増えることとなる。また、ナイフは硬質筒体とストッパとの面接触により完全に固定されるため、シース先端面から所定長突出した後は、それ以上ナイフを突出させることはできない。In the high-frequency knife shown in
特許文献2に示される高周波スネアは、先端電極をナイフとして使用することが予定されていないため、先端電極の固定機構について開示がない。The high frequency snare shown in
特許文献3に示される高周波スネアでは、先端ナイフ部は、先端チップとシース先端との接触により固定される。電気絶縁性の先端チップは、シース先端面より先端側のスネアループに設けられている。このため、先端ナイフ部を用いて体腔内で処置を行う場合には、シース先端面と先端チップとが接触するためナイフ部がシース内部に引き込まれることがなく、ナイフ位置を安定させることができる。しかし、本処置具を内視鏡の処置具挿通チャンネルに挿通する際や、体腔内の非処置部に処置具が位置する場合には、ナイフ部が常にシースから露出しているため、非通電時であっても、周囲を傷つけるおそれがある。In the high frequency snare shown in
特許文献4には、弾力性を有する弾力的摩擦抵抗付与部材が、シースの内周面と操作ワイヤの外周面とで押し潰されて弾性変形した状態でシースの先端近傍内に圧入配置された内視鏡用処置具が開示されている。当該処置具では、操作ワイヤと弾力的摩擦抵抗付与部材と可撓性シースの相互間に摩擦抵抗が作用するようにして、シースの先端からの先端処置片の突出長を、任意の長さに安定的に調整、維持することができるようになっている。また、特許文献4には、シースとの摩擦抵抗を増加させるために、摩擦抵抗付与部材に操作ワイヤと接触しない領域に表面処理を施すことが開示されている。特許文献4に示されるナイフ固定方法ではナイフを用いる場合のみではなく、ナイフをシース外に突出させる、ナイフを収納するといった一連の操作全てにおいて、ハンドル操作が重くなってしまう不都合が生じる。加えて部品点数も増加し、更に摩擦抵抗付与部材を固定する方法または摩擦抵抗付与部材がシース外に出ないための工夫も必要となる。According to
ところで処置具を用いて実際に手技を行う際に、ナイフ部が切開のために組織内に挿入され、埋没している場合、シースが長手方向で常に同じ外観だと、どの程度組織に埋没しているのか判断することが難しくなる。そのため、処置具を組織に押し付けすぎてしまった結果、組織の穿孔の危険を招く可能性がある。By the way, when actually performing a procedure using a treatment tool, if the knife portion is inserted into the tissue for incision and buried, if the sheath always has the same appearance in the longitudinal direction, how much is buried in the tissue It will be difficult to determine what you are doing. Therefore, as a result of pressing the treatment tool against the tissue too much, there is a possibility that the tissue may be punctured.
本発明はこれらの課題に鑑みてなされたものであり、スネアの先端部にナイフ部を設けた処置具において、ナイフ部を安定的に固定することができる構造を備えた内視鏡用高周波処置具を提供することを目的とする。The present invention has been made in view of these problems, and in a treatment tool provided with a knife portion at the tip of a snare, a high frequency treatment for an endoscope provided with a structure capable of stably fixing the knife portion. It aims at providing a tool.
本発明の内視鏡用高周波処置具は、前記課題を解決するために以下の構成を備える。本発明の内視鏡用高周波処置具は、シースと、該シース内に配置されている線状物と、シースの遠近方向にそれぞれ延在している第1ワイヤ部および第2ワイヤ部とを有し、第1ワイヤ部の近位端部と第2ワイヤ部の近位端部とが線状物に固定されている導電性ワイヤと、第1ワイヤ部の遠位端部と第2ワイヤ部の遠位端部にそれぞれ連結されている導電性先端チップと、前記線状物と第1ワイヤ部と第2ワイヤ部をつなぐ導電性接続具とを備え、シースの内壁の一部は表面処理が施された表面処理部分を有し、導電性接続具、第1ワイヤ部、第2ワイヤ部および導電性先端チップの少なくとも1つが、表面処理部分と接することを特徴とする。本発明の内視鏡用高周波処置具は、導電性先端チップの一部が前記シースから突出した状態で、導電性接続具、第1ワイヤ部、第2ワイヤ部および導電性先端チップの少なくとも1つが、シースの表面処理が施された部分と接する。このように、シース内に配置される部品がシースの表面処理が施された部分と接する構成とすることで、導電性先端チップをシース先端に安定的に固定し、導電性先端チップのみをシースから突出させることができる。The high frequency treatment tool for an endoscope of the present invention has the following configuration in order to solve the problems. The high-frequency treatment instrument for endoscopes of the present invention comprises a sheath, a linear material disposed in the sheath, and a first wire portion and a second wire portion extending in the direction of the sheath. A conductive wire having a proximal end portion of the first wire portion and a proximal end portion of the second wire portion fixed to the wire, a distal end portion of the first wire portion, and the second wire A conductive tip respectively connected to the distal end of the portion, and a conductive connector connecting the wire, the first wire portion and the second wire portion, and a portion of the inner wall of the sheath is a surface It has a surface treatment portion treated, and at least one of the conductive connector, the first wire portion, the second wire portion and the conductive tip is in contact with the surface treatment portion. In the high frequency treatment tool for endoscopes of the present invention, at least one of the conductive connector, the first wire portion, the second wire portion, and the conductive tip in a state where a part of the conductive tip protrudes from the sheath. One is in contact with the surface-treated portion of the sheath. As described above, the component disposed in the sheath is in contact with the surface-treated portion of the sheath, whereby the conductive tip is stably fixed to the sheath tip, and only the conductive tip is sheathed. Can be projected from
本発明の内視鏡用高周波処置具によれば、スネア先端にナイフ部としての導電性先端チップが設けられ、導電性先端チップがシース先端に安定的に固定されるため、処置具をナイフとして用いる際には導電性先端チップのみをシースから突出させることができる。According to the high frequency treatment tool for an endoscope of the present invention, the conductive tip as the knife portion is provided at the snare tip, and the conductive tip is stably fixed to the sheath tip. When used, only the conductive tip can be protruded from the sheath.
本発明の内視鏡用高周波処置具は、内視鏡の処置具挿通チャンネルに挿通され、体腔内のマーキング、切開、絞扼などの処置や、ESD、EMRなどの術式に用いられるものである。高周波処置具は、遠位側にナイフ部とスネア部とを有する。高周波処置具をナイフとして用いる際には、先端のナイフ部のみをシース先端から安定的に突出させることができ、スネアとして用いる際には、スネア部として例えばループ状に形成された導電性ワイヤをシースから突出させることができる。以下では、内視鏡用高周波処置具を単に「処置具」と称することがある。The high-frequency treatment tool for endoscopes of the present invention is inserted into the treatment tool insertion channel of an endoscope, and used in procedures such as marking, incision and strangulation in body cavities, and techniques such as ESD and EMR. is there. The high frequency treatment instrument has a knife portion and a snare portion on the distal side. When the high-frequency treatment tool is used as a knife, only the knife portion at the tip can be stably projected from the sheath tip, and when used as a snare, for example, a conductive wire formed in a loop shape as a snare portion. It can be made to project from the sheath. Hereinafter, the high-frequency treatment tool for endoscopes may be simply referred to as a "treatment tool".
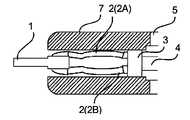
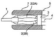
図1および図2に示すように、本発明の内視鏡用高周波処置具は、シース5と、該シース5内に配置されている線状物4と、シース5の遠近方向にそれぞれ延在している第1ワイヤ部2Aおよび第2ワイヤ部2Bとを有し、第1ワイヤ部2Aの近位端部と第2ワイヤ部2Bの近位端部が線状物4に固定されている導電性ワイヤ2と、第1ワイヤ部2Aの遠位端部と第2ワイヤ部2Bの遠位端部にそれぞれ連結されている導電性先端チップ1と、線状物4と第1ワイヤ部2Aと第2ワイヤ部2Bをつなぐ導電性接続具3とを備えるものである。本発明の内視鏡用高周波処置具は、シース5の内壁の一部に表面処理が施された表面処理部分を有し、導電性接続具3、第1ワイヤ部2A、第2ワイヤ部2Bおよび導電性先端チップ1の少なくとも1つが、表面処理部分と接触可能である。導電性先端チップ1の一部がシース5から突出した状態で、線状物4と第1ワイヤ部2Aと第2ワイヤ部2Bをつなぐ導電性接続具3、第1ワイヤ部2A、第2ワイヤ部2B、および導電性先端チップ1の少なくとも1つが、シース5の内壁の表面処理が施された部分と接している。このように、シース5内に配置される部品が、シース5の内壁の表面処理が施された部分と接する構成とすることで、導電性先端チップ1をシース5の先端により安定的に固定し、導電性先端チップ1のみをシース5から突出させることができる。なお、遠位側とは内視鏡の体腔内に挿入される先端側であり、近位側とはこれとは反対側であって、内視鏡や処置具の操作を行う手元側をいう。また、「長さ」とは特記しない場合はシースの遠近方向(シースの長軸方向)における長さを指す。以下では「導電性接続具」を「接続具」、「導電性ワイヤ」を「ワイヤ」、「導電性先端チップ」を「先端チップ」と称することがある。As shown in FIG. 1 and FIG. 2, the high frequency treatment tool for endoscope of the present invention extends in the distal direction of the
シース5は、内部に線状物4や導電性ワイヤ2を収納可能な長尺の中空部材である。シース5の内表面は、シース5の内部に収納される導電性接続具3、導電性ワイヤ2、導電性先端チップ1の少なくとも1つと接触し、導電性接続具3、導電性ワイヤ2、導電性先端チップ1を固定できる程度の表面性と強度を有する。さらに、シース5は、内視鏡の処置具挿通チャンネル内を挿通可能な表面滑り性と、処置具挿通チャンネル内腔の形状に沿って屈曲する可撓性と、処置対象組織まで確実に到達する剛性をバランス良く兼ね備えていることが望ましい。The
シース5の材料としては、例えば、コイル状の金属や合成樹脂によって形成された筒体や、短筒状の関節駒を長軸方向に複数連結して回動可能にした筒体、合成樹脂から形成された筒体が用いられる。シースを形成する合成樹脂としては、例えば、ナイロン等のポリアミド樹脂、ポリプロピレン(PP)、ポリエチレン(PE)等のポリオレフィン樹脂、ポリエチレンテレフタレート(PET)等のポリエステル樹脂、ポリエーテルエーテルケトン(PEEK)等の芳香族ポリエーテルケトン樹脂、ポリイミド樹脂、ポリテトラフルオロエチレン(PTFE)、テトラフルオロエチレン-パーフルオロアルキルビニルエーテル共重合体(PFA)、エチレン-テトラフルオロエチレン共重合体(ETFE)等のフッ素樹脂等を用いることができる。The material of the
シース5の長さは、併用する内視鏡の長さに従って適宜設定することができ、一般的には1650mmから2300mmであることが多い。シース5の外径は、1.8mm以上3.5mm以下、シース5の内径は1.2mm以上3.0mm以下であることが好ましい。シース5の可撓性や剛性は、シースの材料だけでなく厚さによっても制御することができる。シース5の厚さは、用いる材料によって選択できるが、シースの材料をフッ素樹脂とした場合は、片側0.2mm以上の厚さとすることが好ましい。The length of the
シース5の外径および内径は、一定であってもよく、テーパー状であったり、長手方向に沿って異なる複数の径を有するものであってもよい。図3には、シース5の内径が一定の処置具の先端部分の構成例が示され、図4には、シース5の内径が一定でない処置具の先端部分の構成例が示されている。図3および図4は、導電性先端チップ1の一部がシース5から突出し、ワイヤ2がシース5の内部に収納された状態の処置具の例を示している。The outer diameter and the inner diameter of the
内視鏡用高周波処置具は、導電性先端チップ1の少なくとも遠位端がシース5の遠位端より遠位側に配置され、導電性先端チップ1の近位側がシース5の内部に配置されている状態において、導電性接続具3、導電性ワイヤ2、導電性先端チップ1のいずれか1つまたは複数がシース5の内壁と接触する箇所に表面処理が施されている。これにより導電性先端チップ1の一部がシース5から突出しているときに、シース5内に配置される部品とシース5の内壁との接触により、導電性先端チップ1をより安定的に固定することができる。つまり、導電性接続具3、導電性ワイヤ2、導電性先端チップ1のいずれか1つまたは複数とシース5の内壁の表面処理部分との接触により、導電性先端チップ1が突出した状態をより安定的に保つことができる。表面処理部分の詳細は後述する。In the high-frequency treatment instrument for an endoscope, at least the distal end of the
線状物4は、シース5内に配置されている長尺物である(図1を参照)。線状物4は、ハンドル6と導電性ワイヤ2に接続して、導電性ワイヤ2をシース5の内外に移動させたり、ハンドル6側の回転操作を導電性ワイヤ2側に伝えるために用いられる。導電性ワイヤ2の移動に伴い、線状物4がシース5の外に移動してもよい。The
シース5内に収納される線状物4は、弾性変形可能な材料で構成されることが好ましい。線状物4の弾性は、内視鏡の処置具挿通チャンネルの変形に追随するシース5に沿って形状が変化する程度の弾性であれば足りる。線状物4は、弾性変形可能な材料であれば特に限定されないが、Ni-Ti系合金などの超弾性合金や、SUS303、SUS304などのステンレスなどの金属、ナイロンなどのポリアミド系樹脂などの樹脂を用いることができる。線状物4は、1つの部材で形成されていてもよく、複数の部材を、線状物4の長軸方向の途中で接合するなどしてもよい。途中で接合する場合は、線材間を通常の接合方法で接合すればよい。接合方法は、例えば、金属管でかしめて結合する、溶接、溶着や接着するなどの方法がある。線状物4は、単線であっても、単線をより合わせた撚線であってもよい。単線であれば、製造が容易である。撚線であれば、線状物4の強度を上げることができるので、ハンドル6側の回転などの操作をより確実に先端部に伝えることができる。線状物4の長さは、内視鏡の処置具挿通チャンネルより長いことが必要である。The
導電性ワイヤ2は、遠近方向に延在している長尺物であり、少なくともその一部をシース5の遠位側から露出させることによって、処置具のスネアとして用いられる。導電性ワイヤ2は、シース5の遠近方向にそれぞれ延在している第1ワイヤ部2Aおよび第2ワイヤ部2Bとを有しており、第1ワイヤ部2Aの近位端部と第2ワイヤ部2Bの近位端部が線状物4に固定されている。第1ワイヤ部2Aの近位端部と第2ワイヤ部2Bの近位端部は、線状物4に対して固定されるものであれば、線状物4に直接的に接続していてもよく、間接的に接合していてもよい。第1ワイヤ部2Aおよび第2ワイヤ部2Bの各近位端部は、第1ワイヤ部2Aまたは第2ワイヤ部2Bの近位端を含み、例えば近位端から30mm以内の部分であることが好ましく、より好ましくは20mm以内の部分である。また、第1ワイヤ部2Aおよび第2ワイヤ部2Bの各遠位端部は、第1ワイヤ部2Aまたは第2ワイヤ部2Bの遠位端を含み、例えば遠位端から30mm以内の部分であることが好ましく、より好ましくは20mm以内の部分である。The
図3および図4に示すように、導電性先端チップ1の少なくとも遠位端がシース5の遠位端より遠位側に配置され、導電性先端チップ1の近位側がシース5の内部に配置されている状態において、第1ワイヤ部2Aの少なくとも1箇所が、シース5の内壁と接しており、第2ワイヤ部2Bの少なくとも1箇所が、シース5の内壁と接していることが好ましい。これにより、導電性先端チップ1がシース5の先端により安定的に固定される。As shown in FIGS. 3 and 4, at least the distal end of the
導電性ワイヤ2は、第1ワイヤ部2Aと第2ワイヤ部2Bが、シース5の遠近方向に延びる線に対し線対称に形成されていてもよく、非対称に形成されていてもよい。導電性ワイヤ2の形状は、ループ状が好ましく、中でも両端が線状物4の遠位端に固定されたループ状が好ましい。ループ状は、例えば、ナイフ部を含むスネア部が閉じた環状であることをいい、円形状、楕円形状、多角形状などとすることができる。ワイヤ2の途中を折ったり、曲げたりするなどして、後述する屈曲部を設けることにより形状を変化させることができる。例えばワイヤ2の一部をシース5に接触させることにより、導電性ワイヤ2に連結された導電性先端チップ1をシース5の先端から突出するように固定することができる。In the
導電性ワイヤ2のシース5に接する箇所は、第1ワイヤ部2Aと第2ワイヤ部2Bの一箇所ずつであることが好ましい。先端チップ1をシース5から突出させるときに、より強固にワイヤをシース5に固定できるためである。ワイヤ2の近位側や遠位側と近位側の間の部分で、複数箇所がシース5に接してもよい。ループ状のワイヤ2は、シース5の内径よりも大きいループ径を有するため、ワイヤ2をシース5内に収納すると、ループがたたまれてワイヤ2の複数箇所がシース5に接することとなる。第1ワイヤ部2Aと第2ワイヤ部2Bは、シース5の長軸方向に対して略線対称にシース5に接することが好ましい。The portions of the
導電性ワイヤ2は、遠位端部において第1ワイヤ部2Aと第2ワイヤ部2Bが一体形成されていることが好ましい。これにより、導電性ワイヤ2の構成を簡素化することができる。あるいは、導電性ワイヤ2は、第1ワイヤ部2Aと第2ワイヤ部2Bが別部材であってもよい。これにより、第1ワイヤ部2Aと第2ワイヤ部2Bを構成する材料を異ならせてスネアの形状を複雑にするなど、スネアの設計の自由度を増すことができる。The
線状物4に固定される導電性ワイヤ2は、導電性があり、弾性変形可能な材料で形成されることが好ましい。導電性ワイヤ2の弾性は、シース5の先端から突出した後に、スネアとして予定される、例えばループ状の形状に復元する程度である必要がある。また、適宜屈曲部を設けることができるように、ワイヤ2は曲げ加工が容易である材料が好ましい。導電性ワイヤ2の材料は、Ni-Ti系合金などの超弾性合金や、SUS303、SUS304などのステンレスなどの金属を用いることが好ましい。The
導電性ワイヤ2の長さや直径は、スネアの用途に応じて適宜選択することができる。導電性ワイヤ2の長さは、60mm以上200mm以下であることが好ましい。そのうち、線状物4との接続部分の長さは、2mm以上10mm以下であることが好ましい。導電性ワイヤ2の直径は、0.2mm以上1.0mm以下であることが好ましい。The length and diameter of the
線状物4と導電性ワイヤ2との接続は、通常の接合方法により行うことができ、直接接続してもよく、接続部材を介して接続してもよい。接合方法は、例えば、金属管でかしめて結合する、溶接、溶着や接着するなどの方法がある。弾性変形可能な金属ワイヤの両端を線状物4に接続する場合は、金属管を介して接続することが好ましい。The connection between the
導電性接続具3は、前述の線状物4と導電性ワイヤ2との接続部に設けることができる。導電性接続具3は、線状物4と導電性ワイヤ2との接続に用いた接続部材でもよく、導電性ワイヤ2の近位端側の接続部付近に設けられた導電性部材であってもよい。導電性接続具3は、SUS303、SUS304などのステンレスなどの金属材料から構成されることが好ましい。導電性接続具3の形状は、球状、楕円球状、多面体状、柱状、錐状やこれらを組み合わせた形状としたり、全長を屈曲させたり拡幅したりなどすることができる。導電性接続具3のシース5の遠近方向の長さは2.0mm以上10.0mm以下であることが好ましい。The
導電性先端チップ1の少なくとも遠位端がシース5の遠位端より遠位側に配置され、導電性先端チップ1の近位側がシース5の内部に配置されている状態において、導電性接続具3がシース5に接することが好ましい。導電性接続具3のシース5に接する箇所は、導電性接続具3の少なくとも先端側であることが好ましく、全長であることがより好ましい。先端チップ1をシース5から突出させるときに、より強固にワイヤ2をシース5に固定できるためである。導電性接続具3は、全体が導電性材料から構成されていてもよく、一部が導電性材料から構成され、他部が非導電性材料から構成されていてもよい。接続具3は、線状物4とワイヤ2との間の導電性が確保されるように形成されればよい。接続具3は、例えば外面が導電性材料から構成され、当該導電性材料がシース5と接する構造でもよく、接続具3の外面が非導電性材料から構成され、当該非導電性材料がシース5と接する構造でもよい。The conductive connector in a state in which at least the distal end of the
先端チップ1は、高周波ナイフとして用いられる部分、すなわちナイフ部を有する。先端チップ1は、第1ワイヤ部2Aの遠位端部と、第2ワイヤ部2Bの遠位端部にそれぞれ連結されている。先端チップ1は、導電性のある材料で形成される。先端チップ1は、SUS303、SUS304などのステンレスなどの金属材料から構成されることが好ましい。先端チップ1の形状はナイフの用途に合わせて適宜選択することができる。例えば、球状、楕円球状、柱状、錐状やこれらを組み合わせた形状としたり、先端側を屈曲させたり拡幅したりなどすることができる。先端チップ1のシース5の遠近方向の長さは、処置具の用途や、シース5の先端面からの突出長さに応じて適宜選択することができるが、2.0mm以上5.0mm以下であることが好ましい。導電性先端チップ1は処置具の最遠位側に配置される。The
導電性ワイヤ2と先端チップ1との連結は、通常の連結方法により行うことができ、直接接続してもよく、他の部材を介して接続してもよい。例えば、金属管でかしめて結合する、溶接、溶着や接着するなどの方法がある。中でも、導電性先端チップ1は開口部を有し、該開口部内に導電性ワイヤ2の一部が位置することにより導電性先端チップ1と導電性ワイヤ2が連結されていることが好ましい。これにより、導電性チップ1と導電性ワイヤ2が効率よく連結される。より好ましくは、先端チップ1の近位側に開口部が設けられ、該開口部内に導電性ワイヤ2の一部が位置することにより導電性先端チップ1と導電性ワイヤ2が連結される。The connection between the
開口部は、先端チップ1に貫通孔やくぼみを設けるなどして形成することができる。図2に示すように開口部を貫通孔11とした場合は、先端チップ1が手技中に脱落してしまうリスクを低減でき、くぼみとした場合は製造を簡素化できる。特に、先端チップ1に貫通孔11が設けられて、この貫通孔11に導電性ワイヤ2を挿通することで導電性ワイヤ2と先端チップ1を連結する態様は、ワイヤ2が遠位端部において、第1ワイヤ部2Aと第2ワイヤ部2Bが一体形成されている場合に好適に採用される。一方、導電性ワイヤ2の第1ワイヤ部2Aと第2ワイヤ部2Bが別部材である場合は、導電性ワイヤ2と先端チップ1は、溶接、溶着、接着によって連結されていることが好ましい。The opening can be formed by providing a through hole or a recess in the
先端チップ1は導電性ワイヤ2に対して、回転可能であってもよく、ワイヤ2の長軸方向に沿って移動可能でもよく、完全に固定されていてもよい。ワイヤ2の長軸方向とは、ワイヤ2に沿った方向をいう。先端チップ1がワイヤ2の長軸方向に沿って移動可能とは、ワイヤ2が両端を線状物4に固定された円形状である場合、先端チップ1がその円の周方向に沿って移動可能であることをいう。The
先端チップ1の開口部の深さ方向が、シース5の遠近方向と異なる方向であることが好ましく、シース5の遠近方向と垂直な方向であることがより好ましい。これにより、導電性ワイヤ2よりも遠位側に先端チップ1を配置することができる。The depth direction of the opening of the
先端チップ1の開口部は、図5に示すように、ワイヤ2が挿通される挿通路として設けられてもよい。図5では、挿通路の入口と出口が先端チップ1の近位端面に設けられている。これにより、ワイヤ2の一部がシース5の遠近方向と垂直な方向に配置される態様とすることができる。The opening of the
導電性先端チップ1の少なくとも遠位端がシース5の遠位端より遠位側に配置され、導電性先端チップ1の近位側がシース5の内部に配置されている状態において、先端チップ1がシース5に接することが好ましい。先端チップ1のシース5に接する箇所は、先端チップ1のナイフ部末端、すなわち先端チップ1の近位側であることが好ましい。先端チップ1をシース5から突出させるときに、より強固にワイヤ2をシース5に固定できるためである。先端チップ1は、全体が導電性材料から構成されていてもよく、一部が導電性材料から構成され、他部が非導電性材料から構成されていてもよい。先端チップ1は、ワイヤ2とナイフ部との間の導電性が確保されるように形成されればよい。先端チップ1は、例えば外面が導電性材料から構成され、当該導電性材料がシース5と接する構造でもよく、先端チップ1の近位側の外面が非導電性材料から構成され、当該非導電性材料がシース5と接する構造でもよい。In a state in which at least the distal end of the
スネアとして用いるワイヤ2と、ナイフとして用いる先端チップ1をともに導電性とすることで、本発明の処置具をスネアとして用いる際に、ワイヤ2の遠位側に非導電性の箇所がなく効率的に絞扼、焼灼を行うことができる。By making both the
ワイヤ2には屈曲部が設けられていてもよい。これにより、病変部の大きさや形状、手技の種類に応じてスネアの形状を適切に設計することができるとともに、導電性先端チップ1を確実に突出させ、かつシース5の先端により安定的に固定することができる。屈曲部は、例えば、ワイヤを折り曲げたり、2以上のワイヤを角度を付けて接合することで形成される。屈曲部は、1つのみ設けられていてもよく、複数設けられていてもよい。また、屈曲部は、折れ線状に形成されていてもよく、曲線状に形成されていてもよい。The
図2に示すように、ワイヤ2は、第1ワイヤ部2Aに第1屈曲部22を有し、第2ワイヤ部2Bに第2屈曲部23を有していることが好ましい。このようにワイヤ2に屈曲部を設けることにより、処置具のスネアの形状設計の自由度が増すとともに、導電性先端チップ1を確実に突出させ、かつシース5の先端により安定的に固定することができる。図2では、第1屈曲部22と第2屈曲部23は、ワイヤ2の遠近方向の中心よりも遠位側に設けられている。As shown in FIG. 2, it is preferable that the
ワイヤ2がシース5内に収容されている場合、第1屈曲部22と第2屈曲部23が、シース5の内壁と接していることが好ましい。これによりワイヤ2をシース5の内壁でより安定的に固定することができる。When the
ワイヤ2がシース5の外に露出するときに、第1屈曲部22と第2屈曲部23は、シース5の径方向内方に向かって凸となるように形成されていることが好ましい。これにより、第1ワイヤ部2Aでは、第1屈曲部22よりも近位側、第2ワイヤ部2Bでは第2屈曲部23よりも近位側において、ワイヤ2がそれぞれ径方向の外方側に延在しやすくなり、シース5の遠近方向に垂直な方向におけるスネアの径を大きくすることができる。なお、屈曲部がシース5の径方向内方に向かって凸とは、シース5の内側に向かって屈曲部の凸部が配置されていることをいう。ワイヤ2がシース5の径方向外方に向かって凸とは、ワイヤ2が外側に膨らんで広がったループ状であることをいう。When the
第1屈曲部22と第2屈曲部23の遠近方向位置は、スネアの形状にあわせて適宜設定することができるが、第1屈曲部22と第2屈曲部23の少なくとも一方が、ワイヤ2の遠位端部に設けられていることが好ましく、第1屈曲部22と第2屈曲部23がいずれも遠位端部に設けられていることがより好ましい。これにより、シース5の遠近方向の比較的広い範囲でスネアの径を大きくすることができる。なお、導電性ワイヤ2の屈曲部は、必要なスネアの性能に応じて、任意の位置に任意の個数の屈曲部を設けることができる。The positions of the
シース5の内壁の一部には表面処理部分が設けられている。高周波処置具は、先端チップ1の少なくとも遠位端がシース5の遠位端より遠位側に配置され、先端チップ1の近位側がシース5の内部に配置されている状態において、導電性接続具3、第1ワイヤ部2A、第2ワイヤ部2Bおよび先端チップ1の少なくとも1つが表面処理部分と接する。これにより、高周波処置具は、導電性先端チップ1が突出した状態を安定的に保つことができる。A surface treatment portion is provided on a part of the inner wall of the
図6~図13には、表面処理部分7が設けられたシース5の様々な構成例が示されている。図6には、シース5の内径が長軸方向に対して一定に形成され、先端チップ1の一部がシース5から突出した状態で、第1ワイヤ部2Aと第2ワイヤ部2Bが表面処理部分7と接する態様が示されている。図7には、シース5の内径が長軸方向に対して一定に形成され、先端チップ1の一部がシース5から突出した状態で、先端チップ1が表面処理部分7と接する態様が示されている。図8には、シース5の内径が長軸方向に対して一定に形成され、先端チップ1の一部がシース5から突出した状態で、導電性接続具3が表面処理部分7と接する態様が示されている。図9、図12および図13には、シース5に小径部が設けられ、先端チップ1の一部がシース5から突出した状態で、第1ワイヤ部2Aと第2ワイヤ部2Bが小径部の表面処理部分7と接する態様が示されている。図10には、シース5に小径部が設けられ、先端チップ1の一部がシース5から突出した状態で、先端チップ1が小径部の表面処理部分7と接する態様が示されている。図11には、シース5に小径部が設けられ、先端チップ1の一部がシース5から突出した状態で、導電性接続具3が表面処理部分7と接する態様が示されている。6 to 13 show various configuration examples of the
シース5の表面処理部分7は非処理部分より摩擦抵抗が大きいことが好ましい。これにより、シース5内に配置される部品が表面処理部分7に固定される力が非処理時より大きくなり、導電性先端チップ1をシース5の先端により安定的に固定することができる。表面処理部分7は、シース5の遠位端から100mm以内の部分に少なくとも設けられることが好ましく、シース5の遠位端から100mm以内の部分のみに設けられることがより好ましい。また、シース5において、非処理部分より摩擦抵抗が大きい部分がこのような領域に形成されることが好ましい。It is preferable that the surface treated
シース5の内壁の摩擦抵抗を高めるには、粗面化、粘着性付与などの方法がある。例えば、化学的または物理的にシース5の表面を処理し、ヒドロキシル基、カルボキシル基、カルボニル基等の親水基を付与することにより、シース5の表面に粘着性を付与したり、シース5の表面の滑り性を低下させることができる。このような処理としては、テトラエッチ(登録商標)処理、フロロボンダー(登録商標)処理、プラズマ処理等が挙げられる。例えば、テトラエッチ処理やフロロボンダー処理を用いれば、フッ素樹脂の表面に親水基を付与することができ、プラズマ処理を用いれば、ポリアミド樹脂、ポリオレフィン樹脂、ポリエステル樹脂、芳香族ポリエーテルケトン樹脂、ポリイミド樹脂等の表面に親水基を付与することができる。従って、この場合、シース5の表面処理部分7は、表面に親水基を有する樹脂から構成されていることが好ましい。一方、シース5の表面を粗面化する方法としては、エッチング処理やブラスト処理などを用いることができる。In order to increase the frictional resistance of the inner wall of the
シース5の表面処理部分7は非処理部分と比べて外観が変化しており、シース5の表面処理部分7は、非処理部分と異なる外観を有することが好ましい。外観の変化は色が付く、色が抜ける、透明化する、混濁化することの他に、外径が変化する、表面が粗面化することを含む。これにより、組織への埋没量の目安となるマーカーの役割を果たすことができる。色が異なる場合は、非処理部分と差があることが重要で、半透明の着色でもよく、非透過的に着色されていてもよい。シース5が本来色が着いているものであれば表面処理により色が異なる、色が薄くなる、透明になることでも機能を果たせる。シース5が本来複数の色を持つ場合には、これに加えて表面処理部分7のみ色が混ざることでも機能を果たせる。その他に表面処理により外径が変化していることでも機能を果たせる。外径は大きくなってもよく、小さくなってもよい。大きくなる場合はシース5の肉厚が0.5mm以下であることが好ましく、小さくなる場合はシース5の肉厚が0.2mm以下にならないことが好ましい。その他に、表面処理により、シース5の表面が粗面化し外観が変化することでも機能を果たせる。表面処理により非処理部分と比べて外観が異なる部分は、シース5の遠位端から100mm以内に形成されることが好ましく、シース5の遠位端から100mm以内の部分のみに形成されることがより好ましい。The surface treated
表面処理部分7は、親水基付与処理、エッチング処理、ブラスト処理のうちの1つまたは複数の処理が施された部分であることが好ましい。これにより、外観の変化、摩擦抵抗の増加を安定的に行え、導電性先端チップ1をシース5の先端に安定的に固定することができる。また、処置具の手技部分への埋没量を測る目安となるマーカーとしての役割も果たすことができる。複数の方法を組み合わせることで、表面処理部分7の外観の変化・相違や摩擦抵抗の増加を顕著にさせることもできる。また表面処理部分7の外観の変化と摩擦抵抗の増加をそれぞれ異なる方法で実施してもよい。これにより色の変化部分と摩擦抵抗の増加部分をシース5の内外で分けたり、表面処理部分7の長さをそれぞれに変化させたりすることができ、設計の自由度を増すことができる。親水基付与処理としては、上記に説明したように、テトラエッチ処理、フロロボンダー処理、プラズマ処理等が挙げられる。テトラエッチ処理やフロロボンダー処理により、処理前のシース5が透明であった場合は、処理後にシース5が褐色に着色する。エッチング処理、ブラスト処理、プラズマ処理により、処理後にシース5は白濁化し半透明の白色に着色する。The surface treated
表面処理部分7はシース5の遠位端を含む部分であることが好ましい。これにより表面処理を行う際の手間を省き表面処理を簡素化できる。前記表面処理は、薬液に浸す、光を当てる、細かい粒をぶつけるなど、シース5の内外に局所的に行なうことが難しい。例えば、シース5の遠位端に表面処理が及ばないようにするためには、遠位端にコーティングをするなど、手間がかかる。従って、表面処理がシース5の遠位端を含む部分になされることで、遠位端を保護する手間を省き、処理を簡素化することができる。The
シース5に設ける表面処理部分7の位置は、先端チップ1の一部がシース5から突出している状態で、接続具3、第1ワイヤ部2Aと第2ワイヤ部2Bを含むワイヤ2、先端チップ1がシース5内に接する箇所の全てに及んでいることが好ましい。従って、先端チップ1の少なくとも遠位端がシース5の遠位端より遠位側に配置され、先端チップ1の近位側がシース5の内部に配置されている状態において、接続具3、第1ワイヤ部2A、第2ワイヤ部2Bおよび先端チップ3の全てが表面処理部分7と接することが好ましい。これにより、先端チップ1をシース5の先端に固定する際により強固に固定できる。The position of the
シース5の長手方向に垂直な方向の導電性接続具3の径とシース5の長手方向に垂直な方向の導電性先端チップ1の径は特に限定されない。シース5の長手方向に垂直な方向の導電性接続具3の径とシース5の長手方向に垂直な方向の導電性先端チップ1のいずれかまたは両方は、シース5の内径より小さい構造でもよい。あるいは、シース5の長手方向に垂直な方向の導電性接続具3の径とシース5の長手方向に垂直な方向の導電性先端チップ1の径のいずれかまたは両方は、シース5の内径より大きい構造でもよい。なお、このときのシース5の内径は、シース5が無負荷の状態、すなわちシース5の内側からも外側からも負荷がかけられない状態での内径を意味する。シース5の長手方向は、シース5の長軸方向と同じである。The diameter of the
シース5の長手方向に垂直な方向の導電性接続具3の径および/またはシース5の長手方向に垂直な方向の導電性先端チップ1の径は、シース5の内径またはシース5の小径部より大きいことが好ましく、その過大分は0.5mm以内であることが好ましい。過大分が大きいとシース5の変形を招きやすくなり、導電性先端チップ1をシース5の先端に安定的に固定できない場合がある。導電性接続具3の径と導電性先端チップ1の径は、同じでもよく、異なっていてもよい。The diameter of the
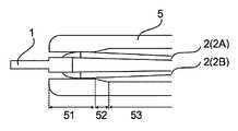
シース5は、内径の大きさが長軸方向において一定でないことが好ましい。すなわち、シース5は、内径の大きさが長軸方向において変化し、シース5の長軸方向の一部に小径部が設けられることが好ましい。この場合、先端チップ1の一部がシース5から突出した状態で、導電性接続具3、第1ワイヤ部2A、第2ワイヤ部2Bおよび先端チップ1の少なくとも1つが小径部に接するようにすることにより、導電性先端チップ1が突出した状態をより安定的に保つことができるようになる。より好ましくは、シース5の小径部は表面処理部分7に設けられる。The
シース5の内径の大きさが長軸方向に沿って変化する場合、シース5には小径部と大径部が設けられることとなる。この場合、シース5の内径は、シース5の近位側から遠位側へ向かって、大径部から小径部に連続的に縮小してもよく、非連続的に縮小してもよい。前者の場合、図4や図13に示すように、シース5には、大径部53と小径部51の間に内径が徐々に変化するテーパー部52が設けられる。後者の場合、図9~図12に示すように、大径部から小径部に至る範囲でシース5の内径が階段状に変化することとなる。シース5の内径が階段状に変化する場合、大径部から小径部にかけての2以上の段差とすることもできる。例えば、シース5は、大径部と中径部と小径部を有するものであってもよい。なお、小径部と大径部(あるいはさらに中径部)では、シース5の内径が長軸方向に略一定に形成されることが好ましい。When the size of the inner diameter of the
シース5は、内径が一定でないテーパー部を有することが好ましい。テーパー部では、シース5の内径が遠位側に向かって漸減することが好ましい。この場合、第1ワイヤ部2Aと第2ワイヤ部2Bの少なくとも一方が、テーパー部においてシース5の内壁と接していることが好ましい。ワイヤ2がシース5内に引き込まれたときに、第1ワイヤ部2Aや第2ワイヤ部2Bがテーパー部でシース5の内壁に接触することで、導電性先端チップ1をシース5の先端に安定的に固定し、導電性先端チップ1のみをシース5から突出させることができる。より好ましくは、第1ワイヤ部2Aの少なくとも1箇所が、テーパー部においてシース5の内壁と接しており、第2ワイヤ部2Bの少なくとも1箇所が、テーパー部においてシース5の内壁と接している。これにより、導電性先端チップ1をシース5の先端に、より安定的に固定することができる。The
シース5の小径部やテーパー部は、シース5の遠近方向の中心よりも遠位側に設けられることが好ましい。図4および図13に示すように、シース5は、テーパー部52では遠位側に向かって内径が小さくなることが好ましい。これにより、導電性ワイヤ2がシース5のテーパー部52でシース5の内壁と接しやすくなるため、導電性ワイヤ2をシース5のテーパー部52で安定して固定することができる。小径部の長さは、例えば0mm超5.0mm以下であることが好ましい。テーパー部の長さは、例えば0mm超5.0mm以下であることが好ましい。小径部とテーパー部を合わせた長さは、例えば1.0mm以上5.0mm以下であることが好ましい。The small diameter portion or the tapered portion of the
テーパー部52は、小径部51の最近位側(より好ましくは最近位)に配置されていることが好ましい。その場合、テーパー部52が大径部53に連通していることが好ましい。これにより、導電性ワイヤ2が、小径部51とテーパー部52の両方でシース5の内壁と接しやすくなるため、導電性ワイヤ2をより一層安定して固定することができる。シース5は、遠位側から小径部51、テーパー部52、大径部53と順次内径が大きくなることが好ましい。The tapered
図示していないが、シース5には、小径部より遠位側に小径部より内径が大きい部分を設けてもよい。また、シース5は、テーパー部の遠位端がシース5の遠位端と一致するものであってもよい。この場合、テーパー部の遠位端が小径部となる。Although not shown, the
小径部は、シース5の遠位側開口部である遠位端から所定の範囲に少なくとも設けられることが好ましく、例えば、シース5の遠位端から5.0mm以内の範囲に少なくとも設けられることが好ましい。当該範囲は、導電性先端チップ1の長さや所望のナイフ長によって適宜定めることができる。小径部はシース5の遠位端から所定長さで設けられることが好ましく、例えば1.0mm以上5.0mm以下であることが好ましい。小径部の長さは非常に小さくてもよく、シース5の内腔が大径部からシース5の遠位側にかけて先細りの形状であってもよい。The small diameter portion is preferably provided at least in a predetermined range from the distal end which is the distal opening of the
シース5は内径の大きさが長手方向において一定でないことが好ましい。特に、シース5は、シース5の遠位端に小径部が配置されていることが好ましい。シース5の遠位側の小径部の内径は、1.2mm以上2.5mm以下であることが好ましい。大径部と小径部の内径差は、0.2mm以上0.4mm以下であることが好ましい。このようにシース5の遠位側の小径部を設けることにより、スネア部としての導電性ワイヤ2をシース5から突出させるときに必要な力が大きくなりすぎず、またナイフ部としての先端チップ1をシース5から突出した状態で安定的に固定しやすくなる。The
図9~図12に示すように、シース5にはテーパー部が設けられず、シース5の内腔が階段状に変化するように形成されていてもよい。その場合、シース5の内腔には、大径部から小径部にかけて1以上の段差が形成される。小径部、テーパー部は、シースチューブを収縮させて形成してもよく、異なる内径のチューブをつないで形成してもよい。また。小径部、テーパー部を形成するために別部材をチューブ内に挿入してもよい。As shown in FIGS. 9 to 12, the
シース5の内腔に小径部が設けられる場合、表面処理部分7は小径部の少なくとも一部に設けられることが設けられることが好ましく、小径部の全体にわたって表面処理部分7が設けられることが好ましい。シース5の内腔にテーパー部や中径部が設けられる場合は、テーパー部や中径部の一部または全体にも表面処理部分7が設けられることが好ましい。表面処理部分7は大径部に及んでもよい。例えば図13に示すように、シース5の小径部の内壁であって、シース5の長軸方向と平行でない部分、すなわちテーパー部に表面処理部分7を設け、そこに導電性接続具3や導電性ワイヤ2、導電性先端チップ1のいずれか1つまたは複数が接触することにより、先端チップ1をより強固に固定できる。シース5の遠位端に小径部を設けた場合、シース5の小径部以外の部分を大径部とすることができる。大径部には内径の大きさが変化する部分があってもよい。When the small diameter portion is provided in the lumen of the
図6~図8に示すように、シース5に小径部を設けない場合は、シース5の長手方向に垂直な方向の導電性接続具3の径とシース5の長手方向に垂直な方向の導電性先端チップ1の径のいずれかまたは両方が、シース5の内径より大きくてもよい。このように導電性接続具3および/または導電性先端チップ1が形成されていれば、導電性先端チップ1の一部がシース5から突出したときに、導電性接続具3や導電性先端チップ1のいずれかまたは両方がシース5の内壁を広げるように接触することで、導電性先端チップ1がシース5の先端に安定的に固定され、導電性先端チップ1のみをシース5から突出させることができる。この場合、シース5の長手方向に垂直な方向の導電性接続具3の径および/またはシース5の長手方向に垂直な方向の導電性先端チップ1の径は、シース5の内径より大きく、その過大分は0.5mm以内であることが好ましい。導電性接続具3の径と導電性先端チップ1の径は同じでもよく、異なっていてもよい。As shown in FIGS. 6 to 8, when the
本発明の処置具は、内視鏡の処置具挿通チャンネルに処置具を挿通し、体内に導入して使用する。処置具挿通チャンネル内や、体内の病変部以外を傷つけないようにするために、非通電時であっても先端チップ1やワイヤ2はシース5内に収納されていることが望ましい。The treatment tool of the present invention is used by inserting the treatment tool into the treatment tool insertion channel of the endoscope and introducing it into the body. It is desirable that the
処置具が、体腔内の病変部まで導入され、処置を行う際にハンドル6を操作してシース5の先端から先端チップ1を突出させる。このとき、導電性先端チップ1の一部、第1ワイヤ部2Aと第2ワイヤ部2Bの少なくとも一方、導電性接続具3のいずれかまたは複数がシース5の内壁に接した状態で先端チップ1に通電し、先端チップ1を高周波ナイフとして処置に用いる。ナイフ使用時は、導電性先端チップ1の一部、第1ワイヤ部2Aと第2ワイヤ部2Bの少なくとも一方、導電性接続具3のいずれかまたは複数がシース5に固定されているので、先端チップ1に無理な力がかからない限り、処置中通常のハンドル6の操作で、ナイフによる切開、マーキングなどの処置を行うことができる。A treatment tool is introduced to a lesion in a body cavity, and the
さらに、処置具をスネアとして用いる場合は、ハンドル6を操作してシース5の先端から導電性ワイヤ2を突出させる。シース5の内壁に接する、導電性先端チップ1、第1ワイヤ部2Aと第2ワイヤ部2Bの少なくとも一方、導電性接続具3のいずれかまたは複数が、シース5の先端から突出するたびに、ハンドル6を操作する押圧力は減少していく。導電性接続具3をシース5の内径より小さくした場合は、先端チップ1、第1ワイヤ部2Aと第2ワイヤ部2Bの少なくとも一方がシース5より突出した後は、スムーズにワイヤ2を突出させることができる。この場合、シース5にワイヤ2を固定するための力が働く箇所は、導電性先端チップ1、第1ワイヤ部2Aと第2ワイヤ部2Bの少なくとも一方であるため、これらが突出した後はシース5に先端チップ1を固定するための力が働きにくいからである。Furthermore, when the treatment tool is used as a snare, the
ハンドル6を操作して、絞扼が必要な病変部にスネアのループを回しかけ、ハンドル6を操作してスネアを近位側に引き込みつつ電力を印加することにより、スネアのループが接する病変部が焼灼される。焼灼後は、スネア部およびナイフ部をシース5内に収納し、処置具を体内から抜去する。Operate the
本願は、2017年7月19日に出願された日本国特許出願第2017-139881号に基づく優先権の利益を主張するものである。2017年7月19日に出願された日本国特許出願第2017-139881号の明細書の全内容が、本願に参考のため援用される。The present application claims the benefit of priority based on Japanese Patent Application No. 2017-139881 filed on July 19, 2017. The entire content of the specification of Japanese Patent Application No. 2017-139881 filed on July 19, 2017 is incorporated herein by reference.
(実施例1)
実施例1の処置具として、図1および図2に示す処置具を作製した。処置具において、導電性先端チップ1として、ステンレスで高さ2.2mm、近位側の直径が1.9mm、遠位側の直径が0.4mmの円柱体を用いた。先端チップ1の一端側に直径0.5mmの貫通孔11を設けた。導電性ワイヤ2として、長さ110mm、直径0.1mmのステンレスの線材を7本撚り合わせたものを用いた。線状物4として、直径0.5mmのステンレスの線材を5本撚り合わせたものを用いた。Example 1
As a treatment tool of Example 1, a treatment tool shown in FIGS. 1 and 2 was produced. In the treatment tool, a cylindrical body having a height of 2.2 mm, a diameter on the proximal side of 1.9 mm, and a diameter on the distal side of 0.4 mm was used as the
先端チップ1の貫通孔11に、ワイヤ2を通して連結した。該ワイヤ2の両末端を、導電性接続具3であるステンレスのパイプの一端から挿入し、パイプをかしめて、パイプにワイヤ2をループ状に固定した。接続具3であるパイプの外径は1.9mmのものを用いた。パイプを近位側に配置し、ワイヤ2の最遠位に先端チップ1を配置した。先端チップ1とワイヤ2をつまみ、ループ面積が大きくなるように、ワイヤ2の第1ワイヤ部2Aおよび第2ワイヤ部2Bに対して、ワイヤ2の遠位端21から5.0mm近位側の位置を基点として、該基点よりも近位側の部分がシース5の径方向外方に延在するようにワイヤ2を折り曲げた。これにより、第1ワイヤ部2Aに第1屈曲部22を、第2ワイヤ部2Bに第2屈曲部23を形成した。この際、第1屈曲部22および第2屈曲部23は、ループの開放状態で互いに面して配置されていた。The
さらに、ループ面積が大きくなるように、ワイヤ2の第1ワイヤ部2Aおよび第2ワイヤ部2Bに対して、接続具3のパイプから1.0mm遠位側の位置を基点として、該基点よりも遠位側の部分がシース5の径方向外方に延在するようにワイヤ2を折り曲げた。これにより、第1ワイヤ部2Aに第3屈曲部24を、第2ワイヤ部2Bに第4屈曲部25を形成した。なお、第3屈曲部24および第4屈曲部25は、ワイヤとパイプを固定する前に形成してもよい。その後、線状物4をパイプの他端から挿入し、パイプをかしめて、接続具3であるパイプを介して、ワイヤ2を線状物4の遠位側に固定した。Furthermore, with respect to the
シース5として、外径2.5mm、内径1.8mmのポリテトラフルオロエチレン製のチューブを用いた。シース5の遠位端から3mmの箇所を内径1.4mmの小径に加工した。またシース5は、遠位端から5mmの範囲をテトラエッチ処理し、表面処理部分を形成した。表面処理を行った部分は非処理部分と比較して摩擦抵抗が増していて、表面処理を行わなかった場合と比べ、導電性先端チップ1をシース5の先端により安定的に固定することができた。表面処理を施した箇所は褐色に変化し、内視鏡カメラ下でも非処理部分と比較して外観が異なることが確認できた。As the
線状物4をシース5の遠位側から挿入し、線状物4とシース5をそれぞれハンドル6に固定した。ハンドル6を操作することにより、シース5の先端から先端チップ1、導電性ワイヤ2を出し入れ可能に操作することができた。処置具を内視鏡を通じて体内に導入し、先端チップ1のみをシース5から突出させて安定的に病変部を切開することができた。また、ナイフで一部切開した病変部を、シース5から全体を突出させたワイヤ2で絞扼し、焼灼して切除することができた。The
1 導電性先端チップ
11 貫通孔(開口部)
2 導電性ワイヤ
2A 第1ワイヤ部
2B 第2ワイヤ部
22 第1屈曲部
23 第2屈曲部
24 第3屈曲部
25 第4屈曲部
3 導電性接続具
4 線状物
5 シース
6 ハンドル
7 シース表面処理部分1
| Application Number | Priority Date | Filing Date | Title |
|---|---|---|---|
| JP2019530911AJP7029454B2 (en) | 2017-07-19 | 2018-05-31 | High frequency treatment tool for endoscopes |
| CN201880025973.7ACN110536652B (en) | 2017-07-19 | 2018-05-31 | High-frequency treatment instrument for endoscope |
| Application Number | Priority Date | Filing Date | Title |
|---|---|---|---|
| JP2017-139881 | 2017-07-19 | ||
| JP2017139881 | 2017-07-19 |
| Publication Number | Publication Date |
|---|---|
| WO2019017082A1true WO2019017082A1 (en) | 2019-01-24 |
| Application Number | Title | Priority Date | Filing Date |
|---|---|---|---|
| PCT/JP2018/020998CeasedWO2019017082A1 (en) | 2017-07-19 | 2018-05-31 | High-frequency treatment tool for endoscopes |
| Country | Link |
|---|---|
| JP (1) | JP7029454B2 (en) |
| CN (1) | CN110536652B (en) |
| WO (1) | WO2019017082A1 (en) |
| Publication number | Priority date | Publication date | Assignee | Title |
|---|---|---|---|---|
| JPH02126616U (en)* | 1989-03-29 | 1990-10-18 | ||
| JPH1170122A (en)* | 1997-08-29 | 1999-03-16 | Olympus Optical Co Ltd | High frequency incision and abscission instrument |
| JPH11505141A (en)* | 1995-05-12 | 1999-05-18 | メディカル・イノベーションズ・コーポレイション | Method and apparatus for electrosurgically accessing a dendritic branch of a gallbladder with an adjustable and scalable needle knife |
| JP2004000544A (en)* | 2002-04-12 | 2004-01-08 | Olympus Corp | Cutting tool for endoscope |
| JP2007319424A (en)* | 2006-06-01 | 2007-12-13 | Pentax Corp | Endoscopic treatment tool |
| JP2012120881A (en)* | 2010-01-29 | 2012-06-28 | Olympus Medical Systems Corp | Treatment device for electrosugery |
| US20140276407A1 (en)* | 2013-03-15 | 2014-09-18 | Boston Scientific Scimed, Inc. | Medical Devices Having Micropatterns |
| Publication number | Priority date | Publication date | Assignee | Title |
|---|---|---|---|---|
| JP4309567B2 (en)* | 2000-10-05 | 2009-08-05 | オリンパス株式会社 | Endoscopic treatment tool |
| JP4390510B2 (en)* | 2003-09-10 | 2009-12-24 | Hoya株式会社 | Endoscopic high-frequency snare |
| JP4495492B2 (en)* | 2004-03-24 | 2010-07-07 | Hoya株式会社 | Endoscopic treatment tool for endoscope |
| JP4692141B2 (en)* | 2005-08-12 | 2011-06-01 | 富士フイルム株式会社 | High frequency treatment tool |
| JP5342844B2 (en)* | 2008-10-09 | 2013-11-13 | Hoya株式会社 | Endoscopic high-frequency snare |
| Publication number | Priority date | Publication date | Assignee | Title |
|---|---|---|---|---|
| JPH02126616U (en)* | 1989-03-29 | 1990-10-18 | ||
| JPH11505141A (en)* | 1995-05-12 | 1999-05-18 | メディカル・イノベーションズ・コーポレイション | Method and apparatus for electrosurgically accessing a dendritic branch of a gallbladder with an adjustable and scalable needle knife |
| JPH1170122A (en)* | 1997-08-29 | 1999-03-16 | Olympus Optical Co Ltd | High frequency incision and abscission instrument |
| JP2004000544A (en)* | 2002-04-12 | 2004-01-08 | Olympus Corp | Cutting tool for endoscope |
| JP2007319424A (en)* | 2006-06-01 | 2007-12-13 | Pentax Corp | Endoscopic treatment tool |
| JP2012120881A (en)* | 2010-01-29 | 2012-06-28 | Olympus Medical Systems Corp | Treatment device for electrosugery |
| US20140276407A1 (en)* | 2013-03-15 | 2014-09-18 | Boston Scientific Scimed, Inc. | Medical Devices Having Micropatterns |
| Publication number | Publication date |
|---|---|
| JPWO2019017082A1 (en) | 2020-05-28 |
| CN110536652B (en) | 2022-09-06 |
| CN110536652A (en) | 2019-12-03 |
| JP7029454B2 (en) | 2022-03-03 |
| Publication | Publication Date | Title |
|---|---|---|
| JP7496158B2 (en) | Electrosurgical Cutting Instruments | |
| US10870143B2 (en) | Connection structure and connection method | |
| JP5037727B2 (en) | Electrosurgical instrument | |
| US20060173450A1 (en) | Endoscopic high-frequency knife | |
| JP2000237202A (en) | Treating utensil for endoscope | |
| JP6737816B2 (en) | High frequency treatment instrument for endoscope | |
| JP7626634B2 (en) | High frequency treatment tools | |
| JP5186346B2 (en) | Endoscopic high-frequency snare | |
| JP2007301285A (en) | High-frequency treatment instrument | |
| JP7029454B2 (en) | High frequency treatment tool for endoscopes | |
| US12144536B2 (en) | Endoscopic treatment instrument | |
| JP6944996B2 (en) | High frequency treatment tool for endoscopes | |
| JP7439550B2 (en) | Needle scalpel for endoscope | |
| JP2000262537A (en) | Operative instrument for endoscope | |
| JP2023133880A (en) | High-frequency treatment instrument for endoscopes | |
| JP2004275785A (en) | High frequency incision instrument | |
| JP2024139520A (en) | High-frequency endoscopy equipment | |
| JP4390510B2 (en) | Endoscopic high-frequency snare | |
| JP2020163000A (en) | Microwave irradiation equipment for endoscopes | |
| WO2020195209A1 (en) | Endoscopic treatment instrument | |
| JP2022169939A (en) | Needle scalpel for endoscope | |
| JP2016002402A (en) | High frequency treatment device |
| Date | Code | Title | Description |
|---|---|---|---|
| 121 | Ep: the epo has been informed by wipo that ep was designated in this application | Ref document number:18834787 Country of ref document:EP Kind code of ref document:A1 | |
| ENP | Entry into the national phase | Ref document number:2019530911 Country of ref document:JP Kind code of ref document:A | |
| NENP | Non-entry into the national phase | Ref country code:DE | |
| 122 | Ep: pct application non-entry in european phase | Ref document number:18834787 Country of ref document:EP Kind code of ref document:A1 |