













本申请涉及无线通信技术领域,尤其涉及无线通信系统中的传输方法、设备和系统。The present application relates to the field of wireless communication technologies, and in particular, to a transmission method, device, and system in a wireless communication system.
在现有的无线通信系统,如长期演进(Long Term Evolution,LTE)系统以及在下一代无线通信系统中,如第五代(the 5th Generation,5G)新无线(New Radio,NR)系统中,在一些业务场景中,要求低时延高可靠通信。In existing wireless communication systems, such as Long Term Evolution (LTE) systems and in next generation wireless communication systems, such as the 5th Generation (5G) New Radio (NR) system, In some business scenarios, low latency and high reliability communication are required.
因此,需要一种满足低时延高可靠通信的解决方案。Therefore, there is a need for a solution that satisfies low latency and high reliability communication.
发明内容Summary of the invention
本文描述了一种传输的方法、设备和系统,旨在提供一种满足低时延高可靠通信的解决方案。This document describes a method, apparatus, and system for transmission that aims to provide a solution that satisfies low latency and high reliability communications.
第一方面提供了一种传输方法,方法包括:数据发送设备在非授权资源向数据接收设备发送数据;该数据发送设备接收该数据接收设备发送的对该数据的响应,该响应用于指示该数据接收设备未成功接收该数据,该响应还用于指示该数据发送设备取消或终止利用该非授权资源对该数据的重传或重复传输;该数据发送设备响应于该响应,取消或终止在该非授权资源对该数据的重传或重复传输。这样的方法及时通知数据发送设备取消或终止在该非授权资源对该数据的重传或重复传输,数据发送设备可以切换为在授权资源发送该数据,保证该数据传输的可靠性。假如数据发送设备依然在非授权资源对该数据的重传或重复传输,由于无线通信链路质量较差,或者数据发送设备使用的非授权资源与其他设备使用的非授权资源可能完全重叠或部分重叠,则重传或重复传输依然可能失败,从而导致时延较长且可靠性达不到要求。The first aspect provides a transmission method, where the method includes: the data sending device sends data to the data receiving device by the unlicensed resource; and the data sending device receives the response sent by the data receiving device to the data, where the response is used to indicate the The data receiving device does not successfully receive the data, and the response is further used to indicate that the data sending device cancels or terminates retransmission or repeated transmission of the data by using the unlicensed resource; the data sending device cancels or terminates in response to the response The unauthorised resource retransmits or repeats the data. Such a method promptly informs the data transmitting device to cancel or terminate the retransmission or repeated transmission of the data in the unlicensed resource, and the data transmitting device can switch to transmitting the data in the authorized resource to ensure the reliability of the data transmission. If the data transmitting device is still retransmitting or repeating the data in an unauthorized resource, the quality of the wireless communication link is poor, or the unauthorized resources used by the data transmitting device may overlap or partially overlap with the unauthorized resources used by other devices. Overlap, retransmissions or repeated transmissions may still fail, resulting in longer delays and less than reliable reliability.
应理解:本文中所涉及的数据为该数据发送设备初传的数据或该数据发送设备重传的数据。It should be understood that the data involved in this document is the data originally transmitted by the data transmitting device or the data retransmitted by the data transmitting device.
在一个可能的设计中,该响应为对现有否定应答执行相位旋转后得到的否定应答;或者,该响应为上行授权调度。现有否定应答为NACK,对现有否定应答(NACK)执行相位旋转后得到的否定应答可以表示为Rotated NACK,当然也可以表示为其他形式,本文并不做限定,总之Rotated NACK是区别于NACK的,数据发送设备接收到Rotated NACK或NACK之后的响应是不同的,该数据发送设备接收到该数据接收设备发送的对数据的NACK时,该数据发送设备在非授权资源上对该数据执行重传或重复传输;该数据发送设备接收到数据接收设备发送的对数据的Rotated NACK时,该数据发送设备取消或终止在非授权资源上对该数据的重传或重复传输。还有一种可能是该响应为上行授权调度,该数据发送设备接收到该上行授权调度,该数据发送设备取消或终止在非授权资源上对该数据的重传或重复传输。In one possible design, the response is a negative response obtained after performing a phase rotation on an existing negative response; or the response is an uplink grant schedule. The existing negative response is NACK, and the negative response obtained after performing phase rotation on the existing negative acknowledgement (NACK) can be expressed as Rotated NACK. Of course, it can also be expressed in other forms. This paper is not limited. In short, Rotated NACK is different from NACK. After the data transmitting device receives the Rotated NACK or the NACK, the data sending device receives the NACK for the data sent by the data receiving device, and the data sending device performs heavy processing on the data on the unauthorized resource. Transmitting or repeating transmission; when the data transmitting device receives the Rotated NACK of the data sent by the data receiving device, the data transmitting device cancels or terminates the retransmission or repeated transmission of the data on the unlicensed resource. Still another possibility is that the response is an uplink grant scheduling, the data transmitting device receives the uplink grant scheduling, and the data transmitting device cancels or terminates retransmission or repeated transmission of the data on the unlicensed resource.
在一个可能的设计中,该响应的调制方式包括二进制相移键控(Binary Phase Shift Keying,BPSK)或正交二进制相移键控(Quadrature Binary Phase Shift Keying,QBPSK)。In one possible design, the modulation of the response includes Binary Phase Shift Keying (BPSK) or Quadrature Binary Phase Shift Keying (QBPSK).
在一个可能的设计中,该响应为对现有否定应答执行相位旋转后得到的否定应答,该方法还包括:In one possible design, the response is a negative response obtained after performing a phase rotation on the existing negative response, the method further comprising:
该数据发送设备接收该数据接收设备发送的上行授权调度,该上行授权调度用于指示该数据接收设备为该数据发送设备分配的传输资源;Receiving, by the data sending device, an uplink authorization schedule sent by the data receiving device, where the uplink grant scheduling is used to indicate a transmission resource allocated by the data receiving device to the data sending device;
该数据发送设备在该传输资源向该数据接收设备发送该数据。The data transmitting device transmits the data to the data receiving device at the transmission resource.
在一个可能的设计中,该响应为上行授权调度,该上行授权调度用于指示该数据接收设备为该数据发送设备分配的传输资源,该方法还包括:In a possible design, the response is an uplink grant scheduling, where the uplink grant scheduling is used to indicate the transmission resource allocated by the data receiving device to the data sending device, and the method further includes:
该数据发送设备在该传输资源向该数据接收设备发送该数据。The data transmitting device transmits the data to the data receiving device at the transmission resource.
第二方面提供了一种方法,方法包括:数据接收设备接收数据发送设备在非授权资源发送的数据;该数据接收设备在未成功接收到该数据且满足预设条件时,向该数据发送设备发送对该数据的响应,该响应用于指示该数据接收设备未成功接收该数据,该响应还用于指示该数据发送设备取消或终止在该非授权资源对该数据的重传或重复传输,该预设条件包括:该数据接收设备未成功接收到该数据的次数达到阈值,该阈值为不小于0的整数,或者,该阈值为大于0的整数。应理解:本文中所涉及的“数据接收设备未成功接收到该数据的次数”,包括:数据传输的次数;数据重传的次数,或者,数据重复传输的次数。有益效果参见第一方面的相应描述,此处不再赘述。The second aspect provides a method, the method comprising: receiving, by the data receiving device, data sent by the data sending device on an unlicensed resource; and sending, by the data receiving device, the data to the data sending device after the data is not successfully received and the preset condition is met Sending a response to the data, the response is used to indicate that the data receiving device does not successfully receive the data, and the response is further used to indicate that the data sending device cancels or terminates retransmission or repeated transmission of the data in the unauthorized resource, The preset condition includes: the number of times the data receiving device does not successfully receive the data reaches a threshold, the threshold is an integer not less than 0, or the threshold is an integer greater than 0. It should be understood that the “number of times the data receiving device fails to receive the data” includes: the number of data transmissions; the number of data retransmissions, or the number of times the data is repeatedly transmitted. For the beneficial effects, refer to the corresponding description of the first aspect, and details are not described herein again.
在一个可能的设计中,该响应为对现有否定应答执行相位旋转后得到的否定应答;或者,该响应为上行授权调度。为避免重复,具体内容参见第一方面的相应描述,此处不再赘述。In one possible design, the response is a negative response obtained after performing a phase rotation on an existing negative response; or the response is an uplink grant schedule. To avoid repetition, refer to the corresponding description of the first aspect for details, and details are not described herein again.
在一个可能的设计中,该响应的调制方式包括二进制相移键控或正交二进制相移键控。In one possible design, the modulation of the response includes binary phase shift keying or quadrature binary phase shift keying.
在一个可能的设计中,该响应为对现有否定应答执行相位旋转后得到的否定应答,该方法还包括:In one possible design, the response is a negative response obtained after performing a phase rotation on the existing negative response, the method further comprising:
该数据接收设备向该数据发送设备发送上行授权调度,该上行授权调度用于指示该数据接收设备为该数据发送设备分配的传输资源;The data receiving device sends an uplink grant scheduling to the data sending device, where the uplink grant scheduling is used to indicate the transmission resource allocated by the data receiving device to the data sending device;
该数据接收设备接收该数据发送设备在该传输资源发送的该数据。The data receiving device receives the data sent by the data transmitting device at the transmission resource.
在一个可能的设计中,该响应为上行授权调度,该上行授权调度用于指示该数据接收设备为该数据发送设备分配的传输资源,该方法还包括:In a possible design, the response is an uplink grant scheduling, where the uplink grant scheduling is used to indicate the transmission resource allocated by the data receiving device to the data sending device, and the method further includes:
该数据接收设备接收该数据发送设备在该传输资源发送的该数据。The data receiving device receives the data sent by the data transmitting device at the transmission resource.
第三方面提供一种数据发送设备,该数据发送设备包括:The third aspect provides a data sending device, where the data sending device includes:
发送器,用于在非授权资源向数据接收设备发送数据;a transmitter, configured to send data to the data receiving device in an unauthorized resource;
接收器,用于接收该数据接收设备发送的对该数据的响应,该响应用于指示该数据接收设备未成功接收该数据,该响应还用于指示该数据发送设备取消或终止在该非授权资源对该数据的重传或重复传输;a receiver, configured to receive a response to the data sent by the data receiving device, where the response is used to indicate that the data receiving device does not successfully receive the data, and the response is further used to indicate that the data sending device cancels or terminates the unauthorized Retransmission or repeated transmission of the data by the resource;
处理器,用于响应该接收器接收到的该响应,取消或终止该发送器在该非授权资源对该数据的重传或重复传输。And a processor, configured to cancel or terminate the retransmission or repeated transmission of the data by the transmitter at the unlicensed resource in response to the response received by the receiver.
在一个可能的设计中,该响应为对现有否定应答执行相位旋转后得到的否定应答;或者,该响应为上行授权调度。为避免重复,具体内容参见第一方面的相应描述,此处不再赘述。In one possible design, the response is a negative response obtained after performing a phase rotation on an existing negative response; or the response is an uplink grant schedule. To avoid repetition, refer to the corresponding description of the first aspect for details, and details are not described herein again.
在一个可能的设计中,该响应的调制方式包括二进制相移键控或正交二进制相移键控。In one possible design, the modulation of the response includes binary phase shift keying or quadrature binary phase shift keying.
在一个可能的设计中,该响应为对现有否定应答执行相位旋转后得到的否定应答,该接收器还用于接收该数据接收设备发送的上行授权调度,该上行授权调度用于指示该数据接收设备为该数据发送设备分配的传输资源;该发送器还用于在该传输资源向该数据接收设备发送该数据。In one possible design, the response is a negative response obtained after performing a phase rotation on an existing negative response.The receiver is further configured to receive an uplink grant schedule sent by the data receiving device, where the uplink grant schedule is used to indicate a transmission resource allocated by the data receiving device to the data sending device; the transmitter is further configured to send the resource to the The data receiving device transmits the data.
在一个可能的设计中,该响应为上行授权调度,该上行授权调度用于指示该数据接收设备为该数据发送设备分配的传输资源;该发送器还用于在该传输资源向该数据接收设备发送该数据。In a possible design, the response is an uplink grant scheduling, where the uplink grant scheduling is used to indicate a transmission resource allocated by the data receiving device to the data sending device; and the transmitter is further configured to send the data to the data receiving device Send the data.
第四方面提供一种数据接收设备,该数据接收设备包括:A fourth aspect provides a data receiving device, where the data receiving device includes:
接收器,用于接收数据发送设备在非授权资源发送的数据;a receiver, configured to receive data sent by the data sending device on an unlicensed resource;
处理器,用于在该接收器在未成功接收到该数据且满足预设条件时,触发发送器向该数据发送设备发送对该数据的响应,该响应用于指示该数据接收设备未成功接收该数据,该响应还用于指示该数据发送设备取消或终止在该非授权资源对该数据的重传或重复传输,该预设条件包括:该数据接收设备未成功接收到该数据的次数达到阈值,该阈值为不小于0的整数,或者,该阈值为大于0的整数。a processor, configured to: when the receiver fails to receive the data and meets a preset condition, trigger the transmitter to send a response to the data sending device, where the response is used to indicate that the data receiving device does not successfully receive The data is further used to indicate that the data sending device cancels or terminates retransmission or repeated transmission of the data in the unlicensed resource, and the preset condition includes: the data receiving device fails to receive the data successfully. A threshold, the threshold being an integer not less than 0, or the threshold being an integer greater than zero.
在一个可能的设计中,该响应为对现有否定应答执行相位旋转后得到的否定应答;或者,该响应为上行授权调度。为避免重复,具体内容参见第一方面的相应描述,此处不再赘述。In one possible design, the response is a negative response obtained after performing a phase rotation on an existing negative response; or the response is an uplink grant schedule. To avoid repetition, refer to the corresponding description of the first aspect for details, and details are not described herein again.
在一个可能的设计中,该响应的调制方式包括二进制相移键控或正交二进制相移键控。In one possible design, the modulation of the response includes binary phase shift keying or quadrature binary phase shift keying.
在一个可能的设计中,该数据接收设备还包括发送器,In a possible design, the data receiving device further includes a transmitter,
该响应为对现有否定应答执行相位旋转后得到的否定应答;The response is a negative response obtained after performing a phase rotation on the existing negative response;
该发送器用于向该数据发送设备发送上行授权调度,该上行授权调度用于指示该数据发送设备为该数据发送设备分配的传输资源;The transmitter is configured to send an uplink grant scheduling to the data sending device, where the uplink grant scheduling is used to indicate a transmission resource allocated by the data sending device to the data sending device;
该接收器还用于接收该数据发送设备在该传输资源发送的该数据。The receiver is further configured to receive the data sent by the data sending device at the transmission resource.
在一个可能的设计中,该响应为上行授权调度,该上行授权调度用于指示该数据接收设备为该数据发送设备分配的传输资源;In a possible design, the response is an uplink grant scheduling, where the uplink grant scheduling is used to indicate a transmission resource allocated by the data receiving device to the data sending device;
该接收器还用于接收该数据发送设备在该传输资源发送的该数据。The receiver is further configured to receive the data sent by the data sending device at the transmission resource.
第五方面提供一种数据发送设备,该数据发送设备具有实现上述方法实际中数据发送设备行为的功能。所述功能可以通过硬件实现,也可以通过硬件执行相应的软件实现。所述硬件或软件包括一个或多于一个与上述功能相对应的模块。可选的,该数据发送设备可以是移动设备,如,手机;该数据发送设备也可以是一种网络侧设备,如基站。The fifth aspect provides a data transmitting device having a function of realizing the behavior of the data transmitting device in the actual method. The functions may be implemented by hardware or by corresponding software implemented by hardware. The hardware or software includes one or more modules corresponding to the functions described above. Optionally, the data sending device may be a mobile device, such as a mobile phone; the data sending device may also be a network side device, such as a base station.
第六方面提供一种数据接收设备,该数据接收设备具有实现上述方法实际中数据接收设备行为的功能。所述功能可以通过硬件实现,也可以通过硬件执行相应的软件实现。所述硬件或软件包括一个或多于一个与上述功能相对应的模块。可选的,该数据接收设备可以是一种网络侧设备,如基站;也可以是一种移动设备,如手机。A sixth aspect provides a data receiving device having a function of realizing behavior of a data receiving device in actual use of the above method. The functions may be implemented by hardware or by corresponding software implemented by hardware. The hardware or software includes one or more modules corresponding to the functions described above. Optionally, the data receiving device may be a network side device, such as a base station, or a mobile device, such as a mobile phone.
第七方面提供了一种电子设备,包括:发送器;接收器;一个或多个处理器;存储器;以及一个或多个程序,其中该一个或多个程序被存储在该存储器中并被配置为被该一个或多个处理器执行,该一个或多个程序包括用于执行根据第一方面或第二方面的方法的指令。A seventh aspect provides an electronic device comprising: a transmitter; a receiver; one or more processors; a memory; and one or more programs, wherein the one or more programs are stored in the memory and configured To be executed by the one or more processors, the one or more programs include instructions for performing the method according to the first aspect or the second aspect.
第八方面提供了一种存储一个或多个程序的计算机可读存储介质。一个或多个程序包括指令,指令当被包括显示器和多个应用程序的电子设备执行时使电子设备执行第一方面或第二方面的方法。An eighth aspect provides a computer readable storage medium storing one or more programs. The one or more programs include instructions that, when executed by an electronic device including the display and the plurality of applications, cause the electronic device to perform the firstAspect or method of the second aspect.
基于上述技术方案,可以及时通知数据发送设备取消或终止在该非授权资源对该数据的重传或重复传输,数据发送设备可以切换为在授权资源发送该数据,保证该数据传输的可靠性。Based on the foregoing technical solution, the data sending device can be notified in time to cancel or terminate the retransmission or repeated transmission of the data in the unlicensed resource, and the data sending device can switch to sending the data in the authorized resource to ensure the reliability of the data transmission.
为了更好地理解本发明的前述实施例以及本发明的附加实施例,应该结合以下附图参考下面的实施例的说明,在附图中,相同的附图标号在所有附图中指示相应的部件。For a better understanding of the foregoing embodiments of the present invention, as well as additional embodiments of the present invention, reference should be made to the following description component.
图1示出了本申请的一种可能的应用场景示意图。FIG. 1 shows a schematic diagram of a possible application scenario of the present application.
图2示出了一种下行物理信道示意图。Figure 2 shows a schematic diagram of a downlink physical channel.
图3为本申请实施例提供的一种ACK/NACK的BPSK星座图。FIG. 3 is a BPSK constellation diagram of ACK/NACK according to an embodiment of the present application.
图4为本申请实施例提供的一种数据传输示意图。FIG. 4 is a schematic diagram of data transmission according to an embodiment of the present application.
图5为本申请实施例提供的一种传输资源示意图。FIG. 5 is a schematic diagram of a transmission resource according to an embodiment of the present application.
图6为本申请实施例提供的另一种数据传输示意图。FIG. 6 is another schematic diagram of data transmission according to an embodiment of the present application.
图7为本申请实施例提供的另一种传输资源示意图。FIG. 7 is a schematic diagram of another transmission resource according to an embodiment of the present application.
图8为本申请实施例提供的一种传输方法的流程示意图。FIG. 8 is a schematic flowchart diagram of a transmission method according to an embodiment of the present application.
图9为本申请实施例提供的另一种数据传输示意图。FIG. 9 is another schematic diagram of data transmission according to an embodiment of the present application.
图10为本申请实施例提供的另一种数据传输示意图。FIG. 10 is another schematic diagram of data transmission according to an embodiment of the present application.
图11为本申请实施例提供的一种ACK/NACK的BPSK星座图和BPSK相位图。FIG. 11 is a BPSK constellation diagram and a BPSK phase diagram of an ACK/NACK according to an embodiment of the present application.
图12为本申请实施例提供的一种Rotated NACK的BPSK星座图和BPSK相位图。FIG. 12 is a BPSK constellation diagram and BPSK phase diagram of a Rotated NACK according to an embodiment of the present application.
图13为本申请实施例提供的一种数据发送设备结构示意图;FIG. 13 is a schematic structural diagram of a data sending device according to an embodiment of the present disclosure;
图14为本申请实施例提供的一种数据接收设备结构示意图。FIG. 14 is a schematic structural diagram of a data receiving device according to an embodiment of the present disclosure.
本申请描述的技术可以适用于5G的NR系统,在5G的NR系统中,存在低时延高可靠通信(Ultra-Reliable and Low Latency Communications,URLLC)的业务。对于URLLC业务,不仅要求传输时延短,而且要求可靠,比如车辆对车辆(Vehicle to Vehicle,V2V)业务。如果传输不可靠,会导致重传(retransmission)。The technology described in this application can be applied to a 5G NR system. In a 5G NR system, there is a service of Ultra-Reliable and Low Latency Communications (URLLC). For the URLLC service, not only the transmission delay is required, but also the requirement is reliable, such as a vehicle to vehicle (V2V) service. If the transmission is not reliable, it will cause retransmission.
如图1所示,是本申请的一种可能的应用场景示意图。用户设备(User Equipment,UE)通过无线接口接入网络侧设备进行通信,也可以与另一个UE进行通信,如设备对设备(Device to Device,D2D)或,机器对机器(Machine to Machine,M2M)或,车辆对车辆(Vehicle to Vehicle,V2V)场景下的通信。网络侧设备可以与UE通信,也可以与另一网络侧设备进行通信,如宏基站和接入点之间的通信。本申请中,名词“网络”和“系统”经常交替使用,但本领域的技术人员可以理解其含义。本申请所涉及到的UE可以包括各种具有无线通信功能的手持设备、车载设备、可穿戴设备、计算设备、移动设备、控制设备或连接到无线调制解调器的其它处理设备,以及各种形式的移动设备(mobile device)、移动台(mobile station)、或终端(terminal)等。本申请所涉及到的网络侧设备包括基站(Base Station,BS)、网络控制器或移动交换中心等,其中通过无线信道与UE进行直接通信的装置通常是基站,所述基站可以包括各种形式的宏基站、微基站、中继站、接入点或射频拉远单元(Remote Radio Unit,RRU)等,当然,与UE进行无线通信的也可以是其他具有无线通信功能的网络侧设备,本申请对此不做唯一限定。在不同系统中,具备基站功能的设备的名称可能会有所不同,例如在第三代(the 3rd Generation,3G)网络中,称为节点B(Node B),在LTE网络中,称为演进的节点B(evolved NodeB,eNB或eNodeB),在5G的NR系统中,称为gNB(g NodeB)。FIG. 1 is a schematic diagram of a possible application scenario of the present application. User Equipment (UE) accesses the network side device through the wireless interface for communication, and can also communicate with another UE, such as Device to Device (D2D) or Machine to Machine (M2M). Or, communication in a vehicle to vehicle (V2V) scenario. The network side device can communicate with the UE or with another network side device, such as communication between the macro base station and the access point. In the present application, the terms "network" and "system" are often used interchangeably, but those skilled in the art can understand the meaning. The UE involved in the present application may include various handheld devices having wireless communication functions, in-vehicle devices, wearable devices, computing devices, mobile devices, control devices, or other processing devices connected to wireless modems, and various forms of mobile A mobile device, a mobile station, or a terminal. The network side device involved in the present application includes a base station (BS), a network controller, or a mobile switching center, etc., wherein the device that directly communicates with the UE through the wireless channel is usually a base station, and the base station may include various forms. Macro base station, micro base station, relay station, access point or Radio Radio Unit (RRU), etc., of course, with UEFor wireless communication, other network side devices having wireless communication functions may also be used, which is not limited in this application. In different systems, the name of a device with a base station function may be different, for example, in a 3rd generation (3G) network, called a Node B (Node B), in an LTE network, called an evolution. The Node B (evolved NodeB, eNB or eNodeB) is called gNB (g NodeB) in the 5G NR system.
通常,在LTE传统中,UE要完成随机接入过程才能进行数据传输,该UE通过随机接入过程获取传输资源,从而利用传输资源完成数据传输。Generally, in the LTE tradition, a UE performs a random access procedure to perform data transmission, and the UE acquires a transmission resource through a random access procedure, thereby completing data transmission by using the transmission resource.
基于竞争的随机接入过程通常由四步完成。为了进行数据传输,网络侧设备还要进行承载建立。为了进行一次数据传输,该UE和该网络侧设备需要一系列信令交互过程以实现网络传输资源准备。The contention-based random access process is usually completed in four steps. In order to perform data transmission, the network side device also needs to perform bearer establishment. In order to perform a data transmission, the UE and the network side device need a series of signaling interaction processes to implement network transmission resource preparation.
具体的,对连接态的UE,当有上行数据需要传输时,该UE发送一个调度请求(Scheduling Request,SR)命令给基站,当该基站收到SR命令后对该用户设备进行调度,通常该UE从发出SR命令到收到调度信令最少会有4ms的调度时延,再到数据传输,再有4ms的传输时延,对未来网络系统,8ms的时延不能满足低时延要求。Specifically, for the UE in the connected state, when there is uplink data to be transmitted, the UE sends a Scheduling Request (SR) command to the base station, and when the base station receives the SR command, the user equipment is scheduled, usually The UE has a scheduling delay of at least 4ms from the issuance of the SR command to the receiving of the scheduling signaling, and then to the data transmission, and then has a transmission delay of 4ms. For the future network system, the delay of 8ms cannot meet the low delay requirement.
相比于LTE传统的基于授权传输(Grant-based transmission)方法,在5G的NR系统中引入了非授权的传输(Grant-free transmission)方法,即基站先为UE划分一个或多个非授权资源(Grant-free transmission resources/Grant-free resources,也称为非授权传输资源),该UE在非授权资源中直接使用特定的传输资源发送上行数据,不需要经过从业务请求到基站上行授权的过程。因此,在网络时延和信令开销方面具有很大的优势;应理解:本申请中非授权资源也可以称为非授权传输区域(Grant-free Transmission Area,GFTA)。Compared with the traditional LTE-based Grant-based transmission method, a non-authorized transmission (Grant-free transmission) method is introduced in the 5G NR system, that is, the base station first divides one or more unauthorized resources for the UE. (Grant-free transmission resources/Grant-free resources, also referred to as unlicensed transmission resources), the UE directly uses the specific transmission resources to send uplink data in the unlicensed resources, and does not need to go through the process from the service request to the base station uplink authorization. . Therefore, there is a great advantage in network delay and signaling overhead; it should be understood that the unlicensed resource in this application may also be referred to as a Grant-free Transmission Area (GFTA).
在频分双工(Frequency Division Duplex,FDD)LTE系统中,从时域角度,一个帧(frame)长度为10ms,其具体可以细分为10个子帧(subframe),每个subframe的长度为1ms。如图2所示,每个subframe可以分为两个时隙(slot),两个slot包括slot 0和slot 1,每个slot的长度为0.5ms;对于一个slot,可以包括若干正交频分复用(Orthogonal Frequency Division Multiplexing,OFDM)符号(Symbol),用来承载有用信息。在LTE系统中,每个slot可以包括7个OFDM符号,而一个OFDM symbol则为时域上的最小单元。在5G NR中,一个slot下又可以细分为若干个微时隙(mini-slot),每个mini-slot至少持续一个OFDM符号长度,也可以持续多个OFDM符号长度。In a Frequency Division Duplex (FDD) LTE system, from a time domain perspective, a frame length is 10 ms, which can be subdivided into 10 subframes, each of which has a length of 1 ms. . As shown in FIG. 2, each subframe can be divided into two slots, two
从频域角度,每一个OFDM子载波(subcarrier)构成频域上的最小单元,并占据15kHz带宽。而一个OFDM符号(时域)和一个OFDM子载波(频域)则组成一个资源元素(Resource Element,RE),构成LTE时频域中最小的传输单元;进一步的一个slot(时域)和12个OFDM子载波(频域)则够成一个资源块(Resource Block,RB),RB用于承载一种或多种有用信息。From the frequency domain perspective, each OFDM subcarrier constitutes the smallest unit in the frequency domain and occupies a 15 kHz bandwidth. An OFDM symbol (time domain) and an OFDM subcarrier (frequency domain) form a resource element (Resource Element, RE), which constitutes the smallest transmission unit in the LTE time-frequency domain; a further slot (time domain) and 12 The OFDM subcarriers (frequency domain) are enough to form one Resource Block (RB), and the RB is used to carry one or more useful information.
在FDD LTE系统中,下行FDD LTE物理信道有多种,下行FDD LTE物理信道用于承载不同的下行信息。具体的,图2为一种下行FDD LTE物理信道映射图。该下行FDD LTE物理信道至少包括物理下行控制信道(Physical Downlink Control Channel,PDCCH),PDCCH用于基站向UE发送下行控制信息;该下行FDD LTE物理信道还可以包括物理HARQ指示信道(Physical Hybrid ARQ Indicator Channel,PHICH),PHICH可以用于基站向UE确认是否收到UE发送的上行数据;该下行FDD LTE物理信道还可以包括物理下行共享信道(Physical Downlink Shared Channel,PDSCH),PDSCH可以用于承载下行数据,基站发送的广播消息等;当然,FDD LTE下行物理信道还包括其他种类,如图2中others所示的部分,这里不再一一赘述。In the FDD LTE system, there are multiple downlink FDD LTE physical channels, and the downlink FDD LTE physical channel is used to carry different downlink information. Specifically, FIG. 2 is a downlink FDD LTE physical channel map. The downlink FDD LTE physical channel includes at least a physical downlink control channel (PDCCH), and the PDCCH is used by the base station to send downlink control information to the UE. The downlink FDD LTE physical channel may further include a physical hybrid ARQ indicator (Physical Hybrid ARQ Indicator). Channel, PHICH), the PHICH may be used by the base station to confirm to the UE whether to receive the uplink data sent by the UE. The downlink FDD LTE physical channel may further include a Physical Downlink Shared Channel (PDSCH), and the PDSCH may be used to carry the downlink.The data, the broadcast message sent by the base station, etc.; of course, the FDD LTE downlink physical channel also includes other types, as shown in others in FIG. 2, and details are not described herein again.
上行FDD LTE物理信道也有多种,上行FDD LTE物理信道至少包括物理上行共享信道(Physical Uplink Shared Channel,PUSCH),PUSCH可以用于承载上行数据,上行控制信息等;当然FDD LTE上行物理信道还包括其他种类,不再赘述。There are also a plurality of uplink FDD LTE physical channels. The uplink FDD LTE physical channel includes at least a physical uplink shared channel (PUSCH), and the PUSCH can be used to carry uplink data, uplink control information, etc.; of course, the FDD LTE uplink physical channel includes Other types are not described here.
当UE向基站发送上行数据后,基站需要使用肯定应答(Acknowledgement,ACK)/否定应答(Negative Acknowledgement,NACK)来通知UE所述基站是否成功接收到了数据。具体的,ACK用于指示基站成功接收到了数据;NACK用于指示基站识别出UE标识(如UE ID),但未成功解调数据。此时ACK/NACK是基站通过PHICH发送给UE的,PHICH用于基站针对UE发送的上行数据进行HARQ反馈(即基站向UE确认是否收到UE发送的上行数据)。如图2所示,当PHICH为正常长度(Normal PHICH Duration)时,该PHICH处于每个子帧的第一个OFDM符号;当PHICH为扩展长度(Extended PHICH Duration)时,该PHICH也可以位于每个子帧的第二个或第三个OFDM符号。这里,混合式自动重传请求(Hybrid Automatic Repeat reQuest,HARQ)机制是指基站将UE之前发送的无法解调的错误数据保存在一个HARQ buffer中,并与后续接收到的UE发送的重传数据进行合并,从而得到一个比单独解码更可靠的数据包。如果合并后的数据包进行解码依然失败,则重复“重传再合并”的过程。这里重传与初传之间,以及每次重传之间的数据可以不完全相同;应理解:每次重传之间的数据也可以相同。由此可知,无线通信设备(如UE或基站)接收到NACK后,通常需要进行重传(retransmission)。另外,为了提升无线通信设备的接收成功率,无线通信系统中还可以使用重复传输(repetition),所述重复传输是指发送端至多重复发送K次数据(K为正整数),因此重复传输可以称为K-repetition。当K>1时,本发明实施例中如非特别说明,所述重复传输多次包含相同内容的消息。应理解:重复传输的多次消息之间内容可以不完全相同。After the UE sends the uplink data to the base station, the base station needs to use an Acknowledgement (ACK)/Negative Acknowledgement (NACK) to notify the UE whether the base station has successfully received the data. Specifically, the ACK is used to indicate that the base station successfully receives the data; the NACK is used to indicate that the base station identifies the UE identifier (such as the UE ID), but the data is not successfully demodulated. At this time, the ACK/NACK is sent by the base station to the UE through the PHICH, and the PHICH is used by the base station to perform HARQ feedback on the uplink data sent by the UE (that is, the base station confirms to the UE whether to receive the uplink data sent by the UE). As shown in FIG. 2, when the PHICH is a Normal PHICH Duration, the PHICH is in the first OFDM symbol of each subframe; when the PHICH is an Extended PHICH Duration, the PHICH may also be located in each subframe. The second or third OFDM symbol of the frame. Here, the Hybrid Automatic Repeat ReQuest (HARQ) mechanism means that the base station saves the unresolvable error data previously sent by the UE in a HARQ buffer, and retransmits the data transmitted by the subsequently received UE. Merge, resulting in a more reliable packet than decoding alone. If the merged packet still fails to decode, the process of "retransmission and re-merge" is repeated. Here, the data between retransmission and initial transmission, and each retransmission may not be exactly the same; it should be understood that the data between each retransmission can be the same. It can be seen that after receiving a NACK, a wireless communication device (such as a UE or a base station) usually needs to perform retransmission. In addition, in order to improve the receiving success rate of the wireless communication device, a repetition may be used in the wireless communication system, where the repeated transmission means that the transmitting end repeatedly transmits K times of data (K is a positive integer), so the repeated transmission may be performed. Called K-repetition. When K>1, unless otherwise specified in the embodiment of the present invention, the repeated transmission includes messages of the same content multiple times. It should be understood that the content between multiple messages that are repeatedly transmitted may not be identical.
对于由基站发送的下行ACK/NACK,如图3所示,其调制方式可以为二进制相移键控(Binary Phase Shift Keying,BPSK),基站发送ACK/NACK时,可以执行重复发送和/或执行信道编码以增加可靠性。所述BPSK调制方式为相移键控(Phase Shift Keying,PSK)中最简单的一种,携带1bit信息,它使用两个相位差180度且正交的信号表示0和1,且均处于实轴上,并分别在0度和180度的点,如信号处于0度时表示0,即NACK;信号处于180度表示1,即ACK。For the downlink ACK/NACK sent by the base station, as shown in FIG. 3, the modulation mode may be Binary Phase Shift Keying (BPSK), and when the base station sends an ACK/NACK, it may perform repeated transmission and/or execution. Channel coding to increase reliability. The BPSK modulation mode is the simplest one of Phase Shift Keying (PSK), and carries 1 bit information, which uses two signals with a phase difference of 180 degrees and orthogonal signals to represent 0 and 1, and both are in reality. On the axis, and at 0 and 180 degrees respectively, if the signal is at 0 degrees, it means 0, that is, NACK; the signal is at 180 degrees, indicating 1, that is, ACK.
在5G NR的低时延场景(如URLLC)中,UE可以使用上行Grant-free传输资源发送一些小数据,在时域上可能仅持续一个或数个mini-slot,并希望基站尽快确认是否成功收到所述数据,如UE希望在3个mini-slot内收到基站发送所述数据的确认消息(即ACK/NACK)。需要说明的是,由于数据较小并且无线通信设备性能的提升,NR无线通信设备(如基站或UE)可能无需等待多达3~4ms才能发送所述数据的确认消息。如图4所示,假设一个subframe下包含14个OFDM符号,同时每个mini-slot长度为一个ODFM符号。若NR Grant-free传输中gNB使用与LTE相似的机制回复确认消息,则UE在GFTA的subframe n的mini-slot 5中发送了上行数据U1,即便gNB很快收到了该数据并能够回复确认消息,如UE在发送U1后第二或三个mini-slot(如subframe n的mini-slot7或mini-slot 8)就能回复ACK/NACK,但根据无线通信系统的相关机制,基站需要在PHICH(如subframe的mini-slot 0)中才能向UE回复确认消息,这会产生一定的反馈延迟,至多可能达到约一个subframe(即1ms)的延迟。In a low latency scenario (such as URLLC) of the 5G NR, the UE may use the uplink Grant-free transmission resource to send some small data, and may only last for one or several mini-slots in the time domain, and hope that the base station can confirm the success as soon as possible. The data is received, such as the UE expecting to receive an acknowledgment message (ie, ACK/NACK) for the base station to send the data within three mini-slots. It should be noted that due to the small data and the improvement of the performance of the wireless communication device, the NR wireless communication device (such as a base station or a UE) may not need to wait for 3 to 4 ms to send the acknowledgement message of the data. As shown in FIG. 4, it is assumed that one subframe contains 14 OFDM symbols, and each mini-slot is one ODFM symbol. If the gNB in the NR Grant-free transmission uses a mechanism similar to LTE to reply the acknowledgment message, the UE transmits the uplink data U1 in the
作为一种可能的设计,可以使用一种特定信道,例如PHICH-like channel,该PHICH-like channel用于基站对UE在非授权资源发送的上行Grant-free数据进行反馈(即回复确认消息),但所述PHICH-like channel不仅仅处于每个subframe第一个OFDM符号,或第二/三个OFDM符号(Extended PHICH Duration),而是gNB指定一块资源专门用于发送上行Grant-free数据的确认消息,并且UE发送上行Grant-free数据所使用的资源与gNB发送所述上行Grant-free数据的确认消息所使用的资源在时域上可以有固定的时间映射关系。如图5所示,假设gNB确定的GFTA资源在频域上覆盖若干OFDM子载波,并在时域上持续存在,则gNB可以分配一个或多个在时域上连续的OFDM子载波作为PHICH-like channel,专门用于gNB回复UE发送的上行Grant-free数据,同时gNB向UE发送所述确认消息的时间比UE发送上行数据或发送完上行数据的时间滞后Δt时长,这里Δt可以为3个mini-slot,或其他时长。需要说明的是,所述的GFTA区域在时域和/或频域上也可以是不连续的,相应的PHICH-like channel在时域和/或频域上也可以不连续。As a possible design, a specific channel, such as a PHICH-like channel, may be used, and the PHICH-like channel is used by the base station to provide feedback (ie, reply acknowledgement message) to the uplink Grant-free data sent by the UE on the unlicensed resource. However, the PHICH-like channel is not only in the first OFDM symbol of each subframe, or the second OFDM symbol (Extended PHICH Duration), but the gNB specifies a resource dedicated to send the uplink Grant-free data. The message, and the resource used by the UE to send the uplink Grant-free data and the resource used by the gNB to send the acknowledgement message of the uplink Grant-free data may have a fixed time mapping relationship in the time domain. As shown in FIG. 5, if the GFTA resource determined by the gNB covers several OFDM subcarriers in the frequency domain and persists in the time domain, the gNB may allocate one or more OFDM subcarriers that are consecutive in the time domain as the PHICH- The like channel is used for the gNB to reply to the uplink Grant-free data sent by the UE, and the time when the gNB sends the acknowledgement message to the UE is longer than the time delay Δt of the UE sending the uplink data or the uplink data, where Δt can be three. Mini-slot, or other duration. It should be noted that the GFTA region may also be discontinuous in the time domain and/or the frequency domain, and the corresponding PHICH-like channel may also be discontinuous in the time domain and/or the frequency domain.
当UE发送的上行Grant-free传输失败后,所述传输失败是指UE收到基站发送的NACK或UE未收到基站发送的任何确认消息(ACK或NACK),UE将执行上行Grant-free数据的重传。如果UE执行重传所选择的Grant-free传输资源与其他UE使用的Grant-free传输资源重叠或部分重叠,或无线通信链路环境较差,则重传依然可能失败。After the uplink Grant-free transmission sent by the UE fails, the transmission failure means that the UE receives the NACK sent by the base station or the UE does not receive any acknowledgement message (ACK or NACK) sent by the base station, and the UE performs uplink Grant-free data. Retransmission. If the Grant-free transmission resource selected by the UE for retransmission overlaps or partially overlaps with the Grant-free transmission resource used by other UEs, or the wireless communication link environment is poor, the retransmission may still fail.
一种解决方式是当UE的上行Grant-free传输失败后,可以切换为上行Grant-based传输。所述上行Grant-based传输是指基站为UE调度专门的资源进行上行数据传输,不会与其他UE使用的资源冲突,因此可靠性较高。One solution is to switch to the uplink Grant-based transmission after the uplink Grant-free transmission of the UE fails. The uplink Grant-based transmission refers to that the base station allocates special resources for the UE to perform uplink data transmission, and does not conflict with resources used by other UEs, so the reliability is high.
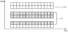
如图6所示,假设每个subframe可以细分为14个mini-slot,即每个mini-slot占据一个OFDM符号长度。UE的上行Grant-free传输转上行Grant-based传输,需要基站向UE发送上行授权调度(Uplink Grant,UG),以指示UE何时何处进行上行Grant-based数据传输。所述上行授权调度需要在PDCCH中发送,而PDCCH处于每个subframe第一/二个OFDM符号,如subframe n+1的mini-slot 0和mini-slot 1。As shown in FIG. 6, it is assumed that each subframe can be subdivided into 14 mini-slots, that is, each mini-slot occupies one OFDM symbol length. The uplink- Grant-free transmission of the UE to the uplink Grant-based transmission requires the base station to send an uplink grant schedule (UG) to the UE to indicate when the UE performs uplink Grant-based data transmission. The uplink grant scheduling needs to be sent in the PDCCH, and the PDCCH is in the first/two OFDM symbols of each subframe, such as
如果UE在subframe n的mini-slot 5的GFTA中发送上行Grant-free数据U1,基站仅识别出该UE但未成功解调数据,则基站可以在mini-slot 7的PHICH-like信道中向UE回复NACK;收到该NACK的UE在mini-slot 5的GFTA中进行上行Grant-free重传(即U2),但是基站依旧未成功解调该数据,所以还是回复NACK;此时(如subframe n的mini-slot 11)基站决定将UE的上行Grant-free传输转为Grant-based传输,并计划在subframe n+1的mini-slot 0的PDCCH中发送上行授权调度,将UE调度至合适的传输资源进行数据传输,以提升UE上行传输的可靠性。由于基站发送的上行授权调度是在subframe n+1中发送,UE在收到所述上行授权调度之前并不知道其将转为上行Grant-based传输,因此UE在收到基站于subframe n的mini-slot 11发送的NACK后,UE依然可能会在subframe n的mini-slot 13进行重传(如U3)。显然易见,由于基站已计划发送UL Grant消息并希望UE在subframe n+1的mini-slot 2的PUSCH中发送上行Grant-based传输(U4),因此UE发送的重传(如U3)消息实质上为冗余重传(redundant re-transmission),造成了资源的浪费,因此需要设计新的方法进行解决。If the UE transmits the uplink Grant-free data U1 in the GFTA of the
一种可能的设计方式:如果UE执行初次Grant-free传输(Initial grant-free transmission)失败,gNB向UE回复NACK后,UE将从Grant-free传输直接切换为Grant-based传输。如图7所示,如果gNB侦测到UE的上行初次Grant-free传输失败,则gNB将为该UE调度上行Grant-based传输资源,UE在该上行Grant-based传输资源执行重传。One possible design: if the UE performs initial Grant-free transmission (Initial grant-free transmission)Failure, after the gNB replies to the NACK to the UE, the UE will directly switch from the Grant-free transmission to the Grant-based transmission. As shown in FIG. 7 , if the gNB detects that the uplink initial Grant-free transmission of the UE fails, the gNB will schedule an uplink Grant-based transmission resource for the UE, and the UE performs retransmission on the uplink Grant-based transmission resource.
另一种可能的设计方式:提供一种取消或终止上行Grant-free传输的方法,通过基站向UE及时指示取消或终止上行Grant-free传输,避免了UE因进行冗余重传而导致无线传输资源的浪费。同时由于所述取消或终止上行Grant-free传输的指示可以在任意上行Grant-free传输后进行,无论初传、或重传、或重复传输,因此此方案的适用性更强。Another possible design method is to provide a method for canceling or terminating the uplink Grant-free transmission, and the base station promptly indicates to the UE to cancel or terminate the uplink Grant-free transmission, thereby preventing the UE from transmitting wirelessly due to redundant retransmission. Waste of resources. At the same time, since the indication of canceling or terminating the uplink Grant-free transmission can be performed after any uplink Grant-free transmission, the scheme is more applicable regardless of the initial transmission, retransmission, or repeated transmission.
本申请涉及数据发送设备(如UE)和数据接收设备(如gNB)之间的通信,可以包括gNB与UE之间的上行Grant-free传输流程,以及gNB与UE之间的Grant-based传输流程。gNB与UE之间上行Grant-free传输流程可以包括:UE向gNB发送的一个或多个数据;gNB向UE发送的一个或多个数据的响应,用于gNB向UE确认是否成功收到UE向gNB发送的数据;可选地,UE向gNB发送第i轮所述一个或多个重传(retransmission)的数据,这里在M大于1时,i=[1,M],在M等于0时,i=0;M表示gNB在收到UE发送的第M次失败的上行Grant-free重传或重复传输后决定将该UE的上行Grant-free传输转为Grant-based传输;可选地,gNB向UE发送的确认是否成功收到UE向gNB发送的第i轮的所述一个或多个重传的数据的响应。The present application relates to communication between a data sending device (such as a UE) and a data receiving device (such as a gNB), and may include an uplink Grant-free transmission process between the gNB and the UE, and a Grant-based transmission process between the gNB and the UE. . The uplink Grant-free transmission procedure between the gNB and the UE may include: one or more data sent by the UE to the gNB; and a response of the gNB to the one or more data sent by the UE, where the gNB confirms to the UE whether the UE is successfully received. The data sent by the gNB; optionally, the UE sends the one or more retransmission data of the ith round to the gNB, where when the M is greater than 1, i=[1, M], when M is equal to 0 , i=0; M indicates that the gNB decides to convert the uplink Grant-free transmission of the UE into a Grant-based transmission after receiving the Mth failed uplink Grant-free retransmission or repeated transmission sent by the UE; optionally, Whether the acknowledgment sent by the gNB to the UE successfully receives the response of the one or more retransmitted data of the i-th round transmitted by the UE to the gNB.
gNB与UE之间的上行Grant-based传输流程可以包括:gNB向UE发送上行授权调度,由此gNB将为UE调度合适的传输资源进行上行Grant-based传输,以确保UE上行传输的可靠性;UE根据gNB发送的上行授权调度,在基站所指示的传输资源中发送该数据;gNB向UE发送该数据的响应。The uplink Grant-based transmission process between the gNB and the UE may include: the gNB sends an uplink grant scheduling to the UE, and the gNB will schedule the appropriate transmission resource for the UE to perform uplink Grant-based transmission to ensure the reliability of the uplink transmission of the UE; The UE sends the data in the transmission resource indicated by the base station according to the uplink grant scheduling sent by the gNB; the gNB sends a response to the data to the UE.
需要说明的是,在5G NR中上行重传可以分为两种:UE接收到gNB发送NACK后进行的重传;以及UE向gNB发送上行数据但未收到任何确认信息(如ACK或NACK)后进行的重传,UE向gNB发送上行数据但未收到任何响应相当于UE向gNB发送上行数据后收到非连续性传输(Discontinuous Transmission,DTX)。对于NACK情况来说,重传的数据与初传的数据(即原始数据),以及每次重传之间的数据可以不完全相同;对于DTX情况来说,重传的数据与初传的数据相同。It should be noted that the uplink retransmission in the 5G NR can be divided into two types: the UE receives the retransmission performed after the gNB sends the NACK; and the UE sends the uplink data to the gNB but does not receive any acknowledgement information (such as ACK or NACK). After the retransmission, the UE sends the uplink data to the gNB but does not receive any response. The UE receives the uplink data and sends the discontinuous transmission (DTX) to the gNB. For the NACK case, the retransmitted data and the initial data (ie, the original data), and the data between each retransmission may not be exactly the same; for the DTX case, the retransmitted data and the initial data the same.
应理解,若无特别说明,重传均指UE接收到gNB发送的NACK后进行的重传。It should be understood that, unless otherwise specified, retransmission refers to retransmission performed after the UE receives the NACK sent by the gNB.
另外,为了提升无线通信设备的接收成功率,无线通信系统中还可以使用重复传输(repetition),所述重复传输是指发送端至多重复发送K次数据(K为正整数),因此重复传输可以称为K-repetition。In addition, in order to improve the receiving success rate of the wireless communication device, a repetition may be used in the wireless communication system, where the repeated transmission means that the transmitting end repeatedly transmits K times of data (K is a positive integer), so the repeated transmission may be performed. Called K-repetition.
应理解,若无特别说明,重复传输均指发送端重复发送多次相同的数据。It should be understood that, unless otherwise specified, repeated transmission means that the transmitting end repeatedly transmits the same data multiple times.
现有上行数据传输的确认消息可以为1bit采用BPSK调制方式的ACK或NACK,如“1”表示为ACK,“0”表示为NACK。本申请引入新的上行Grant-free数据的确认消息,可以称之为Rotated NACK(简称R-NACK),该新确认消息用于指示基站未成功收到UE发送的上行Grant-free数据但已识别出所述数据由哪个UE发送,同时基站希望UE取消或终止上行Grant-free重传和/或重复传输,以便基站向UE发送UL Grant使得UE可以转为上行Grant-based传输,以提升传输可靠性。应理解:本申请中确认消息也可以称作响应,两者的含义相同。The acknowledgment message of the existing uplink data transmission may be an ACK or a NACK using a BPSK modulation method for 1 bit, such as "1" for ACK and "0" for NACK. The acknowledgment message of the new uplink Grant-free data, which may be referred to as a Rotated NACK (R-NACK for short), is used to indicate that the base station has not successfully received the uplink Grant-free data sent by the UE but has been identified. Which UE is sent by the data, and the base station wants the UE to cancel or terminate the uplink Grant-free retransmission and/or the retransmission, so that the base station sends the UL Grant to the UE, so that the UE can be transferred to the uplink Grant-based transmission to improve the transmission reliability. Sex. It should be understood that the acknowledgement message in this application may also be referred to as a response, and the meanings of the two are the same.
本申请中的上行Grant-free数据的确认消息(响应)在原有的BPSK调制方式(上可以新引入QBPSK(Quadrature BPSK)调制方式,从而能够以较低复杂度的方式指示出该新确认消息的类型,而不需额外增加新的bit指示位来指示该新的确认消息的类型。具体地,UE可以通过相同的解调算法(decoding algorithm)提取所述上行Grant-free数据的确认消息(该确认消息为OFDM符号)的信号的实部(In-phase component)和/或虚部(Quadrature component),进而判断出该确认消息的信号为BPSK或QBPSK调制方式,若为BPSK调制方式,则“1”和“0”可以分别指示该确认消息为ACK和NACK;若为QBPSK调制方式,则“1”(或者“0”)可以指示该确认消息为Rotated NACK。具体地,当无线通信设备接收到一个信号,其调制阶数超过BPSK或QBPSK(如QPSK)时,所述无线通信设备需要通过一定算法将该信号(复信号)分离为实数部分和虚数部分,并对实数部分和虚数部分进行联合判决进而确认该信号的含义,如“11”、“10”等。如果无线通信设备事先知道该信号的调制方式为BPSK或QBPSK时,则所述无线通信设备可以直接将该信号当成仅包含实数部分的信号或仅包含虚数部分的信号进行解调,而无需将该信号先分离为实数部分和虚数部分,因此本申请的实现复杂度较低。The confirmation message (response) of the uplink Grant-free data in the present application can be newly introduced into the QBPSK (Quadrature BPSK) modulation mode in the original BPSK modulation mode, so that the indication can be indicated in a lower complexity manner.The type of the new acknowledgment message is not required to be added to the new acknowledgment message type. Specifically, the UE may extract an In-phase component and/or an imaginary part of the signal of the acknowledgement message of the uplink Grant-free data (the acknowledgement message is an OFDM symbol) by using a same decoding algorithm. (Quadrature component), further determining that the signal of the acknowledgment message is BPSK or QBPSK modulation mode, if it is BPSK modulation mode, "1" and "0" can respectively indicate that the acknowledgment message is ACK and NACK; if it is QBPSK modulation mode , then "1" (or "0") may indicate that the acknowledgment message is Rotated NACK. Specifically, when the wireless communication device receives a signal whose modulation order exceeds BPSK or QBPSK (such as QPSK), the wireless communication device needs to separate the signal (complex signal) into a real part and an imaginary part by a certain algorithm, A joint decision is made between the real part and the imaginary part to confirm the meaning of the signal, such as "11", "10", and the like. If the wireless communication device knows in advance that the modulation mode of the signal is BPSK or QBPSK, the wireless communication device can directly demodulate the signal as a signal containing only a real part or a signal containing only an imaginary part, without The signal is first separated into a real part and an imaginary part, so the implementation complexity of the present application is low.
在下面的通信过程中,结合图8所示的一种信令交互图,以及图9所示一种终止上行Grant-free传输并转为Grant-based传输的通信过程,详细介绍了一种终止上行Grant-free传输并减少冗余开销的方法。该方法包括:In the following communication process, in combination with a signaling interaction diagram shown in FIG. 8, and a communication procedure for terminating the uplink Grant-free transmission and switching to Grant-based transmission as shown in FIG. 9, a termination is described in detail. A method of uplink Grant-free transmission and reducing redundancy overhead. The method includes:
步骤801、数据发送设备(如UE)在非授权资源向数据接收设备(如gNB)发送数据。在一个实例中,如图9所示,该数据发送设备在Subframe n的mini-slot 5的GFTA中向该数据接收设备发送数据(如U1)。应理解:该数据发送设备也可以采用重复传输(repetition)向该数据接收设备发送多个数据,以提升传输可靠性。需要说明的是,重复传输中所述多个数据可以完全相同。Step 801: A data sending device (such as a UE) sends data to a data receiving device (such as a gNB) at an unlicensed resource. In one example, as shown in FIG. 9, the data transmitting device transmits data (such as U1) to the data receiving device in the GFTA of the
步骤802、该数据接收设备向该数据发送设备发送该数据的响应。Step 802: The data receiving device sends a response to the data to the data sending device.
应理解:该响应为对现有否定应答执行相位旋转后得到的否定应答;或者,该响应为上行授权调度。也就是说,该响应可以为一种不同于NACK的Rotated NACK,可选的,该响应还可以为上行授权调度,即该上行授权调度既可用于指示该数据接收设备未成功接收该数据,还可用于指示该数据发送设备取消或终止在该非授权资源对该数据的重传或重复传输,此外该上行授权调度还用于指示该数据接收设备为该数据发送设备分配的传输资源。而且当该响应为上行授权调度时,不必再额外发送NACK。It should be understood that the response is a negative response obtained after performing a phase rotation on an existing negative response; or, the response is an uplink authorization schedule. That is, the response may be a Rotated NACK different from the NACK. Optionally, the response may also be an uplink grant scheduling, that is, the uplink grant scheduling may be used to indicate that the data receiving device does not successfully receive the data, and It may be used to indicate that the data sending device cancels or terminates the retransmission or repeated transmission of the data in the unlicensed resource, and further the uplink grant scheduling is further used to indicate the transmission resource allocated by the data receiving device to the data sending device. Moreover, when the response is an uplink grant scheduling, it is no longer necessary to additionally send a NACK.
应理解:该响应的调制方式包括二进制相移键控或正交二进制相移键控。It should be understood that the modulation of the response includes binary phase shift keying or orthogonal binary phase shift keying.
如果该数据接收设备未成功解调该数据发送设备发送的该数据,但已识别出所该数据是由该数据发送设备发送的,同时该数据接收设备希望该数据发送设备取消或终止对该数据的重传和/或重复传输,则该响应可以为Rotated NACK。该Rotated NACK的调制方式可以为QBPSK。该Rotated NACK用于指示该数据接收设备未成功接收该数据,该Rotated NACK还用于指示该数据发送设备取消或终止在非授权资源对该数据的重传或重复传输。If the data receiving device does not successfully demodulate the data sent by the data transmitting device, but has identified that the data is sent by the data transmitting device, and the data receiving device desires that the data transmitting device cancels or terminates the data. Retransmission and/or repeated transmission, then the response can be Rotated NACK. The Rotated NACK can be modulated in the form of QBPSK. The Rotated NACK is used to indicate that the data receiving device does not successfully receive the data, and the Rotated NACK is further used to indicate that the data sending device cancels or terminates retransmission or repeated transmission of the data in an unauthorized resource.
如果该数据接收设备未成功解调该数据发送设备发送的数据,但已识别出该数据是由该数据发送设备发送的,该响应可以为NACK。在一个实例中,如图9所示,该数据接收设备未成功解调该数据,但已识别出该数据是由该数据发送设备发送的,则该数据接收设备在Subframe n的mini-slot 7的PHICH-like channel向该数据发送设备发送NACK(如N)。这里,PHICH-like channel也可以有其他名称,其作用为该数据接收设备可以在PHICH-like channel进行HARQ反馈(如ACK/NACK)。需要说明的是,若该数据发送设备以重复传输方式发送多个该数据,则该数据接收设备可以针对每个该数据单独进行HARQ反馈(即分别回复ACK/NACK)。If the data receiving device does not successfully demodulate the data transmitted by the data transmitting device, but recognizes that the data is sent by the data transmitting device, the response may be a NACK. In one example, as shown in FIG. 9, the data receiving device does not successfully demodulate the data, but has recognized that the data is sent by the data transmitting device, and the data receiving device is in the
步骤803,数据发送设备响应于该响应,取消或终止在该非授权资源对该数据的重传或重复传输。Step 803: The data sending device cancels or terminates the retransmission or repeated transmission of the data in the unlicensed resource in response to the response.
可选的,该响应为对现有否定应答执行相位旋转后得到的否定应答,步骤803之后,该方法还包括:Optionally, the response is a negative response obtained after performing a phase rotation on the existing negative response, and after the step 803, the method further includes:
该数据发送设备接收该数据接收设备发送的上行授权调度,该上行授权调度用于指示该数据接收设备为该数据发送设备分配的传输资源;Receiving, by the data sending device, an uplink authorization schedule sent by the data receiving device, where the uplink grant scheduling is used to indicate a transmission resource allocated by the data receiving device to the data sending device;
该数据发送设备在该传输资源向该数据接收设备发送该数据。The data transmitting device transmits the data to the data receiving device at the transmission resource.
可选的,该响应为上行授权调度,即该上行授权调度既可用于指示该数据接收设备未成功接收该数据,还可用于指示该数据发送设备取消或终止在该非授权资源对该数据的重传或重复传输,此外该上行授权调度还用于指示该数据接收设备为该数据发送设备分配的传输资源,步骤803之后,该方法还包括:Optionally, the response is an uplink authorization scheduling, that is, the uplink authorization scheduling is used to indicate that the data receiving device does not successfully receive the data, and is further configured to instruct the data sending device to cancel or terminate the data in the unauthorized resource. Retransmitting or repeating the transmission, the uplink authorization scheduling is further used to indicate the transmission resource allocated by the data receiving device to the data sending device. After step 803, the method further includes:
该数据发送设备在该传输资源向该数据接收设备发送该数据。The data transmitting device transmits the data to the data receiving device at the transmission resource.
应理解,该数据接收设备确定该数据发送设备取消或终止在该非授权资源对该数据的重传或重复传输的预设条件可以有多种。该预设条件包括:该数据接收设备未成功接收到该数据的重传次数或重复传输次数达到阈值,该阈值为不小于0的整数,或者,该阈值为大于0的整数。在一个实例中,该数据接收设备可以在该数据发送设备进行第i次重传后取消或终止在非授权资源对该数据的重传或重复传输,这里i为不小于0的整数或正整数。当该数据接收设备要求该数据的传输可靠性较高或时延较短时,i的取值可以较小,比如0或者1,即该数据在非授权资源上初传失败或第一次重传失败后迅速转为在授权资源上传输,以避免在非授权资源上连续的多次重传失败后带来较多的时延,并导致可靠性降低。当该数据接收设备要求该数据息的传输无需保障较高可靠性并且可以容忍一定时延时,i的取值可以较大1,比如3或4或其他更大的数值,即在非授权资源上多次重传失败后才会转为在授权资源上传输,以避免转为在授权资源上传输而因调度传输资源而产生的额外开销,如UL Grant。应理解:还预设条件还可以包括其他因素,这里不再赘述。It should be understood that the data receiving device may determine that the data transmitting device may cancel or terminate the preset conditions for retransmission or repeated transmission of the data by the unauthorized resource. The preset condition includes: the number of retransmissions or the number of repeated transmissions of the data receiving device that has not successfully received the data reaches a threshold, the threshold is an integer not less than 0, or the threshold is an integer greater than 0. In an example, the data receiving device may cancel or terminate the retransmission or repeated transmission of the data in the unlicensed resource after the data transmitting device performs the ith retransmission, where i is an integer or a positive integer not less than 0. . When the data receiving device requires that the data transmission reliability is high or the delay is short, the value of i may be small, such as 0 or 1, that is, the data fails to be transmitted on the unauthorized resource or the first time is heavy. After the transmission fails, it is quickly transferred to the authorized resource to avoid the delay caused by multiple consecutive retransmission failures on the unauthorized resources, resulting in lower reliability. When the data receiving device requires that the transmission of the data information does not need to guarantee high reliability and can tolerate a certain time delay, the value of i may be greater by 1, such as 3 or 4 or other larger values, that is, in an unauthorized resource. After multiple failed retransmissions, it will be transferred to the authorized resource to avoid the overhead caused by scheduling transmission resources, such as UL Grant. It should be understood that the preset conditions may also include other factors, which are not described herein.
在一个实例中,如图10所示,该数据接收设备收到该数据发送设备在非授权资源发送的数据(如U1)后,未成功解调该数据,因此该数据接收设备决定将该数据发送设备的上行Grant-free传输转为上行Grant-based传输,以提升传输可靠性。此时该数据接收设备可以在Subframe n的mini-slot 7的PHICH-like channel中向该数据发送设备发送Rotated NACK,以取消或终止该数据发送后续可能的上行Grant-free重传和/或重复传输。In an example, as shown in FIG. 10, after receiving the data (such as U1) sent by the data sending device by the unlicensed resource, the data receiving device does not successfully demodulate the data, so the data receiving device determines the data. The upstream Grant-free transmission of the sending device is converted to the uplink Grant-based transmission to improve the transmission reliability. At this time, the data receiving device may send a Rotated NACK to the data sending device in the PHICH-like channel of the
可选地,所述Rotated NACK还可以直接或间接的指示出以下含义中的一种或多种:该数据发送设备将由上行Grant-free传输转为Grant-based传输;该数据发送设备等待该数据接收设备发送UL Grant;该数据发送设备应主动请求该数据接收设备发送UL Grant,即该数据发送设备应将主动发起上行Grant-based传输的调度请求。Optionally, the Rotated NACK may also directly or indirectly indicate one or more of the following meanings: the data sending device will be converted from an uplink Grant-free transmission to a Grant-based transmission; the data sending device waits for the data The receiving device sends a UL Grant; the data sending device should actively request the data receiving device to send a UL Grant, that is, the data sending device should initiate a scheduling request for uplink Grant-based transmission.
需要说明的是,NACK和Rotated NACK在功能上的主要区别点如下所述:NACK指示与其对应的数据传输未成功,如数据的响应为NACK,则说明与NACK对应的数据的传输未成功,通常情况下该数据发送设备会对该未成功传输的数据执行重传或重复传输;而Rotated NACK除了指示与其对应的数据传输未成功,还至少指示所述Rotated NACK的接收者取消或终止对该数据进行重传和/或重复传输。It should be noted that the main difference between the NACK and the Rotated NACK is as follows: The NACK indicates that the data transmission corresponding thereto is unsuccessful. If the response of the data is NACK, the transmission of the data corresponding to the NACK is unsuccessful. In this case, the data sending device performs retransmission or repeated transmission on the unsuccessfully transmitted data; and the Rotated NACK indicates at least the Rotated in addition to indicating that the data transmission corresponding thereto is unsuccessful.The recipient of the NACK cancels or terminates the retransmission and/or repeated transmission of the data.
从信号调制的角度,基于相位调制(PSK)的信号可以为实数部分(In-phase component,实部)和虚数部分(Quadrature component,虚部)的叠加。该数据的响应(如ACK/NACK)的调制方式可以是BPSK,并且携带1bit指示信息。如图11所示的BPSK星座图和BPSK时域相位图,当该响应的信号落在星座图中的实轴(即虚数部分是0),并且在t0时刻(一种参考时刻)其相位为0°,则可以表示NACK;若在t0时其相位为180°,则可以表示ACK。From the perspective of signal modulation, the phase modulation (PSK) based signal can be a superposition of an In-phase component (real part) and an imaginary part (Quadrature component). The response of the data (such as ACK/NACK) may be BPSK and carry 1 bit indication information. The BPSK constellation diagram and the BPSK time domain phase map as shown in FIG. 11 when the signal of the response falls on the real axis in the constellation diagram (ie, the imaginary part is 0), and the phase is at time t0 (a reference time) 0°, it can represent NACK; if it is 180° at t0, it can represent ACK.
在另一个实例中,Rotated NACK可以通过QBPSK调制方式进行调制。如图12所示的QBPSK星座图和QBPSK时域相位图,当该响应的信号落在星座图中的虚轴(即实数部分是0),并且在t0时刻(一种参考时刻)其相位为90°(也可以为270°),则可以表示Rotated NACK。In another example, Rotated NACK can be modulated by QBPSK modulation. As shown in FIG. 12, the QBPSK constellation diagram and the QBPSK time domain phase map, when the signal of the response falls on the imaginary axis in the constellation diagram (ie, the real part is 0), and at time t0 (a reference time), its phase is 90° (also 270°) can represent Rotated NACK.
从接收机(如前述数据发送设备)实现的角度,在一个实例中,若接收机明确知道接收到的信号的调制方式为BPSK,则接收机接收到该信号(如数据的响应)后,可以按照第一解调算法仅提取所述信号的实数部分(实部)进行判决,比如识别在t0时刻的信号相位为0°还是180°。在另一个实例中,若接收机知道接收到的信号的调制方式可能为BPSK或QBPSK,但不确定具体为哪一种,则可以按照第二解调算法分别提取所述信号的实数部分和虚数部分进行判决;或,对实数部分或虚数部分单独进行判决。具体的,一种可能的实现方式为,如果接收机提取信号的实数部分没有有用信号,则说明该信号的调制方式为QBPSK。另一种可能的实现方式为,如果接收机提取的信号的虚数部分存在有用信号,即虚数部分在t0时刻的信号相位为90°或270°,则也可以说明该信号的调制方式为QBPSK。再一种可能的实现方式为,如果接收机提取信号的实数部分没有有用信号,同时虚数部分在t0时刻的信号相位为90°或270°,则同样可以说明该信号的调制方式为QBPSK。由此可见,在前述实例中,接收机由于需要对信号进行BPSK和QBPSK的判决,因此第二解调算法较第一解调算法增加一个判决流程,但该判决流程较为简单,硬件上也无需增加任何器件。需要说明的是,接收机判决信号为BPSK还是QBPSK可能还有其他实现方式,这里不再一一赘述。From the perspective of the implementation of the receiver (such as the aforementioned data transmitting device), in one example, if the receiver explicitly knows that the modulation mode of the received signal is BPSK, the receiver can receive the signal (such as the response of the data), Only the real part (real part) of the signal is extracted in accordance with the first demodulation algorithm for decision, such as identifying whether the phase of the signal at time t0 is 0° or 180°. In another example, if the receiver knows that the modulation mode of the received signal may be BPSK or QBPSK, but it is not determined which one is specifically, the real part and the imaginary part of the signal may be respectively extracted according to the second demodulation algorithm. Partially judged; or, the real part or the imaginary part is judged separately. Specifically, a possible implementation manner is that if the real part of the signal extracted by the receiver has no useful signal, the modulation mode of the signal is QBPSK. Another possible implementation manner is that if the imaginary part of the signal extracted by the receiver has a useful signal, that is, the signal phase of the imaginary part at time t0 is 90° or 270°, it can also be stated that the modulation mode of the signal is QBPSK. A further possible implementation manner is that if the real part of the signal extracted by the receiver has no useful signal, and the phase of the signal of the imaginary part at time t0 is 90° or 270°, the modulation mode of the signal can also be described as QBPSK. It can be seen that in the foregoing example, the receiver needs to perform BPSK and QBPSK determination on the signal, so the second demodulation algorithm adds a decision flow to the first demodulation algorithm, but the decision process is simpler and does not need hardware. Add any device. It should be noted that there may be other implementation manners for whether the receiver decision signal is BPSK or QBPSK, and details are not described herein again.
从星座图中看去,QBPSK是将BPSK的判决门限由实轴旋转90°(或270°)移到了虚轴。From the constellation diagram, QBPSK moves the BPSK decision threshold from the real axis by 90° (or 270°) to the imaginary axis.
对比采用较BPSK或QBPSK更高阶的调制方式,如QPSK(一种复信号)。无线通信设备需要通过一定算法将QPSK信号(或其他高阶的调制方式)分离为实数部分和虚数部分,并对实数部分和虚数部分进行联合判决进而确认该信号的含义,如“11”、“10”等等。而本申请中,如果无线通信设备事先知道该信号的调制方式为BPSK或QBPSK,所述无线通信设备可以直接将该信号当成仅包含实数部分的信号或仅包含虚数部分的信号进行解调,而无需将该信号先分离为实数部分和虚数部分,实现复杂度较低。The comparison uses a higher order modulation method than BPSK or QBPSK, such as QPSK (a complex signal). The wireless communication device needs to separate the QPSK signal (or other high-order modulation method) into a real part and an imaginary part by a certain algorithm, and jointly judge the real part and the imaginary part to confirm the meaning of the signal, such as "11", " 10" and so on. In the present application, if the wireless communication device knows in advance that the modulation mode of the signal is BPSK or QBPSK, the wireless communication device can directly demodulate the signal as a signal containing only a real part or a signal containing only an imaginary part. It is not necessary to separate the signal into a real part and an imaginary part first, and the implementation complexity is low.
应理解:作为一种实现方式:如果该响应的调制方式为BPSK并且在星座图中的判决点处于实轴,同时相位为0°时,该响应表示NACK;如果该响应的调制方式为BPSK并且在星座图中的判决点处于实轴,同时相位为180°时,该响应表示ACK;该响应的调制方式为QBPSK并且在星座图中的判决点处于虚轴,同时相位为90°或270°时,该响应表示Rotated NACK。需要说明的是,所述ACK、NACK、Rotated NACK所使用的调制方式可以为BPSK或QBPSK,星座图中的判决点位置可以处于实轴或虚轴,同时相位可以为0°、90°、180°、270°中的任一种,此时所述ACK、NACK、Rotated NACK的表示方式可以有多种组合方式,这里不再一一赘述。It should be understood that as an implementation: if the modulation of the response is BPSK and the decision point in the constellation is on the real axis while the phase is 0°, the response represents NACK; if the modulation of the response is BPSK and When the decision point in the constellation diagram is on the real axis and the phase is 180°, the response represents ACK; the modulation of the response is QBPSK and the decision point in the constellation is in the imaginary axis, and the phase is 90° or 270°. The response represents a Rotated NACK. It should be noted that the modulation mode used by the ACK, NACK, and Rotated NACK may be BPSK or QBPSK, and the decision point position in the constellation diagram may be in a real axis or an imaginary axis.The bit can be any one of 0°, 90°, 180°, and 270°. In this case, the ACK, NACK, and Rotated NACK can be represented in various combinations, and will not be further described herein.
上述本申请提供的实施例中,分别从各个网元本身、以及从各个网元之间交互的角度对本申请实施例提供的数据传输方法进行了介绍。可以理解的是,各个网元,例如数据发送设备(UE或gNB)、数据接收设备(gNB或UE)等为了实现上述功能,其包含了执行各个功能相应的硬件结构和/或软件模块。本领域技术人员应该很容易意识到,结合本文中所公开的实施例描述的各示例的单元及算法步骤,本申请能够以硬件或硬件和计算机软件的结合形式来实现。某个功能究竟以硬件还是计算机软件驱动硬件的方式来执行,取决于技术方案的特定应用和设计约束条件。专业技术人员可以对每个特定的应用来使用不同方法来实现所描述的功能,但是这种实现不应认为超出本申请的范围。In the embodiment provided by the present application, the data transmission method provided by the embodiment of the present application is introduced from the perspective of the interaction between the network elements and the network elements. It can be understood that each network element, such as a data transmitting device (UE or gNB), a data receiving device (gNB or UE), etc., in order to implement the above functions, includes hardware structures and/or software modules corresponding to the respective functions. Those skilled in the art will readily appreciate that the present application can be implemented in a combination of hardware or hardware and computer software in combination with the elements and algorithm steps of the various examples described in the embodiments disclosed herein. Whether a function is implemented in hardware or computer software to drive hardware depends on the specific application and design constraints of the solution. A person skilled in the art can use different methods to implement the described functions for each particular application, but such implementation should not be considered to be beyond the scope of the present application.
图8示出了上述实施例中所涉及的数据发送设备的一种可能的结构示意图。FIG. 8 is a schematic diagram showing a possible structure of a data transmitting device involved in the above embodiment.
可选的,所述数据发送设备可以是一种用户设备(UE);也可以是一种网络侧设备(如,gNB);也可以是其他具有数据发送功能的装置。Optionally, the data sending device may be a user equipment (UE); or may be a network side device (eg, gNB); or other device having a data sending function.
在一个具体的示例中,数据发送设备的结构中包括处理器1303,发送器1301,接收器1302和总线1304。处理器1303,发送器1301和接收器1302通过总线1304连接。总线1304可以是外设部件互连标准(英文:Peripheral Component Interconnect,简称:PCI)总线或扩展工业标准结构(英文:Extended Industry Standard Architecture,简称:EISA)总线等。上述总线1304可以分为地址总线、数据总线、控制总线等。为便于表示,图13中仅用一条粗线表示,但并不表示仅有一根总线或一种类型的总线。In a specific example, the structure of the data transmitting device includes a
在一个具体的示例中,当数据发送设备为UE时,数据发送设备的结构中还可以包括通信单元(未示出),用于支持与其他网络侧设备之间的通信,如与核心网节点之间的通信。在一个可能的示例中,所述数据发送设备的结构中还可以包括存储器1305,所述存储器1305用于与处理器1303耦合,保存数据发送设备必要的程序指令和数据。In a specific example, when the data transmitting device is a UE, the structure of the data transmitting device may further include a communication unit (not shown) for supporting communication with other network side devices, such as with a core network node. Communication between. In one possible example, the structure of the data transmitting device may further include a
在上行链路上,待发送的数据或信息经过发送器1301调节输出采样并生成上行链路信号,该上行链路信号经由天线发射给上述实施例中所述的数据接收设备。在下行链路上,天线接收上述实施例中数据接收设备发射的下行链路信号(包括上述响应和/或上行授权调度),接收器1302调节从天线接收的信号并提供输入采样。在处理器1303中,对响应和上行授权调度等进行处理,例如对待发送的数据进行调制、根据接收器1302接收到的响应确定是否执行对数据重传或重复传输等。这些单元根据无线接入网采用的无线接入技术(例如,LTE及5G NR的接入技术)来进行处理。所述处理器1303还用于对数据发送设备的动作进行控制管理,用于执行上述实施例中由数据发送设备进行的处理,例如用于控制数据发送设备对发送数据进行处理和/或进行本申请所描述的技术的其他过程。处理器1303还用于支持数据发送设备执行图6~图10中涉及数据发送设备的处理过程。存储器1305用于存储用于所述数据发送设备的程序代码和数据。On the uplink, the data or information to be transmitted is adjusted by the
图14示出了上述实施例中所涉及的数据接收设备的一种可能的设计结构的简化示意图。Fig. 14 is a simplified schematic diagram showing a possible design structure of the data receiving apparatus involved in the above embodiment.
可选的,所述数据接收设备可以是一种网络侧设备(如,gNB);也可以是一种用户设备;也可以是其他具有数据接收功能的装置。Optionally, the data receiving device may be a network side device (eg, gNB); or may be a user equipment; or other devices having data receiving functions.
在一个可能的示例中,数据接收设备的结构中包括处理器1403,接收器1402和总线1404。处理器1403和接收器1402通过总线1404连接。总线1404可以是外设部件互连标准(英文:Peripheral Component Interconnect,简称:PCI)总线或扩展工业标准结构(英文:Extended Industry Standard Architecture,简称:EISA)总线等。上述总线1404可以分为地址总线、数据总线、控制总线等。为便于表示,图14中仅用一条粗线表示,但并不表示仅有一根总线或一种类型的总线。In one possible example, the structure of the data receiving device includes a
在一个可能的示例中,数据接收设备的结构中还可以包括发送器1401。在一个可能的示例中,所述数据接收设备还可以包括通信单元(未示出),所述通信单元用于支持数据接收设备与其他网络侧设备进行通信,例如接收其他网络侧设备所发送的信息或指令,和/或发送信息或指令给其他网络侧设备。在一个可能的示例中,所述数据接收设备的结构中还可以包括存储器1405,所述存储器1405用于与处理器1403耦合,保存数据接收设备必要的程序指令和数据。In one possible example, the
接收器1402和发送器1401用于支持数据接收设备与上述实施例中的所述的数据发送设备之间收发数据或信令或消息,例如接收器1402用于接收数据发送设备在非授权资源发送的数据,发送器1401用于向该数据发送设备发送上行授权调度,该上行授权调度用于指示该数据发送设备为该数据发送设备分配的传输资源。所述处理器1303在该接收器1402在未成功接收到该数据且满足预设条件时,触发发送器向该数据发送设备发送对该数据的响应,该响应用于指示该数据接收设备未成功接收该数据,该响应还用于指示该数据发送设备取消或终止在该非授权资源对该数据的重传或重复传输。处理器1403还执行图6-图10中涉及数据接收设备的处理过程,例如在该接收器1402在未成功接收到该数据且满足预设条件时,触发发送器向该数据发送设备发送对该数据的响应,该响应用于指示该数据接收设备未成功接收该数据,该响应还用于指示该数据发送设备取消或终止在该非授权资源对该数据的重传或重复传输;在该接收器1402接收到特定响应(如,Rotated NACK)后,触发发送器1401发送授权调度。存储器1405用于存储数据接收设备的程序代码和数据。The
可以理解的是,图14仅仅示出了所述数据接收设备的简化设计。在实际应用中,所述数据接收设备可以包含任意数量的发送器,接收器,处理器,存储器等,而所有可以实现本申请的数据接收设备都在本申请的保护范围之内。It will be understood that Figure 14 only shows a simplified design of the data receiving device. In practical applications, the data receiving device may include any number of transmitters, receivers, processors, memories, etc., and all data receiving devices that can implement the present application are within the scope of the present application.
用于执行本申请上述数据发送设备和数据接收设备的处理器可以是中央处理器(CPU),通用处理器、数字信号处理器(DSP)、专用集成电路(ASIC),现场可编程门阵列(FPGA)或者其他可编程逻辑器件、晶体管逻辑器件,硬件部件或者其任意组合。其可以实现或执行结合本申请公开内容所描述的各种示例性的逻辑方框,模块和电路。所述处理器也可以是实现计算功能的组合,例如包含一个或多于一个微处理器组合,DSP和微处理器的组合等等。The processor for performing the above data transmitting device and data receiving device of the present application may be a central processing unit (CPU), a general purpose processor, a digital signal processor (DSP), an application specific integrated circuit (ASIC), and a field programmable gate array ( FPGA) or other programmable logic device, transistor logic device, hardware component, or any combination thereof. It is possible to implement or carry out the various illustrative logical blocks, modules and circuits described in connection with the present disclosure. The processor may also be a combination of computing functions, such as one or more microprocessor combinations, a combination of a DSP and a microprocessor, and the like.
结合本申请公开内容所描述的方法或者算法的步骤可以硬件的方式来实现,也可以是由处理器执行软件指令的方式来实现。软件指令可以由相应的软件模块组成,软件模块可以被存放于RAM存储器、闪存、ROM存储器、EPROM存储器、EEPROM存储器、寄存器、硬盘、移动硬盘、CD-ROM或者本领域熟知的任何其它形式的存储介质中。一种示例性的存储介质耦合至处理器,从而使处理器能够从该存储介质读取信息,且可向该存储介质写入信息。当然,存储介质也可以是处理器的组成部分。处理器和存储介质可以位于ASIC中。另外,该ASIC可以位于数据接收设备和/或数据发送设备中。当然,处理器和存储介质也可以作为分立组件存在于数据接收设备和/或数据发送设备中。The steps of a method or algorithm described in connection with the present disclosure may be implemented in a hardware or may be implemented by a processor executing software instructions. The software instructions may be comprised of corresponding software modules that may be stored in RAM memory, flash memory, ROM memory, EPROM memory, EEPROM memory, registers, hard disk, removable hard disk, CD-ROM, or any other form of storage well known in the art. In the medium. An exemplary storage medium is coupled to the processor to enable the processor to read information from, and write information to, the storage medium. Of course, the storage medium can also be an integral part of the processor. The processor and the storage medium can be located in an ASIC. Additionally, the ASIC can be located in a data receiving device and/or a data transmitting device. of course,The processor and the storage medium may also be present in the data receiving device and/or the data transmitting device as discrete components.
本领域技术人员应该可以意识到,在上述一个或多个示例中,本申请所描述的功能可以用硬件、软件、固件或它们的任意组合来实现。当使用软件实现时,可以将这些功能存储在计算机可读介质中或者作为计算机可读介质上的一个或多个指令或代码进行传输。计算机可读介质包括计算机存储介质和通信介质,其中通信介质包括便于从一个地方向另一个地方传送计算机程序的任何介质。存储介质可以是通用或专用计算机能够存取的任何可用介质。Those skilled in the art will appreciate that in one or more examples described above, the functions described herein can be implemented in hardware, software, firmware, or any combination thereof. When implemented in software, the functions may be stored in a computer readable medium or transmitted as one or more instructions or code on a computer readable medium. Computer readable media includes both computer storage media and communication media including any medium that facilitates transfer of a computer program from one location to another. A storage medium may be any available media that can be accessed by a general purpose or special purpose computer.
以上所述的具体实施方式,对本申请的目的、技术方案和有益效果进行了进一步详细说明,所应理解的是,以上所述仅为本申请的具体实施方式而已,并不用于限定本申请的保护范围,凡在本申请的技术方案的基础之上,所做的任何修改、等同替换、改进等,均应包括在本申请的保护范围之内。The specific embodiments of the present invention have been described in detail with reference to the specific embodiments of the present application. It is to be understood that the foregoing description is only The scope of protection, any modifications, equivalent substitutions, improvements, etc. made on the basis of the technical solutions of the present application are included in the scope of protection of the present application.
| Application Number | Priority Date | Filing Date | Title | 
|---|---|---|---|
| CN201780091110.5ACN110663208B (en) | 2017-06-08 | 2017-07-27 | A transmission method, device and system | 
| Application Number | Priority Date | Filing Date | Title | 
|---|---|---|---|
| CN201710429391 | 2017-06-08 | ||
| CN201710429391.2 | 2017-06-08 | 
| Publication Number | Publication Date | 
|---|---|
| WO2018223508A1true WO2018223508A1 (en) | 2018-12-13 | 
| Application Number | Title | Priority Date | Filing Date | 
|---|---|---|---|
| PCT/CN2017/094777CeasedWO2018223508A1 (en) | 2017-06-08 | 2017-07-27 | Transmission method, device and system | 
| Country | Link | 
|---|---|
| CN (1) | CN110663208B (en) | 
| WO (1) | WO2018223508A1 (en) | 
| Publication number | Priority date | Publication date | Assignee | Title | 
|---|---|---|---|---|
| CN114095132B (en)* | 2020-07-29 | 2024-04-23 | 上海朗帛通信技术有限公司 | A method and device used in a node for wireless communication | 
| Publication number | Priority date | Publication date | Assignee | Title | 
|---|---|---|---|---|
| CN105162557A (en)* | 2014-05-30 | 2015-12-16 | 中兴通讯股份有限公司 | Hybrid automatic repeat request process indication method, apparatus and system | 
| US20150365931A1 (en)* | 2014-06-11 | 2015-12-17 | Samsung Electronics Co., Ltd. | Harq procedure and frame structure for lte cells on unlicensed spectrum | 
| CN105187173A (en)* | 2015-09-08 | 2015-12-23 | 魅族科技(中国)有限公司 | Data retransmission method for non-authorized frequency spectrums, and device | 
| CN106130701A (en)* | 2016-07-14 | 2016-11-16 | 宇龙计算机通信科技(深圳)有限公司 | HARQ process transmission method and device, base station and terminal in unauthorized frequency range | 
| CN106160954A (en)* | 2015-03-23 | 2016-11-23 | 联想(北京)有限公司 | Information transferring method, base station and terminal | 
| Publication number | Priority date | Publication date | Assignee | Title | 
|---|---|---|---|---|
| US10028302B2 (en)* | 2013-03-08 | 2018-07-17 | Huawei Technologies Co., Ltd. | System and method for uplink grant-free transmission scheme | 
| ES2882817T3 (en)* | 2014-12-22 | 2021-12-02 | Zte Corp | Method and device for managing resources on an unlicensed carrier | 
| Publication number | Priority date | Publication date | Assignee | Title | 
|---|---|---|---|---|
| CN105162557A (en)* | 2014-05-30 | 2015-12-16 | 中兴通讯股份有限公司 | Hybrid automatic repeat request process indication method, apparatus and system | 
| US20150365931A1 (en)* | 2014-06-11 | 2015-12-17 | Samsung Electronics Co., Ltd. | Harq procedure and frame structure for lte cells on unlicensed spectrum | 
| CN106160954A (en)* | 2015-03-23 | 2016-11-23 | 联想(北京)有限公司 | Information transferring method, base station and terminal | 
| CN105187173A (en)* | 2015-09-08 | 2015-12-23 | 魅族科技(中国)有限公司 | Data retransmission method for non-authorized frequency spectrums, and device | 
| CN106130701A (en)* | 2016-07-14 | 2016-11-16 | 宇龙计算机通信科技(深圳)有限公司 | HARQ process transmission method and device, base station and terminal in unauthorized frequency range | 
| Publication number | Publication date | 
|---|---|
| CN110663208A (en) | 2020-01-07 | 
| CN110663208B (en) | 2021-05-07 | 
| Publication | Publication Date | Title | 
|---|---|---|
| EP3526920B1 (en) | Base stations, user equipments and a system for wireless communication, as well as the corresponding methods | |
| CN101682912B (en) | Semi-persistent resource allocation method for uplink transmission in wireless packet data system | |
| US12069647B2 (en) | Mapping methods for URLLC HARQ-ACK multiplexing on eMBB PUSCH | |
| JP6566410B2 (en) | Data processing method, base station, and user equipment | |
| CN110235398A (en) | Method for partial retransmission | |
| KR101768511B1 (en) | Data transmission method and system, base station, and user equipment | |
| CN111527719B (en) | Method and device for transmitting uplink control information | |
| EP3598682B1 (en) | Method and apparatus for uplink data transmission | |
| WO2016070561A1 (en) | Data transmission processing method and device | |
| WO2018201369A1 (en) | Information transmission control method, terminal device and network device | |
| WO2009101817A1 (en) | Radio communication relay device, radio communication base station device, radio communication system, and radio communication method | |
| WO2017113187A1 (en) | Downlink transmission method, base station, and terminal | |
| EP2164202A1 (en) | Method for automatic repeat request operation, transceiver arrangement, and computer program | |
| CN109314590B (en) | Uplink transmission method and device | |
| JP2020516149A (en) | Puncture bundling of data for the first service in the transmission of the second service | |
| US11026214B2 (en) | Method of error recovery in transmitting and receiving voice service in packet based mobile communication systems | |
| CN109586857B (en) | A HARQ feedback method, transmission method, terminal and network side device | |
| CN110663208B (en) | A transmission method, device and system | |
| CN108809508A (en) | Whether a kind of determining data are by the method and device destroyed | |
| CN111885715A (en) | Channel transmission method and related equipment | |
| WO2023039994A1 (en) | Information feedback method and apparatus, device, and medium | |
| WO2017132888A1 (en) | Data transmission method, terminal device, and network equipment | |
| KR101374522B1 (en) | A Method of Error Recovery for Voice Service Transmission and Reception in Packet Mobile Communication Systems | |
| KR101333415B1 (en) | Method of Data Transmission using HARQ | |
| HK40001074A (en) | Method of transmitting feedback information, terminal equipment and base station | 
| Date | Code | Title | Description | 
|---|---|---|---|
| 121 | Ep: the epo has been informed by wipo that ep was designated in this application | Ref document number:17912411 Country of ref document:EP Kind code of ref document:A1 | |
| NENP | Non-entry into the national phase | Ref country code:DE | |
| 122 | Ep: pct application non-entry in european phase | Ref document number:17912411 Country of ref document:EP Kind code of ref document:A1 |