



















本申请要求于2017年03月25日提交中国专利局、申请号为201710184955.0、发明名称为“一种实现双卡双待双通的方法”的中国专利申请的优先权,其全部内容通过引用结合在本申请中。This application claims the priority of the Chinese Patent Application filed on March 25, 2017, the Chinese Patent Office, the application number is 201710184955.0, and the title of the invention is "a method for realizing dual-card dual-standby dual-pass", the entire contents of which are incorporated by reference. In this application.
本申请实施例涉及通信技术领域,尤其涉及一种实现双卡双待双通的通信方法及终端。The embodiments of the present invention relate to the field of communications technologies, and in particular, to a communication method and a terminal for implementing dual-card dual-standby dual-pass.
随着通信技术的发展,很多移动终端(如手机)都具备双卡双待功能。其中,双卡双待是指一个手机中同时安装两张用户识别模块(Subscriber Identity Module,SIM)卡,这两张SIM卡可以同时在网待机。With the development of communication technology, many mobile terminals (such as mobile phones) have dual card dual standby functions. The dual card dual standby refers to installing two Subscriber Identity Module (SIM) cards in one mobile phone at the same time, and the two SIM cards can be in standby at the same time.
目前,双卡双待双通(Dual SIM Dual Active,DSDA)技术已经被应用于支持双收单发的双卡双待单通(Dual Receive-Dual SIM Dual Standby,DR-DSDS)的手机。支持DR-DSDS的手机中仅配置有一路射频发射(Transmit,Tx)通路和两路射频接收(Receive,Rx)通路,当SIM卡1进行语音数据传输时,SIM卡2可以接收寻呼(paging)请求;在SIM卡2接收到paging请求后,支持DR-DSDS的手机可以响应该paging请求向网络设备发送无线资源控制(Radio Resource Control,RRC)信令,以便于与网络设备建立RRC连接,执行该paging请求对应的业务。At present, dual SIM Dual Active (DSDA) technology has been applied to dual-signal dual-signal dual standby (Dual Receive-Dual SIM Dual Standby (DR-DSDS)) mobile phones. Only one radio transmission (Transmit, Tx) path and two radio receiving (Rx) paths are configured in the mobile phone supporting DR-DSDS. When the
但是,在“当SIM卡1进行语音数据传输时,SIM卡2可以接收paging请求”的场景下,如果支持DR-DSDS的手机响应该paging请求,占用射频Tx通路向网络设备发送RRC信令,则会因为RRC信令占用射频Tx通路,导致支持DR-DSDS的手机待发送的SIM卡1的语音包延迟发送,影响SIM卡1的语音通信质量。However, in a scenario where the SIM card 2 can receive a paging request when the
发明内容Summary of the invention
本申请提供一种实现双卡双待双通的通信方法及终端,能够有效的保证第一SIM卡的语音通话质量,并且能够实现支持DR-DSDS的终端的双卡双待双通,提高用户体验。The present invention provides a communication method and a terminal for implementing dual-card dual-standby dual-pass, which can effectively ensure the voice call quality of the first SIM card, and can implement the dual-card dual-standby dual-pass of the terminal supporting the DR-DSDS, and improve the user. Experience.
为达到上述目的,本申请采用如下技术方案:To achieve the above objectives, the present application adopts the following technical solutions:
第一方面,提供一种实现双卡双待双通的通信方法,该方法应用于支持DR-DSDS的终端,该终端包括第一SIM卡接口和第二SIM卡接口,该第一SIM卡接口用于与第一SIM卡通信,该第二SIM卡接口用于与第二SIM卡通信,该方法包括:终端处于第一通信连接(即终端在执行与第一SIM卡相关的第一业务)时,接收建立与第二SIM卡相关的第二通信连接的寻呼请求(即对第二SIM卡的paging请求);在终端收到的第二通信连接的寻呼请求携带用于表示第二业务的第一标识的情况下,终端立即响应建立第二通信连接的寻呼请求。In a first aspect, a communication method for implementing dual-card dual-standby dual-pass is provided, where the method is applied to a terminal supporting DR-DSDS, the terminal includes a first SIM card interface and a second SIM card interface, and the first SIM card interface For communicating with the first SIM card, the second SIM card interface is configured to communicate with the second SIM card, the method comprising: the terminal is in the first communication connection (ie, the terminal is performing the first service related to the first SIM card) Receiving a paging request for establishing a second communication connection related to the second SIM card (ie, a paging request for the second SIM card); and carrying the paging request of the second communication connection received by the terminalIn the case of indicating the first identity of the second service, the terminal immediately responds to the paging request to establish the second communication connection.
本申请中,在第一业务和第二业务均为语音通话的场景中,在终端处于与第一SIM卡相关的通话状态时,如果终端收到对第二SIM卡的paging请求,且该paging请求携带有用于表示语音通话的第一标识,该终端响应该paging请求,进行第二SIM卡的来电提醒,实现终端的双卡双待双通,可以提高用户体验。进一步地,本申请中的终端只有在paging请求携带第一标识的情况下,才响应该paging请求,降低了用于数据连接的寻呼请求对第一SIM卡的语音通话的干扰,降低了对第一SIM卡的语音通话质量的影响。In the present application, in a scenario where the first service and the second service are both voice calls, when the terminal is in a call state related to the first SIM card, if the terminal receives a paging request for the second SIM card, and the paging The request carries a first identifier for indicating a voice call, and the terminal responds to the paging request to perform an incoming call reminder of the second SIM card, so as to implement dual-card dual-standby dual-pass of the terminal, which can improve the user experience. Further, the terminal in the present application responds to the paging request only when the paging request carries the first identifier, and reduces the interference of the paging request for the data connection to the voice call of the first SIM card, and reduces the interference. The impact of the quality of the voice call of the first SIM card.
综上而言,通过本方案,终端可以有效的降低对第一SIM卡的语音通话质量,还可以实现终端的双卡双待双通,提高用户体验。In summary, the terminal can effectively reduce the voice call quality of the first SIM card, and can also implement dual-card dual-standby dual-pass of the terminal to improve the user experience.
可选的,在本申请的一种可能的实现方式中,上述第二通信连接的paging请求可以为长期演进(Long Term Evolution,LTE)网络中的寻呼请求,上述第二业务可以为语音通话,终端收到携带有第一标识的LTE网络的paging请求后,确定该paging请求是用于请求进行VoLTE语音业务,相应的,该终端可以与无线接入网设备建立无线资源控制(Radio Resource Control,RRC)连接,并在建立RRC连接后,与无线接入网设备交互会话发起协议(Session Initiation Protocol,SIP)信令,从无线接入网设备获取第二通信连接对应的来电信息,然后进行第二通信连接的来电提醒。具体的,终端响应该paging请求,向无线接入网设备发送建立RRC连接的RRC信令,并向无线接入网设备发送SIP信令,在该终端获取到第二通信连接对应的来电信息后,进行第二通信连接的来电提醒。Optionally, in a possible implementation manner of the present application, the paging request of the second communication connection may be a paging request in a Long Term Evolution (LTE) network, and the second service may be a voice call. After receiving the paging request of the LTE network carrying the first identifier, the terminal determines that the paging request is used to request VoLTE voice service, and correspondingly, the terminal can establish radio resource control with the radio access network device (Radio Resource Control). And RRC), and after establishing an RRC connection, interacting with a radio access network device to implement Session Initiation Protocol (SIP) signaling, and acquiring, by the radio access network device, caller information corresponding to the second communication connection, and then performing The incoming call reminder of the second communication connection. Specifically, the terminal sends the RRC signaling for establishing the RRC connection to the radio access network device in response to the paging request, and sends the SIP signaling to the radio access network device, after the terminal acquires the incoming call information corresponding to the second communication connection. , an incoming call reminder for the second communication connection.
可选的,由于上述paging请求用于请求进行VoLTE语音业务,因此,在终端与无线接入网设备建立RRC连接后,终端设备可以从无线接入网设备获取到请求(Invite)消息(即第二通信连接的Invite消息)。Optionally, since the paging request is used to request the VoLTE voice service, after the terminal establishes an RRC connection with the radio access network device, the terminal device may obtain an Invite message from the radio access network device (ie, Two communication connected Invite messages).
可选的,在本申请的另一种可能的实现方式中,上述终端向无线接入网设备发送的RRC信令包括用于表示终端主动请求建立语音通话链接的第二标识。这样,无线接入网设备可直接根据该RRC信令确定终端请求建立语音通话链接,加快了终端与无线接入网设备的通信过程。Optionally, in another possible implementation manner of the present application, the RRC signaling sent by the terminal to the radio access network device includes a second identifier that is used to indicate that the terminal actively requests to establish a voice call link. In this way, the radio access network device can directly determine, according to the RRC signaling, that the terminal requests to establish a voice call link, thereby speeding up the communication process between the terminal and the radio access network device.
可选的,在本申请的另一种可能的实现方式中,上述建立第二通信连接的寻呼请求可能用于请求进行VoLTE语音业务,也可能用于请求进行普通的数据业务(如上网数据业务)。本申请中,若上述建立第二通信连接的寻呼请求未携带第一标识,则说明第二通信连接不是与第二SIM卡相关的第二业务,终端则可以继续处理上述第一通信连接。Optionally, in another possible implementation manner of the present application, the foregoing paging request for establishing the second communication connection may be used to request a VoLTE voice service, or may be used to request an ordinary data service (such as accessing data. business). In the present application, if the paging request for establishing the second communication connection does not carry the first identifier, the second communication connection is not the second service related to the second SIM card, and the terminal may continue to process the first communication connection.
第二方面,提供一种终端,该终端支持DR-DSDS,该终端包括第一SIM卡接口和第二SIM卡接口,该第一SIM卡接口用于与第一SIM卡通信,该第二SIM卡接口用于与第二SIM卡通信,该终端包括:接收模块、发送模块和响应模块。其中,上述接收模块,用于终端处于第一通信连接时,接收建立第二通信连接的寻呼请求,第一通信连接是指与第一SIM卡相关的第一业务,第二通信连接与第二SIM卡相关。上述发送模块,用于终端处于第一通信连接时,发送第一通信连接的语音包。上述响应模块,用于在上述接收模块收到寻呼请求携带第一标识的情况下,响应该寻呼请求,第一标识用于表示第二业务。In a second aspect, a terminal is provided, the terminal supports a DR-DSDS, the terminal includes a first SIM card interface and a second SIM card interface, the first SIM card interface is configured to communicate with a first SIM card, the second SIM The card interface is configured to communicate with the second SIM card, and the terminal includes: a receiving module, a sending module, and a response module. The receiving module is configured to receive a paging request for establishing a second communication connection when the terminal is in the first communication connection, where the first communication connection refers to the first service related to the first SIM card,The second communication connection is associated with the second SIM card. The sending module is configured to send a voice packet of the first communication connection when the terminal is in the first communication connection. The response module is configured to respond to the paging request when the receiving module receives the paging request to carry the first identifier, where the first identifier is used to indicate the second service.
可选的,在本申请的一种可能的实现方式中,在上述第二业务为语音通话的情况下,上述发送模块,还用于向无线接入网设备发送建立无线资源控制RRC连接的RRC信令,并向无线接入网设备发送会话发起协议SIP信令。相应的,上述接收模块,还用于获取第二通信连接对应的来电信息。这样的话,本申请中的终端还包括来电提醒模块,该来电提醒模块用于进行第二通信连接的来电提醒。Optionally, in a possible implementation manner of the present application, when the second service is a voice call, the sending module is further configured to send, to the radio access network device, an RRC that establishes a radio resource control RRC connection. Signaling and transmitting session initiation protocol SIP signaling to the radio access network device. Correspondingly, the receiving module is further configured to acquire the incoming call information corresponding to the second communication connection. In this case, the terminal in the application further includes an incoming call reminding module, and the incoming call reminding module is configured to perform an incoming call reminder of the second communication connection.
可选的,在本申请的另一种可能的实现方式中,上述发送模块发送的RRC信令包括第二标识,第二标识用于表示上述终端主动请求建立语音通话链接。Optionally, in another possible implementation manner of the present application, the RRC signaling sent by the sending module includes a second identifier, where the second identifier is used to indicate that the terminal actively requests to establish a voice call link.
可选的,在本申请的另一种可能的实现方式中,上述响应模块还用于在上述接收模块接收到寻呼请求未携带第一标识的情况下,继续处理第一通信连接。Optionally, in another possible implementation manner of the present application, the response module is further configured to continue processing the first communication connection if the receiving module receives the paging request and does not carry the first identifier.
需要说明的是,本申请第二方面或者第二方面的任一种可能的实现方式中的第一优先级规则、第二优先级规则可以参考第一方面的各种可能的实现方式中的详细描述,本申请这里不再赘述。It should be noted that the first priority rule and the second priority rule in any one of the possible implementation manners of the second aspect or the second aspect of the present application may refer to details in various possible implementation manners of the first aspect. Description, this application will not be repeated here.
第三方面,本申请提供一种终端,该终端支持DR-DSDS,该终端包括:一个或多个处理器、存储器、通信接口、第一SIM卡接口和第二SIM卡接口。该存储器、通信接口、第一SIM卡接口和第二SIM卡接口与一个或多个处理器耦合;该第一SIM卡接口用于与第一SIM卡通信,该第二SIM卡接口用于与第二SIM卡通信,该通信接口包括两个射频接收通路(如射频接收通路1和射频接收通路2)和一个射频发送通路。例如,射频接收通路1用于接收第一通信连接的下行数据包,射频接收通路2用于接收第二通信连接的下行数据包。In a third aspect, the application provides a terminal that supports a DR-DSDS, and the terminal includes: one or more processors, a memory, a communication interface, a first SIM card interface, and a second SIM card interface. The memory, the communication interface, the first SIM card interface, and the second SIM card interface are coupled to one or more processors; the first SIM card interface is for communicating with a first SIM card, and the second SIM card interface is for The second SIM card communication includes two RF receiving paths (such as the
其中,上述存储器用于存储计算机程序代码,该计算机程序代码包括指令,当上述一个或多个处理器执行该指令时,上述终端执行如本申请第一方面或者第一方面的任一种可能的实现方式的实现双卡双待双通的通信方法。Wherein the memory is used to store computer program code, the computer program code comprising instructions, when the one or more processors execute the instruction, the terminal performs any of the first aspect or the first aspect of the application The implementation method realizes the communication method of dual card dual standby dual communication.
具体的,上述通信接口,用于在上述终端处于第一通信连接时,接收建立第二通信连接的寻呼请求,第一通信连接是指与上述第一SIM卡相关的第一业务,第二通信连接与上述第二SIM卡相关。上述一个或多个处理器,用于在上述射频接收通路2收到第二通信连接的寻呼请求携带第一标识的情况下,响应建立第二通信连接的寻呼请求,第一标识用于表示第二业务。Specifically, the communication interface is configured to receive a paging request for establishing a second communication connection when the terminal is in the first communication connection, where the first communication connection refers to the first service related to the first SIM card, and the second The communication connection is associated with the second SIM card described above. The one or more processors are configured to: when the paging request of the second communication connection is received by the radio frequency receiving path 2 to carry the first identifier, in response to establishing a paging request for the second communication connection, the first identifier is used for Indicates the second business.
可选的,在本申请的一种可能的实现方式中,上述通信接口还用于通过射频发送通路向无线接入网设备发送建立RRC连接的RRC信令,并向无线接入网设备发送SIP信令。上述通信接口还用于通过上述射频接收通路2获取第二通信连接对应的来电信息。上述一个或多个处理器还用于进行第二通信连接的来电提醒。Optionally, in a possible implementation manner of the present application, the communications interface is further configured to send, by using a radio frequency sending path, RRC signaling for establishing an RRC connection to the radio access network device, and send the SIP to the radio access network device. Signaling. The communication interface is further configured to acquire the incoming call information corresponding to the second communication connection by using the radio frequency receiving path 2. The one or more processors described above are also used to make an incoming call alert for the second communication connection.
可选的,在本申请的另一种可能的实现方式中,上述射频发射通路上发送发送的RRC信令包括第二标识,该第二标识用于指示终端主动请求建立语音通话链接。Optionally, in another possible implementation manner of the present application, the foregoing radio frequency transmission path is sent and sent.The sent RRC signaling includes a second identifier, where the second identifier is used to indicate that the terminal actively requests to establish a voice call link.
可选的,在本申请的另一种可能的实现方式中,上述一个或多个处理器还用于在上述射频接收通路2接收到寻呼请求未携带第一标识的情况下,继续处理第一通信连接。Optionally, in another possible implementation manner of the present application, the one or more processors are further configured to continue processing when the radio frequency receiving path 2 receives the paging request that does not carry the first identifier. A communication connection.
第四方面,本申请提供一种计算机存储介质,该计算机存储介质包括计算机指令,当计算机指令在支持DR-DSDS的终端上运行时,使得该终端执行如第一方面或者第一方面的任一种可能的实现方式的实现双卡双待双通的通信方法。In a fourth aspect, the present application provides a computer storage medium including computer instructions that, when executed on a terminal supporting DR-DSDS, cause the terminal to perform any of the first aspect or the first aspect A possible implementation of a dual card dual standby dual pass communication method.
第五方面,本申请提供一种包含指令的计算机程序产品,当该计算机程序产品在支持DR-DSDS的终端上运行时,使得支持DR-DSDS的终端执行如第一方面或者第一方面的任一种可能的实现方式的实现双卡双待双通的通信方法。In a fifth aspect, the present application provides a computer program product comprising instructions for causing a terminal supporting DR-DSDS to perform the first aspect or the first aspect when the computer program product is run on a terminal supporting DR-DSDS A possible implementation of a dual card dual standby dual pass communication method.
在本申请中,上述终端的名字对设备或功能模块本身不构成限定,在实际实现中,这些设备或功能模块可以以其他名称出现。只要各个设备或功能模块的功能和本申请类似,属于本申请权利要求及其等同技术的范围之内。In the present application, the name of the above terminal does not limit the device or the function module itself. In actual implementation, these devices or function modules may appear under other names. As long as the functions of the respective devices or functional modules are similar to the present application, they are within the scope of the claims and their equivalents.
本申请中第二方面、第三方面、第四方面、第五方面及其各种实现方式的具体描述,可以参考第一方面及其各种实现方式中的详细描述;并且,第二方面、第三方面、第四方面、第五方面及其各种实现方式的有益效果,可以参考第一方面及其各种实现方式中的有益效果分析,此处不再赘述。For a detailed description of the second aspect, the third aspect, the fourth aspect, the fifth aspect, and various implementations thereof, reference may be made to the detailed description in the first aspect and various implementations thereof; and the second aspect, For the beneficial effects of the third aspect, the fourth aspect, the fifth aspect, and various implementations thereof, reference may be made to the beneficial effects in the first aspect and various implementation manners thereof, and details are not described herein again.
第六方面,提供一种实现双卡双待双通的通信方法,移动性管理实体(Mobile Management Entity,MME)接收携带终端的第二SIM卡的标识和用于指示终端的第二SIM卡的优先级的第一信息的第一消息,该第一消息用于指示MME向终端的跟踪区列表(Tracking Area List,TA List)中的无线接入网设备发送通知消息,这里的终端支持双收单发的双卡双待单通DR-DSDS,且该终端包括第一SIM卡接口和第二SIM卡接口,第一SIM卡接口用于与第一SIM卡通信,第二SIM卡接口用于与第二SIM卡通信;MME根据第一信息,确定终端的第二SIM卡的优先级是否高于预设等级;在终端的第二SIM卡的优先级高于预设等级的情况下,MME向无线接入网设备发送携带用于表示第二业务的第三标识的通知消息,指示无线接入网设备寻呼终端的第二SIM卡,并建立与终端的第二SIM卡相关的第二业务的连接。The sixth aspect provides a communication method for implementing dual-card dual-standby dual-pass. The mobility management entity (MME) receives the identifier of the second SIM card carrying the terminal and the second SIM card used to indicate the terminal. a first message of the first information of the priority, the first message is used to instruct the MME to send a notification message to the radio access network device in the Tracking Area List (TA List) of the terminal, where the terminal supports dual reception Single-issue dual-card dual-standby single-pass DR-DSDS, and the terminal includes a first SIM card interface for communicating with the first SIM card and a second SIM card interface for Communicating with the second SIM card; the MME determines, according to the first information, whether the priority of the second SIM card of the terminal is higher than a preset level; if the priority of the second SIM card of the terminal is higher than the preset level, the MME Sending, to the radio access network device, a notification message carrying a third identifier for indicating the second service, instructing the radio access network device to page the second SIM card of the terminal, and establishing a second related to the second SIM card of the terminal Business connection.
本申请中的MME在确定终端的第二SIM卡的优先级高于预设等级的情况下,向无线接入网设备发送携带第三标识的通知消息,这样,无线接入网设备可优先寻呼该终端,快速完成终端的第二SIM卡的第二业务,提高了用户体验。In the case that the MME of the present application determines that the priority of the second SIM card of the terminal is higher than the preset level, the MME sends a notification message carrying the third identifier to the radio access network device, so that the radio access network device can preferentially search for The terminal is called to quickly complete the second service of the second SIM card of the terminal, thereby improving the user experience.
可选的,在本申请的一种可能的实现方式中,上述“MME根据第一信息,判断终端的第二SIM卡的优先级是否高于预设等级”的方法具体为:若第一信息的数值小于或等于预设阈值,MME确定终端的第二SIM卡的优先级高于预设等级;相应的,若第一信息的数值大于预设阈值,MME确定终端的第二SIM卡的优先级低于预设等级。Optionally, in a possible implementation manner of the present application, the method for determining, by the MME, whether the priority of the second SIM card of the terminal is higher than a preset level according to the first information is: The MME determines that the priority of the second SIM card of the terminal is higher than the preset level; correspondingly, if the value of the first information is greater than the preset threshold, the MME determines the second of the terminal.The priority of the SIM card is lower than the preset level.
第七方面,提供一种移动性管理实体MME,该MME包括接收模块、确定模块和发送模块。其中,上述接收模块,用于接收第一消息,第一消息携带终端的第二用户识别模块SIM卡的标识和用于指示终端的第二SIM卡的优先级的第一信息,第一消息用于指示MME向终端的跟踪区列表TA List中的无线接入网设备发送通知消息,终端支持双收单发的双卡双待单通DR-DSDS,终端包括第一SIM卡接口和第二SIM卡接口,第一SIM卡接口用于与第一SIM卡通信,第二SIM卡接口用于与第二SIM卡通信。上述确定模块,用于根据上述接收模块接收到的第一消息中的第一信息,确定终端的第二SIM卡的优先级是否高于预设等级。上述发送模块,用于在上述确定模块确定终端的第二SIM卡的优先级高于预设等级的情况下,向无线接入网设备发送携带第三标识的通知消息,携带第三标识的通知消息用于指示无线接入网设备寻呼终端的第二SIM卡,并建立与终端的第二SIM卡相关的第二业务的连接,第三标识用于表示第二业务。In a seventh aspect, a mobility management entity MME is provided, where the MME includes a receiving module, a determining module, and a sending module. The receiving module is configured to receive the first message, where the first message carries the identifier of the SIM card of the second subscriber identity module of the terminal and the first information indicating the priority of the second SIM card of the terminal, where the first message is used. The MME is instructed to send a notification message to the radio access network device in the tracking area list TA List of the terminal, and the terminal supports the dual-card dual-standby single-pass DR-DSDS with dual-acquisition, the terminal includes the first SIM card interface and the second SIM. The card interface, the first SIM card interface is for communicating with the first SIM card, and the second SIM card interface is for communicating with the second SIM card. The determining module is configured to determine, according to the first information in the first message received by the receiving module, whether the priority of the second SIM card of the terminal is higher than a preset level. The sending module is configured to: when the determining module determines that the priority of the second SIM card of the terminal is higher than the preset level, send a notification message carrying the third identifier to the radio access network device, and the notification of the third identifier is carried The message is used to indicate that the radio access network device pages the second SIM card of the terminal, and establishes a connection of the second service related to the second SIM card of the terminal, where the third identifier is used to indicate the second service.
可选的,在本申请的一种可能的实现方式中,上述确定模块具体用于:若第一信息的数值小于或等于预设阈值,确定终端的第二SIM卡的优先级高于预设等级;若第一信息的数值大于预设阈值,确定终端的第二SIM卡的优先级低于预设等级。Optionally, in a possible implementation manner of the application, the determining module is specifically configured to: if the value of the first information is less than or equal to a preset threshold, determining that the second SIM card of the terminal has a higher priority than the preset Level; if the value of the first information is greater than a preset threshold, determining that the priority of the second SIM card of the terminal is lower than the preset level.
第八方面,提供一种移动性管理实体MME,该MME包括:一个或多个处理器、存储器、通信接口。存储器、通信接口与一个或多个处理器耦合;该存储器用于存储计算机程序代码,计算机程序代码包括指令,当一个或多个处理器执行指令时,MME执行如本申请第六方面或者第六方面的任一种可能的实现方式的实现双卡双待双通的通信方法。In an eighth aspect, a mobility management entity MME is provided, the MME comprising: one or more processors, a memory, and a communication interface. The memory, communication interface is coupled to one or more processors; the memory is for storing computer program code, the computer program code comprising instructions, and when the one or more processors execute the instructions, the MME performs the sixth or sixth aspect of the present application A communication method of implementing a dual card dual standby dual pass in any of the possible implementations of the aspect.
具体的,上述通信接口,用于接收第一消息,所述第一消息携带终端的第二用户识别模块SIM卡的标识和用于指示所述终端的第二SIM卡的优先级的第一信息,所述第一消息用于指示该MME向所述终端的跟踪区列表TA List中的无线接入网设备发送通知消息,所述终端支持双收单发的双卡双待单通DR-DSDS,所述终端包括第一SIM卡接口和第二SIM卡接口,所述第一SIM卡接口用于与第一SIM卡通信,所述第二SIM卡接口用于与所述第二SIM卡通信;上述一个或多个处理器,用于根据上述通信接口接收到的所述第一消息中的所述第一信息,确定所述终端的第二SIM卡的优先级是否高于预设等级;上述通信接口,还用于在上述一个或多个处理器确定所述终端的第二SIM卡的优先级高于所述预设等级的情况下,向所述无线接入网设备发送携带第三标识的通知消息,所述携带第三标识的通知消息用于指示所述无线接入网设备寻呼所述终端的第二SIM卡,并建立与所述终端的第二SIM卡相关的第二业务的连接,所述第三标识用于表示所述第二业务。Specifically, the foregoing communication interface is configured to receive a first message, where the first message carries an identifier of a second subscriber identity module SIM card of the terminal, and first information used to indicate a priority of the second SIM card of the terminal. The first message is used to indicate that the MME sends a notification message to the radio access network device in the tracking area list TA List of the terminal, where the terminal supports dual-card dual-standby single-pass DR-DSDS The terminal includes a first SIM card interface for communicating with a first SIM card, and a second SIM card interface for communicating with the second SIM card The one or more processors are configured to determine, according to the first information in the first message that is received by the communication interface, whether a priority of the second SIM card of the terminal is higher than a preset level; The communication interface is further configured to: when the one or more processors determine that the priority of the second SIM card of the terminal is higher than the preset level, send the third to the wireless access network device The notified notification message, the carrying the third identifier The notification message is used to instruct the radio access network device to page the second SIM card of the terminal, and establish a connection of a second service related to the second SIM card of the terminal, where the third identifier is used to indicate The second service.
可选的,在本申请的一种可能的实现方式中,上述一个或多个处理器具体用于:若所述第一信息的数值小于或等于预设阈值,确定所述终端的第二SIM卡的优先级高于所述预设等级;若所述第一信息的数值大于所述预设阈值,确定所述终端的第二SIM卡的优先级低于所述预设等级。Optionally, in a possible implementation manner of the present application, the one or more processors are specifically configured to: if the value of the first information is less than or equal to a preset threshold, determine a second SIM of the terminal The priority of the card is higher than the preset level; if the value of the first information is greater than the preset threshold,Determining that the priority of the second SIM card of the terminal is lower than the preset level.
第九方面,本申请提供一种计算机存储介质,该计算机存储介质包括计算机指令,当计算机指令在MME上运行时,使得该MME执行如第六方面或者第六方面的任一种可能的实现方式的实现双卡双待双通的通信方法。In a ninth aspect, the present application provides a computer storage medium comprising computer instructions that, when executed by a computer, cause the MME to perform any of the possible implementations of the sixth or sixth aspect A communication method for implementing dual card dual standby dual communication.
第十方面,本申请提供一种包含指令的计算机程序产品,当该计算机程序产品在MME上运行时,使得MME执行如第六方面或者第六方面的任一种可能的实现方式的实现双卡双待双通的通信方法。In a tenth aspect, the present application provides a computer program product comprising instructions for causing an MME to perform a dual card implementation of any of the possible implementations of the sixth aspect or the sixth aspect when the computer program product is run on the MME Dual standby dual-pass communication method.
在本申请中,上述MME的名字对设备或功能模块本身不构成限定,在实际实现中,这些设备或功能模块可以以其他名称出现。只要各个设备或功能模块的功能和本申请类似,属于本申请权利要求及其等同技术的范围之内。In the present application, the name of the above MME is not limited to the device or the function module itself. In actual implementation, these devices or function modules may appear under other names. As long as the functions of the respective devices or functional modules are similar to the present application, they are within the scope of the claims and their equivalents.
本申请中第七方面、第八方面、第九方面、第十方面及其各种实现方式的具体描述,可以参考第六方面及其各种实现方式中的详细描述;并且,第七方面、第八方面、第九方面、第十方面及其各种实现方式的有益效果,可以参考第六方面及其各种实现方式中的有益效果分析,此处不再赘述。For a detailed description of the seventh aspect, the eighth aspect, the ninth aspect, the tenth aspect, and various implementation manners thereof, reference may be made to the detailed description in the sixth aspect and various implementation manners thereof; and the seventh aspect, For the beneficial effects of the eighth aspect, the ninth aspect, the tenth aspect, and various implementations thereof, reference may be made to the analysis of the beneficial effects in the sixth aspect and various implementation manners thereof, and details are not described herein again.
第十一方面,提供一种实现双卡双待双通的通信方法,无线接入网设备接收移动性管理实体MME发送的通知消息,该通知消息用于指示该无线接入网设备寻呼终端的第二用户识别模块SIM卡,终端支持双收单发的双卡双待单通DR-DSDS,终端包括第一SIM卡接口和第二SIM卡接口,第一SIM卡接口用于与第一SIM卡通信,第二SIM卡接口用于与第二SIM卡通信;在上述通知消息携带第三标识的情况下,无线接入网设备向终端发送携带第一标识的寻呼请求,第三标识和第一标识均用于表示第二业务,携带第一标识的寻呼请求用于请求建立与第二SIM卡相关的第二业务的连接。An eleventh aspect provides a communication method for implementing dual-card dual-standby dual-pass, where a radio access network device receives a notification message sent by a mobility management entity MME, where the notification message is used to indicate that the radio access network device paging terminal The second subscriber identity module SIM card, the terminal supports dual-card dual-standby single-pass DR-DSDS, the terminal includes a first SIM card interface and a second SIM card interface, and the first SIM card interface is used for the first SIM card communication, the second SIM card interface is configured to communicate with the second SIM card; in the case that the notification message carries the third identifier, the radio access network device sends the paging request carrying the first identifier to the terminal, and the third identifier And the first identifier is used to indicate the second service, and the paging request carrying the first identifier is used to request to establish a connection of the second service related to the second SIM card.
无线接入网设备确定MME发送的通知消息携带用于表示第二业务的第三标识后,直接向终端发送携带第一标识的寻呼请求,这样终端可根据第一标识及时响应该寻呼请求,以完成终端的第二SIM卡的第二业务,提高了用户体验。After determining that the notification message sent by the MME carries the third identifier for indicating the second service, the radio access network device directly sends a paging request carrying the first identifier to the terminal, so that the terminal can respond to the paging request according to the first identifier. To complete the second service of the second SIM card of the terminal, the user experience is improved.
第十二方面,提供一种无线接入网设备,该无线接入网设备包括接收模块和发送模块。其中,上述接收模块,用于接收MME发送的通知消息,通知消息用于指示该无线接入网设备寻呼终端的第二用户识别模块SIM卡,终端支持双收单发的双卡双待单通DR-DSDS,终端包括第一SIM卡接口和第二SIM卡接口,第一SIM卡接口用于与第一SIM卡通信,第二SIM卡接口用于与第二SIM卡通信;上述发送模块,用于在上述接收模块接收到的通知消息携带第三标识的情况下,向终端发送携带第一标识的寻呼请求,第三标识和第一标识均用于表示第二业务,携带第一标识的寻呼请求用于请求建立与第二SIM卡相关的第二业务的连接。According to a twelfth aspect, a radio access network device is provided, where the radio access network device includes a receiving module and a sending module. The receiving module is configured to receive a notification message sent by the MME, where the notification message is used to indicate that the wireless access network device pages the second user identification module SIM card of the terminal, and the terminal supports the dual card dual standby mode The DR-DSDS, the terminal includes a first SIM card interface for communicating with the first SIM card, and a second SIM card interface for communicating with the second SIM card; And in the case that the notification message received by the receiving module carries the third identifier, the paging request that carries the first identifier is sent to the terminal, where the third identifier and the first identifier are both used to indicate the second service, and the first service is carried. The identified paging request is for requesting to establish a connection for the second service associated with the second SIM card.
第十三方面,提供一种无线接入网设备,该无线接入网设备包括:一个或多个处理器、存储器、通信接口。存储器、通信接口与一个或多个处理器耦合;存储器用于存储计算机程序代码,计算机程序代码包括指令,当一个或多个处理器执行指令时,无线接入网设备执行如本申请第十一方面实现双卡双待双通的通信方法。In a thirteenth aspect, a radio access network device is provided, the radio access network device comprising: one or more processors, a memory, and a communication interface. The memory, communication interface is coupled to one or more processors; the memory is for storing computer program code, the computer program code comprising instructions, when the one or more processors execute the instructions, the wireless access network device performs the eleventh application as in the present application Aspect doubleCard dual standby dual communication communication method.
第十四方面,本申请提供一种计算机存储介质,该计算机存储介质包括计算机指令,当计算机指令在无线接入网设备上运行时,使得该无线接入网设备执行如第十一方面的实现双卡双待双通的通信方法。In a fourteenth aspect, the present application provides a computer storage medium including computer instructions that, when executed by a computer operating on a wireless access network device, cause the wireless access network device to perform the implementation of the eleventh aspect Dual card dual standby dual communication communication method.
第十五方面,本申请提供一种包含指令的计算机程序产品,当该计算机程序产品在无线接入网设备上运行时,使得无线接入网设备执行如第十一方面的实现双卡双待双通的通信方法。In a fifteenth aspect, the present application provides a computer program product comprising instructions, when the computer program product is run on a radio access network device, causing the radio access network device to perform dual card dual standby as in the eleventh aspect Two-way communication method.
在本申请中,上述无线接入网设备的名字对设备或功能模块本身不构成限定,在实际实现中,这些设备或功能模块可以以其他名称出现。只要各个设备或功能模块的功能和本申请类似,属于本申请权利要求及其等同技术的范围之内。In the present application, the names of the above-mentioned radio access network devices are not limited to the devices or the functional modules themselves. In actual implementation, these devices or functional modules may appear under other names. As long as the functions of the respective devices or functional modules are similar to the present application, they are within the scope of the claims and their equivalents.
本申请中第十二方面、第十三方面、第十四方面、第十五方面及其各种实现方式的具体描述,可以参考第十一方面及其各种实现方式中的详细描述;并且,第十二方面、第十三方面、第十四方面、第十五方面及其各种实现方式的有益效果,可以参考第十一方面及其各种实现方式中的有益效果分析,此处不再赘述。For a detailed description of the twelfth aspect, the thirteenth aspect, the fourteenth aspect, the fifteenth aspect, and various implementations thereof, reference may be made to the detailed description in the eleventh aspect and various implementations thereof; The beneficial effects of the twelfth aspect, the thirteenth aspect, the fourteenth aspect, the fifteenth aspect, and various implementations thereof can be referred to the analysis of the beneficial effects in the eleventh aspect and various implementations thereof, No longer.
本申请的这些方面或其他方面在以下的描述中会更加简明易懂。These and other aspects of the present application will be more apparent from the following description.
图1为本申请实施例提供的一种支持DR-DSDS的终端的结构组成示意图;FIG. 1 is a schematic structural diagram of a terminal supporting a DR-DSDS according to an embodiment of the present application;
图2为本申请实施例提供的一种实现双卡双待双通的通信方法的应用场景实例示意图;FIG. 2 is a schematic diagram of an application scenario of a communication method for implementing dual-card dual-standby dual-pass according to an embodiment of the present disclosure;
图3为本申请实施例提供的通信系统的结构示意图;3 is a schematic structural diagram of a communication system according to an embodiment of the present application;
图4为本申请实施例提供的LTE网络中的支持DR-DSDS的终端的结构示意图;4 is a schematic structural diagram of a terminal supporting DR-DSDS in an LTE network according to an embodiment of the present disclosure;
图5为本申请实施例提供的一种手机的硬件结构示意图;FIG. 5 is a schematic structural diagram of hardware of a mobile phone according to an embodiment of the present application;
图6为本申请实施例提供的一种基站的结构示意图;FIG. 6 is a schematic structural diagram of a base station according to an embodiment of the present application;
图7为本申请实施例提供的一种MME的结构示意图一;FIG. 7 is a schematic structural diagram 1 of an MME according to an embodiment of the present disclosure;
图8为本申请实施例提供的一种实现双卡双待双通的通信方法流程图一;FIG. 8 is a
图9为本申请实施中终端执行本申请实施例的方法所显示GUI示意图一;FIG. 9 is a schematic diagram 1 of a GUI displayed by a method for performing a method in the embodiment of the present application;
图10为本申请实施例提供的一种实现双卡双待双通的通信方法流程图二;FIG. 10 is a flowchart 2 of a communication method for implementing dual-card dual-standby dual-pass according to an embodiment of the present disclosure;
图11为本申请实施中终端执行本申请实施例的方法所显示GUI示意图二;FIG. 11 is a schematic diagram 2 of a GUI displayed by a method for performing a method according to an embodiment of the present application;
图12为本申请实施中终端执行本申请实施例的方法所显示GUI示意图三;FIG. 12 is a schematic diagram 3 of a GUI displayed by a method for performing a method in the embodiment of the present application;
图13为本申请实施中终端执行本申请实施例的方法所显示GUI示意图四;FIG. 13 is a schematic diagram 4 of a GUI displayed by a method performed by a terminal in an embodiment of the present application;
图14为本申请实施例提供的一种实现双卡双待双通的通信方法流程图三;FIG. 14 is a
图15为本申请实施中终端执行本申请实施例的方法所显示GUI示意图五;FIG. 15 is a schematic diagram 5 of a GUI displayed by a method performed by a terminal in the implementation of the embodiment of the present application;
图16为本申请实施例提供的一种终端的结构示意图一;FIG. 16 is a schematic structural diagram 1 of a terminal according to an embodiment of the present disclosure;
图17为本申请实施例提供的一种终端的结构示意图二;FIG. 17 is a schematic structural diagram 2 of a terminal according to an embodiment of the present disclosure;
图18为本申请实施例提供的一种MME的结构示意图二;FIG. 18 is a schematic structural diagram 2 of an MME according to an embodiment of the present disclosure;
图19为本申请实施例提供的一种无线接入网设备的结构示意图一;FIG. 19 is a schematic structural diagram 1 of a radio access network device according to an embodiment of the present disclosure;
图20为本申请实施例提供的一种无线接入网设备的结构示意图二。FIG. 20 is a schematic structural diagram 2 of a radio access network device according to an embodiment of the present disclosure.
本申请实施例提供一种实现双卡双待双通的通信方法,该方法可以应用于支持DR-DSDS的终端中,该终端可以安装两张SIM卡(第一SIM卡和第二SIM卡),并且该终端中配置有一路射频发射(Tx)通路和两路射频接收(Rx)通路。上述终端中的第一SIM卡和第二SIM卡可以分别单独占用使用这两路射频Rx通路中的一路射频Rx通路,分时使用该终端中的一路射频Tx通路。The embodiment of the present application provides a communication method for implementing dual-card dual-standby dual-pass, which can be applied to a terminal supporting DR-DSDS, where the terminal can install two SIM cards (a first SIM card and a second SIM card). And the terminal is configured with one radio frequency transmitting (Tx) path and two radio frequency receiving (Rx) paths. The first SIM card and the second SIM card in the terminal may separately occupy one RF Rx path of the two RF Rx paths, and use one RF Tx path in the terminal in a time sharing manner.
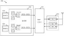
请参考图1,其示出了本申请实施例提供的一种支持DR-DSDS的终端的结构示意图。如图1所示,终端100可以包括:第一SIM卡接口110、第二SIM卡接口120、与第一SIM卡接口110和第二SIM卡接口120分别耦合的管理器140、与管理器140耦合的处理器130,处理器130连接收发器150。其中,上述处理器130可以为基带处理器(Base Band Processor,BBP)。如图1所示,收发器150中包括射频Rx1通路、射频Rx2通路和射频Tx通路。Please refer to FIG. 1 , which is a schematic structural diagram of a terminal supporting DR-DSDS provided by an embodiment of the present application. As shown in FIG. 1 , the terminal 100 may include: a first
其中,上述第一SIM卡接口110用于安装SIM卡1,与SIM卡1通信,上述第二SIM卡接口120用于安装SIM卡2,与SIM卡2通信。管理器140可以向处理器130发送与SIM卡1的业务相关的上行数据包,以及发送与SIM卡2的业务相关的上行数据包。处理器130可以按照SIM卡1和SIM卡2的各个上行数据包在射频Tx通路上的发射优先级,在射频Tx通路向网络设备发送上行数据包。The first
应注意,本申请实施例中的射频Tx通路也可以称为Tx射频资源或发射器(Transmitter),射频Rx通路也可以称为Rx射频资源或接收器(Receiver)。It should be noted that the radio frequency Tx path in the embodiment of the present application may also be referred to as a Tx radio frequency resource or a transmitter (Transmitter), and the radio frequency Rx path may also be referred to as an Rx radio frequency resource or a receiver (Receiver).
其中,本申请实施例中还可以将上述射频Tx通路和射频Rx1通路称为RF主通道,将上述射频Rx2通路称为RF副通道。即该RF主通道中的上下行RF器件(如射频Tx通路和射频Rx1通路)复用,RF副通道只有下行RF器件(如射频Rx2通路)。In the embodiment of the present application, the radio frequency Tx path and the radio frequency Rx1 path may also be referred to as an RF main channel, and the radio frequency Rx2 path is referred to as an RF sub channel. That is, the uplink and downlink RF devices (such as the RF Tx path and the RF Rx1 path) in the RF main channel are multiplexed, and the RF secondary channel has only the downlink RF device (such as the RF Rx2 path).
具体的,本申请实施例提供的实现双卡双待双通的通信方法可以用于当上述支持DR-DSDS的终端的一个SIM卡(如第一SIM卡,或者SIM卡1)占用上述Tx射频资源完成第一业务(例如,第一业务为语音通话)时,即终端处于第一通信连接时,如果另一个SIM卡(如第二SIM卡,或者SIM卡2)有第二业务(例如第二业务为语音通话或数据业务)的第一寻呼(paging)请求接入(即终端接收到携带有第一标识的用于建立第二通信连接的第一paging请求),该终端响应该第一paging请求,创建第二通信连接,实现第二SIM卡的第二业务。其中,第一通信连接是指与第一SIM卡相关的第一业务,第二通信连接与第二SIM卡相关。Specifically, the communication method for implementing dual-card dual-standby dual-pass provided by the embodiment of the present application may be used to occupy the Tx radio frequency of a SIM card (such as the first SIM card or the SIM card 1) of the terminal supporting the DR-DSDS. When the resource completes the first service (for example, the first service is a voice call), that is, when the terminal is in the first communication connection, if another SIM card (such as the second SIM card or SIM card 2)The first paging request for accessing the second service (for example, the second service is a voice call or a data service) (ie, the terminal receives the first paging request for establishing the second communication connection carrying the first identifier) And the terminal, in response to the first paging request, creates a second communication connection, and implements the second service of the second SIM card. The first communication connection refers to a first service related to the first SIM card, and the second communication connection is related to the second SIM card.
请参考图2,其示出了本申请实施例提供的实现双卡双待双通的通信方法的应用场景实例示意图。其中,如图2所示的用户A的终端110可以为上述支持DR-DSDS的终端,该终端110中可以安装两个SIM卡:SIM卡1和SIM卡2。终端110中的SIM卡1可以为终端110的主卡,SIM卡2可以为终端110的副卡,或者终端110中的SIM卡2可以为终端110的主卡,SIM卡1可以为终端110的副卡。Please refer to FIG. 2 , which is a schematic diagram of an application scenario of a communication method for implementing dual-card dual-standby dual-channel provided by an embodiment of the present application. The
其中,用户B使用终端120向终端110的SIM卡1发起语音寻呼请求后,用户A可以使用终端110通过终端110的SIM卡1与持有终端120的用户B进行语音通话。如图2所示,在用户A使用终端110通过终端110的SIM卡1与持有终端120的用户B进行语音通话过程中,用户C可能会使用终端130向终端110的SIM卡2发起语音寻呼请求,请求通过终端110的SIM卡2与持有终端110的用户A进行语音通话。After the user B initiates a voice paging request to the
本申请实施例提供的实现双卡双待双通的通信方法可以在上述应用场景中,在不对用户A与用户B的语音通话质量造成较大影响的前提下,在终端110上接入终端130的来电请求,即在终端110上进行SIM卡2的来电提醒,以便于用户可以选择“拒接SIM卡2的来电,继续进行SIM卡1的语音通话”,或者选择“挂断SIM卡1的语音通话,转而接听SIM卡2的语音通话”,或者选择“保留SIM卡1的语音通话,接听SIM卡2的语音通话”。The communication method for implementing the dual-card dual-standby dual-pass provided by the embodiment of the present application may be configured to access the terminal 130 on the terminal 110 without affecting the voice call quality of the user A and the user B in the foregoing application scenario. The incoming call request, that is, the incoming call reminder of the SIM card 2 is performed on the terminal 110, so that the user can select "reject the incoming call of the SIM card 2, continue the voice call of the
举例来说,本申请实施例中的来电提醒可以包括以下一种或多种提醒方式:如终端响铃、终端用户界面显示用户C来电、终端振动、终端闪光灯闪光等。For example, the call alert in the embodiment of the present application may include one or more of the following alert modes: such as terminal ringing, terminal user interface displaying user C incoming call, terminal vibration, terminal flash firing, and the like.
示例性的,本申请实施例提供的支持DR-DSDS的终端的两张SIM中的每张SIM卡均可以为支持全球移动通信系统(Global System for Mobile Communication,GSM)制式、通用移动通信系统(Universal Mobile Telecommunications System,UMTS)制式、时分同步码分多址(Time Division-Synchronous Code Division Multiple Access,TD-SCDMA)制式、长期演进(Long Term Evolution,LTE)制式、码分多址(Code Division Multiple Access,CDMA)制式等制式中的任意一种制式的SIM卡。Exemplarily, each SIM card in the two SIMs supporting the DR-DSDS provided by the embodiment of the present application may be a Global System for Mobile Communication (GSM) standard and a universal mobile communication system ( Universal Mobile Telecommunications System (UMTS), Time Division-Synchronous Code Division Multiple Access (TD-SCDMA), Long Term Evolution (LTE), and Code Division Multiple (Code Division Multiple) A SIM card of any one of the systems of Access, CDMA) and the like.
例如,如图1或图2所示的终端110的SIM卡1和SIM卡2均可以为支持LTE制式的SIM卡。终端110通过SIM卡1与终端120之间的语音通信可以为(Voice over LTE,VoLTE)业务。终端通过SIM卡2与终端130之间的语音通信可以为VoLTE业务。For example, the
或者,如图1或图2所示的终端110的SIM卡1可以为支持LTE制式的SIM卡,终端110通过SIM卡1与终端120之间的语音通信可以为VoLTE业务。如图1或图2所示的终端110的SIM卡2可以为支持GSM制式的SIM卡。终端110通过SIM卡2与终端130之间的语音通信可以为电路交换(Circuit Switched,CS)域业务。Alternatively, the
或者,如图1或图2所示的终端110的SIM卡1和SIM卡2可以均为支持GSM制式的SIM卡。终端110通过SIM卡1与终端120之间的语音通信,以及终端110通过SIM卡2与终端130之间的语音通信均可以为CS域业务。Alternatively, the
其中,终端110的数据业务可以在SIM卡1上,也可以在SIM卡2上;或者,终端110的SIM卡1和SIM卡2都可以进行终端110的数据业务传输。The data service of the terminal 110 may be on the
在上述终端110的SIM卡、终端120的SIM卡以及终端130的SIM卡均为支持LTE制式的SIM卡的情况下,图3示出了本申请实施例提供的通信系统的结构。如图3所示,该通信系统包括服务网关(Serving GW,SGW)30、与SGW 30通过网络连接的移动性管理实体(Mobility Management Entity,MME)31、与MME 31通过网络连接的至少一个演进型基站(evolved Node B,eNB)、以及每个eNB连接的至少一个终端。结合图2,图3中示出了eNB 111、eNB 112、eNB 121以及eNB 131,终端110与eNB 111和eNB 112均连接,终端120与eNB 121连接,终端130与eNB 131连接。In the case where the SIM card of the terminal 110, the SIM card of the terminal 120, and the SIM card of the terminal 130 are both SIM cards supporting the LTE system, FIG. 3 shows the structure of the communication system provided by the embodiment of the present application. As shown in FIG. 3, the communication system includes a Serving Gateway (SGW) 30, a Mobility Management Entity (MME) 31 connected to the
SGW 30主要负责用户面处理,负责数据包的路由和转发等功能,支持第三代合作伙伴计划(3rd Generation Partnership Project,3GPP)不同接入技术的切换。对每一个与演进分组系统(Evolved Packet System,EPS)相关的终端,在一个时间点上,都有一个SGW为之服务。MME 31主要负责移动性管理、承载管理、用户的鉴权认证、SGW的选择等功能等。The
以终端110的SIM卡2为例,当网络侧出现对终端110的SIM卡2的下行数据或者下行信令,且该终端110的SIM卡2未与网络侧建立无线连接链路时,SGW 30向MME 31发送携带用于指示终端110的SIM卡2的优先级的第一信息的第一消息(如:第一消息为下行数据通知(Downlink Data Notification,DDN)消息、创建承载请求(Create Bearer Request)、或更新承载请求(Update Bearer Request)),指示MME 31向该终端110的SIM卡2的TA List中的基站(如eNB 112)发送通知消息。MME 31在接收到携带有第一信息的第一消息后,根据第一信息确定终端110的SIM卡2的优先级,并在终端110的SIM卡2的优先级大于预设等级的情况下,向eNB 112发送携带第三标识(第三标识表示第二业务)的通知消息。eNB 112在接收到携带第三标识的通知消息后,向终端110发送携带第一标识(第一标识表示第二业务)的寻呼请求,请求建立与终端110的SIM卡2相关的第二通信连接。相应的,终端110在确定寻呼请求携带第一标识的情况下,响应该寻呼请求。Taking the SIM card 2 of the terminal 110 as an example, when the downlink data or downlink signaling of the SIM card 2 of the terminal 110 appears on the network side, and the SIM card 2 of the terminal 110 does not establish a wireless connection link with the network side, the
需要说明的是,图3所示的通信系统中的终端也可以为仅仅包括一个SIM卡接口的终端,即仅仅安装有一个SIM卡的终端。It should be noted that the terminal in the communication system shown in FIG. 3 may also be a terminal that includes only one SIM card interface, that is, a terminal that only has one SIM card installed.
对于仅仅安装有一个SIM卡的终端(如终端A)而言,当网络侧出现对终端A的下行数据或者下行信令,且该终端A未与网络侧建立无线连接链路时,SGW 30向MME 31发送携带用于指示终端A的优先级的第一信息的第一消息,指示MME 31向该终端A的TA List中的基站发送通知消息。MME 31在接收到携带有第一信息的第一消息后,根据第一信息确定终端A的优先级,并在终端A的优先级大于预设等级的情况下,向终端A的TA List中的基站发送携带第三标识的通知消息。该基站在接收到携带第三标识的通知消息后,优先寻呼终端A。For a terminal (such as terminal A) that has only one SIM card installed, when downlink data or downlink signaling to the terminal A occurs on the network side, and the terminal A does not establish a wireless connection link with the network side, the
图4示出了本申请实施例提供的一种LTE网络中的支持DR-DSDS的终端的结构。如图4所示,该终端400可以包括:第一SIM卡接口410、第二SIM卡接口420、与第一SIM卡接口410和第二SIM卡接口420分别耦合的管理器440、与管理器340耦合的BBP 430(即处理器),BBP 430连接收发器450。FIG. 4 shows a structure of a terminal supporting DR-DSDS in an LTE network according to an embodiment of the present application. As shown in FIG. 4, the terminal 400 may include: a first
如图4所示,收发器450中包括射频Rx1通路、射频Rx2通路和射频Tx通路。上述第一SIM卡接口410用于安装SIM卡1,与SIM卡1通信,上述第二SIM卡接口420用于安装SIM卡2,与SIM卡2通信。As shown in FIG. 4, the
其中,BBP 430中包括常用时间单元(Common Time Unit,CTU)。该CTU中包括用于判断上行数据包的发射优先级的仲裁器。Among them, the
作为示例,在LTE网络中,终端400可以采用混合自动重传请求(Hybrid Automatic Repeat reQuest,HARQ)协议向网络设备发送上行数据包。这样,即使管理器440向BBP 430发送的SIM卡(如SIM卡2)的上行数据包没有及时传输,也可以按照HARQ协议重传该上行数据包。As an example, in an LTE network, the terminal 400 may send an uplink data packet to a network device by using a Hybrid Automatic Repeat ReQuest (HARQ) protocol. Thus, even if the uplink data packet of the SIM card (such as SIM card 2) sent by the
如图4所示,管理器440可以采用HARQ协议,向BBP 430发送SIM卡1和SIM卡2的无线链路层控制协议(Radio Link Control,RLC)队列中的上行数据包(prio)。BBP 430可以接收到管理器340发送的各种数据包,如SIM卡1发送的上行语音包,SIM卡2发送的上行信令包等。BBP 430按照各个上行数据包在射频Tx通路上的发射优先级,占用射频Tx通路向网络设备发送上行数据包。As shown in FIG. 4, the
示例性的,本申请实施例中的支持DR-DSDS的终端可以为能够安装至少两个SIM卡,并可以使用该至少两个SIM卡中的任一SIM与其他通信终端进行语音通信的通信设备。例如,该终端可以为双卡双待手机、能够安装两个SIM卡的智能手环、智能手表、平板电脑等,本申请实施例对该终端的具体形式不做特殊限制。For example, the DR-DSDS-enabled terminal in the embodiment of the present application may be a communication device capable of installing at least two SIM cards and performing voice communication with other communication terminals using any one of the at least two SIM cards. . For example, the terminal may be a dual-card dual-standby mobile phone, a smart wristband capable of installing two SIM cards, a smart watch, a tablet computer, etc., and the specific form of the terminal in this embodiment of the present application is not particularly limited.
以下实施例以手机作为例子来说明支持DR-DSDS的终端如何实现实施例中的具体技术方案。如图5所示,本实施例中的终端可以为手机500。下面以手机500为例对实施例进行具体说明。The following embodiment uses a mobile phone as an example to illustrate how a terminal supporting DR-DSDS implements a specific technical solution in the embodiment. As shown in FIG. 5, the terminal in this embodiment may be the
应该理解的是,图示手机500仅仅是支持DR-DSDS的终端的一个范例,并且手机500可以具有比图中所示出的更过的或者更少的部件,可以组合两个或更多的部件,或者可以具有不同的部件配置。图5中所示出的各种部件可以在包括一个或多个信号处理和/或专用集成电路在内的硬件、软件、或硬件和软件的组合中实现。It should be understood that the illustrated
如图5所示,手机500包括:处理器510、片上系统设备520、显示控制器530、编解码器(CODEC)540、管理器550、存储器560、输入设备570、调制解调器580、收发器590和电源591等。As shown in FIG. 5, the
本领域技术人员可以理解,图5中示出的手机结构并不构成对手机的限定,可以包括比图示更多或更少的部件,或者组合某些部件,或者不同的部件布置。It will be understood by those skilled in the art that the structure of the handset shown in FIG. 5 does not constitute a limitation to the handset, and may include more or less components than those illustrated, or some components may be combined, or different components may be arranged.
如图5所示,手机500中还可以包括第一SIM卡接口551和第二SIM卡接口552。第一SIM卡接口551用于与SIM卡1 553通信,第二SIM卡接口552用于与SIM卡2 555通信。例如,第一SIM卡接口551和第二SIM卡接口552可以为SIM卡连接器,其包括具有SIM卡收容空间的主体,以及用于对接收的SIM卡的导电端子进行接收的多个联通插槽。可以通过导电端子和插槽进行与SIM卡的电信令联系。示例接口可以包括串行或并行(例如,6针或8针)连接。此外,可以提供多种SIM卡尺寸(例如,全尺寸SIM、迷你SIM或者微型SIM)。在其他实施例中,当多种签约与通用身份模块相关联(例如,通用SIM)时,手机500可以不包括多个SIM卡接口。管理器550用于管理SIM卡1 553和SIM卡2 554。As shown in FIG. 5, the
如图5所示,手机500还可以包括耦合到编解码器CODEC 540的扬声器541和麦克风542。图5还指明了管理器550可以耦合到处理器510,且耦合到与收发器590进行通信的调制解调器580。其中,收发器590与一个或多个天线连接。图5中仅示出了一个天线的实例。As shown in FIG. 5, the
在特定的实施例中,收发器590与多个天线连接,调制解调器580支持分集,其中多个天线中的一个天线是主天线,另外的天线是辅天线。In a particular embodiment,
收发器590可以为RF电路,该RF电路可用于收发信息或通话过程中,信号的接收和发送,可以将基站的下行信息接收后,给处理器510处理;另外,将涉及上行的数据发送给基站。通常,RF电路包括但不限于天线、至少一个放大器、收发信机、耦合器、低噪声放大器、双工器等器件。此外,RF电路还可以通过无线通信与网络和其他移动设备通信。所述无线通信可以使用任一通信标准或协议,包括但不限于全球移动通讯系统、通用分组无线服务、码分多址、宽带码分多址、长期演进、电子邮件、短消息服务等。在本申请实施例中,图5所示的收发器590中可以包括两路射频Rx通路和一路射频Tx通路(图5所示的射频Tx通路、射频Rx1通路和射频Rx2通路)。The
其中,存储器560可用于存储软件程序及数据。处理器510通过运行存储在存储器560的软件程序及数据,从而执行手机500的各种功能以及数据处理。例如,如图5所示,存储器560中保存有指令561和发射优先级信息562。指令561可以由处理器510执行。例如,指令561可以包括可由处理器510执行,以在调制解调器580的主信号输入端接收与SIM卡1 553相关通信数据的指令。其中,可以经由收发器590的主RF路径,即Rx1,将上述“与SIM卡1 553相关通信数据”路由到调制解调器580的主信号输入端(图5中未示出)。指令561包括可由处理器510执行,以在调制解调器580的辅信号输入端接收与SIM卡2 554相关通信数据的指令。其中,可以经由收发器590的辅RF路径,即Rx2,将上述“与SIM卡2 554相关通信数据”路由到调制解调器580的辅信号输入端(图5中未示出)。The
上述存储器560可主要包括存储程序区和存储数据区,其中,存储程序区可存储操作系统、至少一个功能所需的应用程序(比如声音播放功能、图像播放功能等)等;存储数据区可存储根据手机500的使用所创建的数据(比如音频数据、电话本等)等。此外,存储器560可以包括高速随机存取存储器,还可以包括非易失性存储器,例如至少一个磁盘存储器件、闪存器件、或其他易失性固态存储器件。在以下实施例中,存储器560存储有使得手机500能运行的操作系统,例如苹果公司所开发的操作系统,谷歌公司所开发的开源操作系统,微软公司所开发的操作系统等。The
输入设备570(如触摸屏)可用于接收输入的数字或字符信息,以及产生与手机500的用户设置以及功能控制有关的信号输入。具体地,输入设备570可以包括设置在手机500正面的触控面板,可收集用户在其上或附近的触摸操作(比如用户使用手指、触笔等任何适合的物体或附件在触控面板上或在触控面板附近的操作),并根据预先设定的程式驱动相应的连接装置。可选的,触控面板可包括触摸检测装置和触摸控制器两个部分。其中,触摸检测装置检测用户的触摸方位,并检测触摸操作带来的信号,将信号传送给触摸控制器;触摸控制器从触摸检测装置上接收触摸信息,并将它转换成触点坐标,再送给处理器510,并能接收处理器510发来的指令并加以执行。此外,可以采用电阻式、电容式、红外线以及表面声波等多种类型实现触控面板。An
显示器531(即显示屏)可用于显示由用户输入的信息或提供给用户的信息以及手机500的各种菜单的图形用户界面(Graphical User Inter face,GUI)。显示器531可包括设置在手机500正面的显示面板。其中,显示面板可以采用液晶显示器、发光二极管等形式来配置。The display 531 (i.e., display screen) can be used to display information input by the user or information provided to the user and a graphical user interface (GUI) of various menus of the
当触控面板检测到在其上或附近的触摸操作后,传送给处理器510以确定触摸事件,随后处理器510根据触摸事件的类型在显示面板上提供相应的视觉输出。虽然在图5中,触控面板与显示面板是作为两个独立的部件来实现手机500的输入和输入功能,但是在某些实施例中,可以将触控面板与显示面板集成而实现手机500的输入和输出功能,集成后的触控面板与显示面板可以简称为触摸显示屏。When the touch panel detects a touch operation on or near it, it is transmitted to the
在另外的一些实施例中,上述触控面板还可以设置有压力感应传感器,这样用户在上述触控面板上进行触摸操作时,触控面板还能检测到该触摸操作的压力,进而手机500能够更准确地检测该触摸操作。In other embodiments, the touch panel may further be provided with a pressure sensing sensor, so that when the user performs a touch operation on the touch panel, the touch panel can also detect the pressure of the touch operation, and thus the
手机500还可以包括至少一种传感器543,比如光传感器、运动传感器以及其他传感器。具体地,光传感器可包括环境光传感器及接近传感器,其中,环境光传感器可根据环境光线的明暗来调节显示面板的亮度,接近光传感器设置在手机500的正面,当在手机500移动到耳边时,根据接近光传感器的检测,手机500关闭显示面板的电源,这样手机500可以进一步节省电量。作为运动传感器的一种,加速计传感器可检测各个方向上(一般为三轴)加速度的大小,静止时可检测出重力的大小及方向,可用于识别手机姿态的应用(比如横竖屏转化、相关游戏、磁力计姿态校准)、振动识别相关功能(比如计步器、敲击)等;至于手机500还可配置的陀螺仪、气压计、湿度计、温度计、红外线传感器等其他传感器,在此不再赘述。The
CODEC 540、扬声器541,麦克风542可提供用户与手机500之间的音频接口。CODEC 540可将接收到的音频数据转换后的电信号,传输到扬声器541,由扬声器541转换为声音信号输出;另一方面,麦克风542将收集的声音信号转换为电信号,由CODEC 540接收后转换为音频数据,再将音频数据输出至RF电路510以发送给比如另一手机,或者将音频数据输出至存储器560以便进一步处理。The
处理器510是手机500的控制中心,利用各种接口和线路连接整个手机的各个部分,通过运行或执行存储在存储器560内的软件程序,以及调用存储在存储器560内的数据,执行手机500的各种功能和处理数据,从而对手机进行整体监控。在一些实施例中,处理器510可包括一个或多个处理单元;处理器510还可以集成应用处理器和调制解调处理器,其中,应用处理器主要处理操作系统、用户界面和应用程序等,调制解调处理器主要处理无线通信。可以理解的是,上述调制解调处理器也可以不集成到处理器510中。The
上述手机500还可以包括蓝牙模块和Wi-Fi模块。蓝牙模块用于通过蓝牙这种短距离通讯协议来与其他设备进行信息交互。例如,手机500可以通过蓝牙模块与同样具备蓝牙模块的可穿戴电子设备(例如智能手表)建立蓝牙连接,从而进行数据交互。Wi-Fi属于短距离无线传输技术,手机500可以通过Wi-Fi模块帮助用户收发电子邮件、浏览网页和访问流媒体等,它为用户提供了无线的宽带互联网访问。The above
手机500还包括给各个部件供电的电源591(比如电池)。电源可以通过电源管理系统与处理器510逻辑相连,从而通过电源管理系统实现管理充电、放电、以及功耗等功能。可以理解的是,在以下实施例中,电源591可以用于给显示面板及触控面板供电。以下实施例中的方法均可以在具有上述硬件结构的手机500中实现。The
本申请实施例中与支持DR-DSDS的终端通信的无线接入网设备可以为基站。下面结合图6对基站的各个构成部件进行具体的介绍。如图6所示,基站包括:基带单元(Base Band Unit,BBU)、射频拉远单元(Radio Remote Unit,RRU)和天线,BBU和RRU之间可以用光纤连接,RRU再通过同轴电缆及功分器(耦合器)连接至天线,一般一个BBU可以连接多个RRU。The radio access network device in communication with the terminal supporting the DR-DSDS in the embodiment of the present application may be a base station. The components of the base station will be specifically described below with reference to FIG. As shown in FIG. 6, the base station includes: a baseband unit (BBU), a radio remote unit (RRU), and an antenna. The BBU and the RRU can be connected by using an optical fiber, and the RRU is further connected by a coaxial cable. The power splitter (coupler) is connected to the antenna, and generally one BBU can connect multiple RRUs.
RRU可以包括4个模块:数字中频模块、收发信机模块、功放模块和滤波模块。数字中频模块用于光传输的调制解调、数字上下变频、数模转换等;收发信机模块完成中频信号到射频信号的变换;再经过功放模块放大以及滤波模块滤波后,将射频信号通过天线发射出去。The RRU can include four modules: a digital intermediate frequency module, a transceiver module, a power amplifier module, and a filtering module. The digital intermediate frequency module is used for modulation and demodulation of optical transmission, digital up-conversion, digital-to-analog conversion, etc.; the transceiver module completes the conversion of the intermediate frequency signal to the radio frequency signal; and after the amplification of the power amplifier module and the filtering of the filtering module, the RF signal is transmitted through the antenna. Launched.
BBU用于完成Uu接口(即终端设备与基站之间的接口)的基带处理功能(编码、复用、调制和扩频等)、无线网络控制器(Radio Network Controller,RNC)和基站之间的逻辑接口的接口功能、信令处理、本地和远程操作维护功能,以及基站系统的工作状态监控和告警信息上报功能等。The BBU is used to complete the baseband processing functions (encoding, multiplexing, modulation, and spreading) of the Uu interface (ie, the interface between the terminal device and the base station), and the radio network controller (Radio Network Controller,RNC) The interface function of the logical interface between the base station, the signaling processing, the local and remote operation and maintenance functions, and the working status monitoring and alarm information reporting function of the base station system.
如图7所示,图3中的MME 30包括通信接口70、处理器71和存储器72。其中,通信接口70、处理器71与存储器72之间通过系统总线73连接,并完成相互间通信。As shown in FIG. 7, the
通信接口70用于与其他设备或通信网络通信,如以太网,WLAN等。
存储器72用于存储终端的上下文,还可以用于存储软件程序以及应用模块,处理器71通过运行存储在存储器72的软件程序以及应用模块,从而执行MME 30的各种功能应用以及数据处理。The
存储器72可主要包括存储程序区720和存储数据区721,其中,存储程序区720可存储操作系统、至少一个功能所需的应用程序,比如发送通知消息等;存储数据区721可存储终端的上下文。The
其中,存储器72可以包括易失性存储器(Volatile Memory),例如随机存取存储器(Random-Access Memory,RAM);该存储器也可以包括非易失性存储器(non-volatile memory),例如只读存储器(Read-Only Memory,ROM),快闪存储器(Flash Memory),硬盘(Hard Disk Drive,HDD)、固态硬盘(Solid-State Drive,SSD)、磁盘存储介质或者其他磁存储设备、或者能够用于携带或存储具有指令或数据结构形式的期望的程序代码并能够由远端设备存取的任何其他介质,但不限于此。The
存储器72可以是独立存在,通过系统总线73与处理器71相连接。存储器72也可以和处理器71集成在一起。
处理器71是MME 30的控制中心。处理器71利用各种接口和线路连接整个么么30的各个部分,通过运行或执行存储在存储器72内的软件程序和/或应用模块,以及调用存储在存储器72内的数据,执行MME 30的各种功能和处理数据,从而对MME 30进行整体监控。The
在具体实现中,作为一种实施例,处理器71可以包括一个或多个CPU,例如图7中的处理器71包括CPU 0和CPU 1。In a specific implementation, as an embodiment, the
系统总线73可以是外设部件互连标准(英文:Peripheral Component Interconnect,简称:PCI)总线或扩展工业标准结构(英文:Extended Industry Standard Architecture,简称:EISA)总线等。The system bus 73 may be a Peripheral Component Interconnect (PCI) bus or an Extended Industry Standard Architecture (EISA) bus.
系统总线73可以分为地址总线、数据总线、控制总线等。本申请实施例中为了清楚说明,在图7中将各种总线都示意为系统总线73。The system bus 73 can be divided into an address bus, a data bus, a control bus, and the like. For the sake of clarity in the embodiments of the present application, various buses are illustrated as the system bus 73 in FIG.
现对本申请实施例提供的实现双卡双待双通的通信方法进行详细说明。The communication method for implementing dual card dual standby dual communication provided by the embodiment of the present application is now described in detail.
图8为本申请实施例提供的实现双卡双待双通的通信方法的流程示意图,该实现双卡双待双通的通信方法可以应用于图2所示的应用场景中或者应用于图3所示的通信系统中。FIG. 8 is a schematic flowchart of a communication method for implementing dual-card dual-standby dual-pass according to an embodiment of the present disclosure. The communication method for implementing dual-card dual-standby dual-pass can be applied to the application scenario shown in FIG. 2 or applied to FIG. 3 . In the communication system shown.
本实施例以图2所示的应用场景,无线接入网设备为eNB,第一业务和第二业务均为语音通话为例进行说明。这样,第一通信连接是指与SIM卡1相关的语音通话,第二通信连接是指与SIM卡2相关的语音通话。In this embodiment, the application scenario shown in FIG. 2 is used, and the radio access network device is an eNB, and the first service and the second service are both voice calls as an example. Thus, the first communication connection refers to the
如图8所示,本申请实施例提供的实现双卡双待双通的通信方法如下。As shown in FIG. 8, the communication method for implementing dual card dual standby dual communication provided by the embodiment of the present application is as follows.
S801、终端110通过SIM卡1与终端120进行语音通信。S801. The terminal 110 performs voice communication with the terminal 120 through the
可以理解,在终端110通过SIM卡1与终端120进行语音通信的过程中(即终端110处于第一通信连接时),因为终端110的SIM卡1处于通话状态,终端110向基站111发送第一通信连接的语音包。因此,终端110的SIM卡1通过处理器占用终端110中的Tx射频资源(即射频Tx通路)。It can be understood that, in the process that the terminal 110 performs voice communication with the terminal 120 through the SIM card 1 (that is, when the terminal 110 is in the first communication connection), since the
S802、终端130向基站131发送用于呼叫终端110的SIM卡2的呼叫请求。S802. The terminal 130 transmits a call request for calling the SIM card 2 of the terminal 110 to the
S803、基站131在接收到S802中的呼叫请求后,请求核心网设备寻呼被叫终端(即终端110的SIM卡2)。S803. After receiving the call request in S802, the
具体的,基站131在接收到呼叫请求后,经由MME 31向SGW 30转发该呼叫请求。Specifically, after receiving the call request, the
S804、核心网设备向基站112发送携带第三标识的通知消息,该通知消息用于指示基站112寻呼终端110的SIM卡2。S804. The core network device sends a notification message carrying the third identifier to the
具体的,SGW 30在接收到上述呼叫请求,并确定终端110的SIM卡2未与网络侧建立无线连接链路后,向MME 31发送携带用于表示终端110的SIM卡2的优先级的第一信息的第一消息(本申请实施例中的第一消息可以为创建承载请求),指示MME 31向终端110的SIM卡2的TA List中的基站(如eNB 112)发送通知消息。这里,第一信息可以为分配和保留优先级(Allocation And Retention Priority,ARP)。Specifically, after receiving the call request, and determining that the SIM card 2 of the terminal 110 does not establish a wireless connection link with the network side, the
MME 31在接收到携带第一信息的第一消息后,根据第一信息确定终端110的SIM卡2的优先级是否高于预设等级。在终端110的SIM卡2的优先级高于预设等级的情况下,MME 31向基站112发送携带第三标识的通知消息,指示基站112寻呼终端110的SIM卡2,并建立与终端110的SIM卡2的第二业务的连接。这里,第三标识用于指示第二业务。本申请实施例中的第二业务可以为语音通话,也可以为数据业务,本申请实施例对此不作具体限定。图8所示的实施例以第二业务为语音通话为例。After receiving the first message carrying the first information, the
可选的,本申请实施例中携带第三标识的通知消息(本申请实施例中MME向基站发送的消息)可以是在现有的3GPP的36.413协议9.1.6所描述的MME向基站发送的消息的基础上进行修改的。Optionally, the notification message carrying the third identifier in the embodiment of the present application (the message sent by the MME to the base station in the embodiment of the present application) may be sent by the MME to the base station in the existing 3GPP 36.413 protocol 9.1.6. The message was modified based on it.
示例性的,本申请实施例中携带第三标识的通知消息如表1所示。现有的3GPP的36.413协议9.1.6所描述的MME向基站发送的消息中,寻呼优先级(Paging Priority)是可选的(Option,O),且未给出寻呼优先级的取值和相应说明。本申请实施例中携带第三标识的通知消息中,Paging Priority是必选的(Mandatory,O),寻呼优先级的取值为寻呼对象的优先级别,且某一终端的寻呼优先级的数值越小,说明该终端的寻呼优先级越高。For example, the notification message carrying the third identifier in the embodiment of the present application is as shown in Table 1. In the message sent by the MME to the base station described in the existing 3GPP 36.413 protocol 9.1.6, the paging priority (Paging Priority) is optional (Option, O), and the value of the paging priority is not given. And corresponding instructions. In the notification message carrying the third identifier in the embodiment of the present application, the Paging Priority is mandatory (Mandatory, O), the value of the paging priority is the priority of the paging object, and the paging priority of a certain terminal The smaller the value, the higher the paging priority of the terminal.
表1Table 1
需要说明的是,携带第三标识的通知消息除了表1所示的内容以外,还可以包括其他内容,例如分配的重要性(Assigned Criticality)。It should be noted that the notification message carrying the third identifier may include other content, such as the assigned importance (Assigned Criticality), in addition to the content shown in Table 1.
结合表1,当第二业务表示语音通话时,本申请实施例中的第三标识可以为PrioLevel=1。当第二业务表示数据业务时,本申请实施例中的第三标识可以为PrioLevel=2。With reference to Table 1, when the second service represents a voice call, the third identifier in the embodiment of the present application may beThought PrioLevel=1. When the second service indicates the data service, the third identifier in the embodiment of the present application may be PrioLevel=2.
S805、基站112在接收到核心网设备发送的通知消息后,向终端110发送寻呼(paging)请求。S805. After receiving the notification message sent by the core network device, the
具体的,在核心网设备发送的通知消息携带第三标识的情况下,基站112根据该通知消息向终端110发送携带用于表示第二业务的第一标识的寻呼请求,该寻呼请求用于请求建立与终端110的SIM卡2的第二业务的连接。Specifically, in a case that the notification message sent by the core network device carries the third identifier, the
可选的,本申请实施例中携带第一标识的寻呼请求可以是在现有的3GPP的36.331协议所描述的paging消息的基础上进行修改的。Optionally, the paging request carrying the first identifier in the embodiment of the present application may be modified based on the paging message described in the existing 3GPP 36.331 protocol.
示例性的,在第二业务为语音通话的情况下,本申请实施例中携带第一标识的寻呼请求为:For example, in the case that the second service is a voice call, the paging request carrying the first identifier in the embodiment of the present application is:
可以看出,该示例中,本申请实施例中的第一标识用“call indication”表示。当Paging-v13xx-IEs中包括“call indication”时,说明该寻呼请求携带第一标识。It can be seen that, in this example, the first identifier in the embodiment of the present application is represented by “call indication”. When the "call indication" is included in the Paging-v13xx-IEs, the paging request carries the first identifier.
在核心网设备发送的通知消息未携带第三标识的情况下,基站112根据现有协议的规定,向终端110发送现有的寻呼请求。In the case that the notification message sent by the core network device does not carry the third identifier, the
S806、终端110接收基站112发送的对SIM卡2的寻呼请求。S806. The terminal 110 receives a paging request sent by the
在本实施例的S801中,终端110已经通过SIM卡1与终端120进行语音通信。终端110通过SIM卡1与终端120进行语音通信占用了终端110中的射频Rx1通路。那么终端110便可以通过射频Rx2通路接收对SIM卡2的寻呼请求。In S801 of the embodiment, the terminal 110 has performed voice communication with the terminal 120 through the
对SIM卡2的寻呼请求为建立第二通信连接的寻呼请求,该第二通信连接与SIM卡2相关。一般的,对SIM卡2的寻呼请求可以为语音的寻呼请求,也可以为其他业务的寻呼请求。例如,对SIM卡2的寻呼请求可以短信业务的寻呼请求。The paging request to the SIM card 2 is a paging request to establish a second communication connection, which is associated with the SIM card 2. Generally, the paging request for the SIM card 2 may be a paging request for voice, or may be a paging request for other services. For example, a paging request to the SIM card 2 may be a paging request for a short message service.
S807、终端110判断寻呼(paging)请求是否携带用于表示第二业务的第一标识。S807. The terminal 110 determines whether the paging request carries a first identifier for indicating the second service.
一般而言,终端在接收到寻呼请求后,可以响应该寻呼请求向基站发送RRC信令,以便于可以与基站建立RRC连接,执行该寻呼请求对应的业务。但是,在“当终端110的SIM卡1处于通话状态时,该终端110接收到对SIM卡2的寻呼请求”的场景下,如果终端110响应该寻呼请求,占用射频Tx通路向网络设备发送RRC信令,则会因为RRC信令占用射频Tx通路,导致终端110待发送的SIM卡1的语音包延迟发送,影响通话卡(SIM卡1)的语音通信质量。Generally, after receiving the paging request, the terminal may send RRC signaling to the base station in response to the paging request, so that the RRC connection may be established with the base station, and the service corresponding to the paging request is executed.However, in the scenario of "the terminal 110 receives the paging request for the SIM card 2 when the
但是,终端110在执行SIM卡1的语音业务的过程中,不会一直占用射频Tx通路发送SIM卡1的语音包。即终端110在SIM卡1处于通话状态时,会有一些空闲时段在射频Tx通路上不传输SIM卡1的语音包。例如,每个子帧中都会有一段时间(简称空闲时段),终端110在该空闲时段内,在射频Tx通路上不传输SIM卡1的语音包。However, in the process of performing the voice service of the
例如,本申请实施例这里以时分双工(Time Division Duplexing,TDD)LTE网络为例,请参考表2,其示出了TDD-LTE网络中的上下行时隙配比表实例。For example, the embodiment of the present application is exemplified by a Time Division Duplexing (TDD) LTE network. Referring to Table 2, an example of an uplink and downlink time slot matching table in a TDD-LTE network is shown.
表2Table 2
如表2所示,TDD-LTE网络可以包括7种上下行时隙配比(Uplink-Downlink Configuration,UL-DL Configuration)。表2所示的7种UL-DL Configuration中,UL-DL(0)、UL-DL(1)、UL-DL(2)和UL-DL(6)的上下行子帧切换周期(Switch-point periodicty)为5ms,UL-DL(3)、UL-DL(4)和UL-DL(5)的上下行子帧切换周期为10ms。其中,表2中的“U”用于表示传输上行数据(如上行语音包)的时隙,“D”用于表示传输下行数据的时隙。As shown in Table 2, the TDD-LTE network may include seven uplink-downlink configuration (UL-DL Configuration). Among the seven UL-DL configurations shown in Table 2, the uplink-downlink subframe switching period of UL-DL (0), UL-DL (1), UL-DL (2), and UL-DL (6) (Switch- The point periodicty is 5 ms, and the uplink and downlink subframe switching periods of UL-DL (3), UL-DL (4), and UL-DL (5) are 10 ms. Wherein, "U" in Table 2 is used to indicate a time slot in which uplink data (such as an uplink voice packet) is transmitted, and "D" is used to indicate a time slot in which downlink data is transmitted.
由表2所示的7种上下行时隙配比可知,上行数据(如上行语音包)仅在一个子帧中的部分时隙(即上行时隙“U”)传输,而其他时隙不会传输上行数据(如上行语音包)。例如,在UL-DL(2)中,只有时隙2和时隙7用于传输上行数据(如上行语音包),而其他时隙并不传输上行数据。It can be seen from the 7 kinds of uplink and downlink time slot ratios shown in Table 2 that uplink data (such as uplink voice packets) is transmitted only in some time slots (ie, uplink time slots "U") in one subframe, while other time slots are not. Uplink data (such as uplink voice packets) will be transmitted. For example, in UL-DL (2), only slot 2 and slot 7 are used to transmit uplink data (such as uplink voice packets), while other slots do not transmit uplink data.
由此可见,每个子帧中都会有一段时间(简称空闲时段),在该空闲时段内,SIM卡1是不会在射频Tx通路上传输上行语音包的。因此,即使终端110的SIM卡2在上述空闲时段内使用终端110的射频Tx通路响应上述寻呼请求与基站112交互,建立RRC连接,也不会影响终端110的SIM卡1与终端120的语音通信质量。It can be seen that there is a period of time (referred to as an idle period) in each subframe, during which the
如此,为了降低终端110响应上述寻呼请求对SIM卡1的语音通信质量产生影响,本申请实施例中,终端110可以仅仅在该寻呼请求是请求建立与SIM卡1的语音通话的情况下,响应该寻呼请求。As such, in order to reduce the impact of the terminal 110 on the voice communication quality of the
相应的,终端110在接收到基站112发送的对SIM卡2的寻呼请求后,需判断该寻呼请求是否携带第一标识。Correspondingly, after receiving the paging request sent by the
S808、在寻呼请求未携带第一标识的情况下,终端110保持SIM卡1与终端120之间的语音通话(即终端110继续处理第一通信连接)。S808. In case the paging request does not carry the first identifier, the terminal 110 maintains a voice call between the
寻呼请求未携带第一标识说明该寻呼请求不是用于语音通话,终端110可继续保持SIM卡1与终端120之间的语音通话,对该寻呼请求不作响应,保证了SIM卡1与终端120之间的语音通话不受干扰。The paging request does not carry the first identifier, indicating that the paging request is not for voice call, and the terminal 110 may continue to maintain the voice call between the
S809、在寻呼请求携带第一标识的情况下,终端110响应该寻呼请求。S809. In case the paging request carries the first identifier, the terminal 110 responds to the paging request.
S810、终端110响应寻呼请求,向基站112发送RRC信令,基于SIM卡2与基站112建立RRC连接。S810. The terminal 110 sends RRC signaling to the
可选的,本申请实施例中终端110向基站112发送的RRC信令的格式与现有的RRC信令的格式相同。Optionally, the format of the RRC signaling sent by the terminal 110 to the
可选的,本申请实施例中终端110向基站112发送的RRC信令在现有的RRC信令的基础上还添加了第二标识,该第二标识用于表示终端110主动请求建立语音通话链接。在这种场景中,网络侧设备优先为终端112建立语音通话链接,提高了终端设备110的SIM卡2的接通率。Optionally, the RRC signaling sent by the terminal 110 to the
示例性的,本申请实施例中终端110向网络设备发送的RRC信令为RRC连接请求,该RRC连接请求为:For example, the RRC signaling sent by the terminal 110 to the network device in the embodiment of the present application is an RRC connection request, and the RRC connection request is:
该示例中,本申请实施例中的第二标识用“mt-Voicecall”表示。当EstablishmentCause中包括“mt-Voicecall”时,说明终端110主动请求建立语音通话链接。In this example, the second identifier in the embodiment of the present application is represented by “mt-Voicecall”. When "mt-Voicecall" is included in the EstablishmentCause, the terminal 110 actively requests to establish a voice call link.
S811、终端110接收到基站112发送的对SIM卡2的邀请(Invite)消息。S811. The terminal 110 receives an invite (Invite) message sent by the
由于终端110在确定上述寻呼请求携带第一标识后,才向基站112发送RRC信令,因此基站112可向终端110发送Invite消息(即第二通信连接的Invite消息)。Since the terminal 110 transmits the RRC signaling to the
S812、终端110与基站112交互SIP信令。S812. The terminal 110 interacts with the
S813、终端110接收基站112发送的SIM卡2的来电信息。S813. The terminal 110 receives the incoming call information of the SIM card 2 sent by the
其中,当终端110从基站112获取到来电信息后,本申请一些实施例的方法还可以包括S814:The method of some embodiments of the present application may further include S814 after the terminal 110 obtains the incoming call information from the
S814、终端110进行SIM卡2的来电提醒。S814. The terminal 110 performs an incoming call reminder of the SIM card 2.
举例来说,其中,终端110进行来电提醒包括:终端110采用以下一种或多种提醒方式进行来电提醒:终端110响铃、终端110在用户界面显示用户C来电、终端振动、终端闪光灯闪光等。For example, the terminal 110 performs the call alert: the terminal 110 performs the call alert by using one or more of the following reminders: the terminal 110 rings, and the terminal 110 displays the user C call, the terminal vibration, the terminal flash, and the like in the user interface. .
其中,用户根据来电提醒的提示,可以选择拒绝SIM卡2的来电请求,继续进行SIM卡1的语音通话。用户也可以选择挂断SIM卡1的语音通话,转而接听SIM卡2的语音通话。The user may choose to reject the incoming call request of the SIM card 2 according to the prompt of the incoming call reminder, and continue the voice call of the
示例性的,请参考图9,其示出了本申请实施例提供的一种终端通话界面实例示意图。在终端110通过SIM卡1与终端120(用户B)进行语音通话的过程中,假设终端110的通讯录中保存有用户B的联系方式,终端110则可以显示如图9A所示的用户图形界面(Graphical User Inter face,GUI)。如图9A所示的GUI中可以包括:来电用户信息(如“用户B”)、通话时间信息“如08:01”、静音图标901、拨号键盘图标902、免提图标903、添加通话图标904和通讯录图标905以及挂机图标906等图标。其中,图9A所示的各个图标的功能可以参考现有技术中相应图标功能的介绍,本申请实施例这里不再赘述。For example, please refer to FIG. 9 , which is a schematic diagram of an example of a terminal call interface provided by an embodiment of the present application. In the process of the terminal 110 performing a voice call with the terminal 120 (the user B) through the
在终端110的SIM卡1与终端120进行语音通话的过程中,如果终端110接收到接收到用户C对SIM卡2的来电,终端110在获取到SIM卡2的来电信息(如用户C的电话号码)后,终端110则可以显示如图9B所示的用户图形界面(Graphical User Interface,GUI)。如图9B所示的GUI中可以包括:SIM卡2的来电提醒信息(如“SIM卡2:用户C来电”)906、结束并接听图标907、继续并挂断图标908和信息图标909等图标。其中,图标907用于结束原通话(即SIM卡1上与用户B的通话)并接听新通话(即SIM卡2上与用户C的通话)。图标908用于继续原通话(即SIM卡1上与用户B的通话)并挂断新通话(即SIM卡2上与用户C的通话)。信息图标909用于进入信息编辑窗口,以向终端130(即用户C)发送“稍后联系您!”、“会议中,稍后联系!”等消息。在另一些实施例中,终端110在获取到SIM卡2的来电信息(如用户C的电话号码)后,可以仅显示SIM卡2的来电提醒信息(如“SIM卡2:用户C来电”)906。在另一些实施例中,信息图标909可以在用户选择挂断原通话或新通话后再显示。In the process of making a voice call between the
本申请实施例提供的实现双卡双待双通的通信方法,在终端110的SIM卡1处于通话状态时,终端110只有在接收到对SIM卡2的寻呼请求,且该寻呼请求携带表示第二业务的第一标识时,才会响应该寻呼请求,占用射频Tx资源发送RRC信令,与基站建立RRC连接。如此,终端110可以实现双卡双待双通,且降低了用于除第二业务以外的寻呼请求对SIM卡1的语音通话的干扰,保证了SIM卡1的语音通话质量。In the communication method for implementing dual-card dual-standby dual-pass provided by the embodiment of the present application, when the
综上而言,通过本方案,终端110可以在不影响通话卡的语音通话质量的前提下,可以实现终端的双卡双待双通,可以提高用户体验。In summary, the terminal 110 can implement the dual-card dual-standby dual-pass of the terminal without affecting the quality of the voice call of the calling card, and can improve the user experience.
在一些实施例中,终端110可以在显示如图9所示的GUI之后,根据用户对如图9所示的GUI中的图标的选择,判断用户是否接听SIM卡2的来电请求。如图10所示,在S814之后,本申请实施例的方法还可以包括S815和S816。In some embodiments, the terminal 110 may determine whether the user answers the incoming call request of the SIM card 2 according to the user's selection of the icon in the GUI as shown in FIG. 9 after displaying the GUI as shown in FIG. 9. As shown in FIG. 10, after S814, the method in this embodiment of the present application may further include S815 and S816.
S815、终端110判断用户是否接听SIM卡2的来电请求。S815. The terminal 110 determines whether the user answers the incoming call request of the SIM card 2.
如果用户选择拒绝SIM卡2的来电请求,继续进行SIM卡1的语音通话,终端110则可以断开SIM卡2的RRC连接。如果用户选择挂断SIM卡1的语音通话,转而接听SIM卡2的语音通话,终端110则可以继续执行S814及其后续方法流程。If the user chooses to reject the incoming call request of the SIM card 2 and continues the voice call of the
S816、终端110结束SIM卡1的语音通信,通过终端110的SIM卡2与终端130进行语音通信。S816. The terminal 110 ends the voice communication of the
其中,在终端110通过SIM卡2与终端130进行语音通信的过程中,终端110的SIM卡2占用终端110中的Tx射频资源(即射频Tx通路)。In the process of the terminal 110 performing voice communication with the terminal 130 through the SIM card 2, the SIM card 2 of the terminal 110 occupies the Tx radio resource (ie, the radio frequency Tx path) in the
如图11A所示,当用户手指触摸或接近显示在如图11A所示的显示面板上的图标907时,则表示用户想要结束原通话(即SIM卡1上与用户B的通话)并接听新通话(即SIM卡2上与用户C的通话),终端110的触控面板检测到在其上或附近的该触摸事件,传送给处理器410以确定触摸事件所对应的指令,随后处理器410根据该指令指示显示面板显示如图11B所示的GUI,以便用户可以与用户C进行语音通信。如图11B-11C所示,终端110可以在显示如图11B所示的GUI一段时间(如3秒)后,可以显示如图11C所示的GUI。As shown in FIG. 11A, when the user's finger touches or approaches the icon 907 displayed on the display panel as shown in FIG. 11A, it means that the user wants to end the original call (ie, the call with the user B on the SIM card 1) and answer the call. The new call (ie, the call on the SIM card 2 with the user C), the touch panel of the terminal 110 detects the touch event on or near it, and transmits it to the
在一些实施例中,终端110也可以不显示图11B所示的GUI,直接显示如图11C所示的GUI。In some embodiments, the terminal 110 may also display the GUI shown in FIG. 11C without displaying the GUI shown in FIG. 11B.
如图12A所示,当用户手指触摸或接近显示在如图12A所示的显示面板上的图标908时,则表示用户想要继续原通话(即SIM卡1上与用户B的通话)并挂断新通话(即SIM卡2上与用户C的通话),终端110的触控面板检测到在其上或附近的该触摸事件,传送给处理器410以确定触摸事件所对应的指令,随后处理器410根据该指令指示显示面板显示如图12B所示的GUI,以便用户可以继续与用户B进行语音通信。如图12B-12C所示,终端110可以在显示如图12B所示的GUI一段时间(如2秒)后,可以显示如图12C所示的GUI。As shown in FIG. 12A, when the user's finger touches or approaches the icon 908 displayed on the display panel as shown in FIG. 12A, it indicates that the user wants to continue the original call (ie, the call with the user B on the SIM card 1) and hangs. Breaking the new call (ie, the call on the SIM card 2 with the user C), the touch panel of the terminal 110 detects the touch event on or near it, and transmits it to the
在一些实施例中,终端110也可以不显示图12B所示的GUI,直接显示如图12C所示的GUI。In some embodiments, the terminal 110 may also display the GUI as shown in FIG. 12C without displaying the GUI shown in FIG. 12B.
可选的,用户根据来电提醒的提示,还可以选择保留SIM卡1的语音通话(SIM卡1的语音通话被暂停挂起),接听SIM卡2的语音通话。Optionally, according to the prompt of the incoming call reminder, the user may also choose to keep the voice call of the SIM card 1 (the voice call of the
示例性的,终端110还可以在来电提醒的界面上显示用于“保留原通话并接听新通话”的选项。当用户选择保留原通话并接听新通话时,终端110则可以将原通话(SIM卡1与终端120的语音通话)挂起,并接听新通话(SIM卡2与终端130的语音通话),即控制SIM卡2暂时占用射频Tx资源,以便于可以在结束新通话或者保留新通话后,继续接听原通话。其中,被保留(即挂起hold)的语音通话对应的SIM卡发生的上行数据包多为空包。Exemplarily, the terminal 110 may also display an option for "reserving the original call and answering the new call" on the interface of the incoming call alert. When the user chooses to keep the original call and answer the new call, the terminal 110 can suspend the original call (the voice call of the
示例性的,结合图11A所示的终端通话界面实例,当终端110的SIM卡1与终端120进行语音通话的过程中,如果SIM卡2接收到用户C的来电,终端110在获取到SIM卡2的来电信息(如用户C的电话号码)后,如果终端110的通讯录中保存有SIM卡2来电的电话号码和用户C的信息,终端则可以显示如图13A所示的GUI。其中,如图13A所示的GUI中除了如图9B所示的图标906、图标907、图标908和图标909之外,还可以包括保留并接听图标910。Exemplarily, in conjunction with the example of the terminal call interface shown in FIG. 11A, when the
如图14所示,在S815之后,如果用户选择保留SIM卡1的语音通话,接听SIM卡2的语音通话,则可以继续执行S817。As shown in FIG. 14, after S815, if the user selects to hold the voice call of the
S817、终端110保留SIM卡1与终端120的语音通信,通过SIM卡2与终端130进行语音通信。S817. The terminal 110 reserves voice communication between the
其中,当SIM卡2的语音通话请求(即用户C的来电请求)比较重要,用户A必须要接听该用户C来电请求,并且用户A不愿挂断原通话时,该用户A可以选择上述保留并接听图标910,控制终端110将原通话(SIM卡1与终端120的语音通话)挂起,并接听新通话(SIM卡2与终端130的语音通话),即控制SIM卡2暂时占用射频Tx资源,以便于可以在结束新通话或者保留新通话后,继续接听原通话。Wherein, when the voice call request of the SIM card 2 (ie, the call request of the user C) is important, the user A has to answer the call request of the user C, and the user A does not want to hang up the original call, the user A can select the above reservation. And answering the icon 910, the
如图13B所示,当用户手指触摸或接近显示在如图13B所示的显示面板上的图标510时,则表示用户想要保留原通话(即SIM卡1上与用户B的通话)并接听新通话(即SIM卡2上与用户C的通话),终端110的触控面板检测到在其上或附近的该触摸事件,传送给处理器410以确定触摸事件所对应的指令,随后处理器410根据该指令指示显示面板显示如图13C所示的GUI,以便用户可以将原通话挂起,并与用户C进行语音通信。As shown in FIG. 13B, when the user's finger touches or approaches the
如图15A所示,当用户手指触摸或接近显示在如图15A所示的显示面板上的挂断图标506时,则表示用户想要结束新通话(即SIM卡2上与用户C的通话)并继续原通话(即SIM卡1上与用户B的通话),终端110的触控面板检测到在其上或附近的该触摸事件,传送给处理器410以确定触摸事件所对应的指令,随后处理器410根据该指令指示显示面板显示如图15B所示的GUI,以便用户可以继续与用户B进行语音通信。如图15B-15C所示,终端110可以在显示如图13B所示的GUI一段时间(如2秒)后,可以显示如图15C所示的GUI。如图15C-15D所示,终端110可以在显示如图15C所示的GUI一段时间(如3秒)后,可以显示如图15D所示的GUI。As shown in FIG. 15A, when the user's finger touches or approaches the hangup icon 506 displayed on the display panel as shown in FIG. 15A, it indicates that the user wants to end the new call (ie, the call on the SIM card 2 with the user C). And continuing the original call (ie, the call on the
本申请实施例提供的实现双卡双待双通的通信方法,在终端110的SIM卡1处于通话状态时,终端110只有在接收到对SIM卡2的寻呼请求,且该寻呼请求携带表示第二业务的第一标识时,才会响应该寻呼请求,占用射频Tx资源发送RRC信令,与基站建立RRC连接。如此,终端110可以实现双卡双待双通,且降低了用于除第二业务以外的寻呼请求对SIM卡1的语音通话的干扰,保证了SIM卡1的语音通话质量。In the communication method for implementing dual-card dual-standby dual-pass provided by the embodiment of the present application, when the
可以理解的是,终端为了实现上述功能,其包含了执行各个功能相应的功能模块。本领域技术人员应该很容易意识到,结合本文中所公开的实施例描述的各示例的终端及算法步骤,本申请能够以硬件或硬件和计算机软件的结合形式来实现。某个功能究竟以硬件还是计算机软件驱动硬件的方式来执行,取决于技术方案的特定应用和设计约束条件。专业技术人员可以对每个特定的应用来使用不同方法来实现所描述的功能,但是这种实现不应认为超出本申请的范围。It can be understood that, in order to implement the above functions, the terminal includes corresponding functional modules for performing various functions. Those skilled in the art will readily appreciate that the present application can be implemented in a combination of hardware or hardware and computer software in conjunction with the terminal and algorithm steps of the various examples described in the embodiments disclosed herein. Whether a function is implemented in hardware or computer software to drive hardware depends on the specific application and design constraints of the solution. A person skilled in the art can use different methods to implement the described functions for each particular application, but such implementation should not be considered to be beyond the scope of the present application.
本申请实施例可以根据上述方法示例对终端进行划分,例如,可以对应各个功能划分各个模块或者单元,也可以将两个或两个以上的功能集成在一个处理模块中。上述集成的模块既可以采用硬件的形式实现,也可以采用软件模块或者单元的形式实现。其中,本申请实施例中对模块或者单元的划分是示意性的,仅仅为一种逻辑功能划分,实际实现时可以有另外的划分方式。The embodiment of the present application may divide the terminal according to the foregoing method example. For example, each module or unit may be divided according to each function, or two or more functions may be integrated into one processing module. The above integrated modules can be implemented in the form of hardware or in the form of software modules or units. The division of modules or units in the embodiments of the present application is schematic, and is only a logical function division, and may be further divided in actual implementation.
图16示出了上述实施例中所涉及的终端的一种可能的结构示意图。该终端1600包括第一SIM卡接口和第二SIM卡接口,该第一SIM卡接口用于与第一SIM卡(即上述SIM卡1)通信,所述第二SIM卡接口用于与第二SIM卡(即上述SIM卡2)通信。如图16所示,该终端1600包括:接收模块1601、发送模块1602和响应模块1603。FIG. 16 is a schematic diagram showing a possible structure of a terminal involved in the above embodiment. The terminal 1600 includes a first SIM card interface for communicating with a first SIM card (ie, the
接收模块1601用于支持方法实施例中的S801,S806,S811,S812,S813等,和/或用于本文所描述的技术的其它过程。The
发送模块1602用于支持方法实施例中的S801,S810,S812,和/或用于本文所描述的技术的其它过程。The
响应模块1603用于支持方法实施例中的S809,和/或用于本文所描述的技术的其它过程。The
进一步的,上述终端1600还可以包括存储模块。该存储模块用于保存用户在终端1600创建的数据,如电话本,还可以用于保存计算机程序代码。Further, the terminal 1600 may further include a storage module. The storage module is used to store data created by the user at the terminal 1600, such as a phone book, and can also be used to save computer program code.
进一步的,上述终端1600还可以包括显示模块。该显示模块用于显示终端1600的来电提醒界面,例如,显示模块用于显示如图9、图11、图12、图13和图15中任一附图所示的GUI。Further, the terminal 1600 may further include a display module. The display module is configured to display an incoming call reminder interface of the
进一步的,上述终端1600还可以包括判断模块。该判断模块可以用于支持方法实施例中的S807、S815,和/或用于本文所描述的技术的其它过程。Further, the terminal 1600 may further include a determining module. The determination module can be used to support S807, S815, and/or other processes for the techniques described herein in the method embodiments.
进一步的,上述终端1600还可以包括建立模块。该建立模块用于支持方法实施例中的S810中“建立RRC连接”的操作。Further, the foregoing terminal 1600 may further include an establishing module. The setup module is used to support the operation of "establishing an RRC connection" in S810 in the method embodiment.
进一步的,如图17所示,上述终端1600还可以包括来电提醒模块1604。该来电提醒模块1604用于支持方法实施例中的S814,和/或用于本文所描述的技术的其它过程。Further, as shown in FIG. 17, the terminal 1600 may further include an incoming
当然,终端1600包括但不限于上述所列举的单元模块,例如,终端1600还可以包括支持方法实施例中的S816中“结束SIM卡1的语音通信的操作”的控制模块等。并且,上述模块的具体所能够实现的功能也包括但不限于上述实例所述的方法步骤对应的功能,终端1600的其他单元以及终端1600的各个单元详细描述可以参考其所对应方法步骤的详细描述,本申请实施例这里不再赘述。Of course, the terminal 1600 includes, but is not limited to, the above-mentioned unit modules. For example, the terminal 1600 may further include a control module or the like that supports the "operation to end the voice communication of the
在采用集成的单元的情况下,上述响应模块1603、判断模块、建立模块、来电提醒模块1604等可以集成在一个处理单元中实现,该处理单元可以是处理器或控制器,例如可以是中央处理器(Central Processing Unit,CPU),通用处理器,数字信号处理器(Digital Signal Processor,DSP),专用集成电路(Application-Specific Integrated Circuit,ASIC),现场可编程门阵列(Field Programmable Gate Array,FPGA)或者其他可编程逻辑器件、晶体管逻辑器件、硬件部件或者其任意组合。其可以实现或执行结合本申请公开内容所描述的各种举例说明逻辑方框,模块和电路。所述处理单元也可以是实现计算功能的组合,例如包含一个或多个微处理器组合,DSP和微处理器的组合等等。该处理单元可以是图5中的处理器510,上述存储模块可以是图5中的存储器560。上述显示模块可以是图5中的显示器531。In the case of adopting an integrated unit, the above-mentioned
当终端1600运行时,该终端1600执行如图8、图10或图14所示的实施例的实现双卡双待双通的通信方法。具体的实现双卡双待双通的通信方法可参见上述如图8、图10或图14所示的实施例中的相关描述,此处不再赘述。When the terminal 1600 is running, the terminal 1600 performs a communication method of implementing dual card dual standby dual communication as in the embodiment shown in FIG. 8, FIG. 10 or FIG. For the specific communication method for implementing dual-card dual-standby dual-pass, refer to the above.The related description in the embodiment shown in FIG. 8, FIG. 10 or FIG. 14 is not described herein again.
本申请实施例还提供一种计算机存储介质,该计算机存储介质中存储有计算机程序代码,当终端1600的处理器执行该计算机程序代码时,该终端1600执行图8、图10或图14中的相关方法步骤实现上述实施例中的实现双卡双待双通的通信方法。The embodiment of the present application further provides a computer storage medium, where the computer program code is stored, and when the processor of the terminal 1600 executes the computer program code, the terminal 1600 performs the operations in FIG. 8, FIG. 10 or FIG. The related method steps implement the communication method for implementing dual card dual standby dual communication in the foregoing embodiment.
本申请实施例还提供了一种包含指令的计算机程序产品,当该计算机程序产品在终端1600上运行时,使得终端1600执行图8、图10或图14中的相关方法步骤实现上述实施例中的实现双卡双待双通的通信方法。The embodiment of the present application further provides a computer program product comprising instructions, when the computer program product is run on the terminal 1600, causing the terminal 1600 to perform the related method steps in FIG. 8, FIG. 10 or FIG. 14 to implement the foregoing embodiment. A communication method for implementing dual card dual standby dual communication.
其中,本申请实施例提供的终端、计算机存储介质或者包含指令的计算机程序产品均用于执行上文所提供的对应的方法,因此,其所能达到的有益效果可参考上文所提供的对应的方法中的有益效果,此处不再赘述。The terminal, the computer storage medium, or the computer program product including the instruction provided by the embodiment of the present application are all used to execute the corresponding method provided above. Therefore, the beneficial effects that can be achieved can be referred to the corresponding correspondence provided above. The beneficial effects of the method are not repeated here.
本申请实施例提供一种移动性管理实体MME,该MME用于执行以上实现双卡双待双通的通信方法中的MME 31所执行的步骤。本申请实施例提供的MME可以包括相应步骤所对应的模块。The embodiment of the present application provides a mobility management entity MME, which is used to perform the steps performed by the
本申请实施例可以根据上述方法示例对网络设备进行功能模块的划分,例如,可以对应各个功能划分各个功能模块,也可以将两个或两个以上的功能集成在一个处理模块中。上述集成的模块既可以采用硬件的形式实现,也可以采用软件功能模块的形式实现。本申请实施例中对模块的划分是示意性的,仅仅为一种逻辑功能划分,实际实现时可以有另外的划分方式。The embodiment of the present application may perform the division of the function module on the network device according to the foregoing method example. For example, each function module may be divided according to each function, or two or more functions may be integrated into one processing module. The above integrated modules can be implemented in the form of hardware or in the form of software functional modules. The division of modules in the embodiments of the present application is schematic, and is only a logical function division, and may be further divided in actual implementation.
在采用对应各个功能划分各个功能模块的情况下,图18示出上述实施例中所涉及的MME的一种可能的结构示意图。如图18所示,MME包括接收模块1800、确定模块1801和发送模块1802。接收模块1800用于支持本文所描述的“接收携带第一信息的第一消息”,和/或用于本文所描述的技术的其它过程。确定模块1801用于支持本文所描述的“根据第一信息确定终端110的SIM卡2的优先级是否高于预设等级”。发送模块1802用于支持本文所描述的“发送携带第三标识的通知消息”。其中,上述方法实施例涉及的各步骤的所有相关内容均可以援引到对应功能模块的功能描述,在此不再赘述。当然,本申请实施例提供的MME包括但不限于上述模块,例如MME还可以包括存储模块1803。存储模块1803可以用于存储终端的上下文,也可以用于存储该MME的程序代码和数据。FIG. 18 shows a possible structural diagram of the MME involved in the foregoing embodiment, in the case where the respective functional modules are divided by corresponding functions. As shown in FIG. 18, the MME includes a
需要说明的是,上述方法实施例涉及的各步骤的所有相关内容均可以援引到对应功能模块的功能描述,在此不再赘述。It should be noted that all the related content of the steps involved in the foregoing method embodiments may be referred to the functional descriptions of the corresponding functional modules, and details are not described herein again.
在采用集成的单元的情况下,上述确定模块单元可以是处理器或控制器,例如可以是CPU,通用处理器,DSP,ASIC,FPGA或者其他可编程逻辑器件、晶体管逻辑器件、硬件部件或者其任意组合。其可以实现或执行结合本申请公开内容所描述的各种举例说明逻辑方框,模块和电路。所述处理单元也可以是实现计算功能的组合,例如包含一个或多个微处理器组合,DSP和微处理器的组合等等。该处理单元可以是图7中的处理器71,上述存储模块1803可以是图7中的存储器72。上述接收模块1800和发送模块1802可以是图7中的通信接口70。Where an integrated unit is employed, the above determining module unit may be a processor or controller, such as a CPU, a general purpose processor, a DSP, an ASIC, an FPGA or other programmable logic device, a transistor logic device, a hardware component, or random combination. It is possible to implement or carry out the various illustrative logical blocks, modules and circuits described in connection with the present disclosure. The processing unit may also be a combination of computing functions, such as one or more microprocessor combinations, a combination of a DSP and a microprocessor, and the like. The processing unit may be the
当MME运行时,该MME执行如图8、图10或图14所示的实施例的实现双卡双待双通的通信方法。具体的实现双卡双待双通的通信方法可参见上述如图8、图10或图14所示的实施例中的相关描述,此处不再赘述。When the MME is running, the MME performs a communication method of implementing dual card dual standby dual communication as in the embodiment shown in FIG. 8, FIG. 10 or FIG. For a specific communication method for implementing the dual-card dual-standby dual-pass, refer to the related description in the foregoing embodiment shown in FIG. 8, FIG. 10 or FIG. 14, and details are not described herein again.
本申请实施例还提供了一种包含指令的计算机程序产品,当该计算机程序产品在MME上运行时,使得MME执行图8、图10或图14中的相关方法步骤实现上述实施例中的实现双卡双待双通的通信方法。The embodiment of the present application further provides a computer program product comprising instructions, when the computer program product is run on the MME, causing the MME to perform the related method steps in FIG. 8, FIG. 10 or FIG. 14 to implement the implementation in the foregoing embodiment. Dual card dual standby dual communication communication method.
本申请实施例提供一种无线接入网设备,该无线接入网设备用于执行以上实现双卡双待双通的通信方法中的任一基站所执行的步骤。本申请实施例提供的无线接入网设备可以包括相应步骤所对应的模块。An embodiment of the present application provides a radio access network device, where the radio access network device is configured to perform the steps performed by any one of the foregoing dual-card dual-standby dual-pass communication methods. The radio access network device provided in this embodiment of the present application may include a module corresponding to the corresponding step.
本申请实施例可以根据上述方法示例对无线接入网设备进行功能模块的划分,例如,可以对应各个功能划分各个功能模块,也可以将两个或两个以上的功能集成在一个处理模块中。上述集成的模块既可以采用硬件的形式实现,也可以采用软件功能模块的形式实现。本申请实施例中对模块的划分是示意性的,仅仅为一种逻辑功能划分,实际实现时可以有另外的划分方式。The embodiments of the present application may divide the function modules of the radio access network device according to the foregoing method. For example, each function module may be divided according to each function, or two or more functions may be integrated into one processing module. The above integrated modules can be implemented in the form of hardware or in the form of software functional modules. The division of modules in the embodiments of the present application is schematic, and is only a logical function division, and may be further divided in actual implementation.
在采用对应各个功能划分各个功能模块的情况下,图19示出上述实施例中所涉及的无线接入网设备的一种可能的结构示意图。如图19所示,无线接入网设备包括接收模块190和发送模块191。接收模块190用于支持该无线接入网设备执行上述实施例中的S802,S804,S810,S812等,和/或用于本文所描述的技术的其它过程;发送模块191用于支持该无线接入网设备执行上述实施例中的S803,S805,S811,S813等,和/或用于本文所描述的技术的其它过程。其中,上述方法实施例涉及的各步骤的所有相关内容均可以援引到对应功能模块的功能描述,在此不再赘述。当然,本申请实施例提供的无线接入网设备包括但不限于上述模块,例如无线接入网设备还可以包括存储模块192和处理模块193。存储模块192可以用于存储该无线接入网设备的程序代码和数据。FIG. 19 shows a possible structural diagram of the radio access network device involved in the foregoing embodiment, in the case where the respective functional modules are divided by corresponding functions. As shown in FIG. 19, the radio access network device includes a receiving
需要说明的是,上述方法实施例涉及的各步骤的所有相关内容均可以援引到对应功能模块的功能描述,在此不再赘述。It should be noted that all the related content of the steps involved in the foregoing method embodiments may be referred to the functional descriptions of the corresponding functional modules, and details are not described herein again.
在采用集成的单元的情况下,上述处理模块193可以是处理器或控制器,例如可以是CPU,通用处理器,DSP,ASIC,FPGA或者其他可编程逻辑器件、晶体管逻辑器件、硬件部件或者其任意组合。其可以实现或执行结合本申请公开内容所描述的各种举例说明逻辑方框,模块和电路。所述处理单元也可以是实现计算功能的组合,例如包含一个或多个微处理器组合,DSP和微处理器的组合等等。上述存储模块192可以是存储器。上述接收模块190和发送模块191可以是通信接口。In the case of an integrated unit, the
当处理模块193为处理器,接收模块190和发送模块191为通信接口,存储模块192为存储器时,本申请实施例所涉及的无线接入网设备可以为图20所示的无线接入网设备。When the
如图20所示,该无线接入网设备包括:通信接口2000、处理器2001和存储器2002。其中,通信接口2000、处理器2001与存储器2002之间通过系统总线2003连接,并完成相互间通信。As shown in FIG. 20, the radio access network device includes: a
当无线接入网设备运行时,该无线接入网设备执行如图8、图10或图14所示的实施例的实现双卡双待双通的通信方法。具体的实现双卡双待双通的通信方法可参见上述如图8、图10或图14所示的实施例中的相关描述,此处不再赘述。When the radio access network device is in operation, the radio access network device performs a dual-card dual-standby dual-pass communication method as in the embodiment shown in FIG. 8, FIG. 10 or FIG. For a specific communication method for implementing the dual-card dual-standby dual-pass, refer to the related description in the foregoing embodiment shown in FIG. 8, FIG. 10 or FIG. 14, and details are not described herein again.
通信接口2000用于与其他设备或通信网络通信,如以太网,WLAN等。
存储器2002用于存储软件程序以及应用模块,处理器2001通过运行存储在存储器2002的软件程序以及应用模块,从而执行无线接入网设备的各种功能应用以及数据处理。The
其中,存储器2002可以包括易失性存储器(Volatile Memory),例如RAM;该存储器也可以包括非易失性存储器(non-volatile memory),例如ROM,快闪存储器(Flash Memory),HDD、SSD、磁盘存储介质或者其他磁存储设备、或者能够用于携带或存储具有指令或数据结构形式的期望的程序代码并能够由无线接入网设备存取的任何其他介质,但不限于此。The
存储器2002可以是独立存在,通过系统总线2003与处理器2001相连接。存储器2002也可以和处理器2001集成在一起。The
处理器2001是无线接入网设备的控制中心。处理器2001利用各种接口和线路连接整个无线接入网设备的各个部分,通过运行或执行存储在存储器2002内的软件程序和/或应用模块,以及调用存储在存储器2002内的数据,执行无线接入网设备的各种功能和处理数据,从而对无线接入网设备进行整体监控。The processor 2001 is a control center of the radio access network device. The processor 2001 connects various portions of the entire radio access network device using various interfaces and lines, performs wireless by running or executing software programs and/or application modules stored in the
在具体实现中,作为一种实施例,处理器2001可以包括一个或多个CPU,例如图9中的处理器2001包括CPU 0和CPU 1。In a specific implementation, as an embodiment, the processor 2001 may include one or more CPUs, for example, the processor 2001 in FIG. 9 includes a
系统总线2003可以是PCI总线或EISA总线等。The system bus 2003 can be a PCI bus or an EISA bus or the like.
系统总线2003可以分为地址总线、数据总线、控制总线等。本申请实施例中为清楚说明,在图20中将各种总线都示意为系统总线2003。The system bus 2003 can be divided into an address bus, a data bus, a control bus, and the like. In the embodiment of the present application, for clarity, various buses are illustrated as the system bus 2003 in FIG.
本申请实施例还提供了一种包含指令的计算机程序产品,当该计算机程序产品在无线接入网设备上运行时,使得无线接入网设备执行图8、图10或图14中的相关方法步骤实现上述实施例中的实现双卡双待双通的通信方法。The embodiment of the present application further provides a computer program product comprising instructions, when the computer program product is run on a radio access network device, causing the radio access network device to perform the related method in FIG. 8, FIG. 10 or FIG. The step implements the communication method for implementing dual card dual standby dual communication in the foregoing embodiment.
通过以上的实施方式的描述,所属领域的技术人员可以清楚地了解到,为描述的方便和简洁,仅以上述各功能模块的划分进行举例说明,实际应用中,可以根据需要而将上述功能分配由不同的功能模块完成,即将装置的内部结构划分成不同的功能模块,以完成以上描述的全部或者部分功能。上述描述的系统,装置和单元的具体工作过程,可以参考前述方法实施例中的对应过程,在此不再赘述。Through the description of the above embodiments, those skilled in the art can clearly understand that for the convenience and brevity of the description, only the division of the above functional modules is illustrated. In practical applications, the above functions can be allocated according to needs. It is completed by different functional modules, that is, the internal structure of the device is divided into different functional modules to complete all or part of the functions described above. For the specific working process of the system, the device and the unit described above, reference may be made to the corresponding process in the foregoing method embodiments, and details are not described herein again.
在本申请所提供的几个实施例中,应该理解到,所揭露的系统,装置和方法,可以通过其它的方式实现。例如,以上所描述的装置实施例仅仅是示意性的,例如,所述模块或单元的划分,仅仅为一种逻辑功能划分,实际实现时可以有另外的划分方式,例如多个单元或组件可以结合或者可以集成到另一个系统,或一些特征可以忽略,或不执行。另一点,所显示或讨论的相互之间的耦合或直接耦合或通信连接可以是通过一些接口,装置或单元的间接耦合或通信连接,可以是电性,机械或其它的形式。In the several embodiments provided by the present application, it should be understood that the disclosed system, apparatus, and method may be implemented in other manners. For example, the device embodiments described above are merely illustrative. For example, the division of the modules or units is only a logical function division. In actual implementation, there may be another division manner, for example, multiple units or components may be used. Combinations can be integrated into another system, or some features can be ignored or not executed. Another point, the phase shown or discussedThe coupling or direct coupling or communication connection between each other may be an indirect coupling or communication connection through some interface, device or unit, and may be in an electrical, mechanical or other form.
所述作为分离部件说明的单元可以是或者也可以不是物理上分开的,作为单元显示的部件可以是或者也可以不是物理单元,即可以位于一个地方,或者也可以分布到多个网络单元上。可以根据实际的需要选择其中的部分或者全部单元来实现本实施例方案的目的。The units described as separate components may or may not be physically separated, and the components displayed as units may or may not be physical units, that is, may be located in one place, or may be distributed to multiple network units. Some or all of the units may be selected according to actual needs to achieve the purpose of the solution of the embodiment.
另外,在本申请各个实施例中的各功能单元可以集成在一个处理单元中,也可以是各个单元单独物理存在,也可以两个或两个以上单元集成在一个单元中。上述集成的单元既可以采用硬件的形式实现,也可以采用软件功能单元的形式实现。In addition, each functional unit in each embodiment of the present application may be integrated into one processing unit, or each unit may exist physically separately, or two or more units may be integrated into one unit. The above integrated unit can be implemented in the form of hardware or in the form of a software functional unit.
所述集成的单元如果以软件功能单元的形式实现并作为独立的产品销售或使用时,可以存储在一个计算机可读取存储介质中。基于这样的理解,本申请的技术方案本质上或者说对现有技术做出贡献的部分或者该技术方案的全部或部分可以以软件产品的形式体现出来,该计算机软件产品存储在一个存储介质中,包括若干指令用以使得一台计算机设备(可以是个人计算机,服务器,或者网络设备等)或处理器执行本申请各个实施例所述方法的全部或部分步骤。而前述的存储介质包括:快闪存储器、移动硬盘、只读存储器、随机存取存储器、磁碟或者光盘等各种可以存储程序代码的介质。The integrated unit, if implemented in the form of a software functional unit and sold or used as a standalone product, may be stored in a computer readable storage medium. Based on such understanding, the technical solution of the present application, in essence or the contribution to the prior art, or all or part of the technical solution may be embodied in the form of a software product stored in a storage medium. A number of instructions are included to cause a computer device (which may be a personal computer, server, or network device, etc.) or processor to perform all or part of the steps of the methods described in various embodiments of the present application. The foregoing storage medium includes: a flash memory, a mobile hard disk, a read only memory, a random access memory, a magnetic disk, or an optical disk, and the like, which can store program codes.
以上所述,仅为本申请的具体实施方式,但本申请的保护范围并不局限于此,任何在本申请揭露的技术范围内的变化或替换,都应涵盖在本申请的保护范围之内。因此,本申请的保护范围应以所述权利要求的保护范围为准。The foregoing is only a specific embodiment of the present application, but the scope of protection of the present application is not limited thereto, and any changes or substitutions within the technical scope of the present application should be covered by the scope of the present application. . Therefore, the scope of protection of the present application should be determined by the scope of the claims.
| Application Number | Priority Date | Filing Date | Title |
|---|---|---|---|
| KR1020217038610AKR102486257B1 (en) | 2017-03-25 | 2017-07-04 | Communication method for realising dual sim dual active, and terminal |
| CN201780035002.6ACN109315017B (en) | 2017-03-25 | 2017-07-04 | Communication method and terminal for realizing dual-card dual-standby dual-channel |
| KR1020197031507AKR102455314B1 (en) | 2017-03-25 | 2017-07-04 | A communication method for implementing dual SIM dual activity, and a terminal |
| US16/496,332US10856350B2 (en) | 2017-03-25 | 2017-07-04 | Communication method for implementing dual sim dual active, and terminal |
| CN202110443989.3ACN113316133B (en) | 2017-03-25 | 2017-07-04 | A communication method and terminal for realizing dual-card dual-standby dual-communication |
| JP2019552565AJP6888113B2 (en) | 2017-03-25 | 2017-07-04 | Communication methods and terminals for implementing dual SIM dual active |
| US17/100,290US11470667B2 (en) | 2017-03-25 | 2020-11-20 | Communication method for implementing dual SIM dual active, and terminal |
| US17/831,055US11659609B2 (en) | 2017-03-25 | 2022-06-02 | Communication method for implementing dual SIM dual active, and terminal |
| Application Number | Priority Date | Filing Date | Title |
|---|---|---|---|
| CN201710184955 | 2017-03-25 | ||
| CN201710184955.0 | 2017-03-25 |
| Application Number | Title | Priority Date | Filing Date |
|---|---|---|---|
| US16/496,332A-371-Of-InternationalUS10856350B2 (en) | 2017-03-25 | 2017-07-04 | Communication method for implementing dual sim dual active, and terminal |
| US17/100,290ContinuationUS11470667B2 (en) | 2017-03-25 | 2020-11-20 | Communication method for implementing dual SIM dual active, and terminal |
| Publication Number | Publication Date |
|---|---|
| WO2018176675A1true WO2018176675A1 (en) | 2018-10-04 |
| Application Number | Title | Priority Date | Filing Date |
|---|---|---|---|
| PCT/CN2017/091761CeasedWO2018176675A1 (en) | 2017-03-25 | 2017-07-04 | Communication method for realising dual sim dual active, and terminal |
| Country | Link |
|---|---|
| US (3) | US10856350B2 (en) |
| JP (3) | JP6888113B2 (en) |
| KR (2) | KR102455314B1 (en) |
| CN (2) | CN109315017B (en) |
| WO (1) | WO2018176675A1 (en) |
| Publication number | Priority date | Publication date | Assignee | Title |
|---|---|---|---|---|
| WO2021013130A1 (en)* | 2019-07-25 | 2021-01-28 | 华为技术有限公司 | Communication method and terminal device |
| CN112312565A (en)* | 2020-10-30 | 2021-02-02 | 紫光展锐(重庆)科技有限公司 | Communication processing method, device, apparatus and storage medium |
| CN112351497A (en)* | 2019-08-09 | 2021-02-09 | 华为技术有限公司 | Communication method and device |
| CN112385309A (en)* | 2020-10-16 | 2021-02-19 | 北京小米移动软件有限公司 | Voice communication method, device, communication equipment and storage medium |
| WO2021033586A1 (en)* | 2019-08-16 | 2021-02-25 | Sharp Kabushiki Kaisha | Method and apparatus for signaling multi-usim ue busy status |
| CN112425257A (en)* | 2019-07-12 | 2021-02-26 | 北京小米移动软件有限公司 | Timing advance indicating method, device, communication equipment and storage medium |
| CN112929867A (en)* | 2019-12-06 | 2021-06-08 | 华为技术有限公司 | Paging method and device |
| WO2021129264A1 (en)* | 2019-12-28 | 2021-07-01 | 华为技术有限公司 | Communication connection method and electronic device |
| CN113490201A (en)* | 2021-06-11 | 2021-10-08 | 展讯半导体(南京)有限公司 | Information transmission method and device, terminal equipment, network equipment and storage medium |
| WO2021232264A1 (en)* | 2020-05-20 | 2021-11-25 | Qualcomm Incorporated | Multi-subscription out-of-service scan |
| CN113825196A (en)* | 2019-05-29 | 2021-12-21 | 北京小米移动软件有限公司 | Network switching resource determining method and network switching resource configuration method |
| WO2022052070A1 (en)* | 2020-09-11 | 2022-03-17 | 北京小米移动软件有限公司 | Connection control method and connection control apparatus |
| CN114430547A (en)* | 2019-05-24 | 2022-05-03 | Oppo广东移动通信有限公司 | Wireless communication method and device |
| WO2022094907A1 (en)* | 2020-11-06 | 2022-05-12 | 北京小米移动软件有限公司 | Information sending method and device, and storage medium |
| CN114731619A (en)* | 2020-11-06 | 2022-07-08 | 北京小米移动软件有限公司 | Delay judgment method and device, delay indication method and device |
| CN114916064A (en)* | 2021-02-08 | 2022-08-16 | 中国电信股份有限公司 | Method for judging paging priority of dual-card terminal and dual-card terminal |
| CN114980317A (en)* | 2021-02-24 | 2022-08-30 | 华为技术有限公司 | Information processing method and device |
| EP4044639A4 (en)* | 2019-11-08 | 2022-12-07 | Huawei Technologies Co., Ltd. | COMMUNICATION METHOD AND DEVICE |
| JP2023511137A (en)* | 2020-01-20 | 2023-03-16 | 維沃移動通信有限公司 | Message notification method, terminal and network equipment |
| Publication number | Priority date | Publication date | Assignee | Title |
|---|---|---|---|---|
| WO2020147815A1 (en)* | 2019-01-18 | 2020-07-23 | 维沃移动通信有限公司 | Paging transmission method and device |
| CN111278106B (en)* | 2019-01-18 | 2021-12-07 | 维沃移动通信有限公司 | Paging indication method, paging method, terminal and network side equipment |
| EP3788826B1 (en)* | 2019-03-28 | 2022-06-08 | Ofinno, LLC | Core paging handling |
| JP7253078B2 (en)* | 2019-04-25 | 2023-04-05 | 北京小米移動軟件有限公司 | Paging response method and apparatus Paging method and apparatus |
| CN111294986B (en)* | 2019-06-10 | 2021-09-24 | 展讯通信(上海)有限公司 | Dual-SIM UE data transmission method and device, storage medium, and user equipment |
| CN112312494B (en)* | 2019-07-25 | 2022-04-29 | 华为技术有限公司 | Communication method and terminal device |
| US12096518B2 (en)* | 2019-07-26 | 2024-09-17 | Beijing Xiaomi Mobile Software Co., Ltd. | Data transmission method and apparatus |
| WO2021026696A1 (en)* | 2019-08-09 | 2021-02-18 | 北京小米移动软件有限公司 | Terminal monitoring method and apparatus, communication device, and storage medium |
| JP7377347B2 (en)* | 2019-08-26 | 2023-11-09 | ジオ プラットフォームズ リミティド | Method and system for managing buffering time |
| CN112449418B (en)* | 2019-08-30 | 2022-04-29 | 华为技术有限公司 | Communication method and device |
| CN111149377B (en)* | 2019-10-22 | 2024-07-16 | 北京小米移动软件有限公司 | Network access method and device, communication equipment and storage medium |
| CN112752279B (en)* | 2019-10-31 | 2022-10-04 | 中国电信股份有限公司 | Method, terminal device, apparatus and medium for supporting dual-card dual-standby communication |
| CN112788745B (en)* | 2019-11-08 | 2022-11-04 | 华为技术有限公司 | A communication method and device |
| CN110972129B (en)* | 2019-12-06 | 2022-09-20 | 维沃移动通信有限公司 | Call control method and electronic equipment |
| CN111093289A (en)* | 2019-12-24 | 2020-05-01 | 维沃移动通信有限公司 | A service transmission method and electronic device |
| CN111031533B (en)* | 2019-12-24 | 2022-03-25 | 湖北凯乐科技股份有限公司 | Multi-card standby method under multi-network coverage |
| WO2021147105A1 (en) | 2020-01-23 | 2021-07-29 | 华为技术有限公司 | Communication method and apparatus |
| CN113498164B (en)* | 2020-03-19 | 2024-06-28 | 维沃移动通信有限公司 | Paging processing method, communication equipment and network side equipment |
| CN113453214B (en)* | 2020-03-25 | 2022-09-23 | 华为技术有限公司 | Communication control method and electronic device |
| US11593282B2 (en) | 2020-05-12 | 2023-02-28 | Francesco E. DeAngelis | Dual memory secure digital (SD) card and system and method for wirelessly and automatically updating data in host computer using dual memory SD card |
| TWI766319B (en)* | 2020-07-23 | 2022-06-01 | 蔡安泰 | Dual-network dual-system mobile device |
| CN114125942B (en)* | 2020-08-25 | 2024-01-23 | 深圳市万普拉斯科技有限公司 | Network resource management method, device, terminal and storage medium |
| CN112189352B (en)* | 2020-08-28 | 2023-09-12 | 北京小米移动软件有限公司 | Response indication method and device, response determination method and device |
| EP4207892A4 (en)* | 2020-08-31 | 2023-10-25 | Beijing Xiaomi Mobile Software Co., Ltd. | Paging cause sending method and apparatus, and paging cause acquisition method and apparatus |
| CN112237036B (en)* | 2020-09-10 | 2024-03-26 | 北京小米移动软件有限公司 | Problem reporting method and problem reporting device |
| CN112153759B (en)* | 2020-09-23 | 2022-07-01 | 北京小米移动软件有限公司 | Communication method and device of dual-card terminal |
| JP2023546004A (en)* | 2020-10-06 | 2023-11-01 | ノキア テクノロジーズ オサケユイチア | Establishing multiple non-access stratum connections over a single radio resource control connection |
| US12004000B2 (en)* | 2020-10-07 | 2024-06-04 | Qualcomm Incorporated | Capability management for concurrency mode control |
| CN116134912B (en)* | 2020-10-20 | 2025-03-21 | Oppo广东移动通信有限公司 | A communication method and device, network equipment, and terminal equipment |
| EP4207933A4 (en)* | 2020-10-21 | 2024-03-13 | Samsung Electronics Co., Ltd. | Method and device for supporting ue supporting multiple sims in wireless communication system |
| US20230397162A1 (en)* | 2020-10-21 | 2023-12-07 | Beijing Xiaomi Mobile Software Co., Ltd. | Information sending method and apparatus, and storage medium |
| CN112004223B (en)* | 2020-10-29 | 2021-02-19 | 展讯通信(上海)有限公司 | Multi-card receiving method and device |
| WO2022110154A1 (en)* | 2020-11-30 | 2022-06-02 | 北京小米移动软件有限公司 | Paging response method and apparatus, paging method and apparatus, and storage medium |
| CN114630419B (en)* | 2020-12-09 | 2025-01-10 | 北京紫光展锐通信技术有限公司 | Paging method, terminal, access network equipment, core network equipment and storage medium |
| WO2022134070A1 (en)* | 2020-12-25 | 2022-06-30 | Oppo广东移动通信有限公司 | Wireless communication method, terminal device and network device |
| US12432808B2 (en) | 2021-01-22 | 2025-09-30 | Beijing Xiaomi Mobile Software Co., Ltd. | Request information sending method and device, and request information receiving method and device |
| KR20220117009A (en)* | 2021-02-16 | 2022-08-23 | 삼성전자주식회사 | Electronic device and method for registering on a communication network in the electronic device supporting multiple sims |
| US12284625B2 (en) | 2021-02-16 | 2025-04-22 | Samsung Electronics Co., Ltd. | Electronic device and method for registering in communication network by electronic device supporting multiple SIMS |
| US20220272688A1 (en)* | 2021-02-19 | 2022-08-25 | Samsung Electronics Co., Ltd. | Device and method for multi-subscriber identity module wireless communication |
| EP4238390A4 (en) | 2021-04-09 | 2024-03-20 | Samsung Electronics Co., Ltd. | METHOD AND SYSTEM FOR CONTROLLING COMMUNICATION BY SMS IN A WIRELESS COMMUNICATION NETWORK |
| WO2022216116A1 (en)* | 2021-04-09 | 2022-10-13 | Samsung Electronics Co., Ltd. | Method and system for controlling sms communication in wireless communication network |
| US20220360664A1 (en)* | 2021-05-10 | 2022-11-10 | Apple Inc. | Obtaining a Caller ID on a Second SIM of a Multi-SIM User Equipment |
| CN115769609A (en)* | 2021-05-25 | 2023-03-07 | 华为技术有限公司 | Communication method and communication device for terminal |
| EP4369809A4 (en)* | 2021-07-09 | 2025-04-16 | Beijing Xiaomi Mobile Software Co., Ltd. | Information sending method and apparatus, paging restriction method and apparatus, and communication apparatus and storage medium |
| US20240284400A1 (en)* | 2021-07-27 | 2024-08-22 | Beijing Xiaomi Mobile Software Co., Ltd. | Information sending method, paging limiting method, and communication apparatus |
| CN113993226B (en)* | 2021-08-19 | 2023-05-16 | 荣耀终端有限公司 | Service processing method and device in terminal equipment supporting double cards |
| CN116249081B (en)* | 2021-12-08 | 2025-09-05 | 荣耀终端股份有限公司 | Distributed call conflict processing method, system, electronic device and storage medium |
| CN114339922B (en)* | 2021-12-30 | 2024-11-05 | 中国电信股份有限公司 | Data transmission method and device, storage medium |
| CN114364024B (en)* | 2022-01-21 | 2024-07-30 | 北京小米移动软件有限公司 | Communication method and device of double-card terminal equipment, electronic equipment and storage medium |
| CN114828263B (en)* | 2022-05-09 | 2025-04-11 | Oppo广东移动通信有限公司 | Communication control method and related device |
| WO2024071702A1 (en)* | 2022-09-26 | 2024-04-04 | 삼성전자 주식회사 | Electronic device for controlling transmission path and reception path and method for operating same |
| CN116709583B (en)* | 2022-12-30 | 2024-05-14 | 荣耀终端有限公司 | Method and device for realizing double-card double-pass |
| CN116193419A (en)* | 2023-02-15 | 2023-05-30 | 维沃移动通信有限公司 | Communication method, device and equipment |
| CN115942264A (en)* | 2023-02-22 | 2023-04-07 | 西安广和通无线软件有限公司 | Communication method and related equipment |
| EP4436080A1 (en)* | 2023-03-24 | 2024-09-25 | Samsung Electronics Co., Ltd. | Method and system for scheduling transmission in multi-sim user equipment (ue) |
| CN117119512B (en)* | 2023-04-07 | 2024-07-19 | 荣耀终端有限公司 | Icon display control method and device |
| CN118869863A (en)* | 2023-04-28 | 2024-10-29 | 荣耀终端有限公司 | Incoming call reminder method and electronic device |
| CN119031068A (en)* | 2023-05-24 | 2024-11-26 | 荣耀终端有限公司 | A method, terminal and chip system for processing incoming calls received during a conference |
| WO2025048286A1 (en)* | 2023-08-28 | 2025-03-06 | 삼성전자 주식회사 | Communication system including plurality of subscriber identification modules and operating method thereof |
| CN119603666B (en)* | 2025-01-26 | 2025-07-18 | 深圳市优克联新技术有限公司 | A cloud SIM card providing device and terminal networking equipment |
| Publication number | Priority date | Publication date | Assignee | Title |
|---|---|---|---|---|
| CN102685714A (en)* | 2011-03-18 | 2012-09-19 | 中兴通讯股份有限公司 | Method and system for supporting double-mode and double-standby terminal to communicate at the same time |
| CN103874041A (en)* | 2012-12-17 | 2014-06-18 | 中国移动通信集团设计院有限公司 | Multimode dual-standby terminal-based called voice service processing method, device and system |
| CN105338178A (en)* | 2015-09-30 | 2016-02-17 | 宇龙计算机通信科技(深圳)有限公司 | Communication method and device based on dual-card dual-standby single-communication terminal |
| US20160142998A1 (en)* | 2014-11-19 | 2016-05-19 | Mediatek Inc. | Multi-sim user equipment and wireless communication method thereof |
| Publication number | Priority date | Publication date | Assignee | Title |
|---|---|---|---|---|
| KR100594140B1 (en) | 2002-04-13 | 2006-06-28 | 삼성전자주식회사 | Packet data service method of wireless communication system |
| KR101435805B1 (en)* | 2007-11-07 | 2014-08-29 | 엘지전자 주식회사 | Method and apparatus for error correction of received message in terminal |
| EP2466976B1 (en)* | 2010-12-15 | 2017-09-27 | OCT Circuit Technologies International Limited | IP-based paging for DSDS |
| EP2472973B1 (en)* | 2010-12-30 | 2019-05-08 | Telefonaktiebolaget LM Ericsson (publ) | Multi sim management |
| US8611952B2 (en)* | 2011-05-11 | 2013-12-17 | Intel Mobile Communications GmbH | Mobile communications radio receiver for multiple network operation |
| KR20130027649A (en)* | 2011-09-08 | 2013-03-18 | 삼성전자주식회사 | System and method for receiving call in wireless terminal |
| US20130150014A1 (en)* | 2011-12-12 | 2013-06-13 | Broadcom Corporation | Background Paging Monitoring For Multiple SIM User Equipment |
| CN103517454A (en)* | 2012-06-27 | 2014-01-15 | 联发科技股份有限公司 | Enhanced signaling connection release indication processing method |
| CN106465464B (en)* | 2014-05-30 | 2020-02-28 | 苹果公司 | Method and device for supporting concurrent communication of multiple user identities in a wireless communication device |
| US9461685B2 (en) | 2014-10-19 | 2016-10-04 | Intel IP Corporation | Controlling subscriber identity module (SIM) active state in a multiple SIMs radio |
| CN104270827B (en)* | 2014-10-29 | 2018-05-11 | 广州三星通信技术研究有限公司 | A kind of method and device for shifting call |
| CN104581992B (en) | 2014-12-04 | 2018-05-15 | 中国联合网络通信集团有限公司 | Business access method and mobile management entity |
| US10021544B2 (en)* | 2015-01-26 | 2018-07-10 | Apple Inc. | Dual SIM dual standby with caller ID enhancement |
| US9491276B2 (en)* | 2015-04-08 | 2016-11-08 | Qualcomm Incorporated | User equipment capability report management during caller ID extraction |
| CN106207261B (en)* | 2015-05-25 | 2021-01-15 | 松下知识产权经营株式会社 | Electrolyte and battery |
| CN105554884A (en)* | 2015-12-10 | 2016-05-04 | 小米科技有限责任公司 | Method and device for paging response |
| JP6915079B2 (en)* | 2017-03-24 | 2021-08-04 | 華為技術有限公司Huawei Technologies Co.,Ltd. | Communication methods and terminals that implement dual card, dual standby, and dual path |
| WO2018232294A1 (en)* | 2017-06-16 | 2018-12-20 | Intel IP Corporation | Beam management with multi-transmission reception point multi-panel operation |
| KR102351399B1 (en)* | 2018-02-23 | 2022-01-14 | 삼성전자 주식회사 | Electronic device using a plurality of subscriber identification module cards and method of providing communication service of the same |
| US10764957B2 (en)* | 2018-08-27 | 2020-09-01 | Samsung Electronics Co., Ltd | Method and UE for optimizing resources of wireless communication network while providing 5G services |
| US11044783B2 (en)* | 2019-07-22 | 2021-06-22 | Qualcomm Incorporated | Data service and voice over long term evolution support in a multi-subscriber identity module system using a single transceiver |
| KR20220089511A (en)* | 2020-12-21 | 2022-06-28 | 삼성전자주식회사 | Method and apparatus to manage authentication and subscription information in wireless communication system |
| US20220272688A1 (en)* | 2021-02-19 | 2022-08-25 | Samsung Electronics Co., Ltd. | Device and method for multi-subscriber identity module wireless communication |
| US20220286839A1 (en)* | 2021-03-03 | 2022-09-08 | Qualcomm Incorporated | Techniques for an optimized dual subscriber identity module dual active mode |
| US11665762B2 (en)* | 2021-06-09 | 2023-05-30 | Qualcomm Incorporated | Interference reduction in multi-SIM card (MSIM) wireless communication devices |
| US12356264B2 (en)* | 2021-06-10 | 2025-07-08 | Samsung Electronics Co., Ltd. | Device and method for multi-SIM wireless communication |
| US12302273B2 (en)* | 2021-06-23 | 2025-05-13 | Qualcomm Incorporated | Techniques for sharing protocol data unit sessions between multiple subscriber services |
| Publication number | Priority date | Publication date | Assignee | Title |
|---|---|---|---|---|
| CN102685714A (en)* | 2011-03-18 | 2012-09-19 | 中兴通讯股份有限公司 | Method and system for supporting double-mode and double-standby terminal to communicate at the same time |
| CN103874041A (en)* | 2012-12-17 | 2014-06-18 | 中国移动通信集团设计院有限公司 | Multimode dual-standby terminal-based called voice service processing method, device and system |
| US20160142998A1 (en)* | 2014-11-19 | 2016-05-19 | Mediatek Inc. | Multi-sim user equipment and wireless communication method thereof |
| CN105338178A (en)* | 2015-09-30 | 2016-02-17 | 宇龙计算机通信科技(深圳)有限公司 | Communication method and device based on dual-card dual-standby single-communication terminal |
| Publication number | Priority date | Publication date | Assignee | Title |
|---|---|---|---|---|
| CN114430547A (en)* | 2019-05-24 | 2022-05-03 | Oppo广东移动通信有限公司 | Wireless communication method and device |
| CN114430547B (en)* | 2019-05-24 | 2023-10-13 | Oppo广东移动通信有限公司 | Wireless communication method and device |
| US12363795B2 (en) | 2019-05-29 | 2025-07-15 | Beijing Xiaomi Mobile Software Co., Ltd. | Method for determining network switching resource and method for configuring network switching resource |
| EP3979704A4 (en)* | 2019-05-29 | 2023-01-18 | Beijing Xiaomi Mobile Software Co., Ltd. | Method for determining network switching resource and method for configuring network switching resource |
| CN113825196A (en)* | 2019-05-29 | 2021-12-21 | 北京小米移动软件有限公司 | Network switching resource determining method and network switching resource configuration method |
| CN112425257A (en)* | 2019-07-12 | 2021-02-26 | 北京小米移动软件有限公司 | Timing advance indicating method, device, communication equipment and storage medium |
| CN112425257B (en)* | 2019-07-12 | 2023-08-29 | 北京小米移动软件有限公司 | Timing Advance Indication Method, Device, Communication Equipment and Storage Medium |
| US12356259B2 (en) | 2019-07-25 | 2025-07-08 | Huawei Technologies Co., Ltd. | Communication method and terminal device |
| WO2021013130A1 (en)* | 2019-07-25 | 2021-01-28 | 华为技术有限公司 | Communication method and terminal device |
| CN112351497A (en)* | 2019-08-09 | 2021-02-09 | 华为技术有限公司 | Communication method and device |
| WO2021033586A1 (en)* | 2019-08-16 | 2021-02-25 | Sharp Kabushiki Kaisha | Method and apparatus for signaling multi-usim ue busy status |
| EP4044639A4 (en)* | 2019-11-08 | 2022-12-07 | Huawei Technologies Co., Ltd. | COMMUNICATION METHOD AND DEVICE |
| WO2021110118A1 (en)* | 2019-12-06 | 2021-06-10 | 华为技术有限公司 | Paging method and apparatus |
| CN112929867A (en)* | 2019-12-06 | 2021-06-08 | 华为技术有限公司 | Paging method and device |
| WO2021129264A1 (en)* | 2019-12-28 | 2021-07-01 | 华为技术有限公司 | Communication connection method and electronic device |
| US12309881B2 (en) | 2019-12-28 | 2025-05-20 | Huawei Technologies Co., Ltd. | Communication connection method and electronic device |
| JP2023511137A (en)* | 2020-01-20 | 2023-03-16 | 維沃移動通信有限公司 | Message notification method, terminal and network equipment |
| JP7490785B2 (en) | 2020-01-20 | 2024-05-27 | 維沃移動通信有限公司 | Message notification method, terminal and network device |
| WO2021232264A1 (en)* | 2020-05-20 | 2021-11-25 | Qualcomm Incorporated | Multi-subscription out-of-service scan |
| WO2022052070A1 (en)* | 2020-09-11 | 2022-03-17 | 北京小米移动软件有限公司 | Connection control method and connection control apparatus |
| CN112385309A (en)* | 2020-10-16 | 2021-02-19 | 北京小米移动软件有限公司 | Voice communication method, device, communication equipment and storage medium |
| WO2022077475A1 (en)* | 2020-10-16 | 2022-04-21 | 北京小米移动软件有限公司 | Voice communication method and apparatus, communication device, and storage medium |
| CN112385309B (en)* | 2020-10-16 | 2023-03-31 | 北京小米移动软件有限公司 | Voice communication method, device, communication equipment and storage medium |
| CN112312565A (en)* | 2020-10-30 | 2021-02-02 | 紫光展锐(重庆)科技有限公司 | Communication processing method, device, apparatus and storage medium |
| CN114731619A (en)* | 2020-11-06 | 2022-07-08 | 北京小米移动软件有限公司 | Delay judgment method and device, delay indication method and device |
| WO2022094907A1 (en)* | 2020-11-06 | 2022-05-12 | 北京小米移动软件有限公司 | Information sending method and device, and storage medium |
| CN114731619B (en)* | 2020-11-06 | 2024-04-26 | 北京小米移动软件有限公司 | Delay judging method and device, delay indicating method and device |
| CN114916064A (en)* | 2021-02-08 | 2022-08-16 | 中国电信股份有限公司 | Method for judging paging priority of dual-card terminal and dual-card terminal |
| CN114980317A (en)* | 2021-02-24 | 2022-08-30 | 华为技术有限公司 | Information processing method and device |
| CN113490201A (en)* | 2021-06-11 | 2021-10-08 | 展讯半导体(南京)有限公司 | Information transmission method and device, terminal equipment, network equipment and storage medium |
| CN113490201B (en)* | 2021-06-11 | 2023-08-08 | 展讯半导体(南京)有限公司 | Information transmission method and device, terminal equipment, network equipment and storage medium |
| Publication number | Publication date |
|---|---|
| US20210076440A1 (en) | 2021-03-11 |
| KR102455314B1 (en) | 2022-10-14 |
| JP2023036594A (en) | 2023-03-14 |
| CN109315017A (en) | 2019-02-05 |
| US10856350B2 (en) | 2020-12-01 |
| US20200037380A1 (en) | 2020-01-30 |
| CN113316133B (en) | 2022-07-29 |
| CN109315017B (en) | 2021-05-07 |
| JP7187612B2 (en) | 2022-12-12 |
| US11470667B2 (en) | 2022-10-11 |
| JP2021145351A (en) | 2021-09-24 |
| JP2020512762A (en) | 2020-04-23 |
| KR20210148404A (en) | 2021-12-07 |
| KR102486257B1 (en) | 2023-01-06 |
| US11659609B2 (en) | 2023-05-23 |
| US20220295587A1 (en) | 2022-09-15 |
| CN113316133A (en) | 2021-08-27 |
| JP7392091B2 (en) | 2023-12-05 |
| KR20190131547A (en) | 2019-11-26 |
| JP6888113B2 (en) | 2021-06-16 |
| Publication | Publication Date | Title |
|---|---|---|
| CN113316133B (en) | A communication method and terminal for realizing dual-card dual-standby dual-communication | |
| US11432262B2 (en) | Communication method for implementing dual card, dual standby and dual pass connections in a terminal | |
| KR20220153077A (en) | Gap configuration method, UE and network device | |
| WO2020134873A1 (en) | State switching method, mobile terminal, network device and communication system | |
| WO2019071612A1 (en) | Method for supporting both voice service and data service and terminal | |
| WO2020038181A1 (en) | Method for transmitting uplink information and terminal | |
| CN112840713B (en) | Wireless communication method and device, terminal and storage medium | |
| WO2021013130A1 (en) | Communication method and terminal device | |
| WO2023137676A1 (en) | Information processing method and apparatus, and communication device and storage medium | |
| JP7392106B2 (en) | Data transmission method and user equipment | |
| CN112312494B (en) | Communication method and terminal device | |
| KR102752987B1 (en) | Data processing methods and devices | |
| WO2023050362A1 (en) | Downlink transmission configuration, receiving method and apparatus, communication device and storage medium | |
| CN112788588A (en) | Cell switching method, terminal device and base station |
| Date | Code | Title | Description |
|---|---|---|---|
| 121 | Ep: the epo has been informed by wipo that ep was designated in this application | Ref document number:17903235 Country of ref document:EP Kind code of ref document:A1 | |
| ENP | Entry into the national phase | Ref document number:2019552565 Country of ref document:JP Kind code of ref document:A | |
| NENP | Non-entry into the national phase | Ref country code:DE | |
| ENP | Entry into the national phase | Ref document number:20197031507 Country of ref document:KR Kind code of ref document:A | |
| 122 | Ep: pct application non-entry in european phase | Ref document number:17903235 Country of ref document:EP Kind code of ref document:A1 |