












本申请实施例涉及到通信领域,尤其涉及到一种数据分流方法以及移动边缘平台和核心网设备。The embodiments of the present application relate to the field of communications, and in particular, to a data offloading method and a mobile edge platform and a core network device.
移动边缘计算(英文全称:Mobile Edge Computing,简称:MEC)在靠近移动用户的无线接入网(英文全称:Radio Access Network,简称:RAN)上提供互联网技术(英文全称:Information Technology,简称:IT)服务环境和云计算能力,创造了一个高度分布的环境用来部署应用和服务,并且可以存储和处理数据;MEC还可以开放实时的无线网络信息,为移动用户提供个性化、上下文相关的业务体验。实现MEC概念的移动边缘系统由三大部分组成,最上层的管理部分,管理系统的资源,策略和配置;中间的移动边缘服务器,由服务器管理部分和服务器组成,服务器管理部分提供平台的管理,应用的管理,服务器资源的管理和应用策略的管理,服务器为平台和应用提供安全的运行环境;最底层的网络部分为服务器所部署的位置。Mobile Edge Computing (English name: Mobile Edge Computing, MEC for short) provides Internet technology on the wireless access network (English name: Radio Access Network, RAN for short) (English name: Information Technology, IT for short) The service environment and cloud computing capabilities create a highly distributed environment for deploying applications and services, and can store and process data; MEC can also open real-time wireless network information to provide personalized, context-sensitive services for mobile users. Experience. The mobile edge system that implements the MEC concept consists of three parts, the uppermost management part, the management system resources, strategy and configuration; the middle mobile edge server, which consists of the server management part and the server, and the server management part provides the platform management. Application management, server resource management and application policy management, the server provides a secure operating environment for the platform and applications; the lowest layer of the network is the location where the server is deployed.
移动边缘服务器实际上是部署在移动网络边缘的一个应用服务器,可以截获到移动边缘网络的用户设备(英文全称:User Equipment,简称:UE)发送的数据并进行业务处理,且移动边缘服务器的基础设施中的数据面具有数据分流的功能,即该数据面可以将接收到的数据进行过滤分类再进行发送。The mobile edge server is actually an application server deployed at the edge of the mobile network. It can intercept the data sent by the user equipment of the mobile edge network (English name: User Equipment, UE for short) and perform service processing, and the basis of the mobile edge server. The data plane in the facility has the function of data offloading, that is, the data plane can filter and classify the received data and then send it.
当UE为特定UE时,即该UE拥有多重身份特征,比如该UE可以既是企业用户也可以是移动用户,若移动边缘服务器不实施数据分流机制,则该UE发送的所有数据需要通过核心网转发,即需要通过核心网发送到企业网。由于核心网的带宽负荷高,导致该UE发送数据时产生慢接入,低带宽,高时延的业务体验。When the UE is a specific UE, that is, the UE has multiple identity features, for example, the UE may be both an enterprise user and a mobile user. If the mobile edge server does not implement a data offloading mechanism, all data sent by the UE needs to be forwarded through the core network. That is, it needs to be sent to the enterprise network through the core network. Due to the high bandwidth load of the core network, the UE generates slow access, low bandwidth, and high latency service experience when transmitting data.
发明内容Summary of the invention
本发明实施例提供了一种数据分流方法、移动边缘平台以及核心网设备,用于利用数据分流规则使得UE发送的数据可以通过部署的移动边缘服务器直接发送到本地网络而不需要通过核心网进行转发,从而为UE提供一种快接入,高带宽,低时延的业务体验。The embodiment of the present invention provides a data offloading method, a mobile edge platform, and a core network device, which are configured to use the data offloading rule to enable the data sent by the UE to be directly sent to the local network through the deployed mobile edge server without using the core network. Forwarding to provide a fast access for the UE,High bandwidth, low latency business experience.
第一方面,本申请实施例提供一种数据分流方法,包括:In a first aspect, an embodiment of the present application provides a data offloading method, including:
核心网设备为用户配置签约数据,该签约数据包括UE的业务凭证token,移动边缘平台获取该UE的业务凭证token;The core network device configures subscription data for the user, the subscription data includes a service credential token of the UE, and the mobile edge platform acquires a service credential token of the UE;
在本申请实施例中,该签约数据包括但不限于UE的业务凭证token,国际移动用户识别码(英文全称:International Mobile Subscriber Identity,简称:IMSI),移动台国际综合业务数字网(英文全称:Integrated Service Digital Network,简称:ISDN)号码(英文全称:Mobile Station international ISDN number,简称:MSISDN),允许的业务,路由策略,此处不做限定。同时,该token可以表示一个也可以是一组UE,此处对该token表示的UE的数量不做限定。In the embodiment of the present application, the subscription data includes but is not limited to the UE's service certificate token, the international mobile subscriber identity (English full name: International Mobile Subscriber Identity, IMSI for short), and the mobile station international integrated service digital network (English full name: Integrated Service Digital Network (referred to as: ISDN) number (English full name: Mobile Station international ISDN number, referred to as: MSISDN), allowed services, routing policies, not limited here. At the same time, the token may represent one or a group of UEs, and the number of UEs represented by the token is not limited herein.
该移动边缘平台向该核心网设备发送包含该token的请求信息;该核心网设备根据该token获取到该UE的ID,该核心网设备根据该ID获取到该UE的上下文信息;该移动边缘平台接收该核心网设备反馈的该UE的上下文信息;该移动边缘平台根据该上下文信息生成数据分流规则;该移动边缘平台将该数据分流规则发送给数据面,以使得该数据面根据该数据分流规则执行数据分流操作。The mobile edge platform sends request information including the token to the core network device; the core network device obtains the ID of the UE according to the token, and the core network device acquires context information of the UE according to the ID; the mobile edge platform Receiving the context information of the UE that is fed back by the core network device; the mobile edge platform generates a data offloading rule according to the context information; the mobile edge platform sends the data offloading rule to the data plane, so that the data plane is shunted according to the data Perform a data offload operation.
在本申请实施例中,该数据分流规则的表现形式为流表也可以为业务链,只要可以实现数据分流功能即可,此处不做限定。In the embodiment of the present application, the data distribution rule may be in the form of a flow table or a service chain, as long as the data offload function can be implemented, which is not limited herein.
本申请方案提供的技术方案中,核心网设备配置签约数据,该签约数据包含token,移动边缘平台获取token之后,该移动边缘平台向该核心网设备请求该token表示的UE的上下文信息;核心网设备获取token所代表的UE ID,并进一步获取UE ID的上下文信息,该核心网设备向该移动边缘平台发送该上下文信息;该移动边缘平台根据该上下文信息生成数据分流规则并将该数据分流规则发送给数据面,这样数据面可以通过数据分流规则对该UE发送的数据进行分类发送,即有部分数据可以直接向本地网络进行发送而不需要通过核心网进行转发,从而为UE提供一种快接入,高带宽,低时延的业务体验。In the technical solution provided by the solution of the present application, the core network device configures the subscription data, and the subscription data includes a token. After the mobile edge platform acquires the token, the mobile edge platform requests the core network device for the context information of the UE indicated by the token; The device obtains the UE ID represented by the token, and further obtains the context information of the UE ID, where the core network device sends the context information to the mobile edge platform; the mobile edge platform generates a data offload rule according to the context information, and the data is shunted according to the context information. The data is sent to the data plane, so that the data plane can classify and send the data sent by the UE through the data offloading rule, that is, some data can be directly sent to the local network without being forwarded through the core network, thereby providing a fast for the UE. Access, high bandwidth, low latency business experience.
可选的,该移动边缘平台可以获取代理应用发送的token,该代理应用运行于移动边缘服务器。Optionally, the mobile edge platform can obtain a token sent by the proxy application, and the proxy application runs on the mobile edge server.
在本申请实施例中,该代理应用为预先安装在移动边缘服务器的一个应用程序,用于接收本地网络的配置信息。该代理应用不仅可以为移动边缘平台提供token也可以为该移动边缘平台提供UE的其他相关信息。该代理应用可以可以从UE获取到token,也可以从本地网络处获取到token,此处对于代理应用获取token的方法不做限定。本申请实施例中,本地网络包括但不限于企业网,校园网,具体此处不做限定。In the embodiment of the present application, the proxy application is an application pre-installed on the mobile edge server, and is configured to receive configuration information of the local network. The proxy application can provide not only a token for the mobile edge platform but also other relevant information of the UE for the mobile edge platform. The proxy application may obtain the token from the UE or obtain the token from the local network. The method for obtaining the token by the proxy application is not limited herein. In the embodiment of the present application, the local network includes, but is not limited to, an enterprise network and a campus network, which are not limited herein.
本申请提供的技术方案中,移动边缘平台接收代理应用发送的token可以有效的获取正确的标记信息。In the technical solution provided by the application, the mobile edge platform receives the token sent by the proxy application, and can effectively obtain the correct tag information.
可选的,在本申请实施例中,核心网设备具有如下几种情况:Optionally, in the embodiment of the present application, the core network device has the following situations:
一种可能实现方式是核心网设备为能力开放功能(英文全称Service Capabilities Exposure Function,简称:SCEF);A possible implementation manner is that the core network device is a capability open function (English full name Service Capabilities Exposure Function, referred to as: SCEF);
在这种情况下,该移动边缘平台接收该SCEF根据该token反馈的该UE的互联网协议(英文全称:Internet Protocol,简称:IP)地址和/或承载信息;该移动边缘平台根据该IP地址和/或承载信息生成数据分流规则。In this case, the mobile edge platform receives the Internet Protocol (English Protocol: Internet Protocol) address and/or bearer information of the UE that the SCEF feeds back according to the token; the mobile edge platform according to the IP address and / or bearer information to generate data offload rules.
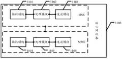
另一种可能实现方式是核心网设备为归属用户服务器(英文全称Home Subscribe Server,简称:HSS)和分组数据网网关(英文全称PDN Gateway,简称:PGW);Another possible implementation manner is that the core network device is a home subscriber server (English full name Home Subscribe Server, HSS for short) and a packet data network gateway (full name PDN Gateway, PGW for short);
在这种情况下,该移动边缘平台向该HSS发送包含有该token的请求信息,然后该移动边缘平台接收该HSS根据该token反馈的该UE的身份标识(英文全称Identity,简称ID)和PGW标识,该ID为该签约数据中的IMSI或MSISDN;该移动边缘平台接收到该ID和该PGW标识之后,根据该PGW标识确定该PGW并向该PGW发送包含有该ID的第一请求消息;该移动边缘平台接收该PGW根据该ID反馈的该UE的IP地址并根据该IP地址生成数据分流规则。In this case, the mobile edge platform sends the request information including the token to the HSS, and then the mobile edge platform receives the identity of the UE (English full name, ID) and PGW that the HSS feeds back according to the token. Identifying, the ID is an IMSI or an MSISDN in the subscription data; after receiving the ID and the PGW identifier, the mobile edge platform determines the PGW according to the PGW identifier and sends a first request message including the ID to the PGW; The mobile edge platform receives the IP address of the UE that the PGW feeds back according to the ID and generates a data offload rule according to the IP address.
另一种可能实现方式是核心网设备为HSS和移动性管理实体(英文全称:Mobility Management Entity,简称:MME);Another possible implementation method is that the core network device is an HSS and a mobility management entity (English name: Mobility Management Entity, MME for short);
在这种情况下,该移动边缘平台向该HSS发送包含有该token的请求信息,然后该移动边缘平台接收该HSS根据该token反馈的该UE的身份标识(英文全称Identity,简称ID)和PGW标识,该ID为该签约数据中的IMSI或MSISDN;该移动边缘平台接收到该ID和该MME标识之后,根据该MME标识确定该MME并向该MME发送包含有该ID的第一请求消息;该移动边缘平台接收该MME根据该ID反馈的该UE的承载信息并根据该承载信息生成数据分流规则;In this case, the mobile edge platform sends the request information including the token to the HSS, and then the mobile edge platform receives the identity of the UE (English full name, ID) and PGW that the HSS feeds back according to the token. An identifier, the ID is an IMSI or an MSISDN in the subscription data; after receiving the ID and the MME identifier, the mobile edge platform determines the identifier according to the MME identifier.And sending, by the MME, the first request message that includes the ID to the MME; the mobile edge platform receives the bearer information of the UE that is fed back by the MME according to the ID, and generates a data offloading rule according to the bearer information;
或,or,
该移动边缘平台向该HSS发送包含有该token的请求信息;该移动边缘平台接收该HSS根据该token反馈的该承载信息,该承载信息由该MME根据该ID反馈给该HSS,该ID由该HSS发送给该MME;该移动边缘平台根据该承载信息生成数据分流规则。The mobile edge platform sends request information including the token to the HSS; the mobile edge platform receives the bearer information fed back by the HSS according to the token, and the bearer information is fed back to the HSS by the MME according to the ID, where the ID is The HSS sends the MME to the MME; the mobile edge platform generates a data offloading rule according to the bearer information.
本申请提供的技术方案中,核心网设备有多种实现方式,使用SCEF作为核心网设备时可以减少参与数据分流的网元,从而减少数据传输时延;使用HSS和PGW作为核心网设备或HSS和MME作为核心网设备时不用增加额外的网元,从而减少了数据分流成本。In the technical solution provided by the present application, the core network device has multiple implementation manners, and when the SCEF is used as the core network device, the network element participating in the data offloading can be reduced, thereby reducing the data transmission delay; using the HSS and the PGW as the core network device or the HSS When the MME is used as the core network device, no additional network elements are added, thereby reducing the data splitting cost.
第二方面,本申请实施例提供一种移动边缘平台,该移动边缘平台具有实现上述第一方面的方法中移动边缘平台的功能。该功能可以通过硬件实现,也可以通过硬件执行相应的软件实现。该硬件或软件包括一个或多个与上述功能相对应的模块。In a second aspect, the embodiment of the present application provides a mobile edge platform, which has the function of implementing the mobile edge platform in the method of the foregoing first aspect. This function can be implemented in hardware or in hardware by executing the corresponding software. The hardware or software includes one or more modules corresponding to the functions described above.
一种可能实现方式,该移动边缘平台包括:One possible implementation, the mobile edge platform includes:
接收模块,用于获取UE的业务凭证token,该token包含于签约数据,该签约数据为核心网设备为该UE配置;a receiving module, configured to acquire a service credential token of the UE, where the token is included in the subscription data, where the subscription data is configured by the core network device for the UE;
发送模块,用于向该核心网设备发送请求信息,该请求信息包含该接收模块接收到的该token;a sending module, configured to send request information to the core network device, where the request information includes the token received by the receiving module;
该接收模块,还用于接收该核心网设备根据该发送模块发送的该token反馈的该UE的上下文信息;The receiving module is further configured to receive context information of the UE that is fed back by the core network device according to the token sent by the sending module;
处理模块,用于根据该接收模块接收到的该上下文信息生成数据分流规则;a processing module, configured to generate a data offloading rule according to the context information received by the receiving module;
该发送模块,还用于将该处理模块生成的该数据分流规则发送给数据面,以使得该数据面根据该数据分流规则执行数据分流操作。The sending module is further configured to send the data offloading rule generated by the processing module to the data plane, so that the data plane performs a data offloading operation according to the data offloading rule.
另一种可能实现方式中,该移动边缘平台的结构中包括收发器和处理器;In another possible implementation manner, the structure of the mobile edge platform includes a transceiver and a processor;
收发器,处理器;Transceiver
该收发器,具有如下功能:The transceiver has the following functions:
获取UE的业务凭证token,该token包含于签约数据,该签约数据为核心网设备为该UE配置;向该核心网设备发送请求信息,该请求信息包含该token;接收该核心网设备根据该token反馈的该UE的上下文信息;将该数据分流规则发送给数据面,以使得该数据面根据该数据分流规则执行数据分流操作;Obtaining a service credential token of the UE, where the token is included in the subscription data, where the subscription data is configured by the core network device for the UE; sending the request information to the core network device, where the request information includes the token; and receiving the core network device according to the token Feeding the context information of the UE; sending the data offloading rule to the data plane, so that the data plane performs a data offloading operation according to the data offloading rule;
该处理器,具有如下功能:The processor has the following functions:
根据该接收模块接收到的该上下文信息生成数据分流规则。Generating a data offload rule according to the context information received by the receiving module.
第三方面,本申请实施例提供一种数据分流方法,包括:In a third aspect, the embodiment of the present application provides a data offloading method, including:
核心网设备为UE配置签约数据,该签约数据包含UE的业务凭证token;The core network device configures subscription data for the UE, where the subscription data includes a service credential token of the UE;
在本申请实施例中,该签约数据包括但不限于标记token,IMSI,MSISDN,允许的业务,路由策略,具体此处不做限定。同时,该token可以表示一个UE也可以是一组UE,此处对该token表示的UE的数量不做限定。In this embodiment of the present application, the subscription data includes, but is not limited to, a token, an IMSI, an MSISDN, an allowed service, and a routing policy, which are not limited herein. At the same time, the token may represent one UE or a group of UEs, and the number of UEs represented by the token is not limited herein.
该核心网设备接收该移动边缘平台发送的包含有该token请求信息;该核心网设备根据该token获取到该UE的ID,该核心网设备根据该ID获取到该UE的上下文信息;该核心网设备向该移动边缘平台发送该UE的上下文信息,以使得该移动边缘平台根据该上下文信息生成数据分流规则,该数据分流规则用于该数据面执行数据分流操作。The core network device receives the request information sent by the mobile edge platform, and the core network device obtains the ID of the UE according to the token, and the core network device obtains the context information of the UE according to the ID; the core network The device sends the context information of the UE to the mobile edge platform, so that the mobile edge platform generates a data offloading rule according to the context information, where the data offloading rule is used to perform a data offloading operation on the data plane.
本申请提供的技术方案中,核心网设备配置签约数据,该签约数据包含标记token,移动边缘平台获取到token之后,该移动边缘平台向该核心网设备请求该token表示的UE的上下文信息;核心网设备获取token所代表的UE ID,并进一步获取UE ID的上下文信息,该核心网设备向该移动边缘平台发送该上下文信息;该移动边缘平台根据该上下文信息生成数据分流规则并将该数据分流规则发送给数据面,这样数据面可以通过数据分流规则对该UE发送的数据进行分类发送,即有部分数据可以直接向本地网络进行发送而不需要通过核心网进行转发,从而为UE提供一种快接入,高带宽,低时延的业务体验。In the technical solution provided by the present application, the core network device configures the subscription data, and the subscription data includes the token token. After the mobile edge platform obtains the token, the mobile edge platform requests the core network device for the context information of the UE indicated by the token; The network device obtains the UE ID represented by the token, and further obtains context information of the UE ID, where the core network device sends the context information to the mobile edge platform; the mobile edge platform generates a data offload rule according to the context information, and offloads the data. The rule is sent to the data plane, so that the data plane can classify and send the data sent by the UE through the data offloading rule, that is, some data can be directly sent to the local network without forwarding through the core network, thereby providing a UE with a kind of Fast access, high bandwidth, low latency business experience.
可选的,该核心网设备验证该token有效后,该核心网设备根据该token获取该UE的上下文信息。Optionally, after the core network device verifies that the token is valid, the core network device acquires context information of the UE according to the token.
本申请提供的技术方案中,该核心网设备在验证token有效之后再获取该token代表的UE的上下文信息可以确保数据分流正确性。In the technical solution provided by the present application, the core network device acquires the context information of the UE represented by the token after verifying that the token is valid, so as to ensure data shunt correctness.
可选的,在本申请实施例中,核心网设备具有如下几种情况:Optionally, in the embodiment of the present application, the core network device has the following situations:
一种可能实现方式是核心网设备为SCEF;One possible implementation manner is that the core network device is SCEF;
在这种情况下,该SCEF根据该token向该移动边缘平台发送该UE的IP地址和/或承载信息。In this case, the SCEF sends the IP address and/or bearer information of the UE to the mobile edge platform according to the token.
另一种可能实现方式是核心网设备为HSS和PGW;Another possible implementation method is that the core network device is HSS and PGW;
在这种情况下,该HSS为该UE配置签约数据;接收该移动边缘平台发送的请求信息;根据该token向该移动边缘平台发送该UE的ID和PGW标识,该PGW标识用于该移动边缘平台确定该PGW;In this case, the HSS configures subscription data for the UE; receives request information sent by the mobile edge platform; and sends an ID and a PGW identifier of the UE to the mobile edge platform according to the token, where the PGW identifier is used for the mobile edge. The platform determines the PGW;
该PGW接收该移动边缘平台发送的第一请求消息,该第一请求消息包括该ID;根据该ID向该移动边缘平台发送该UE的IP地址。The PGW receives the first request message sent by the mobile edge platform, where the first request message includes the ID, and sends the IP address of the UE to the mobile edge platform according to the ID.
另一种可能实现方式是核心网设备为HSS和MME;Another possible implementation manner is that the core network device is an HSS and an MME;
在这种情况下,该HSS为该UE配置签约数据;接收该移动边缘平台发送的请求信息;根据该token向该移动边缘平台发送该ID和MME标识,该MME标识用于该移动边缘平台确定该MME;In this case, the HSS configures subscription data for the UE; receives request information sent by the mobile edge platform; and sends the ID and MME identifier to the mobile edge platform according to the token, where the MME identifier is used for determining the mobile edge platform. The MME;
该MME接收该移动边缘平台发送的该第一请求消息,该第一请求消息包括该ID;根据该ID向该移动边缘平台发送该UE的承载信息;Receiving, by the MME, the first request message sent by the mobile edge platform, where the first request message includes the ID, and sending bearer information of the UE to the mobile edge platform according to the ID;
或,or,
该HSS为该UE配置签约数据;接收该移动边缘平台发送的请求信息;根据该token确定该ID;向该MME发送第二请求消息,该第二请求消息包括该UE的ID;接收该MME根据该ID反馈的该UE的承载信息;向该移动边缘平台发送该UE的承载信息。The HSS configures subscription data for the UE, receives request information sent by the mobile edge platform, determines the ID according to the token, and sends a second request message to the MME, where the second request message includes an ID of the UE, and receives the MME according to the MME. The bearer information of the UE that is fed back by the ID; and the bearer information of the UE is sent to the mobile edge platform.
本申请提供的技术方案中,核心网设备有多种实现方式,使用SCEF作为核心网设备时可以减少参与数据分流的网元,从而减少数据传输时延;使用HSS和PGW作为核心网设备或HSS和MME作为核心网设备时不用增加额外的网元,从而减少了数据分流成本。In the technical solution provided by the present application, the core network device has multiple implementation manners, and when the SCEF is used as the core network device, the network element participating in the data offloading can be reduced, thereby reducing the data transmission delay; using the HSS and the PGW as the core network device or the HSS When the MME is used as the core network device, no additional network elements are added, thereby reducing the data splitting cost.
第四方面,本申请实施例提供一种核心网设备,该核心网设备具有实现上述第三方面的方法中核心网设备的功能。该功能可以通过硬件实现,也可以通过硬件执行相应的软件实现。该硬件或软件包括一个或多个与上述功能相对应的模块。In a fourth aspect, the embodiment of the present application provides a core network device, where the core network device has the function of implementing the core network device in the method of the foregoing third aspect. This function can be implemented in hardware or in hardware by executing the corresponding software. The hardware or software includes one or more modules corresponding to the functions described above.
一种可能实现方式,该核心网设备包括:A possible implementation manner, the core network device includes:
处理模块,用于为UE配置签约数据,该签约数据包含该UE的业务凭证token;a processing module, configured to configure subscription data for the UE, where the subscription data includes a service credential token of the UE;
接收模块,用于接收该移动边缘平台发送的请求信息,该请求信息包含该token;a receiving module, configured to receive request information sent by the mobile edge platform, where the request information includes the token;
发送模块,用于根据该接收模块接收到的该token向该移动边缘平台发送该UE的上下文信息,以使得该移动边缘平台根据该上下文信息生成数据分流规则,该数据分流规则用于该数据面执行数据分流操作。a sending module, configured to send, according to the token received by the receiving module, the context information of the UE to the mobile edge platform, so that the mobile edge platform generates a data offloading rule according to the context information, where the data offloading rule is used for the data plane Perform a data offload operation.
另一种可能实现方式中,该核心网设备的结构中包括收发器和处理器;In another possible implementation manner, the structure of the core network device includes a transceiver and a processor;
该收发器,具有如下功能:接收该移动边缘平台发送的请求信息,该请求信息包含该token;根据该token向该移动边缘平台发送该UE的上下文信息,以使得该移动边缘平台根据该上下文信息生成数据分流规则,该数据分流规则用于该数据面执行数据分流操作;The transceiver has the following functions: receiving request information sent by the mobile edge platform, the request information includes the token, and sending context information of the UE to the mobile edge platform according to the token, so that the mobile edge platform according to the context information Generating a data offloading rule, where the data offloading rule is used to perform a data offloading operation on the data plane;
该处理器,具有如下功能:The processor has the following functions:
为UE配置签约数据,该签约数据包含该UE的业务凭证token。The subscription data is configured for the UE, and the subscription data includes a service credential token of the UE.
第五方面,本申请实施例提供第三方面,提供了一种计算机存储介质,该计算机存储介质中存储有程序代码,该程序代码用于指示执行上述第一方面或第三方面的方法。In a fifth aspect, the embodiment of the present application provides a third aspect, and provides a computer storage medium, where the program code is stored in the computer storage medium, and the program code is used to indicate that the method of the first aspect or the third aspect is performed.
第六方面,本申请实施例提供了一种数据分流系统,包括:移动边缘平台,核心网设备和UE;In a sixth aspect, the embodiment of the present application provides a data offloading system, including: a mobile edge platform, a core network device, and a UE;
该核心网设备为该UE配置包含有token的签约数据,该移动边缘平台在获取该token之后向该核心网设备发送包含有该token请求信息,该核心网设备根据该token向该移动边缘平台发送该UE的上下文信息,该移动边缘平台根据该上下文信息生成数据分流规则并将该数据分流规则发送给数据面,这样该数据面可以利用该数据分流规则将该UE发送的数据进行分类转发。The core network device configures subscription data including a token for the UE, and the mobile edge platform sends the token request information to the core network device after acquiring the token, and the core network device sends the token to the mobile edge platform according to the token. The context information of the UE, the mobile edge platform generates a data offloading rule according to the context information, and sends the data offloading rule to the data plane, so that the data plane can use the data offloading rule to classify and forward the data sent by the UE.
本发明实施例提供的技术方案中,核心网设备配置签约数据,该签约数据包含UE的业务凭证token,移动边缘平台获取到token之后,该移动边缘平台向该核心网设备请求该token表示的UE的上下文信息;该核心网设备向该移动边缘平台发送该上下文信息;该移动边缘平台根据该上下文信息生成数据分流规则并将该数据分流规则发送给数据面,这样数据面可以通过数据分流规则对该UE发送的数据进行分类发送,即有部分数据可以直接向本地网络进行发送而不需要通过核心网进行转发,从而为UE提供一种快接入,高带宽,低时延的业务体验。In the technical solution provided by the embodiment of the present invention, the core network device configures the subscription data, and the subscription data includes the service certificate token of the UE. After the mobile edge platform obtains the token, the mobile edge platform requests the core network device to request the UE represented by the token. Context information; the core network device sends the context information to the mobile edge platform; the mobile edge platform generates data points according to the context informationThe flow rule sends the data offloading rule to the data plane, so that the data plane can classify and send the data sent by the UE by using the data offloading rule, that is, some data can be directly sent to the local network without being forwarded through the core network. Therefore, the UE is provided with a fast access, high bandwidth, and low latency service experience.
图1为本申请实施例中MEC的系统框架图;1 is a system framework diagram of an MEC in an embodiment of the present application;
图2为本申请实施例中数据分流方法的一个实施例示意图;2 is a schematic diagram of an embodiment of a data offloading method in an embodiment of the present application;
图3为本申请实施例中数据分流方法的另一个实施例示意图;3 is a schematic diagram of another embodiment of a data offloading method in an embodiment of the present application;
图4为本申请实施例中数据分流方法的另一个实施例示意图;4 is a schematic diagram of another embodiment of a data offloading method in an embodiment of the present application;
图5为本申请实施例中数据分流方法的另一个实施例示意图;FIG. 5 is a schematic diagram of another embodiment of a data offloading method in an embodiment of the present application; FIG.
图6为本申请实施例中移动边缘平台的一个实施例示意图;FIG. 6 is a schematic diagram of an embodiment of a mobile edge platform according to an embodiment of the present application;
图7为本申请实施例中移动边缘平台的另一个实施例示意图;FIG. 7 is a schematic diagram of another embodiment of a mobile edge platform according to an embodiment of the present application;
图8为本申请实施例中核心网设备的一个实施例示意图;FIG. 8 is a schematic diagram of an embodiment of a core network device according to an embodiment of the present application;
图9为本申请实施例中核心网设备的另一个实施例示意图;FIG. 9 is a schematic diagram of another embodiment of a core network device according to an embodiment of the present application;
图10为本申请实施例中核心网设备的一个结构示意图;FIG. 10 is a schematic structural diagram of a core network device according to an embodiment of the present application;
图11为本申请实施例中核心网设备的另一个结构示意图;FIG. 11 is another schematic structural diagram of a core network device according to an embodiment of the present application;
图12为本申请实施例中核心网设备的另一个结构示意图;FIG. 12 is another schematic structural diagram of a core network device according to an embodiment of the present application;
图13为本申请实施例中核心网设备的另一个结构示意图。FIG. 13 is another schematic structural diagram of a core network device according to an embodiment of the present application.
下面将结合本发明实施例中的附图,对本发明实施例中的技术方案进行清楚、完整地描述,显然,所描述的实施例仅仅是本发明一部分实施例,而不是全部的实施例。基于本发明中的实施例,本领域技术人员在没有做出创造性劳动前提下所获得的所有其他实施例,都属于本发明保护的范围。The technical solutions in the embodiments of the present invention are clearly and completely described in the following with reference to the accompanying drawings in the embodiments of the present invention. It is obvious that the described embodiments are only a part of the embodiments of the present invention, but not all embodiments. All other embodiments obtained by a person skilled in the art based on the embodiments of the present invention without creative efforts are within the scope of the present invention.
本发明的说明书和权利要求书及上述附图中的术语“第一”、“第二”、“第三”、“第四”等(如果存在)是用于区别类似的对象,而不必用于描述特定的顺序或先后次序。应该理解这样使用的数据在适当情况下可以互换,以便这里描述的实施例能够以除了在这里图示或描述的内容以外的顺序实施。此外,术语“包括”和“具有”以及他们的任何变形,意图在于覆盖不排他的包含,例如,包含了一系列步骤或单元的过程、方法、系统、产品或设备不必限于清楚地列出的那些步骤或单元,而是可包括没有清楚地列出的或对于这些过程、方法、产品或设备固有的其它步骤或单元。The terms "first", "second", "third", "fourth", etc. (if present) in the specification and claims of the present invention and the above figures are used to distinguish similar objects without having to use To describe a specific order or order. It is to be understood that the data so used may be interchanged where appropriate so that the embodiments described herein can be implemented in a sequence other than what is illustrated or described herein. In addition, the terms "comprises" and "comprises" and "comprises", and any variations thereof, are intended to cover non-exclusive inclusions. For example, a process, method, system, product, or device that comprises a series of steps or units is not necessarily limited toThose steps or units may be included, but may include other steps or units not explicitly listed or inherent to such processes, methods, products or devices.
请参阅图1所示的移动边缘系统,实现MEC概念的移动边缘系统由三大部分组成,最上层的管理部分,管理系统的资源,策略和配置;中间的移动边缘服务器,由服务器管理部分和服务器组成,服务器管理部分提供平台的管理,应用的管理,服务器资源的管理和应用策略的管理,服务器为平台和应用提供安全的运行环境;最底层的网络部分为服务器所部署的位置。移动边缘服务器实际上是部署在移动网络边缘的一个应用服务器,可以截获到移动边缘网络的UE发送的数据并进行业务处理,且移动边缘服务器的基础设施中的数据面具有数据分流的功能,即该数据面可以将接收到的数据进行过滤分类再进行发送。Referring to the mobile edge system shown in Figure 1, the mobile edge system implementing the MEC concept consists of three major components, the uppermost management part, the management system resources, policies and configurations; the middle mobile edge server, the server management part and The server consists of a server management part that provides platform management, application management, server resource management, and application policy management. The server provides a secure operating environment for the platform and applications; the lowest layer of the network is the location where the server is deployed. The mobile edge server is actually an application server deployed at the edge of the mobile network, which can intercept data sent by the UE of the mobile edge network and perform service processing, and the data plane in the infrastructure of the mobile edge server has the function of data offloading, that is, The data plane can filter and classify the received data and then send it.
而为了给UE提供一种快接入,高带宽,低时延的业务体验,移动边缘系统需要实现数据分流,本申请实施例提供方案如下:移动边缘平台获取UE的业务凭证token,该token包含于签约数据,该签约数据为核心网设备为该UE配置;该移动边缘平台向该核心网设备发送请求信息,该请求信息包含该token;该移动边缘平台接收该核心网设备根据该token反馈的该UE的上下文信息;该移动边缘平台根据该上下文信息生成数据分流规则;该移动边缘平台将该数据分流规则发送给数据面,以使得该数据面根据该数据分流规则执行数据分流操作。In order to provide the UE with a fast access, high bandwidth, and low latency service experience, the mobile edge system needs to implement data offloading. The solution provided by the embodiment of the present application is as follows: the mobile edge platform acquires a service credential token of the UE, and the token includes In the subscription data, the subscription data is configured for the UE by the core network device; the mobile edge platform sends request information to the core network device, where the request information includes the token; and the mobile edge platform receives the feedback from the core network device according to the token. Context information of the UE; the mobile edge platform generates a data offloading rule according to the context information; the mobile edge platform sends the data offloading rule to the data plane, so that the data plane performs a data offloading operation according to the data offloading rule.
本申请实施例中,核心网设备可以有多种实现方式,基于不同的实现方式,数据分流方法有所不同,下面分别进行介绍:In the embodiment of the present application, the core network device may have multiple implementation manners, and the data offloading method is different based on different implementation manners.
一、核心网设备为SCEF,具体请参阅图2,本申请实施例中数据分流方法包括:The core network device is a SCEF. For details, refer to FIG. 2. The data offloading method in the embodiment of the present application includes:
201、SCEF为UE配置签约数据;201. The SCEF configures subscription data for the UE.
在移动边缘系统对UE的数据进行数据分流之前,该SCEF需要为UE配置相关的签约数据,该签约数据包括但不限于token,IMSI,MSISDN,允许的业务,路由策略等信息。本实施例中以企业网为例,即该UE既是移动用户,又是企业用户,则该SCEF为该UE配置的签约数据可以是MSISDN为15879820596,该token为特定字符串,这里不同格式的字符串可以表明不同的意思,具体此处不做限定;;允许的业务为:该UE可以在企业网内与同是企业网用户的UE进行内部通话,可以在企业网内办公等。Before the mobile edge system performs data offloading on the data of the UE, the SCEF needs to configure relevant subscription data for the UE, and the subscription data includes but not limited to token, IMSI, MSISDN, allowed service, routing policy and the like. In this embodiment, the enterprise network is taken as an example, that is, the UE is both a mobile user and an enterprise user, and the subscription data configured by the SCEF for the UE may be MSISDN 15827820596, and the token is a specific string, where characters in different formats are used. String can indicate differentThe meaning of the specificity is not limited here; the allowed service is: the UE can make an internal call with the UE of the enterprise network user in the enterprise network, and can work in the enterprise network.
202、代理应用向移动边缘平台发送token;202. The proxy application sends a token to the mobile edge platform.
在移动边缘系统对UE的数据进行数据分流之前,移动边缘服务器内需要预先安装一个代理应用,该代理应用用于接收该企业网的配置信息,同时可以从UE或企业网获取该token。该代理应用在获取该token之后,将该token发送给移动边缘平台。本实施例中该代理应用会接收到该特定字符串并将该特定字符串发送给移动边缘平台。Before the mobile edge system performs data offloading of the data of the UE, a proxy application needs to be pre-installed in the mobile edge server, and the proxy application is configured to receive configuration information of the enterprise network, and the token can be obtained from the UE or the enterprise network. After obtaining the token, the proxy application sends the token to the mobile edge platform. In this embodiment, the proxy application receives the specific string and sends the specific string to the mobile edge platform.
本申请实施例中,该代理应用不仅可以为移动边缘平台提供token,也可以为移动边缘平台提供该UE的相关信息,比如该UE可以在企业网内与同是企业网用户的UE进行内部通话,可以在企业网内办公等。In the embodiment of the present application, the proxy application may not only provide a token for the mobile edge platform, but also provide relevant information of the UE for the mobile edge platform, for example, the UE may perform an internal call with the UE of the same enterprise network user in the enterprise network. , can work in the enterprise network and so on.
203、移动边缘平台向SCEF发送请求信息;203. The mobile edge platform sends request information to the SCEF.
该移动边缘平台在接收到该代理应用发送的token之后,该移动边缘平台将向SCEF发送包含有token的请求信息。After receiving the token sent by the proxy application, the mobile edge platform sends the request information including the token to the SCEF.
204、SCEF向移动边缘平台发送上下文信息;204. The SCEF sends context information to the mobile edge platform.
SCEF在接收到该移动边缘平台发送的token之后,该SCEF验证该token的有效性,当该SCEF确定该token有效之后,该SCEF根据该token确定相应的UE ID并获取该UE的IP地址和/或承载信息,并将该IP地址和/或承载信息发送给移动边缘平台。After receiving the token sent by the mobile edge platform, the SCEF verifies the validity of the token. After the SCEF determines that the token is valid, the SCEF determines the corresponding UE ID according to the token and obtains the IP address of the UE and/or Or bear the information and send the IP address and/or bearer information to the mobile edge platform.
本实施例中SCEF接收到移动边缘平台发送的特定字符串之后,查询该特定字符串是否属于已签约的设备,若是,则该SCEF根据该特定字符串查询对应的UE,并获取该UE的IP地址为192.168.1.100和/或承载信息。In this embodiment, after receiving the specific character string sent by the mobile edge platform, the SCEF queries whether the specific character string belongs to the subscribed device. If yes, the SCEF queries the corresponding UE according to the specific character string, and obtains the IP of the UE. The address is 192.168.1.100 and/or bearer information.
205、移动边缘平台根据上下文信息生成数据分流规则;205. The mobile edge platform generates a data offloading rule according to the context information.
该移动边缘平台在接收该SCEF发送的该UE的IP地址和/或承载信息之后,该移动边缘平台根据该IP地址和/或承载信息生成数据分流规则。After receiving the IP address and/or bearer information of the UE sent by the SCEF, the mobile edge platform generates a data offloading rule according to the IP address and/or bearer information.
比如该UE的IP地址为192.168.1.100,该移动边缘平台根据该IP地址得到该UE的数据分流方式为与企业内部员工进行语音交流时都可以通过企业网进行转发;与企业外员工进行语音交流时,需要通过核心网转发。For example, the IP address of the UE is 192.168.1.100, and the mobile edge platform obtains the data offloading manner of the UE according to the IP address, and can perform forwarding through the enterprise network when performing voice communication with the internal employees of the enterprise; and performing voice communication with the employees outside the enterprise. When it needs to be forwarded through the core network.
206、移动边缘平台向数据面发送数据分流规则;206. The mobile edge platform sends a data offloading rule to the data plane.
移动边缘平台将生成的数据分流规则发送给数据面。The mobile edge platform sends the generated data offload rule to the data plane.
207、数据面利用数据分流规则执行数据分流操作。207. The data plane performs a data offload operation by using a data offload rule.
数据面在接收到该UE发送的数据之后利用该数据分流规则将该UE的数据进行过滤分类发送,比如该数据面利用数据分流规则判定该UE发送的数据中有可以通过企业网进行转发的语音,则该数据面将语音通过企业网直接转发,不再经过核心网;若该数据面利用数据分流规则判定该UE发送的数据中有不可以通过企业网进行转发的图片,则该数据面将图片通过核心网转发。After receiving the data sent by the UE, the data plane uses the data offloading rule to filter and classify the data of the UE. For example, the data plane uses the data offloading rule to determine that the data sent by the UE has voice that can be forwarded through the enterprise network. The data plane forwards the voice directly through the enterprise network and does not pass through the core network; if the data plane uses the data offload rule to determine that the data sent by the UE has a picture that cannot be forwarded through the enterprise network, the data plane will Images are forwarded through the core network.
在本实施例中,SCEF配置签约数据,该签约数据包含标记token,移动边缘服务器中预先安装的代理应用在获取到token之后将该token发送给移动边缘平台,移动边缘平台获取到token之后,该移动边缘平台向该SCEF请求该token表示的UE的上下文信息;该SCEF向该移动边缘平台发送该上下文信息;该移动边缘平台根据该上下文信息生成数据分流规则并将该数据分流规则发送给数据面,这样数据面可以通过数据分流规则对该UE发送的数据进行分类发送,即有部分数据可以直接向本地网络进行发送而不需要通过核心网进行转发,从而为UE提供一种快接入,高带宽,低时延的业务体验。In this embodiment, the SCEF configures the subscription data, and the subscription data includes a token. The pre-installed proxy application in the mobile edge server sends the token to the mobile edge platform after acquiring the token, and after the mobile edge platform obtains the token, the The mobile edge platform requests the SCEF for the context information of the UE indicated by the token; the SCEF sends the context information to the mobile edge platform; the mobile edge platform generates a data offloading rule according to the context information and sends the data offloading rule to the data plane. Therefore, the data plane can classify and send the data sent by the UE by using a data offloading rule, that is, some data can be directly sent to the local network without forwarding through the core network, thereby providing the UE with a fast access, high. Bandwidth, low latency business experience.
二、核心网设备包括HSS和PGW,具体请参阅图3,本申请实施例中数据分流方法包括:The core network device includes the HSS and the PGW. For details, refer to FIG. 3. The data offloading method in the embodiment of the present application includes:
301、HSS为UE配置签约数据;301. The HSS configures subscription data for the UE.
在移动边缘系统对UE的数据进行数据分流之前,该HSS需要为UE配置相关的签约数据,该签约数据包括但不限于token,IMSI,MSISDN,允许的业务,路由策略等信息。本实施例中以企业网为例,即该UE既是移动用户,又是企业用户,则该HSS为该UE配置的签约数据可以是MSISDN为15879820596,该token为特定字符串,这里不同格式的字符串可以表明不同的意思,具体此处不做限定;允许的业务:该UE可以在企业网内与同是企业网用户的UE进行内部通话,可以在企业网内办公等。Before the mobile edge system performs data offloading on the data of the UE, the HSS needs to configure related subscription data for the UE, and the subscription data includes but not limited to token, IMSI, MSISDN, allowed service, routing policy and the like. In this embodiment, the enterprise network is taken as an example, that is, the UE is both a mobile user and an enterprise user, and the subscription data configured by the HSS for the UE may be MSISDN 15827820596, and the token is a specific character string, where characters in different formats are used. The string can indicate different meanings, and is not limited here; the allowed service: the UE can make internal calls in the enterprise network with the UEs of the same enterprise network users, and can work in the enterprise network.
302、代理应用向移动边缘平台发送token;302. The proxy application sends a token to the mobile edge platform.
在移动边缘系统对UE的数据进行数据分流之前,该移动边缘服务器内需要预先安装一个代理应用,该代理应用用于接收该企业网的配置信息,同时可以从UE或企业网获取该token。该代理应用在获取该token之后,将该token发送给移动边缘平台。本实施例中该代理应用会接收到该特定字符串并将特定字符串发送给移动边缘平台。Before the mobile edge system performs data offloading of the data of the UE, the mobile edge server needs to pre-install a proxy application, and the proxy application is configured to receive the configuration information of the enterprise network, and obtain the token from the UE or the enterprise network. The proxy application, after acquiring the token, the tokenSend to the mobile edge platform. In this embodiment, the proxy application receives the specific string and sends the specific string to the mobile edge platform.
本申请实施例中,该代理应用不仅可以为移动边缘平台提供token,也可以为移动边缘平台提供该UE的相关信息,比如该UE可以在企业网内与同是企业网用户的UE进行内部通话,可以在企业网内办公等。In the embodiment of the present application, the proxy application may not only provide a token for the mobile edge platform, but also provide relevant information of the UE for the mobile edge platform, for example, the UE may perform an internal call with the UE of the same enterprise network user in the enterprise network. , can work in the enterprise network and so on.
303、移动边缘平台向HSS发送请求信息;303. The mobile edge platform sends request information to the HSS.
该移动边缘平台在接收到该代理应用发送的token之后,该移动边缘平台将向HSS发送包含有token的请求信息。After receiving the token sent by the proxy application, the mobile edge platform sends the request information including the token to the HSS.
304、HSS向移动边缘平台发送UE的ID和PGW标识;304. The HSS sends the ID and PGW identifier of the UE to the mobile edge platform.
HSS在接收到该移动边缘平台发送的token之后,该HSS验证该token的有效性,当该HSS确定该token有效之后,该HSS根据该token确定相应的UE并获取该UE的ID和PGW标识,并将ID和PGW标识发送给移动边缘平台。After receiving the token sent by the mobile edge platform, the HSS verifies the validity of the token. After the HSS determines that the token is valid, the HSS determines the corresponding UE according to the token and acquires the ID and PGW identifier of the UE. The ID and PGW ID are sent to the mobile edge platform.
本实施例中HSS接收到移动边缘平台发送的特定字符串之后,查询该特定字符串是否属于已签约的设备,若是,则该HSS根据该特定字符串查询对应的UE,并获取该UE的ID15879820596和PGW标识。In this embodiment, after receiving the specific character string sent by the mobile edge platform, the HSS queries whether the specific string belongs to the subscribed device. If yes, the HSS queries the corresponding UE according to the specific string, and obtains the ID of the UE. And the PGW logo.
305、移动边缘平台向PGW发送第一请求消息;305. The mobile edge platform sends a first request message to the PGW.
移动边缘平台在接收到该UE的ID15879820596和PGW标识之后,该移动边缘平台根据该PGW标识确定该UE所属的PGW。该移动边缘平台向该PGW发送包含有15879820596数字的第一请求消息。After receiving the ID15879820596 and the PGW identifier of the UE, the mobile edge platform determines, according to the PGW identifier, the PGW to which the UE belongs. The mobile edge platform sends a first request message containing the number 15778820596 to the PGW.
306、PGW向移动边缘平台发送UE的IP地址;306. The PGW sends the IP address of the UE to the mobile edge platform.
该PGW根据15879820596这串数字确定相应的UE,并得到该UE的IP地址192.168.1.100。The PGW determines the corresponding UE according to the string number of 15879820596, and obtains the IP address of the UE 192.168.1.100.
307、移动边缘平台根据IP地址生成数据分流规则;307. The mobile edge platform generates a data offloading rule according to the IP address.
该移动边缘平台在接收该PGW发送的该UE的IP地址192.168.1.100,该移动边缘平台根据该IP地址192.168.1.100生成数据分流规则。The mobile edge platform receives the IP address 192.168.1.100 of the UE sent by the PGW, and the mobile edge platform generates a data offload rule according to the IP address 192.168.1.100.
比如该UE的IP地址为192.168.1.100,该移动边缘平台根据该IP地址得到该UE的数据分流方式为与企业内部员工进行语音交流时都可以通过企业网进行转发;与企业外员工进行语音交流时,需要通过核心网转发。For example, the IP address of the UE is 192.168.1.100, and the mobile edge platform obtains the data offloading manner of the UE according to the IP address, and can perform forwarding through the enterprise network when performing voice communication with the internal employees of the enterprise; and performing voice communication with the employees outside the enterprise. When it needs to be forwarded through the core network.
步骤308至步骤309与步骤206至步骤207相同,此处不再赘述。Steps 308 to 309 are the same as steps 206 to 207, and are not described herein again.
在本实施例中,HSS配置签约数据,该签约数据包含标记token,移动边缘服务器中预先安装的代理应用在获取到token之后将该token发送给移动边缘平台,移动边缘平台获取到token之后,该移动边缘平台向该HSS请求该token表示的UE的上下文信息;该HSS向该移动边缘平台发送该UE的ID和PGW标识;该移动边缘平台根据该PGW标识确定该UE所属的PGW之后向该PGW发送包含有该UE的ID信息的请求消息,该PGW向该移动边缘平台发送该UE的IP地址;该移动边缘平台根据该IP地址生成数据分流规则并将该数据分流规则发送给数据面,这样数据面可以通过数据分流规则对该UE发送的数据进行分类发送,即有部分数据可以直接向本地网络进行发送而不需要通过核心网进行转发,从而为UE提供一种快接入,高带宽,低时延的业务体验。In this embodiment, the HSS configures subscription data, and the subscription data includes a token token. The pre-installed proxy application in the mobile edge server sends the token to the mobile edge platform after acquiring the token, and after the mobile edge platform obtains the token, the The mobile edge platform requests the HSS for the context information of the UE indicated by the token; the HSS sends the ID and the PGW identifier of the UE to the mobile edge platform; and the mobile edge platform determines, according to the PGW identifier, the PGW to which the UE belongs to the PGW. Sending a request message including ID information of the UE, the PGW transmitting an IP address of the UE to the mobile edge platform; the mobile edge platform generates a data offload rule according to the IP address, and sends the data offload rule to the data plane, so that The data plane can classify and send the data sent by the UE by using a data offloading rule, that is, some data can be directly sent to the local network without being forwarded through the core network, thereby providing the UE with a fast access and high bandwidth. Low latency business experience.
三、核心网设备包括HSS和MME,具体请参阅图4,本申请实施例中数据分流方法包括:The core network device includes the HSS and the MME. For details, refer to FIG. 4. The data offloading method in the embodiment of the present application includes:
步骤401至步骤403与步骤301至步骤302相同,此处不再赘述。Steps 401 to 403 are the same as steps 301 to 302, and are not described herein again.
404、HSS向移动边缘平台发送UE的ID和MME标识;404. The HSS sends the ID of the UE and the MME identifier to the mobile edge platform.
HSS在接收到该移动边缘平台发送的token之后,该HSS验证该token的有效性,当该HSS确定该token有效之后,该HSS根据该token确定相应的UE并获取该UE的ID和MME标识,并将ID和MME标识发送给移动边缘平台。After receiving the token sent by the mobile edge platform, the HSS verifies the validity of the token. After the HSS determines that the token is valid, the HSS determines the corresponding UE according to the token and acquires the ID and MME identifier of the UE. The ID and MME identity are sent to the mobile edge platform.
本实施例中HSS接收到移动边缘平台发送的该特定字符串之后,查询该该特定字符串是否属于已签约的设备,若是,则该HSS根据该特定字符串查询对应的UE,并获取该UE的ID15879820596和MME标识。In this embodiment, after receiving the specific character string sent by the mobile edge platform, the HSS queries whether the specific character string belongs to the subscribed device. If yes, the HSS queries the corresponding UE according to the specific character string, and acquires the UE. ID15879820596 and MME logo.
405、移动边缘平台向MME发送第一请求消息;405. The mobile edge platform sends a first request message to the MME.
移动边缘平台在接收到该UE的ID15879820596和MME标识之后,该移动边缘平台根据该MME标识确定该UE所属的MME。该移动边缘平台向该MME发送包含有15879820596数字的第一请求消息。After receiving the ID15879820596 and the MME identity of the UE, the mobile edge platform determines, according to the MME identity, the MME to which the UE belongs. The mobile edge platform sends a first request message containing the number 15778820596 to the MME.
406、MME向移动边缘平台发送UE的承载信息;406. The MME sends the bearer information of the UE to the mobile edge platform.
该MME根据15879820596这串数字确定相应的UE,并得到该UE的承载信息,该MME将该承载信息发送给移动边缘平台。The MME determines the corresponding UE according to the string number of 15879820596, and obtains the UE's inheritance.Loading information, the MME sends the bearer information to the mobile edge platform.
407、移动边缘平台根据承载信息生成数据分流规则;407. The mobile edge platform generates a data offloading rule according to the bearer information.
该移动边缘平台在接收该MME发送的该UE的承载信息,该移动边缘平台根据该承载信息生成数据分流规则。The mobile edge platform receives the bearer information of the UE sent by the MME, and the mobile edge platform generates a data offload rule according to the bearer information.
比如该移动边缘平台根据该承载信息得到该UE的数据分流方式为与企业内部员工进行语音交流时都可以通过企业网进行转发;与企业外员工进行语音交流时,需要通过核心网转发。For example, the mobile edge platform can obtain the data offloading manner of the UE according to the bearer information, and can perform forwarding through the enterprise network when performing voice communication with the internal employees of the enterprise; when performing voice communication with the employees outside the enterprise, the core network needs to be forwarded.
步骤408至步骤409与步骤206至步骤207相同,此处不再赘述。Steps 408 to 409 are the same as steps 206 to 207, and are not described herein again.
在本实施例中,HSS配置签约数据,该签约数据包含标记token,移动边缘服务器中预先安装的代理应用在获取到token之后将该token发送给移动边缘平台,移动边缘平台获取到token之后,该移动边缘平台向该HSS请求该token表示的UE的上下文信息;该HSS向该移动边缘平台发送该UE的ID和MME标识;该移动边缘平台根据该MME标识确定该UE所属的MME之后向该MME发送包含有该UE的ID信息的请求消息,该MME向该移动边缘平台发送该UE的承载信息;该移动边缘平台根据该承载信息生成数据分流规则并将该数据分流规则发送给数据面,这样数据面可以通过数据分流规则对该UE发送的数据进行分类发送,即有部分数据可以直接向本地网络进行发送而不需要通过核心网进行转发,从而为UE提供一种快接入,高带宽,低时延的业务体验。In this embodiment, the HSS configures subscription data, and the subscription data includes a token token. The pre-installed proxy application in the mobile edge server sends the token to the mobile edge platform after acquiring the token, and after the mobile edge platform obtains the token, the The mobile edge platform requests the HSS to request the context information of the UE indicated by the token; the HSS sends the ID of the UE and the MME identity to the mobile edge platform; and the mobile edge platform determines, according to the MME identity, the MME to which the UE belongs to the MME. Sending a request message that includes the ID information of the UE, the MME sends the bearer information of the UE to the mobile edge platform; the mobile edge platform generates a data offloading rule according to the bearer information, and sends the data offloading rule to the data plane, so that The data plane can classify and send the data sent by the UE by using a data offloading rule, that is, some data can be directly sent to the local network without being forwarded through the core network, thereby providing the UE with a fast access and high bandwidth. Low latency business experience.
四、核心网设备包括HSS和MME,具体请参阅图5,本申请实施例中数据分流方法包括:The core network device includes the HSS and the MME. For details, refer to FIG. 5. The data offloading method in the embodiment of the present application includes:
步骤501至步骤503与步骤301至步骤302相同,此处不再赘述。Steps 501 to 503 are the same as steps 301 to 302, and are not described herein again.
504、HSS向MME发送第二请求消息;504. The HSS sends a second request message to the MME.
HSS在接收到该移动边缘平台发送的token之后,该HSS验证该token的有效性,当该HSS确定该token有效之后,该HSS根据该token确定相应的UE并获取该UE的ID,并向MME发送包含有该UE的ID的第二请求消息。After receiving the token sent by the mobile edge platform, the HSS verifies the validity of the token. After the HSS determines that the token is valid, the HSS determines the corresponding UE according to the token and acquires the ID of the UE, and obtains the ID of the UE. A second request message containing the ID of the UE is sent.
本实施例中HSS接收到移动边缘平台发送的该特定字符串之后,查询该特定字符串是否属于已签约的设备,若是,则该HSS根据该特定字符串查询对应的UE,并获取该UE的ID15879820596,并将该ID15879820596发送给MME。In this embodiment, after receiving the specific character string sent by the mobile edge platform, the HSS queries whether the specific string belongs to the subscribed device. If yes, the HSS queries the corresponding UE according to the specific string, and obtains the UE. ID15879820596 and send the ID15879820596 toMME.
505、MME向HSS发送UE的承载信息;505. The MME sends the bearer information of the UE to the HSS.
该MME根据15879820596这串数字确定相应的UE,并得到该UE的承载信息,该MME将该承载信息发送给HSSThe MME determines the corresponding UE according to the string number of 15879920596, and obtains bearer information of the UE, and the MME sends the bearer information to the HSS.
506、HSS向移动边缘平台发送UE的承载信息;506. The HSS sends the bearer information of the UE to the mobile edge platform.
该HSS接收到MME发送的该UE的承载信息后,该HSS将该承载信息发送给移动边缘平台。After receiving the bearer information of the UE sent by the MME, the HSS sends the bearer information to the mobile edge platform.
507、移动边缘平台根据承载信息生成数据分流规则;507. The mobile edge platform generates a data offloading rule according to the bearer information.
该移动边缘平台在接收该HSS发送的该UE的承载信息,该移动边缘平台根据该承载信息生成数据分流规则。The mobile edge platform receives the bearer information of the UE sent by the HSS, and the mobile edge platform generates a data offload rule according to the bearer information.
比如该移动边缘平台根据该承载信息得到该UE的数据分流方式为与企业内部员工进行语音交流时都可以通过企业网进行转发;与企业外员工进行语音交流时,需要通过核心网转发。For example, the mobile edge platform can obtain the data offloading manner of the UE according to the bearer information, and can perform forwarding through the enterprise network when performing voice communication with the internal employees of the enterprise; when performing voice communication with the employees outside the enterprise, the core network needs to be forwarded.
步骤508至步骤509与步骤206至步骤207相同,此处不再赘述。Steps 508 to 509 are the same as steps 206 to 207, and are not described herein again.
在本实施例中,HSS配置签约数据,该签约数据包含标记token,移动边缘服务器中预先安装的代理应用在获取到token之后将该token发送给移动边缘平台,移动边缘平台获取到token之后,该移动边缘平台向该HSS请求该token表示的UE的上下文信息;该HSS向该MME该UE的ID;该MME向该HSS发送该UE的承载信息;该HSS向该移动边缘平台发送该UE的承载信息;该移动边缘平台根据该承载信息生成数据分流规则并将该数据分流规则发送给数据面,这样数据面可以通过数据分流规则对该UE发送的数据进行分类发送,即有部分数据可以直接向本地网络进行发送而不需要通过核心网进行转发,从而为UE提供一种快接入,高带宽,低时延的业务体验。In this embodiment, the HSS configures subscription data, and the subscription data includes a token token. The pre-installed proxy application in the mobile edge server sends the token to the mobile edge platform after acquiring the token, and after the mobile edge platform obtains the token, the The mobile edge platform requests the HSS for the context information of the UE indicated by the token; the HSS sends the ID of the UE to the MME; the MME sends the bearer information of the UE to the HSS; the HSS sends the bearer of the UE to the mobile edge platform. The mobile edge platform generates a data offloading rule according to the bearer information and sends the data offloading rule to the data plane, so that the data plane can classify and send the data sent by the UE by using a data offloading rule, that is, some data can be directly sent to The local network sends the packet without forwarding through the core network, thereby providing the UE with a fast access, high bandwidth, and low latency service experience.
上面对本申请实施例中的数据分流方法进行了描述,下面对本申请实施例中的移动边缘平台进行描述。The data offloading method in the embodiment of the present application has been described above. The mobile edge platform in the embodiment of the present application is described below.
具体请参阅图6,本申请实施例中的移动边缘平台的一个实施例,包括:接收模块601,处理模块602,发送模块603;Referring to FIG. 6, an embodiment of the mobile edge platform in the embodiment of the present application includes: a receiving
接收模块601,用于获取UE的业务凭证token,该token包含于签约数据,该签约数据为核心网设备为该UE配置;The receiving
发送模块603,用于向该核心网设备发送请求信息,该请求信息包含该接收模块601接收到的该token;The sending
该接收模块601,还用于接收该核心网设备根据该发送模块603发送的该token反馈的该UE的上下文信息;The receiving
处理模块602,用于根据该接收模块601接收到的该上下文信息生成数据分流规则;The
该发送模块603,还用于将该处理模块602生成的该数据分流规则发送给数据面,以使得该数据面根据该数据分流规则执行数据分流操作。The sending
可选的,该接收模块601,具体还用于获取代理应用发送的UE的业务凭证token,该代理应用运行于移动边缘服务器。Optionally, the receiving
可选的,当核心网设备为SCEF时;Optionally, when the core network device is a SCEF;
该接收模块601,具体还用于接收该SCEF根据该token反馈的该UE的IP地址和/或承载信息;The receiving
该处理模块602,具体还用于根据该IP地址和/或该承载信息生成数据分流规则。The
可选的,当核心网设备包括HSS和PGW时;Optionally, when the core network device includes the HSS and the PGW;
该发送模块603,具体还用于向该HSS发送该请求信息;The sending
该接收模块601,具体还用于接收该HSS根据该token反馈的该UE的身份标识ID和PGW标识,该ID为该签约数据中的IMSI或MSISDN;The receiving
该处理模块602,具体还用于根据该接收模块601接收的该PGW标识确定该PGW;The
该发送模块603,具体还用于向该处理模块602确定的该PGW发送第一请求消息,该第一请求消息包含该ID;The sending
该接收模块601,具体还用于接收该处理模块602确定的该PGW根据该ID反馈的该IP地址;The receiving
该处理模块602,具体还用于根据该接收模块601接收到的该IP地址生成数据分流规则。The
可选的,当该核心网设备包括HSS和MME时;Optionally, when the core network device includes an HSS and an MME;
该发送模块603,具体还用于向该HSS发送该请求信息;The sending
该接收模块601,具体还用于接收该HSS根据该token反馈的该UE的身份标识ID和MME标识,该ID为该签约数据中的IMSI或MSISDN;The receiving
该处理模块602,具体还用于根据该接收模块601接收的该MME标识确定该MME;The
该发送模块603,具体还用于向该处理模块602确定的该MME发送第一请求消息,该第一请求消息包含该ID;The sending
该接收模块601,具体还用于接收该处理模块602确定的该MME根据该ID反馈的该承载信息;The receiving
该处理模块602,具体还用于根据该接收模块601接收到的该承载信息生成数据分流规则。The
可选的,当该核心网设备包括HSS和MME时;Optionally, when the core network device includes an HSS and an MME;
该发送模块603,具体还用于向该HSS发送请求信息;The sending
该接收模块601,具体还用于接收该HSS根据该token反馈的该承载信息,该承载信息由该MME根据该ID反馈给该HSS,该ID由该HSS发送给该MME;The receiving
该处理模块602,具体还用于根据该承载信息生成数据分流规则。The
本实施例中,核心网设备配置签约数据,该签约数据包含标记token,移动边缘平台获取到token之后,该移动边缘平台向该核心网设备请求该token表示的UE的上下文信息;该核心网设备向该移动边缘平台发送该上下文信息;该移动边缘平台根据该上下文信息生成数据分流规则并将该数据分流规则发送给数据面,这样数据面可以通过数据分流规则对该UE发送的数据进行分类发送,即有部分数据可以直接向本地网络进行发送而不需要通过核心网进行转发,从而为UE提供一种快接入,高带宽,低时延的业务体验。同时,核心网设备可以有多种模式,增强了移动边缘系统中数据分流的实用性。In this embodiment, the core network device configures the subscription data, and the subscription data includes a token. After the mobile edge platform obtains the token, the mobile edge platform requests the core network device for context information of the UE indicated by the token; the core network device Sending the context information to the mobile edge platform; the mobile edge platform generates a data offloading rule according to the context information, and sends the data offloading rule to the data plane, so that the data plane can classify and send the data sent by the UE by using a data offloading rule. That is, some data can be directly sent to the local network without forwarding through the core network, thereby providing the UE with a fast access, high bandwidth, and low latency service experience. At the same time, the core network device can have multiple modes, which enhances the practicality of data offloading in the mobile edge system.
具体请参阅图7,本申请实施例中的移动边缘平台的另一个实施例,包括:收发器701和处理器702;该收发器701和该处理器702通过总线703相互连接;Referring to FIG. 7 , another embodiment of the mobile edge platform in the embodiment of the present application includes: a
该收发器701,具有如下功能:The
获取UE的业务凭证token,该token包含于签约数据,该签约数据为核心网设备为该UE配置;向该核心网设备发送请求信息,该请求信息包含该token;接收该核心网设备根据该token反馈的该UE的上下文信息;将该数据分流规则发送给数据面,以使得该数据面根据该数据分流规则执行数据分流操作;Obtaining a service credential token of the UE, where the token is included in the subscription data, and the subscription data is a coreThe heartbeat device is configured for the UE; the request information is sent to the core network device, the request information includes the token; the context information of the UE that the core network device feeds back according to the token is received; and the data offloading rule is sent to the data plane, So that the data plane performs a data offloading operation according to the data offloading rule;
该处理器702,具有如下功能:The
根据该接收模块接收到的该上下文信息生成数据分流规则。Generating a data offload rule according to the context information received by the receiving module.
处理器702可以是中央处理器(英文全称:central processing unit,简称CPU),网络处理器(英文全称:network processor,简称NP)或者CPU和NP的组合。The
处理器702还可以进一步包括硬件芯片。上述硬件芯片可以是专用集成电路(英文全称:application-specific integrated circuit,简称ASIC),可编程逻辑器件(英文全称:programmable logic device,简称PLD)或其组合。上述PLD可以是复杂可编程逻辑器件(英文全称:complex programmable logic device,简称CPLD),现场可编程逻辑门阵列(英文全称:field-programmable gate array,简称FPGA),通用阵列逻辑(英文全称:generic array logic,简称GAL)或其任意组合。
总线703可以是外设部件互连标准(英文全称:peripheral component interconnect,简称PCI)总线或扩展工业标准结构(英文全称:extended industry standard architecture,简称EISA)总线等。该总线可以分为地址总线、数据总线、控制总线等。为便于表示,图7中仅用一条粗线表示,但并不表示仅有一根总线或一种类型的总线。The
该移动边缘平台还包括存储器704,该存储器704可以包括易失性存储器(volatile memory),例如随机存取存储器(英文全称:random-access memory,简称RAM);存储器也可以包括非易失性存储器(英文全称:non-volatile memory),例如快闪存储器(flash memory),硬盘(英文全称:hard disk drive,简称HDD)或固态硬盘(英文全称:solid-state drive,简称SSD);存储器704还可以包括上述种类的存储器的组合。The mobile edge platform further includes a
可选地,存储器704还可以用于存储程序指令,处理器702调用该存储器704中存储的程序指令,可以执行图2或图3或图4或图5所示实施例中的一个或多个步骤,或其中可选的实施方式,实现上述方法中移动边缘平台的功能。Optionally, the
可选的,该收发器701,具体还具有如下功能:获取代理应用发送的UE的业务凭证token,该代理应用运行于移动边缘服务器。Optionally, the
可选的,核心网设备为SCEF时;Optionally, when the core network device is SCEF;
该收发器701,具体还具有如下功能:接收该SCEF根据该token反馈的该UE的IP地址和/或承载信息;The
处理器702,具体还具有如下功能:根据该IP地址和/或该承载信息生成数据分流规则。The
可选的,核心网设备为HSS和PGW时;Optionally, when the core network device is an HSS and a PGW;
该收发器701,具体还具有如下功能:向该HSS发送该请求信息;接收该HSS根据该token反馈的该UE的身份标识ID和PGW标识,该ID为该签约数据中的IMSI或MSISDN;向该处理模块确定的该PGW发送第一请求消息,该第一请求消息包含该ID;接收该处理模块确定的该PGW根据该ID反馈的该IP地址;The
该处理器702,具体还具有如下功能:根据该接收模块接收的该PGW标识确定该PGW;根据该接收模块接收到的该IP地址生成数据分流规则。The
可选的,核心网设备为HSS和MME时;Optionally, when the core network device is an HSS and an MME;
该收发器701,具体还具有如下功能:向该HSS发送该请求信息;接收该HSS根据该token反馈的该UE的身份标识ID和MME标识,该ID为该签约数据中的IMSI或MSISDN;向该处理模块确定的该MME发送第一请求消息,该第一请求消息包含该ID;接收该处理模块确定的该MME根据该ID反馈的该承载信息;The
该处理器702,具体还具有如下功能:根据该接收模块接收的该MME标识确定该MME;根据该接收模块接收到的该承载信息生成数据分流规则。The
可选的,核心网设备包括HSS和MME时;Optionally, when the core network device includes the HSS and the MME;
该收发器701,具体还具有如下功能:向该HSS发送请求信息;接收该HSS根据该token反馈的该承载信息,该承载信息由该MME根据该ID反馈给该HSS,该ID由该HSS发送给该MME;The
该处理器702,具体还具有如下功能:根据该承载信息生成数据分流规则。The
本实施例中,核心网设备配置签约数据,该签约数据包含标记token,移动边缘平台获取到token之后,该移动边缘平台向该核心网设备请求该token表示的UE的上下文信息;该核心网设备向该移动边缘平台发送该上下文信息;该移动边缘平台根据该上下文信息生成数据分流规则并将该数据分流规则发送给数据面,这样数据面可以通过数据分流规则对该UE发送的数据进行分类发送,即有部分数据可以直接向本地网络进行发送而不需要通过核心网进行转发,从而为UE提供一种快接入,高带宽,低时延的业务体验。同时,核心网设备可以有多种模式,增强了移动边缘系统中数据分流的实用性。In this embodiment, the core network device configures the subscription data, and the subscription data includes a token. After the mobile edge platform obtains the token, the mobile edge platform requests the core network device for context information of the UE indicated by the token; the core network device Sending the context information to the mobile edge platform; the mobile edge platform generates a data offloading rule according to the context information, and sends the data offloading rule to the data plane, so that the data plane can classify and send the data sent by the UE by using a data offloading rule. That is, some data can be directly sent to the local network without forwarding through the core network, thereby providing the UE with a fast access, high bandwidth, and low latency service experience. At the same time, the core network device can have multiple modes, which enhances the practicality of data offloading in the mobile edge system.
具体请参阅图8,本申请实施例中的核心网设备的一个实施例,包括:For details, please refer to FIG. 8 , an embodiment of the core network device in the embodiment of the present application includes:
接收模块801,处理模块802,发送模块803;Receiving
处理模块802,用于为UE配置签约数据,该签约数据包含token,该token用于表示UE;The
接收模块801,用于接收该移动边缘平台发送的请求信息,该请求信息包含该token;The receiving
发送模块803,用于根据该接收模块801接收到的该token向该移动边缘平台发送该UE的上下文信息,以使得该移动边缘平台根据该上下文信息生成数据分流规则,该数据分流规则用于该数据面执行数据分流操作。The sending
可选的,该处理模块802,还用于当验证该token有效时,根据该token获取该UE的上下文信息。Optionally, the
可选的,核心网设备为SCEF时;Optionally, when the core network device is SCEF;
该发送模块801,具体还用于根据该token向该移动边缘平台发送该UE的IP地址和/或承载信息。The sending
可选的,核心网设备为HSS和PGW时;HSS与PGW作为两个不同的实体设备,HSS与PGW执行不同的功能,HSS与PGW组合成的核心网设备1000如图10所示:Optionally, when the core network device is the HSS and the PGW, the HSS and the PGW are two different physical devices, and the HSS and the PGW perform different functions. The
该HSS,包括接收模块1001,处理模块1002,发送模块1003:The HSS includes a
处理模块1002,用于为该UE配置签约数据;The
接收模块1001,用于接收该移动边缘平台发送的请求信息;The
发送模块1003,用于根据该token向该移动边缘平台发送该UE的ID和PGW标识,该PGW标识用于该移动边缘平台确定该PGW,该ID为该签约数据中的IMSI或MSISDN;The sending
该PGW,包括接收模块1004,处理模块1005,发送模块1006;The PGW includes a
接收模块1004,用于接收该移动边缘平台发送的第一请求消息,该第一请求消息包括该ID;The
发送模块1006,用于根据该ID向该移动边缘平台发送该UE的IP地址。The sending
可选的,核心网设备为HSS和MME时;HSS与MME作为两个不同的实体设备,HSS与MME执行不同的功能,HSS与MME组合成的核心网设备1100如图11所示:Optionally, when the core network device is the HSS and the MME, the HSS and the MME function as two different physical devices, and the HSS and the MME perform different functions. The
该HSS,包括接收模块1101,处理模块1102,发送模块1103:The HSS includes a
处理模块1102,用于为该UE配置签约数据;The
接收模块1101,用于接收该移动边缘平台发送的请求信息;The
发送模块1103,用于根据该token向该移动边缘平台发送该UE的ID和MME标识,该MME标识用于该移动边缘平台确定该MME,该ID为该签约数据中的IMSI或MSISDN;The sending
该MME,包括接收模块1104,处理模块1105,发送模块1106;The MME includes a
接收模块1104,用于接收该移动边缘平台发送的第一请求消息,该第一请求消息包括该ID;The
发送模块1106,用于根据该ID向该移动边缘平台发送该UE的承载信息。The sending
可选的,该HSS与MME组合成核心网设备时,由于该HSS与MME之间是存在接口的,该HSS与MME之间还可以有如下方案:Optionally, when the HSS and the MME are combined into a core network device, the interface between the HSS and the MME may be as follows:
该处理模块1102,用于为该UE配置签约数据;The
接收模块1101,用于接收该移动边缘平台发送的请求信息;The
处理模块1102,用于根据该token确定该ID;The
发送模块1103,用于向该MME发送第二请求消息,该第二请求消息包括该UE的ID;The sending
接收模块1101,用于接收该MME根据该ID反馈的该UE的承载信息;The
发送模块1103,用于向该移动边缘平台发送该UE的承载信息The sending
接收模块1104,用于接收第二请求消息,该第二请求消息包括该UE的ID;The
发送模块1106,用于根据该ID反馈的该UE的承载信息。The sending
本实施例中,核心网设备配置签约数据,该签约数据包含标记token,移动边缘平台获取到token之后,该移动边缘平台向该核心网设备请求该token表示的UE的上下文信息;该核心网设备向该移动边缘平台发送该上下文信息;该移动边缘平台根据该上下文信息生成数据分流规则并将该数据分流规则发送给数据面,这样数据面可以通过数据分流规则对该UE发送的数据进行分类发送,即有部分数据可以直接向本地网络进行发送而不需要通过核心网进行转发,从而为UE提供一种快接入,高带宽,低时延的业务体验。同时,核心网设备可以有多种模式,增强了移动边缘系统中数据分流的实用性。In this embodiment, the core network device configures the subscription data, and the subscription data includes a token. After the mobile edge platform obtains the token, the mobile edge platform requests the core network device for context information of the UE indicated by the token; the core network device Sending the context information to the mobile edge platform; the mobile edge platform generates a data offloading rule according to the context information, and sends the data offloading rule to the data plane, so that the data plane can classify and send the data sent by the UE by using a data offloading rule. That is, some data can be directly sent to the local network without forwarding through the core network, thereby providing the UE with a fast access, high bandwidth, and low latency service experience. At the same time, the core network device can have multiple modes, which enhances the practicality of data offloading in the mobile edge system.
具体请参阅图9,本申请实施例中的核心网设备的另一个实施例,包括:收发器901和处理器902;该收发器901和该处理器902通过总线903相互连接;Referring to FIG. 9 , another embodiment of the core network device in the embodiment of the present application includes: a
该收发器901,具有如下功能:接收该移动边缘平台发送的请求信息,该请求信息包含该token;根据该token向该移动边缘平台发送该UE的上下文信息,以使得该移动边缘平台根据该上下文信息生成数据分流规则,该数据分流规则用于该数据面执行数据分流操作;The
该处理器902,具有如下功能:The
为UE配置签约数据,该签约数据包含token,该token用于表示UE。The subscription data is configured for the UE, and the subscription data includes a token, and the token is used to represent the UE.
处理器902可以是中央处理器(英文全称:central processing unit,简称CPU),网络处理器(英文全称:network processor,简称NP)或者CPU和NP的组合。The
处理器902还可以进一步包括硬件芯片。上述硬件芯片可以是专用集成电路(英文全称:application-specific integrated circuit,简称ASIC),可编程逻辑器件(英文全称:programmable logic device,简称PLD)或其组合。上述PLD可以是复杂可编程逻辑器件(英文全称:complex programmable logic device,简称CPLD),现场可编程逻辑门阵列(英文全称:field-programmable gate array,简称FPGA),通用阵列逻辑(英文全称:generic array logic,简称GAL)或其任意组合。
总线903可以是外设部件互连标准(英文全称:peripheral component interconnect,简称PCI)总线或扩展工业标准结构(英文全称:extended industry standard architecture,简称EISA)总线等。该总线可以分为地址总线、数据总线、控制总线等。为便于表示,图9中仅用一条粗线表示,但并不表示仅有一根总线或一种类型的总线。The
该移动边缘平台还包括存储器904,该存储器904可以包括易失性存储器(volatile memory),例如随机存取存储器(英文全称:random-access memory,简称RAM);存储器也可以包括非易失性存储器(英文全称:non-volatile memory),例如快闪存储器(flash memory),硬盘(英文全称:hard disk drive,简称HDD)或固态硬盘(英文全称:solid-state drive,简称SSD);存储器904还可以包括上述种类的存储器的组合。The mobile edge platform further includes a
可选地,存储器904还可以用于存储程序指令,处理器902调用该存储器904中存储的程序指令,可以执行图2或图3或图4或图5所示实施例中的一个或多个步骤,或其中可选的实施方式,实现上述方法中核心网设备的功能。Optionally, the
可选的,该处理器902,具体还具有如下功能:当验证该token有效时,根据该token获取该UE的上下文信息。Optionally, the
可选的,核心网设备为SCEF时;Optionally, when the core network device is SCEF;
收发器901,具体还具有如下功能:根据该token向该移动边缘平台发送该UE的IP地址和/或承载信息。The
可选的,核心网设备为HSS和PGW时;HSS与PGW作为两个不同的实体设备,HSS与PGW执行不同的功能,HSS与PGW组合成的核心网设备1200如图12所示:Optionally, when the core network device is the HSS and the PGW, the HSS and the PGW are two different physical devices, and the HSS and the PGW perform different functions. The
该HSS,包括收发器1201,处理器1202,总线1203,存储器1204:The HSS includes a transceiver 1201, a processor 1202, a
处理器1202,具有如下功能:为该UE配置签约数据;The processor 1202 has the following functions: configuring subscription data for the UE;
收发器1201,具有如下功能:接收该移动边缘平台发送的请求信息;根据该token向该移动边缘平台发送该UE的ID和PGW标识,该PGW标识用于该移动边缘平台确定该PGW,该ID为该签约数据中的IMSI或MSISDN;The transceiver 1201 has the following functions: receiving request information sent by the mobile edge platform, and transmitting, according to the token, the ID and PGW identifier of the UE to the mobile edge platform, where the PGW identifier is used by the mobile edge platform to determine the PGW, the ID For the IMSI or MSISDN in the subscription data;
该PGW,包括收发器1205,处理器1206,总线1207,存储器1208;The PGW, including a
收发器1205,具有如下功能:接收该移动边缘平台发送的第一请求消息,该第一请求消息包括该ID;根据该ID向该移动边缘平台发送该UE的IP地址。The
可选的,核心网设备为HSS和MME时;HSS与MME作为两个不同的实体设备,HSS与MME执行不同的功能,HSS与MME组合成的核心网设备1300如图13所示:Optionally, when the core network device is the HSS and the MME, the HSS and the MME function as two different physical devices, and the HSS and the MME perform different functions. The
该HSS,包括收发器1301,处理器1302,总线1303,存储器1304:The HSS includes a
处理器1302,具有如下功能:为该UE配置签约数据;The
收发器1301,具有如下功能:接收该移动边缘平台发送的请求信息;根据该token向该移动边缘平台发送该UE的ID和MME标识,该MME标识用于该移动边缘平台确定该MME,该ID为该签约数据中的IMSI或MSISDN;The
该MME,包括收发器1305,处理器1306,总线1307,存储器1308;The MME includes a
收发器1305,具有如下功能:接收该移动边缘平台发送的第一请求消息,该第一请求消息包括该ID;根据该ID向该移动边缘平台发送该UE的承载信息。The
可选的,该HSS与MME组合成核心网设备时,由于该HSS与MME之间是存在接口的,该HSS与MME之间还可以有如下方案:Optionally, when the HSS and the MME are combined into a core network device, the interface between the HSS and the MME may be as follows:
处理器1302,具有如下功能:为该UE配置签约数据;根据该token确定该ID;The
收发器1301,具有如下功能:接收该移动边缘平台发送的请求信息;向该MME发送第二请求消息,该第二请求消息包括该UE的ID;接收该MME根据该ID反馈的该UE的承载信息;向该移动边缘平台发送该UE的承载信息The
收发器1305,具有如下功能:接收第二请求消息,该第二请求消息包括该UE的ID;根据该ID反馈的该UE的承载信息。The
本实施例中,核心网设备配置签约数据,该签约数据包含标记token,移动边缘平台获取到token之后,该移动边缘平台向该核心网设备请求该token表示的UE的上下文信息;该核心网设备向该移动边缘平台发送该上下文信息;该移动边缘平台根据该上下文信息生成数据分流规则并将该数据分流规则发送给数据面,这样数据面可以通过数据分流规则对该UE发送的数据进行分类发送,即有部分数据可以直接向本地网络进行发送而不需要通过核心网进行转发,从而为UE提供一种快接入,高带宽,低时延的业务体验。同时,核心网设备可以有多种模式,增强了移动边缘系统中数据分流的实用性。In this embodiment, the core network device configures the subscription data, and the subscription data includes a token. After the mobile edge platform obtains the token, the mobile edge platform requests the core network device for context information of the UE indicated by the token; the core network device Sending the context information to the mobile edge platform; the mobile edge platform generates a data offloading rule according to the context information, and sends the data offloading rule to the data plane, so that the data plane can classify and send the data sent by the UE by using a data offloading rule. , that is, some data can be sent directly to the local network without going through the core network.Send, thus providing the UE with a fast access, high bandwidth, low latency service experience. At the same time, the core network device can have multiple modes, which enhances the practicality of data offloading in the mobile edge system.
在本申请所提供的几个实施例中,应该理解到,所揭露的系统,装置和方法,可以通过其它的方式实现。例如,以上所描述的装置实施例仅仅是示意性的,例如,所述单元的划分,仅仅为一种逻辑功能划分,实际实现时可以有另外的划分方式,例如多个单元或组件可以结合或者可以集成到另一个系统,或一些特征可以忽略,或不执行。另一点,所显示或讨论的相互之间的耦合或直接耦合或通信连接可以是通过一些接口,装置或单元的间接耦合或通信连接,可以是电性,机械或其它的形式。In the several embodiments provided by the present application, it should be understood that the disclosed system, apparatus, and method may be implemented in other manners. For example, the device embodiments described above are merely illustrative. For example, the division of the unit is only a logical function division. In actual implementation, there may be another division manner, for example, multiple units or components may be combined or Can be integrated into another system, or some features can be ignored or not executed. In addition, the mutual coupling or direct coupling or communication connection shown or discussed may be an indirect coupling or communication connection through some interface, device or unit, and may be in an electrical, mechanical or other form.
所述作为分离部件说明的单元可以是或者也可以不是物理上分开的,作为单元显示的部件可以是或者也可以不是物理单元,即可以位于一个地方,或者也可以分布到多个网络单元上。可以根据实际的需要选择其中的部分或者全部单元来实现本实施例方案的目的。The units described as separate components may or may not be physically separated, and the components displayed as units may or may not be physical units, that is, may be located in one place, or may be distributed to multiple network units. Some or all of the units may be selected according to actual needs to achieve the purpose of the solution of the embodiment.
另外,在本申请各个实施例中的各功能单元可以集成在一个处理单元中,也可以是各个单元单独物理存在,也可以两个或两个以上单元集成在一个单元中。上述集成的单元既可以采用硬件的形式实现,也可以采用软件功能单元的形式实现。In addition, each functional unit in each embodiment of the present application may be integrated into one processing unit, or each unit may exist physically separately, or two or more units may be integrated into one unit. The above integrated unit can be implemented in the form of hardware or in the form of a software functional unit.
以上所述,以上实施例仅用以说明本申请的技术方案,而非对其限制;尽管参照前述实施例对本申请进行了详细的说明,本领域的普通技术人员应当理解:其依然可以对前述各实施例所记载的技术方案进行修改,或者对其中部分技术特征进行等同替换;而这些修改或者替换,并不使相应技术方案的本质脱离本申请各实施例技术方案的范围。The above embodiments are only used to explain the technical solutions of the present application, and are not limited thereto; although the present application has been described in detail with reference to the foregoing embodiments, those skilled in the art should understand that they can still The technical solutions described in the embodiments are modified, or equivalent to some of the technical features are replaced; and the modifications or substitutions do not deviate from the scope of the technical solutions of the embodiments of the present application.
| Application Number | Priority Date | Filing Date | Title |
|---|---|---|---|
| PCT/CN2016/075309WO2017147815A1 (en) | 2016-03-02 | 2016-03-02 | Data offloading method, mobile edge platform, and core network device |
| Application Number | Priority Date | Filing Date | Title |
|---|---|---|---|
| PCT/CN2016/075309WO2017147815A1 (en) | 2016-03-02 | 2016-03-02 | Data offloading method, mobile edge platform, and core network device |
| Publication Number | Publication Date |
|---|---|
| WO2017147815A1true WO2017147815A1 (en) | 2017-09-08 |
| Application Number | Title | Priority Date | Filing Date |
|---|---|---|---|
| PCT/CN2016/075309CeasedWO2017147815A1 (en) | 2016-03-02 | 2016-03-02 | Data offloading method, mobile edge platform, and core network device |
| Country | Link |
|---|---|
| WO (1) | WO2017147815A1 (en) |
| Publication number | Priority date | Publication date | Assignee | Title |
|---|---|---|---|---|
| CN112449395A (en)* | 2019-08-28 | 2021-03-05 | 中国联合网络通信集团有限公司 | Data transmission method, core network equipment and AMF |
| Publication number | Priority date | Publication date | Assignee | Title |
|---|---|---|---|---|
| US20130114567A1 (en)* | 2011-11-07 | 2013-05-09 | Teliasonera Ab | Selection of a network element |
| CN105246101A (en)* | 2015-09-01 | 2016-01-13 | 厦门大学 | A content recommendation device and method for an inferior mobile content distribution system |
| Publication number | Priority date | Publication date | Assignee | Title |
|---|---|---|---|---|
| US20130114567A1 (en)* | 2011-11-07 | 2013-05-09 | Teliasonera Ab | Selection of a network element |
| CN105246101A (en)* | 2015-09-01 | 2016-01-13 | 厦门大学 | A content recommendation device and method for an inferior mobile content distribution system |
| Title |
|---|
| CHAIRMAN ET AL.: "FG IMT-2020: Report on Standards Gap Analysis", INTERNATIONAL TELECOMMUNICATION UNION, STUDY GROUP 13, TELECOMMUNICATION STANDARDIZATION SECTOR TD 208 (PLEN/13, 28 February 2016 (2016-02-28)* |
| HUAWEI: "Mobile-Edge Computing", MOBILE-EDGE COMPUTING - INTRODUCTORY TECHNICAL WHITE PAPER, 30 September 2014 (2014-09-30), pages 20144f* |
| Publication number | Priority date | Publication date | Assignee | Title |
|---|---|---|---|---|
| CN112449395A (en)* | 2019-08-28 | 2021-03-05 | 中国联合网络通信集团有限公司 | Data transmission method, core network equipment and AMF |
| CN112449395B (en)* | 2019-08-28 | 2022-09-02 | 中国联合网络通信集团有限公司 | Data transmission method, core network equipment and AMF |
| Publication | Publication Date | Title |
|---|---|---|
| US11812496B2 (en) | User group session management method and apparatus | |
| US20210227492A1 (en) | Packet transmission method and apparatus | |
| US12213194B2 (en) | Method and apparatus for admission control of sessions based on priority | |
| CN108574969B (en) | Connection processing method and device in multi-access scenario | |
| CN109842906A (en) | Communication method, device and system | |
| EP3713372A1 (en) | Method and device for creating user group | |
| CN108574667B (en) | Service flow control method and device | |
| CN110881185A (en) | A method and device for communication | |
| WO2020147565A1 (en) | Method and device for calling application program interface | |
| US10321381B2 (en) | Device, system, and method for customizing user-defined mobile network | |
| CN110324246A (en) | A kind of communication means and device | |
| WO2018006306A1 (en) | Network connection configuration method and apparatus | |
| WO2022222817A1 (en) | Method and apparatus for selecting edge application server | |
| CN108377532B (en) | A data connection method, control plane node and user equipment | |
| US12238154B2 (en) | Multicast session establishment method and network device | |
| CN112188608A (en) | Method, device, system and chip for synchronizing PDU session state | |
| CN118160284A (en) | Network control applicability of routing parameters | |
| WO2020052463A1 (en) | Communication method and network element | |
| WO2018058385A1 (en) | Network interworking method, network element, and system | |
| CN112449377B (en) | Method and device for reporting network data | |
| CN114845356A (en) | Communication method and device | |
| WO2017147815A1 (en) | Data offloading method, mobile edge platform, and core network device | |
| US11863599B2 (en) | Session initiation protocol (SIP) based transfer of user information from an inviting user to an invited user | |
| CN115348614A (en) | Cross-service-platform terminal communication method and device | |
| WO2022033491A1 (en) | Method for authentication, and communication apparatus |
| Date | Code | Title | Description |
|---|---|---|---|
| NENP | Non-entry into the national phase | Ref country code:DE | |
| 121 | Ep: the epo has been informed by wipo that ep was designated in this application | Ref document number:16892006 Country of ref document:EP Kind code of ref document:A1 | |
| 122 | Ep: pct application non-entry in european phase | Ref document number:16892006 Country of ref document:EP Kind code of ref document:A1 |