


































본 발명은 디스플레이 장치 및 그 제조방법에 관한 것으로, 보다 구체적으로는 외부의 환경으로부터 제공되는 조명을 통해 화면을 볼 수 있는 반사형 디스플레이 장치 및 그 제조방법에 관한 것이다.The present invention relates to a display device and a method for manufacturing the same, and more particularly, to a reflective display device and a method for manufacturing the same through which the screen can be viewed through illumination provided from an external environment.
디스플레이 장치를 형성하기 위해 디스플레이 층의 공통 전극을 (하부) 기판의 연결 전극에 도전성 물질로 접착하는 경우, 종래에는 디스플레이층을 물리적으로 제거한 후, 제거된 영역에 점도가 높은 액상의 도전성 물질을 도포하거나 전도성 점착제를 도포함으로써 접착이 수행되었다. 그러나 종래의 방식 중 액상의 도전성 물질을 이용하는 방식의 경우, 액상의 도전성 물질의 양을 정확히 조절하기가 어려우며, 이로 인하여 도전성 물질이 인접한 디스플레이층이나 (하부) 기판의 연결 전극에 인접한 패터닝된 개별 전극들(예를 들어, 픽셀 전극들)로 번지게 된다. 이로 인해 해당 영역의 디스플레이층이 손상되거나 (하부) 기판의 개별 전극(들)과 연결 전극이 단락되는 문제가 발생하였다. 도전성 점착제를 사용하여 접착을 수행하는 경우, 이러한 위험성은 적지만 상대적으로 넓은 접촉영역이 필요하고 소재의 비용이 높기 때문에, 제조비용 상승과 디스플레이 패널 설계 시 상대적으로 제약 사항이 많다는 문제점을 가지고 있었다.When the common electrode of the display layer is adhered to the connecting electrode of the (lower) substrate with a conductive material to form a display device, conventionally, after the display layer is physically removed, a liquid conductive material having a high viscosity is applied to the removed region. Or by applying a conductive adhesive. However, in the conventional method using a liquid conductive material, it is difficult to accurately control the amount of the liquid conductive material, which causes the patterned individual electrode adjacent to the connection electrode of the adjacent display layer or the (lower) substrate. (E.g. pixel electrodes). This caused a problem that the display layer of the region was damaged or the individual electrode (s) and the connection electrode of the (lower) substrate were shorted. In the case of performing the adhesion using the conductive adhesive, such a risk is small, but a relatively wide contact area is required and the cost of the material is high, and thus, there is a problem in that the manufacturing cost is increased and the display panel is relatively limited in design.
본 발명이 해결하고자 하는 일 과제는, 공통 전극을 (하부) 기판의 별도로 패터닝된 독립된 연결 전극에 정밀하고 안정적으로 연결시키기 위한 제조방법 및 그러한 제조방법에 의해 제조된 디스플레이 장치를 제공하는 것이다. 다시 말해, 액상의 도전성 물질을 이용하면서도 전술한 문제점들(도전성 물질의 디스플레이층 및 인접 픽셀 전극들로의 전파)을 방지할 수 있는 디스플레이 장치 및 그 제조방법을 제공하고자 한다.SUMMARY OF THE INVENTION An object of the present invention is to provide a manufacturing method for precisely and stably connecting a common electrode to a separately patterned independent connecting electrode of a (lower) substrate, and a display device manufactured by the manufacturing method. In other words, the present invention provides a display apparatus and a method of manufacturing the same, which can prevent the aforementioned problems (propagation of the conductive material to the display layer and adjacent pixel electrodes) while using a liquid conductive material.
본 발명이 해결하고자 하는 일 과제는 상부 기판에 낮은 비용으로 오염 없이 공통 전극을 노출하는 개구부를 형성하는 방법을 포함하는 전기 영동 디스플레이 장치의 제조 방법을 제공하는 것이다.One object of the present invention is to provide a method of manufacturing an electrophoretic display device including a method of forming an opening for exposing a common electrode at a low cost without contamination on the upper substrate.
본 발명의 기술적 사상에 의한 실시예들에 따른, 공통 전극을 갖는 디스플레이 층 및 기판을 포함하는 디스플레이 장치의 제조 방법은, 상기 기판 상에 복수의 개별 전극들 및 연결 전극을 형성하는 단계; 상기 기판 또는 상기 디스플레이 층 중 어느 하나의 적어도 일부를 제거하여 연결 영역을 형성하는 단계; 상기 기판과 상기 디스플레이 층을 접착하는 단계; 상기 기판 또는 상기 디스플레이 층 중 어느 하나의 적어도 일부를 제거하여, 상기 연결 영역에 대응되는 상기 연결 전극 및 상기 공통 전극을 외부로 노출시키는 단계; 및 상기 연결 영역 내로 도전성 물질을 충전시켜, 상기 연결 전극과 상기 공통 전극을 전기적으로 연결하는 단계를 포함할 수 있다.According to an exemplary embodiment of the inventive concept, a method of manufacturing a display device including a display layer and a substrate having a common electrode may include forming a plurality of individual electrodes and a connection electrode on the substrate; Removing at least a portion of either the substrate or the display layer to form a connection region; Bonding the substrate and the display layer; Removing at least a portion of either the substrate or the display layer to expose the connection electrode and the common electrode corresponding to the connection area to the outside; And charging the conductive material into the connection region to electrically connect the connection electrode and the common electrode.
일 예에 있어서, 상기 도전성 물질은 액상의 도전성 물질일 수 있다.In one example, the conductive material may be a liquid conductive material.
일부 실시예들에서, 상기 연결 영역은 상기 기판에 형성되고, 상기 연결 전극 및 상기 공통 전극을 외부로 노출시키는 단계는, 상기 디스플레이 층의 일부분을 제거하는 단계를 포함할 수 있다.In some embodiments, the connection region is formed in the substrate, and exposing the connection electrode and the common electrode to the outside may include removing a portion of the display layer.
선택적인 실시예들에서, 상기 디스플레이 층은 접착층 및 상기 접착층과 상기 공통 전극 사이의 표시부를 더 포함하고, 상기 공통 전극은 상기 연결 영역을 통해 상기 접착층 및 상기 표시부를 부분적으로 제거함으로써 노출될 수 있다. 다른 실시예들에서, 상기 디스플레이 층의 제거는 상기 접착층 및 상기 표시부의 석션(suction)을 통해 수행될 수 있다.In alternative embodiments, the display layer further includes an adhesive layer and a display portion between the adhesive layer and the common electrode, wherein the common electrode may be exposed by partially removing the adhesive layer and the display portion through the connection region. . In other embodiments, removal of the display layer may be performed through suction of the adhesive layer and the display unit.
선택적인 실시예들에서, 상기 방법은 상기 기판 상으로, 상기 도전성 물질을 적어도 봉지하는 보호층을 형성하는 단계를 더 포함할 수 있다.In alternative embodiments, the method may further comprise forming a protective layer on the substrate, at least encapsulating the conductive material.
선택적인 실시예들에서, 상기 연결 전극은 상기 기판 내로 삽입(embedded)되어 형성될 수 있다. 다른 실시예들에서, 상기 기판은 상기 개별 전극들이 형성된 제1 면 및 상기 제1 면과 반대되는 제2 면을 포함하고, 상기 연결 전극은 상기 기판의 상기 제2 면 상에 형성될 수 있다. 이 경우, 상기 디스플레이 장치는, 상기 연결 전극의 상부에 형성된 도전층을 더 포함할 수 있다.In alternative embodiments, the connection electrode may be formed by embedding into the substrate. In other embodiments, the substrate may include a first surface on which the individual electrodes are formed and a second surface opposite to the first surface, and the connection electrode may be formed on the second surface of the substrate. In this case, the display device may further include a conductive layer formed on the connection electrode.
일부 실시예들에서, 상기 연결 영역은 상기 디스플레이 층에 형성되고, 상기 연결 전극 및 상기 공통 전극을 외부로 노출시키는 단계는, 상기 디스플레이 층의 일부분을 더욱 제거하는 단계를 포함할 수 있다.In some embodiments, the connection region is formed in the display layer, and exposing the connection electrode and the common electrode to the outside may further include removing a portion of the display layer.
선택적인 실시예들에서, 상기 디스플레이 층은 접착층 및 상기 접착층과 상기 공통 전극 사이의 표시부를 더 포함하고, 상기 연결 영역은 상기 접착층 및 상기 표시부를 부분적으로 제거함으로써 형성될 수 있다.In alternative embodiments, the display layer further includes an adhesive layer and a display portion between the adhesive layer and the common electrode, and the connection region may be formed by partially removing the adhesive layer and the display portion.
선택적인 실시예들에서, 상기 디스플레이 층의 일부분의 제거는 상기 디스플레이 층의 상기 공통 전극에 관통 홀을 형성함으로써 수행되고, 상기 연결 영역의 폭은 상기 관통 홀의 폭보다 클 수 있다.In alternative embodiments, removal of the portion of the display layer may be performed by forming through holes in the common electrode of the display layer, wherein the width of the connection region may be greater than the width of the through holes.
선택적인 실시예들에서, 상기 방법은, 상기 디스플레이 층 상으로 상기 도전성 물질을 적어도 봉지하는 보호층을 형성하는 단계를 더 포함할 수 있다.In alternative embodiments, the method may further include forming a protective layer at least encapsulating the conductive material on the display layer.
선택적인 실시예들에서, 상기 연결 전극은 상기 기판 내로 삽입(embedded)되어 형성되고, 상기 액상의 도전성 물질은 상기 기판 및 상기 연결 전극과 접촉할 수 있다. 다른 실시예들에서, 상기 연결 전극은 복수의 부분 전극들을 포함하고, 상기 복수의 부분 전극들과 상기 기판 사이에 복수의 단차들이 형성될 수 있다.In alternative embodiments, the connection electrode may be formed embedded into the substrate, and the liquid conductive material may contact the substrate and the connection electrode. In other embodiments, the connection electrode may include a plurality of partial electrodes, and a plurality of steps may be formed between the plurality of partial electrodes and the substrate.
일부 실시예들에서, 상기 연결 영역은 상기 디스플레이 층에 형성되고, 상기 연결 전극 및 상기 공통 전극을 외부로 노출시키는 단계는, 상기 기판의 일부분을 제거하는 단계를 포함할 수 있다.In some embodiments, the connection region is formed in the display layer, and exposing the connection electrode and the common electrode to the outside may include removing a portion of the substrate.
본 발명의 기술적 사상에 의한 다른 실시예들에 따른, 디스플레이 장치는, 연결 전극 및 복수의 개별 전극들을 포함하는 기판; 상기 기판 상의 접착층; 상기 접착층 상의 표시부로서, 적어도 하나의 안료 입자 및 유전 유체를 갖는 마이크로 컨테이너를 포함하는, 표시부; 상기 표시부 상의 공통 전극; 및 상기 연결 전극과 상기 공통 전극 사이를 연결하는 도전체를 포함하고, 상기 도전체는 상기 연결 전극 및 상기 공통 전극 중 적어도 하나를 관통할 수 있다.According to another aspect of the inventive concept, a display apparatus may include: a substrate including a connection electrode and a plurality of individual electrodes; An adhesive layer on the substrate; A display unit on the adhesive layer, the display unit including a micro container having at least one pigment particle and a dielectric fluid; A common electrode on the display unit; And a conductor connecting the connection electrode and the common electrode, wherein the conductor may pass through at least one of the connection electrode and the common electrode.
일부 실시예들에서, 상기 도전체는, 상기 연결 전극 및 상기 공통 전극 중 적어도 하나를 관통하는 제1 부분; 및 상기 표시부를 관통하는 제2 부분을 포함하고, 상기 제1 부분 및 상기 제2 부분은 서로 다른 측벽 프로파일(sidewall profile)을 가질 수 있다.In some embodiments, the conductor may include a first portion penetrating at least one of the connection electrode and the common electrode; And a second portion penetrating the display unit, wherein the first portion and the second portion may have different sidewall profiles.
다른 실시예들에서, 상기 접착층 중 상기 기판에 인접하는 부분은 상기 도전체의 중심축을 향하여 돌출될 수 있다.In other embodiments, a portion of the adhesive layer adjacent to the substrate may protrude toward the central axis of the conductor.
본 발명의 기술적 사상에 의한 다른 실시예들에 따른, 공통 전극을 갖는 디스플레이 층 및 기판을 포함하는 디스플레이 장치의 제조 방법은, 상기 기판 상에 복수의 개별 전극들 및 연결 전극을 형성하는 단계; 상기 기판의 적어도 일부를 제거하여 연결 영역을 형성하는 단계; 상기 기판과 상기 디스플레이 층을 접착하는 단계; 상기 디스플레이 층의 적어도 일부를 제거하여, 상기 연결 전극 및 상기 공통 전극을 외부로 노출시키는 단계; 및 상기 연결 영역 내로 도전성 물질을 충전시켜, 상기 연결 전극과 상기 공통 전극을 전기적으로 연결하는 단계를 포함할 수 있다.According to another exemplary embodiment of the inventive concept, a method of manufacturing a display device including a display layer and a substrate having a common electrode may include forming a plurality of individual electrodes and a connection electrode on the substrate; Removing at least a portion of the substrate to form a connection region; Bonding the substrate and the display layer; Removing at least a portion of the display layer to expose the connection electrode and the common electrode to the outside; And charging the conductive material into the connection region to electrically connect the connection electrode and the common electrode.
일부 실시예들에서, 상기 도전성 물질은, 상기 기판의 상기 연결 영역을 채우는 제1 부분 및 상기 디스플레이 층의 제거된 영역을 채우는 제2 부분을 포함하고, 상기 제1 부분 및 상기 제2 부분은 서로 다른 측벽 프로파일(sidewall profile)을 가질 수 있다.In some embodiments, the conductive material includes a first portion that fills the connection region of the substrate and a second portion that fills the removed region of the display layer, wherein the first portion and the second portion each other. It can have a different sidewall profile.
본 발명의 기술적 사상에 의한 또 다른 실시예들에 따른, 공통 전극을 갖는 디스플레이 층 및 기판을 포함하는 디스플레이 장치의 제조 방법은, 상기 기판 상에 복수의 개별 전극들 및 연결 전극을 형성하는 단계; 상기 디스플레이 층의 적어도 일부를 제거하여 연결 영역을 형성하는 단계; 상기 기판과 상기 디스플레이 층을 접착하는 단계; 상기 디스플레이 층의 적어도 일부를 더 제거하여, 상기 연결 전극 및 상기 공통 전극을 외부로 노출시키는 단계; 및 상기 연결 영역 내로 도전성 물질을 충전시켜, 상기 연결 전극과 상기 공통 전극을 전기적으로 연결하는 단계를 포함할 수 있다.According to still another exemplary embodiment of the inventive concept, a method of manufacturing a display apparatus including a display layer and a substrate having a common electrode may include forming a plurality of individual electrodes and a connection electrode on the substrate; Removing at least a portion of the display layer to form a connection area; Bonding the substrate and the display layer; Further removing at least a portion of the display layer to expose the connection electrode and the common electrode to the outside; And charging the conductive material into the connection region to electrically connect the connection electrode and the common electrode.
일부 실시예들에서, 상기 디스플레이 층은 접착층 및 상기 접착층과 상기 공통 전극 사이의 표시부를 더 포함하고, 상기 기판과 상기 디스플레이 층을 접착하는 단계에 의해, 상기 접착층 중 상기 기판을 향하는 부분이 상기 연결 영역의 중심축을 향하여 돌출될 수 있다.In some embodiments, the display layer further includes an adhesive layer and a display portion between the adhesive layer and the common electrode, and by bonding the substrate and the display layer, a portion of the adhesive layer facing the substrate is connected to the display layer. It may protrude toward the central axis of the region.
본 발명의 일 측면에 따른 전기 영동 디스플레이 장치는 제1 베이스 기판, 상기 제1 베이스 기판 상에 배열되는 연결 전극과 복수의 화소 전극들, 제2 베이스 기판, 상기 베이스 기판 상의 공통 전극, 상기 화소 전극들과 상기 공통 전극 사이의 표시층, 상기 표시층을 관통하여 상기 연결 전극과 상기 공통 전극 사이에 배치되는 콘택 플러그, 및 상기 콘택 플러그와 상기 공통 전극 사이의 박리 패턴을 포함한다.An electrophoretic display device according to an aspect of the present invention includes a first base substrate, a connection electrode arranged on the first base substrate, a plurality of pixel electrodes, a second base substrate, a common electrode on the base substrate, and the pixel electrode. And a display layer between the common electrode and the common electrode, a contact plug disposed between the connection electrode and the common electrode through the display layer, and a peeling pattern between the contact plug and the common electrode.
상기 표시층과 상기 박리 패턴 사이의 접착력은 상기 표시층과 상기 공통 전극 사이의 접착력보다 약할 수 있다.The adhesion between the display layer and the peeling pattern may be weaker than the adhesion between the display layer and the common electrode.
상기 박리 패턴은 상기 콘택 플러그를 상기 공통 전극에 전기적으로 연결하도록 도전성을 가질 수 있다.The release pattern may be conductive to electrically connect the contact plug to the common electrode.
상기 전기 영동 디스플레이 장치는 상기 제1 베이스 기판 상에 배치되는 복수의 접속 패드들, 및 상기 제1 베이스 기판에 배치되고, 상기 복수의 접속 패드들을 상기 연결 전극과 상기 화소 전극들에 각각 연결하는 배선들을 더 포함할 수 있다.The electrophoretic display device includes a plurality of connection pads disposed on the first base substrate, and wirings disposed on the first base substrate and connecting the plurality of connection pads to the connection electrode and the pixel electrodes, respectively. It may further include them.
상기 접속 패드들을 통해 상기 연결 전극에는 기준 전압이 인가되고 상기 화소 전극들에는 서로 독립적인 전압들이 각각 인가될 수 있다.Reference voltages may be applied to the connection electrodes through the connection pads, and voltages independent of each other may be applied to the pixel electrodes.
상기 전기 영동 디스플레이 장치는 상기 표시층을 상기 화소 전극들 상에 접합하기 위해 상기 표시층과 상기 화소 전극들 사이에 배치되는 점착층을 더 포함할 수 있다.The electrophoretic display device may further include an adhesive layer disposed between the display layer and the pixel electrodes to bond the display layer on the pixel electrodes.
상기 표시층은 분산 용매, 및 상기 분산 용매 내에 분산되고 인가되는 전기장의 방향에 따라 이동하도록 제1 극성으로 대전된 제1 입자들을 포함할 수 있다.The display layer may include a dispersion solvent and first particles charged with a first polarity to move in a direction of an electric field dispersed and applied in the dispersion solvent.
상기 표시층은 각각 상기 분산 용매와 상기 제1 입자들을 캡슐 형태로 포함하고 인가되는 전기장의 방향과 세기 중 적어도 하나에 따라 다른 색상을 표시하는 마이크로 캡슐들을 포함할 수 있다.The display layer may include microcapsules each including the dispersion solvent and the first particles in the form of a capsule and displaying different colors according to at least one of the direction and the intensity of the applied electric field.
본 발명의 일 측면에 따른 전기 영동 디스플레이 장치의 제조 방법에 따르면, 제1 베이스 기판 상에 연결 전극과 복수의 화소 전극들이 형성된다. 제2 베이스 기판 상에 공통 전극이 형성된다. 상기 공통 전극 상의 상기 연결 전극에 대응되는 위치에 박리 패턴이 형성된다. 상기 박리 패턴에 의해 덮이지 않는 상기 공통 전극의 일부 영역 상에 표시층 및 점착층이 형성된다. 상기 박리 패턴 상에 콘택 플러그가 형성된다. 상기 연결 전극과 상기 콘택 플러그가 서로 전기적으로 연결되도록 상기 점착층 상에 상기 화소 전극들이 접합된다.According to the method of manufacturing an electrophoretic display device according to an aspect of the present invention, a connection electrode and a plurality of pixel electrodes are formed on a first base substrate. The common electrode is formed on the second base substrate. A peeling pattern is formed at a position corresponding to the connection electrode on the common electrode. A display layer and an adhesive layer are formed on a portion of the common electrode not covered by the peeling pattern. A contact plug is formed on the release pattern. The pixel electrodes are bonded to the adhesive layer so that the connection electrode and the contact plug are electrically connected to each other.
상기 표시층 및 상기 점착층이 형성되는 단계에서, 상기 박리 패턴과 상기 표시층 간의 표면 반발력으로 인하여, 상기 박리 패턴에 의해 덮이지 않는 상기 공통 전극의 일부 영역 상에만 상기 표시층이 형성될 수 있다. 상기 박리 패턴이 노출되도록 상기 표시층 상에 상기 점착층이 형성될 수 있다.In the forming of the display layer and the adhesive layer, the display layer may be formed only on a portion of the common electrode not covered by the peeling pattern due to the surface repulsive force between the peeling pattern and the display layer. . The adhesive layer may be formed on the display layer to expose the peeling pattern.
상기 점착층이 형성되는 단계에서, 상기 표시층과 상기 점착층이 접촉하도록 일 면에 상기 점착층이 부착된 이형 필름이 상기 표시층 상에 부착될 수 있다. 상기 이형 필름이 박리될 수 있다. 상기 박리 패턴 상의 빈 공간으로 인하여 상기 표시층과 접촉하지 않은 상기 점착층의 일부분은 상기 이형 필름을 박리할 때 상기 이형 필름과 함께 제거될 수 있다.In the step of forming the adhesive layer, a release film having the adhesive layer attached on one surface may be attached on the display layer so that the display layer and the adhesive layer contact. The release film may be peeled off. A portion of the adhesive layer that is not in contact with the display layer due to the empty space on the peeling pattern may be removed together with the release film when the release film is peeled off.
상기 박리 패턴은 상기 콘택 플러그과 상기 공통 전극을 서로 전기적으로 연결하도록 도전성을 가질 수 있다.The peeling pattern may be conductive to electrically connect the contact plug and the common electrode to each other.
도 1 내지 도 4는 본 발명의 기술적 사상에 의한 실시예들에 따른 디스플레이 장치의 제조방법을 개략적으로 도시하는 단면도이다.1 to 4 are cross-sectional views schematically illustrating a method of manufacturing a display device according to embodiments of the inventive concept.
도 5는 본 발명의 기술적 사상에 의한 실시예들에 따른 디스플레이 장치를 개략적으로 도시하는 단면도이다.5 is a cross-sectional view schematically illustrating a display device according to example embodiments of the inventive concept.
도 6 및 도 7은 본 발명의 기술적 사상에 의한 실시예들에 따른 디스플레이 장치의 제조 방법을 개략적으로 도시하는 단면도이다.6 and 7 are cross-sectional views schematically illustrating a method of manufacturing a display device according to embodiments of the inventive concept.
도 8 및 도 9는 본 발명의 기술적 사상에 의한 실시예들에 따른 디스플레이 장치를 개략적으로 도시하는 단면도이다.8 and 9 are cross-sectional views schematically illustrating display apparatuses according to exemplary embodiments of the inventive concept.
도 10 내지 도 14는 본 발명의 기술적 사상에 의한 실시예들에 따른 디스플레이 장치의 제조방법을 개략적으로 도시하는 단면도이다.10 to 14 are cross-sectional views schematically illustrating a method of manufacturing a display device according to embodiments of the inventive concept.
도 15는 본 발명의 기술적 사상에 의한 실시예들에 따른 디스플레이 장치를 개략적으로 도시하는 단면도이다.15 is a cross-sectional view schematically illustrating a display device according to example embodiments of the inventive concept.
도 16 내지 도 18은 본 발명의 기술적 사상에 의한 실시예들에 따른 디스플레이 장치의 제조방법을 개략적으로 도시하는 단면도이다.16 to 18 are cross-sectional views schematically illustrating a method of manufacturing a display device according to embodiments of the inventive concept.
도 19 및 도 20은 연결 영역이 형성된 디스플레이 층과 기판이 접촉하는 경우에 접착층에 일어나는 변형을 보다 구체적으로 도시한 단면도이다.19 and 20 are cross-sectional views showing in more detail the deformation that occurs in the adhesive layer when the display layer and the substrate in contact with the connection region is formed.
도 21 및 도 22는 본 발명의 기술적 사상에 의한 실시예들에 따른 디스플레이 장치를 개략적으로 도시하는 단면도이다.21 and 22 are cross-sectional views schematically illustrating a display device according to example embodiments of the inventive concept.
도 23은 접착력을 향상시키기 위한 연결 전극의 구조들을 도시한다.23 shows structures of the connecting electrode for improving the adhesion.
도 24 내지 도 28은 본 발명의 기술적 사상에 의한 실시예들에 따른 디스플레이 장치의 제조방법을 개략적으로 도시하는 단면도이다.24 to 28 are cross-sectional views schematically illustrating a method of manufacturing a display device according to embodiments of the inventive concept.
도 29 내지 도 35는 본 발명의 기술적 사상에 의한 디스플레이 장치(예를 들어, 전기 영동 디스플레이 장치)의 제조 방법을 설명하기 위한, 공정 순서에 따른 단면도들이다.29 to 35 are cross-sectional views illustrating a method of manufacturing a display device (for example, an electrophoretic display device) according to the inventive concept.
이하, 첨부된 도면을 참조하여 본 발명의 바람직한 실시예를 상세히 설명하기로 한다.Hereinafter, exemplary embodiments of the present invention will be described in detail with reference to the accompanying drawings.
본 발명의 실시예들은 당해 기술 분야에서 통상의 지식을 가진 자에게 본 발명을 더욱 완전하게 설명하기 위하여 제공되는 것이며, 아래의 실시예들은 여러 가지 다른 형태로 변형될 수 있으며, 본 발명의 범위가 아래의 실시예들로 한정되는 것은 아니다. 오히려, 이들 실시예는 본 개시를 더욱 충실하고 완전하게 하며 당업자에게 본 발명의 사상을 완전하게 전달하기 위하여 제공되는 것이다.Embodiments of the present invention are provided to more fully explain the present invention to those skilled in the art, and the following embodiments may be modified in many different forms, the scope of the present invention It is not limited to the following embodiments. Rather, these embodiments are provided so that this disclosure will be thorough and complete, and will fully convey the scope of the invention to those skilled in the art.
본 명세서에서 사용된 용어는 특정 실시예를 설명하기 위하여 사용되며, 본 발명을 제한하기 위한 것이 아니다. 본 명세서에서 사용된 바와 같이 단수 형태는 문맥상 다른 경우를 분명히 지적하는 것이 아니라면, 복수의 형태를 포함할 수 있다. 또한, 본 명세서에서 사용되는 경우 "포함한다(comprise)" 및/또는 "포함하는(comprising)"은 언급한 형상들, 숫자, 단계, 동작, 부재, 요소 및/또는 이들 그룹의 존재를 특정하는 것이며, 하나 이상의 다른 형상, 숫자, 동작, 부재, 요소 및/또는 그룹들의 존재 또는 부가를 배제하는 것이 아니다. 본 명세서에서 사용된 바와 같이, 용어 "및/또는"은 해당 열거된 항목 중 어느 하나 및 하나 이상의 모든 조합을 포함한다.The terminology used herein is for the purpose of describing particular embodiments only and is not intended to be limiting of the invention. As used herein, the singular forms "a", "an" and "the" may include the plural forms as well, unless the context clearly indicates otherwise. Also, as used herein, "comprise" and / or "comprising" specifies the presence of the mentioned shapes, numbers, steps, actions, members, elements and / or groups of these. It is not intended to exclude the presence or the addition of one or more other shapes, numbers, acts, members, elements and / or groups. As used herein, the term "and / or" includes any and all combinations of one or more of the listed items.
본 명세서에서 제1, 제2 등의 용어가 다양한 부재, 영역 및/또는 부위들을 설명하기 위하여 사용되지만, 이들 부재, 부품, 영역, 층들 및/또는 부위들은 이들 용어에 의해 한정되어서는 안됨은 자명하다. 이들 용어는 특정 순서나 상하, 또는 우열의 의미하지 않으며, 하나의 부재, 영역 또는 부위를 다른 부재, 영역 또는 부위와 구별하기 위하여만 사용된다. 따라서, 이하 상술할 제1 부재, 영역 또는 부위는 본 발명의 가르침으로부터 벗어나지 않고서도 제2 부재, 영역 또는 부위를 지칭할 수 있다.Although the terms first, second, etc. are used herein to describe various members, regions, and / or portions, it is obvious that these members, components, regions, layers, and / or portions should not be limited by these terms. Do. These terms are not meant to be in any particular order, up, down, or right, and are only used to distinguish one member, region, or region from another member, region, or region. Accordingly, the first member, region, or region described below may refer to the second member, region, or region without departing from the teachings of the present invention.
이하, 본 발명의 실시예들은 본 발명의 이상적인 실시예들을 개략적으로 도시하는 도면들을 참조하여 설명한다. 도면들에 있어서, 예를 들면, 제조 기술 및/또는 공차에 따라, 도시된 형상의 변형들이 예상될 수 있다. 따라서, 본 발명의 실시예는 본 명세서에 도시된 영역의 특정 형상에 제한된 것으로 해석되어서는 아니 되며, 예를 들면 제조상 초래되는 형상의 변화를 포함하여야 한다.Embodiments of the present invention will now be described with reference to the drawings, which schematically illustrate ideal embodiments of the present invention. In the drawings, for example, variations in the shape shown may be expected, depending on manufacturing techniques and / or tolerances. Accordingly, embodiments of the present invention should not be construed as limited to the specific shapes of the regions shown herein, but should include, for example, changes in shape resulting from manufacturing.
도 1 내지 도 4는 본 발명의 기술적 사상에 의한 실시예들에 따른 디스플레이 장치의 제조방법을 개략적으로 도시하는 단면도이다.1 to 4 are cross-sectional views schematically illustrating a method of manufacturing a display device according to embodiments of the inventive concept.
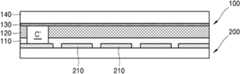
먼저 도 1을 참조하면, 디스플레이 층(100)과 기판(200)이 마련된다. 디스플레이 층(100)은 접착층(110), 표시부(120), 공통 전극(130), 및 투명판(140)을 포함할 수 있다. 기판(200) 상에는 적어도 하나의 개별 전극(210) 및 연결 전극(220)이 형성될 수 있다. 개별 전극(210)은 기판(200) 상에 형성될 수 있고, 연결 전극(220)은 기판(200) 내로 삽입(embedded)되어 형성될 수 있다. 선택적인 실시예에서, 연결 전극(220)은 기판(200) 상에서 상기 개별 전극(210)과 인접하여 형성될 수도 있다.First, referring to FIG. 1, a display layer 100 and a substrate 200 are provided. The display layer 100 may include an adhesive layer 110, a display unit 120, a common electrode 130, and a transparent plate 140. At least one individual electrode 210 and a connection electrode 220 may be formed on the substrate 200. The individual electrode 210 may be formed on the substrate 200, and the connection electrode 220 may be formed by being embedded into the substrate 200. In an alternative embodiment, the connection electrode 220 may be formed adjacent to the individual electrode 210 on the substrate 200.
도 2를 참조하면, 기판(200)의 적어도 일부 영역을 제거하여 연결 영역(C)을 형성하는 단계가 수행된다. 상기 연결 영역(C)은, 도 2에 나타난 바와 같이 기판(200)을 관통하는 관통 홀의 형태로 형성될 수도 있고, 기판(200) 전체를 관통하지 않는 홈(groove)의 형로 형성될 수도 있다. 상기 연결 영역(C)이 형성됨으로써, 상기 관통 홀 또는 상기 홈에 의해 기판(200) 내로 삽입된 연결 전극(220)이 노출될 수 있다.Referring to FIG. 2, the forming of the connection region C may be performed by removing at least some regions of the substrate 200. As shown in FIG. 2, the connection region C may be formed in the form of a through hole penetrating the substrate 200 or may be formed in the form of a groove that does not penetrate the entire substrate 200. As the connection region C is formed, the connection electrode 220 inserted into the substrate 200 by the through hole or the groove may be exposed.
도 3을 참조하면, 기판(200)과 디스플레이층을 서로 접착하는 단계가 수행되고, 이후 디스플레이 층(100)의 적어도 일부분을 제거하여, 공통 전극(130)을 외부로 노출시키는 단계가 수행된다. 보다 구체적으로, 공통 전극(130)은 접착층(110) 및 표시부(120)가 부분적으로 제거됨으로써 노출될 수 있다.Referring to FIG. 3, bonding the substrate 200 and the display layer to each other is performed, and then removing at least a portion of the display layer 100 to expose the common electrode 130 to the outside. More specifically, the common electrode 130 may be exposed by partially removing the adhesive layer 110 and the display unit 120.
상기 디스플레이 층(100)의 일부분을 제거하는 단계는, 상기 연결 영역(C)을 이용하여 수행될 수 있다. 예를 들어, 디스플레이 층(100)의 일부분은 레이저 컷팅을 이용하여 제거될 수 있으며, 연결 영역(C)은 상기 레이저 컷팅이 수행되는 동안 얼라인먼트를 제공할 수 있다.Removing a portion of the display layer 100 may be performed using the connection area C. For example, a portion of the display layer 100 may be removed using laser cutting, and the connection area C may provide alignment during the laser cutting.
다른 실시예에서, 디스플레이 층(100)의 일부분의 제거는 석션(suction)을 이용하여 수행될 수도 있다. 예를 들어, 연결 영역(C)에 흡입 장치를 근접시킴으로써, 유동성을 갖는 접착층(110) 및 표시부(120)의 일부분이 상기 흡입 장치로 흡입될 수 있다. 그 결과 접착층(110) 및 표시부(120)가 제거됨으로써 공통 전극(130)이 노출될 수 있다.In another embodiment, removal of a portion of the display layer 100 may be performed using suction. For example, by adhering the suction device to the connection area C, a portion of the adhesive layer 110 and the display unit 120 having fluidity may be sucked into the suction device. As a result, the common electrode 130 may be exposed by removing the adhesive layer 110 and the display unit 120.
도 4를 참조하면, 연결 영역(C) 내로 도전성 물질을 충전시켜, 연결 전극(220)과 공통 전극(130)을 전기적으로 연결하는 구조물(V)의 형성 단계가 수행된다. 상기 도전성 물질은 액상의 도전성 물질일 수 있다. 예를 들어 상기 액상의 도전성 물질은 실버 페이스트, 카본 페이스트, 및 액상 OCA(도전성 볼 포함) 중 적어도 하나를 포함할 수 있다.Referring to FIG. 4, the forming of the structure V for electrically connecting the connection electrode 220 and the common electrode 130 by filling a conductive material into the connection region C is performed. The conductive material may be a liquid conductive material. For example, the liquid conductive material may include at least one of silver paste, carbon paste, and liquid OCA (including conductive balls).
선택적으로, 상기 액상의 도전성 물질은 추후의 공정에서 경화될 수 있으며, 이 경우 구조물(V)은 고상의 도전체가 될 것이다. 다시 말해 액상의 도전성 물질은 디스플레이 장치 제조 공정 도중에 도포되는 액상의 물질을 의미하고, 상기 도전체는 경화되지 않은 액상의 도전성 물질일 수도 있고, 액체 상태의 도전성 물질이 경화된 구조물일수도 있다.Optionally, the liquid conductive material may be cured in a later process, in which case the structure V will be a solid conductor. In other words, the liquid conductive material refers to a liquid material applied during the display device manufacturing process, and the conductor may be a liquid conductive material that is not cured, or a structure in which the conductive material in a liquid state is cured.
이와 같이 연결 전극(220)과 공통 전극(130)을 연결하기 위한 공간(즉, 연결 영역(C))을 기판(200)에 형성하고 기판(200)과 디스플레이 층(100)을 접착한 이후 연결 영역(C)을 이용하여 디스플레이 층(100)을 제거하기 때문에, 얼라인먼트 공정이 간소화될 수 있다. 또한 기판(200)과 디스플레이 층(100)을 접착한 이후 디스플레이 층(100)을 제거하고 액상의 도전성 물질을 채우기 때문에, 액상의 도전성 물질이 인접 전극에 번져 전극들 사이에 단락이 발생하는 문제가 방지될 수 있다.As such, a space (that is, the connection region C) for connecting the connection electrode 220 and the common electrode 130 is formed on the substrate 200, and then the substrate 200 is bonded to the display layer 100. Since the display layer 100 is removed using the region C, the alignment process can be simplified. In addition, since the display layer 100 is removed and the liquid conductive material is filled after the substrate 200 and the display layer 100 are adhered to each other, the liquid conductive material spreads to adjacent electrodes, causing a short circuit between the electrodes. Can be prevented.
선택적인 실시예에서, 기판(200)의 재질이 플라스틱 또는 필름 형태의 기판(200)인 경우, 연결 영역(C)을 형성하지 않고 디스플레이 층(100)과 기판(200)을 접착할 수도 있다. 이후 매립된 연결 전극(220)이 형성된 영역에 홀을 형성하여 공통 전극(130)을 노출시키고, 상기 홀을 통해 연결 전극(220)과 공통 전극(130)을 전기적으로 연결하는 액상의 도전성 물질이 채워질 수도 있다.In an alternative embodiment, when the substrate 200 is formed of a plastic or film type substrate 200, the display layer 100 and the substrate 200 may be adhered to each other without forming the connection region C. Thereafter, a hole is formed in a region where the buried connection electrode 220 is formed to expose the common electrode 130, and a liquid conductive material electrically connecting the connection electrode 220 and the common electrode 130 through the hole is formed. It may be filled.
도 5는 본 발명의 기술적 사상에 의한 실시예들에 따른 디스플레이 장치를 개략적으로 도시하는 단면도이다. 이 실시예들에 따른 디스플레이 장치는 전술한 실시예들에 따른 디스플레이 장치의 변형예일 수 있다. 이하 실시예들간 중복되는 설명은 생략하기로 한다.5 is a cross-sectional view schematically illustrating a display device according to example embodiments of the inventive concept. The display device according to these embodiments may be a modification of the display device according to the above-described embodiments. Duplicate descriptions between the embodiments will be omitted.
도 5를 참조하면, 액상의 도전성 물질은 연결 영역(C)을 부분적으로 채우도록 충전될 수 있고, 상기 연결 영역(C)의 나머지 영역에는 상기 액상의 도전성 물질을 봉지하는 보호층(P)이 형성될 수 있다. 보호층(P)은 도전성 물질이 이탈되는 것을 방지하고 오염물질이 유입되는 것을 차단하는 기능을 수행한다. 비록 도 5에는 보호층(P)이 연결 영역(C)에만 형성되도록 도시되었으나, 본 발명은 이에 제한되지 않고, 보호층(P)은 기판(200) 전면을 덮도록 형성될 수도 있다. 보호층(P)이 기판(200) 전면을 덮도록 형성됨으로써, 기판(200) 전체적으로 투습이 방지되고 내구성이 향상될 수 있다.Referring to FIG. 5, the liquid conductive material may be filled to partially fill the connection region C, and a protective layer P encapsulating the liquid conductive material may be formed in the remaining region of the connection region C. Can be formed. The protective layer P serves to prevent the conductive material from being separated and to block the inflow of the pollutant. Although FIG. 5 illustrates that the protective layer P is formed only in the connection region C, the present invention is not limited thereto, and the protective layer P may be formed to cover the entire surface of the substrate 200. Since the protective layer P is formed to cover the entire surface of the substrate 200, moisture permeation may be prevented and durability may be improved as a whole of the substrate 200.
도 6 및 도 7은 본 발명의 기술적 사상에 의한 실시예들에 따른 디스플레이 장치의 제조 방법을 개략적으로 도시하는 단면도이다. 이 실시예들에 따른 디스플레이 장치는 전술한 실시예들에 따른 디스플레이 장치의 제조 방법의 변형예일 수 있다. 이하 실시예들간 중복되는 설명은 생략하기로 한다.6 and 7 are cross-sectional views schematically illustrating a method of manufacturing a display device according to embodiments of the inventive concept. The display apparatus according to these embodiments may be a modification of the manufacturing method of the display apparatus according to the above-described embodiments. Duplicate descriptions between the embodiments will be omitted.
기판(200)을 마련하는 단계 동안, 기판(200)의 제1 면에는 개별 전극(210)들이 형성되는 반면에, 상기 제1 면과 반대되는 제2 면에는 연결 전극(220)이 형성될 수 있다. 이후 기판(200)에 연결 영역이 형성되고 상기 기판(200)이 디스플레이 층(100)에 접착된 이후 상기 연결 영역을 통해 접착층(110) 및 표시부(120)의 일부분이 제거되어 공통 전극(130)이 노출된 모습이 도 6에 나타난다.During the preparing of the substrate 200, individual electrodes 210 may be formed on a first surface of the substrate 200, while a connection electrode 220 may be formed on a second surface opposite to the first surface. have. After that, a connection region is formed on the substrate 200, and the substrate 200 is bonded to the display layer 100, and then a portion of the adhesive layer 110 and the display unit 120 are removed through the connection region to remove the common electrode 130. This exposed appearance is shown in FIG. 6.
도 7을 참조하면, 상기 연결 영역을 통해 액상의 도전성 물질이 채워짐으로써, 공통 전극(130)과 연결 전극(220)이 전기적으로 연결될 수 있다. 이 경우 연결 전극(220)의 상면에 도전층(R)이 형성될 수 있다. 이 경우 도전층(R)이 연결 전극(220)의 상면에 걸쳐서 연결 전극(220)의 넓은 면적과 접촉할수 있어 구조물(V)과 연결 전극(220) 간의 면저항이 감소될 수 있다.Referring to FIG. 7, the liquid conductive material is filled through the connection region, such that the common electrode 130 and the connection electrode 220 may be electrically connected to each other. In this case, the conductive layer R may be formed on the top surface of the connection electrode 220. In this case, the conductive layer R may contact the large area of the connection electrode 220 over the top surface of the connection electrode 220, thereby reducing the sheet resistance between the structure V and the connection electrode 220.
도 8 및 도 9는 본 발명의 기술적 사상에 의한 실시예들에 따른 디스플레이 장치를 개략적으로 도시하는 단면도이다. 이 실시예들에 따른 디스플레이 장치는 전술한 실시예들에 따른 디스플레이 장치의 변형예일 수 있다. 이하 실시예들간 중복되는 설명은 생략하기로 한다.8 and 9 are cross-sectional views schematically illustrating display apparatuses according to exemplary embodiments of the inventive concept. The display device according to these embodiments may be a modification of the display device according to the above-described embodiments. Duplicate descriptions between the embodiments will be omitted.
도 8 및 도 9를 참조하면, 디스플레이 장치는 연결 전극(220) 및 복수의 개별 전극들(210)을 포함하는 기판(200), 기판(200) 상의 접착층(110), 접착층(110) 상의 표시부(120), 표시부(120) 상의 공통 전극(130), 및 공통 전극(130) 상의 투명판(140), 및 연결 전극(220)과 공통 전극(130) 사이를 연결하는 도전체(V)를 포함할 수 있다.8 and 9, the display apparatus includes a substrate 200 including a connection electrode 220 and a plurality of individual electrodes 210, an adhesive layer 110 on the substrate 200, and a display unit on the adhesive layer 110. 120, a common electrode 130 on the display unit 120, a transparent plate 140 on the common electrode 130, and a conductor V connecting the connection electrode 220 and the common electrode 130. It may include.
표시부(120)는, 적어도 하나의 안료 입자(B, W) 및 유전 유체를 갖는 마이크로 캡슐(M)을 포함할 수 있다. 상기 안료 입자는 (+) 극성 또는 (-) 극성으로 하전될 수 있으며, 다양한 색상을 가질 수 있다. 상기 유전 유체는 탄화수소들, 지방유들, 파라핀유, 실리콘 유체들, 방향족 탄화수소들, 할로겐화 용매들, 및 과불화 용매들과 같은 적합한 유전 용매를 포함할 수 있으며, 선택적으로 공기로 형성될 수도 있다. 비록 도 8 및 도 9에는 마이크로 캡슐(M)의 형태가 도시되었지만, 이는 마이크로 컵, 마이크로 채널들, 또는 임의의 형상을 갖는 마이크로 콘테이너로 구현될 수도 있다.The display unit 120 may include a microcapsule M having at least one pigment particle B and W and a dielectric fluid. The pigment particles may be charged with (+) polarity or (-) polarity and may have various colors. The dielectric fluid may include suitable dielectric solvents such as hydrocarbons, fatty oils, paraffin oil, silicone fluids, aromatic hydrocarbons, halogenated solvents, and perfluorinated solvents, and may optionally be formed from air. Although the form of the microcapsules M is shown in FIGS. 8 and 9, it may be implemented as a microcup, microchannels, or a microcontainer having any shape.
도전체(V)는 연결 전극(220)을 관통하도록 형성될 수 있다. 선택적으로 도전체는 공통 전극(130)을 관통하도록 형성될 수도 있다(도 15 참조). 또한, 선택적으로, 도전체(V)는 연결 전극(220) 및 공통 전극(130)을 관통하도록 형성될 수 있다. 즉, 도전체(V)는 연결 전극(220) 및 공통 전극(130) 중 적어도 하나를 관통하도록 형성될 수 있다.The conductor V may be formed to penetrate the connection electrode 220. Alternatively, the conductor may be formed to penetrate the common electrode 130 (see FIG. 15). Also, optionally, the conductor V may be formed to penetrate the connection electrode 220 and the common electrode 130. That is, the conductor V may be formed to penetrate at least one of the connection electrode 220 and the common electrode 130.
전술한 실시예들에서 설명된 바와 같이, 기판(200)의 연결 영역(C)은 레이저 컷팅 등의 제1 공정에 의해 형성되고, 공통 전극(130)은 기판(200)과 디스플레이가 접착된 이후 별도의 레이저 컷팅 또는 석션과 같은 제2 공정에 의해 노출된다. 상기 제1 공정과 제2 공정은 서로 다른 시점에 수행되기 때문에, 연결 영역(C)의 단면과 디스플레이 층(100)이 제거된 영역의 단면은 상이할 수 있다. 그 결과 연결 영역(C) 및 디스플레이 층(100)이 제거된 영역을 충전하는 도전성 물질은 부분적으로 서로 다른 측벽 프로파일을 가질 수 있다.As described in the above embodiments, the connection region C of the substrate 200 is formed by a first process such as laser cutting, and the common electrode 130 is bonded to the substrate 200 after the display is bonded. Exposed by a second process such as separate laser cutting or suction. Since the first process and the second process are performed at different times, the cross section of the connection region C and the cross section of the region where the display layer 100 is removed may be different. As a result, the conductive material filling the region from which the connection region C and the display layer 100 are removed may have partially different sidewall profiles.
보다 구체적으로, 도전성 물질 중 기판(200)의 연결 영역(C)을 채우는 제1 부분과 디스플레이 층(100)의 제거된 영역을 채우는 제2 부분은 서로 다른 측벽 프로파일(sidewall profile)을 가질 수 있다.More specifically, the first portion of the conductive material filling the connection region C of the substrate 200 and the second portion filling the removed region of the display layer 100 may have different sidewall profiles. .
일 실시예에서, 예를 들어 도 8에 나타난 바와 같이, 기판(200)의 연결 영역(C)이 레이저 컷팅 공정에 의해 형성되고, 디스플레이 층(100)이 석션 공정에 의해 제거되는 경우, 구조물(V)의 제1 부분(R1)은 상기 레이저 컷팅 공정에 의해 형성된 연결 영역(C)에 의해 직선 측벽을 가질 수 있고, 상기 구조물(V)의 제2 부분(R2)은 상기 제2 레이저 컷팅 공정에 의한 굴곡진 측벽을 가질 수 있다.In one embodiment, for example, as shown in FIG. 8, when the connection region C of the substrate 200 is formed by a laser cutting process, and the display layer 100 is removed by a suction process, the structure ( The first portion R1 of V) may have a straight sidewall by the connection region C formed by the laser cutting process, and the second portion R2 of the structure V may be the second laser cutting process. It can have a curved sidewall by.
다른 실시예에서, 예를 들어 도 9에 나타난 바와 같이, 기판(200)의 연결 영역(C)이 제1 레이저 컷팅 공정에 의해 형성되고, 디스플레이 층(100)이 제2 레이저 컷팅 공정에 의해 제거되는 경우, 구조물(V)의 제1 부분(R1)은 상기 제1 레이저 컷팅 공정에 의한 제1 기울기의 측벽을 가질 수 있고, 상기 구조물(V)의 제2 부분(R2)은 상기 제2 레이저 컷팅 공정에 의한 제2 기울기의 측벽을 가질 수 있다.In another embodiment, as shown, for example, in FIG. 9, the connection region C of the substrate 200 is formed by the first laser cutting process and the display layer 100 is removed by the second laser cutting process. In this case, the first portion R1 of the structure V may have sidewalls of the first slope by the first laser cutting process, and the second portion R2 of the structure V may be the second laser. It may have a sidewall of the second slope by the cutting process.
비록 도 8 및 도 9에는 제1 부분(R1)이 연결 전극(220)을 관통하도록 형성되었고, 제2 부분(R2)은 디스플레이 층의 표시부(120)를 관통하도록 형성되었지만, 본 발명을 이에 제한되지 않는다. 예를 들어, 도 15에 나타난 바와 같이 구조물(V)의 제1 부분(R1)은 공통 전극(130)을 관통하고, 제2 부분(R2)은 표시부(120)를 관통하도록 형성될 수 있다.Although the first portion R1 is formed to penetrate the connection electrode 220 in FIGS. 8 and 9, and the second portion R2 is formed to penetrate the display portion 120 of the display layer, the present invention is limited thereto. It doesn't work. For example, as illustrated in FIG. 15, the first portion R1 of the structure V may pass through the common electrode 130, and the second portion R2 may pass through the display portion 120.
도 10 내지 도 14는 본 발명의 기술적 사상에 의한 실시예들에 따른 디스플레이 장치의 제조방법을 개략적으로 도시하는 단면도이다. 이 실시예에 따른 디스플레이 장치는 전술한 실시예들에 따른 디스플레이 장치의 제조 방법의 변형예일 수 있다. 이하 실시예들간 중복되는 설명은 생략하기로 한다.10 to 14 are cross-sectional views schematically illustrating a method of manufacturing a display device according to embodiments of the inventive concept. The display device according to this embodiment may be a modification of the manufacturing method of the display device according to the above embodiments. Duplicate descriptions between the embodiments will be omitted.
먼저 도 10을 참조하면, 디스플레이 층(100)과 기판(미도시)이 마련된다. 상기 기판에 형성된 연결 전극은 개별 전극들이 형성된 면과 동일한 면에 형성될 수 있다. 이후 도 11에 나타난 바와 같이, 디스플레이 층(100)과 상기 기판이 접촉되기 전에, 디스플레이 층(100)에 연결 영역(C)이 형성된다. 전술한 실시예들에서는 연결 영역(C)이 기판(200)에 형성된 반면에, 도 10 내지 도 14에 나타난 실시예에서와 같이 연결 영역(C)은 디스플레이 층(100)에 형성될 수 있다. 이러한 연결 영역(C)은 디스플레이 층(100)의 접착층(110) 및 표시부(120)를 부분적으로 제거함으로써 형성될 수 있다. 선택적인 실시예에서, 연결 영역(C)은 접착층(110), 표시부(120), 및 공통 전극(130)을 부분적으로 제거함으로써 형성될 수도 있다.First, referring to FIG. 10, a display layer 100 and a substrate (not shown) are provided. The connection electrode formed on the substrate may be formed on the same surface on which the individual electrodes are formed. Thereafter, as shown in FIG. 11, before the display layer 100 and the substrate are in contact with each other, a connection area C is formed in the display layer 100. In the above-described embodiments, the connection region C may be formed in the substrate 200, whereas the connection region C may be formed in the display layer 100, as in the embodiment shown in FIGS. 10 to 14. The connection area C may be formed by partially removing the adhesive layer 110 and the display unit 120 of the display layer 100. In an alternative embodiment, the connection region C may be formed by partially removing the adhesive layer 110, the display unit 120, and the common electrode 130.
도 12를 참조하면, 디스플레이 층(100)과 기판(200)이 접착되고, 도 13에 나타난 바와 같이, 디스플레이 층(100)의 일부분을 더욱 제거함으로써, 연결 전극(220)과 공통 전극(130)이 외부로 노출된다. 보다 구체적으로 디스플레이 층(100)의 투명판(140) 및 공통 전극(130)을 관통하는 관통 홀(T)이 형성될 수 있다. 상기 관통 홀(T)의 폭은 연결 영역(C)의 폭보다 작을 수 있고, 그에 따라 관통 홀(T) 형성 공정 동안 관통 홀(T)과 연결 영역(C) 간의 얼라인먼트가 보다 용이하게 수행될 수 있다.Referring to FIG. 12, the display layer 100 and the substrate 200 are adhered to each other, and as shown in FIG. 13, the connection electrode 220 and the common electrode 130 are further removed by further removing a portion of the display layer 100. This is exposed to the outside. More specifically, the through hole T penetrating the transparent plate 140 and the common electrode 130 of the display layer 100 may be formed. The width of the through hole T may be smaller than the width of the connection area C, so that alignment between the through hole T and the connection area C may be more easily performed during the through hole T forming process. Can be.
도 14를 참조하면, 관통 홀(T)과 연결 영역(C) 내로 도전성 물질을 충전시켜, 연결 전극(220)과 공통 전극(130)을 전기적으로 연결하는 구조물(V)의 형성 단계가 수행된다. 전술한 바와 같이 도전성 물질은 액상의 도전성 물질일 수 있고, 예를 들어 실버 페이스트, 카본 페이스트, 및 액상 OCA(도전성 볼 포함) 중 적어도 하나를 포함할 수 있다.Referring to FIG. 14, a step of forming a structure V for electrically connecting the connection electrode 220 and the common electrode 130 by filling a conductive material into the through hole T and the connection region C is performed. . As described above, the conductive material may be a liquid conductive material, and may include, for example, at least one of a silver paste, a carbon paste, and a liquid OCA (including conductive balls).
이와 같이 디스플레이 층(100)에 연결 전극(220)과 공통 전극(130)을 연결하기 위한 공간(즉, 연결 영역(C))을 형성하고 기판(200)과 디스플레이 층(100)을 접착한 이후 연결 영역(C)을 이용하여 디스플레이 층(100)을 제거(즉, 관통 홀(T)을 형성)하기 때문에, 얼라인먼트 공정이 간소화될 수 있다. 또한 기판(200)과 디스플레이 층(100)을 접착한 이후 디스플레이 층(100)을 제거하고 액상의 도전성 물질을 채우기 때문에, 액상의 도전성 물질이 인접 전극에 번져 전극들 사이에 단락이 발생하는 문제가 방지될 수 있다.As such, after forming a space (that is, a connection region C) for connecting the connection electrode 220 and the common electrode 130 to the display layer 100 and adhering the substrate 200 and the display layer 100 to each other, Since the display layer 100 is removed (that is, the through hole T is formed) using the connection area C, the alignment process may be simplified. In addition, since the display layer 100 is removed and the liquid conductive material is filled after the substrate 200 and the display layer 100 are adhered to each other, the liquid conductive material spreads to adjacent electrodes, causing a short circuit between the electrodes. Can be prevented.
선택적인 실시예에서, 디스플레이 층(100)에 연결 영역(C)을 형성하지 않고 디스플레이 층(100)과 기판(200)을 접착할 수도 있다. 이후 디스플레이 층(100)에 홀을 형성하여 공통 전극(130)을 노출시키고, 상기 홀을 통해 연결 전극(220)과 공통 전극(130)을 전기적으로 연결하는 액상의 도전성 물질이 채워질 수도 있다.In an alternative embodiment, the display layer 100 and the substrate 200 may be adhered to each other without forming the connection area C in the display layer 100. Thereafter, a hole may be formed in the display layer 100 to expose the common electrode 130, and a liquid conductive material may be filled to electrically connect the connection electrode 220 and the common electrode 130 through the hole.
도 15는 본 발명의 기술적 사상에 의한 실시예들에 따른 디스플레이 장치를 개략적으로 도시하는 단면도이다. 이 실시예들에 따른 디스플레이 장치는 전술한 실시예들에 따른 디스플레이 장치의 변형예일 수 있다. 이하 실시예들간 중복되는 설명은 생략하기로 한다.15 is a cross-sectional view schematically illustrating a display device according to example embodiments of the inventive concept. The display device according to these embodiments may be a modification of the display device according to the above-described embodiments. Duplicate descriptions between the embodiments will be omitted.
도 15를 참조하면, 보호층(P)은 디스플레이 층(100)의 투명판(140) 상면을 덮도록 형성될 수 있다. 보호층(P)이 투명판(140) 전면을 덮도록 형성됨으로써, 도전성 물질이 이탈하는 것이 방지되고, 투명판(140) 전체적으로 투습이 방지되며 내구성이 향상될 수 있다. 비록 도 15에는 보호층(P)이 투명판(140) 전면에 형성되었지만, 보호층(P)은 연결 영역에만 형성될 수도 있다.Referring to FIG. 15, the protective layer P may be formed to cover the top surface of the transparent plate 140 of the display layer 100. Since the protective layer P is formed to cover the entire surface of the transparent plate 140, separation of the conductive material may be prevented, moisture permeation may be prevented in the transparent plate 140, and durability may be improved. Although the protective layer P is formed on the entire transparent plate 140 in FIG. 15, the protective layer P may be formed only in the connection region.
도 16 내지 도 18은 본 발명의 기술적 사상에 의한 실시예들에 따른 디스플레이 장치의 제조방법을 개략적으로 도시하는 단면도이다. 이 실시예에 따른 디스플레이 장치는 전술한 실시예들에 따른 디스플레이 장치의 제조 방법의 변형예일 수 있다. 이하 실시예들간 중복되는 설명은 생략하기로 한다.16 to 18 are cross-sectional views schematically illustrating a method of manufacturing a display device according to embodiments of the inventive concept. The display device according to this embodiment may be a modification of the manufacturing method of the display device according to the above embodiments. Duplicate descriptions between the embodiments will be omitted.
먼저 도 16을 참조하면, 디스플레이 층(100)과 기판(200)이 접촉되기 전에, 디스플레이 층(100)에 연결 영역(C)이 형성된다. 이후 디스플레이 층(100)과 기판(200)이 접촉되고, 도 17에 나타난 바와 같이 연결 전극(220)과 공통 전극(130)이 외부로 노출되도록 기판(200)의 일부분을 제거한다. 보다 구체적으로 기판(200) 및 기판(200) 상부에 형성된 연결 전극(220)(연결 전극(220)은 기판(200)에 매립될수도 있을 것이다)을 관통하는 관통 홀(T)이 형성될 수 있다. 상기 관통 홀(T)의 폭은 연결 영역(C)의 폭보다 작을 수 있고, 그에 따라 관통 홀(T)과 연결 영역(C)의 얼라인먼트가 보다 용이하게 수행될 수 있다.First, referring to FIG. 16, before the display layer 100 and the substrate 200 contact each other, a connection area C is formed in the display layer 100. Thereafter, the display layer 100 and the substrate 200 contact each other, and as shown in FIG. 17, a portion of the substrate 200 is removed to expose the connection electrode 220 and the common electrode 130 to the outside. More specifically, a through hole T penetrating the substrate 200 and the connection electrode 220 formed on the substrate 200 (the connection electrode 220 may be embedded in the substrate 200) may be formed. . The width of the through hole T may be smaller than the width of the connection area C, and alignment of the through hole T and the connection area C may be performed more easily.
도 18을 참조하면, 관통 홀(T)과 연결 영역(C) 내로 도전성 물질을 충전시켜, 연결 전극(220)과 공통 전극(130)을 전기적으로 연결하는 구조물(V)의 형성 단계가 수행된다. 전술한 바와 같이 도전성 물질은 액상의 도전성 물질일 수 있고, 예를 들어 실버 페이스트, 카본 페이스트, 및 액상 OCA(도전성 볼 포함) 중 적어도 하나를 포함할 수 있다.Referring to FIG. 18, the forming of the structure V for electrically connecting the connection electrode 220 and the common electrode 130 is performed by filling a conductive material into the through hole T and the connection region C. . As described above, the conductive material may be a liquid conductive material, and may include, for example, at least one of a silver paste, a carbon paste, and a liquid OCA (including conductive balls).
도 19 및 도 20은 전술한 실시예들 중 디스플레이 층(100)에 연결 영역이 형성되고 이후 디스플레이 층(100)과 기판(200)이 접촉하는 경우에(도 12 및 도 16 참조), 접착층(110)에 일어나는 변형을 보다 구체적으로 도시한 단면도이다.19 and 20 illustrate a bonding layer formed in a case where a connection region is formed in the display layer 100 and then the display layer 100 and the substrate 200 contact each other (see FIGS. 12 and 16). It is a cross section which shows the deformation | transformation which arises in 110 more specifically.
도 19를 참조하면, 기판(200)과 디스플레이 층(100)을 접착하는 단계에 의해, 돌출부(E)가 형성될 수 있다. 돌출부(E)는 디스플레이 층(100)에 연결 영역(C)이 형성된 후 기판(200)과 디스플레이 층(100)이 접착될 때, 접착을 위한 압력이 접착층(110)에 인가됨으로써 형성될 수 있다. 상기 압력에 의해, 돌출부(E)는 접착층(110) 중 기판(200)을 향하며 기판(200)에 인접하는 부분(예를 들어, 연결 전극(220)과 접촉하는 부분)이 연결 영역(C)의 중심축을 향하여 돌출되도록 형성될 수 있다. 따라서 추후 공정에서 도전체가 연결 영역(C)을 채우게 되면, 상기 도전체는 돌출부(E)에 상응하는 형상을 갖도록 형성될 것이다(즉, 접착층(110) 중 기판(200)에 인접하는 부분은 상기 도전체의 중심축을 향하여 돌출될 것이다).Referring to FIG. 19, the protrusion E may be formed by bonding the substrate 200 and the display layer 100 to each other. The protrusion E may be formed by applying pressure to the adhesive layer 110 when the substrate 200 and the display layer 100 are bonded after the connection area C is formed in the display layer 100. . Due to the pressure, the protrusion E faces the substrate 200 in the adhesive layer 110 and the portion adjacent to the substrate 200 (for example, the portion in contact with the connection electrode 220) is connected to the connection region C. It may be formed to protrude toward the central axis of the. Therefore, when the conductor fills the connection region C in a later process, the conductor will be formed to have a shape corresponding to the protrusion E (ie, the portion of the adhesive layer 110 adjacent to the substrate 200 is Will protrude toward the central axis of the conductor).
도 20을 참조하면, 다른 실시예들에서, 디스플레이 층(100)에 형성된 연결 영역(C)은 연결 전극(220)뿐만 아니라 연결 전극(220)에 인접하는 기판(200)의 상면도 노출시키도록 형성될 수 있다. 이 경우 접착층(110) 중 기판(200)과 접하는 부분에는 돌출부가 형성되지 않는 반면에 연결 전극(220)과 접하는 부분에는 돌출부(E)가 형성될 수 있다. 따라서 추후 공정에서 도전체가 연결 영역(C)을 채우게 되면, 상기 도전체는 돌출부(E)에 상응하는 형상을 갖도록 형성될 것이다.Referring to FIG. 20, in other embodiments, the connection region C formed in the display layer 100 may expose not only the connection electrode 220 but also the top surface of the substrate 200 adjacent to the connection electrode 220. Can be formed. In this case, a protrusion may not be formed at a portion of the adhesive layer 110 that contacts the substrate 200, whereas a protrusion E may be formed at a portion of the adhesive layer 110 that contacts the connection electrode 220. Therefore, when the conductor fills the connection region C in a later process, the conductor will be formed to have a shape corresponding to the protrusion E. FIG.
도 21 및 도 22는 본 발명의 기술적 사상에 의한 실시예들에 따른 디스플레이 장치를 개략적으로 도시하는 단면도이다. 이 실시예들에 따른 디스플레이 장치는 전술한 실시예들에 따른 디스플레이 장치의 변형예일 수 있다. 이하 실시예들간 중복되는 설명은 생략하기로 한다.21 and 22 are cross-sectional views schematically illustrating a display device according to example embodiments of the inventive concept. The display device according to these embodiments may be a modification of the display device according to the above-described embodiments. Duplicate descriptions between the embodiments will be omitted.
도 21을 참조하면, 디스플레이 장치의 기판(200)은 연결 전극(220)을 포함할 수 있고, 연결 전극(220)은 기판(200) 내로 삽입되어 형성될 수 있다. 기판(200)의 일부분은 리세스되어 연결 전극(220)의 상면이 노출될 수 있다. 선택적으로, 연결 전극(220)은 개별 전극(210)들과 중첩되도록 연장되어 형성될 수도 있다.Referring to FIG. 21, the substrate 200 of the display device may include a connection electrode 220, and the connection electrode 220 may be inserted into the substrate 200. A portion of the substrate 200 may be recessed to expose the top surface of the connection electrode 220. Optionally, the connection electrode 220 may be formed to extend to overlap the individual electrodes 210.
연결 전극(220)이 기판(200)에 매립되고 연결 전극(220)의 상면이 노출된 기판(200)이 도 10 내지 도 14의 실시예들에 적용될 수 있다. 이 경우 도 22에 나타난 바와 같은 구조의 디스플레이 장치가 형성될 수 있다. 상기 디스플레이 장치의 경우, 액상의 도전성 물질이 단차 형태의 기판(200) 및 연결 전극(220)과 접촉하기 때문에, 액상의 도전성 물질과 기판(200) 및 연결 전극(220) 사이의 접착력이 향상될 수 있다.The substrate 200 in which the connection electrode 220 is embedded in the substrate 200 and the top surface of the connection electrode 220 is exposed may be applied to the embodiments of FIGS. 10 to 14. In this case, a display device having a structure as shown in FIG. 22 may be formed. In the case of the display device, since the liquid conductive material contacts the stepped substrate 200 and the connection electrode 220, adhesion between the liquid conductive material and the substrate 200 and the connection electrode 220 may be improved. Can be.
도 23은 이러한 접착력을 향상시키기 위한 다른 실시예들에 따른 연결 전극(220)의 구조들을 도시한다. 상기 구조들에서 연결 전극(220)은 복수의 부분 전극들을 포함할 수 있다. 복수의 부분 전극들은 기판(200) 상부에 형성될 수도 있고, 기판(200)에 매립 형성될 수도 있다. 복수의 부분 전극들과 기판(200) 사이에 복수의 단차들이 형성될 수 있다. 상기 복수의 단차들에 의해 도전성 물질과 기판(200) 및 연결 전극(220) 사이의 접착력이 향상될 수 있다. 선택적인 실시예들에서, 복수의 부분 전극들은 액상의 도전성 물질이 인접하는 개별 전극(210)들로 전파되는 것을 방지하는 패턴으로 배치될 수 있다.23 illustrates structures of the connection electrode 220 according to other embodiments for improving such adhesion. In the above structures, the connection electrode 220 may include a plurality of partial electrodes. The plurality of partial electrodes may be formed on the substrate 200 or buried in the substrate 200. A plurality of steps may be formed between the plurality of partial electrodes and the substrate 200. The adhesion between the conductive material, the substrate 200 and the connection electrode 220 may be improved by the plurality of steps. In alternative embodiments, the plurality of partial electrodes may be arranged in a pattern that prevents the liquid conductive material from propagating to adjacent individual electrodes 210.
도 24 내지 도 28은 본 발명의 기술적 사상에 의한 실시예들에 따른 디스플레이 장치의 제조방법을 개략적으로 도시하는 단면도이다. 이 실시예에 따른 디스플레이 장치는 전술한 실시예들에 따른 디스플레이 장치의 제조 방법의 변형예일 수 있다. 이하 실시예들간 중복되는 설명은 생략하기로 한다.24 to 28 are cross-sectional views schematically illustrating a method of manufacturing a display device according to embodiments of the inventive concept. The display device according to this embodiment may be a modification of the manufacturing method of the display device according to the above embodiments. Duplicate descriptions between the embodiments will be omitted.
도 24를 참조하면, 디스플레이 층(100)이 마련되고, 도 25에 나타난 바와 같이, 디스플레이 층(100)에 연결 영역(C)이 형성된다. 이후 도 26에 나타난 바와 같이 연결 영역(C) 내로 도전성 물질을 충전한다. 도전성 물질이 충전된 디스플레이 층(100)은 도 27에 나타난 바와 같이 기판(200)과 접촉될 수 있다.Referring to FIG. 24, a display layer 100 is provided, and as shown in FIG. 25, a connection area C is formed in the display layer 100. Thereafter, as shown in FIG. 26, the conductive material is filled into the connection region C. The display layer 100 filled with the conductive material may be in contact with the substrate 200 as shown in FIG. 27.
여기서 사용되는 기판(200)은 도 21에 나타난 기판일 수 있다, 즉, 연결 전극(220)이 기판 내로 삽입되고 연결 전극(220)을 노출시키는 홀이 형성된 기판이 디스플레이 층(100)과 접촉될 수 있다. 또한 도면에 도시되지는 않았지만, 기판(200)은 도 23에 나타난 기판일 수도 있다.The substrate 200 used herein may be the substrate shown in FIG. 21, that is, a substrate in which a connection electrode 220 is inserted into the substrate and a hole in which the connection electrode 220 is exposed is in contact with the display layer 100. Can be. Although not shown in the drawings, the substrate 200 may be a substrate shown in FIG. 23.
도 29 내지 도 35는 본 발명의 기술적 사상에 따른 전기 영동 디스플레이 장치의 제조 방법을 설명하기 위해 공정 순서에 따른 단면도들이다.29 to 35 are cross-sectional views illustrating a method of manufacturing an electrophoretic display device according to the spirit of the present invention.
도 29를 참조하면, 제1 베이스 기판(N110) 상에 연결 전극(N122)과 복수의 화소 전극들(N124)을 포함하는 전극층(N120)이 형성된다.Referring to FIG. 29, an electrode layer N120 including a connection electrode N122 and a plurality of pixel electrodes N124 is formed on the first base substrate N110.
연결 전극(N122)과 복수의 화소 전극들(N124)은 제1 베이스 기판(N110) 상에 인쇄 회로 기판을 제조하는 방식, 예컨대, 인쇄 방식으로 형성될 수 있으며, 연결 전극(N122)과 복수의 화소 전극들(N124)이 형성된 제1 베이스 기판(N110)은 인쇄 회로 기판으로 지칭될 수 있다. 연결 전극(N122)과 화소 전극들(N124)은 제1 베이스 기판(N110) 상에 서로 이격하여 배열된다. 연결 전극(N122)은 도 1에 도시된 바와 같이 표시 영역(DR)의 바깥쪽에 위치할 수 있으며, 화소 전극들(N124)은 표시 영역(DR) 내에 서로 이격하여 위치할 수 있다.The connection electrode N122 and the plurality of pixel electrodes N124 may be formed on a first base substrate N110 by manufacturing a printed circuit board, for example, a printing method, and the connection electrode N122 and the plurality of pixel electrodes N124. The first base substrate N110 on which the pixel electrodes N124 are formed may be referred to as a printed circuit board. The connection electrode N122 and the pixel electrodes N124 are spaced apart from each other on the first base substrate N110. As illustrated in FIG. 1, the connection electrode N122 may be located outside the display area DR, and the pixel electrodes N124 may be spaced apart from each other in the display area DR.
제1 베이스 기판(N110) 상에는 접속 패드들(도 1의 102)을 포함하는 패드부(N101)가 더 형성될 수 있으며, 접속 패드들(N102)은 연결 전극(N122)과 화소 전극들(N124)에 각각 배선들(도 1의 103)을 통해 접속될 수 있다. 배선들(N103)은 연결 전극(N122) 및 화소 전극들(N124)과 상이한 층에 위치할 수 있다. 예컨대, 연결 전극(N122)과 화소 전극들(N124)은 제1 베이스 기판(N110)의 제1 면 상에 배치되고, 배선들(N103)은 제1 베이스 기판(N110)의 제1 면의 반대 면인 제2 면 상에 배치되거나, 제1 베이스 기판(N110)의 내부에 배치될 수 있다. 접속 패드들(N102)은 제1 베이스 기판(N110)의 제1 면 상에 배치될 수도 있고, 제2 면 상에 배치될 수도 있다.The pad part N101 including the connection pads 102 of FIG. 1 may be further formed on the first base substrate N110, and the connection pads N102 may include the connection electrode N122 and the pixel electrodes N124. ) May be connected via wires 103 (see FIG. 1). The wirings N103 may be positioned on a different layer from the connection electrode N122 and the pixel electrodes N124. For example, the connection electrode N122 and the pixel electrodes N124 are disposed on the first surface of the first base substrate N110, and the wirings N103 are opposite to the first surface of the first base substrate N110. The surface may be disposed on a second surface that is a surface, or may be disposed inside the first base substrate N110. The connection pads N102 may be disposed on the first surface of the first base substrate N110 or may be disposed on the second surface.
제1 베이스 기판(N110)에 관통 비아를 형성한 후, 금속과 같은 도전성 물질을 도금한 후, 도금층의 일부 영역을 제거하는 방식으로, 제1 베이스 기판(N110)에 연결 전극(N122), 화소 전극들(N124), 접속 패드들(N102) 및 배선들(N103)이 형성될 수 있다. 제1 베이스 기판(N110)은 플라스틱, 금속 등 다양한 재질의 연성 또는 경성 기판일 수 있다. 제1 베이스 기판(N110)이 연성 합성 수지 기판일 수 있다.After the through via is formed in the first base substrate N110, the conductive material such as metal is plated, and then a portion of the plating layer is removed to connect the connection electrode N122 and the pixel to the first base substrate N110. Electrodes N124, connection pads N102, and wires N103 may be formed. The first base substrate N110 may be a flexible or rigid substrate made of various materials such as plastic and metal. The first base substrate N110 may be a flexible synthetic resin substrate.
도 30을 참조하면, 제2 베이스 기판(N110) 상에 공통 전극(N140) 및 박리 패턴(N170)이 형성될 수 있다. 박리 패턴(N170)은 공통 전극(N140) 상에 연결 전극(N122)에 대응하는 위치에 배치될 수 있다.Referring to FIG. 30, a common electrode N140 and a peeling pattern N170 may be formed on the second base substrate N110. The peeling pattern N170 may be disposed on the common electrode N140 at a position corresponding to the connection electrode N122.
제2 베이스 기판(N130)은 투과율이 높은 광투명 소재로서, 80% 이상의 고투과율을 갖는 소재로 형성된 필름일 수 있다.The second base substrate N130 is a light transparent material having high transmittance and may be a film formed of a material having a high transmittance of 80% or more.
공통 전극(N140)은 제2 베이스 기판(N130) 상에 전면적으로 투명 도전성 물질로 형성될 수 있다. 공통 전극(N140)은 스퍼터링 방식으로 제2 베이스 기판(N130) 상에 형성될 수 있다. 다른 예에 따르면, 공통 전극(N140)은 제2 베이스 기판(N130) 상에 코팅 방식 또는 도금 방식으로 형성될 수 있다.The common electrode N140 may be formed of a transparent conductive material on the second base substrate N130. The common electrode N140 may be formed on the second base substrate N130 by sputtering. According to another example, the common electrode N140 may be formed on the second base substrate N130 by coating or plating.
공통 전극(N140) 상의 연결 전극(N122)에 대응하는 위치에 박리 패턴(N170)이 형성될 수 있다. 박리 패턴(N170)은 공통 전극(N140) 상에 연결 전극(N122)에 대응하는 위치에 형성될 수 있다. 박리 패턴(N170)의 물질은 표시층(N150)의 물질과 표면 반발력을 가질 수 있다. 즉, 박리 패턴(N170)과 표시층(N150) 간의 접착력은 공통 전극(N140)과 표시층(N150) 간의 접착력보다 약할 수 있다. 그에 따라, 표시층(N150)은 박리 패턴(N170)이 덮이지 않은 공통 전극(N140) 상에만 형성되고, 박리 패턴(N170) 상에는 형성되지 않을 수 있다. 또한, 점착층(N160)도 표시층(N150) 상에만 형성되어, 박리 패턴(N170) 상에는 표시층(N150)과 점착층(N160)이 존재하지 않을 수 있다. 따라서, 연결 전극(N122)에 대응하는 위치의 표시층(N150)과 점착층의 일부분들을 제거할 필요가 없다. 콘택 플러그(N180)는 노출된 박리 패턴(N170) 상에 직접 형성될 수 있다.The peeling pattern N170 may be formed at a position corresponding to the connection electrode N122 on the common electrode N140. The peeling pattern N170 may be formed at a position corresponding to the connection electrode N122 on the common electrode N140. The material of the release pattern N170 may have a surface repulsion force with the material of the display layer N150. That is, the adhesion between the peeling pattern N170 and the display layer N150 may be weaker than the adhesion between the common electrode N140 and the display layer N150. Accordingly, the display layer N150 may be formed only on the common electrode N140 not covered with the peeling pattern N170, and may not be formed on the peeling pattern N170. In addition, the adhesion layer N160 may also be formed only on the display layer N150, and the display layer N150 and the adhesion layer N160 may not exist on the peeling pattern N170. Therefore, it is not necessary to remove portions of the display layer N150 and the adhesive layer at positions corresponding to the connection electrode N122. The contact plug N180 may be directly formed on the exposed peeling pattern N170.
일 예에 따르면, 박리 패턴(N170)은 도전성을 가질 수 있다. 박리 패턴(N170)은 도전성을 갖기 위해 투명 금속 필러를 포함할 수 있다. 투명 금속 필러는 염화리튬, 염화마그네슘 등의 무기 염류, 클로로실란, 사염화규소의 가수 분해 생성물인 규소 화합물, 금속 산화물 분말, 산화 인듐(주석), 산화 주석(안티몬)으로 표면 처리한 글래스 비즈 등을 포함할 수 있다. 박리 패턴(N170) 내의 투명 금속 필러의 함유량은 5[wt%] 내지 50 [wt%](중량 퍼센트)일 수 있다. 다른 예에 따르면, 박리 패턴(N170)은 절연 특성을 갖지 못할 정도로 매우 얇은 두께를 가질 수도 있다.According to an example, the peeling pattern N170 may have conductivity. The peeling pattern N170 may include a transparent metal filler to have conductivity. Transparent metal fillers include inorganic salts such as lithium chloride and magnesium chloride, silicon compounds which are hydrolysis products of chlorosilane, silicon tetrachloride, metal oxide powder, indium oxide (tin), glass beads surface-treated with tin oxide (antimony), and the like. It may include. The content of the transparent metal filler in the peeling pattern N170 may be 5 [wt%] to 50 [wt%] (weight percent). According to another example, the peeling pattern N170 may have a very thin thickness so as not to have an insulating property.
다른 예에 따르면, 박리 패턴(N170)은 압력이 가해지면 형상이 변하도록 연질 특성을 가질 수 있다. 또 다른 예에 따르면, 박리 패턴(N170)은 절연 특성을 갖지 못할 정도로 매우 얇은 두께를 가질 수도 있다. According to another example, the peeling pattern N170 may have a soft property to change shape when pressure is applied. According to another example, the peeling pattern N170 may have a very thin thickness so as not to have an insulating property.
도31을 참조하면, 제2 베이스 기판(N110) 상의 공통 전극(N140) 상에 표시층(N150)이 형성될 수 있다. 박리 패턴(N170)의 물질은 표시층(N150)의 물질과 표면 반발력을 가지므로, 표시층(N170)은 박리 패턴(N170) 상에는 형성되지 않는다. 이를 위해, 박리 패턴(N170)과 표시층(N150) 간의 접착력은 공통 전극(N140)과 표시층(N150) 간의 접착력보다 약할 수 있다.Referring to FIG. 31, the display layer N150 may be formed on the common electrode N140 on the second base substrate N110. Since the material of the peeling pattern N170 has a surface repulsion force with the material of the display layer N150, the display layer N170 is not formed on the peeling pattern N170. To this end, the adhesion between the peeling pattern N170 and the display layer N150 may be weaker than the adhesion between the common electrode N140 and the display layer N150.
표시층(N150)은 바인더에 분산 용매와 제1 입자들을 포함하는 마이크로 캡슐들을 혼합하고, 바인더와 마이크로 캡슐들이 혼합된 페이스트를 공통 전극(N140) 상에 도포하고, 공통 전극(N140) 상에 도포된 페이스트에 열을 가하거나 UV 조사함으로써 경화시켜, 공통 전극(N140) 상에 국부적으로 코팅될 수 있다. 페이스트는 표면 반발력으로 인하여 박리 패턴(N170) 상에 도포되지 않을 수 있다. 페이스트가 박리 패턴(N170) 상에 일부 도포되더라도, 경화된 후에는 박리 패턴(N170) 상에 존재하는 표시층(N150)은 박리 패턴(N170)과 접착되지 못하고 석션이나 기계적 진동에 의해 박리 패턴(N170)으로부터 분리되어 제거될 수 있다.The display layer N150 mixes the microcapsules including the dispersion solvent and the first particles in a binder, applies a paste in which the binder and the microcapsules are mixed on the common electrode N140, and applies the common capsule N140. The paste may be cured by applying heat to the paste or UV irradiation, and may be locally coated on the common electrode N140. The paste may not be applied on the peeling pattern N170 due to the surface repulsive force. Even if the paste is partially applied onto the peeling pattern N170, after curing, the display layer N150 existing on the peeling pattern N170 may not be adhered to the peeling pattern N170, and the peeling pattern may be removed by suction or mechanical vibration. N170) can be removed and removed.
코팅은 패치 다이 코팅, 슬롯 또는 압출 코팅, 슬라이드 또는 캐스케이드 코팅, 커튼 코팅, 롤 코팅, 그라비아 코팅, 딥 코팅, 스프레이 코팅, 메니스커스 코팅, 스핀 코팅, 브러시 코팅, 에어 나이프 코팅 등에 의해 수행될 수 있다. 인쇄는 실크 스크린 프린팅, 정전 프린팅, 열 프린팅, 잉크 젯 프린팅 등으로 수행될 수 있다.Coating can be performed by patch die coating, slot or extrusion coating, slide or cascade coating, curtain coating, roll coating, gravure coating, dip coating, spray coating, meniscus coating, spin coating, brush coating, air knife coating, etc. have. Printing can be performed by silk screen printing, electrostatic printing, thermal printing, ink jet printing, or the like.
도 32를 참조하면, 공통 전극(N140)과 표시층(N150)이 형성된 제2 베이스 기판(N130) 상에 점착층(N160a)이 부착된 이형 필름(N162)이 부착된다. 점착층(N160a)은 점착층(N160a)의 접착력을 이용하여 표시층(N150) 상에 부착될 수 있다. 이형 필름(N162)과 점착층(N160a) 간의 접착력은 점착층(N160a)과 표시층(N150) 간의 접착력보다 낮을 수 있다. 이를 위해, 이형 필름(N162)은 점착층(N160a)과의 접착력을 낮추기 위한 표면 처리를 받을 수 있다.Referring to FIG. 32, a release film N162 having an adhesive layer N160a attached to the second base substrate N130 on which the common electrode N140 and the display layer N150 are formed. The adhesive layer N160a may be attached onto the display layer N150 by using the adhesive force of the adhesive layer N160a. The adhesion between the release film N162 and the adhesive layer N160a may be lower than the adhesion between the adhesive layer N160a and the display layer N150. To this end, the release film N162 may be subjected to a surface treatment for lowering the adhesive strength with the adhesive layer N160a.
도 33을 참조하면, 이형 필름(N162)은 점착층(N160a)으로부터 박리되어, 표시층(N150) 상에는 일부의 점착층(N160b)만이 남게 된다. 이형 필름(N162)과 점착층(N160a)의 접착력으로 인하여, 박리 패턴(N170) 상의 빈 공간 상에 위치하는 일부의 점착층(N160c)은 이형 필름(N162)을 박리할 때 함께 뜯겨진다. 도시된 바와 같이, 일부의 점착층(N160c)은 이형 필름(N162)에 부착되어 이형 필름(N162)이 박리될 때 이형 필름(N162)과 함께 제거된다.Referring to FIG. 33, the release film N162 is peeled from the adhesive layer N160a so that only a portion of the adhesive layer N160b remains on the display layer N150. Due to the adhesive force between the release film N162 and the adhesive layer N160a, some of the adhesive layers N160c positioned on the empty space on the release pattern N170 are torn together when the release film N162 is peeled off. As shown, a portion of the adhesive layer N160c is attached to the release film N162 and removed together with the release film N162 when the release film N162 is peeled off.
점착층(N160)은 접착성을 가지며, 열이나 UV에 의해 경화될 수 있다. 다른 예에 따르면, 점착층(N160)은 상온에서 접착성을 가지지 않고, 열이 가해진 후에 접착성을 가질 수 있다.The adhesive layer N160 has adhesiveness and may be cured by heat or UV. According to another example, the adhesive layer N160 may not have adhesiveness at room temperature and may have adhesiveness after heat is applied.
그 결과, 박리 패턴(N170)을 노출하는 개구부가 형성된다. 개구부의 위치는 연결 전극(N122)의 위치에 대응할 수 있다.As a result, the opening which exposes the peeling pattern N170 is formed. The position of the opening may correspond to the position of the connection electrode N122.
도 34를 참조하면, 박리 패턴(N170)을 노출하는 개구부 내에 박리 패턴(N170)과 접촉하는 콘택 플러그(N180)를 형성할 수 있다. 콘택 플러그(N180)는 점도가 높은 액상의 도전성 물질로 형성될 수 있으며, 주사기를 이용하여 개구부 내에 매립될 수 있다. 콘택 플러그(N180)는 도전성 점착 필름으로 형성될 수 있으며, 도전성 점착 필름은 개구부보다 작은 크기로 절단된 후, 개구부 내에 삽입될 수 있다. 콘택 플러그(N180)는 솔더 볼과 같은 구형 또는 원주형의 도전체일 수 있으며, 개구부 내에 삽입된 후, 연결 전극(N122)과 접촉할 수 있도록 가압될 수 있다. 콘택 플러그(N180)는 합성 수지 내에 분포되는 도전성 입자들을 포함할 수 있으며, 서로 물리적으로 접촉하는 도전성 입자들로 인하여 전기적 경로를 제공할 수 있다.Referring to FIG. 34, a contact plug N180 may be formed to contact the peel pattern N170 in an opening exposing the peel pattern N170. The contact plug N180 may be formed of a liquid conductive material having a high viscosity and may be embedded in the opening by using a syringe. The contact plug N180 may be formed of a conductive adhesive film, and the conductive adhesive film may be cut into a smaller size than the opening, and then inserted into the opening. The contact plug N180 may be a spherical or cylindrical conductor such as a solder ball, and may be pressed to be in contact with the connection electrode N122 after being inserted into the opening. The contact plug N180 may include conductive particles distributed in the synthetic resin, and may provide an electrical path due to the conductive particles in physical contact with each other.
도 35를 참조하면, 콘택 플러그(N180)와 연결 전극(N122)이 서로 접촉하도록, 제1 베이스 기판(N110)은 제2 베이스 기판(N130) 상에 배치된다. 제1 베이스 기판(N110)은 제2 베이스 기판(N130)을 향하여 가압됨으로써 연결 전극(N122)은 콘택 플러그(N180)과 전기적으로 연결된다. 이때, 화소 전극들(N124)은 점착층(N160)과 접합된다. 점착층(N160)의 물질에 따라 점착층(N160)에 열이 가해지거나, UV가 조사될 수 있다. 점착층(N160)은 화소 전극들(N124)에 의해 덮이지 않은 제1 베이스 기판(N110)과도 접착할 수 있다.Referring to FIG. 35, the first base substrate N110 is disposed on the second base substrate N130 such that the contact plug N180 and the connection electrode N122 contact each other. The first base substrate N110 is pressed toward the second base substrate N130 so that the connection electrode N122 is electrically connected to the contact plug N180. In this case, the pixel electrodes N124 are bonded to the adhesive layer N160. Depending on the material of the adhesive layer N160, heat may be applied to the adhesive layer N160 or UV may be irradiated. The adhesive layer N160 may also adhere to the first base substrate N110 not covered by the pixel electrodes N124.
이렇게 형성된 전기 영동 디스플레이 장치(N100)는 제1 베이스 기판(N110), 제1 베이스 기판(N110) 상에 배열되는 연결 전극(N122)과 복수의 화소 전극들(N124), 제2 베이스 기판(N130), 베이스 기판(N130) 상의 공통 전극(N140), 화소 전극들(N124)과 공통 전극(N140) 사이의 표시층(N150), 표시층(N150)을 관통하여 연결 전극(N122)과 공통 전극(N140) 사이에 배치되는 콘택 플러그(N180), 및 콘택 플러그(N180)와 공통 전극(N140) 사이의 박리 패턴(N170)을 포함한다. 연결 전극(N122)과 공통 전극(N140)은 콘택 플러그(N180)를 통해 서로 전기적으로 연결된다. 전기 영동 디스플레이 장치(N100)는 화소 전극들(N124)과 표시층(N150)을 서로 접합하기 위한 점착층(N160)을 더 포함할 수 있다.The electrophoretic display device N100 thus formed includes a first base substrate N110, a connection electrode N122 arranged on the first base substrate N110, a plurality of pixel electrodes N124, and a second base substrate N130. ), The common electrode N140 on the base substrate N130, the display layer N150 between the pixel electrodes N124 and the common electrode N140, and the connection electrode N122 and the common electrode through the display layer N150. The contact plug N180 disposed between the N140 and the peeling pattern N170 between the contact plug N180 and the common electrode N140 is included. The connection electrode N122 and the common electrode N140 are electrically connected to each other through the contact plug N180. The electrophoretic display device N100 may further include an adhesive layer N160 for bonding the pixel electrodes N124 and the display layer N150 to each other.
또한, 전기 영동 디스플레이 장치(N100)를 제조하기 위해 다음과 같은 공정이 수행될 수 있다.In addition, the following process may be performed to manufacture the electrophoretic display device N100.
- 기판(N110) 상에 복수의 화소 전극들(N124) 및 연결 전극(N122)을 형성하는 제1 단계(도 29 참조)A first step of forming a plurality of pixel electrodes N124 and a connection electrode N122 on the substrate N110 (see FIG. 29).
- 기판(N130), 공통 전극(N140), 및 표시층(N150)을 갖는 디스플레이 층의 적어도 일부를 제거하여 연결 영역을 형성하는 제2 단계(도 31 참조)A second step of forming a connection region by removing at least a portion of the display layer having the substrate N130, the common electrode N140, and the display layer N150 (see FIG. 31).
- 디스플레이 층 상에 형성된 이형 필름(N162) 및 점착층(N162a) 일부를 제거하여, 연결 영역에 대응되는 연결 전극(N122) 또는 박리 패턴(N170)을 외부로 노출시키는 제3 단계(도 33 참조)A third step of exposing the connection electrode N122 or the peeling pattern N170 corresponding to the connection area to the outside by removing the release film N162 and the adhesive layer N162a formed on the display layer (see FIG. 33). )
- 연결 영역 내로 도전성 물질을 충전시키는 제4 단계(도 34 참조)A fourth step of filling the conductive material into the connection region (see FIG. 34)
- 기판(N110)과 상기 디스플레이 층을 접착하는 제5 단계(도 35 참조)A fifth step of adhering the substrate N110 and the display layer (see FIG. 35);
- 제3 단계 동안 박리 패턴(N170)이 노출될 수도 있고, 박리 패턴(N170) 아래의 공통 전극(N140)이 노출될 수도 있다. 또한 비록 도면에 도시되지 않았지만 기판(N110) 상의 화소 전극들(N124)도 디스플레이 층과의 접합을 위해 외부로 노출될 수 있다.The peeling pattern N170 may be exposed during the third step, and the common electrode N140 under the peeling pattern N170 may be exposed. Also, although not shown in the drawing, the pixel electrodes N124 on the substrate N110 may also be exposed to the outside for bonding with the display layer.
- 제5 단계에 의해, 콘택 플러그(N180)가 형성되어 연결 전극(N122)과 공통 전극(N140)이 전기적으로 연결될 수 있다.In a fifth step, a contact plug N180 may be formed to electrically connect the connection electrode N122 and the common electrode N140.
본 발명에 설명된 실시예들은 상호 참조될 수 있으며, 일 실시예에서 설명된 일부 공정(들)은 다른 실시예의 공정(들)을 대체하거나 공정들 사이에 삽입될 수도 있다. 또한 실시예에 나타난 공정들의 순서는 변경될 수도 있다.Embodiments described herein may be cross-referenced, and some process (es) described in one embodiment may be substituted for or interposed between process (s) of another embodiment. In addition, the order of the processes shown in the embodiment may be changed.
예를 들어, 기판 또는 디스플레이 층 중 어느 하나의 적어도 일부를 제거하여 연결 영역을 형성하는 단계는, 도 29 내지 도 35의 실시예에서 설명된 박리패턴을 이용하여 공통 전극을 노출하는 개구부를 형성하는 단계를 포함할 수 있다. 보다 구체적으로, 전술한 기판(N130), 공통 전극(N140), 및 표시층(N150)을 갖는 디스플레이 층의 적어도 일부를 제거하여 연결 영역을 형성하는 제2 단계 동안, 박리 패턴(N170)을 이용하여 표시층(N150)의 일부가 제거되도록 함으로써 연결 영역이 형성될 수 있다.For example, forming the connection region by removing at least a portion of either the substrate or the display layer may include forming an opening exposing the common electrode using the peeling pattern described in the embodiments of FIGS. 29 to 35. It may include a step. More specifically, during the second step of forming a connection region by removing at least a portion of the display layer including the substrate N130, the common electrode N140, and the display layer N150, the peeling pattern N170 is used. As a result, a portion of the display layer N150 may be removed to form a connection region.
본 발명을 명확하게 이해시키기 위해 첨부한 도면의 각 부위의 형상은 예시적인 것으로 이해하여야 한다. 도시된 형상 외의 다양한 형상으로 변형될 수 있음에 주의하여야 할 것이다.In order to clearly understand the present invention, the shape of each part of the accompanying drawings should be understood as illustrative. It should be noted that the present invention may be modified in various shapes other than the illustrated shape.
이상에서 설명한 본 발명이 전술한 실시예 및 첨부된 도면에 한정되지 않으며, 본 발명의 기술적 사상을 벗어나지 않는 범위 내에서 여러 가지 치환, 변형 및 변경이 가능하다는 것은, 본 발명이 속하는 기술분야에서 통상의 지식을 가진 자에게 있어 명백할 것이다.The present invention described above is not limited to the above-described embodiments and the accompanying drawings, and various substitutions, modifications, and changes are possible within the scope not departing from the technical spirit of the present invention. It will be evident to those who have knowledge of.
| Application Number | Priority Date | Filing Date | Title | 
|---|---|---|---|
| KR20150184086 | 2015-12-22 | ||
| KR10-2015-0184086 | 2015-12-22 | ||
| KR10-2016-0039342 | 2016-03-31 | ||
| KR1020160039342AKR20170112369A (en) | 2016-03-31 | 2016-03-31 | Electrophoresis display apparatus and method of fabricating the same | 
| Publication Number | Publication Date | 
|---|---|
| WO2017111259A1true WO2017111259A1 (en) | 2017-06-29 | 
| Application Number | Title | Priority Date | Filing Date | 
|---|---|---|---|
| PCT/KR2016/010443CeasedWO2017111259A1 (en) | 2015-12-22 | 2016-09-20 | Display apparatus and manufacturing method therefor | 
| Country | Link | 
|---|---|
| WO (1) | WO2017111259A1 (en) | 
| Publication number | Priority date | Publication date | Assignee | Title | 
|---|---|---|---|---|
| JP2020160214A (en)* | 2019-03-26 | 2020-10-01 | 凸版印刷株式会社 | Display component, display device, manufacturing method of display component and manufacturing method of display device | 
| Publication number | Priority date | Publication date | Assignee | Title | 
|---|---|---|---|---|
| JP2005208493A (en)* | 2004-01-26 | 2005-08-04 | Toppan Printing Co Ltd | Electrophoretic display body and electrophoretic display device | 
| JP2009133920A (en)* | 2007-11-28 | 2009-06-18 | Seiko Epson Corp | Method for manufacturing electrophoretic display device and electrophoretic display device | 
| US20110242640A1 (en)* | 2010-04-01 | 2011-10-06 | Au Optronics Corporation | Electrophoretic Display Apparatus and Method of Manufacturing the Same | 
| KR20130025974A (en)* | 2002-06-10 | 2013-03-12 | 이 잉크 코포레이션 | Components and methods for forming and testing electro-optic displays | 
| WO2013051358A1 (en)* | 2011-10-04 | 2013-04-11 | コニカミノルタホールディングス株式会社 | Organic electroluminescence element, planar light-emitting body, and method for manufacturing organic electroluminescence element | 
| Publication number | Priority date | Publication date | Assignee | Title | 
|---|---|---|---|---|
| KR20130025974A (en)* | 2002-06-10 | 2013-03-12 | 이 잉크 코포레이션 | Components and methods for forming and testing electro-optic displays | 
| JP2005208493A (en)* | 2004-01-26 | 2005-08-04 | Toppan Printing Co Ltd | Electrophoretic display body and electrophoretic display device | 
| JP2009133920A (en)* | 2007-11-28 | 2009-06-18 | Seiko Epson Corp | Method for manufacturing electrophoretic display device and electrophoretic display device | 
| US20110242640A1 (en)* | 2010-04-01 | 2011-10-06 | Au Optronics Corporation | Electrophoretic Display Apparatus and Method of Manufacturing the Same | 
| WO2013051358A1 (en)* | 2011-10-04 | 2013-04-11 | コニカミノルタホールディングス株式会社 | Organic electroluminescence element, planar light-emitting body, and method for manufacturing organic electroluminescence element | 
| Publication number | Priority date | Publication date | Assignee | Title | 
|---|---|---|---|---|
| JP2020160214A (en)* | 2019-03-26 | 2020-10-01 | 凸版印刷株式会社 | Display component, display device, manufacturing method of display component and manufacturing method of display device | 
| JP7243366B2 (en) | 2019-03-26 | 2023-03-22 | 凸版印刷株式会社 | Display component, display device, display component manufacturing method, and display device manufacturing method | 
| Publication | Publication Date | Title | 
|---|---|---|
| WO2020013478A1 (en) | Micro-led display and method for manufacturing same | |
| KR102308588B1 (en) | Laminated electro-optic displays and methods of making same | |
| WO2016117820A1 (en) | Display device comprising attachable/detachable window, and attachment/detachment method therefor | |
| WO2019017670A1 (en) | Apparatus and method for manufacturing led module | |
| WO2018038481A1 (en) | Micro device transferring method, and micro device substrate manufactured by micro device transferring method | |
| WO2015174756A1 (en) | Cover window for touch screen panel having printing layer formed thereon and method for forming printing layer on cover window for touch screen panel | |
| WO2013094887A1 (en) | Multi-touch touch screen panel and method for manufacturing same | |
| WO2020017823A1 (en) | Display panel and large display device using same | |
| WO2020204222A1 (en) | Transparent led display device and manufacturing method therefor | |
| WO2019059548A1 (en) | Display device comprising surface modification detachable sheet | |
| WO2022102872A1 (en) | Display device | |
| KR102577801B1 (en) | Electrophoresis display apparatus and method of fabricating the same | |
| WO2017111259A1 (en) | Display apparatus and manufacturing method therefor | |
| WO2021137625A1 (en) | Display panel, display device, and method for manufacturing same | |
| WO2016013904A1 (en) | Printed circuit board | |
| WO2025127775A1 (en) | Non-planar display device and method for manufacturing same | |
| WO2020080612A1 (en) | Display device | |
| WO2020204623A1 (en) | Flexible cable jumper device and method for manufacturing same | |
| WO2020171325A1 (en) | Display panel and manufacturing method therefor | |
| WO2011126229A2 (en) | Multi-color electrophoretic display device, image sheet, and manufacturing method thereof | |
| WO2015125999A1 (en) | Cof-type semiconductor package and method for manufacturing same | |
| KR102503274B1 (en) | Electrophoresis display apparatus and method of fabricating the same | |
| WO2017061761A1 (en) | Electrode connection part and touch screen panel comprising same | |
| WO2023120898A1 (en) | Micro led package, display having same, and method for manufacturing display | |
| WO2017039129A1 (en) | Method for manufacturing transparent electrode having wiring electrode | 
| Date | Code | Title | Description | 
|---|---|---|---|
| 121 | Ep: the epo has been informed by wipo that ep was designated in this application | Ref document number:16879127 Country of ref document:EP Kind code of ref document:A1 | |
| NENP | Non-entry into the national phase | Ref country code:DE | |
| 32PN | Ep: public notification in the ep bulletin as address of the adressee cannot be established | Free format text:NOTING OF LOSS OF RIGHTS PURSUANT TO RULE 112(1) EPC (EPO FORM 1205A DATED 31/10/2018) | |
| 122 | Ep: pct application non-entry in european phase | Ref document number:16879127 Country of ref document:EP Kind code of ref document:A1 |