

































本開示は、表示装置、及び、表示装置の調整方法に関し、より具体的には、頭部装着型ディスプレイ(HMD,Head Mounted Display)に用いられる表示装置、及び、表示装置の調整方法に関する。The present disclosure relates to a display device and a method for adjusting the display device, and more specifically, to a display device used for a head-mounted display (HMD) and a method for adjusting the display device.
画像形成装置によって形成された2次元画像を虚像光学系により拡大虚像として観察者に観察させるための虚像表示装置(画像表示装置)が、例えば、特開2012-042654から周知である。A virtual image display device (image display device) for allowing an observer to observe a two-dimensional image formed by an image forming device as an enlarged virtual image using a virtual image optical system is known from, for example, Japanese Patent Application Laid-Open No. 2012-042654.
 概念図を図34に示すように、この画像表示装置100’は、基本的には、画像を表示する画像形成装置111と、レンズ系157と、画像形成装置111に表示された光が入射され、観察者の瞳21へと導く光学手段120’とを備えている。ここで、光学手段120’は、導光板121と、導光板121に設けられた反射型体積ホログラム回折格子から成る第1回折格子部材131’及び第2回折格子部材132’を備えている。そして、レンズ系157には画像形成装置111の各画素から出射された光が入射され、レンズ系157によって平行光が生成され、第1面122から導光板121に入射され、第1面122から出射される。導光板121の第1面122と平行である導光板121の第2面123に、第1回折格子部材131’及び第2回折格子部材132’が取り付けられている。As shown in a conceptual diagram in FIG. 34, the
 画像形成装置111は、光源151、光源151から出射された光を平行光とするコリメート光学系152、及び、コリメート光学系152から出射された平行光を走査する走査手段153から構成されている。尚、画像形成装置111全体が筐体113(一点鎖線で示す)内に納められている。光源151は、白色を発光する発光素子から構成されており、光源151から出射された光は、全体として正の光学的パワーを持つコリメート光学系152に入射し、平行光として出射される。そして、この平行光は、全反射ミラー154で反射され、マイクロミラーを二次元方向に回転自在とし、入射した平行光を2次元的に走査することができるMEMSミラーから成る走査手段153によって、光源151からの光が水平走査及び垂直走査が行われ、一種の2次元画像化される。The
 また、この特許公開公報に開示された画像表示装置は、画像形成装置111の光軸とレンズ系157の光軸とを水平方向に相対的に移動させる移動装置を更に備えている。そして、移動装置によって画像形成装置の光軸と光学系の光軸とを水平方向に相対的に移動させることで、輻輳角を調整している。The image display device disclosed in this patent publication further includes a moving device that relatively moves the optical axis of the
観察者の瞳に、直接、画像を描画する直描タイプの頭部装着型ディスプレイが、例えば、特開2001-004956から周知である。A direct-drawing type head-mounted display that draws an image directly on an observer's pupil is known from, for example, Japanese Patent Laid-Open No. 2001-004956.
 ところで、実際の表示装置の使用にあっては、観察者が表示装置を装着する状態、あるいは、装着している状態が、屡々、変化する。即ち、観察者の瞳21の位置と第2回折格子部材132’の相対的な位置関係に変化が生じるし、あるいは又、生じ易い。そして、このような変化が生じると、画像形成装置111において形成された画像が、観察者の瞳21に適切に到達しなくなるといった問題がある。特に、第2回折格子部材132’から出射された光を観察者の瞳に入射させる系を想定した場合、観察者の瞳21の位置と第2回折格子部材132’の相対的な位置関係に少しの変化が生じても、画像形成装置111において形成された画像が観察者の瞳21に適切に到達しなくなる。また、画像形成装置111の光軸と光学系152の光軸と間の相対的な移動量は、小さければ小さい程、移動装置等の機構の小型化、簡素化を図ることができる。上記の特許公開公報には、これらの問題に関して、何ら言及がなされていない。By the way, in the actual use of the display device, the state in which the observer wears the display device or the state in which the viewer wears it often changes. That is, the relative positional relationship between the position of the observer's
従って、本開示の目的は、移動装置等の機構の小型化、簡素化を図ることができ、しかも、観察者が表示装置を装着する(装着している)状態の変化に容易に対処し得る構成、構造を有する表示装置、及び、係る表示装置の調整方法を提供することにある。Therefore, an object of the present disclosure is to reduce the size and simplification of a mechanism such as a moving device, and to easily cope with a change in a state in which an observer wears (wears) a display device. An object of the present invention is to provide a display device having a configuration and a structure, and a method for adjusting the display device.
 上記の目的を達成するための本開示の第1の態様~第3の態様に係る表示装置は、
 (A)観察者の頭部に装着されるフレーム、並びに、
 (B)フレームに取り付けられた画像表示装置、
を備えた表示装置であって、
 画像表示装置は、
 (B-1)画像形成装置、
 (B-2)画像形成装置からの光が入射する第1光学部材、
 (B-3)第1光学部材からの光を観察者の瞳に入射させる第2光学部材、並びに、
 (B-4)画像形成装置の光軸と第1光学部材の光軸とを、水平方向、又は、垂直方向、又は、水平方向及び垂直方向に相対的に移動させる移動装置、
を備えている。In order to achieve the above object, the display device according to the first to third aspects of the present disclosure includes:
 (A) a frame attached to the observer's head, and
 (B) an image display device attached to the frame;
 A display device comprising:
 The image display device
 (B-1) Image forming apparatus,
 (B-2) a first optical member on which light from the image forming apparatus is incident;
 (B-3) a second optical member that makes light from the first optical member incident on the pupil of the observer, and
 (B-4) a moving device that relatively moves the optical axis of the image forming apparatus and the optical axis of the first optical member in the horizontal direction, the vertical direction, or the horizontal direction and the vertical direction;
 It has.
 そして、本開示の第1の態様に係る表示装置において、
 画像形成装置と観察者の瞳とは共役の関係にあり、
 第1光学部材及び第2光学部材によって両側テレセントリック系が構成される。In the display device according to the first aspect of the present disclosure,
 The image forming apparatus and the observer's pupil are in a conjugate relationship,
 The first optical member and the second optical member constitute a double telecentric system.
また、本開示の第2の態様に係る表示装置において、正の光学的パワーを有する第1光学部材の前方焦点に、画像形成装置から画像が出射される画像出射部が位置し、正の光学的パワーを有する第2光学部材の後方焦点に、観察者の瞳(より具体的には、水晶体)が位置し、第1光学部材の後方焦点に第2光学部材の前方焦点が位置する。In the display device according to the second aspect of the present disclosure, an image emitting unit from which an image is emitted from the image forming apparatus is located at the front focal point of the first optical member having positive optical power, and the positive optical The observer's pupil (more specifically, the crystalline lens) is located at the rear focal point of the second optical member having the desired power, and the front focal point of the second optical member is located at the rear focal point of the first optical member.
 更には、本開示の第3の態様に係る表示装置において、
 画像形成装置と観察者の瞳とは共役の関係にあり、
 画像表示装置は、第2光学部材を取り付ける光学手段を更に備えており、
 光学手段は、導光板、導光板に配された第1偏向手段、及び、導光板に取り付けられた第2偏向手段を備えており、
 第1光学部材からの光は、第1偏向手段において偏向され、導光板の内部を全反射により伝播し、第2偏向手段において偏向され、第2光学部材に入射し、第2光学部材から出射され、観察者の瞳に入射する。Furthermore, in the display device according to the third aspect of the present disclosure,
 The image forming apparatus and the observer's pupil are in a conjugate relationship,
 The image display device further includes optical means for attaching the second optical member,
 The optical means comprises a light guide plate, a first deflecting means disposed on the light guide plate, and a second deflecting means attached to the light guide plate,
 The light from the first optical member is deflected by the first deflecting means, propagates through the light guide plate by total reflection, deflected by the second deflecting means, enters the second optical member, and exits from the second optical member. And enters the observer's pupil.
 上記の目的を達成するための本開示の表示装置の調整方法は、
 (A)観察者の頭部に装着されるフレーム、並びに、
 (B)フレームに取り付けられた画像表示装置、
を備えており、
 画像表示装置は、
 (B-1)画像形成装置、
 (B-2)画像形成装置からの光が入射する第1光学部材、
 (B-3)第1光学部材からの光を観察者の瞳に入射させる第2光学部材、並びに、
 (B-4)画像形成装置の光軸と第1光学部材の光軸とを、水平方向、又は、垂直方向、又は、水平方向及び垂直方向に相対的に移動させる移動装置、
を備えている表示装置の調整方法であって、
 画像形成装置によって形成された画像を、第1光学部材及び第2光学部材を介して観察者の瞳に入射させながら、画像形成装置の光軸と第1光学部材の光軸とを移動装置によって移動させることで、観察者の瞳に入射される画像の光強度の最適化(具体的には、例えば、観察者の瞳に入射される画像の光強度の最大化)を図る。In order to achieve the above object, a method for adjusting a display device according to the present disclosure includes:
 (A) a frame attached to the observer's head, and
 (B) an image display device attached to the frame;
 With
 The image display device
 (B-1) Image forming apparatus,
 (B-2) a first optical member on which light from the image forming apparatus is incident;
 (B-3) a second optical member that makes light from the first optical member incident on the pupil of the observer, and
 (B-4) a moving device that relatively moves the optical axis of the image forming apparatus and the optical axis of the first optical member in the horizontal direction, the vertical direction, or the horizontal direction and the vertical direction;
 A method for adjusting a display device comprising:
 While the image formed by the image forming apparatus is incident on the observer's pupil via the first optical member and the second optical member, the optical axis of the image forming apparatus and the optical axis of the first optical member are moved by the moving device. By moving, the light intensity of the image incident on the observer's pupil is optimized (specifically, for example, the light intensity of the image incident on the observer's pupil is maximized).
本開示の第1の態様~第3の態様に係る表示装置において、画像形成装置により形成された画像は第2光学部材によって観察者の瞳に入射させられる。そして、本開示の第1の態様あるいは第3の態様に係る表示装置において、画像形成装置と観察者の瞳とは共役の関係にある。更には、本開示の第1の態様に係る表示装置にあっては、第1光学部材及び第2光学部材によって両側テレセントリック系が構成される。一方、本開示の第2の態様に係る表示装置にあっては、画像出射部の位置、観察者の瞳の位置、第1光学部材及び第2光学部材の相互の位置関係が、第1光学部材の焦点距離及び第2光学部材の焦点距離に基づき規定されている。更には、本開示の第3の態様に係る表示装置にあっては、第1光学部材からの光は、第1偏向手段において偏向され、導光板の内部を全反射により伝播し、第2偏向手段において偏向され、第2光学部材に入射し、第2光学部材から出射され、観察者の瞳に入射する。それ故、画像形成装置の光軸と第1光学部材の光軸との相対的な移動量が小さくても、第2光学部材と観察者の瞳位置の相対的な位置変化は、第1光学部材の光軸との相対的な移動量に、画像形成装置と観察者の瞳における共役関係の倍率、あるいは、焦点距離相互の倍率関係を乗じた値となり、大きな変化とすることができるので、移動装置を含む表示装置全体の機構の小型化、簡素化を図ることができる。しかも、移動装置によって画像形成装置の光軸と第1光学部材の光軸とを相対的に移動させることができるので、観察者が表示装置を装着する(装着している)状態の変化に、容易に、且つ、確実に、対処することができる。即ち、観察者が表示装置を装着する(装着している)状態が変化しても、画像形成装置で形成された画像を観察者の瞳に確実に入射させることができる。また、本開示の表示装置の調整方法によれば、移動装置によって観察者の瞳に入射される画像の光強度の最適化を図ることができるので、画像形成装置によって形成された画像を観察者の瞳に、確実に、しかも、容易に、入射させることが可能となる。尚、本明細書に記載された効果はあくまで例示であって限定されるものでは無く、また、付加的な効果があってもよい。In the display devices according to the first to third aspects of the present disclosure, an image formed by the image forming apparatus is incident on the observer's pupil by the second optical member. In the display device according to the first aspect or the third aspect of the present disclosure, the image forming apparatus and the observer's pupil are in a conjugate relationship. Furthermore, in the display device according to the first aspect of the present disclosure, the first optical member and the second optical member constitute a double-sided telecentric system. On the other hand, in the display device according to the second aspect of the present disclosure, the position of the image emitting unit, the position of the pupil of the observer, and the positional relationship between the first optical member and the second optical member are the first optical component. It is defined based on the focal length of the member and the focal length of the second optical member. Furthermore, in the display device according to the third aspect of the present disclosure, the light from the first optical member is deflected by the first deflecting unit, propagates inside the light guide plate by total reflection, and is second deflected. The light is deflected by the means, enters the second optical member, exits from the second optical member, and enters the observer's pupil. Therefore, even if the relative movement amount between the optical axis of the image forming apparatus and the optical axis of the first optical member is small, the relative position change of the pupil position of the second optical member and the observer is the first optical. The value is obtained by multiplying the relative movement amount of the member with the optical axis by the magnification of the conjugate relationship between the image forming apparatus and the pupil of the observer, or the magnification relationship between the focal lengths. The overall mechanism of the display device including the moving device can be reduced in size and simplified. In addition, since the optical axis of the image forming apparatus and the optical axis of the first optical member can be moved relative to each other by the moving device, the change in the state in which the observer wears (wears) the display device. It can be dealt with easily and reliably. In other words, even when the state in which the observer wears (wears) the display device changes, the image formed by the image forming apparatus can be reliably incident on the pupil of the observer. Further, according to the adjustment method of the display device of the present disclosure, it is possible to optimize the light intensity of the image incident on the observer's pupil by the moving device, so that the image formed by the image forming device is It is possible to reliably and easily enter the pupil. Note that the effects described in the present specification are merely examples and are not limited, and may have additional effects.
 以下、図面を参照して、実施例に基づき本開示を説明するが、本開示は実施例に限定されるものではなく、実施例における種々の数値や材料は例示である。尚、説明は、以下の順序で行う。
1.本開示の第1の態様~第3の態様に係る表示装置、全般に関する説明
2.実施例1(本開示の第1の態様~第3の態様に係る表示装置)
3.実施例2(実施例1の変形)
4.実施例3(実施例1~実施例2の変形)
5.実施例4(実施例1~実施例3の変形)
6.実施例5(実施例1~実施例3の別の変形)
7.実施例6(実施例5の変形)
8.実施例7(実施例1~実施例3の更に別の変形)
9.実施例8(実施例1~実施例7の変形)
10.実施例9(実施例1~実施例7の別の変形)
11.実施例10(実施例1~実施例9の変形)
12.実施例11(実施例1~実施例10の変形)
13.実施例12(実施例11の変形)
14.実施例13(実施例11の別の変形)
15.その他Hereinafter, although this indication is explained based on an example with reference to drawings, this indication is not limited to an example and various numerical values and materials in an example are illustrations. The description will be given in the following order.
 1. 1. General description of display devices according to first to third aspects of the present disclosure Example 1 (display device according to first to third aspects of the present disclosure)
 3. Example 2 (Modification of Example 1)
 4). Example 3 (Modification of Examples 1 and 2)
 5). Example 4 (Modification of Examples 1 to 3)
 6). Example 5 (another modification of Examples 1 to 3)
 7). Example 6 (Modification of Example 5)
 8). Example 7 (another modification of Example 1 to Example 3)
 9. Example 8 (Modification of Examples 1 to 7)
 10. Example 9 (another modification of Example 1 to Example 7)
 11. Example 10 (Modification of Examples 1 to 9)
 12 Example 11 (Modification of Examples 1 to 10)
 13. Example 12 (Modification of Example 11)
 14 Example 13 (another modification of Example 11)
 15. Other
〈本開示の第1の態様~第3の態様に係る表示装置、全般に関する説明〉
 本開示の第1の態様あるいは第3の態様に係る表示装置において、画像形成装置と観察者の瞳とは共役の関係にある。即ち、観察者の瞳の位置に画像形成装置を置くと、元の画像形成装置の位置に像が形成される。また、本開示の第1の態様に係る表示装置において、第1光学部材及び第2光学部材によって両側テレセントリック系が構成されるが、この場合、第1光学部材の入射瞳は無限遠にあるし、第2光学部材の射出瞳は無限遠にある。<Display Device According to First to Third Aspects of Present Disclosure, General Description>
 In the display device according to the first aspect or the third aspect of the present disclosure, the image forming apparatus and the pupil of the observer are in a conjugate relationship. That is, when the image forming apparatus is placed at the position of the observer's pupil, an image is formed at the position of the original image forming apparatus. In the display device according to the first aspect of the present disclosure, the first optical member and the second optical member form a double-sided telecentric system. In this case, the entrance pupil of the first optical member is at infinity. The exit pupil of the second optical member is at infinity.
 本開示の第1の態様~第2の態様に係る表示装置において、画像表示装置は、第2光学部材を取り付ける光学手段を更に備えている形態とすることができる。そして、この場合、
 光学手段は、導光板、導光板に配された第1偏向手段、及び、導光板に取り付けられた第2偏向手段を備えており、
 第1光学部材からの光は、第1偏向手段において偏向され、導光板の内部を全反射により伝播し、第2偏向手段において偏向され、第2光学部材に入射し、第2光学部材から出射され、観察者の瞳に入射する形態とすることができる。尚、このような形態、及び、本開示の第3の態様に係る表示装置を総称して、『本開示の第3の態様に係る表示装置等』と呼ぶ場合がある。尚、「全反射」という用語は、内部全反射、あるいは、導光板内部における全反射を意味する。In the display device according to the first aspect to the second aspect of the present disclosure, the image display device may further include an optical unit for attaching the second optical member. And in this case
 The optical means comprises a light guide plate, a first deflecting means disposed on the light guide plate, and a second deflecting means attached to the light guide plate,
 The light from the first optical member is deflected by the first deflecting means, propagates through the light guide plate by total reflection, deflected by the second deflecting means, enters the second optical member, and exits from the second optical member. It can be configured to be incident on the pupil of the observer. Note that such a display device and the display device according to the third aspect of the present disclosure may be collectively referred to as “a display device or the like according to the third aspect of the present disclosure”. The term “total reflection” means total internal reflection or total reflection inside the light guide plate.
本開示の第3の態様に係る表示装置等において、第1偏向手段及び第2偏向手段はホログラム回折格子から成る形態とすることができる。更には、第2光学部材は、ホログラムレンズから成る構成とすることができる。第1光学部材として、凸レンズ、凹レンズ、自由曲面プリズム、ホログラムレンズを、単独、若しくは、組み合わせた、全体として正の光学的パワーを持つ光学系を例示することができる。本開示の第1の態様あるいは第3の態様に係る表示装置において、第1光学部材の前方焦点(画像形成装置側の焦点)の位置には、場合によっては、絞りが配置されており、第2光学部材は一種の凹面鏡を構成し、第2光学部材の後方焦点の位置に観察者の瞳(具体的には、観察者の水晶体)が位置する。In the display device or the like according to the third aspect of the present disclosure, the first deflecting unit and the second deflecting unit may be formed of a hologram diffraction grating. Furthermore, the second optical member can be configured by a hologram lens. As the first optical member, an optical system having a positive optical power as a whole, which is a single lens or a combination of a convex lens, a concave lens, a free-form surface prism, and a hologram lens, can be exemplified. In the display device according to the first aspect or the third aspect of the present disclosure, in some cases, a stop is disposed at the position of the front focus (focus on the image forming apparatus side) of the first optical member. The two optical members constitute a kind of concave mirror, and the observer's pupil (specifically, the observer's crystalline lens) is located at the position of the back focal point of the second optical member.
 第1偏向手段及び第2偏向手段をホログラム回折格子から構成し、第2光学部材をホログラムレンズから構成する形態において、
 導光板は、第1光学部材からの光が入射する第1面、及び、第1面と対向する第2面を有しており、
 第1偏向手段は、導光板の第2面上に配置されており、
 第2偏向手段は、導光板の第1面上に配置されており、
 第2光学部材は、導光板の第2面上に配置されている構成とすることができる。そして、この場合、
 第1偏向手段を構成するホログラム回折格子の内部には第1の干渉縞が形成されており、
 第2偏向手段を構成するホログラム回折格子の内部には第2の干渉縞が形成されており、
 第1の干渉縞と第2の干渉縞は、同じ格子面のピッチ、及び、同じスラント角を有しており、
 導光板の軸線の延びる方向をX方向、厚さ方向をY方向としたとき、第1偏向手段と第2偏向手段とは、Z方向の軸線(例えば、導光板の中心を通るZ方向の軸線)に対して回転対称に配置されている構成とすることができる。In the form in which the first deflecting means and the second deflecting means are configured from a hologram diffraction grating, and the second optical member is configured from a hologram lens,
 The light guide plate has a first surface on which light from the first optical member is incident, and a second surface facing the first surface,
 The first deflecting means is disposed on the second surface of the light guide plate,
 The second deflecting means is disposed on the first surface of the light guide plate,
 The 2nd optical member can be set as the structure arrange | positioned on the 2nd surface of a light-guide plate. And in this case
 A first interference fringe is formed inside the hologram diffraction grating constituting the first deflecting means,
 A second interference fringe is formed inside the hologram diffraction grating constituting the second deflection means,
 The first interference fringe and the second interference fringe have the same lattice plane pitch and the same slant angle,
 When the direction in which the axis of the light guide plate extends is the X direction and the thickness direction is the Y direction, the first deflecting means and the second deflecting means have an axis in the Z direction (for example, an axis in the Z direction passing through the center of the light guide plate). ) In a rotationally symmetrical manner.
 あるいは又、第1偏向手段及び第2偏向手段をホログラム回折格子から構成し、第2光学部材をホログラムレンズから構成する形態において、
 導光板は、第1光学部材からの光が入射する第1面、及び、第1面と対向する第2面を有しており、
 第1偏向手段は、導光板の第2面上に配置されており、
 第2偏向手段は、導光板の第2面上に配置されており、
 第2光学部材は、第2偏向手段の上に配置されている構成とすることができる。そして、この場合、
 第1偏向手段を構成するホログラム回折格子の内部には第1の干渉縞が形成されており、
 第2偏向手段を構成するホログラム回折格子の内部には第2の干渉縞が形成されており、
 第1の干渉縞と第2の干渉縞は、同じ格子面のピッチ、及び、同じスラント角を有しており、
 導光板の軸線の延びる方向をX方向、厚さ方向をY方向とし、第1偏向手段をX方向に平行移動して第1偏向手段と第2偏向手段とを重ね合わせたとき、第1偏向手段に形成された第1の干渉縞と第2偏向手段に形成された第2の干渉縞とは重なり合う構成とすることができる。そして、これらの構成にあっては、第2偏向手段は、第1偏向手段の延在部から構成されている形態とすることができる。Alternatively, in a form in which the first deflecting means and the second deflecting means are configured from a hologram diffraction grating, and the second optical member is configured from a hologram lens,
 The light guide plate has a first surface on which light from the first optical member is incident, and a second surface facing the first surface,
 The first deflecting means is disposed on the second surface of the light guide plate,
 The second deflecting means is disposed on the second surface of the light guide plate,
 The 2nd optical member can be set as the structure arrange | positioned on the 2nd deflection | deviation means. And in this case
 A first interference fringe is formed inside the hologram diffraction grating constituting the first deflecting means,
 A second interference fringe is formed inside the hologram diffraction grating constituting the second deflection means,
 The first interference fringe and the second interference fringe have the same lattice plane pitch and the same slant angle,
 When the direction in which the axis of the light guide plate extends is the X direction, the thickness direction is the Y direction, and the first deflecting means and the second deflecting means are overlapped by translating the first deflecting means in the X direction, the first deflection The first interference fringes formed on the means and the second interference fringes formed on the second deflecting means may overlap each other. And in these structures, the 2nd deflection | deviation means can be made into the form comprised from the extension part of the 1st deflection | deviation means.
但し、以上に説明した各種好ましい形態を含む本開示の第1の態様~第2の態様に係る表示装置は、光学手段を備えていなくともよい。即ち、第2光学部材には第1光学部材からの光が、直接、入射し、観察者の網膜に、直接、結像する構成(観察者の瞳に、直接、入射する構成)としてもよい。However, the display device according to the first to second aspects of the present disclosure including the various preferable forms described above may not include the optical means. In other words, the second optical member may be configured such that light from the first optical member is directly incident and directly forms an image on the retina of the observer (a structure that directly enters the observer's pupil). .
観察者が表示装置を装着する(装着している)状態が変化したとき、画像形成装置で形成された画像が観察者の瞳に入射しなくなるので(あるいは、入射状態にズレが生じるので)、即ち、画像形成装置で形成された画像が観察者の網膜に結像しなくなるので(あるいは、結像状態にズレが生じるので)、移動装置によって画像形成装置の光軸と第1光学部材の光軸とを相対的に移動させるが、この移動は、観察者の指示(観察者による調整)に基づき行う形態とすることができる。あるいは又、以上に説明した各種の好ましい形態、構成を含む本開示の第1の態様~第3の態様に係る表示装置にあっては、画像形成装置と第1光学部材との間、又は、第1光学部材と第2光学部材との間には、第3光学部材が配置されており、第3光学部材によって取り出された観察者の瞳の像を撮像する撮像装置を更に備えている形態とすることができる。このように観察者の瞳の位置を検出することで、画像形成装置で形成された画像を観察者の瞳に一層確実に入射させることができる。そして、この場合、第3光学部材はハーフミラーから成る形態とすることができる。更には、これらの場合、撮像装置によって撮像された観察者の瞳の像の位置に基づき、移動装置は、画像形成装置の光軸と第1光学部材の光軸とを、水平方向、又は、垂直方向、又は、水平方向及び垂直方向に相対的に移動させる形態とすることができる。撮像装置は、具体的には、例えば、CCDあるいはCMOSセンサから成る固体撮像素子とレンズから構成すればよい。撮像装置の出力は、後述する制御装置(制御回路)に送出される。When the state in which the observer wears the display device changes, the image formed by the image forming apparatus does not enter the observer's pupil (or because the incident state shifts). In other words, the image formed by the image forming apparatus does not form an image on the retina of the observer (or the image forming state is shifted), so that the optical axis of the image forming apparatus and the light of the first optical member are moved by the moving device. Although the axis is moved relatively, this movement can be performed based on an instruction from the observer (adjustment by the observer). Alternatively, in the display device according to the first to third aspects of the present disclosure including the various preferable modes and configurations described above, between the image forming apparatus and the first optical member, or A mode in which a third optical member is disposed between the first optical member and the second optical member, and further includes an imaging device that captures an image of an observer's pupil taken out by the third optical member. It can be. By detecting the position of the observer's pupil in this way, the image formed by the image forming apparatus can be more reliably incident on the observer's pupil. In this case, the third optical member can be formed of a half mirror. Furthermore, in these cases, based on the position of the image of the observer's pupil imaged by the imaging device, the moving device sets the optical axis of the image forming device and the optical axis of the first optical member in the horizontal direction, or It can be set as the form moved relatively to a perpendicular direction or a horizontal direction and a perpendicular direction. Specifically, the imaging device may be configured by, for example, a solid-state imaging device including a CCD or CMOS sensor and a lens. The output of the imaging device is sent to a control device (control circuit) described later.
更には、以上に説明した各種の好ましい形態、構成を含む本開示の第1の態様あるいは第3の態様に係る表示装置において、第1光学部材及び第2光学部材は正の光学的パワーを有する形態とすることができる。そして、この場合、第1光学部材の有する正の光学的パワーの値は、第2光学部材の有する正の光学的パワーの値よりも大きい形態とすることができる。光学的パワーは焦点距離の逆数であるが故に、云い換えれば、第2光学部材の焦点距離は、第1光学部材の焦点距離よりも長い形態とすることができる。本開示の第2の態様に係る表示装置においても同様とすることができる。Furthermore, in the display device according to the first aspect or the third aspect of the present disclosure including the various preferable modes and configurations described above, the first optical member and the second optical member have positive optical power. It can be in the form. In this case, the positive optical power value of the first optical member can be larger than the positive optical power value of the second optical member. Since the optical power is the reciprocal of the focal length, in other words, the focal length of the second optical member can be longer than the focal length of the first optical member. The same applies to the display device according to the second aspect of the present disclosure.
更には、以上に説明した各種の好ましい形態、構成を含む本開示の第1の態様~第3の態様に係る表示装置において、画像形成装置は、光源、及び、光源から出射された光を走査して画像を形成する走査手段を備えている形態とすることができる。尚、このような画像形成装置を、便宜上、『第1構成の画像形成装置』と呼ぶ。Further, in the display device according to the first to third aspects of the present disclosure including the various preferable modes and configurations described above, the image forming apparatus scans the light source and the light emitted from the light source. Thus, a scanning means for forming an image can be provided. Such an image forming apparatus is referred to as a “first image forming apparatus” for convenience.
第1構成の画像形成装置において、光源として発光素子を挙げることができ、具体的には、赤色発光素子、緑色発光素子、青色発光素子、白色発光素子を挙げることができるし、あるいは又、赤色発光素子、緑色発光素子及び青色発光素子から出射された赤色光、緑色光及び青色光をライトパイプを用いて混色、輝度均一化を行うことで白色光を得てもよい。発光素子として、例えば、半導体レーザ素子や固体レーザ、LEDを例示することができる。第1構成の画像表示装置における画素(仮想の画素)の数は、画像表示装置に要求される仕様に基づき決定すればよく、画素(仮想の画素)の数の具体的な値として、320×240、432×240、640×480、854×480、1024×768、1920×1080等を例示することができる。また、光源を赤色発光素子、緑色発光素子、青色発光素子から構成する場合、例えば、クロスプリズムを用いて色合成を行うことが好ましい。走査手段として、光源から出射された光を水平走査及び垂直走査する、例えば、二次元方向に回転可能なマイクロミラーを有するMEMS(Micro Electro Mechanical Systems)ミラーやガルバノ・ミラーを挙げることができる。尚、MEMSミラーやガルバノ・ミラーが、画像形成装置から画像が出射される画像出射部に該当する。In the image forming apparatus having the first configuration, examples of the light source include a light emitting element. Specifically, a red light emitting element, a green light emitting element, a blue light emitting element, and a white light emitting element can be used. White light may be obtained by mixing red light, green light, and blue light emitted from the light-emitting element, green light-emitting element, and blue light-emitting element, and using a light pipe for color mixing and luminance equalization. Examples of the light emitting element include a semiconductor laser element, a solid state laser, and an LED. The number of pixels (virtual pixels) in the image display device having the first configuration may be determined based on specifications required for the image display device. As a specific value of the number of pixels (virtual pixels), 320 × 240, 432 × 240, 640 × 480, 854 × 480, 1024 × 768, 1920 × 1080 and the like can be exemplified. Further, when the light source is composed of a red light emitting element, a green light emitting element, and a blue light emitting element, it is preferable to perform color synthesis using, for example, a cross prism. As the scanning means, for example, a MEMS (Micro Electro Mechanical Systems) mirror or a galvano mirror that scans light emitted from a light source horizontally and vertically and has a micro mirror that can rotate in a two-dimensional direction can be used. Note that the MEMS mirror and the galvanometer mirror correspond to an image emitting unit from which an image is emitted from the image forming apparatus.
但し、画像形成装置は、このような画像形成装置に限定されるものではなく、例えば、反射型空間光変調装置及び光源から構成された画像形成装置;透過型空間光変調装置及び光源から構成された画像形成装置;有機EL(Electro Luminescence)、無機EL、発光ダイオード(LED)、半導体レーザ素子等の発光素子から構成された画像形成装置を挙げることができる。尚、このような画像形成装置を、便宜上、『第2構成の画像形成装置』と呼ぶ。この中でも、反射型空間光変調装置及び光源から構成された画像形成装置とすることが好ましい。空間光変調装置として、ライト・バルブ、例えば、LCOS(Liquid Crystal On Silicon)等の透過型あるいは反射型の液晶表示装置、デジタルマイクロミラーデバイス(DMD)を挙げることができ、光源として発光素子を挙げることができる。更には、反射型空間光変調装置は、液晶表示装置、及び、光源からの光の一部を反射して液晶表示装置へと導き、且つ、液晶表示装置によって反射された光の一部を通過させて第1光学部材へと導く偏光ビームスプリッターから成る構成とすることができる。光源を構成する発光素子として、赤色発光素子、緑色発光素子、青色発光素子、白色発光素子を挙げることができる。あるいは又、赤色発光素子、緑色発光素子及び青色発光素子から出射された赤色光、緑色光及び青色光をライトパイプを用いて混色、輝度均一化を行うことで白色光を得てもよい。発光素子として、例えば、半導体レーザ素子や固体レーザ、LEDを例示することができる。画素の数は、画像表示装置に要求される仕様に基づき決定すればよく、画素の数の具体的な値として、320×240、432×240、640×480、854×480、1024×768、1920×1080等を例示することができる。尚、第2構成の画像形成装置にあっては、第1光学部材の前方焦点(画像形成装置側の焦点)の位置に絞りが配置されており、この絞りが、画像形成装置から画像が出射される画像出射部に該当する。However, the image forming apparatus is not limited to such an image forming apparatus. For example, the image forming apparatus includes a reflective spatial light modulator and a light source; and includes a transmissive spatial light modulator and a light source. An image forming apparatus composed of a light emitting element such as an organic EL (Electro Luminescence), an inorganic EL, a light emitting diode (LED), and a semiconductor laser element. Such an image forming apparatus is referred to as a “second-structured image forming apparatus” for convenience. Among these, it is preferable that the image forming apparatus includes a reflective spatial light modulator and a light source. Examples of the spatial light modulator include a light valve, for example, a transmissive or reflective liquid crystal display device such as LCOS (Liquid Crystal On On Silicon), a digital micromirror device (DMD), and a light emitting element as a light source. be able to. Furthermore, the reflective spatial light modulator reflects a part of light from the liquid crystal display device and the light source to the liquid crystal display device, and passes a part of the light reflected by the liquid crystal display device. In this case, a polarization beam splitter that leads to the first optical member can be used. Examples of the light emitting element that constitutes the light source include a red light emitting element, a green light emitting element, a blue light emitting element, and a white light emitting element. Alternatively, white light may be obtained by mixing red light, green light, and blue light emitted from the red light emitting element, the green light emitting element, and the blue light emitting element, and using a light pipe to perform color mixing and luminance uniformity. Examples of the light emitting element include a semiconductor laser element, a solid state laser, and an LED. The number of pixels may be determined based on specifications required for the image display device. As specific values of the number of pixels, 320 × 240, 432 × 240, 640 × 480, 854 × 480, 1024 × 768, 1920 * 1080 etc. can be illustrated. In the image forming apparatus having the second configuration, a stop is disposed at the position of the front focus (focus on the image forming apparatus side) of the first optical member, and this stop emits an image from the image forming apparatus. This corresponds to the image output unit.
第1偏向手段がホログラム回折格子から構成されている場合、第1偏向手段は、導光板に入射された光を回折反射し、第2偏向手段は、導光板の内部を全反射により伝播した光を回折反射する。ホログラム回折格子は、反射型のホログラム回折格子から成る構成とすることができるし、あるいは又、透過型のホログラム回折格子から成る構成とすることができるし、あるいは又、一方のホログラム回折格子は反射型のホログラム回折格子から成り、他方のホログラム回折格子は透過型のホログラム回折格子から成る構成とすることができる。尚、反射型のホログラム回折格子として、反射型体積ホログラム回折格子を挙げることができる。反射型体積ホログラム回折格子から成る第1偏向手段を、便宜上、『第1回折格子部材』と呼び、反射型体積ホログラム回折格子から成る第2偏向手段を、便宜上、『第2回折格子部材』と呼ぶ場合がある。反射型体積ホログラム回折格子とは、+1次の回折光のみを回折反射するホログラム回折格子を意味する。第2偏向手段によって回折反射された光は、第2光学部材に入射し、次いで、第2光学部材から出射され、第2偏向手段を通過して、観察者の瞳に入射させられる。When the first deflecting means is composed of a hologram diffraction grating, the first deflecting means diffracts and reflects the light incident on the light guide plate, and the second deflecting means propagates the light inside the light guide plate by total reflection. Is diffracted and reflected. The hologram diffraction grating can be configured by a reflection type hologram diffraction grating, or can be configured by a transmission type hologram diffraction grating, or one of the hologram diffraction gratings can be reflected. The other hologram diffraction grating can be a transmission hologram diffraction grating. An example of the reflection type hologram diffraction grating is a reflection type volume hologram diffraction grating. The first deflecting means composed of the reflective volume hologram diffraction grating is referred to as a “first diffraction grating member” for convenience, and the second deflecting means composed of the reflective volume hologram diffraction grating is referred to as “second diffraction grating member” for convenience. Sometimes called. The reflection type volume hologram diffraction grating means a hologram diffraction grating that diffracts and reflects only + 1st order diffracted light. The light diffracted and reflected by the second deflecting unit is incident on the second optical member, then is emitted from the second optical member, passes through the second deflecting unit, and is incident on the observer's pupil.
あるいは又、第1偏向手段は、例えば、合金を含む金属から構成され、導光板に入射された光を反射させる光反射膜(一種のミラー)から構成することができるし、誘電体積層膜が多数積層された多層積層構造体、ハーフミラー、偏光ビームスプリッターから構成することもできる。Alternatively, the first deflecting means may be composed of, for example, a metal including an alloy, and may be composed of a light reflecting film (a kind of mirror) that reflects light incident on the light guide plate. A multi-layered laminated structure, a half mirror, and a polarizing beam splitter can also be configured.
本開示における画像表示装置によって、単色(例えば、緑色)の画像表示を行うことができる。そして、この場合、第1偏向手段は、1枚のホログラム回折格子から構成とすることができる。また、カラーの画像表示を行う場合、第1回折格子部材あるいは第2回折格子部材を、異なるP種類(例えば、P=3であり、赤色、緑色、青色の3種類)の波長帯域(あるいは、波長)を有するP種類の光の回折反射に対応させるために、P層の反射型体積ホログラム回折格子が積層されて成る構成とすることができる。各ホログラム回折格子には1種類の波長帯域(あるいは、波長)に対応する干渉縞が形成されている。あるいは又、異なるP種類の波長帯域(あるいは、波長)を有するP種類の光の回折反射に対応するために、1枚のホログラム回折格子にP種類の干渉縞が形成されている構成とすることもできる。あるいは又、例えば、第1導光板に、赤色の波長帯域(あるいは、波長)を有する光を回折反射させる反射型体積ホログラム回折格子を配し、第2導光板に、緑色の波長帯域(あるいは、波長)を有する光を回折反射させる反射型体積ホログラム回折格子を配し、第3導光板に、青色の波長帯域(あるいは、波長)を有する光を回折反射させる反射型体積ホログラム回折格子を配し、これらの第1導光板、第2導光板及び第3導光板を隙間を開けて積層する構造を採用してもよい。あるいは又、1種類の波長帯域を例えば三等分して、第1回折格子部材あるいは第2回折格子部材を、各三等分された各波長帯域に対応するホログラム回折格子がそれぞれ積層されて成る構成とすることができるし、あるいは又、1枚のホログラム回折格子に各三等分された各波長帯域の干渉縞が形成されている構成とすることもできる。そして、これらの構成を採用することで、各波長帯域(あるいは、波長)を有する光が第1回折格子部材あるいは第2回折格子部材において回折反射されるときの回折効率の増加、回折受容角の増加、回折角の最適化を図ることができる。The image display device according to the present disclosure can display a single color (for example, green) image. In this case, the first deflecting means can be composed of one hologram diffraction grating. Further, when performing color image display, the first diffraction grating member or the second diffraction grating member is provided with different P types (for example, P = 3, three types of red, green, and blue) wavelength bands (or In order to correspond to diffraction reflection of P types of light having a wavelength), a reflection type volume hologram diffraction grating of P layer can be laminated. Each hologram diffraction grating is formed with interference fringes corresponding to one type of wavelength band (or wavelength). Alternatively, in order to cope with diffraction reflection of P types of light having different P types of wavelength bands (or wavelengths), P type interference fringes are formed on one hologram diffraction grating. You can also. Alternatively, for example, a reflective volume hologram diffraction grating that diffracts and reflects light having a red wavelength band (or wavelength) is disposed on the first light guide plate, and a green wavelength band (or A reflective volume hologram diffraction grating that diffracts and reflects light having a wavelength), and a reflective volume hologram diffraction grating that diffracts and reflects light having a blue wavelength band (or wavelength) is disposed on the third light guide plate. A structure in which the first light guide plate, the second light guide plate, and the third light guide plate are stacked with a gap therebetween may be employed. Alternatively, for example, one type of wavelength band is divided into three equal parts, and the first diffraction grating member or the second diffraction grating member is laminated with hologram diffraction gratings corresponding to the respective three divided wavelength bands. Alternatively, it is also possible to adopt a configuration in which interference fringes of each wavelength band divided into three equal parts are formed on one hologram diffraction grating. By adopting these configurations, the diffraction efficiency increases when the light having each wavelength band (or wavelength) is diffracted and reflected by the first diffraction grating member or the second diffraction grating member, and the diffraction acceptance angle is increased. Increase and optimization of the diffraction angle can be achieved.
回折格子部材を構成する材料として、フォトポリマー材料を挙げることができる。反射型体積ホログラム回折格子から成る第1回折格子部材及び第2回折格子部材の構成材料や基本的な構造は、従来の反射型体積ホログラム回折格子の構成材料や構造と同じとすればよい。回折格子部材には、その内部から表面に亙り干渉縞が形成されているが、係る干渉縞それ自体の形成方法は、従来の形成方法と同じとすればよい。具体的には、例えば、回折格子部材を構成する部材(例えば、フォトポリマー材料)に対して一方の側の第1の所定の方向から物体光を照射し、同時に、回折格子部材を構成する部材に対して他方の側の第2の所定の方向から参照光を照射し、物体光と参照光とによって形成される干渉縞を回折格子部材を構成する部材の内部に記録すればよい。第1の所定の方向、第2の所定の方向、物体光及び参照光の波長を適切に選択することで、回折格子部材の表面における干渉縞の所望のピッチ、干渉縞の所望の傾斜角(スラント角)を得ることができる。干渉縞の傾斜角とは、回折格子部材の表面と干渉縞の成す角度を意味する。第1回折格子部材及び第2回折格子部材を、P層の反射型体積ホログラム回折格子の積層構造から構成する場合、このようなホログラム回折格子の積層は、P層のホログラム回折格子をそれぞれ別個に作製した後、P層のホログラム回折格子を、例えば、紫外線硬化型接着剤を使用して積層(接着)すればよい。また、粘着性を有するフォトポリマー材料を用いて1層のホログラム回折格子を作製した後、その上に順次粘着性を有するフォトポリマー材料を貼り付けてホログラム回折格子を作製することで、P層のホログラム回折格子を作製してもよい。作製されたホログラム回折格子に、必要に応じてエネルギー線を照射することで、ホログラム回折格子の物体光及び参照光の照射時に重合せずに残ったフォトポリマー材料中のモノマーを重合させて、定着させる。また、必要に応じて、熱処理を行い、安定化させる。As a material constituting the diffraction grating member, a photopolymer material can be cited. The constituent materials and basic structure of the first diffraction grating member and the second diffraction grating member made of the reflective volume hologram diffraction grating may be the same as those of the conventional reflective volume hologram diffraction grating. Interference fringes are formed on the diffraction grating member from the inside to the surface, and the method for forming the interference fringes itself may be the same as the conventional forming method. Specifically, for example, a member constituting the diffraction grating member is irradiated with object light from a first predetermined direction on one side to a member constituting the diffraction grating member (for example, photopolymer material), and at the same time Is irradiated with reference light from a second predetermined direction on the other side, and interference fringes formed by the object light and the reference light may be recorded inside the member constituting the diffraction grating member. By appropriately selecting the first predetermined direction, the second predetermined direction, the wavelength of the object light and the reference light, the desired pitch of the interference fringes on the surface of the diffraction grating member, the desired inclination angle of the interference fringes ( Slant angle) can be obtained. The inclination angle of the interference fringes means an angle formed between the surface of the diffraction grating member and the interference fringes. In the case where the first diffraction grating member and the second diffraction grating member are constituted by a laminated structure of P-type reflective volume hologram diffraction gratings, such a hologram diffraction grating is laminated separately from the P-layer hologram diffraction grating. After the fabrication, the P-layer hologram diffraction grating may be laminated (adhered) using, for example, an ultraviolet curable adhesive. In addition, after producing a hologram diffraction grating of one layer using a photopolymer material having adhesiveness, a hologram diffraction grating is produced by sequentially sticking a photopolymer material having adhesiveness on the hologram diffraction grating. A hologram diffraction grating may be produced. By irradiating the produced hologram diffraction grating with energy rays as necessary, the monomer in the photopolymer material remaining without being polymerized upon irradiation of the object light and reference light of the hologram diffraction grating is polymerized and fixed. Let Moreover, it heat-processes as needed and is stabilized.
ホログラムレンズを構成する材料として、フォトポリマー材料を挙げることができる。ホログラムレンズの構成材料や基本的な構造は、従来のホログラムレンズの構成材料や構造と同じとすればよい。ホログラムレンズには、レンズ(より具体的には、凹面鏡)としての機能を発揮させるための干渉縞が形成されているが、係る干渉縞それ自体の形成方法は、従来の形成方法と同じとすればよい。具体的には、例えば、ホログラムレンズを構成する部材(例えば、フォトポリマー材料)に対して一方の側の第1の所定の方向から物体光を照射し、同時に、ホログラムレンズを構成する部材に対して他方の側の第2の所定の方向から参照光を照射し、物体光と参照光とによって形成される干渉縞をホログラムレンズを構成する部材の内部に記録すればよい。例えば、物体光、参照光の一方を発散ビームとし、他方を集束ビームとする。第1の所定の方向、第2の所定の方向、物体光及び参照光の波長を適切に選択することで、ホログラムレンズに適切な干渉縞を形成することができ、これによって、所望の正の光学的パワーを付与することができる。As a material constituting the hologram lens, a photopolymer material can be cited. The constituent material and basic structure of the hologram lens may be the same as the constituent material and structure of the conventional hologram lens. The hologram lens is formed with interference fringes for exhibiting a function as a lens (more specifically, a concave mirror). The method of forming such interference fringes is the same as the conventional forming method. That's fine. Specifically, for example, object light is irradiated from a first predetermined direction on one side to a member constituting the hologram lens (for example, photopolymer material), and at the same time, to the member constituting the hologram lens. Then, the reference light is irradiated from the second predetermined direction on the other side, and the interference fringes formed by the object light and the reference light may be recorded inside the member constituting the hologram lens. For example, one of the object light and the reference light is a divergent beam, and the other is a focused beam. By appropriately selecting the first predetermined direction, the second predetermined direction, the wavelength of the object light and the reference light, it is possible to form an appropriate interference fringe on the hologram lens. Optical power can be applied.
回折格子部材やホログラムレンズの保護のために、透明保護部材を配設してもよい。具体的には、導光板の外縁部と透明保護部材の外縁部とを、封止部材によって封止し、あるいは、接着してもよい。シール剤とも呼ばれる封止部材として、エポキシ樹脂、ウレタン系樹脂、アクリル系樹脂、酢酸ビニル系樹脂、エン-チオール系樹脂、シリコーン系樹脂、変性ポリマー樹脂等の、熱硬化型、光硬化型、湿気硬化型、嫌気硬化型等の各種樹脂を用いることができる。In order to protect the diffraction grating member and the hologram lens, a transparent protective member may be provided. Specifically, the outer edge portion of the light guide plate and the outer edge portion of the transparent protective member may be sealed with a sealing member or bonded. Sealing members, also called sealants, include thermosetting, photocuring, moisture, such as epoxy resins, urethane resins, acrylic resins, vinyl acetate resins, ene-thiol resins, silicone resins, and modified polymer resins. Various resins such as a curable type and an anaerobic curable type can be used.
以上に説明した各種の好ましい形態、構成を含む本開示の第1の態様~第3の態様に係る表示装置(以下、便宜上、『本開示の表示装置等』と呼ぶ)において、少なくとも観察者の瞳に対向する画像表示装置の部分を半透過(シースルー)とし、この部分を通して外景を眺めることができることが好ましい。具体的には、第2光学部材及び第2偏向手段は半透過型(シースルー型)である形態とすることが好ましい。In the display device according to the first to third aspects of the present disclosure including the various preferable modes and configurations described above (hereinafter referred to as “display device of the present disclosure” for the sake of convenience), at least the viewer's The part of the image display device facing the pupil is preferably made semi-transmissive (see-through) so that the outside scene can be viewed through this part. Specifically, it is preferable that the second optical member and the second deflecting unit have a transflective type (see-through type).
導光板は、導光板の軸線(長手方向、水平方向であり、X軸方向に該当する)と平行に延びる2つの平行面(第1面及び第2面)を有している。尚、導光板の幅方向(高さ方向、垂直方向)はZ軸方向に該当する。光が入射する導光板の面を導光板入射面、光が出射する導光板の面を導光板出射面としたとき、第1面によって導光板入射面及び導光板出射面が構成されていてもよいし、第2面によって導光板入射面が構成され、第1面によって導光板出射面が構成されていてもよい。ホログラム回折格子の干渉縞は、概ねZ軸方向と平行に延びる。導光板を構成する材料として、石英ガラスやBK7等の光学ガラス、ソーダライムガラス、白板ガラスを含むガラスや、プラスチック材料(例えば、PMMA、ポリカーボネート樹脂、ポリカーボネート樹脂とアクリル系樹脂の積層構造、アクリル系樹脂、シクロオレフィンポリマー、非晶性のポリプロピレン系樹脂、AS樹脂を含むスチレン系樹脂)を挙げることができる。導光板の形状は、平板に限定するものではなく、湾曲した形状を有していてもよい。The light guide plate has two parallel surfaces (first surface and second surface) extending in parallel with the axis of the light guide plate (longitudinal direction, horizontal direction and corresponding to the X-axis direction). Note that the width direction (height direction, vertical direction) of the light guide plate corresponds to the Z-axis direction. When the surface of the light guide plate on which light is incident is the light guide plate entrance surface, and the surface of the light guide plate on which light is emitted is the light guide plate exit surface, the light guide plate entrance surface and the light guide plate exit surface are configured by the first surface. Alternatively, the light guide plate entrance surface may be configured by the second surface, and the light guide plate exit surface may be configured by the first surface. The interference fringes of the hologram diffraction grating extend substantially parallel to the Z-axis direction. As the material constituting the light guide plate, optical glass such as quartz glass and BK7, soda lime glass, glass containing white plate glass, and plastic materials (for example, PMMA, polycarbonate resin, laminated structure of polycarbonate resin and acrylic resin, acrylic type) Resin, cycloolefin polymer, amorphous polypropylene resin, and styrene resin including AS resin). The shape of the light guide plate is not limited to a flat plate, and may have a curved shape.
本開示の表示装置等においては、移動装置によって画像形成装置の光軸と第1光学部材の光軸とを水平方向(X軸方向)及び/又は垂直方向(Z軸方向)に相対的に移動させるが、これによって、第1光学部材から出射され、例えば、第1偏向手段に入射する平行光の第1偏向手段に対する入射角(画像形成装置の中心と第1光学部材の中心を結ぶ光(中心光線)の第1偏向手段に対する入射角)とYZ平面及び/又はXY平面の成す角度であり、以下、『YZ平面・入射角、XY平面・入射角』と呼ぶ)に変化が生じる。そして、画像形成装置及び第1光学部材のいずれか一方を、例えばラックギア部から構成された移動用ガイド部に載置し、画像形成装置及び第1光学部材のいずれか一方を、モータ及びピニオンギアによって移動用ガイド部上を移動させる方式を採用すればよいし、あるいは、画像形成装置及び第1光学部材のいずれか一方を移動用ガイド部に載置し、画像形成装置及び第1光学部材のいずれか一方を、圧電素子や超音波モータ、ボイスコイルモータによって移動用ガイド部上を移動させる方式を採用すればよい。前述したように、画像形成装置及び第1光学部材のいずれか一方の移動は、観察者の指示(観察者による調整)に基づき行われる形態とすることができるし、観察者の瞳の像の撮像装置による撮像に基づき行われる形態とすることもできる。In the display device or the like of the present disclosure, the moving device relatively moves the optical axis of the image forming apparatus and the optical axis of the first optical member in the horizontal direction (X-axis direction) and / or the vertical direction (Z-axis direction). Thus, for example, the incident angle of the parallel light emitted from the first optical member and incident on the first deflecting unit with respect to the first deflecting unit (light connecting the center of the image forming apparatus and the center of the first optical member ( The incident angle of the central ray) with respect to the first deflecting means) and the angle formed by the YZ plane and / or the XY plane, hereinafter referred to as “YZ plane / incident angle, XY plane / incident angle”) changes. Then, either one of the image forming apparatus and the first optical member is placed on a moving guide section configured by, for example, a rack gear section, and either one of the image forming apparatus and the first optical member is mounted on a motor or a pinion gear. It is sufficient to adopt a method of moving on the moving guide portion by the above, or either one of the image forming apparatus and the first optical member is placed on the moving guide portion, and the image forming apparatus and the first optical member are moved. Any one of them may be moved on the moving guide portion by a piezoelectric element, an ultrasonic motor, or a voice coil motor. As described above, the movement of either the image forming apparatus or the first optical member can be performed based on an instruction from the observer (adjustment by the observer). It can also be set as the form performed based on the imaging by an imaging device.
場合によっては、第1光学部材を液体レンズから構成することもできる。係る液体レンズは、エレクトロウェッティング現象を利用した周知の液体レンズから構成すればよい。液体レンズの作動によって、第1光学部材の光軸とY軸との関係を一定に保持したまま、第1光学部材の光軸を水平方向(X軸方向及び/又はZ軸方向)に移動させることができるし、あるいは又、YZ平面及び/又はXY平面に対する第1光学部材の光軸の角度を変更することができる。このような形態にあっても、第1光学部材から出射され、例えば、第1偏向手段に入射する平行光の第1偏向手段に対するYZ平面・入射角、XY平面・入射角に変化が生じる。In some cases, the first optical member can also be composed of a liquid lens. Such a liquid lens may be formed of a known liquid lens using an electrowetting phenomenon. By operating the liquid lens, the optical axis of the first optical member is moved in the horizontal direction (X-axis direction and / or Z-axis direction) while maintaining the relationship between the optical axis of the first optical member and the Y-axis constant. Alternatively, the angle of the optical axis of the first optical member with respect to the YZ plane and / or the XY plane can be changed. Even in such a form, for example, the YZ plane / incident angle and the XY plane / incident angle of the parallel light emitted from the first optical member and incident on the first deflecting means with respect to the first deflecting means change.
また、場合によっては、第1光学部材を液体プリズムから構成することもできる。係る液体プリズムは、エレクトロウェッティング現象を利用した周知の液体プリズムから構成すればよい。液体プリズムの作動によって、例えば、YZ平面に対する第1光学部材の光軸の角度を変更することができる。このような形態にあっても、第1光学部材から出射され、第1偏向手段に入射する平行光の第1偏向手段に対するYZ平面・入射角に変化が生じる。In some cases, the first optical member can also be constituted by a liquid prism. Such a liquid prism may be a known liquid prism using an electrowetting phenomenon. By operating the liquid prism, for example, the angle of the optical axis of the first optical member with respect to the YZ plane can be changed. Even in such a form, a change occurs in the YZ plane and the incident angle of the parallel light emitted from the first optical member and incident on the first deflecting unit with respect to the first deflecting unit.
本開示の表示装置等において、第1偏向手段を覆うように、導光板の第2面の外側に遮光部材が配置されている構成とすることができる。そして、この場合、導光板への第1偏向手段の正射影像は、導光板への遮光部材の正射影像に含まれる構成とすることができる。In the display device or the like of the present disclosure, a light shielding member may be disposed outside the second surface of the light guide plate so as to cover the first deflection unit. In this case, the orthogonal projection image of the first deflecting unit on the light guide plate may be included in the orthogonal projection image of the light shielding member on the light guide plate.
あるいは又、本開示の表示装置等において、画像形成装置から出射された光が入射される第1偏向手段の領域には、第1偏向手段への外光の入射を遮光する遮光部材が配置されている構成とすることができる。画像形成装置から出射された光が入射される光学手段の領域に、光学手段への外光の入射を遮光する遮光部材を配置することで、画像形成装置から出射された光が入射される光学手段の領域には外光が入射しないので、不所望の迷光等が発生し、表示装置における画像表示品質が低下するといったことが無い。尚、遮光部材の光学手段への正射影像内に、画像形成装置から出射された光が入射される光学手段の領域が含まれる形態とすることが好ましい。Alternatively, in the display device or the like of the present disclosure, a light blocking member that blocks the incidence of external light on the first deflection unit is disposed in the region of the first deflection unit on which the light emitted from the image forming apparatus is incident. It can be set as the structure which has. An optical device that receives light emitted from the image forming apparatus by disposing a light-shielding member that blocks external light from entering the optical means in a region of the optical means that receives light emitted from the image forming apparatus. Since no external light is incident on the area of the means, undesired stray light or the like is not generated, and the image display quality in the display device does not deteriorate. It is preferable that the orthogonal projection image onto the optical means of the light shielding member includes a region of the optical means on which the light emitted from the image forming apparatus is incident.
具体的には、遮光部材は、光学手段の画像形成装置が配された側とは反対側に、光学手段と離間して配されている構成とすることができる。このような構成の表示装置にあっては、遮光部材を、例えば、不透明なプラスチック材料から作製すればよい。そして、このような遮光部材は、画像表示装置の筐体から一体に延び、あるいは又、画像表示装置の筐体に取り付けられ、あるいは又、フレームから一体に延び、あるいは又、フレームに取り付けられている形態とすることができる。あるいは又、遮光部材は、光学手段に取り付けられ、あるいは又、画像形成装置が配された側とは反対側の光学手段の部分に取り付けられ、あるいは又、配されている構成とすることができるし、遮光部材は、次に述べる調光装置に配されている構成とすることもできる。この場合、遮光部材の光学手段への正射影像内に、調光装置の端部の光学手段への正射影像が含まれる構成とすることが好ましい。不透明な材料から成る遮光部材を、例えば、光学手段の面上に物理的気相成長法(PVD法)や化学的気相成長法(CVD法)に基づき形成してもよいし、印刷法等によって形成してもよいし、不透明な材料(プラスチック材料や金属材料、合金材料等)から成るフィルムやシート、箔を貼り合わせてもよい。Specifically, the light shielding member may be arranged on the side opposite to the side on which the image forming apparatus of the optical unit is disposed, separated from the optical unit. In the display device having such a configuration, the light shielding member may be made of, for example, an opaque plastic material. Such a light shielding member extends integrally from the housing of the image display device, or is attached to the housing of the image display device, or extends integrally from the frame, or is attached to the frame. It can be set as a form. Alternatively, the light shielding member may be attached to the optical means, or may be attached to or disposed on the portion of the optical means opposite to the side on which the image forming apparatus is disposed. And the light shielding member can also be set as the structure distribute | arranged to the light modulation apparatus described below. In this case, it is preferable that the orthogonal projection image onto the optical means at the end of the light control device is included in the orthogonal projection image onto the optical means of the light shielding member. For example, the light shielding member made of an opaque material may be formed on the surface of the optical means based on a physical vapor deposition method (PVD method) or a chemical vapor deposition method (CVD method), a printing method, or the like. Alternatively, a film, a sheet, or a foil made of an opaque material (plastic material, metal material, alloy material, etc.) may be bonded.
 導光板の第2面側に調光装置が配されていてもよい。調光装置は、例えば、
 第1基板、
 第1基板と対向する第2基板、
 第2基板と対向する第1基板の対向面に設けられた第1透明電極、
 第1基板と対向する第2基板の対向面に設けられた第2透明電極、及び、
 第1透明電極と第2透明電極とによって挟まれた調光層、
から成る形態とすることができる。そして、この場合、例えば、
 第1透明電極は、第1の方向に延びる複数の帯状の第1透明電極セグメントから構成されており、
 第2透明電極は、第1の方向とは異なる第2の方向に延びる複数の帯状の第2透明電極セグメントから構成されており、
 第1透明電極セグメントと第2透明電極セグメントの重複領域(調光装置の遮光率が変化する最小単位領域)に対応する調光装置の部分の遮光率の制御は、第1透明電極セグメント及び第2透明電極セグメントに印加する電圧の制御に基づき行われる形態とすることができる。即ち、遮光率の制御を単純マトリクス方式に基づき行うことができる。第1の方向と第2の方向とは直交している形態を例示することができる。A light control device may be arranged on the second surface side of the light guide plate. The light control device is, for example,
 A first substrate,
 A second substrate facing the first substrate;
 A first transparent electrode provided on the facing surface of the first substrate facing the second substrate;
 A second transparent electrode provided on the facing surface of the second substrate facing the first substrate, and
 A light control layer sandwiched between the first transparent electrode and the second transparent electrode,
 It can be set as the form which consists of. And in this case, for example,
 The first transparent electrode is composed of a plurality of strip-shaped first transparent electrode segments extending in the first direction,
 The second transparent electrode is composed of a plurality of strip-shaped second transparent electrode segments extending in a second direction different from the first direction,
 The control of the light shielding rate of the portion of the light control device corresponding to the overlapping region of the first transparent electrode segment and the second transparent electrode segment (the minimum unit region in which the light shielding rate of the light control device changes) It can be set as the form performed based on control of the voltage applied to 2 transparent electrode segments. That is, the light shielding rate can be controlled based on the simple matrix method. A form in which the first direction and the second direction are orthogonal to each other can be exemplified.
あるいは又、調光装置の遮光率が変化する最小単位領域の遮光率の制御のために、最小単位領域のそれぞれに薄膜トランジスタ(TFT)を設けてもよい。即ち、遮光率の制御をアクティブマトリクス方式に基づき行ってもよい。あるいは又、第1透明電極及び第2透明電極の少なくとも一方を所謂ベタ電極(パターニングされていない電極)とすることもできる。Alternatively, a thin film transistor (TFT) may be provided in each minimum unit region in order to control the light shielding rate of the minimum unit region where the light shielding rate of the light control device changes. That is, the light shielding rate may be controlled based on the active matrix method. Alternatively, at least one of the first transparent electrode and the second transparent electrode can be a so-called solid electrode (unpatterned electrode).
導光板は第1基板を兼ねている構成とすることができ、このような構成とすることで、表示装置全体の重量の減少を図ることができ、表示装置の使用者に不快感を感じさせる虞が無い。第2基板は第1基板よりも薄い構成とすることができる。調光装置を備えた表示装置にあっては、画像形成装置において画像を表示するための信号に基づき、調光装置の実際に調光する領域の大きさ及び位置を決定する。調光装置の大きさは、導光板と同じ大きさでもよいし、大きくてもよいし、小さくともよい。要は、調光装置の正射影像内に第2偏向手段及び第2光学部材(あるいは、虚像形成領域)が位置していればよい。The light guide plate can also be configured to serve as the first substrate. With such a configuration, the weight of the entire display device can be reduced, and the display device user feels uncomfortable. There is no fear. The second substrate can be thinner than the first substrate. In a display device provided with a light control device, the size and position of an actual light control region of the light control device are determined based on a signal for displaying an image in the image forming device. The size of the light control device may be the same size as the light guide plate, may be large, or may be small. In short, it is sufficient that the second deflecting unit and the second optical member (or the virtual image forming region) are positioned in the orthogonal projection image of the light control device.
 調光装置の最高光透過率は50%以上であり、調光装置の最低光透過率は30%以下である構成とすることができる。尚、調光装置の最高光透過率の上限値として99%を挙げることができるし、調光装置の最低光透過率の下限値として1%を挙げることができる。ここで、
(光透過率)=1-(遮光率)
の関係にある。The maximum light transmittance of the light control device can be 50% or more, and the minimum light transmittance of the light control device can be 30% or less. The upper limit value of the maximum light transmittance of the light control device can be 99%, and the lower limit value of the minimum light transmittance of the light control device can be 1%. here,
 (Light transmittance) = 1- (Light blocking rate)
 Are in a relationship.
場合によっては、調光装置を通過する光は、調光装置によって所望の色に着色される構成とすることができる。そして、この場合、調光装置によって着色される色は可変である形態とすることができるし、あるいは又、調光装置によって着色される色は固定である形態とすることができる。尚、前者の場合、例えば、赤色に着色される調光装置と、緑色に着色される調光装置と、青色に着色される調光装置とを積層する形態とすればよい。また、後者の場合、調光装置によって着色される色として、限定するものではないが、茶色を例示することができる。In some cases, the light passing through the light control device can be configured to be colored in a desired color by the light control device. In this case, the color colored by the light control device can be variable, or the color colored by the light control device can be fixed. In the former case, for example, a light control device colored in red, a light control device colored in green, and a light control device colored in blue may be stacked. In the latter case, the color to be colored by the light control device is not limited, but can be exemplified by brown.
更には、場合によっては、調光装置が着脱自在に配設されている形態とすることができる。調光装置を着脱自在に配設するためには、例えば、透明なプラスチックから作製されたビスを用いて調光装置を例えばフレームに取り付け、あるいは又、フレームに溝を切っておき、この溝に調光装置を係合させ、あるいは又、フレームに磁石を取り付けることで調光装置をフレームに取り付けることができるし、フレームにスライド部を設け、このスライド部に調光装置を嵌め込んでもよい。また、調光装置にコネクタを取り付け、調光装置の遮光率(光透過率)を制御するための制御回路(例えば、画像形成装置及び移動装置を制御するための制御装置に含まれている)にこのコネクタ及び配線を介して調光装置を電気的に接続すればよい。調光装置を湾曲させてもよい。Furthermore, in some cases, the light control device can be detachably disposed. In order to detachably install the light control device, for example, the light control device is attached to, for example, a frame using a screw made of transparent plastic, or a groove is cut in the frame, and The light control device can be attached to the frame by engaging the light control device or by attaching a magnet to the frame, or a slide portion may be provided on the frame, and the light control device may be fitted into the slide portion. Further, a connector is attached to the light control device, and a control circuit for controlling the light shielding rate (light transmittance) of the light control device (for example, included in the control device for controlling the image forming apparatus and the moving device). Further, the light control device may be electrically connected through the connector and the wiring. The light control device may be curved.
調光装置を備えた本開示の表示装置等において、表示装置の置かれた環境の照度を測定する環境照度測定センサを更に備えており、環境照度測定センサの測定結果に基づき、調光装置の遮光率を制御する形態とすることができる。あるいは又、表示装置の置かれた環境の照度を測定する環境照度測定センサを更に備えており、環境照度測定センサの測定結果に基づき、画像形成装置によって形成される画像の輝度を制御する形態とすることができる。これらの形態を組み合わせてもよい。The display device or the like of the present disclosure including a light control device further includes an environmental illumination measurement sensor that measures the illumination of the environment where the display device is placed, and based on the measurement result of the environmental illumination measurement sensor, It can be set as the form which controls a light-shielding rate. Alternatively, it further includes an environmental illuminance measurement sensor that measures the illuminance of the environment where the display device is placed, and controls the luminance of the image formed by the image forming apparatus based on the measurement result of the environmental illuminance measurement sensor. can do. These forms may be combined.
あるいは又、調光装置を備えた本開示の表示装置等において、外部環境から調光装置を透過した光に基づく照度を測定する透過光照度測定センサを更に備えており、透過光照度測定センサの測定結果に基づき、調光装置の遮光率を制御する形態とすることができる。あるいは又、外部環境から調光装置を透過した光に基づく照度を測定する透過光照度測定センサを更に備えており、透過光照度測定センサの測定結果に基づき、画像形成装置によって形成される画像の輝度を制御する形態とすることができる。尚、透過光照度測定センサは、光学手段よりも観察者側に配置されている形態とすることが望ましい。透過光照度測定センサを、少なくとも2つ、配置し、高遮光率の部分を通過した光に基づく照度の測定、低遮光率の部分を通過した光に基づく照度の測定を行ってもよい。これらの形態を組み合わせてもよい。更には、これらの形態と、上記の環境照度測定センサの測定結果に基づき制御を行う形態とを組み合わせてもよい。Alternatively, the display device or the like of the present disclosure including a light control device further includes a transmitted light illuminance measurement sensor that measures illuminance based on light transmitted through the light control device from the external environment, and the measurement result of the transmitted light illuminance measurement sensor Based on the above, it is possible to control the light shielding rate of the light control device. Alternatively, it further includes a transmitted light illuminance measurement sensor that measures the illuminance based on the light transmitted through the light control device from the external environment. Based on the measurement result of the transmitted light illuminance measurement sensor, the brightness of the image formed by the image forming apparatus is adjusted. It can be set as the form to control. The transmitted light illuminance measurement sensor is preferably arranged on the viewer side with respect to the optical means. At least two transmitted light illuminance measurement sensors may be arranged to measure the illuminance based on the light that has passed through the portion with the high light blocking ratio and measure the illuminance based on the light that has passed through the portion with the low light blocking ratio. These forms may be combined. Furthermore, you may combine these forms and the form which controls based on the measurement result of said environmental illumination intensity measurement sensor.
環境照度測定センサ、透過光照度測定センサは、周知の照度センサから構成すればよいし、環境照度測定センサ、透過光照度測定センサの制御は周知の制御回路に基づき行えばよい。The environmental illuminance measurement sensor and the transmitted light illuminance measurement sensor may be configured by a known illuminance sensor, and the environmental illuminance measurement sensor and the transmitted light illuminance measurement sensor may be controlled based on a known control circuit.
前述したとおり、光学手段は半透過型(シースルー型)である。具体的には、少なくとも観察者の眼球(瞳)に対向する光学手段の部分を半透過(シースルー)とし、光学手段のこの部分(及び、調光装置が配されている場合には、更に、調光装置)を通して外景を眺めることができる。本開示の表示装置等は、画像表示装置を1つ備えていてもよいし(片眼型)、2つ備えていてもよい(両眼型)。調光装置が配されている場合、両眼型にあっては、画像を表示するための信号に基づき、両方の画像表示装置において調光装置の一部の領域の光透過率を変化させてもよいし、一方の画像表示装置において調光装置の一部の領域の光透過率を変化させてもよい。As described above, the optical means is a transflective type (see-through type). Specifically, at least the portion of the optical means facing the eyeball (pupil) of the observer is made semi-transmissive (see-through), and if this portion of the optical means (and the light control device is disposed, The outside scene can be seen through the light control device. The display device or the like of the present disclosure may include one image display device (one eye type) or two (binocular type). When the light control device is arranged, in the case of the binocular type, the light transmittance of a part of the light control device is changed in both image display devices based on the signal for displaying the image. Alternatively, the light transmittance of a partial region of the light control device may be changed in one image display device.
本明細書において、「半透過」という用語を用いる場合があるが、入射する光の1/2(50%)を透過し、あるいは反射することを意味するのではなく、入射する光の一部を透過し、残部を反射するといった意味で用いている。In this specification, the term “semi-transmissive” may be used, but it does not mean that half (50%) of incident light is transmitted or reflected, but a part of incident light. Is used to transmit the light and reflect the remainder.
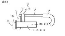
フレームは、観察者の正面に配置されるフロント部、フロント部の両端に蝶番を介して回動自在に取り付けられた2つのテンプル部を備えている。尚、各テンプル部の先端部にはモダン部が取り付けられている。フロント部はリムを有していてもよい。画像表示装置はフレームに取り付けられているが、具体的には、例えば、画像形成装置をテンプル部に取り付ければよい。また、フロント部と2つのテンプル部とが一体となった構成とすることもできる。即ち、本開示の表示装置の全体を眺めたとき、フレームは、概ね通常の眼鏡と略同じ構造を有する。パッド部を含むフレームを構成する材料は、金属や合金、プラスチック、これらの組合せといった、通常の眼鏡を構成する材料と同じ材料から構成することができる。更には、フロント部にノーズパッドが取り付けられている構成とすることができる。即ち、本開示の表示装置の全体を眺めたとき、フレーム(リムを含む場合がある)及びノーズパッドの組立体は、通常の眼鏡と略同じ構造を有する。ノーズパッドも周知の構成、構造とすることができる。The frame includes a front part disposed in front of the observer and two temple parts attached to both ends of the front part via hinges so as to be rotatable. A modern portion is attached to the tip of each temple portion. The front part may have a rim. Although the image display device is attached to the frame, specifically, for example, the image forming device may be attached to the temple portion. Alternatively, the front part and the two temple parts can be integrated. That is, when the entire display device of the present disclosure is viewed, the frame has substantially the same structure as normal glasses. The material constituting the frame including the pad portion can be made of the same material as that constituting normal glasses such as metal, alloy, plastic, and a combination thereof. Furthermore, it can be set as the structure by which the nose pad is attached to the front part. That is, when the entire display device of the present disclosure is viewed, the assembly of the frame (which may include a rim) and the nose pad has substantially the same structure as normal glasses. The nose pad can also have a known configuration and structure.
調光装置が備えられている場合、調光装置はフロント部に配設されている形態とすることができる。また、光学手段は調光装置に取り付けられている形態とすることができる。尚、光学手段は、密着した状態で調光装置に取り付けられていてもよいし、隙間を開けた状態で調光装置に取り付けられていてもよい。また、調光装置はリムに嵌め込まれている形態とすることができる。あるいは又、第1基板及び第2基板の少なくとも一方を、例えば、フレームに取り付けてもよい。但し、これらに限定するものではない。観察者側から、光学手段、調光装置の順に配してもよいし、調光装置、光学手段の順に配してもよい。When the light control device is provided, the light control device can be arranged in the front portion. Moreover, the optical means can be configured to be attached to the light control device. The optical means may be attached to the light control device in a close contact state, or may be attached to the light control device in a state where a gap is opened. Moreover, the light control apparatus can be made into the form currently fitted by the rim. Alternatively, at least one of the first substrate and the second substrate may be attached to the frame, for example. However, it is not limited to these. From the observer side, the optical means and the light control device may be arranged in this order, or the light control device and the optical device may be arranged in this order.
表示装置のデザイン上、あるいは、装着の容易性といった観点から、1つあるいは2つの画像形成装置からの配線(信号線や電源線等)が、テンプル部、及び、モダン部の内部を介して、モダン部の先端部から外部に延び、制御装置(制御回路あるいは制御手段)に接続されている形態とすることが望ましい。更には、各画像形成装置はヘッドホン部を備えており、各画像形成装置からのヘッドホン部用配線が、テンプル部、及び、モダン部の内部を介して、モダン部の先端部からヘッドホン部へと延びている形態とすることが一層望ましい。ヘッドホン部として、例えば、インナーイヤー型のヘッドホン部、カナル型のヘッドホン部を挙げることができる。ヘッドホン部用配線は、より具体的には、モダン部の先端部から、耳介(耳殻)の後ろ側を回り込むようにしてヘッドホン部へと延びている形態とすることが好ましい。From the viewpoint of the design of the display device or ease of mounting, the wiring (signal lines, power supply lines, etc.) from one or two image forming apparatuses is connected to the inside of the temple part and the modern part. It is desirable to extend from the tip of the modern part to the outside and to be connected to a control device (control circuit or control means). Furthermore, each image forming apparatus includes a headphone section, and the headphone section wiring from each image forming apparatus is routed from the tip of the modern section to the headphone section via the temple section and the interior of the modern section. It is more desirable to have an extended form. Examples of the headphone unit include an inner ear type headphone unit and a canal type headphone unit. More specifically, the headphone part wiring preferably has a form extending from the tip part of the modern part to the headphone part so as to wrap around the back side of the auricle (ear shell).
 あるいは又、本開示の表示装置等を両眼型とする場合、
 導光板は、全体として画像形成装置よりも観察者の顔の中心側に配置されており、
 2つの画像表示装置を結合する結合部材を更に有し、
 結合部材は、観察者の2つの瞳の間に位置するフレームの中央部分の観察者に面する側に取り付けられており、
 結合部材の射影像は、フレームの射影像内に含まれる構成とすることができる。Alternatively, when the display device of the present disclosure is a binocular type,
 The light guide plate is disposed closer to the center of the observer's face than the image forming apparatus as a whole.
 A coupling member that couples the two image display devices;
 The coupling member is attached to the observer-facing side of the central part of the frame located between the two pupils of the observer,
 The projection image of the coupling member may be included in the projection image of the frame.
このように、結合部材が、観察者の2つの瞳の間に位置するフレームの中央部分に取り付けられている構造とすることによって、即ち、画像表示装置は、フレームに、直接、取り付けられた構造とはなっていなければ、観察者がフレームを頭部に装着したとき、テンプル部が外側に向かって広がった状態となり、その結果、フレームが変形したとしても、係るフレームの変形によって、画像形成装置あるいは導光板の変位(位置変化)が生じることがないか、生じたとしても、極僅かである。それ故、左右の画像の輻輳角が変化してしまうことを確実に防止することができる。しかも、フレームのフロント部の剛性を高める必要がないので、フレームの重量増加、デザイン性の低下、コストの増加を招くことがない。また、画像表示装置は、フレームに、直接、取り付けられていないので、観察者の嗜好によってフレームのデザインや色等を自由に選択することが可能であるし、フレームのデザインが受ける制約も少なく、デザイン上の自由度が高い。加えて、結合部材は、観察者とフレームとの間に配置されており、しかも、結合部材の射影像は、フレームの射影像内に含まれる。云い換えれば、観察者の正面から頭部装着型ディスプレイを眺めたとき、結合部材はフレームによって隠されている。従って、高いデザイン性、意匠性を頭部装着型ディスプレイに与えることができる。In this way, the structure in which the coupling member is attached to the central portion of the frame located between the two pupils of the observer, that is, the image display device is attached directly to the frame. Otherwise, when the observer wears the frame on the head, the temple portion is spread outward, and as a result, even if the frame is deformed, the deformation of the frame causes the image forming apparatus to Alternatively, the displacement (position change) of the light guide plate does not occur, or even if it occurs, it is very slight. Therefore, it is possible to reliably prevent the convergence angle of the left and right images from changing. In addition, since it is not necessary to increase the rigidity of the front portion of the frame, there is no increase in the weight of the frame, a decrease in design, and an increase in cost. In addition, since the image display device is not directly attached to the frame, it is possible to freely select the frame design and color according to the preference of the observer, and there are few restrictions on the frame design, High design freedom. In addition, the coupling member is disposed between the observer and the frame, and the projection image of the coupling member is included in the projection image of the frame. In other words, when the head-mounted display is viewed from the front of the observer, the coupling member is hidden by the frame. Therefore, high design and design can be given to the head-mounted display.
尚、結合部材は、観察者の2つの瞳の間に位置するフロント部の中央部分(通常の眼鏡におけるブリッジの部分に相当する)の観察者に面する側に取り付けられている構成とすることが好ましい。Note that the coupling member is configured to be attached to the side facing the observer of the central part of the front part (corresponding to the bridge part in normal glasses) located between the two pupils of the observer. Is preferred.
結合部材によって2つの画像表示装置が結合されているが、具体的には、結合部材の各端部に、画像形成装置が、取付け状態調整可能に取り付けられている形態とすることができる。そして、この場合、各画像形成装置は、観察者の瞳よりも外側に位置している構成とすることが好ましい。更には、このような構成にあっては、一方の画像形成装置の取付部中心とフレームの一端部(一方の智、ヨロイ)との間の距離をα、結合部材の中心からフレームの一端部(一方の智)までの距離をβ、他方の画像形成装置の取付部中心とフレームの一端部(一方の智)との間の距離をγ、フレームの長さをLとしたとき、0.01×L≦α≦0.30×L、好ましくは、0.05×L≦α≦0.25×L、0.35×L≦β≦0.65×L、好ましくは、0.45×L≦β≦0.55×L、0.70×L≦γ≦0.99×L、好ましくは、0.75×L≦γ≦0.95×Lを満足することが望ましい。結合部材の各端部への画像形成装置の取付けは、具体的には、例えば、結合部材の各端部の3箇所に貫通孔を設け、貫通孔に対応した螺合部を画像形成装置に設け、各貫通孔にビスを通し、画像形成装置に設けられた螺合部に螺合させる。ビスと螺合部との間にはバネを挿入しておく。こうして、ビスの締め付け状態によって、画像形成装置の取付け状態(結合部材に対する画像形成装置の傾き)を調整することができる。Although the two image display devices are coupled by the coupling member, specifically, the image forming apparatus can be attached to each end of the coupling member so that the mounting state can be adjusted. In this case, it is preferable that each image forming apparatus is located outside the observer's pupil. Furthermore, in such a configuration, the distance between the center of the mounting portion of one image forming apparatus and one end of the frame (one end, one end) is α, and one end of the frame from the center of the coupling member When the distance to (one wisdom) is β, the distance between the attachment center of the other image forming apparatus and one end of the frame (one wisdom) is γ, and the length of the frame is L. 01 × L ≦ α ≦ 0.30 × L, preferably 0.05 × L ≦ α ≦ 0.25 × L, 0.35 × L ≦ β ≦ 0.65 × L, preferably 0.45 × It is desirable to satisfy L ≦ β ≦ 0.55 × L, 0.70 × L ≦ γ ≦ 0.99 × L, and preferably satisfy 0.75 × L ≦ γ ≦ 0.95 × L. Specifically, for example, the attachment of the image forming apparatus to each end portion of the coupling member is, for example, provided with three through holes at each end portion of the coupling member, and screwed portions corresponding to the through holes are provided in the image forming apparatus. The screw is inserted into each through hole and screwed into a screwing portion provided in the image forming apparatus. A spring is inserted between the screw and the screwing portion. Thus, the mounting state of the image forming apparatus (the inclination of the image forming apparatus with respect to the coupling member) can be adjusted by the tightening state of the screws.
ここで、画像形成装置の取付部中心とは、画像形成装置が結合部材に取り付けられている状態において、画像形成装置及びフレームを仮想平面に射影したときに得られる画像形成装置の射影像が、フレームの射影像の重なっている部分のフレームの軸線方向に沿った二等分点を指す。また、結合部材の中心とは、結合部材がフレームに取り付けられている状態において、結合部材がフレームに接している部分のフレームの軸線方向に沿った二等分点を指す。フレームの長さとは、フレームが湾曲している場合、フレームの射影像の長さである。尚、射影方向は、観察者の顔に対して垂直な方向とする。Here, the center of the attachment portion of the image forming apparatus is a projection image of the image forming apparatus obtained when the image forming apparatus and the frame are projected onto a virtual plane in a state where the image forming apparatus is attached to the coupling member. A bisection point along the axial direction of the frame where the projected images of the frame overlap. The center of the coupling member refers to a bisector along the axial direction of the frame where the coupling member is in contact with the frame when the coupling member is attached to the frame. The frame length is the length of the projected image of the frame when the frame is curved. The projection direction is a direction perpendicular to the face of the observer.
あるいは又、結合部材によって2つの画像表示装置が結合されているが、具体的には、結合部材が、2つの導光板を結合している形態とすることもできる。尚、2つの導光板が一体的に作製されている場合があり、このような場合、係る一体的に作製された導光板に結合部材が取り付けられているが、係る形態も、結合部材が2つの導光板を結合している形態に包含される。一方の画像形成装置の中心とフレームの一端部との間の距離をα’他方の画像形成装置の中心とフレームの一端部との間の距離をγ’としたとき、α’,γ’の値も上述したα,γの値と同様とすることが望ましい。尚、画像形成装置の中心とは、画像形成装置が導光板に取り付けられている状態において、画像形成装置及びフレームを仮想平面に射影したときに得られる画像形成装置の射影像が、フレームの射影像の重なっている部分のフレームの軸線方向に沿った二等分点を指す。Alternatively, the two image display devices are coupled by the coupling member, but specifically, the coupling member may be configured to couple the two light guide plates. In some cases, the two light guide plates are manufactured integrally. In such a case, the coupling member is attached to the integrally manufactured light guide plate. It is included in a form in which two light guide plates are combined. When the distance between the center of one image forming apparatus and one end of the frame is α ′, and the distance between the center of the other image forming apparatus and one end of the frame is γ ′, α ′ and γ ′ The values are preferably the same as the values of α and γ described above. The center of the image forming apparatus refers to a projection image of the image forming apparatus obtained when the image forming apparatus and the frame are projected onto a virtual plane in a state where the image forming apparatus is attached to the light guide plate. A bisection point along the axial direction of the frame where the image overlaps.
結合部材の形状は、結合部材の射影像がフレームの射影像内に含まれる限りにおいて、本質的に任意であり、例えば、棒状、細長い板状を例示することができる。結合部材を構成する材料も、金属や合金、プラスチック、これらの組合せを挙げることができる。The shape of the coupling member is essentially arbitrary as long as the projection image of the coupling member is included in the projection image of the frame, and examples thereof include a rod shape and an elongated plate shape. Examples of the material constituting the coupling member include metals, alloys, plastics, and combinations thereof.
本開示の表示装置等にあっては、画像表示装置において画像を表示するための信号(光学手段において虚像を形成するための信号)を外部から受け取る形態とすることができる。このような形態にあっては、画像表示装置において表示する画像に関する情報やデータは、例えば、所謂クラウドコンピュータやサーバーに記録、保管、保存されており、表示装置が通信手段、例えば、携帯電話機やスマートフォンを備えることによって、あるいは又、表示装置と通信手段とを組み合わせることによって、クラウドコンピュータやサーバーと表示装置との間での各種情報やデータの授受、交換を行うことができるし、各種情報やデータに基づく信号、即ち、画像表示装置において画像を表示するための信号(光学手段において虚像を形成するための信号)を受け取ることができる。あるいは又、画像表示装置において画像を表示するための信号(光学手段において虚像を形成するための信号)は表示装置に記憶されている形態とすることができる。尚、画像表示装置において表示される画像には、各種情報や各種データが含まれる。あるいは又、表示装置はカメラを備えており、カメラによって撮像された画像を通信手段を介してクラウドコンピュータやサーバーに送出し、クラウドコンピュータやサーバーにおいてカメラによって撮像された画像に該当する各種情報やデータを検索し、検索された各種情報やデータを通信手段を介して表示装置に送出し、検索された各種情報やデータを画像表示装置において画像を表示してもよい。In the display device or the like of the present disclosure, a signal for displaying an image in the image display device (a signal for forming a virtual image in the optical unit) can be received from the outside. In such a form, information and data relating to an image displayed on the image display device are recorded, stored and stored in a so-called cloud computer or server, for example, and the display device is a communication means such as a mobile phone or By providing a smartphone or by combining a display device and communication means, various information and data can be exchanged and exchanged between the cloud computer or server and the display device. A signal based on the data, that is, a signal for displaying an image on the image display device (a signal for forming a virtual image on the optical means) can be received. Alternatively, a signal for displaying an image in the image display device (a signal for forming a virtual image in the optical means) can be stored in the display device. The image displayed on the image display device includes various information and various data. Alternatively, the display device includes a camera, sends an image captured by the camera to a cloud computer or server via communication means, and various information and data corresponding to the image captured by the camera at the cloud computer or server. The searched various information and data may be sent to the display device via the communication means, and the searched various information and data may be displayed on the image display device.
カメラによって撮像された画像を通信手段を介してクラウドコンピュータやサーバーに送出する際、カメラによって撮像される画像を画像表示装置において表示し、光学手段において確認してもよい。具体的には、カメラによって撮像される空間領域の外縁を調光装置において枠状に表示する形態とすることができる。あるいは又、カメラによって撮像される空間領域に対応する調光装置の領域の遮光率を、カメラによって撮像される空間領域の外側に対応する調光装置の領域の遮光率よりも高くする形態とすることができる。このような形態にあっては、観察者には、カメラによって撮像される空間領域は、カメラによって撮像される空間領域の外側よりも暗く見える。あるいは又、カメラによって撮像される空間領域に対応する調光装置の領域の遮光率を、カメラによって撮像される空間領域の外側に対応する調光装置の領域の遮光率よりも低くする形態とすることもできる。このような形態にあっては、観察者には、カメラによって撮像される空間領域は、カメラによって撮像される空間領域の外側よりも明るく見える。そして、これによって、カメラが外部のどこを撮像するかを観察者は、容易に、且つ、確実に認識することができる。When sending an image captured by the camera to the cloud computer or server via the communication means, the image captured by the camera may be displayed on the image display device and confirmed by the optical means. Specifically, the outer edge of the spatial region imaged by the camera can be displayed in a frame shape on the light control device. Alternatively, the light shielding rate of the region of the light control device corresponding to the spatial region imaged by the camera is set higher than the light shielding rate of the region of the light control device corresponding to the outside of the space region imaged by the camera. be able to. In such a form, to the observer, the spatial region imaged by the camera appears darker than the outside of the spatial region imaged by the camera. Alternatively, the light shielding rate of the region of the light control device corresponding to the spatial region imaged by the camera is set to be lower than the light shielding rate of the region of the light control device corresponding to the outside of the space region imaged by the camera. You can also In such a form, to the observer, the spatial region imaged by the camera appears brighter than the outside of the spatial region imaged by the camera. Thus, the observer can easily and reliably recognize where the camera captures the image.
カメラによって撮像される空間領域に対応する調光装置の領域の位置を校正することが好ましい。具体的には、表示装置が、例えば、携帯電話機やスマートフォンを備えることによって、あるいは又、表示装置と携帯電話機やスマートフォン、パーソナルコンピュータとを組み合わせることによって、携帯電話機やスマートフォン、パーソナルコンピュータにおいて、カメラによって撮像された空間領域を表示することができる。そして、携帯電話機やスマートフォン、パーソナルコンピュータにおいて表示された空間領域と、カメラによって撮像される空間領域に対応する調光装置の領域との間に差異が存在する場合、調光装置の遮光率(光透過率)を制御するための制御回路(携帯電話機やスマートフォン、パーソナルコンピュータによって代用することもできる)を用いて、カメラによって撮像される空間領域に対応する調光装置の領域を移動・回転させ、あるいは、拡大/縮小することで、携帯電話機やスマートフォン、パーソナルコンピュータにおいて表示された空間領域と、カメラによって撮像される空間領域に対応する調光装置の領域との間の差異を無くせばよい。It is preferable to calibrate the position of the area of the light control device corresponding to the space area imaged by the camera. Specifically, the display device includes, for example, a mobile phone or a smartphone, or a combination of the display device and the mobile phone, the smartphone, or a personal computer. The captured space area can be displayed. If there is a difference between the spatial area displayed on the mobile phone, the smartphone, or the personal computer and the area of the light control device corresponding to the space area captured by the camera, the light blocking rate (light Using a control circuit (which can be substituted by a mobile phone, a smartphone, or a personal computer) for controlling the transmittance), the region of the light control device corresponding to the spatial region imaged by the camera is moved and rotated. Alternatively, the difference between the spatial area displayed on the mobile phone, the smartphone, and the personal computer and the area of the light control device corresponding to the spatial area captured by the camera may be eliminated by enlarging / reducing.
以上に説明した種々の変形例を含む本開示の表示装置等は、例えば、電子メールの受信・表示、インターネット上の種々のサイトにおける各種情報等の表示、各種装置等の観察対象物の運転、操作、保守、分解時等における各種説明や、記号、符号、印、標章、図案等の表示;人物や物品等の観察対象物に関する各種説明や、記号、符号、印、標章、図案等の表示;動画や静止画の表示;映画等の字幕の表示;映像に同期した映像に関する説明文やクローズド・キャプションの表示;芝居や歌舞伎、能、狂言、オペラ、音楽会、バレー、各種演劇、遊園地(アミューズメントパーク)、美術館、観光地、行楽地、観光案内等における観察対象物に関する各種説明、その内容や進行状況、背景等を説明するための説明文等の表示に用いることができるし、クローズド・キャプションの表示に用いることができる。芝居や歌舞伎、能、狂言、オペラ、音楽会、バレー、各種演劇、遊園地(アミューズメントパーク)、美術館、観光地、行楽地、観光案内等にあっては、適切なタイミングで観察対象物に関連した画像としての文字を表示装置において表示すればよい。具体的には、例えば、映画等の進行状況に応じて、あるいは又、芝居等の進行状況に応じて、所定のスケジュール、時間配分に基づき、作業者の操作によって、あるいは、コンピュータ等の制御下、画像制御信号が表示装置に送出され、画像が表示装置にて表示される。また、各種装置、人物や物品等の観察対象物に関する各種説明の表示を行うが、カメラによって各種装置、人物や物品等の観察対象物を撮影(撮像)し、表示装置において撮影(撮像)内容を解析することで、予め作成しておいた各種装置、人物や物品等の観察対象物に関する各種説明の表示を表示装置にて行うことができる。The display device of the present disclosure including the various modifications described above includes, for example, reception / display of e-mail, display of various information on various sites on the Internet, operation of observation objects such as various devices, Various explanations during operation, maintenance, disassembly, etc., display of symbols, signs, marks, marks, designs, etc .; Various explanations about observation objects such as people and articles, symbols, signs, marks, marks, designs, etc. Display of movies and still images; Display of subtitles for movies, etc .; Display of captions and closed captions related to video; Play, Kabuki, Noh, Kyogen, Opera, Music Festival, Ballet, Various theaters , Amusement parks, amusement parks, sightseeing spots, resorts, sightseeing guides, various explanations about objects to be observed, and explanations for explaining the contents, progress, background, etc. It can be, can be used for the display of closed captioning. For play, kabuki, Noh, kyogen, opera, music festival, ballet, various theatres, amusement parks, museums, sightseeing spots, resorts, tourist information, etc. What is necessary is just to display the character as a related image on a display apparatus. Specifically, for example, according to the progress of a movie or the like, or according to the progress of a play or the like, based on a predetermined schedule and time allocation, by an operator's operation, or under the control of a computer or the like. The image control signal is sent to the display device, and the image is displayed on the display device. In addition, various devices and various descriptions related to observation objects such as people and articles are displayed. The observation objects such as various devices, persons and articles are photographed (imaged) by a camera, and the contents photographed (imaged) on the display device. By analyzing the above, it is possible to display various descriptions related to observation objects such as various devices prepared in advance and people and articles on the display device.
画像形成装置への画像信号には、画像信号(例えば、文字データ)だけでなく、例えば、表示すべき画像に関する輝度データ(輝度情報)、又は、色度データ(色度情報)、又は、輝度データ及び色度データを含めることができる。輝度データは、光学手段を通して眺めた観察対象物を含む所定の領域の輝度に対応した輝度データとすることができるし、色度データは、光学手段を通して眺めた観察対象物を含む所定の領域の色度に対応した色度データとすることができる。このように、画像に関する輝度データを含めることで、表示される画像の輝度(明るさ)の制御を行うことができるし、画像に関する色度データを含めることで、表示される画像の色度(色)の制御を行うことができるし、画像に関する輝度データ及び色度データを含めることで、表示される画像の輝度(明るさ)及び色度(色)の制御を行うことができる。画像表示装置を通して眺めた観察対象物を含む所定の領域の輝度に対応した輝度データとする場合、画像表示装置を通して眺めた観察対象物を含む所定の領域の輝度の値が高くなるほど、画像の輝度の値が高くなるように(即ち、画像がより明るく表示されるように)、輝度データの値を設定すればよい。また、画像表示装置を通して眺めた観察対象物を含む所定の領域の色度に対応した色度データとする場合、画像表示装置を通して眺めた観察対象物を含む所定の領域の色度と、表示すべき画像の色度とが、おおよそ補色関係となるように色度データの値を設定すればよい。補色とは、色相環(color circle)で正反対に位置する関係の色の組み合わせ指す。赤色に対しての緑色、黄色に対しての紫色、青色に対しての橙色など、相補的な色のことでもある。或る色に別の色を適宜の割合で混合して、光の場合は白、物体の場合は黒というように、彩度低下を引き起こす色についても云うが、並列した際の視覚的効果の相補性と混合した際の相補性は異なる。余色、対照色、反対色ともいう。但し、反対色は補色が相対する色を直接に指示するのに対し、補色の指示する範囲はやや広い。補色同士の色の組み合わせは互いの色を引き立て合う相乗効果があり、これは補色調和といわれる。The image signal to the image forming apparatus includes not only the image signal (for example, character data) but also, for example, luminance data (luminance information) regarding the image to be displayed, chromaticity data (chromaticity information), or luminance. Data and chromaticity data can be included. The luminance data can be luminance data corresponding to the luminance of a predetermined area including the observation object viewed through the optical means, and the chromaticity data can be the luminance data of the predetermined area including the observation object viewed through the optical means. The chromaticity data corresponding to the chromaticity can be obtained. As described above, the luminance (brightness) of the displayed image can be controlled by including the luminance data related to the image, and the chromaticity ( Color) can be controlled, and luminance (brightness) and chromaticity (color) of a displayed image can be controlled by including luminance data and chromaticity data regarding the image. In the case of luminance data corresponding to the luminance of a predetermined area including the observation object viewed through the image display device, the brightness of the image increases as the luminance value of the predetermined area including the observation object viewed through the image display device increases. The value of the luminance data may be set so that the value of is high (that is, the image is displayed brighter). Further, when the chromaticity data corresponding to the chromaticity of the predetermined area including the observation object viewed through the image display device is displayed, the chromaticity data of the predetermined area including the observation object viewed through the image display device is displayed. The value of the chromaticity data may be set so that the chromaticity of the power image is approximately complementary. Complementary color refers to a combination of colors that are located in opposite directions in a color circle. It is also a complementary color such as green for red, purple for yellow, and orange for blue. A color that mixes one color with another at an appropriate ratio, such as white for light and black for objects, may also be a color that causes desaturation, but the visual effect when paralleled Complementarity differs from complementarity when mixed. Also called extra color, contrast color, or opposite color. However, while the opposite color directly indicates the color to which the complementary color is opposed, the range indicated by the complementary color is slightly wider. The combination of complementary colors has a synergistic effect of complementing each other, which is called complementary color harmony.
以上に説明した各種の好ましい形態、構成を含む本開示の第1の態様~第3の態様に係る表示装置を、本開示の表示装置の調整方法における表示装置に適用することができる。The display device according to the first to third aspects of the present disclosure including the various preferable modes and configurations described above can be applied to the display device in the adjustment method of the display device of the present disclosure.
本開示の表示装置等によって、例えば、頭部装着型ディスプレイ(HMD,Head Mounted Display)を構成することができる。そして、これによって、表示装置の軽量化、小型化を図ることができるし、表示装置装着時の不快感を大幅に軽減させることが可能となり、更には、製造コストダウンを図ることも可能となる。あるいは又、本開示の表示装置等は、立体視ディスプレイ装置として用いることもできる。この場合、必要に応じて、光学手段に偏光板や偏光フィルムを着脱自在に取り付け、あるいは、光学手段に偏光板や偏光フィルムを貼り合わせればよい。For example, a head-mounted display (HMD, Head-Mounted Display) can be configured by the display device of the present disclosure. This makes it possible to reduce the weight and size of the display device, significantly reduce discomfort when the display device is mounted, and further reduce the manufacturing cost. . Alternatively, the display device and the like of the present disclosure can be used as a stereoscopic display device. In this case, if necessary, a polarizing plate or a polarizing film may be detachably attached to the optical means, or a polarizing plate or a polarizing film may be attached to the optical means.
実施例1は、本開示の第1の態様~第3の態様に係る表示装置(具体的には、頭部装着型ディスプレイ,HMD)に関し、また、本開示の表示装置の調整方法に関する。実施例1の画像表示装置の概念図を図1に示し、実施例1の表示装置を上方から眺めた模式図を図3に示し、正面から眺めた模式図を図4に示し、側方から眺めた模式図を図5Aに示す。更には、実施例1の表示装置における反射型体積ホログラム回折格子の一部を拡大して示す模式的な断面図を図5Bに示す。また、実施例1の表示装置における画像形成装置の光軸と第1光学部材の光軸との移動を説明するための概念図を図2A及び図2Bに示す。更には、実施例1の画像表示装置の光学系を説明する概念図を図5Cに示す。Example 1 relates to a display device (specifically, a head-mounted display, HMD) according to the first to third aspects of the present disclosure, and also relates to a method for adjusting the display device of the present disclosure. FIG. 1 shows a conceptual diagram of the image display device of the first embodiment, FIG. 3 shows a schematic diagram of the display device of the first embodiment viewed from above, FIG. 4 shows a schematic diagram viewed from the front, and FIG. A schematic view is shown in FIG. 5A. Furthermore, FIG. 5B shows a schematic cross-sectional view showing a part of the reflective volume hologram diffraction grating in the display device of Example 1 in an enlarged manner. 2A and 2B are conceptual diagrams for explaining the movement of the optical axis of the image forming apparatus and the optical axis of the first optical member in the display apparatus of the first embodiment. Furthermore, the conceptual diagram explaining the optical system of the image display apparatus of Example 1 is shown in FIG. 5C.
 実施例1あるいは後述する実施例2~実施例13の表示装置は、より具体的には、頭部装着型ディスプレイ(HMD)であり、
 (A)観察者20の頭部に装着されるフレーム10(例えば、眼鏡型のフレーム10)、並びに、
 (B)フレーム10に取り付けられた画像表示装置100,200,300,400,500、
を備えている。尚、実施例1あるいは後述する実施例2~実施例13の表示装置を、具体的には、2つの画像表示装置を備えた両眼型としたが、1つ備えた片眼型としてもよい。画像形成装置111,211は、例えば、単色(例えば、緑色)の画像(虚像)を表示する。そして、実施例1あるいは後述する実施例2~実施例13における画像表示装置100,200,300,400,500は、
 (B-1)画像形成装置111,211、
 (B-2)画像形成装置からの光が入射する第1光学部材141、
 (B-3)第1光学部材141からの光を観察者の瞳に入射させる第2光学部材142、並びに、
 (B-4)画像形成装置111,211の光軸と第1光学部材141の光軸とを、水平方向、又は、垂直方向、又は、水平方向及び垂直方向に相対的に移動させる移動装置41、
を備えている。More specifically, the display device of Example 1 or Examples 2 to 13 described later is a head-mounted display (HMD).
 (A) a frame 10 (for example, a glasses-type frame 10) attached to the head of the
 (B)
 It has. Although the display device of Example 1 or Examples 2 to 13 described later is specifically a binocular type including two image display devices, it may be a single eye type including one. . For example, the
 (B-1)
 (B-2) a first
 (B-3) a second
 (B-4) A moving
 It has.
 そして、本開示の第1の態様に係る表示装置に沿って説明すれば、実施例1の表示装置において、画像形成装置111,211と観察者20の瞳21(具体的には、水晶体)とは共役の関係にあり、第1光学部材141及び第2光学部材142によって両側テレセントリック系が構成される。In the display device according to the first embodiment, in the display device according to the first embodiment, the
 あるいは又、本開示の第2の態様に係る表示装置に沿って説明すれば、正の光学的パワーを有する第1光学部材141の前方焦点f1Fに、画像形成装置111,211から画像が出射される画像出射部が位置し、正の光学的パワーを有する第2光学部材142の後方焦点f2Bに、観察者20の瞳21(より具体的には、水晶体)が位置し、第1光学部材141の後方焦点f1Bに第2光学部材142の前方焦点f2Fが位置する。Alternatively, if described along the display device according to the second aspect of the present disclosure, an image is emitted from the
 あるいは又、本開示の第3の態様に係る表示装置に沿って説明すれば、また、上記の本開示の第1の態様~第2の態様に係る表示装置の好ましい形態としての表示装置として説明すれば、前述したとおり、画像形成装置111,211と観察者20の瞳21(具体的には、水晶体)とは共役の関係にあり、画像表示装置100,200,300,400は、第2光学部材142を取り付ける光学手段120,320を更に備えている。そして、光学手段120,320は、導光板121、導光板121に配された第1偏向手段131、及び、導光板121に取り付けられた第2偏向手段132を備えており、第1光学部材141からの光は、第1偏向手段131において偏向され、導光板121の内部を全反射により伝播し、第2偏向手段132において偏向され、第2光学部材142に入射し、第2光学部材142から出射され、観察者20の瞳21に入射する。即ち、表示装置は、観察者20の瞳に、直接、画像を描画する直描タイプの表示装置である。Alternatively, if described along the display device according to the third aspect of the present disclosure, it will be described as a display device as a preferred form of the display device according to the first to second aspects of the present disclosure. Then, as described above, the
 また、実施例1の表示装置の調整方法は、
 (A)観察者20の頭部に装着されるフレーム10(例えば、眼鏡型のフレーム10)、並びに、
 (B)フレーム10に取り付けられた画像表示装置100,200,300,400,500、
を備えており、
 画像表示装置100,200,300,400,500は、
 (B-1)画像形成装置111,211、
 (B-2)画像形成装置からの光が入射する第1光学部材141、
 (B-3)第1光学部材141からの光を観察者の瞳に入射させる第2光学部材142、並びに、
 (B-4)画像形成装置111,211の光軸と第1光学部材141の光軸とを、水平方向、又は、垂直方向、又は、水平方向及び垂直方向に相対的に移動させる移動装置41、
を備えている表示装置の調整方法であって、
 画像形成装置111,211によって形成された画像を、第1光学部材141及び第2光学部材142を介して観察者20の瞳21に入射させながら、画像形成装置111,211の光軸と第1光学部材141の光軸とを移動装置41によって移動させることで、観察者20の瞳21に入射される画像の光強度の最適化(例えば、光強度の最大化)を図る。The adjustment method of the display device of Example 1 is as follows:
 (A) a frame 10 (for example, a glasses-type frame 10) attached to the head of the
 (B)
 With
 The
 (B-1)
 (B-2) a first
 (B-3) a second
 (B-4) A moving
 A method for adjusting a display device comprising:
 While the images formed by the
 尚、画像表示装置100,200,300,400,500は、フレーム10に、固定して取り付けられていてもよいし、着脱自在に取り付けられていてもよい。第1光学部材141は、画像形成装置111,211と光学手段120,320との間に配置されている。光学手段120,320は半透過型(シースルー型)である。具体的には、少なくとも観察者20の両眼に対向する光学手段の部分(より具体的には、導光板121、第2光学部材142、及び、後述する第2偏向手段132)は、半透過(シースルー)である。The
 実施例1あるいは後述する実施例2~実施例13の表示装置において、前述したとおり、第1光学部材141及び第2光学部材142は正の光学的パワーを有する。そして、この場合、第1光学部材141の有する正の光学的パワーの値は、第2光学部材142の有する正の光学的パワーの値よりも大きい。即ち、第2光学部材142の焦点距離(f2B)は、第1光学部材141の焦点距離(f1F)よりも長い。In the display device of Example 1 or Examples 2 to 13 described later, as described above, the first
 第1偏向手段(第1回折格子部材)131は、ホログラム回折格子、具体的には、反射型体積ホログラム回折格子から成り、第2偏向手段(第2回折格子部材)132も、ホログラム回折格子、具体的には、反射型体積ホログラム回折格子から成る。また、第2光学部材142は、ホログラムレンズから成る。具体的には、第1光学部材141は凸レンズから成り、第1光学部材141の前方焦点f1F(画像形成装置側の焦点)の位置には、画像出射部に該当する走査手段153が配置されている。一方、第2光学部材142は一種の凹面鏡を構成し、第2光学部材141の後方焦点f2Bの位置に観察者20の瞳21(具体的には、水晶体)が位置する。The first deflecting means (first diffraction grating member) 131 is a hologram diffraction grating, specifically, a reflective volume hologram diffraction grating, and the second deflecting means (second diffraction grating member) 132 is also a hologram diffraction grating, Specifically, it consists of a reflective volume hologram diffraction grating. The second
 より具体的には、実施例1の表示装置は、
 導光板121は、第1光学部材141からの光が入射する第1面122、及び、第1面122と対向する第2面123を有しており、
 第1偏向手段131は、導光板121の第2面123上に配置されており(具体的には、貼り合わされており)、
 第2偏向手段132は、導光板121の第1面122上に配置されており(具体的には、貼り合わされており)、
 第2光学部材142は、導光板121の第2面123上に配置されている(具体的には、貼り合わされている)。More specifically, the display device of Example 1 is
 The
 The first deflecting means 131 is disposed on the
 The second deflecting means 132 is disposed on the
 The second
 即ち、光学ガラスやプラスチック材料から成る導光板121は、導光板121の内部全反射による光伝播方向(X軸)と平行に延びる2つの平行面(第1面122及び第2面123)を有している。第1面122と第2面123とは対向している。That is, the
 そして、
 第1偏向手段131を構成するホログラム回折格子の内部には第1の干渉縞が形成されており、
 第2偏向手段132を構成するホログラム回折格子の内部には第2の干渉縞が形成されており、
 第1の干渉縞と第2の干渉縞は、同じ格子面のピッチ、及び、同じスラント角を有しており、
 導光板121の軸線の延びる方向をX方向、厚さ方向をY方向としたとき、第1偏向手段131と第2偏向手段132とは、Z方向の軸線(例えば、導光板121の中心を通るZ方向の軸線)(図1参照)に対して回転対称に配置されている。And
 A first interference fringe is formed inside the hologram diffraction grating constituting the first deflecting means 131,
 A second interference fringe is formed inside the hologram diffraction grating constituting the second deflecting means 132,
 The first interference fringe and the second interference fringe have the same lattice plane pitch and the same slant angle,
 When the extending direction of the axis of the
 第1偏向手段131は、第2面123から導光板121に入射された平行光が導光板121の内部で全反射されるように、回折反射する。第2偏向手段132は、導光板121の内部を全反射により伝播した光を回折反射し、第2光学部材142へと導く。第2光学部材142及び第2偏向手段132によって光学手段における虚像形成領域が構成される。第1偏向手段131及び第2偏向手段132の軸線はX軸と平行であり、法線はY軸と平行である。フォトポリマー材料から成る各反射型体積ホログラム回折格子には、1種類の波長帯域(あるいは、波長)に対応する干渉縞が形成されており、従来の方法で作製されている。反射型体積ホログラム回折格子に形成された干渉縞のピッチは一定であり、干渉縞は直線状であり、Z軸に平行である。The first deflecting means 131 diffracts and reflects so that the parallel light incident on the
図5Bに反射型体積ホログラム回折格子の拡大した模式的な一部断面図を示す。反射型体積ホログラム回折格子には、傾斜角(スラント角)φを有する干渉縞が形成されている。ここで、傾斜角φとは、反射型体積ホログラム回折格子の表面と干渉縞の成す角度を指す。干渉縞は、反射型体積ホログラム回折格子の内部から表面に亙り、形成されている。干渉縞は、ブラッグ条件を満たしている。ここで、ブラッグ条件とは、以下の式(A)を満足する条件を指す。式(A)中、mは正の整数、λは波長、dは格子面のピッチ(干渉縞を含む仮想平面の法線方向の間隔)、Θは干渉縞へ入射する角度の余角を意味する。また、入射角ψにて回折格子部材に光が侵入した場合の、Θ、傾斜角φ、入射角ψの関係は、式(B)のとおりである。FIG. 5B shows an enlarged schematic partial cross-sectional view of the reflective volume hologram diffraction grating. In the reflective volume hologram diffraction grating, interference fringes having an inclination angle (slant angle) φ are formed. Here, the inclination angle φ refers to an angle formed between the surface of the reflective volume hologram diffraction grating and the interference fringes. The interference fringes are formed from the inside to the surface of the reflection type volume hologram diffraction grating. The interference fringes satisfy the Bragg condition. Here, the Bragg condition refers to a condition that satisfies the following formula (A). In equation (A), m is a positive integer, λ is the wavelength, d is the pitch of the grating plane (the interval in the normal direction of the imaginary plane including the interference fringes), and Θ is the angle of incidence of the incident on the interference fringes To do. In addition, when light enters the diffraction grating member at the incident angle ψ, the relationship among Θ, the tilt angle φ, and the incident angle ψ is as shown in Expression (B).
m・λ=2・d・sin(Θ)  (A)
Θ=90°-(φ+ψ)     (B)m · λ = 2 · d · sin (Θ) (A)
 Θ = 90 °-(φ + ψ) (B)
 実施例1あるいは後述する実施例5において、画像形成装置111は、光源、及び、光源から出射された光を走査して画像を形成する走査手段を備えている。即ち、画像形成装置111は、第1構成の画像形成装置である。具体的には、画像形成装置111は、
 光源151、
 光源151から出射された光を平行光とするコリメート光学系152、及び、
 コリメート光学系152から出射された平行光を走査する走査手段153、
から構成されている。尚、画像形成装置111全体が筐体113(図1では、一点鎖線で示す)内に納められている。In Example 1 or Example 5 described later, the
 A collimating
 Scanning means 153 for scanning parallel light emitted from the collimating
 It is composed of Note that the entire
 光源151は、白色を発光する発光素子から構成されている。そして、光源151から出射された光は、全体として正の光学的パワーを持つコリメート光学系152に入射し、平行光として出射される。そして、この平行光は、全反射ミラー154で反射され、マイクロミラーを二次元方向に回転自在とし、入射した平行光を2次元的に走査することができるMEMSミラーから成る走査手段153によって水平走査及び垂直走査が行われ、一種の2次元画像化され、仮想の画素(画素数は、例えば、640×480)が生成される。そして、仮想の画素(画像出射部に該当する走査手段153)からの光は、正の光学的パワーを持つ第1光学部材141を通過し、平行光とされた光束が光学手段120に入射する。The
 実施例1の画像表示装置の光学系を説明する概念図を図5Cに示すように、或る瞬間に光源151から出射された光(例えば、1画素分あるいは1副画素分の大きさに相当する)は、上述したとおり、コリメート光学系152に入射し、平行光として出射される。そして、この平行光は走査手段153によって走査され、平行光のまま、第1光学部材141に入射する。第1光学部材141から出射した光は、第1光学部材141の後方焦点(第2光学部材142の前方焦点でもある)において、一旦、結像し、第2光学部材142に入射する。第2光学部材142から出射した光は、平行光となり、観察者20の瞳21(具体的には、水晶体)に、平行光のまま、到達する。そして、水晶体を通過した光は、最終的に、観察者20の瞳21の網膜において結像する。As shown in FIG. 5C, a conceptual diagram for explaining the optical system of the image display apparatus according to the first embodiment corresponds to the light emitted from the
 フレーム10は、観察者20の正面に配置されるフロント部11と、フロント部11の両端に蝶番12を介して回動自在に取り付けられた2つのテンプル部13と、各テンプル部13の先端部に取り付けられたモダン部(先セル、耳あて、イヤーパッドとも呼ばれる)14から成る。また、ノーズパッド10’が取り付けられている。即ち、フレーム10及びノーズパッド10’の組立体は、基本的には、通常の眼鏡と略同じ構造を有する。更には、各筐体113が、取付け部材19によってテンプル部13に取り付けられている。フレーム10は、金属又はプラスチックから作製されている。尚、各筐体113は、取付け部材19によってテンプル部13に着脱自在に取り付けられていてもよい。また、眼鏡を所有し、装着している観察者に対しては、観察者の所有する眼鏡のフレーム10のテンプル部13に、各筐体113を取付け部材19によって着脱自在に取り付けてもよい。各筐体113を、テンプル部13の外側に取り付けてもよいし、テンプル部13の内側に取り付けてもよい。あるいは又、フロント部11に備えられたリムに、導光板121を嵌め込んでもよい。The
 更には、一方の画像形成装置111Aから延びる配線(信号線や電源線等)15が、テンプル部13、及び、モダン部14の内部を介して、モダン部14の先端部から外部に延び、制御装置(制御回路、制御手段)18に接続されている。更には、各画像形成装置111A,111Bはヘッドホン部16を備えており、各画像形成装置111A,111Bから延びるヘッドホン部用配線16’が、テンプル部13、及び、モダン部14の内部を介して、モダン部14の先端部からヘッドホン部16へと延びている。ヘッドホン部用配線16’は、より具体的には、モダン部14の先端部から、耳介(耳殻)の後ろ側を回り込むようにしてヘッドホン部16へと延びている。このような構成にすることで、ヘッドホン部16やヘッドホン部用配線16’が乱雑に配置されているといった印象を与えることがなく、すっきりとした表示装置とすることができる。Furthermore, a wiring (a signal line, a power supply line, etc.) 15 extending from one
 配線(信号線や電源線等)15は、上述したとおり、制御装置(制御回路)18に接続されており、制御装置18において画像表示のための処理がなされる。制御装置18は周知の回路から構成することができる。The wiring (signal line, power supply line, etc.) 15 is connected to the control device (control circuit) 18 as described above, and the
 フロント部11の中央部分11’に、必要に応じて、CCDあるいはCMOSセンサから成る固体撮像素子とレンズ(これらは図示せず)とから構成されたカメラ17が、適切な取付部材(図示せず)によって取り付けられている。カメラ17からの信号は、カメラ17から延びる配線(図示せず)を介して制御装置(制御回路)18に送出される。A
 そして、実施例1あるいは後述する実施例2~実施例13の画像表示装置100,200,300,400においては、図2A及び図2Bに概念図を示すように、移動装置41によって画像形成装置111(111A,111B),211の光軸と第1光学部材141の光軸とを水平方向(X軸方向)及び/又は垂直方向(Z軸方向)に相対的に移動させる。即ち、画像形成装置111,211及び第1光学部材141のいずれか一方(例えば、第1光学部材141)を、ラックギア部から構成された移動用ガイド部43に載置し、画像形成装置111,211及び第1光学部材141のいずれか一方(例えば、第1光学部材141)を、モータ(図示せず)及びピニオンギア42によって移動用ガイド部43上を移動させる。あるいは、画像形成装置及び光学系のいずれか一方を移動用ガイド部に載置し、画像形成装置及び光学系のいずれか一方を圧電素子や超音波モータによって移動用ガイド部上を移動させればよい。図示した例では、水平方向(X軸方向)への移動であるが、垂直方向(Z軸方向)への移動も、同様の機構によって行うことができる。In the
 このような構成にあっては、第1光学部材141から出射され、光学手段120,320に入射する平行光の光学手段120,320に対するYZ平面・入射角及び/又はXY平面・入射角に変化が生じる。即ち、YZ平面及び/又はXY平面に対する画像形成装置111,211の光軸と第1光学部材141の光軸の間に相対的な位置関係の変化が生じる。従って、たとえ、観察者が表示装置を装着する状態、あるいは、装着している状態が、変化した場合であっても、観察者の指示も基づき、例えば、図2Aから図2Bに示す状態のように画像形成装置111,211、第1光学部材141を移動させることで、画像形成装置111(111A,111B)によって形成された画像を、観察者20の瞳21に確実に入射させることができる。即ち、画像形成装置で形成された画像を、確実に、観察者の網膜に結像させることができる。観察者の指示は、図示しないボタンを観察者が操作することで行うことができる。ボタンの操作状態は、制御装置18に送られ、制御装置18の制御下、駆動装置41が駆動させられる。In such a configuration, the parallel light emitted from the first
 そして、画像形成装置111,211によって形成された画像は第2光学部材142によって観察者20の瞳21に入射させられる。しかも、画像形成装置111,211(より具体的には、画像出射部に該当する走査手段153、あるいは、後述する液晶表示装置253と第1光学部材141の間に設けられた絞りの機能を有し、画像出射部に該当する開口部256)と観察者20の瞳21(具体的には、水晶体)とは共役の関係にあり、また、第1光学部材141及び第2光学部材142によって両側テレセントリック系が構成される。あるいは又、正の光学的パワーを有する第1光学部材141の前方焦点f1Fに、画像形成装置111から画像が出射される画像出射部に該当する走査手段153が位置し、正の光学的パワーを有する第2光学部材142の後方焦点f2Bに、観察者の瞳(より具体的には、水晶体)が位置し、第1光学部材141の後方焦点f1Bに第2光学部材142の前方焦点f2Fが位置する。あるいは又、第1光学部材141からの光は、第1偏向手段131において偏向され、導光板121の内部を全反射により伝播し、第2偏向手段132において偏向され、第2光学部材142に入射し、第2光学部材142から出射され、観察者20の瞳21に入射する。それ故、第1光学部材141及び第2光学部材142の仕様を最適化することで、画像形成装置111,211の光軸と第1光学部材141の光軸との相対的な移動量が小さくても、第2光学部材142と観察者20の瞳21の位置の相対的な位置変化を大きな変化することができる。第2偏向手段132によって回折反射された光は、第2光学部材142に入射し、次いで、第2光学部材142から出射され、第2偏向手段132を通過して、観察者20の瞳21に入射させられる。第2偏向手段132を通過する際の光の相当の部分は、第2偏向手段132における回折条件を満たしていないので、第2偏向手段132において回折反射されることなく、観察者20の瞳21に入射させられる。Then, the images formed by the
以上の結果として、移動装置を含む表示装置全体の機構の小型化、簡素化を図ることができる。しかも、移動装置によって、画像形成装置の光軸と第1光学部材の光軸とを相対的に移動させることができるので、観察者が表示装置を装着する(装着している)状態の変化に対して容易に対処することができる。即ち、観察者が表示装置を装着する(装着している)状態が変化しても、画像形成装置で形成された画像を観察者の瞳に確実に入射させることができる。即ち、画像形成装置で形成された画像を観察者の網膜に確実に結像させることができる。As a result, the mechanism of the entire display device including the moving device can be reduced in size and simplified. In addition, since the optical axis of the image forming apparatus and the optical axis of the first optical member can be moved relative to each other by the moving device, a change in the state in which the observer wears (wears) the display device. It can be easily dealt with. In other words, even when the state in which the observer wears (wears) the display device changes, the image formed by the image forming apparatus can be reliably incident on the pupil of the observer. That is, the image formed by the image forming apparatus can be reliably imaged on the retina of the observer.
 実施例2は、実施例1の変形である。概念図を図6に示すように、実施例2の画像表示装置にあっては、第1偏向手段131及び第2偏向手段132をホログラム回折格子から構成し、第2光学部材142をホログラムレンズから構成するが、
 導光板121は、第1光学部材141からの光が入射する第1面122、及び、第1面122と対向する第2面123を有しており、
 第1偏向手段131は、導光板121の第2面123上に配置されており、
 第2偏向手段132は、導光板121の第2面123上に配置されており、
 第2光学部材142は、第2偏向手段132の上に配置されている。The second embodiment is a modification of the first embodiment. As shown in a conceptual diagram in FIG. 6, in the image display apparatus according to the second embodiment, the
 The
 The first deflecting means 131 is disposed on the
 The second deflection means 132 is disposed on the
 The second
 そして、実施例1と同様に、第1偏向手段131を構成するホログラム回折格子の内部には第1の干渉縞が形成されており、第2偏向手段132を構成するホログラム回折格子の内部には第2の干渉縞が形成されており、第1の干渉縞と第2の干渉縞は、同じ格子面のピッチ、及び、同じスラント角を有している。ここで、導光板121の軸線の延びる方向をX方向、厚さ方向をY方向とし、第1偏向手段131をX方向に平行移動して第1偏向手段131と第2偏向手段132とを重ね合わせたとき、第1偏向手段131に形成された第1の干渉縞と第2偏向手段132に形成された第2の干渉縞とは重なり合う。As in the first embodiment, the first interference fringes are formed inside the hologram diffraction grating constituting the
 実施例1と同様に、第1偏向手段131は、第2面123から導光板121に入射された平行光が導光板121の内部で全反射されるように、回折反射する。第2偏向手段132は、導光板121の内部を全反射により伝播した光を回折反射し、第2光学部材142へと導く。第2偏向手段132によって回折反射された光は、第2光学部材142に入射し、次いで、第2光学部材142から出射され、第2偏向手段132を通過して、観察者20の瞳21に入射させられる。第2偏向手段132を通過する際の光の相当の部分は、第2偏向手段132における回折条件を満たしていないので、第2偏向手段132において回折反射されることなく、観察者20の瞳21に入射させられる。As in the first embodiment, the first deflecting means 131 diffracts and reflects so that the parallel light incident on the
以上の点を除き、実施例2の表示装置の構成、構造は、実施例1の表示装置の構成、構造と同様とすることができるので、詳細な説明は省略する。Except for the above points, the configuration and structure of the display device according to the second embodiment can be the same as the configuration and structure of the display device according to the first embodiment.
 尚、概念図を図7に示すように、第2偏向手段132は、第1偏向手段131の延在部から構成されていてもよい。即ち、第1偏向手段131と第2偏向手段132とは、一体に作製されていてもよい。Incidentally, as shown in the conceptual diagram of FIG. 7, the second deflecting means 132 may be constituted by an extending portion of the first deflecting means 131. That is, the
 実施例3は、実施例1~実施例2の変形である。観察者20が表示装置を装着する(装着している)状態が変化したとき、画像形成装置111,211で形成された画像が観察者20の瞳21に入射しなくなるので(あるいは、入射状態にズレが生じるので)、移動装置41によって画像形成装置111,211の光軸と第1光学部材141の光軸とを相対的に移動させる。この移動は、実施例1においては、観察者20の指示(観察者20による調整)に基づき行われた。Example 3 is a modification of Example 1 to Example 2. When the state in which the
 一方、実施例3の表示装置にあっては、概念図を図8に示すように、画像形成装置111,211と第1光学部材141との間に第3光学部材32が配置されており、第3光学部材32によって取り出された観察者20の瞳21の像を撮像する撮像装置31を更に備えている。撮像装置31は、具体的には、例えば、CCDあるいはCMOSセンサから成る固体撮像素子とレンズから構成されている。第3光学部材32は、具体的には、ハーフミラーから構成されている。更には、撮像装置31によって撮像された観察者20の瞳21の像の位置に基づき、移動装置41は、画像形成装置111,211の光軸と第1光学部材141の光軸とを、水平方向、又は、垂直方向、又は、水平方向及び垂直方向に相対的に移動させる。即ち、撮像装置31によって撮像された観察者20の瞳21の像に関する出力は、制御装置(制御回路)18に送出され、制御装置18において画像処理が行われ、瞳21の位置の変化量が決定され、この瞳21の位置の変化量に基づき、制御装置18の制御下、移動装置41は、画像形成装置111,211の光軸と第1光学部材141の光軸とを、水平方向、又は、垂直方向、又は、水平方向及び垂直方向に相対的に移動させる。このように観察者20の瞳21の位置を検出することで、画像形成装置111,211で形成された画像を観察者20の瞳21に一層確実に入射させることができる。即ち、画像形成装置で形成された画像を観察者の網膜に確実に結像させることができる。On the other hand, in the display device of Example 3, as shown in a conceptual diagram of FIG. 8, the third
 尚、概念図を図9に示すように、第1光学部材141と第2光学部材142との間に、撮像装置31を配置してもよい。また、この場合、第3光学部材32を省略することもできる。It should be noted that the
以上の点を除き、実施例3の表示装置の構成、構造は、実施例1~実施例2の表示装置の構成、構造と同様とすることができるので、詳細な説明は省略する。Except for the above points, the configuration and structure of the display device according to the third embodiment can be the same as the configuration and structure of the display device according to the first and second embodiments.
 実施例4は、実施例1~実施例3の変形である。概念図を図10に示すように、実施例4の表示装置における画像表示装置200において、画像形成装置211は第2構成の画像形成装置から構成されている。Example 4 is a modification of Example 1 to Example 3. As shown in a conceptual diagram in FIG. 10, in the
 具体的には、画像形成装置211は、反射型空間光変調装置250、及び、白色光を出射する発光ダイオードから成る光源251から構成されている。画像形成装置211全体は、筐体213(図10では、一点鎖線で示す)内に納められており、係る筐体213には開口部256が設けられており、開口部256を介して光が出射される。開口部256は、第1光学部材141の前方焦点f1Fに位置し、絞りの役割を果たし、画像出射部に該当する。反射型空間光変調装置250は、ライト・バルブとしてのLCOSから成る液晶表示装置(LCD)253、光源251からの光の一部を反射して液晶表示装置253へと導き、且つ、液晶表示装置253によって反射された光の一部を通過させて第1光学部材141へと導く偏光ビームスプリッター252、及び、凸レンズ255から構成されている。液晶表示装置253は、2次元マトリクス状に配列された複数(例えば、640×480個)の画素(液晶セル)を備えている。偏光ビームスプリッター252は、周知の構成、構造を有する。光源251から出射された無偏光の光は、偏光ビームスプリッター252に衝突する。偏光ビームスプリッター252において、P偏光成分は通過し、系外に出射される。一方、S偏光成分は、偏光ビームスプリッター252において反射され、液晶表示装置253に入射し、液晶表示装置253の内部で反射され、液晶表示装置253から出射される。ここで、液晶表示装置253から出射した光の内、「白」を表示する画素から出射した光にはP偏光成分が多く含まれ、「黒」を表示する画素から出射した光にはS偏光成分が多く含まれる。液晶表示装置253から出射され、偏光ビームスプリッター252に衝突する光の内、P偏光成分は、偏光ビームスプリッター252を通過し、凸レンズ255、開口部256を介して第1光学部材141へと導かれる。一方、S偏光成分は、偏光ビームスプリッター252において反射され、光源251に戻される。Specifically, the
以上の点を除き、実施例4の表示装置の構成、構造は、実施例1~実施例3の表示装置の構成、構造と同様とすることができるので、詳細な説明は省略する。Except for the above points, the configuration and structure of the display device according to the fourth embodiment can be the same as the configuration and structure of the display device according to the first to third embodiments.
 実施例5も、実施例1~実施例3の変形である。実施例5の表示装置における画像表示装置300にあっては、第1偏向手段の構成を実施例1とは異なる構成とした。概念図を図11に示すように、実施例5の表示装置において、第1偏向手段133は導光板121に配されている。具体的には、第1偏向手段133は導光板121の内部に配設されている。そして、第1偏向手段133は、導光板121に入射された光を反射する。即ち、第1偏向手段133は反射鏡として機能する。より具体的には、導光板121の内部に設けられた第1偏向手段133は、アルミニウム(Al)から成り、導光板121に入射された光を反射させる光反射膜(一種のミラー)から構成されている。第1偏向手段133においては、導光板121に入射された平行光が導光板121の内部で全反射されるように、導光板121に入射された平行光が反射される。Example 5 is also a modification of Example 1 to Example 3. In the
 第1偏向手段133は、導光板121の第1偏向手段133を設ける部分を切り出すことで、導光板121に第1偏向手段133を形成すべき斜面を設け、係る斜面に光反射膜を真空蒸着した後、導光板121の切り出した部分を第1偏向手段133に接着すればよい。The first deflecting means 133 cuts out the portion of the
以上の点を除き、実施例5の表示装置の構成、構造は、実施例1~実施例3の表示装置の構成、構造と同様とすることができるので、詳細な説明は省略する。Except for the above points, the configuration and structure of the display device according to the fifth embodiment can be the same as the configuration and structure of the display device according to the first to third embodiments.
 実施例6は、実施例5の変形である。概念図を図12に示すように、実施例6の表示装置における画像表示装置400において、画像形成装置211は、実施例4の表示装置における画像形成装置211と同じ構成、構造を有する。また、実施例6における光学手段320は、実施例5における光学手段320と同じ構成、構造を有する。実施例6の表示装置は、以上の相違点を除き、実質的に、実施例1~実施例5の表示装置と同じ構成、構造を有するので、詳細な説明は省略する。Example 6 is a modification of Example 5. As shown in a conceptual diagram in FIG. 12, in an
 実施例7も、実施例1~実施例3の変形である。実施例7の表示装置を上方から眺めた模式図を図13に示す。尚、図13においてカメラ17の図示は省略した。Example 7 is also a modification of Example 1 to Example 3. A schematic view of the display device of Example 7 as viewed from above is shown in FIG. In FIG. 13, the
 実施例7の画像表示装置500も、
 (B-1)画像形成装置111、
 (B-2)画像形成装置111からの光が入射する第1光学部材(図13には図示せず)、
 (B-3)第1光学部材からの光を観察者20の瞳21に入射させる第2光学部材142、並びに、
 (B-4)画像形成装置の光軸と第1光学部材の光軸とを、水平方向、又は、垂直方向、又は、水平方向及び垂直方向に相対的に移動させる移動装置(図13には図示せず)、
を備えている。The
 (B-1)
 (B-2) a first optical member (not shown in FIG. 13) on which light from the
 (B-3) a second
 (B-4) A moving device that relatively moves the optical axis of the image forming apparatus and the optical axis of the first optical member in the horizontal direction, the vertical direction, or the horizontal and vertical directions (see FIG. 13). Not shown),
 It has.
 各画像形成装置111は、フロント部11に、例えば、ビスを用いて取り付けられている。また、光学手段520は、画像形成装置111に取り付けられており、第2光学部材142は、観察者と対向する面とは反対側の光学手段520の面に取り付けられている。実施例1と異なり、実施例7の画像表示装置500には、導光板、第1偏向手段、第2偏向手段は設けられていない。画像形成装置111は、実質的に、実施例1において説明した画像形成装置111とすることができる。Each
 実施例7において、筐体113内に配置された光源151から出射された光は、図示しない光ファイバの内部を伝播して、例えば、ノーズパッド近傍のフレーム10の部分11’に取り付けられた走査手段153に入射し、走査手段153によって走査された光は、画像出射部に該当する走査手段153から、図示しない第1光学部材を通過して、第2光学部材142に入射する。あるいは又、筐体113内に配置された光源151から出射された光は、図示しない光ファイバの内部を伝播して、例えば、両眼のそれぞれに対応するフレーム10の部分の上方に取り付けられた走査手段153に入射し、走査手段153によって走査された光は、画像出射部に該当する走査手段153から、図示しない第1光学部材を通過して、第2光学部材142に入射する。あるいは又、筐体113内に配置された光源151から出射され、筐体113内に配置された走査手段153に入射し、走査手段153によって走査された光は、画像出射部に該当する走査手段153から、図示しない第1光学部材を通過して、第2光学部材142に入射する。そして、ホログラムレンズから成る第2光学部材142によって反射、集光された光が観察者の瞳に入射する。In the seventh embodiment, the light emitted from the
実施例7の表示装置は、以上の相違点を除き、実質的に、実施例1~実施例3の表示装置と同じ構成、構造を有するので、詳細な説明は省略する。The display device according to the seventh embodiment has substantially the same configuration and structure as the display devices according to the first to third embodiments except for the above differences, and a detailed description thereof will be omitted.
 実施例8は、実施例1~実施例7の変形である。実施例8にあっては、移動装置を兼ねた第1光学部材141を、液体レンズ44から構成する。そして、液体レンズ44の作動によって、画像形成装置111,211の光軸と第1光学部材141の光軸とを、例えば、水平方向に相対的に移動させる。液体レンズ44は、エレクトロウェッティング現象を利用した周知の液体レンズから構成されている。液体レンズ44の作動によって、画像形成装置111,211の光軸に対して、第1光学部材141の光軸を水平方向(X軸方向)に移動させることができる。これによって、第1光学部材141から出射され、光学手段120,320に入射する平行光の光学手段120,320に対するYZ平面・入射角に変化が生じる。The eighth embodiment is a modification of the first to seventh embodiments. In the eighth embodiment, the first
 液体レンズ44の原理を、図14A、図14B、図14C、図15A、図15B、図15Cの原理図を参照して説明する。尚、図14Aは、図14Bの矢印A-Aに沿った模式的な断面図であり、図14Bは、図14Aの矢印B-Bに沿った模式的な断面図(但し、第1の液体の図示は省略)であり、図14C、図15A、図15B、図15Cは、図14Aの矢印C-Cに沿った模式的な断面図である。尚、液体レンズのxy平面で切断したときの形状は模式的な形状であり、実際の形状とは異なっている。The principle of the
 液体レンズ(便宜上、『原理的液体レンズ』と呼ぶ)は、ハウジングを備えている。このハウジングは、
 第1側面部材51、
 第1側面部材51と対向した第2側面部材52、
 第1側面部材51の一端部と第2側面部材52の一端部とを結ぶ第3側面部材53、
 第1側面部材51の他端部と第2側面部材52の他端部とを結ぶ第4側面部材54、
 第1側面部材51、第2側面部材52、第3側面部材53及び第4側面部材54の頂面に取り付けられた天板55、及び、
 第1側面部材51、第2側面部材52、第3側面部材53及び第4側面部材54の底面に取り付けられた底板56、
から成り、このハウジングによって1つのレンズ室が構成されている。レンズ室は、軸線が第1側面部材51及び第2側面部材52の延びる方向(z方向)に延びる円柱レンズとしての液体レンズを構成する第1の液体65及び第2の液体66によって占められている。A liquid lens (referred to as a “principal liquid lens” for convenience) includes a housing. This housing
 A
 A
 A
 A
 A
 The lens chamber is constituted by this housing. The lens chamber is occupied by the
 そして、天板55の部分の内面には第1電極61が設けられており、第1側面部材51の内面には第2電極62が設けられており、第2側面部材52の内面には第3電極63が設けられている。ここで、図14A,図14B、図14Cに示す状態にあっては、第1電極61、第2電極62、第3電極63には電圧を印加していない。The
 この状態から、第1電極61、第2電極62、第3電極63に適切な電圧を印加すると、図15A、図15Bあるいは図15Cに示す状態に第1の液体65と第2の液体66の界面の状態が変化する。ここで、図15Aに示す状態は、第2電極62と第3電極63に同じ電圧を印加したときの状態を示し、レンズ室内で形成される液体レンズのxy平面で切断したときの形状は、光軸OAに対して対称である。また、図15B及び図15Cに示す状態は、第2電極62と第3電極63に異なる電圧を印加したときの状態を示し、レンズ室内で形成される液体レンズのxy平面で切断したときの形状は、光軸OAに対して非対称である。尚、第2電極62と第3電極63との間の電位差は、図15Cに示す状態の方が、図15Bに示す状態よりも大きい。図15B及び図15Cに示すように、第2電極62と第3電極63との間の電位差に応じて、液体レンズの光学的パワーを変化させることができるし、液体レンズの光軸OA(点線で表示する)をx方向に移動させることができる。あるいは又、これらの原理図に示す液体レンズを複数、並置し、各液体レンズの第2電極62と第3電極63に印加する電圧を適切に制御することで、液体レンズ全体としての光軸を移動させることができるし、液体レンズ全体としての光軸の傾きを変化させることができるし、液体レンズ全体としてフレネルレンズを構成することができる。From this state, when an appropriate voltage is applied to the
 実施例8における実用的な液体レンズ44の模式的な断面図を、図16及び図17A、図17B、図17C、図18A、図18Bに示す。尚、図16は、ζξ平面に沿った模式的な断面図であり、図17A、図17B、図17C、図18A、図18Bは、ζη平面に沿った模式的な断面図である。16 and 17A, 17B, 17C, 18A, and 18B are schematic cross-sectional views of a practical
 液体レンズ44は、
 (A)第1側面部材51、
 第1側面部材51と対向した第2側面部材52、
 第1側面部材51の一端部と第2側面部材52の一端部とを結ぶ第3側面部材53、
 第1側面部材51の他端部と第2側面部材52の他端部とを結ぶ第4側面部材54、
 第1側面部材51、第2側面部材52、第3側面部材53及び第4側面部材54の頂面に取り付けられた天板55、及び、
 第1側面部材51、第2側面部材52、第3側面部材53及び第4側面部材54の底面に取り付けられた底板56、
を備えたハウジング50、並びに、
 (B)それぞれが、第1側面部材51と第2側面部材52との間に平行に配置された、(M-1)個の隔壁部材57、
を備えている。The
 (A) the
 A
 A
 A
 A
 A
 A
 (B) (M−1)
 It has.
 そして、実施例3における液体レンズ44にあっては、M個(=5個)のレンズ室58(581,582,583,584,585)が並置されている。ここで、各レンズ室58(581,582,583,584,585)は、軸線が隔壁部材57の延びる方向と平行な方向(ξ方向)である円柱レンズとしての液体レンズを構成する第1の液体65及び第2の液体66によって占められている。In the
 第1番目のレンズ室581は、第1側面部材51、第3側面部材53、第1番目の隔壁部材57、第4側面部材54、天板55、及び、底板56から構成されている。そして、第1番目のレンズ室581を構成する天板55の部分の内面には、第1電極61が設けられており、第1番目のレンズ室581を構成する第1側面部材51の部分の内面には、第2電極62が設けられており、第1番目のレンズ室581を構成する第1番目の隔壁部材57の部分の内面には、第3電極63が設けられている。
 また、第(m+1)番目のレンズ室58(m+1)は、第m番目(但し、m=1,2・・・M-2)の隔壁部材57、第3側面部材53、第(m+1)番目の隔壁部材57、第4側面部材54、天板55、及び、底板56から構成されている。そして、第(m+1)番目のレンズ室58(m+1)を構成する天板55の部分の内面には、第1電極61が設けられており、第(m+1)番目のレンズ室58(m+1)を構成する第m番目の隔壁部材57の部分の内面には、第2電極62が設けられており、第(m+1)番目のレンズ室58(m+1)を構成する第(m+1)番目の隔壁部材57の部分の内面には、第3電極63が設けられている。The (m + 1)
 更には、第M番目のレンズ室58M(=585)は、第(M-1)番目の隔壁部材57、第3側面部材53、第2側面部材52、第4側面部材54、天板55、及び、底板56から構成されている。そして、第M番目のレンズ室58M(=585)を構成する天板55の部分の内面には、第1電極61が設けられており、第M番目のレンズ室58M(=585)を構成する第(M-1)番目の隔壁部材57の部分の内面には、第2電極62が設けられており、第M番目のレンズ室58M(=585)を構成する第2側面部材52の部分の内面には、第3電極63が設けられている。Further, the Mth lens chamber 58M (= 585 ) includes the (M−1)
 尚、図示した例では、各レンズ室毎に第1電極61が設けられているが、天板55の内面に1枚の第1電極61を設けてもよい。In the illustrated example, the
 実施例8における液体レンズ44にあっては、少なくとも第1の液体65と第2の液体66との界面が位置する第1側面部材51、第2側面部材52及び隔壁部材57のそれぞれの表面には、撥水処理が施されている。また、隔壁部材57の底面は底板56まで延びており、隔壁部材57の頂面は天板55まで延びている。ハウジング50の外形形状は、ξ方向に長辺、ζ方向に短辺を有する矩形形状である。そして、底板56から光が入射し、天板55から光が出射する。In the
 第1の液体65と第2の液体66とは、不溶、不混合であり、第1の液体65と第2の液体66との界面がレンズ面を構成する。ここで、第1の液体65は導電性を有し、第2の液体66は絶縁性を有し、第1電極61は第1の液体65と接しており、第2電極62は絶縁膜64を介して第1の液体65及び第2の液体66と接しており、第3電極63は絶縁膜64を介して第1の液体65及び第2の液体66と接している。また、天板55、底板56、及び、第1電極61は、液体レンズ44に入射する光に対して透明な材料から構成されている。The
 より具体的には、天板55、底板56、第1側面部材51、第2側面部材52、第3側面部材53、第4側面部材54及び隔壁部材57は、ガラス、あるいは、アクリル系樹脂等の樹脂から作製されている。また、導電性を有する第1の液体65は塩化リチウム水溶液から成り、密度は1.06グラム/cm3であり、屈折率は1.34である。一方、絶縁性を有する第2の液体66はシリコーンオイル(モメンティブ・パフォーマンス・マテリアルズ・ジャパン合同会社製TSF437)から成り、密度は1.02グラム/cm3であり、屈折率は1.49である。また、第1電極61はITOから成り、第2電極62及び第3電極63は、例えば、金、アルミニウム、銅、銀等の金属電極から成る。更には、絶縁膜64は、ポリパラキシレンや酸化タンタル、酸化チタン等の金属酸化物から成る。尚、絶縁膜64の上に撥水処理層(図示せず)が設けられている。撥水処理層はポリパラキシリレンやフッ素系のポリマーから成る。第1電極61の表面に親水処理を施し、第3側面部材53や第4側面部材54の内面に撥水処理を施すことが好ましい。More specifically, the
 そして、実施例8にあっては、移動装置を兼ねた第1光学部材141を構成するために、図16に示した液体レンズ44を2つ、重ね合わせる。具体的には、下側の液体レンズ44のζ方向と、上側の液体レンズ44のζ方向とが直交するように、しかも、下側の液体レンズ44のξ方向と、上側の液体レンズ44のξ方向とが直交するように、重ね合わせる。そして、例えば、下側の液体レンズ44のζ方向がX軸と平行となり、ξ方向がZ軸と平行となるように、重ね合わせた2つの液体レンズ44を、図1に示した第1光学部材141の所に配置させる。And in Example 8, in order to constitute the 1st
 第1電極61、第2電極62及び第3電極63は、図示しない接続部を介して、外部の制御回路に接続され、所望の電圧が印加される構成、構造となっている。そして、第1電極61、第2電極62及び第3電極63に電圧を印加すると、第1の液体65と第2の液体66との界面によって構成されたレンズ面が、図17Aに示す下に凸の状態から、図17Bに示す上に凸の状態に向かって変化する。レンズ面の変化状態は、Lippman-Young の式に基づき、電極61,62,63に印加する電圧によって変化する。図17Bに示した例においては、第2電極62と第3電極63に同じ電圧を印加している。それ故、レンズ室内で形成される液体レンズのζη平面で切断したときの形状は、液体レンズの光軸に対して対称である。重ね合わせた2つの液体レンズ44の内、上側の液体レンズ44に対して、このような制御を行えばよい。The
 また、図17C、図18A及び図18Bに示す状態は、第2電極62と第3電極63とに異なる電圧を印加したときの状態を示すが、レンズ室内で形成される液体レンズのζη平面で切断したときの形状は、液体レンズの光軸に対して非対称である。ここで、図17Cに示す状態にあっては、液体レンズ44としてフレネルレンズが構成される。重ね合わせた2つの液体レンズ44の内、上側の液体レンズ44に対して、このような制御を行ってもよい。The state shown in FIGS. 17C, 18A, and 18B shows a state when different voltages are applied to the
 一方、図18A及び図18Bに示す状態にあっては、液体レンズの光軸をζ方向に移動させている。図18Aあるいは図18Bに示す状態とすることで、液体レンズ44から出射された光の進行方向を変化させることができるし、あるいは又、液体レンズ44全体としての光軸のζ方向に対する傾きを制御することができる。即ち、重ね合わせた2つの液体レンズ44の内、下側の液体レンズ44に対して、このような制御を行うことで、液体レンズの光軸をX軸方向に移動させることができるし、あるいは又、液体レンズの光軸をY軸方向に対して傾けることができる。そして、第2電極62と第3電極63との間の電位差に応じて、液体レンズの光学的パワーを変化させることができる。ここで、図18Aに示す状態にあっては、各第2電極62には同じ電圧を印加し、各第3電極63には同じ電圧を印加している。一方、図18Bに示す状態にあっては、第2電極62及び第3電極63毎に異なる電圧を印加しており、液体レンズ44全体として一種のフレネルレンズが構成される。On the other hand, in the state shown in FIGS. 18A and 18B, the optical axis of the liquid lens is moved in the ζ direction. 18A or 18B, the traveling direction of the light emitted from the
 尚、第1電極61、第2電極62及び第3電極63に電圧を印加し、円柱レンズが光学的パワーを発揮しているとき、ηξ平面(あるいは、ηξ平面と平行な平面)における円柱レンズの光学的パワーは実質的に0であり、ζη平面における円柱レンズの光学的パワーは有限の値である。ここで、『液体レンズ全体としての光軸』とは、液体レンズ44をζη平面において切断したときに液体レンズ44全体として得られる仮想レンズ(液体レンズ44全体としての1枚のレンズ)の2つの仮想光学表面の曲率中心を結んだ線である。Note that when a voltage is applied to the
 第2電極62を共通の配線に接続し、第3電極63を共通の配線に接続し、各第2電極62には同じ電圧を印加し、各第3電極63には同じ電圧を印加する構成とすることができる。あるいは又、第2電極62を共通の配線に接続し、第3電極63を個別の配線に接続して個別に異なる電圧を印加する構成とすることもできるし、第3電極63を共通の配線に接続し、第2電極62を個別の配線に接続して個別に異なる電圧を印加する構成とすることもできるし、第2電極62、第3電極63共、個別の配線に接続して個別に異なる電圧を印加する構成とすることもできる。A configuration in which the
 実施例9も、実施例1~実施例7の変形である。実施例9にあっては、移動装置を液体プリズム45から構成する。そして、液体プリズム45の作動によって、画像形成装置111,211の光軸と第1光学部材141の光軸とを、水平方向に相対的に移動させる。液体プリズム45は、エレクトロウェッティング現象を利用した周知の液体プリズムから構成されている。液体プリズム45の作動によって、画像形成装置111,211の光軸に対して、第1光学部材141の光軸を水平方向(X軸方向)に移動させることができる。これによって、第1光学部材141から出射され、光学手段120,320に入射する平行光の光学手段120,320に対するYZ平面・入射角に変化が生じる。Example 9 is also a modification of Example 1 to Example 7. In the ninth embodiment, the moving device is composed of the
 図19に概念図を示すように、液体プリズム45の構成、構造は、図14A等に示した原理的液体レンズと同様の構成、構造とすればよいので、詳細な説明は省略するが、原理的液体レンズと異なる点は、第1の液体65と第2の液体66との界面によってレンズ面が構成されるのではなく、プリズムの平坦な斜面が構成される点にあり、このような構成は、第1の液体65と第2の液体66との適切な選択によって達成することができる。そして、液体プリズム45を、例えば、図1に示した表示装置における走査手段153と第1光学部材141との間に、x方向がX軸方向と平行となり、y方向がY軸の方向と平行となるように、配置すればよい。As shown in a conceptual diagram in FIG. 19, the configuration and structure of the
 実施例10は、実施例1~実施例9の変形である。画像表示装置の概念図を図20に示し、表示装置を上方から眺めた模式図を図21に示し、側方から眺めた模式図を図22に示すように、実施例10の表示装置にあっては、第1偏向手段131を覆うように、導光板121の第2面123の外側に遮光部材601が配置されており、あるいは又、設けられている。ここで、導光板121への第1偏向手段131の正射影像は、導光板121への遮光部材601の正射影像に含まれる。The tenth embodiment is a modification of the first to ninth embodiments. A conceptual diagram of the image display device is shown in FIG. 20, a schematic view of the display device viewed from above is shown in FIG. 21, and a schematic view of the image display device seen from the side is shown in FIG. Thus, a
 具体的には、例えば、画像形成装置111A,111B,211から出射された光が入射される光学手段120,320の領域、具体的には、第1偏向手段131が設けられた領域に、光学手段120,320への外光の入射を遮光する遮光部材601が配されている。ここで、遮光部材601の光学手段120,320への射影像内に、画像形成装置111A,111B,211から出射された光が入射される光学手段120,320の領域が含まれる。遮光部材601は、光学手段120,320の画像形成装置111A,111B,211が配された側とは反対側に、光学手段120,320と離間して配されている。遮光部材601は、例えば、不透明なプラスチック材料から作製されており、遮光部材601は、画像形成装置111A,111B,211の筐体113,213から一体に延び、あるいは又、画像形成装置111A,111B,211の筐体113,213に取り付けられ、あるいは又、フレーム10から一体に延び、あるいは又、フレーム10に取り付けられ、あるいは又、光学手段120,320に取り付けられている。尚、図示した例では、遮光部材601は、画像形成装置111A,111B,211の筐体113,213から一体に延びている。このように、画像形成装置から出射された光が入射される光学手段120,320の領域には、光学手段120,320への外光の入射を遮光する遮光部材601が配されているので、画像形成装置111A,111B,211から出射された光が入射される光学手段120,320の領域、具体的には、第1偏向手段131には外光が入射しないので、不所望の迷光等が発生し、表示装置における画像表示品質の低下を招くことが無い。Specifically, for example, in the area of the optical means 120, 320 where the light emitted from the
 あるいは又、図23に示すように、遮光部材602は、画像形成装置111A,111B,211が配された側とは反対側の光学手段120,320の部分に配されている。具体的には、不透明なインクを、光学手段120,320(具体的には、導光板121の第2面123を覆う透明保護部材125)に印刷することで、遮光部材602を形成することができる。導光板121の外縁部と透明保護部材125の外縁部とは、封止部材124によって封止され、あるいは、接着されている。尚、遮光部材601との遮光部材602とを組み合わせることもできる。Alternatively, as shown in FIG. 23, the
実施例11は、実施例1~実施例10の変形である。実施例11の画像表示装置の概念図を図24に示し、実施例11の表示装置を上方から眺めた模式図を図25に示し、側方から眺めた模式図を図26Aに示す。また、光学手段及び調光装置の模式的な正面図を図26Bに示し、調光装置の模式的な断面図を図27Aに示し、調光装置の模式的な平面図を図27Bに示す。Example 11 is a modification of Example 1 to Example 10. The conceptual diagram of the image display apparatus of Example 11 is shown in FIG. 24, the schematic diagram which looked at the display apparatus of Example 11 from upper direction is shown in FIG. 25, and the schematic diagram seen from the side is shown in FIG. FIG. 26B shows a schematic front view of the optical means and the light control device, FIG. 27A shows a schematic cross-sectional view of the light control device, and FIG. 27B shows a schematic plan view of the light control device.
 実施例11にあっては、導光板121の第2面側に調光装置700が配されている。調光装置700は、外部から入射する外光の光量を調整する。そして、光学手段120,320の虚像形成領域は調光装置700と重なっており、画像形成装置111,211から出射される光に基づき虚像形成領域の一部分において虚像が形成されるとき、調光装置700への虚像の投影像が含まれる調光装置700の虚像投影領域711の遮光率が、調光装置700の他の領域712の遮光率よりも高くなるように、調光装置700が制御される。尚、調光装置700において虚像投影領域711の位置は固定されたものでなく、虚像の形成位置に依存して変化し、また、虚像投影領域711の数も、虚像の数(あるいは一連の虚像群の数、ブロック化された虚像群の数等)に依存して変化する。In Example 11, the
 調光装置700の動作時、調光装置700の他の領域712の遮光率は、調光装置700への虚像の投影像が含まれる調光装置700の虚像投影領域の遮光率を「1」としたとき、例えば、0.95以下である。あるいは又、調光装置700の他の領域の遮光率は、例えば、30%以下である。一方、調光装置700の動作時、調光装置700の虚像投影領域711の遮光率は、35%乃至99%、例えば、80%とされる。このように、虚像投影領域711の遮光率は、一定であってもよいし、後述するように、表示装置の置かれた環境の照度に依存して変化させてもよい。During the operation of the
 実施例11あるいは後述する実施例12~実施例13において、光学手段120,320の画像形成装置111,211が配された側とは反対側には、外部から入射する外光の光量を調整する一種の光シャッタである調光装置700が配設されている。そして、透明保護部材125は、調光装置700の第1基板701を兼ねており、これによって、表示装置全体の重量の減少を図ることができ、表示装置の使用者に不快感を感じさせる虞が無い。また、第2基板703を透明保護部材125よりも薄くすることができる。実施例12~実施例13においても同様とすることができる。但し、これに限定するものではなく、透明保護部材125と調光装置700の第1基板701とを、別の部材から構成することもできる。調光装置700の大きさは、導光板121と同じであってもよいし、大きくてもよいし、小さくてもよい。要は、調光装置700の射影像内に虚像形成領域(第2偏向手段132)が位置すればよい。調光装置700は、観察者20とは反対側の光学手段120,320の領域に配置されている。即ち、観察者側から、光学手段120,320、調光装置700の順に配されているが、調光装置700、光学手段120,320の順に配してもよい。調光装置700にコネクタ(図示せず)を取り付け、調光装置700の遮光率を制御するための制御回路(具体的には、制御装置18)にこのコネクタ及び配線を介して調光装置700を電気的に接続する。In the eleventh embodiment or the twelfth to thirteenth embodiment to be described later, the amount of external light incident from the outside is adjusted on the side opposite to the side where the
 実施例11あるいは後述する実施例12~実施例13において、調光装置700は、模式的な断面図を図27Aに示し、模式的な平面図を図27Bに示すように、
 第1基板701、
 第1基板701と対向する第2基板703、
 第2基板703と対向する第1基板701の対向面に設けられた第1透明電極702、
 第1基板701と対向する第2基板703の対向面に設けられた第2透明電極704、及び、
 第1透明電極702と第2透明電極704とによって挟まれた調光層705、
から成る。そして、
 第1透明電極702は、第1の方向に延びる複数の帯状の第1透明電極セグメント702Aから構成されており、
 第2透明電極704は、第1の方向とは異なる第2の方向に延びる複数の帯状の第2透明電極セグメント704Aから構成されており、
 第1透明電極セグメント702Aと第2透明電極セグメント704Aの重複領域(調光装置の遮光率が変化する最小単位領域708)に対応する調光装置の部分の遮光率の制御は、第1透明電極セグメント702A及び第2透明電極セグメント704Aに印加する電圧の制御に基づき行われる。即ち、遮光率の制御を単純マトリクス方式に基づき行われる。第1の方向と第2の方向とは直交しており、具体的には、第1の方向は横方向(X軸方向)に延び、第2の方向は縦方向(Z軸方向)に延びる。In the eleventh embodiment or the twelfth to thirteenth embodiment described later, the
 A
 A
 A first
 A second
 A
 Consists of. And
 The first
 The second
 The control of the light shielding rate of the portion of the light control device corresponding to the overlapping region of the first
 第2基板703はプラスチック材料から成る。また、第1透明電極702及び第2透明電極704は、インジウム-スズ複合酸化物(ITO)から構成された透明電極から成り、スパッタリング法といったPVD法とリフトオフ法との組合せに基づき形成されている。第2透明電極704と第2基板703の間には、SiN層、SiO2層、Al2O3層、TiO2層あるいはこれらの積層膜から成る保護層706が形成されている。保護層706を形成することで、イオンの行き来を阻止するイオン遮断性、防水性、防湿性及び耐傷性を調光装置700に付与することができる。また、透明保護部材125(第1基板701)と第2基板703とは、外縁部において、紫外線硬化型エポキシ樹脂や、紫外線と熱とによって硬化するエポキシ樹脂といった紫外線硬化型樹脂、熱硬化型樹脂から成る封止材707によって封止されている。第1透明電極702及び第2透明電極704は、図示しないコネクタ、配線を介して制御装置18に接続されている。The
 調光装置700の遮光率(光透過率)は、第1透明電極702及び第2透明電極704に印加する電圧によって制御することができる。具体的には、例えば、第1透明電極702を接地した状態で、第2透明電極704に電圧を印加すると、調光層705の遮光率が変化する。第1透明電極702と第2透明電極704との間の電位差を制御してもよいし、第1透明電極702に印加する電圧と第2透明電極704に印加する電圧とを独立に制御してもよい。The light shielding rate (light transmittance) of the
 尚、調光装置700における虚像形成領域(第2偏向手段132)の横方向の画素数をM0、縦方向の画素数をN0としたとき、調光装置700の遮光率が変化する最小単位領域708の数M1×N1は、M1/M0=k,N1/N0=k’としたとき、例えば、M0=M1(即ち、k=1),N0=N1(即ち、k’=1)である。但し、これに限定するものではなく、1.1≦k、好ましくは1.1≦k≦1.5、より好ましくは1.15≦k≦1.3、1.1≦k’、好ましくは1.1≦k’≦1.5、より好ましくは1.15≦k’≦1.3を満足する形態とすることができる。kの値とk’の値とは、同じであってもよいし、異なっていてもよく、実施例においては、k=k’=1とした。Note that when the number of pixels in the horizontal direction of the virtual image forming area (second deflecting unit 132) in the
 実施例11あるいは後述する実施例12~実施例13において、調光装置700は、エレクトロクロミック材料の酸化還元反応によって発生する物質の色変化を応用した光シャッタから成る。具体的には、調光層はエレクトロクロミック材料を含む。より具体的には、調光層は、第2透明電極側から、WO3層705A/Ta2O5層705B/IrXSn1-XO層705Cの積層構造を有する。WO3層705Aは還元発色する。また、Ta2O5層705Bは固体電解質を構成し、IrXSn1-XO層705Cは酸化発色する。In the eleventh embodiment or the twelfth to thirteenth embodiment to be described later, the
 IrXSn1-XO層中では、IrとH2Oとが反応して、水酸化イリジウムIr(OH)nとして存在する。第2透明電極704に負の電位を、第1透明電極702に正の電位を加えると、IrXSn1-XO層からTa2O5層へのプロトンH+の移動、第1透明電極702への電子放出が生じ、次の酸化反応が進んで、IrXSn1-XO層は着色する。
Ir(OH)n → IrOX(OH)n-X(着色) + X・H+ + X・e-In the IrX Sn1-X O layer, Ir and H2 O react to exist as iridium hydroxide Ir (OH)n . When a negative potential is applied to the second
 Ir (OH)n → IrOx (OH)nX (coloring) + X · H+ + X · e−
 一方、Ta2O5層中のプロトンH+がWO3層中へ移動し、第2透明電極704から電子がWO3層に注入され、WO3層では、次の還元反応が進んでWO3層は着色する。
WO3 + X・H+ + X・e- → HXWO3(着色)On the other hand, Ta2 O5 layers in proton H+ moves to the WO3 layer during the electron from the second
 WO3 + X · H+ + X · e− → HX WO3 (coloring)
 これとは逆に、第2透明電極704に正の電位を、第1透明電極702に負の電位を加えると、IrXSn1-XO層では、上記と逆向きに還元反応が進み、消色し、WO3層では、上記と逆向きに酸化反応が進み、消色する。尚、Ta2O5層にはH2Oが含まれており、第1透明電極、第2透明電極に電圧を印加することで電離し、プロトンH+、OH-イオンの状態が含まれ、着色反応及び消色反応に寄与している。On the other hand, when a positive potential is applied to the second
 画像表示装置100,200,300,400,500において表示する画像に関する情報やデータ、あるいは又、受信装置が受け取るべき信号は、例えば、所謂クラウドコンピュータやサーバーに記録、保管、保存されており、表示装置が通信手段(送受信装置)、例えば、携帯電話機やスマートフォンを備えることによって、あるいは又、制御装置(制御回路、制御手段)18に通信手段(受信装置)を組み込むことで、通信手段を介してクラウドコンピュータやサーバーと表示装置との間での各種情報やデータ、信号の授受、交換を行うことができるし、各種情報やデータに基づく信号、即ち、画像表示装置100,200,300,400,500において画像を表示するための信号を受け取ることができるし、受信装置は信号を受け取ることができる。Information and data relating to images to be displayed on the
 具体的には、観察者が、携帯電話機やスマートフォンに、入手すべき「情報」を要求する旨の入力を行うと、携帯電話機やスマートフォンは、クラウドコンピュータやサーバーにアクセスし、「情報」をクラウドコンピュータやサーバーから入手する。こうして、制御装置18は、画像表示装置100,200,300,400,500において画像を表示するための信号を受け取る。制御装置18にあっては、この信号に基づいて周知の画像処理を行い、画像形成装置111,211に「情報」を画像として表示する。この「情報」を画像は、光学手段120,320において、画像形成装置111,211から出射される光に基づき、制御装置18によって制御された所定の位置に虚像として表示される。即ち、虚像形成領域(第2偏向手段132)の一部分において虚像が形成される。Specifically, when the observer inputs to the mobile phone or smartphone that the information to be obtained is requested, the mobile phone or smartphone accesses the cloud computer or server, and the information is stored in the cloud. Obtain from a computer or server. Thus, the
 そして、調光装置700が設けられている場合、調光装置700への虚像の投影像が含まれる調光装置700の虚像投影領域711の遮光率が、調光装置700の他の領域712の遮光率よりも高くなるように、調光装置700が制御される。具体的には、制御装置18によって、第1透明電極702及び第2透明電極704に印加される電圧を制御する。ここで、画像形成装置111,211において画像を表示するための信号に基づき、調光装置700の虚像投影領域711の大きさ及び位置が決定される。When the
 場合によっては、画像表示装置100,200,300,400,500において画像を表示するための信号が、表示装置(具体的には、制御装置18)に記憶されていてもよい。In some cases, a signal for displaying an image in the
 あるいは又、表示装置に備えられたカメラ17によって撮像された画像を通信手段を介してクラウドコンピュータやサーバーに送出し、クラウドコンピュータやサーバーにおいてカメラ17によって撮像された画像に該当する各種情報やデータを検索し、検索された各種情報やデータを通信手段を介して表示装置に送出し、検索された各種情報やデータを画像表示装置100,200,300,400,500において画像を表示してもよい。また、このような形態と「情報」の入力を併用すれば、例えば、観察者のいる場所等や観察者がどの方向を向いているか等の情報を加重することができるので、一層高い精度で、「情報」を画像形成装置111,211において表示することができる。Alternatively, an image captured by the
 画像形成装置111,211から出射された光に基づき光学手段120,320に虚像が形成される前に、調光装置700の虚像投影領域711の遮光率が増加される形態を採用してもよい。調光装置700の虚像投影領域711の遮光率が増加されてから虚像が形成されるまでの時間として、0.5秒乃至30秒を例示することができるが、この値に限定するものではない。このように、予め、虚像が光学手段のどの位置に、いつ、形成されるかを観察者は知ることができるので、観察者の虚像視認性の向上を図ることができる。調光装置700の虚像投影領域711の遮光率は、時間の経過に従い、順次、増加する形態とすることができる。即ち、所謂フェードイン状態とすることができる。A mode in which the light shielding rate of the virtual
 虚像が形成されていない場合、調光装置700全体の遮光率を、調光装置700の他の領域の遮光率と同じ値とすればよい。虚像の形成が終了し、虚像が消滅したとき、調光装置700への虚像の投影像が含まれていた調光装置700の虚像投影領域711の遮光率を、直ちに、調光装置700の他の領域の遮光率と同じ値としてもよいが、経時的に(例えば、3秒間で)調光装置700の他の領域の遮光率と同じ値となるように制御してもよい。即ち、所謂フェードアウト状態とすることができる。When no virtual image is formed, the light shielding rate of the entire
 画像形成装置111,211から出射された光に基づき光学手段120,320に一の虚像が形成され、次いで、一の虚像と異なる次の虚像が形成される場合を想定する。この場合、一の虚像に対応する調光装置700の虚像投影領域711の面積をS1、次の虚像に対応する調光装置700の虚像投影領域711の面積をS2としたとき、
 S2/S1<0.8、又は、1<S2/S1の場合、次の虚像が形成される調光装置700の虚像投影領域711は、調光装置700への次の虚像の投影像が含まれる調光装置700の領域であり(図28A、図28B及び図28C参照)、
 0.8≦S2/S1≦1の場合、次の虚像が形成される調光装置700の虚像投影領域711は、調光装置700への一の虚像の投影像が含まれた調光装置700の領域である形態とすることができる。即ち、一の虚像の形成から次の虚像の形成において、虚像投影領域の面積が0%減乃至20%減の場合には、一の虚像に対応した虚像投影領域を保持する形態とすることができる(即ち、図28Aに示した状態のままとする)。It is assumed that one virtual image is formed on the
 When S2 / S1 <0.8 or 1 <S2 / S1 , the virtual
 In the case of 0.8 ≦ S2 / S1 ≦ 1, the virtual
 また、図29に示すように、光学手段120,320に形成される虚像に外接する仮想矩形131Aを想定したとき、調光装置700の虚像投影領域711は、仮想矩形131Aよりも大きい構成とすることができる。そして、この場合、光学手段120,320に形成される虚像に外接する仮想矩形131Aの横方向及び縦方向の長さをL1-T及びL1-Lとし、調光装置700の虚像投影領域711の形状を、横方向及び縦方向の長さがL2-T及びL2-Lの矩形形状としたとき、
1.0≦L2-T/L1-T≦1.5
1.0≦L2-L/L1-L≦1.5
を満足することが好ましい。尚、図29においては、虚像として、「ABCD」が形成されている状態を示す。Further, as shown in FIG. 29, when a
 1.0 ≦ L2-T / L1-T ≦ 1.5
 1.0 ≦ L2-L / L1-L ≦ 1.5
 Is preferably satisfied. FIG. 29 shows a state where “ABCD” is formed as a virtual image.
 調光装置700は、常時、動作状態にあってもよいし、観察者の指示(操作)によって動作/不動作(オン/オフ)状態が規定されてもよいし、通常は不動作状態にあり、画像表示装置100,200,300,400,500において画像を表示するための信号に基づき、動作を開始してもよい。観察者の指示(操作)によって動作/不動作状態を規定するためには、例えば、表示装置はマイクロフォンを更に備えており、マイクロフォンを介した音声入力によって、調光装置700の動作の制御を行えばよい。具体的には、観察者の肉声に基づく指示によって、調光装置700の動作/不動作の切替えを制御すればよい。あるいは又、入手すべき情報を音声入力によって入力してもよい。あるいは又、表示装置は、赤外線入出射装置を更に備えており、赤外線入出射装置によって、調光装置700の動作の制御を行えばよい。具体的には、赤外線入出射装置によって、観察者の瞬きを検出することで、調光装置700の動作/不動作の切替えを制御すればよい。The
以上のとおり、実施例11の表示装置にあっては、画像形成装置から出射される光に基づき虚像形成領域の一部分において虚像が形成されるとき、調光装置への虚像の投影像が含まれる調光装置の虚像投影領域の遮光率が調光装置の他の領域の遮光率よりも高くなるように調光装置が制御されるので、観察者が観察する虚像に高いコントラストを与えることができ、しかも、高遮光率の領域が調光装置全体ではなく、調光装置への虚像の投影像が含まれる調光装置の虚像投影領域といった狭い領域のみが高遮光率の領域となるので、表示装置を使用する観察者は外部環境を、確実に、且つ、安全に認識することができる。As described above, in the display device according to the eleventh embodiment, when a virtual image is formed in a part of the virtual image forming region based on the light emitted from the image forming device, a projection image of the virtual image on the light control device is included. Since the light control device is controlled so that the light shielding rate of the virtual image projection area of the light control device is higher than the light shielding rate of other regions of the light control device, a high contrast can be given to the virtual image observed by the observer. In addition, since the high light-shielding rate area is not the entire light control device, only a narrow region such as the virtual image projection region of the light control device that includes the projection image of the virtual image on the light control device is the high light-shielding rate region. An observer who uses the apparatus can recognize the external environment reliably and safely.
 フレームは、観察者の正面に配置されるフロント部、フロント部の両端に蝶番を介して回動自在に取り付けられた2つのテンプル部、及び、ノーズパッドを備えており;調光装置700はフロント部に配設されている形態とすることができる。また、光学手段は調光装置700に取り付けられている形態とすることができる。尚、光学手段は、密着した状態で調光装置700に取り付けられていてもよいし、隙間を開けた状態で調光装置700に取り付けられていてもよい。更には、これらの場合、前述したとおり、フロント部はリムを有し;調光装置700がリムに嵌め込まれている形態とすることができるし、あるいは又、導光板121(第1基板701)及び第2基板703の少なくとも一方がリムに嵌め込まれている形態とすることができるし、調光装置700及び導光板121がリムに嵌め込まれている形態とすることができるし、導光板121がリムに嵌め込まれている形態とすることができる。The frame includes a front portion disposed in front of the observer, two temple portions rotatably attached to both ends of the front portion via hinges, and a nose pad; It can be set as the form arrange | positioned by the part. Further, the optical means can be configured to be attached to the
 調光層705を、液晶表示装置から成る光シャッタから構成することもできる。この場合、具体的には、調光層705を、例えば、TN(ツイステッド・ネマチック)型液晶材料やSTN(スーパー・ツイステッド・ネマチック)型液晶材料から成る液晶材料層から構成することができる。第1透明電極702及び第2透明電極704はパターニングされており、調光装置700の一部の領域712の遮光率(光透過率)を、他の領域の遮光率とは異なった状態に変化させることができる。あるいは又、第1透明電極702及び第2透明電極704のいずれか一方をパターニングされていない所謂ベタ電極とし、他方をパターニングし、他方をTFTに接続する。そして、調光装置700の遮光率が変化する最小単位領域708の遮光率の制御をTFTによって行う。即ち、遮光率の制御をアクティブマトリクス方式に基づき行ってもよい。アクティブマトリクス方式に基づく遮光率の制御は、実施例11あるいは後述する実施例12~実施例13において説明する調光装置700に適用することができることは云うまでもない。The
また、エレクトロウェッティング現象によって遮光率(光透過率)を制御する光シャッタを用いることもできる。具体的には、第1透明電極及び第2透明電極を設け、第1透明電極と第2透明電極との間は、絶縁性の第1の液体、及び、導電性の第2の液体で満たされている構造とする。そして、第1透明電極と第2透明電極との間に電圧を印加することで、第1の液体と第2の液体によって形成される界面の形状が、例えば、平面状から湾曲した状態に変化することで、遮光率(光透過率)を制御することができる。あるいは又、金属(例えば、銀粒子)の可逆的な酸化還元反応によって発生する電着・解離現象に基づく電着方式(エレクトロデポジション・電界析出)を応用した光シャッタを用いることもできる。具体的には、有機溶剤中にAg+及びI-を溶解しておき、電極に適切な電圧を印加することで、Ag+を還元してAgを析出させることで、調光装置の遮光率(光透過率)を低くし、一方、Agを酸化してAg+として溶解させることで、調光装置の遮光率(光透過率)を高くする。In addition, an optical shutter that controls the light shielding rate (light transmittance) by an electrowetting phenomenon can also be used. Specifically, a first transparent electrode and a second transparent electrode are provided, and a space between the first transparent electrode and the second transparent electrode is filled with an insulating first liquid and a conductive second liquid. The structure is as follows. Then, by applying a voltage between the first transparent electrode and the second transparent electrode, the shape of the interface formed by the first liquid and the second liquid changes from a flat shape to a curved state, for example. By doing so, the light shielding rate (light transmittance) can be controlled. Alternatively, an optical shutter using an electrodeposition method (electrodeposition / field deposition) based on an electrodeposition / dissociation phenomenon generated by a reversible oxidation-reduction reaction of a metal (for example, silver particles) can be used. Specifically, Ag+ and I− are dissolved in an organic solvent, and by applying an appropriate voltage to the electrode, Ag+ is reduced to precipitate Ag, so that the light shielding rate of the light control device is reduced. (Light transmittance) is lowered, while Ag is oxidized and dissolved as Ag+ , thereby increasing the light shielding rate (light transmittance) of the light control device.
場合によっては、調光装置を通過する光を、調光装置によって所望の色に着色する構成とすることができ、この場合、調光装置によって着色される色を可変とすることができる。具体的には、例えば、赤色に着色される調光装置と、緑色に着色される調光装置と、青色に着色される調光装置とを積層すればよい。Depending on the case, the light passing through the light control device can be colored to a desired color by the light control device, and in this case, the color to be colored by the light control device can be made variable. Specifically, for example, a light control device colored in red, a light control device colored in green, and a light control device colored in blue may be stacked.
 光学手段の光が出射される領域に、調光装置が着脱自在に配設されていてもよい。このように、調光装置を着脱自在に配設するためには、例えば、透明なプラスチックから作製されたビスを用いて調光装置を光学手段に取り付け、調光装置の光透過率を制御するための制御回路(例えば、画像形成装置を制御するための制御装置18に含まれている)にコネクタ及び配線を介して接続すればよい。The light control device may be detachably disposed in the region where the light of the optical means is emitted. In this way, in order to detachably install the light control device, for example, the light control device is attached to the optical means using a screw made of transparent plastic, and the light transmittance of the light control device is controlled. For example, it may be connected to a control circuit (for example, included in the
実施例12は、実施例11の変形である。実施例12の表示装置を上方から眺めた模式図を図30Aに示す。また、環境照度測定センサを制御する回路の模式図を図30Bに示す。Example 12 is a modification of Example 11. FIG. 30A shows a schematic view of the display device of Example 12 as viewed from above. FIG. 30B shows a schematic diagram of a circuit that controls the environmental illuminance measurement sensor.
 実施例12の表示装置は、表示装置の置かれた環境の照度を測定する環境照度測定センサ721を更に備えており、環境照度測定センサ721の測定結果に基づき、調光装置700の遮光率を制御する。併せて、あるいは、独立して、環境照度測定センサ721の測定結果に基づき、画像形成装置111,211によって形成される画像の輝度を制御する。周知の構成、構造を有する環境照度測定センサ721は、例えば、光学手段120,320の外側端部や、調光装置700の外側端部に配置すればよい。環境照度測定センサ721は、図示しないコネクタ及び配線を介して制御装置18に接続されている。制御装置18には、環境照度測定センサ721を制御する回路が含まれる。この環境照度測定センサ721を制御する回路は、環境照度測定センサ721からの測定値を受け取り、照度を求める照度演算回路、照度演算回路によって求められた照度の値を標準値の比較する比較演算回路、比較演算回路によって求められた値に基づき、調光装置700及び/又は画像形成装置111,211を制御する環境照度測定センサ制御回路から構成されているが、これらの回路は周知の回路から構成することができる。調光装置700の制御にあっては、調光装置700の遮光率の制御を行い、一方、画像形成装置111,211の制御にあっては、画像形成装置111,211によって形成される画像の輝度の制御を行う。尚、調光装置700における遮光率の制御と画像形成装置111,211における画像の輝度の制御は、それぞれ、独立して行ってもよいし、相関を付けて行ってもよい。The display device of Example 12 further includes an environmental
 例えば、環境照度測定センサ721の測定結果が所定値(第1の照度測定値)以上になったとき、調光装置700の遮光率を所定の値(第1の遮光率)以上とする。一方、環境照度測定センサ721の測定結果が所定値(第2の照度測定値)以下になったとき、調光装置700の遮光率を所定の値(第2の遮光率)以下とする。ここで、第1の照度測定値として10ルクスを挙げることができるし、第1の遮光率として99%乃至70%のいずれかの値を挙げることができるし、第2の照度測定値として0.01ルクスを挙げることができるし、第2の遮光率として49%乃至1%のいずれかの値を挙げることができる。For example, when the measurement result of the environmental
 尚、実施例12における環境照度測定センサ721を、実施例1~実施例10において説明した表示装置に適用することができる。また、表示装置がカメラ17を備えている場合、カメラ17に備えられた露出測定用の受光素子から環境照度測定センサ721を構成することもできる。Note that the environmental
実施例12あるいは次に述べる実施例13の表示装置にあっては、環境照度測定センサの測定結果に基づき、調光装置の遮光率を制御し、また、環境照度測定センサの測定結果に基づき、画像形成装置によって形成される画像の輝度を制御し、また、透過光照度測定センサの測定結果に基づき、調光装置の遮光率を制御し、また、透過光照度測定センサの測定結果に基づき、画像形成装置によって形成される画像の輝度を制御するので、観察者が観察する虚像に高いコントラストを与えることができるだけでなく、表示装置の置かれた周囲の環境の照度に依存して虚像の観察状態の最適化を図ることができる。In the display device of Example 12 or Example 13 described below, the light shielding rate of the light control device is controlled based on the measurement result of the environmental illuminance measurement sensor, and based on the measurement result of the environmental illuminance measurement sensor, Controls the brightness of the image formed by the image forming device, controls the light shielding rate of the light control device based on the measurement result of the transmitted light illuminance measurement sensor, and forms the image based on the measurement result of the transmitted light illuminance measurement sensor Since the brightness of the image formed by the device is controlled, not only can a high contrast be given to the virtual image observed by the observer, but also the observation state of the virtual image depends on the illuminance of the surrounding environment where the display device is placed. Optimization can be achieved.
実施例13も、実施例11の変形である。実施例13の表示装置を上方から眺めた模式図を図31Aに示す。また、透過光照度測定センサを制御する回路の模式図を図31Bに示す。Example 13 is also a modification of Example 11. FIG. 31A shows a schematic view of the display device of Example 13 as viewed from above. FIG. 31B shows a schematic diagram of a circuit that controls the transmitted light illuminance measurement sensor.
 実施例13の表示装置は、外部環境から調光装置を透過した光に基づく照度を測定する、即ち、環境光が調光装置を透過して所望の照度まで調整されて入射しているかを測定する透過光照度測定センサ722を更に備えており、透過光照度測定センサ722の測定結果に基づき、調光装置700の遮光率を制御する。併せて、あるいは、独立して、また、透過光照度測定センサ722の測定結果に基づき、画像形成装置111,211によって形成される画像の輝度を制御する。周知の構成、構造を有する透過光照度測定センサ722は、光学手段120,320よりも観察者側に配置されている。具体的には、透過光照度測定センサ722は、例えば、筐体113,213の内側面や、導光板121の観察者側の面に配置すればよい。透過光照度測定センサ722は、図示しないコネクタ及び配線を介して制御装置18に接続されている。制御装置18には、透過光照度測定センサ722を制御する回路が含まれる。この透過光照度測定センサ722を制御する回路は、透過光照度測定センサ722からの測定値を受け取り、照度を求める照度演算回路、照度演算回路によって求められた照度の値を標準値の比較する比較演算回路、比較演算回路によって求められた値に基づき、調光装置700及び/又は画像形成装置111,211を制御する透過光照度測定センサ制御回路から構成されているが、これらの回路は周知の回路から構成することができる。調光装置700の制御において、調光装置700の遮光率の制御を行い、一方、画像形成装置111,211の制御において、画像形成装置111,211によって形成される画像の輝度の制御を行う。尚、調光装置700における遮光率の制御と画像形成装置111,211における画像の輝度の制御は、それぞれ、独立して行ってもよいし、相関を付けて行ってもよい。更に、透過光照度測定センサ722の測定結果が環境照度測定センサ721の照度から鑑みて所望の照度まで制御できていない場合、即ち、透過光照度測定センサ722の測定結果が所望の照度になっていない場合、若しくは、更に一層の微妙な照度調整が望まれる場合には、透過光照度測定センサ722の値をモニターしながら調光装置の遮光率を調整すればよい。透過光照度測定センサを、少なくとも2つ、配置し、高遮光率の部分を通過した光に基づく照度の測定、低遮光率の部分を通過した光に基づく照度の測定を行ってもよい。The display device of Example 13 measures the illuminance based on the light transmitted through the light control device from the external environment, that is, measures whether the ambient light is adjusted to the desired illuminance after passing through the light control device. The transmitted light
 尚、実施例13における透過光照度測定センサ722を、実施例1~実施例10において説明した表示装置に適用することができる。あるいは又、実施例13における透過光照度測定センサ722と実施例12における環境照度測定センサ721とを組み合わせてもよく、この場合、種々の試験を行い、調光装置700における遮光率の制御と画像形成装置111,211における画像の輝度の制御を、それぞれ、独立して行ってもよいし、相関を付けて行ってもよい。右眼用の調光装置と左眼用の調光装置のそれぞれにおいて、第1透明電極及び第2透明電極に印加する電圧を調整することで、右眼用の調光装置における遮光率及び左眼用の調光装置における遮光率の均等化を図ることができる。第1透明電極と第2透明電極との間の電位差を制御してもよいし、第1透明電極に印加する電圧と第2透明電極に印加する電圧とを独立に制御してもよい。右眼用の調光装置における遮光率及び左眼用の調光装置における遮光率は、例えば、透過光照度測定センサ722の測定結果に基づき、制御することができるし、あるいは又、観察者が、右眼用の調光装置及び光学手段を通過した光の明るさ及び左眼用の調光装置及び光学手段を通過した光の明るさを観察し、観察者が、スイッチやボタン、ダイアル、スライダ、ノブ等を操作することで手動にて制御、調整することもできる。The transmitted light
 以上、本開示を好ましい実施例に基づき説明したが、本開示はこれらの実施例に限定するものではない。実施例において説明した表示装置(頭部装着型ディスプレイ)、画像表示装置、画像形成装置の構成、構造は例示であり、適宜変更することができる。また、第1光学部材、第2光学部材、移動装置、液体レンズ、液体プリズムの構成、構造も例示であり、適宜、変更することができる。例えば、導光板に表面レリーフ型ホログラム(米国特許第20040062505A1参照)を配置してもよい。第1偏向手段等を透過型回折格子部材から構成することもできる。あるいは又、回折格子部材を、反射型ブレーズド回折格子部材とすることもできる。本開示の表示装置は、立体視ディスプレイ装置として用いることもできる。この場合、必要に応じて、光学手段に偏光板や偏光フィルムを着脱自在に取り付け、あるいは、光学手段に偏光板や偏光フィルムを貼り合わせればよい。また、導光板121の第1面122に第1の第1偏向手段を配し、導光板121の第2面123に第2の第1偏向手段を配してもよい。Although the present disclosure has been described based on the preferred embodiments, the present disclosure is not limited to these embodiments. The configurations and structures of the display device (head-mounted display), the image display device, and the image forming device described in the embodiments are examples and can be changed as appropriate. The configurations and structures of the first optical member, the second optical member, the moving device, the liquid lens, and the liquid prism are also examples, and can be changed as appropriate. For example, a surface relief hologram (see US 20040062505A1) may be disposed on the light guide plate. The first deflecting means and the like can also be configured from a transmissive diffraction grating member. Alternatively, the diffraction grating member can be a reflective blazed diffraction grating member. The display device of the present disclosure can also be used as a stereoscopic display device. In this case, if necessary, a polarizing plate or a polarizing film may be detachably attached to the optical means, or a polarizing plate or a polarizing film may be attached to the optical means. Alternatively, the first first deflecting unit may be disposed on the
 実施例においては、画像形成装置111,211は、単色(例えば、緑色)の画像を表示するとして説明したが、画像形成装置111,211はカラー画像を表示することもでき、この場合、光源を、例えば、赤色、緑色、青色のそれぞれを出射する光源から構成すればよい。具体的には、例えば、赤色発光素子、緑色発光素子、青色発光素子のそれぞれから出射された赤色光、緑色光及び青色光をライトパイプを用いて混色、輝度均一化を行うことで白色光を得ればよい。In the embodiment, the
 第2光学部材の焦点距離を可変とするために、第2光学部材142を液体レンズから構成してもよい。このような液体レンズの模式的な断面図を図32に示し、平面図を図33に示すが、液体レンズはフレネルレンズから構成され、リング状のレンズ室が同心に配置されている。In order to make the focal length of the second optical member variable, the second
 即ち、液体レンズは、
 (A)終端部を有していない、所謂エンドレスの外壁部材79、
 外壁部材79の頂面に取り付けられた天板75、及び、
 外壁部材79の底面に取り付けられた底板76、
を備えたハウジング、並びに、
 (B)終端部を有しておらず、外壁部材79と同心に配置された(N-1)個の隔壁部材77、
を備えている。尚、ハウジングの外形形状は円形である。そして、(N-1)個の環状レンズ室、及び、第(N-1)番目の隔壁部材77によって囲まれた中央レンズ室を有している。ここで、図示した例にあっては、N=3とした。各レンズ室78(781,782,783)は、液体レンズを構成する第1の液体65及び第2の液体66によって占められている。That is, the liquid lens
 (A) a so-called endless
 A
 A
 A housing with
 (B) (N−1)
 It has. The outer shape of the housing is circular. The center lens chamber is surrounded by (N−1) annular lens chambers and the (N−1)
 第1番目のレンズ室(環状レンズ室)781は、外壁部材79、第1番目の隔壁部材77、天板75、及び、底板76から構成されている。そして、第1番目のレンズ室781を構成する天板75の部分の内面には、第1電極81が設けられており、第1番目のレンズ室781を構成する外壁部材79の部分の内面には、第2電極82が設けられており、第1番目のレンズ室781を構成する第1番目の隔壁部材77の部分の内面には、第3電極83が設けられている。The first lens chamber (annular lens chamber) 781 includes an
 第(n+1)番目のレンズ室(環状レンズ室)78(n+1)は、第n番目(但し、n=1,2・・・N-2)の隔壁部材77、第(n+1)番目の隔壁部材77、天板75、及び、底板76から構成されている。そして、第(n+1)番目のレンズ室78(n+1)を構成する天板75の部分の内面には、第1電極81が設けられており、第(n+1)番目のレンズ室78(n+1)を構成する第n番目の隔壁部材77の部分の内面には、第2電極82が設けられており、第(n+1)番目のレンズ室78(n+1)を構成する第(n+1)番目の隔壁部材77の部分の内面には、第3電極83が設けられている。The (n + 1) th lens chamber (annular lens chamber) 78(n + 1) includes an nth (where n = 1, 2,..., N−2)
 第N番目のレンズ室78Nに相当する中央レンズ室783を構成する天板75の部分の内面には、第1電極81が設けられており、中央レンズ室783を構成する第(N-1)番目の隔壁部材77の部分の内面には、第3電極83が設けられている。Part of the inner surface of the
 尚、図示した例では、各レンズ室毎に第1電極81が設けられているが、天板75の内面に1枚の第1電極81を設けてもよい。In the illustrated example, the
 この液体レンズにおいては、少なくとも第1の液体65と第2の液体66との界面が位置する外壁部材79及び隔壁部材77のそれぞれの表面には、撥水処理が施されている。底板76から光が入射し、天板75から光が出射する。そして、各レンズ室781,782,783において、第2電極82に印加する電圧と第3電極83に印加する電圧とを異ならせることで、液体レンズの光学的パワーを変化させる。あるいは又、各レンズ室781,782,783において、第2電極82に印加する電圧と第3電極83に印加する電圧とを異ならせることで、液体レンズ全体としてフレネルレンズが構成される。In this liquid lens, at least the surfaces of the
 尚、本開示は、以下のような構成を取ることもできる。
[A01]《表示装置:第1の態様》
 (A)観察者の頭部に装着されるフレーム、並びに、
 (B)フレームに取り付けられた画像表示装置、
を備えた表示装置であって、
 画像表示装置は、
 (B-1)画像形成装置、
 (B-2)画像形成装置からの光が入射する第1光学部材、
 (B-3)第1光学部材からの光を観察者の瞳に入射させる第2光学部材、並びに、
 (B-4)画像形成装置の光軸と第1光学部材の光軸とを、水平方向、又は、垂直方向、又は、水平方向及び垂直方向に相対的に移動させる移動装置、
を備えており、
 画像形成装置と観察者の瞳とは共役の関係にあり、
 第1光学部材及び第2光学部材によって両側テレセントリック系が構成される表示装置。
[A02]《表示装置:第2の態様》
 (A)観察者の頭部に装着されるフレーム、並びに、
 (B)フレームに取り付けられた画像表示装置、
を備えた表示装置であって、
 画像表示装置は、
 (B-1)画像形成装置、
 (B-2)画像形成装置からの光が入射する第1光学部材、
 (B-3)第1光学部材からの光を観察者の瞳に入射させる第2光学部材、並びに、
 (B-4)画像形成装置の光軸と第1光学部材の光軸とを、水平方向、又は、垂直方向、又は、水平方向及び垂直方向に相対的に移動させる移動装置、
を備えており、
 正の光学的パワーを有する第1光学部材の前方焦点に、画像形成装置から画像が出射される画像出射部が位置し、正の光学的パワーを有する第2光学部材の後方焦点に、観察者の瞳が位置し、第1光学部材の後方焦点に第2光学部材の前方焦点が位置する表示装置。
[A03]画像表示装置は、第2光学部材を取り付ける光学手段を更に備えている[A01]又は[A02]に記載の表示装置。
[A04]光学手段は、導光板、導光板に配された第1偏向手段、及び、導光板に取り付けられた第2偏向手段を備えており、
 第1光学部材からの光は、第1偏向手段において偏向され、導光板の内部を全反射により伝播し、第2偏向手段において偏向され、第2光学部材に入射し、第2光学部材から出射され、観察者の瞳に入射する[A03]に記載の表示装置。
[A05]《表示装置:第3の態様》
 (A)観察者の頭部に装着されるフレーム、並びに、
 (B)フレームに取り付けられた画像表示装置、
を備えた表示装置であって、
 画像表示装置は、
 (B-1)画像形成装置、
 (B-2)画像形成装置からの光が入射する第1光学部材、
 (B-3)第1光学部材からの光を観察者の瞳に入射させる第2光学部材、並びに、
 (B-4)画像形成装置の光軸と第1光学部材の光軸とを、水平方向、又は、垂直方向、又は、水平方向及び垂直方向に相対的に移動させる移動装置、
を備えており、
 画像形成装置と観察者の瞳とは共役の関係にあり、
 画像表示装置は、第2光学部材を取り付ける光学手段を更に備えており、
 光学手段は、導光板、導光板に配された第1偏向手段、及び、導光板に取り付けられた第2偏向手段を備えており、
 第1光学部材からの光は、第1偏向手段において偏向され、導光板の内部を全反射により伝播し、第2偏向手段において偏向され、第2光学部材に入射し、第2光学部材から出射され、観察者の瞳に入射する表示装置。
[A06]第1偏向手段及び第2偏向手段はホログラム回折格子から成る[A04]又は[A05]に記載の表示装置。
[A07]第2光学部材は、ホログラムレンズから成る[A06]に記載の表示装置。
[A08]導光板は、第1光学部材からの光が入射する第1面、及び、第1面と対向する第2面を有しており、
 第1偏向手段は、導光板の第2面上に配置されており、
 第2偏向手段は、導光板の第1面上に配置されており、
 第2光学部材は、導光板の第2面上に配置されている[A07]に記載の表示装置。
[A09]第1偏向手段を構成するホログラム回折格子の内部には第1の干渉縞が形成されており、
 第2偏向手段を構成するホログラム回折格子の内部には第2の干渉縞が形成されており、
 第1の干渉縞と第2の干渉縞は、同じ格子面のピッチ、及び、同じスラント角を有しており、
 導光板の軸線の延びる方向をX方向、厚さ方向をY方向としたとき、第1偏向手段と第2偏向手段とは、Z方向の軸線に対して回転対称に配置されている[A08]に記載の表示装置。
[A10]導光板は、第1光学部材からの光が入射する第1面、及び、第1面と対向する第2面を有しており、
 第1偏向手段は、導光板の第2面上に配置されており、
 第2偏向手段は、導光板の第2面上に配置されており、
 第2光学部材は、第2偏向手段の上に配置されている[A07]に記載の表示装置。
[A11]第1偏向手段を構成するホログラム回折格子の内部には第1の干渉縞が形成されており、
 第2偏向手段を構成するホログラム回折格子の内部には第2の干渉縞が形成されており、
 第1の干渉縞と第2の干渉縞は、同じ格子面のピッチ、及び、同じスラント角を有しており、
 導光板の軸線の延びる方向をX方向、厚さ方向をY方向とし、第1偏向手段をX方向に平行移動して第1偏向手段と第2偏向手段とを重ね合わせたとき、第1偏向手段に形成された第1の干渉縞と第2偏向手段に形成された第2の干渉縞とは重なり合う[A10]に記載の表示装置。
[A12]第2偏向手段は、第1偏向手段の延在部から構成されている[A10]又は[A11]に記載の表示装置。
[A13]画像形成装置と第1光学部材との間、又は、第1光学部材と第2光学部材との間には、第3光学部材が配置されており、第3光学部材によって取り出された観察者の瞳の像を撮像する撮像装置を更に備えている[A01]乃至[A12]のいずれか1項に記載の表示装置。
[A14]第3光学部材はハーフミラーから成る[A13]に記載の表示装置。
[A15]撮像装置によって撮像された観察者の瞳の像の位置に基づき、移動装置は、画像形成装置の光軸と第1光学部材の光軸とを、水平方向、又は、垂直方向、又は、水平方向及び垂直方向に相対的に移動させる[A13]又は[A14]に記載の表示装置。
[A16]第1光学部材及び第2光学部材は正の光学的パワーを有する[A01]乃至[A15]のいずれか1項に記載の表示装置。
[A17]第1光学部材の有する正の光学的パワーの値は、第2光学部材の有する正の光学的パワーの値よりも大きい[A16]に記載の表示装置。
[A18]画像形成装置は、光源、及び、光源から出射された光を走査して画像を形成する走査手段を備えている[A01]乃至[A17]のいずれか1項に記載の表示装置。
[B01]《表示装置の調整方法》
 (A)観察者の頭部に装着されるフレーム、並びに、
 (B)フレームに取り付けられた画像表示装置、
を備えており、
 画像表示装置は、
 (B-1)画像形成装置、
 (B-2)画像形成装置からの光が入射する第1光学部材、
 (B-3)第1光学部材からの光を観察者の瞳に入射させる第2光学部材、並びに、
 (B-4)画像形成装置の光軸と第1光学部材の光軸とを、水平方向、又は、垂直方向、又は、水平方向及び垂直方向に相対的に移動させる移動装置、
を備えている表示装置の調整方法であって、
 画像形成装置によって形成された画像を、第1光学部材及び第2光学部材を介して観察者の瞳に入射させながら、画像形成装置の光軸と第1光学部材の光軸とを移動装置によって移動させることで、観察者の瞳に入射される画像の光強度の最適化を図る表示装置の調整方法。
[B02]
 [A01]乃至[A18]のいずれか1項に記載の表示装置の調整方法であって、
 画像形成装置によって形成された画像を、第1光学部材及び第2光学部材を介して観察者の瞳に入射させながら、画像形成装置の光軸と第1光学部材の光軸とを移動装置によって移動させることで、観察者の瞳に入射される画像の光強度の最適化を図る表示装置の調整方法。In addition, this indication can also take the following structures.
 [A01] << Display device: first aspect >>
 (A) a frame attached to the observer's head, and
 (B) an image display device attached to the frame;
 A display device comprising:
 The image display device
 (B-1) Image forming apparatus,
 (B-2) a first optical member on which light from the image forming apparatus is incident;
 (B-3) a second optical member that makes light from the first optical member incident on the pupil of the observer, and
 (B-4) a moving device that relatively moves the optical axis of the image forming apparatus and the optical axis of the first optical member in the horizontal direction, the vertical direction, or the horizontal direction and the vertical direction;
 With
 The image forming apparatus and the observer's pupil are in a conjugate relationship,
 A display device in which a both-side telecentric system is configured by a first optical member and a second optical member.
 [A02] << Display device: second aspect >>
 (A) a frame attached to the observer's head, and
 (B) an image display device attached to the frame;
 A display device comprising:
 The image display device
 (B-1) Image forming apparatus,
 (B-2) a first optical member on which light from the image forming apparatus is incident;
 (B-3) a second optical member that makes light from the first optical member incident on the pupil of the observer, and
 (B-4) a moving device that relatively moves the optical axis of the image forming apparatus and the optical axis of the first optical member in the horizontal direction, the vertical direction, or the horizontal direction and the vertical direction;
 With
 An image emitting portion from which an image is emitted from the image forming apparatus is located at the front focal point of the first optical member having positive optical power, and the observer is located at the rear focal point of the second optical member having positive optical power. A display device in which the pupil of the second optical member is positioned at the rear focal point of the first optical member.
 [A03] The display device according to [A01] or [A02], further including optical means for attaching the second optical member.
 [A04] The optical means includes a light guide plate, first deflecting means disposed on the light guide plate, and second deflecting means attached to the light guide plate.
 The light from the first optical member is deflected by the first deflecting means, propagates through the light guide plate by total reflection, deflected by the second deflecting means, enters the second optical member, and exits from the second optical member. The display device according to [A03], which is incident on an observer's pupil.
 [A05] << Display device: third aspect >>
 (A) a frame attached to the observer's head, and
 (B) an image display device attached to the frame;
 A display device comprising:
 The image display device
 (B-1) Image forming apparatus,
 (B-2) a first optical member on which light from the image forming apparatus is incident;
 (B-3) a second optical member that makes light from the first optical member incident on the pupil of the observer, and
 (B-4) a moving device that relatively moves the optical axis of the image forming apparatus and the optical axis of the first optical member in the horizontal direction, the vertical direction, or the horizontal direction and the vertical direction;
 With
 The image forming apparatus and the observer's pupil are in a conjugate relationship,
 The image display device further includes optical means for attaching the second optical member,
 The optical means comprises a light guide plate, a first deflecting means disposed on the light guide plate, and a second deflecting means attached to the light guide plate,
 The light from the first optical member is deflected by the first deflecting means, propagates through the light guide plate by total reflection, deflected by the second deflecting means, enters the second optical member, and exits from the second optical member. And a display device that enters the observer's pupil.
 [A06] The display device according to [A04] or [A05], wherein the first deflecting unit and the second deflecting unit are formed of a hologram diffraction grating.
 [A07] The display device according to [A06], in which the second optical member includes a hologram lens.
 [A08] The light guide plate has a first surface on which light from the first optical member is incident, and a second surface facing the first surface,
 The first deflecting means is disposed on the second surface of the light guide plate,
 The second deflecting means is disposed on the first surface of the light guide plate,
 The second optical member is the display device according to [A07], which is disposed on the second surface of the light guide plate.
 [A09] A first interference fringe is formed inside the hologram diffraction grating constituting the first deflecting means,
 A second interference fringe is formed inside the hologram diffraction grating constituting the second deflection means,
 The first interference fringe and the second interference fringe have the same lattice plane pitch and the same slant angle,
 When the direction in which the axis of the light guide plate extends is the X direction and the thickness direction is the Y direction, the first deflecting means and the second deflecting means are arranged rotationally symmetrically with respect to the axis in the Z direction [A08]. The display device described in 1.
 [A10] The light guide plate has a first surface on which light from the first optical member is incident and a second surface facing the first surface,
 The first deflecting means is disposed on the second surface of the light guide plate,
 The second deflecting means is disposed on the second surface of the light guide plate,
 The display device according to [A07], wherein the second optical member is disposed on the second deflecting unit.
 [A11] A first interference fringe is formed inside the hologram diffraction grating constituting the first deflection means,
 A second interference fringe is formed inside the hologram diffraction grating constituting the second deflection means,
 The first interference fringe and the second interference fringe have the same lattice plane pitch and the same slant angle,
 When the direction in which the axis of the light guide plate extends is the X direction, the thickness direction is the Y direction, and the first deflecting means and the second deflecting means are overlapped by translating the first deflecting means in the X direction, the first deflection The display device according to [A10], wherein the first interference fringes formed on the means and the second interference fringes formed on the second deflection means overlap.
 [A12] The display device according to [A10] or [A11], in which the second deflecting unit includes an extending portion of the first deflecting unit.
 [A13] A third optical member is disposed between the image forming apparatus and the first optical member, or between the first optical member and the second optical member, and is taken out by the third optical member. The display device according to any one of [A01] to [A12], further including an imaging device that captures an image of an observer's pupil.
 [A14] The display device according to [A13], wherein the third optical member includes a half mirror.
 [A15] Based on the position of the image of the pupil of the observer imaged by the imaging device, the moving device sets the optical axis of the image forming device and the optical axis of the first optical member in the horizontal direction, the vertical direction, or The display device according to [A13] or [A14], which is relatively moved in the horizontal direction and the vertical direction.
 [A16] The display device according to any one of [A01] to [A15], wherein the first optical member and the second optical member have positive optical power.
 [A17] The display device according to [A16], wherein the value of the positive optical power of the first optical member is larger than the value of the positive optical power of the second optical member.
 [A18] The display apparatus according to any one of [A01] to [A17], wherein the image forming apparatus includes a light source and a scanning unit that scans light emitted from the light source to form an image.
 [B01] << Method for adjusting display device >>
 (A) a frame attached to the observer's head, and
 (B) an image display device attached to the frame;
 With
 The image display device
 (B-1) Image forming apparatus,
 (B-2) a first optical member on which light from the image forming apparatus is incident;
 (B-3) a second optical member that makes light from the first optical member incident on the pupil of the observer, and
 (B-4) a moving device that relatively moves the optical axis of the image forming apparatus and the optical axis of the first optical member in the horizontal direction, the vertical direction, or the horizontal direction and the vertical direction;
 A method for adjusting a display device comprising:
 While the image formed by the image forming apparatus is incident on the observer's pupil via the first optical member and the second optical member, the optical axis of the image forming apparatus and the optical axis of the first optical member are moved by the moving device. A method of adjusting a display device that optimizes the light intensity of an image incident on an observer's pupil by being moved.
 [B02]
 A method for adjusting a display device according to any one of [A01] to [A18],
 While the image formed by the image forming apparatus is incident on the observer's pupil via the first optical member and the second optical member, the optical axis of the image forming apparatus and the optical axis of the first optical member are moved by the moving device. A method of adjusting a display device that optimizes the light intensity of an image incident on an observer's pupil by being moved.
10・・・フレーム、10’・・・ノーズパッド、11・・・フロント部、11’・・・フロント部の中央部分、12・・・蝶番、13・・・テンプル部、14・・・モダン部、15・・・配線(信号線や電源線等)、16・・・ヘッドホン部、16’・・・ヘッドホン部用配線、17・・・カメラ、18・・・制御装置(制御回路、制御手段)、19・・・取付け部材、20・・・観察者、21・・・瞳、100,200,300,400,500・・・画像表示装置、111,111A,111B,211・・・画像形成装置、112・・・コリメート光学系、113,213・・・筐体、120,320,520・・・光学手段、121・・・導光板、122・・・導光板の第1面、123・・・導光板の第2面、124・・・封止部材、125・・・透明保護部材、131,133・・・第1偏向手段、132・・・第2偏向手段、141・・・第1光学部材、142・・・第2光学部材、151・・・光源、152・・・コリメート光学系、153・・・走査手段、154・・・全反射ミラー、250・・・反射型空間光変調装置、251・・・光源、252・・・偏光ビームスプリッター、253・・・液晶表示装置(LCD)、255・・・凸レンズ、256・・・開口部、30・・・撮像装置、31・・・第3光学部材(ハーフミラー)、41・・・移動装置、42・・・モータ及びピニオンギア、43・・・移動用ガイド部、44・・・液体レンズ、45・・・液体プリズム、51・・・第1側面部材、52・・・第2側面部材、53・・・第3側面部材、54・・・第4側面部材、55・・・天板、56・・・底板、57・・・隔壁部材、61・・・第1電極、62・・・第2電極、63・・・第3電極、64・・・絶縁膜、65・・・第1の液体、66・・・第2の液体、75・・・天板、76・・・底板、77・・・隔壁部材、78,781.782,783・・・レンズ室、79・・・外壁部材、81・・・第1電極、82・・・第2電極、83・・・第3電極、601,602・・・遮光部材、700・・・調光装置、701・・・第1基板(透明保護部材が兼用)、702・・・第1透明電極、702A・・・第1透明電極セグメント、703・・・第2基板、704・・・第2透明電極、704A・・・第2透明電極セグメント、705・・・調光層、705A・・・WO3層、705B・・・Ta2O5層、705C・・・IrXSn1-XO層、706・・・保護層、707・・・封止材、708・・・調光装置の遮光率が変化する最小単位領域、711・・・虚像投影領域、712・・・調光装置の他の領域、131A・・・仮想矩形、721・・・環境照度測定センサ、722・・・透過光照度測定センサDESCRIPTION OF
| Application Number | Priority Date | Filing Date | Title | 
|---|---|---|---|
| JP2015-165901 | 2015-08-25 | ||
| JP2015165901 | 2015-08-25 | 
| Publication Number | Publication Date | 
|---|---|
| WO2017033601A1true WO2017033601A1 (en) | 2017-03-02 | 
| Application Number | Title | Priority Date | Filing Date | 
|---|---|---|---|
| PCT/JP2016/070516CeasedWO2017033601A1 (en) | 2015-08-25 | 2016-07-12 | Display device and display device adjustment method | 
| Country | Link | 
|---|---|
| WO (1) | WO2017033601A1 (en) | 
| Publication number | Priority date | Publication date | Assignee | Title | 
|---|---|---|---|---|
| WO2019130988A1 (en)* | 2017-12-26 | 2019-07-04 | ソニーセミコンダクタソリューションズ株式会社 | Image display device and display device | 
| CN111819488A (en)* | 2018-03-13 | 2020-10-23 | 索尼公司 | Optical device, image display device and display device | 
| CN113767319A (en)* | 2019-06-18 | 2021-12-07 | 索尼集团公司 | Image display device and display device | 
| EP3640710B1 (en)* | 2018-10-15 | 2023-04-19 | Coretronic Corporation | Near-eye display apparatus | 
| Publication number | Priority date | Publication date | Assignee | Title | 
|---|---|---|---|---|
| JPH07151993A (en)* | 1993-11-30 | 1995-06-16 | Olympus Optical Co Ltd | Visual display device | 
| JP2000267040A (en)* | 1999-03-15 | 2000-09-29 | Fuji Xerox Co Ltd | Mounted type display device | 
| JP2003315726A (en)* | 2002-04-22 | 2003-11-06 | Brother Ind Ltd | Image display device | 
| JP2003315727A (en)* | 2002-04-25 | 2003-11-06 | Sony Corp | Image display device | 
| JP2005250408A (en)* | 2004-03-08 | 2005-09-15 | Sony Corp | Image display device | 
| WO2005093493A1 (en)* | 2004-03-29 | 2005-10-06 | Sony Corporation | Optical device and virtual image display device | 
| JP2009294605A (en)* | 2008-06-09 | 2009-12-17 | Canon Inc | Scanning type display device | 
| WO2010035607A1 (en)* | 2008-09-26 | 2010-04-01 | コニカミノルタオプト株式会社 | Image display device, head-mounted display and head-up display | 
| JP2011075956A (en)* | 2009-09-30 | 2011-04-14 | Brother Industries Ltd | Head-mounted display | 
| JP2011215194A (en)* | 2010-03-31 | 2011-10-27 | Brother Industries Ltd | Direct viewing type image display device | 
| JP2013005201A (en)* | 2011-06-16 | 2013-01-07 | Sony Corp | Display device | 
| JP2015148782A (en)* | 2014-02-10 | 2015-08-20 | ソニー株式会社 | Image display device and display device | 
| Publication number | Priority date | Publication date | Assignee | Title | 
|---|---|---|---|---|
| JPH07151993A (en)* | 1993-11-30 | 1995-06-16 | Olympus Optical Co Ltd | Visual display device | 
| JP2000267040A (en)* | 1999-03-15 | 2000-09-29 | Fuji Xerox Co Ltd | Mounted type display device | 
| JP2003315726A (en)* | 2002-04-22 | 2003-11-06 | Brother Ind Ltd | Image display device | 
| JP2003315727A (en)* | 2002-04-25 | 2003-11-06 | Sony Corp | Image display device | 
| JP2005250408A (en)* | 2004-03-08 | 2005-09-15 | Sony Corp | Image display device | 
| WO2005093493A1 (en)* | 2004-03-29 | 2005-10-06 | Sony Corporation | Optical device and virtual image display device | 
| JP2009294605A (en)* | 2008-06-09 | 2009-12-17 | Canon Inc | Scanning type display device | 
| WO2010035607A1 (en)* | 2008-09-26 | 2010-04-01 | コニカミノルタオプト株式会社 | Image display device, head-mounted display and head-up display | 
| JP2011075956A (en)* | 2009-09-30 | 2011-04-14 | Brother Industries Ltd | Head-mounted display | 
| JP2011215194A (en)* | 2010-03-31 | 2011-10-27 | Brother Industries Ltd | Direct viewing type image display device | 
| JP2013005201A (en)* | 2011-06-16 | 2013-01-07 | Sony Corp | Display device | 
| JP2015148782A (en)* | 2014-02-10 | 2015-08-20 | ソニー株式会社 | Image display device and display device | 
| Publication number | Priority date | Publication date | Assignee | Title | 
|---|---|---|---|---|
| WO2019130988A1 (en)* | 2017-12-26 | 2019-07-04 | ソニーセミコンダクタソリューションズ株式会社 | Image display device and display device | 
| CN111512214A (en)* | 2017-12-26 | 2020-08-07 | 索尼半导体解决方案公司 | Image display device and display device | 
| CN111512214B (en)* | 2017-12-26 | 2023-03-10 | 索尼半导体解决方案公司 | Image display device and display device | 
| CN111819488A (en)* | 2018-03-13 | 2020-10-23 | 索尼公司 | Optical device, image display device and display device | 
| US11520148B2 (en) | 2018-03-13 | 2022-12-06 | Sony Corporation | Optical device, image display device, and display apparatus | 
| EP3640710B1 (en)* | 2018-10-15 | 2023-04-19 | Coretronic Corporation | Near-eye display apparatus | 
| CN113767319A (en)* | 2019-06-18 | 2021-12-07 | 索尼集团公司 | Image display device and display device | 
| Publication | Publication Date | Title | 
|---|---|---|
| JP6872136B2 (en) | Image display device, display device, and adjustment method of display device | |
| JP6391952B2 (en) | Display device and optical device | |
| JP6145966B2 (en) | Display device | |
| JP6988803B2 (en) | Dimming device, image display device and display device | |
| JP6123342B2 (en) | Display device | |
| JP6848865B2 (en) | Optical device, image display device and display device | |
| US9933621B2 (en) | Light guide unit for an image display | |
| JP6690550B2 (en) | Optical device and display device | |
| EP2808725B1 (en) | Head-mounted display device with a light-shielding member | |
| JP7230823B2 (en) | Light control device, image display device and display device | |
| JP7207406B2 (en) | Display device | |
| JP2015184561A (en) | Light guide device, image display device, and display device | |
| JPWO2018135193A1 (en) | Optical device and display device | |
| WO2017038350A1 (en) | Optical device and method for producing same, and display device | |
| JPWO2018198587A1 (en) | Optical device, image display device and display device | |
| WO2017033601A1 (en) | Display device and display device adjustment method | |
| WO2020241103A1 (en) | Image display device and display device | 
| Date | Code | Title | Description | 
|---|---|---|---|
| 121 | Ep: the epo has been informed by wipo that ep was designated in this application | Ref document number:16838948 Country of ref document:EP Kind code of ref document:A1 | |
| NENP | Non-entry into the national phase | Ref country code:DE | |
| NENP | Non-entry into the national phase | Ref country code:JP | |
| 122 | Ep: pct application non-entry in european phase | Ref document number:16838948 Country of ref document:EP Kind code of ref document:A1 |