Movatterモバイル変換


[0]ホーム

URL:


WO2016034931A1 - Photovoltaic cell management device, photovoltaic system, and photovoltaic cell management method - Google Patents

Photovoltaic cell management device, photovoltaic system, and photovoltaic cell management method
Download PDF

Info

Publication number
WO2016034931A1
WO2016034931A1PCT/IB2015/001489IB2015001489WWO2016034931A1WO 2016034931 A1WO2016034931 A1WO 2016034931A1IB 2015001489 WIB2015001489 WIB 2015001489WWO 2016034931 A1WO2016034931 A1WO 2016034931A1
Authority
WO
WIPO (PCT)
Prior art keywords
solar cell
reference data
electrical output
output value
current value
Prior art date
Application number
PCT/IB2015/001489
Other languages
French (fr)
Japanese (ja)
Inventor
浩基 數野
浩一 高岡
Original Assignee
パナソニックIpマネジメント株式会社
Priority date (The priority date is an assumption and is not a legal conclusion. Google has not performed a legal analysis and makes no representation as to the accuracy of the date listed.)
Filing date
Publication date
Application filed by パナソニックIpマネジメント株式会社filedCriticalパナソニックIpマネジメント株式会社
Priority to CN201580047273.4ApriorityCriticalpatent/CN106605364A/en
Publication of WO2016034931A1publicationCriticalpatent/WO2016034931A1/en

Links

Images

Classifications

Definitions

Landscapes

Abstract

This photovoltaic system 1 comprises a photovoltaic cell 20, a measurement device 22 that measures the current value output by the photovoltaic cell 20, and a management device 10 for the photovoltaic cell 20. The management device 10 for the photovoltaic cell 20 comprises an acquisition unit 11, a storage unit 12, a determination unit 15, and an accumulation unit 16. The acquisition unit 11 acquires, from the measurement device 22, the current value output by the photovoltaic cell 20. The storage unit 12 stores standard data corresponding to the current value in a prescribed evaluation period in clear weather. The determination unit 15 determines whether the current value is within a standard range set on the basis of the standard data, and if the current value is inside the standard range, the current value is accumulated in the accumulation unit 16, and if the current value is outside the standard range, the history of the current value is discarded.

Description

太陽電池の管理装置、太陽光発電システム、及び太陽電池の管理方法Solar cell management device, solar power generation system, and solar cell management method
 本発明は、太陽電池の電気的出力値を管理する太陽電池の管理装置、この管理装置を用いた太陽光発電システム、及び太陽電池の管理方法に関する。The present invention relates to a solar cell management device that manages an electrical output value of a solar cell, a solar power generation system using the management device, and a solar cell management method.
 従来、太陽電池の電気的出力値を管理する技術として、所定の日照時刻における標準出力電力値に対して、太陽電池の実際の出力電力値の比を算出し、この比を用いて太陽電池の出力が正常か異常かを判定する技術が知られている(たとえば、日本国公開特許公報第2005−340464号参照)。日本国公開特許公報第2005−340464号には、複数日にわたって日照時刻毎に繰り返し実測した出力電力値の最大値を日照時刻における標準出力電力値とする技術が記載されている。Conventionally, as a technique for managing the electrical output value of a solar cell, the ratio of the actual output power value of the solar cell to the standard output power value at a predetermined sunshine time is calculated, and the solar cell is calculated using this ratio. A technique for determining whether the output is normal or abnormal is known (see, for example, Japanese Patent Publication No. 2005-340464). Japanese Patent Application Publication No. 2005-340464 describes a technique in which the maximum value of the output power value repeatedly measured at each sunshine time over a plurality of days is used as the standard output power value at the sunshine time.
 日本国公開特許公報第2005−340464号に記載された発明は、太陽光発電システムの導入時に太陽電池アレイが適切に設置されているか否かを診断し、また太陽電池アレイの経時変化による発電能力の劣化や故障について診断するために、太陽電池の標準出力電力値を用いている。
 太陽電池アレイの経時変化を検出するには、一般的には、長期間にわたってデータを蓄積する必要があるから、データを蓄積するために大容量が必要になる。一方、日本国公開特許公報第2005−340464号に記載された技術は、太陽電池アレイごとの出力に基づいて天候を判定し、複数の太陽電池アレイがそれぞれ判定した天候が同じであるときに正常と判断しているから、蓄積するデータ量は比較的少ないと考えられる。
 しかしながら、日本国公開特許公報第2005−340464号の技術は、複数の太陽電池アレイを必要とする上に、複数の太陽電池アレイが同じ速度で劣化した場合は、太陽電池の劣化に気付かないまま時間が経過する可能性がある。
 本発明は、太陽電池の経時的変化の検出などに用いるデータの蓄積量を低減させることを可能にした太陽電池の管理装置を提供することを目的とする。また、本発明は、この管理装置を用いた太陽光発電システムを提供し、さらに、太陽電池の管理方法を提供することを目的とする。
 本発明に係る太陽電池の管理装置は、太陽電池の電気的出力値を計測装置から取得する取得部と、所定の判定期間での晴天時における前記電気的出力値に相当する基準データを記憶する記憶部と、前記判定期間での前記電気的出力値が前記基準データを基に設定された標準範囲内であるか否かを判断する判断部と、前記電気的出力値が前記標準範囲内と判断された時点における前記電気的出力値を蓄積する蓄積部とを備えることを特徴とする。
 本発明に係る他の太陽電池の管理装置は、太陽電池の電気的出力値を計測装置から取得する取得部と、前記太陽電池が設置されている場所の日射量を日射計から受け取る入力部と、所定の判定期間での晴天時における前記日射量に相当する基準データを記憶する記憶部と、前記判定期間での前記日射量が前記基準データを基に設定された標準範囲内であるか否かを判断する判断部と、前記日射量が前記標準範囲内と判断された時点における前記太陽電池の電気的出力値を蓄積する蓄積部とを備えることを特徴とする。
 本発明に係る太陽光発電システムは、太陽電池と、前記太陽電池の電気的出力値を計測する計測装置と、太陽電池の管理装置とを備えることを特徴とする。
 本発明に係る太陽電池の管理方法は、太陽電池の電気的出力値を取得するステップと、前記電気的出力値が所定の判定期間での晴天時における前記電気的出力値に相当する基準データを基に設定された標準範囲内であるか否かを判断するステップと、前記電気的出力値が前記標準範囲内と判断された時点における前記電気的出力値を蓄積するステップと、を含むことを特徴とする
 本発明に係るプログラムは、コンピュータにより、太陽電池の電気的出力値を取得するステップと、前記電気的出力値が所定の判定期間での晴天時における前記電気的出力値に相当する基準データを基に設定された標準範囲内であるか否かを判断するステップと、前記電気的出力値が前記標準範囲内と判断された時点における前記電気的出力値を蓄積するステップと、を実行させることを特徴とする。
 本発明の構成によれば、晴天時に対応した電気的出力値のみを蓄積部に蓄積するから、蓄積部に蓄積するデータ量を低減させることが可能になるという利点を有する。
The invention described in Japanese Patent Publication No. 2005-340464 diagnoses whether or not a solar cell array is properly installed at the time of introduction of a solar power generation system, and also generates power due to changes over time of the solar cell array. The standard output power value of the solar cell is used for diagnosing deterioration and failure of the solar cell.
In order to detect a change with time of the solar cell array, it is generally necessary to accumulate data over a long period of time. Therefore, a large capacity is required to accumulate the data. On the other hand, the technology described in Japanese Patent Publication No. 2005-340464 determines the weather based on the output of each solar cell array, and is normal when the weather determined by each of the plurality of solar cell arrays is the same. Therefore, the amount of data to be stored is considered to be relatively small.
However, the technology of Japanese Patent Publication No. 2005-340464 requires a plurality of solar cell arrays, and when the plurality of solar cell arrays deteriorate at the same speed, the deterioration of the solar cells is not noticed. Time may elapse.
SUMMARY OF THE INVENTION An object of the present invention is to provide a solar cell management apparatus that can reduce the amount of accumulated data used to detect changes in the solar cell over time. Moreover, this invention aims at providing the solar power generation system using this management apparatus, and also providing the management method of a solar cell.
A solar cell management device according to the present invention stores an acquisition unit that acquires an electrical output value of a solar cell from a measurement device, and reference data corresponding to the electrical output value during a fine day in a predetermined determination period. A storage unit; a determination unit that determines whether the electrical output value in the determination period is within a standard range set based on the reference data; and the electrical output value is within the standard range. And an accumulator that accumulates the electrical output value at the determined time.
Another solar cell management device according to the present invention includes an acquisition unit that acquires an electrical output value of a solar cell from a measurement device, and an input unit that receives an amount of solar radiation at a location where the solar cell is installed from a solar radiation meter, A storage unit that stores reference data corresponding to the amount of solar radiation in fine weather in a predetermined determination period; and whether the amount of solar radiation in the determination period is within a standard range set based on the reference data And a storage for storing the electrical output value of the solar cell at the time when the amount of solar radiation is determined to be within the standard range.
The photovoltaic power generation system according to the present invention includes a solar cell, a measuring device that measures an electrical output value of the solar cell, and a solar cell management device.
The solar cell management method according to the present invention includes a step of obtaining an electrical output value of a solar cell, and reference data corresponding to the electrical output value when the electrical output value is fine in a predetermined determination period. Determining whether the electrical output value is within the standard range, and accumulating the electrical output value at the time when the electrical output value is determined to be within the standard range. A program according to the present invention is characterized in that a computer obtains an electrical output value of a solar cell by a computer, and a standard corresponding to the electrical output value when the electrical output value is fine in a predetermined determination period. Determining whether it is within a standard range set based on data, and storing the electrical output value at the time when the electrical output value is determined to be within the standard range Are executed.
According to the configuration of the present invention, since only the electrical output value corresponding to clear weather is stored in the storage unit, there is an advantage that the amount of data stored in the storage unit can be reduced.
 本発明の目的及び特徴は以下のような添付図面を参照する以後の好ましい実施例の説明により明確になる。
 [図1]実施形態を示すブロック図である。
 [図2]実施形態において晴天日の電流値の例を示す図である。
 [図3A及び3B]実施形態において晴天日以外の電流値の例を示す図である。
 [図4A及び4B]実施形態における標準範囲の設定例を示す図である。
 [図5]実施形態の動作をフローチャートで示す図である。
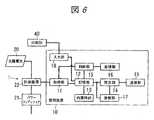
 [図6]実施形態の変形例を示すブロック図である。
The objects and features of the present invention will become apparent from the following description of preferred embodiments with reference to the accompanying drawings.
FIG. 1 is a block diagram showing an embodiment.
FIG. 2 is a diagram showing an example of a current value on a sunny day in the embodiment.
[FIG. 3A and 3B] It is a figure which shows the example of electric current values other than a fine day in embodiment.
[FIGS. 4A and 4B] FIG. 4 is a diagram showing a setting example of a standard range in the embodiment.
FIG. 5 is a diagram showing an operation of the embodiment in a flowchart.
FIG. 6 is a block diagram showing a modification of the embodiment.
 本実施形態では、家庭用ないし施設用の小規模あるいは中規模の太陽光発電システムを例として説明するが、いわゆるメガソーラと称する大規模の太陽光発電システムに本実施形態の技術を適用することも可能である。本実施形態において、太陽光発電システムの規模は、出力する電力で区分しており、小規模は100kW未満、中規模は100kW以上500kW未満、大規模は500kW以上を想定している。規模にかかわらず、太陽光発電システムは、太陽電池を備え、さらに、太陽電池で発電した直流を交流に変換するための電力変換器を備えたパワーコンディショナと、太陽電池からの電気的出力値を計測する計測装置とを備えている。
 太陽電池の電気的出力値は、太陽電池の受光強度あるいは受光量を反映する出力値であって、たとえば電流値が用いられる。また、電気的出力値は、電流値と電圧値とが併せて用いられてもよい。計測装置は、パワーコンディショナの入力側と出力側とのどちらで電気的出力値を計測してもよい。ただし、パワーコンディショナは、出力電圧のピーク値を一定に保つように制御しているから、パワーコンディショナの出力側における電圧値は単独では太陽電池の電気的出力値としては用いられない。
 太陽電池は、複数枚のモジュール(太陽光発電パネル)で構成されていることを想定している。小規模の太陽光発電システムであって、複数枚のモジュールが1系統にまとめられている場合には、計測装置は1系統のみについて設けられていればよい。一方、複数枚のモジュールを直列に接続したストリングを形成している場合には、ストリングごとに計測装置を設けることが望ましい。太陽電池の電気的出力値を計測する際に、ストリングを単位とすれば、太陽光発電システムを構成する複数枚のモジュールを複数に区分して管理することが可能になる。たとえば、いずれかのストリングにおいて異常が検出された場合に、異常の発生箇所を見つけ出す作業は、該当するストリングを構成しているモジュールの範囲に絞り込んで行えばよく、異常への対応をすばやく行うことが可能になる。
 以下に説明する太陽電池の管理装置は、太陽電池の劣化あるいは故障のような異常を判断するために必要なデータを蓄積する装置であって、太陽電池の異常の判断は管理装置とは別に行われる。たとえば、この種の判断は、インターネットのような通信回線を通して通信する遠隔診断用のサーバで自動的に行われる。また、クラウドコンピューティングシステムを用いて管理装置からのデータを収集し、太陽光発電システムの管理者が端末装置を用いて太陽電池の異常の判断を行ってもよい。
 以下、本実施形態について詳しく説明する。本実施形態の管理装置は、晴天時とみなせる状態での太陽電池の電気的出力値を蓄積するように構成されている。このような電気的出力値が蓄積されていれば、太陽電池の電気的出力値を、ほぼ同じ条件で比較することが可能になり、太陽電池の劣化あるいは故障のような異常の有無を判断することが可能になる。以下では、太陽電池の電気的出力値が晴天時に出力されたと推定するために、太陽電池の電気的出力値だけを用いる技術と、日射計が計測した日射量を用いる技術とを例示する。
 図1は太陽電池20の電気的出力値を用いて晴天時を推定する構成例を示している。図示する構成例では、太陽電池20の出力はパワーコンディショナ21に与えられている。パワーコンディショナ21は、太陽電池20から直流が入力され交流を出力する。また、図示例では、太陽電池20から出力される電流は、電流センサを含む計測装置22により計測される。この構成において、太陽電池20の電気的出力値は直流の電流値を採用している。電流センサは、ホール素子あるいは磁気抵抗効果素子のような磁気センサを磁気コアに取り付けた構成などが採用される。
 太陽電池20および計測装置22は、太陽電池20の異常に関するデータを蓄積する管理装置10と併せて太陽光発電システム1を構築する。図1に示す太陽光発電システム1は、パワーコンディショナ21を含んでいるが、太陽電池20の電力を用いて直流を給電する場合、あるいは太陽電池20が出力する電流により蓄電池を充電する場合などでは、パワーコンディショナ21は省略可能である。
 管理装置10は、計測装置22が計測した電流値を取得する取得部11と、取得部11が取得した電流値を日時に対応付けて記憶する記憶部12とを備える。記憶部12に格納する日時は、リアルタイムクロックのような内蔵時計13により計時される。
 取得部11は、一定時間ごとに電流値を取得する。この時間間隔は、たとえば30秒~1時間の範囲で目的に応じて選択される。取得部11が比較的短い周期で電流値を取得する場合は、太陽電池20が出力する電流値の変化をほぼ連続的に取得することが可能であるが、取得した電流値のデータを格納するための記憶部12の容量が大きくなる。一方、比較的長い周期で電流値を取得する場合は、比較的短い時間で日射量が変化する場合に、日射量が大きい期間の電流値を取得できる確率が低下する。したがって、実用上は、1~10分程度の時間間隔で電流値を取得することが望ましい。
 記憶部12は、電流値を記憶するだけではなく、電流値と比較される基準データを記憶している。基準データは、晴天時における電流値に相当する。つまり、基準データは、晴天時において太陽電池20が出力すると期待される電流値であると言える。したがって、太陽電池20が晴天時に出力した電流値を基準データと比較すれば、太陽電池20の劣化あるいは故障のような異常を検出することが可能になる。
 ところで、太陽電池20が出力する電流値は、1日の時間経過によって変化し、1日中晴天であれば、図2のように、日の出から昼に向かって増加し、昼から日没に向かって低下する。すなわち、太陽電池20が出力する電流値の変化は、おおむねベル型になる。一方、太陽電池20が出力する電流値は、太陽の高度および気温の影響を受けることが知られている。そのため、太陽電池20が出力する電流値に相当する基準データは、季節性を考慮しなければならない。言い換えると、基準データは、季節を考慮した判定期間ごとに設定されていなければならない。
 判定期間は、たとえば暦上の季節(3ヶ月間)、1ヶ月間、二十四節気(15日間)などを単位として定められる。判定期間は、複数日を含む期間であって、日照が得られる時間帯(日の出から日没までの時間帯)および気温の平均からの偏差が比較的小さい期間に設定される。また、日照が得られる時間帯および気温は、地域ごとに異なるから、基準データは、判定期間に応じて変えるだけではなく、地域に応じて変えることが望ましい。なお、判定期間は、日中(日の出から日没まで)において晴天である時間帯を合わせると、晴天である時間帯が日中のほぼすべての時間を占めるように設定される。
 ここに、判定期間および地域に応じた基準データは、記憶部12に個々に記憶させると比較的大きい容量が必要になる。したがって、記憶部12に、基準データの標準値と判定期間および地域に応じた補正値とを記憶させておき、標準値を判定期間および地域に応じた補正値で補正することにより基準データが得られるようにしてもよい。
 ところで、上述した判定期間のうち、1日中晴天である日数には限りがあり、太陽電池20が出力する電流値が図2のようなベル型になる機会が判定期間内に得られないことがある。そこで、本実施形態では、過去に太陽電池20が出力した電流値を用いて、晴天時において太陽電池20が出力する電流値を推定する推定部14を管理装置10に設けている。推定部14は、上述した判定期間と条件がほぼ等しい過去の判定期間について、太陽電池20が出力した電流値を記憶部12から読み出し、時刻ごとの電流値の最大値を晴天時の電流値と推定し、これらの電流値を用いて基準データを生成する。判定期間は、日中において晴天である時間帯を重ね合わせると、晴天である時間帯が日中のほぼすべての時間を占めるように設定されているから、推定部14が判定期間における時刻ごとの電流値の最大値を求めると、晴天日に相当する電流値が得られる。
 推定部14が求めた基準データは記憶部12に格納される。管理装置10は、記憶部12が記憶している基準データを用いて取得部11が取得した電流値を評価する判断部15を備える。判断部15は、記憶部12が記憶している基準データを基にして標準範囲を設定し、取得部11が取得した電流値が標準範囲内であるか否かを判断する。そして、判断部15は、電流値が標準範囲内であれば、この電流値を蓄積部16に蓄積する。
 標準範囲は、基準データに1より小さい係数を乗じて下限値が定められる。標準範囲の下限値は、基準データに対して、たとえば95~97%に設定される。一方、標準範囲の上限値は、原則として基準データが用いられる。ただし、取得部11が取得した電流値が基準データを超える可能性もある。管理装置10は、更新部17を備えており、取得部11が取得した電流値が基準データを超えた場合は、取得した電流値を新たな基準データとするように、更新部17が基準データを更新する。
 ところで、基準データは、晴天である1日において太陽電池20が出力する電流値を想定して設定されている。太陽電池20が出力する電流値は、異常がなくても、雲などの影が生じると図3Aのように凹凸が生じてベル型にならず、薄曇りで日照量が少なければ図3Bのように大幅に低下する。取得部11が取得した電流値に基づいて、太陽電池20の劣化あるいは故障のような異常と、日射量の低下とを区別するには、晴天時に得られた電流値であることが保証されていなければならない。
 そのため、本実施形態では、基準データに基づく標準範囲を定め、太陽電池20が出力する電流値が標準範囲内であれば、晴天時の電流値であるとみなしている。ここに、太陽電池20が出力する電流値は、上述したように一定の時間間隔で取得部11が取得している。したがって、取得部11が取得したすべての電流値と比較するように、基準データを設定することが考えられる。
 たとえば、取得部11が計測装置22から1分間隔で電流値を取得するとすれば、基準データも1分間隔の値に設定することになる。この基準データは、実際には1分間隔の離散値であるが、太陽電池20が出力する電流値の変化に対して短い時間間隔の値を基準データとして設定するから、この基準データは、実質的に連続的であると言える。基準データが、1日の時間経過に伴って連続的に設定される場合、基準データとなる値の時間間隔は、太陽電池20が出力する電流値の変化に対して短ければよいから、たとえば、取得部11が電流値を取得する時間間隔の整数倍であってもよい。
 この基準データは、1日の時刻に対応付けて記憶部12に格納されている。判断部15は、取得部11が電流値を取得した時刻に一致する時刻の基準データに基づいて標準範囲を定め、電流値が標準範囲内であれば、該当する電流値を、電流値が取得された日時と併せて蓄積部16に蓄積する。
 上述したように、基準データは、判定期間および地域ごとに変更する必要があるから、基準データが連続的に設定されていると、記憶部12に占める基準データの容量が多くなる。基準データの容量を低減させるには、1日における一定時間ごとに基準データを設定するか、あるいは1日における最大値を基準データとして設定すればよい。
 たとえば、日中の時間帯において1時間ごとの値を基準データとして設定すると、基準データは、1日当たり十数個の値でよく、基準データを連続的に設定する場合と比較すれば、基準データの容量を数十分の1に低減させることが可能になる。また、1日における電流値の最大値を基準データに用いるとすれば、基準データの容量をさらに10分の1程度まで低減させることが可能になる。
 1日における電流値の最大値を基準データとして用いる場合は、取得部11が取得した電流値のうちの最大値が標準範囲内であるか否かを判断すればよく、取得部11が電流値を取得した時刻は、基準データの時刻と一致していなくてもよい。なお、基準データは、1日における特定時刻の電流値を想定して設定してもよい。この基準データを用いる場合は、取得部11が特定時刻に取得した電流値が基準データと比較される。
 標準範囲は、基準データが適正に定められていれば、基本的には基準データを上限値として下限値のみを定めればよいが、基準データを挟んで上限値と下限値とを設定することも可能である。
 図4Aは、基準データD1が連続的に設定されている場合に、基準データD1に対して下限値Viと上限値Vsとが定められた例を示している。たとえば、標準範囲は、基準データD1の値に対して、たとえば±3%として定めることが可能である(Vi=D1×0.97、Vs=D1×1.03)。また、図4Bのように、基準データD1が1日における最大値Vmである場合、この最大値Vmに対して下限値Viを、たとえば−5%に定めてもよい(Vi=Vm×0.95)。
 なお、図4A及び図4Bに示す例は一例であって、基準データの定め方にかかわらず、標準範囲として、基準データを上限値に用いて基準データよりも小さい下限値のみを設定するか、基準データを挟んで下限値と上限値との両方を設定するかは適宜に定めればよい。
 判断部15は、基本的な動作として、1日のうちで太陽電池20が出力した電流値を、記憶部12に格納されている基準データと比較する。基準データの値が1日に1個である場合を除いて、取得部11が取得した電流値は、それぞれの時刻に応じた標準範囲と比較される。判断部15は、1日のすべての電流値が、各時刻の標準範囲内であるときに、当該1日の電流値を日時と併せて蓄積部16に蓄積させる。すなわち、この動作は該当する1日が晴天日である場合に蓄積部16に電流値を蓄積する動作になっている。
 一方、晴天が1日中続かない場合、複数日について晴天であった時間帯を重ね合わせると、晴天時において太陽電池20が出力する電流値に関して1日分のデータを得ることが可能である。したがって、判断部15は、取得部11が取得した電流値のうち標準範囲内である電流値が得られるたびに、該当する電流値を時刻とともに蓄積部16に蓄積するようにしてもよい。判断部15がこの動作を行うと、晴天が1日続くような晴天日が生じるまでに、1日分の晴天時の電流値を蓄積部16に蓄積できる場合があり、また、晴天が1日続けば、当日に1日分の晴天時の電流値を蓄積部16に蓄積することが可能になる。要するに、1日分の晴天時の電流値を蓄積部16に蓄積するために要する平均日数を、晴天日が生じるのを待つ場合の平均日数よりも短縮することが可能になる。
 管理装置10の動作を、図5にまとめて示す。図示例では、判定期間を1ヶ月として基準データを月ごとに設定している。したがって、内蔵時計13により月を管理しており、月が替わると(S11:Yes)、判断部15は該当する月の基準データを選択する(S12)。図示例では、取得部11が取得した1日の電流値を記憶部12に格納し、該当する1日が晴天日であったか否かを判断する構成を採用している。そのため、判断部15は、1日ごとに記憶部12に格納された1日の電流値の履歴を読み出す(S13)。
 判断部15は、読み出した電流値が基準データを超えている場合(S14:Yes)、基準データを更新し、該当する電流値を蓄積部16に蓄積する(S18)。また、判断部15は、読み出した電流値が基準データ以下である場合(S14:No)、電流値が標準範囲内か否かを判断する(S15)。電流値が標準範囲外であるときには(S15:No)、判断部15は、ステップS13で読み出した1日の電流値の履歴を破棄する(S16)。つまり、該当する1日は晴天日ではなかったと判断され、電流値は蓄積部16に蓄積されず、記憶部12から消去される。一方、電流値が標準範囲内であるときには(S15:Yes)、判断部15は、ステップS13で読み出した1日の電流値の履歴を蓄積部16に蓄積する(S17)。
 なお、上述した動作例では、記憶部12と蓄積部16とを分けているが、同じデバイスを記憶部12と蓄積部16とに共用するしてもよい。また、上述した管理装置10は、プログラムを実行するプロセッサを備えるデバイスと、外部装置を接続するためのインターフェイス用のデバイスとを主なハードウェア要素として備える。プロセッサを備えるデバイスは、メモリを別に接続するマイクロプロセッサのほか、メモリを一体に備えるマイコン(Microcontroller)などから選択される。
 プログラムは、あらかじめROM(Read Only Memory)に書き込まれた状態で提供されるようにしてもよいが、書換可能な不揮発性メモリに格納できるように、コンピュータで読み取り可能な記録媒体を用いて提供されることが望ましい。また、プログラムは、記録媒体に代えて、インターネットのような電気通信回線を通して提供されてもよい。
 本実施形態の太陽光発電システム1は、太陽電池20と、太陽電池20の電気的出力値(電流値)を計測する計測装置22と、太陽電池20の管理装置10とを備える。
 また、太陽電池20の管理装置10は、取得部11と記憶部12と判断部15と蓄積部16とを備える。取得部11は、太陽電池20の電気的出力値(電流値)を計測装置22から取得する。記憶部12は、所定の判定期間での晴天時における電気的出力値(電流値)に相当する基準データを記憶する。判断部15は、電気的出力値(電流値)が基準データを基に設定された標準範囲内であるか否かを判断する。蓄積部16は、電気的出力値(電流値)が標準範囲内と判断された時点における電気的出力値(電流値)を蓄積する。
 この構成によれば、晴天時とみなされる時点における太陽電池20の電気的出力値(電流値)を蓄積部16に蓄積するから、電気的出力値(電流値)の変化から太陽電池20の劣化あるいは故障のような異常を発見するために役立つ情報が得られる。しかも、晴天時とみなせる情報のみを蓄積部16に蓄積するから、蓄積する情報量の増加が抑制される。
 この管理装置10において、電気的出力値(電流値)が基準データを超える場合に、基準データを該当する電気的出力値(電流値)に更新する更新部17を備えることが望ましい。
 この構成によれば、基準データが晴天日における太陽電池の電気的出力値に対応していない場合でも、晴天時になれば基準データが自動的に更新され、最終的に晴天日の電気的出力値に対応した基準データが得られようになる。
 この管理装置10において、基準データは、1日の時間経過に伴って連続的に設定されていることが望ましい。また、基準データは、1日における一定時間ごとに設定されていてもよい。あるいは、基準データは、1日における最大値が用いられてもよい。
 基準データが連続的に設定されていれば、蓄積部16に蓄積される情報量が比較的多くなり、太陽電池20の異常の判断を正確に行うための情報が得られる。一方、基準データが一定時間ごとに設定されるか、基準データが1日の最大値である場合、蓄積部16に蓄積する情報量が低減される。その結果、多数台の太陽電池20に関する情報を蓄積部16に蓄積しても情報量の増加が抑制され、また、多数の太陽光発電システム1における蓄積部16からの情報を集約して管理する場合にも情報量の増加が抑制される。
 この管理装置10において、標準範囲は、基準データに対して1より小さい所定の係数を乗じた値を下限値に定めていることが望ましい。
 この構成によれば、太陽電池20の電気的出力値(電流値)あるいは日射計40が計測する日射量が、環境条件、たとえば、温度によって変動しても、標準範囲内であれば晴天時と判断される。
 上述した構成例では、太陽電池20が出力した電流値のみに基づいて晴天日の基準データを生成しているが、太陽電池20とは別に日射量に関する情報を取得できる場合には、この種の情報を併用することにより基準データを定めることが可能である。ここでは、図6のように、管理装置10が、太陽電池20が設置されている場所の日射量を日射計40から受け取る入力部18を備え、日射量に関する情報を併用することにより基準データを生成する例を説明する。
 日射計40が計測した日射量から晴天日を推定するには、上述した実施形態と同様に、判定期間において時刻ごとの日射量の最大値を晴天時の日射量と推定する構成を採用することが可能である。ただし、太陽電池20は日射量が同じであっても仕様によって出力される電流値が異なるのに対して、日射計40は、正しく設置されていれば、日射量の絶対値を計測することが可能である。
 ただし、日射計40が計測した日射量からだけでは、晴天か否かは判断することができない。そのため、図6に示す構成例において、管理装置10は、晴天時の日射量を表す既存のデータを外部から取得するための通信部19を備える。この種のデータとしては、たとえば新エネルギー・産業技術開発機構(NEDO)がインターネットを通して提供しているデータを用いることができる。NEDOは、地域ごとに毎時の日射量に関するデータベースを提供している。したがって、この種のデータベースを用いると、晴天時の日射量を求めることが可能である。
 推定部14は、通信部19を通して入手した晴天時の日射量に基づいて月内での時刻毎の最大日射量を晴天時の日射量とすることによって、日射量に対する基準データを生成する。日射量に関する基準データは記憶部12に格納される。判断部15は、基準データに基に日射量に関する標準範囲を定め、入力部18を通して日射計40から入手した日射量が標準範囲内か否かを判定し、日射量が標準範囲内であれば晴天であると判断する。さらに、判断部15は、太陽電池20が出力した電流値のうち、晴天と判断した場合の電流値を蓄積部16に蓄積する。この構成では、蓄積部16に蓄積する電流値が得られた時点における日射量も蓄積部16に蓄積しておくことが望ましい。
 上述した動作例において、推定部14は、1ヶ月を単位として日射量のデータベースから基準データを生成しているが、太陽電池20が出力する電流値から基準データを生成した場合と同様に、判定期間は適宜に選択することが可能である。この構成例では、日射計40が計測した日射量を用いて晴天と判断しているが、他の機能については図1に示した構成例と同様の機能を採用することができる。
 すなわち、基準データは、たとえば、連続的に設定されるか、一定時間ごとに設定されるか、1日の最大値が採用される。なお、日照量のデータは、NEDO以外から入手してもよい。
 本実施形態における他の構成の太陽電池20の管理装置10は、取得部11と入力部18と記憶部12と判断部15と蓄積部16とを備える。取得部11は、太陽電池20の電気的出力値(電流値)を計測装置22から取得する。また、入力部18は、太陽電池20が設置されている場所の日射量を日射計40から受け取る。記憶部12は、所定の判定期間での晴天時における日射量に相当する基準データを記憶する。判断部15は、日射量が基準データを基に設定された標準範囲内であるか否かを判断する。蓄積部16は、日射量が標準範囲内と判断された時点における太陽電池20の電気的出力値(電流値)を蓄積する。
 この構成によれば、晴天時とみなされる時点における太陽電池20の電気的出力値(電流値)を蓄積部16に蓄積するから、電気的出力値(電流値)の変化から太陽電池20の劣化あるいは故障のような異常を発見するために役立つ情報が得られる。しかも、晴天時とみなせる情報のみを蓄積部16に蓄積するから、蓄積する情報量の増加が抑制される。
 この管理装置10において、日射量が基準データを超える場合に、基準データを該当する日射量に更新する更新部17を備えることが望ましい。
 この構成によれば、基準データが晴天日における太陽電池の日射量に対応していない場合でも、晴天時になれば基準データが自動的に更新され、最終的に晴天日の日射量に対応した基準データが得られようになる。
 本発明に係るプログラムは、コンピュータにより、太陽電池の電気的出力値を取得するステップと、前記電気的出力値が所定の判定期間での晴天時における前記電気的出力値に相当する基準データを基に設定された標準範囲内であるか否かを判断するステップと、前記電気的出力値が前記標準範囲内と判断された時点における前記電気的出力値を蓄積するステップと、を実行させるようにする。
 なお、上述した実施形態は本発明の一例である。このため、本発明は、上述の実施形態に限定されることはなく、この実施形態以外であっても、本発明に係る技術的思想を逸脱しない範囲であれば、設計等に応じて種々の変更が可能であることはもちろんのことである。
In this embodiment, a small-scale or medium-scale photovoltaic power generation system for home use or facilities will be described as an example. However, the technology of this embodiment may be applied to a large-scale photovoltaic power generation system called a so-called mega solar. Is possible. In the present embodiment, the scale of the photovoltaic power generation system is classified according to the output power. The small scale is assumed to be less than 100 kW, the medium scale is 100 kW to less than 500 kW, and the large scale is assumed to be 500 kW or more. Regardless of the scale, the photovoltaic power generation system includes a solar cell, a power conditioner including a power converter for converting direct current generated by the solar cell into alternating current, and an electrical output value from the solar cell. And a measuring device for measuring.
The electrical output value of the solar cell is an output value reflecting the received light intensity or the received light amount of the solar cell, and for example, a current value is used. The electrical output value may be a combination of a current value and a voltage value. The measuring device may measure the electrical output value on either the input side or the output side of the power conditioner. However, since the power conditioner is controlled so as to keep the peak value of the output voltage constant, the voltage value on the output side of the power conditioner alone is not used as the electrical output value of the solar cell.
The solar cell is assumed to be composed of a plurality of modules (solar power generation panels). In the case of a small-scale photovoltaic power generation system, where a plurality of modules are grouped into one system, the measuring device need only be provided for one system. On the other hand, when a string is formed by connecting a plurality of modules in series, it is desirable to provide a measuring device for each string. When the electric output value of the solar cell is measured, if a string is used as a unit, a plurality of modules constituting the photovoltaic power generation system can be divided into a plurality of modules and managed. For example, when an abnormality is detected in one of the strings, the work to find out the location where the abnormality occurred can be narrowed down to the range of modules that make up the corresponding string, and the response to the abnormality can be made quickly. Is possible.
The solar cell management device described below is a device for accumulating data necessary for judging an abnormality such as a deterioration or failure of the solar cell, and the judgment of the solar cell abnormality is performed separately from the management device. Is called. For example, this type of determination is automatically performed by a remote diagnosis server that communicates through a communication line such as the Internet. Moreover, the data from a management apparatus may be collected using a cloud computing system, and the administrator of a solar power generation system may judge the abnormality of a solar cell using a terminal device.
Hereinafter, this embodiment will be described in detail. The management device of the present embodiment is configured to accumulate the electrical output value of the solar cell in a state that can be regarded as a fine weather. If such an electrical output value is accumulated, it becomes possible to compare the electrical output values of the solar cells under almost the same conditions, and determine whether there is an abnormality such as deterioration or failure of the solar cells. It becomes possible. Below, in order to estimate that the electrical output value of the solar cell was output in fine weather, a technique that uses only the electrical output value of the solar cell and a technique that uses the amount of solar radiation measured by a pyranometer are illustrated.
FIG. 1 shows a configuration example in which a clear sky time is estimated using the electrical output value of thesolar cell 20. In the illustrated configuration example, the output of thesolar cell 20 is given to thepower conditioner 21. Thepower conditioner 21 receives a direct current from thesolar cell 20 and outputs an alternating current. In the illustrated example, the current output from thesolar cell 20 is measured by ameasuring device 22 including a current sensor. In this configuration, a direct current value is adopted as the electrical output value of thesolar cell 20. The current sensor employs a configuration in which a magnetic sensor such as a Hall element or a magnetoresistive effect element is attached to a magnetic core.
Thesolar cell 20 and the measuringdevice 22 construct the solarpower generation system 1 together with themanagement device 10 that accumulates data relating to the abnormality of thesolar cell 20. The solarpower generation system 1 shown in FIG. 1 includes apower conditioner 21. However, when a direct current is supplied using the power of thesolar battery 20, or when a storage battery is charged with a current output from thesolar battery 20. Then, thepower conditioner 21 can be omitted.
Themanagement device 10 includes anacquisition unit 11 that acquires the current value measured by themeasurement device 22 and astorage unit 12 that stores the current value acquired by theacquisition unit 11 in association with the date and time. The date and time stored in thestorage unit 12 is measured by a built-inclock 13 such as a real time clock.
Theacquisition unit 11 acquires a current value at regular time intervals. This time interval is selected according to the purpose in the range of 30 seconds to 1 hour, for example. When theacquisition unit 11 acquires a current value at a relatively short period, it is possible to acquire a change in the current value output from thesolar cell 20 almost continuously, but stores the acquired current value data. Therefore, the capacity of thestorage unit 12 is increased. On the other hand, when the current value is acquired at a relatively long period, when the solar radiation amount changes in a relatively short time, the probability that a current value during a period when the solar radiation amount is large is reduced. Therefore, in practice, it is desirable to acquire current values at time intervals of about 1 to 10 minutes.
Thestorage unit 12 stores not only the current value but also reference data to be compared with the current value. The reference data corresponds to the current value in fine weather. That is, it can be said that the reference data is a current value expected to be output from thesolar cell 20 in fine weather. Therefore, if the current value output by thesolar cell 20 in fine weather is compared with the reference data, an abnormality such as deterioration or failure of thesolar cell 20 can be detected.
By the way, the current value output by thesolar cell 20 changes with the passage of time of the day, and if it is sunny all day, it increases from sunrise to noon and goes from noon to sunset as shown in FIG. Will drop. That is, the change in the current value output from thesolar cell 20 is generally bell-shaped. On the other hand, it is known that the current value output from thesolar cell 20 is affected by the altitude and temperature of the sun. Therefore, the reference data corresponding to the current value output from thesolar cell 20 must consider seasonality. In other words, the reference data must be set for each determination period in consideration of the season.
The determination period is determined in units of, for example, the calendar season (3 months), 1 month, 24 months (15 days), and the like. The determination period is a period including a plurality of days, and is set to a time zone in which sunshine is obtained (time zone from sunrise to sunset) and a period in which the deviation from the average temperature is relatively small. Moreover, since the time zone and temperature at which sunshine is obtained vary from region to region, it is desirable to change the reference data not only according to the determination period but also according to the region. The determination period is set so that when the time zone that is sunny in the daytime (from sunrise to sunset) is combined, the time zone that is sunny day occupies almost all of the time during the daytime.
Here, if the reference data corresponding to the determination period and the region is stored individually in thestorage unit 12, a relatively large capacity is required. Therefore, thestorage unit 12 stores the standard value of the reference data and the correction value according to the determination period and the region, and the reference data is obtained by correcting the standard value with the correction value according to the determination period and the region. You may be made to do.
By the way, in the determination period mentioned above, the number of days that are sunny all day is limited, and the current value output from thesolar cell 20 cannot be obtained within the determination period as shown in FIG. There is. Therefore, in the present embodiment, themanagement device 10 is provided with theestimation unit 14 that estimates the current value output from thesolar cell 20 in a fine weather using the current value output from thesolar cell 20 in the past. Theestimation unit 14 reads the current value output from thesolar cell 20 from thestorage unit 12 for the past determination period substantially equal to the determination period described above, and sets the maximum current value for each time as the current value in fine weather. Estimate and use these current values to generate reference data. The determination period is set so that when the time zone that is sunny in the daytime is overlapped, the time zone that is sunny day occupies almost all the time in the daytime, theestimation unit 14 is set for each time in the determination period. When the maximum value of the current value is obtained, a current value corresponding to a sunny day can be obtained.
The reference data obtained by theestimation unit 14 is stored in thestorage unit 12. Themanagement device 10 includes adetermination unit 15 that evaluates the current value acquired by theacquisition unit 11 using the reference data stored in thestorage unit 12. Thedetermination unit 15 sets a standard range based on the reference data stored in thestorage unit 12, and determines whether or not the current value acquired by theacquisition unit 11 is within the standard range. If the current value is within the standard range, thedetermination unit 15 stores the current value in thestorage unit 16.
In the standard range, the lower limit value is determined by multiplying the reference data by a coefficient smaller than 1. The lower limit value of the standard range is set to, for example, 95 to 97% with respect to the reference data. On the other hand, standard data is used for the upper limit of the standard range in principle. However, the current value acquired by theacquisition unit 11 may exceed the reference data. Themanagement apparatus 10 includes anupdate unit 17. When the current value acquired by theacquisition unit 11 exceeds the reference data, theupdate unit 17 sets the reference data so that the acquired current value becomes new reference data. Update.
By the way, the reference data is set assuming a current value output from thesolar cell 20 on a sunny day. Even if there is no abnormality, the current value output from thesolar cell 20 does not form a bell shape as shown in FIG. 3A when a shadow such as a cloud occurs, and does not form a bell shape as shown in FIG. 3A. Decrease significantly. Based on the current value acquired by theacquisition unit 11, it is guaranteed that the current value is obtained in fine weather in order to distinguish between an abnormality such as deterioration or failure of thesolar cell 20 and a decrease in the amount of solar radiation. There must be.
Therefore, in the present embodiment, a standard range based on the reference data is defined, and if the current value output from thesolar cell 20 is within the standard range, it is considered that the current value is in fine weather. Here, the current value output from thesolar cell 20 is acquired by theacquisition unit 11 at regular time intervals as described above. Therefore, it can be considered that the reference data is set so as to be compared with all current values acquired by theacquisition unit 11.
For example, if theacquisition unit 11 acquires current values from themeasurement device 22 at 1 minute intervals, the reference data is also set to values at 1 minute intervals. Although this reference data is actually a discrete value at intervals of 1 minute, since the value of a short time interval is set as reference data with respect to a change in the current value output from thesolar cell 20, this reference data is substantially It can be said that it is continuous. When the reference data is set continuously with the passage of time in one day, the time interval between the values serving as the reference data may be short with respect to the change in the current value output from thesolar cell 20, for example, It may be an integral multiple of the time interval at which theacquisition unit 11 acquires the current value.
This reference data is stored in thestorage unit 12 in association with the time of day. Thedetermination unit 15 determines a standard range based on reference data at a time that coincides with the time when theacquisition unit 11 acquires the current value. If the current value is within the standard range, the current value acquires the corresponding current value. The date and time are stored in thestorage unit 16.
As described above, since the reference data needs to be changed for each determination period and region, if the reference data is set continuously, the capacity of the reference data in thestorage unit 12 increases. In order to reduce the capacity of the reference data, the reference data may be set at regular time intervals in one day, or the maximum value in one day may be set as the reference data.
For example, if the hourly value is set as the reference data in the daytime period, the reference data may be a dozen values per day. Compared to the case where the reference data is set continuously, the reference data Can be reduced to several tenths of one. If the maximum current value in one day is used as the reference data, the capacity of the reference data can be further reduced to about 1/10.
When the maximum value of the current value in one day is used as the reference data, it is only necessary to determine whether or not the maximum value among the current values acquired by theacquisition unit 11 is within the standard range. The time at which is acquired may not match the time of the reference data. The reference data may be set assuming a current value at a specific time in one day. When using this reference data, the current value acquired by theacquisition unit 11 at a specific time is compared with the reference data.
As long as the standard data is properly defined, the standard range basically needs only to set the lower limit value with the reference data as the upper limit value. However, the upper limit value and lower limit value should be set with the reference data in between. Is also possible.
FIG. 4A shows an example in which a lower limit value Vi and an upper limit value Vs are determined for the reference data D1 when the reference data D1 is set continuously. For example, the standard range can be defined as, for example, ± 3% with respect to the value of the reference data D1 (Vi = D1 × 0.97, Vs = D1 × 1.03). As shown in FIG. 4B, when the reference data D1 is the maximum value Vm in one day, the lower limit value Vi may be set to −5%, for example, with respect to the maximum value Vm (Vi = Vm × 0. 95).
Note that the examples shown in FIGS. 4A and 4B are merely examples, and regardless of how the reference data is defined, as the standard range, only the lower limit value smaller than the reference data is set using the reference data as the upper limit value, Whether to set both the lower limit value and the upper limit value with reference data interposed therebetween may be determined appropriately.
As a basic operation, thedetermination unit 15 compares the current value output from thesolar cell 20 within one day with the reference data stored in thestorage unit 12. Except for the case where the value of the reference data is one per day, the current value acquired by theacquisition unit 11 is compared with a standard range corresponding to each time. Thedetermination unit 15 causes theaccumulation unit 16 to accumulate the current value of the day together with the date and time when all the current values of the day are within the standard range of each time. That is, this operation is an operation of accumulating the current value in the accumulatingunit 16 when the corresponding day is a clear day.
On the other hand, when clear weather does not last all day, it is possible to obtain data for one day with respect to the current value output by thesolar cell 20 in clear weather by superimposing the time zones that were clear for multiple days. Therefore, thedetermination unit 15 may store the current value in thestorage unit 16 together with the time every time a current value that is within the standard range among the current values acquired by theacquisition unit 11 is obtained. When thedetermination unit 15 performs this operation, the current value during one day of fine weather may be accumulated in theaccumulation unit 16 until a fine day where the fine weather continues for one day occurs. If it continues, it will become possible to accumulate | store the electric current value at the time of fine weather for 1 day in the accumulation |storage part 16 on the day. In short, it is possible to reduce the average number of days required for accumulating the current value for one day in fine weather in theaccumulation unit 16 to be shorter than the average number of days for waiting for a fine day to occur.
The operations of themanagement apparatus 10 are collectively shown in FIG. In the illustrated example, the reference period is set for each month with the determination period being one month. Accordingly, the month is managed by the built-inclock 13, and when the month changes (S11: Yes), thedetermination unit 15 selects the reference data of the corresponding month (S12). In the illustrated example, a configuration is adopted in which the current value acquired by theacquisition unit 11 for one day is stored in thestorage unit 12 and it is determined whether or not the corresponding day is a clear day. Therefore, thedetermination unit 15 reads the daily current value history stored in thestorage unit 12 every day (S13).
When the read current value exceeds the reference data (S14: Yes), thedetermination unit 15 updates the reference data and stores the corresponding current value in the storage unit 16 (S18). Further, when the read current value is equal to or less than the reference data (S14: No), thedetermination unit 15 determines whether the current value is within the standard range (S15). When the current value is out of the standard range (S15: No), thedetermination unit 15 discards the daily current value history read in step S13 (S16). That is, it is determined that the corresponding day is not a sunny day, and the current value is not stored in thestorage unit 16 but is deleted from thestorage unit 12. On the other hand, when the current value is within the standard range (S15: Yes), thedetermination unit 15 stores the daily current value history read in step S13 in the storage unit 16 (S17).
In the operation example described above, thestorage unit 12 and thestorage unit 16 are separated, but the same device may be shared by thestorage unit 12 and thestorage unit 16. Moreover, themanagement apparatus 10 mentioned above is provided with the device provided with the processor which performs a program, and the device for the interface for connecting an external device as main hardware elements. The device including the processor is selected from a microprocessor that connects the memories separately, and a microcomputer that includes the memory as an integral unit.
The program may be provided in a state written in a ROM (Read Only Memory) in advance. However, the program is provided using a computer-readable recording medium so that the program can be stored in a rewritable nonvolatile memory. It is desirable. Further, the program may be provided through an electric communication line such as the Internet instead of the recording medium.
The solarpower generation system 1 of the present embodiment includes asolar cell 20, a measuringdevice 22 that measures an electrical output value (current value) of thesolar cell 20, and amanagement device 10 for thesolar cell 20.
In addition, themanagement device 10 of thesolar cell 20 includes anacquisition unit 11, astorage unit 12, adetermination unit 15, and anaccumulation unit 16. Theacquisition unit 11 acquires the electrical output value (current value) of thesolar cell 20 from themeasurement device 22. Thestorage unit 12 stores reference data corresponding to an electrical output value (current value) in fine weather during a predetermined determination period. Thedetermination unit 15 determines whether the electrical output value (current value) is within a standard range set based on the reference data. Theaccumulation unit 16 accumulates the electrical output value (current value) at the time when the electrical output value (current value) is determined to be within the standard range.
According to this configuration, since the electrical output value (current value) of thesolar cell 20 at the time considered to be sunny is stored in thestorage unit 16, the deterioration of thesolar cell 20 from the change in the electrical output value (current value). Alternatively, information useful for finding an abnormality such as a failure is obtained. In addition, since only information that can be regarded as sunny is stored in thestorage unit 16, an increase in the amount of information to be stored is suppressed.
Themanagement device 10 preferably includes an updatingunit 17 that updates the reference data to the corresponding electrical output value (current value) when the electrical output value (current value) exceeds the reference data.
According to this configuration, even if the reference data does not correspond to the electrical output value of the solar cell on a clear day, the reference data is automatically updated when the weather is clear, and finally the electrical output value on a clear day. The reference data corresponding to can be obtained.
In thismanagement apparatus 10, it is desirable that the reference data is set continuously as time passes for one day. Further, the reference data may be set at regular time intervals in a day. Alternatively, the maximum value in one day may be used as the reference data.
If the reference data is set continuously, the amount of information stored in thestorage unit 16 is relatively large, and information for accurately determining the abnormality of thesolar cell 20 can be obtained. On the other hand, when the reference data is set at regular time intervals or the reference data is the maximum value per day, the amount of information stored in thestorage unit 16 is reduced. As a result, even if information related to a large number ofsolar cells 20 is accumulated in the accumulatingunit 16, an increase in the amount of information is suppressed, and information from the accumulatingunits 16 in the large number of photovoltaicpower generation systems 1 is collectively managed Even in this case, an increase in the amount of information is suppressed.
In themanagement apparatus 10, it is desirable that the standard range is set to a lower limit value obtained by multiplying the reference data by a predetermined coefficient smaller than 1.
According to this configuration, even if the electrical output value (current value) of thesolar cell 20 or the amount of solar radiation measured by thepyranometer 40 fluctuates depending on environmental conditions, for example, temperature, if it is within a standard range, To be judged.
In the configuration example described above, the reference data for sunny days is generated based only on the current value output by thesolar cell 20, but this type of information can be obtained when information on the amount of solar radiation can be acquired separately from thesolar cell 20. It is possible to determine reference data by using information together. Here, as shown in FIG. 6, themanagement device 10 includes aninput unit 18 that receives the solar radiation amount of the place where thesolar cell 20 is installed from thesolar radiation meter 40, and uses the information related to the solar radiation amount together with the reference data. An example of generation will be described.
In order to estimate a sunny day from the amount of solar radiation measured by thepyranometer 40, a configuration is adopted in which the maximum value of the amount of solar radiation at each time in the determination period is estimated as the amount of solar radiation in fine weather, as in the above-described embodiment. Is possible. However, while thesolar cell 20 has the same amount of solar radiation, the output current value differs depending on the specification. On the other hand, thesolar meter 40 can measure the absolute value of the amount of solar radiation if it is correctly installed. Is possible.
However, it cannot be determined whether or not the sky is clear only from the amount of solar radiation measured by thesolar radiation meter 40. Therefore, in the configuration example illustrated in FIG. 6, themanagement device 10 includes acommunication unit 19 for acquiring existing data representing the amount of solar radiation in fine weather from the outside. As this type of data, for example, data provided by the New Energy and Industrial Technology Development Organization (NEDO) through the Internet can be used. NEDO provides a database on hourly solar radiation for each region. Therefore, when this type of database is used, it is possible to obtain the amount of solar radiation in fine weather.
Theestimation unit 14 generates reference data for the amount of solar radiation by setting the maximum amount of solar radiation for each time in the month based on the amount of solar radiation during fine weather obtained through thecommunication unit 19 to be the amount of solar radiation during fine weather. Reference data relating to the amount of solar radiation is stored in thestorage unit 12. Thedetermination unit 15 determines a standard range for the amount of solar radiation based on the reference data, determines whether the amount of solar radiation obtained from thesolar radiation meter 40 through theinput unit 18 is within the standard range, and if the amount of solar radiation is within the standard range. Judged to be sunny. Further, thedetermination unit 15 stores, in thestorage unit 16, the current value when it is determined that the sky value is sunny among the current values output from thesolar cell 20. In this configuration, it is desirable that the amount of solar radiation at the time when the current value stored in thestorage unit 16 is obtained is also stored in thestorage unit 16.
In the above-described operation example, theestimation unit 14 generates the reference data from the solar radiation amount database in units of one month, but the determination is performed in the same manner as when the reference data is generated from the current value output from thesolar cell 20. The period can be selected as appropriate. In this configuration example, it is determined that the sky is clear using the amount of solar radiation measured by thepyranometer 40, but for other functions, functions similar to those in the configuration example shown in FIG. 1 can be employed.
That is, for example, the reference data is set continuously or at regular intervals, or the maximum daily value is adopted. Note that the amount of sunlight data may be obtained from other than NEDO.
Themanagement device 10 of thesolar cell 20 having another configuration in the present embodiment includes anacquisition unit 11, aninput unit 18, astorage unit 12, adetermination unit 15, and astorage unit 16. Theacquisition unit 11 acquires the electrical output value (current value) of thesolar cell 20 from themeasurement device 22. Further, theinput unit 18 receives the amount of solar radiation at the place where thesolar cell 20 is installed from thesolar radiation meter 40. The memory |storage part 12 memorize | stores the reference data equivalent to the solar radiation amount at the time of fine weather in a predetermined | prescribed determination period. Thedetermination unit 15 determines whether the amount of solar radiation is within a standard range set based on the reference data. The accumulatingunit 16 accumulates the electrical output value (current value) of thesolar cell 20 when the solar radiation amount is determined to be within the standard range.
According to this configuration, since the electrical output value (current value) of thesolar cell 20 at the time considered to be sunny is stored in thestorage unit 16, the deterioration of thesolar cell 20 from the change in the electrical output value (current value). Alternatively, information useful for finding an abnormality such as a failure is obtained. In addition, since only information that can be regarded as sunny is stored in thestorage unit 16, an increase in the amount of information to be stored is suppressed.
In thismanagement apparatus 10, when the solar radiation amount exceeds the reference data, it is desirable to include anupdate unit 17 that updates the reference data to the corresponding solar radiation amount.
According to this configuration, even when the reference data does not correspond to the solar radiation amount on a clear day, the reference data is automatically updated when the sky is clear, and finally the reference corresponding to the solar radiation amount on a clear day. Data can be obtained.
The program according to the present invention is based on a step of obtaining an electrical output value of a solar cell by a computer, and reference data corresponding to the electrical output value when the electrical output value is fine in a predetermined determination period. And a step of determining whether the electrical output value is within the standard range, and a step of accumulating the electrical output value at the time when the electrical output value is determined to be within the standard range. To do.
The above-described embodiment is an example of the present invention. For this reason, the present invention is not limited to the above-described embodiment, and various modifications can be made according to design and the like as long as the technical idea according to the present invention is not deviated from this embodiment. Of course, it can be changed.

Claims (10)

  1.  太陽電池の電気的出力値を計測装置から取得する取得部と、
     所定の判定期間での晴天時における前記電気的出力値に相当する基準データを記憶する記憶部と、
     前記電気的出力値が前記基準データを基に設定された標準範囲内であるか否かを判断する判断部と、
     前記電気的出力値が前記標準範囲内と判断された時点における前記電気的出力値を蓄積する蓄積部とを備える
     ことを特徴とする太陽電池の管理装置。
    An acquisition unit for acquiring the electrical output value of the solar cell from the measurement device;
    A storage unit for storing reference data corresponding to the electrical output value at the time of fine weather in a predetermined determination period;
    A determination unit that determines whether the electrical output value is within a standard range set based on the reference data;
    A storage unit for storing the electrical output value at a time when the electrical output value is determined to be within the standard range.
  2.  太陽電池の電気的出力値を計測装置から取得する取得部と、
     前記太陽電池が設置されている場所の日射量を日射計から受け取る入力部と、
     所定の判定期間での晴天時における前記日射量に相当する基準データを記憶する記憶部と、
     前記日射量が前記基準データを基に設定された標準範囲内であるか否かを判断する判断部と、
     前記日射量が前記標準範囲内と判断された時点における前記太陽電池の電気的出力値を蓄積する蓄積部とを備える
     ことを特徴とする太陽電池の管理装置。
    An acquisition unit for acquiring the electrical output value of the solar cell from the measurement device;
    An input unit that receives the amount of solar radiation at a place where the solar cell is installed from a pyranometer,
    A storage unit that stores reference data corresponding to the amount of solar radiation in fine weather during a predetermined determination period;
    A determination unit for determining whether the amount of solar radiation is within a standard range set based on the reference data;
    A solar cell management device comprising: an accumulation unit that accumulates an electrical output value of the solar cell at a time when the amount of solar radiation is determined to be within the standard range.
  3.  太陽電池の電気的出力値を取得するステップと、
     前記電気的出力値が所定の判定期間での晴天時における前記電気的出力値に相当する基準データを基に設定された標準範囲内であるか否かを判断するステップと、
     前記電気的出力値が前記標準範囲内と判断された時点における前記電気的出力値を蓄積するステップと、を含むことを特徴とする太陽電池の管理方法。
    Obtaining an electrical output value of the solar cell;
    Determining whether the electrical output value is within a standard range set based on reference data corresponding to the electrical output value in fine weather during a predetermined determination period;
    Storing the electrical output value at a point in time when the electrical output value is determined to be within the standard range.
PCT/IB2015/0014892014-09-042015-09-01Photovoltaic cell management device, photovoltaic system, and photovoltaic cell management methodWO2016034931A1 (en)

Priority Applications (1)

Application NumberPriority DateFiling DateTitle
CN201580047273.4ACN106605364A (en)2014-09-042015-09-01Photovoltaic cell management device, photovoltaic system, and photovoltaic cell management method

Applications Claiming Priority (2)

Application NumberPriority DateFiling DateTitle
JP2014-1805792014-09-04
JP2014180579AJP2016054632A (en)2014-09-042014-09-04Management device for solar battery, photovoltaic power generation system and program

Publications (1)

Publication NumberPublication Date
WO2016034931A1true WO2016034931A1 (en)2016-03-10

Family

ID=55439178

Family Applications (1)

Application NumberTitlePriority DateFiling Date
PCT/IB2015/001489WO2016034931A1 (en)2014-09-042015-09-01Photovoltaic cell management device, photovoltaic system, and photovoltaic cell management method

Country Status (3)

CountryLink
JP (1)JP2016054632A (en)
CN (1)CN106605364A (en)
WO (1)WO2016034931A1 (en)

Families Citing this family (2)

* Cited by examiner, † Cited by third party
Publication numberPriority datePublication dateAssigneeTitle
JP6946128B2 (en)*2017-09-192021-10-06株式会社日立製作所 Power generation performance evaluation system and power generation performance evaluation method
JP2021118570A (en)*2020-01-232021-08-10富士電機株式会社 Solar cell string diagnostic system and solar cell string diagnostic method

Citations (5)

* Cited by examiner, † Cited by third party
Publication numberPriority datePublication dateAssigneeTitle
JP2005340464A (en)*2004-05-262005-12-08Sharp Corp Solar cell array diagnostic apparatus and solar power generation system using the same
JP2011077477A (en)*2009-10-022011-04-14Sansha Electric Mfg Co LtdMonitor
JP2012054401A (en)*2010-09-012012-03-15Ntt Facilities IncSolar energy generation diagnostic system
JP2012114108A (en)*2010-11-192012-06-14Ntt Facilities IncPhotovoltaic power generation diagnostic device
JP2013191672A (en)*2012-03-132013-09-26Omron CorpInformation processing apparatus, abnormality detecting method, program, and solar power generation system

Family Cites Families (7)

* Cited by examiner, † Cited by third party
Publication numberPriority datePublication dateAssigneeTitle
JP2943133B2 (en)*1994-04-301999-08-30キヤノン株式会社 Insulation state measuring method, insulation state determination device, and distributed power generation device using the same
AT508834B1 (en)*2009-10-092012-09-15Fronius Int Gmbh METHOD AND DEVICE FOR ERROR DETECTION IN A PHOTOVOLTAIC PLANT
JP2012039769A (en)*2010-08-062012-02-23Chugoku Electric Power Co Inc:ThePhotovoltaic power generation panel and photovoltaic power generation output adjustment system
JP2012138448A (en)*2010-12-272012-07-19National Institute Of Advanced Industrial & TechnologyOutput drop detector and detection method of photovoltaic power generation
JP5969304B2 (en)*2012-08-062016-08-17京セラ株式会社 Management system, management method, control device, and solar cell device
KR101425022B1 (en)*2014-01-222014-08-14주식회사 에스이앤지Total management system for solar power generation apparatus
CN103944508A (en)*2014-03-222014-07-23联合光伏(深圳)有限公司Performance optimization and diagnosis method for photovoltaic array

Patent Citations (5)

* Cited by examiner, † Cited by third party
Publication numberPriority datePublication dateAssigneeTitle
JP2005340464A (en)*2004-05-262005-12-08Sharp Corp Solar cell array diagnostic apparatus and solar power generation system using the same
JP2011077477A (en)*2009-10-022011-04-14Sansha Electric Mfg Co LtdMonitor
JP2012054401A (en)*2010-09-012012-03-15Ntt Facilities IncSolar energy generation diagnostic system
JP2012114108A (en)*2010-11-192012-06-14Ntt Facilities IncPhotovoltaic power generation diagnostic device
JP2013191672A (en)*2012-03-132013-09-26Omron CorpInformation processing apparatus, abnormality detecting method, program, and solar power generation system

Also Published As

Publication numberPublication date
CN106605364A (en)2017-04-26
JP2016054632A (en)2016-04-14

Similar Documents

PublicationPublication DateTitle
US10901476B2 (en)Method for predicting power demand and controlling ESS charge/discharge based on the predicted demand, and apparatus using the same
US11271400B2 (en)Power control device, operation plan planning method, and recording medium
JP6115764B2 (en) Photovoltaic power generation system, abnormality determination processing device, abnormality determination processing method, and program
JP6087200B2 (en) Abnormality detection device for solar power generation system, abnormality detection method, and solar power generation system
US20130085729A1 (en)Information processor, power generation determining method, and program
EP2527949A1 (en)Mppt controller, solar battery control device, solar power generation system, mppt control program, and control method for mppt controller
US20120239322A1 (en)Abnormality diagnosis device, method therefor, and computer-readable medium
KR101223502B1 (en)A method of evaluating performance degradation of a photovoltaic module
US20170324268A1 (en)Charge/discharge management device
JP2005340464A (en) Solar cell array diagnostic apparatus and solar power generation system using the same
WO2013136850A1 (en)Information processing apparatus, abnormality detecting method, program, and solar power generation system
US9722282B2 (en)Method and device for setting a maximum depth of discharge of an energy store for a time period
US20190140589A1 (en)Computer device and method for determining whether a solar energy panel array is abnormal
JPWO2016166991A1 (en) Diagnostic system and program for photovoltaic power generation facilities
KR101532163B1 (en)Evaluation and condition diagnosis system for photovoltaic power generator
KR20120129910A (en)A method of operating a maximum power point tracker
JP2016019404A (en)Failure determination device
JP2012138448A (en)Output drop detector and detection method of photovoltaic power generation
JP6823499B2 (en) Information processing device and control method of information processing device
JP6557080B2 (en) Diagnostic device, photovoltaic power generation system, and degradation / fault diagnosis method
WO2016034931A1 (en)Photovoltaic cell management device, photovoltaic system, and photovoltaic cell management method
JP6252148B2 (en) Solar cell IV curve measuring device, IV curve measuring method, solar cell power conditioner, and solar power generation system
WO2016031065A1 (en)Power consumption estimation device, appliance management system, power consumption estimation method, and program
JP2012100453A (en)Charge system, charge method, and program
US20210305936A1 (en)Method, computer-implemented tool and power plant control device for detecting power production degradation of solar power plants and solar power plant system

Legal Events

DateCodeTitleDescription
121Ep: the epo has been informed by wipo that ep was designated in this application

Ref document number:15837399

Country of ref document:EP

Kind code of ref document:A1

NENPNon-entry into the national phase

Ref country code:DE

122Ep: pct application non-entry in european phase

Ref document number:15837399

Country of ref document:EP

Kind code of ref document:A1


[8]ページ先頭

©2009-2025 Movatter.jp