Movatterモバイル変換


[0]ホーム

URL:


WO2015181680A1 - Information processing device - Google Patents

Information processing device
Download PDF

Info

Publication number
WO2015181680A1
WO2015181680A1PCT/IB2015/053671IB2015053671WWO2015181680A1WO 2015181680 A1WO2015181680 A1WO 2015181680A1IB 2015053671 WIB2015053671 WIB 2015053671WWO 2015181680 A1WO2015181680 A1WO 2015181680A1
Authority
WO
WIPO (PCT)
Prior art keywords
layer
input
map
unit
information processing
Prior art date
Application number
PCT/IB2015/053671
Other languages
French (fr)
Japanese (ja)
Inventor
渡邉一徳
Original Assignee
株式会社半導体エネルギー研究所
Priority date (The priority date is an assumption and is not a legal conclusion. Google has not performed a legal analysis and makes no representation as to the accuracy of the date listed.)
Filing date
Publication date
Application filed by 株式会社半導体エネルギー研究所filedCritical株式会社半導体エネルギー研究所
Priority to JP2016522958ApriorityCriticalpatent/JPWO2015181680A1/en
Publication of WO2015181680A1publicationCriticalpatent/WO2015181680A1/en

Links

Images

Classifications

Definitions

Landscapes

Abstract

Provided is a novel input/output device which is highly reliable and extremely easy to use. Also provided is a novel information processing device which is highly reliable and extremely easy to use. Also provided is a novel information processing device. The information processing device comprises an input unit which supplies a plurality of maps including primary maps, and a storage unit which stores a program. The program comprises a step in which a secondary map is generated from a plurality of primary maps, a step in which an interrupt process which generates a dataset from a secondary map is carried out, and a pattern is extracted from the dataset generated by interrupt process, and if the extracted pattern is included in the reference table, a command associated in the reference table is supplied.

Description

情報処理装置Information processing device
本発明の一態様は、入出力装置、情報処理装置、プログラムまたは半導体装置に関する。One embodiment of the present invention relates to an input / output device, an information processing device, a program, or a semiconductor device.
なお、本発明の一態様は、上記の技術分野に限定されない。本明細書等で開示する発明の一態様の技術分野は、物、方法、または、製造方法に関するものである。または、本発明の一態様は、プロセス、マシン、マニュファクチャ、または、組成物(コンポジション・オブ・マター)に関するものである。そのため、より具体的に本明細書で開示する本発明の一態様の技術分野としては、半導体装置、表示装置、発光装置、蓄電装置、記憶装置、それらの駆動方法、または、それらの製造方法、を一例として挙げることができる。Note that one embodiment of the present invention is not limited to the above technical field. The technical field of one embodiment of the invention disclosed in this specification and the like relates to an object, a method, or a manufacturing method. Alternatively, one embodiment of the present invention relates to a process, a machine, a manufacture, or a composition (composition of matter). Therefore, as a technical field of one embodiment of the present invention disclosed more specifically in this specification, a semiconductor device, a display device, a light-emitting device, a power storage device, a memory device, a driving method thereof, or a manufacturing method thereof, Can be cited as an example.
情報伝達手段に係る社会基盤が充実されている。これにより、多様で潤沢な情報を職場や自宅だけでなく外出先でも情報処理装置を用いて取得、加工または発信できるようになっている。The social infrastructure for information transmission means is substantial. As a result, diverse and abundant information can be acquired, processed, or transmitted not only at work and at home but also on the go using the information processing apparatus.
このような背景において、携帯可能な情報処理装置が盛んに開発されている。In such a background, portable information processing apparatuses have been actively developed.
例えば、携帯可能な情報処理装置は持ち歩いて使用されることが多く、落下により思わぬ力が情報処理装置およびそれに用いられる表示装置に加わることがある。破壊されにくい表示装置の一例として、発光層を分離する構造体と第2の電極層との密着性が高められた構成が知られている(特許文献1)。For example, portable information processing apparatuses are often used while being carried, and unexpected force may be applied to the information processing apparatus and the display device used for the information processing due to falling. As an example of a display device that is not easily destroyed, a configuration in which adhesion between a structure that separates a light emitting layer and a second electrode layer is improved is known (Patent Document 1).
特開2012−190794号公報JP 2012-190794 A
本発明の一態様は、利便性または信頼性に優れた新規な入出力装置を提供することを課題の一とする。または、利便性または信頼性に優れた新規な情報処理装置を提供することを課題の一とする。または、新規な検知器、または、新規な情報処理装置、を提供することを課題の一とする。An object of one embodiment of the present invention is to provide a novel input / output device that is highly convenient or reliable. Another object is to provide a novel information processing device that is highly convenient or reliable. Another object is to provide a novel detector or a novel information processing device.
なお、これらの課題の記載は、他の課題の存在を妨げるものではない。なお、本発明の一態様は、これらの課題の全てを解決する必要はないものとする。なお、これら以外の課題は、明細書、図面、請求項などの記載から、自ずと明らかとなるものであり、明細書、図面、請求項などの記載から、これら以外の課題を抽出することが可能である。Note that the description of these problems does not disturb the existence of other problems. Note that one embodiment of the present invention does not have to solve all of these problems. Issues other than these will be apparent from the description of the specification, drawings, claims, etc., and other issues can be extracted from the descriptions of the specification, drawings, claims, etc. It is.
本発明の一態様は、マップを供給する入力部と、マップを供給される演算装置と、を有する情報処理装置である。One embodiment of the present invention is an information processing device including an input unit that supplies a map and an arithmetic device to which the map is supplied.
マップは、複数個の一次マップを含む。The map includes a plurality of primary maps.
演算装置は、マップに基づいて所定の命令を供給するプログラムを記憶する記憶部と、プログラムを実行する演算部と、を備える。The arithmetic device includes a storage unit that stores a program that supplies a predetermined instruction based on the map, and an arithmetic unit that executes the program.
プログラムは、割り込み処理を許可する第1のステップと、データセットに含まれるパターンを抽出する第2のステップと、パターンを参照テーブルと照合し、所定のパターンと一致する場合に第3のステップに進み、含まれていない場合は第2のステップに進む第3のステップと、所定のパターンに関連付けられた命令を供給し、第2のステップに進む第4のステップと、を備える。The program executes a first step for permitting interrupt processing, a second step for extracting a pattern included in the data set, and a third step when the pattern is checked against a reference table and matches a predetermined pattern. A third step that proceeds to the second step if not included, and a fourth step that supplies an instruction associated with the predetermined pattern and proceeds to the second step.
また、割り込み処理は、複数個の一次マップを取得する第5のステップと、複数個の一次マップに基づいて、二次マップを生成する二次マップ生成処理を行う第6のステップと、二次マップに基づいて二値化マップを生成する第7のステップと、二値化マップに基づいてラベリングデータを生成する第8のステップと、ラベリングデータに基づいてデータセットを生成または更新し、第1のステップに進む、第9のステップと、を含む。The interrupt process includes a fifth step of acquiring a plurality of primary maps, a sixth step of performing a secondary map generation process of generating a secondary map based on the plurality of primary maps, A seventh step of generating a binarized map based on the map; an eighth step of generating labeling data based on the binarized map; generating or updating a data set based on the labeling data; And the ninth step.
上記本発明の一態様の情報処理装置は、マップを供給する入力部と、プログラムを記憶する記憶部と、を含んで構成される。また、プログラムは、マップからデータセットを生成する割り込み処理と、割り込み処理で生成されたデータセットからパターンを抽出するステップと、抽出されたパターンが参照テーブルに含まれる場合に参照テーブルで関連付けられた命令を供給するステップと、を備える。The information processing apparatus of one embodiment of the present invention includes an input unit that supplies a map and a storage unit that stores a program. The program also associates an interrupt process for generating a data set from the map, a step for extracting a pattern from the data set generated by the interrupt process, and the reference table if the extracted pattern is included in the reference table. Providing instructions.
なお、マップは検知情報および検知した位置に係る位置情報を含むデータであり、データセットは連続する複数のマップを含み、例えばマップの時系列をデータセットに用いることができる。The map is data including detection information and position information related to the detected position, and the data set includes a plurality of continuous maps. For example, a time series of maps can be used for the data set.
これにより、入力部を用いて所定の命令を供給することができる。その結果、利便性または信頼性に優れた新規な入出力装置を提供することが出来る。利便性または信頼性に優れた新規な情報処理装置を提供することができる。または、新規な入出力装置、または、新規な情報処理装置、を提供することができる。Thereby, a predetermined command can be supplied using the input unit. As a result, a novel input / output device that is highly convenient or reliable can be provided. A novel information processing apparatus that is highly convenient or reliable can be provided. Alternatively, a novel input / output device or a novel information processing device can be provided.
また、本発明の一態様は、二次マップ生成処理が、複数個の一次マップからの平均値化された一次マップを生成する第10のステップと、平均値化された一次マップに含まれる上限値を超える値を上限値に変換し、下限値を下回る値を下限値に変換する第11のステップと、を備える上記の情報処理装置である。Further, according to one aspect of the present invention, the secondary map generation process includes a tenth step of generating an averaged primary map from a plurality of primary maps, and an upper limit included in the averaged primary map An information processing apparatus comprising: an eleventh step of converting a value exceeding the value into an upper limit value and converting a value below the lower limit value into a lower limit value.
上記本発明の一態様の情報処理装置は、記憶部を含み、当該記憶部が複数個の一次マップから平均値化された一次マップを生成するステップを備えるプログラムを記憶する。The information processing apparatus according to one embodiment of the present invention includes a storage unit, and stores a program including a step of generating a primary map averaged from a plurality of primary maps.
これにより、表示部の信号周波数を下げることなく、表示部の帰線期間中以外でも、表示情報からの雑音が取り除かれたマップを入力部から供給することができる。また、雑音が取り除かれたマップを用いて所定の命令を供給することができる。その結果、利便性または信頼性に優れた新規な入出力装置を提供することができる。または、利便性または信頼性に優れた新規な情報処理装置を提供することができる。または、新規な入出力装置、または、新規な情報処理装置、を提供することができる。As a result, a map from which noise from display information is removed can be supplied from the input unit even when the display unit is not in a blanking period without lowering the signal frequency of the display unit. In addition, a predetermined command can be supplied using a map from which noise is removed. As a result, a novel input / output device that is highly convenient or reliable can be provided. Alternatively, a novel information processing device that is highly convenient or reliable can be provided. Alternatively, a novel input / output device or a novel information processing device can be provided.
また、本発明の一態様は、入力部が、折り畳まれた状態または展開された状態にすることができる上記の情報処理装置である。Another embodiment of the present invention is the above information processing device in which the input portion can be in a folded state or an unfolded state.
なお、本明細書中において、発光装置とは画像表示デバイス、もしくは光源(照明装置含む)を指す。また、発光装置にコネクター、例えばFPC(Flexible printed circuit)もしくはTCP(Tape Carrier Package)が取り付けられたモジュール、TCPの先にプリント配線板が設けられたモジュール、または発光素子が形成された基板にCOG(Chip On Glass)方式によりIC(集積回路)が直接実装されたモジュールは、発光装置を含む場合がある。Note that in this specification, a light-emitting device refers to an image display device or a light source (including a lighting device). In addition, a module in which a connector such as an FPC (Flexible printed circuit) or TCP (Tape Carrier Package) is attached to the light emitting device, a module in which a printed wiring board is provided at the end of TCP, or a substrate on which a light emitting element is formed is COG. A module on which an IC (integrated circuit) is directly mounted by a (Chip On Glass) method may include a light emitting device.
本明細書に添付した図面では、構成要素を機能ごとに分類し、互いに独立したブロックとしてブロック図を示しているが、実際の構成要素は機能ごとに完全に切り分けることが難しく、一つの構成要素が複数の機能に係わることもあり得る。In the drawings attached to the present specification, the components are classified by function, and the block diagram is shown as an independent block. However, it is difficult to completely separate the actual components for each function. May involve multiple functions.
本明細書においてトランジスタが有するソースとドレインは、トランジスタの極性及び各端子に与えられる電位の高低によって、その呼び方が入れ替わる。一般的に、nチャネル型トランジスタでは、低い電位が与えられる端子がソースと呼ばれ、高い電位が与えられる端子がドレインと呼ばれる。また、pチャネル型トランジスタでは、低い電位が与えられる端子がドレインと呼ばれ、高い電位が与えられる端子がソースと呼ばれる。本明細書では、便宜上、ソースとドレインとが固定されているものと仮定して、トランジスタの接続関係を説明する場合があるが、実際には上記電位の関係に従ってソースとドレインの呼び方が入れ替わる。In this specification, the terms “source” and “drain” of a transistor interchange with each other depending on the polarity of the transistor or the level of potential applied to each terminal. In general, in an n-channel transistor, a terminal to which a low potential is applied is called a source, and a terminal to which a high potential is applied is called a drain. In a p-channel transistor, a terminal to which a low potential is applied is called a drain, and a terminal to which a high potential is applied is called a source. In this specification, for the sake of convenience, the connection relationship between transistors may be described on the assumption that the source and the drain are fixed. However, the names of the source and the drain are actually switched according to the above-described potential relationship. .
本明細書においてトランジスタのソースとは、活性層として機能する半導体膜の一部であるソース領域、或いは上記半導体膜に接続されたソース電極を意味する。同様に、トランジスタのドレインとは、上記半導体膜の一部であるドレイン領域、或いは上記半導体膜に接続されたドレイン電極を意味する。また、ゲートはゲート電極を意味する。In this specification, the source of a transistor means a source region that is part of a semiconductor film functioning as an active layer or a source electrode connected to the semiconductor film. Similarly, a drain of a transistor means a drain region that is part of the semiconductor film or a drain electrode connected to the semiconductor film. The gate means a gate electrode.
本明細書においてトランジスタが直列に接続されている状態とは、例えば、第1のトランジスタのソースまたはドレインの一方のみが、第2のトランジスタのソースまたはドレインの一方のみに接続されている状態を意味する。また、トランジスタが並列に接続されている状態とは、第1のトランジスタのソースまたはドレインの一方が第2のトランジスタのソースまたはドレインの一方に接続され、第1のトランジスタのソースまたはドレインの他方が第2のトランジスタのソースまたはドレインの他方に接続されている状態を意味する。なお、「膜」という言葉と、「層」という言葉とは、場合によっては、または、状況に応じて、互いに入れ替えることが可能である。例えば、「導電層」という用語を、「導電膜」という用語に変更することが可能な場合がある。または、例えば、「絶縁膜」という用語を、「絶縁層」という用語に変更することが可能な場合がある。In this specification, the state where the transistors are connected in series means, for example, a state where only one of the source and the drain of the first transistor is connected to only one of the source and the drain of the second transistor. To do. In addition, the state where the transistors are connected in parallel means that one of the source and the drain of the first transistor is connected to one of the source and the drain of the second transistor, and the other of the source and the drain of the first transistor is connected. It means a state of being connected to the other of the source and the drain of the second transistor. Note that the terms “film” and “layer” can be interchanged with each other depending on the case or circumstances. For example, the term “conductive layer” may be changed to the term “conductive film”. Alternatively, for example, the term “insulating film” may be changed to the term “insulating layer” in some cases.
本明細書において接続とは、電気的な接続を意味しており、電流、電圧または電位が、供給可能、或いは伝送可能な回路構成に相当する。従って、接続している回路構成とは、直接接続している回路構成を必ずしも指すわけではなく、電流、電圧または電位が、供給可能、或いは伝送可能であるように、配線、抵抗、ダイオード、トランジスタなどの回路素子を介して間接的に接続している回路構成も、その範疇に含む。In this specification, connection means electrical connection and corresponds to a circuit configuration capable of supplying or transmitting current, voltage, or potential. Therefore, a connected circuit configuration does not necessarily indicate a directly connected circuit configuration, and wiring, resistors, diodes, transistors can be supplied so that current, voltage, or potential can be supplied or transmitted. A circuit configuration indirectly connected through a circuit element such as the above is also included in the category.
本明細書において回路図上は独立している構成要素どうしが接続されている場合であっても、実際には、例えば配線の一部が電極として機能する場合など、一の導電膜が、複数の構成要素の機能を併せ持っている場合もある。本明細書において接続とは、このような、一の導電膜が、複数の構成要素の機能を併せ持っている場合も、その範疇に含める。In this specification, even when independent components on the circuit diagram are connected to each other, in practice, for example, when a part of the wiring functions as an electrode, In some cases, it also has the functions of the components. In this specification, the term “connection” includes a case where one conductive film has functions of a plurality of components.
また、本明細書中において、トランジスタの第1の電極または第2の電極の一方がソース電極を、他方がドレイン電極を指す。In this specification, one of a first electrode and a second electrode of a transistor refers to a source electrode, and the other refers to a drain electrode.
本発明の一態様によれば、利便性または信頼性に優れた新規な入出力装置を提供できる。または、利便性または信頼性に優れた新規な情報処理装置を提供できる。または、新規な出入力装置、または、新規な情報処理装置、を提供できる。According to one embodiment of the present invention, a novel input / output device that is highly convenient or reliable can be provided. Alternatively, a novel information processing device that is highly convenient or reliable can be provided. Alternatively, a novel input / output device or a novel information processing device can be provided.
なお、これらの効果の記載は、他の効果の存在を妨げるものではない。なお、本発明の一態様は、必ずしも、これらの効果の全てを有する必要はない。なお、これら以外の効果は、明細書、図面、請求項などの記載から、自ずと明らかとなるものであり、明細書、図面、請求項などの記載から、これら以外の効果を抽出することが可能である。Note that the description of these effects does not disturb the existence of other effects. Note that one embodiment of the present invention does not necessarily have all of these effects. It should be noted that the effects other than these are naturally obvious from the description of the specification, drawings, claims, etc., and it is possible to extract the other effects from the descriptions of the specification, drawings, claims, etc. It is.
実施の形態に係る情報処理装置の構成を説明するブロック図。1 is a block diagram illustrating a configuration of an information processing device according to an embodiment.実施の形態に係る情報処理装置の記憶部が記憶するプログラムを説明するフロー図。The flowchart explaining the program which the memory | storage part of the information processing apparatus which concerns on embodiment memorize | stores.実施の形態に係る情報処理装置の入力部の構成を説明するブロック図。4 is a block diagram illustrating a configuration of an input unit of the information processing device according to the embodiment. FIG.実施の形態に係る情報処理装置の表示部と入力部の信号のタイミングチャート図。4 is a timing chart of signals of a display unit and an input unit of the information processing apparatus according to the embodiment. FIG.実施の形態に係る入出力装置の構成を説明する投影図。FIG. 4 is a projection view illustrating a structure of an input / output device according to an embodiment.実施の形態に係る入出力装置の構成を説明する断面図。FIG. 6 is a cross-sectional view illustrating a structure of an input / output device according to an embodiment.実施の形態に係る積層体の作製工程を説明する模式図。FIG. 6 is a schematic diagram illustrating a manufacturing process of a stacked body according to an embodiment.実施の形態に係る積層体の作製工程を説明する模式図。FIG. 6 is a schematic diagram illustrating a manufacturing process of a stacked body according to an embodiment.実施の形態に係る積層体の作製工程を説明する模式図。FIG. 6 is a schematic diagram illustrating a manufacturing process of a stacked body according to an embodiment.実施の形態に係る支持体に開口部を有する積層体の作製工程を説明する模式図。4A and 4B are schematic diagrams illustrating a manufacturing process of a stacked body having an opening in a support according to an embodiment.実施の形態に係る加工部材の構成を説明する模式図。The schematic diagram explaining the structure of the processing member which concerns on embodiment.実施の形態に係る情報処理装置の構成を説明する投影図。FIG. 7 is a projection view illustrating a configuration of an information processing device according to an embodiment.実施の形態に係る情報処理装置の構成を説明する投影図。FIG. 7 is a projection view illustrating a configuration of an information processing device according to an embodiment.
本発明の一態様の情報処理装置は、マップを供給する入力部と、プログラムを記憶する記憶部と、を含んで構成される。また、プログラムは、マップからデータセットを生成する割り込み処理と、割り込み処理で生成されたデータセットからパターンを抽出するステップと、抽出されたパターンが参照テーブルに含まれる場合に参照テーブルで関連付けられた命令を供給するステップと、を備える。An information processing apparatus according to one embodiment of the present invention includes an input unit that supplies a map and a storage unit that stores a program. The program also associates an interrupt process for generating a data set from the map, a step for extracting a pattern from the data set generated by the interrupt process, and the reference table if the extracted pattern is included in the reference table. Providing instructions.
なお、マップは検知情報および検知した位置に係る位置情報を含むデータであり、データセットは連続する複数のマップを含み、例えばマップの時系列をデータセットに用いることができる。The map is data including detection information and position information related to the detected position, and the data set includes a plurality of continuous maps. For example, a time series of maps can be used for the data set.
これにより、入力部を用いて所定の命令を供給することができる。その結果、利便性または信頼性に優れた新規な入出力装置を提供できる。または、利便性または信頼性に優れた新規な情報処理装置を提供できる。または、新規な出入力装置、または、新規な情報処理装置、を提供できる。Thereby, a predetermined command can be supplied using the input unit. As a result, a novel input / output device that is highly convenient or reliable can be provided. Alternatively, a novel information processing device that is highly convenient or reliable can be provided. Alternatively, a novel input / output device or a novel information processing device can be provided.
実施の形態について、図面を用いて詳細に説明する。但し、本発明は以下の説明に限定されず、本発明の趣旨及びその範囲から逸脱することなくその形態及び詳細を様々に変更し得ることは当業者であれば容易に理解される。従って、本発明は以下に示す実施の形態の記載内容に限定して解釈されるものではない。なお、以下に説明する発明の構成において、同一部分又は同様な機能を有する部分には同一の符号を異なる図面間で共通して用い、その繰り返しの説明は省略する。なお、「膜」という言葉と、「層」という言葉とは、場合によっては、または、状況に応じて、互いに入れ替えることが可能である。例えば、「導電層」という用語を、「導電膜」という用語に変更することが可能な場合がある。または、例えば、「絶縁膜」という用語を、「絶縁層」という用語に変更することが可能な場合がある。Embodiments will be described in detail with reference to the drawings. However, the present invention is not limited to the following description, and it is easily understood by those skilled in the art that modes and details can be variously changed without departing from the spirit and scope of the present invention. Therefore, the present invention should not be construed as being limited to the description of the embodiments below. Note that in structures of the invention described below, the same portions or portions having similar functions are denoted by the same reference numerals in different drawings, and description thereof is not repeated. Note that the terms “film” and “layer” can be interchanged with each other depending on the case or circumstances. For example, the term “conductive layer” may be changed to the term “conductive film”. Alternatively, for example, the term “insulating film” may be changed to the term “insulating layer” in some cases.
(実施の形態1)
本実施の形態では、本発明の一態様の情報処理装置の構成について、図1乃至図4を参照しながら説明する。
(Embodiment 1)
In this embodiment, a structure of an information processing device of one embodiment of the present invention will be described with reference to FIGS.
図1は本発明の一態様の情報処理装置の構成を説明するブロック図である。図2は本発明の一態様の情報処理装置の記憶部が記憶するプログラムを説明するフロー図である。図3は本発明の一態様の情報処理装置に用いることができる入力部の構成を説明するブロック図および動作を説明するマップの模式図である。FIG. 1 is a block diagram illustrating a configuration of an information processing device of one embodiment of the present invention. FIG. 2 is a flowchart illustrating a program stored in the storage unit of the information processing apparatus according to one embodiment of the present invention. 3A and 3B are a block diagram illustrating a structure of an input portion that can be used in the information processing device of one embodiment of the present invention, and a schematic diagram of a map illustrating operation.
図2(A)は本発明の一態様のプログラムの主の部分を説明するフロー図であり、図2(B)は割り込み処理を説明するフロー図であり、図2(C)は二次マップ生成処理を説明するフロー図である。2A is a flowchart for explaining a main part of a program according to one embodiment of the present invention, FIG. 2B is a flowchart for explaining interrupt processing, and FIG. 2C is a secondary map. It is a flowchart explaining a production | generation process.
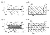
図3(A−1)は入力部の構成を説明するブロック図であり、図3(A−2)は入力部の検知ユニットの構成を説明する回路図である。図3(D−1)および図3(D−2)は本発明の一態様のプログラムの二値化マップを生成するステップと、ラベリングデータを生成するステップを説明するための、マップの模式図である。FIG. 3A-1 is a block diagram illustrating the configuration of the input unit, and FIG. 3A-2 is a circuit diagram illustrating the configuration of the detection unit of the input unit. 3D-1 and 3D-2 are schematic diagrams of maps for explaining the steps of generating a binarized map of the program according to one embodiment of the present invention and the step of generating labeling data. It is.
図4は一次マップを複数回取得するときの表示部と入力部の信号のタイミングチャートを示した図である。FIG. 4 is a diagram illustrating a timing chart of signals of the display unit and the input unit when the primary map is acquired a plurality of times.
<情報処理装置の構成例1.>本実施の形態で説明する情報処理装置は、マップMを供給する入力部140と、マップMを供給される演算装置110と、を有する(図1参照)。<Configuration example 1 of information processing apparatus> > The information processing apparatus described in the present embodiment includes aninput unit 140 that supplies a map M and an arithmetic unit 110 that is supplied with the map M (see FIG. 1).
マップMは、複数個の一次マップM1を含む。The map M includes a plurality of primary maps M1.
演算装置110は、記憶部112と演算部111を備える。The calculation device 110 includes astorage unit 112 and acalculation unit 111.
記憶部112は、マップMに基づいて所定の命令を供給するプログラムを記憶する。Thestorage unit 112 stores a program that supplies a predetermined command based on the map M.
演算部111は、以下のステップを備えるプログラムを実行する。Thecalculation unit 111 executes a program including the following steps.
《第1のステップ》第1のステップにおいて、割り込み処理を許可する(図2(A)(S1参照))。<< First Step >> In the first step, interrupt processing is permitted (FIG. 2A (see S1)).
《第2のステップ》第2のステップにおいて、データセットに含まれるパターンを抽出する(図2(A)(S2参照))。<< Second Step >> In the second step, patterns included in the data set are extracted (see FIG. 2A (see S2)).
データセットは、割り込み処理において生成または更新される。データセットは連続する複数のラベリングデータを含む。例えばラベリングデータLDの時系列をデータセットに用いることができる。The data set is generated or updated in interrupt processing. The data set includes a plurality of continuous labeling data. For example, a time series of labeling data LD can be used for the data set.
なお、ラベリングデータLDは、入力部140に近接または/および接触するものの検知情報と位置情報が関連付けられたデータである。Note that the labeling data LD is data in which detection information and position information of what is close to and / or in contact with theinput unit 140 are associated with each other.
例えば、入力部140に近接または/および接触するものの数、位置、入力部140までの距離等をラベリングデータLDに含ませることができる。For example, the number, position, distance to theinput unit 140, and the like of what is close to and / or in contact with theinput unit 140 can be included in the labeling data LD.
このようなデータセットを用いると、入力部140に近接または/および接触するものの移動に伴う軌跡を知り、そのパターンを抽出することができる。By using such a data set, it is possible to know the trajectory associated with the movement of the object close to and / or in contact with theinput unit 140 and extract the pattern.
具体的には、およそ同じ場所をタップする指が描く軌跡、一方向にドラッグする指が描く軌跡またはピンチする二つの指が間隔を広げながら描く軌跡などを抽出することができる。Specifically, a trajectory drawn by a finger tapping approximately the same place, a trajectory drawn by a finger dragging in one direction, or a trajectory drawn while increasing the interval between two fingers to be pinched can be extracted.
《第3のステップ》第3のステップにおいて、パターンを参照テーブルと照合し、所定のパターンと一致する場合に第4のステップに進み、所定のパターンと一致しない場合は第2のステップに進む(図2(A)(S3参照))。<< Third Step >> In the third step, the pattern is checked against the reference table. If the pattern matches the predetermined pattern, the process proceeds to the fourth step. If the pattern does not match the predetermined pattern, the process proceeds to the second step. FIG. 2A (see S3)).
これにより、情報処理装置100の使用者は、入力部140に近接または/および接触させた指やスタイラス等を、所定のパターンを描くように移動して、入力部140にジェスチャーに基づく情報を供給することができる。Thereby, the user of the information processing apparatus 100 moves a finger, a stylus, or the like that is in proximity to and / or in contact with theinput unit 140 so as to draw a predetermined pattern, and supplies information based on the gesture to theinput unit 140 can do.
《第4のステップ》第4のステップにおいて、所定のパターンに関連付けられた命令を供給し、第2のステップに進む(図2(A)(S4参照))。<< Fourth Step >> In the fourth step, an instruction associated with a predetermined pattern is supplied, and the process proceeds to the second step (see FIG. 2A (see S4)).
また、割り込み処理は以下のステップを具備する。The interrupt process includes the following steps.
《第5のステップ》第5のステップにおいて、複数個の一次マップM1を取得する(図2(B)(T5参照))。<< Fifth Step >> In the fifth step, a plurality of primary maps M1 are acquired (FIG. 2B (see T5)).
《第6のステップ》第6のステップにおいて、複数個の一次マップM1に基づいて、二次マップM2を生成する二次マップ生成処理を行う(図2(B)(T6参照))。<< Sixth Step >> In the sixth step, a secondary map generation process for generating a secondary map M2 is performed based on a plurality of primary maps M1 (see FIG. 2B (see T6)).
なお、さまざまな方法を二次マップ生成処理に用いることができる。詳細は後に説明する。Various methods can be used for the secondary map generation process. Details will be described later.
《第7のステップ》第7のステップにおいて、二次マップM2に基づいて二値化マップMBIを生成する(図2(B)(T7参照))。<< Seventh Step >> In the seventh step, a binarized map MBI is generated based on the secondary map M2 (see FIG. 2B (see T7)).
例えば、8行8列の二次マップM2を模式的に示す(図3(C−2)参照)。また、二次マップM2を二値化して得た二値化マップMBIを模式的に示す(図3(D−1)参照)。なお、異なるハッチが付されたセルは、値が異なる。For example, a secondary map M2 of 8 rows and 8 columns is schematically shown (see FIG. 3C-2). In addition, a binarized map MBI obtained by binarizing the secondary map M2 is schematically shown (see FIG. 3D-1). Note that cells with different hatches have different values.
マップの値を二値化する方法に様々な方法を用いることができる。例えば、8bitのデータを用いる場合、各セルの値を0または255にすることができる。なお、二値化をする際に用いる閾値を使用者が決定してもよいし、演算装置が決定してもよい。Various methods can be used for binarizing the map values. For example, when 8-bit data is used, the value of each cell can be set to 0 or 255. In addition, the user may determine the threshold value used when binarizing, or the arithmetic unit may determine.
《第8のステップ》第8のステップにおいて、二値化マップMBIに基づいてラベリングデータLDを生成する(図2(B)(T8参照))。<< Eighth Step >> In the eighth step, labeling data LD is generated based on the binarized map MBI (see FIG. 2B (see T8)).
ラベリングをする方法に様々な方法を用いることができる。例えば、隣接するセルの値と比較して同じ値である場合に同じラベルを付与するステップを、各セルについて行う(図3(D−2)参照)。Various methods can be used for labeling. For example, the step of assigning the same label when the value is the same as the value of an adjacent cell is performed for each cell (see FIG. 3D-2).
これにより、同一のラベルが付された領域ごとに位置情報を特定することができる。例えば、同一のラベルが付された領域の重心を当該領域の位置情報とすることができる。Thereby, position information can be specified for each region to which the same label is attached. For example, the center of gravity of a region with the same label can be used as the position information of the region.
その結果、入力部140に近接または/および接触するものの検知情報と位置情報が関連付けられたラベリングデータLDを生成することができる。As a result, it is possible to generate the labeling data LD in which the detection information and the position information that are close to and / or in contact with theinput unit 140 are associated with each other.
《第9のステップ》第9のステップにおいて、ラベリングデータLDに基づいてデータセットを生成または更新し且つ第1のステップに進む(図2(B)(T9参照))。<< Ninth Step >> In the ninth step, a data set is generated or updated based on the labeling data LD, and the process proceeds to the first step (FIG. 2B (see T9)).
データセットは連続する複数のマップを含む。例えばマップの時系列をデータセットに用いることができる。マップの時系列を含むデータセットを用いると、入力部140に近接または/および接触するものの移動に伴う軌跡を知ることができる。The data set includes a plurality of consecutive maps. For example, a time series of maps can be used for the data set. By using a data set including a time series of maps, it is possible to know a trajectory associated with the movement of an object that approaches or / and contacts theinput unit 140.
上記本発明の一態様の情報処理装置100は、マップMを供給する入力部140と、プログラムを記憶する記憶部112と、を含んで構成される。また、プログラムは、マップMからデータセットを生成する割り込み処理と、割り込み処理で生成されたデータセットからパターンを抽出するステップと、抽出されたパターンが参照テーブルに含まれる場合に参照テーブルで関連付けられた命令を供給するステップと、を備える。The information processing apparatus 100 according to one aspect of the present invention includes theinput unit 140 that supplies the map M and thestorage unit 112 that stores the program. In addition, the program associates the interrupt process for generating the data set from the map M, the step of extracting the pattern from the data set generated by the interrupt process, and the reference table when the extracted pattern is included in the reference table. Providing a command.
なお、マップMは検知情報および検知した位置に係る位置情報を含むデータであり、データセットは連続する複数のマップを含み、例えばマップの時系列をデータセットに用いることができる。The map M is data including detection information and position information related to the detected position, and the data set includes a plurality of continuous maps. For example, a time series of maps can be used for the data set.
これにより、入力部140を用いて所定の命令を供給することができる。その結果、利便性または信頼性に優れた新規な入出力装置を提供できる。または、利便性または信頼性に優れた新規な情報処理装置を提供できる。または、新規な出入力装置、または、新規な情報処理装置、を提供できる。Accordingly, a predetermined command can be supplied using theinput unit 140. As a result, a novel input / output device that is highly convenient or reliable can be provided. Alternatively, a novel information processing device that is highly convenient or reliable can be provided. Alternatively, a novel input / output device or a novel information processing device can be provided.
例えば、情報処理装置100の使用者は、入力部140に近接させた指や掌等を用いて、様々な操作命令を情報処理装置100に供給することができる。For example, the user of the information processing apparatus 100 can supply various operation commands to the information processing apparatus 100 using a finger, a palm, or the like brought close to theinput unit 140.
例えば、終了命令(プログラムを終了する命令)を含む操作命令を供給することができる。For example, an operation instruction including an end instruction (an instruction to end the program) can be supplied.
以下に、情報処理装置を構成する個々の要素について説明する。なお、これらの構成は明確に分離できず、一つの構成が他の構成を兼ねる場合や他の構成の一部を含む場合がある。Below, each element which comprises information processing apparatus is demonstrated. Note that these configurations cannot be clearly separated, and one configuration may serve as another configuration or may include a part of another configuration.
例えばタッチセンサが表示パネルに重ねられたタッチパネルは、表示部130であるとともに、入力部140でもある。For example, a touch panel in which a touch sensor is superimposed on a display panel is not only the display unit 130 but also theinput unit 140.
なお、本実施の形態では表示部130の表示面側に入力部140が重ねられた構成を有するタッチセンサを例に説明するが、この構成に限られない。具体的には、入力部140の検知面側に表示部130が重ねられた構成であってもよいし、表示部130と入力部140が一体の構造を有していてもよい。言い換えると、オン・セル型のタッチパネルであってもイン・セル型のタッチパネルであってもよい。In the present embodiment, a touch sensor having a configuration in which theinput unit 140 is superimposed on the display surface side of the display unit 130 will be described as an example, but the present invention is not limited to this configuration. Specifically, the display unit 130 may be stacked on the detection surface side of theinput unit 140, or the display unit 130 and theinput unit 140 may have an integrated structure. In other words, it may be an on-cell type touch panel or an in-cell type touch panel.
《全体の構成》情報処理装置100は、入出力装置120または演算装置110を有する(図1参照)。<< Overall Configuration >> The information processing apparatus 100 includes an input / output device 120 or an arithmetic device 110 (see FIG. 1).
《入出力装置120》入出力装置120は、表示情報Vを供給され、マップMまたは検知情報Sを供給することができる。また、演算装置110と入出力装置120は互いにさまざまな情報を供給し供給されることができる。<< Input / Output Device 120 >> The input / output device 120 is supplied with the display information V and can supply the map M or the detection information S. In addition, the arithmetic device 110 and the input / output device 120 can supply and supply various information to each other.
入出力装置120は、表示部130、入力部140、入出力部145、検知部150または通信部160を有する。The input / output device 120 includes a display unit 130, aninput unit 140, an input / output unit 145, a detection unit 150, or acommunication unit 160.
《表示部130》表示部130は、表示情報Vが供給され、表示情報Vを表示することができる。<< Display Unit 130 >> The display unit 130 is supplied with the display information V and can display the display information V.
表示部130は表示領域131を備え、表示情報Vを表示領域131に表示する。The display unit 130 includes adisplay area 131 and displays the display information V in thedisplay area 131.
表示領域131は、第1の表示領域131(11)、第1の屈曲できる表示領域131(21)、第2の表示領域131(12)、第2の屈曲できる表示領域131(22)および第3の表示領域131(13)を備えてもよい。Thedisplay area 131 includes a first display area 131 (11), a first bendable display area 131 (21), a second display area 131 (12), a second bendable display area 131 (22), and a first bendable display area 131 (22). Three display areas 131 (13) may be provided.
第1の屈曲できる表示領域131(21)および第2の屈曲できる表示領域131(22)は、表示情報Vを表示することができるだけでなく屈曲することができる。The first bendable display area 131 (21) and the second bendable display area 131 (22) can not only display the display information V but also bendable.
例えば、第1の屈曲できる表示領域131(21)および第2の屈曲できる表示領域131(22)は、10mm以下、好ましくは8mm以下、より好ましくは5mm以下、特に好ましくは4mm以下の曲率半径で屈曲することができる。For example, the first bendable display area 131 (21) and the second bendable display area 131 (22) have a radius of curvature of 10 mm or less, preferably 8 mm or less, more preferably 5 mm or less, and particularly preferably 4 mm or less. Can be bent.
表示部130は、第1の屈曲できる表示領域131(21)に第1の畳み目が形成されるように折り畳むことができる。また、第1の畳み目を広げて表示部130を展開することができる。The display unit 130 can be folded so that a first fold is formed in the first bendable display area 131 (21). Further, the display unit 130 can be expanded by expanding the first fold.
表示部130は、第2の屈曲できる表示領域131(22)に第2の畳み目が形成されるように折り畳むことができる。また、第2の畳み目を広げて表示部130を展開することができる。The display unit 130 can be folded so that a second fold is formed in the second bendable display region 131 (22). Further, the display unit 130 can be expanded by expanding the second fold.
第1の表示領域131(11)と第2の表示領域131(12)を、共通の駆動回路で駆動してもよい。例えば、一の走査線駆動回路が走査線を選択する信号を供給する構成としてもよい。The first display area 131 (11) and the second display area 131 (12) may be driven by a common drive circuit. For example, one scanning line driving circuit may supply a signal for selecting a scanning line.
第1の表示領域131(11)と第2の表示領域131(12)を、別々に駆動してもよい。例えば、駆動回路をそれぞれの領域に設け、それぞれの走査線駆動回路がそれぞれの走査線を選択する信号を供給する構成としてもよい。The first display area 131 (11) and the second display area 131 (12) may be driven separately. For example, a driving circuit may be provided in each region, and each scanning line driving circuit may supply a signal for selecting each scanning line.
例えば、情報処理装置100の待機状態において、第1の領域(11)または/および第1の屈曲できる領域(21)のみを駆動して、他の領域の駆動を停止してもよい。または、情報処理装置100の折り畳まれた状態において、第1の領域(11)または/および第1の屈曲できる領域(21)のみを駆動して、他の視認できない領域の駆動を停止してもよい。他の領域の駆動を停止することにより、消費電力を低減することができる。For example, in the standby state of the information processing apparatus 100, only the first region (11) or / and the first bendable region (21) may be driven and driving of other regions may be stopped. Alternatively, even when the information processing apparatus 100 is folded, only the first region (11) and / or the first bendable region (21) is driven, and driving of other invisible regions is stopped. Good. Power consumption can be reduced by stopping driving in other regions.
《入力部140》入力部140は、マップMを供給する。例えば、入力部140に近接または/および接触するものを検知し、検知した情報を検知した位置に係る位置情報と関連付けて供給する。<<Input Unit 140 >> Theinput unit 140 supplies the map M. For example, an object close to and / or in contact with theinput unit 140 is detected, and the detected information is supplied in association with position information related to the detected position.
なお、マップMは検知情報および検知した位置に係る位置情報を含むデータである。また、連続する複数のマップを含むデータをデータセットという。例えば、マップの時系列をデータセットに用いることができる。The map M is data including detection information and position information related to the detected position. Data including a plurality of continuous maps is called a data set. For example, a time series of maps can be used for the data set.
例えば、入力部140は、m行n列のマトリクス状に配置された複数の検知ユニットU(m,n)を備える(図3(A−1)参照)。なお、mおよびnは自然数であり、mまたはnの一方は2以上の自然数である。また、行方向に配設された複数の検知ユニットを電気的に接続する選択信号線等、列方向に配設された信号線等を含むことができる。For example, theinput unit 140 includes a plurality of detection units U (m, n) arranged in a matrix of m rows and n columns (see FIG. 3A-1). Note that m and n are natural numbers, and one of m or n is a natural number of 2 or more. Further, it may include a signal line and the like arranged in the column direction, such as a selection signal line for electrically connecting a plurality of detection units arranged in the row direction.
例えば、各検知ユニットU(m,n)が供給する検知信号と検知ユニットU(m,n)の配置を関連付けたm行n列の行列を、マップMのデータの形式に用いることができる。具体的には、m行n列の行列の要素(i,j)の値を、検知ユニットU(i,j)が供給する検知信号に基づく値とするデータの形式にしてもよい。なお、iはm以下の自然数であり,jはn以下の自然数である。For example, a matrix of m rows and n columns in which the detection signals supplied by the detection units U (m, n) and the arrangement of the detection units U (m, n) are associated can be used as the data format of the map M. Specifically, the value of the element (i, j) of the matrix of m rows and n columns may be in the form of data that is a value based on the detection signal supplied by the detection unit U (i, j). Note that i is a natural number of m or less, and j is a natural number of n or less.
なお、入力部140は、複数の検知ユニットU(m,n)、選択信号線等またはこれらを支持する基材を含むことができる。また、選択信号を供給することができる駆動回路または検知信号を供給することができる駆動回路等を含むことができる。Theinput unit 140 may include a plurality of detection units U (m, n), selection signal lines, and the like or a base material that supports these. In addition, a driving circuit that can supply a selection signal, a driving circuit that can supply a detection signal, or the like can be included.
入力部140は、第1の入力部141(11)、第2の入力部141(12)、第3の入力部141(13)第4の入力部141(21)および第5の入力部141(22)を備える。Theinput unit 140 includes a first input unit 141 (11), a second input unit 141 (12), a third input unit 141 (13), a fourth input unit 141 (21), and afifth input unit 141. (22) is provided.
入力部140は、表示部130と重なるように配置してもよい。Theinput unit 140 may be disposed so as to overlap the display unit 130.
具体的には、第1の表示領域131(11)に重ねて第1の入力部141(11)を、第2の表示領域131(12)に重ねて第2の入力部141(12)を、第3の表示領域131(13)に重ねて第3の入力部141(13)を配置し、第1の屈曲できる表示領域131(21)に重ねて屈曲することができる第4の入力部141(21)を配置する。また、第2の屈曲できる表示領域131(22)に重ねて屈曲できる第5の入力部141(22)を配置する。Specifically, the first input unit 141 (11) is overlaid on the first display region 131 (11), and the second input unit 141 (12) is overlaid on the second display region 131 (12). A fourth input unit that can be bent over the third display area 131 (13) by placing the third input section 141 (13) over the first display area 131 (21). 141 (21) is arranged. A fifth input portion 141 (22) that can be bent over the second bendable display area 131 (22) is disposed.
なお、表示部130より使用者側に入力部140を配置する場合は、透光性を有する入力部140を配置する。When theinput unit 140 is arranged on the user side from the display unit 130, theinput unit 140 having translucency is arranged.
第1の入力部141(11)は他の入力部と共通の駆動回路で駆動してもよいし、別々の駆動回路で駆動してもよい。The first input unit 141 (11) may be driven by a common drive circuit with other input units, or may be driven by a separate drive circuit.
例えば、第1の入力部141(11)が消費する電力および第2の入力部141(12)が消費する電力の合計が、第1の入力部141(11)が消費する電力より大きい場合、情報処理装置100の待機状態において、第1の入力部141(11)のみを駆動して、第2の入力部140(12)の駆動を停止してもよい。第2の入力部140(12)部の駆動を停止することにより、消費電力を低減することができる。For example, when the sum of the power consumed by the first input unit 141 (11) and the power consumed by the second input unit 141 (12) is greater than the power consumed by the first input unit 141 (11), In the standby state of the information processing apparatus 100, only the first input unit 141 (11) may be driven, and the driving of the second input unit 140 (12) may be stopped. By stopping the driving of the second input unit 140 (12), power consumption can be reduced.
入力部に配設する検知素子は、近接または/および接触するもの(例えば指や掌)を検知できるセンサであればよく、例えばコイル、磁気センサ、光電変換素子または/および一方の電極が導電膜と電気的に接続された容量素子などを適用できる。なお、光電変換素子を有する基板を光学式のタッチセンサと、容量素子をマトリクス状に有する基板を容量式のタッチセンサと、いうことができる。The detection element disposed in the input unit may be any sensor that can detect proximity or / and contact (for example, a finger or palm). For example, a coil, a magnetic sensor, a photoelectric conversion element, and / or one electrode is a conductive film. A capacitor element electrically connected to the capacitor can be used. Note that a substrate having photoelectric conversion elements can be referred to as an optical touch sensor, and a substrate having capacitor elements in a matrix can be referred to as a capacitive touch sensor.
《検知ユニットU(m,n)》検知ユニットU(m,n)は、さまざまなものを検知する。例えば、近接または接触するものを検知して検知情報を供給する。例えば静電容量、照度、磁力、電波または圧力等を検知して、検知した物理量に基づく情報を供給する。具体的には、容量素子、光電変換素子、磁気検知素子、圧電素子または共振器等を検知素子に用いることができる。<< Detection Unit U (m, n) >> The detection unit U (m, n) detects various objects. For example, the detection information is supplied by detecting the proximity or contact. For example, capacitance, illuminance, magnetic force, radio wave, pressure, or the like is detected, and information based on the detected physical quantity is supplied. Specifically, a capacitive element, a photoelectric conversion element, a magnetic sensing element, a piezoelectric element, a resonator, or the like can be used as the sensing element.
具体的には、大気中において、指などの大気より大きな誘電率を備えるものが導電膜に近接すると、指と導電膜の間の静電容量が変化する。この静電容量の変化を検知して検知信号を供給することができる。具体的には、導電膜および当該導電膜に一方の電極が接続された容量素子を用いることができる。静電容量の変化に伴い電荷の分配が引き起こされ、容量素子の両端の電極の電圧が変化する。この電圧の変化を検知信号に用いることができる。Specifically, in the atmosphere, when an object such as a finger having a dielectric constant greater than that of the atmosphere approaches the conductive film, the capacitance between the finger and the conductive film changes. This change in capacitance can be detected and a detection signal can be supplied. Specifically, a conductive film and a capacitor in which one electrode is connected to the conductive film can be used. As the capacitance changes, charge distribution is caused and the voltage at the electrodes at both ends of the capacitive element changes. This change in voltage can be used as a detection signal.
また、入力部140が、マトリクス状に配置された複数の検知ユニットUと、行方向に配設される複数の検知ユニットUと電気的に接続される選択信号線G1と、列方向に配設される複数の検知ユニットUと電気的に接続される信号線DLと、を有する場合、例えば、以下の構成を備える検知ユニットUを用いることができる。Further, theinput unit 140 is arranged in a column direction, a plurality of detection units U arranged in a matrix, a selection signal line G1 electrically connected to the plurality of detection units U arranged in a row direction, and the column direction. In the case of having the signal lines DL electrically connected to the plurality of detection units U to be detected, for example, the detection unit U having the following configuration can be used.
検知ユニットUは、制御端子が選択信号線G1に電気的に接続され、第1の端子が信号線DLに電気的に接続される第1のスイッチSW1を備える。The detection unit U includes a first switch SW1 whose control terminal is electrically connected to the selection signal line G1, and whose first terminal is electrically connected to the signal line DL.
また、第1の電極が第1のスイッチSW1の第2の端子に電気的に接続され、第2の電極が電源線VPIと電気的に接続される増幅トランジスタM10を備える。In addition, the amplifier includes an amplification transistor M10 in which the first electrode is electrically connected to the second terminal of the first switch SW1, and the second electrode is electrically connected to the power supply line VPI.
また、第1の電極が増幅トランジスタM10のゲートおよび導電膜と電気的に接続され、第2の電極が第2の制御線と電気的に接続される容量素子C1を備える。なお、増幅トランジスタM10のゲート、容量素子C1の第2の電極および導電膜が電気的に接続されるノードをノードAとする。増幅トランジスタM10はノードAの電位に基づく大きさの電流を第1の電極と第2の電極の間に流す。これにより、例えば、信号線DLを流れる電流に基づく情報を供給する回路を用いて、検知ユニットが供給する検知信号に基づく検知情報を供給することができる。In addition, the capacitor C1 is provided in which the first electrode is electrically connected to the gate and the conductive film of the amplification transistor M10, and the second electrode is electrically connected to the second control line. Note that a node to which the gate of the amplification transistor M10, the second electrode of the capacitor C1, and the conductive film are electrically connected is referred to as a node A. The amplification transistor M10 passes a current having a magnitude based on the potential of the node A between the first electrode and the second electrode. Thereby, for example, detection information based on the detection signal supplied by the detection unit can be supplied using a circuit that supplies information based on the current flowing through the signal line DL.
第1の端子が増幅トランジスタM10のゲートと電気的に接続され、制御端子が第3の制御線RESと電気的に接続され、第2の端子が第2の電源線VRESと電気的に接続される第2のスイッチSW2を備える。The first terminal is electrically connected to the gate of the amplification transistor M10, the control terminal is electrically connected to the third control line RES, and the second terminal is electrically connected to the second power supply line VRES. A second switch SW2.
《検知部150》検知部150は、情報処理装置100または/およびその周囲の状態を検知して検知情報Sを供給することができる(図1参照)。<< Detection Unit 150 >> The detection unit 150 can detect the information processing apparatus 100 and / or its surrounding state and supply the detection information S (see FIG. 1).
検知部150は、入出力装置120が折り畳まれた状態かまたは展開された状態かを検知し、入出力装置120の折り畳まれた状態または展開された状態を示す情報を含む検知情報Sを供給する。具体的には、表示部130または/および入力部140が折り畳まれた状態かまたは展開された状態かを検知する。The detection unit 150 detects whether the input / output device 120 is folded or unfolded, and supplies detection information S including information indicating the folded state or the unfolded state of the input / output device 120. . Specifically, it is detected whether the display unit 130 and / or theinput unit 140 is folded or unfolded.
入出力装置120の折り畳まれた状態または展開された状態は、各種のセンサを用いて検知することができる。The folded or unfolded state of the input / output device 120 can be detected using various sensors.
例えば、メカニカルスイッチ、光学式スイッチ、磁気センサ、光電変換素子、MEMS圧力センサまたは感圧センサ等を用いて入出力装置120の折り畳まれた状態を検知することができる。For example, the folded state of the input / output device 120 can be detected using a mechanical switch, an optical switch, a magnetic sensor, a photoelectric conversion element, a MEMS pressure sensor, a pressure sensor, or the like.
例えば、第2の表示領域131(12)または第3の表示領域131(13)の表示を遮るものを検知して、表示部130の折り畳まれた状態を検知することができる。For example, it is possible to detect the folded state of the display unit 130 by detecting an object that blocks the display of the second display area 131 (12) or the third display area 131 (13).
具体的には、情報処理装置100に光電変換素子を、第2の表示領域131(12)に表示される表示情報Vを入出力装置が折り畳まれた状態で検知するように配置し、当該光電変換素子を用いて第3の表示領域131(13)を検知して、表示部130が第2の屈曲できる表示領域131(22)で折り畳まれたか否かを検知することができる。Specifically, the photoelectric conversion element is arranged in the information processing apparatus 100 so as to detect the display information V displayed in the second display region 131 (12) in a state where the input / output device is folded, and The third display area 131 (13) can be detected using a conversion element, and it can be detected whether the display unit 130 is folded in the second bendable display area 131 (22).
なお、検知部150は、例えば加速度、角加速度、方位、圧力、GPS(Global positioning System)信号、温度または湿度等を検知して、その情報を供給してもよい。Note that the detection unit 150 may detect, for example, acceleration, angular acceleration, azimuth, pressure, GPS (Global positioning System) signal, temperature or humidity, and supply the information.
《通信部160》通信部160は、通信情報COMを供給し供給される。通信部160は、演算装置110が供給する通信情報COMを情報処理装置100の外部の機器または通信網に供給する。また、通信情報COMを外部の機器または通信網から取得して供給する。<<Communication unit 160 >> Thecommunication unit 160 supplies and supplies communication information COM. Thecommunication unit 160 supplies communication information COM supplied from the arithmetic device 110 to an external device or communication network of the information processing apparatus 100. Further, the communication information COM is acquired from an external device or a communication network and supplied.
通信情報COMは、音声情報、画像情報等の他、様々な命令等を含むことができる。例えば、表示情報Vを演算部111に生成または消去等させる操作命令を含むことができる。The communication information COM can include various instructions in addition to voice information, image information, and the like. For example, an operation command for causing thecalculation unit 111 to generate or delete the display information V can be included.
外部の機器または通信網に接続するための通信手段、例えばハブ、ルータまたはモデム等を通信部160に適用できる。なお、接続方法は有線による方法に限らず、無線(例えば電波または赤外線等)をもちいてもよい。A communication means for connecting to an external device or a communication network, such as a hub, a router, or a modem, can be applied to thecommunication unit 160. The connection method is not limited to a wired method, and may be wireless (for example, radio waves or infrared rays).
《入出力部145》入出力部145は、さまざまな情報を供給し供給される。例えば、カメラ、マイク、読み取り専用の外部記憶部、外部記憶部、スキャナー、スピーカまたはプリンタ等を入出力部145に用いることができる。<< Input / Output Unit 145 >> The input / output unit 145 supplies and supplies various information. For example, a camera, a microphone, a read-only external storage unit, an external storage unit, a scanner, a speaker, a printer, or the like can be used for the input / output unit 145.
具体的には、デジタルカメラおよびデジタルビデオカメラ等をカメラに用いることができる。Specifically, a digital camera, a digital video camera, or the like can be used for the camera.
ハードディスクまたはリムーバブルメモリなどを外部記憶部に用いることができる。また、CDROM、DVDROM等を読み取り専用の外部記憶部に用いることができる。A hard disk or a removable memory can be used for the external storage unit. Also, CDROM, DVDROM, etc. can be used as a read-only external storage unit.
《演算装置110》演算装置110は、演算部111または記憶部112を備える。演算装置110は表示情報Vを供給し、マップMまたは検知情報Sを供給される(図1参照)。<< Calculation Device 110 >> The calculation device 110 includes acalculation unit 111 or astorage unit 112. The arithmetic unit 110 supplies the display information V and is supplied with the map M or the detection information S (see FIG. 1).
例えば、演算装置110は、情報処理装置100の操作の用に供する画像を含む表示情報Vを供給する。For example, the arithmetic device 110 supplies display information V including an image to be used for operation of the information processing device 100.
また、演算装置110は、マップMを供給されてもよい。In addition, the arithmetic device 110 may be supplied with the map M.
例えば、表示部130に表示された操作の用に供する画像に重なる部分の入力部140を指等で触れることにより、使用者は当該画像に関連付けられた操作命令を演算装置110に供給できる。For example, the user can supply the operation command associated with the image to the arithmetic device 110 by touching theinput unit 140 that overlaps the image displayed for the operation displayed on the display unit 130 with a finger or the like.
また、演算装置110は、伝送路114と、入出力インターフェース115を有していてもよい。Further, the arithmetic device 110 may have atransmission path 114 and an input /output interface 115.
《演算部111》演算部111は、記憶部112が記憶するプログラムを実行する。例えば、操作の用に供する画像を表示した位置の位置情報Lが供給された場合に、演算部111は当該画像にあらかじめ関連付けられたプログラムを実行する。<<Calculation Unit 111 >> Thecalculation unit 111 executes a program stored in thestorage unit 112. For example, when position information L of a position where an image used for operation is displayed is supplied, thecalculation unit 111 executes a program associated with the image in advance.
《記憶部112》記憶部112は、演算部111に実行させるプログラムを記憶する。<<Storage Unit 112 >> Thestorage unit 112 stores a program to be executed by thecalculation unit 111.
《入出力インターフェース・伝送路》入出力インターフェース115は情報を供給し、情報が供給される。<< Input / Output Interface / Transmission Path >> The input /output interface 115 supplies information and is supplied with information.
伝送路114は情報を供給することができ、演算部111、記憶部112および入出力インターフェース115は情報を供給される。また、演算部111、記憶部112および入出力インターフェース115は、情報を供給することができ、伝送路114は情報を供給される。Thetransmission path 114 can supply information, and thecalculation unit 111, thestorage unit 112, and the input /output interface 115 are supplied with information. Thecalculation unit 111, thestorage unit 112, and the input /output interface 115 can supply information, and thetransmission path 114 is supplied with information.
《筐体》情報処理装置100は筐体を有していてもよい。筐体は、情報処理装置100に加わるさまざまな応力から演算装置110等を保護することができる。<< Housing >> The information processing apparatus 100 may have a housing. The housing can protect the arithmetic device 110 and the like from various stresses applied to the information processing apparatus 100.
金属、プラスチック、ガラスまたはセラミックス等を筐体に用いることができる。Metal, plastic, glass, ceramics, or the like can be used for the housing.
<情報処理装置の構成例2.>本発明の一態様の情報処理装置の別の構成について、図2(C)および図3を参照しながら説明する。<Configuration example 2 of information processing apparatus> > Another configuration of the information processing device of one embodiment of the present invention will be described with reference to FIGS.
図2(C)は本発明の一態様の情報処理装置の記憶部が記憶するプログラムを説明するフロー図である。FIG. 2C is a flowchart illustrating a program stored in the storage unit of the information processing device of one embodiment of the present invention.
図3(A−1)は本発明の一態様の情報処理装置の入力部140のブロック図であり、図3(A−2)は入力部140に用いることができる検知ユニットの構成を説明する回路図である。図3(B−1)乃至図3(D−2)は入力部140が供給するマップを説明するための模式図である。3A-1 is a block diagram of theinput portion 140 of the information processing device of one embodiment of the present invention, and FIG. 3A-2 illustrates the structure of a detection unit that can be used for theinput portion 140. It is a circuit diagram. FIGS. 3B-1 to 3D-2 are schematic diagrams for explaining maps supplied by theinput unit 140. FIG.
本実施の形態で説明する情報処理装置100の構成例2は、記憶部112が以下のステップを備える二次マップ生成処理をするためのプログラムを記憶する点が、上記で説明する情報処理装置100の構成例1と異なる。ここでは異なる構成について詳細に説明し、同様の構成を用いることができる部分は、上記の説明を援用する。In the configuration example 2 of the information processing apparatus 100 described in the present embodiment, the information processing apparatus 100 described above is that thestorage unit 112 stores a program for performing a secondary map generation process including the following steps. This is different from the first configuration example. Here, different configurations will be described in detail, and the above description is used for the portions where the same configurations can be used.
演算部111は、記憶部112が記憶する以下のステップを備えるプログラムを実行する。Thecalculation unit 111 executes a program including the following steps stored in thestorage unit 112.
《第10のステップ》第10のステップにおいて、複数個の一次マップM1から平均値化された一次マップMAを生成する(図2(C−1)(U10参照))。<< Tenth Step >> In the tenth step, an averaged primary map MA is generated from a plurality of primary maps M1 (FIG. 2 (C-1) (see U10)).
複数個の一次マップM1の模式図を示す(図3(B−1)乃至図3(B−4)参照)。なお、図示する一次マップM1は8行8列のものであるが、これに限られない。また、複数個の一次マップとして、4個の模式図を示しているが、取得する一次マップの個数はこれに限られない。図4の示すように、表示部へ表示情報が送られている期間と重複する期間において、複数回の一次マップを取得すれば良い。一次マップを取得する回数については、表示部の大きさや精細度、入力部の走査線の数などを総合的に判断して決めればよく、回数について制限はないが、デジタル処理をするため、2の累乗の回数が望ましく、4回、8回、16回程度一次マップを取得すれば、入力部が供給するマップから表示情報V等に影響を受けた雑音を取り除くことができる。また、異なる値のセルには異なるハッチが付されている。Schematic diagrams of a plurality of primary maps M1 are shown (see FIGS. 3B-1 to 3B-4). Although the illustrated primary map M1 is of 8 rows and 8 columns, it is not limited to this. Further, although four schematic diagrams are shown as a plurality of primary maps, the number of primary maps to be acquired is not limited to this. As shown in FIG. 4, a primary map may be acquired a plurality of times in a period overlapping with a period in which display information is sent to the display unit. The number of times of acquiring the primary map may be determined by comprehensively determining the size and definition of the display unit, the number of scanning lines of the input unit, and the like. If the primary map is acquired about 4, 8, or 16, the noise affected by the display information V or the like can be removed from the map supplied by the input unit. Different cells are given different hatches.
複数個の一次マップM1から平均値化された一次マップMAを生成する。これにより、入力部140に近接または/および接触するものに係る情報を取得できる。例えば、入力部140に近接または/および接触するものの数、位置または入力部までの距離等を知ることができる(図3(C−1)参照)。An averaged primary map MA is generated from a plurality of primary maps M1. As a result, information related to what is close to and / or in contact with theinput unit 140 can be acquired. For example, it is possible to know the number, position, distance to the input unit, and the like that are close to and / or in contact with the input unit 140 (see FIG. 3C-1).
《第11のステップ》第11のステップにおいて、平均値化された一次マップMAに含まれる上限値を超える値を上限値に変換し、下限値を下回る値を下限値に変換する(図2(C−2)(U11参照))。なお、このマップが二次マップM2になる。また、平均値化された一次マップMAに含まれる値をある基準値を超える値を上限値に変換し、ある基準値を下回る値を下限値に変換して、二次マップM2を生成しても良い。<< Eleventh Step >> In the eleventh step, a value exceeding the upper limit value included in the averaged primary map MA is converted into an upper limit value, and a value lower than the lower limit value is converted into a lower limit value (FIG. 2 ( C-2) (see U11)). This map becomes the secondary map M2. Further, a value exceeding a certain reference value is converted into an upper limit value in the averaged primary map MA, and a value lower than a certain reference value is converted into a lower limit value to generate a secondary map M2. Also good.
具体的には、8bitの信号を用いる場合、8bitの信号の中央値となる127を基準に、平均値化された値が127より大きい値は255に変換し、127より小さい値は0に変換する。Specifically, when an 8-bit signal is used, an average value greater than 127 is converted to 255 based on the median 127 of the 8-bit signal, and a value smaller than 127 is converted to 0. To do.
本実施の形態で説明する情報処理装置100の構成例2は、記憶部112を含み、当該記憶部112が複数個の一次マップM1から平均値化された一次マップMAを生成するステップを備えるプログラムを記憶する。Configuration example 2 of the information processing apparatus 100 described in the present embodiment includes astorage unit 112, and thestorage unit 112 generates a primary map MA averaged from a plurality of primary maps M1. Remember.
これにより、表示部の信号周波数を下げることなく、表示部の帰線期間中以外でも、表示情報からの雑音が取り除かれたマップを入力部から供給することができる。また、雑音が取り除かれたマップを用いて所定の命令を供給することができる。その結果、利便性または信頼性に優れた新規な入出力装置を提供することができる。または、利便性または信頼性に優れた新規な情報処理装置を提供することができる。または、新規な入出力装置、または、新規な情報処理装置、を提供することができる。As a result, a map from which noise from display information is removed can be supplied from the input unit even when the display unit is not in a blanking period without lowering the signal frequency of the display unit. In addition, a predetermined command can be supplied using a map from which noise is removed. As a result, a novel input / output device that is highly convenient or reliable can be provided. Alternatively, a novel information processing device that is highly convenient or reliable can be provided. Alternatively, a novel input / output device or a novel information processing device can be provided.
<情報処理装置の構成例3.>本発明の一態様の情報処理装置の別の構成について説明する。<Configuration example 3 of information processing apparatus> > Another configuration of the information processing device of one embodiment of the present invention will be described.
本実施の形態で説明する情報処理装置100の構成例3は、記憶部112が、二次マップM2を生成処理において、以下のステップを第10のステップに替えて記憶する点が、上記で説明する情報処理装置100の構成例1または構成例2と異なる。ここでは異なる構成について詳細に説明し、同様の構成を用いることが出来る部分は、上記の説明を援用する。In the configuration example 3 of the information processing apparatus 100 described in the present embodiment, the point that thestorage unit 112 stores the secondary map M2 in place of the tenth step in the generation process is described above. This is different from Configuration Example 1 or Configuration Example 2 of the information processing apparatus 100 that performs the processing. Here, different configurations will be described in detail, and the above description is used for portions where similar configurations can be used.
演算部111は、記憶部112が記憶する以下のステップを備えるプログラムを実行する。Thecalculation unit 111 executes a program including the following steps stored in thestorage unit 112.
複数個の一次マップM1の和となる一次マップMBを生成するステップ。または、複数個の一次マップM1から中央値となる値を抽出した一次マップMBを生成するステップ。または、複数個の一次マップM1から、LPF(Low Pass Filter)やBPF(Band Pass Filter)を用いて、一次マップMBを生成するステップ。なお、一次マップMBの生成ステップについては、これらに限定されず、複数個の一次マップから検知位置と雑音との違いを明確にさせるような様々な処理を施し、一次マップMBを生成すればよい。Generating a primary map MB that is the sum of a plurality of primary maps M1; Alternatively, a step of generating a primary map MB in which a median value is extracted from a plurality of primary maps M1. Alternatively, a step of generating a primary map MB from a plurality of primary maps M1 using LPF (Low Pass Filter) or BPF (Band Pass Filter). Note that the generation step of the primary map MB is not limited to these, and various processes for clarifying the difference between the detection position and the noise from a plurality of primary maps may be performed to generate the primary map MB. .
これにより、様々な方法で一次マップMBを生成することができる。その結果、利便性または信頼性に優れた新規な入出力装置を提供することが出来る。利便性または信頼性に優れた新規な情報処理装置を提供することができる。または、新規な入出力装置、または、新規な情報処理装置、を提供することができる。Thereby, the primary map MB can be generated by various methods. As a result, a novel input / output device that is highly convenient or reliable can be provided. A novel information processing apparatus that is highly convenient or reliable can be provided. Alternatively, a novel input / output device or a novel information processing device can be provided.
なお、本実施の形態は、本明細書で示す他の実施の形態と適宜組み合わせることができる。Note that this embodiment can be combined with any of the other embodiments described in this specification as appropriate.
(実施の形態2)本実施の形態では、本発明の一態様の情報処理装置に用いることができる入出力装置の構成について、図5および図6を参照しながら説明する。Embodiment 2 In this embodiment, a structure of an input / output device that can be used for the information processing device of one embodiment of the present invention will be described with reference to FIGS.
図5は本発明の一態様の入出力装置500TPの構成を説明する投影図である。なお、説明の便宜のために検知ユニット602の一部および画素502の一部を拡大して図示している。FIG. 5 is a projection view illustrating a structure of the input / output device 500TP of one embodiment of the present invention. For convenience of explanation, a part of thedetection unit 602 and a part of the pixel 502 are illustrated in an enlarged manner.
図6(A)は図5に示す本発明の一態様の入出力装置500TPのZ1−Z2における断面の構造を示す断面図であり、図5(B)および図5(C)は図5(A)に示す構造の一部の変形例を示す断面図である。6A is a cross-sectional view illustrating a cross-sectional structure taken along line Z1-Z2 of the input / output device 500TP according to one embodiment of the present invention illustrated in FIG. 5, and FIG. 5B and FIG. It is sectional drawing which shows the some modification of the structure shown to A).
<入出力装置の構成例>本実施の形態で説明する入出力装置500TPは、表示部500および表示部500に重なる入力部600を有する(図3参照)。<Configuration Example of Input / Output Device> The input / output device 500TP described in this embodiment includes adisplay unit 500 and aninput unit 600 that overlaps the display unit 500 (see FIG. 3).
入力部600は、マトリクス状に配設される複数の検知ユニット602を有する。Theinput unit 600 includes a plurality ofdetection units 602 arranged in a matrix.
また、行方向(図中に矢印Rで示す)に配置される複数の検知ユニット602が電気的に接続される選択信号線G1または制御線RESなどを有する。In addition, a plurality ofdetection units 602 arranged in the row direction (indicated by an arrow R in the drawing) include a selection signal line G1 or a control line RES that are electrically connected.
また、列方向(図中に矢印Cで示す)に配置される複数の検知ユニット602が電気的に接続される信号線DLなどを有する。In addition, a plurality ofdetection units 602 arranged in the column direction (indicated by an arrow C in the drawing) have signal lines DL and the like that are electrically connected.
検知ユニット602は検知回路を備える。検知回路は、選択信号線G1、制御線RESまたは信号線DLなどに電気的に接続される。Thedetection unit 602 includes a detection circuit. The detection circuit is electrically connected to the selection signal line G1, the control line RES, the signal line DL, or the like.
トランジスタまたは/および検知素子等を検知回路に用いることができる。例えば、導電膜と当該導電膜に電気的に接続される容量素子を検知素子に用いることができる。また、容量素子と当該容量素子に電気的に接続されるトランジスタを用いることができる。A transistor or / and a sensing element or the like can be used for the sensing circuit. For example, a conductive film and a capacitor electrically connected to the conductive film can be used for the detection element. Further, a capacitor and a transistor electrically connected to the capacitor can be used.
絶縁層653、絶縁層653を挟持する第1の電極651および第2の電極652を備える容量素子650を用いることができる(図6(A)参照)。Thecapacitor 650 including the insulatinglayer 653, thefirst electrode 651 and thesecond electrode 652 which sandwich the insulatinglayer 653 can be used (see FIG. 6A).
また、検知ユニットはマトリクス状に配置された複数の窓部667を有する。窓部667は可視光を透過し、遮光性の層BMを複数の窓部667の間に配設してもよい。The detection unit includes a plurality ofwindow portions 667 arranged in a matrix. Thewindow portion 667 may transmit visible light, and the light blocking layer BM may be disposed between the plurality ofwindow portions 667.
窓部667に重なる位置に着色層を備える。着色層は、所定の色の光を透過する。なお、着色層はカラーフィルタということができる。例えば、青色の光を透過する着色層CFB、緑色の光を透過する着色層CFGまたは赤色の光を透過する着色層CFRを用いることができる。また、黄色の光を透過する着色層や白色の光を透過する層を用いてもよい。A colored layer is provided at a position overlapping thewindow portion 667. The colored layer transmits light of a predetermined color. Note that the colored layer can be referred to as a color filter. For example, a colored layer CFB that transmits blue light, a colored layer CFG that transmits green light, or a colored layer CFR that transmits red light can be used. Alternatively, a colored layer that transmits yellow light or a layer that transmits white light may be used.
表示部500は、マトリクス状に配置された複数の画素502を有する。画素502は入力部600の窓部667と重なるように配置されている。Thedisplay unit 500 includes a plurality of pixels 502 arranged in a matrix. The pixel 502 is disposed so as to overlap with thewindow portion 667 of theinput unit 600.
画素502は、検知ユニット602に比べて高い精細度で配設されてもよい。The pixels 502 may be arranged with higher definition than thedetection unit 602.
本実施の形態で説明する入出力装置500TPは、可視光を透過する窓部667を具備し、マトリクス状に配設される複数の検知ユニット602を備える入力部600と、窓部667に重なる画素502を複数備える表示部500と、を有し、窓部667と画素502の間に着色層を含んで構成される。また、それぞれの検知ユニットに他の検知ユニットへの電気的な干渉を低減することができるスイッチが配設されている。なお、トランジスタ等をスイッチに用いることができる。An input / output device 500TP described in this embodiment includes awindow portion 667 that transmits visible light, and includes aninput portion 600 including a plurality ofdetection units 602 arranged in a matrix, and a pixel overlapping thewindow portion 667. Adisplay portion 500 including a plurality of 502, and includes a coloring layer between thewindow portion 667 and the pixel 502. Each detection unit is provided with a switch that can reduce electrical interference to other detection units. Note that a transistor or the like can be used for the switch.
これにより、各検知ユニットが検知する検知情報を検知ユニットの位置情報と共に供給することができる。また、画像を表示する画素の位置情報に関連付けて検知情報を供給することができる。また、検知情報を供給させない検知ユニットと信号線を非導通状態にすることで、検知信号を供給させる検知ユニットへの電気的な干渉を低減することができる。その結果、利便性または信頼性に優れた新規な入出力装置500TPを提供することができる。Thereby, the detection information which each detection unit detects can be supplied with the positional information on a detection unit. In addition, detection information can be supplied in association with position information of a pixel displaying an image. In addition, by making the detection unit that does not supply detection information and the signal line non-conductive, electrical interference to the detection unit that supplies the detection signal can be reduced. As a result, a novel input / output device 500TP that is highly convenient or reliable can be provided.
例えば、入出力装置500TPの入力部600は検知情報を検知して位置情報と共に供給することができる。具体的には、入出力装置500TPの使用者は、入力部600に触れた指等をポインタに用いて様々なジェスチャー(タップ、ドラッグ、スワイプまたはピンチイン等)に基づく情報を入力することができる。For example, theinput unit 600 of the input / output device 500TP can detect the detection information and supply it together with the position information. Specifically, the user of the input / output device 500TP can input information based on various gestures (tap, drag, swipe, pinch-in, etc.) using a finger or the like touching theinput unit 600 as a pointer.
入力部600は、入力部600に近接または接触する指等を検知して、検知した位置または軌跡等を含む検知情報を供給することができる。Theinput unit 600 can detect a finger or the like approaching or touching theinput unit 600 and supply detection information including the detected position or locus.
演算装置は供給された情報が所定の条件を満たすか否かをプログラム等に基づいて判断し、所定のジェスチャーに関連付けられた命令を実行する。The arithmetic device determines whether the supplied information satisfies a predetermined condition based on a program or the like, and executes a command associated with a predetermined gesture.
これにより、入力部600の使用者は、指等を用いて所定のジェスチャーに基づく情報を供給し、所定のジェスチャーに関連付けられた命令を演算装置に実行させることができる。Thereby, the user of theinput unit 600 can supply information based on a predetermined gesture using a finger or the like, and cause the arithmetic device to execute a command associated with the predetermined gesture.
例えば、入出力装置500TPの入力部600は、一の信号線に検知情報を供給することができる複数の検知ユニットから一の検知ユニットを選択し、選択された検知ユニットを除いた他の検知ユニットと当該一の信号線を非導通状態にすることができる。これにより、選択されていない他の検知ユニットがもたらす選択された検知ユニットへの干渉を低減することができる。For example, theinput unit 600 of the input / output device 500TP selects one detection unit from a plurality of detection units that can supply detection information to one signal line, and other detection units excluding the selected detection unit. And the one signal line can be turned off. Thereby, the interference to the selected detection unit which the other detection unit which is not selected brings about can be reduced.
具体的には、選択されていない検知ユニットの検知素子がもたらす選択された検知ユニットの検知素子への干渉を低減できる。Specifically, the interference of the selected detection unit to the detection element caused by the detection element of the unselected detection unit can be reduced.
例えば、容量素子および当該容量素子の一の電極が電気的に接続された導電膜を検知素子に用いる場合において、選択されていない検知ユニットの導電膜の電位がもたらす、選択された検知ユニットの導電膜の電位への干渉を低減することができる。具体的には、雑音の低減に寄与することができる。For example, when a conductive film in which a capacitor element and one electrode of the capacitor element are electrically connected is used as a detection element, the conductivity of the selected detection unit is caused by the potential of the conductive film of an unselected detection unit. Interference with the membrane potential can be reduced. Specifically, it can contribute to noise reduction.
これにより、入出力装置500TPはその大きさに依存することなく、検知ユニットを駆動して、検知情報を供給させることができる。例えば、ハンドヘルド型に用いることができる大きさから、電子黒板に用いることができる大きさまで、さまざまな大きさの入出力装置500TPを提供することができる。Accordingly, the input / output device 500TP can drive the detection unit and supply detection information without depending on the size of the input / output device 500TP. For example, the input / output device 500TP of various sizes can be provided from a size that can be used for a handheld type to a size that can be used for an electronic blackboard.
また、入出力装置500TPが折り畳まれた状態および展開された状態にすることができ且つ折り畳まれた状態と展開された状態とで選択されていない検知ユニットがもたらす選択された検知ユニットへの電気的な干渉が異なる場合においても、入出力装置500TPの状態に依存することなく検知ユニットを駆動して、検知情報を供給させることができる。In addition, the input / output device 500TP can be in a folded state and an unfolded state, and the detection unit that is not selected in the folded state and the unfolded state provides an electrical connection to the selected detection unit. Even when the interference is different, the detection unit can be driven to supply the detection information without depending on the state of the input / output device 500TP.
また、入出力装置500TPの表示部500は表示情報Vを供給されることができる。例えば、演算装置は表示情報Vを供給することができる。Thedisplay unit 500 of the input / output device 500TP can be supplied with the display information V. For example, the arithmetic unit can supply the display information V.
以上の構成に加えて、入出力装置500TPは以下の構成を備えることもできる。In addition to the above configuration, the input / output device 500TP may have the following configuration.
入出力装置500TPの入力部600は、駆動回路603gまたは駆動回路603dを備えてもよい。また、フレキシブルプリント基板FPC1と電気的に接続されてもよい。Theinput unit 600 of the input / output device 500TP may include adrive circuit 603g or adrive circuit 603d. Moreover, you may electrically connect with flexible printed circuit board FPC1.
入出力装置500TPの表示部500は、駆動回路503gまたは駆動回路503sもしくは配線511または端子519を備えてもよい。また、フレキシブルプリント基板FPC2と電気的に接続されてもよい。Thedisplay portion 500 of the input / output device 500TP may include adriver circuit 503g, adriver circuit 503s, awiring 511, or a terminal 519. Moreover, you may electrically connect with flexible printed circuit board FPC2.
また、傷の発生を防いで入出力装置500TPを保護する保護層670を備えてもよい。例えば、セラミックコート層またはハードコート層を保護層670に用いることができる。具体的には、酸化アルミニウムを含む層またはUV硬化樹脂を用いることができる。また、入出力装置500TPが反射する外光の強度を弱める反射防止層670pを用いることができる。具体的には、円偏光板等を用いることができる。In addition, aprotective layer 670 that protects the input / output device 500TP by preventing generation of scratches may be provided. For example, a ceramic coat layer or a hard coat layer can be used for theprotective layer 670. Specifically, a layer containing aluminum oxide or a UV curable resin can be used. Further, anantireflection layer 670p that reduces the intensity of external light reflected by the input / output device 500TP can be used. Specifically, a circularly polarizing plate or the like can be used.
以下に、入出力装置500TPを構成する個々の要素について説明する。なお、これらの構成は明確に分離できず、一つの構成が他の構成を兼ねる場合や他の構成の一部を含む場合がある。Hereinafter, individual elements constituting the input / output device 500TP will be described. Note that these configurations cannot be clearly separated, and one configuration may serve as another configuration or may include a part of another configuration.
例えば、複数の窓部667に重なる位置に着色層を備える入力部600は、入力部600であるとともにカラーフィルタでもある。For example, theinput unit 600 including a colored layer at a position overlapping with the plurality ofwindow portions 667 is not only theinput unit 600 but also a color filter.
また、例えば入力部600が表示部500に重ねられた入出力装置500TPは、入力部600であるとともに表示部500でもある。なお、表示部500に入力部600が重ねられた入出力装置500TPをタッチパネルともいう。For example, the input / output device 500TP in which theinput unit 600 is superimposed on thedisplay unit 500 is theinput unit 600 and thedisplay unit 500. Note that the input / output device 500TP in which theinput unit 600 is superimposed on thedisplay unit 500 is also referred to as a touch panel.
《全体の構成》本実施の形態で説明する入出力装置500TPは、入力部600または表示部500を有する。<< Overall Configuration >> The input / output device 500TP described in this embodiment includes aninput unit 600 or adisplay unit 500.
なお、入出力装置500TPの作製方法の一例を実施の形態3乃至実施の形態5において詳細に説明する。Note that an example of a method for manufacturing the input / output device 500TP will be described in detail inEmbodiments 3 to 5.
《入力部》入力部600は、検知ユニット602、選択信号線G1、信号線DLまたは基材610を備える。<< Input Unit >> Theinput unit 600 includes adetection unit 602, a selection signal line G1, a signal line DL, or abase 610.
なお、基材610に入力部600を形成するための膜を成膜し、当該膜を加工する方法を用いて、入力部600を形成してもよい。Note that theinput unit 600 may be formed by forming a film for forming theinput unit 600 on thebase 610 and processing the film.
または、入力部600の一部を他の基材に形成し、当該一部を基材610に転置する方法を用いて、入力部600を形成してもよい。Alternatively, theinput unit 600 may be formed using a method in which a part of theinput unit 600 is formed on another base material and the part is transferred to thebase material 610.
《検知ユニット》検知ユニット602は近接または接触するものを検知して検知信号を供給する。例えば静電容量、照度、磁力、電波または圧力等を検知して、検知した物理量に基づく情報を供給する。具体的には、容量素子、光電変換素子、磁気検知素子、圧電素子または共振器等を検知素子に用いることができる。<< Detection Unit >> Thedetection unit 602 detects a proximity or contact object and supplies a detection signal. For example, capacitance, illuminance, magnetic force, radio wave, pressure, or the like is detected, and information based on the detected physical quantity is supplied. Specifically, a capacitive element, a photoelectric conversion element, a magnetic sensing element, a piezoelectric element, a resonator, or the like can be used as the sensing element.
検知ユニット602は、例えば、近接または接触するものとの間の静電容量の変化を検知する。具体的には、導電膜および導電膜と電気的に接続された検知回路を用いてもよい。Thedetection unit 602 detects, for example, a change in electrostatic capacitance between the proximity unit and the contact unit. Specifically, a conductive film and a detection circuit electrically connected to the conductive film may be used.
なお、大気中において、指などの大気より大きな誘電率を備えるものが導電膜に近接すると、指と導電膜の間の静電容量が変化する。この静電容量の変化を検知して検知情報を供給することができる。具体的には、導電膜および当該導電膜に一方の電極が接続された容量素子を含む検知回路を検知ユニット602に用いることができる。In the atmosphere, when an object having a dielectric constant greater than that of the atmosphere, such as a finger, approaches the conductive film, the capacitance between the finger and the conductive film changes. Detection information can be supplied by detecting the change in capacitance. Specifically, a detection circuit including a conductive film and a capacitor in which one electrode is connected to the conductive film can be used for thedetection unit 602.
例えば、静電容量の変化に伴い容量素子との間で電荷の分配が引き起こされ、容量素子の両端の電極の電圧が変化する。この電圧の変化を検知信号に用いることができる。具体的には、容量素子650の電極間の電圧は一方の電極に電気的に接続された導電膜にものが近接することにより変化する(図6(A)参照)。For example, with the change in capacitance, charge is distributed to the capacitive element, and the voltage at the electrodes at both ends of the capacitive element changes. This change in voltage can be used as a detection signal. Specifically, the voltage between the electrodes of thecapacitor 650 is changed by the proximity of a conductive film electrically connected to one electrode (see FIG. 6A).
《スイッチ、トランジスタ》検知ユニット602は、制御信号に基づいて導通状態または非導通状態にすることができるスイッチを備える。例えば、トランジスタM12をスイッチに用いることができる。<< Switch, Transistor >> Thedetection unit 602 includes a switch that can be turned on or off based on a control signal. For example, the transistor M12 can be used as a switch.
また、検知信号を増幅するトランジスタを検知ユニット602に用いることができる。A transistor that amplifies the detection signal can be used for thedetection unit 602.
同一の工程で作製することができるトランジスタを、検知信号を増幅するトランジスタおよびスイッチに用いることができる。これにより、作製工程が簡略化された入力部600を提供できる。Transistors that can be manufactured in the same process can be used for transistors and switches that amplify a detection signal. Thereby, theinput unit 600 with a simplified manufacturing process can be provided.
トランジスタは半導体層を備える。例えば、14族の元素、化合物半導体または酸化物半導体を半導体層に用いることができる。具体的には、シリコンを含む半導体、ガリウムヒ素を含む半導体またはインジウムを含む酸化物半導体などを半導体層に適用できる。また、有機半導体などを半導体層に用いることができる。テトラセンやペンタセンなどのアセン類、オリゴチオフェン誘導体、フタロシアニン類、ペリレン誘導体、ルブレン、Alq3、TTF−TCNQ、ポリチオフェン(ポリ−3−ヘキシルチオフェンなど)、ポリアセチレン、ポリフルオレン、ポリフェニレンビニレン、ポリピロール、ポリアニリン、ペンタセン、アントラセン、ルブレン、テトラシアノキノジメタン(TCNQ)、ポリアセチレン、ポリ−3−ヘキシルチオフェン(P3HT)、ポリパラフェニレンビニレン(PPV)、フタロシアニンなどを有機半導体に用いることができる。The transistor includes a semiconductor layer. For example, a Group 14 element, compound semiconductor, or oxide semiconductor can be used for the semiconductor layer. Specifically, a semiconductor containing silicon, a semiconductor containing gallium arsenide, an oxide semiconductor containing indium, or the like can be used for the semiconductor layer. An organic semiconductor or the like can be used for the semiconductor layer. Acenes such as tetracene and pentacene, oligothiophene derivatives, phthalocyanines, perylene derivatives, rubrene, Alq3, TTF-TCNQ, polythiophene (such as poly-3-hexylthiophene), polyacetylene, polyfluorene, polyphenylene vinylene, polypyrrole, polyaniline, pentacene Anthracene, rubrene, tetracyanoquinodimethane (TCNQ), polyacetylene, poly-3-hexylthiophene (P3HT), polyparaphenylenevinylene (PPV), phthalocyanine, and the like can be used for the organic semiconductor.
様々な結晶性を備える半導体層をトランジスタに用いることができる。例えば、非結晶を含む半導体層、微結晶を含む半導体層、多結晶を含む半導体層または単結晶を含む半導体層等を用いることができる。具体的には、アモルファスシリコン、レーザーアニールなどの処理により結晶化したポリシリコンまたはSOI(Silicon On Insulator)技術を用いて形成された半導体層等を用いることができる。Semiconductor layers having various crystallinities can be used for the transistor. For example, a semiconductor layer containing non-crystal, a semiconductor layer containing microcrystal, a semiconductor layer containing polycrystal, a semiconductor layer containing single crystal, or the like can be used. Specifically, amorphous silicon, polysilicon crystallized by a process such as laser annealing, or a semiconductor layer formed using SOI (Silicon On Insulator) technology can be used.
半導体層に用いる酸化物半導体は、例えば、少なくともインジウム(In)、亜鉛(Zn)及びM(Al、Ga、Ge、Y、Zr、Sn、La、CeまたはHf等の金属)を含むIn−M−Zn酸化物で表記される膜を含むことが好ましい。または、InとZnの双方を含むことが好ましい。An oxide semiconductor used for the semiconductor layer includes, for example, at least indium (In), zinc (Zn), and M (metal such as Al, Ga, Ge, Y, Zr, Sn, La, Ce, or Hf). It is preferable to include a film represented by -Zn oxide. Or it is preferable that both In and Zn are included.
スタビライザーとしては、ガリウム(Ga)、スズ(Sn)、ハフニウム(Hf)、アルミニウム(Al)、またはジルコニウム(Zr)等がある。また、他のスタビライザーとしては、ランタノイドである、ランタン(La)、セリウム(Ce)、プラセオジム(Pr)、ネオジム(Nd)、サマリウム(Sm)、ユウロピウム(Eu)、ガドリニウム(Gd)、テルビウム(Tb)、ジスプロシウム(Dy)、ホルミウム(Ho)、エルビウム(Er)、ツリウム(Tm)、イッテルビウム(Yb)、ルテチウム(Lu)等がある。Examples of the stabilizer include gallium (Ga), tin (Sn), hafnium (Hf), aluminum (Al), and zirconium (Zr). Other stabilizers include lanthanoids such as lanthanum (La), cerium (Ce), praseodymium (Pr), neodymium (Nd), samarium (Sm), europium (Eu), gadolinium (Gd), terbium (Tb). ), Dysprosium (Dy), holmium (Ho), erbium (Er), thulium (Tm), ytterbium (Yb), lutetium (Lu), and the like.
酸化物半導体膜を構成する酸化物半導体として、例えば、In−Ga−Zn系酸化物、In−Al−Zn系酸化物、In−Sn−Zn系酸化物、In−Hf−Zn系酸化物、In−La−Zn系酸化物、In−Ce−Zn系酸化物、In−Pr−Zn系酸化物、In−Nd−Zn系酸化物、In−Sm−Zn系酸化物、In−Eu−Zn系酸化物、In−Gd−Zn系酸化物、In−Tb−Zn系酸化物、In−Dy−Zn系酸化物、In−Ho−Zn系酸化物、In−Er−Zn系酸化物、In−Tm−Zn系酸化物、In−Yb−Zn系酸化物、In−Lu−Zn系酸化物、In−Sn−Ga−Zn系酸化物、In−Hf−Ga−Zn系酸化物、In−Al−Ga−Zn系酸化物、In−Sn−Al−Zn系酸化物、In−Sn−Hf−Zn系酸化物、In−Hf−Al−Zn系酸化物、In−Ga系酸化物を用いることができる。Examples of the oxide semiconductor that forms the oxide semiconductor film include an In—Ga—Zn-based oxide, an In—Al—Zn-based oxide, an In—Sn—Zn-based oxide, an In—Hf—Zn-based oxide, In-La-Zn-based oxide, In-Ce-Zn-based oxide, In-Pr-Zn-based oxide, In-Nd-Zn-based oxide, In-Sm-Zn-based oxide, In-Eu-Zn Oxide, In-Gd-Zn oxide, In-Tb-Zn oxide, In-Dy-Zn oxide, In-Ho-Zn oxide, In-Er-Zn oxide, In -Tm-Zn-based oxide, In-Yb-Zn-based oxide, In-Lu-Zn-based oxide, In-Sn-Ga-Zn-based oxide, In-Hf-Ga-Zn-based oxide, In- Al-Ga-Zn-based oxide, In-Sn-Al-Zn-based oxide, In-Sn-Hf- n based oxide, In-Hf-Al-Zn-based oxide can be used an In-Ga-based oxide.
なお、ここで、In−Ga−Zn系酸化物とは、InとGaとZnを主成分として有する酸化物という意味であり、InとGaとZnの比率は問わない。また、InとGaとZn以外の金属元素が入っていてもよい。Note that here, an In—Ga—Zn-based oxide means an oxide containing In, Ga, and Zn as its main components, and there is no limitation on the ratio of In, Ga, and Zn. Moreover, metal elements other than In, Ga, and Zn may be contained.
《配線》入力部600は、選択信号線G1、制御線RESまたは信号線DLなどを備える。<< Wiring >> Theinput unit 600 includes a selection signal line G1, a control line RES, a signal line DL, and the like.
導電性を有する材料を、選択信号線G1、制御線RESまたは信号線DL等に用いることができる。A conductive material can be used for the selection signal line G1, the control line RES, the signal line DL, or the like.
例えば、無機導電性材料、有機導電性材料、金属または導電性セラミックスなどを、配線に用いることができる。For example, an inorganic conductive material, an organic conductive material, a metal, a conductive ceramic, or the like can be used for the wiring.
具体的には、アルミニウム、金、白金、銀、クロム、タンタル、チタン、モリブデン、タングステン、ニッケル、鉄、コバルト、イットリウム、ジルコニウム、パラジウムまたはマンガンから選ばれた金属元素、上述した金属元素を含む合金または上述した金属元素を組み合わせた合金などを配線等に用いることができる。特に、アルミニウム、クロム、銅、タンタル、チタン、モリブデン、タングステンの中から選択される一以上の元素を含むと好ましい。特に、銅とマンガンの合金がウエットエッチング法を用いた微細加工に好適である。Specifically, a metal element selected from aluminum, gold, platinum, silver, chromium, tantalum, titanium, molybdenum, tungsten, nickel, iron, cobalt, yttrium, zirconium, palladium, or manganese, and an alloy containing the above metal elements Alternatively, an alloy or the like in which the above metal elements are combined can be used for the wiring or the like. In particular, it is preferable that one or more elements selected from aluminum, chromium, copper, tantalum, titanium, molybdenum, and tungsten are included. In particular, an alloy of copper and manganese is suitable for fine processing using a wet etching method.
具体的には、アルミニウム膜上にチタン膜を積層する二層構造、窒化チタン膜上にチタン膜を積層する二層構造、窒化チタン膜上にタングステン膜を積層する二層構造、窒化タンタル膜または窒化タングステン膜上にタングステン膜を積層する二層構造、チタン膜と、そのチタン膜上にアルミニウム膜を積層し、さらにその上にチタン膜を形成する三層構造等を用いることができる。Specifically, a two-layer structure in which a titanium film is laminated on an aluminum film, a two-layer structure in which a titanium film is laminated on a titanium nitride film, a two-layer structure in which a tungsten film is laminated on a titanium nitride film, a tantalum nitride film or A two-layer structure in which a tungsten film is stacked over a tungsten nitride film, a titanium film, and a three-layer structure in which an aluminum film is stacked over the titanium film and a titanium film is further formed thereon can be used.
具体的には、アルミニウム膜上にチタン、タンタル、タングステン、モリブデン、クロム、ネオジム、スカンジウムから選ばれた一、または複数組み合わせた合金膜、もしくは窒化膜を積層する積層構造を用いることができる。Specifically, a stacked structure in which an alloy film selected from titanium, tantalum, tungsten, molybdenum, chromium, neodymium, and scandium, or a combination of a plurality of nitride films is stacked on an aluminum film can be used.
または、酸化インジウム、インジウム錫酸化物、インジウム亜鉛酸化物、酸化亜鉛、ガリウムを添加した酸化亜鉛などの導電性酸化物を用いることができる。Alternatively, a conductive oxide such as indium oxide, indium tin oxide, indium zinc oxide, zinc oxide, or zinc oxide to which gallium is added can be used.
または、グラフェンまたはグラファイトを用いることができる。グラフェンを含む膜は、例えば膜状に形成された酸化グラフェンを含む膜を還元して形成することができる。還元する方法としては、熱を加える方法や還元剤を用いる方法等を挙げることができる。Alternatively, graphene or graphite can be used. The film containing graphene can be formed, for example, by reducing a film containing graphene oxide formed in a film shape. Examples of the reduction method include a method of applying heat and a method of using a reducing agent.
または、導電性高分子を用いることができる。Alternatively, a conductive polymer can be used.
《駆動回路》駆動回路603gは例えば所定のタイミングで選択信号を供給することができる。具体的には、選択信号を選択信号線G1ごとに所定の順番で供給する。また、さまざまな回路を駆動回路603gに用いることができる。例えば、シフトレジスタ、フリップフロップ回路、組み合わせ回路などを用いることができる。例えば、入力部140が表示部130の所定の動作に基づいて動作するように、駆動回路603gが選択信号を供給してもよい。具体的には、表示部130の動作中に入力部が動作するように選択信号を供給してもよい。これにより、表示部130の動作周波数を低減することなく、入力部140の検知を行うことが出来る。なお、表示部130の帰線期間中に入力部が動作するように選択信号を供給してもよい。これにより、様々な要因による雑音を入力部140が検知してしまう不具合をかなり軽減できる。<< Drive Circuit >> Thedrive circuit 603g can supply a selection signal at a predetermined timing, for example. Specifically, the selection signal is supplied in a predetermined order for each selection signal line G1. Various circuits can be used for thedriver circuit 603g. For example, a shift register, a flip-flop circuit, a combination circuit, or the like can be used. For example, thedrive circuit 603g may supply the selection signal so that theinput unit 140 operates based on a predetermined operation of the display unit 130. Specifically, the selection signal may be supplied so that the input unit operates during the operation of the display unit 130. Thereby, theinput unit 140 can be detected without reducing the operating frequency of the display unit 130. Note that the selection signal may be supplied so that the input unit operates during the blanking period of the display unit 130. Thereby, the malfunction that theinput part 140 detects the noise by various factors can be reduced significantly.
駆動回路603dは、検知ユニットUが供給する検知信号に基づいて検知情報を供給する。また、さまざまな回路を駆動回路603dに用いることができる。例えば、検知ユニットに配設された検知回路と電気的に接続されることによりソースフォロワ回路やカレントミラー回路を構成することができる回路を、駆動回路603dに用いることができる。また、検知信号をデジタル信号に変換するアナログデジタル変換回路を備えていてもよい。Thedrive circuit 603d supplies detection information based on the detection signal supplied from the detection unit U. Various circuits can be used for thedriver circuit 603d. For example, a circuit that can form a source follower circuit or a current mirror circuit by being electrically connected to a detection circuit provided in the detection unit can be used for thedrive circuit 603d. Moreover, you may provide the analog digital conversion circuit which converts a detection signal into a digital signal.
《基材》基材610は、製造工程に耐えられる程度の耐熱性および製造装置に適用可能な厚さおよび大きさを備えるものであれば、特に限定されない。特に、可撓性を有する材料を基材610に用いると、入力部600を折り畳んだ状態または展開された状態にすることができる。なお、表示部500が表示をする側に入力部600を配置する場合は、透光性を有する材料を基材610に用いる。<< Base Material >> Thebase material 610 is not particularly limited as long as it has heat resistance enough to withstand the manufacturing process and thickness and size applicable to the manufacturing apparatus. In particular, when a flexible material is used for thebase 610, theinput unit 600 can be folded or unfolded. Note that a light-transmitting material is used for the base 610 in the case where theinput unit 600 is arranged on the display side of thedisplay unit 500.
有機材料、無機材料または有機材料と無機材料等の複合材料等を基材610に用いることができる。An organic material, an inorganic material, or a composite material such as an organic material and an inorganic material can be used for thesubstrate 610.
例えば、ガラス、セラミックスまたは金属等の無機材料を基材610に用いることができる。For example, an inorganic material such as glass, ceramics, or metal can be used for thebase material 610.
具体的には、無アルカリガラス、ソーダ石灰ガラス、アルカリガラスまたはクリスタルガラス等を、基材610に用いることができる。Specifically, alkali-free glass, soda-lime glass, alkali glass, crystal glass, or the like can be used for thebase material 610.
具体的には、金属酸化物膜、金属窒化物膜、若しくは金属酸窒化物膜等を、基材610に用いることができる。例えば、酸化珪素膜、窒化珪素膜、酸窒化珪素膜、酸化アルミニウム膜等を、基材610に用いることができる。Specifically, a metal oxide film, a metal nitride film, a metal oxynitride film, or the like can be used for thebase 610. For example, a silicon oxide film, a silicon nitride film, a silicon oxynitride film, an aluminum oxide film, or the like can be used for thebase 610.
例えば、樹脂、樹脂フィルムまたはプラスチック等の有機材料を基材610に用いることができる。For example, an organic material such as a resin, a resin film, or plastic can be used for thebase 610.
具体的には、ポリエステル、ポリオレフィン、ポリアミド、ポリイミド、ポリカーボネート若しくはアクリル樹脂等の樹脂フィルムまたは樹脂板を、基材610に用いることができる。Specifically, a resin film or a resin plate such as polyester, polyolefin, polyamide, polyimide, polycarbonate, or an acrylic resin can be used for thesubstrate 610.
例えば、薄板状のガラス板または無機材料等の膜を樹脂フィルム等に貼り合わせた複合材料を基材610に用いることができる。For example, a composite material in which a thin glass plate or a film of an inorganic material or the like is bonded to a resin film or the like can be used for thesubstrate 610.
例えば、繊維状または粒子状の金属、ガラスもしくは無機材料等を樹脂フィルムに分散した複合材料を、基材610に用いることができる。For example, a composite material in which a fibrous or particulate metal, glass, inorganic material, or the like is dispersed in a resin film can be used for thesubstrate 610.
例えば、繊維状または粒子状の樹脂もしくは有機材料等を無機材料に分散した複合材料を基材610に用いることができる。For example, a composite material in which a fibrous or particulate resin, an organic material, or the like is dispersed in an inorganic material can be used for thesubstrate 610.
また、単層の材料または複数の層が積層された積層材料を、基材610に用いることができる。例えば、基材と基材に含まれる不純物の拡散を防ぐ絶縁層等が積層された積層材料を、基材610に用いることができる。Further, a single layer material or a stacked material in which a plurality of layers are stacked can be used for thesubstrate 610. For example, a stacked material in which a base material and an insulating layer that prevents diffusion of impurities contained in the base material are stacked can be used for thebase material 610.
具体的には、ガラスとガラスに含まれる不純物の拡散を防ぐ酸化シリコン膜、窒化シリコン膜または酸化窒化シリコン膜等から選ばれた一または複数の膜が積層された積層材料を、基材610に適用できる。Specifically, a laminated material in which one or a plurality of films selected from glass, a silicon oxide film, a silicon nitride film, a silicon oxynitride film, or the like that prevents diffusion of impurities contained in the glass is laminated on thebase material 610. Applicable.
または、樹脂と樹脂を透過する不純物の拡散を防ぐ酸化シリコン膜、窒化シリコン膜または酸化窒化シリコン膜等が積層された積層材料を、基材610に適用できる。Alternatively, a stacked material in which a silicon oxide film, a silicon nitride film, a silicon oxynitride film, or the like that prevents diffusion of resin and impurities that pass through the resin can be applied to thebase 610.
具体的には、可撓性を有する基材610b、不純物の拡散を防ぐバリア膜610aおよび基材610bとバリア膜610aを貼り合わせる樹脂層610cの積層体を用いることができる(図6(A)参照)。Specifically, a stack of abase material 610b having flexibility, abarrier film 610a that prevents diffusion of impurities, and aresin layer 610c that bonds thebase material 610b and thebarrier film 610a can be used (FIG. 6A). reference).
《フレキシブルプリント基板》フレキシブルプリント基板FPC1は、タイミング信号、電源電位等を供給し、検知信号を供給される。<< Flexible Printed Circuit Board >> The flexible printed circuit board FPC1 supplies a timing signal, a power supply potential, and the like, and is supplied with a detection signal.
《表示部》表示部500は、画素502、走査線、信号線または基材510を備える(図5参照)。<< Display Unit >> Thedisplay unit 500 includes pixels 502, scanning lines, signal lines, or a substrate 510 (see FIG. 5).
なお、基材510に表示部500を形成するための膜を成膜し、当該膜を加工して表示部500を形成してもよい。Note that a film for forming thedisplay portion 500 may be formed over thebase 510, and thedisplay portion 500 may be formed by processing the film.
または、表示部500の一部を他の基材に形成し、当該一部を基材510に転置して、表示部500を形成してもよい。Alternatively, a part of thedisplay unit 500 may be formed on another base material, and the part may be transferred to thebase material 510 to form thedisplay unit 500.
《画素》画素502は副画素502B、副画素502Gおよび副画素502Rを含み、それぞれの副画素は表示素子と表示素子を駆動する画素回路を備える。<< Pixel >> The pixel 502 includes a sub-pixel 502B, a sub-pixel 502G, and a sub-pixel 502R. Each sub-pixel includes a display element and a pixel circuit that drives the display element.
《画素回路》画素に能動素子を有するアクティブマトリクス方式、または、画素に能動素子を有しないパッシブマトリクス方式を表示部に用いることが出来る。<< Pixel Circuit >> An active matrix method in which an active element is included in a pixel or a passive matrix method in which an active element is not included in a pixel can be used for the display portion.
アクティブマトリクス方式では、能動素子(アクティブ素子、非線形素子)として、トランジスタだけでなく、さまざまな能動素子(アクティブ素子、非線形素子)を用いることが出来る。例えば、MIM(Metal Insulator Metal)、又はTFD(Thin Film Diode)などを用いることも可能である。これらの素子は、製造工程が少ないため、製造コストの低減、又は歩留まりの向上を図ることができる。または、これらの素子は、素子のサイズが小さいため、開口率を向上させることができ、低消費電力化や高輝度化をはかることが出来る。In the active matrix system, not only transistors but also various active elements (active elements and nonlinear elements) can be used as active elements (active elements and nonlinear elements). For example, MIM (Metal Insulator Metal) or TFD (Thin Film Diode) can also be used. Since these elements have few manufacturing steps, manufacturing cost can be reduced or yield can be improved. Alternatively, since these elements have small element sizes, the aperture ratio can be improved, and power consumption and luminance can be increased.
アクティブマトリクス方式以外のものとして、能動素子(アクティブ素子、非線形素子)を用いないパッシブマトリクス型を用いることも可能である。能動素子(アクティブ素子、非線形素子)を用いないため、製造工程が少ないため、製造コストの低減、又は歩留まりの向上を図ることができる。または、能動素子(アクティブ素子、非線形素子)を用いないため、開口率を向上させることができ、低消費電力化、又は高輝度化などを図ることが出来る。As a method other than the active matrix method, a passive matrix type that does not use an active element (an active element or a non-linear element) can be used. Since no active element (active element or non-linear element) is used, the number of manufacturing steps is small, so that manufacturing costs can be reduced or yield can be improved. Alternatively, since an active element (an active element or a non-linear element) is not used, an aperture ratio can be improved, power consumption can be reduced, or luminance can be increased.
画素回路は、例えば、トランジスタ502tを含む。The pixel circuit includes, for example, atransistor 502t.
表示部500はトランジスタ502tを覆う絶縁膜521を備える。絶縁膜521は画素回路に起因する凹凸を平坦化するための層として用いることができる。また、絶縁膜521に不純物の拡散を抑制できる層を含む積層膜を適用することができる。これにより、不純物の拡散によるトランジスタ502t等の信頼性の低下を抑制できる。Thedisplay portion 500 includes an insulatingfilm 521 that covers thetransistor 502t. The insulatingfilm 521 can be used as a layer for planarizing unevenness caused by the pixel circuit. Alternatively, the insulatingfilm 521 can be a stacked film including a layer that can suppress diffusion of impurities. Accordingly, a decrease in reliability of thetransistor 502t and the like due to impurity diffusion can be suppressed.
《表示素子》さまざまな表示素子を表示部500に用いることができる。例えば、電気泳動方式や電子粉流体(登録商標)方式やエレクトロウェッティング方式などにより表示を行う表示素子(電子インクともいう)、シャッター方式のMEMS表示素子、光干渉方式のMEMS表示素子、液晶素子などを用いることができる。<< Display Element >> Various display elements can be used for thedisplay portion 500. For example, a display element (also referred to as electronic ink) that performs display by an electrophoresis method, an electro-powder fluid (registered trademark) method, an electrowetting method, a shutter-type MEMS display device, an optical interference-type MEMS display device, a liquid crystal device Etc. can be used.
また、透過型液晶ディスプレイ、半透過型液晶ディスプレイ、反射型液晶ディスプレイ、直視型液晶ディスプレイなどに用いることができる表示素子を用いることができる。In addition, a display element that can be used for a transmissive liquid crystal display, a transflective liquid crystal display, a reflective liquid crystal display, a direct-view liquid crystal display, or the like can be used.
例えば、射出する光の色が異なる有機エレクトロルミネッセンス素子を副画素毎に適用してもよい。For example, you may apply the organic electroluminescent element from which the color of the emitted light differs for every subpixel.
例えば、白色の光を射出する有機エレクトロルミネッセンス素子を適用できる。For example, an organic electroluminescence element that emits white light can be applied.
例えば、発光素子550Rは、下部電極、上部電極、下部電極と上部電極の間に発光性の有機化合物を含む層を有する。For example, the light-emittingelement 550R includes a lower electrode, an upper electrode, and a layer containing a light-emitting organic compound between the lower electrode and the upper electrode.
副画素502Rは発光モジュール580Rを備える。副画素502Rは、発光素子550Rおよび発光素子550Rに電力を供給することができるトランジスタ502tを含む画素回路を備える。また、発光モジュール580Rは発光素子550Rおよび光学素子(例えば着色層CFR)を備える。Thesubpixel 502R includes alight emitting module 580R. The sub-pixel 502R includes a pixel circuit including a light-emittingelement 550R and atransistor 502t that can supply power to the light-emittingelement 550R. Thelight emitting module 580R includes alight emitting element 550R and an optical element (for example, a colored layer CFR).
なお、特定の波長の光を効率よく取り出せるように、発光モジュール580Rに微小共振器構造を配設することができる。具体的には、特定の光を効率よく取り出せるように配置された可視光を反射する膜および半反射・半透過する膜の間に発光性の有機化合物を含む層を配置してもよい。Note that a microresonator structure can be provided in thelight emitting module 580R so that light of a specific wavelength can be extracted efficiently. Specifically, a layer containing a light-emitting organic compound may be disposed between a film that reflects visible light and a semi-reflective / semi-transmissive film that is arranged so that specific light can be efficiently extracted.
発光モジュール580Rは、光を取り出す方向に着色層CFRを有する。着色層は特定の波長を有する光を透過するものであればよく、例えば赤色、緑色または青色等の光を選択的に透過するものを用いることができる。なお、他の副画素を着色層が設けられていない窓部に重なるように配置して、着色層を透過しないで発光素子の発する光を射出させてもよい。Thelight emitting module 580R has a colored layer CFR in the direction of extracting light. The colored layer may be any layer that transmits light having a specific wavelength. For example, a layer that selectively transmits light such as red, green, or blue can be used. Note that another sub-pixel may be arranged so as to overlap with a window portion where the colored layer is not provided, and light emitted from the light-emitting element may be emitted without passing through the colored layer.
着色層CFRは発光素子550Rと重なる位置にある。これにより、発光素子550Rが発する光の一部は着色層CFRを透過して、図中に示す矢印の方向の発光モジュール580Rの外部に射出される。The colored layer CFR is in a position overlapping thelight emitting element 550R. Thus, part of the light emitted from thelight emitting element 550R passes through the colored layer CFR and is emitted to the outside of thelight emitting module 580R in the direction of the arrow shown in the drawing.
着色層(例えば着色層CFR)を囲むように遮光性の層BMがある。There is a light-shielding layer BM so as to surround the colored layer (for example, the colored layer CFR).
なお、光を取り出す側に封止材560が設けられている場合、封止材560は発光素子550Rと着色層CFRに接してもよい。Note that in the case where the sealingmaterial 560 is provided on the light extraction side, the sealingmaterial 560 may be in contact with the light-emittingelement 550R and the coloring layer CFR.
下部電極は絶縁膜521の上に配設される。下部電極に重なる開口部が設けられた隔壁528を備える。なお、隔壁528の一部は下部電極の端部に重なる。The lower electrode is disposed on the insulatingfilm 521. A partition wall 528 provided with an opening overlapping the lower electrode is provided. Note that a part of the partition wall 528 overlaps with an end portion of the lower electrode.
下部電極は、上部電極との間に発光性の有機化合物を含む層を挟持して発光素子(例えば発光素子550R)を構成する。画素回路は発光素子に電力を供給する。A light emitting element (for example, light emittingelement 550R) is configured by sandwiching a layer containing a light emitting organic compound between the lower electrode and the upper electrode. The pixel circuit supplies power to the light emitting element.
また、隔壁528上に、基材610と基材510の間隔を制御するスペーサを有する。In addition, a spacer for controlling the distance between thebase material 610 and thebase material 510 is provided over the partition wall 528.
なお、半透過型液晶ディスプレイや反射型液晶ディスプレイを実現する場合には、画素電極の一部、または、全部が、反射電極としての機能を有するようにすればよい。例えば、画素電極の一部、または、全部が、アルミニウム、銀、などを有するようにすればよい。Note that in the case of realizing a transflective liquid crystal display or a reflective liquid crystal display, part or all of the pixel electrode may have a function as a reflective electrode. For example, part or all of the pixel electrode may have aluminum, silver, or the like.
また、反射電極の下に、SRAMなどの記憶回路を設けることも可能である。これにより、さらに、消費電力を低減することができる。また、適用する表示素子に好適な構成を様々な画素回路から選択して用いることができる。Further, a memory circuit such as an SRAM can be provided under the reflective electrode. Thereby, power consumption can be further reduced. In addition, a structure suitable for a display element to be applied can be selected from various pixel circuits and used.
《基材》可撓性を有する材料を基材510に用いることができる。例えば、基材610に用いることができる材料と同様の材料を基材510に適用することができる。<< Base Material >> A flexible material can be used for thebase material 510. For example, a material similar to a material that can be used for thesubstrate 610 can be used for thesubstrate 510.
なお、基材510が透光性を必要としない場合は、例えば透光性を有しない材料、具体的にはSUSまたはアルミニウム等を用いることができる。Note that in the case where thesubstrate 510 does not require translucency, for example, a material that does not have translucency, specifically, SUS or aluminum can be used.
例えば、可撓性を有する基材510bと、不純物の拡散を防ぐバリア膜510aと、基材510bおよびバリア膜510aを貼り合わせる樹脂層510cと、が積層された積層体を基材510に好適に用いることができる(図6(A)参照)。For example, a laminate in which aflexible base material 510b, abarrier film 510a that prevents diffusion of impurities, and aresin layer 510c that bonds thebase material 510b and thebarrier film 510a are laminated is preferably used as thebase material 510. It can be used (see FIG. 6A).
《封止材》封止材560は基材610と基材510を貼り合わせる。封止材560は空気より大きい屈折率を備える。また、封止材560側に光を取り出す場合は、封止材560は光学的な接合層を兼ねるとよい。<< Sealing Material >> The sealingmaterial 560 bonds thebase material 610 and thebase material 510 together. Theencapsulant 560 has a higher refractive index than air. In the case where light is extracted to the sealingmaterial 560 side, the sealingmaterial 560 may serve as an optical bonding layer.
なお、画素回路または発光素子(例えば発光素子550R)は基材510と基材610の間にある。Note that the pixel circuit or the light-emitting element (e.g., the light-emitting element 550 </ b> R) is between thebase material 510 and thebase material 610.
《駆動回路の構成》駆動回路503gは選択信号を供給する。例えば、走査線に選択信号を供給する。<< Configuration of Drive Circuit >> Thedrive circuit 503g supplies a selection signal. For example, a selection signal is supplied to the scanning line.
また、画像信号を供給する駆動回路503sを備えていてもよい。例えば、トランジスタ503tまたは容量503cを駆動回路503sに用いることができる。Further, adrive circuit 503s that supplies an image signal may be provided. For example, thetransistor 503t or thecapacitor 503c can be used for thedriver circuit 503s.
例えば、シフトレジスタ、フリップフロップ回路、組み合わせ回路などを駆動回路503gまたは駆動回路503sに用いることができる。For example, a shift register, a flip-flop circuit, a combination circuit, or the like can be used for thedriver circuit 503g or thedriver circuit 503s.
なお、画素回路と同一の工程で同一基板上に形成することができるトランジスタを駆動回路に用いることができる。Note that a transistor which can be formed over the same substrate in the same process as the pixel circuit can be used for the driver circuit.
《配線》表示部500は、走査線、信号線および電源線等の配線を有する。さまざまな導電膜を用いることができる。例えば、入力部600に用いることができる導電膜と同様の材料を用いることができる。<< Wiring >> Thedisplay unit 500 includes wiring such as scanning lines, signal lines, and power supply lines. Various conductive films can be used. For example, a material similar to that of the conductive film that can be used for theinput portion 600 can be used.
表示部500は、信号を供給することができる配線511を備え、端子519が配線511に設けられている。なお、画像信号および同期信号等の信号を供給することができるフレキシブルプリント基板FPC2が端子519に電気的に接続されている。Thedisplay portion 500 includes awiring 511 that can supply a signal, and a terminal 519 is provided in thewiring 511. Note that a flexible printed circuit board FPC2 that can supply signals such as an image signal and a synchronization signal is electrically connected to the terminal 519.
なお、フレキシブルプリント基板FPC2にはプリント配線基板(PWB)が取り付けられていても良い。Note that a printed wiring board (PWB) may be attached to the flexible printed circuit board FPC2.
《他の構成》入出力装置500TPは、反射防止層670pを画素に重なる位置に備える。反射防止層670pとして、例えば円偏光板を用いることができる。<< Other Configurations >> The input / output device 500TP includes theantireflection layer 670p at a position overlapping the pixels. For example, a circularly polarizing plate can be used as theantireflection layer 670p.
<入出力装置の変形例>様々なトランジスタを入力部600または/および表示部500に適用できる。<Modification of Input / Output Device> Various transistors can be applied to theinput unit 600 and / or thedisplay unit 500.
ボトムゲート型のトランジスタを入力部600に適用する場合の構成を図6(A)に示す。A structure in the case where a bottom-gate transistor is applied to theinput portion 600 is illustrated in FIG.
ボトムゲート型のトランジスタを表示部500に適用する場合の構成を図6(A)および図6(B)に図示する。A structure in the case of applying a bottom-gate transistor to thedisplay portion 500 is illustrated in FIGS.
例えば、酸化物半導体、アモルファスシリコン等を含む半導体層を図6(A)に図示するトランジスタ502tおよびトランジスタ503tに適用することができる。For example, a semiconductor layer containing an oxide semiconductor, amorphous silicon, or the like can be applied to thetransistor 502t and thetransistor 503t illustrated in FIG.
例えば、レーザーアニールなどの処理により結晶化させた多結晶シリコンを含む半導体層を、図6(B)に図示するトランジスタ502tおよびトランジスタ503tに適用することができる。For example, a semiconductor layer containing polycrystalline silicon crystallized by a process such as laser annealing can be applied to thetransistor 502t and thetransistor 503t illustrated in FIG.
トップゲート型のトランジスタを表示部500に適用する場合の構成を、図6(C)に図示する。A structure in the case where a top-gate transistor is applied to thedisplay portion 500 is illustrated in FIG.
例えば、多結晶シリコンまたは単結晶シリコン基板等から転置された単結晶シリコン膜等を含む半導体層を、図6(C)に図示するトランジスタ502tおよびトランジスタ503tに適用することができる。For example, a semiconductor layer including a single crystal silicon film or the like transferred from a polycrystalline silicon, a single crystal silicon substrate, or the like can be applied to thetransistor 502t and thetransistor 503t illustrated in FIG.
なお、本実施の形態は、本明細書で示す他の実施の形態と適宜組み合わせることができる。Note that this embodiment can be combined with any of the other embodiments described in this specification as appropriate.
(実施の形態3)本実施の形態では、本発明の一態様の入力部、表示部または入出力装置を作製する際に用いることができる積層体の作製方法について、図7を参照しながら説明する。Embodiment 3 In this embodiment, a method for manufacturing a stack which can be used for manufacturing an input portion, a display portion, or an input / output device of one embodiment of the present invention will be described with reference to FIGS. To do.
図7は積層体を作製する工程を説明する模式図である。図7の左側に、加工部材および積層体の構成を説明する断面図を示し、対応する上面図を、図7(C)を除いて右側に示す。FIG. 7 is a schematic view for explaining a process for producing a laminate. 7 is a cross-sectional view illustrating the configuration of the processed member and the laminate, and a corresponding top view is shown on the right side excluding FIG. 7C.
<積層体の作製方法>加工部材80から積層体81を作製する方法について、図7を参照しながら説明する。<Method for Producing Laminate> A method for producing the laminate 81 from the processedmember 80 will be described with reference to FIG.
加工部材80は、第1の基板F1と、第1の基板F1上の第1の剥離層F2と、第1の剥離層F2に一方の面が接する第1の被剥離層F3と、第1の被剥離層F3の他方の面に一方の面が接する接合層30と、接合層30の他方の面が接する基材S5と、を備える(図7(A−1)および図7(A−2))。The processingmember 80 includes a first substrate F1, a first peeling layer F2 on the first substrate F1, a first peeling layer F3 whose one surface is in contact with the first peeling layer F2, and a firstA bonding layer 30 having one surface in contact with the other surface of the layer to be peeled F3 and a base material S5 in contact with the other surface of the bonding layer 30 (FIGS. 7A-1 and 7A). 2)).
なお、加工部材80の構成の詳細は、実施の形態5で説明する。Details of the configuration of the processedmember 80 will be described in the fifth embodiment.
《剥離の起点の形成》剥離の起点F3sが接合層30の端部近傍に形成された加工部材80を準備する。<< Formation of Starting Point of Peeling >> A processedmember 80 is prepared in which a peeling starting point F3s is formed in the vicinity of the end of thebonding layer 30.
剥離の起点F3sは、第1の被剥離層F3の一部が第1の基板F1から分離された構造を有する。The peeling start point F3s has a structure in which a part of the first layer to be peeled F3 is separated from the first substrate F1.
第1の基板F1側から鋭利な先端で第1の被剥離層F3を刺突する方法またはレーザ等を用いる方法(例えばレーザアブレーション法)等を用いて、第1の被剥離層F3の一部を剥離層F2から部分的に剥離することができる。これにより、剥離の起点F3sを形成することができる。A part of the first layer to be peeled F3 using a method of piercing the first layer to be peeled F3 with a sharp tip from the first substrate F1 side or a method using a laser or the like (for example, laser ablation method). Can be partially peeled from the release layer F2. Thereby, the peeling start point F3s can be formed.
《第1のステップ》剥離の起点F3sがあらかじめ接合層30の端部近傍に形成された加工部材80を準備する(図7(B−1)および図7(B−2)参照)。<< First Step >> A processedmember 80 is prepared in which a separation starting point F3s is formed in the vicinity of the end of thebonding layer 30 in advance (see FIGS. 7B-1 and 7B-2).
《第2のステップ》加工部材80の一方の表層80bを剥離する。これにより、加工部材80から第1の残部80aを得る。<< Second Step >> Onesurface layer 80b of the processedmember 80 is peeled off. As a result, the first remainingportion 80a is obtained from the processedmember 80.
具体的には、接合層30の端部近傍に形成された剥離の起点F3sから、第1の基板F1を第1の剥離層F2と共に第1の被剥離層F3から分離する(図7(C)参照)。これにより、第1の被剥離層F3、第1の被剥離層F3に一方の面が接する接合層30および接合層30の他方の面が接する基材S5を備える第1の残部80aを得る。Specifically, the first substrate F1 is separated from the first peelable layer F3 together with the first peelable layer F2 from the peeling start point F3s formed in the vicinity of the end of the bonding layer 30 (FIG. 7C )reference). Thereby, the1st remaining part 80a provided with the base material S5 which the 1st to-be-separated layer F3, thebonding layer 30 in which one surface contact | connects the 1st to-be-separated layer F3, and the other surface of thebonding layer 30 contacts is obtained.
また、剥離層F2と被剥離層F3の界面近傍にイオンを照射して、静電気を取り除きながら剥離してもよい。具体的には、イオナイザーを用いて生成されたイオンを照射してもよい。Alternatively, the vicinity of the interface between the peeling layer F2 and the layer to be peeled F3 may be irradiated with ions to peel off while removing static electricity. Specifically, you may irradiate the ion produced | generated using the ionizer.
また、剥離層F2から被剥離層を剥離する際に、剥離層F2と被剥離層F3の界面に液体を浸透させる。または液体をノズル99から噴出させて吹き付けてもよい。例えば、浸透させる液体または吹き付ける液体に水、極性溶媒等を用いることができる。Further, when the layer to be peeled is peeled from the peeling layer F2, the liquid is permeated into the interface between the peeling layer F2 and the layer to be peeled F3. Alternatively, the liquid may be ejected from thenozzle 99 and sprayed. For example, water, a polar solvent, or the like can be used for the liquid to be permeated or the liquid to be sprayed.
液体を浸透させることにより、剥離に伴い発生する静電気等の影響を抑制することができる。また、剥離層を溶かす液体を浸透しながら剥離してもよい。By infiltrating the liquid, it is possible to suppress the influence of static electricity or the like generated with the peeling. Moreover, you may peel, infiltrating the liquid which melt | dissolves a peeling layer.
特に、剥離層F2に酸化タングステンを含む膜を用いる場合、水を含む液体を浸透させながらまたは吹き付けながら第1の被剥離層F3を剥離すると、第1の被剥離層F3に加わる剥離に伴う応力を低減することができ好ましい。In particular, when a film containing tungsten oxide is used for the peeling layer F2, if the first peeled layer F3 is peeled while infiltrating or spraying a liquid containing water, the stress accompanying the peeling applied to the first peeled layer F3 Can be reduced.
《第3のステップ》第1の接着層31を第1の残部80aに形成し、第1の接着層31を用いて第1の残部80aと第1の支持体41を貼り合わせる(図7(D−1)および図7(D−2)参照)。これにより、第1の残部80aから、積層体81を得る。<< 3rd step >> The 1stadhesive layer 31 is formed in the1st remaining part 80a, and the1st remaining part 80a and the1st support body 41 are bonded together using the 1st adhesive layer 31 (FIG. 7 ( D-1) and FIG. 7 (D-2)). Thereby, thelaminated body 81 is obtained from the1st remaining part 80a.
具体的には、第1の支持体41と、第1の接着層31と、第1の被剥離層F3と、第1の被剥離層F3に一方の面が接する接合層30と、接合層30の他方の面が接する基材S5と、を備える積層体81を得る(図7(E−1)および図7(E−2)参照)。Specifically, thefirst support 41, the firstadhesive layer 31, the first peeled layer F3, thebonding layer 30 whose one surface is in contact with the first peeled layer F3, and the bonding layer The base material S5 which the base material S5 which the other surface of 30 touches is obtained (refer FIG. 7 (E-1) and FIG. 7 (E-2)).
なお、様々な方法を、接合層30を形成する方法に用いることができる。例えば、ディスペンサやスクリーン印刷法等を用いて接合層30を形成する。接合層30を接合層30に用いる材料に応じた方法を用いて硬化する。例えば接合層30に光硬化型の接着剤を用いる場合は、所定の波長の光を含む光を照射する。Various methods can be used for forming thebonding layer 30. For example, thebonding layer 30 is formed using a dispenser, a screen printing method, or the like. Thebonding layer 30 is cured using a method corresponding to the material used for thebonding layer 30. For example, in the case where a photocurable adhesive is used for thebonding layer 30, light including light having a predetermined wavelength is irradiated.
なお、本実施の形態は、本明細書で示す他の実施の形態と適宜組み合わせることができる。Note that this embodiment can be combined with any of the other embodiments described in this specification as appropriate.
(実施の形態4)本実施の形態では、本発明の一態様の入力部、表示部または入出力装置を作製する際に用いることができる積層体の作製方法について、図8および図9を参照しながら説明する。Embodiment 4 In this embodiment, a method for manufacturing a stack which can be used for manufacturing an input portion, a display portion, or an input / output device of one embodiment of the present invention is described with reference to FIGS. While explaining.
図8および図9は積層体を作製する工程を説明する模式図である。図8および図9の左側に、加工部材および積層体の構成を説明する断面図を示し、対応する上面図を、図8(C)、図9(B)および図9(C)を除いて右側に示す。FIG. 8 and FIG. 9 are schematic views for explaining a process for producing a laminated body. 8 and 9 are cross-sectional views illustrating the configuration of the processed member and the laminated body, and the corresponding top views are shown except for FIGS. 8C, 9B, and 9C. Shown on the right.
<積層体の作製方法>加工部材90から積層体92を作製する方法について、図8乃至図9を参照しながら説明する。<Method for Producing Laminate> A method for producing the laminate 92 from the processedmember 90 will be described with reference to FIGS.
加工部材90は、接合層30の他方の面が、基材S5に換えて第2の被剥離層S3の一方の面に接する点が加工部材80と異なる。The processedmember 90 is different from the processedmember 80 in that the other surface of thebonding layer 30 is in contact with one surface of the second layer to be peeled S3 instead of the substrate S5.
具体的には、基材S5に換えて、第2の基板S1、第2の基板S1上の第2の剥離層S2、第2の剥離層S2と他方の面が接する第2の被剥離層S3を有し、第2の被剥離層S3の一方の面が、接合層30の他方の面に接する点が、異なる。Specifically, instead of the base material S5, the second substrate S1, the second peeling layer S2 on the second substrate S1, and the second peeling layer where the second peeling layer S2 is in contact with the other surface. It has S3, and is different in that one surface of the second peelable layer S3 is in contact with the other surface of thebonding layer 30.
加工部材90は、第1の基板F1と、第1の剥離層F2と、第1の剥離層F2に一方の面が接する第1の被剥離層F3と、第1の被剥離層F3の他方の面に一方の面が接する接合層30と、接合層30の他方の面に一方の面が接する第2の被剥離層S3と、第2の被剥離層S3の他方の面に一方の面が接する第2の剥離層S2と、第2の基板S1と、がこの順に配置される(図8(A−1)および図8(A−2)参照)。The processedmember 90 includes a first substrate F1, a first peeling layer F2, a first peeling layer F3 whose one surface is in contact with the first peeling layer F2, and the other of the first peeling layer F3. Abonding layer 30 with one surface in contact with the other surface, a second layer to be peeled S3 with one surface in contact with the other surface of thebonding layer 30, and one surface with the other surface of the second layer to be peeled S3. The second peeling layer S2 in contact with the second substrate S1 and the second substrate S1 are arranged in this order (see FIGS. 8A-1 and 8A-2).
なお、加工部材90の構成の詳細は、実施の形態5で説明する。Details of the configuration of the processedmember 90 will be described in a fifth embodiment.
《第1のステップ》剥離の起点F3sが接合層30の端部近傍に形成された加工部材90を準備する(図8(B−1)および図8(B−2)参照)。<< First Step >> A processedmember 90 is prepared in which a separation starting point F3s is formed in the vicinity of the end of the bonding layer 30 (see FIGS. 8B-1 and 8B-2).
剥離の起点F3sは、第1の被剥離層F3の一部が第1の基板F1から分離された構造を有する。The peeling start point F3s has a structure in which a part of the first layer to be peeled F3 is separated from the first substrate F1.
例えば、第1の基板F1側から鋭利な先端で第1の被剥離層F3を刺突する方法またはレーザ等を用いる方法(例えばレーザアブレーション法)等を用いて、第1の被剥離層F3の一部を剥離層F2から部分的に剥離することができる。これにより、剥離の起点F3sを形成することができる。For example, by using a method of piercing the first layer to be peeled F3 with a sharp tip from the first substrate F1 side, a method using a laser or the like (for example, a laser ablation method), etc., the first layer to be peeled F3 A part can be partially peeled from the peeling layer F2. Thereby, the peeling start point F3s can be formed.
《第2のステップ》加工部材90の一方の表層90bを剥離する。これにより、加工部材90から第1の残部90aを得る。<< Second Step >> Onesurface layer 90b of theworkpiece 90 is peeled off. As a result, the first remainingportion 90a is obtained from the processedmember 90.
具体的には、接合層30の端部近傍に形成された剥離の起点F3sから、第1の基板F1を第1の剥離層F2と共に第1の被剥離層F3から分離する(図8(C)参照)。これにより、第1の被剥離層F3と、第1の被剥離層F3に一方の面が接する接合層30と、接合層30の他方の面に一方の面が接する第2の被剥離層S3と、第2の被剥離層S3の他方の面に一方の面が接する第2の剥離層S2と、第2の基板S1と、がこの順に配置される第1の残部90aを得る。Specifically, the first substrate F1 is separated from the first peelable layer F3 together with the first peelable layer F2 from the peeling start point F3s formed near the end of the bonding layer 30 (FIG. 8C )reference). Accordingly, the first layer to be peeled F3, thebonding layer 30 in which one surface is in contact with the first layer to be peeled F3, and the second layer to be peeled S3 in which one surface is in contact with the other surface of thebonding layer 30. Then, the first remainingportion 90a in which the second peeling layer S2 whose one surface is in contact with the other surface of the second layer to be peeled S3 and the second substrate S1 are arranged in this order is obtained.
また、剥離層S2と被剥離層S3の界面近傍にイオンを照射して、静電気を取り除きながら剥離してもよい。具体的には、イオナイザーを用いて生成されたイオンを照射してもよい。Alternatively, the interface between the release layer S2 and the layer to be peeled S3 may be irradiated with ions to release the static electricity while removing the static electricity. Specifically, you may irradiate the ion produced | generated using the ionizer.
また、剥離層S2から被剥離層を剥離する際に、剥離層S2と被剥離層S3の界面に液体を浸透させる。または液体をノズル99から噴出させて吹き付けてもよい。例えば、浸透させる液体または吹き付ける液体に水、極性溶媒等を用いることができる。Further, when the layer to be peeled is peeled from the peeling layer S2, the liquid is permeated into the interface between the peeling layer S2 and the layer to be peeled S3. Alternatively, the liquid may be ejected from thenozzle 99 and sprayed. For example, water, a polar solvent, or the like can be used for the liquid to be permeated or the liquid to be sprayed.
液体を浸透させることにより、剥離に伴い発生する静電気等の影響を抑制することができる。また、剥離層を溶かす液体を浸透しながら剥離してもよい。By infiltrating the liquid, it is possible to suppress the influence of static electricity or the like generated with the peeling. Moreover, you may peel, infiltrating the liquid which melt | dissolves a peeling layer.
特に、剥離層S2に酸化タングステンを含む膜を用いる場合、水を含む液体を浸透させながらまたは吹き付けながら第1の被剥離層S3を剥離すると、第1の被剥離層S3に加わる剥離に伴う応力を低減することができ好ましい。In particular, when a film containing tungsten oxide is used for the peeling layer S2, if the first peeled layer S3 is peeled while infiltrating or spraying a liquid containing water, the stress accompanying the peeling applied to the first peeled layer S3 Can be reduced.
《第3のステップ》第1の残部90aに第1の接着層31を形成し(図8(D−1)および図8(D−2)参照)、第1の接着層31を用いて第1の残部90aと第1の支持体41を貼り合わせる。これにより、第1の残部90aから、積層体91を得る。<< Third Step >> The firstadhesive layer 31 is formed on the first remainingportion 90a (see FIG. 8D-1 and FIG. 8D-2), and the firstadhesive layer 31 is used to form the firstadhesive layer 31. The remaining one 90a and thefirst support 41 are bonded together. Thereby, thelaminated body 91 is obtained from the1st remaining part 90a.
具体的には、第1の支持体41と、第1の接着層31と、第1の被剥離層F3と、第1の被剥離層F3に一方の面が接する接合層30と、接合層30の他方の面に一方の面が接する第2の被剥離層S3と、第2の被剥離層S3の他方の面に一方の面が接する第2の剥離層S2と、第2の基板S1と、がこの順に配置された積層体91を得る(図8(E−1)および図8(E−2)参照)。Specifically, thefirst support 41, the firstadhesive layer 31, the first peeled layer F3, thebonding layer 30 whose one surface is in contact with the first peeled layer F3, and the bonding layer A second peelable layer S3 in which one surface is in contact with the other surface of 30; a second peelable layer S2 in which one surface is in contact with the other surface of the second peelable layer S3; and a second substrate S1 Then, alaminated body 91 is arranged in this order (see FIGS. 8E-1 and 8E-2).
《第6のステップ》積層体91の第1の接着層31の端部近傍にある第2の被剥離層S3の一部を、第2の基板S1から分離して、第2の剥離の起点91sを形成する。<< Sixth Step >> A part of the second layer to be peeled S3 in the vicinity of the end of the firstadhesive layer 31 of thelaminated body 91 is separated from the second substrate S1, and the secondpeeling starting point 91s is formed.
例えば、第1の支持体41および第1の接着層31を、第1の支持体41側から切削し、且つ新たに形成された第1の接着層31の端部に沿って第2の被剥離層S3の一部を第2の基板S1から分離する。For example, thefirst support body 41 and the firstadhesive layer 31 are cut from thefirst support body 41 side, and the second object is formed along the edge of the newly formed firstadhesive layer 31. A part of the release layer S3 is separated from the second substrate S1.
具体的には、剥離層S2上の第2の被剥離層S3が設けられた領域にある、第1の接着層31および第1の支持体41を、鋭利な先端を備える刃物等を用いて切削し、且つ新たに形成された第1の接着層31の端部に沿って、第2の被剥離層S3の一部を第2の基板S1から分離する(図9(A−1)および図9(A−2)参照)。Specifically, the firstadhesive layer 31 and thefirst support body 41 in the region where the second layer to be peeled S3 is provided on the peeling layer S2 are used by using a blade having a sharp tip or the like. A part of the second layer to be peeled S3 is separated from the second substrate S1 along the edge of the firstadhesive layer 31 that has been cut and newly formed (FIG. 9A-1) and (See FIG. 9A-2).
このステップにより、新たに形成された第1の支持体41bおよび第1の接着層31の端部近傍に剥離の起点91sが形成される。By this step, aseparation starting point 91 s is formed in the vicinity of the end portions of the newly formedfirst support body 41 b and the firstadhesive layer 31.
《第7のステップ》積層体91から第2の残部91aを分離する。これにより、積層体91から第2の残部91aを得る。(図9(C)参照)。<< Seventh Step >> The second remainingportion 91a is separated from the laminate 91. Thereby, the second remainingportion 91a is obtained from the stackedbody 91. (See FIG. 9C).
具体的には、第1の接着層31の端部近傍に形成された剥離の起点91sから、第2の基板S1を第2の剥離層S2と共に第2の被剥離層S3から分離する。これにより、第1の支持体41bと、第1の接着層31と、第1の被剥離層F3と、第1の被剥離層F3に一方の面が接する接合層30と、接合層30の他方の面に一方の面が接する第2の被剥離層S3と、がこの順に配置される第2の残部91aを得る。Specifically, the second substrate S1 is separated from the second peelable layer S3 together with the second peelable layer S2 from the peelingstarting point 91s formed near the end of the firstadhesive layer 31. Thus, thefirst support 41b, the firstadhesive layer 31, the first peeled layer F3, thebonding layer 30 whose one surface is in contact with the first peeled layer F3, and the bonding layer 30 A second remainingportion 91a is obtained in which the second layer to be peeled S3 whose one surface is in contact with the other surface is disposed in this order.
また、剥離層S2と被剥離層S3の界面近傍にイオンを照射して、静電気を取り除きながら剥離してもよい。具体的には、イオナイザーを用いて生成されたイオンを照射してもよい。Alternatively, the interface between the release layer S2 and the layer to be peeled S3 may be irradiated with ions to release the static electricity while removing the static electricity. Specifically, you may irradiate the ion produced | generated using the ionizer.
また、剥離層S2から被剥離層を剥離する際に、剥離層S2と被剥離層S3の界面に液体を浸透させる。または液体をノズル99から噴出させて吹き付けてもよい。例えば、浸透させる液体または吹き付ける液体に水、極性溶媒等を用いることができる。Further, when the layer to be peeled is peeled from the peeling layer S2, the liquid is permeated into the interface between the peeling layer S2 and the layer to be peeled S3. Alternatively, the liquid may be ejected from thenozzle 99 and sprayed. For example, water, a polar solvent, or the like can be used for the liquid to be permeated or the liquid to be sprayed.
液体を浸透させることにより、剥離に伴い発生する静電気等の影響を抑制することができる。また、剥離層を溶かす液体を浸透しながら剥離してもよい。By infiltrating the liquid, it is possible to suppress the influence of static electricity or the like generated with the peeling. Moreover, you may peel, infiltrating the liquid which melt | dissolves a peeling layer.
特に、剥離層S2に酸化タングステンを含む膜を用いる場合、水を含む液体を浸透させながらまたは吹き付けながら第1の被剥離層S3を剥離すると、第1の被剥離層S3に加わる剥離に伴う応力を低減することができ好ましい。In particular, when a film containing tungsten oxide is used for the peeling layer S2, if the first peeled layer S3 is peeled while infiltrating or spraying a liquid containing water, the stress accompanying the peeling applied to the first peeled layer S3 Can be reduced.
《第9のステップ》第2の残部91aに第2の接着層32を形成する(図9(D−1)および図9(D−2)参照)。<< Ninth Step >> The secondadhesive layer 32 is formed on the second remainingportion 91a (see FIGS. 9D-1 and 9D-2).
第2の接着層32を用いて第2の残部91aと第2の支持体42を貼り合わせる。このステップにより、第2の残部91aから、積層体92を得る(図9(E−1)および図9(E−2)参照)。The second remainingportion 91 a and thesecond support 42 are bonded together using the secondadhesive layer 32. Through this step, thestacked body 92 is obtained from the second remainingportion 91a (see FIGS. 9E-1 and 9E-2).
具体的には、第1の支持体41bと、第1の接着層31と、第1の被剥離層F3と、第1の被剥離層F3に一方の面が接する接合層30と、接合層30の他方の面に一方の面が接する第2の被剥離層S3と、第2の接着層32と、第2の支持体42と、をこの順に配置される積層体92は備える。Specifically, thefirst support 41b, the firstadhesive layer 31, the first peeled layer F3, thebonding layer 30 whose one surface is in contact with the first peeled layer F3, and the bonding layer The stackedbody 92 is provided with the second peelable layer S3 whose one surface is in contact with theother surface 30, the secondadhesive layer 32, and thesecond support 42 in this order.
<支持体に開口部を有する積層体の作製方法>開口部を支持体に有する積層体の作製方法について、図10を参照しながら説明する。<Method for Producing Laminate Having Opening in Support> A method for producing a laminate having an opening in the support will be described with reference to FIG.
図10は、被剥離層の一部が露出する開口部を支持体に有する積層体の作製方法を説明する図である。図10の左側に、積層体の構成を説明する断面図を示し、対応する上面図を右側に示す。FIG. 10 is a diagram illustrating a method for manufacturing a stacked body having an opening through which a part of a layer to be peeled is exposed in a support. A cross-sectional view illustrating the configuration of the stacked body is shown on the left side of FIG. 10, and a corresponding top view is shown on the right side.
図10(A−1)乃至図10(B−2)は、第1の支持体41bより小さい第2の支持体42bを用いて開口部を有する積層体92cを作製する方法について説明する図である。10A-1 to 10B-2 are diagrams illustrating a method for manufacturing astacked body 92c having an opening using asecond support 42b smaller than the first support 41b. is there.
図10(C−1)乃至図10(D−2)は、第2の支持体42に形成された開口部を有する積層体92dを作製する方法について説明する図である。FIGS. 10C-1 to 10D-2 are diagrams illustrating a method for manufacturing astacked body 92d having an opening formed in thesecond support 42. FIGS.
《支持体に開口部を有する積層体の作製方法の例1》上記の第9のステップにおいて、第2の支持体42に換えて、第1の支持体41bより小さい第2の支持体42bを用いる点が異なる他は、同様のステップを有する積層体の作製方法である。これにより、第2の被剥離層S3の一部が露出した状態の積層体を作製することができる(図10(A−1)および図10(A−2)参照)。<< Example 1 of Manufacturing Method of Laminated Body Having Opening in Support >> In the ninth step, asecond support 42b smaller than thefirst support 41b is used instead of thesecond support 42. Except for the difference in use, this is a method for manufacturing a laminate having similar steps. Accordingly, a stacked body in which part of the second layer to be peeled S3 is exposed can be manufactured (see FIGS. 10A-1 and 10A-2).
液状の接着剤を第2の接着層32に用いることができる。または、流動性が抑制され且つあらかじめ枚葉状に成形された接着剤(シート状の接着剤ともいう)を用いることができる。シート状の接着剤を用いると、第2の支持体42bより外側にはみ出す接着層32の量を少なくすることができる。また、接着層32の厚さを容易に均一にすることができる。A liquid adhesive can be used for the secondadhesive layer 32. Alternatively, an adhesive (also referred to as a sheet-like adhesive) that is suppressed in fluidity and is previously formed into a sheet shape can be used. If a sheet-like adhesive is used, the amount of theadhesive layer 32 that protrudes outside thesecond support 42b can be reduced. Further, the thickness of theadhesive layer 32 can be easily made uniform.
また、第2の被剥離層S3の露出した部分を切除して、第1の被剥離層F3が露出する状態にしてもよい(図10(B−1)および図10(B−2)参照)。Alternatively, the exposed portion of the second layer to be peeled S3 may be cut out so that the first layer to be peeled F3 is exposed (see FIGS. 10B-1 and 10B-2). ).
具体的には、鋭利な先端を有する刃物等を用いて、露出した第2の被剥離層S3に傷を形成する。次いで、例えば、傷の近傍に応力が集中するように粘着性を有するテープ等を露出した第2の被剥離層S3の一部に貼付し、貼付されたテープ等と共に第2の被剥離層S3の一部を剥離して、その一部を選択的に切除することができる。Specifically, scratches are formed on the exposed second layer to be peeled S3 using a blade or the like having a sharp tip. Next, for example, an adhesive tape or the like is applied to a part of the exposed second peelable layer S3 so that stress is concentrated in the vicinity of the scratch, and the second peelable layer S3 is attached together with the applied tape or the like. A part of the film can be peeled off, and the part can be selectively excised.
また、接合層30の第1の被剥離層F3に接着する力を抑制することができる層を、第1の被剥離層F3の一部に選択的に形成してもよい。例えば、接合層30と接着しにくい材料を選択的に形成してもよい。具体的には、有機材料を島状に蒸着してもよい。これにより、接合層30の一部を選択的に第2の被剥離層S3と共に容易に除去することができる。その結果、第1の被剥離層F3を露出した状態にすることができる。Further, a layer capable of suppressing the adhesion force of thebonding layer 30 to the first layer to be peeled F3 may be selectively formed on a part of the first layer to be peeled F3. For example, a material that is difficult to adhere to thebonding layer 30 may be selectively formed. Specifically, the organic material may be deposited in an island shape. As a result, a part of thebonding layer 30 can be easily selectively removed together with the second layer to be peeled S3. As a result, the first layer to be peeled F3 can be exposed.
なお、例えば、第1の被剥離層F3が機能層と、機能層に電気的に接続された導電層F3bと、を含む場合、導電層F3bを第2の積層体92cの開口部に露出させることができる。これにより、例えば開口部に露出された導電層F3bを、信号が供給される端子に用いることができる。For example, when the first layer to be peeled F3 includes a functional layer and a conductive layer F3b electrically connected to the functional layer, the conductive layer F3b is exposed to the opening of the secondstacked body 92c. be able to. Thereby, for example, the conductive layer F3b exposed in the opening can be used as a terminal to which a signal is supplied.
その結果、開口部に一部が露出した導電層F3bは、機能層が供給する信号を取り出すことができる端子に用いることができる。または、機能層が供給される信号を外部の装置が供給することができる端子に用いることができる。As a result, the conductive layer F3b partially exposed in the opening can be used as a terminal from which a signal supplied from the functional layer can be extracted. Alternatively, a signal to which a functional layer is supplied can be used for a terminal to which an external device can supply.
《支持体に開口部を有する積層体の作製方法の例2》第2の支持体42に設ける開口部と重なるように設けられた開口部を有するマスク48を、積層体92に形成する。次いで、マスク48の開口部に溶剤49を滴下する。これにより、溶剤49を用いてマスク48の開口部に露出した第2の支持体42を膨潤または溶解することができる(図10(C−1)および図10(C−2)参照)。<< Example 2 of Method for Manufacturing Laminate Having Opening on Support >> Amask 48 having an opening provided so as to overlap with the opening provided on thesecond support 42 is formed on thestack 92. Next, the solvent 49 is dropped into the opening of themask 48. Thus, thesecond support 42 exposed to the opening of themask 48 can be swollen or dissolved using the solvent 49 (see FIGS. 10C-1 and 10C-2).
余剰の溶剤49を除去した後に、マスク48の開口部に露出した第2の支持体42を擦る等をして、応力を加える。これにより、マスク48の開口部に重なる部分の第2の支持体42等を除去することができる。After the excess solvent 49 is removed, stress is applied by rubbing thesecond support 42 exposed in the opening of themask 48. Thereby, thesecond support 42 and the like that overlap the opening of themask 48 can be removed.
また、接合層30を膨潤または溶解する溶剤を用いれば、第1の被剥離層F3を露出した状態にすることができる(図10(D−1)および図10(D−2)参照)。In addition, if a solvent that swells or dissolves thebonding layer 30 is used, the first peelable layer F3 can be exposed (see FIGS. 10D-1 and 10D-2).
なお、本実施の形態は、本明細書で示す他の実施の形態と適宜組み合わせることができる。Note that this embodiment can be combined with any of the other embodiments described in this specification as appropriate.
(実施の形態5)本実施の形態では、本発明の一態様の入力部、表示部または入出力装置に加工することができる加工部材の構成について、図11を参照しながら説明する。(Embodiment 5) In this embodiment, a structure of a processed member that can be processed into the input portion, the display portion, or the input / output device of one embodiment of the present invention will be described with reference to FIGS.
図11は積層体に加工することができる加工部材の構成を説明する模式図である。FIG. 11 is a schematic diagram illustrating the configuration of a processed member that can be processed into a laminate.
図11(A−1)は、積層体に加工することができる加工部材80の構成を説明する断面図であり、図11(A−2)は、対応する上面図である。FIG. 11A-1 is a cross-sectional view illustrating a configuration of a processedmember 80 that can be processed into a laminate, and FIG. 11A-2 is a corresponding top view.
図11(B−1)は、積層体に加工することができる加工部材90の構成を説明する断面図であり、図11(B−2)は、対応する上面図である。FIG. 11B-1 is a cross-sectional view illustrating a configuration of a processedmember 90 that can be processed into a laminate, and FIG. 11B-2 is a corresponding top view.
<1.加工部材の構成例>加工部材80は、第1の基板F1と、第1の基板F1上の第1の剥離層F2と、第1の剥離層F2に一方の面が接する第1の被剥離層F3と、第1の被剥離層F3の他方の面に一方の面が接する接合層30と、接合層30の他方の面が接する基材S5と、を有する図11(A−1)および図11(A−2)。<1. Example of Configuration of Processing Member> The processingmember 80 includes a first substrate F1, a first peeling layer F2 on the first substrate F1, and a first peeled surface in which one surface is in contact with the first peeling layer F2. 11 (A-1) including the layer F3, thebonding layer 30 in which one surface is in contact with the other surface of the first peelable layer F3, and the base material S5 in which the other surface of thebonding layer 30 is in contact. FIG. 11 (A-2).
なお、剥離の起点F3sが、接合層30の端部近傍に設けられていてもよい。The separation starting point F3s may be provided in the vicinity of the end of thebonding layer 30.
《第1の基板》第1の基板F1は、製造工程に耐えられる程度の耐熱性および製造装置に適用可能な厚さおよび大きさを備えるものであれば、特に限定されない。<< 1st board | substrate >> The 1st board | substrate F1 will not be specifically limited if it is provided with the heat resistance of the grade which can endure a manufacturing process, and the thickness and magnitude | size applicable to a manufacturing apparatus.
有機材料、無機材料または有機材料と無機材料等の複合材料等を第1の基板F1に用いることができる。An organic material, an inorganic material, a composite material of an organic material and an inorganic material, or the like can be used for the first substrate F1.
例えば、ガラス、セラミックス、金属等の無機材料を第1の基板F1に用いることができる。For example, an inorganic material such as glass, ceramics, or metal can be used for the first substrate F1.
具体的には、無アルカリガラス、ソーダ石灰ガラス、カリガラスまたはクリスタルガラス等を、第1の基板F1に用いることができる。Specifically, alkali-free glass, soda-lime glass, potash glass, crystal glass, or the like can be used for the first substrate F1.
具体的には、金属酸化物膜、金属窒化物膜若しくは金属酸窒化物膜等を、第1の基板F1に用いることができる。例えば、酸化珪素、窒化珪素、酸窒化珪素、アルミナ膜等を、第1の基板F1に用いることができる。Specifically, a metal oxide film, a metal nitride film, a metal oxynitride film, or the like can be used for the first substrate F1. For example, silicon oxide, silicon nitride, silicon oxynitride, an alumina film, or the like can be used for the first substrate F1.
具体的には、SUS(ステンレス)またはアルミニウム等を、第1の基板F1に用いることができる。Specifically, SUS (stainless steel), aluminum, or the like can be used for the first substrate F1.
例えば、樹脂、樹脂フィルムまたはプラスチック等の有機材料を第1の基板F1に用いることができる。For example, an organic material such as a resin, a resin film, or plastic can be used for the first substrate F1.
具体的には、ポリエステル、ポリオレフィン、ポリアミド、ポリイミド、ポリカーボネート若しくはアクリル樹脂等の樹脂フィルムまたは樹脂板を、第1の基板F1に用いることができる。Specifically, a resin film or a resin plate such as polyester, polyolefin, polyamide, polyimide, polycarbonate, or acrylic resin can be used for the first substrate F1.
例えば、金属板、薄板状のガラス板または無機材料等の膜を樹脂フィルム等に貼り合わせた複合材料を第1の基板F1に用いることができる。For example, a composite material in which a film such as a metal plate, a thin glass plate, or an inorganic material is bonded to a resin film or the like can be used for the first substrate F1.
例えば、繊維状または粒子状の金属、ガラスもしくは無機材料等を樹脂フィルムに分散した複合材料を、第1の基板F1に用いることができる。For example, a composite material in which a fibrous or particulate metal, glass, inorganic material, or the like is dispersed in a resin film can be used for the first substrate F1.
例えば、繊維状または粒子状の樹脂もしくは有機材料等を無機材料に分散した複合材料を、第1の基板F1に用いることができる。For example, a composite material in which a fibrous or particulate resin, an organic material, or the like is dispersed in an inorganic material can be used for the first substrate F1.
また、単層の材料または複数の層が積層された積層材料を、第1の基板F1に用いることができる。例えば、基材と基材に含まれる不純物の拡散を防ぐ絶縁層等が積層された積層材料を、第1の基板F1に用いることができる。In addition, a single layer material or a stacked material in which a plurality of layers are stacked can be used for the first substrate F1. For example, a stacked material in which a base material and an insulating layer that prevents diffusion of impurities contained in the base material are stacked can be used for the first substrate F1.
具体的には、ガラスとガラスに含まれる不純物の拡散を防ぐ酸化シリコン膜、窒化シリコン膜または酸化窒化シリコン膜等から選ばれた一または複数の膜が積層された積層材料を、第1の基板F1に適用できる。Specifically, a laminated material in which one or a plurality of films selected from glass, a silicon oxide film, a silicon nitride film, a silicon oxynitride film, or the like that prevents diffusion of impurities contained in the glass is laminated, is used as the first substrate. Applicable to F1.
または、樹脂と樹脂を透過する不純物の拡散を防ぐ酸化シリコン膜、窒化シリコン膜または酸化窒化シリコン膜等が積層された積層材料を、第1の基板F1に適用できる。Alternatively, a stacked material in which a silicon oxide film, a silicon nitride film, a silicon oxynitride film, or the like that prevents resin and diffusion of impurities that permeate the resin is stacked can be applied to the first substrate F1.
《第1の剥離層》第1の剥離層F2は、第1の基板F1と第1の被剥離層F3の間に設けられる。第1の剥離層F2は、第1の基板F1から第1の被剥離層F3を分離できる境界がその近傍に形成される層である。また、第1の剥離層F2は、その上に被剥離層が形成され、第1の被剥離層F3の製造工程に耐えられる程度の耐熱性を備えるものであれば、特に限定されない。<< First Release Layer >> The first release layer F2 is provided between the first substrate F1 and the first peel-off layer F3. The first peeling layer F2 is a layer in which a boundary capable of separating the first peeling layer F3 from the first substrate F1 is formed in the vicinity thereof. The first release layer F2 is not particularly limited as long as the release layer is formed on the first release layer F2 and has heat resistance enough to withstand the manufacturing process of the first release layer F3.
例えば無機材料または有機樹脂等を第1の剥離層F2に用いることができる。For example, an inorganic material, an organic resin, or the like can be used for the first peeling layer F2.
具体的には、タングステン、モリブデン、チタン、タンタル、ニオブ、ニッケル、コバルト、ジルコニウム、亜鉛、ルテニウム、ロジウム、パラジウム、オスミウム、イリジウム、シリコンから選択された元素を含む金属、該元素を含む合金または該元素を含む化合物等の無機材料を第1の剥離層F2に用いることができる。Specifically, a metal containing an element selected from tungsten, molybdenum, titanium, tantalum, niobium, nickel, cobalt, zirconium, zinc, ruthenium, rhodium, palladium, osmium, iridium, silicon, an alloy containing the element, or the An inorganic material such as a compound containing an element can be used for the first release layer F2.
具体的には、ポリイミド、ポリエステル、ポリオレフィン、ポリアミド、ポリカーボネート若しくはアクリル樹脂等の有機材料を用いることができる。Specifically, an organic material such as polyimide, polyester, polyolefin, polyamide, polycarbonate, or acrylic resin can be used.
例えば、単層の材料または複数の層が積層された材料を第1の剥離層F2に用いることができる。For example, a single layer material or a material in which a plurality of layers are stacked can be used for the first peeling layer F2.
具体的には、タングステンを含む層とタングステンの酸化物を含む層が積層された材料を第1の剥離層F2に用いることができる。Specifically, a material in which a layer containing tungsten and a layer containing an oxide of tungsten are stacked can be used for the first separation layer F2.
なお、タングステンの酸化物を含む層は、タングステンを含む層に他の層を積層する方法を用いて形成することができる。具体的には、タングステンの酸化物を含む層を、タングステンを含む層に酸化シリコンまたは酸化窒化シリコン等を積層する方法により形成してもよい。Note that the layer containing an oxide of tungsten can be formed by a method in which another layer is stacked on the layer containing tungsten. Specifically, a layer containing an oxide of tungsten may be formed by a method of stacking silicon oxide, silicon oxynitride, or the like on a layer containing tungsten.
また、タングステンの酸化物を含む層を、タングステンを含む層の表面を熱酸化処理、酸素プラズマ処理、亜酸化窒素(NO)プラズマ処理または酸化力の強い溶液(例えば、オゾン水等)を用いる処理等により形成してもよい。In addition, a layer containing tungsten oxide, a surface of the layer containing tungsten is subjected to thermal oxidation treatment, oxygen plasma treatment, nitrous oxide (N2 O) plasma treatment, or a solution having strong oxidizing power (eg, ozone water). You may form by the process etc. to be used.
具体的には、ポリイミドを含む層を第1の剥離層F2に用いることができる。ポリイミドを含む層は、第1の被剥離層F3を形成する際に要する様々な製造工程に耐えられる程度の耐熱性を備える。Specifically, a layer containing polyimide can be used for the first peeling layer F2. The layer containing polyimide has heat resistance enough to withstand various manufacturing processes required when forming the first layer to be peeled F3.
例えば、ポリイミドを含む層は、200℃以上、好ましくは250℃以上、より好ましくは300℃以上、より好ましくは350℃以上の耐熱性を備える。For example, the layer containing polyimide has heat resistance of 200 ° C. or higher, preferably 250 ° C. or higher, more preferably 300 ° C. or higher, more preferably 350 ° C. or higher.
第1の基板F1に形成されたモノマーを含む膜を加熱し、縮合したポリイミドを含む膜を用いることができる。A film containing polyimide condensed by heating the film containing the monomer formed on the first substrate F1 can be used.
《第1の被剥離層》第1の被剥離層F3は、第1の基板F1から分離することができ、製造工程に耐えられる程度の耐熱性を備えるものであれば、特に限定されない。<< First Peeling Layer >> The first peeling layer F3 is not particularly limited as long as it can be separated from the first substrate F1 and has heat resistance enough to withstand the manufacturing process.
第1の被剥離層F3を第1の基板から分離することができる境界は、第1の被剥離層F3と第1の剥離層F2の間に形成されてもよく、第1の剥離層F2と第1の基板F1の間に形成されてもよい。The boundary where the first peelable layer F3 can be separated from the first substrate may be formed between the first peelable layer F3 and the first peelable layer F2, and the first peelable layer F2 And the first substrate F1.
第1の被剥離層F3と第1の剥離層F2の間に境界が形成される場合は、第1の剥離層F2は積層体に含まれず、第1の剥離層F2と第1の基板F1の間に境界が形成される場合は、第1の剥離層F2は積層体に含まれる。In the case where a boundary is formed between the first peelable layer F3 and the first peelable layer F2, the first peelable layer F2 is not included in the stacked body, and the first peelable layer F2 and the first substrate F1. In the case where a boundary is formed between the first release layer F2 and the first release layer F2 is included in the laminate.
無機材料、有機材料または単層の材料または複数の層が積層された積層材料層等を第1の被剥離層F3に用いることができる。An inorganic material, an organic material, a single layer material, a stacked material layer in which a plurality of layers are stacked, or the like can be used for the first peel-off layer F3.
例えば、金属酸化物膜、金属窒化物膜、若しくは金属酸窒化物膜等の無機材料を、第1の被剥離層F3に用いることができる。For example, an inorganic material such as a metal oxide film, a metal nitride film, or a metal oxynitride film can be used for the first peel-off layer F3.
具体的には、酸化珪素膜、窒化珪素膜、酸窒化珪素膜、酸化アルミニウム膜等を、第1の被剥離層F3に用いることができる。Specifically, a silicon oxide film, a silicon nitride film, a silicon oxynitride film, an aluminum oxide film, or the like can be used for the first peel-off layer F3.
例えば、樹脂、樹脂フィルムまたはプラスチック等を、第1の被剥離層F3に用いることができる。For example, a resin, a resin film, a plastic, or the like can be used for the first layer to be peeled F3.
具体的には、ポリイミド膜等を、第1の被剥離層F3に用いることができる。Specifically, a polyimide film or the like can be used for the first layer to be peeled F3.
例えば、第1の剥離層F2と重なる機能層と、第1の剥離層F2と機能層の間に当該機能層の機能を損なう不純物の意図しない拡散を防ぐことができる絶縁層と、が積層された構造を有する材料を用いることができる。For example, a functional layer that overlaps with the first release layer F2 and an insulating layer that can prevent unintended diffusion of impurities that impair the function of the functional layer are stacked between the first release layer F2 and the functional layer. A material having a different structure can be used.
具体的には、厚さ0.7mmのガラス板を第1の基板F1に用い、第1の基板F1側から順に厚さ200nmの酸化窒化珪素膜および30nmのタングステン膜が積層された積層材料を第1の剥離層F2に用いる。そして、第1の剥離層F2側から順に厚さ600nmの酸化窒化珪素膜および厚さ200nmの窒化珪素が積層された積層材料を含む膜を第1の被剥離層F3に用いることができる。なお、酸化窒化珪素膜は、酸素の組成が窒素の組成より多く、窒化酸化珪素膜は窒素の組成が酸素の組成より多い。Specifically, a laminated material in which a glass plate having a thickness of 0.7 mm is used for the first substrate F1 and a silicon oxynitride film having a thickness of 200 nm and a tungsten film having a thickness of 30 nm are sequentially stacked from the first substrate F1 side. Used for the first release layer F2. A film including a stacked material in which a silicon oxynitride film having a thickness of 600 nm and a silicon nitride having a thickness of 200 nm are stacked in this order from the first peeling layer F2 side can be used for the first peeling layer F3. Note that the silicon oxynitride film has a higher oxygen composition than the nitrogen composition, and the silicon nitride oxide film has a higher nitrogen composition than the oxygen composition.
具体的には、上記の第1の被剥離層F3に換えて、第1の剥離層F2側から順に厚さ600nmの酸化窒化珪素膜、厚さ200nmの窒化珪素、厚さ200nmの酸化窒化珪素膜、厚さ140nmの窒化酸化珪素膜および厚さ100nmの酸化窒化珪素膜を積層された積層材料を含む膜を被剥離層に用いることができる。Specifically, instead of the first layer to be peeled F3, a silicon oxynitride film with a thickness of 600 nm, a silicon nitride with a thickness of 200 nm, and a silicon oxynitride with a thickness of 200 nm are sequentially formed from the first peeling layer F2 side. A film including a stacked material in which a film, a silicon nitride oxide film with a thickness of 140 nm and a silicon oxynitride film with a thickness of 100 nm are stacked can be used as the layer to be peeled.
具体的には、第1の剥離層F2側から順に、ポリイミド膜と、酸化シリコンまたは窒化シリコン等を含む層と、機能層と、が順に積層された積層材料を用いることができる。Specifically, a stacked material in which a polyimide film, a layer containing silicon oxide, silicon nitride, or the like, and a functional layer are sequentially stacked from the first release layer F2 side can be used.
《機能層》機能層は第1の被剥離層F3に含まれる。<< Functional Layer >> The functional layer is included in the first layer to be peeled F3.
例えば、機能回路、機能素子、光学素子または機能膜等もしくはこれらから選ばれた複数を含む層を、機能層に用いることができる。For example, a functional circuit, a functional element, an optical element, a functional film, or the like, or a layer including a plurality selected from these can be used for the functional layer.
具体的には、表示装置に用いることができる表示素子、表示素子を駆動する画素回路、画素回路を駆動する駆動回路、カラーフィルタまたは防湿膜等もしくはこれらから選ばれた複数を含む層を挙げることができる。Specifically, a display element that can be used in a display device, a pixel circuit that drives the display element, a drive circuit that drives the pixel circuit, a color filter, a moisture-proof film, or a layer including a plurality selected from these Can do.
《接合層》接合層30は、第1の被剥離層F3と基材S5を接合するものであれば、特に限定されない。<< Joint Layer >> Thejoint layer 30 is not particularly limited as long as it joins the first peelable layer F3 and the substrate S5.
無機材料、有機材料または無機材料と有機材料の複合材料等を接合層30に用いることができる。An inorganic material, an organic material, a composite material of an inorganic material and an organic material, or the like can be used for thebonding layer 30.
例えば、融点が400℃以下好ましくは300℃以下のガラス層または接着剤等を用いることができる。For example, a glass layer or an adhesive having a melting point of 400 ° C. or lower, preferably 300 ° C. or lower can be used.
例えば、光硬化型接着剤、反応硬化型接着剤、熱硬化型接着剤または/および嫌気型接着剤等の有機材料を接合層30に用いることができる。For example, an organic material such as a photocurable adhesive, a reactive curable adhesive, a thermosetting adhesive, and / or an anaerobic adhesive can be used for thebonding layer 30.
具体的には、エポキシ樹脂、アクリル樹脂、シリコーン樹脂、フェノール樹脂、ポリイミド樹脂、イミド樹脂、PVC(ポリビニルクロライド)樹脂、PVB(ポリビニルブチラル)樹脂、EVA(エチレンビニルアセテート)樹脂等を含む接着剤を用いることができる。Specifically, an adhesive including epoxy resin, acrylic resin, silicone resin, phenol resin, polyimide resin, imide resin, PVC (polyvinyl chloride) resin, PVB (polyvinyl butyral) resin, EVA (ethylene vinyl acetate) resin, and the like. Can be used.
《基材》基材S5は、製造工程に耐えられる程度の耐熱性および製造装置に適用可能な厚さおよび大きさを備えるものであれば、特に限定されない。<< Substrate >> The substrate S5 is not particularly limited as long as it has heat resistance enough to withstand the manufacturing process and a thickness and size applicable to the manufacturing apparatus.
基材S5に用いることができる材料は、例えば、第1の基板F1と同様のものを用いることができる。As a material that can be used for the base material S5, for example, the same material as that of the first substrate F1 can be used.
《剥離の起点》加工部材80は剥離の起点F3sを接合層30の端部近傍に有していてもよい。<< Starting Point of Separation >> The processedmember 80 may have a starting point F3s of peeling near the end of thebonding layer 30.
剥離の起点F3sは、第1の被剥離層F3の一部が第1の基板F1から分離された構造を有する。The peeling start point F3s has a structure in which a part of the first layer to be peeled F3 is separated from the first substrate F1.
第1の基板F1側から鋭利な先端で第1の被剥離層F3を刺突する方法またはレーザ等を用いる方法(例えばレーザアブレーション法)等を用いて、第1の被剥離層F3の一部を剥離層F2から部分的に剥離することができる。これにより、剥離の起点F3sを形成することができる。A part of the first layer to be peeled F3 using a method of piercing the first layer to be peeled F3 with a sharp tip from the first substrate F1 side or a method using a laser or the like (for example, laser ablation method). Can be partially peeled from the release layer F2. Thereby, the peeling start point F3s can be formed.
<2.加工部材の構成例2>積層体にすることができる、上記とは異なる加工部材の構成について、図11(B−1)および図11(B−2)を参照しながら説明する。<2. Configuration Example 2 of Processing Member> A configuration of a processing member different from the above, which can be a laminated body, will be described with reference to FIGS. 11B-1 and 11B-2.
加工部材90は、接合層30の他方の面が、基材S5に換えて第2の被剥離層S3の一方の面に接する点が加工部材80と異なる。The processedmember 90 is different from the processedmember 80 in that the other surface of thebonding layer 30 is in contact with one surface of the second layer to be peeled S3 instead of the substrate S5.
具体的には、加工部材90は、第1の剥離層F2および第1の剥離層F2に一方の面が接する第1の被剥離層F3が形成された第1の基板F1と、第2の剥離層S2および第2の剥離層S2に他方の面が接する第2の被剥離層S3が形成された第2の基板S1と、第1の被剥離層F3の他方の面に一方の面を接し且つ第2の被剥離層S3の一方の面と他方の面が接する接合層30と、を有する。(図11(B−1)および図11(B−2)参照)。Specifically, the processedmember 90 includes a first substrate F1 on which a first peeling layer F3 having a first surface in contact with the first peeling layer F2 and the first peeling layer F2, and a second substrate F1 is formed. The second substrate S1 on which the second layer to be peeled S3 in contact with the peeling layer S2 and the second peeling layer S2 is formed, and one surface on the other surface of the first peeling layer F3. And abonding layer 30 in contact with one surface of the second layer to be peeled S3 and the other surface. (See FIGS. 11B-1 and 11B-2).
《第2の基板》第2の基板S1は、第1の基板F1と同様のものを用いることができる。なお、第2の基板S1を第1の基板F1と同一の構成とする必要はない。<< Second Substrate >> The second substrate S1 can be the same as the first substrate F1. Note that the second substrate S1 need not have the same configuration as the first substrate F1.
《第2の剥離層》第2の剥離層S2は、第1の剥離層F2と同様の構成を用いることができる。また、第2の剥離層S2は、第1の剥離層F2と異なる構成を用いることもできる。<< Second Release Layer >> The second release layer S2 can have the same configuration as the first release layer F2. Further, the second release layer S2 can have a different structure from the first release layer F2.
《第2の被剥離層》第2の被剥離層S3は、第1の被剥離層F3と同様の構成を用いることができる。また、第2の被剥離層S3は、第1の被剥離層F3と異なる構成を用いることもできる。<< Second Peeled Layer >> The second peelable layer S3 can have the same structure as the first peelable layer F3. Further, the second layer to be peeled S3 may have a different structure from the first layer to be peeled F3.
具体的には、第1の被剥離層F3が機能回路を備え、第2の被剥離層S3が当該機能回路への不純物の拡散を防ぐ機能層を備える構成としてもよい。Specifically, the first peel-off layer F3 may include a functional circuit, and the second peel-off layer S3 may include a functional layer that prevents diffusion of impurities into the functional circuit.
具体的には、第1の被剥離層F3が第2の被剥離層に向けて光を射出する発光素子、当該発光素子を駆動する画素回路、当該画素回路を駆動する駆動回路を備え、発光素子が射出する光の一部を透過するカラーフィルタおよび発光素子への不純物の拡散を防ぐ防湿膜を第2の被剥離層S3が備える構成としてもよい。なお、このような構成を有する加工部材は、可撓性を有する表示装置として用いることができる積層体にすることができる。Specifically, the first peelable layer F3 includes a light emitting element that emits light toward the second peelable layer, a pixel circuit that drives the light emitting element, and a drive circuit that drives the pixel circuit. The second peelable layer S3 may include a color filter that transmits part of light emitted from the element and a moisture-proof film that prevents diffusion of impurities into the light-emitting element. Note that the processed member having such a structure can be a stacked body that can be used as a flexible display device.
なお、本実施の形態は、本明細書で示す他の実施の形態と適宜組み合わせることができる。Note that this embodiment can be combined with any of the other embodiments described in this specification as appropriate.
(実施の形態6)本実施の形態では、本発明の一態様の情報処理装置の構成について、図12を参照しながら説明する。Embodiment 6 In this embodiment, the structure of an information processing device of one embodiment of the present invention will be described with reference to FIG.
図12は本発明の一態様の情報処理装置を説明する図である。FIG. 12 illustrates an information processing device of one embodiment of the present invention.
図12(A)は本発明の一態様の情報処理装置K100の入出力装置K20が展開された状態を説明する投影図であり、図12(B)は図12(A)の切断線X1−X2における情報処理装置K100の断面図である。図12(C)は入出力装置K20が折り畳まれた状態を説明する投影図である。12A is a projection view illustrating a state where the input / output device K20 of the information processing device K100 according to one embodiment of the present invention is developed, and FIG. 12B is a cut line X1- in FIG. It is sectional drawing of information processing apparatus K100 in X2. FIG. 12C is a projection view illustrating a state in which the input / output device K20 is folded.
<情報処理装置の構成例>本実施の形態で説明する情報処理装置K100は、入出力装置K20と、演算装置K10と、筐体K01(1)乃至筐体K01(3)を有する(図12参照)。<Configuration Example of Information Processing Device> The information processing device K100 described in the present embodiment includes an input / output device K20, an arithmetic device K10, and housings K01 (1) to K01 (3) (FIG. 12). reference).
《入出力装置》入出力装置K20は、表示部K30および入力部K40を備える。入出力装置K20は、画像情報Vを供給され且つ検知情報Sを供給する。<< Input / Output Device >> The input / output device K20 includes a display unit K30 and an input unit K40. The input / output device K20 is supplied with the image information V and supplies the detection information S.
表示部K30は画像情報Vを供給され、入力部K40は検知情報Sを供給する(図12(B)参照)。The display unit K30 is supplied with the image information V, and the input unit K40 supplies the detection information S (see FIG. 12B).
入力部K40と表示部K30が互いに重ねられた入出力装置K20は、表示部K30であるとともに、入力部K40でもある。The input / output device K20 in which the input unit K40 and the display unit K30 are overlapped with each other is the display unit K30 and the input unit K40.
なお、入力部K40にタッチセンサを用い、表示部K30に表示パネルを用いた入出力装置K20は、タッチパネルである。The input / output device K20 using a touch sensor for the input unit K40 and a display panel for the display unit K30 is a touch panel.
《表示部》表示部K30は、第1の領域K31(11)、第1の屈曲できる領域K31(21)、第2の領域K31(12)、第2の屈曲できる領域K31(22)および第3の領域K31(13)がこの順で縞状に配置された領域K31を有する(図12(A)参照)。<< Display Unit >> The display unit K30 includes a first region K31 (11), a first bendable region K31 (21), a second region K31 (12), a second bendable region K31 (22), and a first bendable region K31 (22). Three regions K31 (13) have regions K31 arranged in a stripe pattern in this order (see FIG. 12A).
表示部K30は、第1の屈曲できる領域K31(21)に形成される第1の畳み目および第2の屈曲できる領域K31(22)に形成される第2の畳み目で折り畳まれた状態および展開された状態にすることができる(図12(A)および図12(C)参照)。The display unit K30 is folded at the first fold formed in the first bendable region K31 (21) and the second fold formed in the second bendable region K31 (22), and An expanded state can be obtained (see FIGS. 12A and 12C).
《演算装置》演算装置K10は、演算部および演算部に実行させるプログラムを記憶する記憶部を備える。また、画像情報Vを供給し且つ検知情報Sを供給される。<< Calculation Device >> The calculation device K10 includes a calculation unit and a storage unit that stores a program to be executed by the calculation unit. In addition, image information V and detection information S are supplied.
《筐体》筐体は、筐体K01(1)、ヒンジK02(1)、筐体K01(2)、ヒンジK02(2)および筐体K01(3)を含み、この順に配置される。<< Housing >> The housing includes a housing K01 (1), a hinge K02 (1), a housing K01 (2), a hinge K02 (2), and a housing K01 (3), which are arranged in this order.
筐体K01(3)は、演算装置K10を収納する。また、筐体K01(1)乃至筐体K01(3)は、入出力装置K20を保持し、入出力装置K20を折り畳まれた状態または展開された状態にすることができる(図12(B)参照)。The housing K01 (3) houses the arithmetic device K10. The housings K01 (1) to K01 (3) can hold the input / output device K20 so that the input / output device K20 can be folded or unfolded (FIG. 12B). reference).
本実施の形態では、3つの筐体が2つのヒンジを用いて接続される構成を備える情報処理装置を例示する。この構成を備える情報処理装置は、入出力装置K20を2か所で折って折り畳むことができる。In the present embodiment, an information processing apparatus having a configuration in which three housings are connected using two hinges is illustrated. An information processing apparatus having this configuration can fold the input / output device K20 at two locations.
なお、n(nは2以上の自然数)個の筐体を(n−1)個のヒンジを用いて接続してもよい。この構成を備える情報処理装置は、入出力装置K20を(n−1)箇所で折って折り畳むことができる。Note that n (n is a natural number of 2 or more) casings may be connected using (n−1) hinges. An information processing apparatus having this configuration can fold the input / output device K20 at (n-1) locations.
筐体K01(1)は、第1の領域K31(11)と重なり、釦K45(1)を備える。The housing K01 (1) overlaps with the first region K31 (11) and includes a button K45 (1).
筐体K01(2)は、第2の領域K31(12)と重なる。The housing K01 (2) overlaps with the second region K31 (12).
筐体K01(3)は、第3の領域K31(13)と重なり、演算装置K10、アンテナK10AおよびバッテリーK10Bを収納する。The housing K01 (3) overlaps with the third region K31 (13) and houses the arithmetic device K10, the antenna K10A, and the battery K10B.
ヒンジK02(1)は、第1の屈曲できる領域K31(21)と重なり、筐体K01(1)を筐体K01(2)に対して回動可能に接続する。The hinge K02 (1) overlaps the first bendable region K31 (21) and connects the housing K01 (1) to the housing K01 (2) so as to be rotatable.
ヒンジK02(2)は、第2の屈曲できる領域K31(22)と重なり、筐体K01(2)を筐体K01(3)に対して回動可能に接続する。The hinge K02 (2) overlaps the second bendable region K31 (22), and connects the housing K01 (2) to the housing K01 (3) so as to be rotatable.
アンテナK10Aは、演算装置K10と電気的に接続され、信号を供給または供給される。The antenna K10A is electrically connected to the arithmetic device K10 and is supplied with or supplied with a signal.
また、アンテナK10Aは、外部装置から無線で電力を供給され、電力をバッテリーK10Bに供給する。The antenna K10A is wirelessly supplied with power from an external device, and supplies power to the battery K10B.
バッテリーK10Bは、演算装置K10と電気的に接続され、電力を供給または供給する。The battery K10B is electrically connected to the arithmetic device K10 and supplies or supplies power.
《折り畳みセンサ》折り畳みセンサK41は、筐体が折り畳まれた状態かまたは展開された状態かを検知し、筐体の状態を示す情報を供給する。<< Folding sensor >> The folding sensor K41 detects whether the casing is folded or unfolded, and supplies information indicating the state of the casing.
演算装置K10は、筐体の状態を示す情報を供給される。The arithmetic device K10 is supplied with information indicating the state of the housing.
筐体の状態を示す情報が折り畳まれた状態を示す情報である場合、演算装置K10は第1の領域K31(11)に第1の画像を含む画像情報Vを供給する(図12(C)参照)。When the information indicating the state of the housing is information indicating the folded state, the arithmetic device K10 supplies the image information V including the first image to the first region K31 (11) (FIG. 12C). reference).
また、筐体K01の状態を示す情報が展開された状態を示す情報である場合、演算装置K10は表示部K30の領域K31に画像情報Vを供給する(図12(A))。When the information indicating the state of the housing K01 is information indicating the developed state, the arithmetic device K10 supplies the image information V to the region K31 of the display unit K30 (FIG. 12A).
なお、本実施の形態は、本明細書で示す他の実施の形態と適宜組み合わせることができる。Note that this embodiment can be combined with any of the other embodiments described in this specification as appropriate.
(実施の形態7)本実施の形態では、本発明の一態様の情報処理装置の構成について、図13を参照しながら説明する。Embodiment 7 In this embodiment, a structure of an information processing device of one embodiment of the present invention will be described with reference to FIG.
図13は本発明の一態様の情報処理装置を説明する図である。FIG. 13 illustrates an information processing device of one embodiment of the present invention.
図13(A−1)乃至図13(A−3)は、本発明の一態様の情報処理装置の投影図である。13A-1 to 13A-3 are projection views of an information processing device of one embodiment of the present invention.
図13(B−1)および図13(B−2)は、本発明の一態様の情報処理装置の投影図である。13B-1 and 13B-2 are projection views of an information processing device of one embodiment of the present invention.
図13(C−1)乃至図13(C−2)は、本発明の一態様の情報処理装置の上面図および底面図ある。13C-1 to 13C-2 are a top view and a bottom view of an information processing device of one embodiment of the present invention.
《情報処理装置A》情報処理装置3000Aは、入出力部3120および入出力部3120を支持する筐体3101を有する(図13(A−1)乃至図13(A−3)参照)。<< Information Processing Device A >> Theinformation processing device 3000A includes an input /output unit 3120 and ahousing 3101 that supports the input / output unit 3120 (see FIGS. 13A-1 to 13A-3).
また、情報処理装置3000Aは、演算部および演算部に実行させるプログラムを記憶する記憶部、演算部を駆動する電力を供給するバッテリーなどの電源を備える。Theinformation processing device 3000A includes a power source such as a calculation unit and a storage unit that stores a program to be executed by the calculation unit, and a battery that supplies power for driving the calculation unit.
なお、筐体3101は、演算部、記憶部またはバッテリーなどを収納する。Note that thehousing 3101 houses a calculation unit, a storage unit, a battery, or the like.
情報処理装置3000Aは、側面または/および上面に表示情報を表示することができる。Theinformation processing apparatus 3000A can display display information on a side surface and / or an upper surface.
情報処理装置3000Aの使用者は、側面または/および上面に接する指を用いて操作命令を供給することができる。A user of theinformation processing apparatus 3000A can supply an operation command using a finger in contact with the side surface and / or the upper surface.
《情報処理装置B》情報処理装置3000Bは、入出力部3120および入出力部3120bを有する(図13(B−1)および図13(B−2)参照)。<< Information Processing Device B >> Theinformation processing device 3000B includes an input /output unit 3120 and an input /output unit 3120b (see FIGS. 13B-1 and 13B-2).
また、情報処理装置3000Bは入出力部3120を支持する筐体3101および可撓性を有するベルト状の筐体3101bを有する。Theinformation processing apparatus 3000B includes ahousing 3101 that supports the input /output unit 3120 and a flexible belt-shapedhousing 3101b.
また、情報処理装置3000Bは入出力部3120bを支持する筐体3101を有する。Theinformation processing apparatus 3000B includes ahousing 3101 that supports the input /output unit 3120b.
また、情報処理装置3000Bは、演算部および演算部に実行させるプログラムを記憶する記憶部、演算部を駆動する電力を供給するバッテリーなどの電源を備える。Theinformation processing device 3000B includes a power source such as a calculation unit and a storage unit that stores a program to be executed by the calculation unit, and a battery that supplies power for driving the calculation unit.
なお、筐体3101は、演算部、記憶部またはバッテリーなどを収納する。Note that thehousing 3101 houses a calculation unit, a storage unit, a battery, or the like.
情報処理装置3000Bは、可撓性を有するベルト状の筐体3101bに支持される入出力部3120に表示情報を表示することができる。Theinformation processing device 3000B can display display information on the input /output unit 3120 supported by the flexible belt-shapedhousing 3101b.
情報処理装置3000Bの使用者は、入出力部3120に接する指を用いて操作命令を供給することができる。A user of theinformation processing device 3000B can supply an operation command using a finger in contact with the input /output unit 3120.
《情報処理装置C》情報処理装置3000Cは、入出力部3120ならびに入出力部3120を支持する筐体3101および筐体3101bを有する(図13(C−1)乃至図13(C−2)参照)。<< Information Processing Device C >> Theinformation processing device 3000C includes an input /output unit 3120 and ahousing 3101 and ahousing 3101b that support the input / output unit 3120 (see FIGS. 13C-1 to 13C-2). ).
入出力部3120および筐体3101bは可撓性を有する。The input /output unit 3120 and thehousing 3101b have flexibility.
また、情報処理装置3000Cは、演算部および演算部に実行させるプログラムを記憶する記憶部、演算部を駆動する電力を供給するバッテリーなどの電源を備える。Theinformation processing device 3000C includes a power source such as a calculation unit and a storage unit that stores a program to be executed by the calculation unit, and a battery that supplies power for driving the calculation unit.
なお、筐体3101は、演算部、記憶部またはバッテリーなどを収納する。Note that thehousing 3101 houses a calculation unit, a storage unit, a battery, or the like.
情報処理装置3000Cは、筐体3101bの部分で二つに折り畳むことができる。Theinformation processing apparatus 3000C can be folded in two at thehousing 3101b.
なお、本実施の形態は、本明細書で示す他の実施の形態と適宜組み合わせることができる。Note that this embodiment can be combined with any of the other embodiments described in this specification as appropriate.
C1  容量素子
FPC1  フレキシブルプリント基板
FPC2  フレキシブルプリント基板
F1  基板
F2  剥離層
F3  被剥離層
F3b  導電層
F3s  起点
G1  選択信号線
K01  筐体
K02  ヒンジ
K10  演算装置
K10A  アンテナ
K10B  バッテリー
K20  入出力装置
K30  表示部
K31  領域
K40  入力部
K41  センサ
K45  釦
K100  情報処理装置
M1  一次マップ
MA  一次マップ
MB  一次マップ
M2  二次マップ
M10  増幅トランジスタ
M12  トランジスタ
S1  基板
S2  剥離層
S3  被剥離層
S5  基材
SW1  第1のスイッチ
SW2  第2のスイッチ
U  検知ユニット
30  接合層
31  接着層
32  接着層
41  支持体
41b  支持体
42  支持体
42b  支持体
48  マスク
49  溶剤
80  加工部材
80a  残部
80b  表層
81  積層体
90  加工部材
90a  残部
90b  表層
91  積層体
91a  残部
91s  起点
92  積層体
92c  積層体
92d  積層体
99  ノズル
100  情報処理装置
110  演算装置
111  演算部
112  記憶部
114  伝送路
115  入出力インターフェース
120  入出力装置
130  表示部
131  表示領域
140  入力部
141  入力部
145  入出力部
150  検知部
160  通信部
500  表示部
500TP  入出力装置
502  画素
502B  副画素
502G  副画素
502R  副画素
502t  トランジスタ
503c  容量
503g  駆動回路
503s  駆動回路
503t  トランジスタ
510  基材
510a  バリア膜
510b  基材
510c  樹脂層
511  配線
519  端子
521  絶縁膜
528  隔壁
550R  発光素子
560  封止材
580R  発光モジュール
600  入力部
602  検知ユニット
603d  駆動回路
603g  駆動回路
610  基材
610a  バリア膜
610b  基材
610c  樹脂層
650  容量素子
651  電極
652  電極
653  絶縁層
667  窓部
670  保護層
670p  反射防止層
3000A  情報処理装置
3000B  情報処理装置
3000C  情報処理装置
3101  筐体
3101b  筐体
3120  入出力部
3120b  入出力部
C1 Capacitance element FPC1 Flexible printed circuit board FPC2 Flexible printed circuit board F1 Board F2 Peeled layer F3 Peeled layer F3b Conductive layer F3s Starting point G1 Selection signal line K01 Housing K02 Hinge K10 Arithmetic device K10A Antenna K10B Battery K20 Input / output device K30 Display unit K31 Area K40 Input unit K41 Sensor K45 Button K100 Information processing device M1 Primary map MA Primary map MB Primary map M2 Secondary map M10 Amplifying transistor M12 Transistor S1 Substrate S2 Peeling layer S3 Peeled layer S5 Base SW1 First switch SW2 Second switch Switch U Detection unit 30 Bonding layer 31 Adhesive layer 32 Adhesive layer 41 Support body 41b Support body 42 Support body 42b Support body 48 Mask 49 Solvent 80 Processing member 80a Remaining 8 b Surface layer 81 Laminated body 90 Processing member 90a Remaining portion 90b Surface layer 91 Laminated body 91a Remaining portion 91s Starting point 92 Laminated body 92c Laminated body 92d Laminated body 99 Nozzle 100 Information processing apparatus 110 Arithmetic apparatus 111 Arithmetic section 112 Storage section 114 Transmission path 115 Input / output interface 120 Input / Output Device 130 Display Unit 131 Display Area 140 Input Unit 141 Input Unit 145 Input / Output Unit 150 Detection Unit 160 Communication Unit 500 Display Unit 500TP Input / Output Device 502 Pixel 502B Subpixel 502G Subpixel 502R Subpixel 502t Transistor 503c Capacity 503g Drive Circuit 503s Drive circuit 503t Transistor 510 Base material 510a Barrier film 510b Base material 510c Resin layer 511 Wiring 519 Terminal 521 Insulating film 528 Partition 550R Light emitting element 56 0 Sealant 580R Light emitting module 600 Input unit 602 Detection unit 603d Drive circuit 603g Drive circuit 610 Base material 610a Barrier film 610b Base material 610c Resin layer 650 Capacitor element 651 Electrode 652 Electrode 653 Insulating layer 667 Window part 670 Protective layer 670p Antireflection Layer 3000A Information processing device 3000B Information processing device 3000C Information processing device 3101 Case 3101b Case 3120 Input / output unit 3120b Input / output unit

Claims (4)

  1.  入力部と演算装置とを有し、
     前記演算装置はマップを供給され、
     前記マップは、複数個の一次マップを含み、
     前記演算装置は、
     前記マップに基づいて所定の命令を供給するプログラムを記憶する記憶部と、
     前記プログラムを実行する演算部と、を備え、
     前記プログラムは、
     割り込み処理を許可する第1のステップと、
     データセットに含まれるパターンを抽出する第2のステップと、
     前記パターンを参照テーブルと照合し、所定のパターンと一致する場合に第3のステップに進み、含まれていない場合は前記第2のステップに進む第3のステップと、
     前記所定のパターンに関連付けられた命令を供給し、前記第2のステップに進む第4のステップと、を備え、
     前記割り込み処理は、
     前記複数個の一次マップを取得する第5のステップと、
     前記複数個の一次マップに基づいて、二次マップを生成する二次マップ生成処理を行う第6のステップと、
     前記二次マップに基づいて二値化マップを生成する第7のステップと、
     前記二値化マップに基づいてラベリングデータを生成する第8のステップと、
     前記ラベリングデータに基づいて前記データセットを生成または更新し、前記第1のステップに進む、第9のステップと、を備える情報処理装置。
    An input unit and an arithmetic unit;
    The computing device is supplied with a map;
    The map includes a plurality of primary maps;
    The arithmetic unit is:
    A storage unit for storing a program for supplying a predetermined command based on the map;
    An arithmetic unit that executes the program,
    The program is
    A first step of permitting interrupt processing;
    A second step of extracting patterns contained in the data set;
    Checking the pattern against a reference table and proceeding to a third step if the pattern matches a predetermined pattern; otherwise, proceeding to the second step;
    Providing a command associated with the predetermined pattern and proceeding to the second step, and a fourth step,
    The interrupt process is
    A fifth step of obtaining the plurality of primary maps;
    A sixth step of performing a secondary map generation process for generating a secondary map based on the plurality of primary maps;
    A seventh step of generating a binarization map based on the secondary map;
    An eighth step of generating labeling data based on the binarization map;
    And a ninth step of generating or updating the data set based on the labeling data and proceeding to the first step.
  2.  前記二次マップ生成処理が、
     前記複数個の一次マップから平均値を出し、前記複数個の一次マップを平均値化したマップを生成する第10のステップと、
     前記平均値化したマップに含まれる上限値を超える値を上限値に変換し、下限値を下回る値を下限値に変換する第11のステップと、を備える、請求項1に記載の情報処理装置。
    The secondary map generation process
    A tenth step of generating an average value from the plurality of primary maps and generating a map obtained by averaging the plurality of primary maps;
    The information processing apparatus according to claim 1, further comprising: an eleventh step of converting a value exceeding an upper limit value included in the averaged map into an upper limit value and converting a value lower than the lower limit value into a lower limit value. .
PCT/IB2015/0536712014-05-302015-05-19Information processing deviceWO2015181680A1 (en)

Priority Applications (1)

Application NumberPriority DateFiling DateTitle
JP2016522958AJPWO2015181680A1 (en)2014-05-302015-05-19 Information processing device

Applications Claiming Priority (2)

Application NumberPriority DateFiling DateTitle
JP2014-1120392014-05-30
JP20141120392014-05-30

Publications (1)

Publication NumberPublication Date
WO2015181680A1true WO2015181680A1 (en)2015-12-03

Family

ID=54698197

Family Applications (1)

Application NumberTitlePriority DateFiling Date
PCT/IB2015/053671WO2015181680A1 (en)2014-05-302015-05-19Information processing device

Country Status (2)

CountryLink
JP (1)JPWO2015181680A1 (en)
WO (1)WO2015181680A1 (en)

Citations (6)

* Cited by examiner, † Cited by third party
Publication numberPriority datePublication dateAssigneeTitle
JP2009116769A (en)*2007-11-092009-05-28Sony CorpInput device, control method for input device and program
JP2010515192A (en)*2007-01-032010-05-06アップル インコーポレイテッド Multi-touch input discrimination
JP2013186540A (en)*2012-03-062013-09-19Sony CorpInformation processing apparatus and information processing method
JP2013541795A (en)*2010-11-032013-11-14クアルコム,インコーポレイテッド Touch screen for sensing force
JP2014006892A (en)*2012-05-312014-01-16Semiconductor Energy Lab Co LtdElectronic device, program, and recording medium
JP2014029690A (en)*2012-07-302014-02-13Samsung Electronics Co Ltd Flexible device providing bending interaction guide and control method thereof

Family Cites Families (2)

* Cited by examiner, † Cited by third party
Publication numberPriority datePublication dateAssigneeTitle
JP3461716B2 (en)*1998-03-232003-10-27シャープ株式会社 Display device
JP2014016519A (en)*2012-07-102014-01-30Nikon CorpDisplay device

Patent Citations (6)

* Cited by examiner, † Cited by third party
Publication numberPriority datePublication dateAssigneeTitle
JP2010515192A (en)*2007-01-032010-05-06アップル インコーポレイテッド Multi-touch input discrimination
JP2009116769A (en)*2007-11-092009-05-28Sony CorpInput device, control method for input device and program
JP2013541795A (en)*2010-11-032013-11-14クアルコム,インコーポレイテッド Touch screen for sensing force
JP2013186540A (en)*2012-03-062013-09-19Sony CorpInformation processing apparatus and information processing method
JP2014006892A (en)*2012-05-312014-01-16Semiconductor Energy Lab Co LtdElectronic device, program, and recording medium
JP2014029690A (en)*2012-07-302014-02-13Samsung Electronics Co Ltd Flexible device providing bending interaction guide and control method thereof

Also Published As

Publication numberPublication date
JPWO2015181680A1 (en)2017-04-20

Similar Documents

PublicationPublication DateTitle
JP7317911B2 (en) Information processing equipment
KR102446013B1 (en)Display device
JP6474648B2 (en) Detector and input device
JP2024109954A (en)Function Panel
TWI696103B (en)Data processing device and driving method thereof
JP2020038378A (en)Semiconductor device
JP2016110116A (en)Image processing device, display system, and electronic device
JP2016021560A (en)Peeling device
JP2020060797A (en)Display device
JP2015228367A (en) Semiconductor device, input / output device, and electronic device
US10103350B2 (en)Function panel and manufacturing method thereof
JP2021180052A (en)Semiconductor device and information processing device
JP2019207705A (en)Information processor
JP2015187854A (en)Input device and input/output device
JP2017016421A (en)Information processing device
WO2015181680A1 (en)Information processing device
JP6309337B2 (en) Detection device, driving method of detection device, and input device
JP6362412B2 (en) Input/Output Devices
JP2015176254A (en)Information processing device

Legal Events

DateCodeTitleDescription
121Ep: the epo has been informed by wipo that ep was designated in this application

Ref document number:15800514

Country of ref document:EP

Kind code of ref document:A1

ENPEntry into the national phase

Ref document number:2016522958

Country of ref document:JP

Kind code of ref document:A

NENPNon-entry into the national phase

Ref country code:DE

122Ep: pct application non-entry in european phase

Ref document number:15800514

Country of ref document:EP

Kind code of ref document:A1


[8]ページ先頭

©2009-2025 Movatter.jp