Movatterモバイル変換


[0]ホーム

URL:


WO2015056555A1 - Metal substrate, metal-based circuit board, electronic device, and method for manufacturing metal-based circuit board - Google Patents

Metal substrate, metal-based circuit board, electronic device, and method for manufacturing metal-based circuit board
Download PDF

Info

Publication number
WO2015056555A1
WO2015056555A1PCT/JP2014/075803JP2014075803WWO2015056555A1WO 2015056555 A1WO2015056555 A1WO 2015056555A1JP 2014075803 WJP2014075803 WJP 2014075803WWO 2015056555 A1WO2015056555 A1WO 2015056555A1
Authority
WO
WIPO (PCT)
Prior art keywords
metal
circuit board
resin layer
metal substrate
insulating resin
Prior art date
Application number
PCT/JP2014/075803
Other languages
French (fr)
Japanese (ja)
Inventor
小宮谷 壽郎
大輔 北原
Original Assignee
住友ベークライト株式会社
Priority date (The priority date is an assumption and is not a legal conclusion. Google has not performed a legal analysis and makes no representation as to the accuracy of the date listed.)
Filing date
Publication date
Application filed by 住友ベークライト株式会社filedCritical住友ベークライト株式会社
Priority to JP2015542560ApriorityCriticalpatent/JPWO2015056555A1/en
Publication of WO2015056555A1publicationCriticalpatent/WO2015056555A1/en

Links

Images

Classifications

Definitions

Landscapes

Abstract

This metal substrate (101) is part of a metal-based circuit board (100) provided with said metal substrate (101), an insulating resin layer (102) provided on top of said metal substrate (101), and a metal layer (103) provided on top of said insulating resin (102). This metal substrate (101) has a large number of tiny scale-like protrusions on the surface thereof that contacts the insulating resin layer (102).

Description

金属基板、金属ベース回路基板、電子装置および金属ベース回路基板の製造方法Metal substrate, metal base circuit board, electronic device, and metal base circuit board manufacturing method
 本発明は、金属基板、金属ベース回路基板、電子装置および金属ベース回路基板の製造方法に関する。The present invention relates to a metal substrate, a metal base circuit board, an electronic device, and a method for manufacturing the metal base circuit board.
 従来から、実装部品から発せられる熱を放熱することを目的として、金属基板上に、絶縁樹脂層を介して金属層が積層された金属ベース回路基板が使用されている。
 金属ベース回路基板を構成する金属基板表面に酸化被膜が形成されている場合、絶縁樹脂層との密着性を低下させる。そこで、特許文献1に記載のように、アルミニウム基板表面の酸化被膜を除去するため、該表面に対して機械研磨や化学エッチングすることが行われている。
 また、近年では、LEDのような発光素子等を搭載し、液晶表示装置等の光源として用いられるようになってきている(特許文献2)。
2. Description of the Related Art Conventionally, a metal base circuit board in which a metal layer is laminated on a metal substrate via an insulating resin layer has been used for the purpose of radiating heat generated from a mounted component.
When an oxide film is formed on the surface of the metal substrate constituting the metal base circuit board, the adhesion with the insulating resin layer is lowered. Therefore, as described in Patent Document 1, in order to remove the oxide film on the surface of the aluminum substrate, mechanical polishing or chemical etching is performed on the surface.
In recent years, light emitting elements such as LEDs are mounted and used as light sources for liquid crystal display devices (Patent Document 2).
特開平07-197272号公報JP 07-197272 A特開2007-194155号公報JP 2007-194155 A
 インバーター搭載基板や高出力LED照明用基板は高電圧が掛かることが多い。そのため、十分な絶縁性を確保するために、絶縁樹脂層が厚く、金属基板も厚いものを使う傾向がある。しかしながら、加工はコスト面から金型打ち抜き工程が一般的であり、その打ち抜き時の衝撃で絶縁樹脂層が金属基板から一部欠け落ちたりクラックが入ったりする場合があった。また、LEDの光の直進性ゆえに多方向に光を放出するために基板を曲げて使いたいという要求があった。そのため、確実に金属基板と絶縁樹脂層との密着力を保持する必要性が生じている。High voltage is often applied to inverter-mounted boards and high-power LED lighting boards. Therefore, in order to ensure sufficient insulation, there is a tendency to use a thick insulating resin layer and a thick metal substrate. However, from the viewpoint of cost, the die punching process is generally used from the viewpoint of cost. In some cases, the insulating resin layer is partially removed from the metal substrate or cracked due to the impact at the time of punching. In addition, due to the linearity of the light of the LED, there has been a demand to bend and use the substrate in order to emit light in multiple directions. Therefore, it is necessary to reliably maintain the adhesion between the metal substrate and the insulating resin layer.
 特許文献1に記載のような機械研磨や化学エッチングによれば、金属基板表面に凹凸が形成され、アンカー効果により金属基板と絶縁樹脂層との密着性が向上する。しかしながら、機械研磨では十分な密着力が得られず、化学処理ではその処理された層の熱伝導性が低下したり、硬くなり曲げ性が低下したりすることがあった。
 一方、これらの処理を行わなければ、金属基板と絶縁樹脂層との密着性が低く、金属ベース回路基板の加工性や熱伝導特性が大きく低下するため、機械研磨や化学エッチング等の表面処理は必須の工程となっていった。
According to mechanical polishing or chemical etching as described in Patent Document 1, irregularities are formed on the surface of the metal substrate, and the adhesion between the metal substrate and the insulating resin layer is improved by the anchor effect. However, sufficient adhesion cannot be obtained by mechanical polishing, and the thermal conductivity of the treated layer may be lowered or hardened and the bendability may be lowered by chemical treatment.
On the other hand, if these treatments are not performed, the adhesion between the metal substrate and the insulating resin layer is low, and the workability and heat conduction characteristics of the metal base circuit board are greatly reduced. It became an essential process.
 本発明によれば、
 金属基板と、上記金属基板上に設けられた絶縁樹脂層と、上記絶縁樹脂層上に設けられた金属層とを備える金属ベース回路基板を構成する上記金属基板であって、
 上記金属基板は、上記絶縁樹脂層と接する面に多数の微細な鱗片状突起を有する、金属基板が提供される。
According to the present invention,
The metal substrate constituting a metal base circuit board comprising a metal substrate, an insulating resin layer provided on the metal substrate, and a metal layer provided on the insulating resin layer,
The metal substrate is provided with a large number of fine scaly projections on the surface in contact with the insulating resin layer.
 この発明によれば、上記金属基板の表面に多数の微細な鱗片状突起が存在することにより、得られる金属ベース回路基板の金属基板と絶縁樹脂層との密着性を向上できる。その結果、得られる金属ベース回路基板の打ち抜き、曲げ加工性および放熱性を向上できる。これにより、耐久性の高い電子装置とすることができる。According to this invention, the presence of many fine scaly projections on the surface of the metal substrate can improve the adhesion between the metal substrate and the insulating resin layer of the obtained metal base circuit board. As a result, it is possible to improve punching, bending workability and heat dissipation of the obtained metal base circuit board. Thereby, it can be set as a highly durable electronic device.
 また、本発明によれば、
 上記金属基板と、
 上記金属基板上に設けられた絶縁樹脂層と、
 上記絶縁樹脂層上に設けられた金属層と、
を備える金属ベース回路基板を提供できる。
Moreover, according to the present invention,
The metal substrate;
An insulating resin layer provided on the metal substrate;
A metal layer provided on the insulating resin layer;
The metal base circuit board provided with can be provided.
 さらに、本発明によれば、
 上記金属ベース回路基板と、
 上記金属ベース回路基板上に設けられた電子部品と、
を備える電子装置を提供できる。
Furthermore, according to the present invention,
The metal base circuit board;
An electronic component provided on the metal base circuit board;
An electronic device comprising:
 さらに、本発明によれば、
 上記金属ベース回路基板を製造するための製造方法であって、
 金属基板の少なくとも一方の面をサンドブラスト処理する工程と、
 上記サンドブラスト処理した面上に上記絶縁樹脂層を形成する工程と、
 上記絶縁樹脂層上に上記金属層を形成する工程と、
を含む金属ベース回路基板の製造方法を提供できる。
Furthermore, according to the present invention,
A manufacturing method for manufacturing the metal base circuit board,
A step of sandblasting at least one surface of the metal substrate;
Forming the insulating resin layer on the sandblasted surface;
Forming the metal layer on the insulating resin layer;
The manufacturing method of the metal base circuit board containing this can be provided.
 本発明によれば、耐久性の高い電子装置を実現できる金属基板、金属ベース回路基板、およびこの金属ベース回路基板の製造方法ならびに耐久性の高い電子装置が提供される。According to the present invention, there are provided a metal substrate, a metal base circuit board, a method for manufacturing the metal base circuit board, and a highly durable electronic device that can realize a highly durable electronic device.
 上述した目的、およびその他の目的、特徴および利点は、以下に述べる好適な実施の形態、およびそれに付随する以下の図面によってさらに明らかになる。The above-described object and other objects, features, and advantages will be further clarified by a preferred embodiment described below and the following drawings attached thereto.
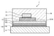
本発明の一実施形態にかかる金属ベース回路基板の断面図である。It is sectional drawing of the metal base circuit board concerning one Embodiment of this invention.本発明の一実施形態にかかる電子装置の断面図である。It is sectional drawing of the electronic device concerning one Embodiment of this invention.実施例1のアルミニウム基板表面の1000倍の電子顕微鏡写真を示す図である。1 is a view showing an electron micrograph of 1000 times the surface of an aluminum substrate of Example 1. FIG.実施例1のアルミニウム基板表面の200倍の電子顕微鏡写真を示す図である。It is a figure which shows the 200-times electron micrograph of the aluminum substrate surface of Example 1. FIG.比較例1のアルミニウム基板表面の1000倍の電子顕微鏡写真を示す図である。It is a figure which shows the 1000-times electron micrograph of the aluminum substrate surface of the comparative example 1. FIG.比較例4のアルミニウム基板表面の1000倍の電子顕微鏡写真を示す図である。It is a figure which shows the 1000-times electron micrograph of the aluminum substrate surface of the comparative example 4.
 以下、本発明の実施形態を図面に基づいて説明する。なお、すべての図面において、同様な構成要素には同一符号を付し、その詳細な説明は重複しないように適宜省略される。また、図は概略図であり、実際の寸法比率とは必ずしも一致していない。また、「~」はとくに断りがなければ、以上から以下を表す。Hereinafter, embodiments of the present invention will be described with reference to the drawings. In all the drawings, the same components are denoted by the same reference numerals, and detailed description thereof is appropriately omitted so as not to overlap. Moreover, the figure is a schematic diagram and does not necessarily match the actual dimensional ratio. Further, “˜” represents the following from the above unless otherwise specified.
 はじめに、本実施形態の金属ベース回路基板100について説明する。図1は、本発明の一実施形態にかかる金属ベース回路基板100の断面図である。
 金属ベース回路基板100は、金属基板101と、金属基板101上に設けられた絶縁樹脂層102と、絶縁樹脂層102上に設けられた金属層103とを備える。
 そして、金属基板101は、絶縁樹脂層102と接する面に多数の微細な鱗片状突起を有する。
 また、絶縁樹脂層102は、例えば、後述する樹脂組成物により形成されるものである。
First, the metalbase circuit board 100 of this embodiment is demonstrated. FIG. 1 is a cross-sectional view of a metalbase circuit board 100 according to an embodiment of the present invention.
The metalbase circuit board 100 includes ametal substrate 101, aninsulating resin layer 102 provided on themetal substrate 101, and ametal layer 103 provided on theinsulating resin layer 102.
Themetal substrate 101 has a large number of fine scaly projections on the surface in contact with theinsulating resin layer 102.
Theinsulating resin layer 102 is formed of, for example, a resin composition that will be described later.
 金属基板101は、放熱性の金属基板であれば特に限定されないが、例えば、アルミニウム基板、銅基板、ステンレス基板等であり、アルミニウム基板が好ましい。
 ここで、アルミニウム基板とはアルミニウムを含む基板のことをいい、アルミニウム合金により形成された基板も含まれる。同様に、銅基板とは銅を含む基板のことをいい、銅合金により形成された基板も含まれる。
Themetal substrate 101 is not particularly limited as long as it is a heat-dissipating metal substrate, and is, for example, an aluminum substrate, a copper substrate, a stainless steel substrate, or the like, and an aluminum substrate is preferable.
Here, the aluminum substrate refers to a substrate containing aluminum, and includes a substrate formed of an aluminum alloy. Similarly, a copper substrate refers to a substrate containing copper, and includes a substrate formed of a copper alloy.
 金属基板101は、絶縁樹脂層102と接する面に多数の微細な鱗片状突起を有する。図3は、後述する実施例1のアルミニウム基板表面の1000倍の電子顕微鏡写真を示す図である。図4は、後述する実施例1のアルミニウム基板表面の200倍の電子顕微鏡写真を示す図である。
 図3および図4に示すように、鱗片状突起は、金属基板101の絶縁樹脂層102と接する面の一面にわたって形成されている。絶縁樹脂層102を構成する樹脂が鱗片状突起の隙間に侵入し、アンカー効果により金属基板101と絶縁樹脂層102との密着性が向上すると推察される。
Themetal substrate 101 has a large number of fine scaly projections on the surface in contact with theinsulating resin layer 102. FIG. 3 is a view showing an electron micrograph of 1000 times the surface of an aluminum substrate of Example 1 described later. FIG. 4 is a view showing a 200-fold electron micrograph of the surface of an aluminum substrate of Example 1 described later.
As shown in FIGS. 3 and 4, the scale-like projections are formed over one surface of themetal substrate 101 that is in contact with the insulatingresin layer 102. It is presumed that the resin constituting the insulatingresin layer 102 enters the gaps between the scaly projections, and the adhesion between themetal substrate 101 and the insulatingresin layer 102 is improved by the anchor effect.
 鱗片状突起の平均長径は、好ましくは1μm以上、より好ましくは2μm以上、特に好ましくは3μm以上、そして、好ましくは80μm以下、より好ましくは50μm以下、特に好ましくは10μm以下である。
 鱗片状突起の平均長径が上記範囲内であると、金属基板101と絶縁樹脂層102との密着性と、金属ベース回路基板100の耐屈曲性とをより一層向上させることができる。
 なお、この平均長径は電子顕微鏡写真により測定することができる。例えば、以下の手順で測定する。まず、走査型電子顕微鏡により、金属基板101の表面写真を撮影する。次いで、任意の鱗片状突起を選択し、写真からその長径を測定する。このとき、10個以上の鱗片状突起について長径を測定し、それらの平均値を平均長径とする。
The average major axis of the scaly projections is preferably 1 μm or more, more preferably 2 μm or more, particularly preferably 3 μm or more, and preferably 80 μm or less, more preferably 50 μm or less, particularly preferably 10 μm or less.
When the average major axis of the scale-like projections is within the above range, the adhesion between themetal substrate 101 and the insulatingresin layer 102 and the bending resistance of the metalbase circuit board 100 can be further improved.
The average major axis can be measured by an electron micrograph. For example, the measurement is performed according to the following procedure. First, a surface photograph of themetal substrate 101 is taken with a scanning electron microscope. Next, an arbitrary scaly projection is selected, and its major axis is measured from the photograph. At this time, the major axis is measured for 10 or more scaly projections, and the average value thereof is taken as the average major axis.
 金属基板101の絶縁樹脂層102と接する面の算術平均粗さ(Ra)は、好ましくは0.1μm以上5.0μm以下であり、より好ましくは0.5μm以上5.0μm以下である。
 算術平均粗さ(Ra)が上記範囲内であると、金属基板101と絶縁樹脂層102との密着性と、金属ベース回路基板100の耐屈曲性とをより一層向上させることができる。
The arithmetic average roughness (Ra) of the surface in contact with the insulatingresin layer 102 of themetal substrate 101 is preferably 0.1 μm or more and 5.0 μm or less, and more preferably 0.5 μm or more and 5.0 μm or less.
When the arithmetic average roughness (Ra) is within the above range, the adhesion between themetal substrate 101 and the insulatingresin layer 102 and the bending resistance of the metalbase circuit board 100 can be further improved.
 金属基板101の絶縁樹脂層102と接する面の最大高さ粗さ(Rz)は、好ましくは1μm以上20μm以下であり、より好ましくは5μm以上15μm以下である。
 最大高さ粗さ(Rz)が上記範囲内であると、金属基板101と絶縁樹脂層102との密着性と、金属ベース回路基板100の耐屈曲性とをより一層向上させることができる。
The maximum height roughness (Rz) of the surface in contact with the insulatingresin layer 102 of themetal substrate 101 is preferably 1 μm or more and 20 μm or less, and more preferably 5 μm or more and 15 μm or less.
When the maximum height roughness (Rz) is within the above range, the adhesion between themetal substrate 101 and the insulatingresin layer 102 and the bending resistance of the metalbase circuit board 100 can be further improved.
 金属基板101の厚さは、例えば、300μm以上5000μm以下である。金属基板101の厚さが上記下限値以上であると、放熱性をより向上させることができる。また、金属基板101の厚さが上記上限値以下であると、金属ベース回路基板100の折り曲げ等の加工性を向上させることができる。The thickness of themetal substrate 101 is, for example, not less than 300 μm and not more than 5000 μm. When the thickness of themetal substrate 101 is not less than the above lower limit value, the heat dissipation can be further improved. Further, when the thickness of themetal substrate 101 is equal to or less than the above upper limit value, workability such as bending of the metalbase circuit board 100 can be improved.
 絶縁樹脂層102は金属層103を金属基板101に接着するための層である。この絶縁樹脂層102の厚みは、40μm以上250μm以下が好ましい。
 絶縁樹脂層102の厚みを上記上限値以下とすることで、電子部品からの熱を金属基板101に伝達させやすくすることができる。
 また、絶縁樹脂層102の厚みを上記下限値以上とすることで、金属基板101と絶縁樹脂層102との熱膨張率差による熱応力の発生を絶縁樹脂層102で緩和することが十分にできる。さらに、金属ベース回路基板100の絶縁性が向上する。
The insulatingresin layer 102 is a layer for bonding themetal layer 103 to themetal substrate 101. The thickness of the insulatingresin layer 102 is preferably 40 μm or more and 250 μm or less.
By setting the thickness of the insulatingresin layer 102 to be equal to or less than the above upper limit value, heat from the electronic component can be easily transmitted to themetal substrate 101.
Further, by setting the thickness of the insulatingresin layer 102 to be equal to or greater than the above lower limit value, it is possible to sufficiently reduce the generation of thermal stress due to the difference in thermal expansion coefficient between themetal substrate 101 and the insulatingresin layer 102 with the insulatingresin layer 102. . Furthermore, the insulation of the metalbase circuit board 100 is improved.
 絶縁樹脂層102は、例えば、熱硬化性樹脂(A)と、無機充填材(B)と、フェノキシ樹脂(C)と、硬化剤(D)と、カップリング剤(E)とを含む樹脂組成物を熱硬化させたものである。すなわち、絶縁樹脂層102は、熱硬化した硬化樹脂を含んだCステージ状態となっている。The insulatingresin layer 102 is, for example, a resin composition containing a thermosetting resin (A), an inorganic filler (B), a phenoxy resin (C), a curing agent (D), and a coupling agent (E). The product is heat-cured. That is, the insulatingresin layer 102 is in a C stage state including a thermosetting resin.
 ここで、樹脂組成物の組成について説明する。
 樹脂組成物は、例えば、熱硬化性樹脂(A)と、無機充填材(B)と、フェノキシ樹脂(C)と、硬化剤(D)と、カップリング剤(E)とを含む。なお、本実施形態において、樹脂組成物の全固形分とは当該樹脂組成物を加熱硬化した際に固形分として残るものであり、例えば、溶剤など加熱により揮発する成分は除かれる。一方で、液状のエポキシ樹脂、カップリング剤等の液状成分は、加熱硬化した際に絶縁樹脂層102に取り込まれるため全固形分に含まれる。
Here, the composition of the resin composition will be described.
The resin composition includes, for example, a thermosetting resin (A), an inorganic filler (B), a phenoxy resin (C), a curing agent (D), and a coupling agent (E). In the present embodiment, the total solid content of the resin composition is a solid content that remains when the resin composition is heated and cured. For example, components that volatilize by heating such as a solvent are excluded. On the other hand, liquid components such as a liquid epoxy resin and a coupling agent are included in the total solid content because they are taken into the insulatingresin layer 102 when heated and cured.
 熱硬化性樹脂(A)としては、エポキシ樹脂、不飽和ポリエステル、アクリル樹脂のうち、いずれか1以上を使用することが好ましい。なかでも、エポキシ樹脂を使用することが好ましい。
 エポキシ樹脂としては、芳香環構造および脂環構造(脂環式の炭素環構造)の少なくともいずれか一方を有するエポキシ樹脂を含むことが好ましい。
 このようなエポキシ樹脂(A1)を使用することで、ガラス転移温度を高くするとともに、絶縁樹脂層102の熱伝導性を向上させることができる。
 そして、芳香環あるいは脂環構造を有するエポキシ樹脂(A1)としては、例えば、ビスフェノールA型エポキシ樹脂、ビスフェノールF型エポキシ樹脂、ビスフェノールS型エポキシ樹脂、ビスフェノールE型エポキシ樹脂、ビスフェノールM型エポキシ樹脂、ビスフェノールP型エポキシ樹脂、ビスフェノールZ型エポキシ樹脂等のビスフェノール型エポキシ樹脂;フェノールノボラック型エポキシ樹脂、クレゾールノボラック型エポキシ樹脂、テトラフェノール基エタン型ノボラック型エポキシ樹脂等のノボラック型エポキシ樹脂;ビフェニル型エポキシ樹脂;ビフェニレン骨格を有するフェノールアラルキル型エポキシ樹脂等のアリールアルキレン型エポキシ樹脂;ナフタレン型エポキシ樹脂等のエポキシ樹脂等が挙げられる。これらの中の1種類を単独で用いることもできるし、2種類以上を併用したりすることもできる。
As the thermosetting resin (A), it is preferable to use one or more of an epoxy resin, an unsaturated polyester, and an acrylic resin. Among these, it is preferable to use an epoxy resin.
The epoxy resin preferably includes an epoxy resin having at least one of an aromatic ring structure and an alicyclic structure (alicyclic carbocyclic structure).
By using such an epoxy resin (A1), the glass transition temperature can be increased and the thermal conductivity of the insulatingresin layer 102 can be improved.
Examples of the epoxy resin (A1) having an aromatic ring or alicyclic structure include, for example, bisphenol A type epoxy resin, bisphenol F type epoxy resin, bisphenol S type epoxy resin, bisphenol E type epoxy resin, bisphenol M type epoxy resin, Bisphenol type epoxy resins such as bisphenol P type epoxy resin and bisphenol Z type epoxy resin; Novolak type epoxy resins such as phenol novolac type epoxy resin, cresol novolac type epoxy resin, tetraphenol group ethane type novolac type epoxy resin; biphenyl type epoxy resin An arylalkylene type epoxy resin such as a phenol aralkyl type epoxy resin having a biphenylene skeleton; an epoxy resin such as a naphthalene type epoxy resin; One of these can be used alone, or two or more can be used in combination.
 また、ガラス転移温度をより一層高くでき、かつ、絶縁樹脂層102のボイドの発生を抑制し、熱伝導性をより一層向上できる観点から、エポキシ樹脂(A1)として、ナフタレン型エポキシ樹脂が好ましい。ここで、ナフタレン型エポキシ樹脂とは、ナフタレン環骨格を有し、かつ、グリシジル基を2つ以上有するものを呼ぶ。ナフタレン型エポキシ樹脂の含有量は、熱硬化性樹脂(A)100質量%に対し、好ましくは20質量%以上80質量%以下であり、より好ましくは40質量%以上60質量%以下である。In addition, naphthalene type epoxy resin is preferable as the epoxy resin (A1) from the viewpoint that the glass transition temperature can be further increased, the generation of voids in the insulatingresin layer 102 can be suppressed, and the thermal conductivity can be further improved. Here, the naphthalene type epoxy resin refers to one having a naphthalene ring skeleton and having two or more glycidyl groups. The content of the naphthalene type epoxy resin is preferably 20% by mass to 80% by mass, and more preferably 40% by mass to 60% by mass with respect to 100% by mass of the thermosetting resin (A).
 ナフタレン型エポキシ樹脂としては、例えば、以下の式(5)~(8)のいずれかを使用できる。なお、式(6)において、m、nはナフタレン環上の置換基の個数を示し、それぞれ独立して1~7の整数を示している。また、式(7)においては、Meはメチル基を示し、l、m、nは1以上の整数である。ただし、l、m、nは10以下であることが好ましい。As the naphthalene type epoxy resin, for example, any one of the following formulas (5) to (8) can be used. In the formula (6), m and n represent the number of substituents on the naphthalene ring, and each independently represents an integer of 1 to 7. In Formula (7), Me represents a methyl group, and l, m, and n are integers of 1 or more. However, l, m, and n are preferably 10 or less.
Figure JPOXMLDOC01-appb-C000001
Figure JPOXMLDOC01-appb-C000001
Figure JPOXMLDOC01-appb-C000002
Figure JPOXMLDOC01-appb-C000002
Figure JPOXMLDOC01-appb-C000003
Figure JPOXMLDOC01-appb-C000003
 なお、式(6)の化合物としては、以下のいずれか1種以上を使用することが好ましい。In addition, as a compound of Formula (6), it is preferable to use any one or more of the following.
Figure JPOXMLDOC01-appb-C000004
Figure JPOXMLDOC01-appb-C000004
 また、ナフタレン型エポキシ樹脂としては、以下の式(8)で表されるナフチレンエーテル型エポキシ樹脂も使用できる。As the naphthalene type epoxy resin, a naphthylene ether type epoxy resin represented by the following formula (8) can also be used.
Figure JPOXMLDOC01-appb-C000005
 (上記式(8)において、nは1以上20以下の整数であり、lは1以上2以下の整数であり、Rはそれぞれ独立に水素原子、ベンジル基、アルキル基または下記式(9)で表される構造であり、Rはそれぞれ独立に水素原子またはメチル基である。)
Figure JPOXMLDOC01-appb-C000005
(In the above formula (8), n is an integer of 1 or more and 20 or less, l is an integer of 1 or more and 2 or less, and R1 is independently a hydrogen atom, a benzyl group, an alkyl group, or the following formula (9) And each R2 is independently a hydrogen atom or a methyl group.)
Figure JPOXMLDOC01-appb-C000006
 (上記式(9)において、Arはそれぞれ独立にフェニレン基またはナフチレン基であり、Rはそれぞれ独立に水素原子またはメチル基であり、mは1または2の整数である。)
Figure JPOXMLDOC01-appb-C000006
(In the above formula (9), Ar is each independently a phenylene group or a naphthylene group, R2 is each independently a hydrogen atom or a methyl group, and m is an integer of 1 or 2.)
 上記式(8)で表されるナフチレンエーテル型エポキシ樹脂は、下記式(10)で表されるものが例として挙げられる。Examples of the naphthylene ether type epoxy resin represented by the above formula (8) include those represented by the following formula (10).
Figure JPOXMLDOC01-appb-C000007
 (上記式(10)において、nは1以上20以下の整数であり、好ましくは1以上10以下の整数であり、より好ましくは1以上3以下の整数である。Rはそれぞれ独立に水素原子または下記式(11)で表される構造であり、好ましくは水素原子である。)
Figure JPOXMLDOC01-appb-C000007
(In the above formula (10), n is an integer of 1 or more and 20 or less, preferably an integer of 1 or more and 10 or less, more preferably an integer of 1 or more and 3 or less. R is independently a hydrogen atom or (It is a structure represented by the following formula (11), preferably a hydrogen atom.)
Figure JPOXMLDOC01-appb-C000008
 (上記式(11)において、mは1または2の整数である。)
Figure JPOXMLDOC01-appb-C000008
(In the above formula (11), m is an integer of 1 or 2.)
 上記式(10)で表されるナフチレンエーテル型エポキシ樹脂は、例えば、下記式(12)~(16)で表されるものが例として挙げられる。Examples of the naphthylene ether type epoxy resin represented by the above formula (10) include those represented by the following formulas (12) to (16).
Figure JPOXMLDOC01-appb-C000009
Figure JPOXMLDOC01-appb-C000009
Figure JPOXMLDOC01-appb-C000010
Figure JPOXMLDOC01-appb-C000010
Figure JPOXMLDOC01-appb-C000011
Figure JPOXMLDOC01-appb-C000011
Figure JPOXMLDOC01-appb-C000012
Figure JPOXMLDOC01-appb-C000012
Figure JPOXMLDOC01-appb-C000013
Figure JPOXMLDOC01-appb-C000013
 不飽和ポリエステルとしては、例えば、エチレングリコール、ジプロピレングリコール、1,3-ブタンジオール、水素化ビスフェノールA、ネオペンチルグリコール、イソペンチルグリコール、1,6-ヘキサンジオール等のいずれか1以上の多価アルコールと、マレイン酸、無水マレイン酸、フマル酸、イタコン酸等のいずれか1以上の不飽和二塩基酸とを反応させ、さらに、スチレン、t-ブチルスチレン、ジビ二ルベンゼン、ジアリルフタレート、ビニルトルエン、アクリル酸エステル等のいずれか1種以上のビニル単量体を、共重合させたものがあげられる。Examples of the unsaturated polyester include one or more polyvalents such as ethylene glycol, dipropylene glycol, 1,3-butanediol, hydrogenated bisphenol A, neopentyl glycol, isopentyl glycol, and 1,6-hexanediol. Alcohol is reacted with one or more unsaturated dibasic acids such as maleic acid, maleic anhydride, fumaric acid, itaconic acid, etc., and styrene, t-butylstyrene, divinylbenzene, diallyl phthalate, vinyltoluene And those obtained by copolymerizing one or more vinyl monomers such as acrylic acid esters.
 アクリル樹脂は、分子内に(メタ)アクリロイル基を有する化合物であり、(メタ)アクリロイル基が反応することで3次元的網目構造を形成し、硬化する樹脂である。(メタ)アクリロイル基は分子内に1つ以上有する必要があるが、2つ以上含まれていることが好ましい。
 アクリル樹脂としては、特に限定されるものではなく、炭素数30以下、特に炭素数4~18の直鎖若しくは分岐のアルキル基を有するアクリル酸又はメタクリル酸のエステルの1種又は2種以上を成分とする重合体等が挙げられる。前記アルキル基としては、例えばメチル基、エチル基、プロピル基、イソプロピル基、n-ブチル基、t-ブチル基、イソブチル基、アミル基、イソアミル基、へキシル基、へプチル基、シクロヘキシル基、2-エチルヘキシル基、オクチル基、イソオクチル基、ノニル基、イソノニル基、デシル基、イソデシル基、ウンデシル基、ラウリル基、トリデシル基、テトラデシル基、ステアリル基、オクタデシル基、又はドデシル基等が挙げられる。また、前記重合体を形成する他のモノマーとしては、特に限定されるものではなく、例えばアクリル酸、メタクリル酸、カルボキシエチルアクリレート、カルボキシペンチルアクリレート、(メタ)アクリル酸2-ヒドロキシエチル、(メタ)アクリル酸2-ヒドロキシプロピル、(メタ)アクリル酸4-ヒドロキシブチル、(メタ)アクリル酸6-ヒドロキシヘキシル、(メタ)アクリル酸8-ヒドロキシオクチル、(メタ)アクリル酸10-ヒドロキシデシル、(メタ)アクリル酸12-ヒドロキシラウリル若しくは(4-ヒドロキシメチルシクロヘキシル)-メチルアクリレート等の様なヒドロキシル基含有モノマーが挙げられる。
The acrylic resin is a compound having a (meth) acryloyl group in the molecule, and is a resin that forms a three-dimensional network structure by the reaction of the (meth) acryloyl group and cures. Although it is necessary to have one or more (meth) acryloyl groups in the molecule, it is preferable that two or more (meth) acryloyl groups are contained.
The acrylic resin is not particularly limited, and one or more of acrylic acid or methacrylic acid ester having a linear or branched alkyl group having 30 or less carbon atoms, particularly 4 to 18 carbon atoms, is used as a component. And the like. Examples of the alkyl group include methyl group, ethyl group, propyl group, isopropyl group, n-butyl group, t-butyl group, isobutyl group, amyl group, isoamyl group, hexyl group, heptyl group, cyclohexyl group, 2 -Ethylhexyl group, octyl group, isooctyl group, nonyl group, isononyl group, decyl group, isodecyl group, undecyl group, lauryl group, tridecyl group, tetradecyl group, stearyl group, octadecyl group, dodecyl group and the like. Further, the other monomer forming the polymer is not particularly limited, and for example, acrylic acid, methacrylic acid, carboxyethyl acrylate, carboxypentyl acrylate, 2-hydroxyethyl (meth) acrylate, (meth) 2-hydroxypropyl acrylate, 4-hydroxybutyl (meth) acrylate, 6-hydroxyhexyl (meth) acrylate, 8-hydroxyoctyl (meth) acrylate, 10-hydroxydecyl (meth) acrylate, (meth) Examples thereof include hydroxyl group-containing monomers such as 12-hydroxylauryl acrylate or (4-hydroxymethylcyclohexyl) -methyl acrylate.
 樹脂組成物中に含まれる熱硬化性樹脂(A)の含有量は、その目的に応じて適宜調整されればよく特に限定されないが、樹脂組成物の全固形分100質量%に対し、1質量%以上23質量%以下が好ましく、2質量%以上15質量%以下がより好ましい。熱硬化性樹脂(A)の含有量が上記下限値以上であると、ハンドリング性が向上し、絶縁樹脂層102を形成するのが容易となる。熱硬化性樹脂(A)の含有量が上記上限値以下であると、絶縁樹脂層102の強度や難燃性がより一層向上したり、絶縁樹脂層102の熱伝導性がより一層向上したりする。Although content of the thermosetting resin (A) contained in a resin composition should just be suitably adjusted according to the objective, it is not specifically limited, 1 mass with respect to 100 mass% of total solid content of a resin composition % To 23% by mass is preferable, and 2% to 15% by mass is more preferable. When the content of the thermosetting resin (A) is not less than the above lower limit value, the handling property is improved and the insulatingresin layer 102 can be easily formed. When the content of the thermosetting resin (A) is not more than the above upper limit, the strength and flame retardancy of the insulatingresin layer 102 are further improved, or the thermal conductivity of the insulatingresin layer 102 is further improved. To do.
 無機充填材(B)としては、例えばタルク、焼成クレー、未焼成クレー、マイカ、ガラスなどのケイ酸塩;酸化チタン、アルミナ、シリカ、溶融シリカなどの酸化物;炭酸カルシウム、炭酸マグネシウム、ハイドロタルサイトなどの炭酸塩;水酸化アルミニウム、水酸化マグネシウム、水酸化カルシウムなどの水酸化物;硫酸バリウム、硫酸カルシウム、亜硫酸カルシウムなどの硫酸塩または亜硫酸塩;ホウ酸亜鉛、メタホウ酸バリウム、ホウ酸アルミニウム、ホウ酸カルシウム、ホウ酸ナトリウムなどのホウ酸塩;窒化アルミニウム、窒化ホウ素、窒化ケイ素、窒化炭素などの窒化物;チタン酸ストロンチウム、チタン酸バリウムなどのチタン酸塩などを挙げることができる。これらの中の1種類を単独で用いることもできるし、2種類以上を併用したりすることもできる。Examples of the inorganic filler (B) include silicates such as talc, calcined clay, unfired clay, mica and glass; oxides such as titanium oxide, alumina, silica and fused silica; calcium carbonate, magnesium carbonate and hydrotal Carbonates such as sites; hydroxides such as aluminum hydroxide, magnesium hydroxide, calcium hydroxide; sulfates or sulfites such as barium sulfate, calcium sulfate, calcium sulfite; zinc borate, barium metaborate, aluminum borate And borate salts such as calcium borate and sodium borate; nitrides such as aluminum nitride, boron nitride, silicon nitride and carbon nitride; titanates such as strontium titanate and barium titanate. One of these can be used alone, or two or more can be used in combination.
 なかでも、絶縁樹脂層102の熱伝導性を向上させるために、熱伝導性フィラーを含むことが好ましい。熱伝導性フィラーとしては、アルミナ、窒化ホウ素、ベーマイト、窒化アルミニウム、酸化マグネシウムのうちのいずれか1種以上を使用できる。
 なかでも、熱伝導フィラーとして、アルミナが好ましい。
Especially, in order to improve the heat conductivity of the insulatingresin layer 102, it is preferable that a heat conductive filler is included. As the thermally conductive filler, any one or more of alumina, boron nitride, boehmite, aluminum nitride, and magnesium oxide can be used.
Of these, alumina is preferable as the heat conductive filler.
 無機充填材(B)は、平均粒子径が異なる3成分(大粒径、中粒径、小粒径)の混合系で、大粒径成分が球状であり、中粒径成分および小粒径成分が多面体状であることが好ましい。
 より具体的には、無機充填材(B)は、平均粒子径が5.0μm以上50μm以下、好ましくは5.0μm以上25μm以下の第1粒径範囲に属し、かつ、円形度が0.80以上1.0以下、好ましくは0.85以上0.95以下である大粒径成分と、平均粒子径が1.0μm以上5.0μm未満の第2粒径範囲に属し、かつ、円形度が0.50以上0.90以下、好ましくは0.70以上0.80以下である中粒径成分と、平均粒子径が0.1μm以上1.0μm未満の第3粒径範囲に属し、かつ、円形度が0.50以上0.90以下、好ましくは0.70以上0.80以下ある小粒径成分と、の混合物であることが好ましい。
 ここで、粒子径は、レーザー回折式粒度分布測定装置SALD-7000を用いて、水中にアルミナを1分間超音波処理することにより分散させ、測定することができる。
The inorganic filler (B) is a mixed system of three components (large particle size, medium particle size, small particle size) having different average particle sizes, the large particle size component is spherical, the medium particle size component and the small particle size The component is preferably polyhedral.
More specifically, the inorganic filler (B) belongs to the first particle size range in which the average particle size is 5.0 μm or more and 50 μm or less, preferably 5.0 μm or more and 25 μm or less, and the circularity is 0.80. 1.0 to 1.0, preferably 0.85 to 0.95, a second particle size range in which the average particle size is 1.0 μm to less than 5.0 μm, and the circularity is A medium particle size component of 0.50 or more and 0.90 or less, preferably 0.70 or more and 0.80 or less, an average particle size belonging to a third particle size range of 0.1 μm or more and less than 1.0 μm, and A mixture with a small particle diameter component having a circularity of 0.50 to 0.90, preferably 0.70 to 0.80 is preferable.
Here, the particle diameter can be measured by dispersing alumina in water by ultrasonic treatment for 1 minute using a laser diffraction particle size distribution analyzer SALD-7000.
 これにより、大粒径成分の隙間に中粒径成分が充填され、さらに中粒径成分の隙間に小粒径成分が充填されるため、無機充填材(B)の充填性が高められ、無機充填材(B)粒子同士の接触面積をより大きくすることができる。その結果、絶縁樹脂層102の熱伝導性をより一層向上できる。さらに、絶縁樹脂層102の半田耐熱性、耐屈曲性、絶縁性をより一層向上できる。
 また、このような無機充填材(B)を用いることにより、絶縁樹脂層102と金属基板101との密着性をより一層向上できる。
 これらの相乗効果により、金属ベース回路基板100の絶縁信頼性をより一層高めることができる。
As a result, the medium particle size component is filled in the gap between the large particle size components, and the small particle size component is filled in the gap between the medium particle size components. The contact area between the filler (B) particles can be further increased. As a result, the thermal conductivity of the insulatingresin layer 102 can be further improved. Furthermore, the solder heat resistance, flex resistance, and insulation of the insulatingresin layer 102 can be further improved.
Further, by using such an inorganic filler (B), the adhesion between the insulatingresin layer 102 and themetal substrate 101 can be further improved.
Due to these synergistic effects, the insulation reliability of the metalbase circuit board 100 can be further enhanced.
 樹脂組成物中に含まれる無機充填材(B)の含有量は、当該樹脂組成物の全固形分100質量%に対し、75質量%以上95質量%以下であり、より好ましくは80質量%以上90質量%以下である。無機充填材(B)の含有量を75質量%以上95質量%以下とすることで、アルミナ粒子同士の接触面積が大きくなる。その結果、絶縁樹脂層102の熱伝導性を向上でき、電子装置1の放熱性を向上できる。そのため、電子部品11の熱を外部に十分に伝熱させることができる。これにより、耐久性の高い電子装置1とすることができる。The content of the inorganic filler (B) contained in the resin composition is 75% by mass or more and 95% by mass or less, and more preferably 80% by mass or more with respect to 100% by mass of the total solid content of the resin composition. 90% by mass or less. By making the content of the inorganic filler (B) 75% by mass or more and 95% by mass or less, the contact area between the alumina particles is increased. As a result, the thermal conductivity of the insulatingresin layer 102 can be improved, and the heat dissipation of the electronic device 1 can be improved. Therefore, the heat of theelectronic component 11 can be sufficiently transferred to the outside. Thereby, it can be set as the electronic device 1 with high durability.
 また、無機充填材(B)の全体100質量%に対し、第1粒径範囲に属する無機充填材(B)の含有量は、好ましくは65質量%以上85質量%以下であり、第2粒径範囲に属する無機充填材(B)の含有量は、好ましくは10質量%以上20質量%以下であり、第3粒径範囲に属する無機充填材(B)の含有量は、好ましくは5質量%以上18質量%以下である。Further, the content of the inorganic filler (B) belonging to the first particle size range is preferably 65% by mass to 85% by mass with respect to 100% by mass of the entire inorganic filler (B), and the second particles The content of the inorganic filler (B) belonging to the diameter range is preferably 10% by mass or more and 20% by mass or less, and the content of the inorganic filler (B) belonging to the third particle size range is preferably 5% by mass. % To 18% by mass.
 樹脂組成物は、さらにフェノキシ樹脂(C)を含むことが好ましい。フェノキシ樹脂(C)を含むことにより、絶縁樹脂層102の耐屈曲性をより一層向上できる。
 また、フェノキシ樹脂(C)を含むことにより、絶縁樹脂層102の弾性率を低下させることが可能となり、その場合には金属ベース回路基板100の応力緩和力を向上させることができる。例えば、電子装置1を製造した場合、急激な加熱/冷却の環境下においても、電子部品11と金属ベース回路基板100を接合する半田接合部、またはその近傍で、クラック等の不良が発生することが抑制されることになる。このように金属ベース回路基板100のヒートサイクル特性を向上させることができる。
 また、フェノキシ樹脂(C)を含むと、粘度上昇により、プレス時の流動性が低減し、得られる絶縁樹脂層102中にボイド等が発生することを抑制できたり、得られる絶縁樹脂層102の厚みをより容易に調整できたり、絶縁樹脂層102の厚みの均一性を向上できたりする。また、絶縁樹脂層102と金属基板101との密着性を向上できる。これらの相乗効果により、金属ベース回路基板100の絶縁信頼性をより一層高めることができる。
The resin composition preferably further contains a phenoxy resin (C). By including the phenoxy resin (C), the bending resistance of the insulatingresin layer 102 can be further improved.
Further, by including the phenoxy resin (C), the elastic modulus of the insulatingresin layer 102 can be reduced, and in this case, the stress relaxation force of the metalbase circuit board 100 can be improved. For example, when the electronic device 1 is manufactured, defects such as cracks may occur at or near the solder joint where theelectronic component 11 and the metalbase circuit board 100 are joined, even under rapid heating / cooling environments. Will be suppressed. Thus, the heat cycle characteristic of the metalbase circuit board 100 can be improved.
Further, when the phenoxy resin (C) is contained, the fluidity at the time of pressing is reduced due to an increase in viscosity, and generation of voids or the like in the obtained insulatingresin layer 102 can be suppressed, or the obtained insulatingresin layer 102 The thickness can be adjusted more easily, and the uniformity of the thickness of the insulatingresin layer 102 can be improved. In addition, the adhesion between the insulatingresin layer 102 and themetal substrate 101 can be improved. Due to these synergistic effects, the insulation reliability of the metalbase circuit board 100 can be further enhanced.
 フェノキシ樹脂(C)としては、例えば、ビスフェノール骨格を有するフェノキシ樹脂、ナフタレン骨格を有するフェノキシ樹脂、アントラセン骨格を有するフェノキシ樹脂、ビフェニル骨格を有するフェノキシ樹脂等が挙げられる。また、これらの骨格を複数種有した構造のフェノキシ樹脂を用いることもできる。Examples of the phenoxy resin (C) include a phenoxy resin having a bisphenol skeleton, a phenoxy resin having a naphthalene skeleton, a phenoxy resin having an anthracene skeleton, and a phenoxy resin having a biphenyl skeleton. A phenoxy resin having a structure having a plurality of these skeletons can also be used.
 これらの中でも、ビスフェノールA型またはビスフェノールF型のフェノキシ樹脂を用いるのが好ましく、ビスフェノールA骨格とビスフェノールF骨格を両方有するフェノキシ樹脂を用いるのがより好ましい。ビスフェノールA骨格とビスフェノールF骨格を両方有するフェノキシ樹脂において、ビスフェノールF骨格とビスフェノールA骨格の比率は、好ましくはビスフェノールF骨格/ビスフェノールA骨格=5/95~50/50である。Among these, it is preferable to use a phenoxy resin of bisphenol A type or bisphenol F type, and it is more preferable to use a phenoxy resin having both a bisphenol A skeleton and a bisphenol F skeleton. In the phenoxy resin having both the bisphenol A skeleton and the bisphenol F skeleton, the ratio of the bisphenol F skeleton to the bisphenol A skeleton is preferably bisphenol F skeleton / bisphenol A skeleton = 5/95 to 50/50.
 フェノキシ樹脂(C)の重量平均分子量は、とくに限定されないが、4.0×10以上8.0×10以下が好ましい。
 なお、フェノキシ樹脂(C)の重量平均分子量は、ゲルパーミエーションクロマトグラフィー(GPC)で測定したポリスチレン換算の値である。
The weight average molecular weight of the phenoxy resin (C) is not particularly limited, but is preferably 4.0 × 104 or more and 8.0 × 104 or less.
In addition, the weight average molecular weight of phenoxy resin (C) is a value in terms of polystyrene measured by gel permeation chromatography (GPC).
 フェノキシ樹脂(C)の含有量は、例えば、樹脂組成物の全固形分100質量%に対し、好ましくは1質量%以上15質量%以下、より好ましくは2質量%以上10質量%以下である。The content of the phenoxy resin (C) is preferably 1% by mass to 15% by mass, and more preferably 2% by mass to 10% by mass with respect to 100% by mass of the total solid content of the resin composition.
 硬化剤(D)(硬化触媒)としては、例えばナフテン酸亜鉛、ナフテン酸コバルト、オクチル酸スズ、オクチル酸コバルト、ビスアセチルアセトナートコバルト(II)、トリスアセチルアセトナートコバルト(III)等の有機金属塩;ジシアンジアミド、ジエチレントリアミン、トリエチレンテトラミン、メタキシリレンジアミン、ジアミノジフェニルメタン、ジアミノジエチルジフェニルメタン、メタフェニレンジアミン、ジアミノジフェニルスルホン、イソフォロンジアミン、ノルボルネンジアミン、トリエチルアミン、トリブチルアミン、ジアザビシクロ[2,2,2]オクタン等のアミン系硬化剤;2-フェニル-イミダゾール、2-フェニル-4-メチルイミダゾール、2-エチル-4-メチルイミダゾール、2-エチル-4-エチルイミダゾール、2-フェニル-4-メチル-5-ヒドロキシイミダゾール、2-フェニル-4,5-ジヒドロキシイミダゾール等のイミダゾール系硬化剤;トリフェニルホスフィン、トリ-p-トリルホスフィン、テトラフェニルホスホニウム・テトラフェニルボレート、トリフェニルホスフィン・トリフェニルボラン、1,2-ビス-(ジフェニルホスフィノ)エタン等の有機リン化合物;フェノール、ビスフェノールA、ノニルフェノール等のフェノール化合物;酢酸、安息香酸、サリチル酸、パラトルエンスルホン酸等の有機酸等、またはこの混合物が挙げられる。硬化剤(D)として、これらの中の誘導体も含めて1種類を単独で用いることもできるし、これらの誘導体も含めて2種類以上を併用したりすることもできる。
 これらの中でも、硬化性に優れる点で、アミン系硬化剤、イミダゾール系硬化剤が好ましい。
Examples of the curing agent (D) (curing catalyst) include organic metals such as zinc naphthenate, cobalt naphthenate, tin octylate, cobalt octylate, bisacetylacetonate cobalt (II), and trisacetylacetonate cobalt (III). Salt: Dicyandiamide, diethylenetriamine, triethylenetetramine, metaxylylenediamine, diaminodiphenylmethane, diaminodiethyldiphenylmethane, metaphenylenediamine, diaminodiphenylsulfone, isophoronediamine, norbornenediamine, triethylamine, tributylamine, diazabicyclo [2,2,2] Amine-based curing agents such as octane; 2-phenyl-imidazole, 2-phenyl-4-methylimidazole, 2-ethyl-4-methylimidazole, 2-ethyl-4 Imidazole-based curing agents such as ethylimidazole, 2-phenyl-4-methyl-5-hydroxyimidazole, 2-phenyl-4,5-dihydroxyimidazole; triphenylphosphine, tri-p-tolylphosphine, tetraphenylphosphonium tetraphenyl Organophosphorus compounds such as borate, triphenylphosphine / triphenylborane, 1,2-bis- (diphenylphosphino) ethane; phenolic compounds such as phenol, bisphenol A, nonylphenol; acetic acid, benzoic acid, salicylic acid, paratoluenesulfonic acid Organic acids, etc., or a mixture thereof. As a hardening | curing agent (D), 1 type including these derivatives can also be used independently, and 2 or more types including these derivatives can also be used together.
Among these, amine-based curing agents and imidazole-based curing agents are preferable in terms of excellent curability.
 硬化触媒の含有量は、とくに限定されないが、樹脂組成物の全固形分100質量%に対し、例えば、0.02質量%以上1.0質量%以下である。The content of the curing catalyst is not particularly limited, but is, for example, 0.02% by mass or more and 1.0% by mass or less with respect to 100% by mass of the total solid content of the resin composition.
 さらに、樹脂組成物は、カップリング剤(E)を含んでもよい。カップリング剤(E)は、熱硬化性樹脂(A)と無機充填材(B)との界面の濡れ性を向上させることができる。Furthermore, the resin composition may contain a coupling agent (E). The coupling agent (E) can improve the wettability of the interface between the thermosetting resin (A) and the inorganic filler (B).
 カップリング剤(E)としては、通常用いられるものなら何でも使用できるが、具体的にはエポキシシランカップリング剤、カチオニックシランカップリング剤、アミノシランカップリング剤、チタネート系カップリング剤およびシリコーンオイル型カップリング剤の中から選ばれる1種以上のカップリング剤を使用することが好ましい。
 カップリング剤(E)の添加量は無機充填材(B)の比表面積に依存するので、とくに限定されないが、無機充填材(B)100質量部に対して0.05質量部以上3質量部以下が好ましく、とくに0.1質量部以上2質量部以下が好ましい。
As the coupling agent (E), any of those usually used can be used. Specifically, an epoxy silane coupling agent, a cationic silane coupling agent, an aminosilane coupling agent, a titanate coupling agent, and a silicone oil type. It is preferable to use one or more coupling agents selected from coupling agents.
The amount of the coupling agent (E) added depends on the specific surface area of the inorganic filler (B) and is not particularly limited, but is 0.05 parts by mass or more and 3 parts by mass with respect to 100 parts by mass of the inorganic filler (B). The following is preferable, and 0.1 to 2 parts by mass is particularly preferable.
 樹脂組成物には、本発明の効果を損なわない範囲で、酸化防止剤、レベリング剤等を含むことができる。The resin composition can contain an antioxidant, a leveling agent and the like as long as the effects of the present invention are not impaired.
 次に、絶縁樹脂層102の物性について説明する。
 絶縁樹脂層102は、高い熱伝導性を有する。具体的には、レーザーフラッシュ法により測定される、絶縁樹脂層102の厚み方向の熱伝導率が3.0W/(m・k)以上であることが好ましく、5.0W/(m・k)以上であることがより好ましい。
 これにより、電子部品11からの熱が、絶縁樹脂層102を介して、金属基板101に伝達させやすくすることができる。
Next, physical properties of the insulatingresin layer 102 will be described.
The insulatingresin layer 102 has high thermal conductivity. Specifically, the thermal conductivity in the thickness direction of the insulatingresin layer 102 measured by a laser flash method is preferably 3.0 W / (m · k) or more, and is preferably 5.0 W / (m · k). More preferably.
Thereby, the heat from theelectronic component 11 can be easily transmitted to themetal substrate 101 through the insulatingresin layer 102.
 以上のような金属ベース回路基板100は、以下のようにして製造することができる。
 はじめに、金属基板101を用意する。
The metalbase circuit board 100 as described above can be manufactured as follows.
First, themetal substrate 101 is prepared.
 次いで、サンドブラスト装置を用いて、金属基板101の表面をサンドブラスト処理する。サンドブラスト処理は、例えば、2~700L/分の空気量で、平均粒子径45~55μmの研磨粒子により、1~3m/分でφ5mmのノズルを揺動させながら行なう。
 このような研磨粒子と金属基板101との接触処理により、金属基板101の表面に前述した多数の微細な鱗片状突起を形成することができる。ここで、サンドブラスト処理は研磨粒子を噴射し金属基板101の表面にて吹き付けることによって行なうものである。
Next, the surface of themetal substrate 101 is sandblasted using a sandblasting apparatus. The sandblasting process is performed, for example, with an air amount of 2 to 700 L / min and with an abrasive particle having an average particle diameter of 45 to 55 μm, while oscillating a φ5 mm nozzle at 1 to 3 m / min.
By such a contact treatment between the abrasive particles and themetal substrate 101, a large number of the fine scale-like projections described above can be formed on the surface of themetal substrate 101. Here, the sandblast treatment is performed by spraying abrasive particles and spraying them on the surface of themetal substrate 101.
 サンドブラスト処理に用いられる研磨粒子としては、シリカ、ジルコニア、アルミナ、ダイヤモンド等があげられるAbrasive particles used for sandblasting include silica, zirconia, alumina, diamond, etc.
 その後、金属基板101上に、前述した樹脂組成物からなるBステージ状態の樹脂層を設ける。このとき、前述した樹脂組成物を金属基板101に塗布することにより金属基板101上に樹脂層を形成してもよく、また、樹脂層をキャリア材料上に形成して樹脂層付きキャリア材料を作製し、この樹脂層付きキャリア材料を金属基板101に積層することにより金属基板101上に樹脂層を形成してもよい。
 このとき、Bステージ状態の樹脂層の厚みは、例えば、45μm以上300μm以下である。
Thereafter, a B-stage resin layer made of the resin composition described above is provided on themetal substrate 101. At this time, a resin layer may be formed on themetal substrate 101 by applying the resin composition described above to themetal substrate 101, or a resin layer is formed on the carrier material to produce a carrier material with a resin layer. Then, the resin layer may be formed on themetal substrate 101 by laminating the carrier material with the resin layer on themetal substrate 101.
At this time, the thickness of the resin layer in the B stage state is, for example, not less than 45 μm and not more than 300 μm.
 以下、樹脂層付きキャリア材料を作製し、この樹脂層付きキャリア材料を金属基板101に積層する方法について説明する。まず、キャリア材料上に樹脂層を形成し、樹脂層付きキャリア材料を得る。
 キャリア材料は、例えば、ポリエチレンテレフタレートフィルム等の樹脂フィルム;銅箔等の金属箔等である。キャリア材料の厚みは、例えば、10~500μmである。
Hereinafter, a method for producing a carrier material with a resin layer and laminating the carrier material with a resin layer on themetal substrate 101 will be described. First, a resin layer is formed on a carrier material to obtain a carrier material with a resin layer.
The carrier material is, for example, a resin film such as a polyethylene terephthalate film; a metal foil such as a copper foil. The thickness of the carrier material is, for example, 10 to 500 μm.
 次いで、樹脂層付きキャリア材料の樹脂層側の面が金属基板101のサンドブラスト処理面に接するように樹脂層付きキャリア材料を金属基板101に積層する。その後、プレス等を用い樹脂層を加圧・加熱硬化させて絶縁樹脂層102を形成する。Next, the carrier material with a resin layer is laminated on themetal substrate 101 so that the surface on the resin layer side of the carrier material with the resin layer is in contact with the sandblasted surface of themetal substrate 101. Thereafter, the insulatingresin layer 102 is formed by pressurizing and heat-curing the resin layer using a press or the like.
 次いで、絶縁樹脂層102からキャリア材料を除去し、露わになった絶縁樹脂層102の表面に金属層103を形成する。また、キャリア材料が金属箔の場合は、キャリア材料をそのまま金属層103としてもよい。
 金属層103は、例えば、銅、アルミニウム、ニッケル、鉄、錫等から構成され、2種以上含んでいてもよい。金属層103の厚みは、例えば、10μm以上210μm以下である。なお、絶縁樹脂層102と金属層103との間には、接着層等の他の層が介在していてもよい。
 次いで、必要に応じて、金属層103を所定のパターンにエッチング等することにより回路を形成し、金属ベース回路基板100が得られる。なお、本実施形態において、金属ベース回路基板100には金属103が回路加工される前の状態も含まれる。
 多層にする場合は、金属ベース回路基板100に回路形成後、さらに絶縁シートを積層し、上記同様エッチングにより回路形成することにより多層の金属ベース回路基板100を得ることができる。なお、上記絶縁シートとしては、電子装置1の熱伝導性をより一層向上させる観点から、前述した絶縁樹脂層102に用いたものと同じ樹脂組成物により形成したものが好ましい。
 また、最外層にソルダーレジストを形成し、露光・現像により電子部品11が実装できるよう接続用電極部を露出させてもよい。
Next, the carrier material is removed from the insulatingresin layer 102, and themetal layer 103 is formed on the exposed surface of the insulatingresin layer 102. When the carrier material is a metal foil, the carrier material may be used as themetal layer 103 as it is.
Themetal layer 103 is made of, for example, copper, aluminum, nickel, iron, tin, or the like, and may include two or more kinds. The thickness of themetal layer 103 is, for example, 10 μm or more and 210 μm or less. Note that another layer such as an adhesive layer may be interposed between the insulatingresin layer 102 and themetal layer 103.
Next, if necessary, a circuit is formed by etching themetal layer 103 into a predetermined pattern, and the metalbase circuit board 100 is obtained. In the present embodiment, the metalbase circuit board 100 includes a state before themetal 103 is processed.
In the case of a multilayer, after forming a circuit on the metalbase circuit board 100, an insulating sheet is further laminated, and a circuit is formed by etching in the same manner as described above, whereby the multilayer metalbase circuit board 100 can be obtained. The insulating sheet is preferably made of the same resin composition as that used for the insulatingresin layer 102 described above from the viewpoint of further improving the thermal conductivity of the electronic device 1.
Alternatively, a solder resist may be formed on the outermost layer, and the connection electrode portion may be exposed so that theelectronic component 11 can be mounted by exposure and development.
 つづいて、本実施形態の電子装置1について説明する。図2は、本発明の一実施形態にかかる電子装置1の断面図である。
 電子装置1は、金属ベース回路基板100と、金属ベース回路基板100上に設けられた電子部品11と、を備える。絶縁樹脂層102は前述した樹脂組成物により形成されたものである。
Next, the electronic device 1 of this embodiment will be described. FIG. 2 is a cross-sectional view of the electronic device 1 according to the embodiment of the present invention.
The electronic device 1 includes a metalbase circuit board 100 and anelectronic component 11 provided on the metalbase circuit board 100. The insulatingresin layer 102 is formed of the resin composition described above.
 本実施形態では、電子装置1は半導体装置であり、例えば、パワー半導体装置、LED照明、インバーター装置である。
 ここでインバーター装置とは、直流電力から交流電力を電気的に生成する(逆変換する機能を持つ)ものである。またパワー半導体装置とは、通常の半導体素子に比べて高耐圧化、大電流化、高速・高周波化されている特徴を有し、一般的にはパワーデバイスと呼ばれ、整流ダイオード、パワートランジスタ、パワーMOSFET、絶縁ゲートバイポーラトランジスタ(IGBT)、サイリスタ、ゲートターンオフサイリスタ(GTO)、トライアック等が挙げられる。
 電子部品11は、絶縁ゲートバイポーラトランジスタ、ダイオード等の半導体素子、抵抗、コンデンサ等の各種発熱素子である。金属ベース回路基板100はヒートスプレッダーとして機能する。
 電子部品11は、支持基材12に半田15を介して接合されている。
In this embodiment, the electronic device 1 is a semiconductor device, for example, a power semiconductor device, LED lighting, or an inverter device.
Here, the inverter device electrically generates AC power from DC power (has a function of reverse conversion). In addition, the power semiconductor device is characterized by higher withstand voltage, higher current, higher speed and higher frequency than ordinary semiconductor elements, generally called power devices, rectifier diodes, power transistors, Examples include a power MOSFET, an insulated gate bipolar transistor (IGBT), a thyristor, a gate turn-off thyristor (GTO), and a triac.
Theelectronic component 11 is a semiconductor element such as an insulated gate bipolar transistor or a diode, or various heating elements such as a resistor or a capacitor. The metalbase circuit board 100 functions as a heat spreader.
Theelectronic component 11 is joined to thesupport base 12 via thesolder 15.
 支持基材12は、電子部品11が搭載されるものである。本実施形態では、支持基材12は、リードフレーム121と、絶縁シート122とを備える。
 リードフレーム121は、ダイパッド部121Aと、このダイパッド部121Aに接続されたインナーリード(図示略)と、インナーリードに接続されたアウターリード(図示略)とを備える。リードフレーム121はダイパッド部121Aで電子部品11を支持している。ダイパッド部121Aは、半田15を介して電子部品11に電気的に接続されている。リードフレーム121は導電性の部材であればよいが、例えば、Cu等の金属製である。
Thesupport base 12 is one on which theelectronic component 11 is mounted. In the present embodiment, thesupport base 12 includes alead frame 121 and an insulatingsheet 122.
Thelead frame 121 includes adie pad part 121A, an inner lead (not shown) connected to thedie pad part 121A, and an outer lead (not shown) connected to the inner lead. Thelead frame 121 supports theelectronic component 11 with adie pad portion 121A. Thedie pad portion 121 </ b> A is electrically connected to theelectronic component 11 through thesolder 15. Thelead frame 121 may be a conductive member, but is made of a metal such as Cu, for example.
 絶縁シート122は、金属層103をリードフレーム121から絶縁するためのものである。絶縁シート122は、樹脂材料で構成されている。
 例えば、絶縁シート122は、樹脂成分であるカルボキシル基を有する樹脂と、熱伝導性のフィラーとを含む。
 カルボキシル基を有する樹脂としては、アクリル酸ブチルおよびアクリル酸エチルのいずれかまたは両方を主要原料成分とした、カルボキシル基含有ポリ(メタ)アクリル酸エステル系高分子化合物(所謂アクリルゴム)があげられる。
 また、熱伝導性のフィラーとしては、窒化ホウ素や、アルミナ等を使用できる。
 熱伝導性フィラーの含有量は絶縁シート122全体に対して50~60体積%であり、樹脂成分は、40~50体積%であることが好ましい。
 本実施形態では、絶縁シート122は、リードフレーム121のダイパッド部よりも平面形状が大きくなっており、電子部品11、支持基材12、金属層103、絶縁樹脂層102、金属基板101の積層方向に沿って、電子装置1を平面視した際に、ダイパッド部121Aの外周縁からはみ出している。
 なお、絶縁シート122としては、電子装置1の熱伝導性をより一層向上させる観点から、前述した絶縁樹脂層102に用いたものと同じ樹脂組成物により形成したものが好ましい。
The insulatingsheet 122 is for insulating themetal layer 103 from thelead frame 121. The insulatingsheet 122 is made of a resin material.
For example, the insulatingsheet 122 includes a resin having a carboxyl group that is a resin component and a thermally conductive filler.
Examples of the resin having a carboxyl group include a carboxyl group-containing poly (meth) acrylate polymer compound (so-called acrylic rubber) containing one or both of butyl acrylate and ethyl acrylate as main raw material components.
Further, as the heat conductive filler, boron nitride, alumina or the like can be used.
The content of the heat conductive filler is preferably 50 to 60% by volume with respect to the entire insulatingsheet 122, and the resin component is preferably 40 to 50% by volume.
In the present embodiment, the insulatingsheet 122 has a larger planar shape than the die pad portion of thelead frame 121, and the stacking direction of theelectronic component 11, thesupport base 12, themetal layer 103, the insulatingresin layer 102, and themetal substrate 101. The electronic device 1 protrudes from the outer peripheral edge of thedie pad portion 121A when viewed in plan.
The insulatingsheet 122 is preferably formed of the same resin composition as that used for the insulatingresin layer 102 described above from the viewpoint of further improving the thermal conductivity of the electronic device 1.
 金属層103は、絶縁樹脂層102と絶縁シート122との間に配置され、絶縁樹脂層102に直接接触している。
 この金属層103は、電子部品11からの熱を、金属基板101に伝達する。金属層103は例えば、Cu等の金属製である。金属層103は板状の部材であり、絶縁シート122とほぼ同じ大きさとなっている。
Themetal layer 103 is disposed between the insulatingresin layer 102 and the insulatingsheet 122 and is in direct contact with the insulatingresin layer 102.
Themetal layer 103 transfers heat from theelectronic component 11 to themetal substrate 101. Themetal layer 103 is made of metal such as Cu, for example. Themetal layer 103 is a plate-like member and has almost the same size as the insulatingsheet 122.
 以上のような電子装置1は、以下のようにして製造することができる。
 はじめに、金属ベース回路基板100を用意する。
 次に、金属層103上に、絶縁シート122、リードフレーム121を配置する。その後、リードフレーム121のダイパッド部と、電子部品11とを半田15を介して接合する。その後、封止材16により、電子部品11を封止する。
The electronic device 1 as described above can be manufactured as follows.
First, the metalbase circuit board 100 is prepared.
Next, the insulatingsheet 122 and thelead frame 121 are disposed on themetal layer 103. Thereafter, the die pad portion of thelead frame 121 and theelectronic component 11 are joined via thesolder 15. Thereafter, theelectronic component 11 is sealed with the sealingmaterial 16.
 なお、本発明は前述の実施形態に限定されるものではなく、本発明の目的を達成できる範囲での変形、改良等は本発明に含まれるものである。
 例えば、上記実施形態では、支持基材12は、リードフレーム121と、絶縁シート122とを備えていたが、これに限られるものではない。例えば、支持基材12および金属層103の代わりに、セラミックス基板を使用してもよい。この場合には、絶縁樹脂層102は、セラミックス基板と、金属基板101とを接着することとなる。
It should be noted that the present invention is not limited to the above-described embodiments, and modifications, improvements, and the like within the scope that can achieve the object of the present invention are included in the present invention.
For example, in the above-described embodiment, thesupport base 12 includes thelead frame 121 and the insulatingsheet 122, but is not limited thereto. For example, a ceramic substrate may be used instead of thesupport base 12 and themetal layer 103. In this case, the insulatingresin layer 102 bonds the ceramic substrate and themetal substrate 101.
 以下、本発明を実施例および比較例により説明するが、本発明はこれらに限定されるものではない。なお、実施例および比較例では、部はとくに特定しない限り質量部を表す。また、それぞれの厚みは平均膜厚で表わされている。Hereinafter, although an example and a comparative example explain the present invention, the present invention is not limited to these. In Examples and Comparative Examples, the part represents part by mass unless otherwise specified. Moreover, each thickness is represented by the average film thickness.
(実施例1)
(1)樹脂ワニスの調製
 ビスフェノールF骨格とビスフェノールA骨格を有するフェノキシ樹脂(三菱化学社製、4275、重量平均分子量6.0×10、ビスフェノールF骨格とビスフェノールA骨格の比率=75:25)3.9質量部、ビスフェノールF型エポキシ樹脂(DIC社製、830S、エポキシ当量170)3.0質量部、ナフタレン型エポキシ樹脂(DIC社製、HP-6000、エポキシ当量250:化学式(10)において、Rがいずれも水素原子で、n=1である成分とn=2である成分との混合物)3.0質量部、ジシアンジアミド(デグサ社製)0.3質量部、γ―グリシドキシプロピルトリメトキシシラン(信越シリコーン社製、KBM-403)1.3質量部、球状アルミナ(平均粒子径22μm、円形度:0.91、新日鉄住金マテリアルズ株式会社製、AX-25)67.3質量部、多面体状アルミナ(平均粒子径4μm、円形度:0.75、日本軽金属社製、LS-210)13.2質量部、多面体状アルミナ(平均粒子径0.7μm、円形度:0.71、日本軽金属社製、LS-250)8.0質量部、をシクロヘキサノンに溶解・混合させ、高速撹拌装置を用い撹拌して、固形分基準で86質量%のワニス状のエポキシ樹脂組成物を得た。
(2)樹脂付き銅箔の作製
 金属箔として、厚さ35μmの銅箔(長春石油化学股▲フン▼有限公司社製、GLS-35)を用い、銅箔の粗化面にワニス状の樹脂組成物をコンマコーターにて塗布し、100℃で3分、150℃で3分加熱乾燥し、樹脂厚190μmの樹脂付き銅箔を得た。
(3)アルミニウム基板のサンドブラスト処理
 研磨粒子として平均粒子径50μmの不定形アルミナ粉末(不二製作所社製、フジランダムA)を用いてサンドブラスト装置(不二製作所社製、MC3)により500mm*500mmサイズで厚み1mmのアルミニウム基板(#5052-34H)の片面に670L/分の空気量で面全体をφ5mmのノズルを揺動させながら0.5分間サンドブラスト処理した。つづいて、アルミニウム基板の表面を流水で水洗、乾燥した。
 そのサンドブラスト処理したアルミニウム基板の表面に、カップリング剤などの化学的処理や物理的処理をおこなわずに、作製した樹脂付き銅箔を170℃、8MPa、60分間で熱プレスした。これにより、金属ベース回路基板を成型した。
 ここで、得られたアルミニウム基板について以下の評価をおこなった。
(Example 1)
(1) Preparation of resin varnish Phenoxy resin having bisphenol F skeleton and bisphenol A skeleton (Mitsubishi Chemical Corporation, 4275, weight average molecular weight 6.0 × 104 , ratio of bisphenol F skeleton to bisphenol A skeleton = 75: 25) 3.9 parts by mass, bisphenol F type epoxy resin (DIC, 830S, epoxy equivalent 170) 3.0 parts by mass, naphthalene type epoxy resin (DIC, HP-6000, epoxy equivalent 250: in chemical formula (10) , R is a hydrogen atom, a mixture of a component where n = 1 and a component where n = 2) 3.0 parts by mass, 0.3 parts by mass of dicyandiamide (Degussa), γ-glycidoxypropyl 1.3 parts by mass of trimethoxysilane (manufactured by Shin-Etsu Silicone, KBM-403), spherical alumina (average particle size 22 μm, circularity) 0.91, manufactured by Nippon Steel & Sumikin Materials Co., Ltd., AX-25) 67.3 parts by mass, polyhedral alumina (average particle size 4 μm, circularity: 0.75, manufactured by Nippon Light Metal Co., Ltd., LS-210) 13.2 Part by mass, polyhedral alumina (average particle size 0.7 μm, circularity: 0.71, Nippon Light Metal Co., Ltd., LS-250) 8.0 parts by mass are dissolved and mixed in cyclohexanone, and stirred using a high-speed agitator. As a result, 86% by mass of a varnish-like epoxy resin composition based on the solid content was obtained.
(2) Production of resin-coated copper foil A 35-μm thick copper foil (GLS-35, manufactured by Changchun Petrochemical Co., Ltd., GLS-35) was used as the metal foil, and a varnish-like resin was used on the roughened surface of the copper foil. The composition was applied with a comma coater and dried by heating at 100 ° C. for 3 minutes and at 150 ° C. for 3 minutes to obtain a resin-coated copper foil having a resin thickness of 190 μm.
(3) Sand blasting treatment of aluminum substrate 500 mm * 500 mm size by sand blasting device (Fuji Random Company, MC3) using amorphous alumina powder (Fuji Random A manufactured by Fuji Seisakusho Co., Ltd.) having an average particle diameter of 50 μm as abrasive particles The entire surface of the aluminum substrate (# 5052-34H) having a thickness of 1 mm was subjected to sandblasting for 0.5 minutes while swinging a φ5 mm nozzle at an air amount of 670 L / min. Subsequently, the surface of the aluminum substrate was washed with running water and dried.
The resulting resin-coated copper foil was hot-pressed on the surface of the sandblasted aluminum substrate at 170 ° C. and 8 MPa for 60 minutes without performing chemical treatment or physical treatment with a coupling agent or the like. Thereby, a metal base circuit board was molded.
Here, the following evaluation was performed about the obtained aluminum substrate.
(電子顕微鏡観察)
 サンドブラスト処理したアルミニウム基板の表面を走査型電子顕微鏡(SEM)で撮影し、アルミニウム基板の表面の構造を観察した。図3に、実施例1のアルミニウム基板表面の1000倍の電子顕微鏡写真を示す。また、図4に、実施例1のアルミニウム基板表面の200倍の電子顕微鏡写真を示す。
 サンドブラスト処理した上記アルミニウム基板には鱗片状突起が観察された。
(Electron microscope observation)
The surface of the aluminum substrate subjected to sandblasting was photographed with a scanning electron microscope (SEM), and the structure of the surface of the aluminum substrate was observed. In FIG. 3, the 1000-times electron micrograph of the aluminum substrate surface of Example 1 is shown. FIG. 4 shows an electron micrograph of 200 times the surface of the aluminum substrate of Example 1.
Scale-like projections were observed on the aluminum blasted aluminum substrate.
(表面粗さ)
 アルミニウム基板の表面の算術平均粗さ(Ra)は、JISB0601、B0633、B0651に準拠して測定した。
 アルミニウム基板の表面の最大高さ粗さ(Rz)は、JIS B0601、B0633、B0651に準拠して測定した。
(Surface roughness)
The arithmetic average roughness (Ra) of the surface of the aluminum substrate was measured according to JISB0601, B0633, B0651.
The maximum height roughness (Rz) of the surface of the aluminum substrate was measured according to JIS B0601, B0633, and B0651.
 得られたアルミニウム基板の物性は以下のとおりである。
 算術平均粗さ(Ra):4.8μm
 最大高さ粗さ(Rz):13.0μm
 鱗片状突起の平均長径:4.6μm
The physical properties of the obtained aluminum substrate are as follows.
Arithmetic mean roughness (Ra): 4.8 μm
Maximum height roughness (Rz): 13.0 μm
Average major axis of scaly projections: 4.6 μm
 また、得られた金属ベース回路基板について以下の評価をおこなった。評価結果を表1に示す。なお、表1に示した特性の測定方法は以下の通りである。Moreover, the following evaluation was performed about the obtained metal base circuit board. The evaluation results are shown in Table 1. In addition, the measuring method of the characteristic shown in Table 1 is as follows.
(1)半田耐熱性
 金属ベース回路基板を50mm×50mmにグラインダーソーでカットした後、エッチングにより銅箔を1/2だけ残した試料を作製し、JIS C 6481に準拠して評価した。評価は、260℃の半田槽に30秒間浸漬した後で外観の異常の有無を調べた。
 評価基準 ○:異常なし
      ×:異常あり(膨れの箇所がある)
(2)吸湿半田耐熱性
 金属ベース回路基板を50mm×50mmにグラインダーソーでカットした後、JIS C 6481に従い半面エッチングを行って試料を作製した。121℃のプレッシャークッカーで2時間処理した後、260℃の半田槽に銅箔面を下にして浮かべ、30秒後の外観異常の有無を調べた。
 評価基準 ○:異常なし
      ×:膨れあり(膨れの箇所がある)
(3)絶縁破壊電圧
 金属ベース回路基板を100mm×100mmにグラインダーソーでカットした後、銅箔を全面エッチングにより除去し、試料を作成した。耐電圧試験器(MODEL7473、EXTECH Electronics社製)を用いて、絶縁樹脂層とアルミニウム基板に電極を接触せしめて、両電極に0.5kV/秒の速度で電圧が上昇するように、交流電圧を印加した。金属ベース回路基板の絶縁樹脂層が破壊した電圧を、絶縁破壊電圧とした。
(1) Solder heat resistance After cutting a metal base circuit board to 50 mm x 50 mm with a grinder saw, a sample in which only a half of the copper foil was left by etching was prepared and evaluated in accordance with JIS C 6481. The evaluation was performed by immersing in a solder bath at 260 ° C. for 30 seconds and then checking for abnormal appearance.
Evaluation criteria ○: No abnormality ×: Abnormal (there is a swollen part)
(2) Moisture-absorbing solder heat resistance A metal base circuit board was cut to 50 mm x 50 mm with a grinder saw, and then half-etched according to JIS C 6481 to prepare a sample. After processing for 2 hours in a 121 ° C. pressure cooker, the copper foil surface was floated in a 260 ° C. solder bath, and the presence or absence of appearance abnormality after 30 seconds was examined.
Evaluation criteria ○: No abnormality ×: Swelled (swelled part)
(3) Dielectric breakdown voltage After cutting a metal base circuit board into a 100 mm x 100 mm with a grinder saw, the copper foil was removed by the whole surface etching, and the sample was created. Using a withstand voltage tester (MODEL7473, manufactured by EXTECH Electronics), the electrode was brought into contact with the insulating resin layer and the aluminum substrate, and an alternating voltage was applied to both electrodes so that the voltage increased at a rate of 0.5 kV / sec. Applied. The voltage at which the insulating resin layer of the metal base circuit board was broken was defined as the breakdown voltage.
(4)ヒ-トサイクル試験
 得られた金属ベース回路基板を用いて、図2に示した電子装置1を製造した。ただし、封止材16は設けなかった。
 金属ベース回路基板100上に、絶縁シート122、Cu製のリードフレーム121を配置した。絶縁シート122としては古河電工社製のエフコTMシートHFを使用した。その後、リードフレーム121のダイパッド部と、電子部品11とを半田15(材料Sn-3.0Ag-0.5Cu)を介して接合した。
 以上のようにして、電子装置3個を用意して、ヒートサイクル試験を実施した。ヒートサイクル試験は、-40℃5分~+125℃5分を1サイクルとして3000回行なった。 
 ヒートサイクル試験後、顕微鏡で半田部分のクラック率を観察した。電子装置3個のうち1つでもクラック率が100%となったものがある場合を不良(×)とし、電子装置3個のいずれもがクラック率が100%未満のものを良好(○)と判定した。
 ここで、半田部分のクラック率とは、部品接合部の半田部分のクラック進行率をいう。クラックが進み基板との接続が完全に断線した場合を100%とした比率である。
(5)金属基板との密着性
 金属基板と絶縁樹脂層の密着力を評価するための曲げ試験用基板は、金属ベース回路基板から銅箔を全てエッチング除去したものを25mm×100mmに切り出して作製した。その基板を絶縁樹脂層側が外側になるように直径40mmの鉄製の棒に巻きつけるように120°屈曲させて260℃の半田槽に30秒間浸漬した。その後、アルミニウム基板と絶縁樹脂層との剥離の有無を調べた。
 評価基準 ○:異常なし
      ×:剥れあり(剥れの箇所がある)
(6)熱抵抗
 金属ベース回路基板をJPCA-TMC-LED02T-2010 10.6項に準拠して厚み方向の熱抵抗を測定した。
(4) Heat cycle test The electronic device 1 shown in FIG. 2 was manufactured using the obtained metal base circuit board. However, the sealingmaterial 16 was not provided.
An insulatingsheet 122 and alead frame 121 made of Cu were disposed on the metalbase circuit board 100. As the insulatingsheet 122, Fuko TM sheet HF manufactured by Furukawa Electric was used. Thereafter, the die pad portion of thelead frame 121 and theelectronic component 11 were joined via the solder 15 (material Sn-3.0Ag-0.5Cu).
As described above, three electronic devices were prepared and a heat cycle test was performed. The heat cycle test was performed 3000 times with one cycle of −40 ° C. for 5 minutes to + 125 ° C. for 5 minutes.
After the heat cycle test, the crack rate of the solder portion was observed with a microscope. A case in which even one of the three electronic devices has a crack rate of 100% is regarded as defective (x), and all three electronic devices have a crack rate of less than 100% as good (O). Judged.
Here, the crack rate of the solder portion refers to the crack progress rate of the solder portion of the component joint portion. The ratio is 100% when the crack progresses and the connection with the substrate is completely disconnected.
(5) Adhesiveness to metal substrate A bending test substrate for evaluating the adhesive force between a metal substrate and an insulating resin layer was produced by cutting out a copper base foil from a metal base circuit board to 25 mm × 100 mm. did. The substrate was bent 120 ° so as to be wound around an iron rod having a diameter of 40 mm so that the insulating resin layer side was on the outside and immersed in a solder bath at 260 ° C. for 30 seconds. Then, the presence or absence of peeling between the aluminum substrate and the insulating resin layer was examined.
Evaluation criteria ○: No abnormality ×: Peeling (there is a peeling part)
(6) Thermal resistance The thermal resistance in the thickness direction of the metal base circuit board was measured according to the paragraph 10.0.6 of JPCA-TMC-LED02T-2010.
(比較例1)
 アルミニウム基板についてサンドブラスト処理をしない以外は実施例1と同様にした。
 ここで、図5に、比較例1のアルミニウム基板表面の1000倍の電子顕微鏡写真を示す。サンドブラスト処理をしていないアルミニウム基板には鱗片状突起は観察されなかった。
(Comparative Example 1)
The same procedure as in Example 1 was performed except that the aluminum substrate was not sandblasted.
Here, FIG. 5 shows a 1000-fold electron micrograph of the surface of the aluminum substrate of Comparative Example 1. No scaly projections were observed on the aluminum substrate that was not sandblasted.
(比較例2)
 アルミニウム基板として以下のものを用いた以外は実施例1と同様にした。
 エポキシシラン系カップリング剤(A-187 モメンティブパフォーマンスマテリアルズ社製)をアセトンに添加し、エポキシシラン系カップリング剤の濃度が0.5質量%のエポキシシラン系カップリング剤溶液を調製した。次いで、バットを用いて、500mm*500mmサイズで厚み1mmのアルミニウム基板(#5052-34H)をエポキシシラン系カップリング剤溶液に浸した。そして、アルミニウム基板に付着した液滴をよく切った後、150℃10分間で乾燥することにより、エポキシシラン系カップリング剤で表面処理されたアルミニウム基板を得た。
 ここで、比較例2のアルミニウム基板表面を電子顕微鏡により観察したところ、上記アルミニウム基板には鱗片状突起は観察されなかった。
(Comparative Example 2)
The same procedure as in Example 1 was performed except that the following aluminum substrate was used.
An epoxy silane coupling agent (A-187 by Momentive Performance Materials) was added to acetone to prepare an epoxy silane coupling agent solution having an epoxy silane coupling agent concentration of 0.5 mass%. Next, using a vat, an aluminum substrate (# 5052-34H) having a size of 500 mm * 500 mm and a thickness of 1 mm was immersed in the epoxysilane coupling agent solution. Then, after the droplets adhered to the aluminum substrate were cut well, drying was performed at 150 ° C. for 10 minutes to obtain an aluminum substrate surface-treated with an epoxysilane coupling agent.
Here, when the surface of the aluminum substrate of Comparative Example 2 was observed with an electron microscope, no scaly projections were observed on the aluminum substrate.
(比較例3)
 サンドブラスト処理の研磨粒子として平均粒子径925μmの不定形アルミナ粉末を用いた以外は実施例1と同様にした。
 得られたアルミニウム基板の物性は以下のとおりである。
 算術平均粗さ(Ra):5.2μm
 最大高さ粗さ(Rz):13.5μm
 ここで、比較例3のアルミニウム基板表面を電子顕微鏡により観察したところ、上記アルミニウム基板には鱗片状突起は観察されなかった。
(Comparative Example 3)
The same procedure as in Example 1 was performed except that amorphous alumina powder having an average particle size of 925 μm was used as abrasive particles for sandblasting.
The physical properties of the obtained aluminum substrate are as follows.
Arithmetic mean roughness (Ra): 5.2 μm
Maximum height roughness (Rz): 13.5 μm
Here, when the surface of the aluminum substrate of Comparative Example 3 was observed with an electron microscope, no scaly projections were observed on the aluminum substrate.
(比較例4)
 アルミニウム基板として以下のものを用いた以外は実施例1と同様にした。
 500mm*500mmサイズで厚み1mmのアルミニウム基板(#5052-34H)の表面をブラシ(#1500)で研磨した後、アセトンで洗浄し乾燥させアルミニウム基板を得た。
 得られたアルミニウム基板の物性は以下のとおりである。
 算術平均粗さ(Ra):5.0μm
 最大高さ粗さ(Rz):12.0μm
 ここで、図6に、比較例4のアルミニウム基板表面の1000倍の電子顕微鏡写真を示す。上記アルミニウム基板には鱗片状突起は観察されなかった。
(Comparative Example 4)
The same procedure as in Example 1 was performed except that the following aluminum substrate was used.
The surface of an aluminum substrate (# 5052-34H) having a size of 500 mm * 500 mm and a thickness of 1 mm was polished with a brush (# 1500), then washed with acetone and dried to obtain an aluminum substrate.
The physical properties of the obtained aluminum substrate are as follows.
Arithmetic mean roughness (Ra): 5.0 μm
Maximum height roughness (Rz): 12.0 μm
Here, FIG. 6 shows a 1000-fold electron micrograph of the surface of the aluminum substrate of Comparative Example 4. No scaly projections were observed on the aluminum substrate.
Figure JPOXMLDOC01-appb-T000014
Figure JPOXMLDOC01-appb-T000014
 実施例1で得られた金属ベース回路基板は絶縁樹脂層とアルミニウム基板との密着性が高く、半田耐熱性、および吸湿半田耐熱性に優れる結果となった。また、十分な絶縁破壊電圧値も有していた。また、電子装置におけるヒートサイクル性についても良好な結果が得られた。
 したがって、本発明による金属基板および金属ベース回路基板を用いることにより、耐久性の高い電子装置が得られることが分かった。
The metal base circuit board obtained in Example 1 had high adhesion between the insulating resin layer and the aluminum substrate, resulting in excellent solder heat resistance and moisture absorption solder heat resistance. Moreover, it had sufficient dielectric breakdown voltage value. Moreover, the favorable result was obtained also about the heat cycle property in an electronic device.
Therefore, it was found that a highly durable electronic device can be obtained by using the metal substrate and the metal base circuit board according to the present invention.
 この出願は、2013年10月17日に出願された日本出願特願2013-216120号を基礎とする優先権を主張し、その開示の全てをここに取り込む。This application claims priority based on Japanese Patent Application No. 2013-216120 filed on October 17, 2013, the entire disclosure of which is incorporated herein.

Claims (12)

  1.  金属基板と、前記金属基板上に設けられた絶縁樹脂層と、前記絶縁樹脂層上に設けられた金属層とを備える金属ベース回路基板を構成する前記金属基板であって、
     前記金属基板は、前記絶縁樹脂層と接する面に多数の微細な鱗片状突起を有する、金属基板。
    The metal substrate constituting a metal base circuit board comprising a metal substrate, an insulating resin layer provided on the metal substrate, and a metal layer provided on the insulating resin layer,
    The metal substrate has a large number of fine scaly projections on a surface in contact with the insulating resin layer.
  2.  請求項1に記載の金属基板において、
     前記鱗片状突起は、前記金属基板の前記絶縁樹脂層と接する面の一面にわたって形成されている、金属基板。
    The metal substrate according to claim 1,
    The scale-like protrusion is a metal substrate formed over one surface of the metal substrate in contact with the insulating resin layer.
  3.  請求項1または2に記載の金属基板において、
     前記金属基板の前記絶縁樹脂層と接する面はサンドブラスト処理されている、金属基板。
    The metal substrate according to claim 1 or 2,
    The metal substrate, wherein the surface of the metal substrate that contacts the insulating resin layer is sandblasted.
  4.  請求項1乃至3いずれか一項に記載の金属基板において、
     前記金属基板の前記絶縁樹脂層と接する面の算術平均粗さ(Ra)が0.1μm以上5.0μm以下である、金属基板。
    In the metal substrate as described in any one of Claims 1 thru | or 3,
    A metal substrate having an arithmetic average roughness (Ra) of a surface in contact with the insulating resin layer of the metal substrate of 0.1 μm or more and 5.0 μm or less.
  5.  請求項1乃至4いずれか一項に記載の金属基板において、
     前記金属基板の前記絶縁樹脂層と接する面の最大高さ粗さ(Rz)が1μm以上20μm以下である、金属基板。
    The metal substrate according to any one of claims 1 to 4,
    A metal substrate having a maximum height roughness (Rz) of 1 μm or more and 20 μm or less of a surface of the metal substrate in contact with the insulating resin layer.
  6.  請求項1乃至5いずれか一項に記載の金属基板において、
     アルミニウム基板である、金属基板。
    In the metal substrate as described in any one of Claims 1 thru | or 5,
    A metal substrate which is an aluminum substrate.
  7.  請求項1乃至6いずれか一項に記載の金属基板と、
     前記金属基板上に設けられた絶縁樹脂層と、
     前記絶縁樹脂層上に設けられた金属層と、
    を備える金属ベース回路基板。
    A metal substrate according to any one of claims 1 to 6,
    An insulating resin layer provided on the metal substrate;
    A metal layer provided on the insulating resin layer;
    A metal-based circuit board comprising:
  8.  請求項7に記載の金属ベース回路基板において、
     前記絶縁樹脂層はエポキシ樹脂およびアルミナを含む、金属ベース回路基板。
    The metal base circuit board according to claim 7,
    The metal-based circuit board, wherein the insulating resin layer includes an epoxy resin and alumina.
  9.  請求項8に記載の金属ベース回路基板において、
     前記エポキシ樹脂はナフタレン型エポキシ樹脂である、金属ベース回路基板。
    The metal base circuit board according to claim 8,
    The metal base circuit board, wherein the epoxy resin is a naphthalene type epoxy resin.
  10.  請求項7乃至9いずれか一項に記載の金属ベース回路基板において、
     前記絶縁樹脂層はフェノキシ樹脂をさらに含む、金属ベース回路基板。
    The metal base circuit board according to any one of claims 7 to 9,
    The metal-based circuit board, wherein the insulating resin layer further includes a phenoxy resin.
  11.  請求項7乃至10いずれか一項に記載の金属ベース回路基板と、
     前記金属ベース回路基板上に設けられた電子部品と、
    を備える電子装置。
    A metal base circuit board according to any one of claims 7 to 10,
    Electronic components provided on the metal base circuit board;
    An electronic device comprising:
  12.  請求項7に記載の金属ベース回路基板を製造するための製造方法であって、
     金属基板の少なくとも一方の面をサンドブラスト処理する工程と、
     前記サンドブラスト処理した面上に前記絶縁樹脂層を形成する工程と、
     前記絶縁樹脂層上に前記金属層を形成する工程と、
    を含む金属ベース回路基板の製造方法。
    A manufacturing method for manufacturing the metal base circuit board according to claim 7, comprising:
    A step of sandblasting at least one surface of the metal substrate;
    Forming the insulating resin layer on the sandblasted surface;
    Forming the metal layer on the insulating resin layer;
    A method of manufacturing a metal base circuit board including:
PCT/JP2014/0758032013-10-172014-09-29Metal substrate, metal-based circuit board, electronic device, and method for manufacturing metal-based circuit boardWO2015056555A1 (en)

Priority Applications (1)

Application NumberPriority DateFiling DateTitle
JP2015542560AJPWO2015056555A1 (en)2013-10-172014-09-29 Metal substrate, metal base circuit board, electronic device, and metal base circuit board manufacturing method

Applications Claiming Priority (2)

Application NumberPriority DateFiling DateTitle
JP2013-2161202013-10-17
JP20132161202013-10-17

Publications (1)

Publication NumberPublication Date
WO2015056555A1true WO2015056555A1 (en)2015-04-23

Family

ID=52828004

Family Applications (1)

Application NumberTitlePriority DateFiling Date
PCT/JP2014/075803WO2015056555A1 (en)2013-10-172014-09-29Metal substrate, metal-based circuit board, electronic device, and method for manufacturing metal-based circuit board

Country Status (3)

CountryLink
JP (1)JPWO2015056555A1 (en)
TW (1)TW201536124A (en)
WO (1)WO2015056555A1 (en)

Cited By (7)

* Cited by examiner, † Cited by third party
Publication numberPriority datePublication dateAssigneeTitle
JP2017017239A (en)*2015-07-032017-01-19住友ベークライト株式会社 Method for manufacturing member with circuit, member with circuit, and electronic component mounting member
JP2017028128A (en)*2015-07-232017-02-02住友ベークライト株式会社Substrate for power module, circuit board for power module, and power module
JP2017028130A (en)*2015-07-232017-02-02住友ベークライト株式会社Substrate for power module, circuit board for power module, and power module
JP2017028129A (en)*2015-07-232017-02-02住友ベークライト株式会社Substrate for power module, circuit board for power module, and power module
CN110121235A (en)*2018-02-052019-08-13深圳市五株科技股份有限公司Aluminum base circuit board and its processing method
JP2020055890A (en)*2018-09-282020-04-09積水化学工業株式会社Resin material and multilayer printed wiring board
JPWO2022239687A1 (en)*2021-05-102022-11-17

Families Citing this family (1)

* Cited by examiner, † Cited by third party
Publication numberPriority datePublication dateAssigneeTitle
TWI696251B (en)2018-12-052020-06-11艾姆勒車電股份有限公司Igbt module with improved heat dissipation structure

Citations (4)

* Cited by examiner, † Cited by third party
Publication numberPriority datePublication dateAssigneeTitle
JPH01166956A (en)*1987-12-241989-06-30Shin Kobe Electric Mach Co Ltd Manufacturing method for metal-based metal foil-clad laminates
JP2009049062A (en)*2007-08-142009-03-05Denki Kagaku Kogyo Kk Method for manufacturing metal base circuit board and metal base circuit board
WO2011007874A1 (en)*2009-07-172011-01-20電気化学工業株式会社Led chip assembly, led package, and manufacturing method of led package
WO2012090360A1 (en)*2010-12-282012-07-05住友ベークライト株式会社Metal base circuit board, and method for producing metal base circuit board

Patent Citations (4)

* Cited by examiner, † Cited by third party
Publication numberPriority datePublication dateAssigneeTitle
JPH01166956A (en)*1987-12-241989-06-30Shin Kobe Electric Mach Co Ltd Manufacturing method for metal-based metal foil-clad laminates
JP2009049062A (en)*2007-08-142009-03-05Denki Kagaku Kogyo Kk Method for manufacturing metal base circuit board and metal base circuit board
WO2011007874A1 (en)*2009-07-172011-01-20電気化学工業株式会社Led chip assembly, led package, and manufacturing method of led package
WO2012090360A1 (en)*2010-12-282012-07-05住友ベークライト株式会社Metal base circuit board, and method for producing metal base circuit board

Cited By (8)

* Cited by examiner, † Cited by third party
Publication numberPriority datePublication dateAssigneeTitle
JP2017017239A (en)*2015-07-032017-01-19住友ベークライト株式会社 Method for manufacturing member with circuit, member with circuit, and electronic component mounting member
JP2017028128A (en)*2015-07-232017-02-02住友ベークライト株式会社Substrate for power module, circuit board for power module, and power module
JP2017028130A (en)*2015-07-232017-02-02住友ベークライト株式会社Substrate for power module, circuit board for power module, and power module
JP2017028129A (en)*2015-07-232017-02-02住友ベークライト株式会社Substrate for power module, circuit board for power module, and power module
CN110121235A (en)*2018-02-052019-08-13深圳市五株科技股份有限公司Aluminum base circuit board and its processing method
JP2020055890A (en)*2018-09-282020-04-09積水化学工業株式会社Resin material and multilayer printed wiring board
JP7339731B2 (en)2018-09-282023-09-06積水化学工業株式会社 Resin materials and multilayer printed wiring boards
JPWO2022239687A1 (en)*2021-05-102022-11-17

Also Published As

Publication numberPublication date
JPWO2015056555A1 (en)2017-03-09
TW201536124A (en)2015-09-16

Similar Documents

PublicationPublication DateTitle
WO2015056555A1 (en)Metal substrate, metal-based circuit board, electronic device, and method for manufacturing metal-based circuit board
JP6477483B2 (en) Epoxy resin composition, carrier material with resin layer, metal base circuit board, and electronic device
JP5141853B2 (en) Multilayer resin sheet, resin sheet laminate, cured multilayer resin sheet and method for producing the same, multilayer resin sheet with metal foil, and semiconductor device
JP7073716B2 (en) Thermally conductive resin compositions, thermally conductive sheets and semiconductor devices
JP5517927B2 (en) Metal base circuit board
JP6627303B2 (en) Thermal conductive resin composition, laminate for circuit board, circuit board and semiconductor device
JP5870934B2 (en) Method for manufacturing metal-based circuit board
WO2015163054A1 (en)Metal-based substrate, method for manufacturing metal-based substrate, metal-based circuit board, and electronic device
KR20140111302A (en)Curable heat radiation composition
JP2016027142A (en)Thermally conductive sheet, cured product of thermally conductive sheet, and semiconductor device
JP5854062B2 (en) Thermally conductive sheet and semiconductor device
JP2013216038A (en)Multi-layer resin sheet, multi-layer resin sheet cured material using the same, resin sheet laminate, semiconductor device
WO2014136484A1 (en)Apparatus, composition for adhesive, and adhesive sheet
KR101433653B1 (en)A epoxy resin composition, adhesive sheet and circuit board including the composition and the manufacturing method for the circuit board
US10720375B2 (en)Substrate for power module, circuit board for power module, and power module
KR101254035B1 (en)Adhesive composition of metal copper clad laminate for high efficiency radiating pcb
JP5821355B2 (en) Metal base circuit board, laminated board, inverter device and power semiconductor device
WO2015163055A1 (en)Metal-based substrate, method for manufacturing metal-based substrate, metal-based circuit board, and electronic device
WO2015163056A1 (en)Metal-based substrate, metal-based circuit board, and electronic device
JP2015207669A (en)Metal base board, metal base circuit board, and electronic device
JP6795285B2 (en) Thermal conductive sheet, cured product of thermal conductive sheet and semiconductor device
EP4166593A1 (en)Heat-conductive sheet and semiconductor module including said heat-conductive sheet
JP2023118508A (en)power module
JP2022151865A (en) LAMINATED STRUCTURE AND MANUFACTURING METHOD THEREOF
CN117256204A (en)Laminate, circuit board, and method for manufacturing circuit board

Legal Events

DateCodeTitleDescription
121Ep: the epo has been informed by wipo that ep was designated in this application

Ref document number:14854039

Country of ref document:EP

Kind code of ref document:A1

ENPEntry into the national phase

Ref document number:2015542560

Country of ref document:JP

Kind code of ref document:A

NENPNon-entry into the national phase

Ref country code:DE

122Ep: pct application non-entry in european phase

Ref document number:14854039

Country of ref document:EP

Kind code of ref document:A1


[8]ページ先頭

©2009-2025 Movatter.jp