Movatterモバイル変換


[0]ホーム

URL:


WO2014102969A1 - Removably superposed sheets and label using same - Google Patents

Removably superposed sheets and label using same
Download PDF

Info

Publication number
WO2014102969A1
WO2014102969A1PCT/JP2012/083895JP2012083895WWO2014102969A1WO 2014102969 A1WO2014102969 A1WO 2014102969A1JP 2012083895 WJP2012083895 WJP 2012083895WWO 2014102969 A1WO2014102969 A1WO 2014102969A1
Authority
WO
WIPO (PCT)
Prior art keywords
layer
base material
peeling
adhesive
adhesive layer
Prior art date
Application number
PCT/JP2012/083895
Other languages
French (fr)
Japanese (ja)
Inventor
重見 一臣
信行 齋藤
Original Assignee
トッパン・フォームズ株式会社
Priority date (The priority date is an assumption and is not a legal conclusion. Google has not performed a legal analysis and makes no representation as to the accuracy of the date listed.)
Filing date
Publication date
Application filed by トッパン・フォームズ株式会社filedCriticalトッパン・フォームズ株式会社
Priority to PCT/JP2012/083895priorityCriticalpatent/WO2014102969A1/en
Publication of WO2014102969A1publicationCriticalpatent/WO2014102969A1/en

Links

Images

Classifications

Definitions

Landscapes

Abstract

On the lower base material-contacting surface of an upper base material, a UV-curable shrink layer and a release agent layer are formed sequentially. The surface of the upper base material that is opposite to the lower base material-contacting surface is the printed surface or writing surface. An adhesive layer is formed on the upper base material-adhering surface of the lower base material.

Description

再剥離性重ね合わせシート及びこれを用いたラベルRe-peelable overlay sheet and label using the same
 本発明は、上基材と下基材とが重ね合わされて再剥離可能に接着された再剥離性重ね合わせシート及びこれを用いたラベルに関する。The present invention relates to a releasable superposed sheet in which an upper base material and a lower base material are superposed and adhered so as to be removable, and a label using the same.
 近年、配送品を届け先に配送する場合に、配送品に配送伝票を貼付することが一般的となっている。この配送伝票としては、例えば、配達票と貼付票とから構成され、配達後に配達票を持ち帰ることができるように、再剥離性接着剤によって配達票を再剥離可能に接着した構造のものが用いられている。In recent years, when delivering a delivery product to a delivery destination, it is common to attach a delivery slip to the delivery product. The delivery slip is composed of, for example, a delivery slip and a sticker slip, and has a structure in which the delivery slip is removably bonded with a removable adhesive so that the delivery slip can be taken home after delivery. It has been.
 このような配送伝票や、葉書等の後に剥離させる構造の再剥離性重ね合わせシートとして、以下の特許文献で提案されているものがある。There are those proposed in the following patent documents as such a releasable overlapping sheet having a structure to be peeled after a delivery slip or a postcard.
 特許文献1にて提案されたものは、ラベルに関するもので、中間ラベル基材上に、メジウムまたは紫外線硬化型ニスの目止め層が形成され、目止め層上に紫外線硬化型の擬似接着剤層が形成されて表面ラベル基材が設けられた構造のものである。この構造においては、表面ラベル基材が、擬似接着層とともに中間ラベル及び目止め層から剥離される。The one proposed in Patent Document 1 relates to a label, and a medium or ultraviolet curable varnish sealing layer is formed on an intermediate label substrate, and an ultraviolet curable pseudo adhesive layer is formed on the sealing layer. Is formed and a surface label base material is provided. In this structure, the surface label substrate is peeled off from the intermediate label and the sealing layer together with the pseudo adhesive layer.
 また、特許文献2にて提案されたものは、往復葉書に関するもので、2層目シート上に接着剤層が形成され、この接着剤層上に剥離剤層が形成された1層目シートが設けられた構造のものである。この構造においては、1層目シートが、剥離剤層とともに2層目シート及び接着剤層上より剥離される。In addition, what is proposed in Patent Document 2 relates to a reciprocating postcard, in which an adhesive layer is formed on a second layer sheet, and a first layer sheet in which a release agent layer is formed on the adhesive layer is provided. It is of the provided structure. In this structure, the first layer sheet is peeled from the second layer sheet and the adhesive layer together with the release agent layer.
特開2009-042584号公報JP 2009-042584 A特許第4391279号公報Japanese Patent No. 4391279
 上述したような再剥離性重ね合わせシートにおいては、剥離したシートがカールせずに取り扱い性を向上させることが望まれている。In the releasable superposed sheet as described above, it is desired to improve the handleability without curling the peeled sheet.
 ところが、特許文献1,2にて提案されたものも含めて再剥離性重ね合わせシートは、剥離した基材にカールが生じて、その後の取り扱いに不便さを来すという問題点がある。特に、特許文献1,2にて提案されたものでいえば、表面ラベル基材上の表面に形成された印刷面や1層目シート上に形成された印字面に印刷、印字された後に、これらが剥離された場合にはカールの発生が顕著であり、また、表面ラベル基材や剥離対象側の1層目シートが薄くなるほどカールが顕著となる。However, the releasable layered sheets including those proposed in Patent Documents 1 and 2 have a problem that curling occurs on the peeled base material, resulting in inconvenience in subsequent handling. In particular, what has been proposed in Patent Documents 1 and 2, after being printed and printed on the printing surface formed on the surface of the surface label substrate and the printing surface formed on the first layer sheet, When these are peeled off, the occurrence of curling is remarkable, and the curling becomes more noticeable as the surface label substrate and the first layer sheet on the peeling target side become thinner.
 本発明は、上述したような技術が有する問題点に鑑みなされたもので、剥離する基材の剥離時のカール発生を低減することができる再剥離性重ね合わせシート及びこれを用いたラベルを提供することを目的とする。The present invention has been made in view of the above-described problems of the technology, and provides a releasable superposed sheet that can reduce the occurrence of curling at the time of peeling of a substrate to be peeled, and a label using the same. The purpose is to do.
 上記目的を達成するために本発明は、
 上基材と下基材とが重ね合わされて再剥離可能に接着された再剥離性重ね合わせシートであって、
 前記上基材は、前記下基材との接着面に、紫外線硬化型の収縮層と剥離剤層とが順次形成され、前記接着面とは反対側の面が印字面または筆記面となり、
 前記下基材は、前記上基材との接着面に接着層が形成されている。
In order to achieve the above object, the present invention provides:
A releasable superposed sheet in which an upper base material and a lower base material are superposed and adhered so as to be removable,
The upper base material is formed with an ultraviolet curable shrink layer and a release agent layer sequentially on the adhesive surface with the lower base material, and the surface opposite to the adhesive surface is a printing surface or a writing surface,
The lower base material has an adhesive layer formed on the adhesive surface with the upper base material.
 また、前記接着層は、水性エマルジョン接着剤である。The adhesive layer is an aqueous emulsion adhesive.
 また、前記再剥離性重ね合わせシートを用いたラベルであって、
 前記下基材は、前記上基材との接着面とは反対側の面に粘着層が形成され、該粘着層によって剥離基材が再剥離可能に接着されている。
Also, a label using the releasable overlay sheet,
The lower base material has a pressure-sensitive adhesive layer formed on the surface opposite to the adhesive surface with the upper base material, and the peelable base material is detachably bonded by the pressure-sensitive adhesive layer.
 本発明によれば、上基材の下基材との接着面に紫外線硬化型の収縮層と剥離剤層が順次形成され、下基材に形成された接着層とこの剥離剤層とによって上基材と下基材とが再剥離可能に接着された構成とすることにより、上基材が収縮層及び剥離剤層とともに下基材の接着層より剥離された際に、上基材の印字面または筆記面側に生じるカール力が、上基材の下基材との接着面に直接形成された収縮層による印字面または筆記面とは反対側に生じる収縮力により抑制され、上基材のカール発生を低減することができる。また、上基材を下基材から剥離した際に接着層側に剥離剤層が一部残存した場合であっても、上基材と剥離剤層との間に収縮層が存在することによって、収縮層による安定した収縮性を確保することができる。これにより、上基材を下基材から剥離した後に、上基材の印字面または筆記面に表示されたバーコード等の情報を機械的に正確に読み取ることができ、また、上基材の整理、保管等の取り扱いを向上させることができる。According to the present invention, the ultraviolet curable shrink layer and the release agent layer are sequentially formed on the adhesive surface of the upper substrate with the lower substrate, and the upper layer is formed by the adhesive layer formed on the lower substrate and the release agent layer. By configuring the base material and the lower base material so that they can be peeled off again, when the upper base material is peeled off from the adhesive layer of the lower base material together with the shrink layer and the release agent layer, the upper base material is printed. The curling force generated on the surface or writing surface is suppressed by the shrinking force generated on the side opposite to the printing surface or writing surface by the shrink layer formed directly on the adhesive surface of the upper substrate with the lower substrate, and the upper substrate Generation of curling can be reduced. Moreover, even when a part of the release agent layer remains on the adhesive layer side when the upper substrate is peeled from the lower substrate, a shrinkage layer exists between the upper substrate and the release agent layer. In addition, stable shrinkage due to the shrink layer can be ensured. As a result, after peeling the upper base material from the lower base material, information such as a barcode displayed on the printing surface or writing surface of the upper base material can be mechanically accurately read. The handling of organizing and storing can be improved.
 また、接着層を水性エマルジョン接着剤とすることにより、接着層が乾燥するまでの水分が上基材に浸透してカール発生を惹起することを、収縮層、または、収縮層及び剥離剤層で水分の浸透を防止することができ、収縮層によるカール発生低減と相まってさらなるカール発生低減を奏することができる。In addition, by using an aqueous emulsion adhesive as the adhesive layer, the shrinkage layer, or the shrinkage layer and the release agent layer indicate that moisture until the adhesive layer dries infiltrates into the upper substrate and causes curling. The penetration of moisture can be prevented, and further curling reduction can be achieved in combination with curling reduction by the shrink layer.
 また、下基材が、上基材との接着面とは反対側の面に粘着層が形成され、この粘着層によって剥離基材が再剥離可能に接着されているラベルとして用いた場合は、下基材から剥離基材を剥離して粘着層によって配送品等に貼付されることになる。In addition, when the lower substrate is used as a label in which an adhesive layer is formed on the surface opposite to the adhesive surface with the upper substrate, and the release substrate is removably adhered by this adhesive layer, The peeling base material is peeled off from the lower base material and attached to the delivery product or the like by the adhesive layer.
本発明の再剥離性重ね合わせシートの第1の実施の形態を示す斜視図である。It is a perspective view showing a 1st embodiment of a releasable superposition sheet of the present invention.図1Aに示した配送伝票の断面図である。It is sectional drawing of the delivery slip shown in FIG. 1A.図1A及び図1Bに示した配送伝票の作製概念図である。It is a production conceptual diagram of the delivery slip shown in Drawing 1A and Drawing 1B.図1A及び図1Bに示した配送伝票の作製概念図である。It is a production conceptual diagram of the delivery slip shown in Drawing 1A and Drawing 1B.図1A及び図1Bに示した配送伝票から配達票の上基材を剥離していく状態を示す図である。It is a figure which shows the state which peels the upper base material of a delivery slip from the delivery slip shown to FIG. 1A and FIG. 1B.剥離した上基材に生じる作用を説明するための図である。It is a figure for demonstrating the effect | action produced in the peeled upper base material.本願発明に係る再剥離性重ね合わせシートを隠蔽葉書に適用した例を示す斜視図である。It is a perspective view which shows the example which applied the releasable overlapping sheet which concerns on this invention to a concealment postcard.図4Aに示した隠蔽葉書の断面図である。It is sectional drawing of the concealment postcard shown to FIG. 4A.本発明の再剥離性重ね合わせシートの第2の実施の形態を示す斜視図である。It is a perspective view which shows 2nd Embodiment of the releasable superimposition sheet | seat of this invention.図5Aに示した配送伝票の断面図である。FIG. 5B is a cross-sectional view of the delivery slip shown in FIG. 5A.図5Bに示した接着層の形状を示す図である。It is a figure which shows the shape of the contact bonding layer shown to FIG. 5B.図5A~5Cに示した配送伝票の作製概念図である。FIG. 6 is a conceptual diagram of production of the delivery slip shown in FIGS. 5A to 5C.図5A~5Cに示した配送伝票の作製概念図である。FIG. 6 is a conceptual diagram of production of the delivery slip shown in FIGS. 5A to 5C.図5A~5Cに示した配送伝票から配達票の上基材を剥離していく状態を示す図である。FIG. 6 is a diagram showing a state where an upper base material of a delivery slip is peeled from the delivery slip shown in FIGS. 5A to 5C.図5A~5Cに示した配送伝票から配達票の上基材を剥離していく状態を示す図である。FIG. 6 is a diagram showing a state where an upper base material of a delivery slip is peeled from the delivery slip shown in FIGS. 5A to 5C.本発明の再剥離性重ね合わせシートの他の接着層の構成例を示す図である。It is a figure which shows the structural example of the other contact bonding layer of the releasable lamination sheet of this invention.本発明の再剥離性重ね合わせシートの他の接着層の構成例を示す図である。It is a figure which shows the structural example of the other contact bonding layer of the releasable lamination sheet of this invention.本発明の再剥離性重ね合わせシートの他の接着層の構成例を示す図である。It is a figure which shows the structural example of the other contact bonding layer of the releasable lamination sheet of this invention.本発明の再剥離性重ね合わせシートの他の接着層の構成例を示す図である。It is a figure which shows the structural example of the other contact bonding layer of the releasable lamination sheet of this invention.本発明の再剥離性重ね合わせシートの第3の実施の形態を示す斜視図である。It is a perspective view which shows 3rd Embodiment of the releasable superimposition sheet | seat of this invention.図10Aに示した配送伝票の断面図である。It is sectional drawing of the delivery slip shown to FIG. 10A.図10Bに示した剥離剤層の形状を示す図である。It is a figure which shows the shape of the releasing agent layer shown to FIG. 10B.図10A~10Cに示した配送伝票の作製概念図である。FIG. 10 is a conceptual diagram of production of the delivery slip shown in FIGS. 10A to 10C.図10A~10Cに示した配送伝票の作製概念図である。FIG. 10 is a conceptual diagram of production of the delivery slip shown in FIGS. 10A to 10C.図10A~10Cに示した配送伝票から配達票の上基材を剥離していく状態を示す図である。FIG. 10 is a diagram showing a state where an upper base material of a delivery slip is peeled from the delivery slip shown in FIGS. 10A to 10C.図10A~10Cに示した配送伝票から配達票の上基材を剥離していく状態を示す図である。FIG. 10 is a diagram showing a state where an upper base material of a delivery slip is peeled from the delivery slip shown in FIGS. 10A to 10C.本発明の再剥離性重ね合わせシートの他の剥離剤層の構成例を示す図である。It is a figure which shows the structural example of the other releasing agent layer of the releasable superposition sheet of this invention.本発明の再剥離性重ね合わせシートの他の剥離剤層の構成例を示す図である。It is a figure which shows the structural example of the other releasing agent layer of the releasable superposition sheet of this invention.本発明の再剥離性重ね合わせシートの他の剥離剤層の構成例を示す図である。It is a figure which shows the structural example of the other releasing agent layer of the releasable superposition sheet of this invention.本発明の再剥離性重ね合わせシートの他の剥離剤層の構成例を示す図である。It is a figure which shows the structural example of the other releasing agent layer of the releasable superposition sheet of this invention.
 以下に、本発明の実施の形態について図面を参照して説明する。Hereinafter, embodiments of the present invention will be described with reference to the drawings.
 なお、以下の実施の形態では、発明の理解を容易とするために寸法を無視している。また、再剥離性重ね合わせシートとして、配送伝票及び隠蔽葉書について示すが、これに限らず、重ね合わせシートにおける剥離対象の基材のカール低減が望まれる総てのものに適用可能である。In the following embodiments, dimensions are ignored for easy understanding of the invention. Moreover, although a delivery slip and a concealment postcard are shown as a releasable superposed sheet, the present invention is not limited to this, and the present invention is applicable to any sheet in which curling reduction of a base material to be peeled off is desired.
 (第1の実施の形態)
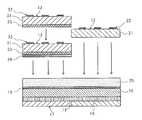
 図1Aは、本発明の再剥離性重ね合わせシートの第1の実施の形態を示す斜視図であり、図1Bは、図1Aに示した配送伝票11の断面図である。
(First embodiment)
FIG. 1A is a perspective view showing a first embodiment of the releasable superposed sheet of the present invention, and FIG. 1B is a cross-sectional view of thedelivery slip 11 shown in FIG. 1A.
 本形態は図1A及び図1Bに示すように、同一平面で形成される貼付票12と配達票13とから構成され、分離線14で配達票13が再剥離可能に設けられたものである。As shown in FIGS. 1A and 1B, the present embodiment is composed of asticker slip 12 and adelivery slip 13 formed on the same plane, and thedelivery slip 13 is detachable by aseparation line 14.
 配送伝票11は、貼付票12及び配達票13の共通の基材となる例えば上質紙35Kgの下基材15の裏面(図中、下面)に粘着層16が形成され、この粘着層16によって剥離基材17が再剥離可能に接着されており、これら粘着層16及び剥離基材17を有するラベルとして構成される。粘着層16は、配送伝票11を対象物品に強接着で貼り付けるためのもので、接着剤、粘着剤の何れでもよい。また、剥離基材17には後に剥がし易いようにスリット18が形成されている。In thedelivery slip 11, anadhesive layer 16 is formed on the back surface (lower surface in the figure) of thelower base material 15, for example, high-quality paper 35 Kg, which is a common base material for thesticker slip 12 and thedelivery slip 13, and theadhesive layer 16 peels off. Thebase material 17 is adhered so as to be removable again, and is configured as a label having theadhesive layer 16 and therelease base material 17. Theadhesive layer 16 is for attaching thedelivery slip 11 to the target article with strong adhesion, and may be either an adhesive or an adhesive. Moreover, theslit 18 is formed in thepeeling base material 17 so that it can peel easily later.
 下基材15上には、メジウム層19が形成され、メジウム層19上に接着層20が形成されている。接着層20は、ここでは、水性エマルジョン接着剤で形成されている。また、接着層20としては、これに限らず、天然ラテックスにデンプンやシリカ等の微粒状充填剤を混入させたもの等、その他接着剤(固化による接着)や粘着剤(粘性を保持しながら接着)の何れでもよい。特に水性エマルジョン接着剤を用いた場合には、メジウム層19によって、下基材15への水分の浸透を防止することができる。Amedium layer 19 is formed on thelower substrate 15, and anadhesive layer 20 is formed on themedium layer 19. Here, theadhesive layer 20 is formed of an aqueous emulsion adhesive. In addition, theadhesive layer 20 is not limited to this, and other adhesives (adhesion due to solidification) or adhesives (adhesives while maintaining viscosity) such as natural latex mixed with a fine particulate filler such as starch or silica. ). Particularly when an aqueous emulsion adhesive is used, themedium layer 19 can prevent moisture from penetrating into thelower substrate 15.
 メジウム層19は、酸化チタン等を含有する一般的なメジウムによって形成されている。メジウムは液状インキ用のものとペーストインキ用のものとがあり、何れもインキの濃度調整や光沢付与でインキに加えられるものであるが、単体で使用される場合には防水性の特性がある。その意味では、メジウムに限らず、ニスやフッ素系コーティング剤等の防水性能を有するものであれば何れでもよい。なお、接着層20に水性の接着剤が使用されなければ、メジウム層19は不要である。Themedium layer 19 is formed of general medium containing titanium oxide or the like. Medium is available for liquid ink and paste ink, both of which are added to the ink to adjust the ink concentration and gloss, but when used alone, it has waterproof properties . In that sense, it is not limited to medium, and any material having waterproof performance such as varnish or fluorine-based coating agent may be used. Note that themedium layer 19 is not required unless a water-based adhesive is used for theadhesive layer 20.
 貼付票12は、例えば上質紙70Kgの貼付票基材21の表面(図中、上面)上に、「貼付票」、「送り主」、「届け先」等の記入欄及び各配送伝票固有のバーコード12Aや伝達内容等が印刷されることにより、第1情報層22が形成されている。この記入欄には、筆記またはプリンタ(感熱、インクジェット、ノンインパクトのプリンタ)によって、「貼付票」、「送り主」、「届け先」等が記載される。貼付票12は、下基材15の対応領域(半分)の接着層20上に接着された形態となっている。Thesticker slip 12 is, for example, on the surface (upper surface in the drawing) of the stickyslip base material 21 of high-quality paper 70Kg, the entry fields such as “sticker slip”, “sender”, “destination” and the barcode unique to each delivery slip. Thefirst information layer 22 is formed by printing 12A, transmission contents, and the like. In this entry column, “sticker slip”, “sender”, “destination”, etc. are written by writing or printer (thermal, ink jet, non-impact printer). Thesticker 12 is in a form adhered on theadhesive layer 20 in the corresponding region (half) of thelower base material 15.
 配達票13は、例えば上質紙70Kgの上基材31の表面(図中、上面)上に、貼付票12と同様に、印字面または筆記面として、「貼付票」、「送り主」、「届け先」等の記入欄及び各配送伝票固有のバーコード13A等が印刷されることにより、第2情報層32が形成されている。この記入欄には、筆記またはプリンタ(感熱、インクジェット、ノンインパクトのプリンタ)によって、「貼付票」、「送り主」、「届け先」等が記載される。上基材31の裏面(図中、下面)には、収縮層33と剥離剤層34とが順次形成されている。Thedelivery slip 13 is, for example, on the surface (upper surface in the drawing) of theupper base material 31 of the high-quality paper 70Kg, as with thesticker slip 12, as a print surface or a writing surface, as “sticker slip”, “sender”, “destination” Thesecond information layer 32 is formed by printing the entry field such as “” and thebarcode 13A unique to each delivery slip. In this entry column, “sticker slip”, “sender”, “destination”, etc. are written by writing or printer (thermal, ink jet, non-impact printer). Ashrink layer 33 and arelease agent layer 34 are sequentially formed on the back surface (lower surface in the drawing) of theupper base material 31.
 収縮層33は、紫外線硬化型であり、硬化する際に収縮することに着目して使用されている。紫外線硬化型のものとして、紫外線硬化型インキ、紫外線硬化型メジウム等がある。ここでは、収縮層33として、紫外線硬化型メジウムを厚さ44μmで形成している。この際、収縮層33を意匠的観点や塗布時の位置確認の観点から着色してもよい。収縮層33は、特に、上基材31を後に剥離させた際に接着層20側に剥離剤層34の一部が残存した場合であっても、上基材31に直接形成されて存在することによって、安定した収縮性を確保することができるものである。なお、前述の特許文献1,2にて提案されたものにおいてもメジウムで形成された層を有する構成であるが、あくまでも剥離性を確保するためのものである。本発明は、剥離性に関しては剥離剤層34が担い、収縮層33は収縮性によるカール低減のための層としたものである。Theshrinkable layer 33 is an ultraviolet curable type, and is used by paying attention to shrinkage when cured. Examples of the ultraviolet curable type include ultraviolet curable ink and ultraviolet curable medium. Here, as theshrink layer 33, an ultraviolet curable medium is formed with a thickness of 44 μm. At this time, theshrinkable layer 33 may be colored from the viewpoint of design and the position confirmation at the time of application. Theshrink layer 33 is formed directly on theupper substrate 31 even when a part of therelease agent layer 34 remains on theadhesive layer 20 side when theupper substrate 31 is peeled later. Therefore, stable contractility can be ensured. In addition, although what was proposed by the above-mentioned patent documents 1 and 2 is a structure which has the layer formed with the medium, it is for ensuring releasability to the last. In the present invention, therelease agent layer 34 is responsible for releasability, and theshrink layer 33 is a layer for curling reduction due to shrinkage.
 また、収縮層33は、接着層20に水性エマルジョン接着剤を用いた場合に、収縮層33、または、収縮層33及び剥離層34によって、上基材31への水分の浸透を防止することができる。Further, when the aqueous layer adhesive is used for theadhesive layer 20, theshrink layer 33 can prevent moisture from penetrating into theupper substrate 31 by theshrink layer 33 or theshrink layer 33 and therelease layer 34. it can.
 収縮層33の面上には、剥離剤層34が形成されている。剥離剤層34は、例えば剥離剤として一般的な剥離ニスを使用することができる。剥離ニスは紫外線硬化型であってもよい。配達票13は、剥離剤層34側が下基材15の対応領域(貼付票領域の残り半分)の接着層20上に接着された形態となっている。Arelease agent layer 34 is formed on the surface of theshrink layer 33. For therelease agent layer 34, for example, a general release varnish can be used as a release agent. The peeling varnish may be an ultraviolet curable type. Thedelivery slip 13 has a form in which therelease agent layer 34 side is adhered onto theadhesive layer 20 in the corresponding region of the lower base material 15 (the remaining half of the sticking slip region).
 このような構成とすることにより、配達票13は、上基材31と下基材15とが重ね合わされ、上基材31の下基材15との接着面に、紫外線硬化型の収縮層33と剥離剤層34とが順次形成され、上基材31の下基材15との接着面とは反対側の面が印字面または筆記面となり、下基材15の上基材31との接着面に接着層20が形成され、上基材31と下基材15とが、接着層20及び剥離剤層34によって再剥離可能に接着されている。With such a configuration, thedelivery slip 13 is such that theupper base material 31 and thelower base material 15 are overlapped, and an ultravioletcurable shrinkable layer 33 is formed on the adhesive surface between theupper base material 31 and thelower base material 15. And therelease agent layer 34 are sequentially formed, and the surface opposite to the adhesive surface of theupper base material 31 with thelower base material 15 becomes a printing surface or a writing surface, and adheres to theupper base material 31 of thelower base material 15. Theadhesive layer 20 is formed on the surface, and theupper base material 31 and thelower base material 15 are detachably bonded by theadhesive layer 20 and therelease agent layer 34.
 以下に、上記のように構成された配送伝票11の作製方法について説明する。Hereinafter, a method for producing thedelivery slip 11 configured as described above will be described.
 図2A及び図2Bは、図1A及び図1Bに示した配送伝票11の作製概念図である。FIG. 2A and FIG. 2B are production conceptual diagrams of thedelivery slip 11 shown in FIG. 1A and FIG. 1B.
 まず、図2Aに示すように、下基材15の裏面に粘着層16を塗布して剥離紙17を接着し、スリット18を形成する。そして、下基材15の表面上に、例えば紫外線硬化型のメジウムを塗布して紫外線を照射することでメジウム層19を形成する。この際、下基材15上に印刷層を形成し、その上にメジウム層19を形成してもよい。さらに、このメジウム層19上に、例えば水性エマルジョン接着剤を塗布して接着層20を形成する。First, as shown in FIG. 2A, theadhesive layer 16 is applied to the back surface of thelower base material 15, therelease paper 17 is adhered, and theslit 18 is formed. Then, amedium layer 19 is formed on the surface of thelower substrate 15 by applying, for example, ultraviolet curable medium and irradiating with ultraviolet rays. At this time, a printing layer may be formed on thelower substrate 15 and themedium layer 19 may be formed thereon. Further, anadhesive layer 20 is formed on themedium layer 19 by applying, for example, an aqueous emulsion adhesive.
 次に、図2Bに示すように、貼付票12となる貼付票基材21上に印刷によって第1情報層22を形成する。また、配達票13となる上基材31の表面上に印刷によって第2情報層32を形成する。これにより、貼付票12及び配達票13のそれぞれに、配送に必要となる情報を印刷する。Next, as shown in FIG. 2B, afirst information layer 22 is formed by printing on asticker substrate 21 to be thesticker 12. Further, thesecond information layer 32 is formed by printing on the surface of theupper base material 31 that becomes thedelivery slip 13. As a result, information necessary for delivery is printed on each of thepasting slip 12 and thedelivery slip 13.
 次に、上基材31の裏面に紫外線硬化型のメジウムを厚さ44μmで塗布し、紫外線を照射して硬化させることで収縮層33を形成する。この際、上基材31の裏面に印刷層を形成し、その上にメジウムを塗布して収縮層33を形成してもよい。さらに、この収縮層33上に印刷層を形成してもよい。また、収縮層33の面上に例えば紫外線硬化型の剥離ニスを塗布し、紫外線を照射して硬化させることで剥離剤層34を形成する。なお、剥離ニスにシリコーンを含有させ、シリコーンの含有量によって配達票13の下基材15からの剥離強度を調整することもできる。Next, ultraviolet curable medium is applied to the back surface of theupper base material 31 at a thickness of 44 μm, and theshrink layer 33 is formed by curing by irradiating with ultraviolet rays. At this time, ashrinkage layer 33 may be formed by forming a printing layer on the back surface of theupper base material 31 and applying a medium thereon. Further, a print layer may be formed on theshrink layer 33. Further, for example, an ultraviolet curable release varnish is applied on the surface of theshrink layer 33, and therelease agent layer 34 is formed by irradiating and curing the ultraviolet ray. It should be noted that silicone can be contained in the release varnish, and the peel strength from thelower base material 15 of thedelivery slip 13 can be adjusted by the silicone content.
 そして、下基材15に形成された接着層20に、上基材31に形成された剥離剤層34を当接させて接着し、また、貼付票12となる貼付票基材21を接着することで、図1A及び図1Bに示した貼付票12及び配達票13が同一平面とされた配送伝票11が作製される。Then, therelease agent layer 34 formed on theupper base material 31 is brought into contact with and adhered to theadhesive layer 20 formed on thelower base material 15, and the adhesivesheet base material 21 that becomes theadhesive sheet 12 is adhered. Thus, thedelivery slip 11 in which thesticker slip 12 and thedelivery slip 13 shown in FIGS. 1A and 1B are on the same plane is produced.
 以下に、上述した配送伝票11の作用について説明する。The operation of thedelivery slip 11 described above will be described below.
 図3Aは、図1A及び図1Bに示した配送伝票11から配達票13の上基材31を剥離していく状態を示す図であり、図3Bは、剥離した上基材31に生じる作用を説明するための図である。3A is a diagram showing a state where theupper base material 31 of thedelivery slip 13 is peeled from thedelivery slip 11 shown in FIGS. 1A and 1B, and FIG. It is a figure for demonstrating.
 図1A及び図1Bに示した配送伝票11は、剥離基材17が剥離され、表出した粘着層16によって配送品に貼付される。配送品が配送先に届けられると、図3Aに示すように、下基材15から配達票13が剥離される。この場合、配達票13は、上基材31、収縮層33及び剥離剤層34が一体となったものである。そして、配達票13は、上記のように上基材31、収縮層33及び剥離剤層34が一体となった3層構造のもので、その分の厚みでカールしにくいものであるが、上基材31の性質(紙質や厚さ)や第2情報部32及び記入欄への印字または筆記によって、第2情報部32側にカールしようとする。In thedelivery slip 11 shown in FIGS. 1A and 1B, thepeeling base material 17 is peeled off, and theadhesive layer 16 that is exposed is attached to the delivery goods. When the delivery product is delivered to the delivery destination, thedelivery slip 13 is peeled from thelower base material 15 as shown in FIG. 3A. In this case, thedelivery slip 13 is one in which theupper substrate 31, theshrink layer 33, and therelease agent layer 34 are integrated. Thedelivery slip 13 has a three-layer structure in which theupper substrate 31, theshrink layer 33, and therelease agent layer 34 are integrated as described above. It tries to curl to the2nd information part 32 side by the property (paper quality and thickness) of thebase material 31, and the printing or writing to the2nd information part 32 and an entry column.
 ところが、配達票13は、図3Bに示すように、上基材31に直接形成された収縮層33において、第2情報部32の反対側に収縮しようとする収縮力が働く。すなわち、カールしようとした力F0と収縮層33による収縮力F1とで均衡が図られて、配達票13のカールが低減されることになる。However, as shown in FIG. 3B, thedelivery slip 13 has a contraction force that tends to contract toward the opposite side of thesecond information section 32 in thecontraction layer 33 formed directly on theupper base material 31. That is, the balance between the force F0 to be curled and the contraction force F1 by thecontraction layer 33 is achieved, and curling of thedelivery slip 13 is reduced.
 なお、貼付票12となる貼付票基材21の裏面に、配達票13と同様に収縮層33、剥離剤層34を順次形成させる構成としてもよい。これは、貼付票12を剥離させる目的ではなく製造上のもので、貼付票基材21と上基材31とが連設された基材の表面上に第1情報層22及び第2情報層32を形成するとともに、裏面に収縮層33及び剥離剤層34を順次形成させ、下基材15の接着層20上に接着した後に分離線14を形成することで、製造効率を向上させることができる。また、下基材15上であって、配達票13の上基材21が位置される領域に、配達票13が剥離した際に表出する所定の内容の情報を形成させておいてもよい。In addition, it is good also as a structure in which the shrinkage |contraction layer 33 and the releasingagent layer 34 are formed in order on the back surface of the stickingslip base material 21 used as the stickingslip 12 similarly to thedelivery slip 13. This is not for the purpose of peeling thesticker 12 but for manufacturing, and thefirst information layer 22 and the second information layer are formed on the surface of the base material on which thesticker base material 21 and theupper base material 31 are connected. 32, theshrinkage layer 33 and therelease agent layer 34 are sequentially formed on the back surface, and theseparation line 14 is formed after adhering onto theadhesive layer 20 of thelower substrate 15, thereby improving the production efficiency. it can. In addition, information on a predetermined content that appears when thedelivery slip 13 is peeled may be formed on thelower base material 15 in an area where theupper base 21 of thedelivery slip 13 is located. .
 以下に、本願発明に係る再剥離性重ね合わせシートを隠蔽葉書に適用した例について説明する。Hereinafter, an example in which the releasable overlapping sheet according to the present invention is applied to a concealment postcard will be described.
 図4Aは、本願発明に係る再剥離性重ね合わせシートを隠蔽葉書に適用した例を示す斜視図であり、図4Bは、図4Aに示した隠蔽葉書41の断面図である。FIG. 4A is a perspective view showing an example in which the releasable overlapping sheet according to the present invention is applied to a concealing postcard, and FIG. 4B is a cross-sectional view of the concealingpostcard 41 shown in FIG. 4A.
 本例の隠蔽葉書41は、図4A及び図4Bに示すように、第1基材片42と第2基材片43とが折り線44で連設されたもので、第1基材片42及び第2基材片43の重ね合わせ面にバーコード情報を含む隠蔽情報45が印字され、また、第2基材片43の反対面に宛名情報46が形成されている。As shown in FIG. 4A and FIG. 4B, theconcealment postcard 41 of this example includes a firstbase material piece 42 and a secondbase material piece 43 that are connected by afold line 44. In addition,concealment information 45 including barcode information is printed on the overlapping surface of the secondbase material piece 43, and addressinformation 46 is formed on the opposite surface of the secondbase material piece 43.
 第1基材片42の重ね合わせ面には、上記同様の接着層(例えば擬似接着剤層)20が形成され、第2基材片43の重ね合わせ面には収縮層33及び剥離剤層34が順次形成されて、第1基材片42と第2基材片43とを折り線44で重ね合わせ接着されることで隠蔽葉書41となる。An adhesive layer (for example, a pseudo adhesive layer) 20 similar to the above is formed on the overlapping surface of the firstbase material piece 42, and theshrink layer 33 and therelease agent layer 34 are formed on the overlapping surface of the secondbase material piece 43. Are sequentially formed, and the firstbase material piece 42 and the secondbase material piece 43 are overlapped and bonded together by afolding line 44 to form aconcealment postcard 41.
 そして、第2基材片43を第1基材片42から剥離すると、第2基材片43が宛名情報46側にカールしようとする力F0が発生するが、第2基材片43に直接形成された収縮層33が力F0と反対側に収縮力F1が働き、これらの均衡が図られて、第2基材片43のカールが低減されることになる。Then, when the secondbase material piece 43 is peeled from the firstbase material piece 42, a force F0 that causes the secondbase material piece 43 to curl toward theaddress information 46 is generated. The contraction force F1 acts on the opposite side to the force F0 of the formedcontraction layer 33, the balance between them is achieved, and the curl of the secondbase material piece 43 is reduced.
 このように、収縮層33を、剥離対象の配送伝票11の配達票13となる上基材13や隠蔽葉書41の第2基材片43に直接形成していることから、これらが3層構造の厚みでカールしにくいことと相まって、収縮層33の収縮特性によって剥離後のカールを有効に低減することができる。Thus, since theshrinkage layer 33 is directly formed on theupper base material 13 and the secondbase material piece 43 of theconcealment postcard 41, which are the delivery slips 13 of thedelivery slip 11 to be peeled off, these have a three-layer structure. The curling after peeling can be effectively reduced by the shrinkage property of theshrinkable layer 33 coupled with the fact that the thickness of theshrinkable layer 33 is difficult to curl.
 また、収縮層33が上基材31や第2基材片43に直接、すなわち剥離剤層34との間に形成されていることから、仮に上基材31や第2基材片43を剥離させた際に接着層20側に剥離剤層34が一部残存した場合であっても、上基材31や第2基材片43に直接形成された収縮層33によって、安定した収縮性を確保することができる。Further, since theshrink layer 33 is formed directly on theupper base material 31 and the secondbase material piece 43, that is, between therelease agent layer 34, theupper base material 31 and the secondbase material piece 43 are temporarily peeled off. Even when a part of therelease agent layer 34 remains on theadhesive layer 20 side, theshrinkable layer 33 formed directly on theupper base material 31 or the secondbase material piece 43 provides stable shrinkability. Can be secured.
 ここで、上述した配送伝票11のような再剥離性重ね合わせシートにおいては、剥離終端にてカールが生じやすい。そこで、以下に、剥離終端におけるカールを低減する構成について2つの実施の形態を例に挙げて説明する。Here, in the releasable superposed sheet such as thedelivery slip 11 described above, curling tends to occur at the end of peeling. Accordingly, the configuration for reducing the curl at the peeling end will be described below by taking two embodiments as examples.
 (第2の実施の形態)
 図5Aは、本発明の再剥離性重ね合わせシートの第2の実施の形態を示す斜視図である。また、図5Bは、図5Aに示した配送伝票11の断面図であり、図5Cは、図5Bに示した接着層120の形状を示す図である。
(Second Embodiment)
FIG. 5A is a perspective view showing a second embodiment of the releasable superposed sheet of the present invention. 5B is a cross-sectional view of thedelivery slip 11 shown in FIG. 5A, and FIG. 5C is a view showing the shape of theadhesive layer 120 shown in FIG. 5B.
 本形態は図5A~5Cに示すように、同一平面で形成される貼付票112と配達票113とから構成され、分離線114で配達票113が再剥離可能に設けられたものである。As shown in FIGS. 5A to 5C, this embodiment is composed of asticker slip 112 and adelivery slip 113 formed on the same plane, and thedelivery slip 113 is provided on theseparation line 114 so as to be removable.
 配送伝票111は、貼付票112及び配達票113の共通の基材となる例えば上質紙35Kgの下基材115の裏面(図中、下面)に粘着層116が形成され、この粘着層116によって剥離基材117が再剥離可能に接着されており、これら粘着層116及び剥離基材117を有するラベルとして構成される。粘着層116は、配送伝票111を対象物品に強接着で貼り付けるためのもので、接着剤、粘着剤の何れでもよい。また、剥離基材117には後に剥がし易いようにスリット118が形成されている。In thedelivery slip 111, for example, anadhesive layer 116 is formed on the back surface (lower surface in the drawing) of thelower base material 115 serving as a common base material for thesticker slip 112 and thedelivery slip 113, and peeled off by theadhesive layer 116. Abase material 117 is removably adhered, and is configured as a label having theadhesive layer 116 and thepeeling base material 117. Theadhesive layer 116 is for attaching thedelivery slip 111 to the target article with strong adhesion, and may be either an adhesive or an adhesive. In addition, aslit 118 is formed in the peelingsubstrate 117 so that it can be easily peeled off later.
 下基材115上にはメジウム層119が形成されている。メジウム層119は、シリカ等を含有する一般的なメジウムによって形成される。メジウムは液状インキ用のものとペーストインキ用のものとがあり、何れもインキの濃度調整や光沢付与でインキに加えられるものであるが、単体で使用される場合には防水性の特性がある。その意味では、メジウムに限らず、ニスやフッ素系コーティング剤等の防水性能を有するものであれば何れでもよい。接着層120に水性の接着剤が使用されなければ、メジウム層119は不要である。Amedium layer 119 is formed on thelower substrate 115. Themedium layer 119 is formed of general medium containing silica or the like. Medium is available for liquid ink and paste ink, both of which are added to the ink to adjust the ink concentration and gloss, but when used alone, it has waterproof properties . In that sense, it is not limited to medium, and any material having waterproof performance such as varnish or fluorine-based coating agent may be used. If a water-based adhesive is not used for theadhesive layer 120, themedium layer 119 is unnecessary.
 メジウム層119が形成された下基材115上は、貼付票112が位置される貼付票領域150Aと、配達票113が位置される配達票領域150Bとなる。貼付票領域150Aのメジウム層119上には接着層120が形成され、配達票領域150Bのメジウム層119上には接着層152が形成される。接着層152は、図5Cに示すように、配達票113に形成される表記部113Bに対応する領域が糊抜き部152Cとされ、糊抜き部152Cの部分が配達票113の剥離開始端となり、その対角方向が剥離方向Toffとなる。On thelower base material 115 on which themedium layer 119 is formed, asticker slip area 150A where thesticker slip 112 is located and adelivery slip area 150B where thedelivery slip 113 is located. Anadhesive layer 120 is formed on themedium layer 119 in thesticker slip area 150A, and anadhesive layer 152 is formed on themedium layer 119 in thedelivery slip area 150B. As shown in FIG. 5C, theadhesive layer 152 has an area corresponding to thenotation portion 113B formed on thedelivery slip 113 as adesizing portion 152C, and a portion of thedesizing portion 152C serves as a peeling start end of thedelivery slip 113, The diagonal direction is the peeling direction Toff.
 接着層152は、糊抜き部152Cを除く4辺に接着剤により帯状に形成されたもので、剥離開始端からの両側2辺となる接着層152Aが接着剤塗布幅aで形成されるとともに、この2辺以外の剥離終端の領域に続く2辺となる接着剤層152Bが接着剤塗布幅bとして接着層152Aの塗布幅aより小(a>b)で形成される。例えば、配達票113の寸法が横100mm×縦92mmの場合として、接着層152Aの塗布幅aを5mmとし、接着層152Bの塗布幅bを3mmとする。すなわち、接着層152が、塗布幅aで形成される接着層152Aと、塗布幅bで形成される接着層152Bとにより構成されている。そして、これらの塗布面積の差により、剥離開始端側の接着層152Aにおける接着力が、剥離終端領域の接着層152Bにおける接着力よりも強となり、剥離開始端から対角方向の剥離終端の領域にかけて接着剤による接着力が強から弱の2段階となっている。Theadhesive layer 152 is formed in a band shape with an adhesive on the four sides excluding thedesizing portion 152C, and theadhesive layer 152A on the two sides from the peeling start end is formed with the adhesive application width a, Theadhesive layer 152B on the two sides following the peeling termination region other than the two sides is formed as an adhesive application width b smaller than the application width a of theadhesive layer 152A (a> b). For example, when the dimensions of thedelivery slip 113 are 100 mm wide × 92 mm long, the application width a of theadhesive layer 152A is 5 mm, and the application width b of theadhesive layer 152B is 3 mm. That is, theadhesive layer 152 includes anadhesive layer 152A formed with a coating width a and anadhesive layer 152B formed with a coating width b. Then, due to the difference in these application areas, the adhesive force in theadhesive layer 152A on the peeling start end side becomes stronger than the adhesive force in theadhesive layer 152B in the peeling end region, and the region of the peeling end in the diagonal direction from the peeling start end The adhesive strength by the adhesive is in two stages from strong to weak.
 ここで、接着層120,152は、例えば水性エマルジョン接着剤が使用され、50パーセントの網点状で形成される。そして、接着層152の内側に、例えば水性エマルジョン接着剤を30パーセントの網点状とすることにより低密度接着層153が形成されている。この意味では、接着層152は、低密度接着層153に対して高密度接着層となる。このように、少なくとも、接着層152,153を網点状接着剤で形成することにより、接着力を容易に調整することができる。なお、上記網点の比率は、接着剤の種類に応じて適宜設定される。Here, for example, a water-based emulsion adhesive is used for theadhesive layers 120 and 152, and theadhesive layers 120 and 152 are formed in a 50% dot pattern. A lowdensity adhesive layer 153 is formed inside theadhesive layer 152 by, for example, forming a water-based emulsion adhesive into a 30 percent halftone dot shape. In this sense, theadhesive layer 152 is a high-density adhesive layer with respect to the low-density adhesive layer 153. As described above, by forming at least theadhesive layers 152 and 153 with a dot-like adhesive, the adhesive force can be easily adjusted. In addition, the ratio of the said halftone dot is suitably set according to the kind of adhesive agent.
 低密度接着層153は、配達票113がその周縁で接着層152により接着されるものであることから必要な要件ではないが、配達票113を弱接着で密着させることよって段差をなくし、情報を印字する際等において影響を与えないようにすることができる。なお、接着層120,152及び低密度接着層153として、水性エマルジョン接着剤に限らず、天然ラテックスにデンプンやシリカ等の微粒状充填剤を混入させたもの等、その他接着剤(固化による接着)や粘着剤(粘性を保持しながら接着)の何れでもよい。The low-density adhesive layer 153 is not a necessary requirement because thedelivery slip 113 is adhered by theadhesive layer 152 at the periphery thereof, but thedelivery slip 113 is adhered by weak adhesion to eliminate a step, and information can be received. It is possible to prevent the influence when printing. Theadhesive layers 120 and 152 and the lowdensity adhesive layer 153 are not limited to water-based emulsion adhesives, and other adhesives such as natural latex mixed with fine particulate fillers such as starch and silica (adhesion by solidification). Or pressure-sensitive adhesive (adhesion while maintaining viscosity) may be used.
 貼付票112は、例えば上質紙70Kgの貼付票基材121の表面(図中、上面)上に「貼付票」、「送り主」、「届け先」等の記入欄及び各配送伝票固有のバーコード112Aや伝達内容等が印刷されることにより、第1情報層122が形成されている。この記入欄には、筆記またはプリンタ(感熱、インクジェット、ノンインパクトのプリンタ)によって、「貼付票」、「送り主」、「届け先」等が記載される。貼付票112は、下基材115の貼付票領域150Aに形成されている接着層120上に接着された形態となっている。Thesticker 112 is, for example, an entry field such as “sticker”, “sender”, “destination” on the surface (upper surface in the drawing) of thesticker base 121 of high-quality paper 70 kg and abarcode 112A unique to each delivery slip. Thefirst information layer 122 is formed by printing the transmission contents and the like. In this entry column, “sticker slip”, “sender”, “destination”, etc. are written by writing or printer (thermal, ink jet, non-impact printer). Thesticker slip 112 is in a form adhered to theadhesive layer 120 formed in thesticker slip region 150A of thelower substrate 115.
 配達票113は、例えば上質紙70Kgの上基材141の表面(図中、上面)上に、貼付票112と同様に、印字面または筆記面として、「貼付票」、「送り主」、「届け先」等の記入欄及び各配送伝票固有のバーコード113A、剥離開始の目印とさせる表記部113B等が印刷されることにより、第2情報層132が形成されている。なお、表記部113Bは、当該部分をカットして表す場合も含む。この記入欄には、筆記またはプリンタ(感熱、インクジェット、ノンインパクトのプリンタ)によって、「貼付票」、「送り主」、「届け先」等が記載される。Thedelivery slip 113 is, for example, on the surface (upper surface in the drawing) of the upper base material 141 of the high-quality paper 70 Kg as “printing slip”, “sender”, “delivery destination” as the printing surface or writing surface in the same manner as the stickingslip 112. Thesecond information layer 132 is formed by printing an entry field such as “”, abar code 113A unique to each delivery slip, anotation 113B for marking the start of peeling, and the like. Note that thenotation portion 113B includes a case where the portion is cut out. In this entry column, “sticker slip”, “sender”, “destination”, etc. are written by writing or printer (thermal, ink jet, non-impact printer).
 上基材131の裏面(図中、下面)には、紫外線硬化型メジウム等の収縮層133が形成されている。収縮層133は、硬化する際に収縮する特性を具備し、配達票113の中部分のカールを低減させるとともに、接着層152及び低密度接着層153に水性エマルジョン接着剤を用いた場合の上基材131への水分の浸透を防止するためのものである。Ashrinkage layer 133 such as an ultraviolet curable medium is formed on the back surface (the lower surface in the figure) of theupper base 131. Theshrinkable layer 133 has a property of shrinking when cured, reduces curling of the middle part of thedelivery slip 113, and upper base when an aqueous emulsion adhesive is used for theadhesive layer 152 and the lowdensity adhesive layer 153. This is to prevent moisture permeation into thematerial 131.
 収縮層133の面上には、剥離剤層134が形成されている。剥離剤層134は、例えば剥離剤として一般的な剥離ニスを使用することができる。剥離ニスは紫外線硬化型であってもよい。配達票113は、剥離剤層134側が下基材115の配達票領域150Bの接着層152及び低密度接着層153上に接着された形態となっている。Arelease agent layer 134 is formed on the surface of theshrink layer 133. For therelease agent layer 134, for example, a general release varnish can be used as a release agent. The peeling varnish may be an ultraviolet curable type. Thedelivery slip 113 has a form in which therelease agent layer 134 side is adhered onto theadhesive layer 152 and the lowdensity adhesive layer 153 in thedelivery slip region 150B of thelower base material 115.
 以下に、上記のように構成された配送伝票111の作製方法について説明する。Hereinafter, a method for producing thedelivery slip 111 configured as described above will be described.
 図6A及び図6Bは、図5A~5Cに示した配送伝票111の作製概念図である。FIG. 6A and FIG. 6B are schematic diagrams for producing thedelivery slip 111 shown in FIGS. 5A to 5C.
 まず、図6Aに示すように、下基材115の裏面に粘着層116を塗布して剥離紙117を接着し、スリット118を形成する。そして、下基材115の表面上に、例えば紫外線硬化型のメジウムを塗布して紫外線を照射することでメジウム層119を形成する。この際、下基材115上に印刷層を形成し、その上にメジウム層119を形成してもよい。さらに、このメジウム層119上に、配達票領域150B上の糊抜き部152Cを除き、例えば水性エマルジョン接着剤を、例えばスクリーン印刷と同様の手法により50パーセントの網点状で塗布して接着層120及び接着層152(接着層152A,152B)を形成し、接着層152の内側に、例えばスクリーン印刷と同様の手法により水性エマルジョン接着剤を30パーセントの網点状で塗布して低密度接着層153を形成する。なお、接着層120及び接着層152(接着層152A,152B)の形成と、低密度接着層153の形成との順序は問わない。First, as shown in FIG. 6A, anadhesive layer 116 is applied to the back surface of thelower substrate 115 and arelease paper 117 is adhered to form aslit 118. Then, amedium layer 119 is formed on the surface of thelower substrate 115 by, for example, applying ultraviolet curable medium and irradiating with ultraviolet light. At this time, a printing layer may be formed on thelower substrate 115, and themedium layer 119 may be formed thereon. Further, on themedium layer 119, except for thedesizing portion 152C on thedelivery slip region 150B, for example, an aqueous emulsion adhesive is applied in the form of a 50% dot by the same method as that for screen printing, for example, to form theadhesive layer 120. Then, an adhesive layer 152 (adhesive layers 152A and 152B) is formed, and a low-density adhesive layer 153 is coated on the inner side of theadhesive layer 152 by, for example, the same method as screen printing in the form of a 30 percent dot. Form. Note that the order of forming theadhesive layer 120 and the adhesive layer 152 (adhesive layers 152A and 152B) and the formation of the low-density adhesive layer 153 are not limited.
 次に、図6Bに示すように、貼付票112となる貼付票基材121上に印刷によって第1情報層122を形成する。また、配達票113となる上基材131の表面上に、剥離開始の目印とさせる表記部113B等を印刷することによって第2情報層132を形成する。これにより、貼付票112及び配達票113のそれぞれに、配送に必要となる情報を印刷する。Next, as shown in FIG. 6B, afirst information layer 122 is formed by printing on asticker substrate 121 to be asticker 112. Further, thesecond information layer 132 is formed on the surface of theupper base material 131 to be thedelivery slip 113 by printing anotation portion 113B or the like used as a mark for starting peeling. As a result, information necessary for delivery is printed on each of thepasting slip 112 and thedelivery slip 113.
 次に、上基材131の裏面に紫外線硬化型のメジウムを塗布し、紫外線を照射して硬化させることで収縮層133を形成する。この際、上基材131の裏面に印刷層を形成し、その上にメジウムを塗布して収縮層133を形成してもよい。さらに、この収縮層133上に印刷層を形成してもよい。また、収縮層133の面上に例えば紫外線硬化型の剥離ニスを塗布し、紫外線を照射して硬化させることで剥離剤層134を形成する。なお、剥離ニスにシリコーンを含有させ、シリコーンの含有量によって配達票113の下基材115からの剥離強度を調整することもできる。Next, an ultraviolet curable medium is applied to the back surface of theupper base 131, and theshrink layer 133 is formed by irradiating and curing the ultraviolet rays. At this time, ashrinkage layer 133 may be formed by forming a printing layer on the back surface of theupper base 131 and applying a medium thereon. Further, a printed layer may be formed on theshrink layer 133. Further, for example, an ultraviolet curable release varnish is applied on the surface of theshrink layer 133, and therelease agent layer 134 is formed by curing by applying ultraviolet rays. Note that silicone can be contained in the release varnish, and the peel strength from thelower base material 115 of thedelivery slip 113 can be adjusted by the silicone content.
 そして、下基材115に形成された接着層152A,152B上に、上基材131に形成された剥離剤層134を当接させて接着し、また、貼付票112となる貼付票基材121を接着層120上に接着させることで、図5A~5Cに示した貼付票112及び配達票113が同一平面とされた配送伝票111が作製される。Then, theadhesive layer 152A, 152B formed on thelower base material 115 is brought into contact with and adhered to therelease agent layer 134 formed on theupper base material 131. Is adhered on theadhesive layer 120, so that adelivery slip 111 in which thesticker slip 112 and thedelivery slip 113 shown in FIGS. 5A to 5C are on the same plane is produced.
 以下に、上述した配送伝票111の作用について説明する。The operation of thedelivery slip 111 described above will be described below.
 図7A及び図7Bは、図5A~5Cに示した配送伝票111から配達票113の上基材131を剥離していく状態を示す図である。7A and 7B are diagrams showing a state in which theupper base 131 of thedelivery slip 113 is peeled from thedelivery slip 111 shown in FIGS. 5A to 5C.
 図5A~5Cに示した配送伝票111は、剥離基材117が剥離され、表出した粘着層116によって配送品に貼付される。配送品が配送先に届けられると、図7Aに示すように、配達票113が表記部113Bに対応する糊抜き部152Cの部分を剥離開始端として持ち上げられながら対角方向の剥離終端に向けて下基材115から剥離されていく。この場合、配達票113は、上基材131、収縮層133及び剥離剤層134が一体となったものである。この状態では、配達票113は、主に裏面の剥離層134の剥離開始端側周縁で接着されている接着層152Aによる接着力からの剥離となる。In thedelivery slip 111 shown in FIGS. 5A to 5C, thepeeling base material 117 is peeled off, and is stuck to the delivery goods by the exposedadhesive layer 116. When the delivery product is delivered to the delivery destination, as shown in FIG. 7A, thedelivery slip 113 is lifted with the part of thedesizing part 152C corresponding to thenotation part 113B as the peeling start end, toward the peeling end in the diagonal direction. It peels from thelower base material 115. In this case, thedelivery form 113 is one in which theupper base 131, theshrink layer 133, and therelease agent layer 134 are integrated. In this state, thedelivery slip 113 is mainly peeled off from the adhesive force by theadhesive layer 152A adhered at the periphery of the peeling start end side of thepeeling layer 134 on the back surface.
 そして、図7Bに示すように、配達票113の剥離開始端から剥離が進むと、接着層152Aよりの剥離から接着層152Bよりの剥離になる。この際、接着層152Aの接着剤塗布幅aよりも小の塗布幅bで形成された接着層152Bの接着力が弱であることから、剥離終端に向けて配達票113をそれほど曲げながら剥離させる必要がなくなり、剥離終端での完全な剥離まで続けられる。これにより、剥離された配達票113の剥離終端部分での角部分においても曲げの少ない剥離が可能となって、この部分でカールすることを低減することができる。7B, when peeling progresses from the peeling start end of thedelivery form 113, the peeling from theadhesive layer 152A is changed to the peeling from theadhesive layer 152B. At this time, since the adhesive force of theadhesive layer 152B formed with the application width b smaller than the adhesive application width a of theadhesive layer 152A is weak, thedelivery sheet 113 is peeled off while being bent toward the end of peeling. There is no need to continue until complete stripping at the end of stripping. As a result, peeling with less bending is possible even at the corner portion at the peeling end portion of the peeleddelivery slip 113, and curling at this portion can be reduced.
 このように、剥離開始端からの両側2辺の接着層152Aの塗布幅に対して、剥離終端部分に続く2辺の接着層152Bの塗布幅を小とし、この塗布面積の差によって剥離終端側の接着層152Bによる接着力を剥離開始端側の接着層152Aよりも小とさせることにより、剥離する配達票113の剥離時における剥離終端部分でのカール発生を低減することができる。In this way, the coating width of theadhesive layer 152B on the two sides following the peeling termination portion is made smaller than the coating width of theadhesive layer 152A on the two sides on both sides from the peeling start end. By making the adhesive force by theadhesive layer 152B smaller than that of theadhesive layer 152A on the peeling start end side, it is possible to reduce the occurrence of curling at the peeling end portion when peeling thedelivery slip 113 to be peeled.
 以下に、本発明の再剥離性重ね合わせシートの他の接着層の構成例について説明する。Hereinafter, a configuration example of another adhesive layer of the releasable superposed sheet of the present invention will be described.
 図8は、本発明の再剥離性重ね合わせシートの他の接着層の構成例を示す図である。なお、本例は、下基材115に形成された接着層の形態の構成例であって、貼付票領域150Aに形成された接着層120は上記同様である。FIG. 8 is a diagram showing a configuration example of another adhesive layer of the releasable superposed sheet of the present invention. In addition, this example is a structural example of the form of the adhesive layer formed in thelower base material 115, and theadhesive layer 120 formed in thesticker slip region 150A is the same as described above.
 本例は図8に示すように、接着層が、第1接着層150Aを、糊抜き部152Cを除く上記剥離開始端から剥離終端の領域までに続く辺に同一塗布幅で形成し、剥離終端の領域部分に第1接着層よりも接着力が小の第2接着層を形成し、剥離開始端から剥離終端にかけて接着力を強から弱の2段階としたものである。In this example, as shown in FIG. 8, the adhesive layer is formed by forming the first adhesive layer 150 </ b> A with the same application width on the side that extends from the peeling start end to the peeling termination region excluding thedesizing portion 152 </ b> C. A second adhesive layer having an adhesive strength smaller than that of the first adhesive layer is formed in this area portion, and the adhesive strength is divided into two steps from strong to weak from the peeling start end to the peeling end.
 この場合、第1接着層152Aは、例えば水性エマルジョン接着剤により50パーセントの網点状で形成され、第2接着層153Aは、例えば水性エマルジョン接着剤により30パーセントの網点状で形成される。本例では、上記同様に低密度接着層153も形成されていることから、低密度接着層153と第2接着層153Aとを同時期に形成させることができる。In this case, the firstadhesive layer 152A is formed with, for example, a 50-percent halftone dot by an aqueous emulsion adhesive, and the secondadhesive layer 153A is formed, for example, with a 30-percent halftone dot by using an aqueous emulsion adhesive. In this example, since the low-density adhesive layer 153 is also formed as described above, the low-density adhesive layer 153 and the secondadhesive layer 153A can be formed at the same time.
 図8に示したものにおいても、少なくとも剥離終端部分の接着層153Aによる接着力を接着層152Aの接着力よりも小とさせたことにより、剥離する配達票113の剥離時における剥離終端部分でのカール発生を低減することができる。In the case shown in FIG. 8 as well, at least the adhesive force of theadhesive layer 153A at the peeling end portion is made smaller than the adhesive force of theadhesive layer 152A, so Curling can be reduced.
 図9A~9Cは、本発明の再剥離性重ね合わせシートの他の接着層の構成例を示す図である。FIGS. 9A to 9C are diagrams showing a configuration example of another adhesive layer of the releasable superposed sheet of the present invention.
 本例は、接着層を任意数の島状で形成させたものであるが、形状を問うものではない。In this example, the adhesive layer is formed in an arbitrary number of islands, but the shape is not questioned.
 例えば、図9Aに示すように、接着層154Aを所定大の島状として糊抜き部152Cを除く剥離方向Toffの剥離開始端から剥離終端の領域までを密パターンで形成し、剥離終端の領域部分を同一大の疎パターンで形成することにより、剥離開始端から剥離終端にかけて接着力を強から弱の2段階とさせることが考えられる。この接着層154Aは、例えば水性エマルジョン接着剤により50パーセントの網点状で形成される。For example, as shown in FIG. 9A, theadhesive layer 154A is formed into a predetermined large island shape, and a dense pattern is formed from the peeling start end to the peeling end region in the peeling direction Toff excluding thedesizing portion 152C. It is conceivable that the adhesive strength is made to be two steps from strong to weak from the peeling start end to the peeling end by forming them in the same large sparse pattern. Theadhesive layer 154A is formed in a 50 percent dot pattern with, for example, an aqueous emulsion adhesive.
 また、図9Bに示すように、接着層154Aを所定大の島状として糊抜き部152Cを除く剥離方向Toffの剥離開始端から剥離終端の領域までを密パターンで形成し、剥離終端の領域部分を任意数の小形の疎パターンの接着層154Bで形成することにより、剥離開始端から剥離終端にかけて接着力を強から弱の2段階とさせることが考えられる。この接着層154A,154Bは、例えば水性エマルジョン接着剤により50パーセントの網点状で形成される。Further, as shown in FIG. 9B, theadhesive layer 154A is formed into a predetermined large island shape, and a dense pattern is formed from the peeling start end to the peeling end region in the peeling direction Toff excluding thedesizing portion 152C. Is formed by anadhesive layer 154B having an arbitrary number of small sparse patterns, so that the adhesive force can be divided into two steps from strong to weak from the peeling start end to the peeling end. Theadhesive layers 154A and 154B are formed, for example, by a water-based emulsion adhesive in a 50% dot pattern.
 また、図9Cに示すように、接着層を同一大の島状として同一パターンとし、糊抜き部22Cを除く剥離方向Toffの剥離開始端から剥離終端の領域までを第1接着層154Aで形成し、剥離終端の領域部分を第1接着層154Aよりも接着力が小の第2接着層154Cで形成することにより、剥離開始端から剥離終端にかけて接着力を強から弱の2段階とさせることが考えられる。この第1接着層154Aは、例えば水性エマルジョン接着剤により50パーセントの網点状で形成され、第2接着層154Cは、例えば水性エマルジョン接着剤により30パーセントの網点状で形成される。Further, as shown in FIG. 9C, the adhesive layer is formed in the same pattern as the same island shape, and the firstadhesive layer 154A is formed from the peeling start end to the peeling end region in the peeling direction Toff excluding the desizing portion 22C. By forming the region part of the peeling end with the secondadhesive layer 154C having an adhesive strength smaller than that of the firstadhesive layer 154A, the adhesive force can be made to have two steps from strong to weak from the peeling start end to the peeling end. Conceivable. The firstadhesive layer 154A is formed with a 50 percent halftone dot, for example, with an aqueous emulsion adhesive, and the secondadhesive layer 154C is formed, for example, with a 30 percent halftone dot with an aqueous emulsion adhesive.
 このように、接着層が所定数の島状で形成されている場合においても、図9A及び図9Bに示したように、少なくとも剥離終端部分における接着層による接着力を、他の部分の接着層による接着力よりもその接着剤の塗布面積のトータルの差で小とすることにより、剥離する配達票113の剥離時における剥離終端部分でのカール発生を低減することができる。また、図9Cに示したように、少なくとも剥離終端部分の接着層154Cによる接着力をその他の部分の接着層154Aの接着力よりも小とすることにより、剥離する配達票113の剥離時における剥離終端部分でのカール発生を低減することができる。In this way, even when the adhesive layer is formed in a predetermined number of island shapes, as shown in FIGS. 9A and 9B, at least the adhesive force by the adhesive layer at the peeling termination portion is applied to the adhesive layer of other portions. By making the total difference in the application area of the adhesive smaller than the adhesive force due to the occurrence of curling, it is possible to reduce the occurrence of curling at the peeling end portion when peeling thedelivery slip 113 to be peeled. Further, as shown in FIG. 9C, at least when thedelivery sheet 113 to be peeled off is peeled off by making the adhesive force of theadhesive layer 154C at least the peeling termination part smaller than the adhesive force of theadhesive layer 154A of other parts. Curling at the terminal portion can be reduced.
 なお、本形態では、接着力を剥離開始端から剥離終端にかけて2段階としたものを例に挙げて説明したが、それ以上の多段階で接着力を調整してもよい。In this embodiment, the adhesive force is described in two steps from the peeling start end to the peeling end. However, the adhesive strength may be adjusted in more stages.
 また、剥離開始端の剥離ガイドとして表記部113Bに対応する糊抜き部152Cを設けた場合を示したが、剥離開始端を意図するものであれば糊抜き部152Cに限らず弱接着部としてもよい。また、剥離開始端の角部先端を上述したように切り欠きとすることで糊抜き部152Cや弱接着部を用いない構成としてもよい。Moreover, although the case where thepaste removal part 152C corresponding to thedescription part 113B was provided as a peeling guide of a peeling start end was shown, as long as the peeling start end is intended, not only thepaste removing part 152C but also a weak adhesion part Good. Moreover, it is good also as a structure which does not use thepaste removal part 152C or a weak adhesion part by making the corner | angular part front end of a peeling start end into a notch as mentioned above.
 (第3の実施の形態)
 図10Aは、本発明の再剥離性重ね合わせシートの第3の実施の形態を示す斜視図である。また、図10Bは、図10Aに示した配送伝票211の断面図であり、図10Cは、図10Bに示した剥離剤層234の形状を示す図である。
(Third embodiment)
FIG. 10A is a perspective view showing a third embodiment of the releasable superposed sheet of the present invention. 10B is a cross-sectional view of thedelivery slip 211 shown in FIG. 10A, and FIG. 10C is a diagram showing the shape of therelease agent layer 234 shown in FIG. 10B.
 本形態は図10A~10Cに示すように、同一平面で形成される貼付票212と配達票213とから構成され、分離線214で配達票213が再剥離可能に設けられたものである。As shown in FIGS. 10A to 10C, the present embodiment is composed of asticker slip 212 and adelivery slip 213 formed on the same plane, and thedelivery slip 213 is detachable by aseparation line 214.
 配送伝票211は、貼付票212及び配達票213の共通の基材となる例えば上質紙35Kgの下基材215の裏面(図中、下面)に粘着層216が形成され、この粘着層216によって剥離基材217が再剥離可能に接着されており、これら粘着層216及び剥離基材217を有するラベルとして構成される。粘着層216は、配送伝票211を対象物品に強接着で貼り付けるためのもので、接着剤、粘着剤の何れでもよい。また、剥離基材217には後に剥がし易いようにスリット218が形成されている。In thedelivery slip 211, anadhesive layer 216 is formed on the back surface (lower surface in the figure) of thelower base material 215 that is a common base material for thesticker slip 212 and thedelivery slip 213, for example, 35Kg, and is peeled off by theadhesive layer 216. Abase material 217 is removably bonded, and is configured as a label having theadhesive layer 216 and therelease base material 217. Theadhesive layer 216 is for attaching thedelivery slip 211 to the target article with strong adhesion, and may be either an adhesive or an adhesive. In addition, aslit 218 is formed in the peelingsubstrate 217 so that it can be easily peeled off later.
 下基材215上には、メジウム層219が形成され、メジウム層219上に、下基材215から上基材231を剥離する際の剥離開始の目印とされる表記部に対応した糊抜き部220Aを除き、接着層220が形成されている。接着層220は、ここでは、水性エマルジョン接着剤で形成される。また、接着層220としては、これに限らず、天然ラテックスにデンプンやシリカ等の微粒状充填剤を混入させたもの等、その他接着剤(固化による接着)や粘着剤(粘性を保持しながら接着)の何れでもよい。特に水性エマルジョン接着剤を用いた場合には、メジウム層219によって、下基材215への水分の浸透を防止することができる。Amedium layer 219 is formed on thelower substrate 215, and a desizing portion corresponding to a notation portion that serves as a mark for starting peeling when theupper substrate 231 is peeled from thelower substrate 215 on themedium layer 219. Except for 220A, anadhesive layer 220 is formed. Here, theadhesive layer 220 is formed of an aqueous emulsion adhesive. In addition, theadhesive layer 220 is not limited to this, and other adhesives (adhesion due to solidification) or pressure-sensitive adhesives (adhesion while maintaining viscosity), such as natural latex mixed with a fine particulate filler such as starch or silica. ). In particular, when an aqueous emulsion adhesive is used, themedium layer 219 can prevent moisture from penetrating into thelower substrate 215.
 メジウム層219は、酸化チタン等を含有する一般的なメジウムによって形成される。メジウムは液状インキ用のものとペーストインキ用のものとがあり、何れもインキの濃度調整や光沢付与でインキに加えられるものであるが、単体で使用される場合には防水性の特性がある。その意味では、メジウムに限らず、ニスやフッ素系コーティング剤等の防水性能を有するものであれば何れでもよい。接着層220に水性の接着剤が使用されなければ、メジウム層219は不要である。Themedium layer 219 is formed of general medium containing titanium oxide or the like. Medium is available for liquid ink and paste ink, both of which are added to the ink to adjust the ink concentration and gloss, but when used alone, it has waterproof properties . In that sense, the medium is not limited to medium, and any material may be used as long as it has waterproof performance such as varnish and fluorine-based coating agent. If a water-based adhesive is not used for theadhesive layer 220, themedium layer 219 is unnecessary.
 貼付票212は、例えば上質紙70Kgの貼付票基材221の表面(図面の上面)上に「貼付票」、「送り主」、「届け先」等の記入欄及び各配送伝票固有のバーコード212Aや伝達内容等が印刷されることによって第1情報層222が形成されている。記入欄には、筆記またはプリンタ(感熱、インクジェット、ノンインパクトのプリンタ)等によって、「貼付票」、「送り主」、「届け先」等が記載される。貼付票212は、下基材215の対応領域(半分)の接着層220上に接着された形態となっている。Thesticker slip 212 includes, for example, an entry field such as “sticker slip”, “sender”, “destination” on the surface (upper surface of the sticker substrate) 221 of high-quality paper 70 kg and abarcode 212A unique to each delivery slip. Thefirst information layer 222 is formed by printing the transmission contents and the like. In the entry column, “sticker slip”, “sender”, “destination” and the like are written by writing or a printer (thermal, inkjet, non-impact printer). Thesticker 212 is bonded to the corresponding layer (half) of thelower base material 215 on theadhesive layer 220.
 配達票213は、例えば上質紙70Kgの上基材231の表面(図中、上面)上に、貼付票212と同様に、印字面または筆記面として、「貼付票」、「送り主」、「届け先」等の記入欄及び各配送伝票固有のバーコード213A、剥離開始の目印とさせる表記部213B等が印刷されることによって第2情報層232が形成されている。なお、接着層220を形成する際に、剥離開始端の剥離ガイドとして表記部213Bに対応する糊抜き部220Aを設けた場合を示したが、剥離開始端を意図するものであれば糊抜き部220Aに限らず弱接着部としてもよい。また、剥離開始端の角部先端を切り欠きとすることで糊抜き部220Aや弱接着部を用いない構成としてもよい。そして、記入欄には、筆記またはプリンタ(感熱、インクジェット、ノンインパクトのプリンタ)によって、「貼付票」、「送り主」、「届け先」等が記載される。Thedelivery slip 213 is, for example, on the surface (upper surface in the drawing) of theupper base material 231 of the high-quality paper 70Kg, as with thesticker slip 212, as a print surface or a writing surface, “sticker slip”, “sender”, “destination” Thesecond information layer 232 is formed by printing an entry field such as “”, abarcode 213A unique to each delivery slip, anotation portion 213B that marks the start of peeling, and the like. In addition, when forming theadhesive layer 220, the case where thepaste removing part 220A corresponding to thenotation part 213B is provided as a peeling guide for the peeling start end is shown. It is good also as a weak adhesion part not only 220A. Moreover, it is good also as a structure which does not use thepaste removal part 220A or a weak adhesive part by making the corner | angular part front end of a peeling start end into a notch. In the entry column, “sticker slip”, “sender”, “destination”, etc. are written by writing or printer (thermal, ink jet, non-impact printer).
 上基材231の裏面(図中、下面)には収縮層233が形成されている。収縮層233は、硬化する際に収縮する特性を具備して配達票213の中部分のカールを低減させるとともに、接着層222及び低密度接着層223に水性エマルジョン接着剤を用いた場合の上基材231への水分の浸透を防止するためのものである。Ashrinkage layer 233 is formed on the back surface (the lower surface in the figure) of theupper substrate 231. Theshrinkable layer 233 has a property of shrinking when cured to reduce curling of the middle portion of thedelivery slip 213, and an upper base when an aqueous emulsion adhesive is used for theadhesive layer 222 and the low density adhesive layer 223. This is to prevent moisture permeation into thematerial 231.
 また、収縮層233の面上に剥離剤層234が形成されている。剥離剤層234は、例えば剥離剤として一般的な剥離ニス(紫外線硬化型であってもよい)を使用することができる。また、剥離剤層234は、複数の島状の剥離剤層をパターン配置したもので、その配置においては、表記部213Bに対応する剥離開始端から対角方向の剥離終端の領域にかけて単位面積あたりの形成面積の差による剥離力を大から小の少なくとも2段階に設定した単層で形成されたものとなっている。Further, arelease agent layer 234 is formed on the surface of theshrink layer 233. For therelease agent layer 234, for example, a general release varnish (which may be an ultraviolet curable type) can be used as the release agent. Further, therelease agent layer 234 is a pattern arrangement of a plurality of island-like release agent layers. In the arrangement, therelease agent layer 234 per unit area from the release start end corresponding to thenotation portion 213B to the diagonal release end region. It is formed of a single layer in which the peeling force due to the difference in the formation area is set to at least two stages from large to small.
 具体的には、図10Cに示すように、表記部213Bが剥離開始端となり、この剥離開始端から対角方向が剥離方向Toffとなる。そして、剥離終端の領域に大形島状剥離剤層264Bが任意数パターン形成され、それ以外の剥離開始端からの領域に小形島状剥離剤層264Aがパターン形成されており、小形島状剥離剤層264Aと大形島状剥離剤層264Bとは、単位面積あたりの形成面積に差が設けられている。これにより、単位面積あたりの面積が大となる大形島状剥離剤層264Bでは、剥離力が剥離しやすい小となるのに対し、単位面積あたりの面積が小となる小形島状剥離剤層264Aでは、剥離する際に大形島状剥離剤層264Bの領域における剥離よりも剥離させる力として大きな力が必要となるものである。なお、小形島状剥離剤層264A及び大形島状剥離剤層264Bの個々の形状を問うものではない。Specifically, as shown in FIG. 10C, thenotation portion 213B becomes the peeling start end, and the diagonal direction from the peeling start end becomes the peeling direction Toff. An arbitrary number of large island-shaped release agent layers 264B are formed in the region of the peeling termination, and a small island-likerelease agent layer 264A is patterned in the other regions from the peeling start end. Theagent layer 264A and the large islandrelease agent layer 264B have a difference in formation area per unit area. As a result, in the large islandrelease agent layer 264B having a large area per unit area, the peel force is small and the small island release agent layer having a small area per unit area. In the case of H.264A, a larger force is required as a peeling force than the peeling in the region of the large islandrelease agent layer 264B when peeling. The individual shapes of the small islandrelease agent layer 264A and the large islandrelease agent layer 264B are not questioned.
 そして、配達票213は、剥離剤層234側が下基材215の対応領域(貼付票領域の残り半分)の接着層220上に接着された形態となっている。And thedelivery slip 213 has a form in which therelease agent layer 234 side is adhered onto theadhesive layer 220 in the corresponding region of the lower base material 215 (the remaining half of the pasting slip region).
 以下に、上記のように構成された配送伝票211の作製方法について説明する。Hereinafter, a method for producing thedelivery slip 211 configured as described above will be described.
 図11A及び図11Bは、図10A~10Cに示した配送伝票211の作製概念図である。FIG. 11A and FIG. 11B are schematic diagrams for producing thedelivery slip 211 shown in FIGS. 10A to 10C.
 まず、図11Aに示すように、下基材215の裏面に粘着層216を塗布して剥離紙217を接着し、スリット218を形成する。そして、下基材215の表面上に、例えば紫外線硬化型のメジウムを塗布して紫外線を照射することでメジウム層219を形成する。この際、下基材215上に印刷層を形成し、その上にメジウム層219を形成してもよい。さらに、このメジウム層219上に、例えば水性エマルジョン接着剤を塗布して接着層220を形成する。First, as shown in FIG. 11A, anadhesive layer 216 is applied to the back surface of thelower substrate 215, and arelease paper 217 is adhered to form aslit 218. Then, amedium layer 219 is formed on the surface of thelower substrate 215 by applying, for example, ultraviolet curable medium and irradiating with ultraviolet rays. At this time, a printing layer may be formed on thelower substrate 215 and themedium layer 219 may be formed thereon. Further, anadhesive layer 220 is formed on themedium layer 219 by applying, for example, an aqueous emulsion adhesive.
 次に、図11Bに示すように、貼付票212となる貼付票基材221上に印刷によって第1情報層222を形成する。また、配達票213となる上基材231の表面上に印刷によって第2情報層232を形成する。これにより、貼付票212及び配達票213のそれぞれに、配送に必要となる情報を印刷する。Next, as shown in FIG. 11B, afirst information layer 222 is formed by printing on a stickerslip base material 221 to be asticker slip 212. Further, thesecond information layer 232 is formed by printing on the surface of theupper base material 231 that becomes thedelivery slip 213. As a result, information necessary for delivery is printed on each of thepasting slip 212 and thedelivery slip 213.
 次に、上基材231の裏面に紫外線硬化型のメジウムを厚さ44μmで塗布し、紫外線を照射して硬化させることで収縮層233を形成する。この際、上基材231の裏面に印刷層を形成し、その上にメジウムを塗布して収縮層233を形成してもよい。さらに、この収縮層233上に印刷層を形成してもよい。また、収縮層233の面上に例えば紫外線硬化型の剥離ニスを、例えばスクリーン印刷と同様の手法で図10Cに示したような小形島状剥離剤層264A及び大形島状剥離剤層264Bのパターンで塗布し、紫外線を照射して硬化させることで剥離剤層234を形成する。なお、剥離ニスにシリコーンを含有させ、シリコーンの含有量によって配達票213の下基材215からの剥離強度を調整することもできる。Next, ultraviolet curable medium is applied to the back surface of theupper substrate 231 with a thickness of 44 μm, and theshrink layer 233 is formed by irradiating with ultraviolet rays and curing. At this time, theshrinkage layer 233 may be formed by forming a printing layer on the back surface of theupper base member 231 and applying medium thereon. Further, a printed layer may be formed on theshrink layer 233. Further, for example, an ultraviolet curable release varnish is formed on the surface of theshrinkable layer 233, and the small islandrelease agent layer 264A and the large islandrelease agent layer 264B as shown in FIG. Therelease agent layer 234 is formed by coating with a pattern and curing by irradiation with ultraviolet rays. It should be noted that silicone can be included in the release varnish, and the peel strength from thelower base material 215 of thedelivery slip 213 can be adjusted by the silicone content.
 そして、下基材215に形成された接着層220に、上基材231に形成された剥離剤層234を当接させて接着し、また、貼付票212となる貼付票基材221を接着することで、図10A~10Cに示した貼付票212及び配達票213が同一平面とされた配送伝票211が作製される。Then, therelease agent layer 234 formed on theupper base member 231 is brought into contact with and adhered to theadhesive layer 220 formed on thelower base member 215, and thesticker base material 221 that becomes thesticker 212 is adhered. Thus, adelivery slip 211 in which thesticker slip 212 and thedelivery slip 213 shown in FIGS. 10A to 10C are on the same plane is produced.
 以下に、上述した配送伝票211の作用について説明する。Hereinafter, the operation of thedelivery slip 211 will be described.
 図12A及び図12Bは、図10A~10Cに示した配送伝票211から配達票213の上基材231を剥離していく状態を示す図である。12A and 12B are views showing a state where theupper base material 231 of thedelivery slip 213 is peeled from thedelivery slip 211 shown in FIGS. 10A to 10C.
 図10A~10Cに示した配送伝票211は、剥離基材217が剥離され、表出した粘着層216によって配送品に貼付される。配送品が配送先に届けられると、図12Aに示すように、配達票213が表記部213Bに対応する糊抜き部220Aの部分を剥離開始端として持ち上げられながら対角方向の剥離終端に向けて下基材215から剥離されていく。この場合、配達票213は、上基材231、収縮層233及び剥離剤層234が一体となったものである。この状態では、配達票213は、下基材215上の接着層220に対して小形島状剥離剤層264Aとの関係で大の剥離力による剥離となる。In thedelivery slip 211 shown in FIGS. 10A to 10C, thepeeling base material 217 is peeled off, and theadhesive layer 216 that is exposed is attached to the delivery goods. When the delivery product is delivered to the delivery destination, as shown in FIG. 12A, thedelivery slip 213 is lifted with the part of thedesizing part 220A corresponding to thenotation part 213B as the peeling start end, toward the peeling end in the diagonal direction. It peels from thelower base material 215. In this case, thedelivery slip 213 is one in which theupper substrate 231, theshrink layer 233 and therelease agent layer 234 are integrated. In this state, thedelivery slip 213 is peeled off due to a large peeling force in relation to the small islandrelease agent layer 264A with respect to theadhesive layer 220 on thelower substrate 215.
 そして、図12Bに示すように、配達票213の剥離開始端から剥離が進むと、小形島状剥離剤層264Aの大の剥離力による剥離から大形島状剥離剤層264Bの小の剥離力による剥離になる。すなわち、小形島状剥離剤層264Aによる剥離力よりも大形島状剥離剤層264Bによる剥離力が小であることから、剥離終端に向けて配達票213をそれほど曲げながら剥離させる必要がなくなり、剥離終端での完全な剥離まで続けられる。これにより、剥離された配達票213の剥離終端部分での角部分においても曲げの少ない剥離が可能となって、この部分でカールすることを低減することができる。Then, as shown in FIG. 12B, when peeling progresses from the peeling start end of thedelivery slip 213, the small island-likerelease agent layer 264B has a small peeling force from the peeling due to the large peeling force of the small island-likerelease agent layer 264A. It becomes peeling by. That is, since the peeling force by the large island-shapedrelease agent layer 264B is smaller than the peeling force by the small island-shapedrelease agent layer 264A, it is not necessary to peel thedelivery slip 213 while bending it to the end of the peeling, Continue until complete stripping at the end of stripping. As a result, it is possible to perform peeling with less bending even at the corner portion at the peeling end portion of the peeleddelivery slip 213, and curling at this portion can be reduced.
 このように、少なくとも剥離終端部分の剥離剤層264Aに対して、その他の領域の剥離剤層264Bの単位面積あたりの形成面積を小とし、この形成面積の差によって剥離終端部分の剥離剤層264Aによる剥離力に対して、その他の領域の剥離剤層264Bによる剥離力を小とすることにより、剥離する配達票213の剥離時における剥離終端部分でのカール発生を低減することができる。また、剥離剤層234全体を単層として同一の剥離剤を使用することで、一工程で形成することができ、前述の特許文献1に記載の発明と比較して、作製にあたって製造効率を向上させることができる。さらに、特許文献1に記載の発明が、剥離層として軽剥離部と重剥離部との2種類の剥離剤が使用されているのに対して、本形態においては、1種類の剥離剤でよいことから、配送伝票の作製にあたって少なくとも剥離剤の2度の塗布工程を必要とせずに製造効率を向上させることができる。In this manner, the formation area per unit area of therelease agent layer 264B in other regions is made small relative to at least therelease agent layer 264A in the release end portion, and therelease agent layer 264A in the release end portion is determined by the difference in the formation area. By reducing the peeling force due to therelease agent layer 264B in the other region with respect to the peeling force due to, the occurrence of curling at the peeling end portion when peeling thedelivery slip 213 to be peeled can be reduced. Moreover, by using the same release agent as the entirerelease agent layer 234 as a single layer, therelease agent layer 234 can be formed in one step, and compared with the invention described in Patent Document 1, the production efficiency is improved in production. Can be made. Furthermore, while the invention described in Patent Document 1 uses two types of release agents, a light release portion and a heavy release portion, as the release layer, in this embodiment, only one type of release agent may be used. Therefore, the production efficiency can be improved without requiring at least two application steps of the release agent in producing the delivery slip.
 以下に、本発明の再剥離性重ね合わせシートの他の剥離剤層の構成例について説明する。Hereinafter, a configuration example of another release agent layer of the releasable superposed sheet of the present invention will be described.
 図13A,13B,14A,14Bは、本発明の再剥離性重ね合わせシートの他の剥離剤層の構成例を示す図である。FIGS. 13A, 13B, 14A, and 14B are diagrams showing a configuration example of another release agent layer of the releasable overlapping sheet of the present invention.
 上述した剥離剤層を、例えば図13Aに示すように、各島状の剥離剤層264Cを同一大とし、剥離方向Toffの剥離開始端から剥離終端の領域までを疎パターン271で形成するとともに、剥離終端の領域部分を密パターン272で形成し、剥離開始端から剥離終端にかけて剥離力を大から小の2段階とすることもできる。For example, as shown in FIG. 13A, the above-described release agent layer has the same size as each island-likerelease agent layer 264C, and asparse pattern 271 is formed from the peeling start end to the peeling end region in the peeling direction Toff. It is also possible to form an area portion of the peeling end with adense pattern 272 and make the peeling force in two steps from large to small from the peeling start end to the peeling end.
 また、図13Bに示すように、図13Aに示した剥離終端の領域部分をベタ状の島状剥離剤層264Dとするとともに、その他の領域においては図13Aに示したものと同様の各島状の剥離剤層264Cとし、それにより、剥離開始端から剥離終端にかけて剥離力を大から小の2段階とすることも考えられる。Further, as shown in FIG. 13B, the area portion of the peeling termination shown in FIG. 13A is a solid island-likerelease agent layer 264D, and the other island-like areas shown in FIG. 13A are used in other areas. It is also conceivable that therelease agent layer 264C is made to have a peeling force in two stages from large to small from the peeling start end to the peeling end.
 このように、剥離開始端から剥離終端までの剥離剤層の単位面積あたりの形成面積の差を、図13Aに示すように同一大によるパターンの疎密で設定したり、図13Bに示すように剥離終端の領域部分をベタ状に設定したりすることによっても、剥離する配達票213の剥離時における剥離終端部分でのカール発生を低減することができる。In this way, the difference in the formation area per unit area of the release agent layer from the peeling start end to the peeling end is set by the pattern density of the same size as shown in FIG. 13A or peeling as shown in FIG. 13B. Also by setting the end region portion to a solid shape, it is possible to reduce the occurrence of curling at the peeling end portion when peeling thedelivery slip 213 to be peeled off.
 また、図14Aに示すように、剥離剤層261を、4辺に剥離剤により帯状に形成することも考えられる。剥離開始端からの両側2辺となる剥離剤層261Aを剥離剤塗布幅aで形成するとともに、その2辺以外の剥離終端の領域に続く2辺となる剥離剤層261Bを剥離剤塗布幅bとし、剥離剤層261Aの塗布幅aよりも大(a<b)で形成する。例えば、配達票213の寸法が横100mm×縦92mmの場合、剥離剤層261Aの塗布幅aを3mmとし、剥離剤層261Bの塗布幅bを5mmとする。そして、剥離剤層261の内側における剥離終端の領域部分を含む領域に、剥離力が剥離剤層261(261A,261B)の剥離力よりも小の剥離剤層262を形成することで、剥離開始端から剥離終端にかけて剥離力を大から小の2段階とする。Further, as shown in FIG. 14A, it is also conceivable that therelease agent layer 261 is formed in a strip shape with a release agent on four sides. Therelease agent layer 261A that is two sides on both sides from the peeling start end is formed with the release agent application width a, and therelease agent layer 261B that is two sides following the release termination region other than the two sides is the release agent application width b. And larger than the application width a of therelease agent layer 261A (a <b). For example, when the size of thedelivery slip 213 is 100 mm wide × 92 mm long, the application width a of therelease agent layer 261A is 3 mm, and the application width b of therelease agent layer 261B is 5 mm. Then, arelease agent layer 262 having a release force smaller than the release force of the release agent layer 261 (261A, 261B) is formed in a region including the release termination region portion inside therelease agent layer 261, thereby starting peeling. The peeling force is divided into two stages from large to small from the end to the peeling end.
 この場合、剥離剤層261,262の形成として、同一の剥離剤を使用して剥離開始端から剥離終端の領域までの塗布面積を異ならせることで形成面積あたりの剥離力を大から小の2段階とすることができる。また、同一の剥離剤を使用して剥離剤層261を30パーセントの網点状で例えばスクリーン印刷と同様の手法により形成し、剥離剤層262を50パーセントの網点状で例えばスクリーン印刷と同様の手法で形成することによって、塗布面積と併せて塗布密度を異ならせることで剥離開始端から剥離終端の領域部分の剥離力を大から小の2段階とさせることも考えられる。剥離剤層261,262を網点状で形成することは、剥離力を容易に調整することができる。なお、上記網点の比率は、剥離剤の種類に応じて適宜設定されるものである。さらに、剥離剤層261を剥離力の大の剥離剤で形成し、剥離剤層262を剥離力の小の剥離剤で形成することによっても同様である。In this case, as the formation of the release agent layers 261 and 262, the same release agent is used to vary the application area from the release start end to the release end region, thereby increasing the release force per formation area from 2 to 2. It can be a stage. Further, using the same release agent, therelease agent layer 261 is formed in the form of 30 percent halftone dots, for example, by the same method as screen printing, and therelease agent layer 262 is formed in the form of 50 percent halftone dots, for example, similar to screen printing. It is also conceivable that the peeling force in the region from the peeling start end to the peeling end is made to be two steps from large to small by changing the coating density together with the coating area. Forming the release agent layers 261 and 262 in a dot pattern can easily adjust the peeling force. In addition, the ratio of the said halftone dot is suitably set according to the kind of release agent. Further, the same can be said by forming therelease agent layer 261 with a release agent having a high release force and forming therelease agent layer 262 with a release agent having a low release force.
 また、図14Bに示すように、剥離剤層を、剥離終端の領域部分を除く4辺に剥離剤により帯状に同一幅で形成することも考えられる。剥離開始端から剥離終端の領域までに続く辺に第1剥離剤層261Aを形成し、第1剥離剤層261Aの内側及び剥離終端の領域部分に第1剥離剤層261Aよりも剥離力が小の第2剥離剤層262Aを形成し、それにより、剥離開始端から剥離終端にかけて剥離力を大から小の少なくとも2段階とする。Further, as shown in FIG. 14B, it is conceivable that the release agent layer is formed in a strip shape with the same width on the four sides excluding the region at the end of the release with the release agent. A firstrelease agent layer 261A is formed on the side extending from the peeling start end to the peeling termination region, and the peeling force is smaller than that of the firstpeeling agent layer 261A on the inner side of the firstpeeling agent layer 261A and the peeling termination region. The secondrelease agent layer 262A is formed, and thereby, the peeling force is made at least two steps from large to small from the peeling start end to the peeling end.
 この場合、剥離剤層261A,262,262Aの形成として、同一の剥離剤を使用し、剥離剤層261Aを30パーセントの網点状で例えばスクリーン印刷と同様の手法により形成し、剥離剤層262,262Aを50パーセントの網点状で例えばスクリーン印刷と同様の手法で形成することによって塗布密度を異ならせ、剥離力を大から小の2段階とする。また、剥離剤層261Aを剥離力の大の剥離剤で形成し、剥離剤層262,262Aを剥離力の小の剥離剤で形成することによっても同様である。In this case, the same release agent is used to form the release agent layers 261A, 262, and 262A, and therelease agent layer 261A is formed in the form of a 30 percent dot by a method similar to screen printing, for example. , 262A is formed in the form of a 50% halftone dot, for example, by the same method as that for screen printing, so that the coating density is varied, and the peeling force is set in two steps from large to small. The same applies to the case where therelease agent layer 261A is formed of a release agent having a high release force and the release agent layers 262 and 262A are formed of a release agent having a low release force.
 このように、図14A,14Bに示したものにおいては、剥離開始端側の剥離剤層261では剥離力が剥離終端の領域部分よりも大であり、剥離終端の領域部分では剥離力が小であることから、剥離する際に、その終端で容易に剥離することが可能となり、配達票213の剥離時における剥離終端部分でのカール発生を低減することができる。また、剥離剤層261,262を単層として同一の剥離剤を使用した場合は、一工程で形成することができるとともに、1種類の剥離剤でよく、前述の特許文献1に記載の発明と比較して作製にあたって製造効率を向上させることができる。14A and 14B, in therelease agent layer 261 on the peeling start end side, the peeling force is larger than the peeling termination region, and the peeling force is small in the peeling termination region. For this reason, when peeling, it becomes possible to easily peel at the end, and curling at the peeling end portion when peeling thedelivery slip 213 can be reduced. When the same release agent is used with the release agent layers 261 and 262 as a single layer, the release agent layers 261 and 262 can be formed in one step, and only one type of release agent may be used. In comparison, manufacturing efficiency can be improved in manufacturing.
 なお、本形態では、剥離剤層の剥離力を剥離開始端から剥離終端にかけて2段階としたものを例に挙げて説明したが、それ以上の多段階で剥離力を調整してもよい。In this embodiment, the peeling force of the release agent layer is described as an example of two steps from the peeling start end to the peeling end, but the peeling force may be adjusted in more stages.
 本発明の再剥離性重ね合わせシートは、上基材と下基材と含む複数の基材が再剥離可能に接着された多層シートに利用可能である。The releasable superposed sheet of the present invention can be used for a multilayer sheet in which a plurality of base materials including an upper base material and a lower base material are bonded so as to be removable.

Claims (3)

  1.  上基材と下基材とが重ね合わされて再剥離可能に接着された再剥離性重ね合わせシートであって、
     前記上基材は、前記下基材との接着面に、紫外線硬化型の収縮層と剥離剤層とが順次形成され、前記接着面とは反対側の面が印字面または筆記面となり、
     前記下基材は、前記上基材との接着面に接着層が形成されている再剥離性重ね合わせシート。
    A releasable superposed sheet in which an upper base material and a lower base material are superposed and adhered so as to be removable,
    The upper base material is formed with an ultraviolet curable shrink layer and a release agent layer sequentially on the adhesive surface with the lower base material, and the surface opposite to the adhesive surface is a printing surface or a writing surface,
    The lower substrate is a releasable overlay sheet in which an adhesive layer is formed on an adhesive surface with the upper substrate.
PCT/JP2012/0838952012-12-272012-12-27Removably superposed sheets and label using sameWO2014102969A1 (en)

Priority Applications (1)

Application NumberPriority DateFiling DateTitle
PCT/JP2012/083895WO2014102969A1 (en)2012-12-272012-12-27Removably superposed sheets and label using same

Applications Claiming Priority (1)

Application NumberPriority DateFiling DateTitle
PCT/JP2012/083895WO2014102969A1 (en)2012-12-272012-12-27Removably superposed sheets and label using same

Publications (1)

Publication NumberPublication Date
WO2014102969A1true WO2014102969A1 (en)2014-07-03

Family

ID=51020121

Family Applications (1)

Application NumberTitlePriority DateFiling Date
PCT/JP2012/083895WO2014102969A1 (en)2012-12-272012-12-27Removably superposed sheets and label using same

Country Status (1)

CountryLink
WO (1)WO2014102969A1 (en)

Cited By (1)

* Cited by examiner, † Cited by third party
Publication numberPriority datePublication dateAssigneeTitle
WO2017150386A1 (en)*2016-02-292017-09-08大日本印刷株式会社Peelable layered body

Citations (11)

* Cited by examiner, † Cited by third party
Publication numberPriority datePublication dateAssigneeTitle
JPH0732773A (en)*1993-07-201995-02-03Konica CorpImage receiver
JPH0761172A (en)*1993-08-301995-03-07Konica CorpId card
JP2001525968A (en)*1997-05-192001-12-11カードエックスエックス インコーポレイテッド Manufacturing method of smart card
JP2003231339A (en)*2002-02-072003-08-19Dainippon Printing Co Ltd Printing method of pearl print and pearl print
JP2011131582A (en)*2009-11-302011-07-07Kobayashi Create Co LtdDelivery slip
JP2011230478A (en)*2010-04-302011-11-17Toppan Forms Co LtdSeparation sheet
JP2011232686A (en)*2010-04-302011-11-17Toppan Forms Co LtdLabel for printing
JP2012131206A (en)*2010-12-242012-07-12Daisho Insatsu Hanbai KkRelease sheet holder and method for manufacturing the same
JP2013010224A (en)*2011-06-282013-01-17Toppan Forms Co Ltd Removable overlay sheet
JP2013028050A (en)*2011-07-282013-02-07Toppan Forms Co LtdRe-peelable overlapped sheet
JP2013028049A (en)*2011-07-282013-02-07Toppan Forms Co LtdRe-peelable overlapped sheet

Patent Citations (11)

* Cited by examiner, † Cited by third party
Publication numberPriority datePublication dateAssigneeTitle
JPH0732773A (en)*1993-07-201995-02-03Konica CorpImage receiver
JPH0761172A (en)*1993-08-301995-03-07Konica CorpId card
JP2001525968A (en)*1997-05-192001-12-11カードエックスエックス インコーポレイテッド Manufacturing method of smart card
JP2003231339A (en)*2002-02-072003-08-19Dainippon Printing Co Ltd Printing method of pearl print and pearl print
JP2011131582A (en)*2009-11-302011-07-07Kobayashi Create Co LtdDelivery slip
JP2011230478A (en)*2010-04-302011-11-17Toppan Forms Co LtdSeparation sheet
JP2011232686A (en)*2010-04-302011-11-17Toppan Forms Co LtdLabel for printing
JP2012131206A (en)*2010-12-242012-07-12Daisho Insatsu Hanbai KkRelease sheet holder and method for manufacturing the same
JP2013010224A (en)*2011-06-282013-01-17Toppan Forms Co Ltd Removable overlay sheet
JP2013028050A (en)*2011-07-282013-02-07Toppan Forms Co LtdRe-peelable overlapped sheet
JP2013028049A (en)*2011-07-282013-02-07Toppan Forms Co LtdRe-peelable overlapped sheet

Cited By (3)

* Cited by examiner, † Cited by third party
Publication numberPriority datePublication dateAssigneeTitle
WO2017150386A1 (en)*2016-02-292017-09-08大日本印刷株式会社Peelable layered body
JPWO2017150386A1 (en)*2016-02-292018-12-20大日本印刷株式会社 Peelable laminate
JP7067469B2 (en)2016-02-292022-05-16大日本印刷株式会社 Peelable laminate

Similar Documents

PublicationPublication DateTitle
JP5859240B2 (en) Removable overlay sheet
JP6315886B2 (en) Removable overlay sheet
JP7363957B2 (en) Peelable laminate
JP2010012671A (en)Transfer tape
JP5859241B2 (en) Removable overlay sheet
WO2014122795A1 (en)Label
JP2016153857A (en)Label sheet
WO2014102969A1 (en)Removably superposed sheets and label using same
JP5602359B2 (en) Delivery label slip
JP4703401B2 (en) Information hiding sheet
JP5762852B2 (en) Removable overlay sheet
JP6072159B2 (en) Removable overlay sheet
JP5857463B2 (en) Manufacturing method of pressure-sensitive adhesive products
JP6303319B2 (en) Delivery slip
JP5421033B2 (en) Delivery slip
JP6287460B2 (en) Delivery slip with label
WO2014122801A1 (en)Label
JP6519196B2 (en) Delivery document with booklet
JP6395430B2 (en) Removable overlay sheet
JP6187565B2 (en) Pressure sensitive adhesive products
JP2007190707A (en)Sheet for hiding information
JP2017144655A (en)Superposable adhesive sheet
JP6399795B2 (en) Removable overlay sheet
JP2007039484A (en)Method for producing pressure-sensitive adhesive sheet with detackified adhesive and pressure-sensitive adhesive sheet with detackified adhesive
JP6121773B6 (en) label

Legal Events

DateCodeTitleDescription
121Ep: the epo has been informed by wipo that ep was designated in this application

Ref document number:12891222

Country of ref document:EP

Kind code of ref document:A1

NENPNon-entry into the national phase

Ref country code:DE

122Ep: pct application non-entry in european phase

Ref document number:12891222

Country of ref document:EP

Kind code of ref document:A1

NENPNon-entry into the national phase

Ref country code:JP


[8]ページ先頭

©2009-2025 Movatter.jp