Movatterモバイル変換


[0]ホーム

URL:


WO2013077040A1 - Content providing apparatus, program to be executed by content providing apparatus, television receiver, and storage medium having program stored therein - Google Patents

Content providing apparatus, program to be executed by content providing apparatus, television receiver, and storage medium having program stored therein
Download PDF

Info

Publication number
WO2013077040A1
WO2013077040A1PCT/JP2012/070449JP2012070449WWO2013077040A1WO 2013077040 A1WO2013077040 A1WO 2013077040A1JP 2012070449 WJP2012070449 WJP 2012070449WWO 2013077040 A1WO2013077040 A1WO 2013077040A1
Authority
WO
WIPO (PCT)
Prior art keywords
viewer
priority
information
content
attribute
Prior art date
Application number
PCT/JP2012/070449
Other languages
French (fr)
Japanese (ja)
Inventor
亜惟 高野
打木 寛
雄介 服部
圭司 坂
Original Assignee
シャープ株式会社
Priority date (The priority date is an assumption and is not a legal conclusion. Google has not performed a legal analysis and makes no representation as to the accuracy of the date listed.)
Filing date
Publication date
Application filed by シャープ株式会社filedCriticalシャープ株式会社
Publication of WO2013077040A1publicationCriticalpatent/WO2013077040A1/en

Links

Images

Classifications

Definitions

Landscapes

Abstract

[Problem] In the prior art, there had been cases in which the settings for a viewing environment had been inappropriately configured when there were multiple users, since it could not be determined which viewer attribute the viewing environment should be set for.[Solution] In order to solve the abovementioned problem, the present invention proposes a content providing apparatus comprising: a camera unit that picks up an image of a viewer; a recognition information acquisition unit that acquires recognition information, which is information for recognizing the viewer, from the image pickup information acquired by the camera unit; a viewer attribute acquisition unit that acquires attribute information of the viewer, using the acquired recognition information; and a prioritized viewer determining unit that determines a prioritized viewer when there are multiple recognized viewers, using the attribute information of viewers acquired by the viewer attribute acquisition unit as well as a prescribed rule.

Description

コンテンツ提供装置、コンテンツ提供装置にて実行されるプログラム、テレビ受像機、プログラムを記憶した記憶媒体Content providing apparatus, program executed by content providing apparatus, television receiver, and storage medium storing program
 本発明は、コンテンツ提供装置、コンテンツ提供装置にて実行されるプログラム、テレビ受像機、プログラムを記憶した記憶媒体に関する。The present invention relates to a content providing apparatus, a program executed by the content providing apparatus, a television receiver, and a storage medium storing the program.
 従来、テレビ受像機やパーソナルコンピュータなどコンテンツを提供する装置においては、利用者の属性に応じてお薦めコンテンツを自動で選択したり、メニュー項目を自動で設定したりすることが行われている。例えば、特許文献1においては、個人識別情報を外部から受信し、当該個人識別情報に応じてユーザに最適な映像や音声やメニュー表示を行うことを特徴とするテレビ受像機が開示されている。また、特許文献2においては、各ユーザの情報を受け付けてそれぞれの制御情報を作成することによって、ユーザ毎に視聴制限を実行したり、画質・音質の自動設定や、受信番組選択を行ったりすることが可能なテレビ受像機が開示されている。また、特許文献3においては、ユーザ自身の個人的状況に係る個人情報(年齢・性別など、希望する気分)の入力を受け付けることにより、各ユーザの状況に適正な番組案内画面を提示できる受信端末装置が開示されている。Conventionally, in devices that provide content, such as television receivers and personal computers, recommended content is automatically selected according to user attributes, and menu items are automatically set. For example,Patent Document 1 discloses a television receiver that receives personal identification information from the outside and displays video, audio, and menus that are optimal for the user in accordance with the personal identification information. InPatent Document 2, by receiving information on each user and creating respective control information, viewing restriction is performed for each user, automatic setting of image quality / sound quality, and selection of a received program are performed. A television receiver capable of this is disclosed. Further, inPatent Document 3, a receiving terminal capable of presenting a program guide screen appropriate for each user's situation by accepting input of personal information (such as age and sex) relating to the user's own personal situation. An apparatus is disclosed.
特開2009-218981JP2009-218981特開2001-203951JP 2001-203951 A特開平10-42239JP-A-10-42239
 一方、一般家庭などでは、子供や高齢者など年齢の離れた利用者が同一のコンテンツ提供装置を利用することが考えられるが、利用者ごとに適当な視聴環境が異なる。しかしながら、従来技術では視聴者が複数いる場合、どの視聴者の属性に合わせて視聴環境を設定するべきかを判断することができず、その場の状況において不適当な設定を行ってしまう場合があった。また、従来技術では視聴者が複数いる場合、利用者自身が視聴環境の設定を変更する必要があり、利用者に対して余計な操作負担をかけていた。On the other hand, in general homes and the like, it is conceivable that users with different ages, such as children and elderly people, use the same content providing apparatus, but the appropriate viewing environment differs for each user. However, in the conventional technique, when there are a plurality of viewers, it may not be possible to determine which viewer attribute should be set according to the viewer's attributes, and an inappropriate setting may be made in the current situation. there were. Further, in the conventional technique, when there are a plurality of viewers, the user himself / herself needs to change the setting of the viewing environment, which places an extra burden on the user.
 そこで、本発明は、視聴者を撮像するカメラ部と、カメラ部の撮像情報から視聴者を認識するための情報である認識情報を取得する認識情報取得部と、取得した認識情報を用いて視聴者の属性情報を取得する視聴者属性取得部と、認識される視聴者が複数である場合に、視聴者属性取得部にて取得した視聴者の属性情報と所定のルールとを用いて優先視聴者を決定する優先視聴者決定部と、を有するコンテンツ提供装置などを提案する。また、コンテンツ出力を含む視聴サービスを提供する視聴サービス部と、優先視聴者決定部にて決定された優先視聴者の属性を用いて視聴サービスを制御する視聴サービス制御部と、をさらに有するコンテンツ提供装置などを提案する。Therefore, the present invention provides a camera unit that captures an image of a viewer, a recognition information acquisition unit that acquires recognition information that is information for recognizing the viewer from image capturing information of the camera unit, and viewing using the acquired recognition information. Viewer attribute acquisition unit for acquiring viewer attribute information and, when there are a plurality of viewers to be recognized, preferential viewing using the viewer attribute information acquired by the viewer attribute acquisition unit and a predetermined rule A content providing device having a priority viewer determination unit for determining a user is proposed. The content provision further includes: a viewing service unit that provides a viewing service including content output; and a viewing service control unit that controls the viewing service using the priority viewer attribute determined by the priority viewer determination unit. Propose equipment.
 本発明は、視聴者が複数いる場合、視聴者の属性情報と所定のルールを用いて優先視聴者を決定する。これにより、視聴者が複数いる場合であっても、その場の状況に適当な視聴サービスを提供することが可能になる。In the present invention, when there are a plurality of viewers, the priority viewer is determined using the viewer's attribute information and a predetermined rule. As a result, even when there are a plurality of viewers, it is possible to provide a viewing service suitable for the situation on the spot.
実施形態1のコンテンツ提供装置の概要を示す図The figure which shows the outline | summary of the content provision apparatus ofEmbodiment 1. FIG.実施形態1のコンテンツ提供装置の機能ブロックの一例を示す図The figure which shows an example of the functional block of the content provision apparatus ofEmbodiment 1.コンテンツ提供装置のハードウェア構成の一例を示す図The figure which shows an example of the hardware constitutions of a content provision apparatus実施形態1のコンテンツ提供装置の処理の流れの一例を示す図The figure which shows an example of the flow of a process of the content provision apparatus ofEmbodiment 1.実施形態1の視聴者認識処理の流れの一例を示す図The figure which shows an example of the flow of the viewer recognition process ofEmbodiment 1.実施形態1の視聴者属性取得処理の流れの一例を示す図The figure which shows an example of the flow of the viewer attribute acquisition process ofEmbodiment 1.実施形態1の優先視聴者決定処理の流れの一例を示す図The figure which shows an example of the flow of the priority viewer determination process ofEmbodiment 1.実施形態1の視聴サービス制御処理の流れの一例を示す図The figure which shows an example of the flow of the viewing-and-listening service control processing ofEmbodiment 1.実施形態2のコンテンツ提供装置の機能ブロックの一例を示す図The figure which shows an example of the functional block of the content provision apparatus ofEmbodiment 2.実施形態2の時間帯別優先ルールの一例を示す図The figure which shows an example of the priority rule classified by time zone ofEmbodiment 2.実施形態2のコンテンツ提供装置の処理の流れの一例を示す図The figure which shows an example of the flow of a process of the content provision apparatus ofEmbodiment 2.実施形態2の優先視聴者決定処理の流れの一例を示す図The figure which shows an example of the flow of the priority viewer determination process ofEmbodiment 2.実施形態2の視聴履歴更新処理の流れの一例を示す図The figure which shows an example of the flow of the viewing history update process ofEmbodiment 2.実施形態2の時間帯別優先ルール更新処理の流れの一例を示す図The figure which shows an example of the flow of the priority rule update process classified by time zone ofEmbodiment 2.実施形態3のコンテンツ提供装置の機能ブロックの一例を示す図The figure which shows an example of the functional block of the content provision apparatus ofEmbodiment 3.実施形態3のコンテンツ別優先ルールの一例を示す図The figure which shows an example of the priority rule classified by content ofEmbodiment 3.実施形態3のコンテンツ提供装置の処理の流れの一例を示す図The figure which shows an example of the flow of a process of the content provision apparatus ofEmbodiment 3.実施形態3の優先視聴者決定処理の流れの一例を示す図(1)FIG. 11 is a diagram illustrating an example of a priority viewer determination process according to the third embodiment (1).実施形態3の優先視聴者決定処理の流れの一例を示す図(2)FIG. (2) showing an example of the flow of priority viewer determination processing according to the third embodiment実施形態3の視聴履歴更新処理の流れの一例を示す図The figure which shows an example of the flow of the viewing-and-listening history update process ofEmbodiment 3.実施形態3のコンテンツ別優先ルール更新処理の流れの一例を示す図The figure which shows an example of the flow of the priority rule update process classified by content ofEmbodiment 3.実施形態4のコンテンツ提供装置の概要を示す図The figure which shows the outline | summary of the content provision apparatus ofEmbodiment 4.実施形態4のコンテンツ提供装置の機能ブロックの一例を示す図The figure which shows an example of the functional block of the content provision apparatus ofEmbodiment 4.実施形態4のコンテンツ提供装置の処理の流れの一例を示す図The figure which shows an example of the flow of a process of the content provision apparatus ofEmbodiment 4.実施形態4の視聴者属性取得処理の流れの一例を示す図The figure which shows an example of the flow of the viewer attribute acquisition process ofEmbodiment 4.実施形態5のコンテンツ提供装置の概要を示す図The figure which shows the outline | summary of the content provision apparatus ofEmbodiment 5.実施形態5のコンテンツ提供装置の機能ブロックの一例を示す図FIG. 10 is a diagram illustrating an example of functional blocks of a content providing apparatus according to a fifth embodiment.実施形態5のコンテンツ提供装置の処理の流れの一例を示す図FIG. 10 is a diagram illustrating an example of a processing flow of the content providing apparatus according to the fifth embodiment.実施形態5の視聴者属性取得処理の流れの一例を示す図The figure which shows an example of the flow of the viewer attribute acquisition process ofEmbodiment 5.実施形態5の優先視聴者決定処理の流れの一例を示す図The figure which shows an example of the flow of the priority viewer determination process ofEmbodiment 5.実施形態5の視聴サービス制御処理の流れの一例を示す図The figure which shows an example of the flow of the viewing-and-listening service control processing ofEmbodiment 5.実施形態6のコンテンツ提供装置の機能ブロックの一例を示す図The figure which shows an example of the functional block of the content provision apparatus ofEmbodiment 6.実施形態6のコンテンツ提供装置の処理の流れの一例を示す図The figure which shows an example of the flow of a process of the content provision apparatus ofEmbodiment 6.実施形態6の視聴者属性取得処理の流れの一例を示す図The figure which shows an example of the flow of the viewer attribute acquisition process ofEmbodiment 6.実施形態7のコンテンツ提供装置の機能ブロックの一例を示す図The figure which shows an example of the functional block of the content provision apparatus ofEmbodiment 7.実施形態7のコンテンツ提供装置の処理の流れの一例を示す図The figure which shows an example of the flow of a process of the content provision apparatus ofEmbodiment 7.実施形態7の視聴者属性取得処理の流れの一例を示す図The figure which shows an example of the flow of the viewer attribute acquisition process ofEmbodiment 7.実施形態8のコンテンツ提供装置の機能ブロックの一例を示す図The figure which shows an example of the functional block of the content provision apparatus ofEmbodiment 8.実施形態8のコンテンツ提供装置の処理の流れの一例を示す図The figure which shows an example of the flow of a process of the content provision apparatus ofEmbodiment 8.実施形態9のコンテンツ提供装置の機能ブロックの一例を示す図The figure which shows an example of the functional block of the content provision apparatus ofEmbodiment 9.実施形態9の視聴サービス制御処理の流れの一例を示す図The figure which shows an example of the flow of the viewing-and-listening service control processing ofEmbodiment 9.実施形態10のコンテンツ提供装置の機能ブロックの一例を示す図The figure which shows an example of the functional block of the content provision apparatus ofEmbodiment 10.実施形態10のコンテンツ提供装置の処理の流れの一例を示す図The figure which shows an example of the flow of a process of the content provision apparatus ofEmbodiment 10.実施形態10の視聴者属性取得処理の流れの一例を示す図The figure which shows an example of the flow of the viewer attribute acquisition process ofEmbodiment 10.実施形態11のコンテンツ提供装置の機能ブロックの一例を示す図The figure which shows an example of the functional block of the content provision apparatus ofEmbodiment 11.実施形態11のコンテンツ提供装置の処理の流れの一例を示す図The figure which shows an example of the flow of a process of the content provision apparatus ofEmbodiment 11.実施形態12のコンテンツ提供装置の機能ブロックの一例を示す図The figure which shows an example of the functional block of the content provision apparatus ofEmbodiment 12.実施形態12のコンテンツ提供装置の処理の流れの一例を示す図The figure which shows an example of the flow of a process of the content provision apparatus ofEmbodiment 12.実施形態12の優先視聴者決定処理の流れの一例を示す図The figure which shows an example of the flow of the priority viewer determination process ofEmbodiment 12.実施形態13のコンテンツ提供装置の機能ブロックの一例を示す図The figure which shows an example of the functional block of the content provision apparatus ofEmbodiment 13.
 以下に、本発明にかかるコンテンツ提供装置の実施形態を説明する。実施形態と請求項の相互の関係は、以下のとおりである。実施形態1では主に請求項1、2、17、18、19、20について説明し、実施形態2では主に請求項3、5、19、20について説明し、実施形態3では主に請求項4、6、11、12について説明し、実施形態4では主に請求項7、19、20について説明し、実施形態5では主に請求項8、19、20について説明し、実施形態6では主に請求項9、19、20について説明し、実施形態7では主に請求項10、19、20について説明し、実施形態8では主に請求項11、19、20について説明し、実施形態9では主に請求項12、19、20について説明し、実施形態10では主に請求項13、19、20について説明し、実施形態11では主に請求項14、19、20について説明し、実施形態12では主に請求項15、19、20について説明し、実施形態13では主に請求項16、19、20について説明する。なお、本発明はこれらの実施形態に何ら限定されるものではなく、その要旨を逸脱しない範囲内において、種々なる態様で実施しうる。Hereinafter, an embodiment of a content providing apparatus according to the present invention will be described. The mutual relationship between the embodiment and the claims is as follows. The first embodiment will mainly describeclaims 1, 2, 17, 18, 19, and 20, the second embodiment will mainly describeclaims 3, 5, 19, and 20, and the third embodiment will mainly claim claims. 4, 6, 11 and 12 will be described. In the fourth embodiment, claims 7, 19, and 20 will be mainly described. In the fifth embodiment, claims 8, 19, and 20 will be mainly described. In the sixth embodiment, mainly. In the seventh embodiment, the seventh embodiment mainly explains the tenth, nineteenth, and twentyth aspects, the eighth embodiment mainly explains the eleventh, nineteenth, and twentyth aspects, and the ninth embodiment Claims 12, 19, and 20 will be mainly described. InEmbodiment 10, claims 13, 19, and 20 will be mainly described. InEmbodiment 11, claims 14, 19, and 20 will be mainly described. Then, mainly claims 15 and 1 It describes 20 will be described primarily according to claim 16,19,20 InEmbodiment 13. In addition, this invention is not limited to these embodiments at all, and can be implemented in various modes without departing from the gist thereof.
<<実施形態1>><<Embodiment 1 >>
<概要>
 本実施形態のコンテンツ提供装置は、カメラ部の撮像情報から視聴者を認識するための情報である認識情報を取得し、当該認識情報を用いて視聴者の属性情報を取得する。そして、視聴者が複数である場合において、視聴者の属性情報と所定のルールとを用いて優先視聴者を決定することを特徴とする。これにより、例えば、優先視聴者の属性を用いて視聴サービスを制御することが可能になる。図1は、本実施形態のコンテンツ提供装置の概要を示す図である。この図の例では、視聴者として子供と大人がいるが、子供を大人よりも優先するというルールに基づいて、子供を優先視聴者として選定する。そして、お薦め番組表示において、子供向けのお薦め番組を表示したり、メニュー画面などにおいて文字をひらがな/カタカナ表記にしたり、子供にとって不要な項目を削除したりする。
<Overview>
The content providing apparatus according to the present embodiment acquires recognition information that is information for recognizing the viewer from the imaging information of the camera unit, and acquires the viewer's attribute information using the recognition information. Then, when there are a plurality of viewers, the priority viewer is determined using the viewer's attribute information and a predetermined rule. Thereby, for example, the viewing service can be controlled using the attribute of the priority viewer. FIG. 1 is a diagram illustrating an outline of a content providing apparatus according to the present embodiment. In the example of this figure, there are children and adults as viewers, but the children are selected as priority viewers based on the rule that children are given priority over adults. Then, in the recommended program display, a recommended program for children is displayed, hiragana / katakana characters are displayed on a menu screen, and items unnecessary for children are deleted.
<構成>
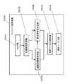
 図2は、本実施形態のコンテンツ提供装置の機能ブロックの一例を示す図である。この図にあるように、「コンテンツ提供装置」0200は、「カメラ部」0201と、「認識情報取得部」0202と、「視聴者属性取得部」0203と、「優先視聴者決定部」0204と、「視聴サービス制御部」0205と、「視聴サービス部」0206と、を有する。ここで、視聴サービス制御部と視聴サービス部をコンテンツ提供装置の機能の一部としているが、必ずしも必須の構成ではなく、他の装置にこれらの機能を担わせてもよい(以下の実施形態でも同様である)。
<Configuration>
FIG. 2 is a diagram illustrating an example of functional blocks of the content providing apparatus according to the present embodiment. As shown in this figure, “content providing device” 0200 includes “camera unit” 0201, “recognition information acquisition unit” 0202, “viewer attribute acquisition unit” 0203, and “priority viewer determination unit” 0204. , “Viewing service control unit” 0205 and “viewing service unit” 0206. Here, the viewing service control unit and the viewing service unit are part of the functions of the content providing device. However, the viewing service control unit and the viewing service unit are not necessarily indispensable, and other devices may have these functions (also in the following embodiments). The same).
 「コンテンツ提供装置」としては、テレビ受像機や汎用コンピュータ、スクリーンディスプレイ装置、などのディスプレイ装置が主として考えられるが、これらのディスプレイ装置に優先視聴者の属性情報を通知するための専用装置も含まれる。つまり、これらのディスプレイ装置に対して優先視聴者の属性情報を通知し、コンテンツ出力を含む視聴サービスの制御を行わせるような装置も含まれるものである。As the “content providing device”, a display device such as a television receiver, a general-purpose computer, or a screen display device can be mainly considered, but a dedicated device for notifying these display devices of attribute information of a priority viewer is also included. . In other words, devices that notify the priority viewer's attribute information to these display devices and control viewing services including content output are also included.
 「カメラ部」は、視聴者領域を撮像する。つまり、視聴者領域からの視聴者や他の物体の光を捉えて、その光信号を画像として記録する。ここで、視聴者などからの光としては、可視光の他に、赤外線や遠赤外線などの光も含まれ、カメラ部は対応する撮像手段を備える。カメラ部は、例えば、集光レンズ、受光素子、信号増幅回路、A/D変換回路、記録素子、処理演算回路、などからなる。なお、カメラ部は単数である必要はなく、複数存在してもよい。The “camera part” images the viewer area. That is, the light of the viewer and other objects from the viewer area is captured and the optical signal is recorded as an image. Here, light from viewers and the like includes light such as infrared rays and far infrared rays in addition to visible light, and the camera unit includes corresponding imaging means. The camera unit includes, for example, a condenser lens, a light receiving element, a signal amplification circuit, an A / D conversion circuit, a recording element, a processing arithmetic circuit, and the like. In addition, the camera part does not need to be singular, and a plurality of camera parts may exist.
 「認識情報取得部」は、カメラ部の撮像情報から視聴者を認識するための情報である認識情報を取得する。ここで、視聴者を認識するとは、視聴者が誰であるか(どの視聴者IDを有するか)を認識するのみならず、視聴者が男性であるか女性であるかを認識することや、視聴者が大人であるか子供であるかを認識すること、視聴者であるか通りすがりの人であるか認識すること、なども含まれる。視聴者を認識するための情報としては、上記のような認識を行うための情報であり、例えば、撮像画像に含まれる人の体や顔の情報、目印(メガネ、ピアス、指輪など)の情報などが挙げられる。具体的には、人の体や顔であると認識される画像領域の座標情報を抽出したり、体の大きさや体型、肌の色、顔の目、鼻、口、耳、眉毛、瞳孔などのサイズ、髪の長さ、顔の各パーツの比率などの情報を抽出したりする。The “recognition information acquisition unit” acquires recognition information that is information for recognizing the viewer from the imaging information of the camera unit. Here, recognizing the viewer means not only recognizing who the viewer is (which viewer ID has), but also recognizing whether the viewer is male or female, Recognizing whether the viewer is an adult or a child, recognizing whether the viewer is a viewer or a person passing by, and the like are also included. The information for recognizing the viewer is information for recognizing as described above. For example, information on the human body and face included in the captured image, information on landmarks (glasses, earrings, rings, etc.) Etc. Specifically, it extracts the coordinate information of the image area recognized as a human body or face, body size and body type, skin color, facial eyes, nose, mouth, ears, eyebrows, pupils, etc. Information such as the size of the hair, the length of the hair, the ratio of each part of the face.
 「視聴者属性取得部」は、取得した認識情報を用いて視聴者の属性情報を取得する。ここで、認識情報から取得される視聴者の属性情報としては、視聴者のID、名前、性別、年齢・年代・年齢層、顔画像、全身画像、国籍、住所、所属、職業、経歴、好きな映像・音楽・文学のジャンル、視聴時間帯、起床時刻、通学・出勤時刻、帰宅時刻、就寝時刻、視力、聴力、使用言語・理解可能言語、語学力、好きなスポーツ・チーム・食べ物・有名人・動物などの情報の一以上が挙げられる。“The viewer attribute acquisition unit” acquires the attribute information of the viewer using the acquired recognition information. Here, viewer attribute information acquired from the recognition information includes viewer ID, name, gender, age / age / age group, face image, whole body image, nationality, address, affiliation, occupation, career, likes Genre of video / music / literature, viewing time, wake-up time, attending school / working time, going home time, bedtime, sight, hearing, language used, understandable language, language skills, favorite sports / team / food / celebrity・ One or more information such as animals can be listed.
 認識情報を用いて視聴者の属性情報を取得する処理としては、認識情報として取得した視聴者の顔画像とデータベースに登録された複数人の顔画像と照合したり、男性、女性、大人、子供のテンプレート画像と照合したりして、視聴者が誰であるか(どの視聴者IDを有するものであるか)、男性であるか女性であるか、大人であるか子供であるかなどを判断し、その判断結果である情報を属性情報として取得する処理が考えられる。また、視聴者の口の動きから、視聴者がどの言語を話しているかを判断し、どの言語圏の人であるかを示す情報を取得してもよい。具体的には、視聴者の顔画像と他の属性情報を関連付けたテーブル情報を記憶手段にて保持しておき、撮像情報と顔画像の照合結果に基づいて視聴者の他の属性情報を抽出することも可能である。例えば、利用者の顔画像と、利用者のID、年齢層、性別、利用者の好きな映像コンテンツのジャンルを関連付けて保持することが考えられる。なお、これらのテーブル情報は、利用者によって操作入力手段を介して適宜入力・更新可能な状態としておくことが可能である。As processing for acquiring viewer attribute information using recognition information, the viewer's face image acquired as recognition information is compared with the face images of a plurality of people registered in the database, or men, women, adults, children The template image is compared to determine who the viewer is (with which viewer ID it has), whether it is male or female, adult or child, etc. Then, a process of acquiring information as the determination result as attribute information can be considered. Also, it is possible to determine which language the viewer is speaking from the movement of the viewer's mouth, and obtain information indicating which language range the person is. Specifically, table information in which the viewer's face image is associated with other attribute information is held in the storage means, and other attribute information of the viewer is extracted based on the comparison result of the imaging information and the face image It is also possible to do. For example, it is conceivable that the user's face image is associated with the user's ID, age group, gender, and the user's favorite video content genre. These table information can be appropriately input / updated by the user via the operation input means.
 「優先視聴者決定部」は、認識される視聴者が複数である場合に、視聴者属性取得部にて取得した視聴者の属性情報と所定のルールとを用いて優先視聴者を決定する。ここで、優先視聴者とは、提供する視聴サービスの提供方法や提供内容を決定する際に、判断の基準として優先すべき視聴者のことをいう。なお、優先視聴者は一人である必要はなく、複数の優先視聴者が存在してもよい。例えば、一の映像コンテンツを出力する際に、視力の低い視聴者と、聴力の低い視聴者をそれぞれ優先視聴者として決定することも可能である。The “priority viewer determination unit” determines the priority viewer using the viewer attribute information acquired by the viewer attribute acquisition unit and a predetermined rule when there are a plurality of viewers to be recognized. Here, the priority viewer refers to a viewer that should be given priority as a criterion for determination when determining a provision method and provision contents of a viewing service to be provided. Note that the priority viewer need not be one person, and there may be a plurality of priority viewers. For example, when outputting one video content, a viewer with low vision and a viewer with low hearing can be determined as priority viewers, respectively.
 所定のルールとしては、視聴者の属性情報と視聴時間帯とに応じて視聴者として優先する度合を示す指数を定めた情報である時間帯別優先ルール(実施形態2にて詳述する)や、視聴者の属性情報と視聴コンテンツの属性情報とに応じて視聴者として優先する度合を示す指数を定めた情報であるコンテンツ別優先ルール(実施形態3にて詳述する)、リモコン操作者を優先視聴者とする操作者優先ルール(実施形態4にて詳述する)が例として挙げられる。As the predetermined rule, a priority rule for each time zone (described in detail in the second embodiment), which is an information that defines an index indicating the degree of priority as a viewer according to the viewer's attribute information and the viewing time zone, , A priority rule for each content (detailed in the third embodiment) that defines an index indicating the degree of priority given to the viewer according to the attribute information of the viewer and the attribute information of the viewing content. An operator priority rule (which will be described in detail in Embodiment 4) as a priority viewer is given as an example.
 また、所定のルールの他の例として、視聴者の属性情報と視聴サービスに応じて視聴者として優先する度合を示す指数を定めた情報である視聴サービス別優先ルールも挙げられる。この場合、優先視聴者決定部は、視聴者属性取得部にて取得した視聴者の属性情報とサービス別優先ルールとに基づいて優先視聴者を決定する。また、視聴者の属性情報と曜日とに応じて視聴者として優先する度合を示す指数を定めた情報である曜日別優先ルールなども可能である。Further, as another example of the predetermined rule, there is a priority rule for each viewing service, which is information that defines an index indicating the priority level as a viewer according to the viewer's attribute information and the viewing service. In this case, the priority viewer determination unit determines the priority viewer based on the viewer attribute information acquired by the viewer attribute acquisition unit and the priority rule for each service. Further, a day-by-day priority rule, which is information that defines an index indicating the degree of priority given to the viewer according to the attribute information of the viewer and the day of the week, is also possible.
 「視聴サービス部」は、コンテンツ出力を含む視聴サービスを提供する。ここで、コンテンツ出力とは、ディスプレイを介してコンテンツ映像を表示出力することや、スピーカーを介してコンテンツの音声を出力すること、が挙げられる。コンテンツとしては、地上デジタル/アナログ放送受信機や衛星放送受信機を介して受信するコンテンツや、ネットワークI/Fを介してコンテンツサーバから受信するコンテンツ、外部記憶装置又は内部記憶装置から取得するコンテンツ、など種々可能である。また、コンテンツ内容としては、映像と音声からなるコンテンツが主として考えられるが、映像、音声、文字などのいずれか一以上からなる内容であれば足りる。“Viewing Service Department” provides viewing services including content output. Here, content output includes output of content video via a display and output of audio of content via a speaker. Content includes content received via a terrestrial digital / analog broadcast receiver or satellite broadcast receiver, content received from a content server via a network I / F, content acquired from an external storage device or internal storage device, Etc. are possible. In addition, as contents of contents, contents including video and audio are mainly considered, but contents including any one or more of video, audio, and characters are sufficient.
 視聴サービスとしては、コンテンツを表示出力又は音声出力するサービス、コンテンツの属性情報(タイトル、出演者、時間枠、概要など)を表示するサービス、メニュー項目を表示するサービス、お薦めコンテンツの情報を表示するサービス、電子番組表(EPG)を表示するサービス、外部記録装置又は内部記録装置に記録されているコンテンツの情報を表示するサービス、コンテンツサーバからダウンロード可能なコンテンツの情報を表示するサービス、所定時間内にコンテンツが開始することを通知するサービス、コンテンツに視聴・録画制限がかけられていることを通知するサービス、などが挙げられる。As a viewing service, a content display / audio output service, a content attribute information (title, performer, time frame, summary, etc.) service, a menu item display service, and recommended content information are displayed. Service, service for displaying electronic program guide (EPG), service for displaying content information recorded in external recording device or internal recording device, service for displaying information on content downloadable from content server, within predetermined time A service for notifying that the content starts, a service for notifying that the viewing / recording restriction is applied to the content, and the like.
 「視聴サービス制御部」は、決定された優先視聴者の属性を用いて視聴サービスを制御する。ここで、優先視聴者の属性を用いた視聴サービスの制御としては、表示されるお薦めコンテンツを優先視聴者の年齢層や性別などに基づいて変更したり、コンテンツやメニュー画面、電子番組表などに含まれる文字の大きさを優先視聴者の視力などに基づいて調整したり、出力されるコンテンツやメニュー画面などに含まれる文字のフォントの種類や文字表記(ひらがな表記、カタカナ表記、漢字表記など)を優先視聴者の年齢層などに基づいて変更したり、出力されるコンテンツなどの音量を優先視聴者の聴力などに基づいて制御したり、出力されるコンテンツの字幕言語や音声言語を優先視聴者の使用言語に基づいて変更したり、コンテンツのメニュー画面に含まれる項目内容を優先視聴者の性別・年齢層などに基づいて変更したり、視聴・録画制限のかかっているコンテンツに関して優先視聴者の年齢や権限などに基づいて出力を制限したり、電子番組表からそのコンテンツ項目を削除したり、出力されるコンテンツを優先視聴者のお好みジャンルなどに基づいて決定したり、出力されるコンテンツの画質や輝度、音質などを優先視聴者のお好み設定などに基づいて決定したりすることなどが挙げられる。The “viewing service control unit” controls the viewing service using the determined priority viewer attribute. Here, as control of the viewing service using the priority viewer attribute, the recommended content to be displayed can be changed based on the age group or gender of the priority viewer, or the content, menu screen, electronic program guide, etc. Adjust the size of the characters included based on the visual acuity of the priority viewer, and the font type and character notation (Hiragana notation, Katakana notation, Kanji notation, etc.) Change based on the age group of the priority viewer, control the volume of the output content based on the hearing of the priority viewer, etc., and the subtitle language and audio language of the output content to the priority viewer Based on the language used, and the content of the items included in the content menu screen based on the gender and age group of the preferred viewer, -Restrict output based on the priority viewer's age, authority, etc. for content that is subject to recording restrictions, delete the content item from the electronic program guide, and output content to the preferred viewer's favorite genre And determining the image quality, brightness, sound quality, and the like of the output content based on the preference setting of the priority viewer.
 具体的には、年齢層が高齢者の場合に、コンテンツやメニュー画面などに含まれる文字の大きさは所定以上にしたり、年齢層が子供の場合に、文字表記を全てひらがな表記かカタカナ表記にしたり、年齢層が視聴年齢制限未満である場合に、コンテンツの表示出力を制限したり、電子番組表の該当コンテンツ項目を表示出力しないようにしたりする。Specifically, when the age group is an elderly person, the size of the characters included in the contents and menu screens should be larger than the prescribed size, or when the age group is a child, all the character notation will be hiragana notation or katakana notation. When the age group is less than the viewing age limit, the content display output is limited, or the corresponding content item in the electronic program guide is not displayed and output.
 優先視聴者の属性を用いた視聴サービスの制御手段の一例としては、優先視聴者の属性と、視聴サービスの制御内容を関連付けたテーブル情報を記憶手段にて保持しておき、優先視聴者の属性情報と、当該テーブル情報を用いて視聴サービスの制御内容を決定することにより行うことが可能である。当該テーブル情報は、視聴者によって適宜更新可能な状態にしておくことが可能である。また、優先視聴者の属性値(視力、聴力など)をパラメータに持つ制御プログラムを記憶手段にて保持しておくことも考えられる。As an example of the viewing service control means using the priority viewer attribute, table information in which the priority viewer attribute and the control content of the viewing service are associated is held in the storage means, and the priority viewer attribute is stored. This can be done by determining the control content of the viewing service using the information and the table information. The table information can be appropriately updated by the viewer. It is also conceivable to store in the storage means a control program having a priority viewer attribute value (sight, hearing, etc.) as a parameter.
<具体的な構成>
 図3は、本実施形態のコンテンツ提供装置の具体的なハードウェア構成の一例を示す図である。この図にあるように、コンテンツ提供装置は、「CPU」1と、「RAM」2と、「不揮発性メモリ」3と、「カメラ部」4と、「カメラ信号処理部」5と、「チューナ/復調/分離部」6と、「映像信号処理部」7と、「EPG/OSD/BML処理部」8と、「音声信号処理部」9と、「映像出力変換部」10と、「音声出力変換部」11と、「通信部」12と、「リモコン受光部」13と、「アンテナ」14などから構成される。
<Specific configuration>
FIG. 3 is a diagram illustrating an example of a specific hardware configuration of the content providing apparatus according to the present embodiment. As shown in this figure, the content providing apparatus includes “CPU” 1, “RAM” 2, “nonvolatile memory” 3, “camera unit” 4, “camera signal processing unit” 5, “tuner”. / Demodulation /separation unit 6, videosignal processing unit 7, EPG / OSD /BML processing unit 8, audiosignal processing unit 9, videooutput conversion unit 10, audio Theoutput conversion unit 11, thecommunication unit 12, the remote controllight receiving unit 13, theantenna 14, and the like.
 本実施形態に係る「コンテンツ提供装置」は、「受信アンテナ」を介してデジタル放送を受信する。 また、「チューナ/復調/分離部」では、デジタル放送の受信信号をチューニングし、チューニングされたデジタル信号を復調し、分離する。また、「映像信号処理部」では、分離された映像信号をデコードしたり、静止画処理したりする。また、「EPG/OSD/BML処理部」では、分離された電子番組表(EPG)の処理やメニューなどのOSD処理、データ放送の表示処理を行う。また、「映像出力変換部」では、映像信号処理部およびEPG/OSD/BML処理部からの情報をミックスして映像出力する信号へと変換する。また、「音声信号処理部」では、分離された音声信号をデコードしたり、内蔵音などの音声出力処理を行ったりする。また、「音声出力変換部」では、音声出力する信号へと変換する。 また、「カメラ部」では、映像信号を入力する。また、「カメラ信号処理部」では、「カメラ部」によって入力した映像信号を処理する。「リモコン受光部」は、ユーザによるリモコン操作におけるリモコン信号を受信する。The “content providing apparatus” according to the present embodiment receives a digital broadcast via a “receiving antenna”. In addition, the “tuner / demodulation / separation unit” tunes the received digital broadcast signal and demodulates and separates the tuned digital signal. Further, the “video signal processing unit” decodes the separated video signal and performs still image processing. The “EPG / OSD / BML processing unit” performs processing of the separated electronic program guide (EPG), OSD processing such as menus, and display processing of data broadcasting. Further, the “video output conversion unit” mixes information from the video signal processing unit and the EPG / OSD / BML processing unit and converts the information into a video output signal. In addition, the “audio signal processing unit” decodes the separated audio signal and performs audio output processing such as a built-in sound. In addition, the “voice output conversion unit” converts the signal into a voice output signal. In addition, the “camera unit” inputs video signals. In addition, the “camera signal processing unit” processes the video signal input by the “camera unit”. The “remote control light receiving unit” receives a remote control signal in a remote control operation by the user.
 「CPU」は、全体の処理や、カメラ信号処理部で取得したデータから顔の検出処理をしたり、登録済みユーザかどうかの判定処理をしたり、優先指数の比較処理をしたり、リモコン操作者の判定処理をしたり、デジタル放送の放送波によって取得された時間情報から時間帯比較処理を行ったりする。また、「RAM」は、任意のアドレスを指定して読み書きすることが可能な半導体メモリであり、プログラムの実行領域としてプログラムデータや実行データを格納し、分離部で抽出されたコンテンツデータや電子番組表データや検出済みユーザかどうかの情報や、それぞれのユーザの優先指数の算出結果を保存する。また、不揮発性メモリは、登録した視聴者の属性情報(視聴者ID、性別、年齢層、好きなジャンルなど)や番組情報や取得した電子番組表情報、テレビ受像機の設定情報などを保存する。また、通信部は、LANなどのネットワークとの通信の制御を行い、他のテレビ受像機などとのデータのやりとりを行う。The “CPU” performs overall processing, face detection processing from the data acquired by the camera signal processing section, processing for determining whether or not the user is a registered user, processing for comparing priority indexes, and remote control operations. A person's judgment process is performed, or a time zone comparison process is performed from time information acquired by a broadcast wave of digital broadcasting. The “RAM” is a semiconductor memory that can be read and written by designating an arbitrary address, stores program data and execution data as a program execution area, and extracts content data and electronic programs extracted by a separation unit. Table data, information on whether or not the user has been detected, and the calculation result of each user's priority index are stored. The non-volatile memory stores registered viewer attribute information (viewer ID, sex, age group, favorite genre, etc.), program information, acquired electronic program guide information, TV receiver setting information, and the like. . The communication unit controls communication with a network such as a LAN, and exchanges data with other television receivers.
<処理の流れ>
 図4は、本実施形態のコンテンツ提供装置の処理の流れの一例を示す図である。以下に述べる処理は、コンテンツ提供装置にて実行されるプログラムによって実現され、そのプログラムは記憶媒体に記憶することが可能である。まず、ステップS0401において、コンテンツ提供装置は、視聴者のいる領域を撮像する(撮像ステップ)。次に、ステップS0402において、コンテンツ提供装置は、撮像情報から視聴者を認識するための情報である認識情報を取得する(認識情報取得ステップ)。次に、ステップS0403において、コンテンツ提供装置は、取得した認識情報を用いて視聴者の属性情報を取得する(視聴者属性取得ステップ)。次に、ステップS0404において、コンテンツ提供装置は、認識される視聴者が複数であるか否か判断する。ここで、認識される視聴者が単数である場合に、ステップS0405Aに進む。ここで、認識される視聴者が複数であるとの判断である場合に、ステップS0405Bに進む。ステップS0405Aでは、コンテンツ提供装置は、優先視聴者の属性情報を用いて視聴サービスを制御する。ステップS0405Bでは、コンテンツ提供装置は、視聴者属性取得ステップにて取得した視聴者の属性情報と所定のルールとを用いて優先視聴者を決定する(優先視聴者決定ステップ)。ステップS0406Bでは、コンテンツ提供装置は、決定された優先視聴者の属性を用いて視聴サービスを制御する(視聴サービス制御ステップ)。なお、上記処理は所定のタイミング(例えば、一定の時間間隔や特定の操作が行われたタイミング)で行うことが可能であり、新たな視聴者が加わった場合やこれまでいた視聴者がいなくなった場合であっても、その状況においてもっとも適当な優先視聴者を決定することができる。また、ステップS0403の後に視聴者のメンバー構成に変化があったか否か(視聴者が新たに加わったり、いなくなったりしたか否か)判断し、メンバー構成に変化があった場合にはステップS0404の処理を行い、メンバー構成に変化がない場合にはステップS0401に戻る処理を行ってもよい。
<Process flow>
FIG. 4 is a diagram illustrating an example of a processing flow of the content providing apparatus according to the present embodiment. The processing described below is realized by a program executed by the content providing apparatus, and the program can be stored in a storage medium. First, in step S0401, the content providing apparatus images a region where the viewer is present (imaging step). Next, in step S0402, the content providing apparatus acquires recognition information that is information for recognizing the viewer from the imaging information (recognition information acquisition step). Next, in step S0403, the content providing apparatus acquires viewer attribute information using the acquired recognition information (viewer attribute acquiring step). Next, in step S0404, the content providing apparatus determines whether there are a plurality of recognized viewers. Here, when the number of viewers recognized is one, it progresses to step S0405A. If it is determined that there are a plurality of viewers to be recognized, the process proceeds to step S0405B. In step S0405A, the content providing apparatus controls the viewing service using the priority viewer attribute information. In step S0405B, the content providing apparatus determines a priority viewer using the viewer attribute information acquired in the viewer attribute acquisition step and a predetermined rule (priority viewer determination step). In step S0406B, the content providing apparatus controls the viewing service using the determined priority viewer attribute (viewing service control step). Note that the above processing can be performed at a predetermined timing (for example, at a certain time interval or when a specific operation is performed), and when a new viewer is added or there is no existing viewer. Even so, it is possible to determine the most appropriate priority viewer in the situation. Further, after step S0403, it is determined whether or not there is a change in the member configuration of the viewer (whether or not the viewer is newly added or disappeared). Processing may be performed, and if there is no change in the member configuration, processing returning to step S0401 may be performed.
<視聴者認識処理の具体例>
 図5は、本実施形態のコンテンツ提供装置における視聴者認識処理の流れの一例を示す図である。まず、ステップS0501において、コンテンツ提供装置は、コンテンツ提供装置の視聴者側をカメラ装置で撮像し、撮像データを取得する。次に、ステップS0502において、コンテンツ提供装置は、カメラ装置から出力される撮像データから、視聴者の顔であると認識される画像領域を抽出し、その領域の座標データをRAMにて保持する。ステップS0503では、コンテンツ提供装置は、視聴者数をインクリメントする。次に、ステップS0504において、コンテンツ提供装置は、撮像データの全ての領域についてステップS0502、S0503の処理を行ったか判断する。ここで、全ての領域について処理を行ったとの判断である場合は、視聴者認識処理を終了する。処理を行っていない領域が残っているとの判断である場合は、ステップS0502に戻る。
<Specific examples of viewer recognition processing>
FIG. 5 is a diagram illustrating an example of the flow of viewer recognition processing in the content providing apparatus of the present embodiment. First, in step S0501, a content provision apparatus images the viewer side of a content provision apparatus with a camera apparatus, and acquires imaging data. Next, in step S0502, the content providing apparatus extracts an image area recognized as the face of the viewer from the imaging data output from the camera apparatus, and holds the coordinate data of the area in the RAM. In step S0503, the content providing apparatus increments the number of viewers. Next, in step S0504, the content providing apparatus determines whether the processes in steps S0502 and S0503 have been performed for all areas of the imaging data. If it is determined that the processing has been performed for all the areas, the viewer recognition process is terminated. If it is determined that an area that has not been processed remains, the process returns to step S0502.
<視聴者属性取得処理の具体例>
 図6は、本実施形態のコンテンツ提供装置における視聴者属性取得処理の流れの一例を示す図である。まず、ステップS0601において、RAMに読み出された登録済視聴者の顔画像と、視聴者認識処理にて認識された視聴者の顔画像領域とのパターンマッチングを行う。次に、ステップS0602において、パターンマッチングの結果から登録済の視聴者であるか否か判断する。ここで、登録済の視聴者ではないと判断した場合は、ステップS0603Aに進む。登録済の視聴者であると判断した場合は、ステップS0603Bに進む。ステップS0603Aでは、視聴者登録画面を表示し、視聴者の属性情報に関する操作入力を受け付けて、その視聴者の顔画像とともにRAM及び不揮発性メモリに格納する。なお、視聴者登録を行わないとの操作入力を受け付けることも可能である。ステップS0603Bでは、該当する登録済視聴者の属性情報(視聴者のID、名前、年齢、性別、好きなジャンルなど)を不揮発性メモリからRAMに読み出す。次に、ステップS0604では、視聴者認識処理にて認識された視聴者全て(視聴者登録を行わなかった視聴者は除く)について、ステップS0601~ステップS0603の処理を行ったか否か判断する。ここで、全ての視聴者について処理を行ったとの判断である場合、視聴者属性取得処理を終了する。処理を行っていない視聴者が残っているとの判断である場合は、ステップ0601に戻る。上記では、登録されていない視聴者を検知した場合、視聴者登録を行う設定としているが、この例に限定されるものではなく、例えば視聴者登録は予め行っておき、登録されていない視聴者を検知した場合はその視聴者については考慮しないとの処理を行ってもよい。
<Specific example of viewer attribute acquisition processing>
FIG. 6 is a diagram illustrating an example of the flow of viewer attribute acquisition processing in the content providing apparatus of the present embodiment. First, in step S0601, pattern matching is performed between the registered viewer's face image read into the RAM and the viewer's face image area recognized in the viewer recognition process. Next, in step S0602, it is determined from the pattern matching result whether or not the viewer is a registered viewer. If it is determined that the viewer is not a registered viewer, the process advances to step S0603A. If it is determined that the viewer is a registered viewer, the process proceeds to step S0603B. In step S0603A, a viewer registration screen is displayed, an operation input related to the viewer's attribute information is received, and stored in the RAM and nonvolatile memory together with the viewer's face image. It is also possible to accept an operation input indicating that viewer registration is not performed. In step S0603B, the attribute information (viewer ID, name, age, sex, favorite genre, etc.) of the corresponding registered viewer is read from the nonvolatile memory to the RAM. Next, in step S0604, it is determined whether or not the processing in steps S0601 to S0603 has been performed for all viewers recognized in the viewer recognition processing (excluding viewers who have not performed viewer registration). If it is determined that processing has been performed for all viewers, the viewer attribute acquisition processing is terminated. If it is determined that there are still viewers that have not been processed, the process returns to step 0601. In the above, it is set to perform viewer registration when an unregistered viewer is detected. However, the present invention is not limited to this example. For example, the viewer registration is performed in advance and the unregistered viewer is performed. May be processed so that the viewer is not considered.
<優先視聴者決定処理の具体例>
 図7は、本実施形態のコンテンツ提供装置における優先視聴者決定処理の流れの一例を示す図である。ステップS0701では、コンテンツ提供装置は、視聴者数が複数であるか否か判断する。ここで、複数であるとの判断である場合はステップS0702に進む。視聴者が複数ではないとの判断である場合は優先視聴者決定処理を終了する。ステップS0702では、コンテンツ提供装置は、視聴者属性取得処理にて取得された視聴者IDと、視聴者IDに応じて視聴者として優先する度合を示す指数を定めた情報であるID優先ルールとを用いて、視聴者の視聴優先指数を取得する。次に、ステップS0703では、コンテンツ提供装置は、視聴者属性取得処理にて視聴者IDを取得した視聴者全てについて優先指数を取得したか否か判断する。ここで、視聴者全てについて優先指数を取得したとの判断である場合、ステップS0704に進む。優先指数を取得していない視聴者が残っているとの判断である場合は、ステップ0702に戻る。ステップS0704では、コンテンツ提供装置は、優先指数が取得された複数の視聴者の優先指数を比較する。ステップS0705では、コンテンツ提供装置は、優先視聴者を確定し、その視聴者の属性情報をRAMにて保持する。
<Specific example of priority viewer decision processing>
FIG. 7 is a diagram showing an example of the flow of priority viewer determination processing in the content providing apparatus of this embodiment. In step S0701, the content providing apparatus determines whether the number of viewers is plural. If it is determined that there are a plurality of items, the process advances to step S0702. If it is determined that there are not a plurality of viewers, the priority viewer determination process ends. In step S0702, the content providing apparatus obtains the viewer ID acquired in the viewer attribute acquisition process and an ID priority rule that is information that defines an index indicating the degree of priority given to the viewer according to the viewer ID. To obtain the viewing priority index of the viewer. Next, in step S0703, the content providing apparatus determines whether or not the priority index has been acquired for all viewers who have acquired the viewer ID in the viewer attribute acquisition process. If it is determined that the priority index has been acquired for all viewers, the process advances to step S0704. If it is determined that there are still viewers who have not acquired the priority index, the process returns to step 0702. In step S0704, the content providing apparatus compares the priority indexes of a plurality of viewers for which the priority indexes have been acquired. In step S0705, the content providing apparatus determines a priority viewer and holds the attribute information of the viewer in the RAM.
<視聴サービス制御処理の具体例>
 図8は、本実施形態のコンテンツ提供装置における視聴サービス制御処理の流れの一例を示す図である。まず、ステップS0801において、優先視聴者決定処理により決定された優先視聴者の属性(好きなジャンル、年齢層、視力、聴力など)を取得する。ステップS0802において、不揮発性メモリから優先視聴者の属性と視聴サービスの内容を関連づけた情報をRAMに読み出し、取得された優先視聴者の属性に応じて視聴サービスの内容(お薦めコンテンツの内容、表記の種別、出力するコンテンツの文字の大きさ・音量の大きさなど)を決定する。次に、ステップS0803において、決定された視聴サービスの内容となるように、視聴サービスに関係する機器(ディスプレイ、スピーカーなど)を制御する。次に、ステップS0804において、制御すべき視聴サービスの全てについて、優先視聴者の属性に応じてその制御が行われたか否か判断する。全て行われたとの判断である場合は、視聴サービス制御処理を終了する。制御が行われていない視聴サービスが残っているとの判断である場合は、ステップS0802に戻る。
<Specific example of viewing service control processing>
FIG. 8 is a diagram showing an example of the flow of viewing service control processing in the content providing apparatus of the present embodiment. First, in step S0801, the priority viewer attributes (like genre, age group, visual acuity, hearing ability, etc.) determined by the priority viewer determination process are acquired. In step S0802, information relating the priority viewer attribute and the content of the viewing service is read from the non-volatile memory to the RAM, and the content of the viewing service (the content of the recommended content, the notation of the notation) is read according to the acquired priority viewer attribute. Type, character size of output content, volume size, etc.). Next, in step S0803, devices (display, speaker, etc.) related to the viewing service are controlled so that the content of the determined viewing service is obtained. Next, in step S0804, it is determined whether or not all viewing services to be controlled have been controlled according to the priority viewer attribute. If it is determined that all have been performed, the viewing service control process ends. If it is determined that there is a viewing service that is not controlled, the process returns to step S0802.
<効果>
 本実施形態のコンテンツ提供装置は、視聴者が複数いる場合、視聴者の属性情報と所定のルールを用いて優先視聴者を決定するため、その場の状況に好ましい視聴環境を提供することが可能になる。
<Effect>
The content providing apparatus according to the present embodiment, when there are a plurality of viewers, determines the preferred viewer using the viewer's attribute information and a predetermined rule, and therefore can provide a viewing environment preferable to the situation at hand. become.
<<実施形態2>><<Embodiment 2 >>
<概要>
 本実施形態のコンテンツ提供装置は、基本的に実施形態1のコンテンツ提供装置と同様であるが、視聴者の属性情報と現在時刻と、視聴者の属性情報と視聴時間帯とに応じて視聴者として優先する度合を示す指数を定めた情報である時間帯別優先ルールとに基づいて優先視聴者を決定することを特徴とする。
<Overview>
The content providing apparatus according to the present embodiment is basically the same as the content providing apparatus according to the first embodiment, except that the viewer is in accordance with the viewer's attribute information and current time, and the viewer's attribute information and viewing time zone. The priority viewer is determined based on the priority rule for each time zone, which is information defining an index indicating the degree of priority.
<構成>
 図9は、本実施形態のコンテンツ提供装置の機能ブロックの一例を示す図である。この図にあるように、「コンテンツ提供装置」0900は、「カメラ部」0901と、「認識情報取得部」0902と、「視聴者属性取得部」0903と、「優先視聴者決定部」0904と、「視聴サービス制御部」0905と、「視聴サービス部」0906と、を有し、「優先視聴者決定部」は、「時間帯別優先ルール保持手段」0907と、「時間帯別優先決定手段」0908を有する。以下、実施形態1との相違点である「時間帯別優先ルール保持手段」と「時間帯別優先決定手段」について説明する。
<Configuration>
FIG. 9 is a diagram illustrating an example of functional blocks of the content providing apparatus according to the present embodiment. As shown in this figure, “content providing device” 0900 includes “camera unit” 0901, “recognition information acquisition unit” 0902, “viewer attribute acquisition unit” 0903, and “priority viewer determination unit” 0904. , “Viewing service control unit” 0905 and “viewing service unit” 0906, and “priority viewer determination unit” includes “time zone priority rule holding unit” 0907 and “time zone priority determination unit” 0908 ”. Hereinafter, the “time zone priority rule holding unit” and the “time zone priority determination unit” which are different from the first embodiment will be described.
 「時間帯別優先ルール保持手段」は、所定のルールとして、視聴者の属性情報と視聴時間帯とに応じて視聴者として優先する度合を示す指数を定めた情報である時間帯別優先ルールを保持する。ここで、視聴時間帯の区分けの仕方は任意であるが、0時から3時間ごとに区分けしたり、6時間ごとに区分けしたりすることが考えられる。また、視聴時間帯に対して曜日の情報を付け加えることも可能である。また、視聴者として優先する度合を示す指数とは、当該指数が大きい者又は小さい者を優先して視聴サービスを提供することをいう。“Time zone priority rule holding means” is a time zone priority rule that is an information that defines an index indicating the degree of priority given to the viewer according to the attribute information of the viewer and the viewing time zone. Hold. Here, although the way of dividing the viewing time zone is arbitrary, it is possible to divide every 3 hours from 0 o'clock or divide every 6 hours. It is also possible to add day information to the viewing time zone. Further, the index indicating the degree of priority as a viewer refers to providing a viewing service with priority given to a person with a large or small index.
 図10は、時間帯別優先ルールの一例を示す図である。この図の例では、年齢層や性別によって、視聴者をC1(0~12歳の子供)、C2(13~19歳の子供)、F1(20~34歳の女性)、F2(35~49歳の女性)、F3(50歳以上の女性)、M1(20~34歳の男性)、M2(35~49歳の男性)、M3(50歳以上の男性)のグループに区分けしている。また、時間帯を6~12時、12~18時、18~24時、24~翌日の6時に区分けしている。そして、時間帯と視聴者の区分に応じて、視聴者として優先する度合を示す指数を定めた優先指数が割り当てられている。優先指数は視聴者の区分の数だけ種類が存在し、優先指数の高いものから順にA、B、・・・、Hとなっている。FIG. 10 is a diagram showing an example of priority rules according to time zones. In the example of this figure, according to the age group and gender, viewers are classified into C1 (0-12 year old children), C2 (13-19 year old children), F1 (20-34 year old women), F2 (35-49 years old). Old women), F3 (women over 50), M1 (men aged 20-34), M2 (men aged 35-49), and M3 (men over 50). In addition, the time zone is divided into 6 to 12 o'clock, 12 to 18 o'clock, 18 to 24 o'clock, and 24 to 6 o'clock the next day. A priority index that defines an index indicating the degree of priority given to the viewer is assigned according to the time zone and the classification of the viewer. There are as many types of priority indexes as the number of viewer categories, and are A, B,..., H in descending order of priority index.
 「時間帯別優先決定手段」は、視聴者属性取得部にて取得した視聴者の属性情報と現在時刻と所定のルールである時間帯別優先ル-ルとに基づいて優先視聴者を決定する。図10の例で説明すると、視聴者の区分がC2、F2、M2であり、現在時刻が18~24時の時間帯である場合は、C2の優先指数が最も高くなっているため、C2の視聴者が優先視聴者となる。また、視聴者の区分がC2、F2、M2であり、現在時刻が12~18時の時間帯である場合は、F2の優先指数が最も高くなっているため、F2の視聴者が優先視聴者となる。The “time zone priority determination means” determines the priority viewer based on the viewer attribute information acquired by the viewer attribute acquisition unit, the current time, and the time zone priority rule which is a predetermined rule. . In the example of FIG. 10, when the audience classification is C2, F2, M2, and the current time is a time zone from 18:00 to 24:00, the priority index of C2 is the highest. The viewer becomes the priority viewer. In addition, when the viewer category is C2, F2, and M2 and the current time is a time zone from 18:00 to 18:00, the priority index of F2 is the highest, so the viewer of F2 is the priority viewer. It becomes.
 本実施形態のコンテンツ提供装置は、さらに、以下で述べる「属性別視聴履歴保持部」と、「時間帯別優先度ルール更新手段」を備えていてもよい。当該構成を備えていることにより、視聴者の視聴履歴に応じて時間帯別優先度ルールを更新することが可能になり、より適切な優先視聴者の選定を行うことが可能になる。The content providing apparatus according to the present embodiment may further include “attribute-based viewing history holding unit” and “time-period priority rule updating unit” described below. With this configuration, it is possible to update the priority rules for each time zone according to the viewing history of the viewer, and it is possible to select a more appropriate priority viewer.
 「属性別視聴履歴保持部」は、前記視聴者の属性に応じた視聴履歴である属性別視聴履歴を保持する。ここで、視聴者の属性に応じた視聴履歴としては、視聴者IDごとの視聴履歴とすることも可能であるし、視聴者の性別・年齢層ごとの視聴履歴とすることも可能である。視聴履歴の内容としては、視聴日時・曜日・時間帯の情報や、視聴コンテンツのジャンルの情報、視聴時間の情報、視聴回数の情報、一緒に視聴した人の視聴者IDなどが挙げられる。また、属性別視聴履歴の更新は、視聴者属性取得部にて取得される視聴者の属性に変化があった場合や視聴時間帯が切り替わった場合、視聴コンテンツの属性に変化があった場合に行うことが考えられる。例えば、新たな視聴者が加わって視聴者IDが追加された場合や特定の視聴者がいなくなった場合は、各視聴者の視聴履歴を更新するための処理を行う。また、9時00分~9時30分の視聴時間帯から9時30分~10時00分の視聴時間帯に切り替わった場合、各視聴時間帯に関する視聴履歴を更新するための処理を行う。また、スポーツ番組からお笑い番組にコンテンツが変化した場合、各ジャンル属性に関する視聴履歴を更新するための処理を行う。なお、視聴コンテンツが録画コンテンツの場合には、実際の視聴時間帯ではなく、録画した時間帯で視聴履歴を更新するようにしてもよい。このようにすれば、例えばある日の9~10時に放映された子供向け帯番組を録画し、これを17~18時に子供が視聴した場合、子供の視聴履歴の更新は9~10時に視聴したものとしてなされるため、次回同じ番組を9~10時に子供が視聴する際には、前回子供が9~10時に視聴したという視聴履歴を反映した優先視聴者の決定処理がなされることになる。従って、より視聴者の属性にふさわしい処理を行うことが可能となる。The “attribute-based viewing history holding unit” holds a viewing history by attribute that is a viewing history according to the attribute of the viewer. Here, the viewing history corresponding to the viewer's attributes can be a viewing history for each viewer ID, or a viewing history for each gender / age group of the viewer. The contents of the viewing history include viewing date / time / day of the week / time zone information, viewing content genre information, viewing time information, viewing count information, viewer ID of people who watched together. In addition, the update of the viewing history by attribute is performed when there is a change in the attribute of the viewer acquired by the viewer attribute acquisition unit, when the viewing time zone is changed, or when the attribute of the viewing content is changed. It is possible to do it. For example, when a new viewer is added and a viewer ID is added or when there is no specific viewer, processing for updating the viewing history of each viewer is performed. When the viewing time zone is switched from 9:00 to 9:30 to the viewing time zone from 9:30 to 10:00, a process for updating the viewing history regarding each viewing time zone is performed. Further, when the content changes from a sports program to a comedy program, a process for updating the viewing history regarding each genre attribute is performed. When the viewing content is recorded content, the viewing history may be updated not in the actual viewing time zone but in the recorded time zone. In this way, for example, when a child band program aired at 9-10 o'clock on a certain day is recorded and viewed by a child at 17-18 o'clock, the child's viewing history update was viewed at 9-10 o'clock. Therefore, when a child views the same program at 9-10 o'clock the next time, a priority viewer determination process reflecting the viewing history that the child watched at 9-10 o'clock last time is performed. Therefore, it is possible to perform processing more suitable for the viewer's attributes.
 「時間帯別優先度ルール更新手段」は、属性別視聴履歴に基づいて、時間帯別優先度ルールを更新する。ここで、更新処理は、属性別視聴履歴が更新されたことを検知して行うことも可能であるし、所定時間間隔又は所定日時の到来をもって行ってもよい。時間帯別優先度ルールの更新処理としては、視聴履歴が更新された視聴時間帯に関して、過去所定期間の各視聴者属性の視聴履歴を比較し、視聴時間の多い視聴者属性から順番に高い優先指数を割り当てて、時間帯別優先ルールを更新することが考えられる。“The time zone priority rule update means” updates the time zone priority rule based on the attribute-specific viewing history. Here, the update process can be performed by detecting that the attribute-specific viewing history has been updated, or may be performed when a predetermined time interval or a predetermined date and time arrives. As the update process of the priority rules for each time zone, the viewing history of each viewer attribute in the past predetermined period is compared with respect to the viewing time zone in which the viewing history is updated, and the highest priority is given in order from the viewer attribute with the longest viewing time. It is conceivable to assign an index and update the time-based priority rule.
<処理の流れ>
 図11は、本実施形態のコンテンツ提供装置の処理の流れの一例を示す図である。以下に述べる処理は、コンテンツ提供装置にて実行されるプログラムによって実現され、そのプログラムは記憶媒体に記憶することが可能である。まず、ステップS1101において、コンテンツ提供装置は、視聴者のいる領域を撮像する(撮像ステップ)。次に、ステップS1102において、コンテンツ提供装置は、撮像情報から視聴者を認識するための情報である認識情報を取得する(認識情報取得ステップ)。次に、ステップS1103において、コンテンツ提供装置は、取得した認識情報を用いて視聴者の属性情報を取得する(視聴者属性取得ステップ)。次に、ステップS1104において、コンテンツ提供装置は、認識される視聴者が複数であるか否か判断する。ここで、認識される視聴者が単数である場合に、ステップS1105Aに進む。ここで、認識される視聴者が複数であるとの判断である場合に、ステップS1105Bに進む。ステップS1105Aでは、コンテンツ提供装置は、優先視聴者の属性情報を用いて視聴サービスを制御する。ステップS1105Bでは、コンテンツ提供装置は、視聴者属性取得ステップにて取得した視聴者の属性情報と、現在時刻と、視聴者の属性情報と視聴時間帯とに応じて視聴者として優先する度合を示す指数を定めた情報である時間帯別優先ルールとを用いて優先視聴者を決定する(優先視聴者決定ステップ:時間帯別優先決定処理)。ステップS1106Bでは、コンテンツ提供装置は、決定された優先視聴者の属性を用いて視聴サービスを制御する(視聴サービス制御ステップ)。なお、上記処理は所定のタイミング(例えば、一定の時間間隔や特定の操作が行われたタイミング)で行うことが可能であり、新たな視聴者が加わった場合やこれまでいた視聴者がいなくなった場合であっても、その状況においてもっとも適当な優先視聴者を決定することができる。また、ステップS1103の後に視聴者のメンバー構成に変化があったか否か(視聴者が新たに加わったり、いなくなったりしたか否か)判断し、メンバー構成に変化があった場合にはステップS1104の処理を行い、メンバー構成に変化がない場合にはステップS1101に戻る処理を行ってもよい。
<Process flow>
FIG. 11 is a diagram illustrating an example of a processing flow of the content providing apparatus according to the present embodiment. The processing described below is realized by a program executed by the content providing apparatus, and the program can be stored in a storage medium. First, in step S1101, the content providing apparatus images a region where the viewer is present (imaging step). Next, in step S1102, the content providing apparatus acquires recognition information that is information for recognizing the viewer from the imaging information (recognition information acquisition step). Next, in step S1103, the content providing apparatus acquires the attribute information of the viewer using the acquired recognition information (viewer attribute acquisition step). Next, in step S1104, the content providing apparatus determines whether there are a plurality of recognized viewers. Here, when the number of viewers recognized is one, it progresses to step S1105A. If it is determined that there are a plurality of viewers to be recognized, the process proceeds to step S1105B. In step S1105A, the content providing apparatus controls the viewing service using the priority viewer attribute information. In step S1105B, the content providing apparatus indicates a degree of priority as a viewer according to the viewer attribute information acquired in the viewer attribute acquisition step, the current time, the viewer attribute information, and the viewing time zone. A priority viewer is determined using a priority rule for each time zone, which is information defining an index (priority viewer determination step: priority determination processing for each time zone). In step S1106B, the content providing apparatus controls the viewing service using the determined priority viewer attribute (viewing service control step). Note that the above processing can be performed at a predetermined timing (for example, at a certain time interval or when a specific operation is performed), and when a new viewer is added or there is no existing viewer. Even so, it is possible to determine the most appropriate priority viewer in the situation. Further, after step S1103, it is determined whether or not there is a change in the member configuration of the viewer (whether or not the viewer is newly added or disappears). Processing may be performed, and if there is no change in the member configuration, processing may be returned to step S1101.
<優先視聴者決定処理の具体例>
 図12は、本実施形態のコンテンツ提供装置における優先視聴者決定処理の流れの一例を示す図である。ステップS1201では、コンテンツ提供装置は、視聴者数が複数であるか否か判断する。ここで、複数であるとの判断である場合はステップS1202に進む。複数ではないとの判断である場合は優先視聴者決定処理を終了する。ステップS1202では、コンテンツ提供装置は、視聴者属性取得処理にて取得された視聴者の性別・年齢層(又は視聴者ID、以下同様)と、現在時刻と、視聴者の性別・年齢層と視聴時間帯とに応じて視聴者として優先する度合を示す指数を定めた情報である時間帯別優先ルールとを用いて、視聴者の視聴優先指数を取得する。次に、ステップS1203では、コンテンツ提供装置は、視聴者属性取得処理にて性別・年齢層を取得した視聴者全てについて優先指数を取得したか否か判断する。ここで、視聴者全てについて優先指数を取得したとの判断である場合、ステップS1204に進む。優先指数を取得していない視聴者が残っているとの判断である場合は、ステップ1202に戻る。ステップS1204では、コンテンツ提供装置は、優先指数が取得された複数の視聴者の優先指数を比較する。ステップS1205では、コンテンツ提供装置は、優先視聴者を確定し、その視聴者の属性情報をRAMにて保持する。
<Specific example of priority viewer decision processing>
FIG. 12 is a diagram illustrating an example of the flow of priority viewer determination processing in the content providing apparatus of the present embodiment. In step S1201, the content providing apparatus determines whether the number of viewers is plural. If it is determined that there are a plurality of items, the process advances to step S1202. If it is determined that there is not more than one, the priority viewer determination process ends. In step S1202, the content providing apparatus determines the viewer's gender / age group (or viewer ID, the same applies hereinafter) acquired in the viewer attribute acquisition process, the current time, the viewer's gender / age group, and viewing. The viewing priority index of the viewer is acquired using the time-based priority rule, which is information that defines an index indicating the degree of priority given to the viewer according to the time period. Next, in step S1203, the content providing apparatus determines whether or not a priority index has been acquired for all viewers who have acquired gender and age groups in the viewer attribute acquisition process. If it is determined that the priority index has been acquired for all viewers, the process advances to step S1204. If it is determined that there are still viewers who have not acquired the priority index, the process returns to step 1202. In step S1204, the content providing apparatus compares the priority indexes of a plurality of viewers for which the priority indexes have been acquired. In step S1205, the content providing apparatus determines a priority viewer and stores the attribute information of the viewer in the RAM.
<視聴履歴更新処理の具体例>
 図13は、本実施形態のコンテンツ提供装置における視聴履歴更新処理の流れの一例を示す図である。ステップS1301では、コンテンツ提供装置は、視聴者属性取得処理にて取得される視聴者IDに変化があったか否か判断する。ここで視聴者IDに変化があったとの判断である場合は、ステップS1302に進む。変化がないとの判断である場合は、ステップS1303に進む。ステップS1302では、コンテンツ提供装置は、変化のあった視聴者IDの視聴時間のカウントの開始又は停止を行う。つまり、新たな視聴者が加わった場合は、その視聴者IDの視聴時間のカウントを開始し、特定の視聴者がいなくなった場合は、その視聴者IDの視聴時間のカウントを停止する。次に、ステップS1303において、コンテンツ提供装置は、視聴時間帯が切り替わったか否か判断する。ここで、視聴時間帯が切り替わったとの判断である場合は、ステップS1304に進む。視聴時間帯は切り替わっていないとの判断である場合は、ステップS1305に進む。ステップS1304では、コンテンツ提供装置は、新たに始まった視聴時間帯及び終了した視聴時間帯に関して、各視聴者IDの視聴時間のカウントの開始又は停止を行う。つまり、新たに始まった視聴時間帯に関しては、その視聴時間帯における視聴者IDの視聴時間のカウントを開始し、終了した視聴時間帯に関しては、その視聴時間帯における視聴者IDの視聴時間のカウントを停止する。ステップS1305では、各視聴者の視聴履歴における視聴時間帯ごとの視聴時間の情報を更新する。
<Specific example of viewing history update processing>
FIG. 13 is a diagram illustrating an example of a flow of viewing history update processing in the content providing apparatus of the present embodiment. In step S1301, the content providing apparatus determines whether there is a change in the viewer ID acquired in the viewer attribute acquisition process. If it is determined that the viewer ID has changed, the process advances to step S1302. If it is determined that there is no change, the process advances to step S1303. In step S1302, the content providing apparatus starts or stops counting the viewing time of the viewer ID that has changed. That is, when a new viewer is added, counting of the viewing time of the viewer ID is started, and when there is no specific viewer, counting of the viewing time of the viewer ID is stopped. Next, in step S1303, the content providing apparatus determines whether the viewing time zone has been switched. If it is determined that the viewing time zone has been switched, the process proceeds to step S1304. If it is determined that the viewing time zone has not been switched, the process proceeds to step S1305. In step S1304, the content providing apparatus starts or stops counting the viewing time of each viewer ID with respect to the newly started viewing time zone and the finished viewing time zone. That is, for a newly started viewing time zone, counting of the viewing time of the viewer ID in the viewing time zone is started, and for the finished viewing time zone, counting of the viewing time of the viewer ID in the viewing time zone is started. To stop. In step S1305, the viewing time information for each viewing time zone in the viewing history of each viewer is updated.
<時間帯別優先ルール更新処理の具体例>
 図14は、本実施形態のコンテンツ提供装置における時間帯別優先ルール更新処理の流れの一例を示す図である。ステップS1401では、コンテンツ提供装置は、視聴履歴が更新されたか否か判断する。ここで、視聴履歴が更新されたとの判断である場合は、ステップS1402に進む。視聴履歴が更新されていないとの判断である場合は時間帯別優先ルール更新処理を終了する。ステップS1402では、コンテンツ提供装置は、視聴履歴において視聴時間の情報が更新された視聴時間帯に関して、過去所定期間(例えば、過去1週間)の各性別・年齢層(又は各登録視聴者など、以下同様)の平均視聴時間(又は平均視聴回数など、以下同様)を算出する。次に、ステップS1403では、コンテンツ提供装置は、算出された各性別・年齢層の平均視聴時間(又は平均視聴回数など)を比較して、平均視聴時間の多い性別・年齢層から順番に高い優先指数を割り当てる。次に、ステップS1404では、コンテンツ提供装置は、ステップS1403での割り当て結果に基づいて、不揮発性メモリに格納されている時間帯別優先ルールを更新する。ここでは、視聴履歴が更新されたことをもって時間帯別優先ルールの更新処理を行っているが、この例に限定されるものではなく、例えば所定時間おき(例えば、1日おき)に時間帯別優先ルールの更新処理を行ってもよい。
<Specific example of priority rule update processing by time zone>
FIG. 14 is a diagram illustrating an example of a flow of priority rule update processing for each time zone in the content providing apparatus according to the present embodiment. In step S1401, the content providing apparatus determines whether the viewing history has been updated. If it is determined that the viewing history has been updated, the process proceeds to step S1402. If it is determined that the viewing history has not been updated, the time-based priority rule update processing ends. In step S1402, the content providing apparatus, regarding the viewing time zone in which the viewing time information is updated in the viewing history, for each gender / age group (or each registered viewer, etc.) in the past predetermined period (for example, the past one week) (Same)) average viewing time (or average viewing times, etc.). Next, in step S1403, the content providing apparatus compares the calculated average viewing time (or average number of times of viewing, etc.) of each gender / age group, and prioritizes in descending order of gender / age group having the largest average viewing time. Assign an exponent. Next, in step S1404, the content providing apparatus updates the time zone priority rule stored in the nonvolatile memory based on the allocation result in step S1403. Here, the updating process of the priority rule for each time zone is performed when the viewing history is updated. However, the update processing is not limited to this example. For example, the time zone is changed every predetermined time (for example, every other day). A priority rule update process may be performed.
<効果>
 本実施形態のコンテンツ提供装置は、視聴者が複数いる場合、視聴者の属性情報と視聴時間帯とに応じて視聴者として優先する度合を示す指数を定めた情報を用いて優先視聴者を決定する。これにより、時間帯に応じて適当な優先視聴者を決定し、好ましい態様で視聴サービスを提供することが可能になる。
<Effect>
When there are a plurality of viewers, the content providing apparatus according to the present embodiment determines a priority viewer using information that defines an index indicating a degree of priority as a viewer according to the attribute information of the viewer and the viewing time zone. To do. This makes it possible to determine an appropriate priority viewer according to the time zone and provide the viewing service in a preferable manner.
<<実施形態3>><<Embodiment 3 >>
<概要>
 本実施形態のコンテンツ提供装置は、基本的に実施形態1と同様であるが、視聴者の属性情報及び視聴コンテンツの属性情報と、視聴者の属性情報と視聴コンテンツの属性情報とに応じて視聴者として優先する度合を示す指数を定めた情報であるコンテンツ別優先ルールとに基づいて優先視聴者を決定することを特徴とする。
<Overview>
The content providing apparatus of the present embodiment is basically the same as that of the first embodiment, but viewing is performed according to the attribute information of the viewer and the attribute information of the viewing content, and the attribute information of the viewer and the attribute information of the viewing content. The priority viewer is determined based on the priority rule for each content, which is information defining an index indicating the degree of priority as a viewer.
<構成>
 図15は、本実施形態のコンテンツ提供装置の機能ブロックの一例を示す図である。この図にあるように、「コンテンツ提供装置」1500は、「カメラ部」1501と、「認識情報取得部」1502と、「視聴者属性取得部」1503と、「優先視聴者決定部」1504と、「視聴サービス制御部」1505と、「視聴サービス部」1506と、「コンテンツ属性取得部」1507と、を有し、「優先視聴者決定部」は、「コンテンツ別優先ルール保持手段」1508と、「コンテンツ別優先決定手段」1509を有する。以下、実施形態1、2との相違点である「コンテンツ属性取得部」と「コンテンツ別優先ルール保持手段」と「コンテンツ別優先決定手段」について説明する。 
<Configuration>
FIG. 15 is a diagram illustrating an example of functional blocks of the content providing apparatus according to the present embodiment. As shown in this figure, the “content providing device” 1500 includes a “camera unit” 1501, a “recognition information acquisition unit” 1502, a “viewer attribute acquisition unit” 1503, and a “priority viewer determination unit” 1504. , “Viewing service control unit” 1505, “viewing service unit” 1506, and “content attribute acquisition unit” 1507, and “priority viewer determination unit” includes “content priority rule holding unit” 1508, , “Content priority determination unit” 1509. Hereinafter, the “content attribute acquisition unit”, “content priority rule holding unit”, and “content priority determination unit” which are different from the first and second embodiments will be described.
 「コンテンツ属性取得部」は、視聴コンテンツの属性情報を取得する。視聴コンテンツの属性情報としては、コンテンツを識別するための索引的情報、コンテンツの詳細内容情報、放送イベント履歴情報、コンテンツのジャンル(分類情報)、コンテンツのフォーマット情報などが挙げられる。より具体的には、コンテンツの索引的情報としてコンテンツのタイトル、出演者、監督、原作者、製作会社の情報、話数などが挙げられる。また、コンテンツの詳細内容情報としてコンテンツの開始時間・終了時間、内容時間、コマーシャルの開始時間・終了時間、概要説明、キーワード、撮影場所、利用楽曲などが挙げられる。また、放送イベント履歴情報として、初回放送日時、放送チャンネル名、生放送フラグ、視聴率情報、放送回数などが挙げられる。また、コンテンツのジャンル(分類情報)として、ジャンルコード(ニュース、スポーツ等)、目的区分(娯楽、教養等)、視聴対象コード(児童、一般等)などが挙げられる。また、コンテンツのフォーマット情報として、映像サンプリングレート、音声ビットレート、解像度、録画制限フラグ、視聴回数制限フラグ、などが挙げられる。“Content attribute acquisition unit” acquires attribute information of viewing content. The viewing content attribute information includes index information for identifying the content, detailed content information of the content, broadcast event history information, content genre (classification information), content format information, and the like. More specifically, content index information includes content title, performer, director, original author, production company information, number of stories, and the like. The detailed content information includes content start time / end time, content time, commercial start time / end time, summary description, keyword, shooting location, music used, and the like. The broadcast event history information includes initial broadcast date and time, broadcast channel name, live broadcast flag, audience rating information, number of broadcasts, and the like. Examples of content genres (classification information) include genre codes (news, sports, etc.), purpose categories (entertainment, education, etc.), viewing target codes (children, general, etc.), and the like. The content format information includes a video sampling rate, an audio bit rate, a resolution, a recording limit flag, a viewing count limit flag, and the like.
 「コンテンツ別優先ルール保持手段」は、所定のルールとして、視聴者の属性情報と視聴コンテンツの属性情報とに応じて視聴者として優先する度合を示す指数を定めた情報であるコンテンツ別優先ルールを保持する。図16は、コンテンツ別優先ルールの一例を示す図である。この図の例では、年齢層や性別によって、視聴者をC1(0~12歳の子供)、C2(13~19歳の子供)、F1(20~34歳の女性)、F2(35~49歳の女性)、F3(50歳以上の女性)、M1(20~34歳の男性)、M2(35~49歳の男性)、M3(50歳以上の男性)のグループに区分けしている。また、コンテンツのジャンルコードを、ニュース/報道情報/ワイドショー、スポーツ、ドラマ、音楽、バラエティー、・・・、趣味/教育/福祉に区分けしている。そして、コンテンツのジャンルと視聴者の区分に応じて、視聴者として優先する度合を示す指数を定めた優先指数が割り当てられている。優先指数は視聴者の区分の数だけ種類が存在し、優先指数の高いものから順にA、B、・・・、Hとなっている。The “content-specific priority rule holding means” is a content-specific priority rule that is an information that defines an index indicating the degree of priority given to the viewer according to the attribute information of the viewer and the attribute information of the viewing content. Hold. FIG. 16 is a diagram illustrating an example of a priority rule for each content. In the example of this figure, according to the age group and gender, viewers are classified into C1 (0-12 year old children), C2 (13-19 year old children), F1 (20-34 year old women), F2 (35-49 years old). Old women), F3 (women over 50), M1 (men aged 20-34), M2 (men aged 35-49), and M3 (men over 50). Also, the genre codes of content are divided into news / report information / wide show, sports, drama, music, variety,..., Hobbies / education / welfare. A priority index that defines an index indicating the degree of priority as a viewer is assigned according to the category of the content and the classification of the viewer. There are as many types of priority indexes as the number of viewer categories, and are A, B,..., H in descending order of priority index.
 「コンテンツ別優先決定手段」は、視聴者属性取得部にて取得した視聴者の属性情報とコンテンツ属性取得部にて取得した視聴コンテンツの属性情報と所定のルールであるコンテンツ別優先ルールとに基づいて優先視聴者を決定する。図16の例で説明すると、視聴者の区分がF1、M1、M3であり、コンテンツのジャンルコードがスポーツである場合は、M3の優先指数が最も高くなっているため、M3の視聴者が優先視聴者となる。また、視聴者の区分がF1、M1、M3であり、コンテンツのジャンルコードがドラマである場合は、F1の優先指数が最も高くなっているため、F1の視聴者が優先視聴者となる。The “content priority determination unit” is based on the viewer attribute information acquired by the viewer attribute acquisition unit, the attribute information of the viewing content acquired by the content attribute acquisition unit, and the content-specific priority rule that is a predetermined rule. To determine the preferred audience. Referring to the example of FIG. 16, when the viewer classification is F1, M1, and M3 and the content genre code is sports, the priority index of M3 is the highest, so the viewer of M3 has priority. Become a viewer. When the viewer classification is F1, M1, and M3 and the content genre code is drama, the priority index of F1 is the highest, so the viewer of F1 becomes the priority viewer.
 本実施形態のコンテンツ提供装置は、さらに、実施形態2で述べた「属性別視聴履歴保持部」と、以下で述べる「コンテンツ別優先度ルール更新手段」を備えていてもよい。当該構成を備えていることにより、視聴者の視聴履歴に応じてコンテンツ別優先度ルールを更新することが可能になり、より適切な優先視聴者の選定を行うことが可能になる。The content providing apparatus of the present embodiment may further include the “attribute-based viewing history holding unit” described in the second embodiment and the “content-specific priority rule updating unit” described below. With this configuration, it is possible to update the priority rule for each content according to the viewing history of the viewer, and to select a more appropriate priority viewer.
 「コンテンツ別優先ルール更新手段」は、属性別視聴履歴に基づいて、コンテンツ別優先ルールを更新する。ここで、更新処理は、属性別視聴履歴が更新されたことを検知して行うことも可能であるし、所定時間間隔又は所定日時の到来をもって行ってもよい。コンテンツ別優先ルールの更新処理としては、視聴履歴が更新されたコンテンツ属性に関して、過去所定期間の各視聴者属性の視聴履歴を比較し、視聴時間の多い(又は視聴回数が多いなど)視聴者属性から順番に高い優先指数を割り当てて、コンテンツ別優先ルールを更新することが考えられる。“Content priority rule update means” updates content priority rules based on attribute-specific viewing history. Here, the update process can be performed by detecting that the attribute-specific viewing history has been updated, or may be performed when a predetermined time interval or a predetermined date and time arrives. As the update processing of the priority rule for each content, the viewing attribute of each viewing attribute of the past predetermined period is compared with respect to the content attribute whose viewing history is updated. It is possible to update the priority rules for each content by assigning a higher priority index in order.
<処理の流れ>
 図17は、本実施形態のコンテンツ提供装置の処理の流れの一例を示す図である。以下に述べる処理は、コンテンツ提供装置にて実行されるプログラムによって実現され、そのプログラムは記憶媒体に記憶することが可能である。まず、ステップS1701において、コンテンツ提供装置は、視聴者のいる領域を撮像する(撮像ステップ)。次に、ステップS1702において、コンテンツ提供装置は、撮像情報から視聴者を認識するための情報である認識情報を取得する(認識情報取得ステップ)。次に、ステップS1703において、コンテンツ提供装置は、取得した認識情報を用いて視聴者の属性情報を取得する(視聴者属性取得ステップ)。次に、ステップS1704において、コンテンツ提供装置は、認識される視聴者が複数であるか否か判断する。ここで、認識される視聴者が単数である場合に、ステップS1705Aに進む。ここで、認識される視聴者が複数であるとの判断である場合に、ステップS1705Bに進む。ステップS1705Aでは、コンテンツ提供装置は、優先視聴者の属性情報を用いて視聴サービスを制御する。ステップS1705Bでは、コンテンツ提供装置は、視聴コンテンツの属性情報を取得する。ステップS1706Bでは、コンテンツ提供装置は、視聴者属性取得ステップにて取得した視聴者の属性情報と、コンテンツ属性取得ステップにて取得した視聴コンテンツの属性情報と、視聴者の属性情報と視聴コンテンツの属性情報とに応じて視聴者として優先する度合を示す指数を定めた情報であるコンテンツ別優先ルールとを用いて優先視聴者を決定する(優先視聴者決定ステップ:コンテンツ別優先決定処理)。ステップS1707Bでは、コンテンツ提供装置は、決定された優先視聴者の属性を用いて視聴サービスを制御する(視聴サービス制御ステップ)。なお、上記処理は所定のタイミング(例えば、一定の時間間隔や特定の操作が行われたタイミング)で行うことが可能であり、新たな視聴者が加わった場合やこれまでいた視聴者がいなくなった場合であっても、その状況においてもっとも適当な優先視聴者を決定することができる。また、ステップS1703の後に視聴者のメンバー構成に変化があったか否か(視聴者が新たに加わったり、いなくなったりしたか否か)判断し、メンバー構成に変化があった場合にはステップS1704の処理を行い、メンバー構成に変化がない場合にはステップS1701に戻る処理を行ってもよい。
<Process flow>
FIG. 17 is a diagram illustrating an example of a processing flow of the content providing apparatus according to the present embodiment. The processing described below is realized by a program executed by the content providing apparatus, and the program can be stored in a storage medium. First, in step S1701, the content providing apparatus captures an image of an area where the viewer is present (imaging step). Next, in step S1702, the content providing apparatus acquires recognition information that is information for recognizing the viewer from the imaging information (recognition information acquisition step). Next, in step S1703, the content providing apparatus acquires viewer attribute information using the acquired recognition information (viewer attribute acquisition step). Next, in step S1704, the content providing apparatus determines whether there are a plurality of recognized viewers. Here, when the number of viewers recognized is one, it progresses to step S1705A. If it is determined that there are a plurality of viewers to be recognized, the process proceeds to step S1705B. In step S1705A, the content providing apparatus controls the viewing service using the priority viewer attribute information. In step S1705B, the content providing apparatus acquires viewing content attribute information. In step S1706B, the content providing apparatus acquires the viewer attribute information acquired in the viewer attribute acquisition step, the viewing content attribute information acquired in the content attribute acquisition step, the viewer attribute information, and the viewing content attribute. A priority viewer is determined using a content-specific priority rule that is an information that defines an index indicating the degree of priority given to the viewer according to the information (priority viewer determination step: content-specific priority determination processing). In step S1707B, the content providing apparatus controls the viewing service using the determined priority viewer attribute (viewing service control step). Note that the above processing can be performed at a predetermined timing (for example, at a certain time interval or when a specific operation is performed), and when a new viewer is added or there is no existing viewer. Even so, it is possible to determine the most appropriate priority viewer in the situation. Further, after step S1703, it is determined whether or not there is a change in the member configuration of the viewer (whether or not the viewer has newly added or disappeared). If the member configuration has changed, the process proceeds to step S1704. Processing may be performed, and if there is no change in the member configuration, processing returning to step S1701 may be performed.
<優先視聴者決定処理の具体例1>
 図18は、本実施形態のコンテンツ提供装置における優先視聴者決定処理の流れの一例を示す図である。ステップS1801では、コンテンツ提供装置は、視聴者数が複数であるか否か判断する。ここで、複数であるとの判断である場合はステップS1802に進む。複数ではないとの判断である場合は優先視聴者決定処理を終了する。ステップS1802では、コンテンツ提供装置は、視聴者属性取得処理にて取得された視聴者の年齢・性別(又は視聴者ID、以下同様)と、コンテンツ属性取得処理にて取得したコンテンツ属性情報と、視聴者の年齢・性別と視聴コンテンツのジャンルとに応じて視聴者として優先する度合を示す指数を定めた情報であるコンテンツ別優先ルールとを用いて、視聴者の視聴優先指数を取得する。次に、ステップS1803では、コンテンツ提供装置は、視聴者属性取得処理にて年齢・性別を取得した視聴者全てについて優先指数を取得したか否か判断する。ここで、視聴者全てについて優先指数を取得したとの判断である場合、ステップS1804に進む。優先指数を取得していない視聴者が残っているとの判断である場合は、ステップS1802に戻る。ステップS1804では、コンテンツ提供装置は、優先指数が取得された複数の視聴者の優先指数を比較する。ステップS1805では、コンテンツ提供装置は、優先視聴者を確定し、その視聴者の属性情報をRAMにて保持する。
<Specific example of priorityviewer determination process 1>
FIG. 18 is a diagram illustrating an example of the flow of priority viewer determination processing in the content providing apparatus of the present embodiment. In step S1801, the content providing apparatus determines whether the number of viewers is plural. If it is determined that there are a plurality of items, the process advances to step S1802. If it is determined that there is not more than one, the priority viewer determination process ends. In step S1802, the content providing apparatus determines the viewer's age / sex (or viewer ID, the same applies hereinafter) acquired in the viewer attribute acquisition process, the content attribute information acquired in the content attribute acquisition process, The viewer's viewing priority index is acquired using the content-specific priority rule, which is information that defines an index indicating the degree of priority as a viewer according to the age / sex of the viewer and the genre of the viewing content. Next, in step S1803, the content providing apparatus determines whether or not a priority index has been acquired for all viewers who have acquired age and sex in the viewer attribute acquisition process. If it is determined that the priority index has been acquired for all viewers, the process advances to step S1804. If it is determined that there are viewers who have not acquired the priority index, the process returns to step S1802. In step S1804, the content providing apparatus compares the priority indexes of a plurality of viewers whose priority indexes have been acquired. In step S1805, the content providing apparatus determines a priority viewer and stores the attribute information of the viewer in the RAM.
<優先視聴者決定処理の具体例2>
 図19は、本実施形態のコンテンツ提供装置における優先視聴者決定処理の流れの一例を示す図である。ステップS1901では、コンテンツ提供装置は、視聴者数が複数であるか否か判断する。ここで、複数であるとの判断である場合はステップS1902に進む。複数ではないとの判断である場合は優先視聴者決定処理を終了する。ステップS1902では、コンテンツ提供装置は、視聴者属性取得処理にて取得された視聴者の属性と、コンテンツ属性取得処理にて取得したコンテンツ属性と、視聴者の属性と視聴コンテンツのジャンルとに応じて視聴者として優先する度合を示す指数を定めた情報であるコンテンツ別優先ルールとを用いて、視聴者の視聴優先指数(1)を取得する。次に、ステップS1903では、コンテンツ提供装置は、視聴者属性取得処理にて取得された視聴者の属性と、現在時刻と、視聴者の属性と視聴時間帯とに応じて視聴者として優先する度合を示す指数を定めた情報である時間帯別優先ルールを用いて、その視聴者の優先指数(2)を取得する。次に、ステップS1904では、コンテンツ提供装置は、上記優先指数(1)と優先指数(2)を足し合わせて優先指数を算出する。次に、ステップS1905では、コンテンツ提供装置は、視聴者属性取得処理にて属性を取得した視聴者全てについて優先指数を算出したか否か判断する。ここで、視聴者全てについて優先指数を算出したとの判断である場合、ステップS1906に進む。優先指数を算出していない視聴者が残っているとの判断である場合は、ステップ1902に戻る。ステップS1906では、コンテンツ提供装置は、優先指数が算出された複数の視聴者の優先指数を比較する。ステップS1907では、コンテンツ提供装置は、最大の優先指数を有する視聴者が一人であるか否か判断する。ここで、最大の優先指数を有する視聴者が複数である場合はステップS1908に進む。ここで、最大の優先指数を有する視聴者が一人であるとの判断である場合は、ステップS1909に進む。ステップS1908では、コンテンツ提供装置は、視聴時間、優先視聴者になった総時間の長さや、優先視聴者になった回数の多さ、最近優先視聴者になってからの経過時間などに基づいて最大の優先指数を有する視聴者から一人の視聴者を選択する。ステップS1909では、コンテンツ提供装置は、優先視聴者を確定し、その視聴者の属性情報をRAMにて保持する。
<Example 2 of priority viewer decision processing>
FIG. 19 is a diagram illustrating an example of the flow of priority viewer determination processing in the content providing apparatus of the present embodiment. In step S1901, the content providing apparatus determines whether the number of viewers is plural. If it is determined that there are a plurality of items, the process advances to step S1902. If it is determined that there is not more than one, the priority viewer determination process ends. In step S1902, the content providing apparatus according to the viewer attribute acquired in the viewer attribute acquisition processing, the content attribute acquired in the content attribute acquisition processing, the viewer attribute, and the genre of the viewing content. The viewer's viewing priority index (1) is acquired using the content-specific priority rule, which is information that defines an index indicating the degree of priority given to the viewer. Next, in step S 1903, the content providing apparatus prioritizes the viewer according to the viewer attribute acquired in the viewer attribute acquisition process, the current time, the viewer attribute, and the viewing time zone. The priority index (2) of the viewer is acquired by using the priority rule for each time zone, which is information that defines an index indicating. In step S1904, the content providing apparatus calculates a priority index by adding the priority index (1) and the priority index (2). Next, in step S1905, the content providing apparatus determines whether or not the priority index has been calculated for all viewers whose attributes have been acquired in the viewer attribute acquisition process. If it is determined that the priority index has been calculated for all viewers, the process advances to step S1906. If it is determined that viewers who have not calculated the priority index remain, the process returns to step 1902. In step S1906, the content providing apparatus compares the priority indexes of a plurality of viewers whose priority indexes are calculated. In step S1907, the content providing apparatus determines whether there is one viewer who has the maximum priority index. If there are a plurality of viewers having the maximum priority index, the process advances to step S1908. If it is determined that there is only one viewer having the maximum priority index, the process proceeds to step S1909. In step S1908, the content providing apparatus is based on the viewing time, the total length of time that it has become a priority viewer, the number of times it has become a priority viewer, the elapsed time since it has recently become a priority viewer, and the like. Select one viewer from the viewers with the highest priority index. In step S1909, the content providing apparatus determines a priority viewer and holds the viewer's attribute information in the RAM.
<視聴履歴更新処理の具体例>
 図20は、本実施形態のコンテンツ提供装置における視聴履歴更新処理の流れの一例を示す図である。ステップS2001では、コンテンツ提供装置は、視聴者属性取得処理にて取得される視聴者IDに変化があったか否か判断する。ここで視聴者IDに変化があったとの判断である場合は、ステップS2002に進む。変化がないとの判断である場合は、ステップS2003に進む。ステップS2002では、コンテンツ提供装置は、変化のあった視聴者IDの視聴時間のカウントの開始又は停止を行う。つまり、新たな視聴者が加わった場合は、その視聴者IDの視聴時間のカウントを開始し、特定の視聴者がいなくなった場合は、その視聴者IDの視聴時間のカウントを停止する。次に、ステップS2003において、コンテンツ提供装置は、コンテンツ属性取得処理にて取得される視聴コンテンツ属性に変化があったか否か判断する。ここで、変化があったとの判断である場合は、ステップS2004に進む。変化がないとの判断である場合は、ステップS2005に進む。ステップS2004では、コンテンツ提供装置は、変化のあったコンテンツ属性に関して、各視聴者の視聴時間のカウントの開始又は停止を行う。つまり、新たなコンテンツ属性が加わった場合は、そのコンテンツ属性に関する視聴者IDの視聴時間のカウントを開始し、特定のコンテンツ属性が外れた場合は、そのコンテンツ属性に関する各視聴者IDの視聴時間のカウントを停止する。ステップS2005では、コンテンツ提供装置は、各視聴者の視聴履歴におけるコンテンツ属性ごとの視聴時間の情報を更新する。
<Specific example of viewing history update processing>
FIG. 20 is a diagram illustrating an example of the flow of viewing history update processing in the content providing apparatus of the present embodiment. In step S2001, the content providing apparatus determines whether the viewer ID acquired in the viewer attribute acquisition process has changed. If it is determined that the viewer ID has changed, the process proceeds to step S2002. If it is determined that there is no change, the process proceeds to step S2003. In step S2002, the content providing apparatus starts or stops counting the viewing time of the viewer ID that has changed. That is, when a new viewer is added, counting of the viewing time of the viewer ID is started, and when there is no specific viewer, counting of the viewing time of the viewer ID is stopped. Next, in step S2003, the content providing apparatus determines whether the viewing content attribute acquired in the content attribute acquisition process has changed. If it is determined that there has been a change, the process advances to step S2004. If it is determined that there is no change, the process proceeds to step S2005. In step S2004, the content providing apparatus starts or stops counting the viewing time of each viewer regarding the content attribute that has changed. That is, when a new content attribute is added, counting of the viewing time of the viewer ID related to the content attribute is started. Stop counting. In step S2005, the content providing apparatus updates viewing time information for each content attribute in the viewing history of each viewer.
<コンテンツ別優先ルール更新処理の具体例>
 図21は、本実施形態のコンテンツ提供装置におけるコンテンツ別優先ルール更新処理の流れの一例を示す図である。ステップS2101では、コンテンツ提供装置は、視聴者の視聴履歴が更新されたか否か判断する。ここで、視聴履歴が更新されたとの判断である場合は、ステップS2102に進む。視聴履歴が更新されていないとの判断である場合はコンテンツ別優先ルール更新処理を終了する。ステップS2102では、コンテンツ提供装置は、視聴履歴における視聴時間が更新されたコンテンツ属性(ジャンル、タイトルなど)に関して、過去所定期間(例えば、過去1カ月)の各性別・年齢層(又は各登録視聴者など、以下同様)の平均視聴回数(又は平均視聴時間など、以下同様)を算出する。次に、ステップS2103では、コンテンツ提供装置は、算出された各性別・年齢層の平均視聴回数を比較して、平均視聴回数の多い性別・年齢層から順番に高い優先指数を割り当てる。次に、ステップS2104では、ステップS2103での割り当て結果に基づいて、不揮発性メモリに格納されているコンテンツ別優先ルールを更新する。ここでは、視聴履歴が更新されたことをもってコンテンツ別優先ルールの更新処理を行っているが、この例に限定されるものではなく、例えば所定時間おき(例えば、1日おき)にコンテンツ別優先ルールの更新処理を行ってもよい。
<Specific example of priority rule update processing by content>
FIG. 21 is a diagram illustrating an example of the priority rule update process for each content in the content providing apparatus according to the present embodiment. In step S2101, the content providing apparatus determines whether the viewer's viewing history has been updated. If it is determined that the viewing history has been updated, the process proceeds to step S2102. If it is determined that the viewing history has not been updated, the priority rule update process for each content is terminated. In step S2102, the content providing apparatus relates to content attributes (genre, title, etc.) whose viewing time has been updated in the viewing history, for each gender / age group (or each registered viewer) in the past predetermined period (for example, the past month). Etc., the same applies hereinafter) and the average viewing count (or the average viewing time, etc.). Next, in step S2103, the content providing apparatus compares the calculated average number of viewing times of each gender / age group, and assigns a higher priority index in order from the gender / age group having the largest average number of viewing times. Next, in step S2104, the priority rule for each content stored in the nonvolatile memory is updated based on the allocation result in step S2103. Here, the priority rule for each content is updated when the viewing history is updated. However, the processing is not limited to this example. For example, the priority rule for each content is set every predetermined time (for example, every other day). The update process may be performed.
<効果>
 本実施形態のコンテンツ提供装置は、視聴者が複数いる場合、視聴者の属性情報と視聴コンテンツの属性情報とに応じて視聴者として優先する度合を示す指数を定めた情報であるコンテンツ別優先ルールを用いて優先視聴者を決定する。これにより、視聴コンテンツの属性に応じて適当な優先視聴者を決定し、好ましい態様で視聴サービスを提供することが可能になる。
<Effect>
The content providing apparatus according to the present embodiment, when there are a plurality of viewers, is a content-specific priority rule that is an information that defines an index indicating the degree of priority as a viewer according to the attribute information of the viewer and the attribute information of the viewing content Is used to determine the preferred viewer. Accordingly, it is possible to determine an appropriate priority viewer according to the attribute of the viewing content and provide the viewing service in a preferable mode.
<<実施形態4>><<Embodiment 4 >>
<概要>
 本実施形態のコンテンツ提供装置は、基本的に実施形態1と同様であるが、視聴者の属性情報として、視聴者がリモコン操作者であるか否かを示す情報である操作者情報を取得し、当該操作者情報と、リモコン操作者を優先視聴者とする操作者優先ルールとに基づいて優先視聴者を決定することを特徴とする。
<Overview>
The content providing apparatus of the present embodiment is basically the same as that of the first embodiment, but acquires operator information that is information indicating whether or not the viewer is a remote control operator as the attribute information of the viewer. The priority viewer is determined based on the operator information and the operator priority rule with the remote control operator as the priority viewer.
 図22は、本実施形態のコンテンツ提供装置の概要を示す図である。この図の例では、視聴者としてAとBがいるが、リモコン操作者を優先するというルールに基づいて、リモコン操作者であるAを優先視聴者として選定する。その結果、Aに合わせてメニュー画面が構成される。FIG. 22 is a diagram showing an outline of the content providing apparatus of the present embodiment. In the example of this figure, there are A and B as viewers, but A, which is a remote control operator, is selected as a priority viewer based on the rule that the remote control operator is given priority. As a result, a menu screen is configured according to A.
<構成>
 図23は、本実施形態のコンテンツ提供装置の機能ブロックの一例を示す図である。この図にあるように、「コンテンツ提供装置」2300は、「カメラ部」2301と、「認識情報取得部」2302と、「視聴者属性取得部」2303と、「優先視聴者決定部」2304と、「視聴サービス制御部」2305と、「視聴サービス部」2306と、を有し、「視聴者属性情報取得部」は「操作者情報取得手段」2307を有し、「優先視聴者決定部」は「操作者優先ルール保持手段」2308と、「操作者優先決定手段」2309を有する。以下、実施形態1との相違点である「操作者情報取得手段」と「操作者優先ルール保持手段」と「操作者優先決定手段」について説明する。
<Configuration>
FIG. 23 is a diagram illustrating an example of functional blocks of the content providing apparatus according to the present embodiment. As shown in this figure, the “content providing device” 2300 includes a “camera unit” 2301, a “recognition information acquisition unit” 2302, a “viewer attribute acquisition unit” 2303, and a “priority viewer determination unit” 2304. , “Viewing service control unit” 2305 and “viewing service unit” 2306, “viewer attribute information acquisition unit” has “operator information acquisition unit” 2307, and “priority viewer determination unit” Includes an “operator priority rule holding unit” 2308 and an “operator priority determination unit” 2309. Hereinafter, “operator information acquisition means”, “operator priority rule holding means”, and “operator priority determination means” which are different from the first embodiment will be described.
 「操作者情報取得手段」は、視聴者の属性情報として、視聴者がリモコン操作者であるか否かを示す情報である操作者情報を取得する。ここで、操作者情報の取得処理のために、例えば、リモコン操作が行われたことを検知した際に、撮像画像においてリモコン装置が存在する領域を特定し、リモコン装置の位置に最も近い位置にいる視聴者をリモコン操作者であると判断することが考えられる。また、リモコン装置からの信号を受光した角度を検知することが可能である場合は、その角度情報と、撮像画像の情報に基づいてリモコン操作者を特定する処理を行ってもよい。“Operator information acquisition means” acquires operator information, which is information indicating whether or not the viewer is a remote control operator, as the attribute information of the viewer. Here, for the operator information acquisition process, for example, when it is detected that a remote control operation has been performed, an area where the remote control device exists in the captured image is specified, and the position closest to the position of the remote control device is specified. It is conceivable to determine that the viewer is a remote control operator. Further, when it is possible to detect the angle at which the signal from the remote control device is received, a process of specifying the remote control operator may be performed based on the angle information and the information of the captured image.
 「操作者優先ルール保持手段」は、所定のルールとして、リモコン操作者を優先視聴者とする操作者優先ルールを保持する。特定の操作を行ったリモコン操作者を優先視聴者とするルールを保持することも可能である。例えば、出力するコンテンツを切り替える操作を行ったリモコン操作者については優先視聴者とみなすが、それ以外の操作(例えば、音量を増減する操作など)を行った場合はリモコン操作者であっても優先視聴者とはみなさないルールとすることも可能である。The “operator priority rule holding means” holds, as a predetermined rule, an operator priority rule with the remote control operator as the priority viewer. It is also possible to hold a rule in which a remote control operator who has performed a specific operation is a priority viewer. For example, a remote control operator who performs an operation to switch the content to be output is regarded as a priority viewer, but when other operations (for example, an operation to increase or decrease the volume) are performed, even the remote control operator has priority. It is also possible to adopt rules that are not considered viewers.
 「操作者優先決定手段」は、操作者情報取得手段にて取得した操作者情報と所定のルールである操作者優先ルールとに基づいて優先視聴者を決定する。The “operator priority determination means” determines the priority viewer based on the operator information acquired by the operator information acquisition means and the operator priority rule which is a predetermined rule.
<処理の流れ>
 図24は、本実施形態のコンテンツ提供装置の処理の流れの一例を示す図である。以下に述べる処理は、コンテンツ提供装置にて実行されるプログラムによって実現され、そのプログラムは記憶媒体に記憶することが可能である。まず、ステップS2401において、コンテンツ提供装置は、視聴者のいる領域を撮像する(撮像ステップ)。次に、ステップS2402において、コンテンツ提供装置は、撮像情報から視聴者を認識するための情報である認識情報を取得する(認識情報取得ステップ)。次に、ステップS2403において、コンテンツ提供装置は、取得した認識情報を用いて、視聴者がリモコン操作者であるか否かを示す情報である操作者情報を含む視聴者の属性情報を取得する(視聴者属性取得ステップ:操作者情報取得処理)。次に、ステップS2404において、コンテンツ提供装置は、認識される視聴者が複数であるか否か判断する。ここで、認識される視聴者が単数である場合に、ステップS2405Aに進む。ここで、認識される視聴者が複数であるとの判断である場合に、ステップS2405Bに進む。ステップS2405Aでは、コンテンツ提供装置は、決定された優先視聴者の属性を用いて視聴サービスを制御する。ステップS2405Bでは、コンテンツ提供装置は、視聴者属性取得ステップにて取得した操作者情報を含む視聴者の属性情報と、リモコン操作者を優先視聴者とする操作者優先ルールとを用いて優先視聴者を決定する(優先視聴者決定ステップ)。ステップS2406Bでは、コンテンツ提供装置は、優先視聴者の属性情報を用いて視聴サービスを制御する(視聴サービス制御ステップ)。なお、上記処理は所定のタイミング(例えば、一定の時間間隔やリモコン操作が行われたタイミング)で行うことが可能であり、リモコン操作者が変わった場合であっても、その状況においてもっとも適当な優先視聴者を決定することができる。また、ステップS2403の後に操作者情報に変化があったか否か(別の視聴者がリモコン操作者になったり、視聴者のメンバー構成に変化があったりしたか否か)判断し、操作者情報に変化があった場合にはステップS2404の処理を行い、操作者情報に変化がない場合にはステップS2401に戻る処理を行ってもよい。
<Process flow>
FIG. 24 is a diagram illustrating an example of a processing flow of the content providing apparatus of the present embodiment. The processing described below is realized by a program executed by the content providing apparatus, and the program can be stored in a storage medium. First, in step S2401, the content providing apparatus images a region where the viewer is present (imaging step). Next, in step S2402, the content providing apparatus acquires recognition information that is information for recognizing the viewer from the imaging information (recognition information acquisition step). Next, in step S2403, the content providing apparatus acquires viewer attribute information including operator information, which is information indicating whether or not the viewer is a remote control operator, using the acquired recognition information ( Viewer attribute acquisition step: operator information acquisition process). Next, in step S2404, the content providing apparatus determines whether there are a plurality of recognized viewers. Here, when the number of viewers recognized is one, it progresses to step S2405A. If it is determined that there are a plurality of viewers to be recognized, the process proceeds to step S2405B. In step S2405A, the content providing apparatus controls the viewing service using the determined priority viewer attribute. In step S2405B, the content providing apparatus uses the viewer priority information including the operator information acquired in the viewer attribute acquisition step and the operator priority rule using the remote control operator as the priority viewer as the priority viewer. Is determined (priority viewer determination step). In step S2406B, the content providing apparatus controls the viewing service using the attribute information of the priority viewer (viewing service control step). Note that the above processing can be performed at a predetermined timing (for example, at a certain time interval or when a remote control operation is performed), and even when the remote control operator changes, it is most appropriate in that situation. A preferred viewer can be determined. Further, after step S2403, it is determined whether or not the operator information has changed (whether another viewer has become a remote controller operator or whether or not the viewer member configuration has changed), and the operator information is included in the operator information. When there is a change, the process of step S2404 may be performed, and when there is no change in the operator information, the process of returning to step S2401 may be performed.
<視聴者属性情報取得処理(操作者情報取得処理)の具体例:>
 図25は、本実施形態のコンテンツ提供装置における視聴者属性情報取得処理(操作者情報取得処理)の流れの一例を示す図である。まず、ステップS2501において、コンテンツ提供装置は、リモコン信号を受信したか否か判断する。ここで、リモコン信号を受信したとの判断である場合は、ステップS2502に進む。リモコン信号を受信していないとの判断である場合は、待機する。次に、ステップS2502において、コンテンツ提供装置は、カメラ装置からの撮像画像と、不揮発性メモリからRAMに読み出されたリモコン画像とのパターンマッチングを行い、リモコンであると認識される画像領域を抽出する。次に、ステップS2503において、コンテンツ提供装置は、視聴者認識処理にて認識された視聴者のうち、リモコンに対して最も近い位置にいる視聴者を特定する。ステップS2504では、コンテンツ提供装置は、リモコンに対して最も近い位置にいる視聴者がリモコン操作者であるとの操作者情報を、その視聴者の属性情報としてRAMに格納する。
<Specific example of viewer attribute information acquisition processing (operator information acquisition processing):>
FIG. 25 is a diagram illustrating an example of the flow of viewer attribute information acquisition processing (operator information acquisition processing) in the content providing apparatus of the present embodiment. First, in step S2501, the content providing apparatus determines whether a remote control signal has been received. If it is determined that a remote control signal has been received, the process advances to step S2502. If it is determined that the remote control signal has not been received, it waits. Next, in step S2502, the content providing apparatus performs pattern matching between the captured image from the camera apparatus and the remote control image read from the nonvolatile memory to the RAM, and extracts an image area recognized as the remote control. To do. Next, in step S2503, the content providing apparatus identifies the viewer who is closest to the remote control among the viewers recognized by the viewer recognition process. In step S2504, the content providing apparatus stores, in the RAM, operator information indicating that the viewer closest to the remote controller is the remote controller operator as attribute information of the viewer.
<優先視聴者決定処理の具体例>
 本実施形態のコンテンツ提供装置における優先視聴者決定処理では、リモコン操作者を優先視聴者とする操作者優先ルールに基づいてリモコン操作者を優先視聴者とする。また、リモコン操作者の属性情報を優先視聴者の属性情報として、RAMにて保持する。
<Specific example of priority viewer decision processing>
In the priority viewer determination process in the content providing apparatus of the present embodiment, the remote control operator is set as the priority viewer based on the operator priority rule with the remote control operator as the priority viewer. Further, the attribute information of the remote control operator is held in the RAM as the attribute information of the priority viewer.
<効果>
 本実施形態のコンテンツ提供装置は、視聴者が複数いる場合、リモコン操作者を優先視聴者とする操作者優先ルールを用いて優先視聴者を決定する。これにより、リモコン操作者を検知することで適当な優先視聴者を決定し、好ましい態様で視聴サービスを提供する
ことが可能になる。
<Effect>
When there are a plurality of viewers, the content providing apparatus according to the present embodiment determines a priority viewer using an operator priority rule in which the remote controller operator is a priority viewer. As a result, it is possible to determine an appropriate priority viewer by detecting the remote control operator and to provide a viewing service in a preferable manner.
<<実施形態5>><<Embodiment 5 >>
<概要>
 本実施形態のコンテンツ提供装置は、基本的に実施形態1と同様であるが、複数のコンテンツをマルチウインドウ表示することが可能であり、視聴者の属性情報として、視聴者が前記マルチウインドウ中のいずれのウインドウを視聴しているかを示す情報を取得し、当該情報をさらに用いてウインドウごとに優先視聴者を決定することを特徴とする。
<Overview>
The content providing apparatus of the present embodiment is basically the same as that of the first embodiment, but a plurality of contents can be displayed in a multi-window. Information indicating which window is being viewed is acquired, and the priority viewer is determined for each window by further using the information.
 図26は、本実施形態のコンテンツ提供装置の概要を示す図である。この図の例では、2画面でそれぞれ別のコンテンツが提供されており、Aは左画面を視聴し、Bは右画面を視聴している。この場合は、カメラ装置で視聴者がどちらの画面を見ているか判別し、左画面にはAに合わせたメニュー画面が表示され、右画面にはBに合わせたメニュー画面が表示される。FIG. 26 is a diagram showing an outline of the content providing apparatus of the present embodiment. In the example of this figure, different contents are provided on two screens, A viewing the left screen and B viewing the right screen. In this case, it is determined which screen the viewer is viewing on the camera device, a menu screen corresponding to A is displayed on the left screen, and a menu screen corresponding to B is displayed on the right screen.
<構成>
 図27は、本実施形態のコンテンツ提供装置の機能ブロックの一例を示す図である。この図にあるように、「コンテンツ提供装置」2700は、「カメラ部」2701と、「認識情報取得部」2702と、「視聴者属性取得部」2703と、「優先視聴者決定部」2704と、「視聴サービス制御部」2705と、「視聴サービス部」2706と、を有し、「視聴者属性情報取得部」は「視聴ウインドウ情報取得手段」2707を有し、「優先視聴者決定部」は「ウインドウ別決定手段」2708を有し、「視聴サービス部」は「マルチ表示手段」2709を有する。以下、実施形態1との相違点である「マルチ表示手段」と「視聴ウインドウ情報取得手段」と「ウインドウ別決定手段」について説明する。
<Configuration>
FIG. 27 is a diagram illustrating an example of functional blocks of the content providing apparatus according to the present embodiment. As shown in this figure, the “content providing device” 2700 includes a “camera unit” 2701, a “recognition information acquisition unit” 2702, a “viewer attribute acquisition unit” 2703, and a “priority viewer determination unit” 2704. , “Viewing service control unit” 2705 and “viewing service unit” 2706, “viewer attribute information acquisition unit” has “viewing window information acquisition unit” 2707, and “priority viewer determination unit” Includes a “window-specific determination unit” 2708, and the “viewing service unit” includes a “multi-display unit” 2709. Hereinafter, “multi-display means”, “viewing window information acquisition means”, and “window-specific determination means” which are different from the first embodiment will be described.
 「マルチ表示手段」は、複数のコンテンツをマルチウインドウ表示する。ここで、複数のコンテンツをマルチウインドウ表示するとは、ディスプレイ内部に複数のウインドウ領域を設けて各ウインドウにてそれぞれコンテンツを表示することや、ディスプレイを複数の領域に分割して各分割領域にてそれぞれコンテンツを表示することなどをいう。例えば、ディスプレイを左右の領域に分割し、左の領域ではコンテンツXを表示出力し、右の領域ではコンテンツYを表示出力する。“Multi-display means” displays multiple contents in multiple windows. Here, multi-window display of a plurality of contents means that a plurality of window areas are provided inside the display and contents are displayed in each window, or the display is divided into a plurality of areas and each divided area is displayed. This means displaying content. For example, the display is divided into left and right areas, the content X is displayed and output in the left area, and the content Y is displayed and output in the right area.
 「視聴ウインドウ情報取得手段」は、視聴者の属性情報として、視聴者が前記マルチウインドウ中のいずれのウインドウを視聴しているかを示す情報である視聴ウインドウ情報を取得する。視聴ウインドウ情報の取得処理としては、視聴者の画像から体の中心、左右の目・瞳孔・鼻孔などの位置座標を特定して視聴位置・視線方向を検出し、マルチウインドウ中のいずれのウインドウを視聴しているかを判断することが考えられる。なお、一の視聴者がマルチウインドウ中の複数のウインドウを視聴している場合やディスプレイ以外に目移りしている場合などを考慮して、過去所定時間の範囲内で特定のウインドウを視聴していると判断された場合は、そのウインドウに視聴者であると判断することも可能である。The “viewing window information acquisition means” acquires viewing window information, which is information indicating which window the viewer is viewing in the multi-window, as the attribute information of the viewer. As the viewing window information acquisition processing, the position of the viewing center and the line of sight is detected from the viewer's image by specifying the position of the center of the body, the left and right eyes, pupils and nostrils, and any window in the multi-window is detected. It may be possible to determine whether the user is watching. In consideration of the case where one viewer is watching a plurality of windows in a multi-window, or when the viewer is moving beyond the display, a specific window has been watched within the past predetermined time range. If it is determined, it is possible to determine that the user is a viewer in the window.
 「ウインドウ別決定手段」は、取得した視聴ウインドウ情報をさらに用いてウインドウごとに優先視聴者を決定する。ここで、ウインドウごとに一人の優先視聴者を決定することが主として考えられるが、複数の視聴サービスの制御が行われる場合などは一のウインドウに対して複数の優先視聴者を決定してもよい。例えば、一のウインドウを見る視聴者が複数いる場合であって、コンテンツなどに含まれる文字の大きさに関しては視力の弱い視聴者を優先視聴者とし、コンテンツなどの音声の大きさに関しては聴力の弱い視聴者を優先視聴者とする。“The window-specific determining means” further determines the priority viewer for each window by further using the acquired viewing window information. Here, it is mainly considered that one priority viewer is determined for each window. However, when a plurality of viewing services are controlled, a plurality of priority viewers may be determined for one window. . For example, in the case where there are a plurality of viewers who view a single window, a viewer with weak eyesight is regarded as a priority viewer with respect to the size of characters included in the content, etc. Weak viewers are given priority viewers.
<処理の流れ>
 図28は、本実施形態のコンテンツ提供装置の処理の流れの一例を示す図である。以下に述べる処理は、コンテンツ提供装置にて実行されるプログラムによって実現され、そのプログラムは記憶媒体に記憶することが可能である。まず、ステップS2801において、コンテンツ提供装置は、視聴者のいる領域を撮像する(撮像ステップ)。次に、ステップS2802において、コンテンツ提供装置は、撮像情報から視聴者を認識するための情報である認識情報を取得する(認識情報取得ステップ)。次に、ステップS2803において、コンテンツ提供装置は、取得した認識情報を用いて、視聴者が前記マルチウインドウ中のいずれのウインドウを視聴しているかを示す情報である視聴ウインドウ情報を含む視聴者の属性情報を取得する(視聴者属性取得ステップ:視聴ウインドウ情報取得処理)。次に、ステップS2804において、コンテンツ提供装置は、認識される視聴者が複数であるか否か判断する。ここで、認識される視聴者が単数である場合に、ステップS2805Aに進む。ここで、認識される視聴者が複数であるとの判断である場合に、ステップS2805Bに進む。ステップS2805Aでは、コンテンツ提供装置は、優先視聴者の属性情報を用いて視聴サービスを制御する。ステップS2805Bでは、コンテンツ提供装置は、視聴者属性取得ステップにて取得した視聴ウインドウ情報を含む視聴者の属性情報と所定のルールとを用いてウインドウごとに優先視聴者を決定する(優先視聴者決定ステップ)。ステップS2806Bでは、コンテンツ提供装置は、ウインドウごとに決定された優先視聴者の属性を用いて視聴サービスを制御する(視聴サービス制御ステップ)。なお、上記処理は所定のタイミング(例えば、一定の時間間隔や特定の操作が行われたタイミング)で行うことが可能であり、視聴者が視聴するウインドウを変更した場合であっても、その状況においてもっとも適当な優先視聴者を決定することができる。また、ステップS2803の後に視聴ウインドウ情報に変化があったか否か(視聴者が視聴するウインドウを変更したり、視聴者のメンバー構成が変化したりしたか否か)判断し、視聴ウインドウ情報に変化があった場合にはステップS2804の処理を行い、視聴ウインドウ情報に変化がない場合にはステップS2801に戻る処理を行ってもよい。
<Process flow>
FIG. 28 is a diagram illustrating an example of a processing flow of the content providing apparatus of the present embodiment. The processing described below is realized by a program executed by the content providing apparatus, and the program can be stored in a storage medium. First, in step S2801, the content providing apparatus images a region where the viewer is present (imaging step). Next, in step S2802, the content providing apparatus acquires recognition information that is information for recognizing the viewer from the imaging information (recognition information acquisition step). Next, in step S2803, the content providing apparatus uses the acquired recognition information, and the viewer attributes including viewing window information, which is information indicating which window the viewer is viewing in the multi-window. Information is acquired (viewer attribute acquisition step: viewing window information acquisition process). In step S2804, the content providing apparatus determines whether there are a plurality of recognized viewers. Here, when the number of viewers recognized is one, it progresses to step S2805A. If it is determined that there are a plurality of recognized viewers, the process proceeds to step S2805B. In step S2805A, the content providing apparatus controls the viewing service using the priority viewer attribute information. In step S2805B, the content providing apparatus determines a priority viewer for each window using the viewer attribute information including the viewing window information acquired in the viewer attribute acquisition step and a predetermined rule (priority viewer determination). Step). In step S2806B, the content providing apparatus controls the viewing service using the attribute of the priority viewer determined for each window (viewing service control step). Note that the above process can be performed at a predetermined timing (for example, at a certain time interval or when a specific operation is performed), and even if the viewer changes the viewing window, the situation The most appropriate priority viewer can be determined. Further, after step S2803, it is determined whether or not the viewing window information has changed (whether the viewer has changed the viewing window or the viewer's member structure has changed), and the viewing window information has changed. If there is, the process of step S2804 may be performed, and if there is no change in the viewing window information, the process of returning to step S2801 may be performed.
<視聴者属性取得処理(視聴ウインドウ情報取得処理)の具体例>
 図29は、本実施形態のコンテンツ提供装置における視聴者属性取得処理(視聴ウインドウ情報取得処理)の流れの一例を示す図である。まず、ステップS2901において、コンテンツ提供装置は、複数のコンテンツをマルチウインドウ表示しているか否か判断する。ここで、マルチウインドウ表示していないとの判断である場合は、待機する。ここで、マルチウインドウ表示しているとの判断である場合は、ステップS2902に進む。ステップS2902では、コンテンツ提供装置は、一の視聴者の画像から、体の中心、左右の目・瞳孔・鼻孔などの位置座標を特定し、その視聴者の視聴位置、視線方向を検出する。次に、ステップS2903において、コンテンツ提供装置は、ステップS2902にて検出された視聴者の視聴位置、視線方向から、マルチウインドウ中のいずれのウインドウを視聴しているかを判断する。次に、ステップS2904において、コンテンツ提供装置は、ステップS2903の判断結果に応じて視聴者がマルチウインドウ中のいずれのウインドウを視聴しているかを示す情報である視聴ウインドウ情報を、属性情報としてRAMにて保持する。次に、ステップS2905では、コンテンツ提供装置は、視聴者全てについて視聴ウインドウ情報を取得したか否か判断する。ここで、取得したとの判断である場合は、視聴ウインドウ情報取得処理を終了する。取得していない視聴者が残っているとの判断である場合は、ステップS2902に戻る。
<Specific example of viewer attribute acquisition processing (viewing window information acquisition processing)>
FIG. 29 is a diagram showing an example of the flow of viewer attribute acquisition processing (viewing window information acquisition processing) in the content providing apparatus of this embodiment. First, in step S2901, the content providing apparatus determines whether a plurality of contents are displayed in a multiwindow. If it is determined that the multi-window display is not performed, the process waits. If it is determined that multi-window display is being performed, the process advances to step S2902. In step S2902, the content providing apparatus identifies position coordinates such as the center of the body, left and right eyes, pupils, and nostrils from the image of one viewer, and detects the viewing position and line-of-sight direction of the viewer. Next, in step S2903, the content providing apparatus determines which window in the multi-window is being viewed from the viewing position and line-of-sight direction of the viewer detected in step S2902. Next, in step S2904, the content providing apparatus stores viewing window information, which is information indicating which window in the multi-window the viewer is viewing according to the determination result in step S2903, in the RAM as attribute information. Hold. In step S2905, the content providing apparatus determines whether viewing window information has been acquired for all viewers. If it is determined that it has been acquired, the viewing window information acquisition process ends. If it is determined that there are still viewers that have not been acquired, the process returns to step S2902.
<優先視聴者決定処理(ウインドウ別決定処理)の具体例>
 図30は、本実施形態のコンテンツ提供装置における優先視聴者決定処理(ウインドウ別決定処理)の流れの一例を示す図である。ステップS3001では、コンテンツ提供装置は、視聴者数が複数であるか否か判断する。ここで、複数であるとの判断である場合はステップS3002に進む。複数ではないとの判断である場合は優先視聴者決定処理を終了する。次に、ステップS3002では、コンテンツ提供装置は、一のウインドウを選択し、そのウインドウを視聴している視聴者のIDを、視聴者属性取得処理にて取得した視聴ウインドウ情報を用いて抽出する。次に、ステップS3003では、コンテンツ提供装置は、ステップS3002にて抽出された視聴者IDと、視聴者IDに応じて視聴者として優先する度合を示す指数を定めた情報であるID優先ルールとを用いて、視聴者の視聴優先指数を取得する。次に、ステップS3004では、コンテンツ提供装置は、ステップS3002にて抽出された視聴者IDを取得した視聴者全てについて優先指数を取得したか否か判断する。ここで、視聴者全てについて優先指数を取得したとの判断である場合、ステップS3005に進む。優先指数を取得していない視聴者が残っているとの判断である場合は、ステップ3003に戻る。ステップS3005では、コンテンツ提供装置は、優先指数が取得された複数の視聴者の優先指数を比較する。ステップS3006では、コンテンツ提供装置は、選択されたウインドウについて優先視聴者を確定し、その視聴者の属性情報をRAMにて保持する。次に、ステップS3007では、コンテンツ提供装置は、全てのウインドウについて優先視聴者を確定したか否か判断する。ここで、全てのウインドウについて優先視聴者を確定したとの判断である場合は、優先視聴者決定処理を終了する。優先視聴者が確定していないウインドウが残っているとの判断である場合は、ステップS3002に戻る。
<Specific example of priority viewer decision processing (window-specific decision processing)>
FIG. 30 is a diagram illustrating an example of a flow of priority viewer determination processing (window-specific determination processing) in the content providing apparatus of the present embodiment. In step S3001, the content providing apparatus determines whether the number of viewers is plural. If it is determined that there are a plurality of items, the process proceeds to step S3002. If it is determined that there is not more than one, the priority viewer determination process ends. In step S3002, the content providing apparatus selects one window and extracts the ID of the viewer who is viewing the window using the viewing window information acquired in the viewer attribute acquisition process. Next, in step S3003, the content providing apparatus obtains the viewer ID extracted in step S3002 and an ID priority rule that is information that defines an index indicating the degree of priority given to the viewer according to the viewer ID. To obtain the viewing priority index of the viewer. Next, in step S3004, the content providing apparatus determines whether or not a priority index has been acquired for all viewers who have acquired the viewer ID extracted in step S3002. If it is determined that the priority index has been acquired for all viewers, the process advances to step S3005. If it is determined that there are still viewers who have not acquired the priority index, the process returns to step 3003. In step S3005, the content providing apparatus compares the priority indexes of a plurality of viewers for which priority indexes have been acquired. In step S3006, the content providing apparatus determines a priority viewer for the selected window, and retains the viewer's attribute information in the RAM. Next, in step S3007, the content providing apparatus determines whether priority viewers have been determined for all windows. If it is determined that the priority viewer has been determined for all windows, the priority viewer determination process is terminated. If it is determined that there remains a window for which the priority viewer has not been determined, the process returns to step S3002.
<視聴サービス制御処理の具体例>
 図31は、本実施形態のコンテンツ提供装置における視聴サービス制御処理の流れの一例を示す図である。まず、ステップS3101において、コンテンツ提供装置は、一のウインドウを選択し、そのウインドウについて優先視聴者決定処理により決定された優先視聴者の視聴サービスに関係する属性を抽出する。次に、ステップS3102において、コンテンツ提供装置は、不揮発性メモリから優先視聴者の属性と特定のウインドウの視聴サービスの内容を関連づけた情報をRAMに読み出し、抽出された優先視聴者の属性に応じて選択されたウインドウの視聴サービスの内容を決定する。次に、ステップS3103において、コンテンツ提供装置は、決定された視聴サービスの内容となるように、選択されたウインドウの視聴サービスに関係する機器(ディスプレイ、スピーカーなど)を制御する。次に、ステップS3104において、コンテンツ提供装置は、選択されたウインドウについて制御すべき視聴サービスの全てについて、優先視聴者の属性に応じてその制御が行われたか否か判断する。ここで、全て行われたとの判断である場合は、ステップS3105に進む。制御が行われていない視聴サービスが残っているとの判断である場合は、ステップS3102に戻る。ステップS3105では、コンテンツ提供装置は、全てのウインドウについて視聴サービスの制御が行われてか否か判断する。ここで、全てのウインドウについて視聴サービスの制御が行われたとの判断である場合は、視聴サービス制御処理を終了する。視聴サービスの制御が行われていないウインドウが残っているとの判断である場合は、ステップS3101に戻る。
<Specific example of viewing service control processing>
FIG. 31 is a diagram showing an example of the flow of viewing service control processing in the content providing apparatus of the present embodiment. First, in step S3101, the content providing apparatus selects one window and extracts an attribute related to the viewing service of the priority viewer determined by the priority viewer determination process for the window. Next, in step S3102, the content providing apparatus reads information relating the attribute of the priority viewer and the content of the viewing service of the specific window from the nonvolatile memory to the RAM, and according to the extracted attribute of the priority viewer. The content of the viewing service of the selected window is determined. Next, in step S3103, the content providing apparatus controls devices (display, speaker, etc.) related to the viewing service of the selected window so that the content of the determined viewing service is obtained. Next, in step S3104, the content providing apparatus determines whether or not the control has been performed on all viewing services to be controlled for the selected window according to the priority viewer attribute. If it is determined that everything has been done, the process advances to step S3105. If it is determined that there is a viewing service that is not controlled, the process returns to step S3102. In step S3105, the content providing apparatus determines whether viewing service is controlled for all windows. If it is determined that the viewing service control has been performed for all windows, the viewing service control process ends. If it is determined that there remains a window for which the viewing service is not controlled, the process returns to step S3101.
<効果>
 本実施形態のコンテンツ提供装置は、視聴者が複数いる場合、視聴者が前記マルチウインドウ中のいずれのウインドウを視聴しているかを示す情報を含む視聴者属性情報を取得し、当該情報を用いてウインドウごとに優先視聴者を決定する。これにより、その場の状況にとって好ましい態様で視聴サービスを提供することが可能になる。
<Effect>
When there are a plurality of viewers, the content providing apparatus according to the present embodiment acquires viewer attribute information including information indicating which window the viewer is viewing in the multi-window, and uses the information. A priority viewer is determined for each window. This makes it possible to provide a viewing service in a manner that is favorable for the situation at the moment.
<<実施形態6>><<Embodiment 6 >>
<概要>
 本実施形態のコンテンツ提供装置は、基本的に実施形態1と同様であるが、視聴者の視線がコンテンツ提供装置の画面に向けられている程度を示す情報(視線情報)を取得して、その程度が最大である視聴者を優先するように優先視聴者を決定することを特徴とする。
<Overview>
The content providing apparatus of the present embodiment is basically the same as that of the first embodiment, but acquires information (line-of-sight information) indicating the degree to which the viewer's line of sight is directed to the screen of the content providing apparatus. The priority viewer is determined so as to give priority to the viewer who has the maximum degree.
<構成>
 図32は、本実施形態のコンテンツ提供装置の機能ブロックの一例を示す図である。この図にあるように、「コンテンツ提供装置」3200は、「カメラ部」3201と、「認識情報取得部」3202と、「視聴者属性取得部」3203と、「優先視聴者決定部」3204と、「視聴サービス制御部」3205と、「視聴サービス部」3206と、を有し、「視聴者属性取得部」は、「視線情報取得手段」3207を有し、「優先視聴者決定部」は、「視線優先ルール保持手段」3208と、「視線依存優先決定手段」3209と、を有する。本実施形態の目的は、コンテンツ提供装置に最も多くの視線を向けている視聴者を優先視聴者として選定できるようにすることにある。これは、コンテンツ提供装置に最も多くの視線を向けている視聴者がそのコンテンツを最も熱心に視聴している者であり、従って、最も優先されるべき視聴者であると考える場合に対応するためのものである。以下、実施形態1との相違点である「視線情報取得手段」と「視線優先ルール保持手段」と「視線依存優先決定手段」について説明する。
<Configuration>
FIG. 32 is a diagram illustrating an example of functional blocks of the content providing apparatus according to the present embodiment. As shown in this figure, the “content providing device” 3200 includes a “camera unit” 3201, a “recognition information acquisition unit” 3202, a “viewer attribute acquisition unit” 3203, and a “priority viewer determination unit” 3204. , “Viewing service control unit” 3205 and “viewing service unit” 3206, “viewer attribute acquisition unit” has “line-of-sight information acquisition unit” 3207, and “priority viewer determination unit” , “Line-of-sight priority rule holding means” 3208 and “line-of-sight dependency priority determination means” 3209. An object of the present embodiment is to make it possible to select a viewer who has the most line of sight toward the content providing apparatus as a priority viewer. This is to cope with the case where the viewer who has the most eyes on the content providing apparatus is the viewer who views the content most eagerly and therefore should be the most preferred viewer. belongs to. Hereinafter, “line-of-sight information acquisition means”, “line-of-sight priority rule holding means”, and “line-of-sight dependency priority determination means” which are different from the first embodiment will be described.
 「視線情報取得手段」は、視聴者の属性情報として「視線情報」を取得するように構成されている。「視線情報」とは、視聴者の視線がコンテンツ提供装置の画面に向けられている程度を示す情報をいう。視聴者の視線がコンテンツ提供装置の画面に向けられているかどうかの判断は公知の視線認識技術を用いて行うことが可能である。例えば、予め視聴者の顔の正面画像情報をデータベースに登録しておき、コンテンツ提供装置の画面付近に備えられたカメラ部で撮像した視聴者の顔画像と照合することで視聴者が画面に正対しているかどうか判断し、正対していると判断される場合には視線が向けられていると判断するようにしてもよい。あるいは、もう少し精緻に、カメラ部で撮像した顔画像から眼球(露出している部分をいう。以下同じ)の中心位置と瞳孔の中心位置を検出し、両者がほぼ一致していれば視線が向けられていると判断するようにしてもよい。いずれの方法においても、撮像した顔画像と予め登録された顔画像とを照合することで、撮像した顔画像がどの視聴者のものであるかを認識することができる。この撮像は全ての視聴者を対象として視聴者ごとに行う。また、視線が向けられている「程度」は、例えば、視聴者の視線が向けられている時間で測る(時間が長いほど程度が大きいと判断する)ことが可能である。The “line-of-sight information acquisition means” is configured to acquire “line-of-sight information” as viewer attribute information. “Gaze information” refers to information indicating the degree to which the viewer's gaze is directed toward the screen of the content providing apparatus. It is possible to determine whether or not the viewer's line of sight is directed to the screen of the content providing apparatus using a known line-of-sight recognition technique. For example, the front image information of the viewer's face is registered in the database in advance, and the viewer corrects the image on the screen by collating with the viewer's face image captured by the camera unit provided near the screen of the content providing apparatus. It may be determined whether or not they are facing each other, and if it is determined that they are facing each other, it may be determined that the line of sight is directed. Or, more precisely, the center position of the eyeball (exposed part; the same applies hereinafter) and the center position of the pupil are detected from the face image captured by the camera unit. You may make it judge that it is carried out. In any method, it is possible to recognize which viewer the captured face image belongs to by comparing the captured face image with a pre-registered face image. This imaging is performed for every viewer for all viewers. The “degree” at which the line of sight is directed can be measured, for example, by the time that the viewer's line of sight is directed (determining that the degree is greater as the time is longer).
 「視線優先ルール保持手段」は、所定のルールとして「視線優先ルール」を保持するように構成されている。「視線優先ルール」は、視線情報にてコンテンツ提供装置の画面に視線が向けられている程度が最大である視聴者を優先すると定めた情報である。視線優先ルールの具体的内容としては、例えば視線が向けられている時間が最も長い視聴者を優先するといったものが考えられる。The “line-of-sight priority rule holding means” is configured to hold the “line-of-sight priority rule” as a predetermined rule. The “line of sight priority rule” is information that prioritizes a viewer whose degree of line of sight is directed to the screen of the content providing apparatus in the line of sight information. As specific contents of the line-of-sight priority rule, for example, priority may be given to the viewer with the longest time for which the line of sight is directed.
 「視線依存優先決定手段」は、視線情報取得手段にて取得した視線情報と所定のルールである視線優先ル-ルとに基づいて優先視聴者を決定するように構成されている。例えば、複数の視聴者A~Cがいる場合に、視線がコンテンツ提供装置の画面に向けられている時間で示した視線情報のうち視聴者Aの視線情報が示す時間が最長であれば、視線優先ルールに基づいて視聴者Aを優先視聴者として決定する。The “line-of-sight dependent priority determining means” is configured to determine the priority viewer based on the line-of-sight information acquired by the line-of-sight information acquisition means and the line-of-sight priority rule that is a predetermined rule. For example, when there are a plurality of viewers A to C, if the time indicated by the viewer A's line-of-sight information among the line-of-sight information indicated by the time when the line of sight is directed to the screen of the content providing apparatus is longest, Viewer A is determined as the priority viewer based on the priority rule.
<処理の流れ>
 図33は、本実施形態のコンテンツ提供装置の処理の流れの一例を示す図である。以下に述べる処理は、コンテンツ提供装置にて実行されるプログラムによって実現され、そのプログラムは記憶媒体に記憶することが可能である(以下の実施形態においても同様である)。まず、ステップS3301において、コンテンツ提供装置は、視聴者のいる領域を撮像する(撮像ステップ)。次に、ステップS3302において、コンテンツ提供装置は、撮像情報から視聴者を認識するための情報である認識情報を取得する(認識情報取得ステップ)。次に、ステップS3303において、コンテンツ提供装置は、取得した認識情報を用いて、視線情報を含む視聴者の属性を取得する(視聴者属性取得ステップ:視線情報取得処理を含む)。具体的には、コンテンツ提供装置は、取得した認識情報を用いて視聴者の属性として、視聴者の名前、性別、年齢層、顔画像などの情報及び視線情報を取得する。次に、ステップS3304において、コンテンツ提供装置は、認識される視聴者が複数であるか否か判断する。ここで、認識される視聴者が単数である場合に、ステップS3305Aに進む。ここで、認識される視聴者が複数であるとの判断である場合に、ステップS3305Bに進む。ステップS3305Aでは、コンテンツ提供装置は、視聴者の属性を用いて視聴サービスを制御する。ステップS3305Bでは、コンテンツ提供装置は、視聴者属性取得ステップにて取得した視線情報を含む視聴者の属性情報と、視線優先ルールとを用いて優先視聴者を決定する(優先視聴者決定ステップ)。ステップS3306Bでは、コンテンツ提供装置は、優先視聴者の属性情報を用いて視聴サービスを制御する(視聴サービス制御ステップ)。これらの処理によって、コンテンツ提供装置の画面に最も多くの視線を向けている視聴者が優先視聴者と決定され、当該視聴者の属性に応じた視聴サービスが提供されることになる。
<Process flow>
FIG. 33 is a diagram illustrating an example of a processing flow of the content providing apparatus of the present embodiment. The processing described below is realized by a program executed by the content providing apparatus, and the program can be stored in a storage medium (the same applies to the following embodiments). First, in step S3301, the content providing apparatus images a region where the viewer is present (imaging step). Next, in step S3302, the content providing apparatus acquires recognition information that is information for recognizing the viewer from the imaging information (recognition information acquisition step). Next, in step S3303, the content providing apparatus acquires viewer attributes including line-of-sight information using the acquired recognition information (viewer attribute acquisition step: includes line-of-sight information acquisition processing). Specifically, the content providing apparatus acquires information such as the viewer's name, sex, age group, face image, and line-of-sight information as viewer attributes using the acquired recognition information. Next, in step S3304, the content providing apparatus determines whether there are a plurality of recognized viewers. Here, when the number of viewers recognized is one, it progresses to step S3305A. If it is determined that there are a plurality of viewers to be recognized, the process proceeds to step S3305B. In step S3305A, the content providing apparatus controls the viewing service using the viewer attribute. In step S3305B, the content providing apparatus determines a priority viewer using the viewer attribute information including the line-of-sight information acquired in the viewer attribute acquisition step and the line-of-sight priority rule (priority viewer determination step). In step S3306B, the content providing apparatus controls the viewing service using the attribute information of the priority viewer (viewing service control step). Through these processes, the viewer who has the most line of sight on the screen of the content providing apparatus is determined as the priority viewer, and the viewing service corresponding to the attribute of the viewer is provided.
 あるいは、ステップS3303において、コンテンツ提供装置は上記処理に代えて視線情報を含まない視聴者の属性を取得し、ステップS3304において認識される視聴者が複数であると判断された場合にのみ各視聴者の視線情報を取得するようにしてもよい(以下の実施形態においても同様である)。視聴者が単数であれば視聴者間で視線の程度を比較する必要がないからである。Alternatively, in step S3303, the content providing apparatus acquires the attributes of viewers that do not include line-of-sight information in place of the above processing, and each viewer is only determined when there are a plurality of viewers recognized in step S3304. May be acquired (the same applies to the following embodiments). This is because it is not necessary to compare the degree of line of sight between viewers if there is only one viewer.
 以上の処理は所定のタイミング(例えば、一定の時間間隔や特定の操作が行われたタイミング)で行うことが可能であり、新たな視聴者が加わった場合やこれまでいた視聴者がいなくなった場合であっても、その状況においてもっとも適当な優先視聴者を決定することができる。また、ステップS3303の後に視聴者のメンバー構成に変化があったか否か(視聴者が新たに加わったり、いなくなったりしたか否か)判断し、メンバー構成に変化があった場合にはステップS3304の処理を行い、メンバー構成に変化がない場合にはステップS3301に戻る処理を行ってもよい(以下の実施形態においても同様である)。The above processing can be performed at a predetermined timing (for example, at a certain time interval or when a specific operation is performed), and when a new viewer is added or there is no viewer Even so, it is possible to determine the most appropriate priority viewer in the situation. Further, after step S3303, it is determined whether or not there is a change in the member configuration of the viewer (whether or not the viewer is newly added or disappeared). If there is a change in the member configuration, the process proceeds to step S3304. If the member configuration is not changed, the process may return to step S3301 (the same applies to the following embodiments).
<視聴者属性取得処理(視線情報取得処理)の具体例>
 図34は、本実施形態のコンテンツ提供装置における視聴者属性取得処理(視線情報取得処理)の流れの一例を示す図である。まず、ステップS3401において、コンテンツ提供装置は、例えば、自身の画面付近に備えられたカメラ部で視聴者の顔画像を撮像する。次に、ステップS3402において、コンテンツ提供装置は、撮像した顔画像から例えば眼球の中心位置と瞳孔の中心位置を検出するなどにより視聴者の視線を検出する。この撮像及び視線の検出は例えばコンテンツの表示開始から一定時間(例えば5分間)行われる。また、この撮像・検出を連続的に複数回(例えば20分間)行ってもよいし、断続的に複数回(例えば5分間の撮像・検出を1分間のインターバルを置いて4回)行ってもよい。次に、ステップS3403において、コンテンツ提供装置は、検出した眼球の中心位置と瞳孔の中心位置がほぼ一致するか判断することなどにより視聴者の視線がコンテンツ提供装置の画面に向けられているか判断する。ここで「ほぼ一致」の判断基準は、両者の位置の差が眼球の直径の何%以内ならほぼ一致と判断するというような基準を予め定めておけばよい。次に、ステップS3404において、コンテンツ提供装置は、例えば上記のようなほぼ一致している状態が検出された時間を計測することで、画面に視線が向けられている程度を取得する。以上の処理は、顔画像を撮像した全ての視聴者について視聴者ごとに行う。視線情報の取得処理を全ての視聴者について行うことで、画面に視線が向けられている程度の大小を視聴者間で比較することが可能となる。
<Specific example of viewer attribute acquisition processing (gaze information acquisition processing)>
FIG. 34 is a diagram showing an example of the flow of viewer attribute acquisition processing (line-of-sight information acquisition processing) in the content providing apparatus of this embodiment. First, in step S3401, the content providing apparatus captures a viewer's face image with, for example, a camera unit provided near its own screen. Next, in step S3402, the content providing apparatus detects the viewer's line of sight by, for example, detecting the center position of the eyeball and the center position of the pupil from the captured face image. This imaging and line-of-sight detection are performed for a certain time (for example, 5 minutes) from the start of content display, for example. Further, this imaging / detection may be performed continuously a plurality of times (for example, 20 minutes), or intermittently performed a plurality of times (for example, 5 minutes of imaging / detection is performed four times at intervals of 1 minute). Good. Next, in step S3403, the content providing apparatus determines whether or not the viewer's line of sight is directed to the screen of the content providing apparatus by determining whether the detected center position of the eyeball and the center position of the pupil are substantially the same. . Here, the criterion for “substantially coincidence” may be determined in advance such that when the difference between the positions of the two is within what percentage of the diameter of the eyeball, it is judged that they are almost coincident. Next, in step S3404, the content providing apparatus acquires the degree that the line of sight is directed to the screen, for example, by measuring the time when the substantially matching state as described above is detected. The above processing is performed for each viewer for all viewers who have captured face images. By performing the line-of-sight information acquisition process for all the viewers, it is possible to compare the magnitudes of the extent that the line of sight is directed to the screen among the viewers.
<優先視聴者決定処理(視線依存優先決定処理)の具体例>
 次に、コンテンツ提供装置は、上記処理によって取得した各視聴者の視線が向けられている程度に基づいて、その程度が最大である視聴者を優先する優先視聴者決定処理(視線依存優先決定処理)を行う。視線が向けられている程度が最大である視聴者が誰であるかの判断は、例えば各視聴者の視線が画面に向けられている時間を所定時間内で比較して、その時間が最長の者を優先視聴者と決定するようにすればよい。あるいは、所定時間内において顔画像が撮像されていた時間のうち視線が向けられていた時間が占める比率が最も高い者を優先視聴者と決定するようにしてもよい。
<Specific example of priority viewer determination processing (line-of-sight priority determination processing)>
Next, based on the degree to which each viewer's line of sight acquired by the above process is directed, the content providing apparatus prioritizes the viewer with the highest degree of priority (the line-of-sight priority determination process). )I do. The determination of who is the viewer whose degree of gaze is the largest is, for example, by comparing the time when the gaze of each viewer is aimed at the screen within a predetermined time, The viewer may be determined as the priority viewer. Or you may make it determine a person with the highest ratio for the time when the eyes | visual_axis was aimed among the time when the face image was imaged within predetermined time as a priority viewer.
 この処理は、所定のタイミング(例えばコンテンツ表示開始後5分後)で一回だけ行い、その結果を以後コンテンツ表示終了までのすべての視聴サービス制御処理に反映するようにしてもよい。あるいは、所定のタイミングで複数回(例えばコンテンツ表示開始~5分後、5~10分後、10~15分後など)繰り返して行い、その都度視聴サービス制御処理の内容を更新する形で反映するようにしてもよい。また、この優先決定処理を構成メンバーに変化が生じるたびや番組が切り替わるたびに行うようにしてもよい。This process may be performed only once at a predetermined timing (for example, 5 minutes after the start of content display), and the result may be reflected in all viewing service control processes until the end of content display thereafter. Alternatively, it is repeated a plurality of times (for example, after 5 minutes, 5-10 minutes, 10-15 minutes, etc.) at a predetermined timing, and the contents of the viewing service control process are updated each time. You may do it. In addition, this priority determination process may be performed every time a change occurs in the constituent members or when a program is switched.
<視聴サービス制御処理の具体例>
 本実施例における視聴サービス制御処理の流れは、実施形態1などで説明したところと基本的に同様であるが、本実施形態においては、視線が向けられている程度が最大であるとして優先視聴者に決定された視聴者の属性に合わせて視聴サービスの内容を決定する。例えば、優先視聴者として決定された視聴者の属性としての年齢層、視力、聴力に合わせて、視聴サービスの内容として出力コンテンツの文字の大きさや音量を決定し、これに従ったサービスを提供するためにディスプレイ、スピーカーなどの機器を制御する。例えば優先視聴者が老人であればコンテンツの文字を大きく表示したり大きな音量で出力する制御を行う。また、制御すべき視聴サービスの全てについて、優先視聴者の属性に応じてその制御が行われたか否か判断し、全て行われたとの判断である場合は、視聴サービス制御処理を終了する。制御が行われていない視聴サービスが残っているとの判断である場合は、視聴サービスの内容を決定するステップに戻る。
<Specific example of viewing service control processing>
The flow of the viewing service control processing in this example is basically the same as that described in the first embodiment, but in this embodiment, the priority viewer is assumed that the degree of gaze is the maximum. The content of the viewing service is determined in accordance with the determined viewer attributes. For example, in accordance with the age group, visual acuity, and hearing as the viewer attributes determined as the priority viewer, the size and volume of the output content are determined as the content of the viewing service, and a service according to this is provided. In order to control devices such as displays and speakers. For example, if the priority viewer is an elderly person, control is performed to display the characters of the content in a large size or to output at a high volume. Further, it is determined whether or not all viewing services to be controlled are controlled according to the attribute of the priority viewer. If it is determined that all viewing services have been controlled, the viewing service control process is terminated. If it is determined that there is a viewing service that is not controlled, the process returns to the step of determining the content of the viewing service.
<効果>
 本実施形態のコンテンツ提供装置によれば、コンテンツ提供装置の画面に視線を向けている程度が最大である視聴者を優先視聴者とすることができるので、そのコンテンツを熱心に視聴している蓋然性が最も高い視聴者の属性に対応した視聴サービス制御処理を行うことが可能になる。
<Effect>
According to the content providing apparatus of the present embodiment, the viewer who has the largest degree of gaze on the screen of the content providing apparatus can be set as the priority viewer, and thus the probability that the content is eagerly viewed. It is possible to perform viewing service control processing corresponding to the highest viewer attribute.
<<実施形態7>><<Embodiment 7 >>
<概要>
 本実施形態のコンテンツ提供装置は、基本的に実施形態1と同様であるが、視聴者の移動の程度の少なさを示す情報を取得して、移動の程度が最も少ない視聴者を優先するように優先視聴者を決定することを特徴とする。
<Overview>
The content providing apparatus according to the present embodiment is basically the same as that of the first embodiment, but obtains information indicating the low degree of movement of the viewer, and gives priority to the viewer with the smallest degree of movement. The preferred viewer is determined.
<構成>
 図35は、本実施形態のコンテンツ提供装置の機能ブロックの一例を示す図である。この図にあるように、「コンテンツ提供装置」3500は、「カメラ部」3501と、「認識情報取得部」3502と、「視聴者属性取得部」3503と、「優先視聴者決定部」3504と、「視聴サービス制御部」3505と、「視聴サービス部」3506とを有し、「視聴者属性取得部」は、「移動情報取得手段」3507を有し、「優先視聴者決定部」は、「移動優先ルール保持手段」3508と、「移動依存優先決定手段」3509と、を有する。本実施形態の目的は、コンテンツ提供装置の前での移動が最も少ない視聴者がそのコンテンツを最も熱心に視聴している者であり、従って、最も優先されるべき視聴者であると考える場合に対応するためのものである。例えば、小さな子供は、親がテレビを見ていればその近くにはいるものの、テレビ番組に興味がなければテレビの周辺で動き回っているということが多いと考えられる。従って、コンテンツ提供装置の前での動きが少ないほどその視聴者は当該コンテンツを熱心に視聴している蓋然性が高く、最も優先されるべき視聴者であると考えることができる。以下、実施形態1との相違点である「移動情報取得手段」と「移動優先ルール保持手段」と「移動依存優先決定手段」について説明する。
<Configuration>
FIG. 35 is a diagram illustrating an example of functional blocks of the content providing apparatus according to the present embodiment. As shown in this figure, the “content providing device” 3500 includes a “camera unit” 3501, a “recognition information acquisition unit” 3502, a “viewer attribute acquisition unit” 3503, and a “priority viewer determination unit” 3504. , “Viewing service control unit” 3505 and “viewing service unit” 3506, “viewer attribute acquisition unit” has “movement information acquisition means” 3507, and “priority viewer determination unit” “Movement priority rule holding means” 3508 and “Movement dependency priority determination means” 3509 are provided. The purpose of the present embodiment is when the viewer who has the least movement in front of the content providing apparatus is the viewer who is watching the content most eagerly, and therefore is the viewer who should be given the highest priority. It is for correspondence. For example, small children are likely to be close to their parents if they are watching TV, but move around the TV if they are not interested in TV programs. Therefore, the smaller the movement in front of the content providing apparatus, the higher the probability that the viewer is eagerly viewing the content, and it can be considered that the viewer should be given the highest priority. Hereinafter, “movement information acquisition means”, “movement priority rule holding means”, and “movement dependence priority determination means” which are different from the first embodiment will be described.
 「移動情報取得手段」は、視聴者の属性情報として「移動情報」を取得するように構成されている。「移動情報」とは、視聴者の移動の少なさの程度を示す情報をいう。視聴者が移動したかどうか、またどの程度移動したかの判断には公知の画像認識技術を用いればよい。例えば、予め視聴者の顔や身体の画像情報を登録しておくとともに、撮像領域を複数の画像ブロックに分けておき、カメラ部で一定時間ごとに撮像した複数の画像の位置(例えば顔の中心位置)が複数の画像ブロックにわたっているかを検出し、例えば複数の画像ブロックにわたっていなければ移動していないと判断し、複数の画像ブロックにわたっている場合には移動したと判断するようにすればよい。また、移動があった場合には、各画像ブロックの位置情報に基づいて何ブロック移動したかを判断するようにする。また、これらの移動について定量的な比較を可能にするために、例えば移動がない場合を「0」、1ブロック離れた画像ブロックへの移動があった場合を「1」などと指数化し、所定時間内における数値の合計を「移動の程度」として取得するようにしてもよい。The “movement information acquisition means” is configured to acquire “movement information” as the attribute information of the viewer. “Movement information” refers to information indicating a degree of a small movement of the viewer. A known image recognition technique may be used to determine whether or how much the viewer has moved. For example, the viewer's face and body image information is registered in advance, and the imaging region is divided into a plurality of image blocks, and the positions of a plurality of images captured by the camera unit at regular intervals (for example, the center of the face) It is only necessary to detect whether the position is over a plurality of image blocks. For example, if the position is not over a plurality of image blocks, it is determined that the position is not moved. When there is a movement, it is determined how many blocks have been moved based on the position information of each image block. In order to enable quantitative comparison of these movements, for example, when there is no movement, “0” is indexed, and when there is a movement to an image block that is one block away, “1” is indexed, and the like. You may make it acquire the sum total of the numerical value in time as a "degree of movement."
 「移動優先ルール保持手段」は、所定のルールとして、「移動優先ルール」を保持するように構成されている。「移動優先ルール」は、移動情報にて視聴者の移動の最も少ない視聴者を優先すると定めた情報である。移動優先ルールの具体的内容としては、例えば、上述のように指数化して取得された移動の程度を比較して、その数値が最も小さい視聴者を移動の最も少ない視聴者として優先するといったものが考えられる。The “movement priority rule holding means” is configured to hold a “movement priority rule” as a predetermined rule. The “movement priority rule” is information determined to prioritize the viewer with the smallest viewer movement in the movement information. As specific contents of the movement priority rule, for example, the degree of movement obtained by indexing as described above is compared, and the viewer with the smallest numerical value is given priority as the viewer with the least movement. Conceivable.
 「移動依存優先決定手段」は、移動情報取得手段にて取得した移動情報と所定のルールである移動優先ル-ルとに基づいて優先視聴者を決定するように構成されている。例えば、複数の視聴者A~Cがいる場合に、所定時間内における数値の合計で示した移動情報が、視聴者Aについては「0」、視聴者Bについては「15」、視聴者Cについては「33」である場合に、移動優先ルールに基づいて視聴者Aを優先視聴者として決定する。The “movement-dependent priority determination means” is configured to determine the priority viewer based on the movement information acquired by the movement information acquisition means and the movement priority rule that is a predetermined rule. For example, when there are a plurality of viewers A to C, the movement information indicated by the sum of numerical values within a predetermined time is “0” for viewer A, “15” for viewer B, and viewer C. Is “33”, the viewer A is determined as the priority viewer based on the movement priority rule.
<処理の流れ>
 図36は、本実施形態のコンテンツ提供装置の処理の流れの一例を示す図である。このうち、ステップS3601及びステップS3602における処理は実施形態6などにおいて説明したところと同様である。次に、ステップS3603において、コンテンツ提供装置は、取得した認識情報を用いて、移動情報を含む視聴者の属性を取得する(視聴者属性取得ステップ:移動情報取得処理を含む)。具体的には、コンテンツ提供装置は、取得した認識情報を用いて視聴者の属性として、視聴者の名前、性別、年齢層、顔画像などの情報及び移動情報を取得する。次に、ステップS3604において、コンテンツ提供装置は、認識される視聴者が複数であるか否か判断する。ここで、認識される視聴者が単数である場合に、ステップS3605Aに進む。ここで、認識される視聴者が複数であるとの判断である場合に、ステップS3605Bに進む。ステップS3605Aでは、コンテンツ提供装置は、視聴者の属性を用いて視聴サービスを制御する。ステップS3605Bでは、コンテンツ提供装置は、視聴者属性取得ステップにて取得した移動情報を含む視聴者の属性情報と、移動優先ルールとを用いて優先視聴者を決定する(優先視聴者決定ステップ)。ステップS3606Bでは、コンテンツ提供装置は、優先視聴者の属性情報を用いて視聴サービスを制御する(視聴サービス制御ステップ)。これらの処理によって、移動の程度の最も少ない視聴者が優先視聴者と決定され、当該視聴者の属性に応じた視聴サービスが提供されることになる。
<Process flow>
FIG. 36 is a diagram showing an example of the processing flow of the content providing apparatus of this embodiment. Among these, the processing in step S3601 and step S3602 is the same as that described in the sixth embodiment. Next, in step S3603, the content providing apparatus acquires the attributes of the viewer including the movement information using the acquired recognition information (viewer attribute acquisition step: includes movement information acquisition processing). Specifically, the content providing apparatus acquires information such as the viewer's name, gender, age group, face image, and movement information as viewer attributes using the acquired recognition information. In step S3604, the content providing apparatus determines whether there are a plurality of recognized viewers. Here, when the number of viewers recognized is one, it progresses to step S3605A. If it is determined that there are a plurality of viewers to be recognized, the process proceeds to step S3605B. In step S3605A, the content providing apparatus controls the viewing service using the viewer attribute. In step S3605B, the content providing apparatus determines a priority viewer using the viewer attribute information including the movement information acquired in the viewer attribute acquisition step and the movement priority rule (priority viewer determination step). In step S3606B, the content providing apparatus controls the viewing service using the attribute information of the priority viewer (viewing service control step). Through these processes, the viewer with the least degree of movement is determined as the priority viewer, and the viewing service according to the attribute of the viewer is provided.
<視聴者属性取得処理(移動情報取得処理)の具体例>
 図37は、本実施形態のコンテンツ提供装置における視聴者属性取得処理(移動情報取得処理)の流れの一例を示す図である。まず、ステップS3701において、コンテンツ提供装置は、例えば、自身の画面付近に備えられたカメラ部で視聴者の身体画像を撮像する。次に、ステップS3702において、コンテンツ提供装置は、撮像した身体画像が撮像領域内のどの画像ブロックに位置するかを検出する。次に、ステップS3703において、コンテンツ提供装置は当該身体画像を再び撮像し、ステップS3704においてその所在する画像ブロックの検出を行う。次に、ステップS3705において、コンテンツ提供装置は、ステップS3702、S3704で検出した二つの画像が所在する画像ブロックの位置の変化の有無を比較して、その視聴者が移動したかどうかを判断する。以上の撮像、検出、判断は例えばコンテンツの表示開始から一定時間ごと(例えば5分ごと)に複数回繰り返して行われる。次に、ステップS3706において、コンテンツ提供装置は、これらの判断結果に基づいて移動情報を取得する。例えば、指数で表わした移動情報の数値を合計することで、移動の程度を定量的に把握することができる。この取得処理を全ての視聴者について行うことで、移動の程度を視聴者間で比較することが可能となる。
<Specific example of viewer attribute acquisition processing (movement information acquisition processing)>
FIG. 37 is a diagram showing an example of the flow of viewer attribute acquisition processing (movement information acquisition processing) in the content providing apparatus of this embodiment. First, in step S3701, the content providing apparatus captures a viewer's body image, for example, with a camera unit provided near its own screen. Next, in step S3702, the content providing apparatus detects in which image block the captured body image is located in the imaging region. Next, in step S3703, the content providing apparatus captures the body image again, and in step S3704, detects the location of the image block. Next, in step S3705, the content providing apparatus compares the presence or absence of a change in the position of the image block where the two images detected in steps S3702 and S3704 are located, and determines whether or not the viewer has moved. The above imaging, detection, and determination are repeatedly performed a plurality of times at regular intervals (for example, every 5 minutes) from the start of content display, for example. Next, in step S3706, the content providing apparatus acquires movement information based on these determination results. For example, the degree of movement can be quantitatively grasped by summing up the numerical values of the movement information represented by indices. By performing this acquisition process for all viewers, the degree of movement can be compared between viewers.
<優先視聴者決定処理(視線依存優先決定処理)の具体例>
 次に、コンテンツ提供装置は、上記処理によって取得した各視聴者の移動情報に基づいて、移動の少なさの程度が最大(換言すれば移動の程度が最小)である視聴者を優先する優先視聴者決定処理(移動依存優先決定処理)を行う。移動の程度が最小である視聴者が誰であるかの判断は、例えば上記処理によって移動の程度を指数で表わした移動情報を比較して、その数値が最小の者を優先視聴者と決定する。この処理は、所定のタイミングで二回だけ(例えばコンテンツ表示開始時及び5分後に)行い、その結果を以後コンテンツ表示終了までのすべての視聴サービス制御処理に反映するようにしてもよい。あるいは、所定のタイミングで複数回(例えばコンテンツ表示開始時、5分後、10分後、15分後など)繰り返して行い、その都度視聴サービス制御処理の内容を更新する形で反映するようにしてもよい。また、この優先決定処理を構成メンバーに変化が生じるたびや番組が切り替わるたびに行うようにしてもよい。
<Specific example of priority viewer determination processing (line-of-sight priority determination processing)>
Next, the content providing apparatus gives priority viewing to the viewer who has the largest degree of movement (in other words, the smallest degree of movement) based on the movement information of each viewer acquired by the above processing. Person determination processing (movement-dependent priority determination processing) is performed. The determination of who is the viewer with the smallest degree of movement is made by comparing the movement information indicating the degree of movement with an index by the above processing, for example, and determining the person with the smallest number as the priority viewer. . This process may be performed twice at a predetermined timing (for example, at the start of content display and after 5 minutes), and the result may be reflected in all viewing service control processes until the end of content display thereafter. Alternatively, it is repeated a plurality of times at a predetermined timing (for example, at the start of content display, after 5 minutes, 10 minutes, 15 minutes, etc.), and the contents of the viewing service control process are updated and reflected each time. Also good. In addition, this priority determination process may be performed every time a change occurs in the constituent members or when a program is switched.
<視聴サービス制御処理の具体例>
 本実施例における視聴サービス制御処理の流れは、実施形態1などで説明したところと基本的に同様であるが、本実施形態においては、移動の少なさの程度が最大(移動の程度が最小)であるとして優先視聴者に決定された視聴者の属性に合わせて視聴サービスの内容を決定する。その具体例は実施形態1などで述べたところと同様である。また、制御すべき視聴サービスの全てについて、優先視聴者の属性に応じてその制御が行われたか否か判断し、全て行われたとの判断である場合は、視聴サービス制御処理を終了する。制御が行われていない視聴サービスが残っているとの判断である場合は、視聴サービスの内容を決定するステップに戻る。
<Specific example of viewing service control processing>
The flow of the viewing service control process in this example is basically the same as that described in the first embodiment, but in this embodiment, the degree of movement is the largest (the degree of movement is the smallest). The contents of the viewing service are determined in accordance with the attributes of the viewer determined as the priority viewer. Specific examples thereof are the same as those described in the first embodiment. Further, it is determined whether or not all viewing services to be controlled are controlled according to the attribute of the priority viewer. If it is determined that all viewing services have been controlled, the viewing service control process is terminated. If it is determined that there is a viewing service that is not controlled, the process returns to the step of determining the content of the viewing service.
<効果>
 本実施形態のコンテンツ提供装置によれば、コンテンツ提供装置の前での移動が最も少ない視聴者を優先視聴者とすることができるので、そのコンテンツを熱心に視聴している蓋然性が最も高い視聴者の属性に対応した視聴サービス制御処理を行うことが可能になる。
<Effect>
According to the content providing apparatus of the present embodiment, the viewer who has the least movement in front of the content providing apparatus can be set as the priority viewer. Therefore, the viewer who has the highest probability of watching the content eagerly. It is possible to perform viewing service control processing corresponding to the attribute.
<<実施形態8>><<Embodiment 8 >>
<概要>
 本実施形態のコンテンツ提供装置は、基本的に実施形態1と同様であるが、視聴者をコンテンツ操作者と関連付けて特定するための情報を取得し、当該情報によって特定される視聴者が再生されているコンテンツの録画者など操作者である場合にはその視聴者を優先するように優先視聴者を決定することを特徴とする。
<Overview>
The content providing apparatus of the present embodiment is basically the same as that of the first embodiment, but acquires information for specifying the viewer in association with the content operator, and the viewer specified by the information is reproduced. In the case of an operator such as a recorder of the content being recorded, the priority viewer is determined so as to give priority to the viewer.
<構成>
 図38は、本実施形態のコンテンツ提供装置の機能ブロックの一例を示す図である。この図にあるように、「コンテンツ提供装置」3800は、「カメラ部」3801と、「認識情報取得部」3802と、「視聴者属性取得部」3803と、「優先視聴者決定部」3804と、「視聴サービス制御部」3805と、「視聴サービス部」3806とを有し、「視聴者属性取得部」は、「コンテンツ操作者情報取得手段」3807を有し、「優先視聴者決定部」は、「コンテンツ操作者優先ルール保持手段」3808と、「コンテンツ操作者優先決定手段」3809と、を有する。本実施形態の目的は、コンテンツの視聴者の中に当該コンテンツの録画者などの操作者がいる場合には、その視聴者がそのコンテンツに対して最も高い関心を有している者であり、従って、最も優先されるべき視聴者であると考える場合に対応するためのものである。以下、実施形態1との相違点である「コンテンツ操作者情報取得手段」と「コンテンツ操作者優先ルール保持手段」と「コンテンツ操作者優先決定手段」について説明する。
<Configuration>
FIG. 38 is a diagram illustrating an example of functional blocks of the content providing apparatus according to the present embodiment. As shown in this figure, the “content providing device” 3800 includes a “camera unit” 3801, a “recognition information acquisition unit” 3802, a “viewer attribute acquisition unit” 3803, and a “priority viewer determination unit” 3804. , “Viewing service control unit” 3805 and “viewing service unit” 3806, “viewer attribute acquisition unit” has “content operator information acquisition means” 3807, and “priority viewer determination unit” Includes a “content operator priority rule holding unit” 3808 and a “content operator priority determination unit” 3809. The purpose of this embodiment is when the viewer of the content has the highest interest in the content when there is an operator such as a recorder of the content. Therefore, it is for dealing with the case where it is considered that the viewer should be given the highest priority. Hereinafter, “content operator information acquisition means”, “content operator priority rule holding means”, and “content operator priority determination means” which are different from the first embodiment will be described.
 「コンテンツ操作者情報取得手段」は、視聴者の属性情報として「コンテンツ操作者情報」を取得するように構成されている。「コンテンツ操作者情報」とは、視聴者をコンテンツ操作者と関連付けて特定するための情報をいう。ここでいうコンテンツの操作には、録画、録画予約、視聴予約、再生(再生開始)などが含まれる。The “content operator information acquisition means” is configured to acquire “content operator information” as viewer attribute information. “Content operator information” refers to information for specifying a viewer in association with a content operator. The content operations described here include recording, recording reservation, viewing reservation, reproduction (reproduction start), and the like.
 視聴者をコンテンツ操作者と関連付けて特定するための構成としては次のようなものが考えられる。例えば、操作者がリモコンを用いて操作を行う場合には、リモコンの操作ボタンをユーザごとに別に設けておき、押下された操作ボタンに関連付けられた操作者の識別情報を操作命令と一緒に送信し、送信された操作者の識別情報を操作対象となったコンテンツに関連付けて記憶する。あるいは、リモコンにユーザごとのボタンを設ける代わりに、数字ボタン等を利用して操作ボタン押下に先立ってユーザの識別番号を入力させるといった構成でもよい。さらには、実施形態4で述べた方法によって特定されたリモコン操作者に関する情報を操作対象となったコンテンツに関連付けておくことで操作者の特定を行うようにしてもよい。The following may be considered as a configuration for specifying the viewer in association with the content operator. For example, when an operator performs an operation using a remote control, an operation button on the remote control is separately provided for each user, and operator identification information associated with the pressed operation button is transmitted together with the operation command. Then, the transmitted identification information of the operator is stored in association with the content to be operated. Alternatively, instead of providing a button for each user on the remote controller, a configuration in which a user identification number is input prior to pressing the operation button using a numeric button or the like may be used. Furthermore, the operator may be specified by associating information related to the remote control operator specified by the method described inEmbodiment 4 with the content that is the operation target.
 「コンテンツ操作者優先ルール保持手段」は、所定のルールとして、「コンテンツ操作者優先ルール」を保持するように構成されている。「コンテンツ操作者優先ルール」は、コンテンツ操作者情報取得手段にて取得された情報によって特定される視聴者が再生されているコンテンツの録画者など操作者である場合にはその視聴者を優先視聴者とするものである。操作者が二人以上いる場合には優先順位に序列を設けてもよい。例えばそのコンテンツの録画はAが行なったが再生開始ボタンをBが押したといった場合やAが視聴予約を行ったコンテンツをBが行った録画予約に基づいて録画しつつ視聴する場合に、再生者が録画者に優先するとか、視聴予約者が録画者に優先するといったようなルールを定めておくことが考えられる。あるいは、優先順位の序列を一義的に定めて、例えば常にAが優先するといったようにしてもよい。The “content operator priority rule holding means” is configured to hold a “content operator priority rule” as a predetermined rule. The “content operator priority rule” is a preferential viewing of a viewer when the viewer specified by the information acquired by the content operator information acquisition means is an operator such as a recorder of the content being played back. It is intended to be a person. If there are two or more operators, an order of priority may be provided. For example, when the content is recorded by A but B presses the playback start button, or when the content that A has reserved for viewing is recorded based on the recording reservation performed by B, It is conceivable to set rules such that the video player has priority over the video recorder, or the viewing reservation user has priority over the video recorder. Alternatively, the priority order may be uniquely determined so that, for example, A always has priority.
 「コンテンツ操作者優先決定手段」は、コンテンツ操作者情報取得手段にて取得したコンテンツ操作者情報と所定のルールであるコンテンツ操作者優先ルールとに基づいて優先視聴者を決定するように構成されている。例えば、複数の視聴者A~Cがいる場合に、その中にコンテンツの操作者がいるかどうかを判断し、いればその者、例えば録画者Aを優先視聴者として決定する。録画者A、再生者Bがいる場合のように操作者が複数いる場合には例えば上述のようなコンテンツ操作者優先ルールに定めた序列に従って優先視聴者を決定するようにしてもよい。一方、視聴者の中にコンテンツ操作者がいない場合には本ルールに基づく優先視聴者決定処理は行われない。The “content operator priority determination means” is configured to determine a priority viewer based on the content operator information acquired by the content operator information acquisition means and the content operator priority rule that is a predetermined rule. Yes. For example, when there are a plurality of viewers A to C, it is determined whether or not there is an operator of the content, and if that is the case, for example, the viewer A is determined as the priority viewer. When there are a plurality of operators, such as when there are a recorder A and a player B, for example, the priority viewer may be determined according to the order defined in the content operator priority rule as described above. On the other hand, when there is no content operator among viewers, priority viewer determination processing based on this rule is not performed.
<処理の流れ>
 図39は、本実施形態のコンテンツ提供装置の処理の流れの一例を示す図である。このうち、ステップS3901及びステップS3902における処理は実施形態6などにおいて説明したところと同様である。次に、ステップS3903において、コンテンツ提供装置は、取得した認識情報を用いて、コンテンツ操作者情報を含む視聴者の属性を取得する(視聴者属性取得ステップ:コンテンツ操作者情報取得処理を含む)。具体的には、コンテンツ提供装置は、取得した認識情報を用いて視聴者の属性として、視聴者の名前、性別、年齢層、顔画像などの情報及びコンテンツ操作者情報を取得する。次に、ステップS3904において、コンテンツ提供装置は、認識される視聴者が複数であるか否か判断する。ここで、認識される視聴者が単数である場合に、ステップS3905Aに進む。ここで、認識される視聴者が複数であるとの判断である場合に、ステップS3905Bに進む。ステップS3905Aでは、コンテンツ提供装置は、視聴者の属性を用いて視聴サービスを制御する。ステップS3905Bでは、コンテンツ提供装置は、視聴者属性取得ステップにて取得したコンテンツ操作者情報を含む視聴者の属性情報と、コンテンツ操作者優先ルールとを用いて優先視聴者を決定する(優先視聴者決定ステップ)従って、複数の視聴者の中にコンテンツ操作者がいればその者が優先視聴者として決定される。ステップS3906Bでは、コンテンツ提供装置は、優先視聴者の属性情報を用いて視聴サービスを制御する(視聴サービス制御ステップ)。これらの処理によって、視聴者の中にコンテンツ操作者がいればその者が優先視聴者と決定され、当該視聴者の属性に応じた視聴サービスが提供されることになる。
<Process flow>
FIG. 39 is a diagram showing an example of the processing flow of the content providing apparatus of this embodiment. Among these, the processing in step S3901 and step S3902 is the same as that described in the sixth embodiment. Next, in step S3903, the content providing apparatus acquires the attributes of the viewer including the content operator information using the acquired recognition information (viewer attribute acquisition step: includes content operator information acquisition processing). Specifically, the content providing apparatus acquires information such as the viewer's name, gender, age group, face image, and content operator information as viewer attributes using the acquired recognition information. Next, in step S3904, the content providing apparatus determines whether there are a plurality of recognized viewers. Here, when the number of viewers recognized is one, it progresses to step S3905A. If it is determined that there are a plurality of viewers to be recognized, the process proceeds to step S3905B. In step S3905A, the content providing apparatus controls the viewing service using the viewer attribute. In step S3905B, the content providing apparatus determines a priority viewer using the viewer attribute information including the content operator information acquired in the viewer attribute acquisition step and the content operator priority rule (the priority viewer). Accordingly, if there is a content operator among a plurality of viewers, that person is determined as the priority viewer. In step S3906B, the content providing apparatus controls the viewing service using the attribute information of the priority viewer (viewing service control step). Through these processes, if there is a content operator among viewers, the viewer is determined to be a priority viewer, and a viewing service according to the attributes of the viewer is provided.
<視聴サービス制御処理の具体例>
 本実施例における視聴サービス制御処理の流れは、実施形態1などで説明したところと基本的に同様であるが、本実施形態においては、コンテンツ操作者であるとして優先視聴者に決定された視聴者の属性に合わせて視聴サービスの内容を決定する。その具体例は実施形態1などで述べたところと同様である。また、制御すべき視聴サービスの全てについて、優先視聴者の属性に応じてその制御が行われたか否か判断し、全て行われたとの判断である場合は、視聴サービス制御処理を終了する。制御が行われていない視聴サービスが残っているとの判断である場合は、視聴サービスの内容を決定するステップに戻る。
<Specific example of viewing service control processing>
The flow of the viewing service control process in the present embodiment is basically the same as that described in the first embodiment, but in this embodiment, the viewer who is determined as the priority viewer as the content operator. The content of the viewing service is determined in accordance with the attributes of. Specific examples thereof are the same as those described in the first embodiment. Further, it is determined whether or not all viewing services to be controlled are controlled according to the attribute of the priority viewer. If it is determined that all viewing services have been controlled, the viewing service control process is terminated. If it is determined that there is a viewing service that is not controlled, the process returns to the step of determining the content of the viewing service.
<効果>
 本実施形態のコンテンツ提供装置によれば、コンテンツの視聴者の中に当該コンテンツの録画者などの操作者がいる場合にその視聴者を優先視聴者とすることができるので、そのコンテンツを熱心に視聴している蓋然性が最も高い視聴者の属性に対応した視聴サービス制御処理を行うことが可能になる。
<Effect>
According to the content providing apparatus of this embodiment, when there is an operator such as a recorder of the content among the viewers of the content, the viewer can be set as a priority viewer. It is possible to perform viewing service control processing corresponding to the attributes of the viewer who has the highest probability of viewing.
<<実施形態9>><<Embodiment 9 >>
<概要>
 本実施形態のコンテンツ提供装置は、基本的に実施形態1と同様であるが、視聴者がコンテンツ提供装置の所有者であることを示す情報を取得し、当該情報によってコンテンツ提供装置の所有者であると示された視聴者を優先視聴者と決定することを特徴とする。
<Overview>
The content providing apparatus of the present embodiment is basically the same as that of the first embodiment, but acquires information indicating that the viewer is the owner of the content providing apparatus, and is the owner of the content providing apparatus based on the information. A viewer indicated to be present is determined as a priority viewer.
<構成>
 図40は、本実施形態のコンテンツ提供装置の機能ブロックの一例を示す図である。この図にあるように、「コンテンツ提供装置」4000は、「カメラ部」4001と、「認識情報取得部」4002と、「視聴者属性取得部」4003と、「優先視聴者決定部」4004と、「視聴サービス制御部」4005と、「視聴サービス部」4006とを有し、「視聴者属性取得部」は、「所有者情報取得手段」4007を有し、「優先視聴者決定部」は、「所有者優先ルール保持手段」4008と、「所有者優先決定手段」4009と、を有する。本実施形態の目的は、複数の視聴者の中にコンテンツ提供装置の所有者がいる場合には、その所有者を優先視聴者として選定できるようにすることにある。以下、実施形態1との相違点である「所有者情報取得手段」と「所有者優先ルール保持手段」と「所有者優先決定手段」について説明する。
<Configuration>
FIG. 40 is a diagram illustrating an example of functional blocks of the content providing apparatus according to the present embodiment. As shown in this figure, the “content providing device” 4000 includes a “camera unit” 4001, a “recognition information acquisition unit” 4002, a “viewer attribute acquisition unit” 4003, and a “priority viewer determination unit” 4004. , “Viewing service control unit” 4005 and “viewing service unit” 4006, “viewer attribute acquisition unit” has “owner information acquisition unit” 4007, and “priority viewer determination unit” , “Owner priority rule holding means” 4008 and “owner priority determination means” 4009. An object of the present embodiment is to make it possible to select an owner as a priority viewer when there is an owner of a content providing apparatus among a plurality of viewers. Hereinafter, “owner information acquisition means”, “owner priority rule holding means”, and “owner priority determination means” which are different from the first embodiment will be described.
 「所有者情報取得手段」は、視聴者の属性情報として、「所有者情報」を取得するように構成されている。「所有者情報」とは、視聴者がコンテンツ提供装置所有者であることを示す情報をいう。所有者情報を取得するための具体的な構成としては、例えば、予め所有者を識別するための情報をコンテンツ提供装置やリモコンに登録しておき、電源投入やリモコン操作をトリガーとして当該識別情報を読み出すことで取得するようにすればよい。なお、ここでいう「所有者」とは必ずしも法律的な意味(その物の全面的支配権を有する者)ではなく、コンテンツ提供装置などに所有者として登録された者をいう。例えば子供Aの部屋に設置されているテレビについて子供Aを所有者として登録すれば、所有者は子供Aとなる。所有者として複数の者が登録されていれば当該複数者が所有者となる。“Owner information acquisition means” is configured to acquire “owner information” as attribute information of the viewer. “Owner information” refers to information indicating that the viewer is the owner of the content providing apparatus. As a specific configuration for acquiring the owner information, for example, information for identifying the owner is registered in advance in the content providing device or the remote control, and the identification information is triggered by power-on or remote control operation. What is necessary is just to acquire by reading. Here, the “owner” does not necessarily have a legal meaning (a person who has full control over the object), but a person who is registered as an owner in the content providing apparatus or the like. For example, if a child A is registered as an owner for a television set in the room of the child A, the owner becomes the child A. If a plurality of persons are registered as owners, the plurality of persons become owners.
 「所有者優先ルール保持手段」は、所定のルールとして、「所有者優先ルール」を保持するように構成されている。「所有者優先ルール」は、コンテンツ提供装置所有者を優先視聴者とするものである。例えばリビングルームに設置されたテレビに複数の者(夫、妻、子供)が所有者として登録されている場合のように所有者が二人以上いる場合には、妻、子供、夫の順に優先するといった優先順位を設けてもよい。The “owner priority rule holding means” is configured to hold the “owner priority rule” as a predetermined rule. The “owner priority rule” is that the content providing apparatus owner is a priority viewer. For example, when there are two or more owners, such as when multiple persons (husbands, wives, and children) are registered as owners on a TV set in the living room, priority is given to wives, children, and husbands first. A priority order may be provided.
 「所有者優先決定手段」は、所有者情報取得手段にて取得した所有者情報と所定のルールである所有者優先ルールとに基づいて優先視聴者を決定するように構成されている。例えば、複数の視聴者A~Cがいる場合に、その中に所有者がいるかどうかを判断し、いればその者を優先視聴者として決定する。所有者が複数おり所有者優先ルールにおいて序列が定められている場合には、これに従って優先視聴者が決定される。一方、視聴者の中に所有者がいない場合には本ルールに基づく優先視聴者決定処理は行われない。The “owner priority determination unit” is configured to determine the priority viewer based on the owner information acquired by the owner information acquisition unit and the owner priority rule which is a predetermined rule. For example, in the case where there are a plurality of viewers A to C, it is determined whether or not there is an owner, and if so, that person is determined as a priority viewer. When there are a plurality of owners and an order is defined in the owner priority rule, the priority viewer is determined according to this. On the other hand, when there is no owner among viewers, priority viewer determination processing based on this rule is not performed.
  (所有者を優先しつつ視聴履歴に応じて優先視聴者を決定する例)
 本実施例のコンテンツ提供装置は、さらに視聴者の属性に応じた視聴履歴である属性別視聴履歴を保持する属性別視聴履歴保持部を有しており、所有者を優先しつつ視聴履歴に応じて優先視聴者を決定するように構成されていてもよい。この場合、例えば、複数の視聴者がそれぞれ所有するコンテンツ提供装置が家庭内LANなどのネットワークで接続され、コンテンツ提供装置ごとに取得された視聴履歴が共有される。例えば、夫の書斎に夫を所有者として登録されたテレビ、子供の部屋に子供を所有者として登録されたテレビ、リビングルームに妻、子供、夫の三人を所有者として登録されたテレビがそれぞれ設置されている場合に、それぞれのテレビがネットワークで接続され、どのテレビを誰が視聴した場合であっても、その視聴履歴がすべてのテレビに共有される。視聴履歴の取得に当たっては、同じ者が同じ番組を同じ時間視聴した場合であっても、自己所有のテレビで視聴した場合には他人所有のテレビで視聴した場合よりも多く視聴したように重み付けを行うようにすることが考えられる。
(Example of determining the priority viewer according to the viewing history while giving priority to the owner)
The content providing apparatus according to the present embodiment further includes an attribute-specific viewing history holding unit that holds a viewing history by attribute that is a viewing history according to the viewer's attribute, and responds to the viewing history while giving priority to the owner. The priority viewer may be determined. In this case, for example, content providing devices owned by a plurality of viewers are connected via a network such as a home LAN, and viewing history acquired for each content providing device is shared. For example, there is a TV registered with the husband as the owner in the husband's study, a TV registered with the child as the owner in the child's room, and a TV registered with the wife, child, and husband as the owner in the living room. When each is installed, each television is connected via a network, and the viewing history is shared by all televisions, regardless of who views which television. When acquiring the viewing history, even if the same person watches the same program for the same time, if watching on a self-owned TV, the weight is given so that it is watched more than on another person's own TV. It is possible to do so.
 そして、所有者優先決定手段は、所有者優先ルールに代えて、所有者と視聴履歴を所定の重み付けで勘案したルール(所有者・視聴履歴優先ルール)に基づいて優先視聴者を決定する。例えば、リビングルームのテレビの所有者の重み付けを妻:子供:夫=1:0.7:0.5とし、その他のテレビの所有者の重み付けを所有者:非所有者=1:0とするとともに、視聴履歴の重み付けとして、自己所有のテレビでの視聴履歴を他人所有のテレビでの視聴履歴の2倍の重みづけとする。そこで、例えば夫、妻、子供がリビングルームで同じ番組を一緒に視聴する場合にこの所有者・視聴履歴優先ルールを用いて優先視聴者が決定される。この結果、例えば、全員が過去その時間帯にはリビングルームのテレビだけを視聴していた場合には、所有者の重み付けが反映されて妻が優先視聴者として決定されるが、例えば過去その時間帯に子供が自分のテレビで妻の2倍の時間視聴していたとすれば、子供が優先視聴者として決定されるといったことが行われることになる。Then, the owner priority determination means determines a priority viewer based on a rule (owner / viewing history priority rule) that considers the owner and the viewing history with a predetermined weight instead of the owner priority rule. For example, the weight of the living room TV owner is set to wife: child: husband = 1: 0.7: 0.5, and the weight of the other TV owner is set to owner: non-owner = 1: 0. At the same time, as the weighting of the viewing history, the viewing history on the self-owned television is weighted twice as much as the viewing history on the television owned by another person. Therefore, for example, when a husband, wife, or child views the same program together in the living room, the priority viewer is determined using the owner / viewing history priority rule. As a result, for example, when all the members have watched only the TV in the living room in the past time period, the weight of the owner is reflected and the wife is determined as the priority viewer. If a child is watching twice the time of his wife on his television, the child will be determined as the preferred viewer.
<処理の流れ>
 図41は、本実施形態のコンテンツ提供装置の処理の流れの一例を示す図である。このうち、ステップS4101及びステップS4102における処理は実施形態6などにおいて説明したところと同様である。次に、ステップS4103において、コンテンツ提供装置は、取得した認識情報を用いて、所有者情報を含む視聴者の属性を取得する(視聴者属性取得ステップ:所有者情報取得処理を含む)。具体的には、コンテンツ提供装置は、取得した認識情報を用いて視聴者の属性として、視聴者の名前、性別、年齢層、顔画像などの情報及び所有者情報を取得する。次に、ステップS4104において、コンテンツ提供装置は、認識される視聴者が複数であるか否か判断する。ここで、認識される視聴者が単数である場合に、ステップS4105Aに進む。ここで、認識される視聴者が複数であるとの判断である場合に、ステップS4105Bに進む。ステップS4105Aでは、コンテンツ提供装置は、視聴者の属性を用いて視聴サービスを制御する。ステップS4105Bでは、コンテンツ提供装置は、視聴者属性取得ステップにて取得した所有者情報を含む視聴者の属性情報と、所有者優先ルールとを用いて優先視聴者を決定する(優先視聴者決定ステップ)。従って、複数の視聴者の中に所有者がいればその者が優先視聴者として決定される。ステップS4106Bでは、コンテンツ提供装置は、優先視聴者の属性情報を用いて視聴サービスを制御する(視聴サービス制御ステップ)。これらの処理によって、視聴者の中に所有者がいればその者が優先視聴者と決定され、当該視聴者の属性に応じた視聴サービスが提供されることになる。
<Process flow>
FIG. 41 is a diagram illustrating an example of a processing flow of the content providing apparatus according to the present embodiment. Among these, the processing in step S4101 and step S4102 is the same as that described in the sixth embodiment. Next, in step S4103, the content providing apparatus acquires the attributes of the viewer including the owner information using the acquired recognition information (viewer attribute acquisition step: includes owner information acquisition processing). Specifically, the content providing apparatus acquires information such as the viewer's name, gender, age group, face image, and owner information as the attributes of the viewer using the acquired recognition information. Next, in step S4104, the content providing apparatus determines whether there are a plurality of recognized viewers. Here, when the number of viewers recognized is one, it progresses to step S4105A. If it is determined that there are a plurality of viewers to be recognized, the process proceeds to step S4105B. In step S4105A, the content providing apparatus controls the viewing service using the viewer attribute. In step S4105B, the content providing apparatus determines a priority viewer using the viewer attribute information including the owner information acquired in the viewer attribute acquisition step and the owner priority rule (priority viewer determination step). ). Therefore, if there is an owner among a plurality of viewers, that person is determined as the priority viewer. In step S4106B, the content providing apparatus controls the viewing service using the attribute information of the priority viewer (viewing service control step). Through these processes, if there is an owner among viewers, the viewer is determined as a priority viewer, and a viewing service according to the attributes of the viewer is provided.
<効果>
 本実施形態のコンテンツ提供装置によれば、コンテンツの視聴者の中にコンテンツ提供装置の所有者がいる場合に、その所有者を優先視聴者として選定できるようにすることができるので、そのような視聴者の属性に対応した視聴サービス制御処理を行うことが可能になる。
<Effect>
According to the content providing apparatus of this embodiment, when the owner of the content providing apparatus is among the viewers of the content, the owner can be selected as the priority viewer. It is possible to perform viewing service control processing corresponding to viewer attributes.
<<実施形態10>><<Embodiment 10 >>
<概要>
 本実施形態のコンテンツ提供装置は、基本的に実施形態1と同様であるが、視聴者の検出時間の長さの程度を示す情報を取得し、検出時が最も長い視聴者を優先するように優先視聴者を決定することを特徴とする。
<Overview>
The content providing apparatus of the present embodiment is basically the same as that of the first embodiment, but acquires information indicating the degree of the detection time of the viewer, and gives priority to the viewer with the longest detection time. The preferred viewer is determined.
<構成>
 図42は、本実施形態のコンテンツ提供装置の機能ブロックの一例を示す図である。この図にあるように、「コンテンツ提供装置」4200は、「カメラ部」4201と、「認識情報取得部」4202と、「視聴者属性取得部」4203と、「優先視聴者決定部」4204と、「視聴サービス制御部」4205と、「視聴サービス部」4206とを有し、「視聴者属性取得部」は、「検出時間情報取得手段」4207を有し、「優先視聴者決定部」は、「検出時間優先ルール保持手段」4208と、「検出時間依存優先決定手段」4209と、を有する。本実施形態の目的は、カメラが検出した時間が最も長い者、即ち、コンテンツ提供装置の前に最も長くいる視聴者がそのコンテンツに対して最も高い関心を有している者であり、従って、最も優先されるべき視聴者であると考える場合に対応するためのものである。例えば、そのテレビ番組をはじめからずっと見ている視聴者は途中から来て見始めた視聴者や途中で出たり入ったりしている視聴者よりもその番組を熱心に見ていると考えることができる。以下、実施形態1との相違点である「検出時間情報取得手段」と「検出時間優先ルール保持手段」と「検出時間依存優先決定手段」について説明する。
<Configuration>
FIG. 42 is a diagram illustrating an example of functional blocks of the content providing apparatus according to the present embodiment. As shown in this figure, the “content providing device” 4200 includes a “camera unit” 4201, a “recognition information acquisition unit” 4202, a “viewer attribute acquisition unit” 4203, and a “priority viewer determination unit” 4204. , “Viewing service control unit” 4205 and “viewing service unit” 4206, “viewer attribute acquisition unit” has “detection time information acquisition unit” 4207, and “priority viewer determination unit” , “Detection time priority rule holding means” 4208 and “detection time dependency priority determination means” 4209. The purpose of this embodiment is the person with the longest time detected by the camera, that is, the viewer with the longest time in front of the content providing device has the highest interest in the content. This is to cope with the case where it is considered that the viewer should be given the highest priority. For example, a viewer who has been watching the TV program from the beginning may think that the viewer is watching the program more eagerly than a viewer who has come from the middle or has started to enter or exit the middle. it can. Hereinafter, “detection time information acquisition unit”, “detection time priority rule holding unit”, and “detection time dependency priority determination unit” which are different from the first embodiment will be described.
 「検出時間情報取得手段」は、視聴者の属性情報として、「検出時間情報」を取得するように構成されている。「検出時間情報」とは、視聴者の検出時間の長さの程度を示す情報をいう。検出時間情報を取得するための具体的な構成としては、例えば、予め視聴者の顔や身体の画像情報を登録しておくとともに、カメラ部でコンテンツ提供装置の周辺の所定の範囲に存在する視聴者を撮像し、画像認識技術を用いて解析、照合してどの視聴者が存在するかを認識し、認識した視聴者の検出時間を計測するという方法が考えられる。その際、コンテンツに対する視聴者の熱心度という点からみれば、コンテンツ提供装置の画面に顔を正対させている視聴者の方がそうでない視聴者よりも優先されるべきと考えることができる。そこで、例えばコンテンツ提供装置の画面付近に設置されたカメラ部で撮像する場合であれば、顔の正面画像が検出された時間と顔の正面画像以外が検出された時間とを区別して検出時間を取得するようにしてもよい。同様の考え方に基づいて、例えば、検出時間が同じであっても、コンテンツの初めから出たり入ったりしながら視聴している者と途中で来たがその後はずっと居続けて視聴している者(後者の方が熱心に視聴しているが蓋然性が高い)などを区別するため、単に合計された検出時間を取得するのではなく、検出と非検出の切替りの回数などを合わせて取得するようにしてもよい。The “detection time information acquisition means” is configured to acquire “detection time information” as the attribute information of the viewer. “Detection time information” refers to information indicating the extent of the detection time of the viewer. As a specific configuration for acquiring the detection time information, for example, image information of a viewer's face and body is registered in advance, and viewing that exists in a predetermined range around the content providing apparatus on the camera unit is performed. A method may be considered in which a person is imaged, analyzed and collated using image recognition technology to recognize which viewers are present, and the detection time of the recognized viewers is measured. At that time, from the viewpoint of viewers' enthusiasm for the content, it can be considered that a viewer who has a face facing the screen of the content providing apparatus should be given priority over a viewer who does not. Therefore, for example, in the case of imaging with a camera unit installed near the screen of the content providing apparatus, the detection time is determined by distinguishing the time when the front image of the face is detected and the time when other than the front image of the face is detected. You may make it acquire. Based on the same idea, for example, even if the detection time is the same, people who are watching while going in and out from the beginning of the content come along the way, but those who continue to watch after that ( The latter is more eagerly watched but is more likely), so instead of simply acquiring the total detection time, it should be acquired together with the number of detection and non-detection switching. It may be.
 「検出時間優先ルール保持手段」は、所定のルールとして、「検出時間優先ルール」を保持するように構成されている。「検出時間優先ルール」は、検出時間情報にて視聴者の検出時間の最も長い視聴者を優先すると定めた情報である。この場合、単純に検出時間の長短だけで優先者を定めてもよいが、上述のように熱心さを反映できるような形で検出時間を取得した場合には、これに応じたルールを定めることで、熱心な視聴者を優先することが可能となる。例えば、顔の正面画像が検出された場合のみ検出時間にカウントするというルールや、顔の正面以外の画像が検出された時間は実際の時間の1/2倍の時間とカウントするというルールを定めてもよい。このようにすれば、このように本実施形態にいう「検出時間」は、実際の時間に限らず、一定のルールに基づいて修正された時間であってもよい。同様に、検出から非検出に1回切り替わるごとに一定時間(例えば1分)を減じるというルールなどを定めてもよい。The “detection time priority rule holding means” is configured to hold a “detection time priority rule” as a predetermined rule. The “detection time priority rule” is information that prioritizes the viewer with the longest viewer detection time in the detection time information. In this case, the priority may be determined simply by the length of the detection time, but if the detection time is acquired in such a way that the eagerness can be reflected as described above, a rule corresponding to this should be determined. Therefore, it is possible to prioritize eager viewers. For example, a rule that counts the detection time only when the front image of the face is detected, or a rule that counts the time when the image other than the front of the face is detected as half the actual time, is set. May be. In this way, the “detection time” referred to in the present embodiment is not limited to the actual time, and may be a time corrected based on a certain rule. Similarly, a rule of reducing a certain time (for example, 1 minute) every time switching from detection to non-detection may be established.
 「検出時間依存優先決定手段」は、検出時間情報取得手段にて取得した検出時間情報と所定のルールである検出時間優先ル-ルとに基づいて優先視聴者を決定するように構成されている。例えば、検出された複数の視聴者の中で、視聴者Aの検出時間が最長であれば、検出時間優先ルールに基づいて視聴者Aを優先視聴者として決定する。The “detection time-dependent priority determination means” is configured to determine a priority viewer based on the detection time information acquired by the detection time information acquisition means and a detection time priority rule that is a predetermined rule. . For example, if the detection time of the viewer A is the longest among the plurality of detected viewers, the viewer A is determined as the priority viewer based on the detection time priority rule.
<処理の流れ>
 図43は、本実施形態のコンテンツ提供装置の処理の流れの一例を示す図である。このうち、ステップS4301及びステップS4302における処理は実施形態6などにおいて説明したところと同様である。次に、ステップS4303において、コンテンツ提供装置は、取得した認識情報を用いて、検出時間情報を含む視聴者の属性を取得する(視聴者属性取得ステップ:検出時間情報取得処理を含む)。具体的には、コンテンツ提供装置は、取得した認識情報を用いて視聴者の属性として、視聴者の名前、性別、年齢層、顔画像などの情報及び検出時間情報を取得する。次に、ステップS4304において、コンテンツ提供装置は、認識される視聴者が複数であるか否か判断する。ここで、認識される視聴者が単数である場合に、ステップS4305Aに進む。ここで、認識される視聴者が複数であるとの判断である場合に、ステップS4305Bに進む。ステップS4305Aでは、コンテンツ提供装置は、視聴者の属性を用いて視聴サービスを制御する。ステップS4305Bでは、コンテンツ提供装置は、視聴者属性取得ステップにて取得した検出時間情報を含む視聴者の属性情報と、検出時間優先ルールとを用いて優先視聴者を決定する(優先視聴者決定ステップ)。ステップS4306Bでは、コンテンツ提供装置は、優先視聴者の属性情報を用いて視聴サービスを制御する(視聴サービス制御ステップ)。これらの処理によって、検出時間の最も長い視聴者が優先視聴者と決定され、当該視聴者の属性に応じた視聴サービスが提供されることになる。
<Process flow>
FIG. 43 is a diagram illustrating an example of a processing flow of the content providing apparatus according to the present embodiment. Among these, the processing in step S4301 and step S4302 is the same as that described in the sixth embodiment. Next, in step S4303, the content providing apparatus acquires the viewer attribute including the detection time information using the acquired recognition information (viewer attribute acquisition step: includes detection time information acquisition processing). Specifically, the content providing apparatus acquires information such as the viewer's name, sex, age group, face image, and detection time information as viewer attributes using the acquired recognition information. Next, in step S4304, the content providing apparatus determines whether there are a plurality of recognized viewers. Here, when the number of viewers recognized is one, it progresses to step S4305A. If it is determined that there are a plurality of viewers to be recognized, the process proceeds to step S4305B. In step S4305A, the content providing apparatus controls the viewing service using the viewer attribute. In step S4305B, the content providing apparatus determines a priority viewer using the viewer attribute information including the detection time information acquired in the viewer attribute acquisition step and the detection time priority rule (priority viewer determination step). ). In step S4306B, the content providing apparatus controls the viewing service using the attribute information of the priority viewer (viewing service control step). Through these processes, the viewer with the longest detection time is determined as the priority viewer, and the viewing service according to the attribute of the viewer is provided.
<視聴者属性取得処理(検出時間情報取得処理)の具体例>
 図44は、本実施形態のコンテンツ提供装置における視聴者属性取得処理(検出時間情報取得処理)の流れの一例を示す図である。まず、ステップS4401において、コンテンツ提供装置は、例えば、自身の画面付近に備えられたカメラ部で視聴者の画像の撮像を開始する。次に、ステップS4402において、コンテンツ提供装置は、撮像した画像に基づいて視聴者を認識するための情報である認識情報を取得する。次に、ステップS4403において、撮像している画像中に上記ステップで取得された認識情報で認識される視聴者の画像が引き続き検出されているか判断する。検出されていると判断された場合は、コンテンツ提供装置は、ステップS4404において所定の撮像時間(例えば番組開始から5分間)が経過したか判断し、経過していないと判断された場合はステップS4403に戻って再び撮像中の画像に認識情報で認識される視聴者の画像が検出されているか判断する。これらのステップは、撮像中の画像に認識情報で認識される視聴者の画像が検出されていないと判断されるまで、あるいは所定の撮像時間が経過したと判断されるまで繰り返される。撮像中の画像に認識情報で認識される視聴者の画像が検出されていないと判断された場合、あるいは所定の撮像時間が経過したと判断された場合には、コンテンツ提供装置は撮像を終了し、ステップS4405に進んで当該視聴者が検出されていた時間を示す検出時間情報を取得する。なお、一旦検出されなくなった視聴者の画像が所定の撮像時間内に再び検出された場合には、改めて当該視聴者の検出が開始されるが、検出時間情報の取得に際しては、認識情報に基づいて同じ視聴者の検出時間として合計した時間を取得することが可能である。コンテンツ提供装置は、検出された全ての視聴者についてこの処理を行う。
<Specific example of viewer attribute acquisition processing (detection time information acquisition processing)>
FIG. 44 is a diagram illustrating an example of the flow of viewer attribute acquisition processing (detection time information acquisition processing) in the content providing apparatus of the present embodiment. First, in step S4401, the content providing apparatus starts capturing an image of a viewer using, for example, a camera unit provided near its own screen. Next, in step S4402, the content providing apparatus acquires recognition information that is information for recognizing the viewer based on the captured image. Next, in step S4403, it is determined whether an image of the viewer recognized by the recognition information acquired in the above step is continuously detected in the captured image. If it is determined that it has been detected, the content providing apparatus determines whether or not a predetermined imaging time (for example, 5 minutes from the start of the program) has elapsed in step S4404. If it is determined that it has not elapsed, step S4403 Then, it is determined again whether an image of the viewer recognized by the recognition information is detected in the image being captured. These steps are repeated until it is determined that a viewer image recognized by the recognition information is not detected in the image being captured, or until it is determined that a predetermined imaging time has elapsed. When it is determined that the viewer image recognized by the recognition information is not detected in the image being captured, or when it is determined that the predetermined imaging time has elapsed, the content providing apparatus ends the imaging. In step S4405, detection time information indicating the time during which the viewer has been detected is acquired. Note that, when an image of a viewer that is no longer detected is detected again within a predetermined imaging time, detection of the viewer is started again, but the detection time information is acquired based on the recognition information. It is possible to acquire the total time as the detection time of the same viewer. The content providing apparatus performs this process for all detected viewers.
<優先視聴者決定処理(検出時間依存優先決定処理)の具体例>
 次に、コンテンツ提供装置は、上記処理によって取得した各視聴者の検出時間情報に基づいて、検出時間が最長である視聴者を優先する優先視聴者決定処理(検出時間依存優先決定処理)を行う。この処理は、所定のタイミングで一回だけ(例えばコンテンツ表示開始から5分間)行い、その結果を以後コンテンツ表示終了までのすべての視聴サービス制御処理に反映するようにしてもよい。あるいは、所定のタイミングで複数回(例えばコンテンツ表示開始~5分後、5~10分後、10~15分後など)繰り返して行い、その都度視聴サービス制御処理の内容を更新する形で反映するようにしてもよい。また、この優先決定処理を構成メンバーに変化が生じるたびや番組が切り替わるたびに行うようにしてもよい。
<Specific example of priority viewer determination processing (detection time-dependent priority determination processing)>
Next, the content providing apparatus performs priority viewer determination processing (detection time-dependent priority determination processing) that prioritizes the viewer with the longest detection time based on the detection time information of each viewer acquired by the above processing. . This processing may be performed only once at a predetermined timing (for example, for 5 minutes from the start of content display), and the result may be reflected in all viewing service control processing until the end of content display thereafter. Alternatively, it is repeated a plurality of times (for example, after 5 minutes, 5-10 minutes, 10-15 minutes, etc.) at a predetermined timing, and the contents of the viewing service control process are updated each time. You may do it. In addition, this priority determination process may be performed every time a change occurs in the constituent members or when a program is switched.
<視聴サービス制御処理の具体例>
 本実施例における視聴サービス制御処理の流れは、実施形態1などで説明したところと基本的に同様であるが、本実施形態においては、検出時間が最長であるとして優先視聴者に決定された視聴者の属性に合わせて視聴サービスの内容を決定する。その具体例は実施形態1などで述べたところと同様である。また、制御すべき視聴サービスの全てについて、優先視聴者の属性に応じてその制御が行われたか否か判断し、全て行われたとの判断である場合は、視聴サービス制御処理を終了する。制御が行われていない視聴サービスが残っているとの判断である場合は、視聴サービスの内容を決定するステップに戻る。
<Specific example of viewing service control processing>
The flow of the viewing service control process in the present example is basically the same as that described in the first embodiment, but in this embodiment, the viewing that has been determined as the highest priority viewer by assuming the longest detection time. The content of the viewing service is determined according to the attributes of the viewer. Specific examples thereof are the same as those described in the first embodiment. Further, it is determined whether or not all viewing services to be controlled are controlled according to the attribute of the priority viewer. If it is determined that all viewing services have been controlled, the viewing service control process is terminated. If it is determined that there is a viewing service that is not controlled, the process returns to the step of determining the content of the viewing service.
<効果>
 本実施形態のコンテンツ提供装置によれば、コンテンツ提供装置の前に最も長くいる視聴者を優先視聴者とすることができるので、そのコンテンツを熱心に視聴している蓋然性が最も高い視聴者の属性に対応した視聴サービス制御処理を行うことが可能になる。
<Effect>
According to the content providing apparatus of the present embodiment, the viewer who is longest in front of the content providing apparatus can be set as the priority viewer. Therefore, the attribute of the viewer who has the highest probability of watching the content eagerly. It is possible to perform viewing service control processing corresponding to.
<<実施形態11>><<Embodiment 11 >>
<概要>
 本実施形態のコンテンツ提供装置は、基本的に実施形態3と同様であるが、視聴者の属性に応じた視聴履歴とコンテンツのタイトル情報を取得するとともに、当該視聴履歴及びタイトル情報に応じて視聴者として優先する度合を示す指数を定めたルールに従って優先視聴者を決定することを特徴とする。
<Overview>
The content providing apparatus according to the present embodiment is basically the same as that of the third embodiment, but acquires the viewing history and content title information according to the viewer's attributes, and the viewing according to the viewing history and title information. The priority viewer is determined according to a rule that defines an index indicating the degree of priority as a viewer.
<構成>
 図45は、本実施形態のコンテンツ提供装置の機能ブロックの一例を示す図である。この図にあるように、「コンテンツ提供装置」4500は、「カメラ部」4501と、「認識情報取得部」4502と、「視聴者属性取得部」4503と、「コンテンツ属性取得部」4504と、「優先視聴者決定部」4505と、「視聴サービス制御部」4506と、「視聴サービス部」4507と、を有し、「視聴者属性取得部」は、「属性別視聴履歴取得手段」4508を有し、「コンテンツ属性取得部」は「タイトル情報取得手段」4509を有し、「優先視聴者決定部」は、「視聴履歴依存コンテンツ別優先ルール保持手段」4510と、「視聴履歴依存コンテンツ別優先決定手段」4511と、を有する。本実施形態の目的は、例えば帯番組として放映されている番組を毎回欠かさず視聴している視聴者は、同番組をたまにしか見ない視聴者よりも当該コンテンツの熱心な視聴者であると考えられるといったように、視聴者の属性に応じた視聴履歴とコンテンツのタイトルからその視聴者の熱心度を判断することが可能であることに鑑み、そのような視聴者を優先視聴者として選定できるようにすることにある。以下、実施形態3との相違点である「属性別視聴履歴取得手段」と「タイトル情報取得手段」と「視聴履歴依存コンテンツ別優先ルール保持手段」と「視聴履歴依存コンテンツ別優先決定手段」について説明する。
<Configuration>
FIG. 45 is a diagram illustrating an example of functional blocks of the content providing apparatus according to the present embodiment. As shown in this figure, the “content providing device” 4500 includes a “camera unit” 4501, a “recognition information acquisition unit” 4502, a “viewer attribute acquisition unit” 4503, a “content attribute acquisition unit” 4504, A “priority viewer determination unit” 4505, a “viewing service control unit” 4506, and a “viewing service unit” 4507. The “viewer attribute acquisition unit” includes an “attribute-specific viewing history acquisition unit” 4508. The “content attribute acquisition unit” has “title information acquisition unit” 4509, the “priority viewer determination unit” includes “viewing history-dependent content-specific priority rule holding unit” 4510, and “viewing history-dependent content type”. Priority determination means "4511. The purpose of this embodiment is, for example, that a viewer who is watching a program broadcast as a band program every time is more enthusiastic about the content than a viewer who only occasionally sees the program. In view of the fact that it is possible to determine the viewer's enthusiasm from the viewing history and content title according to the viewer's attributes, such viewers can be selected as priority viewers. Is to make it. Hereinafter, “attribute-based viewing history acquisition means”, “title information acquisition means”, “viewing history-dependent content-specific priority holding means”, and “viewing history-dependent content-specific priority determination means”, which are the differences from the third embodiment. explain.
 「属性別視聴履歴取得手段」は視聴者の属性に応じた視聴履歴である属性別視聴履歴を取得するように構成されている。具体的には、例えば、毎日定時に放映されるタイトル「○○」という帯番組を、ある視聴者が前日と前々日に視聴していた場合、当該視聴者の属性と帯番組のタイトル及び視聴履歴(視聴日時)が、当該視聴者の属性別視聴履歴として取得される。
 「タイトル情報取得手段」は、視聴コンテンツの属性情報としてコンテンツのタイトル情報を取得するように構成されている。
 「視聴履歴依存コンテンツ別優先ルール保持手段」は、所定のルールとして、「視聴履歴依存コンテンツ別優先ルール」を保持するように構成されている。「視聴履歴依存コンテンツ別優先ルール」は、前記視聴者の属性に応じた視聴履歴とコンテンツのタイトル情報とに応じて視聴者として優先する度合を示す指数を定めた情報である。例えば、同じタイトル情報「○○」を有するコンテンツの視聴履歴であっても、複数回の視聴履歴に対しては一回の視聴履歴に対するよりも高い優先指数を与えるといったルールが該当する。
 「視聴履歴依存コンテンツ別優先決定手段」は、属性別視聴履歴取得手段にて取得した視聴者の属性に応じた視聴履歴とコンテンツ属性取得部にて取得したコンテンツのタイトル情報と所定のルールである視聴履歴依存コンテンツ別優先ルールとに基づいて優先視聴者を決定するように構成されている。
“Attribute-specific viewing history acquisition means” is configured to acquire an attribute-specific viewing history that is a viewing history corresponding to the viewer's attribute. Specifically, for example, when a certain viewer watches a band program called “XX” that is aired on a regular basis every day, the attribute of the viewer, the title of the band program, The viewing history (viewing date and time) is acquired as the viewing history by attribute of the viewer.
The “title information acquisition means” is configured to acquire content title information as attribute information of viewing content.
The “viewing history-dependent content priority rule holding means” is configured to hold a “viewing history-dependent content priority rule” as a predetermined rule. The “viewing history-dependent content priority rule” is information that defines an index indicating the degree of priority given to the viewer according to the viewing history according to the viewer attribute and the content title information. For example, a rule that gives a higher priority index to a plurality of viewing histories than a single viewing history even for viewing histories of content having the same title information “XX”.
“Viewing history-dependent content priority determination means” is a viewing history corresponding to the attributes of the viewer acquired by the attribute-specific viewing history acquisition means, content title information acquired by the content attribute acquisition unit, and predetermined rules. The priority viewer is determined based on the viewing history-dependent content priority rule.
<処理の流れ>
 図46は、本実施形態のコンテンツ提供装置の処理の流れの一例を示す図である。このうち、ステップS4601及びステップS4602における処理は実施形態6などにおいて説明したところと同様である。次に、ステップS4603において、コンテンツ提供装置は、取得した認識情報を用いて、コンテンツのタイトルごとの視聴履歴を含む視聴者の属性を取得する(視聴者属性取得ステップ:視聴履歴取得処理を含む)。具体的には、コンテンツ提供装置は、取得した認識情報を用いて視聴者の属性として、視聴者の名前、性別、年齢層、顔画像などの情報及びコンテンツのタイトルごとの視聴履歴を取得する。次に、ステップS4604において、コンテンツ提供装置は、認識される視聴者が複数であるか否か判断する。ここで、認識される視聴者が単数である場合に、ステップS4605Aに進む。ここで、認識される視聴者が複数であるとの判断である場合に、ステップS4605Bに進む。ステップS4605Aでは、コンテンツ提供装置は、視聴者の属性を用いて視聴サービスを制御する。ステップS4605Bでは、コンテンツ提供装置は、視聴コンテンツの属性情報としてコンテンツのタイトル情報を取得する。ステップS4606Bでは、コンテンツ提供装置は、視聴者属性取得ステップにて取得したタイトルごとの視聴履歴を含む視聴者の属性情報と、コンテンツ属性取得ステップにて取得した視聴コンテンツの属性情報であるタイトル情報と、視聴履歴依存コンテンツ別優先ルールとを用いて優先視聴者を決定する(優先視聴者決定ステップ:視聴履歴依存コンテンツ別優先決定処理)。ステップS4607Bでは、コンテンツ提供装置は、優先視聴者の属性情報を用いて視聴サービスを制御する(視聴サービス制御ステップ)。これらの処理によって、当該タイトルのコンテンツについて、例えば過去において当該番組を最もよく視聴している視聴者が優先視聴者と決定され、当該視聴者の属性に応じた視聴サービスが提供されることになる。
<Process flow>
FIG. 46 is a diagram showing an example of the processing flow of the content providing apparatus of this embodiment. Among these, the processing in step S4601 and step S4602 is the same as that described in the sixth embodiment. Next, in step S4603, the content providing apparatus acquires the attributes of the viewer including the viewing history for each title of the content using the acquired recognition information (viewer attribute acquiring step: includes viewing history acquisition processing). . Specifically, the content providing apparatus acquires information such as the viewer's name, sex, age group, face image, and the viewing history for each title of the content as the viewer's attributes using the acquired recognition information. Next, in step S4604, the content providing apparatus determines whether there are a plurality of recognized viewers. Here, when the number of viewers recognized is one, it progresses to step S4605A. If it is determined that there are a plurality of viewers to be recognized, the process proceeds to step S4605B. In step S4605A, the content providing apparatus controls the viewing service using the viewer attribute. In step S4605B, the content providing apparatus acquires content title information as attribute information of the viewing content. In step S4606B, the content providing apparatus includes viewer attribute information including the viewing history for each title acquired in the viewer attribute acquisition step, and title information that is attribute information of the viewing content acquired in the content attribute acquisition step. The priority viewer is determined using the viewing history-dependent content priority rule (priority viewer determination step: viewing history-dependent content priority determination processing). In step S4607B, the content providing apparatus controls the viewing service using the attribute information of the priority viewer (viewing service control step). Through these processes, for the content of the title, for example, the viewer who has watched the program most often in the past is determined as the priority viewer, and a viewing service according to the attribute of the viewer is provided. .
<効果>
 本実施形態のコンテンツ提供装置によれば、視聴者の属性に応じた視聴履歴とコンテンツのタイトルからその視聴者の熱心度を判断することで、そのコンテンツを熱心に視聴している蓋然性が最も高い視聴者の属性に対応した視聴サービス制御処理を行うことが可能になる。
<Effect>
According to the content providing apparatus of the present embodiment, it is most likely that the content is eagerly viewed by judging the viewer's eagerness from the viewing history and content title according to the viewer's attributes. Viewing service control processing corresponding to the attributes of the viewer can be performed.
<<実施形態12>><<Embodiment 12 >>
<概要>
 本実施形態のコンテンツ提供装置は、基本的に実施形態1と同様であるが、視聴者の年齢層や性別を示す情報を取得するとともに、複数の視聴者の中で所定の割合を占める年齢層や性別に応じて視聴者として優先する度合を示す指数を定めたルールに従って優先視聴者を決定することを特徴とする。
<Overview>
The content providing apparatus of the present embodiment is basically the same as that of the first embodiment, but acquires information indicating the age group and gender of viewers and ages that occupy a predetermined ratio among a plurality of viewers The preferred viewer is determined according to a rule that defines an index indicating the degree of priority given to the viewer according to sex.
<構成>
 図47は、本実施形態のコンテンツ提供装置の機能ブロックの一例を示す図である。この図にあるように、「コンテンツ提供装置」4700は、「カメラ部」4701と、「認識情報取得部」4702と、「視聴者属性取得部」4703と、「優先視聴者決定部」4704と、「視聴サービス制御部」4705と、「視聴サービス部」4706と、を有し、「視聴者属性取得部」は、「年齢層・性別情報取得手段」4707を有し、「優先視聴者決定部」は、「年齢層・性別割合優先ルール保持手段」4708と、「年齢層・性別割合優先決定手段」4709と、を有する。本実施形態の目的は、主に複数の視聴者のうち年齢層や性別で多数を占める者を優先視聴者として選定できるようにすることにある。以下、実施形態3との相違点である「年齢層・性別情報取得手段」と「年齢層・性別割合優先ルール保持手段」と「年齢層・性別割合優先決定手段」について説明する。
<Configuration>
FIG. 47 is a diagram illustrating an example of functional blocks of the content providing apparatus according to the present embodiment. As shown in this figure, the “content providing device” 4700 includes a “camera unit” 4701, a “recognition information acquisition unit” 4702, a “viewer attribute acquisition unit” 4703, and a “priority viewer determination unit” 4704. , “Viewing service control unit” 4705 and “viewing service unit” 4706, “viewer attribute acquisition unit” has “age group / gender information acquisition unit” 4707, and “priority viewer determination” The “part” includes “age group / gender ratio priority rule holding means” 4708 and “age group / gender ratio priority determination means” 4709. The purpose of this embodiment is to make it possible to select, as a priority viewer, a person who occupies a large number of viewers mainly by age group or gender. Hereinafter, “age group / gender information acquisition unit”, “age group / gender ratio priority rule holding unit”, and “age group / gender ratio priority determination unit” which are differences from the third embodiment will be described.
 「年齢層・性別情報取得手段」は、視聴者の属性情報として、「年齢層・性別情報」を取得するように構成されている。「年齢層・性別情報」とは、視聴者の年齢層及び/又は性別を示す情報をいう。年齢層は、老人・成人・子供といった大まかに分けたものであっても、5歳ごとといったようにきめ細かく分けたものであってもよい。
 「年齢層・性別割合優先ルール保持手段」は、所定のルールとして、「年齢層・性別割合優先ルール」を保持するように構成されている。「年齢層・性別割合優先ルール」は、複数の視聴者の年齢層・性別情報のうち所定の割合を占める年齢層・性別情報に応じて視聴者として優先する度合を示す指数を定めた情報である。「所定の割合」としては、典型的には最も多数を占める年齢層・性別の者を優先するというルールが考えられるが、他に、例えば子供が3割以上を占めていれば子供優先するといったルールであってもよい。また、所定の割合を占める者についてすべての視聴サービスを優先して行うようにしてもよいが、割合に応じて優先して行う視聴サービスを振り分けるようにしてもよい。
 「年齢層・性別割合優先決定手段」は、年齢層・性別情報取得手段にて取得した年齢層・性別情報と所定のルールである年齢層・性別割合優先ル-ルとに基づいて優先視聴者を決定するように構成されている。
The “age group / sex information acquisition means” is configured to acquire “age group / sex information” as the attribute information of the viewer. “Age group / sex information” refers to information indicating the age group and / or gender of a viewer. The age group may be roughly divided such as old people, adults, and children, or may be finely divided such as every five years.
The “age group / sex ratio priority rule holding means” is configured to hold an “age group / sex ratio priority rule” as a predetermined rule. The “age group / gender ratio priority rule” is information that defines an index indicating the degree of priority given to viewers according to age group / sex information that occupies a predetermined percentage of the age group / sex information of multiple viewers. is there. As the “predetermined ratio”, the rule that priority is given to the age group / gender who typically occupies the largest number can be considered. It may be a rule. Further, all viewing services may be given priority for those who occupy a predetermined ratio, but viewing services to be given priority may be distributed according to the ratio.
The “age group / gender ratio priority determination means” is a priority viewer based on the age group / gender information acquired by the age group / gender information acquisition means and the predetermined rule of age group / gender ratio priority rule. Is configured to determine.
<処理の流れ>
 図48は、本実施形態のコンテンツ提供装置の処理の流れの一例を示す図である。このうち、ステップS4801及びステップS4802における処理は実施形態6などにおいて説明したところと同様である。次に、ステップS4803において、コンテンツ提供装置は、取得した認識情報を用いて、視聴者の属性情報として、視聴者の名前、顔画像などの情報とともに、年齢層・性別情報を取得する。次に、ステップS4804において、コンテンツ提供装置は、認識される視聴者が複数であるか否か判断する。ここで、認識される視聴者が単数である場合に、ステップS4805Aに進む。ここで、認識される視聴者が複数であるとの判断である場合に、ステップS4805Bに進む。ステップS4805Aでは、コンテンツ提供装置は、視聴者の属性を用いて視聴サービスを制御する。ステップS4805Bでは、コンテンツ提供装置は、視聴者属性取得ステップにて取得した年齢層・性別情報を含む視聴者の属性情報と、年齢層・性別割合優先ルールとを用いて優先視聴者を決定する(優先視聴者決定ステップ)。ステップS4806Bでは、コンテンツ提供装置は、優先視聴者の属性情報を用いて視聴サービスを制御する(視聴サービス制御ステップ)。これらの処理によって、例えば視聴者の中に占める割合の最も高い年齢層の視聴者が優先視聴者と決定され、当該視聴者の属性に応じた視聴サービスが提供されることになる。
<Process flow>
FIG. 48 is a diagram illustrating an example of a processing flow of the content providing apparatus according to the present embodiment. Among these, the processing in step S4801 and step S4802 is the same as that described in the sixth embodiment. Next, in step S4803, the content providing apparatus acquires age group / gender information as viewer attribute information together with information such as the viewer's name and face image, using the acquired recognition information. In step S4804, the content providing apparatus determines whether there are a plurality of recognized viewers. Here, when the number of viewers recognized is one, it progresses to step S4805A. If it is determined that there are a plurality of viewers to be recognized, the process proceeds to step S4805B. In step S4805A, the content providing apparatus controls the viewing service using the viewer attribute. In step S4805B, the content providing apparatus determines a priority viewer using the viewer attribute information including the age group / sex information acquired in the viewer attribute acquisition step and the age group / sex ratio priority rule ( Priority viewer decision step). In step S4806B, the content providing apparatus controls the viewing service using the attribute information of the priority viewer (viewing service control step). Through these processes, for example, the viewer of the age group with the highest proportion of the viewer is determined as the priority viewer, and the viewing service corresponding to the attribute of the viewer is provided.
  (各実施形態の組合せ)
 以上の各実施形態において、様々な優先ルールを用いて優先視聴者を決定するための構成について説明した。これらのうちどれか一つのルールを選択して優先視聴者を決定してもよいが、これらのルールを組み合わせて優先視聴者を決定するようにしてもよい。この場合には、例えばそれぞれのルールに基づく優先度に点数を付与し、これらの合計点数が最大の視聴者を優先視聴者として決定すればよい。その際に、優先ルールに重み付けを行ってもよい。
(Combination of each embodiment)
In each of the above embodiments, the configuration for determining the priority viewer using various priority rules has been described. The priority viewer may be determined by selecting any one of these rules, or the priority viewer may be determined by combining these rules. In this case, for example, a score may be given to the priority based on each rule, and a viewer having the maximum total score may be determined as a priority viewer. At that time, the priority rule may be weighted.
 図49は、本実施形態のコンテンツ提供装置における優先視聴者決定処理の流れの一例を示す図であって、複数の優先ルールを組み合わせて優先視聴者を決定する処理の流れの一例を示すものである。本図では、複数の優先ルールが、優先ルール(1)及び優先ルール(2)である場合で説明する。優先ルール(1)は後述の視聴者属性(1)に対応するもので、例えば視線優先ルールであり、優先ルール(2)は後述の視聴者属性(2)に対応するもので、例えば移動優先ルールである。ただし、組み合わせる優先ルールの数に限定はなく、もっと多くの優先ルールを組み合わせるものであってもよい。FIG. 49 is a diagram showing an example of the flow of priority viewer determination processing in the content providing apparatus of the present embodiment, and shows an example of the flow of processing for determining the priority viewer by combining a plurality of priority rules. is there. This figure demonstrates the case where a some priority rule is a priority rule (1) and a priority rule (2). The priority rule (1) corresponds to a viewer attribute (1), which will be described later, and is, for example, a line-of-sight priority rule. The priority rule (2) corresponds to a viewer attribute (2), which will be described later. It is a rule. However, the number of priority rules to be combined is not limited, and more priority rules may be combined.
 ステップS4901及びステップS4902における処理は実施形態6などにおいて説明したところと同様である。次に、ステップS4903において、コンテンツ提供装置は、取得した認識情報を用いて、視聴者の属性情報として、視聴者の名前、顔画像などの情報とともに、視聴者属性(1)(例えば視線情報)及び視聴者属性(2)(例えば移動情報)を取得する。次に、ステップS4904において、コンテンツ提供装置は、認識される視聴者が複数であるか否か判断する。ここで、認識される視聴者が単数である場合に、ステップS4905Aに進む。ここで、認識される視聴者が複数であるとの判断である場合に、ステップS4905Bに進む。ステップS4905Aでは、コンテンツ提供装置は、視聴者の属性を用いて視聴サービスを制御する。ステップS4905Bでは、コンテンツ提供装置は、視聴者属性(1)と所定のルールである優先ルール(1)を用いて優先指数を取得する。次に、ステップS4906Bにおいて、コンテンツ提供装置は、視聴者属性(2)と所定のルールである優先ルール(2)を用いて優先指数を取得する。これをすべての視聴者について行う(ステップS4907B)。The processing in step S4901 and step S4902 is the same as that described in the sixth embodiment. Next, in step S4903, the content providing apparatus uses the acquired recognition information, as viewer attribute information, together with information such as the viewer's name and face image, viewer attribute (1) (eg, line-of-sight information). And the viewer attribute (2) (for example, movement information) is acquired. Next, in step S4904, the content providing apparatus determines whether there are a plurality of recognized viewers. Here, when the number of viewers recognized is one, it progresses to step S4905A. If it is determined that there are a plurality of recognized viewers, the process proceeds to step S4905B. In step S4905A, the content providing apparatus controls the viewing service using the viewer attribute. In step S4905B, the content providing apparatus acquires a priority index using the viewer attribute (1) and the priority rule (1) which is a predetermined rule. Next, in step S4906B, the content providing apparatus acquires a priority index using the viewer attribute (2) and the priority rule (2) that is a predetermined rule. This is performed for all viewers (step S4907B).
 すべての視聴者について、組み合わせて判断すべきすべての優先指数が取得されると、ステップS4908において、コンテンツ提供装置は、所定のルールを用いて優先視聴者を決定する(優先視聴者決定ステップ)。ここでいう所定のルールとは、例えばそれぞれの優先指数を足し合わせた数値が最大となる視聴者を優先視聴者とするというルールである。あるいは優先指数に重み付けなどを行った上で足し合わせてもよい。さらに、ステップS4909Bでは、コンテンツ提供装置は、優先視聴者の属性情報を用いて視聴サービスを制御する(視聴サービス制御ステップ)。これらの処理によって、複数の基準を組み合せて判断することで、総合的に判断して最も優先されるべき視聴者が優先視聴者として決定され、当該視聴者の属性に応じた視聴サービスが提供されることになる。When all priority indexes that should be determined in combination are acquired for all viewers, in step S4908, the content providing apparatus determines a priority viewer using a predetermined rule (priority viewer determination step). The predetermined rule here is, for example, a rule that a viewer who has the maximum numerical value obtained by adding the respective priority indexes is set as a priority viewer. Alternatively, the priority index may be added after weighting. Further, in step S4909B, the content providing apparatus controls the viewing service using the attribute information of the priority viewer (viewing service control step). Through these processes, a combination of a plurality of criteria is used to determine the viewer who should be given the highest priority by comprehensive judgment, and a viewing service corresponding to the viewer's attributes is provided. Will be.
<効果>
 本実施形態のコンテンツ提供装置によれば、複数の視聴者のうち年齢層や性別で多数を占める者を優先視聴者とすることができるので、そのような視聴者の属性に対応した視聴サービス制御処理を行うことが可能になる。
<Effect>
According to the content providing apparatus of the present embodiment, among the plurality of viewers, those who occupy the majority by age group or gender can be set as the priority viewers, so viewing service control corresponding to such viewer attributes Processing can be performed.
<<実施形態13>><<Embodiment 13 >>
<概要>
 本実施形態のコンテンツ提供装置は、基本的に実施形態1と同様であるが、優先視聴者決定部が決定した優先視聴者を示す情報を所定の期間保持し、この情報が示す視聴者を優先視聴者と決定することを特徴とする。
<Overview>
The content providing apparatus of the present embodiment is basically the same as that of the first embodiment, but holds information indicating the priority viewer determined by the priority viewer determination unit for a predetermined period, and prioritizes the viewer indicated by this information. It is characterized by being determined as a viewer.
<構成>
 図50は、本実施形態のコンテンツ提供装置の機能ブロックの一例を示す図である。この図にあるように、「コンテンツ提供装置」5000は、「カメラ部」5001と、「認識情報取得部」5002と、「視聴者属性取得部」5003と、「優先視聴者決定部」5004と、「視聴サービス制御部」5005と、「視聴サービス部」5006と、「優先視聴者情報保持部」5007と、を有し、「優先視聴者決定部」は、「優先視聴者情報依存優先視聴者決定手段」5008を有する。本実施形態の目的は、いったん優先視聴者として決定された者は、その後席を外したとしてもすぐに戻ってくる可能性があることから、そのような場合に備えて一定期間内はその視聴者を優先視聴者とする判断を変えないようにすることある。以下、実施形態3との相違点である「優先視聴者情報保持部」と「優先視聴者情報依存優先視聴者決定手段」について説明する。
 「優先視聴者情報保持部」は、優先視聴者決定部が決定した優先視聴者を示す情報である優先視聴者情報を所定の期間保持するように構成されている。また、「優先視聴者情報依存優先視聴者決定手段」は、優先視聴者情報保持部が保持する優先視聴者情報が示す視聴者を優先視聴者と決定するように構成されている。
<Configuration>
FIG. 50 is a diagram illustrating an example of functional blocks of the content providing apparatus according to the present embodiment. As shown in this figure, the “content providing device” 5000 includes a “camera unit” 5001, a “recognition information acquisition unit” 5002, a “viewer attribute acquisition unit” 5003, and a “priority viewer determination unit” 5004. , “Viewing service control unit” 5005, “viewing service unit” 5006, and “priority viewer information holding unit” 5007, and “priority viewer determination unit” Person determination means "5008. The purpose of this embodiment is that a person who has been determined as a priority viewer may return immediately even if he / she removes his / her seat. In some cases, the determination that a viewer is a priority viewer is not changed. Hereinafter, the “priority viewer information holding unit” and the “priority viewer information-dependent priority viewer determination unit” which are different from the third embodiment will be described.
The “priority viewer information holding unit” is configured to hold priority viewer information, which is information indicating the priority viewer determined by the priority viewer determination unit, for a predetermined period. Further, the “priority viewer information-dependent priority viewer determination means” is configured to determine a viewer indicated by the priority viewer information held by the priority viewer information holding unit as a priority viewer.
<処理の流れ>
 本実施例における優先視聴者決定のための処理の流れは、基本的に上記各実施形態において述べた処理の流れ(例えば実施形態1において図4を用いて説明したステップS0401からS0405Bまでの処理の流れ)と共通する。一方、本実施形態においては、コンテンツ提供装置は、このようにして決定された優先視聴者情報を記憶装置に格納する。また、記憶装置には予め優先視聴者情報をどれだけの期間保持するかを定めたルールが保持される。そこで、コンテンツ提供装置は、このルールに従って優先視聴者情報を保持し、当該期間が経過するとこれを破棄する。さらに、改めて上記と同様の処理の流れ(例えばS0401~S0404)を経て優先視聴者を決定する段階になったとき、コンテンツ提供装置は、直ちにステップS0405Bと同様の優先視聴者決定を行うのではなく、まず、優先視聴者情報が保持されているかどうか判断する。そこで、保持されているとの判断結果が得られた場合には、コンテンツ提供装置は、当該優先視聴者情報を読み出して当該情報で特定される優先視聴者の属性を用いて視聴サービスを制御する。一方、保持されていないとの判断結果が得られた場合には、コンテンツ提供装置は、ステップS0405Bと同様の処理によって優先視聴者を決定し、当該優先視聴者の属性を用いて視聴サービスを制御する。
<Process flow>
The flow of processing for determining the priority viewer in the present embodiment is basically the flow of the processing described in the above embodiments (for example, the processing of steps S0401 to S0405B described with reference to FIG. 4 in the first embodiment). Flow). On the other hand, in the present embodiment, the content providing apparatus stores the priority viewer information determined in this way in the storage device. In addition, a rule that determines how long the priority viewer information is retained is stored in the storage device in advance. Therefore, the content providing apparatus retains the priority viewer information according to this rule, and discards it when the period has elapsed. Further, when the priority viewer is determined again through the same processing flow (for example, S0401 to S0404) as described above, the content providing apparatus does not immediately perform the priority viewer determination similar to step S0405B. First, it is determined whether priority viewer information is held. Therefore, when the determination result that the content is held is obtained, the content providing apparatus reads the priority viewer information and controls the viewing service using the attribute of the priority viewer specified by the information. . On the other hand, when the determination result that the content is not held is obtained, the content providing apparatus determines a priority viewer by the same process as in step S0405B, and controls the viewing service using the attribute of the priority viewer. To do.
<効果>
 本実施形態のコンテンツ提供装置によれば、いったん優先視聴者として決定された者がその後席を外したとしてもすぐに戻ってくる可能性があることなどに備えて、一定期間内はその視聴者を優先視聴者とする判断を変えないようにすることで、そのような視聴者を優先視聴者としてその属性に対応した視聴サービス制御処理を行うことが可能になる。
<Effect>
According to the content providing apparatus of the present embodiment, a viewer who has been determined as a priority viewer may return soon even if he / she removes his / her seat, and the viewer for a certain period of time. By not changing the determination that the viewer is a priority viewer, it is possible to perform a viewing service control process corresponding to the attribute of such a viewer as a priority viewer.
0200…コンテンツ提供装置、0201…カメラ部、0202…認識情報取得部、0203…視聴者属性取得部、0204…優先視聴者決定部、0205…視聴サービス制御部、0206…視聴サービス部、0907…時間帯別ルール保持手段、0908…時間帯別優先決定手段、1507…コンテンツ属性取得部、1508…コンテンツ別ルール保持手段、1509…コンテンツ別優先決定手段、2307…操作者情報取得手段、2308…操作者優先ルール保持手段、2309…操作者優先決定手段、2707…視聴ウインドウ情報取得手段、2708…ウインドウ別決定手段、2709…マルチ表示手段、1…CPU、2…RAM、3…不揮発性メモリ、4…カメラ部、5…カメラ信号処理部、6…チューナ/復調/分離部、7…映像信号処理部、8…EPG/OSD/BML処理部、9…音声信号処理部、10…映像出力変換部、11…音声出力変換部、12…通信部、13…リモコン受光部、14…アンテナ、15…システムバス0200 ... Content providing device, 0201 ... Camera unit, 0202 ... Recognition information acquisition unit, 0203 ... Viewer attribute acquisition unit, 0204 ... Priority viewer determination unit, 0205 ... Viewing service control unit, 0206 ... Viewing service unit, 0907 ... Time Band-specific rule holding means, 0908 ... Time zone priority determining means, 1507 ... Content attribute acquisition unit, 1508 ... Content-specific rule holding means, 1509 ... Content priority determination means, 2307 ... Operator information acquisition means, 2308 ... Operator Priority rule holding means, 2309 ... operator priority determination means, 2707 ... viewing window information acquisition means, 2708 ... window-specific determination means, 2709 ... multi-display means, 1 ... CPU, 2 ... RAM, 3 ... non-volatile memory, 4 ... Camera unit, 5... Camera signal processing unit, 6. Tuner / demodulation / separation unit, 7. Signal processing unit, 8 ... EPG / OSD / BML processing unit, 9 ... Audio signal processing unit, 10 ... Video output conversion unit, 11 ... Audio output conversion unit, 12 ... Communication unit, 13 ... Remote control light receiving unit, 14 ... Antenna, 15 ... System bus

Claims (20)

  1.  カメラ部と、
     カメラ部の撮像情報から視聴者を認識するための情報である認識情報を取得する認識情報取得部と、
     取得した認識情報を用いて視聴者の属性情報を取得する視聴者属性取得部と、
     認識される視聴者が複数である場合に、視聴者属性取得部にて取得した視聴者の属性情報と所定のルールとを用いて優先視聴者を決定する優先視聴者決定部と、
    を有するコンテンツ提供装置。
    A camera unit;
    A recognition information acquisition unit that acquires recognition information that is information for recognizing the viewer from the imaging information of the camera unit;
    A viewer attribute acquisition unit that acquires the attribute information of the viewer using the acquired recognition information;
    A priority viewer determination unit that determines a priority viewer using the viewer attribute information acquired by the viewer attribute acquisition unit and a predetermined rule when there are a plurality of viewers to be recognized;
    A content providing apparatus.
  2.  優先視聴者決定部は、
      所定のルールとして、視聴者の属性情報と視聴時間帯とに応じて視聴者として優先する度合を示す指数を定めた情報である時間帯別優先ルールを保持する時間帯別優先ルール保持手段と、
      視聴者属性取得部にて取得した視聴者の属性情報と現在時刻と所定のルールである時間帯別優先ル-ルとに基づいて優先視聴者を決定する時間帯別優先決定手段と、
    を有する請求項1又は2に記載のコンテンツ提供装置。
    The priority viewer decision section
    As a predetermined rule, a time zone priority rule holding means for holding a time zone priority rule that is an information indicating an index indicating a degree of priority as a viewer according to the viewer attribute information and the viewing time zone;
    Time zone priority determination means for determining a priority viewer based on the viewer attribute information acquired by the viewer attribute acquisition unit, the current time, and a time zone priority rule that is a predetermined rule;
    The content providing apparatus according to claim 1, comprising:
  3.  視聴コンテンツの属性情報を取得するコンテンツ属性取得部をさらに有し、
     優先視聴者決定部は、
      所定のルールとして、視聴者の属性情報と視聴コンテンツの属性情報とに応じて視聴者として優先する度合を示す指数を定めた情報であるコンテンツ別優先ルールを保持するコンテンツ別優先ルール保持手段と、
      視聴者属性取得部にて取得した視聴者の属性情報とコンテンツ属性取得部にて取得した視聴コンテンツの属性情報と所定のルールであるコンテンツ別優先ルールとに基づいて優先視聴者を決定するコンテンツ別優先決定手段と、
    を有する請求項1から3のいずれか一に記載のコンテンツ提供装置。
    A content attribute acquisition unit for acquiring attribute information of the viewing content;
    The priority viewer decision section
    Content-specific priority rule holding means for holding a content-specific priority rule that is an information indicating an index indicating the degree of priority as a viewer according to the attribute information of the viewer and the attribute information of the viewing content as the predetermined rule;
    By content that determines the priority viewer based on the attribute information of the viewer acquired by the viewer attribute acquisition unit, the attribute information of the viewing content acquired by the content attribute acquisition unit, and the priority rule for each content that is a predetermined rule Priority determination means;
    The content providing apparatus according to any one of claims 1 to 3, further comprising:
  4.  前記視聴者の属性に応じた視聴履歴である属性別視聴履歴を保持する属性別視聴履歴保持部をさらに有し、
     優先視聴者決定部は、
      属性別視聴履歴に基づいて、コンテンツ別優先ルールを更新するコンテンツ別優先ルール更新手段を有する請求項4に記載のコンテンツ提供装置。
    An attribute-specific viewing history holding unit for holding an attribute-specific viewing history that is a viewing history corresponding to the viewer's attribute;
    The priority viewer decision section
    The content providing apparatus according to claim 4, further comprising a content-specific priority rule updating unit configured to update the content-specific priority rule based on the attribute-specific viewing history.
  5.  視聴者属性取得部は、
      視聴者の属性情報として、視聴者がリモコン操作者であることを示す情報である操作者情報を取得する操作者情報取得手段を有し、
     優先視聴者決定部は、
      所定のルールとして、リモコン操作者を優先視聴者とする操作者優先ルールを保持する操作者優先ルール保持手段と、
      操作者情報取得手段にて取得した操作者情報と所定のルールである操作者優先ルールとに基づいて優先視聴者を決定する操作者優先決定手段と、
    を有する請求項1から6のいずれか一に記載のコンテンツ提供装置。
    The viewer attribute acquisition unit
    Operator information acquisition means for acquiring operator information which is information indicating that the viewer is a remote control operator as the attribute information of the viewer;
    The priority viewer decision section
    As a predetermined rule, an operator priority rule holding means for holding an operator priority rule with a remote control operator as a priority viewer;
    Operator priority determination means for determining a priority viewer based on operator information acquired by the operator information acquisition means and an operator priority rule that is a predetermined rule;
    The content providing apparatus according to claim 1, comprising:
  6.  視聴サービス部は、
     複数のコンテンツをマルチウインドウ表示するマルチ表示手段を有し、
    視聴者属性取得部は、
      属性情報として、視聴者が前記マルチウインドウ中のいずれのウインドウを視聴しているかを示す情報である視聴ウインドウ情報を取得する視聴ウインドウ情報取得手段を有し、
     優先視聴者決定部は、
      取得した視聴ウインドウ情報をさらに用いてウインドウごとに優先視聴者を決定するウインドウ別決定手段を有する請求項2又は請求項2に従属する請求項3から7のいずれか一に記載のコンテンツ提供装置。
    The viewing service department
    Having a multi-display means for displaying a plurality of contents in a multi-window;
    The viewer attribute acquisition unit
    As attribute information, it has viewing window information acquisition means for acquiring viewing window information that is information indicating which window in the multi-window the viewer is viewing.
    The priority viewer decision section
    The content providing apparatus according to claim 2, further comprising a window-specific determining unit that further determines the priority viewer for each window by further using the acquired viewing window information.
  7.  視聴者属性取得部は、
      視聴者の属性情報として、視聴者の視線がコンテンツ提供装置の画面に向けられている程度を示す情報である視線情報を取得する視線情報取得手段を有し、
     優先視聴者決定部は、
      所定のルールとして、視線情報にてコンテンツ提供装置の画面に視線が向けられている程度が最大である視聴者を優先すると定めた情報である視線優先ルールを保持する視線優先ルール保持手段と、
      視線情報取得手段にて取得した視線情報と所定のルールである視線優先ル-ルとに基づいて優先視聴者を決定する視線依存優先決定手段と、
    を有する請求項1から8のいずれ一に記載のコンテンツ提供装置。
    The viewer attribute acquisition unit
    Line of sight information acquisition means for acquiring line of sight information, which is information indicating the degree to which the line of sight of the viewer is directed to the screen of the content providing apparatus, as the attribute information of the viewer;
    The priority viewer decision section
    As a predetermined rule, line-of-sight priority rule holding means for holding a line-of-sight priority rule, which is information determined to prioritize a viewer whose degree of line-of-sight is directed to the screen of the content providing device with line-of-sight information,
    Gaze-dependent priority determining means for determining a priority viewer based on the gaze information acquired by the gaze information acquiring means and a gaze priority rule that is a predetermined rule;
    The content providing apparatus according to claim 1, comprising:
  8.  視聴者属性取得部は、
      視聴者の属性情報として、視聴者の移動の少なさの程度を示す情報である移動情報を取得する移動情報取得手段を有し、
     優先視聴者決定部は、
      所定のルールとして、移動情報にて視聴者の移動の最も少ない視聴者を優先すると定めた情報である移動優先ルールを保持する移動優先ルール保持手段と、
      移動情報取得手段にて取得した移動情報と所定のルールである移動優先ル-ルとに基づいて優先視聴者を決定する移動依存優先決定手段と、
    を有する請求項1から9のいずれ一に記載のコンテンツ提供装置。
    The viewer attribute acquisition unit
    As the viewer attribute information, it has movement information acquisition means for acquiring movement information which is information indicating the degree of the movement of the viewer,
    The priority viewer decision section
    A movement priority rule holding means for holding a movement priority rule, which is information determined to prioritize the viewer with the smallest viewer movement in the movement information as a predetermined rule;
    Movement-dependent priority determination means for determining a priority viewer based on movement information acquired by the movement information acquisition means and a movement priority rule that is a predetermined rule;
    The content providing apparatus according to claim 1, comprising:
  9.  視聴者属性取得部は、
      視聴者の属性情報として、視聴者をコンテンツ操作者と関連付けて特定するための情報であるコンテンツ操作者情報を取得するコンテンツ操作者情報取得手段を有し、
     優先視聴者決定部は、
      所定のルールとして、コンテンツ操作者情報取得手段にて取得された情報によって特定される視聴者が再生されているコンテンツの録画者など操作者である場合にはその視聴者を優先視聴者とするコンテンツ操作者優先ルールを保持するコンテンツ操作者優先ルール保持手段と、
     コンテンツ操作者情報取得手段にて取得したコンテンツ操作者情報と所定のルールであるコンテンツ操作者優先ルールとに基づいて優先視聴者を決定するコンテンツ操作者優先決定手段と、
    を有する請求項1から10のいずれか一に記載のコンテンツ提供装置。
    The viewer attribute acquisition unit
    A content operator information acquisition unit that acquires content operator information that is information for specifying the viewer in association with the content operator as the attribute information of the viewer;
    The priority viewer decision section
    As a predetermined rule, when the viewer specified by the information acquired by the content operator information acquisition means is an operator such as a recorder of the content being played back, the content having that viewer as the priority viewer Content operator priority rule holding means for holding operator priority rules;
    Content operator priority determination means for determining a priority viewer based on content operator information acquired by the content operator information acquisition means and a content operator priority rule that is a predetermined rule;
    The content providing apparatus according to claim 1, comprising:
  10.  視聴者属性取得部は、
      視聴者の属性情報として、視聴者がコンテンツ提供装置所有者であることを示す情報である所有者情報を取得する所有者情報取得手段を有し、
     優先視聴者決定部は、
      所定のルールとして、コンテンツ提供装置所有者を優先視聴者とする所有者優先ルールを保持する所有者優先ルール保持手段と、
      所有者情報取得手段にて取得した所有者情報と所定のルールである所有者優先ルールとに基づいて優先視聴者を決定する所有者優先決定手段と、
    を有する請求項1から11のいずれか一に記載のコンテンツ提供装置。
    The viewer attribute acquisition unit
    Owner information acquisition means for acquiring owner information, which is information indicating that the viewer is the content providing apparatus owner, as the attribute information of the viewer,
    The priority viewer decision section
    As a predetermined rule, an owner priority rule holding means for holding an owner priority rule with the content providing device owner as a priority viewer;
    Owner priority determination means for determining a priority viewer based on the owner information acquired by the owner information acquisition means and the owner priority rule which is a predetermined rule;
    The content providing apparatus according to claim 1, comprising:
  11.  視聴者属性取得部は、
      視聴者の属性情報として、視聴者の検出時間の長さの程度を示す情報である検出時間情報を取得する検出時間情報取得手段を有し、
     優先視聴者決定部は、
      所定のルールとして、検出時間情報にて視聴者の検出時間の最も長い視聴者を優先すると定めた情報である検出時間優先ルールを保持する検出時間優先ルール保持手段と、
      検出時間情報取得手段にて取得した検出時間情報と所定のルールである検出時間優先ル-ルとに基づいて優先視聴者を決定する検出時間依存優先決定手段と、
    を有する請求項1から12のいずれ一に記載のコンテンツ提供装置。
    The viewer attribute acquisition unit
    As the viewer attribute information, it has detection time information acquisition means for acquiring detection time information which is information indicating the degree of the detection time of the viewer,
    The priority viewer decision section
    Detection time priority rule holding means for holding a detection time priority rule that is information determined to prioritize the viewer with the longest viewer detection time in the detection time information as a predetermined rule;
    Detection time-dependent priority determination means for determining a priority viewer based on detection time information acquired by the detection time information acquisition means and a detection time priority rule that is a predetermined rule;
    The content providing apparatus according to claim 1, comprising:
  12.  視聴者属性取得部は、
      視聴者の属性に応じた視聴履歴である属性別視聴履歴を取得する属性別視聴履歴取得手段をさらに有し、
     コンテンツ属性取得部は、
      視聴コンテンツの属性情報としてコンテンツのタイトル情報を取得するタイトル情報取得手段をさらに有し、
     優先視聴者決定部は、
      所定のルールとして、前記視聴者の属性に応じた視聴履歴とコンテンツのタイトル情報とに応じて視聴者として優先する度合を示す指数を定めた情報である視聴履歴依存コンテンツ別優先ルールを保持する視聴履歴依存コンテンツ別優先ルール保持手段と、
      属性別視聴履歴取得手段にて取得した視聴者の属性に応じた視聴履歴とコンテンツ属性取得部にて取得したコンテンツのタイトル情報と所定のルールである視聴履歴依存コンテンツ別優先ルールとに基づいて優先視聴者を決定する視聴履歴依存コンテンツ別優先決定手段と、
    を有する請求項4、6又は請求項4に従属する請求項7から13のいずれか一に記載のコンテンツ提供装置。
    The viewer attribute acquisition unit
    It further includes attribute-specific viewing history acquisition means for acquiring a viewing history by attribute that is a viewing history according to the attribute of the viewer,
    The content attribute acquisition unit
    It further has title information acquisition means for acquiring title information of content as attribute information of viewing content,
    The priority viewer decision section
    As a predetermined rule, a viewing history-dependent content priority rule that is an information that defines an index indicating a degree of priority as a viewer according to the viewing history according to the viewer attribute and the title information of the content History-dependent content priority rule holding means,
    Priority is given based on the viewing history corresponding to the attribute of the viewer acquired by the viewing history acquisition means by attribute, the title information of the content acquired by the content attribute acquisition unit, and the priority rule based on the viewing history dependent content that is a predetermined rule Viewing history-dependent content priority determination means for determining viewers,
    The content providing apparatus according to claim 4, which is dependent on claim 4 or claim 6, which is dependent on claim 4.
  13.  視聴者属性取得部は、
      視聴者の属性情報として、視聴者の年齢層及び/又は性別を示す情報である年齢層・性別情報を取得する年齢層・性別情報取得手段を有し、
     優先視聴者決定部は、
      所定のルールとして、複数の視聴者の年齢層・性別情報のうち所定の割合を占める年齢層・性別情報に応じて視聴者として優先する度合を示す指数を定めた情報である年齢層・性別割合優先ルールを保持する年齢層・性別割合優先ルール保持手段と、
      年齢層・性別情報取得手段にて取得した年齢層・性別情報と所定のルールである年齢層・性別割合優先ル-ルとに基づいて優先視聴者を決定する年齢層・性別割合優先決定手段と、
    を有する請求項1から14のいずれか一に記載のコンテンツ提供装置。
    The viewer attribute acquisition unit
    As attribute information of the viewer, there is an age group / sex information acquisition means for acquiring age group / sex information which is information indicating the age group and / or gender of the viewer,
    The priority viewer decision section
    Age group / gender ratio, which is an information that defines an index indicating the degree of priority given to viewers according to age group / gender information occupying a predetermined percentage of age group / sex information of multiple viewers as a predetermined rule Age group / gender ratio priority rule holding means holding priority rules,
    An age group / gender ratio priority determination means for determining a priority viewer based on the age group / gender information acquired by the age group / gender information acquisition means and the predetermined age group / gender ratio priority rule; ,
    The content providing apparatus according to claim 1, comprising:
  14.  優先視聴者決定部が決定した優先視聴者を示す情報である優先視聴者情報を所定の期間保持する優先視聴者情報保持部をさらに有し、
     優先視聴者決定部は、
      優先視聴者情報保持部が保持する優先視聴者情報が示す視聴者を優先視聴者と決定する優先視聴者情報依存優先視聴者決定手段をさらに有する、
    請求項1から15のいずれか一に記載のコンテンツ提供装置。
    A priority viewer information holding unit that holds, for a predetermined period, priority viewer information that is information indicating the priority viewer determined by the priority viewer determination unit;
    The priority viewer decision section
    A priority viewer information-dependent priority viewer determination unit that determines a viewer indicated by the priority viewer information held by the priority viewer information holding unit as a priority viewer;
    The content provision apparatus as described in any one of Claim 1 to 15.
  15.  カメラ部を有するコンテンツ提供装置に、
     カメラ部の撮像情報から視聴者を認識するための情報である認識情報を取得する認識情報取得ステップと、
     取得した認識情報を用いて視聴者の属性情報を取得する視聴者属性取得ステップと、
     認識される視聴者が複数である場合に、視聴者属性取得ステップにて取得した視聴者の属性情報と所定のルールとを用いて優先視聴者を決定する優先視聴者決定ステップと、
    を実行させるためのプログラム。
    In a content providing apparatus having a camera unit,
    A recognition information acquisition step of acquiring recognition information that is information for recognizing the viewer from the imaging information of the camera unit;
    Viewer attribute acquisition step of acquiring viewer attribute information using the acquired recognition information;
    A priority viewer determination step of determining a priority viewer using the viewer attribute information acquired in the viewer attribute acquisition step and a predetermined rule when there are a plurality of viewers to be recognized;
    A program for running
PCT/JP2012/0704492011-11-242012-08-10Content providing apparatus, program to be executed by content providing apparatus, television receiver, and storage medium having program stored thereinWO2013077040A1 (en)

Applications Claiming Priority (4)

Application NumberPriority DateFiling DateTitle
JP20112568432011-11-24
JP2011-2568432011-11-24
JP2012154991AJP2015039094A (en)2011-11-242012-07-10Content providing apparatus, program to be executed by content providing apparatus, television receiver, and storage medium having program stored therein
JP2012-1549912012-07-10

Publications (1)

Publication NumberPublication Date
WO2013077040A1true WO2013077040A1 (en)2013-05-30

Family

ID=48469500

Family Applications (1)

Application NumberTitlePriority DateFiling Date
PCT/JP2012/070449WO2013077040A1 (en)2011-11-242012-08-10Content providing apparatus, program to be executed by content providing apparatus, television receiver, and storage medium having program stored therein

Country Status (2)

CountryLink
JP (1)JP2015039094A (en)
WO (1)WO2013077040A1 (en)

Cited By (4)

* Cited by examiner, † Cited by third party
Publication numberPriority datePublication dateAssigneeTitle
JP2017076176A (en)*2015-10-132017-04-20三菱電機株式会社 Document output control device
JP2018041493A (en)*2014-03-132018-03-15ザ ニールセン カンパニー (ユー エス) エルエルシー Method and apparatus for compensating for misjudgment of impression data attribution and / or uncovered by database owner
WO2021014934A1 (en)*2019-07-192021-01-28ソニー株式会社Information processing device and information processing method
CN114302237A (en)*2021-12-272022-04-08深圳Tcl新技术有限公司Intelligent television working mode setting method and device, intelligent television and medium

Families Citing this family (5)

* Cited by examiner, † Cited by third party
Publication numberPriority datePublication dateAssigneeTitle
WO2018139036A1 (en)*2017-01-252018-08-02ソニー株式会社Information processing device, information processing method, and program
JP6950379B2 (en)*2017-09-052021-10-13株式会社Jvcケンウッド Content information distribution device with subtitles, content information distribution method with subtitles, and content information distribution program with subtitles
KR102429582B1 (en)2017-11-062022-08-05삼성전자주식회사Electronic apparatus and method for therof
JP7700478B2 (en)*2021-03-122025-07-01日本電気株式会社 Content control system, distribution device, content control method, and program
JP7465302B2 (en)*2022-05-242024-04-10ソフトバンク株式会社 Information provision system, control method for information provision system, and control program for information provision system

Citations (7)

* Cited by examiner, † Cited by third party
Publication numberPriority datePublication dateAssigneeTitle
JP2004072545A (en)*2002-08-082004-03-04Sharp Corp Program information presenting apparatus and receiving apparatus having program information presenting function
JP2005333524A (en)*2004-05-212005-12-02Nippon Hoso Kyokai <Nhk> Program selection support apparatus and program selection support program
JP2008228154A (en)*2007-03-152008-09-25Fujitsu Ltd Display device and remote control device
JP2009239476A (en)*2008-03-262009-10-15Nec Electronics CorpOutput control system and its control method
JP2011077965A (en)*2009-10-012011-04-14Nippon Telegr & Teleph Corp <Ntt>Video distribution service achievement device based on viewer identification, video distribution service achievement method, video distribution service achievement program and recording medium with the same program recorded thereon
JP2011103587A (en)*2009-11-112011-05-26Canon IncProgram recommendation apparatus and control method thereof
JP2011229141A (en)*2010-03-312011-11-10Sharp CorpTelevision receiver and operation mode automatic setting method for television receiver

Family Cites Families (1)

* Cited by examiner, † Cited by third party
Publication numberPriority datePublication dateAssigneeTitle
JP2010041163A (en)*2008-08-012010-02-18Fujitsu LtdDisplay device, remote operating set, and display program

Patent Citations (7)

* Cited by examiner, † Cited by third party
Publication numberPriority datePublication dateAssigneeTitle
JP2004072545A (en)*2002-08-082004-03-04Sharp Corp Program information presenting apparatus and receiving apparatus having program information presenting function
JP2005333524A (en)*2004-05-212005-12-02Nippon Hoso Kyokai <Nhk> Program selection support apparatus and program selection support program
JP2008228154A (en)*2007-03-152008-09-25Fujitsu Ltd Display device and remote control device
JP2009239476A (en)*2008-03-262009-10-15Nec Electronics CorpOutput control system and its control method
JP2011077965A (en)*2009-10-012011-04-14Nippon Telegr & Teleph Corp <Ntt>Video distribution service achievement device based on viewer identification, video distribution service achievement method, video distribution service achievement program and recording medium with the same program recorded thereon
JP2011103587A (en)*2009-11-112011-05-26Canon IncProgram recommendation apparatus and control method thereof
JP2011229141A (en)*2010-03-312011-11-10Sharp CorpTelevision receiver and operation mode automatic setting method for television receiver

Cited By (7)

* Cited by examiner, † Cited by third party
Publication numberPriority datePublication dateAssigneeTitle
JP2018041493A (en)*2014-03-132018-03-15ザ ニールセン カンパニー (ユー エス) エルエルシー Method and apparatus for compensating for misjudgment of impression data attribution and / or uncovered by database owner
US11568431B2 (en)2014-03-132023-01-31The Nielsen Company (Us), LlcMethods and apparatus to compensate for server-generated errors in database proprietor impression data due to misattribution and/or non-coverage
US12045845B2 (en)2014-03-132024-07-23The Nielsen Company (Us), LlcMethods and apparatus to compensate for server-generated errors in database proprietor impression data due to misattribution and/or non-coverage
JP2017076176A (en)*2015-10-132017-04-20三菱電機株式会社 Document output control device
WO2021014934A1 (en)*2019-07-192021-01-28ソニー株式会社Information processing device and information processing method
CN114302237A (en)*2021-12-272022-04-08深圳Tcl新技术有限公司Intelligent television working mode setting method and device, intelligent television and medium
CN114302237B (en)*2021-12-272024-04-02深圳Tcl新技术有限公司Smart television working mode setting method and device, smart television and medium

Also Published As

Publication numberPublication date
JP2015039094A (en)2015-02-26

Similar Documents

PublicationPublication DateTitle
WO2013077040A1 (en)Content providing apparatus, program to be executed by content providing apparatus, television receiver, and storage medium having program stored therein
US8402487B2 (en)Program selection support device
KR101708682B1 (en)Apparatus for displaying image and and method for operationg the same
KR100424848B1 (en)Television receiver
CA2744696C (en)Audiovisual user interface based on learned user preferences
US8464292B2 (en)Personalized television guide
KR100876300B1 (en) Method and apparatus for generating recommendations based on a user&#39;s current mood
JP5155194B2 (en) Recommended recording and download guide
ES2424007T3 (en) Systems and methods for recording multimedia content overlaid during programming conflicts
EP1274189A2 (en)Method of notifying an apparatus of information associated with a broadcast programme, receiving apparatus and recording medium and program for the implementation of the method
US20140282719A1 (en)Simultaneous viewing of multiple viewer-specific programming on a single display
US9769525B2 (en)Method and apparatus for distributed display monitoring
JP2004515143A (en) Method and apparatus for obtaining auditory or gestural feedback in a recommendation system
JP2004531159A (en) Method and system for displaying time-ordered options
EP2642485A1 (en)Method for setting a watching level for an audiovisual content
JP2007215046A (en) Information processing apparatus, information processing method, information processing program, and recording medium
JP2009296346A (en)Program recommendation device, method for recommending program and program for recommending program
KR20200098611A (en) System and method for aggregating related media content based on tagged content
KR101068657B1 (en) Conversion of recommender scores depending on the viewing status of TV shows
JP7680000B2 (en) Control program, control device, and control method, as well as audio-visual quality output program, audio-visual quality output device, and audio-visual quality output method
KR102384209B1 (en)Electronic apparatus and controlling method thereof
EP4207789A1 (en)Information processing device and information processing method
JP6706591B2 (en) Broadcast receiver, notification method, program, and storage medium
US20100050200A1 (en)Program information prompting method and apparatus and television set using the same
US20130010358A1 (en)Method and apparatus for displaying image

Legal Events

DateCodeTitleDescription
121Ep: the epo has been informed by wipo that ep was designated in this application

Ref document number:12851591

Country of ref document:EP

Kind code of ref document:A1

NENPNon-entry into the national phase

Ref country code:DE

122Ep: pct application non-entry in european phase

Ref document number:12851591

Country of ref document:EP

Kind code of ref document:A1


[8]ページ先頭

©2009-2025 Movatter.jp