












この発明は、GaN系半導体素子の製造方法に関する。The present invention relates to a method for manufacturing a GaN-based semiconductor element.
従来、GaN系半導体素子の製造方法としては、特許文献1(特開2008-306026号公報)にGaN系FET(電界効果トランジスタ)の製造方法が開示されている。このGaN系FETの製造方法では、GaN系半導体層上に、電極を形成し、この電極を熱処理してオーミック電極としてのソース/ドレイン電極にし、このソース/ドレイン電極および上記GaN系半導体層上に絶縁膜(シリコン窒化膜等)を形成し、この絶縁膜を熱処理している。Conventionally, as a method for manufacturing a GaN-based semiconductor element, Patent Document 1 (Japanese Patent Laid-Open No. 2008-306026) discloses a method for manufacturing a GaN-based FET (field effect transistor). In this GaN-based FET manufacturing method, an electrode is formed on a GaN-based semiconductor layer, the electrode is heat-treated to form a source / drain electrode as an ohmic electrode, and the source / drain electrode and the GaN-based semiconductor layer are formed on the source / drain electrode. An insulating film (silicon nitride film or the like) is formed, and this insulating film is heat-treated.
上記GaN系FETの製造方法では、GaN系半導体層の表面が上記絶縁膜に覆われた状態で熱処理を行うことによって、電流コラプスの抑制を図っている。In the GaN-based FET manufacturing method, current collapse is suppressed by performing heat treatment in a state where the surface of the GaN-based semiconductor layer is covered with the insulating film.
この電流コラプスとは、特に、GaN系半導体素子において顕著に表れるもので、低電圧動作でのトランジスタのオン抵抗と比べて、高電圧動作でのトランジスタのオン抵抗が著しく高くなってしまう現象である。This current collapse is particularly prominent in a GaN-based semiconductor device, and is a phenomenon in which the on-resistance of a transistor in high-voltage operation is significantly higher than the on-resistance of the transistor in low-voltage operation. .
ところで、本発明者らは、先述の従来例では、ソース/ドレイン電極を形成してから電流コラプスを抑制するためのSiN絶縁膜を形成し、この状態で熱処理を行なうと、電極メタルが上記SiN絶縁膜に拡散して、上記SiN絶縁膜を経由するリーク電流の原因になるという問題を発見した。By the way, in the above-mentioned conventional example, the present inventors formed a SiN insulating film for suppressing current collapse after forming the source / drain electrodes, and when heat treatment is performed in this state, the electrode metal becomes SiN. A problem has been discovered in which it diffuses into the insulating film and causes leakage current via the SiN insulating film.
従来は、電極が形成された状態で電流コラプスを抑制するSiN絶縁膜を熱処理する際にSiN絶縁膜に電極メタルが拡散するという現象が気づかれていなかった。本発明者が、この現象を初めて発見したのである。Conventionally, when the SiN insulating film that suppresses current collapse is heat-treated in a state where the electrode is formed, the phenomenon that the electrode metal diffuses into the SiN insulating film has not been noticed. This inventor discovered this phenomenon for the first time.
そこで、この発明の課題は、電極メタルがSiN絶縁膜に拡散することを抑制でき、電流コラプスの抑制とリーク電流の低減とを両立できるGaN系半導体素子の製造方法を提供することにある。Therefore, an object of the present invention is to provide a method of manufacturing a GaN-based semiconductor element that can suppress the diffusion of electrode metal into the SiN insulating film, and can achieve both suppression of current collapse and reduction of leakage current.
本発明は、電極が形成された状態で電流コラプスを抑制するシリコン窒化膜を熱処理する際に上記シリコン窒化膜に電極メタルが拡散するという現象が本発明者らにより発見されたことに基づいて創出されたものである。The present invention was created based on the discovery of the phenomenon that the electrode metal diffuses into the silicon nitride film when heat-treating the silicon nitride film that suppresses current collapse with the electrode formed. It has been done.
本発明者らは、シリコン窒化膜を成膜して熱処理した後に、電極を形成して熱処理(オーミックアニール)し、オーミック電極を形成することが、熱処理の工程が増えるけれども、電極メタルがシリコン窒化膜へ拡散することを抑制するのに有効であり、上記シリコン窒化膜を経由するリーク電流を低減できることを見出した。The present inventors have formed a silicon nitride film and heat-treated, and then formed an electrode and heat-treated (ohmic annealing) to form an ohmic electrode. It has been found that it is effective in suppressing diffusion into the film, and that leakage current passing through the silicon nitride film can be reduced.
 すなわち、この発明のGaN系半導体素子の製造方法は、ヘテロ接合を有するGaN系積層体上にシリコン窒化膜を含む保護膜またはシリコン窒化膜からなる保護膜を形成し、
 上記保護膜を熱処理し、
 上記保護膜および上記GaN系積層体のうちの少なくとも上記保護膜の予め定められた領域をエッチングで除去して上記GaN系積層体のオーミック電極形成領域を露出させ、
 上記GaN系積層体のオーミック電極形成領域にTi/AlまたはHf/Alを含む電極を形成し、
 上記電極を熱処理してオーミック電極にすることを特徴としている。That is, in the method for manufacturing a GaN-based semiconductor element of the present invention, a protective film including a silicon nitride film or a protective film made of a silicon nitride film is formed on a GaN-based stacked body having a heterojunction,
 Heat treating the protective film,
 Etching at least a predetermined region of the protective film of the protective film and the GaN-based laminate to remove an ohmic electrode formation region of the GaN-based laminate,
 Forming an electrode containing Ti / Al or Hf / Al in the ohmic electrode formation region of the GaN-based laminate;
 The electrode is heat-treated to form an ohmic electrode.
この発明のGaN系半導体素子の製造方法によれば、上記GaN系積層体上に上記シリコン窒化膜を含む保護膜またはシリコン窒化膜からなる保護膜を形成し、この電流コラプスを抑制するための保護膜を熱処理により改質してから、電極をGaN系積層体上に形成し、上記電極を熱処理してオーミック電極にする。According to the method for manufacturing a GaN-based semiconductor device of the present invention, a protective film including the silicon nitride film or a protective film made of a silicon nitride film is formed on the GaN-based stacked body, and the protection for suppressing the current collapse is performed. After the film is modified by heat treatment, an electrode is formed on the GaN-based laminate, and the electrode is heat treated to form an ohmic electrode.
このように、上記電流コラプスを抑制するための保護膜を成膜し熱処理してから、オーミック電極を形成することによって、上記電極の熱処理時に電極メタルが上記保護膜に拡散することが抑制され、上記保護膜を経由するリーク電流を低減できることが判明した。Thus, by forming an ohmic electrode after forming and heat-treating a protective film for suppressing the current collapse, the electrode metal is suppressed from diffusing into the protective film during the heat treatment of the electrode, It has been found that the leakage current passing through the protective film can be reduced.
よって、この発明によれば、上記保護膜によって電流コラプスを抑制できるだけでなく、上記保護膜を経由するリーク電流も低減できるGaN系半導体素子を製造できる。ここで、再度述べると、「電流コラプス」とは、GaN系半導体素子において、特に、問題になっているもので、低電圧動作でのトランジスタのオン抵抗と比べて、高電圧動作でのトランジスタのオン抵抗が著しく高くなってしまう現象である。Therefore, according to the present invention, it is possible to manufacture a GaN-based semiconductor element that can not only suppress current collapse by the protective film but also reduce the leakage current passing through the protective film. Here again, “current collapse” is a problem particularly in GaN-based semiconductor devices, and the transistor resistance in high-voltage operation is lower than the on-resistance of the transistor in low-voltage operation. This is a phenomenon in which the on-resistance becomes extremely high.
 また、一実施形態のGaN系半導体素子の製造方法では、上記保護膜は、
 上記GaN系積層体上に形成された下層シリコン窒化膜と、
 上記下層シリコン窒化膜上に形成された上層シリコン窒化膜と、
 上記上層シリコン窒化膜上に形成されたSiO2膜またはAl2O3膜と
を有し、
 上記上層シリコン窒化膜は、ストイキオメトリなシリコン窒化膜である。In one embodiment of the method for manufacturing a GaN-based semiconductor device, the protective film is
 A lower layer silicon nitride film formed on the GaN-based laminate,
 An upper silicon nitride film formed on the lower silicon nitride film;
 An SiO2 film or an Al2 O3 film formed on the upper silicon nitride film,
 The upper silicon nitride film is a stoichiometric silicon nitride film.
この実施形態のGaN系半導体素子の製造方法によれば、上層シリコン窒化膜がストイキオメトリであると共に上記上層シリコン窒化膜上にSiO2膜またはAl2O3膜を形成したことで、上記電極の熱処理時に上記保護膜の上層および下層シリコン窒化膜へ電極メタルが拡散することを抑制でき、上記保護膜を経由するリーク電流をさらに低減できる。ここで、上記ストイキオメトリなシリコン窒化膜とは、SiとNが3:4の組成であることを意味している。According to the method for manufacturing a GaN-based semiconductor device of this embodiment, the upper silicon nitride film is stoichiometry, and an SiO2 film or an Al2 O3 film is formed on the upper silicon nitride film. It is possible to suppress the electrode metal from diffusing into the upper layer and the lower layer silicon nitride film of the protective film during the heat treatment, and to further reduce the leakage current passing through the protective film. Here, the stoichiometric silicon nitride film means that Si and N have a composition of 3: 4.
また、一実施形態のGaN系半導体素子の製造方法では、上記電極を熱処理する温度を、上記保護膜を熱処理する温度よりも低くした。In addition, in the method for manufacturing a GaN-based semiconductor element according to one embodiment, the temperature at which the electrode is heat-treated is lower than the temperature at which the protective film is heat-treated.
この実施形態のGaN系半導体素子の製造方法によれば、上記電極を熱処理する際に、上記保護膜へ電極メタルが拡散することを抑制でき、上記保護膜を経由するリーク電流をさらに低減できる。According to the method for manufacturing a GaN-based semiconductor element of this embodiment, when the electrode is heat-treated, the electrode metal can be prevented from diffusing into the protective film, and the leakage current passing through the protective film can be further reduced.
この発明のGaN系半導体素子の製造方法によれば、上記シリコン窒化膜を含む保護膜またはシリコン窒化膜からなる保護膜を成膜し熱処理した後に、オーミック電極を形成することによって、電極メタルが保護膜に拡散することが抑制され、上記保護膜を経由するリーク電流を低減できるので、電流コラプスの抑制とリーク電流の低減とを両立できるGaN系半導体素子を製造できる。According to the method for manufacturing a GaN-based semiconductor device of the present invention, an electrode metal is protected by forming an ohmic electrode after forming a protective film including the silicon nitride film or a protective film made of a silicon nitride film and performing heat treatment. Since diffusion to the film is suppressed and leakage current passing through the protective film can be reduced, a GaN-based semiconductor element capable of both suppressing current collapse and reducing leakage current can be manufactured.
以下、この発明を図示の実施の形態により詳細に説明する。Hereinafter, the present invention will be described in detail with reference to embodiments shown in the drawings.
  (第1の実施の形態)
 図1~図5は、この発明の第1実施形態であるGaN系HFET(Hetero-junction Field Effect Transistor;ヘテロ接合電界効果トランジスタ)の製造方法の工程を順に示す断面図である。(First embodiment)
 1 to 5 are cross-sectional views sequentially showing steps of a method of manufacturing a GaN-based HFET (Hetero-junction Field Effect Transistor) according to the first embodiment of the present invention.
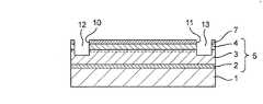
 まず、図1に示すように、Si基板1上に、MOCVD(有機金属気相成長)法を用いて、アンドープAlGaNバッファ層2、アンドープGaNチャネル層3、アンドープAlGaNバリア層4、を順に形成する。このAlGaNバッファ層2とGaNチャネル層3とAlGaNバリア層4がGaN系積層体5を構成している。図1において、符号6は、AlGaNバリア層4とGaNチャネル層3との界面に形成される2次元電子ガスを示している。First, as shown in FIG. 1, an undoped AlGaN
 次に、図2に示すように、上記AlGaNバリア層4上に、プラズマCVD法を用いて、シリコン窒化膜であるSiN保護膜7を形成する。このSiN保護膜7の成長温度は、一例として、225℃としたが、200℃~400℃の範囲で設定してもよい。また、上記SiN保護膜7の膜厚は、一例として、150nmとしたが、20nm~250nmの範囲で設定してもよい。Next, as shown in FIG. 2, a SiN
 また、一例として、上記プラズマCVD法によりSiN保護膜7を形成する際のガス流量比は、N2/NH3/SiH4=300sccm/40sccm/35sccmとした。これにより、ストイキオメトリなシリコン窒化膜よりもシリコンSiの比率の大きなSiN保護膜7を形成できる。このSiN保護膜7によれば、ストイキオメトリなシリコン窒化膜に比べて、電流コラプスをより抑制できる。また、例えば、SiN保護膜7のSiとNとの組成比Si:N=1.1~1.9:1にすると、Si:N=0.75:1のストイキオメトリなシリコン窒化膜よりも電流コラプスの抑制に有効である。As an example, the gas flow rate ratio when forming the SiN
 次に、上記SiN保護膜7上にフォトレジスト層(図示せず)を形成し、露光,現像することにより、上記フォトレジスト層に開口を形成し、上記開口を形成したフォトレジスト層をマスクとして、ドライエッチングを行なう。これにより、図3に示すように、上記SiN保護膜7に開口10,11を形成すると共に上記AlGaNバリア層4からGaNチャネル層3まで達するリセス12,13を形成する。このリセス12,13がオーミック電極形成領域をなす。なお、上記リセス12,13の形成方法は、上記に限らず、例えば、フォトレジスト層をマスクとして、上記開口10,11を形成する領域のSiN保護膜7をウェットエッチングで除去したのち、AlGaNバリア層4およびGaNチャネル層3をドライエッチングすることにより、リセス12,13を形成してもよい。Next, a photoresist layer (not shown) is formed on the SiN
 次に、上記SiN保護膜7を熱処理する。この熱処理は、例えば、窒素雰囲気で500℃で5分間とした。また、上記熱処理の温度は、一例として、500℃~700℃の範囲で設定してもよい。Next, the SiN
 次に、フォトリソグラフィにより、ソース電極,ドレイン電極を形成すべき領域(リセス12,13と開口10,11による領域を含む)が開口したフォトレジスト(図示せず)を形成し、このフォトレジスト上にTi,Alを順に蒸着し、リフトオフにより、図4に示すように、リセス12,13と開口10,11を埋めると共にSiN保護膜7上に重なる領域を有するようにソース電極,ドレイン電極となるTi/Al電極15,16を形成する。このTi/Al電極15,16は、Ti層,Al層が順に積層された積層構造の電極である。次に、上記電極15,16を、熱処理してオーミック電極にし、ソース電極15,ドレイン電極16とする。この熱処理(オーミックアニール)の条件は、一例として500℃で30分としたが、上記熱処理の条件は、これに限らず、例えば、上記熱処理温度を、400℃~600℃の範囲内で設定してもよい。Next, by photolithography, a photoresist (not shown) in which the regions where the source and drain electrodes are to be formed (including regions by the
 次に、図5に示すように、フォトリソグラフィによりフォトレジストによるマスクを形成してエッチングすることで、上記SiN保護膜7のゲート電極を形成すべき領域を除去して開口20を形成する。その後、開口20を埋めるように、TiNを全面スパッタし、フォトリソグラフィでゲート電極を形成すべき電極形成領域にレジストパターン(図示せず)を形成し、このレジストパターンをマスクとして、ドライエッチングまたはウエットエッチングを行なって、上記電極形成領域以外のTiN膜を除去して、ゲート電極18となるTiN電極を形成する。ゲート電極18の直下には、アンドープAlGaNバリア層4が位置しており、ゲート電極18とアンドープAlGaNバリア層4との接合は、ショットキー接合となる。Next, as shown in FIG. 5, a mask made of a photoresist is formed by photolithography, and etching is performed to remove a region where the gate electrode of the SiN
 このように、この第1実施形態のGaN系HFETの製造方法によれば、上記GaN系積層体5上にSiN保護膜7を形成し、このSiN保護膜7を熱処理(例えば、500℃で5分間)により改質してから、Ti/Al電極15,16をGaN系積層体5上に形成し、上記Ti/Al電極15,16を熱処理してオーミック電極としてのソース電極15,ドレイン電極16とする。本発明者らは、SiN保護膜7を成膜して熱処理した後に、上記Ti/Al電極15,16を形成し熱処理(オーミックアニール)して、オーミック電極としてソース電極15,ドレイン電極16を形成することによって、電極メタルがSiN保護膜7に拡散することを抑制できて、上記SiN保護膜7を経由するリーク電流を低減できることを見出した。Thus, according to the manufacturing method of the GaN-based HFET of the first embodiment, the SiN
 したがって、この実施形態の製造方法によれば、上記SiN保護膜7による電流コラプスの抑制と上記SiN保護膜7を経由するリーク電流の低減とを両立できるGaN系HFETを製造できる。ここで、「電流コラプス」とは、GaN系半導体素子において、特に、問題になっているもので、低電圧動作でのトランジスタのオン抵抗と比べて高電圧動作でのトランジスタのオン抵抗が高くなってしまう現象である。Therefore, according to the manufacturing method of this embodiment, it is possible to manufacture a GaN-based HFET that can simultaneously suppress the current collapse by the SiN
 図7は、本実施形態によって作製したGaN系HFETの歩留り(%)と比較例によって作製したGaN系HFETの歩留り(%)とを比較するグラフである。本実施形態では、上述の如く、SiN保護膜7を形成し熱処理した後に、上記Ti/Al電極15,16を熱処理(オーミックアニール)するものである。これに対して、上記比較例では、図4に示すTi/Al電極15,16をGaN系積層体5上に形成する前にはSiN保護膜7を熱処理しないで、Ti/Al電極15,16の熱処理(オーニックアニール)を上記SiN保護膜7の熱処理と兼用している。そして、上記歩留りを求めるために、本実施形態により10個のサンプル(GaN系HFET)を作製するとともに、上記比較例により10個のサンプル(GaN系HFET)を作製した。そして、各サンプルについて、ゲート電圧Vgを-10(V)とし、ドレイン電圧Vdおよびソース電圧Vsを0(V)として、ゲートリーク電流を計測して、このゲートリーク電流が1×10-5(A)以内である場合に合格と判定し、ゲートリーク電流が1×10-5(A)を超えたときに不合格と判定した。なお、このゲートリーク電流の測定は、常温(25℃)にて行なった。図7に示すように、本実施形態で作製したGaN系HFETの歩留り(%)は100%であるのに対して、上記比較例で作製したGaN系HFETの歩留り(%)は40%であり、本実施形態による歩留りの向上が明らかであった。FIG. 7 is a graph comparing the yield (%) of the GaN-based HFET fabricated according to the present embodiment and the yield (%) of the GaN-based HFET fabricated according to the comparative example. In the present embodiment, as described above, after the SiN
  (第2の実施の形態)
 次に、図9~図13は、この発明の第2実施形態であるGaN系HFETの製造方法の工程を順に示す断面図である。(Second embodiment)
 Next, FIGS. 9 to 13 are cross-sectional views sequentially showing the steps of the method of manufacturing the GaN-based HFET which is the second embodiment of the present invention.
 まず、図9に示すように、Si基板71上に、MOCVD(有機金属気相成長)法を用いて、アンドープAlGaNバッファ層72、アンドープGaNチャネル層73、アンドープAlGaNバリア層74、を順に形成する。このAlGaNバッファ層72とGaNチャネル層73とAlGaNバリア層74がGaN系積層体75を構成している。図9において、符号76は、AlGaNバリア層74とGaNチャネル層73との界面に形成される2次元電子ガスを示している。First, as shown in FIG. 9, an undoped
 この第2実施形態で作製するGaN系積層体75が、前述の第1実施形態で作製するGaN系積層体5と異なる点は、上記AlGaNバリア層74の厚さを、第1実施形態のAlGaNバリア層4の厚さ(例えば30nm)よりも薄く、例えば10nmとした点である。これにより、前述の第1実施形態のようなリセス12,13を形成することなく、後述する電極85,86をオーミックコンタクト可能にしている。The GaN-based
 次に、図10に示すように、上記AlGaNバリア層74上に、プラズマCVD法を用いて、シリコン窒化膜であるSiN保護膜77を形成する。このSiN保護膜77の成長温度は、一例として、225℃としたが、200℃~400℃の範囲で設定してもよい。また、上記SiN保護膜77の膜厚は、一例として、150nmとしたが、20nm~250nmの範囲で設定してもよい。Next, as shown in FIG. 10, a SiN
 一例として、上記プラズマCVD法によりSiN保護膜77を形成する際のガス流量比は、N2/NH3/SiH4=300sccm/40sccm/35sccmとした。これにより、ストイキオメトリなシリコン窒化膜よりもシリコンSiの比率の大きなSiN保護膜77を形成でき、電流コラプスの抑制効果を向上できる。As an example, the gas flow rate ratio when forming the SiN
 次に、上記SiN保護膜77上にフォトレジスト層(図示せず)を形成し、露光,現像することにより、上記フォトレジスト層に開口を形成し、上記開口を形成したフォトレジスト層をマスクとして、ウエットエッチングを行なう。これにより、図11に示すように、上記SiN保護膜77に開口70,71を形成する。この開口70,71に露出したAlGaNバリア層74の領域がオーミック電極形成領域をなす。Next, a photoresist layer (not shown) is formed on the SiN
 次に、上記SiN保護膜77を熱処理する。この熱処理の温度は、例えば、500℃で5分間とした。なお、上記熱処理の温度は、一例として、500℃~700℃の範囲で設定してもよい。Next, the SiN
 次に、フォトリソグラフィにより、ソース電極,ドレイン電極を形成すべき領域(上記露出したAlGaNバリア層74の領域を含む)が開口したフォトレジスト(図示せず)を形成し、このフォトレジスト上にTi,Alを順に蒸着し、リフトオフにより、図12に示すように、開口70,71を埋めると共にSiN保護膜77上に重なる領域を有するようにTi/Al電極85,86を形成する。このTi/Al電極85,86がソース電極,ドレイン電極となる。このTi/Al電極85,86は、Ti層,Al層が順に積層された積層構造の電極である。次に、上記電極85,86を、熱処理してオーミック電極にし、ソース電極85,ドレイン電極86とする。この熱処理(オーミックアニール)の条件は、一例として500℃で30分としたが、上記熱処理の条件は、これに限らず、例えば、上記熱処理温度を、400℃~600℃の範囲内で設定してもよい。Next, by photolithography, a photoresist (not shown) in which the regions where the source and drain electrodes are to be formed (including the exposed
 次に、図13に示すように、フォトリソグラフィによりフォトレジストによるマスクを形成してエッチングすることで、上記SiN保護膜77のゲート電極を形成すべき領域を除去して開口90を形成する。その後、開口90を埋めるように、TiNを全面スパッタし、フォトリソグラフィでゲート電極を形成すべき電極形成領域にレジストパターン(図示せず)を形成し、このレジストパターンをマスクとして、ドライエッチングまたはウエットエッチングを行なって、上記電極形成領域以外のTiN膜を除去して、ゲート電極88となるTiN電極を形成する。ゲート電極88の直下には、アンドープAlGaNバリア層74が位置しており、ゲート電極88とアンドープAlGaNバリア層74との接合は、ショットキー接合となる。Next, as shown in FIG. 13, a mask made of a photoresist is formed by photolithography, and etching is performed to remove a region where the gate electrode of the SiN
 このように、この第2実施形態のGaN系HFETの製造方法によれば、上記GaN系積層体75上に形成したSiN保護膜77を熱処理により改質してから、Ti/Al電極85,86をGaN系積層体75上に形成し、上記Ti/Al電極を熱処理してオーミック電極としてのソース電極85,ドレイン電極86とする。このように、SiN保護膜77を成膜して熱処理した後に、上記Ti/Al電極85,86を熱処理(オーミックアニール)し、オーミック電極としてのソース電極85,ドレイン電極86を形成する。これにより、上記Ti/Al電極85,86の熱処理時に電極メタルがSiN保護膜77に拡散することを抑制できて、上記SiN保護膜77を経由するリーク電流を低減できる。よって、この第2実施形態によれば、上記熱処理したSiN保護膜77による電流コラプスの抑制と上記SiN保護膜77を経由するリーク電流の低減とを両立できるGaN系HFETを製造できる。Thus, according to the GaN-based HFET manufacturing method of the second embodiment, the Si / N
 なお、上記第2実施形態では、上記AlGaNバリア層74の厚さを第1実施形態のAlGaNバリア層4の厚さよりも薄くして、ソース電極85,ドレイン電極86をオーミックコンタクト可能としたが、上記AlGaNバリア層74の厚さをAlGaNバリア層4の厚さと同等とした場合には、AlGaNバリア層74のオーミックコンタクト部分に予めSiドープをしてn型化させることで電極のオーミックコンタクト可能をとしてもよい。In the second embodiment, the thickness of the
 また、上記第1,第2実施形態では、基板としてSi基板を用いたが、サファイア基板を用いてもよい。また、上記GaN基板上にAlGaN層を成長させる等のように、窒化物半導体からなる基板上に窒化物半導体層を成長させてもよい。また、適宜、バッファ層を基板と各層間に形成してもよい。また、GaNチャネル層3,73とAlGaNバリア層4,74との間に、AlNで作製したヘテロ改善層を形成してもよい。また、上記AlGaNバリア層4,74上にGaNキャップ層を形成してもよい。また、上記実施形態では、ゲート電極18,88をTiNで作製したが、WNで作製してもよい。また、ゲート電極18,88をPt/AuやNi/Auで作製してもよい。In the first and second embodiments, the Si substrate is used as the substrate, but a sapphire substrate may be used. Further, a nitride semiconductor layer may be grown on a substrate made of a nitride semiconductor, such as growing an AlGaN layer on the GaN substrate. Further, a buffer layer may be appropriately formed between the substrate and each layer. A hetero improvement layer made of AlN may be formed between the GaN channel layers 3 and 73 and the
 また、上記第1,第2実施形態では、電流コラプスを抑制する保護膜をシリコン窒化膜(SiN膜)の一層からなるSiN保護膜7,77としたが、電流コラプスを抑制する保護膜を、ストイキオメトリなシリコン窒化膜よりもシリコンSiの比率の大きな下層SiN膜とストイキオメトリな上層SiN膜とで構成してもよい。この場合、ストイキオメトリな上層SiN膜による電極メタルの拡散抑制と、シリコンSiの比率の大きな下層SiN膜による電流コラプス抑制とを図れる。また、上記SiN保護膜7,77上にSiO2膜またはAl2O3膜を形成してもよい。この場合、上記SiO2膜またはAl2O3膜によって上記電極の熱処理時にSiN保護膜7,77へ電極メタルが拡散するのをさらに抑制でき、上記SiN保護膜7,77を経由してゲート電極18,88に流れるリーク電流をさらに低減できる。In the first and second embodiments, the protective film that suppresses current collapse is the SiN
 また、図6に示すように、下層SiN膜51とストイキオメトリである上層SiN膜52とSiO2膜53とを順に積層した保護膜50を電流コラプスを抑制する保護膜としてもよい。ここで、上記上層SiN膜52がストイキオメトリであるとは、SiとNが3:4の組成であることを意味している。上記保護膜50によれば、上層SiN膜52がストイキオメトリであると共に上記上層SiN膜52上にSiO2膜53を形成したことで、上記電極の熱処理時に上記保護膜50の上層および下層SiN保護層52,51へ電極メタルが拡散することを抑制でき、上記保護膜50を経由するリーク電流をさらに低減できる。なお、上記下層SiN膜51は、ストイキオメトリなシリコン窒化膜よりもシリコンSiの比率の大きなSiN保護膜とすることで、ストイキオメトリなシリコン窒化膜に比べて電流コラプスの抑制を図れるが、上層SiN膜52と同様にストイキオメトリなシリコン窒化膜としてもよい。この場合、電極メタルの拡散抑制によるさらなるリーク電流低減を図れる。また、上記SiO2膜53の替わりにAl2O3膜としてもよい。Further, as shown in FIG. 6, a
 また、上記第1,第2実施形態では、一例として、上記SiN保護膜7,77の熱処理温度を500℃とするとともに、電極15,16,85,86の熱処理温度を500℃としたが、電極15,16,85,86の熱処理温度をSiN保護膜77の熱処理温度よりも低くすることが望ましい。例えば、上記SiN保護膜77の熱処理温度が500℃である場合、電極15,16,85,86の熱処理温度を500℃よりも低い450℃とすることが望ましい。これにより、上記電極15,16,85,86を熱処理する際に、上記SiN保護膜7,77へ電極メタルが拡散することを抑制でき、上記SiN保護膜7,77を経由してゲート電極18,88に流れるリーク電流をさらに低減できる。In the first and second embodiments, as an example, the heat treatment temperature of the SiN
 また、上記第1,第2実施形態では、上記オーミック電極としてのソース電極15,85、ドレイン電極16,86を、Ti層,Al層が順に積層されたTi/Al電極としたが、Ti層,Al層,TiN層が順に積層されたTi/Al/TiN電極としてもよい。また、上記Al層の代わりにAlSi層やAlCu層を用いてもよい。また、ソース電極,ドレイン電極としては、Hf/Al電極としてもよい。また、ソース電極,ドレイン電極としては、Ti/AlまたはHf/Al上にNi/Auを積層したものとしてもよく、Ti/AlまたはHf/Al上にPt/Auを積層したものとしてもよく、Ti/AlまたはHf/Al上にAuを積層したものとしてもよい。In the first and second embodiments, the
 また、上記第1,第2実施形態では、一例として、上記電極15,16,85,86のオーミックアニールの温度条件を、500℃としたが、図8に示すように、上記電極15,16,85,86のオーミックアニールの温度が600℃を超える700℃にした場合、電極15,16,85,86のコンタクト抵抗(Ωmm)が急増する。このため、上記電極15,16,85,86のオーミックアニールの温度は600℃以下にすることが望ましい。例えば、上記オーミックアニールの温度を、400℃~600℃の範囲内で設定することが望ましい。In the first and second embodiments, as an example, the temperature conditions for the ohmic annealing of the
 また、上記第1実施形態では、リフトオフにより、ソース電極,ドレイン電極となるTi/Al電極15,16を形成したが、図3に示すSiN保護膜7上およびリセス12,13と開口10,11を埋めるように、Ti,Al,TiNを順に全面スパッタし、フォトリソグラフィで上記ソース電極,ドレイン電極を形成すべき電極形成領域にレジストパターン(図示せず)を形成し、このレジストパターンをマスクとして、ドライエッチングまたはウエットエッチングを行なって、上記電極形成領域以外のTi,Al,TiN膜を除去して、ソース電極,ドレイン電極となるTi/Al/TiN電極15,16を形成してもよい。In the first embodiment, the Ti /
 また、上記第2実施形態では、リフトオフにより、ソース電極,ドレイン電極となるTi/Al電極85,86を形成したが、図11に示すSiN保護膜77上および開口70,71を埋めるように、Ti,Al,TiN膜を順に全面スパッタし、フォトリソグラフィで上記ソース電極,ドレイン電極を形成すべき電極形成領域にレジストパターン(図示せず)を形成し、このレジストパターンをマスクとして、ドライエッチングまたはウエットエッチングを行なって、上記電極形成領域以外のTi,Al,TiN膜を除去して、ソース電極,ドレイン電極となるTi/Al/TiN電極85,86を形成してもよい。In the second embodiment, the Ti /
この発明の製造方法におけるGaN系半導体積層体は、AlxInyGa1-x-yN(x≧0、y≧0、0≦x+y<1)で表されるGaN系半導体層を含むものでもよい。すなわち、この発明の製造方法におけるGaN系半導体積層体は、AlGaN、GaN、InGaN等を含むものとしてもよい。The GaN-based semiconductor laminate in the manufacturing method of the present invention may include a GaN-based semiconductor layer represented by Alx Iny Ga1-xy N (x ≧ 0, y ≧ 0, 0 ≦ x + y <1). . That is, the GaN-based semiconductor laminate in the manufacturing method of the present invention may include AlGaN, GaN, InGaN, and the like.
また、上記実施形態では、ノーマリオンタイプのHFETについて説明したがノーマリオフタイプでも同様の効果が得られる。また、ショットキーゲートで説明したが絶縁ゲート構造でも構わない。また、この発明で製造するGaN系半導体素子は、上記実施形態のHFETに限らず、他の構成の電界効果トランジスタであってもよい。In the above embodiment, the normally-on type HFET has been described. However, the normally-off type can achieve the same effect. Moreover, although the Schottky gate has been described, an insulated gate structure may be used. Further, the GaN-based semiconductor element manufactured by the present invention is not limited to the HFET of the above embodiment, but may be a field effect transistor having another configuration.
この発明の具体的な実施の形態について説明したが、この発明は上記実施形態に限定されるものではなく、この発明の範囲内で種々変更して実施することができる。Although specific embodiments of the present invention have been described, the present invention is not limited to the above embodiments, and various modifications can be made within the scope of the present invention.
 1,71 Si基板
 2,72 アンドープAlGaNバッファ層
 3,73 GaNチャネル層
 4,74 AlGaNバリア層
 5,75 GaN系積層体
 6,76 2次元電子ガス
 7,77 SiN保護膜
 10,11,70,71 開口
 12,13 リセス
 15,85 Ti/Al電極(ソース電極)
 16,86 Ti/Al電極(ドレイン電極)
 18,88 ゲート電極
 20,90 開口
 50 保護膜
 51 下層SiN膜
 52 上層SiN膜
 53 SiO2膜1,71
 16,86 Ti / Al electrode (drain electrode)
 18,88
| Application Number | Priority Date | Filing Date | Title | 
|---|---|---|---|
| JP2011-150971 | 2011-07-07 | ||
| JP2011150971AJP5166576B2 (en) | 2011-07-07 | 2011-07-07 | GaN-based semiconductor device manufacturing method | 
| Publication Number | Publication Date | 
|---|---|
| WO2013005667A1true WO2013005667A1 (en) | 2013-01-10 | 
| Application Number | Title | Priority Date | Filing Date | 
|---|---|---|---|
| PCT/JP2012/066677WO2013005667A1 (en) | 2011-07-07 | 2012-06-29 | METHOD FOR MANUFACTURING GaN SEMICONDUCTOR ELEMENT | 
| Country | Link | 
|---|---|
| JP (1) | JP5166576B2 (en) | 
| WO (1) | WO2013005667A1 (en) | 
| Publication number | Priority date | Publication date | Assignee | Title | 
|---|---|---|---|---|
| US8888773B2 (en) | 2012-05-11 | 2014-11-18 | Medtronic Ardian Luxembourg S.A.R.L. | Multi-electrode catheter assemblies for renal neuromodulation and associated systems and methods | 
| US8956352B2 (en) | 2010-10-25 | 2015-02-17 | Medtronic Ardian Luxembourg S.A.R.L. | Catheter apparatuses having multi-electrode arrays for renal neuromodulation and associated systems and methods | 
| US9084610B2 (en) | 2010-10-21 | 2015-07-21 | Medtronic Ardian Luxembourg S.A.R.L. | Catheter apparatuses, systems, and methods for renal neuromodulation | 
| US9131978B2 (en) | 2002-04-08 | 2015-09-15 | Medtronic Ardian Luxembourg S.A.R.L. | Methods for bilateral renal neuromodulation | 
| CN109671775A (en)* | 2017-10-16 | 2019-04-23 | 住友电工光电子器件创新株式会社 | Process for forming nitride semiconductor device | 
| Publication number | Priority date | Publication date | Assignee | Title | 
|---|---|---|---|---|
| KR102087941B1 (en)* | 2013-08-07 | 2020-03-11 | 엘지이노텍 주식회사 | Power Semiconductor Device | 
| JP2015170824A (en)* | 2014-03-10 | 2015-09-28 | 株式会社東芝 | Semiconductor device and method of manufacturing the same | 
| KR20180068161A (en)* | 2016-12-13 | 2018-06-21 | (주)웨이비스 | A nitride electronic element and manufacturing method thereof | 
| JP2018163928A (en)* | 2017-03-24 | 2018-10-18 | 住友電気工業株式会社 | Manufacturing method of semiconductor device | 
| KR102396072B1 (en)* | 2020-11-13 | 2022-05-11 | 한국원자력연구원 | Method for Forming the Ohmic Contact of GaN Based Electronic Device and the Ohmic Contact of GaN Based Electronic Device Formed by the Same | 
| PL446725A1 (en)* | 2023-11-13 | 2025-05-19 | Sieć Badawcza Łukasiewicz - Instytut Mikroelektroniki I Fotoniki | Ohmic contact for GaN-based semiconductor structures and method of producing said contact | 
| WO2025164538A1 (en)* | 2024-01-31 | 2025-08-07 | 住友電工デバイス・イノベーション株式会社 | Semiconductor device | 
| Publication number | Priority date | Publication date | Assignee | Title | 
|---|---|---|---|---|
| JP2008016762A (en)* | 2006-07-10 | 2008-01-24 | Oki Electric Ind Co Ltd | MANUFACTURING METHOD OF GaN-HEMT | 
| JP2008306027A (en)* | 2007-06-08 | 2008-12-18 | Eudyna Devices Inc | Manufacturing method of semiconductor device | 
| JP2009200306A (en)* | 2008-02-22 | 2009-09-03 | Eudyna Devices Inc | Manufacturing method of semiconductor device | 
| Publication number | Priority date | Publication date | Assignee | Title | 
|---|---|---|---|---|
| JP2008306026A (en)* | 2007-06-08 | 2008-12-18 | Eudyna Devices Inc | Method of manufacturing semiconductor device | 
| Publication number | Priority date | Publication date | Assignee | Title | 
|---|---|---|---|---|
| JP2008016762A (en)* | 2006-07-10 | 2008-01-24 | Oki Electric Ind Co Ltd | MANUFACTURING METHOD OF GaN-HEMT | 
| JP2008306027A (en)* | 2007-06-08 | 2008-12-18 | Eudyna Devices Inc | Manufacturing method of semiconductor device | 
| JP2009200306A (en)* | 2008-02-22 | 2009-09-03 | Eudyna Devices Inc | Manufacturing method of semiconductor device | 
| Publication number | Priority date | Publication date | Assignee | Title | 
|---|---|---|---|---|
| US9131978B2 (en) | 2002-04-08 | 2015-09-15 | Medtronic Ardian Luxembourg S.A.R.L. | Methods for bilateral renal neuromodulation | 
| US9084610B2 (en) | 2010-10-21 | 2015-07-21 | Medtronic Ardian Luxembourg S.A.R.L. | Catheter apparatuses, systems, and methods for renal neuromodulation | 
| US8956352B2 (en) | 2010-10-25 | 2015-02-17 | Medtronic Ardian Luxembourg S.A.R.L. | Catheter apparatuses having multi-electrode arrays for renal neuromodulation and associated systems and methods | 
| US8998894B2 (en) | 2010-10-25 | 2015-04-07 | Medtronic Ardian Luxembourg S.A.R.L. | Catheter apparatuses having multi-electrode arrays for renal neuromodulation and associated systems and methods | 
| US8888773B2 (en) | 2012-05-11 | 2014-11-18 | Medtronic Ardian Luxembourg S.A.R.L. | Multi-electrode catheter assemblies for renal neuromodulation and associated systems and methods | 
| CN109671775A (en)* | 2017-10-16 | 2019-04-23 | 住友电工光电子器件创新株式会社 | Process for forming nitride semiconductor device | 
| CN109671775B (en)* | 2017-10-16 | 2023-09-29 | 住友电工光电子器件创新株式会社 | Process for forming nitride semiconductor device | 
| Publication number | Publication date | 
|---|---|
| JP5166576B2 (en) | 2013-03-21 | 
| JP2013021016A (en) | 2013-01-31 | 
| Publication | Publication Date | Title | 
|---|---|---|
| JP5166576B2 (en) | GaN-based semiconductor device manufacturing method | |
| JP7175727B2 (en) | Nitride semiconductor device | |
| US8748274B2 (en) | Method for fabricating semiconductor device | |
| JP5306438B2 (en) | Field effect transistor and manufacturing method thereof | |
| TWI512993B (en) | Transistor and its forming method and semiconductor component | |
| US10784361B2 (en) | Semiconductor device and method for manufacturing the same | |
| US10700189B1 (en) | Semiconductor devices and methods for forming the same | |
| JP2014045174A (en) | Nitride semiconductor device | |
| JP6050018B2 (en) | Semiconductor device and manufacturing method of semiconductor device | |
| CN108198855B (en) | Semiconductor element, semiconductor substrate and forming method thereof | |
| WO2013108844A1 (en) | Nitride semiconductor device | |
| US20150179823A1 (en) | Electrode structure for nitride semiconductor device, production method therefor, and nitride semiconductor field-effect transistor | |
| TWI680503B (en) | Method of manufacturing gate structure for gallium nitride hemt | |
| US20150349108A1 (en) | Electrode structure for nitride semiconductor device, and nitride semiconductor field effect transistor | |
| TW202015241A (en) | Semiconductor devices and methods for forming same | |
| JP6650867B2 (en) | Method for manufacturing heterojunction field effect transistor | |
| JP2019009366A (en) | Semiconductor device and manufacturing method of semiconductor device | |
| JP2015073002A (en) | Compound semiconductor device and manufacturing method thereof | |
| JP5220904B2 (en) | GaN compound semiconductor device | |
| JP2013115323A (en) | Field-effect transistor | |
| JP2013222800A (en) | Nitride semiconductor device and manufacturing method of the same | |
| WO2014129245A1 (en) | Nitride semiconductor device | |
| WO2013084726A1 (en) | Field-effect transistor | |
| WO2013094356A1 (en) | Semiconductor device and method of fabricating same | |
| CN111092118B (en) | Semiconductor device and method for manufacturing the same | 
| Date | Code | Title | Description | 
|---|---|---|---|
| 121 | Ep: the epo has been informed by wipo that ep was designated in this application | Ref document number:12807532 Country of ref document:EP Kind code of ref document:A1 | |
| NENP | Non-entry into the national phase | Ref country code:DE | |
| 122 | Ep: pct application non-entry in european phase | Ref document number:12807532 Country of ref document:EP Kind code of ref document:A1 |