Movatterモバイル変換


[0]ホーム

URL:


WO2012053042A1 - Solar cell module and method of manufacturing the same - Google Patents

Solar cell module and method of manufacturing the same
Download PDF

Info

Publication number
WO2012053042A1
WO2012053042A1PCT/JP2010/007197JP2010007197WWO2012053042A1WO 2012053042 A1WO2012053042 A1WO 2012053042A1JP 2010007197 WJP2010007197 WJP 2010007197WWO 2012053042 A1WO2012053042 A1WO 2012053042A1
Authority
WO
WIPO (PCT)
Prior art keywords
solar cell
cell module
water vapor
vapor barrier
battery device
Prior art date
Application number
PCT/JP2010/007197
Other languages
French (fr)
Inventor
Hiroshi Nagate
Hiroshi Kubo
Original Assignee
Fujifilm Corporation
Priority date (The priority date is an assumption and is not a legal conclusion. Google has not performed a legal analysis and makes no representation as to the accuracy of the date listed.)
Filing date
Publication date
Application filed by Fujifilm CorporationfiledCriticalFujifilm Corporation
Publication of WO2012053042A1publicationCriticalpatent/WO2012053042A1/en

Links

Images

Classifications

Definitions

Landscapes

Abstract

A solar cell module comprises: a solar battery device including a light receiving surface, a bottom surface opposite from the light receiving surface, and end faces; a transparent sealing material for sealing a whole periphery of the solar battery device; a transparent water vapor barrier layer for covering a whole of the light receiving surface, a whole of each of the end faces, and at least a part of the bottom surface; a transparent top surface protection film disposed at least in the outermost position on the side of the solar battery device closer to the light receiving surface; and a bottom surface protection film disposed in the outermost position on the bottom side of the solar battery device.

Description

SOLAR CELL MODULE AND METHOD OF MANUFACTURING THE SAME
The present invention relates to a solar cell module secured to a mount installed outdoors or on a roof and particularly to a solar cell module that has achieved a significant reduction in performance deterioration due to moisture, and to a method of manufacturing the same.
A solar battery comprises a number of series-connected solar cells on a substrate to form a semiconductor circuit, each of which solar cells has a laminated structure essentially comprising a semiconductor photoelectric conversion layer for generating current by light absorption sandwiched by a lower electrode (back electrode) and an upper electrode (transparent electrode).
Solar batteries having such a configuration are receiving attention as a device capable of producing clean energy. Therefore, intensive researches are being conducted in solar batteries in an effort to make improvements from various viewpoints.
Solar cells used in such solar batteries are generally vulnerable to moisture such that moisture infiltration causes conversion efficiency among other properties to deteriorate.
Particular vulnerable are solar cells of chalcopyrite type, which have light absorption layers formed of CIS (CuInSe2) or CIGS (Cu(In, Ga)Se2) containing Ga dissolved in CIS, having a chalcopyrite structure essentially composed of a Ib group element, a IIIb group element, and a VIb group element, because the solar cells of this type have transparent electrodes each formed of a ZnO film or the like, which allows moisture to infiltrate and alter the properties of the transparent electrodes, which in turn increases the resistance value and, hence, greatly lowers the conversion efficiency.
As is known, however, solar batteries are in most cases installed outdoors such as on the mounts placed outdoors, on the roofs, on the rooftops, and the like. Thus, various proposals are being made to improve waterproofness of solar cell modules.
For example, Patent Literature 1 describes a solar cell module sealed by a sealing material, wherein the solar cell module has a weather-resistant protective layer formed of an organic polymer or a mixture of an organic polymer and a sealing material on the periphery of the sealing material and wherein the peripheries of the protective layer, a surface protection material and a bottom surface lie in a common plane.
Such a structure enables this solar cell module to prevent moisture infiltration from the periphery thereof and reduce the generation of a corrosive acetic acid or the like. Organic polymers cited therein include fluororesins and acrylic resins.
Patent Literature 2 describes a solar cell module comprising solar panels supported by a frame, the solar panels being sealed by a protective material sandwiched by a first cover member, which is transparent, and a second cover member, which is flexible, wherein the solar cell module is further provided with a first sealing material formed of a material having a low water vapor permeability and disposed between the cover members so as to enclose the lateral face of the protective material and a second sealing material formed of a material having a high impact resistance and disposed in a recess of the frame into which the solar cell module is inserted.
Such a structure enables this solar cell module to achieve improvements in both waterproofness and impact resistance. In Patent Literature 2, the first sealing material is exemplified by polyisobutylene rubber; the second sealing material is exemplified by butyl rubber.
Patent Literature 3 describes a solar cell module wherein solar cells are sealed by a sealing material between a support base and a protective film coating the end faces of the support base.
Given the above structure, this solar cell module, while not directly aiming at improving waterproofness of the solar cell module, prevents detachment of the support base from the sealing material due to moisture infiltration into the interface in which they are bonded to each other and corrosion caused by moisture infiltration into the end faces of the support base. The protective film is exemplified by fluororesins, silicone resins, metal films formed of laminated resin layers and the like.
[PTL 1] JP 2003-209273 A
[PTL 2] JP 2008-147382 A
[PTL 3] JP 10-233521 A
Such waterproofed solar cell modules can serve a long period of time with limited deterioration of properties of the solar cells.
In a number of cases, however, solar cell modules are installed outdoors as described above where they are substantially open to rain. Therefore, measures to achieve waterproofness with conventional solar cell modules have failed to provide sufficient waterproofness depending on the operating conditions, so that conventional solar cell modules cannot restrict deterioration of sealing materials due to corrosive products generated by moisture infiltration and decrease of conversion efficiency caused by alteration of the properties of transparent electrodes over a long period of time.
Against such a backdrop, a solar cell module has been long awaited that has a further enhanced waterproofness and can continue to offer a consistent performance over an extended period of time.
An object of the invention is to overcome the above problems associated with the prior art and provide a solar cell module capable of preventing water infiltration from its periphery and maintaining a consistent performance over a long period of time and a method of manufacturing the same.
SOLUTION TO THE PROBLEMS
A solar cell module according to a first aspect of the present invention comprises:
a solar battery device including a light receiving surface, a bottom surface opposite from the light receiving surface, and end faces;
a transparent sealing material for sealing a whole periphery of the solar battery device;
a transparent water vapor barrier layer for covering a whole of the light receiving surface, a whole of each of the end faces, and at least a part of the bottom surface;
a transparent top surface protection film disposed at least in the outermost position on the side of the solar battery device closer to the light receiving surface; and
a bottom surface protection film disposed in the outermost position on the bottom side of the solar battery device.
A method of manufacturing a solar cell module according to a second aspect of the present invention comprises the steps of:
producing a wrapped structure in which a whole of a light receiving surface, a whole of end faces, and at least a part of a bottom surface located opposite from the light receiving surface of a solar battery device are coated by a water vapor barrier layer;
disposing a sealing material on a side of the solar battery device closer to the light receiving surface and on a side closer to the bottom surface on an outside of the wrapped structure;
disposing a top surface protection film on the side of the solar battery device closer to the light receiving surface and a bottom surface protection film on the side closer to the bottom surface to produce a laminate structure on the outside of the sealing material; and
heating and compressing the laminate structure in a vacuum.
A method of manufacturing a solar cell module according to a third aspect of the present invention comprises the steps of:
producing a first laminate structure including a solar battery device and a first sealing material disposed on a light receiving surface and on a bottom surface opposite from the light receiving surface of the solar battery device;
producing a wrapped structure in which the first laminate structure is wrapped in a top surface protection film having a water vapor barrier layer formed on its surface in such a manner that the surface on which the water vapor barrier layer is formed is located inside;
disposing a second sealing material on an outside of the wrapped structure on a bottom side of the solar battery device;
producing a second laminate structure including the wrapped structure, the second sealing material and a bottom surface protection film disposed on an outside of the second sealing material; and
heating and compressing the second laminate structure in a vacuum.
ADVANTAGEOUS EFFECTS OF THE INVENTION
The solar cell module of the present invention can prevent water infiltration from not only the top surface but the end faces (periphery) and, should water penetrate from the bottom side, can prevent the water from reaching the transparent electrode of the solar cell and the like.
Thus, the solar cell module of the present invention can restrict occurrences of corrosive substances generated by reaction between moisture and a sealing material and restrict lowering of the conversion efficiency of the solar cell due to increased resistance of the transparent electrode of the solar cell to maintain a consistent performance over a long period of time.
Fig. 1 is a cross sectional view conceptually illustrating a solar cell module according to Embodiment 1 of the invention.Fig. 2 is a cross sectional view conceptually illustrating a solar cell module according to a modification of Embodiment 1 of the invention.Fig. 3 is a cross sectional view conceptually illustrating a solar cell module according to Embodiment 2.Fig. 4 is a cross sectional view conceptually illustrating a solar cell module according to Example 4.Fig. 5 is a cross sectional view conceptually illustrating a solar cell module according to Comparative example 1.Fig. 6 is a cross sectional view conceptually illustrating a solar cell module according to Comparative example 2.
The solar cell module and the method of manufacturing the same according to the invention will be described in detail based upon preferred embodiments referring to the attached drawings.
Embodiment 1
Fig. 1 schematically illustrates a structure of asolar cell module 10 according to Embodiment 1 of the invention.
Thesolar cell module 10 comprises asolar cell 12, a watervapor barrier film 14, asealing material 18, a topsurface protection film 20, a bottomsurface protection film 24, and aconnection box 26. Thesolar cell 12 and theconnection box 26 are connected by twolead wires 28.
Thesolar cell 12 may be any of known solar cells (solar battery, solar battery elements, solar battery device) for generating electricity by receiving light.
In the illustrated embodiment, thesolar cell 12 is disposed with a light receiving surface located closer to the topsurface protection film 20.
The composition of thesolar cell 12 of the invention is not specifically limited. Solar cells that may be used are known solar cells including Si-based solar cells using Si bulk single crystal, Si bulk polycrystal, and thin-film amorphous silicon, and Si-independent solar cells based on a compound semiconductor.
Particularly preferred are solar cells of chalcopyrite type comprising light absorption layers (photoelectric conversion layers) formed of a compound semiconductor having a chalcopyrite structure composed of a Ib group element, a IIIb group element, and a VIb group element such as CIS (CuInSe2) or CIGS (Cu(In, Ga)Se2) containing Ga dissolved in CIS.
Solar cells of chalcopyrite type each comprises, for example, a glass substrate or a metal substrate having an insulating oxide layer formed on its surface, a lower electrode formed of molybdenum, chromium, tungsten, or another substance on the substrate, a light absorbing layer made of CiS or CIGs formed on the lower electrode, a buffer layer made of cadmium sulphide, zinc sulphide etc. formed on the light absorbing layer, and a transparent electrode layer formed on the buffer layer (substrate structure).
Also known are chalcopyrite type solar cells each having a superstrate structure whereby light is received from the substrate side, comprising a transparent electrode layer formed on a glass substrate, a buffer layer formed on the transparent electrode layer, and an upper electrode layer similar to the lower electrode described above formed on the light absorbing layer.
Typically such chalcopyrite type solar cells each use a transparent electrode formed of ZnO, Al-doped ZnO, ITO (indium tin oxide), etc., which are susceptible to moisture; their properties change in the presence of moisture and their resistance increases. When the resistance of the transparent electrode layer for collecting electricity generated by the light absorbing layer increases, the conversion efficiency necessarily decreases.
As described later, the solar cell module of the invention has an excellent waterproofness (moisture-proofness) such that it can effectively prevent moisture from reaching the inside of the solar cell and effectively restrain moisture from reaching the transparent electrode.
According to the invention, use of chalcopyrite type solar cell (solar cell submodule) further increases the effects of waterproofness and produces favorable results.
The present invention is not limited to a structure using thesolar cell 12 but may be applied to a structure using a solar cell submodule comprising a plurality of connected solar cells.
Thesolar cell module 10 illustrated in Fig. 1 has thesolar cell 12 entirely coated by a transparent watervapor barrier film 14 possessing a high water vapor barrier property (water vapor shield property), which in turn is sealed by atransparent sealing material 18 described later.
In other words, thesolar cell module 10 has thesolar cell 12 wrapped in the watervapor barrier film 14, and this wrapped structure is further enclosed and sealed in the sealingmaterial 18.
More specifically, in thesolar cell module 10, the watervapor barrier film 14 wraps the whole surface of thesolar cell 12 including the light receiving surface, end faces, and a surface opposite from the light receiving surface except a part that needs to be left uncovered to pass thelead wires 28. Thus, in thesolar cell module 10, the whole surface of thesolar cell 12 is preferably covered by the watervapor barrier film 14 except where the structure of the solar cell module does not permit covering with the watervapor barrier film 14.
As described above, solar cell modules in general has a structure wherein the end faces are sealed by a weather resistant protective layer formed of an organic polymer or by a sealing material made of a material having a low water vapor permeability such as polyisobutylene rubber in an attempt to secure waterproofness.
However, such a structure cannot prevent property deterioration of solar cells such as property alterations of transparent electrodes caused by moisture penetrating the top surface protection film or the like. Even the water vapor barrier property provided by the protective layer and sealing material as described above is not sufficiently effective depending on the installation environment of the solar cell module and other factors.
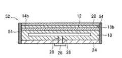
To block penetration of moisture through a topsurface protection layer 20, asolar cell module 50 illustrated in Fig. 5 has a structure comprising a watervapor barrier film 14b provided on the side of thesolar cell 12 sealed with the sealingmaterial 18 closer to the top side and a sealingmaterial layer 18b on thefilm 14b, these being sandwiched by the topsurface protection film 20 and the bottomsurface protection film 24. However, this structure is susceptible to moisture infiltration through the lateral faces and end faces of the solar cell module, which causes the transparent electrode of the solar cell to undergo property alterations.
In an attempt to eliminate such inadequacy, asolar cell module 52 illustrated in Fig. 6 has the end faces sealed by an endface sealing material 54 of butyl rubber and so on. However, similar to the examples given in the above-mentioned patent literatures, the endface sealing material 54 of butyl rubber has a high moisture permeability and is incapable of preventing moisture from infiltrating through the end faces of the solar cell module and changing the properties of the transparent electrode of thesolar cell 12 over an extended period of time.
By contrast, the solar cell module of the invention uses not an ordinary protective resin film or a sealing material made of organic polymer or rubber but a water vapor barrier film (gas barrier film) having a low moisture permeability such as a film formed by, for example, providing a layer (thin film) having a water vapor barrier property such as a silicon nitride film on the surface of a resin film; the water vapor barrier film is disposed so as to cover the whole light receiving surface, the whole end faces, and at least a part of the bottom surface including the periphery thereof.
The invention allows prevention of moisture infiltration through not only the top surface of the solar cell module but the end faces (periphery) thereof with an increased certainty. Should moisture penetrate the solar cell from the bottom side, the solar cell module of the invention can effectively prevent moisture from reaching the electrode and changing its property because the periphery of the bottom surface is also covered by the water vapor barrier film, so that the distance moisture has to travel before reaching the transparent electrode can be made sufficiently long.
Thus, the present invention can provide a solar cell module capable of adequately restricting the decrease of the conversion efficiency of the transparent electrode of the solar cell caused by increased resistance of the transparent electrode of the solar cell attributable to property alterations and permitting reliable use with a consistent performance over a long period of time.
The present invention is not specifically limited in the composition of the watervapor barrier film 14 and permits use of any of known water vapor barrier films.
Preferably, the watervapor barrier film 14 to be used has a water vapor transmission rate of 1 x 10-4 g/(m2·day) or less. Use of such a water vapor barrier film ensures prevention of moisture-caused deterioration of the solar cell module with an increased certainty over a long period of time.
The watervapor barrier film 14 is exemplified by a water vapor barrier film essentially composed of a substrate made of any of various transparent plastic films having a thickness of about 50 micrometers to 100 micrometers such as polyethylene terephthalate (PET) and polyethylene naphthalate (PEN) and a layer of an inorganic compound (also referred to as inorganic layer below) having water vapor barrier property (gas barrier property) formed on the substrate.
There may be formed on the surface of the substrate one or more of a bonding layer, a flattening layer, a reflection preventive layer, and other layers exhibiting useful functions, provided that a transparency as required is secured.
Inorganic compounds having water vapor barrier property herein include diamond-like compounds, metal oxides, metal nitrides, metal carbides, metal oxynitrides and metal oxycarbides and are exemplified by diamond-like carbons, diamond-like carbons containing silicon, and oxides, nitrides, carbides, oxynitrides and oxycarbides containing one or more metals selected from the group consisting of Si, Al, In, Sn, Zn, Ti, Cu, Ce, and Ta.
Preferred among these are oxides, nitrides, or oxynitrides containing a metal selected from the group consisting of Si, Al, In, Sn, Zn, and Ti, and particularly preferable are metal oxides, metal nitrides, or metal oxynitrides containing Si or Al.
These inorganic layers are formed, for example, by plasma CVD or sputtering. The inorganic layer preferably has a thickness of 5 nm to 500 nm, particularly 10 nm to 200 nm.
A preferred example of the watervapor barrier film 14 is a water vapor barrier film produced by forming on the surface of a substrate made of a plastic film as described above an organic compound layer (also referred to as organic layer below) as an underlying layer and the inorganic layer formed on the organic layer. Such a water vapor barrier film provides an increased water barrier property.
Organic compounds that may be used to form the underlying layer include (meth)acrylic resins, epoxy resins, polyesters, methacrylic acid/maleic acid copolymers, polystyrenes, transparent fluororesins, polyimides, fluorinated polyimides, polyamides, polyamideimides, polyetherimides, cellulose acylates, polyurethanes, polyetherketones, polycarbonates, fluorene ring-modified polycarbonates, alicyclic ring-modified polycarbonates, and fluorene ring-modified polyesters. Particularly preferable are acrylic resins and methacrylic resins.
The organic layer may be formed by a coating method using a known coating means such as roll coating and spray coating or a flash evaporation method.
The organic layer preferably has a thickness of 50 nm to 2000 nm, particularly 200 nm to 1500 nm.
Use of a water vapor barrier film having such inorganic layer or inorganic and organic layers makes it possible to obtain the watervapor barrier film 14 having a water vapor transmission rate of 1 x 10-4 g/(m2·day) or less in a consistent manner and relatively easily.
The present invention is not limited to a structure where thesolar cell 12 is coated by a single sheet of the watervapor barrier film 14; the light receiving surface, the end faces, and the bottom surface of thesolar cell 12 may be coated by a plurality of sheets of the watervapor barrier film 14 having superposed, bonded end portions.
However, such a structure increases the chance of allowing water to penetrate the water vapor barrier film at the joints. Therefore, thesolar cell 12 is preferably coated so that the top surface, the end faces, and the bottom surface are wrapped in a single sheet of the water vapor barrier film.
In thesolar cell module 10, thesolar cell 12 coated by the watervapor barrier film 14 is further wrapped and sealed in the sealingmaterial 18.
In the illustrated example, the sealingmaterial 18 also serves as a bond. However, a regular bond may be used, if necessary, to bond the watervapor barrier film 14, the sealingmaterial 18, the topsurface protection film 20, and the bottomsurface protection film 24.
According to the invention, the sealingmaterial 18 is not specifically limited and may be formed of any of sealing materials such as, for example, EVA (ethylene vinyl acetate), PVB (polyvinylbutyral), and PE (polyethylene) used in known solar cell modules.
According to thesolar cell module 10 of the invention, while the thickness of the sealing material 18 (as measured over the whole area thereof) is not specifically limited, it is preferably 300 micrometers to 800 micrometers.
The transparent topsurface protection film 20 is bonded on the side of the sealingmaterial 18 closer to the light receiving side (top side).
According to the invention, the material of the top surface protection film (top surface protection sheet) 20 is not specifically limited and may be any of top surface protection films used in known solar cell modules including glasses and transparent fluorine resin films such as EFTE (ethylene/tetrafluoroethylene copolymer), PTFE (polytetrafluoroethylene), and PFA (tetrafluoroethylene/perfluoroalkoxyethylene copolymer).
The bottomsurface protection film 24 is bonded on the bottom side of the sealingmaterial 18.
According to the invention, the material of the bottom surface protection film (bottom surface protection sheet/bottom surface support sheet) 24 is not specifically limited and may be any of bottom surface protection films used in known solar cell modules including galvalume steel sheets, stainless steel sheets, and aluminum-stainless clad steel sheets.
The structure of the solar cell module of the invention is not limited to that of thesolar cell module 10 illustrated in Fig. 1 where the water vapor barrier film is provided so as to coat the whole surface of thesolar cell 12 except where the structure does not permit coating.
That is, in the solar cell module of the invention, the central area of the bottom surface of thesolar cell 12 need not necessarily be covered by the watervapor barrier film 14, provided that the whole light receiving surface, the whole end faces, and the whole periphery of the bottom surface are coated so that thesolar cell 12 is wrapped in the water vapor barrier film.
An example is shown in Fig. 2.
Asolar cell module 32 illustrated in Fig. 2 has the same structure as thesolar cell module 10 illustrated in Fig. 1 except for the area covered by the watervapor barrier film 14. Thus, like components are given like alphanumeric characters, with following descriptions given mainly on different components.
Thesolar cell module 32 has thesolar cell 12 coated by the watervapor barrier film 14 not in its entirety but in such a manner that the part of the watervapor barrier film 14 where thelead wires 28 connecting thesolar cell 12 and theconnection box 26 are passed are open in lieu of thefilm 14 covering the wholesolar cell 12.
In the structure of which an example is illustrated in Fig. 2 where the watervapor barrier film 14 does not cover the central area of the bottom side of the solar cell 12 (thefilm 14 is open in the central area), preferably at least 60% of the bottom surface of thesolar cell 12 is covered by the watervapor barrier film 14, as determined by the inventors of the invention. The opening area of the watervapor barrier film 14 is preferably located at the center or as close thereto as the structure permits depending on the position where thelead wires 28 are passed, the position at which theconnection box 26 is disposed, and the like.
Where possible according to the size of thesolar cell 12 and the like, the watervapor barrier film 14 preferably coat the bottom surface of thesolar cell 12 so as to cover an area thereof extending at least 5 cm inwardly from the end faces.
Such a structure, even with the central area of the bottom surface left uncovered by the watervapor barrier film 14, can provide a sufficiently long distance the moisture infiltrating through that area without the watervapor barrier film 14 has to travel before reaching the transparent electrode.
Thus, the present invention can provide a solar battery that can restrain moisture from reaching the transparent electrode of thesolar cell 12 more efficiently, hence restrict deterioration of properties such as decrease of conversion efficiency caused by alteration of the properties of the transparent electrode for a long time, and consistently serve over an extended period of time.
Embodiment 2
Fig. 3 schematically illustrates asolar cell module 36 according to Embodiment 2 of the invention.
In thesolar cell modules 10 and 32 illustrated in Figs. 1 and 2, basically the watervapor barrier film 14 possesses only water vapor barrier property. On the other hand, in thesolar cell module 36 illustrated in Fig. 3, the water vapor barrier film is a surfaceprotection barrier film 38 formed of a surface protection film integrated with a water vapor barrier film.
Asolar cell module 36 illustrated in Fig. 3 shares a number of same components with thesolar cell module 10 illustrated in Fig. 1. Thus, like components are given like alphanumeric characters, with the following description given mainly on differences.
Firstly, thesolar cell module 36 has thesolar cell 12 wrapped and sealed in the sealingmaterial 18, which in turn is wholly coated (wrapped) by the surfaceprotection barrier film 38 as described above, so that the whole top surface of thesolar cell 12, the whole end faces, and the whole bottom surface (excluding the passages of lead wires 26) are covered by the water vapor barrier film.
Thesolar cell module 36 further has a sealingmaterial 18a bonded on the bottom side of the surfaceprotection barrier film 38 and the bottomsurface protection film 24 bonded onto the sealingmaterial 18a.
As described above, the surfaceprotection barrier film 38 is formed of a surface protection film integrated with a water vapor barrier film. That is, the surfaceprotection barrier film 38 is a surface protection film having a water vapor barrier property or a water vapor barrier film having a surface protection function.
The surfaceprotection barrier film 38 may for example be a film obtained by forming a layer having a water vapor barrier property on the surface of a substrate such as the topsurface protection film 20 made of ETFE described earlier.
A preferable example of the surfaceprotection barrier film 38 is a film obtained by forming on the surface of the topsurface protection film 20 of such a composition the inorganic layer used in the watervapor barrier film 14 described above.
A more preferable example of the surfaceprotection barrier film 38 is a film obtained by forming on the surface of the topsurface protection film 20 of such a composition the underlying organic layer and the inorganic layer disposed thereon both used in the watervapor barrier film 14 described above. The surfaceprotection barrier film 38 provides an increased water barrier property.
According to the invention, when the surfaceprotection barrier film 38 having a layer with a water vapor barrier property formed on the surface of the topsurface protection film 20 of the above composition, the sealing material 18 (solar cell 12) is preferably wrapped in thefilm 38 with the topsurface protection film 20 on the outside (i.e., with the layer having a water vapor barrier property inside).
Such a structure prevents the inorganic layers and the like from deteriorating or being damage and, hence, prevents the water vapor barrier property from decreasing over a long period of time.
Thesolar cell module 36 illustrated in Fig. 3 has the surfaceprotection barrier film 38 provided on the outside of the sealingmaterial 18 including the end faces. Therefore, the surfaceprotection barrier film 38 can also provide such functions including protection of thesolar cell 12 as are normally provided by the sealingmaterial 18.
Accordingly, this structure provides a sufficient rigidity and waterproofness even when the ends of thesolar cell 12 are close to the end faces of the sealingmaterial 18. That is, the structure illustrated in Fig. 3 allows the light receiving surface of thesolar cell module 12 to have a large area relative to the surface area of the top surface of the solar cell module 36 (area on the light receiving side) and thus increases the conversion efficiency relative to the surface area of the top surface of thesolar cell module 36.
Also in a structure using the surfaceprotection barrier film 38 as described above, the invention is not limited to the structure having thesolar cell 12 coated in its entirety by the surfaceprotection barrier film 38 except an area where the structure essentially requires the surfaceprotection barrier film 38 to have an opening.
Specifically, also in a structure using the surfaceprotection barrier film 38 similarly to the example illustrated in Fig. 2, there may be a region at the center of the bottom side of thesolar cell 12 that is not covered by the surfaceprotection barrier film 38 as in asolar cell module 40 as illustrated in Fig. 4. On the bottom side of thesolar cell 12, a preferred region where the surfaceprotection barrier film 38 is disposed is similar to that in the case of thesolar cell module 32 illustrated in Fig. 2.
The solar cell module of the invention as described above may be fabricated using, for example, vacuum laminating technique as in known solar cell modules.
Referring to thesolar cell module 10 illustrated in Fig. 1 by way of example, thesolar cell 12 is first wrapped in its entirety by the watervapor barrier film 14. Next, this wrapped structure is sandwiched by two sheets of EVA or another material and further provided with the topsurface protection film 20 on the top side and the bottomsurface protection film 24 on the bottom side to produce a laminate structure, which will be made into thesolar cell module 10.
Then, this laminate structure is placed in a given position in a vacuum chamber.
The vacuum chamber comprises, for example, a lifting means, a buffer plate (pressing plate) having a good thermal conductivity and disposed opposite the lifting means, and a heating means in contact with the surface of the buffer plate opposite from the lifting means.
The laminate structure to be made into thesolar cell module 10 is placed on the lifting means. At this stage, the laminate structure and the buffer plate are still separate.
Upon the laminate structure being placed on the lifting means of the vacuum chamber, the vacuum chamber is closed and evacuated to create a vacuum therein. The evacuation removes the air inside the laminate structure that is to be made into thesolar cell module 10.
Subsequently, the lifting means is raised to bring the laminate structure into contact with the buffer plate so that the laminate structure is held and compressed, whereupon a heating means is actuated to heat the laminate structure. Thus the laminate structure is completed.
Upon completion of lamination, the lifting means is lowered to separate the laminate structure from the buffer plate, whereupon the inside of the vacuum chamber is restored into an atmospheric pressure. Then, the vacuum chamber is opened to retrieve the laminate structure and remove unnecessary portions, if any, to obtain thesolar cell module 10.
To fabricate thesolar cell module 36 provided with the surfaceprotection barrier film 38 illustrated in Fig. 3, thesolar cell 12 is first sandwiched by two sheets of the sealingmaterial 18 so as to be wrapped therein to produce a laminate structure.
Next, the laminate structure is wrapped in the surfaceprotection barrier film 38 so as to be wholly coated therein to produce a wrapped structure.
There is further provided on the bottom side of this wrapped structure a sealingmaterial sheet 18a and the bottomsurface protection film 24 on the sealingmaterial sheet 18a to obtain a laminate structure that is to be made into thesolar cell module 36, which laminate structure is heated and compressed in a vacuum to achieve lamination in such a manner as described above.
While the solar cell module of the invention and the method of producing the solar cell module have been described above in detail, the present invention is by no means limited to the foregoing embodiments and various improvements and modifications may of course be made without departing from the spirit of the present invention.
Next, the present invention is described in further detail by referring to concrete examples as follows.
Example 1:
Thesolar cell module 10 illustrated in Fig. 1 was fabricated using thesolar cell 12 of a typical chalcopyrite type having a substrate structure.
The watervapor barrier film 14 used had a laminate structure composed of organic and inorganic layers. Thesolar cell 12 was entirely coated by the watervapor barrier film 14 including the top surface, the end faces, and the bottom surface except areas where the structure does not permit the coating.
The sealingmaterial 18 was formed of SOLAR EVA (trademark) (EVA) provided by Mitsui Chemicals Fabro, Inc.
The topsurface protection film 20 was formed of Fluon (ETFE) provided by Asahi Glass Co., Ltd.
The bottomsurface protection film 24 was formed of PET/AL/PET provided by MA Packaging Co., Ltd.
Thesolar cell module 10 was fabricated using these materials and a vacuum chamber comprising the lifting means, the buffer plate, and the heating means described above by heating and compressing in a vacuum to achieve lamination.
Thesolar cell 12 used in thesolar cell module 10 had a light receiving surface measuring 200 mm x 200 mm. Thesolar cell module 10 had a top surface (bottom surface) measuring 300 mm x 300 mm. Thus, the distance between the ends of thesolar cell module 36 and the respective ends of thesolar cell 12 is 50 mm.
Example 2:
Thesolar cell module 32 illustrated in Fig. 2 was fabricated in exactly the same manner as in Example 1 except that a 20 mm x 20 mm area about the center of the bottom surface where thelead wires 28 of thesolar cell 12 were passed was not covered by the watervapor barrier film 14.
Example 3:
Thesolar cell module 36 illustrated in Fig. 3 was fabricated using exactly the same materials as in Example 1 except that the surfaceprotection barrier film 38 was used without the watervapor barrier film 14 by the lamination process including heating and compressing in a vacuum under the same conditions as in Example 1. Thesolar cell module 36 had a top surface and a bottom surface having the same dimensions as Example 1.
The watervapor barrier film 38 was one formed of a surface protection barrier film composed of a substrate of an ETFE film and a laminate structure formed thereon of organic layers (underlying layers) and inorganic layers. The solar cell 12 (sealing layer) sealed by the sealingmaterial 18 was entirely coated by the surfaceprotection barrier film 38 including the top surface, the end faces, and the bottom surface of the sealingmaterial 18 except areas where the structure does not permit the coating.
Example 4:
Thesolar cell module 40 illustrated in Fig. 4 was fabricated in exactly the same manner as in Example 3 except that a 20 mm x 20 mm area about the center of the bottom surface where thelead wires 28 of thesolar cell 12 were passed was not covered by the surfaceprotection barrier film 38.
Comparative example 1:
Thesolar cell module 36 illustrated in Fig. 5 was fabricated using the same material as in Example 1.
More specifically, thesolar cell 12 was sandwiched by the sealingmaterial 18, on the top side of which the watervapor barrier film 14b, the sealingmaterial 18b, and the topsurface protection film 20 were disposed in this order whereas on the bottom side, the bottom side protection film was disposed, thereby to produce a laminate structure, which was then heated and compressed in a vacuum under the same conditions as in the working example 1 to achieve lamination and fabricate thesolar cell module 36 illustrated in Fig. 5.
This Comparative example 1 has large top and bottom surfaces, securing a distance of 70 mm between the ends of thesolar cell module 36 and the corresponding ends of thesolar cell 12. With this structure, the sealingmaterial 18 provides a higher degree of waterproofness for that difference than in Examples 1 to 4 of the solar cell module.
Comparative example 2:
Thesolar cell module 52 illustrated in Fig. 6 was fabricated with the same structure as Comparative example 1 except that it has the whole end faces sealed by an endface sealing material 54 of butyl rubber having a thickness of 1 mm.
The endface sealing materials 54 were bonded by thermoplastic butyl rubber.
A damp heat test was done to measure the decrease in conversion efficiency of the six solar cell modules fabricated as described above, whereby the modules were left at a temperature of 85oC and a humidity of 85%RH for 1000 hours.
Modules whose conversion efficiency remained 90% or more of the initial value were rated excellent;
Modules whose conversion efficiency remained between 80% and 90% both inclusive were rated good;
Modules whose conversion efficiency remained between 60% and 80% both inclusive were rated fair;
Modules whose conversion efficiency decreased to under 60% were rated poor;
The results were as follows.
Example 1 was rated excellent, Example 2 good, Example 3 excellent, and Example 4 good.
Comparative example 1 was rated poor, and Comparative example 2 poor.
The results show that moisture infiltration through the end faces of the solar cell modules in the comparative examples 1 and 2 caused the transparent electrodes to undergo changes in property leading to their reduced conversion efficiency. By contrast, the decrease in conversion efficiency from the initial values that was limited greatly in the solar cell modules of the invention may be attributed to the structure wherein the water vapor barrier film coats the top surface, the end faces, and the bottom surface of the solar cell, making the solar cell module capable of preventing alteration in properties of the transparent electrodes that might otherwise be caused by such moisture infiltration.
The above results clearly show the beneficial effects of the present invention.
INDUSTRIAL APPLICABIITY
The present invention may be applied to a broad range of fields where the solar batteries are used for power generating apparatuses and the like.
10, 32, 36, 40, 50, 52 solar cell modules
12 solar cell unit
14 water vapor barrier layer
18 sealing material
20 top surface protection film
24 bottom surface protection film
26 connection box
28 lead wires
38 top surface protection film
54 end face sealing material

Claims (11)

  1. A method of manufacturing a solar cell module comprising the steps of:
    producing a wrapped structure in which a whole of a light receiving surface, a whole of end faces, and at least a part of a bottom surface located opposite from the light receiving surface of a solar battery device are coated by a water vapor barrier layer;
    disposing a sealing material on a side of the solar battery device closer to the light receiving surface and on a side closer to the bottom surface on an outside of the wrapped structure;
    disposing a top surface protection film on the side of the solar battery device closer to the light receiving surface and a bottom surface protection film on the side closer to the bottom surface to produce a laminate structure on the outside of the sealing material; and
    heating and compressing the laminate structure in a vacuum.
  2. A method of manufacturing a solar cell module comprising the steps of:
    producing a first laminate structure including a solar battery device and a first sealing material disposed on a light receiving surface and on a bottom surface opposite from the light receiving surface of the solar battery device;
    producing a wrapped structure in which the first laminate structure is wrapped in a top surface protection film having a water vapor barrier layer formed on its surface in such a manner that the surface on which the water vapor barrier layer is formed is located inside;
    disposing a second sealing material on an outside of the wrapped structure on a bottom side of the solar battery device;
    producing a second laminate structure including the wrapped structure, the second sealing material and a bottom surface protection film disposed on an outside of the second sealing material; and
    heating and compressing the second laminate structure in a vacuum.
PCT/JP2010/0071972010-10-192010-12-10Solar cell module and method of manufacturing the sameWO2012053042A1 (en)

Applications Claiming Priority (2)

Application NumberPriority DateFiling DateTitle
JP2010234721AJP2012089663A (en)2010-10-192010-10-19Solar cell module and manufacturing method of the same
JP2010-2347212010-10-19

Publications (1)

Publication NumberPublication Date
WO2012053042A1true WO2012053042A1 (en)2012-04-26

Family

ID=45974780

Family Applications (1)

Application NumberTitlePriority DateFiling Date
PCT/JP2010/007197WO2012053042A1 (en)2010-10-192010-12-10Solar cell module and method of manufacturing the same

Country Status (3)

CountryLink
JP (1)JP2012089663A (en)
TW (1)TW201218395A (en)
WO (1)WO2012053042A1 (en)

Cited By (4)

* Cited by examiner, † Cited by third party
Publication numberPriority datePublication dateAssigneeTitle
WO2015194147A1 (en)*2014-06-182015-12-23パナソニックIpマネジメント株式会社Solar cell module
WO2015194146A1 (en)*2014-06-182015-12-23パナソニックIpマネジメント株式会社Solar cell module
CN111739965A (en)*2020-05-292020-10-02苏州福斯特光伏材料有限公司 A water-blocking and anti-PID type solar panel assembly and preparation method thereof
CN112289893A (en)*2020-12-152021-01-29杭州旭菱光伏电力科技有限公司Efficient solar panel manufacturing method

Families Citing this family (6)

* Cited by examiner, † Cited by third party
Publication numberPriority datePublication dateAssigneeTitle
JPWO2014002329A1 (en)*2012-06-292016-05-30パナソニックIpマネジメント株式会社 Solar cell module and manufacturing method thereof
JP5914286B2 (en)*2012-09-282016-05-11富士フイルム株式会社 Electronic module
US20170221639A1 (en)*2014-10-142017-08-03Sekisui Chemical Co., Ltd.Solar cell
WO2016060182A1 (en)*2014-10-142016-04-21積水化学工業株式会社Solar cell
CN111524988A (en)*2020-05-292020-08-11苏州福斯特光伏材料有限公司Local water-blocking solar cell panel and preparation method thereof
JP7631573B1 (en)2024-01-302025-02-18株式会社東芝 Solar cell module and method for manufacturing the solar cell module

Citations (5)

* Cited by examiner, † Cited by third party
Publication numberPriority datePublication dateAssigneeTitle
JPH08181339A (en)*1994-12-211996-07-12Fuji Electric Corp Res & Dev Ltd Flexible solar cell module
EP1054456A2 (en)*1999-05-172000-11-22Dai Nippon Printing Co., Ltd.Protective sheet for solar battery module, method of fabricating the same and solar battery module
JP2004165512A (en)*2002-11-142004-06-10Matsushita Electric Works Ltd Organic photoelectric conversion element
WO2007112452A2 (en)*2006-03-282007-10-04Solopower, Inc.Technique for manufacturing photovoltaic modules
WO2008014492A2 (en)*2006-07-272008-01-31Nanosolar, Inc.Individually encapsulated solar cells and/or solar cell strings

Patent Citations (5)

* Cited by examiner, † Cited by third party
Publication numberPriority datePublication dateAssigneeTitle
JPH08181339A (en)*1994-12-211996-07-12Fuji Electric Corp Res & Dev Ltd Flexible solar cell module
EP1054456A2 (en)*1999-05-172000-11-22Dai Nippon Printing Co., Ltd.Protective sheet for solar battery module, method of fabricating the same and solar battery module
JP2004165512A (en)*2002-11-142004-06-10Matsushita Electric Works Ltd Organic photoelectric conversion element
WO2007112452A2 (en)*2006-03-282007-10-04Solopower, Inc.Technique for manufacturing photovoltaic modules
WO2008014492A2 (en)*2006-07-272008-01-31Nanosolar, Inc.Individually encapsulated solar cells and/or solar cell strings

Cited By (5)

* Cited by examiner, † Cited by third party
Publication numberPriority datePublication dateAssigneeTitle
WO2015194147A1 (en)*2014-06-182015-12-23パナソニックIpマネジメント株式会社Solar cell module
WO2015194146A1 (en)*2014-06-182015-12-23パナソニックIpマネジメント株式会社Solar cell module
US10074759B2 (en)2014-06-182018-09-11Panasonic Intellectual Property Management Co., Ltd.Solar cell module
CN111739965A (en)*2020-05-292020-10-02苏州福斯特光伏材料有限公司 A water-blocking and anti-PID type solar panel assembly and preparation method thereof
CN112289893A (en)*2020-12-152021-01-29杭州旭菱光伏电力科技有限公司Efficient solar panel manufacturing method

Also Published As

Publication numberPublication date
JP2012089663A (en)2012-05-10
TW201218395A (en)2012-05-01

Similar Documents

PublicationPublication DateTitle
WO2012053042A1 (en)Solar cell module and method of manufacturing the same
JP3618802B2 (en) Solar cell module
JP3530595B2 (en) Solar cell module
US6307145B1 (en)Solar cell module
US10036832B2 (en)Multilayer component for the encapsulation of a sensitive element
US6175075B1 (en)Solar cell module excelling in reliability
JP3825843B2 (en) Solar cell module
KR100325955B1 (en)Solar Cell Module and Reinforcing Member for Solar Cell Module
KR101587792B1 (en)Multilayer component for the encapsulation of a sensitive element
US20090242020A1 (en)Thin-film photovoltaic cell, thin-film photovoltaic module and method of manufacturing thin-film photovoltaic cell
JP2004319800A (en) Solar cell module
EP1921684A1 (en)Solar cell module and process for manufacture thereof
US20140137939A1 (en)Solar-cell module and manufacturing method therefor
JP3267738B2 (en) Solar cell module
CN103137757B (en)solar cell device
EP3446343A1 (en)Systems and methods for transparent organic photovoltaic devices
JP2012204458A (en)Method for manufacturing solar cell module
JP2012094742A (en)Solar battery module and method for producing the same
JP2000243989A (en) Transparent film type solar cell module
KR20090105822A (en) Thin film solar cell and manufacturing method, thin film solar cell module
JP4194457B2 (en) Solar cell module
JP2012094608A (en)Solar cell module
JPH11214734A (en) SOLAR CELL MODULE, ITS MANUFACTURING METHOD, ITS WORKING METHOD, AND SOLAR CELL POWER GENERATION SYSTEM
JP4234111B2 (en) Thin film solar cell and method for manufacturing thin film solar cell
JP3760569B2 (en) Solar cell module

Legal Events

DateCodeTitleDescription
121Ep: the epo has been informed by wipo that ep was designated in this application

Ref document number:10858598

Country of ref document:EP

Kind code of ref document:A1

NENPNon-entry into the national phase

Ref country code:DE

122Ep: pct application non-entry in european phase

Ref document number:10858598

Country of ref document:EP

Kind code of ref document:A1


[8]ページ先頭

©2009-2025 Movatter.jp