




本発明は、電気自動車等に用いられる電池モジュール及び電池パックに関し、特に、リチウムイオン電池等に代表される非水電解液を用いた二次電池を収容した電池モジュール及び複数の電池モジュールを電気的に接続した電池パックに関する。The present invention relates to a battery module and a battery pack used for an electric vehicle or the like, and more particularly, to electrically connect a battery module containing a secondary battery using a non-aqueous electrolyte typified by a lithium ion battery or the like and a plurality of battery modules. The battery pack connected to.
近年、非水系二次電池、特にリチウムイオン二次電池は、軽量でありながら、起電力が高く、高エネルギー密度であるという特長を有しているため、携帯電話やデジタルカメラ、ビデオカメラ、ノート型パソコン等の様々な種類の携帯型電子機器や移動体通信機器の駆動用電源としての需要が拡大している。In recent years, non-aqueous secondary batteries, in particular lithium ion secondary batteries, have features such as light weight, high electromotive force, and high energy density. Therefore, mobile phones, digital cameras, video cameras, notebooks, etc. As a power source for driving various types of portable electronic devices such as personal computers and mobile communication devices, demand is increasing.
一方、化石燃料の使用量の低減やCO2の排出量を削減するために、自動車等のモータ駆動用の電源として、組み合わせにより所望の電圧や容量を得ることができる電池モジュールが開発されている。On the other hand, in order to reduce the amount of fossil fuel used and the amount of CO2 emission, battery modules capable of obtaining desired voltages and capacities by combination have been developed as power sources for driving motors of automobiles and the like. .
この電池モジュールは、自動車の衝突等の異常時に対する安全性を高める必要があり、例えば特許文献1に示されるように、異常時には電池の発煙や引火を防ぐために、消火剤等の不活性流体を素電池に噴射するようになっている。This battery module needs to improve safety against abnormal situations such as automobile collision. For example, as shown in Patent Document 1, an inert fluid such as a fire extinguisher is used in order to prevent battery smoke and ignition when abnormal. It is designed to be injected into the unit cell.
ところで、例えば特許文献2には、消火剤を収容した密閉容器を、電池モジュールを収容したチャンバ内に設置し、異常発生時にその密閉容器が破壊されて、素電池に対して消火剤が作用するものが記載されている。By the way, for example, in Patent Document 2, a sealed container containing a fire extinguisher is installed in a chamber containing a battery module, and when the abnormality occurs, the sealed container is destroyed and the fire extinguisher acts on the unit cell. Things are listed.
しかし、上述の特許文献2の技術では、特許文献1の技術よりも異常発生時に素電池から発生する燃焼性ガスの存在により不活性流体(消火剤)が素電池に作用しにくく、類焼又は発火の危険性が低減されにくいという問題点がある。However, in the technique of Patent Document 2 described above, the inert fluid (extinguishing agent) is less likely to act on the unit cell due to the presence of combustible gas generated from the unit cell when an abnormality occurs than in the technique of Patent Document 1, so There is a problem that it is difficult to reduce the risk.
本発明はかかる問題点に鑑みてなされたものであって、素電池の異常発生時に類焼又は発火の危険性を低減できる電池モジュール、及び、この電池モジュールを複数接続した電池パックを提供することを目的とする。The present invention has been made in view of such problems, and provides a battery module that can reduce the risk of firing or firing when an abnormality occurs in a unit cell, and a battery pack in which a plurality of the battery modules are connected. Objective.
本発明に係る電池モジュールは、複数個の素電池と、これら複数個の素電池を収容するチャンバを有する電池収容ケースと、前記電池収容ケースに開口され、素電池の異常発生時に不活性流体を前記チャンバ内に導入させるための流体導入口と、前記電池収容ケースに開口され、素電池の異常発生時に該素電池から発生する燃焼性ガスを前記チャンバ内から排出させるためのガス排出口と、を備えることを特徴とする。A battery module according to the present invention includes a plurality of unit cells, a battery storage case having a chamber for storing the plurality of unit cells, and an opening that opens to the battery storage case, and provides an inert fluid when an abnormality occurs in the unit cells. A fluid inlet for introducing into the chamber; a gas outlet for opening the battery housing case to discharge a combustible gas generated from the unit cell when an abnormality occurs in the unit cell; It is characterized by providing.
本発明に係る電池モジュールにおいては、素電池の異常発生時に流体導入口から不活性流体をチャンバ内に導入させて、該素電池から発生する燃焼性ガスをガス排出口から排出させる。In the battery module according to the present invention, when a unit cell abnormality occurs, an inert fluid is introduced into the chamber from the fluid inlet, and the combustible gas generated from the unit cell is discharged from the gas outlet.
本発明によれば、素電池からの燃焼性ガスを速やかにガス排出口から排出させるため、高温の燃焼性ガスの滞留による類焼や発火の危険性を低減させることができる。また、燃焼性ガスを速やかにガス排出口から排出させるから、不活性流体を的確に素電池に作用させることができ、その結果電池の類焼又は発火の危険性を低減させることができる。According to the present invention, since the combustible gas from the unit cell is quickly discharged from the gas discharge port, it is possible to reduce the risk of burning or ignition due to retention of high-temperature combustible gas. Further, since the combustible gas is quickly discharged from the gas discharge port, the inert fluid can be made to act on the unit cell accurately, and as a result, the risk of burning or firing the battery can be reduced.
以下、添付の図面を参照して本発明の実施形態について具体的に説明するが、当該実施形態は本発明の原理の理解を容易にするためのものであり、本発明の範囲は、下記の実施形態に限られるものではなく、当業者が以下の実施形態の構成を適宜置換した他の実施形態も、本発明の範囲に含まれる。Hereinafter, embodiments of the present invention will be specifically described with reference to the accompanying drawings. However, the embodiments are for facilitating understanding of the principle of the present invention, and the scope of the present invention is as follows. The present invention is not limited to the embodiments, and other embodiments in which those skilled in the art appropriately replace the configurations of the following embodiments are also included in the scope of the present invention.
(実施形態1)
図1は、本実施形態における電池モジュールに使用する素電池の構成を模式的に示した断面図である。本発明の電池モジュールに使用する素電池100は、例えば、図1に示すような、円筒形のリチウムイオン二次電池を採用することができる。このリチウムイオン二次電池は、内部短絡等の異常発生により電池内の圧力が上昇したとき、ガスを電池外に放出する安全弁機構を備えている。以下、図1を参照しながら、素電池100の具体的な構成を説明する。(Embodiment 1)
FIG. 1 is a cross-sectional view schematically showing a configuration of a unit cell used in the battery module in the present embodiment. As the
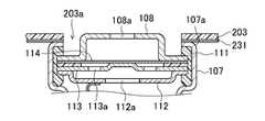
図1に示すように、素電池100においては、正極101と負極102とがセパレータ103を介して捲回された電極群104が、非水電解液とともに、電池ケース107に収容されている。電極群104の上下には、絶縁板109、110が配され、正極101は、正極リード105を介してフィルタ112に接合され、負極102は、負極リード106を介して負極端子を兼ねる電池ケース107の底部に接合されている。As shown in FIG. 1, in the
正極及び負極の表面には、それぞれ、正極活物質及び負極活物質を含むペーストが塗布されている。正極活物質としては、例えばLiMn2O4、LiCoO2、LiNiO3等、リチウムイオン電池に用いられる正極活物質の1種又は2種以上を特に限定することなく使用できる。負極活物質としては、例えばアモルファスカーボン、グラファイトカーボン等、リチウムイオン電池に用いられる負極活物質の1種又は2種以上を特に限定することなく使用できる。非水電解液としては、例えばエチレンカーボネート、プロピレンカーボネート、ブチレンカーボネート、ビニレンカーボネート、ジメチルカーボネート、ジエチルカーボネート、エチルメチルカーボネート等を使用することができる。A paste containing a positive electrode active material and a negative electrode active material is applied to the surfaces of the positive electrode and the negative electrode, respectively. As the positive electrode active material, for exampleLiMn 2 O 4, LiCoO 2, LiNiO 3 , etc., can be used without particular limitation one or more of the positive electrode active material used in lithium ion batteries. As the negative electrode active material, for example, one or more negative electrode active materials used in lithium ion batteries, such as amorphous carbon and graphite carbon, can be used without particular limitation. As the non-aqueous electrolyte, for example, ethylene carbonate, propylene carbonate, butylene carbonate, vinylene carbonate, dimethyl carbonate, diethyl carbonate, ethyl methyl carbonate and the like can be used.
フィルタ112は、インナーキャップ113に接続され、インナーキャップ113の突起部は、金属製の弁板114に接合されている。さらに、弁板114は、正極端子を兼ねる端子板108に接続されている。そして、端子板108、弁板114、インナーキャップ113、及びフィルタ112が一体となって、ガスケット111を介して、電池ケース107の開口部を封口している。The
素電池100に内部短絡等の異常が発生して、素電池100内の圧力が上昇すると、弁体114が端子板108に向かって膨れ、インナーキャップ113と弁体114との接合がはずれると、電流経路が遮断される。さらに素電池100内の圧力が上昇すると、弁体114が破断する。これによって、素電池100内に発生したガスは、フィルタ112の貫通孔112a、インナーキャップ113の貫通孔113a、弁体114の裂け目、そして、端子板108の開放部108aを介して、外部へ排出される。When an abnormality such as an internal short circuit occurs in the
なお、素電池100内に発生したガスを外部に排出する安全弁機構は、図1に示した構造に限定されず、他の構造のものであってもよい。例えば、例えば弾性体で弁体を弁座に押圧し、素電池100の内圧が設定圧力よりも高くなると、弁体が弁座から離れて開弁される構成を採用することができる。In addition, the safety valve mechanism that discharges the gas generated in the
図2は、本実施形態に係る電池モジュール800の概略を説明する図である。図2に示すように、電池モジュール800は、例えばポリカーボネート樹脂製の筺体形状の電池収容ケース200と、この電池収容ケース200内に収容される複数個の素電池100と、を有する。素電池100は、矢印171に示す一方向に並設され、互いに電気的に例えば並列に接続されている。各素電池100は、電池収容ケース200の底部210に形成したリブ211によって、規制された位置に固定されている。なお、各素電池100は電池保持枠によって一体に保持されることも可能である。FIG. 2 is a diagram for explaining the outline of the
電池収容ケース200の一方の壁面の上側には、電池の異常発生時に不活性流体を電池収容ケース200内に導入させるための流体導入口120が開口されている。この流体導入口120には導入弁121が設けられており、通常時には導入弁121は閉弁されていて、電池収容ケース200内を密閉状態に保持する。そして、後述する不活性流体供給手段140から不活性流体が噴射されるとき、導入弁121は開弁されて不活性流体が電池収容ケース200内に供給される。導入弁121は、例えば不活性流体供給手段140から噴射される不活性流体の動圧等で破壊される破壊弁である。A
電池収容ケース200の他方の壁面の上側には、電池の異常発生時に該電池から発生する燃焼性ガスを電池収容ケース200から排出させるためのガス排出口130が設けられている。電池収容ケース200において、ガス排出口130と流体導入口120とは、例えば水平方向に対向した位置に配置されている。ガス排出口130には導入弁121と同様の排出弁131が設けられており、通常時には排出弁131は閉弁されていて、電池収容ケース200内を密閉状態に保持する。On the upper side of the other wall surface of the
不活性流体供給手段140は、不活性流体が貯蔵されるタンク141と、タンク141内に貯蔵される不活性流体を流体導入口120に案内する案内路142と、案内路142の途中に設けられ案内路142を開閉する開閉弁143と、開閉弁143の開閉動作を行うアクチュエータ144とを備える。The inert
不活性流体は、不活性のガス、液体、又はゲルである。不活性流体は、特に限定されるものではないが、例えば、非反応性の窒素、ヘリウム、アルゴン、ネオン、クリプトン、キセノン、二酸化炭素等のガス、又は、パーフロオロケトン等の燃焼反応を終了若しくは火災の発生を防止させる消火剤である。不活性流体の中に粉末又は微粒子等の固体成分を含有することも可能であり、例えば、二酸化炭素の中に炭酸水素ナトリウム粉末を含有させることが可能である。炭酸水素ナトリウムは高温に加熱されると吸熱して、二酸化炭素と水蒸気を発生し、電池収容ケース200内の温度を下げるとともに、不活性雰囲気に保ち、火災の発生を防止して燃焼反応を終了させる。The inert fluid is an inert gas, liquid, or gel. The inert fluid is not particularly limited. For example, non-reactive gas such as nitrogen, helium, argon, neon, krypton, xenon, carbon dioxide, or combustion reaction such as perfluoroketone is terminated or A fire extinguisher that prevents fire. It is also possible to contain a solid component such as powder or fine particles in the inert fluid. For example, it is possible to contain sodium hydrogen carbonate powder in carbon dioxide. When sodium bicarbonate is heated to a high temperature, it absorbs heat, generating carbon dioxide and water vapor, lowering the temperature in the
電池収容ケース200の天井部には、電池収容ケース200の内圧を検出する圧力センサー150が設けられている。圧力センサー150には不活性流体供給制御手段151が接続されている。不活性流体供給制御手段151は、圧力センサー150の検出結果に基づき、電池収容ケース200内の内圧が所定の設定圧力よりも高い場合に、燃焼性ガスをガス排出口130から排出するように、アクチュエータ144を作動させることにより開閉弁143を開弁し、不活性流体をタンク141から電池収容ケース200内に噴射させる。A
次に上述の構成の電池モジュール800の作用について説明する。例えば電池モジュール800はハイブリッド型の自動車に搭載され、その自動車の衝突等により、可燃性の電解液が発火する等にて電池モジュール800に異常が発生したとする。電池モジュール800の異常により電池から燃焼性ガスが発生する。この燃焼性ガスが素電池を収容するチャンバ内に溜まり、そのチャンバ内の圧力が上昇する。電池収容ケース200内の圧力は圧力センサー150にて検知されており、所定の設定圧力よりも高くなった場合には、不活性流体供給制御手段151はアクチュエータ144を作動させて開閉弁143を開かせる。開閉弁143が開くことによりタンク141から不活性流体が流れ込み、不活性流体の動圧により導入弁121が破壊されて流体導入口120が開き、不活性流体は電池収容ケース200内に導入される。圧力センサー150にて電池収容ケース200内の圧力を検出するから、緊急時であっても自動的に迅速に不活性流体を作用させることができる。Next, the operation of the
そしてこのように電池収容ケース200の一方の壁面から導入された不活性流体の圧力により、矢印172に示すように電池から発生した燃焼性ガスは電池収容ケース200の他方の壁面に押しやられて、その流れの動圧によりガス排出口130の排出弁131が破壊され、燃焼性ガスはガス排出口130から排出される。同時に、ガス導入口120から導入された不活性流体は矢印173に示すように素電池100に作用する。このようにして、燃焼性ガスをガス排出口130から排出させると共に、不活性流体を電池収容ケース200内に充満させて素電池100に作用させることで、電池の異常発生時の類焼又は発火の危険性を低減させることができる。And, by the pressure of the inert fluid introduced from one wall surface of the
なお、上述の実施形態では、電池収容ケース200内に圧力センサー150を設けたが、本発明の範囲はこのような実施形態に限定されるものではなく、例えば、圧力センサー150の代わりに電池収容ケース200の温度を検出する温度センサーを設け、不活性流体供給制御手段151は、温度センサーの検出結果に基づき、電池収容ケース200内の温度が所定の設定温度よりも高い場合に、不活性流体を電池収容ケース200内に噴射させて、燃焼性ガスをガス排出口130から排出することも可能である。In the above-described embodiment, the
また、例えば、圧力センサー150の代わりに電池収容ケース200内の燃焼性ガスを検出するガスセンサーを設け、不活性流体供給制御手段151は、ガスセンサーの検出結果に基づき、電池収容ケース200内に燃焼性ガスが所定量以上検出された場合に、不活性流体を電池収容ケース200内に噴射させて、燃焼性ガスをガス排出口130から排出することも可能である。また、これら圧力センサー150、温度センサー、及びガスセンサーは各々単独で設けられても良いし、組み合わせて設けることも可能である。Further, for example, instead of the
(実施形態2)
上述の実施形態1においては、電池収容ケース200の内圧を検出する圧力センサー150が設けられており、電池収容ケース200内の内圧が所定の設定圧力よりも高い場合に、不活性流体供給制御手段151により不活性流体が電池収容ケース200内に自動的に噴射されるものであったが、実施形態2においては、図3に示すように、消火器を用いて手動により不活性流体を電池収容ケース200内に噴射させる場合を説明する。(Embodiment 2)
In the first embodiment described above, the
図3は、消火器500を使用して不活性流体を電池収容ケース200内に噴射させる電池モジュール800の概略を説明する図である。図3に示すように、消火剤を導入させる消火剤導入路122の一方の端部(下流側)は流体導入口120に接続されている。また、消火剤導入路122の他方の端部(上流側)には、消火器500の消火剤ノズル510を挿入するためのノズル挿入口123に接続されている。FIG. 3 is a diagram for explaining an outline of the
また、ガス排出口130には、燃焼性ガスを排出する排出路132の一方の端部が接続しており、その他方の端部には排気口133が設けられ、このようにガス排出口130は排気口133として延長した位置に配置されている。そして例えば電池モジュール800が自動車等に搭載された場合において、設計上の制約等から排気口133とノズル挿入口123とは近接した位置に設置されている。ノズル挿入口123には、消火器500の使用者にノズル挿入口123と排気口133との間を識別するための識別手段が付されている。この識別手段は、特に限定されるものではないが、色彩、形状又はこれらの組み合わせから識別性を有する手段を用いることができ、例えば蛍光色のステッカーや、ノズル挿入口123の場所を指し示す矢印形状の構造物等を用いることができる。The
次に上述の構成の電池モジュール800の作用について説明する。例えば電池モジュール800が搭載されている自動車の衝突等により、可燃性の電解液が発火する等にて電池モジュール800に異常が発生したとする。電池モジュール800の異常により電池から燃焼性ガスが発生する。自動車の使用者は例えば予め車内に設置されている消火器500を用い、その消火器500の消火剤ノズル510をノズル挿入口123に挿入する。この際、識別手段がノズル挿入口123に設けられているため、電池モジュール800に異常が発生する緊急時でも消火器500の使用者は、排気口133と間違えることなく的確にノズル挿入口123に消火器500の消火剤ノズル510を挿入することができる。その後は消火器500を作動させ、不活性流体は電池収容ケース200内に導入される。そして矢印172に示すように燃焼性ガスはガス排出口130側に押しやられ、不活性流体は矢印173に示すように素電池100に作用する。このようにして、燃焼性ガスをガス排出口130から排出させると共に、不活性流体を電池収容ケース200内に充満させて素電池100に作用させることで、電池の異常発生時の類焼又は発火の危険性を低減させることができる。Next, the operation of the
なお、上述の実施形態では、ノズル挿入口123に設けられる識別手段は、色彩、形状又はこれらの組み合わせから識別性を有する手段であったが、このような実施形態に限定されることはなく、例えばノズル挿入口123の口金構造を消火剤ノズル510とは嵌合可能であるが、排気口133の口金構造を消火剤ノズル510とは嵌合不可能とすることにより、消火器500の使用者にノズル挿入口123と排気口133との区別がつくようにすることも可能である。In the above-described embodiment, the identification unit provided in the
(実施形態3)
上述の実施形態1及び2においては、燃焼性ガスは電池収容ケース200内に排出されるものであったが、実施形態3においては、電池収容ケース200内に燃焼性ガスを排出させるための専用の排気室を設ける。(Embodiment 3)
In the first and second embodiments, the combustible gas is discharged into the
図4は、燃焼性ガスを排出させるための専用の排気室202を有する電池モジュール800の概略を説明する図である。図4に示すように、実施形態3では、電池収容ケース200は、複数の素電池100の一端側(本実施形態では、正極端子を兼ねる端子板108側)に配設された区画壁203にて、素電池100が収容される電池室201と、この電池室201に収容される素電池100の開放部108aから排出される燃焼性ガスを排出する排気室202とに区画されている。素電池100の開放部108aは、区画壁203に形成された開口部203aを介して排気室202に連通している。排気室202の一方の壁面には流体導入口120が設けられており、他方の壁面にはガス排出口130が設けられている。FIG. 4 is a diagram illustrating an outline of a
電池室201に配設される複数の素電池100は、燃焼性ガスを排気室202に排出するように既述の安全弁機構を備えている。即ち、図5は、区画壁203が配設された素電池100の一端部の近傍を拡大した部分断面図である。図5に示すように、区画壁203の下面には例えばシリコーン等のシート状の弾性部材231が接合されており、端子板108の突起部が、区画壁203の開口部203aに挿入された状態で、電池ケース107の肩部107aの上部と区画壁203との間が弾性部材231によりシールされている。The plurality of
区画壁203は非通気性の隔壁である。そのため、端子板108の突起部に設けられた開放部108aから排出された燃焼性ガスは、区画壁203を通って再び電池室201に戻ることはない。区画壁203は、排気室202に排出された燃焼性ガスを電池室201に移動させないが、排気室202に導入された不活性流体は該区画壁203を介して電池室201へ移動可能な壁体であることが望ましい。このような区画壁203は、例えば、燃焼性ガスは透過しないが不活性流体は透過する多孔質のガス分離膜を積層する等により構成される。The
次に上述の構成の電池モジュール800の作用について説明する。可燃性の電解液が発火する等にて電池モジュール800に異常が発生し、素電池100の安全弁機構が開弁することにより、排気室202内に燃焼性ガスが発生する。この燃焼性ガスが排気室202内に溜まってその圧力が上昇し、圧力センサー150にて検知された圧力が、所定の設定圧力よりも高くなると、不活性流体供給制御手段151はアクチュエータ144を作動させて開閉弁143を開かせる。開閉弁143が開くことによりタンク141から不活性流体が排気室202内に流れ込み、矢印172に示すように燃焼性ガスは押しやられてガス排出口130から排出される。燃焼性ガスが排気される専用の排気室202を設けているから、速やかに燃焼性ガスをガス排出口130から排出させることができ、これにより高温の燃焼性ガスの滞留による類焼や発火の危険性を低減させることができる。Next, the operation of the
ここで、区画壁203が前述した壁体である場合は、排気室202に排出された燃焼性ガスは電池室201に移動しないが、排気室202に導入された不活性流体は矢印173に示すように該区画壁203を介して電池室201へ移動可能である。そのため不活性流体は異常が発生している素電池100に作用可能となり、その結果電池の類焼又は発火の危険性を更に低減させることができる。Here, when the
(その他の実施形態)
上述の実施形態では、本発明は電池モジュール800であったが、この電池モジュール800を複数個、直列接続及び並列接続の少なくとも一方により組み合わせて構成した電池パックとすることも可能である。かかる場合は、複数個の電池モジュール800に対して不活性流体が貯蔵されるタンク141を1基のみ設置し、その1基のタンク141から各電池モジュール800の各流体導入口120に対して接続するように案内路142を分岐構造にすることが好ましい。電池の異常発生は極めて希な例外的現象であり、そのために各電池モジュールごとに不活性流体が貯蔵されるタンク141を設けたのでは部品点数が増大すると共に不経済だからである。(Other embodiments)
In the above-described embodiment, the present invention is the
また、上述の実施形態では、素電池100はリチウムイオン二次電池であったが、本発明の範囲はこれに限定されるものではなく、例えばニッケル水素電池やニッケルカドミウム電池等の充電できる全ての電池を使用することができる。Further, in the above-described embodiment, the
本発明は、例えばハイブリッド自動車や電気自動車等の高容量・高電圧が必要で且つ高い信頼性と安全性が要求される電池モジュールとして利用できる。The present invention can be used as a battery module that requires high capacity and high voltage, such as a hybrid vehicle or an electric vehicle, and that requires high reliability and safety.
100:素電池
101:正極
102:負極
103:セパレータ
104:電極群
105:正極リード
106:負極リード
107:電池ケース
108:端子板
109,110:絶縁板
111:ガスケット
112:フィルタ
113:インナーキャップ
114:弁体
120:流体導入口
121:導入弁
122:消火剤導入路
123:ノズル挿入口
130:ガス排出口
131:排出弁
140:不活性流体供給手段
141:タンク
142:案内路
143:開閉弁
144:アクチュエータ
150:圧力センサー
151:不活性流体供給制御手段
200:電池収容ケース
201:電池室
202:排気室
203:区画壁
203a:開口部
231:弾性部材
500:消火器
510:消火剤ノズル
800:電池モジュールDESCRIPTION OF SYMBOLS 100: Unit cell 101: Positive electrode 102: Negative electrode 103: Separator 104: Electrode group 105: Positive electrode lead 106: Negative electrode lead 107: Battery case 108: Terminal board 109,110: Insulation board 111: Gasket 112: Filter 113: Inner cap 114 : Valve body 120: Fluid inlet 121: Inlet valve 122: Fire extinguisher inlet path 123: Nozzle insertion port 130: Gas outlet 131: Drain valve 140: Inert fluid supply means 141: Tank 142: Guide path 143: On-off valve 144: Actuator 150: Pressure sensor 151: Inert fluid supply control means 200: Battery housing case 201: Battery chamber 202: Exhaust chamber 203:
| Application Number | Priority Date | Filing Date | Title |
|---|---|---|---|
| JP2010169732 | 2010-07-28 | ||
| JP2010-169732 | 2010-07-28 |
| Publication Number | Publication Date |
|---|---|
| WO2012014348A1true WO2012014348A1 (en) | 2012-02-02 |
| Application Number | Title | Priority Date | Filing Date |
|---|---|---|---|
| PCT/JP2011/001411WO2012014348A1 (en) | 2010-07-28 | 2011-03-10 | Cell module and cell pack |
| Country | Link |
|---|---|
| WO (1) | WO2012014348A1 (en) |
| Publication number | Priority date | Publication date | Assignee | Title |
|---|---|---|---|---|
| JP2014033824A (en)* | 2012-08-09 | 2014-02-24 | Hochiki Corp | Fire-extinguishing system for electric vehicle |
| JP2014036780A (en)* | 2012-08-20 | 2014-02-27 | Hochiki Corp | Fire-extinguishing system for electric vehicle |
| JP2014082108A (en)* | 2012-10-17 | 2014-05-08 | Hochiki Corp | Power storage device |
| AT13658U1 (en)* | 2012-07-27 | 2014-05-15 | Avl List Gmbh | battery |
| EP2879202A2 (en)* | 2013-11-27 | 2015-06-03 | The Boeing Company | Methods of inerting lithium-containing batteries and associated containers |
| JP2016508771A (en)* | 2013-01-25 | 2016-03-24 | バーケット、ブライアン | Fire smoke containment fire extinguishing device |
| CN106058119A (en)* | 2015-04-17 | 2016-10-26 | 三星Sdi株式会社 | Battery pack |
| JP2017004959A (en)* | 2016-06-24 | 2017-01-05 | ホーチキ株式会社 | Power storage device |
| JP2019510341A (en)* | 2016-02-25 | 2019-04-11 | ビーワイディー カンパニー リミテッド | Single cell battery, battery module, power battery, and electric vehicle |
| CN109910618A (en)* | 2019-03-28 | 2019-06-21 | 重庆长安新能源汽车科技有限公司 | A kind of battery safety management method, apparatus and new-energy automobile |
| US10854866B2 (en) | 2019-04-08 | 2020-12-01 | H55 Sa | Power supply storage and fire management in electrically-driven aircraft |
| US20210104798A1 (en)* | 2018-12-27 | 2021-04-08 | Contemporary Amperex Technology Co., Limited | Battery box |
| US11059386B2 (en) | 2018-01-25 | 2021-07-13 | H55 Sa | Construction and operation of electric or hybrid aircraft |
| US11063323B2 (en) | 2019-01-23 | 2021-07-13 | H55 Sa | Battery module for electrically-driven aircraft |
| US11065979B1 (en) | 2017-04-05 | 2021-07-20 | H55 Sa | Aircraft monitoring system and method for electric or hybrid aircrafts |
| US11148819B2 (en) | 2019-01-23 | 2021-10-19 | H55 Sa | Battery module for electrically-driven aircraft |
| CN113557629A (en)* | 2019-03-13 | 2021-10-26 | 雷诺股份公司 | Housing for a battery and method for introducing a fire extinguishing fluid into such a housing |
| CN113991227A (en)* | 2021-11-19 | 2022-01-28 | 九环储能科技有限公司 | Energy storage monomer, energy storage cluster and energy storage device |
| CN113991226A (en)* | 2021-11-19 | 2022-01-28 | 九环储能科技有限公司 | Combined energy storage unit, energy storage cluster and energy storage device |
| WO2022056722A1 (en)* | 2020-09-16 | 2022-03-24 | 华为数字能源技术有限公司 | Battery cell, battery pack, system, and electric vehicle |
| US20220161077A1 (en)* | 2020-11-24 | 2022-05-26 | Audi Ag | Motor vehicle with optimized accessibility for extinguishing a battery fire |
| CN114883714A (en)* | 2021-02-05 | 2022-08-09 | 北京好风光储能技术有限公司 | High-capacity battery |
| CN115411436A (en)* | 2022-08-23 | 2022-11-29 | 中国电建集团福建省电力勘测设计院有限公司 | Cooling and fire-fighting integrated system applied to lithium battery cabinet |
| WO2023273568A1 (en)* | 2021-06-30 | 2023-01-05 | 中国第一汽车股份有限公司 | Upper box body assembly, battery assembly, and electric vehicle |
| CN116053698A (en)* | 2023-01-10 | 2023-05-02 | 华为数字能源技术有限公司 | An energy storage system and an electrical device |
| US12409756B2 (en) | 2017-04-05 | 2025-09-09 | H55 Sa | Aircraft monitoring system and method for electric or hybrid aircrafts |
| Publication number | Priority date | Publication date | Assignee | Title |
|---|---|---|---|---|
| JPH07226232A (en)* | 1994-02-14 | 1995-08-22 | Sony Corp | Non-aqueous electrolyte secondary battery and power source device |
| JP2007027011A (en)* | 2005-07-20 | 2007-02-01 | Sanyo Electric Co Ltd | Power source device |
| JP2009207650A (en)* | 2008-03-04 | 2009-09-17 | Panasonic Corp | Electric power device, electronic device using the same, and power supply element inspection facility |
| JP2009238654A (en)* | 2008-03-28 | 2009-10-15 | Sanyo Electric Co Ltd | Battery device |
| JP2009289668A (en)* | 2008-05-30 | 2009-12-10 | Toyota Motor Corp | Power storage device and vehicle |
| JP2010153117A (en)* | 2008-12-24 | 2010-07-08 | Mitsubishi Heavy Ind Ltd | Battery module |
| Publication number | Priority date | Publication date | Assignee | Title |
|---|---|---|---|---|
| JPH07226232A (en)* | 1994-02-14 | 1995-08-22 | Sony Corp | Non-aqueous electrolyte secondary battery and power source device |
| JP2007027011A (en)* | 2005-07-20 | 2007-02-01 | Sanyo Electric Co Ltd | Power source device |
| JP2009207650A (en)* | 2008-03-04 | 2009-09-17 | Panasonic Corp | Electric power device, electronic device using the same, and power supply element inspection facility |
| JP2009238654A (en)* | 2008-03-28 | 2009-10-15 | Sanyo Electric Co Ltd | Battery device |
| JP2009289668A (en)* | 2008-05-30 | 2009-12-10 | Toyota Motor Corp | Power storage device and vehicle |
| JP2010153117A (en)* | 2008-12-24 | 2010-07-08 | Mitsubishi Heavy Ind Ltd | Battery module |
| Publication number | Priority date | Publication date | Assignee | Title |
|---|---|---|---|---|
| AT13658U1 (en)* | 2012-07-27 | 2014-05-15 | Avl List Gmbh | battery |
| JP2014033824A (en)* | 2012-08-09 | 2014-02-24 | Hochiki Corp | Fire-extinguishing system for electric vehicle |
| JP2014036780A (en)* | 2012-08-20 | 2014-02-27 | Hochiki Corp | Fire-extinguishing system for electric vehicle |
| JP2014082108A (en)* | 2012-10-17 | 2014-05-08 | Hochiki Corp | Power storage device |
| JP2016508771A (en)* | 2013-01-25 | 2016-03-24 | バーケット、ブライアン | Fire smoke containment fire extinguishing device |
| JP2015111570A (en)* | 2013-11-27 | 2015-06-18 | ザ・ボーイング・カンパニーTheBoeing Company | Methods of inerting lithium-containing batteries and associated containers |
| US10374201B2 (en) | 2013-11-27 | 2019-08-06 | The Boeing Company | Methods of inerting lithium-containing batteries and associated containers |
| US11101522B2 (en) | 2013-11-27 | 2021-08-24 | The Boeing Company | Methods of inerting lithium-containing batteries and associated containers |
| EP2879202A2 (en)* | 2013-11-27 | 2015-06-03 | The Boeing Company | Methods of inerting lithium-containing batteries and associated containers |
| CN106058119A (en)* | 2015-04-17 | 2016-10-26 | 三星Sdi株式会社 | Battery pack |
| JP2019510341A (en)* | 2016-02-25 | 2019-04-11 | ビーワイディー カンパニー リミテッド | Single cell battery, battery module, power battery, and electric vehicle |
| JP2017004959A (en)* | 2016-06-24 | 2017-01-05 | ホーチキ株式会社 | Power storage device |
| US11065979B1 (en) | 2017-04-05 | 2021-07-20 | H55 Sa | Aircraft monitoring system and method for electric or hybrid aircrafts |
| US11697358B2 (en) | 2017-04-05 | 2023-07-11 | H55 Sa | Aircraft monitoring system and method for electric or hybrid aircrafts |
| US12409756B2 (en) | 2017-04-05 | 2025-09-09 | H55 Sa | Aircraft monitoring system and method for electric or hybrid aircrafts |
| US11059386B2 (en) | 2018-01-25 | 2021-07-13 | H55 Sa | Construction and operation of electric or hybrid aircraft |
| US11685290B2 (en) | 2018-01-25 | 2023-06-27 | H55 Sa | Construction and operation of electric or hybrid aircraft |
| US20210104798A1 (en)* | 2018-12-27 | 2021-04-08 | Contemporary Amperex Technology Co., Limited | Battery box |
| US11949114B2 (en)* | 2018-12-27 | 2024-04-02 | Contemporary Amperex Technology Co., Limited | Battery box |
| US11063323B2 (en) | 2019-01-23 | 2021-07-13 | H55 Sa | Battery module for electrically-driven aircraft |
| US11148819B2 (en) | 2019-01-23 | 2021-10-19 | H55 Sa | Battery module for electrically-driven aircraft |
| US11634231B2 (en) | 2019-01-23 | 2023-04-25 | H55 Sa | Battery module for electrically-driven aircraft |
| US11456511B2 (en) | 2019-01-23 | 2022-09-27 | H55 Sa | Battery module for electrically-driven aircraft |
| CN113557629A (en)* | 2019-03-13 | 2021-10-26 | 雷诺股份公司 | Housing for a battery and method for introducing a fire extinguishing fluid into such a housing |
| JP7723878B2 (en) | 2019-03-13 | 2025-08-15 | アンペア エス.ア.エス. | Housing for a battery and method for introducing fire-extinguishing fluid into such a housing |
| JP2022522831A (en)* | 2019-03-13 | 2022-04-20 | ルノー エス.ア.エス. | Battery housings, and how to introduce fire extinguishing fluid into such housings |
| CN109910618A (en)* | 2019-03-28 | 2019-06-21 | 重庆长安新能源汽车科技有限公司 | A kind of battery safety management method, apparatus and new-energy automobile |
| US10854866B2 (en) | 2019-04-08 | 2020-12-01 | H55 Sa | Power supply storage and fire management in electrically-driven aircraft |
| CN115668612A (en)* | 2020-09-16 | 2023-01-31 | 华为数字能源技术有限公司 | Battery core, battery pack, system and electric automobile |
| WO2022056722A1 (en)* | 2020-09-16 | 2022-03-24 | 华为数字能源技术有限公司 | Battery cell, battery pack, system, and electric vehicle |
| CN114604071A (en)* | 2020-11-24 | 2022-06-10 | 奥迪股份公司 | Motor vehicle with optimized proximity for suppressing a battery fire |
| US20220161077A1 (en)* | 2020-11-24 | 2022-05-26 | Audi Ag | Motor vehicle with optimized accessibility for extinguishing a battery fire |
| CN114883714A (en)* | 2021-02-05 | 2022-08-09 | 北京好风光储能技术有限公司 | High-capacity battery |
| CN114883714B (en)* | 2021-02-05 | 2023-11-14 | 好风光储能技术(成都)有限公司 | High-capacity battery |
| WO2023273568A1 (en)* | 2021-06-30 | 2023-01-05 | 中国第一汽车股份有限公司 | Upper box body assembly, battery assembly, and electric vehicle |
| CN113991226B (en)* | 2021-11-19 | 2025-03-14 | 九环储能科技有限公司 | Combined energy storage monomer, energy storage cluster and energy storage device |
| CN113991226A (en)* | 2021-11-19 | 2022-01-28 | 九环储能科技有限公司 | Combined energy storage unit, energy storage cluster and energy storage device |
| CN113991227A (en)* | 2021-11-19 | 2022-01-28 | 九环储能科技有限公司 | Energy storage monomer, energy storage cluster and energy storage device |
| CN115411436A (en)* | 2022-08-23 | 2022-11-29 | 中国电建集团福建省电力勘测设计院有限公司 | Cooling and fire-fighting integrated system applied to lithium battery cabinet |
| CN116053698A (en)* | 2023-01-10 | 2023-05-02 | 华为数字能源技术有限公司 | An energy storage system and an electrical device |
| Publication | Publication Date | Title |
|---|---|---|
| WO2012014348A1 (en) | Cell module and cell pack | |
| KR102656955B1 (en) | Batteries and related devices, manufacturing methods and manufacturing equipment | |
| CN103931020B (en) | Battery | |
| KR102686170B1 (en) | Batteries and related devices, manufacturing methods and manufacturing equipment | |
| JP4900534B2 (en) | Battery module and battery module assembly using the same | |
| JP5507173B2 (en) | Battery module and battery pack using the same | |
| JP4815026B2 (en) | Battery module and battery pack using the same | |
| JP7536879B2 (en) | Housing, battery, electrical equipment, and battery manufacturing method | |
| JP4749513B2 (en) | Battery module and battery pack using the same | |
| US20240128556A1 (en) | Battery module and battery pack with improved safety | |
| WO2008044430A1 (en) | Battery pack and battery-mounted device | |
| JP2023522801A (en) | BATTERY CASE, BATTERY, POWER CONSUMING DEVICE, CASE MANUFACTURING METHOD AND APPARATUS | |
| JP2008117756A (en) | Battery pack and battery-equipped device | |
| WO2013001585A1 (en) | Battery module | |
| KR20190031835A (en) | Battery case, battery pack including the same, and vehicle including the same | |
| KR20100118394A (en) | Pouch-type secondary battery comprising a portion of non-sealing residue | |
| KR20220163202A (en) | Battery Pack, and Vehicle Including the Same | |
| KR102625181B1 (en) | Fire fighting devices, case assemblies, batteries, electrical devices and methods of manufacturing batteries | |
| US20230268608A1 (en) | Battery cell, battery, and electric apparatus | |
| WO2024016212A1 (en) | Battery and electric device | |
| JP2024536984A (en) | Battery pack, energy storage device including the battery pack, and automobile | |
| CN218939874U (en) | Batteries and electrical devices | |
| WO2024077789A1 (en) | Battery and electric device | |
| CN116438695B (en) | Battery, electrical device, method for preparing battery, and device for preparing battery | |
| WO2025000905A1 (en) | Battery cell, battery, and electric device |
| Date | Code | Title | Description |
|---|---|---|---|
| 121 | Ep: the epo has been informed by wipo that ep was designated in this application | Ref document number:11811955 Country of ref document:EP Kind code of ref document:A1 | |
| NENP | Non-entry into the national phase | Ref country code:DE | |
| 122 | Ep: pct application non-entry in european phase | Ref document number:11811955 Country of ref document:EP Kind code of ref document:A1 | |
| NENP | Non-entry into the national phase | Ref country code:JP |