Movatterモバイル変換


[0]ホーム

URL:


WO2011058608A1 - Plasma processing apparatus - Google Patents

Plasma processing apparatus
Download PDF

Info

Publication number
WO2011058608A1
WO2011058608A1PCT/JP2009/006081JP2009006081WWO2011058608A1WO 2011058608 A1WO2011058608 A1WO 2011058608A1JP 2009006081 WJP2009006081 WJP 2009006081WWO 2011058608 A1WO2011058608 A1WO 2011058608A1
Authority
WO
WIPO (PCT)
Prior art keywords
planar conductor
plasma
conductor
planar
processing apparatus
Prior art date
Application number
PCT/JP2009/006081
Other languages
French (fr)
Japanese (ja)
Inventor
安東靖典
Original Assignee
日新電機株式会社
Priority date (The priority date is an assumption and is not a legal conclusion. Google has not performed a legal analysis and makes no representation as to the accuracy of the date listed.)
Filing date
Publication date
Application filed by 日新電機株式会社filedCritical日新電機株式会社
Priority to PCT/JP2009/006081priorityCriticalpatent/WO2011058608A1/en
Publication of WO2011058608A1publicationCriticalpatent/WO2011058608A1/en

Links

Images

Classifications

Definitions

Landscapes

Abstract

Provided is an inductively-coupled plasma processing apparatus which can generate plasma having excellent uniformity over a wide range and is applicable to large substrates.The plasma processing apparatus is provided with: a rectangular planar conductor (50), which is provided in a vacuum container (20) such that the planar conductor faces the substrate holding surface of a holder (32), and has two sides parallel in the X direction and two sides parallel in the Y direction orthogonally intersecting the X direction; block-like power feeding electrode (52) and terminal electrode (54) which are attached to the both end portions in the X direction on the rear surface of the planar conductor, respectively, and extend in the Y direction; and a high-frequency power supply (62) which supplies the planar conductor (50) with high-frequency power via the both electrodes (52, 54) and have a high-frequency current flow in the planar conductor (50).

Description

プラズマ処理装置Plasma processing equipment
 この発明は、プラズマを用いて基板に、例えばCVD法による膜形成、エッチング、アッシング、スパッタリング等の処理を施すプラズマ処理装置に関し、より具体的には、導体に高周波電流を流すことによって発生する誘導電界によってプラズマを生成し、当該プラズマを用いて基板に処理を施す誘導結合型のプラズマ処理装置に関する。The present invention relates to a plasma processing apparatus that performs processing such as film formation by CVD, etching, ashing, sputtering, etc. on a substrate using plasma, and more specifically, induction generated by flowing a high-frequency current through a conductor. The present invention relates to an inductively coupled plasma processing apparatus that generates plasma by an electric field and performs processing on a substrate using the plasma.
 誘導結合型のプラズマ処理装置において、例えば液晶ディスプレイ用のガラス基板のような大型の基板に対応するためには、従来は、例えば特許文献1~3および非特許文献1にも記載されているように、上記導体として、複数本の直線導体(これはアンテナとも呼ばれている)を、互いに所定の間隔をあけて、基板に平行な面内で並設した構造を採用している。In order to deal with a large substrate such as a glass substrate for a liquid crystal display in an inductively coupled plasma processing apparatus, conventionally, for example, as described inPatent Documents 1 to 3 andNon-Patent Document 1 In addition, as the conductor, a structure in which a plurality of linear conductors (also called antennas) are arranged in parallel in a plane parallel to the substrate at a predetermined interval is adopted.
特開平11-317299号公報(段落0051-0058、図3、図4)JP 11-317299 A (paragraphs 0051-0058, FIG. 3 and FIG. 4)特開2002-69653号公報(段落0014、図1)JP 2002-69653 A (paragraph 0014, FIG. 1)特開2007-262541号公報(段落0016、図1)JP 2007-262541 A (paragraph 0016, FIG. 1)
 複数本の直線導体を互いに間隔をあけて並設した構造を採用している従来のプラズマ処理装置においては、導体を並設した方向におけるプラズマ密度分布の均一性が良くないので、基板に施す処理の均一性も良くないという課題がある。In a conventional plasma processing apparatus that employs a structure in which a plurality of linear conductors are arranged side by side at a distance from each other, the uniformity of the plasma density distribution in the direction in which the conductors are arranged side by side is not good. There is a problem that the uniformity of the film is not good.
 これを図26を参照して説明する。複数本の直線導体2が互いに間隔をあけて並設されている。各直線導体2は、紙面の表裏方向に延びている。各直線導体2に例えば13.56MHzの高周波電流4を流すと各直線導体2の周囲に高周波磁界6がそれぞれ発生し、それによって高周波電流4とは逆方向に誘導電界8が発生する。この誘導電界8によって電子が加速されて各直線導体2の周りのガスを電離させて各直線導体2の周囲にプラズマが発生し(そのプラズマを合せたプラズマ12を図26に示す)、そのプラズマ中を誘導電流10が誘導電界8と同方向(即ち高周波電流4と逆方向)に流れる。なお、誘導電界8と誘導電流10とは互いに同方向であるから、便宜的に同じ図形を共用している(図4においても同様)。This will be described with reference to FIG. A plurality ofstraight conductors 2 are juxtaposed at intervals. Eachlinear conductor 2 extends in the front and back direction of the paper surface. When ahigh frequency current 4 of 13.56 MHz, for example, is passed through eachlinear conductor 2, a high frequencymagnetic field 6 is generated around eachlinear conductor 2, thereby generating an inductionelectric field 8 in a direction opposite to thehigh frequency current 4. Electrons are accelerated by this inductionelectric field 8 to ionize the gas around eachlinear conductor 2 to generate plasma around each linear conductor 2 (plasma 12 combined with the plasma is shown in FIG. 26). The induced current 10 flows in the same direction as the induced electric field 8 (that is, the direction opposite to the high-frequency current 4). Since the inducedelectric field 8 and the induced current 10 are in the same direction, the same figure is shared for convenience (the same applies to FIG. 4).
 各直線導体2の周囲に生成されたプラズマは、拡散によって周囲に拡がるけれども、1本の直線導体2によって生成されるプラズマ密度分布Dは、図26に示すように不均一である。複数本の直線導体2を並設することによって得られるプラズマ12の密度分布は、各直線導体2によるプラズマ密度分布Dを重ね合わせたプラズマ密度分布Dとなり、各プラズマ密度分布Dよりは均一性が良くなるけれども、各プラズマ密度分布Dの不均一性の影響が不可避的に残るので、均一性は良くない。Although the plasma generated around eachstraight conductor 2 spreads to the periphery by diffusion, the plasma density distribution D1 generated by onestraight conductor 2 is nonuniform as shown in FIG. Density distribution of theplasma 12 obtained by juxtaposed a plurality oflinear conductors 2, eachlinear conductor 2 by plasma density distribution D2 becomes superimposed plasma density distribution D1, from the plasma density distribution D1 is Although the uniformity is improved, the influence of non-uniformity of the plasma density distribution D1 because remain unavoidable, is not good uniformity.
 上記プラズマ密度分布Dの不均一性は基板処理の不均一性をもたらすので、基板処理の不均一性を軽減するためには、各直線導体2と基板14との間の距離Lを大きくしなければならない。プラズマ12の拡散による不均一性軽減を利用するためである。The non-uniformity of the plasma density distribution D2 causes non-uniformity in substrate processing. Therefore, in order to reduce non-uniformity in substrate processing, the distance L8 between eachlinear conductor 2 and thesubstrate 14 is increased. Must. This is because the non-uniformity reduction due to the diffusion of theplasma 12 is used.
 しかし、各直線導体2と基板14との間の距離Lを大きくすると、そのぶん直線導体2および基板14等を収納している真空容器の容積が大きくなるので、真空排気装置の排気容量も大きくしなければならない。ひいては、当該プラズマ処理装置の大型化およびコスト増大につながる。However, when the distance L8 between eachlinear conductor 2 and thesubstrate 14 is increased, the volume of the vacuum container that accommodates thelinear conductor 2 and thesubstrate 14 is increased. Therefore, the exhaust capacity of the vacuum exhaust device is also increased. Must be bigger. As a result, the plasma processing apparatus is increased in size and cost.
 そこでこの発明は、高周波電流を流す導体周りを改良することによって、広範囲に亘って均一性の良いプラズマを発生させることができ、大型の基板に対応することが容易な誘導結合型のプラズマ処理装置を提供することを主たる目的としている。Accordingly, the present invention improves the surroundings of the conductor through which a high-frequency current flows, thereby generating plasma with good uniformity over a wide range, and inductively coupled plasma processing apparatus that can easily cope with a large substrate. The main purpose is to provide
 この発明に係るプラズマ処理装置の一つは、導体に高周波電流を流すことによって発生する誘導電界によってプラズマを生成し、当該プラズマを用いて基板に処理を施す誘導結合型のプラズマ処理装置であって、真空排気されかつガスが導入される真空容器と、前記真空容器内に設けられていて前記基板を保持するホルダと、前記真空容器内に前記ホルダの基板保持面に対向するように設けられていて、X方向に平行な2辺およびX方向と直交するY方向に平行な2辺を有する方形の平面導体と、前記平面導体の前記ホルダとは反対側の裏面のX方向の両端部にそれぞれ取り付けられていてY方向に延びているブロック状の給電電極および終端電極と、前記給電電極および終端電極を経由して前記平面導体に高周波電力を供給して前記平面導体に高周波電流を流す高周波電源とを備えていることを特徴としている。One of the plasma processing apparatuses according to the present invention is an inductively coupled plasma processing apparatus that generates plasma by an induced electric field generated by flowing a high-frequency current through a conductor and performs processing on a substrate using the plasma. A vacuum vessel that is evacuated and into which gas is introduced, a holder that is provided in the vacuum vessel and holds the substrate, and is provided in the vacuum vessel so as to face a substrate holding surface of the holder A rectangular planar conductor having two sides parallel to the X direction and two sides parallel to the Y direction perpendicular to the X direction, and both ends of the planar conductor on the opposite side of the X direction on the opposite side of the holder. A block-shaped power supply electrode and termination electrode which are attached and extend in the Y direction, and a high-frequency power is supplied to the planar conductor via the power supply electrode and termination electrode to It is characterized in that it comprises a high-frequency power source supplying a high-frequency current to the body.
 このプラズマ処理装置においては、上記のような平面導体に加えて、上記のようなブロック状の給電電極および終端電極を備えているので、平面導体にY方向においてほぼ一様に高周波電力を供給することができる。In this plasma processing apparatus, in addition to the planar conductor as described above, the block-shaped feeding electrode and termination electrode as described above are provided. Therefore, high-frequency power is supplied to the planar conductor almost uniformly in the Y direction. be able to.
 一般的に、平面導体に高周波電力を供給しても、平面導体の近傍にプラズマが存在しない状態では、表皮効果等によって、簡単に言うと、高周波電流は、主に平面導体の、通電方向に直交する断面の四隅に集中して流れる。In general, even when high-frequency power is supplied to a flat conductor, when there is no plasma in the vicinity of the flat conductor, due to the skin effect, etc., simply speaking, the high-frequency current mainly flows in the energizing direction of the flat conductor. It flows in a concentrated manner at the four corners of the cross section.
 しかし、平面導体の近傍にプラズマが発生すると、詳細は後述するけれども、平面導体内を流れる高周波電流は、通電方向と直交するY方向において一様化するようになる。この発明はこのような現象を利用するものであり、高周波電流が上記のように一様化することと、上記のようなブロック状の給電電極および終端電極を有していることとが相俟って、高周波電流は平面導体内をY方向においてほぼ一様に分布して流れるようになる。それによって、平面導体のプラズマ生成側の面の近傍に、通電方向であるX方向のみならず、それと直交するY方向においてもほぼ一様に分布した誘導電界が発生し、この誘導電界によって、平面導体の面に沿う広範囲に亘って均一性の良いプラズマを発生させることができる。However, when plasma is generated in the vicinity of the planar conductor, the high-frequency current flowing in the planar conductor becomes uniform in the Y direction orthogonal to the energizing direction, as will be described in detail later. The present invention utilizes such a phenomenon, and it is considered that the high-frequency current is made uniform as described above and that the block-shaped feeding electrode and termination electrode are provided as described above. Thus, the high-frequency current flows in the plane conductor in a substantially uniform distribution in the Y direction. As a result, an induced electric field is generated in the vicinity of the surface on the plasma generation side of the planar conductor, not only in the X direction which is the energizing direction, but also in the Y direction perpendicular to the energizing direction. Plasma with good uniformity can be generated over a wide range along the surface of the conductor.
 前記平面導体の裏面のX方向の両端部に、Y方向に延びているブロック状の二つの終端電極を取り付け、かつ当該平面導体の裏面のX方向の中央部に、Y方向に延びているブロック状の給電電極を取り付けて、当該給電電極および二つの終端電極を経由して前記平面導体に高周波電力を供給するようしても良い。Two block-like termination electrodes extending in the Y direction are attached to both ends in the X direction on the back surface of the planar conductor, and the block extending in the Y direction on the center portion in the X direction on the back surface of the planar conductor Alternatively, a high-frequency power may be supplied to the planar conductor via the power supply electrode and the two termination electrodes.
 前記平面導体を、前記基板以上の平面寸法を有しているものにしても良い。The planar conductor may have a planar dimension larger than that of the substrate.
 前記平面導体を前記Y方向に並設された複数枚の平面電極で構成し、当該平面電極を包括する領域が前記基板以上の平面寸法を有しているものとしても良い。The planar conductor may be composed of a plurality of planar electrodes arranged in parallel in the Y direction, and a region including the planar electrode may have a planar dimension larger than that of the substrate.
 前記平面導体の前記ホルダ側の表面の表面粗さを、前記平面導体中を流れる前記高周波電流の表皮厚さよりも小さくし、かつ前記平面導体の前記ホルダとは反対側の裏面の表面粗さを、前記平面導体中を流れる前記高周波電流の表皮厚さよりも大きくしても良い。The surface roughness of the surface of the planar conductor on the holder side is made smaller than the skin thickness of the high-frequency current flowing in the planar conductor, and the surface roughness of the back surface of the planar conductor opposite to the holder is The skin thickness of the high-frequency current flowing through the planar conductor may be larger.
 前記平面導体の前記ホルダとは反対側の裏面に、前記平面導体のY方向の実質的に全域に延びている溝を前記X方向に複数並設し、かつ当該各溝の深さを、前記平面導体中を流れる前記高周波電流の表皮厚さよりも大きくしても良い。On the back surface of the planar conductor opposite to the holder, a plurality of grooves extending substantially in the whole Y direction of the planar conductor are arranged in parallel in the X direction, and the depth of each groove is It may be larger than the skin thickness of the high-frequency current flowing in the planar conductor.
 前記平面導体の少なくともY方向の実質的に全域を覆う寸法の絶縁体を、前記平面導体の前記ホルダとは反対側の裏面に近接させて設けても良い。It is also possible to provide an insulator having a dimension that covers at least the entire area in the Y direction of the planar conductor in the vicinity of the back surface of the planar conductor opposite to the holder.
 請求項1に記載の発明によれば、平面導体の近傍にプラズマが発生すると、平面導体内を流れる高周波電流は、通電方向と直交するY方向においてほぼ一様に分布して流れるようになる。それによって、平面導体のプラズマ生成側の面の近傍に、通電方向であるX方向のみならず、それと直交するY方向においてもほぼ一様に分布した誘導電界が発生し、この誘導電界によって、平面導体の面に沿う広範囲に亘って均一性の良いプラズマを発生させることができる。According to the first aspect of the present invention, when plasma is generated in the vicinity of the planar conductor, the high-frequency current flowing in the planar conductor flows almost uniformly in the Y direction perpendicular to the energizing direction. As a result, an induced electric field is generated in the vicinity of the surface on the plasma generation side of the planar conductor, not only in the X direction which is the energizing direction, but also in the Y direction perpendicular to the energizing direction. Plasma with good uniformity can be generated over a wide range along the surface of the conductor.
 その結果、大型の基板に対応することが容易になる。即ち、大型の基板に対しても均一性の良い処理を施すことが可能になる。しかも、平面導体と基板との間の距離を、上記従来技術のように敢えて大きくしなくても、基板に対して均一性の良い処理を施すことができるので、真空容器の容積を小さく抑えることができ、従って真空排気装置の排気容量も小さく抑えることができる。ひいては、当該プラズマ処理装置の小型化およびコスト低減が可能になる。As a result, it becomes easy to handle a large substrate. That is, it becomes possible to perform processing with good uniformity even on a large substrate. In addition, even if the distance between the planar conductor and the substrate is not increased as in the prior art, the substrate can be processed with good uniformity, so that the volume of the vacuum vessel is kept small. Therefore, the exhaust capacity of the vacuum exhaust device can be kept small. As a result, the plasma processing apparatus can be reduced in size and cost.
 請求項2に記載の発明によれば、請求項1記載の発明と同様の効果に加えて次の更なる効果を奏する。即ち、X方向中央部の給電電極および両端部の二つの終端電極を経由して平面導体に高周波電力を供給する構成であるので、中央部の給電電極と片方の終端電極との間の距離を高周波電力の波長に対して所定割合以下にすれば、定在波の発生を抑制してX方向におけるプラズマ密度分布の均一性を良くすることができる。従って、同じように定在波発生を抑制する場合に、請求項1の場合に比べて平面導体のX方向の長さを約2倍まで大きくすることが可能になるので、より大型の基板に対応することが可能になる。According to the invention described inclaim 2, in addition to the same effect as that of the invention described inclaim 1, the following further effect is obtained. That is, since the high-frequency power is supplied to the planar conductor via the feeding electrode at the center in the X direction and the two termination electrodes at both ends, the distance between the feeding electrode at the center and one termination electrode is If the ratio is set to a predetermined ratio or less with respect to the wavelength of the high-frequency power, the generation of standing waves can be suppressed and the uniformity of the plasma density distribution in the X direction can be improved. Accordingly, when the standing wave generation is similarly suppressed, the length in the X direction of the planar conductor can be increased up to about twice as compared with the case ofclaim 1. It becomes possible to respond.
 請求項3に記載の発明によれば次の更なる効果を奏する。即ち、給電電極および終端電極は、それぞれ平面導体のY方向に平行な辺の85%以上の長さを有しているので、平面導体にY方向においてより一様に高周波電力を供給して、Y方向においてより一様に高周波電流を流すことができる。従って、プラズマのY方向における均一性をより良くすることができる。According to the invention described in claim 3, the following further effects are obtained. That is, since the feed electrode and the termination electrode each have a length of 85% or more of the side parallel to the Y direction of the planar conductor, the planar conductor is supplied with high frequency power more uniformly in the Y direction, A high-frequency current can flow more uniformly in the Y direction. Therefore, the uniformity of the plasma in the Y direction can be improved.
 請求項4に記載の発明によれば次の更なる効果を奏する。即ち、平面導体は基板以上の平面寸法を有しているので、基板寸法と同等以上の範囲で均一性の良いプラズマを発生させることが容易になる。従って、大型の基板に対しても、より均一性の良い処理を施すことが可能になる。According to the invention described inclaim 4, the following further effects are obtained. That is, since the planar conductor has a planar dimension equal to or larger than that of the substrate, it becomes easy to generate plasma with good uniformity within a range equal to or larger than the substrate dimension. Accordingly, it is possible to perform processing with higher uniformity even on a large substrate.
 請求項5に記載の発明によれば次の更なる効果を奏する。即ち、平面導体はY方向に並設された複数枚の平面電極で構成されているので、相対的に小型の平面電極を用いて大型の平面導体を構成することができる。従って、平面導体の大型化が容易であり、ひいては大型の基板への対応も容易になる。According to the invention described inclaim 5, the following further effect is obtained. That is, since the planar conductor is composed of a plurality of planar electrodes arranged in parallel in the Y direction, a large planar conductor can be constructed using relatively small planar electrodes. Therefore, it is easy to increase the size of the planar conductor, and it becomes easy to handle a large substrate.
 しかも、上記複数枚の平面電極を包括する領域は基板以上の平面寸法を有しているので、基板寸法と同等以上の範囲で均一性の良いプラズマを発生させることが容易になる。従って、大型の基板に対しても、より均一性の良い処理を施すことが可能になる。In addition, since the region including the plurality of planar electrodes has a planar dimension larger than that of the substrate, it is easy to generate plasma with good uniformity within a range equal to or larger than the substrate dimension. Accordingly, it is possible to perform processing with higher uniformity even on a large substrate.
 請求項6に記載の発明によれば次の更なる効果を奏する。即ち、平面導体の裏面の表面粗さを、平面導体中を流れる高周波電流の表皮厚さよりも大きくしているので、平面導体の裏面側における高周波電流の実効的な経路長が大きくなって、裏面側のインピーダンスが表面側に比べて大きくなり、高周波電流は主として平面導体内の表面側を流れるようになる。従って、平面導体の表面側におけるプラズマ生成に高周波電力を効率的に投入することができる。平面導体の表面側のプラズマは基板に面していて基板処理に寄与するのに対して、裏面側のプラズマはそれに寄与しないので、表面側のプラズマ生成に高周波電力を効率的に投入することによって、高周波電力の利用効率ひいては基板の処理効率を高めることができる。According to the invention described inclaim 6, the following further effect is obtained. That is, since the surface roughness of the back surface of the planar conductor is larger than the skin thickness of the high-frequency current flowing in the planar conductor, the effective path length of the high-frequency current on the back surface side of the planar conductor is increased, and the back surface The impedance on the side becomes larger than that on the surface side, and the high-frequency current flows mainly on the surface side in the planar conductor. Therefore, high-frequency power can be efficiently input to the plasma generation on the surface side of the planar conductor. The plasma on the surface side of the planar conductor faces the substrate and contributes to substrate processing, whereas the plasma on the back surface side does not contribute to it, so by efficiently applying high-frequency power to the plasma generation on the surface side In addition, the utilization efficiency of the high-frequency power, and thus the processing efficiency of the substrate can be increased.
 請求項7に記載の発明によれば次の更なる効果を奏する。即ち、平面導体の裏面に設けた複数の溝によって、平面導体の裏面側における高周波電流の実効的な経路長が大きくなって、裏面側のインピーダンスが表面側に比べて大きくなるので、請求項6の場合と同様の作用によって、平面導体の表面側のプラズマ生成に高周波電力を効率的に投入することができる。従って、高周波電力の利用効率ひいては基板の処理効率を高めることができる。According to the invention described in claim 7, the following further effect is obtained. That is, the plurality of grooves provided on the back surface of the planar conductor increases the effective path length of the high-frequency current on the back surface side of the planar conductor, and the impedance on the back surface side becomes larger than that on the front surface side. The high frequency power can be efficiently input to the plasma generation on the surface side of the planar conductor by the same action as in the above case. Therefore, the utilization efficiency of the high-frequency power and the processing efficiency of the substrate can be increased.
 請求項8に記載の発明によれば次の更なる効果を奏する。即ち、平面導体の裏面側にプラズマが発生しようとしても、平面導体の裏面に近接して設けている絶縁体によってプラズマ中の電子の自由な動きが妨げられると共に、当該絶縁体がプラズマの大きな損失面として働くので、平面導体の裏面側でのプラズマ生成を抑制することができる。その結果、平面導体の表面側のプラズマ生成に高周波電力を効率的に投入することができるので、高周波電力の利用効率ひいては基板の処理効率を高めることができる。The invention according toclaim 8 has the following further effect. That is, even if plasma is generated on the back side of the flat conductor, the insulator provided close to the back side of the flat conductor prevents the free movement of electrons in the plasma, and the insulator causes a large loss of plasma. Since it functions as a surface, plasma generation on the back surface side of the planar conductor can be suppressed. As a result, high-frequency power can be efficiently input to the plasma generation on the surface side of the planar conductor, so that the utilization efficiency of the high-frequency power and thus the processing efficiency of the substrate can be increased.
 請求項9に記載の発明によれば次の更なる効果を奏する。即ち、遮蔽板によって、プラズマ中の荷電粒子が平面導体、給電電極および終端電極に入射するのを抑制することができるので、これらの導体および電極に荷電粒子が入射することによるプラズマ電位の上昇を抑制することができると共に、これらの導体および電極の表面が荷電粒子によってスパッタされてプラズマおよび基板に対して金属汚染(メタルコンタミネーション)が生じるのを抑制することができる。According to the invention described in claim 9, the following further effects are obtained. That is, the shielding plate can prevent charged particles in the plasma from being incident on the planar conductor, the feeding electrode, and the termination electrode, so that the plasma potential is not increased due to the charged particles entering these conductors and electrodes. In addition to being able to suppress, it is possible to suppress the surface of these conductors and electrodes from being sputtered by charged particles and causing metal contamination (metal contamination) to the plasma and the substrate.
 請求項10に記載の発明によれば次の更なる効果を奏する。即ち、真空容器内に位置している平面導体、給電電極および終端電極の表面を覆う絶縁体を有しているので、プラズマ中の荷電粒子がこれらの導体および電極に入射するのを抑制することができる。従って請求項9の場合と同様の作用によって、プラズマ電位の上昇を抑制することができると共に、プラズマおよび基板に対して金属汚染が生じるのを抑制することができる。The invention according toclaim 10 has the following further effect. That is, since it has an insulator that covers the surfaces of the planar conductor, the feeding electrode, and the termination electrode located in the vacuum vessel, it prevents the charged particles in the plasma from entering these conductors and electrodes. Can do. Therefore, by the same action as that of the ninth aspect, it is possible to suppress the rise of the plasma potential and suppress the metal contamination to the plasma and the substrate.
 請求項11に記載の発明によれば次の更なる効果を奏する。即ち、平面導体を冷却する冷却機構を有しているので、平面導体の温度上昇を抑制することができる。その結果、平面導体の温度上昇による変形や、平面導体から基板への輻射熱による基板の温度上昇等を抑制することができる。The invention according toclaim 11 has the following further effect. That is, since the cooling mechanism for cooling the planar conductor is provided, an increase in the temperature of the planar conductor can be suppressed. As a result, it is possible to suppress deformation due to temperature rise of the planar conductor, temperature rise of the substrate due to radiant heat from the plane conductor to the substrate, and the like.
この発明に係るプラズマ処理装置の一実施形態を示す断面図である。It is sectional drawing which shows one Embodiment of the plasma processing apparatus which concerns on this invention.図1中の平面導体周りの一例を示す平面図であり、図1中のA-A方向に見たものである。FIG. 2 is a plan view showing an example of the periphery of a planar conductor in FIG. 1, as viewed in the AA direction in FIG.平面導体に高周波電流を流した場合であってプラズマが発生する前の様子の一例を示す概略図であり、(A)は平面導体に流れる高周波電流の様子を示し、(B)は平面導体のインピーダンスの分布および高周波電流の分布を示す。It is the schematic which shows an example of the mode before a plasma generate | occur | produces when a high frequency current is sent through a plane conductor, (A) shows the mode of the high frequency current which flows into a plane conductor, (B) is a plane conductor. The impedance distribution and the high-frequency current distribution are shown.平面導体に高周波電流を流した場合であってプラズマが発生した時の様子の一例を示す概略図であり、(A)は平面導体に流れる高周波電流等の様子を示し、(B)は発生したプラズマの密度分布を示す。It is the schematic which shows an example of a mode when a high frequency electric current is sent through a plane conductor, and a plasma generate | occur | produces, (A) shows a mode of the high frequency current etc. which flow through a plane conductor, (B) generated The density distribution of plasma is shown.平面導体の冷却機構の一例を示す図である。It is a figure which shows an example of the cooling mechanism of a planar conductor.平面導体の中央部に給電電極を設けた例を示す断面図である。It is sectional drawing which shows the example which provided the feed electrode in the center part of the planar conductor.図6の例の平面導体周りの一例を示す平面図である。FIG. 7 is a plan view showing an example around a planar conductor in the example of FIG. 6.平面導体、給電電極および終端電極を1枚の絶縁フランジで支持した例を示す断面図である。It is sectional drawing which shows the example which supported the planar conductor, the electric power feeding electrode, and the termination | terminus electrode by one insulating flange.平面導体を2枚の平面電極で構成した例を示す平面図である。It is a top view which shows the example which comprised the planar conductor with two planar electrodes.平面導体の裏面の表面粗さを大きくした例を拡大して示す概略断面図である。It is a schematic sectional drawing which expands and shows the example which enlarged the surface roughness of the back of a plane conductor.平面導体の裏面に溝を設けた例を拡大して示す概略図であり、(A)は平面図、(B)は断面図である。It is the schematic which expands and shows the example which provided the groove | channel in the back surface of the planar conductor, (A) is a top view, (B) is sectional drawing.平面導体の裏面に絶縁体を配置した一例を示す断面図である。It is sectional drawing which shows an example which has arrange | positioned the insulator on the back surface of a planar conductor.図12の例の平面導体周りの一例を示す平面図である。FIG. 13 is a plan view showing an example around a planar conductor in the example of FIG. 12.平面導体の裏面に絶縁体を配置した他の例を示す断面図である。It is sectional drawing which shows the other example which has arrange | positioned the insulator on the back surface of a planar conductor.平面導体等をプラズマから遮蔽する遮蔽板を設けた例を示す断面図である。It is sectional drawing which shows the example which provided the shielding board which shields a planar conductor etc. from plasma.平面導体等を覆う絶縁体を設けた例を示す断面図である。It is sectional drawing which shows the example which provided the insulator which covers a planar conductor etc.プラズマの均一性測定に用いた平面導体等の一例を示す概略図であり、(A)は平面図、(B)は側面図である。It is the schematic which shows an example of the planar conductor etc. which were used for the uniformity measurement of plasma, (A) is a top view, (B) is a side view.図17に示す平面導体を用いてプラズマを生成したときのY方向の電子密度分布を測定した結果の一例を示す図である。It is a figure which shows an example of the result of having measured the electron density distribution of the Y direction when plasma is produced | generated using the plane conductor shown in FIG.図17に示す平面導体を用いてプラズマを生成したときのY方向の電子密度分布の均一性を測定した結果の一例を示す図である。It is a figure which shows an example of the result of having measured the uniformity of the electron density distribution of the Y direction when plasma is produced | generated using the plane conductor shown in FIG.図17に示す平面導体を用いてプラズマを生成したときのX方向の電子密度分布を測定した結果の一例を示す図である。It is a figure which shows an example of the result of having measured the electron density distribution of the X direction when producing | generating plasma using the plane conductor shown in FIG.図17に示す平面導体を用いてプラズマを生成したときのX方向の電子密度分布の均一性を測定した結果の一例を示す図である。It is a figure which shows an example of the result of having measured the uniformity of the electron density distribution of the X direction when plasma is produced | generated using the plane conductor shown in FIG.図17に示す平面導体の表面粗さを変えたときの、平面導体中央での電子密度を測定した結果の一例を示す図である。It is a figure which shows an example of the result of having measured the electron density in the plane conductor center when changing the surface roughness of the plane conductor shown in FIG.プラズマの均一性測定に用いた平面導体等の他の例を示す概略図であり、(A)は平面図、(B)は側面図である。It is the schematic which shows other examples, such as a plane conductor used for the uniformity measurement of plasma, (A) is a top view, (B) is a side view.図23に示す平面導体を用いてプラズマを生成したときのY方向の電子密度分布を測定した結果の一例を示す図である。It is a figure which shows an example of the result of having measured the electron density distribution of the Y direction when plasma is produced | generated using the plane conductor shown in FIG.図23に示す平面導体を用いてプラズマを生成したときのY方向の電子密度分布の均一性を測定した結果の一例を示す図である。It is a figure which shows an example of the result of having measured the uniformity of the electron density distribution of the Y direction when plasma is produced | generated using the plane conductor shown in FIG.複数本の直線導体を並設した従来構造の直線導体に高周波電流を流した場合の様子の一例を示す概略図であり、(A)は直線導体に流れる高周波電流等の様子を示し、(B)は発生したプラズマの密度分布を示す。It is the schematic which shows an example of the mode at the time of flowing a high frequency current through the linear conductor of the conventional structure which arranged the several linear conductor in parallel, (A) shows the mode of the high frequency current etc. which flow through a linear conductor, (B ) Shows the density distribution of the generated plasma.
 (1)プラズマ処理装置
 図1に、この発明に係るプラズマ処理装置の一実施形態を示す。
(1) Plasma Processing Apparatus FIG. 1 shows an embodiment of a plasma processing apparatus according to the present invention.
 この装置は、平面導体50に高周波電流を流すことによって発生する誘導電界によってプラズマ70を生成し、当該プラズマ70を用いて基板30に処理を施す誘導結合型のプラズマ処理装置である。This apparatus is an inductively coupled plasma processing apparatus that generates aplasma 70 by an induced electric field generated by flowing a high-frequency current through aplanar conductor 50 and processes thesubstrate 30 using theplasma 70.
 基板30は、例えば、液晶ディスプレイや有機ELディスプレイ等のフラットパネルディスプレイ(FPD)用の基板、フレキシブルディスプレイ用のフレキシブル基板等であるが、これに限られるものではない。Thesubstrate 30 is, for example, a flat panel display (FPD) substrate such as a liquid crystal display or an organic EL display, a flexible substrate for a flexible display, or the like, but is not limited thereto.
 基板30に施す処理は、例えば、CVD法等による膜形成、エッチング、アッシング、スパッタリング等である。The processing applied to thesubstrate 30 is, for example, film formation by a CVD method, etching, ashing, sputtering, or the like.
 このプラズマ処理装置は、CVD法によって膜形成を行う場合はプラズマCVD装置、エッチングを行う場合はプラズマエッチング装置、アッシングを行う場合はプラズマアッシング装置、スパッタリングを行う場合はプラズマスパッタリング装置とも呼ばれる。This plasma processing apparatus is also called a plasma CVD apparatus when a film is formed by CVD, a plasma etching apparatus when etching is performed, a plasma ashing apparatus when ashing is performed, and a plasma sputtering apparatus when sputtering is performed.
 このプラズマ処理装置は、例えば金属製の真空容器20を備えている。真空容器20内は、排気口24を通して図示しない真空排気装置によって真空排気される。This plasma processing apparatus includes, for example, ametal vacuum vessel 20. The inside of thevacuum vessel 20 is evacuated by an evacuation device (not shown) through theexhaust port 24.
 真空容器20内には、基板30に施す処理内容に応じたガス28が、ガス導入部26を通して導入される。例えば、プラズマCVDによって基板30に膜形成を行う場合は、ガス28は、原料ガスを希釈ガス(例えばH)で希釈したガスである。より具体例を挙げると、原料ガスがSiHの場合はSi 膜を、SiH+NHの場合はSiN膜を、SiH+Oの場合はSiO膜を、それぞれ基板30の表面に形成することができる。ガス28をできるだけ一様に導入するために、ガス導入部26は、後述するY方向に沿って延びているものが好ましい。Agas 28 corresponding to the processing content to be applied to thesubstrate 30 is introduced into thevacuum container 20 through thegas introduction unit 26. For example, when forming a film on thesubstrate 30 by plasma CVD, thegas 28 is a gas obtained by diluting a source gas with a diluent gas (for example, H2 ). More specifically, an Si film is formed on the surface of thesubstrate 30 when the source gas is SiH4, an SiN film is formed when SiH4 + NH3 is used, and an SiO2 film is formed when SiH4 + O2 is used. be able to. In order to introduce thegas 28 as uniformly as possible, thegas introduction part 26 preferably extends along the Y direction described later.
 真空容器20内には、基板30を保持するホルダ32が設けられている。この例では、ホルダ32は軸36に支持されている。軸36が真空容器20を貫通する部分には、電気絶縁機能および真空シール機能を有する軸受部38が設けられている。この例のように、ホルダ32にバイアス電源40から軸36を経由して負のバイアス電圧Vを印加するようにしても良い。バイアス電圧Vは負のパルス状電圧でも良い。このようなバイアス電圧Vによって、例えば、プラズマ70中の正イオンが基板30に入射するときのエネルギーを制御して、基板30の表面に形成される膜の結晶化度を制御することができる。Aholder 32 that holds thesubstrate 30 is provided in thevacuum container 20. In this example, theholder 32 is supported by theshaft 36. A bearingportion 38 having an electrical insulation function and a vacuum sealing function is provided at a portion where theshaft 36 penetrates thevacuum vessel 20. As in this example, a negative bias voltage Vb may be applied to theholder 32 from thebias power supply 40 via theshaft 36. The bias voltage Vb may be a negative pulse voltage. With such a bias voltage Vb , for example, the energy when positive ions in theplasma 70 are incident on thesubstrate 30 can be controlled, and the crystallinity of the film formed on the surface of thesubstrate 30 can be controlled. .
 この例のように、ホルダ32内には、基板30を加熱するヒータ34を設けておいても良い。基板30の周縁部には、当該周縁部に膜が形成されるのを防止するマスク(シャドーマスクとも呼ばれる)42を設けておいても良い。マスク42の周辺部に、ガス28の流れを一様化すると共に、プラズマ70が基板30の保持機構等に達するのを防止する等のための仕切り板44を設けておいても良い。As in this example, aheater 34 for heating thesubstrate 30 may be provided in theholder 32. A mask (also referred to as a shadow mask) 42 for preventing a film from being formed on the peripheral edge may be provided on the peripheral edge of thesubstrate 30. Apartition plate 44 for making the flow of thegas 28 uniform and preventing theplasma 70 from reaching the holding mechanism or the like of thesubstrate 30 may be provided around themask 42.
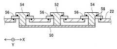
 真空容器20内に、より具体的には真空容器20の天井面22の内側に、ホルダ32の基板保持面に対向するように、方形の平面導体50が設けられている。天井面22は、例えば金属製のフランジでも良い。A rectangularflat conductor 50 is provided in thevacuum vessel 20, more specifically, on the inner side of theceiling surface 22 of thevacuum vessel 20 so as to face the substrate holding surface of theholder 32. Theceiling surface 22 may be a metal flange, for example.
 方形の平面導体50の辺を特定するために互いに直交する2方向をX方向およびY方向とすると、図2も参照して、平面導体50はX方向に平行な2辺50aおよびY方向に平行な2辺50bを有している。平面導体50は、長方形でも良いし、正方形でも良い。図2の平面導体50は長方形の場合の一例であり、この例ではX方向に平行な2辺50aが長辺であるが、これに限られるものではない。平面導体50の平面形状を具体的にどのようなものにするかは、例えば、基板30の平面形状に応じて決めれば良い。If two directions orthogonal to each other are specified as an X direction and a Y direction in order to specify the sides of the rectangularplanar conductor 50, theplanar conductor 50 is also parallel to the twosides 50a parallel to the X direction and the Y direction with reference to FIG. There are twosides 50b. Theplanar conductor 50 may be rectangular or square. Theplanar conductor 50 in FIG. 2 is an example in the case of a rectangle. In this example, the twosides 50a parallel to the X direction are long sides, but the present invention is not limited to this. The specific shape of the planar shape of theplanar conductor 50 may be determined according to the planar shape of thesubstrate 30, for example.
 図1、図2等の各図中には、平面導体50をどの方向に見て図示しているのかを分かりやすくするために、上記X方向およびY方向を図示している。In each drawing such as FIG. 1 and FIG. 2, the X direction and the Y direction are shown in order to make it easy to understand in which direction theplanar conductor 50 is viewed.
 平面導体50の材質は、例えば、銅(より具体的には無酸素銅)、アルミニウム等であるが、これに限られるものではない。次に述べる給電電極52および終端電極54も同様である。The material of theplanar conductor 50 is, for example, copper (more specifically, oxygen-free copper), aluminum, or the like, but is not limited thereto. The same applies to thepower supply electrode 52 and thetermination electrode 54 described below.
 平面導体50の、ホルダ32側の面を表面、ホルダ32とは反対側の面を裏面と呼ぶと、平面導体50の裏面のX方向の両端部に、平面導体50の辺50bに沿ってY方向に延びているブロック状の給電電極52および終端電極54が取り付けられている。When the surface on theholder 32 side of theplanar conductor 50 is referred to as the front surface, and the surface opposite to theholder 32 is referred to as the back surface, Y is formed along theside 50b of theplanar conductor 50 at both ends in the X direction on the back surface of theplanar conductor 50. A block-shapedpower supply electrode 52 and aterminal electrode 54 extending in the direction are attached.
 給電電極52および終端電極54は、後述する高周波電源62からの高周波電流を平面導体50に流すためのものである。より具体的には、給電電極52は、平面導体50に高周波電源62からの高周波電流を整合回路64を介して供給するための接続部であり、終端電極54は、平面導体50の端部を直接またはキャパシタを介して接地部に接続し、高周波電源62から平面導体50にかけて高周波電流の閉ループを作るための接続部である。The feedingelectrode 52 and thetermination electrode 54 are for flowing a high-frequency current from a high-frequency power source 62 described later to theplanar conductor 50. More specifically, thefeed electrode 52 is a connection part for supplying a high-frequency current from the high-frequency power source 62 to theplanar conductor 50 via thematching circuit 64, and thetermination electrode 54 is connected to the end of theplanar conductor 50. It is a connection part for making a closed loop of a high frequency current from the highfrequency power supply 62 to theplanar conductor 50 by connecting to the ground part directly or via a capacitor.
 給電電極52および終端電極54のY方向の長さは、高周波電流をY方向においてできるだけ一様に流すために、平面導体50のY方向に平行な辺50bの長さに近づける(例えば辺50bの長さと実質的に同じにする)のが好ましいけれども、辺50bの長さより幾分小さくても良いし、大きくても良い。数値で表せば、給電電極52および終端電極54のY方向の長さは、例えば、辺50bの85%以上の長さにすれば良い。後述する他の例においても同様である。The lengths of thefeed electrode 52 and thetermination electrode 54 in the Y direction are close to the length of theside 50b parallel to the Y direction of the planar conductor 50 (for example, theside 50b) in order to allow the high-frequency current to flow as uniformly as possible in the Y direction. Although it is preferable that the length is substantially the same as the length, it may be slightly smaller or larger than the length of theside 50b. Expressed numerically, the lengths of the feedingelectrode 52 and thetermination electrode 54 in the Y direction may be, for example, 85% or more of theside 50b. The same applies to other examples described later.
 給電電極52および終端電極54は、絶縁フランジ56をそれぞれ介して、真空容器20の天井面22に取り付けられている。これらの要素の間には、真空シール用のパッキン58がそれぞれ設けられている。The feedingelectrode 52 and thetermination electrode 54 are attached to theceiling surface 22 of thevacuum vessel 20 via insulatingflanges 56, respectively. Between these elements, vacuum seal packings 58 are respectively provided.
 給電電極52は、接続導体68、整合回路64およびその出力バー66を経由して、高周波電源62の一端に接続されている。高周波電源62の他端は接地されている。終端電極54は、接続導体69を経由して、整合回路64の近傍の接地部に接続されている。終端電極54は、直接接地しても良いし、キャパシタを介して接地しても良い。接続導体68、69は、高周波電流をY方向においてできるだけ一様に流すために、給電電極52、終端電極54のY方向の寸法と同程度の幅を持つ板状のものが好ましい。天井面22の上部は、この例のように、高周波の漏洩を防止するシールドボックス60で覆っておくのが好ましい。The feedingelectrode 52 is connected to one end of the high-frequency power source 62 via theconnection conductor 68, the matchingcircuit 64, and itsoutput bar 66. The other end of the highfrequency power supply 62 is grounded. Thetermination electrode 54 is connected to a ground portion near the matchingcircuit 64 via theconnection conductor 69. Thetermination electrode 54 may be grounded directly or via a capacitor. Theconnection conductors 68 and 69 are preferably plate-shaped having widths approximately the same as the dimensions of thefeed electrode 52 and thetermination electrode 54 in the Y direction so that a high-frequency current flows as uniformly as possible in the Y direction. The upper portion of theceiling surface 22 is preferably covered with ashield box 60 that prevents high-frequency leakage as in this example.
 高周波電源62から出力する高周波電力の周波数は、例えば、一般的な13.56MHzであるが、これに限られるものではない。The frequency of the high-frequency power output from the high-frequency power source 62 is, for example, a general 13.56 MHz, but is not limited to this.
 平面導体50のX方向の長さは、終端電極54でのインピーダンスの不整合で生じる反射電力や、プラズマ生成時の誘電率の増加に伴う波長変化を考慮して、上記高周波電力の真空中における波長の1/8(13.56MHzの場合で2.75m)程度以下にするのが好ましい。そのようにすれば、給電電極52と終端電極54との間で定在波が生じにくくなり、定在波に起因してプラズマ密度分布がX方向において不均一になることを抑制することができる。The length of theplanar conductor 50 in the X direction is determined by considering the reflected power generated by impedance mismatch at thetermination electrode 54 and the wavelength change accompanying the increase in the dielectric constant during plasma generation in the vacuum of the high frequency power. It is preferable to set the wavelength to 1/8 (about 2.75 m in the case of 13.56 MHz) or less. By doing so, it is difficult for a standing wave to be generated between the feedingelectrode 52 and thetermination electrode 54, and it is possible to suppress the plasma density distribution from becoming nonuniform in the X direction due to the standing wave. .
 このプラズマ処理装置においては、上記のような平面導体50に加えて、上記のようなブロック状の給電電極52および終端電極54を備えているので、平面導体50にY方向においてほぼ一様に高周波電力を供給することができる。上記とは違って、平面導体50に点状のような小さな電極を用いて高周波電力を供給したのでは、平面導体50にY方向においてほぼ一様な高周波電力を供給することはできない。In this plasma processing apparatus, in addition to theplanar conductor 50 as described above, the block-shapedpower supply electrode 52 and thetermination electrode 54 as described above are provided. Electric power can be supplied. Unlike the above, if high-frequency power is supplied to theplanar conductor 50 using a small electrode like a dot, it is not possible to supply theplanar conductor 50 with substantially uniform high-frequency power in the Y direction.
 一般的に、平面導体に高周波電力を供給しても、平面導体の近傍にプラズマが存在しない状態では、表皮効果等によって、簡単に言うと、図3に示す例のように、高周波電流4は、主に平面導体48の、通電方向に直交する断面の四隅に集中して流れる。これは、高周波のインピーダンスZの分布が、図3に示す例のように、平面導体48の四隅で小さく、その他の部分で大きくなるからである。但し、平面導体48の形状や、給電電極および終端電極の位置等によっては、どのように流れるかは、一概には分からない。Generally, even when high-frequency power is supplied to a planar conductor, in a state where no plasma exists in the vicinity of the planar conductor, the high-frequency current 4 is simply expressed by the skin effect or the like, as in the example shown in FIG. The current flows mainly at the four corners of the cross section of theplanar conductor 48 perpendicular to the energization direction. This is because the distribution of the high-frequency impedance Zr is small at the four corners of theplanar conductor 48 and large at the other portions as in the example shown in FIG. However, depending on the shape of theplanar conductor 48, the positions of the feeding electrode and the termination electrode, etc., it is not generally understood how it flows.
 これに対して、このプラズマ処理装置においては、平面導体50の近傍にプラズマ70が発生する。即ち、図4に示すように、平面導体50に高周波電流4を流すと平面導体50の周囲に高周波磁界6が発生し、それによって高周波電流4とは逆方向に誘導電界8が発生する。この誘導電界8によって電子が加速されて平面導体50の近傍のガス28(図1参照)を電離させて平面導体50の近傍にプラズマ70が発生し、そのプラズマ70中を誘導電流10が誘導電界8と同方向(即ち高周波電流4と逆方向)に流れる。In contrast, in this plasma processing apparatus,plasma 70 is generated in the vicinity of theplanar conductor 50. That is, as shown in FIG. 4, when a high-frequency current 4 is passed through theplanar conductor 50, a high-frequencymagnetic field 6 is generated around theplanar conductor 50, thereby generating an inducedelectric field 8 in the direction opposite to the high-frequency current 4. Electrons are accelerated by the inducedelectric field 8 to ionize the gas 28 (see FIG. 1) in the vicinity of theplanar conductor 50 to generateplasma 70 in the vicinity of theplanar conductor 50, and the induced current 10 is induced in theplasma 70. 8 in the same direction (that is, the direction opposite to the high-frequency current 4).
 上記のように平面導体50の近傍にプラズマ70が発生して、その中を誘導電流10が高周波電流4とは逆方向に流れると、平面導体50内を流れる高周波電流4は、通電方向と直交するY方向において一様化するようになる。その概略の理由は次のとおりである。As described above, when theplasma 70 is generated in the vicinity of theplanar conductor 50 and the induced current 10 flows in the direction opposite to the high-frequency current 4, the high-frequency current 4 flowing in theplanar conductor 50 is orthogonal to the energizing direction. It becomes uniform in the Y direction. The general reason is as follows.
 即ち、配電の技術分野においては、ブスバーのような平面導体に流れる電流に近接した別の導体に逆方向に電流が流れる場合、相互の導体のインピーダンスの分布が変化し、低インピーダンス化およびインピーダンスの一様化を生じることが知られている。これは、電流が互いに逆方向に流れることによって、磁束の鎖交数が減少することが関係しているものと思われる。本発明は、このような現象を平面導体とプラズマとの関係に応用したものであると言うことができる。That is, in the technical field of power distribution, when current flows in the opposite direction to another conductor close to the current flowing in the planar conductor such as a bus bar, the impedance distribution of the mutual conductor changes, and the impedance is reduced and the impedance is reduced. It is known to cause uniformity. This seems to be related to the fact that the number of flux linkages decreases due to currents flowing in opposite directions. It can be said that the present invention applies such a phenomenon to the relationship between a planar conductor and plasma.
 従って、図4に示すように、平面導体50の近傍にプラズマ70、特に高密度のプラズマ70が発生すると、平面導体50内を流れる高周波電流4のY方向における一様化が生じる。このことと、上記のようなブロック状の給電電極52および終端電極54を有していることとが相俟って、高周波電流4は平面導体50内をY方向においてほぼ一様に分布して流れるようになる。それによって、平面導体50のプラズマ70生成側の面の近傍に、通電方向であるX方向のみならず、それと直交するY方向においてもほぼ一様に分布した誘導電界8および誘導電流10が発生し、この誘導電界8によって、平面導体50の面に沿う広範囲に亘って均一性の良いプラズマを発生させることができる。そのプラズマ密度分布Dの概略例を図4に示す。実測例は後述する。Therefore, as shown in FIG. 4, whenplasma 70, particularly high-density plasma 70, is generated in the vicinity of theplanar conductor 50, the high-frequency current 4 flowing in theplanar conductor 50 becomes uniform in the Y direction. Combined with this, the high-frequency current 4 is distributed almost uniformly in the Y direction in theplanar conductor 50 by having the block-shapedfeeding electrode 52 and thetermination electrode 54 as described above. It begins to flow. As a result, an inducedelectric field 8 and an induced current 10 are generated in the vicinity of the surface of theplane conductor 50 on theplasma 70 generation side, not only in the X direction, which is the energization direction, but also in the Y direction perpendicular thereto. The inducedelectric field 8 can generate a plasma with good uniformity over a wide range along the plane of theplanar conductor 50. A schematic example of the plasma density distribution D3 is shown in FIG. An actual measurement example will be described later.
 その結果、大型の基板30に対応することが容易になる。即ち、大型の基板30に対しても均一性の良い処理を施すことが可能になる。しかも、平面導体50と基板30との間の距離L(図1参照)を、上記従来技術のように敢えて大きくしなくても、基板30に対して均一性の良い処理を施すことができるので、真空容器20の容積を小さく抑えることができ、従って真空排気装置の排気容量も小さく抑えることができる。ひいては、当該プラズマ処理装置の小型化およびコスト低減が可能になる。As a result, it becomes easy to deal with alarge substrate 30. That is, it is possible to perform processing with good uniformity even on thelarge substrate 30. Moreover, even if the distance L1 (see FIG. 1) between theplanar conductor 50 and thesubstrate 30 is not increased as in the prior art, thesubstrate 30 can be processed with good uniformity. Therefore, the volume of thevacuum vessel 20 can be kept small, and therefore the exhaust capacity of the vacuum exhaust device can be kept small. As a result, the plasma processing apparatus can be reduced in size and cost.
 前述したように、給電電極52および終端電極54は、それぞれ、平面導体50のY方向に平行な辺50bの85%以上の長さを有しているのが好ましい。そのようにすると、平面導体50にY方向においてより一様に高周波電力を供給して、Y方向においてより一様に高周波電流4を流すことができる。従って、プラズマ70のY方向における均一性をより良くすることができる。As described above, it is preferable that each of the feedingelectrode 52 and thetermination electrode 54 has a length of 85% or more of theside 50b parallel to the Y direction of theplanar conductor 50. By doing so, it is possible to supply the high-frequency power to theplanar conductor 50 more uniformly in the Y direction, and allow the high-frequency current 4 to flow more uniformly in the Y direction. Therefore, the uniformity of theplasma 70 in the Y direction can be improved.
 平面導体50は、基板30の平面寸法以上の平面寸法を有しているのが好ましい。そのようにすると、基板寸法と同等以上の範囲で均一性の良いプラズマ70を発生させることが容易になる。従って、大型の基板30に対しても、より均一性の良い処理を施すことが可能になる。Theplanar conductor 50 preferably has a planar dimension equal to or larger than the planar dimension of thesubstrate 30. By doing so, it becomes easy to generateplasma 70 with good uniformity within a range equal to or greater than the substrate dimensions. Therefore, it is possible to perform processing with higher uniformity even on thelarge substrate 30.
 (2)平面導体周りの構造の他の例
 次に、平面導体50周りの構造の他の例を、先に説明した例との相違点を主体に説明する。
(2) Another Example of Structure Around Planar Conductor Next, another example of the structure around theplanar conductor 50 will be described mainly with respect to differences from the example described above.
 図5に示す例のように、平面導体50の内部に冷媒72を流して平面導体50を冷却する冷却機構を設けても良い。後述する他の例においても同様である。冷却機構は、図5の例では、平面導体50内に設けた冷媒流路74に、給電電極52(図1参照)および終端電極54内に設けた冷媒流路76を通して、冷媒72を流す構造をしている。冷媒72は、例えば冷却水であるが、これに限られるものではない。平面導体50内の冷媒流路74は、Y方向に複数並設されたものでも良い。As in the example shown in FIG. 5, a cooling mechanism for cooling theplanar conductor 50 by flowing thecoolant 72 inside theplanar conductor 50 may be provided. The same applies to other examples described later. In the example of FIG. 5, the cooling mechanism has a structure in which thecoolant 72 flows through thecoolant channel 74 provided in theplanar conductor 50 through thecoolant channel 76 provided in the feeding electrode 52 (see FIG. 1) and thetermination electrode 54. I am doing. The refrigerant 72 is, for example, cooling water, but is not limited to this. A plurality ofrefrigerant flow paths 74 in theplanar conductor 50 may be arranged in parallel in the Y direction.
 上記のような冷却機構を設けておくと、平面導体50および給電電極52、終端電極54の温度上昇を抑制することができる。その結果、平面導体50等の温度上昇による変形や、平面導体50等から基板30への輻射熱による基板30の温度上昇等を抑制することができる。If the cooling mechanism as described above is provided, the temperature rise of theplanar conductor 50, the feedingelectrode 52, and thetermination electrode 54 can be suppressed. As a result, it is possible to suppress the deformation due to the temperature rise of theplanar conductor 50 and the like, and the temperature rise of thesubstrate 30 due to the radiant heat from theplanar conductor 50 and the like to thesubstrate 30.
 図6、図7に示す例のように、平面導体50の裏面のX方向の両端部に前述したような二つの終端電極54を取り付け、平面導体50の裏面の中央部に前述したような給電電極52を取り付けても良い。そのようにすれば、前述したような定在波を抑制するためには、中央部の給電電極52と片方の終端電極54との間の距離を、高周波電力の波長に対して所定割合以下、例えば前述した1/8程度以下にすれば良いので、同じように定在波発生を抑制する場合に、図1、図2に示した例に比べて、平面導体50のX方向の長さを約2倍まで大きくすることが可能になる。従って、より大型の基板30に対応することが可能になる。As shown in FIGS. 6 and 7, the twoterminal electrodes 54 as described above are attached to both ends in the X direction on the back surface of theflat conductor 50, and the power supply as described above is provided at the center portion on the back surface of theflat conductor 50. Theelectrode 52 may be attached. By doing so, in order to suppress the standing wave as described above, the distance between thecentral feeding electrode 52 and oneterminal electrode 54 is set to a predetermined ratio or less with respect to the wavelength of the high frequency power, For example, since it may be set to about 1/8 or less as described above, the length of theplanar conductor 50 in the X direction can be reduced in comparison with the example shown in FIGS. It becomes possible to enlarge it up to about twice. Therefore, it becomes possible to deal with alarger substrate 30.
 図8に示す例のように、給電電極52および終端電極54を、一つの絶縁フランジ57を介して天井面22に取り付けても良い。図6、図7に示したように中央部に給電電極52を設け、両端部に二つの終端電極54を設ける場合も同様である。As in the example shown in FIG. 8, the feedingelectrode 52 and thetermination electrode 54 may be attached to theceiling surface 22 via one insulatingflange 57. The same applies to the case where the feedingelectrode 52 is provided at the center as shown in FIGS. 6 and 7 and the twotermination electrodes 54 are provided at both ends.
 図9に示す例のように、平面導体50は、Y方向に並設された複数枚(図9の例では2枚)の平面電極51で構成されていても良い。そのようにすると、相対的に小型の平面電極51を用いて大型の平面導体50を構成することができる。従って、平面導体50の大型化が容易であり、ひいては大型の基板30への対応も容易になる。各平面電極51間のY方向の隙間90は小さい方が好ましい。As in the example shown in FIG. 9, theplanar conductor 50 may be composed of a plurality of (two in the example of FIG. 9)planar electrodes 51 arranged in parallel in the Y direction. By doing so, the largeplanar conductor 50 can be configured using the relatively smallplanar electrode 51. Accordingly, it is easy to increase the size of theplanar conductor 50, and thus it is easy to handle the large-sized substrate 30. Thegap 90 in the Y direction between theplanar electrodes 51 is preferably small.
 また、上記複数枚の平面電極51を包括する領域は、基板30の平面寸法以上の平面寸法を有しているのが好ましい。そのようにすると、基板寸法と同等以上の範囲で均一性の良いプラズマ70を発生させることが容易になる。従って、大型の基板30に対しても、より均一性の良い処理を施すことが可能になる。Further, it is preferable that the region including the plurality ofplanar electrodes 51 has a planar dimension equal to or larger than the planar dimension of thesubstrate 30. By doing so, it becomes easy to generateplasma 70 with good uniformity within a range equal to or greater than the substrate dimensions. Therefore, it is possible to perform processing with higher uniformity even on thelarge substrate 30.
 図10に示す例のように、平面導体50のホルダ側の表面50cの表面粗さを、平面導体50中を流れる高周波電流の表皮厚さδよりも小さくし、かつ平面導体50のホルダとは反対側の裏面50dの表面粗さを、上記表皮厚さδよりも大きくしておいても良い。As in the example shown in FIG. 10, the surface roughness of thesurface 50 c on the holder side of theflat conductor 50 is made smaller than the skin thickness δ of the high-frequency current flowing in theflat conductor 50, and what is the holder of theflat conductor 50? The surface roughness of theopposite back surface 50d may be made larger than the skin thickness δ.
 上記表皮厚さδは次式で表される。ここで、fは上記高周波電流の周波数、μは平面導体50の透磁率、σは平面導体50の導電率である。The skin thickness δ is expressed by the following equation. Here, f is the frequency of the high-frequency current, μ is the magnetic permeability of theplanar conductor 50, and σ is the conductivity of theplanar conductor 50.
 [数1]
  δ=1/√(πfμσ)
[Equation 1]
δ = 1 / √ (πfμσ)
 具体例を挙げると、周波数は13.56MHzである。平面導体50が純銅の場合、透磁率μは4π×10-7N/A、導電率σは59.6×10/Ωmであるので、表皮厚さδは約17.7μmとなる。平面導体50がアルミニウムの場合、透磁率μは4π×10-7N/A、導電率σは37.7×10/Ωmであるので、表皮厚さδは約22.2μmとなる。As a specific example, the frequency is 13.56 MHz. When theplanar conductor 50 is pure copper, the magnetic permeability μ is 4π × 10−7 N / A2 and the electrical conductivity σ is 59.6 × 106 / Ωm, so the skin thickness δ is about 17.7 μm. When theplanar conductor 50 is aluminum, the permeability μ is 4π × 10−7 N / A2 and the conductivity σ is 37.7 × 106 / Ωm, so the skin thickness δ is about 22.2 μm.
 上記表面粗さは、例えば、JIS B0601:2001で定義されている最大高さRである。The surface roughness is, for example, the maximum height Rz defined in JIS B0601: 2001.
 給電電極52および終端電極54を接続する領域の表面粗さは上記のように大きくする必要はない。接触抵抗を増大させないためである。即ち、平面導体50の裏面50dは、給電電極52および終端電極54を接続する領域を除いたできるだけ広い領域の、好ましくは実質的に全面の表面粗さを上記のように大きくすれば良い。表面粗さを大きくするには、例えばブラスト処理を行えば良い。機械加工の加工精度を粗くしても良い。The surface roughness of the region connecting the feedingelectrode 52 and thetermination electrode 54 does not need to be increased as described above. This is because the contact resistance is not increased. In other words, the surface roughness of theback surface 50d of theplanar conductor 50 is as large as possible except for the region connecting thepower supply electrode 52 and thetermination electrode 54, preferably substantially the entire surface roughness. In order to increase the surface roughness, for example, blasting may be performed. The machining accuracy of machining may be roughened.
 表面粗さの具体例を挙げると、例えば、表面50cの表面粗さ(最大高さR)は0.8μm、裏面50dの表面粗さ(最大高さR)は25μmである。これであれば、平面導体50が銅、アルミニウムのいずれであっても、表皮厚さδとの上記関係を満たしている。Surface roughness Specific examples of, for example, the surface roughness of thesurface 50c (the maximum height Rz) is 0.8 [mu] m, the surface roughness of theback surface 50d (maximum height Rz) is 25 [mu] m. In this case, the above relationship with the skin thickness δ is satisfied regardless of whether theplanar conductor 50 is copper or aluminum.
 平面導体50の表面粗さを上記のようにすると、平面導体50の裏面50d側における高周波電流は裏面50dの凹凸に沿って波打った経路で流れるので当該高周波電流の実効的な経路長が大きくなる。従って、裏面50d側のインピーダンスが表面50c側に比べて大きくなり、高周波電流は主として平面導体50内の表面50c側を流れるようになる。従って、平面導体50の表面50c側におけるプラズマ70(図1参照)の生成に高周波電力を効率的に投入することができる。When the surface roughness of theplanar conductor 50 is as described above, the high-frequency current on theback surface 50d side of theplanar conductor 50 flows along a corrugated path along the unevenness of theback surface 50d, so the effective path length of the high-frequency current is large. Become. Therefore, the impedance on theback surface 50d side becomes larger than that on thefront surface 50c side, and the high-frequency current flows mainly on thefront surface 50c side in theplanar conductor 50. Therefore, high-frequency power can be efficiently input to the generation of the plasma 70 (see FIG. 1) on thesurface 50c side of theplanar conductor 50.
 その理由は、簡単に言えば次のとおりである。即ち、平面導体50の表面50c側を流れる高周波電流と裏面50d側を流れる高周波電流とは、プラズマ70との間の距離が平面導体50の厚さ(例えば5mm)程度異なるようになる。高周波電流による誘導電界の強度は距離の2乗~3乗程度のオーダーで減衰し、それに応じてプラズマ密度も減少するので、平面導体50の厚さ程度の差でもプラズマ70の生成に影響する。このことは、図22に示す測定結果でも確かめられている。The reason for this is simply as follows. That is, the distance between the high-frequency current flowing on thefront surface 50c side and the high-frequency current flowing on theback surface 50d side of theplanar conductor 50 is about the thickness of the planar conductor 50 (for example, 5 mm). The strength of the induced electric field due to the high-frequency current is attenuated on the order of the square to the third power of the distance, and the plasma density is reduced accordingly. Therefore, the difference in the thickness of theplanar conductor 50 also affects the generation of theplasma 70. This is confirmed by the measurement results shown in FIG.
 平面導体50の表面50c側のプラズマ70は基板30に面していて基板処理に寄与するのに対して、裏面50d側のプラズマはそれに寄与しないので、上記のようにして表面50c側のプラズマ生成に高周波電力を効率的に投入することによって、高周波電力の利用効率ひいては基板30の処理効率を高めることができる。Theplasma 70 on thesurface 50c side of theplanar conductor 50 faces thesubstrate 30 and contributes to the substrate processing, whereas the plasma on theback surface 50d side does not contribute to it, so that plasma generation on thesurface 50c side is performed as described above. By efficiently supplying high-frequency power to the high-frequency power, the utilization efficiency of the high-frequency power and thus the processing efficiency of thesubstrate 30 can be increased.
 表皮厚さδを基準にするのは、上記説明からも分かるように、平面導体50の表面粗さが表皮厚さδよりも大きいと高周波電流は表面の凹凸に沿って波打った経路で流れ、表面粗さが表皮厚さδよりも小さいと波打ち方が小さくなって凹凸の効果が薄らぐからである。Based on the skin thickness δ, as can be seen from the above description, when the surface roughness of theplanar conductor 50 is larger than the skin thickness δ, the high-frequency current flows along a waved path along the surface irregularities. This is because, when the surface roughness is smaller than the skin thickness δ, the method of corrugation is reduced and the effect of unevenness is reduced.
 平面導体50の裏面50dの表面粗さを上記のように大きくする代わりに、図11に示す例のように、平面導体50の裏面50dに、平面導体50のY方向の実質的に全域に延びている溝78をX方向に複数並設し、かつ当該各溝78の深さDを、平面導体50中を流れる高周波電流の上記表皮厚さδよりも大きくしておいても良い。Instead of increasing the surface roughness of theback surface 50d of theplanar conductor 50 as described above, it extends substantially over the entire surface in the Y direction of theplanar conductor 50 on theback surface 50d of theplanar conductor 50, as in the example shown in FIG. A plurality of thegrooves 78 may be arranged in the X direction, and the depth D of eachgroove 78 may be larger than the skin thickness δ of the high-frequency current flowing in theplanar conductor 50.
 各溝78が延びている方向をY方向にするのは、平面導体50内を流れる高周波電流(図2の高周波電流4参照)に各溝78をほぼ直交させて、高周波電流の実効的な経路長を大きくするためである。The direction in which eachgroove 78 extends is set to the Y direction because eachgroove 78 is substantially orthogonal to the high-frequency current flowing in the planar conductor 50 (see high-frequency current 4 in FIG. 2), and the effective path of the high-frequency current. This is to increase the length.
 給電電極52および終端電極54を接続する領域に溝78を形成する必要はない。接触抵抗を増大させないためである。即ち、溝78は、平面導体50の裏面50dの、給電電極52および終端電極54を接続する領域を除いたできるだけ広い領域に、好ましくは実質的に全面に形成すれば良い。溝78を形成するには、例えば、溝78に相当する加工痕が残るように、裏面50dの機械加工(例えばフライス加工)を行えば良い。It is not necessary to form thegroove 78 in the region where the feedingelectrode 52 and thetermination electrode 54 are connected. This is because the contact resistance is not increased. That is, thegroove 78 may be formed in the widest possible area of theback surface 50d of theplanar conductor 50 except for the area where thepower supply electrode 52 and thetermination electrode 54 are connected, preferably substantially over the entire surface. In order to form thegroove 78, for example, machining (for example, milling) of theback surface 50d may be performed so that a processing mark corresponding to thegroove 78 remains.
 各溝78の深さDを表皮厚さδよりも大きくするのは、裏面50dの表面粗さを大きくする前述した理由と同様の理由による。The reason why the depth D of eachgroove 78 is made larger than the skin thickness δ is the same reason as described above for increasing the surface roughness of theback surface 50d.
 平面導体50の裏面50dに上記のような溝78を設けると、平面導体50の裏面50d側における高周波電流は各溝78の部分の凹凸に沿って波打った経路で流れるので当該高周波電流の実効的な経路長が大きくなる。従って、裏面50d側のインピーダンスが表面50c側に比べて大きくなるので、表面粗さを大きくした上記例の場合と同様の作用によって、平面導体50の表面50c側におけるプラズマ70(図1参照)の生成に高周波電力を効率的に投入することができる。従って、高周波電力の利用効率ひいては基板30の処理効率を高めることができる。When thegroove 78 as described above is provided on theback surface 50d of theplanar conductor 50, the high-frequency current on theback surface 50d side of theplanar conductor 50 flows along a corrugated path on the portion of eachgroove 78. Route length increases. Therefore, since the impedance on theback surface 50d side is larger than that on thefront surface 50c side, the plasma 70 (see FIG. 1) on thefront surface 50c side of theplanar conductor 50 is obtained by the same action as in the above example in which the surface roughness is increased. High-frequency power can be efficiently input for generation. Therefore, the utilization efficiency of the high frequency power, and thus the processing efficiency of thesubstrate 30 can be increased.
 図12、図13に示す例のように、平面導体50の少なくともY方向の実質的に全域を覆う寸法の絶縁体80を、平面導体50の裏面50dに近接させて設けておいても良い。給電電極52および終端電極54を平面導体50の裏面50dに接続する領域には、絶縁体80を設けようがないし、設ける必要もない。As shown in the examples shown in FIGS. 12 and 13, aninsulator 80 having a size that covers at least a substantially entire area of theplanar conductor 50 in the Y direction may be provided close to theback surface 50 d of theplanar conductor 50. In the region where thepower supply electrode 52 and thetermination electrode 54 are connected to theback surface 50d of theplanar conductor 50, theinsulator 80 is not necessarily provided.
 絶縁体80の材質は、例えば、石英、アルミナ等であるが、これに限られるものではない。The material of theinsulator 80 is, for example, quartz, alumina or the like, but is not limited thereto.
 上記のような絶縁体80を設けておくと、平面導体50の裏面50d側にプラズマが発生しようとしても、上記絶縁体80によってプラズマ中の電子の自由な動きが妨げられると共に、当該絶縁体80がプラズマの大きな損失面として働くので、平面導体50の裏面50d側でのプラズマ生成を抑制することができる。その結果、平面導体50の表面側のプラズマ70(図1参照)の生成に高周波電力を効率的に投入することができるので、高周波電力の利用効率ひいては基板30の処理効率を高めることができる。If theinsulator 80 as described above is provided, theinsulator 80 prevents free movement of electrons in the plasma even if plasma is generated on theback surface 50d side of theplanar conductor 50, and theinsulator 80 Serves as a large loss surface for plasma, and plasma generation on theback surface 50d side of theplanar conductor 50 can be suppressed. As a result, high-frequency power can be efficiently input to generate the plasma 70 (see FIG. 1) on the surface side of theplanar conductor 50, so that the utilization efficiency of the high-frequency power and thus the processing efficiency of thesubstrate 30 can be increased.
 絶縁体80は、近接の態様として、平面導体50の裏面50dに接していても良いし、裏面50dとの間に小さな隙間があっても良い。例えば、10mm以下の隙間があっても良い。小さな隙間があっても、絶縁体80は上述したプラズマの損失面として働くからである。Theinsulator 80 may be in contact with theback surface 50d of theplanar conductor 50 as a proximity mode, or there may be a small gap between theback surface 50d. For example, there may be a gap of 10 mm or less. This is because, even if there is a small gap, theinsulator 80 functions as the above-described plasma loss surface.
 絶縁体80を、平面導体50のY方向の実質的に全域を覆う寸法とするのは、上述したプラズマ中の電子は、X方向に発生する誘導電界8(図4参照)によってX方向に動こうとするので、その動きを、Y方向の実質的に全域において絶縁体80によって妨げるためである。Theinsulator 80 is dimensioned so as to cover substantially the entire area of theplanar conductor 50 in the Y direction because the electrons in the plasma move in the X direction by the induced electric field 8 (see FIG. 4) generated in the X direction. This is because the movement is prevented by theinsulator 80 in substantially the entire region in the Y direction.
 プラズマ中の電子のX方向の自由な動きを妨げれば良いので、絶縁体80は、X方向に複数に分割されていても良い。換言すれば、絶縁体80は、X方向には断続的に配置されていても良い。但し、上述したプラズマに対する損失面の観点からは、絶縁体80は大きい方が好ましい。即ちこの例のように、絶縁体80は、平面導体50の裏面50dの、給電電極52および終端電極54を接続する領域を除いた実質的に全域に設けておくのが好ましい。Theinsulator 80 may be divided into a plurality of pieces in the X direction, as long as free movement of electrons in the plasma in the X direction is prevented. In other words, theinsulator 80 may be intermittently disposed in the X direction. However, from the viewpoint of the above-described loss with respect to plasma, theinsulator 80 is preferably larger. That is, as in this example, theinsulator 80 is preferably provided over substantially the entire area of theback surface 50d of theplanar conductor 50 except for the region where thepower supply electrode 52 and thetermination electrode 54 are connected.
 図14に示す例のように、平面導体50のX方向の中央部に給電電極52を設ける場合も、上記のような絶縁体80を設けておいても良い。As in the example shown in FIG. 14, theinsulator 80 as described above may be provided when the feedingelectrode 52 is provided at the center in the X direction of theplanar conductor 50.
 なお、図10に示した例のように平面導体50の裏面の表面粗さを大きくする技術、あるいは図11に示した例のように平面導体50の裏面50dに溝78を設ける技術と、図12~図14に示した例のように平面導体50の裏面に絶縁体80を設ける技術とを併用しても良い。そのようにすれば、上述したそれぞれの作用効果を併せて奏することができる。A technique for increasing the surface roughness of the back surface of theplanar conductor 50 as in the example shown in FIG. 10, or a technique for providing thegroove 78 in theback surface 50d of theplanar conductor 50 as in the example shown in FIG. A technique of providing theinsulator 80 on the back surface of theplanar conductor 50 as in the examples shown in FIGS. 12 to 14 may be used in combination. If it does in that way, each effect mentioned above can be show | played together.
 図15に示す例のように、真空容器20(図1参照。以下同様)内に位置している平面導体50、給電電極52および終端電極54を、真空容器20内に生成されるプラズマ70(図1参照。以下同様)から遮蔽するものであって絶縁物から成る遮蔽板82を設けておいても良い。As in the example shown in FIG. 15, theplasma 70 generated in thevacuum vessel 20 includes theplanar conductor 50, the feedingelectrode 52, and thetermination electrode 54 located in the vacuum vessel 20 (see FIG. 1, the same applies hereinafter). Ashield plate 82 made of an insulating material may be provided for shielding from the same as in FIG.
 遮蔽板82と平面導体50との間は、隙間があっても良いし、接していても良い。平面導体50の表面に遮蔽板82を取り付けても良い。例えば、遮蔽板82はプラズマ70で加熱されるので、それを温度の低い平面導体50と接触させない観点からは、小さな隙間があっても良い。小さな隙間にすると、その空間ではプラズマは発生しないので、高周波電力を本来のプラズマ70の生成に有効に使うことができる。There may be a gap between the shieldingplate 82 and theplanar conductor 50, or they may be in contact with each other. A shieldingplate 82 may be attached to the surface of theplanar conductor 50. For example, since the shieldingplate 82 is heated by theplasma 70, a small gap may be present from the viewpoint of preventing the shieldingplate 82 from contacting theplanar conductor 50 having a low temperature. If the gap is small, no plasma is generated in the space, so that high-frequency power can be effectively used for generating theoriginal plasma 70.
 遮蔽板82の材質は、例えば、石英、アルミナ、炭化ケイ素、シリコン等である。水素系プラズマで還元されて遮蔽板82から酸素が放出されると困る場合は、シリコン、炭化ケイ素等の非酸化物系の材質を用いれば良い。例えばシリコン板を用いるのが簡単で良い。The material of the shieldingplate 82 is, for example, quartz, alumina, silicon carbide, silicon or the like. If it is difficult to reduce oxygen by hydrogen plasma and release oxygen from the shieldingplate 82, a non-oxide material such as silicon or silicon carbide may be used. For example, it is easy to use a silicon plate.
 なお、図15の例は絶縁フランジ57で給電電極52および終端電極54を支持しているが、図1に示した例と同様の構造を採用しても良い。また、図6に示した例のように平面導体50のX方向の中央部に給電電極52を有していても良い。図16に示す例においても同様である。In the example of FIG. 15, thepower supply electrode 52 and thetermination electrode 54 are supported by the insulatingflange 57, but the same structure as the example shown in FIG. 1 may be adopted. Moreover, you may have the electricpower feeding electrode 52 in the center part of the X direction of theplanar conductor 50 like the example shown in FIG. The same applies to the example shown in FIG.
 公知のように、導体と高周波プラズマとが近接する構造の場合、プラズマ中のイオンよりも電子の方が軽くて遥かに多く導体に入射するので、プラズマ電位が導体よりも正側に上昇する。これに対して、上記のような遮蔽板82を設けておくと、遮蔽板82によって、プラズマ70中の荷電粒子が平面導体50、給電電極52および終端電極54に入射するのを抑制することができるので、これらの導体50および電極52、54に荷電粒子(主として電子)が入射することによるプラズマ電位の上昇を抑制することができると共に、これらの導体50および電極52、54の表面が荷電粒子(主としてイオン)によってスパッタされてプラズマ70および基板30に対して金属汚染(メタルコンタミネーション)が生じるのを抑制することができる。As is well known, in the case of a structure in which the conductor and the high-frequency plasma are close to each other, electrons are lighter and much more incident on the conductor than ions in the plasma, so that the plasma potential rises to the positive side of the conductor. On the other hand, if the shieldingplate 82 as described above is provided, the shieldingplate 82 prevents the charged particles in theplasma 70 from entering theplanar conductor 50, the feedingelectrode 52 and thetermination electrode 54. Therefore, it is possible to suppress an increase in plasma potential due to incidence of charged particles (mainly electrons) on theseconductors 50 andelectrodes 52 and 54, and the surfaces of theseconductors 50 andelectrodes 52 and 54 are charged particles. It is possible to suppress the occurrence of metal contamination (metal contamination) on theplasma 70 and thesubstrate 30 by being sputtered by (mainly ions).
 図16に示す例のように、真空容器20内に位置している平面導体50、給電電極52および終端電極54の表面を覆う絶縁体84を設けておいても良い。絶縁体84は例えば絶縁膜である。As in the example shown in FIG. 16, aninsulator 84 may be provided to cover the surfaces of theplanar conductor 50, the feedingelectrode 52, and thetermination electrode 54 that are located in thevacuum vessel 20. Theinsulator 84 is, for example, an insulating film.
 絶縁体84の材質は、例えば、石英、アルミナ、炭化ケイ素、シリコン等である。水素系プラズマで還元されて絶縁体84から酸素が放出されると困る場合は、シリコン、炭化ケイ素等の非酸化物系の材質を用いれば良い。The material of theinsulator 84 is, for example, quartz, alumina, silicon carbide, silicon or the like. In the case where oxygen is released from theinsulator 84 after being reduced by hydrogen plasma, a non-oxide material such as silicon or silicon carbide may be used.
 この絶縁体84によっても、上記遮蔽板82を設けたときの上記作用効果と同様の作用効果を奏することができる。Also with thisinsulator 84, it is possible to achieve the same operational effects as the above-described operational effects when the shieldingplate 82 is provided.
 それに加えて、上記遮蔽板82を設ける場合に比べて次の利点がある。即ち、絶縁体84の厚さは遮蔽板82に比べて非常に小さくすることができるので、平面導体50のごく近くでプラズマ70を発生させることができる。従って、高周波電力の利用効率をより高めることができる。In addition to this, there are the following advantages over the case where the shieldingplate 82 is provided. That is, since the thickness of theinsulator 84 can be made much smaller than that of the shieldingplate 82, theplasma 70 can be generated very close to theplanar conductor 50. Therefore, the utilization efficiency of the high frequency power can be further increased.
 また、平面導体50が前述したような冷却機構によって冷却されている場合は、当該平面導体50に絶縁体84が密接しているために絶縁体84の冷却効果も高く、従って絶縁体84の温度上昇を抑えて、基板30への輻射熱を抑えることができる。Further, when theplanar conductor 50 is cooled by the cooling mechanism as described above, theinsulator 84 is in intimate contact with theplanar conductor 50, so that theinsulator 84 has a high cooling effect, and therefore the temperature of theinsulator 84 is high. The rise can be suppressed, and the radiant heat to thesubstrate 30 can be suppressed.
 (3)測定結果の例
 次に、プラズマの均一性等の測定結果の例を説明する。
(3) Examples of measurement results Next, examples of measurement results such as plasma uniformity will be described.
 測定に際しては、実験用の真空容器内に、図15に示した構造で実験用の平面導体50を配置した。絶縁フランジ57と平面導体50との間には2mmの隙間を設け、平面導体50と石英板から成る遮蔽板82との間には1mmの隙間を設けた。In the measurement, an experimentalplanar conductor 50 having the structure shown in FIG. 15 was placed in an experimental vacuum vessel. A gap of 2 mm was provided between the insulatingflange 57 and theflat conductor 50, and a gap of 1 mm was provided between theflat conductor 50 and the shieldingplate 82 made of a quartz plate.
 図17に、測定に用いた平面導体50等の一例を示す。この平面導体の寸法(L×L×厚さ)は、278×213×5mmである。材質は、加工が容易なアルミニウムとした。FIG. 17 shows an example of theplanar conductor 50 used for the measurement. The dimension of this planar conductor (L2 × L3 × thickness) is 278 × 213 × 5 mm. The material was aluminum that was easy to process.
 給電電極52および終端電極54のX方向の幅は15mm、Y方向の長さは平面導体50と同じ213mmである。材質はアルミニウムとした。これらは図23に示す例においても同様である。The width of the feedingelectrode 52 and thetermination electrode 54 in the X direction is 15 mm, and the length in the Y direction is 213 mm, which is the same as that of theplanar conductor 50. The material was aluminum. The same applies to the example shown in FIG.
 真空容器内にはアルゴンガスを導入した。これは全ての測定において同じである。真空容器内のガス圧は、各図中に記載している。Argon gas was introduced into the vacuum vessel. This is the same for all measurements. The gas pressure in the vacuum vessel is described in each figure.
 平面導体50には、給電電極52および終端電極54を経由して、周波数が13.56MHzの高周波電力を供給してプラズマ(アルゴンプラズマ)を発生させた。この周波数は、全ての測定において同じである。供給した高周波電力の大きさは、各図中に記載している。Theplanar conductor 50 was supplied with high frequency power having a frequency of 13.56 MHz via the feedingelectrode 52 and thetermination electrode 54 to generate plasma (argon plasma). This frequency is the same for all measurements. The magnitude of the supplied high frequency power is shown in each figure.
 平面導体50の表面から距離L(=60mm)の位置で、水平方向に可動のラングミュアプローブ86を用いて、発生させたプラズマ中の電子密度を測定した。プラズマ密度を電子密度で表すことは一般的な手法である。従って、測定した電子密度分布はプラズマ密度分布を表している。The electron density in the generated plasma was measured using aLangmuir probe 86 movable in the horizontal direction at a position of distance L4 (= 60 mm) from the surface of theplanar conductor 50. It is a common technique to express the plasma density by electron density. Therefore, the measured electron density distribution represents the plasma density distribution.
 高周波電力の大きさを変えて、Y方向の電子密度分布を測定した結果を図18に示す。X方向の位置は0である(図19も同様)。Y方向の測定範囲は、平面導体50の寸法L(=213mm)よりも広い250mmであるが、この広い範囲で、高周波電力が400W以上では、非常に均一性の良い電子密度分布(即ちプラズマ密度分布。以下同様)が得られた。高周波電力が200Wの場合に均一性が悪いのは、プラズマが淡く、前述した(図4の説明参照)プラズマによるインピーダンス分布の一様化作用が低いことが一因であると考えられる。FIG. 18 shows the result of measuring the electron density distribution in the Y direction while changing the magnitude of the high-frequency power. The position in the X direction is 0 (the same applies to FIG. 19). The measurement range in the Y direction is 250 mm, which is wider than the dimension L3 (= 213 mm) of theplanar conductor 50. In this wide range, when the high-frequency power is 400 W or more, the electron density distribution (that is, plasma) is very uniform. A density distribution (the same applies hereinafter) was obtained. The reason why the uniformity is poor when the high-frequency power is 200 W is considered to be due to the fact that the plasma is light and the impedance distribution by the plasma described above (see the explanation of FIG. 4) is low.
 他のガス圧条件を含めて、高周波電力に対するY方向の電子密度分布の均一性の変化を図19に示す。この均一性は、電子密度分布の標準偏差を平均値で割った値であり、この技術分野では一般的な表現方法である。値が小さい方が均一性は良い。ガス圧および高周波電力が大きいと、非常に均一性の良いプラズマが得られることが分かる。これは高密度プラズマが発生して、プラズマによる前述したインピーダンス分布の一様化作用が大きく効いているからだと考えられる。FIG. 19 shows changes in the uniformity of the electron density distribution in the Y direction with respect to the high frequency power, including other gas pressure conditions. This uniformity is a value obtained by dividing the standard deviation of the electron density distribution by the average value, and is a general expression method in this technical field. The smaller the value, the better the uniformity. It can be seen that when the gas pressure and the high frequency power are large, plasma with very good uniformity can be obtained. This is thought to be because high density plasma is generated and the above-described uniforming of the impedance distribution by the plasma is greatly effective.
 上記と同様に、X方向の電子密度分布および電子密度分布の均一性を測定した結果を図20および図21に示す。Y方向の位置は0である。このX方向の測定範囲は、平面導体50の寸法L(=278mm)とほぼ同じ範囲であるが、この広い範囲で、高周波電力が400W以上では、特に600W以上では、非常に均一性の良いプラズマ密度分布が得られた。Similarly to the above, the results of measuring the electron density distribution in the X direction and the uniformity of the electron density distribution are shown in FIGS. The position in the Y direction is zero. The measurement range in the X direction is substantially the same as the dimension L2 (= 278 mm) of theplanar conductor 50. However, in this wide range, the high-frequency power is 400 W or more, particularly 600 W or more, and the uniformity is very good. A plasma density distribution was obtained.
 前述した複数本の直線導体を並設した従来技術では、直線導体の長さ方向の両端部の外側および並設方向の両端部の外側の領域ではプラズマ密度が急激に低下するので、各直線導体を基板よりも十分に長くし、かつ複数本の直線導体を並設する領域も基板よりも十分に広くしなければならない。これは装置の大型化をもたらす。In the prior art in which a plurality of linear conductors are arranged side by side, the plasma density rapidly decreases in the regions outside both ends in the longitudinal direction of the linear conductors and outside both ends in the parallel arrangement direction. Must be sufficiently longer than the substrate, and the region where the plurality of straight conductors are arranged side by side must be sufficiently wider than the substrate. This leads to an increase in the size of the device.
 これに対して、この発明に係る構造によれば、上記測定結果から分かるように、平面導体50の面積と同等以上の広い範囲で均一なプラズマが得られることが確認できた。従って、前述した真空容器の小容積化、真空排気装置の小容量化、プラズマ処理装置の小型化およびコスト低減の効果をより高めることができる。On the other hand, according to the structure according to the present invention, as can be seen from the above measurement results, it was confirmed that uniform plasma was obtained in a wide range equal to or larger than the area of theplanar conductor 50. Therefore, the effects of reducing the volume of the vacuum container, reducing the capacity of the vacuum exhaust device, reducing the size of the plasma processing apparatus, and reducing the cost can be further enhanced.
 図10に示した例に相当するものとして、図17の平面導体50の表面粗さを変えたときの、平面導体50の中央での電子密度を測定した結果を図22に示す。表面側の表面粗さ/裏面側の表面粗さは、■印は0.8μm/0.8μm、●印は0.8μm/25μmとした。後者の裏面は、前述した(数1の説明参照)アルミニウムの場合の表皮厚さδ=22.2μmよりも大きい表面粗さである。この表面粗さは、いずれも前述した最大高さRである。FIG. 22 shows the result of measuring the electron density at the center of theplanar conductor 50 when the surface roughness of theplanar conductor 50 in FIG. 17 is changed, corresponding to the example shown in FIG. The surface roughness on the front surface side / the surface roughness on the back surface side was 0.8 μm / 0.8 μm for ▪ and 0.8 μm / 25 μm for ●. The back surface of the latter has a surface roughness larger than the skin thickness δ = 22.2 μm in the case of aluminum described above (see the description of Equation 1). This surface roughness is the maximum height Rz described above.
 平面導体50の裏面の表面粗さを上記のように大きくすると、そうしない場合に比べて電子密度が増加し、高周波電力を1000W投入した時で電子密度が約40%増加することが確認できた。これによって、平面導体50の表面側におけるプラズマ生成に高周波電力を効率的に投入できることが確認できた。It was confirmed that when the surface roughness of the back surface of theplanar conductor 50 is increased as described above, the electron density is increased as compared with the case where it is not so, and the electron density is increased by about 40% when 1000 W of high-frequency power is input. . Thus, it was confirmed that high-frequency power could be efficiently input for plasma generation on the surface side of theplanar conductor 50.
 図9に示した例に相当するものとして、図23に示すように、平面導体50がY方向に並設された2枚の平面電極51で構成されている場合の実験も行った。これは、図17に示す平面導体50を、隙間90をあけて2枚の平面電極51に分割したものに相当する。その他は図17の場合と同じである。各平面電極51のY方向の寸法Lは80mm、隙間90の寸法Lは53mmとした。2枚の平面電極51を包括した外形寸法L×Lは図17の場合と同じである。As an example corresponding to the example shown in FIG. 9, as shown in FIG. 23, an experiment was conducted in the case where theplanar conductor 50 is composed of twoplanar electrodes 51 arranged in parallel in the Y direction. This corresponds to theplanar conductor 50 shown in FIG. 17 divided into twoplanar electrodes 51 with agap 90 therebetween. Others are the same as the case of FIG. The dimension L5 in the Y direction of eachplanar electrode 51 was 80 mm, and the dimension L6 of the gap 90 was 53 mm. The outer dimensions L2 × L3 including thetwoplanar electrodes 51 are the same as those in FIG.
 図23に示した平面導体50の場合に、Y方向の電子密度および電子密度分布を測定した結果を図24および図25に示す。X方向の位置は0である。これらは、図18、図19にそれぞれ対応している。この場合も、高周波電力が400W以上の場合では、特に600W以上では、広い範囲で非常に均一性の良いプラズマ密度分布が得られた。高周波電力が200Wの場合に、Y方向の中央付近で電子密度が低下しているのは、プラズマが淡くて、隙間90の存在の影響が大きくなったからだと考えられる。これは、隙間90の寸法Lを小さくすれば緩和することができる。In the case of theplanar conductor 50 shown in FIG. 23, the results of measuring the electron density and electron density distribution in the Y direction are shown in FIGS. The position in the X direction is zero. These correspond to FIGS. 18 and 19, respectively. Also in this case, when the high-frequency power was 400 W or more, a plasma density distribution with very good uniformity was obtained over a wide range, particularly at 600 W or more. The reason why the electron density decreases near the center in the Y direction when the high-frequency power is 200 W is thought to be that the influence of the presence of thegap 90 is increased because the plasma is light. This can be alleviated by reducing the dimension L6 of thegap 90.
 20 真空容器
 28 ガス
 30 基板
 32 ホルダ
 50 平面導体
 50c 表面
 50d 裏面
 51 平面電極
 52 給電電極
 54 終端電極
 62 高周波電源
 70 プラズマ
 74、76 冷媒流路
 78 溝
 80 絶縁体
 82 遮蔽板
20Vacuum container 28Gas 30Substrate 32Holder 50Planarconductor 50c Surface 50d Back surface 51Planar electrode 52Feed electrode 54Termination electrode 62 Highfrequency power supply 70Plasma 74, 76Refrigerant flow path 78Groove 80Insulator 82 Shield plate

Claims (11)

  1.  導体に高周波電流を流すことによって発生する誘導電界によってプラズマを生成し、当該プラズマを用いて基板に処理を施す誘導結合型のプラズマ処理装置であって、
     真空排気されかつガスが導入される真空容器と、
     前記真空容器内に設けられていて前記基板を保持するホルダと、
     前記真空容器内に前記ホルダの基板保持面に対向するように設けられていて、X方向に平行な2辺およびX方向と直交するY方向に平行な2辺を有する方形の平面導体と、
     前記平面導体の前記ホルダとは反対側の裏面のX方向の両端部にそれぞれ取り付けられていてY方向に延びているブロック状の給電電極および終端電極と、
     前記給電電極および終端電極を経由して前記平面導体に高周波電力を供給して前記平面導体に高周波電流を流す高周波電源とを備えていることを特徴とするプラズマ処理装置。
    An inductively coupled plasma processing apparatus that generates plasma by an induction electric field generated by flowing a high-frequency current through a conductor and performs processing on a substrate using the plasma,
    A vacuum vessel that is evacuated and into which gas is introduced;
    A holder that is provided in the vacuum vessel and holds the substrate;
    A rectangular planar conductor provided in the vacuum container so as to face the substrate holding surface of the holder, and having two sides parallel to the X direction and two sides parallel to the Y direction perpendicular to the X direction;
    A block-shaped power supply electrode and a termination electrode respectively attached to both ends in the X direction on the back surface of the planar conductor opposite to the holder and extending in the Y direction;
    A plasma processing apparatus, comprising: a high-frequency power source that supplies high-frequency power to the planar conductor via the power supply electrode and the termination electrode and causes a high-frequency current to flow through the planar conductor.
  2.  導体に高周波電流を流すことによって発生する誘導電界によってプラズマを生成し、当該プラズマを用いて基板に処理を施す誘導結合型のプラズマ処理装置であって、
     真空排気されかつガスが導入される真空容器と、
     前記真空容器内に設けられていて前記基板を保持するホルダと、
     前記真空容器内に前記ホルダの基板保持面に対向するように設けられていて、X方向に平行な2辺およびX方向と直交するY方向に平行な2辺を有する方形の平面導体と、
     前記平面導体の前記ホルダとは反対側の裏面のX方向の両端部にそれぞれ取り付けられていてY方向に延びているブロック状の二つの終端電極と、
     前記平面導体の裏面のX方向の中央部に取り付けられていてY方向に延びているブロック状の給電電極と、
     前記給電電極および二つの終端電極を経由して前記平面導体に高周波電力を供給して前記平面導体に高周波電流を流す高周波電源とを備えていることを特徴とするプラズマ処理装置。
    An inductively coupled plasma processing apparatus that generates plasma by an induction electric field generated by flowing a high-frequency current through a conductor and performs processing on a substrate using the plasma,
    A vacuum vessel that is evacuated and into which gas is introduced;
    A holder that is provided in the vacuum vessel and holds the substrate;
    A rectangular planar conductor provided in the vacuum container so as to face the substrate holding surface of the holder, and having two sides parallel to the X direction and two sides parallel to the Y direction perpendicular to the X direction;
    Two terminal electrodes in the form of blocks that are respectively attached to both ends in the X direction of the back surface of the planar conductor opposite to the holder and extend in the Y direction;
    A block-shaped power supply electrode attached to the center of the back surface of the planar conductor in the X direction and extending in the Y direction;
    A plasma processing apparatus, comprising: a high-frequency power source that supplies high-frequency power to the planar conductor through the power supply electrode and two terminal electrodes and causes a high-frequency current to flow through the planar conductor.
  3.  前記平面導体の前記ホルダ側の表面の表面粗さを、前記平面導体中を流れる前記高周波電流の表皮厚さよりも小さくし、かつ前記平面導体の前記ホルダとは反対側の裏面の表面粗さを、前記平面導体中を流れる前記高周波電流の表皮厚さよりも大きくしている請求項1ないし5のいずれかに記載のプラズマ処理装置。The surface roughness of the surface of the planar conductor on the holder side is made smaller than the skin thickness of the high-frequency current flowing in the planar conductor, and the surface roughness of the back surface of the planar conductor opposite to the holder is 6. The plasma processing apparatus according to claim 1, wherein the thickness of the high-frequency current flowing through the planar conductor is larger than the skin thickness.
  4.  前記平面導体の前記ホルダとは反対側の裏面に、前記平面導体のY方向の実質的に全域に延びている溝を前記X方向に複数並設し、かつ当該各溝の深さを、前記平面導体中を流れる前記高周波電流の表皮厚さよりも大きくしている請求項1ないし5のいずれかに記載のプラズマ処理装置。On the back surface of the planar conductor opposite to the holder, a plurality of grooves extending substantially in the whole Y direction of the planar conductor are arranged in parallel in the X direction, and the depth of each groove is The plasma processing apparatus according to any one of claims 1 to 5, wherein the plasma processing apparatus has a thickness greater than a skin thickness of the high-frequency current flowing in the planar conductor.
PCT/JP2009/0060812009-11-132009-11-13Plasma processing apparatusWO2011058608A1 (en)

Priority Applications (1)

Application NumberPriority DateFiling DateTitle
PCT/JP2009/006081WO2011058608A1 (en)2009-11-132009-11-13Plasma processing apparatus

Applications Claiming Priority (1)

Application NumberPriority DateFiling DateTitle
PCT/JP2009/006081WO2011058608A1 (en)2009-11-132009-11-13Plasma processing apparatus

Publications (1)

Publication NumberPublication Date
WO2011058608A1true WO2011058608A1 (en)2011-05-19

Family

ID=43991288

Family Applications (1)

Application NumberTitlePriority DateFiling Date
PCT/JP2009/006081WO2011058608A1 (en)2009-11-132009-11-13Plasma processing apparatus

Country Status (1)

CountryLink
WO (1)WO2011058608A1 (en)

Cited By (6)

* Cited by examiner, † Cited by third party
Publication numberPriority datePublication dateAssigneeTitle
JP2011179096A (en)*2010-03-032011-09-15Mitsui Eng & Shipbuild Co LtdThin film forming device
JP2013201157A (en)*2012-03-232013-10-03Mitsui Eng & Shipbuild Co LtdPlasma processing device
JP2015513758A (en)*2012-01-312015-05-14ヴァリアン セミコンダクター イクイップメント アソシエイツ インコーポレイテッド Ribbon antenna for multi-purpose operation and high efficiency RF power coupling
EP2592644A3 (en)*2011-11-092016-01-06Nissin Electric Co., Ltd.Plasma processing apparatus
JP2021040110A (en)*2019-09-052021-03-11Toto株式会社Electrostatic chuck
JP2021064450A (en)*2019-10-102021-04-22日新電機株式会社Plasma processing device

Citations (10)

* Cited by examiner, † Cited by third party
Publication numberPriority datePublication dateAssigneeTitle
JPH0669160A (en)*1992-08-211994-03-11Mitsubishi Heavy Ind LtdPlasma chemical etching device
JPH08138888A (en)*1994-11-161996-05-31Aneruba KkPlasma treatment apparatus
JPH0969399A (en)*1995-08-311997-03-11Tokyo Electron LtdPlasma processing device
JPH11111494A (en)*1997-09-301999-04-23Hitachi Ltd Plasma processing equipment
JPH11260596A (en)*1998-03-161999-09-24Hitachi Ltd Plasma processing apparatus and plasma processing method
JPH11317299A (en)*1998-02-171999-11-16Toshiba Corp High frequency discharge method and apparatus and high frequency processing apparatus
JP2002134418A (en)*2000-10-232002-05-10Tokyo Electron LtdPlasma processing system
JP2003068723A (en)*2001-08-302003-03-07Toshiba Corp Plasma processing apparatus and plasma processing method
JP2003234338A (en)*2002-02-082003-08-22Tokyo Electron LtdInductively coupled plasma treatment apparatus
JP2005285397A (en)*2004-03-292005-10-13Pearl Kogyo Co LtdPlasma monitoring sensor

Patent Citations (10)

* Cited by examiner, † Cited by third party
Publication numberPriority datePublication dateAssigneeTitle
JPH0669160A (en)*1992-08-211994-03-11Mitsubishi Heavy Ind LtdPlasma chemical etching device
JPH08138888A (en)*1994-11-161996-05-31Aneruba KkPlasma treatment apparatus
JPH0969399A (en)*1995-08-311997-03-11Tokyo Electron LtdPlasma processing device
JPH11111494A (en)*1997-09-301999-04-23Hitachi Ltd Plasma processing equipment
JPH11317299A (en)*1998-02-171999-11-16Toshiba Corp High frequency discharge method and apparatus and high frequency processing apparatus
JPH11260596A (en)*1998-03-161999-09-24Hitachi Ltd Plasma processing apparatus and plasma processing method
JP2002134418A (en)*2000-10-232002-05-10Tokyo Electron LtdPlasma processing system
JP2003068723A (en)*2001-08-302003-03-07Toshiba Corp Plasma processing apparatus and plasma processing method
JP2003234338A (en)*2002-02-082003-08-22Tokyo Electron LtdInductively coupled plasma treatment apparatus
JP2005285397A (en)*2004-03-292005-10-13Pearl Kogyo Co LtdPlasma monitoring sensor

Cited By (7)

* Cited by examiner, † Cited by third party
Publication numberPriority datePublication dateAssigneeTitle
JP2011179096A (en)*2010-03-032011-09-15Mitsui Eng & Shipbuild Co LtdThin film forming device
EP2592644A3 (en)*2011-11-092016-01-06Nissin Electric Co., Ltd.Plasma processing apparatus
JP2015513758A (en)*2012-01-312015-05-14ヴァリアン セミコンダクター イクイップメント アソシエイツ インコーポレイテッド Ribbon antenna for multi-purpose operation and high efficiency RF power coupling
JP2013201157A (en)*2012-03-232013-10-03Mitsui Eng & Shipbuild Co LtdPlasma processing device
JP2021040110A (en)*2019-09-052021-03-11Toto株式会社Electrostatic chuck
JP7408958B2 (en)2019-09-052024-01-09Toto株式会社 electrostatic chuck
JP2021064450A (en)*2019-10-102021-04-22日新電機株式会社Plasma processing device

Similar Documents

PublicationPublication DateTitle
JP5747231B2 (en) Plasma generating apparatus and plasma processing apparatus
CN102760633B (en)Plasma processing apparatus and method of plasma processing
JP4944198B2 (en) Plasma processing apparatus and processing method
JP5631088B2 (en) Plasma processing apparatus and plasma processing method
US7880392B2 (en)Plasma producing method and apparatus as well as plasma processing apparatus
JP5213530B2 (en) Plasma processing equipment
WO2011058608A1 (en)Plasma processing apparatus
JP4844697B1 (en) Plasma processing equipment
JP2010225296A (en) Inductively coupled antenna unit and plasma processing apparatus
KR101274515B1 (en)Plasma processing apparatus
TWI770144B (en) Plasma processing device
JP2012133899A (en)Plasma processing device
JP2018101463A (en)Inductively-coupled antenna unit and plasma processing device
KR101257005B1 (en)Plasma processing apparatus
KR101129675B1 (en)Plasma generation apparatus and transformer
TWI833166B (en) sputtering device
WO2012176242A1 (en)Plasma processing device
JP2013207142A (en)Plasma formation device
JP2013131295A (en)Plasma processing apparatus
JP2023001978A (en)Plasma processing device
JP2024062955A (en)Inductively coupled antenna unit and plasma processing device
KR101063740B1 (en)Apparatus for manufacturing large-size LCD substrates using inductively coupled plasma and including insulating plate
JP2012226888A (en)Plasma processing apparatus
TW201448677A (en)Plasma generating device, plasma processing device, plasma generating method and plasma processing method

Legal Events

DateCodeTitleDescription
121Ep: the epo has been informed by wipo that ep was designated in this application

Ref document number:09851242

Country of ref document:EP

Kind code of ref document:A1

NENPNon-entry into the national phase

Ref country code:DE

122Ep: pct application non-entry in european phase

Ref document number:09851242

Country of ref document:EP

Kind code of ref document:A1

NENPNon-entry into the national phase

Ref country code:JP


[8]ページ先頭

©2009-2025 Movatter.jp