Movatterモバイル変換


[0]ホーム

URL:


WO2010122841A1 - Mirror-lens barrel, image pickup device and method for manufacturing a mirror-lens barrel - Google Patents

Mirror-lens barrel, image pickup device and method for manufacturing a mirror-lens barrel
Download PDF

Info

Publication number
WO2010122841A1
WO2010122841A1PCT/JP2010/053223JP2010053223WWO2010122841A1WO 2010122841 A1WO2010122841 A1WO 2010122841A1JP 2010053223 WJP2010053223 WJP 2010053223WWO 2010122841 A1WO2010122841 A1WO 2010122841A1
Authority
WO
WIPO (PCT)
Prior art keywords
lens
lens frame
female screw
guide shaft
lens barrel
Prior art date
Application number
PCT/JP2010/053223
Other languages
French (fr)
Japanese (ja)
Inventor
裕士 長谷川
Original Assignee
コニカミノルタオプト株式会社
Priority date (The priority date is an assumption and is not a legal conclusion. Google has not performed a legal analysis and makes no representation as to the accuracy of the date listed.)
Filing date
Publication date
Application filed by コニカミノルタオプト株式会社filedCriticalコニカミノルタオプト株式会社
Publication of WO2010122841A1publicationCriticalpatent/WO2010122841A1/en

Links

Images

Classifications

Definitions

Landscapes

Abstract

Disclosed is a mirror-lens barrel that is of small size and that is capable of automatic assembly. The mirror-lens barrel is provided with: a lens frame having a main guide section that holds the lens and that is formed as a V shape or arcuate shape; a first guide shaft that is arranged parallel with the optical axis of the lens and along which the main guide section slides; a lead screw that has a male screw-thread and is arranged parallel with the optical axis; a female screw-thread member having a female screw-thread that screws together with the male screw-thread of the lead screw and is formed solely by a part thereof in the circumferential direction and is rotatably journaled in the lens frame in the direction orthogonal to the optical axis; and a biasing member positioned between the lens frame and the female screw-thread member, that causes the main guide section of the lens frame to contact the first guide shaft and that biases the female screw-thread of the female screw-thread member so as to contact the male screw-thread of the lead screw. The lens frame is moved along the first guide shaft by rotation of the lead screw, through the female screw-thread member.

Description

レンズ鏡胴、撮像装置及びレンズ鏡胴の製造方法Lens barrel, imaging device, and method of manufacturing lens barrel
 本発明は、変倍や合焦のためにレンズを保持するレンズ枠がリードスクリューによって駆動され、光軸と平行に配置された案内軸に沿って移動するレンズ鏡胴に関する。The present invention relates to a lens barrel in which a lens frame that holds a lens for zooming or focusing is driven by a lead screw and moves along a guide shaft that is arranged in parallel to the optical axis.
 従来より、変倍や合焦のために所定のレンズを保持するレンズ枠がリードスクリューにより駆動され、光軸と平行に配置された案内軸に沿って移動するレンズ鏡胴が知られている。2. Description of the Related Art Conventionally, there is known a lens barrel in which a lens frame that holds a predetermined lens for zooming or focusing is driven by a lead screw and moves along a guide shaft that is arranged in parallel to the optical axis.
 例えば、レンズを保持するレンズ保持枠を光軸と平行に配設した2本のガイド軸によってガイドし、レンズ保持枠に支持させたラックのラックギア部にリードスクリューを歯合させ、リードスクリューを回転させることによりレンズ保持枠を光軸方向に移動させるレンズ駆動装置が知られている。このレンズ駆動装置は、ラックを光軸方向に押圧してレンズ保持枠にガタなく支持させる機能と、リードスクリューをラックのラックギア部にガタなく歯合させる機能とを有する一つのコイルバネを備えている(特許文献1参照)。For example, a lens holding frame for holding a lens is guided by two guide shafts arranged in parallel with the optical axis, a lead screw is engaged with a rack gear portion of a rack supported by the lens holding frame, and the lead screw is rotated. There is known a lens driving device that moves the lens holding frame in the direction of the optical axis. This lens driving device includes one coil spring having a function of pressing the rack in the optical axis direction to support the lens holding frame without backlash and a function of engaging the lead screw with the rack gear portion of the rack without backlash. (See Patent Document 1).
特開平5-27149号公報JP-A-5-27149
 携帯電話等の携帯端末は撮像装置が内蔵され、その撮像装置に組み込まれるレンズ鏡胴は小型化や薄型化が要求される。また、多量生産に適した構成も望まれる。A portable terminal such as a cellular phone has an imaging device built therein, and a lens barrel incorporated in the imaging device is required to be small and thin. A configuration suitable for mass production is also desired.
 このような要望に応えるためには、構成部品が所定の空間にまとまり、且つ、ロボットアームを用いた自動組立が可能な構成であることが望ましい。手作業でなく自動組立にすれば、作業効率が格段に向上し、多量生産に適すると共に原価低減になる。また、手作業の場合は人体や衣服から生ずる塵埃がレンズ鏡胴に付着した後、更にCCD等の撮像素子に付着して撮像画像に悪影響を及ぼすという問題が生ずるが、自動組立にすればこのような問題は激減する。In order to meet such a demand, it is desirable that the component parts are gathered in a predetermined space and can be automatically assembled using a robot arm. If automatic assembly is used instead of manual work, the work efficiency is greatly improved, which is suitable for mass production and cost reduction. In addition, in the case of manual work, there is a problem that dust generated from the human body and clothes adheres to the lens barrel and then adheres to an image pickup device such as a CCD and adversely affects the picked-up image. Such problems are drastically reduced.
 但し、自動組立を可能にするためには、部品やユニットを一方向から順に装着できる構成にすることが必要である。However, in order to enable automatic assembly, it is necessary to have a configuration in which components and units can be mounted in order from one direction.
 この点において、特許文献1においては自動組立を意図したものではないので、各部品を種々の方向から装着しなければならず、特にコイルバネの装着を自動化するのは困難である。In this respect, sincePatent Document 1 is not intended for automatic assembly, each component must be mounted from various directions, and it is particularly difficult to automate the mounting of the coil spring.
 本発明はかかる問題に鑑みてなされたものであり、小型であると同時に自動組立が可能なレンズ枠と関連部材を有するレンズ鏡胴、該レンズ鏡胴を備えた撮像装置、及びレンズ鏡胴の製造方法を提案することを発明の目的とする。The present invention has been made in view of such problems, and is a lens barrel having a lens frame and related members that are compact and can be automatically assembled, an image pickup apparatus including the lens barrel, and a lens barrel. It is an object of the invention to propose a manufacturing method.
 上記目的は下記に記載した発明により達成される。The above object is achieved by the invention described below.
 1.レンズを保持し、V字状若しくは円弧状に形成された主案内部を有するレンズ枠と、
 前記レンズの光軸と平行に配置され、前記主案内部が摺動する第1案内軸と、
 雄ネジを有して前記光軸と平行に配置されたリードスクリューと、
 円周方向の一部のみで形成され前記リードスクリューの雄ネジと螺合する雌ネジを有し、前記レンズ枠に前記光軸と直交する方向に回動自在に軸支された雌ネジ部材と、
 前記レンズ枠と前記雌ネジ部材との間に位置し、前記レンズ枠の主案内部を前記第1案内軸に当接させ、且つ、前記雌ネジ部材の雌ネジを前記リードスクリューの雄ネジに当接させるべく付勢する付勢部材と、
 を設け、
 前記リードスクリューの回転により前記雌ネジ部材を介して前記レンズ枠を前記第1案内軸に沿って移動させることを特徴とするレンズ鏡胴。
1. A lens frame that holds the lens and has a main guide portion formed in a V shape or an arc shape;
A first guide shaft disposed parallel to the optical axis of the lens and on which the main guide portion slides;
A lead screw having a male screw and disposed parallel to the optical axis;
A female screw member that is formed only in a part in the circumferential direction and has a female screw that engages with a male screw of the lead screw, and is rotatably supported by the lens frame in a direction orthogonal to the optical axis; ,
Located between the lens frame and the female screw member, the main guide portion of the lens frame is brought into contact with the first guide shaft, and the female screw of the female screw member is used as the male screw of the lead screw. An urging member that urges to abut,
Provided,
A lens barrel, wherein the lens frame is moved along the first guide shaft through the female screw member by the rotation of the lead screw.
 2.第2案内軸が前記光軸に対して前記第1案内軸の逆側の位置に前記第1案内軸と平行に配置され、前記レンズ枠に平坦状に形成された補助案内部が前記付勢部材の付勢力により該第2案内軸に当接することを特徴とする前記1に記載のレンズ鏡胴。2. A second guide shaft is disposed parallel to the first guide shaft at a position opposite to the first guide shaft with respect to the optical axis, and an auxiliary guide portion formed flat on the lens frame is urged. 2. The lens barrel according to 1, wherein the lens barrel is brought into contact with the second guide shaft by a biasing force of a member.
 3.前記付勢部材は圧縮バネであることを特徴とする前記1又は前記2に記載のレンズ鏡胴。3. 3. The lens barrel according to 1 or 2, wherein the biasing member is a compression spring.
 4.前記付勢部材は前記レンズと前記第1案内軸との間に配置されていることを特徴とする前記1~3の何れか1項に記載のレンズ鏡胴。4. 4. The lens barrel according toclaim 1, wherein the urging member is disposed between the lens and the first guide shaft.
 5.前記付勢部材の一端が前記レンズ枠に設けた非貫通孔に挿着されていることを特徴とする前記1~4の何れか1項に記載のレンズ鏡胴。5. 5. The lens barrel according toclaim 1, wherein one end of the urging member is inserted into a non-through hole provided in the lens frame.
 6.前記1~5の何れか1項に記載のレンズ鏡胴を備えたことを特徴とする撮像装置。6. An imaging apparatus comprising the lens barrel according to any one of 1 to 5 above.
 7.レンズを保持するレンズ枠が雄ネジを有するリードスクリューによって駆動されて移動するレンズ鏡胴の製造方法において、
 第1案内軸が前記レンズの光軸と平行に筐体に配置されている筐体ユニットと、
 V字状若しくは円弧状に形成された主案内部を有するレンズ枠に、円周方向の一部のみで形成され雌ネジを有する雌ネジ部材が前記光軸と直交する方向に回動自在に支持され、且つ、前記レンズ枠と前記雌ネジ部材とを互いに離間させる方向に付勢する付勢部材が配置されているレンズ枠ユニットと、
 モータと一体化されているリードスクリューが装着されているモータユニットと、
 を備え、
 前記主案内部を前記第1案内軸に当接させて前記筐体ユニットの上に前記レンズ枠ユニットを載置する工程と、
 前記モータユニットを前記レンズ枠ユニットの上から前記筐体ユニットに装着し、前記リードスクリューの雄ネジを前記雌ネジ部材の雌ネジに螺合させる工程と、
 を有することを特徴とするレンズ鏡胴の製造方法。
7). In a method of manufacturing a lens barrel in which a lens frame that holds a lens is driven and moved by a lead screw having a male screw,
A housing unit in which a first guide shaft is disposed in the housing in parallel with the optical axis of the lens;
A lens frame having a main guide portion formed in a V shape or an arc shape is supported by a female screw member having a female screw formed only in a circumferential direction so as to be rotatable in a direction perpendicular to the optical axis. And a lens frame unit in which an urging member that urges the lens frame and the female screw member in a direction to separate each other is disposed,
A motor unit on which a lead screw integrated with the motor is mounted;
With
Placing the lens frame unit on the housing unit by bringing the main guide portion into contact with the first guide shaft;
Attaching the motor unit to the housing unit from above the lens frame unit, and screwing the male screw of the lead screw into the female screw of the female screw member;
A method for manufacturing a lens barrel, comprising:
 8.前記筐体ユニットにおける前記光軸に対して前記第1案内軸の逆側の位置に配置された第2案内軸に、前記レンズ枠に平坦状に形成された補助案内部を当接させる工程を有することを特徴とする前記7に記載のレンズ鏡胴の製造方法。8. A step of abutting an auxiliary guide portion formed flat on the lens frame with a second guide shaft disposed at a position opposite to the first guide shaft with respect to the optical axis in the housing unit; 8. The method for manufacturing a lens barrel as described in 7 above.
 9.前記雌ネジ部材を前記レンズの光軸と平行な方向に形成された軸部により前記レンズ枠に軸支して前記レンズ枠ユニットを形成する工程を有することを特徴とする前記7又は前記8に記載のレンズ鏡胴の製造方法。9. 7 or 8, wherein the lens frame unit is formed by pivotally supporting the female screw member on the lens frame by a shaft portion formed in a direction parallel to the optical axis of the lens. The manufacturing method of the lens barrel as described.
 本発明のレンズ鏡胴、撮像装置及びレンズ鏡胴の製造方法によれば、小型に形成することができ、且つ、自動組立が可能であるので、大量生産が可能で安価に製造することができる。According to the lens barrel, the imaging device, and the lens barrel manufacturing method of the present invention, the lens barrel can be formed in a small size and can be automatically assembled. Therefore, mass production is possible and it can be manufactured at low cost. .
デジタルカメラの主要部材の配置を示す斜視図である。It is a perspective view which shows arrangement | positioning of the main member of a digital camera.ズームレンズの断面図である。It is sectional drawing of a zoom lens.ズームレンズを広角端に設定したときのレンズ鏡胴の上面図である。It is a top view of a lens barrel when the zoom lens is set at the wide angle end.ズームレンズを広角端に設定したときのレンズ鏡胴の斜視図である。It is a perspective view of a lens barrel when the zoom lens is set at the wide angle end.ズームレンズを望遠端に設定したときのレンズ鏡胴の上面図である。It is a top view of a lens barrel when the zoom lens is set to the telephoto end.ズームレンズを望遠端に設定したときのレンズ鏡胴の斜視図である。It is a perspective view of a lens barrel when the zoom lens is set at the telephoto end.レンズ鏡胴1を分解した断面図である。2 is an exploded cross-sectional view of thelens barrel 1. FIG.レンズ鏡胴1を分解し一方の下方から見た斜視図である。It is the perspective view which decomposed | disassembled thelens barrel 1 and was seen from the one downward direction.レンズ鏡胴1を分解し他方の下方から見た斜視図である。It is the perspective view which decomposed | disassembled thelens barrel 1 and was seen from the other downward direction.レンズ枠31と雌ネジ部材32の底面図である。4 is a bottom view of alens frame 31 and afemale screw member 32. FIG.レンズ枠31と雌ネジ部材32の斜視図である。3 is a perspective view of alens frame 31 and afemale screw member 32. FIG.レンズ枠31と雌ネジ部材32の断面図である。3 is a cross-sectional view of alens frame 31 and afemale screw member 32. FIG.レンズ枠41と雌ネジ部材42の底面図である。FIG. 4 is a bottom view of alens frame 41 and afemale screw member 42.レンズ枠41と雌ネジ部材42の斜視図である。4 is a perspective view of alens frame 41 and afemale screw member 42. FIG.レンズ枠41と雌ネジ部材42の断面図である。3 is a cross-sectional view of alens frame 41 and afemale screw member 42. FIG.
 以下に本発明の実施の形態を、図を参照して詳細に説明する。Hereinafter, embodiments of the present invention will be described in detail with reference to the drawings.
 図1は本発明に係わるレンズ鏡胴を備えた撮像装置の一例であるデジタルカメラの主要部材の配置を示す斜視図である。FIG. 1 is a perspective view showing an arrangement of main members of a digital camera which is an example of an imaging apparatus having a lens barrel according to the present invention.
 カメラ50においては、撮像光学系としてのズームレンズを内蔵したレンズ鏡胴1が右側に縦長に配置され、被写体の光像が開口部51に入射する。In thecamera 50, alens barrel 1 incorporating a zoom lens as an imaging optical system is arranged vertically on the right side, and an optical image of a subject enters theopening 51.
 52はフラッシュ発光窓であり、フラッシュ発光窓52の後方には反射傘、キセノン管、メインコンデンサ及び回路基板等で構成されるフラッシュユニット53が配置されている。54は撮像した画像を記録するメモリカードである。55は各部へ電源を供給する電池である。画像記録用メモリ54及び電池55は、不図示の蓋部材の開閉によって挿脱が可能となっている。52 denotes a flash light emission window, and aflash unit 53 including a reflector, a xenon tube, a main capacitor, a circuit board, and the like is disposed behind the flashlight emission window 52.Reference numeral 54 denotes a memory card that records captured images. Abattery 55 supplies power to each unit. Theimage recording memory 54 and thebattery 55 can be inserted and removed by opening and closing a lid member (not shown).
 カメラ50の上面には、レリーズ釦56が配置され、その1段目の押下により測光や測距が行われ、その2段目の押下により露光が行われる。57はメインスイッチであり、カメラを動作状態と非動作状態に切り替えるスイッチである。メインスイッチ57により動作状態に切り替えられると、不図示のレンズバリアが開放されると共に、各部の動作が開始される。また、メインスイッチ57により非動作状態に切り替えられると、前記レンズバリアは閉鎖され、各部の動作は終了する。Arelease button 56 is arranged on the upper surface of thecamera 50, and photometry and distance measurement are performed by pressing the first step, and exposure is performed by pressing the second step. Amain switch 57 is a switch for switching the camera between an operating state and a non-operating state. When switched to the operating state by themain switch 57, the lens barrier (not shown) is opened and the operation of each part is started. When themain switch 57 is switched to the non-operating state, the lens barrier is closed and the operation of each part is finished.
 カメラ50の背面には、LCD或いは有機EL等で構成され、画像やその他文字情報等を表示する画像表示部58が配置されている。また、図示していないが、ズームアップ、ズームダウンを行うズーム釦、撮影した画像を再生する再生釦、画像表示部58上に各種のメニューを表示させるメニュー釦、表示から所望の機能を選択する選択釦等の操作部材が配置されている。On the back surface of thecamera 50, animage display unit 58 that is configured by an LCD, an organic EL, or the like and displays an image or other character information is disposed. Although not shown, a zoom button for zooming up and down, a playback button for playing back a captured image, a menu button for displaying various menus on theimage display unit 58, and a desired function are selected from the display. An operation member such as a selection button is arranged.
 また、不図示であるが、これら主要構成ユニットの間には、各部を接続すると共に、各種電子部品が搭載された回路基板が配置され、各主要構成ユニットの駆動及び制御を行うようになっている。同様に、不図示であるが、外部入出力端子、ストラップ取り付け部、三脚座等を備えている。Although not shown, each part is connected between these main constituent units and a circuit board on which various electronic components are mounted is arranged to drive and control each main constituent unit. Yes. Similarly, although not shown, an external input / output terminal, a strap attaching portion, a tripod seat, and the like are provided.
 なお、撮像装置としてはデジタルカメラに限定されるものではなく、ビデオカメラ、監視用カメラ、携帯電話等の携帯端末に内蔵されるカメラ等であってもよい。Note that the imaging apparatus is not limited to a digital camera, and may be a video camera, a monitoring camera, a camera built in a portable terminal such as a cellular phone, or the like.
 次に、撮像光学系としてのズームレンズ及びズームレンズを保持するレンズ鏡胴について図2を参照して説明する。図2はズームレンズの断面図である。Next, a zoom lens as an imaging optical system and a lens barrel that holds the zoom lens will be described with reference to FIG. FIG. 2 is a sectional view of the zoom lens.
 本レンズ鏡胴1に内蔵されるズームレンズは、第1レンズ群L1、第2レンズ群L2、第3レンズ群L3及び第4レンズ群L4の4群から構成されている。The zoom lens built in thelens barrel 1 is composed of four groups of a first lens group L1, a second lens group L2, a third lens group L3, and a fourth lens group L4.
 第1レンズ群L1は、レンズL11、プリズムP、レンズL12及びレンズL13から構成され、レンズL12及びレンズL13は互いに接合された接合レンズになっている。図1の開口部51を通過した被写体の光像はレンズL11を透過した後、反射光学素子としてのプリズムPで直角に反射され、レンズL12及びレンズL13を透過する。従って、レンズL11の光軸O1とレンズL12以降の光軸O2は直交している。なお、第1レンズ群L1は筐体11に固定されていて、移動することはない。The first lens unit L1 includes a lens L11, a prism P, a lens L12, and a lens L13, and the lens L12 and the lens L13 are cemented lenses that are cemented with each other. The light image of the subject that has passed through theopening 51 in FIG. 1 is transmitted through the lens L11, then is reflected at a right angle by the prism P as a reflective optical element, and is transmitted through the lens L12 and the lens L13. Therefore, the optical axis O1 of the lens L11 and the optical axis O2 after the lens L12 are orthogonal to each other. The first lens unit L1 is fixed to thecasing 11 and does not move.
 第2レンズ群L2は、レンズL21及びレンズL22から構成されている。第2レンズ群L2はレンズ枠31に保持されていて、変倍時にはレンズ枠31が後述する如く駆動され、第2レンズ群L2は光軸O2に沿って進退する。The second lens unit L2 includes a lens L21 and a lens L22. The second lens group L2 is held by thelens frame 31, and when zooming, thelens frame 31 is driven as will be described later, and the second lens group L2 advances and retreats along the optical axis O2.
 第3レンズ群L3は、1枚のレンズL31から構成されている。第3レンズ群L3はレンズ枠41に保持されていて、変倍時にはレンズ枠41が後述する如く駆動され、第3レンズ群L3は光軸O2に沿って進退する。また、第3レンズ群L3は変倍が終了した後に、合焦のために光軸O2に沿って例えば第4レンズ群L4の方向に移動する。The third lens unit L3 includes one lens L31. The third lens unit L3 is held by thelens frame 41, and when zooming, thelens frame 41 is driven as described later, and the third lens unit L3 advances and retreats along the optical axis O2. The third lens unit L3 moves, for example, in the direction of the fourth lens unit L4 along the optical axis O2 for focusing after the zooming is completed.
 第4レンズ群L4は1枚のレンズL41から構成されている。第4レンズ群L4は筐体11に固定されていて、移動することはない。The fourth lens unit L4 includes one lens L41. The fourth lens unit L4 is fixed to thehousing 11 and does not move.
 以上の如く第1レンズ群L1、第2レンズ群L2、第3レンズ群L3及び第4レンズ群L4から構成されたズームレンズにより、被写体の光像は第4レンズ群L4の後方に配置される不図示の撮像素子に結像する。As described above, the optical image of the subject is arranged behind the fourth lens unit L4 by the zoom lens including the first lens unit L1, the second lens unit L2, the third lens unit L3, and the fourth lens unit L4. An image is formed on an image sensor (not shown).
 また、ズームレンズを始めとする各部材が筐体11に装着された後は、後述する蓋部材12によって被覆される。Further, after each member including the zoom lens is mounted on thehousing 11, it is covered with alid member 12 described later.
 次に、第2レンズ群L2及び第3レンズ群L3を駆動する構成について図3乃至図6を参照して説明する。図3はズームレンズを広角端に設定したときのレンズ鏡胴の上面図、図4はズームレンズを広角端に設定したときのレンズ鏡胴の斜視図、図5はズームレンズを望遠端に設定したときのレンズ鏡胴の上面図、図6はズームレンズを望遠端に設定したときのレンズ鏡胴の斜視図である。Next, a configuration for driving the second lens unit L2 and the third lens unit L3 will be described with reference to FIGS. 3 is a top view of the lens barrel when the zoom lens is set to the wide-angle end, FIG. 4 is a perspective view of the lens barrel when the zoom lens is set to the wide-angle end, and FIG. 5 is a zoom lens set to the telephoto end. FIG. 6 is a perspective view of the lens barrel when the zoom lens is set at the telephoto end.
 各図において、レンズL11の左右にはステッピングモータであるモータ21,22が配置されている。モータ21は、第4レンズ群L4の方向に延在し雄ネジを有するリードスクリュー23と一体化され、モータ22は、第4レンズ群L4の方向に延在し雄ネジを有するリードスクリュー24と一体化されている。なお、リードスクリュー23,24はレンズ鏡胴1の下方に位置するため、図3乃至図6には図示されていないが、詳細は後述する。In each figure,motors 21 and 22 which are stepping motors are arranged on the left and right of the lens L11. Themotor 21 is integrated with alead screw 23 extending in the direction of the fourth lens group L4 and having a male screw, and themotor 22 is extended with alead screw 24 extending in the direction of the fourth lens group L4 and having a male screw. It is integrated. Since the lead screws 23 and 24 are located below thelens barrel 1, they are not shown in FIGS. 3 to 6, but will be described later in detail.
 また、2本の案内軸25,26がリードスクリュー23,24と平行に筐体11に固定され、案内軸25,26は第2レンズ群L2を保持するレンズ枠31及び第3レンズ群L3を保持するレンズ枠41を各々光軸O2の方向に案内する。また、レンズ枠31,41には円周方向の一部のみで形成された雌ネジを有する雌ネジ部材32,42が各々装着され、雌ネジ部材32の雌ネジはリードスクリュー23の雄ネジと螺合し、雌ネジ部材42の雌ネジはリードスクリュー24の雄ネジと螺合している。なお、雌ネジ部材32,42については詳細に後述する。Twoguide shafts 25 and 26 are fixed to thehousing 11 in parallel with the lead screws 23 and 24, and theguide shafts 25 and 26 connect thelens frame 31 holding the second lens group L2 and the third lens group L3. The lens frames 41 to be held are each guided in the direction of the optical axis O2. The lens frames 31 and 41 are fitted withfemale screw members 32 and 42 each having a female screw formed only in a part in the circumferential direction. The female screw of thefemale screw member 32 is connected to the male screw of thelead screw 23. The female screw of thefemale screw member 42 is screwed with the male screw of thelead screw 24. Thefemale screw members 32 and 42 will be described later in detail.
 そして、変倍時にはモータ21が回転するので、リードスクリュー23も回転し、雌ネジ部材32を介してレンズ枠31は案内軸25,26に案内されて光軸O2の方向に移動する。同様に、変倍時にはモータ22も回転するので、リードスクリュー24も回転し、雌ネジ部材42を介してレンズ枠41も案内軸25,26に案内されて光軸O2の方向に移動する。変倍量に応じてモータ21,22の回転量は異なるので、レンズ枠31とレンズ枠41の移動位置が変化し、第2レンズ群L2と第3レンズ群L3との群間距離が変化するので、ズームレンズの変倍が行われる。また、変倍後には撮像距離に応じてモータ22が回転し、同様にレンズ枠41が移動して合焦動作が行われる。Since themotor 21 rotates at the time of zooming, thelead screw 23 also rotates, and thelens frame 31 is guided by theguide shafts 25 and 26 via thefemale screw member 32 and moves in the direction of the optical axis O2. Similarly, since themotor 22 also rotates at the time of zooming, thelead screw 24 also rotates, and thelens frame 41 is guided by theguide shafts 25 and 26 via thefemale screw member 42 and moves in the direction of the optical axis O2. Since the rotation amounts of themotors 21 and 22 differ according to the amount of zooming, the movement positions of thelens frame 31 and thelens frame 41 change, and the distance between the groups of the second lens group L2 and the third lens group L3 changes. Therefore, zooming of the zoom lens is performed. In addition, after zooming, themotor 22 rotates according to the imaging distance, and thelens frame 41 moves in the same manner to perform a focusing operation.
 また、レンズ枠31,41の初期位置をフォトセンサ27,28が検知するので、モータ21,22の回転量及び回転方向を制御することにより、レンズ枠31,41を所定の位置に移動させることができる。In addition, since thephotosensors 27 and 28 detect the initial positions of the lens frames 31 and 41, the lens frames 31 and 41 are moved to predetermined positions by controlling the rotation amounts and rotation directions of themotors 21 and 22. Can do.
 次に、レンズ枠31,32をリードスクリュー23,24により駆動するための各部材の構成について図7乃至図15を参照して詳述する。Next, the configuration of each member for driving the lens frames 31 and 32 by the lead screws 23 and 24 will be described in detail with reference to FIGS.
 図7はレンズ鏡胴1を分解した断面図、図8はレンズ鏡胴1を分解し一方の下方から見た斜視図、図9はレンズ鏡胴1を分解し他方の下方から見た斜視図、図10はレンズ枠31と雌ネジ部材32の底面図、図11はレンズ枠31と雌ネジ部材32の斜視図、図12はレンズ枠31と雌ネジ部材32の断面図、図13はレンズ枠41と雌ネジ部材42の底面図、図14はレンズ枠41と雌ネジ部材42の斜視図、図15はレンズ枠41と雌ネジ部材42の断面図である。7 is an exploded cross-sectional view of thelens barrel 1, FIG. 8 is a perspective view of thelens barrel 1 disassembled and viewed from one lower side, and FIG. 9 is an exploded perspective view of thelens barrel 1 viewed from the other lower side. 10 is a bottom view of thelens frame 31 and thefemale screw member 32, FIG. 11 is a perspective view of thelens frame 31 and thefemale screw member 32, FIG. 12 is a sectional view of thelens frame 31 and thefemale screw member 32, and FIG. 14 is a bottom view of theframe 41 and thefemale screw member 42, FIG. 14 is a perspective view of thelens frame 41 and thefemale screw member 42, and FIG. 15 is a cross-sectional view of thelens frame 41 and thefemale screw member 42.
 レンズ鏡胴1を構成する主要の部材は、図7乃至図9に示す如く、上方から蓋部材12、筐体11、レンズ枠31、レンズ枠41及びモータ保持部材13から成る。The main members constituting thelens barrel 1 include alid member 12, acasing 11, alens frame 31, alens frame 41, and amotor holding member 13 from above, as shown in FIGS.
 蓋部材12は筐体11に装着された各部材を被覆し、塵埃等の侵入を防止する。Thelid member 12 covers each member mounted on thehousing 11 and prevents intrusion of dust and the like.
 筐体11は各部材を保持する要の部材で、レンズ枠31,41を光軸O2の方向に案内する案内軸25,26が挿着されている。Thehousing 11 is an essential member for holding each member, and guideshafts 25 and 26 for guiding the lens frames 31 and 41 in the direction of the optical axis O2 are inserted.
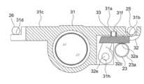
 レンズ枠31は図7の右方に伸びた腕部31aの先端に案内軸25(第1案内軸)を摺動しV字状に形成された主案内部31b、左方に伸びた腕部31cの先端に案内軸26(第2案内軸)を摺動し平坦状に形成された補助案内部31dが設けられている。レンズ枠31は雌ネジ部材32と一体的に組み立てられ、雌ネジ部材32は及び円周方向の一部のみで形成されリードスクリュー23の外周に螺設された雄ネジと螺合する雌ネジ32aを有する。Thelens frame 31 has amain guide portion 31b formed in a V shape by sliding the guide shaft 25 (first guide shaft) at the tip of anarm portion 31a extending rightward in FIG. 7, and an arm portion extending leftward. A guide guide 26 (second guide shaft) is slid on the tip of 31c, and anauxiliary guide portion 31d formed flat is provided. Thelens frame 31 is assembled integrally with afemale screw member 32, and thefemale screw member 32a is formed with only a part in the circumferential direction, and is afemale screw 32a that is screwed with a male screw screwed on the outer periphery of thelead screw 23. Have
 なお、主案内部31bは腕部31aにおける光軸O2方向の両端でのみV字状に形成され、その中間では案内軸25に当接しないようにUの字状に形成されている。Themain guide portion 31b is formed in a V shape only at both ends of thearm portion 31a in the optical axis O2 direction, and is formed in a U shape so as not to contact theguide shaft 25 in the middle.
 但し、主案内部31bの形状は必ずしもV字状に限定されるものではなく、U字形や半円形等から成る円弧状に形成されていてもよい。However, the shape of themain guide portion 31b is not necessarily limited to the V shape, and may be formed in an arc shape formed of a U shape, a semicircle, or the like.
 また、主案内部31bが案内軸25に係合することによりレンズ枠31が保持する第2レンズ群L2の光軸O2の位置が定まり、補助案内部31dはレンズ枠31が主案内部31bを中心に回動することを防止している。Further, when themain guide portion 31b engages with theguide shaft 25, the position of the optical axis O2 of the second lens group L2 held by thelens frame 31 is determined, and in theauxiliary guide portion 31d, thelens frame 31 moves themain guide portion 31b. Prevents pivoting to the center.
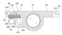
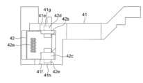
 レンズ枠41は図7の左方に伸びた腕部41aの先端に案内軸26を摺動しV字状に形成された主案内部41b、右方に伸びた腕部41cの先端に案内軸25を摺動し平坦状に形成された補助案内部41dが設けられている。レンズ枠41は雌ネジ部材42と一体的に組み立てられ、雌ネジ部材42は及び円周方向の一部のみで形成されリードスクリュー24の外周に螺設された雄ネジと螺合する雌ネジ部42aを有する。Thelens frame 41 has amain guide portion 41b formed in a V shape by sliding theguide shaft 26 on the tip of anarm portion 41a extending to the left in FIG. 7, and a guide shaft on the tip of anarm portion 41c extending to the right. Anauxiliary guide portion 41d that slides 25 and is formed in a flat shape is provided. Thelens frame 41 is assembled integrally with thefemale screw member 42, and thefemale screw member 42 is formed with only a part in the circumferential direction, and is a female screw portion that is screwed with a male screw screwed on the outer periphery of thelead screw 24. 42a.
 なお、主案内部41bは腕部41aにおける光軸O2方向の両端でのみV字状に形成され、その中間では案内軸26に当接しないようにUの字状に形成されている。Themain guide portion 41b is formed in a V shape only at both ends of thearm portion 41a in the optical axis O2 direction, and is formed in a U shape so as not to contact theguide shaft 26 in the middle.
 但し、主案内部41bの形状は必ずしもV字状に限定されるものではなく、U字形や半円形等から成る円弧状に形成されていてもよい。However, the shape of themain guide portion 41b is not necessarily limited to the V shape, and may be formed in an arc shape formed of a U shape, a semicircle, or the like.
 また、主案内部41bが案内軸26に係合することによりレンズ枠41が保持する第3レンズ群L3の光軸O2の位置が定まり、補助案内部41dはレンズ枠41が主案内部41bを中心に回動することを防止している。Further, when themain guide portion 41b engages with theguide shaft 26, the position of the optical axis O2 of the third lens unit L3 held by thelens frame 41 is determined, and theauxiliary guide portion 41d has thelens frame 41 that moves themain guide portion 41b. Prevents pivoting to the center.
 モータ保持部材13はモータ21,22を保持し、モータ21,22は案内軸25,26と平行に配置されて雄ネジを有するリードスクリュー23,24と一体化されている。そして、筐体11に下方から装着される。Themotor holding member 13 holds themotors 21 and 22, and themotors 21 and 22 are arranged in parallel with theguide shafts 25 and 26 and are integrated withlead screws 23 and 24 having male screws. And it mounts | wears with the housing | casing 11 from the downward direction.
 なお、図8においては左方が第1レンズ群L1の側で右方が第4レンズ群の側であって、図9においては右方が第1レンズ群L1の側で左方が第4レンズ群の側である。In FIG. 8, the left side is the first lens unit L1 side and the right side is the fourth lens unit side. In FIG. 9, the right side is the first lens unit L1 side and the left side is the fourth lens unit side. This is the lens group side.
 レンズ枠31は、図10乃至図12に示す如く、雌ネジ部材32と一体的に組み立てられている。Thelens frame 31 is assembled integrally with thefemale screw member 32 as shown in FIGS.
 レンズ枠31は図12の右方に突出した二つの軸受け部31e,31fを有し、軸受け部31e,31fにはそれぞれ光軸O2と平行に貫通孔31g,31hが穿設されている。一方、雌ネジ部材32は下方に突出した二つの脚部32b,32cの外側に突出した軸部32d,32eを有している。そして、貫通孔31gに軸部32dが挿入され、貫通孔31hに軸部32eが挿入されている。従って、雌ネジ部材32はレンズ枠31の貫通孔31g,31hを中心に回動自在である。なお、雌ネジ部材32は樹脂成型されているので、二つの脚部32b,32cを内側に変形させれば、軸部32d,32eを貫通孔31g,31hにそれぞれ挿入することができる。Thelens frame 31 has two bearingportions 31e and 31f protruding rightward in FIG. 12, and the bearingportions 31e and 31f are respectively provided with throughholes 31g and 31h in parallel with the optical axis O2. On the other hand, thefemale screw member 32 hasshaft portions 32d and 32e protruding outward from the twoleg portions 32b and 32c protruding downward. Theshaft portion 32d is inserted into the throughhole 31g, and theshaft portion 32e is inserted into the throughhole 31h. Accordingly, thefemale screw member 32 is rotatable about the throughholes 31g and 31h of thelens frame 31. Since thefemale screw member 32 is resin-molded, theshaft portions 32d and 32e can be inserted into the throughholes 31g and 31h, respectively, by deforming the twoleg portions 32b and 32c inward.
 また、図12に示す如く、レンズ枠31の腕部31aの下面には非貫通孔31fが穿設され、非貫通孔31fに圧縮バネ33(付勢部材)が挿着されている。圧縮バネ33は腕部31aの下面より突出し、雌ネジ部材32に圧着している。従って、圧縮バネ33はレンズ枠31と雌ネジ部材32を互いに離間させる方向に付勢している。Further, as shown in FIG. 12, anon-through hole 31f is formed in the lower surface of thearm portion 31a of thelens frame 31, and a compression spring 33 (biasing member) is inserted into thenon-through hole 31f. Thecompression spring 33 protrudes from the lower surface of thearm portion 31 a and is crimped to thefemale screw member 32. Accordingly, thecompression spring 33 biases thelens frame 31 and thefemale screw member 32 in a direction in which they are separated from each other.
 このような状態で、レンズ枠31が筐体11の下方から装着され、更に、その下方からモータ保持部材13が装着される。すると、雌ネジ部材32は圧縮バネ33によって貫通孔31g,31hを中心に時計方向に回動するように付勢されるので、雌ネジ32aはリードスクリュー23の外周に螺設された雄ネジ23aと螺合する。一方、レンズ枠31は圧縮バネ33によって上方に付勢されるので、レンズ枠31の主案内部31bが案内軸25に圧接し、補助案内部31dが案内軸26に圧接する。In such a state, thelens frame 31 is mounted from the lower side of thecasing 11, and themotor holding member 13 is further mounted from the lower side. Then, since thefemale screw member 32 is urged by thecompression spring 33 so as to rotate clockwise around the throughholes 31g and 31h, thefemale screw 32a is amale screw 23a screwed on the outer periphery of thelead screw 23. Screwed together. On the other hand, since thelens frame 31 is biased upward by thecompression spring 33, themain guide portion 31 b of thelens frame 31 is in pressure contact with theguide shaft 25, and theauxiliary guide portion 31 d is in pressure contact with theguide shaft 26.
 レンズ枠41はレンズ枠31と同様である。レンズ枠41は、図13乃至図15に示す如く、雌ネジ部材42と一体的に組み立てられている。Thelens frame 41 is the same as thelens frame 31. Thelens frame 41 is integrally assembled with thefemale screw member 42 as shown in FIGS.
 レンズ枠41は図15の左方に突出した二つの軸受け部41e,41fを有し、軸受け部41e,41fにはそれぞれ光軸O2と平行に貫通孔41g,41hが穿設されている。一方、雌ネジ部材42は下方に突出した二つの脚部42b,42cの外側に突出した軸部42d,42eを有している。そして、貫通孔41gに軸部42dが挿入され、貫通孔41hに軸部42eが挿入されている。従って、雌ネジ部材42はレンズ枠41の貫通孔41g,41hを中心に回動自在である。なお、雌ネジ部材42は樹脂成型されているので、二つの脚部42b,42cを内側に変形させれば、軸部42d,42eを貫通孔41g,41hにそれぞれ挿入することができる。Thelens frame 41 has two bearingportions 41e and 41f protruding leftward in FIG. 15. The bearingportions 41e and 41f are respectively provided with throughholes 41g and 41h in parallel with the optical axis O2. On the other hand, thefemale screw member 42 hasshaft portions 42d and 42e protruding outward from the twoleg portions 42b and 42c protruding downward. Theshaft portion 42d is inserted into the throughhole 41g, and theshaft portion 42e is inserted into the throughhole 41h. Accordingly, thefemale screw member 42 is rotatable about the throughholes 41g and 41h of thelens frame 41. Since thefemale screw member 42 is resin-molded, theshaft portions 42d and 42e can be inserted into the throughholes 41g and 41h, respectively, by deforming the twoleg portions 42b and 42c inward.
 また、図15に示す如く、レンズ枠41の腕部41aの下面には非貫通孔41fが穿設され、非貫通孔41fに圧縮バネ43(付勢部材)が挿着されている。圧縮バネ43は腕部41aの下面より突出し、雌ネジ部材42に圧着している。従って、圧縮バネ43はレンズ枠41と雌ネジ部材42を互いに離間させる方向に付勢している。Further, as shown in FIG. 15, anon-through hole 41f is formed in the lower surface of thearm portion 41a of thelens frame 41, and a compression spring 43 (biasing member) is inserted into thenon-through hole 41f. Thecompression spring 43 protrudes from the lower surface of thearm portion 41 a and is crimped to thefemale screw member 42. Accordingly, thecompression spring 43 biases thelens frame 41 and thefemale screw member 42 in a direction in which they are separated from each other.
 このような状態で、レンズ枠41が筐体11の下方から装着され、更に、その下方からモータ保持部材13が装着される。すると、雌ネジ部材42は圧縮バネ43によって貫通孔41g,41hを中心に時計方向に回動するように付勢されるので、雌ネジ部42aはリードスクリュー24の外周に螺設された雄ネジ24aと螺合する。一方、レンズ枠41は圧縮バネ43によって上方に付勢されるので、レンズ枠41の主案内部41bが案内軸26に圧接し、補助案内部41dが案内軸25に圧接する。In this state, thelens frame 41 is mounted from below thehousing 11, and themotor holding member 13 is mounted from below. Then, thefemale screw member 42 is urged by thecompression spring 43 so as to rotate clockwise around the throughholes 41g and 41h, so that thefemale screw portion 42a is a male screw screwed on the outer periphery of thelead screw 24. 24a is screwed. On the other hand, since thelens frame 41 is urged upward by thecompression spring 43, themain guide portion 41 b of thelens frame 41 comes into pressure contact with theguide shaft 26 and theauxiliary guide portion 41 d comes into pressure contact with theguide shaft 25.
 以上の如き構成のレンズ鏡胴1の組立時には、筐体ユニット10、レンズ枠ユニット30、レンズ枠ユニット40及びモータユニット20を準備する。筐体ユニット10は、筐体11に少なくとも案内軸25,26が挿着されている状態のユニットである。レンズ枠ユニット30は、レンズ枠31に雌ネジ部材32と圧縮バネ33が装着されている状態のユニットである。レンズ枠ユニット40は、レンズ枠41に雌ネジ部材42と圧縮バネ43が装着されている状態のユニットである。モータユニット20は、リードスクリュー23,24と一体化されているモータ21,22がモータ保持部材13に装着されている状態のユニットである。When thelens barrel 1 having the above-described configuration is assembled, thehousing unit 10, thelens frame unit 30, thelens frame unit 40, and themotor unit 20 are prepared. Thehousing unit 10 is a unit in a state where at least theguide shafts 25 and 26 are inserted into thehousing 11. Thelens frame unit 30 is a unit in a state where afemale screw member 32 and acompression spring 33 are mounted on thelens frame 31. Thelens frame unit 40 is a unit in a state where thefemale screw member 42 and thecompression spring 43 are mounted on thelens frame 41. Themotor unit 20 is a unit in a state where themotors 21 and 22 integrated with the lead screws 23 and 24 are mounted on themotor holding member 13.
 なお、筐体ユニット10には第1レンズ群L1や第4レンズ群L4等を予め装着しておいてもよいし、後述する組立後に装着するようにしてもよい。Note that the first lens group L1, the fourth lens group L4, and the like may be attached to thehousing unit 10 in advance, or may be attached after assembly, which will be described later.
 そして、実際の組立時には図7乃至図9に示す図とは各ユニットの配置が逆さまになるが、先ず筐体ユニット10を作業台に配置する。次に、主案内部31bを案内軸25と係合させ、補助案内部31dを案内軸26に当接させて、レンズ枠ユニット30を筐体ユニット10の上部(図7乃至図9では下部)に載置する。続いて、主案内部41bを案内軸26と係合させ、補助案内部41dを案内軸25に当接させて、レンズ枠ユニット40を筐体ユニット10の上部(図7乃至図9では下部)に載置する。最後に、リードスクリュー23の雄ネジ23aを雌ネジ部材32の雌ネジ32aに螺合させ、リードスクリュー24の雄ネジ24aを雌ネジ部材42の雌ネジ部42aに螺合させて、モータユニット20を筐体ユニット10に装着する。このように組み立てた後、組み立てたユニットを反転させ、蓋部材12を装着すれば、レンズ鏡胴1が完成する。In actual assembly, the units are arranged upside down from those shown in FIGS. 7 to 9, but first, thehousing unit 10 is arranged on the work table. Next, themain guide portion 31b is engaged with theguide shaft 25, theauxiliary guide portion 31d is brought into contact with theguide shaft 26, and thelens frame unit 30 is placed on the upper portion of the housing unit 10 (lower portion in FIGS. 7 to 9). Placed on. Subsequently, themain guide portion 41b is engaged with theguide shaft 26, theauxiliary guide portion 41d is brought into contact with theguide shaft 25, and thelens frame unit 40 is placed above the housing unit 10 (lower portion in FIGS. 7 to 9). Placed on. Finally, themale screw 23a of thelead screw 23 is screwed with thefemale screw 32a of thefemale screw member 32, and themale screw 24a of thelead screw 24 is screwed with thefemale screw portion 42a of thefemale screw member 42, so that themotor unit 20 is engaged. Is mounted on thehousing unit 10. After the assembly, the assembled unit is inverted and thelid member 12 is attached. Thus, thelens barrel 1 is completed.
 このようにしてレンズ鏡胴1が組み立てられた後、レンズ枠31はリードスクリュー23の回転により雌ネジ部材32を介して案内軸25,26に案内されて移動可能になり、レンズ枠41はリードスクリュー24の回転により雌ネジ部材42を介して案内軸25,26に案内されて移動可能になる。After thelens barrel 1 is assembled in this manner, thelens frame 31 is guided by theguide shafts 25 and 26 via thefemale screw member 32 by the rotation of thelead screw 23 and can move. Thescrew 24 is rotated by being guided by theguide shafts 25 and 26 through thefemale screw member 42.
 また、筐体ユニット10に対して、レンズ枠ユニット30、レンズ枠ユニット40及びモータユニット20を順に一方向から載置するようにして組み付けることができるので、ロボットアームを用いた自動組立が可能になる。In addition, since thelens frame unit 30, thelens frame unit 40, and themotor unit 20 can be assembled to thehousing unit 10 in order from one direction, automatic assembly using a robot arm is possible. Become.
 なお、以上の実施の形態の撮像光学系においては反射光学素子を有するズームレンズとして説明したが、本発明は必ずしも反射光学素子を有する必要はなく、また、ズームレンズでなく単焦点レンズであってもよい。In the imaging optical system of the above embodiment, the zoom lens having the reflective optical element has been described. However, the present invention does not necessarily have the reflective optical element, and is not a zoom lens but a single focus lens. Also good.
 また、移動させるレンズ枠は2個に限定されるものではなく、1個であっても3個以上であってもよい。Further, the number of lens frames to be moved is not limited to two, and may be one or three or more.
 1 レンズ鏡胴
 10 筐体ユニット
 11 筐体
 12 蓋部材
 13 モータ保持部材
 21,22 モータ
 23,24 リードスクリュー
 25,26 案内軸
 23a,24a 雄ネジ
 30,40 レンズ枠ユニット
 31,41 レンズ枠
 32,42 雌ネジ部材
 32a,42a 雌ネジ
 33,43 圧縮バネ
 31b,41b 主案内部
 31d,42d 補助案内部
 50 カメラ
 L1 第1レンズ群
 L2 第2レンズ群
 L3 第3レンズ群
 L4 第4レンズ群
 O1,O2 光軸
DESCRIPTION OFSYMBOLS 1Lens barrel 10Case unit 11Case 12Cover member 13Motor holding member 21, 22Motor 23, 24Lead screw 25, 26Guide shaft 23a,24a Male screw 30, 40Lens frame unit 31, 41Lens frame 32, 42Female thread member 32a,42a Female thread 33, 43Compression spring 31b, 41b Main guidepart 31d, 42d Auxiliary guidepart 50 Camera L1 1st lens group L2 2nd lens group L3 3rd lens group L4 4th lens group O1, O2 optical axis

Claims (9)

  1.  レンズを保持し、V字状若しくは円弧状に形成された主案内部を有するレンズ枠と、
     前記レンズの光軸と平行に配置され、前記主案内部が摺動する第1案内軸と、
     雄ネジを有して前記光軸と平行に配置されたリードスクリューと、
     円周方向の一部のみで形成され前記リードスクリューの雄ネジと螺合する雌ネジを有し、前記レンズ枠に前記光軸と直交する方向に回動自在に軸支された雌ネジ部材と、
     前記レンズ枠と前記雌ネジ部材との間に位置し、前記レンズ枠の主案内部を前記第1案内軸に当接させ、且つ、前記雌ネジ部材の雌ネジを前記リードスクリューの雄ネジに当接させるべく付勢する付勢部材と、
     を設け、
     前記リードスクリューの回転により前記雌ネジ部材を介して前記レンズ枠を前記第1案内軸に沿って移動させることを特徴とするレンズ鏡胴。
    A lens frame that holds the lens and has a main guide portion formed in a V shape or an arc shape;
    A first guide shaft disposed parallel to the optical axis of the lens and on which the main guide portion slides;
    A lead screw having a male screw and disposed parallel to the optical axis;
    A female screw member that is formed only in a part in the circumferential direction and has a female screw that engages with a male screw of the lead screw, and is rotatably supported by the lens frame in a direction orthogonal to the optical axis; ,
    Located between the lens frame and the female screw member, the main guide portion of the lens frame is brought into contact with the first guide shaft, and the female screw of the female screw member is used as the male screw of the lead screw. An urging member that urges to abut,
    Provided,
    A lens barrel, wherein the lens frame is moved along the first guide shaft through the female screw member by the rotation of the lead screw.
  2.  レンズを保持するレンズ枠が雄ネジを有するリードスクリューによって駆動されて移動するレンズ鏡胴の製造方法において、
     第1案内軸が前記レンズの光軸と平行に筐体に配置されている筐体ユニットと、
     V字状若しくは円弧状に形成された主案内部を有するレンズ枠に、円周方向の一部のみで形成され雌ネジを有する雌ネジ部材が前記光軸と直交する方向に回動自在に支持され、且つ、前記レンズ枠と前記雌ネジ部材とを互いに離間させる方向に付勢する付勢部材が配置されているレンズ枠ユニットと、
     モータと一体化されているリードスクリューが装着されているモータユニットと、
     を備え、
     前記主案内部を前記第1案内軸に当接させて前記筐体ユニットの上に前記レンズ枠ユニットを載置する工程と、
     前記モータユニットを前記レンズ枠ユニットの上から前記筐体ユニットに装着し、前記リードスクリューの雄ネジを前記雌ネジ部材の雌ネジに螺合させる工程と、
     を有することを特徴とするレンズ鏡胴の製造方法。
    In a method of manufacturing a lens barrel in which a lens frame that holds a lens is driven and moved by a lead screw having a male screw,
    A housing unit in which a first guide shaft is disposed in the housing in parallel with the optical axis of the lens;
    A lens frame having a main guide portion formed in a V shape or an arc shape is supported by a female screw member having a female screw formed only in a circumferential direction so as to be rotatable in a direction perpendicular to the optical axis. And a lens frame unit in which an urging member that urges the lens frame and the female screw member in a direction to separate each other is disposed,
    A motor unit on which a lead screw integrated with the motor is mounted;
    With
    Placing the lens frame unit on the housing unit by bringing the main guide portion into contact with the first guide shaft;
    Attaching the motor unit to the housing unit from above the lens frame unit, and screwing the male screw of the lead screw into the female screw of the female screw member;
    A method for manufacturing a lens barrel, comprising:
PCT/JP2010/0532232009-04-222010-03-01Mirror-lens barrel, image pickup device and method for manufacturing a mirror-lens barrelWO2010122841A1 (en)

Applications Claiming Priority (2)

Application NumberPriority DateFiling DateTitle
JP2009-1036472009-04-22
JP20091036472009-04-22

Publications (1)

Publication NumberPublication Date
WO2010122841A1true WO2010122841A1 (en)2010-10-28

Family

ID=43010964

Family Applications (1)

Application NumberTitlePriority DateFiling Date
PCT/JP2010/053223WO2010122841A1 (en)2009-04-222010-03-01Mirror-lens barrel, image pickup device and method for manufacturing a mirror-lens barrel

Country Status (1)

CountryLink
WO (1)WO2010122841A1 (en)

Cited By (48)

* Cited by examiner, † Cited by third party
Publication numberPriority datePublication dateAssigneeTitle
JP5862734B1 (en)*2014-09-102016-02-16日本電産サンキョーシーエムアイ株式会社 Linear drive
WO2017064742A1 (en)*2015-10-162017-04-20日本電産サンキョーシーエムアイ株式会社Linear drive device
WO2019233276A1 (en)*2018-06-062019-12-12华为技术有限公司Lens module, photographing module and terminal device
EP3552050A4 (en)*2018-02-052020-01-22Corephotonics Ltd. REDUCED ADDITIONAL HEIGHT FOR FOLDED CAMERA
US10616484B2 (en)2016-06-192020-04-07Corephotonics Ltd.Frame syncrhonization in a dual-aperture camera system
US10670879B2 (en)2015-05-282020-06-02Corephotonics Ltd.Bi-directional stiffness for optical image stabilization in a dual-aperture digital camera
US10694094B2 (en)2013-08-012020-06-23Corephotonics Ltd.Thin multi-aperture imaging system with auto-focus and methods for using same
US10694168B2 (en)2018-04-222020-06-23Corephotonics Ltd.System and method for mitigating or preventing eye damage from structured light IR/NIR projector systems
US10706518B2 (en)2016-07-072020-07-07Corephotonics Ltd.Dual camera system with improved video smooth transition by image blending
US10841500B2 (en)2013-06-132020-11-17Corephotonics Ltd.Dual aperture zoom digital camera
US10845565B2 (en)2016-07-072020-11-24Corephotonics Ltd.Linear ball guided voice coil motor for folded optic
US10884321B2 (en)2017-01-122021-01-05Corephotonics Ltd.Compact folded camera
US10904512B2 (en)2017-09-062021-01-26Corephotonics Ltd.Combined stereoscopic and phase detection depth mapping in a dual aperture camera
US10917576B2 (en)2015-08-132021-02-09Corephotonics Ltd.Dual aperture zoom camera with video support and switching / non-switching dynamic control
USRE48444E1 (en)2012-11-282021-02-16Corephotonics Ltd.High resolution thin multi-aperture imaging systems
US10935870B2 (en)2015-12-292021-03-02Corephotonics Ltd.Dual-aperture zoom digital camera with automatic adjustable tele field of view
US10951834B2 (en)2017-10-032021-03-16Corephotonics Ltd.Synthetically enlarged camera aperture
US10976527B2 (en)2014-08-102021-04-13Corephotonics Ltd.Zoom dual-aperture camera with folded lens
US11125975B2 (en)2015-01-032021-09-21Corephotonics Ltd.Miniature telephoto lens module and a camera utilizing such a lens module
US11150447B2 (en)2016-05-302021-10-19Corephotonics Ltd.Rotational ball-guided voice coil motor
US11268829B2 (en)2018-04-232022-03-08Corephotonics LtdOptical-path folding-element with an extended two degree of freedom rotation range
US11287081B2 (en)2019-01-072022-03-29Corephotonics Ltd.Rotation mechanism with sliding joint
US11287668B2 (en)2013-07-042022-03-29Corephotonics Ltd.Thin dual-aperture zoom digital camera
US11315276B2 (en)2019-03-092022-04-26Corephotonics Ltd.System and method for dynamic stereoscopic calibration
US11333955B2 (en)2017-11-232022-05-17Corephotonics Ltd.Compact folded camera structure
US11363180B2 (en)2018-08-042022-06-14Corephotonics Ltd.Switchable continuous display information system above camera
US11368631B1 (en)2019-07-312022-06-21Corephotonics Ltd.System and method for creating background blur in camera panning or motion
US11531209B2 (en)2016-12-282022-12-20Corephotonics Ltd.Folded camera structure with an extended light-folding-element scanning range
US11635596B2 (en)2018-08-222023-04-25Corephotonics Ltd.Two-state zoom folded camera
US11637977B2 (en)2020-07-152023-04-25Corephotonics Ltd.Image sensors and sensing methods to obtain time-of-flight and phase detection information
US11659135B2 (en)2019-10-302023-05-23Corephotonics Ltd.Slow or fast motion video using depth information
US11671711B2 (en)2017-03-152023-06-06Corephotonics Ltd.Imaging system with panoramic scanning range
US11770618B2 (en)2019-12-092023-09-26Corephotonics Ltd.Systems and methods for obtaining a smart panoramic image
US11770609B2 (en)2020-05-302023-09-26Corephotonics Ltd.Systems and methods for obtaining a super macro image
US11832018B2 (en)2020-05-172023-11-28Corephotonics Ltd.Image stitching in the presence of a full field of view reference image
US11910089B2 (en)2020-07-152024-02-20Corephotonics Lid.Point of view aberrations correction in a scanning folded camera
US11949976B2 (en)2019-12-092024-04-02Corephotonics Ltd.Systems and methods for obtaining a smart panoramic image
US11946775B2 (en)2020-07-312024-04-02Corephotonics Ltd.Hall sensor—magnet geometry for large stroke linear position sensing
US11968453B2 (en)2020-08-122024-04-23Corephotonics Ltd.Optical image stabilization in a scanning folded camera
US12007671B2 (en)2021-06-082024-06-11Corephotonics Ltd.Systems and cameras for tilting a focal plane of a super-macro image
US12007668B2 (en)2020-02-222024-06-11Corephotonics Ltd.Split screen feature for macro photography
US12081856B2 (en)2021-03-112024-09-03Corephotonics Lid.Systems for pop-out camera
US12101575B2 (en)2020-12-262024-09-24Corephotonics Ltd.Video support in a multi-aperture mobile camera with a scanning zoom camera
US12174272B2 (en)2020-04-262024-12-24Corephotonics Ltd.Temperature control for hall bar sensor correction
US12328505B2 (en)2022-03-242025-06-10Corephotonics Ltd.Slim compact lens optical image stabilization
US12328523B2 (en)2018-07-042025-06-10Corephotonics Ltd.Cameras with scanning optical path folding elements for automotive or surveillance
US12352931B2 (en)2018-02-122025-07-08Corephotonics Ltd.Folded camera with optical image stabilization
US12443091B2 (en)2024-05-132025-10-14Corephotonics Ltd.Split screen feature for macro photography

Citations (5)

* Cited by examiner, † Cited by third party
Publication numberPriority datePublication dateAssigneeTitle
JPH0588066A (en)*1991-09-271993-04-09Sony CorpLens barrel and manufacture of shaft used for it
JP2007072067A (en)*2005-09-062007-03-22Konica Minolta Opto IncLens barrel and imaging apparatus
WO2007052751A1 (en)*2005-11-042007-05-10Matsushita Electric Industrial Co., Ltd.Imaging device and camera
JP2008076813A (en)*2006-09-222008-04-03Konica Minolta Opto IncLens barrel and imaging apparatus
JP2008184055A (en)*2007-01-302008-08-14Tokai Rika Co Ltd Assembly method of electric steering lock device

Patent Citations (5)

* Cited by examiner, † Cited by third party
Publication numberPriority datePublication dateAssigneeTitle
JPH0588066A (en)*1991-09-271993-04-09Sony CorpLens barrel and manufacture of shaft used for it
JP2007072067A (en)*2005-09-062007-03-22Konica Minolta Opto IncLens barrel and imaging apparatus
WO2007052751A1 (en)*2005-11-042007-05-10Matsushita Electric Industrial Co., Ltd.Imaging device and camera
JP2008076813A (en)*2006-09-222008-04-03Konica Minolta Opto IncLens barrel and imaging apparatus
JP2008184055A (en)*2007-01-302008-08-14Tokai Rika Co Ltd Assembly method of electric steering lock device

Cited By (145)

* Cited by examiner, † Cited by third party
Publication numberPriority datePublication dateAssigneeTitle
USRE49256E1 (en)2012-11-282022-10-18Corephotonics Ltd.High resolution thin multi-aperture imaging systems
USRE48477E1 (en)2012-11-282021-03-16Corephotonics LtdHigh resolution thin multi-aperture imaging systems
USRE48697E1 (en)2012-11-282021-08-17Corephotonics Ltd.High resolution thin multi-aperture imaging systems
USRE48444E1 (en)2012-11-282021-02-16Corephotonics Ltd.High resolution thin multi-aperture imaging systems
USRE48945E1 (en)2012-11-282022-02-22Corephotonics Ltd.High resolution thin multi-aperture imaging systems
US10841500B2 (en)2013-06-132020-11-17Corephotonics Ltd.Dual aperture zoom digital camera
US11838635B2 (en)2013-06-132023-12-05Corephotonics Ltd.Dual aperture zoom digital camera
US11470257B2 (en)2013-06-132022-10-11Corephotonics Ltd.Dual aperture zoom digital camera
US12262120B2 (en)2013-06-132025-03-25Corephotonics Ltd.Dual aperture zoom digital camera
US12069371B2 (en)2013-06-132024-08-20Corephotonics Lid.Dual aperture zoom digital camera
US10904444B2 (en)2013-06-132021-01-26Corephotonics Ltd.Dual aperture zoom digital camera
US11852845B2 (en)2013-07-042023-12-26Corephotonics Ltd.Thin dual-aperture zoom digital camera
US12265234B2 (en)2013-07-042025-04-01Corephotonics Ltd.Thin dual-aperture zoom digital camera
US11614635B2 (en)2013-07-042023-03-28Corephotonics Ltd.Thin dual-aperture zoom digital camera
US11287668B2 (en)2013-07-042022-03-29Corephotonics Ltd.Thin dual-aperture zoom digital camera
US12164115B2 (en)2013-07-042024-12-10Corephotonics Ltd.Thin dual-aperture zoom digital camera
US12267588B2 (en)2013-08-012025-04-01Corephotonics Ltd.Thin multi-aperture imaging system with auto-focus and methods for using same
US11991444B2 (en)2013-08-012024-05-21Corephotonics Ltd.Thin multi-aperture imaging system with auto-focus and methods for using same
US11856291B2 (en)2013-08-012023-12-26Corephotonics Ltd.Thin multi-aperture imaging system with auto-focus and methods for using same
US12114068B2 (en)2013-08-012024-10-08Corephotonics Ltd.Thin multi-aperture imaging system with auto-focus and methods for using same
US11470235B2 (en)2013-08-012022-10-11Corephotonics Ltd.Thin multi-aperture imaging system with autofocus and methods for using same
US11716535B2 (en)2013-08-012023-08-01Corephotonics Ltd.Thin multi-aperture imaging system with auto-focus and methods for using same
US10694094B2 (en)2013-08-012020-06-23Corephotonics Ltd.Thin multi-aperture imaging system with auto-focus and methods for using same
US12007537B2 (en)2014-08-102024-06-11Corephotonics Lid.Zoom dual-aperture camera with folded lens
US12105268B2 (en)2014-08-102024-10-01Corephotonics Ltd.Zoom dual-aperture camera with folded lens
US11042011B2 (en)2014-08-102021-06-22Corephotonics Ltd.Zoom dual-aperture camera with folded lens
US10976527B2 (en)2014-08-102021-04-13Corephotonics Ltd.Zoom dual-aperture camera with folded lens
US11703668B2 (en)2014-08-102023-07-18Corephotonics Ltd.Zoom dual-aperture camera with folded lens
US11002947B2 (en)2014-08-102021-05-11Corephotonics Ltd.Zoom dual-aperture camera with folded lens
US11982796B2 (en)2014-08-102024-05-14Corephotonics Ltd.Zoom dual-aperture camera with folded lens
US11543633B2 (en)2014-08-102023-01-03Corephotonics Ltd.Zoom dual-aperture camera with folded lens
US11262559B2 (en)2014-08-102022-03-01Corephotonics LtdZoom dual-aperture camera with folded lens
JP5862734B1 (en)*2014-09-102016-02-16日本電産サンキョーシーエムアイ株式会社 Linear drive
US11994654B2 (en)2015-01-032024-05-28Corephotonics Ltd.Miniature telephoto lens module and a camera utilizing such a lens module
US11125975B2 (en)2015-01-032021-09-21Corephotonics Ltd.Miniature telephoto lens module and a camera utilizing such a lens module
US12216246B2 (en)2015-01-032025-02-04Corephotonics Ltd.Miniature telephoto lens module and a camera utilizing such a lens module
US12405448B2 (en)2015-01-032025-09-02Corephotonics Ltd.Miniature telephoto lens module and a camera utilizing such a lens module
US12259524B2 (en)2015-01-032025-03-25Corephotonics Ltd.Miniature telephoto lens module and a camera utilizing such a lens module
US10670879B2 (en)2015-05-282020-06-02Corephotonics Ltd.Bi-directional stiffness for optical image stabilization in a dual-aperture digital camera
US12231772B2 (en)2015-08-132025-02-18Corephotonics Ltd.Dual aperture zoom camera with video support and switching/non-switching dynamic control
US11350038B2 (en)2015-08-132022-05-31Corephotonics Ltd.Dual aperture zoom camera with video support and switching / non-switching dynamic control
US11770616B2 (en)2015-08-132023-09-26Corephotonics Ltd.Dual aperture zoom camera with video support and switching / non-switching dynamic control
US10917576B2 (en)2015-08-132021-02-09Corephotonics Ltd.Dual aperture zoom camera with video support and switching / non-switching dynamic control
US12401904B2 (en)2015-08-132025-08-26Corephotonics Ltd.Dual aperture zoom camera with video support and switching / non-switching dynamic control
US11546518B2 (en)2015-08-132023-01-03Corephotonics Ltd.Dual aperture zoom camera with video support and switching / non-switching dynamic control
US12022196B2 (en)2015-08-132024-06-25Corephotonics Ltd.Dual aperture zoom camera with video support and switching / non-switching dynamic control
WO2017064742A1 (en)*2015-10-162017-04-20日本電産サンキョーシーエムアイ株式会社Linear drive device
US11599007B2 (en)2015-12-292023-03-07Corephotonics Ltd.Dual-aperture zoom digital camera with automatic adjustable tele field of view
US11726388B2 (en)2015-12-292023-08-15Corephotonics Ltd.Dual-aperture zoom digital camera with automatic adjustable tele field of view
US11392009B2 (en)2015-12-292022-07-19Corephotonics Ltd.Dual-aperture zoom digital camera with automatic adjustable tele field of view
US11314146B2 (en)2015-12-292022-04-26Corephotonics Ltd.Dual-aperture zoom digital camera with automatic adjustable tele field of view
US10935870B2 (en)2015-12-292021-03-02Corephotonics Ltd.Dual-aperture zoom digital camera with automatic adjustable tele field of view
US12372758B2 (en)2016-05-302025-07-29Corephotonics Ltd.Rotational ball-guided voice coil motor
US11150447B2 (en)2016-05-302021-10-19Corephotonics Ltd.Rotational ball-guided voice coil motor
US11977210B2 (en)2016-05-302024-05-07Corephotonics Ltd.Rotational ball-guided voice coil motor
US11650400B2 (en)2016-05-302023-05-16Corephotonics Ltd.Rotational ball-guided voice coil motor
US12200359B2 (en)2016-06-192025-01-14Corephotonics Ltd.Frame synchronization in a dual-aperture camera system
US10616484B2 (en)2016-06-192020-04-07Corephotonics Ltd.Frame syncrhonization in a dual-aperture camera system
US11689803B2 (en)2016-06-192023-06-27Corephotonics Ltd.Frame synchronization in a dual-aperture camera system
US11172127B2 (en)2016-06-192021-11-09Corephotonics Ltd.Frame synchronization in a dual-aperture camera system
US10845565B2 (en)2016-07-072020-11-24Corephotonics Ltd.Linear ball guided voice coil motor for folded optic
US10706518B2 (en)2016-07-072020-07-07Corephotonics Ltd.Dual camera system with improved video smooth transition by image blending
US11977270B2 (en)2016-07-072024-05-07Corephotonics Lid.Linear ball guided voice coil motor for folded optic
US12298590B2 (en)2016-07-072025-05-13Corephotonics Ltd.Linear ball guided voice coil motor for folded optic
US11048060B2 (en)2016-07-072021-06-29Corephotonics Ltd.Linear ball guided voice coil motor for folded optic
US11550119B2 (en)2016-07-072023-01-10Corephotonics Ltd.Linear ball guided voice coil motor for folded optic
US12124106B2 (en)2016-07-072024-10-22Corephotonics Ltd.Linear ball guided voice coil motor for folded optic
US12366762B2 (en)2016-12-282025-07-22Corephotonics Ltd.Folded camera structure with an extended light- folding-element scanning range
US11531209B2 (en)2016-12-282022-12-20Corephotonics Ltd.Folded camera structure with an extended light-folding-element scanning range
US11693297B2 (en)2017-01-122023-07-04Corephotonics Ltd.Compact folded camera
US10884321B2 (en)2017-01-122021-01-05Corephotonics Ltd.Compact folded camera
US12259639B2 (en)2017-01-122025-03-25Corephotonics Ltd.Compact folded camera
US11809065B2 (en)2017-01-122023-11-07Corephotonics Ltd.Compact folded camera
US11815790B2 (en)2017-01-122023-11-14Corephotonics Ltd.Compact folded camera
US12038671B2 (en)2017-01-122024-07-16Corephotonics Ltd.Compact folded camera
US11671711B2 (en)2017-03-152023-06-06Corephotonics Ltd.Imaging system with panoramic scanning range
US12309496B2 (en)2017-03-152025-05-20Corephotonics Ltd.Camera with panoramic scanning range
US10904512B2 (en)2017-09-062021-01-26Corephotonics Ltd.Combined stereoscopic and phase detection depth mapping in a dual aperture camera
US11695896B2 (en)2017-10-032023-07-04Corephotonics Ltd.Synthetically enlarged camera aperture
US10951834B2 (en)2017-10-032021-03-16Corephotonics Ltd.Synthetically enlarged camera aperture
US11619864B2 (en)2017-11-232023-04-04Corephotonics Ltd.Compact folded camera structure
US12007672B2 (en)2017-11-232024-06-11Corephotonics Ltd.Compact folded camera structure
US11333955B2 (en)2017-11-232022-05-17Corephotonics Ltd.Compact folded camera structure
US11809066B2 (en)2017-11-232023-11-07Corephotonics Ltd.Compact folded camera structure
US12372856B2 (en)2017-11-232025-07-29Corephotonics Ltd.Compact folded camera structure
US12189274B2 (en)2017-11-232025-01-07Corephotonics Ltd.Compact folded camera structure
US11686952B2 (en)2018-02-052023-06-27Corephotonics Ltd.Reduced height penalty for folded camera
US12007582B2 (en)2018-02-052024-06-11Corephotonics Ltd.Reduced height penalty for folded camera
US10976567B2 (en)2018-02-052021-04-13Corephotonics Ltd.Reduced height penalty for folded camera
EP3552050A4 (en)*2018-02-052020-01-22Corephotonics Ltd. REDUCED ADDITIONAL HEIGHT FOR FOLDED CAMERA
US12352931B2 (en)2018-02-122025-07-08Corephotonics Ltd.Folded camera with optical image stabilization
US10911740B2 (en)2018-04-222021-02-02Corephotonics Ltd.System and method for mitigating or preventing eye damage from structured light IR/NIR projector systems
US10694168B2 (en)2018-04-222020-06-23Corephotonics Ltd.System and method for mitigating or preventing eye damage from structured light IR/NIR projector systems
US12379230B2 (en)2018-04-232025-08-05Corephotonics Ltd.Optical-path folding-element with an extended two degree of freedom rotation range
US11268829B2 (en)2018-04-232022-03-08Corephotonics LtdOptical-path folding-element with an extended two degree of freedom rotation range
US11359937B2 (en)2018-04-232022-06-14Corephotonics Ltd.Optical-path folding-element with an extended two degree of freedom rotation range
US11867535B2 (en)2018-04-232024-01-09Corephotonics Ltd.Optical-path folding-element with an extended two degree of freedom rotation range
US11268830B2 (en)2018-04-232022-03-08Corephotonics LtdOptical-path folding-element with an extended two degree of freedom rotation range
US11976949B2 (en)2018-04-232024-05-07Corephotonics Lid.Optical-path folding-element with an extended two degree of freedom rotation range
US11733064B1 (en)2018-04-232023-08-22Corephotonics Ltd.Optical-path folding-element with an extended two degree of freedom rotation range
US12085421B2 (en)2018-04-232024-09-10Corephotonics Ltd.Optical-path folding-element with an extended two degree of freedom rotation range
CN110568575B (en)*2018-06-062021-06-01华为技术有限公司 Lens module, shooting module and terminal equipment
CN110568575A (en)*2018-06-062019-12-13华为技术有限公司 Lens module, camera module and terminal equipment
WO2019233276A1 (en)*2018-06-062019-12-12华为技术有限公司Lens module, photographing module and terminal device
US12328523B2 (en)2018-07-042025-06-10Corephotonics Ltd.Cameras with scanning optical path folding elements for automotive or surveillance
US11363180B2 (en)2018-08-042022-06-14Corephotonics Ltd.Switchable continuous display information system above camera
US11635596B2 (en)2018-08-222023-04-25Corephotonics Ltd.Two-state zoom folded camera
US11852790B2 (en)2018-08-222023-12-26Corephotonics Ltd.Two-state zoom folded camera
US11287081B2 (en)2019-01-072022-03-29Corephotonics Ltd.Rotation mechanism with sliding joint
US12025260B2 (en)2019-01-072024-07-02Corephotonics Ltd.Rotation mechanism with sliding joint
US11315276B2 (en)2019-03-092022-04-26Corephotonics Ltd.System and method for dynamic stereoscopic calibration
US11527006B2 (en)2019-03-092022-12-13Corephotonics Ltd.System and method for dynamic stereoscopic calibration
US12177596B2 (en)2019-07-312024-12-24Corephotonics Ltd.System and method for creating background blur in camera panning or motion
US11368631B1 (en)2019-07-312022-06-21Corephotonics Ltd.System and method for creating background blur in camera panning or motion
US11659135B2 (en)2019-10-302023-05-23Corephotonics Ltd.Slow or fast motion video using depth information
US11949976B2 (en)2019-12-092024-04-02Corephotonics Ltd.Systems and methods for obtaining a smart panoramic image
US12075151B2 (en)2019-12-092024-08-27Corephotonics Ltd.Systems and methods for obtaining a smart panoramic image
US11770618B2 (en)2019-12-092023-09-26Corephotonics Ltd.Systems and methods for obtaining a smart panoramic image
US12328496B2 (en)2019-12-092025-06-10Corephotonics Ltd.Systems and methods for obtaining a smart panoramic image
US12007668B2 (en)2020-02-222024-06-11Corephotonics Ltd.Split screen feature for macro photography
US12174272B2 (en)2020-04-262024-12-24Corephotonics Ltd.Temperature control for hall bar sensor correction
US11832018B2 (en)2020-05-172023-11-28Corephotonics Ltd.Image stitching in the presence of a full field of view reference image
US12096150B2 (en)2020-05-172024-09-17Corephotonics Ltd.Image stitching in the presence of a full field of view reference image
US12395733B2 (en)2020-05-302025-08-19Corephotonics Ltd.Systems and methods for obtaining a super macro image
US12167130B2 (en)2020-05-302024-12-10Corephotonics Ltd.Systems and methods for obtaining a super macro image
US11770609B2 (en)2020-05-302023-09-26Corephotonics Ltd.Systems and methods for obtaining a super macro image
US11962901B2 (en)2020-05-302024-04-16Corephotonics Ltd.Systems and methods for obtaining a super macro image
US11637977B2 (en)2020-07-152023-04-25Corephotonics Ltd.Image sensors and sensing methods to obtain time-of-flight and phase detection information
US12368975B2 (en)2020-07-152025-07-22Corephotonics Ltd.Image sensors and sensing methods to obtain time-of-flight and phase detection information
US11832008B2 (en)2020-07-152023-11-28Corephotonics Ltd.Image sensors and sensing methods to obtain time-of-flight and phase detection information
US12192654B2 (en)2020-07-152025-01-07Corephotonics Ltd.Image sensors and sensing methods to obtain time-of-flight and phase detection information
US12108151B2 (en)2020-07-152024-10-01Corephotonics Ltd.Point of view aberrations correction in a scanning folded camera
US11910089B2 (en)2020-07-152024-02-20Corephotonics Lid.Point of view aberrations correction in a scanning folded camera
US12003874B2 (en)2020-07-152024-06-04Corephotonics Ltd.Image sensors and sensing methods to obtain Time-of-Flight and phase detection information
US11946775B2 (en)2020-07-312024-04-02Corephotonics Ltd.Hall sensor—magnet geometry for large stroke linear position sensing
US12247851B2 (en)2020-07-312025-03-11Corephotonics Ltd.Hall sensor—magnet geometry for large stroke linear position sensing
US11968453B2 (en)2020-08-122024-04-23Corephotonics Ltd.Optical image stabilization in a scanning folded camera
US12184980B2 (en)2020-08-122024-12-31Corephotonics Ltd.Optical image stabilization in a scanning folded camera
US12101575B2 (en)2020-12-262024-09-24Corephotonics Ltd.Video support in a multi-aperture mobile camera with a scanning zoom camera
US12081856B2 (en)2021-03-112024-09-03Corephotonics Lid.Systems for pop-out camera
US12439142B2 (en)2021-03-112025-10-07Corephotonics Ltd .Systems for pop-out camera
US12007671B2 (en)2021-06-082024-06-11Corephotonics Ltd.Systems and cameras for tilting a focal plane of a super-macro image
US12328505B2 (en)2022-03-242025-06-10Corephotonics Ltd.Slim compact lens optical image stabilization
US12443091B2 (en)2024-05-132025-10-14Corephotonics Ltd.Split screen feature for macro photography
US12442665B2 (en)2025-02-062025-10-14Corephotonics Ltd.Hall sensor—magnet geometry for large stroke linear position sensing

Similar Documents

PublicationPublication DateTitle
WO2010122841A1 (en)Mirror-lens barrel, image pickup device and method for manufacturing a mirror-lens barrel
JP5398432B2 (en) Lens barrel and imaging device
JP4896885B2 (en) Imaging device and camera
US8807847B2 (en)Lens barrel and imaging device
CN101288026B (en)Camera
WO2007066499A1 (en)Image blur correcting device and camera
WO2007066549A1 (en)Lens barrel, imaging device, and lens position adjusting method
WO2010029686A1 (en)Lens barrel and imaging device
WO2007077704A1 (en)Camera
JP4910454B2 (en) Lens barrel and imaging device
US7660046B2 (en)Lens barrel and image pickup device
JP2006133366A (en)Lens barrel, camera equipped with lens barrel and method for assembling lens barrel
US8014088B2 (en)Lens group positioning method and image capturing apparatus
JP4449071B2 (en) Imaging device
JP2007072067A (en)Lens barrel and imaging apparatus
JP4811711B2 (en) Lens barrel and imaging device
JP2008076813A (en)Lens barrel and imaging apparatus
WO2009001180A1 (en)Single motor and clutch unit for independently adjusting two lens assemblies
JP4945144B2 (en) Lens barrel and lens barrel manufacturing method
JP2008061295A (en)Motor unit, lens driving apparatus, lens barrel and image pickup device
JP4873134B2 (en) Lens barrel and imaging device
JP2010078958A (en)Lens barrel and imaging apparatus
JP2007156068A (en)Lens barrel and imaging apparatus
JP2008026523A (en)Lens barrel, imaging apparatus, and manufacture method
JP2008003452A (en)Lens barrel and imaging apparatus

Legal Events

DateCodeTitleDescription
121Ep: the epo has been informed by wipo that ep was designated in this application

Ref document number:10766900

Country of ref document:EP

Kind code of ref document:A1

NENPNon-entry into the national phase

Ref country code:DE

122Ep: pct application non-entry in european phase

Ref document number:10766900

Country of ref document:EP

Kind code of ref document:A1

NENPNon-entry into the national phase

Ref country code:JP


[8]ページ先頭

©2009-2025 Movatter.jp