Movatterモバイル変換


[0]ホーム

URL:


WO2010101163A1 - Substrate with built-in functional element, and electronic device using the substrate - Google Patents

Substrate with built-in functional element, and electronic device using the substrate
Download PDF

Info

Publication number
WO2010101163A1
WO2010101163A1PCT/JP2010/053382JP2010053382WWO2010101163A1WO 2010101163 A1WO2010101163 A1WO 2010101163A1JP 2010053382 WJP2010053382 WJP 2010053382WWO 2010101163 A1WO2010101163 A1WO 2010101163A1
Authority
WO
WIPO (PCT)
Prior art keywords
functional element
substrate
insulating layer
wiring
layer
Prior art date
Application number
PCT/JP2010/053382
Other languages
French (fr)
Japanese (ja)
Inventor
山道 新太郎
大輔 大島
菊池 克
森 健太郎
中島 嘉樹
秀哉 村井
Original Assignee
日本電気株式会社
Priority date (The priority date is an assumption and is not a legal conclusion. Google has not performed a legal analysis and makes no representation as to the accuracy of the date listed.)
Filing date
Publication date
Application filed by 日本電気株式会社filedCritical日本電気株式会社
Priority to JP2011502769ApriorityCriticalpatent/JPWO2010101163A1/en
Publication of WO2010101163A1publicationCriticalpatent/WO2010101163A1/en

Links

Images

Classifications

Definitions

Landscapes

Abstract

A substrate with a built-in functional element has: the functional element; an insulating layer having the functional element embedded therein; wiring layers arranged on the two main surfaces of the insulating layer; and an insulating-layer-penetrating via which is provided on the side of the functional element in the insulating layer and connects between the wiring layers. The functional element has a substrate-penetrating via which penetrates the substrate of the functional element, and at least a part of the electrical connection between the wiring layers is provided through the substrate-penetrating via. A satisfactory wiring system can be ensured using the substrate with the built-in functional element, without increasing the mounting area of the substrate, even when the functional element has high functions.

Description

機能素子内蔵基板及びそれを用いた電子デバイスFunctional element built-in substrate and electronic device using the same
 本発明は、機能素子を内蔵した機能素子内蔵基板及びそれを用いた電子デバイスに関する。The present invention relates to a functional element-embedded substrate having a functional element and an electronic device using the same.
 電子機器の継続的な軽薄短小化に伴い、半導体素子そのものの微細化や集積化と共に、半導体パッケージにおける高密度実装技術がますます進展している。半導体素子とパッケージの配線基板との接続には、金線等を用いるワイヤーボンディング接続や、半田ボール等を用いるフリップチップ接続が用いられている。With the continuous miniaturization and miniaturization of electronic devices, high-density mounting technology for semiconductor packages is becoming more advanced along with miniaturization and integration of semiconductor elements themselves. For the connection between the semiconductor element and the wiring board of the package, wire bonding connection using a gold wire or the like, or flip chip connection using a solder ball or the like is used.
 ワイヤーボンディング接続は、半導体素子のパッド数が少ない場合には、低コストでパッケージングすることができる。しかしながら、半導体素子のパッドの狭ピッチ化に伴って、ワイヤー径を小さくする必要が生じ、ワイヤー切れ等の組立プロセスにおける歩留まり低下が課題となっている。The wire bonding connection can be packaged at low cost when the number of pads of the semiconductor element is small. However, it is necessary to reduce the wire diameter as the pitch of the pads of the semiconductor element is narrowed, and the yield reduction in the assembly process such as wire breakage is a problem.
 フリップチップ接続は、ワイヤーボンディング接続に比べて半導体素子と配線基板間の高速信号伝送が可能であるというメリットがある。しかしながら、半導体素子のパッド数の増加や狭ピッチ化に伴って、半田バンプの接続強度が弱くなり、接続箇所のクラック発生等の不良が多発していた。Flip chip connection has an advantage that high-speed signal transmission between a semiconductor element and a wiring board is possible compared to wire bonding connection. However, as the number of pads of the semiconductor element increases and the pitch is narrowed, the connection strength of the solder bumps is weakened, and defects such as the occurrence of cracks at the connection locations frequently occur.
 そこで、近年、半導体素子などの機能素子を内蔵するパッケージ技術、いわゆる機能素子内蔵技術が提案されている(例えば、特許文献1)。この技術は、半導体装置などの機能素子のさらなる高集積化及び高機能化を実現し、パッケージの薄型化、低コスト化、高周波対応、低ストレス接続、エレクトロマイグレーション特性改善等を実現する高密度実装技術として期待されている。Therefore, in recent years, a package technology in which a functional element such as a semiconductor element is incorporated, that is, a so-called functional element incorporation technology has been proposed (for example, Patent Document 1). This technology realizes higher integration and higher functionality of functional elements such as semiconductor devices, and high-density mounting that realizes thinner packages, lower costs, high frequency compatibility, low stress connection, improved electromigration characteristics, etc. Expected as a technology.
 特許文献1においては、絶縁性基板に内蔵された半導体素子に電気的に接続するため、半導体素子の回路面にバンプ形成し、このバンプを介して絶縁性基板上に形成された第1の配線と電気的に接続する構成が開示されている。また、絶縁性基板の裏面に第2の配線が形成されており、半導体素子の側方に絶縁樹脂基板を貫通する導電性ポストにより第1の配線と第2の配線とが接続されている。In Patent Document 1, a bump is formed on a circuit surface of a semiconductor element to be electrically connected to a semiconductor element built in the insulating substrate, and a first wiring formed on the insulating substrate via the bump. The structure which electrically connects with is disclosed. A second wiring is formed on the back surface of the insulating substrate, and the first wiring and the second wiring are connected to the side of the semiconductor element by a conductive post penetrating the insulating resin substrate.
特開2007-134569号公報JP 2007-134568 A
 昨今、半導体素子等の機能素子は日々高機能化されており、機能素子内蔵基板に内蔵される機能素子についても例外ではない。機能素子の高機能化は、例えば、外部端子数の増加(多ピン化)につながり、多ピン化すると機能素子内蔵基板内の配線数も増加する。特許文献1のように上下の配線層間を半導体素子の側方の絶縁層を貫通する貫通ビア(Die Side Via、以下、DSVと称す)で接続している場合、機能素子の多ピン化に伴い、DSVの数を増加するなど多様化する必要がある。一方、実装面積を拡大することなくDSVの数を増加するには、DSVの配置を高密度にするべく、DSVの径を小さくし、配置ピッチを縮小する必要があるが、機能素子内蔵基板の製造歩留まりが低下し、信頼性において問題があった。結局、DSVを備える機能素子内蔵基板の信頼性を確保するには、実装面積を大きくせざるを得ない状況にある。In recent years, functional elements such as semiconductor elements have become highly functional on a daily basis, and the functional elements incorporated in the functional element built-in substrate are no exception. The increase in the functionality of the functional element leads to, for example, an increase in the number of external terminals (multiple pins). When the number of pins is increased, the number of wirings in the functional element built-in substrate also increases. When the upper and lower wiring layers are connected by through vias (Die Side Via, hereinafter referred to as DSV) penetrating the insulating layer on the side of the semiconductor element as in Patent Document 1, as the number of functional elements increases, It is necessary to diversify by increasing the number of DSVs. On the other hand, in order to increase the number of DSVs without increasing the mounting area, it is necessary to reduce the DSV diameter and the arrangement pitch in order to increase the DSV arrangement density. The manufacturing yield was lowered and there was a problem in reliability. As a result, in order to ensure the reliability of the functional element built-in substrate provided with the DSV, the mounting area must be increased.
 本発明の一実施形態に係る機能素子内蔵基板は、
 機能素子と、
 該機能素子を埋設する絶縁層と、
 該絶縁層の2つの主面に配設される配線層と、
 前記絶縁層中であって、前記機能素子の側方に、前記2つの主面に配設される配線層間を接続する絶縁層貫通ビアと
を有し、
 前記機能素子は、該機能素子の基板を貫通する基板貫通ビアを有し、前記2つの主面に配設される配線層間の電気的接続の少なくとも一部が、該基板貫通ビアを介することを特徴とする機能素子内蔵基板である。
The substrate with a built-in functional element according to an embodiment of the present invention,
A functional element;
An insulating layer in which the functional element is embedded;
A wiring layer disposed on two main surfaces of the insulating layer;
In the insulating layer, on the side of the functional element, and having an insulating layer through via for connecting between the wiring layers disposed on the two main surfaces,
The functional element has a through-substrate via that penetrates the substrate of the functional element, and at least part of the electrical connection between the wiring layers disposed on the two main surfaces is via the through-substrate via. This is a functional element-embedded substrate.
 本発明によれば、機能素子内蔵基板の実装面積を拡大することなく、内蔵する部品の多ピン化などの多様化に十分に対応できる。According to the present invention, it is possible to sufficiently cope with diversification such as an increase in the number of pins of built-in components without increasing the mounting area of the functional element built-in substrate.
実施形態1に係る機能素子内蔵基板の構造の例を示す模式的断面図。FIG. 3 is a schematic cross-sectional view illustrating an example of a structure of a functional element built-in substrate according to the first embodiment.実施形態2に係る機能素子内蔵基板の構造の例を示す模式的断面図。FIG. 6 is a schematic cross-sectional view illustrating an example of a structure of a functional element built-in substrate according to a second embodiment.(a)~(e):実施形態2に係る機能素子内蔵基板の製造例を説明する工程断面図。(A)-(e): Process sectional drawing explaining the manufacture example of the functional element built-in board | substrate which concerns on Embodiment 2. FIG.(f)~(h):実施形態2に係る機能素子内蔵基板の製造例を説明する工程断面図。(F)-(h): Process sectional drawing explaining the manufacture example of the functional element built-in board | substrate which concerns on Embodiment 2. FIG.実施形態3に係る機能素子内蔵基板の構造の例を示す模式的断面図。FIG. 6 is a schematic cross-sectional view showing an example of the structure of a functional element built-in substrate according to Embodiment 3.実施形態4に係る機能素子内蔵基板の構造の例を示す模式的断面図。10 is a schematic cross-sectional view showing an example of the structure of a functional element-embedded substrate according to Embodiment 4. FIG.実施形態5に係る電子デバイスの構造の例を示す模式的断面図。FIG. 6 is a schematic cross-sectional view showing an example of the structure of an electronic device according to a fifth embodiment.実施形態6に係る電子デバイスの構造の例を示す模式的断面図。10 is a schematic cross-sectional view showing an example of the structure of an electronic device according to Embodiment 6. FIG.(a)~(e):実施形態7に係る機能素子内蔵基板の製造例を説明する工程断面図。(A)-(e): Process sectional drawing explaining the manufacture example of the functional element built-in board | substrate concerning Embodiment 7. FIG.(f)~(h):実施形態7に係る機能素子内蔵基板の製造例を説明する工程断面図。(F)-(h): Process sectional drawing explaining the manufacture example of the functional element built-in board | substrate concerning Embodiment 7. FIG.(i)~(k):実施形態7に係る機能素子内蔵基板の製造例を説明する工程断面図。(I)-(k): Process sectional drawing explaining the manufacture example of the functional element built-in board | substrate concerning Embodiment 7. FIG.(a)~(f):実施形態8に係る機能素子内蔵基板の製造例を説明する工程断面図。(A)-(f): Process sectional drawing explaining the manufacture example of the functional element built-in board | substrate concerning Embodiment 8. FIG.実施形態9に係る機能素子内蔵基板の構造の例を示す模式的断面図。10 is a schematic cross-sectional view showing an example of the structure of a functional element-embedded substrate according to Embodiment 9. FIG.本発明の一課題を説明するための概念図。The conceptual diagram for demonstrating one subject of this invention.
 PoP(Package on Package)形状に代表されるように、電子デバイスの実装面積を縮小する技術が知られている。DSVを備える機能素子内蔵基板に上パッケージが実装される場合、全体の配線系統は図11に示すように3つに分類される。ここで、A群は機能素子であるLSI1001から、上パッケージ1003への配線系統及び、機能素子内蔵基板1002下の実装基板(不図示)への配線系統を示し、B群はLSI1001と実装基板との配線系統、C群は上パッケージ1003と実装基板との配線系統である。機能素子内蔵基板1002の両主面には不図示の配線層が形成されており、上パッケージ1003とは、ボールグリッドアレイ(Ball Grid Array:以下、BGA)などの外部端子1005で接続されている。また、機能素子内蔵基板1002と実装基板は、BGAなどの外部端子1004で接続される。As represented by the PoP (Package 電子 on Package) shape, a technique for reducing the mounting area of an electronic device is known. When the upper package is mounted on the functional element built-in substrate having the DSV, the entire wiring system is classified into three as shown in FIG. Here, a group A shows a wiring system from theLSI 1001 which is a functional element to theupper package 1003 and a wiring system to a mounting board (not shown) under the functional element built-insubstrate 1002, and a group B shows theLSI 1001 and the mounting board. The wiring system C is a wiring system between theupper package 1003 and the mounting substrate. Wiring layers (not shown) are formed on both main surfaces of the functional element built-insubstrate 1002, and are connected to theupper package 1003 byexternal terminals 1005 such as a ball grid array (hereinafter referred to as BGA). . The functional element built-insubstrate 1002 and the mounting substrate are connected by anexternal terminal 1004 such as a BGA.
 ここで、LSI1001の回路面が上パッケージ1003方向を向いている場合、B群の配線系統は、LSI1001の側方に設けたDSV(不図示)を介して行われることになる。A群及びC群にもDSVが必要である。LSI1001が多機能化して外部端子数が増加(多ピン化)するとB群の配線数も増加し、B群の配線系統を下側に導くためのDSVの数も増加させざるを得ない。この結果、機能素子内蔵基板1002に形成するDSVの数が増大する。機能素子内蔵基板1002の面積を大きくすればこの要求に応えることはできるが、実装面積の増大になる。したがって、実装面積を増大させることなくDSVの数を増やすためには、DSVを高密度に配置しなければならない。Here, when the circuit surface of theLSI 1001 faces the direction of theupper package 1003, the wiring system of the group B is performed via a DSV (not shown) provided on the side of theLSI 1001. DSV is also required for Group A and Group C. When theLSI 1001 becomes multifunctional and the number of external terminals increases (multiple pins), the number of wires in the B group also increases, and the number of DSVs for guiding the B group wiring system to the lower side must be increased. As a result, the number of DSVs formed on the functional element built-insubstrate 1002 increases. Increasing the area of the functional element-embeddedsubstrate 1002 can meet this requirement, but increases the mounting area. Therefore, in order to increase the number of DSVs without increasing the mounting area, the DSVs must be arranged at a high density.
 DSVを高密度に配置するためには、前述の通りDSVの径を小さくし、DSVの配置ピッチを縮小する必要がある。しかし、これはDSVの高アスペクト化を招き、以下の技術的課題が発生する。In order to arrange the DSVs at high density, it is necessary to reduce the DSV diameter and the DSV arrangement pitch as described above. However, this leads to an increase in the aspect ratio of the DSV and causes the following technical problems.
 (1)高アスペクトな開口部を形成する技術、
 (2)高アスペクトな開口部底の残渣を除去する技術、
 (3)高アスペクトな開口部底に銅などの導電体を形成する技術、特にめっき技術。
(1) Technology for forming a high aspect opening,
(2) Technology to remove residue at the bottom of the opening with a high aspect,
(3) Technology for forming a conductor such as copper on the bottom of a high aspect opening, particularly plating technology.
 これらのプロセスは、いずれも不安定であり、プロセスウィンドウが狭いため、結果的に機能素子内蔵基板の製造歩留まりが低下し、長期信頼性の低下も引き起こす。All of these processes are unstable and the process window is narrow, resulting in a decrease in manufacturing yield of the substrate with a built-in functional element and a decrease in long-term reliability.
 一方、LSI1001の回路面が下向きの場合、B群の配線系統は直接実装基板側に落とすことができる。この時、A群の配線系統に着目すると、A群もDSVを介する必要があるため、LSI1001の多ピン化、上パッケージ1003として実装する部品の多ピン化が進むと、A群配線系統のために同様にDSVの高密度化が必要になる。On the other hand, when the circuit surface of theLSI 1001 faces downward, the wiring system of the group B can be dropped directly to the mounting board side. At this time, focusing on the wiring system of the A group, the A group also needs to be connected via the DSV. Therefore, when the number of pins of theLSI 1001 increases and the number of components mounted as theupper package 1003 increases, Similarly, it is necessary to increase the density of the DSV.
 このような配線系統の確保の困難さは、PoP形状に限定されず、内蔵するLSIが多ピン化する場合や、複数の機能素子を内蔵する場合にも起こりえる。Such difficulty in securing the wiring system is not limited to the PoP shape, and may also occur when the built-in LSI has a large number of pins or a plurality of functional elements.
 このように、従来は信頼性を確保するという観点から、DSVを備える機能素子内蔵基板の実装面積拡大が避けられない状況にあった。本発明では、実装面積の拡大を抑制し、信頼性の高い機能素子内蔵基板及び該機能素子内蔵基板を含む電子デバイスが提供するものである。Thus, conventionally, from the viewpoint of ensuring reliability, it has been inevitable to increase the mounting area of the functional element built-in substrate having DSV. The present invention provides a highly reliable functional element-embedded substrate and an electronic device including the functional element-embedded substrate that suppresses an increase in mounting area.
 以下、本発明のより具体的な実施形態について図面を参照しつつ説明する。なお、複数の実施形態において、同一又は類似の要素部材には下2桁に同一の符号を付し、適宜、重複する説明を省略する。Hereinafter, more specific embodiments of the present invention will be described with reference to the drawings. Note that, in a plurality of embodiments, the same or similar element members are denoted by the same reference numerals in the last two digits, and overlapping descriptions are omitted as appropriate.
 〔実施形態1〕
 図1に、本発明の実施形態1に係る機能素子内蔵基板100の要部の模式的断面図を示す。本実施形態1に係る機能素子内蔵基板100は、LSIに代表される半導体素子等の機能素子101、機能素子101を埋設する絶縁層102、絶縁層102の2つの主面(上面及び裏面)に第1配線層103及び第2配線層108を備える。機能素子101には、機能素子を構成する基板を貫通するビアを含む素子貫通ビア106が1個又は複数形成されている。素子貫通ビア106には、導電材料が形成されており、機能素子101の上面から下面へ導通可能となっている。絶縁層102には絶縁層貫通ビア107が設けられており、第1配線層103と第2配線層108を接続している。この例では、機能素子101の上面(図示する上方向の面)に電子回路(不図示)やパッド(不図示)が形成される場合を示しており、機能素子の下面には接着層105を設けている。素子貫通ビア106はこの接着層105をも貫通している。機能素子101の上面には第1配線層103との接続部104が形成されており、第1配線層103と第2配線層108とは、機能素子101に形成した素子貫通ビア106を介しても電気的に接続されている。
Embodiment 1
FIG. 1 is a schematic cross-sectional view of a main part of a functional element-embeddedsubstrate 100 according to Embodiment 1 of the present invention. The functional element-embeddedsubstrate 100 according to the first embodiment is provided on two main surfaces (an upper surface and a back surface) of afunctional element 101 such as a semiconductor element typified by an LSI, an insulatinglayer 102 in which thefunctional element 101 is embedded, and the insulatinglayer 102. Afirst wiring layer 103 and asecond wiring layer 108 are provided. In thefunctional element 101, one or a plurality of element throughvias 106 including vias penetrating the substrate constituting the functional element are formed. The through-element via 106 is formed with a conductive material and can conduct from the upper surface to the lower surface of thefunctional element 101. An insulating layer through via 107 is provided in the insulatinglayer 102 and connects thefirst wiring layer 103 and thesecond wiring layer 108. In this example, an electronic circuit (not shown) and a pad (not shown) are formed on the upper surface (upward surface shown in the figure) of thefunctional element 101, and anadhesive layer 105 is formed on the lower surface of the functional element. Provided. The element through via 106 also penetrates theadhesive layer 105. Aconnection portion 104 to thefirst wiring layer 103 is formed on the upper surface of thefunctional element 101, and thefirst wiring layer 103 and thesecond wiring layer 108 are connected via an element through via 106 formed in thefunctional element 101. Are also electrically connected.
 素子貫通ビア106は、一つの部材で構成されていてもよく、また、複数の部材で構成されていても良い。例えば、機能素子を構成する基板を貫通する基板貫通ビアと、半導体基板を保護する保護層を貫通するポスト電極との組み合わせであっても良い。なお、本発明において、機能素子を構成する基板を貫通する基板貫通ビアにより第1配線層と第2配線層との間の配線経路の一部が確保されればよいので、図示する素子貫通ビア106に限定されず、例えば、機能素子上の配線回路と基板貫通ビアとが接続されて配線経路を構成してもよい。このような基板貫通ビアは、機能素子形成前に形成することが好ましい。また、素子貫通ビア106を一部材で構成する場合、機能素子形成後にビアホールを形成し、このビアホールに導電材料を充填すればよい。この場合も、基板を貫通する部分では基板貫通ビアということになる。なお、以下の説明では簡略のため、断りがない限り「素子貫通ビア」として説明するが、いずれの場合も上記説明を含むものと理解される。The through-element via 106 may be composed of a single member or a plurality of members. For example, a combination of a through-substrate via that penetrates the substrate constituting the functional element and a post electrode that penetrates a protective layer that protects the semiconductor substrate may be used. In the present invention, since the part of the wiring path between the first wiring layer and the second wiring layer only needs to be secured by the through-substrate via that penetrates the substrate constituting the functional element, the illustrated through-element via For example, the wiring path may be configured by connecting the wiring circuit on the functional element and the through-substrate via. Such a through-substrate via is preferably formed before the functional element is formed. Further, when the through-element via 106 is formed of a single member, a via hole may be formed after the functional element is formed, and the via hole may be filled with a conductive material. Also in this case, the portion penetrating the substrate is a through-substrate via. In the following description, for the sake of brevity, the description will be made as “through-element via” unless otherwise specified. However, in any case, it is understood that the above description is included.
 素子貫通ビア106(基板貫通ビアを含む)の材料としては、導電性を有していればどのような材料であってもよいが、Cu,Al等の金属やその合金、導電性の金属酸化物、あるいは、導電性の微細粒子が添加された充填材(導電性ペースト)やポリマー自体が導電性を有する導電性ポリマーなどが挙げられる。本実施形態では、機能素子形成後にビアホールを形成し、導電性ペーストを充填して素子貫通ビアを形成した。また、接着層105を貫通する部分には銅ポストを形成した。導電性樹脂を使用することで、機能素子101に使用される半導体基板などの基板材料と絶縁層102との応力歪みを緩和することもできる。The material of the element through via 106 (including the substrate through via) may be any material as long as it has conductivity, but a metal such as Cu or Al, an alloy thereof, or conductive metal oxidation. Or a filler (conductive paste) to which conductive fine particles are added, or a conductive polymer in which the polymer itself is conductive. In the present embodiment, via holes are formed after the functional elements are formed, and through-element vias are formed by filling with a conductive paste. In addition, a copper post was formed in a portion penetrating theadhesive layer 105. By using a conductive resin, stress strain between the insulatinglayer 102 and a substrate material such as a semiconductor substrate used for thefunctional element 101 can be reduced.
 素子貫通ビアを形成する機能素子としては、機能素子の中でも比較的専有面積の大きな機能素子を選択することが好ましい。一般的に、LSI等の半導体素子は、チップサイズが比較的大きく、素子貫通ビアを形成するのに適している。一方、コイル部品等基板内に電流経路を設けることで素子の機能に影響するものには、素子貫通ビアは設けない。As the functional element for forming the through-element via, it is preferable to select a functional element having a relatively large area among the functional elements. In general, a semiconductor element such as an LSI has a relatively large chip size and is suitable for forming a through-via. On the other hand, an element through via is not provided in an element that affects the function of the element by providing a current path in the substrate such as a coil component.
 機能素子の基板は、例えば、半導体素子を構成するために、シリコン(Si)、ゲルマニウム(Ge)、ガリウム砒素(GaAs)、ガリウム砒素リン(GaAsP)、窒化ガリウム(GaN)、炭化珪素(SiC)、酸化亜鉛(ZnO)等の半導体基板を適用することができる。また、半導体特性を示すII-VI族化合物、III-V族化合物や、ダイアモンドなどを用いてもよい。また、機能素子の基板として、シリカ基板、サファイア基板などの無機絶縁物、有機樹脂等の絶縁性基板を用いてもよい。また、SOI基板など半導体材料と絶縁性材料との組み合わせであってもよい。勿論、これらに限定されるものではない。本実施形態1では、機能素子100としてシリコン基板を有する半導体素子を用いた。The substrate of the functional element is, for example, silicon (Si), germanium (Ge), gallium arsenide (GaAs), gallium arsenide phosphorus (GaAsP), gallium nitride (GaN), silicon carbide (SiC) to form a semiconductor element. A semiconductor substrate such as zinc oxide (ZnO) can be used. Further, II-VI group compounds, III-V group compounds, diamond, etc. exhibiting semiconductor characteristics may be used. In addition, as a substrate for the functional element, an inorganic substrate such as a silica substrate or a sapphire substrate, or an insulating substrate such as an organic resin may be used. Further, a combination of a semiconductor material such as an SOI substrate and an insulating material may be used. Of course, it is not limited to these. In the first embodiment, a semiconductor element having a silicon substrate is used as thefunctional element 100.
 機能素子内蔵基板100内に内蔵される機能素子101の数は、1つに限定されるものではなく、複数配設することができる。複数配設する方法としては、図1中のX方向に機能素子を複数配設する態様の他、図1中のY方向に機能素子101を複数積層するものであってもよい。また、このように複数の機能素子を内蔵する場合、素子貫通ビア106や基板貫通ビアは必ずしも全ての機能素子に設ける必要はない。The number offunctional elements 101 incorporated in the functional element-embeddedsubstrate 100 is not limited to one, and a plurality offunctional elements 101 can be provided. As a method of disposing a plurality offunctional elements 101, a plurality offunctional elements 101 may be stacked in the Y direction in FIG. 1 in addition to an aspect in which a plurality of functional elements are disposed in the X direction in FIG. Further, when a plurality of functional elements are incorporated in this way, the through-element via 106 and the through-substrate via are not necessarily provided in all the functional elements.
 素子貫通ビア106を配設する位置は、特に限定されず、機能素子101に形成する電子回路の配置や、第1配線層103及び第2配線層108との関係等を考慮して配置すればよく、厳密な配置に限定されるものではない。The position where the element through via 106 is disposed is not particularly limited, and may be disposed in consideration of the arrangement of the electronic circuit formed in thefunctional element 101 and the relationship between thefirst wiring layer 103 and thesecond wiring layer 108. Well, it is not limited to a strict arrangement.
 また、素子貫通ビア106の個々の形状は、特に限定されるものではなく、例えば、円形、矩形等の多角形状、または曲線で囲まれた形状、若しくはこれらを組み合わせたものであってもよい。素子貫通ビア106や基板貫通ビアの径は、特に限定されるものではないが、例えば、10μm~100μm程度とすることができる。In addition, the individual shape of the element through via 106 is not particularly limited, and may be, for example, a polygonal shape such as a circle or a rectangle, a shape surrounded by a curve, or a combination thereof. The diameters of the element through via 106 and the substrate through via are not particularly limited, but can be, for example, about 10 μm to 100 μm.
 絶縁層102は、例えば、感光性又は非感光性の有機材料を用いて形成することができる。有機材料としては、例えば、エポキシ樹脂、エポキシアクリレート樹脂、ウレタンアクリレート樹脂、ポリエステル樹脂、フェノール樹脂、ポリイミド樹脂、BCB(benzocyclobutene)、PBO(polybenzoxazole)、ポリノルボルネン樹脂等を列挙することができる。また、これら樹脂群から選ばれる樹脂等を、ガラスクロスやアラミド繊維などで形成された織布や不織布に含浸させた材料を用いてもよい。また、上記樹脂群から選ばれる樹脂等やケイ素樹脂に、無機フィラーや有機フィラーを含ませたものを用いてもよい。勿論、これらに限定されるものではなく、無機材料を含め、本発明の趣旨を逸脱しない範囲において種々のものを適用することができる。本実施形態1では、絶縁層102としてエポキシ樹脂を用いた。The insulatinglayer 102 can be formed using, for example, a photosensitive or non-photosensitive organic material. Examples of the organic material include epoxy resin, epoxy acrylate resin, urethane acrylate resin, polyester resin, phenol resin, polyimide resin, BCB (benzocyclobutene), PBO (polybenzoxazole), and polynorbornene resin. Alternatively, a material obtained by impregnating a woven fabric or a nonwoven fabric formed of glass cloth, aramid fiber, or the like with a resin selected from these resin groups may be used. Moreover, you may use what added the inorganic filler and the organic filler to resin etc. which are selected from the said resin group, and silicon resin. Of course, the present invention is not limited to these, and various materials including inorganic materials can be applied without departing from the spirit of the present invention. In the first embodiment, an epoxy resin is used as the insulatinglayer 102.
 接着層105は、例えば、ダイアタッチメントフィルム(DAF;Die Attachment Film)と呼ばれる半硬化樹脂や、エポキシ樹脂、ポリイミド樹脂、BCB(benzocyclobutene)、PBO(polybenzoxazole)などの樹脂ペースト、あるいは銀ペーストなどが好適である。無論、これらに限定されない。本実施形態1ではエポキシ樹脂を主成分とするDAFを用いた。For example, theadhesive layer 105 is preferably a semi-cured resin called a die attachment film (DAF), a resin paste such as epoxy resin, polyimide resin, BCB (benzocyclobutene), PBO (polybenzoxazole), or silver paste. It is. Of course, it is not limited to these. In the first embodiment, DAF mainly composed of epoxy resin is used.
 第1配線層103及び第2配線層108は、例えば、銅、銀、金、ニッケル、アルミニウム、チタン、モリブデン、タングステン、及びパラジウムからなる群から選択された少なくとも1種の金属、若しくはこれらを主成分とする合金、あるいは導電性フィラーを含有する樹脂から成る導電性樹脂などが好適であるが、これらに限定されない。電気抵抗値及びコストの観点からは、銅により形成することが望ましい。本実施形態1では、銅を用いた。Thefirst wiring layer 103 and thesecond wiring layer 108 are, for example, at least one metal selected from the group consisting of copper, silver, gold, nickel, aluminum, titanium, molybdenum, tungsten, and palladium, or these as main components. An alloy as a component or a conductive resin made of a resin containing a conductive filler is suitable, but is not limited thereto. From the viewpoint of electrical resistance value and cost, it is desirable to form with copper. In Embodiment 1, copper was used.
 素子接続ビア104は、絶縁層102の表面から機能素子101のパッド(不図示)まで貫通するビアホールに、導電体が充填されたものである。素子接続ビア104は、例えば、レーザにより絶縁層102にビアホールを形成し、第1配線層103の形成と同時に形成することができる。また、機能素子101に予め金属バンプなどを形成したものを素子接続ビア104として好適に適用することができる。また、絶縁層材料として感光性の有機材料を用いる場合には、フォトリソグラフィー技術によりビアホールを形成することができる。素子接続ビア104は、素子貫通ビア106と直接接続されていてもよい。本実施形態1においては、レーザを用いて、ビアホールを開口し、ビアホール内にメッキにより銅を充填した。なお、内蔵する機能素子の多ピン化が進むと、従来の機能素子内蔵基板では素子接続ビア104の数も増やす必要があったが、本発明のように素子貫通ビアを設けることで、前記図11で説明したA群及びB群の配線系統の一部を素子貫通ビアで賄うことで、素子接続ビアの数を減らすこともできる。The element connection via 104 is formed by filling a via hole penetrating from the surface of the insulatinglayer 102 to the pad (not shown) of thefunctional element 101 with a conductor. The element connection via 104 can be formed simultaneously with the formation of thefirst wiring layer 103 by forming a via hole in the insulatinglayer 102 with a laser, for example. In addition, a device in which a metal bump or the like is previously formed on thefunctional element 101 can be suitably applied as the element connection via 104. Further, when a photosensitive organic material is used as the insulating layer material, a via hole can be formed by a photolithography technique. The element connection via 104 may be directly connected to the element through via 106. In the first embodiment, a via hole is opened using a laser, and copper is filled in the via hole by plating. As the number of built-in functional elements increases, the number of element connection vias 104 needs to be increased in the conventional functional element built-in substrate. However, by providing through-element vias as in the present invention, FIG. The number of element connection vias can be reduced by covering part of the wiring system of the A group and the B group described in 11 with the element through vias.
 本発明において、絶縁層貫通ビア107は、内蔵する素子の多ピン化が進んでも、ビア密度やアスペクト比を高めることなく形成することができる。この結果、機能素子内蔵基板の実装面積を拡大することがなく、内蔵する素子の多ピン化に対応できる。また、従来同様の端子数の機能素子を内蔵する場合は、絶縁層貫通ビアの数を減らすことができるため、製造歩留まりの更なる向上や、実装面積の更なる縮小も可能となる。絶縁層貫通ビア107は、絶縁層102の第1主面から、第2配線層108の表面まで貫通するビアホール内に配設された導電体により構成される。形成方法は、素子接続ビア104と同様の方法で形成でき、好ましくは、素子接続ビア104と同時に形成される。In the present invention, the insulating layer through via 107 can be formed without increasing the via density and the aspect ratio even when the number of built-in elements is increased. As a result, the mounting area of the functional element built-in substrate can be increased without increasing the mounting area of the built-in element. Further, when a functional element having the same number of terminals as that in the prior art is incorporated, the number of vias through the insulating layer can be reduced, so that the manufacturing yield can be further improved and the mounting area can be further reduced. The insulating layer through via 107 is configured by a conductor disposed in a via hole penetrating from the first main surface of the insulatinglayer 102 to the surface of thesecond wiring layer 108. The formation method can be the same as the element connection via 104, and is preferably formed simultaneously with the element connection via 104.
 なお、図1に示す構成では、素子貫通ビア106の複数が第2配線層108の一つの配線に接続される例を示しているが、これは、例えば、グランド電位等の共通化できる配線系統を接続する場合に適している。後述する実施形態のように、素子貫通ビアが個別の配線に接続される場合には、信号電位等の個別の配線系統に接続する場合に適している。このような接続方法は、当業者が適宜変更できるものである。In the configuration shown in FIG. 1, an example in which a plurality of through-element vias 106 are connected to one wiring of thesecond wiring layer 108 is shown. This is, for example, a wiring system that can share a ground potential or the like. Suitable for connecting. In the case where through-element vias are connected to individual wirings as in the embodiments described later, this is suitable for connection to individual wiring systems such as signal potentials. Such a connection method can be appropriately changed by those skilled in the art.
 また、機能素子の基板として半導体基板を用いる場合、機能素子を内蔵する工程や使用環境によって機能素子内蔵基板の反り、うねりが発生する場合があったが、本実施形態1のように素子貫通ビアを設けることで、これら反りやうねりを抑制し、信頼性を改善することもできる。特に、温度サイクル試験特性を改善することができる。さらに、低反りによって、内蔵基板の配線歩留まりが改善されるため、配線不良による良品の半導体素子の破棄損失が減少し、製造コストを低減することができる。さらに、低反りによって、内蔵基板の配線をより微細化することも可能となり、配線層数削減によるコスト低減も可能となる。また、半導体素子を薄くしても半導体素子の強度が劣化せず、半導体素子内蔵基板の全体の厚さを小さくすることができる。また半導体素子を薄くしたときのハンドリング性を改善でき、製造歩留まりを向上させることができる。Further, when a semiconductor substrate is used as the functional element substrate, the functional element built-in substrate may be warped or swelled depending on the process of incorporating the functional element and the use environment. By providing this, it is possible to suppress these warpage and undulation and to improve the reliability. In particular, the temperature cycle test characteristics can be improved. Furthermore, since the wiring yield of the built-in substrate is improved due to the low warpage, the loss of discard of non-defective semiconductor elements due to wiring defects can be reduced, and the manufacturing cost can be reduced. Furthermore, the low warpage makes it possible to further miniaturize the wiring of the built-in substrate, and to reduce the cost by reducing the number of wiring layers. Further, even if the semiconductor element is thinned, the strength of the semiconductor element is not deteriorated, and the entire thickness of the semiconductor element-embedded substrate can be reduced. Moreover, the handling property when the semiconductor element is thinned can be improved, and the manufacturing yield can be improved.
 このような反り、うねりを抑制する観点からは、素子貫通ビア106を応力集中位置である素子周辺部近傍に配置することが好ましい。また、素子基板における部分的な応力集中を分散する観点から、素子基板内において、平面視上、点対称、若しくは線対称に配置することが好ましい。さらに、本発明における素子貫通ビアと、このような反り、うねりを抑制する基板開口部(半導体基板に形成した貫通孔又は凹部であって、空隙でも低弾性の樹脂等を充填しても良い)を組み合わせても良い。From the viewpoint of suppressing such warpage and undulation, it is preferable to dispose the element through via 106 in the vicinity of the element peripheral portion which is the stress concentration position. Further, from the viewpoint of dispersing the partial stress concentration in the element substrate, it is preferable that the element substrate is disposed point-symmetrically or line-symmetrically in plan view. Furthermore, the element through via according to the present invention and a substrate opening that suppresses such warpage and undulation (a through hole or a recess formed in the semiconductor substrate, which may be filled with a low elasticity resin or the like). May be combined.
 〔実施形態2〕
 次に、上記実施形態1とは異なる機能素子内蔵基板の一例について説明する。本実施形態2に係る機能素子内蔵基板200は、以下の点を除く基本的な構成は上記実施形態1と同様である。すなわち、上記実施形態1においては、機能素子101の下部に接着層105を設けていたのに対し、本実施形態2においては、接着層105を設けておらず、また、機能素子内蔵基板の上下の配線層を多層に形成している点において相違する。
[Embodiment 2]
Next, an example of the functional element built-in substrate different from that of the first embodiment will be described. The functional element-embeddedsubstrate 200 according to the second embodiment has the same basic configuration as that of the first embodiment except for the following points. That is, in the first embodiment, theadhesive layer 105 is provided below thefunctional element 101, whereas in the second embodiment, theadhesive layer 105 is not provided, and the upper and lower sides of the functional element-embedded substrate are not provided. The wiring layer is different in that it is formed in multiple layers.
 すなわち、本実施形態2に係る機能素子内蔵基板200は、内蔵される機能素子201、機能素子を埋設する第1絶縁層202、機能素子201の上方に第1配線層203、第3配線層212、第5配線層215が備え、機能素子の下方に第2配線層208、第4配線層218、第6配線層221を備える。機能素子201の基板には、実施形態1と同様に1又は複数の素子貫通ビア206が形成されている。素子貫通ビア206には、導電材料が形成されており、機能素子の上面から下面へ導通可能となっている。第1絶縁層202には第1絶縁層貫通ビア207が設けられており、第1配線層203と第2配線層208を接続している。第1配線層203は第2絶縁層209内に形成した接続ビア211で第3配線層212に接続されており、第3配線層212は第4絶縁層213内に形成された接続ビア214により第5配線層215とが接続されている。第2配線層208は、第3絶縁層210中に形成されており、第2配線層208は第5絶縁層216内に形成された接続ビア217により第4配線層218と接続されており、第4配線層218は第7絶縁層219内に形成された接続ビア220により第6配線層221と接続されている。この例では、機能素子201の上面(図示する上方向の面)に電子回路(不図示)やパッド(不図示)が形成される場合を示しており、機能素子の下面には複数の第2配線層208を設けている。素子貫通ビア206はそれぞれ第2配線層208の個別の配線に接続されている。機能素子201の上面には第1配線層203とを接続する素子接続ビア204が形成されており、第1配線層203と第2配線層208とは、機能素子201に形成した素子貫通ビア206を介しても電気的に接続されている。That is, the functional element built-insubstrate 200 according to the second embodiment includes afunctional element 201 to be incorporated, a first insulatinglayer 202 in which the functional element is embedded, afirst wiring layer 203 and athird wiring layer 212 above thefunctional element 201. Thefifth wiring layer 215 includes asecond wiring layer 208, afourth wiring layer 218, and asixth wiring layer 221 below the functional element. As in the first embodiment, one or a plurality of through-element vias 206 are formed on the substrate of thefunctional element 201. The through-element via 206 is formed with a conductive material and can conduct from the upper surface to the lower surface of the functional element. The first insulatinglayer 202 is provided with a first insulating layer through via 207 to connect thefirst wiring layer 203 and thesecond wiring layer 208. Thefirst wiring layer 203 is connected to thethird wiring layer 212 by a connection via 211 formed in the second insulatinglayer 209, and thethird wiring layer 212 is connected by a connection via 214 formed in the fourth insulatinglayer 213. Thefifth wiring layer 215 is connected. Thesecond wiring layer 208 is formed in the third insulatinglayer 210, and thesecond wiring layer 208 is connected to thefourth wiring layer 218 byconnection vias 217 formed in the fifth insulatinglayer 216. Thefourth wiring layer 218 is connected to thesixth wiring layer 221 byconnection vias 220 formed in the seventh insulatinglayer 219. This example shows a case where an electronic circuit (not shown) or a pad (not shown) is formed on the upper surface (upper surface shown in the figure) of thefunctional element 201, and a plurality of second elements are formed on the lower surface of the functional element. Awiring layer 208 is provided. The through-element vias 206 are connected to individual wirings of thesecond wiring layer 208, respectively. An element connection via 204 that connects thefirst wiring layer 203 is formed on the upper surface of thefunctional element 201, and thefirst wiring layer 203 and thesecond wiring layer 208 include an element through via 206 formed in thefunctional element 201. It is also electrically connected via.
 このように、多層配線化することにより、機能素子201からのファンアウト(Fun-out)が容易となる。Thus, fan-out from thefunctional element 201 is facilitated by forming the multilayer wiring.
 各配線層及び接続ビアは、上記実施形態1と同様の材料から選定することができる。本実施形態では、各配線層及び接続ビアとして、銅を用いた。Each wiring layer and connection via can be selected from the same materials as in the first embodiment. In the present embodiment, copper is used for each wiring layer and connection via.
 次に、本実施形態2に係る機能素子内蔵基板200の製造方法の一例について図3(a)~(g)の製造工程断面図を用いつつ説明する。Next, an example of a method for manufacturing the functional element built-insubstrate 200 according to the second embodiment will be described with reference to the manufacturing process cross-sectional views of FIGS.
 まず、支持体250の主面上に第2配線層208を形成する。そして支持体250、及び第2配線層208を第3絶縁層210により被覆する(図3(a)参照)。支持体250は、樹脂、金属、ガラス、半導体、セラミック等のいずれか又はそれらの組み合わせたものを用いることができる。また、機能素子201を搭載する位置を明確にするために、支持体250上に位置マーク(不図示)を適宜設けてもよい。本実施形態2では、支持体250として銅合金を用いた。また、機能素子201を搭載するための位置マークとして、電気めっきによる厚さ5μmのニッケルを設けた。First, thesecond wiring layer 208 is formed on the main surface of thesupport body 250. Then, thesupport body 250 and thesecond wiring layer 208 are covered with the third insulating layer 210 (see FIG. 3A). As thesupport body 250, any one of resin, metal, glass, semiconductor, ceramic, or a combination thereof can be used. Further, in order to clarify the position where thefunctional element 201 is mounted, a position mark (not shown) may be appropriately provided on thesupport body 250. In the second embodiment, a copper alloy is used as thesupport body 250. Further, as a position mark for mounting thefunctional element 201, nickel having a thickness of 5 μm was provided by electroplating.
 第2配線層208は、例えば、サブトラクティブ法、セミアディティブ法又はフルアディティブ法等の方法により形成することができる。サブトラクティブ法は、基板上に設けられた金属層(銅箔)上に所望のパターンのレジストを形成し、不要な金属層をエッチングした後に、レジストを剥離して所望のパターンを得る方法である。セミアディティブ法は、無電解めっき法、スパッタ法、CVD法等で給電層を形成した後、所望のパターンに開口されたレジストを形成し、レジスト開口部内に電解めっき法による金属を析出させ、レジストを除去した後に給電層をエッチングして所望の配線パターンを得る方法である。フルアディティブ法は、基板上に無電解めっき触媒を吸着させた後に、レジストでパターンを形成し、このレジストを絶縁膜として残したまま触媒を活性化し、無電解めっき法により絶縁膜の開口部に金属を析出させることで所望の配線パターンを得る方法である。本実施形態では、第2配線層208として銅を用い、セミアディティブ法で形成した後、第3絶縁層210で被覆した。Thesecond wiring layer 208 can be formed by a method such as a subtractive method, a semi-additive method, or a full additive method. The subtractive method is a method in which a resist having a desired pattern is formed on a metal layer (copper foil) provided on a substrate, an unnecessary metal layer is etched, and then the resist is removed to obtain a desired pattern. . In the semi-additive method, a power supply layer is formed by an electroless plating method, a sputtering method, a CVD method, etc., a resist having an opening in a desired pattern is formed, and a metal is deposited in the resist opening by an electrolytic plating method. This is a method of obtaining a desired wiring pattern by etching the power feeding layer after removing the wire. In the full additive method, after an electroless plating catalyst is adsorbed on a substrate, a pattern is formed with a resist, and the catalyst is activated while leaving the resist as an insulating film. In this method, a desired wiring pattern is obtained by depositing metal. In the present embodiment, copper is used as thesecond wiring layer 208 and is formed by a semi-additive method and then covered with the third insulatinglayer 210.
 第3絶縁層210の好適な材料は、上記実施形態1において述べた絶縁層102と同様の材料が挙げられる。第3絶縁層210の形成方法としては、トランスファーモールディング法、圧縮形成モールド法、印刷法、真空プレス法、真空ラミネート法、スピンコート法、ダイコート法、カーテンコート法、又はフォトリソグラフィー法等を適用することができる。本実施形態2では、エポキシ樹脂を用いて真空ラミネート法により第3絶縁層210を形成した。A suitable material for the third insulatinglayer 210 may be the same material as the insulatinglayer 102 described in the first embodiment. As a method of forming the third insulatinglayer 210, a transfer molding method, a compression molding method, a printing method, a vacuum press method, a vacuum laminating method, a spin coating method, a die coating method, a curtain coating method, a photolithography method, or the like is applied. be able to. In the second embodiment, the third insulatinglayer 210 is formed by vacuum lamination using an epoxy resin.
 次に、素子貫通ビア206が形成された機能素子201を用意する。そして、支持体250の所定の位置の上層に、第2配線層208と素子貫通ビア206が接続されるように機能素子201を搭載する(図3(b)参照)。ここで素子貫通ビア206と第2配線層208との接合界面に例えば錫のようなはんだ材料(不図示)を挿入しても良い。Next, thefunctional element 201 in which the element through via 206 is formed is prepared. Then, thefunctional element 201 is mounted on the upper layer of thesupport 250 at a predetermined position so that thesecond wiring layer 208 and the element through via 206 are connected (see FIG. 3B). Here, a solder material (not shown) such as tin may be inserted into the joint interface between the element through via 206 and thesecond wiring layer 208.
 その後、第3絶縁層210及び機能素子201を被覆するように第1絶縁層202を形成する(図3(c)参照)。素子貫通ビア206は、機能素子201の機械的強度を低下させない範囲において、任意の場所に設けることができる。機能素子の基板材料としては、例えば、上記実施形態1で説明した材料を好適に適用することができる。本実施形態2ではシリコンのLSIを用いた。機能素子201の支持体250上への搭載は、フェースアップの状態で半導体搭載機を用いて行った。Thereafter, the first insulatinglayer 202 is formed so as to cover the third insulatinglayer 210 and the functional element 201 (see FIG. 3C). The through-element via 206 can be provided at an arbitrary place as long as the mechanical strength of thefunctional element 201 is not lowered. As the substrate material of the functional element, for example, the material described in the first embodiment can be suitably applied. In the second embodiment, a silicon LSI is used. Thefunctional element 201 was mounted on thesupport 250 using a semiconductor mounting machine in a face-up state.
 素子貫通ビア206は、上記実施形態1で説明した材料を好適に適用することができる。本実施形態2では、素子貫通ビア206は、銅を用い、機能素子201にビアホールを形成した後、めっき法にて形成した。The material described in the first embodiment can be preferably applied to the through-element via 206. In the second embodiment, the element through via 206 is formed by plating after forming a via hole in thefunctional element 201 using copper.
 第1絶縁層202は、機能素子201を埋設するように形成する。第1絶縁層202の材料としては、例えば、上記実施形態1で説明した絶縁層102の材料を好適に適用することができる。機能素子201の内蔵方法は、上記実施形態1で述べたとおりである。The first insulatinglayer 202 is formed so as to embed thefunctional element 201. As a material of the first insulatinglayer 202, for example, the material of the insulatinglayer 102 described in the first embodiment can be preferably applied. The method for incorporating thefunctional element 201 is as described in the first embodiment.
 続いて、第1絶縁層202の表面から、機能素子201のパッド(不図示)の表面まで貫通するビアホール241を設ける。同時に、第1絶縁層202の表面から、第2配線層208の表面まで貫通するビアホール242を形成する(図3(d)参照)。本実施形態2では、レーザ加工法を用いてビアホール241,242を形成した。Subsequently, a viahole 241 penetrating from the surface of the first insulatinglayer 202 to the surface of the pad (not shown) of thefunctional element 201 is provided. At the same time, a viahole 242 that penetrates from the surface of the first insulatinglayer 202 to the surface of thesecond wiring layer 208 is formed (see FIG. 3D). In the second embodiment, the viaholes 241 and 242 are formed using a laser processing method.
 次に、ビアホール241及び242の内部に導体を形成し、第1絶縁層202上に第1配線層203を形成する(図3(e)参照)。ビアホール241に導体を充填することにより素子接続ビア204が、ビアホール242に導体を充填することにより第1絶縁層貫通ビア207が形成される。これらの導体の材料、及び形成方法の好適な例は、上記実施形態1で述べたとおりである。また、第1配線層203の材料、及び形成方法も上記第2配線層で述べた材料や方法を好適に適用することができる。本実施形態2においては、銅を用い、セミアディティブ法により第1配線層203を形成した。Next, a conductor is formed inside the via holes 241 and 242, and thefirst wiring layer 203 is formed on the first insulating layer 202 (see FIG. 3E). The element connecting via 204 is formed by filling the viahole 241 with a conductor, and the first insulating layer through via 207 is formed by filling the viahole 242 with the conductor. Suitable examples of these conductor materials and formation methods are as described in the first embodiment. Further, the material and the method described in the second wiring layer can be suitably applied to the material and the forming method of thefirst wiring layer 203. In the second embodiment, copper is used and thefirst wiring layer 203 is formed by a semi-additive method.
 その後、支持体250を除去する(図3(f)参照)。支持体250の除去は、支持体45の除去には、薬液によるウェットエッチング法、機械的研磨による研削法、物理的な剥離法等が好適であるが、これらに限定されない。本実施形態2においては、アルカリ性のウェットエッチング液を用いて、銅合金である支持体250を除去した。また、第1配線層203を保護するため、次に説明する第2絶縁層209を形成しておいてもよい。Thereafter, thesupport body 250 is removed (see FIG. 3F). The removal of thesupport 250 is preferably a wet etching method using a chemical solution, a grinding method using mechanical polishing, a physical peeling method, or the like, but is not limited thereto. In this Embodiment 2, thesupport body 250 which is a copper alloy was removed using alkaline wet etching liquid. In order to protect thefirst wiring layer 203, a second insulatinglayer 209 described below may be formed.
 次に、第2絶縁層209、接続ビア211、第3配線層212、第4絶縁層216、接続ビア217、第4配線層218を形成する(図3(g)参照)。第2絶縁層209、第4絶縁層216の好適な材料は、上述したとおりである。また、第2絶縁層209、第4絶縁層204の形成方法としては、例えば、上述した第3絶縁層210と同様の方法により形成することができる。本実施形態2においては、エポキシ樹脂を用いて真空ラミネート法により第2絶縁層209、第4絶縁層216を形成した。Next, the second insulatinglayer 209, the connection via 211, thethird wiring layer 212, the fourth insulatinglayer 216, the connection via 217, and thefourth wiring layer 218 are formed (see FIG. 3G). Suitable materials for the second insulatinglayer 209 and the fourth insulatinglayer 216 are as described above. Moreover, as a formation method of the 2nd insulatinglayer 209 and the 4th insulatinglayer 204, it can form by the method similar to the 3rd insulatinglayer 210 mentioned above, for example. In the second embodiment, the second insulatinglayer 209 and the fourth insulatinglayer 216 are formed by vacuum lamination using an epoxy resin.
 第2絶縁層209、第4絶縁層216に接続ビア211、217を形成する方法としては、特に限定されないが、上記素子接続ビア204、第1絶縁層貫通ビア207と同様の方法を好適に適用することができる。本実施形態2においては、レーザ加工法を用いて開口部を形成し、銅を充填して形成した。また、銅を用いセミアディティブ法により第3配線層212、及び第4配線層218を形成した。A method of forming theconnection vias 211 and 217 in the second insulatinglayer 209 and the fourth insulatinglayer 216 is not particularly limited, but the same method as the element connection via 204 and the first insulating layer through via 207 is preferably applied. can do. In the second embodiment, an opening is formed using a laser processing method, and is filled with copper. In addition, thethird wiring layer 212 and thefourth wiring layer 218 were formed by a semi-additive method using copper.
 次に、第5絶縁層213、接続ビア214、第5配線層215、第6絶縁層219、接続ビア220、第6配線層221を形成する(図3(h)参照)。第5絶縁層213、第6絶縁層219の好適な材料は、上述したとおりである。また、第5絶縁層213、第6絶縁層219の形成方法としては、例えば、上述した第2絶縁層210と同様の方法により形成することができる。接続ビア214及び220、第5配線層215、第6配線層221の形成方法も上記と同様である。Next, a fifth insulatinglayer 213, a connection via 214, afifth wiring layer 215, a sixth insulatinglayer 219, a connection via 220, and asixth wiring layer 221 are formed (see FIG. 3H). Suitable materials for the fifth insulatinglayer 213 and the sixth insulatinglayer 219 are as described above. Moreover, as a formation method of the 5th insulatinglayer 213 and the 6th insulatinglayer 219, it can form by the method similar to the 2nd insulatinglayer 210 mentioned above, for example. The method for forming theconnection vias 214 and 220, thefifth wiring layer 215, and thesixth wiring layer 221 is the same as described above.
 なお、この実施形態2においては、機能素子201の側方の絶縁層貫通ビアとして、第1絶縁層202のみを貫通する第1絶縁層貫通ビア207として説明したが、複数の絶縁層を貫通する絶縁層貫通ビアでもよい。例えば、第5配線層215と第6配線層221とを直接接続するように、第5絶縁層213から第6絶縁層219まで貫通するビアを設けてもよい。In the second embodiment, the first insulating layer penetrating via 207 penetrating only the first insulatinglayer 202 has been described as the insulating layer penetrating via on the side of thefunctional element 201. However, the plural penetrating insulating layers are penetrated. An insulating layer through via may be used. For example, a via penetrating from the fifth insulatinglayer 213 to the sixth insulatinglayer 219 may be provided so as to directly connect thefifth wiring layer 215 and thesixth wiring layer 221.
 また、本実施形態2のように、機能素子の設置時に接着層を設けない場合、構成材料が少なくなり、材料及び工程数の両面で低コスト化できるという利点もある。Further, as in the second embodiment, when the adhesive layer is not provided at the time of installing the functional element, there is an advantage that the constituent material is reduced and the cost can be reduced in both the material and the number of steps.
 〔実施形態3〕
 実施形態3では、実施形態1の変形例を示す。本実施形態3に係る機能素子内蔵基板300は、以下の点を除く基本的な構成は上記実施形態1と同様である。すなわち、図4の模式的断面図に示すように、上記実施形態1においては、機能素子101の下部に接着層105を設けていたのに対し、本実施形態3においては、機能素子301の下部には接着層105を設けておらず、また、第1配線層303及び第2配線層308をソルダーレジスト層332、331で保護し、さらに、外部基板(不図示)と接続する外部端子333をソルダーレジスト層331の開口部に設けている。図4において、符号301~308は、図1の符号101~108にそれぞれ相当する。
[Embodiment 3]
In the third embodiment, a modification of the first embodiment is shown. The functional element-embeddedsubstrate 300 according to the third embodiment has the same basic configuration as that of the first embodiment except for the following points. That is, as shown in the schematic cross-sectional view of FIG. 4, theadhesive layer 105 is provided below thefunctional element 101 in the first embodiment, whereas the lower part of thefunctional element 301 is present in the third embodiment. Is not provided with anadhesive layer 105, and thefirst wiring layer 303 and thesecond wiring layer 308 are protected by solder resistlayers 332 and 331, and anexternal terminal 333 connected to an external substrate (not shown) is provided. It is provided in the opening of the solder resistlayer 331. In FIG. 4,reference numerals 301 to 308 correspond to referencenumerals 101 to 108 in FIG.
 〔実施形態4〕
 実施形態4では、実施形態2の変形例を示す。図5に実施形態4に係る機能素子内蔵基板400の概略断面図を示す。本実施形態4では実施形態2の機能素子内蔵基板200の下部にソルダーレジスト層431と外部端子433を設けている以外、実施形態2と同様である。図5において、符号401~421は、図2の符号201~221にそれぞれ相当する。
[Embodiment 4]
In the fourth embodiment, a modification of the second embodiment is shown. FIG. 5 shows a schematic cross-sectional view of a functional element-embeddedsubstrate 400 according to the fourth embodiment. The fourth embodiment is the same as the second embodiment except that a solder resistlayer 431 and anexternal terminal 433 are provided below the functional element-embeddedsubstrate 200 of the second embodiment. In FIG. 5,reference numerals 401 to 421 correspond to referencenumerals 201 to 221 in FIG. 2, respectively.
 上記実施形態3及び4におけるソルダーレジスト層332,331、431を設けることにより、機能素子内蔵基板の表面回路を保護するとともに、難燃性を付与することができる。ソルダーレジスト層として、感光性レジストインクを用いた。By providing the solder resistlayers 332, 331, and 431 in the third and fourth embodiments, the surface circuit of the functional element-embedded substrate can be protected and flame retardancy can be imparted. As the solder resist layer, a photosensitive resist ink was used.
 なお、配線層や絶縁層の数は、一例であって、上記実施形態に限定されることなく、必要な数だけ配線層や絶縁層を積層することができることは言うまでもない。以上の実施形態では、機能素子の高機能化(多ピン化)により、図11に示すB群の配線系統が増加する場合に、機能素子側面の絶縁層貫通ビアに加えて、機能素子を貫通する素子貫通ビアによる配線系統を有することから、絶縁層貫通ビアの高密度化、高アスペクト化を必要とせず、更なる多様化に対応できる。It should be noted that the number of wiring layers and insulating layers is only an example, and it goes without saying that the required number of wiring layers and insulating layers can be stacked without being limited to the above embodiment. In the above embodiment, when the wiring system of the group B shown in FIG. 11 is increased by increasing the functionality of the functional device (increasing the number of pins), the functional device is penetrated in addition to the insulating layer through via on the side of the functional device. Since it has a wiring system using through-element vias, it is possible to cope with further diversification without requiring high density and high aspect ratio of through-layer vias.
 〔実施形態5〕
 次に、本発明の機能素子内蔵基板を用いた電子デバイスの実施形態について説明する。本実施形態5に係る電子デバイス500は、機能素子内蔵基板上に上パッケージ536を搭載してPoP形状としたものである。第2配線層512から下の構造は、上記の実施形態4と同様であり、図6における符号501~512,516~521,531,533は、図5の符号401~412,416~421,431,433と同様の意味を示す。第2配線層512は、ソルダーレジスト層532で保護されており、上パッケージ536に設けたBGAなどの外部端子534で上パッケージ536と接続されている。また、上パッケージ536は機能素子内蔵基板上のソルダーレジスト層532に接着剤層535で固定されている。
[Embodiment 5]
Next, an embodiment of an electronic device using the functional element-embedded substrate of the present invention will be described. Theelectronic device 500 according to the fifth embodiment has a PoP shape by mounting anupper package 536 on a functional element-embedded substrate. The structure below thesecond wiring layer 512 is the same as that of the fourth embodiment, andreference numerals 501 to 512, 516 to 521, 531 and 533 in FIG. 6denote reference numerals 401 to 412 and 416 to 421 in FIG. The same meaning as 431,433 is shown. Thesecond wiring layer 512 is protected by a solder resistlayer 532 and is connected to theupper package 536 by anexternal terminal 534 such as a BGA provided in theupper package 536. Theupper package 536 is fixed to the solder resistlayer 532 on the functional element-embedded substrate with anadhesive layer 535.
 本実施形態5の電子デバイス500は、第1絶縁層502に内蔵される機能素子501の素子形成面が上パッケージ536方向を向いており、図11に示すA~C群の配線系統は、機能素子501の側方に設けた第1絶縁層貫通ビア507を介して行われることになる。また、A~C群の一部の配線系統は、機能素子501に設けた素子貫通ビア506を介しても行われる。そのため、機能素子501が多機能化して外部端子数が増加(多ピン化)してB群の配線数も増加する場合、B群の配線系統を下側に導くための経路を第1絶縁層貫通ビア507と素子貫通ビア506の2系統で行うことができ、第1絶縁層貫通ビア507を高密度化する必要がない。この結果、実装面積を増大させることなく、配線系統の確保が可能となる。また、上パッケージ536として実装する電子部品の多ピン化などにも対応できる。In theelectronic device 500 of the fifth embodiment, the element formation surface of thefunctional element 501 built in the first insulatinglayer 502 faces theupper package 536, and the wiring systems of the groups A to C shown in FIG. This is performed through the first insulating layer through via 507 provided on the side of theelement 501. In addition, a part of the wiring system of the A to C groups is also performed through the element through via 506 provided in thefunctional element 501. Therefore, when thefunctional element 501 becomes multifunctional and the number of external terminals increases (multiple pins) and the number of wires in the B group also increases, a path for guiding the wiring system of the B group downward is provided in the first insulating layer. This can be performed in two systems, the through via 507 and the element through via 506, and the first insulating layer through via 507 need not be densified. As a result, the wiring system can be secured without increasing the mounting area. In addition, it is possible to cope with an increase in the number of pins of electronic components mounted as theupper package 536.
 〔実施形態6〕
 実施形態5の変形例を実施形態6として示す。本実施形態6に係る電子デバイス600は、図7に示すように、機能素子内蔵基板を上下逆転している。図7における符号601~618は、図5の符号501~518と同様の意味を示し、符号631~636は、図6の符号531~536と同様である。
[Embodiment 6]
A modification of the fifth embodiment will be described as a sixth embodiment. As shown in FIG. 7, theelectronic device 600 according to the sixth embodiment has the functional element built-in substrate turned upside down.Reference numerals 601 to 618 in FIG. 7 have the same meanings asreference numerals 501 to 518 in FIG. 5, andreference numerals 631 to 636 are the same asreference numerals 531 to 536 in FIG.
 本実施形態6に係る電子デバイス600は、機能素子601の素子形成面が実装基板(不図示)側となる下向きであり、図11に示すB群の配線系統は直接実装基板側に落とすことができる。この時、A群の配線系統に着目すると、A群は第1絶縁層貫通ビア607と素子貫通ビア606の2系統を確保することができ、機能素子601の多ピン化、上パッケージ636として実装する部品の多ピン化が進んでも、対応することができる。また、C群の配線系統についても、第1絶縁層貫通ビア607と素子貫通ビア606の2系統で対応することができる。In theelectronic device 600 according to the sixth embodiment, the element formation surface of thefunctional element 601 faces downward on the mounting substrate (not shown) side, and the group B wiring system shown in FIG. 11 can be dropped directly on the mounting substrate side. it can. At this time, paying attention to the wiring system of the group A, the group A can secure two systems of the first insulating layer through via 607 and the element through via 606, increase the number offunctional elements 601 and mount as theupper package 636. Even if the number of pins to be used is increased, it can be handled. Further, the wiring system of the group C can be dealt with by two systems of the first insulating layer through via 607 and the element through via 606.
 一般的にLSI等の機能素子は、ワイヤボンディング向けの素子では素子形成面を上向きに、また、フリップチップ実装向けの素子では素子形成面を下向きに実装するように設計されている。ワイヤボンディング向けの素子を下向き、あるいはフリップチップ実装向けの素子を上向きに実装すると、(i)LSIのIPコアレイアウト、(ii)LSI内蔵基板の多層配線、(iii)実装基板(マザーボード)上の部品配置、のいずれかを鏡面反転しなければならず、これは極めてコストアップとなるからである。従来のような絶縁層貫通ビアだけの機能素子内蔵基板でも、ワイヤボンディング向けの素子を下向きに、またはフリップチップ実装向けの素子を上向きに内蔵すると、内蔵配線層で配線レイアウトを左右反転すべき経路が多くなりすぎて、配線層数が増大し、歩留まりが劣化してコストが上がるため、機能素子内蔵基板への機能素子の内蔵は、従来の一般的な設計思想を踏襲して行われていた。これに対し、本発明によれば、絶縁層貫通ビアと素子貫通ビアを有効活用することにより、機能素子の内蔵方向に対する自由度を向上させ、ひいては内蔵配線層のレイアウトを容易にし、配線層数を削減しコストを低減することができる。Generally, a functional element such as an LSI is designed such that an element formation surface is mounted upward in an element for wire bonding, and an element formation surface is mounted downward in an element for flip chip mounting. When an element for wire bonding is mounted downward or an element for flip chip mounting is mounted upward, (i) an LSI IP core layout, (ii) a multilayer wiring of an LSI-embedded substrate, (iii) on a mounting substrate (motherboard) This is because one of the component arrangements must be mirror-inverted, which is extremely expensive. Even if a substrate with a functional element with only through-layer vias as in the past is used, if an element for wire bonding is embedded downward or an element for flip-chip mounting is embedded upward, the wiring layout should be reversed horizontally in the internal wiring layer. As the number of wiring layers increases, the number of wiring layers increases, the yield deteriorates, and the cost increases, the functional elements are embedded in the functional element-embedded substrate in accordance with the conventional general design concept. . On the other hand, according to the present invention, by making effective use of the insulating layer through-vias and element through-vias, the degree of freedom of the functional elements in the built-in direction is improved, and the layout of the built-in wiring layers is facilitated. The cost can be reduced.
 なお、上記実施形態5,6は一例であって、これらに限定されるものではない。本発明の電子デバイスは、所望の位置に、他の電子部品が搭載されていてもよい。電子部品としては、特に限定されないが、例えば、回路のノイズフィルターの役割を果たすLCR素子を設けることができる。また、受動部品として、MEMS部品、センサ、エネルギーデバイス、光部品などが搭載又は内蔵されていてもよい。このほか、本発明の趣旨を逸脱しない範囲において種々の変形が可能である。これらの部品の配線系統も第1絶縁層貫通ビア507、607のみならず、素子貫通ビア506、606の2系統で行うことができる。In addition, the said Embodiment 5, 6 is an example, Comprising: It is not limited to these. In the electronic device of the present invention, another electronic component may be mounted at a desired position. Although it does not specifically limit as an electronic component, For example, the LCR element which plays the role of the noise filter of a circuit can be provided. Moreover, a MEMS component, a sensor, an energy device, an optical component, etc. may be mounted or built in as a passive component. In addition, various modifications can be made without departing from the spirit of the present invention. The wiring system of these components can be performed not only by the first insulating layer throughvias 507 and 607 but also by two systems of the element throughvias 506 and 606.
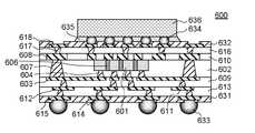
 〔実施形態7〕
 その他、本発明の変形例について、製造工程を参照しつつ説明する。図8(a)~(k)は本実施形態7に係る機能素子内蔵基板700の製造工程を説明するもので、実施形態4の変形例を示す。本実施形態7に係る機能素子内蔵基板700は、以下の点を除く基本的な構成は上記実施形態4と同様である。すなわち、第6配線層421が、上記実施形態4においては、第6絶縁層419の図中下側の表面上に形成されているのに対し、本実施形態7においては、第6配線層721は第6絶縁層719の図中上側の内面側に形成されている点において相違する。これは、製造方法の相違に基づくものである。
[Embodiment 7]
In addition, the modification of this invention is demonstrated, referring a manufacturing process. FIGS. 8A to 8K illustrate a manufacturing process of the functional element-embeddedsubstrate 700 according to the seventh embodiment, and show a modification of the fourth embodiment. The functional element-embeddedsubstrate 700 according to the seventh embodiment has the same basic configuration as that of the fourth embodiment except for the following points. That is, the sixth wiring layer 421 is formed on the lower surface of the sixth insulatinglayer 419 in the drawing in the fourth embodiment, whereas in the seventh embodiment, thesixth wiring layer 721 is formed. Is different in that the sixth insulatinglayer 719 is formed on the upper inner surface side in the drawing. This is based on the difference in manufacturing method.
 まず、支持体750の主面上に第6配線層721を形成する(図8(a)参照)。そして支持体750及び第6配線層721を第6絶縁層719により被覆し、上記と同様に接続ビア720、第4配線層718を形成し、第6絶縁膜719及び第4配線層を第4絶縁層716で被覆する。さらに、接続ビア717を形成する(図8(b)参照)。支持体750としては、上記実施形態2で例示したものを用いることができる。また、機能素子701を搭載する位置を明確にするために、支持体750上に位置マーク(不図示)を適宜設けてもよい。本実施形態7では、支持体750として銅合金を用いた。First, asixth wiring layer 721 is formed on the main surface of the support 750 (see FIG. 8A). Then, thesupport 750 and thesixth wiring layer 721 are covered with the sixth insulatinglayer 719, the connection via 720 and thefourth wiring layer 718 are formed in the same manner as described above, and the sixthinsulating film 719 and the fourth wiring layer are formed as the fourth. Cover with an insulatinglayer 716. Further, a connection via 717 is formed (see FIG. 8B). As thesupport body 750, what was illustrated in the said Embodiment 2 can be used. Further, in order to clarify the position where thefunctional element 701 is mounted, a position mark (not shown) may be provided as appropriate on thesupport 750. In the seventh embodiment, a copper alloy is used as thesupport 750.
 第4絶縁層上に第2配線層708を形成した後、第2配線層708を第3絶縁層710で被覆する(図8(c)参照)。After forming thesecond wiring layer 708 on the fourth insulating layer, thesecond wiring layer 708 is covered with the third insulating layer 710 (see FIG. 8C).
 次に、素子貫通ビア706が形成された機能素子701を用意する。そして、支持体750の所定の位置の上層に、第2配線層708と素子貫通ビア706が接続されるように機能素子701を搭載する(図8(d)参照)。その後、第3絶縁層710及び機能素子701を被覆するように第1絶縁層702を形成する。機能素子701の支持体750上への搭載は、フェースアップの状態で半導体搭載機を用いて行った。Next, afunctional element 701 having a through-element via 706 is prepared. Then, thefunctional element 701 is mounted on the upper layer of the predetermined position of thesupport 750 so that thesecond wiring layer 708 and the element through via 706 are connected (see FIG. 8D). After that, the first insulatinglayer 702 is formed so as to cover the third insulatinglayer 710 and thefunctional element 701. Thefunctional element 701 was mounted on thesupport 750 using a semiconductor mounting machine in a face-up state.
 素子貫通ビア706は、上記実施形態1で説明した材料を好適に適用することができる。本実施形態7では、素子貫通ビア706は、銅を用い、機能素子701にビアホールを形成した後、めっき法にて形成した。The material described in the first embodiment can be suitably applied to the element through via 706. In the seventh embodiment, the element through via 706 is formed by plating after forming a via hole in thefunctional element 701 using copper.
 第1絶縁層702は、機能素子701を埋設するように形成する。第1絶縁層702の材料としては、例えば、上記実施形態1で説明した絶縁層102の材料を好適に適用することができる。機能素子701の内蔵方法は、上記実施形態1で述べたとおりである。The first insulatinglayer 702 is formed so as to embed thefunctional element 701. As a material of the first insulatinglayer 702, for example, the material of the insulatinglayer 102 described in Embodiment 1 can be preferably applied. The method for incorporating thefunctional element 701 is as described in the first embodiment.
 続いて、第1絶縁層702の表面から、機能素子701のパッド(不図示)の表面まで貫通するビアホール741を設ける。同時に、第1絶縁層702の表面から、第2配線層708の表面まで貫通するビアホール742を形成する(図8(e)参照)。本実施形態7では、レーザ加工法を用いてビアホール741,742を形成した。Subsequently, a viahole 741 penetrating from the surface of the first insulatinglayer 702 to the surface of the pad (not shown) of thefunctional element 701 is provided. At the same time, a viahole 742 penetrating from the surface of the first insulatinglayer 702 to the surface of thesecond wiring layer 708 is formed (see FIG. 8E). In the seventh embodiment, the viaholes 741 and 742 are formed using a laser processing method.
 次に、ビアホール741及び742の内部に導体を形成し、第1絶縁層702上に第1配線層703を形成する(図8(f)参照)。ビアホール741に導体を充填することにより素子接続ビア704が、ビアホール742に導体を充填することにより第1絶縁層貫通ビア707が形成される。これらの導体の材料、及び形成方法の好適な例は、上記実施形態1で述べたとおりである。また、第1配線層703の材料、及び形成方法も上記各配線層で述べた材料や方法を好適に適用することができる。本実施形態7においては、銅を用い、セミアディティブ法により第1配線層703を形成した。Next, a conductor is formed inside the via holes 741 and 742, and afirst wiring layer 703 is formed on the first insulating layer 702 (see FIG. 8F). By filling the viahole 741 with a conductor, the element connection via 704 is formed, and by filling the viahole 742 with a conductor, the first insulating layer through via 707 is formed. Suitable examples of these conductor materials and formation methods are as described in the first embodiment. In addition, the materials and methods described in the above wiring layers can be suitably applied to the material and forming method of thefirst wiring layer 703. In the seventh embodiment, copper is used and thefirst wiring layer 703 is formed by a semi-additive method.
 さらに、第1絶縁層702及び第1配線層703を第2絶縁層709で被覆し、接続ビア711、第3配線層712を同様に形成する(図8(g)参照)。さらに、第2絶縁層709及び第3配線層712を第3絶縁層713で被覆し、接続ビア714、第5配線層715を同様に形成する(図8(h)参照)。Further, the first insulatinglayer 702 and thefirst wiring layer 703 are covered with the second insulatinglayer 709, and the connection via 711 and thethird wiring layer 712 are similarly formed (see FIG. 8G). Further, the second insulatinglayer 709 and thethird wiring layer 712 are covered with the third insulatinglayer 713, and the connection via 714 and thefifth wiring layer 715 are similarly formed (see FIG. 8H).
 その後、支持体750を除去する(図8(i)参照)。支持体750の除去は、アルカリ性のウェットエッチング液を用いて、銅合金である支持体750を除去した。Thereafter, thesupport 750 is removed (see FIG. 8 (i)). Thesupport 750 was removed by removing thesupport 750, which is a copper alloy, using an alkaline wet etching solution.
 次いで、第6配線層721上に開口部を有するソルダーレジスト層731を形成する(図8(j)参照)。その後、ソルダーレジスト層731側において、第6配線層721と接続するBGAなどの外部端子733を形成する。上記工程等を経て、図8(k)に示す機能素子内蔵基板700が製造される。Next, a solder resistlayer 731 having an opening is formed on the sixth wiring layer 721 (see FIG. 8J). Thereafter, anexternal terminal 733 such as a BGA connected to thesixth wiring layer 721 is formed on the solder resistlayer 731 side. Through the above steps, the functional element-embeddedsubstrate 700 shown in FIG.
 本実施形態7に係る機能素子内蔵基板の製造方法によれば、支持体750上に全ての配線層を作り込むことができるため、製造工程中の反りが小さく、製造歩留まりを向上させることができる。また、本実施形態7に係る機能素子内蔵基板は、上記実施形態4と同様の効果が得られる。According to the method for manufacturing a functional element-embedded substrate according to the seventh embodiment, since all the wiring layers can be formed on thesupport 750, the warpage during the manufacturing process is small, and the manufacturing yield can be improved. . The functional element-embedded substrate according to the seventh embodiment can obtain the same effects as those of the fourth embodiment.
 〔実施形態8〕
 以上の実施形態において、機能素子を埋める絶縁層(第1絶縁層)は、1種の絶縁層で形成しているが、本発明はこれに限定されず、2種以上の絶縁層で構成されていてもよい。本実施形態8として、図9の工程断面図を参照しつつ説明する。図9に示す機能素子内蔵基板800の構成は、上記実施形態1の変形例として説明するが、その他の実施形態に適用できることはいうまでもない。
[Embodiment 8]
In the above embodiments, the insulating layer (first insulating layer) that fills the functional element is formed of one type of insulating layer, but the present invention is not limited to this, and is configured of two or more types of insulating layers. It may be. The eighth embodiment will be described with reference to the process cross-sectional view of FIG. The configuration of the functional element-embeddedsubstrate 800 shown in FIG. 9 will be described as a modified example of the first embodiment, but it goes without saying that it can be applied to other embodiments.
 まず、支持体850上に第2配線層808を形成する(図9(a)参照)。次に、絶縁層802を支持体850及び第2配線層808上に積層する。絶縁層802としては、実施形態1の絶縁層102として例示したものが使用できるが、本実施形態8では、機械的強度をより高めた材料を使用することができる。本実施形態8では、無機フィラーを含有するエポキシ樹脂を用いた。このような機械的強度を高めた絶縁層は、径の大きなビアは形成することができるが、微細なビアを形成するのに困難を要する場合がある。特に機能素子と配線層とを接続する素子接続ビアなどの微細なビアを精度よく形成することが困難になる。そこで、本実施形態8では、第1配線層と第2配線層とを接続する絶縁層貫通ビアを形成する絶縁層と、第1配線層と機能素子とを接続する素子接続ビアを形成する絶縁層とを異なる絶縁層で構成する。First, thesecond wiring layer 808 is formed on the support 850 (see FIG. 9A). Next, the insulatinglayer 802 is stacked on thesupport 850 and thesecond wiring layer 808. As the insulatinglayer 802, the material exemplified as the insulatinglayer 102 of the first embodiment can be used, but in the eighth embodiment, a material having higher mechanical strength can be used. In the eighth embodiment, an epoxy resin containing an inorganic filler is used. Such an insulating layer with increased mechanical strength can form a via having a large diameter, but it may be difficult to form a fine via. In particular, it is difficult to accurately form fine vias such as element connection vias that connect the functional elements and the wiring layers. Thus, in the eighth embodiment, an insulating layer that forms an insulating layer through via that connects the first wiring layer and the second wiring layer, and an insulation that forms an element connection via that connects the first wiring layer and the functional element. The layers are composed of different insulating layers.
 図9(b)に示すように、絶縁層802の機能素子を搭載する位置に開口部802Aを形成する。続いて、開口部802A内に、素子貫通ビア806を有する機能素子801を設置する。この実施形態8では実施形態1と同様にDAFなどの接着層805を設けており、素子貫通ビア806は接着層805も貫通している。As shown in FIG. 9B, anopening 802A is formed at a position where the functional element of the insulatinglayer 802 is mounted. Subsequently, afunctional element 801 having an element through via 806 is installed in theopening 802A. In the eighth embodiment, anadhesive layer 805 such as DAF is provided as in the first embodiment, and the element through via 806 also penetrates theadhesive layer 805.
 次に、開口部802A内に絶縁材料861を充填する。絶縁材料861としては、無機フィラーを含有していないエポキシ樹脂など微細加工が容易な材料を充填する。あるいは、感光性の有機材料を充填しても良い。その後は、絶縁層802に絶縁層貫通ビア用のビアホール842を形成し、絶縁材料861に素子接続ビア用のビアホール841をそれぞれ形成する(図9(d)参照)。Next, an insulatingmaterial 861 is filled in theopening 802A. The insulatingmaterial 861 is filled with a material that can be easily processed, such as an epoxy resin that does not contain an inorganic filler. Alternatively, a photosensitive organic material may be filled. After that, viaholes 842 for through-layer vias are formed in the insulatinglayer 802, and viaholes 841 for element connection vias are formed in the insulating material 861 (see FIG. 9D).
 その後は、素子接続ビア804、絶縁層貫通ビア807、第1配線層803を上記実施形態1と同様に形成し(図9(e)参照)、最後に支持体850を除去することで、本実施形態に係る機能素子内蔵基板800が形成される(図9(f)参照)。Thereafter, the element connection via 804, the insulating layer through via 807, and thefirst wiring layer 803 are formed in the same manner as in the first embodiment (see FIG. 9E), and finally thesupport 850 is removed, A functional element-embeddedsubstrate 800 according to the embodiment is formed (see FIG. 9F).
 絶縁層802としては、ガラスクロスなどに樹脂を含浸した半硬化材料(ガラスプリプレグ)に予め素子搭載部を型抜きしておいて、貼り合わせた後硬化させてもよい。As the insulatinglayer 802, the element mounting portion may be previously punched out of a semi-cured material (glass prepreg) in which a glass cloth or the like is impregnated with a resin, and bonded and then cured.
 このように、本実施形態8では機械的強度の高い絶縁層を採用することができ、機能素子内蔵基板及びこれを用いた電子デバイスの全体的な機械的強度を高めることができる。また、機能素子に素子貫通ビアを形成しているため、このような機械的強度の高い絶縁層には径の大きなビアを形成しても、十分な配線経路を確保することができる。また、素子内蔵部に開口部を有するガラスプリプレグ等をコア層とし、素子周辺及び配線層の形成面に加工性の良好な材料を充填してスキン層を形成する場合にも同様の効果を奏する。Thus, in the eighth embodiment, an insulating layer having high mechanical strength can be adopted, and the overall mechanical strength of the functional element built-in substrate and the electronic device using the same can be increased. In addition, since the element through via is formed in the functional element, a sufficient wiring path can be secured even if a via having a large diameter is formed in the insulating layer having high mechanical strength. The same effect can be obtained when a skin layer is formed by using a glass prepreg having an opening in the element built-in portion as a core layer and filling a material having good processability around the element and the formation surface of the wiring layer. .
 〔実施形態9〕
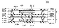
 本実施形態9に係る機能素子内蔵基板900は、実施形態1で説明した複数の機能素子をX方向に積層する場合を説明するものである。本実施形態では2つの機能素子901aと901bとの回路形成面を対向させて積層する場合について説明するが、これに限定されず、回路形成面が同方向を向いている場合や他方向を向いている場合であっても適用することができる。
[Embodiment 9]
The functional element-embeddedsubstrate 900 according to the ninth embodiment describes a case where the plurality of functional elements described in the first embodiment are stacked in the X direction. In the present embodiment, the case where the circuit forming surfaces of the twofunctional elements 901a and 901b are stacked to face each other will be described. However, the present invention is not limited to this, and the circuit forming surface faces the same direction or faces the other direction. Even if it is, it can be applied.
 図9に示すように、機能素子901aと901bは、それぞれ第1絶縁層902a、902bに埋設されており、機能素子の側方には第1絶縁層貫通ビア907a、907bがそれぞれ設けられている。機能素子901aの回路形成面側には素子接続ビア904aと第1配線層903aが形成され、裏面側に第2配線層908aが形成されている。他方、機能素子901bの回路形成面側には素子接続ビア904bと第1配線層903bが形成され、裏面側に第2配線層908bが形成されている。そして、機能素子901aには素子貫通ビア906が形成され、機能素子901bには素子貫通ビアは形成されていない。As shown in FIG. 9, thefunctional elements 901a and 901b are embedded in the first insulatinglayers 902a and 902b, respectively, and the first insulating layer throughvias 907a and 907b are respectively provided on the side of the functional elements. . An element connection via 904a and afirst wiring layer 903a are formed on the circuit forming surface side of thefunctional element 901a, and asecond wiring layer 908a is formed on the back surface side. On the other hand, an element connection via 904b and afirst wiring layer 903b are formed on the circuit forming surface side of thefunctional element 901b, and asecond wiring layer 908b is formed on the back surface side. Thefunctional element 901a has a through-element via 906, and thefunctional element 901b has no through-element via.
 このような機能素子内蔵基板900の製造は、図中a及びbで示す積層構造を、上記説明した実施形態2の製造工程に準じてそれぞれ形成した後、機能素子901aと機能素子901bの回路形成面が対向するように貼り合わせることで容易に実施できる。つまり、積層構造aは図3(a)~(e)に示す工程及びさらに第2絶縁層909a、接続ビア911aを形成して製造することができ、積層構造bは図3(a)~(e)に示す工程を経て製造し、最後に接着層として第2絶縁層909bを用いて積層構造aとbを貼り合わせる。Such a functional element-embeddedsubstrate 900 is manufactured by forming the laminated structure indicated by a and b in the drawing in accordance with the manufacturing process of the second embodiment described above, and then forming the circuit of thefunctional element 901a and thefunctional element 901b. It can be easily carried out by pasting together so that the surfaces face each other. That is, the laminated structure a can be manufactured by forming the steps shown in FIGS. 3A to 3E and further forming the second insulatinglayer 909a and the connection via 911a, and the laminated structure b can be produced by the steps shown in FIGS. e) through the process shown in e), and finally the laminated structures a and b are bonded together using the second insulatinglayer 909b as an adhesive layer.
 本実施形態9に係る機能素子内蔵基板900においても、実施形態5で説明したようにA~C群の配線系統が存在し、機能素子901aの側方に設けた第1絶縁層貫通ビア907aを介して行われることになる。また、A~C群の一部の配線系統は、機能素子901aに設けた素子貫通ビア906を介しても行われる。そのため、機能素子901a又は901bが多機能化して外部端子数が増加(多ピン化)してB群の配線数も増加する場合、B群の配線系統を下側に導くための経路を第1絶縁層貫通ビア907aと素子貫通ビア906の2系統で行うことができ、第1絶縁層貫通ビア907aを高密度化する必要がない。この結果、実装面積を増大させることなく、配線系統の確保が可能となる。さらに、機能素子内蔵基板900上に上パッケージを実装する場合には、機能素子901bにも素子貫通ビアを設けることで、第1絶縁層貫通ビア907bを高密度化する必要がなくなる。Also in the functional element-embeddedsubstrate 900 according to the ninth embodiment, as described in the fifth embodiment, the group A to C wiring systems exist, and the first insulating layer through via 907a provided on the side of thefunctional element 901a is provided. Will be done through. Further, a part of the wiring system of the groups A to C is also performed through the element through via 906 provided in thefunctional element 901a. Therefore, when thefunctional element 901a or 901b becomes multifunctional and the number of external terminals increases (multiple pins) and the number of wires in the B group also increases, the first route for guiding the B group wiring system to the lower side This can be performed by two systems of the insulating layer through via 907a and the element through via 906, and it is not necessary to increase the density of the first insulating layer through via 907a. As a result, the wiring system can be secured without increasing the mounting area. Further, when the upper package is mounted on the functional element built-insubstrate 900, it is not necessary to increase the density of the first insulating layer through via 907b by providing thefunctional element 901b with an element through via.
 本実施形態9では、絶縁層貫通ビアを第1絶縁層902aと902bにそれぞれ設けているが、上述したように、第2配線層908bと908aを直接接続するビアを形成してもよい。さらに、本実施形態における「第1」、「第2」、「第3」との表示は製造方法を説明するための便宜上のものであって、上記の実施形態とは異なる場合も含まれることはいうまでもない。In the ninth embodiment, the insulating layer through vias are provided in the first insulatinglayers 902a and 902b, respectively. However, as described above, vias that directly connect the second wiring layers 908b and 908a may be formed. Further, the indications “first”, “second”, and “third” in the present embodiment are for convenience of explanation of the manufacturing method, and include cases that are different from the above-described embodiments. Needless to say.
 この出願は、2009年3月4日に出願された日本出願特願2009-050488を基礎とする優先権を主張し、その開示の全てをここに取り込む。This application claims priority based on Japanese Patent Application No. 2009-050488 filed on Mar. 4, 2009, the entire disclosure of which is incorporated herein.
100,200,300,400,700,800,900:機能素子内蔵基板
500,600:電子デバイス
101,201,301,401,501,601,701,801,901a,901b:機能素子
102,302,802:絶縁層
202,402,502,602,702,902a,902b:第1絶縁層
103,203,303,403,503,603,703,803,903a,903b:第1配線層
104,204,304,404,504,604,704,804,904a,904b:素子接続ビア
105,805,905:接着層
106,206,306,406,506,606,706,806,906:素子貫通ビア
107,307,807:絶縁層貫通ビア
207,407,507,607,707,907a,907b:第1絶縁層貫通ビア
108,208,308,408,508,608,708,808,908a,908b:第2配線層
209,409,509,609,709,909a,909b:第2絶縁層
210,410,510,610,710,910a,910b:第3絶縁層
211,411,511,611,711:第1-第3配線接続ビア
911b:接続ビア
212,412,512,612,712:第3配線層
213,413,613,713:第4絶縁層
214,414,614,714:第3-第5配線接続ビア
215,415,615,715:第5配線層
216,416,516,616,716:第5絶縁層
217,417,517,617,717;第2-第4配線接続ビア
218,418,518,618,718:第4配線層
219,419,519,719:第6絶縁層
220,420,520,720:第4-第6配線接続ビア
221,421,521,721:第6配線層
331,332,431,531,532,631,632,731:ソルダーレジスト層
333,433,533,534,633,634,733:外部端子(BGA)
535,635:接着剤層
536,636:上パッケージ
241,242,741,742,841,842:ビアホール
250,750,850:支持体
861:絶縁材料
100, 200, 300, 400, 700, 800, 900: functional element built-in substrate 500, 600: electronic devices 101, 201, 301, 401, 501, 601, 701, 801, 901a, 901b: functional elements 102, 302, 802: Insulating layers 202, 402, 502, 602, 702, 902a, 902b: First insulating layers 103, 203, 303, 403, 503, 603, 703, 803, 903a, 903b: First wiring layers 104, 204, 304, 404, 504, 604, 704, 804, 904a, 904b: device connection via 105, 805, 905: adhesive layer 106, 206, 306, 406, 506, 606, 706, 806, 906: device through via 107, 307, 807: Insulating layer through vias 207, 407, 507, 607, 7 07, 907a, 907b: first through-layer vias 108, 208, 308, 408, 508, 608, 708, 808, 908a, 908b: second wiring layers 209, 409, 509, 609, 709, 909a, 909b: Second insulating layers 210, 410, 510, 610, 710, 910a, 910b: third insulating layers 211, 411, 511, 611, 711: first to third wiring connection vias 911b: connection vias 212, 412, 512, 612, 712: third wiring layers 213, 413, 613, 713: fourth insulating layers 214, 414, 614, 714: third to fifth wiring connection vias 215, 415, 615, 715: fifth wiring layer 216, 416, 516, 616, 716: fifth insulating layers 217, 417, 517, 617, 717; second to fourth wiring connection vias 218, 18, 518, 618, 718: fourth wiring layers 219, 419, 519, 719: sixth insulating layers 220, 420, 520, 720: fourth to sixth wiring connection vias 221, 421, 521, 721: sixth Wiring layers 331, 332, 431, 531, 532, 631, 632, 731: solder resist layers 333, 433, 533, 534, 633, 634, 733: external terminals (BGA)
535, 635:adhesive layer 536, 636:upper package 241, 242, 741, 742, 841, 842: viahole 250, 750, 850: support 861: insulating material

Claims (14)

  1.  機能素子と、
     該機能素子を埋設する絶縁層と、
     該絶縁層の2つの主面に配設される配線層と、
     前記絶縁層中であって、前記機能素子の側方に、前記2つの主面に配設される配線層間を接続する絶縁層貫通ビアと
    を有し、
     前記機能素子は、該機能素子の基板を貫通する基板貫通ビアを有し、前記2つの主面に配設される配線層間の電気的接続の少なくとも一部が、該基板貫通ビアを介することを特徴とする機能素子内蔵基板。
    A functional element;
    An insulating layer in which the functional element is embedded;
    A wiring layer disposed on two main surfaces of the insulating layer;
    In the insulating layer, on the side of the functional element, and having an insulating layer through via for connecting between the wiring layers disposed on the two main surfaces,
    The functional element has a through-substrate via that penetrates the substrate of the functional element, and at least part of the electrical connection between the wiring layers disposed on the two main surfaces is via the through-substrate via. A functional element built-in substrate.
  2.  前記機能素子の回路が、機能素子の回路面上に設けられた絶縁層を貫通する接続ビアを介して、前記機能素子の回路面上の配線層と電気的に接続されており、前記機能素子の側方に設けられる絶縁層貫通ビアを形成する絶縁層と、前記機能素子の回路面上に設けられた絶縁層とが異なる材料で構成される請求項1乃至8のいずれかに記載の機能素子内蔵基板。The circuit of the functional element is electrically connected to a wiring layer on the circuit surface of the functional element through a connection via penetrating an insulating layer provided on the circuit surface of the functional element, and the functional element The function according to claim 1, wherein an insulating layer forming an insulating layer through via provided on a side of the insulating layer and an insulating layer provided on a circuit surface of the functional element are made of different materials. Device built-in substrate.
  3.  少なくとも2つの機能素子が前記機能素子内蔵基板の厚み方向に積層され、隣接する2つの機能素子の回路が両機能素子間の配線層を介して電気的に接続されており、上層の機能素子と下層の機能素子の下に配設される配線層との電気的接続が、前記下層の機能素子の側方に形成された絶縁層貫通ビアと前記下層の機能素子の基板を貫通する基板貫通ビアとの両方を介して行われる請求項10に記載の機能素子内蔵基板。At least two functional elements are laminated in the thickness direction of the functional element-embedded substrate, and circuits of two adjacent functional elements are electrically connected via a wiring layer between the two functional elements. An insulating layer through-via formed on a side of the lower-layer functional element and a through-substrate via penetrating the substrate of the lower-layer functional element are electrically connected to a wiring layer disposed under the lower-layer functional element. And the functional element-embedded substrate according to claim 10, wherein the functional element-embedded substrate is performed via both.
  4.  請求項1乃至13のいずれかに記載の機能素子内蔵基板と、該機能素子内蔵基板の上面に搭載される上パッケージを有する電子デバイスであって、前記上パッケージと、該上パッケージに対して前記機能素子内蔵基板に内蔵される機能素子の下部にあたる配線層とが電気的に接続されており、その一部が、前記機能素子基板を貫通する基板貫通ビアを介して行われることを特徴とする電子デバイス。14. An electronic device comprising: the functional element built-in substrate according to claim 1; and an upper package mounted on an upper surface of the functional element built-in substrate, wherein the upper package and the upper package A wiring layer corresponding to a lower part of the functional element built in the functional element built-in substrate is electrically connected, and a part thereof is performed through a through-substrate via penetrating the functional element substrate. Electronic devices.
PCT/JP2010/0533822009-03-042010-03-03Substrate with built-in functional element, and electronic device using the substrateWO2010101163A1 (en)

Priority Applications (1)

Application NumberPriority DateFiling DateTitle
JP2011502769AJPWO2010101163A1 (en)2009-03-042010-03-03 Functional element built-in substrate and electronic device using the same

Applications Claiming Priority (2)

Application NumberPriority DateFiling DateTitle
JP20090504882009-03-04
JP2009-0504882009-03-04

Publications (1)

Publication NumberPublication Date
WO2010101163A1true WO2010101163A1 (en)2010-09-10

Family

ID=42709718

Family Applications (1)

Application NumberTitlePriority DateFiling Date
PCT/JP2010/053382WO2010101163A1 (en)2009-03-042010-03-03Substrate with built-in functional element, and electronic device using the substrate

Country Status (2)

CountryLink
JP (2)JPWO2010101163A1 (en)
WO (1)WO2010101163A1 (en)

Cited By (69)

* Cited by examiner, † Cited by third party
Publication numberPriority datePublication dateAssigneeTitle
JP2011155247A (en)*2009-12-282011-08-11Panasonic CorpSemiconductor module
JP2011258847A (en)*2010-06-112011-12-22Fujitsu LtdMethod of manufacturing component built-in substrate and component built-in substrate
JP2012080030A (en)*2010-10-062012-04-19Nec CorpSubstrate with built-in electronic component, and manufacturing method thereof
JP2012109350A (en)*2010-11-162012-06-07Shinko Electric Ind Co LtdElectronic component package and method for manufacturing the same
JP2012238805A (en)*2011-05-132012-12-06Ibiden Co LtdPrinted wiring board and method of manufacturing the same
JP2012238804A (en)*2011-05-132012-12-06Ibiden Co LtdPrinted wiring board
JP2013030593A (en)*2011-07-282013-02-07J Devices:KkSemiconductor devices, semiconductor module structure formed by vertically laminated semiconductor devices, and manufacturing method of semiconductor module structure
WO2013054790A1 (en)*2011-10-112013-04-18日立化成株式会社Structure containing conductor circuit, method for manufacturing same, and heat-curable resin composition
JP2013197382A (en)*2012-03-212013-09-30Shinko Electric Ind Co LtdSemiconductor package, semiconductor device, and method for manufacturing semiconductor package
JP2013546196A (en)*2010-12-132013-12-26テッセラ,インコーポレイテッド Pin attachment
JP2014500632A (en)*2010-12-222014-01-09インテル コーポレイション Multi-chip package having a substrate having a plurality of dies embedded vertically, and method for manufacturing the same
JP2014103396A (en)*2012-11-212014-06-05Intel CorpLogic die and other components embedded in build-up layers
US8907466B2 (en)2010-07-192014-12-09Tessera, Inc.Stackable molded microelectronic packages
US8927337B2 (en)2004-11-032015-01-06Tessera, Inc.Stacked packaging improvements
US8957527B2 (en)2010-11-152015-02-17Tessera, Inc.Microelectronic package with terminals on dielectric mass
US8975738B2 (en)2012-11-122015-03-10Invensas CorporationStructure for microelectronic packaging with terminals on dielectric mass
JP2015065400A (en)*2013-09-252015-04-09サムソン エレクトロ−メカニックス カンパニーリミテッド.Element embedded printed circuit board and method of manufacturing the same
US9041227B2 (en)2011-10-172015-05-26Invensas CorporationPackage-on-package assembly with wire bond vias
US9095074B2 (en)2012-12-202015-07-28Invensas CorporationStructure for microelectronic packaging with bond elements to encapsulation surface
US9093435B2 (en)2011-05-032015-07-28Tessera, Inc.Package-on-package assembly with wire bonds to encapsulation surface
US9159708B2 (en)2010-07-192015-10-13Tessera, Inc.Stackable molded microelectronic packages with area array unit connectors
JP2015531172A (en)*2012-09-292015-10-29インテル コーポレイション Embedded structure for package-on-package architecture
JP2015226013A (en)*2014-05-292015-12-14イビデン株式会社Printed wiring board and method of manufacturing the same
US9218988B2 (en)2005-12-232015-12-22Tessera, Inc.Microelectronic packages and methods therefor
US9224717B2 (en)2011-05-032015-12-29Tessera, Inc.Package-on-package assembly with wire bonds to encapsulation surface
JP2016046523A (en)*2014-08-212016-04-04ゼネラル・エレクトリック・カンパニイElectrical interconnect structure for embedded semiconductor device package and method of manufacture thereof
US9349706B2 (en)2012-02-242016-05-24Invensas CorporationMethod for package-on-package assembly with wire bonds to encapsulation surface
JP2016096196A (en)*2014-11-122016-05-26イビデン株式会社 Printed wiring board with built-in electronic components
US9391008B2 (en)2012-07-312016-07-12Invensas CorporationReconstituted wafer-level package DRAM
JP2016134615A (en)*2015-01-162016-07-25恆勁科技股分有限公司Phoenix Pioneer Technology Co.,Ltd.Electronic package structure
JP2016139753A (en)*2015-01-292016-08-04日立化成株式会社Method for manufacturing semiconductor device
US9412714B2 (en)2014-05-302016-08-09Invensas CorporationWire bond support structure and microelectronic package including wire bonds therefrom
JP2016528735A (en)*2013-09-272016-09-15インテル・コーポレーション Die package with superposer substrate for passive elements
US9502390B2 (en)2012-08-032016-11-22Invensas CorporationBVA interposer
US9516740B2 (en)2013-08-292016-12-06Samsung Electro-Mechanics Co., Ltd.Electronic component embedded substrate and method for manufacturing electronic component embedded substrate
JP2016213372A (en)*2015-05-122016-12-15日立化成株式会社Semiconductor device and method of manufacturing the same
US9583411B2 (en)2014-01-172017-02-28Invensas CorporationFine pitch BVA using reconstituted wafer with area array accessible for testing
US9601454B2 (en)2013-02-012017-03-21Invensas CorporationMethod of forming a component having wire bonds and a stiffening layer
US9646917B2 (en)2014-05-292017-05-09Invensas CorporationLow CTE component with wire bond interconnects
US9659848B1 (en)2015-11-182017-05-23Invensas CorporationStiffened wires for offset BVA
US9685365B2 (en)2013-08-082017-06-20Invensas CorporationMethod of forming a wire bond having a free end
US9691679B2 (en)2012-02-242017-06-27Invensas CorporationMethod for package-on-package assembly with wire bonds to encapsulation surface
US9728527B2 (en)2013-11-222017-08-08Invensas CorporationMultiple bond via arrays of different wire heights on a same substrate
US9735084B2 (en)2014-12-112017-08-15Invensas CorporationBond via array for thermal conductivity
US9761554B2 (en)2015-05-072017-09-12Invensas CorporationBall bonding metal wire bond wires to metal pads
US9812402B2 (en)2015-10-122017-11-07Invensas CorporationWire bond wires for interference shielding
US9842745B2 (en)2012-02-172017-12-12Invensas CorporationHeat spreading substrate with embedded interconnects
US9852969B2 (en)2013-11-222017-12-26Invensas CorporationDie stacks with one or more bond via arrays of wire bond wires and with one or more arrays of bump interconnects
US9888579B2 (en)2015-03-052018-02-06Invensas CorporationPressing of wire bond wire tips to provide bent-over tips
US9911718B2 (en)2015-11-172018-03-06Invensas Corporation‘RDL-First’ packaged microelectronic device for a package-on-package device
US9935075B2 (en)2016-07-292018-04-03Invensas CorporationWire bonding method and apparatus for electromagnetic interference shielding
US9953914B2 (en)2012-05-222018-04-24Invensas CorporationSubstrate-less stackable package with wire-bond interconnect
US9984992B2 (en)2015-12-302018-05-29Invensas CorporationEmbedded wire bond wires for vertical integration with separate surface mount and wire bond mounting surfaces
US10008477B2 (en)2013-09-162018-06-26Invensas CorporationMicroelectronic element with bond elements to encapsulation surface
US10008469B2 (en)2015-04-302018-06-26Invensas CorporationWafer-level packaging using wire bond wires in place of a redistribution layer
US10026717B2 (en)2013-11-222018-07-17Invensas CorporationMultiple bond via arrays of different wire heights on a same substrate
JP2018523919A (en)*2015-07-292018-08-23クアルコム,インコーポレイテッド Package on package (POP) structure with multiple dies
US10181457B2 (en)2015-10-262019-01-15Invensas CorporationMicroelectronic package for wafer-level chip scale packaging with fan-out
CN109300882A (en)*2018-09-202019-02-01蔡亲佳 Stacked embedded package structure and fabrication method thereof
WO2019049899A1 (en)*2017-09-112019-03-14株式会社ライジングテクノロジーズElectronic circuit device and method for producing electronic circuit device
US10299368B2 (en)2016-12-212019-05-21Invensas CorporationSurface integrated waveguides and circuit structures therefor
US10332854B2 (en)2015-10-232019-06-25Invensas CorporationAnchoring structure of fine pitch bva
US10381326B2 (en)2014-05-282019-08-13Invensas CorporationStructure and method for integrated circuits packaging with increased density
US10460958B2 (en)2013-08-072019-10-29Invensas CorporationMethod of manufacturing embedded packaging with preformed vias
US10490528B2 (en)2015-10-122019-11-26Invensas CorporationEmbedded wire bond wires
JP2020065088A (en)*2020-01-292020-04-23株式会社アムコー・テクノロジー・ジャパンSemiconductor device and method for manufacturing the same
WO2020208984A1 (en)2019-04-122020-10-15株式会社ライジングテクノロジーズElectronic circuit device and method for manufacturing electronic circuit device
US11557542B2 (en)2019-05-162023-01-17Rising Technologies Co., Ltd.Electronic circuit device and method of manufacturing electronic circuit device
US12074130B2 (en)2019-06-102024-08-27Rising Technologies Co., Ltd.Electronic circuit device

Families Citing this family (6)

* Cited by examiner, † Cited by third party
Publication numberPriority datePublication dateAssigneeTitle
KR20140081193A (en)*2012-12-212014-07-01삼성전기주식회사Hybrid substrate with high density and low density substrate area and manufacturing method thereof
US20160118346A1 (en)*2013-05-202016-04-28Meiko Electronics Co., Ltd.Device embedded substrate and manufacturing method thereof
JP2018206797A (en)2017-05-302018-12-27アオイ電子株式会社Semiconductor device and semiconductor device manufacturing method
JP6515243B2 (en)*2018-11-142019-05-15アオイ電子株式会社 Semiconductor device manufacturing method
JP7486934B2 (en)*2018-12-252024-05-20Tdk株式会社 Circuit Board
US11277917B2 (en)*2019-03-122022-03-15Advanced Semiconductor Engineering, Inc.Embedded component package structure, embedded type panel substrate and manufacturing method thereof

Citations (4)

* Cited by examiner, † Cited by third party
Publication numberPriority datePublication dateAssigneeTitle
JP2004247475A (en)*2003-02-132004-09-02Shinko Electric Ind Co LtdElectronic component mounting structure and its manufacturing method
JP2006147869A (en)*2004-11-192006-06-08Oki Electric Ind Co Ltd Device-embedded substrate and manufacturing method thereof
JP2007027472A (en)*2005-07-192007-02-01Namics Corp Component built-in device and manufacturing method
WO2008120755A1 (en)*2007-03-302008-10-09Nec CorporationCircuit board incorporating functional element, method for manufacturing the circuit board, and electronic device

Family Cites Families (4)

* Cited by examiner, † Cited by third party
Publication numberPriority datePublication dateAssigneeTitle
JP2007180529A (en)*2005-12-022007-07-12Nec Electronics CorpSemiconductor device and method of manufacturing the same
US8907459B2 (en)*2007-01-152014-12-09Zycube Co., Ltd.Three-dimensional semiconductor integrated circuit device and method of fabricating the same
JP2008258522A (en)*2007-04-092008-10-23Renesas Technology CorpMethod of manufacturing semiconductor device
JP5018270B2 (en)*2007-06-222012-09-05パナソニック株式会社 Semiconductor laminate and semiconductor device using the same

Patent Citations (4)

* Cited by examiner, † Cited by third party
Publication numberPriority datePublication dateAssigneeTitle
JP2004247475A (en)*2003-02-132004-09-02Shinko Electric Ind Co LtdElectronic component mounting structure and its manufacturing method
JP2006147869A (en)*2004-11-192006-06-08Oki Electric Ind Co Ltd Device-embedded substrate and manufacturing method thereof
JP2007027472A (en)*2005-07-192007-02-01Namics Corp Component built-in device and manufacturing method
WO2008120755A1 (en)*2007-03-302008-10-09Nec CorporationCircuit board incorporating functional element, method for manufacturing the circuit board, and electronic device

Cited By (123)

* Cited by examiner, † Cited by third party
Publication numberPriority datePublication dateAssigneeTitle
US9570416B2 (en)2004-11-032017-02-14Tessera, Inc.Stacked packaging improvements
US9153562B2 (en)2004-11-032015-10-06Tessera, Inc.Stacked packaging improvements
US8927337B2 (en)2004-11-032015-01-06Tessera, Inc.Stacked packaging improvements
US9984901B2 (en)2005-12-232018-05-29Tessera, Inc.Method for making a microelectronic assembly having conductive elements
US9218988B2 (en)2005-12-232015-12-22Tessera, Inc.Microelectronic packages and methods therefor
JP2011155247A (en)*2009-12-282011-08-11Panasonic CorpSemiconductor module
JP2011258847A (en)*2010-06-112011-12-22Fujitsu LtdMethod of manufacturing component built-in substrate and component built-in substrate
US9570382B2 (en)2010-07-192017-02-14Tessera, Inc.Stackable molded microelectronic packages
US10128216B2 (en)2010-07-192018-11-13Tessera, Inc.Stackable molded microelectronic packages
US9159708B2 (en)2010-07-192015-10-13Tessera, Inc.Stackable molded microelectronic packages with area array unit connectors
US9123664B2 (en)2010-07-192015-09-01Tessera, Inc.Stackable molded microelectronic packages
US9553076B2 (en)2010-07-192017-01-24Tessera, Inc.Stackable molded microelectronic packages with area array unit connectors
US8907466B2 (en)2010-07-192014-12-09Tessera, Inc.Stackable molded microelectronic packages
JP2012080030A (en)*2010-10-062012-04-19Nec CorpSubstrate with built-in electronic component, and manufacturing method thereof
US8957527B2 (en)2010-11-152015-02-17Tessera, Inc.Microelectronic package with terminals on dielectric mass
JP2012109350A (en)*2010-11-162012-06-07Shinko Electric Ind Co LtdElectronic component package and method for manufacturing the same
US9324681B2 (en)2010-12-132016-04-26Tessera, Inc.Pin attachment
JP2013546196A (en)*2010-12-132013-12-26テッセラ,インコーポレイテッド Pin attachment
JP2014500632A (en)*2010-12-222014-01-09インテル コーポレイション Multi-chip package having a substrate having a plurality of dies embedded vertically, and method for manufacturing the same
US9559088B2 (en)2010-12-222017-01-31Intel CorporationMulti-chip package having a substrate with a plurality of vertically embedded die and a process of forming the same
US9224717B2 (en)2011-05-032015-12-29Tessera, Inc.Package-on-package assembly with wire bonds to encapsulation surface
US11424211B2 (en)2011-05-032022-08-23Tessera LlcPackage-on-package assembly with wire bonds to encapsulation surface
US9691731B2 (en)2011-05-032017-06-27Tessera, Inc.Package-on-package assembly with wire bonds to encapsulation surface
US10062661B2 (en)2011-05-032018-08-28Tessera, Inc.Package-on-package assembly with wire bonds to encapsulation surface
US10593643B2 (en)2011-05-032020-03-17Tessera, Inc.Package-on-package assembly with wire bonds to encapsulation surface
US9093435B2 (en)2011-05-032015-07-28Tessera, Inc.Package-on-package assembly with wire bonds to encapsulation surface
JP2012238805A (en)*2011-05-132012-12-06Ibiden Co LtdPrinted wiring board and method of manufacturing the same
JP2012238804A (en)*2011-05-132012-12-06Ibiden Co LtdPrinted wiring board
JP2013030593A (en)*2011-07-282013-02-07J Devices:KkSemiconductor devices, semiconductor module structure formed by vertically laminated semiconductor devices, and manufacturing method of semiconductor module structure
US10034384B2 (en)2011-10-112018-07-24Hitachi Chemical Company, Ltd.Structure containing conductor circuit, method for manufacturing same, and heat-curable resin composition
CN103858527B (en)*2011-10-112018-03-09日立化成株式会社 Structural body having conductor circuit, method for producing same, and thermosetting resin composition
CN106922088A (en)*2011-10-112017-07-04日立化成株式会社Structure and its manufacture method and hot curing resin composition with conductor circuit
CN103858527A (en)*2011-10-112014-06-11日立化成株式会社 Structural body having conductor circuit, method for producing same, and thermosetting resin composition
US9661763B2 (en)2011-10-112017-05-23Hitachi Chemical Company, Ltd.Structure containing conductor circuit, method for manufacturing same, and heat-curable resin composition
WO2013054790A1 (en)*2011-10-112013-04-18日立化成株式会社Structure containing conductor circuit, method for manufacturing same, and heat-curable resin composition
JPWO2013054790A1 (en)*2011-10-112015-03-30日立化成株式会社 Structure having conductor circuit, method for producing the same, and thermosetting resin composition
US9105483B2 (en)2011-10-172015-08-11Invensas CorporationPackage-on-package assembly with wire bond vias
US11189595B2 (en)2011-10-172021-11-30Invensas CorporationPackage-on-package assembly with wire bond vias
US10756049B2 (en)2011-10-172020-08-25Invensas CorporationPackage-on-package assembly with wire bond vias
US9761558B2 (en)2011-10-172017-09-12Invensas CorporationPackage-on-package assembly with wire bond vias
US11735563B2 (en)2011-10-172023-08-22Invensas LlcPackage-on-package assembly with wire bond vias
US9041227B2 (en)2011-10-172015-05-26Invensas CorporationPackage-on-package assembly with wire bond vias
US9252122B2 (en)2011-10-172016-02-02Invensas CorporationPackage-on-package assembly with wire bond vias
US9842745B2 (en)2012-02-172017-12-12Invensas CorporationHeat spreading substrate with embedded interconnects
US9349706B2 (en)2012-02-242016-05-24Invensas CorporationMethod for package-on-package assembly with wire bonds to encapsulation surface
US9691679B2 (en)2012-02-242017-06-27Invensas CorporationMethod for package-on-package assembly with wire bonds to encapsulation surface
JP2013197382A (en)*2012-03-212013-09-30Shinko Electric Ind Co LtdSemiconductor package, semiconductor device, and method for manufacturing semiconductor package
US10510659B2 (en)2012-05-222019-12-17Invensas CorporationSubstrate-less stackable package with wire-bond interconnect
US10170412B2 (en)2012-05-222019-01-01Invensas CorporationSubstrate-less stackable package with wire-bond interconnect
US9953914B2 (en)2012-05-222018-04-24Invensas CorporationSubstrate-less stackable package with wire-bond interconnect
US9917073B2 (en)2012-07-312018-03-13Invensas CorporationReconstituted wafer-level package dram with conductive interconnects formed in encapsulant at periphery of the package
US9391008B2 (en)2012-07-312016-07-12Invensas CorporationReconstituted wafer-level package DRAM
US9502390B2 (en)2012-08-032016-11-22Invensas CorporationBVA interposer
US10297582B2 (en)2012-08-032019-05-21Invensas CorporationBVA interposer
US9748177B2 (en)2012-09-292017-08-29Intel CorporationEmbedded structures for package-on-package architecture
JP2015531172A (en)*2012-09-292015-10-29インテル コーポレイション Embedded structure for package-on-package architecture
US9368401B2 (en)2012-09-292016-06-14Intel CorporationEmbedded structures for package-on-package architecture
US8975738B2 (en)2012-11-122015-03-10Invensas CorporationStructure for microelectronic packaging with terminals on dielectric mass
JP2016105498A (en)*2012-11-212016-06-09インテル コーポレイションLogic die and other components embedded in build-up layers
JP2014103396A (en)*2012-11-212014-06-05Intel CorpLogic die and other components embedded in build-up layers
US9615456B2 (en)2012-12-202017-04-04Invensas CorporationMicroelectronic assembly for microelectronic packaging with bond elements to encapsulation surface
US9095074B2 (en)2012-12-202015-07-28Invensas CorporationStructure for microelectronic packaging with bond elements to encapsulation surface
US9601454B2 (en)2013-02-012017-03-21Invensas CorporationMethod of forming a component having wire bonds and a stiffening layer
US10460958B2 (en)2013-08-072019-10-29Invensas CorporationMethod of manufacturing embedded packaging with preformed vias
US9685365B2 (en)2013-08-082017-06-20Invensas CorporationMethod of forming a wire bond having a free end
US9516740B2 (en)2013-08-292016-12-06Samsung Electro-Mechanics Co., Ltd.Electronic component embedded substrate and method for manufacturing electronic component embedded substrate
US10008477B2 (en)2013-09-162018-06-26Invensas CorporationMicroelectronic element with bond elements to encapsulation surface
JP2015065400A (en)*2013-09-252015-04-09サムソン エレクトロ−メカニックス カンパニーリミテッド.Element embedded printed circuit board and method of manufacturing the same
JP2016528735A (en)*2013-09-272016-09-15インテル・コーポレーション Die package with superposer substrate for passive elements
US10615133B2 (en)2013-09-272020-04-07Intel CorporationDie package with superposer substrate for passive components
US9728527B2 (en)2013-11-222017-08-08Invensas CorporationMultiple bond via arrays of different wire heights on a same substrate
US10629567B2 (en)2013-11-222020-04-21Invensas CorporationMultiple plated via arrays of different wire heights on same substrate
USRE49987E1 (en)2013-11-222024-05-28Invensas LlcMultiple plated via arrays of different wire heights on a same substrate
US10290613B2 (en)2013-11-222019-05-14Invensas CorporationMultiple bond via arrays of different wire heights on a same substrate
US9852969B2 (en)2013-11-222017-12-26Invensas CorporationDie stacks with one or more bond via arrays of wire bond wires and with one or more arrays of bump interconnects
US10026717B2 (en)2013-11-222018-07-17Invensas CorporationMultiple bond via arrays of different wire heights on a same substrate
US11990382B2 (en)2014-01-172024-05-21Adeia Semiconductor Technologies LlcFine pitch BVA using reconstituted wafer with area array accessible for testing
US9837330B2 (en)2014-01-172017-12-05Invensas CorporationFine pitch BVA using reconstituted wafer with area array accessible for testing
US9583411B2 (en)2014-01-172017-02-28Invensas CorporationFine pitch BVA using reconstituted wafer with area array accessible for testing
US10529636B2 (en)2014-01-172020-01-07Invensas CorporationFine pitch BVA using reconstituted wafer with area array accessible for testing
US11404338B2 (en)2014-01-172022-08-02Invensas CorporationFine pitch bva using reconstituted wafer with area array accessible for testing
US10381326B2 (en)2014-05-282019-08-13Invensas CorporationStructure and method for integrated circuits packaging with increased density
JP2015226013A (en)*2014-05-292015-12-14イビデン株式会社Printed wiring board and method of manufacturing the same
US10032647B2 (en)2014-05-292018-07-24Invensas CorporationLow CTE component with wire bond interconnects
US10475726B2 (en)2014-05-292019-11-12Invensas CorporationLow CTE component with wire bond interconnects
US9646917B2 (en)2014-05-292017-05-09Invensas CorporationLow CTE component with wire bond interconnects
US9412714B2 (en)2014-05-302016-08-09Invensas CorporationWire bond support structure and microelectronic package including wire bonds therefrom
US9947641B2 (en)2014-05-302018-04-17Invensas CorporationWire bond support structure and microelectronic package including wire bonds therefrom
JP2016046523A (en)*2014-08-212016-04-04ゼネラル・エレクトリック・カンパニイElectrical interconnect structure for embedded semiconductor device package and method of manufacture thereof
JP2016096196A (en)*2014-11-122016-05-26イビデン株式会社 Printed wiring board with built-in electronic components
US9735084B2 (en)2014-12-112017-08-15Invensas CorporationBond via array for thermal conductivity
JP2016134615A (en)*2015-01-162016-07-25恆勁科技股分有限公司Phoenix Pioneer Technology Co.,Ltd.Electronic package structure
JP2016139753A (en)*2015-01-292016-08-04日立化成株式会社Method for manufacturing semiconductor device
US10806036B2 (en)2015-03-052020-10-13Invensas CorporationPressing of wire bond wire tips to provide bent-over tips
US9888579B2 (en)2015-03-052018-02-06Invensas CorporationPressing of wire bond wire tips to provide bent-over tips
US10008469B2 (en)2015-04-302018-06-26Invensas CorporationWafer-level packaging using wire bond wires in place of a redistribution layer
US9761554B2 (en)2015-05-072017-09-12Invensas CorporationBall bonding metal wire bond wires to metal pads
JP2016213372A (en)*2015-05-122016-12-15日立化成株式会社Semiconductor device and method of manufacturing the same
JP2018523919A (en)*2015-07-292018-08-23クアルコム,インコーポレイテッド Package on package (POP) structure with multiple dies
US10490528B2 (en)2015-10-122019-11-26Invensas CorporationEmbedded wire bond wires
US9812402B2 (en)2015-10-122017-11-07Invensas CorporationWire bond wires for interference shielding
US10559537B2 (en)2015-10-122020-02-11Invensas CorporationWire bond wires for interference shielding
US11462483B2 (en)2015-10-122022-10-04Invensas LlcWire bond wires for interference shielding
US10115678B2 (en)2015-10-122018-10-30Invensas CorporationWire bond wires for interference shielding
US10332854B2 (en)2015-10-232019-06-25Invensas CorporationAnchoring structure of fine pitch bva
US10181457B2 (en)2015-10-262019-01-15Invensas CorporationMicroelectronic package for wafer-level chip scale packaging with fan-out
US9911718B2 (en)2015-11-172018-03-06Invensas Corporation‘RDL-First’ packaged microelectronic device for a package-on-package device
US10043779B2 (en)2015-11-172018-08-07Invensas CorporationPackaged microelectronic device for a package-on-package device
US9659848B1 (en)2015-11-182017-05-23Invensas CorporationStiffened wires for offset BVA
US10325877B2 (en)2015-12-302019-06-18Invensas CorporationEmbedded wire bond wires for vertical integration with separate surface mount and wire bond mounting surfaces
US9984992B2 (en)2015-12-302018-05-29Invensas CorporationEmbedded wire bond wires for vertical integration with separate surface mount and wire bond mounting surfaces
US10658302B2 (en)2016-07-292020-05-19Invensas CorporationWire bonding method and apparatus for electromagnetic interference shielding
US9935075B2 (en)2016-07-292018-04-03Invensas CorporationWire bonding method and apparatus for electromagnetic interference shielding
US10299368B2 (en)2016-12-212019-05-21Invensas CorporationSurface integrated waveguides and circuit structures therefor
WO2019049899A1 (en)*2017-09-112019-03-14株式会社ライジングテクノロジーズElectronic circuit device and method for producing electronic circuit device
US11189571B2 (en)2017-09-112021-11-30Rising Technologies Co., Ltd.Electronic circuit device and method of manufacturing electronic circuit device
CN109300882A (en)*2018-09-202019-02-01蔡亲佳 Stacked embedded package structure and fabrication method thereof
US11330712B2 (en)2019-04-122022-05-10Rising Technologies Co., Ltd.Electronic circuit device and method of manufacturing electronic circuit device
US11696400B2 (en)2019-04-122023-07-04Rising Technologies Co., Ltd.Embedded module
WO2020208984A1 (en)2019-04-122020-10-15株式会社ライジングテクノロジーズElectronic circuit device and method for manufacturing electronic circuit device
US11557542B2 (en)2019-05-162023-01-17Rising Technologies Co., Ltd.Electronic circuit device and method of manufacturing electronic circuit device
US12074130B2 (en)2019-06-102024-08-27Rising Technologies Co., Ltd.Electronic circuit device
JP2020065088A (en)*2020-01-292020-04-23株式会社アムコー・テクノロジー・ジャパンSemiconductor device and method for manufacturing the same

Also Published As

Publication numberPublication date
JP5471605B2 (en)2014-04-16
JPWO2010101163A1 (en)2012-09-10
JP2010232648A (en)2010-10-14

Similar Documents

PublicationPublication DateTitle
WO2010101163A1 (en)Substrate with built-in functional element, and electronic device using the substrate
KR100800478B1 (en) Multilayer semiconductor package and manufacturing method thereof
JP5605429B2 (en) Wiring board with built-in semiconductor element
JP4298559B2 (en) Electronic component mounting structure and manufacturing method thereof
JP4431123B2 (en) Electronic device substrate and manufacturing method thereof, and electronic device and manufacturing method thereof
JP5981232B2 (en) Semiconductor package, semiconductor device, and semiconductor package manufacturing method
US20130127037A1 (en)Semiconductor device built-in substrate
US11430725B2 (en)Wiring board and method of manufacturing the same
WO2010041630A1 (en)Semiconductor device and method for manufacturing same
US8049114B2 (en)Package substrate with a cavity, semiconductor package and fabrication method thereof
JP5589601B2 (en) Integrated circuit element built-in substrate and integrated circuit element built into the integrated circuit element built-in substrate
JP5367523B2 (en) Wiring board and method of manufacturing wiring board
US20080128865A1 (en)Carrier structure embedded with semiconductor chip and method for fabricating thereof
KR20080088403A (en) Manufacturing Method of Wiring Board, Manufacturing Method of Semiconductor Device and Wiring Board
JP2012169440A (en)Semiconductor device and manufacturing method of the same
US8872334B2 (en)Method for manufacturing semiconductor device
TW201142998A (en)System-in-package
US8008765B2 (en)Semiconductor package having adhesive layer and method of manufacturing the same
US7501707B2 (en)Multichip semiconductor package
JP2012080030A (en)Substrate with built-in electronic component, and manufacturing method thereof
US20170025386A1 (en)Semiconductor device
KR102601582B1 (en)Semiconductor package and manufacturing method for the same
CN100539102C (en)Electric connection structure with semiconductor chip embedded in circuit board
KR20140114932A (en)Package using a hybrid substrate and manufacturing method thereof
JP4528018B2 (en) Semiconductor device and manufacturing method thereof

Legal Events

DateCodeTitleDescription
121Ep: the epo has been informed by wipo that ep was designated in this application

Ref document number:10748757

Country of ref document:EP

Kind code of ref document:A1

WWEWipo information: entry into national phase

Ref document number:2011502769

Country of ref document:JP

NENPNon-entry into the national phase

Ref country code:DE

122Ep: pct application non-entry in european phase

Ref document number:10748757

Country of ref document:EP

Kind code of ref document:A1


[8]ページ先頭

©2009-2025 Movatter.jp