Movatterモバイル変換


[0]ホーム

URL:


WO2010093041A1 - ガスバリア性積層フィルムの製造方法 - Google Patents

ガスバリア性積層フィルムの製造方法
Download PDF

Info

Publication number
WO2010093041A1
WO2010093041A1PCT/JP2010/052219JP2010052219WWO2010093041A1WO 2010093041 A1WO2010093041 A1WO 2010093041A1JP 2010052219 WJP2010052219 WJP 2010052219WWO 2010093041 A1WO2010093041 A1WO 2010093041A1
Authority
WO
WIPO (PCT)
Prior art keywords
film
thin film
gas barrier
resin
plasma cvd
Prior art date
Application number
PCT/JP2010/052219
Other languages
English (en)
French (fr)
Inventor
吉田 重信
大川原 千春
幸太 尾関
Original Assignee
三菱樹脂株式会社
Priority date (The priority date is an assumption and is not a legal conclusion. Google has not performed a legal analysis and makes no representation as to the accuracy of the date listed.)
Filing date
Publication date
Application filed by 三菱樹脂株式会社filedCritical三菱樹脂株式会社
Priority to EP10741318.9ApriorityCriticalpatent/EP2397574A4/en
Priority to US13/201,543prioritypatent/US20120003500A1/en
Priority to CN2010800088135Aprioritypatent/CN102317496A/zh
Priority to JP2010550569Aprioritypatent/JPWO2010093041A1/ja
Publication of WO2010093041A1publicationCriticalpatent/WO2010093041A1/ja
Priority to US13/963,227prioritypatent/US20130323436A1/en

Links

Images

Classifications

Definitions

Landscapes

Abstract

 生産性が良好であり、製造直後から高いガスバリア性を示し、かつ優れたガスバリア性を維持しつつ、構成層間の優れた密着強度を有する積層フィルムを製造する方法、及び該製造方法により得られるガスバリア性積層フィルムを提供する。 (1)基材フィルムの少なくとも一方の面に真空蒸着法により無機薄膜を形成する工程、(2)工程(1)で形成した無機薄膜上に、プラズマCVD法により薄膜を形成する工程、及び(3)工程(2)で形成した薄膜上に、真空蒸着法により無機薄膜を形成する工程、を有するガスバリア性積層フィルムの製造方法であって、上記工程(1)及び(3)の各々を、1×10-7~1Paの圧力下で、工程(2)を1×10-3~1×102Paの圧力下で連続して行うガスバリア性積層フィルムの製造方法。

Description

ガスバリア性積層フィルムの製造方法
 本発明はガスバリア性に優れた積層フィルム、及びその製造方法に関する。
 従来より、プラスチックフィルムを基材とし、その表面に無機薄膜を形成したガスバリア性プラスチックフィルムは、水蒸気や酸素等の各種ガスの遮断を必要とする物品の包装、例えば、食品や工業用品及び医薬品等の変質を防止するための包装に広く利用されている。また、このガスバリア性プラスチックフィルムについては、包装用途以外にも、近年、液晶表示素子、太陽電池、電磁波シールド、タッチパネル、EL用基板、カラーフィルター等で使用する透明導電シートとしての新しい用途も注目されている。
 このような無機薄膜を形成してなるガスバリア性プラスチックフィルムに関しては、種々の目的の下、いくつかの改良が検討されており、例えば、透明性やガスバリア性の点から、プラスチックフィルムに、金属酸化物層/樹脂/金属酸化物層を順次積層してなる全光線透過率が85%以上であるガスバリア性フィルム(特許文献1参照)が、また、金属酸化物の破損を防止、抑制するため、透明性プラスチックフィルムに、金属酸化物層、有機物層を、順次交互に積層したバリアフィルム(特許文献2参照)が開示されている。
 また、特許文献3には、基材の少なくとも片面に、窒化珪素及び/または酸化窒化珪素により形成したガスバリア膜を有し、基材/樹脂層/バリア層/樹脂層/バリア層等の構成を有するバリアフィルムが開示されている。
 更に特許文献4には炭素含有率の高い金属酸化物を含有する膜が応力緩和層として作用することにより、膜全体がひび割れを起こしたり層間が剥離するのを防止できることが示され、特許文献5には基材フィルム/無機薄膜/アンカーコート層/無機薄膜からなるガスバリア性積層フィルムが示されている。
 特許文献6には、基材上に蒸着工程の2回以上の繰り返しにより、ケイ素酸化物の蒸着膜が2層以上積層された積層蒸着膜層によるバリア性の改善が開示され、特許文献7には、基材フィルム上に、無機酸化物層と、酸化窒化炭化珪素層もしくは酸化炭化珪素層とをこの順に有するガスバリア性積層体により耐湿熱性やガスバリア性を改善したことが開示されている。
 さらに、特許文献8には、基材上に、物理蒸着法により形成された金属又は金属化合物からなるガスバリア性薄膜を有し、基材とガスバリア性薄膜の間に蒸着合成法により形成されたポリイミド膜が挟持されたガスバリア性積層体が開示され、また、特許文献9には、高分子樹脂からなる基材に真空蒸着法により無機化合物膜を設け、有機化合物を化学蒸着法により、無機化合物膜の厚さ方向に分布せしめて有機・無機複合膜とするガスバリア材を製造することが開示されている。
 しかしながら、これらのフィルムにおいては、各々の目的とする性状はある程度改善されるものの、例えば、ガスバリア性や積層フィルムの構成層間の密着強度や生産性については未だ不十分であり、その改善が望まれていた。
特開2003-71968号公報特開2003-231202号公報特開2004-114645号公報特開2003-257619号公報国際公開2007-34773号パンフレット特開平4-89236号公報特開2006-297730号公報特開平10-6433号公報特開平11-302422号公報
 本発明が解決しようとする課題は、生産性が良好であり、製造直後から高いガスバリア性を示し、かつ優れたガスバリア性を維持しつつ、構成層間の優れた密着強度を有する積層フィルムを製造する方法、及び該製造方法により得られるガスバリア性積層フィルムを提供することにある。
 本発明は、
(1)(1)基材フィルムの少なくとも一方の面に真空蒸着法により無機薄膜を形成する工程、(2)工程(1)で形成した無機薄膜上に、プラズマCVD法により薄膜を形成する工程、及び(3)工程(2)で形成した薄膜上に、真空蒸着法により無機薄膜を形成する工程、を有するガスバリア性積層フィルムの製造方法であって、上記工程(1)及び(3)の各々を、1×10-7~1Paの圧力下で、工程(2)を1×10-3~1×102Paの圧力下で、好ましくは上記工程(1)及び(3)の各々を、1×10-6~1×10-1Paの圧力下で、工程(2)を1×10-2~10Paの圧力下で連続して行うガスバリア性積層フィルムの製造方法、及び
(2)基材フィルム、(A)該基材フィルムの少なくとも一方の面に真空蒸着法により形成された無機薄膜、及び(B)上記無機薄膜(A)上に、プラズマCVD法により、次いで真空蒸着法により順次形成された薄膜からなる構成単位層の少なくとも1層、をこの順に有するガスバリア性積層フィルム、
に関する。
 本発明は、生産性が良好であり、製造直後から高いガスバリア性を示し、かつ優れたガスバリア性を維持しつつ、積層フィルムの構成層間の優れた密着強度を有する積層フィルムの製造方法、及び該製造方法により得られるガスバリア性積層フィルムを提供する。
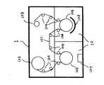
本発明のガスバリア性積層フィルムを製造するための真空製膜装置の概略説明図である。
1・・・・・真空成膜装置
10・・・・成膜室
101・・・高分子フィルム基材
102・・・巻出し軸
103・・・巻き取り軸
104・・・テンションロール
105・・・温調入り成膜ドラム
106・・・温調入り成膜ドラム
107・・・蒸着加熱源
108・・・プラズマCVD用電極
 以下、本発明を詳細に説明する。
<ガスバリア性積層フィルムの製造方法>
 本発明のガスバリア性積層フィルムの製造方法は上述の通りである。
[工程(1)]
 工程(1)は、基材フィルムの少なくとも一方の面に真空蒸着法により無機薄膜を形成する工程である。
基材フィルム
 本発明のガスバリア性積層フィルムの基材フィルムとしては熱可塑性高分子フィルムが好ましく、その原料としては、通常の包装材料に使用しうる樹脂であれば特に制限なく用いることができる。具体的には、エチレン、プロピレン、ブテン等の単独重合体または共重合体などのポリオレフィン、環状ポリオレフィン等の非晶質ポリオレフィン、ポリエチレンテレフタレート、ポリエチレン-2,6-ナフタレート等のポリエステル、ナイロン6、ナイロン66、ナイロン12、共重合ナイロン等のポリアミド、ポリビニルアルコール、エチレン-酢酸ビニル共重合体部分加水分解物(EVOH)、ポリイミド、ポリエーテルイミド、ポリサルホン、ポリエーテルサルホン、ポリエーテルエーテルケトン、ポリカーボネート、ポリビニルブチラール、ポリアリレート、フッ素樹脂、アクリレート樹脂、生分解性樹脂などが挙げられる。これらの中では、フィルム強度、コストなどの点から、ポリエステル、ポリアミド、ポリオレフィン、生分解性樹脂が好ましい。
 また、上記基材フィルムは、公知の添加剤、例えば、帯電防止剤、光線遮断剤、紫外線吸収剤、可塑剤、滑剤、フィラー、着色剤、安定剤、潤滑剤、架橋剤、ブロッキング防止剤、酸化防止剤等を含有することができる。
 上記基材フィルムとしての熱可塑性高分子フィルムは、上記の原料を用いて成形してなるものであるが、基材として用いる際は、未延伸であってもよいし延伸したものであってもよい。また、他のプラスチック基材と積層されていてもよい。かかる基材フィルムは、従来公知の方法により製造することができ、例えば、原料樹脂を押出機により溶融し、環状ダイやTダイにより押出して、急冷することにより実質的に無定型で配向していない未延伸フィルムを製造することができる。この未延伸フィルムを一軸延伸、テンター式逐次二軸延伸、テンター式同時二軸延伸、チューブラー式同時二軸延伸などの公知の方法により、フィルムの流れ(縦軸)方向又はフィルムの流れ方向とそれに直角な(横軸)方向に延伸することにより、少なくとも一軸方向に延伸したフィルムを製造することができる。
 基材フィルムの厚さは、本発明のガスバリア性積層フィルムの基材としての機械強度、可撓性、透明性等の点から、その用途に応じ、通常5~500μm、好ましくは10~200μmの範囲で選択され、厚さが大きいシート状のものも含む。また、フィルムの幅や長さについては特に制限はなく、適宜用途に応じて選択することができる。
真空蒸着法による無機薄膜の形成
 基材フィルムの少なくとも一方の面に真空蒸着法により形成する無機薄膜を構成する無機物質としては、ケイ素、アルミニウム、マグネシウム、亜鉛、錫、ニッケル、チタン、炭化水素等、あるいはこれらの酸化物、炭化物、窒化物またはそれらの混合物が挙げられるが、ガスバリア性の点から、好ましくは酸化ケイ素、酸化アルミニウム、炭化水素(例えば、ダイアモンドライクカーボンなどの炭化水素を主体とした物質)である。特に、酸化ケイ素、酸化アルミニウムは、高いガスバリア性が安定に維持できる点で好ましい。上記無機物質は、1種単独で用いてもよいが、2種以上組み合わせて用いてもよい。
 上記無機薄膜の形成には、ガスバリア性の高い均一な薄膜が得られるという点で真空蒸着法が用いられる。
 無機薄膜の厚さは、一般に0.1~500nmであるが、ガスバリア性、フィルムの生産性の点から、好ましくは0.5~100nm、さらに好ましくは1~50nmである。
 上記無機薄膜の形成は、緻密な薄膜を形成するため減圧下で、好ましくはフィルムを搬送しながら行う。無機薄膜を形成する際の圧力は真空排気能力とバリア性の観点から1×10-7~1Paであり、好ましくは1×10-6~1×10-1Paの範囲である。上記範囲内であれば、十分なガスバリア性が得られ、また、無機薄膜に亀裂や剥離を発生させることなく、透明性にも優れている。
[工程(2)]
 工程(2)は、工程(1)で形成した無機薄膜上に、プラズマCVD法により薄膜を形成する工程である。工程(2)により、工程(1)で得られた無機薄膜に生じた欠陥等の目止めが行われ、ガスバリア性や層間の密着性が向上するものと考えられる。
 プラズマCVD法により形成された薄膜としては、有機化合物をプラズマ重合し樹脂化して得られた薄膜や、有機化合物をプラズマ分解して得られる金属、金属酸化物、金属窒化物等の無機物、無機酸化物、無機窒化物等から選ばれる少なくとも一種からなる薄膜を挙げることができる。
 プラズマ重合の原料成分となる有機化合物としては、公知の有機化合物を用いることができるが、成膜速度の点から、分子内に少なくとも1つ以上の不飽和結合または環状構造を有する有機化合物が好ましく用いることができ、更に(メタ)アクリル化合物、エポキシ化合物、オキセタン化合物等のモノマーまたはオリゴマー等が好ましく用いることができるが、特に好ましいのは、アクリル化合物、メタアクリル化合物、エポキシ化合物等を含む(メタ)アクリル化合物を主成分とするものである。
 プラズマCVDによる薄膜を形成する樹脂としては、ポリエステル系樹脂、ウレタン系樹脂、アクリル系樹脂、エポキシ系樹脂、セルロース系樹脂、シリコン系樹脂、ビニルアルコール系樹脂、ポリビニルアルコール系樹脂、エチレンビニルアルコール系樹脂、ビニル系変性樹脂、イソシアネート基含有樹脂、カルボジイミド系樹脂、アルコキシル基含有樹脂、オキサゾリン基含有樹脂、変性スチレン系樹脂、変性シリコン系樹脂、アルキルチタネート系樹脂、ポリパラキシリレン系樹脂等を単独であるいは2種以上組み合わせて使用することができる。
 本発明においては、ガスバリア性の点から、上記樹脂のうち、ポリエステル系樹脂、ウレタン系樹脂、アクリル系樹脂、エポキシ系樹脂、セルロース系樹脂、シリコン系樹脂、イソシアネート基含有樹脂、ポリパラキシリレン系樹脂及びこれらの共重合体からなる群から選択される少なくとも1種の樹脂を用いることが好ましい。中でもアクリル系樹脂が好ましい。
 ポリエステル系樹脂としては、飽和又は不飽和ポリエステルのいずれも使用し得る。
 飽和ポリエステルのジカルボン酸成分としては、例えば、テレフタル酸、イソフタル酸、2,5-ナフタレンジカルボン酸などの芳香族ジカルボン酸、アジピン酸、アゼライン酸、セバシン酸などの脂肪族ジカルボン酸、オキシ安息香酸などのオキシカルボン酸およびそれらのエステル形成性誘導体が挙げられる。グリコール成分としては、例えば、エチレングリコール、1,4-ブタンジオール、ジエチレングリコール、トリエチレングリコール等の脂肪族グリコール、1,4-シクロヘキサンジメタノール等の脂環族グリコール、p-キリレンジオールなどの芳香族ジオール、ポリエチレングリコール、ポリプロピレングリコール、ポリテトラメチレングリコール等のポリ(オキシアルキレン)グリコール等が挙げられる。上記の飽和ポリエステルは線状構造であるが、3価以上のエステル形成成分を使用して分岐状ポリエステルとすることも出来る。
 一方、上記の不飽和ポリエステルとしては、例えば、次の(1)及び(2)で示されるものが挙げられる。
 (1)特公昭45-2201号公報、同46-2050号公報、同44-7134号公報、特開昭48-78233号公報、同50-58123号公報等各公報で知られている、共重合性不飽和基を含有する原料成分と他の原料成分とを反応させて得られる樹脂骨格中に共重合性不飽和基を有する不飽和ポリエステル。
(2)特公昭49-47916号公報、同50-6223号公報等各公報で知られている、共重合性不飽和基を持たない飽和ポリエステルを得た後、その飽和ポリエステル中に存在する水酸基またはカルボキシル基などの官能基と反応性を有する官能基とビニル基を有するビニル系モノマーを飽和ポリエステルに付加して得られる不飽和ポリエステル。
 上記のビニル系モノマーとしては、例えば、グリシジルメタクリレート等のエポキシ基とビニル基を有する化合物、ビニルメトキシシラン、メタクリロキシエチルトリメトキシシラン等のアルコキシシラノール基とビニル基を有する化合物、無水マレイン酸、テトラヒドロ無水フタル酸などの酸無水基とビニル基を有する化合物、2-ヒドロキシプロピルメタクリレート-ヘキサメチレンジイソシアネート付加物などのイソシアネート基とビニル基を有する化合物などが挙げられる。
 ウレタン系樹脂は、ポリヒドロキシ化合物とポリイソシアネート化合物とを常法に従って反応させることにより製造される樹脂である。
 上記(2)のポリヒドロキシ化合物としては、例えば、ポリエチレングリコール、ポリプロピレングリコール、ポリエチレン・プロピレングリコール、ポリテトラメチレングリコール、ヘキサメチレングリコール、テトラメチレングリコール、1,5-ペンタンジオール、ジエチレングリコール、トリエチレングリコール、ポリカプロラクトン、ポリヘキサメチレンアジペート、ポリヘキサメチレンセバケート、ポリテトラメチレンアジペート、ポリテトラメチレンセバケート、トリメチロールプロパン、トリメチロールエタン、ペンタエリスリトール、グリセリン等が挙げられる。
 上記ポリイソシアネート化合物としては、例えば、ヘキサメチレンジイソシアネート、ジフェニルメタンジイソシアネート、トリレンジイソシアネート、イソホロンジイソシアネート、トリレンジイソシアネートとトリメチロールプロパンの付加物、ヘキサメチレンジイソシアネートとトリメチロールエタンの付加物などが挙げられる。
 アクリル系樹脂を形成する有用な(メタ)アクリル化合物としては特に限定はないが、具体的に以下のような化合物があげられる。すなわち、2-エチルヘキシルアクリレート、2-ヒドロキシプロピルアクリレート、グリセロールアクリレート、テトラヒドロフルフリルアクリレート、フェノキシエチルアクリレート、ノニルフェノキシエチルアクリレート、テトラヒドロフルフリルオキシエチルアクリレート、テトラヒドロフルフリルオキシヘキサノリドアクリレート、1,3-ジオキサンアルコールのε-カプロラクトン付加物のアクリレート、1,3-ジオキソランアクリレート等の単官能アクリル酸エステル類、或いはこれらのアクリレートをメタクリレートに代えたメタクリル酸エステル類;例えば、エチレングリコールジアクリレート、トリエチレングルコールジアクリレート、ペンタエリスリトールジアクリレート、ハイドロキノンジアクリレート、レゾルシンジアクリレート、ヘキサンジオールジアクリレート、ネオペンチルグリコールジアクリレート、トリプロピレングリコールジアクリレート、ヒドロキシピバリン酸ネオペンチルグリコールのジアクリレート、ネオペンチルグリコールアジペートのジアクリレート、ヒドロキシピバリン酸ネオペンチルグリコールのε-カプロラクトン付加物のジアクリレート、2-(2-ヒドロキシ-1,1-ジメチルエチル)-5-ヒドロキシメチル-5-エチル-1,3-ジオキサンジアクリレート、トリシクロデカンジメチロールアクリレート、トリシクロデカンジメチロールアクリレートのε-カプロラクトン付加物、1,6-ヘキサンジオールのジグリシジルエーテルのジアクリレート等の2官能アクリル酸エステル類、或いはこれらのアクリレートをメタクリレートに代えたメタクリル酸エステル類;例えばトリメチロールプロパントリアクリレート、ジトリメチロールプロパンテトラアクリレート、トリメチロールエタントリアクリレート、ペンタエリスリトールトリアクリレート、ペンタエリスリトールテトラアクリレート、ジペンタエリスリトールテトラアクリレート、ジペンタエリスリトールペンタアクリレート、ジペンタエリスリトールヘキサアクリレート、ジペンタエリスリトールヘキサアクリレートのε-カプロラクトン付加物、ピロガロールトリアクリレート、プロピオン酸・ジペンタエリスリトールトリアクリレート、プロピオン酸・ジペンタエリスリトールテトラアクリレート、ヒドロキシピバリルアルデヒド変性ジメチロールプロパントリアクリレート等の多官能アクリル酸エステル酸、或いはこれらのアクリレートをメタクリレートに代えたメタクリル酸等が挙げられ、また、活性線硬化樹脂としても挙げられる化合物も含まれる。
 エポキシ系樹脂としては、ビスフェノールA型、ビスフェノールF型、ビフェニル型、ノボラック型、フェノールノボラック型、グリシジルエステル型などのエポキシ樹脂と、変性脂肪族アミン、変性脂環族アミン、変性芳香族アミン、ケティミン、多官能フェノール、イミダゾール、メルカプタン、酸無水物、ジシアンジアミド等の硬化剤を反応させて得られたものが挙げられる。
 具体的には、メタキシリレンジアミンから誘導されたグリシジルアミン部位を有するエポキシ樹脂、1,3-ビス(アミノメチル)シクロヘキサンから誘導されたグリシジルアミン部位を有するエポキシ樹脂、ジアミノジフェニルメタンから誘導されたグリシジルアミン部位を有するエポキシ樹脂、パラアミノフェノールから誘導されたグリシジルアミン部位を有するエポキシ樹脂、ビスフェノールAから誘導されたグリシジルエーテル部位を有するエポキシ樹脂、ビスフェノールFから誘導されたグリシジルエーテル部位を有するエポキシ樹脂、フェノールノボラックから誘導されたグリシジルエーテル部位を有するエポキシ樹脂、及レゾルシノールから誘導されたグリシジルエーテル部位を有するエポキシ樹脂などが挙げられる。中でも、メタキシリレンジアミンから誘導されたグリシジルアミン部位を有するエポキシ樹脂、及び/又はビスフェノールFから誘導されたグリシジルエーテル部位を有するエポキシ樹脂、1,3-ビス(アミノメチル)シクロヘキサンから誘導されたグリシジルアミン部位を有するエポキシ樹脂がガスバリア性の点で好ましい。
 エポキシ樹脂硬化剤としては、下記の(A)と(B)の反応性生物、又は(A)、(B)、及び(C)の反応性生物が挙げられる。
(A)メタキシレンジアミン又はパラキシレンジアミン
(B)ポリアミンとの反応によりアミド基部位を形成しオリゴマーを形成し得る、少なくとも1つのアシル基を有する多官能性化合物
(C)炭素数1~8の一価カルボン酸及び/又はその誘導体
 具体的には、メタキシリレンジアミン又はパラキシリレンジアミン、及びこれらを原料とするエポキシ樹脂又はモノグリシジル化合物との変性反応物、炭素数2~4のアルキレンオキシドとの変性反応物、エピクロロヒドリンとの付加反応物、これらのポリアミン類との反応によりアミド基部位を形成しオリゴマーを形成し得る、少なくとも1つのアシル基を有する多官能性化合物との反応性生物、これらのポリアミン類との反応によりアミド基部位を形成しオリゴマーを形成し得る、少なくとも1つのアシル基を有する多官能性化合物と、炭素数1~8の一価のカルボン酸及び又はその誘導体との反応性生物などが挙げられる。
 セルロース系樹脂としては、セルロース、ニトロセルロース、酢酸セルロース、アルカリセルロース、ヒドロキシエチルセルロース、カルボキシメチルセルロース、カルボキシメチルセルロースナトリウム、セルロースアセテートブチレート、セルロースアセテートなどの各種セルロース誘導体樹脂が挙げられる。
 イソシアネート基含有樹脂としては、ヘキサメチレン-1,6-ジイソシアネート、ジシクロヘキシルメタン-4,4‘-ジイソシアネート、3-イソシアネートメチル-3,5,5-トリメチルシクロヘキシルイソサネート、1,3-ビス(イソシアナトメチル)シクロヘキサン、ノルボルネンジイソシアネート、キシレンジイソシアネート、、ジフェニルメタン-4,4‘-ジイソシアネート、ジフェニルメタン-2,4’-ジイソシアネート、2,4-トリレンジイソシアネート、2,6-トリレンジイソシアネート等の各種ジイソシアネート、及びそれらの各種変性物、及びそれらを多官能化したダイマー体、アダクト体、アロファネート体、トリマー体、カルボジイミドアダクト体、ビウレット体、またそれらの重合物、及び多価アルコールを付加した重合物が挙げられる。
 また、上記の各種イソシアネートとアミン類を反応及び重合させたポリウレア系樹脂も有用である。
 ポリパラキシリレン系樹脂としては、パラキシリレン、そのベンゼン環水素の塩素置換物、メチル基水素のフッ素置換物等の各重合物が挙げられる。
 また、メタキシリレンジアミン、パラキシリレンジアミン、1,3-ビス(アミノメチル)シクロヘキサン等の、メタキシリレン骨格、パラキシリレン骨格、1,3-ビス(メチル)シクロヘキサン骨格のジアミン化合物は、単独で用いても良好なガスバリア性が得られる。
 プラズマCVD法による有機薄膜形成の際に使用される原料ガスとしては、前記プラズマ重合の原料成分である有機化合物、アセチレン、エチレン、プロピレン等の不飽和炭化水素化合物、メタン、エタン、プロパン等の飽和炭化水素化合物、ベンゼン、トルエン、キシレン等の芳香族系炭化水素化合物等を挙げることができる。前記原料ガスは、前記各化合物を単独で用いてもよく、2種以上混合して用いてもよい。また、原料ガスをアルゴン(Ar)、ヘリウム(He)等の希ガスで希釈して使用してもよい。
 上記プラズマCVD層には、層間の密着性向上の観点から、シランカップリング剤を添加することが好ましい。シランカップリング剤としては、例えば、β-(3,4-エポキシシクロヘキシル)エチルトリメトキシシラン、γ-グリシドキシプロピルメチルジエトキシラン、γ-グリシドキシプロピルトリメトキシシランなどのエポキシ基含有シランカップリング剤、γ-アミノプロピルトリメトキシシラン、N-β(アミノエチル)γ-アミノプロピルメチルジェトキシラン、N-β(アミノエチル)γ-アミノプロピルトリメトキシラン、N-β(アミノエチル)γ-アミノプロピルトリエトキシランなどのアミノ基含有シランカップリング剤等、およびそれらの混合物が挙げられる。層間の密着性の観点から、好ましいシランカップリング剤としては、γ-グリシドキシプロピルトリメトキシシラン、およびγ-アミノプロピルトリメトキシシランが挙げられる。これらのシランカップリング剤は、1種単独で用いてもよいが、2種以上組み合わせて用いてもよい。
 シランカップリング剤は、密着性の点から、プラズマCVD薄膜を形成する樹脂に対して、好ましくは0.1~80質量%、更に好ましくは1~50質量%の割合で含有する。
 また、上記プラズマCVD薄膜には、硬化剤を含有することが好ましく、硬化剤としては、ポリイソシアネートを使用することが好ましい。具体的には、たとえばヘキサメチレンジイソシアネート、ジシクロヘキシルメタンジイソシアネートなどの脂肪族ポリイソシアネートや、キシレンジイソシアネート、トリレンジイソシアネート、ジフェニルメタンジイソシアネート、ポリメチレンポリフェニレンジイソシアネート、トリジンジイソシアネート、ナフタレンジイソシアネートなどの芳香族ポリイソシアネート等が挙げられる。特に2官能以上のポリイソシアネートがバリア性向上の点から好ましい。
 上記プラズマCVD薄膜には、公知の各種添加剤を配合することができる。このような添加剤としては、グリセリン、エチレングリコール、ポリエチレングリコール、ポリプロピレングリコールなどの多価アルコール、水性エポキシ樹脂、メタノール、エタノール、ノルマルプロパノール、イソプロパノール等の低級アルコール、エチレングリコールモノメチルエーテル、プロピレングリコールモノメチルエーテル、プロピレングリコールジエチルエーテル、ジエチレングリコールモノエチルエーテル、プロピレングリコールモノエチルエーテル等のエーテル類、プロピレングリコールモノアセテート、エチレングリコールモノアセテート等のエステル類、酸化防止剤、耐候安定剤、紫外線吸収剤、帯電防止剤、顔料、染料、抗菌剤、滑剤、無機充填剤、ブロッキング防止剤、接着剤等を挙げることができる。
 また、プラズマCVDにより形成された薄膜のうち、金属、金属酸化物、金属窒化物等の無機物、無機酸化物、無機窒化物等から選ばれる少なくとも一種を含む薄膜としては、ガスバリア性、密着性の点から、珪素、チタン、DLC等又はこれら2種以上の合金等の金属が好ましく挙げられ、また、無機酸化物又は無機窒化物としては、ガスバリア性、密着性の点から、上記金属の酸化物、窒化物及びこれらの混合物が好ましく挙げられる。本発明においては、プラズマCVD薄膜として、上記観点から、酸化ケイ素、窒化ケイ素、窒化酸化ケイ素、酸化チタン、及びダイアモンドライクカーボン(Diamond  Like  Carbon、以下「DLC」という)から選ばれる少なくとも一種からなるものが更に好ましい。これらとしては、有機化合物をプラズマ分解して得られるものが好ましい。また、プラズマCVD法で形成される薄膜には、その原料及び化学反応から、特徴的に炭素が含有され、その含有量は、XPS(X線光電子分光法)による測定で通常10原子%以上である。
 特に、酸化ケイ素膜等のプラズマCVD薄膜形成のための原料としては、ケイ素化合物等の化合物であれば、常温常圧下で気体、液体、固体いずれの状態であっても使用できる。気体の場合にはそのまま放電空間に導入できるが、液体、固体の場合は、加熱、バブリング、減圧、超音波照射等の手段により気化させて使用する。又、溶媒によって希釈して使用してもよく、溶媒は、メタノール、エタノール、n-ヘキサンなどの有機溶媒及びこれらの混合溶媒を使用することができる。
 上記ケイ素化合物としては、シラン、テトラメトキシシラン、テトラエトキシシラン、テトラn-プロポキシシラン、テトライソプロポキシシラン、テトラn-ブトキシシラン、テトラt-ブトキシシラン、ジメチルジメトキシシラン、ジメチルジエトキシシラン、ジエチルジメトキシシラン、ジフェニルジメトキシシラン、メチルトリエトキシシラン、エチルトリメトキシシラン、フェニルトリエトキシシラン、(3,3,3-トリフルオロプロピル)トリメトキシシラン、ヘキサメチルジシロキサン、ビス(ジメチルアミノ)ジメチルシラン、ビス(ジメチルアミノ)メチルビニルシラン、ビス(エチルアミノ)ジメチルシラン、N,O-ビス(トリメチルシリル)アセトアミド、ビス(トリメチルシリル)カルボジイミド、ジエチルアミノトリメチルシラン、ジメチルアミノジメチルシラン、ヘキサメチルジシラザン、ヘキサメチルシクロトリシラザン、ヘプタメチルジシラザン、ノナメチルトリシラザン、オクタメチルシクロテトラシラザン、テトラキスジメチルアミノシラン、テトライソシアナートシラン、テトラメチルジシラザン、トリス(ジメチルアミノ)シラン、トリエトキシフルオロシラン、アリルジメチルシラン、アリルトリメチルシラン、ベンジルトリメチルシラン、ビス(トリメチルシリル)アセチレン、1,4-ビストリメチルシリル-1,3-ブタジイン、ジ-t-ブチルシラン、1,3-ジシラブタン、ビス(トリメチルシリル)メタン、シクロペンタジエニルトリメチルシラン、フェニルジメチルシラン、フェニルトリメチルシラン、プロパルギルトリメチルシラン、テトラメチルシラン、トリメチルシリルアセチレン、1-(トリメチルシリル)-1-プロピン、トリス(トリメチルシリル)メタン、トリス(トリメチルシリル)シラン、ビニルトリメチルシラン、ヘキサメチルジシラン、オクタメチルシクロテトラシロキサン、テトラメチルシクロテトラシロキサン、ヘキサメチルジシロキサン、ヘキサメチルシクロテトラシロキサン、Mシリケート51等が挙げられる。
 また、チタン化合物としては、チタン無機化合物またはチタン有機化合物である。チタン無機化合物としては酸化チタン、塩化チタンなどがある。チタン有機化合物としては、チタンテトラブトキシド、テトラノルマルブチルチタネート、ブチルチタネートダイマー、テトラ( 2 - エチルヘキシル) チタネート、テトラメチルチタネートなどのチタンアルコキシド類やチタンラクテート、チタンアセチルアセトナート、チタンテトラアセチルアセトナート、ポリチタンアセチルアセトナート、チタンオクチレングリコレート、チタンエチルアセトアセテート、チタントリエタノールアミネートなどのチタンキレート類等が挙げられる。
 プラズマCVDによる薄膜の形成は上記樹脂層と、前記無機物、無機酸化物、無機窒化物等から選ばれる少なくとも一種からなる薄膜とを交互に成膜したり、同時に成膜することにより行うこともできる。
 上記プラズマCVD薄膜の厚さは、その上限値が5000nmであることが好ましく、500nmであることがより好ましく、100nmであることが更に好ましい。また、その下限値は、0.1nmであり、0.5nmであることが好ましい。厚さが上記範囲内であれば、密着性、ガスバリア性などが良好であり好ましい。上記観点から、プラズマCVD薄膜の厚さは、0.1~5000nmであることが好ましく、0.1~500nmであることがより好ましく、0.1~100nmであることが更に好ましい。プラズマCVD薄膜を形成する際の圧力は、緻密な薄膜を形成するため減圧下で行うことが好ましい。薄膜を形成する時の圧力は成膜速度とバリア性の観点から1×10-3~1×102Paであり、好ましくは1×10-2~10Paの範囲である。このプラズマCVD薄膜には、耐水性、耐久性を高めるために、電子線照射による架橋処理を行うこともできる。
 上記プラズマCVD薄膜を形成する方法としては、前記原料化合物を蒸発させ、原料ガスとして真空装置に導入し、直流(DC)プラズマ、低周波プラズマ、高周波(RF)プラズマ、パルス波プラズマ、3極構造プラズマ、マイクロ波プラズマ、ダウンストリームプラズマ、カラムナープラズマ、プラズマアシスッテドエピタキシー等の低温プラズマ発生装置でプラズマ化することにより行うことができる。プラズマの安定性の点から高周波(RF)プラズマ装置がより好ましい。
[工程(3)]
 工程(3)は、工程(2)で形成した薄膜上に、真空蒸着法により無機薄膜を形成する工程である。
 工程(3)における真空蒸着法、及びこれにより形成される無機薄膜としては、工程(1)において述べたものと同様のものが挙げられる。
 本発明においては、バリア性向上の点で、工程(1)で真空蒸着法によるケイ素酸化物を形成した後に、工程(2)でプラズマCVD法により高酸化ケイ素酸化物を形成することが好ましい。すなわち、工程(1)、又は工程(1)と工程(3)において真空蒸着法により形成された無機薄膜が、1.2≦x1≦1.9のSiOx1からなり、工程(2)においてプラズマCVD法により形成された薄膜が1.5≦x2≦2.5のSiOx2からなり、かつ、0.3≦x2-x1≦1.3となる範囲で薄膜を形成することが好ましい。プラズマCVD法により形成された薄膜が真空蒸着法で形成された無機薄膜より高酸化であることにより、蒸着法で得られた薄膜の目止めが有効に行われるものと思われる。なお、上記酸化ケイ素の酸化度の測定は、XPS(X線光電子分光法)を用いて行うことが好ましく、具体的には、後述の方法で行うことができる。
[製膜方法]
 本発明においては、ガスバリア性、生産性の点から、上記工程(1)~(3)を特定圧力で減圧下、連続して行う。また、同様の観点から、本発明においては、上記工程の全てを、同一真空槽内で、好ましくはフィルムを搬送させながら、行うことが好ましい。すなわち、本発明においては、各工程終了後に、真空槽内の圧力を大気圧近傍にまで戻して、再度真空にして後工程を行うものではなく、真空状態のまま連続的に成膜を行うことが好ましい。
 図1は、本発明の製造方法を実施するための真空成膜装置の一例を示す概略説明図である。
 図1によれば、ガスバリア性積層フィルムを作成する真空成膜装置1は、パウダークラッチ等のトルク制御手段により一定のバックテンションをかけつつウエブ状の基材フィルム101の巻出しを可能にする巻出し軸102、トルクモータ等の一定の張力にて巻き取り可能な巻き取り手段をもつ巻き取り軸103、及び、適宣にフィードバックを行うための張力検出器を具備したテンションロール104、及び成膜室10を有しており、成膜室10には、成膜時のフィルム表面の温度をコントロールし、フィルム表面に膜を形成するための温調入り成膜ドラム105、106、蒸着加熱源107、及びプロセスガスまたは原料ガスを導入するシャワーヘッドをもつプラズマCVD用の電極108が配置されている。図1に示す装置は巻き取り式の真空成膜装置の一例であるが、本発明では、その他バッチ式の成膜装置でも使用可能である。
 上記真空成膜装置においては、基材フィルム101を、巻出し軸102から巻き出し、成膜室10に導入した後、温調入り成膜ドラム105上で、蒸着加熱源106からフィルム基材101上に蒸着膜を蒸着し、次いで、温調入り成膜ドラム106に搬送した後、プラズマCVD用の電極108を用いて、基材フィルム101上の蒸着膜上にCVD薄膜を形成した後、巻き取り軸103に巻き取る。図1に示される真空成膜装置においては、工程(2)の後に、更に工程(3)を行い、及びその後に工程(2)及び工程(3)を繰り返し行う際は、一度巻出し軸102に巻き戻したのちに繰り返し同様の成膜を行うこともでき、もしくは巻き出し軸102に巻き戻しをする際にプラズマCVD用の電極108を用いてフィルム上にさらにCVD薄膜を形成し、次いで蒸着加熱源106を用いてフィルム上に蒸着膜の蒸着を行うことができる。以上の操作は、適宣にテンションロール104により一定張力下、フィルムを搬送しつつ行われ、また、各成膜は減圧下で行われる。すなわち、本発明においては、成膜は特定圧力で減圧下、連続して行うことができ、各成膜操作の間で、大気圧に戻して行う必要はない。
 本発明においては、工程(1)~工程(3)を同一真空槽内で行うことにより、極めて良好なガスバリア性を発現することができる。原理は明確ではないが、真空蒸着による無機薄膜形成と同一真空槽内でプラズマCVD薄膜を形成することにより、蒸着法による薄膜に発生した微小な欠陥を均一に目止めし、更に工程(3)による第2蒸着層のガスバリア性をもさらに向上させることができるものと考えられる。
 本発明においては、工程(1)を行った後に、工程(2)及び工程(3)を行うが、上記工程(2)及び工程(3)は、1回以上繰り返して行うことができる。本発明においては、品質安定性の点から、工程(2)と工程(3)を1~3回繰り返すことが好ましく、また、1回又は2回繰り返すことがより好ましい。
 なお、上記各工程を繰り返す場合も、同一装置内にて、減圧下、連続して行うことが
好ましい。
 すなわち、本発明においては、工程(1)により、ガスバリア性の高い均一な薄膜が得ることができる。また、工程(2)及び工程(3)を行うことにより、無機薄膜の多層膜における各層の密着性を向上させることができる。更に、工程(2)及び工程(3)を1回以上、好ましくは1~3回繰り返すことによりガスバリア性を向上することができる。
 本発明においては、真空蒸着法による無機薄膜の緻密化から得られるガスバリア性能に必要な真空度と、プラズマ化学蒸着法に必要な有機化合物の導入及びプラズマ分解に必然とされる圧力の点から、工程(1)及び(3)の各々における圧力は、工程(2)における圧力より低い値であることが好ましい。両者の比率及び差に、特に上限はないが、大き過ぎると装置真空制御の点で困難が生じる。
 上記観点から、工程(1)及び(3)の各々における圧力に対する工程(2)における圧力の比率(工程(2)における圧力/工程(1)及び(3)の各々における圧力)は、好ましくは、10~1×107であり、より好ましくは1×102~106、更に好ましくは1×102~1×105である。
 同様の観点から、工程(1)及び(3)の各々における圧力と工程(2)における圧力との圧力差は、0.001Pa以上であり、更に好ましくは0.01Pa以上である。圧力差の上限値には特に制限はないが、真空蒸着及びプラズマCVDの各々の圧力の関係から通常100Pa程度である。
[アンカーコート層]
 本発明においては、前記基材フィルムと蒸着法による無機薄膜との密着性向上のため、基材フィルムと無機薄膜の間に、アンカーコート剤を塗布してアンカーコート層を設けることが好ましい。アンカーコート剤としては、生産性の点から、上記工程(2)で得られるプラズマCVD薄膜としての樹脂層を形成する樹脂と同様のものを用いることができる。
 基材フィルム上に設けるアンカーコート層の厚さは通常0.1~5000nm、好ましくは1~2000nm、より好ましくは1~1000nmである。上記範囲内であれば、滑り性が良好であり、アンカーコート層自体の内部応力による基材フィルムからの剥離もほとんどなく、また、均一な厚さを保つことができ、更に層間の密着性においても優れている。
 また、基材フィルムへのアンカーコート剤の塗布性、接着性を改良するため、アンカーコート剤の塗布前に基材フィルムに通常の化学処理、放電処理などの表面処理を施してもよい。
[保護層]
 また、本発明のガスバリア性積層フィルムは、上記工程(1)~(3)により薄膜を形成した側の最上層に保護層を有することが好ましい。該保護層を形成する樹脂としては、溶剤性及び水性の樹脂をいずれも使用することができ、具体的には、ポリエステル系樹脂、ウレタン系樹脂系、アクリル系樹脂、ポリビニルアルコール系樹脂、エチレン・不飽和カルボン酸共重合樹脂、エチレンビニルアルコール系樹脂、ビニル変性樹脂、ニトロセルロース系樹脂、シリコン系樹脂、イソシアネート系樹脂、エポキシ系樹脂、オキサゾリン基含有樹脂、変性スチレン系樹脂、変性シリコン系樹脂、アルキルチタネート等を単独であるいは2種以上組み併せて使用することができる。また、保護層としては、バリア性、摩耗性、滑り性向上のため、シリカゾル、アルミナゾル、粒子状無機フィラー及び層状無機フィラーから選ばれる1種以上の無機粒子を前記1種以上の樹脂に混合してなる層、又は該無機粒子存在下で前記樹脂の原料を重合させて形成される無機粒子含有樹脂からなる層を用いることが好ましい。
 保護層を形成する樹脂としては、無機薄膜のガスバリア性向上の点から上記水性樹脂が好ましい。さらに水性樹脂として、ポリビニルアルコール系樹脂、エチレンビニルアルコール系樹脂、または、エチレン-不飽和カルボン酸共重合体樹脂が好ましい。
 以下に、上記樹脂層について説明する。
 ポリビニルアルコール系樹脂は公知の方法で得ることができ、通常は、酢酸ビニルの重合体をケン化することで得ることができる。ケン化度は80%以上のものが使用でき、好ましくは90%以上、更に好ましくは95%以上、特に好ましくは98%以上であることがガスバリア性の点から好ましい。
 その平均重合度は、通常500~3000であり、ガスバリア性、延伸性の点で、好ましくは500~2000である。また、ポリビニルアルコールとして、40%以下の割合でエチレンを共重合したものも用いることができる。ポリビニルアルコールの水性液は、例えば、ポリビニルアルコール樹脂を常温水中で攪拌しながら供給して昇温し、80~95℃で30~60分攪拌することで調製される。
 エチレン-不飽和カルボン酸共重合体樹脂は、エチレンと、アクリル酸、メタクリル酸、エタクリル酸、フマル酸、マレイン酸、イタコン酸、マレイン酸モノメチル、マレイン酸モノエチル、無水マレイン酸、無水イタコン酸などの不飽和カルボン酸との共重合体であり、中でも汎用性の点からエチレンとアクリル酸またはメタクリル酸との共重合体が好ましい。このエチレン-不飽和カルボン酸共重合体は任意の他の単量体を含んでいてもよい。
 エチレン-不飽和カルボン酸共重合体における、エチレン成分は汎用性、柔軟性の点から好ましくは65~90質量%、更に好ましくは70~85質量%であり、不飽和カルボン酸成分は好ましくは10~35質量%、更に好ましくは15~30質量%である。上記エチレン-不飽和カルボン酸共重合体の、190℃、2160g荷重におけるメルトフローレート(MFR)は、フィルムの耐屈曲性の点から、好ましくは30~2000g/10分、更に好ましくは60~1500g/10分である。数平均分子量は、2000~250000の範囲が好ましい。
 本発明においては、ガスバリア性、層間密着性などの点から、上記エチレン-不飽和カルボン酸共重合体は、その部分中和物を含むことが好ましく、該部分中和物の中和度はガスバリア性の点から、好ましくは20~100%、更に好ましくは40~100%、特に好ましくは60~100%である。なお、中和度は、下記の式により求めることができる。
 中和度=(A/B)×100(%)
  A:部分中和されたエチレン-不飽和カルボン酸共重合体1g中の中和されたカルボキシル基のモル数
  B:部分中和する前のエチレン-不飽和カルボン酸共重合体1g中のカルボキシル基のモル数
 なお、水性液の場合は、簡便的に、上記Aを(溶媒中の金属イオン数)x(その金属イオンの価数)とし、Bを部分中和する前のエチレン-不飽和カルボン酸共重合体のカルボキシル基の数として、算出することができる。
 上記エチレン-不飽和カルボン酸共重合体は、ガスバリア性の点から、上記共重合体とアンモニア、水酸化ナトリウム、水酸化カリウム、水酸化リチウム等を含む水性媒体とからなる水性液として用いることが好ましく、エチレン-不飽和カルボン酸共重合体の有するカルボキシル基の全モル数に対して、上式中和度が20~100%、更には40~100%となるように上記水性媒体を用いたものが好ましく用いられる。
 本発明においては、上記保護層は、上記樹脂1種で構成されていてもよいが、2種以上を組み合わせて使用することもできる。
 また、上記保護層にはバリア性、密着性向上のため無機粒子を添加することができる。
 本発明に使用する無機粒子には特に制限はなく、例えば無機フィラーや無機層状化合物、金属酸化物ゾル等の公知のものをいずれも使用することができる。
 無機フィラーの例としては、ケイ素、アルミニウム、マグネシウム、カルシウム、カリウム、ナトリウム、チタン、亜鉛、鉄などの酸化物、水酸化物、水和物、炭酸化物及びこれらの混合物、複合物等が挙げられる。
 無機層状化合物の例としては、カオリナイト族、スメクタイト族、マイカ族等に代表される粘土鉱物が挙げられ、モンモリロナイト、ヘクトライト、サポナイト等を用いることができる。
 金属酸化物ゾルの例としては、ケイ素、アンチモン、ジルコニウム、アルミニウム、セリウム、チタン等の金属酸化物またはそれらの混合物が挙げられる。中でも、耐熱水性、ガスバリア性などの点から、ヒドロキシ基、アルコキシ基等の加水分解縮合可能な反応性官能基を有するものが好ましく、特に反応性官能基中、シラノール基を10~100モル%、更に20~100モル%含有するものが好ましく用いられる。
 本発明においては、上記無機粒子としては、汎用性、安定性の点からシリカ粒子が好ましく用いられる。上記無機粒子は、1種で用いてもよいが、2種以上を組み合わせて使用することもできる。
 無機粒子は、その平均粒子径は、耐熱水性、耐凝集破壊性の点から、その下限値が、好ましくは0.5nm、より好ましくは1nmであり、また、その上限値は好ましくは2μm、より好ましくは200nm、より好ましくは100nm、より好ましくは25nm、より好ましくは10nm、更に好ましくは5nmである。具体的には、上記平均粒子径は、0.5~2μmであることが好ましく、より好ましくは0.5~200nm、より好ましくは0.5~100nm、より好ましくは0.5~25nm、より好ましくは1~20nm、より好ましくは1~10nm、更に好ましくは1~5nmである。
 保護層の厚さについては、印刷性、加工性の点から、好ましくは0.05~10μm,更に好ましくは0.1~3μmである。その形成方法としては、公知のコーティング方法が適宜採択される。例えば、リバースロールコーター、グラビアコーター、ロッドコーター、エアドクタコーター、スプレイあるいは刷毛を用いたコーティング方法等の方法がいずれも使用できる。また、蒸着フィルムを保護層用樹脂液に浸漬して行ってもよい。塗布後は、80~200℃程度の温度での熱風乾燥、熱ロール乾燥などの加熱乾燥や、赤外線乾燥などの公知の乾燥方法を用いて水分を蒸発させることができる。これにより、均一なコーティング層を有する積層フィルムが得られる。
[本発明のガスバリア性積層フィルムの構成]
 本発明のガスバリア性積層フィルムとしては、ガスバリア性、密着性の点から、以下のような態様を好ましく用いることができる。
(1)基材フィルム/AC/無機薄膜/プラズマCVD薄膜/無機薄膜
(2)基材フィルム/AC/無機薄膜/プラズマCVD薄膜/無機薄膜/プラズマCVD薄膜/無機薄膜
(3)基材フィルム/AC/無機薄膜/プラズマCVD薄膜/無機薄膜/プラズマCVD薄膜/無機薄膜/プラズマCVD薄膜/無機薄膜
(4)基材フィルム/AC/無機薄膜/プラズマCVD薄膜/無機薄膜/保護層
(5)基材フィルム/AC/無機薄膜/プラズマCVD薄膜/無機薄膜/プラズマCVD薄膜/無機薄膜/保護層
(6)基材フィルム/AC/無機薄膜/プラズマCVD薄膜/無機薄膜/プラズマCVD薄膜/無機薄膜/プラズマCVD薄膜/無機薄膜/保護層
(7)基材フィルム/無機薄膜/プラズマCVD薄膜/無機薄膜
(8)基材フィルム/無機薄膜/プラズマCVD薄膜/無機薄膜/プラズマCVD薄膜/無機薄膜
(9)基材フィルム/無機薄膜/プラズマCVD薄膜/無機薄膜/プラズマCVD薄膜/無機薄膜/AC/無機薄膜
(10)基材フィルム/無機薄膜/プラズマCVD薄膜/無機薄膜/保護層
(11)基材フィルム/無機薄膜/プラズマCVD薄膜/無機薄膜/プラズマCVD薄膜/無機薄膜/保護層
(12)基材フィルム/無機薄膜/プラズマCVD薄膜/無機薄膜/プラズマCVD薄膜/無機薄膜/プラズマCVD薄膜/無機薄膜/保護層
(なお、上記態様中、ACはアンカーコート層を指す。)
 本発明においては、上記構成層に必要に応じ更に追加の構成層を積層した各種ガスバリア性積層フィルムが用途に応じて使用できる。
 通常の実施態様としては、上記無機薄膜あるいは保護層の上にプラスチックフィルムを設けたガスバリア性積層フィルムが各種用途に使用される。上記プラスチックフィルムの厚さは、積層構造体の基材としての機械強度、可撓性、透明性等の点から、通常5~500μm、好ましくは10~200μmの範囲で用途に応じて選択される。また、フィルムの幅や長さは特に制限はなく、適宜用途に応じて選択することができる。例えば、無機薄膜あるいは保護層の面上にヒートシールが可能な樹脂を使用することにより、ヒートシールが可能となり、種々の容器として使用できる。ヒートシールが可能な樹脂としては、ポリエチレン樹脂、ポリプロピレン樹脂、エチレン-酢酸ビニル共重合体、アイオノマー樹脂、アクリル系樹脂、生分解性樹脂等の公知の樹脂が例示される。
 また、別のガスバリア性積層フィルムの実施態様としては、無機薄膜あるいは保護層の塗布面上に印刷層を形成し、更にその上にヒートシール層を積層するものが挙げられる。印刷層を形成する印刷インクとしては、水性及び溶媒系の樹脂含有印刷インクが使用できる。ここで、印刷インクに使用される樹脂としては、アクリル系樹脂、ウレタン系樹脂、ポリエステル系樹脂、塩化ビニル系樹脂、酢酸ビニル共重合樹脂又はこれらの混合物が例示される。更に、印刷インクには、帯電防止剤、光線遮光剤、紫外線吸収剤、可塑剤、滑剤、フィラー、着色剤、安定剤、潤滑剤、消泡剤、架橋剤、耐ブロッキング剤、酸化防止剤等の公知の添加剤を添加してもよい。
 印刷層を設けるための印刷方法としては特に限定されないが、オフセット印刷法、グラビア印刷法、スクリーン印刷法等の公知の印刷方法が使用できる。印刷後の溶媒の乾燥には、熱風乾燥、熱ロール乾燥、赤外線乾燥等の公知の乾燥方法が使用できる。
 また、印刷層とヒートシール層との間に紙又はプラスチックフィルムを少なくとも1層積層することが可能である。プラスチックフィルムとしては、本発明のガスバリア性積層フィルムに用いられる基材フィルムとしての熱可塑性高分子フィルムと同様のものが使用できる。中でも、十分な積層体の剛性及び強度を得る観点から、紙、ポリエステル樹脂、ポリアミド樹脂又は生分解性樹脂が好ましい。
 本発明においては、前記工程(2)の後、或いは工程(1)又は(3)の後、更には保護層を形成した後に、ガスバリア性、膜質及び塗布層質の安定化等の点から加熱処理を施すことが好ましい。
 加熱処理は、ガスバリア積層フィルムを構成する要素の種類や厚さなどによりその条件が異なるが、必要な温度、時間を維持できる方法であれば特に限定されない。例えば、必要な温度に設定したオーブンや恒温室で保管する方法、熱風を吹き付ける方法、赤外線ヒーターで加熱する方法、ランプで光を照射する方法、熱ロールや熱版と接触させて直接的に熱を付与する方法、マイクロ波を照射する方法などが使用できる。また、取り扱いが容易な大きさにフィルムを切断してから加熱処理しても、フィルムロールのままで加熱処理してもよい。更に必要な時間と温度が得られる限りにおいては、コーター、スリッター等のフィルム製造装置の一部分に加熱装置を組み込み、製造過程で加熱を行うこともできる。
 加熱処理の温度は、使用する基材、プラスチックフィルム等の融点以下の温度であれば特に限定されないが、熱処理の効果が発現するために必要な処理時間を適度に設定できることから60℃以上であることが好ましく、更に70℃以上で行うことが好ましい。加熱処理温度の上限は、ガスバリア性積層フィルムを構成する要素の熱分解によるガスバリア性の低下を防止する観点から、通常200℃、好ましくは160℃である。処理時間は、加熱処理温度に依存し、処理温度が高い程、短くすることが好ましい。例えば、加熱処理温度が60℃の場合、処理時間は3日~6ヶ月程度、80℃の場合、処理時間は3時間~10日程度、120℃の場合、処理時間は1時間から1日程度、150℃の場合、処理時間は3~60分程度であるが、これらは単なる目安であって、ガスバリア性積層フィルムを構成する要素の種類や厚さ等により適宜調整することができる。
<ガスバリア性積層フィルム>
 本発明は、基材フィルム、(A)該基材フィルムの少なくとも一方の面に真空蒸着法により形成された無機薄膜、及び(B)上記無機薄膜(A)上に、プラズマCVD法により、次いで真空蒸着法により順次形成された薄膜からなる構成単位層の少なくとも1層、をこの順に有するガスバリア性積層フィルムに関し、好ましくは、(A)層及び(B)層が、同一真空槽内で減圧下で連続的に得られたものであるガスバリア性積層フィルム、に関する。特に、上述のガスバリア性積層フィルムの製造方法により得られるガスバリア性積層フィルムが好ましい。
 (A)該基材フィルムの少なくとも一方の面に真空蒸着法により形成された無機薄膜については、前述の通りである。
 (B)上記無機薄膜(A)上に、プラズマCVD法により、次いで真空蒸着法により順次形成された薄膜からなる構成単位層についても、前述の工程(2)、工程(3)において説明したとおりであるが、本発明のガスバリア性積層フィルムは、上記構成単位層を、基材上に設けた無機薄膜上に少なくとも1層有するものであるが、生産性の点から、好ましくは上記構成単位層を、無機薄膜上に1~3層有することが好ましく、より好ましくは1層又は2層有する。
 また、同様の観点から、上記構成単位層の積層は、2以上の構成単位層を順次繰り返し設けることが好ましく、1の構成単位層の無機薄膜面に、他の構成単位層のプラズマCVD薄膜を積層して行うことがより好ましい。本発明においては、構成単位層の間に他の層を有することは任意である。
 本発明のガスバリア性積層フィルムにおいては、前記真空蒸着法により形成された無機薄膜の各々が1.2≦x1≦1.9のSiOx1からなり、前記プラズマCVD法により形成された薄膜が1.5≦x2≦2.5のSiOx2からなり、かつ、0.3≦x2-x1≦1.3であることが好ましい。その詳細については、前述のとおりである。
 以下、本発明を実施例により具体的に説明するが、本発明は以下の例に限定されるものではない。なお、以下の実施例におけるフィルムの評価方法は、次の通りである。
<水蒸気透過度>
 JIS Z0222「防湿包装容器の透湿度試験方法」、JIS Z0208「防湿包装材料の透湿度試験方法(カップ法)」の諸条件に準じ、次の手法で評価した。
 透湿面積10.0cm×10.0cm角の各ガスバリア性積層フィルムを2枚用い、吸湿剤として無水塩化カルシウム約20gを入れ四辺を封じた袋を作製し、その袋を温度40℃相対湿度90%の恒温恒湿装置に入れ、48時間以上間隔で重量増加がほぼ一定になる目安として14日間まで、質量測定(0.1mg単位)し、水蒸気透過度を下記式から算出した。なお、表1-2には、3日目における水蒸気透過度の値を示す。
 水蒸気透過度(g/m2/24h)=(m/s)/t
  m; 試験期間最後2回の秤量間隔の増加質量(g)
  s; 透湿面積(m2
  t; 試験期間最後2回の秤量間隔の時間(h)/24(h)
<層間の密着性>
 JIS Z1707に準じ、積層フィルムを幅15mmの短冊状に切り出し、その端部を一部剥離させ、剥離試験機により300mm/分の速度でT型剥離を行い、ラミネート強度(g/15mm)を測定した。
<薄膜の膜厚>
 得られた積層フィルムを樹脂に包埋し、その断面の超薄切片を作製して、透過型電子顕微鏡を用い、その断面観察から各層膜厚を求めた。
<酸化ケイ素の酸化度x1,x2
 XPS(X線光電子分光法)により、薄膜をエッチングし、Si2pスペクトルに対するO1sスペクトルとの原子%比(A)を得た。一方、SiO2タブレットを同条件でエッチング及びスペクトル分析を行い、そのSi2pスペクトルに対するO1sスペクトルとの原子%比(B)を得、(A)×2.0/(B)の計算から、x1、x2の値を算出した。
実施例1
 ポリエチレンテレフタレート樹脂(以下「PET」と略す。三菱化学(株)製「ノバペックス」)を溶融押出してシートを形成し、延伸温度95℃、延伸比3.3で長手方向に延伸した後、延伸温度110℃、延伸比3.3で横方向に延伸することにより、厚さ12μmの二軸延伸PETフィルムを得た。そのフィルムの片側表面に、イソシアネート化合物(日本ポリウレタン工業製「コロネートL」)と飽和ポリエステル(東洋紡績製「バイロン300」、数平均分子量23000)とを1:1質量比で配合した混合物を塗布乾燥して厚さ100nmのアンカーコート層を形成した。
 次いで、真空蒸着装置を使用して1×10-3Paの真空下でSiOを高周波加熱方式で蒸発させ、アンカーコート層上に厚さ30nmの無機薄膜(SiOx:x=1.6、「第一蒸着層」ということがある)を形成した。
 次いで、同一真空蒸着装置において、圧力を大気圧に戻すことなく、HMDSO(ヘキサメチルジシロキサン)と酸素をモル比1:4の比率で導入し、1Paの真空下で13.56MHz、1Kwでプラズマとし無機薄膜面上にプラズマCVD膜(SiOxC:x=2.0)を形成した(厚さ10nm)。
 次いで、同一真空蒸着装置において、圧力を大気圧に戻すことなく、1×10-3Paの真空下でSiOを高周波加熱方式で蒸発させ、プラズマCVD膜上に厚さ30nmの無機薄膜(SiOx:x=1.6、「第二蒸着層」ということがある)を形成した。
 更に、得られたフィルムの無機薄膜面側に、ウレタン系接着剤(東洋モートン社製「AD900」と「CAT-RT85」とを10:1.5の割合で配合)を塗布、乾燥し、厚さ約3μmの接着樹脂層を形成し、この接着樹脂層上に、厚さ60μmの未延伸ポリプロピレンフィルム(東洋紡績(株)製「パイレンフィルム-CT P1146」)をラミネートし、積層フィルムを得た。得られた積層フィルムについて、前記の評価を行った。結果を表1-1及び表1-2に示す。
実施例2
 実施例1において、HMDS(ヘキサメチルジシラザン)と窒素をモル比1:4の比率で導入することにより、プラズマCVD膜(SiOxNC:x=2.2)を形成した以外は同様にして積層フィルムを作製した。得られた積層フィルムについて、前記の評価を行った。結果を表1-1及び表1-2に示す。
実施例3
 実施例2において、プラズマCVD膜の厚さを30nmとした以外は同様にして積層フィルムを作製した。得られた積層フィルムについて、前記の評価を行った。結果を表1-1及び表1-2に示す。
実施例4
 実施例1において、アンカーコート層上の無機薄膜とプラズマCVD膜上の無機薄膜の厚さを100nmとし、プラズマCVD膜の形成を、HMDSO(ヘキサメチルジシロキサン)と窒素をモル比1:4の比率で導入し30nmの厚さのプラズマCVD膜(SiOxNC:x=2.0)とした以外は同様にして積層フィルムを作製した。得られた積層フィルムについて、前記の評価を行った。結果を表1-1及び表1-2に示す。
実施例5
 実施例1において、アンカーコート層上に100nmの無機薄膜を形成し、次いで、HMDSO(ヘキサメチルジシロキサン)と窒素をモル比1:4の比率で導入し30nmの厚さのプラズマCVD膜(SiOxNC:x=2.0)を形成し、そのプラズマCVD膜上の無機薄膜の厚さを100nmとした上で、さらに、トップコートを施した以外は同様にして積層フィルムを作製した。トップコート(TC、保護層ともいう)は、平均重合度3000、ケン化度98%のポリビニルアルコール水溶液と、重量平均分子量7万のエチレン-メタクリル酸共重合物の水酸化ナトリウム中和度50%品の水分散液とを両者の固形分比が40:60になるように混合し、その溶液を第二無機薄膜上に塗布、乾燥させ、固形分厚0.3μmとしたものである。得られた積層フィルムについて、前記の評価を行った。結果を表1-1及び表1-2に示す。
実施例6
 実施例1において、プラズマCVD膜を形成する際に、真空槽内の圧力が10Paとなるようにアセチレンガスを導入し、10nmの厚さのダイヤモンドライクカーボン膜を形成した以外は同様にして積層フィルムを作製した。得られた積層フィルムについて、前記の評価を行った。結果を表1-1及び表1-2に示す。
実施例7
 実施例1において、プラズマCVDを成膜する際に、イソシアネート化合物(日本ポリウレタン工業製「コロネートL」とアクリル樹脂(ロームアンドハース製「パラロイドB66」)とを重量比1:1で配合して混合物を気化させて真空槽内に導入し、0.1nmの薄膜を作成した以外は同様にして積層フィルムを作製した。得られた積層フィルムについて、前記の評価を行った。結果を表1-1及び表1-2に示す。
実施例8
 実施例7において、厚み30nmのプラズマCVD膜を形成させた以外は同様にして積層フィルムを作製した。得られた積層フィルムについて、前記の評価を行った。結果を表1-1及び表1-2に示す。
実施例9
 実施例7において、厚み300nmのプラズマCVD膜を形成させた以外は同様にして積層フィルムを作製した。得られた積層フィルムについて、前記の評価を行った。結果を表1-1及び表1-2に示す。
実施例10
 実施例1において、プラズマCVD膜を形成する際に、1,3-ビス(イソシアネートメチル)シクロヘキサンとメチレンビス(4-シクロヘキシルアミン)を導入し、30nmの厚さのポリウレア膜を形成したこと以外は同様にして積層フィルムを作製した。得られた積層フィルムについて、前記の評価を行った。結果を表1-1及び表1-2に示す。
実施例11
 実施例1において、プラズマCVD膜を形成する際に、ジフェニルメタン-4,4‘-ジイソシアネートを導入し、30nmの厚さのジフェニルメタン-4,4‘-ジイソシアネートの重合物からなるポリイソシアネート膜を形成したこと以外は同様にして積層フィルムを作製した。得られた積層フィルムについて、前記の評価を行った。結果を表1-1及び表1-2に示す。
実施例12
 実施例1において、プラズマCVD膜を形成する際に、ジパラキシリレンを気化させて真空槽に導入し30nmの薄膜を作成した以外は同様にして積層フィルムを作製した。得られた積層フィルムについて、前記の評価を行った。結果を表1-1及び表1-2に示す。
実施例13
 実施例1において、接着樹脂層で未延伸ポリプロピレンフィルムをラミネートする前に、プラズマCVD膜上の無機薄膜面に、該プラズマCVD膜及び無機薄膜とそれぞれ同様の条件で、更にプラズマCVD膜、及びこのプラズマCVD膜上に無機薄膜を形成した。このようにして積層フィルムを作成し、得られたフィルムについて、前記の評価を行った。結果を表1-1及び表1-2に示す。
実施例14
 実施例1において、プラズマCVD膜を形成する際に、1,3-ビス(N,N‘-ジグリシジルアミノメチル)ベンゼンとメタキシリレンジアミンの反応物を導入し、30nm厚の膜を形成したこと以外は同様にして、積層フィルムを作製した。得られた積層フィルムについて、前記の評価を行った。結果を表1-1及び表1-2に示す。
実施例15~20
 実施例1において、表1-1に示す通り、真空蒸着の圧力とプラズマCVDの圧力を変化させて成膜を行った以外は同様にして、積層フィルムを作製した。得られた積層フィルムについて、前記の評価を行った。結果を表1-1及び表1-2に示す。
比較例1
 実施例1において、アンカーコート層上に厚さ30nmの無機薄膜のみを形成し、その上に、プラズマCVD膜も無機薄膜も形成しなかったこと以外は同様にして積層フィルムを作製した。得られた積層フィルムについて、前記の評価を行った。結果を表1-1及び表1-2に示す。
比較例2
 実施例1において、プラズマCVD膜を形成せず、無機薄膜の層の上に直接無機薄膜を形成した以外は同様にして積層フィルムを作製した。得られた積層フィルムについて、前記の評価を行った。結果を表1-1及び表1-2に示す。
比較例3
 実施例1において、プラズマCVD膜を形成した上に無機薄膜を形成しなかったこと以外は同様にして積層フィルムを作成した。得られた積層フィルムについて、前記の評価を行った。プラズマCVD膜と接着剤との界面付近で剥離が発生した。結果を表1-1及び表1-2に示す。
比較例4
 実施例1において、プラズマCVD膜を形成した後に圧力を大気圧に戻し、真空槽の扉を開放した後に、同一真空蒸着装置において圧力1×10-3Paの真空下でSiOを高周波加熱方式で蒸発させ、プラズマCVD膜上に無機薄膜(SiOx:x=1.6)を形成した。次いで、実施例1と同様にして接着樹脂層で未延伸ポリプロピレンフィルムをラミネートして得られた積層フィルムについて、前記の評価を行った。結果を表1-1及び表1-2に示す。
比較例5~7
 実施例1において、表1-1に示す通り、真空蒸着の圧力とプラズマCVDの圧力を変化させて成膜を行った以外は同様にして、積層フィルムを作製した。得られた積層フィルムについて、前記の評価を行った。
 比較例5は、第一蒸着の真空に多大な排気能力・時間を要するため、プラズマCVDに到らなかった。比較例6は、成膜後に、基材フィルムから第一蒸着膜の剥離が発生し、無機薄膜の測定、分析に到らなかった。また、比較例7は、プラズマCVD装置内の汚れが甚だしく、巻き取り成膜に到らなかった。
Figure JPOXMLDOC01-appb-T000001
Figure JPOXMLDOC01-appb-T000002
 本発明の製造方法により得られるガスバリア性積層フィルムは、水蒸気や酸素等の各種ガスの遮断を必要とする物品の包装、例えば、食品や工業用品及び医薬品等の変質を防止するための包装に広く利用される。また、包装用途以外にも、液晶表示素子、太陽電池、電磁波シールド、タッチパネル、EL用基板、カラーフィルター等で使用する透明導電シートとしても好適に使用できる。

Claims (15)

  1.  (1)基材フィルムの少なくとも一方の面に真空蒸着法により無機薄膜を形成する工程、(2)工程(1)で形成した無機薄膜上に、プラズマCVD法により薄膜を形成する工程、及び(3)工程(2)で形成した薄膜上に、真空蒸着法により無機薄膜を形成する工程、を有するガスバリア性積層フィルムの製造方法であって、上記工程(1)及び(3)の各々を、1×10-7~1Paの圧力下で、工程(2)を1×10-3~1×102Paの圧力下で連続して行うガスバリア性積層フィルムの製造方法。
  2.  工程(1)及び(3)の各々における圧力が、工程(2)における圧力より低い、請求項1記載のガスバリア性積層フィルムの製造方法。
  3.  工程(1)及び(3)の各々における圧力に対する工程(2)における圧力の比率(工程(2)における圧力/工程(1)及び(3)の各々における圧力)が、10~1×107である、請求項1又は2に記載のガスバリア性積層フィルムの製造方法。
  4.  工程(2)及び工程(3)を1~3回繰り返し行う、請求項1~3のいずれかに記載のガスバリア性積層フィルムの製造方法。
  5.  工程(1)~(3)を、同一真空槽内で行う、請求項1~4のいずれかに記載のガスバリア性積層フィルムの製造方法。
  6.  工程(2)で得られるプラズマCVD法による薄膜が、無機物、無機酸化物及び無機窒化物から選ばれる少なくとも一種からなる、請求項1~5のいずれかに記載のガスバリア性積層フィルムの製造方法。
  7.  前記真空蒸着法により形成された無機薄膜の各々が1.2≦x1≦1.9のSiOx1からなり、前記プラズマCVD法により形成された薄膜が1.5≦x2≦2.5のSiOx2からなり、かつ、0.3≦x2-x1≦1.3である、請求項1~6のいずれかに記載のガスバリア性積層フィルムの製造方法。
  8.  工程(2)で得られるプラズマCVD法による薄膜が、ポリエステル系樹脂、ウレタン系樹脂、アクリル系樹脂、エポキシ系樹脂、ニトロセルロース系樹脂、シリコン系樹脂、イソシアネート系樹脂及びポリパラキシリレン系樹脂からなる群から選ばれる少なくとも一種からなる、請求項1~7のいずれかに記載のガスバリア性積層フィルムの製造方法。
  9.  基材フィルム上に、ポリエステル系樹脂、ウレタン系樹脂、アクリル系樹脂、ニトロセルロース系樹脂、シリコン系樹脂及びイソシアネート系樹脂からなる群から選ばれる少なくとも1種の樹脂からなるアンカーコート層を形成する工程を有する、請求項1~8のいずれかに記載のガスバリア性積層フィルムの製造方法。
  10.  最上層として保護層を設ける工程を有する、請求項1~9のいずれかに記載のガスバリア性積層フィルムの製造方法。
  11.  保護層が、ポリビニルアルコール、エチレンビニルアルコール及びエチレン-不飽和カルボン酸共重合体から選ばれる少なくとも一種の樹脂からなる、請求項10記載のガスバリア性積層フィルムの製造方法。
  12.  基材フィルム、(A)該基材フィルムの少なくとも一方の面に真空蒸着法により形成された無機薄膜、及び(B)上記無機薄膜(A)上に、プラズマCVD法により、次いで真空蒸着法により順次形成された薄膜からなる構成単位層の少なくとも1層、をこの順に有するガスバリア性積層フィルム。
  13.  前記(A)層及び(B)層が、同一真空槽内で減圧下、連続的に得られたものである、請求項12記載のガスバリア性積層フィルム。
  14.  前記真空蒸着法により形成された無機薄膜の各々が1.2≦x1≦1.9のSiOx1からなり、前記プラズマCVD法により形成された薄膜が1.5≦x2≦2.5のSiOx2からなり、かつ、0.3≦x2-x1≦1.3である、請求項12又は13に記載のガスバリア性積層フィルム。
  15.  請求項1~11のいずれかに記載の製造方法により得られるガスバリア性積層フィルム。
PCT/JP2010/0522192009-02-162010-02-15ガスバリア性積層フィルムの製造方法WO2010093041A1 (ja)

Priority Applications (5)

Application NumberPriority DateFiling DateTitle
EP10741318.9AEP2397574A4 (en)2009-02-162010-02-15 METHOD FOR PRODUCING A MULTILAYER GAS-REINFORCED FILM
US13/201,543US20120003500A1 (en)2009-02-162010-02-15Process for producing multilayered gas-barrier film
CN2010800088135ACN102317496A (zh)2009-02-162010-02-15阻气性层压膜的制造方法
JP2010550569AJPWO2010093041A1 (ja)2009-02-162010-02-15ガスバリア性積層フィルムの製造方法
US13/963,227US20130323436A1 (en)2009-02-162013-08-09Process for producing multilayered gas-barrier film

Applications Claiming Priority (2)

Application NumberPriority DateFiling DateTitle
JP2009-0325132009-02-16
JP20090325132009-02-16

Related Child Applications (1)

Application NumberTitlePriority DateFiling Date
US13/963,227DivisionUS20130323436A1 (en)2009-02-162013-08-09Process for producing multilayered gas-barrier film

Publications (1)

Publication NumberPublication Date
WO2010093041A1true WO2010093041A1 (ja)2010-08-19

Family

ID=42561882

Family Applications (1)

Application NumberTitlePriority DateFiling Date
PCT/JP2010/052219WO2010093041A1 (ja)2009-02-162010-02-15ガスバリア性積層フィルムの製造方法

Country Status (7)

CountryLink
US (2)US20120003500A1 (ja)
EP (1)EP2397574A4 (ja)
JP (1)JPWO2010093041A1 (ja)
KR (1)KR20110120290A (ja)
CN (1)CN102317496A (ja)
TW (1)TW201035348A (ja)
WO (1)WO2010093041A1 (ja)

Cited By (13)

* Cited by examiner, † Cited by third party
Publication numberPriority datePublication dateAssigneeTitle
WO2012060424A1 (ja)*2010-11-042012-05-10三菱樹脂株式会社ガスバリア性積層フィルム
JP2013121688A (ja)*2011-12-122013-06-20Dainippon Printing Co Ltd高防湿性フィルム及びその製造方法
JP2013121687A (ja)*2011-12-122013-06-20Dainippon Printing Co Ltd高防湿性フィルム及びその製造方法
JP2013226773A (ja)*2012-03-292013-11-07Mitsubishi Plastics Incガスバリア性フィルム
WO2013168715A1 (ja)*2012-05-092013-11-14三菱樹脂株式会社ガスバリア性フィルム及びガスバリア性フィルムの製造方法
WO2013168739A1 (ja)*2012-05-092013-11-14三菱樹脂株式会社ガスバリア性フィルム及びその製造方法
JP2013233744A (ja)*2012-05-092013-11-21Mitsubishi Plastics Incガスバリア性フィルム及びガスバリア性フィルムの製造方法
JP2014524980A (ja)*2011-07-082014-09-25スペシャルティ コーティング システムズ, インク.抗菌性パリレン・コーティング及び同コーティングを蒸着する方法
WO2015190572A1 (ja)*2014-06-132015-12-17Jnc株式会社ガスバリアフィルム積層体とそれを用いた電子部品
JP2016078372A (ja)*2014-10-202016-05-16凸版印刷株式会社透明ガスバリアフィルム
TWI563104B (ja)*2011-03-312016-12-21Mitsubishi Plastics Inc
JP2019189914A (ja)*2018-04-262019-10-31小島プレス工業株式会社積層フィルムの製造方法
KR20230021125A (ko)*2020-06-092023-02-13지앙수 페이보레드 나노테크놀로지 컴퍼니., 리미티드보호 코팅 및 그 제조 방법

Families Citing this family (405)

* Cited by examiner, † Cited by third party
Publication numberPriority datePublication dateAssigneeTitle
US8431653B2 (en)*2005-12-162013-04-30Mitsubishi Electric Company, Inc.Curing agent composition for epoxy resins and epoxy resin composition
EP2239134B1 (en)*2008-01-312020-05-13Mitsubishi Chemical CorporationGas barrier film having excellent weather resistance
US10378106B2 (en)2008-11-142019-08-13Asm Ip Holding B.V.Method of forming insulation film by modified PEALD
JP5319342B2 (ja)*2009-03-172013-10-16富士フイルム株式会社ガスバリア膜の製造方法、太陽電池用ガスバリアフィルム、および、ディスプレイ用ガスバリアフィルム
US9394608B2 (en)2009-04-062016-07-19Asm America, Inc.Semiconductor processing reactor and components thereof
US8802201B2 (en)2009-08-142014-08-12Asm America, Inc.Systems and methods for thin-film deposition of metal oxides using excited nitrogen-oxygen species
US9312155B2 (en)2011-06-062016-04-12Asm Japan K.K.High-throughput semiconductor-processing apparatus equipped with multiple dual-chamber modules
US9793148B2 (en)2011-06-222017-10-17Asm Japan K.K.Method for positioning wafers in multiple wafer transport
US10364496B2 (en)2011-06-272019-07-30Asm Ip Holding B.V.Dual section module having shared and unshared mass flow controllers
US10854498B2 (en)2011-07-152020-12-01Asm Ip Holding B.V.Wafer-supporting device and method for producing same
US20130023129A1 (en)2011-07-202013-01-24Asm America, Inc.Pressure transmitter for a semiconductor processing environment
US9017481B1 (en)2011-10-282015-04-28Asm America, Inc.Process feed management for semiconductor substrate processing
US8946830B2 (en)2012-04-042015-02-03Asm Ip Holdings B.V.Metal oxide protective layer for a semiconductor device
US9558931B2 (en)2012-07-272017-01-31Asm Ip Holding B.V.System and method for gas-phase sulfur passivation of a semiconductor surface
US9659799B2 (en)2012-08-282017-05-23Asm Ip Holding B.V.Systems and methods for dynamic semiconductor process scheduling
US9021985B2 (en)2012-09-122015-05-05Asm Ip Holdings B.V.Process gas management for an inductively-coupled plasma deposition reactor
US9324811B2 (en)2012-09-262016-04-26Asm Ip Holding B.V.Structures and devices including a tensile-stressed silicon arsenic layer and methods of forming same
US10714315B2 (en)2012-10-122020-07-14Asm Ip Holdings B.V.Semiconductor reaction chamber showerhead
US8784951B2 (en)*2012-11-162014-07-22Asm Ip Holding B.V.Method for forming insulation film using non-halide precursor having four or more silicons
US9640416B2 (en)2012-12-262017-05-02Asm Ip Holding B.V.Single-and dual-chamber module-attachable wafer-handling chamber
US20160376700A1 (en)2013-02-012016-12-29Asm Ip Holding B.V.System for treatment of deposition reactor
US9484191B2 (en)2013-03-082016-11-01Asm Ip Holding B.V.Pulsed remote plasma method and system
US9589770B2 (en)2013-03-082017-03-07Asm Ip Holding B.V.Method and systems for in-situ formation of intermediate reactive species
US8993054B2 (en)2013-07-122015-03-31Asm Ip Holding B.V.Method and system to reduce outgassing in a reaction chamber
US9018111B2 (en)2013-07-222015-04-28Asm Ip Holding B.V.Semiconductor reaction chamber with plasma capabilities
US9793115B2 (en)2013-08-142017-10-17Asm Ip Holding B.V.Structures and devices including germanium-tin films and methods of forming same
US10453675B2 (en)2013-09-202019-10-22Versum Materials Us, LlcOrganoaminosilane precursors and methods for depositing films comprising same
US9240412B2 (en)2013-09-272016-01-19Asm Ip Holding B.V.Semiconductor structure and device and methods of forming same using selective epitaxial process
US9556516B2 (en)2013-10-092017-01-31ASM IP Holding B.VMethod for forming Ti-containing film by PEALD using TDMAT or TDEAT
US10179947B2 (en)2013-11-262019-01-15Asm Ip Holding B.V.Method for forming conformal nitrided, oxidized, or carbonized dielectric film by atomic layer deposition
US10683571B2 (en)2014-02-252020-06-16Asm Ip Holding B.V.Gas supply manifold and method of supplying gases to chamber using same
US9447498B2 (en)2014-03-182016-09-20Asm Ip Holding B.V.Method for performing uniform processing in gas system-sharing multiple reaction chambers
US10167557B2 (en)2014-03-182019-01-01Asm Ip Holding B.V.Gas distribution system, reactor including the system, and methods of using the same
US11015245B2 (en)2014-03-192021-05-25Asm Ip Holding B.V.Gas-phase reactor and system having exhaust plenum and components thereof
US9404587B2 (en)2014-04-242016-08-02ASM IP Holding B.VLockout tagout for semiconductor vacuum valve
US10858737B2 (en)2014-07-282020-12-08Asm Ip Holding B.V.Showerhead assembly and components thereof
US9543180B2 (en)2014-08-012017-01-10Asm Ip Holding B.V.Apparatus and method for transporting wafers between wafer carrier and process tool under vacuum
US9890456B2 (en)2014-08-212018-02-13Asm Ip Holding B.V.Method and system for in situ formation of gas-phase compounds
WO2016045858A1 (en)*2014-09-242016-03-31Basf SeProcess for producing organic-inorganic laminates
US10941490B2 (en)2014-10-072021-03-09Asm Ip Holding B.V.Multiple temperature range susceptor, assembly, reactor and system including the susceptor, and methods of using the same
US9657845B2 (en)2014-10-072017-05-23Asm Ip Holding B.V.Variable conductance gas distribution apparatus and method
JP6587384B2 (ja)*2014-11-142019-10-09東レエンジニアリング株式会社封止膜の形成方法および封止膜
KR102300403B1 (ko)2014-11-192021-09-09에이에스엠 아이피 홀딩 비.브이.박막 증착 방법
KR102263121B1 (ko)2014-12-222021-06-09에이에스엠 아이피 홀딩 비.브이.반도체 소자 및 그 제조 방법
US9478415B2 (en)2015-02-132016-10-25Asm Ip Holding B.V.Method for forming film having low resistance and shallow junction depth
US10529542B2 (en)2015-03-112020-01-07Asm Ip Holdings B.V.Cross-flow reactor and method
US10276355B2 (en)2015-03-122019-04-30Asm Ip Holding B.V.Multi-zone reactor, system including the reactor, and method of using the same
US10458018B2 (en)2015-06-262019-10-29Asm Ip Holding B.V.Structures including metal carbide material, devices including the structures, and methods of forming same
US10600673B2 (en)2015-07-072020-03-24Asm Ip Holding B.V.Magnetic susceptor to baseplate seal
US10043661B2 (en)2015-07-132018-08-07Asm Ip Holding B.V.Method for protecting layer by forming hydrocarbon-based extremely thin film
US9899291B2 (en)2015-07-132018-02-20Asm Ip Holding B.V.Method for protecting layer by forming hydrocarbon-based extremely thin film
US10083836B2 (en)2015-07-242018-09-25Asm Ip Holding B.V.Formation of boron-doped titanium metal films with high work function
US10087525B2 (en)2015-08-042018-10-02Asm Ip Holding B.V.Variable gap hard stop design
GB201513760D0 (en)*2015-08-042015-09-16Teer Coatings LtdImproved coatings and method of applying the same
US9647114B2 (en)2015-08-142017-05-09Asm Ip Holding B.V.Methods of forming highly p-type doped germanium tin films and structures and devices including the films
US9711345B2 (en)2015-08-252017-07-18Asm Ip Holding B.V.Method for forming aluminum nitride-based film by PEALD
US9960072B2 (en)2015-09-292018-05-01Asm Ip Holding B.V.Variable adjustment for precise matching of multiple chamber cavity housings
US9909214B2 (en)2015-10-152018-03-06Asm Ip Holding B.V.Method for depositing dielectric film in trenches by PEALD
JP6904256B2 (ja)*2015-10-202021-07-14凸版印刷株式会社コーティング液およびガスバリア性積層体
US10211308B2 (en)2015-10-212019-02-19Asm Ip Holding B.V.NbMC layers
US10322384B2 (en)2015-11-092019-06-18Asm Ip Holding B.V.Counter flow mixer for process chamber
US9455138B1 (en)2015-11-102016-09-27Asm Ip Holding B.V.Method for forming dielectric film in trenches by PEALD using H-containing gas
US9905420B2 (en)2015-12-012018-02-27Asm Ip Holding B.V.Methods of forming silicon germanium tin films and structures and devices including the films
US9607837B1 (en)2015-12-212017-03-28Asm Ip Holding B.V.Method for forming silicon oxide cap layer for solid state diffusion process
US9735024B2 (en)2015-12-282017-08-15Asm Ip Holding B.V.Method of atomic layer etching using functional group-containing fluorocarbon
US9627221B1 (en)2015-12-282017-04-18Asm Ip Holding B.V.Continuous process incorporating atomic layer etching
US11139308B2 (en)2015-12-292021-10-05Asm Ip Holding B.V.Atomic layer deposition of III-V compounds to form V-NAND devices
US9754779B1 (en)2016-02-192017-09-05Asm Ip Holding B.V.Method for forming silicon nitride film selectively on sidewalls or flat surfaces of trenches
US10529554B2 (en)2016-02-192020-01-07Asm Ip Holding B.V.Method for forming silicon nitride film selectively on sidewalls or flat surfaces of trenches
US10468251B2 (en)2016-02-192019-11-05Asm Ip Holding B.V.Method for forming spacers using silicon nitride film for spacer-defined multiple patterning
US10501866B2 (en)2016-03-092019-12-10Asm Ip Holding B.V.Gas distribution apparatus for improved film uniformity in an epitaxial system
US10343920B2 (en)2016-03-182019-07-09Asm Ip Holding B.V.Aligned carbon nanotubes
US9892913B2 (en)2016-03-242018-02-13Asm Ip Holding B.V.Radial and thickness control via biased multi-port injection settings
US10087522B2 (en)2016-04-212018-10-02Asm Ip Holding B.V.Deposition of metal borides
US10865475B2 (en)2016-04-212020-12-15Asm Ip Holding B.V.Deposition of metal borides and silicides
US10190213B2 (en)2016-04-212019-01-29Asm Ip Holding B.V.Deposition of metal borides
US10032628B2 (en)2016-05-022018-07-24Asm Ip Holding B.V.Source/drain performance through conformal solid state doping
US10367080B2 (en)2016-05-022019-07-30Asm Ip Holding B.V.Method of forming a germanium oxynitride film
KR102592471B1 (ko)2016-05-172023-10-20에이에스엠 아이피 홀딩 비.브이.금속 배선 형성 방법 및 이를 이용한 반도체 장치의 제조 방법
US11453943B2 (en)2016-05-252022-09-27Asm Ip Holding B.V.Method for forming carbon-containing silicon/metal oxide or nitride film by ALD using silicon precursor and hydrocarbon precursor
US10388509B2 (en)2016-06-282019-08-20Asm Ip Holding B.V.Formation of epitaxial layers via dislocation filtering
US9859151B1 (en)2016-07-082018-01-02Asm Ip Holding B.V.Selective film deposition method to form air gaps
US10612137B2 (en)2016-07-082020-04-07Asm Ip Holdings B.V.Organic reactants for atomic layer deposition
US9793135B1 (en)2016-07-142017-10-17ASM IP Holding B.VMethod of cyclic dry etching using etchant film
US10714385B2 (en)2016-07-192020-07-14Asm Ip Holding B.V.Selective deposition of tungsten
KR102354490B1 (ko)2016-07-272022-01-21에이에스엠 아이피 홀딩 비.브이.기판 처리 방법
KR102532607B1 (ko)2016-07-282023-05-15에이에스엠 아이피 홀딩 비.브이.기판 가공 장치 및 그 동작 방법
US9812320B1 (en)2016-07-282017-11-07Asm Ip Holding B.V.Method and apparatus for filling a gap
US9887082B1 (en)2016-07-282018-02-06Asm Ip Holding B.V.Method and apparatus for filling a gap
US10395919B2 (en)2016-07-282019-08-27Asm Ip Holding B.V.Method and apparatus for filling a gap
US10177025B2 (en)2016-07-282019-01-08Asm Ip Holding B.V.Method and apparatus for filling a gap
US10090316B2 (en)2016-09-012018-10-02Asm Ip Holding B.V.3D stacked multilayer semiconductor memory using doped select transistor channel
US10410943B2 (en)2016-10-132019-09-10Asm Ip Holding B.V.Method for passivating a surface of a semiconductor and related systems
US10643826B2 (en)2016-10-262020-05-05Asm Ip Holdings B.V.Methods for thermally calibrating reaction chambers
US11532757B2 (en)2016-10-272022-12-20Asm Ip Holding B.V.Deposition of charge trapping layers
US10435790B2 (en)2016-11-012019-10-08Asm Ip Holding B.V.Method of subatmospheric plasma-enhanced ALD using capacitively coupled electrodes with narrow gap
US10643904B2 (en)2016-11-012020-05-05Asm Ip Holdings B.V.Methods for forming a semiconductor device and related semiconductor device structures
US10714350B2 (en)2016-11-012020-07-14ASM IP Holdings, B.V.Methods for forming a transition metal niobium nitride film on a substrate by atomic layer deposition and related semiconductor device structures
US10229833B2 (en)2016-11-012019-03-12Asm Ip Holding B.V.Methods for forming a transition metal nitride film on a substrate by atomic layer deposition and related semiconductor device structures
US10134757B2 (en)2016-11-072018-11-20Asm Ip Holding B.V.Method of processing a substrate and a device manufactured by using the method
KR102546317B1 (ko)2016-11-152023-06-21에이에스엠 아이피 홀딩 비.브이.기체 공급 유닛 및 이를 포함하는 기판 처리 장치
US10340135B2 (en)2016-11-282019-07-02Asm Ip Holding B.V.Method of topologically restricted plasma-enhanced cyclic deposition of silicon or metal nitride
KR102762543B1 (ko)2016-12-142025-02-05에이에스엠 아이피 홀딩 비.브이.기판 처리 장치
US9916980B1 (en)2016-12-152018-03-13Asm Ip Holding B.V.Method of forming a structure on a substrate
US11447861B2 (en)2016-12-152022-09-20Asm Ip Holding B.V.Sequential infiltration synthesis apparatus and a method of forming a patterned structure
US11581186B2 (en)2016-12-152023-02-14Asm Ip Holding B.V.Sequential infiltration synthesis apparatus
KR102700194B1 (ko)2016-12-192024-08-28에이에스엠 아이피 홀딩 비.브이.기판 처리 장치
US10269558B2 (en)2016-12-222019-04-23Asm Ip Holding B.V.Method of forming a structure on a substrate
US10867788B2 (en)2016-12-282020-12-15Asm Ip Holding B.V.Method of forming a structure on a substrate
US11390950B2 (en)2017-01-102022-07-19Asm Ip Holding B.V.Reactor system and method to reduce residue buildup during a film deposition process
US10655221B2 (en)2017-02-092020-05-19Asm Ip Holding B.V.Method for depositing oxide film by thermal ALD and PEALD
US10468261B2 (en)2017-02-152019-11-05Asm Ip Holding B.V.Methods for forming a metallic film on a substrate by cyclical deposition and related semiconductor device structures
US10283353B2 (en)2017-03-292019-05-07Asm Ip Holding B.V.Method of reforming insulating film deposited on substrate with recess pattern
US10529563B2 (en)2017-03-292020-01-07Asm Ip Holdings B.V.Method for forming doped metal oxide films on a substrate by cyclical deposition and related semiconductor device structures
US10103040B1 (en)2017-03-312018-10-16Asm Ip Holding B.V.Apparatus and method for manufacturing a semiconductor device
USD830981S1 (en)2017-04-072018-10-16Asm Ip Holding B.V.Susceptor for semiconductor substrate processing apparatus
KR102457289B1 (ko)2017-04-252022-10-21에이에스엠 아이피 홀딩 비.브이.박막 증착 방법 및 반도체 장치의 제조 방법
US10770286B2 (en)2017-05-082020-09-08Asm Ip Holdings B.V.Methods for selectively forming a silicon nitride film on a substrate and related semiconductor device structures
US10446393B2 (en)2017-05-082019-10-15Asm Ip Holding B.V.Methods for forming silicon-containing epitaxial layers and related semiconductor device structures
US10892156B2 (en)2017-05-082021-01-12Asm Ip Holding B.V.Methods for forming a silicon nitride film on a substrate and related semiconductor device structures
US10504742B2 (en)2017-05-312019-12-10Asm Ip Holding B.V.Method of atomic layer etching using hydrogen plasma
US10886123B2 (en)2017-06-022021-01-05Asm Ip Holding B.V.Methods for forming low temperature semiconductor layers and related semiconductor device structures
US12040200B2 (en)2017-06-202024-07-16Asm Ip Holding B.V.Semiconductor processing apparatus and methods for calibrating a semiconductor processing apparatus
US10450119B2 (en)2017-06-222019-10-22The Procter & Gamble CompanyFilms including a water-soluble layer and a vapor-deposited inorganic coating
WO2018237212A1 (en)2017-06-222018-12-27The Procter & Gamble CompanyFilms including a water-soluble layer and a vapor-deposited organic coating
US10959918B2 (en)*2017-06-222021-03-30The Procter & Gamble CompanyFilms including a water-soluble layer and a vapor-deposited coating
US11306395B2 (en)2017-06-282022-04-19Asm Ip Holding B.V.Methods for depositing a transition metal nitride film on a substrate by atomic layer deposition and related deposition apparatus
US10685834B2 (en)2017-07-052020-06-16Asm Ip Holdings B.V.Methods for forming a silicon germanium tin layer and related semiconductor device structures
KR20190009245A (ko)2017-07-182019-01-28에이에스엠 아이피 홀딩 비.브이.반도체 소자 구조물 형성 방법 및 관련된 반도체 소자 구조물
US11018002B2 (en)2017-07-192021-05-25Asm Ip Holding B.V.Method for selectively depositing a Group IV semiconductor and related semiconductor device structures
US11374112B2 (en)2017-07-192022-06-28Asm Ip Holding B.V.Method for depositing a group IV semiconductor and related semiconductor device structures
US10541333B2 (en)2017-07-192020-01-21Asm Ip Holding B.V.Method for depositing a group IV semiconductor and related semiconductor device structures
US10590535B2 (en)2017-07-262020-03-17Asm Ip Holdings B.V.Chemical treatment, deposition and/or infiltration apparatus and method for using the same
US10312055B2 (en)2017-07-262019-06-04Asm Ip Holding B.V.Method of depositing film by PEALD using negative bias
US10605530B2 (en)2017-07-262020-03-31Asm Ip Holding B.V.Assembly of a liner and a flange for a vertical furnace as well as the liner and the vertical furnace
TWI815813B (zh)2017-08-042023-09-21荷蘭商Asm智慧財產控股公司用於分配反應腔內氣體的噴頭總成
US10770336B2 (en)2017-08-082020-09-08Asm Ip Holding B.V.Substrate lift mechanism and reactor including same
US10692741B2 (en)2017-08-082020-06-23Asm Ip Holdings B.V.Radiation shield
US11139191B2 (en)2017-08-092021-10-05Asm Ip Holding B.V.Storage apparatus for storing cassettes for substrates and processing apparatus equipped therewith
US10249524B2 (en)2017-08-092019-04-02Asm Ip Holding B.V.Cassette holder assembly for a substrate cassette and holding member for use in such assembly
US11769682B2 (en)2017-08-092023-09-26Asm Ip Holding B.V.Storage apparatus for storing cassettes for substrates and processing apparatus equipped therewith
US10236177B1 (en)2017-08-222019-03-19ASM IP Holding B.V..Methods for depositing a doped germanium tin semiconductor and related semiconductor device structures
USD900036S1 (en)2017-08-242020-10-27Asm Ip Holding B.V.Heater electrical connector and adapter
US11830730B2 (en)2017-08-292023-11-28Asm Ip Holding B.V.Layer forming method and apparatus
US11056344B2 (en)2017-08-302021-07-06Asm Ip Holding B.V.Layer forming method
KR102491945B1 (ko)2017-08-302023-01-26에이에스엠 아이피 홀딩 비.브이.기판 처리 장치
US11295980B2 (en)2017-08-302022-04-05Asm Ip Holding B.V.Methods for depositing a molybdenum metal film over a dielectric surface of a substrate by a cyclical deposition process and related semiconductor device structures
KR102401446B1 (ko)2017-08-312022-05-24에이에스엠 아이피 홀딩 비.브이.기판 처리 장치
US10607895B2 (en)2017-09-182020-03-31Asm Ip Holdings B.V.Method for forming a semiconductor device structure comprising a gate fill metal
KR102630301B1 (ko)2017-09-212024-01-29에이에스엠 아이피 홀딩 비.브이.침투성 재료의 순차 침투 합성 방법 처리 및 이를 이용하여 형성된 구조물 및 장치
US10844484B2 (en)2017-09-222020-11-24Asm Ip Holding B.V.Apparatus for dispensing a vapor phase reactant to a reaction chamber and related methods
US10658205B2 (en)2017-09-282020-05-19Asm Ip Holdings B.V.Chemical dispensing apparatus and methods for dispensing a chemical to a reaction chamber
US10403504B2 (en)2017-10-052019-09-03Asm Ip Holding B.V.Method for selectively depositing a metallic film on a substrate
US10319588B2 (en)2017-10-102019-06-11Asm Ip Holding B.V.Method for depositing a metal chalcogenide on a substrate by cyclical deposition
US10923344B2 (en)2017-10-302021-02-16Asm Ip Holding B.V.Methods for forming a semiconductor structure and related semiconductor structures
US10910262B2 (en)2017-11-162021-02-02Asm Ip Holding B.V.Method of selectively depositing a capping layer structure on a semiconductor device structure
KR102443047B1 (ko)2017-11-162022-09-14에이에스엠 아이피 홀딩 비.브이.기판 처리 장치 방법 및 그에 의해 제조된 장치
US11022879B2 (en)2017-11-242021-06-01Asm Ip Holding B.V.Method of forming an enhanced unexposed photoresist layer
CN111344522B (zh)2017-11-272022-04-12阿斯莫Ip控股公司包括洁净迷你环境的装置
WO2019103613A1 (en)2017-11-272019-05-31Asm Ip Holding B.V.A storage device for storing wafer cassettes for use with a batch furnace
US10290508B1 (en)2017-12-052019-05-14Asm Ip Holding B.V.Method for forming vertical spacers for spacer-defined patterning
US10872771B2 (en)2018-01-162020-12-22Asm Ip Holding B. V.Method for depositing a material film on a substrate within a reaction chamber by a cyclical deposition process and related device structures
TWI799494B (zh)2018-01-192023-04-21荷蘭商Asm 智慧財產控股公司沈積方法
KR102695659B1 (ko)2018-01-192024-08-14에이에스엠 아이피 홀딩 비.브이.플라즈마 보조 증착에 의해 갭 충진 층을 증착하는 방법
USD903477S1 (en)2018-01-242020-12-01Asm Ip Holdings B.V.Metal clamp
US11018047B2 (en)2018-01-252021-05-25Asm Ip Holding B.V.Hybrid lift pin
US10535516B2 (en)2018-02-012020-01-14Asm Ip Holdings B.V.Method for depositing a semiconductor structure on a surface of a substrate and related semiconductor structures
USD880437S1 (en)2018-02-012020-04-07Asm Ip Holding B.V.Gas supply plate for semiconductor manufacturing apparatus
US11081345B2 (en)2018-02-062021-08-03Asm Ip Holding B.V.Method of post-deposition treatment for silicon oxide film
US10896820B2 (en)2018-02-142021-01-19Asm Ip Holding B.V.Method for depositing a ruthenium-containing film on a substrate by a cyclical deposition process
WO2019158960A1 (en)2018-02-142019-08-22Asm Ip Holding B.V.A method for depositing a ruthenium-containing film on a substrate by a cyclical deposition process
US10731249B2 (en)2018-02-152020-08-04Asm Ip Holding B.V.Method of forming a transition metal containing film on a substrate by a cyclical deposition process, a method for supplying a transition metal halide compound to a reaction chamber, and related vapor deposition apparatus
US10658181B2 (en)2018-02-202020-05-19Asm Ip Holding B.V.Method of spacer-defined direct patterning in semiconductor fabrication
KR102636427B1 (ko)2018-02-202024-02-13에이에스엠 아이피 홀딩 비.브이.기판 처리 방법 및 장치
US10975470B2 (en)2018-02-232021-04-13Asm Ip Holding B.V.Apparatus for detecting or monitoring for a chemical precursor in a high temperature environment
US11473195B2 (en)2018-03-012022-10-18Asm Ip Holding B.V.Semiconductor processing apparatus and a method for processing a substrate
US11629406B2 (en)2018-03-092023-04-18Asm Ip Holding B.V.Semiconductor processing apparatus comprising one or more pyrometers for measuring a temperature of a substrate during transfer of the substrate
US11114283B2 (en)2018-03-162021-09-07Asm Ip Holding B.V.Reactor, system including the reactor, and methods of manufacturing and using same
KR102646467B1 (ko)2018-03-272024-03-11에이에스엠 아이피 홀딩 비.브이.기판 상에 전극을 형성하는 방법 및 전극을 포함하는 반도체 소자 구조
WO2019187978A1 (ja)*2018-03-282019-10-03富士フイルム株式会社ガスバリアフィルム
US10510536B2 (en)2018-03-292019-12-17Asm Ip Holding B.V.Method of depositing a co-doped polysilicon film on a surface of a substrate within a reaction chamber
US11088002B2 (en)2018-03-292021-08-10Asm Ip Holding B.V.Substrate rack and a substrate processing system and method
US11230766B2 (en)2018-03-292022-01-25Asm Ip Holding B.V.Substrate processing apparatus and method
KR102501472B1 (ko)2018-03-302023-02-20에이에스엠 아이피 홀딩 비.브이.기판 처리 방법
KR102600229B1 (ko)2018-04-092023-11-10에이에스엠 아이피 홀딩 비.브이.기판 지지 장치, 이를 포함하는 기판 처리 장치 및 기판 처리 방법
TWI811348B (zh)2018-05-082023-08-11荷蘭商Asm 智慧財產控股公司藉由循環沉積製程於基板上沉積氧化物膜之方法及相關裝置結構
US12025484B2 (en)2018-05-082024-07-02Asm Ip Holding B.V.Thin film forming method
US12272527B2 (en)2018-05-092025-04-08Asm Ip Holding B.V.Apparatus for use with hydrogen radicals and method of using same
KR20190129718A (ko)2018-05-112019-11-20에이에스엠 아이피 홀딩 비.브이.기판 상에 피도핑 금속 탄화물 막을 형성하는 방법 및 관련 반도체 소자 구조
KR102596988B1 (ko)2018-05-282023-10-31에이에스엠 아이피 홀딩 비.브이.기판 처리 방법 및 그에 의해 제조된 장치
TWI840362B (zh)2018-06-042024-05-01荷蘭商Asm Ip私人控股有限公司水氣降低的晶圓處置腔室
US11718913B2 (en)2018-06-042023-08-08Asm Ip Holding B.V.Gas distribution system and reactor system including same
US11286562B2 (en)2018-06-082022-03-29Asm Ip Holding B.V.Gas-phase chemical reactor and method of using same
KR102568797B1 (ko)2018-06-212023-08-21에이에스엠 아이피 홀딩 비.브이.기판 처리 시스템
US10797133B2 (en)2018-06-212020-10-06Asm Ip Holding B.V.Method for depositing a phosphorus doped silicon arsenide film and related semiconductor device structures
KR102854019B1 (ko)2018-06-272025-09-02에이에스엠 아이피 홀딩 비.브이.금속 함유 재료를 형성하기 위한 주기적 증착 방법 및 금속 함유 재료를 포함하는 필름 및 구조체
TWI873894B (zh)2018-06-272025-02-21荷蘭商Asm Ip私人控股有限公司用於形成含金屬材料及包含含金屬材料的膜及結構之循環沉積方法
KR102686758B1 (ko)2018-06-292024-07-18에이에스엠 아이피 홀딩 비.브이.박막 증착 방법 및 반도체 장치의 제조 방법
US10612136B2 (en)2018-06-292020-04-07ASM IP Holding, B.V.Temperature-controlled flange and reactor system including same
US10755922B2 (en)2018-07-032020-08-25Asm Ip Holding B.V.Method for depositing silicon-free carbon-containing film as gap-fill layer by pulse plasma-assisted deposition
US10388513B1 (en)2018-07-032019-08-20Asm Ip Holding B.V.Method for depositing silicon-free carbon-containing film as gap-fill layer by pulse plasma-assisted deposition
US10767789B2 (en)2018-07-162020-09-08Asm Ip Holding B.V.Diaphragm valves, valve components, and methods for forming valve components
US10483099B1 (en)2018-07-262019-11-19Asm Ip Holding B.V.Method for forming thermally stable organosilicon polymer film
US11053591B2 (en)2018-08-062021-07-06Asm Ip Holding B.V.Multi-port gas injection system and reactor system including same
US10883175B2 (en)2018-08-092021-01-05Asm Ip Holding B.V.Vertical furnace for processing substrates and a liner for use therein
US10829852B2 (en)2018-08-162020-11-10Asm Ip Holding B.V.Gas distribution device for a wafer processing apparatus
US11430674B2 (en)2018-08-222022-08-30Asm Ip Holding B.V.Sensor array, apparatus for dispensing a vapor phase reactant to a reaction chamber and related methods
KR102707956B1 (ko)2018-09-112024-09-19에이에스엠 아이피 홀딩 비.브이.박막 증착 방법
US11024523B2 (en)2018-09-112021-06-01Asm Ip Holding B.V.Substrate processing apparatus and method
US11049751B2 (en)2018-09-142021-06-29Asm Ip Holding B.V.Cassette supply system to store and handle cassettes and processing apparatus equipped therewith
CN110970344B (zh)2018-10-012024-10-25Asmip控股有限公司衬底保持设备、包含所述设备的系统及其使用方法
US11232963B2 (en)2018-10-032022-01-25Asm Ip Holding B.V.Substrate processing apparatus and method
KR102592699B1 (ko)2018-10-082023-10-23에이에스엠 아이피 홀딩 비.브이.기판 지지 유닛 및 이를 포함하는 박막 증착 장치와 기판 처리 장치
US10847365B2 (en)2018-10-112020-11-24Asm Ip Holding B.V.Method of forming conformal silicon carbide film by cyclic CVD
US10811256B2 (en)2018-10-162020-10-20Asm Ip Holding B.V.Method for etching a carbon-containing feature
KR102546322B1 (ko)2018-10-192023-06-21에이에스엠 아이피 홀딩 비.브이.기판 처리 장치 및 기판 처리 방법
KR102605121B1 (ko)2018-10-192023-11-23에이에스엠 아이피 홀딩 비.브이.기판 처리 장치 및 기판 처리 방법
USD948463S1 (en)2018-10-242022-04-12Asm Ip Holding B.V.Susceptor for semiconductor substrate supporting apparatus
CN109267039B (zh)*2018-10-242019-11-29江苏菲沃泰纳米科技有限公司一种聚氨酯纳米涂层及其制备方法
US10381219B1 (en)2018-10-252019-08-13Asm Ip Holding B.V.Methods for forming a silicon nitride film
US12378665B2 (en)2018-10-262025-08-05Asm Ip Holding B.V.High temperature coatings for a preclean and etch apparatus and related methods
US11087997B2 (en)2018-10-312021-08-10Asm Ip Holding B.V.Substrate processing apparatus for processing substrates
KR102748291B1 (ko)2018-11-022024-12-31에이에스엠 아이피 홀딩 비.브이.기판 지지 유닛 및 이를 포함하는 기판 처리 장치
US11572620B2 (en)2018-11-062023-02-07Asm Ip Holding B.V.Methods for selectively depositing an amorphous silicon film on a substrate
US11031242B2 (en)2018-11-072021-06-08Asm Ip Holding B.V.Methods for depositing a boron doped silicon germanium film
US10847366B2 (en)2018-11-162020-11-24Asm Ip Holding B.V.Methods for depositing a transition metal chalcogenide film on a substrate by a cyclical deposition process
US10818758B2 (en)2018-11-162020-10-27Asm Ip Holding B.V.Methods for forming a metal silicate film on a substrate in a reaction chamber and related semiconductor device structures
US10559458B1 (en)2018-11-262020-02-11Asm Ip Holding B.V.Method of forming oxynitride film
US12040199B2 (en)2018-11-282024-07-16Asm Ip Holding B.V.Substrate processing apparatus for processing substrates
US11217444B2 (en)2018-11-302022-01-04Asm Ip Holding B.V.Method for forming an ultraviolet radiation responsive metal oxide-containing film
KR102636428B1 (ko)2018-12-042024-02-13에이에스엠 아이피 홀딩 비.브이.기판 처리 장치를 세정하는 방법
US11158513B2 (en)2018-12-132021-10-26Asm Ip Holding B.V.Methods for forming a rhenium-containing film on a substrate by a cyclical deposition process and related semiconductor device structures
TWI874340B (zh)2018-12-142025-03-01荷蘭商Asm Ip私人控股有限公司形成裝置結構之方法、其所形成之結構及施行其之系統
TWI866480B (zh)2019-01-172024-12-11荷蘭商Asm Ip 私人控股有限公司藉由循環沈積製程於基板上形成含過渡金屬膜之方法
KR102727227B1 (ko)2019-01-222024-11-07에이에스엠 아이피 홀딩 비.브이.기판 처리 장치
CN111524788B (zh)2019-02-012023-11-24Asm Ip私人控股有限公司氧化硅的拓扑选择性膜形成的方法
TWI845607B (zh)2019-02-202024-06-21荷蘭商Asm Ip私人控股有限公司用來填充形成於基材表面內之凹部的循環沉積方法及設備
KR102626263B1 (ko)2019-02-202024-01-16에이에스엠 아이피 홀딩 비.브이.처리 단계를 포함하는 주기적 증착 방법 및 이를 위한 장치
TWI838458B (zh)2019-02-202024-04-11荷蘭商Asm Ip私人控股有限公司用於3d nand應用中之插塞填充沉積之設備及方法
TWI873122B (zh)2019-02-202025-02-21荷蘭商Asm Ip私人控股有限公司填充一基板之一表面內所形成的一凹槽的方法、根據其所形成之半導體結構、及半導體處理設備
TWI842826B (zh)2019-02-222024-05-21荷蘭商Asm Ip私人控股有限公司基材處理設備及處理基材之方法
KR102782593B1 (ko)2019-03-082025-03-14에이에스엠 아이피 홀딩 비.브이.SiOC 층을 포함한 구조체 및 이의 형성 방법
KR102858005B1 (ko)2019-03-082025-09-09에이에스엠 아이피 홀딩 비.브이.실리콘 질화물 층을 선택적으로 증착하는 방법, 및 선택적으로 증착된 실리콘 질화물 층을 포함하는 구조체
US11742198B2 (en)2019-03-082023-08-29Asm Ip Holding B.V.Structure including SiOCN layer and method of forming same
JP2020167398A (ja)2019-03-282020-10-08エーエスエム・アイピー・ホールディング・ベー・フェードアオープナーおよびドアオープナーが提供される基材処理装置
KR102809999B1 (ko)2019-04-012025-05-19에이에스엠 아이피 홀딩 비.브이.반도체 소자를 제조하는 방법
KR20200123380A (ko)2019-04-192020-10-29에이에스엠 아이피 홀딩 비.브이.층 형성 방법 및 장치
KR20200125453A (ko)2019-04-242020-11-04에이에스엠 아이피 홀딩 비.브이.기상 반응기 시스템 및 이를 사용하는 방법
US11289326B2 (en)2019-05-072022-03-29Asm Ip Holding B.V.Method for reforming amorphous carbon polymer film
KR20200130121A (ko)2019-05-072020-11-18에이에스엠 아이피 홀딩 비.브이.딥 튜브가 있는 화학물질 공급원 용기
KR20200130652A (ko)2019-05-102020-11-19에이에스엠 아이피 홀딩 비.브이.표면 상에 재료를 증착하는 방법 및 본 방법에 따라 형성된 구조
JP7612342B2 (ja)2019-05-162025-01-14エーエスエム・アイピー・ホールディング・ベー・フェーウェハボートハンドリング装置、縦型バッチ炉および方法
JP7598201B2 (ja)2019-05-162024-12-11エーエスエム・アイピー・ホールディング・ベー・フェーウェハボートハンドリング装置、縦型バッチ炉および方法
USD947913S1 (en)2019-05-172022-04-05Asm Ip Holding B.V.Susceptor shaft
USD975665S1 (en)2019-05-172023-01-17Asm Ip Holding B.V.Susceptor shaft
USD935572S1 (en)2019-05-242021-11-09Asm Ip Holding B.V.Gas channel plate
USD922229S1 (en)2019-06-052021-06-15Asm Ip Holding B.V.Device for controlling a temperature of a gas supply unit
KR20200141002A (ko)2019-06-062020-12-17에이에스엠 아이피 홀딩 비.브이.배기 가스 분석을 포함한 기상 반응기 시스템을 사용하는 방법
KR20200141931A (ko)2019-06-102020-12-21에이에스엠 아이피 홀딩 비.브이.석영 에피택셜 챔버를 세정하는 방법
KR20200143254A (ko)2019-06-112020-12-23에이에스엠 아이피 홀딩 비.브이.개질 가스를 사용하여 전자 구조를 형성하는 방법, 상기 방법을 수행하기 위한 시스템, 및 상기 방법을 사용하여 형성되는 구조
USD944946S1 (en)2019-06-142022-03-01Asm Ip Holding B.V.Shower plate
USD931978S1 (en)2019-06-272021-09-28Asm Ip Holding B.V.Showerhead vacuum transport
KR20210005515A (ko)2019-07-032021-01-14에이에스엠 아이피 홀딩 비.브이.기판 처리 장치용 온도 제어 조립체 및 이를 사용하는 방법
JP7499079B2 (ja)2019-07-092024-06-13エーエスエム・アイピー・ホールディング・ベー・フェー同軸導波管を用いたプラズマ装置、基板処理方法
CN112216646A (zh)2019-07-102021-01-12Asm Ip私人控股有限公司基板支撑组件及包括其的基板处理装置
KR20210010307A (ko)2019-07-162021-01-27에이에스엠 아이피 홀딩 비.브이.기판 처리 장치
KR102860110B1 (ko)2019-07-172025-09-16에이에스엠 아이피 홀딩 비.브이.실리콘 게르마늄 구조를 형성하는 방법
KR20210010816A (ko)2019-07-172021-01-28에이에스엠 아이피 홀딩 비.브이.라디칼 보조 점화 플라즈마 시스템 및 방법
US11643724B2 (en)2019-07-182023-05-09Asm Ip Holding B.V.Method of forming structures using a neutral beam
TWI839544B (zh)2019-07-192024-04-21荷蘭商Asm Ip私人控股有限公司形成形貌受控的非晶碳聚合物膜之方法
KR20210010817A (ko)2019-07-192021-01-28에이에스엠 아이피 홀딩 비.브이.토폴로지-제어된 비정질 탄소 중합체 막을 형성하는 방법
TWI851767B (zh)2019-07-292024-08-11荷蘭商Asm Ip私人控股有限公司用於利用n型摻雜物及/或替代摻雜物選擇性沉積以達成高摻雜物併入之方法
US12169361B2 (en)2019-07-302024-12-17Asm Ip Holding B.V.Substrate processing apparatus and method
CN112309899A (zh)2019-07-302021-02-02Asm Ip私人控股有限公司基板处理设备
CN112309900A (zh)2019-07-302021-02-02Asm Ip私人控股有限公司基板处理设备
US11227782B2 (en)2019-07-312022-01-18Asm Ip Holding B.V.Vertical batch furnace assembly
US11587815B2 (en)2019-07-312023-02-21Asm Ip Holding B.V.Vertical batch furnace assembly
US11587814B2 (en)2019-07-312023-02-21Asm Ip Holding B.V.Vertical batch furnace assembly
CN112323048B (zh)2019-08-052024-02-09Asm Ip私人控股有限公司用于化学源容器的液位传感器
CN112342526A (zh)2019-08-092021-02-09Asm Ip私人控股有限公司包括冷却装置的加热器组件及其使用方法
USD965524S1 (en)2019-08-192022-10-04Asm Ip Holding B.V.Susceptor support
USD965044S1 (en)2019-08-192022-09-27Asm Ip Holding B.V.Susceptor shaft
JP2021031769A (ja)2019-08-212021-03-01エーエスエム アイピー ホールディング ビー.ブイ.成膜原料混合ガス生成装置及び成膜装置
USD949319S1 (en)2019-08-222022-04-19Asm Ip Holding B.V.Exhaust duct
USD979506S1 (en)2019-08-222023-02-28Asm Ip Holding B.V.Insulator
USD930782S1 (en)2019-08-222021-09-14Asm Ip Holding B.V.Gas distributor
KR20210024423A (ko)2019-08-222021-03-05에이에스엠 아이피 홀딩 비.브이.홀을 구비한 구조체를 형성하기 위한 방법
USD940837S1 (en)2019-08-222022-01-11Asm Ip Holding B.V.Electrode
US11286558B2 (en)2019-08-232022-03-29Asm Ip Holding B.V.Methods for depositing a molybdenum nitride film on a surface of a substrate by a cyclical deposition process and related semiconductor device structures including a molybdenum nitride film
KR20210024420A (ko)2019-08-232021-03-05에이에스엠 아이피 홀딩 비.브이.비스(디에틸아미노)실란을 사용하여 peald에 의해 개선된 품질을 갖는 실리콘 산화물 막을 증착하기 위한 방법
KR102806450B1 (ko)2019-09-042025-05-12에이에스엠 아이피 홀딩 비.브이.희생 캡핑 층을 이용한 선택적 증착 방법
KR102733104B1 (ko)2019-09-052024-11-22에이에스엠 아이피 홀딩 비.브이.기판 처리 장치
US11562901B2 (en)2019-09-252023-01-24Asm Ip Holding B.V.Substrate processing method
CN112593212B (zh)2019-10-022023-12-22Asm Ip私人控股有限公司通过循环等离子体增强沉积工艺形成拓扑选择性氧化硅膜的方法
KR20210042810A (ko)2019-10-082021-04-20에이에스엠 아이피 홀딩 비.브이.활성 종을 이용하기 위한 가스 분배 어셈블리를 포함한 반응기 시스템 및 이를 사용하는 방법
TWI846953B (zh)2019-10-082024-07-01荷蘭商Asm Ip私人控股有限公司基板處理裝置
TW202128273A (zh)2019-10-082021-08-01荷蘭商Asm Ip私人控股有限公司氣體注入系統、及將材料沉積於反應室內之基板表面上的方法
TWI846966B (zh)2019-10-102024-07-01荷蘭商Asm Ip私人控股有限公司形成光阻底層之方法及包括光阻底層之結構
US12009241B2 (en)2019-10-142024-06-11Asm Ip Holding B.V.Vertical batch furnace assembly with detector to detect cassette
TWI834919B (zh)2019-10-162024-03-11荷蘭商Asm Ip私人控股有限公司氧化矽之拓撲選擇性膜形成之方法
US11637014B2 (en)2019-10-172023-04-25Asm Ip Holding B.V.Methods for selective deposition of doped semiconductor material
KR102845724B1 (ko)2019-10-212025-08-13에이에스엠 아이피 홀딩 비.브이.막을 선택적으로 에칭하기 위한 장치 및 방법
KR20210050453A (ko)2019-10-252021-05-07에이에스엠 아이피 홀딩 비.브이.기판 표면 상의 갭 피처를 충진하는 방법 및 이와 관련된 반도체 소자 구조
US11646205B2 (en)2019-10-292023-05-09Asm Ip Holding B.V.Methods of selectively forming n-type doped material on a surface, systems for selectively forming n-type doped material, and structures formed using same
KR20210054983A (ko)2019-11-052021-05-14에이에스엠 아이피 홀딩 비.브이.도핑된 반도체 층을 갖는 구조체 및 이를 형성하기 위한 방법 및 시스템
US11501968B2 (en)2019-11-152022-11-15Asm Ip Holding B.V.Method for providing a semiconductor device with silicon filled gaps
KR102861314B1 (ko)2019-11-202025-09-17에이에스엠 아이피 홀딩 비.브이.기판의 표면 상에 탄소 함유 물질을 증착하는 방법, 상기 방법을 사용하여 형성된 구조물, 및 상기 구조물을 형성하기 위한 시스템
US11450529B2 (en)2019-11-262022-09-20Asm Ip Holding B.V.Methods for selectively forming a target film on a substrate comprising a first dielectric surface and a second metallic surface
CN112951697B (zh)2019-11-262025-07-29Asmip私人控股有限公司基板处理设备
CN120432376A (zh)2019-11-292025-08-05Asm Ip私人控股有限公司基板处理设备
CN112885692B (zh)2019-11-292025-08-15Asmip私人控股有限公司基板处理设备
JP7527928B2 (ja)2019-12-022024-08-05エーエスエム・アイピー・ホールディング・ベー・フェー基板処理装置、基板処理方法
KR20210070898A (ko)2019-12-042021-06-15에이에스엠 아이피 홀딩 비.브이.기판 처리 장치
CN111020503B (zh)*2019-12-102021-07-30湖北大学蒙脱土在磁控溅射靶材中的应用、得到的蒙脱土薄膜及应用
KR20210078405A (ko)2019-12-172021-06-28에이에스엠 아이피 홀딩 비.브이.바나듐 나이트라이드 층을 형성하는 방법 및 바나듐 나이트라이드 층을 포함하는 구조
KR20210080214A (ko)2019-12-192021-06-30에이에스엠 아이피 홀딩 비.브이.기판 상의 갭 피처를 충진하는 방법 및 이와 관련된 반도체 소자 구조
JP7730637B2 (ja)2020-01-062025-08-28エーエスエム・アイピー・ホールディング・ベー・フェーガス供給アセンブリ、その構成要素、およびこれを含む反応器システム
JP7636892B2 (ja)2020-01-062025-02-27エーエスエム・アイピー・ホールディング・ベー・フェーチャネル付きリフトピン
US11993847B2 (en)2020-01-082024-05-28Asm Ip Holding B.V.Injector
KR20210093163A (ko)2020-01-162021-07-27에이에스엠 아이피 홀딩 비.브이.고 종횡비 피처를 형성하는 방법
KR102675856B1 (ko)2020-01-202024-06-17에이에스엠 아이피 홀딩 비.브이.박막 형성 방법 및 박막 표면 개질 방법
TWI889744B (zh)2020-01-292025-07-11荷蘭商Asm Ip私人控股有限公司污染物捕集系統、及擋板堆疊
TW202513845A (zh)2020-02-032025-04-01荷蘭商Asm Ip私人控股有限公司半導體裝置結構及其形成方法
KR20210100010A (ko)2020-02-042021-08-13에이에스엠 아이피 홀딩 비.브이.대형 물품의 투과율 측정을 위한 방법 및 장치
US11776846B2 (en)2020-02-072023-10-03Asm Ip Holding B.V.Methods for depositing gap filling fluids and related systems and devices
TW202146691A (zh)2020-02-132021-12-16荷蘭商Asm Ip私人控股有限公司氣體分配總成、噴淋板總成、及調整至反應室之氣體的傳導率之方法
KR20210103956A (ko)2020-02-132021-08-24에이에스엠 아이피 홀딩 비.브이.수광 장치를 포함하는 기판 처리 장치 및 수광 장치의 교정 방법
TWI855223B (zh)2020-02-172024-09-11荷蘭商Asm Ip私人控股有限公司用於生長磷摻雜矽層之方法
CN113410160A (zh)2020-02-282021-09-17Asm Ip私人控股有限公司专用于零件清洁的系统
KR20210113043A (ko)2020-03-042021-09-15에이에스엠 아이피 홀딩 비.브이.반응기 시스템용 정렬 고정구
KR20210116240A (ko)2020-03-112021-09-27에이에스엠 아이피 홀딩 비.브이.조절성 접합부를 갖는 기판 핸들링 장치
CN111205499A (zh)*2020-03-112020-05-29刘珂贝一种纳米微晶纤维素压电材料及其制备方法
US11876356B2 (en)2020-03-112024-01-16Asm Ip Holding B.V.Lockout tagout assembly and system and method of using same
KR102775390B1 (ko)2020-03-122025-02-28에이에스엠 아이피 홀딩 비.브이.타겟 토폴로지 프로파일을 갖는 층 구조를 제조하기 위한 방법
US12173404B2 (en)2020-03-172024-12-24Asm Ip Holding B.V.Method of depositing epitaxial material, structure formed using the method, and system for performing the method
KR102755229B1 (ko)2020-04-022025-01-14에이에스엠 아이피 홀딩 비.브이.박막 형성 방법
TWI887376B (zh)2020-04-032025-06-21荷蘭商Asm Ip私人控股有限公司半導體裝置的製造方法
TWI888525B (zh)2020-04-082025-07-01荷蘭商Asm Ip私人控股有限公司用於選擇性蝕刻氧化矽膜之設備及方法
US11821078B2 (en)2020-04-152023-11-21Asm Ip Holding B.V.Method for forming precoat film and method for forming silicon-containing film
KR20210128343A (ko)2020-04-152021-10-26에이에스엠 아이피 홀딩 비.브이.크롬 나이트라이드 층을 형성하는 방법 및 크롬 나이트라이드 층을 포함하는 구조
US11996289B2 (en)2020-04-162024-05-28Asm Ip Holding B.V.Methods of forming structures including silicon germanium and silicon layers, devices formed using the methods, and systems for performing the methods
KR20210130646A (ko)2020-04-212021-11-01에이에스엠 아이피 홀딩 비.브이.기판을 처리하기 위한 방법
KR102866804B1 (ko)2020-04-242025-09-30에이에스엠 아이피 홀딩 비.브이.냉각 가스 공급부를 포함한 수직형 배치 퍼니스 어셈블리
CN113555279A (zh)2020-04-242021-10-26Asm Ip私人控股有限公司形成含氮化钒的层的方法及包含其的结构
KR20210132600A (ko)2020-04-242021-11-04에이에스엠 아이피 홀딩 비.브이.바나듐, 질소 및 추가 원소를 포함한 층을 증착하기 위한 방법 및 시스템
KR20210132612A (ko)2020-04-242021-11-04에이에스엠 아이피 홀딩 비.브이.바나듐 화합물들을 안정화하기 위한 방법들 및 장치
TW202208671A (zh)2020-04-242022-03-01荷蘭商Asm Ip私人控股有限公司形成包括硼化釩及磷化釩層的結構之方法
KR102783898B1 (ko)2020-04-292025-03-18에이에스엠 아이피 홀딩 비.브이.고체 소스 전구체 용기
KR20210134869A (ko)2020-05-012021-11-11에이에스엠 아이피 홀딩 비.브이.Foup 핸들러를 이용한 foup의 빠른 교환
JP7726664B2 (ja)2020-05-042025-08-20エーエスエム・アイピー・ホールディング・ベー・フェー基板を処理するための基板処理システム
KR102788543B1 (ko)2020-05-132025-03-27에이에스엠 아이피 홀딩 비.브이.반응기 시스템용 레이저 정렬 고정구
TW202146699A (zh)2020-05-152021-12-16荷蘭商Asm Ip私人控股有限公司形成矽鍺層之方法、半導體結構、半導體裝置、形成沉積層之方法、及沉積系統
KR20210143653A (ko)2020-05-192021-11-29에이에스엠 아이피 홀딩 비.브이.기판 처리 장치
KR102795476B1 (ko)2020-05-212025-04-11에이에스엠 아이피 홀딩 비.브이.다수의 탄소 층을 포함한 구조체 및 이를 형성하고 사용하는 방법
KR20210145079A (ko)2020-05-212021-12-01에이에스엠 아이피 홀딩 비.브이.기판을 처리하기 위한 플랜지 및 장치
TWI873343B (zh)2020-05-222025-02-21荷蘭商Asm Ip私人控股有限公司用於在基材上形成薄膜之反應系統
KR20210146802A (ko)2020-05-262021-12-06에이에스엠 아이피 홀딩 비.브이.붕소 및 갈륨을 함유한 실리콘 게르마늄 층을 증착하는 방법
TWI876048B (zh)2020-05-292025-03-11荷蘭商Asm Ip私人控股有限公司基板處理方法
TW202212620A (zh)2020-06-022022-04-01荷蘭商Asm Ip私人控股有限公司處理基板之設備、形成膜之方法、及控制用於處理基板之設備之方法
CN111675966B (zh)*2020-06-092022-01-11江苏菲沃泰纳米科技股份有限公司一种保护涂层及其制备方法
CN111519168B (zh)*2020-06-092022-06-14江苏菲沃泰纳米科技股份有限公司一种保护涂层及其制备方法
TW202208659A (zh)2020-06-162022-03-01荷蘭商Asm Ip私人控股有限公司沉積含硼之矽鍺層的方法
TW202218133A (zh)2020-06-242022-05-01荷蘭商Asm Ip私人控股有限公司形成含矽層之方法
TWI873359B (zh)2020-06-302025-02-21荷蘭商Asm Ip私人控股有限公司基板處理方法
US12431354B2 (en)2020-07-012025-09-30Asm Ip Holding B.V.Silicon nitride and silicon oxide deposition methods using fluorine inhibitor
TW202202649A (zh)2020-07-082022-01-16荷蘭商Asm Ip私人控股有限公司基板處理方法
KR20220010438A (ko)2020-07-172022-01-25에이에스엠 아이피 홀딩 비.브이.포토리소그래피에 사용하기 위한 구조체 및 방법
KR20220011092A (ko)2020-07-202022-01-27에이에스엠 아이피 홀딩 비.브이.전이 금속층을 포함하는 구조체를 형성하기 위한 방법 및 시스템
TWI878570B (zh)2020-07-202025-04-01荷蘭商Asm Ip私人控股有限公司用於沉積鉬層之方法及系統
US12322591B2 (en)2020-07-272025-06-03Asm Ip Holding B.V.Thin film deposition process
KR20220021863A (ko)2020-08-142022-02-22에이에스엠 아이피 홀딩 비.브이.기판 처리 방법
US12040177B2 (en)2020-08-182024-07-16Asm Ip Holding B.V.Methods for forming a laminate film by cyclical plasma-enhanced deposition processes
TW202228863A (zh)2020-08-252022-08-01荷蘭商Asm Ip私人控股有限公司清潔基板的方法、選擇性沉積的方法、及反應器系統
US11725280B2 (en)2020-08-262023-08-15Asm Ip Holding B.V.Method for forming metal silicon oxide and metal silicon oxynitride layers
TW202229601A (zh)2020-08-272022-08-01荷蘭商Asm Ip私人控股有限公司形成圖案化結構的方法、操控機械特性的方法、裝置結構、及基板處理系統
TW202217045A (zh)2020-09-102022-05-01荷蘭商Asm Ip私人控股有限公司沉積間隙填充流體之方法及相關系統和裝置
USD990534S1 (en)2020-09-112023-06-27Asm Ip Holding B.V.Weighted lift pin
KR20220036866A (ko)2020-09-162022-03-23에이에스엠 아이피 홀딩 비.브이.실리콘 산화물 증착 방법
USD1012873S1 (en)2020-09-242024-01-30Asm Ip Holding B.V.Electrode for semiconductor processing apparatus
TWI889903B (zh)2020-09-252025-07-11荷蘭商Asm Ip私人控股有限公司基板處理方法
US12009224B2 (en)2020-09-292024-06-11Asm Ip Holding B.V.Apparatus and method for etching metal nitrides
KR20220045900A (ko)2020-10-062022-04-13에이에스엠 아이피 홀딩 비.브이.실리콘 함유 재료를 증착하기 위한 증착 방법 및 장치
CN114293174A (zh)2020-10-072022-04-08Asm Ip私人控股有限公司气体供应单元和包括气体供应单元的衬底处理设备
TW202229613A (zh)2020-10-142022-08-01荷蘭商Asm Ip私人控股有限公司於階梯式結構上沉積材料的方法
TW202232565A (zh)2020-10-152022-08-16荷蘭商Asm Ip私人控股有限公司製造半導體裝置之方法及使用乙太網路控制自動化技術之基板處理裝置
TW202217037A (zh)2020-10-222022-05-01荷蘭商Asm Ip私人控股有限公司沉積釩金屬的方法、結構、裝置及沉積總成
TW202223136A (zh)2020-10-282022-06-16荷蘭商Asm Ip私人控股有限公司用於在基板上形成層之方法、及半導體處理系統
TW202229620A (zh)2020-11-122022-08-01特文特大學沉積系統、用於控制反應條件之方法、沉積方法
TW202229795A (zh)2020-11-232022-08-01荷蘭商Asm Ip私人控股有限公司具注入器之基板處理設備
TW202235649A (zh)2020-11-242022-09-16荷蘭商Asm Ip私人控股有限公司填充間隙之方法與相關之系統及裝置
TW202235675A (zh)2020-11-302022-09-16荷蘭商Asm Ip私人控股有限公司注入器、及基板處理設備
US12255053B2 (en)2020-12-102025-03-18Asm Ip Holding B.V.Methods and systems for depositing a layer
TW202233884A (zh)2020-12-142022-09-01荷蘭商Asm Ip私人控股有限公司形成臨限電壓控制用之結構的方法
US11946137B2 (en)2020-12-162024-04-02Asm Ip Holding B.V.Runout and wobble measurement fixtures
TW202232639A (zh)2020-12-182022-08-16荷蘭商Asm Ip私人控股有限公司具有可旋轉台的晶圓處理設備
TW202226899A (zh)2020-12-222022-07-01荷蘭商Asm Ip私人控股有限公司具匹配器的電漿處理裝置
TW202242184A (zh)2020-12-222022-11-01荷蘭商Asm Ip私人控股有限公司前驅物膠囊、前驅物容器、氣相沉積總成、及將固態前驅物裝載至前驅物容器中之方法
TW202231903A (zh)2020-12-222022-08-16荷蘭商Asm Ip私人控股有限公司過渡金屬沉積方法、過渡金屬層、用於沉積過渡金屬於基板上的沉積總成
USD980814S1 (en)2021-05-112023-03-14Asm Ip Holding B.V.Gas distributor for substrate processing apparatus
USD981973S1 (en)2021-05-112023-03-28Asm Ip Holding B.V.Reactor wall for substrate processing apparatus
USD980813S1 (en)2021-05-112023-03-14Asm Ip Holding B.V.Gas flow control plate for substrate processing apparatus
USD1023959S1 (en)2021-05-112024-04-23Asm Ip Holding B.V.Electrode for substrate processing apparatus
CN113684469B (zh)*2021-08-062023-08-22宁波摩华科技有限公司一种用于电子器件的有机防护镀层及其制备方法
USD990441S1 (en)2021-09-072023-06-27Asm Ip Holding B.V.Gas flow control plate
USD1060598S1 (en)2021-12-032025-02-04Asm Ip Holding B.V.Split showerhead cover

Citations (24)

* Cited by examiner, † Cited by third party
Publication numberPriority datePublication dateAssigneeTitle
JPS4878233A (ja)1972-01-211973-10-20
JPS4947916B1 (ja)1970-08-181974-12-18
JPS506223B1 (ja)1970-12-251975-03-12
JPS5058123A (ja)1973-09-221975-05-20
JPH0489236A (ja)1990-08-011992-03-23Oike Ind Co Ltd高バリヤー性を有する包装用材料
JPH0447134B2 (ja)1983-06-061992-08-03Mazda Motor
JPH0452201B2 (ja)1983-05-131992-08-21Omron Tateisi Electronics Co
JPH0462050B2 (ja)1982-07-051992-10-05Seiko Epson Corp
JPH06128725A (ja)*1992-10-141994-05-10Mitsubishi Kasei Corp透明ガスバリヤフィルムの製造方法
JPH106433A (ja)1996-06-201998-01-13Toppan Printing Co Ltdガスバリア性積層体及びその製造方法
JPH11302422A (ja)1998-04-231999-11-02Toppan Printing Co Ltdガスバリア材およびその製造方法および包装体
JP2003071968A (ja)2001-09-032003-03-12Toyo Metallizing Co Ltdガスバリア性フィルム
JP2003181974A (ja)*2001-12-212003-07-03Toppan Printing Co Ltd透明な高水蒸気バリア積層体
JP2003231202A (ja)2002-02-072003-08-19Toppan Printing Co Ltdバリアフィルムおよび導電性バリアフィルム
JP2003257619A (ja)2001-12-252003-09-12Konica Corp有機エレクトロルミネッセンス表示装置等に用いる基板および有機エレクトロルミネッセンス表示装置
JP2003266584A (ja)*2002-03-142003-09-24Mitsubishi Plastics Ind Ltdガスバリア性積層体の製造方法
JP2004114645A (ja)2002-09-302004-04-15Dainippon Printing Co Ltdガスバリア膜付き積層体及びその形成方法
JP2005035204A (ja)*2003-07-172005-02-10Oike Ind Co Ltd透明導電ガスバリアフィルム
JP2006239883A (ja)*2005-02-282006-09-14Fuji Photo Film Co Ltd水蒸気バリアフィルム
JP2006297730A (ja)2005-04-202006-11-02Dainippon Printing Co Ltdガスバリア性積層体
WO2007034773A1 (ja)2005-09-202007-03-29Mitsubishi Plastics, Inc.ガスバリア性積層フィルム
JP2007098679A (ja)*2005-09-302007-04-19Dainippon Printing Co Ltdガスバリアフィルムおよびその製造方法
JP2007136800A (ja)*2005-11-172007-06-07Fujifilm Corpガスバリア性積層フィルム、およびそれを用いた画像表示素子
JP2007210262A (ja)*2006-02-132007-08-23Dainippon Printing Co Ltd透明バリアフィルムおよびその製造方法

Family Cites Families (5)

* Cited by examiner, † Cited by third party
Publication numberPriority datePublication dateAssigneeTitle
US4478909A (en)*1980-10-241984-10-23Toray Industries, Inc.Anti-fogging coating film
DE102004005313A1 (de)*2004-02-022005-09-01Fraunhofer-Gesellschaft zur Förderung der angewandten Forschung e.V.Verfahren zur Herstellung eines Ultrabarriere-Schichtsystems
US20050238846A1 (en)*2004-03-102005-10-27Fuji Photo Film Co., Ltd.Gas barrier laminate film, method for producing the same and image display device utilizing the film
EP2080613B1 (en)*2006-11-162016-03-16Mitsubishi Plastics, Inc.Gas barrier film laminate
WO2008096617A1 (ja)*2007-02-062008-08-14Konica Minolta Holdings, Inc.透明ガスバリア性フィルム及び透明ガスバリア性フィルムの製造方法

Patent Citations (24)

* Cited by examiner, † Cited by third party
Publication numberPriority datePublication dateAssigneeTitle
JPS4947916B1 (ja)1970-08-181974-12-18
JPS506223B1 (ja)1970-12-251975-03-12
JPS4878233A (ja)1972-01-211973-10-20
JPS5058123A (ja)1973-09-221975-05-20
JPH0462050B2 (ja)1982-07-051992-10-05Seiko Epson Corp
JPH0452201B2 (ja)1983-05-131992-08-21Omron Tateisi Electronics Co
JPH0447134B2 (ja)1983-06-061992-08-03Mazda Motor
JPH0489236A (ja)1990-08-011992-03-23Oike Ind Co Ltd高バリヤー性を有する包装用材料
JPH06128725A (ja)*1992-10-141994-05-10Mitsubishi Kasei Corp透明ガスバリヤフィルムの製造方法
JPH106433A (ja)1996-06-201998-01-13Toppan Printing Co Ltdガスバリア性積層体及びその製造方法
JPH11302422A (ja)1998-04-231999-11-02Toppan Printing Co Ltdガスバリア材およびその製造方法および包装体
JP2003071968A (ja)2001-09-032003-03-12Toyo Metallizing Co Ltdガスバリア性フィルム
JP2003181974A (ja)*2001-12-212003-07-03Toppan Printing Co Ltd透明な高水蒸気バリア積層体
JP2003257619A (ja)2001-12-252003-09-12Konica Corp有機エレクトロルミネッセンス表示装置等に用いる基板および有機エレクトロルミネッセンス表示装置
JP2003231202A (ja)2002-02-072003-08-19Toppan Printing Co Ltdバリアフィルムおよび導電性バリアフィルム
JP2003266584A (ja)*2002-03-142003-09-24Mitsubishi Plastics Ind Ltdガスバリア性積層体の製造方法
JP2004114645A (ja)2002-09-302004-04-15Dainippon Printing Co Ltdガスバリア膜付き積層体及びその形成方法
JP2005035204A (ja)*2003-07-172005-02-10Oike Ind Co Ltd透明導電ガスバリアフィルム
JP2006239883A (ja)*2005-02-282006-09-14Fuji Photo Film Co Ltd水蒸気バリアフィルム
JP2006297730A (ja)2005-04-202006-11-02Dainippon Printing Co Ltdガスバリア性積層体
WO2007034773A1 (ja)2005-09-202007-03-29Mitsubishi Plastics, Inc.ガスバリア性積層フィルム
JP2007098679A (ja)*2005-09-302007-04-19Dainippon Printing Co Ltdガスバリアフィルムおよびその製造方法
JP2007136800A (ja)*2005-11-172007-06-07Fujifilm Corpガスバリア性積層フィルム、およびそれを用いた画像表示素子
JP2007210262A (ja)*2006-02-132007-08-23Dainippon Printing Co Ltd透明バリアフィルムおよびその製造方法

Non-Patent Citations (1)

* Cited by examiner, † Cited by third party
Title
See also references ofEP2397574A4

Cited By (22)

* Cited by examiner, † Cited by third party
Publication numberPriority datePublication dateAssigneeTitle
WO2012060424A1 (ja)*2010-11-042012-05-10三菱樹脂株式会社ガスバリア性積層フィルム
CN103189202A (zh)*2010-11-042013-07-03三菱树脂株式会社阻气性叠层膜
US20130295359A1 (en)*2010-11-042013-11-07Mitsubishi Plastics, Inc.Gas-barrier laminate film
US9650191B2 (en)2011-03-312017-05-16Mitsubishi Plastics, Inc.Vapor-deposited film having barrier performance
TWI563104B (ja)*2011-03-312016-12-21Mitsubishi Plastics Inc
JP2014524980A (ja)*2011-07-082014-09-25スペシャルティ コーティング システムズ, インク.抗菌性パリレン・コーティング及び同コーティングを蒸着する方法
JP2013121687A (ja)*2011-12-122013-06-20Dainippon Printing Co Ltd高防湿性フィルム及びその製造方法
JP2013121688A (ja)*2011-12-122013-06-20Dainippon Printing Co Ltd高防湿性フィルム及びその製造方法
JP2013226773A (ja)*2012-03-292013-11-07Mitsubishi Plastics Incガスバリア性フィルム
WO2013168739A1 (ja)*2012-05-092013-11-14三菱樹脂株式会社ガスバリア性フィルム及びその製造方法
JP2013233744A (ja)*2012-05-092013-11-21Mitsubishi Plastics Incガスバリア性フィルム及びガスバリア性フィルムの製造方法
JP2013252700A (ja)*2012-05-092013-12-19Mitsubishi Plastics Incガスバリア性フィルム及びガスバリア性フィルムの製造方法
WO2013168715A1 (ja)*2012-05-092013-11-14三菱樹脂株式会社ガスバリア性フィルム及びガスバリア性フィルムの製造方法
JPWO2015190572A1 (ja)*2014-06-132017-04-20Jnc株式会社ガスバリアフィルム積層体とそれを用いた電子部品
WO2015190572A1 (ja)*2014-06-132015-12-17Jnc株式会社ガスバリアフィルム積層体とそれを用いた電子部品
JP2016078372A (ja)*2014-10-202016-05-16凸版印刷株式会社透明ガスバリアフィルム
JP2019189914A (ja)*2018-04-262019-10-31小島プレス工業株式会社積層フィルムの製造方法
JP7096061B2 (ja)2018-04-262022-07-05小島プレス工業株式会社積層フィルムの製造方法
KR20230021125A (ko)*2020-06-092023-02-13지앙수 페이보레드 나노테크놀로지 컴퍼니., 리미티드보호 코팅 및 그 제조 방법
JP7526290B2 (ja)2020-06-092024-07-31江蘇菲沃泰納米科技股▲フン▼有限公司保護コーティングおよびその製造方法
US12305070B2 (en)2020-06-092025-05-20Jiangsu Favored Nanotechnology Co., Ltd.Protective coating and preparation method therefor
KR102856709B1 (ko)*2020-06-092025-09-05지앙수 페이보레드 나노테크놀로지 컴퍼니., 리미티드보호 코팅 및 그 제조 방법

Also Published As

Publication numberPublication date
EP2397574A4 (en)2013-08-14
EP2397574A1 (en)2011-12-21
US20130323436A1 (en)2013-12-05
TW201035348A (en)2010-10-01
US20120003500A1 (en)2012-01-05
CN102317496A (zh)2012-01-11
JPWO2010093041A1 (ja)2012-08-16
KR20110120290A (ko)2011-11-03

Similar Documents

PublicationPublication DateTitle
WO2010093041A1 (ja)ガスバリア性積層フィルムの製造方法
JP5103184B2 (ja)ガスバリア性積層フィルム
US8568868B2 (en)Gas barrier film laminate
JP6903879B2 (ja)酸素バリア性を有する積層体および該積層体からなる包装材料
CN1910040B (zh)阻气性膜以及阻气性叠层体
JP2013253319A (ja)ガスバリア性フィルム及びその製造方法
JP7031772B2 (ja)バリアフィルム、該バリアフィルムを用いた積層体、該積層体を用いた包装製品
JP5426182B2 (ja)耐候性に優れたガスバリア性フィルム
WO2012060424A1 (ja)ガスバリア性積層フィルム
JP2013226773A (ja)ガスバリア性フィルム
WO2013168739A1 (ja)ガスバリア性フィルム及びその製造方法
JP2013233746A (ja)ガスバリア性フィルム及びその製造方法
JP2013176957A (ja)ガスバリア性フィルム
JP2013233658A (ja)ガスバリア性フィルム
JP2013252701A (ja)ガスバリア性フィルム及びその製造方法
JP2013233743A (ja)ガスバリア性フィルムの製造方法
JP2013233747A (ja)ガスバリア性フィルム
JP2013233745A (ja)ガスバリア性フィルム及びその製造方法

Legal Events

DateCodeTitleDescription
WWEWipo information: entry into national phase

Ref document number:201080008813.5

Country of ref document:CN

121Ep: the epo has been informed by wipo that ep was designated in this application

Ref document number:10741318

Country of ref document:EP

Kind code of ref document:A1

WWEWipo information: entry into national phase

Ref document number:2010550569

Country of ref document:JP

Ref document number:2010741318

Country of ref document:EP

ENPEntry into the national phase

Ref document number:20117019007

Country of ref document:KR

Kind code of ref document:A

NENPNon-entry into the national phase

Ref country code:DE

WWEWipo information: entry into national phase

Ref document number:13201543

Country of ref document:US


[8]ページ先頭

©2009-2025 Movatter.jp