Movatterモバイル変換


[0]ホーム

URL:


WO2009113524A1 - Alkaline fuel cell - Google Patents

Alkaline fuel cell
Download PDF

Info

Publication number
WO2009113524A1
WO2009113524A1PCT/JP2009/054519JP2009054519WWO2009113524A1WO 2009113524 A1WO2009113524 A1WO 2009113524A1JP 2009054519 WJP2009054519 WJP 2009054519WWO 2009113524 A1WO2009113524 A1WO 2009113524A1
Authority
WO
WIPO (PCT)
Prior art keywords
fuel cell
cathode
alkaline fuel
indicator
fuel
Prior art date
Application number
PCT/JP2009/054519
Other languages
French (fr)
Japanese (ja)
Inventor
省治 関野
小林 憲司
中村 新
Original Assignee
日本電気株式会社
Priority date (The priority date is an assumption and is not a legal conclusion. Google has not performed a legal analysis and makes no representation as to the accuracy of the date listed.)
Filing date
Publication date
Application filed by 日本電気株式会社filedCritical日本電気株式会社
Priority to JP2010502822ApriorityCriticalpatent/JPWO2009113524A1/en
Publication of WO2009113524A1publicationCriticalpatent/WO2009113524A1/en

Links

Images

Classifications

Definitions

Landscapes

Abstract

Disclosed is an alkaline fuel cell wherein a crossover to the cathode can be quickly detected. Specifically disclosed is an alkaline fuel cell wherein an electrode-electrolyte membrane assembly (130), which is composed of an anion exchange membrane (133), a cathode (131) arranged in contact with one side of the anion exchange membrane (133), an anode (132) arranged in contact with the other side of the anion exchange membrane (133) and a sealing member (143), is held between a cathode collector (141) and an anode collector (142) respectively arranged in contact with the cathode (131) and the anode (132). The alkaline fuel cell generates electric power by supplying an alkali-containing liquid fuel (160) into a fuel container (110) arranged in contact with the anode (132). The alkaline fuel cell further comprises, on the surface of the cathode (131), an exchangeable moisturizing material (152) for moisturizing the cathode (131). The moisturizing material (152) is at least partially provided with a pH-indicating portion (153) the color of which changes in accordance with the pH. Consequently, changes in pH of the cathode (131) can be visually judged through color changes of the pH-indicating portion (153).

Description

アルカリ型燃料電池Alkaline fuel cell
 本発明は、アルカリを含む液体燃料を用いたアルカリ型燃料電池に関する。The present invention relates to an alkaline fuel cell using a liquid fuel containing an alkali.
 固体高分子型燃料電池は、固体高分子電解質膜をアノードとカソードとで挟持した構造の電極-電解質膜接合体(Membrane and Electrode Assembly:MEA)を備えている。液体燃料をアノードに供給するタイプの燃料電池は、MEAに用いられる固体高分子電解質膜のイオン伝導種によって反応メカニズムが異なり、その名称でも区別される。The polymer electrolyte fuel cell includes an electrode-electrolyte membrane assembly (MEA) having a structure in which a solid polymer electrolyte membrane is sandwiched between an anode and a cathode. The type of fuel cell that supplies liquid fuel to the anode has a different reaction mechanism depending on the ion conductive species of the solid polymer electrolyte membrane used in MEA, and is distinguished by its name.
 近年では、安価で取り扱いが容易な有機液体であるメタノールを燃料として直接利用するダイレクトメタノール型燃料電池(Direct Methanol Fuel Cell:DMFC)の開発が盛んに行われている。In recent years, direct methanol fuel cells (DMFC) that directly use methanol, which is an inexpensive and easy-to-handle organic liquid, as a fuel have been actively developed.
 燃料電池としては、プロトンをイオン伝導種とした酸型燃料電池が一般的であるが、近年では、水酸化物イオンをイオン伝導種としたアルカリ型燃料電池にも注目が集まっている。As a fuel cell, an acid fuel cell using proton as an ion conductive species is generally used, but recently, an alkaline fuel cell using hydroxide ions as an ion conductive species has attracted attention.
 これらの反応メカニズムについて下記に説明する。These reaction mechanisms are described below.
 酸型燃料電池の場合には、燃料としてはメタノールなどのアルコール水溶液を用いることが多い。メタノール水溶液を燃料とした場合、理論的には、アノードでは下記式(1)に示す反応が、カソードでは下記式(2)に示す反応が起こる。
 CHOH+HO→CO+6H+6e ・・・(1)
 6H+6e+3/2O→3HO ・・・(2)
In the case of an acid fuel cell, an aqueous alcohol solution such as methanol is often used as the fuel. When a methanol aqueous solution is used as a fuel, theoretically, the reaction represented by the following formula (1) occurs at the anode, and the reaction represented by the following formula (2) occurs at the cathode.
CH3 OH + H2 O → CO2 + 6H+ + 6e (1)
6H+ + 6e + 3 / 2O2 → 3H2 O (2)
 これに対し、アルカリ型燃料電池の場合、理論的には、アノードでは下記式(3)に示す反応が、カソードでは下記式(3)に示す反応が起こる。
 CHOH+6OH→5HO+CO+6e ・・・(3)
 3/2O+3HO+6e→6OH ・・・(4)
In contrast, in the case of an alkaline fuel cell, theoretically, the reaction represented by the following formula (3) occurs at the anode, and the reaction represented by the following formula (3) occurs at the cathode.
CH3 OH + 6OH → 5H2 O + CO2 + 6e (3)
3 / 2O2 + 3H2 O + 6e → 6OH (4)
 アルカリ型燃料電池においては、カソードで生成した水酸化物イオンが、固体高分子電解質膜を通じてアノードに伝播することが必要である。しかしながら、カソードで生成した水酸化物イオンの全てが固体高分子電解質膜を通じてアノードに到達するわけではない。このため、現状では、電池反応を安定して継続させるためには、液体燃料中にアルカリを補うことによって、アノード反応を効率的に誘起させる必要がある。よって、アルカリ型燃料電池の液体燃料としては、純粋なメタノール水溶液ではなく、ある程度の濃度のアルカリを含ませることとなる。In alkaline fuel cells, it is necessary that hydroxide ions generated at the cathode propagate to the anode through the solid polymer electrolyte membrane. However, not all hydroxide ions generated at the cathode reach the anode through the solid polymer electrolyte membrane. Therefore, at present, in order to continue the cell reaction stably, it is necessary to efficiently induce the anode reaction by supplementing the liquid fuel with alkali. Therefore, the liquid fuel of the alkaline fuel cell contains not a pure methanol aqueous solution but an alkali having a certain concentration.
 液体燃料にアルカリを含むアルカリ型燃料電池では、生成されたCOが即座に炭酸イオンCO2-に変化して燃料に溶け込むため、COが気体として放出されにくく、外観上では気体は発生しない。なお、実際には上記式(3)のようにCOが発生するのではなく、直接CO2-が生成されることも考えられる。In alkaline fuel cells that contain alkali in liquid fuel, the generated CO2 immediately changes to carbonate ions CO32− and dissolves in the fuel, so that it is difficult for CO2 to be released as a gas, and gas is generated on the appearance. do not do. Actually, CO2 is not generated as in the above formula (3), but CO32− may be directly generated.
 このような液体燃料を使用した固体高分子型燃料電池では、小型、軽量化が容易であるために、これまでにも携帯機器を始めとした種々の電子機器用電源としての研究開発が進められてきた。Since the polymer electrolyte fuel cell using such a liquid fuel can be easily reduced in size and weight, research and development as a power source for various electronic devices such as portable devices have been advanced so far. I came.
 固体高分子型燃料電池の発電部分は、MEAと呼ばれる発電最小ユニットを基本構成として有し、さらに、燃料供給や電力の取り出しを行うための構造を持つ燃料電池セルに、MEAを複数個搭載することによって、初めて電源としての利用が可能となる。このような燃料電池は、携帯電話端末などの小型機器の電源として、外出先で使用することが主用途になることが求められるため、燃料電池はより小型であるほど好ましい。The power generation part of the polymer electrolyte fuel cell has a power generation minimum unit called MEA as a basic configuration, and further, a plurality of MEAs are mounted on a fuel cell having a structure for supplying fuel and taking out power. For the first time, it can be used as a power source. Since such a fuel cell is required to be used mainly as a power source for small equipment such as a mobile phone terminal, the fuel cell is preferably smaller.
 燃料電池を小型化するためには、燃料電池セルの出力密度を高めることが求められる。しかし、酸型燃料電池では、燃料成分であるメタノールがクロスオーバ現象によってカソード側に透過し、触媒である白金に吸着することによってカソード過電圧が低下する。また、アノードで発生する一酸化炭素COが触媒金属である白金に吸着被毒することに起因して過電圧が低下する。これらの問題点は、燃料電池セルの出力密度を向上させる上で妨げとなっている。In order to reduce the size of the fuel cell, it is required to increase the output density of the fuel cell. However, in an acid fuel cell, methanol as a fuel component permeates to the cathode side due to a crossover phenomenon, and adsorbs to platinum as a catalyst, thereby reducing the cathode overvoltage. In addition, carbon monoxide CO generated at the anode is adsorbed and poisoned by platinum as a catalyst metal, resulting in a decrease in overvoltage. These problems hinder the improvement of the output density of the fuel cell.
 また、酸型燃料電池では、反応で生じる酸に耐えうる触媒として白金を用いることが必須であるが、白金価格の高騰によって燃料電池の価格が高騰してしまうという経済性の面での問題点もある。In addition, in an acid fuel cell, it is essential to use platinum as a catalyst that can withstand the acid generated by the reaction. However, the price of the fuel cell increases as the price of platinum increases. There is also.
 これに対し、アルカリ型燃料電池では、副反応であるCO2-の生成が起こりやすいことに起因し、白金へのCO被毒が比較的起こりにくい。また、触媒として必ずしも白金などの貴金属を用いる必要はなく、酸に弱い金属などの安価な材料を用いることができる。さらに、出力密度は酸型と同等以上であり、場合によっては酸型を凌駕する出力が得られる。
 このような背景から、アルカリ型燃料電池に対する関心も高まってきている。
On the other hand, in an alkaline fuel cell, CO poisoning to platinum is relatively unlikely to occur due to the easy generation of CO32- as a side reaction. In addition, it is not always necessary to use a noble metal such as platinum as the catalyst, and an inexpensive material such as a metal weak against acid can be used. Furthermore, the output density is equal to or higher than that of the acid type, and in some cases, an output that exceeds the acid type is obtained.
Against this background, interest in alkaline fuel cells has increased.
 ところで、アルカリ型燃料電池では、酸型燃料電池で使用されているナフィオンに代表されるような高性能な燃料電池用の固体高分子電解質膜(アニオン交換膜)が開発されていない。このため、アルカリ型燃料電池では、酸型燃料電池のようにアノード電極及びカソード電極と、アニオン高隔膜から構成されるMEAを用いた燃料電池セルを、酸型燃料電池用と同様に作成することは難しい。その結果、DMFCに関しては、アルカリ型燃料電池の研究開発は、酸型燃料電池ほどは進展していない。By the way, in the alkaline fuel cell, a solid polymer electrolyte membrane (anion exchange membrane) for a high-performance fuel cell represented by Nafion used in an acid fuel cell has not been developed. For this reason, in an alkaline fuel cell, as in an acid fuel cell, a fuel cell using an MEA composed of an anode electrode and a cathode electrode and an anion high-diaphragm is prepared in the same manner as in an acid fuel cell. Is difficult. As a result, with respect to DMFC, research and development of alkaline fuel cells has not progressed as much as acid fuel cells.
 しかしながら、最近では、開発段階ながらも酸型燃料電池の出力に匹敵するようなポテンシャルを持つアニオン交換膜も出回ってきており、アルカリ型燃料電池をMEAとして評価できる段階になってきた。このような背景も、アルカリ型燃料電池に対する関心の向上に寄与する要因となっている。However, recently, an anion exchange membrane having a potential comparable to the output of an acid fuel cell has been on the market in the development stage, and it has become a stage where an alkaline fuel cell can be evaluated as an MEA. Such a background is also a factor contributing to an increase in interest in alkaline fuel cells.
 とはいえ、現状でアルカリ型燃料電池に用いることのできるアニオン交換膜では、いまだに液体燃料にアルカリを添加しないと満足な出力特性を得ることができない。その上、現状のアニオン交換膜では、電極反応に追従できるような速度で水酸化物イオンがアルカリ交換膜中を伝導できるように膜厚を薄くしなければならない。また、発電中にカソードで発生した水酸化物イオンの多くは、アニオン交換膜を通じてアノード側に到達できず、カソード側に滞る傾向がある。このため、カソードにおける水酸化物イオン濃度は高くなりやすい。However, an anion exchange membrane that can be used for alkaline fuel cells at present cannot still obtain satisfactory output characteristics unless alkali is added to the liquid fuel. Moreover, in the current anion exchange membrane, the film thickness must be reduced so that hydroxide ions can conduct through the alkali exchange membrane at a rate that can follow the electrode reaction. In addition, most of hydroxide ions generated at the cathode during power generation cannot reach the anode side through the anion exchange membrane and tend to stay on the cathode side. For this reason, the hydroxide ion concentration at the cathode tends to be high.
 また、カソード反応には水が必要であるが、その水の供給源はアノードからのクロスオーバ水及び空気中の水分のみである。そのため、高電圧を維持するためにカソードを保湿する必要がある。Also, water is required for the cathode reaction, but the water supply source is only crossover water from the anode and moisture in the air. Therefore, it is necessary to keep the cathode moisturized in order to maintain a high voltage.
 プロトン伝導型燃料電池では、いくつかの構造・方法が提案されている。例えば、特許文献1ではカソード上に導電性材料と保水性材料とからなる保水性樹脂層を形成させ、かつその保水層に複数の貫通孔を設ける方法が提案されている。これは、カソードの空気に晒される面を被覆する構造とすることによりカソードを保湿するものである。Several structures and methods have been proposed for proton conduction fuel cells. For example,Patent Document 1 proposes a method in which a water retention resin layer made of a conductive material and a water retention material is formed on a cathode, and a plurality of through holes are provided in the water retention layer. This is to keep the cathode moisturized by covering the surface of the cathode exposed to air.
 上記の通り、アルカリ型燃料電池では、アノードからのクロスオーバ水をカソード反応に利用することとなるが、実際には、クロスオーバ水は潮解性のあるKOHなどを含んでいる。このため、発電を継続していくとカソードが空気中の水分を捕捉し、カソードは水分過剰となってしまう。As described above, in the alkaline fuel cell, the crossover water from the anode is used for the cathode reaction, but actually the crossover water contains deliquescent KOH and the like. For this reason, when the power generation is continued, the cathode captures moisture in the air, and the cathode becomes excessive in moisture.
 すなわち、プロトン伝導型燃料電池と同様にカソードのフラッディングとしての問題点も相変わらず存在するだけでなく、問題を助長する要素が存在する。カソードのフラッディングの解決策としては、特許文献2のように吸水剤をカソード面に配置するなどの方法が提案されている。しかしながら、アルカリ型燃料電池では、水やアルコールなどの揮発性液体だけでなく、水酸化物イオン及びその対イオン(陽イオン)もクロスオーバする。このため、カソードのフラッディングのみならず、場合によっては大気中の二酸化炭素や反応によって生成する炭酸イオンなどの反応によって、固形成分が析出し、カソード内部の燃料供給経路を塞いでしまう可能性もある。That is, the problem of cathode flooding as well as the proton-conducting fuel cell still exists, and there are elements that promote the problem. As a solution to the flooding of the cathode, a method of arranging a water absorbing agent on the cathode surface as inPatent Document 2 has been proposed. However, in an alkaline fuel cell, not only volatile liquids such as water and alcohol, but also hydroxide ions and their counter ions (cations) cross over. For this reason, not only the flooding of the cathode, but also the reaction of carbon dioxide in the atmosphere or carbonate ions generated by the reaction may cause solid components to deposit and block the fuel supply path inside the cathode. .
 さらに、カソードにpHの高い水分が存在し腐食の原因となりうるという問題もある。このため、湿った状態のカソード面のpHを検知することは安全性の面からも重要である。燃料電池の分野でも、pHを何らかの方法で検出することが提案されている。
 例えば、特許文献3には、燃料電池のアノード燃料として用いる水素ガスを、次亜塩素酸塩などを含む水溶液中に通し、pHの変化によって可視化して水素を検知する方法が提案されている。また、特許文献4には、水素ガスをアノードに供給するタイプの燃料電池であって、燃料電池スタック内部に凝縮した水のpHを何らかの手段によって検知し、燃料電池スタック内部の水量を制御する機構によってpHを制御することによって、燃料電池スタックの腐食を防止する方法が提案されている。さらに、特許文献5には、燃料電池の燃料となる水素ガスのボンベを覆う形で、水素を触媒によってプロトン化する部分を設け、その内部にpHによって呈色する物質を導入し、その物質の色の変化を外部から窓を介して観察することによってpHの変化を検出する方法が提案されている。
特開2003-68330号公報特開2003-331900号公報特開2005-331284号公報特開2006-40610号公報特開2007-278994号公報
In addition, there is a problem that moisture having a high pH exists on the cathode and can cause corrosion. For this reason, it is important from the viewpoint of safety to detect the pH of the wet cathode surface. In the field of fuel cells, it has been proposed to detect pH by some method.
For example,Patent Document 3 proposes a method in which hydrogen gas used as an anode fuel of a fuel cell is passed through an aqueous solution containing hypochlorite and the like, and is visualized by pH change to detect hydrogen.Patent Document 4 discloses a fuel cell that supplies hydrogen gas to an anode, and detects the pH of water condensed inside the fuel cell stack by some means to control the amount of water inside the fuel cell stack. A method for preventing the corrosion of the fuel cell stack by controlling the pH by means of the above has been proposed. Further, inPatent Document 5, a portion for protonating hydrogen with a catalyst is provided so as to cover a hydrogen gas cylinder serving as a fuel for a fuel cell, and a substance colored by pH is introduced into the inside thereof. A method of detecting a change in pH by observing a change in color from the outside through a window has been proposed.
JP 2003-68330 A JP 2003-331900 A Japanese Patent Laid-Open No. 2005-331284 JP 2006-40610 A JP 2007-278994 A
 上記のように、現状のアニオン交換膜を用いたアルカリ型燃料電池は、カソードへの液体燃料のクロスオーバはある程度は必要であるが、過剰になりやすいという問題がある。このような矛盾を解決するためには、カソードの余分な水分を吸収し、かつ必要な分だけ補充できる構造とすることが求められる。
 特許文献1、2のように、過剰なカソード水を少なくともカソード電極から除去する方法が解決策の一つとして考えられるが、アルカリ型燃料電池では燃料成分が揮発成分のみではないため、特許文献1、2に開示される方法では不十分である。
As described above, the alkaline fuel cell using the current anion exchange membrane requires a certain amount of crossover of the liquid fuel to the cathode, but has a problem that it tends to be excessive. In order to solve such a contradiction, it is required to have a structure capable of absorbing excess moisture in the cathode and replenishing it as much as necessary.
A method of removing excess cathode water from at least the cathode electrode as inPatent Documents 1 and 2 is considered as one of the solutions. However, in an alkaline fuel cell, the fuel component is not only a volatile component. 2 is insufficient.
 また、安全性の面からも、カソードのpHを検知する手段があった方が望ましいことは上記の通りである。特許文献3~5のように、pHを測定する手段を用いた管理も可能ではあるが、いずれもカソードのpHを測定する方法としては不適当であったり、携帯用小型装置には不向きであったりするため、カソードのpHを検知する手段としてアルカリ型燃料電池に導入することは難しい。よって、カソードへのクロスオーバの状況を迅速に把握するための方法が求められている。Also, from the viewpoint of safety, it is desirable to have a means for detecting the pH of the cathode as described above. Although it is possible to manage using means for measuring pH as inPatent Documents 3 to 5, none of them is suitable as a method for measuring the pH of a cathode or suitable for portable small devices. Therefore, it is difficult to introduce the alkaline fuel cell as a means for detecting the pH of the cathode. Therefore, a method for quickly grasping the situation of the crossover to the cathode is required.
 本発明は係る問題に鑑みてなされたものであり、カソードへのクロスオーバの状況を迅速に把握できるアルカリ型燃料電池を提供することを目的とする。The present invention has been made in view of such a problem, and an object thereof is to provide an alkaline fuel cell capable of quickly grasping the situation of crossover to the cathode.
 本発明は、上記目的を達成するために、アニオン交換膜と、アニオン交換膜の一方の面に接して配されたカソードと、アニオン交換膜の他方の面に接して配されたアノードと、これらの間をシールするシール部材とで形成された電極-電解質膜接合体が、カソード及びアノードにそれぞれ接して配されたカソード集電体及びアノード集電体で挟持され、アノードに接した燃料容器内部にアルカリを含む液体燃料が供給されることによって発電するアルカリ型燃料電池であって、カソード面上に、少なくとも一部にpHに応じて変色するpH指示部を備え、カソードを保湿し、交換可能な保湿材を有し、pH指示部の色の変化によって、カソードのPHの変化を視認可能としたことを特徴とするアルカリ型燃料電池を提供するものである。In order to achieve the above object, the present invention provides an anion exchange membrane, a cathode disposed in contact with one surface of the anion exchange membrane, an anode disposed in contact with the other surface of the anion exchange membrane, An electrode-electrolyte membrane assembly formed by a seal member that seals the gap between the cathode current collector and the anode current collector disposed in contact with the cathode and the anode, respectively, and the inside of the fuel container in contact with the anode Is an alkaline fuel cell that generates electricity by supplying liquid fuel containing alkali to the cathode, and is provided with a pH indicator on the cathode surface that changes color according to pH, and the cathode is moisturized and replaceable It is an object of the present invention to provide an alkaline fuel cell characterized in that a change in pH of a cathode can be visually recognized by a change in the color of a pH indicator.
 本発明によれば、カソードへのクロスオーバの状況を迅速に把握できるアルカリ型燃料電池を提供できる。According to the present invention, it is possible to provide an alkaline fuel cell that can quickly grasp the state of crossover to the cathode.
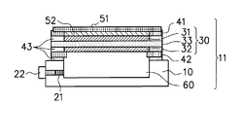
 図1に示すように、本発明は、アニオン交換膜133と、アニオン交換膜133の一方の面に接して配されたカソード131と、アニオン交換膜133の他方の面に接して配されたアノード132と、これらの間をシールするシール部材143とで形成された電極-電解質膜接合体130が、カソード131及びアノード132にそれぞれ接して配されたカソード集電体141及びアノード集電体142で挟持され、アノード132に接した燃料容器110内部にアルカリを含む液体燃料160が供給されることによって発電するアルカリ型燃料電池であって、カソード131面上に、少なくとも一部にpHに応じて変色するpH指示部153を備え、カソード131を保湿し、交換可能な保湿材152を有し、pH指示部153の色の変化によって、カソード131のPHの変化を視認可能としたことを特徴とする。As shown in FIG. 1, the present invention includes an anion exchange membrane 133, a cathode 131 disposed in contact with one surface of the anion exchange membrane 133, and an anode disposed in contact with the other surface of the anion exchange membrane 133. 132 and an electrode-electrolyte membrane assembly 130 formed by a seal member 143 that seals between them is a cathode current collector 141 and an anode current collector 142 arranged in contact with the cathode 131 and the anode 132, respectively. An alkaline fuel cell that generates electricity by supplying a liquid fuel 160 containing alkali to the inside of a fuel container 110 that is sandwiched and in contact with an anode 132, and at least partially changes the color on the surface of the cathode 131 according to pH. A pH indicating unit 153 for holding the cathode 131 and having a replaceable moisturizing material 152, and changing the color of the pH indicating unit 153. By, and characterized in that a visible change in the PH of the cathode 131.
 以下、本発明に係るアルカリ型燃料電池の好適な実施の形態について図面を参照しつつ説明する。Hereinafter, preferred embodiments of an alkaline fuel cell according to the present invention will be described with reference to the drawings.
 〈燃料電池セル〉
 図2に、燃料電池セル11の断面を示す。燃料容器10は液体燃料60を貯液できる構造となっている。燃料容器10には、燃料を注入するための燃料注入口21が設けられており、適時燃料を補充・交換できる。燃料注入口21は、燃料を循環させる際の入口及び出口として二つ以上設けることが好ましい。また、燃料注入口21は、栓22によって塞ぐことが可能である。
<Fuel battery cell>
FIG. 2 shows a cross section of thefuel battery cell 11. Thefuel container 10 has a structure capable of storing theliquid fuel 60. Thefuel container 10 is provided with afuel injection port 21 for injecting fuel so that the fuel can be replenished and replaced in a timely manner. Two or morefuel injection ports 21 are preferably provided as an inlet and an outlet when the fuel is circulated. Further, thefuel injection port 21 can be closed with aplug 22.
 燃料容器10の上には、MEA30が集電体41、42に挟まれて設置されている。具体的には、アノード32側にはアノード集電体42、カソード31側にはカソード集電体41が位置し、それらがMEA30を挟み込んで集電する構造となっている(以下、アニオン交換膜を固体高分子電解質膜33と表記する)。On thefuel container 10, theMEA 30 is installed betweencurrent collectors 41 and 42. Specifically, an anodecurrent collector 42 is located on theanode 32 side, and a cathodecurrent collector 41 is located on thecathode 31 side, and these have a structure for collecting current with theMEA 30 interposed therebetween (hereinafter, anion exchange membrane). Is expressed as a solid polymer electrolyte membrane 33).
 カソード31及びアノード32の固体高分子電解質膜33に接する面には、それぞれカソード触媒層、アノード触媒層が形成されている。また、集電体41、42の間には、絶縁及び液体の漏れをシールする目的でシール部材43が設けられている。A cathode catalyst layer and an anode catalyst layer are formed on the surfaces of thecathode 31 and theanode 32 which are in contact with the solidpolymer electrolyte membrane 33, respectively. Further, aseal member 43 is provided between thecurrent collectors 41 and 42 for the purpose of sealing insulation and leakage of liquid.
 これらの発電部分は、基本的には、ねじ止めなどの固定方法によって、燃料容器10に止められるが、必ずしもねじなどで固定する必要はなく、集電体41、42によって集電することができ、かつ燃料の漏れが無い構造でありさえすれば良い。図2においては、ねじ止めなどの固定に関する部材は省略している。また、簡略化のために集電体41、42の端子についても省いて図示しているが、これらには電流を取り出すための端子が設けられている。These power generation portions are basically fixed to thefuel container 10 by a fixing method such as screwing, but are not necessarily fixed by screws or the like, and can be collected by thecurrent collectors 41 and 42. As long as the structure is such that there is no fuel leakage. In FIG. 2, members related to fixing such as screwing are omitted. In addition, for simplicity, the terminals of thecurrent collectors 41 and 42 are also omitted in the drawing, but these are provided with terminals for taking out current.
 図2において、燃料容器10には液体燃料60が貯液されている。液体燃料60としてはアルコール水溶液中にKOHなどのアルカリを溶解したものを適用できる。In FIG. 2, aliquid fuel 60 is stored in thefuel container 10. As theliquid fuel 60, a solution obtained by dissolving an alkali such as KOH in an alcohol aqueous solution can be used.
 燃料容器10内部には、液体燃料60をアノード電極32に効率よく供給させることを目的としたウィッキング材を用いても良い。ウィッキング材とは、ウレタンなどの発泡素材に形成された連続空孔を通じ、主に毛細管力などを駆動力とした燃料供給促進機能を持つ材料である。ウィッキング材を備えることにより、アノード電極32に燃料が安定して供給される。ただし、アルカリ型燃料電池においては、液体燃料60にアルカリが含まれるため、耐アルカリ性を備えた素材を用いたウィッキング材を使用する必要がある。
 なお、液体燃料60が消費されることによって形成された部分的な空間にKOHやKCOなどが析出してしまい、その結果、ウィッキング材の連続空孔が塞がれて発電に必要な液体燃料60がアノード電極32に供給されにくくなることもある。よって、液体燃料60の種類や添加するアルカリの種類に応じて、ウィッキング材を用いるか否かを選択することが好ましい。
A wicking material intended to efficiently supply theliquid fuel 60 to theanode electrode 32 may be used inside thefuel container 10. The wicking material is a material having a fuel supply promoting function mainly using a capillary force as a driving force through continuous holes formed in a foam material such as urethane. By providing the wicking material, the fuel is stably supplied to theanode electrode 32. However, in the alkaline fuel cell, since theliquid fuel 60 contains alkali, it is necessary to use a wicking material using a material having alkali resistance.
It should be noted that KOH, K2 CO3 and the like are deposited in a partial space formed by consuming theliquid fuel 60, and as a result, the continuous vacancies of the wicking material are blocked and are necessary for power generation. In some cases, it is difficult for theliquid fuel 60 to be supplied to theanode electrode 32. Therefore, it is preferable to select whether to use a wicking material according to the type ofliquid fuel 60 and the type of alkali to be added.
 〈燃料〉
 液体燃料60としては、メタノール水溶液などのアルコール水溶液にアルカリを溶解させたものを適用できる。
 アルカリとしては、KOHやNaOHなどを用いることが好ましい。また、液体燃料60への溶解量やpHに限度があるものの、CaOHやアンモニアなどを用いることもできる。なお、液体燃料60がアルカリ性を示すようになるのであれば、これら以外のアルカリを用いることも可能である。
 また、燃料の成分としては、メタノールを基本成分としたものに限定されることはなく、エタノールなどのアルコール系燃料、エーテル系燃料なども適用可能である。
 さらに、液体燃料60は、燃料容器10からアノード電極32へ何らかの形で供給されれば良く、パッシブ型であっても燃料循環供給型のようなアクティブ型であっても良い。
<fuel>
As theliquid fuel 60, a solution obtained by dissolving an alkali in an aqueous alcohol solution such as an aqueous methanol solution can be used.
As the alkali, KOH or NaOH is preferably used. Moreover, although there is a limit to the amount dissolved in theliquid fuel 60 and the pH, CaOH, ammonia or the like can also be used. In addition, if theliquid fuel 60 comes to show alkalinity, it is also possible to use alkalis other than these.
In addition, the fuel component is not limited to a component having methanol as a basic component, and alcohol-based fuels such as ethanol, ether-based fuels, and the like are also applicable.
Furthermore, theliquid fuel 60 may be supplied in some form from thefuel container 10 to theanode electrode 32, and may be a passive type or an active type such as a fuel circulation supply type.
 〈MEA〉
 MEA30は、固体高分子電解質膜33がカソード電極31とアノード電極32とで挟持された構造である。いずれの電極に関しても、少なくともその片面には触媒層が形成され、その触媒層側が固体高分子電解質膜33と面する。固体高分子電解質膜33としては、アニオン(すなわち水酸化物イオン)の伝導性が高く、かつ、電子伝導性をもたないものが使用される。また、固体高分子電解質膜33の構成材料としては、塩基等の極性基を有するイオン交換膜が好ましい。また、固体高分子電解質膜33の膜厚は、その材質や燃料電池の用途などに応じて5~300μm程度の範囲内で適宜設定可能である。
<MEA>
TheMEA 30 has a structure in which a solidpolymer electrolyte membrane 33 is sandwiched between acathode electrode 31 and ananode electrode 32. In any electrode, a catalyst layer is formed on at least one surface thereof, and the catalyst layer side faces the solidpolymer electrolyte membrane 33. As the solidpolymer electrolyte membrane 33, one having high anion (ie, hydroxide ion) conductivity and no electronic conductivity is used. The constituent material of the solidpolymer electrolyte membrane 33 is preferably an ion exchange membrane having a polar group such as a base. The film thickness of the solidpolymer electrolyte membrane 33 can be appropriately set within a range of about 5 to 300 μm depending on the material and the use of the fuel cell.
 〈電極〉
 カソード電極31は、水と酸素との反応によって水酸化物イオンを生成する電極であり、例えば、触媒をカーボンなどの担体に担持させた粒子(粉末を含む)又は担体を有さない触媒単体とイオン伝導性を持つバインダとからなる触媒層を、カーボンペーパーなどの基材上に塗布するなどして得られる。触媒としては、白金、ロジウム、パラジウム、イリジウム、オスミウム、ルテニウム、レニウム、金、銀、ニッケル、コバルト、モリブデン、ランタン、ストロンチウム、イットリウム等を適用可能である。触媒は、1種のみでも2種以上を組み合わせて用いても良い。触媒を担持する粒子としては、アセチレンブラック、ケッチェンブラック、カーボンナノチューブ、カーボンナノホーンなどの炭素系材料を適用可能である。粒子の大きさは、例えば炭素系材料が粒状物であるときには0.01~0.1μm程度の範囲内、好ましくは0.02~0.06μm程度の範囲内で適宜選定される。粒子に触媒を担持させるには、含浸法などの方法を適用できる。また、触媒を担体に担持させた構造のみならず、触媒粒子と担体となりうる粒子とを混合したものを用いることも可能である。この場合、担体となりうる粒子は、触媒機能を備えていてもよいが、必ずしも備えている必要はない。また、担体となりうる粒子は導電性の高い物質を用いて形成することが好ましい。
<electrode>
Thecathode electrode 31 is an electrode that generates hydroxide ions by a reaction between water and oxygen. For example, particles (including powder) in which a catalyst is supported on a carrier such as carbon, or a catalyst alone having no carrier, It is obtained by applying a catalyst layer made of a binder having ion conductivity on a substrate such as carbon paper. As the catalyst, platinum, rhodium, palladium, iridium, osmium, ruthenium, rhenium, gold, silver, nickel, cobalt, molybdenum, lanthanum, strontium, yttrium, and the like are applicable. The catalyst may be used alone or in combination of two or more. As the particles supporting the catalyst, carbon-based materials such as acetylene black, ketjen black, carbon nanotube, and carbon nanohorn can be applied. The size of the particles is appropriately selected, for example, in the range of about 0.01 to 0.1 μm, preferably in the range of about 0.02 to 0.06 μm when the carbonaceous material is a granular material. A method such as an impregnation method can be applied to support the catalyst on the particles. In addition to the structure in which the catalyst is supported on a carrier, it is possible to use a mixture of catalyst particles and particles that can serve as a carrier. In this case, the particles that can serve as a carrier may have a catalytic function, but do not necessarily have to have a catalytic function. Further, it is preferable that the particles that can serve as a carrier are formed using a highly conductive substance.
 アノード電極32は、メタノール水溶液と水酸化物イオンとの反応から水と二酸化炭素と電子とを生成する。アノード電極32は、カソード電極31と同様に構成される。アノード電極32を構成する触媒層や基材は、カソード触媒を構成する触媒層や基材と同じであっても良いし、異なっていても良い。アノード電極32の単位面積当たりの触媒量も、カソード電極31の場合と同様に、触媒の種類や大きさなどに応じて0.1~20mg/cm程度の範囲内で適宜選定可能であり、求める出力密度によってはこの範囲外の量を塗布しても良い。Theanode electrode 32 generates water, carbon dioxide, and electrons from the reaction between an aqueous methanol solution and hydroxide ions. Theanode electrode 32 is configured similarly to thecathode electrode 31. The catalyst layer and base material constituting theanode electrode 32 may be the same as or different from the catalyst layer and base material constituting the cathode catalyst. The amount of catalyst per unit area of theanode electrode 32 can be appropriately selected within the range of about 0.1 to 20 mg / cm2 depending on the type and size of the catalyst, as in the case of thecathode electrode 31. Depending on the required output density, an amount outside this range may be applied.
 また、カソード電極31、アノード電極32ともに、触媒層への燃料供給やイオン伝導性を向上させるために、アニオン交換樹脂を溶かした溶媒をバインダとして用いることが好ましいが、液体燃料60中に十分な量のアルカリが含まれる場合には、液体燃料60成分が固体高分子電解質膜33に十分吸収されていれば、必要な電池反応が得られるため、ナフィオン溶液などのカチオン交換樹脂溶媒や、PTFE(Poly Tetra Fluoro Ethylene)サスペンション(懸濁液)などで代用することも可能である。For both thecathode electrode 31 and theanode electrode 32, it is preferable to use a solvent in which an anion exchange resin is dissolved as a binder in order to improve fuel supply to the catalyst layer and ion conductivity. When the amount of alkali is included, if theliquid fuel 60 component is sufficiently absorbed by the solidpolymer electrolyte membrane 33, a necessary battery reaction can be obtained. Therefore, a cation exchange resin solvent such as a Nafion solution, PTFE ( Poly (Tetra (Fluoro (Ethylene)) suspension can be used instead.
 触媒層が形成される基材としては、固体高分子電解質膜33を用いることもできるし、カーボンペーパー、カーボンの成形体、カーボン焼結体、焼結金属、発泡金属などの導電性を有する多孔性物質を用いることができる。カーボンペーパーなどの基材を用いた場合には、基材上に触媒層を形成してカソード電極31を得た後に、ホットプレス等の方法によって触媒層が固体高分子電解質膜33と接する向きでカソード電極31を固体高分子電解質膜33に接合することが好ましい。カソード電極31及びアノード電極32の単位面積当たりの触媒量は、触媒の種類や大きさなどに応じて0.1~20mg/cm程度の範囲内で適宜選定可能であり、求める出力密度によってはこの範囲外の量を塗布しても良い。As the base material on which the catalyst layer is formed, the solidpolymer electrolyte membrane 33 can be used, and a porous material having conductivity such as carbon paper, a carbon molded body, a carbon sintered body, a sintered metal, and a foam metal. A sex substance can be used. When a base material such as carbon paper is used, after the catalyst layer is formed on the base material and thecathode electrode 31 is obtained, the catalyst layer is in contact with the solidpolymer electrolyte membrane 33 by a method such as hot pressing. It is preferable to join thecathode electrode 31 to the solidpolymer electrolyte membrane 33. The amount of catalyst per unit area of thecathode electrode 31 and theanode electrode 32 can be appropriately selected within the range of about 0.1 to 20 mg / cm2 depending on the type and size of the catalyst, and depending on the required output density An amount outside this range may be applied.
 〈集電体〉
 カソード集電体41及びアノード集電体42は、カソード電極31及びアノード電極32上にそれぞれ接して配され、電子の取り出し効率及び電子の供給効率を高めるように作用する。これらの集電体41、42は、MEA30の全面に接する平板状又はメッシュ状などであっても良いし、MEA30の周縁部に接する枠形状のものであっても良く、その形状は任意である。これらの集電体41、42の材料としては、ステンレス鋼、焼結金属、発泡金属など、又はこれらの金属に高導電性金属材料をめっき処理したものやカーボン材料などの導電体等を用いることができる。なお、耐アルカリ性の高い材料であることが好ましい。ただし、MEA30の構造自体に集電構造を含んでしまうような燃料電池に関してはここに示した通りではなく、必ずしも集電体41、42と電極31、32とが異なる部品からなる集電方式で無くても良い。
<Current collector>
The cathodecurrent collector 41 and the anodecurrent collector 42 are disposed on and in contact with thecathode electrode 31 and theanode electrode 32, respectively, and act to increase the electron extraction efficiency and the electron supply efficiency. Thesecurrent collectors 41 and 42 may have a flat plate shape or a mesh shape that contacts the entire surface of theMEA 30, or may have a frame shape that contacts the peripheral edge of theMEA 30, and the shape thereof is arbitrary. . As the material of thesecurrent collectors 41 and 42, stainless steel, sintered metal, foam metal, etc., or a conductive material such as a carbon material or a material obtained by plating these metals with a highly conductive metal material, or the like is used. Can do. Note that a material having high alkali resistance is preferable. However, the fuel cell in which the structure of theMEA 30 itself includes a current collecting structure is not as shown here, and is not necessarily a current collecting system in which thecurrent collectors 41 and 42 and theelectrodes 31 and 32 are made of different parts. It is not necessary.
 〈シール部材〉
 燃料電池セル11は、シール機能を有するシール部材43を複数有する。図2に示したように、固体高分子電解質膜33とカソード集電体41との間には、カソード電極31の厚さとほぼ同じ厚さのシール部材43がセル構造の周縁に枠状に設けられており、固体高分子電解質膜33とアノード集電体42との間には、アノード電極32の厚さとほぼ同じ厚さのシール部材43がセル構造の周縁に枠状に設けられている。アノード集電体42と燃料容器10との間には、任意の厚さを持つシール部材43が設けられている。なお、これらの各シール部材43は、必要に応じてシール性、絶縁性及び弾性を有するものが好ましく、通常はシール機能を有するゴムやプラスチックで形成される。具体的には、PTFE、PET(PolyEthylene Terephthalate)、PEEK(PolyEtherEtherKetone)、塩化ビニルなどのプラスチック材料や、PTFEゴム、シリコンゴム、ブチルゴムなどのゴム材料で形成できる。
 ただし、集電体41、42を必要としないで電気的な接続が可能となるような構造の場合、燃料が漏れないようにシールさえされていれば良く、シール部材43の全てが必須というわけではない。また、耐アルカリ性が高いほど燃料電池としての寿命が長くなるため、耐アルカリ性の高いブチルゴムなどを用いることが好ましい。
<Seal material>
Thefuel battery cell 11 has a plurality of sealingmembers 43 having a sealing function. As shown in FIG. 2, between the solidpolymer electrolyte membrane 33 and the cathodecurrent collector 41, aseal member 43 having a thickness substantially the same as the thickness of thecathode electrode 31 is provided in a frame shape on the periphery of the cell structure. Between the solidpolymer electrolyte membrane 33 and the anodecurrent collector 42, aseal member 43 having a thickness substantially the same as the thickness of theanode electrode 32 is provided in a frame shape on the periphery of the cell structure. Aseal member 43 having an arbitrary thickness is provided between the anodecurrent collector 42 and thefuel container 10. Each of these sealingmembers 43 preferably has sealing properties, insulating properties, and elasticity as necessary, and is usually formed of rubber or plastic having a sealing function. Specifically, it can be formed of a plastic material such as PTFE, PET (PolyEthylene Terephthalate), PEEK (PolyEtherEtherKetone), or vinyl chloride, or a rubber material such as PTFE rubber, silicon rubber, or butyl rubber.
However, in the case of a structure in which electrical connection is possible without the need for thecurrent collectors 41 and 42, it is only necessary to be sealed so that fuel does not leak, and all the sealingmembers 43 are essential. is not. Moreover, since the lifetime as a fuel cell becomes long, so that alkali resistance is high, it is preferable to use butyl rubber etc. with high alkali resistance.
 〈燃料容器〉
 燃料容器10には、燃料注入口21が設けられている。保管時及び使用時には、液体燃料60が漏れ出さないように燃料注入口21には栓22が取り付けられる。燃料注入口21は一つでも良いが、燃料交換をしやすいように、また液体燃料60を循環できるように複数設けることが好ましい。又は、放圧弁をさらに設けることが好ましい。
 燃料注入口21に逆止弁を取り付けておくと、液体燃料60の飛び出しを防止できるため好ましい。また、燃料容器10の形状や大きさに制約は無いが、アノード電極32に対向する開口部分は、アノード電極32の表面積と同程度であることが望ましい。また、厚さ方向に関しても特に制約はないが、燃料容器10の底からアノードまでの距離が離れすぎると、燃料容器10の底部分に燃料が溜まってしまう傾向があるので、燃料電池セル11一つに対して、10mm程度の厚さに納めることが好ましい。
<Fuel container>
Afuel inlet 21 is provided in thefuel container 10. Aplug 22 is attached to thefuel inlet 21 so that theliquid fuel 60 does not leak during storage and use. The number offuel inlets 21 may be one, but it is preferable to provide a plurality offuel inlets 21 so that the fuel can be easily exchanged and theliquid fuel 60 can be circulated. Alternatively, it is preferable to further provide a pressure relief valve.
It is preferable to attach a check valve to thefuel inlet 21 because theliquid fuel 60 can be prevented from jumping out. The shape and size of thefuel container 10 are not limited, but the opening facing theanode electrode 32 is preferably approximately the same as the surface area of theanode electrode 32. Further, although there is no particular restriction on the thickness direction, if the distance from the bottom of thefuel container 10 to the anode is too far, fuel tends to accumulate in the bottom portion of thefuel container 10. The thickness is preferably about 10 mm.
 〈保湿材〉
 燃料電池セル11は、図2及び図3に示すように、カソード電極31上に保湿材52を備える。保湿材52の形状は、図4に示すように、シート状の形状であるものが好ましいが、カソード電極31上に配置できさえすれば良く、カソード集電体41の形状によってはシート状である必要はない。保湿材52の構造としては、メッシュ・発泡体・織布・繊維体・板・濾紙などの形態をとることが望ましい。材質としては、耐アルカリ性をもつ多孔質や繊維質の樹脂・セラミックスなどであることが望ましいが、交換可能な構造とするのであれば、必ずしも耐アルカリ性に優れている必要はなく、セルロース不織布などを用いることも可能である。上記のようにアルカリを含む液体燃料60を用いるため、保湿材52は交換可能であることが好ましい。機能としては、カソード反応に必要となる水分の保持、フラッディング防止などが挙げられるが、吸湿性のあるアルカリ性の燃料がクロスオーバすることによって、空気中の水分を捕捉することも挙げられる。
<Moisturizing material>
As shown in FIGS. 2 and 3, thefuel battery cell 11 includes amoisturizing material 52 on thecathode electrode 31. The shape of themoisturizing material 52 is preferably a sheet-like shape as shown in FIG. 4, but only needs to be arranged on thecathode electrode 31, and depending on the shape of the cathodecurrent collector 41, it is a sheet-like shape. There is no need. The structure of themoisturizing material 52 is preferably in the form of mesh, foam, woven fabric, fibrous body, board, filter paper, or the like. The material is preferably porous or fibrous resin / ceramics having alkali resistance, but if it has a replaceable structure, it is not necessarily excellent in alkali resistance. It is also possible to use it. Since theliquid fuel 60 containing an alkali is used as described above, the moisturizingmaterial 52 is preferably replaceable. Functions include retention of moisture necessary for the cathode reaction, prevention of flooding, etc., and capture of moisture in the air by the crossover of a hygroscopic alkaline fuel.
 〈pH指示部を持つ保湿材〉
 図5に、pHによって変色するpH指示部53を備えた保湿材52を示す。pH指示部53の位置は、外部から確認できる位置であれば任意である。pH指示部53は、液体が浸透しやすい基材にpH感受材を塗布することによって複合化したり、保湿材52に直接pH感受材を塗布することで形成できる。また、pH指示部53を保湿材52の一部に設けるのではなく、図6に示すように大気開放する側の保湿材52全面に塗布したり、保湿材52全体に染みこませることによって形成しても良い。
<Moisturizing material with pH indicator>
FIG. 5 shows amoisturizing material 52 provided with apH indicator 53 that changes color depending on pH. The position of thepH instruction unit 53 is arbitrary as long as it can be confirmed from the outside. ThepH instruction unit 53 can be formed by applying a pH sensitive material to a substrate that easily penetrates liquid, or by directly applying the pH sensitive material to themoisturizing material 52. In addition, thepH instruction unit 53 is not provided on a part of themoisturizing material 52, but is formed by being applied to the entire surface of themoisturizing material 52 on the air release side as shown in FIG. You may do it.
 pH指示部53は、保湿材52に含まれる水分のpHに応じて変色する。pH指示部53は、pHが8~14のアルカリ性の領域、より好ましくは、pHが10~14の範囲内で変色することが望ましい。pH感受材としては、色素系の有機物を用いることができる。例えば、p-α-ナフトールフタレイン(pH7.0~9.0で黄~青)、クレゾールレッド(pH7.2~8.8で黄~赤)、チモールブルー(pH8.0~9.6で黄~青)、フェノールフタレイン(pH8.0~10.0で無色~赤紫、pH13.4以上で無色)、チモールフタレイン(pH9.4~10.6で無色~青)、アリザリンイエローR(pH10.1~12.0で黄~赤)、トロペオリンO(pH11.0~13.0で黄~橙褐)、pH8.0~14.0のアルカリ領域に変色域を持つため適している。ただし、ここで示した変色域はあくまでも水溶液に対しての挙動であるため、メタノール水溶液などでは呈色の程度などや変色域に多少の差があるが、pHの低下に応じて変色しさえすればよい。pH感受材に関しては、ここに挙げたものに限定されることはなく、アルカリ領域に変色域を持つ物質であれば適用可能である。ThepH indicator 53 changes color according to the pH of the moisture contained in themoisturizing material 52. It is desirable that thepH indicator 53 changes color within an alkaline region having a pH of 8 to 14, more preferably within a range of 10 to 14. As the pH-sensitive material, a pigment-based organic material can be used. For example, p-α-naphtholphthalein (yellow to blue at pH 7.0 to 9.0), cresol red (yellow to red at pH 7.2 to 8.8), thymol blue (at pH 8.0 to 9.6) Yellow to blue), phenolphthalein (colorless to magenta at pH 8.0 to 10.0, colorless at pH 13.4 or higher), thymolphthalein (colorless to blue at pH 9.4 to 10.6), alizarin yellow R (Yellow to red at pH 10.1 to 12.0), Tropeolin O (yellow to orange brown at pH 11.0 to 13.0), suitable for having a discoloration range in the alkaline region at pH 8.0 to 14.0 . However, the discoloration range shown here is behavior to an aqueous solution to the last, so there is a slight difference in the degree of coloration and the discoloration region in methanol aqueous solution etc., but even the color change even as the pH decreases. That's fine. The pH-sensitive material is not limited to those listed here, and any material having a color change region in the alkaline region is applicable.
 〈カバー部材〉
 pH指示部53を備える保湿材52を固定・保護することを目的としたカバー部材51を用いることが好ましい。カバー部材51の形状は、図7に示すようにいくつもの穴が開けられた板状の部材が適しているが、カソード電極31への酸素供給を妨げず、かつ保湿材52が適度な湿度を保てるような部材であれば形状は任意である。カバー部材51の材料としては、耐アルカリ・耐アルコール性を持つことが望ましく、アルミニウムやステンレスなどの金属や、PTFEなどのプラスチックを基本骨格とするものが適当である。カバー部材51を搭載した燃料電池セル11の概観を図8に示す。カバー部材51に設けた穴などから、保湿材52のpH指示部53が見えるように配置される。
<Cover material>
It is preferable to use acover member 51 intended to fix and protect themoisturizing material 52 provided with thepH instruction unit 53. As the shape of thecover member 51, a plate-like member having a number of holes as shown in FIG. 7 is suitable, but the oxygen supply to thecathode electrode 31 is not hindered, and themoisturizing material 52 has an appropriate humidity. The shape is arbitrary as long as the member can be maintained. As a material of thecover member 51, it is desirable to have alkali resistance and alcohol resistance, and a material having a basic skeleton made of metal such as aluminum or stainless steel or plastic such as PTFE is suitable. An overview of thefuel cell 11 on which thecover member 51 is mounted is shown in FIG. It arrange | positions so that the pH instruction |indication part 53 of themoisturizing material 52 can be seen from the hole etc. which were provided in thecover member 51. FIG.
 また、保湿材52のみならず、図9に示すように、カバー部材51自体にpH指示部55を設けても良い。カバー部材51に設けたpH指示部55は、保湿材52に設けたpH指示部53と同様に、基材にpH感受材を導入した構造とすることが好ましいが、この構造に限定されるわけではない。
 また、pH指示部55を設ける場合には、pH指示部53を必ずしも設ける必要はなく、pH指示部55のみ設けるようにしても良い。pH指示部55としては、カバー部材51の一部を貫通するような基材を持つものを導入すると良い。また、pH指示部55は交換可能に設置されることが好ましい。
In addition to themoisturizing material 52, as shown in FIG. 9, apH indicator 55 may be provided on thecover member 51 itself. ThepH indicator 55 provided on thecover member 51 preferably has a structure in which a pH-sensitive material is introduced into the base material, like thepH indicator 53 provided on themoisturizing material 52, but is not limited to this structure. is not.
Further, when thepH instruction unit 55 is provided, thepH instruction unit 53 is not necessarily provided, and only thepH instruction unit 55 may be provided. As thepH instruction unit 55, one having a base material that penetrates a part of thecover member 51 may be introduced. Moreover, it is preferable that the pH instruction |indication part 55 is installed so that replacement | exchange is possible.
 保湿材52は、内部の水分のpH変化によってpH指示部53に変色が見られたら、保湿材52自体を交換することによって、保湿材として機能を回復させる必要がある。このため、保湿材52は、簡単に交換可能な構造であることが好ましい。例えば、図10や図11に示すように、カバー部材51を蝶番54によって結合された二つの部品からなる構造とし、一方の部品をカソード集電体41などに接合させ、カバー部材51を開閉するような構造とすると、保湿材52の交換が容易である。
 また、図12に示すように、カソード集合体41にガイド56を接合させ、ガイド56に従ってカバー部材51をスライドさせる構造としても、保湿材52を容易に交換できる。
 カバー部材51の開閉に関しては、上記の例に限定されず燃料電池セル11の構造に合わせた方法とすることが好ましい。
Themoisturizing material 52 needs to recover its function as a moisturizing material by replacing themoisturizing material 52 itself when thepH indicator 53 is discolored due to a change in the pH of the internal moisture. For this reason, it is preferable that themoisturizing material 52 has a structure that can be easily replaced. For example, as shown in FIGS. 10 and 11, thecover member 51 has a structure composed of two parts joined by ahinge 54, and one part is joined to the cathodecurrent collector 41 or the like to open and close thecover member 51. With such a structure, the moisturizingmaterial 52 can be easily replaced.
In addition, as shown in FIG. 12, the moisturizingmaterial 52 can be easily replaced even when theguide 56 is joined to thecathode assembly 41 and thecover member 51 is slid according to theguide 56.
The opening and closing of thecover member 51 is not limited to the above example, and it is preferable to adopt a method that matches the structure of thefuel cell 11.
 以上説明したように、本実施形態に係る燃料電池セル11は、カソード電極31のpH変化を保湿材52又はカバー部材51に設けたpH指示部53、55によって確認できるため、保湿材52の状態を容易に把握できる。保湿材52は、カソード電極31の水分を吸収しているため、pH指示部53、55の示すpHは、カソード電極31の湿り具合やpHを反映する。実際には、カソード反応で水酸化物イオンが生成されるため、pH指示部53、55が強アルカリであることを示してもすぐに保湿材52を交換した方が良いというわけではないが、保湿材52を用いた発電システムとした場合、現実的には保湿材52を交換する必要がある。そのため、アルカリ型燃料電池の長期安定した発電が可能となる。As described above, thefuel battery cell 11 according to this embodiment can check the pH change of thecathode electrode 31 with themoisturizing material 52 or thepH indicating units 53 and 55 provided on thecover member 51. Can be easily grasped. Since themoisturizing material 52 absorbs the moisture of thecathode electrode 31, the pH indicated by thepH instruction units 53 and 55 reflects the wetness and pH of thecathode electrode 31. Actually, hydroxide ions are generated in the cathode reaction, so even if thepH indicating units 53 and 55 indicate strong alkali, it is not always better to replace themoisturizing material 52. When a power generation system using themoisturizing material 52 is used, it is actually necessary to replace themoisturizing material 52. Therefore, long-term stable power generation of the alkaline fuel cell is possible.
 以下、本発明の実施例について説明する。Hereinafter, examples of the present invention will be described.
 〔比較例〕
 まず、炭素粒子(ライオン社性のケッチェンブラックEC600JD)に粒子径が3~5nmの範囲内にある白金微粒子を重量比で50%担持させた触媒担持炭素微粒子を用意し、この触媒担持炭素微粒子1gにデュポン社製の5重量%ナフィオン溶液(商品名:DE521「ナフィオン」はデュポン社の登録商標)を適量加え、攪拌して、触媒ペーストを得た。この触媒ペーストを基材としてのカーボンペーパー(東レ社製のTGPH-120)上に1~8mg/cmの塗工量で塗布し、乾燥させて、4cm×4cmのカソード電極31及びアノード電極32を作製した。
[Comparative example]
First, catalyst-supported carbon particles are prepared by supporting 50% by weight of platinum particles having a particle diameter in the range of 3 to 5 nm on carbon particles (Lion Corporation Ketjen Black EC600JD). An appropriate amount of a 5 wt% Nafion solution (trade name: DE521 “Nafion” is a registered trademark of DuPont) manufactured by DuPont was added to 1 g and stirred to obtain a catalyst paste. This catalyst paste was applied to carbon paper (TGPH-120 manufactured by Toray Industries, Inc.) at a coating amount of 1 to 8 mg / cm2 and dried to form a 4 cm × 4cm cathode electrode 31 andanode electrode 32. Was made.
 次に、トクヤマ社製のアニオン交換膜(6cm×6cm×厚さ50μm)を固体高分子電解質膜33として用い、この膜の厚さ方向の一方の面に、上記カソード電極31を、触媒を塗布していない面が外側となる向きで配置し、他の面に上記アノード電極32のアノード触媒を塗布していない面が外側となる向きで同様に配置し、触媒を塗った電極面同士が固体高分子電解質膜33を介して対面するように、各カーボンペーパーの外側から圧力を印加してホットプレスした。このようにして、MEA30を作製した。Next, an anion exchange membrane (6 cm × 6 cm × 50 μm thickness) manufactured by Tokuyama Corporation was used as the solidpolymer electrolyte membrane 33, and thecathode electrode 31 was applied to one surface of the membrane in the thickness direction. The surfaces that are not applied are arranged in the direction that faces the outside, the surfaces that are not coated with the anode catalyst of theanode electrode 32 on the other surfaces are arranged in the same direction that faces the outside, and the electrode surfaces coated with the catalyst are solid. Hot pressing was performed by applying pressure from the outside of each carbon paper so as to face each other through thepolymer electrolyte membrane 33. In this way,MEA 30 was produced.
 次に、カソード電極31とアノード電極32の上に、ステンレス鋼(SUS316)からなる外寸法5cm×5cm、内寸法3.8cm×3.8cm、厚さ1.0mmの矩形枠状の枠板からなるカソード集電体41及びアノード集電耐42を、カソード31側とアノード32側との両面に配置し、ねじ止めすることで燃料容器10に固定した。Next, on thecathode electrode 31 and theanode electrode 32, a rectangular frame-shaped frame plate having an outer dimension of 5 cm × 5 cm, an inner dimension of 3.8 cm × 3.8 cm, and a thickness of 1.0 mm made of stainless steel (SUS316) is used. The cathodecurrent collector 41 and the anodecurrent resistance 42 were arranged on both thecathode 31 side and theanode 32 side and fixed to thefuel container 10 by screwing.
 燃料容器10は、集電体41、42とほぼ同じ外寸法をもつ。全体の厚みは7mm、内側の燃料容器10内部の深さは5mmとし、図2に示したような断面構造をもつ。アノード電極32と燃料容器10外周の間には、ブチルゴム製のシール部材43を配置させ、液漏れを防いだ。Thefuel container 10 has substantially the same outer dimensions as thecurrent collectors 41 and 42. The overall thickness is 7 mm, the depth inside theinner fuel container 10 is 5 mm, and the cross-sectional structure is as shown in FIG. A sealingmember 43 made of butyl rubber was disposed between theanode electrode 32 and the outer periphery of thefuel container 10 to prevent liquid leakage.
 カソード電極31の大気への開放面には、図4に示したような形状をもつ保湿材52を、図8に示したように、枠状のカソード集電体41の内部に収まる形で被覆させた。保湿材52としては、短時間的な発電試験を行うことを目的としたため、耐アルカリ性にこだわらずにセルロース系の不織布を用いた。さらに、図7に示したような直径2mmの小孔が並んだステンレス製の板でできたカバー部材51をテープで固定し、図2のような断面構造で示され、図9のような概観図で示されるような燃料電池セル11を構成した。On the open surface of thecathode electrode 31 to the atmosphere, amoisturizing material 52 having a shape as shown in FIG. 4 is coated so as to fit inside the frame-shaped cathodecurrent collector 41 as shown in FIG. I let you. As themoisturizing material 52, a cellulose-based non-woven fabric was used regardless of alkali resistance because it aimed to perform a short-time power generation test. Further, acover member 51 made of a stainless steel plate with small holes having a diameter of 2 mm as shown in FIG. 7 is fixed with a tape, and is shown in a sectional structure as shown in FIG. Afuel battery cell 11 as shown in the figure was constructed.
 燃料容器10には、燃料注入口21から、KOHが5Mの濃度となる15vol%メタノール水溶液を満たしたのち、燃料が漏れないように栓22をした。発電は、液体燃料60を注入後、5分経過してから開始することで統一した。Thefuel container 10 was filled with a 15 vol% methanol aqueous solution with a KOH concentration of 5M from thefuel inlet 21 and then plugged so as not to leak fuel. The power generation was unified by starting after 5 minutes had passed after theliquid fuel 60 was injected.
 〔実施例1〕
 燃料電池セル11の構造に関しては、保湿材52以外は比較例1と同じ構成とした。実施例1では、図5に示すように、保湿材52の一部にpH指示部53を設け、そのpH指示部53が小孔部から観察できるように、カバー部材51で被覆した。pH指示部53には、pH感受材としてpHが高くなることによって、黄色から赤色に変色するアリザリンイエローRを染み込ませた一辺が5mmからなる濾紙を用いた。その他の点に関しては、比較例1と同じ条件とした。
[Example 1]
Regarding the structure of thefuel battery cell 11, the configuration is the same as that of the comparative example 1 except for themoisture retaining material 52. In Example 1, as shown in FIG. 5, apH indicator 53 was provided on a part of themoisturizing material 52, and thepH indicator 53 was covered with acover member 51 so that thepH indicator 53 could be observed from a small hole. For thepH indicator 53, a filter paper having a side of 5 mm soaked with alizarin yellow R, which changes color from yellow to red as the pH is increased, is used. The other conditions were the same as in Comparative Example 1.
 〔実施例2〕
 燃料電池セル11の構造に関しては、保湿材52以外は比較例1と同じ構成とした。実施例2では、図6のように、保湿材52の全面にpH感受材を塗布したpH指示部53を設け、そのpH指示部53が小孔部から観察できるように、カバー部材51で被覆した。pH感受材としては、実施例1と同じ物質を用いた。その他の点に関しては、比較例1と同じ条件とした。
[Example 2]
Regarding the structure of thefuel battery cell 11, the configuration is the same as that of the comparative example 1 except for themoisture retaining material 52. In Example 2, as shown in FIG. 6, apH indicator 53 having a pH-sensitive material applied to the entire surface of themoisturizing material 52 is provided, and thepH indicator 53 is covered with acover member 51 so that thepH indicator 53 can be observed from a small hole. did. The same material as in Example 1 was used as the pH sensitive material. The other conditions were the same as in Comparative Example 1.
 〔実施例3〕
 図10に示したように、開閉可能なカバー部材51を用いた。燃料電池セル11の構成は実施例2と同じとした。その他の点に関しては、比較例1と同じ条件とした。
Example 3
As shown in FIG. 10, an openable /closable cover member 51 was used. The configuration of thefuel cell 11 was the same as that in Example 2. The other conditions were the same as in Comparative Example 1.
 〔実施例4〕
 図11に示したように、開閉可能なカバー部材51を用いた。燃料電池セル11の構成は実施例2と同じとした。その他の点に関しては、比較例1と同じ条件とした。
Example 4
As shown in FIG. 11, an openable /closable cover member 51 was used. The configuration of thefuel cell 11 was the same as that in Example 2. The other conditions were the same as in Comparative Example 1.
 〔実施例5〕
 図12に示したように、開閉可能なカバー部材51を用いた。燃料電池セル11の構成は実施例2と同じとした。その他の点に関しては、比較例1と同じ条件とした。
Example 5
As shown in FIG. 12, an openable /closable cover member 51 was used. The configuration of thefuel cell 11 was the same as that in Example 2. The other conditions were the same as in Comparative Example 1.
 このように作製した燃料電池セル11について、1.0Aにおける定電流発電試験を行った。実施例1~5に関しては、2回まで保湿材52を交換し、0.3Vを下回った段階で発電終了とした。A constant current power generation test at 1.0 A was performed on thefuel battery cell 11 thus manufactured. In Examples 1 to 5, the moisturizingmaterial 52 was replaced up to two times, and the power generation was terminated when the voltage dropped below 0.3V.
 比較例1では、カソード電極31のpH変化を確認できないため、0.3Vになった時点で発電を終了することにした。発電開始から30分ほどは、温度上昇などにつれて電圧の上昇が見られ、最大で0.45Vに達した。しかし、40分過ぎから電圧が徐々に低下し始め、60分を越えたあたりで電圧低下が急激になり、70分で0.3Vを下回ったために停止した。発電停止時には保湿材52及びカソード電極31表面はかなり濡れていた。In Comparative Example 1, since the pH change of thecathode electrode 31 could not be confirmed, the power generation was terminated when the voltage reached 0.3V. About 30 minutes after the start of power generation, the voltage increased as the temperature rose, reaching 0.45V at the maximum. However, the voltage started to gradually decrease after 40 minutes, and the voltage decrease suddenly after 60 minutes, and stopped because the voltage dropped below 0.3 V in 70 minutes. When the power generation was stopped, the moisturizingmaterial 52 and the surface of thecathode electrode 31 were considerably wet.
 実施例1では、比較例1と同様な発電挙動を示してきたが、40分過ぎからpH指示部53がやや変色し始め、電圧が徐々に低下し始めた。60分あたりで変色が進み、そのときの電圧は0.4V程度であった。そこで、別の保湿材52と入れ替えたところ、電圧は0.44Vに回復した。その後、やはり徐々に電圧は低下していったものの、100分でpH指示部53の変色及び電圧低下(0.35V)が見られたため、再び新しい保湿材52に入れ替えたが、電圧は0.4V程度までしか回復せず、120分を超えたあたりで電圧が0.3Vを下回ったため、発電を停止させた。いずれの交換時期においても、保湿材52はかなり濡れていた。カバー部材51をカソード集電体41にテープで固定した程度であったため、保湿材52の交換には時間がかかった。In Example 1, power generation behavior similar to that in Comparative Example 1 has been shown, but after 40 minutes, thepH indicator 53 started to change slightly and the voltage began to gradually decrease. The color change progressed around 60 minutes, and the voltage at that time was about 0.4V. Therefore, when thehumectant 52 was replaced, the voltage recovered to 0.44V. After that, although the voltage gradually decreased gradually, discoloration of thepH indicator 53 and a voltage decrease (0.35 V) were observed in 100 minutes. Therefore, the voltage was changed to anew moisturizing material 52 again. It recovered only to about 4V, and since the voltage dropped below 0.3V around 120 minutes, power generation was stopped. In any replacement period, the moisturizingmaterial 52 was considerably wet. Since thecover member 51 was fixed to the cathodecurrent collector 41 with a tape, it took time to replace themoisturizing material 52.
 実施例2では、比較例1と同様な発電挙動を示してきたが、30分過ぎからpH指示部55の一部で少し変色が見られ、40分過ぎから電圧が徐々に低下し始めた。50分を過ぎたあたりで、カバー部材51の穴から見えるpH指示部53のうち、80%程度が変色したので、別の保湿材52に交換した。その際、電圧は0.42Vから0.45Vにまで回復した。その後、やはり徐々に電圧は低下していったものの、100分でpH指示部53の変色領域が70%程度になり、電圧低下(0.38V)も見られたため、再び新しい保湿材52に入れ替えた。その際、電圧は0.42V程度まで回復した。その後、変色域の増大に伴うような形で電圧の低下がみられ、130分に満たないあたりで電圧が0.3Vを下回ったため、発電を停止させた。いずれの交換時期においても、保湿材52は濡れていたが、実施例1ほどではなかった。カバー部材51をカソード集電体41にテープで固定した程度であったため、保湿材52の交換には時間がかかった。In Example 2, power generation behavior similar to that in Comparative Example 1 has been shown, but a slight discoloration was observed in part of thepH indicator 55 after 30 minutes, and the voltage began to gradually decrease after 40 minutes. About 50% of thepH indicating portion 53 visible from the hole of thecover member 51 was discolored after about 50 minutes, and was replaced with another moisturizingmaterial 52. At that time, the voltage recovered from 0.42V to 0.45V. After that, the voltage gradually decreased gradually, but in 100 minutes, the discoloration region of thepH indicator 53 became about 70%, and a voltage decrease (0.38 V) was also observed. It was. At that time, the voltage recovered to about 0.42V. Thereafter, a decrease in the voltage was observed in the form associated with the increase in the color change range, and since the voltage fell below 0.3 V in less than 130 minutes, the power generation was stopped. At any replacement time, the moisturizingmaterial 52 was wet, but not as much as in Example 1. Since thecover member 51 was fixed to the cathodecurrent collector 41 with a tape, it took time to replace themoisturizing material 52.
 実施例3では、比較例1と同様な発電挙動を示してきたが、30分過ぎからpH指示部55の一部で少し変色が見られ、40分過ぎから電圧が徐々に低下し始めた。50分を過ぎたあたりで、カバー部材51の穴から見えるpH指示部53のうち、80%程度が変色したようだったので、別の保湿材52に交換した。その際、電圧は0.42Vから0.45Vにまで回復した。その後、やはり徐々に電圧は低下していったものの、110分でpH指示部53の変色領域が70%程度になり、電圧低下(0.38V)も見られたため、再び新しい保湿材52に入れ替えた。その際、電圧は0.42V程度まで回復した。その後、変色域の増大に伴うような形で電圧の低下がみられ、150分に到達したあたりで電圧が0.3Vを下回ったため、発電を停止させた。いずれの交換時期においても、保湿材52は濡れていたが、実施例2ほどではなかった。カバー部材51を簡単に開閉できる構造であったため、保湿材52の交換は、比較例1及び実施例1と比較して短時間でできた。そのため、カソード電極31表面を長時間大気に晒すことがなくなるため、実施例2と比較して発電時間が延びた。In Example 3, power generation behavior similar to that of Comparative Example 1 has been shown, but a slight discoloration was observed in part of thepH indicator 55 after 30 minutes, and the voltage began to gradually decrease after 40 minutes. About 50% of thepH indicating portion 53 visible from the hole of thecover member 51 seemed to have changed color after about 50 minutes, and was replaced with another moisturizingmaterial 52. At that time, the voltage recovered from 0.42V to 0.45V. After that, although the voltage gradually decreased, the discoloration region of thepH indicator 53 became about 70% in 110 minutes, and a voltage decrease (0.38 V) was also observed. It was. At that time, the voltage recovered to about 0.42V. Thereafter, a decrease in the voltage was observed in the form associated with the increase in the color change range, and since the voltage fell below 0.3 V around 150 minutes, the power generation was stopped. At any replacement time, the moisturizingmaterial 52 was wet, but not as much as in Example 2. Since thecover member 51 has a structure that can be easily opened and closed, the moisturizingmaterial 52 can be replaced in a shorter time than in the comparative example 1 and the example 1. Therefore, the surface of thecathode electrode 31 is not exposed to the atmosphere for a long time, so that the power generation time is extended as compared with Example 2.
 実施例4及び実施例5では、実施例3とほぼ同じ結果を得た。In Example 4 and Example 5, almost the same result as Example 3 was obtained.
 このように、本発明によれば、アルカリ型燃料電池におけるカソード電極31の水酸化物イオン濃度を、カソード電極31上に設けた保湿材中のpH変化によって簡便に知ることができる。保湿材52及びカバー部材51の少なくとも一方に導入されたpH指示部53、55が呈色するということは、保湿材52が湿っていることを示す。保湿材52が湿りすぎると、カソード電極31への酸素供給が阻害され、また、pHが大きくなると、カソード反応が起こりにくくなる。そのため、保湿材52を交換するタイミングを適時に把握することができることは、継続した安定発電を可能にすることになる。本発明により、現状では長時間発電の難しいアルカリ型燃料電池において、安定発電できる時間を長くすることが可能となる。Thus, according to the present invention, the hydroxide ion concentration of thecathode electrode 31 in the alkaline fuel cell can be easily known from the pH change in the moisturizing material provided on thecathode electrode 31. The coloration of thepH indicating parts 53 and 55 introduced into at least one of themoisturizing material 52 and thecover member 51 indicates that themoisturizing material 52 is moist. When themoisturizing material 52 is too wet, the supply of oxygen to thecathode electrode 31 is hindered, and when the pH increases, the cathode reaction hardly occurs. Therefore, being able to grasp the timing for replacing themoisturizing material 52 in a timely manner enables continuous stable power generation. According to the present invention, it is possible to lengthen the time during which stable power generation can be performed in an alkaline fuel cell that is difficult to generate power for a long time.
 なお、上記実施形態は本発明の好適な実施の一例であり、本発明はこれに限定されることはない。
 例えば、上記の説明においてはアノードで上記式(3)に示す反応が発生するとしたが、実際には上記式(3)のようにCOが発生するのではなく、直接CO2-が生成されることも考えられ、本発明はこのような反応が生じる場合でも適用可能である。
 このように、本発明は様々な変形が可能である。
In addition, the said embodiment is an example of suitable implementation of this invention, and this invention is not limited to this.
For example, in the above description, the reaction represented by the above formula (3) occurs at the anode, but actually, CO2 is not generated as in the above formula (3), but CO32− is directly generated. The present invention is applicable even when such a reaction occurs.
As described above, the present invention can be variously modified.
 この出願は、2008年3月13日に出願された日本出願特願2008-064168を基礎とする優先権を主張し、その開示の全てをここに取り込む。This application claims priority based on Japanese Patent Application No. 2008-064168 filed on March 13, 2008, the entire disclosure of which is incorporated herein.
本発明に係るアルカリ型燃料電池の構成を示す図である。It is a figure which shows the structure of the alkaline fuel cell which concerns on this invention.燃料電池の一例を示す断面図である。It is sectional drawing which shows an example of a fuel cell.燃料電池セルの概観図であるIt is a general-view figure of a fuel cell.保湿材の概観図である。It is a general-view figure of a moisturizing material.pH指示部をもつ保湿材の概観図である。It is a general-view figure of the moisturizing material which has a pH instruction | indication part.pH指示部をもつ保湿材の概観図である。It is a general-view figure of the moisturizing material which has a pH instruction | indication part.カバー部材の概観図である。It is a general-view figure of a cover member.燃料電池セルの概観図であるIt is a general-view figure of a fuel cell.pH指示部を備えたカバー部材をもつ燃料電池セルの概観図である。It is a general-view figure of the fuel cell which has a cover member provided with the pH instruction | indication part.開閉可能なカバー部材を閉じた場合(a)、開けた場合(b)の燃料電池セルの概観図である。It is a general-view figure of the fuel cell when a cover member which can be opened and closed is closed (a) and opened (b).開閉可能なカバー部材を閉じた場合(a)、開けた場合(b)の燃料電池セルの概観図である。It is a general-view figure of the fuel cell when a cover member which can be opened and closed is closed (a) and opened (b).開閉可能なカバー部材を閉じた場合(a)、開けた場合(b)の燃料電池セルの概観図である。It is a general-view figure of the fuel cell when a cover member which can be opened and closed is closed (a) and opened (b).
符号の説明Explanation of symbols
 10、110  燃料容器
 11  燃料電池セル
 21  燃料注入口
 22  栓
 30  MEA
 31、131  カソード電極
 32、132  アノード電極
 33  固体高分子電解質膜
 41、141  カソード集電体
 42、142  アノード集電体
 43  シール部材
 51  カバー部材
 52、152  保湿材
 53、153  pH指示部(保湿材)
 54  蝶番
 55  pH指示部(カバー部材)
 56  ガイド
 60、160  液体燃料
 130  電極-電解質膜接合体
 133  アニオン交換膜
 
 
10, 110Fuel container 11Fuel cell 21Fuel inlet 22Plug 30 MEA
31, 131Cathode electrode 32, 132Anode electrode 33 Solidpolymer electrolyte membrane 41, 141 Cathodecurrent collector 42, 142 Anodecurrent collector 43Seal member 51Cover member 52, 152Moisturizing material 53, 153 pH indicator (humidity retaining material) )
54Hinge 55 pH indicator (cover member)
56Guide 60, 160 Liquid fuel 130 Electrode-electrolyte membrane assembly 133 Anion exchange membrane

Claims (13)

  1.  アニオン交換膜と、前記アニオン交換膜の一方の面に接して配されたカソードと、前記アニオン交換膜の他方の面に接して配されたアノードと、これらの間をシールするシール部材とで形成された電極-電解質膜接合体が、前記カソード及び前記アノードにそれぞれ接して配されたカソード集電体及びアノード集電体で挟持され、前記アノードに接した燃料容器内部にアルカリを含む液体燃料が供給されることによって発電するアルカリ型燃料電池であって、
     前記カソード面上に、少なくとも一部にpHに応じて変色するpH指示部を備え、前記カソードを保湿し、交換可能な保湿材を有し、
     前記pH指示部の色の変化によって、前記カソードのpHの変化を視認可能としたことを特徴とするアルカリ型燃料電池。
    Formed by an anion exchange membrane, a cathode disposed in contact with one surface of the anion exchange membrane, an anode disposed in contact with the other surface of the anion exchange membrane, and a seal member that seals between them The electrode-electrolyte membrane assembly thus formed is sandwiched between a cathode current collector and an anode current collector disposed in contact with the cathode and the anode, respectively. An alkaline fuel cell that generates electricity by being supplied,
    On the cathode surface, at least a part is provided with a pH indicator that changes color according to pH, and the cathode is moisturized and has a replaceable moisturizing material,
    An alkaline fuel cell characterized in that a change in pH of the cathode can be visually recognized by a change in color of the pH indicator.
PCT/JP2009/0545192008-03-132009-03-10Alkaline fuel cellWO2009113524A1 (en)

Priority Applications (1)

Application NumberPriority DateFiling DateTitle
JP2010502822AJPWO2009113524A1 (en)2008-03-132009-03-10 Alkaline fuel cell

Applications Claiming Priority (2)

Application NumberPriority DateFiling DateTitle
JP20080641682008-03-13
JP2008-0641682008-03-13

Publications (1)

Publication NumberPublication Date
WO2009113524A1true WO2009113524A1 (en)2009-09-17

Family

ID=41065191

Family Applications (1)

Application NumberTitlePriority DateFiling Date
PCT/JP2009/054519WO2009113524A1 (en)2008-03-132009-03-10Alkaline fuel cell

Country Status (2)

CountryLink
JP (1)JPWO2009113524A1 (en)
WO (1)WO2009113524A1 (en)

Cited By (1)

* Cited by examiner, † Cited by third party
Publication numberPriority datePublication dateAssigneeTitle
JP2021163543A (en)*2020-03-302021-10-11日本碍子株式会社 Membrane electrode assembly and electrochemical cell

Citations (4)

* Cited by examiner, † Cited by third party
Publication numberPriority datePublication dateAssigneeTitle
JP2004206885A (en)*2002-12-202004-07-22Tdk Corp Fuel cell
JP2004273220A (en)*2003-03-062004-09-30Tohoku Ricoh Co LtdFuel cell
JP2006107886A (en)*2004-10-042006-04-20Matsushita Electric Ind Co Ltd Humidifying device, humidifying method, and fuel cell power generation system
JP2008016390A (en)*2006-07-072008-01-24Toshiba Corp Fuel cell

Patent Citations (4)

* Cited by examiner, † Cited by third party
Publication numberPriority datePublication dateAssigneeTitle
JP2004206885A (en)*2002-12-202004-07-22Tdk Corp Fuel cell
JP2004273220A (en)*2003-03-062004-09-30Tohoku Ricoh Co LtdFuel cell
JP2006107886A (en)*2004-10-042006-04-20Matsushita Electric Ind Co Ltd Humidifying device, humidifying method, and fuel cell power generation system
JP2008016390A (en)*2006-07-072008-01-24Toshiba Corp Fuel cell

Cited By (1)

* Cited by examiner, † Cited by third party
Publication numberPriority datePublication dateAssigneeTitle
JP2021163543A (en)*2020-03-302021-10-11日本碍子株式会社 Membrane electrode assembly and electrochemical cell

Also Published As

Publication numberPublication date
JPWO2009113524A1 (en)2011-07-21

Similar Documents

PublicationPublication DateTitle
EP2254183B1 (en)Fuel cell with proton conducting membrane
Scott et al.Performance of a direct methanol alkaline membrane fuel cell
US7413824B2 (en)Direct oxidation fuel cell with a divided fuel tank having a movable barrier pressurized by anode effluent gas
KR100538974B1 (en)Method of operating fuel cell system and fuel cell system
US20100323249A1 (en)Air electrode
US20100028736A1 (en)Hybrid Ionomer Electrochemical Devices
US20120064435A1 (en)Anode-Side Catalyst Composition For Fuel Cell and Membrane Electrode Assembly (MEA) For Solid Polymer-Type Fuel Cell
JPWO2007063826A1 (en) Fuel cell system
WO2006120958A1 (en)Fuel cell and fuel cell system
JP2004158388A (en) Electrodes for polymer electrolyte fuel cells
Li et al.CeO 2 doped Pt/C as an efficient cathode catalyst for an air-cathode single-chamber microbial fuel cell
JP4336182B2 (en) Operation method of fuel cell system and fuel cell system
JP2005251434A (en) Fuel cell system and fuel cell control method
JP2021093348A (en)Cathode catalyst layer, membrane electrode assembly, and fuel battery
JPWO2007105458A1 (en) Fuel cell system
WO2009113523A1 (en)Alkaline fuel cell
US10090552B2 (en)Liquid fuel battery
WO2009113524A1 (en)Alkaline fuel cell
JP2005158298A (en) Operation method of fuel cell power generation system and fuel cell power generation system
JPWO2007046231A1 (en) Fuel cell system and fuel cell
JP2007200826A (en) Electrochemical reactor
US8026017B2 (en)High voltage methanol fuel cell assembly using proton exchange membranes and base/acid electrolytes
JP3725451B2 (en) Fuel supply device for fuel cell
JP2022136673A (en) Cathode catalyst layer, membrane electrode assembly and fuel cell
JP2009231195A (en)Fuel cell and electronic device

Legal Events

DateCodeTitleDescription
121Ep: the epo has been informed by wipo that ep was designated in this application

Ref document number:09720001

Country of ref document:EP

Kind code of ref document:A1

WWEWipo information: entry into national phase

Ref document number:2010502822

Country of ref document:JP

NENPNon-entry into the national phase

Ref country code:DE

122Ep: pct application non-entry in european phase

Ref document number:09720001

Country of ref document:EP

Kind code of ref document:A1


[8]ページ先頭

©2009-2025 Movatter.jp