Movatterモバイル変換


[0]ホーム

URL:


WO2009107534A1 - Tape cassette, tape making apparatus and tape making system - Google Patents

Tape cassette, tape making apparatus and tape making system
Download PDF

Info

Publication number
WO2009107534A1
WO2009107534A1PCT/JP2009/052858JP2009052858WWO2009107534A1WO 2009107534 A1WO2009107534 A1WO 2009107534A1JP 2009052858 WJP2009052858 WJP 2009052858WWO 2009107534 A1WO2009107534 A1WO 2009107534A1
Authority
WO
WIPO (PCT)
Prior art keywords
tape
printing
roller
bonding
print
Prior art date
Application number
PCT/JP2009/052858
Other languages
French (fr)
Japanese (ja)
Inventor
晃志郎 山口
強 長江
Original Assignee
ブラザー工業株式会社
Priority date (The priority date is an assumption and is not a legal conclusion. Google has not performed a legal analysis and makes no representation as to the accuracy of the date listed.)
Filing date
Publication date
Priority claimed from JP2008049328Aexternal-prioritypatent/JP4867933B2/en
Priority claimed from JP2008049330Aexternal-prioritypatent/JP5119979B2/en
Priority claimed from JP2008049329Aexternal-prioritypatent/JP2011101949A/en
Application filed by ブラザー工業株式会社filedCriticalブラザー工業株式会社
Publication of WO2009107534A1publicationCriticalpatent/WO2009107534A1/en

Links

Images

Classifications

Definitions

Landscapes

Abstract

A tape cassette has a bonding tape (74) whereupon a thermally active adhesive is applied; a printing tape (17) having a printing surface to be printed; and a tape feeding roller (32) for transferring the printing tape (17) and the bonding tape (74). The tape cassette can be attached to and removed from the tape printing device. In a state where the tape cassette is attached to the tape printing device, the printing surface of the printing tape (17) and the thermally active adhesive on the bonding tape (74) are brought into contact with each other, in the downstream of a printing position in an output direction of the printing tape. In a state where the adhesive is not activated, the bonding tape (74) is not bonded on the printing tape (17) even when the bonding tape (74) and the printing tape (17) are brought into contact with each other.

Description

テープカセット、テープ作成装置及びテープ作成システムTape cassette, tape making apparatus and tape making system
 本発明は、印字テープ、及び、該印字テープに貼り合わされる貼り合せテープの消費量を抑制することができるテープカセット、テープ作成装置及びテープ作成システムに関するものである。The present invention relates to a printing tape and a tape cassette, a tape making device, and a tape making system capable of suppressing consumption of a bonding tape bonded to the printing tape.
 印字テープの印字面を保護するために、種々の手法が提案されている。例えば、下記特許文献1においては、印字テープの印字面に粘着テープを貼り合せることにより、印字面を保護している。Various methods have been proposed to protect the printing surface of the printing tape. For example, in the followingPatent Document 1, the printing surface is protected by bonding an adhesive tape to the printing surface of the printing tape.
特開2006-181750号公報JP 2006-181750 A
 上記特許文献1に記載されるテープ印字装置では、印字機構と切断機構とが近接していないため、作成された印字テープの前端部の余白部が大きい。この余白部は、作成された印字テープにおける無駄(不必要)な部分、すなわち、不必要な消費部分である。印字テープを経済的に使用するためには、このような不必要な消費量を抑制する必要がある。In the tape printer described inPatent Document 1, since the printing mechanism and the cutting mechanism are not close to each other, the margin of the front end portion of the produced printing tape is large. This blank portion is a useless (unnecessary) portion of the produced printing tape, that is, an unnecessary consumption portion. In order to use the printing tape economically, it is necessary to suppress such unnecessary consumption.
 また、印字機構と切断機構とを近接させた場合、印字テープを印字直後に切断することができるようになるものの、その一方で、粘着テープを切断するための切断機構を別途設ける必要がある。Also, when the printing mechanism and the cutting mechanism are brought close to each other, the printing tape can be cut immediately after printing, but on the other hand, it is necessary to provide a cutting mechanism for cutting the adhesive tape.
 本発明は上記問題点を解消するためになされたものであり、1つの切断機構を備えたテープ作成装置において使用可能であり、かつ、印字テープ、及び、該印字テープに貼り合わされる貼り合せテープの消費量を抑制することができるテープカセットを提供することを目的とする。
 また、本発明は、印字テープ、及び、該印字テープに貼り合わされる貼り合せテープの消費量を抑制することができるテープ作成装置及びテープ作成システムを提供することを目的とする。
The present invention has been made to solve the above-described problems, and can be used in a tape making apparatus having a single cutting mechanism, and is a printing tape and a bonding tape bonded to the printing tape. An object of the present invention is to provide a tape cassette capable of suppressing the consumption amount of the tape.
Moreover, an object of this invention is to provide the tape production apparatus and tape production system which can suppress the consumption of the printing tape and the bonding tape bonded together by this printing tape.
 請求項1に係る発明は、テープカセットであって、常温では粘着性を有さず、加熱することにより粘着性を発する熱活性性の粘着剤が塗布された貼り合せテープと、印字が行われる印字面を有する印字テープと、印字テープへの印字位置よりもテープ搬送方向下流側に位置し、印字後の前記印字テープ及び前記貼り合せテープを搬送するテープ送りローラと、前記貼り合せテープ、前記印字テープ、及び、前記テープ送りローラを収納するカセットケースとを有し、印字機構を備えたテープ印字装置に着脱可能であり、前記テープ印字装置に装着された状態において前記テープ送りローラが当該テープ印字装置のテープ送りサブローラと対向する位置で、前記印字テープの印字面と前記貼り合せテープの熱活性性の粘着剤とが接触し、印字位置よりも前記印字テープの排出方向下流側であって、かつ、前記テープ送りローラの位置までの間に前記貼り合せテープが熱活性化される加熱領域を有することを特徴とする。The invention according toclaim 1 is a tape cassette, which is not sticky at normal temperature, and is printed with a bonding tape coated with a heat-active adhesive that emits tackiness when heated. A printing tape having a printing surface; a tape feeding roller that is positioned downstream of the printing position on the printing tape with respect to the tape conveyance direction, and that conveys the printing tape and the bonding tape after printing; and the bonding tape, A printing tape and a cassette case for storing the tape feeding roller, and is detachable from a tape printing device provided with a printing mechanism, and the tape feeding roller is attached to the tape printing device when the tape feeding roller is mounted on the tape printing device. At a position facing the tape feed sub-roller of the printing apparatus, the printing surface of the printing tape and the thermally active adhesive of the bonding tape come into contact with each other to perform printing. A discharge direction downstream side of the printing tape than location, and characterized by having a heating region where the bonding tape until the position of the tape feed roller is thermally activated.
 上記テープカセットは、粘着剤が塗布された貼り合せテープの粘着剤及び印字が行われる印字テープの印字面が、印字位置よりも排出方向下流側で接触する。そして、前記粘着剤は、熱活性性であるので、前記貼り合せテープの粘着性を制御することができ、接触する貼り合せテープ及び印字テープの貼り合せ制御を行うことができる。また、該テープカセットが装着される印字装置は、1つのカッタユニットを有する構成とすることができる。In the tape cassette, the adhesive of the adhesive tape to which the adhesive has been applied and the printing surface of the printing tape on which printing is performed contact the downstream side in the discharge direction from the printing position. And since the said adhesive is heat activation, the adhesiveness of the said bonding tape can be controlled and the bonding control of the bonding tape and printing tape which contact can be performed. Further, the printing apparatus to which the tape cassette is mounted can be configured to have one cutter unit.
 請求項2に係る発明は、請求項1のテープカセットであって、前記テープ送りローラは、ヒートローラであり、前記テープ送りローラの位置で、前記貼り合せテープが熱活性化されることを特徴とする。The invention according toclaim 2 is the tape cassette according toclaim 1, wherein the tape feed roller is a heat roller, and the bonding tape is thermally activated at the position of the tape feed roller. And
 上記テープカセットは、該テープカセットが有するテープ送りローラがヒートローラであり、前記テープ送りローラの位置で、前記貼り合せテープが熱活性化される。これにより、貼り合せテープの粘着剤を活性化させるための加熱装置と該貼り合せテープの搬送装置とを1つの装置で実現することができる。In the tape cassette, the tape feed roller of the tape cassette is a heat roller, and the bonding tape is thermally activated at the position of the tape feed roller. Thereby, the heating apparatus for activating the adhesive of the bonding tape and the conveying apparatus for the bonding tape can be realized by one apparatus.
 請求項3に係る発明は、請求項1のテープカセットであって、前記加熱領域において、前記テープ印字装置が有する加熱部材を挿入する開口部をさらに備え、前記加熱部材の位置で、前記貼り合せテープが熱活性化されることを特徴とする。The invention according toclaim 3 is the tape cassette according toclaim 1, further comprising an opening into which the heating member of the tape printer is inserted in the heating region, wherein the bonding is performed at the position of the heating member. The tape is thermally activated.
 上記テープカセットは、テープ印字装置が有する加熱部材を挿入する開口部を備え、前記加熱部材の位置で、前記貼り合せテープが熱活性化される。これにより、テープ印字装置が有する加熱部材をカセット内に挿入させることができる。The tape cassette includes an opening for inserting a heating member included in the tape printer, and the bonding tape is thermally activated at the position of the heating member. Thereby, the heating member which a tape printer has can be inserted in a cassette.
 請求項4に係る発明は、請求項1または請求項3のテープカセットであって、前記テープ印字装置が有する加熱部材の位置を規制する位置規制部材をさらに備える、ことを特徴とする。The invention according toclaim 4 is the tape cassette according toclaim 1 orclaim 3, further comprising a position restricting member for restricting a position of a heating member of the tape printer.
 上記テープカセットは、テープ印字装置が有する加熱部材の位置を規制する位置規制部材を備える。これにより、加熱部材が貼り合せテープ側に移動したときの位置を規制することができる。The tape cassette includes a position regulating member that regulates the position of the heating member of the tape printer. Thereby, the position when a heating member moves to the bonding tape side can be controlled.
 請求項5に係る発明は、請求項1乃至請求項4いずれかのテープカセットであって、前記テープ送りローラは、前記テープ印字装置が有するテープ送りサブローラと協働することにより、前記印字位置よりも前記印字テープの排出方向下流側で、前記印字テープの印字面と前記貼り合せテープの熱活性性の粘着剤とを接触させることを特徴とする。The invention according toclaim 5 is the tape cassette according to any one ofclaims 1 to 4, wherein the tape feeding roller cooperates with a tape feeding sub-roller included in the tape printer, so Further, the printing surface of the printing tape and the thermally active adhesive of the bonding tape are brought into contact with each other on the downstream side in the discharge direction of the printing tape.
 上記テープカセットは、印字位置よりも搬送方向下流側において、テープ送りローラ及びテープ送りサブローラの協働によって、印字テープの印字面と貼り合せテープの粘着剤とが接触する。これにより、貼り合せテープの粘着剤が活性化している状態において、印字テープに貼り合せテープを貼り合せることができる。In the tape cassette, the printing surface of the printing tape and the adhesive of the bonding tape come into contact with each other on the downstream side in the transport direction from the printing position by the cooperation of the tape feeding roller and the tape feeding sub-roller. Thereby, in a state where the adhesive of the bonding tape is activated, the bonding tape can be bonded to the printing tape.
 請求項6に係る発明は、請求項1乃至請求項5いずれかのテープカセットであって、前記テープ印字装置が有する切断装置と前記テープ送りローラの間に位置し、前記印字テープ及び前記貼り合せテープを案内規制する保持部が形成されていることを特徴とする。The invention according toclaim 6 is the tape cassette according to any one ofclaims 1 to 5, which is located between the cutting device of the tape printer and the tape feed roller, and the printing tape and the bonding A holding part for guiding and regulating the tape is formed.
 上記テープカセットは、印字テープ及び貼り合せテープを案内規制する保持部を備える。これにより。印字テープ及び貼り合せテープを確実に切断装置側へ搬送することができる。The tape cassette includes a holding unit that guides and regulates the printing tape and the bonding tape. By this. The printing tape and the bonding tape can be reliably conveyed to the cutting device side.
 請求項7に係る発明は、請求項1乃至請求項6いずれかのテープカセットであって、前記貼り合せテープの粘着剤が熱活性状態にない場合、前記印字テープと貼り合せテープとは互いに粘着していないことを特徴とする。The invention according toclaim 7 is the tape cassette according to any one ofclaims 1 to 6, wherein the printing tape and the bonding tape adhere to each other when the adhesive of the bonding tape is not in a heat activated state. It is characterized by not.
 上記テープカセットは、貼り合せテープの粘着剤が熱活性状態にない場合は、前記印字テープと貼り合せテープとは互いに粘着していない。これにより、印字テープ及び貼り合せテープの先端を認識するために両テープを接触させて搬送することができる。In the above tape cassette, when the adhesive of the bonding tape is not in a heat activated state, the printing tape and the bonding tape are not adhered to each other. Thereby, in order to recognize the front-end | tip of a printing tape and a bonding tape, both tapes can be made to contact and can be conveyed.
 請求項8に係る発明は、請求項1乃至請求項7いずれかのテープカセットであって、前記カセットケースには、さらにインクリボンが収納され、前記印字位置で、前記インクリボンのインク面と前記印字テープの印字面とが接触することを特徴とする。The invention according toclaim 8 is the tape cassette according to any one ofclaims 1 to 7, wherein the cassette case further stores an ink ribbon, and the ink surface of the ink ribbon and the ink surface at the printing position The printing tape is in contact with the printing surface.
 上記テープカセットは、インクリボンを収納する。これにより、テープカセットとは別にインクリボンを印字装置に装着する必要がない。The tape cassette contains an ink ribbon. Thereby, it is not necessary to attach an ink ribbon to the printing apparatus separately from the tape cassette.
 請求項9に係る発明は、請求項1乃至請求項8いずれかのテープカセットであって、前記貼り合せテープは透明であり、前記粘着剤は活性化した状態において透明であることを特徴とする。The invention according toclaim 9 is the tape cassette according to any one ofclaims 1 to 8, wherein the bonding tape is transparent and the adhesive is transparent in an activated state. .
 上記テープカセットは、粘着剤が活性化した状態において透明である。これにより、活性化した粘着剤を通して印字内容を視認することができる。The tape cassette is transparent when the adhesive is activated. Thereby, the printed content can be visually recognized through the activated adhesive.
 請求項10に係る発明は、請求項9のテープカセットであって、前記印字テープは、前記印字面の裏側に粘着剤層が構成されていることを特徴とする。The invention according toclaim 10 is the tape cassette according toclaim 9, wherein the printing tape has an adhesive layer on the back side of the printing surface.
 上記テープカセットは、印字面の裏側に粘着剤層が構成されている。これにより、作成された印字テープを所望の場所に貼り付けることができる。The tape cassette has an adhesive layer on the back side of the printing surface. Thereby, the produced printing tape can be stuck on a desired place.
 請求項11に係る発明は、前記印字テープの粘着剤層側には、剥離紙が貼り付けられ、前記剥離紙には、センサによって検出される目印印刷が施されていることを特徴とする。The invention according toclaim 11 is characterized in that a release paper is affixed to the pressure-sensitive adhesive layer side of the printing tape, and a mark print detected by a sensor is applied to the release paper.
 上記テープカセットは、印字テープの粘着剤層側に剥離紙が貼り付けられ、また、該剥離紙には、センサによって検出される目印印刷が施されている。これにより、作成された印字テープを長期間保管することができ、また、剥離紙を剥がして所望の場所に貼り付けることができる。さらに、目印印刷を検出することによって、印字テープの搬送量を認識することができる。In the tape cassette, release paper is attached to the adhesive layer side of the printing tape, and mark printing detected by a sensor is applied to the release paper. Thereby, the produced printing tape can be stored for a long period of time, and the release paper can be peeled off and attached to a desired location. Furthermore, the conveyance amount of the printing tape can be recognized by detecting mark printing.
 請求項12に係る発明は、テープ作成装置であって、常温では粘着性を有さず、加熱することにより粘着性を発する熱活性性の粘着剤が塗布された貼り合せテープと、印字が行われる印字面を有する印字テープと、印字後の前記印字テープ及び前記貼り合せテープを搬送するテープ送りローラと、前記貼り合せテープ、前記印字テープ、及び、前記テープ送りローラを収納するカセットケース、を有するテープカセットが着脱可能であり、前記テープ送りローラを係合支持する支持部材を備え、前記テープカセットが装着された状態では、印字位置よりも前記印字テープの排出方向下流側で、前記印字テープの印字面と前記貼り合せテープの熱活性性の粘着剤とが接触し、前記テープ送りサブローラと前記テープ送りローラとの離間・圧接を行う第1離間圧接手段と、前記印字ヘッドと前記プラテンローラとの離間・圧接を行う第2離間圧接手段と、を有し、第1離間圧接手段と第2離間圧接手段とは、独立して動作可能であり、前記第1離間圧接手段による前記テープ送りサブローラと前記テープ送りローラとの離間・圧接、及び、前記第2離間圧接手段による前記印字ヘッドと前記プラテンローラとの離間・圧接をそれぞれ独立して行う離間圧接制御手段を備え、前記テープ送りサブローラ、又は前記支持部材は加熱装置であり、前記テープ送りサブローラ又は前記支持部材の熱状態を制御する加熱制御手段を有し、前記加熱制御手段は、前記テープ送りサブローラに対し、少なくとも印字済みの印字テープが該テープ送りサブローラを通過する間、前記貼り合せテープの粘着剤の熱活性化に必要な熱を生じさせ、前記テープ送りサブローラは、少なくとも印字済みの印字テープが該テープ送りサブローラを通過する間は加熱状態にあり、前記貼り合せテープの熱活性性の粘着剤が活性化され、前記貼り合せテープと前記印字済み印字テープとが貼り合わされることを特徴とする。The invention according to claim 12 is a tape making device, which is not sticky at normal temperature, and has a bonding tape coated with a heat-active pressure sensitive adhesive that emits stickiness when heated, and printing is performed. A printing tape having a printing surface, a tape feeding roller that conveys the printing tape and the bonding tape after printing, a cassette case that houses the bonding tape, the printing tape, and the tape feeding roller. And a support member that engages and supports the tape feed roller. When the tape cassette is mounted, the print tape is located downstream of the print tape in the discharge direction of the print tape. The printing surface of the tape and the thermally active adhesive of the bonding tape are in contact with each other, and the tape feed sub-roller and the tape feed roller are separated and pressed. First separation pressure contact means to perform, and second separation pressure contact means to separate and press the print head and the platen roller, and the first separation pressure contact means and the second separation pressure contact means are independent of each other. Operable, and the separation / pressure contact between the tape feed sub-roller and the tape feed roller by the first separation pressure contact means, and the separation / pressure contact between the print head and the platen roller by the second separation pressure contact means, respectively. The tape feed sub-roller or the support member is a heating device, and includes a heating control means for controlling the thermal state of the tape feed sub-roller or the support member, and the heating control. Means for the tape feed sub-roller at least while the printed tape passes through the tape feed sub-roller. The tape feeding sub-roller is in a heated state at least while the printed printing tape passes through the tape feeding sub-roller, and the heat-sensitive adhesive of the bonding tape is generated. The agent is activated, and the bonded tape and the printed printing tape are bonded together.
 上記テープ作成装置は、粘着剤が塗布された貼り合せテープの粘着剤及び印字が行われる印字テープの印字面が、印字位置よりも排出方向下流側で接触する。また、貼り合せテープの粘着剤の熱状態を制御する。これにより、前記テープ送りサブローラは、少なくとも印字済みの印字テープが該テープ送りサブローラを通過する間は加熱状態にあり、前記貼り合せテープの熱活性性の粘着剤が活性化され、前記貼り合せテープと前記印字済み印字テープとを貼り合わせることができる。In the tape making apparatus, the adhesive of the adhesive tape to which the adhesive has been applied and the printing surface of the printing tape on which printing is performed contact the downstream side in the discharge direction from the printing position. Moreover, the heat state of the adhesive of a bonding tape is controlled. Thereby, the tape feeding sub-roller is in a heated state at least while the printed printing tape passes through the tape feeding sub-roller, and the heat-active adhesive of the bonding tape is activated, and the bonding tape And the printed printing tape can be bonded together.
 請求項13に係る発明は、請求項12のテープ作成装置であって、前記加熱制御手段は、前記テープ送りサブローラを、印字済みの印字テープの後端が前記テープ送りサブローラに到達したときに、非加熱状態にし、搬送手段、切断手段をさらに有し、前記搬送手段は、前記テープ送りサブローラが非加熱状態において、前記印字済みの印字テープを、前記印字済みの印字テープの後端が切断位置に到達するまで排出方向下流側に搬送し、前記切断手段は、前記印字済みの印字テープの後端を、前記貼り合せテープとともに切断し、前記搬送手段は、切断後の印字テープ及び前記貼り合せテープを、その先端が第1の所定位置に到着するまで前記排出方向とは逆方向に搬送し、前記搬送手段は、切断後の貼り合せテープを、その先端が第2の所定位置まで前記排出方向とは逆方向に搬送することを特徴とする。The invention according toclaim 13 is the tape making device according to claim 12, wherein the heating control means moves the tape feeding sub-roller when the trailing end of the printed printing tape reaches the tape feeding sub-roller. In a non-heated state, further comprising a conveying means and a cutting means, the conveying means is configured such that when the tape feeding sub-roller is in a non-heated state, the printed printing tape is placed at the rear end of the printed printing tape. The cutting means cuts the rear end of the printed printing tape together with the bonding tape, and the conveying means cuts the printed printing tape and the bonding together. The tape is transported in a direction opposite to the discharging direction until the leading end reaches the first predetermined position, and the transporting means is configured to cut the bonded tape, and the leading end is the second. From said discharge direction to a predetermined position, characterized in that the transport in the reverse direction.
 上記テープ作成装置は、前記テープ送りサブローラを、印字済みの印字テープの後端が前記テープ送りサブローラに到達したときに、非加熱状態にする。また、非加熱状態において、前記印字済みの印字テープを、前記印字済みの印字テープの後端が切断位置に到達するまで排出方向下流側に搬送する。切断手段は、前記印字済みの印字テープの後端を、前記貼り合せテープとともに切断する。さらに、切断後の印字テープ及び前記貼り合せテープを、その先端が第1の所定位置に到着するまで前記排出方向とは逆方向に搬送し、切断後の貼り合せテープを、その先端が第2の所定位置まで前記排出方向とは逆方向に搬送する。これにより、印字テープ及び貼り合せテープの消費量を抑制することができる。The tape making device puts the tape feeding sub-roller into a non-heated state when the trailing end of the printed printing tape reaches the tape feeding sub-roller. In the non-heated state, the printed printing tape is conveyed downstream in the discharge direction until the rear end of the printed printing tape reaches the cutting position. The cutting means cuts the rear end of the printed printing tape together with the bonding tape. Further, the cut printing tape and the bonding tape are conveyed in the direction opposite to the discharging direction until the leading end reaches the first predetermined position, and the cutting bonding tape has the second end at the second end. To the predetermined position in the direction opposite to the discharge direction. Thereby, consumption of a printing tape and a bonding tape can be suppressed.
 請求項14に係る発明は、請求項13のテープ作成装置であって、前記印字テープの印字面の裏面側に印刷された目印を読み取る読取センサをさらに有し、前記読取センサは、読み取った前記目印に基いて、前記印字テープの位置を検出し、前記第2離間圧接手段は、前記印字テープ及び前記貼付テープが前記逆方向に搬送されるときは、前記印字ヘッドと前記プラテンローラとを離間し、前記印字テープ及び前記貼付テープが前記逆方向に搬送されるときは、前記印字テープと前記プラテンローラとは相対的に離間され、前記第1離間手段は、前記印字テープのみが前記逆方向に搬送されるときは、前記テープ送りローラと前記テープ送りサブローラとを離間させる、ことを特徴とする。The invention according to claim 14 is the tape making apparatus according toclaim 13, further comprising a reading sensor that reads a mark printed on the back side of the printing surface of the printing tape, and the reading sensor reads the reading The position of the printing tape is detected based on a mark, and the second separation pressure contact means separates the printing head and the platen roller when the printing tape and the adhesive tape are conveyed in the reverse direction. When the printing tape and the adhesive tape are conveyed in the reverse direction, the printing tape and the platen roller are relatively separated from each other, and the first separation means is configured such that only the printing tape is in the reverse direction. The tape feed roller and the tape feed sub-roller are separated from each other when being transported to the center.
 上記テープ作成装置は、前記印字テープの印字面の裏面側に印刷された目印を読み取り前記印字テープの位置を検出する。これにより、印字テープの搬送量を認識することができる。The tape producing device reads a mark printed on the back side of the printing surface of the printing tape and detects the position of the printing tape. Thereby, the conveyance amount of a printing tape can be recognized.
 請求項15に係る発明は、テープ作成装置であって、常温では粘着性を有さず、加熱することにより粘着性を発する熱活性性の粘着剤が塗布された貼り合せテープと、印字が行われる印字面を有する印字テープと、印字後の前記印字テープ及び前記貼り合せテープを搬送するヒートローラと、前記貼り合せテープ、前記印字テープ、及び、前記ヒートローラを収納するカセットケース、を有するテープカセットが着脱可能であり、前記テープ送りローラを係合支持する支持部材を備え、前記テープカセットが装着された状態では、印字位置よりも前記印字テープの排出方向下流側で、前記印字テープの印字面と前記貼り合せテープの熱活性性の粘着剤とが接触し、前記テープ送りサブローラと前記ヒートローラとの離間・圧接を行う第3離間圧接手段を有し、前記印字ヘッドと前記前記プラテンローラとの離間・圧接を行う第4離間圧接手段を有し、第3離間圧接手段と第4離間圧接手段とは、独立して動作可能であり、前記第3離間圧接手段による前記テープ送りサブローラと前記ヒートローラとの離間・圧接、及び、前記第4離間圧接手段による前記印字ヘッドと前記プラテンローラとの離間・圧接をそれぞれ独立して行う離間圧接制御手段を備え、前記ヒートローラ又は前記支持部材の熱状態を制御する加熱制御手段を有し、前記加熱制御手段は、前記ヒートローラに対し、少なくとも印字済みの印字テープが該テープ送りサブローラを通過する間、前記貼り合せテープの粘着剤の熱活性化に必要な熱を生じさせ、前記ヒートローラは、少なくとも印字済みの印字テープが該テープ送りサブローラを通過する間は加熱状態にあり、前記貼り合せテープの熱活性性の粘着剤が活性化されることを特徴とする。The invention according to claim 15 is a tape making device, which is not sticky at room temperature, and is printed with a bonding tape coated with a heat-active adhesive that emits tackiness when heated. A tape having a printing surface, a heat roller that conveys the printed tape and the bonding tape after printing, and a cassette case that houses the bonding tape, the printing tape, and the heat roller. The cassette is detachable, and includes a support member that engages and supports the tape feed roller. When the tape cassette is mounted, printing on the printing tape is performed downstream of the printing tape in the discharge direction of the printing tape. The surface and the heat-activatable adhesive of the bonding tape come into contact with each other, and the tape feed sub-roller and the heat roller are separated and pressed against each other. And a fourth separation pressure contact means that separates and presses the print head and the platen roller, and the third separation pressure contact means and the fourth separation pressure contact means can operate independently. Yes, the separation / pressure contact between the tape feed sub-roller and the heat roller by the third separation pressure contact means and the separation / pressure contact between the print head and the platen roller by the fourth separation pressure contact means are independently performed. The heating control means includes heating pressure control means for controlling a heat state of the heat roller or the support member, and the heating control means has at least a printed printing tape on the tape feed sub-roller with respect to the heat roller. The heat roller generates heat necessary for thermal activation of the adhesive of the bonding tape, and at least the printed printing tape is While passing through the tape feed subroller is in a heated state, thermal activation of the adhesive of the bonding tape is characterized in that it is activated.
 上記テープ作成装置は、上記テープ作成装置は、粘着剤が塗布された貼り合せテープの粘着剤及び印字が行われる印字テープの印字面が、印字位置よりも排出方向下流側で接触する。また、貼り合せテープの粘着剤の熱状態を制御する。これにより、ヒートローラは、少なくとも印字済みの印字テープが該テープ送りサブローラを通過する間は加熱状態にあり、前記貼り合せテープの熱活性性の粘着剤が活性化され、前記貼り合せテープと前記印字済み印字テープとを貼り合わせることができる。In the tape creating apparatus, the adhesive of the adhesive tape to which the adhesive is applied and the printing surface of the printing tape on which printing is performed contact the downstream side in the discharge direction from the printing position. Moreover, the heat state of the adhesive of a bonding tape is controlled. As a result, the heat roller is in a heated state at least while the printed printing tape passes through the tape feed sub-roller, the heat-active adhesive of the bonding tape is activated, and the bonding tape and the bonding tape Can be attached to printed tape.
 請求項16に係る発明は、請求項15のテープ作成装置であって、前記加熱制御手段は、前記ヒートローラ又は前記支持部材を、印字済みの印字テープの後端が前記ヒートローラに到達したときに、非加熱状態にし、搬送手段、切断手段をさらに有し、前記搬送手段は、前記ヒートローラが非加熱状態において、前記印字済みの印字テープを、前記印字済みの印字テープの後端が切断位置に到達するまで排出方向下流側に搬送し、前記切断手段は、前記印字済みの印字テープの後端を、前記貼り合せテープとともに切断し、前記搬送手段は、切断後の印字テープ及び前記貼り合せテープを、その先端が第1の所定位置に到着するまで前記排出方向とは逆方向に搬送し、前記搬送手段は、切断後の貼り合せテープを、その先端が第2の所定位置まで前記排出方向とは逆方向に搬送することを特徴とする。The invention according to claim 16 is the tape making apparatus according to claim 15, wherein the heating control means moves the heat roller or the support member when the rear end of the printed printing tape reaches the heat roller. In the non-heated state, it further comprises a conveying means and a cutting means, and the conveying means cuts the printed printing tape with the trailing end of the printed printing tape in a non-heated state of the heat roller. Until the position is reached, the sheet is conveyed downstream in the discharge direction, the cutting means cuts the rear end of the printed printing tape together with the bonding tape, and the conveying means includes the cut printing tape and the pasting tape. The alignment tape is conveyed in a direction opposite to the discharge direction until the leading end reaches the first predetermined position, and the conveying means conveys the cut bonding tape at the second predetermined position. From said discharge direction until, characterized in that the transport in the reverse direction.
 上記テープ作成装置は、前記ヒートローラを、印字済みの印字テープの後端が前記ヒートローラに到達したときに、非加熱状態にする。また、非加熱状態において、前記印字済みの印字テープを、前記印字済みの印字テープの後端が切断位置に到達するまで排出方向下流側に搬送する。切断手段は、前記印字済みの印字テープの後端を、前記貼り合せテープとともに切断する。さらに、切断後の印字テープ及び前記貼り合せテープを、その先端が第1の所定位置に到着するまで前記排出方向とは逆方向に搬送し、切断後の貼り合せテープを、その先端が第2の所定位置まで前記排出方向とは逆方向に搬送する。これにより、印字テープ及び貼り合せテープの消費量を抑制することができる。The tape making device puts the heat roller in a non-heated state when the rear end of the printed printing tape reaches the heat roller. In the non-heated state, the printed printing tape is conveyed downstream in the discharge direction until the rear end of the printed printing tape reaches the cutting position. The cutting means cuts the rear end of the printed printing tape together with the bonding tape. Further, the cut printing tape and the bonding tape are conveyed in the direction opposite to the discharging direction until the leading end reaches the first predetermined position, and the cutting bonding tape has the second end at the second end. To the predetermined position in the direction opposite to the discharge direction. Thereby, consumption of a printing tape and a bonding tape can be suppressed.
 請求項17に係る発明は、請求項16のテープ作成装置であって、前記印字テープの印字面の裏面側に印刷された目印を読み取る読取センサをさらに有し、前記読取センサは、読み取った前記目印に基いて、前記印字テープの位置を検出し、前記第4離間圧接手段は、前記印字テープ及び前記貼付テープが前記逆方向に搬送されるときは、前記印字ヘッドと前記プラテンローラとを離間し、前記印字テープ及び前記貼付テープが前記逆方向に搬送されるときは、前記印字テープと前記プラテンローラとは相対的に離間され、前記第3離間手段は、前記印字テープのみが前記逆方向に搬送されるときは、前記テープ送りローラと前記テープ送りサブローラとを離間させる、ことを特徴とする。The invention according toclaim 17 is the tape making apparatus according to claim 16, further comprising a reading sensor that reads a mark printed on the back side of the printing surface of the printing tape, and the reading sensor reads the reading The position of the print tape is detected based on a mark, and the fourth separation pressure contact means separates the print head and the platen roller when the print tape and the adhesive tape are conveyed in the reverse direction. When the printing tape and the adhesive tape are conveyed in the reverse direction, the printing tape and the platen roller are relatively separated from each other, and the third separation means is configured such that only the printing tape is in the reverse direction. The tape feed roller and the tape feed sub-roller are separated from each other when being transported to the center.
 上記テープ作成装置は、前記印字テープの印字面の裏面側に印刷された目印を読み取り前記印字テープの位置を検出する。これにより、印字テープの搬送量を認識することができる。The tape producing device reads a mark printed on the back side of the printing surface of the printing tape and detects the position of the printing tape. Thereby, the conveyance amount of a printing tape can be recognized.
 請求項18に係る発明は、請求項13、請求項14、請求項16、請求項17の何れかのテープ作成装置であって、先端位置検出装置をさらに有し、前記先端位置検出装置は、前記切断後の印字テープ及び貼り合せテープの先端を検出し、前記搬送手段は、前記切断後の印字テープ及び貼り合せテープの先端が、前記先端位置検出装置によって検出されるまで前記排出方向に搬送し、前記切断後の印字テープ及び貼り合せテープは、その先端が前記先端位置検出装置によって検出されるまで前記排出方向に搬送されることにより、該先端の位置が特定され、前記第1の所定の位置は、前記テープ送りサブローラよりも前記排出方向下流側に位置するガイドされたテープ搬送路の位置であり、前記第2の所定の位置は、印字位置よりも前記排出方向下流側に位置し、かつ、前記テープ送りサブローラよりも前記排出方向上流側に位置するガイドされたテープ搬送路の位置であることを特徴とする。The invention according toclaim 18 is the tape making device according to any one ofclaims 13, 14, 16, and 17, further comprising a tip position detecting device, wherein the tip position detecting device comprises: The leading ends of the cut printing tape and the bonding tape are detected, and the conveying means conveys in the discharge direction until the leading ends of the cut printing tape and the bonding tape are detected by the leading edge position detecting device. Then, the cut printing tape and the bonding tape are conveyed in the discharge direction until the leading end is detected by the leading end position detecting device, whereby the position of the leading end is specified, and the first predetermined tape is detected. Is the position of the guided tape transport path located downstream of the tape feed sub-roller in the discharge direction, and the second predetermined position is the discharge position rather than the print position. Located in the downstream side, and wherein the the position of the tape transport path is guided to a position in the discharge direction upstream side of the tape feed subroller.
 上記テープ作成装置は、前記切断後の印字テープ及び貼り合せテープは、その先端が前記先端位置検出装置によって検出されるまで前記排出方向に搬送されることにより、該先端の位置が特定される。また、前記第1の所定の位置は、前記テープ送りサブローラよりも前記排出方向下流側に位置するガイドされたテープ搬送路の位置であり、前記第2の所定の位置は、印字位置よりも前記排出方向下流側に位置し、かつ、前記テープ送りサブローラよりも前記排出方向上流側に位置するガイドされたテープ搬送路の位置である。これにより、印字テープ及び貼り合せテープの逆搬送量を把握することができる。また、印字テープ及び貼り合せテープを確実に排出口側へ搬送することができる。In the tape producing device, the position of the leading end is specified by transporting the cut printing tape and the bonding tape in the discharge direction until the leading end is detected by the leading end position detecting device. Further, the first predetermined position is a position of a guided tape transport path located downstream of the tape feeding sub-roller in the discharge direction, and the second predetermined position is more than the printing position. This is the position of the guided tape transport path that is located downstream in the discharge direction and located upstream of the tape feed sub-roller in the discharge direction. Thereby, the reverse conveyance amount of a printing tape and a bonding tape can be grasped. Further, the printing tape and the bonding tape can be reliably conveyed to the discharge port side.
 請求項19に係る発明は、テープ作成システムにおいて、印字ヘッド、プラテン、テープ送りサブローラ、を備えたテープ作成装置、及び、常温では粘着性を有さず、加熱することにより粘着性を発する熱活性性の粘着剤が塗布された貼り合せテープと、印字が行われる印字面を有する印字テープと、印字後の前記印字テープ及び前記貼り合せテープを搬送するテープ送りローラと、前記貼り合せテープ、前記印字テープ、及び、前記テープ送りローラを収納するカセットケース、を有するテープカセット、からなり、前記テープカセットは、前記テープ作成装置に着脱可能であり、前記テープ送りローラを係合支持する支持部材を備え、前記テープカセットが装着された状態では、印字位置よりも前記印字テープの排出方向下流側で、前記印字テープの印字面と前記貼り合せテープの熱活性性の粘着剤とが接触し、前記テープ送りサブローラと前記テープ送りローラとの離間・圧接を行う第1離間圧接手段を有し、前記印字ヘッドと前記前記プラテンローラとの離間・圧接を行う第2離間圧接手段を有し、第1離間圧接手段と第2離間圧接手段とは、独立して動作可能であり、前記第1離間圧接手段による前記テープ送りサブローラと前記テープ送りローラとの離間・圧接、及び、前記第2離間圧接手段による前記印字ヘッドと前記プラテンローラとの離間・圧接をそれぞれ独立して行う離間圧接制御手段を備え、前記テープ送りサブローラは、又は前記支持部材は加熱装置であり、前記テープ送りサブローラ又は前記支持部材の熱状態を制御する加熱制御手段を有し、前記ヒートローラ加熱制御手段は、前記テープ送りサブローラに対し、少なくとも印字済みの印字テープが該テープ送りサブローラを通過する間、前記貼り合せテープの粘着剤の熱活性化に必要な熱を生じさせ、前記テープ送りサブローラは、少なくとも印字済みの印字テープが該テープ送りサブローラを通過する間は加熱状態にあり、前記貼り合せテープの熱活性性の粘着剤が活性化され、前記貼り合せテープと前記印字済み印字テープとが貼り合わされることを特徴とする。The invention according toclaim 19 is a tape making system comprising a print head, a platen, a tape feed sub-roller, and a thermal activity that does not have stickiness at room temperature and generates tackiness by heating. A bonding tape coated with an adhesive, a printing tape having a printing surface on which printing is performed, a tape feeding roller that conveys the printing tape and the bonding tape after printing, the bonding tape, A tape cassette having a printing tape and a cassette case for storing the tape feed roller, the tape cassette being detachable from the tape making device, and a support member for engaging and supporting the tape feed roller. And with the tape cassette mounted, the front side of the print tape in the discharge direction downstream of the print position A print head having a first pressure-contacting means for contacting and contacting the tape feed sub-roller and the tape feed roller, wherein the print surface of the print tape and the thermally active adhesive of the bonding tape are in contact with each other; And a second separation pressure contact means for separating and pressure-contacting the platen roller, and the first separation pressure contact means and the second separation pressure contact means can operate independently, and the first separation pressure contact means A separation pressure contact control means for independently performing separation / pressure contact between the tape feed sub-roller and the tape feed roller, and separation / pressure contact between the print head and the platen roller by the second separation pressure contact means, The tape feed sub-roller or the support member is a heating device, and has a heating control means for controlling a heat state of the tape feed sub-roller or the support member. The troller heating control means causes the tape feeding sub-roller to generate heat necessary for the thermal activation of the adhesive of the bonding tape while at least the printed printing tape passes through the tape feeding sub-roller. The feeding sub-roller is in a heated state at least while the printed printing tape passes through the tape feeding sub-roller, and the thermally active adhesive of the bonding tape is activated, and the bonding tape and the printed printing It is characterized by being bonded to a tape.
 上記テープ作成システムは、粘着剤が塗布された貼り合せテープの粘着剤及び印字が行われる印字テープの印字面が、印字位置よりも排出方向下流側で接触する。また、貼り合せテープの粘着剤の熱状態を制御する。これにより、前記テープ送りサブローラは、少なくとも印字済みの印字テープが該テープ送りサブローラを通過する間は加熱状態にあり、前記貼り合せテープの熱活性性の粘着剤が活性化され、前記貼り合せテープと前記印字済み印字テープとを貼り合わせることができる。In the above tape production system, the adhesive of the adhesive tape to which the adhesive has been applied and the printing surface of the printing tape on which printing is performed contact the downstream side in the discharge direction from the printing position. Moreover, the heat state of the adhesive of a bonding tape is controlled. Thereby, the tape feeding sub-roller is in a heated state at least while the printed printing tape passes through the tape feeding sub-roller, and the heat-active adhesive of the bonding tape is activated, and the bonding tape And the printed printing tape can be bonded together.
 請求項20に係る発明は、テープ作成システムであって、印字ヘッド、プラテン、テープ送りサブローラ、を備えたテープ作成装置、及び、常温では粘着性を有さず、加熱することにより粘着性を発する熱活性性の粘着剤が塗布された貼り合せテープと、印字が行われる印字面を有する印字テープと、印字後の前記印字テープ及び前記貼り合せテープを搬送するヒートローラと、前記貼り合せテープ、前記印字テープ、及び、前記テープ送りローラを収納するカセットケース、を有するテープカセット、からなり、前記テープカセットは、前記テープ作成装置に着脱可能であり、前記テープ送りローラを係合支持する支持部材を備え、前記テープカセットが装着された状態では、印字位置よりも前記印字テープの排出方向下流側で、前記印字テープの印字面と前記貼り合せテープの熱活性性の粘着剤とが接触し、前記テープ送りサブローラと前記ヒートローラとの離間・圧接を行う第3離間圧接手段を有し、前記印字ヘッドと前記前記プラテンローラとの離間・圧接を行う第4離間圧接手段を有し、第3離間圧接手段と第4離間圧接手段とは、独立して動作可能であり、前記第3離間圧接手段による前記テープ送りサブローラと前記ヒートローラとの離間・圧接、及び、前記第4離間圧接手段による前記印字ヘッドと前記プラテンローラとの離間・圧接をそれぞれ独立して行う離間圧接制御手段を備え、前記ヒートローラ又は前記支持部材の熱状態を制御する加熱制御手段を有し、前記加熱制御手段は、前記ヒートローラに対し、少なくとも印字済みの印字テープが該テープ送りサブローラを通過する間、前記貼り合せテープの粘着剤の熱活性化に必要な熱を生じさせ、前記ヒートローラは、少なくとも印字済みの印字テープが該テープ送りサブローラを通過する間は加熱状態にあり、前記貼り合せテープの熱活性性の粘着剤が活性化されることを特徴とする。The invention according toclaim 20 is a tape making system, which is a tape making device provided with a print head, a platen, and a tape feed sub-roller, and has no stickiness at room temperature, and emits stickiness when heated. A bonding tape to which a thermally active adhesive is applied; a printing tape having a printing surface on which printing is performed; a heat roller for conveying the printing tape and the bonding tape after printing; and the bonding tape; A tape cassette having the printing tape and a cassette case for accommodating the tape feeding roller, the tape cassette being detachable from the tape making device, and a support member for engaging and supporting the tape feeding roller In the state where the tape cassette is mounted, the print cassette is disposed downstream of the print position in the discharge direction of the print tape. The print surface of the tape and the thermally active adhesive of the bonding tape are in contact with each other, and there is a third separation pressure contact means for separating and pressure-contacting the tape feed sub-roller and the heat roller, and the print head and the It has a 4th separation pressure contact means which performs separation and pressure contact with the platen roller, and the 3rd separation pressure contact means and the 4th separation pressure contact means can operate independently, and the tape by the 3rd separation pressure contact means A separation pressure contact control unit that independently performs separation / pressure contact between the feed sub-roller and the heat roller, and separation / pressure contact between the print head and the platen roller by the fourth separation pressure contact unit; Heating control means for controlling the heat state of the support member, and the heating control means feeds at least the printed printing tape to the heat roller. While passing through the roller, it generates heat necessary for the thermal activation of the adhesive of the bonding tape, and the heat roller is in a heated state at least while the printed printing tape passes through the tape feed sub-roller. The heat-activatable adhesive of the bonding tape is activated.
 上記テープ作成システムは、粘着剤が塗布された貼り合せテープの粘着剤及び印字が行われる印字テープの印字面が、印字位置よりも排出方向下流側で接触する。また、貼り合せテープの粘着剤の熱状態を制御する。これにより、ヒートローラは、少なくとも印字済みの印字テープが該テープ送りサブローラを通過する間は加熱状態にあり、前記貼り合せテープの熱活性性の粘着剤が活性化され、前記貼り合せテープと前記印字済み印字テープとを貼り合わせることができる。In the above tape production system, the adhesive of the adhesive tape to which the adhesive has been applied and the printing surface of the printing tape on which printing is performed contact the downstream side in the discharge direction from the printing position. Moreover, the heat state of the adhesive of a bonding tape is controlled. As a result, the heat roller is in a heated state at least while the printed printing tape passes through the tape feed sub-roller, the heat-active adhesive of the bonding tape is activated, and the bonding tape and the bonding tape Can be attached to printed tape.
 請求項21に係る発明は、テープ作成装置であって、印字ヘッド、プラテンローラを備えたテープ作成装置において、常温では粘着性を有さず、加熱することにより粘着性を発する熱活性性の粘着剤が塗布された貼り合せテープと、印字が行われる印字面を有する印字テープと、印字後の前記印字テープ及び前記貼り合せテープを搬送するテープ送りローラと、前記貼り合せテープ、前記印字テープ、及び、前記テープ送りローラを収納するカセットケース、を有するテープカセットが着脱可能であり、前記テープカセットが装着された状態では、印字位置よりも前記印字テープの排出方向下流側で、前記印字テープの印字面と前記貼り合せテープの熱活性性の粘着剤とが接触し、印字位置よりも下流側に位置し、かつ、前記貼り合せテープまたは前記印字テープに接触する加熱装置と、前記加熱装置の熱状態を制御する加熱制御装置と、を有し、前記加熱制御装置は、前記加熱装置に対し、少なくとも印字済みの印字テープが該加熱装置を通過する間、前記貼り合せテープの粘着剤の熱活性化に必要な熱を生じさせ、前記加熱装置は、少なくとも印字済みの印字テープが該加熱装置を通過する間は加熱状態にあり、前記貼り合せテープの熱活性性の粘着剤が活性化され、前記貼り合せテープと前記印字済み印字テープとが貼り合わされることを特徴とする。A twenty-first aspect of the present invention is a tape making device comprising a print head and a platen roller. The tape making device has no adhesiveness at room temperature, and heat-activatable adhesive that emits adhesiveness when heated. A bonding tape to which an agent is applied, a printing tape having a printing surface on which printing is performed, a tape feeding roller that conveys the printing tape after printing and the bonding tape, the bonding tape, the printing tape, And a tape cassette having a cassette case for storing the tape feed roller is detachable. When the tape cassette is mounted, the print tape is disposed downstream of the print tape in the discharge direction of the print tape. The printing surface and the thermally active adhesive of the bonding tape are in contact with each other, located downstream of the printing position, and the bonding tape. Or a heating device that contacts the printing tape and a heating control device that controls a heat state of the heating device, and the heating control device heats at least the printed printing tape to the heating device. While passing through the apparatus, the heat necessary for thermal activation of the adhesive of the bonding tape is generated, and the heating device is in a heated state at least while the printed printing tape passes through the heating device, The heat-activatable adhesive of the bonding tape is activated, and the bonding tape and the printed printing tape are bonded together.
 上記テープ作成装置は、粘着剤が塗布された貼り合せテープの粘着剤及び印字が行われる印字テープの印字面が、印字位置よりも排出方向下流側で接触する。また、貼り合せテープの粘着剤の熱状態を制御する。これにより、前記テープ送りサブローラは、少なくとも印字済みの印字テープが該テープ送りサブローラを通過する間は加熱状態にあり、前記貼り合せテープの熱活性性の粘着剤が活性化され、前記貼り合せテープと前記印字済み印字テープとを貼り合わせることができる。In the tape making apparatus, the adhesive of the adhesive tape to which the adhesive has been applied and the printing surface of the printing tape on which printing is performed contact the downstream side in the discharge direction from the printing position. Moreover, the heat state of the adhesive of a bonding tape is controlled. Thereby, the tape feeding sub-roller is in a heated state at least while the printed printing tape passes through the tape feeding sub-roller, and the heat-active adhesive of the bonding tape is activated, and the bonding tape And the printed printing tape can be bonded together.
 請求項22に係る発明は、請求項21のテープ作成装置であって、前記加熱装置よりも前記印字テープの排出方向下流側に位置する貼り合せローラを有し、前記貼り合せローラは、前記テープカセットが装着された状態において、前記テープ送りローラと対向し、前記貼り合わせローラ及び前記テープ送りローラは、前記貼り合せテープと前記印字済みテープとを貼り合わせることを特徴とする。The invention according toclaim 22 is the tape making apparatus according toclaim 21, further comprising a bonding roller positioned on the downstream side in the discharge direction of the printing tape with respect to the heating device, wherein the bonding roller is the tape In a state in which the cassette is mounted, the tape feed roller faces the tape feeding roller, and the laminating roller and the tape feeding roller bond the laminating tape and the printed tape together.
 上記テープ作成装置は、貼り合せローラを加熱装置よりも印字テープの排出方向下流側に有する。すなわち、加熱装置を前記貼り合せローラとは別体として構成する。これにより、印字テープと貼り合せテープとを貼り合せる前段階において、貼り合せテープを加熱することができる。The tape making apparatus has a laminating roller on the downstream side in the discharge direction of the printing tape from the heating apparatus. That is, the heating device is configured separately from the bonding roller. Thereby, the bonding tape can be heated in the stage before bonding the printing tape and the bonding tape.
 請求項23に係る発明は、請求項21または請求項22のテープ作成装置であって、前記加熱制御装置は、前記加熱装置を、前記印字済みの印字テープの後端が該加熱装置に到達したときに、非加熱状態にし、搬送装置、切断装置をさらに有し、前記搬送装置は、前記加熱装置が非加熱状態において、前記印字済みの印字テープを、前記印字済みの印字テープの後端が切断位置に到達するまで排出方向下流側に搬送し、前記切断装置は、前記印字済みの印字テープの後端を、前記貼り合せテープとともに切断し、前記搬送装置は、切断後の印字テープ及び前記貼り合せテープを、その先端が第1の所定位置に到着するまで前記排出方向とは逆方向に搬送し、前記搬送装置は、切断後の貼り合せテープを、その先端が第2の所定位置まで前記排出方向とは逆方向に搬送することを特徴とする。The invention according toclaim 23 is the tape making device according to claim 21 orclaim 22, wherein the heating control device reaches the heating device, and a rear end of the printed printing tape reaches the heating device. When the heating device is in a non-heated state, the printed printing tape is transferred to the trailing end of the printed printing tape. It is conveyed downstream in the discharging direction until it reaches the cutting position, the cutting device cuts the rear end of the printed printing tape together with the bonding tape, and the conveying device is configured to cut the printed tape and the cut tape The bonding tape is conveyed in a direction opposite to the discharging direction until the leading end reaches the first predetermined position, and the conveying device transfers the cut bonding tape to the second predetermined position. Said The exit direction, characterized in that the transport in the reverse direction.
 上記テープ作成装置は、前記テープ送りサブローラを、印字済みの印字テープの後端が前記テープ送りサブローラに到達したときに、非加熱状態にする。また、非加熱状態において、前記印字済みの印字テープを、前記印字済みの印字テープの後端が切断位置に到達するまで排出方向下流側に搬送する。切断手段は、前記印字済みの印字テープの後端を、前記貼り合せテープとともに切断する。さらに、切断後の印字テープ及び前記貼り合せテープを、その先端が第1の所定位置に到着するまで前記排出方向とは逆方向に搬送し、切断後の貼り合せテープを、その先端が第2の所定位置まで前記排出方向とは逆方向に搬送する。これにより、印字テープ及び貼り合せテープの消費量を抑制することができる。The tape making device puts the tape feeding sub-roller into a non-heated state when the trailing end of the printed printing tape reaches the tape feeding sub-roller. In the non-heated state, the printed printing tape is conveyed downstream in the discharge direction until the rear end of the printed printing tape reaches the cutting position. The cutting means cuts the rear end of the printed printing tape together with the bonding tape. Further, the cut printing tape and the bonding tape are conveyed in the direction opposite to the discharging direction until the leading end reaches the first predetermined position, and the cutting bonding tape has the second end at the second end. To the predetermined position in the direction opposite to the discharge direction. Thereby, consumption of a printing tape and a bonding tape can be suppressed.
 請求項24に係る発明は、請求項23のテープ作成装置において、先端位置検出装置をさらに有し、前記先端位置検出装置は、前記切断後の印字テープ及び貼り合せテープの先端を検出し、前記搬送装置は、前記切断後の印字テープ及び貼り合せテープの先端が、前記先端位置検出装置によって検出されるまで前記排出方向に搬送し、前記切断後の印字テープ及び貼り合せテープは、その先端が前記先端位置検出装置によって検出されるまで前記排出方向に搬送されることにより、該先端の位置が特定され、前記第1の所定の位置は、前記テープ送りサブローラよりも前記排出方向下流側に位置するガイドされたテープ搬送路の位置であり、前記第2の所定の位置は、印字位置よりも前記排出方向下流側に位置し、かつ、前記テープ送りサブローラよりも前記排出方向上流側に位置するガイドされたテープ搬送路の位置であることを特徴とする。The invention according toclaim 24 is the tape making device according toclaim 23, further comprising a tip position detecting device, wherein the tip position detecting device detects the tips of the cut print tape and the bonding tape, and The conveying device conveys in the discharge direction until the leading ends of the cut printing tape and the bonding tape are detected by the leading edge position detection device, and the leading ends of the cutting printing tape and the bonding tape are The position of the tip is specified by being conveyed in the discharge direction until it is detected by the tip position detection device, and the first predetermined position is located downstream of the tape feed sub-roller in the discharge direction. The second predetermined position is located on the downstream side in the discharge direction with respect to the print position, and the tape feed position is Characterized in that than roller is a position of the tape transport path is guided to a position in the discharge direction upstream side.
 上記テープ作成装置は、前記切断後の印字テープ及び貼り合せテープは、その先端が前記先端位置検出装置によって検出されるまで前記排出方向に搬送されることにより、該先端の位置が特定される。また、前記第1の所定の位置は、前記テープ送りサブローラよりも前記排出方向下流側に位置するガイドされたテープ搬送路の位置であり、前記第2の所定の位置は、印字位置よりも前記排出方向下流側に位置し、かつ、前記テープ送りサブローラよりも前記排出方向上流側に位置するガイドされたテープ搬送路の位置である。これにより、印字テープ及び貼り合せテープの逆搬送量を把握することができる。また、印字テープ及び貼り合せテープを確実に排出口側へ搬送することができる。In the tape producing device, the position of the leading end is specified by transporting the cut printing tape and the bonding tape in the discharge direction until the leading end is detected by the leading end position detecting device. Further, the first predetermined position is a position of a guided tape transport path located downstream of the tape feeding sub-roller in the discharge direction, and the second predetermined position is more than the printing position. This is the position of the guided tape transport path that is located downstream in the discharge direction and located upstream of the tape feed sub-roller in the discharge direction. Thereby, the reverse conveyance amount of a printing tape and a bonding tape can be grasped. Further, the printing tape and the bonding tape can be reliably conveyed to the discharge port side.
 請求項25に係る発明は、請求項23または請求項24のテープ作成装置であって、前記印字テープの印字面の裏面側に印刷された目印を読み取る読取センサを有し、前記読取センサは、読み取った前記目印に基いて、前記印字テープの位置を検出し、前記貼り合わせローラと前記テープ送りローラとの離間・圧接を行う第1離間圧接装置と、前記印字ヘッドと前記プラテンローラとの離間・圧接を行う第2離間圧接装置と、前記加熱装置と位置規制装置との離間・圧接を行う第3離間圧接装置と、を有し、第1離間圧接装置、第2離間圧接装置、第3離間圧接装置は、それぞれ独立して動作可能であり、前記印字済みテープの後端が前記加熱装置に到達した時に、前記第3離間圧接装置により該加熱装置と前記位置規制装置とを離間し、前記印字テープ及び前記貼り合せテープが前記逆方向に搬送されるときに、前記第2離間圧接装置及び前記第3離間圧接装置により前記印字ヘッドと前記プラテンローラ、及び前記加熱装置と前記位置規制装置とをそれぞれ離間し、前記印字テープのみが前記逆方向に搬送されるときに、前記第1離間圧接装置、前記第2離間圧接装置及び前記第3離間圧接装置によりそれぞれ前記貼り合せローラと前記テープ送りローラ、前記印字ヘッドと前記プラテンローラ、及び前記加熱装置と前記位置規制装置とを離間するように制御する離間圧接制御装置を備えることを特徴とする。The invention according toclaim 25 is the tape making device according to claim 23 orclaim 24, further comprising a reading sensor that reads a mark printed on the back side of the printing surface of the printing tape, A first separation pressure contact device that detects the position of the print tape based on the read mark and separates and presses the laminating roller and the tape feed roller; and the separation between the print head and the platen roller A second separation pressure welding device that performs pressure contact, and a third separation pressure welding device that performs separation and pressure contact between the heating device and the position regulating device, the first separation pressure welding device, the second separation pressure welding device, and a third The separation pressure welding devices can operate independently, and when the rear end of the printed tape reaches the heating device, the third separation pressure welding device separates the heating device and the position regulating device, When the printing tape and the bonding tape are conveyed in the reverse direction, the print head, the platen roller, the heating device, and the position regulating device are moved by the second separation pressure contact device and the third separation pressure contact device. Are separated from each other, and when only the print tape is conveyed in the reverse direction, the laminating roller and the tape are respectively used by the first separation pressure contact device, the second separation pressure contact device, and the third separation pressure contact device. A separation pressure contact control device for controlling the feed roller, the print head, the platen roller, and the heating device and the position regulating device to separate is provided.
 上記テープ作成装置は、前記印字テープの印字面の裏面側に印刷された目印を読み取り前記印字テープの位置を検出する。これにより、印字テープの搬送量を認識することができる。The tape producing device reads a mark printed on the back side of the printing surface of the printing tape and detects the position of the printing tape. Thereby, the conveyance amount of a printing tape can be recognized.
 請求項26に係る発明は、請求項25のテープ作成装置であって、前記位置規制装置は、前記テープカセットに設けられていることを特徴とする。The invention according toclaim 26 is the tape producing device according toclaim 25, wherein the position regulating device is provided in the tape cassette.
 上記テープ作成装置は、位置規制装置がテープカセットに設けられている。これにより、テープカセットの着脱を容易にすることができる。In the above tape making device, the position regulating device is provided in the tape cassette. Thereby, attachment and detachment of a tape cassette can be made easy.
 請求項27に係る発明は、請求項25のテープ作成装置であって、前記位置規制装置は、該テープ作成装置に設けられていることを特徴とする。The invention according toclaim 27 is the tape producing device according toclaim 25, wherein the position regulating device is provided in the tape producing device.
 上記テープ作成装置は、位置規制装置を有する。これにより、テープカセット側に位置規制装置を有する必要がなく、テープカセットのコストダウンを図ることができる。The tape making device has a position regulating device. Thereby, it is not necessary to have a position control apparatus on the tape cassette side, and the cost of the tape cassette can be reduced.
 本発明によれば、印字テープ、及び、該印字テープに貼り合わされる貼り合せテープの消費量を抑制することができる。According to the present invention, it is possible to suppress the consumption of the printing tape and the bonding tape bonded to the printing tape.
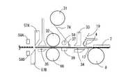
第1実施形態のテープ印字装置のカセット収納部にテープカセットを装着する状態を示す要部拡大図である。It is a principal part enlarged view which shows the state which mounts a tape cassette in the cassette storage part of the tape printer of 1st Embodiment.第1実施形態の印字テープカセット内部構成及びテープ印字装置の一部を模式的に示す平面図である。It is a top view which shows typically the printing tape cassette internal structure of 1st Embodiment, and a part of tape printer.第1実施形態のテープ印字装置の電気的構成を示すブロック図である。It is a block diagram which shows the electric constitution of the tape printer of 1st Embodiment.第1実施形態での印字過程における印字テープ17及びインクリボン19の関係を示した模式図である。FIG. 3 is a schematic diagram illustrating a relationship between aprinting tape 17 and anink ribbon 19 in a printing process according to the first embodiment.ゼブラマークの一例を示した図である。It is the figure which showed an example of the zebra mark.第1実施形態において、加熱状態にあるテープ送りサブローラと印字済みの印字テープ及び貼り合せテープとの関係を示した模式図である。In 1st Embodiment, it is the schematic diagram which showed the relationship between the tape feeding sub roller in a heating state, the printed printing tape, and the bonding tape.第1実施形態において、非加熱状態にあるテープ送りサブローラと印字済みの印字テープ及び貼り合せテープとの関係を示した模式図である。In 1st Embodiment, it is the schematic diagram which showed the relationship between the tape feed sub roller in a non-heating state, the printed printing tape, and the bonding tape.第1実施形態における搬送制御処理のフローチャートである。It is a flowchart of the conveyance control process in 1st Embodiment.第1実施形態における搬送制御処理のフローチャートである。It is a flowchart of the conveyance control process in 1st Embodiment.第1実施形態における搬送制御処理のフローチャートである。It is a flowchart of the conveyance control process in 1st Embodiment.第1実施形態における印字テープ及び貼り合せテープの搬送の様子を示した模式図である。It is the schematic diagram which showed the mode of conveyance of the printing tape and bonding tape in 1st Embodiment.第1実施形態における印字テープ及び貼り合せテープの搬送の様子を示した模式図である。It is the schematic diagram which showed the mode of conveyance of the printing tape and bonding tape in 1st Embodiment.第1実施形態における印字テープ及び貼り合せテープの搬送の様子を示した模式図である。It is the schematic diagram which showed the mode of conveyance of the printing tape and bonding tape in 1st Embodiment.第1実施形態における印字テープ及び貼り合せテープの搬送の様子を示した模式図である。It is the schematic diagram which showed the mode of conveyance of the printing tape and bonding tape in 1st Embodiment.第1実施形態における印字テープ及び貼り合せテープの搬送の様子を示した模式図である。It is the schematic diagram which showed the mode of conveyance of the printing tape and bonding tape in 1st Embodiment.第1実施形態における印字テープ及び貼り合せテープの搬送の様子を示した模式図である。It is the schematic diagram which showed the mode of conveyance of the printing tape and bonding tape in 1st Embodiment.第1実施形態における印字テープ及び貼り合せテープの搬送の様子を示した模式図である。It is the schematic diagram which showed the mode of conveyance of the printing tape and bonding tape in 1st Embodiment.第1実施形態における印字テープ及び貼り合せテープの搬送の様子を示した模式図である。It is the schematic diagram which showed the mode of conveyance of the printing tape and bonding tape in 1st Embodiment.第1実施形態における印字テープ及び貼り合せテープの搬送の様子を示した模式図である。It is the schematic diagram which showed the mode of conveyance of the printing tape and bonding tape in 1st Embodiment.第1実施形態における印字テープ及び貼り合せテープの搬送の様子を示した模式図である。It is the schematic diagram which showed the mode of conveyance of the printing tape and bonding tape in 1st Embodiment.第1実施形態における印字テープ及び貼り合せテープの搬送の様子を示した模式図である。It is the schematic diagram which showed the mode of conveyance of the printing tape and bonding tape in 1st Embodiment.第1実施形態における印字テープ及び貼り合せテープの搬送の様子を示した模式図である。It is the schematic diagram which showed the mode of conveyance of the printing tape and bonding tape in 1st Embodiment.第1実施形態における印字テープ及び貼り合せテープの搬送の様子を示した模式図である。It is the schematic diagram which showed the mode of conveyance of the printing tape and bonding tape in 1st Embodiment.第1実施形態における印字テープ及び貼り合せテープの搬送の様子を示した模式図である。It is the schematic diagram which showed the mode of conveyance of the printing tape and bonding tape in 1st Embodiment.第2実施形態のテープ印字装置のカセット収納部にテープカセットを装着する状態を示す要部拡大図である。It is a principal part enlarged view which shows the state which mounts a tape cassette in the cassette storage part of the tape printer of 2nd Embodiment.第2実施形態の印字テープカセット内部構成及びテープ印字装置の一部を模式的に示す平面図である。It is a top view which shows typically the printing tape cassette internal structure of 2nd Embodiment, and a part of tape printer.第2実施形態において、加熱状態にあるテープ送りサブローラと印字済みの印字テープ及び貼り合せテープとの関係を示した模式図である。In 2nd Embodiment, it is the schematic diagram which showed the relationship between the tape feeding sub roller in a heating state, the printed printing tape, and the bonding tape.第2実施形態において、非加熱状態にあるテープ送りサブローラと印字済みの印字テープ及び貼り合せテープとの関係を示した模式図である。In 2nd Embodiment, it is the schematic diagram which showed the relationship between the tape feed sub roller in a non-heating state, the printed printing tape, and the bonding tape.第3実施形態の印字テープカセット内部構成及びテープ印字装置の一部を模式的に示す平面図である。It is a top view which shows typically a printing tape cassette internal structure and a part of tape printer of 3rd Embodiment.第3実施形態のテープ印字装置の電気的構成を示すブロック図である。It is a block diagram which shows the electrical structure of the tape printer of 3rd Embodiment.第3実施形態において、加熱状態にあるヒータと印字済みの印字テープ及び貼り合せテープとの関係を示した模式図である。In 3rd Embodiment, it is the schematic diagram which showed the relationship between the heater in a heating state, the printed printing tape, and the bonding tape.第3実施形態において、非加熱状態にあるヒータと印字済みの印字テープ及び貼り合せテープとの関係を示した模式図である。In 3rd Embodiment, it is the schematic diagram which showed the relationship between the heater in a non-heating state, the printed printing tape, and a bonding tape.第3実施形態における搬送制御処理のフローチャートである。It is a flowchart of the conveyance control process in 3rd Embodiment.第3実施形態における搬送制御処理のフローチャートである。It is a flowchart of the conveyance control process in 3rd Embodiment.第3実施形態における搬送制御処理のフローチャートである。It is a flowchart of the conveyance control process in 3rd Embodiment.第3実施形態における印字テープ及び貼り合せテープの搬送の様子を示した模式図である。It is the schematic diagram which showed the mode of conveyance of the printing tape and bonding tape in 3rd Embodiment.第3実施形態における印字テープ及び貼り合せテープの搬送の様子を示した模式図である。It is the schematic diagram which showed the mode of conveyance of the printing tape and bonding tape in 3rd Embodiment.第3実施形態における印字テープ及び貼り合せテープの搬送の様子を示した模式図である。It is the schematic diagram which showed the mode of conveyance of the printing tape and bonding tape in 3rd Embodiment.第3実施形態における印字テープ及び貼り合せテープの搬送の様子を示した模式図である。It is the schematic diagram which showed the mode of conveyance of the printing tape and bonding tape in 3rd Embodiment.第3実施形態における印字テープ及び貼り合せテープの搬送の様子を示した模式図である。It is the schematic diagram which showed the mode of conveyance of the printing tape and bonding tape in 3rd Embodiment.第3実施形態における印字テープ及び貼り合せテープの搬送の様子を示した模式図である。It is the schematic diagram which showed the mode of conveyance of the printing tape and bonding tape in 3rd Embodiment.第3実施形態における印字テープ及び貼り合せテープの搬送の様子を示した模式図である。It is the schematic diagram which showed the mode of conveyance of the printing tape and bonding tape in 3rd Embodiment.第3実施形態における印字テープ及び貼り合せテープの搬送の様子を示した模式図である。It is the schematic diagram which showed the mode of conveyance of the printing tape and bonding tape in 3rd Embodiment.第3実施形態における印字テープ及び貼り合せテープの搬送の様子を示した模式図である。It is the schematic diagram which showed the mode of conveyance of the printing tape and bonding tape in 3rd Embodiment.第3実施形態における印字テープ及び貼り合せテープの搬送の様子を示した模式図である。It is the schematic diagram which showed the mode of conveyance of the printing tape and bonding tape in 3rd Embodiment.第3実施形態における印字テープ及び貼り合せテープの搬送の様子を示した模式図である。It is the schematic diagram which showed the mode of conveyance of the printing tape and bonding tape in 3rd Embodiment.第3実施形態における印字テープ及び貼り合せテープの搬送の様子を示した模式図である。It is the schematic diagram which showed the mode of conveyance of the printing tape and bonding tape in 3rd Embodiment.第3実施形態における印字テープ及び貼り合せテープの搬送の様子を示した模式図である。It is the schematic diagram which showed the mode of conveyance of the printing tape and bonding tape in 3rd Embodiment.第3実施形態における印字テープ及び貼り合せテープの搬送の様子を示した模式図である。It is the schematic diagram which showed the mode of conveyance of the printing tape and bonding tape in 3rd Embodiment.
[第1実施形態]
 以下、本発明を具体化した第1実施形態に基づき図面を参照しつつ詳細に説明する。
 図1はテープ印字装置のカセット収納部に印字テープカセットを装着する状態を示す要部拡大斜視図である。
 図2は印字テープカセット内部構成及びテープ印字装置の一部を模式的に示す平面図である。
[First Embodiment]
DETAILED DESCRIPTION Hereinafter, a first embodiment of the present invention will be described in detail with reference to the drawings.
FIG. 1 is an enlarged perspective view of a main part showing a state in which a print tape cassette is mounted in a cassette housing part of the tape printer.
FIG. 2 is a plan view schematically showing an internal configuration of the printing tape cassette and a part of the tape printing apparatus.
(印字テープカセット)
 まず、テープカセット100について説明する。図1に示すように、テープカセット100は、テープ印字装置110に設けられたカセット収納部6に着脱可能である。
(Printing tape cassette)
First, thetape cassette 100 will be described. As shown in FIG. 1, thetape cassette 100 can be attached to and detached from thecassette storage unit 6 provided in thetape printer 110.
 テープカセット100は、上ケース2と下ケース3とを有する。上ケース2は下ケース3の上面を被覆する蓋部材である。下ケース3には、印字テープスプール18、インクリボンスプール20、インクリボン巻取スプール21、貼り合せテープスプール31が配置されている(図2参照)。Thetape cassette 100 has anupper case 2 and alower case 3. Theupper case 2 is a lid member that covers the upper surface of thelower case 3. In thelower case 3, aprinting tape spool 18, anink ribbon spool 20, an ink ribbon take-upspool 21, and abonding tape spool 31 are arranged (see FIG. 2).
 印字テープスプール18には、印字面が内側となるように印字テープ17が巻回されている。印字テープ17は、長尺状のテープである。印字テープ17の詳細については後述する。また、印字テープスプール18は、後述するように印字テープ17を巻き戻すことができる。Theprinting tape 17 is wound around theprinting tape spool 18 so that the printing surface is on the inside. Theprinting tape 17 is a long tape. Details of theprinting tape 17 will be described later. Theprint tape spool 18 can rewind theprint tape 17 as will be described later.
 インクリボンスプール20には、インク層が内側となるようにインクリボン19が巻回されている。インクリボン巻取スプール21は、インクリボンスプール20からインクリボン19を引き出す。また、文字等の印字によって消費されたインクリボン19を巻き取る。Theink ribbon 19 is wound around theink ribbon spool 20 so that the ink layer is inside. The ink ribbon take-upspool 21 pulls out theink ribbon 19 from theink ribbon spool 20. Further, theink ribbon 19 consumed by printing characters and the like is wound up.
 また、印字テープスプール18は、テープカセット100内の中央部より若干上方に位置する(図2参照)。また、インクリボンスプール20は、テープカセット100内の右下部に位置する(図2参照)。インクリボン巻取スプール21は、インクリボンスプール20よりも印字テープ17の搬送方向下流側に位置する(図2参照)。Further, theprint tape spool 18 is located slightly above the center portion in the tape cassette 100 (see FIG. 2). Further, theink ribbon spool 20 is located at the lower right portion in the tape cassette 100 (see FIG. 2). The ink ribbon take-upspool 21 is located downstream of theink ribbon spool 20 in the transport direction of the print tape 17 (see FIG. 2).
 貼り合せテープスプール31には、粘着剤層が内側となるように貼り合せテープ74が巻回されている。貼り合せテープ74の詳細については後述する。また、貼り合せテープスプール31は、後述するように貼り合せテープ74を巻き戻すことができる。また、貼り合せテープスプールは、テープカセット100内の左上部に位置する(図2参照)。A laminatingtape 74 is wound around the laminatingtape spool 31 so that the adhesive layer is on the inside. Details of thebonding tape 74 will be described later. Thebonding tape spool 31 can rewind thebonding tape 74 as will be described later. The bonding tape spool is located at the upper left part in the tape cassette 100 (see FIG. 2).
 テープカセット100には、テープ送りローラ32が配置されている。テープ送りローラ32は、テープ印字装置110のテープ送りローラ軸55(後述)に連結する。テープ送りローラ32は、テープカセット100がテープ印字装置110に装着された状態において、テープ印字装置110のテープ送りサブローラ51(後述)に対向する。In thetape cassette 100, atape feed roller 32 is disposed. Thetape feed roller 32 is connected to a tape feed roller shaft 55 (described later) of thetape printer 110. Thetape feed roller 32 faces a tape feed sub-roller 51 (described later) of thetape printer 110 when thetape cassette 100 is mounted on thetape printer 110.
 テープカセット100には、テープ案内コロ30、案内ピン42、開口部43が配置されている。テープ案内コロ30、案内ピン42、開口部43は、印字テープ17の搬送位置を規制する。また、テープ案内コロ30は、テープカセット100内の右下部に位置する(図2参照)。案内ピン42は、テープ案内コロ30よりも印字テープ17の搬送方向下流側に位置する(図2参照)。Thetape cassette 100 is provided with atape guide roller 30, guide pins 42, and anopening 43. Thetape guide roller 30, theguide pin 42, and theopening 43 regulate the transport position of theprinting tape 17. Moreover, thetape guide roller 30 is located in the lower right part in the tape cassette 100 (refer FIG. 2). Theguide pin 42 is located downstream of thetape guide roller 30 in the transport direction of the printing tape 17 (see FIG. 2).
 テープカセット100には、規制突起部44、規制突起部45が配置されている。規制突起部44及び規制突起部45は、インクリボン19の搬送位置を規制する。Thetape cassette 100 is provided with aregulation projection 44 and aregulation projection 45. Therestriction protrusion 44 and therestriction protrusion 45 restrict the transport position of theink ribbon 19.
 テープカセット100には、分離部材4が形成されている。分離部材4によって、インクリボン19の搬送位置が規制される。また、分離部材4は、印字位置(後述)において貼り合された印字テープ17とインクリボン19とを分離させる機能をも有する。Aseparation member 4 is formed in thetape cassette 100. The separatingmember 4 regulates the transport position of theink ribbon 19. The separatingmember 4 also has a function of separating theprinting tape 17 and theink ribbon 19 that are bonded together at a printing position (described later).
 テープカセット100には、案内部材33が配置されている。案内部材33は、分離部材4とテープ送りローラ32の間に位置する。案内部材33とテープカセット100の外枠の間に、第1案内路34が形成される。第1案内路34は、印字テープ17の搬送経路を規制する。即ち、第1案内路34は、印字テープ17の厚み方向と幅方向への移動を規制している(特に、幅方向に関しては、テープカセット100の上面と下面が規制している)。Aguide member 33 is disposed in thetape cassette 100. Theguide member 33 is located between theseparation member 4 and thetape feed roller 32. Afirst guide path 34 is formed between theguide member 33 and the outer frame of thetape cassette 100. Thefirst guide path 34 regulates the transport path of theprinting tape 17. That is, thefirst guide path 34 restricts the movement of theprinting tape 17 in the thickness direction and the width direction (particularly, the upper and lower surfaces of thetape cassette 100 are restricted in the width direction).
 テープカセット100には、ヘッド挿通口40が形成されている。ヘッド挿通口40は、上ケース2及び下ケース3を貫通している。また、テープカセット100がテープ印字装置110のカセット収納部6に収納された際に、サーマルヘッド7(後述)が挿通される。Ahead insertion opening 40 is formed in thetape cassette 100. Thehead insertion port 40 passes through theupper case 2 and thelower case 3. Further, when thetape cassette 100 is stored in thecassette storage unit 6 of thetape printer 110, a thermal head 7 (described later) is inserted.
 テープカセット100には、排出口13が形成されている。印字テープ17は、排出口13よりテープカセット100外に排出される。
 テープカセット100には、排出口13周辺に、第2案内路35が形成されている。第2案内路35は、印字テープ17及び貼り合せテープ74の搬送経路を規制する。即ち、第2案内路35は、印字テープ17及び貼り合せテープ74の厚み方向と幅方向への移動を規制している(特に、幅方向に関しては、テープカセット100の上面と下面が規制している)。
Adischarge port 13 is formed in thetape cassette 100. Theprint tape 17 is discharged out of thetape cassette 100 through thedischarge port 13.
Asecond guide path 35 is formed in thetape cassette 100 around thedischarge port 13. Thesecond guide path 35 regulates the transport path of theprinting tape 17 and thebonding tape 74. That is, thesecond guide path 35 restricts the movement of theprinting tape 17 and thebonding tape 74 in the thickness direction and the width direction (particularly, the upper and lower surfaces of thetape cassette 100 are restricted in the width direction). )
 テープカセット100には、テープ印字装置110が有する種別識別センサ(後述)によって読み取られる識別部(テープカセットの種類を示す)を有する。Thetape cassette 100 has an identification unit (indicating the type of the tape cassette) read by a type identification sensor (described later) of thetape printer 110.
(カセット収納部)
 次に、テープ印字装置110のカセット収納部6及びその周辺に配置される各要素について説明する。
 カセット収納部6には、サーマルヘッド7が固設されている(図1及び図2参照)。サーマルヘッド7は、縦長四角形の平板状である。前面の左端縁部の辺に沿って、所定個数の発熱素子が一列に配列されて形成されている。
(Cassette storage)
Next, thecassette storage unit 6 of thetape printer 110 and each element arranged around it will be described.
Athermal head 7 is fixed to the cassette housing 6 (see FIGS. 1 and 2). Thethermal head 7 has a vertically long rectangular flat plate shape. A predetermined number of heating elements are arranged in a line along the side of the left edge of the front surface.
 テープ印字装置110は、プラテンローラ8を備えている。プラテンローラ8は、プラテンホルダ84に回転可能に支持されている。プラテンホルダ84は、ホルダ軸47に回動可能に支持されている。プラテンローラ8は、ソレノイド67によって、サーマルヘッド7への離間・圧接が行われる。ソレノイド67は、所謂プッシュ型のソレノイドであり、通電時にはプッシュピンを突出することでプラテンローラ8とサーマルヘッド7を圧接状態にし、非通電時にはソレノイド内部のバネによってプッシュピンを引き込むことでプラテンローラ8とサーマルヘッド7を離間状態にする。
 プラテンローラ8は、印字テープ送りモータ69(図3参照)の駆動に基いて図2における反時計方向に回転する。プラテンローラ8の反時計方向の回転を駆動源として、印字前及び印字後の印字テープ17は搬送される。また、テープ印字装置110には、プラテンローラ8の回転量(すなわち、テープ送りローラの回転量)を検出する不図示のエンコーダを有する。
Thetape printer 110 includes aplaten roller 8. Theplaten roller 8 is rotatably supported by theplaten holder 84. Theplaten holder 84 is rotatably supported by theholder shaft 47. Theplaten roller 8 is separated and pressed against thethermal head 7 by asolenoid 67. Thesolenoid 67 is a so-called push-type solenoid. Theplaten roller 8 and thethermal head 7 are brought into a pressure-contact state by projecting the push pin when energized, and theplaten roller 8 is pulled by a spring inside the solenoid when not energized. And thethermal head 7 are separated.
Theplaten roller 8 rotates counterclockwise in FIG. 2 based on the drive of the printing tape feed motor 69 (see FIG. 3). Using the counterclockwise rotation of theplaten roller 8 as a driving source, theprinting tape 17 before and after printing is conveyed. Further, thetape printer 110 has an encoder (not shown) that detects the rotation amount of the platen roller 8 (that is, the rotation amount of the tape feed roller).
 また、プラテンホルダ84には、読取センサ11が取り付けられている。読取センサ11は、印字テープ17に印字されているゼブラマーク(後述)を読み取る。Also, the readingsensor 11 is attached to theplaten holder 84. The readingsensor 11 reads a zebra mark (described later) printed on theprinting tape 17.
 テープ印字装置110は、テープ送りサブローラ51を備えている。テープ送りサブローラ51は、ヒータ70を備えており、テープ送りサブローラ51の表面を加熱することができる。Thetape printer 110 includes atape feed sub-roller 51. Thetape feed sub-roller 51 includes aheater 70 and can heat the surface of thetape feed sub-roller 51.
 テープ送りサブローラ51は、サブローラホルダ54に回転可能に支持されている。サブローラホルダ54は、サブローラ軸52に回動可能に支持されている。なお、図1においては、サブローラホルダ54は省略している。
 テープ送りサブローラ51は、ソレノイド68によって、テープ送りローラ32との離間・圧接の制御が行われる。ソレノイド68は、所謂プッシュ型のソレノイドであり、通電時にはプッシュピンを突出することでテープ送りローラ32とテープ送りサブローラ51を圧接状態にし、非通電時にはソレノイド内部のバネによってプッシュピンを引き込むことでテープ送りローラ32とテープ送りサブローラ51を離間状態にする。
The tapefeed sub roller 51 is rotatably supported by thesub roller holder 54. Thesub roller holder 54 is rotatably supported on thesub roller shaft 52. In FIG. 1, thesub roller holder 54 is omitted.
Thetape feed sub-roller 51 is controlled by thesolenoid 68 to be separated and pressed against thetape feed roller 32. Thesolenoid 68 is a so-called push-type solenoid. When the power is energized, thetape feed roller 32 and thetape feed sub-roller 51 are brought into pressure contact with each other by projecting the push pin. Thefeed roller 32 and thetape feed sub-roller 51 are separated from each other.
 ソレノイド67とソレノイド68とは、独立して駆動可能である。すなわち、プラテンローラ8とサーマルヘッド7との離間・圧接、及び、テープ送りサブローラ51とテープ送りローラ32との離間・圧接は、独立して行うことが可能である。それぞれの離間・圧接制御の詳細については、後述する。Thesolenoid 67 and thesolenoid 68 can be driven independently. That is, the separation / pressure contact between theplaten roller 8 and thethermal head 7 and the separation / pressure contact between thetape feed sub-roller 51 and thetape feed roller 32 can be performed independently. Details of each separation / pressure contact control will be described later.
 カセット収納部6には、リボン巻取軸9が配置されている。リボン巻取軸9は、上述したテープカセット100がテープ印字装置110に装着された際に、インクリボン巻取スプール21と連結する。リボン巻取軸9は、印字テープ送りモータ69(図3参照)により図2における時計方向に回転する。リボン巻取軸9が時計方向に回転することにより、インクリボン19を引き出すことができる。A ribbon take-upshaft 9 is disposed in thecassette housing 6. The ribbon take-upshaft 9 is connected to the ink ribbon take-upspool 21 when thetape cassette 100 described above is mounted on thetape printer 110. The ribbon take-upshaft 9 is rotated clockwise in FIG. 2 by a printing tape feed motor 69 (see FIG. 3). Theink ribbon 19 can be pulled out by rotating the ribbon take-upshaft 9 clockwise.
 カセット収納部6には、印字テープ巻取軸10が配置されている。印字テープ巻取軸10は、上述したテープカセット100がテープ印字装置110に装着された際に、印字テープスプール18と連結(係合)する。印字テープ巻取軸10は、印字テープ巻取りモータ71(図3参照)により図2における反時計方向に回転する。印字テープ巻取軸10が反時計方向に回転することにより、印字テープを巻き戻す。A printing tape take-upshaft 10 is disposed in thecassette housing section 6. The print tape take-upshaft 10 is connected (engaged) with theprint tape spool 18 when thetape cassette 100 described above is mounted on thetape printer 110. The printingtape winding shaft 10 is rotated counterclockwise in FIG. 2 by a printing tape winding motor 71 (see FIG. 3). When the printing tape take-upshaft 10 rotates counterclockwise, the printing tape is rewound.
 カセット収納部6には、貼り合せテープ軸53が配置されている。貼り合せテープ軸53は、上述したテープカセット100がテープ印字装置110に装着された際に、貼り合せテープスプール31と連結する。貼り合せテープ軸53は、貼り合せテープ巻取りモータ72(図3参照)により図2における時計方向に回転する。貼り合せテープ軸53が時計方向に回転することにより、貼り合せテープ74を巻き戻すことができる。In thecassette housing portion 6, abonding tape shaft 53 is disposed. Thebonding tape shaft 53 is connected to thebonding tape spool 31 when thetape cassette 100 described above is mounted on thetape printer 110. Thebonding tape shaft 53 is rotated clockwise in FIG. 2 by a bonding tape take-up motor 72 (see FIG. 3). By rotating thebonding tape shaft 53 in the clockwise direction, thebonding tape 74 can be rewound.
 カセット収納部6には、テープ送りローラ軸55が配置されている。テープ送りローラ軸55は、上述したテープカセット100がテープ印字装置110に装着された際に、テープ送りローラ32と連結する。テープ送りローラ軸55は、貼り合せテープ送りモータ73(図3参照)により図2における時計方向に回転する。テープ送りローラ32にテープ送りサブローラ51が圧接されている際はテープ送りローラ32の回転に従動してテープ送りサブローラ51も回転する。テープ送りローラ軸55が図2における時計方向に回転することにより、テープ送りローラ32とテープ送りサブローラ51によって、貼り合せテープ74は、排出口5に向かって搬送される。また、テープ印字装置110には、テープ送りローラ軸55の回転量(すなわち、テープ送りローラの回転量)を検出する不図示のエンコーダを有する。A tapefeed roller shaft 55 is disposed in thecassette housing 6. The tapefeed roller shaft 55 is connected to thetape feed roller 32 when thetape cassette 100 described above is mounted on thetape printer 110. The tapefeed roller shaft 55 is rotated in the clockwise direction in FIG. 2 by a bonding tape feed motor 73 (see FIG. 3). When thetape feed sub-roller 51 is in pressure contact with thetape feed roller 32, thetape feed sub-roller 51 also rotates following the rotation of thetape feed roller 32. The tape feedingroller shaft 55 rotates in the clockwise direction in FIG. 2, whereby thebonding tape 74 is conveyed toward thedischarge port 5 by thetape feeding roller 32 and thetape feeding sub-roller 51. Further, thetape printer 110 has an encoder (not shown) that detects the rotation amount of the tape feed roller shaft 55 (that is, the rotation amount of the tape feed roller).
 固定刃57A及び可動刃57Bにより構成されるカッタユニット57は、テープ送りサブローラ51及びテープ送りローラ軸55よりも搬送方向下流側に配置されている。可動刃57Bが固定刃57Aに向かって移動することにより、貼り合せテープ74及び印字済みの印字テープ17が切断される。可動刃57Bは、カッタモータ75(図3参照)により移動する。Thecutter unit 57 constituted by the fixedblade 57A and themovable blade 57B is disposed downstream of thetape feed sub-roller 51 and the tapefeed roller shaft 55 in the transport direction. When themovable blade 57B moves toward the fixedblade 57A, thebonding tape 74 and the printedprinting tape 17 are cut. Themovable blade 57B is moved by a cutter motor 75 (see FIG. 3).
 カセット収納部6には、発光素子58A及び受光素子58Bから構成される先端部検出センサ58が配置されている。また、先端部検出センサ58は、フォトセンサ等の透過型センサで構成されている。発光素子58Aと受光素子58Bは、貼り合せテープ74及び印字テープ17の搬送路を挟んで対向する。発光素子58Aと受光素子58Bの間を貼り合せテープ74及び印字テープ17を搬送される間、発光素子58Aから出力された光は、受光素子58Bに到達しない。この原理を用いることにより、先端部検出センサ58は、貼り合せテープ74及び印字テープ17の先端を検出することができる。In thecassette housing portion 6, a tipend detection sensor 58 including alight emitting element 58A and alight receiving element 58B is disposed. Further, the tipend detection sensor 58 is configured by a transmissive sensor such as a photo sensor. Thelight emitting element 58A and thelight receiving element 58B are opposed to each other with the conveyance path of thebonding tape 74 and theprinting tape 17 in between. While thebonding tape 74 and theprinting tape 17 are conveyed between the light emittingelement 58A and thelight receiving element 58B, the light output from thelight emitting element 58A does not reach thelight receiving element 58B. By using this principle, the leadingend detection sensor 58 can detect the leading ends of thebonding tape 74 and theprinting tape 17.
 テープ印字装置110には、排出口5が形成されている。排出口5は、カッタユニット57よりも搬送方向下流側に位置している。Adischarge port 5 is formed in thetape printer 110. Thedischarge port 5 is located downstream of thecutter unit 57 in the transport direction.
 テープ印字装置110には、装着されたテープカセット100の種別を識別するための種別識別センサ(不図示)を有している。Thetape printer 110 has a type identification sensor (not shown) for identifying the type of thetape cassette 100 loaded.
 次に図3を参照して、上述したテープ印字装置の電気的構成について説明する。テープ印字装置は、制御基板上に形成される制御回路部76を備えている。制御回路部76は、各機器を制御するCPU77、CPU77にデータバス78を介して接続されたCG-ROM79、ROM80、RAM81、及び、入出力インタフェース82等から構成されている。
 CG-ROM79には、アルファベット文字や記号等のキャラクタを印字するための多数のキャラクタの各々に関して、印字用ドットパターンデータがコードデータに対応させて記憶されている。
Next, the electrical configuration of the above-described tape printer will be described with reference to FIG. The tape printer includes acontrol circuit unit 76 formed on the control board. Thecontrol circuit unit 76 includes aCPU 77 that controls each device, a CG-ROM 79 connected to theCPU 77 via adata bus 78, aROM 80, aRAM 81, an input /output interface 82, and the like.
The CG-ROM 79 stores printing dot pattern data corresponding to code data for each of a large number of characters for printing characters such as alphabet letters and symbols.
ROM80には、テープ印字装置の表示制御や印字制御などに必要な各種プログラムが各々記憶されている。CPU77は、ROM80に記憶されている各種プログラムに基づいて各種演算を行う。RAM81には、テキストメモリ、印字バッファ、パラメータ記憶エリア等が設けられている。入出力インタフェース82には、液晶ディスプレイ83を駆動するためのLCDC85、キーボード86、読取センサ11、先端部検出センサ58、サーマルヘッド7を駆動する駆動回路87、印字テープ送りモータ69を駆動する駆動回路88、貼り合せテープ送りモータ73を駆動する駆動回路89、印字テープ巻取りモータ71を駆動する駆動回路90、貼り合せテープ巻取りモータ72を駆動する駆動回路91、カッタモータ75を駆動する駆動回路92、ソレノイド67を駆動する駆動回路93、ソレノイド68を駆動する駆動回路94、ヒータ70を駆動する駆動回路95、等が各々接続されている。
 各駆動回路は、CPU77により制御される。
TheROM 80 stores various programs necessary for display control and print control of the tape printer. TheCPU 77 performs various calculations based on various programs stored in theROM 80. TheRAM 81 is provided with a text memory, a print buffer, a parameter storage area, and the like. The input /output interface 82 includes anLCDC 85 for driving theliquid crystal display 83, akeyboard 86, a readingsensor 11, a leadingend detection sensor 58, adrive circuit 87 for driving thethermal head 7, and a drive circuit for driving the printtape feed motor 69. 88, a drivingcircuit 89 for driving the bondingtape feeding motor 73, a drivingcircuit 90 for driving the printingtape winding motor 71, a drivingcircuit 91 for driving the bondingtape winding motor 72, and a driving circuit for driving thecutter motor 75. 92, adrive circuit 93 for driving thesolenoid 67, adrive circuit 94 for driving thesolenoid 68, adrive circuit 95 for driving theheater 70, and the like are connected to each other.
Each drive circuit is controlled by theCPU 77.
 以上のような電気的構成を有するテープ印字装置において、キーボード86を用いて文字等が入力された場合、そのテキスト(文書データ)はテキストメモリに記憶される。そして、各種プログラムに基づいて、キーボード86で入力された文字等に対応するドットパターンが液晶ディスプレイ83上に表示される。さらにサーマルヘッド7は駆動回路87を介して駆動され、印字バッファに記憶されたドットパターンデータの印字を行う。また、印字テープ送りモータ69及び貼り合せテープ送りモータ73は、サーマルヘッド7による印字動作に同期してテープの排出口5へ向かう方向(下流側と称する)への送り制御を行う。このとき、サーマルヘッド7では駆動回路87によってサーマルヘッド7の備える各発熱素子が1ライン分の印字ドットに対応して選択的に発熱駆動される。印字済みの印字テープ17は、カッタユニット57の切断位置まで搬送され、可動刃57Bが移動する結果、固定刃57Aと可動刃57Bとが互いに協働することで切断される。In the tape printer having the above-described electrical configuration, when characters or the like are input using thekeyboard 86, the text (document data) is stored in the text memory. Based on various programs, a dot pattern corresponding to characters or the like input with thekeyboard 86 is displayed on theliquid crystal display 83. Further, thethermal head 7 is driven via adrive circuit 87 and prints the dot pattern data stored in the print buffer. The printingtape feed motor 69 and the bondingtape feed motor 73 perform feed control in a direction (referred to as the downstream side) toward thetape discharge port 5 in synchronization with the printing operation by thethermal head 7. At this time, in thethermal head 7, each heating element included in thethermal head 7 is selectively driven to generate heat corresponding to the printing dots for one line by thedrive circuit 87. The printedprinting tape 17 is conveyed to the cutting position of thecutter unit 57, and themovable blade 57B moves, and as a result, the fixedblade 57A and themovable blade 57B are cut together.
 また、印字テープ17の使用量を節約するため、印字テープ17を排出口5とは逆方向(上流側と称する)に送ることがある。その際は、印字テープ巻取りモータ71を駆動させて、印字テープ17を印字テープスプール18に巻き戻すように制御する。また、貼り合せテープ74の使用量を節約するため、貼り合せテープ74を排出口5とは逆方向(上流側と称する)に送ることがある。その際は、貼り合せテープ巻取りモータ72を駆動させて、貼り合せテープ74を貼り合せテープスプール31に巻き戻すように制御する。
 尚、印字テープ17を下流側に送るときは、駆動回路93を介してソレノイド67に通電することでプラテンローラ8をサーマルヘッド7に圧接させる。印字テープ17を上流側に送るときは、駆動回路93を介してソレノイド67への通電を停止することでプラテンローラ8をサーマルヘッド7から離間させる。それにより、インクリボン19が印字テープ17に追従して上流側に送られて弛みができることを防止する。
Moreover, in order to save the usage amount of theprinting tape 17, theprinting tape 17 may be sent in the direction opposite to the discharge port 5 (referred to as the upstream side). At that time, the printingtape winding motor 71 is driven to control theprinting tape 17 to be rewound onto theprinting tape spool 18. Moreover, in order to save the usage-amount of thebonding tape 74, thebonding tape 74 may be sent to the reverse direction (it is called an upstream side) with respect to thedischarge port 5. At that time, the bondingtape winding motor 72 is driven to control thebonding tape 74 to be rewound onto thebonding tape spool 31.
When theprint tape 17 is sent downstream, theplaten roller 8 is brought into pressure contact with thethermal head 7 by energizing thesolenoid 67 through thedrive circuit 93. When theprinting tape 17 is sent upstream, theplaten roller 8 is separated from thethermal head 7 by stopping the energization of thesolenoid 67 via thedrive circuit 93. Thus, theink ribbon 19 is prevented from being slackened by following theprinting tape 17 and sent to the upstream side.
 また、貼り合せテープ74を下流側に送るときは、駆動回路94を介してソレノイド68に通電することでテープ送りサブローラ51をテープ送りローラ32に圧接させる(貼り合せテープ74を上流側に送るときにテープ送りサブローラ51をテープ送りローラ32から離間させることは、必ずしも必要ではない)。
 ヒータ70は、駆動回路95を介して通電することで発熱し、通電を停止することで発熱が停止する。
When thebonding tape 74 is sent downstream, thesolenoid 68 is energized via thedrive circuit 94 to bring thetape feeding sub-roller 51 into pressure contact with the tape feeding roller 32 (when sending thebonding tape 74 upstream). It is not always necessary to separate the tape feed sub-roller 51 from the tape feed roller 32).
Theheater 70 generates heat when energized via thedrive circuit 95, and the heat generation stops when the energization is stopped.
(印字テープへの印字)
 次に、印字テープ17への印字、及び、印字テープ17の搬送について説明する。
 印字テープスプール18に巻回されている印字テープ17は、プラテンローラ8の回転駆動により、テープ案内コロ30、案内ピン42、開口部43を経てサーマルヘッド7及びプラテンローラ8に向かって搬送される。
 また、インクリボンスプール20に巻回されているインクリボン19は、インクリボン巻取スプール21の回転駆動により、規制突起部44、規制突起部45、開口部43を経てサーマルヘッド7及びプラテンローラ8に向かって搬送される。
(Printing on printing tape)
Next, printing on theprinting tape 17 and conveyance of theprinting tape 17 will be described.
Theprinting tape 17 wound around theprinting tape spool 18 is conveyed toward thethermal head 7 and theplaten roller 8 through thetape guide roller 30, theguide pin 42, and theopening 43 by the rotational drive of theplaten roller 8. .
Further, theink ribbon 19 wound around theink ribbon spool 20 is driven by the rotation of the ink ribbon take-upspool 21, passes through therestriction projection 44, theregulation projection 45, and theopening 43, and then thethermal head 7 and theplaten roller 8. It is conveyed toward.
 図4は印字過程における印字テープ17及びインクリボン19の関係を模式的に示したものである。
 図4に示すように、インクリボン19は、基材フィルム22及びインク層23により構成されている。また、印字テープ17は、基材フィルム25、粘着剤層24、離型紙26により構成されている。作成された印字テープ17は、離型紙26を剥がした状態で、粘着剤層24の面が被着体に貼り付けられる。
FIG. 4 schematically shows the relationship between the printingtape 17 and theink ribbon 19 in the printing process.
As shown in FIG. 4, theink ribbon 19 includes abase film 22 and anink layer 23. Theprinting tape 17 includes abase film 25, anadhesive layer 24, and arelease paper 26. The surface of the pressure-sensitive adhesive layer 24 is attached to the adherend in a state where the producedprinting tape 17 is peeled off therelease paper 26.
 印字テープ17及びインクリボン19は、サーマルヘッド7及びプラテンローラ8によって重ね合わされる。すなわち、印字テープ17とインクリボン19は、サーマルヘッド7及びプラテンローラ8の間で接触する。また、印字時には、サーマルヘッド7の発熱素子群が発熱駆動される。発熱素子群の発熱により、インクリボン19の被加熱部分のインク層23が溶解し、溶解したインク層23が印字テープ17に転写される。インク層23のインクは、高融点タイプ(インクの融点が、例えば、90℃以上のもの)を用いることができる。Theprinting tape 17 and theink ribbon 19 are overlaid by thethermal head 7 and theplaten roller 8. That is, theprinting tape 17 and theink ribbon 19 are in contact between thethermal head 7 and theplaten roller 8. Further, during printing, the heating element group of thethermal head 7 is driven to generate heat. Due to the heat generated by the heating element group, theheated ink layer 23 of theink ribbon 19 is dissolved, and the dissolvedink layer 23 is transferred to theprint tape 17. As the ink of theink layer 23, a high melting point type (the melting point of the ink is, for example, 90 ° C. or more) can be used.
 また、離型紙26の表面(粘着剤層24と接していない側)には、例えば、ゼブラマークが印字されている。ゼブラマークは、上述した読取センサ11によって読み取られる。図5は、ゼブラマークの一例を示した図である。印字テープ17の幅方向に伸びる線(例えば、直線)が、所定間隔で印字されている。Further, for example, a zebra mark is printed on the surface of the release paper 26 (the side not in contact with the adhesive layer 24). The zebra mark is read by the readingsensor 11 described above. FIG. 5 is a diagram showing an example of a zebra mark. Lines (for example, straight lines) extending in the width direction of theprinting tape 17 are printed at predetermined intervals.
 該所定間隔の長さは、テープ印字装置110に認識されるよう構成される。例えば、装着されるテープカセットの種別によらず、該所定間隔の長さを一定(固定値)とすることができる。この場合、該固定値を予めテープカセット100に記憶しておけばよい。また、上述した識別部(テープカセット100)が、該所定間隔の長さの情報を含むように構成してもよい。この場合、読取センサ11は、装着されたテープカセット100の種類とともに、ゼブラマークの間隔の長さを検出する。The length of the predetermined interval is configured to be recognized by thetape printer 110. For example, the length of the predetermined interval can be made constant (fixed value) regardless of the type of tape cassette to be mounted. In this case, the fixed value may be stored in thetape cassette 100 in advance. Moreover, you may comprise so that the identification part (tape cassette 100) mentioned above may contain the information of the length of this predetermined space | interval. In this case, the readingsensor 11 detects the length of the zebra mark interval together with the type of thetape cassette 100 mounted.
 読取センサ11が読み取ったゼブラマークの数に、該所定間隔の長さを掛け合わせることにより、印字テープ17の搬送量を算出することができる。By multiplying the number of zebra marks read by the readingsensor 11 by the length of the predetermined interval, the transport amount of theprinting tape 17 can be calculated.
 ゼブラマークの色は、例えば、黒とすることができる。なお、読取センサ11によって読み取ることができる色であれば、どのような色でもよい。また、ゼブラマークが印字される離型紙26は、上述したとおり被着体への貼り付け時に剥がされる。The color of the zebra mark can be black, for example. Any color that can be read by the readingsensor 11 may be used. Further, therelease paper 26 on which the zebra mark is printed is peeled off when being attached to the adherend as described above.
 印字が行われた後、インクリボン19は、分離部材4を経てインクリボン巻取スプール21に巻き取られる。このとき、印字済みの印字テープ17とインクリボン19とは分離される。また、印字済みの印字テープ17は、第1案内路34を経て、テープ送りローラ32及びテープ送りサブローラ51の位置まで搬送される。After the printing is performed, theink ribbon 19 is taken up by the ink ribbon take-upspool 21 through the separatingmember 4. At this time, the printedprinting tape 17 and theink ribbon 19 are separated. The printedprinting tape 17 is conveyed to the position of thetape feeding roller 32 and thetape feeding sub-roller 51 through thefirst guide path 34.
 印字済み印字テープ17は、テープ送りローラ32及びテープ送りサブローラ51の間を通過するとき、該印字済み印字テープ17の印字面には、貼り合せテープ74が貼り合わされる。印字済み印字テープ17に貼り合せテープ74が貼り合わされるメカニズムについては後述する。When the printedprinting tape 17 passes between thetape feeding roller 32 and thetape feeding sub-roller 51, thebonding tape 74 is bonded to the printing surface of the printedprinting tape 17. The mechanism by which thebonding tape 74 is bonded to the printedprinting tape 17 will be described later.
 作成された印字済みの印字テープ17は、テープ送りローラ32及びテープ送りサブローラ51の回転駆動により、第2案内路35を経て排出口5まで搬送される。第1案内路34では印字済み印字テープ17が幅方向に規制され、第2案内路35では印字済み印字テープ17及び貼り合せテープ74が幅方向に規制されることにより、印字済み印字テープ17及び貼り合せテープ74は互いに幅方向にずれることなく貼り合わされることとなる。
 また、印字済みの印字テープ17は、所望の位置でカッタユニット57により切断される。
The printedprinting tape 17 that has been printed is conveyed to thedischarge port 5 through thesecond guide path 35 by the rotational drive of thetape feed roller 32 and thetape feed sub-roller 51. In thefirst guide path 34, the printedprinting tape 17 is regulated in the width direction, and in thesecond guide path 35, the printedprinting tape 17 and thebonding tape 74 are regulated in the width direction. Thebonding tape 74 is bonded without shifting in the width direction.
The printedprinting tape 17 is cut by thecutter unit 57 at a desired position.
(印字テープへの貼り合せ)
 図6は、加熱状態にあるテープ送りサブローラ51と印字済みの印字テープ17及び貼り合せテープ74との関係を模式的に示したものである。
 図6に示すように、貼り合せテープ74は、粘着剤層27及びフィルム28により構成される。フィルム28として、インク層(すなわち、印字内容)が視認できるものが用いられる。例えば、PETフィルム、ポリエチレン(PE)フィルム、ポリプロピレン(PP)フィルムを用いることができる。
(Lamination on printing tape)
FIG. 6 schematically shows the relationship between thetape feeding sub-roller 51 in a heated state, the printedprinting tape 17 and thebonding tape 74.
As shown in FIG. 6, thebonding tape 74 includes the pressure-sensitive adhesive layer 27 and thefilm 28. As thefilm 28, a film that can visually recognize the ink layer (that is, the print content) is used. For example, a PET film, a polyethylene (PE) film, or a polypropylene (PP) film can be used.
 また、フィルム28は、半透明であってもよい。例えば、曇りガラス状のフィルム(MATTフィルム)を用いてもよい。また、有色のフィルムでもよい。また、幅方向の両端部に、花柄、キャラクタ等が印字されているものを用いてもよい。Further, thefilm 28 may be translucent. For example, a frosted glass film (MATT film) may be used. Moreover, a colored film may be sufficient. Moreover, you may use what printed the floral pattern, the character, etc. in the both ends of the width direction.
 粘着剤層27の粘着剤は、常温では粘着性を有しておらず、加熱されることにより粘着性を有する(活性化する)。すなわち、該粘着剤は、熱活性性である(このような性質を有する粘着剤は、例えば、特許3394572号に開示されている。)。また、粘着性を有すると、その後温度が低下しても暫く粘着性を保持する(このような性質を有する粘着剤は、例えば、特開2002-265895号に開示されている)。本実施形態では市販の一般的な熱活性性の粘着剤を使用しており、その時間は5分程度となっている。なお、粘着剤の粘着性が発現している間に粘着した貼り合せテープ74と印字テープ17とは、粘着剤の粘着性が消滅した後も接着状態は維持している。粘着性が消滅した粘着剤を備えた貼り合せテープ74は新たな被着体と粘着することができないだけである。
 また、粘着性を有するための温度(活性温度)は、80℃とすることができる。この温度は、上述したインクの融解温度よりも低い。
The pressure-sensitive adhesive of the pressure-sensitive adhesive layer 27 does not have pressure-sensitive adhesive properties at room temperature, and has pressure-sensitive adhesive properties when heated (activated). That is, the pressure-sensitive adhesive is thermally active (a pressure-sensitive adhesive having such properties is disclosed in, for example, Japanese Patent No. 3394572). Further, if it has adhesiveness, the adhesiveness is maintained for a while even if the temperature subsequently decreases (adhesives having such properties are disclosed in, for example, JP-A-2002-265895). In this embodiment, a commercially available general heat-active adhesive is used, and the time is about 5 minutes. Note that theadhesive tape 74 and theprinting tape 17 that are adhered while the pressure-sensitive adhesive is developing are maintained in an adhesive state even after the pressure-sensitive adhesive has disappeared. Thebonding tape 74 provided with an adhesive whose adhesiveness has disappeared cannot only adhere to a new adherend.
Moreover, the temperature (activation temperature) for having adhesiveness can be 80 degreeC. This temperature is lower than the melting temperature of the ink described above.
 また、粘着剤層27の粘着剤は、活性化した状態において透明である。これにより、フィルム28及び粘着剤層27を通して、印字内容(すなわち、インク層23)が視認できる。なお、粘着剤層27の粘着剤は、活性化していない状態においては、透明でなくてもよい。Also, the adhesive of theadhesive layer 27 is transparent in the activated state. Thereby, the printed content (that is, the ink layer 23) can be visually recognized through thefilm 28 and theadhesive layer 27. In addition, the adhesive of theadhesive layer 27 does not need to be transparent in the state which is not activated.
 テープ送りサブローラ51が加熱されると、その熱は、印字テープ17を通じて粘着剤層27に伝わることになる。
 そして、粘着剤層27の温度が80℃(すなわち、活性温度)に達すると、粘着性を有する。ただし、フィルム28の温度が90℃(すなわち、融解温度)に達しないようテープ送りサブローラ51は熱制御される。
When thetape feed sub-roller 51 is heated, the heat is transferred to theadhesive layer 27 through theprinting tape 17.
And when the temperature of theadhesive layer 27reaches 80 degreeC (namely, activation temperature), it has adhesiveness. However, thetape feed sub-roller 51 is thermally controlled so that the temperature of thefilm 28 does not reach 90 ° C. (that is, the melting temperature).
 これにより、テープ送りサブローラ51及びテープ送りローラ32で接触した印字テープ17及び貼り合せテープ74は、貼り合わされることになる。貼り合わされた印字済みの印字テープ17は、カッタユニット57まで搬送され、所定の位置で切断される。Thus, theprinting tape 17 and thebonding tape 74 that are in contact with each other by thetape feeding sub-roller 51 and thetape feeding roller 32 are bonded together. The printedprinting tape 17 that has been pasted is conveyed to thecutter unit 57 and cut at a predetermined position.
 図7は、非加熱状態にあるテープ送りサブローラ51と印字済みの印字テープ17及び貼り合せテープ74との関係を模式的に示したものである。
 図7においては、粘着剤層27は非活性状態にあるから、印字テープ17及び貼り合せテープ74が接触したとしても、印字テープ17に貼り合せテープ74が貼り合わされることはない。
FIG. 7 schematically shows the relationship between thetape feeding sub-roller 51 in a non-heated state, the printedprinting tape 17 and thebonding tape 74.
In FIG. 7, since theadhesive layer 27 is in an inactive state, even if theprinting tape 17 and thebonding tape 74 come into contact with each other, thebonding tape 74 is not bonded to theprinting tape 17.
(印字テープ及び貼り合せテープの搬送制御)
 次に、印字テープ17及び貼り合せテープ74の搬送制御について説明する。
 図8乃至図10は、搬送制御処理のフローチャートである。搬送制御処理は、テープ印字装置110が有するプロセッサ(不図示)によって実行される。搬送制御処理は、印字制御の指令信号が出力されることにより実行が開始される。
 図11乃至図24は、貼り合せテープ74、インク層23、印字テープ17の搬送の様子を示した図である。
(Conveyance control of printing tape and bonding tape)
Next, conveyance control of theprinting tape 17 and thebonding tape 74 will be described.
8 to 10 are flowcharts of the conveyance control process. The conveyance control process is executed by a processor (not shown) included in thetape printer 110. The conveyance control process is started when a print control command signal is output.
FIG. 11 to FIG. 24 are diagrams showing how thebonding tape 74, theink layer 23, and theprinting tape 17 are conveyed.
 S1において、プラテンローラ8を原点位置に移動させる。プラテンローラ8の原点位置とは、プラテンローラ8がサーマルヘッド7に圧接する位置のことである。即ち、プラテンローラ8をサーマルヘッド7側に移動させることにより、印字テープ17を先端部検出センサ58側に搬送可能な状態にする。それには、ソレノイド67に通電することにより、プラテンローラ8を原点位置に移動させる。
 S2において、テープ送りサブローラ51を原点位置に移動させる。テープ送りサブローラ51の原点位置とは、テープ送りサブローラ51がテープ送りローラ32に圧接する位置のことである。即ち、テープ送りサブローラ51をテープ送りローラ32側に移動させることにより、貼り合せテープ74及び印字テープ17を先端部検出センサ58側に搬送可能な状態にする。それには、ソレノイド68に通電することにより、テープ送りサブローラ51を原点位置に移動させる。
In S1, theplaten roller 8 is moved to the origin position. The origin position of theplaten roller 8 is a position where theplaten roller 8 is in pressure contact with thethermal head 7. That is, by moving theplaten roller 8 to thethermal head 7 side, theprinting tape 17 is brought into a state where it can be conveyed to the leadingend detection sensor 58 side. To do so, theplaten roller 8 is moved to the origin position by energizing thesolenoid 67.
In S2, thetape feed sub-roller 51 is moved to the origin position. The origin position of thetape feed sub-roller 51 is a position where thetape feed sub-roller 51 is in pressure contact with thetape feed roller 32. That is, by moving thetape feed sub-roller 51 to thetape feed roller 32 side, thebonding tape 74 and theprint tape 17 can be transported to the frontend detection sensor 58 side. For this purpose, thetape feed sub-roller 51 is moved to the origin position by energizing thesolenoid 68.
 図11は、プラテンローラ8及びテープ送りサブローラ51が、原点位置に位置している様子を示している。また、印字テープ17及び貼り合せテープ74の先端は、カッタユニット57の近傍に位置している。FIG. 11 shows a state in which theplaten roller 8 and thetape feed sub-roller 51 are located at the origin position. The leading ends of theprinting tape 17 and thebonding tape 74 are located in the vicinity of thecutter unit 57.
 S3において、印字テープ17及び貼り合せテープ74を先端部検出センサ58側に向かって搬送させる。それには、印字テープ送りモータ69を駆動してプラテンローラ8を回転させる。また、貼り合せテープ送りモータ73を駆動してテープ送りローラ32を回転させる。In S3, theprinting tape 17 and thebonding tape 74 are conveyed toward the tipend detection sensor 58 side. For this purpose, the printingtape feed motor 69 is driven to rotate theplaten roller 8. Further, thetape feeding roller 32 is rotated by driving the bondingtape feeding motor 73.
 S4において、先端部検出センサ58が印字テープ17及び貼り合せテープ74の先端を検出したか否かを判断する。具体的には、発光素子58Aからの光が遮られたことを検知したときに、上記テープの先端を検出したと判断する。In S4, it is determined whether or not the leadingend detection sensor 58 has detected the leading ends of theprinting tape 17 and thebonding tape 74. Specifically, when it is detected that the light from thelight emitting element 58A is blocked, it is determined that the leading edge of the tape has been detected.
 テープの先端を検出していないと判断した場合は(S4:NO)、S3に戻る。これにより、テープの先端が検出されるまでの間、印字テープ17及び貼り合せテープ74の搬送動作が継続して行われることになる。If it is determined that the leading edge of the tape has not been detected (S4: NO), the process returns to S3. Thus, the conveying operation of theprint tape 17 and thebonding tape 74 is continued until the leading edge of the tape is detected.
 一方、テープの先端を検出したと判断した場合は(S4:YES)、S5に移行する。
 S5において、印字テープ17及び貼り合せテープ74の搬送を停止する。それには、印字テープ送りモータ69の駆動を停止してプラテンローラ8の回転を停止させる。また、貼り合せテープ送りモータ73の駆動を停止してテープ送りローラ32の回転を停止させる。
 S6において、プラテンローラ8をサーマルヘッド7から離間させる。それには、ソレノイド67への通電を停止することにより、プラテンローラ8をサーマルヘッド7から離間させる。これにより、印字テープ17の逆搬送が可能となる。
 図12は、印字テープ17及び貼り合せテープ74の先端が先端部検出センサ58の位置に到達し、かつ、プラテンローラ8がサーマルヘッド7から離間した様子を示している。
On the other hand, if it is determined that the leading end of the tape has been detected (S4: YES), the process proceeds to S5.
In S5, the conveyance of theprinting tape 17 and thebonding tape 74 is stopped. For that purpose, the drive of the printingtape feed motor 69 is stopped and the rotation of theplaten roller 8 is stopped. Further, the driving of the bondingtape feed motor 73 is stopped, and the rotation of thetape feed roller 32 is stopped.
InS 6, theplaten roller 8 is separated from thethermal head 7. For this purpose, the energization of thesolenoid 67 is stopped to separate theplaten roller 8 from thethermal head 7. Thereby, the reverse conveyance of theprinting tape 17 is attained.
FIG. 12 shows a state in which the leading ends of theprinting tape 17 and thebonding tape 74 reach the position of the leadingend detection sensor 58 and theplaten roller 8 is separated from thethermal head 7.
 S7において、印字テープ17及び貼り合せテープ74を逆搬送させる。すなわち、先端部検出センサ58とは反対側に向かって搬送させる。それには、印字テープ巻取りモータ71を駆動する。これにより、印字テープ17は、印字テープスプール18に巻き戻され印字テープ17は逆搬送される。また、貼り合せテープ巻取りモータ72を駆動する。それにより、貼り合せテープ74は、貼り合せテープスプール31に巻き戻され貼り合せテープ74は逆搬送される。In S7, theprinting tape 17 and thebonding tape 74 are reversely conveyed. That is, it is conveyed toward the side opposite to the tipend detection sensor 58. For this, the printingtape winding motor 71 is driven. As a result, theprinting tape 17 is rewound onto theprinting tape spool 18 and theprinting tape 17 is conveyed in reverse. Further, the bondingtape winding motor 72 is driven. As a result, thebonding tape 74 is rewound onto thebonding tape spool 31 and thebonding tape 74 is reversely conveyed.
 本実施形態では、この逆搬送は、印字テープスプール18、貼り合せテープスプール31を回転させることで行っている。しかしながら、テープの逆搬送にはテープ送りローラ32及びテープ送りサブローラ51の回転を併用してもよい。なお、テープ送りローラ32及びテープ送りサブローラ51をテープの逆搬送に用いない場合であっても、上記貼り合せテープ74の逆搬送に伴って、テープ送りローラ32は回転する。そして、テープ送りローラ32の回転量は、貼り合せテープ74の搬送量と比例関係にある。In this embodiment, this reverse conveyance is performed by rotating theprinting tape spool 18 and thebonding tape spool 31. However, rotation of thetape feed roller 32 and thetape feed sub-roller 51 may be used in combination for reverse transport of the tape. Even when thetape feed roller 32 and thetape feed sub-roller 51 are not used for the reverse transport of the tape, thetape feed roller 32 rotates with the reverse transport of thebonding tape 74. The rotation amount of thetape feed roller 32 is proportional to the conveyance amount of thebonding tape 74.
 S8において、貼り合せテープ74の先端が第1所定位置に到達したか否かを判断する。ここで、第1所定位置とは、第2案内路35における所定の位置(第2案内路35の中ほど)である。また、貼り合せテープ74の先端が第1所定位置に到達したか否かの判断は、テープ送りローラ32の回転量に基いて算出された逆搬送量に基いて行われる。In S8, it is determined whether or not the tip of thebonding tape 74 has reached the first predetermined position. Here, the first predetermined position is a predetermined position in the second guide path 35 (the middle of the second guide path 35). Further, whether or not the tip of thebonding tape 74 has reached the first predetermined position is determined based on the reverse conveyance amount calculated based on the rotation amount of thetape feed roller 32.
 貼り合せテープ74の先端が第1所定位置に到達していないと判断した場合は(S8:NO)、S7に戻る。これにより、貼り合せテープ74の先端が第1所定位置に到達するまでの間、貼り合せテープ74及び印字テープ17の逆搬送動作が継続して行われることになる。When it is determined that the tip of thebonding tape 74 has not reached the first predetermined position (S8: NO), the process returns to S7. Thereby, the reverse conveyance operation of thebonding tape 74 and theprinting tape 17 is continuously performed until the leading end of thebonding tape 74 reaches the first predetermined position.
 一方、貼り合せテープ74の先端が第1所定位置に到達したと判断した場合は(S8:YES)、S9に移行する。
 S9において、貼り合せテープ74及び印字テープ17の逆搬送を停止する。それには、貼り合せテープ巻取りモータ72及び印字テープ巻取りモータ71の駆動を停止する。また、テープ送りサブローラ51を、テープ送りローラ32から離間させる。それには、ソレノイド68への通電を停止する。
 図13は、貼り合せテープ74及び印字テープ17の先端が第1所定位置に到達し、かつ、テープ送りサブローラ51がテープ送りローラ32から離間している様子を示している。
On the other hand, when it is determined that the front end of thebonding tape 74 has reached the first predetermined position (S8: YES), the process proceeds to S9.
In S9, the reverse conveyance of thebonding tape 74 and theprinting tape 17 is stopped. For this purpose, the driving of the bondingtape winding motor 72 and the printingtape winding motor 71 is stopped. Further, thetape feed sub-roller 51 is separated from thetape feed roller 32. For that purpose, the energization to thesolenoid 68 is stopped.
FIG. 13 shows a state in which the ends of thebonding tape 74 and theprinting tape 17 reach the first predetermined position, and thetape feed sub-roller 51 is separated from thetape feed roller 32.
 貼り合せテープ74の無駄をできるだけ少なくするという観点においては、貼り合せテープ74の先端を、できるだけテープ送りローラ32及びテープ送りサブローラ51(以下、「搬送ローラ対」ということがある。)に接近させた方が望ましい。
 図14は、貼り合せテープ74及び印字テープ17の先端が、搬送ローラ対に接近している様子を示している。
 図14の状態においては、貼り合せテープ74を排出口5に向かって搬送させる場合に、貼り合せテープ74の搬送が正しく行われない可能性がある。図15に示す例では、貼り合せテープ74がテープ送りローラ32の周囲に巻き付くように搬送され、第2案内路35に向かって正しく搬送されていない状態を示している。
 そのため、本実施形態においては、貼り合せテープ74の逆搬送を、貼り合せテープ74の先端が第1所定位置に到達した時点で停止させている。
From the viewpoint of minimizing waste of thebonding tape 74, the tip of thebonding tape 74 is brought as close as possible to thetape feed roller 32 and the tape feed sub-roller 51 (hereinafter also referred to as “conveying roller pair”). Is preferable.
FIG. 14 shows a state in which the ends of thebonding tape 74 and theprinting tape 17 are approaching the pair of conveyance rollers.
In the state of FIG. 14, when thebonding tape 74 is conveyed toward thedischarge port 5, thebonding tape 74 may not be conveyed correctly. In the example shown in FIG. 15, thebonding tape 74 is conveyed so as to be wound around thetape feeding roller 32 and is not conveyed correctly toward thesecond guide path 35.
Therefore, in this embodiment, the reverse conveyance of thebonding tape 74 is stopped when the tip of thebonding tape 74 reaches the first predetermined position.
 説明を図8に戻す。S9の処理が終了したあと、S10(図9)に移行する。
 S10において、印字テープ17のみを逆搬送させる。すなわち、先端部検出センサ58とは反対側に向かって搬送させる。そのためには、印字テープ巻取りモータ71を駆動する。これにより、印字テープ17は、印字テープスプール18に巻き戻され印字テープ17は逆搬送される。
Returning to FIG. After the process of S9 is complete | finished, it transfers to S10 (FIG. 9).
In S10, only theprinting tape 17 is reversely conveyed. That is, it is conveyed toward the side opposite to the tipend detection sensor 58. For this purpose, the printingtape winding motor 71 is driven. As a result, theprinting tape 17 is rewound onto theprinting tape spool 18 and theprinting tape 17 is conveyed in reverse.
 S11において、印字テープ17の先端が第2所定位置に到達したか否かを判断する。ここで、第2所定位置とは、第1案内路34における所定の位置(第1案内路34の中ほど)である。また、印字テープ17の先端が第2所定位置に到達したか否かの判断は、読取センサによって読み取られたゼブラマークの数に基いて算出される印字テープ17の搬送量に基いて行われる。In S11, it is determined whether or not the leading end of theprinting tape 17 has reached the second predetermined position. Here, the second predetermined position is a predetermined position in the first guide path 34 (the middle of the first guide path 34). Further, whether or not the leading end of theprinting tape 17 has reached the second predetermined position is determined based on the transport amount of theprinting tape 17 calculated based on the number of zebra marks read by the reading sensor.
 印字テープ17の先端が第2所定位置に到達していないと判断した場合は(S11:NO)、S10に戻る。これにより、印字テープ17の先端が第2所定位置に到達するまでの間、印字テープ17の逆搬送動作が継続して行われることになる。When it is determined that the tip of theprinting tape 17 has not reached the second predetermined position (S11: NO), the process returns to S10. Thereby, the reverse conveyance operation of theprinting tape 17 is continuously performed until the front end of theprinting tape 17 reaches the second predetermined position.
 一方、印字テープ17の先端が第2所定位置に到達したと判断した場合は(S11:YES)、S12に移行する。
 S12において、印字テープ17の逆搬送を停止する。それには、印字テープ巻取りモータ71の駆動を停止する。
 図16は、印字テープ17の先端が第2所定位置に到達している状態を示している。
On the other hand, when it is determined that the leading end of theprinting tape 17 has reached the second predetermined position (S11: YES), the process proceeds to S12.
In S12, the reverse conveyance of theprinting tape 17 is stopped. For this purpose, the drive of the printing tape take-upmotor 71 is stopped.
FIG. 16 shows a state in which the front end of theprinting tape 17 has reached the second predetermined position.
 作成した印字テープ17の前余白をできるだけ少なくするという観点においては、印字テープ17の先端を、できるだけプラテンローラ8に接近させたほうが望ましい。
 図17は、印字テープ17の先端が、プラテンローラ8に接近している状態を示している。
 図17に示す状態においては、印字テープ17を先端部検出センサ58側に向かって搬送させた場合に、印字テープ17の搬送が正しく行われない可能性がある。図18に示す例では、印字テープ17がプラテンローラ8の周囲に巻き付くような経路で搬送され、第1案内路34に向かって正しく搬送されていない状態を示している。
 そのため、本実施形態においては、印字テープ17の逆搬送を、印字テープ17の先端が第2所定位置に到達した時点で停止させている。
From the viewpoint of reducing the front margin of the producedprinting tape 17 as much as possible, it is desirable that the front end of theprinting tape 17 be as close to theplaten roller 8 as possible.
FIG. 17 shows a state in which the front end of theprinting tape 17 is approaching theplaten roller 8.
In the state shown in FIG. 17, when theprinting tape 17 is conveyed toward the leadingend detection sensor 58 side, the conveyance of theprinting tape 17 may not be performed correctly. In the example shown in FIG. 18, a state is shown in which theprinting tape 17 is conveyed along a path around theplaten roller 8 and is not correctly conveyed toward thefirst guide path 34.
Therefore, in this embodiment, the reverse conveyance of theprinting tape 17 is stopped when the leading end of theprinting tape 17 reaches the second predetermined position.
 説明を図9に戻す。S13において、プラテンローラ8を原点位置に移動させる。また、テープ送りサブローラ51を原点位置に移動させる。それには、ソレノイド67及びソレノイド68に通電する。
 S14において、印字テープ17に対し印字動作を行うとともに、搬送ローラ対に向かって搬送させる。それには、サーマルヘッド7の駆動と同期を取りながら印字テープ送りモータ69を駆動することによりプラテンローラ8を回転させる。
 図19は、印字テープ17に対し印字を行いつつ、印字テープ17を搬送している様子を示している。
Returning to FIG. In S13, theplaten roller 8 is moved to the origin position. Further, thetape feed sub-roller 51 is moved to the origin position. To do so, thesolenoid 67 and thesolenoid 68 are energized.
In S14, the printing operation is performed on theprinting tape 17 and the sheet is conveyed toward the conveying roller pair. For this purpose, theplaten roller 8 is rotated by driving the printingtape feed motor 69 while synchronizing with the drive of thethermal head 7.
FIG. 19 shows a state in which theprinting tape 17 is being conveyed while printing is performed on theprinting tape 17.
 S15において、印字テープ17の先端が搬送ローラ対の位置に到達したか否かを判断する。この判断は、プラテンローラ8の回転数に基いて算出した印字テープ17の搬送量に基いて行われる。In S15, it is determined whether or not the leading end of theprinting tape 17 has reached the position of the pair of conveying rollers. This determination is made based on the transport amount of theprint tape 17 calculated based on the rotation speed of theplaten roller 8.
 印字済みの印字テープ17の先端が搬送ローラ対の位置に到達していないと判断した場合は(S15:NO)、S14に戻る。これにより、印字済みの印字テープ17の先端が搬送ローラ対に到着するまでの間、印字テープ17に対する印字動作及び搬送動作が継続して行われることになる。If it is determined that the tip of the printedprinting tape 17 has not reached the position of the pair of conveying rollers (S15: NO), the process returns to S14. As a result, the printing operation and the conveying operation for theprinting tape 17 are continuously performed until the leading end of the printedprinting tape 17 arrives at the conveying roller pair.
 印字済みの印字テープ17の先端が搬送ローラ対に到達したと判断した場合は(S15:YES)、S16に進む。
 図20は、印字済みの印字テープ17の先端が搬送ローラ対に到達した様子を示している。
If it is determined that the front end of the printedprinting tape 17 has reached the pair of conveying rollers (S15: YES), the process proceeds to S16.
FIG. 20 shows a state where the front end of the printedprinting tape 17 has reached the pair of conveying rollers.
 S16において、印字テープ17の搬送を停止する。それには、印字テープ送りモータ69を駆動を停止する。また、テープ送りサブローラ51を加熱する。それには、ヒータ70に通電する。そして、テープ送りサブローラ51の表面が、貼り合せテープ74の粘着剤層を活性化させるために必要な熱量を有するまで待機する。テープ送りサブローラ51の表面が、必要な熱量を有するまでになったところでS17に移行する。In S16, the conveyance of theprinting tape 17 is stopped. For this, the drive of the printingtape feed motor 69 is stopped. Further, thetape feed sub-roller 51 is heated. To do so, theheater 70 is energized. Then, the process waits until the surface of thetape feed sub-roller 51 has a heat amount necessary for activating the adhesive layer of thebonding tape 74. When the surface of thetape feed sub-roller 51 has a necessary amount of heat, the process proceeds to S17.
 S17において、印字動作を行うとともに、印字テープ17及び貼り合せテープ74をカッタユニット57側に向かって搬送させる。それには、印字テープ送りモータ69を駆動してプラテンローラ8を回転させる。また、貼り合せテープ送りモータ73を駆動してテープ送りローラ32を回転させる。
 図21は、印字テープ17及び貼り合せテープ74がカッタユニット57側に向かって搬送されている様子を示している。また、印字テープ17及び貼り合せテープ74が搬送ローラ対を通過するとき、印字テープ17には、貼り合せテープ74が貼り合わされる(図6参照)。
In S17, the printing operation is performed, and theprinting tape 17 and thebonding tape 74 are conveyed toward thecutter unit 57 side. For this purpose, the printingtape feed motor 69 is driven to rotate theplaten roller 8. Further, thetape feeding roller 32 is rotated by driving the bondingtape feeding motor 73.
FIG. 21 shows a state where theprinting tape 17 and thebonding tape 74 are conveyed toward thecutter unit 57 side. Further, when theprinting tape 17 and thebonding tape 74 pass through the pair of conveying rollers, thebonding tape 74 is bonded to the printing tape 17 (see FIG. 6).
 S18において、貼り合せテープ74における印字テープ17の先端位置が、切断位置に到達したか否かを判断する。この判断は、プラテンローラ8の回転数に基いて算出した印字テープ17の搬送量に基いて行われる。また、テープ送りローラ32及び/またはテープ送りサブローラ51の回転量を併用して印字テープの搬送量を算出してもよい。In S18, it is determined whether or not the leading end position of theprinting tape 17 in thebonding tape 74 has reached the cutting position. This determination is made based on the transport amount of theprint tape 17 calculated based on the rotation speed of theplaten roller 8. Further, the conveyance amount of the printing tape may be calculated by using the rotation amount of thetape feeding roller 32 and / or thetape feeding sub-roller 51 together.
 この貼り合せテープ74における印字テープ17の先端位置において、貼り合せテープ74を切断することにより、作成済みの印字テープ17における不必要な部分(すなわち、貼り合せテープ74のみが先行している部分)が除去される。By cutting thebonding tape 74 at the front end position of theprinting tape 17 in thebonding tape 74, an unnecessary portion in the prepared printing tape 17 (that is, a portion where only thebonding tape 74 precedes). Is removed.
 貼り合せテープ74における印字テープ17の先端位置が切断位置に到達していないと判断した場合は(S18:NO)、S17に戻る。これにより、貼り合せテープ74における印字テープ17の先端位置が切断位置に到着するまでの間、印字テープ17への印字動作、及び、印字テープ17及び貼り合せテープ74の搬送動作が継続して行われることになる。If it is determined that the front end position of theprinting tape 17 in thebonding tape 74 has not reached the cutting position (S18: NO), the process returns to S17. Thus, the printing operation on theprinting tape 17 and the conveying operation of theprinting tape 17 and thebonding tape 74 are continuously performed until the leading end position of theprinting tape 17 in thebonding tape 74 reaches the cutting position. It will be.
 S18において、貼り合せテープ74における印字テープ17の先端位置が切断位置に到達したと判断した場合は(S18:YES)、S19(図10)に進む。
 S19において、印字テープ17及び貼り合せテープ74の搬送を停止する。それには、印字テープ送りモータ69の駆動を停止してプラテンローラ8の回転を停止させる。また、貼り合せテープ送りモータ73の駆動を停止してテープ送りローラ32の回転を停止させる。
 S20において、貼り合せテープ74を切断する。このとき、カッタモータ75を駆動して可動刃57Bに切断動作をさせる。
 図22は、貼り合せテープ74の先端部分が切断された様子を示している。
If it is determined in S18 that the tip position of theprinting tape 17 in thebonding tape 74 has reached the cutting position (S18: YES), the process proceeds to S19 (FIG. 10).
In S19, the conveyance of theprinting tape 17 and thebonding tape 74 is stopped. For that purpose, the drive of the printingtape feed motor 69 is stopped and the rotation of theplaten roller 8 is stopped. Further, the driving of the bondingtape feed motor 73 is stopped, and the rotation of thetape feed roller 32 is stopped.
In S20, thebonding tape 74 is cut. At this time, thecutter motor 75 is driven to cause themovable blade 57B to perform a cutting operation.
FIG. 22 shows a state in which the leading end portion of thebonding tape 74 has been cut.
 S21において、印字テープ17に対して印字処理を行うとともに、印字テープ17及び貼り合せテープ74をカッタユニット57側に向かって搬送させる。それには、印字テープ送りモータ69を駆動してプラテンローラ8を回転させる。また、貼り合せテープ送りモータ73を駆動してテープ送りローラ32を回転させる。また、プラテンローラ8、テープ送りローラ32の回転に同期して、サーマルヘッド7が発熱駆動する。
 S23において、印字が終了したか否かが判断される。印字が終了するまで、S22の処理(すなわち、印字処理及び搬送動作)が繰り返されることになる。
In S21, the printing process is performed on theprinting tape 17, and theprinting tape 17 and thebonding tape 74 are conveyed toward thecutter unit 57 side. For this purpose, the printingtape feed motor 69 is driven to rotate theplaten roller 8. Further, thetape feeding roller 32 is rotated by driving the bondingtape feeding motor 73. Further, thethermal head 7 is driven to generate heat in synchronization with the rotation of theplaten roller 8 and thetape feed roller 32.
In S23, it is determined whether or not printing has been completed. Until the printing is completed, the process of S22 (that is, the printing process and the conveying operation) is repeated.
 印字が終了したと判断した場合は(S22:YES)、S23に移行する。
 S23において、印字テープ17及び貼り合せテープ74をカッタユニット57側に向かって搬送させる。それには、引き続き印字テープ送りモータ69を駆動してプラテンローラ8を回転させる。また、貼り合せテープ送りモータ73を駆動してテープ送りローラ32を回転させる。
 S24において、印字テープ17における印字済みの領域の後端(以下、印字済みの印字テープ17の後端と称する)が搬送ローラ対の位置に到達したか否かを判断する。この判断は、プラテンローラ8の回転数に基いて算出した印字テープ17の搬送量に基いて行われる。また、テープ送りローラ32及び/またはテープ送りサブローラ51の回転量を併用して印字テープの搬送量を算出してもよい。
If it is determined that printing has been completed (S22: YES), the process proceeds to S23.
In S23, theprinting tape 17 and thebonding tape 74 are conveyed toward thecutter unit 57 side. For this purpose, the printingtape feed motor 69 is continuously driven to rotate theplaten roller 8. Further, thetape feeding roller 32 is rotated by driving the bondingtape feeding motor 73.
In S24, it is determined whether or not the rear end of the printed region of the print tape 17 (hereinafter referred to as the rear end of the printed print tape 17) has reached the position of the conveying roller pair. This determination is made based on the transport amount of theprint tape 17 calculated based on the rotation speed of theplaten roller 8. Further, the conveyance amount of the printing tape may be calculated by using the rotation amount of thetape feeding roller 32 and / or thetape feeding sub-roller 51 together.
 印字済みの印字テープ17の後端が搬送ローラ対の位置に到達していないと判断した場合は(S24:NO)、S23に戻る。これにより、印字済みの印字テープ17の後端が搬送ローラ対に到着するまでの間、印字テープ17及び貼り合せテープ74の搬送動作が継続して行われることになる。When it is determined that the rear end of the printedprinting tape 17 has not reached the position of the pair of conveying rollers (S24: NO), the process returns to S23. As a result, theprinting tape 17 and thebonding tape 74 are continuously conveyed until the trailing end of the printedprinting tape 17 arrives at the conveyance roller pair.
 印字済みの印字テープ17の後端が搬送ローラ対の位置に到達したと判断した場合は(S24:YES)、S25に移行する。
 図23は、印字済みの印字テープ17の後端が搬送ローラ対の位置に到達した様子を示している。
If it is determined that the rear end of the printedprinting tape 17 has reached the position of the conveying roller pair (S24: YES), the process proceeds to S25.
FIG. 23 shows a state in which the rear end of the printedprinting tape 17 has reached the position of the conveying roller pair.
 S25において、テープ送りサブローラ51を非加熱にする。それには、ヒータ70への通電を停止する。また、テープ送りサブローラ51の表面が、貼り合せテープ74の粘着剤層が活性化しない温度まで低下するまで待機する。ここでの待機時間は、予め計測された時間としてもよく、また、不図示の温度センサによって制御してもよい。また、テープ送りサブローラ51の表面の温度を低下させるためにファンを用いてもよい。In S25, thetape feed sub-roller 51 is not heated. For this purpose, the power supply to theheater 70 is stopped. Moreover, it waits until the surface of thetape feed sub-roller 51 falls to a temperature at which the adhesive layer of thebonding tape 74 is not activated. The waiting time here may be a time measured in advance or may be controlled by a temperature sensor (not shown). A fan may be used to lower the temperature of the surface of thetape feed sub-roller 51.
 S26において、印字テープ17及び貼り合せテープ74をカッタユニット57側に向かって搬送させる。それには、印字テープ送りモータ69を駆動してプラテンローラ8を回転させる。また、貼り合せテープ送りモータ73を駆動してテープ送りローラ32を回転させる。また、印字テープ17及び貼り合せテープ74が搬送ローラ対を通過するときに両テープは接触するが、テープ送りサブローラ51は非加熱状態にあるので、印字テープ17に貼り合せテープ74が貼り合わされることはない(図7参照)。In S26, theprinting tape 17 and thebonding tape 74 are conveyed toward thecutter unit 57 side. For this purpose, the printingtape feed motor 69 is driven to rotate theplaten roller 8. Further, thetape feeding roller 32 is rotated by driving the bondingtape feeding motor 73. Further, when theprinting tape 17 and thebonding tape 74 pass through the conveying roller pair, both tapes come into contact with each other, but thetape feeding sub-roller 51 is in an unheated state, so that thebonding tape 74 is bonded to theprinting tape 17. There is nothing (see FIG. 7).
 S27において、印字済みの印字テープ17の後端が切断位置に到達したか否かを判断する。この判断は、プラテンローラ8の回転数に基いて算出した印字テープ17の搬送量に基いて行われる。また、テープ送りローラ32及び/またはテープ送りサブローラ51の回転量を併用して印字テープの搬送量を算出してもよい。In S27, it is determined whether or not the rear end of the printedprinting tape 17 has reached the cutting position. This determination is made based on the transport amount of theprint tape 17 calculated based on the rotation speed of theplaten roller 8. Further, the conveyance amount of the printing tape may be calculated by using the rotation amount of thetape feeding roller 32 and / or thetape feeding sub-roller 51 together.
 印字済みの印字テープ17の後端が切断位置に到達していないと判断した場合は(S27:NO)、S26に戻る。これにより、印字済みの印字テープ17の後端が切断位置に到着するまでの間、印字テープ17及び貼り合せテープ74の搬送動作が継続して行われることになる。When it is determined that the rear end of the printedprinting tape 17 has not reached the cutting position (S27: NO), the process returns to S26. Thereby, the conveying operation of theprinting tape 17 and thebonding tape 74 is continuously performed until the rear end of the printedprinting tape 17 arrives at the cutting position.
 印字済みの印字テープ17の後端が切断位置に到達したと判断した場合は(S27:YES)、S28に移行する。
 S28において、印字テープ17及び貼り合せテープ74の搬送を停止する。それには、印字テープ送りモータ69の駆動を停止してプラテンローラ8の回転を停止させる。また、貼り合せテープ送りモータ73の駆動を停止してテープ送りローラ32の回転を停止させる。また、印字テープ17及び貼り合せテープ74を切断する。このとき、カッタモータ75を駆動して可動刃57Bに切断動作をさせる
 図24は、印字済みの印字テープ17が切断された様子を示している。
When it is determined that the rear end of the printedprinting tape 17 has reached the cutting position (S27: YES), the process proceeds to S28.
In S28, the conveyance of theprinting tape 17 and thebonding tape 74 is stopped. For that purpose, the drive of the printingtape feed motor 69 is stopped and the rotation of theplaten roller 8 is stopped. Further, the driving of the bondingtape feed motor 73 is stopped, and the rotation of thetape feed roller 32 is stopped. Further, theprinting tape 17 and thebonding tape 74 are cut. At this time, thecutter motor 75 is driven to cause themovable blade 57B to perform a cutting operation. FIG. 24 shows a state where the printedprinting tape 17 is cut.
 以上説明した第1実施形態によれば、カッタユニット57の近傍に位置する印字テープ17及び貼り合せテープ74を所定量巻き戻し、その後印字処理を開始するので、貼り合せテープ74及び印字テープ17の前余白部分を少なくすることができる。また、貼り合せテープ74は第2案内路35まで巻き戻され、また、印字テープ17は第1案内路34まで巻き戻されるので、その後の搬送動作を確実に行うことができる。また、貼り合せテープ74の粘着剤層27の熱状態を制御することにより、貼り合せテープ74の粘着性を制御することができ、搬送ローラ対において接触する印字テープ17及び貼り合せテープ74の貼り合せ制御を行うことができる。また、1つのカッタユニットで本発明を実現することができる。According to the first embodiment described above, theprinting tape 17 and thebonding tape 74 located in the vicinity of thecutter unit 57 are rewound by a predetermined amount, and then the printing process is started. The front margin can be reduced. Further, since thebonding tape 74 is rewound to thesecond guide path 35 and theprinting tape 17 is rewound to thefirst guide path 34, the subsequent transport operation can be performed reliably. Further, by controlling the thermal state of theadhesive layer 27 of thebonding tape 74, the adhesiveness of thebonding tape 74 can be controlled, and theprinting tape 17 and thebonding tape 74 that are in contact with each other at the conveying roller pair are bonded. Matching control can be performed. Further, the present invention can be realized with one cutter unit.
 なお、上述した第1実施形態において、作成される印字テープ17の前余白部分の一部を切断するよう構成してもよい。In the first embodiment described above, a part of the front margin of theprint tape 17 to be created may be cut.
[第2実施形態]
 次に、本発明の第2実施形態について説明する。第2実施形態のテープカセット200には、上述した第1実施形態のテープ送りローラ32に代えてテープ送りローラ62が配置されている。また、第2実施形態のテープ印字装置210には、上述した第1実施形態のテープ送りローラ軸55に代えてテープ送りローラ軸65が配置されている。また、第2実施形態のテープ印字装置210には、上述した第1実施形態のテープ送りサブローラ51に代えてテープ送りサブローラ61が配置されている。
[Second Embodiment]
Next, a second embodiment of the present invention will be described. In thetape cassette 200 of the second embodiment, atape feed roller 62 is disposed in place of thetape feed roller 32 of the first embodiment described above. In thetape printer 210 of the second embodiment, a tapefeed roller shaft 65 is disposed instead of the tapefeed roller shaft 55 of the first embodiment described above. Further, in thetape printer 210 according to the second embodiment, atape feed sub-roller 61 is disposed instead of thetape feed sub-roller 51 according to the first embodiment described above.
 第2実施形態では、テープ送りローラ62の表面が加熱されることにより、粘着剤層27の粘着剤が活性化する。また、テープ送りサブローラ61は、その表面に熱を発生しない。
ヒータ70は、第1実施形態においてはテープ送りサブローラ51(テープ印字装置側)に備わっていたが、第2実施形態においてはテープ送りローラ62(テープカセット側)に備わっている。
In the second embodiment, the adhesive of theadhesive layer 27 is activated by heating the surface of thetape feed roller 62. Further, thetape feed sub-roller 61 does not generate heat on its surface.
Theheater 70 is provided on the tape feed sub-roller 51 (tape printer side) in the first embodiment, but is provided on the tape feed roller 62 (tape cassette side) in the second embodiment.
 図25はテープ印字装置のカセット収納部に印字テープカセットを装着する状態を示す要部拡大斜視図である。
 図26は印字テープカセット内部構成及びテープ印字装置の一部を模式的に示す平面図である。
FIG. 25 is an enlarged perspective view of a main part showing a state in which the print tape cassette is mounted in the cassette housing portion of the tape printer.
FIG. 26 is a plan view schematically showing the internal configuration of the printing tape cassette and a part of the tape printing apparatus.
 テープ送りサブローラ61、テープ送りローラ62、テープ送りローラ軸65以外の要素は、上述した第1実施形態と同じであるので説明を省略する。
 テープ送りローラ軸65は、テープカセット200がカセット収納部に装着された場合に、テープ送りローラ62と連結する。
Since the elements other than thetape feed sub-roller 61, thetape feed roller 62, and the tapefeed roller shaft 65 are the same as those in the first embodiment described above, description thereof will be omitted.
The tapefeed roller shaft 65 is connected to thetape feed roller 62 when thetape cassette 200 is mounted in the cassette housing portion.
 テープ送りローラ軸65の表面(テープ送りローラ62との接触面)の一部または全部は、導電体で形成されている。テープ印字装置210が有する駆動回路95から供給された電流(電圧)が、テープ送りローラ軸65の導電体に供給される。また、テープ送りローラ軸65は、貼り合せテープ送りモータ73により回転する。Part or all of the surface (contact surface with the tape feed roller 62) of the tapefeed roller shaft 65 is formed of a conductor. The current (voltage) supplied from thedrive circuit 95 included in thetape printer 210 is supplied to the conductor of the tapefeed roller shaft 65. The tapefeed roller shaft 65 is rotated by a bondingtape feed motor 73.
 テープ送りローラ62の軸穴には、導電体が形成されている。この導電体は、テープ送りローラ軸65の導電体と接触する。これにより、テープ印字装置210が有する駆動回路95から供給された電流(電圧)が、テープ送りローラ62に伝わる。そして、ヒータ70を構成するテープ送りローラ62の表面は、供給電流によって加熱される。また、テープ送りローラ62の表面が加熱されることにより、該テープ送りローラ62に接触する貼り合せテープ74の粘着剤層27に粘着性が発生する。A conductor is formed in the shaft hole of thetape feed roller 62. This conductor is in contact with the conductor of the tapefeed roller shaft 65. As a result, the current (voltage) supplied from thedrive circuit 95 of thetape printer 210 is transmitted to thetape feed roller 62. The surface of thetape feed roller 62 constituting theheater 70 is heated by the supply current. Further, when the surface of thetape feed roller 62 is heated, adhesiveness is generated in theadhesive layer 27 of thebonding tape 74 that contacts thetape feed roller 62.
 図27は、加熱状態にあるテープ送りローラ62と印字済みの印字テープ17及び貼り合せテープ74との関係を模式的に示したものである。
 印字テープ17及び貼り合せテープ74の構成は、上述した第1実施形態と同じであるので説明を省略する。
FIG. 27 schematically shows the relationship between thetape feeding roller 62 in a heated state, the printedprinting tape 17 and thebonding tape 74.
Since the configuration of theprinting tape 17 and thebonding tape 74 is the same as that of the first embodiment described above, description thereof is omitted.
 テープ送りローラ62が加熱されると、その熱は、粘着剤層27に伝わることになる。そして、粘着剤層27の温度が80℃(すなわち、活性温度)に達すると、粘着性を有する。ただし、フィルム28の温度が90℃(すなわち、融解温度)に達しないようテープ送りローラ62は熱制御される。これにより、テープ送りローラ62及びテープ送りサブローラ61で接触した印字テープ17及び貼り合せテープ74は、貼り合わされることになる。When thetape feed roller 62 is heated, the heat is transferred to theadhesive layer 27. And when the temperature of theadhesive layer 27reaches 80 degreeC (namely, activation temperature), it has adhesiveness. However, thetape feed roller 62 is thermally controlled so that the temperature of thefilm 28 does not reach 90 ° C. (that is, the melting temperature). As a result, theprint tape 17 and thebonding tape 74 that are in contact with each other by thetape feeding roller 62 and thetape feeding sub-roller 61 are bonded together.
 図28は、非加熱状態にあるテープ送りローラ62と印字済みの印字テープ17及び貼り合せテープ74との関係を模式的に示したものである。
 図28においては、粘着剤層27は非活性状態にあるから、印字テープ17及び貼り合せテープ74が接触したとしても、印字テープ17に貼り合せテープ74が貼り合わされることはない。
FIG. 28 schematically shows the relationship between thetape feeding roller 62 in a non-heated state, the printedprinting tape 17 and thebonding tape 74.
In FIG. 28, since theadhesive layer 27 is in an inactive state, even if theprinting tape 17 and thebonding tape 74 are in contact with each other, thebonding tape 74 is not bonded to theprinting tape 17.
(印字テープ及び貼り合せテープの搬送制御)
 次に、印字テープ17及び貼り合せテープ74の搬送制御について説明する。第2実施形態における搬送制御は、加熱/非加熱の制御対象がテープ送りローラ62である点を除いて、上述した第1実施形態における搬送制御と基本的には同じである。
(Conveyance control of printing tape and bonding tape)
Next, conveyance control of theprinting tape 17 and thebonding tape 74 will be described. The conveyance control in the second embodiment is basically the same as the conveyance control in the first embodiment described above, except that the heating / non-heating control target is thetape feed roller 62.
 すなわち、図9のS16、及び、図10のS25以外の処理は、上述した図8乃至図10に示したフローチャートと同じ処理を行う。
 そして、第2実施形態においては、図9のS16の「テープ送りサブローラを加熱」する処理に代えて、「テープ送りローラ62を加熱」する処理が行なわれる。また、図10のS25の「テープ送りサブローラを非加熱にする」処理に代えて、「テープ送りローラ62を非加熱にする」処理が行われる。
That is, processes other than S16 in FIG. 9 and S25 in FIG. 10 perform the same processes as those in the flowcharts shown in FIGS.
In the second embodiment, a process of “heating thetape feed roller 62” is performed instead of the process of “heating the tape feed sub-roller” in S16 of FIG. Further, in place of the “turn the tape feed sub-roller non-heated” process in S25 of FIG.
 以上説明した第2実施形態によれば、カッタユニット57近傍に位置する印字テープ17及び貼り合せテープ74を所定量巻き戻し、その後印字処理を開始するので、貼り合せテープ74及び印字テープ17の前余白部分を少なくすることができる。また、貼り合せテープ74は第2案内路35まで巻き戻され、また、印字テープ17は第1案内路34まで巻き戻されるので、その後の搬送動作を確実に行うことができる。また、貼り合せテープ74の粘着剤層27の熱状態を制御することにより、貼り合せテープ74の粘着性を制御することができ、搬送ローラ対において接触する印字テープ17及び貼り合せテープ74の貼り合せ制御を行うことができる。また、1つのカッタユニットで本発明を実現することができる。According to the second embodiment described above, theprinting tape 17 and thebonding tape 74 located in the vicinity of thecutter unit 57 are rewound by a predetermined amount, and then the printing process is started. The margin part can be reduced. Further, since thebonding tape 74 is rewound to thesecond guide path 35 and theprinting tape 17 is rewound to thefirst guide path 34, the subsequent transport operation can be performed reliably. Further, by controlling the thermal state of theadhesive layer 27 of thebonding tape 74, the adhesiveness of thebonding tape 74 can be controlled, and theprinting tape 17 and thebonding tape 74 that are in contact with each other at the conveying roller pair are bonded. Matching control can be performed. Further, the present invention can be realized with one cutter unit.
[第3実施形態]
 次に、第3実施形態について説明する。上述した第1実施形態及び第2実施形態においては、それぞれ、テープ送りサブローラ、テープ送りローラが、粘着剤層27の粘着剤を活性化させるための加熱装置を兼ねていた。本実施形態においては、粘着剤層27の粘着剤を活性化させるための各加熱装置を上記ローラとは別体として備えている。
[Third Embodiment]
Next, a third embodiment will be described. In the first embodiment and the second embodiment described above, the tape feed sub-roller and the tape feed roller also serve as heating devices for activating the adhesive of theadhesive layer 27, respectively. In this embodiment, each heating device for activating the adhesive of theadhesive layer 27 is provided separately from the roller.
 第3実施形態では、上述した第1実施形態のテープ送りサブローラ51に代えてテープ送りサブローラ66が配置されている。テープ送りサブローラ66は、その表面に熱を発生しない。In the third embodiment, atape feed sub-roller 66 is disposed in place of thetape feed sub-roller 51 of the first embodiment described above. Thetape feed sub-roller 66 does not generate heat on its surface.
 図29は印字テープカセット内部構成及びテープ印字装置の一部を模式的に示す平面図である。図30は、第3実施形態のテープ印字装置の電気的構成を示すブロック図である。上述した第1実施形態と同じ部材については、同じ番号を付している。また、該同じ部材については、説明を省略する。FIG. 29 is a plan view schematically showing the internal configuration of the printing tape cassette and a part of the tape printing apparatus. FIG. 30 is a block diagram showing an electrical configuration of the tape printer of the third embodiment. The same number is attached | subjected about the same member as 1st Embodiment mentioned above. The description of the same member is omitted.
 第3実施形態のテープカセットは、案内部材37を有する。案内部材37は、貼り合せテープ74の搬送位置を規制する。
 第3実施形態のテープカセットは、位置止め部材39を有する。
The tape cassette of the third embodiment has aguide member 37. Theguide member 37 regulates the transport position of thebonding tape 74.
The tape cassette of the third embodiment has a positioningmember 39.
 第3実施形態のテープ印字装置は、ヒータ59を有する。ヒータ59は、テープカセットがテープ印字装置に装着された状態において、位置止め部材39に対向する。ヒータ59は、その表面に熱を発生させることができる。The tape printer of the third embodiment has aheater 59. Theheater 59 faces the positioningmember 39 in a state where the tape cassette is mounted on the tape printer. Theheater 59 can generate heat on its surface.
 テープカセットの位置止め部材39の材質は、ヒータ59の熱に耐えるために、難燃性の樹脂、金属等にすることが望ましい。また、テープカセットには、ヒータ59を挿入する開口部が設けられている。なお、図29では、開口部を点線で囲っている。The material of the positioningmember 39 of the tape cassette is desirably a flame retardant resin, metal or the like in order to withstand the heat of theheater 59. The tape cassette is provided with an opening for inserting theheater 59. In FIG. 29, the opening is surrounded by a dotted line.
 ヒータ59は、ソレノイド96によって、位置止め部材39への離間・圧接が行われる。ソレノイド96は、は、所謂プッシュ型のソレノイドであり、通電時にはプッシュピンを突出することでヒータ59と位置止め部材39を圧接状態にし、非通電時にはソレノイド内部のバネによってプッシュピンを引き込むことでヒータ59と位置止め部材39を離間状態にする。駆動回路97を介してソレノイド96に通電したり、通電を停止したりする。Theheater 59 is separated and pressed against the positioningmember 39 by asolenoid 96. Thesolenoid 96 is a so-called push-type solenoid, which pushes the push pin when energized to bring theheater 59 and the positioningmember 39 into pressure contact with each other, and when not energized, pulls the push pin with a spring inside the solenoid. 59 and the positioningmember 39 are separated from each other. Thesolenoid 96 is energized through thedrive circuit 97 or energized.
 ソレノイド67、ソレノイド68、ソレノイド96は、それぞれ、独立して駆動可能である。すなわち、プラテンローラ8とサーマルヘッド7との離間・圧接、テープ送りサブローラ51とテープ送りローラ32との離間・圧接、ヒータ59と位置止め部材39との離間・圧接は、独立して行うことが可能である。それぞれの離間・圧接制御の詳細については、後述する。Solenoid 67,solenoid 68, andsolenoid 96 can be driven independently. That is, the separation / pressure contact between theplaten roller 8 and thethermal head 7, the separation / pressure contact between thetape feed sub-roller 51 and thetape feed roller 32, and the separation / pressure contact between theheater 59 and the positioningmember 39 can be performed independently. Is possible. Details of each separation / pressure contact control will be described later.
 図31は、加熱状態にあるヒータ59と印字済みの印字テープ17及び貼り合せテープ74との関係を模式的に示したものである。
 印字テープ17及び貼り合せテープ74の構成は、上述した第1実施形態と同じであるので説明を省略する。
FIG. 31 schematically shows the relationship between theheater 59 in a heated state, the printedprinting tape 17 and thebonding tape 74.
Since the configuration of theprinting tape 17 and thebonding tape 74 is the same as that of the first embodiment described above, description thereof is omitted.
 ヒータ59が加熱されると、その熱は、粘着剤層27に伝わることになる。そして、粘着剤層27の温度が80℃(すなわち、活性温度)に達すると、粘着性を有する。これにより、テープ送りローラ32及びテープ送りサブローラ66で接触した印字テープ17及び貼り合せテープ74は、貼り合わされることになる。When theheater 59 is heated, the heat is transferred to theadhesive layer 27. And when the temperature of theadhesive layer 27reaches 80 degreeC (namely, activation temperature), it has adhesiveness. As a result, theprint tape 17 and thebonding tape 74 that are in contact with each other by thetape feeding roller 32 and thetape feeding sub-roller 66 are bonded together.
 図32は、非加熱状態にあるヒータ59と印字済みの印字テープ17及び貼り合せテープ74との関係を模式的に示したものである。
 図32においては、ヒータ59と接触しておらず、粘着剤層27は非活性状態にあるから、印字テープ17及び貼り合せテープ74が接触したとしても、印字テープ17に貼り合せテープ74が貼り合わされることはない。
FIG. 32 schematically shows the relationship between theheater 59 in a non-heated state, the printedprinting tape 17 and thebonding tape 74.
In FIG. 32, since theadhesive layer 27 is not in contact with theheater 59 and is in an inactive state, even if theprinting tape 17 and thebonding tape 74 are in contact with each other, thebonding tape 74 is bonded to theprinting tape 17. It is never matched.
(印字テープ及び貼り合せテープの搬送制御)
 次に、印字テープ17及び貼り合せテープ74の搬送制御について説明する。
 図33乃至図35は、搬送制御処理のフローチャートである。搬送制御処理は、テープ印字装置110が有するCPU77によって実行される。搬送制御処理は、印字制御の指令信号が出力されることにより実行が開始される。
 図36乃至図49は、貼り合せテープ74、インク層23、印字テープ17の搬送の様子を示した図である。なお、図36乃至図49においては、説明の便宜上、開口部に係る図示を省略している。
(Conveyance control of printing tape and bonding tape)
Next, conveyance control of theprinting tape 17 and thebonding tape 74 will be described.
33 to 35 are flowcharts of the conveyance control process. The conveyance control process is executed by theCPU 77 included in thetape printer 110. The conveyance control process is started when a print control command signal is output.
FIG. 36 to FIG. 49 are diagrams showing how thebonding tape 74, theink layer 23, and theprinting tape 17 are conveyed. 36 to 49, illustration of the opening is omitted for convenience of explanation.
 S31において、プラテンローラ8を前述の原点位置に移動させる。即ち、プラテンローラ8をサーマルヘッド7側に移動させることにより、印字テープ17を先端部検出センサ58側に搬送可能な状態にする。それには、ソレノイド67に通電することにより、プラテンローラ8を原点位置に移動させる。
 S32において、テープ送りサブローラ66を前述の原点位置に移動させる。テープ送りサブローラ66をテープ送りローラ32側に移動させることにより、貼り合せテープ74及び印字テープ17を先端部検出センサ58側に搬送可能な状態にする。それには、ソレノイド68に通電することにより、テープ送りサブローラ51を原点位置に移動させる。
In S31, theplaten roller 8 is moved to the aforementioned origin position. That is, by moving theplaten roller 8 to thethermal head 7 side, theprinting tape 17 is brought into a state where it can be conveyed to the leadingend detection sensor 58 side. To do so, theplaten roller 8 is moved to the origin position by energizing thesolenoid 67.
In S32, thetape feed sub-roller 66 is moved to the aforementioned origin position. By moving thetape feed sub-roller 66 to thetape feed roller 32 side, thebonding tape 74 and theprint tape 17 can be transported to the tipend detection sensor 58 side. For this purpose, thetape feed sub-roller 51 is moved to the origin position by energizing thesolenoid 68.
 図36は、プラテンローラ8及びテープ送りサブローラ66が、原点位置に位置している様子を示している。また、印字テープ17及び貼り合せテープ74の先端は、カッタユニット57の近傍に位置している。FIG. 36 shows a state in which theplaten roller 8 and thetape feed sub-roller 66 are located at the origin position. The leading ends of theprinting tape 17 and thebonding tape 74 are located in the vicinity of thecutter unit 57.
 S33において、印字テープ17及び貼り合せテープ74を先端部検出センサ58側に向かって搬送させる。それには、印字テープ送りモータ69を駆動してプラテンローラ8を回転させる。また、貼り合せテープ送りモータ73を駆動してテープ送りローラ32を回転させる。In S33, theprinting tape 17 and thebonding tape 74 are conveyed toward the tipend detection sensor 58 side. For this purpose, the printingtape feed motor 69 is driven to rotate theplaten roller 8. Further, thetape feeding roller 32 is rotated by driving the bondingtape feeding motor 73.
 S34において、先端部検出センサ58が印字テープ17及び貼り合せテープ74の先端を検出したか否かを判断する。具体的には、発光素子58Aからの光が遮られたことを検知したときに、上記テープの先端を検出したと判断する。In S34, it is determined whether or not the leadingend detection sensor 58 has detected the leading ends of theprinting tape 17 and thebonding tape 74. Specifically, when it is detected that the light from thelight emitting element 58A is blocked, it is determined that the leading edge of the tape has been detected.
 テープの先端を検出していないと判断した場合は(S34:NO)、S33に戻る。これにより、テープの先端が検出されるまでの間、印字テープ17及び貼り合せテープ74の搬送動作が継続して行われることになる。If it is determined that the leading edge of the tape has not been detected (S34: NO), the process returns to S33. Thus, the conveying operation of theprint tape 17 and thebonding tape 74 is continued until the leading edge of the tape is detected.
 一方、テープの先端を検出したと判断した場合は(S34:YES)、S35に移行する。
 S35において、印字テープ17及び貼り合せテープ74の搬送を停止する。それには、印字テープ送りモータ69の駆動を停止してプラテンローラ8の回転を停止させる。また、貼り合せテープ送りモータ73の駆動を停止してテープ送りローラ32の回転を停止させる。
 S36において、プラテンローラ8をサーマルヘッド7から離間させる。それには、ソレノイド67への通電を停止することにより、プラテンローラ8をサーマルヘッド7から離間させる。これにより、印字テープ17の逆搬送が可能となる。
 図37は、印字テープ17及び貼り合せテープ74の先端が先端部検出センサ58の位置に到達し、かつ、プラテンローラ8がサーマルヘッド7から離間した様子を示している。
On the other hand, if it is determined that the leading edge of the tape has been detected (S34: YES), the process proceeds to S35.
In S35, the conveyance of theprinting tape 17 and thebonding tape 74 is stopped. For that purpose, the drive of the printingtape feed motor 69 is stopped and the rotation of theplaten roller 8 is stopped. Further, the driving of the bondingtape feed motor 73 is stopped, and the rotation of thetape feed roller 32 is stopped.
In S 36, theplaten roller 8 is separated from thethermal head 7. For this purpose, the energization of thesolenoid 67 is stopped to separate theplaten roller 8 from thethermal head 7. Thereby, the reverse conveyance of theprinting tape 17 is attained.
FIG. 37 shows a state in which the leading ends of theprinting tape 17 and thebonding tape 74 reach the position of the leadingend detection sensor 58 and theplaten roller 8 is separated from thethermal head 7.
 S37において、印字テープ17及び貼り合せテープ74を逆搬送させる。すなわち、先端部検出センサ58とは反対側に向かって搬送させる。それには、印字テープ巻取りモータ71を駆動する。これにより、印字テープ17は、印字テープスプール18に巻き戻され印字テープ17は逆搬送される。また、貼り合せテープ74は、貼り合せテープスプール31に巻き戻され貼り合せテープ74は逆搬送される。In S37, theprinting tape 17 and thebonding tape 74 are reversely conveyed. That is, it is conveyed toward the side opposite to the tipend detection sensor 58. For this, the printingtape winding motor 71 is driven. As a result, theprinting tape 17 is rewound onto theprinting tape spool 18 and theprinting tape 17 is conveyed in reverse. Further, thebonding tape 74 is rewound onto thebonding tape spool 31 and thebonding tape 74 is reversely conveyed.
 本実施形態では、この逆搬送は、印字テープスプール18、貼り合せテープスプール31を回転させることで行っている。しかしながら、テープ送りローラ32及びテープ送りサブローラ66の回転を併用してもよい。なお、テープ送りローラ32及びテープ送りサブローラ66をテープの逆搬送に用いない場合であっても、上記貼り合せテープ74の逆搬送に伴って、テープ送りローラ32は回転する。そして、テープ送りローラ32の回転量は、貼り合せテープ74の搬送量と比例関係にある。In this embodiment, this reverse conveyance is performed by rotating theprinting tape spool 18 and thebonding tape spool 31. However, the rotation of thetape feed roller 32 and thetape feed sub-roller 66 may be used in combination. Even when thetape feeding roller 32 and thetape feeding sub-roller 66 are not used for the reverse conveyance of the tape, thetape feeding roller 32 rotates with the reverse conveyance of thebonding tape 74. The rotation amount of thetape feed roller 32 is proportional to the conveyance amount of thebonding tape 74.
 S38において、貼り合せテープ74の先端が前述の第1所定位置に到達したか否かを判断する。また、貼り合せテープ74の先端が第1所定位置に到達したか否かの判断は、テープ送りローラ32の回転量に基いて算出された逆搬送量に基いて行われる。In S38, it is determined whether or not the front end of thebonding tape 74 has reached the first predetermined position. Further, whether or not the tip of thebonding tape 74 has reached the first predetermined position is determined based on the reverse conveyance amount calculated based on the rotation amount of thetape feed roller 32.
 貼り合せテープ74の先端が第1所定位置に到達していないと判断した場合は(S38:NO)、S37に戻る。これにより、貼り合せテープ74の先端が第1所定位置に到達するまでの間、貼り合せテープ74及び印字テープ17の逆搬送動作が継続して行われることになる。If it is determined that the tip of thebonding tape 74 has not reached the first predetermined position (S38: NO), the process returns to S37. Thereby, the reverse conveyance operation of thebonding tape 74 and theprinting tape 17 is continuously performed until the leading end of thebonding tape 74 reaches the first predetermined position.
 一方、貼り合せテープ74の先端が第1所定位置に到達したと判断した場合は(S38:YES)、S39に移行する。
 S39において、貼り合せテープ74及び印字テープ17の逆搬送を停止する。それには、貼り合せテープ巻取りモータ72及び印字テープ巻取りモータ71の駆動を停止する。また、テープ送りサブローラ66を、テープ送りローラ32から離間させる。それには、ソレノイド68への通電を停止する。
 図38は、貼り合せテープ74及び印字テープ17の先端が第1所定位置に到達し、かつ、テープ送りサブローラ66がテープ送りローラ32から離間している様子を示している。
On the other hand, when it is determined that the tip of thebonding tape 74 has reached the first predetermined position (S38: YES), the process proceeds to S39.
In S39, the reverse conveyance of thebonding tape 74 and theprinting tape 17 is stopped. For this purpose, the driving of the bondingtape winding motor 72 and the printingtape winding motor 71 is stopped. Further, thetape feed sub-roller 66 is separated from thetape feed roller 32. For that purpose, the energization to thesolenoid 68 is stopped.
FIG. 38 shows a state in which the leading ends of thebonding tape 74 and theprinting tape 17 have reached the first predetermined position, and thetape feed sub-roller 66 is separated from thetape feed roller 32.
 貼り合せテープ74の無駄をできるだけ少なくするという観点においては、貼り合せテープ74の先端を、できるだけテープ送りローラ32及びテープ送りサブローラ66(以下、「搬送ローラ対」ということがある。)に接近させた方が望ましい。
 図39は、貼り合せテープ74及び印字テープ17の先端が、搬送ローラ対に接近している様子を示している。
 図39の状態においては、貼り合せテープ74を排出口5に向かって搬送させる場合に、貼り合せテープ74の搬送が正しく行われない可能性がある。図40に示す例では、貼り合せテープ74がテープ送りローラ32の周囲に巻き付くように搬送され、第2案内路35に向かって正しく搬送されていない状態を示している。
 そのため、本実施形態においては、貼り合せテープ74の逆搬送を、貼り合せテープ74の先端が第1所定位置に到達した時点で停止させている。
From the viewpoint of minimizing waste of thebonding tape 74, the tip of thebonding tape 74 is brought as close as possible to thetape feeding roller 32 and the tape feeding sub-roller 66 (hereinafter also referred to as “conveying roller pair”). Is preferable.
FIG. 39 shows a state in which the ends of thebonding tape 74 and theprinting tape 17 are approaching the conveyance roller pair.
In the state of FIG. 39, when thebonding tape 74 is conveyed toward thedischarge port 5, thebonding tape 74 may not be conveyed correctly. In the example shown in FIG. 40, thebonding tape 74 is conveyed so as to be wound around thetape feed roller 32, and is not conveyed correctly toward thesecond guide path 35.
Therefore, in this embodiment, the reverse conveyance of thebonding tape 74 is stopped when the tip of thebonding tape 74 reaches the first predetermined position.
 説明を図33に戻す。S39の処理が終了したあと、S40(図34)に移行する。
 S40において、印字テープ17のみを逆搬送させる。すなわち、先端部検出センサ58とは反対側に向かって搬送させる。そのためには、印字テープ巻取りモータ71を駆動する。これにより、印字テープ17は、印字テープスプール18に巻き戻され印字テープ17は逆搬送される。
Returning to FIG. After the process of S39 is completed, the process proceeds to S40 (FIG. 34).
In S40, only theprint tape 17 is reversely conveyed. That is, it is conveyed toward the side opposite to the tipend detection sensor 58. For this purpose, the printingtape winding motor 71 is driven. As a result, theprinting tape 17 is rewound onto theprinting tape spool 18 and theprinting tape 17 is conveyed in reverse.
 S41において、印字テープ17の先端が前述の第2所定位置に到達したか否かを判断する。また、印字テープ17の先端が第2所定位置に到達したか否かの判断は、読取センサによって読み取られたゼブラマークの数に基いて算出される印字テープ17の搬送量に基いて行われる。In S41, it is determined whether or not the front end of theprinting tape 17 has reached the second predetermined position. Further, whether or not the leading end of theprinting tape 17 has reached the second predetermined position is determined based on the transport amount of theprinting tape 17 calculated based on the number of zebra marks read by the reading sensor.
 印字テープ17の先端が第2所定位置に到達していないと判断した場合は(S41:NO)、S40に戻る。これにより、印字テープ17の先端が第2所定位置に到達するまでの間、印字テープ17の逆搬送動作が継続して行われることになる。If it is determined that the tip of theprinting tape 17 has not reached the second predetermined position (S41: NO), the process returns to S40. Thereby, the reverse conveyance operation of theprinting tape 17 is continuously performed until the front end of theprinting tape 17 reaches the second predetermined position.
 一方、印字テープ17の先端が第2所定位置に到達したと判断した場合は(S41:YES)、S42に移行する。
 S42において、印字テープ17の逆搬送を停止する。それには、印字テープ巻取りモータ71の駆動を停止する。
 図41は、印字テープ17の先端が第2所定位置に到達している状態を示している。
On the other hand, when it is determined that the leading end of theprinting tape 17 has reached the second predetermined position (S41: YES), the process proceeds to S42.
In S42, the reverse conveyance of theprinting tape 17 is stopped. For this purpose, the drive of the printing tape take-upmotor 71 is stopped.
FIG. 41 shows a state where the tip of theprinting tape 17 has reached the second predetermined position.
 作成した印字テープ17の前余白をできるだけ少なくするという観点においては、印字テープ17の先端を、できるだけプラテンローラ8に接近させたほうが望ましい。
 図42は、印字テープ17の先端が、プラテンローラ8に接近している状態を示している。
 図42に示す状態においては、印字テープ17を先端部検出センサ58側に向かって搬送させた場合に、印字テープ17の搬送が正しく行われない可能性がある。図43に示す例では、印字テープ17がプラテンローラ8の周囲に巻き付くような経路で搬送され、第1案内路34に向かって正しく搬送されていない状態を示している。
 そのため、本実施形態においては、印字テープ17の逆搬送を、印字テープ17の先端が第2所定位置に到達した時点で停止させている。
From the viewpoint of reducing the front margin of the producedprinting tape 17 as much as possible, it is desirable that the front end of theprinting tape 17 be as close to theplaten roller 8 as possible.
FIG. 42 shows a state in which the front end of theprinting tape 17 is approaching theplaten roller 8.
In the state shown in FIG. 42, when theprinting tape 17 is conveyed toward the frontend detection sensor 58 side, the conveyance of theprinting tape 17 may not be performed correctly. In the example shown in FIG. 43, a state is shown in which theprinting tape 17 is conveyed along a path around theplaten roller 8 and is not correctly conveyed toward thefirst guide path 34.
Therefore, in this embodiment, the reverse conveyance of theprinting tape 17 is stopped when the leading end of theprinting tape 17 reaches the second predetermined position.
 説明を図34に戻す。S43において、プラテンローラ8を原点位置に移動させる。また、テープ送りサブローラ66を原点位置に移動させる。それには、ソレノイド67及びソレノイド68に通電する。
 S44において、印字テープ17に対し印字動作を行うとともに、搬送ローラ対に向かって搬送させる。それには、サーマルヘッド7の駆動と同期を取りながら印字テープ送りモータ69を駆動することによりプラテンローラ8を回転させる。
 図44は、印字テープ17に対し印字を行いつつ、印字テープ17を搬送している様子を示している。
Returning to FIG. In S43, theplaten roller 8 is moved to the origin position. Further, thetape feed sub-roller 66 is moved to the origin position. To do so, thesolenoid 67 and thesolenoid 68 are energized.
In S44, the printing operation is performed on theprinting tape 17 and the sheet is conveyed toward the conveying roller pair. For this purpose, theplaten roller 8 is rotated by driving the printingtape feed motor 69 while synchronizing with the driving of thethermal head 7.
FIG. 44 shows a state where theprinting tape 17 is being conveyed while printing is being performed on theprinting tape 17.
 S45において、印字テープ17の先端がヒータ59の位置に到達したか否かを判断する。この判断は、プラテンローラ8の回転数に基いて算出した印字テープ17の搬送量に基いて行われる。In S45, it is determined whether or not the tip of theprinting tape 17 has reached the position of theheater 59. This determination is made based on the transport amount of theprint tape 17 calculated based on the rotation speed of theplaten roller 8.
 印字済みの印字テープ17の先端がヒータ59の位置に到達していないと判断した場合は(S45:NO)、S44に戻る。これにより、印字済みの印字テープ17の先端がヒータ59の位置に到着するまでの間、印字テープ17に対する印字動作及び搬送動作が継続して行われることになる。If it is determined that the tip of the printedprinting tape 17 has not reached the position of the heater 59 (S45: NO), the process returns to S44. As a result, the printing operation and the conveying operation for theprinting tape 17 are continuously performed until the tip of the printedprinting tape 17 reaches the position of theheater 59.
 印字済みの印字テープ17の先端がヒータ59の位置に到達したと判断した場合は(S45:YES)、S46に進む。
 図45は、印字済みの印字テープ17の先端がヒータ59の位置に到達した様子を示している。
If it is determined that the tip of the printedprinting tape 17 has reached the position of the heater 59 (S45: YES), the process proceeds to S46.
FIG. 45 shows a state in which the front end of the printedprinting tape 17 has reached the position of theheater 59.
 S46において、印字テープ17の搬送を停止する。それには、印字テープ送りモータ69を駆動を停止する。また、ヒータ59を位置止め部材39側に移動させるとともに、ヒータ59を加熱する。それには、ソレノイド96に通電することにより、ヒータ59を位置止め部材39側に移動させるとともに、ヒータ59に通電する。そして、ヒータ59の表面が、貼り合せテープ74の粘着剤層を活性化させるために必要な熱量を有するまで待機する。ヒータ59の表面が、必要な熱量を有するまでになったところでS47に移行する。
 或いは、ヒータ59を位置止め部材39側に移動させる前からヒータ59の加熱を開始し、ヒータ59の表面が必要な熱量に達してからヒータ59を位置止め部材39側へ移動させてもよい。この場合は、ヒータ59の表面が、貼り合せテープ74の粘着剤層を活性化させるために必要な熱量を有するまで待機する必要がなくなるため、時間の短縮を図ることができる。
In S46, the conveyance of theprinting tape 17 is stopped. For this, the drive of the printingtape feed motor 69 is stopped. Further, theheater 59 is moved to the position stopmember 39 side, and theheater 59 is heated. For this purpose, by energizing thesolenoid 96, theheater 59 is moved toward the positioningmember 39, and theheater 59 is energized. And it waits until the surface of theheater 59 has the calorie | heat amount required in order to activate the adhesive layer of thebonding tape 74. FIG. When the surface of theheater 59 has a necessary amount of heat, the process proceeds to S47.
Alternatively, heating of theheater 59 may be started before theheater 59 is moved to the positioningmember 39 side, and theheater 59 may be moved to the positioningmember 39 side after the surface of theheater 59 reaches a necessary amount of heat. In this case, it is not necessary to wait until the surface of theheater 59 has a heat quantity necessary for activating the adhesive layer of thebonding tape 74, so that the time can be shortened.
 S47において、印字動作を行うとともに、印字テープ17及び貼り合せテープ74をカッタユニット57側に向かって搬送させる。それには、印字テープ送りモータ69を駆動してプラテンローラ8を回転させる。また、貼り合せテープ送りモータ73を駆動してテープ送りローラ32を回転させる。また、ヒータ59を回転可能に構成し、ヒータ59をテープ搬送のために併用してもよい。In S47, the printing operation is performed and theprinting tape 17 and thebonding tape 74 are conveyed toward thecutter unit 57 side. For this purpose, the printingtape feed motor 69 is driven to rotate theplaten roller 8. Further, thetape feeding roller 32 is rotated by driving the bondingtape feeding motor 73. Further, theheater 59 may be configured to be rotatable, and theheater 59 may be used in combination for transporting the tape.
 図46は、印字テープ17及び貼り合せテープ74がカッタユニット57側に向かって搬送されている様子を示している。また、印字テープ17及び貼り合せテープ74が搬送ローラ対を通過するとき、印字テープ17には、貼り合せテープ74が貼り合わされる(図31参照)。FIG. 46 shows a state in which theprinting tape 17 and thebonding tape 74 are conveyed toward thecutter unit 57 side. Further, when theprinting tape 17 and thebonding tape 74 pass through the conveying roller pair, thebonding tape 74 is bonded to the printing tape 17 (see FIG. 31).
 S48において、貼り合せテープ74における印字テープ17の先端位置が、切断位置に到達したか否かを判断する。この判断は、プラテンローラ8の回転数に基いて算出した印字テープ17の搬送量に基いて行われる。また、テープ送りローラ32及び/またはテープ送りサブローラ51の回転量を併用して印字テープの搬送量を算出してもよい。In S48, it is determined whether or not the leading end position of theprinting tape 17 in thebonding tape 74 has reached the cutting position. This determination is made based on the transport amount of theprint tape 17 calculated based on the rotation speed of theplaten roller 8. Further, the conveyance amount of the printing tape may be calculated by using the rotation amount of thetape feeding roller 32 and / or thetape feeding sub-roller 51 together.
 この貼り合せテープ74における印字テープ17の先端位置において、貼り合せテープ74を切断することにより、作成済みの印字テープ17における不必要な部分(すなわち、貼り合せテープ74のみが先行している部分)が除去される。By cutting thebonding tape 74 at the front end position of theprinting tape 17 in thebonding tape 74, an unnecessary portion in the prepared printing tape 17 (that is, a portion where only thebonding tape 74 precedes). Is removed.
 貼り合せテープ74における印字テープ17の先端位置が切断位置に到達していないと判断した場合は(S48:NO)、S47に戻る。これにより、貼り合せテープ74における印字テープ17の先端位置が切断位置に到着するまでの間、印字テープ17への印字動作、及び、印字テープ17及び貼り合せテープ74の搬送動作が継続して行われることになる。If it is determined that the tip position of theprinting tape 17 in thebonding tape 74 has not reached the cutting position (S48: NO), the process returns to S47. Thus, the printing operation on theprinting tape 17 and the conveying operation of theprinting tape 17 and thebonding tape 74 are continuously performed until the leading end position of theprinting tape 17 in thebonding tape 74 reaches the cutting position. It will be.
 S48において、貼り合せテープ74における印字テープ17の先端位置が切断位置に到達したと判断した場合は(S48:YES)、S49(図35)に進む。
 S49において、印字テープ17及び貼り合せテープ74の搬送を停止する。それには、印字テープ送りモータ69の駆動を停止してプラテンローラ8の回転を停止させる。また、貼り合せテープ送りモータ73の駆動を停止してテープ送りローラ32の回転を停止させる。
 S50において、貼り合せテープ74を切断する。このとき、カッタモータ75を駆動して可動刃57Bに切断動作をさせる。
 図47は、貼り合せテープ74の先端部分が切断された様子を示している。
If it is determined in S48 that the tip position of theprint tape 17 in thebonding tape 74 has reached the cutting position (S48: YES), the process proceeds to S49 (FIG. 35).
In S49, the conveyance of theprinting tape 17 and thebonding tape 74 is stopped. For that purpose, the drive of the printingtape feed motor 69 is stopped and the rotation of theplaten roller 8 is stopped. Further, the driving of the bondingtape feed motor 73 is stopped, and the rotation of thetape feed roller 32 is stopped.
In S50, thebonding tape 74 is cut. At this time, thecutter motor 75 is driven to cause themovable blade 57B to perform a cutting operation.
FIG. 47 shows a state in which the leading end portion of thebonding tape 74 has been cut.
 S51において、印字テープ17に対して印字処理を行うとともに、印字テープ17及び貼り合せテープ74をカッタユニット57側に向かって搬送させる。それには、印字テープ送りモータ69を駆動してプラテンローラ8を回転させる。また、貼り合せテープ送りモータ73を駆動してテープ送りローラ32を回転させる。また、プラテンローラ8、テープ送りローラ32の回転に同期して、サーマルヘッド7が発熱駆動する。
 S52において、印字が終了したか否かが判断される。印字が終了するまで、S52の処理(すなわち、印字処理及び搬送動作)が繰り返されることになる。
In S51, the printing process is performed on theprinting tape 17, and theprinting tape 17 and thebonding tape 74 are conveyed toward thecutter unit 57 side. For this purpose, the printingtape feed motor 69 is driven to rotate theplaten roller 8. Further, thetape feeding roller 32 is rotated by driving the bondingtape feeding motor 73. Further, thethermal head 7 is driven to generate heat in synchronization with the rotation of theplaten roller 8 and thetape feed roller 32.
In S52, it is determined whether or not printing has been completed. Until the printing is completed, the process of S52 (that is, the printing process and the conveying operation) is repeated.
 印字が終了したと判断した場合は(S52:YES)、S53に移行する。
 S53において、印字テープ17及び貼り合せテープ74をカッタユニット57側に向かって搬送させる。それには、引き続き印字テープ送りモータ69を駆動してプラテンローラ8を回転させる。また、貼り合せテープ送りモータ73を駆動してテープ送りローラ32を回転させる。
 S54において、印字済みの印字テープ17の後端がヒータ59の位置に到達したか否かを判断する。この判断は、プラテンローラ8の回転数に基いて算出した印字テープ17の搬送量に基いて行われる。また、テープ送りローラ32及び/またはテープ送りサブローラ66の回転量を併用して印字テープの搬送量を算出してもよい。
If it is determined that printing has been completed (S52: YES), the process proceeds to S53.
In S53, theprinting tape 17 and thebonding tape 74 are conveyed toward thecutter unit 57 side. For this purpose, the printingtape feed motor 69 is continuously driven to rotate theplaten roller 8. Further, thetape feeding roller 32 is rotated by driving the bondingtape feeding motor 73.
In S54, it is determined whether or not the rear end of the printedprinting tape 17 has reached the position of theheater 59. This determination is made based on the transport amount of theprint tape 17 calculated based on the rotation speed of theplaten roller 8. Further, the conveyance amount of the printing tape may be calculated by using the rotation amount of thetape feeding roller 32 and / or thetape feeding sub-roller 66 together.
 印字済みの印字テープ17の後端がヒータ59の位置に到達していないと判断した場合は(S54:NO)、S53に戻る。これにより、印字済みの印字テープ17の後端がヒータ59の位置に到着するまでの間、印字テープ17及び貼り合せテープ74の搬送動作が継続して行われることになる。When it is determined that the rear end of the printedprinting tape 17 has not reached the position of the heater 59 (S54: NO), the process returns to S53. As a result, theprinting tape 17 and thebonding tape 74 are continuously conveyed until the rear end of the printedprinting tape 17 reaches the position of theheater 59.
 印字済みの印字テープ17の後端が搬送ローラ対の位置に到達したと判断した場合は(S54:YES)、S55に移行する。If it is determined that the rear end of the printedprinting tape 17 has reached the position of the conveying roller pair (S54: YES), the process proceeds to S55.
 S55において、ヒータ59を離間させるとともに、ヒータ59を非加熱にする。それには、ソレノイド96への通電を停止するとともに、ヒータ59への通電を停止する。ヒータ59を離間させることにより、貼り合せテープ74の粘着剤層の温度は、活性化しない温度まで低下する。したがって、ヒータ59の表面の温度が低下するための待機時間は必要がない。また、ヒータ59の表面の温度を低下させるためのファンを設ける必要がない。
 図48は、印字済みの印字テープ17の後端が搬送ローラ対の位置に到達し、かつ、ヒータ59が離間している様子を示している。
In S55, theheater 59 is separated and theheater 59 is not heated. For this purpose, the energization to thesolenoid 96 is stopped and the energization to theheater 59 is stopped. By separating theheater 59, the temperature of the adhesive layer of thebonding tape 74 is lowered to a temperature at which it is not activated. Therefore, there is no need for a waiting time for the temperature of the surface of theheater 59 to decrease. Further, it is not necessary to provide a fan for reducing the temperature of the surface of theheater 59.
FIG. 48 shows a state in which the rear end of the printedprinting tape 17 has reached the position of the conveying roller pair, and theheater 59 is separated.
 S56において、引き続き印字テープ17及び貼り合せテープ74をカッタユニット57側に向かって搬送させる。また、印字テープ17及び貼り合せテープ74が搬送ローラ対を通過するときに両テープは接触するが、印字テープ17に貼り合せテープ74が貼り合わされることはない。In S56, theprinting tape 17 and thebonding tape 74 are continuously conveyed toward thecutter unit 57 side. In addition, when theprinting tape 17 and thebonding tape 74 pass through the pair of conveying rollers, both the tapes come into contact with each other, but thebonding tape 74 is not bonded to theprinting tape 17.
 S57において、印字済みの印字テープ17の後端が切断位置に到達したか否かを判断する。この判断は、プラテンローラ8の回転数に基いて算出した印字テープ17の搬送量に基いて行われる。また、テープ送りローラ32及び/またはテープ送りサブローラ66の回転量を併用して印字テープの搬送量を算出してもよい。In S57, it is determined whether or not the rear end of the printedprinting tape 17 has reached the cutting position. This determination is made based on the transport amount of theprint tape 17 calculated based on the rotation speed of theplaten roller 8. Further, the conveyance amount of the printing tape may be calculated by using the rotation amount of thetape feeding roller 32 and / or thetape feeding sub-roller 66 together.
 印字済みの印字テープ17の後端が切断位置に到達していないと判断した場合は(S57:NO)、S56に戻る。これにより、印字済みの印字テープ17の後端が切断位置に到着するまでの間、印字テープ17及び貼り合せテープ74の搬送動作が継続して行われることになる。When it is determined that the rear end of the printedprinting tape 17 has not reached the cutting position (S57: NO), the process returns to S56. Thereby, the conveying operation of theprinting tape 17 and thebonding tape 74 is continuously performed until the rear end of the printedprinting tape 17 arrives at the cutting position.
 印字済みの印字テープ17の後端が切断位置に到達したと判断した場合は(S57:YES)、S58に移行する。
 S58において、印字テープ17及び貼り合せテープ74の搬送を停止する。それには、印字テープ送りモータ69の駆動を停止してプラテンローラ8の回転を停止させる。また、貼り合せテープ送りモータ73の駆動を停止してテープ送りローラ32の回転を停止させる。また、印字テープ17及び貼り合せテープ74を切断する。このとき、カッタモータ75を駆動して可動刃57Bに切断動作をさせる
 図49は、印字済みの印字テープ17が切断された様子を示している。
When it is determined that the rear end of the printedprinting tape 17 has reached the cutting position (S57: YES), the process proceeds to S58.
In S58, the conveyance of theprinting tape 17 and thebonding tape 74 is stopped. For that purpose, the drive of the printingtape feed motor 69 is stopped and the rotation of theplaten roller 8 is stopped. Further, the driving of the bondingtape feed motor 73 is stopped, and the rotation of thetape feed roller 32 is stopped. Further, theprinting tape 17 and thebonding tape 74 are cut. At this time, thecutter motor 75 is driven to cause themovable blade 57B to perform a cutting operation. FIG. 49 shows a state in which the printedprinting tape 17 is cut.
 以上説明した第3実施形態によれば、カッタユニット57近傍に位置する印字テープ17及び貼り合せテープ74を所定量巻き戻し、その後印字処理を開始するので、貼り合せテープ74及び印字テープ17の前余白部分を少なくすることができる。また、貼り合せテープ74は第2案内路35まで巻き戻され、また、印字テープ17は第1案内路34まで巻き戻されるので、その後の搬送動作を確実に行うことができる。また、貼り合せテープ74の粘着剤層27の熱状態を制御することにより、貼り合せテープ74の粘着性を制御することができ、搬送ローラ対において接触する印字テープ17及び貼り合せテープ74の貼り合せ制御を行うことができる。また、1つのカッタユニットで本発明を実現することができる。また、ヒータ59を予め加熱しておき、位置止め部材39に移動した直後に粘着剤層27の温度を上昇して活性化できるので、粘着剤層27が活性化するまでの時間を短縮することができる。さらに、ヒータ59が離間した直後に粘着剤層27の温度が低下するので、粘着剤層27を非加熱状態にするまでの時間を短縮することができる。According to the third embodiment described above, theprinting tape 17 and thebonding tape 74 located in the vicinity of thecutter unit 57 are rewound by a predetermined amount, and then the printing process is started. The margin part can be reduced. Further, since thebonding tape 74 is rewound to thesecond guide path 35 and theprinting tape 17 is rewound to thefirst guide path 34, the subsequent transport operation can be performed reliably. Further, by controlling the thermal state of theadhesive layer 27 of thebonding tape 74, the adhesiveness of thebonding tape 74 can be controlled, and theprinting tape 17 and thebonding tape 74 that are in contact with each other at the conveying roller pair are bonded. Matching control can be performed. Further, the present invention can be realized with one cutter unit. Further, since theheater 59 is heated in advance and the temperature of the pressure-sensitive adhesive layer 27 can be increased and activated immediately after moving to the positioningmember 39, the time until the pressure-sensitive adhesive layer 27 is activated can be shortened. Can do. Furthermore, since the temperature of the pressure-sensitive adhesive layer 27 decreases immediately after theheater 59 is separated, the time until the pressure-sensitive adhesive layer 27 is brought into a non-heated state can be shortened.
 なお、上述した第3実施形態においては、位置止め部材39をテープカセット側に設けたが、該位置止め部材39と同じ機能を有する部材を、印字装置側に設けるよう構成してもよい。
 また、第3実施形態においてヒータ59は貼り合せテープ74側に接触しているが、ヒータ59と位置止め部材39の位置関係を逆にして、ヒータ59が貼り合せテープ74の反対側である印字テープ17側に接触する構成としてもよい。
In the third embodiment described above, the positioningmember 39 is provided on the tape cassette side. However, a member having the same function as the positioningmember 39 may be provided on the printing apparatus side.
In the third embodiment, theheater 59 is in contact with thebonding tape 74 side. However, the positional relationship between theheater 59 and the positioningmember 39 is reversed so that theheater 59 is on the opposite side of thebonding tape 74. It is good also as a structure which contacts thetape 17 side.
 本発明は上述した実施形態に限定されるものではなく、本発明の要旨を逸脱しない範囲内で種々の改良、変形が可能であることはいうまでもない。上述した実施形態においては、プラテンローラ8とサーマルヘッド7との離間・圧接、テープ送りサブローラ51とテープ送りローラ32との離間・圧接、ヒータ59と位置止め部材39との離間・圧接には、ソレノイドを用いたが、それに限定されない。例えば、モータとギヤを組合せて実現してもよい。また、上述した各フローチャートは単なる一例であり、上記各処理と同等の結果を得ることできるものであれば、他のフローチャートによって処理を実現してもよい。また、上述した搬送制御処理に係る方法、該方法をコンピュータによって実行するためのプログラム、該プログラムを記憶した記録媒体としても本発明は実現可能である。The present invention is not limited to the above-described embodiment, and it goes without saying that various improvements and modifications can be made without departing from the gist of the present invention. In the embodiment described above, the separation / pressure contact between theplaten roller 8 and thethermal head 7, the separation / pressure contact between thetape feed sub-roller 51 and thetape feed roller 32, and the separation / pressure contact between theheater 59 and the positioningmember 39 include: Although a solenoid is used, the present invention is not limited to this. For example, you may implement | achieve combining a motor and a gear. Moreover, each flowchart mentioned above is only an example, and as long as the result equivalent to each said process can be obtained, you may implement | achieve a process with another flowchart. The present invention can also be realized as a method related to the above-described transport control process, a program for executing the method by a computer, and a recording medium storing the program.

Claims (27)

  1.  常温では粘着性を有さず、加熱することにより粘着性を発する熱活性性の粘着剤が塗布された貼り合せテープと、
     印字が行われる印字面を有する印字テープと、
     印字テープへの印字位置よりもテープ搬送方向下流側に位置し、印字後の前記印字テープ及び前記貼り合せテープを搬送するテープ送りローラと、
     前記貼り合せテープ、前記印字テープ、及び、前記テープ送りローラを収納するカセットケースとを有し、
     印字機構を備えたテープ印字装置に着脱可能であり、
     前記テープ印字装置に装着された状態において前記テープ送りローラが当該テープ印字装置のテープ送りサブローラと対向する位置で、前記印字テープの印字面と前記貼り合せテープの熱活性性の粘着剤とが接触し、
      印字位置よりも前記印字テープの排出方向下流側であって、かつ、前記テープ送りローラの位置までの間に前記貼り合せテープが熱活性化される加熱領域を有する、
    ことを特徴とするテープカセット。
    A bonding tape coated with a heat-active adhesive that does not have adhesiveness at room temperature, and that generates adhesiveness when heated;
    A printing tape having a printing surface on which printing is performed;
    A tape feed roller that is located on the downstream side in the tape conveyance direction from the printing position on the printing tape, and that conveys the printing tape and the bonding tape after printing;
    The laminating tape, the printing tape, and a cassette case for storing the tape feed roller,
    It can be attached to and detached from a tape printer equipped with a printing mechanism.
    In a state where the tape feeding roller is mounted on the tape printing device, the printing surface of the printing tape and the thermally active adhesive of the bonding tape are in contact with each other at a position where the tape feeding roller faces the tape feeding sub-roller of the tape printing device. And
    A heating region in which the bonding tape is thermally activated between the printing position and the downstream side in the discharge direction of the printing tape and up to the position of the tape feed roller;
    A tape cassette characterized by that.
  2.  前記テープ送りローラは、前記テープ印字装置が有するテープ送りサブローラと協働することにより、前記印字位置よりも前記印字テープの排出方向下流側で、前記印字テープの印字面と前記貼り合せテープの熱活性性の粘着剤とを接触させる、
    ことを特徴とする請求項1乃至請求項4いずれかのテープカセット。
    The tape feed roller cooperates with a tape feed sub-roller included in the tape printer, so that the print surface of the print tape and the heat of the bonding tape are downstream of the print position in the discharge direction of the print tape. Contact with active adhesive,
    The tape cassette according to any one of claims 1 to 4, wherein the tape cassette is provided.
  3.  印字ヘッド、プラテンローラ、テープ送りサブローラ、を備えたテープ作成装置において、
     常温では粘着性を有さず、加熱することにより粘着性を発する熱活性性の粘着剤が塗布された貼り合せテープと、印字が行われる印字面を有する印字テープと、印字後の前記印字テープ及び前記貼り合せテープを搬送するテープ送りローラと、前記貼り合せテープ、前記印字テープ、及び、前記テープ送りローラを収納するカセットケース、を有するテープカセットが着脱可能であり、
     前記テープ送りローラを係合支持する支持部材を備え、
     前記テープカセットが装着された状態では、印字位置よりも前記印字テープの排出方向下流側で、前記印字テープの印字面と前記貼り合せテープの熱活性性の粘着剤とが接触し、
     前記テープ送りサブローラと前記テープ送りローラとの離間・圧接を行う第1離間圧接手段と、
     前記印字ヘッドと前記前記プラテンローラとの離間・圧接を行う第2離間圧接手段と、を有し、
     第1離間圧接手段と第2離間圧接手段とは、独立して動作可能であり、
     前記第1離間圧接手段による前記テープ送りサブローラと前記テープ送りローラとの離間・圧接、及び、前記第2離間圧接手段による前記印字ヘッドと前記プラテンローラとの離間・圧接をそれぞれ独立して行う離間圧接制御手段を備え、
     前記テープ送りサブローラ、又は前記支持部材は加熱装置であり、
     前記テープ送りサブローラ又は前記支持部材の熱状態を制御する加熱制御手段を有し、
     前記加熱制御手段は、前記テープ送りサブローラに対し、少なくとも印字済みの印字テープが該テープ送りサブローラを通過する間、前記貼り合せテープの粘着剤の熱活性化に必要な熱を生じさせ、
     前記テープ送りサブローラは、少なくとも印字済みの印字テープが該テープ送りサブローラを通過する間は加熱状態にあり、前記貼り合せテープの熱活性性の粘着剤が活性化され、前記貼り合せテープと前記印字済み印字テープとが貼り合わされる、
    ことを特徴とするテープ作成装置。
    In a tape making apparatus having a print head, a platen roller, and a tape feed sub-roller,
    A bonding tape coated with a heat-active adhesive that does not have adhesiveness at room temperature and that generates adhesiveness when heated, a printing tape having a printing surface on which printing is performed, and the printing tape after printing And a tape cassette having a tape feed roller for conveying the bonding tape, and a cassette case for storing the bonding tape, the printing tape, and the tape feeding roller, are removable.
    A support member for engaging and supporting the tape feed roller;
    In the state where the tape cassette is mounted, the print surface of the print tape and the thermally active adhesive of the bonding tape are in contact with each other on the downstream side in the discharge direction of the print tape from the print position,
    First separation pressure contact means for performing separation / pressure contact between the tape feeding sub-roller and the tape feeding roller;
    A second separation pressure contact means for performing separation / pressure contact between the print head and the platen roller;
    The first separation pressure contact means and the second separation pressure contact means can operate independently,
    Separation / pressure contact between the tape feeding sub-roller and the tape feeding roller by the first separation pressure contact means and separation / pressure contact between the print head and the platen roller by the second separation pressure contact means are performed independently. With pressure control means,
    The tape feed sub-roller or the support member is a heating device,
    Heating control means for controlling the heat state of the tape feed sub-roller or the support member;
    The heating control means generates heat necessary for thermal activation of the adhesive of the bonding tape while at least the printed printing tape passes through the tape feeding sub-roller with respect to the tape feeding sub-roller.
    The tape feeding sub-roller is in a heated state at least while the printed printing tape passes through the tape feeding sub-roller, and the heat-active adhesive of the bonding tape is activated, and the bonding tape and the printing Pasted printing tape
    A tape making apparatus characterized by that.
  4.  前記加熱制御手段は、前記テープ送りサブローラを、印字済みの印字テープの後端が前記テープ送りサブローラに到達したときに、非加熱状態にし、
     搬送手段、切断手段をさらに有し、
     前記搬送手段は、前記テープ送りサブローラが非加熱状態において、前記印字済みの印字テープを、前記印字済みの印字テープの後端が切断位置に到達するまで排出方向下流側に搬送し、
     前記切断手段は、前記印字済みの印字テープの後端を、前記貼り合せテープとともに切断し、
     前記搬送手段は、切断後の印字テープ及び前記貼り合せテープを、その先端が第1の所定位置に到着するまで前記排出方向とは逆方向に搬送し、
     前記搬送手段は、切断後の貼り合せテープを、その先端が第2の所定位置まで前記排出方向とは逆方向に搬送する、
    ことを特徴とする請求項12のテープ作成装置。
    The heating control means makes the tape feeding sub-roller in a non-heated state when the rear end of the printed printing tape reaches the tape feeding sub-roller,
    It further has a conveying means and a cutting means,
    The transport means transports the printed print tape downstream in the discharge direction until the rear end of the printed print tape reaches the cutting position when the tape feed sub-roller is in a non-heated state.
    The cutting means cuts the rear end of the printed printing tape together with the bonding tape,
    The transport means transports the cut print tape and the bonding tape in a direction opposite to the discharge direction until the leading end reaches the first predetermined position,
    The transport means transports the cut bonding tape to the second predetermined position in the direction opposite to the discharge direction;
    The tape making apparatus according to claim 12.
  5.  前記印字テープの印字面の裏面側に印刷された目印を読み取る読取センサをさらに有し、
     前記読取センサは、読み取った前記目印に基いて、前記印字テープの位置を検出し、 
     前記第2離間圧接手段は、前記印字テープ及び前記貼付テープが前記逆方向に搬送されるときは、前記印字ヘッドと前記プラテンローラとを離間し、
     前記印字テープ及び前記貼付テープが前記逆方向に搬送されるときは、前記印字テープと前記プラテンローラとは相対的に離間され、
     前記第1離間手段は、前記印字テープのみが前記逆方向に搬送されるときは、前記テープ送りローラと前記テープ送りサブローラとを離間させる、
    ことを特徴とする請求項13のテープ作成装置。
    A reading sensor that reads a mark printed on the back side of the printing surface of the printing tape;
    The reading sensor detects the position of the printing tape based on the read mark,
    The second separation pressure contact means separates the print head and the platen roller when the printing tape and the adhesive tape are conveyed in the reverse direction,
    When the printing tape and the adhesive tape are conveyed in the opposite direction, the printing tape and the platen roller are relatively separated from each other,
    The first separation means separates the tape feeding roller and the tape feeding sub-roller when only the printing tape is conveyed in the reverse direction.
    The tape making apparatus according to claim 13.
  6.  印字ヘッド、プラテンローラ、テープ送りサブローラ、テープ切断装置、を備えたテープ作成装置において、
     常温では粘着性を有さず、加熱することにより粘着性を発する熱活性性の粘着剤が塗布された貼り合せテープと、印字が行われる印字面を有する印字テープと、印字後の前記印字テープ及び前記貼り合せテープを搬送するヒートローラと、前記貼り合せテープ、前記印字テープ、及び、前記ヒートローラを収納するカセットケース、を有するテープカセットが着脱可能であり、
     前記テープ送りローラを係合支持する支持部材を備え、
     前記テープカセットが装着された状態では、印字位置よりも前記印字テープの排出方向下流側で、前記印字テープの印字面と前記貼り合せテープの熱活性性の粘着剤とが接触し、
     前記テープ送りサブローラと前記ヒートローラとの離間・圧接を行う第3離間圧接手段を有し、
     前記印字ヘッドと前記前記プラテンローラとの離間・圧接を行う第4離間圧接手段を有し、
     第3離間圧接手段と第4離間圧接手段とは、独立して動作可能であり、
     前記第3離間圧接手段による前記テープ送りサブローラと前記ヒートローラとの離間・圧接、及び、前記第4離間圧接手段による前記印字ヘッドと前記プラテンローラとの離間・圧接をそれぞれ独立して行う離間圧接制御手段を備え、
     前記ヒートローラ又は前記支持部材の熱状態を制御する加熱制御手段を有し、
     前記加熱制御手段は、前記ヒートローラに対し、少なくとも印字済みの印字テープが該テープ送りサブローラを通過する間、前記貼り合せテープの粘着剤の熱活性化に必要な熱を生じさせ、
     前記ヒートローラは、少なくとも印字済みの印字テープが該テープ送りサブローラを通過する間は加熱状態にあり、前記貼り合せテープの熱活性性の粘着剤が活性化される、
    ことを特徴とするテープ作成装置。
    In a tape making apparatus comprising a print head, a platen roller, a tape feeding sub-roller, and a tape cutting device,
    A bonding tape coated with a heat-active adhesive that does not have adhesiveness at room temperature and that generates adhesiveness when heated, a printing tape having a printing surface on which printing is performed, and the printing tape after printing And a heat cassette that transports the bonding tape, and a tape cassette that includes the bonding tape, the printing tape, and a cassette case that stores the heat roller are detachable,
    A support member for engaging and supporting the tape feed roller;
    In the state where the tape cassette is mounted, the print surface of the print tape and the thermally active adhesive of the bonding tape are in contact with each other on the downstream side in the discharge direction of the print tape from the print position,
    A third separation pressure contact means for performing separation and pressure contact between the tape feed sub-roller and the heat roller;
    A fourth separation pressure contact means for performing separation and pressure contact between the print head and the platen roller;
    The third separation pressure contact means and the fourth separation pressure contact means can operate independently,
    Separation pressure contact between the tape feeding sub-roller and the heat roller by the third separation pressure contact means, and separation pressure contact for independently performing the separation and pressure contact between the print head and the platen roller by the fourth separation pressure contact means. With control means,
    Heating control means for controlling the heat state of the heat roller or the support member;
    The heating control means generates heat necessary for thermal activation of the adhesive of the bonding tape while at least the printed printing tape passes through the tape feeding sub-roller with respect to the heat roller.
    The heat roller is in a heated state at least while the printed printing tape passes through the tape feed sub-roller, and the heat-active adhesive of the bonding tape is activated.
    A tape making apparatus characterized by that.
  7.  前記加熱制御手段は、前記ヒートローラ又は前記支持部材を、印字済みの印字テープの後端が前記ヒートローラに到達したときに、非加熱状態にし、
     搬送手段、切断手段をさらに有し、
     前記搬送手段は、前記ヒートローラが非加熱状態において、前記印字済みの印字テープを、前記印字済みの印字テープの後端が切断位置に到達するまで排出方向下流側に搬送し、
     前記切断手段は、前記印字済みの印字テープの後端を、前記貼り合せテープとともに切断し、
     前記搬送手段は、切断後の印字テープ及び前記貼り合せテープを、その先端が第1の所定位置に到着するまで前記排出方向とは逆方向に搬送し、
     前記搬送手段は、切断後の貼り合せテープを、その先端が第2の所定位置まで前記排出方向とは逆方向に搬送する、
    ことを特徴とする請求項15のテープ作成装置。
    The heating control means makes the heat roller or the support member non-heated when the rear end of the printed printing tape reaches the heat roller,
    It further has a conveying means and a cutting means,
    The transport means transports the printed print tape downstream in the discharge direction until the rear end of the printed print tape reaches a cutting position when the heat roller is in an unheated state,
    The cutting means cuts the rear end of the printed printing tape together with the bonding tape,
    The transport means transports the cut print tape and the bonding tape in a direction opposite to the discharge direction until the leading end reaches the first predetermined position,
    The transport means transports the cut bonding tape to the second predetermined position in the direction opposite to the discharge direction;
    16. The tape making apparatus according to claim 15, wherein:
  8.  前記印字テープの印字面の裏面側に印刷された目印を読み取る読取センサをさらに有し、
     前記読取センサは、読み取った前記目印に基いて、前記印字テープの位置を検出し、 
     前記第4離間圧接手段は、前記印字テープ及び前記貼付テープが前記逆方向に搬送されるときは、前記印字ヘッドと前記プラテンローラとを離間し、
     前記印字テープ及び前記貼付テープが前記逆方向に搬送されるときは、前記印字テープと前記プラテンローラとは相対的に離間され、
     前記第3離間手段は、前記印字テープのみが前記逆方向に搬送されるときは、前記テープ送りローラと前記テープ送りサブローラとを離間させる、
    ことを特徴とする請求項16のテープ作成装置。
    A reading sensor that reads a mark printed on the back side of the printing surface of the printing tape;
    The reading sensor detects the position of the printing tape based on the read mark,
    The fourth separation pressure contact means separates the print head and the platen roller when the printing tape and the adhesive tape are conveyed in the reverse direction,
    When the printing tape and the adhesive tape are conveyed in the opposite direction, the printing tape and the platen roller are relatively separated from each other,
    The third separation means separates the tape feed roller and the tape feed sub-roller when only the printing tape is conveyed in the reverse direction.
    The tape making apparatus according to claim 16, wherein
  9.  先端位置検出装置をさらに有し、
     前記先端位置検出装置は、前記切断後の印字テープ及び貼り合せテープの先端を検出し、
     前記搬送手段は、前記切断後の印字テープ及び貼り合せテープの先端が、前記先端位置検出装置によって検出されるまで前記排出方向に搬送し、
     前記切断後の印字テープ及び貼り合せテープは、その先端が前記先端位置検出装置によって検出されるまで前記排出方向に搬送されることにより、該先端の位置が特定され、
     前記第1の所定の位置は、前記テープ送りサブローラよりも前記排出方向下流側に位置するガイドされたテープ搬送路の位置であり、
     前記第2の所定の位置は、印字位置よりも前記排出方向下流側に位置し、かつ、前記テープ送りサブローラよりも前記排出方向上流側に位置するガイドされたテープ搬送路の位置である、
    ことを特徴とする請求項13、請求項14、請求項16、請求項17の何れかのテープ作成装置。
    It further has a tip position detection device,
    The tip position detection device detects the tip of the cut printing tape and the bonding tape,
    The transport means transports in the discharge direction until the leading end of the cut printing tape and the bonding tape is detected by the leading end position detection device,
    The cut print tape and the bonding tape are conveyed in the discharge direction until the tip is detected by the tip position detection device, whereby the position of the tip is specified.
    The first predetermined position is a position of a guided tape transport path located downstream of the tape feed sub-roller in the discharge direction,
    The second predetermined position is a position of a guided tape transport path that is located on the downstream side in the discharge direction with respect to the print position and located on the upstream side in the discharge direction with respect to the tape feed sub-roller.
    18. The tape making apparatus according to any one of claims 13, 14, 16, and 17.
  10.  印字ヘッド、プラテン、テープ送りサブローラ、を備えたテープ作成装置、及び、
     常温では粘着性を有さず、加熱することにより粘着性を発する熱活性性の粘着剤が塗布された貼り合せテープと、印字が行われる印字面を有する印字テープと、印字後の前記印字テープ及び前記貼り合せテープを搬送するテープ送りローラと、前記貼り合せテープ、前記印字テープ、及び、前記テープ送りローラを収納するカセットケース、を有するテープカセット、からなるテープ作成システムにおいて、
     前記テープカセットは、前記テープ作成装置に着脱可能であり、
     前記テープ送りローラを係合支持する支持部材を備え、
     前記テープカセットが装着された状態では、印字位置よりも前記印字テープの排出方向下流側で、前記印字テープの印字面と前記貼り合せテープの熱活性性の粘着剤とが接触し、
     前記テープ送りサブローラと前記テープ送りローラとの離間・圧接を行う第1離間圧接手段を有し、
     前記印字ヘッドと前記前記プラテンローラとの離間・圧接を行う第2離間圧接手段を有し、
     第1離間圧接手段と第2離間圧接手段とは、独立して動作可能であり、
     前記第1離間圧接手段による前記テープ送りサブローラと前記テープ送りローラとの離間・圧接、及び、前記第2離間圧接手段による前記印字ヘッドと前記プラテンローラとの離間・圧接をそれぞれ独立して行う離間圧接制御手段を備え、
     前記テープ送りサブローラは、又は前記支持部材は加熱装置であり、
     前記テープ送りサブローラ又は前記支持部材の熱状態を制御する加熱制御手段を有し、
     前記ヒートローラ加熱制御手段は、前記テープ送りサブローラに対し、少なくとも印字済みの印字テープが該テープ送りサブローラを通過する間、前記貼り合せテープの粘着剤の熱活性化に必要な熱を生じさせ、
     前記テープ送りサブローラは、少なくとも印字済みの印字テープが該テープ送りサブローラを通過する間は加熱状態にあり、前記貼り合せテープの熱活性性の粘着剤が活性化され、前記貼り合せテープと前記印字済み印字テープとが貼り合わされる、
    ことを特徴とするテープ作成システム。
    A tape making device comprising a print head, a platen, a tape feed sub-roller, and
    A bonding tape coated with a heat-active adhesive that does not have adhesiveness at room temperature and that generates adhesiveness when heated, a printing tape having a printing surface on which printing is performed, and the printing tape after printing In a tape production system comprising a tape cassette having a tape feeding roller for conveying the bonding tape, and a cassette case for storing the bonding tape, the printing tape, and the tape feeding roller,
    The tape cassette is detachable from the tape making device,
    A support member for engaging and supporting the tape feed roller;
    In the state where the tape cassette is mounted, the print surface of the print tape and the thermally active adhesive of the bonding tape are in contact with each other on the downstream side in the discharge direction of the print tape from the print position,
    A first separation pressure contact means for performing separation and pressure contact between the tape feeding sub-roller and the tape feeding roller;
    A second separation pressure contact means for performing separation / pressure contact between the print head and the platen roller;
    The first separation pressure contact means and the second separation pressure contact means can operate independently,
    Separation / pressure contact between the tape feeding sub-roller and the tape feeding roller by the first separation pressure contact means and separation / pressure contact between the print head and the platen roller by the second separation pressure contact means are performed independently. With pressure control means,
    The tape feed sub-roller or the support member is a heating device,
    Heating control means for controlling the heat state of the tape feed sub-roller or the support member;
    The heat roller heating control means causes the tape feeding sub-roller to generate heat necessary for thermal activation of the adhesive of the bonding tape while at least the printed printing tape passes through the tape feeding sub-roller.
    The tape feeding sub-roller is in a heated state at least while the printed printing tape passes through the tape feeding sub-roller, and the heat-active adhesive of the bonding tape is activated, and the bonding tape and the printing Pasted printing tape
    A tape making system characterized by that.
  11.  印字ヘッド、プラテン、テープ送りサブローラ、を備えたテープ作成装置、及び、
     常温では粘着性を有さず、加熱することにより粘着性を発する熱活性性の粘着剤が塗布された貼り合せテープと、印字が行われる印字面を有する印字テープと、印字後の前記印字テープ及び前記貼り合せテープを搬送するヒートローラと、前記貼り合せテープ、前記印字テープ、及び、前記テープ送りローラを収納するカセットケース、を有するテープカセット、
    からなるテープ作成システムにおいて、
     前記テープカセットは、前記テープ作成装置に着脱可能であり、
     前記テープ送りローラを係合支持する支持部材を備え、
     前記テープカセットが装着された状態では、印字位置よりも前記印字テープの排出方向下流側で、前記印字テープの印字面と前記貼り合せテープの熱活性性の粘着剤とが接触し、
     前記テープ送りサブローラと前記ヒートローラとの離間・圧接を行う第3離間圧接手段を有し、
     前記印字ヘッドと前記前記プラテンローラとの離間・圧接を行う第4離間圧接手段を有し、
     第3離間圧接手段と第4離間圧接手段とは、独立して動作可能であり、
     前記第3離間圧接手段による前記テープ送りサブローラと前記ヒートローラとの離間・圧接、及び、前記第4離間圧接手段による前記印字ヘッドと前記プラテンローラとの離間・圧接をそれぞれ独立して行う離間圧接制御手段を備え、
     前記ヒートローラ又は前記支持部材の熱状態を制御する加熱制御手段を有し、
     前記加熱制御手段は、前記ヒートローラに対し、少なくとも印字済みの印字テープが該テープ送りサブローラを通過する間、前記貼り合せテープの粘着剤の熱活性化に必要な熱を生じさせ、 
     前記ヒートローラは、少なくとも印字済みの印字テープが該テープ送りサブローラを通過する間は加熱状態にあり、前記貼り合せテープの熱活性性の粘着剤が活性化される、
    ことを特徴とするテープ作成システム。
    A tape making device comprising a print head, a platen, a tape feed sub-roller, and
    A bonding tape coated with a heat-active adhesive that does not have adhesiveness at room temperature and that generates adhesiveness when heated, a printing tape having a printing surface on which printing is performed, and the printing tape after printing And a heat cassette that conveys the bonding tape, a tape cassette having a cassette case that houses the bonding tape, the printing tape, and the tape feeding roller,
    In the tape making system consisting of
    The tape cassette is detachable from the tape making device,
    A support member for engaging and supporting the tape feed roller;
    In the state where the tape cassette is mounted, the print surface of the print tape and the thermally active adhesive of the bonding tape are in contact with each other on the downstream side in the discharge direction of the print tape from the print position,
    A third separation pressure contact means for performing separation and pressure contact between the tape feed sub-roller and the heat roller;
    A fourth separation pressure contact means for performing separation and pressure contact between the print head and the platen roller;
    The third separation pressure contact means and the fourth separation pressure contact means can operate independently,
    Separation pressure contact between the tape feeding sub-roller and the heat roller by the third separation pressure contact means, and separation pressure contact for independently performing the separation and pressure contact between the print head and the platen roller by the fourth separation pressure contact means. With control means,
    Heating control means for controlling the heat state of the heat roller or the support member;
    The heating control means generates heat necessary for thermal activation of the adhesive of the bonding tape while at least the printed printing tape passes through the tape feeding sub-roller with respect to the heat roller.
    The heat roller is in a heated state at least while the printed printing tape passes through the tape feed sub-roller, and the heat-active adhesive of the bonding tape is activated.
    A tape making system characterized by that.
  12.  印字ヘッド、プラテンローラを備えたテープ作成装置において、
     常温では粘着性を有さず、加熱することにより粘着性を発する熱活性性の粘着剤が塗布された貼り合せテープと、印字が行われる印字面を有する印字テープと、印字後の前記印字テープ及び前記貼り合せテープを搬送するテープ送りローラと、前記貼り合せテープ、前記印字テープ、及び、前記テープ送りローラを収納するカセットケース、を有するテープカセットが着脱可能であり、
     前記テープカセットが装着された状態では、印字位置よりも前記印字テープの排出方向下流側で、前記印字テープの印字面と前記貼り合せテープの熱活性性の粘着剤とが接触し、
     印字位置よりも下流側に位置し、かつ、前記貼り合せテープまたは前記印字テープに接触する加熱装置と、
     前記加熱装置の熱状態を制御する加熱制御装置と、を有し、
     前記加熱制御装置は、前記加熱装置に対し、少なくとも印字済みの印字テープが該加熱装置を通過する間、前記貼り合せテープの粘着剤の熱活性化に必要な熱を生じさせ、
     前記加熱装置は、少なくとも印字済みの印字テープが該加熱装置を通過する間は加熱状態にあり、前記貼り合せテープの熱活性性の粘着剤が活性化され、前記貼り合せテープと前記印字済み印字テープとが貼り合わされる、
    ことを特徴とするテープ作成装置。
    In a tape making device equipped with a print head and a platen roller,
    A bonding tape coated with a heat-active adhesive that does not have adhesiveness at room temperature and that generates adhesiveness when heated, a printing tape having a printing surface on which printing is performed, and the printing tape after printing And a tape cassette having a tape feed roller for conveying the bonding tape, and a cassette case for storing the bonding tape, the printing tape, and the tape feeding roller, are removable.
    In the state where the tape cassette is mounted, the print surface of the print tape and the thermally active adhesive of the bonding tape are in contact with each other on the downstream side in the discharge direction of the print tape from the print position,
    A heating device located downstream of the printing position and in contact with the bonding tape or the printing tape;
    A heating control device for controlling the heat state of the heating device,
    The heating control device causes the heating device to generate heat necessary for thermal activation of the adhesive of the bonding tape while at least the printed printing tape passes through the heating device.
    The heating device is in a heated state at least while the printed printing tape passes through the heating device, the heat-active adhesive of the bonding tape is activated, and the bonding tape and the printed printing The tape is pasted together,
    A tape making apparatus characterized by that.
  13.  前記加熱装置よりも前記印字テープの排出方向下流側に位置する貼り合せローラを有し、
     前記貼り合せローラは、前記カセットが装着された状態において、前記テープ送りローラと対向し、
     前記貼り合わせローラ及び前記テープ送りローラは、前記貼り合せテープと前記印字済みテープとを貼り合わせる、
    ことを特徴とする請求項21のテープ作成装置。
    Having a laminating roller located downstream of the heating device in the discharge direction of the printing tape,
    The laminating roller faces the tape feed roller in a state where the cassette is mounted,
    The laminating roller and the tape feeding roller are laminating the laminating tape and the printed tape,
    The tape making apparatus according to claim 21, wherein:
  14.  前記加熱制御装置は、前記加熱装置を、前記印字済みの印字テープの後端が該加熱装置に到達したときに、非加熱状態にし、
     搬送装置、切断装置をさらに有し、
     前記搬送装置は、前記加熱装置が非加熱状態において、前記印字済みの印字テープを、前記印字済みの印字テープの後端が切断位置に到達するまで排出方向下流側に搬送し、
     前記切断装置は、前記印字済みの印字テープの後端を、前記貼り合せテープとともに切断し、
     前記搬送装置は、切断後の印字テープ及び前記貼り合せテープを、その先端が第1の所定位置に到着するまで前記排出方向とは逆方向に搬送し、
     前記搬送装置は、切断後の貼り合せテープを、その先端が第2の所定位置まで前記排出方向とは逆方向に搬送する、
    ことを特徴とする請求項21または22のテープ作成装置。
    The heating control device makes the heating device non-heated when the rear end of the printed printing tape reaches the heating device,
    It further has a conveying device and a cutting device,
    The transport device transports the printed print tape downstream in the discharge direction until the rear end of the printed print tape reaches a cutting position when the heating device is in an unheated state,
    The cutting device cuts the rear end of the printed printing tape together with the bonding tape,
    The transport device transports the cut print tape and the bonding tape in a direction opposite to the discharge direction until the tip reaches a first predetermined position,
    The transport device transports the cut bonding tape to the second predetermined position in the direction opposite to the discharge direction.
    23. The tape making apparatus according to claim 21 or 22,
  15.  先端位置検出装置をさらに有し、
     前記先端位置検出装置は、前記切断後の印字テープ及び貼り合せテープの先端を検出し、
     前記搬送装置は、前記切断後の印字テープ及び貼り合せテープの先端が、前記先端位置検出装置によって検出されるまで前記排出方向に搬送し、
     前記切断後の印字テープ及び貼り合せテープは、その先端が前記先端位置検出装置によって検出されるまで前記排出方向に搬送されることにより、該先端の位置が特定され、
     前記第1の所定の位置は、前記テープ送りサブローラよりも前記排出方向下流側に位置するガイドされたテープ搬送路の位置であり、
     前記第2の所定の位置は、印字位置よりも前記排出方向下流側に位置し、かつ、前記テープ送りサブローラよりも前記排出方向上流側に位置するガイドされたテープ搬送路の位置である、
    ことを特徴とする請求項23のテープ作成装置。
    It further has a tip position detection device,
    The tip position detection device detects the tip of the cut printing tape and the bonding tape,
    The transport device transports in the discharge direction until the leading end of the cut printing tape and the bonding tape is detected by the leading end position detection device,
    The cut print tape and the bonding tape are conveyed in the discharge direction until the tip is detected by the tip position detection device, whereby the position of the tip is specified.
    The first predetermined position is a position of a guided tape transport path located downstream of the tape feed sub-roller in the discharge direction,
    The second predetermined position is a position of a guided tape transport path that is located on the downstream side in the discharge direction with respect to the print position and located on the upstream side in the discharge direction with respect to the tape feed sub-roller.
    24. The tape making apparatus according to claim 23.
  16.  前記印字テープの印字面の裏面側に印刷された目印を読み取る読取センサ有し、
     前記読取センサは、読み取った前記目印に基いて、前記印字テープの位置を検出し、
     前記貼り合わせローラと前記テープ送りローラとの離間・圧接を行う第1離間圧接装置と、
     前記印字ヘッドと前記前記プラテンローラとの離間・圧接を行う第2離間圧接装置と、
     前記加熱装置と位置規制装置との離間・圧接を行う第3離間圧接装置と、を有し、
     第1離間圧接装置、第2離間圧接装置、第3離間圧接装置は、それぞれ独立して動作可能であり、
     前記印字済みテープの後端が前記加熱装置に到達した時に、前記第3離間圧接装置により該加熱装置と前記位置規制装置とを離間し、
     前記印字テープ及び前記貼り合せテープが前記逆方向に搬送されるときに、前記第2離間圧接装置及び前記第3離間圧接装置により前記印字ヘッドと前記プラテンローラ、及び前記加熱装置と前記位置規制装置とをそれぞれ離間し、
     前記印字テープのみが前記逆方向に搬送されるときに、前記第1離間圧接装置、前記第2離間圧接装置及び前記第3離間圧接装置によりそれぞれ前記貼り合せローラと前記テープ送りローラ、前記印字ヘッドと前記プラテンローラ、及び前記加熱装置と前記位置規制装置とを離間するように制御する離間圧接制御装置を備える、
     ことを特徴とする請求項23または請求項24のテープ作成装置。
    A reading sensor for reading a mark printed on the back side of the printing surface of the printing tape;
    The reading sensor detects the position of the printing tape based on the read mark,
    A first separation pressure contact device that separates and presses the laminating roller and the tape feed roller;
    A second separation and pressure contact device that separates and presses the print head and the platen roller;
    A third separation pressure welding device that separates and presses the heating device and the position regulating device;
    The first separation pressure welding device, the second separation pressure welding device, and the third separation pressure welding device can be operated independently,
    When the rear end of the printed tape reaches the heating device, the heating device and the position regulating device are separated by the third separation pressure welding device,
    When the print tape and the bonding tape are conveyed in the opposite direction, the print head, the platen roller, the heating device, and the position regulating device are moved by the second separation pressure contact device and the third separation pressure contact device. Are separated from each other,
    When only the printing tape is transported in the reverse direction, the laminating roller, the tape feeding roller, and the printing head are respectively used by the first spacing pressure welding device, the second spacing pressure welding device, and the third spacing pressure welding device. And a platen roller, and a separation pressure control device for controlling the heating device and the position regulating device to separate.
    25. The tape making apparatus according to claim 23 or 24.
PCT/JP2009/0528582008-02-292009-02-19Tape cassette, tape making apparatus and tape making systemWO2009107534A1 (en)

Applications Claiming Priority (6)

Application NumberPriority DateFiling DateTitle
JP2008-0493302008-02-29
JP2008049328AJP4867933B2 (en)2008-02-292008-02-29 Tape cassette
JP2008-0493292008-02-29
JP2008-0493282008-02-29
JP2008049330AJP5119979B2 (en)2008-02-292008-02-29 Tape making device
JP2008049329AJP2011101949A (en)2008-02-292008-02-29Apparatus and system for making tape

Publications (1)

Publication NumberPublication Date
WO2009107534A1true WO2009107534A1 (en)2009-09-03

Family

ID=41015934

Family Applications (1)

Application NumberTitlePriority DateFiling Date
PCT/JP2009/052858WO2009107534A1 (en)2008-02-292009-02-19Tape cassette, tape making apparatus and tape making system

Country Status (1)

CountryLink
WO (1)WO2009107534A1 (en)

Cited By (19)

* Cited by examiner, † Cited by third party
Publication numberPriority datePublication dateAssigneeTitle
JP2011011399A (en)*2009-06-302011-01-20Brother Industries LtdTape cassette
JP2011136473A (en)*2009-12-282011-07-14Brother Industries LtdTape printer
US8360667B2 (en)2009-06-102013-01-29Brother Kogyo Kabushiki KaishaPrinter
US8382389B2 (en)2008-12-252013-02-26Brother Kogyo Kabushiki KaishaTape cassette
US8384750B2 (en)2010-03-312013-02-26Brother Kogyo Kabushiki KaishaPrinting apparatus
US8564632B2 (en)2010-03-312013-10-22Brother Kogyo Kabushiki KaishaThermal printer
US8562228B2 (en)2008-12-252013-10-22Brother Kogyo Kabushiki KaishaTape printer
US8641304B2 (en)2009-06-302014-02-04Brother Kogyo Kabushiki KaishaTape cassette
US8740482B2 (en)2009-03-312014-06-03Brother Kogyo Kabushiki KaishaTape printer
US8757907B2 (en)2009-03-312014-06-24Brother Kogyo Kabushiki KaishaTape cassette
US8764326B2 (en)2009-03-312014-07-01Brother Kogyo Kabushiki KaishaTape cassette
US9132682B2 (en)2009-03-312015-09-15Brother Kogyo Kabushiki KaishaTape unit and tape cassette
US9174476B2 (en)2010-02-262015-11-03Brother Kogyo Kabushiki KaishaRibbon guide in a tape cassette
US9539837B2 (en)2009-12-162017-01-10Brother Kogyo Kabushiki KaishaTape cassette
US9566808B2 (en)2009-03-312017-02-14Brother Kogyo Kabushiki KaishaTape cassette
US9656495B2 (en)2009-12-282017-05-23Brother Kogyo Kabushiki KaishaTape cassette
CN110962474A (en)*2018-09-282020-04-07兄弟工业株式会社 printer
US11285736B2 (en)*2018-03-302022-03-29Brother Kogyo Kabushiki KaishaPrinter
US12296580B2 (en)2009-03-312025-05-13Brother Kogyo Kabushiki KaishaTape cassette

Citations (5)

* Cited by examiner, † Cited by third party
Publication numberPriority datePublication dateAssigneeTitle
JPS58224779A (en)*1982-06-231983-12-27Canon IncRecorder
JPH0970960A (en)*1995-09-061997-03-18Seiko Epson Corp INKJET PRINTER AND PRINTING METHOD USING THE SAME
JP2004058434A (en)*2002-07-292004-02-26Brother Ind Ltd Label tape cartridge for tape printer
JP2006142527A (en)*2004-11-172006-06-08Noritsu Koki Co Ltd Recording medium coating apparatus
JP2006181750A (en)*2004-12-272006-07-13Brother Ind Ltd Tape printer

Patent Citations (5)

* Cited by examiner, † Cited by third party
Publication numberPriority datePublication dateAssigneeTitle
JPS58224779A (en)*1982-06-231983-12-27Canon IncRecorder
JPH0970960A (en)*1995-09-061997-03-18Seiko Epson Corp INKJET PRINTER AND PRINTING METHOD USING THE SAME
JP2004058434A (en)*2002-07-292004-02-26Brother Ind Ltd Label tape cartridge for tape printer
JP2006142527A (en)*2004-11-172006-06-08Noritsu Koki Co Ltd Recording medium coating apparatus
JP2006181750A (en)*2004-12-272006-07-13Brother Ind Ltd Tape printer

Cited By (78)

* Cited by examiner, † Cited by third party
Publication numberPriority datePublication dateAssigneeTitle
US9511611B2 (en)2008-12-252016-12-06Brother Kogyo Kabushiki KaishaTape cassette
US12304229B2 (en)2008-12-252025-05-20Brother Kogyo Kabushiki KaishaTape cassette
US12233641B2 (en)2008-12-252025-02-25Brother Kogyo Kabushiki KaishaTape cassette
US8382389B2 (en)2008-12-252013-02-26Brother Kogyo Kabushiki KaishaTape cassette
US11479053B2 (en)2008-12-252022-10-25Brother Kogyo Kabushiki KaishaTape cassette
US11285749B2 (en)2008-12-252022-03-29Brother Kogyo Kabushiki KaishaTape cassette
US8562228B2 (en)2008-12-252013-10-22Brother Kogyo Kabushiki KaishaTape printer
US10744798B2 (en)2008-12-252020-08-18Brother Kogyo Kabushiki KaishaTape cassette
US8651756B2 (en)2008-12-252014-02-18Brother Kogyo Kabushiki KaishaTape cassette
US10661589B2 (en)2008-12-252020-05-26Brother Kogyo Kabushiki KaishaTape cassette
US10189284B2 (en)2008-12-252019-01-29Brother Kogyo Kabushiki KaishaTape cassette
US9855779B2 (en)2008-12-252018-01-02Brother Kogyo Kabushiki KaishaTape cassette
US9751349B2 (en)2008-12-252017-09-05Brother Kogyo Kabushiki KaishaTape cassette
US8770877B2 (en)2008-12-252014-07-08Brother Kogyo Kabushiki KaishaTape printer
US9682584B2 (en)2008-12-252017-06-20Brother Kogyo Kabushiki KaishaTape cassette
US9656497B2 (en)2008-12-252017-05-23Brother Kogyo Kabushiki KaishaTape cassette
US9656496B2 (en)2008-12-252017-05-23Brother Kogyo Kabushiki KaishaTape cassette
US9649861B2 (en)2008-12-252017-05-16Brother Kogyo Kabushiki KaishaTape cassette
US9566812B2 (en)2008-12-252017-02-14Brother Kogyo Kabushiki KaishaTape cassette
US9539838B2 (en)2008-12-252017-01-10Brother Kogyo Kabushiki KaishaTape Cassette
US9533522B2 (en)2008-12-252017-01-03Brother Kogyo Kabushiki KaishaTape cassette
US9522556B2 (en)2008-12-252016-12-20Brother Kogyo Kabushiki KaishaTape cassette
US9511610B2 (en)2008-12-252016-12-06Brother Kogyo Kabushiki KaishaTape cassette
US9493016B2 (en)2008-12-252016-11-15Brother Kogyo Kabushiki KaishaTape cassette
US9498998B2 (en)2008-12-252016-11-22Brother Kogyo Kabushiki KaishaTape cassette
US9498997B2 (en)2008-12-252016-11-22Brother Kogyo Kabushiki KaishaTape cassette
US9511609B2 (en)2008-12-252016-12-06Brother Kogyo Kabushiki KaishaTape cassette
US9616690B2 (en)2009-03-312017-04-11Brother Kogyo Kabushiki KaishaTape cassette
US9132682B2 (en)2009-03-312015-09-15Brother Kogyo Kabushiki KaishaTape unit and tape cassette
US9498987B2 (en)2009-03-312016-11-22Brother Kogyo Kabushiki KaishaTape cassette
US9427988B2 (en)2009-03-312016-08-30Brother Kogyo Kabushiki KaishaTape cassette
US9409425B2 (en)2009-03-312016-08-09Brother Kogyo Kabushiki KaishaTape cassette
US9403389B2 (en)2009-03-312016-08-02Brother Kogyo Kabushiki KaishaTape cassette
US9381756B2 (en)2009-03-312016-07-05Brother Kogyo Kabushiki KaishaTape cassette
US12296580B2 (en)2009-03-312025-05-13Brother Kogyo Kabushiki KaishaTape cassette
US9566808B2 (en)2009-03-312017-02-14Brother Kogyo Kabushiki KaishaTape cassette
US9370949B2 (en)2009-03-312016-06-21Brother Kogyo Kabushiki KaishaTape cassette
US12257827B2 (en)2009-03-312025-03-25Brother Kogyo Kabushiki KaishaTape cassette
US9592692B2 (en)2009-03-312017-03-14Brother Kogyo Kabushiki KaishaTape cassette
US9498988B2 (en)2009-03-312016-11-22Brother Kogyo Kabushiki KaishaTape cassette
US9346296B2 (en)2009-03-312016-05-24Brother Kogyo Kabushiki KaishaTape cassette
US10618325B2 (en)2009-03-312020-04-14Brother Kogyo Kabushiki KaishaTape cassette
US8740482B2 (en)2009-03-312014-06-03Brother Kogyo Kabushiki KaishaTape printer
US11945217B2 (en)2009-03-312024-04-02Brother Kogyo Kabushiki KaishaTape cassette
US9656488B2 (en)2009-03-312017-05-23Brother Kogyo Kabushiki KaishaTape cassette
US11707938B2 (en)2009-03-312023-07-25Brother Kogyo Kabushiki KaishaTape cassette
US9011028B2 (en)2009-03-312015-04-21Brother Kogyo Kabushiki KaishaTape cassette
US8764325B2 (en)2009-03-312014-07-01Brother Kogyo Kabushiki KaishaTape cassette
US11254149B2 (en)2009-03-312022-02-22Brother Kogyo Kabushiki KaishaTape cassette
US8764326B2 (en)2009-03-312014-07-01Brother Kogyo Kabushiki KaishaTape cassette
US8757907B2 (en)2009-03-312014-06-24Brother Kogyo Kabushiki KaishaTape cassette
US10201993B2 (en)2009-03-312019-02-12Brother Kogyo Kabushiki KaishaTape cassette
US10201988B2 (en)2009-03-312019-02-12Brother Kogyo Kabushiki KaishaTape cassette
US10226949B2 (en)2009-03-312019-03-12Brother Kogyo Kabushiki KaishaTape cassette
US11052685B2 (en)2009-03-312021-07-06Brother Kogyo Kabushiki KaishaTape cassette
US10744802B2 (en)2009-03-312020-08-18Brother Kogyo Kabushiki KaishaTape cassette
US10675894B2 (en)2009-03-312020-06-09Brother Kogyo Kabushiki KaishaTape cassette
US8360667B2 (en)2009-06-102013-01-29Brother Kogyo Kabushiki KaishaPrinter
JP2011011399A (en)*2009-06-302011-01-20Brother Industries LtdTape cassette
US9676217B2 (en)2009-06-302017-06-13Brother Kogyo Kabushiki KaishaTape cassette
US8641304B2 (en)2009-06-302014-02-04Brother Kogyo Kabushiki KaishaTape cassette
US9573401B2 (en)2009-06-302017-02-21Brother Kogyo Kabushiki KaishaTape cassette
US11225099B2 (en)2009-06-302022-01-18Brother Kogyo Kabushiki KaishaTape cassette
US9802432B2 (en)2009-06-302017-10-31Brother Kogyo Kabushiki KaishaTape cassette
US12194765B2 (en)2009-06-302025-01-14Brother Kogyo Kabushiki KaishaTape cassette
US9539837B2 (en)2009-12-162017-01-10Brother Kogyo Kabushiki KaishaTape cassette
US10265976B2 (en)2009-12-162019-04-23Brother Kogyo Kabushiki KaishaTape cassette
US11235600B2 (en)2009-12-162022-02-01Brother Kogyo Kabushiki KaishaTape cassette
US9656495B2 (en)2009-12-282017-05-23Brother Kogyo Kabushiki KaishaTape cassette
US12128697B2 (en)2009-12-282024-10-29Brother Kogyo Kabushiki KaishaTape cassette
US11135862B2 (en)2009-12-282021-10-05Brother Kogyo Kabushiki KaishaTape cassette with indicator portion having pressing and non-pressing portion for indentifying tape type
US10265982B2 (en)2009-12-282019-04-23Brother Kogyo Kabushiki KaishaTape cassette
JP2011136473A (en)*2009-12-282011-07-14Brother Industries LtdTape printer
US9174476B2 (en)2010-02-262015-11-03Brother Kogyo Kabushiki KaishaRibbon guide in a tape cassette
US8384750B2 (en)2010-03-312013-02-26Brother Kogyo Kabushiki KaishaPrinting apparatus
US8564632B2 (en)2010-03-312013-10-22Brother Kogyo Kabushiki KaishaThermal printer
US11285736B2 (en)*2018-03-302022-03-29Brother Kogyo Kabushiki KaishaPrinter
CN110962474A (en)*2018-09-282020-04-07兄弟工业株式会社 printer

Similar Documents

PublicationPublication DateTitle
WO2009107534A1 (en)Tape cassette, tape making apparatus and tape making system
KR100918738B1 (en) Transfer and cutting method of thermosensitive adhesive sheet and printer for thermosensitive adhesive sheet
CN100594136C (en) with box
US8905658B2 (en)Tape printing apparatus and tape cassette
JP4068472B2 (en) Printer for heat-sensitive adhesive sheet
CN113858823B (en) Printing device, control method, and recording medium
JP2008080668A (en) Printing tape, tape cassette and tape printing device
JP2008221726A (en) Tape cassette and printing device
JP2009544496A (en) Tape printer and tape cassette
JP4968212B2 (en) Printing device
JP2004155150A (en) Thermal recording device
US7478956B2 (en)Printer for printing on both a heat-sensitive adhesive label and an ordinary label
US8269808B2 (en)Printer
JP4877222B2 (en) Tape cassette and printing device
JP4867933B2 (en) Tape cassette
CN100448681C (en) Forward conveying and cutting method of heat-sensitive adhesive paper and its printing machine
JP2009107305A (en)Printer and peeling method thereof
JP5119979B2 (en) Tape making device
JP4245143B2 (en) Heat-sensitive adhesive sheet printing and thermal activation device, and printing and thermal activation method
JP4985389B2 (en) Printing device
JP4412638B2 (en) Thermal activation device for heat-sensitive adhesive sheet, printer for heat-sensitive adhesive sheet
JP3941106B2 (en) Printing tape and tape printer
JP2011101949A (en)Apparatus and system for making tape
JP4073827B2 (en) Printer
JP5287034B2 (en) Tape cassette

Legal Events

DateCodeTitleDescription
121Ep: the epo has been informed by wipo that ep was designated in this application

Ref document number:09715187

Country of ref document:EP

Kind code of ref document:A1

NENPNon-entry into the national phase

Ref country code:DE

122Ep: pct application non-entry in european phase

Ref document number:09715187

Country of ref document:EP

Kind code of ref document:A1

NENPNon-entry into the national phase

Ref country code:JP


[8]ページ先頭

©2009-2025 Movatter.jp