Movatterモバイル変換


[0]ホーム

URL:


USRE49839E1 - Method of generating load variation for detecting wireless power receiving unit in wireless charging, and wireless power receiving unit - Google Patents

Method of generating load variation for detecting wireless power receiving unit in wireless charging, and wireless power receiving unit
Download PDF

Info

Publication number
USRE49839E1
USRE49839E1US16/854,232US202016854232AUSRE49839EUS RE49839 E1USRE49839 E1US RE49839E1US 202016854232 AUS202016854232 AUS 202016854232AUS RE49839 EUSRE49839 EUS RE49839E
Authority
US
United States
Prior art keywords
wireless power
power receiver
transmitting unit
set value
wireless
Prior art date
Legal status (The legal status is an assumption and is not a legal conclusion. Google has not performed a legal analysis and makes no representation as to the accuracy of the status listed.)
Active
Application number
US16/854,232
Inventor
Kyung-Woo Lee
Kang-Ho Byun
Chong-Min LEE
Hee-Won Jung
Min-Cheol Ha
Seung-Woo Han
Current Assignee (The listed assignees may be inaccurate. Google has not performed a legal analysis and makes no representation or warranty as to the accuracy of the list.)
Samsung Electronics Co Ltd
Original Assignee
Samsung Electronics Co Ltd
Priority date (The priority date is an assumption and is not a legal conclusion. Google has not performed a legal analysis and makes no representation as to the accuracy of the date listed.)
Filing date
Publication date
Application filed by Samsung Electronics Co LtdfiledCriticalSamsung Electronics Co Ltd
Priority to US16/854,232priorityCriticalpatent/USRE49839E1/en
Application grantedgrantedCritical
Publication of USRE49839E1publicationCriticalpatent/USRE49839E1/en
Activelegal-statusCriticalCurrent
Anticipated expirationlegal-statusCritical

Links

Images

Classifications

Definitions

Landscapes

Abstract

A method of controlling a wireless power receiver. The method includes receiving, by a power receiver, power from a wireless power transmitter; receiving, from the wireless power transmitter, a time set value that is set for checking cross connection; in response to receiving the time set value, generating a power variation in the wireless power receiver by converting a load status from a first load status to a second load status; and maintaining the second load status for a time corresponding to the received time set value.

Description

PRIORITY
This continuation application claims priority under 35 U.S.C. § 120 to U.S. patent application Ser. No. 14/297,251 filed on Jun. 5, 2014 in the U.S. Patent and Trademark Office, now U.S. Pat. No. 9,806,554 issued on Oct. 31, 2017, which claims priority under 35 U.S.C. § 119(a) to a Korean Patent Application filed on Jun. 5, 2013 in the Korean Intellectual Property Office and assigned Serial No. 10-2013-0065009, the entire contents of each of which are incorporated herein by reference.
BACKGROUND1. Field of the Invention
The present invention relates generally to a wireless charging network, and more particularly, to a method for generating a load variation used for detecting a wireless power receiving unit in wireless charging, allowing a wireless power transmitting unit to detect a wireless power receiving unit that has entered a wireless charging network.
2. Description of the Related Art
Mobile terminals such as a mobile phone, a Personal Digital Assistant (PDA), etc., are driven with rechargeable batteries, and the battery of the mobile terminal is charged using a separate charging apparatus. In general, the charging apparatus and the battery each have external contact terminals, and the charging apparatus and the battery are electrically connected to each other using the contact terminals.
However, since the contact terminal protrudes outward in such a contact type charging scheme, the contact terminal is easily contaminated by a rogue object and thus battery charging might not be performed correctly. Further, battery charging might also not be performed correctly when the contact terminal is exposed to moisture.
Recently, a wireless charging or a non-contact charging technology was developed and used for electronic devices to solve the above-mentioned problems.
Such a wireless charging technology employs wireless power transmission/reception, and corresponds to, for example, a system in which a battery can be automatically charged if the battery is laid on a charging pad without the need of a wired connection between the mobile phone and a separate charging connector. Examples of wireless charging technology include the wireless electrical toothbrush and the wireless electric shaver. Accordingly, electronic products are charged in a waterproof manner through wireless charging, and the portability of electronic products is increased since there is no need for a wired charging apparatus. Therefore, the number of technologies using wireless charging technology is expected to increase significantly, especially in the coming age of electric cars.
Wireless charging technology largely includes an electro-magnetic induction scheme using a coil, a resonance scheme, and an RF/microwave radiation scheme for converting electrical energy to either an RF or microwave signal and transmitting the RF or microwave signal.
Presently, electromagnetic induction schemes are not mainstream, but it is expected that the day will come when all electronic products will be wirelessly charged, anytime and anywhere. Based on recent successful experiments on transmitting power wirelessly dozens of meters using microwaves, wired charging technology is expected to disappear in the near future for use at home and abroad.
A power transmission method using electromagnetic induction transmits electrical power between a primary coil and a secondary coil. When a magnet is moved in a coil, a current is induced in the coil according to the rate of change of the magnetic field. The induction current then generates a magnetic field at a transferring end to generate energy at a reception end. The phenomenon is referred to as magnetic induction, and the electric power transmission method using magnetic induction has a high energy transmission efficiency.
With respect to the resonance scheme, Prof. Soljacic of the Massachusetts Institute of Technology (MIT) announced a system in which electricity is wirelessly transferred using an electric power transmission principle of the resonance scheme based on a coupled mode theory even if a device to be charged is separated from a charging device by several meters (m). A wireless charging system of an MIT research team employed the concept of resonance (e.g., the tendency of a tuning fork oscillating at a particular frequency to cause a wine glass next to the tuning fork to oscillates at the same frequency to make an electromagnetic wave containing electrical energy resonate instead of making sounds resonate. The resonated electrical energy is transferred only when there is a device having a resonance frequency, and only the portion of the resonating electrical energy that is are being used is reabsorbed into an electromagnetic field instead of being broadcast. Therefore, the resonating electrical energy would not affect surrounding devices or people, unlike other electromagnetic waves.
There is a method for detecting a change in impedance in which a wireless power transmitting unit (PTU) determines that a wireless power receiving unit (PRU) is put thereon.
However, when detecting a load (i.e., an impedance), the PTU is very likely to falsely detect a change in impedance when a threshold for detecting a change in impedance is set too low. On the other hand, if the threshold for detecting a change in impedance is set too high, the PTU is very likely to fail to detect a change in impedance when an object's change in impedance is insignificant.
In addition, the PTU may not accurately detect a variation in load, if there is only a small change in impedance between a case where no PRU is put on the PTU and another case where a PRU is put on the PTU. In other words, the difference in impedance between the two cases should be sufficiently large in order for the PTU to accurately detect a variation in load.
In the conventional impedance detection method, a PTU may hardly detect a variation in load, because a change in power due to the variation in load is insignificant, even though a resistance varies when a PRU is put on the PTU. In addition, a point at which there is no change in reactance may exist on the PTU.
Therefore, there is a need for a method capable of accurately detecting a PRU when the PRU is placed on a PTU.
SUMMARY
The present invention has been made to address the above problems and disadvantages and to provide at least the advantages described below.
Accordingly, an aspect of the present invention is to provide a method and apparatus for generating a load variation used for detecting a wireless PRU in wireless charging, in which a dummy load is added to the wireless power receiving unit, allowing a wireless PTU to efficiently detect a load in accordance with a change in impedance.
In accordance with an aspect of the present invention, a method of controlling a wireless power receiver is provided. The method includes receiving, by a power receiver, power from a wireless power transmitter; receiving, from the wireless power transmitter, a time set value that is set for checking cross connection; in response to receiving the time set value, generating a power variation in the wireless power receiver by converting a load status from a first load status to a second load status; and maintaining the second load status for a time corresponding to the received time set value.
In accordance with another aspect of the present invention, a wireless power receiving is provided. The wireless power receiver includes a power receiver configured to receive power from a wireless power transmitter; a communication module configured to receive, from the wireless power transmitter, a time set value that is set for checking cross connection; and a controller configured to: generate a power variation in the wireless power receiver by converting a load status from a first load status to a second load status, and maintain the second load status for time corresponding to the received time set value.
In accordance with another aspect of the present invention, a method for controlling a wireless power transmitter is provided. The method includes transmitting a time set value that is set for checking cross connection to the wireless power receiver; detecting a load variation of the wireless power receiver; comparing the time set value with a load variation period; determining whether the wireless power receiver is cross-connected, based on the comparison result; and in response to determining that the wireless power receiver is cross-connected, transmitting a PRU control signal with a permission field indicating that the wireless power receiver is not permitted due to the cross connection.
In accordance with another aspect of the present invention, a wireless power transmitter is provided. The wireless power transmitter includes a communication module configured to transmit a time set value that is set for checking cross connection to a wireless power receiver; and a controller configured to: detect a load variation of the wireless power receiver, compare the time set value with a load variation period, determine whether the wireless power receiver is cross-connected, based on the comparison result, and in response to determining that the wireless power receiver is cross-connected, transmit, through the communication module, a PRU control signal with a permission field indicating that the wireless power receiver is not permitted due to the cross connection.
BRIEF DESCRIPTION OF THE DRAWINGS
The above and other aspects, features and advantages of the present invention will be more apparent from the following description taken in conjunction with the accompanying drawings, in which:
FIG.1 is a block diagram which illustrates a wireless charging system;
FIG.2 is a block diagram which illustrates a wireless power transmitting unit and a wireless power receiving unit according to an embodiment of the present invention;
FIG.3 is a block diagram illustrating a wireless power transmitting unit and a wireless power receiving unit according to an embodiment of the present invention;
FIG.4 is a flow diagram illustrating operations of a wireless power transmitting unit and a wireless power receiving unit according to an embodiment of the present invention;
FIG.5 is a flowchart illustrating operations of a wireless power transmitting unit and a wireless power receiving unit according to another embodiment of the present invention;
FIG.6 is a graph on an x axis (or time axis) of an amount of power applied by a wireless power transmitting unit;
FIG.7 is a flowchart illustrating a control method of a wireless power transmitting unit according to an embodiment of the present invention;
FIG.8 is a graph on an x axis (or time axis) of an amount of power applied by a wireless power transmitting unit according to the embodiment ofFIG.7;
FIG.9 is a flowchart illustrating a control method of a wireless power transmitting unit according to an embodiment of the present invention;
FIG.10 is a graph on an x axis (or time axis) of an amount of power applied by a wireless power transmitting unit according to the embodiment ofFIG.9;
FIG.11 is a block diagram of a wireless power transmitting unit and a wireless power receiving unit in an SA mode according to an embodiment of the present invention;
FIG.12 illustrates a wireless power transmitting unit;
FIG.13 illustrates impedance detected by a wireless power transmitting unit;
FIG.14 illustrates a wireless power transmitting unit on which a wireless power receiving unit is placed;
FIG.15 illustrates impedance detected by a wireless power transmitting unit on which a wireless power receiving unit is placed;
FIG.16 is a circuit diagram of a wireless power receiving unit to which a dummy load is added according to an embodiment of the present invention;
FIG.17 is a circuit diagram of a wireless power receiving unit to which a dummy load is added according to another embodiment of the present invention;
FIG.18 is a flow diagram illustrating a procedure for detecting a load variation according to a first embodiment of the present invention;
FIG.19 is a graph illustrating an example of detecting a load variation according to the first embodiment of the present invention;
FIG.20 is a flowchart illustrating a procedure for detecting a load variation according to an embodiment of the present invention;
FIG.21 is a graph illustrating an example of detecting a load variation according to the second embodiment of the present invention;
FIG.22 is a flowchart illustrating a procedure for detecting a load variation according to a third embodiment of the present invention;
FIG.23 is a graph illustrating an example of detecting a load variation according to an embodiment of the present invention;
FIG.24 is a flow diagram illustrating a procedure for detecting a load variation according to an embodiment of the present invention; and
FIG.25 is a graph illustrating an example of detecting a load variation according to an embodiment of the present invention.
DETAILED DESCRIPTION
Hereinafter, embodiment of the present invention are described in detail it is to be noted that the same reference numbers are used throughout the drawings to refer to the same elements. The following description with reference to the accompanying drawings is provided to assist in a comprehensive understanding of embodiments of the present invention as defined by the claims and their equivalents. It includes various details to assist in that understanding but these are to be regarded as merely exemplary. Accordingly, those of ordinary skilled in the art will recognize that various changes and modifications of the embodiments of the present invention described herein can be made without departing from the scope and spirit of the present invention. In addition, descriptions of well-known functions and constructions may be omitted for clarity and conciseness.
The terms and words used in the following description and claims are not limited their dictionary meanings, but, are merely used to enable a clear and consistent understanding of the present invention. Accordingly, it should be apparent to those skilled in the art that the following description of embodiments of the present invention is provided for illustration purpose only and not for the purpose of limiting the present invention as defined by the appended claims and their equivalents.
It is to be understood that the singular forms “a,” “an,” and “the” include plural referents unless the context clearly dictates otherwise. Thus, for example, reference to “a component surface” includes reference to one or more of such surfaces.
By the term “substantially” it is meant that the recited characteristic, parameter, or value need not be achieved exactly, but that deviations or variations, including for example, tolerances, measurement error, measurement accuracy limitations and other factors known to those of skill in the art, may occur in amounts that do not preclude the effect the characteristic was intended to provide.
First, reference will be made toFIGS.1 to11, to describe the concept of the wireless charging system to which embodiments of the present invention are applicable. Next, reference will be made toFIGS.12 to25, to describe in detail methods for generating a load variation according to various embodiments of the present invention.
FIG.1 illustrates a wireless charging system.
As shown inFIG.1, the wireless charging system includes a wirelesspower transmitting unit100 and one or more wireless power receiving units110-1,110-2, . . . , and110-n.
The wirelesspower transmitting unit100 wirelessly transmits power1-1,1-2, . . . , and1-n to the one or more wireless power receiving units110-1,110-2, . . . , and110-n, respectively. The wirelesspower transmitting unit100 wirelessly transmits the power1-1,1-2, . . . , and1-n only to the wireless power receiving units authorized through a preset authentication process.
The wirelesspower transmitting unit100 forms wireless connections with the wireless power receiving units110-1,110-2, . . . , and110-n. For example, the wirelesspower transmitting unit100 transmits wireless power to the wireless power receiving units110-1,110-2, . . . , and110-n through electromagnetic waves.
The one or more wireless power receiving units110-1,110-2, . . . , and110-n wirelessly receive power from the wirelesspower transmitting unit100 to charge batteries inside the wireless power receiving units110-1,110-2, . . . , and110-n. Further, the one or more wireless power receiving units110-1,110-2, . . . , and110-n transmits messages2-1,2-2, . . . , and2-n including a request for wireless power transmission, information required for reception of wireless power, state information of the wireless power receiving units110-1,110-2, . . . , and110-n and information (that is, control information) for controlling the wirelesspower transmitting unit100 to the wirelesspower transmitting unit100. Similarly, the wirelesspower transmitting unit100 transmits a message including state information of the wirelesspower transmitting unit100 and information (that is, control information) for controlling the wireless power receiving units110-1,110-2, . . . , and110-n to the wireless power receiving units110-1,110-2, . . . , and110-n.
Further, each of the wireless power receiving units110-1,110-2, . . . , and110-n transmits a message indicating a charging state to the wirelesspower transmitting unit100.
The wirelesspower transmitting unit100 includes a display unit such as a display, and displays a state of each of the wireless power receiving units110-1,110-2, and110-n based on the message received from each of the wireless power receiving units110-1,110-2, . . . , and110-n. Further, the wirelesspower transmitting unit100 also displays a time expected to be spent until each of the wireless power receiving units110-1,110-2, . . . , and110-n is completely charged.
The wirelesspower transmitting unit100 transmits a control signal (or control message) for disabling a wireless charging function of each of the one or more wireless power receiving units110-1,110-2, . . . , and110-n. The wireless power receiving units having received the disable control signal of the wireless charging function from the wirelesspower transmitting unit100 disable the wireless charging function.
FIG.2 illustrates a wireless power transmitting unit and a wireless power receiving unit according to an embodiment of the present invention.
As illustrated inFIG.2, the wirelesspower transmitting unit200 includes at least apower transmitter211, acontroller212, acommunication unit213, adisplay unit214, and astorage unit215. Further, the wirelesspower receiving unit250 includes apower receiver251, acontroller252, and acommunication unit253.
Thepower transmitter211 supplies power which is required by the wirelesspower transmitting unit200, and wirelessly provides power to the wirelesspower receiving unit250. Thepower transmitter211 supplies power in an Alternating Current (AC) waveform type, or converts power in a Direct Current (DC) waveform type to the power in the AC waveform type by using an inverter, and then supplies the power in the AC waveform type. Thepower transmitter211 is implemented in a form of an embedded battery or in a form of a power receiving interface so as to receive the power from outside thereof and supply the power to the other components. It will be easily understood by those skilled in the art that thepower transmitter211 is not limited if it supplies power of constant alternate current waves.
Thecontroller212 controls overall operations of the wirelesspower transmitting unit200. Thecontroller212 controls overall operations of the wirelesspower transmitting unit200 by using an algorithm, a program, or an application which is required for a control and reads from thestorage unit215. Thecontroller212 may be implemented in a form of a CPU, a microprocessor, a mini computer and the like.
Thecommunication unit213 communicates with the wirelesspower receiving unit250. Thecommunication unit213 receives power information from the wirelesspower receiving unit250. Here, the power information includes at least one of a capacity of the wirelesspower receiving unit250, a residual amount of the battery, a number of times of charging, an amount of use, a battery capacity, and a proportion of the remaining battery capacity. Further, thecommunication unit213 transmits a signal of controlling a charging function in order to control the charging function of the wirelesspower receiving unit250. The signal of controlling the charging function may be a control signal for controlling thepower receiver251 of the wirelesspower receiving unit250 so as to enable or disable the charging function. More specifically, the power information may include information on an insertion of a wireless charging terminal, a transition from a Stand Alone (SA) mode to a Non-Stand Alone (NSA) mode, error state release and the like.
Thecommunication unit213 receives a signal from another wireless power transmitting unit (not shown) as well as from the wirelesspower receiving unit250.
Thecontroller212 displays a state of the wirelesspower receiving unit250 on adisplay unit214 based on the message received from the wirelesspower receiving unit250 through thecommunication unit213. Further, thecontroller212 also displays a time expected to be spent until the wireless power receiving unit is completely charged on thedisplay unit214.
FIG.3 is a block diagram illustrating the wirelesspower transmitting unit200 and the wirelesspower receiving unit250 according to an embodiment of the present invention.
As illustrated inFIG.3, the wirelesspower transmitting unit200 includes thepower transmitter211, the controller/communication unit (Multipoint Control Unit (MCU) & Out-of-band Signaling)212/213, a driver (Power Supply)217, an amplifier (Power Amp)218, and a matching unit (Matching Circuit)216. The wirelesspower receiving unit250 includes thepower receiver251, the controller/communication unit252/253, a DC/DC converter255, a switching unit (Switch)256, and a loading unit (Client Device Load)257.
Thedriver217 outputs DC power having a preset voltage value. The voltage value of the DC power output by thedriver217 is controlled by the controller/communication unit212/213.
The DC power output from thedriver217 is output to theamplifier218, which amplifies the DC power by a preset gain. Further, theamplifier218 converts DC power to AC power based on a signal input from the controller/communication unit212/213. Accordingly, theamplifier218 outputs AC power.
Thematching unit216 performs impedance matching. For example, thematching unit216 adjusts impedance viewed from thematching unit216 to control output power to be high efficient or high output power. Thematching unit216 also adjusts impedance based on a control of the controller/communication unit212/213. Thematching unit216 includes at least one of a coil and a capacitor. The controller/communication unit212/213 controls a connection state with at least one of the coil and the capacitor, and accordingly, performs impedance matching.
Thepower transmitter211 transmits input AC power to thepower receiver251. Thepower transmitter211 and thepower receiver251 are implemented by resonant circuits having the same resonance frequency. For example, the resonance frequency may be 6.78 MHz.
The controller/communication unit212/213 communicates with the controller/communication unit252/253 of the wirelesspower receiving unit250, and performs communication (Wireless Fidelity (WiFi), ZigBee, or Bluetooth (BT)/Bluetooth Low Energy (BLE)), for example, with a bidirectional 2.4 GHz frequency.
Thepower receiver251 receives charging power.
The rectifyingunit254 rectifies wireless power received by thepower receiver251 in the form of direct current, and is implemented in a form of bridge diode. The DC/DC converter255 converts the rectified electric current into a predetermined gain. For example, the DC/DC converter255 converts the rectified electric current so that a voltage of an output end259 becomes 5V. Meanwhile, a minimum value and a maximum value of the voltage which can be applied is preset for a front end258 of the DC/DC converter255.
Theswitching unit256 connects the DC/DC converter255 to theloading unit257. Theswitching unit256 is held in an on/off state under a control of thecontroller252. In a case where theswitch256 is in the ON state, theloading unit257 stores converted electric power which is input from the DC/DC converter255.
FIG.4 is a flow diagram illustrating operations of the wireless power transmitting unit and the wireless power receiving unit according to an embodiment of the present invention.
As illustrated inFIG.4, a wirelesspower transmitting unit400 applies power in operation S401. When the power is applied, the wirelesspower transmitting unit400 configures an environment in operation S402.
The wirelesspower transmitting unit400 enters a power saving mode in operation S403. In the power saving mode, the wirelesspower transmitting unit400 applies different types of power beacons for detection according to their own periods, which will be described in more detail with reference toFIG.6. For example, inFIG.4, the wirelesspower transmitting unit400 applies detection power beacons404 and405, and the sizes of power values of the detection power beacons404 and405 may be different. A part or all of the detection power beacons404 and405 may have power enough to drive the communication unit of the wirelesspower receiving unit450. For example, the wirelesspower receiving unit450 drives the communication unit by the part or all of the detection power beacons404 and405 to communicate with the wirelesspower transmitting unit400. The above state is named a null state in operation S406.
The wirelesspower transmitting unit400 detects a load change by an arrangement of the wirelesspower receiving unit450. The wirelesspower transmitting unit400 enters a low power mode in operation S409. The low power mode will be described in more detail with reference toFIG.6. Meanwhile, the wirelesspower receiving unit450 drives the communication unit based on power received from the wirelesspower transmitting unit400 in operation S409.
The wirelesspower receiving unit450 transmits a PTU searching signal to the wirelesspower transmitting unit400 in operation S410. The wirelesspower receiving unit450 transmits the PTU searching signal as an advertisement signal based on a Bluetooth Low Energy (BLE) scheme. The wirelesspower receiving unit450 transmits the PTU searching signal periodically or until a preset time arrive, and receives a response signal from the wirelesspower transmitting unit400.
When receiving the PTU searching signal from the wirelesspower receiving unit450, the wirelesspower transmitting unit400 transmits a PRU response signal in operation S411. The PRU response signal forms a connection between the wirelesspower transmitting unit400 and the wirelesspower receiving unit450. The wirelesspower receiving unit450 transmits a PRU static signal in operation S412. The PRU static signal is a signal indicating that the wirelesspower receiving unit450 is making a request for joining the wireless power network managed by the wirelesspower transmitting unit400.
The wirelesspower transmitting unit400 transmits a PTU static signal in operation S413. The PTU static signal transmitted by the wirelesspower transmitting unit400 is a signal indicating a capability of the wirelesspower transmitting unit400.
When the wirelesspower transmitting unit400 and the wirelesspower receiving unit450 transmit and receive the PRU static signal and the PTU static signal, the wirelesspower receiving unit450 periodically transmits a PRU dynamic signal in operations S414 and S415. The PRU dynamic signal includes at least one parameter information measured by the wirelesspower receiving unit450. For example, the PRU dynamic signal may include voltage information of a back end of the rectifier of the wirelesspower receiving unit450. The state of the wirelesspower receiving unit450 is called a boot state in operation S407.
The wirelesspower transmitting unit400 enters a power transmission mode in operation S416 and transmits a PRU control signal corresponding to a command signal to allow the wirelesspower receiving unit450 to be charged in operation S417. In the power transmission mode, the wirelesspower transmitting unit400 transmits charging power.
The PRU control signal transmitted by the wirelesspower transmitting unit400 includes information enabling/disabling the charging of the wirelesspower receiving unit450 and permission information. The PRU control signal is transmitted whenever a charging state is changed. The PRU control signal is transmitted, for example, every 250 ms, or transmitted when a parameter is changed. The PRU control signal is set to be transmitted within a preset threshold, for example, within one second even though the parameter is not changed.
The wirelesspower receiving unit450 changes a configuration according to the PRU control signal and transmits the PRU dynamic signal for reporting the state of the wirelesspower receiving unit450 in operations S418 and S419. The PRU dynamic signal transmitted by the wirelesspower receiving unit450 includes at least one of information on a voltage, a current, a state of the wireless power receiving unit, and temperature. The state of the wirelesspower receiving unit450 is called an ON state in operation S421.
For example, the PRU dynamic signal has a data structure as shown in Table 1 below.
TABLE 1-cont
Fieldoctetsdescriptionuseunits
optional1defines which optionalmandatory
fieldsfields arepopulated
Vrect
2DC voltage at themandatorymV
output of therectifier
Irect
2DC current at themandatorymA
output of therectifier
Vout
2voltage at charge/optionalmV
battery port
Iout
2current at charge/optionalmA
battery port
temperature
1temperature of PRUoptionalDeg C.
from −40° C.
Vrect min dyn2The current dynamicoptionalmV
minimum rectifier
voltage desired
Vrect setdyn2desired VrectoptionalmV
(dynamic value)
Vrecthigh dyn2The current dynamicoptionalmV
maximum rectifier
voltage desired
PRU alert1warningsmandatoryBit
field
RFU3undefined
As shown in Table 1, the PRU dynamic signal includes one or more fields. The fields include optional field information, voltage information of a back end of the rectifier of the wireless power receiving unit (‘Vrect’), current information of the back end of the rectifier of the wireless power receiving unit (‘Irect’), voltage information of a back end of the DC/DC converter of the wireless power receiving unit (‘Vout’), current information of the back end of the DC/DC converter of the wireless power receiving unit (‘Iout’), temperature information (‘temperature’), minimum voltage value information of the back end of the rectifier of the wireless power receiving unit (‘Vrect min dyn’), optimal voltage value information of the back end of the rectifier of the wireless power receiving unit (‘Vrect set dyn’), maximum voltage value information of the back end of the rectifier of the wireless power receiving unit (‘Vrect high dyn’), alert information (‘PRU alert’) and RFU (Reserved for Future Use). The PRU dynamic signal includes at least one of the above fields.
For example, one or more voltage setting values (for example, the minimum voltage value information (Vrect min dyn) of the back end of the rectifier of the wireless power receiving unit, the optimal voltage value information (Vrect set dyn) of the back end of the rectifier of the wireless power receiving unit, and the maximum voltage value information (Vrect high dyn) of the back end of the rectifier of the wireless power receiving unit) determined according to a charging state is inserted into corresponding fields and then transmitted. As described above, the wireless power receiving unit having received the PRU dynamic signal controls a wireless charging voltage to be transmitted to each of the wireless power receiving units with reference to the voltage setting values included in the PRU dynamic signal.
For example, the alert information (PRU Alert) has a data structure shown in Table 2 below.
TABLE 2
76543210
over-over-over-ChargeTA detectTransitionrestartRFU
voltagecurrenttemperatureCompleterequest
Referring to Table 2, the alert information (PRU Alert) includes a bit for a restart request, a bit for a transition, and a bit for detecting an insertion of a Travel Adapter (TA) (TA detect). The TA detect indicates a bit informing of a connection between the wireless power transmitting unit providing wireless charging and a terminal for wired charging by the wireless power receiving unit. The transition indicates a bit informing the wireless power transmitting unit that the wireless power receiving unit is reset before a communication Integrated Circuit (IC) of the wireless power receiving unit is switched from a Stand Alone (SA) mode to a Non Stand Alone (NSA) mode. Lastly, the restart request indicates a bit informing the wireless power receiving unit that the wireless power transmitting unit is ready to restart the charging when the charging is disconnected since the wireless power transmitting unit reduces power due to the generation of an over current state or a over temperature state and then the state is returned to an original state.
Further, the alert information (PRU Alert) has a data structure shown in Table 3 below.
TABLE 3
76543210
PRUPRUPRUPRUChargeWiredModeMode
over-over-over-SelfCompleteChargerTransitionTransition
voltagecurrenttemperatureProtectionDetectBit 1Bit 0
Referring to Table 3 above, the alert information includes over voltage, over current, over temperature, PRU self protection, charge compete, wired charger detect, mode transition and the like. When the over voltage field is set as “1”, it indicates that a voltage Vrect of the wireless power receiving unit exceeds a limit of the over voltage. Further, the over current and the over temperature may be set in the same way as the over voltage. The PRU self protection indicates that the wireless power receiving unit directly reduces a load of power and thus protects itself. In this event, the wireless power transmitting unit is not required to change a charging state.
Bits for a mode transition according to an embodiment of the present invention are set as a value informing the wireless power transmitting unit of a period during which a mode transition process is performed. The bits indicating the mode transition period are expressed as shown in Table 4 below.
TABLE 4
Value (Bit)Mode Transition Bit Description
00No Mode Transition
012 s Mode Transition time limit
103 s ModeTransition time limit
116 s Mode Transition time limit
Referring to Table 4 above, “00” indicates that there is no mode transition, “01” indicates that a time required for completing the mode transition is a maximum of two seconds, “10” indicates that a time required for completing the mode transition is a maximum of three seconds, and “11” indicates that a time required for completing the mode transition is a maximum of six seconds.
For example, when three seconds or less are spent for completing the mode transition, the mode transition bit is set as “10”. Prior to starting the mode transition process, the wireless power receiving unit may make a restriction such that there is no change in impedance during the mode transition process by changing an input impedance setting to match 1.1 W power draw. Accordingly, the wireless power transmitting unit controls power (ITX_COIL) for the wireless power receiving unit in accordance with the setting, and accordingly, maintain the power (ITX_COIL) for the wireless power receiving unit during the mode transition period.
Accordingly, when the mode transition period is set by the mode transition bit, the wireless power transmitting unit maintains the power (ITX_COIL) for the wireless power receiving unit during the mode transition time, for example, three seconds. That is, the wireless power transmitting unit maintains a connection even though a response is not received from the wireless power receiving unit for three seconds. However, after the mode transition time passes, the wireless power receiving unit is considered as a rogue object (foreign substance) and thus power transmission is terminated.
Meanwhile, the wirelesspower receiving unit450 detects the generation of errors. The wirelesspower receiving unit450 transmits an alert signal to the wirelesspower transmitting unit400 in operation S420. The alert signal is transmitted as the PRU dynamic signal or the alert signal. For example, the wirelesspower receiving unit450 transmits the PRU alert field of Table 3 reflecting an error state to the wirelesspower transmitting unit400. Alternatively, the wirelesspower receiving unit450 transmits a single alert signal indicating the error state to the wirelesspower transmitting unit400. When receiving the alert signal, the wirelesspower transmitting unit400 enters a latch fault mode in operation S422, and the wirelesspower receiving unit450 enters a null state in operation S423.
FIG.5 is a flowchart illustrating operations of the wireless power transmitting unit and the wireless power receiving unit according to another embodiment of the present invention. A control method ofFIG.5 will be described in more detail with reference toFIG.6.FIG.6 is a graph on an x axis of a power amount applied by the wireless power transmitting unit according toFIG.5.
As illustrated inFIG.5, the wireless power transmitting unit initiates the operation in operation S501. Further, the wireless power transmitting unit resets an initial configuration in operation S503. The wireless power transmitting unit enters a power saving mode in operation S505. The power saving mode corresponds to an interval where the wireless power transmitting unit applies power having different amounts to the power transmitter. For example, the power saving mode may correspond to an interval where the wireless power transmitting unit appliessecond power601 and602 andthird power611,612,613,614, and615 to the power transmitter inFIG.6. The wireless power transmitting unit periodically applies thesecond power601 and602 according to a second period. When the wireless power transmitting unit applies thesecond power601 and602, the application continues for a second term. The wireless power transmitting unit periodically applies thethird power611,612,613,614, and615 according to a third period. When the wireless power transmitting unit applies thethird power611,612,613,614, and615, the application continues for a third term. Meanwhile, although it is illustrated that power values of thethird power611,612,613,614, and615 are different from each other, the power values of thethird power611,612,613,614, and615 may be different or the same.
The wireless power transmitting unit may output thethird power611 and then output thethird power612 having the same size of the power amount. As described above, when the wireless power transmitting unit outputs the third power having the same size, the power amount of the third power may have a power amount by which a smallest wireless power receiving unit, for example, a wireless power receiving unit designated asCategory 1 can be detected.
The wireless power transmitting unit may output thethird power611 and then output thethird power612 having a different size of the power amount. As described above, when the wireless power transmitting unit outputs the third power having the different size, the power amount of the third power may be a power amount by which a wireless power receiving unit designated asCategory 1 to Category 5 can be detected. For example, when thethird power611 may have a power amount by which a wireless power receiving unit of Category 5 can be detected, thethird power612 may have a power amount by which a wireless power receiving unit designated as Category 3 can be detected, and thethird power613 may have a power amount by which a wireless power receiving unit designated asCategory 1 can be detected.
Meanwhile, thesecond power601 and602 may be a power amount which can drive the wireless power receiving unit. More specifically, thesecond power601 and602 may have a power amount which can drive the controller and the communication unit of the wireless power receiving unit.
The wireless power transmitting unit applies thesecond power601 and602 and thethird power611,612,613,614, and615 to the power receiver according to a second period and a third period, respectively. When the wireless power receiving unit is arranged on the wireless power transmitting unit, impedance viewed from a point of the wireless power transmitting unit may be changed. The wireless power transmitting unit detects a change in the impedance while thesecond power601 and602 and thethird power611,612,613,614, and615 are applied. For example, the wireless power transmitting unit may detect the change in the impedance while thethird power615 is applied. Accordingly, referring back toFIG.5, the wireless power transmitting unit detects an object in operation S507. When the object is not detected in operation S507, the wireless power transmitting unit maintains a power saving mode in which different power is periodically applied.
When there is a change in the impedance and thus the object is detected in operation S507, the wireless power transmitting unit enters a low power mode in operation S509. The low power mode is a mode in which the wireless power transmitting unit applies driving power having a power amount by which the controller and the communication unit of the wireless power receiving unit can be driven. For example, inFIG.6, the wireless power transmitting unit applies drivingpower620 to the power transmitter. The wireless power receiving unit receives the drivingpower620 to drive the controller and the communication unit. The wireless power receiving unit performs communication with the wireless power transmitting unit according to a predetermined scheme based on the drivingpower620. For example, the wireless power receiving unit transmits/receives data required for an authentication and joins the wireless power network managed by the wireless power transmitting unit based on the data. However, when a rogue object is arranged instead of the wireless power receiving unit, data transmission/reception cannot be performed. Accordingly, the wireless power transmitting unit determines whether the arranged object is a rogue object in operation S511. For example, when the wireless power transmitting unit does not receive a response from the object within a preset time, the wireless power transmitting unit determines the object as a rogue object.
When the object is determined as a rogue object in operation S511, the wireless power transmitting unit enters a latch fault mode. When the object is not determined as a rogue object in operation S511, the wireless power transmitting unit performs a joining operation in operation S519. For example, the wireless power transmitting unit periodically appliesfirst power631 to634 according to a first period inFIG.6. The wireless power transmitting unit may detect a change in impedance while applying the first power. For example, when the rogue object is withdrawn or removed, the impedance change is detected and the wireless power transmitting unit determines that the rogue object is withdrawn. Alternatively, when the rogue object is not withdrawn, the wireless power transmitting unit does not detect the impedance change and determines that the rogue object is not withdrawn. When the rogue object is not withdrawn, the wireless power transmitting unit outputs at least one of a lamp and a warning sound to inform a user that a state of the wireless power transmitting unit is an error state. Accordingly, the wireless power transmitting unit includes an output unit that outputs at least one of a lamp and a warning sound.
When it is determined that the rogue object is not withdrawn in operation S515, the wireless power transmitting unit maintains the latch fault mode in operation S513. When it is determined that the rogue object is withdrawn in operation S515, the wireless power transmitting unit enters the power saving mode again in operation S517. For example, the wireless power transmitting unit appliessecond power651 and652 andthird power661 to665, as shown inFIG.6.
As described above, when the rogue object is arranged instead of the wireless power receiving unit, the wireless power transmitting unit enters the latch fault mode. Further, the wireless power transmitting unit determines whether to withdraw the rogue object by the impedance change based on the power applied in the latch fault mode. That is, a condition of the entrance into the latch fault mode in the embodiment ofFIGS.5 and6 may be the arrangement of the rogue object. Meanwhile, the wireless power transmitting unit may have various latch fault mode entrance conditions as well as the arrangement of the rogue object. For example, the wireless power transmitting unit may be cross-connected with the arranged wireless power receiving unit and may enter the latch fault mode in the above case.
Accordingly, when cross-connection is generated, the wireless power transmitting unit is required to return to an initial state and the wireless power receiving unit is required to be withdrawn. The wireless power transmitting unit sets the cross-connection by which the wireless power receiving unit arranged on another wireless power transmitting unit joins the wireless power network as the latch fault mode entrance condition. An operation of the wireless power transmitting unit when the error is generated which includes the cross-connection will be described with reference toFIG.7.
FIG.7 is a flowchart illustrating a control method of the wireless power transmitting unit according to an embodiment of the present invention. The control method ofFIG.7 will be described in more detail with reference toFIG.8.FIG.8 is a graph on an x axis of a power amount applied by the wireless power transmitting unit according to the embodiment ofFIG.7.
The wireless power transmitting unit initiates the operation in operation S701. Further, the wireless power transmitting unit resets an initial configuration in operation S703. The wireless power transmitting unit enters the power saving mode in operation S705. The power saving mode is an interval where the wireless power transmitting unit applies power having different amounts to the power transmitter. For example, the power saving mode may correspond to an interval where the wireless power transmitting unit appliessecond power801 and802 andthird power811,812,813,814, and815 to the power transmitter inFIG.8. The wireless power transmitting unit periodically applies thesecond power801 and802 according to a second period. When the wireless power transmitting unit applies thesecond power801 and802, the application continues for a second term. The wireless power transmitting unit periodically applies thethird power811,812,813,814, and815 according to a third period. When the wireless power transmitting unit applies thethird power811,812,813,814, and815, the application continues for a third term. Meanwhile, although it is illustrated that power values of thethird power811,812,813,814, and815 are different from each other, the power values of thethird power811,812,813,814, and815 may be different or the same.
Thesecond power801 and802 is power which can drive the wireless power receiving unit. More specifically, thesecond power601 and602 has a power amount which can drive the controller and the communication unit of the wireless power receiving unit.
The wireless power transmitting unit applies thesecond power801 and802 and thethird power811,812,813,814, and815 to the power receiver according to a second period and a third period, respectively. When the wireless power receiving unit is arranged on the wireless power transmitting unit, impedance viewed from a point of the wireless power transmitting unit may be changed. The wireless power transmitting unit detects the impedance change while thesecond power801 and802 and thethird power811,812,813,814, and815 are applied. For example, the wireless power transmitting unit may detect the impedance change while thethird power815 is applied. Accordingly, referring back toFIG.7, the wireless power transmitting unit detects an object in operation S707. When the object is not detected in operation S707, the wireless power transmitting unit maintains the power saving mode in which different power is periodically applied in operation S705.
When the impedance is changed and thus the object is detected in operation S707, the wireless power transmitting unit enters the low power mode in operation S709. The low power mode is a mode in which the wireless power transmitting unit applies driving power having a power amount by which the controller and the communication unit of the wireless power receiving unit can be driven. For example, inFIG.8, the wireless power transmitting unit applies drivingpower820 to the power transmitter. The wireless power receiving unit receives the drivingpower820 to drive the controller and the communication unit. The wireless power receiving unit performs communication with the wireless power transmitting unit according to a predetermined scheme based on the drivingpower820. For example, the wireless power receiving unit transmits/receives data required for an authentication and joins the wireless power network managed by the wireless power transmitting unit based on the data.
Thereafter, the wireless power transmitting unit enters the power transmission mode in which charging power is transmitted in operation S711. For example, the wireless power transmitting unit applies chargingpower821 and the charging power is transmitted to the wireless power receiving unit as illustrated inFIG.8.
The wireless power transmitting unit determines whether an error is generated in the power transmission mode. The error may be the arrangement of a rogue object on the wireless power transmitting unit, the cross-connection, over voltage, over current, over temperature and the like. The wireless power transmitting unit includes a sensing unit that measures the over voltage, the over current, over temperature and the like. For example, the wireless power transmitting unit may measure a voltage or a current at a reference position. When the measured voltage or current is larger than a threshold, it is determined that conditions of the over voltage or the over current are satisfied. Alternatively, the wireless power transmitting unit includes a temperature sensing means which measures temperature at a reference position of the wireless power transmitting unit. When temperature at the reference position is larger than a threshold, the wireless power transmitting unit determines that a condition of the over temperature is satisfied.
When an over voltage, over current, or over temperature state is determined according to a measurement value of the temperature, voltage, or current, the wireless power transmitting unit prevents the over voltage, over current, or over temperature by reducing the wireless charging power by a preset value. At this time, when a voltage value of the reduced wireless charging power is less than a preset minimum value (for example, the minimum voltage value (VRECT MIN DYN) of the back end of the rectifier of the wireless power receiving unit), the wireless charging is interrupted or stopped, so that the voltage setting value is re-controlled according to an embodiment of the present invention.
Although it has been illustrated that the error is generated since the rogue object is additionally arranged on the wireless power transmitting unit in the embodiment ofFIG.8, the type of error is not limited thereto and it will be easily understood by those skilled in the art that the wireless power transmitting unit operates through a similar process with respect to the arrangement of the rogue object, the cross-connection, the over voltage, the over current, and the over temperatures.
When the error is not generated in operation S713, the wireless power transmitting unit maintains the power transmission mode in operation S711. Meanwhile, when the error is generated in operation S713, the wireless power transmitting unit enters the latch fault mode in operation S715. For example, the wireless power transmitting unit appliesfirst power831 to835 as illustrated inFIG.8. Further, the wireless power transmitting unit outputs an error generation display including at least one of a lamp and a warning sound during the latch fault mode. When it is determined that the1 rogue object is not withdrawn in operation S717, the wireless power transmitting unit maintains the latch fault mode in operation S715. Meanwhile, when it is determined that the rogue object is withdrawn in operation S717, the wireless power transmitting unit enters the power saving mode again in operation S719. For example, the wireless power transmitting unit appliessecond power851 and852 andthird power861 to865 ofFIG.8.
In the above description, the operation in a case where the error is generated while the wireless power transmitting unit transmits the charging power has been discussed. Hereinafter, an operation in a case where a plurality of wireless power receiving units on the wireless power transmitting unit receives charging power will be described.
FIG.9 is a flowchart for describing a control method of a wireless power transmitting unit according to an embodiment of the present. The control method ofFIG.9 will be described in more detail with reference toFIG.10.FIG.10 is a graph on an x axis of an amount of power applied by a wireless power transmitting unit according to the embodiment ofFIG.9.
As illustrated inFIG.9, the wireless power transmitting unit transmits charging power to a first wireless power receiving unit in operation S901. Further, the wireless power transmitting unit allows a second wireless power receiving unit to additionally join the wireless power network in operation S903. The wireless power transmitting unit transmits charging power to the second wireless power receiving unit in operation S905. More specifically, the wireless power transmitting unit applies a sum of the charging power required by the first wireless power receiving unit and the second wireless power receiving unit to the power receiver.
FIG.10 illustrates an embodiment of operations S901 to S905. For example, the wireless power transmitting unit maintains the power saving mode in whichsecond power1001 and1002 andthird power1011 to1015 are applied. Thereafter, the wireless power transmitting unit detects the first wireless power receiving unit and enters the low power mode in which adetection power1020 applied to the first wireless power receiving unit to detect is maintained. Next, the wireless power transmitting unit enters the power transmission mode in whichfirst charging power1030 is applied. The wireless power transmitting unit detects the second wireless power receiving unit and allows the second wireless power receiving unit to join the wireless power network. Further, the wireless power transmitting unit appliessecond charging power1040 having a power amount corresponding to a sum of power amounts required by the first wireless power receiving unit and the second wireless power receiving unit.
Referring back toFIG.9, the wireless power transmitting unit detects error generation in operation S907 while charging power is transmitted to both the first and second wireless power receiving units in operation S905. As described above, the error may be the arrangement of the rogue object, the cross-connection, the over voltage, the over current, the over temperature and the like. When the error is not generated in operation S907, the wireless power transmitting unit maintains the application of thesecond charging power1040.
When the error is generated in operation, the wireless power transmitting unit enters the latch fault mode in operation S909. For example, the wireless power transmitting unit appliesfirst power1051 to1055 according to a first period inFIG.10. The wireless power transmitting unit determines whether both the first wireless power receiving unit and the second wireless power receiving unit are withdrawn in operation S911. For example, the wireless power transmitting unit may detect an impedance change while applying thefirst power1051 to1055. The wireless power transmitting unit determines whether both the first wireless power receiving unit and the second wireless power receiving unit are withdrawn based on whether the impedance is returned to an initial value.
When it is determined that both the first wireless power receiving unit and the second wireless power receiving unit are withdrawn in operation S911, the wireless power receiving unit enters the power saving mode in operation S913. For example, the wireless power transmitting unit appliessecond power1061 and1062 andthird power1071 to1075 according to a second period and a third period, respectively.
As described above, even when the wireless power transmitting unit applies charging power to at least one wireless power receiving unit, the wireless power transmitting unit determines whether the wireless power receiving unit or the rogue object is easily withdrawn when the error is generated.
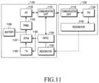
FIG.11 is a block diagram of a wireless power transmitting unit and a wireless power receiving unit in a Stand Alone (SA) mode according to an embodiment of the present invention.
A wirelesspower transmitting unit1100 includes acommunication unit1110, a Power Amplifier (PA)1120, and aresonator1130. A wirelesspower receiving unit1150 includes a communication unit (WPT Communication IC)1151, an Application Processor (AP)1152, a Power Management Integrated Circuit (PMIC)1153, a Wireless Power Integrated Circuit (WPIC)1154, aresonator1155, an InterFace Power Management (IFPM)IC1157, a Travel Adapter (TA)1158, and abattery1159.
Thecommunication unit1110 may be implemented by WiFi/BlueTooth (BT) Combo IC and communicates with thecommunication unit1151 in a predetermined scheme, for example, a BLE scheme. For example, thecommunication unit1151 of the wirelesspower receiving unit1150 transmits a PRU dynamic signal having the data structure as shown in Table 3 to thecommunication unit1110 of the wirelesspower transmitting unit1100. As described above, the PRU dynamic signal includes at least one of voltage information, current information, temperature information, and alert information of the wirelesspower receiving unit1150.
Based on the received PRU dynamic signal, a power value output from thepower amplifier1120 is adjusted. For example, when the over voltage, the over current, and the over temperature are applied to the wirelesspower receiving unit1150, a power value output from thepower amplifier1120 is reduced. Further, when a voltage or current of the wirelesspower receiving unit1150 is less than a preset value, a power value output from thepower amplifier1120 is increased.
Charging power from theresonator1130 is wirelessly transmitted to theresonator1155.
TheWPIC1154 rectifies the charging power received from theresonator1155 and performs DC/DC conversion. TheWPIC1154 drives thecommunication unit1151 or charges thebattery1159 by using the converted power.
A wired charging terminal is inserted into thetravel adapter1158. A wired charging terminal such as 30-pin connector or a Universal Serial Bus (USB) connector is inserted into thetravel adapter1158, and thetravel adapter1158 receives power supplied from an external power source to charge thebattery1159.
TheIFPM1157 processes power applied from the wired charging terminal and outputs the processed power to thebattery1159 and thePMIC1153.
ThePMIC1153 manages wirelessly received power, power received through a wire, and power applied to each of the components of the wirelesspower receiving unit1150. TheAP1152 receives power information from thePMIC1153 and controls thecommunication unit1151 to transmit the PRU dynamic signal for reporting the power information.
Thetravel adapter1158 is connected to anode1156 connected to theWPIC1154. When the wired charging connector is inserted into thetravel adapter1158, a preset voltage, for example, 5 V may be applied to thenode1156. TheWPIC1154 monitors the voltage applied to thenode1156 to determine whether the travel adapter is inserted.
TheAP1152 has a stack in a predetermined communication scheme, for example, a WiFi/BT/BLE stack. Accordingly, in communication for the wireless charging, thecommunication unit1151 loads the stack from theAP1152 and then communicates with thecommunication unit1110 of the wirelesspower transmitting unit1100 by using a BT or BLE communication scheme based on the stack.
However, a state may occur in which data for performing wireless power transmission cannot be fetched from theAP1152 since theAP1152 is turned off or in which power is lost so that theAP1152 cannot remain in an ON state while the data is fetched from a memory within theAP1152.
When a residual capacity of thebattery1159 is less than a minimum power threshold, theAP1152 is turned off, and the wireless charging can be performed using some components for the wireless charging within the wireless power receiving unit, for example, thecommunication unit1151, theWPIC1154, and theresonator1155. A state where theAP1152 cannot be turned on is referred to as a dead battery state.
Since theAP1152 is not driven in the dead battery state, thecommunication unit1151 cannot receive a stack in a predetermined communication scheme, for example, a WiFi/BT/BLE stack from theAP1152. For such a case, some of the stacks in the predetermined communication scheme, for example, the BLE stack, are fetched within the memory1162 of thecommunication unit1151 from theAP1152 and stored in the memory1162. Accordingly, thecommunication unit1151 communicates with the wirelesspower transmitting unit1100 for the wireless charging by using the stack in the communication scheme stored in the memory1162, that is, a wireless charging protocol. At this time, thecommunication unit1151 includes a memory therewithin, and the BLE stack may be stored in a memory in a form of a ROM in the SA mode.
As described above, a mode in which thecommunication unit1151 performs the communication by using the stack of the communication scheme stored in the memory1162 is referred to as the SA mode. Accordingly, thecommunication unit1151 manages a charging process based on the BLE stack.
FIGS.12 and13 illustrate impedance in a case where no wireless power receiving unit is put on a wireless power transmitting unit, andFIGS.14 and15 illustrate impedance in a case where a wireless power receiving unit is put on a wireless power transmitting unit.
Referring toFIGS.12 to15, a difference between the impedance that is detected when no PRU is put on a PTU and the impedance that is detected when a PRU is put on the PTU should be large, in order for the PTU to more efficiently detect a load variation of the PRU. For example, the PTU may hardly detect a load if a change in power due to a load variation is insignificant even though a resistance varies. In addition, a point at which there is no change in reactance may exist on the PTU.
Therefore, in the below-described embodiments of the present invention, a dummy load is added to a PRU as illustrated inFIGS.16 and17, and a PTU efficiently detects the PRU by an operation of a dummy load switch capable of turning on/off the connection to the added dummy load.
FIG.16 is a circuit diagram of a wireless power receiving unit to which a dummy load is added according to an embodiment of the present invention, andFIG.17 is a circuit diagram of a wireless power receiving unit to which a dummy load is added according to another embodiment of the present invention.
In order to keep a big difference in impedance between a case where no PRU is put on a PTU and another case where a PRU is put on the PTU as in the Smith charts inFIGS.13 and15, a dummy load is additionally connected to the circuit of the PRU as illustrated inFIGS.16 and17.
Referring toFIG.16, the wireless power receiving unit includes aresonator1601,rectifier1602, a DC/DC convertor1603, a controller (or Micro Control Unit (MCU)1604, and the like. The wireless power transmitted by a wireless power transmitting unit is delivered to the wireless power receiving unit through theresonator1601, therectifier1602 and the DC/DC converter1603, and if aload switch1609 is in an ON state, power is supplied to aload1610.
As illustrated, in the circuit, dummy loads1605 and1607 are connected in parallel between theresonator1601 and therectifier1602.Dummy load switches1606 and1608 capable of shorting or opening (e.g., turning on/off) the connection of their associated dummy loads1605 and1607 are further provided to connection terminals of the dummy loads1605 and1607. Thedummy load switches1606 and1608 are turned on/off by a control signal from thecontroller1604.
Therefore, in various wireless charging circumstances, thecontroller1604 generates a desired load variation by switching thedummy load switches1606 and1608 to an ON or OFF state.
For example, if thedummy load switches1606 and1608 are in the ON state under control of thecontroller1604, the dummy loads1605 and1607 are additionally added to the circuit of the wireless power receiving unit, and the wireless power transmitting unit detects a load by detecting a variation in the load of the wireless power receiving unit.
Referring toFIG.16, capacitors as AC dummy loads serves as the dummy loads1605 and1607. Values (e.g., AC dummy load values) of the AC dummy loads1605 and1607 may be, for example, 1 nF˜2.2 nF at a frequency of 6.78 MHz.
Referring toFIG.17, the wireless power receiving unit includes aresonator1701, arectifier1702, a DC/DC convertor1703, a controller (or Micro Control Unit (MCU))1704, and the like. As inFIG.16, the wireless power transmitted by a wireless power transmitting unit is delivered to the wireless power receiving unit through theresonator1701, therectifier1702 and the DC/DC converter1703, and if aload switch1707 is in the ON state, power is supplied to aload1708.
As illustrated, in the circuit, adummy load1705 is connected in parallel between therectifier1702 and the DC/DC converter1703. Adummy load switch1706 capable of shorting or opening (e.g., turning on/off) the connection of thedummy load1705 is further provided to a connection terminal of thedummy load1705. Thedummy load switch1706 is turned on/off by a control signal from thecontroller1704.
Therefore, in various wireless charging circumstances, thecontroller1704 generates a desired load variation by switching thedummy load switch1706 to the ON or OFF state.
For example, if thedummy load switch1706 is in the ON state under control of thecontroller1704, thedummy load1705 is additionally added to the circuit of the wireless power receiving unit, and the wireless power transmitting unit detects a load by detecting a variation in the load of the wireless power receiving unit.
Referring toFIG.17, a resistor as a DC dummy load serves as thedummy load1705. A value (e.g., DC dummy load value) of theDC dummy load1705 may be, for example, 70 Ohms at a frequency of 6.78 MHz.
As for the dummy loads, if power is applied to the PRU, the dummy load circuit is opened by switching the dummy load switches to the OFF state, so the dummy loads are not detected by the PTU. In other words, the dummy loads do not affect the impedance measured by the PTU.
The dummy load switches may be situated in at least one of the AC dummy load circuit (FIG.16) and the DC dummy load circuit (FIG.17) as illustrated inFIGS.16 and17. In accordance with various embodiments of the present invention, if power is applied to the PRU, the dummy load switches are opened. Otherwise, the dummy load switches are opened by a control signal from the MCU, after the MCU is turned on as the power is applied to the PRU.
The DC dummy load switch is designed to keep the short state if no power is applied to the PRU. If power is applied to the PRU for a short period of time by a beacon transmitted by the PTU, the dummy load switch is switched from the short state to the open state, allowing the PTU to detect a large load variation.
Reference will now be made toFIGS.18 to25, to describe examples of detecting a load variation using a dummy load according to various embodiments of the present invention.
FIG.18 is a flow diagram illustrating a procedure for detecting a load variation according to a first embodiment of the present invention. Referring toFIG.18, upon receiving power from a PTU inoperation1803 while a dummy load switch is in the ON state inoperation1801, a dummy load circuit added to a PRU switches the dummy load switch to the OFF state inoperation1805. The power transmitted from the PTU is a short beacon signal.
If the dummy load switch is switched to the OFF state, the PTU performs a procedure for charging wireless power, by detecting a load variation of the PRU inoperation1807. For example, the PTU performs the wireless power charging procedure with the PRU, by transmitting a long beacon to the PRU inoperation1809.
FIG.19 is a graph illustrating an example of detecting a load variation according to the first embodiment of the present invention. Referring toFIG.19, a PTU monitors a variation in load by periodically generating power for a short period of time. For example, the PTU detects a load variation by transmitting a short beacon signal.
If the user puts a PRU on the PTU as illustrated inFIG.14, or puts the PRU in close proximity to a field of the PTU, the dummy load switch added to the PRU is switched from the short state (e.g., 30 to 70 Ohms) to the open state (e.g., 100 Ohms) according to an embodiment of the present invention, generating a variation in load.
In accordance with various embodiments of the present invention, if a PRU is put on a PTU while the PTU exists alone, the PTU detects a load given when the dummy load switch is in the short state, before power is sufficiently applied to the PRU, and the PTU detects a load variation at the moment the dummy load switch is switched from the short state to the open state as power is applied to the PRU.
As illustrated inFIG.19, upon detecting a variation in load, the PTU drives the controller (e.g., MCU) by applying move power to the PRU. For example, the PTU drives the controller of the PRU by transmitting a long beacon signal.
Thereafter, communication between a PTU and a PRU is attempted, and it is determined whether an authenticated device is put on the PTU, for charging. If the authentication is completed, charging begins.
FIGS.20 and21 illustrate an example of detecting a load variation according to a second embodiment of the present invention, andFIGS.22 and23 illustrate an example of detecting a load variation according to a third embodiment of the present invention. The second and third embodiments of the present invention correspond to methods of controlling the dummy load switch after the controller (e.g., MCU) is turned on (or driven).
Referring toFIG.20, upon receiving power from a PTU inoperation2003 while the dummy load switch is in the ON state inoperation2001, a dummy load circuit added to a PRU turns on power of the controller according to the second embodiment of the present invention inoperation2005.
The controller is driven as the power of the controller is turned on, and the controller varies a load of the PRU by switching the dummy load switch to the OFF state inoperation2007.
If the dummy load switch is switched to the OFF state, the PTU performs a procedure for charging wireless power, by detecting a load variation of the PRU. Thereafter, the PRU performs the wireless power charging procedure with the PTU by transmitting a message (e.g., advertisement message) to the PTU inoperation2009.
FIG.21 illustrates a method of controlling a dummy load switch after the MCU is turned on according to the second embodiment of the present invention, as described in conjunction withFIG.20. In this method, after the MCU is turned on, the MCU generates a variation in load by generating a control signal for opening the dummy load switch. Next, the PRU transmits a message (e.g., advertisement message) to the PTU.
The third embodiment illustrated inFIGS.22 and23 corresponds to another method of controlling the dummy load switch after the MCU is turned on. In this method, after the MCU is turned on, the PRU transmits a message (e.g., advertisement message) to the PTU, and opens the dummy load switch after the message is transmitted, thereby generating a variation in load. Using the information included in the message that the PRU has transmitted, the PTU determines whether the PRU is a PRU capable of generating a load variation.
Referring toFIG.22, upon receiving power from a PTU inoperation2203 while a dummy load switch is in the ON state inoperation2201, a dummy load circuit added to a PRU turns on power of the controller according to the third embodiment of the present invention inoperation2205.
The controller is driven as the power of the controller is turned on, and the PRU performs the wireless power charging procedure with the PTU by transmitting a message (e.g., advertisement message) to the PTU inoperation2207.
Thereafter, the controller varies a load of the PRU by switching the dummy load switch to the OFF state inoperation2009.
If the dummy load switch is switched to the OFF state, the PTU performs the procedure for charging wireless power, by detecting a load variation of the PRU.
FIG.23 illustrates a method of controlling a dummy load switch after the MCU is turned on according to the third embodiment of the present invention, as described in conjunction withFIG.22. In this method, after the MCU is turned on, the PRU transmits a message (e.g., advertisement message) to the PTU. After transmitting the message, the controller of the PRU generates a variation in load by generating a control signal for opening the dummy load switch. The PTU performs the procedure for charging wireless power by detecting the load variation of the PRU, which is caused by the switching of the dummy load switch of the PRU.
FIG.24 is a flow diagram illustrating a procedure for detecting a load variation according to a fourth embodiment of the present invention, andFIG.25 is a graph illustrating an example of detecting a load variation according to the fourth embodiment of the present invention.
Referring toFIG.24, upon occurrence of a circumstance inoperation2401, in which cross connection should be checked for a PTU and a PRU, the PTU transmits a time set value to the PRU inoperation2403.
Upon receiving the time set value from the PTU, the PRU generates a load variation depending on the received time set value. The PRU generates a load variation of the PRU by switching the dummy load switch to the ON or OFF state as described above, inoperation2405.
The PTU detects the load variation of the PRU, which is caused by the switching of the dummy load switch of the PRU, inoperation2407, and determine inoperation2409 whether the PRU is cross-connected.
Referring toFIG.25, a load variation for prevention of cross connection is detected during the low power mode.
For example, while a PRU receives power transmitted from a first PTU on which the PRU is actually put, the PRU communicates with a second PTU, or vice versa. This is called cross connection.
If cross connection occurs, the system may be unstable. Therefore, in order to determine whether a PTU and a PRU are cross-connected, the PTU, as described above, provides a time set value T to the PRU and determines based thereon whether cross connection has occurred. In other words, if the PRU that has received the time set value T generates a variation in load for the time T, the PTU monitors the variation in load to determine whether the value T that the PTU has sent to the PRU is coincident with the period for which the variation in load has occurred, thereby making it possible to determine whether cross connection has occurred.
In order to generate a load variation, the MCU of the PRU performs the above-described operation of turning on/off (e.g., shorting or opening) the dummy load switch, thereby making it possible to artificially generate a variation in load.
In addition, the switching operation of turning on/off the dummy load switch may be repeatedly performed as illustrated inFIG.25, allowing the PTU to recognize the switching of the dummy load switch.
As is apparent from the foregoing description, an aspect of the present invention provides a method for generating a load variation used for detecting a wireless power receiving unit in a wireless charging network.
In other words, in accordance with an embodiment of the present invention, a dummy load is added to a wireless power receiving unit (or PRU), allowing a wireless power transmitting unit (or PTU) to detect a load depending on a change in impedance, making it possible for the PTU to detect a large change impedance.
While the present invention has been shown and described with reference to certain embodiments thereof, it will be understood by those skilled in the art that various changes in form and details may be made therein without departing from the spirit and scope of the present invention as defined by the appended claims and their equivalents.

Claims (15)

What is claimed is:
1. A method of controlling a wireless power receiver, the method comprising:
receiving, by a power receiver, power from a wireless power transmitter;
receiving, from the wireless power transmitter, a time set value that is set for checking cross connection, wherein the time set value is set by the wireless power transmitter;
in response to receiving the time set value, generating a power variation in the wireless power receiver by converting a load status from a first load status to a second load status; and
maintaining the second load status for a time corresponding to the received time set value.
2. The method ofclaim 1, further comprising:
returning to the first load status, upon a lapse of the time corresponding to the received time set value.
3. The method ofclaim 1, wherein converting the load status comprises switching a switch connected to a dummy load to an ON state in response to receiving the time set value, and
wherein maintaining the second load status comprises maintaining the ON state for the time corresponding to the received time set value.
4. The method ofclaim 3, further comprising:
switching the switch to an OFF state, upon a lapse of time corresponding to the received time set value.
5. The method ofclaim 1, wherein the power variation in the wireless power receiver is caused by a load variation due to the conversion of the load status.
6. A wireless power receiver, comprising:
a power receiver configured to receive power from a wireless power transmitter;
a communication module configured to receive, from the wireless power transmitter, a time set value that is set for checking cross connection; and
a controller configured to:
receive, from the wireless power transmitter, a time set value that is set for checking cross connection, by using the communication module, wherein the time set value is set by the wireless power transmitter,
generate a power variation in the wireless power receiver by converting a load status from a first load status to a second load status, and
maintain the second load status for time corresponding to the received time set value.
7. The wireless power receiver ofclaim 6, wherein the controller is further configured to return to the first load status, upon a lapse of the time corresponding to the received time set value.
8. The wireless power receiver ofclaim 6, further comprising:
a dummy load connected in parallel between the power receiver and a load of the wireless power receiver; and
a switch configured to selectively connect the dummy load to the power receiver.
9. The wireless power receiver ofclaim 8, wherein the controller is further configured to generate the load variation by switching the switch from an OFF state to an ON state and to maintain the ON state for the time corresponding to the received time set value.
10. The wireless power receiver ofclaim 9, wherein the controller is further configured to return to the first load status by switching the switch from the ON state to the OFF state, upon a lapse of the time corresponding to the received time set value.
11. The wireless power receiver ofclaim 6, wherein the power variation in the wireless power receiver is caused by a load variation due to the conversion of the load status.
12. A method for controlling a wireless power transmitter, the method comprising:
transmitting, to a wireless power receiver, a time set value that is set for checking cross connection, wherein the time set value is set by the wireless power transmitter;
detecting a load variation of the wireless power receiver;
comparing the time set value with a period of the load variation;
determining whether the wireless power receiver is cross-connected, based on the comparison result; and
in response to determining that the wireless power receiver is cross-connected, transmitting a power receiving unit (PRU) control signal with a permission field indicating that the wireless power receiver is not permitted due to the cross connection.
13. The method ofclaim 12, further comprising:
transmitting power to the wireless power receiver, in response to determining that the wireless power receiver is not cross-connected.
14. A wireless power transmitter, comprising:
a communication module configured to transmit, to a wireless power receiver, a time set value that is set for checking cross connection; and
a controller configured to:
transmit, to a wireless power receiver, a time set value that is set for checking cross connection by using the communication module, wherein the time set value is set by the wireless power transmitter,
detect a load variation of the wireless power receiver,
compare the time set value with a period of the load variation,
determine whether the wireless power receiver is cross-connected, based on the comparison result, and
in response to determining that the wireless power receiver is cross-connected, transmit, through the communication module, a power receiving unit (PRU) control signal with a permission field indicating that the wireless power receiver is not permitted due to the cross connection.
15. The wireless power transmitter ofclaim 14, further comprising a power transmitter, and,
wherein the controller is further configured to transmit, through the power transmitter, power, in response to determining that the wireless power receiver is not cross-connected.
US16/854,2322013-06-052020-04-21Method of generating load variation for detecting wireless power receiving unit in wireless charging, and wireless power receiving unitActiveUSRE49839E1 (en)

Priority Applications (1)

Application NumberPriority DateFiling DateTitle
US16/854,232USRE49839E1 (en)2013-06-052020-04-21Method of generating load variation for detecting wireless power receiving unit in wireless charging, and wireless power receiving unit

Applications Claiming Priority (5)

Application NumberPriority DateFiling DateTitle
KR201300650092013-06-05
KR10-2013-00650092013-06-05
US14/297,251US9806554B2 (en)2013-06-052014-06-05Method of generating load variation for detecting wireless power receiving unit in wireless charging, and wireless power receiving unit
US15/704,885US10236724B2 (en)2013-06-052017-09-14Method of generating load variation for detecting wireless power receiving unit in wireless charging, and wireless power receiving unit
US16/854,232USRE49839E1 (en)2013-06-052020-04-21Method of generating load variation for detecting wireless power receiving unit in wireless charging, and wireless power receiving unit

Related Parent Applications (1)

Application NumberTitlePriority DateFiling Date
US15/704,885ReissueUS10236724B2 (en)2013-06-052017-09-14Method of generating load variation for detecting wireless power receiving unit in wireless charging, and wireless power receiving unit

Publications (1)

Publication NumberPublication Date
USRE49839E1true USRE49839E1 (en)2024-02-13

Family

ID=52004929

Family Applications (3)

Application NumberTitlePriority DateFiling Date
US14/297,251Active2034-12-06US9806554B2 (en)2013-06-052014-06-05Method of generating load variation for detecting wireless power receiving unit in wireless charging, and wireless power receiving unit
US15/704,885CeasedUS10236724B2 (en)2013-06-052017-09-14Method of generating load variation for detecting wireless power receiving unit in wireless charging, and wireless power receiving unit
US16/854,232ActiveUSRE49839E1 (en)2013-06-052020-04-21Method of generating load variation for detecting wireless power receiving unit in wireless charging, and wireless power receiving unit

Family Applications Before (2)

Application NumberTitlePriority DateFiling Date
US14/297,251Active2034-12-06US9806554B2 (en)2013-06-052014-06-05Method of generating load variation for detecting wireless power receiving unit in wireless charging, and wireless power receiving unit
US15/704,885CeasedUS10236724B2 (en)2013-06-052017-09-14Method of generating load variation for detecting wireless power receiving unit in wireless charging, and wireless power receiving unit

Country Status (5)

CountryLink
US (3)US9806554B2 (en)
EP (1)EP3008794B1 (en)
KR (1)KR102142017B1 (en)
CN (2)CN105264744B (en)
WO (1)WO2014196794A1 (en)

Families Citing this family (49)

* Cited by examiner, † Cited by third party
Publication numberPriority datePublication dateAssigneeTitle
EP2782210B1 (en)2013-03-212018-11-28Samsung Electronics Co., Ltd.Wireless power transmitting unit, wireless power receiving unit, and control methods thereof
KR102187962B1 (en)2013-05-102020-12-08삼성전자주식회사Differential load detection method for detecting a wireless power receiver in wireless power network and wireless power transmitter
CN105264744B (en)*2013-06-052018-03-06三星电子株式会社 Wireless power receiving unit and method of generating load change for detecting same in wireless charging
WO2015004778A1 (en)*2013-07-112015-01-15株式会社IhiPower-transfer system
JP6296917B2 (en)*2014-06-262018-03-20キヤノン株式会社 Power transmission device, power transmission device control method, and program
CA2956795C (en)2014-08-032020-06-30PogoTec, Inc.Wearable camera systems and apparatus and method for attaching camera systems or other electronic devices to wearable articles
US9635222B2 (en)2014-08-032017-04-25PogoTec, Inc.Wearable camera systems and apparatus for aligning an eyewear camera
US9753094B2 (en)*2014-10-022017-09-05Dell Products L.P.Battery performance under high temperature exposure
KR102026984B1 (en)*2014-12-152019-10-07주식회사 위츠Wireless charging control method, and wireless power transmission apparatus and wireless power receive apparatus using the same
CA2972064A1 (en)2014-12-232016-06-30PogoTec, Inc.Wireless camera system and methods
US10109415B2 (en)2015-01-072018-10-23Samsung Electronics Co., Ltd.Wireless power receiver and external inductor connected thereto
JP6452468B2 (en)*2015-01-222019-01-16キヤノン株式会社 Power supply apparatus, control method, and program
US9722452B2 (en)*2015-01-222017-08-01Visteon Global Technologies, Inc.Integrating a wireless charging device with a human machine interface (HMI)
KR102391190B1 (en)*2015-03-132022-04-28삼성전자주식회사Method for generating a load of wireless power receiving unit in wireless charge system and the wireless power receiving unit
US20160301238A1 (en)*2015-04-102016-10-13Intel CorporationManaging presence and long beacon extension pulses
EP3308216B1 (en)2015-06-102021-04-21Pogotec, Inc.Eyewear with magnetic track for electronic wearable device
US10481417B2 (en)2015-06-102019-11-19PogoTec, Inc.Magnetic attachment mechanism for electronic wearable device
DE102015211278A1 (en)*2015-06-182016-12-22Audi Ag Method and device for signal transmission
US20160380467A1 (en)*2015-06-262016-12-29Lei ShaoManaging the output power of a wireless charger
TW201729610A (en)2015-10-292017-08-16帕戈技術股份有限公司Hearing aid adapted for wireless power reception
US11558538B2 (en)2016-03-182023-01-17Opkix, Inc.Portable camera system
US9985481B2 (en)*2016-03-282018-05-29Intel IP CorporationDynamic power adjustment mechanism for mitigating wireless power interference
US10488543B2 (en)*2016-03-312019-11-26Intel CorporationRogue object detection algorithm for wireless charging notification
US10445281B2 (en)*2016-04-202019-10-15Active-Semi (BVI) Inc.Load detection apparatus and method for USB systems
KR20180007117A (en)2016-07-122018-01-22삼성전자주식회사Wireless power transmitter and wireless power receiver and method for operating thereof
EP3539285A4 (en)2016-11-082020-09-02Pogotec, Inc.A smart case for electronic wearable device
JP6970507B2 (en)*2017-01-202021-11-24キヤノン株式会社 Power supply device and its control method, program
CN107171456B (en)*2017-04-262020-08-11上海掌门科技有限公司Wireless charging method with anti-shake processing, watch and storage medium
CN109120075B (en)2017-06-222023-11-28恩智浦美国有限公司Method and device for detecting object in charging area of wireless charging transmitter
US11289953B2 (en)*2017-07-052022-03-29Mediatek Singapore Pte. Ltd.Adapting wireless power transfer parameters to transmitter operating conditions
CN107591859B (en)*2017-09-222020-11-03中惠创智无线供电技术有限公司 A kind of wireless charging receiving controller protection method and device
TWI650633B (en)*2017-10-062019-02-11財團法人國家實驗研究院 Modular electronic combination device
CN109921524B (en)2017-12-122024-08-09恩智浦美国有限公司Wireless charging system with power level calculation circuit for foreign matter detection
US10873222B2 (en)2018-03-262020-12-22Hong Kong Applied Science and Technology Research Institute Company LimitedSystem and method for preventing cross connection in wireless charging
CN108490249A (en)*2018-04-182018-09-04深圳市全智芯科技有限公司A kind of detection method of wireless charging receiving terminal aging jig
US10756560B2 (en)*2018-05-112020-08-25Ossia Inc.Wireless power transmission receiving device state modification
US10122262B1 (en)2018-07-052018-11-06Nxp Usa, Inc.Power factor correction circuit
CN108808882B (en)*2018-07-162020-06-19中惠创智无线供电技术有限公司 Wireless power supply control device and method
US11300857B2 (en)2018-11-132022-04-12Opkix, Inc.Wearable mounts for portable camera
CN111313569A (en)2018-12-112020-06-19恩智浦美国有限公司 Q Factor Determination of Foreign Object Detection Circuit in Wireless Charging System
CN111371189B (en)2018-12-262024-06-25恩智浦美国有限公司Determination of Q factor in wireless charging system with complex resonant circuit
KR102401160B1 (en)*2019-05-142022-05-24한양대학교 에리카산학협력단Enhanced insulation-level gate drive device for high-speed, high-voltage power semiconductors
US11368038B2 (en)2019-08-062022-06-21Microsoft Technology Licensing, LlcAdaptive wireless charging receiver loading
US11381096B2 (en)*2019-11-112022-07-05Aktiebolaget SkfPower management scheme for vibration harvester sensor
KR102727499B1 (en)*2019-12-052024-11-07에스엘 주식회사Lamp for vehicle
CN112928825A (en)2019-12-062021-06-08恩智浦美国有限公司Method for determining quality factor and wireless charger
US11095170B1 (en)*2020-07-162021-08-17Stmicroelectronics (Shenzhen) R&D Co. Ltd.Wireless charging
KR20220077966A (en)*2020-12-022022-06-10삼성전자주식회사Electronic device for transmitting wireless power and method of operating thereof
CN116266767B (en)*2021-12-172024-08-27华润微集成电路(无锡)有限公司Method for applying virtual load to wireless charging receiving end

Citations (72)

* Cited by examiner, † Cited by third party
Publication numberPriority datePublication dateAssigneeTitle
US3737782A (en)*1970-07-161973-06-05Burndept Electronics Er LtdRadio transmitters
US5100153A (en)*1990-02-201992-03-31Welte Gregory AGame using radio-controlled vehicles
US5734984A (en)*1993-11-301998-03-31Northern Telecom LimitedTelephone system for mobile wireless telephone services
US6540147B2 (en)*1999-03-252003-04-01Inside TechnologiesInductive coupling data send/receive circuit
WO2005109597A1 (en)2004-05-112005-11-17Splashpower LimitedControlling inductive power transfer systems
US6972662B1 (en)*2000-03-072005-12-06Renesas Technology Corp.RFID (radio frequency identification) and IC card
US20060270438A1 (en)*2005-05-032006-11-30Choi Soon JWireless personal area network device and method for controlling beacon reception thereof
WO2007082039A2 (en)*2006-01-112007-07-19Qualcomm IncorporatedMethods and apparatus for communicating device capability and/or setup information
US20070216392A1 (en)2004-05-112007-09-20Stevens Michael CControlling Inductive Power Transfer Systems
CN101335470A (en)2007-06-292008-12-31精工爱普生株式会社 Power transmission control device, power transmission device, non-contact power transmission system and electronic equipment
US7577180B2 (en)2003-12-182009-08-18Vtech Telecommunications LimitedMethod and system for maintaining synchronization in low-power mode over a frequency hopping radio link
US20090284220A1 (en)*2008-05-132009-11-19Qualcomm IncorporatedMethod and apparatus for adaptive tuning of wireless power transfer
US20100070219A1 (en)2007-03-222010-03-18Powermat LtdEfficiency monitor for inductive power transmission
US20100151808A1 (en)2008-11-212010-06-17Qualcomm IncorporatedReduced jamming between receivers and wireless power transmitters
US20100181961A1 (en)*2009-01-222010-07-22Qualcomm IncorporatedAdaptive power control for wireless charging
US7768422B2 (en)2006-09-062010-08-03Carmen Jr Lawrence RMethod of restoring a remote wireless control device to a known state
US20100201201A1 (en)*2009-02-102010-08-12Qualcomm IncorporatedWireless power transfer in public places
US20100248622A1 (en)2009-03-282010-09-30Qualcomm IncorporatedTracking receiver devices with wireless power systems, apparatuses, and methods
US20100328044A1 (en)2006-10-262010-12-30Koninklijke Philips Electronics N.V.Inductive power system and method of operation
EP2348600A2 (en)2010-01-262011-07-27Sony CorporationInformation processing apparatus, information processing method, power charging system and computer-readable medium
US20110225305A1 (en)2010-03-102011-09-15Texas Instruments IncorporatedSystem and method for determining group owner intent
US20110260549A1 (en)*2008-12-122011-10-27Hanrim Postech Co., Ltd.Non-contact power transmission apparatus
US8115606B2 (en)2005-10-182012-02-14Computime, Ltd.Matching a transmitter and a receiver supplied by the same power module
WO2012053870A2 (en)2010-10-212012-04-26Samsung Electronics Co., Ltd.Wireless charging method and apparatus
US8175661B2 (en)2007-09-032012-05-08Intel CorporationDevice, system, and method of power saving in wireless network
US8208973B2 (en)2008-11-052012-06-26Medtronic Minimed, Inc.System and method for variable beacon timing with wireless devices
KR20120093358A (en)2009-11-182012-08-22가부시끼가이샤 도시바Wireless power transmission device
US20120223589A1 (en)2011-03-012012-09-06Qualcomm IncorporatedWaking up a wireless power transmitter from beacon mode
CN102738858A (en)2011-04-142012-10-17索尼公司Power control apparatus, power control method, and program
US20120306284A1 (en)2011-05-132012-12-06Samsung Electronics Co., Ltd.Wireless power system comprising power transmitter and power receiver and method for receiving and transmitting power of the apparatuses
KR20120134032A (en)*2011-05-312012-12-11삼성전자주식회사Apparatus and method for data communication using wireless power
US8344688B2 (en)2007-07-172013-01-01Seiko Epson CorporationPower reception device, non-contact power transmission system, and electronic instrument
US20130002038A1 (en)*2011-06-292013-01-03Jaesung LeeMethod for avoiding signal collision in wireless power transfer
US20130015813A1 (en)2011-07-142013-01-17Samsung Electronics Co., Ltd.Wireless power receiver
US8450877B2 (en)2009-01-062013-05-28Access Business Group International LlcCommunication across an inductive link with a dynamic load
US20130154557A1 (en)2011-12-152013-06-20Samsung Electronics Co., Ltd.Apparatus and method for transmitting wireless power
US20130162220A1 (en)2011-12-272013-06-27Sanyo Electric Co., Ltd.Non-contact charging method
US20130181665A1 (en)2012-01-172013-07-18Samsung Electronics Co., Ltd.Wireless power transmitter, wireless power receiver, and control methods thereof
US20130225077A1 (en)2010-11-032013-08-29Xped Holdings Pty LtdWireless device detection and communication apparatus and system
US20130257168A1 (en)2011-10-132013-10-03Integrated Device Technology, Inc.Apparatus, system, and method for detecting a foreign object in an inductive wireless power transfer system based on input power
US20130285605A1 (en)2011-01-182013-10-31Mojo Mobility, Inc.Systems and methods for wireless power transfer
US8605693B2 (en)2010-01-052013-12-10Samsung Electro-Mechanics Co., Ltd.Apparatus and method for low power local area communication using event signal control
US20140009110A1 (en)2012-07-092014-01-09Samsung Electronics Co., Ltd.Method and apparatus for providing wireless charging power to a wireless power receiver
US8667452B2 (en)2011-11-042014-03-04Witricity CorporationWireless energy transfer modeling tool
US20140062395A1 (en)2012-09-052014-03-06Samsung Electronics Co., Ltd.Wireless power transmitter for excluding cross-connected wireless power receiver and method for controlling the same
US20140159653A1 (en)*2012-12-122014-06-12Qualcomm IncorporatedSystem and method for facilitating avoidance of wireless charging cross connection
US20140192642A1 (en)2013-01-082014-07-10Broadcom CorporationMobile device with cellular-wlan offlaod using passive load sensing of wlan
US20140197785A1 (en)2013-01-152014-07-17Samsung Electronics Co., Ltd.Wireless power transmitter, wireless power receiver, and control methods thereof
US20140217967A1 (en)2013-02-042014-08-07Ossia, Inc.Systems and methods for optimally delivering pulsed wireless power
US20140225439A1 (en)*2013-02-142014-08-14Hengchun MaoHigh Efficiency High Frequency Resonant Power Conversion
US20140232199A1 (en)2013-02-202014-08-21Spacon Co., Ltd.Apparatus and method for detecting foreign object in wireless power transmitting system
US20140239732A1 (en)2012-10-112014-08-28Powermat Technologies, Ltd.Inductive power transmission system and method for concurrently transmitting digital messages
US20140253028A1 (en)2013-03-082014-09-11Samsung Electronics Co., Ltd.Wireless power transmitter and method for controlling same
US20140285141A1 (en)2013-03-212014-09-25Samsung Electronics Co., Ltd.Wireless power transmitting unit, wireless power receiving unit, and control methods thereof
US20140292095A1 (en)*2013-03-292014-10-02Canon Kabushiki KaishaPower supply apparatus, power supply method, and recording medium
US20140306657A1 (en)*2011-12-142014-10-16Nokia CorporationMethod and apparatus for optimizing standby power consumption and providing user indications in wpc based wireless charging system
US20140333145A1 (en)2013-05-102014-11-13Samsung Electronics Co., Ltd.Differential load detecting method for detecting a wireless power receiver in wireless power network and wireless power transmitter
US20150015198A1 (en)*2012-02-172015-01-15Toyota Jidosha Kabushiki KaishaWireless charging device and method for controlling wireless charging
US20150214775A1 (en)2014-01-292015-07-30Samsung Electronics Co., Ltd.Method for controlling wireless power transmitter and wireless power receiver
US9106096B2 (en)*2011-10-192015-08-11Toshiba Tec Kabushiki KaishaPower transmission apparatus, power transmission device, power reception device, and power transmission method
US20150233990A1 (en)2014-02-192015-08-20Samsung Electronics Co., Ltd.Method for detecting load in wireless charging priority
US9125160B2 (en)2012-10-192015-09-01Samsung Electronics Co., Ltd.Wireless power receiver and method for setting sleep mode in wireless power receiver
US9144013B2 (en)2013-03-142015-09-22Qualcomm IncorporatedReducing power consumption by effectively utilizing the device wake up time in single channel concurrency
US20160049826A1 (en)2014-08-132016-02-18Samsung Electronics Co., Ltd.Method for determining cross connection in wireless charging
US9344155B2 (en)2012-01-082016-05-17Access Business Group International LlcInterference mitigation for multiple inductive systems
US9406220B2 (en)2013-03-042016-08-02Hello Inc.Telemetry system with tracking receiver devices
US20160226298A1 (en)*2013-12-022016-08-04Fujitsu LimitedPower receiver, power source, and wireless power transfer system
US20160268815A1 (en)2015-03-132016-09-15Samsung Electronics Co., Ltd.Method for generating load of wireless power receiver in wireless charging system and wireless power receiver
CN107005090A (en)*2014-12-112017-08-01皇家飞利浦有限公司Wireless induction power is transmitted
US20170288471A1 (en)*2016-03-312017-10-05Intel CorporationMethods and apparatus for cross connection detection and mitigation in wireless power transfer networks
US9806554B2 (en)*2013-06-052017-10-31Samsung Electronics Co., LtdMethod of generating load variation for detecting wireless power receiving unit in wireless charging, and wireless power receiving unit
EP3420627B1 (en)*2016-04-152019-12-04Samsung Electronics Co., Ltd.Charging apparatus and method for controlling wireless charging

Patent Citations (97)

* Cited by examiner, † Cited by third party
Publication numberPriority datePublication dateAssigneeTitle
US3737782A (en)*1970-07-161973-06-05Burndept Electronics Er LtdRadio transmitters
US5100153A (en)*1990-02-201992-03-31Welte Gregory AGame using radio-controlled vehicles
US5734984A (en)*1993-11-301998-03-31Northern Telecom LimitedTelephone system for mobile wireless telephone services
US6540147B2 (en)*1999-03-252003-04-01Inside TechnologiesInductive coupling data send/receive circuit
US6972662B1 (en)*2000-03-072005-12-06Renesas Technology Corp.RFID (radio frequency identification) and IC card
US7577180B2 (en)2003-12-182009-08-18Vtech Telecommunications LimitedMethod and system for maintaining synchronization in low-power mode over a frequency hopping radio link
US20090322158A1 (en)*2004-05-112009-12-31Access Business Group International LlcControlling inductive power transfer systems
US7605496B2 (en)*2004-05-112009-10-20Access Business Group International LlcControlling inductive power transfer systems
CN100479292C (en)2004-05-112009-04-15安利(欧洲)有限公司Controlling inductive power transfer systems
US20070216392A1 (en)2004-05-112007-09-20Stevens Michael CControlling Inductive Power Transfer Systems
US20070228833A1 (en)*2004-05-112007-10-04Stevens Michael CControlling Inductive Power Transfer Systems
WO2005109597A1 (en)2004-05-112005-11-17Splashpower LimitedControlling inductive power transfer systems
US20060270438A1 (en)*2005-05-032006-11-30Choi Soon JWireless personal area network device and method for controlling beacon reception thereof
US8115606B2 (en)2005-10-182012-02-14Computime, Ltd.Matching a transmitter and a receiver supplied by the same power module
US20070201423A1 (en)2006-01-112007-08-30Rajiv LaroiaMethods and apparatus relating to timing and/or synchronization including the use of wireless terminals beacon signals
WO2007082039A2 (en)*2006-01-112007-07-19Qualcomm IncorporatedMethods and apparatus for communicating device capability and/or setup information
US8498237B2 (en)2006-01-112013-07-30Qualcomm IncorporatedMethods and apparatus for communicating device capability and/or setup information
CN101371528A (en)2006-01-112009-02-18高通股份有限公司Methods and apparatus for communicating device capability and/or setup information
US7768422B2 (en)2006-09-062010-08-03Carmen Jr Lawrence RMethod of restoring a remote wireless control device to a known state
US20100328044A1 (en)2006-10-262010-12-30Koninklijke Philips Electronics N.V.Inductive power system and method of operation
CN102106054A (en)2007-03-222011-06-22鲍尔马特有限公司Signal transfer system
US20100070219A1 (en)2007-03-222010-03-18Powermat LtdEfficiency monitor for inductive power transmission
US8026694B2 (en)2007-06-292011-09-27Seiko Epson CorporationPower transmission control device, power transmission device, non-contact power transmission system, and electronic instrument
CN101335470A (en)2007-06-292008-12-31精工爱普生株式会社 Power transmission control device, power transmission device, non-contact power transmission system and electronic equipment
US20090001932A1 (en)2007-06-292009-01-01Seiko Epson CorporationPower transmission control device, power transmission device, non-contact power transmission system, and electronic instrument
US8344688B2 (en)2007-07-172013-01-01Seiko Epson CorporationPower reception device, non-contact power transmission system, and electronic instrument
US8175661B2 (en)2007-09-032012-05-08Intel CorporationDevice, system, and method of power saving in wireless network
US20090286476A1 (en)2008-05-132009-11-19Qualcomm IncorporatedReverse link signaling via receive antenna impedance modulation
US20090284082A1 (en)2008-05-132009-11-19Qualcomm IncorporatedMethod and apparatus with negative resistance in wireless power transfers
US20090284220A1 (en)*2008-05-132009-11-19Qualcomm IncorporatedMethod and apparatus for adaptive tuning of wireless power transfer
US8208973B2 (en)2008-11-052012-06-26Medtronic Minimed, Inc.System and method for variable beacon timing with wireless devices
US20100151808A1 (en)2008-11-212010-06-17Qualcomm IncorporatedReduced jamming between receivers and wireless power transmitters
US8929957B2 (en)*2008-11-212015-01-06Qualcomm IncorporatedReduced jamming between receivers and wireless power transmitters
US20110260549A1 (en)*2008-12-122011-10-27Hanrim Postech Co., Ltd.Non-contact power transmission apparatus
US8450877B2 (en)2009-01-062013-05-28Access Business Group International LlcCommunication across an inductive link with a dynamic load
US20100181961A1 (en)*2009-01-222010-07-22Qualcomm IncorporatedAdaptive power control for wireless charging
US20100201201A1 (en)*2009-02-102010-08-12Qualcomm IncorporatedWireless power transfer in public places
US20100248622A1 (en)2009-03-282010-09-30Qualcomm IncorporatedTracking receiver devices with wireless power systems, apparatuses, and methods
US8452235B2 (en)*2009-03-282013-05-28Qualcomm, IncorporatedTracking receiver devices with wireless power systems, apparatuses, and methods
KR20120093358A (en)2009-11-182012-08-22가부시끼가이샤 도시바Wireless power transmission device
US9231413B2 (en)2009-11-182016-01-05Kabushiki Kaisha ToshibaWireless power transmission device
US20120235509A1 (en)2009-11-182012-09-20Kabushiki Kaisha ToshibaWireless power transmission device
EP2515414A1 (en)2009-11-182012-10-24Kabushiki Kaisha ToshibaWireless power transmission device
US8605693B2 (en)2010-01-052013-12-10Samsung Electro-Mechanics Co., Ltd.Apparatus and method for low power local area communication using event signal control
EP2348600A2 (en)2010-01-262011-07-27Sony CorporationInformation processing apparatus, information processing method, power charging system and computer-readable medium
JP2011154435A (en)2010-01-262011-08-11Sony CorpInformation processing apparatus, method of processing information, and information processing system
US20110181239A1 (en)2010-01-262011-07-28Sony CorporationInformation processing apparatus, information processing method, and information processing system
US20110225305A1 (en)2010-03-102011-09-15Texas Instruments IncorporatedSystem and method for determining group owner intent
WO2012053870A2 (en)2010-10-212012-04-26Samsung Electronics Co., Ltd.Wireless charging method and apparatus
US20130225077A1 (en)2010-11-032013-08-29Xped Holdings Pty LtdWireless device detection and communication apparatus and system
US20130285605A1 (en)2011-01-182013-10-31Mojo Mobility, Inc.Systems and methods for wireless power transfer
US20120223589A1 (en)2011-03-012012-09-06Qualcomm IncorporatedWaking up a wireless power transmitter from beacon mode
US20120261998A1 (en)2011-04-142012-10-18Sony CorporationPower control apparatus, power control method, and program
CN102738858A (en)2011-04-142012-10-17索尼公司Power control apparatus, power control method, and program
US20120306284A1 (en)2011-05-132012-12-06Samsung Electronics Co., Ltd.Wireless power system comprising power transmitter and power receiver and method for receiving and transmitting power of the apparatuses
KR20120134032A (en)*2011-05-312012-12-11삼성전자주식회사Apparatus and method for data communication using wireless power
US20130002038A1 (en)*2011-06-292013-01-03Jaesung LeeMethod for avoiding signal collision in wireless power transfer
US20130015813A1 (en)2011-07-142013-01-17Samsung Electronics Co., Ltd.Wireless power receiver
US20130257168A1 (en)2011-10-132013-10-03Integrated Device Technology, Inc.Apparatus, system, and method for detecting a foreign object in an inductive wireless power transfer system based on input power
US9106096B2 (en)*2011-10-192015-08-11Toshiba Tec Kabushiki KaishaPower transmission apparatus, power transmission device, power reception device, and power transmission method
US8667452B2 (en)2011-11-042014-03-04Witricity CorporationWireless energy transfer modeling tool
US20140306657A1 (en)*2011-12-142014-10-16Nokia CorporationMethod and apparatus for optimizing standby power consumption and providing user indications in wpc based wireless charging system
US20130154558A1 (en)2011-12-152013-06-20Samsung Electronics Co., Ltd.Method and apparatus for transmitting wireless power
US20130154557A1 (en)2011-12-152013-06-20Samsung Electronics Co., Ltd.Apparatus and method for transmitting wireless power
US20130162220A1 (en)2011-12-272013-06-27Sanyo Electric Co., Ltd.Non-contact charging method
US9344155B2 (en)2012-01-082016-05-17Access Business Group International LlcInterference mitigation for multiple inductive systems
US20130181665A1 (en)2012-01-172013-07-18Samsung Electronics Co., Ltd.Wireless power transmitter, wireless power receiver, and control methods thereof
US20150015198A1 (en)*2012-02-172015-01-15Toyota Jidosha Kabushiki KaishaWireless charging device and method for controlling wireless charging
KR20140007237A (en)2012-07-092014-01-17삼성전자주식회사Wireless power transmitter and method for controlling thereof
US20140009110A1 (en)2012-07-092014-01-09Samsung Electronics Co., Ltd.Method and apparatus for providing wireless charging power to a wireless power receiver
US20140062395A1 (en)2012-09-052014-03-06Samsung Electronics Co., Ltd.Wireless power transmitter for excluding cross-connected wireless power receiver and method for controlling the same
US20140239732A1 (en)2012-10-112014-08-28Powermat Technologies, Ltd.Inductive power transmission system and method for concurrently transmitting digital messages
US8872386B2 (en)*2012-10-112014-10-28Powermat Technologies, Ltd.Inductive power transmission system and method for concurrently transmitting digital messages
US9125160B2 (en)2012-10-192015-09-01Samsung Electronics Co., Ltd.Wireless power receiver and method for setting sleep mode in wireless power receiver
US9660478B2 (en)*2012-12-122017-05-23Qualcomm IncorporatedSystem and method for facilitating avoidance of wireless charging cross connection
US20140159653A1 (en)*2012-12-122014-06-12Qualcomm IncorporatedSystem and method for facilitating avoidance of wireless charging cross connection
US20140192642A1 (en)2013-01-082014-07-10Broadcom CorporationMobile device with cellular-wlan offlaod using passive load sensing of wlan
US20140197785A1 (en)2013-01-152014-07-17Samsung Electronics Co., Ltd.Wireless power transmitter, wireless power receiver, and control methods thereof
US20140217967A1 (en)2013-02-042014-08-07Ossia, Inc.Systems and methods for optimally delivering pulsed wireless power
US20140225439A1 (en)*2013-02-142014-08-14Hengchun MaoHigh Efficiency High Frequency Resonant Power Conversion
US20140232199A1 (en)2013-02-202014-08-21Spacon Co., Ltd.Apparatus and method for detecting foreign object in wireless power transmitting system
US9406220B2 (en)2013-03-042016-08-02Hello Inc.Telemetry system with tracking receiver devices
KR20140110500A (en)2013-03-082014-09-17삼성전자주식회사 wireless power transmitter, wireless power receiver and method for controlling each thereof
US20140253028A1 (en)2013-03-082014-09-11Samsung Electronics Co., Ltd.Wireless power transmitter and method for controlling same
US9144013B2 (en)2013-03-142015-09-22Qualcomm IncorporatedReducing power consumption by effectively utilizing the device wake up time in single channel concurrency
US20140285141A1 (en)2013-03-212014-09-25Samsung Electronics Co., Ltd.Wireless power transmitting unit, wireless power receiving unit, and control methods thereof
US20140292095A1 (en)*2013-03-292014-10-02Canon Kabushiki KaishaPower supply apparatus, power supply method, and recording medium
US20140333145A1 (en)2013-05-102014-11-13Samsung Electronics Co., Ltd.Differential load detecting method for detecting a wireless power receiver in wireless power network and wireless power transmitter
US9806554B2 (en)*2013-06-052017-10-31Samsung Electronics Co., LtdMethod of generating load variation for detecting wireless power receiving unit in wireless charging, and wireless power receiving unit
US20160226298A1 (en)*2013-12-022016-08-04Fujitsu LimitedPower receiver, power source, and wireless power transfer system
US20150214775A1 (en)2014-01-292015-07-30Samsung Electronics Co., Ltd.Method for controlling wireless power transmitter and wireless power receiver
US20150233990A1 (en)2014-02-192015-08-20Samsung Electronics Co., Ltd.Method for detecting load in wireless charging priority
US20160049826A1 (en)2014-08-132016-02-18Samsung Electronics Co., Ltd.Method for determining cross connection in wireless charging
CN107005090A (en)*2014-12-112017-08-01皇家飞利浦有限公司Wireless induction power is transmitted
US20160268815A1 (en)2015-03-132016-09-15Samsung Electronics Co., Ltd.Method for generating load of wireless power receiver in wireless charging system and wireless power receiver
US20170288471A1 (en)*2016-03-312017-10-05Intel CorporationMethods and apparatus for cross connection detection and mitigation in wireless power transfer networks
EP3420627B1 (en)*2016-04-152019-12-04Samsung Electronics Co., Ltd.Charging apparatus and method for controlling wireless charging

Non-Patent Citations (4)

* Cited by examiner, † Cited by third party
Title
Chinese Office Action dated Apr. 25, 2017 issued in counterpart application No. 201480032135.4, 13 pages.
Chinese Office Action dated Jul. 15, 2020 issued in counterpart application No. 201711346397.X, 14 pages.
European Search Report dated Dec. 21, 2016 issued in counterpart application No. 14808428.8-1804, 8 pages.
KR Decision of Grant dated May 15, 2020 issued in counterpart application No. 10-2014-0067659, 8 pages.

Also Published As

Publication numberPublication date
EP3008794A4 (en)2017-01-18
EP3008794A1 (en)2016-04-20
CN105264744B (en)2018-03-06
US9806554B2 (en)2017-10-31
US10236724B2 (en)2019-03-19
CN105264744A (en)2016-01-20
EP3008794B1 (en)2020-01-01
KR102142017B1 (en)2020-08-06
US20140361738A1 (en)2014-12-11
US20180006486A1 (en)2018-01-04
CN107968493B (en)2021-07-23
WO2014196794A1 (en)2014-12-11
CN107968493A (en)2018-04-27
KR20140143104A (en)2014-12-15

Similar Documents

PublicationPublication DateTitle
USRE49839E1 (en)Method of generating load variation for detecting wireless power receiving unit in wireless charging, and wireless power receiving unit
US11146091B2 (en)Wireless power transmitter, wireless power receiver, and control methods thereof
US10868585B2 (en)Method for preventing abnormality during wireless charging
US10804746B2 (en)Method and apparatus for controlling wireless charging during mode transition of a wireless power receiving device
US11652372B2 (en)Wireless power transmitter and wireless power receiver, and operation methods therefor
US10454318B2 (en)Wireless power transmitting unit, wireless power receiving unit, and control methods thereof
US10090696B2 (en)Wireless power transmitting unit, wireless power receiving unit, and control methods thereof
US11641221B2 (en)Wireless power transmitter, wireless power receiver, and control methods thereof
US9537352B2 (en)Differential load detecting method for detecting a wireless power receiver in wireless power network and wireless power transmitter
US10218206B2 (en)Charging volatage configuring method for wireless charging and wireless power reception unit
US10454309B2 (en)Wireless power transmitter and method of controlling the same
US10784708B2 (en)Method for transmitting wireless power in wireless charging system including a wireless power transmitting unit and wireless power receiving unit

Legal Events

DateCodeTitleDescription
FEPPFee payment procedure

Free format text:ENTITY STATUS SET TO UNDISCOUNTED (ORIGINAL EVENT CODE: BIG.); ENTITY STATUS OF PATENT OWNER: LARGE ENTITY


[8]ページ先頭

©2009-2025 Movatter.jp