Movatterモバイル変換


[0]ホーム

URL:


USRE49126E1 - Real-time adaptive processing of network data packets for analysis - Google Patents

Real-time adaptive processing of network data packets for analysis
Download PDF

Info

Publication number
USRE49126E1
USRE49126E1US17/027,542US202017027542AUSRE49126EUS RE49126 E1USRE49126 E1US RE49126E1US 202017027542 AUS202017027542 AUS 202017027542AUS RE49126 EUSRE49126 EUS RE49126E
Authority
US
United States
Prior art keywords
session
network
packet
sessions
information
Prior art date
Legal status (The legal status is an assumption and is not a legal conclusion. Google has not performed a legal analysis and makes no representation as to the accuracy of the status listed.)
Active
Application number
US17/027,542
Inventor
Anil K. Singhal
Bruce A. Kelley, Jr.
Rajeev Nadkarni
Narendra Byrapuram
Abhishek Saraswati
Ashwani Singhal
Current Assignee (The listed assignees may be inaccurate. Google has not performed a legal analysis and makes no representation or warranty as to the accuracy of the list.)
NetScout Systems Inc
Original Assignee
NetScout Systems Inc
Priority date (The priority date is an assumption and is not a legal conclusion. Google has not performed a legal analysis and makes no representation as to the accuracy of the date listed.)
Filing date
Publication date
Application filed by NetScout Systems IncfiledCriticalNetScout Systems Inc
Priority to US17/027,542priorityCriticalpatent/USRE49126E1/en
Application grantedgrantedCritical
Publication of USRE49126E1publicationCriticalpatent/USRE49126E1/en
Assigned to JPMORGAN CHASE BANK, N.A.reassignmentJPMORGAN CHASE BANK, N.A.SECURITY INTEREST (SEE DOCUMENT FOR DETAILS).Assignors: ARBOR NETWORKS LLC, NETSCOUT SYSTEMS TEXAS, LLC, NETSCOUT SYSTEMS, INC.
Activelegal-statusCriticalCurrent
Anticipated expirationlegal-statusCritical

Links

Images

Classifications

Definitions

Landscapes

Abstract

A network monitoring system that summarizes a plurality of data packets of a session into a compact session record for storage and processing. Each session record may be produced in real-time and made available during the session and/or after the termination of the session. Depending on protocols, a network monitoring system extracts different sets of information, removes redundant information from the plurality of data packets, and adds performance information to produce the session record. The network monitoring system may retrieve and process a single session record or multiple session records for the same or different protocols to determine cause of events, resolve issues in a network or evaluate network performance or conditions. The session record enables analysis in the units of session instead of individual packets. Hence, the network monitoring system can analyze events, issues or performance of the network more efficiently and effectively.

Description

CROSS-REFERENCE TO RELATED APPLICATIONS
This application is a Broadening Reissue of U.S. Pat. No. 10,284,440, filed on May 23, 2017, as well as a Continuation of U.S. patent application Ser. No. 14/876,725 filed on Oct. 6, 2015, which is a continuation of U.S. patent application Ser. No. 14/051,301 filed on Oct. 10, 2013, which is a continuation of U.S. patent application Ser. No. 12/756,638 filed on Apr. 8, 2010, all of which are incorporated herein by reference in their entirety.
FIELD OF THE INVENTION
The present invention is related to monitoring data packets transmitted over a network, more specifically to processing data packets communicated over the network for troubleshooting, analysis and performance evaluation.
BACKGROUND OF THE INVENTION
Today's computer networks are extremely complex, with hundreds or more of applications, thousands or more of servers, hundreds or more of locations, hundreds of thousands of clients, and network traffic routed by numerous switches and routers on the computer networks. Network and application data collected from various parts of the network can provide insight into network conditions, but the enormous amount of data present a challenge for data storage, processing, and retrieval.
Many conventional network monitoring systems store data packets in storage devices on a first-in-first-out (FIFO) basis. These network monitoring systems store the data packets in the storage devices upon receipt. When operations such as analyzing network conditions or performance are called for, the data packets stored in the storage devices are retrieved and then analyzed. However, the network monitoring systems have limited storage capacity. Hence, the network monitoring systems can store data packets captured within a limited time frame. As data rate increases, the network monitoring systems can store data packets spanning over a shorter amount of time. The shorter retention of data packets may result in incomplete or inaccurate analysis. To store data packets for a longer time, the network monitoring systems must be equipped with more storage resources.
Moreover, various operations may involve extensive manual or automatic processing on the data packets. These operations may involve retrieval and analysis of a large number of data packets, which may take an extensive amount of time before the results of the operations are available. The extensive amount of time for retrieving and processing the data packets may result in belated responses or lost opportunity to detect and resolve issues. To obtain faster results of analysis, the network monitoring systems must be equipped with additional computation resources.
SUMMARY OF THE INVENTION
Embodiments of the present invention provide a session record summarizing a plurality of network data packets of a session. The session records allow various operations (e.g., analysis, troubleshooting or evaluation of a network) to be performed in the units of sessions instead of individual data packets. The number of sessions is smaller than the number of data packets. Hence, operations based on the session records yield results faster than operations based on individual data packets. Each session record also has a smaller size compared to a collective set of data packets in a session. Hence, the session records can be stored longer when storage space is limited.
In one embodiment, a session record is generated from a common header and payload metadata. A common header summarizes information in headers of data packets in a session. The payload metadata includes information derived from payloads of the data packets in the session. The session record for a session is then obtained by assembling the common header and the payload metadata.
In one embodiment, data included in the common header and the payload metadata are determined based on the protocol associated with the session. By adapting the data stored in the common header and the payload metadata, the session records can store relevant information for different protocols.
In one embodiment, the common header and the payload metadata are updated and made available in real-time after receiving data packets for the session from the network or made available after storage. The updated common header and the updated payload metadata may be accessed while the session is active. The real-time generation of the common header and the payload metadata is at least partially enabled by receiving the network data packets directly at primary memory and bypassing access to secondary memory.
In one embodiment, performance parameters representing performance of the network fear transmitting the plurality of the data packets in the session are added to the session record. The performance parameters in the session records may be retrieved and processed to evaluate network performance or conditions.
The features and advantages described in the specification are not all inclusive and, in particular, many additional features and advantages will be apparent to one of ordinary skill in the art in view of the drawings, specification, and claims. Moreover, it should be noted that the language used in the specification has been principally selected for readability and instructional purposes, and may not have been selected to delineate or circumscribe the inventive subject matter.
BRIEF DESCRIPTION OF THE DRAWINGS
The teachings of the present invention can be readily understood by considering the following detailed description in conjunction with the accompanying drawings.
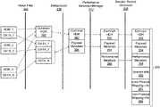
FIG. 1 illustrates the architecture of a system for monitoring network data packets, according to one embodiment of the present invention.
FIG. 2 is a block diagram of the network monitor inFIG. 1, according to one embodiment of the present invention.
FIG. 3 is a block diagram of a session tracing engine, according to one embodiment of the present invention.
FIG. 4 is a diagram illustrating processing of data packets at various components of the session tracing engine, according to one embodiment of the present invention.
FIGS. 5A through 5C are flowcharts illustrating a method of generating an adaptive session record (ASR), according to one embodiment of the present invention.
FIG. 6 is a flowchart illustrating a method of identifying stored network data packets for analysis using ASRs, according to one embodiment of the present invention.
DETAILED DESCRIPTION OF THE INVENTION
A preferred embodiment of the present invention is now described with reference to the figures where like reference numbers indicate identical or functionally similar elements.
Reference in the specification to “one embodiment” or to “an embodiment” means that a particular feature, structure, or characteristic described in connection with the embodiments is included in at least one embodiment of the invention. The appearances of the phrase “in one embodiment” in various places in the specification are not necessarily all referring to the same embodiment.
Some portions of the detailed description that follows are presented in terms of algorithms and symbolic representations of operations on data bits within a computer memory. These algorithmic descriptions and representations are the means used by those skilled in the data processing arts to most effectively convey the substance of their work to others skilled in the art. An algorithm is here, and generally, conceived to be a self-consistent sequence of steps (instructions) leading to a desired result. The steps are those requiring physical manipulations of physical quantities. Usually, though not necessarily, these quantities take the form of electrical, magnetic or optical signals capable of being stored, transferred, combined, compared and otherwise manipulated. It is convenient at times, principally for reasons of common usage, to refer to these signals as bits, values, elements, symbols, characters, terms, numbers, or the like. Furthermore, it is also convenient at times, to refer to certain arrangements of steps requiring physical manipulations of physical quantities as modules or code devices, without loss of generality.
However, all of these and similar terms are to be associated with the appropriate physical quantities and are merely convenient labels applied to these quantities. Unless specifically stated otherwise as apparent from the following discussion, it is appreciated that throughout the description, discussions utilizing terms such as “processing” or “computing” or “calculating” or “displaying” or “determining” or the like, refer to the action and processes of a computer system, or similar electronic computing device, that manipulates and transforms data represented as physical (electronic) quantities within the computer system memories or registers or other such information storage, transmission or display devices.
Certain aspects of the present invention include process steps and instructions described herein in the form of an algorithm. It should be noted that the process steps and instructions of the present invention could be embodied in software, firmware or hardware, and when embodied in software, could be downloaded to reside on and be operated from different platforms used by a variety of operating systems.
The present invention also relates to an apparatus for performing the operations herein. This apparatus may be specially constructed for the required purposes, or it may comprise a general-purpose computer selectively activated or reconfigured by a computer program stored in the computer. Such a computer program may be stored in a computer readable storage medium, such as, but is not limited to, any type of disk including floppy disks, optical disks, CD-ROMs, magnetic-optical disks, read-only memories (ROMs), random access memories (RAMS), EPROMs, EEPROMs, magnetic or optical cards, application specific integrated circuits (ASICs), or any type of media suitable for storing electronic instructions, and each coupled to a computer system bus. Furthermore, the computers referred to in the specification may include a single processor or may be architectures employing multiple processor designs for increased computing capability.
The algorithms and displays presented herein are not inherently related to any particular computer or other apparatus. Various general-purpose systems may also be used with programs in accordance with the teachings herein, or it may prove convenient to construct more specialized apparatus to perform the required method steps. The required structure for a variety of these systems will appear from the description below. In addition, the present invention is not described with reference to any particular programming language. It will be appreciated that a variety of programming languages may be used to implement the teachings of the present invention as described herein, and any references below to specific languages are provided for disclosure of enablement and best mode of the present invention.
In addition, the language used in the specification has been principally selected for readability and instructional purposes, and may not have been selected to delineate or circumscribe the inventive subject matter. Accordingly, the disclosure of the present invention is intended to be illustrative, but not of the scope of the invention, which is set forth in the following claims.
Embodiments of the present invention relate to summarizing a plurality of data packets of a session into a compact session record for storage and processing. Each session record may be updated in real-time and made available during a session and/or after the termination of the session. Depending on protocols, a network monitoring system extracts different sets of information, removes redundant information from the plurality of data packets, and adds performance metadata to produce the session record. The network monitoring system may retrieve and process a single session record or multiple session records for the same or different protocols to determine a cause of events, resolve issues in a network or evaluate network performance or conditions. The session record enables analysis in the units of session instead of individual packets. Hence, the network monitoring system can more efficiently and effectively analyze events, issues, performance or conditions of the network.
Overview of System Architecture
FIG (Figure).1 illustrates architecture of asystem100 for monitoring network data packets, according to one embodiment of the present invention. Thenetwork system100 may include, among other components, amanager102, one or more network monitors104A through104N (hereinafter collectively referred to as “the network monitors104”), anetwork110 and acorrelator106. The network monitors104 are connected to thenetwork110 to monitor network data packets traversing at certain locations or links of thenetwork110. The locations or the finks connected to the network monitors104 are preferably critical or important locations of thenetwork110.
Themanager102 is connected to the network monitors104 to set various operating parameters. Although themanager102 is illustrated as being directly connected to the network monitors104, themanager102 may communicate with the network monitors104 via thenetwork110 or other networks. The network monitors104 may be located remotely from themanager102. Alternatively, themanager102 may be co-located with one of the network monitors104 or embodied in one of the network monitors104.
The operating parameters set by themanager102 may include, among others, information stored in an adaptive session record (ASR), the format of the ASR, and lengths of time the ASR should be stored. The information stored in the ASR may be set per protocol-by-protocol basis.
Themanager102 is hardware, software, firmware or a combination thereof for managing the operation of the network monitors104. Themanager102 may perform one or more of the following functions: (i) process information based on ASR or selected network data packets received from the network monitors104 and thecorrelator106, (ii) receive parameters from a user for setting the operation of the network monitors104, (iii) send commands to the network monitors104 to set parameters or preferences for their operations, (iv) present the collected information to the user, (v) generate reports concerning conditions and/or performance of thenetwork110, (vi) analyze packet flows based on information received from the network monitors104 to resolve issues in thenetwork110, (vii) provide alarms and alerts on predefined events (e.g., network utilization reaching a limit or detecting critical errors in the network110), and (viii) provide information about user experience associated with the network110 (e.g., application or network response time.
Themanager102 may be embodied as a general purpose computing device installed with specialized software for performing one or more of these operations. Alternatively, themanger102 is embodied as a specialized computing device. In one embodiment, themanager102 is a computing device running nGenius Performance Manager, available from NetScout Systems, Inc. of Westford, Mass.
In one embodiment, themanager102 receives ASRs or selectively accesses ASRs from the network monitors104, analyzes or correlates the ASRs, and produces multi-source information useful for diagnosis of thenetwork110 and other purposes. Themanager102 may include a correlator module similar to or the same as an inter-protocol correlator, described below in detail with reference toFIG. 3. The multi-source information is obtained by processing ASRs from multiple source network monitors104, and hence, may represent overall condition or state of thenetwork110 or a subset of thenetwork110. The correlator module maps sessions of the same protocol or different protocols based on one or more of thesession information364 and theintra-protocol mapping information326 based on ASRs or other information received from the network monitors104. Themanager102 may also support data packet retrieval function that allows its user to identify and retrieve one or more selected data packets from the network monitors104.
The correlation of ASRs or other information may require extensive resources. In one embodiment, therefore, acorrelator106 separate from themanager102 may be provided to perform correlation. Thecorrelator106 may co-exist on the same hardware as themanager102 or be included in hardware separate from themanager102. Thecorrelator106 may be located in the same geographical area as themanager102 or at a location remote from themanager102. Further, more than onecorrelator106 may be connected to correlate ASRs or other information received from a subset of network monitors. Thecorrelator106 may be connected to themanager102 to assist in further analysis, correlation and/or presentation to its user. Thecorrelator106 may be embodied, for example, as a network apparatus disclosed in U.S. patent application Ser. No. 10/043,501, entitled “Multi-Segment Network Application Monitoring and Correlation Architecture,” filed on Jan. 10, 2002, which is incorporated by reference herein in its entirety.
The network monitors104 are hardware, software, firmware or a combination thereof for monitoring data communication at various locations or links of thenetwork110. Each of the network monitors104 may be deployed at certain locations or links of thenetwork110 to collect network data packets traversing the locations or links.
After collecting the network data packets, the network monitors104 generate ASRs based on the received network data packets, and stores the ASRs, as described below in detail with reference toFIGS. 5A through 5C. In one embodiment, the ASRs are generated in real-time and sent to themanager102 and/or thecorrelator106. In another embodiment, the ASRs are stored as a file in the network monitors104 and then sent to themanager102 and/or thecorrelator106 at a later time. The network monitors104 may also store the network data packets in addition to the ASRs. An ASR has a smaller size compared to the corresponding collection of network data packets. In one embodiment, the ASRs are retained in the network monitor104 for a longer time compared to the network data packets.
The network monitor104 may be a special purpose computing device or a software component (not limited to a single process) dedicated to monitoring data communicated via thenetwork110. Alternatively, the network monitor104 may be a general purpose computing device with specialized software components installed thereon. In one embodiment, thenetwork monitor104 is embodied as nGenius Collectors, nGenius Probes or nGenius infiniStream, available from NetScout Systems, Inc. of Westford, Mass.
Thenetwork110 may include a cellular network, a local area network (LAN), a wide area network (WAN) (e.g., the Internet) and/or any other interconnected data path across which multiple devices may communicate. Thenetwork110 may include various network devices operating at different levels of protocols.
Example Architecture of Manager/Network Monitor
FIG. 2 is a block diagram of thenetwork monitor104, according to one embodiment of the present invention. The network monitor104 may include, among other components, aprocessor204,primary memory206,secondary memory208, and anetwork interface210. These components are connected and communicate via abus202. The network monitor104 may also include other components not illustrated inFIG. 2, such as user input devices (e.g., keyboard and mouse) and display devices (e.g., a display driver card).
Theprocessor204 executes computer instructions stored in theprimary memory206 and/or thesecondary memory208. Although only a single processor is illustrated inFIG. 2, two or more processors may be used to increase the computing capacity and the processing speed of thenetwork monitor104.
Theprimary memory206 is a computer readable storage medium that stores, among other data, computer instruction modules for processing, storing and retrieving network data packets and/or ASRs. Theprimary memory206 may include, among other components,session tracing engine214, as described below in detail with reference toFIG. 3. Theprimary memory206 may be implemented in various data storage devices (e.g., Random-Access Memory (RAM)) having a faster access speed compared to thesecondary memory208. The faster access speed of theprimary memory206 allows thesession tracing engine214 to analyze network data packets and generate ASRs in real-time or near real-time.
Thesecondary memory208 may be a secondary storage device for storing, among others, the processed ASRs and the network data packets. Thesecondary memory208 may be embodied, for example, as a solid-state drive, hard disk or other memory devices capable of storing a large amount of data compared to theprimary memory206. Both the network data packets and the ASRs may be stored and then deleted on a first-in-first-out (FIFO) basis, although the ASRs may be retained for a longer time compared to the network data packets.
Thenetwork interface210 may include a NIC (network interface card) or other standard network interfaces to receive network data packets, and to communicate with other network interface devices coupled to thenetwork110. For example, thenetwork interface210 may be an Ethernet interface, a WiFi (IEEE 802.11) interface, or other types of wired or wireless network interfaces. In one embodiment, two or more network interfaces are used to communicate with different types of networks or perform specialized functions.
In one embodiment, thenetwork interface210 sends the network data packets directly to thesession tracing engine214. Thenetwork interface210 may send one set of the network data packets to thesession tracing engine214 for processing the ASRs and another set of the network data packets for storing in thesecondary memory208. Alternatively, thenetwork interface210 may send the network data packets to thesession tracing engine214 and not to thesecondary memory208. That is, thesession tracing engine214 receives the network data packets from thenetwork interface210, generates the ASRs, and sends the network data packets to thesecondary memory208. By receiving the network data packets directly from thenetwork interface210, thesession tracing engine214 can process the network data packets at a high speed without delays associated with accessing thesecondary memory208.
AlthoughFIG. 2 describes the network monitor104 as including thesession tracing engine214, themanager102 or thecorrelator106 may also include thesession tracing engine214 or select components of thesession tracing engine214 to process network data packets received at themanager102. In one embodiment, thenetwork monitor104 and themanager102 both include thesession tracing engine214.
Example Session Tracing Engine
FIG. 3 is a block diagram of thesession tracing engine214, according to one embodiment of the present invention. Thesession tracing engine214 may include, among other components, apacket buffer314, aprotocol detector318, asession classifier322, asession mapper326, aninter-protocol correlator330, anoise filter334, adeduplicator338, aperformance metadata manager342 and asession record generator348. One or more of these components may be combined into a single module. Further, one or more of these components may be embodied as hardware or firmware in lieu of software.
Thepacket buffer314 receives rawnetwork data packets352 from thenetwork interface210 and temporarily stores them for subsequent processing into the ASRs. In one embodiment, thepacket buffer314 is a first-in-first-out (FIFO) buffer. Thepacket buffer314 sends bufferedpackets356 to theprotocol detector318, thenoise filter334, thededuplicator338 and theperformance metadata manager342.
Theprotocol detector318 receives the bufferedpackets356 and determines communication protocols associated with thebuffered packets356. In one embodiment, theprotocol detector318 analyzes the data packets at various communication layers (e.g., application layer, session layer or transport layer of OSI (Open System Interconnection) model) to determine the protocols associated with thebuffered packets356. The protocols detected may include lower level protocols (e.g., AH, ARP, BOOTP, DHCP, DNS, ESP, GRE, ICMP, ICMPv6, IPv6, IPX, LLC, MSG, REVARP, RIP, SAP, SER, SNAP, SPX, TCP, UDP, VLAN, DIAMETER, GTP, MIP, MPEG-2, MPEG-4, RTSP, RADIUS, S1-AP and SIP) as well as higher level protocols (e.g., HTTP, SMTP, POP, IMAP, FTP, TELNET, Citrix ICA, SMPP, RTP and MMS). The protocol detectoroutputs protocol information360 to thesession classifier322 for inclusion insession information364.
Thesession classifier322 assigns session identification (ID) to the bufferedpackets356 based on theprotocol information360 received from theprotocol detector318. If a session ID has not yet been assigned to a session associated with abuffered packet356, thesession classifier322 assigns a new session ID for the session and sends an initializingsignal374 to theperformance metadata manager342 instructing initialization of performance parameters for the new session.
If a session ID is already assigned to a session associated with the bufferedpacket356, thesession classifier322 assigns a previously created session ID to the bufferedpacket356. Thesession classifier322 may keep track of multiple active sessions for which the last data packet was not received. In one embodiment, the same session ID is assigned to a first packet of a session, a last packet of the session and any intermediate packets of the session. In another embodiment, the session ID is created but not assigned to any data packets or assigned only to the first packet of the session. Thesession classifier322 sendssession information364 to thesession mapper326 and theinter-protocol correlator330.
Thesession information364 may indicate, for example, the session ID, the protocol associated with the session, and applications associated with the session. Thesession information364 may be provided to thenoise filter334 and thededuplicator338 to process thebuffered packets356 based on the characteristics of the session. For example, thenoise filter334 or thededuplicator338 may select information for inclusion in an ASR based on the protocols associated with a session.
Thesession mapper326 determines associated sessions of the same protocol based on thesession information364. Some protocols may involve multiple sessions in different planes or layers of communication. For example, a protocol based on ATM (Asynchronous Transfer Mode) reference model employs a user plane and a control plane, each plane having its own sessions to effectuate data transmission. The user plane is used for transmitting user information along with associated controls while the control plane is used for session control. Thesession mapper326 keeps track of sessions in different planes (or layers) and generatesintra-protocol mapping information326 mapping these sessions to each other.
Thesession mapper326 may also keep track of sessions of the same protocol in the same plane or layer. For example, if a first session for transmitting data was terminated due to an error and a second session was started to resume transmission for the same data, thesession mapper326 may generateintra-protocol mapping information326 mapping the second session to the first session or vice versa. Theintra-protocol mapping information326 may be included in the ASR. Theintra-protocol mapping information326 facilitates operations that require processing across multiple related sessions by allowing the related session to be identified from the ASR.
Theinter-protocol correlator330 maps sessions of different protocols based on one or more of thesession information364 and theintra-protocol mapping information326. Theinter-protocol correlator330 may identify and map sessions of different protocols based on various criteria such as, users, geographic regions or locations, types of end-point devices certain types of cell phones), codec, identity of end-point devices (e.g., MSISDN number or phone number) or types of services (e.g., media streaming service, voice communications service, stock trading service, and web application service). The extent and criteria of mapping the sessions may be configured by a user or determined automatically based on an automatic algorithm. In one embodiment, the configuration related to the extent and criteria for mapping different sessions is received from a user and propagated by themanager102 to the network monitors104.
In one embodiment, theinter-protocol correlator330 receives session information or ASRs from themanager102 or other network monitors104 for mapping sessions of data packets traversing at different links or locations of thenetwork110. In another embodiment, theinter-protocol correlator330 or modules performing equivalent functions may be included in themanager102, thecorrelator106 or other components for monitoring thenetwork110. The computing device including theinter-protocol correlator330 or equivalent modules may perform other functions or be dedicated to correlating the ASRs and session information. The ASRs may be generated in real-time at the network monitors104 or stored and sent to the network monitors104 at a subsequent time.
In one embodiment, theinter-protocol correlator330 generatesinter-protocol mapping information388 in real-time for inclusion in theASRs376. Alternatively, theinter-protocol correlator330 generates correlation and mapping of the sessions after theASRs376 are created. That is, theASRs376 previously created by thesession record generator348 are updated withinter-protocol mapping information388.
Theinter-protocol mapping information330 advantageously facilitates operations that require processing of sessions in different protocols. Various types of useful information may be derived by processing the ASRs based on theinter-protocol mapping information330 such as evaluating the overall quality of services involving multiple protocols, and detecting issues that span across multiple protocols.
In one embodiment, theinter-protocol correlator330 uses technology disclosed, for example, in U.S. patent application Ser. No. 10/043,501, entitled “Multi-Segment Network Application Monitoring and Correlation Architecture,” filed on Jan. 10, 2002, which is incorporated by reference herein in its entirety.
FIG. 4 is a diagram illustrating the processing of network data packets at components of the session tracing engine, according to one embodiment of the present invention. As the network data packets of a session passes through thenoise filter334 anddeduplicator338, the size of the data is reduced significantly by removing redundant and irrelevant information. Further, the performance metadata manager324 and thesession record generator348 add addition information in theASRs376 useful for various operations.
Thenoise filter334 selects relevant information from the headers HDR through HDR_N of the bufferedpackets356, merges the relevant information and generates acommon header392 for multiple network data packets of a session. In many protocols, the headers of the network data packets include static data that remain unchanged throughout the session. In one embodiment, thenoise filter334 stores the static data in thecommon header392 but excludes other non-static data. By removing non-static data, thenoise filter334 creates a compactcommon header392 without redundant information or with minimal redundant information.
In one embodiment, thenoise filter334 identifies a subset of information available from the headers HDR_1 through HDR_N for storing in thecommon header392. The information to be stored in thecommon header392 may be configured by a user or an automatic algorithm. In one embodiment, the configuration for thecommon header392 is received at themanager102 and propagated to the network monitors104.
The information stored in thecommon header392 may include, but are not limited to, MAC (Media Access Control) addresses, source/destination IP addresses, identification of application associated with the network data packets, session numbers, port numbers, VLAN (Virtual LAN) IDs, Session IDs, and MPLS (Multiprotocol Label Switching) labels.
In one embodiment, thenoise filter334 summarizes any non-static data that change in network data packets of the same session, for example, by data field filtering, data compression, hashing or data extraction. The summarized non-static data are then stored in thecommon header392. The reduction of data achieved by creating a common header can be significant, especially when the number of the network data packets in a session is large.
In one embodiment, thenoise filter334 processes the buffereddata packets356 based on thesession information364 received from thesession classifier322. Information relevant for analyzing network data packets may differ based on, for example, associated protocols, associated application programs or other characteristics of the session. By adaptively storing different subsets of information in thecommon header392 based on thesession information364, theASRs376 remain relevant for sessions in different protocols.
Thededuplicator338 createspayload metadata394 summarizing data payloads DATA_1 through DATA_N of data packets in a session. Thepayload metadata394 stores a subset of information available from the data payloads DATA_1 through DATA_N. The subset of information stored in thepayload metadata394 may differ based on associated protocols, associated application programs or other characteristics of the session.
The information stored in thepayload metadata394 may include, but is not limited to, the size of transmitted file, file names, error codes (e.g., TCP error codes), user information associated with the session (e.g., phone number or IP address), URL (Uniform. Resource Locator), MSISDN (Mobile Subscriber ISDN Number), IMSI (International Mobile Subscriber Identity), IMEI (International Mobile Equipment Identity), cell tower information, APN (Access Point Name) and codec.
In one embodiment, the deduplicator338 processes thebuffered packets356 depending on thesession information364. Further, thededuplicator338 may process thebuffered packets356 depending on various other factors not defined in the session information64 such as users, number of hops, the size of data packets and sequence numbers.
Thededuplicator338 advantageously reduces the size of payload information included in an ASR by removing a large bulk of information in each network data packet. In typical applications, thepayload metadata394 has a very small size compared to the total size of the data payloads DATA_1 through DATA_N, thereby resulting in a huge size reduction in ASRs. Yet, thepayload metadata394 retains information relevant to analysis, evaluation or troubleshooting of thenetwork110.
Theperformance metadata manager342 generates one or more performance parameters for a session of network data packets. The performance parameters are assembled intoperformance metadata398, and then sent to thesession record generator348. In one embodiment, theperformance metadata manager342 initializes the performance parameters for a session in response to receiving the initializingsignal374 from thesession classifier322. The initializingsignal374 indicates that a new session of network data packets is detected. Then theperformance metadata manager342 updates the initialized performance parameters as data packets for the new session are received from thepacket buffer314. The performance parameters for the session are finalized after receiving the last data packet of the session and assembled into theperformance metadata398.
The performance parameters included in theperformance metadata398 may vary depending upon the application. Applications may include, among others, mobile communication applications, remote data services applications (e.g., internet hosting applications), financial applications (e.g., securities transaction applications) and database applications (e.g., database access and management). The performance metadata applicable to various types of applications may include, but are not limited to, a packet loss rate, response time, the number of packets or bytes transmitted, parameters indicative of transmission latency, the total transfer time, the number of packets or bytes transmitted, sender/receiver information, error codes, service types and a total transfer time for the session. The performance metadata applicable to mobile communication application include, but are not limited to, codec parameters, R-Factor (rating factor), MOS (Mean Opinion Score), user ID, jitter, phone number, and connection success rate. The performance metadata applicable to remote data services application include, but are not limited to, file or page size, file names, and operation codes (e.g., read data operation, query data operation and write data operation). The performance metadata applicable to financial application include, but are not limited to, stock symbols, timing of sale, type of transaction (e.g., sell or buy), success or failure of transaction, number of shares exchanged, identification of stock exchange (e.g., NYSE and NASDAQ) and customer order identification. The performance metadata applicable to database application include, but are not limited to, transaction type (e.g., update, delete or create a table), attributes, success or failure of transaction, identification of database table, and entry access type (e.g., delete, update or create an entry in a table).
In one embodiment, the performance parameters included in theperformance metadata398 are adjusted based on thesession information364. Since different types of sessions may involve different performance parameters to assess the performance of thenetwork110 or services, theperformance metadata manager342 adaptively computes and adds different performance parameters to theperformance metadata398 according to thesession information398. The performance parameters to be included in each type of session may be configured manually or by an automatic algorithm at themanager102 and propagated to the network monitors104.
In one embodiment, theperformance metadata manager342 receives data processed by thenoise filter392, thededuplicator394 or other components of thesession tracing engine214 in lieu of or in addition to the bufferedpackets356 to generate theperformance metadata398. For example, thecommon header392 as processed by thenoise filter334 may include performance parameters. Theperformance metadata manager342 can receive the already processed performance parameters from thecommon header392 instead of repeating the computation of the processed performance parameters.
Thesession record generator348 collects information from other components of thesession tracing engine214 and generates anASR376 for a session. EachASR376 summarizes information extracted from a plurality of network data packets in the same session.
In one embodiment, theASR376 includes thecommon header392, thepayload metadata394, theperformance metadata398, thesession information380, theintra-protocol mapping information384 and the inter-protocol mapping information388 (seeFIG. 4). After the last network data packet for the session is received, thesession record generator348 receives thecommon header392,payload metadata394, and theperformance metadata398 front thenoise filter334, thededuplicator338 and theperformance metadata manager342, respectively. Thesession record generator348 also receives thesession information380, theintra-protocol mapping information384 and theinter-protocol mapping information388 from thesession classifier322, thesession mapper326 and theinter-protocol correlator330, respectively.
Thesession record generator348 formats the received information into anASR376 and stores theASR376 in thesecondary memory208. Thesession record generator348 may format the received information according to a template configured for each protocol.
In one embodiment, theASR376 is also sent to themanager102 or other network monitors104 for correlating sessions detected at different locations of thenetwork110.
In one embodiment, thesession record generator348 also adds links (not shown) to the entire network data packets of the session in theASR376. By including the links, the network data packets associated with theASR376 may be traced conveniently for troubleshooting, analysis or evaluation in case investigation into individual network data packets is desired. In another embodiment, theASR376 may also include links to a subset of network data packets associated with the session. The subset of network data packets preferably includes important network data packets such as the first packet of the session, the last packet of the session and the packets including errors.
The processing of network data packets as illustrated inFIG. 4 is merely illustrative. The network data packets may be processed in a different sequence or manner from what is described inFIG. 4. For example, thepayload metadata394 may be processed before thecommon header392. Similarly, theperformance metadata398 may be processed before thepayload metadata394 and/or thecommon header392. Further, thecommon header392, thepayload metadata394 and theperformance metadata398 may be processed in parallel.
Process of Generating Adaptive Session Record
FIGS. 5A through 5C are flowcharts illustrating a method of generating anASR376, according to one embodiment of the present invention. Thesession tracing engine214 receives502 the rawnetwork data packets352 from thenetwork interface210 and stores the rawnetwork data packets314 in thepacket buffer314. Theprotocol detector318 receives the bufferedpackets356 from thepacket buffer314 and detects506 a protocol associated with thebuffered packets356.
It is then determined518 whether the bufferedpacket356 is for a new session. If thebuffered packet356 is for a new session, then the process proceeds to the steps ofFIG. 5B, as indicated by circle “B” inFIG. 5A. Conversely, if the bufferedpacket356 is for a preexisting session that is currently being tracked by the session classifier332, thesession classifier322 assigns520 a corresponding session ID to the bufferedpacket356. Then the process proceeds to the steps inFIG. 5B, as indicated by circle “C” inFIG. 5A.
As illustrated inFIG. 5B, if the session associated with the current data packet is a new session, then thesession classifier322 generates526session information364 associated with the bufferedpacket356. Thesession classifier322 also assigns528 a new session ID to the bufferedpacket356.
Theperformance metadata manager342 receives theinitialization signal374 from thesession classifier322 and initializes530 the performance metadata for the new session. Thesession mapper326 also maps534 different sessions of the same protocol (e.g., control plane and user planes) and generates theintra-protocol mapping information384.
Theinter-protocol correlator330 also correlates538 other sessions communicating over different protocols based on a manual configuration or an automatic algorithm. To correlate different sessions, theinter-protocol correlator330 may receive session information, ASRs or other information from themanager102 or other network monitors104.
Regardless of whether the bufferedpackets356 are associated with a new session or a preexisting session, thenoise filter334 processes thebuffered packets356 of the same session to generate or update542 acommon header392 for the session.
Thededuplicator338 also processes thebuffered packets356 of the same session to generate or update546 thepayload metadata394 for the session. Theperformance metadata manager342updates550 theperformance metadata398 as additional network data packets of the same session are received.
Then it is determined552 whether the processeddata packet356 is the last data packet of the session. If the processeddata packet356 is the last data packet in the session, the process proceeds to steps inFIG. 5C, as indicated by circle “D” inFIG. 5B. Specifically, as illustrated inFIG. 5C, thesession record generator348 generates554 theASR376 based on information received from other components of thesession tracing engine214, andstores558 the generatedASR376 in thesecondary memory208. Then the process returns to step502 of receiving anew data packet356 and repeats the subsequent steps, as indicated by circle “A” inFIG. 5C.
In one embodiment, the updated common header, the updated payload metadata and the performance metadata are made available even before a final data packet for the session is received. A session may persist for an extensive amount of time. If an analysis, correlation or other processing needs to be performed before a finalized ASR is available, the common header, the payload metadata and the performance metadata currently available, for example, can be provided via themanager102. For this purpose, themanager102 may request the network monitors104 to provide a temporary AST including common header, payload metadata, and performance metadata obtained from data packets received up to current time to themanager102.
If the buffereddata packet356 is not the last data packet of the session, the process returns to step502 of receiving newnetwork data packets356 and repeats the subsequent steps, as indicated by circle “A” inFIG. 5B.
The process illustrated inFIGS. 5A through 5C is merely illustrative; and various modifications may be made to the process illustrated in these figures. For example, steps520 and528 of assigning the session ID may be performed in parallel withstep542 of generating or updating the common header, or step546 of generating or updating the payload metadata. The sequence of steps illustrated inFIGS. 5A through 5C may also be modified. For example, sequence ofsteps542 and546 may be reversed.
Network Analysis Based on Adaptive Session Record
The ASRs stored in thesecondary memory208 are retrieved to perform various operations such as analyzing the cause of events, troubleshooting thenetwork110 or evaluating the performance or conditions of thenetwork110. The ASRs are sufficient for most operations because the ASRs are configured to include information relevant to these operations. By using the ASRs, retrieval and analysis of network data packets become unnecessary or infrequent.
The ASRs also take up much less memory space and are compact compared to the network data packets. Hence, the ASRs allow more efficient use of storage resources in thenetwork monitoring system100. Further, minimal or no additional processing needs to be performed on the ASRs to extract performance parameters or data relevant for various operations. Therefore, thenetwork monitoring system100 can perform various operations based on the ASRs more efficiently compared to performing these operations based on the network data packets.
The operations that can be performed based on the ASRs may include, but are not limited to: (i) determining the amount of data usage of a particular user, (ii) detecting network error events often encountered for certain types of end-point devices, (iii) identifying circumstances in which errors in an application or a network occur, (iv) network performance for different types of services, (v) network equipments that often cause errors in the network, (vi) detecting security threats, (vii) measuring user experiences (e.g., success/failure rate, voice quality, video quality, and response time), (viii) market intelligence, (ix) data mining and (x) user billing associated with use of the network.
In one embodiment, the ASR of a session includes links or identifications of network data packets associated with the session. Hence, thenetwork monitoring system100 may retrieve and analyze individual network data packets, if needed, based on the links or identifications in the ASRs.
In one embodiment, the links or identifications of the network data packets for a session is stored in a file separate from the ASR. When the ASRs matching the search condition are identified616, the separate file is searched to identify the network data packets relevant to the search condition. By moving the links or identifications of the network data packets to the separate file, the size of the ASR may be reduced.
FIG. 6 is a flowchart illustrating a method of identifying network data packets for analysis based on an ASR, according to one embodiment of the present invention. A search condition for identifying relevant sessions and; or network data packets is received612. The ASRs that match the search condition are then identified616 by analyzing various fields of the ASRs.
After identifying the relevant ASRs, the network data packets associated with the ASRs are determined620 based on links to identifications of network data packets.
Although the present invention has been described above with respect to several embodiments, various modifications can be made within the scope of the present invention. Accordingly, the disclosure of the present invention is intended to be illustrative, but not limiting, of the scope of the invention, which is set forth in the following claims.

Claims (61)

What is claimed is:
1. A method, comprising:
determining, by a processor executing computer-readable instructions stored on a memory, first and second sessions associated with data packets received by a network monitoring device at a location in from a network;
generating, by the processor, a common header for each of the first and second sessions by summarizing information in headers of a plurality of data packets in associated with each of the first and second sessionsby the network monitoring device; and
generating, by the processor, for each of the first and second session sessions, a session record for respectively storing comprising the common header of the first and second session sessions, respectively, and storing mapping information representing association of the first session with the second session when the first and second sessions are associated with planes in a same protocol,
wherein the session record of each of the first and second sessions further stores links to the plurality of data packets respectively in each of the first and second sessions.
2. The method as recited inclaim 1, further including comprising:
generating, by the processor, a unit of payload metadata summarizing information in payloads of the plurality of the data packets in each of the first and second session by the network monitoring device sessions; and
wherein the generating step further includes storing, by the processor, the payload metadata of each of the first and second session respectively sessions in the session record for each the first and second session sessions, respectively.
3. The method ofclaim 2, further comprising determininga, by the processor, the protocol associated with each of the first and second session sessions, wherein the information included in at least one of the common header or the payload metadata of each the first and second session sessions is respectively determined based on a the protocol associated with the first and second session sessions.
4. The method ofclaim 2, wherein the common header and the payload metadata are generated in real-time responsive to receiving the data packets for each of the first and second session sessions from the network.
5. The method ofclaim 1, further comprising:
generating, by the processor, performance parameters representing performance of at least one of the network, an application associated with the network, a service associated with the network, a client associated with the network, or a server associated with the network for transmitting the plurality of the data packets in each of the first and second sessions; and
adding, by the processor, the performance parameters of the first and second sessions respectively in the first and second session record of the first and second sessions, respectively.
6. The method ofclaim 5, wherein the performance parameters comprise at least one of a packet loss rate, a response time, a number of packets or bytes transmitted, parameters indicative of transmission latency, codec parameters, total transfer time for the session, R-Factor (rating factor), MOS (Mean Opinion Score), a file or page size, a file name, sender/receive information, a total transfer time, a user ID, jitter, and phone number.
7. The method ofclaim 1, wherein the first session is associated with a first protocol and the second session is associated with a second protocol different than the first protocol.
8. The method ofclaim 1, wherein each first and second session record further stores links to the plurality of the data packets respectively in each of the first and second sessions.
9. The method ofclaim 1, wherein the common header comprises fields of the headers that remain unchanged throughout each respective of the first and second session sessions.
10. A network monitoring device for processing network data for analysis, comprising:
a network interface configured to receive data packets at a location in a network; and
a session tracing engine configured processor executing computer-readable instructions stored on a memory to:
determine first and second sessions associated with data packets received by a network monitoring device at a location in from a network;
generate a common header for each of the first and second sessions by summarizing information in headers of a plurality of data packets in associated with each of the first and second sessionsby the network monitoring device; and
generate, for each of the first and second session sessions, a session record for respectively storing comprising the common header of the first and second session sessions, and storing mapping information representing association of the first session with the second session when the first and second sessions are associated with planes in a same protocol.
11. The network monitoring device as recited in ofclaim 10, wherein the session tracing engine is processor further configured executes the computer-readable instructions to:
generate a unit of payload metadata summarizing information in payloads of the plurality of the data packets in each of the first and second session by the network monitoring device sessions; and
wherein the generating step further includes storingstore the payload metadata of each of the first and second session respectivelysessions in the session record for each of the first and second sessionsessions.
12. The network monitoring device as recited in ofclaim 11, wherein the session tracing engine is further configured to processor further executes the computer-readable instructions to determine a protocol associated with each of the first and second session sessions, and wherein the information included in at least one of the common header or the payload metadata of each first and second session sessions is respectively determined based on a the protocol associated with the first and second session sessions.
13. The network monitoring device as recited in ofclaim 11, wherein the common header and the payload metadata are generated in real-time responsive to receiving the data packets for each of the first and second session sessions from the network.
14. The network monitoring device as recited in of claim11 10, wherein each first and second the session record of each of the first and second sessions further stores links to the plurality of the data packets respectively in each of the first and second sessions.
15. The network monitoring device as recited in ofclaim 10, wherein the session tracing engine is processor further configured executes the computer-readable instructions to:
generate performance parameters representing performance of at least one of the network, an application associated with the network, a service associated with the network, a client associated with the network, or a server associated with the network for transmitting the plurality of the data packets in each of the first and second sessions; and
add the performance parameters of the first and second sessions respectively in the first and second session record of the first and second sessions.
16. The network monitoring device as recited in ofclaim 15, wherein the performance parameters comprise at least one of a packet loss rate, a response time, a number of packets or bytes transmitted, parameters indicative of transmission latency, codec parameters, total transfer time for the session, R-Factor (rating factor), MOS (Mean Opinion Score), a file or page size, a file name, sender/receive information, a total transfer time, a user ID, jitter, and phone number.
17. The network monitoring device as recited in ofclaim 10, wherein the first session is associated with a first protocol and the second session is associated with a second protocol different than the first protocol.
18. The network monitoring device as recited in ofclaim 10, wherein the common header comprises fields of the headers that remain unchanged throughout each respective of the first and second session sessions.
19. A non-transitory computer-readable media having computer-readable instructions stored thereon that when executed by a processor cause the processor to perform a process comprising:
determining first and second sessions associated with packets received from a network;
generating a common header for each of the first and second sessions by summarizing information of a plurality of packets associated with each of the first and second sessions; and
generating for each of the first and second sessions, a session record comprising the common header of the first and second sessions, respectively, and storing mapping information representing association of the first session with the second session when the first and second sessions are associated with a protocol,
wherein the session record of each of the first and second sessions further stores links to the plurality of data packets respectively in each of the first and second sessions.
20. The non-transitory computer-readable media of claim 19, wherein the processor further executes the computer-readable instructions to:
generate a unit of payload metadata summarizing information in payloads of the plurality of packets in each of the first and second sessions; and
store the payload metadata of each of the first and second sessions respectively in the session record for each of the first and second sessions.
21. The non-transitory computer-readable media of claim 20, wherein the processor further executes the computer-readable instructions to determine a protocol associated with each of the first and second sessions, wherein the information included in at least one of the common header or the payload metadata of each first and second sessions is respectively determined based on the protocol associated with the first and second sessions.
22. The non-transitory computer-readable media of claim 20, wherein the common header and the payload metadata are generated in real-time responsive to receiving the packets for each of the first and second sessions from the network.
23. The non-transitory computer-readable media of claim 19, wherein the processor further executes the computer-readable instructions to:
generate performance parameters representing performance of at least one of the network, an application associated with the network, a service associated with the network, a client associated with the network, or a server associated with the network for transmitting the plurality of packets in each of the first and second sessions; and
add the performance parameters of the first and second sessions respectively in the session record of the first and second sessions.
24. The non-transitory computer-readable media of claim 19, wherein the first session is associated with a first protocol and the second session is associated with a second protocol different than the first protocol.
25. A non-transitory computer-readable media comprising computer-readable instructions stored thereon that when executed by a processor cause the processor to perform a process comprising:
determining a session associated with a packet received from a network;
generating a common header by summarizing first information of the packet and at least one other packet of a same session;
generating a payload metadata by summarizing second information of the packet and the at least one other packet by:
determining a data payload from the packet and each of the at least one other packet; and
storing a subset of the data payload as the payload metadata, wherein the subset of the data payload is based on a protocol associated with the session; and
generating a session record comprising the common header and the payload metadata for evaluating at least one of the network, an application associated with the network, or a service associated with the network.
26. The non-transitory computer-readable media of claim 25, wherein the processor further executes the computer-readable instructions to buffer data associated with the packet and the at least one other packet before generating the common header and the payload metadata.
27. The non-transitory computer-readable media of claim 25, wherein the processor further executes the computer-readable instructions to determine the protocol associated with the session based upon information associated with the packet and the at least one other packet.
28. The non-transitory computer-readable media of claim 25, wherein the processor further executes the computer-readable instructions to:
assign a new session identifier (ID) to the session upon determining that the session is a new session or assign an existing session ID to the session upon determining that the session is a pre-existing session, wherein the existing session ID is associated with the pre-existing session; and
generate session information based on the new session ID or the existing session ID and the protocol associated with the session.
29. The non-transitory computer-readable media of claim 25, wherein for generating the common header by summarizing the first information, the processor executes the computer-readable instructions to:
extract static data from a header of the packet and the header of each of the at least one other packet; and
store the static data in the common header.
30. The non-transitory computer-readable media of claim 25, wherein for generating the common header by summarizing the first information, the processor executes the computer-readable instructions to summarize non-static data that is changed in the packet and the at least one other packet.
31. The non-transitory computer-readable media of claim 25, wherein for generating the common header by summarizing the first information, the processor executes the computer-readable instructions to extract the first information from the packet and each of the at least one other packet, and wherein the first information is based upon the protocol associated with the session.
32. The non-transitory computer-readable media of claim 25, wherein the common header and the payload metadata are generated in real-time responsive to receiving the packet and the at least one other packet from the network.
33. The non-transitory computer-readable media of claim 25, wherein the processor further executes the computer-readable instructions to:
generate a performance parameter representing performance at least one of the network, the application, the service, a client associated with the network, or a server associated with the network, wherein the performance parameter is generated based on the packet and the at least one other packet; and
include the performance parameter in the session record.
34. The non-transitory computer-readable media of claim 25, wherein the processor further executes the computer-readable instructions to generate mapping information based on the session and at least one other session, and wherein the mapping information is included in the session record.
35. The non-transitory computer-readable media of claim 34, wherein the session and the at least one other session are associated with a same protocol.
36. The non-transitory computer-readable media of claim 34, wherein the session is associated with a first protocol and the at least one other session is associated with a second protocol different than the first protocol.
37. The non-transitory computer-readable media of claim 25, wherein the session and at least one other session are associated with a same protocol.
38. The non-transitory computer-readable media of claim 25, wherein the session is associated with a first protocol and at least one other session is associated with a second protocol different than the first protocol.
39. A network monitoring device comprising:
a memory storing computer-readable instructions; and
a processor that executes the computer-readable instructions to:
determine a session associated with a packet received from a network;
generate a common header by summarizing first information of the packet and at least one other packet of a same session;
generate a payload metadata by summarizing second information of the packet and the at least one other packet; and
generate a session record comprising the common header and the payload metadata to evaluate at least one of the network, an application associated with the network, or a service associated with the network.
40. The network monitoring device of claim 39, wherein the processor further executes the computer-readable instructions to determine a protocol associated with the session based upon information associated with the packet and the at least one other packet.
41. The network monitoring device of claim 39, wherein the processor further executes the computer-readable instructions to generate the common header and the payload metadata in real-time responsive to receiving the packet and the at least one other packet from the network.
42. The network monitoring device of claim 39, wherein the processor further executes the computer-readable instructions to:
generate a performance parameter representing performance at least one of the network, the application, the service, a client associated with the network, or a server associated with the network, wherein the performance parameter is generated based on the packet and the at least one other packet; and
include the performance parameter in the session record.
43. The network monitoring device of claim 39, wherein the processor further executes the computer-readable instructions to generate mapping information based on the session and at least one other session, and wherein the mapping information is included in the session record.
44. The network monitoring device of claim 43, wherein the session and the other session are associated with a same protocol.
45. The network monitoring device of claim 43, wherein the session is associated with a first protocol and the at least one other session is associated with a second protocol different than the first protocol.
46. The network monitoring device of claim 39, wherein the processor further executes the computer-readable instructions to buffer data associated with the packet and the at least one other packet before generating the common header and the payload metadata.
47. The network monitoring device of claim 39, wherein the processor further executes the computer-readable instructions to:
assign a new session ID to the session upon determining that the session is a new session or assign an existing session ID to the session upon determining that the session is a pre-existing session, wherein the existing session ID is associated with the pre-existing session; and
generate session information based on the new session ID or the existing session ID and a protocol associated with the session.
48. The network monitoring device of claim 39, wherein for generating the common header by summarizing the first information, the processor further executes the computer-readable instructions to:
extract static data from a header of the packet and the header of each of the at least one other packet; and
store the static data in the common header.
49. The network monitoring device of claim 39, wherein for generating the common header by summarizing the first information, the processor further executes the computer-readable instructions to summarize non-static data that is changed in the packet and the at least one other packet.
50. The network monitoring device of claim 39, wherein for generating the common header by summarizing the first information, the processor further executes the computer-readable instructions to extract the first information from the packet and each of the at least one other packet, and wherein the first information is based upon a protocol associated with the session.
51. The network monitoring device of claim 39, wherein for generating the payload metadata by summarizing the second information, the processor further executes the computer-readable instructions to:
determine a data payload from the packet and each of the at least one other packet; and
store a subset of the data payload as the payload metadata, wherein the subset of the data payload is based on a protocol associated with the session.
52. A method comprising:
determining, by a processor executing computer-readable instructions stored on a memory, a session associated with a packet received from a network;
generating, by the processor, a common header by summarizing first information of the packet and at least one other packet of the same session;
generating, by the processor, a payload metadata by summarizing second information of the packet and the at least one other packet by:
determining, by the processor, a data payload from the packet and each of the at least one other packet; and
storing, by the processor, a subset of the data payload as the payload metadata, wherein the subset of the data payload is based on a protocol associated with the session; and
generating, by the processor, a session record comprising the common header and the payload metadata for evaluating at least one of the network, an application associated with the network, or a service associated with the network.
53. The method of claim 52, further comprising buffering, by the processor, data associated with the packet and the at least one other packet before generating the common header and the payload metadata.
54. The method of claim 52, further comprising determining, by the processor, the protocol associated with the session based upon information associated with the packet and the at least one other packet.
55. The method of claim 52, further comprising:
assigning, by the processor, a new session ID to the session upon determining that the session is a new session or assigning an existing session ID to the session upon determining that the session is a pre-existing session, wherein the existing session ID is associated with the pre-existing session; and
generating, by the processor, session information based on the new session ID or the existing session ID and the protocol associated with the session.
56. The method of claim 52, wherein generating the common header by summarizing the first information further comprises:
extracting, by the processor, static data from a header of the packet and the header of each of the at least one other packet; and
storing, by the processor, the static data in the common header.
57. The method of claim 52, wherein generating the common header by summarizing the first information further comprises summarizing, by the processor, non-static data that is changed in the packet and the at least one other packet.
58. The method of claim 52, wherein generating the common header by summarizing the first information further comprises extracting, by the processor, the first information from the packet and each of the at least one other packet, wherein the first information is based upon the protocol associated with the session.
59. The method of claim 52, wherein generating the common header and the payload metadata further comprises generating, by the processor, the common header and the payload metadata in real-time responsive to receiving the packet and the at least one other packet from the network.
60. The method of claim 52, further comprising:
generating, by the processor, a performance parameter representing performance at least one of the network, the application, the service, a client associated with the network, or a server associated with the network, wherein the performance parameter is generated based on the packet and the at least one other packet; and
including, by the processor, the performance parameter in the session record.
61. The method of claim 52, further comprising generating, by the processor, mapping information based on the session and at least one other session, and wherein the mapping information is included in the session record.
US17/027,5422010-04-082020-09-21Real-time adaptive processing of network data packets for analysisActiveUSRE49126E1 (en)

Priority Applications (1)

Application NumberPriority DateFiling DateTitle
US17/027,542USRE49126E1 (en)2010-04-082020-09-21Real-time adaptive processing of network data packets for analysis

Applications Claiming Priority (5)

Application NumberPriority DateFiling DateTitle
US12/756,638US8582454B2 (en)2010-04-082010-04-08Real-time adaptive processing of network data packets for analysis
US14/051,301US9185014B2 (en)2010-04-082013-10-10Real-time adaptive processing of network data packets for analysis
US14/876,725US9686157B2 (en)2010-04-082015-10-06Real-time adaptive processing of network data packets for analysis
US15/603,034US10284440B2 (en)2010-04-082017-05-23Real-time adaptive processing of network data packets for analysis
US17/027,542USRE49126E1 (en)2010-04-082020-09-21Real-time adaptive processing of network data packets for analysis

Related Parent Applications (1)

Application NumberTitlePriority DateFiling Date
US15/603,034ReissueUS10284440B2 (en)2010-04-082017-05-23Real-time adaptive processing of network data packets for analysis

Publications (1)

Publication NumberPublication Date
USRE49126E1true USRE49126E1 (en)2022-07-05

Family

ID=44760849

Family Applications (5)

Application NumberTitlePriority DateFiling Date
US12/756,638Active2031-07-26US8582454B2 (en)2010-04-082010-04-08Real-time adaptive processing of network data packets for analysis
US14/051,301Active2030-08-04US9185014B2 (en)2010-04-082013-10-10Real-time adaptive processing of network data packets for analysis
US14/876,725Active2030-04-18US9686157B2 (en)2010-04-082015-10-06Real-time adaptive processing of network data packets for analysis
US15/603,034CeasedUS10284440B2 (en)2010-04-082017-05-23Real-time adaptive processing of network data packets for analysis
US17/027,542ActiveUSRE49126E1 (en)2010-04-082020-09-21Real-time adaptive processing of network data packets for analysis

Family Applications Before (4)

Application NumberTitlePriority DateFiling Date
US12/756,638Active2031-07-26US8582454B2 (en)2010-04-082010-04-08Real-time adaptive processing of network data packets for analysis
US14/051,301Active2030-08-04US9185014B2 (en)2010-04-082013-10-10Real-time adaptive processing of network data packets for analysis
US14/876,725Active2030-04-18US9686157B2 (en)2010-04-082015-10-06Real-time adaptive processing of network data packets for analysis
US15/603,034CeasedUS10284440B2 (en)2010-04-082017-05-23Real-time adaptive processing of network data packets for analysis

Country Status (3)

CountryLink
US (5)US8582454B2 (en)
EP (1)EP2556632B1 (en)
WO (1)WO2011126603A1 (en)

Families Citing this family (72)

* Cited by examiner, † Cited by third party
Publication numberPriority datePublication dateAssigneeTitle
US8345568B2 (en)*2009-10-282013-01-01Verizon Patent And Licensing Inc.Low loss layer two ethernet network
US9015343B2 (en)2010-11-232015-04-21Centurylink Intellectual Property LlcUser control over content delivery
KR20120071218A (en)*2010-12-222012-07-02한국전자통신연구원Apparatus and method for analysing network packet based on history
GB201101875D0 (en)*2011-02-032011-03-23Roke Manor ResearchA method and apparatus for communications analysis
US8902248B1 (en)*2011-07-142014-12-02Vmware, Inc.Method and system for measuring display performance of a remote application
US20130179538A1 (en)*2012-01-102013-07-11Debojyoti DuttaHierarchical infrastructure for notification of network events
US10044582B2 (en)2012-01-282018-08-07A10 Networks, Inc.Generating secure name records
US9013996B2 (en)2012-05-162015-04-21Centurylink Intellectual Property LlcCustomer configuration of broadband services
EP2880818A1 (en)*2012-08-022015-06-10Telefonaktiebolaget L M Ericsson (Publ)Manipulation of streams of monitoring data
US9923808B2 (en)2012-10-092018-03-20Netscout Systems, Inc.System and method for real-time load balancing of network packets
US9722918B2 (en)2013-03-152017-08-01A10 Networks, Inc.System and method for customizing the identification of application or content type
US9912555B2 (en)2013-03-152018-03-06A10 Networks, Inc.System and method of updating modules for application or content identification
WO2014143030A1 (en)*2013-03-152014-09-18Mcafee, Inc.Creating and managing a network security tag
WO2014176461A1 (en)2013-04-252014-10-30A10 Networks, Inc.Systems and methods for network access control
US9215152B2 (en)*2013-07-312015-12-15Logicnow LimitedHigh efficiency network monitoring system and methods
US9294503B2 (en)2013-08-262016-03-22A10 Networks, Inc.Health monitor based distributed denial of service attack mitigation
EP3044931B1 (en)2013-09-102020-03-18Nokia Solutions and Networks OySubscriber-specific tracing in communications
US9602571B2 (en)*2013-10-292017-03-21International Business Machines CorporationCodec selection and usage for improved VoIP call quality
US9674265B2 (en)2013-11-042017-06-06Vmware, Inc.Filtering unnecessary display updates for a networked client
JP6287154B2 (en)*2013-12-122018-03-07富士通株式会社 Packet storage method, packet storage program, and packet storage device
US9674518B2 (en)2013-12-202017-06-06Vmware, Inc.Measuring remote video display with embedded pixels
EP2890086B1 (en)*2013-12-262016-07-27Telefonica Digital España, S.L.U.Method and farm load balancing device for establishing a bi-directional server to server communication and computer program thereof
US9195552B2 (en)*2014-02-052015-11-24Futurewei Technologies, Inc.Per-function downstream port containment
US9306964B2 (en)2014-04-042016-04-05Netscout Systems, Inc.Using trust profiles for network breach detection
US9906422B2 (en)2014-05-162018-02-27A10 Networks, Inc.Distributed system to determine a server's health
US10319033B2 (en)2014-09-022019-06-11Nasdaq, Inc.Data packet processing methods, systems, and apparatus
US9756071B1 (en)2014-09-162017-09-05A10 Networks, Inc.DNS denial of service attack protection
US9537886B1 (en)2014-10-232017-01-03A10 Networks, Inc.Flagging security threats in web service requests
US9621575B1 (en)2014-12-292017-04-11A10 Networks, Inc.Context aware threat protection
US10255358B2 (en)*2014-12-302019-04-09Facebook, Inc.Systems and methods for clustering items associated with interactions
US9584318B1 (en)2014-12-302017-02-28A10 Networks, Inc.Perfect forward secrecy distributed denial of service attack defense
US9900343B1 (en)2015-01-052018-02-20A10 Networks, Inc.Distributed denial of service cellular signaling
US9729480B2 (en)*2015-02-042017-08-08Kno2 LlcInteroperable clinical document-exchange system
US9848013B1 (en)2015-02-052017-12-19A10 Networks, Inc.Perfect forward secrecy distributed denial of service attack detection
US10063591B1 (en)2015-02-142018-08-28A10 Networks, Inc.Implementing and optimizing secure socket layer intercept
US10691661B2 (en)2015-06-032020-06-23Xilinx, Inc.System and method for managing the storing of data
US10733167B2 (en)2015-06-032020-08-04Xilinx, Inc.System and method for capturing data to provide to a data analyser
US9787581B2 (en)2015-09-212017-10-10A10 Networks, Inc.Secure data flow open information analytics
US10135708B2 (en)*2015-09-252018-11-20Intel CorporationTechnologies for performance inspection at an endpoint node
US10469594B2 (en)2015-12-082019-11-05A10 Networks, Inc.Implementation of secure socket layer intercept
US10567246B2 (en)2015-12-152020-02-18At&T Intellectual Property I, L.P.Processing performance data of a content delivery network
US9990211B2 (en)2016-06-152018-06-05Vmware, Inc.Tracking window position in a VDI environment
JP2017229030A (en)*2016-06-242017-12-28富士通株式会社Vm changeover program, information processing device and vm changeover method
US10812348B2 (en)2016-07-152020-10-20A10 Networks, Inc.Automatic capture of network data for a detected anomaly
US10341118B2 (en)2016-08-012019-07-02A10 Networks, Inc.SSL gateway with integrated hardware security module
CN106230649B (en)*2016-09-202019-07-09杭州迪普科技股份有限公司Session resource management method and device
US10178026B2 (en)*2016-09-272019-01-08Gigamon Inc.Flexible inline arrangements for guiding traffic through network tools
US10382562B2 (en)2016-11-042019-08-13A10 Networks, Inc.Verification of server certificates using hash codes
US10250475B2 (en)2016-12-082019-04-02A10 Networks, Inc.Measurement of application response delay time
US10397270B2 (en)2017-01-042019-08-27A10 Networks, Inc.Dynamic session rate limiter
US10187377B2 (en)2017-02-082019-01-22A10 Networks, Inc.Caching network generated security certificates
US11153443B2 (en)*2017-02-222021-10-19Netscout Systems, IncSystem and method for calculating SIP KPIs for a time window
US11194839B2 (en)*2017-06-292021-12-07Netscout Systems, IncSystem and method for aggregating subscriber perspective data
US11196649B2 (en)2018-06-252021-12-07British Telecommunications Public Limited CompanyProcessing local area network diagnostic data
US11991061B2 (en)2018-06-252024-05-21British Telecommunications Public Limited CompanyProcessing local area network diagnostic data
CN109510732A (en)*2018-06-282019-03-22南京邮电大学A kind of realization network equipment automation daily record filter method and its system
US10812857B2 (en)2018-09-282020-10-20Apple Inc.Systems and methods for reducing latency of a video transmission system
JP7348797B2 (en)*2018-11-092023-09-21日本放送協会 Packet flow monitoring device
US11450069B2 (en)2018-11-092022-09-20Citrix Systems, Inc.Systems and methods for a SaaS lens to view obfuscated content
US11140566B2 (en)*2019-04-152021-10-05Netscout Systems, IncMatching user and control plane data in a network system using control and user plane separation
EP3748562A1 (en)*2019-05-082020-12-09EXFO Solutions SASTimeline visualization & investigation systems and methods for time lasting events
WO2021063671A1 (en)2019-09-302021-04-08British Telecommunications Public Limited CompanyProcessing local area network diagnostic data
US10819618B1 (en)*2019-12-092020-10-27Amazon Technologies, Inc.Network testing system
US11544415B2 (en)2019-12-172023-01-03Citrix Systems, Inc.Context-aware obfuscation and unobfuscation of sensitive content
US11539709B2 (en)2019-12-232022-12-27Citrix Systems, Inc.Restricted access to sensitive content
US11582266B2 (en)*2020-02-032023-02-14Citrix Systems, Inc.Method and system for protecting privacy of users in session recordings
US11265786B2 (en)*2020-02-112022-03-01Netscout Systems, IncRadio access network service mediated enhanced session records for artificial intelligence or machine learning
US11190841B2 (en)2020-04-032021-11-30Dish Network L.L.C.Media delivery notification data analysis and dashboard display
US11838573B2 (en)*2020-04-032023-12-05Dish Network L.L.C.Media delivery notification data ingestion, analysis, and interactive display
WO2022041163A1 (en)2020-08-292022-03-03Citrix Systems, Inc.Identity leak prevention
EP4040757B1 (en)*2021-02-092024-07-24Telia Company ABMonitoring of communication
WO2023036847A1 (en)*2021-09-072023-03-16Nano Corp.Method and system for monitoring and managing data traffic

Citations (14)

* Cited by examiner, † Cited by third party
Publication numberPriority datePublication dateAssigneeTitle
US5101402A (en)1988-05-241992-03-31Digital Equipment CorporationApparatus and method for realtime monitoring of network sessions in a local area network
US6618397B1 (en)*2000-10-052003-09-09Provisionpoint Communications, Llc.Group packet encapsulation and compression system and method
US20040215770A1 (en)2002-06-112004-10-28Maher Robert DanielDevice for enabling trap and trace of internet protocol communications
US20050157662A1 (en)*2004-01-202005-07-21Justin BinghamSystems and methods for detecting a compromised network
US6963912B1 (en)*1999-06-282005-11-08Xacct Technologies, Ltd.Method and apparatus for session reconstruction
US20060215697A1 (en)2005-03-242006-09-28Olderdissen Jan RProtocol stack using shared memory
US20060271823A1 (en)2005-05-262006-11-30Finisar CorporationDistributed stream analysis using general purpose processors
US20070140131A1 (en)2005-12-152007-06-21Malloy Patrick JInteractive network monitoring and analysis
US20080080495A1 (en)2006-09-292008-04-03Barrett Edward ESystem and method for network analysis
US20080281968A1 (en)2001-06-292008-11-13Rodriguez Arturo AUpdating Download Options for Unavailable Media Content
US7561569B2 (en)*2005-07-112009-07-14Battelle Memorial InstitutePacket flow monitoring tool and method
US20090232016A1 (en)1998-11-242009-09-17Niksun, Inc.Apparatus and method for collecting and analyzing communications data
US20100161795A1 (en)*2008-12-222010-06-24KindsightApparatus and method for multi-user nat session identification and tracking
US7930734B2 (en)*2006-04-282011-04-19Cisco Technology, Inc.Method and system for creating and tracking network sessions

Patent Citations (14)

* Cited by examiner, † Cited by third party
Publication numberPriority datePublication dateAssigneeTitle
US5101402A (en)1988-05-241992-03-31Digital Equipment CorporationApparatus and method for realtime monitoring of network sessions in a local area network
US20090232016A1 (en)1998-11-242009-09-17Niksun, Inc.Apparatus and method for collecting and analyzing communications data
US6963912B1 (en)*1999-06-282005-11-08Xacct Technologies, Ltd.Method and apparatus for session reconstruction
US6618397B1 (en)*2000-10-052003-09-09Provisionpoint Communications, Llc.Group packet encapsulation and compression system and method
US20080281968A1 (en)2001-06-292008-11-13Rodriguez Arturo AUpdating Download Options for Unavailable Media Content
US20040215770A1 (en)2002-06-112004-10-28Maher Robert DanielDevice for enabling trap and trace of internet protocol communications
US20050157662A1 (en)*2004-01-202005-07-21Justin BinghamSystems and methods for detecting a compromised network
US20060215697A1 (en)2005-03-242006-09-28Olderdissen Jan RProtocol stack using shared memory
US20060271823A1 (en)2005-05-262006-11-30Finisar CorporationDistributed stream analysis using general purpose processors
US7561569B2 (en)*2005-07-112009-07-14Battelle Memorial InstitutePacket flow monitoring tool and method
US20070140131A1 (en)2005-12-152007-06-21Malloy Patrick JInteractive network monitoring and analysis
US7930734B2 (en)*2006-04-282011-04-19Cisco Technology, Inc.Method and system for creating and tracking network sessions
US20080080495A1 (en)2006-09-292008-04-03Barrett Edward ESystem and method for network analysis
US20100161795A1 (en)*2008-12-222010-06-24KindsightApparatus and method for multi-user nat session identification and tracking

Non-Patent Citations (7)

* Cited by examiner, † Cited by third party
Title
Examination Report from the European Patent Office for European Patent Application No. EP11766300.5, dated Apr. 7, 2015.
Extended European Search Report for European Application No. EP11766300.5, dated Jun. 24, 2014.
International Search Report and Written Opinion for PCT Application No. PCT/US2011/024250, dated Apr. 7, 2011.
Office Action from the U.S. Patent and Trademark Office for U.S. Appl. No. 12/756,638, dated Jun. 11, 2012.
Office Action from the U.S. Patent and Trademark Office for U.S. Appl. No. 12/756,638, dated Nov. 29, 2012.
Office Action from the U.S. Patent and Trademark Office for U.S. Appl. No. 14/051,301, dated Aug. 5, 2015.
Office Action from the U.S. Patent and Trademark Office for U.S. Appl. No. 14/051,301, dated May 6, 2015.

Also Published As

Publication numberPublication date
US20170264506A1 (en)2017-09-14
US10284440B2 (en)2019-05-07
US20110249572A1 (en)2011-10-13
WO2011126603A1 (en)2011-10-13
US9686157B2 (en)2017-06-20
US20160028597A1 (en)2016-01-28
EP2556632A1 (en)2013-02-13
EP2556632A4 (en)2014-07-23
US20140040464A1 (en)2014-02-06
US8582454B2 (en)2013-11-12
US9185014B2 (en)2015-11-10
EP2556632B1 (en)2016-04-20

Similar Documents

PublicationPublication DateTitle
USRE49126E1 (en)Real-time adaptive processing of network data packets for analysis
CN115499230B (en) Network attack detection method and device, equipment and storage medium
CN111211980B (en)Transmission link management method, transmission link management device, electronic equipment and storage medium
US9577906B2 (en)Scalable performance monitoring using dynamic flow sampling
US10084713B2 (en)Protocol type identification method and apparatus
EP1742416B1 (en)Method, computer readable medium and system for analyzing and management of application traffic on networks
US8751642B2 (en)Method and system for management of sampled traffic data
US11658909B2 (en)Analyzing network traffic by enriching inbound network flows with exit data
US20230164043A1 (en)Service application detection
US9686173B1 (en)Unsupervised methodology to unveil content delivery network structures
CN1652519A (en) Communication Measurement System and Communication Analysis Method
EP3484102B1 (en)Cloud computing environment system for automatically determining over-the-top applications and services
EP3484101B1 (en)Automatically determining over-the-top applications and services
CN111314179A (en)Network quality detection method, device, equipment and storage medium
CN110661807A (en)Automatic acquisition method and device for IPv6 address
US20160248652A1 (en)System and method for classifying and managing applications over compressed or encrypted traffic
KR101344398B1 (en)Router and method for application awareness and traffic control on flow based router
KR20100024723A (en)System and method for analyzing alternative internet traffic using routing based on policy
US20140019636A1 (en)Method and device for extracting data from a data stream travelling around an ip network
CN105991353A (en)Fault location method and device
CN102595467A (en)Data acquisition method and data acquisition device
US20230403209A1 (en)Conferencing service rating determination
KR20250144154A (en)Information processing method and apparatus for detecting hidden communication channel based on network behavior
WO2023093227A1 (en)Information collection method and apparatus, and storage medium and electronic apparatus
CN117278737A (en) A video quality detection method, device, electronic equipment and storage medium

Legal Events

DateCodeTitleDescription
FEPPFee payment procedure

Free format text:ENTITY STATUS SET TO UNDISCOUNTED (ORIGINAL EVENT CODE: BIG.); ENTITY STATUS OF PATENT OWNER: LARGE ENTITY

MAFPMaintenance fee payment

Free format text:PAYMENT OF MAINTENANCE FEE, 4TH YEAR, LARGE ENTITY (ORIGINAL EVENT CODE: M1551); ENTITY STATUS OF PATENT OWNER: LARGE ENTITY

Year of fee payment:4

ASAssignment

Owner name:JPMORGAN CHASE BANK, N.A., ILLINOIS

Free format text:SECURITY INTEREST;ASSIGNORS:NETSCOUT SYSTEMS, INC.;ARBOR NETWORKS LLC;NETSCOUT SYSTEMS TEXAS, LLC;REEL/FRAME:069216/0007

Effective date:20241016


[8]ページ先頭

©2009-2025 Movatter.jp