Movatterモバイル変換


[0]ホーム

URL:


USRE45895E1 - Method for arthroscopic meniscal repair - Google Patents

Method for arthroscopic meniscal repair
Download PDF

Info

Publication number
USRE45895E1
USRE45895E1US13/661,868US201213661868AUSRE45895EUS RE45895 E1USRE45895 E1US RE45895E1US 201213661868 AUS201213661868 AUS 201213661868AUS RE45895 EUSRE45895 EUS RE45895E
Authority
US
United States
Prior art keywords
rivet
shaft
tissue
driving instrument
mid
Prior art date
Legal status (The legal status is an assumption and is not a legal conclusion. Google has not performed a legal analysis and makes no representation as to the accuracy of the status listed.)
Expired - Fee Related
Application number
US13/661,868
Inventor
Gary Karlin Michelson
Current Assignee (The listed assignees may be inaccurate. Google has not performed a legal analysis and makes no representation or warranty as to the accuracy of the list.)
Individual
Original Assignee
Individual
Priority date (The priority date is an assumption and is not a legal conclusion. Google has not performed a legal analysis and makes no representation as to the accuracy of the date listed.)
Filing date
Publication date
Application filed by IndividualfiledCriticalIndividual
Priority to US13/661,868priorityCriticalpatent/USRE45895E1/en
Application grantedgrantedCritical
Priority to US15/051,332prioritypatent/USRE47722E1/en
Publication of USRE45895E1publicationCriticalpatent/USRE45895E1/en
Expired - Fee Relatedlegal-statusCriticalCurrent
Anticipated expirationlegal-statusCritical

Links

Images

Classifications

Definitions

Landscapes

Abstract

A surgical rivet device for the repair of torn menisci and other intra-articular bodily tissues is disclosed in which the device comprises a shaft, projecting fins and a penetration head at one end and a wide rear portion. The device is inserted by a driving mechanism through both sides of the torn meniscus, compressing the tear in the meniscus between the fins near the head and the wide rear portion, holding the tear together. After insertion, the driving mechanism is separated from the rivet, leaving the rivet device in the patient. The rivet device is entirely biodegradable and absorabable by the body.

Description

RELATED APPLICATIONS
This application is a continuation of application Ser. No. 08/210,653, filed Mar. 10, 1994, now abandoned, which is a continuation of Ser. No. 07/965,069, filed Oct. 22, 1992, now abandoned, which is a continuation of Ser. No. 07/604,094, filed Oct. 29, 1990, now abandoned, which is a continuation of Ser. No. 07/279,978, filed Dec. 5, 1988, now abandoned.
BACKGROUND
Menisci are large comma shaped cartilaginous pads interposed between the large bone ends of the knee joint. At present, the majority of meniscal tears are treated by resection of the meniscus via a formal incision (open method), or by a removal of just the torn portion of the meniscus via an arthroscopic procedure (closed), with the latter being of ever increasing popularity.
It has become apparent that all meniscal tears need not be removed, but rather that they can be repaired and salvaged by suturing. The problem thus far, however, has been that the method of repair by suturing requires that both sides of the meniscus be accessible, thereby necessitating either two surgical incisions and approaches or the use of the arhtroscope in lieu of one of those incisions. The arthroscope is a hollow, slender viewing rod, much like a small telescope, which can be used to view the interior of a joint. The use of an arthroscope requires a very small incision and it is possible to perform some limited types of surgery entirely with the arthroscope alone. However, this has not proven to be useful for meniscal repair.
At the present time, meniscal repair is performed in the following manner. An arthroscope is introduced through a small opening from the front of the knee joint (anteriorly) and the torn meniscus is visualized. A second small opening is also made anteriorly and a feeler device is introduced to probe the tear. These tears all occur toward the back of the knee joint (posteriorly). This is most unfortunate since this is the location of the great blood vessels and nerves of the leg. In order to repair the meniscus, therefore, one must, with significant risk, make an ample incision and surgical approach so as to expose the back of the knee joint in the region of the meniscus to be repaired. But even then there is precious little working room, and since the needles used to sew the meniscus back in place must be quite long, as they can only be passed from front to back as otherwise there would be no reliable way to tie the ends within the joint, they may cause innocent and vital structures to be either penetrated or entrapped and subsequently damaged. Hollow metal guards have been used to help direct the paths of the needles used to limit the possibility of such damage.
Therefore, there is a great need for a means of achieving a meniscal repair wherein the procedure is wholly arthroscopic, can be performed anteriorly alone, and does not require the use of an additional posterior incision.
Rivet-like tabs, sometimes referred to having a penetration head, projecting flexible members and a wide rear portion have been used for attaching carpeting to a main frame of an automobile. Such devices are typically hammered directly through the carpet into a hole pre-formed in the car body. Such devices are relatively large and have no application in a surgical procedure.
SUMMARY OF THE INVENTION
The present invention comprises a small rivet-like member in the form of a shaft having flexible projection fins extending axially from the shaft, such projections preventing withdrawal of the rivet. A penetration head is located at the front of the shaft, and the rear of the shaft has a widened portion, in the form of a disc and means for removably engaging a driver member.
In use, the driver member is inserted into an opening in the rear end of the shaft and the penetration head of the rivet is then pushed through both sides of the meniscus to be healed, until the two pieces are trapped between the fins surrounding the head and the widened portion at the rear of the shaft. The flexible rearwardly angled projection fins prevent withdrawal of the shaft through the introduction hole. The driver member is then removed from the rear opening. Additional rivets are employed, depending on the size of the tear in the meniscus. The two pieces of meniscus are thus held in place by the rivet. The rivet remains in the body and is totally biodegradable and reabsorbable.
The present invention is safer than prior devices because it does not require a second incision, that incision usually being quite major, and since it can be deployed through the small portal already present to perform the diagnostic portion of the arthroscopy, it is more efficient than prior art. Accordingly, it does not threaten the neurovascular structures which would be interposed between the open incision and the inside of the knee joint. Because of the ability of escape the extra incision, there is decreased chance of infection and decreased tissue damage. Because this device can be utilized without additional surgery, it is more efficient than the prior art. Also, because it is specifically designed to bring meniscal fragments back together, and the prior art simply utilizes sutures, it is also more effective than prior systems.
OBJECTS OF THE PRESENT INVENTION
It is an object of the present invention to provide for a device for arthroscopic meniscal repair which is safer, not requiring additional operational procedures.
It is another object of the present invention to provide for a device for arthroscopic meniscal repair which is more efficient, being able to be inserted quickly, and with a minimum of trauma.
It is another object of the present invention to provide for a device for arthroscopic meniscal repair which is more effective and simpler to use.
It is another object of the present invention to provide a device which can be used generally to attach soft tissue to bone.
These and other objects of the present invention will he apparent from a review of the following specification and the accompanying drawings.
BRIEF DESCRIPTION OF THE DRAWINGS
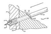
FIG. 1 is a perspective view of the rivet of the present invention and a partial view of the driver.
FIG. 2 is a perspective view of the human knee joint showing the rivet of the present invention being passed through the meniscus and capsule.
FIG. 3 is a partial sectional side view of the present invention showing the rivet of the present invention in the deployed position.
FIG. 4 is a partial sectional side view of the present invention taken along lines4-4 ofFIG. 2.
FIG. 5 is a perspective view of an alternative embodiment of the present invention.
FIG. 6 is an expanded view of the driver of the alternative embodiment within the rivet.
FIG. 7 is an expanded view of the driver and rivet of the alternative embodiment within the meniscus.
FIG. 8 is a side sectional view of the alternative embodiment of the rivet with the driver removed.
FIG. 9 is a third alternative embodiment, in the form of a screw.
FIG. 10 is a forth alternative embodiment in the form of a screw.
DETAILED DESCRIPTION OF THE PRESENT INVENTION
Referring toFIGS. 1-4, the preferred embodiment of the present invention is shown. Therivet10 consists of atubular shaft12 having a cone shaped penetration head at one end. A series ofaxial projections16 extend from the shaft, spaced apart from one another. Theprojections16 are slightly sloped away from theprojection head14. Theprojections16 extend only about one half the length of theshaft12. A widened portion, in the form of a widecircular disc18, is formed at therear end20 ofshaft12. Thedisc18 is circular in shape and is beveled around itscircumference22.
Therear end20 of theshaft12 has a depression24 in the form of a sphere. The depression24 is designed to engage acomplementary projection32 at the end ofdriver30. Theprojection32 has a slightly smaller diameter than the depression24 in the rear20 of therivet10. Theprojection32 of thedriver30 fits within the depression24 in the same manner that toy pop beads engage one another.
The use of therivet10 in operation is shown inFIGS. 2-4. Therivet10 is attached to thedriver30 by having therivet engaging projection32 of thedriver30 pressed within the depression24 in therivet10. Therivet10 is then pushed through the meniscus M on one side of the tear T and through the other side of the tear T in the meniscus M. The meniscus is compressed between the fine16 surrounding thetip14 and thedisc18, pushing the tear T together. After insertion of therivet10 in the meniscus, thedriver30 is pulled rearward, disengaging theprojection32 from the depression24 in the rear20 of therivet10 due to the fact that theprojections16 prevent the withdrawal of therivet10. As shown inFIG. 3,additional rivets10 may be inserted until the entire tear T is held together.
Therivet10 is made of a soft flexible plastic which is biodegradable and totally absorbable within the body, such as polyglycolic acid or carbon composite, or any similarly biodegradable, bioabsorbable and otherwise biologically safe material. Thedisc18, as shown inFIG. 4, is sufficiently flexible so as to be able to conform to the angle of the meniscus M.
Referring toFIG. 5, an alternative embodiment of the invention is disclosed which is easier to drive through the meniscus. The rivet100 comprises ashaft112 having ahead portion114 in the shape of a truncated cone. A series ofprojections116 extend substantially radially from the from the upper half of theshaft112 and slightly to the rear to prevent withdrawal of the rivet after insertion. The rear120 of the rivet100 has a wideneddisc118. The rivet100 is hollow along its central axis creating apassageway124 through the entire length of the rivet100.
Thedriver130 associated with rivet100 comprises ahandle131 having ashaft132 terminating in asharp tip133. Theforward face135 of thehandle131 at the juncture of theshaft132 and thehandle131 is flat so as to conform to the flat shape of thedisc118, and has a diameter slightly larger than the diameter of thedisc118. The diameter of theshaft132 is slightly smaller than the inside diameter of thepassageway124.
Thetip133 of theshaft132 is tapered so as to have substantially the same angle as the angle of the cone of thehead114, thereby forming a smooth transition from thehead114 to thetip133.
The use of the rivet is best shown by reference toFIGS. 6 and 7. Theshaft132 is passed through thepassageway124 in the rivet100 until the rear120 of thedisc118 abuts theflat face135 of thehandle131. The length of theshaft132 is such that when the rivet100 is seated on theflat face135, thetip133 of theshaft132 is in position to form a smooth transition with thehead114 of the rivet100.
Theshaft132 of thedriver130 with the rivet100 in place is then pushed through the meniscus M until the tear T is compressed. The force on theface135 of thedriver130 causes thedisc118 to deform so as to conform to the surface of the meniscus, as shown inFIGS. 6 and 7. Thebeveled edges122 of thedisc118 and the projectingfins116 prevent dislodging the rivet100 from the meniscus M. Once the rivet100 is in the meniscus M, thedriver130 can easily be withdrawn and another rivet100 placed on the driver and the process repeated.
The dimensions ofrivet10 are as follows: The overall length of therivet10 is approximately 8 mm, theshaft12 of the rivet has an outside diameter of about 2 mm and the outside diameter of the rear disc member is about 2.5 mm.
Theprojection32 of thedriver30 is slightly smaller than approximately 2 mm in diameter so as to fit within in the depression24 in the rear of the rivet of about 2 mm. The length of thehandle30 is about 500 mm.
In the alternative embodiment of the present invention, thepassageway124 of the rivet100 is about 1.25 mm in diameter. Theshaft132 of thedriver130 is slightly smaller than the passageway of the rivet100 and the angle of thetip133 and thehead114 is approximately 30-45 degrees. Thetip133 of the spear extends about 4 mm beyond the truncated end of thehead114.
Referring toFIGS. 9 and 10, alternative embodiments of the present invention are shown, in which a biodegradable screw is used in place of the rivet. Although, screws have been used before for such an application, they have been metal screws that were not biodegradable or absorbable.
InFIG. 9 the device is in the form of ascrew200, havingthreads204 which extend about one half of the length of theshaft102 screw. The tear of the meniscus would be compressed between thehead206 of the screw and thethreads204. Thescrew200 is driven by an allen wrench opening208 in the head of thescrew200.
InFIG. 10, a rivet in the form of asheet metal screw300 is shown. Again the screw is driven by an allen wrench opening302 in thehead304 and the tear in the meniscus compressed between the threads of thescrew300 and thehead304 of thescrew300.
In both instances the screw ofFIGS. 9 and 10 are inserted into the meniscus and then left in place. Due to the biodegradable absorbable nature of the screws, no danger is posed from the screws disengaging from the patient.
While the present inventions have been described in the concept of repairing the meniscus of the patient, it is recognized that the devices may be used in other parts of the body to repair or attach soft tissue, such as that in the shoulder where soft tissue may be desired to be attached to the bone. In such a case, a hole is drilled through the bone and then the rivet, is driven or screwed into the slightly smaller opening in the bone. The tissue is pressed against the bone and the projections or threads hold the rivet in place. The tissue reattaches itself to the bone and the rivet, being biodegradable, dissolves.
It is recognized that these and other embodiments of the invention may be devised without departing from the scope of the present invention.

Claims (35)

What is claimed is:
1. A method for holding pieces of tissue together with a tissue rivet, the method comprising the steps of:
providing the rivet having a shaft with a leading end for insertion first into the tissue, a trailing end opposite the leading end, a mid-longitudinal axis therebetween, and a member proximate the trailing end of the shaft, the member having a top, a bottom opposite the top, the bottom being adapted to contact tissue, at least a portion of the member being moveable relative to the shaft between an undeployed position where the bottom surface is not in contact with the tissue and a deployed position where the bottom surface contacts the tissue, the member having a first shape in the deployed position and a second shape in the undeployed position, the first shape being different from the second shape, the rivet having a passageway between the leading and trailing ends of the shaft;
engaging a driving instrument to the rivet, the driving instrument including a first end and a second end, a handle, a shaft extending from the handle, and a face at a junction of the handle and positioned between the first and second ends adjacent the shaft of the driving instrument, the engaging including inserting the shaft of the driving instrument into the passageway until the face of the driving instrument contacts the top of the member;
inserting the rivet into the tissue until the bottom contacts the tissue; and
moving at least a portion of the member relative to the shaft of the rivet to the deployed position.
2. The method ofclaim 1, wherein the member forms an included angle relative to the mid-longitudinal axis of the shaft of said rivet that is greater than 90 degrees.
3. The method ofclaim 1, wherein the member forms an included angle relative to the mid-longitudinal axis of the shaft of said rivet that is less than 90 degrees.
4. The method ofclaim 1, wherein the step of engaging of the driving instrument with the rivet is performed so that the driving instrument does not contact the bottom of the flexible member.
5. The method ofclaim 1, wherein the step of inserting includes pushing the rivet into the tissue.
6. The method ofclaim 1, wherein the step of inserting includes inserting the rivet into a portion of a meniscus of a human knee.
7. The method ofclaim 6, wherein the step of inserting includes inserting the leading end of the shaft of the rivet into the meniscus in a direction away from the center of the knee.
8. The method ofclaim 1, wherein the shaft of the rivet has an exterior surface with at least one projection adapted to resist expulsion of the rivet from within the tissue, further comprising the step of compressing the pieces of tissue together between the at least one projection and the flexible member.
9. A method for holding pieces of tissue together with a tissue rivet, the method comprising the steps of:
providing the rivet having a shaft with a leading end for insertion first into the tissue, a trailing end opposite the leading end, and a flexible member proximate the trailing end of the shaft, the flexible member having a top and a bottom opposite the top, the rivet having a passageway between the leading and trailing ends of the shaft;
engaging a driving instrument to the rivet, the driving instrument including a first end and a second end, a handle, a shaft extending from the handle, and a face at a junction of the handle and positioned between the first and second ends adjacent the shaft of the driving instrument, the engaging including inserting the shaft of the driving instrument into the passageway until the face of the driving instrument contacts the top of the flexible member; and
inserting the rivet into the tissue until the bottom of the flexible member contacts the tissue and the flexible member deforms to conform to the curvature of the tissue adjacent the rivet.
10. The method ofclaim 9, wherein the flexible member forms an included angle relative to the mid-longitudinal axis of the shaft of said rivet that is greater than 90 degrees.
11. The method ofclaim 9, wherein the flexible member forms an included angle relative to the mid-longitudinal axis of the shaft of said rivet that is less than 90 degrees.
12. The method ofclaim 9, wherein the step of engaging of the driving instrument with the rivet is performed so that the driving instrument does not contact the bottom of the flexible member.
13. The method ofclaim 9, wherein the step of engaging includes snap-fitting the rivet onto a portion of the driving instrument.
14. The method ofclaim 9, wherein the step of inserting includes pushing the rivet into the tissue.
15. The method ofclaim 9, wherein the step of inserting includes inserting the rivet into a portion of a meniscus of a human knee.
16. The method ofclaim 15, wherein the step of inserting includes inserting the leading end of the shaft of the rivet into the meniscus in a direction away from the center of the knee.
17. The method ofclaim 9, wherein the shaft of the rivet has an exterior surface with at least one projection adapted to resist expulsion of the rivet from within the tissue, further comprising the step of compressing the pieces of tissue together between the at least one projection and the flexible member.
18. A method for holding pieces of tissue together with a tissue rivet, the method comprising the steps of:
providing the tissue rivet having a shaft with a leading end for insertion first into the tissue, a trailing end opposite the leading end, and a member proximate the trailing end of the shaft, the member having a top, a bottom opposite the top, and an outer perimeter, the rivet having a passageway between the leading and trailing ends of the shaft;
engaging a driving instrument to the rivet, the driving instrument including a first end and a second end, a handle, a shaft extending from the handle, and a face at a junction of the handle and positioned between the first and second ends adjacent the shaft of the driving instrument, the engaging including inserting the shaft of the driving instrument into the passageway until the face of the driving instrument contacts the top of the member; and
inserting the rivet into the tissue until the bottom of the member contacts the tissue, at least a first portion of the bottom adjacent to the outer perimeter of the member being at an acute angle relative to the mid-longitudinal axis of the shaft of the rivet, at least a second portion of the bottom adjacent to the outer perimeter of the member being at an obtuse angle relative to the mid-longitudinal axis of the shaft of the rivet.
19. The method ofclaim 18, wherein the step of engaging the driving instrument with the rivet is performed so that the driving instrument does not contact the bottom of the flexible member.
20. The method ofclaim 18, wherein the step of inserting includes pushing the rivet into the tissue.
21. The method ofclaim 18, wherein the step of inserting includes inserting the rivet into a portion of a meniscus of a human knee.
22. The method ofclaim 21, wherein the step of inserting includes inserting the leading end of the shaft of the rivet into the meniscus in a direction away from the center of the knee.
23. The method ofclaim 18, wherein the shaft of the rivet has an exterior surface with at least one projection adapted to resist expulsion of the rivet from within the tissue, further comprising the step of compressing the pieces of tissue together between the at least one projection and the flexible member.
24. A method for holding pieces of tissue together comprising:
utilizing a tissue rivet having a shaft with a leading end for insertion first into the tissue, a trailing end opposite the leading end, and a member proximate the trailing end of the shaft, the member having a top, a bottom opposite the top, and an outer perimeter, the rivet having a passageway between the leading and trailing ends of the shaft;
utilizing a driving instrument, the driving instrument including a first end and a second end, a handle, a shaft extending from the handle, and a face positioned between the first and second ends adjacent the shaft of the driving instrument;
inserting the shaft of the driving instrument into the passageway until the face of the driving instrument contacts the top of the member; and
inserting the rivet into the tissue until the bottom of the member contacts the tissue;
wherein at least a first portion of the bottom adjacent to the outer perimeter of the member is at an acute angle relative to a mid-longitudinal axis of the shaft of the tissue rivet.
25. The method of claim 24, wherein the engaging of the driving instrument with the rivet is performed so that the driving instrument does not contact the bottom of the member.
26. The method of claim 24, wherein inserting includes pushing the rivet into the tissue.
27. The method of claim 24, wherein the inserting includes inserting the rivet into a portion of a meniscus of a human knee.
28. The method of claim 27, wherein the inserting includes inserting the leading end of the shaft of the tissue rivet into the meniscus in a direction away from the center of the knee.
29. The method of claim 24, wherein the shaft of the tissue rivet has an exterior surface with at least one projection adapted to resist expulsion of the rivet from within the tissue, further comprising compressing the pieces of tissue together between the at least one projection and the member.
30. The method of claim 24, wherein at least a second portion of the bottom adjacent to the outer perimeter of the member is at an obtuse angle relative to the mid-longitudinal axis of the shaft of the tissue rivet.
31. The method of claim 30, wherein the second portion of the bottom is on an opposite side of the shaft of the tissue rivet from the first portion of the bottom.
32. The method of claim 31, wherein the first portion of the bottom extends to adjacent to the shaft of the tissue rivet, and adjacent the shaft of the tissue rivet, the first portion of the bottom is at an acute angle relative to the mid-longitudinal axis of the shaft of the tissue rivet, and wherein the second portion of the bottom extends to adjacent to the shaft of the tissue rivet, and adjacent the shaft of the tissue rivet, the second portion of the bottom is at an obtuse angle relative to the mid-longitudinal axis of the shaft of the tissue rivet.
33. The method of claim 32, wherein the top has a first portion opposite the first portion of the bottom, the first portion of the top being at an obtuse angle relative to the mid-longitudinal axis of the shaft of the tissue rivet, the top having a second portion opposite the second portion of the bottom, the second portion of the top being at an acute angle relative to the mid-longitudinal axis of the shaft of the tissue rivet.
34. The method of claim 33, wherein the member is a head having an opening therethrough exposing the passageway, the head being larger in cross section transverse to the mid-longitudinal axis of the shaft of the tissue rivet than the cross section of the shaft of the tissue rivet perpendicular to the mid-longitudinal axis of the shaft of the tissue rivet.
35. The method of claim 34, wherein the top of the head is in a first plane not perpendicular to the mid-longitudinal axis of the shaft of the tissue rivet, and the bottom of the head is in a second plane parallel to the first plane.
US13/661,8681988-12-052012-10-26Method for arthroscopic meniscal repairExpired - Fee RelatedUSRE45895E1 (en)

Priority Applications (2)

Application NumberPriority DateFiling DateTitle
US13/661,868USRE45895E1 (en)1988-12-052012-10-26Method for arthroscopic meniscal repair
US15/051,332USRE47722E1 (en)1988-12-052016-02-23Method for arthroscopic tissue repair

Applications Claiming Priority (6)

Application NumberPriority DateFiling DateTitle
US27997888A1988-12-051988-12-05
US60409490A1990-10-291990-10-29
US96506992A1992-10-221992-10-22
US21065394A1994-03-101994-03-10
US08/354,450US7819906B1 (en)1988-12-051994-12-12Method for arthroscopic meniscal repair
US13/661,868USRE45895E1 (en)1988-12-052012-10-26Method for arthroscopic meniscal repair

Related Parent Applications (1)

Application NumberTitlePriority DateFiling Date
US08/354,450ReissueUS7819906B1 (en)1988-12-051994-12-12Method for arthroscopic meniscal repair

Related Child Applications (1)

Application NumberTitlePriority DateFiling Date
US08/354,450ContinuationUS7819906B1 (en)1988-12-051994-12-12Method for arthroscopic meniscal repair

Publications (1)

Publication NumberPublication Date
USRE45895E1true USRE45895E1 (en)2016-02-23

Family

ID=42987489

Family Applications (3)

Application NumberTitlePriority DateFiling Date
US08/354,450CeasedUS7819906B1 (en)1988-12-051994-12-12Method for arthroscopic meniscal repair
US13/661,868Expired - Fee RelatedUSRE45895E1 (en)1988-12-052012-10-26Method for arthroscopic meniscal repair
US15/051,332Expired - Fee RelatedUSRE47722E1 (en)1988-12-052016-02-23Method for arthroscopic tissue repair

Family Applications Before (1)

Application NumberTitlePriority DateFiling Date
US08/354,450CeasedUS7819906B1 (en)1988-12-051994-12-12Method for arthroscopic meniscal repair

Family Applications After (1)

Application NumberTitlePriority DateFiling Date
US15/051,332Expired - Fee RelatedUSRE47722E1 (en)1988-12-052016-02-23Method for arthroscopic tissue repair

Country Status (1)

CountryLink
US (3)US7819906B1 (en)

Cited By (1)

* Cited by examiner, † Cited by third party
Publication numberPriority datePublication dateAssigneeTitle
USRE47722E1 (en)1988-12-052019-11-12Gary Karlin MichelsonMethod for arthroscopic tissue repair

Families Citing this family (1)

* Cited by examiner, † Cited by third party
Publication numberPriority datePublication dateAssigneeTitle
WO2015171017A1 (en)*2014-05-052015-11-12Аркадий Вениаминович ДУБРОВСКИЙSurgical fastening element

Citations (30)

* Cited by examiner, † Cited by third party
Publication numberPriority datePublication dateAssigneeTitle
US1374713A (en)*1919-05-141921-04-12Wyoming Shovel WorksReinforcing or stay bolt for tool-handles
US2095931A (en)1935-06-171937-10-12Gen Tire & Rubber CoMeans for repairing sheet and tube material
US2414882A (en)1943-09-241947-01-28Herschel Leiter HFracture reduction apparatus
US2489870A (en)*1946-03-021949-11-29Dzus WilliamBone fastening device
CH344549A (en)1957-02-251960-02-15Parisienne De Const Electro Me Method of fixing an object to a surface and device for implementing this method
US3213745A (en)*1962-09-131965-10-26James E DwyerAnchoring socket for screw type fasteners
US3466966A (en)1967-11-131969-09-16Robin Products CoResilient fastening device in threaded bore
US3494244A (en)1967-10-241970-02-10Wasco IncFastener
US3641590A (en)1970-01-161972-02-15Arthur A MicheleAcetabular replacement prosthesis and method of assembling
FR2334869A1 (en)1975-12-101977-07-08Lumbres Indle CartonneriesNail for assembling panels to studding - has cruciform section point to pierce panel and threads to grip stud
US4060089A (en)1975-09-031977-11-29United States Surgical CorporationSurgical fastening method and device therefor
US4141087A (en)1977-01-191979-02-27Ethicon, Inc.Isomorphic copolyoxalates and sutures thereof
DE2933141A1 (en)*1978-10-061980-04-10Sulzer Ag ANCHORING PIN FOR BONE IMPLANTS
US4259072A (en)1977-04-041981-03-31Kyoto Ceramic Co., Ltd.Ceramic endosseous implant
GB2074688A (en)1980-04-171981-11-04Itw Ateco GmbhOne-piece fastening elements of synthetic material
GB2077845A (en)1980-06-161981-12-23Illinois Tool WorksPlastics Drive Fasteners
US4338835A (en)*1980-01-241982-07-13Leon SimonsRecessed head fastener and driver therefor
US4422276A (en)*1981-08-101983-12-27General Motors CorporationDoor trim fastener assembly
WO1985003857A1 (en)1984-02-281985-09-12Saul Nethtali SchreiberSurgical fasteners and method
US4548202A (en)*1983-06-201985-10-22Ethicon, Inc.Mesh tissue fasteners
US4590928A (en)*1980-09-251986-05-27South African Invention Development CorporationSurgical implant
US4646741A (en)1984-11-091987-03-03Ethicon, Inc.Surgical fastener made from polymeric blends
US4653486A (en)1984-04-121987-03-31Coker Tom PFastener, particularly suited for orthopedic use
US4728238A (en)*1980-06-161988-03-01Illinois Tool Works Inc.Plastic drive fastener
US4776739A (en)1986-04-141988-10-11Illinois Tool Works Inc.Plastic drive fastener
WO1989001767A1 (en)1987-09-021989-03-09Russell WarrenSurgical fastener
US4902182A (en)*1988-10-061990-02-20Trw Inc.Push-in fastener
US4924865A (en)*1986-05-201990-05-15Concept, Inc.Repair tack for bodily tissue
US5152765A (en)*1989-09-081992-10-06Linvatec CorporationInserter for engaging tissue to be oriented adjacent bone
US5261914A (en)*1987-09-021993-11-16Russell WarrenSurgical fastener

Family Cites Families (5)

* Cited by examiner, † Cited by third party
Publication numberPriority datePublication dateAssigneeTitle
SE204377C1 (en)1965-01-01
US4712550A (en)*1985-04-081987-12-15Sinnett Kevin BRetinal tack
US7819906B1 (en)1988-12-052010-10-26Gary Karlin MichelsonMethod for arthroscopic meniscal repair
US5203864A (en)*1991-04-051993-04-20Phillips Edward HSurgical fastener system
JP3670018B2 (en)*1995-02-232005-07-13ミテック・サージカル・プロダクツ・インコーポレーテッド Suture anchor assembly

Patent Citations (31)

* Cited by examiner, † Cited by third party
Publication numberPriority datePublication dateAssigneeTitle
US1374713A (en)*1919-05-141921-04-12Wyoming Shovel WorksReinforcing or stay bolt for tool-handles
US2095931A (en)1935-06-171937-10-12Gen Tire & Rubber CoMeans for repairing sheet and tube material
US2414882A (en)1943-09-241947-01-28Herschel Leiter HFracture reduction apparatus
US2489870A (en)*1946-03-021949-11-29Dzus WilliamBone fastening device
CH344549A (en)1957-02-251960-02-15Parisienne De Const Electro Me Method of fixing an object to a surface and device for implementing this method
US3213745A (en)*1962-09-131965-10-26James E DwyerAnchoring socket for screw type fasteners
US3494244A (en)1967-10-241970-02-10Wasco IncFastener
US3466966A (en)1967-11-131969-09-16Robin Products CoResilient fastening device in threaded bore
US3641590A (en)1970-01-161972-02-15Arthur A MicheleAcetabular replacement prosthesis and method of assembling
US4060089A (en)1975-09-031977-11-29United States Surgical CorporationSurgical fastening method and device therefor
FR2334869A1 (en)1975-12-101977-07-08Lumbres Indle CartonneriesNail for assembling panels to studding - has cruciform section point to pierce panel and threads to grip stud
US4141087A (en)1977-01-191979-02-27Ethicon, Inc.Isomorphic copolyoxalates and sutures thereof
US4259072A (en)1977-04-041981-03-31Kyoto Ceramic Co., Ltd.Ceramic endosseous implant
DE2933141A1 (en)*1978-10-061980-04-10Sulzer Ag ANCHORING PIN FOR BONE IMPLANTS
US4338835A (en)*1980-01-241982-07-13Leon SimonsRecessed head fastener and driver therefor
GB2074688A (en)1980-04-171981-11-04Itw Ateco GmbhOne-piece fastening elements of synthetic material
GB2077845A (en)1980-06-161981-12-23Illinois Tool WorksPlastics Drive Fasteners
US4728238A (en)*1980-06-161988-03-01Illinois Tool Works Inc.Plastic drive fastener
US4590928A (en)*1980-09-251986-05-27South African Invention Development CorporationSurgical implant
US4422276A (en)*1981-08-101983-12-27General Motors CorporationDoor trim fastener assembly
US4548202A (en)*1983-06-201985-10-22Ethicon, Inc.Mesh tissue fasteners
WO1985003857A1 (en)1984-02-281985-09-12Saul Nethtali SchreiberSurgical fasteners and method
US4653486A (en)1984-04-121987-03-31Coker Tom PFastener, particularly suited for orthopedic use
US4646741A (en)1984-11-091987-03-03Ethicon, Inc.Surgical fastener made from polymeric blends
US4776739A (en)1986-04-141988-10-11Illinois Tool Works Inc.Plastic drive fastener
US4924865A (en)*1986-05-201990-05-15Concept, Inc.Repair tack for bodily tissue
US4976715A (en)*1986-05-201990-12-11Concept, Inc.Repair tack for bodily tissue
WO1989001767A1 (en)1987-09-021989-03-09Russell WarrenSurgical fastener
US5261914A (en)*1987-09-021993-11-16Russell WarrenSurgical fastener
US4902182A (en)*1988-10-061990-02-20Trw Inc.Push-in fastener
US5152765A (en)*1989-09-081992-10-06Linvatec CorporationInserter for engaging tissue to be oriented adjacent bone

Non-Patent Citations (6)

* Cited by examiner, † Cited by third party
Title
Single Page from a Miscellaneous Appliance Catalogue, Austenal Company, Division of Home Sound Company; New York, N.Y., 1964; p. 64, 1 page.
U.S. Appl. No. 07/279,978, filed Dec. 1988, Michelson.
U.S. Appl. No. 07/604,094, filed Oct. 1990, Michelson.
U.S. Appl. No. 07/965,069, filed Oct. 1992, Michelson.
U.S. Appl. No. 08/210,653, filed Mar. 1994, Michelson.
U.S. Appl. No. 08/354,450, filed Dec. 1994, Michelson.

Cited By (1)

* Cited by examiner, † Cited by third party
Publication numberPriority datePublication dateAssigneeTitle
USRE47722E1 (en)1988-12-052019-11-12Gary Karlin MichelsonMethod for arthroscopic tissue repair

Also Published As

Publication numberPublication date
USRE47722E1 (en)2019-11-12
US7819906B1 (en)2010-10-26

Similar Documents

PublicationPublication DateTitle
US5002562A (en)Surgical clip
US5059206A (en)Method and apparatus for repairing a tear in a knee meniscus
US4997436A (en)Arthroscopic clip insertion tool
US7041120B2 (en)Toggle anchor and tool for insertion thereof
US5954747A (en)Meniscus repair anchor system
EP0557306B1 (en)Bone fastener
US5154189A (en)Method for repairing a torn meniscus
US6575976B2 (en)Expandable tissue anchor
US9486218B2 (en)Hernia mesh tacks
US5203784A (en)Bioabsorbable tack for joining bodily tissue and apparatus for deploying same
JP4068159B2 (en) Device for anchoring an object to a bone
US5968044A (en)Bone fastener
JP4322672B2 (en) Expansion ligament graft fixation system
US4741330A (en)Method and apparatus for anchoring and manipulating cartilage
US20070250118A1 (en)Compression tissue repair apparatus and methods
JPH11299805A (en)Tissue restoration device for human body and attachment method for the device
CN103156678A (en)Knotless suture anchor
JP2002177285A (en)Knotless suture fixing system without knot and using method
USRE47722E1 (en)Method for arthroscopic tissue repair
AU781140B2 (en)Toggle anchor and tool for insertion thereof

Legal Events

DateCodeTitleDescription
FEPPFee payment procedure

Free format text:MAINTENANCE FEE REMINDER MAILED (ORIGINAL EVENT CODE: REM.)

CCCertificate of correction
FEPPFee payment procedure

Free format text:7.5 YR SURCHARGE - LATE PMT W/IN 6 MO, SMALL ENTITY (ORIGINAL EVENT CODE: M2555); ENTITY STATUS OF PATENT OWNER: SMALL ENTITY

MAFPMaintenance fee payment

Free format text:PAYMENT OF MAINTENANCE FEE, 8TH YR, SMALL ENTITY (ORIGINAL EVENT CODE: M2552); ENTITY STATUS OF PATENT OWNER: SMALL ENTITY

Year of fee payment:8

FEPPFee payment procedure

Free format text:MAINTENANCE FEE REMINDER MAILED (ORIGINAL EVENT CODE: REM.); ENTITY STATUS OF PATENT OWNER: SMALL ENTITY

LAPSLapse for failure to pay maintenance fees

Free format text:PATENT EXPIRED FOR FAILURE TO PAY MAINTENANCE FEES (ORIGINAL EVENT CODE: EXP.); ENTITY STATUS OF PATENT OWNER: SMALL ENTITY


[8]ページ先頭

©2009-2025 Movatter.jp