Movatterモバイル変換


[0]ホーム

URL:


USRE44423E1 - Method of manufacturing a quartz crystal unit - Google Patents

Method of manufacturing a quartz crystal unit
Download PDF

Info

Publication number
USRE44423E1
USRE44423E1US11/805,861US80586107AUSRE44423EUS RE44423 E1USRE44423 E1US RE44423E1US 80586107 AUS80586107 AUS 80586107AUS RE44423 EUSRE44423 EUS RE44423E
Authority
US
United States
Prior art keywords
tuning fork
quartz crystal
crystal tuning
groove
fork tines
Prior art date
Legal status (The legal status is an assumption and is not a legal conclusion. Google has not performed a legal analysis and makes no representation as to the accuracy of the status listed.)
Expired - Lifetime, expires
Application number
US11/805,861
Inventor
Hirofumi Kawashima
Current Assignee (The listed assignees may be inaccurate. Google has not performed a legal analysis and makes no representation or warranty as to the accuracy of the list.)
Piedek Technical Laboratory
Original Assignee
Piedek Technical Laboratory
Priority date (The priority date is an assumption and is not a legal conclusion. Google has not performed a legal analysis and makes no representation as to the accuracy of the date listed.)
Filing date
Publication date
Application filed by Piedek Technical LaboratoryfiledCriticalPiedek Technical Laboratory
Priority to US11/805,861priorityCriticalpatent/USRE44423E1/en
Priority to US13/957,584prioritypatent/USRE45582E1/en
Application grantedgrantedCritical
Publication of USRE44423E1publicationCriticalpatent/USRE44423E1/en
Priority to US14/514,131prioritypatent/USRE45829E1/en
Adjusted expirationlegal-statusCritical
Expired - Lifetimelegal-statusCriticalCurrent

Links

Images

Classifications

Definitions

Landscapes

Abstract

In a method for manufacturing a quartz crystal unit, a quartz crystal tuning fork resonator is formed by etching a quartz crystal wafer to form a quartz crystal tuning fork base, quartz crystal tuning fork tines connected to the quartz crystal tuning fork base, and a groove having stepped portions in at least one of opposite main surfaces of each of the quartz crystal tuning fork tines. A first electrode is disposed on at least one of the stepped portions of each of the grooves and a second electrode is disposed on each of side surfaces of each of the quartz crystal tuning fork tines. A frequency of oscillation of the quartz crystal tuning fork resonator is adjusted at least twice and in different steps. The quartz crystal tuning fork resonator is then mounted in a case and an open end of the case is covered with a lid.

Description

BACKGROUND OF THE INFORMATION
The present invention relates to a quartz crystal unit comprising a flexural mode, tuning fork, quartz crystal resonator, a case and a lid, and its manufacturing method.
BACKGROUND INFORMATION
Quartz crystal units with a tuning fork, quartz crystal resonator which vibrates in flexural mode are widely used as a time standard in consumer products, wearable equipment and communication equipment (such as wristwatches, cellular phones, and pagers). Recently, because of miniaturization and the light weight nature of these products, a smaller quartz crystal unit with a smaller flexural mode, tuning fork, quartz crystal resonator is required with a small series resistance and a high quality factor.
FIG. 28(a) andFIG. 28(b) show a plan view and a side view of aquartz crystal unit101 with the conventional flexural mode, tuning fork,quartz crystal resonator100. Theresonator100 comprisestuning fork tines102,103 andtuning fork base104. Thebase104 is fixed at amounting portion106 of acase105 byadhesives107,108 or solder. Also,electrodes109 and110 are disposed on themounting portion106 and two electrode terminals are constructed. In addition, thecase105 and thelid111 are connected via ametal112. The conventional quartz crystal unit is constructed like this, and it is also needed to miniaturize a tuning fork, quartz crystal resonator to obtain a miniaturized quartz crystal unit with it.
It is, however, impossible to obtain a miniaturized quartz crystal unit with a conventional miniaturized, flexural mode, tuning fork, quartz crystal resonator with a small series resistance and a high quality factor. When miniaturized the conventional flexural mode, tuning fork, quartz crystal, resonator shown inFIG. 29 (which has electrodes on theobverse faces203,207,reverse faces204,208 and the foursides205,206,209,210 of each tuning fork tine, as also shown in FIG.30—a cross-sectional view of tuning fork tines ofFIG. 29), has a smaller electromechanical transformation efficiency, which provides a small electric field (i.e. Ex becomes small), a large series resistance, and a reduced quality factor. InFIG. 29, the conventionaltuning fork resonator113 is shown withtuning fork tines114,115 andtuning fork base116.
In addition, it is impossible to obtain a flexural mode, tuning fork, quartz crystal resonator with a small frequency change over a wide temperature range of between −10° C. to +50° C. because the resonator has a temperature coefficient with a parabolic curve, and whose second order temperature coefficient is approximately −3.5×10−8/° C.2. This value is comparatively large as compared with AT cut quartz crystal resonators vibrating in thickness shear mode.
Moreover, for example, Japanese Patent Nos. P56-65517 and P2000-223992A and International Patent No. WO 00/44092 teach grooves and electrodes constructed at tuning fork tines of a flexural mode, tuning fork, quartz crystal resonator. However, they teach nothing about a quartz crystal unit of the present invention having novel shape, novel electrode construction and an improvement of frequency temperature behaviour for a flexural mode, tuning fork, quartz crystal resonator, and also, teach nothing about a method of manufacturing a quartz crystal unit of the present invention.
It is, therefore, an object of the present invention to provide a quartz crystal unit with a flexural mode, tuning fork, quartz crystal resonator which overcomes the above-described problems and its manufacturing method.
SUMMARY OF THE INVENTION
The present invention relate to the shape and electrode construction of a flexural mode, tuning fork, quartz crystal resonator which is housed in a case, and in particular, a novel shape and electrode construction for a flexural mode, tuning fork, quartz crystal resonator available for consumer products and communication equipment requiring miniaturized, high accuracy, shock proof and low priced quartz crystal units.
It is an object of the present invention to provide a quartz crystal unit with a miniaturized flexural mode, tuning fork, quartz crystal resonator with a small series resistance R1and a high quality factor Q.
It is an another object of the present invention to provide a quartz crystal unit with a flexural mode, tuning fork, quartz crystal resonator with an excellent frequency temperature behaviour over a wide temperature range (of −10° C. to +50° C.).
It is a further object of the present invention to provide a method of manufacturing a quartz crystal unit.
According to one aspect of the present invention there is provided a quartz crystal unit with a tuning fork, quartz crystal resonator capable of vibrating in flexural mode comprising; tuning fork tines, a tuning fork base, said tuning fork tines having step difference portions and medium surface portions, with at least one first electrode on said step difference portions, with at least one second electrode disposed on the side of said tuning fork tines, and said at least one first and at least one second electrodes being of opposite electrical polarity.
According to a second aspect of the present invention there is provided a quartz crystal unit with a tuning fork, quartz crystal resonator capable of vibrating in flexural mode comprising; tuning fork tines, and a tuning fork base, a plurality of step difference portions provided at said tuning fork tines along the direction of length thereof, at least two of the plurality of step difference portions being connected via at least one step portion, first electrodes on the step difference portions, second electrodes disposed opposite to the first electrodes on the sides of said tuning fork tines, and said first and second electrodes being of opposite electrical polarity.
According to a third aspect of the present invention, there is provided a quartz crystal unit with a tuning fork, quartz crystal resonator capable of vibrating in flexural mode comprising; tuning fork tines, and a tuning fork base, at least one groove provided in the central line portion of each of said tuning fork tines, at least one first electrode provided inside each groove, at least one second electrode provided on the sides of said tuning fork tines, and for each tine said at least one second electrode having an opposite electrical polarity to said at least one first electrode.
According to a fourth aspect of the present invention there is provided a quartz crystal unit with a quartz crystal, tuning fork, resonator capable of vibrating in flexural mode comprising; tuning fork tines, tuning fork base, a plurality of grooves provided only on the tuning fork base where said base is coupled to the tuning fork tines, and electrodes provided in said grooves.
According to a fifth aspect of the present invention there is provided a quartz crystal unit with a resonator comprising; a plurality of individual flexural mode, tuning fork, quartz crystal resonators being connected and formed integrally at each tuning fork base via connecting portion wherein said individual quartz crystal resonators are coupled to each other at the respective tuning fork bases via the connecting portion and having an angle of separation of 0° to 30°.
According to a sixth aspect of the present invention there is provided a method for manufacturing a quartz crystal unit comprising: a flexural mode, tuning fork, quartz crystal resonator, a case of surface mounting type and a lid.
Embodiments of the present invention may provide a high electromechanical transformation efficiency.
Embodiments of the present invention use step differences or grooves and an electrode construction arranged on the tuning fork tines and/or tuning fork base of a flexural mode, tuning fork, quartz crystal resonator.
Preferably, the resonator has a step difference constructed at tuning fork tines and/or tuning fork base and electrodes disposed on the step difference portions.
Preferably, the resonator has grooves including the central line of the central portions for each tuning fork tine and the electrodes disposed inside the grooves and disposed on the sides of each tuning fork tine. Alternatively or additionally the grooves may be arranged on the tuning fork base and the electrodes disposed inside the grooves.
Preferably, at least two individual flexural mode, tuning fork, quartz crystal resonators connected and formed integrally at their respective tuning fork base via connecting portion may improve the frequency temperature behaviour. The quartz crystal resonators whose peak temperature points are different, may be connected electrically in parallel. As a result, the integrally formed quartz crystal resonator may have excellent frequency temperature behaviour over a wide temperature range of −10° C. to +50° C.
For a better understanding of the present invention, and as to how the same may be carried into effect, reference will now be made by way of example to the accompanying drawings.
BRIEF DESCRIPTION OF THE DRAWINGS
FIG. 1(a) andFIG. 1(b) show a plan view omitting a lid and a side view of a quartz crystal unit of the first embodiment of the present invention;
FIG. 2 is a general view of a flexural mode quartz crystal resonator of tuning fork type with grooves at each tuning fork tine constructing the quartz crystal unit of the present invention shown inFIG. 1(a) andFIG. 1(b) and its coordinate system;
FIG. 3 is a A-A′ and B-B′ cross-sectional views of the tuning fork tines ofFIG. 2 illustrating electrode construction;
FIG. 4 is a plan view of the tuning fork, quartz crystal resonator ofFIG. 2;
FIG. 5 is a general view of a flexural mode, tuning fork, quartz crystal resonator constructing a quartz crystal unit of the second embodiment of the present invention, and having plural grooves at the tuning fork base;
FIG. 6 is a D-D′ cross-sectional view of the tuning fork base ofFIG. 5 and illustrating electrode construction;
FIG. 7 is a plan view of the flexural mode quartz crystal resonator ofFIG. 5;
FIG. 8 is a plan view of a flexural mode, tuning fork, quartz crystal resonator constructing a quartz crystal unit of the third embodiment of the present invention;
FIG. 9 is a plan view of a flexural mode, tuning fork, quartz crystal resonator constructing a quartz crystal unit of the fourth embodiment of the present invention;
FIG. 10 is a F-F′ cross-sectional view of the tuning fork base ofFIG. 9 and illustrating electrode construction;
FIG. 11 is a general view of a flexural mode, tuning fork, quartz crystal resonator constructing a quartz crystal unit of the fifth embodiment of the present invention and its coordinate system;
FIG. 12 is a plan view of the flexural mode quartz crystal resonator ofFIG. 11;
FIG. 13 is a I-I′ cross-sectional view of the tuning fork tines ofFIG. 12 and illustrating electrode construction;
FIG. 14 is a general view of a flexural mode, tuning fork, quartz crystal resonator constructing a quartz crystal unit of the sixth embodiment: of the present invention and its coordinate system;
FIG. 15 is a plan view of the flexural mode quartz crystal resonator ofFIG. 14;
FIG. 16 is a J-J′ cross-sectional view of the tuning fork tines ofFIG. 15 and illustrating electrode construction;
FIG. 17 is a plan view of a flexural mode quartz crystal resonator constructing a quartz crystal unit of the seventh embodiment of the present invention;
FIG. 18 is a plan view of a flexural mode quartz crystal resonator constructing a quartz crystal unit of the eighth embodiment of the present invention;
FIG. 19 is a plan view of a flexural mode quartz crystal resonator constructing a quartz crystal unit of the ninth embodiment of the present invention;
FIG. 20 is a M-M′ cross-sectional view of the tuning fork tines ofFIG. 19 and illustrating electrode construction;
FIG. 21 is a plan view of a flexural mode quartz crystal resonator constructing a quartz crystal unit of the tenth embodiment of the present invention;
FIG. 22 is a N-N′ cross-sectional view of the tuning fork base ofFIG. 21 and illustrating electrode construction;
FIG. 23 shows a plan view of a quartz crystal unit of the eleventh embodiment of the present invention and omitting a lid, which has two flexural mode, tuning fork, quartz crystal resonators with grooves connected and formed integrally at each tuning base via connecting portion and have an angle φ of separation;
FIG. 24 shows a diagram of an electrical connection for the flexural mode quartz crystal resonators ofFIG. 23;
FIG. 25 shows an example of frequency temperature behaviour of the quartz crystal unit of said eleventh embodiment;
FIG. 26 shows a plan view of a quartz crystal unit of the twelfth embodiment of the present invention and omitting a lid, which has two flexural mode, tuning fork, quartz crystal resonators connected at each tuning bases via connecting portion and a dividing portion is constructed between the resonators;
FIG. 27 shows a step diagram of a method for manufacturing a quartz crystal unit of the present invention;
FIG. 28(a) andFIG. 28(b) are a plan view and a side view of the conventional quartz crystal unit;
FIG. 29 is a general view of the conventional flexural mode, tuning fork, quartz crystal resonator constructing the quartz crystal unit of the prior art;
FIG. 30 is a cross-sectional view of the tuning fork tines ofFIG. 29 and illustrating electrode construction.
DETAILED DESCRIPTION OF THE PREFERRED EMBODIMENTS
Referring now to the drawings, the embodiments of the present invention will be described in full detail.
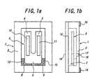
FIG. 1(a) andFIG. 1(b) show a plan view omitting a lid and a side view of a quartz crystal unit of the first embodiment of the present invention. Thequartz crystal unit1 comprises acase2, a flexural mode, tuning fork,quartz crystal resonator3 and alid19. Also, theresonator3 comprisestuning fork tines4,5 andtuning fork base6, and thebase6 is fixed on a mountingportion7 constructed at thecase2 byconductive adhesives8,9 or solder. Additionally,grooves10,11 are constructed at thetines4,5 and the grooves extends into thebase6 in this embodiment. A flexural mode, tuning fork, quartz crystal resonator which is housed in a case of a quartz crystal unit of the present invention will be described inFIG. 2-FIG.23 in detail.
Also,electrodes12,13 are disposed on the mountingportion7 and connected to the respective electrodes with opposite electrical polarity disposed on thebase6, as a result of which two electrode terminals are constructed. In full detail, theelectrode12 extends into the reverse face of thecase2 and are connected to anelectrode14 constructed at one end portion thereof, while theelectrode13 also extends into the reverse face of thecase2 and connected to anelectrode15 constructed at other end portion thereof. Thecase2 andlid19 are connected via connectingmember16.
In this embodiment, though theelectrodes14 and15 are constructed at both ends of the reverse face of thecase2, they may be constructed at an arbitrary location thereof. This electrode construction is also applied to embodiments which are described as follows.
In addition, thecase2 in this embodiment has ahole17 to close it in vacuum and thehole17 is closed by closing member18. Also, ceramics or glass as a material of the case, glass or metal as a material of the lid, glass with the low melting point or metal including solder as a connecting member to connect the case and the lid and similarly, the glass with the low melting point or the metal as a closing member to close the hole are used respectively.
In this embodiment, though thecase2 has thehole17 to close it in vacuum, thecase2 with no hole and the lid may be directly closed in vacuum via the connecting member. The construction of the case and the lid in this embodiment is also applied to that in another embodiments which are described as follows.
FIG. 2 shows a general view of a flexural mode, tuning fork, quartz crystal resonator housed in thecase2 ofFIG. 1(a) andFIG. 1(b) embodying the present invention and its coordinate system. The coordinate system consists of an origin O, an electrical axis x, a mechanical axis y and an optical axis z of quartz, namely, O-xyz. A flexural mode, tuning fork,quartz crystal resonator21 embodying the present invention comprises a firsttuning fork tine22, a secondtuning fork tine23 and atuning fork base24, the firsttuning fork tine22 and the secondtuning fork tine23 are connected at thetuning fork base24. In addition,grooves25 and31 each of which has a plurality of step difference portions, i.e., stepped portions including a first stepped portion, a second stepped portion and a third stepped portion connecting the first stepped portion to the second stepped portion as is shown in FIG. 3 and FIG. 4, are constructed within the obverse face faces oftuning fork tines22 and23 which include a portion of the central line, respectively, as shown in FIG.3, FIG. 4, and the same grooves are constructed within the reverse face faces of thetines22 and23. A cut angle θ, which has a typical value of 0° to 10°, is rotated from a Z-plate perpendicular to z axis about the x axis. Additionally, a groove is constructed at least with two step difference portions along the direction of length of tuning fork tines. In this embodiment, the groove is constructed with four step difference portions and has a rectangular shape in the plan view ofFIG. 1.
FIG. 3 shows the A-A′ and B-B′ cross-sectional views of the tuning fork tines ofFIG. 2 and electrode construction within the grooves. The A-A′ cross-sectional view of thetuning fork tine22 is shown on the right side and the B-B′ cross-sectional view of thetuning fork tine23 is shown on the left side. Thetuning fork tine22 has a first side surface and a second side surface opposite the first side surface andgrooves25 and26 each of which has a first stepped portion opposite the first side surface and a second stepped portion opposite the second side surface or a first surface opposite the first side surface and a second surface opposite the second side surface, cut into it, which include a portion of central line of thetine22. Thegrooves25 and26 have a first set ofelectrodes27 and28 of the same electrical polarity, while the sides first and second side surfaces of thetine22 have a second set ofelectrodes29 and30 having an opposite electrical polarity to the first set ofelectrodes27 and28. Thetuning fork tine23 has a first side surface and a second side surface opposite the first side surface andgrooves31 and32 each of which has a first stepped portion opposite the first side surface and a second stepped portion opposite the second side surface or a first surface opposite the first side surface and a second surface opposite the second side surface, constructed in a similar manner astuning fork tine22. Thegrooves31 and32 have a third set ofelectrodes33 and34 of the same electrical polarity, and the sides first and second side surfaces of thetine23 have a fourth set ofelectrodes35 and36 with the opposite electrical polarity to thethird electrodes33 and34. The electrodes disposed on thetuning fork tines22 and23 are connected as shown inFIG. 3, namely, two electrode terminals of different polarity C-C′ are obtained.
In detail, the first set ofelectrodes27 and28 disposed on surfaces of thegrooves25 and26 of thetuning fork tine22 have the same electrical polarity as the fourth set ofelectrodes35 and36 disposed on both sides the first and second side surfaces of thetuning fork tine23, while the second set ofelectrodes29 and30 disposed on both sides the first and second side surfaces of thetuning fork tine22 have the same electrical polarity as the third set ofelectrodes33 and34 disposed on thegrooves31 and32 of thetine23. Now, when a direct voltage is applied between the electrode terminals C-C′, an electric field Ex occurs along the arrow direction inside thetuning fork tines22 and23. As the electric field Ex occurs perpendicular to the electrodes disposed on the tuning fork tines, as shown in the arrow signs, the electric field Ex has a very large value and a large distortion occurs at the tuning fork tines. As a result, a tuning fork, quartz crystal resonator is obtained with a small series resistance R1and a high quality factor Q because even when miniaturized there is a large electromechanical transformation efficiency for the resonator. Thus, each of thetuning fork tines 22, 23 has a first main surface and a second main surface opposite the first main surface, and a first side surface and a second side surface opposite the first side surface, and thegrooves 25, 26 are formed in the first and second main surfaces of thetuning fork tine 22 and thegrooves 31, 32 are formed in the first and second main surfaces of thetuning fork tine 23. In addition, a first electrode is disposed on a surface of each of thegrooves 25, 26, 31 and 32 formed in the first and second main surfaces of each of thetuning fork tines 22, 23 and a second electrode is disposed on each of the first and second side surfaces of each of thetuning fork tines 22, 23 so that thefirst electrodes 27, 28 disposed on the surfaces of thegrooves 25, 26 formed in the first and second main surfaces of thetuning fork tine 22 are connected to thesecond electrodes 35, 36 disposed on the first and second side surfaces of thetuning fork tine 23, and thefirst electrodes 33, 34 disposed on the surfaces of thegrooves 31, 32 formed in the first and second main surfaces of thetuning fork tine 23 are connected to thesecond electrodes 29, 30 disposed on the first and second side surfaces of thetuning fork tine 22.
FIG. 4 shows a plan view of a the tuning fork,quartz crystal resonator21 ofFIG. 2. InFIG. 4, the construction and the dimension ofgrooves25 and31 are described in detail. Thegroove25 is constructed to include a portion of the central line37 of thetuning fork tine22, thegroove31 is similarly constructed to include a portion of thecentral line38 of thetuning fork tine23. The width W2of thegrooves25 and31 which include a portion of thecentral lines37 and38 38, respectively, is preferable because thetuning fork tines22 and23 can vibrate in a flexural mode easily.
In other words, a the flexural mode, tuning fork, quartz crystal resonator can be obtained with a small series resistance R1and a high quality factor Q. The total width W of the tuning fork tines22 and23 has a relationship of W=W1+W2+W3, and in general at least one of the four grooves 25, 26, 31 and 32 is constructed so that W1≧W3. Namely, each of the four grooves 25, 26, 31 and 32 has the first stepped portion opposite the first side surface of the tuning fork tine and the second stepped portion opposite the second side surface of the tuning fork tine as described in FIG. 3, and when a distance in the width direction of the groove measured from a first outer edge of the groove to a first outer edge of the corresponding one of the quartz crystal tuning fork tines 22, 23 is defined by W1and a distance in the width direction of the groove measured from a second outer edge of the groove to a second outer edge of the corresponding one of the quartz crystal tuning fork tines 22, 23 is defined by W3, the groove is formed in at least one of the first and second main surfaces of each of the tuning fork tines 22, 23 so that W1is greater than W3. In addition, the width W2of the grooves is constructed so that W2≧W1, W3. Also, a ratio (W2/W) of the groove width W2and the total width W is in a range of 0.35 to 0.85 because a moment of inertia of each of the tuning fork tines becomes very large by the ratio. That is to say, a the flexural mode, tuning fork, quartz crystal resonator can be provided with a small series resistance R1, a quality factor Q and a small capacitance ratio because electromechanical transformation efficiency becomes large markedly.
Likewise, the length l1of thegrooves25 and31 oftuning fork tines22 and23 extends into the tuning fork base24 (which has a dimension of the length l2and the length l3of the grooves). Furthermore, the total length l is determined by the frequency requirement and the size of the housing case. At the same time, to get a flexural mode, tuning fork, quartz crystal resonator capable of vibrating easily in fundamental mode with suppression of the second and third overtone modes which are unwanted vibration modes, there is a close relationship between groove length l1and the total length l. Namely, a ratio (l1/l) of the groove length l1and the total length l is in a range of 0.2 to 0.78 because the quantity of charges which generate within the grooves and on the sides of the tuning fork tines and/or the tuning fork base can be controlled by the ratio and the second and third overtone modes which are unwanted vibration modes can be suppressed substantially. In order to achieve the above mentioned object, it may be satisfied with at least one groove with the ratio constructed at the tines. As a result of which the flexural mode, tuning fork, quartz crystal resonator capable of vibrating easily in fundamental mode can be realized.
In more detail, series resistance R1of the quartz crystal resonator capable of vibrating in fundamental mode becomes smaller than series resistances R2and R3of the second and third overtone modes. Namely, R1<R2, R3, therefore, an oscillator comprising an amplifier (CMOS inverter), capacitors, resistors (resistance elements) and a quartz crystal unit with the tuning fork quartz crystal resonator of this embodiment can be obtained, which is capable of vibrating in fundamental mode very easily. In addition, in this embodiment thegrooves25 and31 oftuning fork tines22 and23 extend into thetuning fork base24 in series, but embodiment of the present invention includes a plurality of grooves divided in the length direction of the tuning fork tines.
In summary the embodiments shown withinFIG. 1 toFIG. 4, the tuning fork tines have four grooves within the obverse and the reverse faces thereof and electrodes provided inside the grooves as well as electrodes disposed on both sides of the tuning fork tines. The embodiments of the present invention, however, may have at least one groove within at least at one surface of the tuning fork tines and an electrode inside the at least one groove as well as electrodes disposed on both sides of the tuning fork tine. Also, it is provided that the first electrode inside the groove and the second electrodes on said side of the tine next to said electrode are of opposite electrical polarity.
In addition, though the electrodes are disposed within the grooves and on the side faces of the tuning fork base in this embodiment, the present invention is not limited to this, but includes at least one electrode which is of opposite electrical polarity to the electrodes of adjoining grooves between the grooves of the tuning fork base, disposed on each of the obverse and reverse faces thereof. For example, twoelectrodes25a and31a illustrated by virtual lines inFIG. 4, or four electrodes where the electrodes disposed opposite each other in the thickness direction are of the same electrical polarity.
FIG. 5 shows a general view of a flexural mode, tuning fork,quartz crystal resonator69 which constructs a quartz crystal unit of the second embodiment of the present invention and its coordinate system O-xyz. A cut angle θ, which has a typical value of 0° to 10°, is rotated from a Z-plate perpendicular to the z axix about the x axis. The flexural mode, tuning fork,quartz crystal resonator69 comprises twotuning fork tines70 and76 andtuning fork base90. Thetuning fork tines70 and76 havegrooves71 and77 respectively, with thegrooves71 and77 extending into thetuning fork base90. In addition, thetuning fork base90 has theadditional grooves82 and86.
FIG. 6 shows a D-D′ cross-sectional view of thetuning fork base90 for the flexural mode, tuning fork,quartz crystal resonator69 ofFIG. 5. InFIG. 6, the shape of the electrode construction within thetuning fork base90 for the quartz crystal resonator ofFIG. 5 is described in detail. The section of thetuning fork base90 which couples to thetuning fork tine70 has thegrooves71 and72 cut into the obverse and the reverse faces of thebase90. Also, the section of thetuning fork base90 which couples to thetuning fork tine76 has thegrooves77 and78 cut into the obverse and the reverse faces of thebase90. In addition to these grooves, thetuning fork base90 has thegrooves82 and86 cut between thegrooves71 and77, and also, thebase90 has thegrooves83 and87 cut between thegrooves72 and78.
Furthermore, thegrooves71 and72 have thefirst electrodes73 and74 both of the same electrical polarity, thegrooves82 and83 have thesecond electrodes84 and85 both of the same electrical polarity, thegrooves86 and87 have thethird electrodes88 and89 both of the same electrical polarity, thegrooves77 and78 have thefourth electrodes79 and80 both of same electrical polarity and the sides of the base90 have the fifth andsixth electrodes75 and81, each of opposite electrical polarity. In more detail, the fifth, fourth, andsecond electrodes75,79,80,84 and85 have the same electrical polarity, while the first, sixth andthird electrodes73,74,81,88 and89 have the opposite electrical polarity to the others. Two electrode terminals E-E′ are constructed. That is, the electrodes disposed inside the grooves constructed opposite each other in the thickness (z axis) direction have the same electrical polarity. Also, the electrodes disposed opposite each other across adjoining grooves have opposite electrical polarity.
Now, when a direct voltage is applied between the electrode terminals E-E′ (E terminal: plus, E′ terminal: minus), an electric field Ex occurs in the arrow direction as shown inFIG. 6. As the electric field Ex occurs perpendicular to the electrodes disposed on the tuning fork base, the electric field Ex has a very large value and a large distortion occurs at the tuning fork base, so that a flexural mode, tuning fork, quartz crystal resonator is obtained with a small series resistance R1and a high quality factor Q, even if it is miniaturized.
FIG. 7 shows a plan view of the tuning fork,quartz crystal resonator69 ofFIG. 5. InFIG. 7, the disposition of thegrooves71 and77 is particularly described in detail. Thetuning fork tine70 has thegroove71 cut including a portion of thecentral line91 of the tine, as well, thetuning fork tine76 has also thegroove77 cut including a portion of thecentral line92 of the tine. In addition, a flexural mode, tuning fork, quartz crystal resonator embodying the present invention hasgrooves82 and86 between thegrooves71 and77 constructed at thetuning fork base90 and thetuning fork tines70 and76.
Thus, a flexural mode, tuning fork, quartz crystal resonator with the shape and the electrode construction embodying the present invention has excellent electrical characteristics, even if it is miniaturized. Namely, the quartz crystal resonator has a small series resistance R1and a high quality factor Q. The width dimension W=W1+W2+W3, and length dimensions l1, l2and l3are as already described in relation toFIG. 4.
FIG. 8 shows a plan view of a flexural mode, tuning fork,quartz crystal resonator145 which constructs a quartz crystal unit of the third embodiment of the present invention. The flexural mode, tuning fork,quartz crystal resonator145 comprisestuning fork tines146,147 andtuning fork base148. At least one end of thetuning fork tines146 and147 connected to thetuning fork base148. In this embodiment, a plurality ofgrooves149,150,151 and152 are constructed only within thetuning fork base148. Additionally, a plurality of grooves is similarly constructed within the reverse face oftuning fork base148.
In addition, thegrooves149 and150 are constructed within thetuning fork base148 where at least one end of thetuning fork tines146 and147 is connected to thetuning fork base148. Furthermore, thegrooves151 and152 are constructed between thegrooves149 and150. The electrode disposition and the construction is not shown, but is similar to that already explained in detail inFIG. 6. Thus, by constructing the grooves and the electrodes, a flexural mode, tuning fork, quartz crystal resonator is obtained with a small series resistance R1 and a high quality factor Q because a large distortion occurs at the tuning fork base.
FIG. 9 shows a plan view of a flexural mode, tuning fork,quartz crystal resonator153 which constructs a quartz crystal unit of the fourth embodiment of the present invention. The quartz crystal resonator oftuning fork type153 comprises thetuning fork tines154,155 and thetuning fork base156. Thetuning fork tines154 and155 havegrooves157 and158 which extend to thetuning fork base156. In addition, agroove159 constructed between thegrooves157 and158 and constructed within thetuning fork base156.
FIG. 10 shows F-F′ cross-sectional view of thetuning fork base156 for the flexural modequartz crystal resonator153 ofFIG. 9. Here, the shape and the electrode construction of the cross-sectional view of thetuning fork base156 for thequartz crystal resonator153 inFIG. 9 are described in detail. As shown inFIG. 10, thequartz crystal resonator153 hasgrooves157 and160 within the obverse and the reverse faces of thetuning fork base156 where it connects to thetuning fork tine154. Thegroove157 is constructed opposite thegroove160. Similarly, theresonator153 hasgrooves158 and161 within the obverse and the reverse faces of thetuning fork base156 where it connects to thetuning fork tine155. Thegroove158 is constructed oppositegroove161. In addition, thegroove159 is constructed between thegroove157 and thegroove158, and thegroove162 constructed oppositegroove159 is constructed between thegroove160 andgroove161.
Furthermore, thegrooves157,160 have theelectrodes163,164 of the same electrical polarity, thegrooves159,162 have theelectrodes165,166 and theelectrodes167,168, thegrooves158,161 have theelectrodes169,170 of the same electrical polarity, and both sides of thetuning fork base156 have theelectrodes171,172 of opposite electrical polarities. The electrodes are connected in such a way that electrodes disposed opposite the sides of thegrooves157,158,159,160,161,162 have different electrical polarities. Thus, theelectrodes165,167,169,170,171 are all the same electrical polarity while theelectrodes163,164,166,168,172 are the opposite electrical polarity. As a result, the embodiment of the present resonator has two electrode terminals G-G′.
Therefore, thegroove159 has theelectrode165 and theelectrode166 each of opposite electrical polarity, similarly, thegroove162 has theelectrode167 and theelectrode168 each of opposite electrical polarity. The electrodes disposed opposite the electrodes disposed on the sides of the adjoining grooves in the x-axis direction are of opposite electrical polarity. That is, in this embodiment, theelectrode173 disposed on the side of thegrooves157 opposite to theelectrode165 disposed on the side of thegroove159 are of opposite electrical polarities, similarly, theelectrodes175 and167 are of opposite electrical polarities, theelectrodes166 and174 are also of opposite electrical polarities, and theelectrodes168 and176 are of opposite electrical polarities. In addition, theelectrode163 and theelectrode164 disposed inside thegrooves157 and160 constructed opposite in the thickness (z-axis) direction are the same electrical polarity. Likewise, theelectrode169 and theelectrode170 disposed inside thegrooves158 and161 constructed opposite in the thickness (z-axis) direction are also the same electrical polarity. Theelectrodes163,164,169,170 disposed inside thegrooves157,160,158,161 and theelectrodes171,172 disposed on the sides of thetuning fork base156 extend from thetuning fork base156 to thetuning fork tines154,155.
Now, when an alternating voltage is applied between two electrode terminals G-G′, an electric field Exoccurs alternately along the arrow directions shown by the solid and broken lines. As a result, a flexural mode is generated in the inverse phase. In addition, as the is electric field Exoccurs perpendicular to the electrodes between the electrodes disposed on the sides of the grooves, the electric field Exbecomes large, and as thetuning fork base156 also hasgrooves159,162 andelectrodes165,166,167,168, a markedly large distortion occurs at the tuning fork base, so that a flexural mode, tuning fork, quartz crystal resonator is obtained with a small series resistance R1and a high quality factor Q when it is miniaturized. In the above-mentioned embodiments the grooves are constructed on the tuning fork tines and/or the tuning fork base, but embodiment of the present invention includes holes instead of the grooves or a combination of the grooves and the holes. In addition, two electrode terminals implies two electrodes which are of opposite electrical polarity and also includes electrodes divided into more than three two of which are of opposite electrical polarity.
FIG. 11 shows a general view of a flexural mode, tuning fork,quartz crystal resonator300 which constructs a quartz crystal unit of the fifth embodiment of the present invention and its coordinate system.FIG. 12 is a plan view of theresonator300 shown inFIG. 11, andFIG. 13 shows a I-I′ cross-sectional view of tuning fork tines shown inFIG. 12. As shown inFIG. 11, theresonator300 is formed from a quartz crystal wafer rotated about x-axis and with a cut angle θ. In general, a cut angle θ has a value of 0° to 10°. Here, y′ and z′ axes are the new y and z axes obtained after the rotation about the x-axis. This flexural mode, tuning fork,quartz crystal resonator300 comprisestuning fork tines301,302 andtuning fork base303, and has thickness t. In addition, thetuning fork tine301 has step difference portions, and the step difference portion304 (the inner side ofupper surface portion301a) is formed betweenupper surface portion301a andmedium surface portion301b. Themedium surface portion301b and thestep difference portion304 extend to thetuning fork base303.
Also, similar to thetuning fork tine301, themedium surface portion302b and thestep difference portion305 are formed on the obverse face of thetuning fork tine302, as shown inFIG. 12 andFIG. 13, furthermore, theupper surface portion303a, themedium surface portion303b and thestep difference portion306 are formed on thetuning fork base303. Namely, as shown inFIG. 12, thetuning fork tine301 of thisresonator300 has thestep difference portion304, while thetuning fork tine302 has thestep difference portion305, these step difference portions extend to thetuning fork base303, and thestep difference portions304 and305 are connected at thestep difference portion306 of thetuning fork base303. In this embodiment the step difference portions of tuning fork tines are constructed in series, but embodiment of the present invention includes a plurality of step difference portions divided in the length direction of the tuning fork tines.
In addition, as shown inFIG. 13, a structure similar to the obverse face of thetuning fork tine301, is also constructed on the reverse face. Thestep difference portion307 is formed between thelower surface portion301c and themedium surface portion301d and thestep difference portion307 extend to thetuning fork base303. Here, thestep difference portion304 of the obverse face turns toward the inside of thetuning fork tine301 and thestep difference portion307 of the reverse face turns toward the outside of thetuning fork tine301. Theelectrode308 is disposed on thestep difference portion304 and theelectrode309, which is connected to theelectrode308, is disposed on themedium surface portion301b. Theelectrode310 is disposed on thestep difference portion307 and theelectrode311, which is connected to theelectrode310, is disposed on themedium surface portion301d. In addition, theelectrode312 is disposed on the side of thetine301 opposite theelectrode308 disposed on thestep difference portion304 and theelectrode313 is disposed on the side of thetine301 opposite theelectrode310 disposed on thestep difference portion307.
Thus, by this arrangement of electrodes, an electric field Ex occurs perpendicularly between theelectrodes308 and312 and theelectrodes310 and313. Similarly, thetuning fork tine302 also has the step difference and the electrodes of left and right symmetry to thetuning fork tine301. Namely, thestep difference portions305,314, theupper surface portion302a, themedium surface portion302b and themedium surface portion302d are constructed on the obverse and the reverse faces of thetuning fork tine302. Theelectrode315 is disposed on thestep difference portion305 and theelectrode316, which is connected to theelectrode315, is disposed on themedium surface portion302b, and also theelectrode317 is disposed on thestep difference portion314 andelectrode318, which is connected to theelectrode317, is disposed on themedium surface portion302d. In addition, theelectrode319 is disposed on the side of thetine302 opposite theelectrode315 and theelectrode320 is disposed on the side of thetine302 opposite theelectrode317. In more detail, the first set ofelectrodes308,309,310,311,319 and320 are the same electrical polarity and the second set ofelectrodes312,313,315,316,317 and318 are the opposite electrical polarity to the first set of electrodes. As a result, two electrode terminals K-K′ are constructed.
Now, when an alternating voltage is applied between the electrode terminals K-K′, an electric field Ex occurs perpendicularly and alternately between the electrodes, as shown by the solid and broken arrow signs inFIG. 13 and a flexural mode vibration can be easily excited, so that a flexural mode, tuning fork, quartz crystal resonator is obtained with a small series resistance RI and a high quality factor Q because the electromechanical transformation efficiency for the resonator becomes large.
FIG. 14 shows a general view of a flexural mode, tuning fork,quartz crystal resonator321 which constructs a quartz crystal unit of the sixth embodiment of the present invention and its coordinate system.FIG. 15 is a plan view of theresonator321 ofFIG. 14, andFIG. 16 shows a J-J′ cross-sectional view of tuning fork tines ofFIG. 15. Here, the coordinate system in this embodiment is the same as that shown inFIG. 11. A flexural mode, tuning fork,quartz crystal resonator321 comprises thetuning fork tines322,323 and thetuning fork base324, and has a thickness t. In addition, thetuning fork tine322 has the step difference, as shown inFIG. 14 andFIG. 16. Theupper surface portion322a, themedium surface portions322b,322d, thestep difference portions325,328 and thelower surface portion322c are formed on thetuning fork tine322. Themedium surface portions322b,322d, and thestep difference portions325,328 extend to thetuning fork base324 whose obverse face is shaped to theupper surface portion324a, themedium surface portion324b and thestep difference portion327 and whose reverse face has the same shape as the obverse face (though the shape is not shown in theFIGS. 14 and 15).
In the same way, theupper surface portion323a, themedium surface portions323b,323d, thestep difference portions326,329 and thelower surface portion323c are formed on thetuning fork tine323. Themedium surface portions323b,323d and thestep difference portions326,329 extend to thetuning fork base324 in a manner similar to saidtuning fork tine322. In other words, as shown inFIGS. 15 and 16, thetuning fork tines322 and323 have thestep difference portions325 and326 which extend to thetuning fork base324 and connect at thestep difference portion327. In addition, thestep difference portions325 and328 are constructed at the obverse and the reverse faces of thetuning fork tine322 and also thestep difference portions326 and329 are constructed on the obverse and the reverse faces of thetuning fork tine323. In this embodiment, thestep difference portions325,328 and326,329 turn to the inside of thetuning fork tines322 and323, the same effect is obtained when saidstep difference portions325,328 and326,329 turn to outside of saidtines322 and323, as shown inFIGS. 17,18,19 and21.
Furthermore, theelectrode330 is disposed on thestep difference portion325 andelectrode331, which is connected to theelectrode330, is disposed on themedium surface portion322b,electrode332 is also disposed on thestep difference portion328 andelectrode333, which is connected to theelectrode332, is disposed on themedium surface portion322d, andelectrodes334,335 are disposed on both sides of thetuning fork tine322. Namely,electrode335 is disposedopposite electrodes330 and332 which are of opposite electrical polarity from saidelectrode335. Similar to saidtuning fork tine322, thetuning fork tine323 also has the step difference and electrodes of left and right symmetry to saidtuning fork tine322.
That is to say, thetuning fork tine323 has thestep difference portions326,329, theupper surface portion323a, themedium surface portions323b,323d and thelower surface portion323c, and thestep difference portion326 has electrode336, which is connected toelectrode337, disposed on themedium surface portion323b, while thestep difference portion329 has electrode338, which is connected toelectrode339, disposed on themedium surface portion323d, andelectrodes340,341 are disposed on both sides of thetuning fork tine323. Namely,electrode341 is disposed in opposition toelectrodes336 and338 which are of opposite electrical polarity from saidelectrode341. In full detail, as shown inFIG. 16, the first set ofelectrodes330,331,332,333,340 and341 have the same electrical polarity, while the second set ofelectrodes334,335,336,337,338 and339 are of opposite electrical polarity to the first set of electrodes. Two electrode terminals L-L′ are able to be constructed.
When an alternating voltage is applied between the two electrode terminals L-L′, an electric field Ex occurs perpendicular to and alternately between the electrodes, as shown by the solid and broken arrow signs inFIG. 16 and a flexural mode vibration may be easily excited, so that a flexural mode, tuning fork, quartz crystal resonator is obtained with a small series resistance R1and a high quality factor Q because the electromechanical transformation efficiency for the resonator becomes large. In this embodiment, thetuning fork tines322 and323 have themedium surface portions322b,322d,323b and323d on the inside of the said tines, but, the same effect as that of said shape can be obtained when the medium surface portions are constructed on the outside of thetuning fork tines322 and323, as shown inFIGS. 17,18,19 and20.
FIG. 17 shows a plan view of a flexural modequartz crystal resonator351 which constructs a quartz crystal unit of the seventh embodiment of the present invention. Theresonator351 comprisestuning fork tines352,353 andtuning fork base354. Thetines352 and353 havestep difference portions355,356 andmedium surface portions355b,356b respectively. In this embodiment, thestep difference portions355,356 and themedium surface portions355b,356b extend into thetuning fork base354. Thus, the step difference portions turn to outside of said tines, and the medium surface portions are constructed on the outside of said tines. In addition, electrode construction of the tuning fork tines is not shown inFIG. 17, but it is performed similar to that ofFIG. 16. This resonator also has the same effect as that ofFIG. 14.
FIG. 18 shows a plan view of a flexural modequartz crystal resonator351a which constructs a quartz crystal unit of the eighth embodiment of the present invention. Theresonator351a comprises tuningfork tines352a,353a andtuning fork base354a. Thetines352a and353a havestep difference portions355a,356a along the direction of length thereof andmedium surface portions355b,356b respectively. In addition, thestep difference portions355a and356a have therespective step portions355e and356e versus the direction of length of thetines352a and353a. Namely, In this embodiment, two step difference portions are constructed at each tine and the two step difference portions are connected via a step portion. In more detail, two step difference portions which are connected via a step portion may be constructed on at least one face of obverse and reverse faces of tuning fork tines. In this embodiment, thestep difference portions355a,356a and themedium surface portions355b,356b extend into thetuning fork base354a. Electrodes for this resonator are not disposed inFIG. 18, but they are disposed on the step difference portions, the medium surface portions and side faces of the tuning fork tines similar to that ofFIG. 16. Thus, by constructing the electrodes and the step difference portions connected via the step portion, a tuning fork, quartz crystal resonator capable of vibrating in fundamental mode very easily can be obtained with a small series resistance R1and a high quality factor Q because the quantity of charges which generate on the step difference portions and the side faces of the tuning fork tines can be controlled and the second and third overtone modes for the resonator which are unwanted vibration modes can be substantially suppressed in vibration.
In this embodiment, each tuning fork tine has two step difference portions on the obverse face along the direction of length thereof which are connected via a step portion, but this invention is not limited to this. That is to say, the present invention also includes a flexural mode, tuning fork, quartz crystal resonator comprising tuning fork tines and a tuning fork base that are formed integrally, a plurality of step difference portions constructed at said tuning fork tines along the direction of length thereof, and at least two of the plurality of step difference portions being connected via at least one step portion, in other words, the at least two step difference portions are connected via at least one step portion. In more detail, a plurality of step difference portions which are connected via at least one step portion may be constructed on at least one face of obverse and reverse faces of tuning fork tines.
It is needless to say that this concept can be also applied to the flexural mode, tuning fork, quartz crystal resonators shown inFIGS. 1(a),1(b),5,7 and9, and also applied to tuning fork quartz crystal resonators which will be shown inFIGS. 19 and 21. For example, the present invention also includes a flexural mode, tuning fork, quartz crystal resonator comprising tuning fork tines each having a first side surface and a second side surface opposite the first side surface and a tuning fork base that are formed integrally, and a groove constructed, respectively, on formed in each of obverse and reverse faces (first and second main surfaces) of each tuning fork tine. Namely, as an example of the respective grooves, the groove constructed on formed in the obverse face of each of the tuning fork tines has at least two step difference portions portions, i.e. at least two stepped portions including a first stepped portion and a second stepped portion connected to the first stepped portion along the length direction of each of the tuning fork tine tines, as shown in FIG. 18, and the first stepped portion is connected to the second stepped portion through a third stepped portion so that each of the first and second stepped portiosn of the groove formed in the obverse face of each of the tuning fork tines is formed opposite the first side surface of the corresponding one of the tuning fork tines and is directly connected to the third stepped portion, while and the groove constructed on formed in the reverse face of each of the tuning fork tines has at least three step difference portions portions, i.e. at least three stepped portions including first, second and third stepped portions along the length direction of each of the tuning fork tine, tines, and at least two of the at least three step difference stepped portions are connected via at least one step stepped portion. Namely, an example of this relation shows that the first stepped portion is connected to the second stepped portion through a stepped portion so that each of the first and second stepped portions of the groove formed in the reverse face of each of the tuning fork tines is formed opposite the first side surface of the corresponding one of the tuning fork tines and is directly connected to the stepped portion. In addition, the groove formed in the obverse face of each of the tuning fork tines has a fourth stepped portion directly opposite a fifth stepped portion in the length direction, the fourth stepped portion is directly connected to the first stepped portion and the fifth stepped portion is directly connected to the second stepped portion, as shown in FIG. 18. Similar to this, the groove formed in the reverse face of each of the tuning fork tines has a fourth stepped portion directly opposite a fifth stepped portion in the length direction, the fourth stepped portion is directly connected to the first stepped portion and the fifth stepped portion is directly connected to the second stepped portion. In other words, the groove formed in each of the obverse and the reverse faces of each of the tuning fork tines has a first surface and a second surface connected to the first surface through a third surface, and a fourth surface directly opposite a fifth surface in the length direction, each of the first, second and third surfaces has a first end portion and a second end portion, and also, the groove is formed in each of the obverse and the reverse faces of each of the tuning fork tines so that each of the first and second surfaces of the groove formed in each of the obverse and the reverse faces of each of the tuning fork tines is formed opposite the first side surface of the corresponding one of the tuning fork tines, and the first end portion of the first surface is directly connected to the first end portion of the third surface and the first end portion of the second surface is directly connected to the second end portion of the third surface, and so that an end portion of the fourth surface is directly connected to the second end portion of the first surface and an end portion of the fifth surface is directly connected to the second end portion of the second surface. In addition, as shown in FIG. 18, the groove formed in at least one of the obverse and reverse faces of each of the tuning fork tines comprises a first groove portion having a first width and a second groove portion having a second width different from the first width so that a first distance in the width direction of the first groove portion measured from a first outer edge of the first groove portion to a first outer edge of the first side surface of the corresponding one of the tuning fork tines is greater than a second distance in the width direction of the second groove portion measured from a second outer edge of the second groove portion to a second outer edge of the first side surface of the corresponding one of the tuning fork tines, and so that the first width of the first groove portion is greater than the first distance in the width direction of the first groove portion. For two tuning fork tines, each tine has at least two and at least three step difference stepped portions at obverse and reverse faces and the at least three step difference stepped portions at least two of which are connected via at least one step stepped portion, are constructed formed at a different tuning fork tine. Similarly, for more than three tines, at least three step difference stepped portions are constructed formed at a different each tuning fork tine. This resonator also has the same effect as that ofFIG. 18.
FIG. 19 shows a plan view of a flexural modequartz crystal resonator357 which constructs a quartz crystal unit of the ninth embodiment of the present invention. Theresonator357 comprisestuning fork tines358,359 andtuning fork base360. Thetines358 and359 havestep difference portions361,362 along the direction of length thereof andmedium surface portions361b,362b respectively, with thestep difference portions361 and362 extending into thebase360. In addition, thebase360 has thegrooves363 and364 between thestep difference portions361 and362.
FIG. 20 shows a M-M′ cross-sectional view of thetuning fork base360 for the flexural mode, tuning fork,quartz crystal resonator357 ofFIG. 19. InFIG. 20, the shape of the electrode construction within thetuning fork base360 for the quartz crystal resonator ofFIG. 19 is described in detail. The section of thetuning fork base360 which couples to thetuning fork tine358 has thestep difference portions361,365 and themedium surface portions361b,365d cut into the obverse and the reverse faces of thebase360. Also, the section of thetuning fork base360 which couples to thetuning fork tine359 has thestep difference portions362,366 and themedium surface portions362b,366d cut into the obverse and the reverse faces of thebase360. In addition to these step difference portions, thetuning fork base360 has thegrooves363 and364 cut between thestep difference portions361 and362, and also, thebase360 has thegrooves367 and368 cut between thestep difference portions365 and366.
Furthermore, thestep difference portions361 and365 have thefirst electrodes373 and375 which are connected to electrodes disposed on themedium surface portions361b and365d, both of which have the same electrical polarity, thegrooves363 and367 have thesecond electrodes369 and371 both of the same electrical polarity, thegrooves364 and368 have thethird electrodes370 and372 both of the same electrical polarity, thestep difference portions362 and366 have thefourth electrodes374 and376 which are connected to electrodes disposed on themedium surface portions362b and366d, both of which have same electrical polarity and the sides of the base360 have the fifth andsixth electrodes377 and378 which extend into the sides of thetines358 and359 respectively, each of which has opposite electrical polarity. In more detail, the first, third, andsixth electrodes373,375,370,372 and378 have the same electrical polarity, while the second, fourth andfifth electrodes369,371,374,376 and377 have the opposite electrical polarity to the others. Two electrode terminals P-P′ are constructed. That is, the electrodes disposed inside the grooves constructed opposite each other in the thickness (z′ axis) direction have the same electrical polarity. Also, the electrodes disposed opposite each other across adjoining grooves or adjoining step difference portion and groove have opposite electrical polarity.
Now, when a direct voltage is applied between the electrode terminals P-P′ (P terminal: plus, P′ terminal: minus), an electric field Ex occurs in the arrow direction as shown inFIG. 20. As the electric field Ex occurs perpendicular to the electrodes disposed on the tuning fork base, the electric field Ex has a very large value and a large distortion occurs at the tuning fork base, so that a flexural mode, tuning fork, quartz crystal resonator is obtained with a small series resistance R1and a high quality factor Q, even if it is miniaturized.
FIG. 21 shows a plan view of a flexural modequartz crystal resonator379 which constructs a quartz crystal unit of the tenth embodiment of the present invention. Theresonator379 comprisestuning fork tines380,381 andtuning fork base382. Thetines380 and381 havestep difference portions383,384 along the direction of length thereof andmedium surface portions383b,384b respectively, with thestep difference portions383 and384 extending into thebase382. In addition, thebase382 has thegroove385 between thestep difference portions383 and384.
FIG. 22 shows a N-N′ cross-sectional view of thetuning fork base382 for the flexural mode, tuning fork,quartz crystal resonator379 ofFIG. 21. InFIG. 22, the shape of the electrode construction within thetuning fork base382 for the quartz crystal resonator ofFIG. 21 is described in detail. The section of thetuning fork base382 which couples to thetuning fork tine380 has thestep difference portions383,386 and themedium surface portions383b,386d cut into the obverse and the reverse faces of thebase382. Also, the section of thetuning fork base382 which couples to thetuning fork tine381 has thestep difference portions384,387 and themedium surface portions384b,387d cut into the obverse and the reverse faces of thebase382. In addition to these step difference portions, thetuning fork base382 has thegroove385 cut between thestep difference portions383 and384, and also, thebase382 has thegroove388 cut between thestep difference portions386 and387.
Furthermore, thestep difference portions383 and386 have thefirst electrodes393 and395 which are connected to electrodes disposed on themedium surface portions383b and386d, both of which have the same electrical polarity, thegrooves385 and388 have thesecond electrodes389 and391 both of the same electrical polarity and thethird electrodes390,392 both of the same electrical polarity, thestep difference portions384 and387 have thefourth electrodes394 and396 which are connected to electrodes disposed on themedium surface portions384b and387d, both of which have same electrical polarity and the sides of the base382 have the fifth andsixth electrodes397 and398 which extend into the sides of thetines380 and381 respectively, each of which has opposite electrical polarity. In more detail, the first, third, andsixth electrodes393,395,390,392 and398 have the same electrical polarity, while the second, fourth andfifth electrodes389,391,394,396 and397 have the opposite electrical polarity to the others. Two electrode terminals U-U′ are constructed. That is, the electrodes disposed inside the grooves constructed opposite each other in the thickness (z′ axis) direction have the same electrical polarity. Also, the electrodes disposed opposite each other across adjoining step difference portion and groove have opposite electrical polarity. In addition, the medium surface portions extend to a side of the tuning fork tines as described in the above embodiments.
Now, when an alternating current (AC) voltage is applied between two electrode terminals U-U′, an electric field Ex occurs alternately along the arrow directions shown by the solid and broken lines. As a result, a flexural mode is generated in the inverse phase. In addition, as the electric field Exoccurs perpendicular to the electrodes between the electrodes disposed on the sides of the grooves and the step difference portions, the electric field Exbecomes large, namely, a markedly large distortion occurs at the tuning fork base, so that a flexural mode, tuning fork, quartz crystal resonator is obtained with a small series resistance R1and a high quality factor Q when it is miniaturized. In the this embodiments, though theelectrodes397 and398 which are of opposite electrical polarity at both sides of thetuning fork base382, are disposed, the present invention is not limited to this, for example, the present invention includes the construction of theelectrodes397 and398 being not disposed on the both sides or the construction of theelectrodes397 and398 being connected to electrodes disposed on the respective adjoining medium surface portions. This electrode construction is also applied to that of both outside faces of the tuning fork tines.
FIG. 23 shows a plan view of aquartz crystal unit400 of the eleventh embodiment of the present invention and omitting a lid. Thequartz crystal unit400 comprises acase401, two flexural mode, tuning fork,quartz crystal resonators402,403 and a lid not shown inFIG. 23. The one tuning fork,quartz crystal resonator402 comprisestuning fork tines404,405 andtuning fork base406 and similarly, the other tuning fork,quartz crystal resonator403 comprisestuning fork tines407,408 andtuning fork base409. Thetuning fork bases406 and409 for theresonators402 and403 are formed integrally via a connectingportion410. In addition, the two quartz crystal resonators are formed with an angle φ of separation of 0° to 30°. An object of embodiments of the present invention may be achieved even if the same-designed resonators have the angle φ=0° because flexural mode quartz crystal resonators of tuning fork type, which are manufactured in mass production, have a distribution of frequency temperature behaviours due to manufacturing tolerances. In other words there will be small differences between the two resonators. Moreover, thequartz crystal resonators402 and403 in this embodiment have the same grooves and electrodes as those of the tuning fork,quartz crystal resonator21 described inFIG. 2, respectively. Also, it is possible to change a peak temperature point by changing a ratio of a thickness of groove and a thickness of tuning fork tines
Here, [formed integrally] implies that a plurality of individual flexural mode, tuning fork, quartz crystal resonators are connected and formed between each tuning fork base via a connecting portion, when said quartz crystal resonators were removed from a quartz crystal wafer and also, includes the quartz crystal resonators cut and removed at the connecting portion after they were fixed on a mounting portion of a case by adhesives or solder.
Also, thetuning fork bases406 and409 are fixed at plural locations of a mountingportion411 constructed at thecase401 byconductive adhesives412,413,414 and415 or solder. In this embodiment the bases are fixed at four locations of the mounting portion, but they may be fixed at location more than at least two. In addition, thetuning fork tines404 and405 have thegrooves416 and417, and thetuning fork tines407 and408 have thegrooves418 and419, in this embodiment the grooves constructed at the tuning fork tines extend into thetuning fork bases406 and409, but the grooves may be constructed at the tuning fork tines at least.
Furthermore, fourelectrodes420,421,422 and423 are disposed on the mountingportion411 and connected to the respective electrodes disposed on thetuning fork bases406 and409, the electrodes of which have opposite electrical polarity. Namely, the tuning fork,quartz crystal resonator402 and403 in this embodiment have two electrode terminals, respectively. Additionally, as an another example of the electrode construction in this embodiment, at least two electrodes, for example, theelectrodes421 and422 may be constructed such as common electrode (one electrode).
In addition, it is not visible inFIG. 23, but the fourelectrodes420,421,422 and423 disposed on the mountingportion411 extend into the reverse face of thecase401 or at least two of said electrodes are of the common electrode and three electrodes or two electrodes are disposed on the reverse face of thecase401.
In more detail, the electrodes disposed on the reverse face of the case are constructed so that the flexural mode, tuning fork,quartz crystal resonators402 and403 are connected electrically in parallel. Namely, when tworesonators402 and403 are excited by an electrical signal, both resonators vibrate in flexural mode in parallel electrically.
Thus, by constructing two flexural mode quartz crystal resonators of tuning fork type which are connected at each tuning fork base via a connecting portion and formed integrally with an angle φ of separation no more than 30° between each resonator, each flexural mode, tuning fork, quartz crystal resonator has a different frequency temperature behaviour dependent on the angle φ. Namely, flexural mode, tuning fork, quartz crystal resonators can be obtained with different peak temperature points. In addition, an improvement of the frequency temperature behaviour for the tuning fork, quartz crystal resonator can be performed by electrically connecting the two quartz crystal resonators of tuning fork type in parallel. In order to get excellent frequency temperature behaviour, frequency difference for the bothresonators402 and403 may be preferably less than 30 ppm. An electrical connection diagram for both flexural mode, tuning fork,quartz crystal resonators402,403 is shown inFIG. 24. The resonators are connected in parallel electrically.
FIG. 25 shows an example of frequency temperature behaviour of the quartz crystal unit of said eleventh embodiment with the above-described flexural mode, tuning fork,quartz crystal resonators402,403. Thequartz crystal resonator402 shown inFIG. 23 hasfrequency temperature behaviour430 whose peak temperature point is approximately 30° C., while theresonator403 shown inFIG. 23 hasfrequency temperature behaviour431 whose peak temperature point is approximately 10° C. The compensated frequency temperature behaviour for both quartz crystal resonators connected in parallel electrically is shown by thecurve432. Thus, the quartz crystal unit with the integrally formed flexural mode, tuning fork, quartz crystal resonator embodying the present invention may be miniaturized and obtained with excellent frequency temperature behaviour.
FIG. 26 shows a plan view of aquartz crystal unit450 of the twelfth embodiment of the present invention and omitting a lid. Thequartz crystal unit450 comprises acase451, two flexural mode, tuning fork,quartz crystal resonators452,453 and a lid not shown inFIG. 26. The tworesonators452 and453 each of which comprises tuning fork tines and tuning fork base, are connected at each tuning fork base via connectingportion455 and formed integrally by an etching method, in more detail, by a chemical or physical or mechanical method. In this embodiment, a dividingportion454 between bothquartz crystal resonators452 and453 is constructed at thecase451 to prevent interference in vibration for the bothresonators452 and453. Also, a height of the dividingportion454 may be the same one as thecase451 or may be lower than that of thecase451. Moreover, thequartz crystal resonators452 and453 have the same grooves and electrodes as those of the tuning fork,quartz crystal resonator21 described inFIG. 2, respectively.
In this embodiment, also, though the dividingportion454 is constructed at thecase451 to prevent the interference in vibration for two flexural mode, tuning fork,quartz crystal resonators452 and453, the interference in vibration for bothresonators452 and453 can be prevented by constructing a dividing portion between the bothresonators452 and453, formed integrally with them. In addition, the construction of grooves and electrodes in this embodiment is not shown inFIG. 26, but it is same as that ofFIG. 23.
InFIGS. 23 and 26, two flexural mode, tuning fork, quartz crystal resonators formed integrally are housed in a case of a quartz crystal unit, each of which has the same grooves and electrodes as those of the flexural mode, tuning fork, quartz crystal resonator housed in thecase2 of the quartz crystal unit shown inFIG. 1, but, instead of said resonators the flexural mode, tuning fork, quartz crystal resonators shown inFIGS. 5-22 may be housed in the case of the quartz crystal unit. In more detail, the same-designed resonators may be housed in the case or the different-designed resonators may be housed in the case. In addition, the same effect as that described inFIG. 25 can be also obtained by using at least one of two resonators, which is the flexural mode, tuning fork, quartz crystal resonator of the present invention shown inFIGS. 2-22.
Namely, by electrically connecting two flexural mode, tuning fork, quartz crystal resonators in parallel, a quartz crystal unit can be obtained with a small frequency change versus temperature because an improvement of frequency temperature behaviour can be performed, and simultaneously, when two pieces of quartz crystal resonators with the same series resistance R1are used, a compound quartz crystal resonator formed from embodiments of the present invention has about half the series resistance R1. Thus, a quartz crystal unit with flexural mode, tuning fork, quartz crystal resonators can be realized with a small series resistance.
Next, a method of manufacturing a quartz crystal unit of the present invention is described in detail, according to the manufacturing steps.
FIG. 27 shows an embodiment of a method of manufacturing a quartz crystal unit of the present invention and a step diagram embodying the present invention. The signs of S-1 to S-12 are the step numbers. First, S-1 shows a cross-sectional view of aquartz crystal wafer40. Next, in S-2 a (first)metal film41 comprising chromium and gold, namely, chromium and gold on the chromium are, respectively, disposed on upper and lower faces of thequartz crystal wafer40 by an evaporation method or a spattering method. In addition, a (first) resist42 is spread on said themetal film41 in S-3, and after themetal film41 and the resist42 were are removed except those of a tuning fork shape by a photo-lithographic process and an etching process, the tuning fork shape withtuning fork tines43,44 and atuning fork base45, as be shown in S-4, is integrally formed by a chemical etching process. process, namely, in a first etching process. InFIG. 27 the formation of a piece of tuning fork shape is shown, but, a number of tuning fork shapes are actually formed in a piece of quartz crystal wafer.
Similar to the steps of S-2 and S-3, the a (second) metal film and a (second) resist are spread again on the tuning fork shape of S-4 andgrooves46,47,48 and49 each of which has two step difference portions i.e., two stepped portions including a first stepped portion and a second stepped portion opposite the first stepped portion in the width direction along the length direction of the tuning fork tines, are formed at in two of main surfaces (e.g., in first and second opposite main surfaces) of each of thetuning fork tines43,44 by the a photo-lithographic process and the an etching process, and the shape of S-5 is obtained after all of the resist and the metal film were are removed. Thus, at least one of thegrooves 46, 47, 48 and 49 is formed after the tuning fork tines 143, 144 are formed. Namely, at least one of thegrooves 46, 47 of thetuning fork tine 43 is formed after thetuning fork tine 43 is formed, and at least one of thegrooves 48, 49 of thetuning fork tine 44 is formed after thetuning fork tine 44 is formed. In other words, the step of forming thetuning fork tines 43, 44 is performed before the step of forming the groove formed in each of two of the main surfaces (e.g., in each of the first and second opposite main surfaces) of each of thetuning fork tines 43, 44. In addition, a (third or second) metal film and a (third or second) resist are spread again on the shape of S5 S-5, namely, the metal film is disposed on each of the first and second opposite main surfaces and first and second opposite side surfaces of each of thetuning fork tines 43, 44, and a surface of the groove formed in each of the first and second opposite main surfaces of each of thetuning fork tines 43, 44 and the resist is disposed on the metal film, and electrodes which are of opposite electrical polarity, are disposed on sides the first and second opposite side surfaces of thetuning fork tines 43, 44 and inside the grooves thereof, as be shown in S-6. As the result, a quartz crystal tuning fork resonator capable of vibrating in a flexural mode is obtained. In addition, the resist disposed on the metal film is removed before the step of mounting the quartz crystal tuning fork resonator on a mounting portion in an interior space of a case, as be shown in S-6.
Namely,electrodes50,53 disposed on the sides first and second opposite side surfaces of thetuning fork tine43 andelectrodes55,56 disposed inside thegrooves48,49 i.e., on surfaces or on the first and second stepped portions of thegrooves 48, 49 of thetuning fork tine44 have the same electrical polarity. Similarly,electrodes51,52 disposed inside thegrooves46,47 i.e., on surfaces or the first and second stepped portions of thegrooves 46, 47 of thetuning fork tine43 andelectrodes54,57 disposed on the sides first and second side surfaces of thetuning fork tine44 have the same electrical polarity. In addition, each of theelectrodes 51, 52, 55 and 56 extends on a surface in the width direction adjoining the groove, namely, an electrode is disposed on the surface which is one of the first and second opposite main surfaces. In other words, theelectrodes 50, 53 disposed on the first and second opposite side surfaces of thetuning fork tine 43 are connected to theelectrodes 55, 56 disposed on the first and second stepped portions of the grooves formed in the first and second opposite main surfaces of thetuning fork tine 44 and the electrode disposed on each of the first and second opposite main surfaces of thetuning fork tine 44 to form a first electrode terminal, and theelectrodes 54, 57 disposed on the first and second opposite side surfaces of thetuning fork tine 44 are connected to theelectrodes 51, 52 disposed on the first and second stepped portions of the grooves formed in the first and second opposite main surfaces of thetuning fork tine 43 and the electrode disposed on each of the first and second opposite main surfaces of thetuning fork tine 43 to form a second electrode terminal. Two electrode terminals are, therefore, constructed. In more detail, when an alternating current (AC) voltage is applied between the two electrode terminals, the tuning fork tines are capable of vibrating in a flexural mode in of an inverse phase because said electrodes disposed on step difference the stepped portions of the grooves and the electrodes disposed opposite to the said electrodes have opposite electrical polarity. In the step of S-6, a piece of tuning fork quartz crystal tuning fork resonator which is capable of vibrating in a flexural mode is shown in a the quartz crystal wafer, but a number of tuning fork quartz crystal tuning fork resonators are actually formed in the quartz crystal wafer. In addition, a resonance frequency for said of each of the quartz crystal tuning fork resonators is adjusted at least twice and at least once of the at least twice adjustment of the resonance frequency for said of each of the quartz crystal tuning fork resonators is performed in the quartz crystal wafer by a laser method or an evaporation method or a plasma etching method, such method so that the resonance frequency for said of each of the quartz crystal tuning fork resonators is within a range of −9000 ppm to +5000 ppm (parts per million) to a nominal frequency that is within a range of 10 kHz to 200 kHz. The adjustment of frequency by the laser method or the plasma etching method is performed by trimming a mass disposed on the tuning fork tines and the adjustment of frequency by an the evaporation method is performed by adding a mass on the tuning fork tines. Namely, by those methods can change the resonance frequency of said resonators. each of the quartz crystal tuning fork resonators can be changed.
In this embodiment, the tuning fork shape is formed from the step of S-3 and after that, the grooves are formed at the tuning fork tines, namely, thetuning fork tines 43, 44 are formed before thegrooves 46, 47, 48 and 49 of thetuning fork tines 43, 44 are formed. In other words, the step of forming thetuning fork tines 43, 44 is performed before the step of forming the groove formed in each of two of the main surfaces (e.g., in each of the first and second opposite main surfaces) of each of thetuning fork tines 43, 44, but this invention is not limited to said embodiment, for example, the such embodiment. For example, thegrooves 46, 47, 48 and 49 are first formed from the step of S-3 and after that, the tuning fork shape having thetuning fork times 43, 44 and thetuning fork base 45 may be formed formed, namely, thegrooves 46, 47, 48 and 49 are formed before thetuning fork tines 43, 44 are formed. In more detail, a plurality ofgrooves 46, 47, 48 and 49 are formed in first and second opposite surfaces of the quartz crystal wafer and after that, thetuning fork tines 43, 43 are formed so that a groove is located in each of the first and second opposite main surfaces of each of thetuning fork tines 43, 44. In other words, the step of forming thegrooves 46, 47, 48 and 49 in the first and second opposite surfaces of the quartz crystal wafer is performed before the step of forming thetuning fork tines 43, 44 so that the groove is located in each of the first and second opposite main surfaces of each of thetuning fork tines 43, 44 or the tuning fork shape having thetuning fork tines 43, 44 and thetuning fork base 45 and thegrooves 46, 47, 48 and 49 may be formed at the same time. time, namely, thetuning fork tines 43, 44 are formed simultaneously with thegrooves 46, 47, 48 and 49 formed in the first and second opposite main surfaces of each of thetuning fork tines 43, 44. In addition, the grooves each of which has two step difference stepped portions along the direction of length of the tuning fork tines, tines are formed in this embodiment, but, instead of the grooves, step difference stepped portions and medium surface portions may be formed.
There are two methods of A and B in the following step, as be shown by arrow signs. For the step of A thetuning fork base45 of the formed flexural mode, tuning fork,quartz crystal resonator60 is first fixed on a mountingportion59 in an interior space of acase58 byconductive adhesives61 or solder, as be shown in S-7. Second, the second adjustment of the resonance frequency for theresonator60 is performed by alaser method62 or an evaporation method or a plasma etching method in S-8, such S-8 so that the resonance frequency is within a range of −100 ppm to +100 ppm to the nominal frequency. Finally, thecase58 andlid63 are connected via aglass64 with the low melting point or a metal in S-9. In this case, the connection of the case and the lid is performed in a vacuum to obtain good electrical characteristics because thecase58 has no hole to close it in a vacuum. Additionally, though it is not visible inFIG. 27, the third adjustment of the resonance frequency may be performed by using a laser after the step of the connection of S-9 to get a small frequency deviation to the nominal frequency. As a result of which it is possible to get the resonance frequency within a range of −30 ppm to +30 ppm to the nominal frequency. In general, the nominal frequency is less than 200 kHz, and especially, 32.768 kHz is widely used in communication equipment as a time standard.
For the step of B thetuning fork base45 of the formed flexural mode, tuning fork,quartz crystal resonator60 is first fixed on a mountingportion59 in an interior space of acase65 byconductive adhesives61 or solder in S-10, Second, in S-11 thecase65 andlid63 are connected by the same way as that of S-9 and the second adjustment of the resonance frequency is performed in a vacuum or in a nitrogen gas, such gas so that the resonance frequency is within a range of −50 ppm to +50 ppm to the nominal frequency. Finally, a throughhole67 constructed at thecase65 is closed in a vacuum using such ametal66 as solder or a glass with the low melting point in S-12. Also, similar to the step of A, the third adjustment of the resonance frequency may be performed by using a laser after the step of S-12 to get a small ao frequency deviation to the nominal frequency. As a result of which it is possible to get the resonance frequency within a range of −30 ppm to +30 ppm to the nominal frequency. In this embodiment, the second adjustment of the resonance frequency is performed before the hole is closed in vacuum, but may be performed after the hole was is closed in vacuum. Also, the hole is constructed at the case, but may be constructed at the lid.
In this embodiment, a method of manufacturing a quartz crystal unit with a piece of flexural mode, tuning fork, quartz crystal resonator is described in detail, but a quartz crystal unit with a plurality of individual flexural mode, tuning fork, quartz crystal resonators is also manufactured similar to the above-described steps.
Namely, a plurality of individual tuning fork shapes with tuning fork tines and tuning fork base which are connected at each tuning fork base via a connecting portion, are formed from the step of S-3 (S-4), in addition, grooves are formed at each tuning fork tine or at each tuning fork tine and each tuning fork base in S-5 and electrodes disposed on a plurality of individual flexural mode, tuning fork, quartz crystal resonators each of which is capable of vibrating in inverse phase, are constructed so that the tuning fork, quartz crystal resonators are electrically connected in parallel in S-6, and after that, the quartz crystal unit of the present invention is accomplished by the steps of A (S-7 to S-9) or B (S-10 to S-12). In order to get a small frequency difference of between at least two tuning fork, quartz crystal resonators, further frequency adjustment for the resonators may be performed by laser after the step of S-9 or S-12.
Therefore, the quartz crystal units of the present invention manufactured by the above-described method are miniaturized and realized with a small series resistance R1, a high quality factor Q and low price.
In addition, each of the flexural mode, tuning fork, quartz crystal resonators shown inFIGS. 1,5,7,8,9.19 and21 embodying the present invention have has two pieces sets of step difference portion stepped portions each of which confronts each other as a groove (comprising generally, four step difference portions), each of which faces each other. comprising four stepped portions. In more detail, the rectangular grooves each of which has a rectangular shape in plan view are shown in the plan views, shown, but this invention is not limited to this, for example, this invention also includes a shape with at least two step difference stepped portions.
Likewise, in the present embodiments a flexural mode quartz crystal resonator of tuning fork type has two tuning fork tines, but embodiments of the present invention include a plurality of tuning fork tines. Embodiments of the present invention also include flexural mode, tuning fork, quartz crystal resonators which are connected and formed integrally at the tuning fork bases consisting of more than three component pieces of tuning fork, quartz crystal resonator. Also, embodiments of the present invention include the teaching that each resonator consisting of a plurality of flexural mode, tuning fork, quartz crystal resonators which are connected and formed integrally at each tuning fork base, which may have different resonator shapes and different electrode depositions.
Moreover, in the embodiments of the quartz crystal units of the present invention shown inFIGS. 23 and 26, an angle φ is constructed between two flexural mode, tuning fork, quartz crystal resonators to get the two resonators with different frequency temperature behaviour. Instead of the angle φ, it is also possible to obtain two tuning fork, quartz crystal resonators with different frequency temperature behaviour by designing the two resonators with different dimensions. As a result of which the respective resonators can be obtained with different peak temperature point.
In addition, though integrally formed two flexural mode, tuning fork, quartz crystal resonators are housed in the case of the quartz crystal units in the embodiments ofFIGS. 23 and 26, this invention is not limited to this, but also includes integrally formed tuning fork, quartz crystal resonators more than three.
Also, each flexural mode quartz crystal resonator is connected and formed integrally side by side via a connecting portion in the present embodiments as shown inFIGS. 23 and 26. However, the present invention is not limited to flexural mode, tuning fork, quartz crystal resonator connected and formed integrally side by side via a connecting portion, but includes the connection and integrated formation of any shapes at the tuning fork bases. In other words, the present invention includes integrally formed tuning fork, quartz crystal resonators with any shapes connected and formed integrally via connecting portion at each tuning fork base for a plurality of tuning fork, quartz crystal resonators.
Furthermore, though the quartz crystal units ofFIGS. 23 and 26 embodying the present invention have integrally formed two flexural mode, tuning fork, quartz crystal resonators, respectively, the quartz crystal units of the present invention are not limited to these, but, may have at least one flexural mode, tuning fork, quartz crystal resonator. That is to say, at least one BAW (Bulk Acoustic Wave) resonator with vibration mode different from flexural mode or at least one SAW (Surface Acoustic Wave) resonator or at least one filter or at least one oscillator may be housed with said at least one tuning fork, quartz crystal resonator in a case of the present invention. For example, flexural mode, tuning fork, quartz crystal resonator and thickness shear mode quartz crystal resonator or width-extensional mode quartz crystal resonator or Lame mode quartz crystal resonator or torsional mode quartz crystal resonator or MCF filter or SAW filter or TCXO (Temperature Compensated Crystal Oscillator) or VCXO (Voltage Controlled Crystal Oscillator) or XO (Crystal Oscillator). The above-described resonators and filters are generally formed from such a piezoelectric material as quartz crystal, and also formed by a chemical or mechanical or physical etching method.
Furthermore, two flexural mode, tuning fork, quartz crystal resonators are connected and formed integrally with an angle of φ at each tuning fork base as shown in the embodiment ofFIG. 23, and also embodiments of the present invention include the following flexural mode, tuning fork, quartz crystal resonator which has the same effect as said resonators with an angle of φ, namely, the tuning fork bases of the plurality of the flexural mode, tuning fork, quartz crystal resonators are formed in parallel and one of the plurality of component resonators is at least designed and formed so that two tuning fork tines turn to the inside with an angle of φ or turn to the outside with an angle of φ. It is needless to say that these resonators are connected and formed integrally at the tuning fork bases via connecting portion.
As mentioned above, by providing a quartz crystal unit with at least one flexural mode, tuning fork, quartz crystal resonator with the resonator shape and the electrode construction in embodiments of the present invention and its manufacturing method, the outstanding effects may be obtained as follow:
  • (1) As the grooves consisting of at least four step difference portions are constructed including a portion of the central line of the tuning fork tines, an electric field occurs perpendicular to the electrodes, so that a flexural mode, tuning fork, quartz crystal resonator with a small series resistance R1and a high quality factor Q is obtained because the electromechanical transformation efficiency becomes large. A quartz crystal unit is, therefore, obtained with good characteristics of the resonator.
  • (2) A flexural mode, tuning fork, quartz crystal resonator is obtained with a small series resistance R1, even if it is miniaturized. Therefore, a miniaturized quartz crystal unit can be obtained because the miniaturized tuning fork, quartz crystal resonator is housed in a case.
  • (3) As two flexural mode, tuning fork, quartz crystal resonators are formed integrally by an etching process and are connected in parallel electrically, a quartz crystal unit with an integrally formed and miniaturized quartz crystal resonator can be realized with excellent frequency temperature behaviour.
  • (4) A low price quartz crystal resonator can be realized because a quartz crystal resonator is formed integrally by an etching process which makes it possible to form many resonators on a piece of quartz wafer. As a result of which a low priced quartz crystal unit can be also realized because the resonator is housed in a case.
  • (5) As the prior art quartz crystal resonators are based on the tuning fork type, it is easy to fix the flexural mode, tuning fork, quartz crystal resonators on a mounting portion of a quartz crystal unit. As a result, energy losses at fixing caused by the vibration of tuning fork tines decrease and quartz crystal units with the resonators obtained are shock resistant.
  • (6) As there is a plurality of grooves on the tuning fork base and electrodes of opposite polarities are disposed opposite the sides of adjoining grooves, the distortion at the tuning fork base is markedly large, so that a quartz crystal unit with a miniaturized flexural mode quartz crystal resonator of tuning fork type is obtained with a small series resistance R1and a high quality factor Q.
  • (7) As grooves are constructed including the central line of tuning fork tine, and electrodes are disposed on said grooves and said grooves extend to tuning fork base, the quantity of distortion at the tuning fork base becomes remarkably large. Therefore, a quartz crystal unit with a miniaturized flexural mode, tuning fork, quartz crystal resonator is obtained with a small series resistance R1and a high quality factor Q because the electromechanical transformation efficiency gets large.
  • (8) As electrodes are disposed on step difference portions constructed at the obverse and the reverse faces of tuning fork tines along the length direction thereof and the sides of the tuning fork tines opposite said electrodes have electrodes of opposite polarity to said electrodes, the electromechanical transformation efficiency becomes very large. As a result, a flexural mode, tuning fork, quartz crystal resonator can be realized with a small series resistance R1and a high quality factor Q and also, a quartz crystal unit with said resonator is obtained with a high quality.
  • (9) A markedly narrow width tuning fork tines can be obtained maintaining sufficiently large electromechanical transformation efficiency because the step difference is constructed on the tuning fork tines. As a result of which, a quartz crystal unit with a miniaturized quartz crystal resonator can be obtained.
  • (10) As a plurality of flexural mode, tuning fork, quartz crystal resonators are formed integrally and connected in parallel electrically, the compound series resistance R1for the compound resonator becomes small. For example, when two pieces of resonator with the same series resistance R1are used, a compound resonator formed from embodiments of the present invention have about half the series resistance R1. Therefore, a compound series resistance R1can be decreased still more by increasing the number of resonators which are formed integrally. Namely, a quartz crystal unit with small series resistance R1can be realized by housing a plurality of resonators in a case.
  • (11) As a quartz crystal unit has a plurality of flexural mode, tuning fork, quartz crystal resonators which are formed integrally, and connected in parallel electrically, the function can be maintained as a quartz crystal unit, even if one of the plurality of resonators is broken by some cause, for example, by shock.
  • (12) As grooves are constructed including the central line of tuning fork tine, and electrodes are disposed on said grooves and said grooves extend to tuning fork base, in addition, as further grooves are constructed between the extending grooves, the quantity of distortion at the tuning fork base becomes remarkably large. Therefore, a quartz crystal unit with a miniaturized flexural mode, tuning fork, quartz crystal resonator is obtained with a small series resistance R1and a high quality factor Q because the electromechanical transformation efficiency gets large.
  • (13) As electrodes are disposed on step difference portions constructed at the obverse and the reverse faces of tuning fork tines along the length direction thereof and the sides of the tuning fork tines opposite said electrodes have electrodes of opposite polarity to said electrodes, in addition, as said step difference portions extend to tuning fork base and further grooves are constructed between the extending step difference portions, the electromechanical transformation efficiency becomes very large because the quantity of distortion at the tuning fork base becomes remarkably large. As a result, a flexural mode, tuning fork, quartz crystal resonator can be realized with a small series resistance R1and a high quality factor Q and also, a quartz crystal unit with said resonator is obtained with a high quality.
  • (14) As a miniaturized flexural mode, tuning fork, quartz crystal resonator is housed in a case of a quartz crystal unit, a light quartz crystal unit can be obtained.
  • (15) A low price quartz crystal unit can be realized because a method for manufacturing a quartz crystal unit is very simple and the manufacturing steps decrease.
  • (16) A quartz crystal unit with high reliability can be obtained because ceramics or glass is used as a material of case and metal or glass is used as a material of lid.
  • (17) As a plurality of flexural mode, tuning fork, quartz crystal resonators are not housed in a case of an individual quartz crystal unit, but, housed in a case of the same unit, a low price quartz crystal unit can be realized and simultaneously, a quartz crystal unit with excellent frequency temperature behaviour is obtained by electrically connecting these resonators in parallel.
  • (18) A quartz crystal unit is obtained with a small frequency deviation because resonance frequency for a flexural mode, tuning fork, quartz crystal resonator is adjusted by laser after the resonator housed in a case was closed in vacuum.
  • (19) By showing a relationship of a groove and a dimension for a flexural mode, tuning fork, quartz crystal resonator, a miniaturized flexural mode, tuning fork, quartz crystal resonator which vibrates very easily in a fundamental mode with suppression of the second and the third overtone modes which are unwanted vibration modes, can be obtained with a small series resistance R1and a high quality factor Q. As a result of which a miniturized quartz crystal unit can be also obtained with a high quality.
  • (20) By constructing the electrodes and the step portions to connect step difference portions constructed along the direction of length of the tuning fork tines, a quartz crystal unit with a tuning fork, quartz crystal resonator capable of vibrating in fundamental mode very easily can be obtained with a small series resistance R1and a high quality factor Q because the quantity of charges which generate on the step difference portions and the side faces of the tuning fork tines can be controlled and the second and third overtone modes for the resonator which are unwanted vibration modes can be substantially suppressed in vibration.
As described above, it will be easily understood that the quartz crystal units with at least one flexural mode, tuning fork, quartz crystal resonator with novel shapes and the novel electrode construction according to the present invention may have the same outstanding effects. In addition to this, while the present invention has been shown and described with reference to preferred embodiments thereof, it will be understood by those skilled in the art that the changes in shape and electrode construction can be made therein without departing from the spirit and scope of the present invention.

Claims (84)

What is claimed is:
1. A method for manufacturing a quartz crystal unit, comprising the steps of:
forming at least one quartz crystal tuning fork resonator by etching a quartz crystal wafer to form a quartz crystal tuning fork base, a plurality of quartz crystal tuning fork tines connected to the quartz crystal tuning fork base, and at least one groove having a plurality of stepped portions in at least one of opposite main surfaces of each of two of the quartz crystal tuning fork tines, and disposing a first electrode on at least one of the stepped portions of at least one of the grooves and a second electrode on at least one side surface of each so that a width of the at least one groove formed in the at least one of the main surfaces of each of the two of the quartz crystal tuning fork tines is greater than a distance in the width direction of the at least one groove measured from an outer edge of the at least one groove to an outer edge of the corresponding one of the two of the quartz crystal tuning fork tines;
adjusting at least twice and in different steps a frequency of oscillation of the quartz crystal tuning fork resonator;disposing an electrode on a surface of the at least one groove formed in the at least one of the main surfaces of one of the two of the quartz crystal tuning fork tines and disposing an electrode on a surface of the at least one groove formed in the at least one of the main surfaces of the other of the two of the quartz crystal tuning fork tines so that the electrode disposed on the surface of the at least one groove formed in the at least one of the main surfaces of the one of the two quartz crystal tuning fork tines has an electrical polarity opposite to an electrical polarity of the electrode disposed on the surface of the at least one groove formed in the at least one of the main surfaces of the other of the two quartz crystal tuning fork tines;
providing a case having an interior space and an open end communicating with the interior space a mounting portion;
providing a lid for covering the open end of the case;
after the disposing step, mounting the quartz crystal tuning fork resonator in the interior spaceon the mounting portion of the case; and
connecting the lid to the case to cover the open end thereofafter the mounting step, adjusting at least once a frequency of oscillation of the quartz crystal tuning fork resonator.
2. A method according toclaim 1; wherein the step of forming the groove comprises the step of forming a throughhole in each of the quartz crystal tuning fork tines extending through the opposite main surfaces thereof.
3. A method according toclaim 1; wherein the step of forming a plurality of quartz crystal tuning fork tines comprises the step of forming a first quartz crystal tuning fork tine and a second quartz crystal tuning fork tine; wherein the step of forming the first and second electrodes comprises the steps of forming the first electrode on each of two of the stepped portions of the groove in at least one of the opposite main surfaces of each of the first and second quartz crystal tuning fork tines and forming the second electrode on each of two of the side surfaces of each of the first and second quartz crystal tuning fork tines; and wherein the first electrode disposed on each of two of the stepped portions of the groove of the first quartz crystal tuning fork tine is connected to the second electrode disposed on each of two of the side surfaces of the second quartz crystal tuning fork tine to form a first electrode terminal, and the second electrode disposed on each of two of the side surfaces of the first quartz crystal tuning fork tine is connected to the first electrode disposed on each of two of the stepped portions of the groove of the second quartz crystal tuning fork tine to form a second electrode terminal so that the quartz crystal tuning fork resonator vibrates in a flexural mode of an inverse phase when an alternating current voltage is applied between the first electrode terminal and the second electrode terminal.
4. A method according toclaim 3; wherein the at least one groove is formed in each of the first main surface and the second main surface of each of the quartz crystal tuning fork tines so that a ratio W2/W is in the range of 0.35 to 0.85, where W2represents a width of the groove and W represents a width of each of the quartz crystal tuning fork tines.
5. A method according toclaim 3; wherein the adjusting step comprises the step of adjusting the frequency of oscillation of the quartz crystal tuning fork resonator by at least one of a laser method and evaporation and etching methods so that the frequency of oscillation of the quartz crystal tuning fork resonator is about 32.768 Hz with a frequency deviation within the range of −9000 PPM to +5000 PPM.
6. A method according toclaim 3; wherein the side surfaces of the first and second quartz crystal tuning fork tines comprise a first side surface and a second side surface, the first side surface of the first quartz crystal tuning fork tine confronting the first side surface of the second quartz crystal tuning fork tine; and wherein the stepped portions of the groove comprises a first stepped portion, a second stepped portion, and a third stepped portion connecting the first stepped portion to the second stepped portion, each of the first and second stepped portions being formed opposite to the first side surface of each of the first and second quartz crystal tuning fork tines.
7. A method according toclaim 3; wherein the step of forming at least one quartz crystal tuning fork resonator comprises the steps of forming two of the quartz crystal tuning fork resonators and integrally connecting together the two quartz crystal tuning fork resonators at their respective quartz crystal tuning fork bases at an angle of 30° or less.
8. A method according toclaim 3; wherein the adjusting step comprises the step of adjusting the frequency of oscillation of the quartz crystal tuning fork resonator by at least one of a laser method and evaporation and etching methods after the quartz crystal tuning fork resonator is mounted in the interior space of the case so that the frequency of oscillation of the resonator is about 32.768 kHz with a frequency deviation within the range of −100 PPM to +100 PPM.
9. A method according toclaim 8; wherein the step of forming at least one quartz crystal tuning fork resonator comprises the step of forming one quartz crystal tuning fork resonator capable of vibrating in a flexural mode of an inverse phase; and further comprising the step of forming one quartz crystal resonator capable of vibrating in a mode different from the flexural mode of an inverse phase.
10. A method according toclaim 8; wherein the connecting step comprises the step of connecting the lid to the case using at least one of a metal and a glass with a low melting point.
11. A method according toclaim 10; wherein the adjusting step comprises the step of adjusting the frequency of oscillation of the quartz crystal tuning fork resonator by a laser method after the connecting step so that the frequency of oscillation of the quartz crystal tuning fork resonator is about 32.768 kHz with a frequency deviation within the range of −30 ppm to +30 ppm.
12. A method according toclaim 10; wherein the adjusting step comprises the step of adjusting the frequency of oscillation of the quartz crystal tuning fork resonator by a laser method after the connecting step so that the frequency of oscillation of the resonator is about 32.768 kHz with a frequency deviation within the range of −50 ppm to +50 ppm.
13. A method according toclaim 12; wherein one of the case and the lid has a through-hole; and further comprising the step of disposing at least one of a metal and a glass into the through hole to maintain the interior space of the case in a vacuum.
14. A method according toclaim 13; wherein the adjusting step comprises the step of adjusting the frequency of oscillation of the quartz crystal tuning fork resonator by a laser method after the disposing step so that the frequency of oscillation of the resonator is about 32.768 kHz with a frequency deviation within the range of −30 ppm to +30 ppm.
15. A method according toclaim 3; wherein the forming step comprises the steps of forming the quartz crystal tuning fork tines in a first etching process and forming the corresponding grooves in a second etching process different from the first etching process; and wherein the step of forming the quartz crystal tuning fork tines is performed before the step of forming the corresponding grooves.
16. A method according toclaim 3; wherein the forming step comprises the steps of forming the quartz crystal tuning fork tines in a first etching process and forming the corresponding grooves in a second etching process different from the first etching process; and wherein the step of forming the corresponding grooves is performed before the step of forming the quartz crystal tuning fork tines.
17. A method according toclaim 1; wherein the adjusting step comprises the step of adjusting a frequency of oscillation of the quartz crystal tuning fork resonator to a preselected frequency with a frequency deviation within the range of −100 ppm to +100 ppm.
18. A method according toclaim 17; wherein the preselected frequency is about 32.768 kHz.
19. A method according toclaim 17; wherein a width of the groove formed in at least one of the opposite main surfaces of each of the quartz crystal tuning fork tines is greater than a distance in the width direction of the groove measured from an outer edge of the groove to an outer edge of the quartz crystal tuning fork tine.
20. A method according toclaim 19; wherein the forming step comprises the steps of forming the quartz crystal tuning fork tines in a first etching process and forming the corresponding grooves in a second etching process different from the first etching process; and wherein the step of forming the quartz crystal tuning fork tines is performed before the step of forming the corresponding grooves.
21. A method according toclaim 19; wherein the forming step comprises the steps of forming the quartz crystal tuning fork tines in a first etching process and forming the corresponding grooves in a second etching process different from the first etching process; and wherein the step of forming the corresponding grooves is performed before the step of forming the quartz crystal tuning fork tines.
22. A method according toclaim 19; wherein the groove formed in at least one of the main surfaces of each of the quartz crystal tuning fork tines comprises a through hole.
23. A method according toclaim 19; wherein the forming step comprises the steps of forming the quartz crystal tuning fork tines into a first quartz crystal tuning fork tine and a second quartz crystal tuning fork tine; forming a groove in each of opposite main surfaces of each of the first and second quartz crystal tuning fork tines; forming a first electrode on each of at least two of the stepped portions of the groove in each of the opposite main surfaces of the first and second quartz crystal tuning fork tines; forming a second electrode on each of two of side surfaces of each of the first and second quartz crystal tuning fork tines; connecting the first electrodes disposed on at least two of the stepped portions of the groove of the first quartz crystal tuning fork tine to the second electrodes disposed on two of the side surfaces of the second quartz crystal tuning fork tine to form a first electrode terminal; and connecting the second electrodes disposed on two of the side surfaces of the first quartz crystal tuning fork tine to the first electrodes disposed on at least two of the stepped portions of the groove of the second quartz crystal tuning fork tine to form a second electrode terminal; and further comprising the step of applying an alternating current voltage between the first electrode terminal and the second electrode terminal to vibrate the quartz crystal tuning fork resonator in a flexural mode of an inverse phase.
24. A method according toclaim 23; wherein the forming step comprises the step of forming the first and second quartz crystal tuning fork tines simultaneously with the corresponding grooves.
25. A method according toclaim 23; wherein a ratio W2/W is in the range of 0.35 to 0.85, where W2represents a width of the groove and W represents a width of each of the first and second quartz crystal tuning fork tines.
26. A method according toclaim 25; wherein the connecting step comprises the step of connecting the lid to the case using at least one of a metal and a glass with a low melting point.
27. A method according toclaim 25; wherein the quartz crystal tuning fork resonator has a fundamental mode of vibration and a second overtone mode of vibration; and wherein a series resistance R1of the fundamental mode of vibration is less than a series resistance R2of the second overtone mode of vibration.
28. A method according toclaim 27; wherein one of the case and the lid has a through-hole; and further comprising the step of disposing at least one of a metal and a glass into the through-hole to maintain the interior space of the case in a vacuum.
29. A method according toclaim 27; further comprising the step of providing a CMOS inverter, a plurality of capacitors, and a plurality of resistors to form an oscillator having the quartz crystal tuning fork resonator.
30. A method according toclaim 1; wherein the adjusting step comprises the steps of adjusting a frequency of oscillation of the quartz crystal tuning fork resonator to a first preselected frequency of oscillation, and adjusting the frequency of oscillation of the quartz crystal tuning fork resonator to a second preselected frequency of oscillation different from the first preselected frequency of oscillation.
31. A method according toclaim 30; wherein the first preselected frequency of oscillation is about 32.768 kHz with a frequency deviation within the range of −9000 ppm to +5000 ppm; and wherein the second preselected frequency of oscillation is about 32.768 kHz with a frequency deviation within the range of −100 ppm to +100 ppm.
32. A method according toclaim 30; wherein the at least one groove is formed in each of the opposite main surfaces of each of the quartz crystal tuning fork tines so that a ratio W2/W is in the range of 0.35 to 0.85, where W2represents a width of the groove and W represents a width of each of the first and second quartz crystal tuning fork tines.
33. A method according toclaim 30, further comprising the step of etching the quartz crystal wafer to simultaneously form the quartz crystal tuning fork tines and the corresponding grooves by a single etching process.
34. A method according toclaim 30, wherein the quartz crystal tuning fork resonator has a fundamental mode of vibration and a second overtone mode of vibration; and wherein a series resistance R1of the fundamental mode of vibration is less than a series resistance R2of the second overtone mode of vibration.
35. A method according toclaim 34; wherein the at least one groove is formed in each of the opposite main surfaces of each of the quartz crystal tuning fork tines so that a width of at least one of the grooves in each of the opposite main surfaces of each of the quartz crystal tuning fork tines is greater than a distance in the width direction of the groove measured from an outer edge of the groove to an outer edge of the quartz crystal tuning fork tine; and wherein the forming step comprises the steps of forming the quartz crystal tuning fork tines into a first quartz crystal tuning fork tine and a second quartz crystal tuning fork tine; forming at least one groove in each of opposite main surfaces of each of the first and second quartz crystal tuning fork tines; forming a plurality of first electrodes on at least two of the stepped portions of the grooves in the opposite main surfaces of the first and second quartz crystal tuning fork tines; forming a plurality of second electrodes on side surfaces of each of the first and second quartz crystal tuning fork tines; connecting the first electrodes disposed on at least two of the stepped portions of the grooves of the first quartz crystal tuning fork tine to the second electrodes disposed on the side surfaces of the second quartz crystal tuning fork tine to form a first electrode terminal; and connecting the second electrodes disposed on the side surfaces of the first quartz crystal tuning fork tine to the first electrodes disposed on at least two of the stepped portions of the grooves of the second quartz crystal tuning fork tine to form a second electrode terminal; and further comprising the step of applying an alternating current voltage between the first electrode terminal and the second electrode terminal to vibrate the quartz crystal tuning fork resonator in a flexural mode of an inverse phase.
36. A method according toclaim 35; wherein the forming step comprises the steps of forming the quartz crystal tuning fork tines in a first etching process and forming the corresponding grooves in a second etching process different from the first etching process; and wherein the step of forming the quartz crystal tuning fork tines is performed before the step of forming the corresponding grooves.
37. A method according to claim 1; wherein the quartz crystal tuning fork resonator has an overall length and the at least one groove formed in the at least one of the main surfaces of each of the two of the quartz crystal tuning fork tines has a length; and further comprising the step of determining the overall length of the quartz crystal tuning fork resonator and the length of the at least one groove formed in the at least one of the main surfaces of each of the two of the quartz crystal tuning fork tines so that a series resistance R1of a fundamental mode of vibration of the quartz crystal tuning fork resonator is less than a series resistance R2of a second overtone mode of vibration thereof.
38. A method according to claim 1; wherein the two of the quartz crystal tuning fork tines comprise first and second quartz crystal tuning fork tines, and the main surfaces of each of the first and second quartz crystal tuning fork tines comprise a first main surface and a second main surface opposite the first main surface; wherein each of the first and second quartz crystal tuning fork tines has a first side surface and a second side surface opposite the first side surface, the first side surface of the first quartz crystal tuning fork tine confronting the first side surface of the second quartz crystal tuning fork tine; wherein the quartz crystal wafer has a first surface and a second surface opposite the first surface, each of the first main surfaces of the first and second quartz crystal tuning fork tines being formed at the first surface of the quartz crystal wafer; wherein the at least one groove is formed in the first main surface of each of the first and second quartz crystal tuning fork tines with a first stepped portion and a second stepped portion connected to the first stepped portion through a third stepped portion so that each of the first and second stepped portions of the at least one groove formed in the first main surface of the first quartz crystal tuning fork tine is formed opposite the first side surface of the first quartz crystal tuning fork tine and is directly connected to the third stepped portion, and so that each of the first and second stepped portions of the at least one groove formed in the first main surface of the second quartz crystal tuning fork and is directly connected to the third stepped portion; wherein the at least one groove formed in the first main surface of each of the first and second quartz crystal tuning fork tines has a fourth stepped portion directly oposite a fifth stepped portion in the length direction, the fourth stepped portion being directly connected to the first stepped portion and the fifth stepped portion being directly connected to the second stepped portion.
39. A method according to claim 38; further comprising the steps of providing a lid for covering an open end of the case, one of the lid and the case having a throughhole and the case having an interior space containing the mounting portion; forming the at least one groove in each of the first and second main surfaces of each of the first and second quartz crystal tuning fork tines so that a ratio W2/W is in the range of 0.35 to 0.85, where W2represents a width of the groove and W represents a width of each of the first and second quartz crystal tuning fork tines; adjusting the frequency of oscillation of the quartz crystal tuning fork resonator so that the frequency of oscillation thereof is about 32.768 kHz with a frequency deviation within the range of −100 ppm to +100 ppm; connecting the lid to the case to cover the open end thereof; and disposing a metal or a glass in the through hole to close the through hole in a vacuum.
40. A method according to claim 38; further comprising the step of providing a lid for covering an open end of the case, one of the lid and the case having a through hole, and the case having an interior space containing the mounting portion; wherein the adjusting step comprises adjusting in a vacuum the frequency of oscillation of the quartz crystal tuning fork resonator; and further comprising, after the mounting, and adjusting steps, the sequential steps of connecting the lid to the case to cover the open end thereof and disposing a metal or a glass in the through hole to close the through hole in a vacuum.
41. A method according to claim 38; further comprising the step of providing a lid for covering an open end of the case, one of the lid and the case having a through hole, and the case having an interior space containing the mounting portion; wherein the adjusting step comprises adjusting the frequency of oscillation of the quartz crystal tuning fork resonator so that the frequency of oscillation thereof is about 32.768 kHz with a frequency deviation within the range of −30 ppm to +30 ppm; and further comprising, after the mounting and adjusting steps, the sequential steps of connecting the lid to the case to cover the open end thereof and disposing a metal or glass in the through hole to close the through hole in a vacuum.
42. A method according to claim 38; wherein the step of forming the at least one groove comprises the step of forming a groove in each of the first and second main surfaces of each of the first and second quartz crystal tuning fork tines so that a ratio W2/W is in the range of 0.35 to 0.85, where W2represents a width of the groove and W represents a width of each of the first and second quartz crystal tuning fork tines; wherein the adjusting step comprises adjusting the frequency of oscillation of the quartz crystal tuning fork resonator so that the frequency of oscillation thereof is about 32.768 kHz with a frequency deviation within the range of −100 ppm to +100 ppm; and further comprising, after the mounting and adjusting steps, the step of connecting a lid to the case to maintain the quartz crystal tuning fork resonator in a vacuum.
43. A method according to claim 1; wherein the two of the quartz crystal tuning fork tines comprise first and second quartz crystal tuning fork tines each having a length, and the main surfaces of each of the first and second quartz crystal tuning fork tines comprise a first main surface and a second main surface opposite the first main surface; wherein the step of forming the at least one groove comprises the steps of forming a groove having at least two stepped portions including a first stepped portion and a second stepped portion in the first main surface of each of the first and second quartz crystal tuning fork tines so that each of the first and second stepped portions is formed along the length of each of the first and second quartz crystal tuning fork tines, and forming a groove having at least three stepped portions including a first stepped portion, a second stepped portion and a third stepped portion in the second main surface of each of the first and second quartz crystal tuning fork tines so that each of the first, second and third stepped portions is formed along the length of each of the first and second quartz crystal tuning fork tines and the first stepped portion is connected to the second stepped portion through a stepped portion, and so that each of the first and second stepped portions is directly connected to the stepped portion; and wherein the groove having the at least three stepped portions formed in the second main surface of each of the first and second quartz crystal tuning fork tines has a fourth stepped portion directly opposite a fifth stepped portion in the length direction, the fourth stepped portion being directly connected to the first stepped portion and the fifth stepped portion being directly connected to the second stepped portion.
44. A method according to claim 38; wherein the step of forming the at least one groove comprises forming a groove in at least one of the first and second main surfaces of each of the first and second quartz crystal tuning fork tines; wherein the step of disposing the electrode comprises forming a first electrode on a surface of the groove formed in the at least one of the first and second main surfaces of each of the first and second quartz crystal tuning fork tines and forming a second electrode on each of the first and second side surfaces of each of the first and second quartz crystal tuning fork tines so that the first electrode formed on the surface of the groove formed in the at least one of the first and second main surfaces of the first quartz crystal tuning fork tine is connected to the second electrode formed on each of the first and second side surfaces of the second quartz crystal tuning fork tine, and the second electrode formed on each of the first and second side surfaces of the first quartz crystal tuning fork tine is connected to the first electrode formed on the surface of the groove formed in the at least one of the first and second main surfaces of the second quartz crystal tuning fork tine; and further comprising the steps of providing a lid for covering an open end of the case, connecting the lid to the case to cover the open end of the case, and disposing a metal or a glass in a through hole formed in one of the case and the lid to close the through hole in a vacuum after the connecting step.
45. A method according to claim 44; wherein the step of forming the at least one groove comprises the step of forming a groove having a first stepped portion, a second stepped portion and a third stepped portion connecting the first stepped portion to the second stepped portion in the second main surface of each of the first and second quartz crystal tuning fork tines, each of the first and second stepped portions being formed opposite the first side surface of each of the first and second quartz crystal tuning fork tines and being directly connected to the third stepped portion; and wherein the groove formed in the second main surface of each of the first and second quartz crystal tuning fork tines has a fourth stepped portion directly opposite a fifth stepped portion in the length direction, the fourth stepped portion being directly connected to the first stepped portion and the fifth stepped portion being directly connected to the second stepped portion.
46. A method according to claim 45; wherein the adjusting step comprises the step of adjusting in a vacuum the frequency of oscillation of the quartz crystal tuning fork resonator after the connecting step and before the disposing step.
47. A method according to claim 45; wherein the adjusting step comprises the step of adjusting the frequency of oscillation of the quartz crystal tuning fork resonator after the disposing step so that the frequency of oscillation thereof is about 32.768 kHz with a frequency deviation within the range of −30 ppm to +30 ppm.
48. A method according to claim 45; wherein the adjusting step comprises adjusting the frequency of oscillation of the quartz crystal tuning fork resonator before the connecting step.
49. A method according to claim 45; wherein the adjusting step comprises the step of adjusting the frequency of oscillation of the quartz crystal tuning fork resonator so that the frequency of oscillation thereof is about 32.768 kHz with a frequency deviation within the range of −9000 ppm to +5000 ppm.
50. A method according to claim 44; wherein the adjusting step comprises a first step of adjusting the frequency of oscillation of the quartz crystal tuning fork resonator to a first preselected frequency of oscillation after the disposing step of the first and second electrodes and before the mounting step; and a second step of adjusting the frequency of oscillation of the quartz crystal tuning fork resonator to a second preselected frequency of oscillation after the mounting step and before the connecting step.
51. A method according to claim 50; wherein the first preselected frequency of oscillation is about 32.768 kHz with a frequency deviation within the range of −9000 ppm to +5000 ppm; and wherein the second preselected frequency of oscillation is about 32.768 kHz with a frequency deviation within the range of −100 ppm to +100 ppm.
52. A method according to claim 44; wherein the adjusting step comprises the step of adjusting in a vacuum the frequency of oscillation of the quartz crystal tuning fork resonator after the connecting step and before the disposing step of the metal or the glass.
53. A method according to claim 44; wherein the adjusting step comprises adjusting the frequency of oscillation of the quartz crystal tuning fork resonator after the disposing step of the metal or the glass so that the frequency of oscillation thereof is about 32.768 kHz with a frequency deviation within the range of −30 ppm to +30 ppm.
54. A method according to claim 1; wherein the two of the quartz crystal tuning fork tines comprise first and second quartz crystal tuning fork tines, the main surfaces of each of the first and second quartz crystal tuning fork tines comprise a first main surface and a second main surface opposite the first main surface, and each of the first and second quartz crystal tuning fork tines has a first side surface and a second side surface opposite the first side surface; wherein the step of forming the at least one groove comprises forming a groove in each of the first and second main surfaces of each of the first and second quartz crystal tuning fork tines so that a width of the groove formed in each of the first and second main surfaces of each of the first and second quartz crystal tuning fork tines is greater than a distance in the width direction of the groove measured from an outer edge of the groove to an outer edge of the corresponding one of the first and second quartz crystal tuning fork tines; wherein the disposing step comprises forming a first electrode on a surface of the groove formed in each of the first and second main surfaces of each of the first and second quartz crystal tuning fork tines and forming a second electrode on each of the first and second side surfaces of each of the first and second quartz crystal tuning fork tines so that the first electrode formed on the surface of the groove formed in each of the first and second main surfaces of the first quartz crystal tuning fork tine is connected to the second electrode formed on each of the first and second side surfaces of the second quartz crystal tuning fork tine, and the second electrode formed on each of the first and second side surfaces of the first quartz crystal tuning fork tine is connected to the first electrode formed on the surface of the groove formed in each of the first and second main surfaces of the second quartz crystal tuning fork tine; wherein the case has an interior space containing the mounting portion and an open end through which the quartz crystal tuning fork resonator is mounted on the mounting portion; and after the adjusting step, further comprising the step of connecting a lid to the open end of the case to cover the open end of the case.
55. A method according to claim 54; wherein the first side surface of the first quartz crystal tuning fork tine confronts the first side surface of the second quartz crystal tuning fork tine; wherein the step of forming the at least one groove comprises forming the groove having a first stepped portion including a first width and a second groove portion including a second width different from the first width in at least one of the first and second main surfaces of each of the first and second quartz crystal tuning fork tines so that a first distance in the width direction of the first groove portion measured from a first outer edge of the first groove portion to a first outer edge of the first side surface of the corresponding one of the first and second quartz crystal tuning fork tines is greater than a second distance in the width direction of the second groove portion measured from a second outer edge of the second groove portion to a second outer edge of the first side surface of the corresponding one of the first and second quartz tuning fork tines; wherein the first width of the first groove portion of the groove formed in the at least one of the first and second main surfaces of the first quartz cystal tuning fork tine is greater than the first distance in the width direction of the first groove portion of the first quartz crystal tuning fork tine; wherein the first width of the first groove portion of the groove formed in the at least one of the first and second main surfaces of the second quartz crystal tuning fork tine is greater than the first distance in the width direction of the first groove portion of the second quartz crystal tuning fork tine; wherein the case has a through hole; and further comprising the step of disposing a metal or a glass in the through hole of the case to close the through hole thereof in a vacuum; wherein the lid is a metal lid or a glass lid; and wherein the connecting step comprises the step of connecting the metal lid or the glass lid to the open end of the case.
56. A method according to claim 54; wherein the adjusting step comprises the step of adjusting the frequency of oscillation of the quartz crystal tuning fork resonator so that the frequency of oscillation thereof is about 32.768 kHz with a frequency deviation within the range of −100 ppm to +100 ppm; and wherein the connecting step comprises the step of connecting the lid to the open end of the case so that the interior space of the case is in a vacuum.
57. A method according to claim 54; further comprising the step of adjusting the frequency of oscillation of the quartz crystal tuning fork resonator after the forming step of the first and second electrodes and before the mounting step so that the frequency of oscillation thereof is about 32.768 kHz with a frequency deviation within the range of −9000 ppm to +5000 ppm.
58. A method according to claim 54; wherein the first side surface of the first quartz crystal tuning fork tine confronts the first side surface of the second quartz crystal tuning fork tine; wherein the step of forming the at least one groove includes the step of forming a groove having a first and a second surface connected to the first surface through a third surface in each of the first and second main surfaces of each of the first and second quartz crystal tuning fork tines so that a ratio W2/W is in the range of 0.35 to 0.85, where W2represents a width of the groove and W represents a width of each of the first and second quartz crystal tuning fork tines, and so that each of the first and second surfaces of the groove formed in each of the first and second main surfaces of the first quartz crystal tuning fork tine is formed opposite the first side surface of the first quartz tuning fork tine and each of the first and second surfaces of the groove formed in each of the first and second main surfaces of the second quartz crystal tuning fork tine is formed opposite the first side surface of the second quartz crystal tuning fork tine, each of the first, second and third surfaces having a first end and a second end portion, the first end portion of the first surface being directly connected to the first end portion of the third surface and the first end portion of the second surface being directly connected to the second end portion of the third surface; wherein the groove having the first, second and third surfaces formed in each of the first and second main surfaces of each of the first and second quartz crystal tuning fork tines has a fourth surfaces directly opposite a fifth surface in the length direction, an end portion of the fourth surface being directly connected to the second end portion of the first surface and an end portion of the fifth surface being directly connected to the second end portion of the second surface.
59. A method according to claim 1; wherein the two of the quartz crystal tuning fork tines comprise first and second quartz crystal tuning fork tines, the main surfaces of each of the first and second quartz crystal tuning fork tines comprise a first main surface and a second main surface opposite the first main surface, and each of the first and second quartz crystal tuning fork tines has a first side surface and a second side surface opposite the first side surface; wherein the step of forming the at least one groove comprises forming at least one groove in each of the first and second main surfaces of each of the first and second quartz crystal tuning fork tines; wherein the step of disposing an electrode comprises the steps of forming a first electrode on a surface of the at least one groove formed in each of the first and second main surfaces of each of the first and second quartz crystal tuning fork tines and forming a second electrode on each of the first and second side surfaces of each of the first and second quartz crystal tuning fork tines; and further comprising the steps of connecting the first electrode formed on the surface of the at least one groove formed in each of the first and second main surfaces of the first quartz crystal tuning fork tine to the second electrode formed on each of the first and second side surfaces of the second quartz crystal tuning fork tine to form a first electrode terminal, and connecting the second electrode formed on each of the first and second side surfaces of the first quartz crystal tuning fork tine to the first electrode formed on the surface of the at least one groove formed in each of the first and second main surfaces of the second quartz crystal tuning fork tine to form a second electrode terminal so that the quartz crystal tuning fork resonator vibrates in a flexural mode of an inverse phase when an alternating current voltage is applied between the first electrode terminal and the second electrode terminal.
60. A method according to claim 59; wherein the step of forming the at least one groove comprises the step of forming the at least one groove in each of the first and second main surfaces of each of the first and second quartz crystal tuning fork tines so that a width of the at least one groove formed in each of the first and second main surfaces of each of the first and second quartz crystal tuning fork tines is greater than a distance in the width direction of the at least one groove measured from an outer edge of the at least one groove to an outer edge of the corresponding one of the first and second quartz crystal tuning fork tines; and wherein the forming step of the at least one groove is performed before the forming step of the second electrode.
61. A method according to claim 60; wherein the case comprises a ceramics case having a through hole and an interior space containing the mounting portion; and further comprising the steps of adjusting in a vacuum the frequency of oscillation of the quartz crystal tuning fork resonator, covering an open end of the ceramics case with a glass lid after the mounting step and before the adjusting step and thereafter disposing a metal or a glass in the through hole of the ceramics case to close the through hole thereof in a vacuum.
62. A method according to claim 61; wherein the adjusting step comprises the step of adjusting in the vacuum the frequency of oscillation of the quartz crystal tuning fork resonator after the connecting step and before the disposing step of the metal or the glass so that the frequency of oscillation thereof is about 32.768 kHz with a frequency deviation within the range of −50 ppm to +50 ppm.
63. A method according to claim 60; wherein the case comprises a ceramics case having a through hole and an interior space containing the mounting portion; and further comprising the steps of covering an open end of the ceramics case with a glass lid after the mounting step, disposing a metal or a glass in the through hole of the ceramics case to close the through hole thereof in a vacuum, and performing the adjusting step after the step of disposing the metal or the glass in the through hole of the ceramics case so that the frequency of oscillation thereof is about 32.768 kHz with a frequency deviation within the range of −30 ppm to +30 ppm.
64. A method according to claim 60; wherein the case comprises a ceramics case having an open end an interior space containing the mounting portion; wherein the adjusting step comprises adjusting the frequency of oscillation of the quartz crystal tuning fork resonator after the mounting step so that the frequency of oscillation thereof is about 32.768 kHz with a frequency deviation within the range of −100 ppm to +100 ppm; and further comprising the step of connecting a metal lid to the ceramics case after the adjusting step to cover the open end thereof so that the interior space is placed in a vacuum.
65. A method according to claim 60; wherein the case comprises a ceramics case having a through hole, an open end, and an interior space containing the mounting portion; wherein the adjusting step comprises adjusting the frequency of oscillation of the quartz crystal tuning fork resonator so that the frequency of oscillation thereof is about 32.768 kHz with a frequency deviation within the range of −100 ppm to +100 ppm; and further comprising the steps of covering the open end of the ceramics case with a metal lid after the adjusting step and thereafter disposing a metal or a glass in the through hole of the ceramics case to close the through hole thereof in a vacuum.
66. A method according to claim 50; wherein the first side surface of the first quartz crystal tuning fork tine confronts the first side surface of the second quartz crystal tuning fork tine; wherein the step of forming the at least one groove comprises the step of forming a groove having a first stepped portion and a second stepped portion connected to the first stepped portion through a third stepped portion in at least one of the first and second main surfaces of each of the first and second quartz crystal tuning fork tines, each of the first and second stepped portions of the groove formed in the at least one of the first and second main surfaces of the first quartz crystal tuning fork tine being formed opposite the first side surface of the first quartz crystal tuning fork tine and being directly connected to the third stepped portion, and each of the first and second stepped portions of the groove formed in the at least one of the first and second main surfaces of the second quartz crystal tuning fork tine being formed opposite the first side surface of the second quartz crystal tuning fork tine and being directly connected to the third stepped portion; wherein the groove formed in the at least one of the first and second main surfaces of each of the first and second quartz crystal tuning fork tines has a length, and a fourth stepped portion directly opposite a fifth stepped portion in the length direction, the fourth stepped portion being directly connected to the first stepped portion and the fifth stepped portion being directly connected to the second stepped portion; wherein the quartz crystal tuning fork resonator has an overall length; wherein each of the overall length of the quartz crystal tuning fork resonator and the length of the groove formed in the at least one of the first and second main surfaces of each of the first and second quartz crystal tuning fork tines is determined so that a series resistance R1of a fundamental mode of vibration of the quartz crystal tuning fork resonator is less than a series resistance R2of a second overtone mode of vibration thereof; wherein the adjusting step comprises adjusting the frequency of oscillation of the quartz crystal tuning fork resonator so that the frequency of oscillation thereof is about 32.768 kHz with a frequency deviation within the range of −100 ppm to +100 ppm; wherein the case has a through hole; and further comprising the step of disposing a metal or a glass in the through hole of the case to close the through hole thereof in a vacuum.
67. A method according to claim 59; wherein the quartz crystal wafer has a first surface and a second surface opposite the first surface; and further comprising the sequential steps of forming a plurality of grooves in the first and second surfaces of the quartz crystal wafer; forming the first and second quartz crystal tuning fork tines so that a groove having a first surface opposite the first side surface and a second surface opposite the second side surface is located in each of the first and second main surfaces of each of the first and second quartz crystal tuning fork tines, a width of the groove located in each of the first and second main surfaces of each of the first and second quartz crystal tuning fork tines being greater than a distance in the width direction of the groove measured from an outer edge of the groove to an outer edge of the corresponding one of the first and second quartz crystal tuning fork tines; and wherein the disposing step comprises disposing the electrode on each of the first and second surfaces of the groove located in each of the first and second main surfaces of each of the first and second quartz crystal tuning fork tines so that the electrode formed on each of the first and second surfaces of the groove located in each of the first and second main surfaces of the first quartz crystal tuning fork tine has an electrical polarity opposite to an electrical polarity of the electrode formed on each of the first and second surfaces of the groove located in each of the first and second main surfaces of the second quartz crystal tuning fork tine.
68. A method according to claim 59; wherein the at least one groove formed in each of the first and second main surfaces of each of the first and second quartz crystal tuning fork tines comprises a plurality of grooves formed in at least one of the first and second main surfaces of each of the first and second quartz crystal tuning fork tines, the grooves being divided in the length direction; and further comprising the step of forming simultaneously the first and second quartz crystal tuning fork tines and the grooves formed in the at least one of the first and second main surfaces of each of the first and second quartz crystal tuning fork tines so that a width of at least one of the grooves formed in the at least one of the first and second main surfaces of each of the first and second quartz crystal tuning fork tines is greater than a distance in the width direction of the at least one groove measured from an outer edge of the at least one groove to an outer edge of the corresponding one of the first and second quartz crystal tuning fork tines.
69. A method according to claim 59; wherein the quartz crystal wafer has a first surface and a second surface opposite the first surface; wherein the quartz crystal tuning fork base has a third main surface and a fourth main surface opposite the third main surface, each of the third main surface of the quartz crystal tuning fork base and the first main surface of each of the first and second quartz crystal tuning fork tines being formed at the first surface of the quartz crystal wafer, and each of the fourth main surface of the quartz crystal tuning fork base and the second main surface of each of the first and second quartz crystal tuning fork tines being formed at the second surface of the quartz crystal wafer; wherein each of the third and fourth main surfaces of the quartz crystal tuning fork base has a third electrode and a fourth electrode, the third electrode having an electrical polarity opposite to an electrical polarity of the fourth electrode; wherein the third electrode formed on each of the third and fourth main surfaces of the quartz crystal tuning fork base is connected to the second electrode formed on each of the first and second side surfaces of one of the first and second quartz crystal tuning fork tines; wherein the fourth electrode formed on each of the third and fourth main surfaces of the quartz crystal tuning fork base is connected to the second electrode formed on each of the first and second side surfaces of the other of the first and second quartz crystal tuning fork tines; wherein the first electrode formed on the surface of the at least one groove formed in one of the first and second main surfaces of the first quartz crystal tuning fork tine is connected to the second electrode formed on each of the first and second side surfaces of the second quartz crystal tuning fork tine through one of the third and fourth electrodes formed on one of the third and fourth main surfaces of the quartz crystal tuning fork base; and wherein the third electrode formed on the third main surface of the quartz crystal tuning fork base is formed opposite the third electrode formed on the fourth main surface thereof, the third electrode formed on the third main surface of the quartz crystal tuning fork base having the same electrical polarity as the third electrode formed on the fourth main surface of the quartz crystal tuning fork base.
70. A method according to claim 1; wherein the two quartz crystal tuning fork tines comprise first and second quartz crystal tuning fork tines, the main surfaces of each of the first and second quartz crystal tuning fork tines comprising a first main surface and a second main surface opposite the first main surface, and each of the first and second quartz crystal tuning fork tines having a first side surface and a second side surface opposite the first side surface; wherein the quartz crystal wafer has a first surface and a second surface opposite the first surface; further comprising the step of providing a lid for covering an open end of the case, one of the lid and the case having a through hole and the case having an interior space containing the mounting portion; and further comprising the sequential steps of disposing at least one first metal film on each of the first and second surfaces of the quartz crystal wafer; disposing a first resist on the at least one first metal film; removing a part of each of the first resist and the at least one first metal film to form a pattern of a tuning fork shape; forming the quartz crystal tuning fork base, and the first and second quartz crystal tuning fork tines; forming a groove in each of the first and second main surfaces of each of the first and second quartz crystal tuning fork tines so that a width of the groove formed in each of the first and second main surfaces of each of the first and second quartz crystal tuning fork tines is greater than a distance in the width direction of the groove measured from an outer edge of the groove to an outer edge of the corresponding one of the first and second quartz crystal tuning fork tines; disposing at least one second metal film on each of the first and second main surfaces and the first and second side surfaces of each of the first and second quartz crystal tuning fork tines, and a surface of the groove formed in each of the first and second main surfaces of each of the first and second quartz crystal tuning fork tines; disposing a second resist on the at least one second metal film; forming a first electrode on the surface of the groove formed in each of the first and second main surfaces of each of the first and second quartz crystal tuning fork tines and a second electrode on each of the first and second side surfaces of each of the first and second quartz crystal tuning fork tines so that the first electrode formed on the surface of the groove formed in each of the first and second main surfaces of the first quartz crystal tuning fork tine is connected to the second electrode formed on each of the first and second side surfaces of the second quartz crystal tuning fork tine, and the second electrode formed on each of the first and second side surfaces of the first quartz crystal tuning fork tine is connected to the first electrode formed on the surface of the groove formed in each of the first and second main surfaces of the second quartz crystal tuning fork tine; mounting the quartz crystal tuning fork resonator on the mounting portion in the interior space of the case; connecting the lid to the case to cover the open end thereof; and disposing a metal or a glass in the through hole to close the through hole in a vacuum after the connecting step of the lid and the case.
71. A method according to claim 70; wherein the first side surface of the first quartz crystal tuning fork tine confronts the first side surface of the second quartz crystal tuning fork tine; wherein the forming step of the groove includes the step of forming the groove having a first stepped portion, a second stepped portion, and a third stepped portion connecting the first stepped portion to the second stepped portion in at least one of the first and second main surfaces of each of the first and second quartz crystal tuning fork tines, each of the first and second stepped portions of the groove formed in the at least one of the first and second main surfaces of the first quartz crystal tuning fork tine being formed opposite the first side surface of the first quartz crystal tuning fork tine and being directly connected to the third stepped portion, and each of the first and second stepped portions of the groove formed in the at least one of the first and second main surfaces of the second quartz crystal tuning fork tine being formed opposite the first side surface of the second quartz crystal tuning fork tine and being directly connected to the third stepped portion; and wherein the groove having the first, second and third stepped portions formed in the at least one of the first and second main surfaces of each of the first and second quartz crystal tuning fork tines has a fourth stepped portion directly opposite a fifth stepped portion in the length direction, the fourth stepped portion being directly connected to the first stepped portion and the fifth stepped portion being directly connected to the second stepped portion.
72. A method according to claim 70; wherein the quartz crystal tuning fork resonator has an overall length and the groove formed in each of the first and second main surfaces of each of the first and second quartz crystal tuning fork tines has a length; and further comprising the step of determining the overall length of the quartz crystal tuning fork resonator and the length of the groove formed in each of the first and second main surfaces of each of the first and second quartz crystal tuning fork tines before the disposing step of the at least one first metal film so that a series resistance R1of a fundamental mode of vibration of the quartz crystal tuning fork resonator is less than a series resistance R2of a second overtone mode of vibration thereof.
73. A method according to claim 70; further comprising the steps of adjusting the frequency of oscillation of the quartz crystal tuning fork resonator to a first preselected frequency of oscillation after the forming step of the first and second electrodes and before the mounting step; and adjusting the frequency of oscillation of the quartz crystal tuning fork resonator to a second preselected frequency of oscillation after the mounting step and before the connecting step of the lid and the case.
74. A method according to claim 73; wherein the first preselected frequency of oscillation is about 32.768 kHz with a frequency deviation in the range of −9000 ppm to +5000 ppm; and wherein the second frequency of oscillation is about 32.768 kHz with a frequency deviation within the range of −100 ppm to +100 ppm.
75. A method according to claim 70; further comprising the step of adjusting in a vacuum the frequency of oscillation of the quartz crystal tuning fork resonator after the connecting step of the lid and the case and before the disposing step of the metal or the glass.
76. A method according to claim 70; further comprising the step of adjusting the frequency of oscillation of the quartz crystal tuning fork resonator after the disposing step of the metal or the glass so that the frequency of oscillation thereof is about 32.768 kHz with a frequency deviation within the range of −30 ppm to +30 ppm.
77. A method according to claim 70; wherein the first electrode formed on the surface of the groove formed in each of the first and second main surfaces of each of the first and second quartz crystal tuning fork tines extends on a surface in the width direction adjoining the groove; wherein the groove formed in each of the first and second main surfaces of each of the first and second quartz crystal tuning fork tines has a first surface and a second surface, the first surface having a first outer edge and the second surface having a second outer edge; wherein the first surface of the groove formed in each of the first and second main surfaces of each of the first and second quartz crystal tuning fork tines is opposite the first side surface of the corresponding one of the first and second quartz crystal tuning fork tines; wherein the second surface of the groove formed in each of the first and second main surfaces of each of the first and second quartz crystal tuning fork tines is opposite the second side surface of the corresponding one of the first and second quartz crystal tuning fork tines; wherein each of the first and second side surfaces of each of the first and second quartz crystal tuning fork tines has a first outer edge and a second outer edge, a distance in the width direction of the groove measured from the first outer edge of the first surface of the groove to the first outer edge of the first side surface of the corresponding one of the first and second quartz crystal tuning fork tines being defined by W1and a distance in the width direction of the groove measured from the second outer edge of the second surface of the groove to the second outer edge of the second side surface of the corresponding one of the first and second quartz crystal tuning fork tines being defined by W3; wherein the first main surface of each of the first and second quartz crystal tuning fork tines is formed at the first surface of the quartz crystal wafer; and further comprising the step of forming the groove in the first main surface of each of the first and second quartz crystal tuning fork tines so that W1is greater than W3.
78. A method according to claim 70; further comprising the step of removing all of each of the first resist disposed on the at least one first metal film and the at least one first metal film before the disposing step of the at least one second metal film.
79. A method according to claim 70; wherein the first side surface of the first quartz crystal tuning fork tine confronts the first side surface of the second quartz crystal tuning fork tine; wherein the step of forming the groove comprises forming a groove having a first groove portion including a first width and a second groove portion including a second width different from the first width in at least one of the first and second main surfaces of each of the first and second quartz crystal tuning fork tines so that a first distance in the width direction of the first groove portion measured from a first outer edge of the first groove portion to a first outer edge of the first side surface of the corresponding one of the first and second quartz crystal tuning fork tines is greater than a second distance in the width direction of the second groove portion measured from a second outer edge of the second groove portion to a second outer edge of the first side surface of the corresponding one of the first and second quartz crystal tuning fork tines; wherein the first width of the first groove portion of the groove formed in the at least one of the first and second main surfaces of the first quartz crystal tuning fork tine is greater than the first distance in the width direction of the first groove portion of the first quartz crystal tuning fork tine; and wherein the first width of the first groove portion of the groove formed in the at least one of the first and second main surfaces of the second quartz crystal tuning fork tine is greater than the first distance in the width direction of the first groove portion of the second quartz crystal tuning fork tine.
80. A method according to claim 1; wherein the quartz crystal tuning fork tines has first and second quartz crystal tuning fork tines, each of the first and second quartz crystal tuning fork tines having a first main surface and a second main surface opposite the first main surface, and a first side surface and a second side surface opposite the first side surface; wherein the quartz crystal wafer has a first surface and a second surface opposite the first surface; and further comprising the sequential steps of disposing at least one first metal film on each of the first and second surfaces of the quartz crystal wafer; disposing a first resist on the at least one first metal film; removing a part of each of the first resist and the at least one first metal film to form a pattern of a tuning fork shape; forming the quartz crystal tuning fork base, and the first and second quartz crystal tuning fork tines; forming a groove in each of the first and second main surfaces of each of the first and second quartz crystal tuning fork tines so that a width of the groove formed in each of the first and second main surfaces of each of the first and second quartz crystal tuning fork tines is greater than a distance in the width direction of the groove measured from an outer edge of the groove to an outer edge of the corresponding one of the first and second quartz crystal tuning fork tines; disposing at least one second metal film on each of the first and second main surfaces and the first and second side surfaces of each of the first and second quartz crystal tuning fork tines, and a surface of the groove formed in each of the first and second main surfaces of each of the first and second quartz crystal tuning fork tines; disposing a second resist on the at least one second metal film; forming a first electrode on the surface of the groove formed in each of the first and second main surfaces of each of the first and second quartz crystal tuning fork tines and a second electrode on each of the first and second side surfaces of each of the first and second quartz crystal tuning fork tines so that the first electrode formed on the surface of the groove formed in each of the first and second main surfaces of the first quartz crystal tuning fork tine is connected to the second electrode formed on each of the first and second side surfaces of the second quartz crystal tuning fork tine, and the second electrode formed on each of the first and second side surfaces of the first quartz crystal tuning fork tine is connected to the first electrode formed on the surface of the groove formed in each of the first and second main surfaces of the second quartz crystal tuning fork tine; mounting the quartz crystal tuning fork resonator on the mounting portion of the case; adjusting the frequency of oscillation of the quartz crystal tuning fork resonator; and connecting a lid to the case after the adjusting step.
81. A method according to claim 80; wherein the forming step of the groove includes the step of forming the groove in each of the first and second main surfaces of each of the first and second quartz crystal tuning fork tines so that a ratio W2/W is in the range of 0.35 to 0.85, where W2represents a width of the groove and W represents a width of each of the first and second quartz crystal tuning fork tines; wherein the adjusting step includes the step of adjusting the frequency of oscillation of the quartz crystal tuning fork resonator so that the frequency of oscillation thereof is about 32.768 kHz with a frequency deviation within the range of −100 ppm to +100 ppm; wherein the connecting step of the lid and the case includes the step of connecting the lid to the case in a vacuum; and further comprising the step of adjusting the frequency of oscillation of the quartz crystal tuning fork resonator after the forming step of the first and second electrodes and before the mounting step so that the frequency of oscillation thereof is about 32.768 kHz with a frequency deviation within the range of −9000 ppm to +5000 ppm.
82. A method according to claim 1; wherein the two quartz crystal tuning fork tines comprise first and second quartz crystal tuning fork tines, each of the first and second quartz crystal tuning fork tines having a first main surface and a second main surface opposite the first main surface, and a first side surface and a second side surface opposite the first side surface, the first side surface of the first quartz crystal tuning fork tine confronting the first side surface of the second quartz crystal tuning fork tine; wherein the step of forming the at least one groove includes the step of forming a groove having at least two surfaces in each of the first and second main surfaces of each of the first and second quartz crystal tuning fork tines; and further comprising the sequential steps of forming the quartz crystal tuning fork base and the first and second quartz crystal tuning fork tines; and forming the groove having the at least two surfaces with a first surface opposite the first side surface and a second surface opposite the second side surface in each of the first and second main surfaces of each of the first and second quartz crystal tuning fork tines so that a width of the groove formed in each of the first and second main surfaces of each of the first and second quartz crystal tuning fork tines is greater than a distance in the width direction of the groove measured from an outer edge of the groove to an outer edge of the corresponding one of the first and second quartz crystal tuning fork tines, a first electrode being formed on each of the first and second surfaces of the groove formed in each of the first and second main surfaces of each of the first and second quartz crystal tuning fork tines; wherein the quartz crystal tuning fork resonator has an overall length and the groove formed in each of the first and second main surfaces of each of the first and second quartz crystal tuning fork tines has a length; and further comprising the step of determining the overall length of the quartz crystal tuning fork resonator and the length of the groove formed in each of the first and second main surfaces of each of the first and second quartz crystal tuning fork tines so that a series resistance R1of a fundamental mode of vibration of the quartz crystal tuning fork resonator is less than a series resistance R2of a second overtone mode of vibration thereof.
83. A method according to claim 82; wherein the quartz crystal tuning fork resonator has the series resistance R1of the fundamental mode of vibration less than the series resistance R2of the second overtone mode of vibration; wherein the forming step of the groove includes the step of forming the groove having a first stepped portion, a second stepped portion and a third stepped portion connecting the first stepped portion to the second stepped portion in at least one of the first and second main surfaces of each of the first and second quartz crystal tuning fork tines, each of the first and second stepped portions of the groove formed in the at least one of the first and second main surfaces of the first quartz crystal tuning fork tine being formed opposite the first side surface of the first quartz crystal tuning fork tine, and being directly connected to the third stepped portion, and each of the first and second stepped portions of the groove formed in the at least one of the first and second main surfaces of the second quartz crystal tuning fork tine being formed opposite the first side surface of the second quartz crystal tuning fork tine and being directly connected to the third stepped portion; and wherein the groove having the first, second and third stepped portions formed in the at least one of the first and second main surfaces of each of the first and second quartz crystal tuning fork tines has a fourth stepped portion directly opposite a fifth stepped portion in the length direction, the fourth stepped portion being directly connected to the first stepped portion and the fifth stepped portion being directly connected to the second stepped portion.
84. A method according to claim l; wherein the two quartz crystal tuning fork tines comprise first and second quartz crystal tuning fork tines, each of the first and second quartz crystal tuning fork tines having a first main surface and a second main surface opposite the first main surface, and a first side surface and a second side surface opposite the first side surface, the first side surface of the first quartz crystal tuning fork tine confronting the first side surface of the second quartz crystal tuning fork tine; wherein the step of forming the at least one groove comprises forming a groove having a first groove portion including a first width and a second groove portion including a second width different from the first width in at least one of the first and second main surfaces of each of the first and second quartz crystal tuning fork tines so that a first distance in the width direction of the first groove portion measured from a first outer edge of the first groove portion to a first outer edge of the first side surface of the corresponding one of the first and second quartz crystal tuning fork tines is greater than a second distance in the width direction of the second groove portion measured from a second outer edge of the second groove portion to a second outer edge of the first side surface of the corresponding one of the first and second quartz crystal tuning fork tines; wherein the first width of the first groove portion of the groove formed in the at least one of the first and second main surfaces of the first quartz crystal tuning fork tine is greater than the first distance in the width direction of the first groove portion of the first quartz crystal tuning fork tine; and wherein the first width of the first groove portion of the groove formed in the at least one of the first and second main surfaces of the second quartz crystal tuning fork tine is greater than the first distance in the width direction of the first groove portion of the second quartz crystal tuning fork tine.
US11/805,8612001-10-312007-05-24Method of manufacturing a quartz crystal unitExpired - LifetimeUSRE44423E1 (en)

Priority Applications (3)

Application NumberPriority DateFiling DateTitle
US11/805,861USRE44423E1 (en)2001-10-312007-05-24Method of manufacturing a quartz crystal unit
US13/957,584USRE45582E1 (en)2001-10-312013-08-02Method for manufacturing a quartz crystal unit
US14/514,131USRE45829E1 (en)2001-10-312014-10-14Method for manufacturing a quartz crystal unit

Applications Claiming Priority (6)

Application NumberPriority DateFiling DateTitle
JP2001-3349782001-10-31
JP20013349782001-10-31
JP2002060827AJP3646258B2 (en)2001-10-312002-03-06 Crystal unit and manufacturing method thereof
JP2002-0608272002-03-06
US10/278,203US6898832B2 (en)2001-10-312002-10-22Method for manufacturing a quartz crystal unit
US11/805,861USRE44423E1 (en)2001-10-312007-05-24Method of manufacturing a quartz crystal unit

Related Parent Applications (1)

Application NumberTitlePriority DateFiling Date
US10/278,203ReissueUS6898832B2 (en)2001-10-312002-10-22Method for manufacturing a quartz crystal unit

Related Child Applications (2)

Application NumberTitlePriority DateFiling Date
US10/278,203DivisionUS6898832B2 (en)2001-10-312002-10-22Method for manufacturing a quartz crystal unit
US201313957598ADivision2001-10-312013-08-02

Publications (1)

Publication NumberPublication Date
USRE44423E1true USRE44423E1 (en)2013-08-13

Family

ID=26624254

Family Applications (4)

Application NumberTitlePriority DateFiling Date
US10/278,203CeasedUS6898832B2 (en)2001-10-312002-10-22Method for manufacturing a quartz crystal unit
US11/805,861Expired - LifetimeUSRE44423E1 (en)2001-10-312007-05-24Method of manufacturing a quartz crystal unit
US13/957,584Expired - LifetimeUSRE45582E1 (en)2001-10-312013-08-02Method for manufacturing a quartz crystal unit
US14/514,131Expired - LifetimeUSRE45829E1 (en)2001-10-312014-10-14Method for manufacturing a quartz crystal unit

Family Applications Before (1)

Application NumberTitlePriority DateFiling Date
US10/278,203CeasedUS6898832B2 (en)2001-10-312002-10-22Method for manufacturing a quartz crystal unit

Family Applications After (2)

Application NumberTitlePriority DateFiling Date
US13/957,584Expired - LifetimeUSRE45582E1 (en)2001-10-312013-08-02Method for manufacturing a quartz crystal unit
US14/514,131Expired - LifetimeUSRE45829E1 (en)2001-10-312014-10-14Method for manufacturing a quartz crystal unit

Country Status (2)

CountryLink
US (4)US6898832B2 (en)
JP (1)JP3646258B2 (en)

Cited By (2)

* Cited by examiner, † Cited by third party
Publication numberPriority datePublication dateAssigneeTitle
US20130169116A1 (en)*2002-03-062013-07-04Piedek Technical LaboratoryQuartz crystal unit, quartz crystal oscillator and electronic apparatus
US10284143B2 (en)2002-03-062019-05-07Piedek Technical LaboratoryQuartz crystal unit, quartz crystal oscillator and electronic apparatus

Families Citing this family (47)

* Cited by examiner, † Cited by third party
Publication numberPriority datePublication dateAssigneeTitle
JP3812724B2 (en)*2001-09-132006-08-23セイコーエプソン株式会社 Vibrating piece, vibrator, oscillator and electronic device
US7412764B2 (en)*2002-03-062008-08-19Piedek Technical LaboratoryMethod for manufacturing quartz crystal unit and electronic apparatus having quartz crystal unit
US7071794B2 (en)*2002-03-062006-07-04Piedek Technical LaboratoryQuartz crystal resonator, unit having resonator, oscillator having unit, electronic apparatus having oscillator, and method for manufacturing electronic apparatus
US7528682B2 (en)*2002-03-062009-05-05Piedek Technical LaboratoryElectronic apparatus having display portion and oscillator and manufacturing method of the same
US9203135B2 (en)*2002-04-232015-12-01Piedek Technical LaboratoryMethod for manufacturing quartz crystal resonator
DE10231340B3 (en)*2002-07-092004-01-29Hf-Elektronik Systeme Gmbh transponder circuit
US7043986B2 (en)*2003-02-052006-05-16Ngk Insulators, Ltd.Vibrators and vibratory gyroscopes
JP4407635B2 (en)2003-07-222010-02-03株式会社大真空 Tuning fork type vibrating piece, tuning fork type vibrator, and method for manufacturing tuning fork type vibrating piece
JP4141432B2 (en)*2003-11-102008-08-27日本電波工業株式会社 Tuning fork crystal unit
CN1973435B (en)*2004-06-212010-06-23西铁城控股株式会社Quartz device and quartz device manufacturing method
US20060255691A1 (en)*2005-03-302006-11-16Takahiro KurodaPiezoelectric resonator and manufacturing method thereof
JP4784168B2 (en)*2005-06-232011-10-05セイコーエプソン株式会社 Piezoelectric vibrating piece and piezoelectric device
US7319372B2 (en)*2005-07-152008-01-15Board Of Trustees Of The Leland Standford Junior UniversityIn-plane mechanically coupled microelectromechanical tuning fork resonators
US7694734B2 (en)*2005-10-312010-04-13Baker Hughes IncorporatedMethod and apparatus for insulating a resonator downhole
JP2007329879A (en)*2006-06-092007-12-20Kyocera Kinseki Hertz CorpTuning-fork type bending crystal oscillator piece and manufacturing method therefor
JP2008060952A (en)*2006-08-312008-03-13Kyocera Kinseki Corp Tuning fork type quartz diaphragm and method for manufacturing the same
JP5085240B2 (en)*2007-09-032012-11-28日本電波工業株式会社 Quartz device and method of manufacturing quartz device
WO2009143492A1 (en)*2008-05-232009-11-26Statek CorporationPiezoelectric resonator
JP5155275B2 (en)*2008-10-162013-03-06日本電波工業株式会社 Tuning fork type piezoelectric vibrating piece, piezoelectric frame and piezoelectric device
TW201032470A (en)*2008-10-242010-09-01Seiko Epson CorpBending vibration piece, bending vibrator, and piezoelectric device
CN102227872A (en)2008-11-282011-10-26精工电子有限公司Piezoelectric oscillator manufacturing method, piezoelectric oscillator, oscillator, electronic device, and radio wave clock
JP5184648B2 (en)*2008-11-282013-04-17セイコーインスツル株式会社 Method for manufacturing piezoelectric vibrator
TWI387141B (en)*2008-12-192013-02-21Txc Corp A method for making a piezoelectric quartz resonator wafer
JP5786303B2 (en)2009-12-102015-09-30セイコーエプソン株式会社 Vibrating piece, vibrator, physical quantity sensor, and electronic device
JP5182281B2 (en)*2009-12-282013-04-17セイコーエプソン株式会社 Vibrating piece and device
JP5085679B2 (en)2010-03-152012-11-28日本電波工業株式会社 Piezoelectric vibrating piece and piezoelectric device
JP2010246126A (en)*2010-04-282010-10-28Seiko Epson Corp Piezoelectric vibrating piece and piezoelectric device
JP5724672B2 (en)*2011-06-242015-05-27セイコーエプソン株式会社 Bending vibration piece, manufacturing method thereof, and electronic device
USD674364S1 (en)*2011-07-082013-01-15Nihon Dempa Kogyo Co., Ltd.Crystal unit
JP5370471B2 (en)*2011-12-262013-12-18セイコーエプソン株式会社 Vibrating piece and device
JP6083110B2 (en)*2012-01-272017-02-22セイコーエプソン株式会社 Vibration element, vibration device, gyro sensor and electronic equipment
US9222776B2 (en)*2012-03-132015-12-29Seiko Epson CorporationGyro sensor and electronic apparatus
JP5966462B2 (en)*2012-03-132016-08-10セイコーエプソン株式会社 Gyro sensor and electronics
JP5966460B2 (en)*2012-03-132016-08-10セイコーエプソン株式会社 Gyro sensor and electronics
JP5966461B2 (en)*2012-03-132016-08-10セイコーエプソン株式会社 Gyro sensor and electronics
JP5565448B2 (en)*2012-11-152014-08-06セイコーエプソン株式会社 Vibrating piece, vibrator, oscillator, sensor and device
JP6107333B2 (en)2013-03-292017-04-05セイコーエプソン株式会社 Vibrator, oscillator, electronic device, and moving object
JP6337443B2 (en)*2013-10-302018-06-06セイコーエプソン株式会社 Vibrating piece, angular velocity sensor, electronic device and moving object
JP6337444B2 (en)*2013-10-302018-06-06セイコーエプソン株式会社 Vibrating piece, angular velocity sensor, electronic device and moving object
JP6278246B2 (en)2014-09-292018-02-14株式会社村田製作所 Resonant device
CN105634430B (en)*2015-12-222018-03-23温州市华中仪表有限公司Aluminum tuning fork processing technology
JP7300256B2 (en)*2018-10-312023-06-29エスアイアイ・クリスタルテクノロジー株式会社 Piezoelectric vibrating piece and piezoelectric vibrator
US11070192B2 (en)2019-08-222021-07-20Statek CorporationTorsional mode quartz crystal device
US11070191B2 (en)2019-08-222021-07-20Statek CorporationTorsional mode quartz crystal device
JP7454964B2 (en)*2020-03-092024-03-25エスアイアイ・クリスタルテクノロジー株式会社 Piezoelectric vibrating piece and piezoelectric vibrator
FR3120700B1 (en)*2021-03-102023-02-10Office National Detudes Rech Aerospatiales HIGH QUALITY BENDING VIBRATION RESONATOR FOR THE REALIZATION OF TIME REFERENCES, FORCE SENSORS OR GYROMETERS
CN113790715B (en)*2021-11-162022-03-15北京晨晶电子有限公司Surface-mounted quartz tuning fork gyroscope and processing method thereof

Citations (13)

* Cited by examiner, † Cited by third party
Publication numberPriority datePublication dateAssigneeTitle
US3683213A (en)*1971-03-091972-08-08Statek CorpMicroresonator of tuning fork configuration
JPS5332690A (en)*1976-09-071978-03-28Seiko Instr & Electronics LtdTuning fork type piezoelectric vibrator
US4099078A (en)*1976-08-181978-07-04Kabushiki Kaisha Suwa SeikoshaQuartz crystal tuning fork with three electrodes on each major tine face
JPS55125460A (en)*1979-03-201980-09-27Meidensha Electric Mfg Co LtdStarting test method of crystal resonator
JPS5665517A (en)1979-10-151981-06-03Ebauches SaPiezoelectric vibrator
US4284946A (en)*1968-09-121981-08-18The Bendix CorporationFailure monitor for crystal filters
US4437773A (en)*1980-08-291984-03-20Asulab S.A.Quartz thermometer
US5334900A (en)*1990-12-191994-08-02Seiko Electronic Components Ltd.Torsional quartz crystal resonator
US5607236A (en)*1987-02-271997-03-04Seiko Epson CorporationQuartz oscillator temperature sensor
US5929723A (en)*1995-09-211999-07-27Tdk CorporationSurface acoustic wave apparatus having an electrode that is a doped alloy film
JP2000044092A (en)1998-08-032000-02-15Seiko Epson Corp PRINTING APPARATUS, CONTROL METHOD THEREOF, AND INFORMATION RECORDING MEDIUM
WO2000044092A1 (en)*1999-01-202000-07-27Seiko Epson CorporationVibrator and electronic device with vibrator
JP2000223992A (en)1999-01-292000-08-11Seiko Instruments IncPiezoelectric vibrator and manufacture therefor

Family Cites Families (5)

* Cited by examiner, † Cited by third party
Publication numberPriority datePublication dateAssigneeTitle
JPS55613A (en)*1978-06-131980-01-07Seiko Instr & Electronics LtdTuning fork type oscillator
CH655423GA3 (en)*1984-02-151986-04-30
US5861705A (en)*1994-11-011999-01-19Fujitsu LimitedTuning-fork vibratory gyro and sensor system using the same
US7845063B2 (en)*2002-03-062010-12-07Piedek Technical LaboratoryQuartz crystal unit and method for manufacturing a quartz crystal unit and electronic apparatus
US7528682B2 (en)*2002-03-062009-05-05Piedek Technical LaboratoryElectronic apparatus having display portion and oscillator and manufacturing method of the same

Patent Citations (14)

* Cited by examiner, † Cited by third party
Publication numberPriority datePublication dateAssigneeTitle
US4284946A (en)*1968-09-121981-08-18The Bendix CorporationFailure monitor for crystal filters
US3683213A (en)*1971-03-091972-08-08Statek CorpMicroresonator of tuning fork configuration
US4099078A (en)*1976-08-181978-07-04Kabushiki Kaisha Suwa SeikoshaQuartz crystal tuning fork with three electrodes on each major tine face
JPS5332690A (en)*1976-09-071978-03-28Seiko Instr & Electronics LtdTuning fork type piezoelectric vibrator
JPS55125460A (en)*1979-03-201980-09-27Meidensha Electric Mfg Co LtdStarting test method of crystal resonator
US4384232A (en)*1979-10-151983-05-17Ebauches, S.A.Grooved-electrode piezoelectric resonator
JPS5665517A (en)1979-10-151981-06-03Ebauches SaPiezoelectric vibrator
US4437773A (en)*1980-08-291984-03-20Asulab S.A.Quartz thermometer
US5607236A (en)*1987-02-271997-03-04Seiko Epson CorporationQuartz oscillator temperature sensor
US5334900A (en)*1990-12-191994-08-02Seiko Electronic Components Ltd.Torsional quartz crystal resonator
US5929723A (en)*1995-09-211999-07-27Tdk CorporationSurface acoustic wave apparatus having an electrode that is a doped alloy film
JP2000044092A (en)1998-08-032000-02-15Seiko Epson Corp PRINTING APPARATUS, CONTROL METHOD THEREOF, AND INFORMATION RECORDING MEDIUM
WO2000044092A1 (en)*1999-01-202000-07-27Seiko Epson CorporationVibrator and electronic device with vibrator
JP2000223992A (en)1999-01-292000-08-11Seiko Instruments IncPiezoelectric vibrator and manufacture therefor

Cited By (4)

* Cited by examiner, † Cited by third party
Publication numberPriority datePublication dateAssigneeTitle
US20130169116A1 (en)*2002-03-062013-07-04Piedek Technical LaboratoryQuartz crystal unit, quartz crystal oscillator and electronic apparatus
US8866567B2 (en)*2002-03-062014-10-21Piedek Technical LaboratoryQuartz crystal unit, quartz crystal oscillator and electronic apparatus
US9553560B2 (en)2002-03-062017-01-24Piedek Technical LaboratoryQuartz crystal unit, quartz crystal oscillator and electronic apparatus
US10284143B2 (en)2002-03-062019-05-07Piedek Technical LaboratoryQuartz crystal unit, quartz crystal oscillator and electronic apparatus

Also Published As

Publication numberPublication date
JP3646258B2 (en)2005-05-11
US6898832B2 (en)2005-05-31
USRE45582E1 (en)2015-06-23
JP2003204240A (en)2003-07-18
US20030080652A1 (en)2003-05-01
USRE45829E1 (en)2015-12-29

Similar Documents

PublicationPublication DateTitle
USRE44423E1 (en)Method of manufacturing a quartz crystal unit
US6791243B2 (en)Quartz crystal unit and its manufacturing method
US7536768B2 (en)Method for manufacturing quartz crystal unit, quartz crystal oscillator and electronic apparatus
US7564326B2 (en)Electronic apparatus and manufacturing method of the same
US8122587B2 (en)Manufacturing method of quartz crystal unit
US6915548B2 (en)Method for manufacturing quartz crystal tuning fork resonator, quartz crystal unit having quartz crystal tuning fork resonator, and quartz crystal oscillator having quartz crystal unit
US8866567B2 (en)Quartz crystal unit, quartz crystal oscillator and electronic apparatus
US8127426B2 (en)Electronic apparatus having quartz crystal oscillating circuits
US9203135B2 (en)Method for manufacturing quartz crystal resonator
US10284143B2 (en)Quartz crystal unit, quartz crystal oscillator and electronic apparatus

[8]ページ先頭

©2009-2025 Movatter.jp