Movatterモバイル変換


[0]ホーム

URL:


USRE44309E1 - Method of displaying directory structure of recorded data - Google Patents

Method of displaying directory structure of recorded data
Download PDF

Info

Publication number
USRE44309E1
USRE44309E1US12/901,348US90134810AUSRE44309EUS RE44309 E1USRE44309 E1US RE44309E1US 90134810 AUS90134810 AUS 90134810AUS RE44309 EUSRE44309 EUS RE44309E
Authority
US
United States
Prior art keywords
directory
file
attribute
directories
computerized
Prior art date
Legal status (The legal status is an assumption and is not a legal conclusion. Google has not performed a legal analysis and makes no representation as to the accuracy of the status listed.)
Expired - Fee Related
Application number
US12/901,348
Inventor
Hwan Kim
Current Assignee (The listed assignees may be inaccurate. Google has not performed a legal analysis and makes no representation or warranty as to the accuracy of the list.)
LG Electronics Inc
Original Assignee
LG Electronics Inc
Priority date (The priority date is an assumption and is not a legal conclusion. Google has not performed a legal analysis and makes no representation as to the accuracy of the date listed.)
Filing date
Publication date
Application filed by LG Electronics IncfiledCriticalLG Electronics Inc
Priority to US12/901,348priorityCriticalpatent/USRE44309E1/en
Application grantedgrantedCritical
Publication of USRE44309E1publicationCriticalpatent/USRE44309E1/en
Anticipated expirationlegal-statusCritical
Expired - Fee Relatedlegal-statusCriticalCurrent

Links

Images

Classifications

Definitions

Landscapes

Abstract

The present invention relates to a method of displaying directories differently based on attributes of files included therein. The present method examines a directory structure and the attributes of data files recorded on a recording medium, generates a mark for visually differentiating directories including at least one file of a pre-specified attribute, based on the examined attribute information, and displays a generated mark with the examined directory structure information. Owing to the present invention, a user can recognize directories including at least one file having a desired attribute at a glance, therefore, reproduction, selection, or copy for a file having a desirable attribute can be conducted very quickly.

Description

This application is a Reissue Application of U.S. Pat. No. 7,468,481B2 issued on Dec. 23, 2008, which claims foreign priority benefits of Korean Patent Application No. 10-2000-0079905 filed Dec. 21, 2000 in the Republic of Korea.
BACKGROUND OF THE INVENTION
1. Field of the Invention
The present invention relates to a method of displaying directories differently in accordance with attributes of files included therein.
2. Description of the Related Art
In these days, a disk recording medium has a large storage capacity, so that a disk recording medium storing ‘MP3’ music files may include different attribute files, for example, text files in a hierarchical directory structure.
If a user wants to reproduce music files stored on such a disk recording medium, he or she must open many directories, one by one, and examine attributes of files under each directory. However, this task is very cumbersome. Moreover, it takes a relatively long time for ‘MP3’ music files written on a disk containing mixed-attribute files to be reproduced.
SUMMARY OF THE INVENTION
It is an object of the present invention to provide a method of providing information on whether a directory has a file with a certain attribute, in order to inform a user of directories having files having an attribute desired by a user.
A method of displaying a directory structure of a recording medium according to the present invention, examines the directory structure, and the attributes of data files recorded in the recording medium, generates a mark for visually differentiating between directories to show directories including at least one file of a pre-specified attribute, based on the examined attribute information, and displays the generated mark along with the examined directory's structure information.
Another method of displaying the directory structure of a recording medium according to the present invention examines directory structure and attributes of data files recorded in the recording medium, selects a file of a pre-specified attribute based on the examined attribute information, and displays a hierarchical directory structure for the selected file.
BRIEF DESCRIPTION OF THE DRAWINGS
The accompanying drawings, which are included to provide a further understanding of the invention, illustrate the preferred embodiments of the invention, and together with the description, serve to explain the principles of the present invention.
In the drawings.
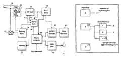
FIG. 1 is a block diagram of an optical disk device, which a directory displaying method according to the present invention is applicable to;
FIG. 2 is a flow chart of a directory displaying method embodying the present invention illustratively;
FIG. 3 is an example of directories created on a disk, and files under each directory;
FIGS. 4 to 6 illustrate directory display formats according to the present invention.
DETAILED DESCRIPTION OF THE PREFFERRED EMBODIMENT
In order that the invention may be fully understood, a preferred embodiment thereof will now be described with reference to the accompanying drawings.
Shown inFIG. 1 is an optical disk device, which a directory displaying method according to the present invention is applied to, comprising an optical pickup20 for detecting recorded signals from an optical disk10, such as a digital versatile disk (DVD), an R/F unit50 for outputting binary signals and TE (Tracking Error) and FE (Focussing Error) signals through combining signals detected from the disk10 by the optical pickup20, adriving unit70 for driving thespindle motor11 for rotating the disk10, aservo unit60 for providing control input to the driving70 based on the TE and FE signal and rotation speed of the disk10, a digital signal processing (DSP)unit30 for restoring audio or compressed moving-picture digital data from the binary signals by processing them with an internal clock phase-locked with them, anMPEG decoder90 for decoding the audio or compressed moving-picture digital data into a video and/or audio signal, avideo encoder91 for converting the video signal from theMPEG decoder90 to a television signal, an OSD (On Screen Display)unit92 for displaying characters or text on a screen, amicrocomputer80 for supervising overall operations of all elements, especially, examining attributes of files written in the disk10 and their directory structure, and controlling display of information obtained from the examination, and amemory81 for storing temporary data.
FIG. 2 is a flow chart of a directory displaying method embodying the present invention illustratively. The method ofFIG. 2 employed by the disk device configured asFIG. 1 is described below in detail.
For the sake of convenient explanation, it is assumed that the disk10 loaded into the disk device ofFIG. 1 has non-MP3 files, for example, text files as well as MP3 files with the hierarchical directory structure given inFIG. 3.
If a user inserts the disk10 into the disk device (S10), themicrocomputer80 rotates the disk10 by controlling theservo unit60 and thedriving unit70 and moves the pickup20 to the file system area of the disk10 at the same time. Then, the pickup20 reads out recorded signals constituting file system data (S11) and the read signals are restored into data through the processes of the R/F unit50 and theDSP unit30. The restored file system data is stored in thememory81.
Themicrocomputer80 examines the file system data stored in thememory81, and recognizes the file structure given inFIG. 3, and respective attributes of files under each directory (S12). File attributes can be identified from file extensions such as ‘.txt’ and ‘.MP3’.
After the examination of the directory structure and the attributes of files included in each directory, every directory including at least one specific-attribute file, for example, ‘MP3’ file is flagged by the microcomputer80 (S13).
If the disk device has a disk-writing mechanism, and the inserted disk10 is writable, all information obtained from the examination can be stored in the disk10 as a file of pre-specified name, or in a user-information area located between lead-in area and program area of the disk10.
On the condition that information on directory structure and files of the inserted disk10 has been obtained, if a user requests that directories are displayed differently in accordance with attributes of files included therein (S14), themicrocomputer80 provides directory information for the user based on the stored information in thememory81. To do this, themicrocomputer80 composes directory-display information which differentiates flag-set directories and their parent directories, if any, from other directories by adding a specific mark such as ‘O’ to the flag-set directories and their parent directories (as shown inFIG. 4), and it appends the number of files under the other directories, whose flag is not set, to their directory names (S20). Themicrocomputer80 also computes x-y coordinate values of each directory, based on the examined directory's structure, taking into consideration that the examined directory structure will be displayed on a screen, and stores the x-y coordinate values in connection with the directory-display information.
The directory-display information is organized such that it is to be displayed horizontally from the upper directory, lower directory, and file names as shown inFIG. 4. Such-constructed directory-display information is converted into corresponding OSD characters by theOSD unit92, and is mixed with a background picture, which is provided from a memory or a disk, outputted by thevideo encoder91. The mixed video signal is presented to an external displaying apparatus such as a television set (S21).
Therefore, a user can recognize with ease, directories including at least one ‘MP3’ file, and the number of other attribute files under directories, not including any ‘MP3’ file from the directory screen displayed as given inFIG. 4, without opening and checking all directories individually.
In the meantime, while a user moves a screen pointer on the directory-displayed screen with a remote controller, themicrocomputer80 continues to track the moving pointer and continues computing the x-y coordinate value of the pointer. If a user presses an ‘enter’ key on a certain directory which he or she wants detailed information about, themicrocomputer80 identifies a selected directory by comparing the stored coordinate value of each directory with the coordinate value of the pointer at the time the ‘enter’ key is pressed, and it assembles additional information such as filename, about files under the identified directory, and displays the additional information onto the displaying apparatus through theOSD unit92.
Because the identified directory may include non-MP3 files, themicrocomputer80 may assemble the additional information such that the aforementioned specific mark is appended to filenames of ‘MP3’ files.
In addition, themicrocomputer80 can provide the directory information stored in thememory81 in different formats. For example, only flag-set directories, which include at least one ‘MP3’ file, among all directories of the disk10 may be displayed with filenames of ‘MP3’ files under each flag-set directory as shown inFIG. 5. Therefore, a user can easily identify detailed ‘MP3’ files including directories.
Themicrocomputer80 can also provide the directory information stored in thememory81 in the reverse displaying format ofFIG. 4, namely, from each filename, lower directory, and upper directory as shown inFIG. 6. To do this, themicrocomputer80 analyzes the file system data stored in thememory81 first, then it classifies the files according to their attributes and provides each classified file with its bottom-up directories. Therefore, a user can recognize file types, and each directory scheme for each file at a glance.
In the display format ofFIG. 6, files of a pre-specified attribute, namely, ‘MP3’ music files, are displayed before other attribute files on a screen, or a screen area may be divided for each file attribute so that files having the same attribute are listed in the same divided window. Instead of displaying bottom-up directories for a certain file, only the uppermost directory may be displayed in connection with each file.
In this file display format, instead of the bottom-up display scheme shown inFIG. 6, a top-down display scheme may be used for each file, namely, a file and its directory path may be displayed from its uppermost directory, lower directory, next lower directory, . . . , and that file.
Based on the above, all directories are displayed according to whether each directory has an ‘MP3’ file (as shown inFIG. 4) when a user requests a distinguishable directory display. However, directory information for only the directory which a user selects may be provided. For example, if a directory selected through an input device such as a remote controller has at least one ‘MP3’ file, that is, the selected directory is flagged in the process of the file system examination, a specific mark is added to the name of that directory to notify a user that at least one ‘MP3’ file is included therein.
If the selected directory includes no ‘MP3’ file, namely, if the selected directory is unflagged, the number of files under that directory is displayed instead of the specific mark in order to notify a user of how many non-MP3 files the selected directory includes.
In the embodiments explained above, directories including at least one file of pre-specified attribute are displayed differently from those including files having other attributes. However, it is also possible to display vice versa, namely, directories not including any file of pre-specified attribute can be displayed differently from those including at least one file having that attribute. When this occurs, a mark for visually differentiating a directory, for example, a mark ‘X’ is preferable to designate no inclusion.
The method of displaying a directory structure according to the present invention enables a user to recognize directories including at least one file having a desired attribute at a glance. Owing to the present invention, reproduction, selection, or copy for a file having a desirable attribute can be conducted very quickly.
The invention may be embodied in other specific forms without departing from the sprit or essential characteristics thereof. The present embodiments are therefore to be considered in all respects as illustrative and not restrictive, the scope of the invention being indicated by the appended claims rather than by the foregoing description and all changes which come within the meaning and range of equivalency of the claims are therefore intended to be embraced therein.

Claims (16)

What is claimed is:
1. A computerized method of displaying the structure of a directory of file data stored in a recording medium that contains a plurality of directories, wherein any directory is capable of containing files having different attributes, comprising the steps of:
pre-specifying an attribute of a file;
using a computer to examine the structure of the file data, including file attributes, to determine whether or not a directory that is capable of containing files having different attributes includes at least one file having the pre-specified attribute on the recording medium;
using a computer to generate a mark for indicating the result of the examining step; and
displaying the generated mark on the directory as an indication of whether the directory that is capable of containing files having different attributes does or does not include at least one file having the pre-specified attribute.
2. The method set forth inclaim 1, wherein the file of said pre-specified attribute is related to audio or video contents.
3. The method set forth inclaim 1, wherein said displaying step further displays an uppermost directory of the said directory.
4. The method set forth inclaim 1, wherein said mark is displayed on the directory, that does include at least one file of said pre-specified attribute.
5. The method set forth inclaim 1, wherein said mark is displayed on the directory that does not include at least one file of said pre-specified attribute.
6. The method set forth inclaim 1, wherein said mark further shows the number of files included in a directory.
7. A computerized system to display the structure of a directory of file data stored in a recording medium that contains a plurality of directories, wherein any directory is capable of containing files having different attributes, comprising:
means for pre-specifying a file attribute;
computerized means for examining the structure of the file data, including file attributes, to determine whether or not a directory that is capable of containing files having different attributes includes at least one file having a the pre-specified attribute on the recording medium;
computerized means for generating a mark for indicating the result of the examining step; and
computerized means for displaying the generated mark on the directory as an indication that the directory that is capable of containing files having different attributes includes at least one file having the pre-specified attribute.
8. The system set forth inclaim 7, wherein the file of said pre-specified attribute is related to audio or video contents.
9. The system set forth inclaim 7, wherein said means for displaying further displays an uppermost directory of the said directory.
10. The system set forth inclaim 7, wherein said mark is displayed on the directory, including at least one file of said pre-specified attribute.
11. The system set forth inclaim 7, wherein said mark is displayed on the directory not including any file of said pre-specified attribute.
12. The system set forth inclaim 7, wherein said mark further shows the number of files included in a directory.
13. A computerized method of displaying directories of files contained on a recording medium that contains a plurality of directories, wherein any directory is capable of containing flies having different attributes including at least one ‘MP3’ file, and the number of files having attributes other than an “MP3” attribute, and excluding any file that does not have an “MP3” attribute from the displayed directory without requiring a user of a device or system using the memory to open and check all directories individually to obtain file attribute information, comprising:
a1) pre-specifying at least one file attribute
a2) computerized reading of recorded file system data;
b) computerized recognizing of the directory structure and respective attributes of files on the recording medium;
c) computerized flagging of every directory on the recording medium that contains a plurality of directories, wherein any directory is capable of containing files having different attributes including the at least one pre-specified file attribute;
d) computerized composing of directory-display information that differentiates flag-set directories from other directories by adding a specific mark to the flag-set directory display; and
e) computerized displaying of composed directory-display information.
14. A computerized system for displaying directories of files contained on a recording medium that contains a plurality of directories, wherein any directory is capable of containing files having different attributes including at least one ‘MP3’ file, and the number of files having attributes other than an “MP3” attribute, and excluding any file that does not have an “MP3” attribute from the displayed directory without requiring a user of a device or system using the memory to open and check all directories individually to obtain file attribute information, comprising:
f) computerized means for reading recorded file system data;
g) computerized means for recognizing the directory structure and respective attributes of files on the recording medium;
h) means for pre-specifying at least one specific file attribute and computerized means for flagging every directory on the recording medium that contains a plurality of directories, wherein any directory is capable of containing tiles having different attributes including said at least one pro-specified file attribute;
i) computerized means for composing directory-display information that differentiates flag-set directories from other directories by adding a specific mark to the flag-set directory display; and
j) computerized means for displaying composed directory-display information.
15. A computerized method for displaying directories of files contained on a recording medium that contains a plurality of directories, wherein any directory is capable of containing files having different attributes including at least one specific file, and the number of files having attributes other than an attribute of the at least one specific file, and identifying any directory having a file that does not have the attribute of the at least one specific file from the displayed directories without having to open and check all the directories individually to obtain file attribute information, the computerized method comprising:
pre-specifying at least one file attribute;
computerized reading of recorded file system data;
computerized recognizing of a directory structure and respective attributes of files on the recording medium;
computerized flag-setting of at least one directory on the recording medium that contains a plurality of directories, wherein the at least one directory is capable of containing files having different attributes including the at least one pre-specified file attribute, and wherein the at least one flag-set directory contains at least one file having attributes including the at least one pre-specified file attribute;
computerized composing of directory-display information that differentiates the at least one flag-set directory from other directories by visually differentiating the at least one flag-set directory from the other directories; and
computerized displaying of the composed directory-display information.
16. A computerized system for displaying directories of files contained on a recording medium that contains a plurality of directories, wherein any directory is capable of containing files having different attributes including at least one specific file, and the number of files have attributes other than an attribute of the at least one specific file, and for identifying any directory having a file that does not have the attribute of the at least one specific file from the displayed directories without having to open and check all the directories individually to obtain file attribute information, the computerized system comprising:
computerized means for reading recorded file system data;
computerized means for recognizing a directory structure and respective attributes of files on the recording medium;
means for pre-specifying at least one specific file attribute and computerized means for flag-setting at least one directory on the recording medium that contains a plurality of directories, wherein the at least one directory is capable of containing files having different attributes including the at least one pre-specified file attribute, and wherein the at least one flag-set directory contains at least one file having attributes including the at least one pre-specifies file attribute;
computerized means for composing directory-display information that differentiates the at least one flag-set directory from other directories by visually differentiating the at least one flag-set directory from the other directories; and
computerized means for displaying the composed directory-display information.
US12/901,3482000-12-212010-10-08Method of displaying directory structure of recorded dataExpired - Fee RelatedUSRE44309E1 (en)

Priority Applications (1)

Application NumberPriority DateFiling DateTitle
US12/901,348USRE44309E1 (en)2000-12-212010-10-08Method of displaying directory structure of recorded data

Applications Claiming Priority (4)

Application NumberPriority DateFiling DateTitle
KR10-2000-00799052000-12-21
KR10-2000-0079905AKR100392508B1 (en)2000-12-212000-12-21Method for displaying directory management information in DVD player
US10/024,558US7468481B2 (en)2000-12-212001-12-21Method of displaying directory structure of recorded data
US12/901,348USRE44309E1 (en)2000-12-212010-10-08Method of displaying directory structure of recorded data

Related Parent Applications (1)

Application NumberTitlePriority DateFiling Date
US10/024,558ReissueUS7468481B2 (en)2000-12-212001-12-21Method of displaying directory structure of recorded data

Publications (1)

Publication NumberPublication Date
USRE44309E1true USRE44309E1 (en)2013-06-25

Family

ID=19703429

Family Applications (2)

Application NumberTitlePriority DateFiling Date
US10/024,558CeasedUS7468481B2 (en)2000-12-212001-12-21Method of displaying directory structure of recorded data
US12/901,348Expired - Fee RelatedUSRE44309E1 (en)2000-12-212010-10-08Method of displaying directory structure of recorded data

Family Applications Before (1)

Application NumberTitlePriority DateFiling Date
US10/024,558CeasedUS7468481B2 (en)2000-12-212001-12-21Method of displaying directory structure of recorded data

Country Status (3)

CountryLink
US (2)US7468481B2 (en)
KR (1)KR100392508B1 (en)
CN (1)CN100446112C (en)

Families Citing this family (14)

* Cited by examiner, † Cited by third party
Publication numberPriority datePublication dateAssigneeTitle
JP4622129B2 (en)*2001-03-262011-02-02ソニー株式会社 File management method, file management method program, recording medium recording file management method program, and file management apparatus
US7239842B2 (en)*2002-05-222007-07-03Thomson LicensingTalking E-book
AU2004208274B2 (en)*2003-01-282007-09-06Samsung Electronics Co., Ltd.Method and system for managing media file database
JP2005005810A (en)*2003-06-092005-01-06Canon Inc Media data management method, disc recording device, disc playback device, media data management system, computer program, and computer-readable recording medium
CN100380367C (en)*2003-09-282008-04-09诺基亚公司Electronic appliance having music database and method of forming such music database
KR100654021B1 (en)*2004-12-132006-12-04엘지전자 주식회사 Apparatus and method for providing data list information in a composite device
JP2006343933A (en)*2005-06-082006-12-21Sony CorpData processing method, electronic equipment, and program
JP4402033B2 (en)*2005-11-172010-01-20コニカミノルタエムジー株式会社 Information processing system
KR100728734B1 (en)2005-12-212007-06-14현대모비스 주식회사 Multi film bonding structure
JP5522721B2 (en)*2009-11-142014-06-18アルパイン株式会社 Audio equipment
KR101627861B1 (en)*2009-11-172016-06-13엘지전자 주식회사Providing graphic user interface based upon usage history
DE102011103673B4 (en)2011-06-092024-06-20Volkswagen Aktiengesellschaft Method for playing media files for a vehicle as well as media player and media player system
JP2017033137A (en)*2015-07-302017-02-09株式会社リコー Information processing system, information processing apparatus, information terminal, and program
CN112765096B (en)*2020-12-312024-07-05维沃移动通信有限公司 Copying method and electronic device

Citations (22)

* Cited by examiner, † Cited by third party
Publication numberPriority datePublication dateAssigneeTitle
US5500929A (en)*1993-08-301996-03-19Taligent, Inc.System for browsing a network resource book with tabs attached to pages
JPH0950676A (en)1995-08-021997-02-18Sony CorpInformation recording medium and information reproducing device
US6005679A (en)1994-08-221999-12-21Fuji Photo Film Co., Ltd.Image data filing system for quickly retrieving an area of interest of an image from a reduced amount of image data
JP2000076109A (en)1998-08-282000-03-14Toshiba Corp Data display device and data display method
US6067282A (en)1996-03-252000-05-23Pioneer Electronic CorporationInformation recording medium, apparatus for recording the same and apparatus for recording the same
KR20000043865A (en)1998-12-292000-07-15이계철Preventer for false use of public phone
US6247012B1 (en)*1996-10-282001-06-12Pfu LimitedInformation reception and delivery system using global and local directory tables in an intranet
US6248946B1 (en)2000-03-012001-06-19Ijockey, Inc.Multimedia content delivery system and method
US20020033844A1 (en)1998-10-012002-03-21Levy Kenneth L.Content sensitive connected content
US20020048105A1 (en)2000-07-282002-04-25Lg Electronics Inc.Data storing and searching method of a portable player
US6396849B1 (en)1998-10-062002-05-28Vertical Networks, Inc.Systems and methods for multiple mode voice and data communications using intelligently bridged TDM and packet buses and methods for performing telephony and data functions using the same
US20020107973A1 (en)2000-11-132002-08-08Lennon Alison JoanMetadata processes for multimedia database access
US20020116575A1 (en)*2000-11-072002-08-22Yuji ToyomuraCarryable memory media, portable information terminal using the same and method for managing files therein
US6448985B1 (en)*1999-08-052002-09-10International Business Machines CorporationDirectory tree user interface having scrollable subsections
US20030233375A1 (en)2002-06-142003-12-18Koninklijke Philips Electronics N.V.Client-server protocol
US6735623B1 (en)2000-02-092004-05-11Mitch PrustMethod and system for accessing a remote storage area
US6810441B1 (en)1999-09-242004-10-26Sony CorporationApparatus, method and system for reading/writing data, and medium for providing data read/write program
US20050015391A1 (en)*2001-09-102005-01-20Siemens AktiengesellschaftVisualization of a comparison result of at least two data structures organized in directory trees
US6922707B2 (en)2000-11-212005-07-26Matsushita Electric Industrial Co., Ltd.File management method and content recording/playback apparatus
US20080301590A1 (en)*2007-05-012008-12-04Nokia CorporationNavigation of a directory structure
US20110184996A1 (en)*2010-01-272011-07-28Sun Microsystems, Inc.Method and system for shadow migration
US20110213813A1 (en)*2010-02-262011-09-01Oracle International CorporationMethod and system for preserving files with multiple links during shadow migration

Family Cites Families (7)

* Cited by examiner, † Cited by third party
Publication numberPriority datePublication dateAssigneeTitle
US5758328A (en)*1996-02-221998-05-26Giovannoli; JosephComputerized quotation system and method
JPH1145510A (en)*1997-07-251999-02-16Hitachi Ltd Digital recorder
JPH11102313A (en)*1997-09-251999-04-13Nec CorpFile constitution management device and computer-readable recording medium where program is recorded
JP2000201306A (en)*1999-01-012000-07-18Olympus Optical Co LtdElectronic image pickup device
JP4221803B2 (en)*1999-03-022009-02-12ソニー株式会社 Storage / reproduction apparatus and storage / reproduction method
JP2000293971A (en)*1999-04-062000-10-20Minolta Co LtdPicture recording and reproducing device
JP2001243297A (en)*2000-02-292001-09-07Ibm Japan Ltd Method of displaying trial calculation result, trial calculation system and computer system

Patent Citations (22)

* Cited by examiner, † Cited by third party
Publication numberPriority datePublication dateAssigneeTitle
US5500929A (en)*1993-08-301996-03-19Taligent, Inc.System for browsing a network resource book with tabs attached to pages
US6005679A (en)1994-08-221999-12-21Fuji Photo Film Co., Ltd.Image data filing system for quickly retrieving an area of interest of an image from a reduced amount of image data
JPH0950676A (en)1995-08-021997-02-18Sony CorpInformation recording medium and information reproducing device
US6067282A (en)1996-03-252000-05-23Pioneer Electronic CorporationInformation recording medium, apparatus for recording the same and apparatus for recording the same
US6247012B1 (en)*1996-10-282001-06-12Pfu LimitedInformation reception and delivery system using global and local directory tables in an intranet
JP2000076109A (en)1998-08-282000-03-14Toshiba Corp Data display device and data display method
US20020033844A1 (en)1998-10-012002-03-21Levy Kenneth L.Content sensitive connected content
US6396849B1 (en)1998-10-062002-05-28Vertical Networks, Inc.Systems and methods for multiple mode voice and data communications using intelligently bridged TDM and packet buses and methods for performing telephony and data functions using the same
KR20000043865A (en)1998-12-292000-07-15이계철Preventer for false use of public phone
US6448985B1 (en)*1999-08-052002-09-10International Business Machines CorporationDirectory tree user interface having scrollable subsections
US6810441B1 (en)1999-09-242004-10-26Sony CorporationApparatus, method and system for reading/writing data, and medium for providing data read/write program
US6735623B1 (en)2000-02-092004-05-11Mitch PrustMethod and system for accessing a remote storage area
US6248946B1 (en)2000-03-012001-06-19Ijockey, Inc.Multimedia content delivery system and method
US20020048105A1 (en)2000-07-282002-04-25Lg Electronics Inc.Data storing and searching method of a portable player
US20020116575A1 (en)*2000-11-072002-08-22Yuji ToyomuraCarryable memory media, portable information terminal using the same and method for managing files therein
US20020107973A1 (en)2000-11-132002-08-08Lennon Alison JoanMetadata processes for multimedia database access
US6922707B2 (en)2000-11-212005-07-26Matsushita Electric Industrial Co., Ltd.File management method and content recording/playback apparatus
US20050015391A1 (en)*2001-09-102005-01-20Siemens AktiengesellschaftVisualization of a comparison result of at least two data structures organized in directory trees
US20030233375A1 (en)2002-06-142003-12-18Koninklijke Philips Electronics N.V.Client-server protocol
US20080301590A1 (en)*2007-05-012008-12-04Nokia CorporationNavigation of a directory structure
US20110184996A1 (en)*2010-01-272011-07-28Sun Microsystems, Inc.Method and system for shadow migration
US20110213813A1 (en)*2010-02-262011-09-01Oracle International CorporationMethod and system for preserving files with multiple links during shadow migration

Also Published As

Publication numberPublication date
US7468481B2 (en)2008-12-23
US20020078819A1 (en)2002-06-27
KR100392508B1 (en)2003-07-22
CN1360311A (en)2002-07-24
CN100446112C (en)2008-12-24
KR20020050791A (en)2002-06-27

Similar Documents

PublicationPublication DateTitle
USRE44309E1 (en)Method of displaying directory structure of recorded data
US6754435B2 (en)Method for creating caption-based search information of moving picture data, searching moving picture data based on such information, and reproduction apparatus using said method
US9336828B2 (en)Recording medium containing moving picture data and additional information thereof and reproducing method and apparatus of the recording medium
US7493018B2 (en)Method for creating caption-based search information of moving picture data, searching and repeating playback of moving picture data based on said search information, and reproduction apparatus using said method
US20070172207A1 (en)Recording medium, and method and apparatus for reproducing the recording medium
US8588581B2 (en)Recording medium containing moving picture data and additional information thereof and reproducing method and apparatus of the recording medium
CN1666279B (en)Method and apparatus for displaying or reproducing markup documents according to parental level
US20060034585A1 (en)Image information processing apparatus and image information processing program
CA2423554C (en)Information recording/reproducing apparatus and method, recording medium and information recording medium with recording/reproducing control program
CN101241733B (en)Information reproducing apparatus and method, and information recording medium
AU2001294203A1 (en)Information recording/reproducing apparatus and method, recording medium and information recording medium with recording/reproducing control program
EP1855282A1 (en)Method and device for reproducing audio-visual content
US7715933B2 (en)Method of managing lyric data of audio data recorded on a rewritable recording medium
US20050105887A1 (en)Information recording apparatus and method, information reproducing apparatus and method, and information recording medium and recording medium
KR100643436B1 (en)File management method for recorded digital data stream
JP2001202699A (en) Method of recording information of different standard format, information recording medium storing information of different standard format, method of reproducing information recorded in different standard format
KR20040062810A (en)Apparatus and method for converting data format
KR100711865B1 (en) Recording stop information recording method in an optical disc apparatus
CN100501858C (en) Standard display method of chapter hiding of recording title in recording medium
JPH11203770A (en)Optical disk player
KR20060037360A (en) Digital audio / video signal recording apparatus and method
KR20050058639A (en)Method for compositing and searching index disc in optical disc device
JPH05109236A (en)Information recording medium and its storage device
KR20060007098A (en) How to display the disc information guide image in the optical disc device

Legal Events

DateCodeTitleDescription
FEPPFee payment procedure

Free format text:PAYOR NUMBER ASSIGNED (ORIGINAL EVENT CODE: ASPN); ENTITY STATUS OF PATENT OWNER: LARGE ENTITY

FPAYFee payment

Year of fee payment:8

FEPPFee payment procedure

Free format text:MAINTENANCE FEE REMINDER MAILED (ORIGINAL EVENT CODE: REM.); ENTITY STATUS OF PATENT OWNER: LARGE ENTITY

LAPSLapse for failure to pay maintenance fees

Free format text:PATENT EXPIRED FOR FAILURE TO PAY MAINTENANCE FEES (ORIGINAL EVENT CODE: EXP.); ENTITY STATUS OF PATENT OWNER: LARGE ENTITY


[8]ページ先頭

©2009-2025 Movatter.jp