Movatterモバイル変換


[0]ホーム

URL:


USRE44261E1 - Volume control for audio signals - Google Patents

Volume control for audio signals
Download PDF

Info

Publication number
USRE44261E1
USRE44261E1US13/341,861US201113341861AUSRE44261EUS RE44261 E1USRE44261 E1US RE44261E1US 201113341861 AUS201113341861 AUS 201113341861AUS RE44261 EUSRE44261 EUS RE44261E
Authority
US
United States
Prior art keywords
gain
setting
volume control
channels
channel
Prior art date
Legal status (The legal status is an assumption and is not a legal conclusion. Google has not performed a legal analysis and makes no representation as to the accuracy of the status listed.)
Expired - Lifetime, expires
Application number
US13/341,861
Inventor
Stephen M. Jacobs
Current Assignee (The listed assignees may be inaccurate. Google has not performed a legal analysis and makes no representation or warranty as to the accuracy of the list.)
Dolby Laboratories Licensing Corp
Original Assignee
Dolby Laboratories Licensing Corp
Priority date (The priority date is an assumption and is not a legal conclusion. Google has not performed a legal analysis and makes no representation as to the accuracy of the date listed.)
Filing date
Publication date
Application filed by Dolby Laboratories Licensing CorpfiledCriticalDolby Laboratories Licensing Corp
Priority to US13/341,871priorityCriticalpatent/USRE45569E1/en
Priority to US13/341,861prioritypatent/USRE44261E1/en
Assigned to DOLBY LABORATORIES LICENSING CORPORATIONreassignmentDOLBY LABORATORIES LICENSING CORPORATIONASSIGNMENT OF ASSIGNORS INTEREST (SEE DOCUMENT FOR DETAILS).Assignors: JACOBS, STEPHEN
Application grantedgrantedCritical
Publication of USRE44261E1publicationCriticalpatent/USRE44261E1/en
Adjusted expirationlegal-statusCritical
Expired - Lifetimelegal-statusCriticalCurrent

Links

Images

Classifications

Definitions

Landscapes

Abstract

A motion picture soundtrack reproduction system has a center front soundtrack channel and a plurality of other soundtrack channels. A volume control adjusts the gain of all the channels. The volume control has a range of settings from a minimum to a maximum, the gain of the center front channel having substantially a first relationship to the volume control settings and the gain of the other channels having substantially a second relationship to the volume control settings, the relationships being such that for a range of volume control settings less than a first setting the gain of the center front channel remains substantially constant while the gain of the other channels decreases as the setting decreases or decreases more gradually than the gain of the other channels as the setting decreases.

Description

CROSS-REFERENCE TO RELATED APPLICATIONS; BENEFIT CLAIM
More than one Reissue Application has been filed for the reissue of U.S. Pat. No. 7,251,337, issued Jul. 31, 2007. The reissue applications are application Ser. No. 12/493,111 filed Jun. 26, 2009, Ser. No. 13/341,871 filed Dec. 30, 2011, Ser. No. 13/341,870 filed Dec. 30, 2011, Ser. No. 13/341,873 filed Dec. 30, 2011, and Ser. No. 13/341,861 filed Dec. 30, 2011 (the present application). The present application claims the benefit as a Reissue Continuation Application of application Ser. No. 12/493,111, filed Jun. 26, 2009 (now RE43,132, issued on Jan. 24, 2012), which is a Reissue Application of U.S. Pat. No. 7,251,337, issued Jul. 31, 2007 (application Ser. No. 10/423,829, filed Apr. 24, 2003), the entire contents of all of the foregoing are hereby incorporated by reference as if fully set forth herein, under 35 U.S.C. §120. Applicants hereby rescind any disclaimer of claim scope in the parent application(s) or the prosecution history thereof and advise the USPTO that the claims in this application may be broader than any claim in the parent application(s).
TECHNICAL FIELD
The invention relates generally to the processing of audio signals. More particularly, the invention relates to control of the loudness of motion picture soundtracks when reproduced.
BACKGROUND ART
In the mid-1970s, Dolby Laboratories introduced a calibration recommendation for monitor levels in movie soundtracks (“Dolby” is a trademark of Dolby Laboratories, Inc.). A pink noise reference signal was used in the record chain to adjust the audio monitor level to 85 dBc. All theatres equipped for playback of the new stereo optical soundtracks were set up such that an equivalent pink noise signal in a soundtrack channel generated the same 85 dBc with the playback volume control (fader) set to the calibrated setting. This meant that theatres playing films at the calibrated volume control setting (a setting of “7” in a range of “0” to “10” on most cinema processors) reproduced the same loudness level selected by the film director and audio engineers in the dubbing theatre (referred to herein as “the mixer”).
This system worked quite well for many years. Dolby Stereo (A-type encoded) films had limited headroom and the resulting constrained dynamic range yielded few audience complaints. Most theatres played films at the calibrated level. Soundtrack format technology has been significantly enhanced since Dolby Stereo. Dolby SR extended the headroom by 3 dB at midrange frequencies, and more at low and high frequencies. In recent years, the new digital formats have further increased the headroom.FIG. 1 shows maximum sound pressure level of one reproduced soundtrack channel versus frequency for four photographic soundtrack formats, Academy mono, Dolby A-type, Dolby SR and Dolby Digital. The curves are normalized with respect to their reference levels. Thus, they show the maximum sound pressure level that one channel of each different optical soundtrack system is capable of when playing a motion picture at the calibrated volume control setting in a properly set up theater. The maximum sound pressure level in a theater is also a function of the number of soundtrack channels. For example, five channels can deliver 2.5 times as much power as two channels, resulting in an increase of 4 dB in sound pressure level. Thus, in the case of five or seven channel digital soundtrack reproduction, for example, the increase in peak sound pressure level is even greater than that shown inFIG. 1.
Because the 85 dBc calibration technique has been maintained throughout evolving format changes, additional headroom is available on the newer soundtracks. However, feature films do have a consistent, subjective mix reference, independent of increased headroom, for dialogue record level, known as “associative loudness.” When the dubbing mixer sees an actor on the screen, and there is no conflict between the dialogue and music or effects, the dialogue level in a moderate close-up is set to be plausible for the visual impression. Within reasonable limits, this generally holds true to within 2 or 3 dB. This natural dialogue level does not hold true for narration, as there is no corresponding visual reference. Music and effects have no direct visual associative loudness. Most people are not familiar with the actual sound pressure levels of a Concorde takeoff or a 50 mm howitzer. The music score level is equally uncalibrated.
As the headroom capability of the recording medium has been extended, it has certainly been used: the “non-associative” loudness of effects and music has risen to fill the available headroom space. Using dialogue as a reference, loud sounds like explosions are often 20 dB or more louder (explosions reach full scale peak level of 25 dB above dialogue level), and some quiet sounds, which are intended to be heard by all listeners, such as leaves rustling, may be 50 dB quieter.
In response to audience complaints that movies are too loud, many theatres are playing films substantially below the calibrated level. A volume control setting (fader level) of “6” or “5½,” as opposed to the calibrated level (volume control standard setting) of “7,” is not uncommon, representing a loudness reduction of approximately 4 or 6 dB. Some cinemas have their volume control permanently turned down to such settings because projectionists operating multiplexes with many screens showing different movies simultaneously don't have the time or cannot be bothered to set the controls differently for different movies. If the volume control is turned down to avoid complaints of excessive loudness, the dialogue is quieter than the mixer intended, and audiences may complain instead that some dialogue is not intelligible in the presence of other sounds in the film and/or general background noise of the theater (popcorn eating, air-conditioning, people talking, etc.). Theatre playback levels are often set by complaints generated by the loudest (and earliest) element of the show. If the playback level is set in response to the loudest trailer (preview), which is often louder than the feature film, the feature often plays at the same reduced level. The result is that the dialogue level of the feature is lowered by the same level deemed necessary to attenuate the trailer. A feature film played with aloudness 6 dB below the calibrated level may have serious dialogue intelligibility problems and very quiet sounds may become inaudible.
In addition, it is possible that the increased use of headroom from Dolby A-type to Dolby SR and digital releases has not been matched by a corresponding increase in power amplifier and loudspeaker capability. The resultant distortion from overloaded equipment may well exacerbate the loudness problems of recent soundtracks, causing increased incidence of complaints.
In early cinema sound equipment employing calibration, the volume control was a mechanical potentiometer, often with a click-stop or detent at the standard setting. More recent (digital) equipment uses a shaft encoder or a pair of up-down buttons (with a numeric display for the setting), delivering a control signal that operates on multipliers (either digital or voltage-controlled amplifiers) to affect the gain applied to all channels of the reproduced soundtracks. In typical cinema sound equipment, the volume control varies the gain gradually and relatively uniformly over a range of settings from about “4” to “10,” with the gain falling more rapidly at setting below about “4,” allowing a fade to inaudibility. Such a typical prior art relationship between gain or loss and volume control setting is shown in the lower curve ofFIG. 2, described below.
With the exception of monophonic installations, to which the present invention does not apply, all movie sound installations include three or more front loudspeakers including a center front. Historically, film mixers place dialogue in the center front channel and it is rare for speech from an on-screen actor to be placed anywhere else. This applies both for a multitrack digital soundtrack (for instance 5.1- or 7.1-channels) or a two-channel analog optical soundtrack reproduced via a matrix decoder to derive left, center, right and surround outputs. The center front channel may of course contain other material, but, generally, it is material important in following the action of the movie because the audience's attention is focused on the screen. At moments when the soundtrack is loud enough to provoke complaint, several channels are generally contributing to that loudness, not just any one, and in particular not just the center front.
DISCLOSURE OF INVENTION
In accordance with the present invention, a motion picture soundtrack reproduction system comprises a center front soundtrack channel and a plurality of other soundtrack channels. A volume control adjusts the gain of all the channels, the volume control having a range of settings from a minimum to a maximum, the gain of the center front channel having substantially a first relationship to the volume control settings and the gain of the other channels having substantially a second relationship to the volume control settings, the relationships being such that for a range of volume control settings less than a first setting the gain of the center front channel remains substantially constant while the gain of the other channels decreases as the setting decreases or decreases more gradually than the gain of the other channels as the setting decreases.
Also in accordance with the present invention, a motion picture soundtrack reproduction system comprises a center front soundtrack channel and a plurality of other soundtrack channels, each of the channels having adjustable gain and one or more loudspeakers, and a controller having a volume control for adjusting the gain of all the channels, the volume control having a range of settings from a minimum to a maximum, the gain of the center front channel having a first relationship to the volume control settings and the gain of the other channels having a second relationship to the volume control settings, the relationships being such that for a range of volume control settings less than a first setting the gain of the center front channel remains substantially constant while the gain of the other channels decreases as the setting decreases or decreases more gradually than the gain of the other channels as the setting decreases.
The range of volume control settings less than the first setting extends down to the minimum control setting or, alternatively, down to a second setting above the minimum control setting. In the latter case, for settings less than the second setting the gains of all the channels decrease in substantially the same way as the setting decreases and for such volume control settings the gain of the center front channel is greater than the gain of the other channels. Optionally, for settings less than the second setting the gain of the center front channel is greater than the gain of the other channels by a substantially constant amount in the logarithmic domain.
For settings greater than the first setting the gains of all the channels may increase as the setting increases and for each of such volume control settings the gain of the center front channel and the gain of the other channels may be substantially the same.
The invention is particularly advantageous in an arrangement in which when the volume control is set to a standard setting, each of the channels has a respective gain that produces a respective standard acoustic level in response to a signal having a respective standard reference level in the channel. In that case, the first setting is about the standard setting.
The invention provides for reducing the maximum loudness, and thereby avoiding complaints, while maintaining the acoustic level of the center front containing dialogue and requiring only one user-operated control. According to an embodiment of the invention, the cinema equipment is designed and installed in the conventional manner to the extent that with the volume control nominally at its standard setting, each of the reproduced soundtrack channels has a respective gain that produces a respective standard acoustic level in response to a signal having a respective standard reference level in the channel, thus matching the standard levels in a film mixing room. Thus, when calibrated, the playback system with its volume control at the standard setting has an apparent loudness that is substantially the same as that intended by the film mixer. However, in accordance with the present invention, if the volume control is turned down below the standard setting in response to actual (or expected) complaints from the audience, over a limited range of settings all channels except the center front are attenuated equally, but the center front is reduced by a smaller degree (or not at all). The effect is not only a reduction in the overall loudness but an increase in the proportionate contribution of the center front channel, with a potential improvement in intelligibility when the other channels are loud. Optionally, after some degree of changing the balance of the center front to other channels down to a setting below the standard setting, for further lowering of the settings all channels are attenuated equally, maintaining fixed the altered balance.
BRIEF DESCRIPTION OF DRAWINGS
FIG. 1 shows maximum sound pressure level versus frequency for four photographic soundtrack formats, Academy mono, Dolby A-type, Dolby SR and Dolby Digital.
FIG. 2 shows one set of suitable relationships between gain of the center front soundtrack channel and gain of each of the other soundtrack channels versus volume control setting, in which a gain of 0 dB is obtained for the standard volume control setting.
FIG. 3 is a simplified block diagram showing an implementation of the present invention from a structural standpoint.
FIG. 4 is a simplified block diagram showing an implementation of the present invention from a functional standpoint.
BEST MODE FOR CARRYING OUT THE INVENTION
FIG. 2 illustrates idealized curves of gain/loss as a function of volume control setting, for the center front channel (upper line) and for each of the remaining channels (lower line). The lower line also shows the typical gain/loss for all channels (rather than channels other than the center front channel, as in the present invention) as a function of volume control setting in prior art motion picture sound equipment. While the characteristic responses shown in the example ofFIG. 2 are practical and useful ones, the precise characteristics are not critical. For example, the lower characteristic curve need not be the same as in the prior art gain/loss for all channels versus volume control setting The characteristics shown in the figures are just one example of suitable characteristics that fall within the scope of the invention
Still referring toFIG. 2, it will be seen that the gain of the center front channel has a first relationship to the volume control settings and that the gain of each of the other channels has a second relationship to the volume control settings. InFIG. 2, 0 dB is defined as the gain with the volume control at a first setting, the standard “7” setting. As shown inFIG. 2, for settings less than the first setting down to a second setting, the gain of the center front channel decreases more gradually than the gain of the other channels as the setting decreases. Alternatively, over a limited range of settings just below the standard setting, for instance between a setting of “7” and a setting of “6,” the center channel gain may be constant as the gain of the other channels changes. Although such changes in gain (either alternative) may extend down to the minimum volume control setting, in a practical embodiment such changes in gain preferably do not extend down to the minimum setting but rather to a second setting, which may be a setting of about “5,” for example, as shown inFIG. 2. In that case, for settings below the second setting, the gains of all the channels decrease in substantially the same way as the setting decreases and for such volume control settings the gain of the center front channel is greater than the gain of the other channels by a few dB, for example, as shown inFIG. 2. Preferably, for settings above the nominal standard setting up to a maximum setting, the gains of all the channels increase as the setting increases and for each of such volume control settings the gain of the center front channel and the gain of the other channels are substantially the same. It should be understood that the relationships between the gain of the center front channel, on one hand, and the gain of the other channels, on the other hand, versus the volume control settings need not be precisely in accordance with the examples ofFIG. 2, but are to be limited only by the scope of the appended claims.
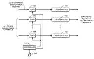
An exemplary system according to the present invention is shown inFIG. 3. A center front soundtrack channel has again adjuster102 that controls the gain of the channel. The channel feeds one ormore loudspeakers104 via a power amplifier (not shown). In practice, thegain adjuster102 may be, for example, the gain or volume control of a preamplifier or a passive variable loss at the output (preferably the output rather than the input) of a preamplifier. A plurality of other channels, shown for simplicity as two channels, each has arespective gain adjuster106 and108. Each channel feeds one or morerespective loudspeakers110 and112 via respective power amplifiers (not shown). Thegain adjuster102 for the center front channel is controlled by a first output of acontroller114 and thegain adjusters106 and108 for the other channels are controlled by a second output ofcontroller114, in the manner described herein in response to the setting of the controller'svolume control116.
In a practical arrangement employing digital controls, as shown inFIG. 4, the volume control setting may select values in first and second lookup tables202 and204. The first lookup table202 in turn may adjust amultiplier controlling volume206 in the center front channel, while the second lookup table204 may adjustmultipliers controlling volume208 and210 in the other channels. Lookup table values in response to volume control settings may be chosen so as to provide the desired relationships between gains in the various channels versus setting.
The present invention and its various aspects may be implemented in analog circuitry, for example, with two suitable non-linear functions relating control setting to gain, or as software functions performed in digital signal processors, programmed general-purpose digital computers, and/or special purpose digital computers, or some combination of such devices and functions. Interfaces between analog and digital signal streams may be performed in appropriate hardware and/or as functions in software and/or firmware.

Claims (14)

The invention claimed is:
1. A motion picture soundtrack reproduction system, the system having a center front soundtrack channel and a plurality of other soundtrack channels, comprising
a controller having a volume control for adjusting the gain of all the channels, the volume control having a range of settings from a minimum to a maximum, the controller having a first output for controlling the gain of the center front channel and a second output for controlling the gain of the other channels in response to settings of the volume control, the gain of the center front channel having a first relationship to the volume control settings and the gain of the other channels having a second relationship to the volume control settings, the relationships being such that for a range of volume control settings less than a first setting the gain of the center front channel (1) remains substantially constant while the gain of the other channels decreases as the setting decreases, or (2) decreases more gradually than the gain of the other channels as the setting decreases.
2. A motion picture soundtrack reproduction system, comprising
a center front soundtrack channel and a plurality of other soundtrack channels, each of said channels having adjustable gain and one or more loudspeakers, and
a controller having a volume control for adjusting the gain of all the channels, the volume control having a range of settings from a minimum to a maximum, the controller having a first output for controlling the gain of the center front channel and a second output for controlling the gain of the other channels in response to settings of the volume control the gain of the center front channel having a first relationship to the volume control settings and the gain of the other channels having a second relationship to the volume control settings, the relationships being such that for a range of volume control settings less than a first setting the gain of the center front channel (1) remains substantially constant while the gain of the other channels decreases as the setting decreases or (2) decreases more gradually than the gain of the other channels as the setting decreases.
3. A system according toclaim 1 orclaim 2 wherein the range of volume control settings less than said first setting extends down to the minimum control setting.
4. A system according toclaim 1 orclaim 2 wherein the range of volume control settings less than said first setting extends down to a second setting above the minimum control setting.
5. A system according toclaim 3 wherein for settings less than said second setting the gains of all the channels decrease in substantially the same way as the setting decreases and for such volume control settings the gain of the center front channel is greater than the gain of the other channels.
6. A system according toclaim 5 wherein for settings less than said second setting the gain of the center front channel is greater than the gain of the other channels by a substantially constant amount in the logarithmic domain.
7. A system according toclaims 1 wherein for settings greater than said first setting the gains of all the channels increase as the setting increases and for each of such volume control settings the gain of the center front channel and the gain of the other channels are substantially the same.
8. A system according toclaims 1 wherein when the volume control is set to a standard setting, each of the channels has a respective gain that produces a respective standard acoustic level in response to a signal having a respective standard reference level in the channel.
9. A system according toclaim 8 wherein said first setting is about said standard setting.
10. An audio system, comprising:
a first channel and a second channel, each of said channels having a gain;
a controller having a volume control for adjusting the gain of the first channel and the gain of the second channel, the volume control having a range of settings from a minimum to a maximum, the gain of the first channel having a first relationship to the volume control settings and the gain of the second channel having a second relationship to the volume control settings, the relationships being such that for a range of volume control settings less than a first setting the gain of the first channel (1) remains constant while the gain of the second channel decreases as the volume control setting decreases below said first setting or (2) decreases more gradually than the gain of the second channel as the volume control setting decreases below said first setting;
a matrix decoder to derive a first channel output and a second channel output.
11. The audio system of claim 10, wherein the range of volume control settings less than said first setting extends down to the minimum control setting.
12. The audio system of claim 10, wherein the range of volume control settings less than said first setting extends down to a second setting above the minimum volume control setting.
13. The audio system of claim 12, wherein for volume control settings less than said second setting the gains of the first and second channels are attenuated equally as the volume control setting decreases below said second setting and for such volume control settings the gain of the first channel is greater than the gain of the second channel.
14. The audio system of claim 10, wherein the matrix decoder derives the first channel output and the second channel output from a two-channel soundtrack.
US13/341,8612003-04-242011-12-30Volume control for audio signalsExpired - LifetimeUSRE44261E1 (en)

Priority Applications (2)

Application NumberPriority DateFiling DateTitle
US13/341,871USRE45569E1 (en)2003-04-242011-12-30Volume control for audio signals
US13/341,861USRE44261E1 (en)2003-04-242011-12-30Volume control for audio signals

Applications Claiming Priority (3)

Application NumberPriority DateFiling DateTitle
US10/423,829US7251337B2 (en)2003-04-242003-04-24Volume control in movie theaters
US12/493,111USRE43132E1 (en)2003-04-242009-06-26Volume control for audio signals
US13/341,861USRE44261E1 (en)2003-04-242011-12-30Volume control for audio signals

Related Parent Applications (1)

Application NumberTitlePriority DateFiling Date
US10/423,829ReissueUS7251337B2 (en)2003-04-242003-04-24Volume control in movie theaters

Publications (1)

Publication NumberPublication Date
USRE44261E1true USRE44261E1 (en)2013-06-04

Family

ID=33299218

Family Applications (6)

Application NumberTitlePriority DateFiling Date
US10/423,829CeasedUS7251337B2 (en)2003-04-242003-04-24Volume control in movie theaters
US12/493,111CeasedUSRE43132E1 (en)2003-04-242009-06-26Volume control for audio signals
US13/341,870Expired - LifetimeUSRE45389E1 (en)2003-04-242011-12-30Volume control for audio signals
US13/341,873Expired - LifetimeUSRE44929E1 (en)2003-04-242011-12-30Volume control for audio signals
US13/341,871Expired - LifetimeUSRE45569E1 (en)2003-04-242011-12-30Volume control for audio signals
US13/341,861Expired - LifetimeUSRE44261E1 (en)2003-04-242011-12-30Volume control for audio signals

Family Applications Before (5)

Application NumberTitlePriority DateFiling Date
US10/423,829CeasedUS7251337B2 (en)2003-04-242003-04-24Volume control in movie theaters
US12/493,111CeasedUSRE43132E1 (en)2003-04-242009-06-26Volume control for audio signals
US13/341,870Expired - LifetimeUSRE45389E1 (en)2003-04-242011-12-30Volume control for audio signals
US13/341,873Expired - LifetimeUSRE44929E1 (en)2003-04-242011-12-30Volume control for audio signals
US13/341,871Expired - LifetimeUSRE45569E1 (en)2003-04-242011-12-30Volume control for audio signals

Country Status (9)

CountryLink
US (6)US7251337B2 (en)
EP (1)EP1616462B1 (en)
JP (2)JP4829106B2 (en)
CN (1)CN100544504C (en)
AT (1)ATE369720T1 (en)
AU (1)AU2004234721B2 (en)
CA (1)CA2519607C (en)
DE (1)DE602004008053T2 (en)
WO (1)WO2004098050A2 (en)

Cited By (1)

* Cited by examiner, † Cited by third party
Publication numberPriority datePublication dateAssigneeTitle
US10014839B2 (en)2014-10-062018-07-03Motorola Solutions, Inc.Methods and systems for intelligent dual-channel volume adjustment

Families Citing this family (23)

* Cited by examiner, † Cited by third party
Publication numberPriority datePublication dateAssigneeTitle
US7502480B2 (en)*2003-08-192009-03-10Microsoft CorporationSystem and method for implementing a flat audio volume control model
US7440577B2 (en)*2004-04-012008-10-21Peavey Electronics CorporationMethods and apparatus for automatic mixing of audio signals
JP4103846B2 (en)*2004-04-302008-06-18ソニー株式会社 Information processing apparatus, volume control method, recording medium, and program
CN101312600A (en)*2007-05-222008-11-26鸿富锦精密工业(深圳)有限公司Volume regulating apparatus and automatic volume regulating method
US8315398B2 (en)*2007-12-212012-11-20Dts LlcSystem for adjusting perceived loudness of audio signals
US20090172766A1 (en)*2007-12-262009-07-02Kabushiki Kaisha ToshibaBroadcast receiving apparatus and broadcast receiving method
EP2279509B1 (en)*2008-04-182012-12-19Dolby Laboratories Licensing CorporationMethod and apparatus for maintaining speech audibility in multi-channel audio with minimal impact on surround experience
JP5368576B2 (en)*2008-11-142013-12-18ザット コーポレーション Dynamic volume control and multi-space processing prevention
US9380385B1 (en)2008-11-142016-06-28That CorporationCompressor based dynamic bass enhancement with EQ
JP4826625B2 (en)*2008-12-042011-11-30ソニー株式会社 Volume correction device, volume correction method, volume correction program, and electronic device
JP4844622B2 (en)*2008-12-052011-12-28ソニー株式会社 Volume correction apparatus, volume correction method, volume correction program, electronic device, and audio apparatus
JP5147680B2 (en)*2008-12-262013-02-20キヤノン株式会社 Audio processing apparatus and audio processing method
JP5120288B2 (en)2009-02-162013-01-16ソニー株式会社 Volume correction device, volume correction method, volume correction program, and electronic device
US9312829B2 (en)2012-04-122016-04-12Dts LlcSystem for adjusting loudness of audio signals in real time
WO2014083569A1 (en)*2012-11-292014-06-05Ghose AnirvanA system for recording and playback for achieving standardization of loudness of soundtracks in cinemas
US9363603B1 (en)*2013-02-262016-06-07Xfrm IncorporatedSurround audio dialog balance assessment
US9385678B2 (en)*2013-05-032016-07-05Honda Motor Co., Ltd.Methods and systems for controlling volume
RU2639952C2 (en)2013-08-282017-12-25Долби Лабораторис Лайсэнзин КорпорейшнHybrid speech amplification with signal form coding and parametric coding
WO2016019130A1 (en)*2014-08-012016-02-04Borne Steven JayAudio device
US9792952B1 (en)*2014-10-312017-10-17Kill the Cann, LLCAutomated television program editing
US9877137B2 (en)2015-10-062018-01-23Disney Enterprises, Inc.Systems and methods for playing a venue-specific object-based audio
US10795637B2 (en)*2017-06-082020-10-06Dts, Inc.Adjusting volume levels of speakers
US12081959B2 (en)*2019-08-272024-09-03Lg Electronics Inc.Display device and surround sound system

Citations (34)

* Cited by examiner, † Cited by third party
Publication numberPriority datePublication dateAssigneeTitle
US2019615A (en)*1933-11-211935-11-05Electrical Res Prod IncSound transmission system
GB1328141A (en)1969-08-281973-08-30Scheiber PAudio systems
US3772479A (en)*1971-10-191973-11-13Motorola IncGain modified multi-channel audio system
US3821471A (en)*1971-03-151974-06-28Cbs IncApparatus for reproducing quadraphonic sound
US3987402A (en)1974-01-181976-10-19Russell Peter SmithMulti-channel gain controls
US4024344A (en)*1974-11-161977-05-17Dolby Laboratories, Inc.Center channel derivation for stereophonic cinema sound
US4061874A (en)*1976-06-031977-12-06Fricke J PSystem for reproducing sound information
GB2031638A (en)1978-09-271980-04-23Paramount Pictures CorpMethod and system of controlling sound and effects devices by a film strip
JPS59177534A (en)1983-03-141984-10-08ドルビ−・ラボラトリ−ズ・ライセンシング・コ−ポレ−シヨン Optical soundtracks for stereophonic movies and devices for recording and reproducing optical soundtracks
JPS59186500A (en)1983-04-071984-10-23Pioneer Electronic CorpStereophonic reproducing device
US4589129A (en)*1984-02-211986-05-13Kintek, Inc.Signal decoding system
US5113447A (en)*1990-01-051992-05-12Electronic Engineering And Manufacturing, Inc.Method and system for optimizing audio imaging in an automotive listening environment
US5128999A (en)1990-10-291992-07-07Pioneer Electronic CorporationSound field correcting apparatus
US5138665A (en)*1989-12-191992-08-11Pioneer Electronic CorporationAudio reproduction system
US5200708A (en)1991-09-111993-04-06Thomson Consumer Electronics, Inc.Apparatus for the virtual expansion of power supply capacity
US5305388A (en)1991-06-211994-04-19Matsushita Electric Industrial Co., Ltd.Bass compensation circuit for use in sound reproduction device
US5530760A (en)1994-04-291996-06-25Audio Products International Corp.Apparatus and method for adjusting levels between channels of a sound system
WO1999026455A1 (en)1997-11-141999-05-27Xd Lab R & D Inc.Post-amplification stereophonic to surround sound decoding circuit
JP2907847B2 (en)1988-12-231999-06-21株式会社東芝 Volume control circuit
DE19818217A1 (en)1998-04-241999-10-28Rainer BertholdAuxiliary device for television receiver
US6026168A (en)1997-11-142000-02-15Microtek Lab, Inc.Methods and apparatus for automatically synchronizing and regulating volume in audio component systems
US6148085A (en)1997-08-292000-11-14Samsung Electronics Co., Ltd.Audio signal output apparatus for simultaneously outputting a plurality of different audio signals contained in multiplexed audio signal via loudspeaker and headphone
WO2001039370A2 (en)1999-11-292001-05-31SyfxSignal processing system and method
US6311155B1 (en)2000-02-042001-10-30Hearing Enhancement Company LlcUse of voice-to-remaining audio (VRA) in consumer applications
US6351733B1 (en)2000-03-022002-02-26Hearing Enhancement Company, LlcMethod and apparatus for accommodating primary content audio and secondary content remaining audio capability in the digital audio production process
US20020076072A1 (en)1999-04-262002-06-20Cornelisse Leonard E.Software implemented loudness normalization for a digital hearing aid
JP2002191099A (en)2000-09-262002-07-05Matsushita Electric Ind Co Ltd Signal processing device
US6442278B1 (en)1999-06-152002-08-27Hearing Enhancement Company, LlcVoice-to-remaining audio (VRA) interactive center channel downmix
EP1253805A2 (en)2001-04-272002-10-30Pioneer CorporationAutomatic sound field correcting device
JP2002354600A (en)2001-05-292002-12-06Pioneer Electronic CorpAcoustic device
US6498855B1 (en)1998-04-172002-12-24International Business Machines CorporationMethod and system for selectively and variably attenuating audio data
US6501717B1 (en)1998-05-142002-12-31Sony CorporationApparatus and method for processing digital audio signals of plural channels to derive combined signals with overflow prevented
US20040008851A1 (en)2002-07-092004-01-15Yamaha CorporationDigital compressor for multi-channel audio system
US7190292B2 (en)1999-11-292007-03-13Bizjak Karl MInput level adjust system and method

Family Cites Families (18)

* Cited by examiner, † Cited by third party
Publication numberPriority datePublication dateAssigneeTitle
US2109615A (en)*1935-08-141938-03-01Vaco Products IncGear shifter
GB1253805A (en)1967-11-201971-11-17Margaret Elise WallaceImprovements in or relating to drinking devices for animals
US3746792A (en)*1968-01-111973-07-17P ScheiberMultidirectional sound system
JPH0246012A (en)*1988-08-081990-02-15Pioneer Electron CorpSound volume balance adjusting device
JPH02170796A (en)*1988-12-231990-07-02Toshiba Corp audio playback device
JPH03236691A (en)*1990-02-141991-10-22Hitachi LtdAudio circuit for television receiver
JPH06232662A (en)*1993-02-041994-08-19Mitsubishi Electric CorpSound volume controller
JPH077800A (en)*1993-03-301995-01-10Toshiba Corp Stereo sound field expansion device
JP3284747B2 (en)*1994-05-122002-05-20松下電器産業株式会社 Sound field control device
JPH10322800A (en)*1997-05-151998-12-04Matsushita Electric Ind Co Ltd Television receiver with center speaker
US7415120B1 (en)*1998-04-142008-08-19Akiba Electronics Institute LlcUser adjustable volume control that accommodates hearing
US6985594B1 (en)*1999-06-152006-01-10Hearing Enhancement Co., Llc.Voice-to-remaining audio (VRA) interactive hearing aid and auxiliary equipment
US7266501B2 (en)*2000-03-022007-09-04Akiba Electronics Institute LlcMethod and apparatus for accommodating primary content audio and secondary content remaining audio capability in the digital audio production process
JP2001268700A (en)*2000-03-172001-09-28Fujitsu Ten LtdSound device
AU2001253161A1 (en)*2000-04-042001-10-15Stick Networks, Inc.Method and apparatus for scheduling presentation of digital content on a personal communication device
JP2002095095A (en)*2000-09-132002-03-29Toshiba Corp Volume control device
JP2002171600A (en)*2000-12-042002-06-14Sony CorpSound output device, and its sound volume setting method
JP4215967B2 (en)*2001-05-292009-01-28パイオニア株式会社 Sound equipment

Patent Citations (50)

* Cited by examiner, † Cited by third party
Publication numberPriority datePublication dateAssigneeTitle
US2019615A (en)*1933-11-211935-11-05Electrical Res Prod IncSound transmission system
GB1328141A (en)1969-08-281973-08-30Scheiber PAudio systems
US3821471A (en)*1971-03-151974-06-28Cbs IncApparatus for reproducing quadraphonic sound
US3772479A (en)*1971-10-191973-11-13Motorola IncGain modified multi-channel audio system
US3987402A (en)1974-01-181976-10-19Russell Peter SmithMulti-channel gain controls
US4024344A (en)*1974-11-161977-05-17Dolby Laboratories, Inc.Center channel derivation for stereophonic cinema sound
US4061874A (en)*1976-06-031977-12-06Fricke J PSystem for reproducing sound information
GB2031638A (en)1978-09-271980-04-23Paramount Pictures CorpMethod and system of controlling sound and effects devices by a film strip
JPS59177534A (en)1983-03-141984-10-08ドルビ−・ラボラトリ−ズ・ライセンシング・コ−ポレ−シヨン Optical soundtracks for stereophonic movies and devices for recording and reproducing optical soundtracks
US4577305A (en)*1983-03-141986-03-18Dolby Laboratories Licensing CorporationStereophonic motion picture photographic sound-tracks compatible with different sound projection formats and record and playback apparatus therefore
JPS59186500A (en)1983-04-071984-10-23Pioneer Electronic CorpStereophonic reproducing device
US4589129A (en)*1984-02-211986-05-13Kintek, Inc.Signal decoding system
JP2907847B2 (en)1988-12-231999-06-21株式会社東芝 Volume control circuit
US5138665A (en)*1989-12-191992-08-11Pioneer Electronic CorporationAudio reproduction system
US5113447A (en)*1990-01-051992-05-12Electronic Engineering And Manufacturing, Inc.Method and system for optimizing audio imaging in an automotive listening environment
US5128999A (en)1990-10-291992-07-07Pioneer Electronic CorporationSound field correcting apparatus
US5305388A (en)1991-06-211994-04-19Matsushita Electric Industrial Co., Ltd.Bass compensation circuit for use in sound reproduction device
US5200708A (en)1991-09-111993-04-06Thomson Consumer Electronics, Inc.Apparatus for the virtual expansion of power supply capacity
US5530760A (en)1994-04-291996-06-25Audio Products International Corp.Apparatus and method for adjusting levels between channels of a sound system
US6148085A (en)1997-08-292000-11-14Samsung Electronics Co., Ltd.Audio signal output apparatus for simultaneously outputting a plurality of different audio signals contained in multiplexed audio signal via loudspeaker and headphone
WO1999026455A1 (en)1997-11-141999-05-27Xd Lab R & D Inc.Post-amplification stereophonic to surround sound decoding circuit
US6026168A (en)1997-11-142000-02-15Microtek Lab, Inc.Methods and apparatus for automatically synchronizing and regulating volume in audio component systems
US20020013698A1 (en)1998-04-142002-01-31Vaudrey Michael A.Use of voice-to-remaining audio (VRA) in consumer applications
US6498855B1 (en)1998-04-172002-12-24International Business Machines CorporationMethod and system for selectively and variably attenuating audio data
DE19818217A1 (en)1998-04-241999-10-28Rainer BertholdAuxiliary device for television receiver
US6501717B1 (en)1998-05-142002-12-31Sony CorporationApparatus and method for processing digital audio signals of plural channels to derive combined signals with overflow prevented
US20020076072A1 (en)1999-04-262002-06-20Cornelisse Leonard E.Software implemented loudness normalization for a digital hearing aid
US6650755B2 (en)1999-06-152003-11-18Hearing Enhancement Company, LlcVoice-to-remaining audio (VRA) interactive center channel downmix
US20030002683A1 (en)*1999-06-152003-01-02Vaudrey Michael A.Voice-to-remaining audio (VRA) interactive center channel downmix
US6442278B1 (en)1999-06-152002-08-27Hearing Enhancement Company, LlcVoice-to-remaining audio (VRA) interactive center channel downmix
WO2001039370A3 (en)1999-11-292002-01-24SyfxSignal processing system and method
US6778966B2 (en)1999-11-292004-08-17SyfxSegmented mapping converter system and method
US7558391B2 (en)1999-11-292009-07-07Bizjak Karl LCompander architecture and methods
EP1254513A2 (en)1999-11-292002-11-06SyfxSignal processing system and method
US20020172376A1 (en)1999-11-292002-11-21Bizjak Karl M.Output processing system and method
US20020172374A1 (en)1999-11-292002-11-21Bizjak Karl M.Noise extractor system and method
US7212640B2 (en)1999-11-292007-05-01Bizjak Karl MVariable attack and release system and method
US7206420B2 (en)1999-11-292007-04-17Syfx TekworksSoftclip method and apparatus
US7190292B2 (en)1999-11-292007-03-13Bizjak Karl MInput level adjust system and method
US7027981B2 (en)1999-11-292006-04-11Bizjak Karl MSystem output control method and apparatus
US20030035549A1 (en)1999-11-292003-02-20Bizjak Karl M.Signal processing system and method
WO2001039370A2 (en)1999-11-292001-05-31SyfxSignal processing system and method
US6675125B2 (en)1999-11-292004-01-06SyfxStatistics generator system and method
US6311155B1 (en)2000-02-042001-10-30Hearing Enhancement Company LlcUse of voice-to-remaining audio (VRA) in consumer applications
US6351733B1 (en)2000-03-022002-02-26Hearing Enhancement Company, LlcMethod and apparatus for accommodating primary content audio and secondary content remaining audio capability in the digital audio production process
US20020040295A1 (en)2000-03-022002-04-04Saunders William R.Method and apparatus for accommodating primary content audio and secondary content remaining audio capability in the digital audio production process
JP2002191099A (en)2000-09-262002-07-05Matsushita Electric Ind Co Ltd Signal processing device
EP1253805A2 (en)2001-04-272002-10-30Pioneer CorporationAutomatic sound field correcting device
JP2002354600A (en)2001-05-292002-12-06Pioneer Electronic CorpAcoustic device
US20040008851A1 (en)2002-07-092004-01-15Yamaha CorporationDigital compressor for multi-channel audio system

Non-Patent Citations (13)

* Cited by examiner, † Cited by third party
Title
Applicant's admitted prior art, p. 1, line 12-p. 4, line 11, Figure 1.
Bauer, Benjamin B., et al., "The Measurement of Loudness Level," Journal of the Acoustical Society of America, Aug. 1971, pp. 405-414.
Current claims for JP foreign patent application No. 2006-510077 (2 pages).
Dolby Laboratories, Inc., "Dolby Model 737 Soundtrack Loudness Meter" brochure, Copyright 1998.
Dolby Laboratories, Inc., "Dolby Model 737 Soundtrack Loudness Meter," Copyright 2002.
Dolby Laboratories, Inc., "Dolby Model 737 Soundtrack Loudness Meter-Leq(m) Users' Manual Issue 3, Part No. 91533," Copyright 2000.
Dolby Laboratories, Inc., "Dolby Model DP564 Multichannel Audio Decoder Users' Manual Issue I, Part No. 91830," Copyright 2002.
Dolby Laboratories, Inc., "LM 100 Broadcast Loudness Meter Preliminary Information" brochure, Copyright 2002.
Dolby Laboratories, Inc., "LM 100 Broadcast Loudness Meter," Copyright 2002.
Dolby Laboratories, Inc., "Preliminary Specification LM100 Broadcast Loudness Meter," Copyright 2002.
Ioan Allen, "Are Movies Too Loud?," SMPTE Film Conference, Mar. 22, 1997.
JP Office Action for foreign patent application No. 2006-510077, dated Aug. 27, 2009 (4 pages of English translation and original OA).
Press Release-Dolby Laboratories, Inc., "Dolby Announces New Effort to Banish TV Volume Problems at AES-2002," 112th AES Convention in Munich, May 10-13, 2002.

Cited By (1)

* Cited by examiner, † Cited by third party
Publication numberPriority datePublication dateAssigneeTitle
US10014839B2 (en)2014-10-062018-07-03Motorola Solutions, Inc.Methods and systems for intelligent dual-channel volume adjustment

Also Published As

Publication numberPublication date
JP4829106B2 (en)2011-12-07
JP2006524475A (en)2006-10-26
US20040213421A1 (en)2004-10-28
DE602004008053T2 (en)2008-04-17
AU2004234721A1 (en)2004-11-11
WO2004098050A3 (en)2005-01-27
USRE43132E1 (en)2012-01-24
WO2004098050A2 (en)2004-11-11
USRE45569E1 (en)2015-06-16
CA2519607A1 (en)2004-11-11
EP1616462A2 (en)2006-01-18
ATE369720T1 (en)2007-08-15
USRE45389E1 (en)2015-02-24
JP5285717B2 (en)2013-09-11
DE602004008053D1 (en)2007-09-20
EP1616462B1 (en)2007-08-08
CN100544504C (en)2009-09-23
AU2004234721B2 (en)2008-12-04
US7251337B2 (en)2007-07-31
CA2519607C (en)2013-08-06
JP2011125042A (en)2011-06-23
CN1774955A (en)2006-05-17
USRE44929E1 (en)2014-06-03

Similar Documents

PublicationPublication DateTitle
USRE44261E1 (en)Volume control for audio signals
US7551745B2 (en)Volume and compression control in movie theaters
AU761690B2 (en)Voice-to-remaining audio (VRA) interactive center channel downmix
EP1076928B1 (en)User adjustable volume control that accommodates hearing
AllenThe X-Curve: Its Origins and History: Electro-Acoustic Characteristics in the Cinema and the Mix-Room, the Large Room and the Small
US20040096065A1 (en)Voice-to-remaining audio (VRA) interactive center channel downmix
MooreA Proposal for a Standard to Improve Soundtrack Dynamic Range and Dialog Clarity for Better Enjoyment of Digital Cinema
AllenThe X-Curve, its Origins and History

Legal Events

DateCodeTitleDescription
ASAssignment

Owner name:DOLBY LABORATORIES LICENSING CORPORATION, CALIFORN

Free format text:ASSIGNMENT OF ASSIGNORS INTEREST;ASSIGNOR:JACOBS, STEPHEN;REEL/FRAME:028011/0513

Effective date:20120403

MAFPMaintenance fee payment

Free format text:PAYMENT OF MAINTENANCE FEE, 12TH YEAR, LARGE ENTITY (ORIGINAL EVENT CODE: M1553); ENTITY STATUS OF PATENT OWNER: LARGE ENTITY

Year of fee payment:12


[8]ページ先頭

©2009-2025 Movatter.jp