Movatterモバイル変換


[0]ホーム

URL:


USRE43251E1 - Frame for a wall opening and methods of assembly and use - Google Patents

Frame for a wall opening and methods of assembly and use
Download PDF

Info

Publication number
USRE43251E1
USRE43251E1US10/165,693US16569302AUSRE43251EUS RE43251 E1USRE43251 E1US RE43251E1US 16569302 AUS16569302 AUS 16569302AUS RE43251 EUSRE43251 EUS RE43251E
Authority
US
United States
Prior art keywords
side member
wall
frame
channels
members
Prior art date
Legal status (The legal status is an assumption and is not a legal conclusion. Google has not performed a legal analysis and makes no representation as to the accuracy of the status listed.)
Expired - Lifetime
Application number
US10/165,693
Inventor
Justin J. Anderson
Bruce Anderson
Thayne Anderson
Audrey E. Anderson
Current Assignee (The listed assignees may be inaccurate. Google has not performed a legal analysis and makes no representation or warranty as to the accuracy of the list.)
Individual
Original Assignee
Individual
Priority date (The priority date is an assumption and is not a legal conclusion. Google has not performed a legal analysis and makes no representation as to the accuracy of the date listed.)
Filing date
Publication date
Priority claimed from US08/857,132external-prioritypatent/US5996293A/en
Priority claimed from US09/121,292external-prioritypatent/US6070375A/en
Application filed by IndividualfiledCriticalIndividual
Priority to US10/165,693priorityCriticalpatent/USRE43251E1/en
Application grantedgrantedCritical
Publication of USRE43251E1publicationCriticalpatent/USRE43251E1/en
Anticipated expirationlegal-statusCritical
Expired - Lifetimelegal-statusCriticalCurrent

Links

Images

Classifications

Definitions

Landscapes

Abstract

A frame is formed of side walls that are extruded from vinyl. The side walls have interior channels. The side walls may be formed to effect a female-male connection between the ends of two adjoining side walls. Alternatively a locking member is provided that is sized to frictionally engage a selected channel. The side walls have a concrete retention fin positioned to extend away from the outer wall of the side wall to interconnect with the concrete as the and after the concrete cures. The frame may be formed into door jambs, doors, and the like. The frame may also be a window buck that may be formed into selected geometric shapes. Window bucks of different dimensions may be assembled on site by sawing.

Description

This application is a continuation-in-part of U.S. patent application Ser. No. 08/857,132 filed May 15, 1997 which is now U.S. Pat. No. 5,996,293 and which is a continuation of U.S. Provisional Patent Application Ser. No. 60/026,493 filed Sep. 20, 1996.
BACKGROUND OF THE INVENTION
1. Field of the Invention
The present invention relates to frames used for forming an opening in a structure wall such as a poured concrete wall and a structure wall formed with an insulated concrete form.
2. State of the Art
When constructing a building, it is frequently desirable to position a window, door, garage door, or other opening, in a structure wall such as a poured concrete wall or in a wall made from concrete using an insulated concrete form. Procedures for forming an opening have included manufacturing a frame from wood and positioning the frame within a pair of forms used for forming a concrete wall or insulated concrete forms used for forming an insulated concrete wall. Typically, the frame is positioned between the pair of forms after which the concrete is poured into the form and about the frame. Therefore, the desired opening is defined in the wall when the concrete hardens or cures. Thereafter, the window form has been removed and replaced with structure that is used to size the opening and to provide structure for receiving and attaching the window unit itself.
U.S. Pat. No. 4,430,831 discloses a window buck formed of a series of sides or channels joined together with nails in an end-to-end relationship to define a rectangular opening. The window buck is a window form which is assembled and positioned so that concrete may be poured around it. U.S. Pat. No. 4,589,624 (Jones) also shows a window buck which is provided for forming a window opening in a cast concrete wall. The buck is removable after the concrete wall is formed in order to proceed with further installation of a window.
U.S. Pat. No. 5,169,544 (Stanfill et al.) also describes a buck for use in construction. The buck has internal bracing so that it does not deform or change dimension when the concrete wall is poured about it.
In order to facilitate construction, it would be desirable to have a frame such as and including a window buck which can be easily assembled on site and which thereafter can be installed and remain in place. The frame would preferably be one that is easily sized and shaped and also which is formed to receive a finished insert such as a door or window after the concrete wall has been poured and cured. It would also be desirable to have a frame that could be used with insulated concrete forms.
SUMMARY
A frame for forming an opening in a structure wall includes side member means assembled to define the opening. The side member means is formed to have a perimeter and a width. The width is substantially the width of the structure wall into which the frame is to be placed. That is, when the assembly is complete and the wall formed, the frame is approximately coextensive with the wall in width. In a preferred arrangement the frame has flanges that embrace or contain the wall there between.
The side member means has an inner wall facing toward the interior of the opening and an outer wall spaced away from the interior wall and the opening. A plurality of internal channels are formed between the inner wall and the outer wall. Retention means is mechanically associated with the outer wall and formed to extend away therefrom for mechanical association with the structure wall. The retention means is one or more extensions associated with and desirably unitarily formed with the the exterior wall. In a selected arrangement the retention means is a rib formed unitarily therewith. The retention means also more preferably has a securement member proximate an outer end which may be a lip formed to be normal to the rib.
The side member means has two ends that are formed for positioning proximate each other for interconnection to each other by connector means. In one embodiment the connector means has a locking member with a first member sized and shaped for insertion into a selected one of the plurality of channels in one of the two ends. The locking member has a second member sized and shaped for frictional insertion into and engagement with a corresponding selected one of the plurality of channels in the other of the two ends.
In an alternate arrangement, the side member means includes a female side member and a male side member. The connector means is structure formed at the ends of the female side member and the male side member to effect a male-female connection between the ends of the female member and said male member.
The side member means may be formed to define a circular shaped perimeter or a perimeter in a plurality of geometric shapes.
The side member means preferably includes a plurality of separate sides, each of which is formed to have two ends. Even more preferably each side member is each secured to its adjacent side member proximate one end of the adjacent side member. The connector means includes a connector configured for joining the two ends of each of said four separate sides.
The opening formed by the frame may be a door opening in which the side members are formed to define at least the top and the two sides of the door opening. The opening may be a garage door opening, a window or any other opening to be formed in a structural wall.
In one preferred embodiment, the side member means is four separate sides assembled to define a rectilinearly shaped window buck. The window opening has a top and a bottom; and the four separate sides include a bottom side oriented toward the bottom of the window opening. The bottom side preferably includes aperture means formed therein and sized to receive concrete therethrough.
Each of the side members includes a plurality of channels extending lengthwise between said inner wall and said outer wall. The channels are desirably side by side and hollow and formed to extend the length of each side member. The channels may be selectively filled with insulating material if desired.
In a desired embodiment, the first side member has one channel of its plurality of channels formed to define a first opening at both of its ends. A second side member is similarly formed. The connector means is locking member which has a first member sized and shaped for insertion into and engagement with the first opening in the first end of both the first side member and a second member similarly sized and shaped for insertion into a second opening in the second member. The first member and the second member are in a desired configuration a male structure formed for engagement with said first opening of said first side member and a male structure for engagement with the second opening of the second side member.
In alternate and preferred arrangements, each channel of the plurality of channels has a longitudinal axis. The longitudinal axis of each channel of the plurality of channels are in alignment.
The structure wall has an interior surface and an exterior surface. In selected configurations, the first side member and the second side member each have an interior flange connected to its respective outer wall. The flanges are positioned to extend away from the respective side member and along the interior surface of the structure wall. Similarly the first side member and the second side member each have an exterior flange mechanically associated with its respective outer wall. The exterior flange is formed to extend away therefrom and substantially along the exterior surface of the structure wall.
In use, side members may be cut such as by sawing on site to achieve a desired size. As a result end pieces or remnants may be available so that a side member may be formed therefrom. That is, a side member alternately is formed from a first section and a second section joined to each other. Each of the first section and the second section have a first end and a second end having at least one aperture formed therein, fastener is sized to snugly insert into the selected apertures of said first section and said second section to secure said first section to said second section preferably in an abutting relationship and in axial alignment.
Methods of forming the frame including a window frame include forming at least three side members from stock to a desired size. One side member will be formed to be the top of the frame. Two side members are also formed from the stock to a desired dimension. A bottom member is desired for a window frame. If the opening is a door or door-like opening in the structure wall, a bottom may not be required or desired. If the opening is a window opening or a window-like opening, it may be formed from bottom stock in which the inner wall and the outer wall have apertures formed therein to receive cement therethrough. The side members are assembled together by securing each to its adjacent side member or members with the connectors. The connectors have male ends sized for frictional engagement in a selected channel formed in the side members.
Once the frame is assembled, it may be installed in the forms for the concrete. The forms may be standard concrete wall forms or insulated concrete forms. Once installed, it typically is braced by attaching an angle brace at one or more selected corners of the assembled frame based on the size of the frame. In addition, other metal or wooden braces may be used to extend between the top and bottom side members and/or the opposite vertical side members. Bracing is provided using in a conventional manner with one metal or wooden brace being provided for approximately every three feet of opening.
BRIEF DESCRIPTION OF THE DRAWINGS
In the drawings which illustrate what are presently regarded to be the best modes of carrying out the invention,
FIG. 1 is a window buck of the present invention with a proposed window frame for insertion depicted in phantom;
FIG. 2 is a cross-section of a side member for use with the window buck of the present invention;
FIG. 3 is a cross section of an alternative side member for use with the window buck of the present invention;
FIG. 4 is a perspective view of a locking member for use in connecting side member means of a window buck of the present invention;
FIG. 5 is an exploded, partial side view of separate side members of the side member means of a window buck of the present invention with a locking member positioned for interconnecting the illustrated separate side members;
FIG. 6 is a top view of a circular shaped window buck of the present invention;
FIG. 7 is a locking member for use with a window buck ofFIG. 6;
FIG. 8 is a partial perspective view of a female side member of an alternate embodiment of the present invention;
FIG. 9 is a partial perspective view of a male side member of an alternate embodiment of the present invention;
FIG. 10 is a partial front view of an assembled female side member and male side member of an alternative embodiment of the present invention;
FIG. 11 is a partial side view of an alternative male member of an alternate embodiment of the present invention;
FIG. 12 is a partial side view of alternative tongues of a male member of the alternative embodiment ofFIG. 9 of the present invention;
FIG. 13 is a partial perspective view of an alternative configuration of a female side member of an alternative embodiment of the present invention;
FIG. 14 is a perspective view of side members suitable for use in forming a window buck of the present invention;
FIG. 15 is a perspective view of the side members ofFIG. 14 positioned for assembly into a window buck of the present invention;
FIG. 16 is a perspective view of the side members ofFIG. 24 assembled into a window buck of the present invention;
FIG. 17 is a simplified illustration of a saw used in the formation of side members used with window bucks of the present invention;
FIG. 18 is a simplified perspective illustration depicting the steps for assembling a window buck of the present invention;
FIG. 19 is a perspective illustration of a window buck of the present invention with cross braces;
FIG. 20 is a perspective illustration of the window buck ofFIG. 19 with a window frame positioned for insertion and a window well cover positioned for attachment to the widow buck;
FIG. 21 is an exploded perspective of a preferred alternate embodiment of a frame for use in openings in a structural wall with a window and with a partial view of an insulated concrete form,
FIGS. 22 and 23 are perspective views of a bottom side member;
FIG. 24 is a cross section of a side member for use with and in the present invention;
FIG. 25 is a partial perspective exploded view of two adjacent side members and a connector of the invention;
FIG. 26 is a partial perspective view of two adjacent side members connected together and a side member in section;
FIG. 27 is a perspective view of a connector for use with the present invention;
FIG. 28 is a perspective view of a connector for use in connecting sections of a side member for use with the present invention;
FIG. 29 is a perspective view of a window buck with corner braces;
FIG. 30 is a perspective view of a corner brace for use with the present invention; and
FIGS. 31–33 are perspective views of frames for use with the present invention with braces and corner braces.
DETAILED DESCRIPTION OF THE ILLUSTRATED EMBODIMENT
InFIG. 1, one embodiment of awindow buck10 has side member means which may include one (FIG. 6) or a plurality of side members. InFIG. 1, thewindow buck10 is rectilinear in projection with aleft side member12, atop side member14, abottom side member16 and aright side member18. Awindow20 is shown in phantom sized for positioning within thewindow buck10 after construction of a wall as more fully discussed hereinafter. Thewindow20, as shown, has a leftwindow pane unit22 and a rightwindow pane unit24, both of which slide in atrack21 attached to theframe26.
Theleft side member12, thetop side member14, thebottom side member16 and theright side member18 are each formed to have alength28 and awidth30. Thelength28 andwidth30 is selected to define a window opening of the desired size and configuration and more particularly of aheight29 and awidth31 that is for a standard sized or commerciallyavailable window20. Thewidth30 is selected to be substantially the width of the wall into which thewindow buck10 is to be placed. That is, thewidth30 is selected so that theinternal flanges12A,14A,16A and18A are exposed and extend along theinner surface137 of the wall136 (FIG. 3). Similarly,external flanges12B,14B,16B and18B are exposed and extend along theouter surface135 ofwall136.
Theleft side member12, thetop side member14, thebottom side member16 and theleft side member18 are each formed preferably of a vinyl material that is extruded. However, they may be formed from other materials including fiberglass, Teflon, aluminum, aluminum alloys, and other similar materials. The preferred material is low cost and resistant to corrosion while having sufficient structural strength to support, for example, the cement when the wall is formed. The preferred material is also one that may be made readily cut such as by a hand saw or hand held power saw. The preferred material is also one that can be formed in different colors if desired.
FIG. 2 shows aside member32 which has atop wall34 and abottom wall36. It also has a firstoutside wall38 and a secondoutside wall40. Thetop wall34 defines aninterior surface42 of the window buck and, in turn, provides a surface that faces toward the interior of the buck which is theopening19 defined by the buck and the window (e.g., window20) installed therein. The inwardly facingsurface16C of thebottom side member16 acts as a window sill.
Between thetop wall34 and thebottom wall36 is a plurality ofchannels44,46,48 and50. Each of thechannels44,46,48 and50 is sized and shaped to be substantially the same inheight52 andwidth54. Separatingwalls56,58,60 and64 are formed in-between thetop wall34 and thebottom wall36 to define thechannels44,46,48 and50 and to strengthen theside member32 so that it is structurally strong and has sufficient rigidity to maintain dimensional integrity when in use. That is, eachchannel44,46,48 and50 has a plurality of sidewalls each of which is preferably rectangular in projection with four sidewalls such assidewalls56 and58 as well assidewalls55 and57. Thesidewalls55 and57 are also part of theinterior surface42 and thebottom wall36.
As can be seen inFIG. 2, thetop wall34 steps down to aledge62 defined by the separatingwall64 and aledge wall66 as well as the secondoutside wall40. Theledge62, secondoutside wall40 andledge wall66 as well as thebottom wall36 together define a smaller channel68 as shown.
Theframe26 of thewindow20 is sized so it can be slid into position on theledge62 and for abutment against the separatingwall64 to, in turn, provide for installation of thewindow20 within thewindow buck10 defined by theleft side member12, thetop side member14, thebottom side member16 and theright side member18. It may be noted that theledge62 is spaced adistance70 below thetop wall34. Thedistance70 is selected to provide for some dimensional variations in thewindow frame26 while still providing an appropriately sufficient amount of surface of the separatingwall64 to facilitate installation using screws, nails, glue or the like. Thedistance70 is also preferably selected to be less than theheight67 of thelower element69 of theframe26. Theledge62 has awidth63 that is preferably at least thewidth65 of the separate members of theframe26 such asmembers69 and71.
InFIG. 2 it can also be seen that theside member32 has alower portion72 of the firstoutside wall38 which functions as an outside flange and which extends below the bottom wall36 adistance74, which is comparable to theheight52 of thechannels44,46,48 and50. Thedistance74 may vary as desired by the user to provide for sufficient connection to thecement wall76 when the concrete (or the like) used to form thewall76 dries after being poured. That is, thedistance74 of theportion72 is selected to provide for a rigid attachment to thecement wall76. It is also selected so that fasteners such asnail77 may be used to secure the window buck to a fiberglassexternal cement form79 used to define, withinternal cement form81, a cavity or void into which cement is poured to form thewall76. Thefinger78 associated with thelower portion72 of the firstoutside wall38 and thefinger80 associated withlower portion82 of the secondoutside wall40 extend inwardly in order to rigidly secure theside member32 and, more particularly, thewindow buck10 in place after the concrete hardens or solidifies to formwall76.
It may be noted thatside member32 may be formed of an extruded vinyl material. When extruded, it may have rounded corners such as theleft corner84 and theright corner86. The rounding of corners is not necessary. They may be formed in any manner desired to facilitate assembly and construction and an appearance desired by the user.
Referring now toFIG. 3, analternative side member90 is illustrated in cross-section. Theside member90 has atop wall92 and abottom wall94. It also has aleft wall96 and aright wall98. In the space between theleft wall96 and theright wall98 is a plurality ofchannels100,102,104 and106, each sized and shaped to have essentially thesame height108 and essentially thesame width110. Each of thechannels100,102,104 and106 is separated by a separating wall such aswalls112,114, and116 as shown. Extending above thetop wall92 isabutment member118. Theabutment member118 has atop wall120 andopposite side walls122 and124 positioned to define achannel126, which may be dimensioned inheight125 andwidth127 the same as theheight108 andwidth110 of theother channels100,102,104 and106.
Theabutment member118 is positioned spaced adistance128 from theright wall98 so that theframe26 of awindow20 can be received with theouter wall130 of theframe26 being in general alignment with theright wall98. Similarly, theabutment member118 is sized to have aheight132 to provide for dimensional variances in theframe26 of thewindow20.
It may also be noted that theright wall98 has an interior flange orextension134 which extends below the bottom wall94 adistance135 selected to provide for secure attachment of theside member90 to thecement wall136. It may be noted that theextension134 also has a bead ornode138 formed at itsdistal end140 to facilitate secure attachment of theside member90 to thecement wall136. Theleft wall96 has a similar flange orextension142 sized in length comparable to theextension134 of theright side wall98. Even though theextensions134 and142 are noted to be substantially the same in length, they may differ if desired.
FIG. 4 shows a lockingmember150 which may be used to interconnect adjoining side members as illustrated inFIG. 5. More specifically,FIG. 4 shows a lockingmember150 for use in assembling twoside members162 and166 as illustrated inFIG. 5. The lockingmember150 is formed to use in assembling twoside members162 and166 as illustrated inFIG. 5. The lockingmember150 is formed to have a first member orleg152 and a second member orleg154 oriented at a right angle to each other. Thelegs152 and154 are sized inheight156 and inwidth158 to be comparable to theheight52 andwidth54 of thechannels44,46,48 and50 of theside member32 ofFIG. 2 or theheight108 andwidth110 ofchannels100,102,104 and106 ofside member90. Thelegs152 and154 are similarly dimensioned inheight108 andwidth110 so that thelegs152 and154 may frictionally engage and be inserted into one selectedchannel100,102,104 and106, or a selected one ofchannels44,46,48 and50.
As can be seen inFIG. 4, theleg152 has a raisedportion160 which frictionally engages the interior surface of the selected one ofchannels44,46,48 and50, orchannels100,102,104 and106, to provide for a more rigid, secure connection.
As best seen inFIG. 5, theleg152 is inserted into a selected channel of theside member162. Theleg152, with the raisedportion160, frictionally engages the interior of the selected channel. Similarly,leg154, with a raisedportion164, frictionally engages a channel in anadjoining side member166. Theside members162 and166 are urged toward each other and intoabutment168 and170 with corresponding abuttingedges172 and174 formed at anangle173 and175 selected to provide for abutment. Theangle173 and175 presently preferred is 45°. Inasmuch as multiple channels are provided in theside member32 and theside member90, it can be seen that one ormore locking members150 may be inserted into two or more of the channels, such aschannels44,46,48 and50, orchannels100,102,104 and106, to provide for a rigid connection between multiple channels of adjoining side members of a particular window buck.
More specifically, locking members, such as lockingmember150, are positioned in-between to connect, for example, theleft side member12 with thetop side member14 and thetop side member14 to theright side member18. Similar lockingmembers150 are used to interconnect thebottom side member16 with theleft side member12 and theright side member18 at their respective corners.
Obviously, thewindow buck10 may be shaped and sized inheight177 and in width179 (FIG. 1) as desired. That is,height177 andwidth179 may be selected to receive conventional or preassembled windows such aswindow20. In selected circumstances, the user may take a length of side wall and cut it to a desired dimension to form a window of desired dimensions and assemble it using a locking member, such as lockingmember150 ofFIG. 4 or other suitably formed locking members. After the concrete wall76 (136) is formed, awindow20 can be constructed and installed in any available opening with extensions such asextensions134 and142 (FIG. 3) frictionally engaging thewall136. Awindow buck10 may also be used in wooden, block and brick walls as well as walls of other materials.
Preferably, theleft side member12, thetop side member14, thebottom side member16 and the right side member18 (FIG. 1) may all be precut and assembled in a carton with the necessary lockingmembers150 so that a user may simply assemble thewindow buck10 on site prior to installation. Therefore, thewindow buck10 may be easily stored before use because it is disassembled, reducing the amount of space necessary for shipment and minimizing the amount of damage occurring during transportation to and minimizing storage requirements on the construction site prior to installation.
FIG. 6 shows aside member180 which is shaped to be circular in projection. It has aninterior wall182 with aledge184 so that in cross-section it is similar to the cross-section shown inFIG. 2. The lockingmember186, shown inFIG. 7, also is sized and shaped to fit within an interior channel formed in theside member180. The lockingmember186 has a left raisedportion188 and a right raisedportion190 to provide for frictional engagement within the selected channel of theside member180. As can be seen, theside member180 has afirst end192 configured to abut theother end194 when assembled with the lockingmember186 interiorly positioned within a selected channel. A plurality of lockingmembers186 may be used if desired with a plurality of channels formed within theside member180.
It should also be recognized that the side members such asleft side member12,top side member14,bottom side member16 andright side member18 may be cur and assembled into shapes other than the rectilinear shape shown inFIG. 1. That is, locking members having anangle159 other than 90° may be used to develop geometric shapes that may be triangular, diamond shaped, octagonal, or some other polygon with a perimeter. That is, the perimeter of thewindow buck10 ofFIG. 1 includes thelength28 and theheight177, as well asheight181 andwidth183 for arectilinear window buck10 andwindow20. Alternatively, side members may be formed in half circle sections or other geometric forms and used with curvilinear or straight sections in-between to develop a substantially elliptical window buck or window buck of any desired shape.
Although the window buck is herein stated to be formed of an extruded vinyl, other materials may be used including, in some cases, aluminum if desired. However, the preferred material is vinyl or vinyl-type material or vinyl-like material. Vinyl is preferred because it is strong yet not brittle. It can be cleaned, does not need to be painted or preserved and can be nailed or glued. Also, it can be cut with a saw or similar cutting tool.
It may be also noted that thechannels44,46,48 and50, as well as thechannels100,102,104,106 as well aschannels68 and126, may each be filled with an insulation material if desired. Appropriate insulation materials include, for example, an expanded polyurethane foam as well as fiberglass materials or any other similar material that would increase the thermal resistivity to reduce heat loss through the window buck after construction of the window is complete.
In an alternative and more preferred arrangement, thewindow buck10 of the invention has at least two side wall members. The sidewall members each have a first end and a second end. One of the first ends and one of the second ends are formed to connect with the other. One end of the side wall member is afemale member200 shown in perspective inFIG. 8. Thefemale member200 is formed comparable to theside member32 ofFIG. 2 with a substantiallysimilar length202,height204 andwidth206. It haschannels210,212,214 and216 formed in it along with aside portion218 and220 sized to embrace the concrete wall in a manner similar toside member32. Thefemale member200 also has aledge222 formed as shown to receive the window after the concrete wall is poured and hardened.
Thefemale member200 has asurface224 facing to the interior of the window buck. The surface has threeslots226,228 and230 formed in a line as shown. Eachslot226,228,230 has awidth232 and alength234 substantially the same and selected to snugly receive corresponding tongues from themale member240 shown inFIG. 9 as discussed hereinafter. Eachslot226,228 and230 extends through thesurface224. Theslots226,228 and230 are each spaced adistance236 selected to correspond to the width of channels formed in the male member as discussed hereinafter.
Thefemale side member200 has two ends, which are the same except for their orientation. Thefemale side member200 may come in alength202 larger than needed for a desired window buck and in turn may be cut to form an essentiallystraight end238. That is, theend238 is substantially planar and presents what could be said to be an effectively flat surface.
Thefemale side member200 may be formed with theslots226,228 and230 preformed and spaced in a plurality of rows such asrows237 and239 along theentire length202 of the female side member. Alternatively, theslots226,228 and230 may be formed on site by cutting using an appropriate tool (e.g. a chisel or drill) or by pressing out fillers that are formed by making scribe marks during formation of thefemale side member200 so that upon application of a force (e.g., pressing with a punch or screw driver tip) the filler breaks along the scribed lines to thereby form the desired slots such asslots226,228 and230 or other slots in other rows such asrows237 and239. The scribed lines shown by dotted line for the slots ofrows237 and239 such asslot235 are weakened portions of the surface so that application of pressure causes the filler such asfiller233 to easily separate and cause the desired slot to appear.
Referring now toFIG. 9, a side member has one end formed to connect to one other end of an adjoining member. The side member is amale side member240 shown in partial perspective with alength242,height244 andwidth246 comparable tomember32 ofFIG. 2. It is formed withchannels248,250,252 and254 comparable to the channels formed in theside member32 ofFIG. 2. Themale side member240 also hasside portions256 and258 to embrace the concrete wall when it is formed.
Themale side member240 also has threetongues260,262 and264 extending upwardly from and along theinterior surface266. Thetongues260,262 and264 are each substantially the same in dimension and have alength268 and awidth270 selected to snugly register with the correspondingslots226,228 and230 of thefemale side member200. Thetongues260,262 and264 are sized inheight272 to extend into therespective channels210,212 and214 of the female member and to either contact theinterior surface276 of those channels or be short of it. That is, thechannels210,212 and214 have adepth278; and theheight272 of the tongues is the same as thedepth278 or slightly less so theend280 of the male member can snugly abut thesurface224 of the female member. That is, theend280 of themale side member240 is planar or flat in section and therefore can snugly abut theinterior facing surface224 of thefemale side member200 when themale side member240 and thefemale side member200 are assembled.
As shown inFIG. 10, thefemale side member200 and themale side member240 are joined at their ends. Thetongues260,262 and264 together with the correspondingslots226,228 and230 constitute connection means for attaching one end of thefemale side member200 to one end of themale side member240. More specifically, thetongues260,262 and264 are inserted into theslots226,228 and230. Thetongues260,262 and264 are urged into theslots226,228 and230 until thesurface280 abuts thesurface224. The sides of thechannels248,250 and252 all abut thesurface224 and function as part of the connection means to mechanically limit angular rotation and twisting of thefemale side member200 relative to themale side member240 and vice versa.
As can be seen inFIGS. 9 and 10, themale side member240 also has aledge282 which can be said to be defined and formed by thechannel member254 and the side wall of thechannel252. In order to have a smooth corner in the window buck formed of two male side members and two female side members, thechannel254 is cut to extend aheight284 which is selected to abut theside surface286 of theledge222 and in turn form a clean and snug corner.
In order to form the tongues such astongues260,262 and264, the male side member may be cut on site to create them. Alternatively they may be formed by removingfiller pieces288 and290 and separating them from associated structure such as theside portion256 and theside surface292 along scribes or perforations indicated by dotted lines.
Although reference has been made to a male member having both ends formed as shown inFIG. 9 and a female member with both of its ends formed as shown inFIG. 8, it may be understood that a side member may be so arranged or may have one female end and one male end.
As can be seen inFIG. 11, atongue300 may be preformed in the channels and may be simply rotated302 from the channel in theside member304. Thetongue300 is formed to be tapered in width. It has asmaller width301 near the top in relation to thewidth303 near the bottom. Thewidth303 is selected to form a snug friction fit with a corresponding slot in a female member.
As depicted inFIG. 12, a tongue can be formed in a variety of shapes including triangular, rounded308 or to be two spaced apart fingers or pins310 and312. The spaced apart fingers or pins310 and312 are spaced apart a distance so that the pins may snugly fit into one corresponding slot in the female side member.
Referring now toFIG. 13, an alternativefemale side member320 is shown. It is comparable to the female side member ofFIG. 8 but for theslots322,324 and326 which are all oriented lengthwise or along the length of the female side member. Of course the orientation of the tongues of the male members would necessarily need to be reconfigured to register with theslots323,324 and326.
InFIGS. 14–16, fourside members350,352,354 and356 are shown. Each side member such asside member350 has a plurality of side-by-side channels such aschannels358,359,360,361 and362 forside members350. The channels358362 are similar to those described in more detail inFIGS. 2,3,8 and9. Each side member such asside member350 also has anexterior flange364 and aninterior flange366 comparable to the flanges orextensions72 and82 inFIG. 2,extensions134 and132 inFIG. 3 andextensions220 and238 shown inFIG. 8.
InFIG. 14, it can be seen thatside members350 and352 are virtually identical and are oriented and differ only in that they each have aninterior surface368 and370 which are facing each other. As best seen with respect to theside member352,first end372 and thesecond end374 are both formed to be substantially the same. That is, each are here shown to have connecting means which isfemale structure376 and378 configured to connect withmale structure380 and382 positioned at thefirst end384 and thesecond end386 ofside member354 ormale structure388 and390 associated with the first end392 and thesecond end394 of theside member356. The female structure is associated with bothends396 and398 of theside member350. However, the female structure of theside member350 cannot readily been seen because of the orientation of theside member350 in the illustration ofFIG. 14.
Thefemale structure376 and378 shown for theside member352 includes afirst groove400 and asecond groove402. Similarly, the otherfemale structure378 contains afirst groove404 and asecond groove406. Thegrooves400,402,404 and406 each extend thecomplete width408 of theinterior surface370 of the side member351 That is, they extend from theedge410 to theedge412.
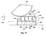
In practice, thegroove400,402,404 and406 are formed as seen inFIG. 17. That is, asaw blade414 is shown positioned to cut a groove in theinterior surface370. The associated drive mechanism for operating the saw blade in a conventional manner is not illustrated for purposes of simplicity. Any convenient table saw or radial arm saw will be suitable for achieving the purposes as hereinafter described. Mechanisms other than saws may be used including grinding wheels and friction discs to create a groove in a vinyl material or other material used to fabricate theside members350,352,354 and356.
InFIG. 17, thesaw blade414 is shown cutting a groove which is of a selecteddepth416. Thedepth416 is selected to be more than thethickness417 of theinterior surface370 of themember352. Thus thegroove400 as well asother grooves402,404 and406 can all be formed so that individual slots are defined by thechannel walls418,419,420,421 and422 to provide access to the interior of each of the plurality of channels such aschannels423426. The groove, such asgrooves400,402,404 and406, is formed by moving theside member352 on asaw table top427 as thesaw blade414 rotates to make the cut.
It can be seen that a saw can be devised in which two or four blades are operating so two or fourgrooves400,402,404 and406 can be formed simultaneously with one movement of theside member352.
The grooves such asgroove400 and402 are spaced apart adistance401 which is the same as the distance428 which in effect theheight432 of each of the channels of each of the side members such aschannels423426 inside member352.
In reference to theside members354 and356, it can be seen that each has tongue structure which is a plurality of tabs ortongues434,435,436,437,438,439,440 and441. Thetabs434441 are formed by using a saw blade such assaw blade414 and cutting grooves which coincide with the interior sidewalls such asinterior sidewalls444,445 and446 shown for the channels358362 forside member350. More specifically, thetongues434441 are formed by making cuts which remove the interior sidewalls such assidewall444446 as well as thesidewalls447 and448 down a distance selected to formtongues434441. The saw blade creates a slot or groove such asslot450,451,452. Theslots450452 have awidth454 which is defined by the width of thesaw blade414 which also coincides with and is slightly more than thewidth456 of theinterior sidewall444446 as well assidewalls448 and447.
Thetongues434441 each are cut to adepth458 which is less than thedepth460 of each of the channels such as channels358361.
As seen inFIG. 15, theside member350 is oriented with its slots in the first end396 (not shown) to register with themale structure388 and more particularly the plurality of spaced-apart tongues462 formed in the first end392 of themember356. Similarly the slots not shown in thesecond end398 of theside member350 register with plurality oftongues437441 formed in thefirst end384 of theside member354. Similarly, the plurality oftongues466 in thesecond end394 of theside member356 are positioned to register with theslots400 and402 at thefirst end372 ofside member352. It may also be noted that the slot453 (FIG. 14) creates anextension468 so that a snug fit of theextension468 is effected in thewindow receiving groove472 as better seen inFIG. 16. Asimilar extension469 is formed at thefirst end390 ofside member356.Similar extensions467 and465 are formed inside member354 as illustrated.
InFIG. 15, thesecond end374 of theside member354 hasmale structure382 in the form oftongue structure474 that registers with thegrooves404 and406. Themale structure382 of thefirst end384 registers with the female structure (not shown) in thefirst end396 of theside member350.
Since thesaw blade414 is selected to have substantially the same width as the thickness of theinterior surface370 of a side member and the interior sidewalls such assidewalls444446 of the channels358361, it can be understood that a snug fit is effected between the tongues such astongues434441 and the corresponding slots such asslots400,402,404 and406.
In some instances, a user may add a glue such as an epoxy resin or other similar material in order to enhance or strengthen the connection if desired.
As can be seen inFIG. 16, theside members350,352,354 and356 are assembled to form a rectangular-shaped window buck. It can be seen that theexterior flanges364,476,477 and478 are shown with a plurality ofdots480 to illustrate scribes or apertures through which screws or nails may be inserted to secure the window buck shown inFIG. 16 to the wall of an associated form or one of a pair of forms used to define a cement wall. Nails such as anail482 may be driven through one or more of theapertures480 or through theflanges364,476,477 and478 at any desired location. The window buck, though particularly useful and suitable for use with cement walls may also be used in wooden wall construction in selected, desired applications.
To install a window buck such as that shown inFIG. 16, the cement forms such asforms79 and81 inFIG. 2 are first provided. Preferably one form, such asform79, is installed and positioned. The window buck such as that shown inFIG. 16 is positioned on the wall at a desired location and secured in place by nails such asnails482. Alternately, other fasteners including glues or anything else to maintain a secure relationship may be employed. Alternately, the buck may be supported by a rebar structure positioned under it.
The other portion of thecement form81 is then positioned in place and secured. Thereupon cement is poured into the form to define and create the cement wall. The cement is poured around and then over the window buck. Once the cement cures or dries, the form such asforms79 and81 are removed leaving an erect wall with a window buck defining a window opening. Thereupon a window such aswindow20 may be inserted into the window groove472 (FIG. 16).
It may be also noted that the use of two sets oftongues434437 and438441 to associate with corresponding grooves such asgrooves400 and402 effect a more stable, rigid relationship to facilitate installation. That is, one side such asside member356 could be associated and connected withside member352. The double slot and double groove arrangement provide for more stable connections so that the assembly remains freestanding while the user continues to assemble the other sides such asside350 and354.
It may be noted with particularity that the window buck ofFIG. 16 is formed using twoidentical members350 and352 which have female structure such asfemale structure376 and378 formed at their opposite ends. Similarly theother side members354 and356 are identical and have correspondingmale structure380 and382 as well as388 and390 formed at their respective opposite ends.
In operation, a user may find it convenient to collect side members of different sizes in a single collection. That is, a collection of side members such asside member354 of a particular size may be stored next to a collection of side members such asside members350 and352. Next to that, another series of side members having height orlength480 that differs from the height or length ofmembers350,352,354 and356 may be provided. Similarly, additional side members having other lengths or heights482 (FIG. 14) may be provided in yet another adjoining storage location.
Thus, a user may be able to quickly assemble window bucks of different dimensions by simply collecting a pair of side members having female structure and a pair of side members having male structure. Window bucks of different sizes may be quickly and easily assembled by simply assembling the desired side members to effect assembly of a window bucks having different desired heights and widths.
By way of example, one could assume that one desired window buck would have aheight500 of two feet and awidth502 of two feet. Mother window buck would have aheight500 of two feet and awidth502 of three feet.
It can also be seen that side members which may be regarded as female side members such asside member350 and352 may be separately collected (e.g., on a pallet or in a bin) having awidth502 of two feet. Another group of side members similar in shape and form to those350 and352 having a width of three feet may be separately assembled in an adjoining or nearby location. Further, a number of side members such asside members354 and356 having a height of two feet may be in another nearby location. Thus, to assemble a window buck having a height of two feet and a width of two feet, one need only assemble two female members having awidth502 of two feet and two male members having aheight500 of two feet in order to have a window buck that is two feet by two feet.
To have a window buck that is two feet by three feet, the user need assembly only two side members of two foot height and two female members such asmembers350 and352 having a width of three feet. Similarly, if a user desired a window having, for example, awidth502 of three feet and aheight500 of three feet, a user could then go to a separate nearby location to acquire two side members such asside members354 and356 having a height of three feet combining the side members that are three feet in height with the side members are three feet inwidth502 produces a three foot by three foot window buck.
The above-referenced dimensions are purely theoretical and are not intended to in fact reflect what the standardized size may be for given standardized windows. However, the sizes do illustrate the fact that different sizes of different window bucks may be assembled by simply assembling side members having the desired widths and heights to define the desired window openings. In turn, the number of overall side members that need to be inventoried can be reduced or controlled not only by the manufacturer, but also by the distributor as well as by the customer.
Turning now toFIG. 18, apreferred window buck520 is depicted being formed by the assembly of a pair of identicalfirst side members522 and524 and a pair of identicalsecond side members526 and528, thefirst side members522 and524 have thesame width530 as well as thesame lengths532 and534. Thefirst side members522 and524 also haveslot structure536 and538 formed in their respective first ends540 and542. Of course, they also havetongue structures544 and546 formed in their respective second ends548 and550.
The pair ofsecond side members526 and528 also have thesame width552 which is the same as thewidth530 of the pair offirst side members522 and524. The second side members also have thesame lengths554 and556 which may be the same as or different from thelengths532 and534. Thesecond side members526 and528 also haveslot structures558 and560 formed in theirfirst ends562 and564 as well astongue structures566 and568 formed in their respective second ends570 and572.
With thefirst side members522 and524 and thesecond side members526 and528 configured, as described, it can be seen that end-to-end assembly can be effected as depicted. End-to-end assembly results in the fully assembledwindow buck520.
Because thefirst side members522 and524 are the same and because thesecond side members526 and528 are the same, the user need only have two stock piles or bins rather than four. That is, the user need have only a first stock pile or bin for first side members and a second stock pile or bin for second side members. An additional stock pile or bin may contain third side members all of which are identical to each other so that window bucks of different dimensions may easily be assembled using either the first side members or second side members with the third side members.
FIG. 19 shows an assembledwindow buck520 with afirst brace574 positioned in the interior576 defined by thefirst side members522 and524 and thesecond side members526 and528. Thefirst brace574 has alength578 which is essentially the same as the height of theinterior576. Thefirst brace574 in place stiffens or strengthens thewindow buck520 to inhibit collapse during assembly and to inhibit deformation during installation and during formation of the associated wall.
Asecond brace580 is also shown extending thewidth582 of the interior576 to stiffen or strengthen thewindow buck520 during installation and during formation of the associated wall. Athird brace584 may also be provided. Thethird brace584 is sized the same asbrace580 and may be desired to strengthen the window buck to assist in resisting twisting forces that may evolve during installation and during formation of the associated wall. For example, cement may be poured unevenly and stress thewindow buck520 as the cement flows thereabout.
FIG. 19 also shows ashim586 that may be placed between oneinterior surface588 and thefirst brace574. The first brace would necessarily be shorter inlength578 to accommodate thethickness590 of theshim586.
After formation of the wall in which thewindow buck520 is placed, the stress or compression force on thefirst brace574 may be quite high so that the first brace may need to be removed by use of force. In so doing, thesurface588 could become scratched or otherwise damaged. Theshim586 limits or avoids such damage from thefirst brace574. Of course, a similar shim may be used for theother braces580 and584.
FIG. 19 also shows thefasteners592 spaced about the perimeter of thewindow buck520 for positioning through the exterior flanges, such asflanges584,586 (FIGS. 18),588 and590, of theside members522,524,526 and528.
InFIG. 19, a carpenter'slevel592 is shown to illustrate that in the process of assembling thewindow buck520, alevel592 is useful to ensure installation of thewindow buck520 with a level or horizontal orientation of theinterior surface588 as well as a vertical orientation of theside members526 and528. Of course, a carpenter's square594 may be used in assembling thewindow buck520 to ensure the corners, such ascorner596, are truly square or normal.
The embodiments ofFIGS. 8 to 18 are preferred because they do not require use of a separate locking member to form the corners of a rectilinear window buck or to connect the ends of a side member or side members to form a desired window buck. Thus in use, a window buck of desired dimensions may be packaged to contain two female side members and two male side members.
It should be recognized that the window buck ofFIGS. 1–18 provides for simple transportation inasmuch as it need not be pre-assembled. Rather, it may be shipped disassembled with its components shrink-wrapped together or otherwise packaged to contain the various side members with or without locking members. Upon arrival of the package at the construction site, the window buck components may be unpackaged and easily assembled at the time of installation. Damage while in storage and before use at the site is thereby minimized. Thereafter, the window buck may be easily placed in between the forms that are then positioned to form the cement wall so that upon pouring the cement wall, the window buck is in position to make further window construction simple and easy.
FIG. 20 is a perspective view of thewindow buck520 ofFIG. 19 havingside members522,524,526 and528 assembled as shown. Awindow frame523 is show positioned for insertion into thewindow buck520 to complete formation of a window. A separatewindow well enclosure525 is also show. It has a plurality of eye shaped openings such asopenings529A–D positioned to interconnect with headed fasteners (e.g., nails, screws, rivets, or the like)527 !-D secured to theside member528. Correspondingfasteners531 are associated withside member526 to interconnect with openings (not shown) in thewindow well enclosure525. Thus following assembly of thewindow523 into thewindow buck520, thewindow well enclosure525 may be attached for those windows that will be at or below ground level.
An alternate frame arrangement is shown inFIG. 21. A frame and more particularly a window buck600 is shown having atop side member602, aright side member604, aleft side member606 and a bottom side member. When assembled, the window buck600 will have aheight610 and awidth612 which may be any desired height and width for an opening in a structural wall to be formed from concrete.
Thetop side member602, thetight side member604 and theleft side member606 are all formed from stock. That is, side member material may be provided in standard lengths as desired ranging from six foot to sixteen feet. At present the sixteen foot dimension appears to be preferred and because it is comparable in length to other building materials and in turn is transportable by trucks sized to transport other building materials. The stock also comes indifferent widths614 such as for example, four inch, six inch, eight inch, ten inch and twelve inch. Upon obtaining the desired stock, the user cuts thetops side member602, theleft side member606 and theright side member604 using any suitable tool. A hand saw will work although it is expected that a hand held portable circular saw or other suitable saw will be used.
A bottom stock is separately provided. As can be seen thebottom side member608 is formed withapertures616 spaced along its length. The bottom stock is provided in lengths and widths comparable into the stock used to form the other side members. Upon selection of the proper stock for the bottom side member, it too is cut to the desired length in the same manner as theother side members602,604,606 to form the bottom of the window buck600.
The eachside member602,604,606 and608 of the window buck600 is formed with a plurality ofchannels618622 as seen more clearly inFIGS. 22,23 and24 and as more fully discussed with respect thereto.Top side member602 has opposite ends602A and602 B. Similarlyleft side member606 has opposite ends606A and606 B.Right side member604 has opposite ends604 A and604 B. Similarly thebottom side member608 has opposite ends608 A and608 B. As can be seen inFIG. 21, an opposite end of one side member is positioned for connection to an opposite end of an adjacent side member so that the widow buck may be formed. The opposite ends are connected by connection means such asconnectors631,632,633 and634 as well as connector635 which is not shown here. The connectors each have a first finger or extension such asextensions628 A and629A sized to frictionally and slidably engage theouter channels618 and620 in the respective side members. A second finger or extension such asextensions628B and629B are similarly sized to engage theouter channels618 and622 of adjacent side members. Although two connectors such asconnectors628 and629 are shown for connecting one side member to the adjacent side member, it should be understood that more than two connectors can also be used as desired. Two have been found to be suitable to reduce twisting and to maintain alignment of the variousinner walls636639 of theside members602608
The connectors shown effect a frictional lock. It should be understood that the connectors may be glued, welded, chemically adhered and taped. In other words, any fastening arrangement is acceptable so long is it results in connection of one side member to the adjacent sufficient to retain a fixed relationship during the pouring and curing of the concrete wall.
After the window buck600 is assembled, it is placed so that a desired opening is formed when a concrete wall is formed. As shown inFIG. 21, an insulated concrete form has two spaced apartwall members642 and643 assembled to define the void46. Eachside642 and643 is held in relationship to each other by conventionalmeans including spacers644.Rebar645 may be placed in the wall to strengthen the wall when it is formed.
The window buck600 is placed into an opening cut into the insulatedconcrete form640 and physically secured in the form by any acceptable means such as by nails. With the wall forms otherwise ready, concrete is poured into thevoid646. In the vicinity of the window buck600, concrete may be poured into theapertures616 to ensure the delivery of concrete to the void space under the window. Theapertures616 also vent any air from under the window buck600.
After installation, the window buck may be braced as more fully discussed herein.
After the concrete is poured and cured, the bracing if any is removed and a window such aswindow648 is installed in the window buck600. Thewindow648 may be secured in place by any acceptable means including an acceptable adhesive, nails, screws and the like.
FIG. 22 shows abottom member650 with itsinternal wall652 facing upward.FIG. 23 shows thebottom member650 with itsinternal wall652 facing downward and with theexternal wall654 spaced from theinternal wall652 and facing into the void such asvoid64. Thechannels618622 are also shown.Apertures656660 are shown spaced apart along thelength662 of themember650. Theapertures656660 are sized to be receive concrete therethrough. Any acceptable funnel, chute or the like may be aligned with theapertures656660 to direct concrete therethrough. In cases where concrete is being pumped, it has been noted that the output end of the house is typically less than about four and one half inches. Thus theapertures656660 are shown sized to be circular in cross section with a diameter of about five inches.
Thebottom member650 also has concrete retention means which is here shown as afin664 that extends along thelength662 of thebottom member650. Thefin664 has alip665 oriented transversely to interconnect with the concrete after the wall is formed as more fully discussed hereinafter.
Referring now toFIG. 24, aside member666 such asside members602,604,606 and608 is shown in cross section. Theside member666 has the plurality ofchannels618622 as hereinbefore discussed. Thechannels618622 are formed bysidewalls688691 as well as theouter sides692 and693. The additional sidewalls may be used to form additional channels as desired. Fewer sidewalls may be used so that fewer channels are formed. However, at least one sidewall is regarded as necessary to provide desired structural rigidity in use. Further, the channels also function to resist heat transfer. Of course they may also be filled with insulating material if desired.
As here shown theouter channels618 and622 are formed to have aheight694 andwidth695 selected to frictionally receive a connector as more fully discussed hereinafter.
Theouter sides692 and693 extend away from theinner wall696 to formflanges697 and698. Theflanges697 and693 have thewall699 thereinbetween. More specifically, thesides700 and701 of an insulated concrete form is shown with theflanges697 and698 in alignment therewith. Prior to pouring of the concrete,flanges697 and698 act to retain the side members and in turn the frame with which they are associated in position. After thewall699 hardens or cures, theflanges697 and698 provide a surface to which one may attach other building elements and a surface that has an acceptable surface that does not require preservation or decoration.
InFIG. 24, anadditional flange702 is shown in phantom. In some cases, it is contemplated that multiple flanges will be, provided so that one may cut (rip) one channel off to form a side members with awidths703 and705 that differ. InFIG. 24, aretention fin706 is shown formed of anextension707 and alip708. Theextension707 has aheight709 selected so that the retention member is positioned securely in the poured concrete of thewall699. In practice, it has been found that the height may be from about one half an inch to several inches. At present nine sixteenths of an inch has been found to be suitable. However, any height will be suitable so long as thefin706 is firmly anchored int thewall699 when the concrete cures or hardens.
Thelip708 is shown to have awidth710. The width may be any desired width to secure the or anchor thefin706 in thewall699. It may be from about one fourth of an inch to several inches. At present awidth710 of seven sixteenths of an inch has been found to be suitable and adequate.
It should be noted that thefin706 is shown to be “L” shaped in cross section. Other shapes or configurations may be used. That is, thelip708 is simply one means to effect an anchoring of the related side member to the wall without the need to use fasteners such as nails, bolts, screws or the like. Upon curing of the concrete, the side members are secured firmly. Alternated shapes for the anchoring effected by the lip may be used. Aseparate fin712 is shown with a hook like anchoring arrangement. Virtually any shape or configuration of anchoring may be used in lieu of thelip708 so long as the effect is to preclude outward movement of theouter wall714 from thewall699. It may also be noted that multiple fins may be used if desired.
FIGS. 25 and 26 showadjacent side members720 and722 as well asside member724 and726 comparable toside members602,604,606, and608 inFIG. 21. Theconnectors728,730,732 and734 are comparable to theconnectors628635 all of which are comparable toconnector736 show inFIG. 27. As better seen inFIG. 27, aconnector736 has first male structure such asfinger738 sized to frictionally insert into a selected channel such asouter channels618 and622. Thefinger738 is here shown to be in the form of an “I”740 in cross section to reduce the material and to allow some flexibility when inserting thefinger738 into a selected channel. Thefinger738 has aheight739 and awidth737 sized comparable toheight694 and width695 (FIG. 24) to effect a frictional but slidable engagement with a channel such aschannel618. In some embodiments thefinger738 will have rounded orbeveled corners741,742 and743 as shown by dotted line. The rounded or beveled corners will facilitate insertion of thefinger738 into a channel such aschannel618.
InFIG. 27 the second male structure is asecond finger744 formed identically to thefinger738 and unitarily therewith to extend away at a 90degree angle745. Afiller plate750 is attached to an outer surface of thefingers738 and744 by any suitable means including gluing. Thefiller plate750 may also be unitarily be formed with thefingers738 and744. Thefiller plate750 is sized inheight752 and in andwidth753 so that when theconnector736 is installed between two adjacent side members such asside members720 and722 (FIG. 26) the edges . . .754 and755 of the connector will abut edges of the flanges such asflanges697 and698 (FIG. 24) to effect an abutting relationship and in turn a smooth connection as shown inFIG. 26. In other words, thefiller plate750 is sized so that upon installation of theconnector736, thecorner758 will be formed to appear to be an extension of theflange edge760 and the flange edge761.
FIG. 26 also shows that aside member720 may be formed of afirst section720A and asecond section720B. A connector762 shown inFIG. 28 is “T” shaped in cross section and sized inheight764 and766 comparable toheight694 and695 of a channel such aschannel618 so that theconnector762 frictionally engages a channel such aschannel618 and622 into which it is inserted. Theconnector762 has alength768 selected to effect a secure connection in which the bending or relative movement betweensection720A and720B in the longitudinal direction or along thelongitudinal axis770 and transverse thereto772 is limited. Thus pieces of the stock that remain after several frames have been formed can be joined together to form a side member of two or more sections. The amount of waste material is thereby reduced lowering the cost of waste removal from a building site and reducing the waste material itself so that less material need be purchased.
FIG. 29 shows a frame and more specificallywindow buck780 installed inwall782. Thewall782 is made with an insulated concrete form. Thewindow buck780 has aheight784 which is less than 5 feet and a width that is less than 5 feet. In turn the corner braces788 and790 are deemed to be sufficient to brace thewindow buck780. An example of abrace788 and790 is shown inFIG. 30.
InFIG. 30, it can be seen that acorner brace791 has alip792 formed along one side to create asurface794 which is for positioning against the inner wall of a side member of a window buck or frame. Along another side asimilar lip800 is formed with asurface801 for contact with the inner wall of a side member. Thus the corner brace in effect inserts into the inner area defined by the side members to abut the inner wall. Nails, screws or the like808811 are then inserted throughappropriate apertures812815 to secure the corner brace in the corner of the frame with which it is being used. Thelip792 and thelip800 are normal to each other and form a ninety degree angle at thecorner816. The brace has asolid interior818 which defines anouter edge820 that extends from thelip792 at a 45degree angle806 and from thelip800 at a 45degree angle804. Thelip792 and800 are sized inlength796 and798 respectively the same. In use thelengths796 and798 should be sufficient to inhibit movement of the side members. For one brace now proposed, thelength796 and798 has been selected to be about 18 inches.
FIG. 31 shows a frame which is awindow buck830 installed with four corner braces832835 and with cross braces836 and838.FIG. 31 is an example of bracing that may be used for windows in which a dimension is such that bracing every three feet is recommended or typically employed. It may be noted that the corner braces832 and833 are positioned on opposite sides to provide bracing on both sides of the involved frame such aswindow buck830. If theheight840 warrants it, more cross braces838 may be used. Similarly, if thewidth842 warrants, it morevertical braces836 may be used.
For example, the frame shown inFIG. 32 is adoor frame844 made of three side members as shown. In view of the height, morevertical braces845847 are typically used
FIG. 32 shows agarage door frame850 made of threeadjacent side members855,856 and857 in a manner similar toside members602,604 and606 inFIG. 21. Theside members855857 are secured to each other the same as theside members602,604 and606. Horizontal braces860,861 and862 are provided along with vertical braced851854 due to the extended width of the door and the opening. Corner braces858 and859 are also provided to stabilize theside members855857 and reinforce and strengthen the corners of theframe850.
Those skilled in the art will recognize that the embodiments herein described are for purposes of illustration and explanation and are not intended to limit the scope of the claims which themselves recite the features of the invention.

Claims (37)

What is claimed is:
1. A frame for forming an opening in a wall having an inner surface oriented toward space interior of said wall and an outer surface facing toward space exterior of said wall, said frame comprising:
a plurality of side members including a first side member, a second side member and third side member, each of which side members are configured to be assembled to define a frame opening with a frame surface oriented toward said opening, each of said plurality of side members being formed to have:
a width selected to extend between the inner surface and the outer surface of the wall into which said at least three plurality of side members are to be placed,
an inner flange adapted to be positioned proximate said inner surface of said wall,
an outer flange adapted to be positioned proximate the outer surface of said wall,
a first end and a second end spaced from said first end, said first end of said first side member being configured for positioning adjacent one of said first end and said second end of said second side member, and said second end of said first side member being configured for positioning adjacent one of said first end and said second end of said third side member,
a plurality of side by side internal channels formed between said inner flange and said outer flange, said plurality, of side by side internal channels including an outer channel positioned proximate said outer flange and an inner channel positioned proximate said inner flange, each of said plurality of side by side internal channels having a sidewall that is oriented toward said frame opening to be a part of said frame surface; and
connector means for holding said first end of said first side member and one of said first end and said second end of the second side member adjacent to and in fixed relation to each other and for holding said second end of said first side member and one of said first end and said second end of said third side member adjacent to and in fixed relation to each other.
2. The frame ofclaim 1, wherein each of said internal channels of each side member extends between the respective said first end and said second end of each said side member to present a corresponding plurality of apertures at said first end and at said second end.
3. The frame ofclaim 2, wherein said connector means includes a first locking member which has
a first end sized and shaped for insertion into and for frictional engagement with a selected one of said plurality of channels in said first end of said first side member, and
a second end for insertion into and for frictional engagement with a selected one of said plurality of channels in one of said first end and said second end of said second side member, and said first end and said second end of said first locking member being unitarily formed to position said first side member at a desired angular orientation relative to said second side member.
4. The frame ofclaim 3, wherein said connector means includes a second locking member which has
a first end sized and shaped for insertion into and for frictional engagement with a selected one of said plurality of channels in said second end of said first side member, and
a second end for insertion into and for frictional engagement with a selected one of said plurality of channels in one of said first end and said second end of said third side member, and
said first end and said second end of said second locking member being unitarily formed to position said first side member at a desired angular orientation relative to said third side member.
5. The frame ofclaim 4, wherein said plurality of side members includes a forth fourth side member, said fourth side member being formed to have:
a width selected to extend between the inner surface and the outer surface of the wall into which said fourth side members is to be placed,
an inner flange adapted to be positioned proximate said inner surface of said wall,
an outer flange adapted to be positioned proximate the outer surface of said wall,
a first end and a second end spaced from said first end, said first end of said fourth side member being configured for positioning adjacent one of said first end and said second end of said second side member, and said second end of said fourth side member being configured for positioning adjacent one of said first end and said second end of said third side member, and
a plurality of side by side internal channels formed between said inner flange and said outer flange, said plurality of side by side internal channels including an outer channel positioned proximate said outer flange and an inner channel positioned proximate said inner flange, each of said plurality of side by side internal channels having a sidewall that is oriented toward said frame opening to be a part of said frame surface.
6. The frame ofclaim 5, wherein said connector means includes a third locking member which has
a first end sized and shaped for insertion into and for frictional engagement with a selected one of said plurality of channels in said first end of said fourth side member, and
a second end for insertion into and for frictional engagement with one of said plurality of channels in the other of said first end and said second end of said second side member, and
said first end and said second end of said third locking means being unitarily formed to position said fourth side member at a desired angular orientation relative to said second side member.
7. The frame ofclaim 6, wherein said connector means includes a fourth locking member which has
a first end sized and shaped for insertion into and for frictional engagement with a selected one of said plurality of channels in said second end of said fourth side member, and
a second end for insertion into and for frictional engagement with one of said plurality of channels in one of said first end and said second end of said third side member, and
said first end and said second end of said fourth locking member being unitarily formed to position said fourth side member at a desired angular orientation relative to the third side member.
8. The frame ofclaim 7, wherein said connector means includes a fifth locking member which has
a first end sized and shaped for insertion into and for frictional engagement with a selected one of said plurality of channels in a first end of a selected side member, and
a second end for insertion into and for frictional engagement with a selected one of said plurality of channels in one of said first end and said second end of an adjacent side member, and
said first end and said second end of said fifth locking member being unitarily formed to position said selected side member at a desired angular orientation relative to said adjacent side member.
9. The frame ofclaim 1, wherein said opening is a door opening and wherein said plurality of side members are assembled to define said door opening.
10. The frame ofclaim 1, wherein said opening is a garage door opening and wherein said plurality of side members are assembled to define said garage door opening.
11. The frame ofclaim 8, wherein said opening is a window opening and wherein said plurality of side members are assembled to define said window opening.
12. The frame ofclaim 11, wherein said first side member is a top of said window opening, said fourth side member is a bottom of said window opening, and wherein said top, said bottom, said third side member and said fourth second side member are assembled to form a rectangular shaped window opening.
13. The frame ofclaim 12, wherein said wall is of the type formed from forms positioned to receive a concrete-like material in fluidized form to cure to a solid form, and wherein said frame is positioned in said form before the concrete-like material in fluidized form is positioned in said form, and wherein said bottom has vent means formed therein for venting gases from said wall during formation of said wall from said concrete-like material.
14. The frame ofclaim 13, wherein said vent means includes a plurality of apertures formed in said bottom and spaced apart between said first end and said second end, at least one of said apertures being sized to receive said concrete-like material in fluidized form therethrough.
15. The frame ofclaim 5, wherein each of said internal channels of said side members is hollow.
16. The frame ofclaim 15, wherein selected channels of said plurality of channels has solution material positioned therein.
17. The frame ofclaim 7, wherein each channel of said plurality of channels has a longitudinal axis, and wherein said longitudinal axis of each channel of said plurality of channels are in alignment.
18. The frame of claim13 1, wherein each side member includes retention means connected to contact said concrete-like material for securing each side member to said concrete-like material upon curing of said concrete-like material to a solid form wall.
19. The frame ofclaim 18, wherein each side member has a length, wherein each retention means includes at least one concrete retention fin secured to said side member sized to extend into said concrete-like material when said concrete-like material is in fluidized form and to extend substantially the length of said side member.
20. The frame ofclaim 2, wherein said first locking member has a filler, plate attached thereto and configured to abut the outer flange of each of said first side member and said second side member.
21. The frame ofclaim 2, wherein said first locking member has a filler plate attached thereto and configured to abut the inner flange of each of said first side member and said second side member.
22. A window buck for forming a window frame opening in a wall having an inner surface spaced from an exterior surface, said window buck comprising:
four side members for assembly into a window frame that defines a frame opening having a frame surface, each of said four side members having a length and a width and being formed to have:
a frame opening surface oriented toward said frame opening and sized to have a width substantially the width of the wall into which said window buck is to be placed,
a first end and a second end,
a plurality of side by side inner channels extending along the length of each side member, each of said inner channels having one side wall that is part of said frame opening surface, and each of said plurality of side by side inner channels having one wall common with an adjacent inner channel, said one wall extending away from said frame surface, and each of said plurality of side by side inner channels presenting an aperture at respective said first end and said second end of each of said four side members; and
connector means for holding said first end of each of said four side members to a said second end of an adjoining side member of said four side members, said connector means including male structure formed to frictionally interconnect to a said aperture of one of said plurality of side by side inner channels at said first end and a said aperture of one of said plurality of side by side inner channels at said second end of said adjoining side member.
23. The window buck ofclaim 22, wherein said four side members include a first side member, a second side member, a third side member and a fourth side member, and wherein said connector means includes a first locking member for connecting said first end of said first side member to said second end of said second side member, a second locking means member for connecting said first end of said second side member to said second end of said third side member, a third locking member for connecting said first end of said third side member to said second end of said fourth side member, and a fourth locking member for connecting said first end of said fourth side member to said second end of said first side member.
24. The window buck ofclaim 23, wherein said first locking member, said second locking member, said third locking member and said fourth locking member each have a first leg and a second leg oriented normally to said first leg.
25. The window buck ofclaim 24, wherein each of said four side members has an inner flange adapted to be positioned proximate the inner surface of said wall, and wherein said first locking member, said second locking member, said third locking member and said fourth locking member each have a filler plate attached thereto and configured to abut the inner flange of each of its respective adjoining side member.
26. The window buck ofclaim 25, wherein each of said four side members has an outer flange adapted to be positioned proximate the outer surface of said wall, and wherein said first locking member, said second locking member, said third locking member and said fourth locking member each have a filler plate attached thereto and configured to abut the outer flange of each of its respective adjoining side members.
27. The window buck ofclaim 25, wherein one of side four side members is formed with a plurality of apertures therethrough spaced apart between its first end and its second end, said apertures being sized to vent gases therethrough.
28. The window buck ofclaim 25, wherein said plurality of inner channels of each side member is includes four inner channels aligned one next to the other in a row side by side arrangement.
29. A method of forming an opening in a concrete wall, said method comprising:
providing a pair of spaced apart wall forms for forming walls of concrete;
securing said wall forms in a spaced apart relationship to define a wall void for receiving concrete in a fluidized form;
providing four side members for defining a window frame opening, each of said side member means members being formed to have:
a frame opening surface oriented toward said frame opening and sized to have a width substantially the width of the wall into which the window buck is side members are to be placed,
a first end and a second end,
a plurality of side by side inner channels extending along the length of each side member, each of said inner channels having one side wall that is part of said frame opening surface, and each of said inner channels presenting a an aperture at the respective first end and second end of said side member; and
providing connector means for holding said first end of each of said four side members to a said second end of an adjoining side member of said four side members;
assembling said four side members and said connector means with said first end of one of said side members connected to the second end of the adjoining side member to form a four sided window buck;
positioning and securing said window buck in between said wall forms;
putting fluidized concrete in said wall void to surround said window buck;
allowing said fluidized concrete to cure; and
removing said wall forms after said fluidized concrete has cured.
30. The method ofclaim 29, further including:
providing bracing means for bracing the window buck when installed before putting uncured mixed fluidized concrete therewith in said wall void;
installing said bracing means to extend between selected side members of said four side members before putting said fluidized concrete in said void;
removing said bracing means from said window buck.
31. The method ofclaim 30, wherein said bracing means includes a corner member configured to attach to two adjacent side members of said four side members proximate the corner defined by the connection of two adjacent side members.
32. The method ofclaim 31, wherein said corner member is a one triangular corner stiffener.
33. The method ofclaim 30, wherein said bracing means includes at least one brace member sized to extend between two opposite side members of said four side members.
34. A method of forming a door opening in a concrete wall, said method comprising:
providing a pair of spaced apart wall forms for forming walls of concrete;
securing said wall forms in a spaced apart relationship to define a wall void for receiving concrete in a fluidized form;
providing three side members for defining a door opening, each of said three side members being formed to have:
a door opening surface oriented toward said door opening and sized to have a width substantially the width of the concrete wall,
a first end and a second end,
a plurality of side by side inner channels extending along the length of each side member and exterior of said inner wall, each of said inner channels having one side wall that is part of said door opening surface, and each of said inner channels defining a corresponding plurality of apertures at the respective first end and second end of each of said side members; and
providing connector means for holding said first end of a first side member to a said second end of an adjoining second side member and for holding the first end of said second side member to the first end of a third side member;
assembling said three side members and said connector means with said first end of said first side member connected to said second end of said second side member and with said first end of said second side member connected to the second end of said third side member to form a three sided door frame;
positioning and securing said door frame in said form;
putting fluidized concrete in said void to surround said door frame;
allowing said fluidized concrete to cure; and
removing said cement wall form after said fluidized concrete has cured.
35. The method ofclaim 34, further including:
providing bracing means for bracing the door frame when installed before putting fluidized concrete therewith in said void;
installing said bracing means to extend between selected side members of said three side members before putting said fluidized concrete in said void;
removing said bracing means from said window buck side members.
36. The method ofclaim 35, wherein said bracing means includes a corner member configured to attach to two adjacent side members of said three side members proximate the corner defined by the connection of two adjacent side members.
37. A frame for forming an opening in a wall having an inner surface and an outer surface, said frame comprising:
a plurality of side members including a first side member, a second side member and a third side member, each of which side members are configured to be assembled to define a perimeter with a frame opening and a frame surface oriented toward said opening, each of said plurality of side members being formed to have:
a width selected to extend between the inner surface and the outer surface of the wall into which said at least three side members are to be placed,
an inner flange adapted to be positioned proximate said inner surface of said wall,
an outer flange adapted to be positioned proximate the outer surface of said wall,
a first end and a second end spaced from said first end, said first end of said first side member being configured for positioning adjacent one of said first end and said second end of said second side member, and said second end of said first side member being configured for positioning adjacent one of said first end and said second end of said third side member,
a plurality of side by side internal channels formed between said inner flange and said outer flange, said plurality of side by side internal channels including an outer channel positioned proximate said outer flange and an inner channel positioned proximate said inner flange, at least two of said plurality of side by side internal channels having a common sidewall therebetween; and
connector means for holding said first end of said first side member and one of said first end and said second end of the second side member adjacent to and in fixed relation to each other and for holding said second end of said first side member and one of said first end and said second end of said third side member adjacent to and in fixed relation to each other.
US10/165,6931996-09-202002-06-06Frame for a wall opening and methods of assembly and useExpired - LifetimeUSRE43251E1 (en)

Priority Applications (1)

Application NumberPriority DateFiling DateTitle
US10/165,693USRE43251E1 (en)1996-09-202002-06-06Frame for a wall opening and methods of assembly and use

Applications Claiming Priority (4)

Application NumberPriority DateFiling DateTitle
US2643996P1996-09-201996-09-20
US08/857,132US5996293A (en)1996-09-201997-05-15Window buck and methods of assembly
US09/121,292US6070375A (en)1996-09-201998-07-23Frame for a wall opening and methods of assembly and use
US10/165,693USRE43251E1 (en)1996-09-202002-06-06Frame for a wall opening and methods of assembly and use

Related Parent Applications (1)

Application NumberTitlePriority DateFiling Date
US09/121,292ReissueUS6070375A (en)1996-09-201998-07-23Frame for a wall opening and methods of assembly and use

Publications (1)

Publication NumberPublication Date
USRE43251E1true USRE43251E1 (en)2012-03-20

Family

ID=45813476

Family Applications (1)

Application NumberTitlePriority DateFiling Date
US10/165,693Expired - LifetimeUSRE43251E1 (en)1996-09-202002-06-06Frame for a wall opening and methods of assembly and use

Country Status (1)

CountryLink
US (1)USRE43251E1 (en)

Cited By (13)

* Cited by examiner, † Cited by third party
Publication numberPriority datePublication dateAssigneeTitle
US20100011694A1 (en)*2006-02-072010-01-21Comfort Line Ltd.Pultrusion Method and Related Article
US20100243035A1 (en)*2007-09-032010-09-30Moritaka NakamuraSolar cell module
US20110214370A1 (en)*2010-03-082011-09-08Cooper Edward StewartInternally aligned insulating window and door buck
US20120096783A1 (en)*2010-10-202012-04-26Radenko ZrnicFrame assembly for a doorway
US8544224B1 (en)*2010-03-192013-10-01Jim HafendorferThermally efficient frames for use in construction of structures using insulated concrete forms (ICF) and methods for making and using same
US8931220B2 (en)*2011-11-142015-01-13Gorilla Buck Inc.Insulating ICF window buck with integrated fastening and anchors
US9109360B2 (en)*2011-11-142015-08-18Gorilla Buck Inc.Insulating fire and blast resistant window and door buck
US9850699B2 (en)2015-08-282017-12-26Buildblock Building Systems, LlcBuck panel for forming a buck assembly
USD856536S1 (en)*2018-04-102019-08-13Hawkes Design And Consulting, LlcCombined window frame lineal with extension and cap
US10844617B1 (en)2017-11-212020-11-24Monarch Materials Group, Inc.Support brace for window frames in poured concrete walls
US20210246716A1 (en)*2020-02-062021-08-12Associated Materials, LlcWindow assembly
US20210270069A1 (en)*2020-03-012021-09-02Philip SandersGarage door panel rail reinforcement devices
US20220127844A1 (en)*2020-10-272022-04-28Anatole Construction Company, Inc.Exterior insulation penetration edge frame and cover

Citations (30)

* Cited by examiner, † Cited by third party
Publication numberPriority datePublication dateAssigneeTitle
US3131793A (en)1962-10-291964-05-05Bohn SamuelFrame assembly for defining and opening for use in cabinet construction
US3443346A (en)1967-08-071969-05-13Budd CoWindow construction
DE2117645A1 (en)1971-04-101972-10-19Baumgärtner, Eugen, 6750 Kaiserslautern Door frame with wall closure provided on both sides
DE7228233U (en)1973-02-08Connecticut S P A frame
DE2164521A1 (en)1971-12-241973-06-28Eppensteiner Weru Rolladen PRE-FABRICATED COMPONENT FOR WINDOW OR DOOR OPENINGS
DE2218931A1 (en)1972-04-191973-10-31Friedrich Wolfarth WINDOWS, IN PARTICULAR BASEMENT WINDOWS MADE OF PLASTIC
US3835586A (en)1973-06-211974-09-17Gates & SonsKnock-down window frame
US3995843A (en)1973-08-131976-12-07Kasteler Fred JApparatus for supporting a window buck frame
CA1146418A (en)1980-12-221983-05-17Jean-Guy BergeronWindow frame
US4430831A (en)*1982-05-141984-02-14Bowman & Kemp Steel & Supply, Inc.Window buck and frame
US4589624A (en)1984-05-211986-05-20Jones Kenneth HWindow buck or pouring frame
US4756135A (en)1987-05-111988-07-12Joseph CitrulloWindow frame assembly
US5090168A (en)1990-04-271992-02-25Willmar Window Industries Ltd.Extruded window frame system
US5095672A (en)1990-06-221992-03-17Ykk Architectural Products Inc.Windowsill
US5169544A (en)1989-08-311992-12-08Stanfill Michael EBuck for use in construction
DE9300299U1 (en)1993-01-121993-03-04Josef Hain GmbH & Co KG, 8091 Ramerberg Window or door frame for an opening reveal in a masonry wall
FR2685026A1 (en)1991-12-171993-06-18Outinord St AmandProfiled section for shuttering (formwork) element
US5239797A (en)1989-05-101993-08-31Oldendorf GuenterProtective bridge for window sills
US5319884A (en)*1991-10-211994-06-14Bergeron Jean GuyBuck frame and window frame removably fitted therein
DE4437816A1 (en)1994-10-131995-03-09Max BeckerProcess and apparatus for connecting plastic profiles
US5433054A (en)*1993-01-091995-07-18Eva Langenhorst nee LahrmannFrame structures, especially for inspection and access openings in walls, roofs and ceilings
GB2285653A (en)1994-01-111995-07-19Yung Chuan ChuangGrout fixed window or door frame mounting assembly
US5444947A (en)*1993-02-091995-08-29Noll Manufacturing Co.Foundation vent
EP0679792A1 (en)1994-04-251995-11-02General Electric CompanyStructure for use in building frame
WO1996006252A1 (en)1994-03-251996-02-29Lindgren HakanA process and a device for building constructions
FR2726842A1 (en)1994-11-101996-05-15Moll Jean JacquesDoor or window frame integrated portico coffering
US5746033A (en)1994-01-111998-05-05Chuang; Yung-ChuanMethod for constructing one-step group fixed window frames in a concrete-structured building
US5791103A (en)1997-01-181998-08-11Plyco Corp.Pouring buck
US5857299A (en)*1996-07-011999-01-12Gyllenberg; Brent C.Adjustable framing system for finishing framed door and window openings
US5881510A (en)1997-10-311999-03-16The Kewanee CorporationWindow frame device

Patent Citations (30)

* Cited by examiner, † Cited by third party
Publication numberPriority datePublication dateAssigneeTitle
DE7228233U (en)1973-02-08Connecticut S P A frame
US3131793A (en)1962-10-291964-05-05Bohn SamuelFrame assembly for defining and opening for use in cabinet construction
US3443346A (en)1967-08-071969-05-13Budd CoWindow construction
DE2117645A1 (en)1971-04-101972-10-19Baumgärtner, Eugen, 6750 Kaiserslautern Door frame with wall closure provided on both sides
DE2164521A1 (en)1971-12-241973-06-28Eppensteiner Weru Rolladen PRE-FABRICATED COMPONENT FOR WINDOW OR DOOR OPENINGS
DE2218931A1 (en)1972-04-191973-10-31Friedrich Wolfarth WINDOWS, IN PARTICULAR BASEMENT WINDOWS MADE OF PLASTIC
US3835586A (en)1973-06-211974-09-17Gates & SonsKnock-down window frame
US3995843A (en)1973-08-131976-12-07Kasteler Fred JApparatus for supporting a window buck frame
CA1146418A (en)1980-12-221983-05-17Jean-Guy BergeronWindow frame
US4430831A (en)*1982-05-141984-02-14Bowman & Kemp Steel & Supply, Inc.Window buck and frame
US4589624A (en)1984-05-211986-05-20Jones Kenneth HWindow buck or pouring frame
US4756135A (en)1987-05-111988-07-12Joseph CitrulloWindow frame assembly
US5239797A (en)1989-05-101993-08-31Oldendorf GuenterProtective bridge for window sills
US5169544A (en)1989-08-311992-12-08Stanfill Michael EBuck for use in construction
US5090168A (en)1990-04-271992-02-25Willmar Window Industries Ltd.Extruded window frame system
US5095672A (en)1990-06-221992-03-17Ykk Architectural Products Inc.Windowsill
US5319884A (en)*1991-10-211994-06-14Bergeron Jean GuyBuck frame and window frame removably fitted therein
FR2685026A1 (en)1991-12-171993-06-18Outinord St AmandProfiled section for shuttering (formwork) element
US5433054A (en)*1993-01-091995-07-18Eva Langenhorst nee LahrmannFrame structures, especially for inspection and access openings in walls, roofs and ceilings
DE9300299U1 (en)1993-01-121993-03-04Josef Hain GmbH & Co KG, 8091 Ramerberg Window or door frame for an opening reveal in a masonry wall
US5444947A (en)*1993-02-091995-08-29Noll Manufacturing Co.Foundation vent
GB2285653A (en)1994-01-111995-07-19Yung Chuan ChuangGrout fixed window or door frame mounting assembly
US5746033A (en)1994-01-111998-05-05Chuang; Yung-ChuanMethod for constructing one-step group fixed window frames in a concrete-structured building
WO1996006252A1 (en)1994-03-251996-02-29Lindgren HakanA process and a device for building constructions
EP0679792A1 (en)1994-04-251995-11-02General Electric CompanyStructure for use in building frame
DE4437816A1 (en)1994-10-131995-03-09Max BeckerProcess and apparatus for connecting plastic profiles
FR2726842A1 (en)1994-11-101996-05-15Moll Jean JacquesDoor or window frame integrated portico coffering
US5857299A (en)*1996-07-011999-01-12Gyllenberg; Brent C.Adjustable framing system for finishing framed door and window openings
US5791103A (en)1997-01-181998-08-11Plyco Corp.Pouring buck
US5881510A (en)1997-10-311999-03-16The Kewanee CorporationWindow frame device

Non-Patent Citations (6)

* Cited by examiner, † Cited by third party
Title
Photo 1: This photo shows the frame laying on a floor. It has 4 sides so labeled in red ink.
Photo 2: This photo shows the frame standing upright. The up direction is marked on the front in red ink. The sides are marked to correspond with the markings of photo 1.
Photo 3: This a close up of one corner of the frame of photos 1 and 2 from the front. The sides are marked in red ink.
Photo 4: This is a close up of the corner of the frame from a position above it and to the side. The sides are marked in red ink.
Photo 4: This is a close up of the corner of the frame from a position above it and to the side. The sides are marked in red ink. The right side is shown in detail.
Photo 5: This is a close up of the frame from a position above it and to the side. The sides are marked in red ink. The left side is shown in detail.

Cited By (20)

* Cited by examiner, † Cited by third party
Publication numberPriority datePublication dateAssigneeTitle
US20100011694A1 (en)*2006-02-072010-01-21Comfort Line Ltd.Pultrusion Method and Related Article
US20100243035A1 (en)*2007-09-032010-09-30Moritaka NakamuraSolar cell module
US8572906B2 (en)*2007-09-032013-11-05Sharp Kabushiki KaishaSolar cell module
US9016011B2 (en)2010-03-082015-04-28Gorilla Buck Inc.Internally aligned insulating window and door buck
US20110214370A1 (en)*2010-03-082011-09-08Cooper Edward StewartInternally aligned insulating window and door buck
US8544224B1 (en)*2010-03-192013-10-01Jim HafendorferThermally efficient frames for use in construction of structures using insulated concrete forms (ICF) and methods for making and using same
US10167662B2 (en)*2010-10-202019-01-01Wombat Timbers Pty LtdFrame assembly for a doorway
US20120096783A1 (en)*2010-10-202012-04-26Radenko ZrnicFrame assembly for a doorway
US8931220B2 (en)*2011-11-142015-01-13Gorilla Buck Inc.Insulating ICF window buck with integrated fastening and anchors
US9109360B2 (en)*2011-11-142015-08-18Gorilla Buck Inc.Insulating fire and blast resistant window and door buck
US9850699B2 (en)2015-08-282017-12-26Buildblock Building Systems, LlcBuck panel for forming a buck assembly
US10844617B1 (en)2017-11-212020-11-24Monarch Materials Group, Inc.Support brace for window frames in poured concrete walls
USD856536S1 (en)*2018-04-102019-08-13Hawkes Design And Consulting, LlcCombined window frame lineal with extension and cap
US20210246716A1 (en)*2020-02-062021-08-12Associated Materials, LlcWindow assembly
US11519218B2 (en)*2020-02-062022-12-06Associated Materials, LlcWindow assembly
US20210270069A1 (en)*2020-03-012021-09-02Philip SandersGarage door panel rail reinforcement devices
US11788344B2 (en)*2020-03-012023-10-17Philip SandersGarage door panel rail reinforcement devices
US20220127844A1 (en)*2020-10-272022-04-28Anatole Construction Company, Inc.Exterior insulation penetration edge frame and cover
US11859381B2 (en)*2020-10-272024-01-02Anatole Construction Company, Inc.Exterior insulation penetration edge frame and cover
US12215496B2 (en)*2020-10-272025-02-04Anatole Construction Company, Inc.Exterior insulation penetration edge frame and cover

Similar Documents

PublicationPublication DateTitle
US6070375A (en)Frame for a wall opening and methods of assembly and use
USRE43457E1 (en)Window buck and method of assembly
CA2255256C (en)Frame for a wall opening and methods of assembly and use
USRE43251E1 (en)Frame for a wall opening and methods of assembly and use
US6401422B1 (en)Hinge and hinge joint for structural frame members
AU2002226904B2 (en)Tilt-up concrete form brace
US8381455B2 (en)Tool free transitional shelter
US4122639A (en)Building structure
US8281529B2 (en)Interlocking building structure
US20030005659A1 (en)Buck system for concrete structures
US20070186503A1 (en)Construction framing system and method
JP2012241482A (en)Built-up house and method for building up the sane
US4048770A (en)Building structure
CZ295581B6 (en)Panel for constructing swimming pool
US11512468B2 (en)Truss bracing system
JP2001311239A (en)Method of joining woody panel
JP2609971B2 (en) Fixed frame for pier in concrete formwork panel
US3949465A (en)Method of bracing studs in framed wall sections
US20070277456A1 (en)Arch assembly for door frame
KR20040068523A (en)device and apparatus of connecting pannels each others and method thereof
JPH07506880A (en) miter joint
JP2614425B2 (en) Assembling frame fitting for concrete
JPS5918009Y2 (en) partition
KR19980024830U (en) Enhanced Euroform
JP3341015B2 (en) Wooden building

Legal Events

DateCodeTitleDescription
FPAYFee payment

Year of fee payment:12

SULPSurcharge for late payment

Year of fee payment:11


[8]ページ先頭

©2009-2025 Movatter.jp