Movatterモバイル変換


[0]ホーム

URL:


USRE42933E1 - Method and apparatus for avoiding unwanted sensing in a cardiac rhythm management device - Google Patents

Method and apparatus for avoiding unwanted sensing in a cardiac rhythm management device
Download PDF

Info

Publication number
USRE42933E1
USRE42933E1US11/900,901US90090107AUSRE42933EUS RE42933 E1USRE42933 E1US RE42933E1US 90090107 AUS90090107 AUS 90090107AUS RE42933 EUSRE42933 EUS RE42933E
Authority
US
United States
Prior art keywords
management device
rhythm management
refractory period
cardiac rhythm
sensing
Prior art date
Legal status (The legal status is an assumption and is not a legal conclusion. Google has not performed a legal analysis and makes no representation as to the accuracy of the status listed.)
Expired - Lifetime, expires
Application number
US11/900,901
Inventor
Zhengnian Tang
Julio C. Spinelli
Jeffrey E. Stahmann
Rene H. Wentkowski
Andrew P. Kramer
Paul A. Haefner
Current Assignee (The listed assignees may be inaccurate. Google has not performed a legal analysis and makes no representation or warranty as to the accuracy of the list.)
Cardiac Pacemakers Inc
Original Assignee
Cardiac Pacemakers Inc
Priority date (The priority date is an assumption and is not a legal conclusion. Google has not performed a legal analysis and makes no representation as to the accuracy of the date listed.)
Filing date
Publication date
Application filed by Cardiac Pacemakers IncfiledCriticalCardiac Pacemakers Inc
Priority to US11/900,901priorityCriticalpatent/USRE42933E1/en
Application grantedgrantedCritical
Publication of USRE42933E1publicationCriticalpatent/USRE42933E1/en
Adjusted expirationlegal-statusCritical
Expired - Lifetimelegal-statusCriticalCurrent

Links

Images

Classifications

Definitions

Landscapes

Abstract

A cardiac rhythm management device that utilizes blanking or refractory periods to avoid misidentification of artifacts and evoked potentials, wherein the refractory periods are discontinuous and may be dependent upon sensed events, expiration of a predefined timing interval, or stimulation events in the same or other chambers of the heart. The discontinuous refractory periods enhance the ability of the device to sense intrinsic events. The present invention includes separate refractory and floating refractory periods incorporated within the sensing protocol for each selected cycle, thereby increasing the time period for normal sensing.

Description

BACKGROUND OF THE INVENTION
I. Field of the Invention
This invention relates generally to a cardiac rhythm management device suitable for delivering stimulation pulses to a patient's heart and more particularly relates to a cardiac rhythm management device that utilizes a sensing protocol which avoids misidentification of artifacts and evoked potentials enhancing the ability of the device to sense intrinsic events.
II. Discussion of the Prior Art
Over the years, cardiac rhythm management devices have been utilized for supplanting some or all of an abnormal heart's natural pacing functions. These devices have remedied abnormalities including total or partial heart block, arrhythmias, congestive heart failure, congestive heart disorders and other various rhythm disturbances within the heart. Typically, the rhythm management device includes a power supply and pulse generator for generating electrical stimulus pulses delivered to a pre-selected area of the heart. An electrode lead arrangement (either uni-polar or bi-polar) positioned adjacent or within a pre-selected heart chamber is electrically coupled to the pulse generator for delivering stimulation pulses to the desired chamber. More recently, electrode lead arrangements have included multiple electrode leads positioned within a single chamber of the heart.
Regardless of the type of stimulation device employed to restore the heart's natural rhythm (i.e. defibrillators, Congestive Heart Failure (CHF) devices or other devices having logic and timing dependent on sensing of intrinsic heart events), each type operates to stimulate excitable heart tissue cells, which may or may not result in evoked response by the heart. Myocardial evoked response to stimulation or “capture” is a function of the positive and negative charges found in each myocardial cell within the heart. The selective permeability of each myocardial cell works to retain potassium and exclude sodium such that, when the cell is at rest, the concentration of sodium ions outside of the cell membrane are significantly greater than the concentration of sodium ions inside the cell membrane, while the concentration of potassium ions outside the cell membrane are significantly less than the concentration of potassium ions inside the cell membrane. When a stimulus is applied to the cell membrane, the selective permeability of the cell membrane is disturbed and no longer blocks the in-flow of sodium ions from outside the cell membrane. The in-flow of sodium ions at the stimulation site causes the adjacent portions of the cell membrane to lose its selective permeability, thereby causing a chain reaction across the cell membrane until the cell interior is flooded with sodium ions. This process, referred to as “depolarization”, causes the myocardial cell to have a net positive charge due to the in-flow of sodium ions and an out-flow of potassium ions. The success of a pacing stimulus in depolarizing or “capturing” the selected chamber of the heart is dependent upon whether the amplitude and/or duration of the stimulus as delivered to the myocardium exceeds a required threshold.
The effective delivery of stimulation pulses is further dependent upon the normal pacing cycle of the heart. The delivery of the stimulation pulse must be delivered at a proper time during the cardiac cycle or the stimulation pulse may not be effective, may not be as effective, or may be undesirable. The determination of the proper timing of the delivery of the stimulation pulse is further dependent upon proper detection of intrinsic activity in the heart. Polarization voltages and after potentials, which develop at the heart tissue electrode interface following the application of a stimulation pulse, affects the ability of the rhythm management device to accurately detect intrinsic activity. As pacemakers have evolved, the pacing modes and configurations have become more intricate and complex, generating an increasing array of polarization voltages and after potentials. Blanking or refractory periods, which may be considered as a means for avoiding unwanted sensing in the cardiac rhythm management devices, are frequently used to prevent artifacts and after potentials from being improperly detected as intrinsic events. Such blanking or refractory periods are typically initiated upon sensing an intrinsic activity or delivering a stimulation pulse and last until the end of all predictable artifacts and evoked potentials associated with the event. The blanking or refractory period, in effect, causes the pacing logic of the device to “ignore”, for example, detected intrinsic activity. Thus, the typical cardiac rhythm management device runs “blind” even if there is a period of time during this preset period for which no artifact or evoked potential is present and response to a detected intrinsic activity may be desirable.
For example, when pacing in the ventricles and sensing in the atrium, an atrial channel of a sensing circuit of the present day cardiac rhythm management devices may have to be refractory most of the time because of a long retrograde conduction time. Consequently, a P-wave resulting from intrinsic depolarization may easily fall into a refractory or blanking period, in which case the intrinsic atrial events will not be detected by the device. This reduces the effectiveness of the stimulation protocol of the device. U.S. Pat. No. 5,735,881 to Andre Routh et al. provides a method for increased sensing of intrinsic depolarizations by bifurcating the blanking period with an atrial sensing period. The Routh et al patent teaches the use of a fixed blanking period during the post ventricular atrial refractory period (PVARP) and a programmable blanking period to prevent the mischaracterization of a far field R-wave as an atrial depolarization event. However, the Routh et al patent does not teach or suggest a method for accounting for the complex polarization voltages and after potentials generated by multiple site pacing. Multiple site pacing may include at least one pacing/sensing site in an atrium and several pacing/sensing sites in one or more ventricles. Each intrinsic and each paced event in each of these sites may introduce one or more unwanted potentials in cardiac signals associated with the pacing/sensing sites. Each unwanted potential may have a relatively fixed temporal relationship with at least one intrinsic or paced event in one of the sites. Because whether such unwanted potentials will be present for an individual patient and how they are temporally related to any of the intrinsic and paced events are not necessarily known before device implantation, applying a programmable blanking period, as suggested by Routh et al., will require numerous blanking refractory periods. The number of such blanking or refractory periods will grow exponentially with the number of pacing/sensing sites in a multiple site pacing system, eventually to a point that requires a system size that cannot be accommodated by an implantable device and, moreover, this causes significant difficulties and potential for confusion to the physician programming the implantable device. What is, therefore, needed is one or more blanking or refractory periods that do not require excessive system resources and which are easy to program by a physician who observes the cardiac signals during or after a device implantation. The present invention meets these and other needs that will become apparent from a review of the description of the present invention.
SUMMARY OF THE INVENTION
The present invention includes programmable refractory or blanking periods and floating refractory or floating blanking periods, which are incorporated within the sensing protocol for each selected cycle, thereby increasing the time period for normal sensing. The floating refractory period is initiated by a predetermined (preprogrammed) triggering event and may be retriggerable if a triggering event is detected during the floating refractory period.
The present invention provides a single- or multi-chamber cardiac rhythm management device having multiple pacing electrodes positioned at a plurality of sites within selected chamber(s) of the heart. The cardiac rhythm management device of the present invention stimulates the heart in a pre-selected stimulation mode, and increases the time period during a selected cardiac cycle for normal sensing. The cardiac rhythm management device of the present invention includes a power supply, a controller, circuitry for sensing intrinsic cardiac events, timing circuitry, a predefined sensing protocol, and circuitry for determining and generating stimulation pulses. The controller and circuitry for sensing are capable of detecting and identifying atrial and/or ventricular events and transmitting signals containing information corresponding to these sensed events. The transmitted signals may be utilized by the controller, for example and without limitation, to thereafter track, over time, the sensed events. The controller also utilizes the timing and sensing circuitry for determining and generating stimulation pulses to selectively stimulate pre-selected chambers of the patient's heart.
As described below in greater detail, in the preferred embodiment, the controller initiates one or more floating refractory or blanking periods that may follow a shortened “conventional” programmed refractory or blanking period. The floating refractory or blanking periods are initiated by predefined or programmed triggering events. Those skilled in the art will appreciate that the floating refractory or blanking period may be implemented in fixed hardware and/or software of the device. The floating refractory period may be fixed in duration or may be retriggerable if a triggering event occurs during the floating refractory period. Also, if a triggering event occurs during the floating refractory or blanking period, the event may be detected and “marked” by the device, with the pacing logic ignoring the event. The triggering event for the floating refractory period may be defined, for example, by an arbitrary pace, sense, and/or timing interval expiration event. The floating refractory period may be associated with one or more device channels, and one triggering event can simultaneously trigger floating refractory periods for one or more or a combination of other device sensing channels.
In one embodiment of the present invention, the sensing protocol utilized by the controller includes a first and a second refractory period for sensed events in pre-selected chambers during the cardiac cycle. The controller may initiate first and second refractory periods associated with the ventricles, dependent upon events occurring in the atrium. A time gap is provided for between the first and second refractory periods. Alternatively, the controller may initiate first and second refractory periods associated with the atrium, dependent upon events occurring in the ventricles. Further, the second refractory period may be initiated by an event sensed in an atrial channel and this refractory period may apply to the same and/or different atrial channel. Likewise, the second refractory period may be initiated by an event sensed in a ventricular channel and this refractory period may apply to the same and/or different ventricular channel.
The controller may be implemented in any of several forms, including a dedicated state device or a microprocessor with code, and may include Read Only Memory (ROM) for storing programs to be executed by the controller and Random Access Memory (RAM) for storing operands used in carrying out the computations by the controller. The controller is electrically coupled to the power supply and manipulates the electrical circuitry for the sensing and tracking and the circuitry for determining and generating stimulation pulses, during each cardiac cycle. The predefined sensing protocol may be stored in the controller and is utilized by the controller to increase the time period during a cardiac cycle for normal sensing of intrinsic events.
The circuitry for sensing includes one or more channels for sensing events associated with the atrium and/or one or more channels for sensing events associated with the ventricles. The controller, in accordance with a preset sensing protocol, manipulates the sensing channels to create, for example, the first and second refractory periods. Without limitation, the controller may blank a portion of the signal sensed from either the atrium or ventricles that is sensed during the second refractory period, thereby potentially inhibiting a response in accordance with the pacing logic. The second or floating refractory period may be initiated a predetermined amount of time after the end of the first refractory period. Alternatively, the second refractory period may be initiated automatically if intrinsic conduction from the atrium is sensed. In another alternative embodiment, the second refractory period may be initiated automatically if intrinsic conduction from the ventricle is sensed.
In use, the cardiac rhythm management device of the present invention may be utilized to stimulate pre-selected chambers of a patient's heart in accordance with a predefined stimulation sequence. The present invention provides a method for assisting a physician in avoiding an unwanted potential by first identifying the unwanted potential by observing all of the cardiac signals sensed from different sites in the heart and then ascertaining a temporal relationship between the unwanted potential and a known, repeatable intrinsic or paced event. The device is then programmed with the known repeatable intrinsic or paced event employed as a trigger event that triggers a blanking or refractory period. A sensing channel where the unwanted potential is identified is then programmed as the channel to which the blanking or refractory period is to be applied. Further, a delay value is programmed that starts with the trigger event and that extends to a point in time before which the unwanted potential is believed not to occur. Finally, a duration of the blanking or refractory period that starts with the end of the delay and extends to cover a period of time during which the unwanted potential is believed to have occurred is programmed.
It is accordingly a principal object of the present invention to provide an enhanced blanking or refractory period that reduces the likelihood of failure to identify intrinsic events.
Another object of the present invention is to provide a rhythm management device having a sensing protocol that avoids misidentification of artifacts and evoked potentials while enhancing the ability of the device to sense intrinsic events by increasing the time period for normal sensing.
Still another object of the present invention is to provide a cardiac rhythm management device that increases the ability of the device to detect tachyarrhythmias.
Yet another object of the present invention is to provide a cardiac rhythm management device that may include separate refractory and floating refractory periods for each selected cardiac cycle which may be utilized to increase the time period for normal sensing.
These and other objects and advantages of the present invention will become readily apparent to those skilled in the art from a review of the following detailed description of the invention especially when considered in conjunction with the claims and accompanying drawings in which like numerals in the several views refer to corresponding parts.
BRIEF DESCRIPTION OF THE DRAWINGS
FIG. 1 is a block diagram depicting a cardiac rhythm management device in accordance with the present invention;
FIG. 2 is a plot showing retrograde conduction sensed by an atrial sensing channel of the sensing circuit and associated refractory and floating refractory periods in comparison with a conventional Post Ventricular Atrial Refractory Period;
FIG. 3 is a plot showing an intrinsic event sensed by the atrial and ventricular sensing channels of the sensing circuit and associated refractory and floating refractory periods in conjunction with atrial stimulation and associated ventricular refractory and floating refractory periods;
FIG. 4 is a plot showing several pacing and intrinsic events in relation to the timing and occurrence of a first refractory and second refractory or floating refractory/blanking period;
FIG. 5 is a plot showing retrograde conduction sensed by an atrial sensing channel of the sensing circuit and an associated non-retriggerable floating refractory period and a retriggerable floating refractory period shown for comparison; and
FIG. 6 shows a progression of modifications to the conventional refractory period to derive a preferred first shortened “conventional” refractory period and a second floating refractory period, which may be utilized to automatically program the refractory and floating refractory periods.
DETAILED DESCRIPTION OF THE INVENTION
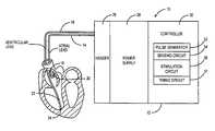
The present invention represents broadly applicable improvements to the sensing protocol of a cardiac rhythm management device. The embodiments detailed herein are intended to be taken as representative or exemplary of those in which the improvements of the invention may be incorporated and are not intended to be limiting. Referring first toFIG. 1, the cardiacrhythm management device10 of the present invention is shown including ahousing12,atrial lead14, andventricular lead16. The distal end of the atrial lead shown positioned in the right atrium includeselectrodes18 and20. The distal end of theventricular lead16 shown positioned in the right ventricle includesventricular electrodes22 and24. Theatrial lead14 andventricular lead16 are engaged toheader26 affixed to the housing and may be electrically coupled to thepower supply28 andcontroller30 contained within thehousing12 in a known fashion. It should be appreciated that other lead configurations of known construction may be utilized, dependent upon the particular desired stimulation and particular placement of the lead. Without limitation, thecontroller30 includes apulse generator32, sensingcircuit34,stimulation circuit36 andtiming circuit37. Thepulse generator32, sensingcircuit34,stimulation circuits36, andtiming circuit37 of known construction may be modified to include the sensing protocol of the present invention as described below in greater detail. In particular, the refractory/blanking periods may be implemented in hardware and/or software in a known manner.
Referring next toFIG. 2, one embodiment of the sensing protocol which utilizes arefractory period44 and floatingrefractory period46 is shown. In this embodiment, electrogram signals38 and40 are sensed over time by respective atrial and ventricular sensing channels comprisingsensing circuit34 inFIG. 1. The sensing protocol initiates a firstrefractory period44 having a predetermined duration and then later initiates a floatingrefractory period46 also having a predetermined duration. The initiation of the firstrefractory period44 and the floating refractory period is dependent upon the timing of sensed signals exceeding a predetermined threshold. The floatingrefractory period46 is initiated a preset time following a triggering event and lasts for a predetermined amount of time. The floatingrefractory period46 is used in combination with the firstrefractory period44 to increase the time available for normal sensing.
In the embodiment shown inFIG. 2, the triggering event is defined by the expiration of a predetermined timing interval. It should be appreciated that the triggering event is programmable and may alternately include for example, without limitation, a paced event or a sensed event in either the atrium or ventricles. Further, the floating/blanking or refractory period may be implemented in a sensing protocol for either the atrium or ventricles. Also, the amount of time required for therefractory period44 and floatingrefractory period46 may be varied through physician programming, depending upon the particular patient's needs.
As further seen inFIG. 2, following a ventricular pace or ventricular intrinsic event theatrial electrogram38 includes apotential artifact48 later followed by a retrograde conducted P-wave50 occurring several milliseconds after the end of the sensed potential artifact and the end of the sensed ventricular event. Therefractory period44 and floatingrefractory period46 blank thesensing circuit34 from reacting to theartifact48 and retrograde P-wave50, but allows for sensing events occurring between theartifact48 and retrograde50, thus maximizing the time available for normal sensing. This increased time for sensing may be particularly relevant in treating CHF patients having conduction defects, since artifacts and/or evoked potentials may occur a significantly longer time after the triggering event (thereby requiring an especially long PVARP) than experienced by patients having normal conduction times. Further, in left ventricular pacing of a CHF patient, when the lead is in a uni-polar configuration and placed near the base of the ventricle, signals associated with left atrium activity may also be sensed by the left ventricular lead. Those skilled in the art will appreciate that the floating/blankingrefractory period46 may be used to blank signals corresponding to the left atrial P-wave with minimum interruption of left ventricular sensing.
In bi-ventricular or other multi-site pacing, additional artifact and evoked potentials are expected which consequently require longer refractory periods, thereby further reducing the normal sensing time. For example, in the case of bi-ventricular pacing, the ventricular refractory period must be long enough to blank out far-field sensing and/or retrograde conduction from both the right ventricle and the left ventricle. These long ventricular refractory periods may be required to prevent the right ventricular channel from sensing left ventricular activities and vice versa. The floating blanking refractory/period will extend the normal sensing time and may also be implemented in other multi-channel stimulation configurations, ensuring successful implementation of brady and tachy therapy algorithms by maximizing the normal sensing time.
FIG. 3 illustrates refractory and floating refractory periods,44 and46 respectively, in both the atrial and ventricular channels when pacing54 occurs in the atrium. A pacing event is identified by numeral54 inFIG. 3. In this embodiment, the triggering event for the floatingrefractory period46′ in the ventricular channel is a pacedevent54 in the atrium. Implementing refractory and floating refractory periods for each sensing channel increases the total time for normal sensing.
FIG. 4 illustrates implementation of refractory and floatingrefractory periods44 and46 respectively for multiple sensing channels identified as A1, A2, V1, and V2, wherein the floatingrefractory periods46 are triggered by paced and intrinsic events. Three pacing/sensing sequences divided by dottedvertical lines56 and58 may each occur independently. Although the pacing/sensing sequences are shown sequentially, the representation should not be construed as sequentially limited, but, rather, those skilled in the art will appreciate that each sequence may occur independently of the other. With reference to the first of the three pacing/sensing sequences, apacing stimulus60 is delivered to an atrium associated with sensing channel A1. Arefractory period44 is initiated in each channel A1, A2, V1, and V2 at the time thepacing stimulus60 is delivered. A floatingrefractory period46 is initiated for each sensing channel A2, V1, and V2. As illustrated, the floatingrefractory period46 may blank sensed events occurring during the refractory period. Referring to the next pacing/sensing sequence shown inFIG. 4, apacing stimulus62 is delivered to a ventricle associated with the sensing channel V1. Arefractory period44 is initiated on each channel A1, A2, V1, and V2 at the time thepacing stimulus62 is delivered. A floatingrefractory period46 is then initiated for each sensing channel A1, A2, and V1. A subsequent event sensed in channel V1 triggers a floatingrefractory period46 in channel A2. The third pacing/sensing sequence shown inFIG. 4 shows anintrinsic event64 sensed by channel V2 which initiates arefractory period44 in channels V1 and V2. Floatingrefractory periods46 are initiated in channels A1 and A2 which blanks sensing of intrinsic events detected in channels A1 and A2.
The start and duration of the floatingrefractory period46 for a given sensing channel may also be programmed as a function of the heart rate or pacing rate. Also, the floating refractory period may be programmed to restart upon occurrence of a triggering event during floating refractory period (seeFIG. 5).
In use, under certain circumstances the timing and duration of the floating refractory period may be automated. For example, with reference toFIG. 6, the device may start by using a maximum conventional refractory period (PVARP). The refractory period is then shortened to the minimum conventionalrefractory period70. Awindow72 in the shortened conventional PVARP is created and then thewindow72 is extended or maximized.
Alternatively, the device may gradually shorten the refractory period until a potential is sensed. The duration for the first refractory period may then be defined a predetermined amount greater than the elapsed time until the potential was sensed. A window of time that “interrupts” a conventional refractory period may expand from the end of the first refractory period to cover the time during which nothing is sensed. As described above, this window may expand by a predefined amount, may terminate when a pace occurs or when an intrinsic event is sensed. As recognized above, the various embodiments of this invention include using one or more floating blanking/refractory periods in a pacemaker, defibrillator, CHF device, and/or atrial fibrillation devices or any other device whose logic and timing depend on sensing events. Use of the first refractory and floating refractory periods maximizes the normal sensing time for each sensing channel. Those skilled in the art will appreciate that the procedure for automatically implementing the floating refractory period may also be utilized manually by a programmer.
This invention has been described herein in considerable detail in order to comply with the patent statutes and to provide those skilled in the art with the information needed to apply the novel principles and to construct and use such specialized components as are required. However, it is to be understood that the invention can be carried out by specifically different equipment and devices, and that various modifications, both as to the equipment and operating procedures, can be accomplished without departing from the scope of the invention itself.

Claims (72)

1. A cardiac rhythm management device capable of detecting intrinsic depolarization events, comprising:
a pulse generator for selectively stimulating a plurality of sites in at least one chamber of a patient's heart;
a sensing circuit configured to receive signals indicative of the depolarization events from a first electrode positioned within a sensing channel for an atrium of the patient's heart and a second electrode positioned within a sensing channel for a ventricle of the patient's heart; and
a controller configured to receive data from the sensing circuit and to control the pulse generator, wherein the controller prevents the use of data to detect intrinsic depolarization events during a plurality of programmable refractory periods in timed relation relative to a sensed triggering event in programmably selected from one of a plurality of programmably selectable sensing channels.
16. A multi-chamber cardiac rhythm management device functioning in a pre-selected stimulation mode and capable of atrial and ventricular tracking, said device comprising:
sensing means for sensing at least one of atrial and ventricular events and transmitting signals containing information corresponding to sensed events;
stimulation means for selectively stimulating pre-selected chambers of the patient's heart; and
a programmable controller coupled to said means for sensing and said stimulation means, wherein during a cardiac cycle said controller manipulates the means for sensing to thereby create a first and second refractory period periods of sensed events for programmably pre-selected chambers selected sites in the patient's heart during the cardiac cycle, wherein the programmably selected sites are programmably selected for applying the first and second refractory periods thereto.
25. A cardiac rhythm management device capable of uni-polar or bipolar atrial and ventricular stimulation, said cardiac rhythm management device including:
(a) a controller;
(b) means for stimulating at least one of an atrium or ventricle of a heart, said means being electrically coupled to said controller;
(c) sensing means for sensing a cardiac electrogram, said sensing means electrically coupled to the controller;
(d) an atrial lead having an atrial electrode electrically coupled to the controller;
(e) a ventricular lead having a ventricular electrode electrically coupled to the controller; and
(f) said controller having means for defining a refractory period and a floating refractory period for a predetermined cardiac cycle for a programmable programmably selectable chamber of the heart that is programmably selectable for applying the refractory period and the floating refractory period thereto.
36. A method for stimulating a pre-selected chamber of a patient's heart using a cardiac rhythm management device of the type which senses and determines independently atrial and ventricular depolarization events and includes a plurality of programmed timing and stimulation intervals, said method comprising the steps of:
a) sensing cardiac electrograms and detecting an intrinsic events occurring in pre-selected chambers of the patient's heart; then
b) identifying a time times at which unwanted potentials of the intrinsic events are sensed;
c) initiating a first interval for blanking detected events for a first predetermined portion of a cardiac cycle;
d) initiating a second interval for blanking detected events for a second predetermined portion of the cardiac cycle; and
programming a sensing channel to which the first interval and the second interval are applied;
programming timing of the second interval using the identified times; and
e) stimulating pre-selected chambers in accordance with a predetermined stimulation protocol so long as an intrinsic cardiac event having an amplitude exceeding a predetermined amount is not sense sensed between the first and second intervals.
42. A method for programming a cardiac rhythm management device to enhance its ability to sense intrinsic depolarization events while avoiding detection of artifacts and after-potentials comprisingthe step of:
(a) examining cardiac electrogram data originating from programmably selectable sites in a heart to identify unwanted potentials;
(b) determining a temporal relationship between the unwanted potentials and a known, repeatable, intrinsic or paced event;
(c) programming the known, repeatable, intrinsic or paced event as a trigger event that initiates a blanking or refractory period in a sensing channel exhibiting the unwanted potential;
(d) programming a delay value that starts with the trigger event and extends to a point in time before which the unwanted potential is predicted not to occur; and
(e) programming a duration of the blanking or refractory period that begins with the end of the delay value and extends to cover a period of time during which the unwanted potential is predicted to occur.
69. A cardiac rhythm management device capable of detecting intrinsic depolarization events, comprising:
a pulse generator for selectively stimulating a plurality of sites in at least one chamber of a patient's heart;
a sensing circuit configured to receive signals indicative of the depolarization events from a first electrode positioned within a sensing channel for an atrium of the patient's heart and a second electrode positioned within a sensing channel for a ventricle of the patient's heart; and
a controller configured to receive data from the sensing circuit and to control the pulse generator, wherein the controller prevents the use of data to detect intrinsic depolarization events during a plurality of programmable refractory periods in timed relation relative to a sensed triggering event programmably selected from one of a plurality of programmably selectable sensing channels, wherein at least one of the programmable refractory periods is initiated a predetermined amount of time after the end of a first refractory period, the first refractory period being initiated coincidental with sensing an intrinsic event.
70. A multi-chamber cardiac rhythm management device functioning in a pre-selected stimulation mode and capable of atrial and ventricular tracking, said device comprising:
sensing means for sensing at least one of atrial and ventricular events and transmitting signals containing information corresponding to sensed events;
stimulation means for selectively stimulating pre-selected chambers of a patient's heart; and
a programmable controller coupled to said means for sensing and said stimulation means, wherein during a cardiac cycle said controller manipulates the means for sensing to thereby create first and second refractory periods of sensed events for programmably pre-selected chambers of the patient's heart during the cardiac cycle, wherein the second refractory period is initiated a predetermined amount of time after the end of the first refractory period.
71. A cardiac rhythm management device capable of detecting intrinsic depolarization events, comprising:
a sensing circuit configured to receive signals indicative of the depolarization events from a first electrode positioned within a sensing channel for an atrium of a patient's heart and a second electrode positioned within a sensing channel for a ventricle of the patient's heart; and
a controller configured to receive data from the sensing circuit and prevent use of data to detect intrinsic depolarization events during one or more programmable refractory periods in timed relation relative to a sensed triggering event programmably selected from one of a plurality of sensing channels, wherein one of the one or more programmable refractory periods is a floating refractory period that is initiated a programmable amount of time after the end of a first refractory period, the first refractory period being initiated coincidental with the sensed triggering event.
US11/900,9012002-02-042007-09-13Method and apparatus for avoiding unwanted sensing in a cardiac rhythm management deviceExpired - LifetimeUSRE42933E1 (en)

Priority Applications (1)

Application NumberPriority DateFiling DateTitle
US11/900,901USRE42933E1 (en)2002-02-042007-09-13Method and apparatus for avoiding unwanted sensing in a cardiac rhythm management device

Applications Claiming Priority (2)

Application NumberPriority DateFiling DateTitle
US10/066,989US6944499B2 (en)2002-02-042002-02-04Method and apparatus for avoiding unwanted sensing in a cardiac rhythm management device
US11/900,901USRE42933E1 (en)2002-02-042007-09-13Method and apparatus for avoiding unwanted sensing in a cardiac rhythm management device

Related Parent Applications (1)

Application NumberTitlePriority DateFiling Date
US10/066,989ReissueUS6944499B2 (en)2002-02-042002-02-04Method and apparatus for avoiding unwanted sensing in a cardiac rhythm management device

Publications (1)

Publication NumberPublication Date
USRE42933E1true USRE42933E1 (en)2011-11-15

Family

ID=27658779

Family Applications (2)

Application NumberTitlePriority DateFiling Date
US10/066,989CeasedUS6944499B2 (en)2002-02-042002-02-04Method and apparatus for avoiding unwanted sensing in a cardiac rhythm management device
US11/900,901Expired - LifetimeUSRE42933E1 (en)2002-02-042007-09-13Method and apparatus for avoiding unwanted sensing in a cardiac rhythm management device

Family Applications Before (1)

Application NumberTitlePriority DateFiling Date
US10/066,989CeasedUS6944499B2 (en)2002-02-042002-02-04Method and apparatus for avoiding unwanted sensing in a cardiac rhythm management device

Country Status (1)

CountryLink
US (2)US6944499B2 (en)

Families Citing this family (10)

* Cited by examiner, † Cited by third party
Publication numberPriority datePublication dateAssigneeTitle
US7308307B1 (en)*2004-03-022007-12-11Pacesetter, Inc.Implantable single-chamber atrial pacing device providing active ventricular far field sensing and rate limit
US7983750B2 (en)2005-09-202011-07-19Cardiac Pacemakers, Inc.Refractory period management based on detection of an evoked response
US8600490B1 (en)2007-11-212013-12-03Pacesetter, Inc.Two-dimensional refractory period
WO2009075949A1 (en)*2007-12-112009-06-18Cardiac Pacemakers, Inc.Coronary vein hemodynamic sensor
CN102448542A (en)*2009-05-262012-05-09心脏起搏器公司 Systems and methods for rhythm identification and therapy discrimination using hemodynamic state
WO2010141284A1 (en)*2009-06-012010-12-09Cardiac Pacemakers, Inc.System and method for pacing rate control utilizing patient hemodynamic status information
US8423140B2 (en)*2009-06-012013-04-16Cardiac Pacemakers, Inc.System and method for decompensation detection and treatment based on patient hemodynamics
US10052488B2 (en)2010-12-202018-08-21Cardiac Pacemakers, Inc.Refractory and blanking intervals in the context of multi-site left ventricular pacing
JP5857069B2 (en)*2010-12-202016-02-10カーディアック ペースメイカーズ, インコーポレイテッド Cardiac pacing device
US9586051B2 (en)2015-04-232017-03-07Medtronic, Inc.Method and apparatus for detection of intrinsic depolarization following high energy cardiac electrical stimulation

Citations (9)

* Cited by examiner, † Cited by third party
Publication numberPriority datePublication dateAssigneeTitle
EP0318304A2 (en)1987-11-251989-05-31Medtronic, Inc.Dual chamber pacemaker with adaptive atrial escape interval
EP0562237A1 (en)1992-03-241993-09-29Pacesetter ABDual chamber pacemaker
US5275621A (en)*1992-04-131994-01-04Medtronic, Inc.Method and apparatus for terminating tachycardia
EP0594957A1 (en)1992-10-281994-05-04Pacesetter ABDevice for identifying atrial depolarization
US5470342A (en)*1994-04-121995-11-28Pacesetter, Inc.Adaptive refractory period within implantable cardioverter-defibrillator
EP0705620A2 (en)1994-10-041996-04-10Vitatron Medical B.V.Pacemaker with improved far field R wave sensing and suppression
US5643326A (en)*1994-05-271997-07-01Weiner; Henry L.Dual chamber pacing with atrial and ventricular independence
US5735881A (en)*1997-04-141998-04-07Sulzer Intermedics Inc.Variable atrail blanking period in an implantable medical device
US6337996B1 (en)*1998-06-052002-01-08Ela Medical S.A.Active implantable medical devices with refractory period management

Patent Citations (10)

* Cited by examiner, † Cited by third party
Publication numberPriority datePublication dateAssigneeTitle
EP0318304A2 (en)1987-11-251989-05-31Medtronic, Inc.Dual chamber pacemaker with adaptive atrial escape interval
EP0562237A1 (en)1992-03-241993-09-29Pacesetter ABDual chamber pacemaker
US5275621A (en)*1992-04-131994-01-04Medtronic, Inc.Method and apparatus for terminating tachycardia
EP0594957A1 (en)1992-10-281994-05-04Pacesetter ABDevice for identifying atrial depolarization
US5400796A (en)*1992-10-281995-03-28Siemens-Elema AbDevice for identifying atrial depolarization
US5470342A (en)*1994-04-121995-11-28Pacesetter, Inc.Adaptive refractory period within implantable cardioverter-defibrillator
US5643326A (en)*1994-05-271997-07-01Weiner; Henry L.Dual chamber pacing with atrial and ventricular independence
EP0705620A2 (en)1994-10-041996-04-10Vitatron Medical B.V.Pacemaker with improved far field R wave sensing and suppression
US5735881A (en)*1997-04-141998-04-07Sulzer Intermedics Inc.Variable atrail blanking period in an implantable medical device
US6337996B1 (en)*1998-06-052002-01-08Ela Medical S.A.Active implantable medical devices with refractory period management

Also Published As

Publication numberPublication date
US20030149452A1 (en)2003-08-07
US6944499B2 (en)2005-09-13

Similar Documents

PublicationPublication DateTitle
USRE42933E1 (en)Method and apparatus for avoiding unwanted sensing in a cardiac rhythm management device
US6038474A (en)Pseudo-fusion management during automatic capture verification
US7047073B2 (en)Cardiac stimulating device
US6226551B1 (en)Wide-band evoked response sensing for capture verification
EP1565232B1 (en)Determining relative depolarization at multiple cardiac sites
EP1051223B1 (en)System for inducing tachycardia utilizing near-field wave sensing
US6931282B2 (en)Method to create pacemaker timing cycles
US6885890B2 (en)Apparatus and method for multi-site anti-tachycardia pacing
US7099716B1 (en)Implantable cardiac stimulation device having autocapture/autothreshold capability
US7580748B2 (en)Heart stimulator
US6961613B2 (en)Implantable bi-ventricular stimulation device and system, and bi-ventricular stimulation and sensing method
US7835792B2 (en)Implantable cardiac device
EP1923098B1 (en)Heart stimulator
US7024243B1 (en)System and methods for preventing, detecting, and terminating pacemaker mediated tachycardia in biventricular implantable cardiac stimulation device
US5941830A (en)System and method for optimal sensing of cardiac events
JP2002521156A (en) Algorithm for automatically checking the pacing safety margin of a cardiac pacing system
US20030120314A1 (en)Cardiac rhythm management system with remotely activated capture verification for CHF and other patients
EP3311881A1 (en)Apparatus and method to optimize pacing parameters
US7979125B2 (en)Implantable biventricular heart stimulating device and method for performing a capture threshold search
US9020596B2 (en)Management of fusion beat detection during capture threshold determination
EP1954349B1 (en)An implantable heart stimulation device
US7085602B2 (en)Implantable bi-ventricular stimulation device and system, and bi-ventricular stimulation and sensing method
US7299094B1 (en)System and method for implementing autocapture within biventricular implantable cardiac stimulation systems

Legal Events

DateCodeTitleDescription
FEPPFee payment procedure

Free format text:PAYOR NUMBER ASSIGNED (ORIGINAL EVENT CODE: ASPN); ENTITY STATUS OF PATENT OWNER: LARGE ENTITY

CCCertificate of correction
FPAYFee payment

Year of fee payment:8

FPAYFee payment

Year of fee payment:12


[8]ページ先頭

©2009-2025 Movatter.jp