Movatterモバイル変換


[0]ホーム

URL:


USRE42185E1 - Image retrieval system and image retrieval method - Google Patents

Image retrieval system and image retrieval method
Download PDF

Info

Publication number
USRE42185E1
USRE42185E1US11/300,693US30069305AUSRE42185EUS RE42185 E1USRE42185 E1US RE42185E1US 30069305 AUS30069305 AUS 30069305AUS RE42185 EUSRE42185 EUS RE42185E
Authority
US
United States
Prior art keywords
retrieval
characteristic
image
unit
data
Prior art date
Legal status (The legal status is an assumption and is not a legal conclusion. Google has not performed a legal analysis and makes no representation as to the accuracy of the status listed.)
Expired - Lifetime, expires
Application number
US11/300,693
Inventor
Shunichi Sekiguchi
Yoshimi Isu
Hirofumi Nishikawa
Yoshihisa Yamada
Kohtaro Asai
Current Assignee (The listed assignees may be inaccurate. Google has not performed a legal analysis and makes no representation or warranty as to the accuracy of the list.)
Mitsubishi Electric Corp
Original Assignee
Mitsubishi Electric Corp
Priority date (The priority date is an assumption and is not a legal conclusion. Google has not performed a legal analysis and makes no representation as to the accuracy of the date listed.)
Filing date
Publication date
Application filed by Mitsubishi Electric CorpfiledCriticalMitsubishi Electric Corp
Priority to US11/300,693priorityCriticalpatent/USRE42185E1/en
Application grantedgrantedCritical
Publication of USRE42185E1publicationCriticalpatent/USRE42185E1/en
Adjusted expirationlegal-statusCritical
Expired - Lifetimelegal-statusCriticalCurrent

Links

Images

Classifications

Definitions

Landscapes

Abstract

When a retrieval condition of an attribute list is input from a user interface unit to a retrieval processing unit, the attribute list stored in an attribute list storing unit is retrieved in the retrieval processing unit. Thereafter, attribute information conforming to the retrieval condition is output to and displayed on a displaying unit. Thereafter, when a retrieval condition of the similarity retrieval is input from the user interface unit to the retrieval processing unit, image data stored in the image information storing unit is retrieved in the retrieval processing unit, and specific image data relating to a characteristic descriptor set conforming to the retrieval condition is selected in the retrieval processing unit. Thereafter, the specific image data is output to and displayed on the displaying unit.

Description

Notice: More then one reissue application has been filed for the reissue of U.S. Pat. No.6,665,442. The reissue applications are application Ser. No.11/300,693, and Divisional Reissue application Ser. Nos.11/932,022,11/933,358, and12/603,268 all of which are divisional reissues of U.S. Pat. No.6,665,442.
CROSS-REFERENCE TO The RELATED APPLICATION
This application is a continuation of International Application No. PCT/JP00/08547, whose International filing date is Dec. 1, 2000, the disclosures of which Application are incorporated by reference herein.
BACKGROUND OF THE INVENTION
1. Field of the Invention
The present invention relates to an image retrieval system and an image retrieval method in which characteristic values and/or pieces of attribute information are extracted from pieces of image data such as moving images or static images recorded in analog or digital and in which the retrieval of desired image data is performed by using the extracted characteristic values and/or the pieces of extracted attribute information.
2. Description of Related Art
FIG. 1 shows the configuration of a system as an example of a conventional image retrieval processing system. This system is disclosed in a letter “Synthesis and Evaluation of the Image Database with Fully Automated Keyword Extraction by State Transition Model and Scene Description Language” edited by Institute of Electronic Information and Communication Engineers of Japan, D-II Vol. J79-D-II No.4, pp.476-483, April of 1996. In this system, static images are processed in the image retrieval. That is, an area of each of images is divided into a plurality of segments in anarea dividing unit103 of apreparation unit101, and a plurality of keywords are attached to each divided segment. As the keywords, a conception keyword and a scene description keyword are prepared. In a conceptionkeyword extracting unit104, aconception keyword108 of each segment is obtained according to a color and a characteristic value of the segment by using conception keywords respectively allocated to color information in advance. In a scene descriptionkeyword describing unit105, a predicate relating to “position”, “color”, “shape”, “size”, “direction” or the like is obtained from a plurality of image characteristic values of segments. In theunit105, anoperation106, in which auser107 selects one predicate from predicates defined in advance and describes the selected predicate, is required, and the selected predicate is output as ascene description keyword109. In aretrieval tool102, conception keywords and scene description keywords are prepared in advance. Auser111 selects one conception keyword and one scene description keyword as each ofkeywords112 from the prepared keywords. In a characteristic identifyingunit110, an identity of characteristic values is checked by comparing eachkeyword112 selected by theuser111 with theconception keyword108 or thescene description keyword109 attached to each segment of the image, and an image retrieval processing is performed for the image.
However, in the above-described image retrieval processing system, an identity of characteristic values is checked by using keywords such as conception keywords and scene description keywords selected by theuser112 and keywords attached to each image, and an image retrieval processing is performed according to the characteristic values of each image. Therefore, all images are searched according to only the characteristic values of the images, so that it takes a lot of time to retrieve a desired image.
Also, in the above-described image retrieval processing system, a description method or a storing method of each keyword is not considered. Therefore, it is required that a plurality of image servers relate to a plurality of retrieval tools denoting clients in one-to-one correspondence. As a result, a system, in which many users respectively perform the image retrieval through a network while using various retrieval tools, cannot be provided for the users.
Also, because only static images are processed in the image retrieval, it is difficult to retrieve a desired moving image.
SUMMARY OF THE INVENTION
The present invention is provided to solve the above problems, and a main object of the present invention is to provide an image retrieval system and an image retrieval method in which an image retrieval processing can be efficiently performed.
A subordinate object of the present invention is to provide an image retrieval system and an image retrieval method which does not depend on a plurality of image servers distributed in a network by describing and producing a plurality of retrieval keywords according to a common syntax.
Another subordinate object of the present invention is to provide an image retrieval system and an image retrieval method in which the retrieval of a desired moving image can be easily performed by extracting a characteristic value for each video segment, which is composed of a plurality of frames, in place of the extraction of a characteristic value for each frame when a plurality of keywords are extracted from moving images.
An image retrieval system according to the present invention, comprises a characteristic descriptor producing unit for extracting a plurality of image characteristic values from pieces of input image data and producing a characteristic descriptor for each piece of input image data, an image information storing unit for storing the characteristic descriptors produced in the characteristic descriptor producing unit while holding the correspondence of each characteristic descriptor to one piece of input image data, an attribute list producing unit for producing an attribute list according to a piece of attribute information attached to each piece of input image data, and an image retrieving unit for receiving a first retrieval condition relating to attribute information, searching the attribute list produced in the attribute list producing unit for one piece of attribute information conforming to the first retrieval condition, outputting the piece of attribute information conforming to the first retrieval condition, receiving a second retrieval condition relating to a characteristic descriptor, searching the image information storing unit for one piece of image data conforming to the second retrieval condition and outputting the piece of image data conforming to the second retrieval condition.
Therefore, the retrieval can be efficiently performed.
In an image retrieval system according to the present invention, the attribute list is produced according to a syntax, which defines a data structure of the attribute list, in the attribute list producing unit, and the piece of attribute information conforming to the first retrieval condition is retrieved according to the syntax of the attribute list in the image retrieving unit.
Therefore, the retrieval can be efficiently performed in a short time.
In an image retrieval system according to the present invention, the characteristic descriptors are produced according to a syntax, which defines a data structure of each characteristic descriptor, in the characteristic descriptor producing unit, and the piece of image data conforming to the second retrieval condition is retrieved in the image retrieving unit according to the syntax of the characteristic descriptors.
Therefore, the image retrieval not depending on a plurality of image servers distributed in the network can be performed.
In an image retrieval system according to the present invention, one image characteristic value is extracted in the characteristic descriptor producing unit for each frame, and one characteristic descriptor is produced in the characteristic descriptor producing unit for each video segment composed of a group of frames.
Therefore, the retrieval of a moving image can be easily performed.
In an image retrieval system according to the present invention, each piece of input picture data received in the characteristic descriptor producing unit denotes compressed video data which composes one or more intra-frames and one or more inter-frames, both an average value and a standard deviation are produced as one characteristic descriptor of the intra-frames of the video segment in the characteristic descriptor producing unit by extracting an average matrix of pixel values in a prescribed coding area of one intra-frame for each intra-frame of the video segment, calculating a sum of the average matrices of all intra-frames included in the video segment and calculating both the average value of the average matrices and the standard deviation of the average matrices from the sum and the number of intra-frames in the video segment, and one characteristic descriptor of the inter-frames of the video segment is produced in the characteristic descriptor producing unit by extracting a matrix of motion vectors of pixels of the prescribed coding areas of one inter-frame for each inter-frame of the video segment, calculating an average of the motion vectors of each inter-frame of the video segment as a motion vector average, classifying zero run lengths, which are obtained according to a threshold processing for the motion vectors of one inter-frame, into a plurality of classified types of zero run lengths for each inter-frame of the video segment, calculating an average of the motion vector averages and a plurality of classified types of average zero run lengths in the video segment according to the number of inter-frames in the video segment and setting the average of the motion vector averages and the classified types of average zero run lengths as the characteristic descriptor of the inter-frames of the video segment.
Therefore, the retrieval of a moving image can be easily performed.
In an image retrieval system according to the present invention, each piece of input picture data received in the characteristic descriptor producing unit denotes non-compressed video data, the characteristic values are extracted from the pieces of non-compressed video data in the characteristic descriptor producing unit to produce the characteristic descriptors, and the characteristic descriptors and pieces of compressed video data, which are obtained by compressing the pieces of non-compressed video data according to a prescribed video compression method, are stored in the image information storing unit while the correspondence of each characteristic descriptor to one piece of compressed video data is held.
Therefore, the retrieval can be efficiently performed.
In an image retrieval system according to the present invention, a prescribed condition equation stored in advance is read out by the image retrieving unit in cases where the image retrieving unit searches the image information storing unit for the piece of image data conforming to the characteristic descriptor specified by the second retrieval condition to output the piece of image data, and it is judged according to the prescribed condition equation whether or not the piece of image data conforms to the characteristic descriptor specified by the second retrieval condition.
Therefore, the retrieval can be efficiently performed.
In an image retrieval system according to the present invention, each piece of input image data denotes a monitored image recorded by a monitoring camera.
Therefore, a trespasser can be detected.
In an image retrieval system according to the present invention, each piece of input image data denotes an image of a stored video mail.
Therefore, a user can retrieve a desired mail.
In an image retrieval system according to the present invention, each piece of input image data denotes an image of a stored broadcast program.
Therefore, even though a user does not accurately remember program information, the user can retrieve a desired program according to an image impression.
In an image retrieval system according to the present invention, each piece of input image data denotes a video image recorded by a video camera.
Therefore, the image retrieval can be efficiently performed by using the similarity held in the images as a key.
An image retrieval method according to the present invention comprises the steps of extracting a plurality of image characteristic values from pieces of input image data to produce a characteristic descriptor for each piece of input image data, storing the produced characteristic descriptors while holding the correspondence of each characteristic descriptor to one piece of input image data, producing an attribute list according to a piece of attribute information attached to each piece of input image data, receiving a first retrieval condition relating to attribute information, searching the attribute list for one piece of attribute information conforming to the first retrieval condition, outputting the piece of attribute information conforming to the first retrieval condition, receiving a second retrieval condition relating to a characteristic descriptor, searching the pieces of stored image data for one piece of image data conforming to the second retrieval condition while referring to the piece of attribute information conforming to the first retrieval condition, and outputting the piece of image data conforming to the second retrieval condition.
Therefore, the image retrieval can be efficiently performed
An image retrieval system according to the present invention comprises a characteristic descriptor producing unit for extracting a plurality of image characteristic values from pieces of input image data and producing a characteristic descriptor for each piece of input image data, a for-retrieval description data producing unit for describing each characteristic descriptor as a piece of for-retrieval description data while holding the correspondence of the piece of for-retrieval description data to a space-time structure of the pieces of input image data, an image information storing unit for storing each piece of for-retrieval description data with the piece of input image data corresponding to the piece of for-retrieval description data, a first retrieval processing unit, a second retrieval processing unit, and a user interface unit. A retrieval request received from a user through the user interface unit is sent from the second retrieval processing unit to the first retrieval processing unit as retrieval request information, a retrieval result sent from the first retrieval processing unit is received in the second retrieval processing unit, the second retrieval processing unit presents the retrieval result to the user through the user interface unit, the pieces of for-retrieval description data of the pieces of input image data stored in the image information storing unit are analyzed in the first retrieval processing unit according to the retrieval request information sent from the second retrieval processing unit to extract the characteristic descriptors, a conformity judgment processing is performed in the first retrieval processing unit according to the extracted characteristic descriptors to obtain the retrieval result, and the retrieval result is sent from the first retrieval processing unit to the second retrieval processing unit to make the second retrieval processing unit present the retrieval result to the user through the user interface unit.
Therefore, the image data retrieval based on the character descriptors can be efficiently performed.
The image retrieval system according to the present invention further comprises a characteristic descriptor reliability calculating unit for calculating a degree of reliability of each characteristic descriptor produced in the characteristic descriptor producing unit. The for-retrieval description data producing unit describes each characteristic descriptor and the degree of reliability of the characteristic descriptor as one piece of for-retrieval description data while holding the correspondence of the piece of for-retrieval description data to the space-time structure of the pieces of input image data, the pieces of for-retrieval description data of the pieces of input image data stored in the image information storing unit are analyzed in the first retrieval processing unit according to the retrieval request information sent from the second retrieval processing unit to extract the characteristic descriptors and the degrees of reliability of the characteristic descriptors, a conformity judgment processing is performed in the first retrieval processing unit according to the extracted characteristic descriptors and the degrees of reliability of the characteristic descriptors to obtain the retrieval result, and the retrieval result is sent from the first retrieval processing unit to the second retrieval processing unit to make the second retrieval processing unit present the retrieval result to the user through the user interface unit.
Therefore, the retrieval can be efficiently performed.
In an image retrieval system according to the present invention, the necessity of the conformity judgment processing for each characteristic descriptor is estimated in the first retrieval processing unit according to the degree of reliability of the characteristic descriptor in case of the conformity judgment processing, and the conformity judgment processing for the characteristic descriptor is skipped in cases where it is judged that the conformity judgment processing for the characteristic descriptor is not necessary.
Therefore, the retrieval processing can be performed at high speed, and the retrieval efficiency can be moreover improved.
The image retrieval system according to the present invention further comprises a characteristic descriptor retrieval order determining unit for determining a use order of the characteristic descriptors in the retrieval according to the degrees of reliability calculated in the characteristic descriptor reliability calculating unit. The for-retrieval description data producing unit describes each characteristic descriptor, the degree of reliability of the characteristic descriptor and the use order in the retrieval as one piece of for-retrieval description data while holding the correspondence of the piece of for-retrieval description data to the space-time structure of the pieces of input image data, the pieces of for-retrieval description data of the pieces of input image data stored in the image information storing unit are analyzed in the first retrieval processing unit according to the retrieval request information sent from the second retrieval processing unit to extract the characteristic descriptors, the degrees of reliability of the characteristic descriptors and the use order in the retrieval, a conformity judgment processing is performed in the first retrieval processing unit according to the extracted characteristic descriptors, the degrees of reliability and the use order in the retrieval to obtain the retrieval result, and the retrieval result is sent from the first retrieval processing unit to the second retrieval processing unit to make the second retrieval processing unit present the retrieval result to the user through the user interface unit.
Therefore, the image data retrieval based on the characteristic descriptors, the degrees of reliability and the use order in the retrieval can be efficiently performed.
In an image retrieval system according to the present invention, the retrieval request information, in which a use order of the characteristic descriptors in the retrieval, is sent from the second retrieval processing unit to the first retrieval processing unit as the retrieval request sent from the user through the user interface unit, and a retrieval order of the characteristic descriptors is renewed in the first retrieval processing unit according to the use order in the retrieval which is included in the retrieval request information sent from the second retrieval processing unit to perform a retrieval processing corresponding to the retrieval request of the user.
Therefore, the retrieval processing corresponding to the retrieval request of the user can be performed.
In an image retrieval system according to the present invention, the number of characteristic descriptor candidates in the retrieval result obtained in the conformity judgment processing is determined according to the degrees of reliability of the characteristic descriptors in the first retrieval processing unit for each of a plurality of retrieval steps of which an applied order is determined according to the use order in the retrieval, and the conformity judgment processing is performed.
Therefore, the retrieval processing can be performed at high speed.
The image retrieval system according to the present invention further comprises a video data reproducing server, and a video data decoding and reproducing unit. Each piece of input image data denotes a piece of video data, a piece of key image data representing each of pieces of video data specified in the retrieval is sent from the first retrieval processing unit to the second retrieval processing unit as the retrieval result, each piece of key image data is received in the second retrieval processing unit as the retrieval result sent from the first retrieval processing unit to present the retrieval result to the user through the user interface unit, a reproduction request indicating a specific key image, which is selected by the user from a plurality of key images indicated by the pieces of key image data, is sent from the user interface unit and is received in the video data reproducing server, a piece of specific video data represented by the specific key image is read out from the image information storing unit and is sent to the video data decoding and reproducing unit, and the piece of specific video data sent from the video data reproducing server is received in the video data decoding and reproducing unit, is decoded and is received.
Therefore, a total amount of transferred information can be effectively reduced.
An image retrieval method according to the present invention comprises the steps of extracting a plurality of image characteristic values from pieces of input image data to produce a characteristic descriptor for each piece of input image data, describing each characteristic descriptor as a piece of for-retrieval description data while holding the correspondence of the piece of for-retrieval description data to a space-time structure of the pieces of input image data, storing each piece of for-retrieval description data with the piece of input image data corresponding to the piece of for-retrieval description data, analyzing the pieces of stored for-retrieval description data of the pieces of input image data according to a retrieval request sent from a user to extract the characteristic descriptors, performing a conformity judgment processing according to the extracted characteristic descriptors to obtain a retrieval result, and presenting the retrieval result to the user.
Therefore, the image data retrieval based on the characteristic descriptors, the degrees of reliability and the use order in the retrieval can be efficiently performed.
The image retrieval method according to the present invention further comprises the steps of preparing pieces of video data as the pieces of input image data, presenting a piece of key image data, which represents each of pieces of video data specified in the retrieval, to the user as the retrieval result, receiving a reproduction request indicating a specific key image which is selected by the user from a plurality of key images indicated by the pieces of key image data, reading out a piece of specific video data represented by the specific key image, and decoding and reproducing the piece of specific video data.
Therefore, a total amount of transferred information can be effectively reduced.
BRIEF DESCRIPTION OF THE DRAWINGS
FIG. 1 is a diagram showing an example of a conventional image retrieval processing system.
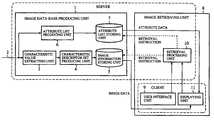
FIG. 2 is a block diagram explaining the configuration of an image retrieval system according to a first embodiment of the present invention.
FIG. 3 is a flow chart showing the processing of an image data base producing unit.
FIG. 4 is a diagram showing an example of the processing for producing an instance (an XLM document) of text information from the text information of image attributes.
FIG. 5 is a diagram showing an intra/inter adaptive coding.
FIG. 6 is a flow chart showing a total characteristic descriptor set producing procedure including both a characteristic value extracting processing and a characteristic descriptor producing processing.
FIG. 7 is a flow chart concretely showing a producing procedure of a characteristic descriptor set producing processing.
FIG. 8 is a diagram showing an example of values characterizing a motion distribution.
FIG. 9 is a diagram showing the meaning of a descriptor set of an intra frame.
FIG. 10 is a diagram showing an example of the processing for producing a characteristic descriptor set from an extracted characteristic value.
FIG. 11 is a diagram showing an example in which the characteristic descriptor set is hierarchically produced and described.
FIG. 12 is a flow chart showing the processing of an image retrieving unit.
FIG. 13 is a flow chart showing a conformity judgment processing.
FIG. 14 is a diagram showing another configuration example of an image data base producing unit.
FIG. 15 is a block diagram showing the configuration of a characteristic portion placed on a server side of an image retrieval system according to a second embodiment.
FIG. 16 is a block diagram showing the configuration of a characteristic portion placed on a client side of the image retrieval system according to the second embodiment.
FIG. 17 is a flow chart showing a plurality of retrieval processing steps in the image retrieval system of the second embodiment.
FIG. 18 is a diagram showing a structure of a for-retrieval description data file used by the image retrieval system of the second embodiment.
FIG. 19 is a diagram showing an example of a conformity judgment processing for judging the conformity of a characteristic descriptor according to a search priority in a conformity judgment processing unit.
FIG. 20 is a diagram showing the relationship between a user's subjective characteristic and a characteristic descriptor.
DETAILED DESCRIPTION OF THE PREFERRED EMBODIMENTS
The invention will now be described with reference to the accompanying drawings.
Embodiment 1
In a first embodiment, an image retrieval system is described, In this image retrieval system, a user can retrieve desired image data (or a desired image) from pieces of image data (or images) which are stored in one data base or a plurality of data bases distributed in a network. Also, the user can use the desired image data.
The pieces of image data denote compressed static images (for example, JPEG images), compressed moving images (for example, MPEG images) or non-compressed images according to an image using method. Also, an image format is not limited. In this first embodiment, as an example of the present invention, it is supposed that image information is transmitted or collected according to World Wide Web (WWW) of the internet. However, the present invention is not limited to the WWW, and the image retrieval system according to the present invention can be applied for a service based on a wire communication or a wireless communication or a service based on a broadcast network.
FIG. 2 is a block diagram explaining the configuration of an image retrieval system according to the first embodiment. Hereinafter, a word “class” denotes a definition of data, and a word “instance” denotes data concretely expressed by a value according to a class definition. For example, the word “instance” denotes a file or a variable.
InFIG. 2,1 indicates an image data base producing unit.2 denotes image data and attribute information indicated by text information. The attribute information indicates attributes relating to the image data.3 indicates a characteristic value extracting unit for extracting a prescribed set of characteristic values (called a characteristic value set) from each piece ofimage data2.4 indicates a characteristic descriptor set producing unit for producing a set of characteristic descriptors (called a characteristic descriptor set), which denotes a set of instances (called an instance set), from the characteristic value set extracted in the characteristicvalue extracting unit3 according to a definition of a characteristic value description data class which is common to another image database producing unit1 or another server.5 indicates an image information storing unit for storing each piece of image data and the characteristic descriptor set corresponding to the piece of image data in a pair.
Also, inFIG. 2,6 indicates an attribute list producing unit for producing a list of attributes (called an attribute list), which denotes an instance set, from the pieces ofattribute information2 according to a definition of a text information description data class which is common to another image database producing unit1 or another server.7 indicates an attribute list storing unit for storing the attribute list corresponding to the pieces ofattribute information2.8 indicates an image retrieving unit.9 indicates a user interface unit for selecting an image, which is desired to be retrieved, according to a category or a key image of image data to be retrieved.10 indicates a retrieval processing unit for performing a retrieval processing according to retrieval conditions indicated in theuser interface unit9.11 indicates a displaying unit for displaying a retrieved key image and a retrieved image. Here, in this first embodiment, the attribute list and the characteristic descriptor set are generically defined as meta data.
Also, inFIG. 2, a server comprises the image database producing unit1, which is composed of the characteristicvalue extracting unit3, the characteristic descriptor set producingunit4, the imageinformation storing unit5, the attributelist producing unit6 and the attributelist storing unit7, and theretrieval processing unit10 of theimage retrieving unit8. A client comprises theuser interface unit9 and the displayingunit11 of theimage retrieving unit8. An image retrieval system according to the present invention comprises the server and the client. However, the present invention is not limited to the above-described configuration. For example, it is applicable that the displayingunit10 be moved from the server to the client. Also, it is applicable that the server additionally have theuser interface unit9 and the displayingunit11 to add a function of the client to the server. Also, there are a plurality of image database producing units1 or a plurality of servers, and there are a plurality ofimage retrieving units8 or a plurality of clients. The plurality of image database producing units1 or the plurality of servers are connected with the plurality ofimage retrieving units8 or the plurality of clients through a network such as an internet. As is described above, the characteristic descriptor set and the attribute list are produced according to the characteristic value description data class and the text information description data class which are common to the plurality of image database producing units1 or the plurality of servers.
Next, the processing performed in each unit is described in detail.
(1) Processing of the Image DataBase Producing Unit1
FIG. 3 is a flow chart showing the processing of the image database producing unit1.
Here, the case where image data is newly registered to an image data base is considered. The registration to an image data base is mainly composed of two types of processing. In one type of processing, an attribute list is produced from text information which indicates image attributes and is attached to image data, and the attribute list is stored in the attributelist storing unit7. In the other type of processing, characteristic values are extracted from the image data, characteristic descriptors are produced from the characteristic values, and the image data and the characteristic descriptors are stored in the imageinformation storing unit5 denoting a data base. Next, each type of processing is described in detail.
First, the processing (from a step ST1 to a step ST3) from the production of an attribute list to the registration of the attribute list is described in detail.
Initially, text information, which is attached to and is input with image information and indicates image attributes, is extracted (step ST1). For example, in cases where image data denotes moving image data of a video mail, pieces of information of a sender, a sending date and a title of the is video mail, which are sent with the moving image data, are used as text information indicating image attributes. These pieces of information indicate a producer and a producing date of the moving image data of the video mail, so that these pieces of information denote text information indicating attributes of the moving image data. Also, in another example, in cases where image data denotes a video program of a television broadcasting transmitted from a broadcasting station, pieces of program information (the cast, a producer, a title and a broadcasting date) transmitted with the video program are considered as text information indicating image attributes. Also, in cases where an example, in which home video data or a digital picture is stored in a home server, is supposed, a user directly inputs information relating to a photographing date or a subject as text information, or it is considered that a user transfers the information in a text format from a video apparatus or a camera to a server.
The extracted text information is changed to a format of an attribute list as an instance in the attribute list producing unit6 (step ST2). For example, a document described in an extensible markup language (XML) is known as a data type of the attribute list.
An example of the processing for producing an XLM document denoting an instance of text information from the text information of image attributes is shown in FIG.4.
In an example ofFIG. 4, text information attached to a video mail as attribute information is extracted, and a document described in the XML is produced from the text information. This XML document denotes unit data corresponding to a constituent unit of an attribute list, and the attribute list is obtained by unifying a plurality of XML documents prepared from a plurality of video mails into a piece of list data. To describe the XML document, a definition file (called a document type definition (DTD)) prescribing a document structure is required. In the document type definition DTD, a relationship between elements included in the document structure and a prescription of an occurrence order of elements are defined.
In the XML document producing processing shown inFIG. 4, elements of “Category”, “Author”, “Date”, “Time”, “Title” and “Locator” are included in the element of “TextInfo”, and it is indicated that each of the elements is a character type data. The extracted text information is converted into an XML document according to this document type definition DTD. A value of each element in the example of the XML document shown inFIG. 4 is surrounded by a tag <aaa> indicating a start of the element and a tag </aaa> indicating an end of the element. Here, “aaa” denotes an element name defined in the document type definition DTD. That is, all attributes relating to one video mail are described in a unit area surrounded by <TextInfo> and </TextInfo>. In cases where an attribute list, which is obtained by unifying pieces of attribute data relating to all video mails to be retrieved, is stored, the retrieval of each video mail can be performed by checking attribute data arranged in the unit area surrounded by <TextInfo> and </TextInfo>.
Here, the attribute list is not limited to the above-described data type, but it is applicable that the attribute list be described according to an arbitrary data structure defined in advance. For example, this embodiment is not limited to the attribute list described in a format of the XML document as one data type, but it is applicable that the attribute list be described by using a bit stream type of binary data. In this case, in the same manner as in the XML document, a syntax defining a binary data structure, that is, the prescription of the arrangement of elements and the prescription of the number of bits allocated to each element are required.
The attribute list produced as is described above is stored in the attribute list storing unit7 (step ST3). Here, in cases where a data base for storing pieces of image data differs from that for storing pieces of text information denoting pieces of attribute information of the pieces of image data, the attribute list, which includes a plurality of addresses of the pieces of image data stored in the data base, is stored in the attributelist storing unit7. For example, in case of the WWW, a net work address (called universal resource locator (URL)), at which each piece of image data is located, is specified. In the example ofFIG. 4, an element “Locator” specifying a URL of each piece of image data is included in the XML document denoting the attribute list, and an address of each piece of image data can be specified in the corresponding attribute information of the video mail.
Next, the processing (from a step ST4 to a step ST6) from the extraction of characteristic values of an image to the production and registration of characteristic descriptors is described in detail.
In the characteristic descriptor producing processing of the first embodiment, image data input and stored has a format of a video (or a moving image) bit stream which is compressed and coded according to a prescribed coding type such as MPEG or H.261/H.263.
Initially, characteristic values of an image are extracted from the video bit stream (step ST4). In the first embodiment, motion information and data of direct current components of luminance and color differences in an intra-coded frame are extracted as characteristic values from the compressed video bit stream. In this embodiment, the compressed video bit stream obtained according to one of international standardized coding types such as MPEG and H.261/H.263 is used. In these coding types, a motion compensation prediction (hereinafter, called an inter-coding) or an inner-frame adaptive coding (hereinafter, called an intra-coding) is performed for a video frame signal for each macro-block. Each macro-block is composed of 16*16 pixels, and characteristics of each macro-block are indicated by pieces of pixel data which denote luminance signals of 16*16 pixels, a type of color signals of 8*8 pixels and another type of color difference signals of 8*8 pixels. In particular, in cases where the intra-coding is performed for all macro-blocks of one frame, the frame is called an intra-frame. In this case, pieces of compressed image data of the intra-frame can be expanded without other data, and the intra-frame can be reproduced. In the intra-frame, a plurality of direct current components of the signals of the intra-coded macro-blocks of one frame denote data roughly expressing the whole image of the frame (refer to the lowest portion on the left side in FIG.5). As shown inFIG. 5, there are many cases that the intra-frame is normally and periodically inserted into a video signal according to a request condition such as a random access.
In contrast, in an inter-coded macro-block in which a predicted residue signal is coded according to the motion compensation prediction, only data, which cannot approximate to a predicted value in the motion prediction, is coded. Therefore, the most essential data in the coded information denotes motion vectors approximating to image information of a major portion of the macro-block (refer to the lowest portion on the right side in FIG.5). Therefore, in the characteristicvalue extracting unit3, direct current components of the luminance and color difference signals of macro-blocks of the intra-frames and motion vectors of inter-coded macro-blocks of inter-frames are extracted from the video bit stream as characteristic values of images.
In a following explanation, a group of frames extending for a prescribed time-period is called a video segment. For example, the most simple video segment is defined as a group of frames which starts from one intra-frame and ends at a frame placed just before a next intra-frame. Also, another video segment having a longer time-period is defined as a group of frames which starts from one intra-frame and ends at a frame placed just before another intra-frame. A time-length of each video segment can be arbitrary set according to the meaning indicated by contents of the video segment.
In the first embodiment, a characteristic descriptor set, which describes characteristics of a video segment, is produced in the characteristic descriptor set producingunit4 according to a characteristic value set extracted in the characteristic value extracting unit3 (step ST5). Hereinafter, a characteristic value set extracting procedure and a characteristic descriptor set producing procedure are described in detail.
FIG. 6 is a flow chart showing a total procedure for producing a characteristic descriptor set in which both the characteristic value extracting processing of the step ST4 and the characteristic descriptor producing processing of the step ST5 shown inFIG. 3 are included.
Here, it is applicable that each video bit stream, which denotes image data and is input to the characteristicvalue extracting unit3, correspond to one video segment. Also, it is applicable that a video bit stream, which is represented by a video program extending for a long time-period and is input to the characteristicvalue extracting unit3, correspond to a plurality of video segments. In case of the video bit stream extending for a long time-period, a time-length corresponding to each video segment is specified in the characteristicvalue extracting unit3 according to an instruction sent from the outside or is specified by performing a prescribed distinguishing processing in the characteristicvalue extracting unit3, and the extraction of one characteristic value set and the production of one characteristic descriptor set are performed for each specified time-length of each video segment. Hereinafter, an operation of the image database producing unit1 is described in the case where one video bit stream is input to the image database producing unit1 for each video segment. As is described above, each video segment is composed of a set of frames starting from one intra-frame. The extraction of the characteristic values is performed for each frame, and the extraction of the characteristic values from each intra-frame and the extraction of the characteristic values from each inter-frame are performed. In case of the intra-frame, direct current components of the luminance and color difference signals are extracted. In case of the inter-frame, motion vectors are extracted.
In detail, the video bit stream is initially searched for header information of each frame in a step ST7. In cases where it is detected that a current frame is an intra-frame (I-frame) (“YES” in the step ST7), data of direct current components of luminance and color difference signals, which denotes an average matrix of pixel values, is extracted for each macro-block in a step ST8. InFIG. 6, a position of each macro-block is expressed by “n” in an order of the raster scan performed for the frame, a direct current component of the luminance signal of a macro-block placed at a position “n” is expressed by DCY[n], and direct current components of two color difference signals of a macro-block placed at a position “n” is expressed by DCU[n] and DCV[n] respectively. The maximum value of “n” is determined according to the number of pixels arranged in the longitudinal and lateral directions of the frame. In the international standardized video coding types such as MPEG and H.26X series, because the three direct current components of each macro-block are represented by three DC components of a (0,0) position in a discrete cosine transformation (DCT) performed for each of sub-blocks which compose the macro-block and respectively have 8*8 pixels, the three direct current components of each macro-block can be obtained by detecting the DC components of the (0,0) position. In this case, because four sub-blocks exist in each macro-block for the luminance signal, the direct current component of the luminance signal is set to an average value of four DC components of four sub-blocks for each macro-block.
Thereafter, in a step ST9, characteristic values of one intra-frame are respectively accumulated for each intra-frame. This step is performed in the characteristic descriptor set producingunit4. In detail, the direct current components DCY[n], DCU[n] and DCV[n] of one intra-frame are accumulated according to following equations (1) for each intra-frame.
avgYsum[n]=avgYpre[n]+DCY[n]; avgYpre[n]=avgYsum[n]  (1)
avgUsum[n]=avgUpre[n]+DCU[n]; avgUpre[n]=avgUsum[n]
avgVsum[n]=avgVpre[n]+DCV[n]; avgVpre[n]=avgVsum[n]
stdYsum[n]=stdYpre[n]+DCY[n]*DCY[n];
stdYpre[n]=stdYsum[n]
stdUsum[n]=stdUpre[n]+DCU[n]*DCU[n];
stdUpre[n]=stdUsum[n]
stdVsum[n]=stdVpre[n]+DCV[n]*DCV[n];
stdVpre[n]=stdVsum[n]
Here, values of avgYpre[n], avgUpre[n], avgVpre[n], stdYpre[n], stdUpre[n] and stdVpre[n] are respectively reset to zero when the characteristic value extraction processing is started.
When the extraction and storage processing for all positions “n” of the macro-blocks in one intra-frame is completed (“YES” in a step ST10), an intra-frame occurrence number NIin the video segment, which is counted in a counter, is incremented, and the extraction and storage processing for a next frame is performed (“NO” in a step ST11). In cases where the extraction and storage processing for the video segment is completed (“YES” in the step ST11), the procedure is moved to the characteristic descriptor set producing processing of a step ST17.
Next, the extraction of characteristic values of an inter-frame is described.
In cases where it is judged that a current frame is not an intra-frame (“NO” in the step ST7), it is examined in a step ST12 whether or not the frame is an inter-frame (P-frame) of a forward directional (or one-directional) prediction. Here, the reason that the inter-frame is limited to the P-frame is as follows. As another frame coding type of inter-frame, there is a both-directional prediction frame (B-frame) in which a motion compensation prediction is performed while referring to both a frame corresponding to a past time and a frame corresponding to a future time. Also, there is a sprite prediction frame (S-frame, S-VOP) in which an image is reproduced by deforming and combining all-scenery images called a sprite. To distinguish the inter-frame processed in this embodiment from the B-frame and S-frame, the inter-frame is limited to the P-frame. In this embodiment, the inter-frame (P-frame), in which a forward directional (or one-directional) prediction is performed while referring to only a frame corresponding to a past time, is processed. Therefore, in cases where it is judged that the frame is not a P-frame (“NO” in the step ST12), no extraction of characteristic values is performed, and the procedure is moved to the processing for another frame.
In cases where it is judged in the step ST12 that the frame is a P-frame (“YES” in the step ST12), a plurality of motion vectors MV[n] of all macro-blocks of the frame is extracted in the characteristic value extracting unit3 (step ST13). Here, each motion vector MV[n] is expressed according to a following equation (2).
MV[n]=√(xn2+yn2)  (2)
    • xn: a lateral component of the motion vector at the position “n” of the macro-block
    • yn: a longitudinal component of the motion vector at the position “n” of the macro-block
Thereafter, when it is judged in a step ST14 that the extraction of the motion vectors MV[n] of all macro-blocks of the current frame is completed (“YES” in the step ST14), a characteristic descriptor set of the inter-frame denoting the current frame is produced in a step ST15. This production is performed in the characteristic descriptor set producingunit4.
A flow chart of the producing procedure of the characteristic descriptor set performed in the step ST15 ofFIG. 6 is shown inFIG. 7 in detail. Initially, an average magnitude of motion in a frame is calculated from magnitudes of the motion vectors MV[n] of the frame stored in the step ST13 according to a following equation (3) (step ST15-1).CNP=(1/N)*N=0N-1MV[n](3)
    • Here, N denotes the number of macro-blocks in one frame.
Thereafter, in a step ST15-2, a threshold processing is performed for each motion vector MV[n] according to a following equation (4).
MV′[n]=MV[n]; if MV[n]≧CNP  (4)
MV′[n]=0; if MV[n]<CNP
Therefore, a distribution (or an matrix) of new motion vectors MV′[n] is obtained. Thereafter, values characterizing a motion distribution are obtained as follows by scanning the distribution of the motion vectors MV′[n] in the raster scan order (step ST15-3).
    • Nsr: the number of zero runs (that is, short runs) respectively having a length equal to or shorter than a length corresponding to ⅓ of the number of pixels serially arranged in the lateral direction of the frame
    • Nmr: the number of zero runs (that is, middle runs) which respectively have a length higher than a length corresponding to ⅓ of the number of pixels serially arranged in the lateral direction of the frame and have a length shorter than a length corresponding to ⅔ of the number of laterally-arranged pixels
    • Nlr: the number of zero runs (that is, long runs) respectively having a length equal to or higher than a length corresponding to ⅔ of the number of pixels serially arranged in the lateral direction of the frame Here, as is realized inFIG. 8, the complexity of the motion is high in a frame in which many short runs exist, and the motion is distributed in a wide area of the frame. In contrast, the motion is localized in a frame in which many long runs exist.
When the extraction and storage processing for all positions “n” of the macro-blocks in one inter-frame is completed (“YES” in the step ST14), an inter-frame occurrence number Npin the video segment, which is counted in a counter, is incremented, and the extraction and storage processing for a next frame is performed (“NO” in a step ST16). In cases where the extraction and storage processing for the video segment is completed (“YES” in the step ST16), the procedure is moved to the characteristic descriptor set producing processing of the step ST17.
As a result, a characteristic descriptor set (CNP, Nsr, Nmr, Nlr) of each inter-frame arranged in the video segment is obtained. The characteristic descriptor set is accumulated for each inter-frame to produce a characteristic descriptor set of the video segment in the step ST17 (described later in detail).
As is described above, the extraction of the characteristic values and the production of the characteristic descriptor set are performed for each frame of the video segment. Thereafter, a characteristic descriptor set of the video segment is finally produced in the step ST17. This production is also performed in the characteristic descriptor set producingunit4.
In detail, in case of the intra-frame, a characteristic descriptor set (avgY[n], avgU[n], avgV[n], stdY[n], stdU[n] and stdV[n]) is produced from the stored characteristic values avgYsum[n], avgUsum[n], avgVsum[n], stdYsum[n], stdUsum[n] and stdVsum[n] and the number NIof the intra-frames existing in the video segment according to following equations (5) for each position “n” of the macro-block.avgY[n]=avgYsum[n]/NIavgU[n]=avgUsum[n]/NIavgV[n]=avgVsum[n]/NIstdY[n]={stdYsum[n]/NI-(avgY[n])2}stdU[n]={stdUsum[n]/NI-(avgU[n])2}stdV[n]={stdVsum[n]/NI-(avgV[n])2}(5)
As a result, as for the intra-frame, N*6 characteristic descriptors are produced for each video segment, and a characteristic descriptor set is composed of N*6 characteristic descriptors. The meaning of these characteristic descriptors is described with reference to FIG.9.
Initially, the extraction of direct current components of the macro-blocks of each frame is equivalent to the drawing of a waveform obtained by plotting an average brightness and an average color of image data at a position “n” of each macro-block with respect to a time axis. That is, a time series of characteristic values avgY[n] indicates the time-changing of the brightness at the position “n” of each macro-block, a time series of characteristic values avgU[n] and a time series of characteristic values avgV[n] respectively indicate the time-changing of the color at the position “n” of each macro-block. Also, the characteristic value stdY[n] indicates a degree of dispersion of the waveform shown inFIG. 9 from the average value(avgY[n]), the characteristic value stdU[n] indicates a degree of dispersion from the average value (avgU[n]), and the characteristic value stdV[n] indicates a degree of dispersion from the average value (avgV[n]). Therefore, the characteristic descriptor set (avgY[n], avgU[n], avgV[n], stdY[n], stdU[n] and stdV[n]) denotes a series of descriptors characterizing a time change of the brightness and a time change of the color in a series of intra-frames of the video segment. It is assumed that waveforms of the direct current components DCY[n], DCU[n] and DCV[n] are stored as characteristic descriptors, the number of characteristic descriptors is infinitely increased according to the length of the video segment. However, in this embodiment, because the characteristic descriptors avgY[n], avgU[n], avgV[n], stdY[n], stdU[n] and stdv[n] are used, characteristics relating to the brightness and color of the video segment can be described by the characteristic descriptors, of which the number is a constant value of N*6, on condition that a time change of the characteristics of the video segment is held and the number of characteristic descriptors does not depend on the length of the video segment.
In contrast, as for the inter-frame, the characteristic descriptor set (CNP, Nsr, Nmr, Nlr) produced for each inter-frame is averaged for the inter-frames of which the number is NPin the video segment. Therefore, as for the inter-frame, four characteristic descriptors are produced for each video segment.
In addition, the characteristic descriptor set is expressed in a specific structure so as to heighten the convenience as to the retrieval. That is, there is a case that a data format of the characteristic descriptor set is set to that of the XML document in the same manner as that of the attribute list.
The processing for producing a characteristic descriptor set from the extracted characteristic values is shown in FIG.10.
As shown inFIG. 10, the characteristic value set extracted from the video bit stream in the characteristicvalue extracting unit3 is transformed into an XML document denoting a characteristic descriptor set according to the document type definition (DTD). In the characteristic descriptor set shown inFIG. 10, the characteristic descriptor set relating to the motion vectors and the characteristic descriptor set relating to the direct current components of the luminance and color difference signals described above are included. Information surrounded by <MotionInfo> and </MotionInfo> denotes the characteristic descriptor set relating to the motion vectors, and the characteristic descriptors (CNP, Nsr, Nmr, Nlr) are surrounded by tags “Average”, “Shortrun”, “MediumRun” and “LongRun” respectively and are described.
Also, information surrounded by <ColourTexture> and </ColourTexture> denotes the characteristic descriptor set relating to the direct current components of the luminance and color difference signals. In this information, information surrounded by <YDC> and </YDC> denotes a set of the characteristic descriptors relating to the direct current components of the luminance signal, and the characteristic descriptors (avgY[n], stdY[n]) are surrounded by tags “Average” and “std” respectively. Also, information surrounded by <UDC> and </UDC> and information surrounded by <VDC> and </VDC> respectively denote a set of the characteristic descriptors relating to the direct current components of the color difference signals, and the characteristic descriptors (avgU[n], stdU[n]) and the characteristic descriptors (avgV[n], stdV[n]) are surrounded by tags “Average” and “std” respectively.
Also, the characteristic descriptor set shown inFIG. 10 includes auxiliary information relating to media in addition to the characteristic descriptor set relating to the motion vectors and the characteristic descriptor set relating to the direct current components of the luminance and color difference signals. InFIG. 10, information surrounded by <MediaInfo> and </MediaInfo> denotes the auxiliary information, and image format (Format) such as MPEG-1 or JPEG, type of a storing medium (Medium) such as CD or DVD, information relating to color such as a colored image or a monochrome image, image size and information indicating a terminal performance required to display image are included as the auxiliary information. This auxiliary information is required when a user reproduces and displays a retrieved image, and the user can specify the auxiliary information as retrieval conditions. Also, specific information indicating an address, at which an image is stored, is included as the auxiliary information. In the example ofFIG. 10, information surrounded by <Locator> and </Locator> denotes the specific information, and the specific information is specified by the universal resource locator (URL).
As a characteristic descriptor other than those shown inFIG. 10, a specific characteristic descriptor, which describes an image characteristic indicating a prescribed meaning, is known. This specific characteristic descriptor expresses a team name of a player displayed in a sport picture or a relationship between persons displayed in a picture. In cases where home video data or a digital photograph is stored in a home server, a user directly inputs a meaning characteristic indicated by a subject of a picture as text information. Also, in cases where a program of the television broadcasting is stored in a home server, the specific characteristic descriptor can be automatically extracted according to program information.
In addition, as another characteristic descriptor other than those shown inFIG. 10, in addition to the average characteristics in the video segment indicated by the characteristic descriptor set (CNP, Nsr, Nmr, Nlr) of the inter-frames, it is applicable that a variance (or a standard deviation) of a characteristic descriptor in the inter-frames of the video segment be calculated and added to the characteristic descriptor set (CNP, Nsr, Nmr, Nlr) as an index of the complexity of a time change of the characteristic descriptor, that is, as an index of the complexity relating to a motion change, in the same manner as the characteristic descriptor set for the intra-frames of the video segment. In this case, the characteristic value indicating the time change of the motion can be added.
Also, it is applicable that the characteristic descriptor set relating to the intra-frames of the video segment be processed in the same manner as in the production of the characteristic descriptor set relating to the inter-frames of the video segment to reduce the number of characteristic descriptors. For example, values (CY,NI, CU,NI, CV,NI) are calculated according to following equations (6) for each intra-frame. The value CY,NIdenotes the average-in-screen of luminance values in the NI-th intra-frame of the video segment, and the values CU,NIand CU,NIrespectively denote the average-in-screen of color difference values in the NI-th intra-frame of the video segment.CY,NI=(1/Nmb)*n=1NmbDCY,NI[n]CU,NI=(1/Nmb)*n=1NmbDCU,NI[n]CV,NI=(1/Nmb)*n=1NmbDCV,NI[n](6)
    • Here, Nmbdenotes the number of macro-blocks in each intra-frame.
Therefore, in cases where the values (CY,NI, CU,NI, CV,NI) relating to one intra-frame are used in the same manner as the value CNP relating to one inter-frame, the values (CY,NI, CU,NI, CV,NI) can be set as three values (a luminance value, a color difference value and another color difference) which correspond to the characteristic descriptors (Nsr, Nmr, Nlr) relating to one inter-frame in the image screen. The set of the values (CY,NI, CU,NI, CV,NI) describes the complexity of a distribution of luminance and color in a space of luminance and color differences. Therefore, in cases where the set of the values (CY,NI, CU,NI, CV,NI) is used as a characteristic descriptor set for each intra-frame, the number of characteristic descriptors required to describe the characteristics of the video segment can be reduced by calculating the average and the variance (or the standard deviation) of the characteristic descriptors (CY,NI, CU,NI, CV,NI) relating to the intra-frames of the video segment. In contrast, in the same manner as the characteristic descriptor set relating to each intra-frame, it is applicable that the characteristic descriptor set relating to each inter-frame be described for each macro-block of the inter-frame while a time change of the characteristics of the inter-frames of the video segment is described with the precision of the macro-block.
Also, as shown inFIG. 11, it is applicable that the characteristic descriptor sets corresponding to the macro-blocks of each intra-frame described in the first embodiment be produced and described in a hierarchical structure from a high-ranking layer to a low-ranking layer to perform a hierarchical retrieval. Therefore, all types of changes of the luminance and color differences from a wide-view change in the whole image screen to local changes in the macro-blocks of each image screen can be described, and the retrieval processing can be performed so as to meet the needs of users. Also, in cases where the number of hierarchical layers is additionally specified, it is sufficient to hold the characteristic descriptor sets required for the specified hierarchical layers. Therefore, an amount of data of the characteristic descriptor sets can be appropriately adjusted.
In addition, the number of characteristic descriptor sets relating to the intra-frames of the video segment in the first embodiment depends on the number of macro-blocks. Therefore, in cases where the number of macro-blocks in each frame of one video segment differs from that in another video segment, a conformity judgment processing cannot be strictly performed between the video segments. To solve this problem, the interpolation or thinning-out of characteristic descriptor sets relating to to-be-retrieved image data and the thinning-out or interpolation of characteristic descriptor sets relating to user-proposed image data are performed according to the number of macro-blocks in each of the to-be-retrieved image data and the user-proposed image data to make the number of macro-blocks in the to-be-retrieved image data equal to that in the user-proposed image data, and it is judged whether or not the to-be-retrieved image data matches with the user-proposed image data. This case happens when the retrieval processing is performed for a data base in which many pieces of video contents having various image formats are mixed. However, a predetermined image format is usually used for various practically-used applications (for example, programs of the digital broadcasting) to simplify the facilities required to use the applications, so that the above-described case is not so many. Also, in this embodiment, the extensible markup language (XML) is adopted to describe the characteristic descriptor sets. However, this embodiment is not limited to the XML. For example, in the same manner as in the attribute list, it is applicable that the characteristic descriptor sets be described according to a data structure defined in advance.
As is described above, when a characteristic descriptor set is produced in the processing of the step ST5 in the characteristic descriptor set producingunit4, the produced characteristic descriptor set is stored with the image data in the image information storing unit5 (step ST6). In this case, it is applicable that a data base for storing the characteristic descriptor set differ from a data base for storing the image data. In this case, it is required that the characteristic descriptor set includes an address indicating a storing position of the corresponding image data. In the example shown inFIG. 10, the element “Locator” is included in the characteristic descriptor set, and the universal resource locator (URL) is set to the value of the element “Locator”.
(2) Processing in theImage Retrieving Unit8
Next, processing performed in theimage retrieving unit8 is described.
FIG. 12 is a flow chart showing the processing performed in theimage retrieving unit8. The processing of the image retrieval is classified into two types of processing. That is, the processing of the image retrieval is composed of the retrieval based on the attribute list and the characteristic similarity retrieval based on the characteristic descriptor sets.
First, the retrieval processing based on the attribute list is described in detail.
Initially, a user inputs a retrieval condition to theimage retrieving unit8 though the user interface unit9 (step ST18). In this embodiment, for example, user's text information such as a category of an image to be retrieved, a production date of the image and/or a producer of the image is input. The user's text information input by the user is sent to theretrieval processing unit10. In theretrieval processing unit10, a conformity judgment processing is performed to judge the conformity of the user's text information with attribute information of an attribute list stored in the attribute list storing unit7 (step ST19). For example, a user specifies a production date of an image and a producer of the image as a retrieval condition. In the example ofFIG. 4, tags of “Date”, “Time” and “Author” are searched, and the matching (or conformity) of the retrieval condition with a value surrounded by each tag is judged.
As a result of the conformity judgment processing for the attribute list, in cases where attribute information of a video mail agreeing with the retrieval condition in all elements of the “Date”, “Time” and “Author” exists (“YES” in the step ST19), the attribute information of the video mail agreeing with the retrieval condition in all elements of the “Date”, “Time” and “Author” is extracted from the attribute list and is sent to the displaying unit11 (step ST20). Therefore, because text information attached to image data as the attribute information is structurized and described, the attribute information composed of elements required for the retrieval can be extracted, and the matching (or conformity) of the attribute information with the user's text information (or the retrieval condition) can be judged.
The processing in the step ST20 and a step ST21 is repeated until all pieces of attribute information of the attribute list stored in the attributelist storing unit7 are searched (“NO” in the step ST21). When all pieces of attribute information of the attribute list are searched (“YES” in the step ST21), all pieces of attribute information conforming to the user's retrieval condition are detected in the processing of the step ST20 and are sent to the displayingunit11.
When all pieces of attribute information conforming to the user's retrieval condition are extracted from all pieces of attribute information of the stored attribute list and the sending of the pieces of attribute information conforming to the user's retrieval condition as a conformity result is completed(“YES” in the step ST21) a list of the pieces of attribute information conforming to the user's retrieval condition is displayed in the displaying unit11 (step ST22). In the example ofFIG. 4, a list of the pieces of attribute information, of which values in the elements “Date”, “Time” and “Author” agree with values input by the user as the retrieval condition, is displayed as text information. In this case, as is shown in the example ofFIG. 4, when the pieces of attribute information are described in the format of the XML document, the XML document of the pieces of attribute information is transformed, in the displayingunit11, into a hypertext markup language (HTML) type data possible to be displayed in the Browser. Also, in cases where a hyper link is allocated to the pieces of attribute information, a user can easily access to the pieces of attribute information in a next time. Also, in cases where the image data denotes video data and has a prescribed display area, a key frame of the video data is displayed with the pieces of attribute information. In cases where a link from data of the key frame to the video data is established, the user can intuitively access to the video data.
As is described above, because the attribute list is structurized at a pre-determined data format, the data structure of the attribute list can be analyzed on the user side by using a file (for example, the document type definition (DTD)) in which the data format is defined, and the data format of attribute information of the attribute list can be easily transformed into another data format possible to be displayed.
Next, in cases where attribute information of a desired image exists in the list of the pieces of attribute information displayed in the displayingunit11, the user inputs a reproduction instruction through the user interface unit9 (step ST23) and selects attribute information of the desired image (step ST24). Thereafter, image data corresponding to the attribute information of the desired image is extracted, in the imageinformation storing unit5, according to an address (URL) included in the attribute information of the desired image under the control of theretrieval processing unit10, the image data corresponding to the attribute information of the desired image is transferred to the displayingunit11, and the reproduction and display of the image data is performed in the displaying unit11 (step ST25).
In contrast, in cases where attribute information of a desired image does not exist in the list of the pieces of attribute information displayed in the displayingunit11 but attribute information similar to the attribute information of the desired image exists in the list of the pieces of attribute information, or in cases where a key frame displayed with the attribute information in the displayingunit11 is similar to the desired image, the user inputs a similarity retrieval instruction through the user interface unit9 (step ST23) and selects attribute information (that is, similar attribute information) similar to the attribute information of the desired image to use the similar attribute information in the similarity retrieval (step ST26). Therefore, an image similar to the desired image can be retrieved from images stored in the imageinformation storing unit5.
That is, when the user inputs the similarity retrieval instruction through the user interface unit9 (step ST23) and selects the similar attribute information to use the similar attribute information in the similarity retrieval (step ST26), a characteristic similarity retrieval for a plurality of specific characteristic descriptor sets corresponding to the similar attribute information is performed to extract the specific characteristic descriptor sets of a similar image (or a piece of similar image data) selected in the step ST26 from characteristic descriptor sets stored in the imageinformation storing unit5, and the conformity judgment processing is performed to judge the conformity of each specific characteristic descriptor set of the similar image with characteristic descriptor sets of the other images (or the other pieces of image data) (step ST27). Hereinafter, as is described above, the case where the characteristic values are described as the characteristic descriptor sets relating to the direct current components of the luminance and color difference signals or the motion vectors is described as an example.
FIG. 13 is a flow chart showing in detail an example of the conformity judgment processing performed in the step ST27 of FIG.12.
Initially, the four characteristic descriptors CNP, Nsr, Nmrand Nlrrelating to the motion vectors of the inter-frames of one video segment and the N*6 characteristic descriptors avgY[n], avgU[n], avgV[n], stdY[n], stdU[n] and stdV[n] relating to the direct current components of the luminance and color difference signals of the intra-frames of the video segment are prepared for each video segment, and it is judged whether or not each of values of the characteristic descriptors of the characteristic descriptor sets of the other images is placed within a prescribed range determined by upper and lower threshold values and the corresponding value of one characteristic descriptor of one specific characteristic descriptor set of the similar image selected in the step S26 (step ST27-1 to step ST27-11). In cases where each of values of all characteristic descriptors of the characteristic descriptor sets of one of the other images is placed within the prescribed range, the conformity is judged for the image. In other cases, the inconformity is judged for the image.
Thereafter, address information (URL) of the image, for which the conformity is judged, is sent to the displaying unit11 (step ST28). Thereafter, until the conformity judgment processing for all characteristic descriptor sets stored in the imageinformation storing unit5 is completed (“NO” in a step ST29), the conformity judgment processing for non-judged characteristic descriptor sets is repeatedly performed.
Thereafter, when the conformity judgment processing for all characteristic descriptor sets stored in the imageinformation storing unit5 is completed (“YES” in a step ST29), each of images corresponding to the conformity judgment is extracted from the images stored in the imageinformation storing unit5 according to address information of the image in the displayingunit11, and each extracted image is reproduced and displayed (step ST22). Here, in case of moving image, address information of a key frame of each moving picture corresponding to the conformity judgment is sent to the displayingunit11, and the key frames of the moving images are reproduced and displayed in the displayingunit11. Thereafter, the user selects a moving picture, which is desired to be displayed, from a list of the key frames displayed in the displayingunit11 through the user interface unit9 (step ST24), and the desired moving picture is reproduced and displayed (step ST25). In this case, it is applicable that the user select another similar image, with which the user desires to again perform the similarity retrieval, (step ST26) to perform the similarity retrieval in the same manner as that described above (step ST27).
Accordingly, in the image retrieval system according to the first embodiment, after the retrieval based on the attribute information is performed while referring to the attribute list, the retrieval based on the characteristic descriptors is performed. Therefore, the retrieval can be efficiently performed.
Here, this embodiment is not limited to the conformity judgment processing of the step ST27, and various methods can be considered as the conformity judgment processing. That is, in the example ofFIG. 13, all characteristic descriptors are multiplied by the same weighting value, and each characteristic descriptor is compared with the threshold values. However, in cases where the user regards the motion as important in the retrieval, it is applicable that a compared result of each characteristic descriptor be weighted to obtain a final result. Also, in the example ofFIG. 13, compared results of all characteristic descriptors are connected with each other in cascade to obtain a final result. However, it is applicable that an appropriate normalizing processing be performed for compared results of all characteristic descriptors to judge the conformity according to a group of the compared results combined with each other. These conformity judgments can be adjusted to use data of the characteristic descriptors most efficiently in the retrieval according to the retrieval object.
Also, in the retrieval using a plurality of types of characteristic descriptors, it is applicable that the conformity judgment processing (or retrieval equations) be held in the format of descriptor in advance according to a type of the application (retrieval system or database). That is, in cases where the judgment processing is described according to a standard description method, the user can describe a method for using a plurality of characteristic descriptors for the retrieval, and this description does not depend on the application. Therefore, various types of applications can be systematically used in the image retrieval system. Also, for example, in cases where a second data base is connected with the data base of this image retrieval system through an internet and the same characteristic descriptors as those used in the data base are used in the second data base, the retrieval processing can be performed for data of the second data base according to the common conformity judgment processing. As an example of the description of the conformity judgment processing, following descriptions (1) to (7) can be considered.
    • (1) A method for using a plurality of characteristic descriptors for the conformity judgment is described. For example, one-time retrieval or a series of cascade retrievals is used for the conformity judgment.
    • (2) A weighting factor, which is determined according to the importance of each characteristic descriptor, is applied for the characteristic descriptor in one-time retrieval processing.
    • (3) A normalizing method for each characteristic descriptor is provided in one-time retrieval.
    • (4) An order of descriptors used in the retrieval is provided.
    • (5) In case of the retrieval in the cascade connection, the number of candidates obtained from the characteristic descriptors is provided for each retrieval.
    • (6) A value indicating the precision of the description of each characteristic descriptor (how accurate the characteristic is described) is provided.
    • (7) A judgment standard for judging whether retrieval candidates obtained in the matching of each characteristic descriptor are output in the “AND” connection or the “OR” connection is provided.
It is applicable that these descriptors processed in the conformity judgment processing procedure be described in a fixed description peculiar to the application. Also, it is applicable that these descriptors processed in the conformity judgment processing procedure be described so as to be customized by a user. For example, a user receives information of types of the characteristic descriptors, which is possible to be used for the retrieval, from the image retrieval system, and the user can renew the originally-set conformity judgment processing, which is described as descriptors, to a personal conformity judgment processing, which reflects tastes of the user, according to the information. Therefore, in this case, the user can flexibly perform the retrieval processing. This customizing of the conformity judgment processing in the image retrieval system can be performed in some degree in dependent on the application. However, in cases where a common standard description format is prepared for the conformity judgment processing, the customizing of the conformity judgment processing in the image retrieval system can be widely performed, and data usable in the retrieval processing can be held in a plurality of different types of applications.
Also, as an example for which the image retrieval system is applied, the image retrieval system according to the first embodiment can be applied for a supervisory system. For example, in cases where the image retrieval system is applied for a supervisory system in which a monitoring camera monitors a trespasser, the trespasser can be detected according to characteristic values of motion obtained from a monitored image. Therefore, meta-data, in which characteristic values of motion obtained from the monitored image are described, is registered with a monitored image bit stream in a data base, and information such as a recording date of the monitored image is registered as attribute information of an attribute list. When the user reproduces the monitored image recorded in the data base, text information such as a date is input as a retrieval key, and a keyword of “trespasser” is input as another retrieval key. Thereafter, candidates for the retrieval image are selected from a registered list of images, meta-data attached to the candidates for the retrieval image is retrieved, and images respectively seeming to be related to the trespasser are displayed. Therefore, the user can select a desired image from the displayed images, and the user can watch the desired image. In addition, in cases where the user requests the retrieval of images similar to the desired image already retrieved and obtained, even though an accurate recording date or an accurate recording time of each similar image is unclear, the similar images are retrieved from the stored images by checking the matching of the desired image with each stored image according to the characteristic descriptor sets of the stored image, and the user can obtain a detailed retrieval result.
Also, as another example for which the image retrieval system is applied, the image retrieval system according to the first embodiment can be applied for a system in which a video mail or a broadcast program desired by a user is retrieved from video mails stored in a portable terminal or broadcast programs stored in a home server and is reproduced. An attribute list is composed of pieces of attribute information of broadcast programs recorded in the home server, a title of each broadcast program extracted from program information and cast information. The retrieval is performed when the user inputs information of a desired broadcast program. However, in cases where the user cannot obtain information of the desired broadcast program as a retrieval result, the user can perform the similarity retrieval based on the characteristic descriptor sets attached to each image. Therefore, even if the user do not accurately remember information of the desired broadcast program, the user can retrieve the desired broadcast program according to his impression of the desired broadcast program.
In addition, as to the operations in the characteristicvalue extracting unit3 and the characteristic descriptor set producingunit4, the characteristic values to be extracted and the characteristic descriptor sets to be produced, there are other various examples. For example, as shown inFIG. 14, before non-compressed image data is compressed and coded in a video compressing andcoding unit12, characteristic values are extracted from the non-compressed image data and are sent to the characteristicvalue extracting unit3, and the characteristic values are sent to the characteristic descriptor set producingunit4. As an applied example of the image retrieval system having the image database producing unit1 ofFIG. 14, the image retrieval system can be applied for a system in which video data obtained by performing the monitoring for a long time is compressed and stored. In this system, characteristics (color, shape, size, motion level and moving direction) of a moving body or a trespassing object are directly detected from digitized video data, which is input from a camera and is not compressed, and are extracted from the digitized video data as characteristic values, and characteristic descriptor sets are produced from the characteristic values in the characteristic descriptor set producingunit4. Thereafter, in the imageinformation storing unit5, each characteristic descriptor set is stored with a corresponding video segment which is compressed and coded in the video compressing andcoding unit12.
In this example, because the characteristic values are extracted from the non-compressed video data which has the detailed characteristics of the moving body or the trespassing object, detailed characteristic descriptors (the detailed description of a type of a subject or a locus) can be produced as compared with the case where characteristic values are extracted from compressed data. In contrast, to produce the detailed characteristic descriptors, a complicated calculation processing system is required. Therefore, a high calculation performance is required for the characteristicvalue extracting unit3 and the characteristic descriptor set producingunit4.
This complicated calculation processing system can be applied for not only a monitoring camera but also a video camera, used for a broadcasting service, in which the quality and reliability for image are more important than the cost for image. In this case, the whole image retrieval system described according to this embodiment functions as a video library system in which programs are produced in the broadcasting service. That is, a characteristic descriptor set of each video image (or image data) obtained from the video camera is recorded with the image in a data base. Therefore, images similar to a required image can be efficiently retrieved by using similarity elements held in the images as a key. Also, in cases where the complicated calculation processing system is applied for a personal-use video camera, image data is processed according to a simple preparation function before the compressing and coding for the image data. Therefore, for example, in cases where a characteristic descriptor set relating to a face image of each person is produced and recorded with the face image in a recording medium (for example, a video tape, a personal computer or a hard disk arranged in a home server), an image corresponding to a specific face can be retrieved from a large number of images not put in order according to the matching of each characteristic descriptor set with a retrieval condition.
Accordingly, because the attribute list is used for any application, a plurality of recording mediums and data bases can be uniformly managed from a standpoint of attributes of recorded images, and the addition and deletion of images to be used as candidates for the retrieval can be easily performed by checking the attribute list. Therefore, the construction of the image retrieval system can be uniformly and easily performed as well as the retrieval processing.
Embodiment 2
In a second embodiment, a plurality of types of characteristic descriptors, which describe motion, brightness, color and the like, are extracted from video data of a moving picture, a characteristic descriptor set is produced by combining the types of characteristic descriptors with each other for each macro-block, and the characteristic descriptor sets are used as a key of the retrieval. Therefore, it is possible to reflect a retrieval course intended by a user on an image retrieval system and an image retrieval method according to the second embodiment. Hereinafter, an example of the image retrieval system and image retrieval method is described. Here, in the first embodiment, theretrieval processing unit10 is arranged in the server. However, in the image retrieval system according to the second embodiment, a retrieval processing unit is arranged in both the server and the client, and the server and the client are connected with each other through both a network A and a network B.
FIG. 15 is a block diagram showing the configuration of a characteristic portion placed on a server side in the image retrieval system according to the second embodiment. That is,FIG. 15 shows a detailed configuration of the characteristic descriptor set producingunit4 shown in FIG.2. Also, theretrieval processing unit10 is divided into aretrieval processing unit10A and aretrieval processing unit10B,FIG. 15 shows a block diagram of theretrieval processing unit10A placed on the server side, and avideo reproducing server218 required to reproduce a retrieval result is shown in FIG.15.
InFIG. 15,201 denotes compressed video data,202 indicates a characteristic descriptor producing unit,203 denotes characteristic descriptor data,204 indicates a characteristic descriptor reliability calculating unit,205 denotes data indicating a characteristic descriptor reliability,206 indicates a retrieval-use-order-of-characteristic-descriptor determining unit,207 denotes retrieval-use-order-of-characteristic-descriptor (search priority) data,208 denotes information indicating a storing position of thecompressed video data201, and209 indicates a for-retrieval description data producing unit.
Also,210 denotes a for-retrieval description data file,211 indicates a for-retrieval description data analyzing unit,212 denotes characteristic descriptor data and the like analyzed in the for-retrieval descriptiondata analyzing unit211,213 indicates a conformity judgment processing unit,214 denotes a processing result of the conformity judgment,215 indicates a retrieval result coding and transmitting unit,216 denotes retrieval request information,217 denotes retrieval result information,218 indicates a video reproducing server,219 denotes reproduction request information,220 indicates a reproduction control unit,221 denotes reproduced contents specifying information,222 denotes video contents data to be reproduced,223 indicates a video data transmitting unit, and224 denotes delivery video data.
FIG. 16 is a block diagram mainly showing the configuration of a characteristic portion placed on a client side of the image retrieval system according to the second embodiment. That is, theretrieval processing unit10 shown inFIG. 2 is divided into theretrieval processing unit10A and theretrieval processing unit10B, andFIG. 16 shows a detailed block diagram of theretrieval processing unit10B placed on the client side. Also,FIG. 16 shows a user interface arranged for both the interaction between a user and a video decoding and reproducing unit, in which a retrieval result is reproduced for the user, and the display of reproduced video data.
InFIG. 16,225 indicates a network A,227 indicates a retrieval request information coding and transmitting unit,228 indicates a retrieval result receiving and displaying unit,229 indicates a user interface unit,230 denotes a retrieval request sent from a user,231 denotes a retrieval result to be displayed in theuser interface unit229,232 denotes a user,233 denotes a retrieval result reproduction request,234 denotes information indicating the reproduction of a retrieved moving picture,235 indicates a video reproduction control unit,237 indicates a network B, and239 indicates a video decoding and reproducing unit.
Here, theretrieval request information216, theretrieval result information217, thereproduction request information219 and thedelivery video data224 are transmitted and received among theretrieval processing unit10B, the videoreproduction control unit235 and the video decoding and reproducingunit239 shown inFIG. 16, and theretrieval processing unit10A and thevideo reproducing server218 shown in FIG.15 through the networks A225 and B237. Here, the network A225 denotes a network in which the reliability in the data transfer is more important than a high speed data transfer. For example, the network A225 denotes a connection such as Transmission Control Protocol/Internet Protocol (TCP/IP). Also, the network B237 denotes a network in which a high speed data transfer for the real time transfer is more important than the reliability in the data transfer. For example, the network B237 denotes a connection such as Realtime Transport Protocol/User Datagram Protocol/Internet Protocol (RTP/UDP/IP).
Also, theuser interface unit229 shown inFIG. 16 corresponds to the client shown inFIG. 2, and theuser interface unit229 denotes a client application having the function of both theuser interface unit9 and the displayingunit11.
Also, as is described above, the configuration shown inFIG. 15 denotes a component arranged on the server side, and the configuration shown inFIG. 16 denotes a component arranged on the client side. As is realized in FIG.15 andFIG. 16, in the image retrieval system, the retrieval processing such as a retrieval conformity judgment processing is performed in theretrieval processing unit10A arranged on the server side, request information indicating tastes of theuser232 in the retrieval processing is coded according to a prescribed rule on the client side, the request information is transmitted to the server, and the request information is analyzed in the server to reflect the request information on the retrieval processing.
Because the image retrieval system has the above-described server and client, it is not required to transmit a file, in which a large amount of video description data to be used for the retrieval is stored, to the client through the networks A225 and B237. Therefore, a network use efficiency can be heightened.
Also, as a normal presentation (or display) method of the retrieval result, candidates for the retrieval are generally presented to a user. However, all pieces of video data selected as candidates for the retrieval result information are not transferred to the client, but retrieval results really required by theuser232 can be transmitted to the client by combining the image retrieval system with a real time video reproduction system. Therefore, a total network use efficiency can be heightened.
The feature of the retrieval processing in the image retrieval system is that a numerical value indicating the reliability of the description of each type of video characteristic descriptor is calculated, the order of the types of video characteristic descriptors used for the retrieval is determined according to the numerical values, and the numerical values are stored in an XML file of for-retrieval description data as a part of the for-retrieval description data. Also, a specific descriptor indicating the order of the types of video characteristic descriptors used for the retrieval can be renewed according to a user's request input on the client side to reflect tastes of the user on the retrieval. Therefore, the specific descriptor functions as a descriptor which provides a parameter relating to the combination of a plurality of types of video characteristic descriptors in the retrieval.
Also, the numerical values indicating the reliability of the description of the types of video characteristic descriptors are used to determine a system parameter relating to the number of retrieval result candidates which is reduced in a step in which the video characteristic descriptors are used for the retrieval. Hereinafter, the specific descriptor indicating the order of the types of video characteristic descriptors used for the retrieval is call “search priority”, and the numerical value indicating the reliability of the description of each type of video characteristic descriptor is called “degree of reliability”. A detailed meaning and a use method of each of the search priority and the degree of reliability are a described later.
FIG. 17 is a flow chart showing the production of for-retrieval description data and the retrieval processing in this image retrieval system. Hereinafter, an operation of the image retrieval system according to the second embodiment is described in detail with reference toFIG. 15 to FIG.17.
(1) The Production of a For-retrieval Description Data File210 (Step ST30 to Step ST33)
Initially, a processing described later is performed forcompressed video data201 which denotes input image data to be added as for-retrieval description data, and a for-retrieval description data file210 is produced. Hereinafter, thecompressed video data201 relating to the production of the for-retrieval description data file210 is called a video segment. As is described in the first embodiment, the video segment indicates a unit of video data composed of an arbitrary number of frames. Therefore, the video segment sometimes indicates one television program or one video software package. In this case, the television program and the video software package is respectively called “video program” equivalent to one video segment. Also, the video segment sometimes indicates one of scenes, which are obtained by dividing one television program according to the meaning indicated by the television program, or one of camera shots which are obtained by dividing each scene. In this case, the scene is called “video scene” sometimes equivalent to one video segment, and the camera shot is called “video shot” sometimes equivalent to one video segment. Therefore, the number of frames in one video program, the number of frames in one video scene and the number of frames in one video shot are different from each other.
(1-1) The Structure of For-retrieval Description Data
FIG. 18 is a diagram showing a structure of for-retrieval description data composing the for-retrieval description data file210 in the second embodiment. InFIG. 18, in a structure of for-retrieval description data, avideo program240 is placed at the highest-ranking hierarchy, a group of video scenes243 (abbreviated to “scene” inFIG. 18) composing thevideo program240 is placed at a next hierarchy, and a group of video shots244 (abbreviated to “shot” inFIG. 18) composing eachvideo scene243 is placed at the lowest-ranking hierarchy. Here, the video segment (thevideo program240, thevideo scene243 and the video shot244), asearch priority241 and each degree of reliability242 are indicated by “□”, and each video segment, in particular, a group ofcharacteristic descriptors245 to249 describing the video shot244 is indicated by “◯”. In this image retrieval system, a set ofcharacteristic descriptors245 to249 relating to each video shot244 is produced.
1. Magnitude ofMotion245
The magnitude ofmotion245 denotes a characteristic descriptor relating to a length of a motion vector in the video segment.
2.Motion Direction246
Themotion direction246 denotes a characteristic descriptor relating to a direction of the motion vector in the video segment.
3.Motion Distribution247
Themotion distribution247 denotes a characteristic descriptor relating to a distribution-in-screen of the motion vector in the video segment.
4.Brightness248
Thebrightness248 denotes a characteristic descriptor relating to an average brightness in the video segment.
5.Representative color249
Therepresentative color249 denotes a characteristic descriptor relating to a representative color in the video segment.
Here, the degree of reliability242 is set for each of thehierarchies240,243 and244 and for each of thecharacteristic descriptors245 to249. Also, thesearch priority241 is added to the video program arranged at the highest-ranking hierarchy.
In cases where the use order of the types of characteristic descriptors in the retrieval is changed, the retrieval result is changed. In this example, because a plurality of video segments well conforming to the user's retrieval request from a viewpoint of the magnitude of motion are selected when the data base is set to an initial state, it is expected that the retrieval result finally presented to the user is reliably most similar to the retrieval request from a viewpoint of the magnitude of motion. Therefore, because information of the use order in retrieval is provided for the video segments, the user can always obtain the retrieval result based on information of thesearch priority241. Also, because the user can dynamically change the information of thesearch priority241, the retrieval result corresponding to the intension of the user can be flexibly obtained.
Also, in the second embodiment, because it is supposed that one ormore video shots244 similar to a specific video shot244 of thevideo program240 are retrieved from thesame video program240, thesearch priority241 is attached to only thevideo program240, and thesearch priority241 is not attached to the video segments corresponding to the hierarchies of thevideo scenes243 and thevideo shots244.
Next, the degree of reliability242 set to each characteristic descriptor is described. For example, in case of the characteristic descriptor relating to the magnitude of motion, the degree of reliability242 indicates how accurate the characteristic descriptor describes the magnitude of motion of video contents, and the degree of reliability242 is objectively expressed by a numerical value. A method for expressing the degree of reliability242 by a numerical value is described in detail when the production of various types of characteristic descriptors is described. In the second embodiment, the degree of reliability242 is classified into a degree ofreliability242C which is calculated for each type ofcharacteristic descriptor245 to249 of each video shot244 and is attached to each video shot244, a degree ofreliability242B which is attached to eachvideo scene243 and is set to the average of the degrees ofreliability242C of allvideo shots244 composing the correspondingvideo scene243, and a degree ofreliability242A which is attached to thevideo program240 and is set to the average of values of the degrees ofreliability242B of allvideo scenes243 composing thevideo program240. The degrees of reliability242 attached to the elements composing the for-retrieval description data are mainly used for an initial setting of thesearch priority241 and a parameter setting in the retrieval processing. The use of the degrees of reliability242 is described later in detail.
(1-2) The processing for Producing the For-retrieval Description Data
(1-2-1) The Processing for Producing the Characteristic Descriptors (Step ST30)
In the production of each characteristic descriptor, an image characteristic value such as a motion vector or a value of the direct current component, which is required for the production of the characteristic descriptor, is extracted from thecompressed video data201 in the characteristicvalue extracting unit3, and the characteristic descriptor is produced from the image characteristic value in the characteristic descriptor producing unit202 (step ST30). Hereinafter, a method for producing each characteristic descriptor is described in detail.
(a) TheCharacteristic Descriptor245 Relating to the Magnitude of Motion
An inter-frame (P-frame) denoting a k-th frame in a video segment is considered, and a length (or magnitude) Ck[n] of a motion vector MVk[n] (1≦n≦N, N denotes the number of macro-blocks placed in the frame) of each of all macro-blocks placed in the inter-frame is extracted.Ck[n]=(xn2+yn2)(7)
    • xn: a lateral component of the motion vector MVk[n]
    • yn: a longitudinal component of the motion vector MVk[n]
Thereafter, the average Ckavgand the variance σk2of the lengths Ck[n] of the motion vectors corresponding to one frame are calculated.Ckavg=(1/N)*n=1NCk[n](8)σk2=(1/N)*n=1N(Ck[n]-Ckavg)2(9)
As a result, a data set (Ckavg, σk2) of the characteristic descriptor relating to the magnitude of motion in the k-th inter-frame. In addition, to obtain the average of the lengths Ck[n] of the motion vectors corresponding to one video segment, the average of the lengths Ck[n] of the motion vectors is calculated by using the number of inter-frames in the video segment.
(b) TheCharacteristic Descriptor246 Relating to the Motion Direction
A plurality of angles Ak[n] of the motion vectors MVk[n] are calculated according to a following equation (10) for each inter-frame. The angles are expressed by a unit of “degree”.Ak[n]=tan-1(yn/xn)(10)
In contrast, angles Ak[n]=0 are set for the macro-blocks of each intra-frame. The average of the angles Ak[n] for the k-th inter-frame is calculated according to a following equation (11) for each inter-frame.Akavg=(1/N)*n=1NAk[n](11)
In addition, the average of the angles Ak[n] for one video segment is calculated by using the number of inter-frames in the video segment.
(c) TheCharacteristic Descriptor247 Relating to the Motion Distribution
The threshold processing is performed for the lengths Ck[n] of the motion vectors MVk[n] of each k-th inter-frame.Ck[n]=Ck[n];ifCk[n]CkavgCk[n]=0ifCk[n]<Ckavg(12)
Thereafter, the values Ck′ [n] indicating a distribution of new motion vectors of each k-th inter-frame are scanned in the raster scan order, and values SRk, MRkand LRkcharacterizing the motion distribution are calculated.
    • SRk: the number of zero runs (that is, short runs) respectively having a length equal to or shorter than a length corresponding to ⅓ of the number of pixels serially arranged in the lateral direction of the frame
    • MRk: the number of zero runs (that is, middle runs) which respectively have a length higher than a length corresponding to ⅓ of the number of pixels serially arranged in the lateral direction of the frame and have a length shorter than a length corresponding to ⅔ of the number of laterally-arranged pixels
    • LRk: the number of zero runs (that is, long runs) respectively having a length equal to or higher than a length corresponding to ⅔ of the number of pixels serially arranged in the lateral direction of the frame
Here, as is described in the first embodiment, as is realized inFIG. 8, the complexity of the motion is high in a frame in which many short runs exist, and the motion is distributed in a wide area of the frame. In contrast, the motion is localized in a frame in which many long runs exist.
Thereafter, the average of the values SRkfor one video segment, the average of the values MRkfor one video segment and the average of the values LRkfor one video segment are calculated by using the number of inter-frames in the video segment.
(d) TheCharacteristic Descriptor248 Relating to the Brightness
A histogram of direct current components included in luminance signals of the macro-blocks of one intra-frame is used for each intra-frame. In detail, each direct current component has a value ranging from 0 to 255, the total range of the value is classified into 16 sample-ranges by quantizing the values of the direct current components, and the number Hi(j) of samples (that is, direct current components) corresponding to each sample-range is counted to obtain a histogram of direct current components for each i-th intra-frame. Thereafter, the average of the number Hi(j) of samples of each sample-range for one video segment is calculated according to a following equation (13) by using the number N of intra-frames in the video segment.Havg(j)=(1/N)*n=1NHi(j),j=0,K,15(13)
(e) TheCharacteristic Descriptor249 Relating to the Representative Color
A histogram of direct current components included in luminance and color difference signals of the macro-blocks of one intra-frame is used for each intra-frame. In detail, each direct current component has a value ranging from 0 to 255, the total range of the value is classified into 16 sample-ranges by quantizing the values of the direct current components, and the number Hik(j) of samples (that is, direct current components) corresponding to each sample-range is counted to obtain a histogram of direct current components for each i-th intra-frame. Thereafter, the average of the number Hik(j) of samples of each sample-range for one video segment is calculated according to a following equation (14) by using the number N of intra-frames in the video segment.Havgk(j)=(1/N)*i=1NHik(j),(14)
    • k: R, G or B in color space, j=0, K, 15
      (1-2-2) The Processing for Calculating the Degree of Reliability (Step ST31)
Thereafter, the degree of reliability242 (equivalent to thecharacteristic descriptor reliability205 shown inFIG. 15) for each of thecharacteristic descriptors245 to249 calculated in the step ST30 is calculated in the characteristic descriptor reliability calculating unit204 (step ST31). A calculating method for each of thecharacteristic descriptors245 to249 is described.
(a) The Characteristic Descriptor Relating to the Magnitude ofMotion245
The data set (Ckavg, σk2) of the characteristic descriptor relating to the magnitude of motion is extracted for each of all inter-frames of the video segment. Thereafter, the average of the data sets corresponding to the video segment is calculated by using the number of inter-frames of the video segment, an absolute value of a difference between the average of the data sets and the data set (Ckavg, σk2) corresponding to each inter-frame is calculated, the average of the differential absolute values corresponding to the inter-frames is calculated by adding the differential absolute values to each other, and the differential absolute values are normalized according to the average of the differential absolute values to set a maximum value among the differential absolute values to 0 and to set a minimum value among the differential absolute values to 100. The normalized differential absolute values indicate the description precision of the video segment on the basis of the description precision of the inter-frames. The degree of reliability for thecharacteristic descriptor245 is indicated by the average of the degrees of reliability for the data sets (Ckavg, σk2) corresponding to the inter-frames.
(b) The Characteristic Descriptor Relating to theMotion Direction246
The extraction of the angles Akavgfor all inter-frames of the video segment is performed. Thereafter, the average of the angles Akavgcorresponding to the video segment is calculated by using the number of inter-frames of the video segment, an absolute value of a difference between the average of the angles Akavgand the angle Akavgcorresponding to each inter-frame is calculated, the average of the differential absolute values corresponding to the inter-frames is calculated by adding the differential absolute values to each other, and the differential absolute values are normalized according to the average of the differential absolute values to set a maximum value among the differential absolute values to 0 and to set a minimum value among the differential absolute values to 100. The normalized differential absolute values indicate the description precision of the video segment on the basis of the description precision of the inter-frames.
(c) The Characteristic Descriptor Relating to theMotion Distribution247
The extraction of the value sets (SRk, MRkand LRk) for all inter-frames of the video segment is performed. Thereafter, the average of the value sets (SRk, MRkand LRk) corresponding to the video segment is calculated by using the number of inter-frames of the video segment, an absolute value of a difference between the average of the value sets (SRk, MRkand LRk) and the value set (SRk, MRkand LRk) corresponding to each inter-frame is calculated, the average of the differential absolute values corresponding to the inter-frames is calculated by adding the differential absolute values to each other, and the differential absolute values are normalized according to the average of the differential absolute values to set a maximum value among the differential absolute values to 0 and to set a minimum value among the differential absolute values to 100. The normalized differential absolute values indicate the description precision of the video segment on the basis of the description precision of the inter-frames. The degree of reliability for thecharacteristic descriptor245 is indicated by the average of the degrees of reliability for the value sets (SRk, MRkand LRk) corresponding to the inter-frames.
(d) The Characteristic Descriptor Relating to theBrightness248
An absolute value of a difference between the average histogram (composed of the numbers Havg(j) of samples in the sample-ranges) corresponding to the video segment and the histogram (composed of the numbers Hi(j) of samples in the sample-ranges) corresponding to one inter-frame is calculated for each of all inter-frames of the video segment, the average of the differential absolute values corresponding to the inter-frames is calculated by adding the differential absolute values to each other, and the differential absolute values are normalized according to the average of the differential absolute values to set a maximum value among the differential absolute values to 0 and to set a minimum value among the differential absolute values to 100. The normalized differential absolute values indicate the description precision of the video segment on the basis of the description precision of the inter-frames. The degree of reliability for thecharacteristic descriptor248 is indicated by the histograms corresponding to the inter-frames.
(e) The Characteristic Descriptor Relating to theRepresentative Color249
An absolute value of a difference between the average color-space histogram (composed of the numbers Havgk(j) of samples in the sample-ranges) corresponding to the video segment and the color-space histogram (composed of the numbers Hlk(j) of samples in the sample-ranges) corresponding to one inter-frame is calculated for each of all inter-frames of the video segment, the average of the differential absolute values corresponding to the inter-frames is calculated by adding the differential absolute values to each other, and the differential absolute values are normalized according to the average of the differential absolute values to set a maximum value among the differential absolute values to 0 and to set a minimum value among the differential absolute values to 100. The normalized differential absolute values indicate the description precision of the video segment on the basis of the description precision of the inter-frames. The degree of reliability for thecharacteristic descriptor249 is indicated by the color-space histograms corresponding to the inter-frames.
(1-2-3) The Processing for Setting the Search Priority241 (step ST32)
When the calculation of thecharacteristic descriptors245 to249 and the calculation of the degrees of reliability242 for each of allvideo shots244 included in thevideo program240 are completed, an initial setting of thesearch priority241 for thevideo program240 is performed (step ST32). An initial setting method can be arbitrarily prescribed according to the design of the image retrieval system. However, in the second embodiment, an initial setting method is determined according to the degrees ofreliability242A for allcharacteristic descriptors245 to249 of thevideo program240. The degree ofreliability242A for each characteristic descriptor “k” of thevideo program240 is expressed by ψk, the degree ofreliability242B for each characteristic descriptor of the m-th video scene is expressed by ψk(m), and the degree ofreliability242C for each characteristic descriptor of the n-th video shot of the m-th video scene is expressed by ψk(m,n). In this case, a following relationship among ψk, ψk(m) and ψk(m,n) is satisfied.ψk=(1/M)*m=0M-1ψk(m)(15)ψk(m)=(1/N)*n=0N-1ψk(m,n)(16)
Therefore, as the degree of reliability ψkfor one type of characteristic descriptor “k” of thevideo program240 is heightened, the contents description of the type of characteristic descriptor “k” in thevideo program240 becomes better. Therefore, thesearch priority241 is determined so as to use thecharacteristic descriptors245 to249 of thevideo program240 in the retrieval in the order of decreasing the degree of reliability ψk.
(1-2-4) The Writing of the For-retrieval Descriptor Data File210 (Step ST33)
After the above-described processing is performed, allcharacteristic descriptors245 to249 of thevideo program240, thevideo scenes243 and thevideo shots244, thesearch priority241, the degrees of reliability242 are written in the for-retrieval descriptiondata producing unit209 in the format of the XML file while relating to a space-time structure of thecompressed video data201 according to the structure shown inFIG. 18, and a for-retrieval description data file210 is produced. Thereafter, the produced for-retrieval description data file210 is output to the imageinformation storing unit5 and is stored (step ST33). Here, in this step, to make the user possible to refer to information which indicates video data from which the produced for-retrieval description data file210 is produced,information208 indicating a storing position of thecompressed video data201 is written in the format of the XML file to include theinformation208 in the for-retrieval description data file210, and the for-retrieval description data file210 including theinformation208 is output to the imageinformation storing unit5. Therefore, when thefile210 is analyzed, the position of the video data to be described can be specified.
(2) The Retrieval Processing
Next, the retrieval processing for a query (for example, a video shot specified on a retrieval request side) specified by a user on the client side is described in detail. The retrieval processing is performed by theretrieval processing unit10A shown in FIG.15 and theretrieval processing unit10B shown in FIG.16.
In theretrieval processing unit10A,retrieval request information216 transmitted from the client is analyzed, a query is specified, a prescribed retrieval result is obtained according to the conformity judgment processing in which the produced for-retrieval description data file210 stored in the imageinformation storing unit5 is used, retrieval resultinformation217 is coded at a prescribed rule, and theretrieval result information217 is sent to the client.
In theretrieval processing unit10B, a retrieval request of the user is received through theuser interface unit229, the retrieval request is coded to theretrieval request information216 according to a prescribed procedure, and theretrieval request information216 is sent to theretrieval processing unit10A. Also, theretrieval result information217 sent from the server according to the prescribed rule is received, the format of theretrieval result information217 is transformed to present theretrieval result information217 to the user, and theretrieval result information217 is displayed in theuser interface unit229.
In the second embodiment, a specific video shot244 of thevideo program240 described as shown inFIG. 18 is specified by the user as a video segment on the retrieval request side (or a query), and a video shot similar to the query is retrieved from thevideo program240.
There are various methods for specifying the specific video shot denoting the query. For example, a plurality of video shots respectively usable as a retrieval key are registered as queries in advance when thevideo program240 is produced, and the video shots usable as retrieval keys are presented to the user to make the user specify one video shot as a retrieval key. Also, as another example, when the user watches the reproducedvideo program240, the user stops the reproduction of thevideo program240 when a specific video shot of thevideo program240 is displayed, and the user specifies the specific video shot as a query. Hereinafter, the retrieval processing performed after the specifying of the query is described in detail.
(2-1) The Specifying of the Query and the Analysis of the For-retrieval Description Data (Step ST34 to Step ST36)
The user initially selects a query as a retrieval request from a list of queries presented in the user interface unit229 (step ST34).
In this embodiment, data of a plurality of key frames representing thevideo segment240 as a plurality of query candidates is sent in advance from the imageinformation storing unit5 arranged on the server side and is presented in the form of a list of queries in the user interface unit29.
In theretrieval processing unit10B,retrieval request information216 is sent from the retrieval request information coding and transmittingunit227 to theretrieval processing unit10A to specify the query specified by the user. In this case, theretrieval request information216 is, for example, a number of a time series of numbers identifying thevideo program240 and a specific video shot244 of thevideo program240 or data of an appropriate identifier. Also, theretrieval request information216 denoting contents specifying information is described in advance in the for-retrieval description data file210 as link information indicating the linking to specific contents. Therefore, it is applicable that the contents specifying information added to the list of queries be sent to the client to present the list of queries including the contents specifying information to the user.
Thereafter, in theretrieval processing unit10A, theretrieval request information216 sent from theretrieval processing unit10B is received in the for-retrieval descriptiondata analyzing unit211, the for-retrieval description data file210 relating to a specific video shot244 denoting the query is specified according to the receivedretrieval request information216 in the for-retrieval descriptiondata analyzing unit211, the for-retrieval description data file210 is analyzed, and data of characteristic descriptors is extracted (step ST35).
Also, thesearch priority241 of thevideo program240, to which the query belongs, and data of the degrees ofreliability242B corresponding to eachvideo scene243 are extracted in advance in the for-retrieval descriptiondata analyzing unit211 and are sent to the conformityjudgment processing unit213. Also, the data of the characteristic descriptors relating to the query is sent from the for-retrieval descriptiondata analyzing unit211 to the conformityjudgment processing unit213. Thereafter, the for-retrieval description data files210 corresponding to thevideo shots244 of thevideo program240, to which the query belongs, are analyzed one after another in the for-retrieval descriptiondata analyzing unit211 and are sent to the conformity judgment processing unit213 (step ST36).
Here, a structuring method of the for-retrieval description data files210 is arbitrary determined. For example, it is applicable that for-retrieval description data of allvideo shots244 of thevideo program240 be stored in one for-retrieval description data file210. Also, it is applicable that for-retrieval description data of each video shot244 of thevideo program240 be stored in one corresponding for-retrieval description data file210. In cases where pieces of for-retrieval description data of allvideo shots244 of thevideo program240 are stored in a plurality of for-retrieval description data files210 in one-to-one correspondence, it is required to include link information, which specifies the for-retrieval description data file210 corresponding to each video shot244, in the for-retrieval description data file210 of thevideo program240.
(2-2) The Determination of a Retrieval Rule and the Conformity Judgment Processing (Step ST37 to Step ST38)
The conformity judgment processing is performed in the conformityjudgment processing unit213 of theretrieval processing unit10A, and the operation performed in the conformityjudgment processing unit213 is classified into the determination of a retrieval rule and the conformity judgment processing based on the characteristic descriptors.
(2-2-1) The Determination of a Retrieval Rule
In the conformityjudgment processing unit213, a retrieval rule and a parameter for the retrieval are set according to thesearch priority241 of thevideo program240 and data of the degrees ofreliability242B of thevideo scenes243 received from the for-retrieval description data analyzing unit211 (step ST37). In the second embodiment, as shown inFIG. 19, a use order of thecharacteristic descriptors245 to249 in the retrieval is determined as a retrieval rule according to thesearch priority241, and a following retrieval parameter is determined according to the degrees of reliability.
(a) The Number of Retrieval Candidates for each Characteristic Descriptor in a Retrieval Step
A final retrieval result number T sent to the user as a retrieval result is determined.
It is applicable that the final retrieval result number T be held in the image retrieval system as a default value, or it is applicable that the final retrieval result number T be set while being sent in the order of theuser interface unit229, theretrieval processing unit10B and theretrieval processing unit10A. In a retrieval engine, a retrieval result of a plurality ofvideo shots244, of which the number is equal to or lower than T, is obtained for eachvideo scene243, and a plurality ofvideo shots244, of which the number is T, are selected in the conformity judgment from allvideo shots244 of allvideo scenes243 selected as retrieval candidates, and the selectedvideo shots244 are sent to the user as a final retrieval result.
A retrieval candidate number Tkin the retrieval for the m-th video scene243 is determined according to the degree of reliability ψk(m) for the m-th video scene243.T0=T*5Tk=T0/Pk+[T*{1-(ψk(m)/100)}](17)
Here, Pkdenotes a search priority (1≦Pk≦5) of the k-th (1≦k≦5) type of characteristic descriptor. Therefore, the retrieval candidate number Tkof candidates in each retrieval step, in which the retrieval relating to one type of characteristic descriptor determined according to the search priority order is performed, is determined. Because the retrieval candidate number Tkis basically reduced each time the retrieval step is performed, the retrieval processing can be performed at high speed. Also, because there is a possibility that avideo shot244 truly expected by the user is not selected in the above-described retrieval, it is applicable that the number of retrieval candidates in each retrieval step be set to a constant value and the degrees of reliability be used in the determination of final retrieval candidates.
(b) The Retrieval Skip Judgment Based on the Threshold Processing
In case of the conformity judgment processing for each video shot244, a video shot, in which the degree of reliability for the characteristic descriptor ranked to the highest search priority is extremely low so as to satisfy a condition of a following equation, is not selected as a candidate for the conformity judgment processing because it is regarded that the video shot does not satisfies the retrieval condition. Because the reliability becomes low as the degree of reliability approaches 0 and because the reliability becomes high as the degree of reliability approaches 100, a parameter TH in the following equation (18) is appropriately set to a low value.ψk(m,n)<TH;Pk=1(18)
In this judgment based on the equation (18), any video shot, which is not proper as a retrieval result candidate, can be removed from the retrieval result candidates before the performance of the conformity judgment processing, and the retrieval processing can be performed at high speed.
Here, in the explanation of the second embodiment, the characteristic descriptor ranked to the highest search priority is used for the judgment based on the equation (18). However, other various skip judgment methods using the degree of reliability can be performed. Also, this judgment of the second embodiment is performed each time the conformity judgment processing for one video shot244 is performed.
(2-2-2) The Conformity Judgment Processing for each Characteristic Descriptor
The conformity judgment processing is performed, according to following standards, for the characteristic descriptor determined according to thesearch priority241 in each retrieval step (step ST38).
(a) Type of Characteristic Descriptors Relating to the Magnitude of Motion
A Euclidean distance between each pair of pieces of for-retrieval description data relating to the magnitude of motion is calculated, and the Euclidean distances for all pairs are added to each other. To reduce differences in the values of the Euclidean distances, the normalizing processing is performed for the Euclidean distances. The query is expressed by Sq, the video shot to be retrieved is expressed by S, and a degree D(Sq, S) of the matching estimation between the query Sqand the video shot S is determined according to following equations (19). As the degree D(Sq, S) is decreased, the degree of similarity between the query Sqand the video shot S is heightened, and it is judged that the video shot S conforms with the query Sq.W=Cavg(Sq)+σ2(Sq)D(Sq,S)=(W/Cavg(Sq))*Cavg(Sq)-Cavg(S)+(W/σ2(Sq))*σ2(Sq)-σ2(S)(19)
(b) Type of Characteristic Descriptors Relating to the Motion Direction
A degree D(Sq, S) of the matching estimation between the query Sqand the video shot S is determined according to a following equation (20). As the degree D(Sq, S) is decreased, the degree of similarity between the query Sqand the video shot S is heightened, and it is judged that the video shot S conforms with the query Sq.D(Sq,S)=Aavg(Sq)-Aavg(S)(20)
(c) Type of Characteristic Descriptors Relating to the Motion Distribution
A degree D(Sq, S) of the matching estimation between the query Sqand the video shot S is determined according to a following equation (21). As the degree D(Sq, S) is decreased, the degree of similarity between the query Sqand the video shot S is heightened, and it is judged that the video shot S conforms with the query Sq.D(Sq,S)=SR(Sq)-SR(S)+MR(Sq)-MR(S)+LR(Sq)-LR(S)(21)
(d) Type of Characteristic Descriptors Relating to the Brightness
A degree D(Sq, S) of the matching estimation between the query Sqand the video shot S is determined according to a following equation (22). Here, Hi(S) denotes the number of samples in the i-th sample-range. As the degree D(Sq, S) is decreased, the degree of similarity between the query Sqand the video shot S is heightened, and it is judged that the video shot S conforms with the query Sq.D(Sq,S)=i=015Hi(Sq)-Hi(S)(22)
(e) Type of Characteristic Descriptors Relating to the Representative Color
A degree D(Sq, S) of the matching estimation between the query Sqand the video shot S is determined according to a following equation (22). Here, HiR(S) HiG(S) and HiB(S) respectively denote the number of samples in the i-th sample-range. As the degree D(Sq, S) is decreased, the degree of similarity between the query Sqand the video shot S is heightened, and it is judged that the video shot S conforms with the query Sq.D(Sq,S)=i=015HiR(Sq)-HiR(S)+HiG(Sq)-HiG(S)+HiB(Sq)-HiB(S)(23)
An example of the conformity judgment processing for a characteristic descriptor determined according to the search priority242 in the conformityjudgment processing unit211 is shown in FIG.19. For example, there are three types of character descriptors D1to D3in thevideo segment240. The search priority Pk(k denotes a natural number) denotes the use order of the character descriptors D1to D3in the retrieval. For example, D1denotes the type of character descriptor relating to the magnitude of motion, D2denotes the type of character descriptor relating to the motion distribution, and D3denotes the type of character descriptor relating to the brightness. In the example ofFIG. 19, in the conformityjudgment processing unit213, theconformity judgment processing251 is first performed for a query (or a video shot specified on the retrieval request side)250 by using the character descriptor D1relating to the magnitude of motion, and pieces ofvideo segment data252, which are highly similar to the query and well conforms with the query from a viewpoint of the magnitude of motion, are narrowly selected from a large number ofpieces video data257 stored in the imageinformation storing unit5 which is sent from the for-retrieval descriptiondata analyzing unit211. Thereafter, theconformity judgment processing253 is performed for the pieces of selectedvideo segment data252 by using the character descriptor D2 relating to the motion distribution, and pieces ofvideo segment data254, which are highly similar to the query and well conforms with the query from a viewpoint of the motion distribution, are narrowly selected from the pieces of selectedvideo segment data252. Thereafter, theconformity judgment processing255 is performed for the pieces of selectedvideo segment data254 by using the character descriptor D3relating to the brightness, and pieces of video segment data, which are highly similar to the query and well conforms with the query from a viewpoint of the brightness, are narrowly selected as a final retrieval result256 (equivalent to the conformityjudgment processing result214 shown inFIG. 15) from the pieces of selectedvideo segment data254.
(2-3) The Presentation of the Final Retrieval Result and the Re-retrieval Based on the User's Feed Back (Step ST39 to Step ST41)
Information of T video shots, which are selected as thefinal retrieval result256 according to the above-described retrieval rule and the conformity judgment processing, is presented to theuser232 in the user interface unit229 (step ST39). The presenting method is arbitrary determined. In the second embodiment, a query list is first presented. That is, key frame data representing the video shots of the retrieval result or attribute information (for example, a name of a subject in each video shot) of the video shots is coded according to a prescribed rule and is sent to theretrieval processing unit10B arranged on the client side as retrieval resultinformation217, theretrieval result information217, which is obtained by coding the key frame data or the attribute information and is sent from the server, is received in the retrieval result receiving and displayingunit228, the format of theretrieval result information217 is transformed so as to be displayed in theuser interface unit229, and theretrieval result information217 is sent to theuser interface unit229. Therefore, theuser232 can watch theretrieval result256 shown in theuser interface unit229.
Next, the procedure of the re-retrieval based on the user's feed back is described.
The user first ascertains theretrieval result256 obtained according to the retrieval rule which is determined according to thesearch priority241 and the degrees of reliability242. However, there is a possibility that theretrieval result256 differs from that subjectively expected by theuser232. To flexibly solve this problem, in the second embodiment, the image retrieval system has a function in which theuser232 changes thesearch priority241 and the re-retrieval can be performed according to the changed search priority (step ST40).
The relationship between a subjective meaning particularly desired by the user to be remarked and a characteristic descriptor is shown in FIG.20. As is realized inFIG. 20, in cases where theuser232 selects a specific video shot, in which a specific subject is moved in a certain direction, as a query, there is a high possibility that theuser232 expects a video shot which is similar to the specific video shot in the characteristic of the motion direction. However, because thesearch priority241 is determined according to the degrees of reliability initially set, there is a probability that a weighting value determined according to the user's subjective meaning is not reflected on the retrieval processing.
Therefore, to make theuser232 possible to reflect subjective meanings shown inFIG. 20 on the retrieval processing, the image retrieval system has a function in which theuser232 can change thesearch priority241 through theuser interface unit229. For example, in the above-described example, it is possible that theuser232 sets the search priority relating to the type of characteristic descriptor of the motion direction to a higher value. Therefore, the conformity judgment processing for the type of characteristic descriptors relating to the motion direction is preferentially performed in the retrieval processing, and the condition of the motion direction can be strongly reflected on thefinal retrieval result256.
Thesearch priority241 renewed by theuser232 is coded according to the prescribed rule in the retrieval request information coding and transmittingunit227, and thesearch priority241 is sent as a part of theretrieval request information216 to the for-retrieval descriptiondata analyzing unit211 of theretrieval processing unit10A of the server side through thenetwork A225.
In the for-retrieval descriptiondata analyzing unit211, to reuse the renewed value of thesearch priority241 in the following retrieval processing, the value of thesearch priority241 corresponding to thevideo program240 of the for-retrieval description data file210 is updated to the renewed value (step ST41).
Also, in the for-retrieval descriptiondata analyzing unit211, when the retrieval processing is completed, the for-retrieval description data file210, in which the value of thesearch priority241 is updated to the renewed value, is again stored in the imageinformation storing unit5.
Because the image retrieval system has the function for renewing thesearch priority241 and storing the renewedsearch priority241, in cases where theuser232 again searches thesame video program240 in the same standards, theuser232 can retrieve desired video data on condition that the subjective request of theuser232 performed in the past is reflected on the retrieval processing.
Also, in cases where a plurality ofusers232 use the same image retrieval system, it is applicable that the for-retrieval description data file210 be divided into a plurality of data files so as to store thesearch priority241 relating to eachuser232 in the corresponding data file. Therefore, the retrieval rule appropriate to eachuser232 can be appropriately reused by adding a function of an appropriate user authentication processing to the image retrieval system.
Therefore, the re-retrieval is performed by repeatedly performing the retrieval processing in the step ST37 to step ST41 while using the renewedsearch priority241, and the production of the for-retrieval descriptor data and the retrieval processing in the image retrieval processing shown inFIG. 17 is completed.
(3) The Processing for Reproducing Video Shot
In the above-described operation, the user can extract a desired retrieval result to theuse interface unit229. However, a plurality of retrieval candidates are generally presented according to the retrieval result, and it is required to transfer a large amount of information from the server to the client to display the retrieval candidates in the form of the video data. Therefore, as is described above, in the image retrieval system, data such as a plurality of key frames representing the video shots of the retrieval result is presented to theuser232 in theuser interface unit229, and a desired video shot selected by the user can be reproduced. Therefore, a total amount of transferred information can be effectively reduced. To achieve the reduction of a total amount of transferred information in the image retrieval system, in the second embodiment, thevideo reproducing server218, the video decoding and reproducingunit239 and the videoreproduction control unit235 shown inFIG. 15 orFIG. 16 are arranged. Theuser232 uses the above-described function to reproduce the selected video shot244 or the selectedvideo program240.
Next, the reproduction operation of the video shot244 or thevideo program240 selected by theuser232 using the above-described function is described.
When theuser232 selects avideo shot244 or avideo program240, which is desired to be reproduced, according to a plurality of key frames presented to theuser232 in theuser interface unit229, selection information is output as retrievalresult reproduction request233 from theuser interface unit229 to the videoreproduction control unit235.
In the videoreproduction control unit235, the retrievalresult reproduction request233 is transformed intoreproduction request information219 according to a prescribed procedure and is sent to thereproduction control unit220 of thevideo reproduction server218 of the server through the network A225.
In thereproduction control unit220, reproducedcontents specifying information221, in which contents specifying information indicating the specifying of contents is included, is produced from thereproduction request information219. In this case, it is preferred that the reproducedcontents specifying information221 including the contents specifying information be described in the for-retrieval description data file210 in advance as link information indicating the linking to contents, the contents specifying information be added toretrieval result information217 when theretrieval result information217 is presented to theuser232, the contents specifying information be sent to the client, and the contents specifying information be used as thereproduction request information219.
Thereafter, in thereproduction control unit220, the reproducedcontents specifying information221 produced according to the receivedreproduction request information219 is sent to the imageinformation storing unit5,video contents data222 to be reproduced is specified in the imageinformation storing unit5, and the specifiedvideo contents data222 to be reproduced is sent to the videodata transmitting unit223.
In the videodata transmitting unit223, thevideo contents data222 to be reproduced is transformed intodelivery video data224 which has a data format possible to be delivered at real time, and thedelivery video data224 is sent to the network B237.
Here, it is applicable that the transformation of the data format be performed in the videodata transmitting unit223 to make the client or the network B237 possible to obtain the reliability when video data is sent from the videodata transmitting unit223 to the network B237 in which the high speed transmission is set as an important function. For example, video data is divided into a plurality of video frames, and a time stamp is added to each video frame. Also, priority information is added to each packet denoting a transfer unit.
Also, in the client, thedelivery video data224 sent through the network B237 is received in the video decoding and reproducingunit239, and thedelivery video data224 is reproduced according to controlinformation262, which is required for the reproduction and is sent from the videoreproduction control unit235, to be displayed on theuser interface unit229. In cases where the reliability of transferred data is lowered because of a problem in the data transfer, a quality management control is appropriately performed in the video decoding and reproducingunit239 and the videoreproduction control unit235 to heighten the reproduction quality of the transferred data.
As is described above, in the image retrieval system and the image retrieval method according to the second embodiment, a server-client type system configuration is adopted. Therefore, the video data can be efficiently retrieved and delivered in the distributed network environment such as IP network as well as in the local environment.
Also, thesearch priority241 and the degree of reliability242 are stored in the imageinformation storing unit5 as the for-retrieval description data. Therefore, the determination course of the common retrieval rule can be determined according to the values of thesearch priority241 and the degrees of reliability242 in the image retrieval system.
Also, because the image retrieval system has the function for renewing thesearch priority241, the user can preferentially performs the retrieval based on the subjective meaning of the video contents.
In addition, because the image retrieval system has the function of the skip control in the conformity judgment processing based on the degrees of reliability of the characteristic descriptors, the retrieval processing can be performed at high speed, and a system efficiency can be improved.
In the first and second embodiments, the video data is processed as media data. However, the present invention is not limited to the video data. For example, it is applicable that video data, to which speech/audio data is added, be processed in the image retrieval system. Also, it is applicable that another retrieval system based on characteristic descriptors be prepared for the audio data in the image retrieval system. Also, it is applicable that the retrieval for audio data be not performed in the image retrieval system because the audio data is merely attached to the video data. Also, in cases where audio data is added to the video data, it is applicable that the reproduction of the audio data attached to and synchronized with the video data be supported in the video shot reproduction processing in the image retrieval system.
Also, in the image retrieval system described in the second embodiment, it is not necessarily required that a module, which is composed of the characteristicvalue extracting unit3 and the characteristic descriptor set producingunit4, for producing data of characteristic descriptors, a module of a retrieval engine, which has theretrieval processing unit10A, for performing the retrieval in response to a retrieval request of the user and sending a retrieval result to the user and a client module, which is mainly composed of theretrieval processing unit10B, for sending a retrieval request of the user to the retrieval engine and presenting a retrieval result sent from the retrieval engine to the user are arranged in the same hardware at the same software. That is, it is applicable that the modules be respectively arranged in a certain hardware at a certain software according to a predetermined interface. Also, for example, from a viewpoint of service, it is applicable that a contents provider produce data of characteristic descriptors and apply for the data base registration of the characteristic descriptors, a retrieval service provider register the characteristic descriptors in a data base to make preparations for the retrieval processing, the user specify a retrieval service provider as is described in the second embodiment or the user perform the retrieval by using a client tool in which the retrieval processing is performed according to standard prescriptions.
As is described above, in the image retrieval system and the image retrieval method according to the present invention, characteristic values and pieces of attribute information are extracted from pieces of image data, and the retrieval of specific image data is performed by using the extracted characteristic values and the attribute information. Therefore, the image retrieval processing can be efficiently performed.

Claims (28)

1. An image retrieval system, comprising:
a characteristic descriptor producing unit for extracting a plurality of image characteristic values from pieces of input image data and producing a characteristic descriptor for each piece of input image data;
an image information storing unit for storing the characteristic descriptors produced in the characteristic descriptor producing unit while holding the correspondence of each characteristic descriptor to one piece of input image data;
an attribute list producing unit for producing an attribute list according to a piece of attribute information attached to each piece of input image data; and
an image retrieving unit for receiving a first retrieval condition relating to attribute information, searching the attribute list produced in the attribute list producing unit for one piece of attribute information conforming to the first retrieval condition, outputting the piece of attribute information conforming to the first retrieval condition, receiving a second retrieval condition relating to a characteristic descriptor, searching the image information storing unit for one piece of image data conforming to the second retrieval condition, and outputting the piece of image data conforming to the second retrieval condition.
5. An image retrieval system according toclaim 4, wherein each piece of input picture data received in the characteristic descriptor producing unit denotes compressed video data which composes one or more intra-frames and one or more inter-frames,
both an average value and a standard deviation are produced as one characteristic descriptor of the intra-frames of the video segment in the characteristic descriptor producing unit by extracting an average matrix of pixel values in a prescribed coding area of one intra-frame for each intra-frame of the video segment, calculating a sum of the average matrices of all intra-frames included in the video segment and calculating both the average value of the average matrices and the standard deviation of the average matrices from the sum and the number of intra-frames in the video segment, and
one characteristic descriptor of the inter-frames of the video segment is produced in the characteristic descriptor producing unit by extracting a matrix of motion vectors of pixels of the prescribed coding areas of one inter-frame for each inter-frame of the video segment, calculating an average of the motion vectors of each inter-frame of the video segment as a motion vector average, classifying zero run lengths, which are obtained according to a threshold processing for the motion vectors of one inter-frame, into a plurality of classified types of zero run lengths for each inter-frame of the video segment, calculating an average of the motion vector averages and a plurality of classified types of average zero run lengths in the video segment according to the number of inter-frames in the video segment and setting the average of the motion vector averages and the classified types of average zero run lengths as the characteristic descriptor of the inter-frames of the video segment.
12. An image retrieval method, comprising the steps of:
extracting a plurality of image characteristic values from pieces of input image data to produce a characteristic descriptor for each piece of input image data;
storing the produced characteristic descriptors while holding the correspondence of each characteristic descriptor to one piece of input image data;
producing an attribute list according to a piece of attribute information attached to each piece of input image data;
receiving a first retrieval condition relating to attribute information;
searching the attribute list for one piece of attribute information conforming to the first retrieval condition;
outputting the piece of attribute information conforming to the first retrieval condition;
receiving a second retrieval condition relating to a characteristic descriptor;
searching the pieces of stored image data for one piece of image data conforming to the second retrieval condition while referring to the piece of attribute information conforming to the first retrieval condition; and
outputting the piece of image data conforming to the second retrieval condition.
13. An image retrieval system, comprising:
a characteristic descriptor producing unit for extracting a plurality of image characteristic values from pieces of input image data and producing a characteristic descriptor for each piece of input image data;
a for-retrieval description data producing unit for describing each characteristic descriptor as a piece of for-retrieval description data while holding the correspondence of the piece of for-retrieval description data to a space-time structure of the pieces of input image data;
an image information storing unit for storing each piece of for-retrieval description data with the piece of input image data corresponding to the piece of for-retrieval description data;
a first retrieval processing unit;
a second retrieval processing unit; and
a user interface unit,
wherein a retrieval request received from a user through the user interface unit is sent from the second retrieval processing unit to the first retrieval processing unit as retrieval request information, a retrieval result sent from the first retrieval processing unit is received in the second retrieval processing unit, the second retrieval processing unit presents the retrieval result to the user through the user interface unit, the pieces of for-retrieval description data of the pieces of input image data stored in the image information storing unit are analyzed in the first retrieval processing unit according to the retrieval request information sent from the second retrieval processing unit to extract the characteristic descriptors, a conformity judgment processing is performed in the first retrieval processing unit according to the extracted characteristic descriptors to obtain the retrieval result, and the retrieval result is sent from the first retrieval processing unit to the second retrieval processing unit to make the second retrieval processing unit present the retrieval result to the user through the user interface unit.
14. An image retrieval system according toclaim 13, further comprising:
a characteristic descriptor reliability calculating unit for calculating a degree of reliability of each characteristic descriptor produced in the characteristic descriptor producing unit,
wherein the for-retrieval description data producing unit describes each characteristic descriptor and the degree of reliability of the characteristic descriptor as one piece of for-retrieval description data while holding the correspondence of the piece of for-retrieval description data to the space-time structure of the pieces of input image data, the pieces of for-retrieval description data of the pieces of input image data stored in the image information storing unit are analyzed in the first retrieval processing unit according to the retrieval request information sent from the second retrieval processing unit to extract the characteristic descriptors and the degrees of reliability of the characteristic descriptors, a conformity judgment processing is performed in the first retrieval processing unit according to the extracted characteristic descriptors and the degrees of reliability of the characteristic descriptors to obtain the retrieval result, and the retrieval result is sent from the first retrieval processing unit to the second retrieval processing unit to make the second retrieval processing unit present the retrieval result to the user through the user interface unit.
16. An image retrieval system according toclaim 14, further comprising:
a characteristic descriptor retrieval order determining unit for determining a use order of the characteristic descriptors in the retrieval according to the degrees of reliability calculated in the characteristic descriptor reliability calculating unit, wherein the for-retrieval description data producing unit describes each characteristic descriptor, the degree of reliability of the characteristic descriptor and the use order in the retrieval as one piece of for-retrieval description data while holding the correspondence of the piece of for-retrieval description data to the space-time structure of the pieces of input image data, the pieces of for-retrieval description data of the pieces of input image data stored in the image information storing unit are analyzed in the first retrieval processing unit according to the retrieval request information sent from the second retrieval processing unit to extract the characteristic descriptors, the degrees of reliability of the characteristic descriptors and the use order in the retrieval, a conformity judgment processing is performed in the first retrieval processing unit according to the extracted characteristic descriptors, the degrees of reliability and the use order in the retrieval to obtain the retrieval result, and the retrieval result is sent from the first retrieval processing unit to the second retrieval processing unit to make the second retrieval processing unit present the retrieval result to the user through the user interface unit.
20. An image retrieval system according toclaim 13, further comprising:
a video data reproducing server; and
a video data decoding and reproducing unit, wherein each piece of input image data denotes a piece of video data, a piece of key image data representing each of pieces of video data specified in the retrieval is sent from the first retrieval processing unit to the second retrieval processing unit as the retrieval result,
each piece of key image data is received in the second retrieval processing unit as the retrieval result sent from the first retrieval processing unit to present the retrieval result to the user through the user interface unit,
a reproduction request indicating a specific key image, which is selected by the user from a plurality of key images indicated by the pieces of key image data, is sent from the user interface unit and is received in the video data reproducing server, a piece of specific video data represented by the specific key image is read out from the image information storing unit and is sent to the video data decoding and reproducing unit, and
the piece of specific video data sent from the video data reproducing server is received in the video data decoding and reproducing unit, is decoded and is received.
21. An image retrieval method, comprising the steps of:
extracting a plurality of image characteristic values from pieces of input image data to produce a characteristic descriptor for each piece of input image data;
describing each characteristic descriptor as a piece of for-retrieval description data while holding the correspondence of the piece of for-retrieval description data to a space-time structure of the pieces of input image data;
storing each piece of for-retrieval description data with the piece of input image data corresponding to the piece of for-retrieval description data;
analyzing the pieces of stored for-retrieval description data of the pieces of input image data according to a retrieval request sent from a user to extract the characteristic descriptors;
performing a conformity judgment processing according to the extracted characteristic descriptors to obtain a retrieval result; and
presenting the retrieval result to the user.
23. An image characteristic evaluating system, comprising:
a characteristic extracting unit for extracting color information of each frame as an image characteristic value for each image frame from image data;
a characteristic descriptor producing unit for producing characteristic descriptors for each video segment by arithmetically averaging color information, extracted by the characteristic extracting unit, of each frame per video segment composed of a plurality of image frames of image data;
a characteristic description data analyzing unit for inputting a characteristic descriptor file or a characteristic descriptor stream in which color characteristic descriptors extracted by characteristic descriptor producing unit per video segment are sequenced, and for extracting a characteristic descriptor of the specified video segment from the characteristic descriptor file or the color characteristic descriptor stream; and
an evaluating unit for evaluating similarity between a required characteristic descriptor and the characteristic descriptor of the specified video segment extracted by the characteristic description data analyzing unit.
26. A method of evaluating image characteristic values, comprising the steps of:
extracting color information of each frame as an image characteristic value for each image frame from image data;
producing characteristic descriptors for each video segment by arithmetically averaging color information, extracted by the characteristic extracting unit, of each frame per video segment composed of a plurality of image frames of image data;
inputting a characteristic descriptor file or a characteristic descriptor stream in which characteristic descriptors extracted in the step of extracting per video segment are sequenced;
extracting a color characteristic descriptor for a specified video segment from the color characteristic descriptor file or the color characteristic descriptor stream; and
evaluating similarity between a required characteristic descriptor and the characteristic descriptor of the specified video segment extracted in the extracting step.
US11/300,6931999-12-022005-12-15Image retrieval system and image retrieval methodExpired - LifetimeUSRE42185E1 (en)

Priority Applications (1)

Application NumberPriority DateFiling DateTitle
US11/300,693USRE42185E1 (en)1999-12-022005-12-15Image retrieval system and image retrieval method

Applications Claiming Priority (5)

Application NumberPriority DateFiling DateTitle
JP34325699AJP3738631B2 (en)1999-09-271999-12-02 Image search system and image search method
JP11-3432561999-12-02
PCT/JP2000/008547WO2001040995A1 (en)1999-12-022000-12-01Image retrieval system and image retrieval method
US09/773,570US6665442B2 (en)1999-09-272001-02-02Image retrieval system and image retrieval method
US11/300,693USRE42185E1 (en)1999-12-022005-12-15Image retrieval system and image retrieval method

Related Parent Applications (1)

Application NumberTitlePriority DateFiling Date
US09/773,570ReissueUS6665442B2 (en)1999-09-272001-02-02Image retrieval system and image retrieval method

Publications (1)

Publication NumberPublication Date
USRE42185E1true USRE42185E1 (en)2011-03-01

Family

ID=18360127

Family Applications (2)

Application NumberTitlePriority DateFiling Date
US09/773,570CeasedUS6665442B2 (en)1999-09-272001-02-02Image retrieval system and image retrieval method
US11/300,693Expired - LifetimeUSRE42185E1 (en)1999-12-022005-12-15Image retrieval system and image retrieval method

Family Applications Before (1)

Application NumberTitlePriority DateFiling Date
US09/773,570CeasedUS6665442B2 (en)1999-09-272001-02-02Image retrieval system and image retrieval method

Country Status (9)

CountryLink
US (2)US6665442B2 (en)
EP (2)EP1244025B1 (en)
JP (1)JP3738631B2 (en)
KR (1)KR100492437B1 (en)
CN (1)CN1191539C (en)
AU (1)AU1557601A (en)
DE (1)DE60034814T2 (en)
TW (1)TW571233B (en)
WO (1)WO2001040995A1 (en)

Cited By (2)

* Cited by examiner, † Cited by third party
Publication numberPriority datePublication dateAssigneeTitle
US20090022403A1 (en)*2007-07-202009-01-22Fujifilm CorporationImage processing apparatus, image processing method, and computer readable medium
US20100046842A1 (en)*2008-08-192010-02-25Conwell William YMethods and Systems for Content Processing

Families Citing this family (143)

* Cited by examiner, † Cited by third party
Publication numberPriority datePublication dateAssigneeTitle
JP3550681B2 (en)*1999-12-102004-08-04日本電気株式会社 Image search apparatus and method, and storage medium storing similar image search program
TWI222039B (en)*2000-06-262004-10-11Iwane Lab LtdInformation conversion system
EP1172741A3 (en)*2000-07-132004-09-01Sony CorporationOn-demand image delivery server, image resource database, client terminal, and method of displaying retrieval result
US6813618B1 (en)*2000-08-182004-11-02Alexander C. LouiSystem and method for acquisition of related graphical material in a digital graphics album
US8564661B2 (en)2000-10-242013-10-22Objectvideo, Inc.Video analytic rule detection system and method
US9892606B2 (en)2001-11-152018-02-13Avigilon Fortress CorporationVideo surveillance system employing video primitives
US8711217B2 (en)2000-10-242014-04-29Objectvideo, Inc.Video surveillance system employing video primitives
JP4824266B2 (en)*2001-02-052011-11-30コーニンクレッカ フィリップス エレクトロニクス エヌ ヴィ How to transfer objects that conform to the format
US7424175B2 (en)2001-03-232008-09-09Objectvideo, Inc.Video segmentation using statistical pixel modeling
JP3835187B2 (en)*2001-03-272006-10-18セイコーエプソン株式会社 Portable information terminal, control method thereof, recording medium, and program
US20020184208A1 (en)*2001-04-242002-12-05Saul KatoSystem and method for dynamically generating content on a portable computing device
GB0111431D0 (en)*2001-05-112001-07-04Koninkl Philips Electronics NvA real-world representation system and language
JP2002342355A (en)*2001-05-162002-11-29Ricoh Co Ltd Newspaper publication date confirmation method
TW569631B (en)*2001-05-282004-01-01Matsushita Electric Industrial Co LtdImage-actions detection-circuit
FR2826761B1 (en)*2001-06-272003-10-17Canon Kk METHOD FOR ANALYZING A DOCUMENT REPRESENTED IN A MARKET LANGUAGE
JP2003023614A (en)*2001-07-102003-01-24Minolta Co LtdMoving picture correction system, client, server, moving picture correction method, program, and recording medium
US7130841B1 (en)*2001-07-312006-10-31America Online, Inc.Enabling a search for both local and remote electronic content
US20030039410A1 (en)*2001-08-232003-02-27Beeman Edward S.System and method for facilitating image retrieval
US7925139B2 (en)*2001-12-032011-04-12Sony CorporationDistributed semantic descriptions of audiovisual content
US6996268B2 (en)*2001-12-282006-02-07International Business Machines CorporationSystem and method for gathering, indexing, and supplying publicly available data charts
KR20020008416A (en)*2002-01-032002-01-30신동수A methode or service for saving and a picture to remote server by email on the internet and checking it
WO2003088665A1 (en)*2002-04-122003-10-23Mitsubishi Denki Kabushiki KaishaMeta data edition device, meta data reproduction device, meta data distribution device, meta data search device, meta data reproduction condition setting device, and meta data distribution method
JP4352653B2 (en)*2002-04-122009-10-28三菱電機株式会社 Video content management system
JP2004021880A (en)*2002-06-202004-01-22Fuji Xerox Co LtdDevice retrieval system and its method
JP3783956B2 (en)*2002-07-232006-06-07株式会社リコー Image recording apparatus and image data selection method
AU2002950805A0 (en)*2002-08-152002-09-12Momentum Technologies GroupImprovements relating to video transmission systems
US20040088310A1 (en)*2002-10-182004-05-06Hitachi, Ltd.Recording medium, recording apparatus, recording method, reproduction apparatus and reproduction method
JP4336813B2 (en)*2002-12-062009-09-30日本電気株式会社 Image description system and method
JP4266695B2 (en)2003-04-302009-05-20キヤノン株式会社 Image processing apparatus and image processing method
JP2004334339A (en)*2003-04-302004-11-25Canon Inc Information processing apparatus, information processing method, storage medium, and program
JP4353503B2 (en)*2003-04-302009-10-28キヤノン株式会社 Image processing device
JP4366119B2 (en)*2003-05-292009-11-18キヤノン株式会社 Document processing device
US7143340B2 (en)*2003-06-272006-11-28Microsoft CorporationRow sharing techniques for grid controls
CA2475186C (en)*2003-07-172010-01-05At&T Corp.Method and apparatus for windowing in entropy encoding
US7574063B2 (en)*2003-07-232009-08-11Canon Kabushiki KaishaImage coding method and apparatus
US7840289B2 (en)*2003-09-012010-11-23Koninklijke Philips Electronics N. V.Media item selection
JP4613558B2 (en)*2003-09-162011-01-19パナソニック電工株式会社 Human body detection device using images
TWI310545B (en)*2003-10-042009-06-01Samsung Electronics Co LtdStorage medium storing search information and reproducing apparatus
KR20050033100A (en)*2003-10-042005-04-12삼성전자주식회사Information storage medium storing search information, jump and reproducing method and apparatus of search item
JP2005135118A (en)*2003-10-302005-05-26Fuji Photo Film Co LtdDrawing management system
US7912291B2 (en)*2003-11-102011-03-22Ricoh Co., LtdFeatures for retrieval and similarity matching of documents from the JPEG 2000-compressed domain
US20050163483A1 (en)*2004-01-222005-07-28Widevine Technologies, Inc.Piracy prevention system
US8250150B2 (en)*2004-01-262012-08-21Forte Internet Software, Inc.Methods and apparatus for identifying and facilitating a social interaction structure over a data packet network
WO2005076594A1 (en)*2004-02-062005-08-18Agency For Science, Technology And ResearchAutomatic video event detection and indexing
EP1571813A1 (en)2004-03-022005-09-07LG Electronics, Inc.Method and communication system for transmitting an image to the called party identifying calling party
US20050198067A1 (en)*2004-03-052005-09-08Casper LiuMulti-resolution feature extraction for video abstraction
GB0412906D0 (en)*2004-06-092004-07-14Capture LtdData compilation apparatus and method
JP2006018676A (en)*2004-07-022006-01-19Sharp Corp Biometric data collating apparatus, biometric data collating method, biometric data collating program, and computer-readable recording medium recording the biometric data collating program
JP2006018677A (en)*2004-07-022006-01-19Sharp Corp Biometric data collating apparatus, biometric data collating method, biometric data collating program, and computer-readable recording medium recording the biometric data collating program
JP4498045B2 (en)*2004-07-222010-07-07キヤノン株式会社 Image processing apparatus, control method therefor, and program
GB2418555A (en)*2004-09-232006-03-29Mitsubishi Electric Inf TechRepresenting an image using descriptors based on colour information
US7813552B2 (en)2004-09-232010-10-12Mitsubishi Denki Kabushiki KaishaMethods of representing and analysing images
US8600113B2 (en)2004-11-122013-12-03The University Court Of The University Of St. AndrewsSystem, method and computer program product for video fingerprinting
JP2006139682A (en)*2004-11-152006-06-01Matsushita Electric Ind Co Ltd Video search system, video search method and program
JP4251131B2 (en)*2004-11-172009-04-08ソニー株式会社 Data processing apparatus and method
KR100679124B1 (en)*2005-01-272007-02-05한양대학교 산학협력단 Information element extraction method for retrieving image sequence data and recording medium recording the method
JP4215002B2 (en)*2005-02-012009-01-28セイコーエプソン株式会社 Image transmission / reception system, image receiving apparatus, and printer apparatus
JP4620516B2 (en)*2005-04-132011-01-26日本テレビ放送網株式会社 Image comparison method, image comparison system, and program
US7657830B2 (en)*2005-05-042010-02-02Microsoft CorporationLayout size sharing in a grid layout for a user interface
KR20060122672A (en)*2005-05-262006-11-30삼성전자주식회사 Information storage medium including an application for acquiring metadata, apparatus and method for acquiring metadata
US8306277B2 (en)*2005-07-272012-11-06Canon Kabushiki KaishaImage processing apparatus and image processing method, and computer program for causing computer to execute control method of image processing apparatus
US20070030523A1 (en)*2005-08-022007-02-08Kabushiki Kaisha ToshibaSystem and method for identifying a submitter of a printed or scanned document
JP2007060446A (en)*2005-08-262007-03-08Sony CorpMeta data generation device, information processor, imaging apparatus, video conference system, security system, meta data generation method and program
KR20050092688A (en)*2005-08-312005-09-22한국정보통신대학교 산학협력단Integrated multimedia file format structure, its based multimedia service offer system and method
JP2007158410A (en)*2005-11-302007-06-21Sony Computer Entertainment IncImage encoder, image decoder, and image processing system
KR100719841B1 (en)*2005-12-012007-05-18삼성전자주식회사 How to create and display thumbnails
JP2007189657A (en)*2005-12-162007-07-26Fuji Xerox Co LtdImage evaluation apparatus, image evaluation method and program
KR20070069615A (en)*2005-12-282007-07-03삼성전자주식회사 Motion Estimator and Motion Estimation Method
JP4321541B2 (en)*2006-04-032009-08-26ソニー株式会社 Monitoring device and monitoring method
KR101392294B1 (en)*2006-04-172014-05-27오브젝트비디오 인코퍼레이티드Video segmentation using statistical pixel modeling
JP4201025B2 (en)2006-06-302008-12-24ソニー株式会社 Monitoring device, monitoring system, filter setting method, and monitoring program
JP4453684B2 (en)*2006-06-302010-04-21ソニー株式会社 MONITORING SYSTEM, MONITORING DEVICE, SEARCH METHOD, AND SEARCH PROGRAM
US8707167B2 (en)*2006-11-152014-04-22Ebay Inc.High precision data extraction
US7653130B2 (en)*2006-12-272010-01-26General Instrument CorporationMethod and apparatus for bit rate reduction in video telephony
JP2008165424A (en)*2006-12-272008-07-17Sony CorpImage retrieval device and method, imaging device and program
JP2008165303A (en)*2006-12-272008-07-17Fujifilm Corp Content registration apparatus, content registration method, and content registration program
US8290203B1 (en)*2007-01-112012-10-16Proofpoint, Inc.Apparatus and method for detecting images within spam
US8290311B1 (en)2007-01-112012-10-16Proofpoint, Inc.Apparatus and method for detecting images within spam
JP5010292B2 (en)*2007-01-182012-08-29株式会社東芝 Video attribute information output device, video summarization device, program, and video attribute information output method
US20080199098A1 (en)*2007-02-192008-08-21Seiko Epson CorporationInformation processing method, information processing apparatus, and storage medium having program stored thereon
JP4979070B2 (en)*2007-03-282012-07-18Kddi株式会社 Video presentation system
US8565228B1 (en)*2007-03-282013-10-22Control4 CorporationSystems and methods for selecting and ranking video streams
CN101276363B (en)*2007-03-302011-02-16夏普株式会社Document image retrieval device and document image retrieval method
GB2449125A (en)*2007-05-112008-11-12Sony Uk LtdMetadata with degree of trust indication
JP4389964B2 (en)*2007-05-152009-12-24ソニー株式会社 Information processing apparatus, information processing method, and program
US7460149B1 (en)*2007-05-282008-12-02Kd Secure, LlcVideo data storage, search, and retrieval using meta-data and attribute data in a video surveillance system
EP2165525B1 (en)*2007-06-042018-09-12Enswers Co., Ltd.Method of processing moving picture and apparatus thereof
WO2008149448A1 (en)*2007-06-072008-12-11Fujitsu LimitedMoving image similarity determination device, coding device, and feature amount calculating method
KR100889936B1 (en)*2007-06-182009-03-20한국전자통신연구원System and method for managing digital videos using video features
JP2009004999A (en)*2007-06-202009-01-08Panasonic Corp Video data management device
DE102007034010A1 (en)*2007-07-202009-01-22Dallmeier Electronic Gmbh & Co. Kg Method and device for processing video data
US20090067494A1 (en)*2007-09-062009-03-12Sony Corporation, A Japanese CorporationEnhancing the coding of video by post multi-modal coding
US20090079840A1 (en)*2007-09-252009-03-26Motorola, Inc.Method for intelligently creating, consuming, and sharing video content on mobile devices
JP5286732B2 (en)*2007-10-012013-09-11ソニー株式会社 Information processing apparatus and method, program, and recording medium
JP4433327B2 (en)*2007-12-112010-03-17ソニー株式会社 Information processing apparatus and method, and program
US8280117B2 (en)2008-03-182012-10-02Certusview Technologies, LlcVirtual white lines for indicating planned excavation sites on electronic images
US8249306B2 (en)2008-03-182012-08-21Certusview Technologies, LlcVirtual white lines for delimiting planned excavation sites
US8199823B2 (en)*2008-04-152012-06-12Sony CorporationEstimation of B frame average rate quantization parameter (QP) in a group of pictures (GOP)
JP4453768B2 (en)*2008-04-152010-04-21ソニー株式会社 Information processing apparatus and method, and program
US8199814B2 (en)*2008-04-152012-06-12Sony CorporationEstimation of I frame average rate quantization parameter (QP) in a group of pictures (GOP)
KR101027159B1 (en)*2008-07-282011-04-05뮤추얼아이피서비스(주) Target image detection device and method
JP5195156B2 (en)*2008-08-252013-05-08ソニー株式会社 Monitoring device, monitoring system, and filter setting method
EP2208153B1 (en)*2008-10-292013-12-11NDS LimitedVideo signature
EP2187337A1 (en)*2008-11-122010-05-19Sony CorporationExtracting a moving mean luminance variance from a sequence of video frames
US8832565B2 (en)2009-02-112014-09-09Certusview Technologies, LlcMethods and apparatus for controlling access to a virtual white line (VWL) image for an excavation project
US20100201690A1 (en)2009-02-112010-08-12Certusview Technologies, LlcVirtual white lines (vwl) application for indicating a planned excavation or locate path
CA2691780C (en)2009-02-112015-09-22Certusview Technologies, LlcManagement system, and associated methods and apparatus, for providing automatic assesment of a locate operation
US8379985B2 (en)*2009-07-032013-02-19Sony CorporationDominant gradient method for finding focused objects
JP5521436B2 (en)*2009-08-192014-06-11ソニー株式会社 Moving image recording apparatus, moving image recording method and program
US9754629B2 (en)2010-03-032017-09-05Koninklijke Philips N.V.Methods and apparatuses for processing or defining luminance/color regimes
CN102783132B (en)*2010-03-032016-08-03皇家飞利浦电子股份有限公司 Apparatus and method for defining color states
JP2011188342A (en)*2010-03-102011-09-22Sony CorpInformation processing apparatus, information processing method, and program
US9443147B2 (en)2010-04-262016-09-13Microsoft Technology Licensing, LlcEnriching online videos by content detection, searching, and information aggregation
KR101837687B1 (en)*2010-06-042018-03-12삼성전자주식회사Method and apparatus for adaptive streaming based on plurality of elements determining quality of content
US20120030575A1 (en)*2010-07-272012-02-02Cok Ronald SAutomated image-selection system
CN102385570A (en)*2010-08-312012-03-21国际商业机器公司Method and system for matching fonts
JP2012129979A (en)*2010-11-242012-07-05Jvc Kenwood CorpSegment creation apparatus, segment creation method and segment creation program
US9047319B2 (en)2010-12-172015-06-02Microsoft Technology Licensing, LlcTag association with image regions
WO2012102038A1 (en)2011-01-252012-08-02パナソニック株式会社Content notification system and method as well as user terminal device
JP5733565B2 (en)*2011-03-182015-06-10ソニー株式会社 Image processing apparatus and method, and program
JP5627002B2 (en)*2011-04-052014-11-19日本電信電話株式会社 Similar video output method, similar video output device, and similar video output program
US20130208992A1 (en)*2012-02-132013-08-15Shu LinSystem and method for difference frame threshold encoding and decoding
CN103365854A (en)*2012-03-282013-10-23鸿富锦精密工业(深圳)有限公司System and method for retrieving video files
KR102004262B1 (en)*2012-05-072019-07-26엘지전자 주식회사Media system and method of providing query word corresponding to image
US8751530B1 (en)*2012-08-022014-06-10Google Inc.Visual restrictions for image searches
US8935246B2 (en)*2012-08-082015-01-13Google Inc.Identifying textual terms in response to a visual query
US9838346B2 (en)*2014-03-172017-12-05Splunk Inc.Alerting on dual-queue systems
US9838467B2 (en)*2014-03-172017-12-05Splunk Inc.Dynamically instantiating dual-queue systems
CN105045793B (en)*2014-04-042019-06-18云视公司Image procossing client
US9583149B2 (en)*2014-04-232017-02-28Daniel StieglitzAutomated video logging methods and systems
KR101713197B1 (en)*2015-04-012017-03-09주식회사 씨케이앤비Server computing device and system for searching image based contents cognition using the same
WO2017134738A1 (en)*2016-02-022017-08-10三菱電機株式会社Recorder device and video monitoring system
JP6433928B2 (en)*2016-02-152018-12-05株式会社東芝 SEARCH DEVICE, SEARCH METHOD, AND SEARCH SYSTEM
CN107909086B (en)*2017-04-102020-07-31重庆完美空间科技有限公司Method for classifying interior decoration materials
CN108959322B (en)*2017-05-252021-09-10富士通株式会社Information processing method and device for generating image based on text
CN107451243B (en)*2017-07-272024-04-12迪尚集团有限公司Complex query method based on attribute
CN107862003A (en)*2017-10-242018-03-30珠海市魅族科技有限公司Video contents search method, apparatus, terminal and readable storage medium storing program for executing
CN108592948B (en)*2018-04-282023-03-14中国计量大学Automatic measurement method for bubble offset of pipe level
US11373404B2 (en)2018-05-182022-06-28Stats LlcMachine learning for recognizing and interpreting embedded information card content
CN109446385B (en)*2018-11-142022-06-14中国科学院计算技术研究所 A method for establishing a network resource device map and a method for using the device map
CN111353434A (en)*2020-02-282020-06-30北京市商汤科技开发有限公司 Information identification method and device, system, electronic device and storage medium
CN113094537B (en)*2021-04-072024-01-02南京云格信息技术有限公司Image processing system based on FPGA
CN116033094B (en)*2022-10-212024-11-22维沃移动通信有限公司 Video editing method and device

Citations (20)

* Cited by examiner, † Cited by third party
Publication numberPriority datePublication dateAssigneeTitle
GB872803A (en)1958-08-041961-07-12Bayer AgA process for the production of condensation products
JPH02219391A (en)1989-02-201990-08-31Victor Co Of Japan LtdMotion compensated predictive encoding and decoding system
JPH03270388A (en)1990-03-191991-12-02Victor Co Of Japan LtdData compressing device
JPH06168277A (en)1992-11-301994-06-14Canon IncDevice and method for retrieving image
US5465353A (en)1994-04-011995-11-07Ricoh Company, Ltd.Image matching and retrieval by multi-access redundant hashing
TW316962B (en)1996-04-121997-10-01Ind Tech Res InstThe index of video data base and query method & system
JPH09270006A (en)1996-04-031997-10-14Toshiba Corp Moving image processing method
JPH09282324A (en)1996-04-091997-10-31Nec CorpVideo retrieval system
JPH1091634A (en)1996-08-151998-04-10Hewlett Packard Co <Hp>Photographic image retrieval system
JPH10124655A (en)1996-08-291998-05-15Ricoh Co Ltd Digital album creation device and digital album device
WO1998021688A1 (en)1996-11-151998-05-22Sarnoff CorporationMethod and apparatus for efficiently representing, storing and accessing video information
TW338872B (en)1995-08-311998-08-21Philips Eloctronics N VInteractive entertainment attribute setting
US5819286A (en)1995-12-111998-10-06Industrial Technology Research InstituteVideo database indexing and query method and system
EP0878767A1 (en)1997-05-161998-11-18Hitachi, Ltd.Image retrieving method and apparatus
TW362209B (en)1994-11-241999-06-21Toshiba CorpLarge capacity recording medium, method and apparatus for reproducing data from a large capacity recording medium, and method and apparatus for recording
JPH11224266A (en)1997-11-101999-08-17Nippon Telegr & Teleph Corp <Ntt> Electronic video document creation and utilization method and program storage medium
US20020105541A1 (en)*1999-10-272002-08-08Fujitsu LimitedMultimedia information arranging apparatus and arranging method
US6502105B1 (en)*1999-01-152002-12-31Koninklijke Philips Electronics N.V.Region-based image archiving and retrieving system
US6792043B1 (en)*1998-10-232004-09-14Telecommunications Advancement Organization Of JapanMethod, apparatus and program products for retrieving moving image
US7006714B2 (en)*1999-12-102006-02-28Nec CorporationImage retrieval device, image retrieval method and storage medium storing similar-image retrieval program

Family Cites Families (2)

* Cited by examiner, † Cited by third party
Publication numberPriority datePublication dateAssigneeTitle
JPH10289240A (en)*1997-04-141998-10-27Canon Inc Image processing apparatus and control method thereof
EP0872803B1 (en)*1997-04-142005-12-28Canon Kabushiki KaishaImage processing method and control method therefor

Patent Citations (21)

* Cited by examiner, † Cited by third party
Publication numberPriority datePublication dateAssigneeTitle
GB872803A (en)1958-08-041961-07-12Bayer AgA process for the production of condensation products
JPH02219391A (en)1989-02-201990-08-31Victor Co Of Japan LtdMotion compensated predictive encoding and decoding system
JPH03270388A (en)1990-03-191991-12-02Victor Co Of Japan LtdData compressing device
JPH06168277A (en)1992-11-301994-06-14Canon IncDevice and method for retrieving image
US5465353A (en)1994-04-011995-11-07Ricoh Company, Ltd.Image matching and retrieval by multi-access redundant hashing
TW362209B (en)1994-11-241999-06-21Toshiba CorpLarge capacity recording medium, method and apparatus for reproducing data from a large capacity recording medium, and method and apparatus for recording
TW338872B (en)1995-08-311998-08-21Philips Eloctronics N VInteractive entertainment attribute setting
US5819286A (en)1995-12-111998-10-06Industrial Technology Research InstituteVideo database indexing and query method and system
JPH09270006A (en)1996-04-031997-10-14Toshiba Corp Moving image processing method
JPH09282324A (en)1996-04-091997-10-31Nec CorpVideo retrieval system
TW316962B (en)1996-04-121997-10-01Ind Tech Res InstThe index of video data base and query method & system
JPH1091634A (en)1996-08-151998-04-10Hewlett Packard Co <Hp>Photographic image retrieval system
JPH10124655A (en)1996-08-291998-05-15Ricoh Co Ltd Digital album creation device and digital album device
WO1998021688A1 (en)1996-11-151998-05-22Sarnoff CorporationMethod and apparatus for efficiently representing, storing and accessing video information
EP0878767A1 (en)1997-05-161998-11-18Hitachi, Ltd.Image retrieving method and apparatus
JPH10320400A (en)1997-05-161998-12-04Hitachi Ltd Video search method and apparatus
JPH11224266A (en)1997-11-101999-08-17Nippon Telegr & Teleph Corp <Ntt> Electronic video document creation and utilization method and program storage medium
US6792043B1 (en)*1998-10-232004-09-14Telecommunications Advancement Organization Of JapanMethod, apparatus and program products for retrieving moving image
US6502105B1 (en)*1999-01-152002-12-31Koninklijke Philips Electronics N.V.Region-based image archiving and retrieving system
US20020105541A1 (en)*1999-10-272002-08-08Fujitsu LimitedMultimedia information arranging apparatus and arranging method
US7006714B2 (en)*1999-12-102006-02-28Nec CorporationImage retrieval device, image retrieval method and storage medium storing similar-image retrieval program

Non-Patent Citations (8)

* Cited by examiner, † Cited by third party
Title
"A critical evaluation of mage and video indexing techniques in the compressed domain", M.K. Mandal et al., Image Vision Computing, 17, 513-529, 1999.
"Synthesis and Evalution of the Image Database with Fully Automated Keyword Extraction by State Transition Model and Scene Description Language", Institute of Electronic Information and Communication Engineers of Japan, D-II vol. J79-D-11 No. 4, pp. 476-483, Apr. 1996.
Hatano, Kenji, New Generation Database Technology, Authoring and Retrieval of Video Scenes by Multi-level Self-organizing Maps, Transactions of the Institute of Information Processing Society of Japan, Apr. 15, 1998, vol. 39, No. 4, pp. 933-942.
Jau-Yuen Chen et al., "ViBE: a new paradigm for video database browsing and search," Content-Based Access of Image and Video Libraries, 1998, Proceedings, IEEE Workshop on Santa Barbara, CA, USA, Jun. 21, 1998, Los Alamitos, CA, USA, IEEE Comput. Soc., US, 1998, pp. 96-100, XP010293858.
Ono et al., IEICE, D-II vol. J79, No. 4, pp. 476-483 (1996) w/partial English Translation.
Shibata, Masahiro, Temporal Video Segmentation for Scene Description, Transactions of the Institute of Electronics, Information and Communication Engineers, Apr. 25, 1999, vol. J82-D-11, No. 4, pp. 732-742.
Sung et al., "Iconic pictorial retrieval using multiple attributes," Systems, Man, and Cybernetics, 1998, 1998 IEEE International Conference, San Diego, CA, USA,, Oct. 11, 14, 1998, New York, NY, USA, IEEE, US, vol. 5, pp. 4589-4594, Oct. 11, 1998, XP010311152.
Yoshimi Isu et al., "XML Kijutsu wo mochiiru Contents Kensaku Jikken System no Kouchiku", Proceedings of Information System Society Meeting in 1999, the Institute of Electronics, Information and Communication Engineers (Sep. 7, 1999), p. 132, Fig. 1.

Cited By (7)

* Cited by examiner, † Cited by third party
Publication numberPriority datePublication dateAssigneeTitle
US20090022403A1 (en)*2007-07-202009-01-22Fujifilm CorporationImage processing apparatus, image processing method, and computer readable medium
US20100046842A1 (en)*2008-08-192010-02-25Conwell William YMethods and Systems for Content Processing
US8194986B2 (en)2008-08-192012-06-05Digimarc CorporationMethods and systems for content processing
US8503791B2 (en)2008-08-192013-08-06Digimarc CorporationMethods and systems for content processing
US8520979B2 (en)2008-08-192013-08-27Digimarc CorporationMethods and systems for content processing
US8606021B2 (en)2008-08-192013-12-10Digimarc CorporationMethods and systems for content processing
US9104915B2 (en)2008-08-192015-08-11Digimarc CorporationMethods and systems for content processing

Also Published As

Publication numberPublication date
KR100492437B1 (en)2005-06-02
EP1560130A3 (en)2006-02-08
AU1557601A (en)2001-06-12
EP1560130A2 (en)2005-08-03
WO2001040995A1 (en)2001-06-07
EP1244025A1 (en)2002-09-25
CN1191539C (en)2005-03-02
HK1053889A1 (en)2003-11-07
DE60034814D1 (en)2007-06-21
TW571233B (en)2004-01-11
EP1244025A4 (en)2004-05-26
DE60034814T2 (en)2008-01-31
EP1244025B1 (en)2007-05-09
JP3738631B2 (en)2006-01-25
KR20020060981A (en)2002-07-19
US6665442B2 (en)2003-12-16
US20010004739A1 (en)2001-06-21
JP2001167095A (en)2001-06-22
CN1402853A (en)2003-03-12

Similar Documents

PublicationPublication DateTitle
USRE42185E1 (en)Image retrieval system and image retrieval method
JP4138007B2 (en) Video retrieval of MPEG compressed sequences using DC and motion codes
Hanjalic et al.Automated high-level movie segmentation for advanced video-retrieval systems
JP5005154B2 (en) Apparatus for reproducing an information signal stored on a storage medium
US8515933B2 (en)Video search method, video search system, and method thereof for establishing video database
CN100367794C (en)Metadata editing apparatus
CN100409236C (en)Streaming video bookmarks
US7624337B2 (en)System and method for indexing, searching, identifying, and editing portions of electronic multimedia files
US7310628B2 (en)Content searching/distributing device and content searching/distributing method
CN1538351B (en)Method and computer for generating visually representative video thumbnails
US20030074671A1 (en)Method for information retrieval based on network
US20090110296A1 (en)Method of image feature coding and method of image search
US20030126126A1 (en)Apparatus and method for searching multimedia object
TW201224799A (en)Video search method, system, and method for establishing a database therefor
JP4770875B2 (en) Image feature data generation device, image feature determination device, and image search system
JPH11259507A (en) Video search method and recording medium storing video search program
JP2006018831A (en) Image search system and image search method
JP2006139682A (en) Video search system, video search method and program
Bashir et al.Multimedia systems: content-based indexing and retrieval
Steiger et al.MPEG-7 description of generic video objects for scene reconstruction
EP1286516A2 (en)Digest transmission system for mobile telephones
JP2002199302A (en)System/method for providing character information and recording medium with program for realizing the method recorded thereon
CN116055791A (en) A method and system for classifying and storing PVR recordings
Ahmed et al.Video Indexing and Summarization Service for Mobile Users
Lee et al.Automatic Video Summary and Description

Legal Events

DateCodeTitleDescription
FEPPFee payment procedure

Free format text:PAYOR NUMBER ASSIGNED (ORIGINAL EVENT CODE: ASPN); ENTITY STATUS OF PATENT OWNER: LARGE ENTITY

REMIMaintenance fee reminder mailed
FPAYFee payment

Year of fee payment:8

SULPSurcharge for late payment

Year of fee payment:7

FPAYFee payment

Year of fee payment:12


[8]ページ先頭

©2009-2025 Movatter.jp