Movatterモバイル変換


[0]ホーム

URL:


USRE41132E1 - Radio communication method including SDL having transmission rate of relatively high speed - Google Patents

Radio communication method including SDL having transmission rate of relatively high speed
Download PDF

Info

Publication number
USRE41132E1
USRE41132E1US11/272,736US27273605AUSRE41132EUS RE41132 E1USRE41132 E1US RE41132E1US 27273605 AUS27273605 AUS 27273605AUS RE41132 EUSRE41132 EUS RE41132E
Authority
US
United States
Prior art keywords
radio
base station
information
signal
downlink
Prior art date
Legal status (The legal status is an assumption and is not a legal conclusion. Google has not performed a legal analysis and makes no representation as to the accuracy of the status listed.)
Expired - Lifetime
Application number
US11/272,736
Inventor
Mutsumu Serizawa
Nobuyasu Nakajima
Koji Ogura
Minoru Namekata
Takashi Wakutsu
Manabu Mukai
Current Assignee (The listed assignees may be inaccurate. Google has not performed a legal analysis and makes no representation or warranty as to the accuracy of the list.)
Toshiba Corp
Original Assignee
Toshiba Corp
Priority date (The priority date is an assumption and is not a legal conclusion. Google has not performed a legal analysis and makes no representation as to the accuracy of the date listed.)
Filing date
Publication date
Priority to US11/272,736priorityCriticalpatent/USRE41132E1/en
Application filed by Toshiba CorpfiledCriticalToshiba Corp
Priority to US12/546,326prioritypatent/USRE43950E1/en
Priority to US12/546,962prioritypatent/USRE44074E1/en
Priority to US12/547,059prioritypatent/USRE43800E1/en
Publication of USRE41132E1publicationCriticalpatent/USRE41132E1/en
Application grantedgrantedCritical
Priority to US12/884,330prioritypatent/USRE44202E1/en
Priority to US12/884,355prioritypatent/USRE43654E1/en
Priority to US12/884,315prioritypatent/USRE43821E1/en
Priority to US12/884,325prioritypatent/USRE44143E1/en
Priority to US12/884,298prioritypatent/USRE43713E1/en
Anticipated expirationlegal-statusCritical
Expired - Lifetimelegal-statusCriticalCurrent

Links

Images

Classifications

Definitions

Landscapes

Abstract

A large amount of user information is transmitted with good efficiency by means of a high-speed downlink by making transmission rates of an uplink circuit and a downlink asymmetrical. The radio communication system includes a plurality of base stations, a plurality of terminals, an uplink established between each of the base stations and each of the terminals for the purpose of radio transmission of prescribed information from a terminal to a base station, and a downlink circuit established between each of the terminals and each of the base station for the purpose of radio transmission of prescribed data from a base station to a terminal. This radio communication system has a low-speed transmitting means, provided at the terminal, which transmits a radio signal at a relatively low transmission rate to an above-noted base station via the above-noted uplink, a low-speed receiving means, provided at the base station, which receives a radio signal sent at a relatively low transmission rate from the terminal via the uplink, a high-speed transmitting means, provided at the base station, which transmits a radio signal at a relatively high transmission rate to an above-noted terminal via the above-noted downlink, and a high-speed receiving means, provided at the terminal, which receives a radio sent at a relatively high transmission rate from the base station via the downlink.

Description

This application is a continuation, of application Ser. No. 08/492,728, filed Jun. 20, 1995 now U.S. Pat. No. 5,754,961.
This reissue application is a continuation of reissue application Ser. No.10/119,679, filed Apr.11,2002, now RE39,119, which is a reissue application of application Ser. No.09/055,973, filed Apr.7,1998, now U.S. Pat. No.6,049,721, which is a continuation of application Ser. No.08/492,728, filed Jun.20,1995, now U.S. Pat. No.5,754,961.
BACKGROUND OF THE INVENTION
The present invention relates to a radio communication system, and more specifically to a radio communication system for the purpose of performing super highspeed downlink (abbreviated SDL, this abbreviation used hereinafter), which has a relatively high transmission rate on the downlink, which is the radio transmission path from the base station to the terminal, in comparison with the transmission rate on the uplink, which is the radio transmission path from the terminal to the base station.
In recent years, with advances in communications and information processing technologies, a variety of types of radio communication systems such as a personal-use portable telephone (Personal Handyphone System (PHS)) and systems which make use of the above-noted SDL have been proposed.
Radio communication systems such as PHS or local area networks (LANs) which use radio are experiencing increasing demand, by virtue of advancements in various information media, and along with this increased demand comes an increasing necessity to perform radio communication over a variety of networks. In view of this type of necessity, a broadening of the transmission frequency bandwidth is desired in radio communication systems as it is in cable communication systems. In radio communication systems of the past, the uplink for sending a radio signal from the terminal to the base station and the downlink for sending a radio signal from the base station to the terminal had transmission speeds which were matched for bi-directional radio communication. However, the actual situation is that the amount of transmission on the downlink, over which user information requested by the user is sent to the terminal is considerably larger than the amount of transmission on the uplink over which only control information or the like is sent.
This is a problem not only with mobile communication, but also with radio LANs and a variety of other radio services. However, because the frequency spectrum resources for radio are limited, it is difficult to widen the frequency bands for currently implemented services, making it desirable that higher, unused frequencies (such as sub-millimeter and millimeter bands) be developed.
FIG. 1 shows an example of the frequency placement in the past. This is the example of the Japanese digital system mobile telephone system RCR STD-27B (Research Center of Radio system StandDard 27B). In this system, the downlink and the uplink have the same transmission rate, there being systems that operate in the 800-MHz band and the 1.5-GHz band. In either of these frequency bands, the uplink and the downlink are in the same frequency band. In the 800-MHz band, the downlink is located in therange 810 MHz to 826 MHz, and the uplink is located in the range 940 MHz to 956 MHz. In previous systems, because an uplink and a downlink operating at the same transmission rate were assumed, transmission is performed in the same frequency band. However, problems arise with application to the SDL system.
In the SDL system, because a wideband downlink is assumed, in a low frequency band such as the 800-MHz band, it becomes difficult to assign this wide band and to achieve effective frequency usage. For example, in the case of trying to perform transmission at 100 MHz or so, it is obvious that it is impossible for the bandwidth to be found to allow oneuser 100 MHz bandwidth in the 800-MHz band. For this reason, it is necessary to perform transmission in the sub-millimeter band of several gigahertz, or in the millimeter band of several tens of gigahertz.
The US mobile telephone system can be cited as an example of a radio communication system of the past which had differing transmission rates. In this system, at the point at which a switch was being made from analog to digital, the mobile telephone handset was made to include both an analog and a digital mobile telephone, thereby enabling calling and receiving of calls in both areas. In this system, two completely different communication systems—analog and digital—are used, the handsets having few circuits in common, so that there were one each of the analog mobile telephone and the digital mobile telephone. For this reason, a problem existed in that the circuit was of a large scale.
Next, the previous method of synchronizing the signal source used as a reference will be described, using FIG.2.FIG. 2 shows the configuration of a phase-locked loop (PLL) for the purpose of obtaining a frequency that is n/m times that of the oscillation frequency of a reference oscillator. A signal having the oscillation frequency x is frequency divided to 1/m by afrequency divider201, and input to a phase comparator. A signal from a voltagecontrolled oscillator (the oscillator frequency of which, y, is controlled by a voltage) is frequency divided to 1/n by afrequency divider202, and input to the phase comparator. At the phase comparator, a voltage value is output which is responsive to the phase difference of these two signals. The phase comparator output is input to a loop filter which establishes the frequency tracking characteristics of the PLL. The loop filter output is input to the voltage-controlled oscillator. The PLL is controlled so that the phase difference between the two signals at the input of the phase comparator is zero. Therefore, the following equation (1) obtains.
x/m=y/n  (1)
Therefore, the output y of the voltage-controlled oscillator is as follows.
y=xn/m  (2)
From the above, by means of thefrequency divider201 and thefrequency divider202, the frequency becomes n/m times and is synchronized to the reference oscillator.
By using a PLL in this manner, it is possible to obtain a signal of n/m times the frequency of and synchronized to the reference signal source. However, the method of using a PLL requires a VCO (voltage-controlled oscillator), thereby requiring a separate oscillator.
While control data and user data has been transmitted on the same radio frequency, the amount of user data was much greater than the amount of control data. In addition, user data and control data are transmitted and received separately.
It was inefficient and uneconomical to send a small amount of data over a wide transmission path. And large amounts of data require a wide transmission path.
Unless a high transmission frequency is used, it is not possible to establish a wide transmission path, and if a small amount of data is sent over a wide transmission path, it is difficult to form a transmission path, because of jitter and the like, which is caused by frequency.
As described above, to handle the transmission of diverse and large amounts of information such as in the PHS and LANs, if the transmission speeds of the uplink from the terminal to the base station and the downlink from the base station to the terminal are the same, it was not possible to make effective use of the radio circuit.
In a millimeter band such as the 60-GHz band, because of the high frequency, the electromagnetic propagation loss becomes extremely high. For this reason, when performing communication over somewhat of a distance, the transmitting power must be made large. The portable terminal of the type used in the SDL system is used in the proximity of the human body, making it unsafe from a health standpoint to transmit with high power from the terminal. A portable terminal usually is powered by a battery, and transmission with a high power leads to the problem of a shortening of the period of use before recharging or replacement of the battery.
In addition, millimeter-band devices are extremely expensive, and the requirement to use millimeter-band transmitting devices in a terminal makes it difficult to meet requirements for reduction in price. From the standpoint of volume as well, the use of millimeter-band transmitting devices makes it difficult to reduce size.
The ideal method of modulation will differ, depending upon what items of the transmitting bandwidth (transmission rate), the frequency band, the size of the transmitting/receiving circuit, the devices selected, and frequency utilization efficiency is to be given priority. For example, in narrow band communication such as in a mobile telephone, if frequency utilization efficiency is to be given priority, π/4DQPSK or QAM is used. However, in the case of wideband radio communication, these types of linear modulation require radio components that operate linearly over a wide bandwidth, making reduction of size and reduction of power consumption difficult.
In the SDL system, in which the uplink and downlink clearly have different transmission rates, if the same modulation method or methods which are similar in characteristics are used, there is no choice but to either adjust to one of the modulation methods or to use a compromise method for both the uplink and the downlink, even if performance drops.
In addition, in radio communication systems of the past, the transmission of a variety of quality information was made possible by providing radio communication systems having different transmission methods. That is, by housing two transceivers for different transmission methods in the same case, it is possible to implement diversified transmission quality. For this reason, there was the problem of the increase in size of the constitution of the transceiver.
SUMMARY OF THE INVENTION
The present invention has an object to provide a radio communication system which, by making the downlink transmission rate relatively fast in comparison with the uplink, enables the high-speed transmission of information to the terminal via the downlink, and which further has high frequency utilization efficiency.
Another object of the present invention is to provide radio communication system capable of an increase in the frequency bandwidth used to a bandwidth equivalent to that used in cable communication systems.
Yet another object of the present invention is to provide a radio communication system having a signal transmission rate reference oscillator with a simplified configuration, and which enables a simplification of a portable telephone apparatus for use in multimedia service.
To achieve the above-noted objects, a radio communication system according to the present invention has the following essential constitutional features.
A radio communication system according to the present invention is a radio communication system which includes a plurality of base stations, a plurality of terminals, an uplink circuit established between each of the base stations and each of the terminals for the purpose of radio transmission of prescribed information from a terminal to a base station, and a downlink circuit established between each of the terminals and each of the base station for the purpose of radio transmission of prescribed data from a base station to a terminal, this radio communication system comprising a low-speed transmitting means, provided at an above-noted terminal, which transmits a radio signal at a relatively low transmission rate to an above-noted base station via the above-noted uplink circuit, a low-speed receiving means, provided at an above-noted base station, which receives a radio signal sent at a relatively low transmission rate from an above-noted terminal via the above-noted uplink circuit, a high-speed transmitting means, provided at an above-noted base station, which transmits a radio signal at a relatively high transmission rate to an above-noted terminal via the above-noted downlink circuit, and a high-speed receiving means, provided at an above-noted terminal, which receives a radio sent at a relatively high transmission rate from an above-noted base station via the above-noted downlink circuit.
A radio communication system according to the present invention has at least one each of the above-noted uplink circuit and downlink circuit, each of these circuits having at least two types of radio signal transmission rates, there being at least one pair of such the circuits in which the transmission rate of one circuit is an integral multiple of the transition rate of the other.
A radio communication system according to the present invention is a radio communication system which includes a plurality of base stations, a plurality of terminals, an uplink circuit established between each of the base stations and each of the terminals for the purpose of radio transmission of prescribed information from a terminal to a base station, and a downlink circuit established between each of the terminals and each of the base station for the purpose of radio transmission of prescribed data from a base station to a terminal, this radio communication system comprising a low-speed transmitting means, provided at an above-noted terminal, which transmits a radio signal having a radio frequency in a relatively low frequency band at a relatively low transmission rate to an above-noted base station via the above-noted uplink, a low-speed receiving means, provided at an above-noted base station, which receives a radio signal of a relatively low frequency sent at a low transmission rate from an above-noted terminal via the above-noted uplink circuit, a high-speed transmitting means, provided at an above-noted base station, which transmits a radio signal having a radio frequency in a relatively high frequency band at a relatively high transmission rate to an above-noted terminal via the above-noted downlink circuit, and a high-speed receiving means, provided at an above-noted terminal, which receives a radio signal of a relatively high frequency sent at a high transmission rate from an above-noted base station via the above-noted downlink circuit.
In addition, in a radio communication system according to the present invention the above-noted high-speed transmitting means transmits a large amount of user information from an above-noted base station to an above-noted terminal via the above-noted downlink circuit by means of a high-frequency-band radio signal, and the above-noted low-speed transmitting means transmits a small amount of control information from an above-noted terminal to an above-noted base station via the above-noted uplink circuit by means of a low-frequency-band radio signal.
In addition, the present invention has an optimum connection station interpreting means which receives a signal for the purpose of identifying the above-noted wideband radio base station, notification of which is made from the above-noted wideband radio base station via a radio circuit, and which interprets from this signal the wideband radio base station that is suitable for connection, an optimum base station notification means which gives notification to the above-noted server of an above-noted specific wideband radio base station that is suitable for connection to an above-noted mobile radio station, via the above-noted narrowband radio base station, and a service starting means which starts the above-noted prescribed service via the above-noted specific wideband radio base station which is judged to be suitable for connection with respect to the above-noted mobile radio station.
In the case in which handover must be performed, in addition to the above-noted means, a radio communication system according to the present invention has a means which, when the above-noted mobile radio station receives the above-noted service via an above-noted specific wideband radio base station, receives a signal for the purpose of identifying the above-noted wideband radio base station, notification of which is given via a radio circuit from a wideband radio base station which is different from the above-noted specific wideband radio station, and which interprets from this received signal to which wideband radio base station should switching be made, a means by which the above-noted mobile radio station notifies the above-noted server via the above-noted narrowband radio base station of a wideband radio base station which is suitable as a switching destination, and a means by which the above-noted server switches a connection with respect to the above-noted mobile radio station, that connection is made via the above-noted specified wideband radio base station, which is judged to be suitable as a switching destination for connection, thereby providing the above-noted prescribed service.
By virtue of adopting the above-noted constitution, the present invention is proposed based on the above-described goal, in which it was stated that it makes sense for the transmission capacity of the uplink circuit of a terminal to be smaller than the transmission capacity of the downlink circuit of the base station. Specifically, because the transmission rate at which the terminal transmits information to the user is much higher than the transmission rate at which information is transmitted from the terminal to the base station, in view of this significant difference in transmission capacities, these respective transmitting/receiving means are constituted so as to provide appropriate transmission capacities for the uplink circuit and the downlink circuit. It is sensible to have the transmission capacity of a personal-use portable telephone be smaller than the receiving capacity. In addition, the user of a personal-use portable telephone receives the output thereof, and sends the response thereto to the personal-use portable telephone. Therefore, it is sufficient for a personal-use portable telephone to be capable of transmitting information to a base station at a transmission rate which is lower than the transmission rate when information is being transmitted to the user of the personal-use portable telephone.
That is, a personal-use portable telephone receives information from a base station at a higher transmission rate that is higher than when information is transmitted to the user of the personal-use portable telephone, making it reasonable that the personal-use portable telephone transmit information at a rate that is lower than the receiving rate.
This is highly desirable as well because of the limited battery capacity in a personal-use portable telephone. That is, the transmitting power of a personal-use portable telephone is limited by the battery capacity, and the transmission bandwidth is severely limited by this transmitting power. Specifically, it is desirable that a personal-use portable telephone not perform wideband transmission, because of this limited battery capacity.
As described above in detail, in a radio communication system according to the present invention, because the uplink circuit radio signal transmission rate is made relatively low, and the downlink circuit radio signal transmission rate is made relatively high, it is possible to send a large amount of user information from the base station to the terminal at high speed, thereby sufficiently meeting user requirements, while making effective use of the frequency spectrum.
BRIEF DESCRIPTION OF THE DRAWINGS
FIG. 1 is a drawing which shows the configuration of a PLL in the past.
FIG. 2 is a drawing which shows the frequency placement in a radio communication system in the past.
FIG. 3 is a block diagram which shows the basic principle of the present invention.
FIG. 4 is a block diagram which shows a radio communication system according to the first embodiment of the present invention.
FIG. 5 is a block diagram which shows a radio communication system according to the second embodiment of the present invention.
FIG. 6 is a drawing which illustrates a radio communication system according to the third embodiment of the present invention.
FIG. 7 is a block diagram which shows a radio communication system according to the fourth embodiment of the present invention.
FIG. 8 is a drawing which shows an example of the usual form of communication.
FIG. 9 is a drawing which shows an example of a different form of communication.
FIG. 10 is a block diagram which shows an example of the basic configuration of a radio communication system according to the present invention.
FIG. 11 is a block diagram which shows the configuration of the eleventh embodiment of the present invention.
FIG. 12 is a drawing which shows the utilization condition of memory space in the embodiment of FIG.11.
FIG. 13 is a block diagram which shows an example of an SDL system to which the present invention is not applied.
FIG. 14 is a drawing which shows the frequency placement of a radio communication system.
FIG. 15 is a conceptual drawing which shows a radio communication system according to the thirteenth embodiment of the present invention.
FIG. 16 is a drawing which shows the frequency placement in the thirteenth embodiment of the present invention.
FIG. 17 is a conceptual drawing which shows a radio communication system according to the fourteenth embodiment of the present invention.
FIG. 18 is a drawing which shows the frequency placement in the fourteenth embodiment of the present invention.
FIG. 19 is a conceptual drawing which shows a radio communication system according to the fifteenth embodiment of the present invention.
FIG. 20 is a drawing which shows the frequency placement in the fifteenth embodiment of the present invention.
FIG. 21 is a conceptual drawing which shows a radio communication system according to the sixteenth embodiment of the present invention.
FIG. 22 is a drawing which shows the frequency placement in the sixteenth embodiment of the present invention.
FIG. 23 is a block diagram which shows a radio apparatus according to the seventeenth embodiment of the present invention.
FIG. 24 is a block diagram which shows a radio apparatus according to the eighteenth embodiment of the present invention.
FIG. 25 is a block diagram which shows a base station radio apparatus according to the nineteenth embodiment of the present invention.
FIG. 26 is a block diagram which shows a base station radio apparatus according to the twentieth embodiment of the present invention.
FIG. 27 is a block diagram which shows a radio communication system according to the twenty-first embodiment of the present invention.
FIG. 28 is a block diagram which shows a radio communication system according to the twenty-second embodiment of the present invention.
FIG. 29 is a block diagram which shows a radio communication system according to the twenty-third embodiment of the present invention.
FIG. 30 is a block diagram which shows a radio communication system according to the twenty-fourth embodiment of the present invention.
FIG. 31 is a block diagram which shows a radio communication system according to the twenty-fourth embodiment of the present invention.
FIG. 32 is a drawing which shows the service area of a radio communication system related to the twenty-fifth embodiment of the present invention.
FIG. 33 is a drawing which shows the action of a portable electronic apparatus which is used in a radio communication system related to the twenty-fifth embodiment of the present invention.
FIG. 34 is a drawing which shows the configuration of a frequency divider related to the twenty-fifth embodiment of the present invention.
FIG. 35 is a drawing which shows the configuration of a portable electronic apparatus used in a radio communication system related to the twenty-sixth embodiment of the present invention.
FIG. 36 is a drawing which shows the service area of a radio communication system related to the twenty-sixth embodiment of the present invention.
FIG. 37 is a drawing which shows the configuration of a receiver for the purpose of forming a timing generation circuit.
FIG. 38 is a drawing which shows the configuration of a receiver for the purpose of forming a timing clock generating circuit related to the twenty-sixth embodiment of the present invention.
FIG. 39 is a drawing which shows the input and output signals of the carrier generating circuit and timing circuit related to the twenty-seventh embodiment of the present invention.
FIG. 40 is a drawing which shows the input and output signals of the reference signal generating circuit related to the twenty-seventh embodiment of the present invention.
FIG. 41 is a drawing which shows the configuration of a frame timing clock generating circuit.
FIG. 42 is a block diagram which shows the configuration of the frame timing clock generating circuit related to the twenty-eighth embodiment of the present invention.
FIG. 43 is a drawing which shows the configuration of a clock generating circuit.
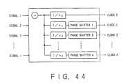
FIG. 44 is a drawing which shows the configuration of a clock synchronization system.
FIG. 45 is a drawing which shows the system configuration related to the thirtieth embodiment of the present invention.
FIG. 46 is a drawing which shows the configuration of a clock synchronization system related to the thirtieth embodiment of the present invention.
FIG. 47 is a block diagram which shows the overall concept of a radio communication system related to the thirty-first through thirty-ninth embodiments of the present invention.
FIG. 48 is a drawing which shows the overall configuration of a radio communication system related to the thirty-first through thirty-ninth embodiments of the present invention.
FIG. 49 is drawing which shows the overall configuration of a different radio communication system related to the thirty-first through thirty-ninth embodiments of the present invention.
FIGS. 50A-50E are drawings which show the movement of a mobile radio stations in radio communication system related to the thirty-first through the thirty-sixth embodiments of the present invention.
FIG. 51 is a flowchart which shows the processing steps in a radio communication system related to the thirty-first embodiment of the present invention.
FIG. 52 is a flowchart which shows the processing steps of starting service in a radio communication system related to the thirty-first embodiment of the present invention.
FIG. 53 is a sequence diagram which shows communications starting protocol in a radio communication system related to the thirty-first embodiment of the present invention.
FIG. 54 is a flowchart which shows the processing steps in a radio communication system related to the thirty-second embodiment of the present invention.
FIG. 55 is a flowchart which shows the processing steps of starting service in a radio communication system related to the thirty-second embodiment of the present invention.
FIG. 56 is a sequence diagram which shows communication starting protocol in a radio communication system related to the thirty-second embodiment of the present invention.
FIG. 57 is a flowchart which shows the processing steps in a radio communication system related to the thirty-third embodiment of the present invention.
FIG. 58 is a sequence diagram which shows communication starting protocol in a radio communication system related to the thirty-third embodiment of the present invention.
FIG. 59 is a flowchart which shows the processing steps of starting service in a radio communication system related to the thirty-third embodiment of the present invention.
FIG. 60 is a sequence diagram which shows communication starting protocol in a radio communication system related to the thirty-fourth embodiment of the present invention.
FIG. 61 is a flowchart which shows the processing steps in a radio communication system related to the thirty-fifth embodiment of the present invention.
FIG. 62 is a sequence diagram which shows communication starting protocol in a radio communication system related to the thirty-fifth embodiment of the present invention.
FIG. 63 is a flowchart which shows the processing steps in a radio communication system related to the thirty-sixth embodiment of the present invention.
FIG. 64 is a sequence diagram which shows communication starting protocol in a radio communication system related to the thirty-sixth embodiment of the present invention.
FIG.65A andFIG. 65B are plan views of the mobile radio stations used in radio communication system related to the thirty-seventh embodiment of the present invention.FIG. 66 is a plan view of a mobile radio station used in a system related to the thirty-eight embodiment of the present invention.
FIG.67A andFIG. 67B are plan views of mobile radio stations used in a radio communication system related to the thirty-ninth embodiment of the present invention.
FIG. 68 is a drawing which shows the configuration of a radio communication system related to fortieth embodiment of the present invention.
FIG. 69 is a drawing which shows the configuration of a radio communication system related to the forty-first embodiment of the present invention.
DETAILED DESCRIPTION OF THE PREFERRED EMBODIMENTS
A number of preferred embodiments of a radio communication system according to the present invention will be described in detail below, with reference being made to the accompanying drawings.
Before the description of the preferred embodiments, the basic principle of the present invention will be described, using the block diagram of FIG.3.
A radio communication system related to the present invention has a plurality of base stations which are assigned their respective parts of a prescribed service area, a plurality of terminals which can move around within the above-noted prescribed service area and, as shown inFIG. 3, it further has anuplink circuit4 which is provided betweenindividual terminals1 andindividual base stations5 for the purpose of performing radio transmission of information from aterminal1 to abase station5, and adownlink circuit8 which is provided betweenindividual terminals1 andindividual base stations5 for the purpose of performing radio transmission of information from abase station5 to aterminal1.
The above-notedterminal1 has a low-speed transmitting means2 which transmits a radio signal to the above-notedbase station5 at a relatively low transmission rate via the above-noteduplink circuit4, and a high-speed receiving means3 which receives a radio signal sent at a relatively high transmission rate via the above-noteduplink circuit8 from thebase station5.
The above-notedbase station5 has a low-speed transmitting means6 which receives a radio signal at a relatively low transmission rate from the above-notedterminal1 via the above-noteddownlink circuit1, a high-speed receiving means7 which transmits a radio signal at a relatively high transmission rate to the above-notedterminal1 via the above-noteddownlink8. Furthermore, thereference numeral9 denotes a terminal-side transceiving section, which includes a low-speed transmitting means2 and a high-speed receiving means3.
Next the individual embodiments of the present invention will be described in sequence. First, in the first embodiment in communication with a personal-use portable telephone held by an individual, the communication system used is one in which a wideband signal is transmitted from a (relay) base station to an electronic apparatus via a downlink, and a narrowband signal is transmitted from the electronic apparatus. to the relay base station via an uplink. A wideband downlink is used for communication which includes images, voice, file editing, information distribution, advertising, broadcasting, and the like, in which case the uplink is used for information to control the downlink, channel selection, and, in the case of multimedia, media selection control signals, voice, and the like.FIG. 4 shows the first embodiment.
InFIG. 4, the personal-useportable telephone1 performs transmission and receiving with thebase station5 via thecircuits4 and8, this having atransceiving section9, asignal processing section10 which processes data received by and to be transmitted by thetransceiving section9, an input section13 which inputs a transmitting control signal, and an output section which outputs data which has been transferred in. Thesignal processing section10 is formed by a processor11 which performs, among other things, A-D conversion and coding of signals to be transmitted and D-A conversion and decoding of received data, and a memory12 which temporarily stores data which is to be processed. The input section13 has a keyboard14 with numeric keys and the like for the purpose of inputting control information, and a microphone for inputting a voice, while theoutput section16 has a speaker which outputs the voice which is related to the transferred in data, and a display18 which displays character information and the like.
A radio communication system related to the second embodiment of the present invention is applied to the case of multiple-recipient communications, which is a blending of broadcasting and communications. In this case, even an electronic apparatus held by an individual is capable of receiving a broadcast signal. In such cases, one broadcast signal selected from a plurality of broadcast signals is sent to theelectronic apparatus1 by therelay base station5 in response to a request from the user of the electronic apparatus. In the future, theelectronic apparatus1 will be usable to freely process and use the information taken from a broadcast. When doing this, it is possible to store this information in the relay base station in response to a request from the electronic apparatus, and to process it, as will be described later.FIG. 5 shows one of the second embodiments.
Therelay base station5 in the above-noted type of radio communication system, as shown in FIG.5. has a transceiving section20 which performs transmission and receiving of data with theelectronic apparatus1 via thecircuits4 and8, asignal processing section25 which performs signal processing for the purpose of processing and using the data which is received from a broadcast or the like, and a cable network terminator apparatus28 which accepts an information signal which is transferred in via cable network such as CATV, subscriber optical fiber cable, ATM, or the like. The transceiving section20 includes asharer21 which accepts a control signal which is sent in from theelectronic apparatus1 and which outputs data to be sent to theelectronic apparatus1 via an antenna, a receiving section (Rx)22 which converts a received radio frequency (RF) signal to a prescribed-frequency signal, and a transmitting section (Tx)23 which converts data to be sent to an RF signal. Thesignal processing section25 has aprocessor26 which selects a channel from channels of data, in response to user requests from variouselectronic apparatuses1 which are input via the cable network terminator apparatus28, and which performs signal processing for the purpose of sending the selected desired data to anelectronic apparatus1, and a memory27 which stores the desired data in response to the above-noted request of a user.
In the second embodiment, the electronic apparatus need not be for personal use. That is, it can be used by a number of persons, such as the case in which it is for family use. In particular as shown inFIG. 6, therelay base station5 is mounted to electrical utility poles or the like, with optical cable or coaxial cable, or the like use to transfer information to that point. It is also possible for anelectronic apparatus1 which is mounted at home or in a vehicle to have a base station of a cordless telephone used at home, a VCR, or a home-use workstation or the like connected to it. In such a case, theelectronic apparatus1 transmits to therelay base station5 information and information as to whether or not the information requested is to be stored, in accordance with a request from such home equipment. In accordance with this, therelay base station5 selects information, and in some cases transfers it to theelectronic apparatus1 as it stores it.
The third embodiment is applied in the case in which the apparent amount of information generated by a human is large, the received information being processed and further retransmitted.
That is, there are cases in which a file A is received, this is processed or added to convert to the form α(A)+β and then retransmitted. In this case, α(A)+β appears to be a large amount of information. However, there are the operation of conversion to the amount of information α(X) that a human generates and the added information β. The amount of information required to express the conversion operation α(X) and the added information β are information that a human generates, the speed of generation thereof not exceeding the speed at which the human brain and body can generate information. That is, it does a given speed. Specifically, it is low in comparison with the speed at which speed at which a human can receive information. In such cases, instead of transmitting α(A)+β, it is acceptable to transmit only the conversion operation α(X) and β, these being used at the base station to generate α(A)+β, the result sent to the far end party.
Operations such as file editing can all be implemented with these types of operations. That is, the original file is transmitted to the portable terminal via a wideband downlink, which is then looked at and edited by the user. The screens that are looked at and edited by the user are updated in accordance with the editing performed. Along with this, the editing information is sent to the base station, where the original file is edited based on this editing information. By doing this, editing is possible with an extremely small amount of transmission from the portable terminal to the base station.
By means of the above-noted operations, it is possible to reduce the radio transmission bandwidth, to reduce the radio transmitting power, and to perform efficient information transmission with a rechargeable battery.
This type of processing can be applied to examples other than the file operation noted above. Specifically, assume that A is the data for the face and the voice of a user of a personal-use portable telephone, and that these are stored at a base station or relay station. The personal-use portable telephone then transmits to the base station only the content of the speech and parameters for intonation different from the usual. Or else only expressions that are differ greatly from the user's normal facial expression or other emotional expression parameters are sent by radio. At the base station, these are synthesized to resynthesize the original voice or the original screen transmission. By doing this, it is possible to reduce the radio transmitting power, and to perform efficient information transmission with a rechargeable battery.
In addition, a relay base station which performs such processing as α(A)+β can be in the same position as the radio transceiving apparatus, but can also be at a remote location which is connected to a communication network inside, for example, the electronic apparatus's user computer or inside equipment at the far-end party.
The third embodiment is shown in FIG.7. Therelay base station5, information amount expanding server30, communication far-end server31, information generating source database32, and the like are connected, for example, in a network such as a LAN, MAN, or ATM network. The information generating source database32 transmits information A to theelectronic apparatus1 via therelay base station5. Along with this, the information A generates the processing operator α(X) and added information β. Theelectronic apparatus1 transmits these processing operator α(X) and added information β to the information amount expanding server30, via therelay base station5. The amount of information this operator and added information have is the amount of information that is generated by the human who is the user of theelectronic apparatus1, this capacity being small. At the information amount expanding server30, information A is processed by the processing operation α(a) and the added information β, α(A)+β is generated, this being sent to theserver31. The information amount expanding server30 send the processed information α(A)+β to the electronic apparatus1A via the relay base station5A, and this can be displayed on the display18 of the electronic apparatus1A, or α(A)+β can be made at theelectronic apparatus1 and displayed on the display18.
There are cases in which the apparent amount of information generated by a human is large. This is the case in which the received data is processed and then retransmitted. That is, it is the case in which the original information A is received at a portable electronic apparatus, this being processed or added to, converting it to the form α(A)+(B), and retransmitting it. In this case, the α(A)+β can appear to be data of great quantity. There are many cases in which there is a large amount of the original data A. However, there are the operation of conversion to the amount of information α(X) that a human generates and the added information β. The amount of information required to express the conversion operation (X) and. the added information β are information that a human generates, the speed of generation thereof not exceeding the speed at which the human brain and body can generate information. That is, it does not exceed a certain speed. Specifically, it is low in comparison with the speed at which speed at which a human can receive information. In such cases, instead of transmitting α(A)+β, only the conversion operation α(X) and β are transmitted, these being used at the receiving side to generate α(A)+β, the result being the same.
That is, the relay base station sends A to the electronic apparatus, and along with that A is stored at the relay base station. Then, the electronic apparatus looks at A, while transmitting only the information α(X) and the conversion operator β to the relay base station. Simultaneously with this, at the electronic apparatus α(A)+β is made and displayed, while the relay base station also makes α(A)+β and sends this to the far end. By means of the above, it is possible to implement service which requires the transmission of large amounts of data, without using excessive frequency resources and by means of low-capacity battery power.
Furthermore, a communication system such as described above, in which wideband signal transmission is performed via a downlink from a relay base station or base station to an electronic apparatus or a personal-use portable electronic apparatus and in which narrowband signal transmission is performed via an uplink from an electronic apparatus to a relay base station is implemented in the fourth embodiment, which is shown in FIG.4.
In the fourth and fifth embodiments, there are two modes of communication with an electronic apparatus held by an individual, one in which wi.deband signal transmission is performed via a downlink from a relay base station to the electronic apparatus, and in which narrowband signal transmission is performed via an uplink from the electronic apparatus to the base station, and another in which narrowband signal transmission is performed in both directions. A wideband downlink is used for communication which includes images, voice, file editing, information distribution, advertising, broadcasting, and the like, in which case the uplink is used for control signals or the above-noted conversion operators. The communication mode in which narrowband signal transmission done in both directions is used when both sides are transmitting voice or low-speed data. That is, it is very desirable that there be one narrowband uplink and two downlinks, one narrowband and one wideband. The fifth embodiment is shown in FIG.9. InFIG. 9, thereference numeral34 is the narrowband downlink circuit used for low frequencies. In addition, it is desirable that which of these two is to be used is established by a request from an electronic apparatus. That is, when there is a call from an electronic apparatus, if it is a voice signal the narrowband downlink is requested, but if it is an image transmission request, the wideband downlink is requested.
FIG. 10 shows a radio communication system related to this fifth embodiment. The configuration shown inFIG. 5 differs from the configuration shown inFIG. 3 in the low-speed transmitting means35 provided at thebase station5, the low-speed receiving means36 provided at theterminal1, and the above-noteddownlink circuit34 between this low-speed transmitting means35 and low-speed receiving means36.
In the case in which communication is started from the electronic apparatus, first it is reasonable that the narrowband link ofFIG. 10 is used to transmit to the base station or relay base station what kind of communication it is, a selection of one of the two downlinks being made based on the transmitted signal, the links in both directions being then opened. When a transmission intended for the electronic apparatus reaches the relay base station, in the case in which both a narrowband and a wideband downlink are provided, first the narrowband downlink is used to inform the electronic apparatus that a call for it has been received, whereupon the electronic apparatus informs the base station whether or not it can use that link to the call to receive it, and a corresponding link is assigned.
In this case, the narrowband link itself can also be a narrowband bi-directional transmission means which operates independently. For example, it is possible to use the TDMA/TDD (time division multiple access/time division duplex) form of transmission.
The sixth embodiment is applied to the case in which frequency placement problems exist when the bandwidths of the uplink and the downlink differ greatly. Specifically, in the case in which this is to be implemented using FDMA/FDD (frequency division multiple access/frequency division duplex), if the specifications of the sharers of the terminals are all made the same, it is desirable that the frequency spacing of the uplink frequency and the downlink frequency be the same. When this is done, on the narrowband uplink, the frequency difference between adjacent channels becomes much greater than the uplink bandwidth, leaving much of the frequency band unused, quite an undesirable condition. Therefore, a pseudorandom signal series is used to achieve bandwidth dispersion on the uplink, so that transmission is done with almost the same bandwidth as the downlink. If the dispersion ratio is large, the uplink frequency can be made the same as other systems.
The seventh and eight embodiments are applications to the case in which long-distant transmission is not possible because of the tendency of the high-speed downlink to be influenced by multipath. There is also a desire to perform long-distance transmission, even if the bandwidth is narrow. In such cases, a signal to be transmitted a long distance is dispersed using a pseudorandom series having a long period and then transmitted, and a short-distant large capacity signal is dispersed using a pseudorandom series having a short period and then transmitted, thereby enabling satisfaction of both requirements. In addition, because it is possible to select the transmission rate freely by selecting the series, in response to the position at which the electronic apparatus exists, it is possible to perform communication with high flexibility in the case in which there is a mixture of signals with various bandwidths. It is also possible, in the case in which there are radio circuits with differing original data rates, to use pseudorandom series of the appropriate length so each of the circuits has approximately the same bandwidth after dispersion, thereby enabling the provision of a radio communication system which is flexible and which enables effective use of frequency bandwidth.
In addition, in the case in which this kind of bandwidth dispersion is used, because it is possible to use the same frequency band for a plurality of links, it is easy to achieve a reduction to a small size and weight, for facilities in the base station or relay base station, and also for the personal-use portable electronic apparatus or electronic apparatus.
The ninth embodiment is applied in the case in which the timing of transceiving is different between transmitting and receiving, these not being performed simultaneously, thereby enabling free selection of the uplink and downlink frequency, enabling even more effective use of frequencies.
The tenth embodiment is applied to accommodate the case in which to accommodate a radio LAN or the like, if the uplink is randomly accessed, access to a server or database connected to the network can be performed by a simple protocol.
The eleventh and twelfth embodiments will be described using FIG.11 through FIG.13.
FIG. 11 is a block diagram of the eleventh embodiment, which shows the configuration of an SDL system to which the present invention has been applied. As illustrated therein, amemory42 is provided between an information providing station41 and abase station5, information which is obtained via acommunication circuit43 being stored in the memory. The portableelectronic apparatus1 accesses the base station by radio communication, almost all the information that many electronic apparatuses desire being stored in the memory, enabling the passage of much information to be executed merely via the connectingline44.
While this functions for a radio communication post and memory as well, a different embodiment of the present invention enables connections between one memory and a plurality of radio communication posts.
FIG. 12 is a drawing for the purpose of describing the condition of memory in the system of the eleventh embodiment of the present invention. The information47 and48, which is obtained from the information providing station, is placed in the memory. The frequency of access of this information is differentiated into levels, and when there is a new information access, the stored contents are discarded, starting frominformation23, which has a low access frequency, withnew information46 being written into memory area45.
As another embodiment, in the case in which the memory area is sufficiently large with respect to the amount of information, it is possible to write all of the information into memory beforehand.
As yet another embodiment, in the case in which there is an effective period of time for the information, such as in the case of a newspaper or a magazine, it is possible when the time limit has come, to erase the information from the memory, or to overwrite it with new information.
FIG. 13 is a drawing which shows the information providing service according to an SDL system related to the twelfth embodiment. The information providing station32 provide information such as newspapers, magazines, images, avoice, traffic, or personal information. The information providing station is connected to thebase station5 by means of a communication circuit49. The base station is installed at a transport station, a structure, or on a road, and sends information in response to a request from a portableelectronic apparatus1, or information is sent continuously from the base station.
A radio communication system in accordance with the above-described first through twelfth embodiments, is related to the SDL system, the principle of which is shown in FIG.4. The radio circuit is formed by a wideband downlink from the base station to a personal-use portable electronic apparatus, and a narrowband uplink from a terminal to a base station. In these embodiments, on the case in which the transmission rates of the uplink and the downlink are asymmetrical is proposed, nothing being said about frequency placement or method of modulation.
A frequency placement example of the past is shown in FIG.1. This is the Japanese RCR STD-27B digital automobile telephone system. In this system, the downlink and the uplink have the same transmission rate, the 800-MHz and 1.5-GHz bands being used as the radio frequency bands. In the 800-MHz band, the downlink is located in therange 810 MHz to 826 MHz, and the uplink is located in the range 940 MHz to 956 MHz. In a system of the past, because an uplink and a downlink operating at the same transmission rate were assumed, transmission is performed in the same frequency band. However, problems arise when considering application to the SDL system.
In the SDL system, because a wideband downlink is assumed, in a low frequency band such as the 800-MHz band, it becomes difficult to assign this wide band and to achieve effective frequency usage. For example, in the case of trying to perform transmission at 100 MHz or so, it is obvious that it is impossible for the bandwidth to be found to allow oneuser 100 MHz bandwidth in the 800-MHz band. For this reason, it is necessary to perform transmission in the sub-millimeter band of several gigahertz, or in the millimeter band of several tens of gigahertz.
An example of the frequency placement in the case in which a radio communication system related to the present invention is configurated using a 60-GHz-band SDL system is shown in FIG.14.
The amount of information that a human being is capable of generating has an upper limit due to the capability of a human being. In contrast, the amount of the information that a human can perceive is much greater than the amount of information that a human can generate. The information that a human can generate is limited, even if we add together voice, input from a keyboard or a mouse, facial expressions, and all other information. The amount of information in the human voice falls far short of 64 kbps. Even if various means of transferring data between the human and a machine, such as a keyboard or a mouse, are used, none of these can surpass the amount of information that can be generated by the human mind or parts of the body, and in total the amount of information that a human being can generate is thought of as not exceeding 100 kbps.
In contrast to this, the amount of information that a human being can receive is extremely large. The human being receives a plurality of sensory media, such as voice, images, atmosphere, tactile senses, and smells, and the like, using perception organs that operate independently. In addition, the brain and the organs of a human being process the information they receive, extracting and processing only information which can be processed by the brain and the bodily organs, in response to the individual human's history and processing priority. In normal everyday life, much more information than can be generated by a human being is received. And feedback is applied to an information receiving means which selects which information is to be accepted, based on the received information. The manner in which this feedback is applied differs from individual to individual. Therefore, even if a large number of humans receive the same information, the method of processing it will differ greatly. That is, it is possible for a human to receive a great amount more information than it is possible for the human mind or bodily organs to process.
This can also be understood from the difference in sizes between the part of the human brain which governs the receiving of information and the part of the human brain which governs the generation of information. The auditory/visual part of the brain is extremely large. In contrast to this, the part related to the generation of language is not so large. Nerves a strung throughout all parts of the body, and a variety of information is collected in the brain and the spinal cord. In contrast to the very large amount of information, the information that the brain generates is limited to the voice and a few gestures. In terms also of the thickness of the nerves that are used as information transmission paths within the body, the thickest of these is the optic nerve, which governs the reception of information.
This fact can be understood from engineering applications as well. Specifically, in the case of generating image information that a human being will receive, to make image information that the human being will sense as being natural, several megabits per second of information are generally required. In images made will less than this amount of information, a human will easily be able to detect unnaturalness of shape and movement. And a human is not capable of generating this amount of image information. The amount of information in a human facial expression is extremely small compared with the amount of image information the human eye generally perceives. The analog of this is the very high compression ratio when an image is bandwidth compressed to capture a human facial expression. Bandwidth compression of an image including a human facial expression has be researched in detail by Prof. Harashima et al, of University of Tokyo, from which this extremely high compression ratio is known. That is, the amount of information in the human facial expression is extremely small. Virtually the same is true of the voice. Using current bandwidth compression technology, voice information can be compressed to approximately 4 kilobits per second. That is, the amount of information is small.
In the case in which music from an musical instrument, rather than a voice, is to be used to generate information, the amount of information is small. Consider the amount of information from a piano performance. A piano has 88 keys and, therefore, when one is pressed data less than 7 bits is generated. If it is possible for a fast person to press ten keys in one second, there are ten fingers, and additionally, if there are 1000 sound levels (10 bits) which the sound can take, this is 7*10*10*10=7000, which is no more than 7 kilobits per second. This does not change with the model and the tone of the piano. When recording a piano performance, the required information speed is generally no more than 1000 bits per second. While it appears that a large amount of information is generated by a musical instrument when it is played, the amount of information generated by the musical instrument only appears to be large because the information of the tone and individuality of the musical instrument is modulated by information that is generated by a human being.
On the other hand, in the case of receiving information, a human being is capable of receiving and processing a very large amount of information. With an orchestra of 150 people generating information, if even one performer makes a mistake, it can be easily detected. Additionally, a human being is constantly distinguishing sound from the extremely large amount of information generated by the performers' modulation of the characteristic information generated by the instruments, and perceiving and extracting characteristics therefrom.
Consider the case of five people having a serious discussion. Each person is receiving information from the other four people, who are making all efforts to express their opinions to the other person. While all of the information from the other four people is not processed in the receiving person's brain, it is at least received via the person's sensory organs. Even after the meeting, the participants have a general grasp of who said what. This is possible because, of the information received from the other four persons, the required parts were processed by the brain. With regard to information generation, it is generally not possible for one person to generate an amount of information that exceeds the total of the average information generated by the other four persons.
That is, there is a large difference in the amount of information that a human being can generate and receive. Specifically, the amount of information that a human being generates is extremely small compared to the amount of information that can be received by a human.
The amount of information transmitted in a personal-use electronic apparatus of the past was small compared to the amount of information that a single human being can generate. That is, it was no more than as much as a voice transmission. Therefore, this human being clearly generated less information that the human being was intrinsically capable of generating. However, when wider bandwidth radio communication becomes possible in the future, it will be possible to perform radio transmission at a transmission rate that is lower than the information receiving rate of a human being and greater than the information generating rate of a human being. When this is done, it will not be possible as in the past to make effective use of frequencies with the same rate for both transmitting and receiving.
In the past, the same modulation method was used in the uplink and the downlink. For example, in a narrowband digital automobile telephone system using the TDMA of Japan and the US, π/4DWPSK was used on both the downlink and the uplink. A proposal to use different modulation methods on the uplink and downlink was made in the US digital automobile telephone standards (IS-95) which uses OQPSK. In this, the uplink uses OQPSK (Offset Quadrature Phase Shift Keying-4) and the downlink uses QPSK (Qaudrature Phase Shift Keying-4). However, the information transmission rates are the same, this clearly differing from the SDL system. Also, because the same PSK modulation is used, the characteristics are extremely similar. There are no examples of using modulation methods of completely different natures and with completely different transmission rates.
The thirteenth embodiment of the present invention is shown in FIG.15. Communication is performed by aradio communication terminal101, which is connected to a cable network, and aportable radio terminal102. The relationship between the frequency band used for this communication and the transmission rate is shown in FIG.16.
Transmission from theradio communication terminal101 to theportable terminal102 is performed via a radio circuit (downlink) at a transmission rate of R1 at a radio frequency of f1 in the 60-GHz band. In this embodiment, because BSPK, which is a two-state modulation method, is used, the transmission rate and the used bandwidth are noted as the same. R1 is the 100-Mbps transmission rate, it is possible to achieve a 100-MHz bandwidth by using the 60-GHz band, and it is possible to implement wideband transmission.
Transmission from theportable terminal102 to theradio communication terminal101 is performed via a radio circuit (uplink) at a transmission rate R1, which is lower than R1, at a frequency of f2 in the 800-MHz band. Because the information that is generated at theportable terminal102 can be thought of as being mainly input from keys and voice, sufficient information transmission can be performed with a transmission rate of several tens of kilobits per second. In this embodiment, this was made 30 kbps. If this is 30 kbps, because sufficient bandwidth can be achieved even in the 800-MHz band, transmission is possible at this bandwidth.
Because the radio frequency band at the terminal is low, there is little propagation loss in the air, so that the power need not be made that large. Also, because the transmitted bandwidth is small, the total power is also small. For this reason, it is possible to reduce the power consumption, enabling a lengthening of the period of continuous use before recharging or replacement of the battery.
In addition, devices for the 800-MHz band are widely used in automobile telephones, and inexpensive devices are readily available. Reduction of the size of devices is also being achieved. By placing the uplink in the 800-MHz band, it is possible to reduce the cost and the size of the terminal.
The fourteenth embodiment of the present invention is shown in FIG.17.
Communication is performed between aradio communication terminal301, which is connected to a cable network and aportable radio terminal202. In doing this, the relationship of the radio frequency placement and the transmission rate is as shown in FIG.18.
Transmission from theradio communication terminal301 to theportable terminal302 is performed via a radio circuit (downlink) at a transmission rate of R1 at a radio frequency of f1 in the 60-GHz band. R1 is a high-speed circuit of, for example, 100 Mbps. Along with this, another single downlink is provided for transmission at a rate of R2 (for example, 30 kbps) at f2′ in the 800-MHz band. Transmission from theportable terminal302 to theradio communication terminal301 is performed via a radio circuit (uplink) at a transmission rate of R2 at a radio frequency of f2 in the 800-MHz band.
The difference in this in comparison with the thirteenth embodiment is the provision of on more downlink, at f2 and R2. The 60-GHz-band downlink, because of the characteristics of that frequency band, is susceptible to the influence of obstructing objects. Because of shadowing caused by obstructing objects, cutoff of the communication circuit occurs. In this embodiment, by providing a link by the additional one downlink at f2′, it is possible to prevent the total cutoff of the downlink. Compared to the radio frequency f1 in the 60-GHz band, the radio frequency f2′ in the 800-MHz band has less propagation loss and is less susceptible to shadowing, thereby reducing the possibility of circuit cutoff. For example, by assigning a control channel to this f2′/R2 downlink, even in the event that the f1/R1 downlink is cut off, there is no complete cutoff, the link between theradio terminal301 and theportable terminal302 being maintained by executing such protocols as the completion protocol, the upper state protocol, and the cutoff protocol via the control channel. In this case, although theportable radio terminal302 an additional f2′/R2 receiving apparatus, compared to the 60-GHz-band receiving apparatus, the added part has negligible small current consumption, volume, and cost. By adopting the radio frequency bands and transmission rate configuration of this embodiment, it is possible to implement a high-performance portable terminal which is small, has low power consumption, and which is low cost.
The fifteenth embodiment of the present invention is shown in FIG.19.
Communication is performed between aradio base station501, which is connected to a cable network, and a plurality ofportable radio terminals502. The relationship between the radio frequency band and the transmission rates in this embodiment is shown in FIG.20. From theradio base station501 to each of the portable terminals502 (downlink) transmission is made on frequencies f1, f1′, f1″ in the 60-GHz band at a transmission rate of R1. From each of theportable terminals502 to the radio base station501 (uplink) transmission is made on frequencies f2, f2′, and f2″ in the 2.4-GHz band at a transmission rate of R2. R1 is 100 MHz, and R2 is 2 MHz. In doing this, one base station and a plurality of terminals perform wideband transmission over a millimeter downlink and relatively narrowband transmission over a 2.4-GHz-band uplink. The frequency placement at each of the terminals, as shown inFIG. 8, is configured such that f2 follows and corresponds to f1 and such that f2′ follows and corresponds to f1′. In this embodiment, while frequency multiplexing is used on both the uplink and the downlink, it is also possible to employ multiplexing by time-division multiplexing, coding-division multiplexing, or the ALOHA system or the like. In this embodiment, because the uplink transmission rate is a relatively high 2 MHz, the 2.4-GHz band is used. Compared with the 800-MHz band, the 2.4-GHz band has higher propagation loss, but compared with the 60-GHz band it has much lower propagation loss, so that, compared to the case in which the same 60-GHz band is used for the uplink and the downlink, it is possible to limit the terminal power to a low power. It is possible to make the influence of the terminal on a human being small, and to have a configuration which has low power consumption, small size, and low cost.
The sixteenth embodiment of the present invention is shown in FIG.21.
Communication is performed between aradio base station701, which is connected to a cable network, and a plurality ofportable terminals702. The relationship of the radio frequency placement and the transmission rate in this embodiment is shown in FIG.22. The downlink performs communication at a transmission rate of R1 at a frequency of f1 in the 19-GHz band. In this case, R1 is 50 Mbps. Another downlink is provided, this performing communication at a transmission rate of R2 (for example, 2 kbps) at a frequency of f3 in the 400-MHz band. The uplink performs communication at a transmission rate of R2 at a frequency of f2 in the 400-MHz band. The frequency placement, as shown inFIG. 10, is configured such that the frequency sequence is f1, f2, f3 for theterminal1 and f1′, f2′, f3′ for theterminal2. If this type of frequency placement is used, it is possible to have uniformly spaced radio frequencies in the narrowband 400-MHz-band uplink and downlink, making it easy to establish synchronization of the terminal frequency. By placing the f1 in the 19-GHz band, a wideband downlink is established, and by placing the downlink and uplink in the 400-MHz band, the possibility of complete cutoff is reduced, thereby enabling stable control. Because the receiver for the downlink in the 400-MHz band can have a simple configuration, it can be implemented without much influence on the overall size of the terminal. By configuring the uplink with a low transmission rate on the low 400-MHz band, it is possible to provide a simple portable terminal.
The seventeenth embodiment of the present invention is shown in FIG.23. This relates to the radio section (radio apparatus) of a portable radio terminal applied to the radio communication system of the thirteenth and fifteenth embodiments of the present invention. The radio apparatus of the seventeenth embodiment is formed by anantenna901 and receiver for the purpose of receiving a f1/R1 radio signal, anantenna903 and transmitter for the purpose of transmitting a f2/R2 radio signal, aninterface906 between the receiver, the portable terminal and other parts, and acontrol apparatus906. In this case, f1 is in a high-frequency band (for example, in the 60-GHz band), R1 is wideband (for example, 100 Mbps), f2 is in a low-frequency band (for example, 800-MHz band), and R2 is narrowband (for example, 30 kbps). Because the frequency bands and bandwidths differ between receiving and transmitting, independent antennas are used for receiving and transmitting. The receiver includes a frequency converting apparatus and demodulating apparatus for the purpose of converting the RF-band frequency radio signal to a digital signal. The transmitter includes a digital modulator and frequency converting apparatus to convert a digital signal to an RF (radio frequency). The control apparatus has functions which establish the timing of the transmitting and receiving with synchronized frequency and transmission rate.
By providing a portable terminal with a radio apparatus of this type of configuration, it is possible to configure a portable terminal which can be applied to the radio communication system of the thirteenth and fifteenth embodiments.
The eighteenth embodiment of the present invention is shown in FIG.24. This embodiment is related to a radio section (radio apparatus) of a portable radio terminal which is applied to a radio communication system of the twelfth and fourteenth embodiments. The difference in this with respect to the fifteenth embodiment is a receiving apparatus1004 which receives a narrowband (for example, 30 kbps) signal at a frequency of f2 in a low-frequency band (for example, in the 800-MHz band), and a transmitting/receiving sharer (duplexer) which includes both the f2 transmitting signal and the received signal in a single antenna. A 800-MHz-band transmitting apparatus1005 and the receiving apparatus1004 are inexpensive in comparison to a 60-GHz-band receiving apparatus, and facilitate a reduction in size. Also, because transmission is done at a low frequency and narrow bandwidth, the transmitting power can be made small. This enables the implementation of a portable radio terminal which has little influence on the human body.
By providing a portable terminal with a radio apparatus of this type of configuration, it is possible to configure a portable terminal which can be applied to the radio communication system of the twelfth and fourteenth embodiments.
The nineteenth embodiment of the present invention is shown in FIG.25. This embodiment relates to a radio apparatus and radio base station which are applied to a radio communication system of the thirteenth and fifteenth embodiment. This embodiment will be described using the example of a radio base station. The base station has a transmitting apparatus1101, which performs transmission at a transmission rate of R1 (for example, 100 Mbps) at a radio frequency of f1 in a millimeter band (for example, 60-GHz band), and a receiving apparatus which performs receiving of at a transmission rate of R2 which is lower than R2 (for example, 30 kbps) at a radio frequency of f2 in a low frequency band (for example, 800-MHz band). In addition, there is control section, and a signal processing section and interface section which perform connections to a cable network.
By providing a receiving apparatus and a transmitting apparatus which have different frequency bands and transmission rates, it is possible to configure a radio apparatus and a radio base station which can be applied to the radio communication system of the second embodiment and the fourth embodiment.
The twenty-first embodiment of the present invention is shown in FIG.27. The twenty-first embodiment is a radio communication system made up of a base station1301 and aterminal1302. The base station is formed by a transmitter1303 which performs transmission by infrared rays at a transmission rate of R1, areceiver1304 which performs receiving of at a transmission rate of R2 on a radio frequency of f2, and a signal processing section which performs control and performs interfacing with a cable network. The terminal is formed by aninfrared receiver1305, a radio transmitter1306, and a signal processing section which performs interface with other parts and control. Transmission from the base station to a terminal (downlink) is performed using infrared at a transmission rate of R1. Transmission from a terminal to the base station (uplink) is performed using radio at a transmission rate of R1.
In the case in which the downlink is implemented as a radio circuit using radio waves, it is necessary to have a bandwidth which corresponds to the transmission rate. In the case in which high-speed transmission is performed, it is necessary to achieve a wide bandwidth, and it is necessary to develop a high frequency band that is yet unused, such as a millimeter band. However, in this embodiment, by using infrared waves on the downlink which requires a wide bandwidth, it is possible to configuration the system without a limitation imposed by radio frequency bandwidths. Additionally, millimeter-band devices are high in cost and physically large, whereas infrared devices are low-cost and physically small, enabling the implementation of a terminal and base station that are small and low-cost.
The twenty-second embodiment of the present invention is shown in FIG.28. The basestation radio apparatus1401 is formed by a transmitting apparatus which performs transmission at a high transmission rate of R1 (100 Mbps) at a frequency f1 in a first radio frequency band (for example, 60 GHz) and a receiving apparatus which performs receiving of a signal at a transmission rate R2 (for example, 30 kbps) which is lower than R1 at a frequency f2 in a radio frequency band that is lower than f1 (for example 800 MHz). The radio apparatus of the terminal is formed by a receiving apparatus which performs receiving of a f1/R1 signal and a transmitting apparatus which performs transmission of an f2/R2 signal.
In this system, the f1/R1 signal and the f2/R2 signal have different modulation methods.
The frequency f1 is in a millimeter band, and R1 is approximately 100 Mbps. It is difficult to obtain a device which operates linearly over such a wide bandwidth in a millimeter band. Therefore, on the downlink it is desirable to use a non-linear modulation method. The radio propagation characteristics in a millimeter band are such that there is a large propagation loss, and because the distance being traveled by the radio waves is short, frequency usage can be effectively improved by means of zone design. Because millimeter waves provide a relative amount of spectrum bandwidth margin, the utilization efficiency on the frequency axis is not as severe as with previous microwaves. For this reason, a method of modulation is allowed which has a relatively wide bandwidth in comparison with the transmission rate. Because of both of these aspects FSK, which is a non-linear modulation system, having a modulation index of 0.5 or greater, thereby requiring some bandwidth, is a candidate.
On the other hand, because the frequency of the uplink is microwave (f2), and the transmission rate (R2) is several tens of kbps, it is easy to obtain low-cost, compact linear components, thereby eliminating problems of linearity. However, because the bandwidths allocated in this frequency band are small, it is necessary to make efficient use of the frequency axis. For this reason, a method of modulation having superior frequency utilization efficiency is desired. Although they are linear modulation, the π/4DQPSK and QPSK modulation methods, which have superior frequency utilization efficiency, and GMSK, which has a slightly inferior efficiency are candidates.
From another viewpoint, on the high-speed downlink, because of the speed of the transmission rate, QAM, which enables the transmission of much information with a single symbol, is a candidate. On the uplink, the transmission rate is slow, but because the associated information is important control information and the like, BPSK and the like, which are more immune to errors than QAM (Quadrature Amplitude Modulation-4) are candidates.
As described above, in an SDL system, because the uplink and downlink transmission rates and transmission frequency bands differ, by selecting different modulation systems for each, it is possible to obtain a high-quality circuit on each.
The twenty-third embodiment of the present invention is shown in FIG.29. The base station and terminal shown in this embodiment are those shown in FIG.28. Transmission on the downlink from thebase station1501 to each terminal1502 is done at a transmission rate of R1 (100 Mbps) at a frequency f1 in the 60-GHz band, using a modulation method1 (code division multiplexing, CDM), and transmission on the uplink from each terminal to the base station is done at a transmission rate of R2 (8 kbps) at a frequency of f2 in the 800-MHz band, using a modulation method2 (GMSK). By changing the transmission rates, transmitting frequency bands, and modulation methods of the uplink and downlink, it is possible to achieve a high-quality circuit on both, while enabling reduction in size and power consumption of the terminal.
The twenty-fourth embodiment of the present invention is shown in FIG.30. The base station1601 has a transmitting apparatus1603 for transmission at a transmission rate of R1 at a radio frequency of f1 in a sub-millimeter band (19 GHz). The transmission rate R1 is not fixed, but can be varied in the transmission rate range of 1 Mbps to 15 Mbps. Themodulation method1 is 4-value FSK. At the terminal, in the same manner, areceiving apparatus1606 is provided for receiving at a transmission rate of R1, using amodulation method1, at a frequency of f1. On this wideband downlink, mainly transmission of data such as images, which requires a wide bandwidth, is performed. The base station and terminal have, separate from this downlink, a π/4DQPSK transceiver for a transmission rate of R2 (384 kbps) on a frequency of f2 (1.9 GHz). Because transmission on the frequency of f2 is don by time-division multiple access/time-division multiplexing (TDMA/TDD), transmission is done on the same frequency.FIG. 31 is a conceptual drawing of the system configuration which uses the base station and terminal of FIG.30. Thebase station1701 has a f1/R1,modulation method1 downlink, and amodulation method1, f2/R2 uplink and downlink. By using this type of configuration, it possible to obtain a high-quality circuit on each, and further possible to configure a system that has few instantaneous dropouts caused by shadowing.
In this twenty-fourth embodiment, the f2 uplink and downlink use the same transmission rate of R2. Having an uplink with a transmission rate of R2 and a downlink with a transmission rate of R2′ can also be envisioned. While the f2 uplink and downlink are mainly used for transmission of control information, in addition to simple control information the uplink also performs data transmission of re-transmitted control, in the case in which an error occurs in f1 downlink data, and uplink data transmission. Because downlink data transmission is performed on a high-speed downlink at f1, the f2 downlink only performs transmission of control data. Therefore, even on the f2 uplink and downlink, there occurs an symmetry in the amount of information. Radio communication systems of the past did not consider asymmetry of information, assigning the same bandwidth to the uplink and the downlink. On the f2 circuit, which mainly transmits control information, by considering an uplink and a downlink with differing transmission rates, it is possible to achieve a more efficient utilization of frequencies.
The twenty-fifth embodiment of the present invention will be described below, with reference made to the drawings.
First, the digital radio communication system related to the twenty-fifth embodiment of the present invention will be explained in accordance with FIG.32.
There is a base station and a plurality of portable electronic apparatuses, an downlink circuit transmission of information from the base station to a portable electronic apparatus, and an uplink circuit for transmission information from a portable electronic apparatus to a base station. The downlink circuit and the uplink circuit can be, for example, an SDL-Net as shown in the first through the twelfth embodiments. With an SDL-Net, the area covered by a high-speed downlink circuit is made narrow, and the area covered by a low-speed uplink circuit is made wide. In addition, the signal transmission rate of the uplink circuit is made slower than the signal transmission rate of the downlink circuit, to give consideration to the reduction in size of the portable electronic apparatus.
FIG. 33 shows an example of the configuration of a portable electronic apparatus used in an SDL-Net. A digital signal transmitted from a portable electronic apparatus to a base station undergoes error-correcting encoding, and is waveshaped and modulated in a digital section, is converted to an analog signal by means of a D-A converter (DAC) and an interpolating filter (LPF), and is input to a mixer. At the mixer, the signal which is output from the DAC is multiplied by a signal which is output from a carrier signal generator (oscillation frequency f1), the output of the mixer undergoing suppression of images after the multiplication by means of a bandpass filer (BPF), and amplification by means of an RF amplifier, after which it is output by means of an antenna. The downlink signal transmitted from the base station is received by an antenna and bandlimited by means of a bandpass filter (BPF), after which it is amplified by an LNA (low-noise amplifier). The output of the LNA is input to a mixer, by which it is multiplied by a signal which is output from a carrier signal generator (oscillator frequency f2), thereby converting the frequency. The output of the mixer undergoes suppression of images after multiplication, by means of the LPF, after which an A-D converter (ADC) converts it to a digital signal. The ADC output (digital signal) is demodulated at the digital section.
In an SDL-Net, the uplink signal transmission rate and the downlink signal transmission rate differ (the downlink signal transmission rate having a high speed than that of the uplink). That is, the timing clocks for the uplink and the downlink differ. According to the present invention, a clock which is supplied to a digital section of the uplink is merely connected from the clock for the downlink via a 1/n frequency divider, enabling simplification of the circuit cf.
The frequency divider is, as shown inFIG. 34, made up of a base-n counter and a phase shifter. By means of this, the signal transmission rate of the uplink and the downlink differ, and in a system in which the uplink signal transmission rate is . . . than the downlink signal transmission rate, it is possible to use a common system clock generator, thereby enabling simplification of the circuit configuration. Also, by adopting the circuit configuration shown inFIG. 34, it is possible to generate the clock for the uplink circuit with an arbitrary phase. This operation will be described by means of FIG.35. The downlink circuit clock is frequency divided by a base-n counter, and phase shifted by an arbitrary timing by the phase shifter. By adopting the above-noted configuration it is possible to synchronize the signals transmitted on the uplink an the downlink.
Next, a digital radio communication method related to the twenty-sixth embodiment will be described, using FIG.36.
In the radio communication method related to the twenty-sixth embodiment there is a PHS circuit and a high-speed downlink circuit, the method being made up of a information service base station which is connected to a cable network, a PHS base station which is connected to the above-noted information service base station, and a high-speed downlink circuit base station. Signal transmission from the information service base station to a portable electronic apparatus is performed by either the PHS circuit or a high-speed downlink. Signal transmission from the portable electronic apparatus to the information service base station is performed by means of the PHS circuit.
FIG. 37 shows the configuration of the radio section and the modem section of the portable electronic apparatus which is used in the radio communication system of FIG.36. Because of one type of uplink circuit and two types of downlink circuits, each of the transmitting sections and receiving sections are housed together. A received radio signal is demodulated by the radio section and modem section, and sent to the control section and memory section. A digital signal output from the control section and the memory section is sent to the radio section and the modem section and transmitted as a radio signal.
When a radio signal is demodulated, the carrier and timing clock must be regenerated from the received signal.FIG. 38 shows the configuration of the receiver when performing regeneration the carrier and the timing clock. The radio signal received by the antenna is amplified by the RF amplifier (the RF amplifier output being hereinafter referred to as the RF signal). At the carrier regeneration circuit, the reference carrier is regenerated from the RF signal. The regenerated reference carrier is input to a multiplier. Simultaneously with this, the RF signal is input to a mixer, by which its frequency is converted. The multiplier output is input to a lowpass filter (LPF) for the purpose of eliminating image signals caused by the frequency conversion (the output of the LPF being hereinafter referred to as the baseband signal). At the timing regeneration circuit, the timing clock is regenerated from the baseband signal. Therefore, in a portable electronic apparatus used in the radio communication system shown inFIG. 36, because radio signals are received at two different signal transmission rates, two timing regeneration circuits such as shown inFIG. 38 are required (FIG.39). That is, it is necessary to have atiming regeneration circuit1 to regenerate the timing clock from thebaseband signal1, and atiming regeneration circuit2 to regenerate the timing clock from thebaseband signal2.
According to the present invention, it is possible to replace the slower speed of the two timing regeneration circuits with the divider and phase shifter shown inFIG. 34, thereby simplifying the circuit cf. In addition, it is possible to synchronize the transmission timing of the high-speed downlink circuit and the PHS circuit.
In the twenty-sixth embodiment, although PHS was given as the example given of a radio communication system in which the signal transmission rates were equal, this can also be a different kind of radio communication system, such as an automobile telephone.
Next, a digital radio communication method related to the twenty-seventh embodiment will be described.
With the configuration of the portable electronic apparatus shown inFIG. 39, it is necessary to have two types of carrier regeneration circuits and clock regeneration circuits. This is shown in a simple manner in FIG.40. TheRF signal1 and theRF signal2, thebaseband signal1, and thebaseband signal2 are each used to perform regeneration of carriers and timing. As shown inFIG. 33, according to the present invention, it is possible to replace the other clock generating circuit by a frequency divider and a phase shifter, thereby enabling simplification of the circuit cf. In addition, the present invention can be applied no only to the clock regeneration circuit, but to the carrier regeneration circuit as well.FIG. 41 shows an example of the present invention applied to a carrier regeneration circuit.
The reference signal generating circuit shown inFIG. 41 generates and outputs carriers and timing clocks with respect to theRF signal1 andRF signal2, and thebaseband signal1 and thebaseband signal2 which are input to it.
At the carrier regeneration circuit or the timing clock regeneration circuit, by extracting the carrier component or the clock component from the input signal by means of a highly selective (high Q) circuit, such as a PLL, it is possible to regenerate the carrier or the timing clock. That is, by eliminating from the input signal the error component, using a filter, regeneration is made of either the carrier or the timing clock.
While in the carrier regeneration circuit or clock regeneration circuit shown inFIG. 41, regeneration of the carrier or of the timing clock is performed from a signal of each, with the reference signal regenerating circuit shown inFIG. 42, because it is possible to perform regeneration of the carrier or timing clock from a plurality of input signals, it is possible to obtain a plurality of error information. For this reason, the regenerated carrier or timing clock frequency accuracy can be improved.
Next, a digital radio communication method related to the twenty-eight embodiment will be described. In the radio communication method shown inFIG. 32 orFIG. 36, when transmitting information from the base station to a portable electronic apparatus or from a portable electronic apparatus to a base station, transmission is done in units of frames, a frame being made up of a plurality of continuous bits. By treating the transmitted signal in units of frames, it is possible to easily apply error correction or ARQ.FIG. 43 shows a block diagram of a frame timing detecting circuit which performs frame timing clock regeneration from a demodulated bit data stream. Let us assume a receiver configuration as shown inFIG. 44. A digital bit stream which was demodulated by the above-noted digital section is input to a correlator along with the a bit timing clock. The correlator is formed from cascaded D-type flip-flops (a shift register) and a comparator. The comparator has input to it the output of the shift register, which is delayed by the bit timing clock, and a known signal which is inserted beforehand for the purpose of frame detection. The correlator output is input to a PLL, and the frame timing clock is generated. In a radio communication method in which there are two or more communication systems having differing signal transmission rates and frame timings, two or more frame timing detecting circuits as shown inFIG. 42 are required.
According Lo the present invention as described above, it is possible to replace a signal source with a frequency divider and phase shifter. Therefore, it is possible to have a single PLL replace two or more types of frame synchronization circuits, thereby enabling simplification of the circuit cf. It is possible to implement a frame timing detecting circuit with a frequency divider and a phase shifter.FIG. 43 shows an example of a frame timing detecting circuit implemented with a frequency divider and a phase shifter.
Thedemodulated bit stream1 and thebit timing clock1 are input to acorrelator1, and the trigger signal of the frame timing is detected. The output of thecorrelator1 is input to a phase-locked loop which is formed by a phase comparator, a loop filter, a voltage-controlled oscillator, and a base-m counter. One output of the voltage-controlled oscillator is input to the frequency divider shown in FIG.34. The amount phase shift of the phase shifter is controlled by the output of thecorrelator2.
In addition, because the frame timing can be generated by frequency dividing the bit timing clock, it is possible to have a common circuit serve as the bit timing clock regeneration circuit and the frame timing regeneration circuit.FIG. 44 shows a clock signal generating circuit. The error signal is detected from a plurality of inputs such as a clock signal (number of inputs i) and the voltage-controlled oscillator is controlled, it being possible to derive the desired clock (output signal k) by means of base-nk counter and a phase shifter. By using the above-noted configuration, it is possible to simplify the circuit cf.
Next, a radio communication system related to the twenty-ninth embodiment will be described in accordance with FIG.45.FIG. 45 shows the configuration, which is made up of a PHS base station and cable network, and an SDL-Net. The SDL-Net has a downlink which has a high speed compared to the PHS, this being mainly used for data transmission. In the PHS circuit, position recording is performed.
As described above, in a system in which two or more different types of transmission system exist, it is possible to simplify the circuit configuration by replacing one of the clock regeneration circuits by a frequency divider and phase shifter. However, in doing this, it is necessary to have the clocks of the differing transmission methods synchronized.FIG. 45 shows a method of synchronizing, via the network, a PHS circuit and an SDL-Net circuit. The network side has a reference signal generator. At the PHS base station a signal which is synchronized to a reference signal on the network side is generated by a synchronizing circuit. When performing communication between with a portable electronic apparatus, the signal is transmitted based on this reference signal. At the SDL-Net base station, in the same manner, a signal which is synchronized to a reference signal on the network side is generated by a synchronizing circuit, information being transmitted to a portable electronic apparatus based on this reference signal. The synchronizing circuit is formed by a clock generating circuit such as a PLL and, as described above, this can be implemented by a frequency divider and a phase shifter.
Next, a radio communication system related to the thirtieth embodiment of the invention will be described. As in the case of the above-describedFIG. 45, in a system made up of a PHS base station, a cable network, and an SDL-Net base station, the case in which the service area of the PHS and the SDL-Net is assumed. That is, as shown inFIG. 46, the SDL-Net services areas are included within the PHS service area. The existence of a plurality of SDL-Net service area is envisioned.
In the above-described SDL system, there are systems existing which have a narrowband uplink radio channel and a wideband downlink radio channel, and systems which have a narrowband radio channel for both uplink and downlink. Because the system for which the present invention is intended is the latter type of system, hereinafter the term SDL system shall be used to refer to this latter type of system. In an SDL system, to achieve a high transmission rate on the downlink radio channel, a high frequency is used at the wideband radio base station, but because attenuator at high frequencies is high, it is difficult to achieve a wide service area. Also, because the wider the bandwidth is made, the more the transmission distortion increases and the greater is the influence of noise, a wideband radio base station service area is narrower than a narrowband radio base station service area. For this reason, the areas of a wideband radio base station service and a narrowband radio base station service area have different makeups. Therefore, in an SDL system, accompanying the movement of a mobile radio station, with the same connectable narrowband base station, there are cases in which the connectable wideband base station will change, so that a mobile radio station must be aware of both the connectable narrowband base station and the connectable wideband base station. With regard to the method of recognizing in the service area of what narrowband base station a mobile radio station is located, because both up and down radio channels are provided between a narrowband base station and the mobile radio station, it is possible to use the same protocol as has been used in previous portable telephone services. The protocol that is used in a portable telephone service consists of notification by the radio base station, via the downlink channel, of itself by means of an identifying signal, this signal being received by the mobile station, which sends to that base station an identifying signal which indicates its identity, via the uplink channel. By doing this, the mobile radio station can determine in the service area of what radio base station it is located. With regard to the method of recognizing in the service area of what wideband base station a mobile radio station is located, the above description did not provide an explicit method. Therefore, in a system for which the present invention is intended, there was no method with regard to recognizing in the service area of what wideband base station a mobile radio station is located. As a result of there being no method in existence for recognizing in the service area of what wideband base station a mobile radio station is located, this being essential to starting the provision of communication service, in a system which included as a constituent element a mobile radio station not having a wideband uplink radio channel, it was not possible to start communication. In addition, even when in the condition of providing service, it was not possible to maintain service when the mobile radio station moves into the service area of a different radio base station, that is, handover was not possible.
In a radio communication system related to the thirty-first through the thirty-ninth embodiment, as shown in the conceptual drawing ofFIG. 47 the above-notedmobile radio station51 has an optimum connection station interpreting means61 which receives a signal for the purpose of identifying the above-noted widebandradio base station52, notification of which is made from the above-noted widebandradio base station52 via a radio circuit, and which interprets from this signal the wideband radio base station that is suitable for connection, an optimum base station notification means62, which gives notification to the above-notedserver56 of an above-noted specific widebandradio base station52 that is suitable for connection to an above-noted mobile radio station, via the above-noted narrowbandradio base station53, and a service starting means63, which starts the above-noted prescribed service via the above-noted specific widebandradio base station52 which is judged to be suitable for connection with respect to the above-noted mobile radio station.
In the case in which handover must be performed, in addition to the above-noted means, a radio communication system related to the thirty-first through the thirty-ninth embodiment of the present invention has a means which, when the above-noted mobile radio station receives the above-noted service via an above-noted specific wideband radio base station, receives a signal for the purpose of identifying the above-noted wideband radio base station, notification of which is given via a radio circuit from a wideband radio base station which is different from the above-noted specific wideband radio station, and which interprets from this received signal to which wideband radio base station should switching be made, a means by which the above-noted mobile radio station notifies the above-noted server via the above-noted narrowband radio base station of a wideband radio base station which is suitable as a switching destination, and a means by which the above-noted server switches a connection with respect to the above-noted mobile radio station, that connection is made via the above-noted specified wideband radio base station, which is judged to be suitable as a switching destination for connection, thereby providing the above-noted prescribed service.
By virtue of adopting the above-noted constitution, a mobile radio station that receives a signal for the purpose of identifying a wideband radio base station, notification of which is given from a wideband radio base station, can, by interpreting the received signal, determine a wideband radio base station which is suitable for connection. The mobile radio station uses the uplink radio channel from the mobile radio circuit to the narrowband radio base station to tell the narrowband radio base station to what wideband radio base station it is connected. Because the narrowband radio base station and server are connected via the network, it is possible the narrowband radio base station can notify the server, via the network, as to what wideband radio base station the mobile radio station is connected. By doing this, even if there is no uplink radio channel from the mobile radio station to the wideband radio base station, it is possible for the mobile radio station to have the server recognize to what wideband radio base station connection is suitable, and the server is able to start the provision of service to the mobile radio station via the wideband radio base station that is judged suitable for connection.
In the condition of providing the prescribed service via one of the wideband radio base stations, with regard to maintaining the service in the case in which the mobile radio station moves to the service area of a different wideband radio base station, according to the present invention, a signal for the purpose of identifying a wideband radio base station, notification of which is given via a radio circuit from a wideband radio base station, and interpreting that received signal, a judgment is made as to what wideband radio base station suitable for connection switching should be made. The mobile radio station notifies the server via the narrowband radio base station of to what wideband radio base station suitable for connection switching should be made. By doing this, because it is possible to cause the server to recognize to what wideband radio base station suitable for connection switching should be made, it is possible for the server to continuing providing service by switching via the wideband radio base station which was judged to be uitable for connection.
First, a radio communication system for which the thirty-first through the thirty-ninth embodiments were intended will be described.FIG. 48 is a conceptual drawing which shows the configuration of a system related to the present invention. InFIG. 48, the numeral51 denotes a mobile radio station,52 and53 are radio base stations,56 is a server, and57 is a network. The radio base station52 (this hereinafter being referred to as the wideband radio base station52) has a transmitting means for the purpose of wideband information transmission. With respect to this, the radio base station53 (hereinafter referred to as the narrowband radio base station53) has a transmitting/receiving means for the purpose of narrowband information transmission. Themobile radio station51 is a terminal which performs information transmission with the widebandradio base station52 or the narrowbandradio base station53. The radio channel between the widebandradio base station52 and themobile radio station51 is called the wideband radio channel, and the radio channel between the narrowbandradio base station53 and themobile radio station51 is called the narrowband radio channel.
While inFIG. 48, as a convenience, a distinction is made between the widebandradio base station52 and the narrowbandradio base station53, as shown inFIG. 49, it is also acceptable for a singleradio base station58 to have both a transceiving means for the purpose of narrowband information transmission and a transmission means for the purpose of wideband information transmission. In this case, although the cost of therelay base station58 becomes high, the total number of radio base stations in the system is reduced. If there is a need to perform control between the transceiving means for the purpose of narrowband information transmission and the transmitting means for the purpose of wideband information transmission, this control is made easy. What follows is a description, usingFIG. 48, of the thirty-first through thirty-ninth embodiments of the present invention which, in which the widebandrelay base station52 and the narrowbandrelay base station53 are separate radio base stations.
The thirty-first embodiment: The procedure for starting communication will be described for the thirty-first embodiment for the case in which themobile radio station51 is in the area shown inFIG. 50A, that is, the case in which themobile radio station51 can connect to the widebandradio base station52.FIG. 51 is the most basic flowchart related to the thirty-first embodiment. At step ST1, themobile radio station51 interprets in what widebandrelay base station52's service area it is located. At step ST2, the information interpreted at step ST1 is passed to theserver56 via the narrowbandrelay base station53. By doing this, theserver56 can recognize in which widebandrelay base station52's service area themobile radio station51 is located. At step ST3, service is started to be provided with respect to themobile radio station51, via the widebandrelay base station52 which was interpreted at step ST1. In actuality, when service is started to be provided, a variety of procedures can be envisioned, based on the above-described basic flowchart.FIG. 52 is one example. At step ST11, themobile radio station51 interprets in what widebandrelay base station52's service area it is located. At step ST12, a judgment is made as to whether a user has made a service request. In the case in which there is a service request from a user, flow proceeds to step ST13, but if there is no request, step ST11 is repeated. At step ST13, selection is made as to whether the wideband downlink radio channel is to be used to receive service. If the wideband downlink radio channel is to be used to receive service, flow proceeds to step ST14, but if not, flow proceeds to step ST16. At step ST14, the information interpreted at step ST11 is passed to theserver56 via the narrowbandrelay base station53. At step ST15, the provision of service to themobile radio station51 is started, via the wideband relay base station interpreted at step ST11. If, however, at step ST13 the selection was not to use the wideband downlink radio channel to receive service, that is, if the selection was made to use the narrowband downlink radio channel to receive service, at step ST16 the fact that themobile radio station51 will use the narrowband downlink radio channel to receive service is reported to theserver56. At step ST17, service is begun to be provided to themobile radio station51 via the narrowbandradio base station53.
In the above-noted thirty-first embodiment, although the example shown is that in which at step ST13 the service is to be received via the wideband radio channel, this being executed at step ST14, if step ST14 is after step ST11, it is acceptable to execute this, regardless of the existence or non-existence of a service request. That is, even if there is no service request from a user, the information interpreted at step ST11 may be passed to theserver56 via the narrowbandradio base station53. In this case, regardless of whether there is a service request from a user, theserver56 is able to tell which widebandradio base station52 service area themobile radio station51 is located. There is a sequence in which only if step ST12 is executed before step ST11, that is, only in the case in which there is a service request from a user. In this case, if there is no request from a user, because themobile radio station51 does not need to interpret in which widebandrelay base station52 service area it is located, there is a reduction of power consumption. For a further reduction in power consumption, it is possible to switch off the power to the receiving means for receiving wideband information.
Next the sequence diagram for the communication starting procedure related to the first invention will be described, using FIG.53. Themobile radio station51 receives from the wideband radio base station52 asignal511 for the purpose of identifying the radio base station, and from this signal is able to judge whichrelay base station52 service area it is located in. In this condition, if a service request occurs, the user performs a dialup511 of the specific telephone number of theserver56, and a communication circuit is secured from themobile radio station51 to theserver56, via the narrowbandrelay base station53. After securing the communication circuit from themobile radio station51 to theserver56, themobile radio station51 sends to the server56 a datatransmission request message512 and asignal513 for the purpose of identifying a widebandrelay base station52 to which it can be connected. Theserver56 interprets thedata request message512 and thesignal513 sent from the user, and sendsinformation514 which the user has requested, via the widebandrelay base station52 which is specified by thesignal513.
The thirty-second embodiment: The procedure for starting communication will be described for the thirty-first embodiment for the case in which themobile radio station51 is in the area shown inFIG. 50B, that is, the case in which themobile radio station51 cannot connect to the widebandrelay base station52.FIG. 54 is the most basic flowchart related to the thirty-second embodiment. At step ST21, themobile radio station51 interprets that it is not located in a widebandradio base station52 service area. At step ST22, the information that thebase station51 will use the narrowband downlink radio channel is passed to theserver56 via the narrowbandrelay base station53. The provision of service to themobile radio station51 is started, via the narrowbandrelay base station53. When the service is started, a variety of procedures can be envisioned, based on the above-described basic flowchart.
FIG. 55 is one example. At step ST31, themobile radio station51 interprets that it is not in a widebandradio base station52 service area, that is, that it cannot connect to the widebandradio base station52. At step ST32, a judgment is made as to whether there is a service request which used the narrowband downlink radio channel. In the case in which there is a service request from a user, flow proceeds to step ST33, and if there is no service request, step ST31 is repeated. At step ST33, themobile radio station51 passes the fact that it will use the narrowbandradio base station53 to theserver56, via the narrowbandradio base station53. At step ST34, the provision of service to themobile radio station51 is started, via the narrowbandradio base station53. Although in the above-described embodiment, after an interpretation is made that themobile radio station51 cannot connect to the widebandradio base station52, that is, after a determination is made as to whether or not connection to the widebandradio base station52 can be made, the example shown is that of making a judgment at step ST32 of whether there is a service request from a user, it is possible, as shown in the thirty-first embodiment, to execute the step ST31 after determining whether there is a request from a user.
Next the sequence diagram for the communication starting procedure related to the second invention will be described, using FIG.56. Themobile radio station51 cannot receive from the wideband radio base station52 asignal541 for the purpose of identifying the radio base station. Even if it could receive it, the signal strength is not great enough for the purpose of receiving the service. Therefore, themobile radio station51 interprets this as meaning that it is outside the service area of the wideband radio base station. That is, themobile radio station51 recognizes that it can only receive the service via the narrowband downlink radio channel. In such a case as this, the user selects whether or not to receive the service via the narrowband downlink radio channel. If the service is to be received via the narrowband downlink radio channel, the user performs a dialup540 of the specific telephone number of theserver56, and a communication circuit is secured via the narrowband radio base station. After securing the communication circuit from themobile radio station51 to theserver56, themobile radio station51 sends a datatransmission request message542 and a signal543, for the purpose of identifying the a narrowbandradio base station53 to which connection can be made, to the server. Usually, because the narrowbandradio base station53 used as the downlink radio channel is the same narrowbandradio base station53 used as the uplink radio channel, the signal543 may merely be only the information to inform theserver56 that the wideband downlink radio channel cannot be used. Theserver56 interprets the datatransmission request message542 and the signal543 sent from the user, and sends theinformation544 requested by the user either via the narrowbandradio base station53 which is specified by the signal543, or via the uplink radio channel.
Next, the procedure with regard to handover in each of the thirty-third to thirty-sixth embodiments will be described.
The handover which is handled by these embodiments is limited to a handover that occurs in the case in which themobile radio station51 moves within the service area of a specific narrowbandradio base station53. The reason for this is that, because the narrowbandradio base station53 has uplink and downlink radio channels, handover between narrowband radio base stations can be adequately performed using the procedure of the past. Because the procedure when starting communication was shown for the thirty-first and thirty-second embodiments, the handover procedure will be described from the condition of already providing service in the thirty-third to thirty-six embodiments.
Thirty-third embodiment: The handover procedure will be described for the case in which themobile radio station51 moves as shown inFIG. 50C, that is, in the case in which themobile radio station51 is receiving service in the service area of the widebandradio base station52, and moves into the service area of a different widebandradio base station52.
FIG. 57 is the most basic flowchart related to this embodiment. At step ST41, a judgment is made as to whether or not themobile radio station51 can receive the a signal sent from a widebandradio base station52 different from the one from which service is being provided. In the case in which receiving is possible, themobile radio station51 interprets the destination widebandradio base station52 for handover, based on the results of a comparison of the received signal field strength with the received signal field strength of the signal sent from the widebandradio base station52 which is currently providing service. Therefore, in the case in which the field strength of the signal being sent by the widebandradio base station52 which is currently providing service is sufficient, service continues and switching of the radio station is not performed. The criterion for selecting whether or not switching of the connection is to be done varies depending upon the communication quality required by the service being provided. For example, in the case of voice communication service, because the required communication quality is not that high, even if movement of themobile radio station51 is accompanied by a slight deterioration in communication quality, However, in the case of data communication service, because the required communication quality is higher than in the case of voice communication service, switching of the radio base station is done to assure the best possible communication quality. At step ST42, the information interpreted at step ST41 is passed to theserver56 via the narrowbandradio base station53. By doing this, theserver56 is able to recognize the destination widebandradio base station52 for handover. At step ST43, switching of the connection is performed so that service is provided via the wideband radio base station which was judged to be the destination of the handover.
Next, the handover sequence diagram will be described, using FIG.58. In the case in which themobile radio station51 moves as shown inFIG. 50C, because the signal strength when receiving theinformation data565 transmitted from the widebandradio base station52 deteriorates, it becomes impossible to receive it properly. Because the mobile radio station moves into the service area of a different wideband radio base station, it can now receive thesignal566 for the purpose of identifying a radio base station notified from the other wideband radio base station, and it is possible for it to make a judgment, from that received signal, of what widebandradio base station52 service area it has moved into. Themobile radio station51 makes a judgment of whether or not handover should be done, based on the relationship of the received field strengths of the information signal565 and thesignal566. If there is no need to perform handover, receiving of theinformation data565 continues as is.
In the case in which the need to perform handover arises, themobile radio station51 sends a handover request message and a signal558, for the purpose of identifying the handover destination widebandradio base station52, to theserver56. When theserver56 interprets the handover request message and thesignal568, it sends a circuitcutoff request message569 to the wideband radio base station which is current performing communication. After the circuit is cut off, the server sends theinformation data570 via the widebandradio base station52 which was specified by thesignal568. By doing this, even in the case in which the service area changes because of movement of the user, it is possible for the user to continue receiving the service.
Thirty-fourth embodiment: The handover procedure for the thirty-fourth embodiment will be described for the case in which themobile radio station51 moves as shown inFIG. 50D, that is, for the case in which themobile radio station51 is receiving service in the service area of a widebandradio base station52, and moves outside the service area of the widebandradio base station52. Because themobile radio station51 moves outside the service area, the received signal strength of the signal sent from the widebandradio base station52 which is currently providing service deteriorates. Also, it is not possible for it to receive a signal sent from a widebandradio base station52 different from the widebandradio base station52 providing service. Therefore, at step ST51, themobile radio station51 interprets that it cannot connect to the widebandradio base station52. At step ST52, themobile radio station51 informs theserver56 via the narrowbandradio base station53 that it cannot connect to the widebandradio base station52, that is, that it will use the narrowbandradio base station53 for downlink channel transmission. At step ST53, theserver56 switches the connection so that service in continued via the narrowbandradio base station53.
In the above-described embodiment, the example provided was that of the case in which the assumption was made that themobile radio station51 could no longer connect to a widebandradio base station52 and switching is made to connect via a narrowband radio base station, it is possible to add a step after step ST51 which selects either continued provision of service using the narrowband downlink radio channel or stoppage of the provision of service. In the case in which the selection of continued service is made, the flow proceeds to step ST52. The case in which the service is to be stopped is described in detail with regard to the thirty-fifth embodiment.
Next, the sequence diagram for handover with relation to the thirty-fourth embodiment will be described, using FIG.60. In the case in which themobile radio station51 moves as shown inFIG. 50D, because there is a deterioration in the received field strength of the information data signal585 which is sent from the wideband radio base station, it is no longer possible to properly receive the information. Because themobile radio station51 moves outside the service area of the widebandradio base station52, it is not possible for it to receive thesignal586 which is for the purpose of identifying a radio base station sent from different widebandradio base station52. Even it could receive it, it is not possible to obtain a signal strength sufficient for the provision of service. Therefore, themobile radio station51 interprets that it is located outside the widebandradio base station52 service area. That is, it recognizes that it cannot receive service via a narrowband downlink radio channel. For this reason, switching is made to connect to a narrowband downlink radio channel to continue the provision of service. Themobile radio station51 sends to the server56 ahandover request message587 and asignal588 for the purpose of identifying the handover destination narrowbandradio base station53.
Normally, because the narrowbandradio base station53 which is used as the downlink radio channel is the same as the narrowbandradio base station53 used as the uplink radio channel, thesignal588 may merely be only the information to inform theserver56 that the wideband downlink radio channel cannot be used. When theserver56 interprets the handover request message,587 and thesignal588, it sends a circuitcutoff request message589 to the widebandradio base station52 which is currently performing communication. After the circuit is cut off, theserver56 sends theinformation590 requested by the user, either via the narrowbandradio base station53 which was specified by thesignal588, or via the narrowbandradio base station53 used on the uplink radio channel. By doing this, even in the case in which the service area changes because of movement of the user, it is possible for the user to continue receiving the service.
Thirty-fifth embodiment: The circuit service stopping procedure, that is, the circuit cutoff procedure will be described, usingFIG. 61, for the case in which themobile radio station51 moves as shown inFIG. 50E, that is, in the case in which themobile radio station52 is receiving service inside the service area of a widebandradio base station52, and moves outside the service area of the widebandradio base station52.
Because themobile radio station51 moves outside the service area of the widebandradio base station52, there is a deterioration of the received field strength of the signal sent from the widebandradio base station52 currently providing service. It is also impossible to receive the signal sent from a wideband radio base station other than the wideband radio base station currently providing service. Therefore, at step ST61, the mobile radio station interprets that it cannot connect to a wideband radio base station. At step ST62, themobile radio station51 informs theserver56 via the narrowband radio base station, that it cannot connect to a widebandradio base station52, that is, that the provision of service is to be stopped. At step ST63, theserver56 performs a stoppage of the service being provided, and cuts off the communication circuit from the wideband radio base station to themobile radio station51. In the case in which, as in the thirty-fourth embodiment, a step is added which selects either continued provision of service using the narrowband downlink radio channel or stoppage of the provision of service, this step follows step ST61, and if stoppage of the service is selected at this step, flow proceeds to step ST62.
Next, the sequence diagram for handover in the thirty-fifth embodiment will be described, using FIG.62. In the case in which themobile radio station51 moves as shown inFIG. 50E, because the signal strength when receiving the information data signal605 sent from the widebandradio base station52 deteriorates, it is no longer possible to receive it properly. Because themobile radio station51 moves outside the service area of the widebandradio base station52, it cannot receive thesignal606 from another wideband radio base station which is for the purpose of identifying the radio base station. Even it could receive it, it is not possible to obtain a signal strength sufficient for the provision of service. Therefore, themobile radio station51 interprets that it is located outside the widebandradio base station52 service area. That is, it recognizes that it cannot receive service via a wideband downlink radio channel. For this reason, the stoppage of the provision of service is executed. Themobile radio station51 sends a communicationcutoff request message607 to theserver56. When the server interprets the communicationcutoff request message607, it sends acircuit cutoff message608 to themobile radio station51, via the widebandradio base station52 which is currently performing communication. By doing this, it is possible to quickly stop the service being provided, in accordance with the wish of the user.
Thirty-sixth embodiment: The handover procedure will be explained usingFIG. 63, for the case in which themobile radio station51 moves as shown inFIG. 50E, that is, in the case in which themobile radio station51 is outside the service area of a widebandradio base station52 and is receiving service using a narrowband downlink radio channel and then moves into the service area of a widebandradio base station52.
Accompanying the movement of themobile radio station51, it becomes possible to receive the signal from the widebandradio base station52 for the purpose of identifying the radio base station. At step ST71, themobile radio station51 interprets that it has moved to inside a service area of a widebandradio base station52. At step ST72, the information interpreted at step ST71 is passed to theserver56, via the narrowbandradio base station53. By doing this, it is possible for the server to recognize that themobile radio station51 has moved to inside a service area of a widebandradio base station52. At step ST73, the connection is switched so that it passes through the widebandradio base station52 interpreted at step ST71, and the provision of service is continued. Even in the case in which themobile radio station51 is using the narrowband radio channel, it must always be waiting to receive the signal which is sent by a widebandradio base station52. The reason for this is that, when the service area of a widebandradio base station52 is entered, even if signal reception via the narrowband radio base station is good, there are cases in which handover is performed.
While in the above-noted embodiment, the example described is that in which at step ST71, when themobile radio station51 interprets that it has entered a service area of a widebandradio base station52, a handover is performed immediately, it is also possible to add a step by which the user selects whether or not to perform a handover. The reason for this is that, as mentioned above, in the case in which the receiving condition of the signal via the narrowbandradio base station53 is not necessarily bad, for a service such as voice communication which does not require high-speed transmission, it is not necessary to perform handover. There are three places this step can be added, each having the following characteristics. First, if the above-noted step is added following step ST72, regardless of whether or not a handover is performed, theserver56 can recognize in which widebandradio base station52 service area themobile radio station51 is located. Next, in the case in which the above-noted step is added following step ST71, when handover is not performed, because themobile radio station51 does not tell the server in which widebandradio base station52 service area it is located, there is a reduction in the amount of traffic between themobile radio station51 and theserver56. Finally, if the above-noted step is added before step ST71, because it is not necessary for themobile radio station51 to interpret in which widebandradio base station52 service area it is located, there is a reduction in power consumption. In this case, if the power supply to the receiving means for wideband information transmission is switched off, there is a further reduction in power consumption.
Next, the handover sequence diagram for the system of the thirty-sixth embodiment will be described, using FIG.64. In the case in which themobile radio station51 moves as shown inFIG. 50E, themobile radio station51 becomes capable of receiving thesignal625 from a widebandradio base station52 for the purpose of identifying the radio base station, and can make a judgment, based on that received signal, at to what widebandradio base station52 service area it has moved into. At this time, as described above, the signal strength of theinformation data624 signal received by themobile radio station51 is not necessarily bad. Therefore, whether or not a handover is performed depends on the wishes of the user. It is also possible to establish beforehand whether or not a handover is to be performed when entering the service area of a widebandradio base station52. If the setting is made so that a handover is not performed, themobile radio station51 may switch the power supply to the receiver for the purpose of receiving the wideband information transmission to off. If a handover is not to be performed when the mobile radio station enters the service area of a widebandradio base station52, reception of the information data signal624 via the narrowbandradio base station52 is continued as is.
In the case of performing a handover, themobile radio station51 sends to the server56 ahandover request message626 and asignal627 for identifying the handover destination widebandradio base station52. When theserver56 interprets thehandover request message626 and thesignal627, it sends a downlink radio channel circuit cutoff message628 to the narrowbandradio base station52. After the circuit is cut off, theserver56 sends theinformation data629 via the widebandradio base station52 which was specified by thesignal627. By doing this, even in the case in which the service area changes because of movement of the user, it is possible for the user to continue receiving the service.
Thirty-seventh embodiment: A characteristic logical number is allocated to theserver56. When a plurality of servers exist in a network, a common number is allocated to all servers. When a user wishes to receive service, theserver56 is called. The methods of calling are the method of direct dialup by the user of the logical number (FIG. 65A) and the method of the user selecting an SDL service item which is displayed at themobile radio station51. The SDL service is a service provided using an SDL system. In the case of this method, a correspondence is established between SDL service items and logical numbers, so that when a user selects an SDL service item dialup is automatically performed. With either method, when the call is made to theserver56, the first thing done is the establishment of a communication circuit from themobile radio station51 to the narrowbandradio base station53.
Next, the narrowbandradio base station53 makes a connection to theserver56. In the case in which the network has only oneserver56, a communication circuit is established from the narrowbandradio base station53 to theserver56. In the case in which the network has a plurality ofservers56, selection is made of the server to which the narrowbandradio base station53 is to be connected. There are four methods of making this selection.
The first method is that in which the narrowbandradio base station53 recognizes beforehand whichserver56 it is to be connected to, thisserver56 always being selected. Normally, the connected server is a server neighboring the narrowbandradio base station53. The second method is that in which aserver56 having a light load is selected. In this method, the narrowbandradio base station53 monitors the load of theservers56 and selects aserver56 having a light load. The third method is that in which theserver56 is selected which has a light network load. This method attempts to use a communication path on which there is little traffic as the path between the narrowbandradio base station53 and theserver56. The fourth method is that of combining at least two of the above three methods. One example of doing this is for the narrowbandradio base station53 to monitor theserver56 loads, and to select fromservers56 having a load lower than a given load the closest neighboringserver56 to the narrowbandradio base station53. After theserver56 is selected by means an above-noted method, the communication circuit from the narrowbandradio base station53 to theserver56 is established, this being used to establish a communication circuit from themobile radio station51 to theserver56.
Thirty-eighth embodiment: As shown inFIG. 66, a specific logical number is allocated to each service. The user make a call using the logical number of the desired service. The methods of calling are the method of direct dialup by the user of the logical number and the method of the user selecting a service item which is displayed at themobile radio station51. This method will be described as the system related to the thirty-eighth embodiment. In the case of this method, when the user selects the service, automatic dialup is performed with respect to the corresponding logical number. With either of the methods, when a call is made to theserver56, the first thing that happens is that a communication circuit is established from themobile radio station51 to the narrowbandradio base station53.
Next, the narrowbandradio base station53 makes a connection to theserver56. In the case in which the network has only oneserver56, a communication circuit is established from the narrowbandradio base station53 to theserver56. In the case in which the network has a plurality ofservers56, selection is made of the server to which the narrowbandradio base station53 is to be connected. Since the methods of selection are the same as for the thirty-ninth embodiment, they will not be included here. When theserver56 selection is performed, the communication circuit from the narrowbandradio base station53 to the server is established, this being used to establish a communication circuit from themobile radio station51 to theserver56.
Thirty-ninth embodiment: Themobile radio station51 displays whether it is possible to communicate with a radio base station. Specifically, it displays both whether it can connect to a narrowbandradio base station53 and whether it can connect to a widebandradio base station52. The method of display includes the method of displaying in step manner the signal strength each of the base stations (FIG. 67A) and the method of displaying a two-value state of communication possible or not possible (FIG.67B). For the purpose of the above-noted display, themobile radio station51 has both a means of measuring the received field strength when receiving a signal transmitted from a widebandradio base station52 and displaying the results of this measurement in a form which a human can recognize, and a means of measuring the received field strength when receiving a signal transmitted from a narrowbandradio base station53 and displaying the results of this measurement in a form which a human can recognize.
According to the thirty-ninth embodiment, it is possible to recognize what kind of service the user is receiving. That is, the user receives service via a narrowband downlink radio channel, and the user can recognize the condition in which it is not possible to receive service via a wideband downlink radio channel, the condition in which it is possible to receive service via a wideband downlink radio channel, and the like. Therefore, in the case, for example, in which the user is located in a widebandradio base station52 service area, it is possible for the user to select, based on his or her wishes, whether to not receive service at this point, but to receive high-speed radio transmission service which uses a wideband downlink radio channel after moving into a widebandradio base station52 service area, or to receive low-speed radio transmission service via a narrowband downlink radio channel at this point. The two steps related to the signal transmitted from the wideband radio base station52 (when themobile radio station51 receives a first signal from a widebandradio base station52 via a radio circuit, the step of measuring the receive field strength of the first signal, and the step of displaying the received field strength of the first signal in a form recognizable by a human being) and the two steps related to the signal transmitted from the narrowband radio base station53 (when themobile radio station51 receives a second signal from a narrowbandradio base station53 via a radio circuit, the step of measuring the receive field strength of the second signal, and the step of displaying the received field strength of the second signal in a form recognizable by a human being) are each individual steps. Therefore, a method can be envisioned in which, in the case in which the fact that the user is not to receive high-speed transmission service via the widebandradio base station52 is set beforehand, the two steps related to the signal transmitted from the widebandradio base station52 are not performed. In this case, it is possible to reduce the power consumption of themobile radio station51.
As described above, according to the thirty-first to the thirty-ninth embodiments of the present invention, even in a system which included as a constituent element a mobile radio station not having a wideband uplink radio, such as in an SDL system, it is possible for the server to recognize to which wideband radio base station connection is possible, and to provide service. Even if, accompanying movement of a mobile radio station, it becomes necessary to perform a handover, it is possible for the server to recognize the destination wideband radio base station for the handover, thereby enabling continued provision of service.
FIG. 68 shows, in the same manner asFIG. 45, a radio communication system of the fortieth embodiment, this being formed by a PHS base station, a cable network, and an SDL-Net. It differs with respect toFIG. 45 in that fact that there is no PHS receiver provided in the SDL-Net base station, and also in that there is no reference oscillator in the network. As inFIG. 46, the SDL-Net base station exists within the PHS service area. For this reason, by inputting the signal received by the PHS receiver to a synchronization circuit, it is possible to establish synchronization between the PHS and the SDL-Net clock.
FIG. 69 shows the overall configuration of the forty-first embodiment, in which a radio communication system related to the present invention is applied. A plurality of base stations BS which have prescribed service areas and a plurality of databases and communication satellites CS are connected via a network.

Claims (2)

1. A radio communication system including at least one base station, and a plurality of terminals, said radio communication system comprising:
an uplink which performs radio transmission of data at a first transmission rate;
a low-speed down link which performs radio transmission of the data at a first transmission rate;
a high-speed downlink which performs radio transmission of the data at a second transmission rate which is higher than the first transmission rate;
a first low-speed transmitter, provided at said terminal, which transmits a first radio signal at the first transmission rate to said base station via said uplink;
a first low-speed receiver, provided at the base station, which receives the first radio signal, which sent at the first transmission rate, from said terminal via said uplink;
a high-speed transmitter, provided at said base station, which transmits a second radio signal at the second transmission rate to said terminal via said high-speed downlink;
a high-speed receiver, provided at said terminal, which receives the second radio signal at the second transmission rate from said base station via said high-speed downlink;
a second low-speed transmitter, provided at said base station, which transmits a third radio signal at the first transmission rate to said terminal via said low-speed downlink; and
a second low-speed receiver, provided at said terminal, which receives the third radio signal at the first transmission rate from said base station via said low-speed downlink;
wherein said uplink and said low-speed downlink establish radio transmission at a first frequency, and said high-speed down link establishes radio transmission at a second frequency which is higher than said first frequency.
2. A method of performing a radio communication between a radio terminal and more than one radio base station, comprising:
performing a first radio communication between a radio terminal transmission(RTT)means of said radio terminal and a base station reception(BSR)means of said more than one radio base station, with the first radio communication having a first transmission rate and using a radio wave of a first frequency band; and
performing a second radio communication between a base station transmission(BST)means of said more than one radio base station and a radio terminal reception(RTR)means of said radio terminal, with the second radio communication having a second transmission rate higher than the first transmission rate of said first radio communication and using a radio wave of a second frequency band which is higher than said first frequency band.
US11/272,7361994-06-202005-11-15Radio communication method including SDL having transmission rate of relatively high speedExpired - LifetimeUSRE41132E1 (en)

Priority Applications (9)

Application NumberPriority DateFiling DateTitle
US11/272,736USRE41132E1 (en)1994-06-202005-11-15Radio communication method including SDL having transmission rate of relatively high speed
US12/546,326USRE43950E1 (en)1994-06-202009-08-24Radio communication system including SDL having transmission rate of relatively high speed
US12/546,962USRE44074E1 (en)1994-06-202009-08-25Radio communication method including SDL having transmission rate of relatively high speed
US12/547,059USRE43800E1 (en)1994-06-202009-08-25Radio communication system including SDL having transmission rate of relatively high speed
US12/884,330USRE44202E1 (en)1994-06-202010-09-17Radio terminal for a radio communication with a base station
US12/884,298USRE43713E1 (en)1994-06-202010-09-17Base station for a radio communication with a radio terminal and method
US12/884,355USRE43654E1 (en)1994-06-202010-09-17Base station for a radio communication with a radio terminal
US12/884,315USRE43821E1 (en)1994-06-202010-09-17Method of performing a radio communication between a radio terminal and a base station
US12/884,325USRE44143E1 (en)1994-06-202010-09-17Radio terminal for a radio communication with a base station and method

Applications Claiming Priority (6)

Application NumberPriority DateFiling DateTitle
JP6-1376211994-06-20
JP137621941994-06-20
US08/492,728US5754961A (en)1994-06-201995-06-20Radio communication system including SDL having transmission rate of relatively high speed
US09/055,973US6049721A (en)1994-06-201998-04-07Radio communication system including SDL having transmission rate of relatively high speed
US10/119,679USRE39119E1 (en)1994-06-202002-04-11Radio communication system including SDL having transmission rate of relatively high speed
US11/272,736USRE41132E1 (en)1994-06-202005-11-15Radio communication method including SDL having transmission rate of relatively high speed

Related Parent Applications (2)

Application NumberTitlePriority DateFiling Date
US09/055,973ReissueUS6049721A (en)1994-06-201998-04-07Radio communication system including SDL having transmission rate of relatively high speed
US10/119,679ContinuationUSRE39119E1 (en)1994-06-202002-04-11Radio communication system including SDL having transmission rate of relatively high speed

Related Child Applications (2)

Application NumberTitlePriority DateFiling Date
US09/055,973ContinuationUS6049721A (en)1994-06-201998-04-07Radio communication system including SDL having transmission rate of relatively high speed
US12/546,962ContinuationUSRE44074E1 (en)1994-06-202009-08-25Radio communication method including SDL having transmission rate of relatively high speed

Publications (1)

Publication NumberPublication Date
USRE41132E1true USRE41132E1 (en)2010-02-16

Family

ID=15202957

Family Applications (12)

Application NumberTitlePriority DateFiling Date
US08/492,728Expired - LifetimeUS5754961A (en)1994-06-201995-06-20Radio communication system including SDL having transmission rate of relatively high speed
US09/055,973CeasedUS6049721A (en)1994-06-201998-04-07Radio communication system including SDL having transmission rate of relatively high speed
US10/119,679Expired - LifetimeUSRE39119E1 (en)1994-06-202002-04-11Radio communication system including SDL having transmission rate of relatively high speed
US11/272,736Expired - LifetimeUSRE41132E1 (en)1994-06-202005-11-15Radio communication method including SDL having transmission rate of relatively high speed
US12/546,326Expired - LifetimeUSRE43950E1 (en)1994-06-202009-08-24Radio communication system including SDL having transmission rate of relatively high speed
US12/547,059Expired - LifetimeUSRE43800E1 (en)1994-06-202009-08-25Radio communication system including SDL having transmission rate of relatively high speed
US12/546,962Expired - LifetimeUSRE44074E1 (en)1994-06-202009-08-25Radio communication method including SDL having transmission rate of relatively high speed
US12/884,355Expired - LifetimeUSRE43654E1 (en)1994-06-202010-09-17Base station for a radio communication with a radio terminal
US12/884,315Expired - LifetimeUSRE43821E1 (en)1994-06-202010-09-17Method of performing a radio communication between a radio terminal and a base station
US12/884,298Expired - LifetimeUSRE43713E1 (en)1994-06-202010-09-17Base station for a radio communication with a radio terminal and method
US12/884,330Expired - LifetimeUSRE44202E1 (en)1994-06-202010-09-17Radio terminal for a radio communication with a base station
US12/884,325Expired - LifetimeUSRE44143E1 (en)1994-06-202010-09-17Radio terminal for a radio communication with a base station and method

Family Applications Before (3)

Application NumberTitlePriority DateFiling Date
US08/492,728Expired - LifetimeUS5754961A (en)1994-06-201995-06-20Radio communication system including SDL having transmission rate of relatively high speed
US09/055,973CeasedUS6049721A (en)1994-06-201998-04-07Radio communication system including SDL having transmission rate of relatively high speed
US10/119,679Expired - LifetimeUSRE39119E1 (en)1994-06-202002-04-11Radio communication system including SDL having transmission rate of relatively high speed

Family Applications After (8)

Application NumberTitlePriority DateFiling Date
US12/546,326Expired - LifetimeUSRE43950E1 (en)1994-06-202009-08-24Radio communication system including SDL having transmission rate of relatively high speed
US12/547,059Expired - LifetimeUSRE43800E1 (en)1994-06-202009-08-25Radio communication system including SDL having transmission rate of relatively high speed
US12/546,962Expired - LifetimeUSRE44074E1 (en)1994-06-202009-08-25Radio communication method including SDL having transmission rate of relatively high speed
US12/884,355Expired - LifetimeUSRE43654E1 (en)1994-06-202010-09-17Base station for a radio communication with a radio terminal
US12/884,315Expired - LifetimeUSRE43821E1 (en)1994-06-202010-09-17Method of performing a radio communication between a radio terminal and a base station
US12/884,298Expired - LifetimeUSRE43713E1 (en)1994-06-202010-09-17Base station for a radio communication with a radio terminal and method
US12/884,330Expired - LifetimeUSRE44202E1 (en)1994-06-202010-09-17Radio terminal for a radio communication with a base station
US12/884,325Expired - LifetimeUSRE44143E1 (en)1994-06-202010-09-17Radio terminal for a radio communication with a base station and method

Country Status (1)

CountryLink
US (12)US5754961A (en)

Cited By (2)

* Cited by examiner, † Cited by third party
Publication numberPriority datePublication dateAssigneeTitle
US20090129323A1 (en)*2007-11-192009-05-21Wai ChenMethod for determining transmission channels for a LPG based vehicle communication network
USRE43654E1 (en)1994-06-202012-09-11Kabushiki Kaisha ToshibaBase station for a radio communication with a radio terminal

Families Citing this family (93)

* Cited by examiner, † Cited by third party
Publication numberPriority datePublication dateAssigneeTitle
US6418324B1 (en)*1995-06-012002-07-09Padcom, IncorporatedApparatus and method for transparent wireless communication between a remote device and host system
US20040264402A9 (en)*1995-06-012004-12-30Padcom. Inc.Port routing functionality
US6975582B1 (en)*1995-07-122005-12-13Ericsson Inc.Dual mode satellite/cellular terminal
DE59609110D1 (en)*1996-01-042002-05-23Siemens Ag METHOD AND ARRANGEMENT FOR TRANSMITTING DATA IN A CELLULAR RADIO SYSTEM
US6999438B2 (en)*1996-01-182006-02-14Kabushiki Kaisha ToshibaRadio communication system
FI104924B (en)*1996-02-292000-04-28Nokia Mobile Phones Ltd A transmitter-receiver with interchangeable frequency band and bandwidth
US6169789B1 (en)1996-12-162001-01-02Sanjay K. RaoIntelligent keyboard system
US5987069A (en)*1996-12-241999-11-16Gte Government Systems CorporationMethod and apparatus for variably allocating upstream and downstream communication spectra
US6778556B1 (en)*1997-01-152004-08-17Gwcom, Inc.Asymmetrical data rates and power in wireless digital communication
US5987010A (en)*1997-05-151999-11-16Advanced Micro Devices, Inc.System and method for providing FDD and TDD modes of operation for a wireless communications device
US6067458A (en)*1997-07-012000-05-23Qualcomm IncorporatedMethod and apparatus for pre-transmission power control using lower rate for high rate communication
CN1211886A (en)*1997-08-201999-03-24格维康姆公司Communication protocol for wireless data system
US6182144B1 (en)*1997-12-122001-01-30Intel CorporationMeans and method for switching between a narrow band communication and a wide band communication to establish a continuous connection with mobile computers
US6470035B1 (en)*1998-03-032002-10-22Rohm Co., Ltd.Receiver for receiver a signal transmitted by a time-division multi-access method
US6133876A (en)*1998-03-232000-10-17Time Domain CorporationSystem and method for position determination by impulse radio
US6404751B1 (en)1998-09-152002-06-11Crisco Technology, Inc.Common control channel dynamic frequency assignment method and protocol
US6216244B1 (en)1998-10-072001-04-10Cisco Systems, Inc.Point-to-multipoint variable antenna compensation system
US7778260B2 (en)*1998-10-092010-08-17Netmotion Wireless, Inc.Method and apparatus for providing mobile and other intermittent connectivity in a computing environment
US7293107B1 (en)*1998-10-092007-11-06Netmotion Wireless, Inc.Method and apparatus for providing mobile and other intermittent connectivity in a computing environment
US6546425B1 (en)*1998-10-092003-04-08Netmotion Wireless, Inc.Method and apparatus for providing mobile and other intermittent connectivity in a computing environment
US7136645B2 (en)1998-10-092006-11-14Netmotion Wireless, Inc.Method and apparatus for providing mobile and other intermittent connectivity in a computing environment
US8078727B2 (en)*1998-10-092011-12-13Netmotion Wireless, Inc.Method and apparatus for providing mobile and other intermittent connectivity in a computing environment
US8060656B2 (en)1998-10-092011-11-15Netmotion Wireless, Inc.Method and apparatus for providing mobile and other intermittent connectivity in a computing environment
US6501768B2 (en)*1998-11-022002-12-31Cisco Technology, Inc.Local multipoint distribution service base station apparatus
JP2000232670A (en)*1999-02-092000-08-22Sony CorpCommunication device, communication system and its method
US7882247B2 (en)*1999-06-112011-02-01Netmotion Wireless, Inc.Method and apparatus for providing secure connectivity in mobile and other intermittent computing environments
US7054290B1 (en)*2000-03-072006-05-30Telefonaktiebolaget Lm Ericsson (Publ)Methods and apparatus for dual mode operation in a wireless communication system
US6631410B1 (en)2000-03-162003-10-07Sharp Laboratories Of America, Inc.Multimedia wired/wireless content synchronization system and method
US6535739B1 (en)*2000-04-072003-03-18Qualcomm IncorporatedMethod of handoff within a telecommunications system containing digital base stations with different spectral capabilities
US20020032853A1 (en)*2000-04-172002-03-14Preston Dan A.Secure dynamic link allocation system for mobile data communication
WO2001080547A2 (en)*2000-04-182001-10-25Mobilian Israel Ltd.Wireless video distribution
US6571102B1 (en)*2000-08-082003-05-27Motorola, Inc.Channel management technique for asymmetric data services
CA2420907A1 (en)*2000-08-312002-03-07Padcom, Inc.Method and apparatus for routing data over multiple wireless networks
JP4151937B2 (en)*2000-09-182008-09-17株式会社デンソー COMMUNICATION SYSTEM, COMMUNICATION METHOD, AND MOBILE STATION
JP2002124916A (en)*2000-10-132002-04-26Nec CorpPoint-to-multipoint radio access system
US6690655B1 (en)*2000-10-192004-02-10Motorola, Inc.Low-powered communication system and method of operation
US6944402B1 (en)2000-11-182005-09-13Tribeam Technologies, Inc.Extended range infrared communication (ERIC) for an infrared associated (IrDA) compliant portable device
US7257386B1 (en)*2000-11-202007-08-14Hewlett-Packard Development Company, L.P.Data transfer system and method of data transfer
US7224935B2 (en)2000-11-292007-05-29Visteon Global Technologies, Inc.Telematics application for implementation in conjunction with a satellite broadcast delivery system
US7698723B2 (en)*2000-12-282010-04-13At&T Intellectual Property I, L.P.System and method for multimedia on demand services
US8601519B1 (en)2000-12-282013-12-03At&T Intellectual Property I, L.P.Digital residential entertainment system
US8677423B2 (en)*2000-12-282014-03-18At&T Intellectual Property I, L. P.Digital residential entertainment system
US7061891B1 (en)*2001-02-022006-06-13Science Applications International CorporationMethod and system for a remote downlink transmitter for increasing the capacity and downlink capability of a multiple access interference limited spread-spectrum wireless network
EP1244231A1 (en)*2001-03-192002-09-25Telefonaktiebolaget Lm EricssonHybrid frequency band system architecture for terrestrial wireless broadband access applications
US7209515B2 (en)2001-03-302007-04-24Science Applications International CorporationMultistage reception of code division multiple access transmissions
JP3698068B2 (en)*2001-04-132005-09-21株式会社デンソー Communication system, communication information division transmission system, and communication information division apparatus
EP1255363B1 (en)*2001-05-042007-06-27Lucent Technologies Inc.Wireless telecommunications system and method for asymmetric data transmission
JP3824506B2 (en)*2001-07-032006-09-20株式会社デンソー COMMUNICATION SYSTEM, COMMUNICATION METHOD, AND MOBILE STATION
US20030026202A1 (en)*2001-08-022003-02-06Benedikt AschermannCommunications network with redundancy between peripheral units
US8271672B1 (en)2001-08-312012-09-18Juniper Networks, Inc.Guaranteed bandwidth memory apparatus and method
US7644171B2 (en)*2001-09-122010-01-05Netmotion Wireless, Inc.Mobile networking system and method using IPv4 and IPv6
US7006461B2 (en)*2001-09-172006-02-28Science Applications International CorporationMethod and system for a channel selective repeater with capacity enhancement in a spread-spectrum wireless network
US20030137959A1 (en)*2001-09-242003-07-24Nebiker Robert M.Flexible-link multi-media communication
EP1296497A1 (en)*2001-09-252003-03-26Koninklijke Philips Electronics N.V.Distribution of multimedia content using an intermediate mobile proxy server
US7698454B1 (en)2001-11-262010-04-13Juniper Networks, Inc.Interfacing with streams of differing speeds
US7065153B2 (en)*2002-02-062006-06-20The Boeing CompanyHigh speed monolithic microwave integrated circuit (MMIC) quadrature phase shift keying (QPSK) and quadrature amplitude modulation (QAM) modulators
US7003058B2 (en)*2002-02-272006-02-21The Boeing CompanyPolarization division duplexing with cross polarization interference canceller
JP4718748B2 (en)*2002-06-142011-07-06日本電気株式会社 Communication control method, server communication apparatus, client communication apparatus, and communication control program
WO2004028178A2 (en)*2002-09-192004-04-01Research In Motion LimitedApparatus and method of wireless instant messaging
JP2004128563A (en)*2002-09-302004-04-22Toshiba Corp Wireless system, wireless base station and wireless terminal
US20040170181A1 (en)*2003-02-272004-09-02Padcom, Inc.Prioritized alternate port routing
US7444170B2 (en)*2003-03-242008-10-28Atc Technologies, LlcCo-channel wireless communication methods and systems using nonsymmetrical alphabets
US7203490B2 (en)*2003-03-242007-04-10Atc Technologies, LlcSatellite assisted push-to-send radioterminal systems and methods
AU2003249052A1 (en)*2003-07-142005-03-07Thomson LicensingTechnique for video broadcasting in a wireless lan
JP4174404B2 (en)*2003-10-012008-10-29キヤノン株式会社 Imaging apparatus, image display method, program, and storage medium
US7324831B2 (en)*2003-10-172008-01-29Telefonaktiebolaget Lm Ericsson (Publ)Method and system for asymmetric dual-mode radio communications
JP3898192B2 (en)*2004-03-292007-03-28株式会社日立国際電気 Wireless communication method and apparatus using adaptive modulation system
JP4012167B2 (en)*2004-03-312007-11-21株式会社東芝 Wireless communication system
JP4619077B2 (en)*2004-09-222011-01-26株式会社エヌ・ティ・ティ・ドコモ Frequency band allocation device
US7297308B2 (en)*2004-09-292007-11-20Liquid Container L.P.Molded, plastic container and a method for making the same
CN101116363A (en)*2005-02-182008-01-30三菱电机株式会社 Multi-band wireless communication method and base station
US7613138B2 (en)*2005-05-232009-11-03Microsoft CorporationSeparating control and data in wireless networks
US7313109B2 (en)*2005-06-012007-12-25Sprint Spectrum L.P.Method and system for selective usage of broadband forward link
US8243632B1 (en)*2005-08-252012-08-14Sprint Spectrum L.P.Use of dual asymmetric wireless links to provide bi-directional high data rate wireless communication
WO2007037088A1 (en)2005-09-292007-04-05Nec CorporationWireless transmitting/receiving method and wireless transmitting/receiving device
US8149969B2 (en)*2005-10-072012-04-03Samsung Electronics Co., Ltd.Apparatus and method for reduced peak-to-average-power ratio in a wireless network
JP4726652B2 (en)*2006-02-272011-07-20株式会社エヌ・ティ・ティ・ドコモ Base station and handover control method
US20070201591A1 (en)*2006-02-282007-08-30Knerr Barry FBTS span synchronization utilizing an external span qualification reference
US9014252B2 (en)*2006-09-152015-04-21Lsi CorporationBand-pass high-order analog filter backed hybrid receiver equalization
EP2058958B1 (en)*2006-10-132015-10-28Fujitsu LimitedWireless base station, relay station and frequency band allocation method
US9622216B2 (en)*2006-10-202017-04-11Avago Technologies General Ip (Singapore) Ptd. LtdMethod and system for low rate MAC/PHY for 60 GHz transmission
JP5245257B2 (en)2006-11-222013-07-24ソニー株式会社 Image display system, display device, and display method
EP2338307A1 (en)*2008-08-082011-06-29Nokia Siemens Networks OyFine-grain and backward-compliant resource allocation
JP5716587B2 (en)*2011-07-192015-05-13富士通株式会社 Route determination device, route determination method, management program, and management device
CN108566667B (en)2011-12-082022-03-22交互数字专利控股公司WTRU and method for the same
US9572167B1 (en)*2013-03-112017-02-14Sprint Spectrum L.P.Assigning radio resources to a wireless communication device that experienced a call drop
EP3197073B1 (en)*2014-11-142021-07-14Huawei Technologies Co., Ltd.Transmission control methods, base station and terminal
US9913263B2 (en)*2014-12-232018-03-06Intel CorporationAssociation request for narrowband communications in a telecommunication environment
WO2017041813A1 (en)2015-09-072017-03-16Telefonaktiebolaget Lm Ericsson (Publ)Mitigation of uplink/downlink assymetry
US10135538B2 (en)*2016-08-022018-11-20Finisar CorporationSignaling on a high-speed data connector
EP3445018B1 (en)*2017-08-152021-08-18MatchX GmbHMethod and system for upgrading firmware and configuration of a low data rate rf module using bluetooth
US11528155B2 (en)2020-08-032022-12-13Apple Inc.Bi-directional single-ended transmission systems
US11405068B2 (en)2020-08-032022-08-02Apple Inc.Bi-directional single-ended transmission systems

Citations (40)

* Cited by examiner, † Cited by third party
Publication numberPriority datePublication dateAssigneeTitle
US4646290A (en)1984-08-031987-02-24National Information Utilities Corp.Data transmission method and apparatus
US4918746A (en)1987-05-151990-04-17Kabushiki Kaisha ToshibaCommunication system with mobile stations
JPH04249442A (en)1990-10-291992-09-04Internatl Business Mach Corp <Ibm>Method of operating optical communication system and optical communication system
US5396654A (en)1992-09-041995-03-07Motorola Inc.Data transfer method and apparatus having dual frequency operation
US5402473A (en)1992-05-191995-03-28Megasoft, Inc.Communication device and data transmitting method
US5477539A (en)1993-07-231995-12-19Ericsson Inc.Narrow band simulcast system having low speed data distribution
US5483676A (en)1988-08-041996-01-09Norand CorporationMobile radio data communication system and method
JPH08274781A (en)1995-03-301996-10-18Toshiba Corp Wireless communication system
JPH08275273A (en)1995-03-301996-10-18Secom Co Ltd Communication system and master and slave stations used in communication system
JPH08274776A (en)1995-03-291996-10-18Toshiba Corp Wireless communication method and system
US5754961A (en)1994-06-201998-05-19Kabushiki Kaisha ToshibaRadio communication system including SDL having transmission rate of relatively high speed
US5802469A (en)1995-03-291998-09-01Kabushiki Kaisha ToshibaRadio communication system selectable low speed bi-directional communication and high-speed down link communication
US6205129B1 (en)*1999-01-152001-03-20Qualcomm Inc.Method and apparatus for variable and fixed forward link rate control in a mobile radio communications system
US20010017851A1 (en)*2000-01-242001-08-30Ddi CorporationMobile communication system having adaptively assigned packet rate
US20020025835A1 (en)*2000-08-312002-02-28Michihiro IzumiCommunication apparatus capable of communicating via different types of communication lines and control method thereof
US20020030541A1 (en)*2000-09-112002-03-14Hitachi, Ltd.High frequency power amplifier module and wireless communication apparatus
US20020080735A1 (en)*2000-12-222002-06-27Heath Robert W.Method and system for evaluating a wireless link
US20020119757A1 (en)*2001-02-282002-08-29Kojiro HamabeMobile communication system and transmission mode switching method used therefor as well as recording medium having program of the same method recorded therein
US20030053482A1 (en)*2001-08-162003-03-20Hui LiMethod and transceiver for a data packet oriented communication system
US20030214352A1 (en)*2002-05-202003-11-20Alps Electric Co., Ltd.Power amplifier capable of adjusting operating point
US20030224740A1 (en)*2002-05-312003-12-04Ryoichi TakanoTransmitter and semiconductor integrated circuit for communication
US20030236071A1 (en)*2002-04-172003-12-25Osamu ItoSystem, apparatus, and method for radio communication using a plurality of carriers
US6690655B1 (en)*2000-10-192004-02-10Motorola, Inc.Low-powered communication system and method of operation
US20040038685A1 (en)*2002-08-262004-02-26Sumie NakabayashiQoS control method for transmission data for radio transmitter and radio receiver using the method
US6781976B1 (en)*1999-09-282004-08-24Telefonaktiebolaget Lm Ericsson (Publ)Time-alignment apparatus and method for providing data frames of a plurality of channels with predetermined time-offsets
US20040203991A1 (en)*2002-02-072004-10-14Tao ChenPower control of serving and non-serving base stations
US20040229579A1 (en)*2003-05-152004-11-18Renesas Technology Corp.High frequency power amplifier component and radio communication system
US20050020298A1 (en)*2003-06-202005-01-27Hiroshi MasumotoRadio communication apparatus and its transmission and reception circuit
US20050041618A1 (en)*2003-08-052005-02-24Yongbin WeiExtended acknowledgement and rate control channel
US20050064828A1 (en)*2003-07-312005-03-24Noriyuki KurakamiMethod of ramping up output level of power amplifier of radio communication system, communication semiconductor integrated circuit, and radio communication system
US6885652B1 (en)*1995-06-302005-04-26Interdigital Technology CorporationCode division multiple access (CDMA) communication system
US20050215258A1 (en)*2004-03-252005-09-29Advanced Micro Devices, Inc.Rate dependent transmission gain control for WLAN systems
US20050287950A1 (en)*2004-06-232005-12-29Jan-Willem HeldenMethod and apparatus for pairing and configuring wireless devices
US20060209763A1 (en)*2005-03-212006-09-21Emeott Stephen PMulti-mode link adaptation
US20070053332A1 (en)*2005-09-082007-03-08Sharp Kabushiki KaishaBroadcast station, base station control device, receiver, control method, receiving method, broadcast system, reception program, transmission program, distribution program, and storage medium
US20070167144A1 (en)*2006-01-192007-07-19Matsushita Electric Industrial Co., Ltd.Communication apparatus and communication method
US20070286125A1 (en)*2006-03-272007-12-13Nec CorporationMethod and system for transmitting data in mobile communications system
US20080069200A1 (en)*2006-09-192008-03-20Fujitsu LimitedTransmitting device using multicarrier transmission system and receiving device
US7398102B2 (en)*2003-01-072008-07-08Samsung Electronics Co., LtdMulti-mode communication device operable in GSM/WCDMA
US20080175215A1 (en)*2007-01-082008-07-24Samsung Electronics Co., Ltd.Apparatus and method for transmitting frame information in multi-hop relay broadband wireless access communication system

Family Cites Families (24)

* Cited by examiner, † Cited by third party
Publication numberPriority datePublication dateAssigneeTitle
EP0411677B2 (en)*1984-12-312002-08-14Motorola, Inc.Dispatch trunked radio system
US4882751A (en)*1986-10-311989-11-21Motorola, Inc.Secure trunked communications system
WO1989011193A1 (en)*1988-05-111989-11-16E.F. Johnson CompanyHigh speed data interface for land mobile communication system
US5040237A (en)*1989-03-311991-08-13E. F. Johnson CompanyMethod and apparatus for an alternate home channel for a land mobile transmission trunked communication system
US5159701A (en)*1989-03-311992-10-27E. F. Johnson CompanyMethod and apparatus for a distributive wide area network for a land mobile transmission trunked communication system
US5208804A (en)*1990-10-301993-05-04Motorola, Inc.Flexible-bandwidth radio
US5443227A (en)*1993-10-151995-08-22Hughes Aircraft CompanySwitching control for multiple fiber-guided missile systems
US5479480A (en)1993-12-301995-12-26At&T Corp.Dual mode cellular modem
FI940196A7 (en)1994-01-141995-07-15Nokia Corp Method for allocating channels in a radio system, subscriber station and base station
GB2288101B (en)*1994-03-221998-04-29Nokia Mobile Phones LtdMulti-mode radio telephone
ZA955600B (en)*1994-07-131996-04-02Qualcomm IncSystem and method for simulating interference received by subscriber units in a spread spectrum communication network
JP3354340B2 (en)1995-03-312002-12-09株式会社東芝 Wireless communication system and mobile terminal thereof
US5742610A (en)1996-02-061998-04-21Motorola, Inc.Method and apparatus for use in a data communications network serving subscribers operating at a plurality of transmisson data rates
US5999823A (en)*1996-07-181999-12-07Matsushita Electric Industrial Co., Ltd.Cellular cordless telephone
US6141356A (en)*1997-11-102000-10-31Ameritech CorporationSystem and method for distributing voice and data information over wireless and wireline networks
JP3319422B2 (en)1998-05-082002-09-03日本電気株式会社 Multi-carrier transmission system and multi-carrier transmission method
JP3428629B2 (en)*1999-03-262003-07-22日本電気株式会社 Mobile phone device and power control method thereof
EP1081979A1 (en)*1999-08-312001-03-07TELEFONAKTIEBOLAGET L M ERICSSON (publ)Subscriber station, network control means and method for carrying out inter-frequency measurements in a mobile communication system
US6694147B1 (en)*2000-09-152004-02-17Flarion Technologies, Inc.Methods and apparatus for transmitting information between a basestation and multiple mobile stations
US7058040B2 (en)*2001-09-212006-06-06Schmidt Dominik JChannel interference reduction
US9294218B2 (en)*2004-07-162016-03-22Qualcomm IncorporatedRate prediction in fractional reuse systems
JP4592523B2 (en)*2004-07-292010-12-01パナソニック株式会社 Wireless transmission device and wireless reception device
US8565161B2 (en)*2005-05-312013-10-22Nokia CorporationAdaptive frequency reuse scheme
US7869417B2 (en)*2005-07-212011-01-11Qualcomm IncorporatedMultiplexing and feedback support for wireless communication systems

Patent Citations (68)

* Cited by examiner, † Cited by third party
Publication numberPriority datePublication dateAssigneeTitle
US4646290A (en)1984-08-031987-02-24National Information Utilities Corp.Data transmission method and apparatus
US4918746A (en)1987-05-151990-04-17Kabushiki Kaisha ToshibaCommunication system with mobile stations
US5483676A (en)1988-08-041996-01-09Norand CorporationMobile radio data communication system and method
JPH04249442A (en)1990-10-291992-09-04Internatl Business Mach Corp <Ibm>Method of operating optical communication system and optical communication system
US5321542A (en)1990-10-291994-06-14International Business Machines CorporationControl method and apparatus for wireless data link
US5402473A (en)1992-05-191995-03-28Megasoft, Inc.Communication device and data transmitting method
US5396654A (en)1992-09-041995-03-07Motorola Inc.Data transfer method and apparatus having dual frequency operation
US5477539A (en)1993-07-231995-12-19Ericsson Inc.Narrow band simulcast system having low speed data distribution
US5754961A (en)1994-06-201998-05-19Kabushiki Kaisha ToshibaRadio communication system including SDL having transmission rate of relatively high speed
JPH08274776A (en)1995-03-291996-10-18Toshiba Corp Wireless communication method and system
US5802469A (en)1995-03-291998-09-01Kabushiki Kaisha ToshibaRadio communication system selectable low speed bi-directional communication and high-speed down link communication
JPH08275273A (en)1995-03-301996-10-18Secom Co Ltd Communication system and master and slave stations used in communication system
JPH08274781A (en)1995-03-301996-10-18Toshiba Corp Wireless communication system
US6885652B1 (en)*1995-06-302005-04-26Interdigital Technology CorporationCode division multiple access (CDMA) communication system
US6205129B1 (en)*1999-01-152001-03-20Qualcomm Inc.Method and apparatus for variable and fixed forward link rate control in a mobile radio communications system
US20010000750A1 (en)*1999-01-152001-05-03Esteves Eduardo A.S.Method and apparatus for variable and fixed forward link rate control in a mobile radio communication system
US6560211B2 (en)*1999-01-152003-05-06Qualcomm, IncorporatedMethod and apparatus for variable and fixed forward link rate control in a mobile radio communication system
US7126967B2 (en)*1999-09-282006-10-24Telefonaktiebolaget Lm Ericsson (Publ)Time-alignment apparatus and method for providing data frames of a plurality of channels with predeterminated time-offsets
US20040228338A1 (en)*1999-09-282004-11-18Telefonaktiebolaget Lm EricssonTime-alignment apparatus and method for providing data frames of a plurality of channels with predeterminated time-offsets
US6781976B1 (en)*1999-09-282004-08-24Telefonaktiebolaget Lm Ericsson (Publ)Time-alignment apparatus and method for providing data frames of a plurality of channels with predetermined time-offsets
US20010017851A1 (en)*2000-01-242001-08-30Ddi CorporationMobile communication system having adaptively assigned packet rate
US6961316B2 (en)*2000-01-242005-11-01Ddi CorporationMobile communication system having adaptively assigned packet rate
US20020025835A1 (en)*2000-08-312002-02-28Michihiro IzumiCommunication apparatus capable of communicating via different types of communication lines and control method thereof
US7110791B2 (en)*2000-08-312006-09-19Canon Kabushiki KaishaCommunication apparatus capable of communicating via different types of communication lines and control method thereof
US6909909B2 (en)*2000-08-312005-06-21Canon Kabushiki KaishaCommunication apparatus capable of communicating via different types of communication lines and control method thereof
US20050124384A1 (en)*2000-08-312005-06-09Canon Kabushiki KaishaCommunication apparatus capable of communicating via different types of communication lines and control method thereof
US6636114B2 (en)*2000-09-112003-10-21Hitachi, Ltd.High frequency power amplifier module and wireless communication apparatus
US20020030541A1 (en)*2000-09-112002-03-14Hitachi, Ltd.High frequency power amplifier module and wireless communication apparatus
US6690655B1 (en)*2000-10-192004-02-10Motorola, Inc.Low-powered communication system and method of operation
US20020080735A1 (en)*2000-12-222002-06-27Heath Robert W.Method and system for evaluating a wireless link
US20050117543A1 (en)*2000-12-222005-06-02Intel CorporationMethod and system for evaluating a wireless link
US6850498B2 (en)*2000-12-222005-02-01Intel CorporationMethod and system for evaluating a wireless link
US7050761B2 (en)*2001-02-282006-05-23Nec CorporationMobile communication system, transmission mode switching method, and recording medium having transmission mode switching method recorded thereon
US20020119757A1 (en)*2001-02-282002-08-29Kojiro HamabeMobile communication system and transmission mode switching method used therefor as well as recording medium having program of the same method recorded therein
US7164655B2 (en)*2001-08-162007-01-16Telefonaktiebolaget Lm Ericsson (Publ)Method and transceiver for a data packet oriented communication system
US20030053482A1 (en)*2001-08-162003-03-20Hui LiMethod and transceiver for a data packet oriented communication system
US20040203991A1 (en)*2002-02-072004-10-14Tao ChenPower control of serving and non-serving base stations
US7031742B2 (en)*2002-02-072006-04-18Qualcomm IncorporationForward and reverse link power control of serving and non-serving base stations in a wireless communication system
US20030236071A1 (en)*2002-04-172003-12-25Osamu ItoSystem, apparatus, and method for radio communication using a plurality of carriers
US6838932B2 (en)*2002-05-202005-01-04Alps Electric Co., Ltd.Power amplifier capable of adjusting operating point
US20030214352A1 (en)*2002-05-202003-11-20Alps Electric Co., Ltd.Power amplifier capable of adjusting operating point
US20030224740A1 (en)*2002-05-312003-12-04Ryoichi TakanoTransmitter and semiconductor integrated circuit for communication
US20070249297A1 (en)*2002-05-312007-10-25Ryoichi TakanoTransmitter and semiconductor integrated circuit for communication
US7248842B2 (en)*2002-05-312007-07-24Renesas Technology Corp.Wireless communication apparatus having a phase control loop shared by first and second modulation modes and an amplitude control loop
US20060217081A1 (en)*2002-05-312006-09-28Ryoichi TakanoTransmitter and semiconductor integrated circuit for communication
US7433653B2 (en)*2002-05-312008-10-07Renesas Technology Corp.Transmitter and semiconductor integrated circuit for communication
US7085544B2 (en)*2002-05-312006-08-01Renesas Technology Corp.Transmitter having a phase control loop whose frequency bandwidth is varied in accordance with modulation modes
US20070153921A1 (en)*2002-08-262007-07-05Sumie NakabayashiQoS control method for transmission data for radio transmitter and radio receiver using the method
US20040038685A1 (en)*2002-08-262004-02-26Sumie NakabayashiQoS control method for transmission data for radio transmitter and radio receiver using the method
US7274730B2 (en)*2002-08-262007-09-25Hitachi Kokusai Electric Inc.QoS control method for transmission data for radio transmitter and radio receiver using the method
US7398102B2 (en)*2003-01-072008-07-08Samsung Electronics Co., LtdMulti-mode communication device operable in GSM/WCDMA
US20040229579A1 (en)*2003-05-152004-11-18Renesas Technology Corp.High frequency power amplifier component and radio communication system
US7346318B2 (en)*2003-05-152008-03-18Renesas Technology Corp.High frequency power amplifier component and radio communication system
US20050020298A1 (en)*2003-06-202005-01-27Hiroshi MasumotoRadio communication apparatus and its transmission and reception circuit
US20050064828A1 (en)*2003-07-312005-03-24Noriyuki KurakamiMethod of ramping up output level of power amplifier of radio communication system, communication semiconductor integrated circuit, and radio communication system
US7324787B2 (en)*2003-07-312008-01-29Renesas Technology CorporationMethod of ramping up output level of power amplifier of radio communication system, communication semiconductor integrated circuit, and radio communication system
US20050041618A1 (en)*2003-08-052005-02-24Yongbin WeiExtended acknowledgement and rate control channel
US7315527B2 (en)*2003-08-052008-01-01Qualcomm IncorporatedExtended acknowledgement and rate control channel
US20050215258A1 (en)*2004-03-252005-09-29Advanced Micro Devices, Inc.Rate dependent transmission gain control for WLAN systems
US7349709B2 (en)*2004-03-252008-03-25Advanced Micro Devices, Inc.Rate dependent transmission gain control for WLAN systems
US20050287950A1 (en)*2004-06-232005-12-29Jan-Willem HeldenMethod and apparatus for pairing and configuring wireless devices
US7254367B2 (en)*2004-06-232007-08-07Agere Systems Inc.Method and apparatus for pairing and configuring wireless devices
US20060209763A1 (en)*2005-03-212006-09-21Emeott Stephen PMulti-mode link adaptation
US20070053332A1 (en)*2005-09-082007-03-08Sharp Kabushiki KaishaBroadcast station, base station control device, receiver, control method, receiving method, broadcast system, reception program, transmission program, distribution program, and storage medium
US20070167144A1 (en)*2006-01-192007-07-19Matsushita Electric Industrial Co., Ltd.Communication apparatus and communication method
US20070286125A1 (en)*2006-03-272007-12-13Nec CorporationMethod and system for transmitting data in mobile communications system
US20080069200A1 (en)*2006-09-192008-03-20Fujitsu LimitedTransmitting device using multicarrier transmission system and receiving device
US20080175215A1 (en)*2007-01-082008-07-24Samsung Electronics Co., Ltd.Apparatus and method for transmitting frame information in multi-hop relay broadband wireless access communication system

Non-Patent Citations (1)

* Cited by examiner, † Cited by third party
Title
Cook, "Development of Air Interface Standards for PCS", IEEE Personal Communications, Fourth Quarter, (1994), pp. 30-34.

Cited By (10)

* Cited by examiner, † Cited by third party
Publication numberPriority datePublication dateAssigneeTitle
USRE43654E1 (en)1994-06-202012-09-11Kabushiki Kaisha ToshibaBase station for a radio communication with a radio terminal
USRE43713E1 (en)1994-06-202012-10-02Kabushiki Kaisha ToshibaBase station for a radio communication with a radio terminal and method
USRE43800E1 (en)*1994-06-202012-11-13Kabushiki Kaisha ToshibaRadio communication system including SDL having transmission rate of relatively high speed
USRE43821E1 (en)1994-06-202012-11-20Kabushiki Kaisha ToshibaMethod of performing a radio communication between a radio terminal and a base station
USRE43950E1 (en)*1994-06-202013-01-29Kabushiki Kaisha ToshibaRadio communication system including SDL having transmission rate of relatively high speed
USRE44074E1 (en)1994-06-202013-03-12Kabushiki Kaisha ToshibaRadio communication method including SDL having transmission rate of relatively high speed
USRE44143E1 (en)1994-06-202013-04-09Kabushiki Kaisha ToshibaRadio terminal for a radio communication with a base station and method
USRE44202E1 (en)1994-06-202013-05-07Kabushiki Kaisha ToshibaRadio terminal for a radio communication with a base station
US20090129323A1 (en)*2007-11-192009-05-21Wai ChenMethod for determining transmission channels for a LPG based vehicle communication network
US8644225B2 (en)*2007-11-192014-02-04Telcordia Technologies, Inc.Method for determining transmission channels for a LPG based vehicle communication network

Also Published As

Publication numberPublication date
USRE43654E1 (en)2012-09-11
US6049721A (en)2000-04-11
USRE44074E1 (en)2013-03-12
USRE39119E1 (en)2006-06-06
USRE44143E1 (en)2013-04-09
USRE43800E1 (en)2012-11-13
US5754961A (en)1998-05-19
USRE43713E1 (en)2012-10-02
USRE43821E1 (en)2012-11-20
USRE43950E1 (en)2013-01-29
USRE44202E1 (en)2013-05-07

Similar Documents

PublicationPublication DateTitle
USRE41132E1 (en)Radio communication method including SDL having transmission rate of relatively high speed
KR970002745B1 (en) Improved Data Stream Transmission Method and Data Stream Transmission Data Processing System
KR100260469B1 (en) Portable Handset for TDD / FDD Wireless Communications
US6111863A (en)Method and apparatus for the dynamic allocation of signal bandwidth between audio, video and data signals
KR100697777B1 (en) Power Control Protocol for High Variable Data Rate Reverse Link in Wireless Communication Systems
US7916693B2 (en)System and method for selecting spectrum
KR100345999B1 (en)Data packet multi-access communicating method and transmitting and receiving apparatus therefor
US6240077B1 (en)Dynamic wireless multiplexing — switching hub for providing two-way communications with subscriber units
Brown et al.A flexible modem structure for increased network capacity and multimedia transmission in GSM PCS
EP1407560B1 (en)Digital audio/video broadcast on cellular systems
EP0720309A2 (en)Access director interface for narrowband/broadband information distribution network
WO1999009680A1 (en)Mobile communication system
JP3280830B2 (en) Wireless communication system and wireless communication base station
WO1998002982A1 (en)Mobile communications
US7224705B2 (en)Synchronization of a multi-mode base station using a common system clock
JP2003518849A (en) Method and apparatus for spectrum based cellular communication
JP3793773B2 (en) Wireless communication method, wireless communication base station, and wireless terminal
JP3699914B2 (en) Wireless communication system, wireless communication base station, and wireless terminal
Chang et al.Overview of PACS: a low-tier US PCS standard
JP2002016959A (en) Communications system

Legal Events

DateCodeTitleDescription
FEPPFee payment procedure

Free format text:PAYOR NUMBER ASSIGNED (ORIGINAL EVENT CODE: ASPN); ENTITY STATUS OF PATENT OWNER: LARGE ENTITY

FPAYFee payment

Year of fee payment:12


[8]ページ先頭

©2009-2025 Movatter.jp