Movatterモバイル変換


[0]ホーム

URL:


USRE39970E1 - Downhole adjustable bent housing for directional drilling - Google Patents

Downhole adjustable bent housing for directional drilling
Download PDF

Info

Publication number
USRE39970E1
USRE39970E1US10/824,316US82431604AUSRE39970EUS RE39970 E1USRE39970 E1US RE39970E1US 82431604 AUS82431604 AUS 82431604AUS RE39970 EUSRE39970 EUS RE39970E
Authority
US
United States
Prior art keywords
mandrel
housing
section
actuation
collar
Prior art date
Legal status (The legal status is an assumption and is not a legal conclusion. Google has not performed a legal analysis and makes no representation as to the accuracy of the status listed.)
Expired - Fee Related
Application number
US10/824,316
Inventor
Warren Askew
Current Assignee (The listed assignees may be inaccurate. Google has not performed a legal analysis and makes no representation or warranty as to the accuracy of the list.)
Schlumberger Technology Corp
Original Assignee
Schlumberger Technology Corp
Priority date (The priority date is an assumption and is not a legal conclusion. Google has not performed a legal analysis and makes no representation as to the accuracy of the date listed.)
Filing date
Publication date
Application filed by Schlumberger Technology CorpfiledCriticalSchlumberger Technology Corp
Priority to US10/824,316priorityCriticalpatent/USRE39970E1/en
Application grantedgrantedCritical
Publication of USRE39970E1publicationCriticalpatent/USRE39970E1/en
Anticipated expirationlegal-statusCritical
Expired - Fee Relatedlegal-statusCriticalCurrent

Links

Images

Classifications

Definitions

Landscapes

Abstract

The present invention provides a hydraulically actuated downhole adjustable bent housing for use in directional drilling of bore holes and wells that allows adjustment of the housing from aligned to a bent configuration without raising or lowering the drillstring. The present invention also provides a method of directionally drilling a bore hole or a well using an downhole adjustable bent housing that can be operated without raising or lowering the drillstring.

Description

BACKGROUND OF THE INVENTION
1. Field of the Invention
The present invention provides a downhole adjustable bent housing for use in directional drilling of wells used to recover oil and gas, and a method for directionally drilling a well to recover oil and gas.
2. Background of the Related Art
Wells are generally drilled to recover natural deposits of hydrocarbons and other desirable, naturally occurring materials trapped in geological formations in the earth's crust. A slender well is drilled into the ground and directed to the targeted geological location from a drilling rig at the surface. In conventional “rotary drilling” operations, the drilling rig rotates a drillstring comprised of tubular joints of drill pipe connected together to turn a bottom hole assembly (BHA) and a drill bit that are connected to the lower end of the drillstring. The BHA typically comprises a number of downhole tools including adjustable bent housings, drill collars and mud motors, and is generally within 30 feet of the drill bit at the end of the drillstring. During drilling operations, a drilling fluid, commonly referred to as drilling mud, is pumped down the interior of the drillpipe, through the BHA and the drill bit, and back to the surface in the annulus around the drillpipe. Mud motors are often used to rotate the drill bit without rotation of the drillstring. Pressurized mud pumped down the interior of the drillstring is used to power the mud motor that is mechanically coupled to and turns the nearby drill bit. Mud motors offer increased flexibility for directional drilling because they can be used with stabilizers or bent subs which impart an angular deviation to the BHA in order to deviate the well from its previous path and in the desired direction.
Surface adjustable bent housings are downhole tools that make up part of the BHA and are typically connected either between the mud motor and the drill bit or above the mud motor and the drill bit. Such bent housings are designed to provide an annular deviation in the BHA to directionally orient drilling action at the drill bit. A surface adjustable bent housing may be adjusted to a particular setting by tripping the drillstring and setting the bent housing to impart a desired angular deviation to the well.
A downhole adjustable bent housing offers savings in rig time and well costs because it is adjustable without being removed from the well. A downhole adjustable bent housing that is positionable, or deployable, from the surface can be used to efficiently influence the drop or build angle of the boring direction of the drill bit. The angle of attack of the drill bit and the resulting direction of the well can be guided using the downhole adjustable bent housing.
It is well known in the drilling industry how to obtain reliable three-dimensional location data for the bottom of the well being drilled. The driller compares this information with the target bottom hole location to determine needed adjustments in the path of the well, and the adjustments to the direction of drilling of the well may be made using the present invention.
Prior art surface adjustable bent housings use a complicated series of three connected housings that rotate independently to provide varying configurations from aligned to bent relative to the BHA. These tools require complex schemes for controlling rotational positions of each housing.
It is therefore an object of the present invention to provide a downhole adjustable bent housing that can be easily and repeatedly deployed or retracted by controllable changes made at the surface in hydraulic mud pressure in the drillstring.
It is a further object of the present invention to provide a downhole adjustable bent housing that can be adjusted without the use of wired or cabled control systems that complicate drilling operations, and that is reliable and simple to deploy and retract.
It is a further object of the present invention to provide a downhole adjustable bent housing that, once locked into its deployed position, allows the driller freedom to change the rate of the mud pumps without affecting the deployed condition of the tool.
It is a further object of the present invention to provide a downhole adjustable bent housing that provides the driller with reliable detection of the deployed or retracted status of the tool.
SUMMARY OF THE INVENTION
The above-described objects of the present invention, as well as other objects and advantages, are achieved by a downhole adjustable bent housing that is deployed and retracted by the driller by using the mud pumps located at the surface and used to circulate drilling mud in the well during the drilling process. The present invention does not require wires, cables or cumbersome reciprocation of the entire drillstring to deploy, lock or re-align the downhole adjustable bent housing, and the downhole adjustable bent housing is controllably deployed and realigned without a trip using hydraulic pressure provided by the mud pumps. The present invention provides the driller with readily available information regarding the status of the tool (aligned or deployed, and to what extent), utilizes existing mud pumps as its source of control, and is compatible with existing mud motors and other downhole equipment. The present invention provides reliable deployment and re-alignment of the downhole adjustable bent housing without interfering, with the mechanical transfer of transmission shaft power from a mud motor connected above the tool to a drill bit connected below the tool.
The present invention provides a surface-operated downhole adjustable bent housing with a bendable housing and a hydraulically actuated, tubular mandrel that engages and displaces an articulating member which, when actuated by the mandrel, sets or deploys the downhole adjustable bent housing, into its bent, or non-aligned configuration. The downhole adjustable bent housing comprises amandrel housing33 and amember housing34 joined at a knuckle or joint to form a bendable housing. The housings and the knuckle provide a common center passage accommodating a transmission shaft providing power from the mud motor to the drill bit, and provide substantial rigidity to the bendable housing structure in its inactive and deployed configurations. Under the bending force provided by mechanical interaction of the mandrel and the articulating member, the joined sections of the housing are made to angularly deviate one relative to the other to form a slight angle in the downhole adjustable bent housing.
The mandrel is reciprocally disposed within a mandrel housing, but protrudes through an opening in the knuckle and into a passage in the articulating member pivotally secured in the member housing. When actuated, the mandrel overcomes a return spring that biases the mandrel towards its inactive position. The mandrel is hydraulically actuated to cycle through a number of predetermined positions to allow drilling with the downhole adjustable bent housing in either the deployed (bent) or inactive (aligned) configurations. For example, the mandrel can be hydraulically actuated from its inactive position (spring force exceeds the mud pressure forces on the mandrel) to an intermediate position (mandrel displaced into contact with the passage of articulating member, but no deployment of the downhole adjustable bent housing), back to the inactive position, and later to its deployed position (mandrel displaced further to enter the passage in the articulating member to deploy the bent housing).
The mandrel is actuated towards the articulating member by exposing the mandrel to at least a threshold drilling mud pressure applied through the drillstring by the mud pumps at the surface. When the drilling mud pressure overcomes the opposing return spring force, the mandrel is displaced to the extent allowed by the rotational position of the control collar as it engages a guide finger that is fixed to the housing. The mandrel is locked into its displaced position by the force of the mud pressure on the mandrel until the pressure is reduced below the threshold pressure. The mandrel is said to be “locked” into its intermediate (or deployed) position(s) only in the sense that the mandrel is hydraulically secured into its intermediate (or its deployed) position until the mud pressure drops below the threshold pressure and mud forces on the mandrel are overcome by the force of the return spring.
With a first actuation, the mandrel is displaced to its intermediate position by mud pressure axially displacing the mandrel and an attached rotating position control collar, such as a “J-slot” collar. The reciprocation of the mandrel is controlled by interaction of the control collar and the housing. The leading end, or nose, of the mandrel enters the receiving port of the articulating member and engages the passage therein without rotation of the articulating member or laterally displacing the articulating member. In this intermediate position, the contact between the nose of the mandrel and the articulating member provides additional rigidity to the downhole adjustable bent housing while drilling in a path defined by the tool in its undeployed configuration. The mandrel is unlocked from its intermediate position by reducing the pressure in the drillstring to below the threshold pressure and allowing the force of the return spring to stroke the mandrel back to its original, inactive position.
With a second actuation, the mandrel is displaced beyond its intermediate position to its deployed position. Again, the extent of travel of the mandrel is determined by the control collar, but the control collar has a different angular orientation relative to the housing. The controlled angular orientation of the control collar is provided by a series of interconnected grooves in the collar that interface with the guide finger, and the grooves allow further displacement of the mandrel to its deployed position on the second actuation. When actuated to its deployed position, the nose of the mandrel engages and forcibly aligns the passage in the articulating member with the shaft of the mandrel. The articulating member rotates to receive the shaft within the passage and is laterally displaced from its inactive position to its deployed position.
The downhole adjustable bent housing is biased towards its inactive (aligned) position by the knuckle or other biasing components that generally urge the mandrel housing and the member housing into axial alignment. More particularly, the space between the mandrel housing and the member housing is beveled on the tool face side to bias the two into axial alignment when the drill string is rotated. Also, beveled lock rings act to prevent bending once a straight position is achieved. The passage in the articulating member is not axially aligned with the mandrel when the downhole adjustable bent housing is in its inactive, aligned configuration. The passage in the articulating member is adapted at its receiving port to receive the nose of the mandrel upon deployment of the downhole adjustable bent housing. The nose of the mandrel and the receiving port of the articulating member are tapered or contoured to rotate the articulating member to generally align the passage for further receiving of the mandrel, thereby directing the end of the mandrel towards the passage. As the mandrel is forced into its deployed position within the passage of the articulating member, a misalignment between the shaft of the mandrel and the wall of the passage causes sliding interference between the mandrel and the articulating member as the mandrel moves to its deployed position. The sliding interference results in a lateral force on the articulating member as the mandrel thrusts into the passage. The forced alignment of the previously axially misaligned passage of the articulating member provides a lateral bending force that is transferred to the member housing through supports pivotally securing the articulating member within the member housing. The transfer of force to the member housing overcomes the biasing alignment of the knuckle or other components tending to align the mandrel housing and the member housing, thereby bending the downhole adjustable bent housing and deploying the tool.
The articulating member may be pivotally disposed within the member housing using axle ears located on opposite lateral sides of the articulating member. These axle ears are generally aligned one with the other, and may be pivotally received within recesses on the inside wall of the member housing. The lateral force imparted to the articulating member by the mandrel as it is received into the passage is transferred through the axle ears to the member housing. The lateral force imparted to the member housing causes the downhole adjustable bent housing to bend at the knuckle so that the member housing, and the connected drill bit, are out of alignment with the mandrel housing. This deployed configuration of the downhole adjustable bent housing is used for imparting a curve, or angular deviation, to the well being drilled. As drilling on a curved path progresses with the tool in the deployed configuration, the articulating member and the mandrel remain locked in their deployed position by the force of the drilling mud pressure bearing on the mandrel until the drilling mud pressure is reduced below the threshold pressure. After the mandrel is unlocked from its deployed position, the force of the return spring causes the mandrel to withdraw from the passage and move towards its inactive position. The control collar rotates during each induced angular rotation of the collar to cycle the downhole adjustable bent housing through the inactive, intermediate and deployed positions as needed to deviate the well in the desired path. It should be recognized that other and further actuation cycles can be envisaged, such as a cycles adding a third actuated position achieving partial deployment of the downhole adjustable bent housing.
DESCRIPTION OF DRAWINGS
So that the features and advantages of the present invention can be understood in detail, a more particular description of the invention, briefly summarized above, may be had by reference to the embodiments thereof that are illustrated in the appended drawings. It is to be noted, however, that the appended drawings illustrate only typical embodiments of this invention and are therefore not to be considered limiting of its scope, for the invention may admit to other equally effective embodiments.
FIG. 1A is an elevation view of a downhole adjustable bent housing according to the present invention imparting a slight downward angle to the drill bit to drop angle, or turn the well downwardly, from its existing path.
FIG. 1B is an elevation view of a downhole adjustable bent housing according to the present invention imparting a slight upward angle to the drill bit to build angle, or turn the well upwardly, from its existing path.
FIG. 2A is a detailed, cross-sectional side view of the downhole adjustable bent housing ofFIGS. 1A-1B in an inactive, aligned position.
FIG. 2B is a detailed, cross-sectional side view of the downhole adjustable bent housing ofFIGS. 1A-1B as the mandrel enters the receiving port of the articulating member.
FIG. 2C is a detailed, cross-sectional side view of the downhole adjustable bent housing ofFIGS. 1A-1B in its intermediate position as the nose of the mandrel contacts the inside wall of the passage in the articulating member.
FIG. 2D is a detailed, cross-sectional side view of the downhole adjustable bent housing ofFIGS. 1A-1B in the deployed position.
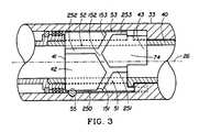
FIG. 3 is a side view of a four-stroke rotating position control collar.
FIGS. 4A through 4D are a sequential series of side views showing a cycle of a control collar and its interaction with the guide finger.
FIG. 5 is a perspective view of an articulating member according to a preferred embodiment of the present invention.
FIG. 6 is a cross-sectional side view of the articulating member in its inactive and deployed (phantom lines) positions.
DETAILED DESCRIPTION OF THE INVENTION
FIG. 1A shows a downhole adjustablebent housing10 connected between a mud motor and a drill bit in accordance with the present invention. The downhole adjustablebent housing10 in this configuration is set to have a slight downward angular deviation, thereby influencing the drill bit to drop angle, or turn downwardly, from its existing path.FIG. 1B shows how the downhole adjustablebent housing10 may impart an upward angular deviation to the BHA that affects the angle of attack of the bit against the bore wall. The angular deviation imparted by the downhole adjustablebent housing10 is a slight upward angular deviation thereby influencing the drill bit to build angle, or turn upwardly, from its existing path.
FIG. 2A shows the general configuration of a preferred embodiment of the downhole adjustablebent housing10, in its inactive position. The downhole adjustablebent housing10 has amandrel housing33 and amember housing34 pivotally joined at aknuckle35. Theknuckle35 can be any of several pivoting connections including a ball and socket connection or a flexible sleeve connection. Theknuckle35 shown inFIGS. 2A through 2D comprises aball portion135 extending from themandrel housing33 into asocket portion235 formed in themember housing34. The mandrel housing has a threadedproximal connection22 disposed at the end of themandrel housing33 opposite theknuckle35 for connection to a drillstring30 (SeeFIGS. 1A,1B). Themember housing34 has a threadeddistal connection24 disposed at the end of themember housing34 opposite theknuckle35 for connection to the drill bit80 (SeeFIGS. 1A,1B). When the downhole adjustablebent housing10 is in its inactive, aligned position, the centers of theproximal connection22 and thedistal connection24 generally define acommon axis26.
An articulatingmember140, shown in greater detail inFIG. 5, has a pair ofaxle ears141 for engaging themember housing34 at mating pivot points (not shown) on the inside wall of themember housing34. The centers of theaxle ears141 of the articulatingmember140 form anaxis143, indicated inFIG. 6, that lies perpendicular to theaxis26 of themandrel housing33. The articulatingmember140 pivots about theaxis143 as dictated by the engagement with themandrel40.
FIG. 2A shows themandrel40, the articulatingmember140 and the downhole adjustablebent housing10 all in their inactive and aligned positions.FIG. 2B shows themandrel40 moved into a first portion of the passage in the articulating member, the receivingport142, but the nose of themandrel40 has not yet engaged the articulatingmember140.FIG. 2C shows themandrel40 distally displaced against the force of thereturn spring36 to its intermediate position, the articulatingmember140 remaining in its inactive position, and the downhole adjustablebent housing10 still in its aligned position. In its intermediate position shown inFIG. 2C, themandrel40 is fully received into the first portion of the passage, the receivingport142, but has not yet entered into the second portion of the passage, receivingport144, to deploy the tool.FIG. 2D shows themandrel40, the articulatingmember140 and the downhole adjustablebent housing10 all in their active and deployed positions (upward build angle). In its active, deployed position, themandrel40 is fully received into the second portion of the passage,port144, after the articulatingmember140 has rotated to alignport144 with the shaft of theincoming mandrel40.
FIGS. 2A through 2D show themandrel40 with the rotatingposition control collar42 rotatably received thereon, with both themandrel40 and thecontrol collar42 disposed within a chamber in themandrel housing33. Themandrel40 has anaxis26 and an annular drillstringpressure sensing surface48. Themandrel40 and thecontrol collar42 axially reciprocate together with the chamber of themandrel housing33 along theiraxis26.
Themandrel40 controllably and cyclically moves between three positions as determined by the angular orientation of thecontrol collar42 relative to themandrel housing33. In the four-cycle embodiment described in this example, the positions of themandrel40 are the inactive position (FIG.2A), the intermediate position (FIG.2C), back to the inactive position (FIG.2A), and the deployed position (FIG.2D), in that order. In its deployed position shown inFIG. 2D, themandrel40 axially engages the articulatingmember140 causing it to rotate the passage therein to receive the nose of themandrel40. Themandrel40 is not normally aligned with the second portion of the passage,port144, in the articulatingmember140, and the resulting interference causes a lateral force on the articulatingmember140 as the mandrel is received into the passage. Themandrel40 forcibly alignsports144, rotating the articulatingmember140 as it is forced into its deployed position. The forced alignment of passage orport144 with themandrel40 rotates articulatingmember140 from position140a to position140b, shown inFIG. 6, and laterally displaces the articulatingmember140 and themember housing34 in which the articulatingmember140 is secured by an amount equal to the difference between lengths “a” and “b” in FIG.6.
The responsiveness of themandrel40 can be enhanced through strategic placement of circumferential seals and equalization ports to provide a net differential force on the mandrel.FIGS. 2A through 2D show aproximal mandrel seal38 and adistal mandrel seal39 disposed in sliding contact with themandrel40. A proximal portion of the chamber of themandrel housing33 is in fluid communication with the drilling mud pressure in thedrillstring30. The portion of the chamber of themandrel housing33 between theproximal mandrel seal38 and thedistal mandrel seal39 is isolated from the drilling mud pressure in thedrillstring30, but is in fluid communication with the annular mud pressure outside the housing throughequalization port173. The pressure in thedrillstring30, the pressure in the annulus, the force of thereturn spring36, along with friction of theseals38 and39, all combine to influence the net axial force acting on themandrel40. The pressure in thedrillstring30 results from drilling mud being forcefully pumped down thedrillstring30 from the discharge of the mud pumps at the surface and the restriction at the bit nozzles. The mud pressure in the drillstring bears on the annularpressure sensing surface48 of themandrel40 and urges themandrel40 from its inactive position towards either its intermediate or its deployed positions, depending on the orientation of thecontrol collar42 relative to the downhole adjustablebent housing10.
Thereturn spring36 is disposed in contact with themandrel housing33 at a firstcircumferential spring shoulder13 and with themandrel40 at a firstcircumferential ridge15. Thereturn spring36 is placed under compression to urge themandrel40 towards its inactive position shown in FIG.2A. Themandrel spring36 is designed to elastically compress when the pressure in thedrillstring30 exceeds the threshold actuation pressure. The downhole adjustablebent housing10 is secured in the desired intermediate (aligned) or deployed (bent) configuration during normal drilling operations as long as the drillstring pressure is above the threshold pressure necessary to overcome and compress thereturn spring36. For example, the threshold actuation pressure may be any pressure that is great enough to compress thereturn spring36. It should be recognized that the threshold actuation pressure is primarily determined by the amount of resistance in thereturn spring36 and the net surface area of the annularpressure sensing surface48, but is also influenced by the shape of themandrel40 and the annular pressure outside the downhole adjustablebent housing10 adjacent to theequalization port173.
As shown inFIG. 3, thecontrol collar42 has aproximal end41 disposed toward the proximal end of the downholeadjustable bend housing10 and adistal end43 disposed toward the articulatingmember140 and thedistal connection24 of the downhole adjustablebent housing10. Thecontrol collar42 is the device that enables the driller to controllably deploy and re-align the downhole adjustablebent housing10 by varying the pressure in thedrillstring30 to reciprocate themandrel40. A series of interconnected grooves are machined into the radially outward surface of thecontrol collar42. In a simple four-stroke design, these grooves comprise two return grooves50 (not shown) and52 and tworotation grooves51 and53. Thecontrol collar42 is axially fixed to themandrel40 and reciprocates within themandrel housing33 with themandrel40, but it is free to rotate about theaxis26 as guided by a protrudingguide finger55 in a fixed relationship to themandrel housing33. Throughout the four-position inactive-to-intermediate-to-inactive-to-deployed cycle of themandrel40, theguide finger55 is maintained in rolling or sliding contact with the grooves in thecontrol collar42. As thecontrol collar42 and themandrel40 reciprocate within the housing12, theguide finger55 traverses the grooves in a path as dictated by the intersections of thegrooves50,51,52 and53 and the reciprocation of themandrel40 within themandrel housing33.
The position of themandrel40 is controlled by manipulation of pressure in thedrillstring30. As shown inFIG. 2A-2C, when the pressure of the drilling mud in thedrillstring30 overcomes the opposing spring and friction forces urging themandrel40 towards the inactive position, themandrel40 is axially displaced towards its intermediate position. Following an intervening low mud pressure that allows themandrel40 to return to its inactive position as shown inFIG. 2A (each return to this position being indicated by the pressure drop resulting from upset70 closely fitting within pressure sensing surface48), the pressure of the drilling mud in thedrillstring30 is again increased to overcome the opposing forces urging themandrel40 towards its inactive position, and themandrel40 is displaced towards the deployed position shown in FIG.2D. Although it is preferred that thepressure sensing surface48 be disposed at the proximal end of themandrel40 adjacent to theproximal connection22 to thedrillstring30, thepressure sensing surface48 can be located at the distal end of themandrel40 or, using a proper arrangement of seals, at any point therebetween. It should also be recognized that by strategic placement of seals, fluid communication passages and the pressure sensing surface, themandrel40 may actuate in either the proximal or the distal (uphole or downhole) directions.
Thecontrol collar42 rotationally cycles through multiple positions as themandrel40 reciprocates within the downhole adjustablebent housing40. The description that follows assumes that thecontrol collar42 is a four-stroke collar. The invention may be used with a two-stroke, six-stroke, eight-stroke or higher number of cycles, and the explanation of the four-stroke cycle does not limit the applicability or adaptability of the invention. For purposes of illustration, thecontrol collar42 is shown inFIGS. 3 and 4A through4D in a cutaway perspective view to improve visualization of theinterconnected grooves50,51,52 and53.
When the downhole adjustablebent housing10 is in its inactive position shown inFIG. 2A, theguide finger55 is in rolling or sliding contact in thefirst actuation groove50 near thedistal end43 of thecollar42 shown in FIG.4A. Themandrel40 begins its four-stroke cycle from its inactive position shown in FIG.2A. From the inactive position, themandrel40 is actuated against themandrel spring36, by exposure of thepressure sensing surface48 to a threshold pressure, beyond the position shown inFIG. 2B to its intermediate position shown in FIG.2C. As this first actuation stroke of themandrel40 begins, thecontrol collar42 moves distally relative to theguide finger55. Theguide finger55 initially rolls or slides toward theproximal end41 of thecontrol collar42 within thesecond leg253 of thesecond actuation groove53 to the intersection of thesecond actuation groove53 and thefirst leg150 of thefirst actuation groove50. When theguide finger55 reaches that intersection, it slides or rolls into thefirst leg150 of thefirst actuation groove50 toward the intersection of thefirst actuation groove50 and thefirst leg151 of thefirst return groove51. Thefirst leg150 of thefirst actuation groove50 is not aligned with theaxis26 of thecontrol collar42, and the sliding or rolling contact between theguide finger55 and thefirst leg150 imparts a moment causing thecontrol collar42 to rotate about itsaxis26. The second leg250 (not shown) is not aligned with thefirst leg150 and is generally aligned with theaxis26. When theguide finger55 leaves thefirst leg150 and enters thesecond leg250, theguide finger55 slides or rolls within thesecond leg250 to a point near theproximal end41 of thecontrol collar42. At this position, the downhole adjustablebent housing10 is in the intermediate position shown in FIG.2C. Since thesecond leg250 is generally aligned with theaxis26 of thecontrol collar42, there is little or no rotation of thecollar42 as theguide finger55 slides within thesecond leg250.
At the intermediate position shown inFIG. 2C, the protrudingcollar spacers74 distally extending from thedistal end43 of thecontrol collar42 engage the secondcircumferential shoulder75 on the inside wall of themandrel housing33 as shown in FIG.4B. Thespacers74 thereby limit the movement of thecontrol collar42 and the rotatably attachedmandrel40 from actuating beyond the intermediate position.
When the pressure in thedrillstring30 is reduced to below the threshold pressure, themandrel40 reverses direction and moves in the direction of the force applied by thereturn spring36. This reversal begins the first return stroke of thecontrol collar42. As thereturn spring36 returns themandrel40 to or near its inactive position, theguide finger55 slides or rolls within thesecond leg250 toward the intersection of thefirst actuation groove50 and thefirst leg151 of thefirst return groove51. Thefirst leg151 of thefirst return groove51 is not aligned with theaxis26 of themandrel40, and sliding or rolling contact between the fixedguide finger55 in thefirst leg151 causes thecontrol collar42 to further rotate about theaxis26. The rotation of thecontrol collar42 during the first return stroke is in the same angular direction as the rotation caused by theguide finger55 sliding or rolling within thefirst leg150 during the first actuation stroke. The intersection of thefirst actuation groove50 and thefirst leg151 of thefirst return groove51 directs theguide finger55 from thesecond leg250 of the first actuation groove into thefirst leg151 of thefirst return groove51. As themandrel40 is displaced by the force of themandrel spring36 toward its inactive position, theguide finger55 slides or rolls within thefirst leg151 of thefirst return groove51 towards the intersection of thefirst return groove51 and thefirst leg152 of thesecond actuation groove52. Thesecond leg251 of thefirst return groove51 is generally aligned with theaxis26 of themandrel40 and, as theguide finger55 moves from thefirst leg151 to thesecond leg251, there is little or no rotation of thecontrol collar42. As themandrel40 returns to its inactive position under the force of thereturn spring36, theguide finger55 slides or rolls within thesecond leg251 of thefirst return groove51 to a point near thedistal end43 of thecontrol collar42 as shown in FIG.4C. As themandrel40 returns to or near its inactive position, the rotational moment imparted to thecontrol collar42 by interaction with the trackingguide finger55 causes thecontrol collar42 to rotate into the position shown in FIG.4C. This inactive position occurs between the intermediate position shown in FIG.2C and the deployed position shown inFIG. 2D, and the rotation of thecontrol collar42 has rotatably aligned thespacers74 to be received within therecesses75 when the tool is next actuated.
When the pressure in thedrillstring30 is again raised above the threshold pressure necessary to overcome thereturn spring36, themandrel40 is distally displaced to begin the second actuation stroke to deploy the downhole adjustablebent housing10. The second actuation stroke begins as the axial movement of thecontrol collar42 reverses and theguide finger55 slides or rolls within thesecond leg251 of thefirst return groove51 toward theproximal end41 of thecontrol collar42. Thesecond leg251 intersects thefirst leg152 of thesecond actuation groove52. Thefirst leg152 is not aligned with theaxis26 of thecontrol collar42, and as theguide finger55 passes into thefirst leg152 of thesecond actuation groove52, it contacts and slides along the edge of thefirst leg152 that is disposed towards theproximal end41 of thecontrol collar42. Thefirst leg152 is not aligned with the axis of themandrel40, and as theguide finger55 slides or rolls within thefirst leg152, thecontrol collar42 rotates about itsaxis26. The rotation of thecontrol collar42 during the second actuation stroke in the same angular direction as its previous rotations during the first actuation stroke and the first return stroke. The rotation of thecontrol collar42 as theguide finger55 slides or rolls within thefirst leg152 causes thespacers74 to become rotatively aligned with, and received into, therecesses77 in the secondcircumferential shoulder75 on the inside wall of themandrel housing33. Theguide finger55 enters the intersection of thefirst leg152 and thesecond leg252 of thesecond actuation groove52 and thefirst leg153 of thesecond return groove53. The motion of themandrel40 towards the distal end of themandrel housing33 causes theguide finger55 to enter into thesecond leg252 of thesecond actuation groove52 of thecontrol collar42. Thesecond leg252 of thesecond actuation groove52 is generally aligned with theaxis26 of themandrel40, and there is little or no rotation of thecontrol collar42 as theguide finger55 slides within thesecond leg252 to the point near theproximal end41 of thecontrol collar42 shown in FIG.4D.
At the end of this second actuation stroke thespacers74 extending from thedistal end43 of thecollar42 are received within therecesses77 in the secondcircumferential shoulder75 of themandrel housing33. The alignment of thespacers74 and therecesses77 allow thecontrol collar42 and themandrel40 to actuate beyond the intermediate position shown inFIG. 2C to the deployed position shown in FIG.2D. The position of thecontrol collar42 and themandrel40 shown inFIG. 4D correspond to the deployed position of the stabilizer shown in FIG.2D. As thespacers74 are received into therecesses77, themandrel40 engages and displaces the articulatingmember140. As themandrel40 engages the articulatingmember140, the bending force needed to deploy the downhole adjustablebent housing10 is transferred from themandrel40 to themember housing34 through the articulatingmember140 and itsaxle ears141.
Themandrel40, the articulatingmember140 and the downhole adjustablebent housing10 all remain in their deployed positions shown inFIG. 2D as drilling in the deviated direction progresses. Pressurized drilling mud flows into themandrel housing33 at theproximal connection22, through theknuckle35 and exits themember housing34 at thedistal connection24. Drilling mud flows through the downhole adjustablebent housing10 through a series of passages (not shown) running the length of the tool or through the tubular interior of themandrel40 and the articulatingmember140, or some combination thereof. One or more of these drilling mud passages may be closed or restricted when the downhole adjustablebent housing10 is in its deployed configuration, thereby providing a backpressure detectable at the surface for determining the position (intermediate or deployed) of the tool.
When the pressure in thedrillstring30 is again reduced below the threshold pressure, this begins the second return stroke, the final stroke of the cycle. At the onset of the second return stroke, themandrel40 again reverses direction and returns to its original inactive position shown in FIG.2A.
On the second return stroke, theguide finger55 slides or rolls within thesecond leg252 of thesecond actuation groove52 toward thedistal end43 of thecontrol collar42 toward the intersection of thesecond actuation groove52 and thefirst leg153 of thesecond return groove53. Theguide finger55 passes from thesecond leg252 of thesecond actuation groove52 into thefirst leg153 of thesecond return groove53. Thefirst leg153 is not aligned with theaxis26 of themandrel40, and as thecontrol collar42 andmandrel40 are axially displaced relative to theguide finger55, theguide finger55 slides or rolls along the edge of thefirst leg153 disposed towards thedistal end43 of thecontrol collar42. As theguide finger55 slides or rolls within thefirst leg153, thecontrol collar42 angularly rotates in the same angular direction as its previous rotations during the first actuation stroke, the first return stroke and the second actuation stroke. As theguide finger55 passes through the intersection of thesecond return groove53 and thefirst leg150 of thefirst return groove50, theguide finger55 enters thesecond leg253 of thesecond return stroke53. Thesecond leg253 is generally aligned with the axis44 of themandrel40, and little or no rotation of thecontrol collar42 as theguide finger55 slides or rolls within thesecond leg253 to a point near thedistal end43 of thecontrol collar42 shown in FIG.4A. This completes the four cycles of thecontrol collar42 selected for this example.
The articulatingmember140 pivots within and relative to themember housing34 about apivot axis143 defined by theaxle ears141. Whenport144 is forcibly aligned with themandrel axis26 by insertion of themandrel40, thepivot axis143 is laterally displaced relative to themandrel axis26. The lateral force applied to the articulatingmember140 by themandrel40 is transferred through theaxle ears141 to themember housing34, causing the downhole adjustablebent housing10 to bend at theknuckle35. The extent of the bend is determined by the physical dimensions of the housing, mandrel and articulating member, but is generally in the range up to 10 degrees, but most preferably in the range up to 2 degrees.
When themandrel40 is in its inactive position,port144 of the articulatingmember140 remains pivotally misaligned with the axis of themandrel40, but sufficiently positioned for non-interference with thetransmission shaft57 providing power from themud motor90 to thedrill bit80. When the downhole adjustablebent housing10 is in the intermediate position shown inFIG. 2C, thetransmission shaft57 turns on its axis within the passage defined by the annularpressure sensing surface48, the tubular interior of themandrel40, thepassage142 of the articulatingmember140, and a port in the slottedsupport disk136.
When themandrel40 is moved from the inactive position shown inFIG. 2A to the intermediate position shown inFIG. 2C, and then returned to the inactive position shown inFIG. 2A, the fourstroke control collar42 angularly rotates about one-half of a revolution. As further angular rotation of thecontrol collar42 occurs, thespacers74 extending from thedistal end43 of thecollar42 are rotatively aligned withrecesses77 in thecircumferential shoulder75 on the inside wall of themandrel housing33. The alignment of theserecesses77 allow themandrel40, displaced by the drilling mud pressure bearing on thepressure sensing surface48, to move beyond its intermediate position to its deployed position. As shown inFIGS. 2D and 4D, upon second actuation of themandrel40 from its inactive position, themandrel40 engages and laterally displaces the articulatingmember140 and themember housing34 toward their deployed positions.FIG. 3 shows a four-stroke rotating collar having two actuation grooves, a first actuation groove50 (not shown) and asecond actuation groove52, and two return grooves, afirst return groove51 and asecond return groove53. This configuration is referred to as a four-stroke collar42 because of the total number of interconnected grooves being four. By its nature as a cylindrical shape, the outside surface of thecollar42 into which the grooves are machined provides 360 degrees of angular rotation. Equal spacing of the four distinct strokes provides about 90 degrees per stroke. For a four stroke configuration described above, it is preferable to angularly space the first actuation groove and the first return groove within about 180 degrees of the outside angular surface of the collar and the second actuation groove and the second return groove within the remaining 180 degrees. In a four stroke configuration, thecollar42 “toggles” themandrel40 between the two actuated mandrel positions, the intermediate position shown in FIG.2C and the deployed position shown in FIG.2D.
The downhole adjustablebent housing10 may be modified to include a higher number of positions in the cycle. For example, thecontrol collar42 could be modified to operate in six cycles by including a third actuation groove immediately followed by a third rotation groove angularly inserted between thesecond return groove53 and thefirst actuation groove50. In this six cycle configuration, each actuation groove and return groove pair will comprise approximately 120 degrees of the outside angular surface of thecontrol collar42 so that thecontrol collar42 accommodates three actuated mandrel positions instead of only two. The six-cycle collar would accommodate a second set of spacers corresponding to the second deployed position extending from the distal end of the collar and angularly spaced from the first set ofspacers74 corresponding to the first deployed position. The second set of spacers may be longer or shorter than the first set ofspacers74 to make the bend in the downhole adjustablebent housing10 corresponding to the second deployed position different from the bend in the downhole adjustablebent housing10 corresponding to the first deployed position. Conversely, a second set of recesses of different depth than the first set ofrecesses77 in the secondcircumferential shoulder75 may receive a second set of spacers in order to make the corresponding second deployed position impart a different angular bend from the first deployed position. Additional deployment positions and angular bends can be created by inclusion of additional spacers, actuation grooves and return grooves in correspondingly smaller angular portions of the collar.
By further “compressing” the pairs of actuation grooves and return grooves into angularly smaller portions of the collar, the control collar can be modified to provide more than one cycle of the stabilizer per revolution of the collar. For example, an eight stroke control collar wherein each pair of actuation grooves and return grooves are disposed within 45 degrees of the angular rotation of the collar may provide strokes5 through8 as a mirror image of strokes1 through4. That is, the control collar may be designed such that the first actuation stroke and the third actuation stroke displace the mandrel to identical intermediate positions, and the second actuation stroke and the fourth actuation stroke displace the mandrel to identical deployed positions. The design of the control collar, i.e. the number of deployed positions and the number of cycles per revolution, should take into consideration several factors affecting the operation of the rotating position control collar. These factors include, but are not limited to, the diameter of the control collar, the thickness of the grooves, the friction between the guide finger and non-aligned portions of the grooves and the overall displacement of the reciprocation of the mandrel within the housing.
The meaning of “groove”, as that term is used herein, includes, but is not limited to, a groove, slot, ridge, key and other mechanical means of maintaining two parts moving relative to another in a fixed rotational, axial or aligned relationship. Further, the meaning of “mandrel”, as that term is used herein, includes, but is not limited to, mandrels, pistons, posts, push rods, tubular shafts, discs and other mechanical devices designed for reciprocating movement within a defined space. The term “gauge” means diameter, thickness, girth, breadth and extension. The term “collar” means collars, rims, sleeves, caps and other mechanical devices rotating about an axis and axially fixed relative to the mandrel. “Slender” means little width relative to length. An “appendage” is a part that is joined or attached to a principal object. The term “port” means a passageway, slot, hole, channel, tunnel or opening. The term “finger” means a protruding or recessed guide member that allows rolling or sliding engagement between the housing12 and thecontrol collar43 that maintains the housing12 and thecontrol collar42 within a desired orientation one to the other, and includes a key and groove and rolling ball and socket.
While the foregoing is directed to the preferred embodiment of the present invention, other and further embodiments of the invention may be devised without departing from the basic scope thereof, and the scope thereof is determined by the claims which follow.

Claims (17)

1. A directable apparatus for downhole directional drilling comprising:
a mandrel housing having a mandrel disposed within the mandrel housing, a biasing member for retracting the mandrel, and a collar coupling the mandrel with the mandrel housing to control pressure actuated extension of the mandrel between a first extended position and a second extended position; and
a directable housing pivotally coupled to the mandrel housing, the directable housing having an articulating member pivotally secured therein, wherein the articulating member has a passage therethrough with a first portion for receiving the mandrel in the first extended position to lock the directable housing at a first angle relative to the mandrel housing and a second portion for receiving the mandrel in the second extended position to lock the directable housing at a second angle relative to the mandrel housing.
7. The apparatus ofclaim 1, wherein the collar is a J-slot collar having an outwardly facing slot slidingly receiving a finger element therein, and a cylindrical body having one or more collar shoulders extending in the second axial direction for selective engagement with the one or more housing shoulders, wherein the outwardly facing slot is adapted to cause rotation of the collar upon reciprocating the collar in both the first and second axial directions, wherein the slot defines a repeating cycle that provides alignment of the one or more collar shoulders with the one or more housing shoulders upon a first fluid pressure actuation to prevent actuating the mandrel into engagement with the articulating member and misalignment of the one or more collar shoulders with the one or more housing shoulders upon a second fluid pressure actuation to actuate the mandrel into engagement with the articulating member and deploy the downhole adjustable bent housing.
10. An apparatus for use in directional drilling of wells comprising:
an elongate housing having a proximal section, a distal section, and a pivot joint connecting the proximal and distal sections;
an actuation shaft extending between the proximal section and the distal section through the pivot joint, the actuation shaft being selectively extendable between a first position and a second position;
an articulating member pivotally secured inside the distal section to define a pivot axis, the articulating member comprising an intersecting bore having an axial centerline that is perpendicular to and offset from the pivot axis, and a landing port adapted for receiving the distal end of the actuation shaft;
wherein extending the actuation shaft into contact with the landing port secures the distal section in axial alignment with the proximal section; and
wherein extending the actuation shaft into axial alignment with the intersecting bore secures the distal section to the proximal section at an angle apart from axial alignment.
17. A downhole adjustable bent housing for use in drilling operations, comprising:
a first housing section;
a second housing section;
a connector connecting said first housing section to said second housing section and permitting said second housing section to pivot relative to said first housing section;
a mandrel extending between said first housing section and said second housing section through said connector and moveable between a retracted position and an extended positionan actuation member movable in a generally axial direction with respect to the second housing section to an activated position; and
an articulatinga member pivotally secured within said second housing section, said articulating member having a deviated passage therethrough for receiving said mandrel and being pivotal between a first, inactive position when the mandrel is in its retracted position and a second, deployed position when the mandrel is in its extended position, the deployed mandrel position inducing said second housing to pivot relative to said first housingat a position interfering with movement of the actuation member to the activated position, wherein axial movement of the actuation member through the member forces selective pivoting motion of said second housing section relative to said first housing section.
US10/824,3162000-07-192004-04-14Downhole adjustable bent housing for directional drillingExpired - Fee RelatedUSRE39970E1 (en)

Priority Applications (1)

Application NumberPriority DateFiling DateTitle
US10/824,316USRE39970E1 (en)2000-07-192004-04-14Downhole adjustable bent housing for directional drilling

Applications Claiming Priority (2)

Application NumberPriority DateFiling DateTitle
US09/618,681US6394193B1 (en)2000-07-192000-07-19Downhole adjustable bent housing for directional drilling
US10/824,316USRE39970E1 (en)2000-07-192004-04-14Downhole adjustable bent housing for directional drilling

Related Parent Applications (1)

Application NumberTitlePriority DateFiling Date
US09/618,681ReissueUS6394193B1 (en)2000-07-192000-07-19Downhole adjustable bent housing for directional drilling

Publications (1)

Publication NumberPublication Date
USRE39970E1true USRE39970E1 (en)2008-01-01

Family

ID=24478698

Family Applications (2)

Application NumberTitlePriority DateFiling Date
US09/618,681CeasedUS6394193B1 (en)2000-07-192000-07-19Downhole adjustable bent housing for directional drilling
US10/824,316Expired - Fee RelatedUSRE39970E1 (en)2000-07-192004-04-14Downhole adjustable bent housing for directional drilling

Family Applications Before (1)

Application NumberTitlePriority DateFiling Date
US09/618,681CeasedUS6394193B1 (en)2000-07-192000-07-19Downhole adjustable bent housing for directional drilling

Country Status (1)

CountryLink
US (2)US6394193B1 (en)

Cited By (10)

* Cited by examiner, † Cited by third party
Publication numberPriority datePublication dateAssigneeTitle
US8919458B2 (en)2010-08-112014-12-30Schlumberger Technology CorporationSystem and method for drilling a deviated wellbore
US9556678B2 (en)2012-05-302017-01-31Penny Technologies S.À R.L.Drilling system, biasing mechanism and method for directionally drilling a borehole
US9605481B1 (en)2016-07-202017-03-28Smart Downhole Tools B.V.Downhole adjustable drilling inclination tool
US9988847B2 (en)2013-10-162018-06-05Halliburton Energy Services, Inc.Downhole mud motor with adjustable bend angle
US10000972B2 (en)2013-08-292018-06-19Halliburton Energy Services, Inc.Downhole adjustable bent motor
USD831077S1 (en)*2017-03-202018-10-16Klx Inc.Venturi jet basket
US10280685B2 (en)2014-09-162019-05-07Halliburton Energy Services, Inc.Hybrid downhole motor with adjustable bend angle
USD871460S1 (en)2016-07-202019-12-31Smart Downhole Tools B.V.Tilt housing of a downhole adjustable drilling inclination tool
US10641044B2 (en)2014-12-292020-05-05Halliburton Energy Services, Inc.Variable stiffness fixed bend housing for directional drilling
US10808461B2 (en)2016-11-012020-10-20The Charles Machine Works, Inc.Angular offset drilling tool

Families Citing this family (83)

* Cited by examiner, † Cited by third party
Publication numberPriority datePublication dateAssigneeTitle
CA2345560C (en)2000-11-032010-04-06Canadian Downhole Drill Systems Inc.Rotary steerable drilling tool
US7188685B2 (en)2001-12-192007-03-13Schlumberge Technology CorporationHybrid rotary steerable system
US7641000B2 (en)*2004-05-212010-01-05Vermeer Manufacturing CompanySystem for directional boring including a drilling head with overrunning clutch and method of boring
US8590636B2 (en)*2006-04-282013-11-26Schlumberger Technology CorporationRotary steerable drilling system
GB0618880D0 (en)*2006-09-262006-11-01Geolink Uk LtdDirection adjustment tool for downhole drilling apparatus
US20080142268A1 (en)*2006-12-132008-06-19Geoffrey DowntonRotary steerable drilling apparatus and method
US7669669B2 (en)*2007-07-302010-03-02Schlumberger Technology CorporationTool face sensor method
US8763726B2 (en)*2007-08-152014-07-01Schlumberger Technology CorporationDrill bit gauge pad control
US8720604B2 (en)*2007-08-152014-05-13Schlumberger Technology CorporationMethod and system for steering a directional drilling system
US8066085B2 (en)*2007-08-152011-11-29Schlumberger Technology CorporationStochastic bit noise control
US7971661B2 (en)2007-08-152011-07-05Schlumberger Technology CorporationMotor bit system
US8727036B2 (en)*2007-08-152014-05-20Schlumberger Technology CorporationSystem and method for drilling
US8534380B2 (en)2007-08-152013-09-17Schlumberger Technology CorporationSystem and method for directional drilling a borehole with a rotary drilling system
US8757294B2 (en)*2007-08-152014-06-24Schlumberger Technology CorporationSystem and method for controlling a drilling system for drilling a borehole in an earth formation
US7836975B2 (en)*2007-10-242010-11-23Schlumberger Technology CorporationMorphable bit
US8442769B2 (en)*2007-11-122013-05-14Schlumberger Technology CorporationMethod of determining and utilizing high fidelity wellbore trajectory
US8813869B2 (en)*2008-03-202014-08-26Schlumberger Technology CorporationAnalysis refracted acoustic waves measured in a borehole
US7779933B2 (en)*2008-04-302010-08-24Schlumberger Technology CorporationApparatus and method for steering a drill bit
EP2304174A4 (en)2008-05-222015-09-23Schlumberger Technology Bv UNDERGROUND MEASUREMENT OF TRAINING CHARACTERISTICS DURING DRILLING
US8061444B2 (en)*2008-05-222011-11-22Schlumberger Technology CorporationMethods and apparatus to form a well
US8839858B2 (en)*2008-05-232014-09-23Schlumberger Technology CorporationDrilling wells in compartmentalized reservoirs
US7818128B2 (en)*2008-07-012010-10-19Schlumberger Technology CorporationForward models for gamma ray measurement analysis of subterranean formations
US8960329B2 (en)*2008-07-112015-02-24Schlumberger Technology CorporationSteerable piloted drill bit, drill system, and method of drilling curved boreholes
US20100101867A1 (en)*2008-10-272010-04-29Olivier SindtSelf-stabilized and anti-whirl drill bits and bottom-hole assemblies and systems for using the same
US7878267B2 (en)2008-11-102011-02-01Southard Drilling Technologies, L.P.Rotary directional drilling apparatus and method of use
US8146679B2 (en)*2008-11-262012-04-03Schlumberger Technology CorporationValve-controlled downhole motor
US7819666B2 (en)*2008-11-262010-10-26Schlumberger Technology CorporationRotating electrical connections and methods of using the same
US8179278B2 (en)*2008-12-012012-05-15Schlumberger Technology CorporationDownhole communication devices and methods of use
US7980328B2 (en)*2008-12-042011-07-19Schlumberger Technology CorporationRotary steerable devices and methods of use
US8276805B2 (en)*2008-12-042012-10-02Schlumberger Technology CorporationMethod and system for brazing
US8376366B2 (en)*2008-12-042013-02-19Schlumberger Technology CorporationSealing gland and methods of use
US8157024B2 (en)*2008-12-042012-04-17Schlumberger Technology CorporationBall piston steering devices and methods of use
US8783382B2 (en)*2009-01-152014-07-22Schlumberger Technology CorporationDirectional drilling control devices and methods
US7975780B2 (en)*2009-01-272011-07-12Schlumberger Technology CorporationAdjustable downhole motors and methods for use
US20100243575A1 (en)*2009-03-262010-09-30Charles Jerold NowlingPortable sludge filtration system
US20100243242A1 (en)*2009-03-272010-09-30Boney Curtis LMethod for completing tight oil and gas reservoirs
US8301382B2 (en)2009-03-272012-10-30Schlumberger Technology CorporationContinuous geomechanically stable wellbore trajectories
CA2795482C (en)2009-04-232014-07-08Schlumberger Canada LimitedDrill bit assembly having electrically isolated gap joint for electromagnetic telemetry
US9022144B2 (en)2009-04-232015-05-05Schlumberger Technology CorporationDrill bit assembly having electrically isolated gap joint for measurement of reservoir properties
CA2795478C (en)2009-04-232014-05-27Kjell HaugvaldstadA drill bit assembly having aligned features
US8322416B2 (en)2009-06-182012-12-04Schlumberger Technology CorporationFocused sampling of formation fluids
US8919459B2 (en)2009-08-112014-12-30Schlumberger Technology CorporationControl systems and methods for directional drilling utilizing the same
US8469104B2 (en)*2009-09-092013-06-25Schlumberger Technology CorporationValves, bottom hole assemblies, and method of selectively actuating a motor
US8307914B2 (en)2009-09-092012-11-13Schlumberger Technology CorporationDrill bits and methods of drilling curved boreholes
RU2542026C2 (en)2009-10-202015-02-20Шлюмбергер Текнолоджи Б.В.Method to determine features of beds, realisation of navigation of drilling trajectories and placement of wells with regard to underground drill wells
US9347266B2 (en)*2009-11-132016-05-24Schlumberger Technology CorporationStator inserts, methods of fabricating the same, and downhole motors incorporating the same
US20110116961A1 (en)*2009-11-132011-05-19Hossein AkbariStators for downhole motors, methods for fabricating the same, and downhole motors incorporating the same
US8777598B2 (en)2009-11-132014-07-15Schlumberger Technology CorporationStators for downwhole motors, methods for fabricating the same, and downhole motors incorporating the same
US8245781B2 (en)*2009-12-112012-08-21Schlumberger Technology CorporationFormation fluid sampling
US8235145B2 (en)*2009-12-112012-08-07Schlumberger Technology CorporationGauge pads, cutters, rotary components, and methods for directional drilling
US8235146B2 (en)2009-12-112012-08-07Schlumberger Technology CorporationActuators, actuatable joints, and methods of directional drilling
US8905159B2 (en)*2009-12-152014-12-09Schlumberger Technology CorporationEccentric steering device and methods of directional drilling
US8694257B2 (en)2010-08-302014-04-08Schlumberger Technology CorporationMethod for determining uncertainty with projected wellbore position and attitude
US9435649B2 (en)2010-10-052016-09-06Schlumberger Technology CorporationMethod and system for azimuth measurements using a gyroscope unit
US9309884B2 (en)2010-11-292016-04-12Schlumberger Technology CorporationDownhole motor or pump components, method of fabrication the same, and downhole motors incorporating the same
US9175515B2 (en)2010-12-232015-11-03Schlumberger Technology CorporationWired mud motor components, methods of fabricating the same, and downhole motors incorporating the same
US9038747B2 (en)2011-06-202015-05-26David L. Abney, Inc.Adjustable bent drilling tool having in situ drilling direction change capability
US9556679B2 (en)2011-08-192017-01-31Precision Energy Services, Inc.Rotary steerable assembly inhibiting counterclockwise whirl during directional drilling
US8602094B2 (en)*2011-09-072013-12-10Schlumberger Technology CorporationMethod for downhole electrical transmission by forming an electrical connection with components capable of relative rotational movement
US9022141B2 (en)2011-11-202015-05-05Schlumberger Technology CorporationDirectional drilling attitude hold controller
US9140114B2 (en)2012-06-212015-09-22Schlumberger Technology CorporationInstrumented drilling system
US9057223B2 (en)2012-06-212015-06-16Schlumberger Technology CorporationDirectional drilling system
US9121223B2 (en)2012-07-112015-09-01Schlumberger Technology CorporationDrilling system with flow control valve
US9303457B2 (en)2012-08-152016-04-05Schlumberger Technology CorporationDirectional drilling using magnetic biasing
US9828804B2 (en)*2013-10-252017-11-28Schlumberger Technology CorporationMulti-angle rotary steerable drilling
CA2929081C (en)*2013-12-232018-01-02Anand Bhagwat KEDARESurface actuated downhole adjustable mud motor
US10316598B2 (en)2014-07-072019-06-11Schlumberger Technology CorporationValve system for distributing actuating fluid
US9869140B2 (en)2014-07-072018-01-16Schlumberger Technology CorporationSteering system for drill string
US10006249B2 (en)2014-07-242018-06-26Schlumberger Technology CorporationInverted wellbore drilling motor
US10184873B2 (en)2014-09-302019-01-22Schlumberger Technology CorporationVibrating wire viscometer and cartridge for the same
WO2016140684A1 (en)2015-03-052016-09-09Halliburton Energy Services, Inc.Adjustment mechanisms for adjustable bent housings
US9816322B2 (en)2015-03-052017-11-14Halliburton Energy Services, Inc.Adjustable bent housings with disintegrable sacrificial support members
EP3092364B1 (en)2015-03-052019-12-04Halliburton Energy Services IncDirectional drilling with adjustable bent housings
US9714549B2 (en)2015-03-052017-07-25Halliburton Energy Services, Inc.Energy delivery systems for adjustable bent housings
EP3105404B1 (en)2015-03-052019-01-09Halliburton Energy Services, Inc.Adjustable bent housings with sacrificial support members
US10563498B2 (en)2015-03-052020-02-18Halliburton Energy Services, Inc.Adjustable bent housings with measurement mechanisms
US10378286B2 (en)2015-04-302019-08-13Schlumberger Technology CorporationSystem and methodology for drilling
US10830004B2 (en)2015-05-202020-11-10Schlumberger Technology CorporationSteering pads with shaped front faces
WO2016187373A1 (en)2015-05-202016-11-24Schlumberger Technology CorporationDirectional drilling steering actuators
CA2961629A1 (en)2017-03-222018-09-22Infocus Energy Services Inc.Reaming systems, devices, assemblies, and related methods of use
CA3064008A1 (en)2017-05-252018-11-29National Oilwell DHT, L.P.Downhole adjustable bend assemblies
GB2585294B (en)2018-02-232022-08-31Schlumberger Technology BvRotary steerable system with cutters
US10947814B2 (en)2018-08-222021-03-16Schlumberger Technology CorporationPilot controlled actuation valve system

Citations (56)

* Cited by examiner, † Cited by third party
Publication numberPriority datePublication dateAssigneeTitle
US4067404A (en)1976-05-041978-01-10Smith International, Inc.Angle adjustment sub
US4077657A (en)1976-03-221978-03-07Smith, International, Inc.Adjustable bent sub
US4220214A (en)1977-08-181980-09-02Benoit Lloyd FDirectional drilling sub
US4524833A (en)1983-09-231985-06-25Otis Engineering CorporationApparatus and methods for orienting devices in side pocket mandrels
US4577701A (en)1984-08-081986-03-25Mobil Oil CorporationSystem of drilling deviated wellbores
US4596294A (en)1982-04-161986-06-24Russell Larry RSurface control bent sub for directional drilling of petroleum wells
US4597454A (en)1984-06-121986-07-01Schoeffler William NControllable downhole directional drilling tool and method
US4653598A (en)1984-11-231987-03-31Atlantic Richfield CompanyDrainhole drilling assembly with oriented elliptic drill collar
US4697651A (en)1986-12-221987-10-06Mobil Oil CorporationMethod of drilling deviated wellbores
US4745982A (en)1986-11-281988-05-24Wenzel Kenneth HAdjustable bent sub
US4789032A (en)1987-09-251988-12-06Rehm William AOrienting and circulating sub
US4811798A (en)1986-10-301989-03-14Team Construction And Fabrication, Inc.Drilling motor deviation tool
US4813497A (en)1986-10-151989-03-21Wenzel Kenneth HAdjustable bent sub
US4834196A (en)1987-06-221989-05-30Falgout Sr Thomas EWell drilling tool
US4836303A (en)1987-06-301989-06-06Smf InternationalDevice for the remote adjustment of the relative orientation of two sections of a column
US4884643A (en)1989-01-171989-12-05392534 Alberta Ltd.Downhole adjustable bent sub
US4895214A (en)1988-11-181990-01-23Schoeffler William NDirectional drilling tool
US4928776A (en)1988-10-311990-05-29Falgout Sr Thomas EDeviation control tool
US4932482A (en)1989-07-171990-06-12Smith International, Inc.Downhole motor with an enlarged connecting rod housing
US4962818A (en)1989-07-171990-10-16Smith International, Inc.Downhole motor with an enlarged connecting rod housing
US4991668A (en)1989-02-061991-02-12Maurer Engineering, Inc.Controlled directional drilling system and method
US5029654A (en)1990-07-161991-07-09Murray WilsonBendable drilling sub
US5042597A (en)1989-04-201991-08-27Becfield Horizontal Drilling Services CompanyHorizontal drilling method and apparatus
USRE33751E (en)1985-10-111991-11-26Smith International, Inc.System and method for controlled directional drilling
US5094305A (en)1990-01-231992-03-10Kenneth H. Wenzel Oilfied Consulting Inc.Orientatable adjustable bent sub
US5101914A (en)1990-10-311992-04-07Wenzel William ROrientatable adjustable bent housing
US5101915A (en)1989-11-021992-04-07Baker Hughes IncorporatedAdjustable angle pipe joint
US5117927A (en)1991-02-011992-06-02AnadrillDownhole adjustable bent assemblies
US5125463A (en)1990-11-161992-06-30Livingstone Raymond S SAdjustable bent sub
US5139094A (en)1991-02-011992-08-18Anadrill, Inc.Directional drilling methods and apparatus
US5154243A (en)1991-07-261992-10-13Dudman Roy LBent sub
US5168943A (en)1991-06-241992-12-08Falgout Sr Thomas EAdjustable bent sub
US5181576A (en)1991-02-011993-01-26Anadrill, Inc.Downhole adjustable stabilizer
US5297641A (en)1992-12-281994-03-29Falgout Sr Thomas EDrilling deviation control tool
US5314032A (en)1993-05-171994-05-24Camco International Inc.Movable joint bent sub
US5363929A (en)1990-06-071994-11-15Conoco Inc.Downhole fluid motor composite torque shaft
US5368109A (en)1993-11-041994-11-29Slim Dril International Inc.Apparatus for arcuate drilling
US5441119A (en)1992-10-231995-08-15Transocean Petroleum Technology AsDirectional drilling tool
US5445230A (en)1993-10-011995-08-29Wattenburg; Willard H.Downhole drilling subassembly and method for same
US5503235A (en)1994-11-281996-04-02Falgout, Sr.; Thomas E.Directional drilling control method
US5520256A (en)1994-11-011996-05-28Schlumberger Technology CorporationArticulated directional drilling motor assembly
US5535835A (en)1992-05-211996-07-16Baroid Technology, Inc.Straight/directional drilling device
US5542482A (en)1994-11-011996-08-06Schlumberger Technology CorporationArticulated directional drilling motor assembly
US5617926A (en)*1994-08-051997-04-08Schlumberger Technology CorporationSteerable drilling tool and system
US5638910A (en)1995-07-181997-06-17Canadian Downhole Drill Systems Inc.Downhole sub for directional drilling
US5725061A (en)1996-05-241998-03-10Applied Technologies Associates, Inc.Downhole drill bit drive motor assembly with an integral bilateral signal and power conduction path
US5727641A (en)1994-11-011998-03-17Schlumberger Technology CorporationArticulated directional drilling motor assembly
US5735357A (en)1996-05-101998-04-07Radius Metier, Inc.Apparatus for and method of directional drilling
US5857531A (en)1997-04-101999-01-12Halliburton Energy Services, Inc.Bottom hole assembly for directional drilling
US5893413A (en)1996-07-161999-04-13Baker Hughes IncorporatedHydrostatic tool with electrically operated setting mechanism
US5894896A (en)*1996-08-091999-04-20Canadian Fracmaster Ltd.Orienting tool for coiled tubing drilling
US5899281A (en)1997-05-211999-05-04Pegasus Drilling Technologies L.L.C.Adjustable bend connection and method for connecting a downhole motor to a bit
US5934383A (en)1996-06-071999-08-10Baker Hughes IncorporatedSteering device for steerable drilling tool
US5941323A (en)1996-09-261999-08-24Bp Amoco CorporationSteerable directional drilling tool
US6109372A (en)1999-03-152000-08-29Schlumberger Technology CorporationRotary steerable well drilling system utilizing hydraulic servo-loop
AU2775900A (en)1999-04-232000-10-26Halliburton Energy Services, Inc.Self-contained downhole sensor and method of placing and interrogating same

Patent Citations (56)

* Cited by examiner, † Cited by third party
Publication numberPriority datePublication dateAssigneeTitle
US4077657A (en)1976-03-221978-03-07Smith, International, Inc.Adjustable bent sub
US4067404A (en)1976-05-041978-01-10Smith International, Inc.Angle adjustment sub
US4220214A (en)1977-08-181980-09-02Benoit Lloyd FDirectional drilling sub
US4596294A (en)1982-04-161986-06-24Russell Larry RSurface control bent sub for directional drilling of petroleum wells
US4524833A (en)1983-09-231985-06-25Otis Engineering CorporationApparatus and methods for orienting devices in side pocket mandrels
US4597454A (en)1984-06-121986-07-01Schoeffler William NControllable downhole directional drilling tool and method
US4577701A (en)1984-08-081986-03-25Mobil Oil CorporationSystem of drilling deviated wellbores
US4653598A (en)1984-11-231987-03-31Atlantic Richfield CompanyDrainhole drilling assembly with oriented elliptic drill collar
USRE33751E (en)1985-10-111991-11-26Smith International, Inc.System and method for controlled directional drilling
US4813497A (en)1986-10-151989-03-21Wenzel Kenneth HAdjustable bent sub
US4811798A (en)1986-10-301989-03-14Team Construction And Fabrication, Inc.Drilling motor deviation tool
US4745982A (en)1986-11-281988-05-24Wenzel Kenneth HAdjustable bent sub
US4697651A (en)1986-12-221987-10-06Mobil Oil CorporationMethod of drilling deviated wellbores
US4834196A (en)1987-06-221989-05-30Falgout Sr Thomas EWell drilling tool
US4836303A (en)1987-06-301989-06-06Smf InternationalDevice for the remote adjustment of the relative orientation of two sections of a column
US4789032A (en)1987-09-251988-12-06Rehm William AOrienting and circulating sub
US4928776A (en)1988-10-311990-05-29Falgout Sr Thomas EDeviation control tool
US4895214A (en)1988-11-181990-01-23Schoeffler William NDirectional drilling tool
US4884643A (en)1989-01-171989-12-05392534 Alberta Ltd.Downhole adjustable bent sub
US4991668A (en)1989-02-061991-02-12Maurer Engineering, Inc.Controlled directional drilling system and method
US5042597A (en)1989-04-201991-08-27Becfield Horizontal Drilling Services CompanyHorizontal drilling method and apparatus
US4932482A (en)1989-07-171990-06-12Smith International, Inc.Downhole motor with an enlarged connecting rod housing
US4962818A (en)1989-07-171990-10-16Smith International, Inc.Downhole motor with an enlarged connecting rod housing
US5101915A (en)1989-11-021992-04-07Baker Hughes IncorporatedAdjustable angle pipe joint
US5094305A (en)1990-01-231992-03-10Kenneth H. Wenzel Oilfied Consulting Inc.Orientatable adjustable bent sub
US5363929A (en)1990-06-071994-11-15Conoco Inc.Downhole fluid motor composite torque shaft
US5029654A (en)1990-07-161991-07-09Murray WilsonBendable drilling sub
US5101914A (en)1990-10-311992-04-07Wenzel William ROrientatable adjustable bent housing
US5125463A (en)1990-11-161992-06-30Livingstone Raymond S SAdjustable bent sub
US5117927A (en)1991-02-011992-06-02AnadrillDownhole adjustable bent assemblies
US5181576A (en)1991-02-011993-01-26Anadrill, Inc.Downhole adjustable stabilizer
US5139094A (en)1991-02-011992-08-18Anadrill, Inc.Directional drilling methods and apparatus
US5168943A (en)1991-06-241992-12-08Falgout Sr Thomas EAdjustable bent sub
US5154243A (en)1991-07-261992-10-13Dudman Roy LBent sub
US5535835A (en)1992-05-211996-07-16Baroid Technology, Inc.Straight/directional drilling device
US5441119A (en)1992-10-231995-08-15Transocean Petroleum Technology AsDirectional drilling tool
US5297641A (en)1992-12-281994-03-29Falgout Sr Thomas EDrilling deviation control tool
US5314032A (en)1993-05-171994-05-24Camco International Inc.Movable joint bent sub
US5445230A (en)1993-10-011995-08-29Wattenburg; Willard H.Downhole drilling subassembly and method for same
US5368109A (en)1993-11-041994-11-29Slim Dril International Inc.Apparatus for arcuate drilling
US5617926A (en)*1994-08-051997-04-08Schlumberger Technology CorporationSteerable drilling tool and system
US5542482A (en)1994-11-011996-08-06Schlumberger Technology CorporationArticulated directional drilling motor assembly
US5727641A (en)1994-11-011998-03-17Schlumberger Technology CorporationArticulated directional drilling motor assembly
US5520256A (en)1994-11-011996-05-28Schlumberger Technology CorporationArticulated directional drilling motor assembly
US5503235A (en)1994-11-281996-04-02Falgout, Sr.; Thomas E.Directional drilling control method
US5638910A (en)1995-07-181997-06-17Canadian Downhole Drill Systems Inc.Downhole sub for directional drilling
US5735357A (en)1996-05-101998-04-07Radius Metier, Inc.Apparatus for and method of directional drilling
US5725061A (en)1996-05-241998-03-10Applied Technologies Associates, Inc.Downhole drill bit drive motor assembly with an integral bilateral signal and power conduction path
US5934383A (en)1996-06-071999-08-10Baker Hughes IncorporatedSteering device for steerable drilling tool
US5893413A (en)1996-07-161999-04-13Baker Hughes IncorporatedHydrostatic tool with electrically operated setting mechanism
US5894896A (en)*1996-08-091999-04-20Canadian Fracmaster Ltd.Orienting tool for coiled tubing drilling
US5941323A (en)1996-09-261999-08-24Bp Amoco CorporationSteerable directional drilling tool
US5857531A (en)1997-04-101999-01-12Halliburton Energy Services, Inc.Bottom hole assembly for directional drilling
US5899281A (en)1997-05-211999-05-04Pegasus Drilling Technologies L.L.C.Adjustable bend connection and method for connecting a downhole motor to a bit
US6109372A (en)1999-03-152000-08-29Schlumberger Technology CorporationRotary steerable well drilling system utilizing hydraulic servo-loop
AU2775900A (en)1999-04-232000-10-26Halliburton Energy Services, Inc.Self-contained downhole sensor and method of placing and interrogating same

Cited By (14)

* Cited by examiner, † Cited by third party
Publication numberPriority datePublication dateAssigneeTitle
US8919458B2 (en)2010-08-112014-12-30Schlumberger Technology CorporationSystem and method for drilling a deviated wellbore
US9556678B2 (en)2012-05-302017-01-31Penny Technologies S.À R.L.Drilling system, biasing mechanism and method for directionally drilling a borehole
US10895113B2 (en)2012-05-302021-01-19B&W Mud Motors, LlcDrilling system, biasing mechanism and method for directionally drilling a borehole
US10301877B2 (en)2012-05-302019-05-28C&J Spec-Rent Services, Inc.Drilling system, biasing mechanism and method for directionally drilling a borehole
US10000972B2 (en)2013-08-292018-06-19Halliburton Energy Services, Inc.Downhole adjustable bent motor
US9988847B2 (en)2013-10-162018-06-05Halliburton Energy Services, Inc.Downhole mud motor with adjustable bend angle
US10280685B2 (en)2014-09-162019-05-07Halliburton Energy Services, Inc.Hybrid downhole motor with adjustable bend angle
US10641044B2 (en)2014-12-292020-05-05Halliburton Energy Services, Inc.Variable stiffness fixed bend housing for directional drilling
USD871460S1 (en)2016-07-202019-12-31Smart Downhole Tools B.V.Tilt housing of a downhole adjustable drilling inclination tool
US10526847B2 (en)2016-07-202020-01-07Smart Downhole Tools B.V.Downhole adjustable drilling inclination tool
USD883344S1 (en)2016-07-202020-05-05Smart Downhole Tools B. V.Tilt housing of a downhole adjustable drilling inclination tool
US9605481B1 (en)2016-07-202017-03-28Smart Downhole Tools B.V.Downhole adjustable drilling inclination tool
US10808461B2 (en)2016-11-012020-10-20The Charles Machine Works, Inc.Angular offset drilling tool
USD831077S1 (en)*2017-03-202018-10-16Klx Inc.Venturi jet basket

Also Published As

Publication numberPublication date
US6394193B1 (en)2002-05-28

Similar Documents

PublicationPublication DateTitle
USRE39970E1 (en)Downhole adjustable bent housing for directional drilling
US6595303B2 (en)Rotary steerable drilling tool
US5547031A (en)Orientation control mechanism
US7467672B2 (en)Orientation tool
CN101443526B (en)Directional control drilling system
CA2952247C (en)Multi-lateral well system
US7669672B2 (en)Apparatus, system and method for installing boreholes from a main wellbore
CA2136559C (en)Bottom hole drilling assembly
US5941321A (en)Method and apparatus for drilling a planar curved borehole
US5878815A (en)Assembly and process for drilling and completing multiple wells
EP0857247B1 (en)Assembly and process for drilling and completing multiple wells
US5339913A (en)Well orienting tool and method of use
US5415238A (en)Borehole sidetrack locator
US10018004B2 (en)Method and apparatus for casing entry
CA2594603C (en)Method of using an orientation mule shoe to enter a previously-installed tubular in a lateral
US9476285B2 (en)Multi-lateral re-entry guide and method of use
US5894896A (en)Orienting tool for coiled tubing drilling
NO342388B1 (en) Well completion method and well completion apparatus
US7373995B2 (en)Method and apparatus for drilling curved boreholes
US7967075B2 (en)High angle water flood kickover tool
CN105378208B (en) Expandable bullnose assembly for use with wellbore deflectors
WO2002036924A2 (en)Rotary steerable drilling tool and method for directional drilling
US6135215A (en)Tool string apparatus for lateral borehole formation
US7886835B2 (en)High angle water flood kickover tool
US20050247489A1 (en)Drilling apparatus

Legal Events

DateCodeTitleDescription
REMIMaintenance fee reminder mailed
LAPSLapse for failure to pay maintenance fees

[8]ページ先頭

©2009-2025 Movatter.jp