Movatterモバイル変換


[0]ホーム

URL:


US9907943B2 - Infusion pump assembly - Google Patents

Infusion pump assembly
Download PDF

Info

Publication number
US9907943B2
US9907943B2US14/323,571US201414323571AUS9907943B2US 9907943 B2US9907943 B2US 9907943B2US 201414323571 AUS201414323571 AUS 201414323571AUS 9907943 B2US9907943 B2US 9907943B2
Authority
US
United States
Prior art keywords
assembly
infusion pump
housing assembly
disposable housing
reservoir
Prior art date
Legal status (The legal status is an assumption and is not a legal conclusion. Google has not performed a legal analysis and makes no representation as to the accuracy of the status listed.)
Active, expires
Application number
US14/323,571
Other versions
US20150165114A1 (en
Inventor
Kevin L. Grant
Jason A. Demers
Brian D. Tracey
Dean Kamen
Richard J. Lanigan
Gregory R. Lanier, JR.
Bright C. K. Foo
Lisa A. Panneton
Thomas F. Soldau
Stephen L. Fichera
David D. B. Cannan
Current Assignee (The listed assignees may be inaccurate. Google has not performed a legal analysis and makes no representation or warranty as to the accuracy of the list.)
Deka Products LP
Original Assignee
Deka Products LP
Priority date (The priority date is an assumption and is not a legal conclusion. Google has not performed a legal analysis and makes no representation as to the accuracy of the date listed.)
Filing date
Publication date
Priority claimed from US11/704,899external-prioritypatent/US8414522B2/en
Priority claimed from US12/347,981external-prioritypatent/US8496646B2/en
Priority claimed from US12/981,283external-prioritypatent/US8579884B2/en
Priority claimed from US13/788,260external-prioritypatent/US11478623B2/en
Priority to US14/323,571priorityCriticalpatent/US9907943B2/en
Application filed by Deka Products LPfiledCriticalDeka Products LP
Publication of US20150165114A1publicationCriticalpatent/US20150165114A1/en
Priority to PCT/US2015/039026prioritypatent/WO2016004329A1/en
Priority to CA2956895Aprioritypatent/CA2956895C/en
Priority to CA3197410Aprioritypatent/CA3197410A1/en
Priority to EP15745615.3Aprioritypatent/EP3164171B1/en
Priority to EP22172392.7Aprioritypatent/EP4059545A1/en
Assigned to DEKA PRODUCTS LIMITED PARTNERSHIPreassignmentDEKA PRODUCTS LIMITED PARTNERSHIPASSIGNMENT OF ASSIGNORS INTEREST (SEE DOCUMENT FOR DETAILS).Assignors: KAMEN, DEAN, CANNAN, DAVID D.B., SOLDAU, THOMAS F., TRACEY, BRIAN D., DEMERS, JASON A., GRANT, KEVIN L., LANIGAN, RICHARD J., PANNETON, LISA A., FOO, BRIGHT C.K., FICHERA, STEPHEN L.
Assigned to DEKA PRODUCTS LIMITED PARTNERSHIPreassignmentDEKA PRODUCTS LIMITED PARTNERSHIPASSIGNMENT OF ASSIGNORS INTEREST (SEE DOCUMENT FOR DETAILS).Assignors: LANIER, GREGORY R., JR
Priority to US15/912,011prioritypatent/US20180193629A1/en
Publication of US9907943B2publicationCriticalpatent/US9907943B2/en
Application grantedgrantedCritical
Activelegal-statusCriticalCurrent
Adjusted expirationlegal-statusCritical

Links

Images

Classifications

Definitions

Landscapes

Abstract

An infusion pump system. The system includes a reusable housing assembly, a disposable housing assembly, a tab portion comprising a female latching feature, and an exit, the exit connected to a reservoir; and a fluid connector including a body portion including a slot, a plug portion slidably connected to the body portion, the plug portion including a fluid path and a disc, the disc configured to seat within the slot, a catch feature located on a first end of the body portion and configured to interact with the disposable housing assembly, a male latching feature located on a second end of the body portion, the male latching feature configured to interact and lock onto the female latching feature, wherein force applied to the plug portion may overcome a threshold force and unseat the disc from the slot wherein the plug portion moves with respect to the body portion.

Description

CROSS REFERENCE TO RELATED APPLICATIONS
The present application is a Non-Provisional application which claims priority from:
U.S. Provisional Patent Application Ser. No. 61/842,449, filed Jul. 3, 2013 and entitled Infusion Pump Assembly, which is hereby incorporated herein by reference in its entirety.
The present application is also a Continuation-in-Part Application of U.S. patent application Ser. No. 13/788,260, filed Mar. 7, 2013 and entitled Infusion Pump Assembly, now U.S. Publication No. US-2014-0107579-A1, published Apr. 17, 2014 which claims priority from:
U.S. Provisional Patent Application Ser. No. 61/607,863, filed Mar. 7, 2012 and entitled Infusion Pump Assembly;
U.S. Provisional Patent Application Ser. No. 61/667,765, filed Jul. 3, 2012 and entitled Infusion Pump Assembly;
U.S. Provisional Patent Application Ser. No. 61/668,760, filed Jul. 6, 2012 and entitled Infusion Pump Assembly;
U.S. Provisional Patent Application Ser. No. 61/736,358, filed Dec. 12, 2012 and entitled Infusion Pump Assembly; and
U.S. Provisional Patent Application Ser. No. 61/737,520, filed Dec. 14, 2012 and entitled Infusion Pump Assembly, all of which are hereby incorporated herein by reference in their entireties.
U.S. patent application Ser. No. 13/788,260 is also a Continuation-In-Part Application of U.S. patent application Ser. No. 12/981,283 filed, Dec. 29, 2010 and entitled Infusion Pump Assembly, now U.S. Pat. No. 8,579,884, issued Nov. 12, 2013, which claims priority from:
U.S. Provisional Patent Application Ser. No. 61/291,641, filed Dec. 31, 2009 and entitled Method and System for Start-Up Integrity Verification for a Medical Device; and
U.S. Provisional Patent Application Ser. No. 61/291,733, filed Dec. 31, 2009 and entitled Infusion Pump Apparatus, Method and System, all of which are hereby incorporated herein by reference in their entireties.
U.S. patent application Ser. No. 12/981,283 is a Continuation-In-Part of U.S. patent application Ser. No. 12/347,981, filed Dec. 31, 2008 and entitled Infusion Pump Assembly, now U.S. Pat. No. 8,496,646, issued Dec. 30, 2008, which is hereby incorporated herein by reference in its entirety, which application also claims priority from the following U.S. Provisional Patent Applications, all of which are hereby incorporated herein by reference in their entireties:
U.S. Provisional Patent Application Ser. No. 61/018,054, filed Dec. 31, 2007 and entitled Patch Pump with Shape Memory Wire Pump Actuator;
U.S. Provisional Patent Application Ser. No. 61/018,042, filed Dec. 31, 2007 and entitled Patch Pump with External Infusion Set;
U.S. Provisional Patent Application Ser. No. 61/017,989, filed Dec. 31, 2007 and entitled Wearable Infusion Pump with Disposable Base;
U.S. Provisional Patent Application Ser. No. 61/018,002, filed Dec. 31, 2007 and entitled Patch Pump with Rotational Engagement Assembly;
U.S. Provisional Patent Application Ser. No. 61/018,339, filed Dec. 31, 2007 and entitled System and Method for Controlling a Shape-Memory Actuator;
U.S. Provisional Patent Application Ser. No. 61/023,645, filed Jan. 25, 2008 and entitled Infusion Pump with Bolus Button;
U.S. Provisional Patent Application Ser. No. 61/101,053, filed Sep. 29, 2008 and entitled Infusion Pump Assembly with a Switch Assembly;
U.S. Provisional Patent Application Ser. No. 61/101,077, filed Sep. 29, 2008 and entitled Infusion Pump Assembly with a Tubing Storage;
U.S. Provisional Patent Application Ser. No. 61/101,105, filed Sep. 29, 2008 and entitled Improved Infusion Pump Assembly; and
U.S. Provisional Patent Application Ser. No. 61/101,115, filed Sep. 29, 2008 and entitled Filling Apparatus and Methods for an Infusion Pump Assembly.
U.S. patent application Ser. No. 12/347,981 is also a Continuation-In-Part Application of each of the following applications, which are each incorporated herein by reference in their entireties:
U.S. patent application Ser. No. 11/704,899, filed Feb. 9, 2007 and entitled Fluid Delivery Systems and Method, now U.S. Pat. No. 8,414,522, issued Apr. 9, 2013;
U.S. patent application Ser. No. 11/704,896 filed Feb. 9, 2007 and entitled Pumping Fluid Delivery Systems and Methods Using Force Application Assembly, now U.S. Pat. No. 8,585,377, issued Nov. 19, 2013;
U.S. patent application Ser. No. 11/704,886, filed Feb. 9, 2007 and entitled Patch-Sized Fluid Delivery Systems and Methods, now U.S. Pat. No. 8,545,445, issued Oct. 1, 2013; and
U.S. patent application Ser. No. 11/704,897, filed Feb. 9, 2007 and entitled Adhesive and Peripheral Systems and Methods for Medical Devices, now U.S. Pat. No. 8,113,244, issued Feb. 14, 2012, all of which claim priority from the following U.S. Provisional Patent Applications, which are all hereby incorporated herein by reference in their entireties:
U.S. Provisional Patent Application Ser. No. 60/772,313, filed Feb. 9, 2006 and entitled Portable Injection System;
U.S. Provisional Patent Application Ser. No. 60/789,243, filed Apr. 5, 2006 and entitled Method of Volume Measurement for Flow Control; and
U.S. Provisional Patent Application Ser. No. 60/793,188, filed Apr. 19, 2006 and entitled Portable Injection and Adhesive System, all of which are hereby incorporated herein by reference in their entireties.
U.S. Pat. No. 8,414,522; U.S. Pat. No. 8,585,377; U.S. Pat. No. 8,545,445; and U.S. Pat. No. 8,113,244 may all be related to one or more of each other and may also be related to:
U.S. Provisional Patent Application Ser. No. 60/889,007, filed Feb. 9, 2007 and entitled Two-Stage Transcutaneous Inserter, which is hereby incorporated herein by reference in its entirety.
FIELD OF THE INVENTION
This application relates generally to fluid delivery systems, and more particularly to infusion pump assemblies.
BACKGROUND
Many potentially valuable medicines or compounds, including biologicals, are not orally active due to poor absorption, hepatic metabolism or other pharmacokinetic factors. Additionally, some therapeutic compounds, although they can be orally absorbed, are sometimes required to be administered so often it is difficult for a patient to maintain the desired schedule. In these cases, parenteral delivery is often employed or could be employed.
Effective parenteral routes of drug delivery, as well as other fluids and compounds, such as subcutaneous injection, intramuscular injection, and intravenous (IV) administration include puncture of the skin with a needle or stylet. Insulin is an example of a therapeutic fluid that is self-injected by millions of diabetic patients. Users of parenterally delivered drugs may benefit from a wearable device that would automatically deliver needed drugs/compounds over a period of time.
To this end, there have been efforts to design portable and wearable devices for the controlled release of therapeutics. Such devices are known to have a reservoir such as a cartridge, syringe, or bag, and to be electronically controlled. These devices suffer from a number of drawbacks including the malfunction rate. Reducing the size, weight and cost of these devices is also an ongoing challenge. Additionally, these devices often apply to the skin and pose the challenge of frequent re-location for application.
SUMMARY OF THE INVENTION
In accordance with one implementation, an infusion pump system is disclosed. The infusion pump system includes a reusable housing assembly comprising a pump actuator assembly; a disposable housing assembly including a reservoir; a tab portion, the tab portion comprising a female latching feature; and an exit, the exit fluidly connected to the reservoir; and a fluid connector including a body portion comprising a slot; a plug portion slidably connected to the body portion, the plug portion comprising a fluid path and a disc, the disc configured to seat within the slot; a catch feature located on a first end of the body portion and configured to interact with the disposable housing assembly; a male latching feature located on a second end of the body portion, the male latching feature configured to interact and lock onto the female latching feature; and a tubing, a first end of the tubing fluidly connected to the plug fluid path; wherein force applied to the plug portion may overcome a threshold force and unseat the disc from the slot wherein the plug portion moves with respect to the body portion, wherein the plug of the connector forms a luer connection with the exit of the disposable housing assembly and provides a fluid connection between the reservoir and the tubing, wherein the reusable housing assembly may be attached to the disposable housing assembly, and wherein the pump actuator assembly pumps fluid from the reservoir to the tubing.
Some embodiments of this implementation may include one or more of the following features. Wherein the reusable housing assembly further comprising a volume sensor assembly. Wherein the second end of the tubing connected to a cannula assembly. Wherein the connector further comprising wherein the body portion comprising an indent wherein the indent configured to interact with a reusable portion of an infusion pump. Wherein the reusable housing assembly further comprising a locking ring assembly. Wherein the locking ring assembly further comprising a nub comprising a spring actuated tab, the spring actuated tab interacts with the indent of the connector when the reusable housing assembly and disposable housing assembly are rotatably attached. Wherein the spring actuated tab of the nub interacts with the connector exerting compression onto the connector attachment to the exit of the disposable housing assembly. Wherein the body portion further comprising rib features. Wherein the catch feature comprising a ramp. Wherein the underside of the body portion comprising a core. Wherein the core comprising an identification tag. Wherein the body portion comprising an identification tag. Wherein the identification tag is an RFID tag. Wherein the identification tag is a near-field communication readable RFID.
In accordance with one implementation, a fluid reservoir system is disclosed. The fluid reservoir system includes a disposable housing assembly including a reservoir; a tab portion, the tab portion comprising a female latching feature; and an exit, the exit fluidly connected to the reservoir; and a connector comprising: a body portion comprising a slot; a plug portion slidably connected to the body portion, the plug portion comprising a fluid path and a disc, the disc configured to seat within the slot; a catch feature located on a first end of the body portion and configured to interact with the disposable housing assembly; and a male latching feature located on a second end of the body portion, the male latching feature configured to interact and lock onto the female latching feature, wherein the plug of the connector attaches to the exit of the disposable housing assembly and provides a fluid connection between the reservoir and the tubing, and wherein force applied to the plug portion may overcome a threshold force and unseat the disc from the slot wherein the plug portion moves with respect to the body portion.
Some embodiments of this implementation may include one or more of the following features. Wherein the connector further includes wherein the body portion comprising an indent wherein the indent configured to interact with a reusable portion of an infusion pump. Wherein the body portion further comprising rib features. Wherein the catch feature comprising a ramp. Wherein the first end of the body portion comprising an locked icon. Wherein the second end of the body portion comprising an unlocked icon. Wherein the body portion further comprising an arrow icon. Wherein the underside of the body portion comprising a core. Wherein the core comprising an identification tag. Wherein the body portion comprising an identification tag. Wherein the identification tag is an RFID tag. Wherein the identification tag is a near-field communication readable RFID.
In accordance with one implementation, a fluid connector assembly is disclosed. The fluid connector assembly includes a tab portion including a slot; a plug portion slidably connected to the tab portion the plug portion comprising a fluid path and a disc, the disc configured to seat within the slot; a catch feature located on a first end of the tab portion and configured to interact with a reservoir; and a latching feature located on a second end of the tab portion, the latching feature configured to interact and lock onto the reservoir, wherein force applied to the plug portion may overcome a threshold force and unseat the disc from the slot wherein the plug portion moves with respect to the tab portion.
Some embodiments of this implementation may include one or more of the following features. Wherein the tab portion further comprising an indent wherein the indent configured to interact with a reusable housing assembly. Wherein the connector includes a tubing connected to the plug Wherein the catch feature comprising a ramp. Wherein the second end of the tubing connected to a cannula assembly. Wherein the tab portion further comprising a tapered tubing opening, the first end of the tubing connecting to the tapered tubing opening. Wherein the underside of the tab portion comprising a core. Wherein the core comprising an identification tag. Wherein the tab portion comprising an identification tag. Wherein the identification tag is an RFID tag. Wherein the identification tag is a near-field communication readable RFID.
In accordance with one implementation a fluid connector assembly is disclosed. The fluid connector assembly includes a fluid connector assembly including a tab portion including a tubing side and a reservoir side; a plug portion slidably connected to the tab portion, the plug portion comprising a fluid path; a catch feature located on a first end of the tab portion and configured to interact with a reservoir; and a latching feature located on a second end of the tab portion, the latching feature configured to interact and lock onto the reservoir, wherein force applied to the plug portion causes the plug portion to move with respect to the tab portion from an initial position to a final position in the direction of the tubing side of the tab portion. Some embodiments of this implementation may include one or more of the following features. Wherein the tab portion further comprising an indent wherein the indent configured to interact with a reusable housing assembly. Wherein the connector includes a tubing connected to the plug Wherein the catch feature comprising a ramp. Wherein the second end of the tubing connected to a cannula assembly. Wherein the tab portion further comprising a tapered tubing opening, the first end of the tubing connecting to the tapered tubing opening. Wherein the underside of the tab portion comprising a core. Wherein the core comprising an identification tag. Wherein the tab portion comprising an identification tag. Wherein the identification tag is an RFID tag. Wherein the identification tag is a near-field communication readable RFID.
In accordance with one implementation, a connector. The connector includes a body portion, a plug, and a tubing in communication with the plug, wherein the plug is configured to attach to an exit in a disposable housing assembly.
In accordance with first implementation, a wearable infusion pump assembly is disclosed. The wearable infusion pump assembly includes a reservoir for receiving an infusible fluid and a fluid delivery system configured to deliver the infusible fluid from the reservoir to an external infusion set. The fluid delivery system includes a controller, a pump assembly for extracting a quantity of infusible fluid from the reservoir and providing the quantity of infusible fluid to the external infusion set, the pump assembly comprising a pump plunger, the pump plunger having distance of travel, the distance of travel having a starting position and an ending position, at least one optical sensor assembly for sensing the starting position and ending position of the pump plunger distance of travel and sending sensor output to the controller, and a first valve assembly configured to selectively isolate the pump assembly from the reservoir, wherein the controller receives the sensor output and determines the total displacement of the pump plunger.
Some embodiments of this implementation may include one or more of the following features. Wherein the wearable infusion pump assembly includes wherein the controller correlates the displacement of the pump plunger to a volume of fluid delivered. Wherein the wearable infusion pump assembly includes wherein the controller, based on the volume of fluid delivered, commands an actuator to actuate the pump plunger to a target position. Wherein the wearable infusion pump assembly further includes a second valve assembly configured to selectively isolate the pump assembly from the external infusion set. Wherein the wearable infusion pump assembly further includes at least one optical sensor assembly for sensing the position of the second valve assembly. Wherein the wearable infusion pump assembly further includes a disposable housing assembly including the reservoir and a first portion of the fluid delivery system, and a reusable housing assembly including a second portion of the fluid delivery system. Wherein the wearable infusion pump assembly includes wherein a first portion of the pump assembly is positioned within the disposable housing assembly, and a second portion of the pump assembly is positioned within the reusable housing assembly. Wherein the wearable infusion pump assembly includes wherein a first portion of the first valve assembly is positioned within the disposable housing assembly, and a second portion of the first valve assembly is positioned within the reusable housing assembly. Wherein the wearable infusion pump assembly includes wherein a first portion of the second valve assembly is positioned within the disposable housing assembly, and a second portion of the second valve assembly is positioned within the reusable housing assembly. Wherein the wearable infusion pump assembly includes wherein the external infusion set is a detachable external infusion set configured to releasably engage the fluid delivery system.
In accordance with first implementation, a disposable housing assembly for an infusion pump assembly is disclosed. The disposable housing assembly includes a reservoir portion fluidly connected to a fluid path, the reservoir portion including a bubble trap wherein the bubble trap prevents air from moving from the reservoir portion to the fluid path. The bubble trap further includes an outlet portion and a non-outlet portion, the non-outlet portion including a tapered portion that tapers to a bottom portion, the tapered portion of the non-outlet portion ending at the outlet portion. The bubble trap also includes wherein the outlet portion including the bottom portion in communication with an upward ramped portion in fluid communication with a reservoir outlet, wherein the bottom portion configured whereby fluid congregates in the bottom portion and the tapered portion configured whereby air bubbles congregate in the tapered portion.
Some embodiments of this implementation may include one or more of the following features. Wherein the disposable housing assembly further includes a membrane assembly, the membrane assembly connected to the reservoir wherein the membrane assembly forms a portion of the reservoir. Wherein the disposable housing assembly further includes a septum assembly, the septum assembly formed on the membrane assembly. Wherein the disposable housing assembly further includes a septum assembly, the septum assembly connected to the reservoir. Wherein the disposable housing assembly further includes a vent, wherein the vent further comprising a filter.
In accordance with one implementation, a fluid connector assembly is disclosed. The fluid connector assembly includes a body portion, a plug receiver portion located on the body portion, the plug receiver portion including a fluid path and configured to receive a plug on a reservoir, and a tubing, a first end of the tubing fluidly connected to the plug receiver portion fluid path.
Some embodiments of this implementation may include one or more of the following features. Wherein the body portion further includes an indent wherein the indent configured to interact with a reusable portion of an infusion pump. Wherein a second end of the tubing connected to a cannula assembly. Wherein the body portion further includes a tapered tubing opening, the first end of the tubing connecting to the tapered tubing opening. Wherein a first end of the body portion further comprising a locked icon. Wherein the underside of the body portion comprising a core. Wherein the core comprising an identification tag. Wherein the body portion comprising an identification tag. Wherein the identification tag is an RFID tag. Wherein the identification tag is a near-field communication readable RFID.
In accordance with one implementation, a clip assembly is disclosed. The clip assembly includes a clip portion and a clip housing portion. The clip housing portion includes a front portion and a back portion. The back portion includes at least one protrusion and at least one clip feature, wherein the at least one clip feature secures the clip portion onto the back portion of the housing portion.
The details of one or more embodiments are set forth in the accompanying drawings and the description below. Other features and advantages will become apparent from the description, the drawings, and the claims.
BRIEF DESCRIPTION OF THE DRAWINGS
FIG. 1 is a side view of an infusion pump assembly;
FIG. 2 is a perspective view of the infusion pump assembly ofFIG. 1;
FIG. 3 is an exploded view of various components of the infusion pump assembly ofFIG. 1;
FIG. 4 is a cross-sectional view of the disposable housing assembly of the infusion pump assembly ofFIG. 1;
FIGS. 5A-5C are cross-sectional views of an embodiment of a septum access assembly;
FIGS. 6A-6B are cross-sectional views of another embodiment of a septum access assembly;
FIGS. 7A-7B are partial top views of another embodiment of a septum access assembly;
FIGS. 8A-8B are cross-sectional views of another embodiment of a septum access assembly;
FIG. 9 is a perspective view of the infusion pump assembly ofFIG. 1 showing an external infusion set;
FIGS. 10A-10E depict a plurality of hook-and-loop fastener configurations;
FIG. 11A is an isometric view of a remote control assembly and an alternative embodiment of the infusion pump assembly ofFIG. 1;
FIGS. 11B-11R depicts various views of high level schematics and flow charts of the infusion pump assembly ofFIG. 1;
FIGS. 12A-12F is a plurality of display screens rendered by the remote control assembly ofFIG. 11A;
FIG. 13 is an isometric view of an alternative embodiment of the infusion pump assembly ofFIG. 1;
FIG. 14 is an isometric view of the infusion pump assembly ofFIG. 13;
FIG. 15 is an isometric view of the infusion pump assembly ofFIG. 13;
FIG. 16 is an isometric view of an alternative embodiment of the infusion pump assembly ofFIG. 1;
FIG. 17 is an plan view of the infusion pump assembly ofFIG. 16;
FIG. 18 is a plan view of the infusion pump assembly ofFIG. 16;
FIG. 19A is an exploded view of various components of the infusion pump assembly ofFIG. 16;
FIG. 19B is an isometric view of a portion of the infusion pump assembly ofFIG. 16;
FIG. 20 is a cross-sectional view of the disposable housing assembly of the infusion pump assembly ofFIG. 16;
FIG. 21 is a diagrammatic view of a fluid path within the infusion pump assembly ofFIG. 16;
FIGS. 22A-22C are diagrammatic views of a fluid path within the infusion pump assembly ofFIG. 16;
FIG. 23 is an exploded view of various components of the infusion pump assembly ofFIG. 16;
FIG. 24 is a cutaway isometric view of a pump assembly of the infusion pump assembly ofFIG. 16;
FIGS. 25A-25D are other isometric views of the pump assembly ofFIG. 24;
FIG. 26A-26B are isometric views of a measurement valve assembly of the infusion pump assembly ofFIG. 16;
FIG. 27A-27B are side views of the measurement valve assembly ofFIGS. 26A-26B;
FIGS. 28A-28D are views of a measurement valve assembly of the infusion pump assembly ofFIG. 16;
FIG. 29 is an isometric view of an alternative embodiment of the infusion pump assembly ofFIG. 1;
FIG. 30 is an isometric view of an alternative embodiment of the infusion pump assembly ofFIG. 1;
FIG. 31 is another view of the alternative embodiment infusion pump assembly ofFIG. 9;
FIG. 32 is an exploded view of another embodiment of an infusion pump assembly;
FIG. 33 is another exploded view of the infusion pump assembly ofFIG. 32;
FIGS. 34A-34B depict another embodiment of an infusion pump assembly;
FIGS. 35A-35C are a top view, side view, and bottom view of a reusable housing assembly of the infusion pump assembly ofFIG. 32;
FIG. 36 is an exploded view of the reusable housing assembly ofFIGS. 35A-35C;
FIG. 37 is an exploded view of the reusable housing assembly ofFIGS. 35A-35C;
FIG. 38A is an exploded view of the reusable housing assembly ofFIGS. 35A-35C;
FIG. 38B-38D are top, side and bottom views of one embodiment of a dust cover;
FIGS. 39A-39C are a top view, side view, and bottom view of an electrical control assembly of the reusable housing assembly ofFIGS. 35A-35C;
FIGS. 40A-40C are a top view, side view, and bottom view of a base plate of the reusable housing assembly ofFIGS. 35A-35C;
FIGS. 41A-41B are a perspective top view and a perspective bottom view of the base plate ofFIGS. 40A-40C;
FIGS. 42A-42C are a top view, side view, and bottom view of a base plate of the reusable housing assembly ofFIGS. 35A-35C;
FIGS. 43A-43B depict a mechanical control assembly of the reusable housing assembly ofFIGS. 35A-35C;
FIGS. 44A-44C depict the mechanical control assembly of the reusable housing assembly ofFIGS. 35A-35C;
FIGS. 45A-45B depict the pump plunger and reservoir valve of the mechanical control assembly of the reusable housing assembly ofFIGS. 35A-35C;
FIGS. 46A-46E depict various views of the plunger pump and reservoir valve of the mechanical control assembly of the reusable housing assembly ofFIGS. 35A-35C;
FIGS. 47A-47B depict the measurement valve of the mechanical control assembly of the reusable housing assembly ofFIGS. 35A-35C;
FIG. 48 is an exploded view of the disposable housing assembly of the infusion pump assembly ofFIG. 32;
FIG. 49A is a plan view of the disposable housing assembly ofFIG. 48;
FIG. 49B is a sectional view of the disposable housing assembly ofFIG. 49A taken along line B-B;
FIG. 49C is a sectional view of the disposable housing assembly ofFIG. 49A taken along line C-C;
FIGS. 50A-50C depict the base portion of the disposable housing assembly ofFIG. 48;
FIGS. 51A-51C depict the fluid pathway cover of the disposable housing assembly ofFIG. 48;
FIGS. 52A-52C depict the membrane assembly of the disposable housing assembly ofFIG. 48;
FIGS. 53A-53C depict the top portion of the disposable housing assembly ofFIG. 48;
FIGS. 54A-54C depict the valve membrane insert of the disposable housing assembly ofFIG. 48;
FIGS. 55A-55B depict the locking ring assembly of the infusion pump assembly ofFIG. 32;
FIG. 56A-56C depict the locking ring assembly of the infusion pump assembly ofFIG. 32;
FIGS. 57-58 is an isometric view of an infusion pump assembly and a fill adapter;
FIGS. 59-64 are various views of the fill adapter ofFIG. 57;
FIG. 65 is an isometric view of another embodiment of a fill adapter;
FIGS. 66-67 depict an infusion pump assembly and another embodiment of a fill adapter;
FIGS. 68-74 are various views of the fill adapter ofFIG. 66;
FIGS. 75-80 depict various views of an embodiment of a battery charger;
FIGS. 81-89B depict various embodiments of battery chargers/docking stations;
FIGS. 90A-90C are various views of a volume sensor assembly included within the infusion pump assembly ofFIG. 1;
FIGS. 91A-91I are various views of a volume sensor assembly included within the infusion pump assembly ofFIG. 1;
FIGS. 92A-92I are various views of a volume sensor assembly included within the infusion pump assembly ofFIG. 1;
FIGS. 93A-93I are various views of a volume sensor assembly included within the infusion pump assembly ofFIG. 1;
FIGS. 94A-94F are various views of a volume sensor assembly included within the infusion pump assembly ofFIG. 1;
FIG. 95 is an exploded view of a volume sensor assembly included within the infusion pump assembly ofFIG. 1;
FIG. 96 is a diagrammatic view of a volume sensor assembly included within the infusion pump assembly ofFIG. 1;
FIG. 97 is a two-dimensional graph of a performance characteristic of the volume sensor assembly ofFIG. 96;
FIG. 98 is a two-dimensional graph of a performance characteristic of the volume sensor assembly ofFIG. 96;
FIG. 99 is a two-dimensional graph of a performance characteristic of the volume sensor assembly ofFIG. 96;
FIG. 100 is a diagrammatic view of a volume sensor assembly included within the infusion pump assembly ofFIG. 1;
FIG. 101 is a two-dimensional graph of a performance characteristic of the volume sensor assembly ofFIG. 100;
FIG. 102 is a two-dimensional graph of a performance characteristic of the volume sensor assembly ofFIG. 100;
FIG. 103 is a diagrammatic view of a volume sensor assembly included within the infusion pump assembly ofFIG. 1;
FIG. 104 is a two-dimensional graph of a performance characteristic of a volume sensor assembly included within the infusion pump assembly ofFIG. 1;
FIG. 105 is a two-dimensional graph of a performance characteristic of a volume sensor assembly included within the infusion pump assembly ofFIG. 1;
FIG. 106 is a two-dimensional graph of a performance characteristic of a volume sensor assembly included within the infusion pump assembly ofFIG. 1;
FIG. 107 is a two-dimensional graph of a performance characteristic of a volume sensor assembly included within the infusion pump assembly ofFIG. 1;
FIG. 108 is a two-dimensional graph of a performance characteristic of a volume sensor assembly included within the infusion pump assembly ofFIG. 1;
FIG. 109 is a diagrammatic view of a control model for a volume sensor assembly included within the infusion pump assembly ofFIG. 1;
FIG. 110 is a diagrammatic view of an electrical control assembly for the volume sensor assembly included within the infusion pump assembly ofFIG. 1;
FIG. 111 is a diagrammatic view of a volume controller for the volume sensor assembly included within the infusion pump assembly ofFIG. 1;
FIG. 112 is a diagrammatic view of a feed forward controller of the volume controller ofFIG. 111;
FIGS. 113-114 diagrammatically depicts an implementation of an SMA controller of the volume controller ofFIG. 111;
FIG. 114A-114B is an alternate implementation of an SMA controller;
FIG. 115 diagrammatically depicts a multi-processor control configuration that may be included within the infusion pump assembly ofFIG. 1;
FIG. 116 is a diagrammatic view of a multi-processor control configuration that may be included within the infusion pump assembly ofFIG. 1;
FIG. 117A-117B diagrammatically depicts multi-processor functionality;
FIG. 118 diagrammatically depicts multi-processor functionality;
FIG. 119 diagrammatically depicts multi-processor functionality;
FIG. 120A graphically depicts various software layers;
FIGS. 120B-120C depict various state diagrams;
FIG. 120D graphically depicts device interaction;
FIG. 120E graphically depicts device interaction;
FIG. 121 diagrammatically depicts a volume sensor assembly included within the infusion pump assembly ofFIG. 1;
FIG. 122 diagrammatically depicts an inter-connection of the various systems of the infusion pump assembly ofFIG. 1;
FIG. 123 diagrammatically depicts basal-bolus infusion events;
FIG. 124 diagrammatically depicts basal-bolus infusion events;
FIG. 125A-125G depicts a hierarchal state machine;
FIG. 126A-126M depicts a hierarchal state machine;
FIG. 127 is an exemplary diagram of a split ring resonator antenna;
FIG. 128 is an exemplary diagram of a medical device configured to utilize a split ring resonator antenna;
FIG. 129 is an exemplary diagram of a split ring resonator antenna and transmission line from a medical infusion device;
FIG. 130 is a graph of the return loss of a split ring resonator antenna prior to contact with human skin;
FIG. 130A is a graph of the return loss of a split ring resonator antenna during contact with human skin;
FIG. 131 is an exemplary diagram of a split ring resonator antenna integrated into a device which operates within close proximity to dielectric material;
FIG. 132 is a diagram of the dimensions of the inner and outer portion of the exemplary embodiment;
FIG. 133 is a graph of the return loss of a non-split ring resonator antenna prior to contact with human skin;
FIG. 133A is a graph of the return loss of a non-split ring resonator antenna during contact with human skin;
FIGS. 134A-134C shows a top, cross sectional, taken at cross section “B”, and isometric view of one embodiment of a top portion of a disposable housing assembly;
FIGS. 135A-135B shows top and cross sectional views, taken at cross section “B”, of one embodiment of a top portion of a disposable housing assembly;
FIG. 136 shows a partially exploded view of one embodiments of the reusable housing assembly together with one embodiment of the disposable housing assembly with icons;
FIG. 137 shows a cross sectional view taken along “A” showing the reusable housing assembly orientated above the disposable housing assembly in an unlocked orientation;
FIG. 138 shows a cross sectional view taken along “A” showing the reusable housing assembly attached to the disposable housing assembly in an unlocked position;
FIG. 139 shows a cross sectional view taken along “A” showing the reusable housing assembly attached to the disposable housing assembly in a locked position;
FIG. 140A shows an isometric view of one embodiment of the reusable housing assembly and one embodiment of the dust cover;
FIG. 140B is a top view of one embodiment of the dust cover;
FIG. 140C is a cross sectional view taken at “C” as shown inFIG. 140B;
FIG. 140D is a cut-away cross-sectional view of section “D” as shown inFIG. 140C;
FIG. 141A is a view of one embodiment of a disposable housing assembly;
FIG. 141B is a magnified cut away view ofFIG. 141A as indicated by “B”;
FIG. 142A is a top view of one embodiments of a disposable housing assembly;
FIG. 142B is a magnified cut away view ofFIG. 142A as indicated by “B”;
FIG. 142C is a magnified cut away view ofFIG. 142A as indicated by “C”;
FIG. 143A is a top view of one embodiment of the disposable housing assembly;
FIG. 143B is a cross sectional view of one embodiment of the disposable housing assembly, taken at “B” as indicated onFIG. 143A;
FIG. 144A is an isometric view of one embodiment of the disposable housing assembly;
FIG. 144B is a magnified cut away sectional view of section “B” as indicated inFIG. 144A;
FIG. 144C is a top view of one embodiment of the disposable housing assembly;
FIG. 144D is a magnified cut away sectional view of section “D” as indicated inFIG. 144C;
FIG. 144E is an illustrated view of a cross section of the bubble trap according to one embodiment;
FIG. 145 is a graph of delivery volume versus pump actuation time for an embodiment of the pump system;
FIG. 146 is a graph of one embodiment of the optical sensor output as a function of reflector distance;
FIG. 147 is an illustration of various locations of optical sensors in one embodiment of an infusion pump assembly;
FIG. 148A-148B is an embodiment of an optical sensor assembly where148B is a magnified section view according to section “B” inFIG. 148A;
FIG. 149A-149B is an embodiment of an optical sensor assembly where149B is a magnified section view according to section “B” inFIG. 149A;
FIG. 150 is a schematic of one embodiment of the pump system;
FIG. 151 is a schematic of the pump plunger drive electronics according to one embodiment;
FIG. 152 is a graph of pump plunger target position versus volume delivered according to one embodiment;
FIG. 153 is a schematic of a model of the pump plunger as a gain element with a dead band and saturation limit according to one embodiment;
FIG. 154A is a schematic of the SMA power controller according to one embodiment;
FIG. 154B is a graph of time versus pump plunger position according to one embodiment;
FIG. 154C is a graph of time versus duty cycle according to one embodiment;
FIG. 155 is a schematic representation of sampling time;
FIG. 156 is a graph of time versus pump plunger position according to one embodiment;
FIG. 157 is a graph of time versus measurement valve position according to one embodiment;
FIG. 158 is a schematic SMA switch monitoring according to one embodiment;
FIG. 159A is a graph of delivery number versus position according to one embodiment;
FIG. 159B is a graph of delivery number versus trajectory error according to one embodiment;
FIG. 160 is a flow chart of the delivery controller according to one embodiment;
FIG. 161 is a flow chart of the inner voltage and outer volume feedback controller according to one embodiment;
FIG. 162 is a flow chart of the volume controller architecture according to one embodiment;
FIG. 163 is a flow chart of one embodiment of the volume delivery controller feed-forward;
FIG. 164 is a flow chart of one embodiment of the discontinuous leak check;
FIG. 165 is a flow chart of one embodiment of at least a portion of a start-up integrity test;
FIG. 166 is a flow chart of one embodiment of at least a portion of a start-up integrity test;
FIG. 167 is a flow chart of one embodiment of at least a portion of a start-up integrity test;
FIG. 168 is a graph of the pump plunger target position versus the volume delivered according to one embodiment;
FIG. 169 is a graph of valve position versus the volume pumped according to one embodiment;
FIG. 170 is a graph of a pump plunger target position versus the volume delivered according to one embodiment;
FIG. 171 is a flow chart of the volume controller architecture according to one embodiment;
FIG. 172 is a flow chart of the inner voltage and outer volume feedback controller according to one embodiment;
FIGS. 173A-173B are views of a reservoir membrane according to one embodiment;
FIGS. 174A-174D are sections views of a reservoir membrane according to one embodiment;
FIG. 175 is a view of the actuator assembly according to one embodiment;
FIG. 176A is a view of the actuator assembly according to one embodiment;
FIG. 176B is a view of the actuator assembly according to one embodiment;
FIGS. 177A-177B are views of the actuator assembly according to one embodiment;
FIGS. 178A-178B are views of the actuator assembly according to one embodiment;
FIGS. 179A-179B are views of the actuator assembly according to one embodiment;
FIG. 180 is a view of the actuator assembly according to one embodiment;
FIGS. 181-184 show various views of various embodiments of the configuration of the measurement valve and the shape memory alloy configurations;
FIGS. 185A-185B show views of one embodiment of the disposable packaging according to one embodiment;
FIGS. 186A-186B show views of one embodiment of the disposable packaging according to one embodiment;
FIGS. 187A-187J show views of one embodiment of the disposable packaging according to one embodiment;
FIG. 188 is one embodiment of a two pump system;
FIG. 189A is an illustration of the resting state of one embodiment of a pump system;
FIG. 189B is an illustration of the fill state of one embodiment of a pump system;
FIG. 189C is an illustration of the delivery state of one embodiment of a pump system;
FIG. 190 shows one embodiments of a disposable housing assembly having a luer connector;
FIG. 191 shows one embodiment of a locking ring on a disposable housing assembly;
FIG. 192 shows one embodiment of a charger with charging pins;
FIG. 193A shows one embodiment of a pump assembly;
FIG. 193B shows an illustration of the embodiment shown inFIG. 193A;
FIG. 194 shows an illustration of one embodiment of a locking ring spring latch;
FIG. 195 shows an illustration of one embodiment of disposable detection system;
FIG. 196 is an illustrative view of one embodiment of a system to determine initial reservoir volume after fill;
FIG. 197 is an illustrative view of one embodiment of a reservoir;
FIG. 198 is an illustrative view of one embodiment of a tubing connection to the disposable housing assembly;
FIG. 199 is an illustrative view of one embodiment of a tubing connector to the disposable housing assembly;
FIGS. 200A-200B are illustrative views of one embodiment of a tubing connector to the disposable housing assembly;
FIGS. 201A-201B are illustrative views of one embodiment of a tubing connector to the disposable housing assembly;
FIG. 202 is an illustrative view of one embodiment of a tubing connector to the disposable housing assembly;
FIGS. 203A-203 B are illustrative views of one embodiment of a tubing connector to the disposable housing assembly;
FIGS. 204A-204C are illustrative views of one embodiment of a tubing connector to the disposable housing assembly;
FIG. 205 is an illustrative view of an embodiment of a tubing connection to a connector;
FIG. 206 is a view of one embodiment of a connector attached to a tubing;
FIG. 207 is a view of one embodiment of a connector attached to a tubing, which is attached to a cannula;
FIG. 208 is a view of one embodiment of a connector attached to a tubing, which is attached to a cannula, and a disposable housing assembly, according to one embodiment;
FIG. 209 is a view of one embodiment of the connector shown inFIGS. 206-208, connected to an embodiment of a disposable housing assembly;
FIG. 210 is a view of one embodiment of the connector shown inFIGS. 206-208, connected to an embodiment of a disposable housing assembly;
FIGS. 211-217 are illustrative views of various embodiments of plugs;
FIGS. 218A-218C are various views of an embodiment of a connector;
FIGS. 219A-219M are views of an embodiment of a connector in various stages of interacting with an embodiment of the disposable housing assembly such that the connector is attached to the disposable housing assembly;
FIGS. 220A-220J are views of an embodiment of the connector which is connected to a disposable housing assembly, and an embodiment of a reusable housing assembly in various stages of rotatably connecting to the disposable housing assembly;
FIG. 221 is a partial view of one embodiment of a disposable housing assembly;
FIG. 222 is a partial view of one embodiment of a disposable housing assembly including a finger cut-out;
FIG. 223A is a exploded view of the swivel connector and the stopcock style valve, according to one embodiment;
FIG. 223B is an assembled view of the swivel connector and the stopcock style valve, according to one embodiment;
FIG. 224 is a view of the latching connector attached to a disposable housing assembly according to one embodiment;
FIG. 225A is a view of one embodiment of a perimeter connector attached to a disposable housing assembly, according to one embodiment;
FIG. 225B is an illustrated exploded view of a perimeter connector and a disposable housing assembly, according to one embodiment;
FIG. 226 is an illustrated partially exploded view of a perimeter connector and a disposable housing assembly, according to one embodiment;
FIGS. 227A-227C are views of the assembly of one embodiment of a folding snap connector being attached to one embodiments of the disposable housing assembly;
FIG. 228A is an exploded view of one embodiment of a perimeter connector and one embodiment of a disposable housing assembly;
FIG. 228B is a view of one embodiments of the perimeter connector shown inFIG. 228A attaching to the disposable housing assembly shown inFIG. 228A;
FIG. 229 shows one embodiment of a connected being attached to an embodiment of a disposable housing assembly;
FIG. 230 shows one embodiment of a connected being attached to an embodiment of a disposable housing assembly;
FIG. 231A-231D are various views of an embodiment of a pinch connector, tubing set and a disposable housing assembly, according to one embodiment;
FIG. 231E is a cross sectional view of one embodiment of a pinch connector connected to an embodiment of the disposable housing assembly;
FIG. 232A-232D are various views of an embodiment of a top down connector, tubing set and a disposable housing assembly, according to one embodiment;
FIG. 232E is a cross sectional view of one embodiment of a top down connector connected to an embodiment of the disposable housing assembly;
FIG. 233A-233F are various views of an embodiment of a connector, tubing set and a disposable housing assembly, according to one embodiment;
FIG. 233G is a cross sectional view of one embodiment of a connector connected to an embodiment of the disposable housing assembly;
FIG. 234A-234F are various views of an embodiment of a connector, tubing set and a disposable housing assembly, according to one embodiment;
FIG. 234G is a cross sectional view of one embodiment of a connector connected to an embodiment of the disposable housing assembly;
FIGS. 235A-235C are views of an embodiment of a connector;
FIG. 235D is a view of an embodiment of a disposable housing assembly;
FIG. 235E is a sectional view of section “A” fromFIG. 235D;
FIGS. 236A-236H are various views of an embodiment of a connector, tubing set and a disposable housing assembly, according to one embodiment;
FIGS. 236I-236K are various views of an embodiment of a connector;
FIG. 236L is a cut-away views of a connector connected to a disposable housing assembly according to one embodiment;
FIGS. 236M-236P are various views of a connector connected to a disposable housing assembly according to one embodiment;
FIGS. 236Q-236R are views of a connector partially connected to a disposable housing assembly according to one embodiment;
FIGS. 236S-236T are views of a connector connected to a disposable housing assembly according to one embodiment;
FIG. 237 is a bottom view of one embodiment of a connector connected to one embodiment of a disposable housing assembly, the connector including an RFID tag;
FIG. 238 is an exploded view of an embodiment of a disposable housing assembly and an embodiment of connector, tubing and cannula assembly;
FIG. 239 is a cross sectional view of one section of the reusable housing assembly connected with the disposable housing assembly, according to one embodiment;
FIG. 240 is an exploded view of one embodiment of the volume measurement sensor;
FIGS. 241A and 241B are views of the actuator assembly according to one embodiment;
FIGS. 242 and 243 are views of the measurement valve assembly according to one embodiment;
FIG. 244A is a top view of one embodiment of the disposable housing assembly;
FIG. 244B is a sectional view, taken from section “B” shown onFIG. 244A, of one embodiment of the disposable housing assembly;
FIG. 245A is a partial cross sectional view of the disposable housing assembly according to one embodiment;
FIG. 245B is a partial cross section view of the disposable housing assembly and reusable housing assembly engaged, according to one embodiment;
FIG. 246A is a view of the inside of the reusable housing assembly cover according to one embodiment;
FIG. 246B is a section view of section “A” ofFIG. 246A;
FIGS. 247A-247C are various views of one embodiment of a clip assembly;
FIG. 248 is a bottom view of one embodiment of the housing of a clip assembly;
FIGS. 249A-249D are various views of one embodiment of the clip portion;
FIG. 250 is a view of one embodiment of the disposable housing assembly;
FIG. 251 is a detail view of one section of the disposable housing assembly shown inFIG. 250;
FIG. 252 is a view of one embodiment of the disposable housing assembly;
FIG. 253 is a cross-sectional view of section “B” shown inFIG. 252;
FIG. 254 is a view of one embodiment of the disposable housing assembly;
FIG. 255 is a detail view of one section of the disposable housing assembly shown inFIG. 254;
FIGS. 256A-256C are various views of embodiments of a plug;
FIG. 256D is a partial view of one embodiment of the exit of a disposable housing assembly;
FIG. 257A is a views of one embodiments of a connector;
FIG. 257B is a cross sectional view of one embodiment of the plug shown inFIG. 257A;
FIG. 258A is a views of one embodiments of a connector;
FIG. 258B is a cross sectional view of one embodiment of the plug shown inFIG. 258A;
FIG. 259A is a view of one embodiment of a connector;
FIG. 259B is a cross sectional view of one embodiment of the plug shown inFIG. 259A;
FIG. 259C is a partial view of an embodiment of a connector;
FIGS. 260A-260G are various views of one embodiment of a connector;
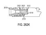
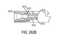
FIGS. 261A-262K are various views of one embodiment of a connector;
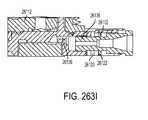
FIGS. 263A-263I are various views of one embodiment of a connector together with one embodiment of a disposable housing assembly;
FIGS. 264A-264B are various views of an embodiment of a clip assembly; and
FIG. 265 is an exploded view of one embodiment of a clip assembly.
Like reference symbols in the various drawings indicate like elements.
DETAILED DESCRIPTION
Referring toFIGS. 1-3, aninfusion pump assembly100 may include areusable housing assembly102.Reusable housing assembly102 may be constructed from any suitable material, such as a hard or rigid plastic, that will resist compression. For example, use of durable materials and parts may improve quality and reduce costs by providing a reusable portion that lasts longer and is more durable, providing greater protection to components disposed therein.
Reusable housing assembly102 may includemechanical control assembly104 having apump assembly106 and at least onevalve assembly108.Reusable housing assembly102 may also includeelectrical control assembly110 configured to provide one or more control signals tomechanical control assembly104 and effectuate the basal and/or bolus delivery of an infusible fluid to a user.Disposable housing assembly114 may includevalve assembly108 which may be configured to control the flow of the infusible fluid through a fluid path.Reusable housing assembly102 may also includepump assembly106 which may be configured to pump the infusible fluid from the fluid path to the user.
Electrical control assembly110 may monitor and control the amount of infusible fluid that has been and/or is being pumped. For example,electrical control assembly110 may receive signals fromvolume sensor assembly148 and calculate the amount of infusible fluid that has just been dispensed and determine, based upon the dosage required by the user, whether enough infusible fluid has been dispensed. If enough infusible fluid has not been dispensed,electrical control assembly110 may determine that more infusible fluid should be pumped.Electrical control assembly110 may provide the appropriate signal tomechanical control assembly104 so that any additional necessary dosage may be pumped orelectrical control assembly110 may provide the appropriate signal tomechanical control assembly104 so that the additional dosage may be dispensed with the next dosage. Alternatively, if too much infusible fluid has been dispensed,electrical control assembly110 may provide the appropriate signal tomechanical control assembly104 so that less infusible fluid may be dispensed in the next dosage.
Mechanical control assembly104 may include at least one shape-memory actuator112.Pump assembly106 and/orvalve assembly108 ofmechanical control assembly104 may be actuated by at least one shape-memory actuator, e.g., shape-memory actuator112, which may be a shape-memory wire in wire or spring configuration.Shape memory actuator112 may be operably connected to and activated byelectrical control assembly110, which may control the timing and the amount of heat and/or electrical energy used to actuatemechanical control assembly104.Shape memory actuator112 may be, for example, a conductive shape-memory alloy wire that changes shape with temperature. The temperature of shape-memory actuator112 may be changed with a heater, or more conveniently, by application of electrical energy.Shape memory actuator112 may be a shape memory wire constructed of nickel/titanium alloy, such as NITINOL™ or FLEXINOL®.
Infusion pump assembly100 may include avolume sensor assembly148 configured to monitor the amount of fluid infused byinfusion pump assembly100. For example,volume sensor assembly148 may employ, for example, acoustic volume sensing. Acoustic volume measurement technology is the subject of U.S. Pat. Nos. 5,575,310 and 5,755,683 assigned to DEKA Products Limited Partnership, as well as U.S. patent application Publication Nos. US 2007/0228071 A1, US 2007/0219496 A1, US 2007/0219480 A1, US 2007/0219597 A1, the entire disclosures of all of which are incorporated herein by reference. Other alternative techniques for measuring fluid flow may also be used; for example, Doppler-based methods; the use of Hall-effect sensors in combination with a vane or flapper valve; the use of a strain beam (for example, related to a flexible member over a fluid reservoir to sense deflection of the flexible member); the use of capacitive sensing with plates; or thermal time of flight methods. One such alternative technique is disclosed in U.S. patent application Ser. No. 11/704,899 filed Feb. 9, 2007, now U.S. Publication No. US-2007-0228071-A1 published Oct. 4, 2007 and entitled Fluid Delivery Systems and Methods, the entire disclosure of which is incorporated herein by reference.Infusion pump assembly100 may be configured so that the volume measurements produced byvolume sensor assembly148 may be used to control, through a feedback loop, the amount of infusible fluid that is infused into the user.
Infusion pump assembly100 may further include adisposable housing assembly114. For example,disposable housing assembly114 may be configured for a single use or for use for a specified period of time, e.g., three days or any other amount of time.Disposable housing assembly114 may be configured such that any components ininfusion pump assembly100 that come in contact with the infusible fluid are disposed on and/or withindisposable housing assembly114. For example, a fluid path or channel including a reservoir, may be positioned withindisposable housing assembly114 and may be configured for a single use or for a specified number of uses before disposal. The disposable nature ofdisposable housing assembly114 may improve sanitation ofinfusion pump assembly100.
Referring also toFIG. 4,disposable housing assembly114 may be configured to releasably engagereusable housing assembly102, and includes acavity116 that has areservoir118 for receiving an infusible fluid (not shown), e.g., insulin. Such releasable engagement may be accomplished by a screw-on, a twist-lock or a compression fit configuration, for example.Disposable housing assembly114 and/orreusable housing assembly102 may include an alignment assembly configured to assist in aligningdisposable housing assembly114 andreusable housing assembly102 for engagement in a specific orientation. Similarly,base nub120 andtop nub122 may be used as indicators of alignment and complete engagement.
Cavity116 may be at least partially formed by and integral todisposable housing assembly114.Cavity116 may include amembrane assembly124 for at least partially definingreservoir118.Reservoir118 may be further defined bydisposable housing assembly114, e.g., by arecess126 formed inbase portion128 ofdisposable housing assembly114. For example,membrane assembly124 may be disposed overrecess126 and attached tobase portion128, thereby formingreservoir118.Membrane assembly124 may be attached tobase portion128 by conventional means, such as gluing, heat sealing, and/or compression fitting, such that aseal130 is formed betweenmembrane assembly124 andbase portion128.Membrane assembly124 may be flexible and the space formed betweenmembrane assembly124 andrecess126 inbase portion128 may definereservoir118.Reservoir118 may be non-pressurized and in fluid communication with a fluid path (not shown).Membrane assembly124 may be at least partially collapsible andcavity116 may include a vent assembly, thereby advantageously preventing the buildup of a vacuum inreservoir118 as the infusible fluid is delivered fromreservoir118 to the fluid path. In a preferred embodiment,membrane assembly124 is fully collapsible, thus allowing for the complete delivery of the infusible fluid.Cavity116 may be configured to provide sufficient space to ensure there is always some air space even whenreservoir118 is filled with infusible fluid.
The membranes and reservoirs described herein may be made from materials including but not limited to silicone, NITRILE, butyl rubber, SANTOPRENE, thermal plastic elastomers (TPE), styrene ethylene butylene styrene (SEBS) and/or any other material having desired resilience and properties for functioning as described herein. Additionally, other structures could serve the same purpose.
The use of a partially collapsible non pressurized reservoir may advantageously prevent the buildup of air in the reservoir as the fluid in the reservoir is depleted. Air buildup in a vented reservoir could prevent fluid egress from the reservoir, especially if the system is tilted so that an air pocket intervenes between the fluid contained in the reservoir and the septum of the reservoir. Tilting of the system is expected during normal operation as a wearable device.
Reservoir118 may be conveniently sized to hold an insulin supply sufficient for delivery over one or more days. For example,reservoir118 may hold about 1.00 to 3.00 ml of insulin. A 3.00 ml insulin reservoir may correspond to approximately a three day supply for about 90% of potential users. In other embodiments,reservoir118 may be any size or shape and may be adapted to hold any amount of insulin or other infusible fluid. In some embodiments, the size and shape ofcavity116 andreservoir118 is related to the type of infusible fluid thatcavity116 andreservoir118 are adapted to hold.
Disposable housing assembly114 may include a support member132 (FIG. 3) configured to prevent accidental compression ofreservoir118. Compression ofreservoir118 may result in an unintentional dosage of infusible fluid being forced through the fluid path to the user. In a preferred embodiment,reusable housing assembly102 anddisposable housing assembly114 may be constructed of a rigid material that is not easily compressible. However, as an added precaution,support member132 may be included withindisposable housing assembly114 to prevent compression ofinfusion pump assembly100 andcavity116 therein.Support member132 may be a rigid projection frombase portion128. For example,support member132 may be disposed withincavity116 and may prevent compression ofreservoir118.
As discussed above,cavity116 may be configured to provide sufficient space to ensure there is always some air space even whenreservoir118 is filled with infusible fluid. Accordingly, in the event thatinfusion pump assembly100 is accidentally compressed, the infusible fluid may not be forced through cannula assembly136 (e.g., shown inFIG. 9).
Cavity116 may include a septum assembly146 (FIG. 3) configured to allowreservoir118 to be filled with the infusible fluid.Septum assembly146 may be a conventional septum made from rubber or plastic and have a one-way fluid valve configured to allow a user to fillreservoir118 from a syringe or other filling device. In some embodiments,septum146 may be located on the top ofmembrane assembly124. In these embodiments,cavity116 may include a support structure (e.g.,support member132 inFIG. 3) for supporting the area about the back side of the septum so as to maintain the integrity of the septum seal when a needle is introducing infusible fluid intocavity116. The support structure may be configured to support the septum while still allowing the introduction of the needle for introducing infusible fluid intocavity116.
Referring also toFIGS. 134A-135B, embodiments of atop portion2962 of the disposable housing assembly are shown.Top portion2962 is shown inFIG. 134A, with the cross sectional view, taken at “B”, shown inFIG. 134B.Septum assembly2964 is shown. In some embodiments, theseptum assembly2964 includes a tunnel feature which may, in some embodiments, serves as a feature to press a needle (e.g., filling needle) against while not pressing full force directly onto theseptum2966. In some embodiments, as shown inFIGS. 134A-134C, theseptum2966 may be a separately molded part attached to the disposablehousing assembly portion2962, but separate from themembrane assembly902.
Referring now toFIGS. 135A-135B, another embodiment of aseptum assembly2968, part of atop portion2962 of the disposable housing assembly is shown. In this embodiment, theseptum2970 may be molded into themembrane assembly902.
In some embodiments of the various embodiments of theseptum assembly2964,2968, theseptum2970,2976 may be at a forty-five degree angle relative to thetop portion2962. In some embodiments, theseptum2970,2976 may be made from the same material as themembrane assembly902.
Infusion pump assembly100 may include an overfill prevention assembly (not shown) that may e.g., protrude intocavity116 and may e.g., prevent the overfilling ofreservoir118.
In some embodiments,reservoir118 may be configured to be filled a plurality of times. For example,reservoir118 may be refillable throughseptum assembly146. As infusible fluid may be dispensed to a user,electronic control assembly110 may monitor the fluid level of the infusible fluid inreservoir118. When the fluid level reaches a low point,electronic control assembly110 may provide a signal, such as a light or a vibration, to the user thatreservoir118 needs to be refilled. A syringe, or other filling device, may be used to fillreservoir118 throughseptum146.
Reservoir118 may be configured to be filled a single time. For example, a refill prevention assembly (not shown) may be utilized to prevent the refilling ofreservoir118, such thatdisposable housing assembly114 may only be used once. The refill prevention assembly (not shown) may be a mechanical device or an electro-mechanical device. For example, insertion of a syringe intoseptum assembly146 for fillingreservoir118 may trigger a shutter to close overseptum146 after a single filling, thus preventing future access toseptum146. Similarly, a sensor may indicate toelectronic control assembly110 thatreservoir118 has been filled once and may trigger a shutter to close overseptum146 after a single filling, thus preventing future access toseptum146. Other means of preventing refilling may be utilized and are considered to be within the scope of this disclosure.
As discussed above,disposable housing assembly114 may includeseptum assembly146 that may be configured to allowreservoir118 to be filled with the infusible fluid.Septum assembly146 may be a conventional septum made from rubber or any other material that may function as a septum, or, in other embodiments,septum assembly146 may be, but is not limited to, a plastic, or other material, one-way fluid valve. In various embodiments, including the exemplary embodiment,septum assembly146 is configured to allow a user to fillreservoir118 from a syringe or other filling device.Disposable housing assembly114 may include a septum access assembly that may be configured to limit the number of times that the user may refillreservoir118.
For example and referring also toFIGS. 5A-5C,septum access assembly152 may includeshutter assembly154 that may be held in an “open” position by atab assembly156 that is configured to fit within aslot assembly158. Upon penetratingseptum146 with fillingsyringe160,shutter assembly154 may be displaced downward, resulting intab assembly156 disengaging fromslot assembly158. Once disengaged,spring assembly162 may displaceshutter assembly154 in the direction ofarrow164, resulting inseptum146 no longer being accessible to the user.
Referring also toFIG. 6A, an alternative-embodimentseptum access assembly166 is shown in the “open” position. In a fashion similar to that ofseptum access assembly152,septum access assembly166 includesshutter assembly168 andspring assembly170.
Referring also toFIG. 6B, an alternative-embodiment ofseptum access assembly172 is shown in the “open” position wheretab178 may engageslot180. In a fashion similar to that ofseptum access assembly166,septum access assembly172 may includeshutter assembly174 andspring assembly176. Onceshutter assembly172 moves to the “closed” position (e.g., which may prevent further access ofseptum146 by the user),tab178 may at least partially engage slot180a. Engagement betweentab178 and slot180amay lockshutter assembly172 in the “closed” position to inhibit tampering and reopening ofshutter assembly172.Spring tab182 ofshutter assembly172 may biastab178 into engagement with slot180a.
However, in various embodiments, septum access assemblies may not be actuated linearly. For example and referring also toFIGS. 7A-7B, there is shown alternative embodimentseptum access assembly184 that includesshutter assembly186 that is configured to pivot aboutaxis188. When positioned in the open position (as shown inFIG. 7A),septum146 may be accessible due to passage190 (in shutter assembly186) being aligned withpassage192 in e.g., a surface ofdisposable housing assembly114. However, in a fashion similar toseptum access assemblies166,172, upon penetratingseptum146 with filling syringe160 (SeeFIG. 6B),shutter assembly186 may be displaced in a clockwise fashion, resulting in passage190 (in shutter assembly186) no longer being aligned withpassage192 in e.g., a surface ofdisposable housing assembly114, thus preventing access toseptum146.
Referring also toFIGS. 8A-8B, an alternative-embodimentseptum access assembly194 is shown. In a fashion similar to that ofseptum access assemblies166,172,septum access assembly194 includesshutter assembly196 andspring assembly198 that is configured to biasshutter assembly196 in the direction ofarrow200. Fillingassembly202 may be used to fillreservoir118. Fillingassembly202 may includeshutter displacement assembly204 that may be configured to displaceshutter assembly196 in the direction ofarrow206, which in turn alignspassage208 inshutter assembly196 withseptum146 andpassage210 inseptum access assembly194, thus allowing fillingsyringe assembly212 to penetrateseptum146 and fillreservoir118.
Infusion pump assembly100 may include a sealing assembly150 (FIG. 3) configured to provide a seal betweenreusable housing assembly102 anddisposable housing assembly114. For example, whenreusable housing assembly102 anddisposable housing assembly114 are engaged by e.g. rotational screw-on engagement, twist-lock engagement or compression engagement,reusable housing assembly102 anddisposable housing assembly114 may fit together snuggly, thus forming a seal. In some embodiments, it may be desirable for the seal to be more secure. Accordingly, sealingassembly150 may include an o-ring assembly (not shown). Alternatively, sealingassembly150 may include an over molded seal assembly (not shown). The use of an o-ring assembly or an over molded seal assembly may make the seal more secure by providing a compressible rubber or plastic layer betweenreusable housing assembly102 anddisposable housing assembly114 when engaged thus preventing penetration by outside fluids. In some instances, the o-ring assembly may prevent inadvertent disengagement. For example, sealingassembly150 may be a watertight seal assembly and, thus, enable a user to wearinfusion pump assembly100 while swimming, bathing or exercising.
Referring also toFIG. 9,infusion pump assembly100 may include an external infusion set134 configured to deliver the infusible fluid to a user. External infusion set134 may be in fluid communication withcavity118, e.g. by way of the fluid path. External infusion set134 may be disposed adjacent toinfusion pump assembly100. Alternatively, external infusion set134 may be configured for application remote frominfusion pump assembly100, as discussed in greater detail below. External infusion set134 may include acannula assembly136, which may include a needle or adisposable cannula138, andtubing assembly140.Tubing assembly140 may be in fluid communication withreservoir118, for example, by way of the fluid path, and withcannula assembly138 for example, either directly or by way of acannula interface142.
External infusion set134 may be a tethered infusion set, as discussed above regarding application remote frominfusion pump assembly100. For example, external infusion set134 may be in fluid communication withinfusion pump assembly100 throughtubing assembly140, which may be of any length desired by the user (e.g., 3-18 inches). Thoughinfusion pump assembly100 may be worn on the skin of a user with the use ofadhesive patch144, the length oftubing assembly140 may enable the user to alternatively wearinfusion pump assembly100 in a pocket. This may be beneficial to users whose skin is easily irritated by application ofadhesive patch144. Similarly, wearing and/or securinginfusion pump assembly100 in a pocket may be preferable for users engaged in physical activity.
In addition to/as an alternative toadhesive patch144, a hook and loop fastener system (e.g. such as hook and loop fastener systems offered by Velcro USA Inc. of Manchester, N.H.) may be utilized to allow for easy attachment/removal of an infusion pump assembly (e.g., infusion pump assembly100) from the user. Accordingly,adhesive patch144 may be attached to the skin of the user and may include an outward facing hook or loop surface. Additionally, the lower surface ofdisposable housing assembly114 may include a complementary hook or loop surface. Depending upon the separation resistance of the particular type of hook and loop fastener system employed, it may be possible for the strength of the hook and loop connection to be stronger than the strength of the adhesive to skin connection. Accordingly, various hook and loop surface patterns may be utilized to regulate the strength of the hook and loop connection.
Referring also toFIGS. 10A-10E, five examples of such hook and loop surface patterns are shown. Assume for illustrative purposes that the entire lower surface ofdisposable housing assembly114 is covered in a “loop” material. Accordingly, the strength of the hook and loop connection may be regulated by varying the pattern (i.e., amount) of the “hook” material present on the surface ofadhesive patch144. Examples of such patterns may include but are not limited to: a singularouter circle220 of “hook” material (as shown inFIG. 10A); a plurality ofconcentric circles222,224 of “hook” material (as shown inFIG. 10B); a plurality ofradial spokes226 of “hook” material (as shown inFIG. 10C); a plurality ofradial spokes228 of “hook” material in combination with a singleouter circle230 of “hook” material (as shown inFIG. 10D); and a plurality ofradial spokes232 of “hook” material in combination with a plurality ofconcentric circles234,236 of “hook” material (as shown inFIG. 10E).
Additionally and referring also toFIG. 11A, in one exemplary embodiment of the above-described infusion pump assembly,infusion pump assembly100′ may be configured via aremote control assembly300. In this particular embodiment,infusion pump assembly100′ may include telemetry circuitry (not shown) that allows for communication (e.g., wired or wireless) betweeninfusion pump assembly100′ and e.g.,remote control assembly300, thus allowingremote control assembly300 to remotely controlinfusion pump assembly100′. Remote control assembly300 (which may also include telemetry circuitry (not shown) and may be capable of communicating withinfusion pump assembly100′) may includedisplay assembly302 andinput assembly304.Input assembly304 may includeslider assembly306 andswitch assemblies308,310. In other embodiments, the input assembly may include a jog wheel, a plurality of switch assemblies, or the like.
Remote control assembly300 may include the ability to pre-program basal rates, bolus alarms, delivery limitations, and allow the user to view history and to establish user preferences.Remote control assembly300 may also include a glucose strip reader.
During use,remote control assembly300 may provide instructions toinfusion pump assembly100′ viawireless communication channel312 established betweenremote control assembly300 andinfusion pump assembly100′. Accordingly, the user may useremote control assembly300 to program/configureinfusion pump assembly100′. Some or all of the communication betweenremote control assembly300 andinfusion pump assembly100′ may be encrypted to provide an enhanced level of security.
Communication betweenremote control assembly300 andinfusion pump assembly100′ may be accomplished utilizing a standardized communication protocol. Further, communication between the various components included withininfusion pump assembly100,100′ may be accomplished using the same protocol. One example of such a communication protocol is the Packet Communication Gateway Protocol (PCGP) developed by DEKA Research & Development of Manchester, N.H. As discussed above,infusion pump assembly100,100′ may includeelectrical control assembly110 that may include one or more electrical components. For example,electrical control assembly110 may include a plurality of data processors (e.g. a supervisor processor and a command processor) and a radio processor for allowinginfusion pump assembly100,100′ to communicate withremote control assembly300. Further,remote control assembly300 may include one or more electrical components, examples of which may include but are not limited to a command processor and a radio processor for allowingremote control assembly300 to communicate withinfusion pump assembly100,100′. A high-level diagrammatic view of one example of such a system is shown inFIG. 11B.
Each of these electrical components may be manufactured from a different component provider and, therefore, may utilize native (i.e. unique) communication commands. Accordingly, through the use of a standardized communication protocol, efficient communication between such disparate components may be accomplished.
PCGP may be a flexible extendable software module that may be used on the processors withininfusion pump assembly100,100′ andremote control assembly300 to build and route packets. PCGP may abstract the various interfaces and may provide a unified application programming interface (API) to the various applications being executed on each processor. PCGP may also provide an adaptable interface to the various drivers. For illustrative purposes only, PCGP may have the conceptual structure illustrated inFIG. 11C for any given processor.
PCGP may ensure data integrity by utilizing cyclic redundancy checks (CRCs). PCGP may also provide guaranteed delivery status. For example, all new messages should have a reply. If such a reply isn't sent back in time, the message may time out and PCGP may generate a negative acknowledge reply message for the application (i.e., a NACK). Accordingly, the message-reply protocol may let the application know whether the application should retry sending a message.
PCGP may also limit the number of messages in-flight from a given node, and may be coupled with a flow-control mechanism at the driver level to provide a deterministic approach to message delivery and may let individual nodes have different quantities of buffers without dropping packets. As a node runs out of buffers, drivers may provide back pressure to other nodes and prevent sending of new messages.
PCGP may use a shared buffer pool strategy to minimize data copies, and may avoid mutual exclusions, which may have a small affect on the API used to send/receive messages to the application, and a larger affect on the drivers. PCGP may use a “Bridge” base class that provides routing and buffer ownership. The main PCGP class may be sub-classed from the bridge base class. Drivers may either be derived from a bridge class, or talk to or own a derived bridge class.
PCGP may be designed to work in an embedded environment with or without an operating system by using a semaphore to protect shared data such that some calls can be re-entrant and run on a multiple threads. One illustrative example of such an implementation is shown inFIG. 11D. PCGP may operate the same way in both environments, but there may be versions of the call for specific processor types (e.g., theARM 9/OS version). So while the functionality may be the same, there may be an operating system abstraction layer with slightly different calls tailored for e.g., theARM 9 Nucleus OS environment.
Referring also toFIG. 11E, PCGP may:
    • allow multiple Send/Reply calls to occur (on Pilot'sARM 9 on multiple tasks re-entrant);
    • have multiple drivers running asynchronously for RX and TX on different interfaces; and
    • provide packet ordering for send/receive, and deterministic timeout on message send.
Each software object may ask the buffer manager for the next buffer to use, and may then give that buffer to another object. Buffers may pass from one exclusive owner to another autonomicly, and queues may occur automatically by ordering buffers by sequence number. When a buffer is no longer in use, the buffer may be recycled (e.g., object attempts to give the buffer to itself, or frees it for the buffer manager to re-allocate later). Accordingly, data generally doesn't need to be copied, and routing simply writes over the buffer ownership byte.
Such an implementation of PCGP may provide various benefits, examples of which may include but are not limited to:
    • dropping a message due to lack of buffers may be impossible, as once a message is put into a buffer, the message may live there until it is transferred or received by the application;
    • data may not need to be copied, as offsets are used to access driver, PCGP and payload sections of a buffer;
    • drivers may exchange ownership of message data by writing over one byte (i.e., the buffer ownership byte);
    • there may be no need for multiple exclusions except for re-entrant calls, as a mutual exclusion may be needed only when a single buffer owner could simultaneously want to use a buffer or get a new sequence number;
    • there may be fewer rules for application writers to follow to implement a reliable system;
    • drivers may use ISR/push/pull and polled data models, as there are a set of calls provided to push/pull data out of the buffer management system from the drivers;
    • drivers may not do much work beyond TX and RX, as drivers may not copy, CRC or check anything but the destination byte and CRC and other checks may be done off of the ISR hot path later;
    • as the buffer manager may order access by sequence number, queue ordering may automatically occur; and
    • a small code/variable foot print may be utilized; hot path code may be small and overhead may be low.
As shown inFIG. 11F, when a message needs to be sent, the PCGP may build the packet quickly and may insert it into the buffer management system. Once in the buffer management system, a call to “packetProcessor” may apply protocol rules and may give the messages to the drivers/application.
To send a new message or send a reply, PCGP may:
    • check the call arguments to e.g., make sure the packet length is legal, destination is ok, etc.;
    • avoid trying to send a message across a link that is down unless the down link is the radio node, which may allow PCGP to be used by the radio processors to establish a link, pair, etc. and may notify the application when PCGP is trying to talk across a link that is not functional (instead of timing out);
    • obtain a sequence number for a new message or utilize an existing sequence number for an existing message;
    • build the packet, copy the payload data and write in the CRC, wherein (from this point forward) the packet integrity may be protected by the CRC; and
    • either give the message to the buffer manager as a reply or as a new message, and check to see if putting this buffer into the buffer manager would exceed the maximum number of en-queued send messages.
Referring also toFIGS. 11G-11H, PCGP may work by doing all of the main work on one thread to avoid mutual exclusions, and to avoid doing considerable work on the send/reply or driver calls. The “packetProcessor” call may have to apply protocol rules to replies, new sent messages, and received messages. Reply messages may simply get routed, but new messages and received messages may have rules for routing the messages. In each case, the software may loop while a message of the right type is available to apply protocol rules until it cannot process the packets.
Sending a new message may conform to the following rules:
    • only two messages may be allowed “in-flight” on the network; and
    • enough data about an in-flight message may be stored to match the response and handle timeout.
Receiving a message may conform to the following rules:
    • responses that match may clear out the “in-flight” information slot so a new packet can be sent;
    • responses that do not match may be dropped;
    • new messages may be for the protocol (e.g., getting/clearing network statistics for this node);
    • to receive a message, the buffer may be given up to the application and may use a call back; and
    • the buffer may be freed or left owned by the application.
Accordingly, PCGP may be configured such that:
    • the call back function may copy the payload data out or may use it completely before returning;
    • the call back function owns the buffer and may reference the buffer and the buffer's payload by the payload address, wherein the message may be processed later;
    • applications may poll the PCGP system for received messages; and
    • applications may use the call back to set an event and then poll for received messages.
The communication system may have a limited number of buffers. When PCGP runs out of buffers, drivers may stop receiving new packets and the application may be told that the application cannot send new packets. To avoid this and maintain optimal performance, the application may try to perform one or more procedures, examples of which may include but are not limited to:
    • a) The application should keep PCGP up to date with radio status: Specifically, if the link goes down and PCGP doesn't know, PCGP may accept and queue new messages to send (or not timeout messages optimally), which may jam the send queue and delay the application from using the link optimally.
    • b) The application should call “decrement timeouts” regularly: Optimally, every 20-100 milliseconds unless the processor is asleep. In general, a message moves fast (milliseconds) slow (seconds) or not at all. Timeouts are an attempt to remove “in-flight” messages that should be dropped to free up buffers and bandwidth. Doing this less often may delay when a new message gets sent, or when the application can queue a new message.
    • c) The application should ask PCGP if it has work to do that is pending before going to sleep: If PCGP has nothing to do, driver activity may wake up the system and thus PCGP, and then PCGP won't need a call to “packetProcessor” or “decrement timeouts” until new packets enter the system. Failure to do this may cause messages that could have been sent/forwarded/received successfully to be dropped due to a timeout condition.
    • d) The application should not hold onto received messages indefinitely: The message system relies on prompt replies. If the application is sharing PCGP buffers, then holding onto a message means holding onto a PCGP buffer. The receiving node doesn't know if the sending node has timeout configured for slow or fast radio. This means when a node receives a message it should assume the network's fast timeout speed.
    • e) The application should call the “packetProcessor” often: The call may cause new messages queued by the application to get sent and may handle receipt of new messages. The call may also cause buffers to re-allocate and calling it infrequently may delay message traffic.
As shown inFIG. 11I, at some point the RX driver may be asked to receive a message from the other side of the interface. To ensure a message does not get dropped, the RX driver may ask the buffer manager if there is an available buffer for storing a new message. The driver may then ask for a buffer pointer and may start filling the buffer with received data. When a complete message is received, the RX driver may call a function to route the packet. The route function may examine the destination byte in the packet header and may change the owner to either the other driver, or the application, or may detect that the packet is bad and may drop the packet by freeing the buffer.
PCGP RX overhead may consist of asking for the next available buffer and calling the route function. An example of code that performs such a function is as follows:
@ Receive request
uint8 i=0, *p;
if (Bridge::canReceiveFlowControl( ) )
{
p = Bridge::nextBufferRX( );
while (not done) { p[i] = the next byte; }
Bridge::route(p);
}
A driver may perform a TX by asking the buffer manager for the pointer to the next buffer to send. The TX driver may then ask the other side of the interface if it can accept a packet. If the other side denies the packet, the TX driver may do nothing to the buffer, as its status has not changed. Otherwise, the driver may send the packet and may recycle/free the buffer. An example of code that performs such a function is as follows:
uint8 *p = Bridge::nextBufferTX( );
if (p != (uint8 *)0)
{
send the buffer p;
Bridge::recycle(p);
}
To avoid forwarding packets that are past the maximum message system timeout time, asking for the nextBuffer may call the BufferManager::first (uint8 owner) function that may scan for buffers to free. Accordingly, full TX buffers with no hope of making a timeout may be freed on the thread that owns the buffer. A bridge that is doing TX (i.e., while looking for the next TX buffer) may free all of the TX buffers that are expired before receiving the next TX buffer for processing.
As shown inFIG. 11J-11L, during the buffer allocation process, buffers marked free may be transferred to the drivers to receive new packets, or to PCGP to receive new payloads for TX. Allocation from “free” may be done by the “packetProcessor” function. The number of sends and receives between “packetProcessor” calls may dictate how many LT_Driver_RX, GT_Driver_RX and PCGP_Free buffers need to be allocated. LT_Driver may represent drivers that handle addresses that are less than the node address. GT_Driver may represent drivers that handle addresses that are greater than the node address.
When a driver receives a packet, the driver may put the data into an RX buffer that gets handed to the router. The router may then reassign the buffer to PCGP_Receive or to the other driver's TX (not shown). If the buffer contains obviously invalid data, the buffer may transition to free.
After a router marks a buffer for TX, the driver may discover the buffer is TX and may send the message. After sending the message, the buffer may immediately become an RX buffer if the driver was low in RX buffers, or the buffer may be freed for re-allocation.
During the “packetProcessor” call, PCGP may process all buffers that the router marked as PCGP_Receive. At this point, data may be acted upon, so the CRC and other data items may be checked. If the data is corrupted, a statistic may be incremented and the buffer may be freed. Otherwise, the buffer may be marked as owned by the application. Buffers marked as owned by the application may be either recycled for the use of PCGP or freed for reallocation by the buffer manager.
When the application wants to send a new message, it may be done in a re-entrant friendly/mutual exclusion manner. If the buffer may be allocated, PCGP may mark the buffer as busy. Once marked busy, no other thread calling the send or reply functions may grab this buffer, as it is owned by this function call's invocation. The remainder of the process of error checking and building the message may be done outside the isolated race condition mutual exclusion guarded code. The buffer may either transition to free or may become a valid filled CRC-checked buffer and passed to the router. These buffers may not be routed immediately and may be queued so that messages can be sent later (assuming that protocol rules allow). Reply messages may be marked differently than new send messages because reply messages may be routed with a higher priority than regular send messages and reply messages may have no rules limiting how many/when they can be sent.
PCGP was designed to work with flow control, and flow control may negotiate the transfer of messages from one node to another node so that a buffer is never dropped because the other side of an interface lacks a buffer (which may cause back pressure on the sending node).
Flow control may be apart of the shared buffer format. The first two bytes may be reserved for the driver so that the driver never needs to shift the packet bytes. Two bytes may be used so that one byte is the DMA length−1, and the second byte is to control the flow of messages. These same two bytes may be synchronizing bytes if a PCGP message is transmitted over RS232.
When a packet is “in-flight”, the packet may be in the process of being sent by a driver on the way to its destination, being processed by the destination, or being sent back as a response.
Typical delays are as follows:
Interface/Delay
causeDelay (seconds)Notes
SPI<3Roughly 400 kbps
I2C<1
Waking a CC2510 <6?Clock calibration, min. sleep
time.
Flow control  <0.2
RF link20 to 2000
Interference/Minutes, never
separation
Accordingly, messages tend to complete the round trip either: quickly (e.g., <50 ms); slowly (e.g., one or more seconds); or not at all.
PCGP may use two different times (set at initialization) for all timeouts, one for when the RF link is in fast heartbeat mode, and another for when the RF link is in slow mode. If a message is in-flight and the link status changes from fast to slow, the timeout may be adjusted and the difference between fast and slow may be added to the time-to-live counter for the packet. No additional transitions back and forth may affect the time-to-live time for the message.
There is a second timeout that may be twice as long as the slow timeout that is used to monitor buffer allocation inside PCGP. Accordingly, if a message is “stuck” inside a driver and hasn't been sent due to e.g., flow control or hardware damage, the buffer may be freed by the buffer manager, resulting in the buffer being dropped. For a “new” message, this may mean that the packet already timed out and the application was already given a reply saying the message wasn't delivered, resulting in the buffer being freed. Since the driver polls the buffer manager for buffers that need to be sent, the buffer is freed up so that a message that could be sent is handed to the driver the next time that it unblocks. For a reply message, the reply may simply get dropped and the sending node may time out.
The PCGP messaging system may pass messages that contain header information and payload. Outside of PCGP, the header may be a set of data items in a call signature. However, internal to PCGP, there may be a consistent, driver friendly byte layout. Drivers may insert bytes either into the PCGP packet or before the PCGP packet such:
    • DE, CA: Synch bytes for use with RS232, nominal value of 0xDE, 0xCA or 0x5A, 0xA5.
    • LD: Driver DMA length byte, equals amount driver is pushing in this DMA transfer, which is the total size, not including the size byte or synch bytes.
    • Cmd: Driver command and control byte used for flow control.
    • LP: PCGP packet length, always the total header+payload size in bytes+CRC size. LD=LP+1.
    • Dst: Destination address.
    • Src: Source address
    • Cmd: Command byte
    • Scd: Sub command byte
    • AT: Application Tag is defined by the application and has no significance to PCGP. It allows the application to attach more information to a message e.g., the thread from which the message originated.
    • SeqNum: thirty-two bit sequence number is incremented by PCGP for a new message sent, guarantees the number will not wrap, acts as a token, endianess isn't relevant.
    • CRC16: A sixteen bit CRC of the PCGP header and payload.
An example of a message with no payload, cmd=1, subcmd=2 is as follows:
0xDE, 0xCA, 0xC, 0x5, 0x14, 1, 2, 0, 0, 0, 0, 0x1, crchigh, crclow.
0x0D, cmd, 0xC, 0x5, 0x14, 1, 2, 0, 0, 0, 0, 0x1, crchigh, crclow.
There may be several advantages to this methodology, examples of which may include but are not limited to:
    • Most of our hardware DMA engines may use the first byte to define how many additional bytes to move, so in this methodology, drivers and PCGP may share buffers.
    • A byte may be provided right after the DMA length to pass flow control information between drivers.
    • Driver length and “Cmd” byte may be outside the CRC region so they may be altered by the driver, may be owned by the driver transport mechanism, and the driver may guard for invalid lengths.
    • There may be a separate PGCP packet length byte that is CRC protected. Accordingly, the application may trust the that payload length is correct.
    • The endianness of the sequence number may not be relevant, as it is just a byte pattern that may be matched that happens to also be a thirty-two bit integer.
    • The sequence number may be four bytes aligned to the edge of the shared buffer pool length.
    • There may be optional RS232 synchronizing bytes so that users may move cables around while debugging a message stream and both sides of the interface may resynchronize.
    • The application, driver and PCGP may share buffers and may release them by pointer.
PCGP may not be an event driven software design, but may be used in event driven architectures by how the sub-classes are written. Data may be exchanged between the classes conceptually (as shown inFIG. 11M-11N).
Some event model in the driver may wake the driver, may receive a message and may pass the message through the bridge into the buffer manager that routes the message to new owner of the new message (through a bridge to either a driver or PCGP).
The following summarizes some exemplary events:
Event:Possible use:Where this occurs:
When a new send or reply isDecide to runInside
queued, or decTimeoutspacketProcessor.PCGP::sendInternal
generates a timeout reply.
When a messages isDecide to runBufferManager::give
received for PCGP.packetProcessor.
When a driver has somethingWake driver forBufferManager::give
new to send.TX.
When a Driver RX bufferTurn off flowBufferManager::give
becomes available.control.
The following illustrative example shows how the PCGP event model may work with Nucleus to wakeup the PCGP task after every message send, reply, or decTimeout that generated a NACK:
class PcgpOS : public Pcgp
{
virtual void schedulePacketProcessor(void)
{
OS_EventGrp_Set(g_RCVEvGrps[EVG_RF_TASK].pEvgHandle,
RfRadioTxEvent, OS_EV_OR_NO_CLEAR);
}
 }
The following is a pseudo code driver that is event based, illustrating how driver events work. The Driver subclasses Bridge and overrides hasMessagesToSend and flowControlTurnedOff to schedule the TX and RX functions to run if they aren't already running.
class SPI_Driver : public Bridge
{
virtual void hasMessagesToSend( )
{
Trigger_ISR(TX_ ISR, this);
}
virtual void flowControlTurnedOff( )
{
Trigger_ISR(RX_ISR, this);
}
static void TX_RetryTimer( )
{
Trigger_ISR(TX_ISR, this);
}
static void TX_ISR(Bridge *b)
{
DisableISRs( );
do
{
uint8 *p = b−>nextBufferTX( );
if (p == null) break;
if (b−>_bufferManager−>bufferTimedOut(p)==false)
{
if (OtherSideSPI_FlowControl( ) == false)
{
Trigger TX_RetryTimer in 20 msec.
break;
}
send(p);
}
free(p);
} while (true) ;
EnableISRs( );
}
static void RX_ISR(Bridge *b)
{
DisableISRs( );
do
{
uint8* p = b−>nextBufferRX( );
if (p == null) break;
uint i;
while (not done receiving)
p[i++] = getChar( );
b−>route(p);
} while (true) ;
EnableISRs( );
}
}
The following statistics may be supported by PCGP:
    • Number of packets sent;
    • Number of packets received;
    • CRC errors;
    • Timeouts; and
    • Buffer unavailable (ran out of buffers)
PCGP may be designed to run in multiple processing environments. Most parameters may be run time configured because it facilitates testing, and any run time fine tuning for performance. Other parameters may be compile time e.g., anything that alters memory allocation must be done statically at compile time.
The following may be compile time configuration #defines that may vary where PCGP is implemented:
    • # driver bytes: may be two bytes reserved in the common buffer scheme for the driver, but this may be a compile time option to accommodate other drivers such as RF protocol.
    • # RX driver buffers: may be tuned to how many buffers would be good for that processor/traffic flow, etc.
    • # PCGP RX buffers: may be tuned to how many buffers would be good for that processor/traffic flow, etc.
    • Total # of buffers: may be tuned to how many buffers should be at that processor.
The CRC may be used to ensure data integrity. If a CRC is invalid, it may not be delivered to the application and the CRC error may be tracked. The message may eventually timeout and may be retried by the originator.
Likewise, if the messaging system informs the application that a message was delivered when it was not, this may be a hazard to the system. The Stop Bolus Command is an example of such a command. This may be mitigated by the Request/Action sequence of messages which may be required by the application to change therapy. The Controller may receive a matching command from the Pump application to consider the message delivered.
DEKA may provide a reference way of interfacing PCGP into the Nucleus OS system on the ARM 9 (as shown inFIG. 110).
As shown inFIG. 11P, the pcgpOS.cpp file may instantiate a PCGP node instance (Pcgp, a Bridge, etc.) and may provide through pcgpOS.h a ‘C’ linkable set of function calls that provide a ‘C’ language interface to the C++ code. This may simplify the ‘C’ code as the objects acted upon are implicit.
The following general rules may be applied:
    • PCGP may run on all nodes: any driver may support a generic driver interface.
    • Race conditions may not be permitted.
    • May support half duplex on the SPI port between slave processor and master processor.
    • Data transfer may not be attempted; as it either succeeds or returns fail/false.
    • May require low overhead (time, processing, bandwidth wasted).
    • May support CC2510 operating at DMA (fast) SPI clock rates.
SPI flow control may prevent data from being sent if the receiving side does not currently have an empty buffer to place the packet. This may be accomplished by asking for permission to send and waiting for a response indicating that you have been cleared to do so. There may also be a way to tell the other side that there are currently no free buffers and the transfer should be attempted at a later time.
All transmission may begin with a length byte that indicates the number of bytes to be sent, not including the length byte itself. Following the length may be a single byte indicating the command being sent.
The actual transmission of a packet may be the length of packet plus one for the command byte, followed by the command byte for a message appended and finally the packet itself.
In addition to the command bytes that will be sent, an additional hardware line called the FlowControl line may be added to the traditional four SPI signals. The purpose of this line is to allow the protocol to run as quickly as possible without a need for preset delays. It also allows the slave processor to tell the master processor that it has a packet waiting to be sent, thus eliminating the need for the master processor to poll the slave processor for status.
The following exemplary command values may be used:
Commands to be sent by the master processor:
CommandValueDescription
M_RTS0xC1Master is requesting to send a packet
M_MSG_APPENDED0xC2Master is sending a packet
M_CTS0xC3Master is tell slave it is Cleared to
Send
M_ERROR0xC4An Error condition has been
encountered

Commands to be sent by the slave processor:
CommandValueDescription
S_PREPARING_FOR_RX0xA1Slave is prepare the dma to
receive a packet
S_RX_BUFF_FULL0xA2Slave is currently out of RX
buffers, retry later
S_MSG_APPENDED0xA3Slave is sending a packet
S_ERROR0xA4An Error condition has been
encountered
As illustrated inFIG. 11Q, when the slave processor has a packet to send to the master processor, the slave processor may notify the master processor (by asserting the FlowControl line) that it has a pending packet that is waiting to be sent. Doing so may result in an IRQ on the master processor at which time the master processor may decide when to go retrieve the message from the slave processor. Retrieving the packet may be delayed at the discretion of the master processor, and the master processor may even decide to attempt to send a packet to the slave processor before retrieving from the slave processor.
The master processor may begin the retrieval by sending the slave processor M_CTS commands; this shall be repeated until the slave processor responds by sending the S_MSG_APPENDED command along with the packet itself. The FlowControl line may be cleared after the packet has been sent. If a M_CTS command is received by the slave processor when one is not expected, the M_CTS command may be ignored.
As illustrated inFIG. 11R, when the master processor has a packet to send to the slave processor, the master processor may initiate the transfer by sending a M_RTS command. Upon receiving the M_RTS command, if the slave processor currently has a send packet pending, the slave processor will lower the FlowControl line so that it may be re-used as a Cleared To Send signal. The slave processor may then tell the master processor that it is in the process of preparing the SPI DMA to receive the packet, during which time the master processor may stop clocking bytes onto the bus and may allow the slave processor to finish preparing for the receive.
The slave processor may then indicate it is ready to receive the full packet by raising the FlowControl line (which is now used as the CTS signal). Upon receiving the CTS signal, the master processor may proceed to send the M_MSG_APPENDED command along with the packet itself.
After the completion of the transfer, the slave processor may lower the FlowControl line. If a packet was pending at the start of the transfer, or a send occurred on the slave processor when the packet was being received, the slave processor may reassert the FlowControl line now indicating that it has a pending packet.
Referring again toFIG. 11A,infusion pump assembly100,100′ may includeswitch assembly318 coupled to electrical control assembly110 (FIG. 3) that may allow a user (not shown) to perform at least one, and in some embodiments, a plurality of tasks. One illustrative example of such a task is the administration of a bolus dose of the infusible fluid (e.g., insulin) without the use of a display assembly.Remote control assembly300 may allow the user to enable/disable/configureinfusion pump assembly100,100′ to administer the bolus dose of insulin.
Referring also toFIG. 12A,slider assembly306 may be configured, at least in part, to enable the user to manipulate the menu-based information rendered ondisplay assembly302. An example ofslider assembly306 may include a capacitive slider assembly, which may be implemented using a CY8C21434-24LFXI PSOC offered by Cypress Semiconductor of San Jose, Calif., the design an operation of which are described within the “CSD User Module” published by Cypress Semiconductor. For example, viaslider assembly306, the user may slide their finger in the direction ofarrow314, resulting in the highlighted portion of the information included within main menu350 (shown inFIG. 12A) rendered ondisplay assembly302 scrolling upward. Alternatively, the user may slide their finger in the direction ofarrow316, resulting in the highlighted portion of the information included withinmain menu350 rendered ondisplay assembly302 scrolling downward.
Slider assembly306 may be configured so that the rate at which e.g. the highlighted portion ofmain menu350 scrolls “upward” or “downward” varies depending upon the displacement of the finger of the user with respect to point oforigin320. Therefore, if the user wishes to quickly scroll “upward”, the user may position their finger near the top ofslider assembly306. Likewise, if the user wishes to quickly scroll “downward”, the user may position their finger near the bottom ofslider assembly306. Additionally, if the user wishes to slowly scroll “upward”, the user may position their finger slightly “upward” with respect to point oforigin320. Further, if the user wishes to slowly scroll “downward”, the user may position their finger slightly “downward” with respect to point oforigin320. Once the appropriate menu item is highlighted, the user may select the highlighted menu item via one ormore switch assemblies308,310.
Referring also toFIGS. 12B-12F, assume for illustrative purposes thatinfusion pump assembly100,100′ is an insulin pump and the user wishes to configureinfusion pump assembly100,100′ so that whenswitch assembly318 is depressed by the user, a 0.20 unit bolus dose of insulin is administered. Accordingly, the user may useslider assembly306 to highlight “Bolus” withinmain menu350 rendered ondisplay assembly302. The user may then useswitch assembly308 to select “Bolus”. Once selected, processing logic (not shown) withinremote control assembly300 may then rendersubmenu352 on display assembly302 (as shown inFIG. 12B).
The user may then useslider assembly306 to highlight “Manual Bolus” withinsubmenu352, which may be selected usingswitch assembly308. Processing logic (not shown) withinremote control assembly300 may then rendersubmenu354 on display assembly302 (as shown inFIG. 12C).
The user may then useslider assembly306 to highlight “Bolus: 0.0 Units” withinsubmenu354, which may be selected usingswitch assembly308. Processing logic (not shown) withinremote control assembly300 may then rendersubmenu356 on display assembly302 (as shown inFIG. 12D).
The user may then useslider assembly306 to adjust the “Bolus” insulin amount to “0.20 units”, which may be selected usingswitch assembly308. Processing logic (not shown) withinremote control assembly300 may then rendersubmenu358 on display assembly302 (as shown inFIG. 12E).
Theuser14 may then useslider assembly306 to highlight “Confirm”, which may be selected usingswitch assembly308. Processing logic (not shown) withinremote control assembly300 may then generate the appropriate signals that may be sent to the above-described telemetry circuitry (not shown) included withinremote control assembly300. The telemetry circuitry (not shown) included within the remote control assembly may then transmit, viawireless communication channel312 established betweenremote control assembly300 andinfusion pump assembly100′, the appropriate configuration commands to configureinfusion pump assembly100′ so that wheneverswitch assembly318 is depressed by the user, a 0.20 unit bolus dose of insulin is administered.
Once the appropriate commands are successfully transmitted, processing logic (not shown) withinremote control assembly300 may once again rendersubmenu350 on display assembly302 (as shown inFIG. 12F).
Specifically and once programmed viaremote control assembly300, the user may depressswitch assembly318 ofinfusion pump assembly100′ to administer the above-described 0.20 unit bolus dose of insulin. Via the above-described menuing system included withinremote control assembly300, the user may define a quantity of insulin to be administered each time that the user depressesswitch assembly318. While this particular example specifies that a single depression ofswitch assembly318 is equivalent to 0.20 units of insulin, this is for illustrative purposes only and is not intended to be a limitation of this disclosure, as other values (e.g. 1.00 units of insulin per depression) are equally applicable.
Assume for illustrative purposes that the user wishes to administer a 2.00 unit bolus dose of insulin. To activate the above-describe bolus dose administration system, the user may be required to press and holdswitch assembly318 for a defined period of time (e.g. five seconds), at which pointinfusion pump assembly100,100′ may generate an audible signal indicating to the user thatinfusion pump assembly100,100′ is ready to administer a bolus does of insulin viaswitch assembly318. Accordingly, the user may depressswitch assembly318 ten times (i.e., 2.00 units is ten 0.20 unit doses). After each time that switchassembly318 is depressed,infusion pump assembly100,100′ may provide on audible response to the user via an internal speaker/sound generation device (not shown). Accordingly, the user may depressswitch assembly318 the first time andinfusion pump assembly100,100′ may generate a confirmation beep in response, thus indicating to the user thatinfusion pump assembly100,100′ received the command for (in this particular example) 0.20 units of insulin. As the desired bolus dose is 2.00 units of insulin, the user may repeat this procedure nine more times in order to effectuate a bolus dose of 2.00 units, whereininfusion pump assembly100,100′ generates a confirmation beep after each depression ofswitch assembly318.
While in this particular example,infusion pump assemblies100,100′ are described as providing one beep after each time the user depressesswitch assembly318, this is for illustrative purposes only and is not intended to be a limitation of this disclosure. Specifically,infusion pump assembly100,100′ may be configured to provide a single beep for each defined quantity of insulin. As discussed above, a single depression ofswitch assembly318 may be equivalent to 0.20 units of insulin. Accordingly,infusion pump assembly100,100′ may be configured to provide a single beep for each 0.10 units of insulin. Accordingly, ifinfusion pump assembly100,100′ is configured such that a single depression ofswitch assembly318 is equivalent to 0.20 units of insulin, eachtime switch assembly318 is depressed,infusion pump assembly100,100′ may provide the user with two beeps (i.e. one for each 0.10 units of insulin).
Once the user has depressedswitch assembly318 oninfusion pump assembly100′ a total of ten times, the user may simply wait forinfusion pump assembly100,100′ to acknowledge receipt of the instructions to administer a 2.00 unit bolus dose of insulin (as opposed to the confirmation beep received at each depression of switch assembly318). Once a defined period of time (e.g., two seconds) passes,infusion pump assembly100,100′ may provide an audible confirmation to the user concerning the quantity of units to be administered via the bolus insulin dose that the user just requested. For example, as (in this example)infusion pump assembly100,100′ was programmed by the user so that a single depression ofswitch assembly318 is equivalent to 0.20 units of insulin,infusion pump assembly100,100′ may beep ten times (i.e., 2.00 units is ten 0.20 unit doses).
When providing feedback to the user concerning the quantity of units to be administered via the bolus insulin dose,infusion pump assembly100,100′ may provide a multifrequency audible confirmation. For example and continuing with the above-stated example in which ten beeps are to be provided to the user,infusion pump assembly100,100′ may group the beeps into groups of five (to facilitate easier counting by the user) and the beeps within each group of five may be rendered byinfusion pump assembly100,100′ so that each subsequent beep has a higher frequency than the preceding beep (in a manner similar to a musical scale). Accordingly and continuing with the above-stated example,infusion pump assembly100,100′ may render a 1,000 Hz beep, followed by an 1,100 Hz beep, followed by a 1,200 Hz beep, followed by a 1,300 Hz beep, followed by a 1,400 Hz beep (thus completing a group of five beeps), followed by a short pause, and then a 1,000 Hz beep, followed by an 1,100 Hz beep, followed by a 1,200 Hz beep, followed by a 1,300 Hz beep, followed by a 1,400 Hz beep (thus completing the second group of five beeps). According to various additional/alternative embodiments the multifrequency audible confirmation may utilize various numbers of tones incrementing in frequency. For example, an embodiment may utilize twenty different tones incrementing in frequency. However, the number of tones should not be construed as a limitation of the present disclosure as number of tones may vary according to design criteria and user need.
Onceinfusion pump assembly100,100′ completes the rendering of the multifrequency audible confirmation (i.e. the ten beeps described above), the user may, within a defined period of time (e.g. two seconds), depressswitch assembly318 to provide a confirmation signal toinfusion pump assembly100,100′, indicating that the multifrequency audible confirmation was accurate and indicative of the size of the bolus dose of insulin to be administered (i.e. 2.00 units). Upon receiving this confirmation signal,infusion pump assembly100,100′ may render a “confirmation received” audible tone and effectuate the delivery of (in this particular example) the 2.00 unit bolus dose of insulin. In the event thatinfusion pump assembly100,100′ fails to receive the above-described confirmation signal,infusion pump assembly100,100′ may render a “confirmation failed” audible tone and will not effectuate the delivery of the bolus dose of insulin. Accordingly, if the multifrequency audible confirmation was not accurate/indicative of the size of the bolus dose of insulin to be administered, the user may simply not provide the above-described confirmation signal, thereby canceling the delivery of the bolus dose of insulin.
As discussed above, in one exemplary embodiment of the above-described infusion pump assembly,infusion pump assembly100′ may be used to communicate with aremote control assembly300. When such aremote control assembly300 is utilized,infusion pump assembly100′ andremote control assembly300 may routinely contact each other to ensure that the two devices are still in communication with each other. For example,infusion pump assembly100′ may “ping”remote control assembly300 to ensure thatremote control assembly300 is present and active. Further,remote control assembly300 may “ping”infusion pump assembly100′ to ensure thatinfusion pump assembly100′ is still present and active. In the event that one ofinfusion pump assembly100′ andremote control assembly300 fails to establish communication with the other assembly, the assembly that is unable to establish communication may sound a “separation” alarm. For example, assume thatremote control assembly300 is left in the car of the user, whileinfusion pump assembly100′ is in the pocket of the user. Accordingly and after a defined period of time,infusion pump assembly100′ may begin sounding the “separation” alarm, indicating that communication withremote control assembly300 cannot be established. Usingswitch assembly318, the user may acknowledge/silence this “separation” alarm.
As the user may define and administer a bolus insulin dose viaswitch assembly318 ofinfusion pump assembly100′ whileremote control assembly300 is not in communication withinfusion pump assembly100′,infusion pump assembly100′ may store information concerning the administered bolus insulin dose within a log file (not shown) stored withininfusion pump assembly100′. This log file (not shown) may be stored within nonvolatile memory (not shown) included withininfusion pump assembly100′. Upon communication being reestablished betweeninfusion pump assembly100′ andremote control assembly300,infusion pump assembly100′ may provide the information concerning the administered bolus insulin dose stored within the log file (not shown) ofinfusion pump assembly100′ toremote control assembly300.
Further, if the user anticipates separatingremote control assembly300 frominfusion pump assembly100′, the user (via the above-described menuing system) may configureinfusion pump assembly100′ andremote control assembly300 to be in “separation” mode, thus eliminating the occurrence of the above-described “separation” alarms. However, the devices may continue to “ping” each other so that when they come back into communication with each other,infusion pump assembly100′ andremote control assembly300 may automatically exit “separation” mode.
Further, if the user anticipates traveling in an airplane, the user (via the above-described menuing system of remote control assembly300) may configureinfusion pump assembly100′ andremote control assembly300 to be in “airplane” mode, in which each ofinfusion pump assembly100′ andremote control assembly300 suspend any and all data transmissions. While in “airplane” mode,infusion pump assembly100′ andremote control assembly300 may or may not continue to receive data.
Switch assembly318 may be used to perform additional functions, such as: checking the battery life ofreusable housing assembly102; pairingreusable housing assembly102 withremote control assembly300; and aborting the administration of a bolus does of infusible fluid.
Checking Battery Life:
Reusable housing assembly102 may include a rechargeable battery assembly that may be capable of poweringinfusion pump assembly100,100′ for approximately three days (when fully charged). Such a rechargeable battery assembly may have a usable life of a predetermined number of usable hours, for example, or years, or other predetermined length of usage. However, the predetermined life may depend on many factors, including but not limited to, one or more of the following: climate, daily usage, and number of recharges. Wheneverreusable housing assembly102 is disconnected fromdisposable housing assembly114,infusion pump assembly100,100′ may perform a battery check on the above-described rechargeable battery assembly wheneverswitch assembly318 is depressed for a defined period of time (e.g. in excess of two seconds). In the event that the above-described rechargeable battery assembly is determined to be charged above a desired threshold,infusion pump assembly100,100′ may render a “battery pass” tone. Alternatively, in the event that the above-described rechargeable battery assembly is determined to be charged below a desired threshold,infusion pump assembly100,100′ may render a “battery fail” tone.Infusion pump assembly100,100′ may include components and/or circuitry to determine whetherreusable housing assembly102 is disconnected fromdisposable housing assembly114.
Pairing:
As discussed above and in one exemplary embodiment of the above-described infusion pump assembly,infusion pump assembly100′ may be used to communicate withremote control assembly300. In order to effectuate communication betweeninfusion pump assembly100′ andremote control assembly300, a paring process may be performed. During such a pairing process, one or more infusion pump assemblies (e.g.infusion pump assembly100′) may be configured to communicate withremote control assembly300 and (conversely)remote control assembly300 may be configured to communicate with one or more infusion pump assemblies (e.g.infusion pump assembly100′). Specifically, the serial numbers of the infusion pump assemblies (e.g.infusion pump assembly100′) may be recorded within a pairing file (not shown) included withinremote control assembly300 and the serial number ofremote control assembly300 may be recorded within a pairing file (not shown) included within the infusion pump assemblies (e.g.infusion pump assembly100′).
According to an embodiment, in order to effectuate such a pairing procedure, the user may simultaneously hold down one or more switch assemblies on bothremote control assembly300 andinfusion pump assembly100′. For example, the user may simultaneously hold downswitch assembly310 included withinremote control assembly300 and switchassembly318 included withininfusion pump assembly100′ for a defined period exceeding e.g. five seconds. Once this defined period is reached, one or more ofremote control assembly300 andinfusion pump assembly100′ may generate an audible signal indicating that the above-described pairing procedure has been effectuated.
According to another embodiment, prior to performing the pairing process, the user may uncouplereusable housing assembly102 fromdisposable housing assembly114. By requiring this initial step, further assurance is provided that an infusion pump assembly being worn by a user may not be surreptitiously paired with a remote control assembly.
Once uncoupled, the user may enter pairing mode viainput assembly304 ofremote control assembly300. For example, the user may enter pairing mode onremote control assembly300 via the above-described menuing system in combination with e.g.,switch assembly310. The user may be prompted ondisplay assembly302 ofremote control assembly300 to depress and holdswitch assembly318 oninfusion pump assembly100′. Additionally,remote control assembly304 may switch to a low power mode to e.g., avoid trying to pair with distant infusion pump assemblies. The user may then depress and holdswitch assembly318 oninfusion pump assembly100′ so thatinfusion pump assembly100′ enters a receive mode and waits for a pairing command fromremote control assembly300.
Remote control assembly300 may then transmit a pairing request toinfusion pump assembly100′, which may be acknowledged byinfusion pump assembly100′.Infusion pump assembly100′ may perform a security check on the pairing request received fromremote control assembly300 and (if the security check passes)infusion pump assembly100′ may activate a pump pairing signal (i.e., enter active pairing mode).Remote control assembly300 may perform a security check on the acknowledgment received frominfusion pump assembly100′.
The acknowledgment received frominfusion pump assembly100′ may define the serial number ofinfusion pump assembly100′ andremote control assembly300 may display that serial number ondisplay assembly302 ofremote control assembly300. The user may be asked if they wish to pair with the pump found. If the user declines, the pairing process may be aborted. If the user agrees to the pairing process,remote control assembly300 may prompt the user (via display assembly302) to depress and holdswitch assembly318 oninfusion pump assembly100′.
The user may then depress and holdswitch assembly318 oninfusion pump assembly100′ and depress and hold e.g. switch assembly310 onremote control assembly300.
Remote control assembly300 may confirm thatremote switch assembly310 was held (which may be reported toinfusion pump assembly100′).Infusion pump assembly100′ may perform a security check on the confirmation received fromremote control assembly300 to confirm the integrity of same. If the integrity of the confirmation received is not verified, the pairing process is aborted. If the integrity of the confirmation received is verified, any existing remote pair configuration file is overwritten to reflect newly-pairedremote control assembly300, the pump pairing completed signal is activated, and the pairing process is completed.
Additionally,infusion pump assembly100′ may confirm thatswitch assembly318 was held (which may be reported to remote control assembly300).Remote control assembly300 may perform a security check on the confirmation received frominfusion pump assembly100′ to confirm the integrity of same. If the integrity of the confirmation received is not verified, the pairing process is aborted. If the integrity of the confirmation received is verified, a pair list file withinremote control assembly300 may be modified to addinfusion pump assembly100′. Typically,remote control assembly300 may be capable of pairing with multiple infusion pump assemblies, whileinfusion pump assembly100′ may be capable of only pairing with a single remote control assembly. The pairing completed signal may be activated and the pairing process may be completed.
When the pairing process is completed, one or more ofremote control assembly300 andinfusion pump assembly100′ may generate an audible signal indicating that the above-described pairing procedure has been successfully effectuated.
Aborting Bolus Dose:
in the event that the user wishes to cancel a bolus dose of e.g. insulin being administered byinfusion pump assembly100′, the user may depress switch assembly318 (e.g., shown inFIGS. 1 & 2) for a defined period exceeding e.g. five seconds. Once this defined period is reached,infusion pump assembly100′ may render an audible signal indicating that the above-described cancellation procedure has been effectuated.
Whileswitch assembly318 is shown as being positioned on the top ofinfusion pump assembly100,100′, this is for illustrative purposes only and is not intended to be a limitation of this disclosure, as other configurations are possible. For example,switch assembly318 may be positioned about the periphery ofinfusion pump assembly100,100′.
Referring also toFIGS. 13-15, there is shown an alternative-embodimentinfusion pump assembly400. As withpump assembly100,100′,infusion pump assembly400 may includereusable housing assembly402 anddisposable housing assembly404.
In a fashion similar toreusable housing assembly102,reusable housing assembly402 may include a mechanical control assembly (that includes at least one pump assembly and at least one valve assembly).Reusable housing assembly402 may also include an electrical control assembly that is configured to provide control signals to the mechanical control assembly and effectuate the delivery of an infusible fluid to a user. The valve assembly may be configured to control the flow of the infusible fluid through a fluid path and the pump assembly may be configured to pump the infusible fluid from the fluid path to the user
In a fashion similar todisposable housing assembly114,disposable housing assembly404 may be configured for a single use or for use for a specified period of time, e.g., e.g., three days or any other amount of time.Disposable housing assembly404 may be configured such that any components ininfusion pump assembly400 that come in contact with the infusible fluid are disposed on and/or withindisposable housing assembly404.
In this particular embodiment of the infusion pump assembly,infusion pump assembly400 may includeswitch assembly406 positioned about the periphery ofinfusion pump assembly400. For example,switch assembly406 may be positioned along a radial edge ofinfusion pump assembly400, which may allow for easier use by a user.Switch assembly406 may be covered with a waterproof membrane configured to prevent the infiltration of water intoinfusion pump assembly400.Reusable housing assembly402 may include main body portion408 (housing the above-described mechanical and electrical control assemblies) and lockingring assembly410 that may be configured to rotate about main body portion408 (in the direction of arrow412).
In a fashion similar toreusable housing assembly102 anddisposable housing assembly114,reusable housing assembly402 may be configured to releasably engagedisposable housing assembly404. Such releasable engagement may be accomplished by a screw-on, a twist-lock or a compression fit configuration, for example. In an embodiment in which a twist-lock configuration is utilized, the user ofinfusion pump assembly400 may first properly positionreusable housing assembly402 with respect todisposable housing assembly404 and may then rotate locking ring assembly410 (in the direction of arrow412) to releasably engagereusable housing assembly402 withdisposable housing assembly404.
Through the use of lockingring assembly410,reusable housing assembly402 may be properly positioned with respect todisposable housing assembly404 and then releasably engaged by rotating lockingring assembly410, thus eliminating the need to rotatereusable housing assembly402 with respect todisposable housing assembly404. Accordingly,reusable housing assembly402 may be properly aligned withdisposable housing assembly404 prior to engagement, and such alignment may not be disturbed during the engagement process. Lockingring assembly410 may include a latching mechanism (not shown) that may prevent the rotation of lockingring assembly410 untilreusable housing assembly402 anddisposable housing assembly404 are properly positioned with respect to each other.
Referring also toFIGS. 16-18, there is shown an alternative-embodimentinfusion pump assembly500. As withpump assembly100,100′,infusion pump assembly500 may includereusable housing assembly502 anddisposable housing assembly504.
In a fashion similar toreusable housing assembly402,reusable housing assembly502 may include a mechanical control assembly (that includes at least one pump assembly and at least one valve assembly).Reusable housing assembly502 may also include an electrical control assembly that is configured to provide control signals to the mechanical control assembly and effectuate the delivery of an infusible fluid to a user. The valve assembly may be configured to control the flow of the infusible fluid through a fluid path and the pump assembly may be configured to pump the infusible fluid from the fluid path to the user
In a fashion similar todisposable housing assembly404,disposable housing assembly504 may be configured for a single use or for use for a specified period of time, e.g., e.g., three days or any other amount of time.Disposable housing assembly504 may be configured such that any components ininfusion pump assembly500 that come in contact with the infusible fluid are disposed on and/or withindisposable housing assembly504.
In this particular embodiment of the infusion pump assembly,infusion pump assembly500 may includeswitch assembly506 positioned about the periphery ofinfusion pump assembly500. For example,switch assembly506 may be positioned along a radial edge ofinfusion pump assembly500, which may allow for easier use by a user.Switch assembly506 may be covered with a waterproof membrane and/or an o-ring or other sealing mechanism may be included on thestem507 of theswitch assembly506 configured to prevent the infiltration of water intoinfusion pump assembly500. However, in some embodiments,switch assembly506 may include an overmolded rubber button, thus providing functionality as a waterproof seal without the use of a waterproof membrane or an o-ring. However, in still other embodiments, the overmolded rubber button may additionally be covered by a waterproof membrane and/or include an o-ring.Reusable housing assembly502 may include main body portion508 (housing the above-described mechanical and electrical control assemblies) and lockingring assembly510 that may be configured to rotate about main body portion508 (in the direction of arrow512).
In a fashion similar toreusable housing assembly402 anddisposable housing assembly404,reusable housing assembly502 may be configured to releasably engagedisposable housing assembly504. Such releasable engagement may be accomplished by a screw-on, a twist-lock or a compression fit configuration, for example. In an embodiment in which a twist-lock configuration is utilized, the user ofinfusion pump assembly500 may first properly positionreusable housing assembly502 with respect todisposable housing assembly504 and may then rotate locking ring assembly510 (in the direction of arrow512) to releasably engagereusable housing assembly502 withdisposable housing assembly404.
As lockingring assembly510 included withininfusion pump assembly500 may be taller (i.e., as indicated by arrow514) than lockingring assembly410, lockingring assembly510 may include apassage516 through whichbutton506 may pass. Accordingly, when assemblingreusable housing assembly502, lockingring assembly510 may be installed onto main body portion508 (in the direction of arrow518). Once lockingring assembly510 is installed ontomain body portion508, one or more locking tabs (not shown) may prevent lockingring assembly510 from being removed frommain body portion508. The portion ofswitch assembly506 that protrudes throughpassage516 may then be pressed into main body portion508 (in the direction of arrow520), thus completing the installation ofswitch assembly506.
Althoughbutton506 is shown in various locations oninfusion pump assembly500,button506, in other embodiments, may be located anywhere desirable oninfusion pump assembly500.
Through the use of lockingring assembly510,reusable housing assembly502 may be properly positioned with respect todisposable housing assembly504 and then releasably engaged by rotating lockingring assembly510, thus eliminating the need to rotatereusable housing assembly502 with respect todisposable housing assembly504. Accordingly,reusable housing assembly502 may be properly aligned withdisposable housing assembly504 prior to engagement, and such alignment may not be disturbed during the engagement process. Lockingring assembly510 may include a latching mechanism (not shown) that prevents the rotation of lockingring assembly510 untilreusable housing assembly502 anddisposable housing assembly504 are properly positioned with respect to each other.Passage516 may be elongated to allow for the movement of lockingring510 aboutswitch assembly506.
Referring also toFIGS. 19A-19B & 20-21, there are shown various views ofinfusion pump assembly500, which is shown to includereusable housing assembly502,switch assembly506, andmain body portion508. As discussed above,main body portion508 may include a plurality of components, examples of which may include but are not limited tovolume sensor assembly148, printedcircuit board600,vibration motor assembly602, shapememory actuator anchor604,switch assembly506,battery606,antenna assembly608,pump assembly106,measurement valve assembly610, volumesensor valve assembly612 andreservoir valve assembly614. To enhance clarity, printedcircuit board600 has been removed fromFIG. 19B to allow for viewing of the various components positioned beneath printedcircuit board600.
The various electrical components that may be electrically coupled with printedcircuit board600 may utilize spring-biased terminals that allow for electrical coupling without the need for soldering the connections. For example,vibration motor assembly602 may utilize a pair of spring-biased terminals (one positive terminal and one negative terminal) that are configured to press against corresponding conductive pads on printedcircuit board600 whenvibration motor assembly602 is positioned on printedcircuit board600. However, in the exemplary embodiment,vibration motor assembly602 is soldered directly to the printed circuit board.
As discussed above,volume sensor assembly148 may be configured to monitor the amount of fluid infused byinfusion pump assembly500. For example,volume sensor assembly148 may employ acoustic volume sensing, which is the subject of U.S. Pat. Nos. 5,575,310 and 5,755,683 assigned to DEKA Products Limited Partnership, as well as the U.S. Patent Application Publication Nos. US 2007/0228071 A1, US 2007/0219496 A1, US 2007/0219480 A1, US 2007/0219597 A1, the entire disclosures of all of which are incorporated herein by reference.
Vibration motor assembly602 may be configured to provide a vibration-based signal to the user ofinfusion pump assembly500. For example, in the event that the voltage of battery606 (which powers infusion pump assembly500) is below the minimum acceptable voltage,vibration motor assembly602 may vibrateinfusion pump assembly500 to provide a vibration-based signal to the user ofinfusion pump assembly500. Shapememory actuator anchor604 may provide a mounting point for the above-described shape memory actuator (e.g. shape memory actuator112). As discussed above,shape memory actuator112 may be, for example, a conductive shape-memory alloy wire that changes shape with temperature. The temperature of shape-memory actuator112 may be changed with a heater, or more conveniently, by application of electrical energy. Accordingly, one end ofshape memory actuator112 may be rigidly affixed (i.e., anchored) to shapememory actuator anchor604 and the other end ofshape memory actuator112 may be applied to e.g. a valve assembly and/or a pump actuator. Therefore, by applying electrical energy to shapememory actuator112, the length ofshape memory actuator112 may be controlled and, therefore, the valve assembly and/or the pump actuator to which it is attached may be manipulated.
Antenna assembly608 may be configured to allow for wireless communication between e.g.infusion pump assembly500 and remote control assembly300 (FIG. 11). As discussed above,remote control assembly300 may allow the user to programinfusion pump assembly500 and e.g. configure bolus infusion events. As discussed above,infusion pump assembly500 may include one or more valve assemblies configured to control the flow of the infusible fluid through a fluid path (within infusion pump assembly500) andpump assembly106 may be configured to pump the infusible fluid from the fluid path to the user. In this particular embodiment ofinfusion pump assembly500,infusion pump assembly500 is shown to include three valve assemblies, namelymeasurement valve assembly610, volumesensor valve assembly612, andreservoir valve assembly614.
As discussed above and referring also toFIG. 21, the infusible fluid may be stored withinreservoir118. In order to effectuate the delivery of the infusible fluid to the user, the processing logic (not shown) included withininfusion pump assembly500 may energizeshape memory actuator112, which may be anchored on one end using shapememory actuator anchor604. Referring also toFIG. 22A,shape memory actuator112 may result in the activation ofpump assembly106 andreservoir valve assembly614.Reservoir valve assembly614 may includereservoir valve actuator614A andreservoir valve614B, and the activation ofreservoir valve assembly614 may result in the downward displacement ofreservoir valve actuator614A and the closing ofreservoir valve614B, resulting in the effective isolation ofreservoir118. Further,pump assembly106 may includepump plunger106A and pumpchamber106B and the activation ofpump assembly106 may result inpump plunger106A being displaced in a downward fashion intopump chamber106B and the displacement of the infusible fluid (in the direction of arrow616).
Volumesensor valve assembly612 may include volumesensor valve actuator612A andvolume sensor valve612B. Referring also toFIG. 22B, volumesensor valve actuator612A may be closed via a spring assembly that provides mechanical force to sealvolume sensor valve612B. However, whenpump assembly106 is activated, if the displaced infusible fluid is of sufficient pressure to overcome the mechanical sealing force of volumesensor valve assembly612, the displacement of the infusible fluid occurs in the direction ofarrow618. This may result in the filling ofvolume sensor chamber620 included withinvolume sensor assembly148. Through the use ofspeaker assembly622,port assembly624,reference microphone626,spring diaphragm628,invariable volume microphone630,volume sensor assembly148 may determine the volume of infusible fluid included withinvolume sensor chamber620.
Referring also toFIG. 22C, once the volume of infusible fluid included withinvolume sensor chamber620 is calculated,shape memory actuator632 may be energized, resulting in the activation ofmeasurement valve assembly610, which may includemeasurement valve actuator610A andmeasurement valve610B. Once activated and due to the mechanical energy asserted on the infusible fluid withinvolume sensor chamber620 byspring diaphragm628, the infusible fluid withinvolume sensor chamber620 may be displaced (in the direction of arrow634) throughdisposable cannula138 and into the body of the user.
Referring also toFIG. 23, there is shown an exploded view ofinfusion pump assembly500.Shape memory actuator632 may be anchored (on a first end) to shapememory actuator anchor636. Additionally, the other end ofshape memory actuator632 may be used to provide mechanical energy tovalve assembly638, which may activatemeasurement valve assembly610. Volume sensorassembly spring retainer642 may properly positionvolume sensor assembly148 with respect to the various other components ofinfusion pump assembly500.Valve assembly638 may be used in conjunction withshape memory actuator112 to activatepump plunger106A.Measurement valve610B,volume sensor valve612B and/orreservoir valve614B may be self-contained valves that are configured to allow for installation during assembly ofinfusion pump assembly500 by pressing the valves upward into the lower surface ofmain body portion508.
Referring also toFIG. 24 &FIGS. 25A-25D, there is shown a more-detailed view ofpump assembly106.Pump actuator assembly644 may include pumpactuator support structure646,bias spring648, andlever assembly650.
Referring also toFIGS. 26A-26B &FIGS. 27A-27B, there is shown a more-detailed view ofmeasurement valve assembly610. As discussed above,valve assembly638 may activatemeasurement valve assembly610.
Referring also toFIGS. 28A-28D,infusion pump assembly500 may includemeasurement valve assembly610. As discussed above,valve assembly638 may be activated viashape memory actuator632 andactuator assembly640. Accordingly, to infuse the quantity of infusible fluid stored withinvolume sensor chamber620,shape memory actuator632 may need to activatevalve assembly638 for a considerable period of time (e.g. one minute or more). As this would consume a considerable amount of power frombattery606,measurement valve assembly610 may allow for the temporary activation ofvalve assembly638, at which pointmeasurement valve latch656 may preventvalve assembly638 from returning to its non-activated position.Shape memory actuator652 may be anchored on a first end usingelectrical contact654. The other end ofshape memory actuator652 may be connected to avalve latch656. Whenshape memory actuator652 is activated,shape memory actuator652 may pullvalve latch656 forward and releasevalve assembly638. As such,measurement valve assembly610 may be activated viashape memory actuator632. Oncemeasurement valve assembly610 has been activated,valve latch656 may automatically latchvalve assembly638 in the activated position. Actuatingshape memory actuator652 may pullvalve latch656 forward and releasevalve assembly638. Assumingshape memory actuator632 is no longer activated,measurement valve assembly610 may move to a de-activated state oncevalve latch656 has releasedvalve assembly638. Accordingly, through the use ofmeasurement valve assembly610,shape memory actuator632 does not need to be activated during the entire time that it takes to infuse the quantity of infusible fluid stored withinvolume sensor chamber620.
As discussed above, the above-described infusion pump assemblies (e.g.,infusion pumps assemblies100,100′,400,500) may include an external infusion set134 configured to deliver the infusible fluid to a user. External infusion set134 may include acannula assembly136, which may include a needle or adisposable cannula138, andtubing assembly140 which may be also referred to as a tubing set.Tubing assembly140 may be in fluid communication withreservoir118, for example, by way of the fluid path, and withcannula assembly138 for example, either directly or by way of acannula interface142.
Referring also toFIG. 29, there is shown an alternative embodimentinfusion pump assembly700 that is configured to store a portion oftubing assembly140. Specifically,infusion pump assembly700 may include peripheraltubing storage assembly702 that is configured to allow the user to wind a portion oftubing assembly140 about the periphery of infusion pump assembly700 (in a manner similar to that of a yoyo). Peripheraltubing storage assembly702 may be positioned about the periphery ofinfusion pump assembly700. Peripheraltubing storage assembly702 may be configured as an open trough into which a portion oftubing assembly140 may be wound. Alternatively, peripheraltubing storage assembly702 may include one ormore divider portions704,706 that form a plurality of narrower troughs that may be sized to generate an interference fit between the walls of the narrower trough and the exterior surface of the portion oftubing140. When peripheral tubing storage assembly705 includes plurality ofdivider portions704,706, the resulting narrower troughs may be wound in a spiral fashion about the periphery of infusion pump assembly700 (in a manner similar to the thread of a screw).
Referring also toFIGS. 30-31, there is shown an alternative embodimentinfusion pump assembly750 that is configured to store a portion oftubing assembly140. Specifically,infusion pump assembly750 may include peripheraltubing storage assembly752 that is configured to allow the user to wind a portion oftubing assembly140 about the periphery of infusion pump assembly750 (again, in a manner similar to that of a yoyo). Peripheraltubing storage assembly752 may be positioned about the periphery ofinfusion pump assembly750. Peripheraltubing storage assembly752 may be configured as an open trough into which a portion oftubing assembly140 is wound. Alternatively, peripheraltubing storage assembly752 may include one ormore divider portions754,756 that form a plurality of narrower troughs that may be sized to generate an interference fit between the walls of the narrower trough and the exterior surface of the portion oftubing140. When peripheraltubing storage assembly752 includes plurality ofdivider portions754,756, the resulting narrower trough may be wound in a spiral fashion about the periphery of infusion pump assembly750 (again, in a manner similar to the thread of a screw).
Infusion pump assembly750 may includetubing retainer assembly758.Tubing retainer assembly758 may be configured to releasablysecure tubing assembly140 so as to preventtubing assembly140 from unraveling from aroundinfusion pump assembly750. In one embodiment oftubing retainer assembly758,tubing retainer assembly758 may include downward facingpin assembly760 positioned above upward facingpin assembly762. The combination ofpin assemblies760,762 may define a “pinch point” through whichtubing assembly140 may be pushed. Accordingly, the user may wraptubing assembly140 around the periphery ofinfusion pump assembly750, wherein each loop oftubing assembly140 is secured within peripheraltubing storage assembly752 viatubing retainer assembly758. In the event that the user wishes to lengthen the unsecured portion oftubing assembly140, the user may release one loop oftubing assembly140 fromtubing retainer assembly758. Conversely, in the event that the user wishes to shorten the unsecured portion oftubing assembly140, the user may secure one additional loop oftubing assembly140 withintubing retainer assembly758.
Referring also toFIGS. 32-33, there is shown an exemplary embodiment ofinfusion pump assembly800. As withinfusion pump assemblies100,100′,400, and500,infusion pump assembly800 may includereusable housing assembly802 anddisposable housing assembly804.
With reference also toFIGS. 34A-34B, in a fashion similar toinfusion pump assembly100,reusable housing assembly802 may be configured to releasably engagedisposable housing assembly804. Such releasable engagement may be effectuated by a screw-on, twist-lock, or compression fit configuration, for example.Infusion pump assembly800 may include lockingring assembly806. For example,reusable housing assembly802 may be properly positioned relative to disposable housing assembly, and lockingring assembly806 may be rotated to releasable engagereusable housing assembly802 anddisposable housing assembly804.
Lockingring assembly806 may includenub808, having a spring actuatedtab2980, that may facilitate rotation of lockingring assembly806. Additionally, the position ofnub808, e.g., relative totab810 ofdisposable housing assembly804, may provide verification thatreusable housing assembly802 is fully engaged withdisposable housing assembly804. For example, as shown inFIG. 34A, whenreusable housing assembly802 is properly aligned withdisposable housing assembly804,nub808 may be aligned in a first position relative totab810. Upon achieving a fully engaged condition, by rotation lockingring assembly806,nub808 may be aligned in a second position relative totab810, as shown inFIG. 34B.
Referring also toFIGS. 35A-35C andFIGS. 36-38A, in a fashion similar toreusable housing assembly102,reusable housing assembly802 may include mechanical control assembly812 (e.g., which may includevalve assembly814, shown inFIG. 36, including one or more valves and one or more pumps for pumping and controlling the flow of the infusible fluid).Reusable housing assembly802 may also include anelectrical control assembly816 that may be configured to provide control signals to themechanical control assembly812 to effectuate the delivery of an infusible fluid to the user.Valve assembly814 may be configured to control the flow of the infusible fluid through a fluid path and the pump assembly may be configured to pump the infusible fluid from the fluid path to the user.
Mechanical control assembly812 andelectrical control assembly816 may be contained within a housing defined bybase plate818,body820. In some embodiments one or more ofbase plate818 andbody820 may provide electromagnetic shielding. In such an embodiment, the electromagnetic shielding may prevent and/or reduce electromagnetic interference received byelectrical control assembly816 and/or created byelectrical control assembly816. Additionally/alternatively,EMI shield822 may be included, as shown inFIG. 36 andFIG. 37.EMI shield822 may provide shielding against generated and/or received electromagnetic interference.
Reusable housing assembly802 may include a switch assembly that may be configured to receive user commands (e.g., for bolus delivery, pairing with a remote control assembly, or the like). The switch assembly may includebutton824 that may be disposed in opening826 ofbody820. As shown, e.g., inFIG. 35B, lockingring assembly806 may includeradial slot828 that may be configured to allow lockingring assembly806 to be rotated relative tobody820 while still providing facile access tobutton824.
Referring also toFIGS. 39A-39C,electrical control assembly816 may include printedcircuit board830 as well asbattery832. Printedcircuit board830 may include the various control electronics for monitoring and controlling the amount of infusible fluid that has been and/or is being pumped. For example,electrical control assembly816 may measure the amount of infusible fluid that has just been dispensed, and determine, based upon the dosage required by the user, whether enough infusible fluid has been dispensed. If not enough infusible fluid has been dispensed,electrical control assembly816 may determine that more infusible fluid should be pumped.Electrical control assembly816 may provide the appropriate signal tomechanical control assembly812 so that any additional necessary dosage may be pumped orelectrical control assembly816 may provide the appropriate signal tomechanical control assembly812 so that the additional dosage may be dispensed with the next dosage. Alternatively, if too much infusible fluid has been dispensed,electrical control assembly816 may provide the appropriate signal tomechanical control assembly812 so that less infusible fluid may be dispensed in the next dosage.Electrical control assembly816 may include one or more microprocessors. In an exemplary embodiment,electrical control assembly816 may include three microprocessors. One processor (e.g., which may include, but is not limited to a CC2510 microcontroller/RF transceiver, available from Chipcon AS, of Oslo, Norway) may be dedicated to radio communication, e.g., for communicating with a remote control assembly. Two additional microprocessors (example of which may include, but is not limited to an MSP430 microcontroller, available from Texas Instruments Inc. of Dallas, Tex.) may be dedicated to issuing and carrying out commands (e.g., to dispense a dosage of infusible fluid, process feedback signals from a volume measurement device, and the like).
As shown inFIG. 35C,base plate818 may provide access toelectrical contacts834, e.g., which may be electrically coupled toelectrical control assembly816 for rechargingbattery832.Base plate818 may include one or more features (e.g.,openings836,838) which may be configured to facilitate proper alignment withdisposable housing assembly804 by way of cooperating features (e.g., tabs) ofdisposable housing assembly804. Additionally, as shown inFIGS. 40A-40C, 41A-41B, and 42A-42C,base plate818 may include various features for mountingvalve assembly814 andelectrical control assembly816, as well as providing access todisposable housing assembly804 byvalve assembly814.
Lockingring assembly806 may include grip inserts840,842, e.g., which may include an elastomeric or textured material that may facilitate gripping and twisting lockingring assembly806, e.g., for engaging/disengagingreusable housing assembly802 anddisposable housing assembly804. Additionally, lockingring assembly806 may include a sensing component (e.g., magnet844) that may interact with a component of reusable housing assembly802 (e.g., a Hall Effect sensor), e.g., to provide an indication of the nature of a mating component (e.g., which in some embodiments may include, but is not limited to, one or more ofdisposable housing assembly804, a charging station, or a filling station) and/or of whetherreusable housing assembly802 is properly engaged with the mating component. In the exemplary embodiment, a Hall Effect sensor (not shown) may be located on the pump printed circuit board. The Hall Effect sensor may detect when the locking ring has been rotated to a closed position. Thus, the Hall Effect sensor together withmagnet844 may provide a system for determining whether the locking ring has been rotated to a closed position.
The sensing component (magnet)844 together with the reusable housing assembly components, i.e., in the exemplary embodiment, the Hall Effect sensor, may work to provide for a determination of whether the reusable housing assembly is properly attached to the intended component or device. Lockingring assembly806 may not turn without being attached to a component, i.e.,disposable housing assembly804, a dust cover or a charger. Thus, the sensing component together with the reusable housing assembly component may function to provide many advantageous safety features to the infusion pump system. These features may include, but are not limited to, one or more of the following. Where the system does not detect being attached to a disposable assembly, a dust cover or a charger, the system may notify, alert or alarm the user as the reusable portion, e.g., the valves and pumping components, may be vulnerable to contamination or destruction which may compromise the integrity of the reusable assembly. Thus, the system may provide for an integrity alarm to alert the user of potential reusable integrity threats. Also, where the system senses the reusable assembly is attached to a dust cover, the system may power off or reduce power to conserve power. This may provide for more efficient use of power where the reusable assembly is not connecting to a component in which it needs to interact.
Referring also now toFIGS. 136-139, in some embodiments, in addition to the sensing component, a mechanical audible, or “click”, indication may indicate that thereusable housing assembly2972 is fully attached to thedisposable housing assembly2976. In some embodiments, the latching mechanism shown and described above, for example, with respect toFIG. 38A, may include aspring2982 actuatedtab2980 assembly. In some embodiments, thetab2980 includes the sensing component, which, in some embodiments, may be a magnetic2986. Referring now also toFIG. 137, a cross section view at “A” is shown of thereusable housing assembly2972 above thedisposable housing assembly2974 in the “unlocked” position. In some embodiments, the “locked” and “unlocked” position may also be visually indicated to a user/patient using icons2976,2978 that may be molded, etched and/or printed on thedisposable housing assembly2974, indicating whether thereusable housing assembly2972, or, in some embodiments, a fill adapter, is in a locked or unlocked relationship with the disposable housing assembly2974 (or, in some embodiments, the same or similar icons may appear on the dust cover). In various embodiments, theicons2976,2978 may be any form that may indicate “locked” and “unlocked”, or a similar indication, to aid in the user/patient's understanding of the orientation/position between thereusable housing assembly2972 and the disposable housing assembly2974 (or the dust cover). As shown, thereusable housing assembly2972 is aligned about thedisposable housing assembly2974 in an unlocked orientation. Referring now also toFIG. 138, a cross section view at “A” is shown of thereusable housing assembly2972 attached to thedisposable housing assembly2974 in the unlocked orientation/position is shown. The tab2080 is in the unlocked position. Referring now toFIG. 139, a cross section view at “A” is shown of thereusable housing assembly2972 attached to thedisposable housing assembly2974 in the locked orientation/position is shown. As may be seen, thetab2980 has moved towards thedisposable housing assembly2974, leaving aspace2984 above thetab2980 in thereusable housing assembly2972. When thetab2980 moves from the unlocked position (shown inFIG. 138) to the locked position (shown inFIG. 139) in some embodiments, an audible “click” sound, and tactile “click”, may be detected by the user/patient. This may be beneficial for many reasons including that the user/patient may only hear the audible “click” sound if thereusable housing assembly2972 and the disposable housing assembly2974 (or, the dust cover or charger in various embodiments) are in the correct orientation and fully locked arrangement. This may ensure the user/patient that the infusion pump assembly is in the correct and fully locked position. Thus, in various embodiments where an audible “click” may be heard upon thedisposable housing assembly2974 andreusable housing assembly2972 being attached, the infusion pump assembly will include two safety checks that they are fully locked: 1) the sensing component described and discussed above; and 2) the audible “click” mechanical component. In various embodiments thedisposable housing assembly2974 may include a ramp feature that thetab2980 assembly rides on as thereusable housing assembly2972 is rotated from an unlocked to a locked position with respect to thedisposable housing assembly2974. At the end of the ramp, in some embodiments, an indentation or relief in thedisposable housing assembly2974 allows thetab2980, actuated by thespring2982, to “click” into the indentation/relief. Other embodiments allowing for an audible and or tactile indication to the user/patient may be used in various embodiments.
Reusable housing assembly802 may attach to a number of different components, including but not limited to, a disposable housing assembly, a dust cover or a battery charger/battery charging station. In each case, the Hall Effect sensor may detect that the locking ring is in the closed position, and therefore, thatreusable housing assembly802 is releasably engaged to a disposable housing assembly, a dust cover, or a battery charger/battery charging station (or, another component). The infusion pump system may determine the component to which it is attached by using the AVS system (which may also be referred to as the volume measurement sensor) described in more detail below or by an electronic contact. Referring now also toFIGS. 38B-38D, one embodiment of a dust cover (e.g., dust cover839) is shown. In the exemplary embodiment,dust cover839 may includefeatures841,843,845,847 such that the locking ring ofreusable housing assembly802 may releasably engagedust cover839. In addition,dust cover839 may further includerecess region849 for accommodating the valving and pumping features ofreusable housing assembly804. Referring also toFIGS. 140A-140D, in some embodiments, various embodiments of thedust cover839,2988 may include a sealingassembly2990 that may be over molded to provide for a complete seal of thedust cover839,2988 to thereusable housing assembly2972. As shown inFIG. 140D, where a cut-away cross-sectional view of section D inFIG. 140C, the sealingassembly2990 is over molded. Additionally, as may be seen inFIGS. 140A and 140B, in some embodiments of thedust cover2988, thedust cover2988 may includeicons2976,2978. As discussed above, theicons2976,2978, may be molded, etched and/or printed onto thedust cover2988 and may be any form that may indicate “locked” and “unlocked”, or a similar indication, to aid in the user/patient's understanding of the orientation/position between thereusable housing assembly2972 and thedust cover2988 and/or indicating whether thereusable housing assembly2972 is in a locked or unlocked position with respect to thedust cover2988. For example, with respect to the dust cover, the AVS system may determine that a dust cover, and not a disposable housing assembly, is connected to the reusable housing assembly. The AVS system may distinguish using a lookup table or other comparative data and comparing the measurement data with characteristic dust cover or empty disposable housing assembly data. With respect to the battery charger, the battery charger, in the exemplary embodiments, may include electric contacts. When the reusable housing assembly is attached to the battery charger, the infusion pump assembly electronic system may sense that the contacts have been made, and will thus indicate that the reusable housing assembly is attached to a battery charger.
Referring also toFIGS. 43A-45B andFIGS. 44A-44C an embodiment ofvalve assembly814, which may include one or more valves and one or more pumps, is shown. As withinfusion pump assemblies100,100′,400, and500,valve assembly814 may generally includereservoir valve850,plunger pump852,volume sensor valve854, andmeasurement valve856. Similar to the previous description,reservoir valve850 andplunger pump852 may be actuated byshape memory actuator858, which may be anchored (on a first end) to shapememory actuator anchor860. Additionally,measurement valve856 may be actuated, viavalve actuator862, byshape memory actuator864, which may be anchored (on a first end) to shapememory actuator anchor866. In a similar manner as discussed above, measurement valve may be maintained in an open position via measurementvalve latch assembly868.Measurement valve856 may be released via actuation ofshape memory actuator870, which may be anchored (on a first end) by shapememory actuator anchor872. In some embodiments, shapememory actuator anchor860 may be potted onto the reusable housing assembly. Using this process during manufacture ensures shapememory length actuator858 is installed and maintains the desired length and tension/strain.
Referring also toFIGS. 45A-45B andFIGS. 46A-46E, shape memory actuator858 (e.g., which may include one or more shape memory wires) may actuateplunger pump852 viaactuator assembly874.Actuator assembly874 may includebias spring876 andlever assembly878.Actuator assembly874 may actuate bothplunger pump852 andmeasurement valve850.
Referring also toFIGS. 47A-47B,measurement valve856 may be actuated byshape memory actuator864, viavalve actuator862 andlever assembly878. Once actuated, measurementvalve latch assembly868 may maintainmeasurement valve856 in an open position. Measurementvalve latch assembly868 actuated byshape memory actuator870 to releasemeasurement valve856, allowing it to return to a closed position.
Disposable housing assembly804 may be configured for a single use or for use for a specified period of time, e.g., e.g., three days or any other amount of time.Disposable housing assembly804 may be configured such that any of the component ofinfusion pump assembly800 that come in contact with the infusible fluid may be disposed on and/or withindisposable housing assembly804. As such, the risk of contaminating the infusible fluid may be reduced.
Referring also toFIG. 48 andFIGS. 49A-49C,disposable housing assembly804 may includebase portion900,membrane assembly902, andtop portion904.Base portion900 may includerecess906 that together withmembrane assembly902 definesreservoir908 for receiving an infusible fluid (not shown), e.g., insulin. Referring also toFIGS. 50A-50C,recess906 may be at least partially formed by and integral withbase portion900.Membrane assembly902 may be sealingly engaged withbase portion900, e.g., by being compressively pinched betweenbase portion900 andtop portion904.Top portion904 may be attached tobase portion900 by conventional means, such as gluing, heat sealing, ultrasonic welding, and compression fitting. Additionally/alternatively,membrane assembly902 may be attached tobase portion900, e.g., via gluing, ultrasonic welding, heat sealing, and the like, to provide a seal betweenmembrane assembly902 andbase portion900.
Referring also toFIGS. 141A-141B, an embodiment of thedisposable housing assembly2974 is shown without the top portion or membrane assembly. Referring toFIG. 141B, a magnified cut away view of thepump chamber106B as indicated by “B” inFIG. 141A is shown. In some embodiments, agroove2992 is included on the wall of the pump chamber. In some embodiments, the groove may allow fluid to flow while thepump plunger106A is fully actuated, thus, preventing thepump plunger106A from sealing flow out of thepump chamber106B.FIGS. 142B and 142C are cross sectional views ofFIG. 142A taken at section “B” and “C” respectively. Thegroove2992 may be seen in thepump chamber106B.
Referring also toFIGS. 143A-143B, in some embodiments of thedisposable housing assembly2974, thedisposable housing assembly2974 may include at least onevent2994 which, in some embodiments, may include afilter2996, which may, in some embodiments, be a hydrophobic filter, which may be, in some embodiments, be a 10 micron filter made fromPOREX PM 1020 MUPOR micro porous PTFE membrane, however, in other embodiments may be a different sized or type of filter for example, a 5 micron, 15 microns, filter and/or a GORTEX filter.
Still referring toFIGS. 48 and 50A,recess906, in the exemplary embodiment, includes raisedportion901 which includesarea903 aboutfluid openings905 leading to the fluid line. Raisedportion901, in the exemplary embodiment, extends about the perimeter ofrecess906. However, in other embodiments, raisedportion901 may not extend the entire perimeter, but may be partially about the perimeter.Area903 aboutfluid openings905 may be shaped as shown in the exemplary embodiment, including an angled portion, which in some embodiments, includes 45 degree angles, however in other embodiments, the angle may be greater or lesser. In some embodiments, the pump may not generate a sufficient enough vacuum to collapse the reservoir so as to eliminate the entire volume of fluid that may be stored in the reservoir. Raisedportion901 may act to minimize wasted fluid.
Fluid openings905, which, in the exemplary embodiment, may include three openings, however, in other embodiments may include more openings or fewer openings, may be surrounded byarea903 of the raised portion. In the exemplary embodiment,fluid openings905 may be narrow in the center, thus creating a surface tension that may prevent the air from being drawn into the opening. In the exemplary embodiment, this area may be designed to encourage any air that is present in the reservoir to be drawn above one offluid openings905 rather than be pulled throughfluid openings905 and into the fluid line. Additionally, because there may be more than onefluid opening905, where an air bubble is caught above one, the air may not prevent fluid from flowing through the other two openings.
Referring also toFIGS. 144A-144E, another embodiment of thedisposable housing assembly2974 is shown. In these embodiments, and as may be seen inFIG. 144B, showing a magnified sectional view of section “B” as indicated inFIG. 144A, and as may be seen inFIG. 144D, showing a magnified sectional view of section “D” as indicated inFIG. 144C, andFIG. 144E is an illustration of the bubble trap, abubble trap2998 and raisedarea3000, as well as aradius3006 and a relief for theseptum3016 are included in thereservoir3002. In this embodiment, thebubble trap2998 is located about the perimeter of thereservoir3002 wall and theradius3006. However, in the area of the raisedarea3000, thebubble trap2998 includes an outlet section. In the non-outlet section of the perimeter of thereservoir3002, thebubble trap2998 includes essentially two portions, ataper portion3008, which tapers to abottom portion3010. In the outlet section, thetaper portion3008 ends, shown as the end of thetaper portion3014, and thebottom portion3010 continues in anupward ramp portion3012 to thereservoir outlet3004. Thereservoir3002 includes a membrane (not shown) which forms, together with the raisedarea3000 and theupward ramp portion3012, essentially a “tunnel” between the membrane and the fluid outlet.
As the fluid in the reservoir is pumped out of the reservoir, the membrane (not shown) moves towards thereservoir wall3002. In the embodiments shown inFIGS. 144A-144D, the fluid tends to congregate inbottom portion3010 of thebubble trap2998 and air bubbles do not. Rather, to the extent air is present, air bubbles tend to congregate intaper portion3008 of thebubble trap2998. At the raisedarea3000, where thetaper portion3008 of thebubble trap2998 ends at the end of thetaper portion3014, bubbles, to the extent present, will not likely enter into theupward ramp portion3012, and thus, will not likely be pumped through the exit of thereservoir3004.
Thus, as the fluid is pumped through the exit of thereservoir3004, air is not pulled through the exit of thereservoir3004. The embodiments shown inFIGS. 144A-144D may be beneficial for many reasons, including but not limited to, decreasing air that is pumped from thereservoir3002 and into the fluid path in thedisposable housing assembly2974. As air bubbles have a greater surface tension than fluid, the bubbles will not tend to congregate in thebottom portion3010 of thebubble trap2998, and further, will not tend to flow passed the end of thetaper portion3014 and onto theupward ramp portion3012 and through the exit of thereservoir3004.
Referring also toFIGS. 51A-51C,disposable housing assembly804 may also includefluid pathway cover910.Fluid pathway cover910 may be received incavity912 formed on/withinbase portion900.Fluid pathway cover910 may, in some embodiments, include at least a portion of one or more channels (e.g., channel914). The channels included influid pathway cover910 may fluidly couple one or more volcano valve features (e.g. volcano valves916) included onbase portion900.Volcano valves916 may include a protrusion having an opening extending through it. Additionally,fluid pathway cover910 andbase portion900 may each define a portion of recess (e.g.,recess portions918,920 included inbase portion900 andfluid pathway cover910 respectively) for fluidly coupling to an infusion set (e.g., including cannula922).Cannula922 may be coupled todisposable housing assembly804 by conventional means (e.g., gluing, heat sealing, compression fit, or the like). The fluid pathways defined byfluid pathway cover910 and the volcano valves (e.g., volcano valves916) ofbase portion900 may define a fluid pathway betweenreservoir908 andcannula922 for the delivery of the infusible fluid to the user via the infusion set. However, in some embodiments, fluid path cover910 may include at least a portion of the fluid path, and in some embodiments, fluid path cover910 may not include at least a portion of the fluid path. In the exemplary embodiment,fluid pathway cover910 may be laser welded tobase portion900. However, in other embodiments,fluid pathway cover910 may also be connected tobase portion900 by conventional means (e.g., gluing, heat sealing, ultrasonic welding, compression fit, or the like) to achieve a generally fluid tight seal betweenfluid pathway cover910 andbase portion900.
With reference also toFIGS. 54A-54C,disposable housing assembly804 may further includevalve membrane cover924.Valve membrane cover924 may be at least partially disposed over the volcano valves (e.g., volcano valve916) andpumping recess926 included on/withinbase portion900.Valve membrane cover924 may include a flexible material, e.g., which may be selectively engaged against the volcano valves byreservoir valve850,volume sensor valve854, andmeasurement valve856 ofreusable housing assembly802, e.g., for controlling the flow of the infusible fluid. Additionally,valve membrane cover924 may be resiliently deformed into pumpingrecess926 byplunger pump852 to effectuate pumping of the infusible fluid.Valve membrane cover924 may be engaged betweenbase portion900 andtop portion904 ofdisposable housing assembly804 to formseal928 betweenvalve membrane cover924 andbase portion900. For example, in the exemplary embodiment,valve membrane cover924 may be overmolded ontobase portion900. In other embodiment,valve membrane cover924 may be compressively pinched betweenbase portion900 andtop portion904 to formseal928. Additionally/alternatively, valve membrane insert may be connected to one or more ofbase portion900 andtop portion904, e.g., by gluing, heat sealing, or the like.
Referring also toFIGS. 53A-C,top portion904 may includealignment tabs930,932 that may be configured to be at least partially received inopenings836,838 ofbase plate818 ofreusable housing assembly802 to ensure proper alignment betweenreusable housing assembly802 anddisposable housing assembly804. Additionally,top portion904 may include one or moreradial tabs934,936,938,940 configured to be engaged by cooperatingtabs942,944,946,948 of lockingring assembly806. The one or more radial tabs (e.g., radial tab940) may include stops (e.g.,alignment tab stop950, which may be used for welding, it's the tab that fits in the recess to locate and ultrasonically weld), e.g., which may prevent further rotation of lockingring assembly806 oncereusable housing assembly802 anddisposable housing assembly804 are fully engaged.
As discussed above,valve membrane insert924 may allow for pumping and flow of the infusible fluid byreservoir valve850,plunger pump852,volume sensor valve854, andmeasurement valve856. Accordingly,top portion904 may include one or more openings (e.g.,openings952,954,956) that may expose at least a portion ofvalve membrane insert924 for actuation byreservoir valve850,plunger pump852,volume sensor valve854, andmeasurement valve856. Additionally,top portion904 may include one ormore openings958,960,962 which may be configured to allow the fill volume to be controlled during filling ofreservoir908, as will be discussed in greater detail below.Reservoir assembly902 may includeribs964,966,968 (e.g., as shown inFIG. 52A), which may be at least partially received inrespective openings958,960,962. As will be described in greater detail below, a force may be applied to one or more ofribs964,966,968 to, at least temporarily, reduce the volume ofreservoir908.
In some embodiments, it may be desirable to provide a seal betweenreusable housing assembly802 anddisposable housing assembly804. Accordingly,disposable housing assembly804 may include sealingassembly970.Sealing assembly970 may include, for example, an elastomeric member that may provide a compressible rubber or plastic layer betweenreusable housing assembly802 anddisposable housing assembly804 when engaged, thus preventing inadvertent disengagement and penetration by outside fluids. For example, sealingassembly970 may be a watertight seal assembly and, thus, enable a user to wearinfusion pump assembly800 while swimming, bathing or exercising.
In a fashion similar to, e.g.,disposable housing assembly114,disposable housing assembly802 may, in some embodiments, be configured to havereservoir908 filled a plurality of times. However, in some embodiments,disposable housing assembly114 may be configured such thatreservoir908 may not be refilled. Referring also toFIGS. 57-64,fill adapter1000 may be configured to be coupled todisposable housing assembly804 for refillingreservoir908 using a syringe (not shown).Fill adapter1000 may include lockingtabs1002,1004,1006,1008 that may be configured to engageradial tabs934,936,938,940 ofdisposable housing assembly804 in a manner generally similar totabs942,944,946,948 of lockingring assembly806. Accordingly, filladapter1000 may be releasably engaged withdisposable housing assembly804 by aligningfill adapter1000 withdisposable housing assembly804 androtating fill adapter1000 anddisposable housing assembly804 relative to one another to releasably engage lockingtabs1002,1004,1006,1008 withradial tabs934,936,938,940.
Fill adapter1000 may further include fillingaid1010, which may includeguide passage1012, e.g., which may be configured to guide a needle of a syringe (not shown) to a septum ofdisposable housing assembly804 to allowreservoir908 ofdisposable housing assembly804 to be filled by the syringe. In some embodiments,guide passage1012 may be an angled bevel or other gradual angled bevel to further guide a syringe to a septum.Fill adapter1000 may facilitate fillingreservoir908 by providing a relatively large insertion area, e.g., at the distal opening ofguide passage1012.Guide passage1012 may generally taper to a smaller proximal opening that may be properly aligned with the septum ofdisposable housing assembly804, whenfill adapter1000 is engaged withdisposable housing assembly804. Accordingly, filladapter1000 may reduce the dexterity and aim necessary to properly insert a needle through the septum ofdisposable housing assembly804 for the purpose of fillingreservoir908.
As discussed above,disposable housing assembly804 may configured to facilitate controlling the quantity of infusible fluid delivered toreservoir908 during filling. For example,membrane assembly902 ofdisposable housing assembly804 may includeribs964,966,968 that may be depressed and at least partially displaced intoreservoir908, thereby reducing the volume ofreservoir908. Accordingly, when infusible fluid is delivered toreservoir908, the volume of fluid that may be accommodated byreservoir908 may be correspondingly reduced.Ribs964,966,968 may be accessible viaopenings958,960,962 intop portion904 ofdisposable housing assembly804.
Fill adapter1000 may include one or more button assemblies (e.g.,button assemblies1014,1016,1018) corresponding toribs964,966,968. That is, whenfill adapter1000 is releasably engaged withdisposable housing assembly804,buttons1014,1016,1018 may be aligned withribs964,966,968.Button assemblies1014,1016,1018 may be, for example, cantilever members capable of being depressed. Whenfill adapter1000 is releasably engaged withdisposable housing assembly804, one or more ofbutton assemblies1014,1016,1018 may be depressed, and may correspondingly displace a respective one ofribs964,966,698 intoreservoir908, causing an attendant reduction in the volume ofreservoir908.
For example, assume for illustrative purposes thatreservoir908 has a maximum capacity of 3.00 mL. Further, assume thatbutton assembly1014 is configured to displacerib964 intodisposable housing assembly804, resulting in a 0.5 mL reduction in the 3.00 mL capacity ofdisposable housing assembly804. Further, assume thatbutton assembly1016 is configured to displacerib966 intodisposable housing assembly804, also resulting in a 0.5 mL reduction in the 3.00 mL capacity ofdisposable housing assembly804. Further, assume thatbutton assembly1018 is configured to displaceslot assembly968 intodisposable housing assembly804, also resulting in a 0.5 mL reduction in the 3.00 mL capacity ofdisposable housing assembly804. Therefore, if the user wishes to fillreservoir908 withindisposable housing assembly804 with 2.00 mL of infusible fluid, in some embodiments, the user may first fill the reservoir to the 3.00 mL capacity and then depressesbutton assemblies1016 and1014 (resulting in the displacement ofrib966 into disposable housing assembly804), effectively reducing the 3.00 mL capacity ofreservoir908 withindisposable housing assembly804 to 2.00 mL. In some embodiments, the user may first depress a respective number of button assemblies, effectively reducing the capacity ofreservoir908, and then fillreservoir908. Although a particular number of button assemblies are shown, representing the exemplary embodiment, in other embodiments, the number of button assemblies may vary from a minimum of 1 to as many as is desired. Additionally, although for descriptive purposes, and in the exemplary embodiment, each button assembly may displace 0.5 mL, in other embodiments, the volume of displacement per button may vary. Additionally, the reservoir may be, in various embodiments, include a larger or smaller volume than described in the exemplary embodiment.
According to the above-described configuration, the button assemblies (e.g.,button assemblies1014,1016,108) may employed, at least in part, to control the fill volume ofreservoir908. By not depressing any of the button assemblies, the greatest fill volume ofreservoir908 may be achieved. Depressing one button assembly (e.g., button assembly1014) may allow the second greatest fill volume to be achieved. Depressing two button assemblies (e.g.,button assemblies1014,1016) may achieve the third greatest fill volume. Depressing all three button assemblies (e.g.,button assemblies1014,1016,1018) may allow the smallest fill volume to be achieve.
Further, in anembodiment button assemblies1014,1016,1018 may be utilized, at least in part, to facilitate filling ofreservoir908. For example, once a filling needle (e.g., which may be fluidly coupled to a vial of infusible fluid) has been inserted intoreservoir908,button assemblies1014,1016,1018 may be depressed to pump at least a portion of any air that may be contained within reservoir into the vial of infusible fluid.Button assemblies1014,1016,1018 may subsequently be released to allow infusible fluid to flow from the vial intoreservoir908. Oncereservoir908 has been filled with the infusible fluid, one or more button assemblies (e.g., one or more ofbutton assemblies1014,1016,1018) may be depressed, thereby squeezing at least a portion of the infusible fluid from reservoir908 (e.g., via a needle used to fillreservoir908 and back into the vial of infusible fluid). As discussed above, the volume of infusible fluid contained withinreservoir908 may be controlled, e.g., depending upon how many button assemblies are depressed (e.g., which may control how much infusible fluid is squeezed back into the vial of infusible fluid).
With particular reference toFIGS. 62-64, fillingaid1010 may be pivotally coupled to filladapter base plate1020. For example, fillingaid1010 may includepivot members1022,1024 that may be configured to be received in pivot supports1026,1028, thereby allowing filling aid to pivot between an open position (e.g., as shown inFIGS. 57-61) and a closed position (e.g., as shown inFIGS. 63-64). The closed position may be suitable, e.g., forpackaging fill adapter1000, storage offill adapter1000, or the like. In order to ensure that fillingaid1010 is properly oriented for fillingreservoir908, filladapter1000 may includesupport member1030. To properly orient fillingaid1010, a user may pivot fillingaid1010 to a fully open position, wherein fillingaid1010 may contactsupport member1030.
According to an alternative embodiment, and referring also toFIG. 65,fill adapter1050 may be configured to releasably engagedisposable housing assembly804 via a plurality of locking tabs (e.g., lockingtabs1052,1054). Additionally, filladapter1050 may include a plurality of button assemblies (e.g.,button assemblies1056,1058,1060) that may interact withribs964,966,968 ofdisposable housing assembly804 to adjust a fill volume ofreservoir908.Fill adapter1050 may further include fillingaid1062, havingguide passage1064 configured to align a needle of a syringe with the septum ofdisposable housing804, e.g., for accessingreservoir908 for the purpose of fillingreservoir908 with an infusible fluid. Fillingaid1062 may be connected tobase plate1066, e.g., as an integral component therewith, by gluing, heat sealing, compression fit, or the like.
Referring also toFIGS. 66-74,vial fill adapter1100 may be configured to facilitate fillingreservoir908 ofdisposable housing assembly804 directly from a vial. Similar to filladapter1000,vial fill adapter1100 may include lockingtabs1102,1104,1106,1108 that may be configured to engageradial tabs934,936,938,940 of disposable housing assembly in a manner generally similar totabs942,944,946,948 of lockingring assembly806. Accordingly,vial fill adapter1100 may be releasably engaged withdisposable housing assembly804 by aligningvial fill adapter1100 withdisposable housing assembly804 and rotatingvial fill adapter1100 anddisposable housing assembly804 relative to one another to releasably engage lockingtabs1102,1104,1106,1108 withradial tabs934,936,938,940.
As discussed above,disposable housing assembly804 may be configured to facilitate controlling the quantity of infusible fluid delivered toreservoir908 during filling. For example,membrane assembly902 ofdisposable housing assembly804 may includeribs964,966,968 that may be depressed and at least partially displaced intoreservoir908, thereby reducing the volume ofreservoir908. Accordingly, when infusible fluid is delivered toreservoir908, the volume of fluid that may be accommodated byreservoir908 may be correspondingly reduced.Ribs964,966,968 may be accessible viaopenings958,960,962 intop portion904 ofdisposable housing assembly804.
Vial fill adapter1100 may include one or more button assemblies (e.g.,button assemblies1110,1112,1114) corresponding toribs964,966,968 (e.g., shown inFIG. 52A). That is, whenvial fill adapter1100 is releasably engaged withdisposable housing assembly804,buttons1110,1112,1114 may be aligned withribs964,966,968.Button assemblies1110,1112,1114 may be, for example, cantilever members capable of being depressed. Whenvial fill adapter1100 is releasably engaged withdisposable housing assembly804, one or more ofbutton assemblies1110,1112,1114 may be depressed, and may correspondingly displace a respective one ofribs964,966,698 intoreservoir908, thereby reducing the volume ofreservoir908.
For example, assume for illustrative purposes thatreservoir908 has a maximum capacity of 3.00 mL. Further, assume thatbutton assembly1110 is configured to displacerib964 intodisposable housing assembly804, resulting in a 0.5 mL reduction in the 3.00 mL capacity ofdisposable housing assembly804. Further, assume thatbutton assembly1112 is configured to displacerib966 intodisposable housing assembly804, also resulting in a 0.5 mL reduction in the 3.00 mL capacity ofdisposable housing assembly804. Further, assume thatbutton assembly1114 is configured to displacerib968 intodisposable housing assembly804, also resulting in a 0.50 mL reduction in the 3.00 mL capacity ofdisposable housing assembly804. Therefore, if the user wishes to fillreservoir908 withindisposable housing assembly804 with 2.00 mL of infusible fluid, the user may depressbutton assemblies1112 and1114 (resulting in the displacement ofribs966 and968 into disposable housing assembly804), effectively reducing the 3.00 mL capacity ofreservoir908 withindisposable housing assembly804 to 2.0 mL.
Vial fill adapter1100 may further include vial fillingaid assembly1116 that may be configured to fluidly couple a vial of infusible fluid toreservoir908 ofdisposable housing assembly804 via a septum. With particular reference toFIG. 71, vial filling aid assembly may include double endedneedle assembly1118. Double endedneedle assembly1118 may includefirst needle end1120 configured to penetrate the septum of a vial (not shown) andsecond needle end1122 configured to penetrate the septum ofdisposable housing assembly804. As such, the vial andreservoir908 may be fluidly coupled allowing infusible fluid to be transferred from the vial toreservoir908. Double endedneedle assembly1118 may includevial engagement portion1124 adjacentfirst end1120.Vial engagement arms1124,1126 may be configured to releasably engage, e.g., a vial cap, to assist in maintaining the fluid connection between double endedneedle assembly1118 and the vial. Additionally, double endedneedle assembly1118 may includebody1128 that may be slidably received in opening1130 of vial fillingaid body1132. Vial fillingaid body1132 may includestabilizer arms1134,1136, e.g., which may be configured to stabilize the vial during filling ofdisposable housing assembly804. In one embodiment, the vial may be engaged with double endedneedle assembly1118 e.g., such thatfirst end1120 may penetrate the septum of the vial and the cap of the vial may be engaged byengagement arms1124,1126.Body1128 may be slidably inserted intoopening1130 such thatsecond end1122 of double endedneedle assembly1118 may penetrate the septum ofdisposable body assembly804.
Similar to filladapter1000, vial fillingaid assembly1116 may be configured to be pivotally coupled to vial filladapter base plate1138. For example,vial filling aid1116 may includepivot members1140,1142 that may be configured to be received in pivot supports1144,1146 (e.g., shown inFIG. 71), thereby allowingvial filling aid1116 to pivot between an open position (e.g., as shown inFIGS. 66-70) and a closed position (e.g., as shown inFIGS. 72-74). The closed position may be suitable, e.g., for packagingvial fill adapter1100, storage ofvial fill adapter1100, or the like. In order to ensure thatvial filling aid1116 is properly oriented for fillingreservoir908,vial fill adapter1100 may includesupport member1148. To properly orientvial filling aid1116, a user may pivotvial filling aid1116 to a fully open position, whereinvial filling aid1116 may contactsupport member1148. Additionally, vial filladapter base plate1138 may include one or more locking features (e.g., lockingtabs1150,1152) that may engagevial filing aid1116, and may maintainvial filling aid1116 in the closed position. Vial filladapter base plate1138 may also include features (e.g.,tabs1154,1156) that may be configured to assist in retaining double endedneedle assembly1118, e.g., by preventing slidable separation of double endedneedle assembly1118 from vial fillingaid body1132.
As shown inFIGS. 72-74, fillingaid assembly1116 is in a closed position. In this configuration,support member1148 may additionally function as a needle guard. When removing fillingaid assembly1116 fromdisposable housing assembly804,support member1148 may function to safely allow a user to squeeze the ends and rotate fillingaid assembly1116 for removal. As shown inFIG. 70, in the open position,support member1148 may function as a stop to maintain proper orientation.
Referring again toFIGS. 57-73, the exemplary embodiments of the fill adapter include a grip feature (e.g.,1166 inFIG. 72). Grip feature1166 may provide a grip interface for removal of the fill adapter fromdisposable housing assembly804. Although shown in one configuration in these figures, in other embodiments, the configuration may vary. In still other embodiments, a grip feature may not be included.
According to one embodiment, filladapter base plate1020 and vial filladapter base plate1138 may be interchangeable components. Accordingly, a single base plate (e.g., either filladapter base plate1020 or vial filladapter base plate1138 may be used with either fillingaid1010 orvial filling aid1116. Accordingly, the number of distinct components that are required for both filling adapters may be reduced, and a user may have the ability to select the filling adapter that may be the most suitable for a given filling scenario.
The various embodiments of the fill adapters may provide many safely benefits, including but not limited to: providing a system for filling the reservoir without handling a needle; protecting the reservoir from unintentional contact with the needle, i.e., destruction of the integrity of the reservoir through unintentional puncture; designed to be ambidextrous; in some embodiments, may provide a system for maintaining air in the reservoir.
As discussed above,reusable housing assembly802 may includebattery832, e.g., which may include a rechargeable battery. Referring also toFIGS. 75-80,battery charger1200 may be configured to rechargebattery832.Battery charger1200 may include housing1202 havingtop plate1204.Top plate1204 may include one or moreelectrical contacts1206, generally, configured to be electrically coupled toelectrical contacts834 ofreusable housing assembly802.Electrical contacts1206 may include, but are not limited to, electrical contact pads, spring biased electrical contact members, or the like. Additionally,top plate1204 may includealignment tabs1208,1210, which may be configured to mate withopenings836,838 inbase plate818 of reusable housing assembly802 (e.g., as shown inFIG. 35C). The cooperation ofalignment tabs1208,1210 andopenings836,838 may ensure thatreusable housing assembly802 is aligned withbattery charger1200 such thatelectrical contacts1206 ofbattery charger1200 may electrically couple withelectrical contacts834 ofreusable housing assembly802.
With reference also toFIGS. 77 and 78,battery charger1200 may be configured to releasably engagereusable housing assembly802. For example, in a similar manner asdisposable housing assembly804,battery charger1200 may include one or more locking tabs (e.g., lockingtabs1212,1214 shown inFIG. 76). The locking tabs (e.g., lockingtabs1212,1214) may be engaged bytabs942,944,946,948 of lockingring assembly806. As such,reusable housing assembly802 may be aligned with battery charger1200 (viaalignment tabs1208,1210) with lockingring806 in a first, unlocked position, as shown inFIG. 77. Lockingring806 may be rotated relative tobattery charger1200 in the direction ofarrow1216 to releasably engagetabs942,944,946,948 of lockingring806 with the locking tabs (e.g., lockingtabs1212,1214) ofbattery charger1200, as shown inFIG. 78.
In an embodiment,battery charger1200 may include recessedregion1218, e.g., which may, in the exemplary embodiments, provide clearance to accommodatereusable housing assembly802 pumping and valving components. Referring also toFIGS. 79 & 80,battery charger1200 may provide electrical current to electrical contacts1206 (and thereby toreusable housing assembly802 via electrical contacts834) for rechargingbattery832 ofreusable housing assembly802. In some embodiments, when a signal indicative of a fully engaged reusable housing is not provided, current may not be provided toelectrical contacts1206. According to such an embodiment, the risk associated with an electrical short circuit (e.g., resulting from foreign objects contacting electrical contacts1206) and damage to reusable housing assembly802 (e.g., resulting from improper initial alignment betweenelectrical contacts1206 and electrical contacts834) may be reduced. Additionally,battery charger1200 may not unnecessarily draw current when battery charger is not chargingreusable housing assembly802.
Still referring toFIGS. 79 and 80,battery charger1200 may include alower housing portion1224 andtop plate1204. Printed circuit board1222 (e.g., which may include electrical contacts1206) may be disposed within a cavity included betweentop plate1204 andlower housing portion1224.
Referring also toFIGS. 81-89, various embodiments of battery charger/docking stations are shown.FIGS. 81 and 82 depictsdesktop charger1250 includingrecess1252 configured to mate with and recharge a reusable housing assembly (e.g., reusable housing assembly802). The reusable housing assembly may rest inrecess1252 and or may be releasably engaged inrecess1252, in a similar manner as discussed above. Additionally,desktop charger1250 may includerecess1254 configured to mate with a remote control assembly (e.g., remote control assembly300).Recess1254 may include aUSB plug1256, e.g., which may be configured to couple with the remote control assembly when the remote control assembly is disposed withinrecess1254.USB plug1256 may allow for data transfer to/from the remote control assembly, as well as charging of remote control assembly.Desktop charger1250 may also include USB port1258 (e.g., which may include a mini-USB port), allowing desktop charger to receive power (e.g., for charging the reusable housing assembly and/or the remote control assembly). Additionally/alternativelyUSB port1258 may be configured for data transfer to/from remote control assembly and/or reusable housing assembly, e.g., by connection to a computer (not shown).
Referring toFIGS. 83A-83B, similar to the previous embodiment,desktop charger1260 may includerecess1262 for mating with a reusable housing assembly (e.g., reusable housing assembly1264). Desktop charger may also includerecess1266 configured to receive a remote control assembly (e.g., remote control assembly1268). One or more ofrecess1262,1266 may include electrical and/or data connections configure to charge and/or transfer data to/fromreusable housing assembly1262 and/orremote control assembly1268, respectively.
Referring toFIGS. 84A-84B, another embodiment of a desktop charger is shown. Similar todesktop charger1260,desktop charger1270 may include recesses (not shown) for respectively mating withreusable housing assembly1272 andremote control assembly1274. As shown,desktop charger1270 may holdreusable housing assembly1272 andremote control assembly1274 in a side-by-side configuration.Desktop charger1270 may include various electrical and data connection configured to charge and/or transfer data to/fromreusable housing assembly1272 and/orremote control assembly1274, as described in various embodiments above.
Referring toFIG. 85A-85D,collapsible charger1280 may includerecess1282 for receivingreusable housing assembly1284 andremote control assembly1286.Collapsible charger1280 may include various electrical and data connection configured to charge and/or transfer data to/fromreusable housing assembly1284 and/orremote control assembly1286, as described in various embodiments above. Additionally, as shown inFIGS. 85B-85D,collapsible charger1280 may includepivotable cover1288.Pivotable cover1288 may be configured to pivot between an open position (e.g., as shown inFIG. 85B), in whichreusable housing assembly1284 andremote control assembly1286 may be docked incollapsible charger1280, and a closed position (e.g., as shown inFIG. 85D), in whichrecess1282 may be covered bypivotable cover1288. In the closed position,recess1282, as well as any electrical and/or data connections disposed therein, may be protected from damage.
Referring toFIG. 86,wall charger1290 may includerecess1292 configured to receivereusable housing assembly1294. Additionally,wall charger1290 may includerecess1296 configured to receiveremote control assembly1298.Reusable housing assembly1294 andremote control assembly1298 may be positioned in a stacked configuration, e.g., thereby providing a relatively slim profile. A rear portion ofwall charger1290 may include an electrical plug, configured to allow wall charger to be plugged into an electrical receptacle. As such,wall charger1290, while plugged into the electrical receptacle, may achieve a wall mounted configuration. Additionally, while plugged into the electrical receptacle,wall charger1290 may be provided with power for chargingreusable housing assembly1294 and/orremote control assembly1298.
Referring toFIG. 87,wall charger1300 may includerecess1302 configured to receiveremote control assembly1304. Additionally, wall charger may include a recess (not shown) configured to receivereusable housing assembly1306.Wall charger1300 may be configured to positionremote control assembly1304 andreusable housing assembly1306 in a back-to-back configuration, which may provide a relatively thin profile. Additionally,wall charger1300 may include anelectrical plug1308 configured to be plugged into an electrical receptacle.Electrical plug1308 may include a stowable configuration, in whichelectrical plug1308 may be pivotable between a deployed position (e.g., as shown), and a stowed position. In the deployed position,electrical plug1308 may be oriented to be plugged into an electrical receptacle. In the stowed positionelectrical plug1308 may be disposed withinrecess1310, which may protectelectrical plug1308 from damage and/or from damaging other items.
Referring toFIG. 88,charger1320 may includerecess1322 configured to receivereusable housing assembly1324.Charger1320 may additionally include a recess (not shown) configured to receiveremote control assembly1326.Charger1320 may additionally includecover1328.Cover1328 may be configured to pivot between an open position (as shown) and a closed position. Whencover1328 is in the open position,reusable housing assembly1324 andremote control assembly1326 may be accessible (e.g., allowing a user to remove/installreusable housing assembly1324 and/orremote control assembly1326 from/intocharger1320. Whencover1324 is in the closed position,cover1328 andcharger body1330 may substantially enclosereusable housing assembly1324 and/orremote control assembly1326 and/orrecess1322 and the recess configured to receiveremote control assembly1326, thereby providing damage and/or tamper protection forreusable housing assembly1324,remote control assembly1326 and/or any electrical and/or data connection associated withcharger1320.
Referring toFIGS. 89A-89B,wall charger1350 may includerecess1352 configured to receiveremote control assembly1354.Wall charger1350 may also includerecess1356 configured to receivereusable housing assembly1358.Wall charger1350 may be configured to positionremote control assembly1354 andreusable housing assembly1358 in a generally side-by-side configuration, thereby providing a relatively slim profile.Charger1350 may additionally includeelectrical plug1360, e.g., which may be configured to be plugged into an electrical receptacle.Electrical plug1360 may include a stowable configuration, in whichelectrical plug1360 may be pivotable between a deployed position (e.g., as shown), and a stowed position. In the deployed position,electrical plug1360 may be oriented to be plugged into an electrical receptacle. In the stowed positionelectrical plug1360 may be disposed withinrecess1362, which may protectelectrical plug1308 from damage and/or from damaging other items.
Infusion pump therapy may include volume and time specifications. The amount of fluid dispensed together with the dispense timing may be two critical factors of infusion pump therapy. As discussed in detail below, the infusion pump apparatus and systems described herein may provide for a method of dispensing fluid together with a device, system and method for measuring the amount of fluid dispensed. However, in a circumstance where the calibration and precision of the measurement device calibration is critical, there may be advantages to determining any compromise in the precision of the measurement device as soon as possible. Thus, there are advantages to off-board verification of volume and pumping.
As discussed above,infusion pump assembly100 may includevolume sensor assembly148 configured to monitor the amount of fluid infused byinfusion pump assembly100. Further and as discussed above,infusion pump assembly100 may be configured so that the volume measurements produced byvolume sensor assembly148 may be used to control, through a feedback loop, the amount of infusible fluid that is infused into the user.
Referring also toFIGS. 90A-90C, there is shown one diagrammatic view and two cross-sectional views ofvolume sensor assembly148. Referring also toFIGS. 91A-91I, there is shown various isometric and diagrammatic views of volume sensor assembly148 (which is shown to include upper housing1400). Referring also toFIGS. 92A-92I, there is shown various isometric and diagrammatic views of volume sensor assembly148 (withupper housing1400 removed), exposingspeaker assembly622,reference microphone626, and printedcircuit board assembly830. Referring also toFIGS. 93A-93I, there is shown various isometric and diagrammatic views of volume sensor assembly148 (with printedcircuit board assembly830 removed), exposingport assembly624. Referring also toFIGS. 94A-94F, there is shown various isometric and diagrammatic cross-sectional views of volume sensor assembly148 (with printedcircuit board assembly830 removed), exposingport assembly624. Referring also toFIG. 95, there are shown an exploded view ofvolume sensor assembly148, exposingupper housing1400,speaker assembly622,reference microphone626,seal assembly1404,lower housing1402,port assembly624,spring diaphragm628, and retainingring assembly1406.
The following discussion concerns the design and operation of volume sensor assembly148 (which is shown in a simplified form inFIG. 96). For the following discussion, the following nomenclature may be used:
Symbols
PPressure
pPressure Perturbation
VVolume
vVolume Perturbation
γSpecific Heat Ratio
RGas Constant
ρDensity
ZImpedance
fFlow friction
ACross sectional Area
LLength
ωFrequency
ζDamping ratio
αVolume Ratio
Subscripts
0Speaker Volume
1Reference Volume
2Variable Volume
kSpeaker
rResonant Port
zZero
pPole

Derivation of the Equations for Volume Sensor Assembly148:
Modeling the Acoustic Volumes
The pressure and volume of an ideal adiabatic gas may be related by:
PVγ=K  [EQ#1]
where K is a constant defined by the initial conditions of the system.
EQ#1 may be written in terms of a mean pressure, P, and volume, V, and a small time-dependent perturbation on top of those pressures, p(t), v(t) as follows:
(P+p(t))(V+v(t))γ=K  [EQ#2]
Differentiating this equation may result in:
{dot over (p)}(t)(V+v(t))γ+γ(V+v(t)γ-1(P+p(t)){dot over (v)}(t)=0  [EQ#3]
which may simplify to:
p.(t)+γP+p(t)V+v(t)v.(t)=0[EQ#4]
If the acoustic pressure levels are much less than the ambient pressure, the equation may be further simplified to:
p.(t)+γPVv.(t)=0[EQ#5]
How good is this assumption? Using the adiabatic relation it may be shown that:
PV=(P+p(t)V+v(t))(P+p(t)P)-γ+1γ[EQ#6]
Accordingly, the error in the assumption would be:
error=1-(P+p(t)P)-γ+1γ[EQ#7]
A very loud acoustic signal (120 dB) may correspond to pressure sine wave with amplitude of roughly 20 Pascal. Assuming air at atmospheric conditions (γ=1.4, P=101325 Pa), the resulting error is 0.03%. The conversion from dB to Pa is as follows:
λ=20log10(prmspref)orprms=pref10λ20[EQ#8]
where pref=20·μPa.
Applying the ideal gas law, P=ρRT, and substituting in for pressure may result in the following:
p.(t)+γRTρVv.(t)=0[EQ#9]
EQ#9 may be written in terms of the speed of sound, a=√{square root over (γRT)} as follows:
p.(t)+ρa2Vv.(t)=0[EQ#10]
Acoustic impedance for a volume may be defined as follows:
Zv=p(t)v.(t)=-1(Vρa2)s[EQ#11]
Modeling the Acoustic Port
The acoustic port may be modeled assuming that all of the fluid in the port essentially moves as a rigid cylinder reciprocating in the axial direction. All of the fluid in the channel is assumed to travel at the same velocity, the channel is assumed to be of constant cross section, and the “end effects” resulting from the fluid entering and leaving the channel are neglected.
If we assume laminar flow friction of the form Δp=fρ{dot over (v)}, the friction force acting on the mass of fluid in the channel may be written as follows:
F=fρA2{dot over (x)}  [EQ#12]
A second order differential equation may then be written for the dynamics of the fluid in the channel:
ρLA{umlaut over (x)}=ΔpA−fρA2{dot over (x)}  [EQ#13]
or, in terms of volume flow rate:
v¨=-fALv.+ΔpAρL[EQ#14]
The acoustic impedance of the channel may then be written as follows:
Zp=Δpv.=ρLA(s+fAL)[EQ#15]
System Transfer Functions
Using the volume and port dynamics defined above,volume sensor assembly148 may be described by the following system of equations: (k=sneaker, r=resonator)
p.0-ρa2V0v.k=0[EQ#16]p.1+ρa2V1(v.k-v.r)=0[EQ#17]p.2+ρa2V2v.r=0[EQ#18]v¨r=-fALv.r+AρL(p2-p1)[EQ#19]
One equation may be eliminated if p0is treated as the input substituting in
v.k=V0ρa2p.0.p.1+V0V1p.0-ρa2V1vr.=0[EQ#20]p.2+ρa2V2v.r=0[EQ#21]v¨r=-fALv.r+AρLp2-AρLp1[EQ#22]
Cross System Transfer Function
The relationship between the speaker volume and the variable volume may be referred to as the Cross System transfer function. This transfer function may be derived from the above equations and is as follows:
p2p0=-V0V1ωn2s2+2ζωns+αωn2where[EQ#23]ωn2=a2AL1V2,ζ=fA2Lωnandα=(1+V2V1)[EQ#24]
Referring also toFIG. 97, a bode plot of EQ#23 is shown.
The difficulty of this relationship is that the complex poles depend on both the variable volume, V2, and the reference volume, V1. Any change in the mean position of the speaker may result in an error in the estimated volume.
Cross Port Transfer Function
The relationship between the two volumes on each side of the acoustic port may be referred to as the Cross Port transfer function. This relationship is as follows:
p2p1=ωn2s2+2ζωns+ωn2[EQ#25]
which is shown graphically inFIG. 98.
This relationship has the advantage that the poles are only dependent on the variable volume and not on the reference volume. It does, however, have the difficulty that the resonant peak is actually due to the inversion of the zero in the response of the reference volume pressure. Accordingly, the pressure measurement in the reference chamber will have a low amplitude in the vicinity of the resonance, potentially increasing the noise in the measurement.
Cross Speaker Transfer Function
The pressures may also be measured on each side of the speaker. This is referred to as the cross speaker transfer function:
p1p0=-V0V1s2+2ζωns+ωn2s2+2ζωns+αωn2[EQ#26]
which is shown graphically inFIG. 99.
This transfer function has a set of complex zeros in addition to the set of complex poles.
Looking at the limits of this transfer function: as
s->0,p1p0->-V0V1+V2;
and as
s->,p1p0->-V0V1.
Resonance Q Factor and Peak Response
The quality of the resonance is the ratio of the energy stored to the power loss multiplied by the resonant frequency. For a pure second-order system, the quality factor may be expressed as a function of the damping ratio:
Q=12ζ[EQ#27]
The ratio of the peak response to the low-frequency response may also be written as a function of the damping ratio:
Gωd=1ζ5-4ζ[EQ#28]
This may occur at the damped natural frequency:
ωdn√{square root over (1−ζ)}  [EQ#29]
Volume Estimation
Volume Estimation Using Cross-Port Phase
The variable volume (i.e., within volume sensor chamber620) may also be estimated using the cross-port phase. The transfer function for the pressure ratio across the resonant port may be as follows:
p2p1=ωn2s2+bs+ωn2[EQ#30]
At the 90° phase point, ω=ωn; where
ωn2=1V2a2AL
The resonant frequency may be found on the physical system using a number of methods. A phase-lock loop may be employed to find the 90° phase point—this frequency may correspond to the natural frequency of the system. Alternatively, the resonant frequency may be calculated using the phase at any two frequencies:
The phase, φ, at any given frequency will satisfy the following relation:
tanϕ=bωω2-ωn2[EQ#31]
where
b=fAL.
Solving for V2results in:
V2=a2ALω2-fωcotϕ[EQ#32]
Accordingly, the ratio of the phases at two different frequencies ω1and ω2can be used to compute the natural frequency of the system:
αωn2=ω1ω2(ω1tanϕ1tanϕ2-ω2)(ω2tanϕ1tanϕ2-ω1)[EQ#33]
For computational efficiency, the actual phase does not need to be calculated. All that is needed is the ratio of the real and imaginary parts of the response (tan φ).
Re-writing EQ#33 in terms of the variable volume results in:
1V2=1a2LAω1ω2(ω1tanϕ1tanϕ2-ω2)(ω2tanϕ1tanϕ2-ω1)[EQ#34]
Volume Estimation Using Swept Sine
The resonant frequency of the system may be estimated using swept-sine system identification. In this method, the response of the system to a sinusoidal pressure variation may be found at a number of different frequencies. This frequency response data may then used to estimate the system transfer function using linear regression.
The transfer function for the system may be expressed as a rational function of s. The general case is expressed below for a transfer function with an nthorder numerator and an mthorder denominator. N and D are the coefficients for the numerator and denominator respectively. The equation has been normalized such that the leading coefficient in the denominator is 1.
G(s)=Nnsn+Nn-1sn-1++N0sm+Dm-1sm-1+Dm-2sm-2++D0or[EQ#35]G(s)=k=0nNksksm+k=0m-1Dksk[EQ#36]
This equation may be re-written as follows:
Gsm=k=0nNksk-Gk=0m-1Dksk[EQ#37]
Representing this summation in matrix notation resulting in the following:
[G1s1mGkskm]=[s1ns10-G1s1m-1-G1s10sknsk0-Gkskm-1-Gksk0][NnN0Dm-1D0][EQ#38]
where k is the number of data points collected in the swept sine. To simplify the notation, this equation may be summarized using the vectors:
y=Xc  [EQ#39]
where y is k by 1, x is k by (m+n−1) and c is (m+n−1) by 1. The coefficients may then be found using a least square approach. The error function may be written as follows:
e=y−Xc  [EQ#40]
The function to be minimized is the weighted square of the error function; W is a k×k diagonal matrix.
eTWe=(y−Xc)TW(y−Xc)  [EQ#41]
eTWe=yTWy−(yTWXc)T−yTWXc+cTxTWXc  [EQ#42]
As the center two terms are scalars, the transpose may be neglected.
eTWe=yTWy-2yTWXc+cTxTWXc[EQ#43]eTWec=-2XTWy+2XTWXc=0[EQ#44]c=(XTWX)-1XTWy[EQ#45]
It may be necessary to use the complex transpose in all of these cases. This approach may result in complex coefficients, but the process may be modified to ensure that all the coefficients are real. The least-square minimization may be modified to give only real coefficients if the error function is changed to be
eTWe=Re(y−Xc)TWRe(y−Xc)+Im(y−Xc)TWIm(y−Xc)  [EQ#46]
Accordingly, the coefficients may be found with the relation:
c=(Re(X)TWRe(X)+Im(X)TWIm(X))−1(Re(X)TWRe(y)+Im(X)TWIm(y))  [EQ#47]
Solution for a 2nd Order System
For a system with a 0thorder numerator and a second order denominator as shown in the transfer function:
G(s)=N0s2+D1s+D0[EQ#48]
The coefficients in this transfer function may be found based on the expression found in the previous section:
c=(Re(X)TWRe(X)+Im(X)TWIm(X))−1(Re(X)TWRe(y)+Im(X)TWIm(y))  [EQ#49]
where:
y=[G1s12Gksk2],X=[1-G1s1-G11-Gksk-Gk],andc=[N0D1D0][EQ#50]
To simplify the algorithm, we may combine some of terms:
c=D−1b  [EQ#51]
where:
D=Re(X)TWRe(X)+Im(X)TWIm(X)  [EQ#52]
b=Re(X)TWRe(y)+Im(X)TWIm(y)  [EQ#53]
To find an expression for D in terms of the complex response vector G and the natural frequency s=jω, X may be split into its real and imaginary parts:
Re(X)=[1ωkIm(G1)-Re(G1)1ωkIm(Gk)-Re(Gk)],Im(X)=[1-ωkRe(G1)-Im(G1)1-ωkRe(Gk)-Im(Gk)][EQ#54]
The real and imaginary portions of the expression for D above may then become:
Re(X)TWRe(X)=[i=1kwii=1kwiIm(Gi)ωi-i=1kwiRe(Gi)i=1kwiIm(Gi)ωii=1kwiIm(Gi)2ωi2-i=1kwiIm(Gi)Re(Gi)ωi-i=1kwiRe(Gi)-i=1kwiIm(Gi)Re(Gi)ωii=1kwiRe(Gi)2][EQ#55]Im(X)TWIm(X)=[0000i=1kwiRe(Gi)2ωi2i=1kwiIm(Gi)Re(Gi)ωi0i=1kwiIm(Gi)Re(Gi)ωii=1kwiIm(Gi)2][EQ#56]
Combining these terms results in the final expression for the D matrix, which may contain only real values.
D=[i=1kwii=1kwiIm(Gi)ωi-i=1kwiRe(Gi)i=1kwiIm(Gi)ωii=1kwi(Re(Gi)2+Im(Gi)2)ωi20-i=1kwiRe(Gi)0i=1kwi(Re(Gi)2+Im(Gi)2)][EQ#57]
The same approach may be taken to find an expression for the b vector in terms of G and ω. The real and imaginary parts of y are as follows:
Re(y)=[-Re(G1)ω12-Re(Gk)ωk2],Im(y)=[-Im(G1)ω12-Im(Gk)ωk2][EQ#58]
Combining the real and imaginary parts results in the expression for the b vector as follows:
b=Re(X)TWRe(y)+Im(X)TWIm(y)=[-i=1kwiRe(Gi)ωi20i=1kwi(Re(Gi)2+Im(Gi)2)ωi2][EQ#59]
The next step is to invert the D matrix. The matrix is symmetric and positive-definite so the number of computations needed to find the inverse will be reduced from the general 3×3 case. The general expression for a matrix inverse is:
D-1=1det(D)adj(D)[EQ#60]
If D is expressed as follows:
D=[d11d12d13d12d220d130d33][EQ#61]
then the adjugate matrix may be written as follows:
adj(D)=[d2200d33-d120d13d33d12d22d130-d12d130d33d11d13d13d33-d11d12d130d12d13d220-d11d13d120d11d12d12d22]=[a11a12a13a12a22a23a13a32a33][EQ#62]
Due to symmetry, only the upper diagonal matrix may need to be calculated.
The Determinant may then be computed in terms of the adjugate matrix values, taking advantage of the zero elements in the original array:
det(D)=a12d12+a22d22  [EQ#63]
Finally, the inverse of D may be written as follows:
D-1=1det(D)adj(D)[EQ#64]
Since we are trying to solve:
c=D-1b=1det(D)adj(D)b[EQ#65]
then:
c=1det(D)[a11a12a13a12a22a23a13a32a33][b10b3]=1det(D)[a11b1+a13b3a12b1+a23b3a13b1+a33b3][EQ#66]
The final step is to get a quantitative assessment of how well the data fits the model. Accordingly, the original expression for the error is as follows:
eTWe=Re(y−Xc)TWRe(y−Xc)+Im(y−X)TWIm(y−Xc)  [EQ#67]
This may be expressed in terms of the D matrix and the b and c vectors as follows:
eTWe=h−2cTb+cTDc  [EQ#68]
where:
h=Re(yT)WRe(y)+Im(yT)WIm(y)[EQ#69]h=i=1kwi(Re(Gi)2+Im(Gi)2)ωi4[EQ#70]
The model fit error may also be used to detect sensor failures.
Alternate Solution for a 2nd Order System
G(s)=Nnsn+Nn-1sn-1++N0sm+Dm-1sm-1+Dm-2sm-2++D0or[EQ#71]G(s)=k=0nNksksm+k=0m-1Dksk[EQ#72]
This equation may be re-written as follows:
G=k=0nNksk-m-Gk=0m-1Dksk-m[EQ#73]
Putting this summation into matrix notation results in the following:
[G1Gk]=[s1n-ms1-m-G1s1-1-G1s1-mskn-msk-m-Gksk-1-Gksk-m][NnN0Dm-1D0][EQ#74]
For a system with a 0thorder numerator and a second order denominator as shown in the transfer function:
G(s)=N0s2+D1s+D0[EQ#75]
The coefficients in this transfer function may be found based on the expression found in the previous section:
c=(Re(X)TWRe(X)+Im(X)TWIm(X))-1(Re(X)TWRe(y)+Im(X)TWIm(y))[EQ#76]wherey=[G1Gk],X=[s1-2-G1s1-1-G1s1-2sk-2-Gksk-1-Gksk-2],andc=[N0D1D0][EQ#77]
To simplify the algorithm, some terms may be combined:
c=D−1b  [EQ#78]
where:
D=Re(X)TWRe(X)+Im(X)TWIm(X)  [EQ#79]
b=Re(X)TWRe(y)+Im(X)TWIm(y)  [EQ#80]
To find an expression for D in terms of the complex response vector G and the natural frequency s=jω, split X may be split into its real and imaginary parts:
Re(X)=[-ω1-2-ω1-1Im(G1)ω1-2Re(G1)-ωk-2-ωk-1Im(Gk)ωk-2Re(Gk)][EQ#81]Im(X)=[0-ω1-1Re(G1)ω1-2Im(G1)0-ωk-1Re(Gk)ωk-2Im(Gk)][EQ#82]
The real and imaginary portions of the expression for D above may then become:
Re(X)TWRe(X)=[i=1kwiωi-4i=1kwiIm(Gi)ωi-3-i=1kwiRe(Gi)ωi-4i=1kwiIm(Gi)ωi-3i=1kwiIm(Gi)2ωi-2-i=1kwiIm(Gi)Re(Gi)ωi-3-i=1kwiRe(Gi)ωi-4-i=1kwiIm(Gi)Re(Gi)ωi-3i=1kwiRe(Gi)2ωi-4][EQ#83]Im(X)TWIm(X)=[0000i=1kwiRe(Gi)2ωi-2-i=1kwiIm(Gi)Re(Gi)ωi-30-i=1kwiIm(Gi)Re(Gi)ωi-3i=1kwiIm(Gi)2ωi-4][EQ#84]
Combining these terms results in the final expression for the D matrix, which may contain only real values.
D=[i=1kwiωi-4i=1kwiIm(Gi)ωi-3-i=1kwiRe(Gi)ωi-4i=1kwiIm(Gi)ωi-3i=1kwi(Re(Gi)2+Im(Gi)2v)ωi-2-2i=1kwiIm(Gi)Re(Gi)ωi-3-i=1kwiRe(Gi)ωi-4-2i=1kwiIm(Gi)Re(Gi)ωi-3i=1kwi(Re(Gi)2+Im(Gi)2)ωi-4][EQ#85]
The same approach may be taken to find an expression for the b vector in terms of G and ω. The real and imaginary parts of y areas follows:
Re(y)=[-Re(G1)-Re(Gk)],Im(y)=[-Im(G1)-Im(Gk)][EQ#86]
Combining the real and imaginary parts results in the expression for the b vector as follows:
b=Re(X)TWRe(y)+Im(X)TWIm(y)=[-i=1kwiRe(Gi)ωi-2-i=1kwi(Im(Gi)+Re(Gi)ωi-1i=1kwi(Re(Gi)2+Im(Gi)2)ωi-2][EQ#87]
Implementing Acoustic Volume Sensing
Collecting the Frequency Response Data and Computing the Complex Response
To implementvolume sensor assembly148,volume sensor assembly148 should determine the relative response ofreference microphone626 andinvariable volume microphone630 to the acoustic wave set up byspeaker assembly622. This may be accomplished by drivingspeaker assembly622 with a sinusoidal output at a known frequency; the complex response ofmicrophones626,630 may then be found at that driving frequency. Finally, the relative response ofmicrophones626,630 may be found and corrected for alternating sampling by e.g., an analog-to-digital convertor (i.e., ADC).
Additionally, the total signal variance may be computed and compared to the variance of pure tone extracted using the discrete Fourier transform (i.e., DFT). This may result in a measure of how much of the signal power comes from noise sources or distortion. This value may then be used to reject and repeat bad measurements.
Computing the Discrete Fourier Transform
The signal from the microphone may be sampled synchronously with the output tospeaker assembly622 such that a fixed number of points, N, are taken per wavelength. The measured signal at each point in the wavelength may be summed over an integer number of wavelengths, M, and stored in an array x by the ISR for processing after all the data for that frequency has been collected.
A DFT may be performed on the data at the integer value corresponding to the driven frequency of the speaker. The general expression for the first harmonic of a DFT is as follows:
xk=2MNn=0N-1xne2πiNkn[EQ#88]
The product MN may be the total number of points and the factor of two may be added such that the resulting real and imaginary portions of the answer match the amplitude of the sine wave:
xn=re(xk)cos(2πNkn)+im(xk)sin(2πNkn)[EQ#89]
This real part of this expression may be as follows:
re(x)=2MNn=0N-1xncos(2πNn)[EQ#90]
We may take advantage of the symmetry of the cosine function to reduce the number of computations needed to compute the DFT. The expression above may be equivalent to:
re(x)=2MN[(x0-x12N)+n=114N-1sin(π2-2πNn)[(xn-x12N+n)-(x12N+n-xN-n)]][EQ#91]
Similarly, for the imaginary portion of the equation:
im(x)=-2MNn=0N-1xnsin(2πNn)[EQ#92]
which may be expressed as follows:
im(x)=-2MN[(x14N-x34N)+n=114N-1sin(2πNn)[(xn-x12N+n)+(x12N+n-xN-n)]][EQ#93]
The variance of this signal may be calculated as follows:
σ2=12(re(x)2+im(x)2)[EQ#94]
The maximum possible value of the real and imaginary portions of x may be 211; which corresponds to half the AD range. The maximum value of the tone variance may be 221; half the square of the AD range.
Computing the Signal Variance
The pseudo-variance of the signal may be calculated using the following relation:
σ2=1NM2n=0N-1xn2-1N2M2(n=0N-1xn)2[EQ#95]
The result may be in the units of AD counts squared. It may only be the “pseudo-variance” because the signal has been averaged over M periods before the variance is calculated over the N samples in the “averaged” period. This may be a useful metric, however, for finding if the “averaged” signal looks like a sinusoid at the expected frequency. This may be done by comparing the total signal variance to that of the sinusoid found in the discrete Fourier transform.
The summation may be on the order of
n=0N-1xn2=O(NM2224)
for a 12-bit ADC. If N<27=128 and M<26=64, then the summation will be less than 243and may be stored in a 64-bit integer. The maximum possible value of the variance may result if the ADC oscillated between a value of 0 and 212on each consecutive sample. This may result in a peak variance of ¼(212)2=222so the result may be stored at a maximum of a ½9resolution in a signed 32-bit integer.
Computing the Relative Microphone Response
The relative response (G) ofmicrophones626,630 may be computed from the complex response of the individual microphones:
G=xvarxref=xvarxrefxref*xref*[EQ#96]
Re(G)=Re(xvar)Re(xref)+Im(xvar)Im(xref)Re(xref)2+Im(xref)2[EQ#97]Im(G)=Re(xref)Im(xvar)-Re(xvar)Im(xref)Re(xref)2+Im(xref)2[EQ#98]
The denominator of either expression may be expressed in terms of the reference tone variance computed in the previous section as follows:
Re(Xref)2+Im(xref)2=2σref2  [EQ#99]
Correcting for ND Skew
The signals frommicrophones626,630 may not be sampled simultaneously; the A/D ISR alternates betweenmicrophones626,630, taking a total of N samples per wavelength for each ofmicrophones626,630. The result may be a phase offset between twomicrophones626,630 of
πN.
To correct for this phase offset, a complex rotation may be applied to the relative frequency response computed in the previous section:
Grotated=G·(cos(πN)+isin(πN))[EQ#100]
Reference Models
Second and Higher Order Models
Leakage through the seals (e.g., seal assembly1404) ofvolume sensor chamber620 may be modeled as a second resonant port (e.g.,port1504,FIG. 100) connected to an external volume (e.g.,external volume1506,FIG. 100).
The system of equations describing the three-chamber configuration may be as follows:
p.1+ρa2V1(v.k-v.r12)=0[EQ#101]p.2+ρa2V2(v.r12-v.r23)=0[EQ#102]v¨r12=-f12A12L12v.r12+A12ρL12(p2-p1)[EQ#103]p.3+ρa2V3v.r23=0[EQ#104]v¨r23=-f23A23L23v.r23+A23ρL23(p3-p2)[EQ#105]
Putting these equations into state-space results in the following:
[p.1p.1p.1v¨12v¨23]=[000ρa2V10000-ρa2V2ρa2V20000-ρa2V3-A12ρL12A12ρL120-b1200-A23ρL23A23ρL230-b23][p1p1p1v12v23]+[-ρa2V10000][v.k][EQ#106]
the frequency response of which may be represented graphically in the Bode diagram shown inFIG. 101 and which may also be written in transfer function form:
p2p1=ω122(s2+b23s+ω232)(s2+b12s+ω122)(s2+b23s+ω232)+V3V2ω232(s+b12)s[EQ#107]
Expanding the denominator results in the following:
p2p1=ω122(s2+b23s+ω232)s4+(b12+b23)s3+(b12b23+ω122+ω232(1+V3V2))s2+(b23ω122+b12ω232(1+V3V2))s+ω122ω232[EQ#108]
A bubble underneath the diaphragm material in the variable volume will follow the same dynamic equations as a leakage path. In this case, the diaphragm material may act as the resonant mass rather than the leakage port. Accordingly, the equation may be as follows:
m{umlaut over (x)}=ΔpA−bm{dot over (x)}  [EQ#109]
wherein m is the mass of the diaphragm, A is the cross sectional area of the diaphragm that can resonate, and bm, is the mechanical damping.EQ#106 may be written in terms of the volume flow rate:
v¨=-bmv.+ΔpA2m[EQ#110]
wherein the volume of the air bubble is V3. If the bubble volume is substantially smaller than the acoustic volume V3<<V2than the transfer function may be simplified to:
p2p1=ω122(s2+b23s+ω232)(s2+b12s+ω122)(s2+b23s+ω232(1+V3V2))[EQ#111]
Second Order with Time Delay
Thevolume sensor assembly148 equations derived above assume that the pressure is the same everywhere in the acoustic volume. This is only an approximation, as there are time delays associated with the propagation of the sound waves through the volume. This situation may look like a time delay or a time advance based on the relative position of the microphone and speakers.
A time delay may be expressed in the Laplace domain as:
G(s)=e−ΔTs  [EQ#112]
which makes for a non-linear set of equations. However, a first-order Pade approximation of the time delay may be used as follows:
G(s)=-s+2ΔTs-2ΔT[EQ#113]
which is shown graphically inFIG. 102.
Three Chamber Volume Estimation
Volume sensor assembly148 may also be configured using a third reference volume (e.g., reference volume1508;FIG. 103) connected with a separate resonant port (e.g.,port1510;FIG. 103). This configuration may allow for temperature-independent volume estimation.
The system of equations describing the three-chamber configuration are as follows:
p.1+ρa2V1(v.k-v.r12-v.r13)=0[EQ#114]
p.2+ρa2V2v.r12=0[EQ#115]v¨r12=-f12A12L12v.r12+A12ρL12(p2-p1)[EQ#116]p.3+ρa2V3v.r13=0[EQ#117]v¨r13=-f13A13L13v.r13+A13ρL13(p2-p1)[EQ#118]
Using these equations and solving for the transfer function across each of the resonant ports results in the following:
p2p1=ωn122s2+2ζ12ωn12s+ωn122where[EQ#119]ωn12=1V2a2A12L12andζ=f12A122L12ωn12[EQ#120]p3p1=ωn132s2+2ζ13ωn13s+ωn132where[EQ#121]ωn13=1V3a2A13L13andζ=f13A132L13ωn13[EQ#122]
The volume ofvolume sensor chamber620 may be estimated using the ratio of the natural frequency of the two resonant ports as follows:
ωn132ωn122=V2V3A13A12L12L13[EQ#123]
EQ#120 illustrates that the volume ofvolume sensor chamber620 may be proportional to reference volume1508. The ratio of these two volumes (in the ideal model) may only depend on the geometry of the resonant port (e.g.,port1510;FIG. 103) and has no dependence upon temperature.
Exponential Volume Model
Assume the flow out through the flow resistance has the following form:
V.out=Vavsτ[EQ#124]
Assuming a fixed input flow rate from the pump chamber, the volume ofvolume sensor chamber620 is based upon the following differential equation:
V.avs=V.in-V.out=V.in-Vavsτ[EQ#125]
which gives the following solution assuming a zero initial volume:
Vavs=V.inτ(1-e-tτ)[EQ#126]
Accordingly, the output flow rate flows:
V.out=V.in(1-e-tτ)[EQ#127]
The volume delivered during the pump phase may be written:
Vout=V.in[t-τ(1-e-tτ)][EQ#128]
Device Calibration
The model fit allows the resonant frequency of the port to be extracted from the sine sweep data. The next step is to relate this value to the delivered volume. The ideal relationship between the resonant frequency and the delivered volume to be expressed as follows:
ωn2=a2AL1V2[EQ#129]
The speed of sound will vary with temperature, so it may be useful to split out the temperature effects.
ωn2=γRALTV2[EQ#130]
The volume may then be expressed as a function of the measured resonant frequency and the temperature:
V2=CTωn2[EQ#131]
Where c is the calibration constant
C=γRAL
Implementation Details
End Effects
The air resonating in the port (e.g., port assembly624) may extend out into the acoustic volumes at the end of each oscillation. The distance the air extends may be estimated based on the fundamental volume sensor assembly equations. For any given acoustic volume, the distance the air extends into the volume may be expressed as a function of the pressure and port cross-sectional area:
x=Vρa2Ap[EQ#132]
If we assume the following values:
V=28.8×10-6L[EQ#133]ρ=1.292kgm3[EQ#134]a=340ms[EQ#135]d=0.5·mm[EQ#136]p=1·Pa(Approximately100dB)[EQ#137]
Accordingly, the air will extend roughly 1.9 mm in to the acoustic chamber.
Sizing V1 (i.e., the Fixed Volume) Relative to V2 (i.e., the Variable Volume)
Sizing V1(e.g., fixed volume1500) may require trading off acoustic volume with the relative position of the poles and zeros in the transfer function. The transfer function for both V1and V2(e.g., variable volume1502) are shown below relative to the volume displacement ofspeaker assembly622.
p2vk=-ρa2V1ωn2s2+2ζωns+αωn2[EQ#138]p1vk=-ρa2V1s2+2ζωns+αωn2s2+2ζωns+ωn2where[EQ#139]ωn2=a2AL1V2,ζ=fA2Lωnandα=(1+V2V1)[EQ#140]
As V1is increased the gain may decrease and the speaker may be driven at a higher amplitude to get the same sound pressure level. However, increasing V1may also have the benefit of moving the complex zeros in the p1transfer function toward the complex poles. In the limiting case where V1→∞, α→1 and you have pole-zero cancellation and a flat response. Increasing V1, therefore, may have the benefit of reducing both the resonance and the notch in the p1transfer function, and moving the p2poles toward ωn; resulting in a lower sensitivity to measurement error when calculating the p2/p1transfer function.
FIG. 104 is a graphical representation of:
p1vk[EQ#141]
FIG. 105 is a graphical representation of
p2vk[EQ#142]
Aliasing
Higher frequencies may alias down to the frequency of interest, wherein the aliased frequency may be expressed as follows:
f=|fn−nfs|  [EQ#143]
where fsis the sampling frequency, fnis the frequency of the noise source, n is a positive integer, and f is the aliased frequency of the noise source.
The demodulation routine may effectively filter out noise except at the specific frequency of the demodulation. If the sample frequency is set dynamically to be a fixed multiple of the demodulation frequency, then the frequency of the noise that can alias down to the demodulation frequency may be a fixed set of harmonics of that fundamental frequency.
For example, if the sampling frequency is eight times the demodulation frequency, then the noise frequencies that can alias down to that frequency are as follows:
fnf={1nβ+1,1nβ-1}={17,19,115,117,123,125,}[EQ#144]
where
β=fsf=8.
For β=16, the following series would result:
fnf={115,117,131,133,}[EQ#145]
Performance
Sensitivity to Temperature
The sensitivity to temperature may be split into a gain change and a noise change. If the temperature is off by a factor of dT, the resulting gain error may be:
V2=c(T2ω22-T1ω12)[EQ#147]
Accordingly, if the same temperature is used for both sine sweeps, any error in the temperature measurement may look like a gain change to the system.
egain=1-TmeasuredTactual[EQ#148]
Therefore, for a 1° K temperature error, the resulting volume error may be 0.3% at 298° K. This error may include both the error in the temperature sensor and the difference between the sensor temperature and the temperature of the air withinvolume sensor assembly148.
The measurement, however, may be more susceptible to noise in the temperature measurement. A temperature change during the differential sine sweeps may result in an error that looks more like an offset rather than a gain change:
Verror=cω2ΔT[EQ#149]
Accordingly, if the measurement varies by 0.1 K during the two measurement sine sweeps, the difference may be 0.012 uL. Therefore, it may be better to use a consistent temperature estimate for each delivery rather than taking a separate temperature measurement for each sine sweep (as shown inFIG. 107).
The LM73 temperature sensor has a published accuracy of +/−1° C. and a resolution of 0.03 C. Further, the LM73 temperature sensor seems to consistently have a startup transient of about 0.3° C. that takes about five sine sweeps to level out (as shown inFIG. 108).
Since the above-described infusion pump assemblies (e.g.,infusion pump assembly100,100′,400,500) provides discrete deliveries of infusible fluid, the above-described infusion pump assemblies may be modeled entirely in the discrete domain (in the manner shown inFIG. 109), which may be reduced to the following:
Gp(z)=Kzz-1[EQ#150]
A discrete-time PI regulator may perform according to the following:
Gc(z)=Kp(1+TsTIzz-1)[EQ#151]
The AVS system described above works by comparing the acoustic response in fixedvolume1500 andvariable volume1502 to a speaker driven input and extracting the volume of thevariable volume1502. As such, there is a microphone in contact with each of these separate volumes (e.g.,microphones626,630). The response ofvariable volume microphone630 may also be used in a more gross manner to detect the presence or absence ofdisposable housing assembly114. Specifically, ifdisposable housing assembly114 is not attached to (i.e., positioned proximate)variable volume1502, essentially no acoustic response to the speaker driven input should be sensed. The response of fixedvolume1500, however, should remain tied to the speaker input. Thus, the microphone data may be used to determine whetherdisposable housing assembly114 by simply ensuring that both microphones exhibit an acoustic response. In the event that microphone626 (i.e., the microphone positioned proximate fixed volume1500) exhibits an acoustic response and microphone630 (i.e., the microphone positioned proximate variable volume1502) does not exhibit an acoustic response, it may be reasonably concluded thatdisposable housing assembly114 is not attached toreusable housing assembly102. It should be noted that a failure ofvariable volume microphone630 may also appear to be indicative ofdisposable housing assembly114 not being attached, as the failure ofvariable volume microphone630 may result in a mid-range reading that is nearly indistinguishable from the microphone response expected whendisposable housing assembly114 is not attached.
For the following discussion, the following nomenclature may be used:
Symbols
αmax(f)maximum read at a given frequency
αmin(f)minimum read at a given frequency
δdifference between max and min sums
findividual frequency
Fset of sine sweep frequencies
Nnumber of frequencies in each sine sweep, F
φboolean disposable attached flag
σmaxsum of maximum ADC reads
σminsum of minimum ADC reads
Tmax/min ADC difference threshold
Subscripts
isweep number
refreference volume
varvariable volume
As part of the demodulation routine employed in each frequency response calculation, the minimum and maximum readings of both fixedvolume microphone626 andvariable volume microphone630 may be calculated. The sum of these maximum and minimum values may be calculated over the entire sine-sweep (as discussed above) for bothmicrophone626 andmicrophone630 as follows.
σmax=fFαmax(f)[EQ#152]σmin=fFαmin(f)[EQ#153]
and the difference between these two summations may be simplified as follows:
δ=σmax−σmin  [EQ#154]
While δ may be divided by the number of sine sweeps to get the average minimum/maximum difference for the sine sweep (which is then compared to a threshold), the threshold may equivalently be multiplied by N for computational efficiency. Accordingly, the basic disposable detection algorithm may be defined as follows:
ϕi={1ifδvar>N*T0ifδvar<N*T&δref>N*T[EQ#155]
The additional condition that the maximum/minimum difference be greater than the threshold is a check performed to ensure that a failed speaker is not the cause of the acoustic response received. This algorithm may be repeated for any sine-sweep, thus allowing a detachment ofdisposable housing assembly114 to be sensed within e.g., at most two consecutive sweeps (i.e., in the worst case scenario in whichdisposable housing assembly114 is removed during the second half of an in-progress sine sweep).
Thresholding for the above-described algorithm may be based entirely on numerical evidence. For example, examination of typical minimum/maximum response differences may show that no individual difference is ever less than five hundred ADC counts. Accordingly, all data examined whiledisposable housing assembly114 is detached fromreusable housing assembly102 may show that all minimum/maximum response differences as being well under five hundred ADC counts. Thus, the threshold for δ may be set at T=500.
Whilevolume sensor assembly148 is described above as being utilized within an infusion pump assembly (e.g., infusion pump assembly100), this is for illustrative purposes only and is not intended to be a limitation of this disclosure, as other configurations are possible and are considered to be within the scope of this disclosure. For example,volume sensor assembly148 may be used within a process control environment for e.g., controlling the quantity of chemicals mixed together. Alternatively,volume sensor assembly148 may be used within a beverage dispensing system to control e.g., the quantity of ingredients mixed together.
Whilevolume sensor assembly148 is described above as utilizing a port (e.g., port assembly624) as a resonator, this is for illustrative purposes only, as other configurations are possible and are considered to be within the scope of this disclosure. For example, a solid mass (not shown) may be suspended withinport assembly624 and may function as a resonator forvolume sensor assembly148. Specifically, the mass (not shown) for the resonator may be suspended on a diaphragm (not shown) spanningport assembly624. Alternatively, the diaphragm itself (not shown) may act as the mass for the resonator. The natural frequency ofvolume sensor assembly148 may be a function of the volume ofvariable volume1502. Accordingly, if the natural frequency ofvolume sensor assembly148 can be measured, the volume ofvariable volume1502 may be calculated.
The natural frequency ofvolume sensor assembly148 may be measured in a number of different ways. For example, a time-varying force may be applied to the diaphragm (not shown) and the relationship between that force and the motion of the diaphragm (not shown) may be used to estimate the natural frequency ofvolume sensor assembly148. Alternately the mass (not shown) may be perturbed and then allowed to oscillate. The unforced motion of the mass (not shown) may then be used to calculate the natural frequency ofvolume sensor assembly148. The force applied to the resonant mass (not shown) may be accomplished in various ways, examples of which may include but are not limited to:
    • speaker assembly622 may create a time-varying pressure within fixedvolume1500;
    • the resonant mass (not shown) may be a piezoelectric material responding to a time-varying voltage/current; and
    • the resonant mass (not shown) may be a voice coil responding to a time-varying voltage/current
The force applied to the resonant mass may be measured in various ways, examples of which may include but are not limited to:
    • measuring the pressure in the fixed volume;
    • the resonant mass (not shown) may be a piezoelectric material; and
    • a strain gauge may be connected to the diaphragm (not shown) or other structural member supporting the resonant mass (not shown).
Similarly, the displacement of the resonant mass (not shown) may be estimated by measuring the pressure in the variable volume, or measured directly in various ways, examples of which may include but are not limited to:
    • via piezoelectric sensor;
    • via capacitive sensor;
    • via optical sensor;
    • via Hall-effect sensor;
    • via a potentiometer (time varying impedance) sensor;
    • via an inductive type sensor; and
    • via a linear variable differential transformer (LVDT)
Further, the resonant mass (not shown) may be integral to either the force or displacement type sensor (i.e. the resonant mass (not shown) may be made of piezoelectric material).
The application of force and measurement of displacement may be accomplished by a single device. For example, a piezoelectric material may be used for the resonant mass (not shown) and a time-varying voltage/current may be applied to the piezoelectric material to create a time-varying force. The resulting voltage/current applied to the piezoelectric material may be measured and the transfer function between the two used to estimate the natural frequency ofvolume sensor assembly148.
As discussed above, the resonant frequency ofvolume sensor assembly148 may be estimated using swept-sine system identification. Specifically, the above-described model fit may allow the resonant frequency of the port assembly to be extracted from the sine sweep data, which may then be used to determine the delivered volume. The ideal relationship between the resonant frequency and the delivered volume may be expressed as follows:
ωn2=a2AL1V2[EQ#129]
The speed of sound will vary with temperature, so it may be useful to split out the temperature effects.
ωn2=γRALTV2[EQ#130]
The volume may then be expressed as a function of the measured resonant frequency and the temperature:
V2=CTωn2[EQ#131]
Where c is the calibration constant
C=γRAL.
Infusion pump assembly100 may then compare this calculated volume V2(i.e., representative of the actual volume of infusible fluid delivered to the user) to the target volume (i.e., representative of the quantity of fluid that was supposed to be delivered to the user). For example, assume thatinfusion pump assembly100 was to deliver a 0.100 unit basal dose of infusible fluid to the user every thirty minutes. Further, assume that upon effectuating such a delivery,volume sensor assembly148 indicates a calculated volume V2(i.e., representative of the actual volume of infusible fluid delivered to the user) of 0.095 units of infusible fluid.
When calculating volume V2,infusion pump assembly100 may first determine the volume of fluid withinvolume sensor chamber620 prior to the administration of the dose of infusible fluid and may subsequently determine the volume of fluid withinvolume sensor chamber620 after the administration of the dose of infusible fluid, wherein the difference of those two measurements is indicative of V2(i.e., the actual volume of infusible fluid delivered to the user). Accordingly, V2is a differential measurement.
V2 may be the total air space over the diaphragm in the variable volume chamber. The actual fluid delivery to the patient may be the difference in V2 from when the chamber was full to after the measurement valve was opened and the chamber was emptied. V2 may not directly be the delivered volume. For example, the air volume may be measured and a series of differential measurements may be taken. For occlusion, an empty measurement may be taken, the chamber may be filed, a full measurement may be taken, and then a final measurement may be taken after the exit valve is open. Accordingly, the difference between the first and second measurement may be the amount pumped and the difference between the second and third is the amount delivered to the patient.
Accordingly,electrical control assembly110 may determine that the infusible fluid delivered is 0.005 units under what was called for. In response to this determination,electrical control assembly110 may provide the appropriate signal tomechanical control assembly104 so that any additional necessary dosage may be pumped. Alternatively,electrical control assembly110 may provide the appropriate signal tomechanical control assembly104 so that the additional dosage may be dispensed with the next dosage. Accordingly, during administration of the next 0.100 unit dose of the infusible fluid, the output command for the pump may be modified based on the difference between the target and amount delivered.
Referring also toFIG. 110, there is shown one particular implementation of a control system for controlling the quantity of infusible fluid currently being infused based, at least in part, on the quantity of infusible fluid previously administered. Specifically and continuing with the above-stated example, assume for illustrative purposes thatelectrical control assembly110 calls for the delivery of a 0.100 unit dose of the infusible fluid to the user. Accordingly,electrical control assembly110 may provide a target differential volume signal1600 (which identifies a partial basal dose of 0.010 units of infusible fluid per cycle of shape memory actuator112) tovolume controller1602. Accordingly and in this particular example,shape memory actuator112 may need to be cycled ten times in order to achieve the desired basal dose of 0.100 units of infusible fluid (i.e., 10 cycles×0.010 units per cycle=0.100 units).Volume controller1602 in turn may provide “on-time”signal1606 to SMA (i.e., shape memory actuator)controller1608. Also provided toSMA controller1608 isbattery voltage signal1610.
Specifically, shape-memory actuator112 may be controlled by varying the amount of thermal energy (e.g., joules) applied to shape-memory actuator112. Accordingly, if the voltage level ofbattery606 is reduced, the quantity of joules applied to shape-memory actuator112 may also be reduced for a defined period of time. Conversely, if the voltage level ofbattery606 is increased, the quantity of joules applied toshape memory actuator112 may also be increased for a defined period of time. Therefore, by monitoring the voltage level of battery606 (via battery voltage signal1610), the type of signal applied to shape-memory actuator112 may be varied to ensure that the appropriate quantity of thermal energy is applied to shape-memory actuator112 regardless of the battery voltage level.
SMA controller1608 may process “on-time”signal1606 andbattery voltage signal1610 to determine the appropriateSMA drive signal1612 to apply to shape-memory actuator112. One example ofSMA drive signal1612 may be a series of binary pulses in which the amplitude ofSMA drive signal1612 essentially controls the stroke length of shape-memory actuator112 (and therefore pump assembly106) and the duty cycle ofSMA drive signal1612 essentially controls the stroke rate of shape-memory actuator112 (and therefore pump assembly106). Further, sinceSMA drive signal1612 is indicative of a differential volume (i.e., the volume infused during each cycle of shape memory actuator112),SMA drive signal1612 may be integrated bydiscrete time integrator1614 to generatevolume signal1616 which may be indicative of the total quantity of infusible fluid infused during a plurality of cycles ofshape memory actuator112. For example, since (as discussed above) it may take ten cycles of shape memory actuator112 (at 0.010 units per cycle) to infuse 0.100 units of infusible fluid,discrete time integrator1614 may integrateSMA drive signal1612 over these ten cycles to determine the total quantity infused of infusible fluid (as represented by volume signal1616).
SMA drive signal1612 may actuatepump assembly106 for e.g. one cycle, resulting in the filling ofvolume sensor chamber620 included withinvolume sensor assembly148.Infusion pump assembly100 may then make a first measurement of the quantity of fluid included within volume sensor chamber620 (as discussed above). Further and as discussed above,measurement valve assembly610 may be subsequently energized, resulting in all or a portion of the fluid withinvolume sensor chamber620 being delivered to the user.Infusion pump assembly100 may then make a measurement of the quantity of fluid included within volume sensor chamber620 (as described above) and use those two measurements to determine V2(i.e., the actual volume of infusible fluid delivered to the user during the current cycle of shape memory actuator112). Once determined, V2(i.e., as represented by signal1618) may be provided (i.e., fed back) tovolume controller1602 for comparison to the earlier-received target differential volume.
Continuing with the above-stated example in which the differential target volume was 0.010 units of infusible fluid, assume that V2(i.e., as represented by signal1618) identifies 0.009 units of infusible fluid as having been delivered to the user. Accordingly,infusion pump assembly100 may increase the next differential target volume to 0.011 units to offset the earlier 0.001 unit shortage. Accordingly and as discussed above, the amplitude and/or duty cycle ofSMA drive signal1612 may be increased when delivering the next basal dose of the infusible fluid to the user. This process may be repeated for the remaining nine cycles of shape memory actuator112 (as discussed above) anddiscrete time integrator1614 may continue to integrate SMA drive signal1612 (to generate volume signal1616) which may define the total quantity of infusible fluid delivered to the user.
Referring also toFIG. 111, there is shown one possible embodiment ofvolume controller1602. In this particular implementation,volume controller1602 may include PI (proportional-integrator)controller1650.Volume controller1602 may include feedforward controller1652 for setting an initial “guess” concerning “on-time”signal1606. For example, for the situation described above in which targetdifferential volume signal1600 identifies a partial basal dose of 0.010 units of infusible fluid per cycle ofshape memory actuator112, feedforward controller1652 may define an initial “on-time” of e.g., one millisecond. Feedforward controller1652 may include e.g., a lookup table that define an initial “on-time” that is based, at least in part, upon targetdifferential volume signal1600.Volume controller1602 may further includediscrete time integrator1654 for integrating targetdifferential volume signal1600 anddiscrete time integrator1656 for integrating V2(i.e., as represented by signal1618).
Referring also toFIG. 112, there is shown one possible embodiment offeed forward controller1652. In this particular implementation, feedforward controller1652 may define aconstant value signal1658 and may include amplifier1660 (e.g., a unity gain amplifier), the output of which may be summed withconstant value signal1658 at summingnode1662. The resulting summed signal (i.e., signal1664) may be provided to as an input signal to e.g., lookup table1666, which may be processed to generate the output signal offeed forward controller1652.
As discussed above,pump assembly106 may be controlled byshape memory actuator112. Further and as discussed above,SMA controller1608 may process “on-time”signal1606 andbattery voltage signal1610 to determine the appropriateSMA drive signal1612 to apply to shape-memory actuator112.
Referring also toFIGS. 113-114, there is shown one particular implementation ofSMA controller1608. As discussed above,SMA controller1608 may be responsive to “on-time”signal1606 andbattery voltage signal1610 and may provideSMA drive signal1612 to shape-memory actuator112.SMA controller1608 may include a feedback loop (including unit delay1700), the output of which may be multiplied withbattery voltage signal1610 atmultiplier1702. The output ofmultiplier1702 may be amplified with e.g.,unity gain amplifier1704. The output ofamplifier1704 may be applied to the negative input of summing node1706 (to which “on-time”signal1606 is applied). The output of summingnode1706 may be amplified (via e.g., unity gain amplifier1708). SMA controller may also includefeed forward controller1710 to provide an initial value for SMA drive signal1612 (in a fashion similar to feedforward controller1652 ofvolume controller1602; SeeFIG. 112). The output offeed forward controller1710 may be summed at summingnode1712 with the output ofamplifier1708 and an integrated representation (i.e., signal1714) of the output ofamplifier1708 to formSMA drive signal1612.
SMA drive signal1612 may be provided to control circuitry that effectuates the application of power to shape-memory actuator112. For example,SMA drive signal1612 may be applied to switchingassembly1716 that may selectively apply current signal1718 (supplied from battery606) and/or fixedsignal1720 to shape-memory actuator. For example,SMA drive signal1612 may effectuate the application of energy (supplied frombattery606 via current signal1718) via switchingassembly1716 in a manner that achieves the duty cycle defined bySMA drive signal1612.Unit delay1722 may generate a delayed version of the signal applied to shape-memory actuator112 to form battery voltage signal1610 (which may be applied to SMA controller1608).
When applying power to shape-memory actuator112, voltage may be applied for a fixed amount of time and: a) at a fixed duty cycle with an unregulated voltage; b) at a fixed duty cycle with a regulated voltage; c) at a variable duty cycle based upon a measured current value; d) at a variable duty cycle based upon a measured voltage value; and e) at a variable duty cycle based upon the square of a measured voltage value. Alternatively, voltage may be applied to shape-memory actuator112 for a variable amount of time based upon a measured impedance.
When applying an unregulated voltage for a fixed amount of time at a fixed duty cycle, inner loop feedback may not be used and shape memory actuator may be driven at a fixed duty cycle and with an on-time determined by the outer volume loop.
When applying a regulated voltage for a fixed amount of time at a fixed duty cycle, inner loop feedback may not be used andshape memory actuator112 may be driven at a fixed duty cycle and with an on-time determined by the outer volume loop.
When applying an unregulated voltage at a variable duty cycle based upon a measured current value, the actual current applied to shape-memory actuator112 may be measured and the duty cycle may be adjusted during the actuation of shape-memory actuator112 to maintain the correct mean current.
When applying an unregulated voltage at a variable duty cycle based upon a measured voltage value, the actual voltage applied to shape-memory actuator112 may be measured and the duty cycle may be adjusted during the actuation of shape-memory actuator112 to maintain the correct mean voltage.
When applying an unregulated voltage at a variable duty cycle based upon the square of a measured voltage value, the actual voltage applied to shape-memory actuator112 may be measured and the duty cycle may be adjusted during the actuation of shape-memory actuator112 to maintain the square of the voltage at a level required to provide the desired level of power to shape-memory actuator112 (based upon the impedance of shape-memory actuator112).
Referring also toFIG. 114A-114B, there is shown other implementations ofSMA controller1608. Specifically,FIG. 114A is an electrical schematic that includes a microprocessor and various control loops that may be configured to provide a PWM signal that may open and close the switch assembly. The switch assembly may control the current that is allowed to flow through the shape memory actuator. The battery may provide the current to the shape memory actuator. Further,114B discloses a volume controller and an inner shape memory actuator controller. The shape memory actuator controller may provide a PWM signal to the pump, which may be modified based on the battery voltage. This may occur for a fixed ontime, the result being a volume that may be measured byvolume sensor assembly148 and fed back into the volume controller.
In our preferred embodiment, we vary the duty cycle based on the measured battery voltage to give you approximately consistent power. We adjust the duty cycle to compensate for a lower battery voltage. Battery voltage may change for two reasons: 1) as batteries are discharged, the voltage slowly decreases; and 2) when you apply a load to a battery it has an internal impedance so its voltage dips. This is something that happens in any type of system, and we compensate for that by adjusting the duty cycle, thus mitigating the lower or varying battery voltage. Battery voltage may be measured by the microprocessor. In other systems: 1) voltage may be regulated (put a regulator to maintain the voltage at a steady voltage); 2) feedback based on something else (i.e., speed or position of a motor, not necessarily measuring the battery voltage).
Other configurations may be utilized to control the shape memory actuator. For example: A) the shape memory actuator may be controlled at fixed duty cycle with unregulated voltage. As voltage varies, the repeatability of heating the shape memory actuator is reduced. B) a fixed duty cycle, regulated voltage may be utilized which compensate for changes in battery voltage. However, regulate the voltage down is less efficient due to energy of energy. C) the duty cycle may be varied based on changes in current (which may required more complicated measurement circuitry. D) The duty cycle may be varied based on measured voltage. E) The duty cycle may be varied based upon the square of the current or the square of the voltage divided by resistance. F) the voltage may be applied for a variable amount of time based on the measured impedance (e.g., may measure impedance using Wheatstone gauge (not shown)). The impedance of the shape memory actuator may be correlated to strain (i.e., may correlate how much the SMA moves based on its impedance).
Referring also toFIG. 115 and as discussed above, to enhance the safety ofinfusion pump assembly100,electrical control assembly110 may include two separate and distinct microprocessors, namelysupervisor processor1800 andcommand processor1802. Specifically,command processor1802 may perform the functions discussed above (e.g., generating SMA drive signal1612) and may control relay/switch assemblies1804,1806 that control the functionality of (in this example)shape memory actuators112,632 (respectively).Command processor1802 may receive feedback fromsignal conditioner1808 concerning the condition (e.g., voltage level) of the voltage signal applied toshape memory actuators112,632.Command processor1800 may control relay/switch assembly1810 independently of relay/switch assemblies1804,1806. Accordingly, when an infusion event is desired, both ofsupervisor processor1800 andcommand processor1802 must agree that the infusion event is proper and must both actuate their respective relays/switches. In the event that either ofsupervisor processor1800 andcommand processor1802 fails to actuate their respective relays/switches, the infusion event will not occur. Accordingly through the use ofsupervisor processor1800 andcommand processor1802 and the cooperation and concurrence that must occur, the safety ofinfusion pump assembly100 is enhanced.
The supervisor processor may prevent the command processor from delivering when it is not supposed and also may alarm if the command processor does not deliver when it should be delivering. The supervisor processor may deactivate the relay/switch assembly if the command processor actuates the wrong switch, or if the command processor it tries to apply power for too long.
The supervisor processor may redundantly doing calculations for how much insulin should be delivered (i.e., double checking the calculations of the command processor). Command processor may decide the delivery schedule, and the supervisor processor may redundantly check those calculations.
Supervisor also redundantly holds the profiles (delivery profiles) in RAM, so the command processor may be doing the correct calculations, but if is has bad RAM, would cause the command to come up with the wrong result. The Supervisor uses its local copy of the basal profile, etc., to double check.
Supervisor can double check AVS measurements, looks at the AVS calculations and applies safety checks. Every time AVS measurement is taken, it double checks.
Referring also toFIG. 116, one or more ofsupervisor processor1800 andcommand processor1802 may perform diagnostics on various portions ofinfusion pump assembly100. For example,voltage dividers1812,1814 may be configured to monitor the voltages (V1 & V2 respectively) sensed at distal ends of e.g.,shape memory actuator112. The value of voltages V1 & V2 in combination with the knowledge of the signals applied to relay/switch assemblies1804,1810 may allow for diagnostics to be performed on various components of the circuit shown inFIG. 116 (in a manner similar to that shown in illustrative diagnostic table1816).
As discussed above and as illustrated inFIGS. 115-116, to enhance the safety ofinfusion pump assembly100,electrical control assembly110 may include a plurality of microprocessors (e.g.,supervisor processor1800 and command processor1802), each of which may be required to interact and concur in order to effectuate the delivery of a dose of the infusible fluid. In the event that the microprocessors fail to interact/concur, the delivery of the dose of infusible fluid may fail and one or more alarms may be triggered, thus enhancing the safety and reliability ofinfusion pump assembly100.
A master alarm may be utilized that tracks the volume error over time. Accordingly, if the sum of the errors becomes too large, the master alarm may be initiated, indicating that something may be wrong with the system. Accordingly, the master alarm may be indicative of a total volume comparison being performed and a discrepancy being noticed. A typical value of the discrepancy required to initiate the master alarm may be 1.00 milliliters. The master alarm may monitor the sum in a leaky fashion (i.e., Inaccuracies have a time horizon).
Referring also toFIGS. 117A-117B, there is shown one such illustrative example of such interaction amongst multiple microprocessors during the delivery of a dose of the infusible fluid. Specifically,command processor1802 may first determine1900 the initial volume of infusible fluid withinvolume sensor chamber620.Command processor1802 may then provide1902 a “pump power request” message tosupervisor processor1800. Upon receiving1904 the “pump power request” message,supervisor processor1800 may e.g., energize1906 relay/switch1810 (thus energizing shape memory actuator112) and may send1908 a “pump power on” message to commandprocessor1802. Upon receiving1910 the “pump power on” message,command processor1802 may actuate1912 e.g., pump assembly106 (by energizing relay/switch1804), during whichtime supervisor processor1800 may monitor1914 the actuation of e.g.,pump assembly106.
Once actuation ofpump assembly106 is complete,command processor1802 may provide1914 a “pump power off” message tosupervisor processor1800. Upon receiving1916 the “pump power off” message,supervisor processor1800 may deenergize1918 relay/switch1810 and provide1920 a “pump power off” message to commandprocessor1802. Upon receiving1922 the “pump power off” message,command processor1802 may measure1924 the quantity of infusible fluid pumped bypump assembly106. This may be accomplished by measuring the current quantity of fluid withinvolume sensor chamber620 and comparing it with the quantity determined above (in step1900). Once determined1924,command processor1802 may provide1926 a “valve open power request” message tosupervisor processor1800. Upon receiving1928 the “valve open power request” message,supervisor processor1800 may energize1930 relay/switch1810 (thus energizing shape memory actuator632) and may send1932 a “valve open power on” message to commandprocessor1802. Upon receiving1934 the “valve open power on” message,command processor1802 may actuate1936 e.g., measurement valve assembly610 (by energizing relay/switch1806), during whichtime supervisor processor1800 may monitor1938 the actuation of e.g.,measurement valve assembly610.
Once actuation ofmeasurement valve assembly610 is complete,command processor1802 may provide1940 a “valve power off” message tosupervisor processor1800. Upon receiving1942 the “valve power off” message,supervisor processor1800 may deenergize1944 relay/switch1810 and provide1946 a “valve power off” message to commandprocessor1802.
Upon receiving1948 the “valve power off” message,command processor1802 may provide1950 a “valve close power request” message tosupervisor processor1800. Upon receiving1952 the “valve close power request” message,supervisor processor1800 may energize1954 relay/switch1810 (thus energizing shape memory actuator652) and may send1956 a “power on” message to commandprocessor1802. Upon receiving1958 the “power on” message,command processor1802 may actuate1960 an energizing relay/switch (not shown) that is configured to energizeshape memory actuator652, during whichtime supervisor processor1800 may monitor1962 the actuation of e.g.,shape memory actuator652.
As discussed above (and referring temporarily toFIGS. 26A, 26B, 27A, 27B & 28),shape memory actuator652 may be anchored on a first end usingelectrical contact654. The other end ofshape memory actuator652 may be connected tobracket assembly656. Whenshape memory actuator652 is activated,shape memory actuator652 may pullbracket assembly656 forward and releasevalve assembly634. As such,measurement valve assembly610 may be activated viashape memory actuator632. Oncemeasurement valve assembly610 has been activated,bracket assembly656 may automatically latchvalve assembly610 in the activated position. Actuatingshape memory actuator652 may pullbracket assembly656 forward and releasevalve assembly634. Assumingshape memory actuator632 is no longer activated,measurement valve assembly610 may move to a de-activated state oncebracket assembly656 has releasedvalve assembly634. Accordingly, by actuatingshape memory actuator652,measurement valve assembly610 may be deactivated.
Once actuation ofshape memory actuator652 is complete,command processor1802 may provide1964 a “power off” message tosupervisor processor1800. Upon receiving1966 the “power off” message,supervisor processor1800 may deenergize1968 relay/switch1810 and may provide1970 a “power off” message to commandprocessor1802. Upon receiving1972 the “power off” message,command processor1802 may determine the quantity of infusible fluid withinvolume sensor chamber620, thus allowingcommand processor1802 to compare this measured quantity to the quantity determined above (in step1924) to determine1974 the quantity of infusible fluid delivered to the user.
In the event that the quantity of infusible fluid delivered1974 to the user is less than the quantity of infusible fluid specified for the basal/bolus infusion event, the above-described procedure may be repeated (via loop1976).
Referring also toFIG. 118, there is shown another illustrative example of the interaction amongstprocessors1800,1802, this time during the scheduling of a dose of infusible fluid.Command processor1802 may monitor2000,2002 for the receipt of a basal scheduling message or a bolus request message (respectively). Uponreceipt2000,2002 of either of these messages,command processor1802 may set2004 the desired delivery volume and may provide2006 a “delivery request” message tosupervisor processor1800. Upon receiving2008 the “delivery request” message,supervisor processor1800 may verify2010 the volume defined2004 bycommand processor1802. Once verified2010,supervisor processor1800 may provide2012 a “delivery accepted” message to commandprocessor1802. Uponreceipt2014 of the “delivery accepted” message,command processor1802 may update2016 the controller (e.g., the controller discussed above and illustrated inFIG. 110) and execute2018 delivery of the basal/bolus dose of infusible fluid.Command processor1808 may monitor and update2022 the total quantity of infusible fluid delivered to the user (as discussed above and illustrated inFIGS. 117A-117B). Once the appropriate quantity of infusible fluid is delivered to the user,command processor1802 may provide2024 a “delivery done” message tosupervisor processor1800. Uponreceipt2026 of the “delivery done” message,supervisor processor1800 may update2028 the total quantity of infusible fluid delivered to the user. In the event that the total quantity of infusible fluid delivered2018 to the user is less than the quantity defined above (in step2004), the infusion process discussed above may be repeated (via loop2030).
Referring also toFIG. 119, there is shown an example of the manner in whichsupervisor processor1800 andcommand processor1802 may interact while effectuating a volume measurements via volume sensor assembly148 (as described above).
Specifically,command processor1802 may initialize2050volume sensor assembly148 and begin collecting2052 data fromvolume sensor assembly148, the process of which may be repeated for each frequency utilized in the above-described sine sweep. Each time that data is collected for a particular sweep frequency, a data point message may be provided2054 fromcommand processor1802, which may be received2056 bysupervisor processor1800.
Oncedata collection2052 is completed for the entire sine sweep,command processor1802 may estimate2058 the volume of infusible fluid delivered byinfusion pump assembly100.Command processor1802 may provide2060 a volume estimate message tosupervisor processor1800. Upon receiving2062 this volume estimate message,supervisor processor1800 may check (i.e., confirm)2064 the volume estimate message. Once checked (i.e., confirmed),supervisor processor1800 may provide2066 a verification message to commandprocessor1802. Once received2068 fromsupervisor processor1800,command processor1802 may set the measurement status for the dose of infusible fluid delivered byvolume sensor assembly148.
As discussed above and referring temporarily toFIG. 11), the various embodiments of the infusion pump assembly (e.g.,infusion pump assembly100,100′,400,500) discussed above may be configured via aremote control assembly300. When configurable viaremote control assembly300, the infusion pump assembly may include telemetry circuitry (not shown) that allows for communication (e.g., wired or wireless) between the infusion pump assembly and e.g.,remote control assembly300, thus allowingremote control assembly300 to remotely control the infusion pump assembly. Remote control assembly300 (which may also include telemetry circuitry (not shown) and may be capable of communicating with the infusion pump assembly) may includedisplay assembly302 andinput assembly304.Input assembly304 may includeslider assembly306 andswitch assemblies308,310. In other embodiments, the input assembly may include a jog wheel, a plurality of switch assemblies, or the like.Remote control assembly300 may allow the user to program basal and bolus delivery events.
Remote control assembly300 may include two processors, one processor (e.g., which may include, but is not limited to a CC2510 microcontroller/RF transceiver, available from Chipcon AS, of Oslo, Norway) may be dedicated to radio communication, e.g., for communicating withinfusion pump assembly100,100′,400,500. The second processor included within remote control assembly (which may include but are not limited to an ARM920T and an ARM922T manufactured by ARM Holdings PLC of the United Kingdom) may be a command processor and may perform data processing tasks associated with e.g., configuringinfusion pump assembly100,100′,400,500.
Further and as discussed above, one embodiment ofelectrical control assembly816 may include three microprocessors. One processor (e.g., which may include, but is not limited to a CC2510 microcontroller/RF transceiver, available from Chipcon AS, of Oslo, Norway) may be dedicated to radio communication, e.g., for communicating with aremote control assembly300. Two additional microprocessors (e.g.,supervisor processor1800 and command processor1802) may effectuate the delivery of the infusible fluid (as discussed above). Examples ofsupervisor processor1800 andcommand processor1802 may include, but is not limited to an MSP430 microcontroller, available from Texas Instruments Inc. of Dallas, Tex.
The OS may be a non-preemptive scheduling system, in that all tasks may run to completion before the next task is allowed to run regardless of priority. Additionally, context switches may not be performed. When a task completes executing, the highest priority task that is currently scheduled to run may then be executed. If no tasks are scheduled to execute, the OS may place the processor (e.g.,supervisor processor1800 and/or command processor1802) into a low power sleep mode and may wake when the next task is scheduled. The OS may only be used to manage main loop code and may leave interrupt-based functionality unaffected.
The OS may be written to take advantage of the C++ language. Inheritance as well as virtual functions may be key elements of the design, allowing for easy creation, scheduling and managing of tasks.
At the base of the OS infrastructure may be the ability to keep track of system time and controlling the ability to place the processor in Low Power Mode (LPM; also known as sleep mode). This functionality along with the control and configuration of all system clocks may be encapsulated by the SysClocks class.
The SysClocks class may contain the functionality to place the processor (e.g.,supervisor processor1800 and/or command processor1802) into LPM to reduce energy consumption. While in LPM, the slow real time clock may continue to run while the fast system clock that runs the CPU core and most peripherals may be disabled.
Placing the processor into LPM may always be done by the provided SysClocks function. This function may contain all required power down and power up sequences resulting in consistency whenever entering or exiting LPM. Waking from LPM may be initiated by any interrupts based on the slow clock.
The OS may keep track of three aspects of time: seconds, milliseconds and the time of day. Concerning seconds, SysClocks may count seconds starting when the processor comes out of reset. The second counter may be based on the slow system clocks and, therefore, may increment regardless of whether the processor is in LPM or at full power. As a result, it is the boundary at which the processor may wake from sleep to execute previously scheduled tasks. If a task is scheduled to run immediately from an interrupt service routine (ISR), the ISR may wake the processor from LPM on exit and the task may be executed immediately. Concerning milliseconds, in addition to counting the seconds since power on, SysClocks may also count milliseconds while the processor is in full power mode. Since the fast clock is stopped during LPM, the millisecond counter may not increment. Accordingly, whenever a task is scheduled to execute based on milliseconds, the processor may not enter LPM. Concerning time of day, the time of day may be represented within SysClocks as seconds since a particular point time (e.g., seconds since 1 Jan. 2004).
The SysClocks class may provide useful functionality to be used throughout the Command and Supervisor project code base. The code delays may be necessary to allow hardware to settle or actions to be completed. SysClocks may provide two forms of delays, a delay based on seconds or a delay based on milliseconds. When a delay is used, the processor may simply wait until the desired time has passed before continue with its current code path. Only ISRs may be executed during this time. SysClocks may provide all of the required functionality to set or retrieve the current time of day.
The word “task” may be associated with more complex scheduling systems; therefore within the OS, task may be represented by and referred to as Managed Functions. The ManagedFunc class may be an abstract base class that provides all the necessary control members and functionality to manage and schedule the desired functionality.
The ManagedFunc base class may have five control members, two scheduling manipulation member functions, and one pure virtual execute function that may contain the managed functionality. All of the ManagedFunc control members may be hidden from the derived class and may only be directly set by the derived class during creation, thus simplifying the use and enhancing the safety ofinfusion pump assembly100,100′,400,500.
The Function ID may be set at the time of creation and may never be changed. All Function IDs may be defined within a single .h file, and the base ManagedFunc constructor may strongly enforce that the same ID may not be used for more than one managed function. The ID may also define the priority of a function (with respect to other functions) based upon the function ID assigned, wherein higher priority functions are assigned lower function IDs. The highest priority task that is currently scheduled to execute may execute before lower priority tasks.
All other control members may be used to represent the function's current scheduled state, when it should be executed, and if (upon execution) the function should be rescheduled to execute in a previously set amount of time. Manipulation of these controls and states may be allowed but only through the public member functions (thus enforcing safety controls on all settings).
To control the scheduling of a managed function, the set start and set repeat functions may be used. Each of these member functions may be a simple interface allowing the ability to configure or disable repeat settings as well as control whether a managed function is inactive, scheduled by seconds, milliseconds, or time of day.
Through inheritance, creating a Managed Function may be done by creating a derived class and defining the pure virtual ‘execute’ function containing the code that needs to be under scheduling control. The ManagedFunc base class constructor may be based upon the unique ID of a function, but may also be used to set default control values to be used at start up.
For example to create a function that runs thirty seconds after start up and every 15 seconds thereafter, the desired code is placed into the virtual execute function and the function ID, scheduled by second state, thirty second start time, and repeat setting of fifteen seconds is provided to the constructor.
The following is an illustrative code example concerning the creation of a managed function. In this particular example, a “heartbeat” function is created that is scheduled to execute for the first time one second after startup ofinfusion pump assembly100,100′,400,500 and execute every ten seconds thereafter:
#include “ManagedFunc.h”
// The SendGoodFunc is a “heartbeat” status message
class SendGoodFunc : public ManagedFunc
{
public:
// Initialize the managed func to run 2 seconds
after start up
// and repeat every second.
SendGoodFunc( ) :
ManagedFunc(IPC_SEND_GOOD, SCHEDULED_SEC, 1,
true, 10) { };
~SendGoodFunc( ) { };
protected:
void execute(void);
};
void SendGoodFunc::execute(void)
{
// << code to send the heartbeat >>
}
SendGoodFunc g_SendGoodFunc;
// to manipulate the heartbeat timing simply call:
// g_sendGoodFunc.setFuncStart(...) or
g_sendGoodFunc.setRepeat( ... )
The actual execution of the Managed Functions may be controlled and performed by the SleepManager class. The SleepManager may contain the actual prioritized list of managed functions. This prioritized list of functions may automatically be populated by the managed function creation process and may ensure that each function is created properly and has a unique ID.
The main role of the SleepManager class may be to have its ‘manage’ function called repeatedly from the processors main loop and/or from a endless while loop. Upon each call of manage, the SleepManager may execute all functions that are scheduled to run until the SleepManager has exhausted all scheduled functions; at which time the SleepManager may place the processor in LPM. Once the processor wakes from LPM, the manage function may be reentered until the processor is again ready to enter LPM (this process may be repeated until stopped, e.g., by a user or by the system).
If the processor has to be kept in full power mode for an extended period of time (e.g., while an analog-to-digital conversion is being sampled), the SleepManager may provide functionality to disable entering LPM. While LPM is disabled, the manage function may continuously search for a scheduled task.
The SleepManager may also provide an interface to manipulate the scheduling and repeat settings of any managed function through the use of the unique ID of the function, which may allow any section of code to perform any required scheduling without having direct access to or unnecessary knowledge of the desired ManagedFunc object.
Radio circuitry included within each ofinfusion pump assembly100,100′,400,500 andremote control assembly300 may effectuate wireless communication betweenremote control assembly300 andinfusion pump assembly100,100′,400,500. A 2.4 GHz radio communications chip (e.g., a Texas Instruments CC2510 radio transceiver) with an internal 8051 microcontroller may be used for radio communications.
The radio link may balance the following three objectives: link availability; latency; and energy.
Concerning link availability,remote control assembly300 may provide the primary means for controlling theinfusion pump assembly100,100′,400,500 and may provide detailed feedback to the user via the graphical user interface (GUI) ofremote control assembly300. Concerning latency, the communications system may be designed to provide for low latency to deliver data fromremote control assembly300 to theinfusion pump assembly100,100′,400,500 (and vice versa). Concerning energy, bothremote control assembly300 andinfusion pump assembly100,100′,400,500 may have a maximum energy expenditure for radio communications.
The radio link may support half-duplex communications.Remote control assembly300 may be the master of the radio link, initiating all communications.Infusion pump assembly100,100′,400,500 may only respond to communications and may never initiate communications. The use of such a radio communication system may provide various benefits, such as: increased security: a simplified design (e.g., for airplane use); and coordinated control of the radio link.
Referring also toFIG. 120A, there is shown one illustrative example of the various software layers of the radio communication system discussed above.
The radio processors included withinremote control assembly300 andinfusion pump assembly100,100′,400,500 may transfer messaging packets between an SPI port and a 2.4 GHz radio link (and vice versa). The radio may always be the SPI slave. Oninfusion pump assembly100,100′,400,500, radio processor (PRP)1818 (SeeFIGS. 115-116) may service two additional nodes over the SPI port that are upstream (namelycommand processor1800 andsupervisor processor1802. In some embodiments, onremote control assembly300, the radio processor (CRP) may service at least one additional node over the SPI port that may be either upstream or down stream, for example, in some embodiments, the above-described remote control processor (UI) and the Continuous Glucose Engine (CGE).
A messaging system may allow for communication of messages between various nodes in the network. The UI processor ofremote control assembly300 and e.g.,supervisor processor1800 may use the messaging system to configure and initiate some of the mode switching on the two system radios. It may be also used by the radios to convey radio and link status information to other nodes in the network.
When the radio ofremote control assembly300 wishes to gather channel statistics from theinfusion pump assembly100,100′,400,500 or update the master channel list of the radio ofinfusion pump assembly100,100′,400,500, the radio ofremote control assembly300 may use system messages. Synchronization for putting the new updated list into effect may use indicators in the heartbeat messages to remove timing uncertainty.
The radio communication system may be written in C++ to be compatible with the messaging software. A four byte radio serial number may be used to address each radio node. A hash table may be used to provide a one-to-one translation between the device “readable” serial number string and the radio serial number. The hash table may provide a more randomized 8-bit logical address so that pumps (e.g.,infusion pump assembly100,100′,400,500) or controllers with similar readable serial numbers are more likely to have unique logical addresses. Radio serial numbers may not have to be unique between pumps (e.g.,infusion pump assembly100,100′,400,500) and controllers due to the unique roles each has in the radio protocol.
The radio serial number ofremote control assembly300 and the radio serial number ofinfusion pump assembly100,100′,400,500 may be included in all radio packets except for the RF Pairing Request message that may only include the radio serial number ofremote control assembly300, thus ensuring that only occur with the remote control assembly/infusion pump assembly to which it is paired. The CC2510 may support a one byte logical node address and it may be advantageous to use one byte of the radio serial number as the logical node address to provide a level of filtering for incoming packets.
The Quiet_Radio signal may be used by the UI processor ofremote control assembly300 to prevent noise interference on the board ofremote control assembly300 by other systems on the board. When Quiet_Radio is asserted, the radio application ofremote control assembly300 may send a message to the radio ofinfusion pump assembly100,100′,400,500 asserting Radio Quiet Mode for a pre-determined period of time. The Quiet_Radio feature may not be required based on noise interference levels measured on the PC board ofremote control assembly300. During this period of time, the radio ofremote control assembly300 may stay inSleep Mode 2 for up to a maximum of 100 ms. The radio ofremote control assembly300 may come out ofSleep Mode 2 when the Quiet_Radio signal is de-asserted or the maximum time period has expired. The UI processor ofremote control assembly300 may assert Quiet_Radio at least one radio communication's interval before the event needs to be asserted. The radio ofremote control assembly300 may inform the radio ofinfusion pump assembly100,100′,400,500 that communications will be shutdown during this quiet period. The periodic radio link protocol may have status bits/bytes that accommodate the Quiet_Radio feature unless Quiet_Radio is not required.
The radio software may integrate with the messaging system and radio bootloader on the same processor, and may be verified using a throughput test. The radio software may integrate with the messaging system, SPI Driver using DMA, and radio bootloader, all on the same processor (e.g., the TI CC2510).
The radio ofremote control assembly300 may be configured to consume no more than 32 mAh in three days (assuming one hundred minutes of fast heartbeat mode communications per day). The radio ofinfusion pump assembly100,100′,400,500 may be configured to consume no more than 25 mAh in three days (assuming one hundred minutes of fast heartbeat mode communications per day).
The maximum time to reacquire communications may be ≦6.1 seconds including connection request mode and acquisition mode. The radio ofremote control assembly300 may use the fast heartbeat mode or slow heartbeat mode setting to its advantage in order to conserve power and minimize latency to the user. The difference between theinfusion pump assembly100,100′,400,500 andremote control assembly300 entering acquisition mode may be that theinfusion pump assembly100,100′,400,500 needs to enter acquisition mode often enough to ensure communications may be restored within the maximum latency period. However, theremote control assembly300 may change how often to enter acquisition mode with theinfusion pump assembly100,100′,400,500 when in slow heartbeat mode and heartbeats are lost. The radio ofremote control assembly300 may have knowledge of the user GUI interaction, but theinfusion pump assembly100,100′,400,500 may not.
The radio ofremote control assembly300 may set the heartbeat period for both radios. The period may be selectable in order to optimize power and link latency depending on activity. The desired heartbeat period may be communicated in each heartbeat from the radio ofremote control assembly300 to the radio ofinfusion pump assembly100,100′,400,500. This may not exclusively establish the heartbeat rate ofinfusion pump assembly100,100′,400,500 due to other conditions that determine what mode to be in. When in fast heartbeat mode, the radio ofremote control assembly300 may set the heartbeat period to 20 ms if data packets are available to send or receive, thus providing low link latency communications when data is actively being exchanged.
When in fast heartbeat mode, the radio ofremote control assembly300 may set the heartbeat period to 60 ms four heartbeats after a data packet was last exchanged in either direction on the radio. Keeping the radio heartbeat period short after a data packet has been sent or received may assure that any data response packet may be also serviced using a low link latency. When in slow heartbeat mode, the heartbeat rate may be 2.00 seconds or 6.00 second, depending upon online or offline status respectively.
Theinfusion pump assembly100,100′,400,500 may use the heartbeat rate set by the radio ofremote control assembly300. The radio ofremote control assembly300 may support the following mode requests via the messaging system:
    • Pairing Mode
    • Connection Mode
    • Acquisition Mode (includes the desired pairedinfusion pump assembly100,100′,400,500 radio serial number)
    • Sync Mode—Fast Heartbeat
    • Sync Mode—Slow Heartbeat
    • RF Off Mode
The radio ofinfusion pump assembly100,100′,400,500 may support the following mode requests via the messaging system:
    • Pairing Mode
    • Acquisition Mode
    • RF Off Mode
The radio may use a system message to obtain the local radio serial number. Onremote control assembly300, the radio may get the serial number from the UI processor ofremote control assembly300. The radio may use a system message to store the paired radio serial number.
Remote control assembly300 and the radio ofinfusion pump assembly100,100′,400,500 may issue a status message using the messaging system to the UI processor ofremote control assembly300 andcommand processor1802 whenever the following status changes:
    • Online Fast: Successful connection
    • Online Fast: Change from Acquisition Mode to Fast Heartbeat Mode
    • Online Slow: Successful request change from Fast Heartbeat to Slow Heartbeat
    • Offline: Automatic change to Search Sync mode due to lack of heartbeat exchanges.
    • Online Fast: Successful request change from Slow Heartbeat to Fast Heartbeat
    • Offline: Bandwidth falls below 10% in Sync Mode
    • Online: Bandwidth rises above 10% in Search Sync mode
    • Offline: Successful request change to RF Off Mode
The radio configuration message may be used to configure the number of radio retries. This message may be sent over the messaging system. The UI processor ofremote control assembly300 will send this command to both the radio ofremote control assembly300 and the radio ofinfusion pump assembly100,100′,400,500 to configure these radio settings.
There may be two parameters in the radio configuration message: namely the number of RF retries (e.g., the value may be from 0 to 10); and the radio offline parameters (e.g., the value may be from 1 to 100 in percent of bandwidth).
The radio application on both theremote control assembly300 andinfusion pump assembly100,100′,400,500 may have an API that allows the messaging system to configure the number of RF retries and radio offline parameters.
The following parameters may be recommended for the radio hardware configuration:
    • Base Radio Specifications
    • MSK
    • 250 kbps over air baud rate
    • Up to 84 channels
    • Channel spacing 1000 kHz
    • Filter bandwidth 812 kHz
    • No Manchester encoding
    • Data whitening
    • 4 byte preamble
    • 4 byte sync (word)
    • CRC appended to packet
    • LQI (Link Quality Indicator) appended to packet
    • Automatic CRC filtering enabled
Forward Error Correction (FEC) may or may not be utilized. Although Forward Error Correction (FEC) may be used to increase the effective signal dynamic range by approximately 3 dB, FEC requires fixed packet sizes and doubles the number of over the air bits for the same fixed size message.
The radio may function within 1.83 meters distance under nominal operating conditions (except in pairing mode). It may be a goal that the radio function within 7.32 meters distance under nominal operating conditions. The transmit power level may be 0 dBm (except in pairing mode) and the transmit power level in pairing mode may be −22 dBm. Since the desired radio node address ofinfusion pump assembly100,100′,400,500 may be not known by theremote control assembly300 in pairing mode, bothinfusion pump assembly100,100′,400,500 andremote control assembly300 may use a lower transmit power to reduce the likelihood of inadvertently pairing with another infusion pump assembly.
AES Encryption may be used for all packets but may not be required, as the Texas Instruments CC2510 radio transceiver includes this functionality. If AES encryption is used, fixed keys may be utilized, as fixed keys provide a quick way to enable encryption without passing keys. However, key exchange may be provided for in future versions ofinfusion pump assembly100,100′,400,500. The fixed keys may be contained in one separate header source file with no other variables but the fixed keys data, thus allowing for easier management of read access of the file.
The radio software may support the following eight modes:
    • Pairing Mode
    • RF Off Mode
    • Connection Mode
    • Acquisition Mode
    • Fast Heartbeat Mode
    • Slow Heartbeat Mode
    • Search Sync Mode
    • Sync'ed Acquisition Mode
which are graphically depicted inFIGS. 120B-120C.
Pairing may be the process of exchanging radio serial numbers betweenremote control assembly300 andinfusion pump assembly100,100′,400,500.Remote control assembly300 may be “paired” withinfusion pump assembly100,100′,400,500 wheninfusion pump assembly100,100′,400,500 knows its serial number.Infusion pump assembly100,100′,400,500 may be “paired” withremote control assembly300 whenremote control assembly300 knows its serial number.
Pairing mode (which is graphically depicted inFIG. 120D) may require that four messages to be exchanged over the RF link:
    • RF Pairing Request (broadcast fromRemote control assembly300 to anyInfusion pump assembly100,100′,400,500)
    • RF Pairing Acknowledge (fromInfusion pump assembly100,100′,400,500 to Remote control assembly300)
    • RF Pairing Confirm Request (fromRemote control assembly300 toInfusion pump assembly100,100′,400,500)
    • RF Pairing Confirm Acknowledge (fromInfusion pump assembly100,100′,400,500 to Remote control assembly300)
Additionally,remote control assembly300 may cancel the pairing process at any time via the RF pairing abort message (fromremote control assembly300 toinfusion pump assembly100,100′,400,500. Pairing mode may not support messaging system data transfers.
The radio ofinfusion pump assembly100,100′,400,500 may enter pairing mode upon receiving a pairing mode request message. It may be the responsibility ofsupervisor processor1800 oninfusion pump assembly100,100′,400,500 to request the radio to enter pairing mode if there is no disposable attached toinfusion pump assembly100,100′,400,500 and the user has pressed the button ofinfusion pump assembly100,100′,400,500 for six seconds. The radio ofinfusion pump assembly100,100′,400,500 may set the appropriate transmit power level for pairing mode.Infusion pump assembly100,100′,400,500 may only be paired with oneremote control assembly300 at a time.
Upon receiving the first valid RF pairing request message while in pairing mode, the radio ofinfusion pump assembly100,100′,400,500 may use the serial number ofremote control assembly300 for the duration of pairing mode and respond with an RF pairing acknowledge message containing the radio serial numberinfusion pump assembly100,100′,400,500.
The radio ofinfusion pump assembly100,100′,400,500 may timeout of pairing mode automatically after 2.0±0.2 seconds if no RF pairing request is received. The radio ofinfusion pump assembly100,100′,400,500 may issue a pairing request received message after transmitting the RF pairing acknowledge. This message to supervisor processors will allow feedback to the user during the pairing confirm process. The radio ofinfusion pump assembly100,100′,400,500 may automatically timeout of pairing mode in 1.0±0.1 minutes after sending an RF pairing acknowledge unless an RF pairing confirm request is received. The radio ofinfusion pump assembly100,100′,400,500 may issue a store paired radio serial number message if an RF pairing confirm request message is received after receiving a RF pairing request message. This action may store the radio serial number ofremote control assembly300 in the non-volatile memory ofinfusion pump assembly100,100′,400,500 and may overwrite the existing pairing data for theinfusion pump assembly100,100′,400,500.
The radio ofinfusion pump assembly100,100′,400,500 may transmit an RF pairing confirm acknowledge and exit pairing mode after the acknowledgment from the store paired radio serial number message is received. This may be the normal exit of pairing mode oninfusion pump assembly100,100′,400,500 and may result ininfusion pump assembly100,100′,400,500 powering down until connection mode or paring mode entered by the user.
If the radio ofinfusion pump assembly100,100′,400,500 exits pairing mode upon successfully receiving a pairing confirm request message, then the radio ofinfusion pump assembly100,100′,400,500 may revert to the newly pairedremote control assembly300 and may send a pairing completion success message to commandprocessor1802. The radio ofinfusion pump assembly100,100′,400,500 may exit pairing mode upon receiving an RF pairing abort message. The radio ofinfusion pump assembly100,100′,400,500 may exit pairing mode upon receiving a pairing abort request message addressed to it. This may allowcommand processor1802 orsupervisor processor1800 to abort the pairing process locally on theinfusion pump assembly100,100′,400,500.
The radio ofremote control assembly300 may enter pairing mode upon receiving a pairing mode request message. It may be the responsibility of the UI processor ofremote control assembly300 to request that the radio enter pairing mode under the appropriate conditions. The radio ofremote control assembly300 may set the appropriate transmit power level for pairing mode. The radio ofremote control assembly300 may transmit RF pairing requests until an RF pairing acknowledge is received or pairing is aborted.
The radio ofremote control assembly300 may automatically abort pairing mode if the RF pairing acknowledge message is not received within 30.0±1.0 seconds after entering pairing mode. Upon receiving the first valid RF pairing acknowledge message while in pairing mode, the radio ofremote control assembly300 may send a pairing success message to the UI processor ofremote control assembly300 that includes the serial number ofinfusion pump assembly100,100′,400,500 and may use that serial number for the duration of pairing mode. This message may provide a means for the UI processor ofremote control assembly300 to have the user confirm the serial number of the desiredinfusion pump assembly100,100′,400,500. If the radio ofremote control assembly300 receives multiple responses (concerning a single pairing request) frominfusion pump assembly100,100′,400,500, the first valid one may be used.
The Radio ofremote control assembly300 may only accept an RF pairing confirm acknowledge messages after an RF pairing acknowledge is received while in pairing mode. The radio ofremote control assembly300 may transmit the RF pairing confirm message upon receiving a pair confirm request message from the UI processor ofremote control assembly300.
The radio ofremote control assembly300 may check thatinfusion pump assembly100,100′,400,500 confirms the pairing before addinginfusion pump assembly100,100′,400,500 to the pairing list. The radio ofremote control assembly300 may issue a store paired radio serial number message if an RF pairing complete message is received. This action may allow the UI processor ofremote control assembly300 to store the new serial number ofinfusion pump assembly100,100′,400,500 and provide user feedback of a successful pairing. It may be the responsibility of the UI processor ofremote control assembly300 to manage the list of paired infusion pump assemblies.
The radio ofremote control assembly300 may send an RF pairing abort message and exit pairing mode upon receiving a pairing abort request message. This may allow the UI processor of theremote control assembly300 to abort the pairing process on both theremote control assembly300 and acknowledgedinfusion pump assembly100,100′,400,500.
In connection request mode, the radio ofremote control assembly300 may attempt to acquire eachinfusion pump assembly100,100′,400,500 in its paired infusion pump assembly list and retrieve its “connection ready” status. The “connection” process (which is graphically depicted inFIG. 120E) may allowremote control assembly300 to quickly identify one of its paired infusion pump assemblies that may be ready to be used. The radio ofremote control assembly300 may be capable of performing the connection request mode with up to six paired infusion pump assemblies. Connection request mode may be only supported onremote control assembly300 and may be a special form of acquisition mode. In connection request mode,remote control assembly300 may connect with the first infusion pump assembly to respond. However, each message may be directed to a specific infusion pump assembly serial number.
The radio ofremote control assembly300 may obtain the latest paired infusion pump assembly serial number list upon entering connection mode. The radio ofremote control assembly300 may enter connection mode upon receiving a connection mode request message. It may be the responsibility of the UI processor ofremote control assembly300 to request that the radio enter connection mode when it desires communications with a paired infusion pump assembly. The radio ofremote control assembly300 may issue a connection assessment message to the UI processor ofremote control assembly300 containing the radio serial number of the first infusion pump assembly, if any, that is “connection ready”. The radio ofremote control assembly300 may generate the connection assessment message within thirty seconds of entering connection request mode. The radio ofremote control assembly300 may exit connection request mode upon receipt of the connection assessment acknowledgement and transition to fast heartbeat mode. The radio ofremote control assembly300 may exit connection request mode upon receipt of a connection request abort message from the UI processor ofremote control assembly300.
Onremote control assembly300, acquisition mode may be used to find a particular paired infusion pump assembly. The radio ofremote control assembly300 may send RF RUT (aRe yoU There) packets to the desired paired infusion pump assembly. If the infusion pump assembly receives the RF RUT message, it may respond to the radio ofremote control assembly300. Multiple channels may be used in the acquisition mode algorithm to improve the opportunity for the radio ofremote control assembly300 to find the paired infusion pump assembly.
The radio ofremote control assembly300 may enter acquisition mode upon receiving an acquisition mode request or fast heartbeat mode request message while in RF Off Mode. The radio ofremote control assembly300 may enter sync'ed acquisition mode upon receiving an acquisition mode request or fast heartbeat mode request message while in search sync mode. It may be the responsibility of the UI processor ofremote control assembly300 to request that the radio enter acquisition mode when the RF link is off-line andremote control assembly300 desires communications withinfusion pump assembly100,100′,400,500.
The radio ofremote control assembly300 may only communicate with one pairedinfusion pump assembly100,100′,400,500 (except in pairing and connection modes). When communications are lost, the UI processor ofremote control assembly300 may use acquisition mode (at some periodic rate limited by the power budget) to attempt to restore communications.Infusion pump assembly100,100′,400,500 may enter acquisition mode under the following conditions:
    • When in Radio Off Mode and Acquisition Mode may be requested
    • When Search Sync Mode times out due to lack of heartbeats
Upon entering acquisition mode, the radio ofinfusion pump assembly100,100′,400,500 may obtain the serial number of the last stored pairedremote control assembly300. The radio ofinfusion pump assembly100,100′,400,500 may only communicate with the remote control assembly to which it has been “paired” (except while in the “pairing request” mode). The radio ofinfusion pump assembly100,100′,400,500 may transition from acquisition mode to fast heartbeat mode upon successfully acquiring synchronization with theremote control assembly300. The acquisition mode ofinfusion pump assembly100,100′,400,500 may be capable of acquiring synchronization within 6.1 seconds, which may implies that theinfusion pump assembly100,100′,400,500 may always be listening at least every ˜6 seconds when in acquisition mode.
Data packets may be sent between two paired devices when the two devices are in sync mode and online. The two devices may sync via a heartbeat packet before data packets are exchanged. Each radio may send data packets at known time intervals after the heartbeat exchange. Theinfusion pump assembly100,100′,400,500 may adjust its timing to anticipate reception of a packet. The radio may support one data packet in each direction on each heartbeat. The radio may provide a negative response to a fast heartbeat mode request if the radio if offline. The radio ofremote control assembly300 may change to fast heartbeat mode if a system request for fast heartbeat mode is received while in slow heartbeat mode and the radio is online.
Upon transitioning to fast heartbeat mode from acquisition mode, the radio ofremote control assembly300 may send the master channel list message. The master channel list may be built by the radio ofremote control assembly300 and sent to the radio ofinfusion pump assembly100,100′,400,500 to allow a selection of frequency hopping channels based on historical performance. When in fast heartbeat mode or slow heartbeat mode, periodic heartbeat messages may be exchanged between the radio ofremote control assembly300 and the radio ofinfusion pump assembly100,100′,400,500. The periodicity of these messages may be at the heartbeat rate. The heartbeat messages may allow data packet transfers to take place and may also exchange status information. The two radios may exchange the following status information: Quiet Mode, data availability, buffer availability, heartbeat rate, and prior channel performance. It may be a goal to keep the packet size of the heartbeat messages small in order to conserve power. The radio may provide for a maximum data packet size of eighty-two bytes when in Sync Mode. The messaging system may be designed to support packet payload sizes up to sixty-four bytes. This maximum size was selected as an optimal trade-off between minimum messages types and non-fragmented messages. The eighty-two bytes may be the maximum packet size of the messaging system including packet overhead.
The messaging system has an API that may allow the radio protocol to send an incoming radio packet to it. The messaging system may also have an API that allows the radio protocol to get a packet for transmission over the radio network. The messaging system may be responsible for packet routing between the radio protocol and the SPI port. Data packets may be given to the messaging system for processing. The messaging system may have an API that allows the radio protocol to obtain a count of the number of data packets waiting to be sent over the radio network. The radio protocol may query the messaging system on each heartbeat to determine if data packets are available to send over the radio network. It may be desirable for the software to check the availability of a message just before the heartbeat is sent to minimize round trip message latency.
The radio protocol may be capable of buffering one incoming radio data packet and passing the packet to the messaging system. The radio protocol may send the data packet to the messaging system upon receipt of the data packet. The message system may be responsible for routing radio data packets to the proper destination node. The radio protocol may be capable of buffering one packet from the messaging system.
The radio protocol may be responsible for acknowledging receipt of valid data packets over the RF link via an RF ACK reply packet to the sending radio. The RF ACK packet may contain the source and destination radio serial numbers, RF ACK command identification, and sequence number of the data packet being acknowledged.
The radio transmitting a radio data packet may retransmit that radio data packet on the next heartbeat with the same sequence number if an RF ACK is not received and the retry count is within the maximum RF retries allowed. It may be expected that, from time to time, interference will corrupt a transmission on a particular frequency. An RF retry allows the same packet to be retransmitted at the next opportunity at a different frequency. The sequence number provides a means of uniquely identifying the packet over a short time window. The number of radio packet retries may be configurable using the radio configuration command. Allowing more retries may increase the probability of a packet being exchanged but introduces more latency for a round trip messages. The default number of radio retries at power up may be ten (i.e., the maximum transmission attempts before dropping the message).
A one byte (modulo 256) radio sequence number may be included in all radio data packets over the RF link. Since the radio may be responsible for retrying data packet transmission if not acknowledged, the sequence number may provide a way for the two radios to know if a data packet is a duplicate. The transmitted sequence number may be incremented for each new radio data packet and may be allowed to rollover. When a data packet is successfully received with the same sequence number as the previous successfully received data packet (and in the same direction), the data packet may be ACK′d and the received data packet discarded. This may remove duplicate packets generated by the RF protocol before they are introduced into the network. Note that it may be possible that multiple data packets in a row may need to be dropped with the same sequence number under extreme situations.
If a heartbeat is missed, the radio ofremote control assembly300 and the radio ofinfusion pump assembly100,100′,400,500 may attempt to send and listen respectively for subsequent heartbeats. The radio ofremote control assembly300 and the radio ofinfusion pump assembly100,100′,400,500 may automatically change from fast heartbeat mode or slow heartbeat mode to search sync mode if heartbeats are missed for two seconds. This may minimize power consumption when the link is lost by allowing the radios to continue to use their synchronization information, as two seconds allows sufficient time to hop through all channels.
The radio may be considered online while in the following modes:
    • Fast Heartbeat mode
    • Slow Heartbeat mode
as these are the only conditions where messaging system traffic may be exchanged. All other conditions may be considered offline.
The radio may initialize to radio off mode at the start of code execution from reset. When code first executes on the radio processor, the initial state may be the radio off mode to allow other processors to perform self-tests before requesting the radio to be active. This requirement does not intend to define the mode when waking from sleep mode. The radio may cease RF communications when set to radio off mode. Onremote control assembly300, this mode may be intended for use on an airplane to suppress RF emissions. Sinceinfusion pump assembly100,100′,400,500 only responds to transmissions from remote control assembly300 (which will have ceased transmitting in airplane mode), radio off mode may only be used oninfusion pump assembly100,100′,400,500 when charging.
Command processor1802 may be informed of airplane mode and that, therefore, the RF was intentionally turned off onremote control assembly300 so that it does not generate walk-away alerts. However, this may be completely hidden from the radio ofinfusion pump assembly100,100′,400,500.
The radio ofremote control assembly300 and the radio ofinfusion pump assembly100,100′,400,500 may periodically attempt to exchange heartbeats in order to reestablish data bandwidth while in search sync mode. The radio ofremote control assembly300 may transition to radio off mode after twenty minutes of search sync mode with no heartbeats successfully exchanged.
The radio ofinfusion pump assembly100,100′,400,500 may transition to acquisition mode after twenty minutes of search sync mode with no heartbeats successfully exchanged. Listening during pre-agreed time slots may be the most efficient use of power forinfusion pump assembly100,100′,400,500 to re-establish the RF link. After a loss of communications, the crystal tolerance and temperature drift may make it necessary to expand the receive window ofinfusion pump assembly100,100′,400,500 over time. Staying in search sync mode for extended periods (e.g., 5-20 minutes) after communications loss may cause the instantaneous power consumed to exceed the average power budgeted for the radio ofinfusion pump assembly100,100′,400,500. The radio ofremote control assembly300 may not be forced to expand its window, so staying in search sync mode may be very power efficient. Acquisition mode may consume more power forremote control assembly300. Twenty minutes may be used as a compromise to balance power consumption on both the radio ofremote control assembly300 and the radio ofinfusion pump assembly100,100′,400,500.
The radio ofremote control assembly300 and the radio ofinfusion pump assembly100,100′,400,500 may transition to slow heartbeat mode if they successfully exchange three of the last five heartbeats. Approximately every six seconds, a burst of five heartbeats may be attempted. If three of these are successful, the bandwidth may be assumed to be sufficient to transition to slow heartbeat mode. The radio ofinfusion pump assembly100,100′,400,500 may be acquirable while in search sync mode with a latency of 6.1 seconds. This may imply that theinfusion pump assembly100,100′,400,500 may always be listening at least every ˜6 seconds when in search sync mode.
Radio protocol performance statistics may be necessary to promote troubleshooting of the radio and to assess radio performance. The following radio performance statistics may be maintained by the radio protocol in a data structure:
NAMESIZEDESCRIPTION
TX Heartbeat Count32 BitsTotal transmitted heartbeats
RX Heartbeat Count32 bitsTotal valid receivedheartbeats
CRC Errors
16 bitsTotal packets received over the RF link which were
dropped due to bad CRC. This may be a subset of RX
Packets Nacked.
First Retry Count32 bitsTotal number of packets which were successfully
acknowledged after 1 retry
Second Retry Count32 bitsTotal number of packets which were successfully
acknowledged after 2 retries
Third Retry Count32 bitsTotal number of packets which were successfully
acknowledged after 3 retries
Fourth Retry Count32 bitsTotal number of packets which were successfully
acknowledged after 4 retries
Fifth RetryCount16 bitsTotal number of packets which were successfully
acknowledged after 5 retries
Sixth RetryCount16 bitsTotal number of packets which were successfully
acknowledged after 6 retries
Seventh RetryCount16 bitsTotal number of packets which were successfully
acknowledged after 7 retries
Eighth RetryCount16 bitsTotal number of packets which were successfully
acknowledged after 8 retries
Ninth RetryCount16 bitsTotal number of packets which were successfully
acknowledged after 9 retries
Tenth RetryCount16 bitsTotal number of packets which were successfully
acknowledged after 10 retries
DroppedRetry Count16 bitsTotal number of packets which were dropped after
maximum retries attempts
Duplicate Packet Count16 bitsTotal number of received packets dropped due to duplicate
packet
1 to 5 MissedFast Mode Hops16 bitsCount of 1 to 5 consecutive missed hops in Fast mode (i.e.
not received)
6 to 16 MissedFast Mode Hops16 bitsCount of 6 to 16 consecutive missed hops in Fast mode.
17 to 33 MissedFast Mode Hops16 bitsCount of 17 to 33 consecutive missed hops in Fast mode
34+ MissedFast Mode Hops16 bitsCount of 34 or more consecutive missed hops inFast mode
1 to 2 MissedSlow Mode Hops16 bitsCount of 1 to 2 consecutive missed hops in Slow mode (i.e.
not received)
3 to 5 MissedSlow Mode Hops16 bitsCount of 3 to 5 consecutive missed hops inSlow mode
5 to 7 MissedSlow Mode Hops16 bitsCount of 5 to 7 consecutive missed hops inSlow mode
8+ MissedSlow Mode Hops16 bitsCount of 8 or more consecutive missed hops in Slow mode
DestinationRadio Serial Number16 bitsCount of received packets in which the destination made it
Mismatchpast the hardware filtering but does not match this radio's
serial number. This may be not an error but indicates that
the radio may be waking up and receiving (but not
processing) packets intended for other radios
Total Walkaway Time (minutes)16 bits
TotalWalkaway Events16 bitsTogether with total walkaway time provides an average
walkaway time
Number ofPairing Attempts16 bits
Total Time inAcquisition Mode16 bits
(Infusion pump assembly 100, 100′,
400, 500 Only)
TotalAcquisition Mode Attempts16 bitsSuccessful Acquisition Count 16 bits Count of transitions
(Remote control assembly 300 Only)from Connect or Acquisition Mode to Fast Heartbeat Mode
RequestedSlow Heartbeat Mode16 bits
Transitions
AutomaticSlow Heartbeat Mode16 bits
Transitions
Radio offline messages sent16 bits
Radio online messages sent16 bits
A #define DEBUG option (compiler option) may be used to gather the following additional radio performance statistics per each channel (16 bit numbers):
    • Number of missed hops
    • CCA good count
    • CCA bad count
    • Average RSSI (accumulated for good RX packets only)
    • Dropped from Frequency Hop List count
    • Acquisition Mode count (found pair on this channel)
The debug option may be used to gather engineering only statistics. If processor performance, power, and memory allow, it may be desirable to keep this information at runtime. The radio statistics may be made available to the messaging system.
Link quality may be intended to be used onremote control assembly300 to provide a bar indicator, similar to a cell phone, of the radio link quality. Link quality may be made available to bothremote control assembly300 andinfusion pump assembly100,100′,400,500. It may be anticipated that the link quality status will consist of a one byte indicator of the quality of the radio link.
The radio may change frequency for each heartbeat. An adaptive pseudo random frequency hopping algorithm may be used for sync mode and heartbeat attempts in search sync mode. It may be a goal to use sixty-four channels for frequency hopping. An algorithm may be developed to adaptively generate a channel list onremote control assembly300 for frequency hopping. The radio ofremote control assembly300 may build, maintain, and distribute the master channel list. Prior channel statistics and historical performance information may be obtained from the radio ofinfusion pump assembly100,100′,400,500 by the radio ofremote control assembly300 using the messaging system as needed to meet performance requirements. By building the channel list from the perspective of both units, the radio interference environment of both units may be considered. The radios may adaptively select hopping channels to meet the round trip message latency, while operating in a desirable RF environment.
Occlusions and/or leaks may occur anywhere along the fluid delivery path ofinfusion pump assembly100. For example and referring toFIG. 121, occlusions/leaks may occur: in the fluid path betweenreservoir118 andreservoir valve assembly614; in the fluid path betweenreservoir valve assembly614 andpump assembly106; in the fluid path betweenpump assembly106 and volumesensor valve assembly612; in the fluid path between volumesensor valve assembly612 andvolume sensor chamber620; in the fluid path betweenvolume sensor chamber620 andmeasurement valve assembly610; and in the fluid path betweenmeasurement valve assembly610 and the tip ofdisposable cannula138.Infusion pump assembly100 may be configured to execute one or more occlusion/leak detection algorithms that detect and locate such occlusions/leaks and enhance the safety/reliability ofinfusion pump assembly100.
As discussed above, when administering the infusible fluid,infusion pump assembly100 may first determine the volume of infusible fluid withinvolume sensor chamber620 prior to the administration of the dose of infusible fluid and may subsequently determine the volume of infusible fluid withinvolume sensor chamber620 after the administration of the dose of infusible fluid. By monitoring these values, the occurrence of occlusions/leaks may be detected.
Occlusion Type—Total:
When a total occlusion is occurring, the difference between the initial measurement prior to the administration of the dose of infusible fluid and the final measurement after the administration of the dose of infusible fluid will be zero (or essentially zero), indicating a large residual quantity of infusible fluid withinvolume sensor chamber620. Accordingly, no fluid may be leavingvolume sensor chamber620.
Specifically, if the tip of disposable cannula is occluded, the fluid path down stream ofvolume sensor chamber620 will fill with fluid and eventually become pressurized to a level equivalent to the mechanical pressure exerted byspring diaphragm628. Accordingly, uponmeasurement valve assembly610 opening, zero (or essentially zero) fluid will be dispensed and, therefore, the value of the initial and final measurements (as made by volume sensor assembly148) will essentially be equal.
Upon detecting the occurrence of such a condition, a total occlusion indicator may be set andinfusion pump assembly100 may e.g., trigger an alarm, thus indicating that the user needs to seek alternative means for receiving their therapy.
Occlusion Type—Partial:
When a partial occlusion is occurring, the difference between the initial measurement prior to the administration of the dose of infusible fluid and the final measurement after the administration of the dose of infusible fluid will indicate that less than a complete dose of infusible fluid was delivered. For example, assume that at the end of a particular pumping cycle,volume sensor assembly148 indicated that 0.10 microliters of infusible fluid were present involume sensor chamber620. Further, assume thatmeasurement value assembly610 is subsequently closed andpump assembly106 is subsequently actuated, resulting involume sensor chamber620 being filed with the infusible fluid. Further assume thatvolume sensor assembly148 determines thatvolume sensor chamber620 is now filled with 1.00 microliters of infusible fluid (indicating a pumped volume of 0.90 microliters).
Accordingly, upon the opening ofmeasurement valve assembly610, the quantity of infusible fluid included within volume sensor chamber would be expected to drop to 0.10 microliters (or reasonably close thereto). However, in the event of a partial occlusion, due to a slower-than-normal flow rate fromvolume sensor chamber620, the quantity of infusible fluid withinvolume sensor chamber620 may only be reduced to 0.40 microliters (indicating a delivered volume of 0.60 microliters). Accordingly, by monitoring the difference between the pumped volume (0.90 microliters) and the delivered volume (0.60 microliters), the residual volume may be defined and the occurrence of a partial occlusion may be detected.
Upon detecting the occurrence of such a condition, a partial occlusion indicator may be set andinfusion pump assembly100 may e.g., trigger an alarm, thus indicating that the user needs to seek alternative means for receiving their therapy. However, as this is indicative of a partial occlusion (as opposed to a complete occlusion), the issuance of an alarm may be delayed, as the partial occlusion may clear itself.
Alternatively,infusion pump assembly100 may: calculate a pump ontime to volume delivered ratio; track it through time; and track by using a fast moving and a slow moving exponential average of the pump ontime. The exponential average may be tracked, in a fashion similar to the leaky sum integrator. Theinfusion pump assembly100 may filter signal and look for a fast change. The rate of fluid outflow and/or residual volume may be monitored. If the residual volume does not change, then there may be a total occlusion. If the residual volume changed, they may be a partial occlusion. Alternatively still, the residual values may be summed. If the number of valve actuations or the latch time is being varied, the fluid flow rate may be examined, even if you build up pressure involume sensor assembly148.
Total/Partial Empty Reservoir:
Whenreservoir118 is becoming empty, it will become more difficult to fillvolume sensor chamber620 to the desired level. Typically,pump assembly106 is capable of pumping 1.0 microliters per millisecond. For example, assume that an “empty” condition forvolume sensor chamber620 is 0.10 microliters and a “full” condition forvolume sensor chamber620 is 1.00 microliters. However, asreservoir118 begins to empty, it may become harder forpump assembly106 to fillvolume sensor chamber620 to the “full” condition and may consistently miss the goal. Accordingly, during normal operations, it may take one second forpump assembly106 to fillvolume sensor chamber620 to the “full” condition and, asreservoir118 empties, it may take three seconds to fillvolume sensor chamber620 to the “full” condition. Eventually, ifreservoir118 completely empties,volume sensor chamber620 may never be able to achieve a “full condition”. Accordingly, the inability ofpump assembly106 to fillvolume sensor chamber620 to a “full” condition may be indicative ofreservoir118 being empty. Alternatively, the occurrence of such a condition may be indicative of other situations (e.g., the failure ofpump assembly106 or an occlusion in the fluid path prior to volume sensor chamber620).Infusion pump assembly100 may determine the difference between the “full” condition and the amount actually pumped. These differences may be summed and the made up for once the reservoir condition is addressed.
Upon detecting the occurrence of such a condition, an empty indicator may be set andinfusion pump assembly100 may e.g., trigger an alarm, thus indicating that the user needs to e.g., replacedisposable housing assembly114.
Additionally, asreservoir118 empties,reservoir118 will eventually result in a “vacuum” condition and the ability ofpump assembly106 to deliver fluid tovolume sensor chamber620 may be compromised. As discussed above,volume controller1602 may include feedforward controller1652 for setting an initial “guess” concerning “on-time”signal1606, wherein this initial guess is based upon a pump calibration curve. For example, in order forpump assembly106 to deliver 0.010 units of infusible fluid, feedforward controller1652 may define an initial “on-time” of e.g., one millisecond. However, asreservoir118 begins to empty, due to compromised pumping conditions, it may take two milliseconds to deliver 0.010 units of infusible fluid. Further, asreservoir118 approaches a fully empty condition, it make take ten milliseconds to deliver 0.010 units of infusible fluid. Accordingly, the occurrence ofreservoir118 approaching an empty condition may be detected by monitoring the level at which the actual operation of pump assembly106 (e.g., two milliseconds to deliver 0.010 units of infusible fluid) differs from the anticipated operation of pump assembly106 (e.g., one millisecond to deliver 0.010 units of infusible fluid).
Upon detecting the occurrence of such a condition, a reserve indicator may be set andinfusion pump assembly100 may e.g., trigger an alarm, thus indicating that the user will need to e.g., replacedisposable housing assembly114 shortly.
Leak Detection:
In the event of a leak (e.g., a leaky valve or a rupture/perforation) within the fluid path, the ability of the fluid path to retain fluid pressure may be compromised. Accordingly, in order to check for leaks within the fluid path, a bleed down test may be performed in which pumpassembly106 is used to pressurizevolume sensor chamber620.Volume sensor assembly148 may then perform a first volume measurement (as described above) to determine the volume of infusible fluid withinvolume sensor chamber620.Infusion pump assembly100 may then wait a defined period of time to allow for bleed down in the event of a leak. For example, after a sixty second bleed down period,volume sensor assembly148 may perform a second volume measurement (as described above) to determine the volume of infusible fluid withinvolume sensor chamber620. If there are no leaks, the two volume measurements should be essentially the same. However, in the event of a leak, the second measurement may be less then the first measurement. Additionally, depending on the severity of the leak,pump assembly106 may be incapable of fillingvolume sensor chamber620. Typically, a leak check may be performed as part of a delivery of infusible fluid.
In the event that the difference between the first volume measurement and the second volume measurement exceeds an acceptable threshold, a leak indicator may be set andinfusion pump assembly100 may e.g., trigger an alarm, thus indicating that the user needs to seek alternative means for receiving their therapy
As discussed above,infusion pump assembly100 may includesupervisor processor1800,command processor1802, andradio processor1818. Unfortunately, once assembled, access toelectrical control assembly110 withininfusion pump assembly100 very limited. Accordingly, the only means to access electrical control assembly110 (e.g., for upgrading flash memories) may be through the communication channel established betweeninfusion pump assembly100,100′,400,500 andremote control assembly300, or viaelectrical contacts834 used bybattery charger1200.
Electrical contacts834 may be directly coupled toradio processor1818 and may be configured to provide I2C communication capability for erasing/programming any flash memory (not shown) included withinradio processor1818. The process of loading a program intoradio processor1818 may provide a means for erasing/programming of the flash memories in both thesupervisor processor1800 andcommand processor1802.
When programmingsupervisor processor1800 orcommand processor1802, the program (i.e., data) to be loaded into flash memory accessible bysupervisor processor1800 orcommand processor1802 may be provided in a plurality of data blocks. This is because theradio processor1818 may not have enough memory to hold the entire flash image of the software as one block.
Referring also toFIG. 122, there is shown one illustrative example of the manner in which the various systems withininfusion pump assembly100,100′,400,500 may be interconnected. For example,battery charger1200 may be coupled to computing device2100 (e.g., a personal computer) viabus translator2102, which converts e.g., RS232 formatted data to e.g., I2C formatted data.Bus translator2102 may execute a pass-through program that effectuates the above-described translation.Battery charger1200 may be coupled to radio processor181 via electrical contacts834 (described above).Radio processor1818 may then be coupled tosupervisor processor1800 andcommand processor1802 via e.g., an RS232 bus.Radio processor1818 may execute an update program that allowsradio processor1818 to control/orchestrate the updating of the flash memories accessible bysupervisor processor1800 andcommand processor1802. Accordingly, through the use of the above-described coupling, software updates obtained bycomputing device2100 may be uploaded to flash memory (not shown) accessible bysupervisor processor1800 andcommand processor1802. The above-described software updates may be command line program that may be automatically invoked by a script process.
As discussed above,infusion pump assembly100,100400,500 may be configured to deliver an infusible fluid to a user. Further and as discussed above,infusion pump assembly100,100400,500 may deliver the infusible fluid via sequential, multi-part, infusion events (that may include a plurality of discrete infusion events) and/or one-time infusion events. However, in some embodiments,infusion pump assembly100,100400,500 may deliver stacking bolus infusion events. For example, a user may request the delivery of a bolus, e.g., 6 units. While the 6 units are in the process of being delivered to the user, the user may request a second bolus, e.g., 3 units. In some embodiments ofinfusion pump assembly100,100400,500 may deliver the second bolus at the completion of the first bolus.
Examples of other such sequential, multi-part, infusion events may include but are not limited to a basal infusion event and an extended-bolus infusion event. As is known in the art, a basal infusion event refers to the repeated injection of small (e.g. 0.05 unit) quantities of infusible fluid at a predefined interval (e.g. every three minutes) that may be repeated until stopped, e.g., by a user or by the system. Further, the basal infusion rates may be pre-programmed and may include specified rates for pre-programmed time-frames, e.g., a rate of 0.50 units per hour from 6:00 am-3:00 pm; a rate of 0.40 units per hour from 3:00 pm-10:00 pm; and a rate of 0.35 units per hour from 10:00 pm-6:00 am. However, the basal rate may be 0.025 units per hour, and may not change according to pre-programmed time-frames. The basal rates may be repeated regularly/daily until otherwise changed.
Further and as is known in the art, an extended-bolus infusion event may refer to the repeated injection of small (e.g. 0.05 unit) quantities of infusible fluid at a predefined interval (e.g. every three minutes) that is repeated for a defined number of intervals (e.g., three intervals) or for a defined period of time (e.g., nine minutes). An extended-bolus infusion event may occur simultaneously with a basal infusion event.
If multiple infusion events conflict with each other,infusion pump assembly100,100400,500 may prioritize the infusion event in the follow manner.
Referring also toFIG. 123, assume for illustrative purposes only that the user configuresinfusion pump assembly100,100400,500 to administer a basal dose (e.g. 0.05 units) of infusible fluid every three minutes. The user may utilizeremote control assembly300 to define a basal infusion event for the infusible fluid (e.g., 1.00 units per hour).
Infusion pump assembly100,100400,500 may then determine an infusion schedule based upon the basal infusion event defined. Once determined,infusion pump assembly100,100400,500 may administer the sequential, multi-part, infusion event (e.g., 0.05 units of infusible fluid every three minutes). Accordingly, while administering the sequential, multi-part, infusion event,infusion pump assembly100,100400,500: may infuse a first 0.05unit dose2200 of the infusible fluid at t=0:00 (i.e., a first discrete infusion event), may infuse a second 0.05unit dose2202 of the infusible fluid at t=3:00 (i.e., a second discrete infusion event); may infuse a third 0.05unit dose2204 of the infusible fluid at t=6:00 (i.e., a third discrete infusion event); may infuse a fourth 0.05unit dose2206 of the infusible fluid at t=9:00 (i.e., a fourth discrete infusion event); and may infuse a fifth 0.05unit dose2208 of the infusible fluid at t=12:00 (i.e., a fifth discrete infusion event). As discussed above, this pattern of infusing 0.05 unit doses of the infusible fluid every three minutes may be repeated until stopped, e.g., by a user or by the system, in this example, as this is an illustrative example of a basal infusion event.
Further, assume for illustrative purposes that the infusible fluid is insulin and sometime after the first 0.05unit dose2200 of infusible fluid is administered (but before the second 0.05unit dose2202 of infusible fluid is administered), the user checks their blood glucose level and realizes that their blood glucose level is running a little higher than normal. Accordingly, the user may define an extended bolus infusion event viaremote control assembly300. An extended bolus infusion event may refer to the continuous infusion of a defined quantity of infusible fluid over a finite period of time. However, as such an infusion methodology is impractical/undesirable for an infusion pump assembly, when administered by such an infusion pump assembly, an extended bolus infusion event may refer to the infusion of additional small doses of infusible fluid over a finite period of time.
Accordingly, the user may utilizeremote control assembly300 to define an extended bolus infusion event for the infusible fluid (e.g., 0.20 units over the next six minutes), which may be confirmed in a manner discussed above. While, in this example, the extended bolus infusion event is described as 0.20 units over the next six minutes, this is for illustrative purposes only and is not intended to be a limitation of this disclosure, as either or both of the unit quantity and total time interval may be adjusted upward or downward. Once defined and/or confirmed,infusion pump assembly100,100400,500 may determine an infusion schedule based upon the extended bolus infusion event defined; and may administer the infusible fluid. For example,infusion pump assembly100,100400,500 may deliver 0.10 units of infusible fluid every three minutes for the next two interval cycles (or six minutes), resulting in the delivery of the extended bolus dose of infusible fluid defined by the user (i.e., 0.20 units over the next six minutes).
Accordingly, while administering the second, sequential, multi-part, infusion event,infusion pump assembly100,100400,500 may infuse a first 0.10unit dose2210 of the infusible fluid at t=3:00 (e.g., after administering the second 0.05unit dose2202 of infusible fluid).Infusion pump assembly100,100400,500 may also infuse a second 0.10unit dose2212 of the infusible fluid at t=6:00 (e.g., after administering the third 0.05unit dose2204 of infusible fluid).
Assume for illustrative purposes only that after the user programsinfusion pump assembly100,100400,500 viaremote control assembly300 to administer the first sequential, multi-part, infusion event (i.e., 0.05 units infused every three minute interval repeated continuously) and administer the second sequential, multi-part, infusion event (i.e., 0.10 units infused every three minute interval for two intervals), the user decides to eat a very large meal. Predicting that their blood glucose level might increase considerably, the user may programinfusion pump assembly100,100400,500 (via remote control assembly300) to administer a one-time infusion event. An example of such a one-time infusion event may include but is not limited to a normal bolus infusion event. As is known in the art, a normal bolus infusion event refers to a one-time infusion of the infusible fluid.
For illustrative purposes only, assume that the user wishes to haveinfusion pump assembly100,100400,500 administer a bolus dose of thirty-six units of the infusible fluid.Infusion pump assembly100,100400,500 may monitor the various infusion events being administered to determine whether a one-time infusion event is available to be administered. If a one-time infusion event is available for administration,infusion pump assembly100,100400,500 may delay the administration of at least a portion of the sequential, multi-part, infusion event.
Continuing with the above-stated example, once the user completes the programming ofinfusion pump assembly100,100400,500 to deliver one-time infusion event2214 (i.e., the thirty-six unit bolus dose of the infusible fluid), uponinfusion pump assembly100,100400,500 determining that the one-time infusion event is available for administration,infusion pump assembly100,100400,500 may delay the administration of each sequential, multi-part infusion event and administer the available one-time infusion event.
Specifically and as discussed above, prior to the user programminginfusion pump assembly100,100400,500 to deliver one-time infusion event2214,infusion pump assembly100,100400,500 was administering a first sequential, multi-part, infusion event (i.e., 0.05 units infused every three minute interval repeated continuously) and administering a second sequential, multi-part, infusion event (i.e., 0.10 units infused every three minute interval for two intervals).
For illustrative purposes only, the first sequential, multi-part, infusion event may be represented withinFIG. 123 as 0.05unit dose2200 @ t=0:00, 0.05unit dose2202 @ t=3:00, 0.05unit dose2204 @ t=6:00, 0.05unit dose2206 @ t=9:00, and 0.05unit dose2208 @ t=12:00. As the first sequential, multi-part, infusion event as described above is a basal infusion event,infusion pump assembly100,100400,500 may continue to infuse 0.05 unit doses of the infusible fluid at three minute intervals indefinitely (i.e., until the procedure is cancelled by the user).
Further and for illustrative purposes only, the second sequential, multi-part, infusion event may be represented withinFIG. 123 as 0.10unit dose2210 @ t=3:00 and 0.10unit dose2212 @ t=6:00. As the second sequential, multi-part, infusion event is described above as an extended bolus infusion event,infusion pump assembly100,100400,500 may continue to infuse 0.10 unit doses of the infusible fluid at three minute intervals for exactly two intervals (i.e., the number of intervals defined by the user).
Continuing with the above-stated example, uponinfusion pump assembly100,100400,500 determining that the thirty-six unit normal bolus dose of the infusible fluid (i.e., one-time infusion event2214) is available for administration,infusion pump assembly100,100400,500 may delay the administration of each sequential, multi-part infusion event and may start administering one-time infusion event2214 that is available for administration.
Accordingly and for illustrative purposes only, assume that upon completion of the programming ofinfusion pump assembly100,100400,500 to deliver the thirty-six unit normal bolus does of the infusible fluid (i.e., the one-time infusion event),infusion pump assembly100,100400,500 begins administering one-time infusion event2214. Being that one-time infusion event2214 is comparatively large, it may take longer than three minutes (i.e., the time interval between individual infused doses of the sequential, multi-part, infusion events) and one or more of the individual infused doses of the sequential, multi-part, infusion events may need to be delayed.
Specifically, assume that it will takeinfusion pump assembly100,100400,500 greater than six minutes to infuse thirty-six units of the infusible fluid. Accordingly,infusion pump assembly100,100400,500 may delay 0.05 unit dose2202 (i.e., scheduled to be infused @ t=3:00), 0.05 unit dose2204 (i.e., scheduled to be infused @ t=6:00), and 0.05 unit dose2206 (i.e., scheduled to be infused @ t=9:00) until after one-time infusion event2214 (i.e., the thirty-six unit normal bolus dose of the infusible fluid) is completely administered. Further,infusion pump assembly100,100400,500 may delay 0.10 unit dose2210 (i.e., scheduled to be infused @ t=3:00 and 0.10 unit dose2212 (i.e., scheduled to be infused @ t=6:00) until after one-time infusion event2214.
Once administration of one-time infusion event2214 is completed byinfusion pump assembly100,100400,500, any discrete infusion events included within the sequential, multi-part, infusion event that were delayed may be administered byinfusion pump assembly100,100400,500. Accordingly, once one-time infusion event2214 (i.e., the thirty-six unit normal bolus dose of the infusible fluid) is completely administered,infusion pump assembly100,100400,500 may administer 0.05unit dose2202, 0.05unit dose2204, 0.05unit dose2206, 0.10unit dose2210, and 0.10unit dose2212.
Whileinfusion pump assembly100,100400,500 is shown to administer 0.05unit dose2202, then 0.10unit dose2210, then 0.05unit dose2204, then 0.10unit dose2212, and then 0.05unit dose2206, this is for illustrative purposes only and is not intended to be a limitation of this disclosure, as other configurations are possible and are considered to be within the scope of this disclosure. For example, uponinfusion pump assembly100,100400,500 completing the administration of one-time infusion event2214 (i.e., the thirty-six unit normal bolus dose of the infusible fluid),infusion pump assembly100,100400,500 may administer all of the delayed discrete infusion events associated with the first sequential, multi-part infusion event (i.e., namely 0.05unit dose2202, 0.05unit dose2204, and 0.05 unit dose2206).Infusion pump assembly100,100400,500 may then administer all of the delayed discrete infusion events associated with the second sequential, multi-part infusion event (i.e., 0.10unit dose2210, and 0.10 unit dose2212).
While one-time infusion event2214 (i.e., the thirty-six unit normal bolus dose of the infusible fluid) is shown as being infused beginning at t=3:00, this is for illustrative purposes only and is not intended to be a limitation of this disclosure. Specifically,infusion pump assembly100,100400,500 may not need to begin infusing one-time infusion event2214 at one of the three-minute intervals (e.g., t=0:00, t=3:00, t=6:00, t=9:00, or t=12:00) and may begin administering one-time infusion event2214 at any time.
While each discrete infusion event (e.g., 0.05unit dose2202, 0.05unit dose2204, 0.05unit dose2206, 0.10unit dose2210, and 0.10 unit dose2212) and one-time infusion event2214 are shown as being a single event, this is for illustrative purposes only and is not intended to be a limitation of this disclosure. Specifically, at least one of the plurality of discrete infusion events e.g., 0.05unit dose2202, 0.05unit dose2204, 0.05unit dose2206, 0.10unit dose2210, and 0.10 unit dose2212) may include a plurality of discrete infusion sub-events. Further, one-time infusion event2214 may include a plurality of one-time infusion sub-events.
Referring also toFIG. 124 and for illustrative purposes, 0.05unit dose2202 is shown to include ten discrete infusion sub-events (e.g., infusion sub-events22161-10), wherein a 0.005 unit dose of the infusible fluid is infused during each of the ten discrete infusion sub-events. Additionally, 0.10unit dose2210 is shown to include ten discrete infusion sub-events (e.g., infusion sub-events22181-10), wherein a 0.01 unit dose of the infusible fluid is delivered during each of the ten discrete infusion sub-events. Further, one-time infusion event2214 may include e.g., three-hundred-sixty one-time infusion sub-events (not shown), wherein a 0.1 unit dose of the infusible fluid is delivered during each of the three-hundred-sixty one-time infusion sub-events. The number of sub-events defined above and the quantity of the infusible fluid delivered during each sub-event is solely for illustrative purposes only and is not intended to be a limitation of this disclosure, as the number of sub-events and/or the quantity of the infusible fluid delivered during each sub-event may be increased or decreased depending upon e.g., the design criteria ofinfusion pump assembly100,100400,500.
Before, after, or in between the above-described infusion sub-events,infusion pump assembly100,100400,500 may confirm the proper operation ofinfusion pump assembly100,100400,500 through the use of any of the above-described safety features (e.g., occlusion detection methodologies and/or failure detection methodologies).
In the exemplary embodiments, the infusion pump assembly may be wirelessly controlled by a remote control device. In the exemplary embodiments, a split ring resonator antenna may be used for wireless communication between the infusion pump assembly and the remote control device (or other remote device). The term “wirelessly controlled” refers to any device that may receive input, instructions, data, or other, wirelessly. Further, a wirelessly controlled insulin pump refers to any insulin pump that may wirelessly transmit and/or receive data from another device. Thus, for example, an insulin pump may both receive instructions via direct input by a user and may receive instructions wirelessly from a remote controller.
Referring toFIG. 127 andFIG. 131, an exemplary embodiment of a split ring resonator antenna adapted for use in a wirelessly controlled medical device, and is used in the exemplary embodiment of the infusion pump assembly, includes at least one split ring resonator antenna (hereinafter “SRR antenna”)2508, a wearable electric circuit, such as a wirelessly controlled medical infusion apparatus (hereinafter “infusion apparatus”)2514, capable of powering the antenna, and acontrol unit2522.
In various embodiments, aSRR antenna2508 may reside on the surface of anon-conducting substrate base2500, allowing a metallic layer (or layers) to resonate at a predetermined frequency. Thesubstrate base2500 may be composed of standard printed circuit board material such as Flame Retardant 2 (FR-2), FR-3, FR-4, FR-5, FR-6, G-10, CEM-1, CEM-2, CEM-3, CEM-4, CEM-5, Polyimide, Teflon, ceramics, or flexible Mylar. The metallic resonating bodies comprising aSRR antenna2508 may be made of two rectangularmetallic layers2502,2504, made of, for example, platinum, iridium, copper, nickel, stainless steel, silver or other conducting materials. In other various embodiments, aSRR antenna2508 may contain only one metallic resonating body.
In the exemplary embodiment, a gold-platedcopper outer layer2502, surrounds, without physically contacting, a gold-plated copperinner ring2504. That is, theinner ring2504 resides in the cavity2510 (or aperture) formed by theouter layer2502. Theinner ring2504 may contain a gap, or split2506, along its surface completely severing the material to form an incomplete ring shape. Both metallic resonatingbodies2502,2504 may reside on the same planar surface of thesubstrate base2500. In such a configuration, theouter layer2502 may by driven via atransmission line2512 coupled to theouter layer2502, for example. Additionally, in various other embodiments, atransmission line2512 may be coupled to theinner ring2504.
Antenna design software, such as AWR Microwave Office, capable of simulating electromagnetic geometries, such as, antenna performance, may significantly decrease the time required to produce satisfactory dimensions compared to physically fabricating and testing antennas. Accordingly, with aid of such software, theSRR antenna2508 may be designed such that the geometric dimensions of theresonant bodies2502,2504 facilitate an operational frequency of 2.4 GHz.FIG. 132 depicts the exemplary dimensions of theinner ring2504 andouter layer2502, and the positioning of thecavity2510 in which theinner ring2504 resides. The distance in between theouter layer2502 and theinner ring2504 is a constant 0.005 inches along the perimeter of thecavity2510. However, in other embodiments, the distance between the outer layer and the inner ring may vary and in some embodiments, the operational frequency may vary.
In various embodiments, aSRR antenna2508 may have dimensions such that it could be categorized as electrically small, that is, the greatest dimension of the antenna being far less than one wavelength at operational frequency.
In various other embodiments, aSRR antenna2508 may be composed of one or more alternatively-shaped metallic outer layers, such as circular, pentagonal, octagonal, or hexagonal, surrounding one or more metallic inner layers of similar shape. Further, in various other embodiments, one or more metallic layers of aSRR antenna2508 may contain gaps in the material, forming incomplete shapes.
Referring toFIG. 130, aSRR antenna2508 having the exemplary geometry exhibits acceptable return loss and frequency values when placed in contact with human skin. As shown inFIG. 130, focusing on the band of interest denoted bymarkers 1 and 2 on the graph, return loss prior to contact with human skin is near −15 dB while monitoring a frequency band centered around 2.44 GHz. Return loss during contact with human skin, as shown inFIG. 130A, remains a suitable value near −25 dB at the same frequency, yielding approximately 97% transmission power.
These results are favorable especially as compared with a non-split ring resonator antenna type, such as the Inverted-F. Return loss of an Inverted-F antenna may exhibit a difference when the antenna contacts human skin, resulting in a low percentage of power transmitted outward from the antenna. By way of example, as shown inFIG. 133, and again focusing on the band of interest denoted bymarkers 1 and 2 on the graph, return loss of an Inverted-F antenna prior to contact with human skin is near −25 dB at a frequency centered around 2.44 GHz. Return loss during contact with human skin is nearly −2 dB at the same frequency, yielding approximately 37% power transmission.
Integration with a Wireless Medical Device
In the exemplary embodiment, referring toFIG. 132 andFIG. 128, one application of aSRR antenna2508 may be integration into awearable infusion apparatus2514 capable of delivering fluid medication to a user/patient2524. In such an application, the safety of the user/patient is dependent on fluid operation between these electrical components, thus reliable wireless transmission to and from acontrol unit2522 is of great importance.
Aninfusion apparatus2514 may be worn directly on the human body. By way of example, such a device may be attached on or above the hip joint in direct contact with human skin, placing theSRR antenna2508 at risk of unintended dielectric loading causing a frequency shift in electrical operation. However, in such an application, electrical characteristics of theSRR antenna2508 which allow it to be less sensitive to nearby parasitic objects are beneficial in reducing or eliminating degradation to the performance. A controlling component, such as a control unit2522 (generally shown inFIG. 131), may be paired with aninfusion apparatus2514, and may be designed to transmit and receive wireless signals to and from theinfusion apparatus2514 at a predetermined frequency, such as 2.4 GHz. In the exemplary embodiment, thecontrol unit2522 serves as the main user interface through which a patient or third party may manage insulin delivery. In other embodiments,infusion apparatus2514 may utilize aSRR antenna2508 to communicate with one ormore control units2522.
In various embodiments, a number of different wireless communication protocols may be used in conjunction with theSRR antenna2508, as the protocol and data types to be transferred are independent of the electrical characteristics of the antenna. However, in the exemplary embodiment, a bi-directional master/slave means of communication organizes the data transfer through theSRR antenna2508. Thecontrol unit2522 may act as the master by periodically polling theinfusion apparatus2514, or slave, for information. In the exemplary embodiment, only when the slave is polled, the slave may send signals to thecontrol unit2522 only when the slave is polled. However, in other embodiments, the slave may send signals before being polled. Signals sent by way of this system may include, but are not limited to, control, alarm, status, patient treatment profile, treatment logs, channel selection and negotiation, handshaking, encryption, and check-sum. In some embodiments, transmission through theSRR antenna2508 may also be halted during certain infusion operations as an added precaution against electrical disruption of administration of insulin to the patient.
In the exemplary embodiment, theSRR antenna2508 may be coupled to electrical source circuitry via one ormore pins2516 on atransmission line2512. In various other embodiments a transmission line may comprise a wire, pairs of wire, or other controlled impedance methods providing a channel by which theSRR antenna2508 is able to resonate at a certain frequency. Thetransmission line2512 may reside on the surface of thesubstrate base2500 and may be composed of the same material as theSRR antenna2508, such as gold-plated copper. Additionally, a ground plane may be attached to the surface of the substrate base opposite thetransmission line2512.
The electrical circuitry coupled to theSRR antenna2508 may apply an RF signal to the end of thetransmission line2512 nearest the circuitry, creating an electromagnetic field throughout, and propagating from, theSRR antenna2508. The electrical circuitry coupled to theSRR antenna2508 facilitates resonance at a predetermined frequency, such as 2.4 GHz. Preferably,transmission line2512 andSRR antenna2508 both have impedances of 50 Ohms to simplify circuit simulation and characterization. However, in other various embodiments, the transmission line and split ring resonator antenna may have other impendence values, or a different resonating frequency.
Referring toFIG. 129, a signal processing component(s)2518, such as, a filter, amplifier, or switch, may be integrated into thetransmission line2512, or at some point between the signal source connection pins2516 and theSRR antenna2508. In the exemplary embodiment, thesignal processing component2518 is a band-pass filter to facilitate desired signal processing, such as, allowing only the exemplary frequency to be transmitted to the antenna, and rejecting frequencies outside that range. In the exemplary embodiment, a Combline band-pass filter2518 may be included in thetransmission line2512 between the antenna and the signal source. However in other embodiments, any other signal processing device, for example, but not limited to, filters, amplifiers, or any other signal processing devices known in the art.
In various embodiments, aSRR antenna2508 may be composed of metallic bodies capable of resonating on a flexible or rigid substrate. As shown inFIG. 128 andFIG. 3, the exemplary embodiment incorporates a curved SRR antenna on aflexible Polyimide substrate2520. Polyimide may be the exemplary material because it tends to be more flexible than alternative substrates. This configuration may allow for simplified integration into circular-shaped devices (such as a wirelessly controlled medical infusion apparatus2514), devices with irregular-shaped external housing, or devices in which saving space is paramount.
In various embodiments, bothcontrol unit2522 andbase unit2514 may incorporate asplit SRR antenna2508. This configuration may prove beneficial where the control unit is meant to be handheld, in close proximity to human skin, or is likely to be in close proximity to a varying number of materials with varying dielectric constants.
In various other embodiments, aSRR antenna2508 may be integrated into a human or animal limb replacement. As prosthetic limbs are becoming more sophisticated the electrical systems developed to control and simulate muscle movements require much more wiring and data transfer among subsystems. Wireless data transfer within a prosthetic limb may reduce weight through reduced physical wiring, conserve space, and allow greater freedom of movement. However, common antennas in such a system may be susceptible to dielectric loading. Similar to the previously mentioned benefits of integrating aSRR antenna2508 into a wirelessly controlled medical infusion apparatus, a prosthetic limb, such as a robotic arm, may also come into contact with human skin or other dielectric materials and benefit from the reduction of electrical disturbances associated with such an antenna. In other various embodiments, theSRR antenna2508 may be integrated into any device comprised of the electrical components capable of powering and transmitting/receiving data to an antenna and susceptible to electrical disturbances associated with proximity to dielectric materials.
In various embodiments, aSRR antenna2508 may be integrated into a configuration of medical components in which one or more implantable medical devices, operating within the human body, communicate wirelessly to a handheld, body-mounted, or remote control unit. In certain embodiments, both body-mounted and in-body wireless devices may utilize aSRR antenna2508 for wireless communication. Additionally, one or more of the components utilizing aSRR antenna2508 may be completely surrounded by human skin, tissue or other dielectric material. By way of example, such a configuration may be used in conjunction with a heart monitoring/control system where stability and consistency of wireless data transmission are of fundamental concern.
In various other embodiments, aSRR antenna2508 may be integrated into the embodiments of the infusion pump assembly. Configuration of medical components in which one or more electrical sensors positioned on, or attached to, the human body wirelessly communicate to a remote transceiving unit. By way of example, a plurality of electrodes positioned on the body may be coupled to a wireless unit employing aSRR antenna2508 for wireless transmission to a remotely located electrocardiogram machine. By way of further example, a wireless temperature sensor in contact with human skin may employSRR antenna2508 for wireless communication to a controller unit for temperature regulation of the room in which the sensor resides.
As discussed and described above, in some embodiments of the infusion pump system the SMA may control both the pump assembly (including thepump assembly106, however, in various other embodiments, the SMA may also control of various embodiments of the pump assembly), and the various embodiments shown and described herein of the measurement valve assembly. However, in some embodiments, the SMA may be controlled using at least one optical position sensor assembly (“optical sensor”) wherein the position of the pump assembly plunger (“pump plunger”) and the measurement valve plunger is measured using at least one optical position sensor, and in the exemplary embodiments, at least one pump assembly plunger optical sensor and at least one measurement valve plunger optical position sensor. Thus, in these embodiments, the command processor provides closed-loop control of the pump plunger position and measurement valve plunger position by comparing the optical sensor output to a target position and then modifying the PWM of the low-side field effect transistors (“FET”). In addition, voltages are measured at various positions such the SMA controller may detect various conditions of the system including, but not limited to, one or more of the following: a broken SMA wire, failed FET and/or a depleted battery assembly and/or power source. Thus, the actual plunger position may be determined for, in some embodiments, both the pump plunger and the measurement valve plunger, and target plunger positions may be established.
Referring now toFIGS. 145-149B various embodiments of the optical position sensor in the infusion pump system is shown. Some embodiments of the apparatus, methods and systems will be described below with reference to an exemplary embodiment. The exemplary embodiment is described with respect to a medical infusion pump, which in some embodiments may be an infusion pump, which may, in some embodiments, be an insulin pump, as shown and described herein, however, the optical position sensor described herein may also be used with various other infusion pumps and/or medical delivery devices and/or medical systems including, but not limited to, those described in U.S. Pat. No. 7,498,563 issued Mar. 3, 2009 and entitled Optical Displacement Sensor for Infusion Devices, U.S. Pat. No. 7,306,578 issued Dec. 11, 2007 and entitled Loading Mechanism for Infusion Pump, U.S. patent application Ser. No. 11/704,899 filed Feb. 9, 2007, now U.S. Publication No. US-2007-0228071-A1, and entitled Fluid Delivery Systems and Methods, U.S. patent application Ser. No. 11/704,896 filed Feb. 9, 2007, now U.S. Publication No. US-2007-0219496-A1, published Sep. 20, 2007 and entitled Pumping Fluid Delivery Systems and Methods Using Force Application Assembly, U.S. patent application Ser. No. 11/704,886 filed Feb. 9, 2007, now U.S. Publication No. US-2007-0219480-A1, published Sep. 20, 2007 and entitled Patch-Sized Fluid Delivery Systems and Methods, U.S. patent application Ser. No. 11/704,897 filed Feb. 9, 2007, now U.S. Publication No. US-2007-0219597-A1, published Sep. 20, 2007 and entitled Adhesive and Peripheral Systems and Methods for Medical Devices, U.S. patent application Ser. No. 12/560,106 filed Sep. 15, 2009, now U.S. Publication No. US-2010-0185142-A1, published Jul. 22, 2010 and entitled Systems and Methods for Fluid Delivery, and U.S. patent application Ser. No. 12/649,681 filed Dec. 30, 2009, now U.S. Publication No. US-2010-0198182-A1, published Aug. 5, 2010 and entitled Method, System and Apparatus for Verification of Volume and Pumping, which are each hereby incorporated herein by reference in their entireties. Reference herein to a disposable may refer to, in some embodiments, the disposable housing assembly and/or disposable portion and/or reservoir portion of the various infusion pumps described in any of the above-discussed infusion pumps.
However, the apparatus, systems and methods described herein may be used in any infusion pump or apparatus. Further, the apparatus, systems and methods described herein may be used to verify the movement of any plunger, pump actuator, valve and/or other moveable part within any medical device to confirm that movement and/or displacement occurred. Further, in addition to confirmation of movement, the determination of the distance of movement, i.e. the total displacement, may also be used in some embodiments.
Referring also toFIG. 150, the various embodiments of the infusion pump apparatus, methods and systems include the control of the pump and one or more active valves by contraction of a SMA wire, which, in the exemplary embodiments, is NITINOL wire. The SMA wire works by applying current through the wire, which induces heating the wire, and causes a phase change that result in a contraction of the wire length. The change in wire length may be exploited by e.g. lever and/or pulley mechanisms to actuate thepump plunger2902 andmeasurement valve2908.
Theinfusion pump system2900 drives the SMA wires, which may include two,2910,2912 as shown in the exemplary embodiment shown inFIG. 150, directly from the battery voltage by switching the battery voltage across the wire to cause a contraction/actuation of the respective component and then switches off the battery voltage to stop the contraction. The wire/component starting position is, in some embodiments, restored by spring forces that oppose the SMA wire contraction force.
In the exemplary embodiment, each of theSMA wires2910,2912 provides proportional control, i.e. the SMA wire contracts over time and displaces the respective component over time. Despite this implementation, thevalve components2904,2906,2908 act to occlude or un-occlude fluid flow, which is a discrete, non-proportional and binary function. However, the pump piston is operated over a range of stroke lengths, so proportional control of thepump plunger2902 is a functional goal in the exemplary embodiment.
In some embodiments, proportional control of thepump plunger2902 may be achieved by monitoring the volume delivered into thevolume measurement chamber2920 and measured by the volume measurement sensor assembly/system2946 and adjusting the amount of time that thepump plunger2902SMA wire2910 is activated, i.e., adjusting the ontime. This may result in a closed-loop control of aliquot pumping volume as a function of SMA wire activation time on a stroke by stroke basis. The controller scheme in some embodiments also includes additional control variables which may increase the accuracy of the aliquot pumping volume to converge on a given target delivery volume.
Several factors may affect SMA activation including, but not limited to, one or more of the following: energy into the wire (voltage, current, time), ambient temperature, heat sinking, pre-tension, SMA wire variations (diameter, alloy composition, electrical resistance), and/or assembly variations. Changes in physical parameters, such as the ones listed above, may result in an inter-pump and intra-pump variation in the ontime of thepump plunger SMA2910 that may be expected to result in a given pumped volume per stroke of the pump plunger2902 (which may also be referred to as a given pump delivery volume). As a result, both an offset in time and a change in the slope of the on-time versus pump aliquot volume relationship may occur.
Referring now also toFIG. 145, a graph that shows thesame pump system2900 tested over a temperature range of 18 to 38 degrees Celsius results in a SMA actuation onset time from about 180 to about 310 ms. As may be seen, the slope is also aggravated at lower temperatures. Variation in the offset and slope of ontime versus pump delivery volume may add complexity to thepump system2900 as compensation for the variation(s) may be necessary to achieve accurate pump delivery volume. This phenomenon may also affect the components, e.g., valves and plungers, actuated by SMA wire in a similar fashion, though valve function is not proportional. At least in part due to the sensitivity of SMA actuation time to multiple physical variations it may be desirable, in some embodiments, to directly control one or more components, e.g., thepump plunger2902 and/ormeasurement valve2908 actuator position. This may be beneficial for many reasons, including, but not limited to, as the position of thepump plunger2902 andmeasurement valve actuator2908 may be a closer indication of proportional performance than SMA on-time. Various embodiments of methods, systems and apparatus for achieving this goal are described below.
The ability to sense the position of thepump plunger2902 and/or themeasurement valve actuator2908 in theinfusion pump system2900 may be desired. Although as has been discussed herein, SMA wire may be used in the exemplary embodiments to actuate the pump plunger and themeasurement valves2940, in other embodiments, various motors may be used to actuate the pump and/or the valve(s) including but not limited to a peristaltic pump, a rotary pump and a piezoelectric actuator. Thus, disclosed herein, irrespective of the pump actuator, are methods, apparatus and systems for sensing the position of various components in the infusion pump system, including but not limited to, sensing the position of one or more components which may include, but are not limited to, the pump or displacement component, and one or more active valves and/or passive valves. Thus, in some embodiments, it may be desirable to sense the position of inactive valves, e.g., thereservoir valve2904 and/or the volume measurementchamber inlet valve2906.
There are various devices that may be used to sense the position of thepump plunger2902 and/ormeasurement valve actuator2908. These include, but are not limited to, one or more of the following: ultrasonic, optical (reflective, laser interferometer, camera, etc), linear caliper, magnetic, mechanical contact switch, infrared might measurement, etc. However, in the exemplary embodiment, due to the small structure of the infusion pump assembly and/orpump system2900, it may be desirable to use a small component so as to utilize a small space with the sensing component(s). In various embodiments, the device battery life also may also be considered since the battery size may be limited by the overall size of the device and battery capacity may be a premium. Sensing distance may also be a consideration in various embodiments. For example, where the displacement of the one or more components, e.g., thepump plunger2902 and/or themeasurement valve actuator2908 component may be very small (for example, in the exemplary embodiment, a full displacement of thepump plunger2902 may be about 1 mm and a full displacement of the measurement valve actuator may be about 0.2 mm). The displacement distances are examples for some embodiments, in other embodiments, the displacement distances may vary.
In the exemplary embodiment, a small reflective optical sensor assembly (hereinafter “optical sensor”) that fits into the exemplary embodiments of theinfusion pump system2900 hardware, as shown and described, for example, herein, may be used. In some embodiments, the at least one optical sensor is located in the reusable housing assembly. However, in other embodiments, part of the at least one optical sensor may be located in the disposable housing assembly and another part of the at least one optical sensor may be located in the reusable housing assembly. The optical sensor, in the various embodiments, has a sensing range that accommodates the components for which the optical sensor may be sensing, e.g., in some embodiments, thepump plunger2902 and/ormeasurement valve actuator2908 displacements. In the exemplary embodiment any optical sensor may be used, including, but not limited to a Sharp GP2S60, manufactured by Sharp Electronics Corporation which is a U.S. subsidiary of Sharp Corporation of Osaka, Japan. In these embodiments, this optical sensor contains an infra red emitting diode and infra red sensing detector in a single component package. Light from the emitter is unfocused and bounces off the sensing surface, some of which is reflected to the detector. This results in a sensed intensity of light by the detector that varies as a function of distance/angle to the reflector. Referring now toFIG. 146, the curve illustrates the sensitivity of the optical sensor to displacement of a reflective surface.
Referring also toFIG. 147, in various embodiments, one or more optical sensors may be used in thepump system2900. The one or more optical sensors may be included in thepump system2900 such that they may detect the movement and distance of movement/displacement of one ormore valves2904,2906,2908 and/or thepump plunger2902. With respect to thepump system2900,FIG. 147 represents various embodiments of the location for one or moreoptical sensors2956,2958 to sense thepump plunger2902, as well as an embodiment of the location of anoptical sensor2954 to sense themeasurement valve2908.
With respect to the embodiments of the location of theoptical sensors2956,2958 to sense thepump plunger2902, although both of these locations may sense thepump plunger2902, the distance from therespective sensor2956,2958 to the component,e.g. pump plunger2902 in this example, varies the sensitivity of theoptical sensor2956,2958. Thus, it may be beneficial to use one or the otheroptical sensor location256,2958, depending on, for example, but not limited to, the desired data. In some embodiments, the optical sensors may be placed on the underneath of the printed circuit board. The placement of the optical sensors on the underneath of the circuit board allows for independent sensing of the various components desired in thepump system2900, for example, but not limited to, thepump plunger2902 head, measurementvalve actuating arm2952 and/or themeasurement valve2908.
Still referring theFIG. 147, the embodiment shown includes threeoptical sensors2954,2956,2958, placed, in some embodiments, on the bottom of the PCB (not shown) over both pump plunger and valve components to detect motion of the respective components. Theoptical sensor2958 shown over thepump plunger2902 and theoptical sensor2956 of the pumpplunger actuator arm2960 essentially sense the same motion, i.e., the movement of thepump plunger2902, however, each of theoptical sensor2956,2958 are a different distance from the respective component being sensed, i.e., thepump plunger2902, and thus, eachoptical sensor2956,2958, may result in a different sensitivity of detection. In some embodiments, one of the optical sensors, e.g.,2956,2958, may be preferred for detecting onset motion, i.e., the start of thepump plunger2902 motion towards thepump chamber2916, due to the starting distance from the optical sensor. Both thepump plunger2902 head and the pumpplunger actuator arm2960, in some embodiments, are made from white DELRIN. Thus, in these embodiments, the surface is naturally reflective. In various embodiments, various materials may be used to manufacture these components such that they include a naturally reflective surface. However, in some embodiments, coatings may be added to the surface of the various components to increase reflection, if desired. In some embodiments, changes to the geometry of the surfaces may also be made to modify the reflection.
In some embodiments, theoptical sensor2954 positioned over the measurementvalve actuator arm2952 senses rotation. Thus, the change in reflective intensity is due to a rotational change of the reflecting surface. In the some embodiments, the measurementvalve actuator arm2952 may be made from a metallic MEMS part. However, in other embodiments, the measurement valve actuator arm and/or other parts to be sensed, including the tab discussed below, by the optical sensor may be made from DELRIN or other materials. In other embodiments, features may be added to change or modify the reflective pattern. These changes may include, but are not limited to, adding a tab that extends under theoptical sensor2954. Additionally, in some embodiments, optical coatings or polishing of the metal surface, or other treatments/methods, may be used to increase the refection intensity.
Referring now also toFIGS. 148A-149B, various embodiments of an optical sensor are shown. Although in various embodiments, for illustration purposes, the optical sensor arrangement may be shown with respect to ameasurement valve actuator2908 or apump plunger2902, this is for illustration purposes only, other embodiments of the various embodiments of the optical sensor arrangements may include where the optical sensor arrangement is used with any component, including, but not limited to, one or more valves and/or one or more pump plungers.
Referring now toFIGS. 148A-148B, anoptical sensor detector2962 is shown with an LED, and/orlight source2964 and aslot wheel2966. In some embodiments, theoptical sensor detector2962 may include one or more detectors, and depending on the rotation of theslot wheel2966, which, in some embodiments, may indicate the position of either a valve and/or a pump plunger, theLED2964 will shine through a different slot in theslot wheel2966 and the one of thedetectors2962 will detect the light, indicating the position of theslot wheel2966.
Referring now toFIGS. 149A-149B, another embodiments of an optical sensor, similar to the embodiments shown and described above with respect toFIGS. 148A-148B, is shown. In this embodiment, theslot wheel2966 includes a variation in the slots.
In various embodiments, theoptical sensors2954,2956,2958, utilize infra red light, thus ambient light may not be a variable. In some embodiments, each optical sensor's light emitting source may be controlled independently, which may be beneficial for many reasons, including but not limited to, so that optical cross-talk between the sensors may be avoided (e.g., in some embodiments, raster through the sensors one at a time). Optical sensors may be sensitive to drift and temperature over time, thus, in some embodiments, a “dark” sensor reading, and/or a temperature sensor reading (in some embodiments, at least one temperature sensor may be incorporated into the pump system, and in some embodiments, at least one temperature sensor may be included in the optical sensor system) may be taken before turning on the respective emitting light source in order to compensate for offset. In some embodiments, normalizing the starting reading before inducing motion may be used to compensate for a change in gain.
In various embodiments, sensing thepump plunger2902 may be used in a number of ways, including but not limited to, onset of motion detection and determination ofpump plunger2902 position.
Sensing when thepump plunger2902 has started to move may be beneficial for many reasons, including but not limited to, one or more of the following: removing the offset variation in the SMA wire activation on-time, in embodiments where ontime is used to control the SMA wire. Also, in some embodiments the closed-loop controller compensation may be less confounded because it may be compensating only for variation in slope of ontime versus volume. This may reduce the pump aliquot volume variability and result in more accurate fluid delivery versus time.
Since thepump plunger2902 moves fluid by displacement, the position of thepump plunger2902 may be correlated with the amount/volume of fluid displaced/pumped. Controlling the position of the pump piston has many benefits, some of which are discussed below.
Correlation of the pumped volume with the position of thepump plunger2902 may enable thepump system2900/infusion device to deliver a desired volume of fluid. Additionally, correlation of pump volume may reduce delivery variation. A more precise infusion pump, combined, in some embodiments, with an accurate measurement system, for example, various embodiments of the volume measurement sensor assembly described herein, may improve volume delivery consistency.
Improved correlation of pumping volume to pumpplunger2902 position may enable more accurate transitions from low volume to high volume delivery. In some embodiments, the pump controller may pump fluid as a function of SMA wire activation time. Thus, pumping fluid at a fixed volume may be beneficial. However, in some embodiments, to temporarily increase the delivery volume, thepump system2900 may increase the aliquot delivery rate and hold the volume constant. With more accurate pumping volume the pump may temporarily aliquot higher volumes to meet e.g., a bolus delivery, and return to the basal delivery, which, in some embodiments, may be a lower pumping volume, without losing accuracy of either basal rate or bolus volume in the process.
Another benefit may include where, in some embodiments, aliquot pumping time is a variable used to promote fixed volume aliquot delivery; aliquot delivery time may be more independent and possibly speed up bolus volume delivery. Also, determining thepump plunger2902 position may also enable a direct determination of malfunction. If, for example, a failure occurs with thepump plunger2902actuator2960, the control system having determined the position of thepump plunger2902, may, in some embodiments, alert the pump system that the pump has failed, e.g., failed open, closed, and/or somewhere in between. In some embodiments, this may promote safety for the user/patient as the system may identify failure at a faster rate, preventing over and/or under delivery.
In the various embodiments where SMA wire is used for pump actuation and/or active valve actuation, SMA wire activation ontime may be monitored as a function ofpump plunger2902 position to determine if the SMA wire is “wearing out” prematurely, i.e., if the SMA wire expected “life” is being effected. This may be determined, in some embodiments, by monitoring the ontime necessary to achieve a given pump position over time.
In some embodiments, sensing when thepump plunger2902 has stopped moving may impart greater certainty to thepump system2900 regarding when thepump plunger2902 has bottomed out and prevent over-driving thepump plunger2902. Over driving the SMA wire may reduce the “life” of the SMA wire and continuing to drive either the pump or a valve after reaching the desired position is also a waste of electrical/battery power. Thus, identifying when thepump plunger2902 has stopped moving, and or, identifying when themeasurement valve actuator2908 has reached the desired location, may increase battery life and/or reduce the power needs of the system, and/or prevent premature SMA wire failure.
Similarly as with the pump piston, the various valve pistons may be optically sensed to detect motion of the valve and/or the position of the valve, either of which may have benefits, including but not limited to, one or more of the following.
In some embodiments, where one or more valves is controlled by SMA wire, sensing when the valve piston has started to move may remove the offset variation in the SMA wire activation ontime and may give greater certainty to when the valve starts to open and/or close. Additionally, sensing when the valve has stopped moving may give greater certainty to when the valve has opened/closed and prevent over-driving the valve actuator. As over driving the SMA wire may reduce the “life” of the wire and continuing to drive any actuator after the valve state is reached is a waste of electrical power. Thus, identifying when a valve has stopped moving may increase battery life and/or reduce the power needs of the system, and/or prevent premature SMA failure. Also, sensing the valve position may enable the determination of a valve being stuck in an undesirable position, for example, but not limited to, themeasurement valve actuator2908 being stuck in the open position.
Optical Position Sensor Control of Infusion Pump System
Although described herein as an infusion pump system, the optical sensor control of pumping may be used in various medical devices. For purposes of this description, the term “pump” broadly refers to valves and actuators used to move fluid from the reservoir to the user.
In some embodiments, the pump may be used to move the fluid from the reservoir to the volume measurement chamber and then to the user. Referring toFIG. 150, a schematic of an embodiment of aninfusion pump system2900 is shown. In some embodiments, pumping may be accomplished using apump plunger2902 and threeseparate valves2904,2906,2908, where thepump plunger2902 is controlled by an independently actuatedSMA2910, and one valve, themeasurement valve2908, is controlled by an independently actuatedSMA wire2912. As discussed herein, SMA may be actuated by changing its temperature (in this case by applying an electrical current) which changes its crystalline structure and causes the SMA to contract. In theinfusion pump system2900, theSMA wires2910,2912 are attached to linkages used to move the valve and pump plungers. The positions of thepump plunger2902 and themeasurement valve2908 are measured using optical sensors (as shown and discussed above with respect toFIGS. 145-149B). The current applied to the SMA is modified based on the optical sensor measurements to provide proportional control of thepump plunger2902 andmeasurement valve2908 positions.
In some embodiments, the pump sequence is as follows. First, thepump plunger SMA2902 is actuated which simultaneously moves thereservoir valve plunger2914, which occludes the flow path between thepump chamber2916 and thereservoir2918. Thepump plunger2902 forces the fluid in thepump chamber2916 past the passive volume measurement sensor chamberinlet check valve2906 and into the volumemeasurement sensor chamber2920. The fluid is held in the volumemeasurement sensor chamber2920 by themeasurement valve2908 while a volume measurement taken. Once the volume measurement is completed, themeasurement valve SMA2912 is actuated, which opens themeasurement valve2908 and the fluid is released from the volumemeasurement sensor chamber2920 to thetubing set2922, which may, in some embodiments, lead to a user/patient which may, in some embodiments, lead to the delivery of medical fluid to the user/patient.
Referring now also toFIG. 151, the actuation of eachSMA wire2910,2912 is accomplished using two field effect transistors (FET). A high side FET, which, in some embodiments, is controlled by the supervisor processor2926 (described above), and provides an on/off switch between the battery supply voltage and theSMA wires2910,2912. In some embodiments, the high side FET is normally off and may prevent or reduce the occurrence of a single-point electrical fault from actuating the pump. A low-side FET, which, in some embodiments, is pulse-width modulated (PWM), is controlled by thecommand processor2924 and provides control of the amount of current flowing through theSMA wire2910,2912.
In some embodiments, both the position of thepump plunger2902 andmeasurement valve plunger2908 is measured using at least two optical position sensors. However, in some embodiments, a single optical sensor may be used to measure both thepump plunger2902 and themeasurement valve plunger2908. This allows thecommand processor2924 to provide closed-loop control of theplunger pump2902 andmeasurement valve plunger2908 position by comparing the optical sensor output to a target position and modifying the PWM of the low-side FET. In addition, in some embodiments, voltages are measured at various positions. This enables, in some embodiments, the SMA controller to detect various conditions of the system including, but not limited to, one or more of the following: a broken SMA wire, a failed FET, and/or a depleted battery.
For the following discussion, the following nomenclature may be used:
    • m Total mass of the nitinol wire
    • TnCurrent nitinol temperature
    • TiInitial nitinol temperature
    • TaAmbient temperature
    • I Current
    • V Applied voltage
    • R Electrical Resistance
    • h Heat transfer coefficient [W/K]
    • C Heat capacity [J/kg/K]
    • η Duty cycle
      SMA Modeling
A thermal model of the SMA wires and a linear model of thepump plunger2902 is described below. As discussed below, the position of thepump plunger2902 is measured. In some embodiments, the displacement of thepump plunger2902 is measurement, i.e., the distance travelled from the starting point to the ending point may be measured.
Modeling the SMA Wire
The basic heat transfer equation for a constant current going through a wire with resistance R may be as follows. This neglects any of the thermal effects of the phase change in the SMA.
mCdTNdt=Q.in-Q.out=I2R-h(TN-Ta)[EQ#156]
Solving this equation gives the expression:
TN=Ta+(Ti-Ta)e-tτ+I2Rh(1-e-tτ)e-tτ[EQ#157]
Where
τ=mCh
Thus, attime 0 the SMA temperature will be Tiand at t→∞ the temperature will approach a steady state value of
(Ta+I2Rh).[EQ#158]
Solving for the required on time to get the SMA to a given temperature:
tτ=ln(1-hI2R(Ti-Ta)1-hI2R(TN-Ta))[EQ#159]
This may be approximated using a Taylor's Expansion as:
tmCI2R[(TN-Ti)-12hI2R[(Ta-TN)2-(Ta-Ti)2]][EQ#160]
This may also be written in terms of the applied voltage:
tmCRV2[(TN-Ti)-12hRV2[(Ta-TN)2-(Ta-Ti)2]][EQ#161]
Thus, the ontime needed to produce a given strain in the SMA will be inversely proportional to the square of the applied voltage. In some embodiments, unregulated voltage is applied to the SMA for energy efficiency, thus, the applied voltage may vary with the battery voltage.
The internal battery impedance causes a voltage drop as the load is applied during each cycle of the PWM. In addition, the battery open circuit voltage drops over the course of the actuation. Both the battery open circuit voltage and impedance will change as the battery is discharged. The net result is that the electrical power applied to the SMA for a fixed duty cycle is variable. The repeatability of the SMA actuator may be improved by, in some embodiments, measuring the battery voltage and adjusting the duty cycle to provide power that is more consistent. In some embodiments, however, the position of themeasurement valve plunger2908 and thepump plunger2902 may be measured directly and incorporated into a feedback loop. This may minimize any effects of the battery voltage variation.
Pulse Pump Modeling
An example of a relationship between the linear displacement of the pump plunger2902 (as measured by the optical sensor) and the delivered volume is shown inFIG. 152. In some embodiments, thepump plunger2902 may exhibit a dead zone where thepump plunger2902 may not be in contact with the membrane covering thepump chamber2906. Once thepump plunger2902 reaches thepump chamber2916 membrane there may be a relatively linear relationship betweenpump plunger2902 displacement and volume until thepump plunger2902 contacts the bottom of thepump chamber2906.
A model of thepump plunger2902 is shown inFIG. 153 as again2930 element with adead zone2928 andsaturation2932 limit. The idealized linear model of apump plunger2902 that neglects thedead zone2928 andsaturation2932 is then a static gain element2930:
Δv(k)=target(k)  [EQ#162]
where Δv(k) is the change in volume during a single pump pulse, which refers to one actuation of thepump plunger2902 by the SMA, thepump plunger2902 moving from a starting point towards thepump chamber2916 and reaching an end point, then returning to a stopping point. The total volume delivered may be the sum of the individual pulses:
v(n)=k=0nKδtarget(k)[EQ#163]
This may be expressed as a transfer function in the discrete domain:
Gp(z)=v(z)δtarget(z)=Kzz-1[EQ#164]
SMA Controller
Feedback Controller
Referring now toFIGS. 154B and 154C, during a typical actuation, as shown in the FIGS., target position as a function of time and actual position as measured by the optical sensor as a function of time are shown inFIG. 154B.FIG. 154C shows the controlled variable, theduty cycle2902 is the duty cycle that may be changed in response to errors in following the position trajectory. It should be noted that the term “ADC counts” refer to the counts as read by the analog to digital converter (“ADC”) on the MSP430 command processor. The ADC counts are proportional to the voltage of the at least one optical sensor. Thus, the output of the at least one optical sensor will be a voltage which is read by the ADC (analog to digital converter).
In some embodiments, and referring also toFIGS. 154A, 154B and 154C, the SMA controller may use aproportional controller2936 with a fixed feed-forward2934 to control the position of thepump plunger2902 ormeasurement valve plunger2908. The heating of theSMA wire2910,2912 may be an integrating process, thus, uses aproportional controller2936 for controlling the position of theplungers2902,2908. In some embodiments, a fixed duty-cycle feed forward2934 term may be used to provide fast initial heating of theSMA wire2910,2912. The output of the controller is limited to a valid PWM range (0% to 100%), where valid may be, in some embodiments, referring to a combination of that which the system may perform together with potential SMA stress and/or strain and/or saturation factors which may contribute to overall SMA wire life. In some embodiments, the signal from the one or more optical sensor is low passed filtered2938 with, in some embodiments, a single-pole discrete filter. In some embodiments, the PWM frequency is 20 kHz, which moves it outside the audible range, which may be beneficial for many reasons, including, but not limited to, one or more of the following: user comfort and improving the user experience while pumping as the PWM frequency is outside the audible range. In some embodiments, the PWM output is updated at a frequency of 5 kHz, but in other embodiments, the frequency may vary.
Voltage Sensing and Timing
In some embodiments, the battery voltage sensing is done through a resistor-divider to an ADC input on the MSP430. The minimum time needed to sample the voltage may be represented in EQ#165:
tsample>(Rs+2kΩ)ln 213(40 pF)+800 ns  [EQ#165]
where Rsis the source impedance. The minimum sampling time may therefore be 1.77 microseconds. A sampling time of 2 microseconds may be used in some embodiments, however, in other embodiments the sampling time may be greater than or less than 2 microseconds. In some embodiments the minimum sampling time may be less than 1.77 microseconds or greater than 1.77 microseconds depending on the value of Rs. In some embodiments, the sampling is done synchronous with the PWM and timed to be a fixed interval from the end of the high cycle of the PWM. Referring now toFIG. 155, in some embodiments, as presented inFIG. 155, the ontime of the PWM duty cycle cannot be/should not be less than the ADC sampling time. As a result, in this embodiment, the voltage measurement will be higher than the actual battery voltage for duty cycles under 4%. In the exemplary embodiment, the control algorithm is updated every 4thPWM period to give time for the Interrupt Service Routine (“ISR”): to complete. However, in various embodiments, the control algorithm may be updated using intervals other than every 4thPWM period.
SMA Target Trajectory
In some embodiments, the outer “volume” loop (described in more detail below with respect to the volume controller) provides a targetfinal pump plunger2902 position to theinner pump plunger2902 position control loop. Theinner pump plunger2902 position controller, in some embodiments, brings thepump plunger2902 to this target position with minimum overshoot because once fluid is moved past themeasurement valve2940 it may not be brought back to thepump chamber2916. Thus, it may be desirable in some embodiments to minimize and/or prevent overshoot, and this may be desirable for many reasons, including, but not limited to, safety to the user as it may be beneficial to prevent an “overdelivery” of medical fluid. In some embodiments, this may be accomplished where thepump plunger2902 position controller generates a position trajectory, i.e., a series ofpump plunger2902 target positions as a function of time that may be followed by the SMA actuator. This may be compared with other embodiments including a step change in target position which may increase the incidence of overshoot in some instances.
Referring also toFIG. 156, thepump plunger2902 target position, in some embodiments, has two parts, which are shown: an initial flat region and a linear region. The initialflat region2942 is where thepump plunger2902 position is not changing to allow theSMA2910 to reach the transition temperature. Thelinear region2944 is where thepump plunger2902 is brought to its final position over a fixed time interval. Because the time interval is fixed, the target pump plunger velocity may be less for smaller actuations. In some embodiments, this may be beneficial for many reasons, including, but not limited to, improved controller accuracy for small volume deliveries.
Referring toFIG. 157, themeasurement valve plunger2908, in some embodiments, may be controlled differently from the pump plunger2902 (as described above) because it is binary in its operation, i.e., themeasurement valve2940 is either in an open position or a closed position. Themeasurement valve plunger2908 position controller, therefore, in some embodiments, moves themeasurement valve plunger2908 to the “open” position and then, in some embodiments, holds themeasurement valve plunger2908 in the open position which may allow the fluid ample time to fully drain from themeasurement chamber2920. This method may be beneficial for many reasons, including, but not limited to, adding the “open and hold” phase to themeasurement valve plunger2908 trajectory which may require less strain on theSMA wire2912, which may increase theSMA wire2912 “life”/duration of useful/usable performance for actuation. Thus, adding the “open and hold” phase, rather than, in some embodiments, continuing to move themeasurement valve plunger2908, may require less strain on theSMA wire2912, thus, increasing theSMA wire2912 “life”.
Safety Check and Fault Handling
The pump controller in various embodiments includes a number of safety checks designed to provide greater safety to thepump system2900 operation. These including, but are not limited to, preventing the SMA actuator from “browning out” the electrical system if the battery voltage is too low and guarding against electrical failures in the SMA drive circuit. Thus, the pump controller monitors and ensures that the SMA wire and the drive circuit, or source of electrical energy, functions so as to allow for function of thepump system2900.
In some embodiments, these safety checks include supply voltage monitoring. In some embodiments, the supply voltage is measured once during each period of the low-side switch PWM and is used in the feedback controller. However, in other embodiments, the pump controller may measure the supply voltage more or less often. However, this measurement is also checked, in some embodiments, to verify that the supply voltage is within the range of expected battery voltages. Where the measurement is outside this range, the actuation may be stopped and in some embodiments, an alarm may be posted by the command processor. The failure of this integrity check could indicate one or more, but not limited to, the following: a failure of voltage sensing circuit, a failure of the battery, and/or a depleted battery. Although supply voltage monitoring is not the primary mechanism for detecting a depleted battery—that may also be done by the battery gauge—in the event of a failure of the battery gauge, supply voltage monitoring allows thepump system2900 to terminate the high-current SMA actuation before actuating same may deplete or “pull down” the battery voltage to a level below a threshold needed for the processor voltage regulators.
The integrity of the switches andSMA wires2910,2912, are also monitored during each actuation. This safety routine verifies the safety of the system which may, in some embodiments, may including, but are not limited to, one or more of the following: verification that the switches are functioning correctly; and verification that themeasurement valve plunger2908 and thepump plunger2902 are not actuated simultaneously. These verifications may provide greater safety to thepump system2900 for many reasons, including, but limited to, actuating thepump plunger2902, i.e., pumping fluid from the reservoir, while themeasurement valve plunger2908 is in the open position, thereby pumping fluid to the tubing set2922 without holding the fluid in themeasurement chamber2920. In some embodiments, this may be desirable and beneficial, e.g., in those embodiments where thevolume measurement sensor2946 includes a method for determining the volume of the fluid in themeasurement chamber2020 which includes holding the fluid in themeasurement chamber2020 during the actual volume measurement. Some embodiments of thevolume measurement sensor2946 may not require themeasurement valve2940, but for those that do, the safety routine described above ensures thevolume measurement sensor2946 may perform measurements according to the method. In some embodiments, to perform these safety-checks the supervisor processor monitors the voltage above the low-side switches using three digital inputs. Referring also toFIG. 158, the electrical architecture is shown for a single strand of SMA wire. However, in some embodiments, the SMA wires share the same high-side switch, but have their own low-side switch and voltage monitor line.
Still referring toFIG. 158, in some embodiments, the safety-check routine proceeds as follows. Thecommand processor2924 requests SMA power from thesupervisor processor2926. Thesupervisor processor2926 receives the message and proceeds to perform the following: thesupervisor processor2926 verifies that the high-side SMA voltage is low. If the voltage is high, thesupervisor processor2926 may indicates that the power FET has failed closed. Thesupervisor processor2926 closes theSMA power switch2948 and thesupervisor processor2926 verifies that the high-side SMA voltage is high. If it is low thesupervisor processor2926 indicates that the high-side FET has failed open. Thesupervisor processor2926 verifies that the low-side SMA voltage is high. If the voltage is low thesupervisor processor2926 indicates that the SMA wire is broken or the low side FET has failed closed. Thesupervisor processor2926 then sends a message to thecommand Processor2924 that the SMA power is on. Thecommand processor2924 receives the SMA power on message and starts the SMA actuation. At the same time, thesupervisor processor2926 monitors the SMA monitor lines verifying that only the designated SMA wire is being actuated and that the low-side FET has not failed open. Thecommand processor2924 completes the actuation and sends a SMA power-off message to thesupervisor processor2926. At this point, thesupervisor processor2926 turns off the SMA power and sends a confirmation message.
In various embodiments, thepump system2900 may include additional safety checks and/or, the process for the above-described safety checks may vary. In some embodiments, in addition to the safety checks described above, thesupervisor processor2926 may turn off theSMA power switch2948 and alarm if thesupervisor processor2926 does not receive a “power off” request from thecommand processor2924 within a fixed period of time. Thus, in some embodiments, if thecommand processor2924, for example, freezes mid-SMA actuation, and continues to actuate the SMA, and thus, does not command theSMA power switch2948 to turn off, thesupervisor processor2926 may determine that thecommand processor2924 has not turned off the SMA power switch, and thesupervisor processor2926 may post an alarm. This protects thepump system2900 fromcommand processor2924 faults which may provide another safety layer to thepump system2900.
Optical Sensor Monitoring
In the exemplary embodiment, thecommand processor2924 checks the integrity of each of the at least two optical sensors during every actuation. However, as discussed above, in some embodiments, thepump system2900 may include at least one optical sensor where the optical sensor is used to determine the position of thepump plunger2902 but not themeasurement valve plunger2908. In some embodiments, thepump plunger2902 may include at least two optical sensors determining the position of thepump plunger2902. Further, and as discussed above, in some embodiments, thepump system2900 may include additional optical sensor to determine the position of additional valves and or membrane position. Thus, for purposes of the discussion, the term “optical sensor” is not meant to be limited to a single optical sensor, rather, applies to the at least one optical sensor that may be included in thepump system2900 in some embodiments. Where more than one optical sensor is included in thepump system2900, in some embodiments, the discussion below may apply to each optical sensor.
In some embodiments, thecommand processor2924 may check the optical sensor signal output, which, in some embodiments, may include confirming that the optical sensor is within an expected range at the start of actuation, :Sensor Check: range check, looking at the optical sensor and if not within the expected range at the start of the actuation, then it may conclude it's broken] before each actuation. In some embodiments, if the output of the optical sensor is outside the normal operating range thecommand processor2924 may post an alarm.
The command processor may, in some embodiments, post an alarm if the output of the optical sensor does not change significantly during an actuation. This may be beneficial for this optical sensor output may indicate, e.g., an electrical fault which may produce an optical sensor output that is in range but not related to the plunger displacement for which the optical sensor is determining. Also, in some embodiments, allowances may be made for optical sensor noise and/or drift.
Saturation
Referring also toFIGS. 159A and 159B, in some embodiments, to maximize the “life” of the SMA wire (which include at least one SMA wire, and in some embodiments, may be more than one SMA wire), it may be desirable to minimize the number of times the pump plunger/measurement valve plunger (and/or any valve/plunger that is being actuated by a SMA) “bottoms out” at the end of its travel. When the plunger reaches the end of its travel, it cannot move any further so it falls behind the target position. If the tracking error (the difference between the target position and actual position) exceeds a fixed threshold, the plunger is assumed to have “bottomed out” and the power to the SMA wire is turned off. Allowances are made to prevent false detects.
If the plunger is detected to have “bottomed out” twice in a row, the maximum allowed target position may be reduced to prevent the plunger from bottoming out again. In some embodiments, the maximum target position may not be reduced the first time the plunger is detected to have “bottomed out” to prevent any false detections of plunger saturation from limiting the plunger travel.
Delivery Controller
The delivery controller delivers a discrete dose of fluid (which in some embodiments, as discussed above, may be any fluid, including, but not limited to, a medical fluid, e.g., insulin) each time it is commanded by the therapy layer. The delivery controller, in some embodiments, does not track nor control the therapy, e.g., basal programs, boluses, or the timing of the delivery; rather, the therapy is controlled by the therapy layer. The delivery controller, in some embodiments, has a primary responsibility to deliver a dose of fluid when commanded and to measure the actual fluid delivered (using the volume measurement sensor2946), and also, to adjust thepump plunger2902 command to minimize any volume delivery error. Thus, where thepump plunger2902 target position is met, the delivery controller determines whether the volume of fluid delivered is as expected and if not, to adjust thepump plunger2902 command.
In addition, in some embodiments, the delivery controller may confirm and process a variety of system checks including, but not limited to, detecting occlusions, detecting an empty reservoir, and/or system faults that may affect the delivery of fluid to thetubing set2922, which, in some embodiments, may be connected by way of a cannula to the patient/user of the system. If one or more faults are detected by the delivery controller, the delivery controller may, and in some embodiments, will always, enter a failsafe state preventing further delivery until and unless the at least one detected fault is resolved. The delivery controller reports faults detected to the therapy layer. The term failsafe may refer to a state of non-delivery in response to a determined failure, following alerting the user/patient that the system is entering a failsafe mode.
For the following discussion, the following nomenclature may be used:
TermDefinition
Gp(z)Pulse pump discrete transfer function
Gc(z)Controller discrete transfer function
KpController loop gain
TIController Integrator time constant
zComplex argument for the discrete transform x(z) =
Z{x(n)}=n=0x(n)z-n
eDelivery error
r(z)Target volume trajectory
KPulse pump gain

Volume Controller
Referring also now toFIG. 160, in some embodiments, the primary function of the delivery controller may be to provide closed-loop control of the delivered fluid volume. The delivery controller accomplishes this function, in some embodiments, by taking the measured volume change (this is the difference between the AVS/volume measurement sensor measurement with the AVS/volume measurement sensor chamber full and the AVS measurement with the chamber empty), comparing it to the target volume, and setting thepump plunger2902 target displacement accordingly. Referring also toFIG. 161, the schematic shows the outer volume loop as well as the inner voltage loop described above.
As shown inFIGS. 161-162, the volume controller architecture on the total delivered volume and a feed-forward term based on the target volume for the current delivery is shown. As shown in this embodiment, the target volume and measured volume changes (dV AVS) are integrated before being passed into the feedback controller; there is no direct feedback on the error from an individual delivery.
Feedback Controller
Referring now toFIG. 162, in some embodiments, the volume controller may include the architecture, as shown, with integrator saturation and anti-windup. The discrete transfer function is shown below for the region where the integrator is active. A unit time delay is included to account for the 1-frame delay between the volume measurement and its use in the feedback loop.
Gc(z)=Kp(1+1TIzz-1)1z[EQ#166]
Thepump plunger2902 displacement versus volume delivered transfer function (input is the pump plunger position, and the output is the volume delivered) between total volume delivered andpump plunger2902 may be modeled as a simple discrete integrator.
Gp(z)=v(z)ton(z)=Kzz-1[EQ#167]
The forward path transfer function may then be written as follows. An additional unit time delay may be added to account for the fact that the AVS measurement/volume measurement sensor measurement will be from the previous delivery. A corresponding unit delay was also added to the target input.
Gc(z)Gp(z)=Kp(1+1TIzz-1)K(zz-1)1z=KpK(1+1TI)z-1(z-1)2[EQ#168]
The steady-state volume error for this type of controller when following an input r (z) is shown below:
e(z)r(z)=11+GcGp=(1-z-1)2(1-z-1)2+KKp[(1TI+1)-z-1]z-1[EQ#169]
Thepump system2900 may typically be following a ramp target volume trajectory (piecewise constant delivery rate). This input may be described in the discrete domain as follows:
r(z)=Cz(z-1)2[EQ#170]
The steady state flowing error can then be found using the discrete final value theorem applied to the plant and controller derived above:
limt->e(t)=limz->1[(1-z-1)e(z)]=limz->1[((1-z-1)3(1-z-1)2+KKp[(1TI+1)-z-1]z-1)(z-1(1-z-1)2)]=0[EQ#171]
So a PI controller will theoretically have zero steady state error when following a ramp input in volume.
Controller Feed-Forward
Referring also toFIG. 163, in some embodiments, to improve the trajectory following of the controller, a non-linear feed-forward term may be added to, e.g., compensate for the pulse pump dead-band. In some embodiments, this feed-forward term provides a “best guess” of thepump plunger2902 displacement for a given target volume by inverting theidealized pump plunger2902 model described above with respect to the delivery controller.Pump system2900 characteristics are different for different reusable housing assemblies, disposable housing assemblies, and reservoir fill volumes, i.e., the volume of fluid in the reservoir. Thus, this feed-forward term may generally produce some error that may need to be corrected by the feedback controller.
Initialization of the Feed-Forward Parameters
The gain and offset used in the feed forward controller, shown inFIG. 164, are initialized during the start-up test based on the measured pump characteristics.
Least Square Recursive Filter
The gain and offset parameters of the feed-forward controller are adjusted as the pump is operating. Thus, the slope and offset of the model are continuously updated based on the AVS measurements/volume measurement sensor measurements to improve the accuracy of the feed-forward model. The “learning” algorithm may be based on a linear exponentially forgetting least square recursive filter. The time constant is set such that it adapts slowly compared to the feedback controller (FIG. 162) and the two do not have significant interaction. If the feed-forward term was never changed, it would have no effect on the stability of the feedback controller.
The feed-forward model is updated using a recursive least-square estimator. The function we are fitting is as follows:
y(n)=mx(n)+b  [EQ#172]
The dependent variable x is the delivered volume and the independent variable, y, is thepump plunger2902 target position/displacement. In vector form, this may be written:
y(n)=wTx(n)w=[mnbn]andxn=[xn,111][EQ#173]
It may be noted that xnis the vector x at time step n, and xn,11is the 1stelement of the vector x at the time step n. The function being optimized is:
yn=mnxn+bn=wTx=[mnbn][xn,111][EQ#174]
The error for a given time step, n may be written:
en=yn−(mn-1xn+bn-1)  [EQ#175]
To update the w vector based on the error signal, the gain matrix is first updated:
gn=[pn-1,11xn,11+pn-1,12pn-1,21xn,11+pn-1,22]{λ+pn-1,11x2+(pn-1,12+pn-1,21)xn,11+pn-1,22}-1[EQ#176]
The inverse is of a scalar so no matrix inversion is required. The covariance matrix may then be updated for the next time step:
Pn=λ-1[pn-1,11(1-gn,11xn,11)-pn-1,12gn,11pn-1,21(1-gn,11xn,11)-pn-1,22gn,11pn-1,12(1-gn,12)-pn-1,11gn,12xn,11pn-1,22(1-gn,12)-pn-1,21gn,12xn,11][EQ#177]
The coefficients can then be updated based on the gain vector and the error:
[mnbn]=[mn-1bn-1]+engn[EQ#178]
Taking advantage that the covariance matrix is symmetric, the method and/or algorithm may be written more computationally efficiently. This may, in some embodiments, be beneficial for many reasons, including, but not limited to, efficient implementation in software.
In some embodiments, the filter is only valid if thepump plunger2902 is operating in its linear range, so the value may only be updated if the measured volume is in the range of 0.1 uL to 2.1 uL, for example, where this range is in the linear range. In some embodiments, the recursive filter may not be effective if the measurements are not sufficiently “signal rich”, i.e., where too many deliveries are performed at a single operating point the linear fit may converge to a solution that may not be valid once thepump plunger2902 being operation over the full range. To guard against this possible “localized” solution, the algorithm, in some embodiments, may not be updated where the diagonal terms of the covariance matrix exceed a set threshold.
Delivery Fault Detection
In addition to providing closed-loop control of the volume delivered by thepump system2900, the delivery controller, in some embodiments, may also detect fault conditions associated with fluid delivery. A variety of fault detection methods are described below, one or more of which may be included in various embodiments of the delivery controller.
In some embodiments, the delivery controller monitors, amongst possible additional functions, the total volume error, which may be defined as the cumulative volume error of all the deliveries since the delivery controller was last reset. If the delivered volume exceeds the target volume by more than a specified amount, which indicates an over-delivery, the delivery controller, in some embodiments, may post a pump fault and switch to a failsafe mode, which is described above. Conversely, if the target volume exceeds the measured volume by a specified amount, which indicates under-delivery, the delivery controller, in some embodiments, may post a pump fault and switch thepump system2902 to a failsafe mode, which is described above. In some embodiments, the under-delivery tolerance may be programmable by the user/patient and further, in some embodiments, the tolerance may include a high and low sensitivity setting.
Thus, where the delivery controller determines that the cumulative volume error is such that a either an over-delivery or under-delivery threshold has been met, which threshold may be set based on safety to the user/patient, the delivery controller may signal a pump fault condition and thepump system2902 may be shut down, with at least one indication to the user/patient, such that thepump system2902 avoids over delivery and under delivery at unsafe levels. Thus, in various embodiments, thepump system2902 includes a determination of the volume of over delivery and/or under delivery and a threshold tolerance of same where when the threshold is reached, thepump system2902 may enter failsafe mode.
Occlusion Detection
In some embodiments, the deliver controller monitors the volume of fluid that both flows into and out of thevolume measurement chamber2920 and, in some embodiments, may determine whether thetubing set2922 may be occluded. In some embodiments, there are two parallel methods used for detecting an occlusion, which may be termed the total occlusion method and the partial occlusion method. The total occlusion detection method monitors the flow into and out of thevolume measurement chamber2920 during a single delivery of fluid. The partial occlusion detection method monitors for a gradual build-up of fluid in thevolume measurement chamber2920.
The residual volume for an individual delivery may be defined as the difference between the volume flow into thevolume measurement chamber2920, which may be referred to as the “pumped volume” and the volume flowing out of thevolume measurement chamber2920, which may be referred to as the “delivered volume”:
vres=Δvpump−Δvdelivered  [EQ#179]
This is equivalent to the difference between the final and initial variable volume estimates:
vres=Vfinal−Vinitial  [EQ#180]
Under normal operation, in some embodiments, the residual volume may be close to zero at steady state. In some embodiments, the residual volume may be the fundamental metric for detecting both total and partial occlusions.
Total Occlusion
In the event of a total occlusion of the fluid exit path, which may also be referred to as thetubing set2922 and the cannula as well as the fluid path in the disposable housing assembly downstream from thevolume measurement chamber2920, the residual volume in thevolume measurement chamber2920 may be approximately the same size as the volume pumped, i.e., the volume of fluid pumped into thevolume measurement chamber2920. Thus, in these circumstances, fluid has been pumped into thevolume measurement chamber2920, however, little or no fluid may have left thevolume measurement chamber2920. In these circumstances, in some embodiments, a threshold residual volume may be used as an indicator of a total occlusion. In some embodiments, the total occlusion detection threshold may be set based on the cumulative pumped volume, i.e., the total volume of fluid pumped. A linearized model of the fluid flow out of thevolume measurement chamber2920 may have the form:
VavsVavsτ[EQ#181]
Where Vavsis the volume of thevariable volume chamber2950.
Larger pumped volumes/larger volumes of fluid pumped into thevolume measurement chamber2920, may result in larger delivered volumes for thesame measurement valve2940 open time and tubing set2922 flow impedance. In some embodiments, therefore, the residual volume threshold for occlusion is therefore calculated as a fraction of the total volume pumped:
TOoΔvpump  [EQ#182]
where ρOis a value less than one. An exemplary value for ρOis 0.15, which means the delivery controller may detect a total occlusion if less than 85% of the fluid pumped into thevolume measurement chamber2920 is delivered/pumped out of the volume measurement chamber2920 (and in some embodiments to thetubing set2922 and to the user/patient). Determination of a total occlusion may be as follows:
ΦO={1ifvres>To0otherwise[EQ#183]
Where ΦOis the total occlusion detection indicator. In some embodiments, thepump system2902 may not alarm immediately after the total occlusion detection indicator has been set to “1”, rather in some embodiments, an alarm may be posted once the total occlusion detection indicator remains positive for a preset number of consecutive deliveries to allow time for the occlusion to clear through regular operation of thepump system2902, which, in some circumstances, may be accomplished. In various embodiments, the number of occluded deliveries permitted is variable and may, in some embodiments, be pre-set/preprogrammed and/or may be based on a user/patient configurable occlusion sensitivity setting.
In some embodiments, in the event that an occlusion clears on its own, the fluid may once again flow out of thevolume measurement chamber2920. Thus, in some embodiments, the logic for clearing the total occlusion is related to the delivered volume, vdelbeing greater than a given threshold. This cleared-occlusion threshold may be, in some embodiments, calculated as a fraction of the total volume pumped for a given delivery plus the accumulated residual volume, if any, from previous deliveries, which may be represented as follows:
Tu=ρu(Δvpump+vresidual,total)Or[EQ#184]ΦO={0ifvdel>Tu1otherwise[EQ#185]
Combining these two, the total occlusion update logic is as follows:
ΦO[n+1]={1ifvres[n+1]>TO0ifvdel[n+1]>TuotherwiseΦO[n][EQ#186]
In some embodiments, an increase in the residual volume may be an indication that an occlusion has occurred, however, the residual volume returning to zero may not necessarily be an indication that an occlusion has cleared. This is because thepump plunger2902 may, in some instances, only be able to pump one or two deliveries following an occlusion due to the build up of back-pressure in thevolume measurement chamber2920. Thus, once thepump system2900 has reached this condition, the change in residual volume becomes close to zero, thus, no fluid flows into thevolume measurement chamber2920 and no fluid volume flows out of thevolume measurement chamber2920. As a result, in some embodiments, the delivered volume, instead of the residual volume, may be used for the condition to clear a total occlusion indication.
In various embodiments, partial occlusions result in an accumulation of residual volume in thevolume measurement chamber2920, but this accumulation may occur over time at a low enough rate that the total occlusion detection logic may not detect the accumulation. As a result, in some embodiments, a second method, i.e., partial occlusion method, may be used which integrates the residual volume of individual deliveries and uses this sum to detect a slow build-up of volume characteristic of a partial occlusion. Additionally, any volume that leaks from thevolume measurement chamber2920 between deliveries may be subtracted out of the total of the residual volume of individual deliveries so as to prevent confusing an inter-delivery leak with a partial occlusion. A “leaky” integration, as shown in EQ#187 andEQ#188 may be performed so that the cumulative effect of measurement error may be minimized.
    • The Integrator:
      Svarvar*Svar+(vres−vinterleak)  [EQ#187]
The partial occlusion indicator, Φvar, is then set based on the following logic:
Φvar={1ifSvar>Tvar0otherwise[EQ#188]
As with the total occlusion detection and occlusion alarm, a partial occlusion detection may not trigger an occlusion alarm until a minimum number of consecutive deliveries are detected/determined to be occluded. This allows time for partial occlusions to clear through regular operation of thepump system2902, which, in some circumstances, may be accomplished. Additionally, in some embodiments, the partial occlusion alarm may not be posted unless the total trajectory error exceeds a certain threshold.
In some embodiments, the partial occlusion threshold may be a limit on how much fluid volume may remain in thevolume measurement chamber2920 between deliveries. If there is too much residual volume in thevolume measurement chamber2920 thepump plunger2902 may be unable to deliver a full pump-stroke due to the increased back pressure. In some embodiments, this sets an upper limit for the allowed residual volume. Thus, if the maximum target delivery volume for a single delivery is Δvmaxand the maximum total volume of thevolume measurement chamber2920 before the pack-pressure prevents further pumping is Vmaxthen the maximum partial occlusion threshold is:
Tvar,max=ΔVmax−Δvmax  [EQ#189]
This threshold is on the order of Tvar=1.0 μL. If a cumulative total of more than 1.0 μL of volume remains in the volume measurement chamber2920 a partial occlusion may be detected. Again, an alarm may not be posted unless the under-delivery and number of consecutive occluded delivery conditions have also been met.
Empty Reservoir Detection
The empty reservoir detection algorithm, may, in some embodiments, evaluate the ability of thepump plunger2902 to deliver fluid from thereservoir2918 to thevolume measurement chamber2920. Thepump system2902, in some embodiments, may use two parameters for this evaluation, which may include, but is not limited to, the pumping error and the total trajectory error. The pumping error may be the difference between the target and actual pumped volumes. An internal “empty reservoir indicator”, which may be set if the pump is under-delivering. In some embodiments, if under-delivery occurs two consecutive deliveries while thepump plunger2902 is at its maximum actuation, the maximum target volume may be decreased, allowing pumping to continue with smaller and more frequent deliveries. If the maximum target volume is reduced by this method below a minimum threshold, an empty reservoir alarm may be posted. Alternatively, in some embodiments, if the difference between the measured volume delivered and the total target volume requested exceeds a threshold, an empty reservoir may be assumed by thepump system2902 and an alarm may be posted. In some embodiments, empty reservoir alarms may also be posted due to an up-stream occlusion, leak, or possibly a faulty pump plungershape memory actuator2910.
Maximum Target Volume Reduction Empty Reservoir Alarm
In some embodiments, as thereservoir2918 empties, the maximum volume that thepump chamber2916 membrane restoring force may pull from thereservoir2918 may decrease. Consequently, the maximum volume that thepump plunger2902 may deliver to themeasurement chamber2920 and then to thetubing set2922 may also decrease. To minimize the volume left in thereservoir2918 when the disposable housing assembly may be discarded, the delivery controller may dynamically decrease the maximum target volume as this occurs. Thus, in some embodiments, this may allow thepump system2900 to continue administering fluid/therapy by delivering smaller deliveries more frequently.
The basis for this empty reservoir detection maximum volume reduction, in some embodiments, may be the difference between the goal/target volume for each delivery, vtarget, and the volume pumped into thevolume measurement chamber2920, vpump. This difference may be defined as the pumped volume error, verror:
verror=vtarget−vpump  [EQ#190]
An internal indicator may be set whenever this difference is greater than zero, verror>0 and thepump plunger2902 is either saturating or at its maximum allowed value. If this occurs in two consecutive deliveries, the maximum target delivery volume may be decremented and the therapy layer may be called to reschedule the next delivery. In some embodiments, an exception to this method may be made during a bolus. When bolusing, the target delivery volume for the entire bolus may be, in some embodiments, calculated at the start of the bolus. Therefore, the maximum target volume may not decrement during a bolus.
In some embodiments, once the maximum target volume has been reduced to the minimum delivery volume, any further saturated under-delivering may result in an empty reservoir alarm.
Under Delivery Empty Reservoir Alarm
In some embodiments, thepump system2900 may alarm for an empty reservoir when either the maximum allowed target volume is reduced below a minimum by way of a dynamic reduction, as described above, or, in some embodiments, whenever thepump system2900 is under-delivering by more than a given amount/threshold. The basis for the under-delivery empty reservoir detection algorithm may be the difference between the total target volume, Vtarget, and the measured volume, Vmeasured. This difference may be defined as the total trajectory error, Verror:
Verror=Vtarget−Vpumped  [EQ#191]
The under delivery empty reservoir metric therefore may be:
Φempty={1Verror>Vthreshold0otherwise[EQ#192]
In some embodiments, additional conditions are not placed on this metric for alarming. Thepump system2900 may alarm in this way if thereservoir2918 is emptying while a bolus is in progress and hence, no maximum volume reduction may be possible. In some embodiments, thepump system2900 may also/rather alarm in this way when the ability of thepump chamber2916 is reduced faster than the maximum volume reduction algorithm may reduce the maximum volume.
Acoustic Leak and Bubble Detection
In some embodiments of thepump system2900, the delivery controller may include an algorithm for detecting acoustic leaks and resonant air bubbles in thevolume measurement chamber2920. The detection algorithm may be based on the premise that the volume measurement sensor damping ratio for the second-order resonance may, in some embodiments, remain substantially constant during all the sine-sweeps of an individual delivery.
In some embodiments, therefore, the comparison of the model fit calculated damping ratios in the pumped and un-pumped states may be used as a metric for the detection of, for example, gross acoustic leaks or large air bubbles. This metric may be separate from the absolute check on damping ratio performed, in some embodiments, as a volume measurement sensor level integrity check.
In some embodiments, the method for detecting acoustic leaks and bubbles in thevolume measurement chamber2920 may include the following steps. First, define the maximum and minimum damping ratios from a single set of sine sweep data:
ζmax=max(ζ123)
ζmin=min(ζ123)  [EQ#193]
The differential damping metric may then be defined as the percent difference between these two values:
SdiffDamp=100*ζmin-ζmaxζmin+ζmax[EQ#194]
And the differential damping acoustic leak indicator may be set as a threshold on this value:
ΦdiffDamp={1ifSdiffDamp>TdiffDamp0otherwise[EQ#195]
As differentiated from the occlusion and empty reservoir indicators, described above, a differential damping indicator may be, in some embodiments, sufficient to trigger an acoustic leak alarm and thus the differential damping indicator may always, in some embodiments, result in an acoustic leak alarm.
The thresholds for this metric may be based entirely on experimental evidence. In some embodiments, a very conservative threshold of, e.g., a ten percent difference between the damping ratios of any two sine sweeps from a single delivery may be set, or TdiffDamp=5. However, in various embodiments, the threshold may be higher or lower.
Leak Detection
In some embodiments, the delivery controller may check for leaking fluid leaking out of thevolume measurement chamber2920 either, for example, but not limited to, upstream past themeasurement valve2940 or downstream past themeasurement valve2940. It may be beneficial for many reasons to perform checks and detect leaks as, for example, leaks may generate issues both during a delivery and between delivery if residual volume leaks out of thevolume measurement chamber2920. Thus, in some embodiments, two different leak tests may be performed by thepump system2900, including, but not limited to, an inter-delivery leak test to check for leaks during a delivery and an intra-delivery leak test to check for loss of residual volume between deliveries.
The intra-delivery leak test may be performed, in some embodiments, when thevolume measurement chamber2920 is full of fluid. A first volume measurement may be taken after thepump plunger2902 has been actuated. The fluid may be left in thevolume measurement chamber2920 for a fixed period of time, e.g., 1 second, and then a second volume measurement may be taken. In some embodiments, in general, these two volume measurements should be the same. Thus, any difference between these measurements, that is, above the expected measurement noise, which, in some embodiments, may be approximately 1 nL, may generally be attributed to a leaking valve. The intra-delivery leak test, in some embodiments, may be performed during each delivery, i.e., each basal or bolus delivery, however, in various embodiments, the intra-delivery test may be performed more, or less, often.
The inter-delivery leak test, in some embodiments, may be performed when themeasurement chamber2920 is empty except for the normally generally small amount of residual volume that may persist in the chamber between deliveries. For the inter-delivery leak test, the last volume estimate of the previous delivery is compared to the first volume estimate of the new delivery. As in the case of the intra-delivery leak test, these measurements should generally be the same. The expected measurement noise, in some embodiments, may be marginally higher than in the case of the intra-delivery leak test. Still, any volume change outside this expected noise floor may also generally be attributed to a leaking valve. The inter-delivery leak test may be performed before each basal delivery. In some embodiments, the intra-delivery test may not be performed during a bolus delivery because there is a minimal delay between consecutive deliveries. However, in some embodiments, the intra-delivery test may be performed during a bolus delivery.
Generalized Leak Algorithm
A similar algorithm may be used to detect both inter and intra delivery leaks. The basis for the detection algorithms is the leaked volume defined as the difference between the consecutive volume estimates:
vleak=vavs,2−vavs,1  [EQ#196]
This leaked volume may be integrated over consecutive deliveries using a leaky integrator. In this case, the metric for leak detection, Sleak, will be defined as follows.
SleakleakSleak+vleak  [EQ#197]
where γleak<1.0 is the rate of decay. The leak detection logic is then:
Φleak={1ifSleak>Tleak0otherwise[EQ#198]
In some embodiments, the leak thresholds for the inter-delivery leak algorithm may be set whereby the measured leaked volume is the volume that was over-delivered in the case of a leaking measurement valve. In the case of a leaking measurementchamber inlet valve2906, there may be no over-delivery but, in some embodiments, the leak measurement may not differentiate between this and a measurement valve leak. In the case of an inter-delivery leak, in some embodiments, the potential over-delivery will generally be bounded by the amount of residual volume.
In some embodiments, the intra-leak detection threshold may be set by taking into account that the actual leaked volume may be greater than the volume measured during the leak test. In some embodiments, the leak test may be performed/completed over a short interval, for example, approximately 1 second, but where the fluid is pressurized in thevolume measurement chamber2920 for a longer period of time, this may allow for additional volume to leak out.
Exit Valve Fail Detection
In some embodiments, as described above, thepump system2900 includes ameasurement valve2940 which maintains the fluid in themeasurement chamber2920 unless and until the measurement has been completed by the volume measurement sensor. Thus, in some embodiments, it may be beneficial to determine if a leak is present in themeasurement valve2940, i.e., where fluid is leaking from thevolume measurement chamber2920 prior to the completion of the volume measurement, thus, detecting possibly inaccurate volume measurements as soon as they occur. Themeasurement valve2940 fail detection metric, in some embodiments, compares the expected outcome of an actuation to the observed outcome. In the event of afull measurement valve2940 failure, for example, the volume pumped may appear to be near zero, as the fluid exits nearly as fast or as fast as it is pumped into themeasurement chamber2920. Using a feed forward model estimate for the actuator response, in some embodiments,measurement valve2940 failures may be guarded against in the following manner, where slope, m, and offset, b, are the actuator model:
vbuffer=3*vtarget
δthreshold=(vbuffer*m)+b
vthreshold=0.1*vtarget
ΦnoMeasuredVolume=vpumped>vthreshold
ΦhighControllerEfforttargetthreshold
ΦplungerSaturated=true if the plunger is saturated
    • Note: both δthresholdand vthresholdare limited to a reasonable range of values
ΦexitValveFail={1ifΦnoMeasuredVolumeandeither(ΦhighControllerEffortorΦplungerSaturated)0otherwise[EQ#199]
Thus, in some embodiments, following this method, where the delivery controller commands an actuation that the current model predicts should result in three times the target volume pumped, but where the volume observed to be pumped is less than a tenth of the targeted pumped volume, then in some embodiments, ameasurement valve2940 failure may be assumed and an alarm may be posted.
In some embodiments, the intra-leak method assumes that a leak is continuous. However, discontinuous leaks, i.e., where this assumption would not hold true, may occur. Thus, in some embodiments, to detect a leak of this type, the local relationship between thetarget pump plunger2902 position commanded and the subsequent volume pumped may be monitored. An indication of a discontinuous leak may be that a change in the target position does not necessarily correspond to a change in the volume pumped. Thus, if the relationship between the target position of the plunger and the volume pumped becomes uncorrelated, a discontinuous leak may be suspected by thepump system2900. Referring now also toFIG. 164, in these cases, in some embodiments, adouble pump plunger2902 stroke delivery may be performed. If themeasurement valve2940 is operating normally, a second actuation of thepump plunger2902 would result in additional volume measured in themeasurement chamber2920. However, if themeasurement valve2940 performs like a pressure relief valve, the additional pumped volume is expected to leak discontinuously and the volume in themeasurement chamber2920 may remain substantially unchanged. In some embodiments, while performing a discontinuous leak check, thepump plunger2902 position change targeted for each of the two strokes may be one that should, duringregular pump system2900 function, result in one-half the targeted volume pumped for each stroke, based on the current actuator model.
In some embodiments, in addition to the various safety-checks performed by thecommand processor2924, there are a set of secondary checks performed by thesupervisor processor2926. In some embodiments, thesupervisor processor2926 may control the power to thepump system2900 so the active participation of bothprocessors2924,2926 is needed for thepump system2900 to deliver fluid. Thesupervisor processor2926 may provide oversight at a number of different levels and, in some embodiments, may not turn on power to thepump system2900 unless all of the integrity checks pass. Some of the secondary checks performed by thesupervisor processor2926 may include, but are not limited to, one or more of the following.
In some embodiments, a therapy monitor on thesupervisor processor2926 may determine the volume and timing of fluid delivery independent of thecommand processor2924. Thus, in some embodiments, thesupervisor processor2926 may prevent thecommand processor2924 from delivering fluid if both the timing and volume are not in agreement.
In some embodiments, the delivery monitor provides oversight of the volume measurement sensor using a redundant temperature sensor, redundant storage of the calibration parameter, and independent range-checking of the results and back-calculation of the volume measurement sensor model-fit errors.
In some embodiments, the delivery controller checks for failed switches (open or closed) and broken SMA, and also guards against simultaneous or out-of-sequence actuation of thepump plunger2902 andmeasurement valve2940. The delivery controller may also limit the time the power is applied to SMA. In some embodiments, the delivery controller may independently track the target fluid volume and delivered fluid volume. In some embodiments, the delivery controller may post an alarm and prevent further delivery if it detects a substantial over or under delivery.
Verifying the integrity of a system or device prior to use is desirable. With respect to medical devices, the integrity of the system or device may be verified to, for example, but not limited to, ensure the safety of the user/patient. The detection of fault conditions is at least one method of verifying the integrity of the system or device. In many embodiments, detecting fault conditions at start-up is desirable to avoid downstream errors and failures while the medical device is delivering therapy or otherwise medically serving a user or patient.
Some embodiments of the infusion device methods and systems will be described below with reference to an exemplary embodiment. The exemplary embodiment is described with respect to a medical infusion pump, which in some embodiments may be an insulin pump, as shown and described in herein. Reference herein to a disposable may refer to, in some embodiments, the various embodiments of the disposable housing assembly and/or reservoir portion of the infusion pump described herein.
Although the term “start-up test” may be used herein, the systems and methods described herein may be used at any time. However, in many embodiments, the systems and methods are used at start-up as well as at various other times during the use of the medical device. These include, but are not limited to, when various faults are detected by the system during operation. The start-up test may be beneficial for many reasons, including but not limited to, identifying defective or faulty disposables prior to their use in administering a medical therapy, and/or detecting a fault condition with a medical device that is in ongoing use. Thus, the start-up test may increase the safety of medical devices.
In some embodiments of the method and system, the method and system may be used to determine whether a disposable housing assembly has faults prior to use for delivering therapy. Thus, in some embodiments, the start-up test/procedure/method may be performed each time a disposable housing assembly is attached to a reusable housing assembly. The faults may include, but are not limited to, one or more of the following: disposable leaks, disposable valve malfunction, disposable reservoir malfunction, and/or pump/reusable/disposable malfunction. In some embodiments of the systems and methods, where the integrity of the disposable is not verified for two sequential disposable housing assemblies, the lack of integrity of the reusable pump may be confirmed/assumed. In some embodiments, the system may indicate that a new pump/reusable may be recommended, and once another reusable is attached to a disposable, the start-up test may be repeated on a disposable, which may include, repeating the start-up test on one or more previously failed disposable housing assemblies. In some embodiments, this method may be used to consistently verify the integrity of the pump.
Referring now toFIGS. 165-166, in some embodiments, after a priming function has been completed, which may be performed for many reasons, including, but not limited to, initial priming of a new disposable housing assembly and/or priming after disconnect of a tubing set2922 from a cannula. However, in any case, once a priming function has been completed, and before a cannula is attached to administer therapeutic medications, the system may, in some embodiments, perform a verification of themeasurement valve2940 integrity. This may be completed by actuating thepump plunger2902 to deliver a threshold volume of fluid. This may be done by actuating thepump plunger2902 with increasingly longer ontime, taking avolume measurements sensor2946 measurement, and following, determining the volume pumped, and if the volume pumped is less than a threshold volume, actuating thepump plunger2902 again using an increasingly longer ontime. However, where thepump system2900, after repeating this process, reaches the maximum ontime (which, in some embodiments, is a preprogrammed time) and has not reached the threshold volume, i.e., pumped more than the minimum for ameasurement valve2908,2940 failure detection but less than the minimum to pass the start-up test. Thus, in these circumstances, in some embodiments, thepump system2900 may conclude that thepump plunger2902SMA actuator2910 and the reservoir may be faulty.
With respect tomeasurement valve2908,2940 integrity, there are many benefits to confirming the integrity prior to administering therapy to a user/patient. These benefits include, but are not limited to, preventing over delivery. Thus, confirming the integrity of thepump system2900 prior to administering therapy to a user/patient, safety of the system may be maintained.
With respect to the increasing ontime, in various embodiments using ontime to control the delivery of the medical fluid, this may be performed to verify ameasurement valve2940 failure versus apump plunger2902/pumpplunger SMA actuator2910 failure. The maximum ontime, in some embodiments, may be determined using many variables, including, but not limited to, the ontime that areasonable pump plunger2902/pumpplunger SMA actuator2910 requires to actuate. Thus, where the system is experiencing the maximum ontime and there is no volume measured by the volumemeasurement sensor assembly2946, i.e., the volume measured is less than themeasurement valve2908,2940 failure detection threshold, than it may be determined and/or confirmed that themeasurement valve2940,2908 may have failed.
In some embodiments, however, the pump may be functioning, however, is weakened. Thus, in some embodiments, this differentiation may be confirmed by removing the disposable housing assembly, and attaching a new/another disposable housing assembly. Where the same results are repeated, it may be determined and/or confirmed that thepump plunger2902 and/or pumpplunger SMA actuator2910 is weak and may be replaced. In some embodiments, the controller may recommend the reusable housing assembly of thepump system2900 be replaced. In some embodiments, the controller may include a safety system that prevents the continued use of the reusable housing assembly that has been determined to be weak, thus, ensuring the potentially failed reusable housing assembly is not reused.
Additionally, where the system is confirming whether the pump is weak or the disposable is faulty, replacing the disposable with a new disposable may also confirm whether thereservoir2918 in the first disposable housing assembly included a faulty reservoir which may indicate for example, but not limited, one or more of the following: that thereservoir valve2904 is not functioning properly, e.g., is not able to be opened, i.e., is stuck in the closed position, and/or that thereservoir2918 is not filled enough. Thus, where a fault is found with one disposable housing assembly, in some embodiments, thepump system2900 may require the user/patient to replace the disposable housing assembly with another disposable housing assembly. In some embodiments, where a fault is found with the second disposable housing assembly, thepump system2900, in some embodiments, may require another reusable housing assembly. Thus, in some embodiments, this system reduces the need of the system to determine whether the fault was caused by a leakingmeasurement valve2940 or afaulty reservoir2910 and/orfaulty reservoir valve2904. In either case, the reusable housing assembly is replaced. However, the system and methods described herein ensure that a faulty reusable housing assembly is detected and confirmed prior to continued use for providing therapy to a user/patient.
In some embodiments, when the threshold volume has been met as determined by the volume measurement sensor assembly2947, in some embodiments, a leak test is performed. The threshold volume may be any volume preprogrammed into the system. In the exemplary embodiment, this volume may be 1 microliter, however, in other embodiments, the volume may be less than or greater than 1 microliter. The leak test, in some embodiments, includes holding the volume of fluid in thevolume measurement chamber2920 for a predetermined time, e.g., a number of seconds, which are preprogrammed/predetermined, and in the exemplary embodiments, may be approximately 2 to 5 seconds, however, in other embodiments, may be less than or greater than this time. The volume measurement sensor assembly2947 then completes another volume measurement to determine whether any volume leaked from thevolume measurement chamber2920. Thus, in some embodiments, this leak test may determine and/or detect a slow leak as opposed to a fast leak (which may be determined/detected as discussed above).
In some embodiments, once the leak test is completed, thepump system2900 opens themeasurement valve2940 to empty the volume of fluid from thevolume measurement chamber2920. In some embodiments, thepump system2900 may alert the user/patient to shake the volume of fluid off thetubing set2922 prior to connection to the cannula.
Following, in some embodiments, the system confirms the integrity of the battery, the volumemeasurement sensor assembly2946, and the temperature before signaling to the user/patient that they may connect to the device, i.e., connecting the tubing set2922 to the cannula. Thus, the start-up test presents an opportunity for thepump system2900 to perform a delivery, conform the integrity of the disposable housing assembly and the reusable housing assembly. Additionally, the pump system executes2900 all of the standard run-time integrity tests, i.e., the integrity tests performed after each delivery in the normal course of the therapy, providing an opportunity to detect other failures before therapy has started.
Additionally, in some embodiments, prior to any start-up test, thepump system2900 may alert and/or alarm the user/patient of the start-up test and that the user/patient should ensure they are not connected to the medical device. In some embodiments, a user interface and/or controller device (e.g., remote control assembly) may require the user/patient to verify that they are disconnected, and thus, this may contribute to increased safety and prevention of inadvertent and/or accidental over delivery/delivery.
The start-up test, in some embodiments, may provide an initial data point for modeling the ontime versus volume delivered (in embodiments where this system of pump control is used). Thus, in some embodiments, the final volume pumped into thevolume measurement chamber2920 may be determined and be used as an initial model data point. From this initial data point, the slope and offset for the ontime may be determined or estimated. Thus, although the slope and offset may be adjusted through the ongoing operation of the pump, the start-up test may present an initial slope and offset which is a more valuable and useful starting point for the estimator as compared with no initial data. This may improve the accuracy of the estimator and the accuracy of the initial deliveries of the pump. In various embodiments, for example, those described above and below where an ontime control system is not used, the start-up procedure and method may be used to provide the initial date point for the embodiment of the control system.
In some embodiments, the infusion pump may perform a start-up test each time the user changes the infusion set/tubing set2922. In some embodiments, the start-up test may be performed before the user connects the infusion set/tubing set2922 to the cannula. This may be beneficial for many reasons, including but not limited to, detecting faults before there is any potential for over or under delivery to the user. Thus, in some embodiments, the start-up test may have one or more of the following benefits: detectsmeasurement valve2940 failures and may update the pump model to improve the start-up transient. In addition, the start-up method may also execute all of the standard run-time integrity tests which may provide an opportunity for thepump system2900 to detect other failures before the fluid delivery/therapy has started.
In the exemplary embodiment, the start-up may accomplish many tasks, including, but not limited to, initializing the feed forward actuator model offset, initializing the target measurement valve2040 position near minimum, and performingpump system2900 integrity checks. In practice, the start-up method may be similar to a standard delivery but with a few key differences outlined in detail below. Referring now toFIG. 167, a schematic of one embodiment of the start-up test method is shown. The start-up method may be broken into three distinct phases, namely, a pumping phase, a leak check phase and a valving phase. The pumping phase includes collecting data for thepump plunger2902 modeling by way ofpump SMA actuator2910 re-actuation. The leak check phase includes checking pumped volumes against expected values after pumping fluid into themeasurement chamber2920 and after a delay. The valving phase includes releasing the pumped fluid from the measurement chamber2929 and themeasurement valve2908 actuation target position is set by way of re-actuation of the measurementvalve SMA actuator2908.
Referring now also toFIGS. 168-170, where thepump plunger2902 target position is plotted against the volume of fluid pumped to thevolume measurement chamber2920, during a start-up, thepump plunger2902 may be re-actuated multiple times without actuation of themeasurement valve2940. At each re-actuation, thepump plunger2902 target position change may be incremented. The size of this increment may vary based on the total volume that has already been pumped into thevolume measurement chamber2920 by previous re-actuations.
Initially, the goal of the start-up procedure is to accurately set the actuator model offset. In some embodiments, the target position may be initialized at a value which is low enough to ensure that the pump will not move fluid. The increment for re-actuation, δ1, in some embodiments, is set at a small value so that when thepump plunger2902 moves from the dead band into its linear region, the first delivery will be small. In order to estimate the offset, based on this single first pumped volume, a default pump slope is assumed. The offset may be therefore:
δoffsettarget−mdefaultvpumped  [EQ#200]
Where mdefaultis the default slope, δtargetis the target position change for the first pumped volume delivery, and vpumpedis the first pumped volume. The error in this estimate is directly proportional to the error in the slope, ∈, and the size of vpumped.
e=δoffset,calculated−δoffset,actual
e=vpumpedmdefault−vpumped(mactual+∈)
e=vpumped∈  [EQ#201]
Referring toFIG. 168, thus, the smaller vpumpedis, the less susceptible the offset calculation is to deviation from the average slope, mdefault, used for the calculation. As such, the pumped volume limit for this phase, V1, is close to zero. Once an actuation has moved any fluid, an accurate offset may be calculated. The offset may be calculated for every actuation which results in a pumped volume less than V1, even those which move no fluid. In the event that no non-zero volumes are pumped which are less than V1, the last zero volume data point is used to determine the offset. This result may be within δ1of the actual offset.
Referring now toFIG. 170, after the first non-zero volume has been pumped and the initial pump offset calculated, the goal of re-actuation, in some embodiments, is to model the slope of the actuator using the least squares estimator described above. The increment of position change, δ2, in this phase is set so that multiple points may be collected for the regression analysis, therefore, improving the model.
Referring now toFIG. 169, as thevolume measurement chamber2920 fills with fluid, the dynamics of pumping may begin to change. Once a certain volume, V2, has been achieved, the pumped volume for a givenpump plunger2902 position change (i.e.,pump plunger2902 displacement) may no longer reflect the normal empty chamber actuator response. After this point, the actuator model may no longer be updated. The third position change increment for re-actuation, δ3, is based on the normal pump controls described above. The goal of this phase, in some embodiments, is to fill thevolume measurement chamber2920 to the minimum hold volume, Vmin,startup.
During the start-up procedure, integrity checks may also be completed in some embodiments. These may include, but are not limited to, one or more of the following. For example, if the pump target position reaches saturation, and the pumped volume remains close to zero, in some embodiments, themeasurement valve2940 is assumed to have failed in the open position. As may be determined from inspection, this is slightly different from the regular delivery formeasurement valve2940 failure because it is based solely on saturation rather than either saturation or the pump feed-forward model.
If the volume delivered to thevolume measurement chamber2920 for apre-determined pump plunger2902 position change, i.e., displacement, is substantially less than the expected volume, in some embodiments, it may be determined that the pump is experiencing a “weak pump” fault.
At the conclusion of thepump plunger2902 actuation phase of the start-up test, the total volume pumped into thevolume measurement chamber2920 is determined. Where the minimum threshold for alarm is not met, the start-up procedure may conclude that both themeasurement valve2940 and the measurement chamberinlet check valve2906 are functioning normally.
During start-up, thepump system2900 tests for inter-delivery leaks using a similar procedure as performed for the run-time tests. In some embodiments, during the start-up procedure, after fluid has been pumped to thevolume measurement chamber2920 and a baseline “pumped” fluid measurement is taken/completed, a second measurement is taken after a fixed delay. If there is any volume change between these two measurements (outside the measurement noise), it may be concluded in some embodiments that it is likely due to fluid leaking past themeasurement valve2940 and/or the measurement chamberinlet check valve2906. The start-up test leak-check procedure, in some embodiments, is the same as the run-time leak detection, however, the test parameters, e.g., waiting time between measurements, leak alarm thresholds, may be different.
In some embodiments, as with thepump plunger2902, themeasurement valve SMA2912 is re-actuated multiple times during the start up test. In some embodiments, following each actuation, the volume in thevolume measurement chamber2920 may be compared to the volume in thevolume measurement chamber2920 before thepump plunger2902 was actuated. In some embodiments, where there is still a residual volume in thevolume measurement chamber2920, themeasurement valve SMA2910 may be re-actuated. In some embodiments, themeasurement valve2940 target position change may be incremented from its default value with each re-actuation. When an actuation results in the residual volume dropping to near zero, the re-actuations may be stopped, and, in some embodiments, the last targetedmeasurement valve2920 position change becomes the new default position change for future deliveries. In some embodiments, this may be beneficial for one or more reasons, including, by making the increment small, a nearminimum measurement valve2920 target position may be achieved. This may be desirable in some embodiments, for many reasons, including, but not limited to, it reducing the strain on themeasurement valve SMA2912 for each actuation, which may potentially increase the SMA time to failure/shorten the “life” of the SMA.
In some embodiments, the start-up occlusion detection may be the same or similar to the run time occlusion detection as described above. However, in some embodiments, the start-up occlusion detection may not require the occlusion detection criteria to be met for consecutive deliveries before alarming. As discussed above, the occlusion detection criteria is that the volume delivered, as determined by the volume measurement sensor, is greater than some fraction of the volume pumped.
In some embodiments, for eachmeasurement valve2940 re-actuation of the start-up test, themeasurement valve2940 target position may be incremented. In some embodiments, when the start-up test is complete, the last targetedmeasurement valve2940 position may become the startingtarget measurement valve2940 position for the first subsequent run time delivery.
In some embodiments, rather than the infusion pump system including a volume measurement sensor assembly, the pump system may include one or more optical sensors used as a feedback measurement. For example, referring also toFIGS. 171-172, in some embodiments, rather than a delivered volume determination from a volume measurement sensor assembly (seeFIGS. 161-162), the volume delivered may be presumed/assumed from at least onepump plunger2902 optical sensor input which may be correlated to a volume delivered based on a model of the pump assembly. In some embodiments, the pump assembly, which may be integrated into a reusable housing assembly, may be calibrated at manufacture, and therefore, a model ofpump plunger2902 displacement versus volume of fluid pumped, may be generated. In some embodiments, additional modeling may be completed with respect to disposable housing assemblies, thus, in some embodiments, each disposable housing assembly may be calibrated with a reusable housing assembly, and, in some embodiments, each disposable housing assembly may include, e.g., a calibration code, for example, which may either be input manually into e.g., a remote control assembly and/or read by the reusable housing assembly and/or remote control assembly, for example, using an RFID reader and writer and/or a bar code scanner. In some embodiments, each reusable housing assembly may include one or more disposable housing assemblies that have been calibrated with the reusable housing assembly. In some embodiments, each disposable housing assembly may be calibrated at manufacture.
The code, in some embodiments, may indicate the model for the controller to follow. Thus, variations in disposable housing assemblies may be input into the controller and pump predictive model; therefore, the model may be substantially accurate with respect to predicting an assumed volume delivered.
However, in some embodiments of the infusion pump system, a series of one or more models may be established. For example, in some embodiments, for each disposable housing assembly, a code, or indication of the model, may be assigned based on a calibration procedure at manufacture. In these embodiments, therefore, each disposable housing assembly may not be explicitly calibrated to a specific reusable housing assembly, however, the calibration procedure may fit the disposable housing assembly into a category or code that most closely represents the expected performance based on the calibration procedure.
Thus, in some embodiments of these embodiments of the infusion pump system, the displacement of thepump plunger2902, as discussed above, may follow a trajectory. The at least one optical sensor may determine the actual displacement of thepump plunger2902 and the volume delivered may be assumed/predicted based on a model. In various embodiments, thepump plunger2902 may include one or more optical sensors to determine the displacement of thepump plunger2902. Examples of the optical sensors and the placement of these optical sensors may include those described above with respect toFIGS. 145-149B
In some embodiments, variations in the disposable housing assembly, for example, SMA wire actuation and membrane spring back/return to starting position following pump, etc., may be accounted for in a predictive model. Thus, in some embodiments, the number of actuations of thepump plunger2902 may translate to a variation in the feed forward term to compensate for a change in the prediction of the ADC counts to pumpplunger2902 displacement. In some embodiments, the SMA wire may vary upon use, and/or the membrane of thepump chamber2916 may vary upon use, and therefore, the assumed volume of fluid pumped from thereservoir2918 for apump plunge2902 displacement may vary with the number of pump actuations. In some embodiments, as the volume in the reservoir is depleted, the expected volume delivered for ADC count may vary, and therefore, the volume in the reservoir at the start of the pump may be factored into the one or more models.
In some embodiments, the actual displacement of thepump plunge2902 upon actuation may vary from the trajectory. The volume controller may feed back theactual pump plunger2902 displacement information, sensed by the at least one optical sensor. The difference between the displacement requested and the actual displacement may be fed into one or more of the upcoming deliveries, therefore, compensating for a displacement error.
Thus, the displacement of thepump plunger2902 may, in some embodiments, essentially be translated into an assumed/presumed volume delivery. Using the at least one optical sensor, the actual displacement of thepump plunger2902 for each actuation of thepump plunger2902 may be determined. The displacement may be fed back to thetarget pump plunger2902 displacement, and the volume controller may determine whether and how to compensate for the actual displacement, if determined necessary. In some embodiments, as discussed above, thepump plunger2902 displacement, and in some embodiments, taken together with the number of actuations of thepump plunger2902 for a given disposable housing assembly, as well as the reservoir volume, may determine the volume delivered based on a model.
In some embodiments, whether and how to compensate for the determined actual displacement of thepump plunger2902 may depend on one or more factors. These may include the size of the difference, whether the difference may indicate an over delivery or an under delivery, the number of consecutive actual displacement readings that may show error, etc. Thus, in some embodiments, a threshold error may be required prior to the controller adjusting the displacement trajectory.
In some embodiments of these embodiments of the infusion pump system, the system may include additional optical sensors to sense the movement of valves. For example, in some embodiments, the pump system may include at least one optical sensor to sense the movement of thereservoir valve2904 and/or a pumpchamber exit valve2906, which may be similar to the valves described and shown above, for example, with respect toFIG. 150. The pumpchamber exit valve2906 may function in a similar manner to the volumemeasurement chamber valve2906, only the pumpchamber exit valve2906, once opened, may allow fluid to flow from thepump chamber2916 to thetubing set2922. Thus, as discussed above, in these embodiments, the volumemeasurement sensor assembly2946, together with the measurement valve, may be removed from thepump system2900.
Thus, in these embodiments, confirmation of thevalves2904,2906 opening and closing may confirm fluid was pumped from thereservoir2918 and fluid was pumped out of thepump chamber2916 and to thetubing set2922. Following, where the optical sensors do not sense the opening and/or closing of one or more valves, the system may post an alarm. However, as discussed above with respect to various alarms posted to the system, in some embodiments, the alarms may be posted after a threshold is met. For example, in some embodiments, an alarm may be posted if the optical sensor determines that twoconsecutive pump plunger2902 actuations occurred and two consecutive errors were detected on one or more of thevalves2904,2906.
As discussed above with respect to the at least one optical sensor for thepump plunger2902, in some embodiments, greater than one optical sensor may be used to collect sensor input from redundant optical sensors. In some embodiments, for example, as shown inFIG. 147, the two optical sensors for thepump plunger2902 may be located in two different locations in thepump system2900 thereby collecting sensor data from two different angles which may provide, in some embodiments, a more developed determination of thepump plunger2902 displacement.
In some embodiments, the two or more optical sensors may be used for redundancy and also, to determine whether one of the optical sensors may have an error. Thus, in some embodiments, upon collection of optical sensor data from two or more optical sensors, the system may, comparing the two sets of data, determine that one of the sensors may have an error as the data points vary more than a preset threshold. However, in some embodiments, where the optical sensor data collected by the at least one optical sensor is so far away from the expected value, i.e., exceeds one or more thresholds, the system may post an alarm and conclude the at least one optical sensor has failed and/or is in error.
In various embodiments, the various membranes in the disposable housing assembly, including, but not limited to, the membrane assembly and the reservoir membrane, may include a coating, for example, in some embodiments, the coating may be parylene and the membrane may be SANTOPRENE, a thermoplastic elastomer made by ExxonMobil Corporation, Irving, Tex., U.S.A. However, in various other embodiments, the coating may vary and may include any form of parylene, for example, or other coating materials. In various embodiments parylene C may be used. In various embodiments, the parylene coating may be 3 microns in thickness, however in some embodiments the parylene coating may be 1 micron thick and in some embodiments, the reservoir membrane may include a different thickness of coating than the fluid pathway membrane. In some embodiments, the reservoir membrane may include a 3 micron thickness parylene coating and the fluid pathway membranes may include a 1 micron parylene coating. In carious embodiments, the thickness of the parylene may vary and may be less than 1 micron and/or greater than 3 microns.
In some embodiments, the coating may be applied using a tumble method, and in various embodiments, the membranes are coated on both sides (i.e., the fluid side and the dry side/non fluid side of the membrane). In various embodiments, various methods may be used to apply the coating to the membrane.
In various embodiments, the reservoir in the disposable housing assembly may be a 3 cc volume reservoir. However, in other embodiments, the volume of the reservoir may be less than or greater than 3 cc.
Referring now also toFIGS. 173A and 173B, in some embodiments, the parylene coating of the membrane may change the durometer of the membrane material and therefore, in some embodiments, the reservoir membrane may be designed to compensate for this change. In some embodiments, thereservoir membrane4000 may be “inverted”, that is, may be biased such that it collapses onto the bottom of the reservoir. In these embodiments, thereservoir membrane4000 includes a perimeter seal4002 (which in some embodiments may be a bead seal) that allows for the assembly of thereservoir membrane4000 such that two plates may “pinch seal” thereservoir membrane4000.
In various embodiments, thereservoir membrane4000 may also include aseptum4004. In various embodiments, theseptum4004 may be made from SANTOPRENE and may be parylene coated. Theseptum4004, in these embodiments, is configured such that theseptum4004 is substantially rounded, thus, when the disposable housing assembly is assembled (which, in some embodiments, may include laser welding) theseptum4004 may be pushed into a mating hole that is smaller than theseptum4004 diameter, thus, placing a compression force on theseptum4004. In addition, in some embodiments, there is axial compression. This compression may seal theseptum4004. In some embodiments, this configuration of theseptum4004 may be desirable when using a parylene coating as the parylene may make the septum more difficult to seal. In these embodiments of theseptum4004, theseptum4004 is configured such that the filling needle (e.g., a needle used to fill the reservoir with fluid) enters theseptum4004 at approximately a 45 degree angle.
In various embodiments, thereservoir membrane4000 may include abump feature4008 approximate to theseptum4004 location. Thebump feature4008 may be shaped as shown, or may be a different shape. Thebump feature4008 may prevent and/or reduce the likelihood of accidental/unintentional piercing of themembrane4000 by the filling needle which may reduce the likelihood of leaks in the reservoir. Thebump feature4008 may, in some embodiments, also serve as an air trap such that the filling needle may remove air after filling the reservoir to a desired volume with fluid.
Referring now also toFIGS. 174A-174D, in some embodiments thereservoir membrane4000 may include one or more features that minimize and/or reduce and/or remove positive pressure from being exerted onto the contents of the reservoir. In some embodiments, one or more notches may be introduced onto thereservoir membrane4000. Referring now to FIG.174D, showing the sectional view ofFIG. 174A taken at “A”, is an enlarged view of the section “C” shown inFIG. 174B, thenotches4010,4012,4014 essentially “weaken” the elastomeric properties of thereservoir membrane4000 and these features allow thereservoir membrane4000 to unfold completely or substantially completely when the reservoir is filled to capacity. Thenotches4010,4012,4014 may also lessen the force on the fluid at these points. Thus, in some embodiments, the one or more notches may be located at one or more points where the force is greatest and/or in some embodiments, may be located to reduce the force to a maximum threshold amount. In various embodiments, the number, size and or location of the notches may vary.
In some embodiments thereservoir membrane4000 may include features that reduce the dead volume of the reservoir such that air and/or fluid are not trapped in the reservoir. Referring now toFIG. 174C, which is an enlarged sectional view of section “B” inFIG. 174B (which is a cross sectional view ofFIG. 174A taken at “A”). In some embodiments, afeature4016 may be included and in some embodiments, thefeature4016 may be located near theseptum4004. In some embodiments, this feature is configured to ensure air is not “stuck” in the corner of the reservoir. In various embodiments, thefeatures4016 may be configured differently and/or located differently.
Referring now toFIG. 175, another embodiment of theactuator assembly4018 is shown. In this embodiment, thecrimp assembly4020, which anchors the shapememory alloy wires4022,4024 may includepost assemblies4026,4028. In some embodiments, thecrimp assembly4020 may include glue to anchor the memoryshape alloy wires4022,4024 to thecrimp assembly4020. In some embodiments, glue may be advantageous for many reasons, including, but not limited to, limiting the thermal change of the shapememory alloy wires4022,4024 (i.e., serving as a thermal heat sink) and/or may serve as an additional mechanical attachment and/or may provide strain relief. In various embodiments, glue of various durometers may be selected to aid in strain relief. In some embodiments, thepost assemblies4026,4028 may be used with and/or without glue at thecrimp assembly4020. In some embodiments, thepost assemblies4026,4028 may be advantageous, for example, for they maintain the shapememory alloy wires4022,4024 and prevent and/or minimize and/or reduce lateral rotation and/or angular deflection.
Referring now toFIGS. 176A and 176B, another embodiment of theactuator assembly4030 is shown. In this embodiment, thecrimp assembly4032, which anchors the shapememory alloy wires4036,4038 may include dovetail assembly4034. In some embodiments, thecrimp assembly4032 may include glue to anchor the memoryshape alloy wires4036,4038 to thecrimp assembly4032. In some embodiments, the glue may be applied over thecrimp assembly4032 and over the shapememory alloy wires4036,4038 connection to thecrimp assembly4032. In some embodiments, glue may be advantageous for many reasons, including, but not limited to, limiting the thermal change of the shapememory alloy wires4036,4038 and/or may serve as an additional mechanical attachment and/or may provide strain relief. In various embodiments, glue of various durometers may be selected to aid in strain relief. In some embodiments, thedove tail assembly4034 may be used with and/or without glue at thecrimp assembly4032. In some embodiments, thedove tail assembly4034 may be advantageous, for example, for it maintains the shapememory alloy wires4036,4038 and allows for lateral rotation and/or angular deflection.
Referring now toFIGS. 177A and 177B, a partial rendition of another embodiment of theactuator assembly4046 is shown. In this embodiment, ahook4040 is added to thecrimp assembly4048. As theactuator assembly4046 rotates, thehook4040 rotates and therefore, the shapememory alloy wires4042,4044 receive reduced/minimum bending stress. In some embodiments of this embodiment, thecrimp assembly4048 may be used with glue and/or without glue.
Referring now toFIGS. 178A and 178B, a partial rendition of another embodiment of theactuator assembly4050 is shown. In this embodiment, ahook4052 is added to theactuator assembly4050. The shapememory alloy wire4054 forms a single wire that wraps around ahook4052. In some embodiments, thehook4052 may be shaped differently and may include, for example, a holder to hold the shapememory alloy wire4054. In some embodiments of this embodiment, thehook4052 may be used with glue and/or without glue, and in some embodiments, the shapememory alloy wire4054 may be glued approximately at the entire contact point between the shapememory alloy wire4054 and thehook4052. In some embodiments, the shapememory alloy wire4054 may be glued at the entire contact point between the shapememory alloy wire4054 and theactuator assembly4050. In some embodiments, the glue may not be applied as extensively.
Referring now toFIGS. 179A and 179B, a partial rendition of another embodiment of theactuator assembly4056 is shown. In this embodiment, ahook4058 is added to theactuator assembly4056. The shapememory alloy wire4060,4062 includes either two single strands or a strand that may wrap around the anchor. The shapememory alloy wire4060,4062 connects toconnectors4064,4068.Connectors4064,4068 also connect to a strand of non-shapememory alloy wire4060, which, in some embodiments, may be a strand of KEVLAR wire, or an electrically conductive wire. The strand of non-shapememory alloy wire4060 wraps around thehook4058. In some embodiments, thehook4058 may be shaped differently and may include, for example, a holder to hold the non-shapememory alloy wire4060. In some embodiments of this embodiment, thehook4058 may be used with glue and/or without glue, and in some embodiments, the non-shapememory alloy wire4060 may be glued approximately at the entire contact point between the non-shapememory alloy wire4060 and thehook4058. In some embodiments, the non-shapememory alloy wire4060 may be glued at the entire contact point between the non-shapememory alloy wire4060 and theactuator assembly4056. In some embodiments, the glue may not be applied as extensively. In these embodiments, the bend and flex would occur on the non-shapememory alloy wire4060. In various embodiments described above, there is an electrical connection between the connectors shown. In some embodiments, an electrically conductive wire may be included.
Referring now also toFIG. 180, another embodiment of the dove tail crimp embodiment is shown.
Referring now also toFIGS. 241A and 241B, another embodiment of theshape memory alloy7016 and theactuator assembly4056 are shown. In this embodiment, the shape memory alloy includes acrimp7018 rather than, for example, an electrical contact. Thus, in this embodiment, a singleshape memory alloy7016 wire is used that is crimped, which mechanically fastens theshape memory alloy7016 to theactuator assembly4056.
In some embodiments, theactuator assembly4056 may include additional material in various sections to impart additional stiffness to theactuator assembly4056. This may be beneficial/desirable for many reasons, including, but not limited to, reducing the distance that the shape memory alloy wire travels.
In various embodiments, a torsion spring may be included in the actuator assembly. In some embodiments, the actuator assembly may include a pocket for the torsion spring, therefore, stopping the torsion spring during its upward position, therefore, the torsion spring, at this position, does not apply force to the actuator assembly, including the shape memory alloy.
In some embodiments, the actuator assembly may be made from plastic. In other embodiments, the actuator assembly may be made from metal and in these embodiments may serve as a heat sink. In the embodiments where the non-shape memory alloy wire or the shape memory alloy wire wraps around a hook, in some of these embodiments, the wire may wrap more than once around the hook. In some embodiments, the crimp may be an inline crimp and may float in space, where one piece of shape-memory alloy wire is attached to the crimp and a second, non-shape memory alloy wire is attached to the crimp. In some embodiments, the second, non-shape memory alloy wire may be a shape-memory alloy wire that has been “deactivated” such that the actuation properties of the shape memory alloy wire are no longer present in the wire. In some embodiments, the non-shape memory alloy wire may be KEVLAR or platinum, for example, but other materials may be used. In some embodiments, one shape-memory alloy wire may be used to pull the plunger pump down and one shape-memory alloy wire may be used to pull the plunger pump up. In some embodiments, the shape-memory alloy wire (and/or the non-shape memory alloy wire) may be potted, for example, in some embodiments by using glue, to the electrical contacts.
Referring now toFIGS. 181-184, various embodiments of the configuration of the measurement valve and the shape memory alloy configurations are shown.
Referring now toFIGS. 242 and 243, views of themeasurement valve assembly7020 are shown. The plunger assembly includes anoptical flag7022, and the bell crankassembly7026 includes anoptical flag7024. In various embodiments, one or both of theseoptical flag7022,7024 may be monitored, however, in some embodiments, one of theseoptical flags7022,7024 are monitored. For example, in some embodiments, theoptical flag7022 may be monitored therefore monitoring the movement of theplunger7032. In this embodiment of thebell crank7026, twoarms7028,7030 that lift theplunger7032.
Referring now toFIGS. 185A and 185B, one embodiment of a packaging for thedisposable housing assembly4072 is shown. In some embodiments of this embodiment, thehousing4070 includes formed areas for thedisposable housing assembly4072, filladapter4076 and the tubing assembly (tubing and cannula contact assembly)4074, which, in various embodiments, is bonded to thedisposable housing assembly4072. In various embodiments, thehousing4070 is made from PET (polyethylene terephthalate). In some embodiments, thehousing4070 may be formed using other materials. In some embodiments, thehousing4070 may be formed using thermoforming, and, in some embodiment, using thermoforming with vacuum assist. In some embodiments, plug assist may also be used. In various other embodiments, thehousing4070 may be formed using other techniques. In various embodiments the packaging may be designed to accommodate thedisposable housing assembly4072 and/or the disposable housing assembly attached to afill adapter4076, as well as the tubing assembly7074. Thehousing4070 may therefore includecompartments4078,4080 to accommodate the various disposables. In various embodiments, once thedisposable housing assembly4072 and thecannula assembly4074 are loaded into thehousing4070, a cover (not shown) is placed onto thehousing4070. In some embodiments, the cover may be made from TYVEK, in other embodiments; the cover may be made from another material. In various embodiments, the cover removably bonds to thehousing4070 and provides a barrier to maintain sterility inside thehousing4070.
Referring now toFIGS. 186A and 186B, another embodiment of a disposable packaging is shown. In some embodiments of this embodiment, thehousing4086 includes formedareas4082,4084 for thedisposable housing assembly4072, filladapter4076 and the tubing assembly (tubing and cannula contact assembly)4074, which, in various embodiments, is bonded to thedisposable housing assembly4072. In various embodiments, thehousing4086 may be made from PET (polyethylene terephthalate). In some embodiments, thehousing4086 may be formed using other materials. In some embodiments, thehousing4086 may be formed using thermoforming, and, in some embodiment, using thermoforming with vacuum assist. In some embodiments, plug assist may also be used. In various other embodiments, thehousing4086 may be formed using other techniques. In various embodiments the packaging may be designed to accommodate thedisposable housing assembly4072 and/or the disposable housing assembly attached to afill adapter4076, as well as the tubing assembly7074. Thehousing4086 may therefore includecompartments4082,4084 to accommodate the various disposables. In various embodiments, once thedisposable housing assembly4072 and thecannula assembly4074 are loaded into thehousing4086, a cover (not shown) is placed onto thehousing4086. In some embodiments, the cover may be made from TYVEK, in other embodiments; the cover may be made from another material. In various embodiments, the cover removably bonds to thehousing4086 and provides a barrier to maintain sterility inside thehousing4086. As shown inFIG. 186B, in some embodiments, thehousing4086 may include features in the compartments, for example, incompartment4084, that provide additional functionality to thehousing4086. For example, inFIG. 186B, thecompartment4084 in thehousing4086 functions to maintain thefill adapter4076 in a position that may be beneficial/desirable for filling thedisposable housing assembly4072 reservoir.
In various embodiments, the shape of the housing of the packaging may vary. Some embodiments may include additional compartments and or features to accommodate additional disposables, which may include, but are not limited to, a filling syringe and/or a filling syringe and a filling needle.
Referring now toFIGS. 187A-187 J, various views of another embodiment of disposable packing are shown. In these embodiments, acover assembly4088 may be included that is configured to matebly attach to thebase assembly4090 in a removable fashion and may be made from the same material as thebase assembly4090. However, in various other embodiments, the cover may be different from that shown inFIGS. 187A-187 J and may be made from TYVEK, in other embodiments; the cover may be made from another material. In various embodiments of this embodiment, the cover may removably bond to thebase assembly4090 and provide a barrier to maintain sterility inside thebase assembly4090. In various embodiments, thebase assembly4090 is configured to receive thedisposable assembly4092, which, in various embodiments, may include adisposable housing assembly4094, afill adapter4096 and acannula assembly4098.
In some embodiments of this embodiment, thebase assembly4090 and thecover assembly4088 include formed areas that are configured to receive thedisposable housing assembly4094, filladapter4096 and the tubing assembly (tubing and cannula contact assembly)4098, which, in various embodiments, is bonded to thedisposable housing assembly4094. In various embodiments, thebase assembly4090 and coverassembly4088 may be made from PET (polyethylene terephthalate). In some embodiments, thebase assembly4090 and coverassembly4088 may be formed using other materials. In some embodiments, thebase assembly4090 and coverassembly4088 may be formed using thermoforming, and, in some embodiment, using thermoforming with vacuum assist. In some embodiments, plug assist may also be used. In various other embodiments, thebase assembly4090 and coverassembly4088 may be formed using other techniques.
In various embodiments the packaging may be designed to accommodate thedisposable housing assembly4094 and/or the disposable housing assembly attached to afill adapter4096, as well as thecannula assembly4098. The packaging may therefore include various compartments and features to accommodate the various disposables. In various embodiments, once thedisposable housing assembly4094 and thecannula assembly4098 are loaded into thebase assembly4090, thecover assembly4088 is placed onto thebase assembly4090. In some embodiments, thecover assembly4088 may include a TYVEK cover. In some embodiments thecover assembly4088 may be made from the same material as thebase assembly4090 or, of a different material. In various embodiments, thecover assembly4088 removably attaches and/or mates to thebase assembly4090 and, together with the TYVEX, provides a barrier to maintain sterility inside thebase assembly4090.
As shown inFIGS. 187A-187J, in some embodiments, thebase assembly4090 and thecover assembly4088 may include various features in the compartments, which may provide additional functionality to thebase assembly4090 and thecover assembly4088. For example, as shown inFIG. 187B, the compartment in thebase assembly4090 functions to maintain thefill adapter4096 in a position that may be beneficial/desirable for filling thedisposable housing assembly4094 reservoir. In some embodiments, the compartment features maintain thefill adapter4096 anddisposable housing assembly4094 at a 45 degree angle for filling the reservoir in thedisposable housing assembly4094. In various embodiments of thecover assembly4088, compartments may be included to assist in maintaining the position of thefill adapter4096 inside thebase assembly4090. In some embodiments, thecover assembly4088 may include a well or other to accommodate the cannula connector during priming of thedisposable housing assembly4094.
In various embodiments, thebase assembly4090 may be configured to be self standing and this may be desirable/advantageous for many reason, including, but not limited to, the filling of thedisposable housing assembly4094 may be accomplished by a user using one hand, the packaging itself provides for a sterile work surface and maintains thedisposable housing assembly4094 inside the sterile work surface while filling to reduce/avoid contamination.
In some embodiments, the packaging may include user instructions for use wrapped around the outside of the packaging. In some embodiments, the shape and dimensions of the packaging may vary. Some embodiments may include additional compartments and or features to accommodate additional disposables or other devices, which may include, but are not limited to, a filling syringe and/or a filling syringe and a filling needle.
Many medical devices are subject to an ethylene oxide (EO) sterilization process to kill potentially harmful pathogens prior to use on or in a human or other animal. The process involves placing the parts to be sterilized in a chamber and subjecting them to phases of vacuum, humidification, heat and EO gas. The EO gas permeates through the packaging materials and comes in contact with the component's/device's surface(s). However, the EO gas also permeates and is absorbed by the materials during this process. Due to the volatility of EO, it is harmful to human tissue/biological processes and may have harmful interaction with substances, e.g. drugs, that come into contact with the components (e.g. insulin or other therapeutics), thus, the EO gas must be sufficiently removed from the sterilized parts before they may be used.
EO removal may be done using, for example, one of the following two processes. One includes using several vacuum cycles at the end of the sterilization cycle to purge the airspace of EO. Another is where the sterilized components are subject to an “aeration” process whereby the parts may be quarantined for a period of time that has been shown to provide sufficiently low levels of EO and EO variant “residues” (hereby referred to simply as “EO”) exhausting from the components/devices. The vacuum cycle is effective in removing residual EO from the airspace and likely drawing some EO out of materials. During aeration, the EO residuals come out of the sterilized materials by diffusion. The EO is gaseous in nature, so the molecules must make their way to the surface of the component/device and then exhaust into the atmosphere. This process may take hours to days to weeks depending upon the EO dosing and material properties (which may include, but are not limited to, one or more of the following: affinity to absorb/hold onto the EO). Below is described a process to expedite the aeration process to allow sterilized components/devices to be used sooner and to better ensure that the components/devices are sufficiently aerated and EO residues are low enough to be considered safe for general human/animal use and/or drug interaction.
Many factors may affect the amount of time elapsed before a sufficiently low EO residual level is reached, these may include, but are not limited to, material used, temperature and packaging. With respect to material, the material density may play a role, thus, a more dense plastic may absorb less EO than, for example, rubber, but less dense rubber may more quickly release the EO/variants as compared with a plastic. With respect to temperature, temperature directly affects the rate of diffusion and raising the temperature raises the energy level of the gas molecules making them more mobile to exhaust from the material. With respect to packaging, on many cases, sterilized components reside in packages that allow them to be handled which indicates that, in many cases, there is an inherent barrier to prevent de-sterilization. In some instances, packaging may include a non-permeable barrier, for example, a plastic sheet and/or shell, and a removable semi-permeable barrier, for example, TYVEK. This packaging may also be enclosed in other packaging, for example, for shipment, such as cardboard boxes or multiple boxes. EO may readily penetrate the packaging during the sterilization process in part because of the motive vacuum force used at the onset of the process to actively move the EO particles into all airspace within the chamber. The EO then permeates the component material as it dwells due to the nature of diffusion (for example, particles move from a higher density volume into a lower density volume). During the vacuum flush cycles, any air born EO may be evacuated from the air space and the vacuum may draw an amount of absorbed gas from the component/device materials. During aeration, the higher concentration of the EO gas in the materials diffuses out into the lower EO concentration air space around the components, eventually making its way out of the packaging and into the atmosphere.
In some embodiments, for any device/component configuration or material, an impediment to driving EO levels down quickly may be the packaging. Diffusion rate for any gas is maximized when the density of molecules in the reference space (i.e., where the dense molecules are headed) is kept low. Diffusion acts to homogenize the density of gas in a volume and the large the gradient (density discrepancy) the more quickly the volume of higher density will reduce. In some cases, the aeration takes place in a well ventilated volume, for example, a room or chamber with moving air/ventilation, but the packaging acts to trap exhausted EO and reduce the diffusion gradient. There are often multiple trapped volumes around the sterilized components including the product packaging and one or more bulk packaging containers, for example, cardboard boxes. This results, in many cases, in the EO having to not only diffuse out of the sterilized parts, but the packaging itself. The produce packaging is unavoidable, but the bulk packing boxes act to block convection offered by the ventilated volume around the packaging.
In some embodiments, to decrease the EO levels more quickly, ventilating the sterilizer bulk packaging may allow convection to increase the EO gradient. Convection, in some embodiments, may inherently assist with equalization of the temperature throughout the packaging more efficiently since there may be less insulated airspace. In some embodiments, this process/method may include, but is not limited to, one or more of the following:
In some embodiments, a sterilizer bulk package may be used that contains individually packed components to be sterilized. A sterilizer bulk package containing slots, holes, mesh, etc., to provide a containment structure that may be ventilated form the space within the bulk pack to the atmosphere in the chamber/room where the aeration is taking place. A sterilizer bulk package may be disposable or reusable. In some embodiments, place the sterilizer bulk package into a standard cardboard box for shipping after aeration. Next, transfer the individually paced components to a standard cardboard box for shipping after aeration. The sterilizer bulk package may, in some embodiments, contain features that leave airspace between the individually packed components (i.e., spacer) to promote airflow around all sides of the components/devices/parts.
Sterilizer bulk package, in some embodiments, may incorporate features to mate the packaging directly to a duct that pushes air through the packaging. In some embodiments, this may include modification of a typical aeration chamber to duct air through the parts directly, in addition to moving through the airspace around the packaging.
The sterilizer bulk pack may, in some embodiments, contain a built in fan or multiple fans for increasing convection directly within the box. In some embodiments, this may be used with respect to a reusable device/pack/component.
The sterilizer bulk pack may contain, in some embodiments, elements to locally apply heat to the parts and expedite the process. This could be combined, in some embodiments, with direct convection within the box to increase the efficiently of the heating process. In some embodiments, this may be used with respect to a reusable device/pack/component.
While the process/methods described herein may be applicable to anything that is EO sterilized, in some embodiments, the process/methods may be used in critical applications where the residual EO levels must be significantly lower than what it considered “safe” for a human, for example, devices that come into contact with infused drugs that will be infused into a human, which may include, but is not limited to, insulin. Insulin and other drugs containing amino acid chains are highly sensitive to EO and exposure results in conversion of therapeutic molecules into non-therapeutic or perhaps harmful molecules. The residual EO levels in some cases may be required to be less than 1 part per million (PPM) in order to avoid having a significant impact on the drug potency. Driving the EO residual concentration down into the 1 PPM range implies the impact of the EO gradient (i.e., airspace must be <<1 PPM to maximize the diffusion potential).
Referring now also toFIG. 188, in some embodiments, it may be desirable to, rather than the pump architecture described and shown herein, include a pump architecture that includes two pumps and the pumps include inverted pump mechanisms. Therefore, rather than the pump actuator actuating in a manner such that the pump chamber gets smaller, the pump actuator starts in the down position, i.e., the pump actuator is in the pump chamber. When pumping fluid from the reservoir is desired, in this configuration, the plunger pump is pulled up, out of the pump chamber, and therefore, if there is air in the pump chamber, there is zero volume remaining in the pump chamber at the end of the pump stroke and the air will be pumped past the 1 way valve. In addition, in this configuration, the AVS/measurement chamber does not store pressure when performing the reading, therefore, the first/beginning and second/end reading are performed at the same pressure. Thus, if there is air in the measurement chamber, because the first and second readings are performed at the same pressure, the air is not compressed and therefore, the readings will be accurate despite the air present in the measurement chamber, the air is not part of the calculation. In some embodiments, there is a second inverted pump actuator/pump mechanism downstream the AVS/measurement chamber.
In various embodiments, a reverse pumping sequence may be used as the pump architecture. Thus, rather than having the Pump Piston and Reservoir Valve “normally open”, the two components could be “normally closed”. With the Pump Piston bottomed out in the Pump Chamber, the variable volume delivered to the AVS chamber/measurement chamber may drawn in from the Reservoir and be fully delivered on each Pump stroke, which affords the opportunity for maximum hydraulic force on each stroke. Air would not accumulate in the chamber because there would be minimal residual volume in the Pump Chamber between strokes and the Pump Piston would be in continuous contact with the Pump Chamber Membrane, thus minimizing the air interface with the membrane and the effect of air permeation through the membrane.
This could be implemented in several ways including but not limited to, one or more of the following:
System 1: Single Actuator, Active Pump/Active Valve
In some embodiments, this system would be essentially the same as the embodiments described above, but the mechanism may be designed to operate in reverse.
System 2: Dual Actuator, Active Pump/Active Valve
In some embodiments, this system would require separating the common articulating mechanism that drives the Pump and Valve pistons into just a Pump Piston/bellcrank and would require a second Reservoir Valve/bellcrank. It would also require adding an additional shape-memory alloy/NITINOL actuator to move the independent Reservoir Valve bellcrank/piston. This method would impart a lower load on the existing Pump NITINOL for actuating the Pump Piston alone.
System 3: Single Actuator, Active Pump/Passive Valve
In some embodiments, this system may involve removing the entire existing Reservoir Valve actuator functionality from the reusable Pump and placing this functionality in the Disposable Base. As withsystem 2, the common articulating mechanism that drives the Pump and Valve pistons would be separated into just a Pump Piston/bellcrank and the existing shape-memory allow/NITINOL actuator would drive the Pump Piston. The valve function may become a passive check valve that is part of the disposable Vase. Because the Reservoir must be open when there is a vacuum in the Pump Chamber (in order to draw fluid from the Reservoir) this functionality cannot be implemented in the reusable Pump, as is done with the AVS check valve. Some aspects of this passive check-valve concept:
    • Positive pressure in the Pump Chamber may close the valve.
    • Negative pressure in the Pump Chamber may open the valve.
    • The valve may be biased normally closed to lessen the chance of reduced efficiency from the valve leaking during small volume/low rate strokes.
    • The flow restriction when the valve is may be minimized to reduce the fill time of the Pump Chamber.
An example of an implementation of this system is shown inFIGS. 189A-189C.
In some embodiments, an o-ring seal may be added to the inlet valve as an additional sealing method to prevent ingress of fluid, from the reservoir, from entering the pump chamber. In some embodiments, the o-ring seal may be made from SANTOPRENE or another material and in some embodiments, the SANTOPRENE may not include a parylene coating. In some embodiments, the SANTOPRENE does include a parylene coating.
In some embodiments, silicone oil, or another type of oil or hydrophobic compound, may be added to the fluid lines in the disposable housing assembly at manufacture. In some embodiments, the silicone oil may enhance air bubble removal, where air bubbles develop in the fluid lines.
Tubing Connection to Disposable Housing Assembly
Referring now also toFIG. 190, in some embodiments, thedisposable housing assembly5000, which may include any of the various embodiments of the disposable housing assembly described herein, may, rather than a cannula (or tubing) assembly attached to the exit, include aluer connector5002. In some embodiments, this may be advantageous for theluer connector5002 may attach to any number of cannula assemblies/tubing assemblies by astandard connector5004.
In some embodiments, thedisposable housing assembly5000 may be configured such that tubing, which, in some embodiments may be connected to a cannula assembly, may be introduced directly into the exit. In some embodiments, the tubing may be fastened with adhesive or another mechanism. However, in some embodiments, the tubing may be inserted and the reusable housing assembly, together with the disposable housing assembly, may maintain the tubing connected to the disposable housing assembly and maintain the tubing communication with the fluid path in the disposable housing assembly. In various other embodiments, the tubing may be inserted with an overmold that snaps into the exit. In some embodiments, the tubing may be inserted with an overmold that glues or otherwise adheres to the exit.
Referring now toFIG. 198, adisposable housing assembly6000 which, in various embodiments, may include any of the various embodiments of thedisposable housing assembly6000 described herein is shown withtubing6002 that has been inserted into the exit of thedisposable housing assembly6000. In some embodiments, thedisposable housing assembly6000 includes a tapered exit, tapered in either direction. In some embodiments, thedisposable housing assembly6000 exit includes acompliant seal6006, which, in some embodiments, may be a face seal or radial seal. Thus, in some embodiments, the tapered entry and thecompliant seal6006 form atubing6002 interface in thedisposable housing assembly6000. In some embodiments, thetubing6002 slides into thecompliant seal6006. Referring also toFIG. 48, in some embodiments, the tubing interface may be located in the base portion of the disposable housing assembly, however, in some embodiments, the tubing interface may be located between the base portion of the disposable housing assembly and the fluid pathway cover.
Referring now also toFIGS. 55A-56C, the reusable housing assembly is shown and, when rotated about the disposable housing assembly and connected to the disposable housing assembly, anub808, having a spring actuatedtab2980, on the locking ring assembly catches the tubing and pushes the tubing into a recess in the disposable housing assembly. In some embodiments, before the reusable housing assembly is rotated about the disposable housing assembly, there may include sufficient friction between the disposable housing assembly and the tubing to maintain the position of the tubing.
In various embodiments, the disposable housing assembly includes a tube recess that may be configured to maintain the tubing such that kinking is prevented and/or minimized. This may be desirable for many reasons, including, but not limited to, prevention and/or minimizing occlusions/restricted flow within the tubing.
In various embodiments, once the reusable housing assembly is rotated about the disposable housing assembly, the tubing is locked in position and therefore, a force on the tubing, for example, where the tubing is being pulled in a direction opposite the disposable housing assembly, may not dislodge and/or separate the tubing from being fluidly connected to the fluid path.
In various embodiments, the seal, which, as discussed above, may include a face seal, may form a hydraulic seal between the fluid path of the disposable housing assembly and the inner lumen of the tubing.
Referring now also toFIG. 199 andFIG. 136, in some embodiments, aplug6008 or an at least partially compliant part may be connected to thetubing6002. In some embodiments, theplug6008 may be overmolded onto thetubing6002. In some embodiments, theplug6008 may be inserted into the exit of thedisposable housing assembly6000 which, in some embodiments, may include a mating recess. A face seal may be formed between the tubing/plug and the fluid path in thedisposable housing assembly6000. When thereusable housing assembly6004 is connected to thedisposable housing assembly6000 by being rotated about the disposable housing assembly6000 a nub, having a spring actuatedtab2980, on the locking ring assembly pushes down and secures the plug in place. As described above in greater detail, in some embodiments, the locking ring assembly may include atab2980 which includes a spring loaded plunger that may apply a load to the plug. Displacement of the plug when the tab pushes on the plug reinforces the hydraulic seal between the fluid path in the disposable housing assembly and the inner lumen of the tubing.
In some embodiments, theplug6008 may include a rigid plate or rigid part and/or a portion of theplug6008 may be rigid, which may, in some embodiments, distribute the loading across the compliant plug when the tab exerts force onto theplug6008. In some embodiments, there may be a feature between thedisposable housing assembly6000 and the rigid portion of theplug6008 to hold theplug6008 in place before thereusable housing assembly6004 is attached to thedisposable housing assembly6000.
Referring now also toFIG. 200A andFIG. 200B in some embodiments, arigid plug6008 may be connected to thetubing6002. In some embodiments, theplug6008 may be overmolded onto thetubing6002. In some embodiments, theplug6008 may be adhered to thetubing6002, e.g., glued to thetubing6002. In some embodiments, theplug6008 may be inserted into the exit of thedisposable housing assembly6000 which, in some embodiments, may include a mating recess. In some embodiments, theplug6008 may be inserted through the top of the “tab” on thedisposable housing assembly6000. An o-ring seal6006 may be located between theplug6008 and the base portion of thedisposable housing assembly6000. A face seal or radial seal may be formed between the tubing/plug and the fluid path in thedisposable housing assembly6000. When thereusable housing assembly6004 is connected to thedisposable housing assembly6000 by being rotated about the disposable housing assembly6000 a nub, having a spring actuatedtab2980, on the locking ring assembly pushes down and secures the plug in place. Thus, in this embodiment, theplug6008 is attached to thedisposable housing assembly6000 from the top, but thetubing6002 will be connected into the exit of thedisposable housing assembly6000. As described above in greater detail, in some embodiments, the locking ring assembly may include atab2980 which includes a spring loaded plunger that may apply a load to the plug. Displacement of the plug when the tab pushes on the plug reinforces the hydraulic seal between the fluid path in the disposable housing assembly and the inner lumen of the tubing.
In some embodiments, there may be a feature between thedisposable housing assembly6000 and therigid plug6008 to hold theplug6008 in place before thereusable housing assembly6004 is attached to thedisposable housing assembly6000.
Referring now also toFIGS. 201A and 201B, in some embodiments, aconnector6010 may be attached to thetubing6002. In various embodiments of various embodiments of theconnector6010, thetubing6002 may be connected to a cannula assembly (not shown). In some embodiments, theconnector6010 may be configured for both handling by a user and for interaction with thedisposable housing assembly6000. In some embodiments, as shown inFIGS. 201A and 201B, theconnector6010 may be “butterfly” shaped. In some embodiments, theconnector6010 is rigid and/or partially rigid and is overmolded onto thetubing6002. Theconnector6010 may include a plug portion and a tab or wing portion. However, in some embodiments, the disposable housing assembly includes the tab or wing portion. Theconnector6010 mates with the exit of thedisposable housing assembly6000, e.g., in some embodiments, the plug portion of theconnector6010 is inserted into thedisposable housing portion6000 exit. In some embodiments, a compliant component may be located on theconnector6010, however in other embodiments, thecompliant component6006, e.g., a seal, may be in thedisposable housing portion6000. When theconnector6010 is connected to thedisposable housing component6000, thecompliant component6006 forms a hydraulic seal e.g., radial seal or face-seal. In some embodiments, theconnector6010 may bend and flip, i.e., butterfly, relative to thedisposable housing assembly6000 and, in some embodiments; theconnector6010 may include one or more features that connect theconnector6010 to thedisposable housing assembly6000. For example, in the butterfly embodiment, the wings of the butterfly may snap onto thedisposable housing assembly6000. In some embodiments, the wings of the butterfly and/or theconnector6010 may be adhesively connected to thedisposable housing assembly6000. In some embodiments, one side of the butterfly connector may include an adhesive strip with an adhesive covering. Before bending and flipping the wings, the adhesive covering may be removed. The wings may then be bent such that they adhere to thedisposable housing assembly6000.
When thereusable housing assembly6004 is connected to thedisposable housing assembly6000 by being rotated about the disposable housing assembly a nub, having a spring actuatedtab2980, on the locking ring assembly pushes down and secures the plug in place. As described above in greater detail, in some embodiments, the locking ring assembly may include atab2980 which includes a spring loaded plunger that may apply a load to the plug portion of the connector. In some embodiments, displacement of the plug when the tab pushes on the plug reinforces the hydraulic seal between the fluid path in the disposable housing assembly and the inner lumen of the tubing.
Referring now also toFIG. 202, in some embodiments, aconnector6010 may be attached to thetubing6002. In some embodiments, theconnector6010 may be configured for both handling by a user and for interaction with thedisposable housing assembly6000. In some embodiments, as shown inFIG. 202, theconnector6010 may be “L” shaped. However, in other embodiments, the shape of theconnector6010 may vary, shapes include, but are not limited to, “T” shapes, “L” shapes, and others as well as variations of “L” and “T” shapes. In some embodiments, theconnector6010 is rigid and/or partially rigid and is overmolded onto thetubing6002. In some embodiments, thetubing6002 is adhered to theconnector6010, e.g., thetubing6002 may be glued to an opening in theconnector6010. In some embodiments, theconnector6010 may include a plug portion and a tab or wing portion. Theconnector6010 mates with the exit of thedisposable housing assembly6000, e.g., in some embodiments, the plug portion of theconnector6010 is inserted into thedisposable housing portion6000 exit. In some embodiments, acompliant component6006 may be located on theconnector6010, however in other embodiments, thecompliant component6006, e.g., a seal, may be in thedisposable housing portion6000. When theconnector6010 is connected to thedisposable housing assembly6000, thecompliant component6006 forms a hydraulic seal e.g., radial seal or face-seal. In some embodiments, theconnector6010 may be rotated relative to thedisposable housing assembly6000 and, in some embodiments; theconnector6010 may include one or more features that connect theconnector6010 to thedisposable housing assembly6000. For example, in the “L” shape embodiment, the bottom part of the “L” may snap onto thedisposable housing assembly6000. In some embodiments, theconnector6010 may be adhesively connected to thedisposable housing assembly6000. Connecting theconnector6010 to thedisposable housing assembly6000 prior to the connection of thereusable housing assembly6004 to thedisposable housing assembly6000 may be desirable for maintaining the position of theconnector6010 during filling and priming of thedisposable housing assembly6000. Once theconnector6010 is connected to thedisposable housing assembly6000, thetubing6002 is fluidly connected to the fluid pathway in thedisposable housing assembly6000 through theconnector6010.
When thereusable housing assembly6004 is connected to thedisposable housing assembly6000 by being rotated about the disposable housing assembly6000 a nub, having a spring actuatedtab2980, on the locking ring assembly pushes down and secures the plug in place. As described above in greater detail, in some embodiments, the locking ring assembly may include atab2980 which includes a spring loaded plunger that may apply a load to the the connector. Displacement of the plug when the tab pushes on theconnector6010 reinforces the hydraulic seal between the fluid path in thedisposable housing assembly6000 and the inner lumen of thetubing6002.
Referring now also toFIGS. 203A and 203B, in some embodiments, arigid plug6008 may be connected to thetubing6002. In some embodiments, theplug6008 may be overmolded onto thetubing6002. In some embodiments, theplug6008 may be adhered to and/or glued to thetubing6002, however, in various embodiments; any mechanism for attaching theplug6008 to thetubing6002 may be used. In some embodiments, theplug6008 may be inserted into the exit of thedisposable housing assembly6000 which, in some embodiments, may include a mating recess. A compliant face-seal or radial seal (seal6008) may be located between theplug6008 and the base portion of thedisposable housing assembly6000 or between the base portion and the fluid pathway of thedisposable housing assembly6000. A face seal or radial seal may be formed between the tubing/plug and the fluid path in the disposable housing assembly. In some embodiments, a complaint face-seal or radial seal may be located on the rigid plug. As shown inFIG. 203A, in some embodiments, the locking ring assembly may include a tab with aslot6012. When thereusable housing assembly6004 is connected to thedisposable housing assembly6000 by being rotated about thedisposable housing assembly6000 theslot6012 in the tab goes around the tubing but captures the plug on the tubing. In some embodiments, the locking ring assembly may include a cam-like feature between the tab and the locking ring and the plug to compress/secure the plug. In these embodiments, the tubing may be maintained in place and the hydraulic seal may be reinforced.
In some embodiments, there may be a feature between thedisposable housing assembly6000 and therigid plug6008 to hold theplug6008 in place before thereusable housing assembly6004 is attached to thedisposable housing assembly6000. In some embodiments, a snap-like feature is included between the disposable housing assembly and theplug6008 to hold theplug6008 in place before thereusable housing assembly6004 is connected to thedisposable housing assembly6000. In other embodiments, the feature may include, but is not limited to, adhesive, catches, snaps, loops, hooks, and any other feature that maintains the connector on the disposable housing assembly before thereusable housing assembly6000 is connected.
In various embodiments, an embodiment of a connector may be used. These embodiments may include one or more of the various embodiments discussed above with respect to connectors. However, below, various embodiments of connectors are discussed. The descriptions of these embodiments are not limiting, each may additionally include one or more features described above with respect to connectors. Additionally, in various embodiments, one or more features from one or more embodiments may be combined with one or more features from one or more different embodiments, to form additional embodiments.
Referring now also toFIGS. 204A, 204B and 204C, in some embodiments, a rigid push and rotateconnector6010 may be used. In some embodiments, the location of the exit may be modified to be located on the opposite side of the disposable housing assembly “tab”. In some embodiments, the shape of theconnector6010 may be similar to that of the surface adjacent to the exit of the disposable housing assembly (“tab”), however, in various other embodiments, the shape of theconnector6010 may be any shape. In some embodiments, theconnector6010 is attached to thetubing6002 by adhering theconnector6010 to thetubing6002, e.g., gluing, or overmolding the connector to the tubing. In various embodiments, theconnector6010 may include a plug portion and a top portion connected to the plug portion.
In various embodiments, acompliant component6006 is either attached to theconnector6010 or located in thedisposable housing assembly6000. Thecompliant component6006 forms a face or radial seal when theconnector6010 is mated/connected to thedisposable housing assembly6000. In various embodiments, thedisposable housing assembly6000 includes a taper or snap interface for theconnector6010.
In various embodiments, theplug6008 of theconnector6010 is inserted into thedisposable housing assembly6000 with thetab6018 portion pointing upward. Once theplug6008 portion is inside thedisposable housing assembly6000, thetab6018 portion may be rotated to rest above thedisposable housing portion6000 adjacent to the exit (i.e., adjacent to the “tab portion” on the disposable housing assembly). In some embodiments, mating locking features6016,6020 (6020 not shown) may be included on thetab6018 portion of theconnector6010 and thedisposable housing assembly6000 such that theconnector6010 is held in place before thereusable housing assembly6004 is attached to thedisposable housing assembly6000. In some embodiments, the mating locking features6016,60120 may include, but are not limited to, snap buttons and/or catch features. In some embodiments, a hook or other feature may be located on the opposite end of thetab6018 portion of theconnector6010 such that it loops over the end of thetab6018 portion of thedisposable housing assembly6000 and maintains the position of theconnector6010.
When thereusable housing assembly6004 is connected to thedisposable housing assembly6000, by being rotated about thedisposable housing assembly6000, a nub, having a spring actuatedtab2980, on the locking ring assembly pushes down and secures theconnector6010 to thedisposable housing assembly6000.
In some embodiments, theconnector6010 may include a feature for example, afinger relief6022, for removing theconnector6010 from thedisposable housing assembly6000. In some embodiments, translation of force on thefinger relief6022 in a direction away from thedisposable housing assembly6000 releases theconnector6010 latching and allows for rotation of theconnector6010 away from thedisposable housing assembly6000.
In the various embodiments, the connector is shown attached to a tubing. In various embodiments, the other end of the tubing may be attached to a cannula. In some embodiments, the tubing may be removably attached to the connector by attachment using a standard or other luer connection. However, in some embodiments, the tubing may be non-removably attached to the connector. In some embodiments, the connector may be attached to the disposable housing assembly and the tubing may then be attached to the connector while the connector is attached to the disposable housing assembly. In some embodiments, including exemplary embodiments shown and described herein, the tubing may be bonded or attached to the connector and the connector is then attached to the disposable housing assembly. In some embodiments, a user may attach the tubing to the connector, however, in other embodiments, the tubing may be attached during manufacture, and the user attaches the connector to the disposable housing assembly.
The connector may be any shape, including, but not limited to, the shape shown in herein. In various embodiments, the connector may be various shapes and sizes and may include one or more of the features
Referring now also toFIG. 205, in various embodiments, thetubing6002 may be connected to the various embodiments of theconnector6010 or plug6008 usingglue6024 or adhesive. In various embodiments, theconnector6010 and/or plug6008 may include an opening configured to receive thetubing6002. In various embodiments, the opening in theconnector6010 may include a taper to maintain a minimum bend radius with respect to thetubing6002. An example of an opening on aconnector6010 is shown inFIG. 205. This configuration may be desirable and beneficial for many reasons, including but not limited to, minimizing and/or preventing kinking of the tubing and or minimizing and/or preventing occlusions/flow restrictions in the tubing.
Referring now also toFIGS. 206-210, another embodiment of a connector is shown. In some embodiments, the connector includes atab6018 and aplug6008.Tubing6002 is connected to theconnector6010. In some embodiments, the other end of thetubing6002 is connected to acannula6026. This embodiment is shown inFIG. 207. Referring now also toFIG. 208, theplug6008 may be any of the embodiments shown and described herein. Other plug embodiments are also contemplated. Theplug6008 is inserted into theexit6028 of thedisposable housing assembly6000. In some embodiments, thedisposable housing assembly6000 may include an interlocking feature, disposable housingassembly interlocking feature6020, that mates with an interlocking feature,connector interlocking feature6016, on theconnector6010. Upon insertion of theplug6008 and rotation of theconnector6010, the interlocking features6016,6020 may mate and removably lock and/or attach. In some embodiments, once theplug6008 is inserted and theconnector6010 rotated, theconnector6010 may not be removed unless and until theconnector6010 is rotated. In some embodiments, theconnector6010 may have additional locking/interlocking features and or different interlocking features than those shown herein.
Once the reusable housing assembly is rotated about the disposable housing assembly and connected to the disposable housing assembly, the connector, in this embodiment, will be unable to be removed from the disposable housing assembly as the connector will be prevented from rotating by the nub, having a spring actuatedtab2980, in the locking ring assembly of the reusable housing assembly.
In various embodiments, the connector includes a plug and in some embodiments, the connector is aplug6008. Various embodiments of theplug6008 are described with reference toFIGS. 211-217. Referring now also toFIG. 211-217, these embodiments of the plug are shown as examples of various embodiments that may be used with any of the embodiments of the connector shown and/or described herein. Further, embodiments contemplated include any connector that may accomplish that which is described herein. Any of these embodiments of the connector may include one or more of the embodiments of the plug shown and/or described herein.
Referring toFIG. 211, an embodiment of aplug6008 is shown with an embodiment of anexit6028 to the disposable housing assembly. In some embodiments, the plug may include a luer-type feature which may, in some embodiments, be modified with a latch mechanism. In these embodiments, theplug6008 may be made from rigid material. In some embodiments, theplug6008 may include a shallow taper having shallow clearance.
Referring now toFIG. 212, in some embodiments, thedisposable housing assembly6000 may include aneedle fixture6032. In these embodiments, theplug6008 may include a capturedseptum6034. In these features, additional compliant materials, e.g., seals, may not be desired in thedisposable housing assembly6000, as discussed in various embodiments above. However, in some embodiments, the use of seals, as described in above-embodiments, may be used.
Referring now toFIG. 213, in some embodiments, theplug6008 may be an elastomeric material with one or more integrated o-rings6036. In some embodiments of this embodiment of theplug6008, theplug6008 may be overmolded, solvent bonded or adhesively bonded to the tubing. In some embodiments, theplug6008 may be made from polyurethane, however, in other embodiments; theplug6008 may be made from other materials. In some embodiments, theplug6008 may be glued and/or adhered to the tubing. In some embodiments, theplug6008 may be overmolded to thetubing6002.
Referring now toFIG. 214, in some embodiments, the disposable housing assembly may include atapered exit6028. In some embodiments, theplug6008 may include a tapered feature. In some embodiments, theplug6008 may be made from polyurethane, however, in other embodiments; theplug6008 may be made from other materials. In some embodiments, theplug6008 may be glued and/or adhered to the tubing. In some embodiments, theplug6008 may be overmolded to the tubing.
Referring now toFIG. 215, in some embodiments, the disposablehousing assembly exit6028 may include a minimal taper port. Theplug6008 may include at least one o-ring6006. In some embodiments, theplug6008 may be made from rigid plastic and the o-ring may be made from an elastomeric material for sealing. In some embodiments, theplug6008 may be glued and/or adhered to thetubing6002. In some embodiments, theplug6008 may be overmolded to thetubing6002.
Referring now toFIG. 216, in some embodiments, theplug6008 may include at least oneseal6006 feature which may include, but is not limited to, one or more of the following: a lip seal, a wiper seal, a radial seal, a face-seal and/or an X seal. Various other seals may be used. Referring now also toFIG. 217, in some embodiments, theplug6008 may include a face-seal6006. In some embodiments, theplug6008 may be glued and/or adhered to the tubing. In some embodiments, theplug6008 may be overmolded to thetubing6002.
In various embodiments, the plug may be made from a rigid material or from a compliant and/or semi-compliant material. In some embodiments, the plug may be made from an elastomeric material or any combination thereof.
In various other embodiments, the shape and size of the connector may vary, and/or, in various other embodiments, other types of mating locking features may be used, which include, but are not limited to, latches, catches, snap fits, adhesives, and other mechanisms for securing a connector to the tab of the disposable housing assembly.
Referring now also toFIGS. 218A-218C, another embodiment of aconnector6010 is shown. Theconnector6010 may include atab portion6018, aprotrusion portion6038, and aplug6008. In some embodiments, thetab portion6018 of theconnector6010 may include mating locking features that interact with the tab portion of thedisposable housing assembly6030. As shown, in some embodiments, the mating locking features may include acatch6014 on the end of thetab portion6018 of theconnector6010. In some embodiments, thecatch6014 may be a snap fit and/or a loose snap fit and may include features such that thetab portion6018 of theconnector6010 snaps onto the side/end of thetab portion6018 of thedisposable housing assembly6000 and may, in some embodiments, include a portion that secures underneath the end of thetab portion6018 of thedisposable housing assembly6000. In various other embodiments, the shape and size of theconnector6010 may vary, and/or, in various other embodiments, other types of mating locking features may be used, which include, but are not limited to, latches, catches, snap fits, adhesives, and other mechanisms for securing aconnector6010 to thetab6030 of thedisposable housing assembly6000.
In some embodiments, theconnector6010 includes aprotrusion6038 on the underside. Theprotrusion6010 may be tapered in some embodiments. In some embodiments, theprotrusion6038 may be at least slightly curved. Referring now also toFIG. 219B andFIG. 221, in various embodiments, theprotrusion6038 is configured to interact with agroove portion6042 on thetab portion6030 of thedisposable housing assembly6000. Referring now also toFIGS. 219A-219M, when theconnector6010 is being attached to thedisposable housing assembly6000, theprotrusion6038 on theconnector6030 rests on thegroove6042. Theprotrusion6038 is configured to cam/interfere with thetab portion6018 of thedisposable housing assembly6000. Thus, in some embodiments, theprotrusion6038 andgroove6042 work together to assist in the insertion of theplug6008 into theexit6028. Additionally, in various embodiments, theprotrusion6038 andgroove6042 may contribute to maintaining theplug6008 in theexit6028. Thus, theprotrusion6038 andgroove6042, together with thecatch6014, contribute to maintaining and/or enforcing both the insertion of theplug6008 into theexit6028 and maintaining and/or enforcing the position of theconnector6010 such that after theplug6008 is inserted into theexit6028, theplug6008 is maintained in theexit6028 unless and until a user desires to remove theplug6008 from theexit6028. Additionally, once theprotrusion6038 andgroove6042 are mated, theplug6008 is fully inserted and therefore, may, in some embodiments, serve as an indication that theplug6008 has been fully inserted into theexit6028.
In some embodiments, theconnector6010 may be made from rigid plastic. In some embodiments, theprotrusion6038 may be overmolded with a thin layer of compliant materials. In some embodiments, as discussed below, theplug6008 may include an overmold of compliant material and/or be made from compliant material. In some embodiments, theprotrusion6038 may be made from compliant material. In some embodiments, thegroove6042 on thetab portion6030 of thedisposable housing assembly6000 may include a compliant material. In embodiments where either thegroove6042 includes compliant material and/or theprotrusion6038 includes compliant material, use of compliant material may increase the “squish” between theprotrusion6038 and thegroove6042 and therefore, resulting in a highly compressed and/or tight fit between theprotrusion6038 and thegroove6042.
Referring now also toFIG. 136, in some embodiments, theconnector6010 may include icons that indicate “locked” and “unlocked”, similar to those shown and described above with respect toFIG. 136. Thus, in some embodiments, the “locked” and “unlocked” position may also be visually indicated to a user/patient using icons that may be molded, silk-screened, pad printed, injection molded, etched, printed and/or cut-out, e.g., translucent cut-outs of icons, on the connector. In some embodiments using translucent cut-outs, thetab portion6030 of the disposable housing may be a contrasting color to the connector for visually viewing the tab portion color through the cut-outs. Thus, the icons may indicate whether thereusable housing assembly6004 is in a locked or unlocked relationship with thedisposable housing assembly6000. In various embodiments, the icons may be any form that may indicate “locked” and “unlocked”, or a similar indication, to aid in the user/patient's understanding of the orientation/position between thereusable housing assembly6004 and thedisposable housing assembly6000. In some embodiments, an arrow icon may also appear between the “locked” and “unlocked” icons.
Theplug6008 may include any embodiment described herein, however, in some embodiments; theplug6008 may be tapered and may either be rigid with an overmold of elastomeric/compliant material or be made from elastomeric/compliant material. In some embodiments, thetubing6002 attaches to theconnector6010 as described above. In some embodiments, thetubing6002 may attach to theconnector6010 and there may be a rigid plastic channel within theconnector6010 and through theplug6008. In some embodiments, thetubing6002 may extend into theconnector6010 and in some embodiments; thetubing6002 may extend all the way through theconnector6010 and through theplug6008. In some embodiments, thetubing6002 may extend past the end of theplug6008.
In these various embodiments, there is maintained a continuous flow lumen from theexit6028 to thecannula6026. This may be desirable and/or beneficial for many reasons, including, but not limited to, minimizing and/or eliminating dead volume, minimizing priming volume and/or prevention of or minimizing the occurrence of air traps.
Referring again toFIG. 222, in some embodiments, thetab portion6030 of thedisposable housing assembly6000 may include a cut-out which may be referred to as a finger cut-out6044. This cut-out6044 may be used to assist in removing theconnector6010 from thedisposable housing assembly6000. In some embodiments, the user may grab theconnector6010 at the area of the cut-out6044, with a thumb and forefinger and pull up on theconnector6010 to remove theconnector6010 from thedisposable housing assembly6000. Thus, any embodiment of thedisposable housing assembly6000 may include a cut-out6044 on thetab portion6030.
Referring now also toFIGS. 219A-219M, various views of the embodiment of the connector shown inFIGS. 218A-218C are shown, where theconnector6010 is being attached to thedisposable housing assembly6000. As shown inFIGS. 219A-219M, theconnector6010, including atab portion6018 and aplug6008, may be attached to thedisposable housing portion6000 either by being releasably attached or non-releasably attached. In various embodiments, theconnector6010 may be attached to thedisposable housing assembly6000 as shown inFIGS. 219A-219M.
As discussed above, in various embodiments, the plug of the connector is inserted into the exit of the disposable housing assembly with the tab portion pointing in the general upward direction. Once the plug portion is inside the disposable housing assembly, the tab portion of the connector may be rotated to rest above the tab portion of the disposable housing portion, which is adjacent to the exit. In some embodiments, mating locking features may be included on the tab portion of the connector and the disposable housing assembly such that the connector is held in place before the reusable housing assembly is attached to the disposable housing assembly. In some embodiments, the mating locking features may include, but are not limited to, snap buttons and/or catch features. In some embodiments, a hook or other feature may be located on the opposite end of the tab portion of the connector such that it loops over the end of the tab portion of the disposable housing assembly and maintains the position of the connector.
In various embodiments, once theconnector2010 is attached to thedisposable housing assembly6000, theconnector2010 may only be removed when intended, i.e., theconnector6010 is maintained on thedisposable housing assembly6000 unless and until a user desires to remove theconnector6010. As discussed above, in some embodiments, theconnector6010 may be non-removably attached, however, in some embodiments; theconnector6010 may be removably attached.
Referring now also toFIGS. 220A-220J, once theconnector6010 is attached to thetab portion6030 of thedisposable housing assembly6000, thereusable housing assembly6040 may be connected/attached to thedisposable housing assembly6000 by being rotated about thedisposable housing assembly6000. As shown, as thereusable housing assembly6004 is rotatably connected to thedisposable housing assembly6000, thenub808, having a spring actuated tab2980 (not shown), on thereusable housing assembly6004 interacts with thetab portion6018 of the connector. As shown inFIG. 220E, in some embodiments, theconnector6010 may include anindent portion6040 which may be configured to interact with thenub808 and/or spring plunger/tab of the locking ring assembly of thereusable housing assembly6004. As shown inFIG. 2201, once thereusable housing assembly6004 is attached to thedisposable housing assembly6000, the spring plunger/tab in thenub808, having a spring actuatedtab2980, may be released, making a “click” sound. The “click” may also produce a tactile feedback that may be perceived by the user/patient. This tactile and audio feedback is indicative to the user that thereusable housing assembly6004 is fully connected to thedisposable housing assembly6000. In some embodiments, thenub808, having a spring actuatedtab2980, rests on thetab portion6018 of theconnector6010, and in some embodiments, thenub808, having a spring actuatedtab2980, may rest on theindent portion6040 of thetab portion6018 of theconnector6010. Thenub808, having a spring actuatedtab2980, presses downward on theconnector6010, maintaining theconnector6010 in an attached position. In some embodiments, once thereusable housing assembly6004 is attached to thedisposable housing assembly6000, theconnector6010 may not be removed from thedisposable housing assembly6000. Rather, in these embodiments, thereusable housing assembly6004 must first be detached from thedisposable housing assembly6000 before theconnector6010 may be removed from thedisposable housing assembly6000. In some embodiments, once theconnector6010 is attached to thedisposable housing assembly6000, it may not be removed.
Referring now also toFIGS. 223A and 223B, in some embodiments, astopcock valve6046 may be non-removably, or in some embodiments, removably, connected to thetab section6030 of thedisposable housing assembly6000. Once theconnector6010 is inserted into thestopcock style valve6046, thereusable housing assembly6004 may be connected/attached to thedisposable housing assembly6000 by being rotated about thedisposable housing assembly6000. As thereusable housing assembly6004 is rotatably connected to thedisposable housing assembly6000, thenub808, having a spring actuatedtab2980, on thereusable housing assembly6004 interacts with theswivel connector6048, activating thestopcock style valve6046, and, in some embodiments, the rotation of thereusable housing assembly6000 about thedisposable housing assembly6004 prevents theswivel connector6048 from being removed from thestopcock style valve6046. In some embodiments, once thereusable housing assembly6004 is attached to thedisposable housing assembly6000, the spring plunger/tab in thenub808, having a spring actuatedtab2980, may be released, making a “click” sound. The “click” may also produce a tactile feedback that may be perceived by the user/patient. This tactile and audio feedback is indicative to the user that thereusable housing assembly6004 is fully connected to thedisposable housing assembly6000, and, that theswivel connector6048 is connected such that it will be maintained in thestopcock valve6046 until and unless the user wishes to remove the connection. In some embodiments, thenub808, having a spring actuatedtab2980, presses downward on theswivel connector6048, maintaining theswivel connector6048 in an attached position. In some embodiments, once thereusable housing assembly6004 is attached to thedisposable housing assembly6000, theswivel connector6048 may not be removed from thedisposable housing assembly6000. Rather, in these embodiments, thereusable housing assembly6004 must first be detached from thedisposable housing assembly6000 before theswivel connector6048 may be removed from thedisposable housing assembly6000. In some embodiments, once theswivel connector6048 is attached to thedisposable housing assembly6000, it may not be removed.
Referring now toFIG. 224, in some embodiments, the connector may be a latchingconnector6010 that attaches to thetab6030 of thedisposable housing assembly6000. In some embodiments, the latchingconnector6010 may include a radial or a face seal, and in some embodiments, the latchingconnector6010 may include a septum/needle interface. For example, in some embodiments, the latchingconnector6010 may include a needle portion and the tab of thedisposable housing assembly6030 may include a septum. In some embodiments, the latchingconnector6010 may attach to thedisposable housing assembly6000 from the side, as shown, however, in other embodiments, the latchingconnector6010 may attach to thedisposable housing assembly6000 from the top and or from the bottom. In some embodiments, once the latchingconnector6010 is connected to thedisposable housing assembly6000, thereusable housing assembly6004 may be connected/attached to thedisposable housing assembly6000 by being rotated about thedisposable housing assembly6000. As thereusable housing assembly6004 is rotatably connected to thedisposable housing assembly6000, thenub808, having a spring actuatedtab2980, on thereusable housing assembly6004 may interact with the latchingconnector6010, such that the rotation of thereusable housing assembly6004 about thedisposable housing assembly6000 prevents the latchingconnector6010 from being removed from thedisposable housing assembly6000. In some embodiments, once thereusable housing assembly6004 is attached to thedisposable housing assembly6000, the spring plunger/tab in thenub808 may be released, making a “click” sound. The “click” may also produce a tactile feedback that may be perceived by the user/patient. This tactile and audio feedback is indicative to the user that thereusable housing assembly6004 is fully connected to thedisposable housing assembly6000, and, that the latchingconnector6010 is connected such that it will be maintained connected to thedisposable housing assembly6000 until and unless the user wishes to remove thelatching connector6010. In some embodiments, thenub808, having a spring actuatedtab2980, presses downward on the latchingconnector6010, maintaining the latchingconnector6010 in an attached position. In some embodiments, once thereusable housing assembly6004 is attached to thedisposable housing assembly6000, the latchingconnector6010 may not be removed from thedisposable housing assembly6000. Rather, in these embodiments, thereusable housing assembly6004 must first be detached from thedisposable housing assembly6000 before the latchingconnector6010 may be removed from thedisposable housing assembly6000. In some embodiments, once the latchingconnector6010 is attached to thedisposable housing assembly6000, it may not be removed.
Referring now also toFIGS. 225A and 225B, in some embodiments, theconnector6010 may be aperimeter connector6010 that attaches to the perimeter of thedisposable housing assembly6000. In some embodiments, theperimeter connector6010 may be attached to thedisposable housing assembly6000 by being connected to thedisposable housing assembly6000 from the bottom of thedisposable housing assembly6000. However, in some embodiments, theperimeter connector6010 may be connected to thedisposable housing assembly6000 by being connected to thedisposable housing assembly6000 from the top, as shown inFIG. 225B. Referring now toFIG. 226, in some embodiments, theperimeter connector6010 may be connected to thedisposable housing assembly6000 by first being connected to the tab of thedisposable housing assembly6000 and then being applied over the top of thedisposable housing assembly6000.
Referring now also toFIG. 136, in some embodiments, theconnector6010 may include icons that indicate “locked” and “unlocked”, similar to those shown and described above with respect toFIG. 136. Thus, in some embodiments, the “locked” and “unlocked” position may also be visually indicated to a user/patient using icons that may be molded, silk-screened, pad printed, injection molded, etched, printed and/or cut-out, e.g., translucent cut-outs of icons, on theconnector6010. In some embodiments using translucent cut-outs, thetab portion6030 of thedisposable housing assembly6000 may be a contrasting color to theconnector6010 for visually viewing thetab portion6030 color through the cut-outs. Thus, the icons may indicate whether thereusable housing assembly6004 is in a locked or unlocked relationship with thedisposable housing assembly6000. In various embodiments, the icons may be any form that may indicate “locked” and “unlocked”, or a similar indication, to aid in the user/patient's understanding of the orientation/position between thereusable housing assembly6004 and thedisposable housing assembly6000. In some embodiments, an arrow icon may also appear between the “locked” and “unlocked” icons.
In various embodiments of theperimeter connector6010, once theperimeter connector6010 is connected to thedisposable housing assembly6000, thereusable housing assembly6004 may be connected/attached to thedisposable housing assembly6000 by being rotated about thedisposable housing assembly6000. As thereusable housing assembly6004 is rotatably connected to thedisposable housing assembly6000, the locking ring and/ornub808, having a spring actuatedtab2980, on thereusable housing assembly6004 may interact with theperimeter connector6010, such that the rotation of the reusable housing assembly6003 about thedisposable housing assembly6000 prevents theperimeter connector6010 from being removed from thedisposable housing assembly6000. In some embodiments, once thereusable housing assembly6004 is attached to thedisposable housing assembly6000, the spring plunger/tab in thenub808 may be released, making a “click” sound. The “click” may also produce a tactile feedback that may be perceived by the user/patient. This tactile and audio feedback is indicative to the user that thereusable housing assembly6004 is fully connected to thedisposable housing assembly6000, and, that theperimeter connector6010 is connected such that it will be maintained connected to thedisposable housing assembly6000 until and unless the user wishes to remove theconnector6010. In some embodiments, thenub808, having a spring actuatedtab2980, presses downward on the perimeter connector, maintaining theperimeter connector6010 in an attached position. In some embodiments, features in the locking ring interact with theperimeter connector6010 and maintain theperimeter connector6010 in position with respect to thedisposable housing assembly6000. In some embodiments, once thereusable housing assembly6004 is attached to thedisposable housing assembly6000, theperimeter connector6010 may not be removed from thedisposable housing assembly6000. Rather, in these embodiments, thereusable housing assembly6004 must first be detached from thedisposable housing assembly6000 before theperimeter connector6010 may be removed from thedisposable housing assembly6000. In some embodiments, once theperimeter connector6010 is attached to thedisposable housing assembly6000, it may not be removed.
In some embodiments of the various embodiments of theperimeter connector6010, thedisposable housing assembly6000 inserts into theperimeter connector6010 which, in some embodiments, may include guides to align theperimeter connector6010 with thedisposable housing assembly6000. In some embodiments, a fluid seal, which, in various embodiments, may be a face seal or a radial seal, connects the fluid path in thedisposable housing assembly6000 to theperimeter connector6010/tubing6002. In various embodiments, theperimeter connector6010 is removably attached to thedisposable housing assembly6000, however, in some embodiments; theperimeter connector6010 is non-removably attached to thedisposable housing assembly6000.
Referring now toFIGS. 227A-227C, in some embodiments theconnector6010 may be afolding snap connector6010. As shown inFIG. 227A, in some embodiments, thefolding snap connector6010 may attach to the tab of thedisposable housing assembly6000 and fold under thetab6030 such that thefolding snap connector6010 is attached to thedisposable housing assembly6000. In some embodiments, thefolding snap connector6010 includes a fluid interface sealed with a face or radial seal. In various embodiments, thefolding snap connector6010 is removably attached to thedisposable housing assembly6000, however, in some embodiments; thefolding snap connector6010 is non-removably attached to thedisposable housing assembly6000.
In various embodiments of thefolding snap connector6010, once thefolding snap connector6010 is connected to thedisposable housing assembly6000, thereusable housing assembly6004 may be connected/attached to thedisposable housing assembly6000 by being rotated about thedisposable housing assembly6000. As thereusable housing assembly6004 is rotatably connected to thedisposable housing assembly6000, the locking ring and/ornub808, having a spring actuatedtab2980, on thereusable housing assembly6004 may interact with thefolding snap connector6010, such that the rotation of thereusable housing assembly6004 about thedisposable housing assembly6000 prevents thefolding snap connector6010 from being removed from thedisposable housing assembly6000. In some embodiments, once thereusable housing assembly6004 is attached to thedisposable housing assembly6000, the spring plunger/tab in thenub808 may be released, making a “click” sound. The “click” may also produce a tactile feedback that may be perceived by the user/patient. This tactile and audio feedback is indicative to the user that thereusable housing assembly6004 is fully connected to thedisposable housing assembly6000, and, that thefolding snap connector6010 is connected such that it will be maintained connected to thedisposable housing assembly6000 until and unless the user wishes to remove thefolding snap connector6010. In some embodiments, thenub808, having a spring actuatedtab2980, presses downward on thefolding snap connector6010, maintaining thefolding snap connector6010 in an attached position. In some embodiments, features in the locking ring interact with thefolding snap connector6010 and maintain thefolding snap connector6010 in position with respect to thedisposable housing assembly6000. In some embodiments, once thereusable housing assembly6004 is attached to thedisposable housing assembly6000, thefolding snap connector6010 may not be removed from thedisposable housing assembly6000. Rather, in these embodiments, thereusable housing assembly6004 must first be detached from thedisposable housing assembly6000 before thefolding snap connector6010 may be removed from thedisposable housing assembly6000. In some embodiments, once thefolding snap connector6010 is attached to thedisposable housing assembly6000, it may not be removed.
Referring now toFIG. 228A, in some embodiments, theconnector6010 may be aperimeter connector6010 which may include aplug6008 which attaches to the fluid path through atab feature6030 on the disposable housing assembly. In some embodiments, theperimeter connector6010 may connect by rotatably connecting to thedisposable housing assembly6000, as shown inFIG. 228B. In various embodiments, theperimeter connector6010 is removably attached to thedisposable housing assembly6000, however, in some embodiments; theperimeter connector6010 is non-removably attached to the disposable housing assembly.
In various embodiments of theperimeter connector6010, once theperimeter connector6010 is connected to thedisposable housing assembly6000, thereusable housing assembly6004 may be connected/attached to thedisposable housing assembly6000 by being rotated about thedisposable housing assembly6000. As thereusable housing assembly6004 is rotatably connected to thedisposable housing assembly6000, the locking ring and/ornub808, having a spring actuatedtab2980, on thereusable housing assembly6004 may interact with theperimeter connector6010, such that the rotation of thereusable housing assembly6004 about thedisposable housing assembly6000 prevents theperimeter connector6010 from being removed from thedisposable housing assembly6000. In some embodiments, once thereusable housing assembly6004 is attached to thedisposable housing assembly6000, the spring plunger/tab in thenub808 may be released, making a “click” sound. The “click” may also produce a tactile feedback that may be perceived by the user/patient. This tactile and audio feedback is indicative to the user that thereusable housing assembly6004 is fully connected to thedisposable housing assembly6000, and, that theperimeter connector6010 is connected such that it will be maintained connected to thedisposable housing assembly6000 until and unless the user wishes to remove theperimeter connector6010. In some embodiments, thenub808, having a spring actuatedtab2980, presses downward on theperimeter connector6010, maintaining theperimeter connector6010 in an attached position. In some embodiments, features in the locking ring interact with theperimeter connector6010 and maintain theperimeter connector6010 in position with respect to thedisposable housing assembly6000. In some embodiments, once thereusable housing assembly6004 is attached to thedisposable housing assembly6000, theperimeter connector6010 may not be removed from thedisposable housing assembly6000. Rather, in these embodiments, thereusable housing assembly6004 must first be detached from thedisposable housing assembly6000 before theperimeter connector6010 may be removed from thedisposable housing assembly6000. In some embodiments, once theperimeter connector6010 is attached to thedisposable housing assembly6000, it may not be removed.
Referring now toFIG. 229, in some embodiments, theconnector6010 may include aplug6008 and may fit into atab portion6030 on thedisposable housing assembly6000. In various embodiments, theplug6008 attaches to the fluid path through atab feature6030 on thedisposable housing assembly6000. Referring now toFIG. 230, in some embodiments, thetab6030 and plug6008 on thedisposable housing assembly6000 may connect to theconnector6010 through movement as shown by the arrows. In various embodiments, theconnector6010 is removably attached to thedisposable housing assembly6000, however, in some embodiments; theconnector6010 is non-removably attached to thedisposable housing assembly6000. As discussed above with respect to various other embodiments, theplug6008 in this embodiment may include any embodiment described herein, however, in some embodiments; theplug6008 may be tapered and may either be rigid with an overmold of elastomeric/compliant material or be made from elastomeric/compliant material. In some embodiments, thetubing6002 attaches to theconnector6010 as described above. In some embodiments, thetubing6002 may attach to theconnector6010 and there may be a rigid plastic channel within theconnector6010 and through theplug6008. In some embodiments, thetubing6002 may extend into theconnector6010 and in some embodiments; thetubing6002 may extend all the way through theconnector6010 and through theplug6008. In some embodiments, thetubing6002 may extend past the end of theplug6008.
In these various embodiments, there is maintained a continuous flow lumen from theexit6028 to thecannula6026. This may be desirable and/or beneficial for many reasons, including, but not limited to, minimizing and/or eliminating dead volume, minimizing priming volume and/or prevention of or minimizing the occurrence of air traps.
In various embodiments of theconnector6010, once theconnector6010 is connected to thedisposable housing assembly6010, thereusable housing assembly6004 may be connected/attached to thedisposable housing assembly6000 by being rotated about thedisposable housing assembly6000. As thereusable housing assembly6004 is rotatably connected to thedisposable housing assembly6000, the locking ring and/ornub808, having a spring actuatedtab2980, on thereusable housing assembly6004 may interact with theconnector6010, such that the rotation of thereusable housing assembly6004 about thedisposable housing assembly6000 prevents theconnector6010 from being removed from thedisposable housing assembly6000. In some embodiments, once thereusable housing assembly6004 is attached to thedisposable housing assembly6000, the spring plunger/tab in thenub808 may be released, making a “click” sound. The “click” may also produce a tactile feedback that may be perceived by the user/patient. This tactile and audio feedback is indicative to the user that thereusable housing assembly6004 is fully connected to thedisposable housing assembly6000, and, that theconnector6010 is connected such that it will be maintained connected to thedisposable housing assembly6000 until and unless the user wishes to remove theconnector6010. In some embodiments, thenub808, having a spring actuatedtab2980, presses downward on theconnector6010, maintaining theconnector6010 in an attached position. In some embodiments, features in the locking ring interact with theconnector6010 and maintain theconnector6010 in position with respect to thedisposable housing assembly6000. In some embodiments, once thereusable housing assembly6004 is attached to thedisposable housing assembly6000, theconnector6010 may not be removed from thedisposable housing assembly6000. Rather, in these embodiments, thereusable housing assembly6004 must first be detached from thedisposable housing assembly6000 before theconnector6010 may be removed from thedisposable housing assembly6000. In some embodiments, once theconnector6010 is attached to thedisposable housing assembly6000, it may not be removed.
Referring now also toFIGS. 231A-231E another embodiment of aconnector6010 is shown. In some embodiments, theconnector6010 may be apinch connector6010. In various embodiments, thepinch connector6010 may includefingers6058,6060, clips6052,6066, grips6050, aplug6008 and/or apost6054. Thetubing6002 is fluidly connected to theconnector6010 using any of the embodiments described herein. In various embodiments of thepinch connector6010 embodiment, the correspondingdisposable housing assembly6000tab6030 includes anopening6064 for receiving thefingers6058,6060, anindent6040, as described above, anexit6028 for receiving theplug6008, aclip receiver6056 on each end for receiving theclips6052,6066 and anopening6064 for receiving thepost6054.
In various embodiments, thepinch connector6010 may includegrips6050, and in various embodiments,grips6050 are included on both the top side and bottom side of thepinch connector6010. In the embodiments shown, thegrips6050 are ribs, however, in various other embodiments, thegrips6050 may include a textured surface, bumps, lumps, protrusions or indentations in any size, shape and/or number. Thefingers6058,6060 are actuated by pressure being applied to both the top side and bottom side grips6050.
In various embodiments, thefingers6058,6060 include alip6062. Upon pressure being exerted onto thegrips6050, thefingers6058,6060 move towards one another and thefingers6058,6060 may be inserted into theopening6064 in thetab6030 of thedisposable housing assembly6000. Upon pressure being removed from thegrips6050, thefingers6058,6060 move away from one another and thelips6062 rest against a surface such that thelips6062 aid in maintaining thefingers6058,6060 inside theopening6064. Once inside theopening6064, thefingers6058,6060 may be viewed from the bottom of thetab6030 of thedisposable housing assembly6000 through thetab window6066. This may be beneficial for many reasons, including, but not limited to, the user may view and ensure that thefingers6058,6060 have been inserted into thedisposable housing assembly6000. In various embodiments, thefingers6058,6060 interlock with thedisposable housing assembly6000 and this may be desirable for many reasons, including, but not limited to, limiting and/or preventing thepinch connector6010 from rocking while attached to thedisposable housing assembly6000.
Inserting thefingers6058,6060 into theopening6064 also inserts theplug6008 into the exit of thedisposable housing assembly6000 as well as thepost6054 into thetab6030. In some embodiments, thepost6054 and plug6008 together provide lateral stability to thepinch connector6010 while attached to thedisposable housing assembly6000.
Theplug6008 may be any of the embodiments as described above. In some embodiments, theplug6008 includes a radial seal. In some embodiments, the radial seal may provide resistance while theplug6008 is being inserted into the exit. This may be desirable for many reasons, including, but not limited to, that this may ensure theplug6008 has been inserted into the exit a desirable distance before the radial seal begins.
In some embodiments, thepinch connector6010 includes aclip6052,6066 on each end which is received by theclip receiver6056 on each end of the tab of the disposable housing assembly. In some embodiments, the clips including a spring quality and snap into place on the clip receiver. In some embodiments, the “snap” produces an audio indication to the user that the pinch connector has been connected to the disposable housing assembly. The “snap” may also produce a tactile feedback that may be perceived by the user/patient. In some embodiments, theclips6052,6066 may be beneficial for providing added stability to the connection between thepinch connector6010 and thedisposable housing assembly6000.
In various embodiments, thepinch connector6010 is removably attached to thedisposable housing assembly6000, however, in some embodiments; thepinch connector6010 is non-removably attached to thedisposable housing assembly6000
In various embodiments of thepinch connector6010, once thepinch connector6010 is connected to thedisposable housing assembly6000, thereusable housing assembly6004 may be connected/attached to thedisposable housing assembly6000 by being rotated about thedisposable housing assembly6000. As thereusable housing assembly6004 is rotatably connected to thedisposable housing assembly6000, the locking ring and/ornub808, having a spring actuatedtab2980, on thereusable housing assembly6004 may interact with thepinch connector6010, such that the rotation of the reusable housing assembly6003 about thedisposable housing assembly6000 prevents thepinch connector6010 from being removed from thedisposable housing assembly6000. In some embodiments, once thereusable housing assembly6004 is attached to thedisposable housing assembly6000, the spring plunger/tab in thenub808 may be released, making a “click” sound. The “click” may also produce a tactile feedback that may be perceived by the user/patient. This tactile and audio feedback is indicative to the user that thereusable housing assembly6004 is fully connected to thedisposable housing assembly6000, and, that thepinch connector6010 is connected such that it will be maintained connected to thedisposable housing assembly6000 until and unless the user wishes to remove thepinch connector6010. In some embodiments, the nub, having a spring actuatedtab2980, presses downward on thepinch connector6010, maintaining thepinch connector6010 in an attached position. In some embodiments, features in the locking ring interact with thepinch connector6010 and maintain the pinch connector in position with respect to thedisposable housing assembly6000. In some embodiments, thepinch connector6010 may include anindent portion6040 which may be configured to interact with thenub808 and/or spring plunger/tab of the locking ring assembly of thereusable housing assembly6004. In some embodiments, once thereusable housing assembly6004 is attached to thedisposable housing assembly6000, thepinch connector6010 may not be removed from thedisposable housing assembly6000. Rather, in these embodiments, thereusable housing assembly6004 must first be detached from thedisposable housing assembly6000 before thepinch connector6010 may be removed from thedisposable housing assembly6000. In some embodiments, once thepinch connector6010 is attached to thedisposable housing assembly6000, it may not be removed.
Referring now also toFIGS. 232A-232E, another embodiment of aconnector6010 is shown. In this embodiment, theconnector6010 is atop down connector6010. In various embodiments of the top downconnector6010, theplug6008 may be located on thedisposable housing assembly6000 and the top downconnector6010 may include aplug receiver6068, i.e., an opening configured to receive theplug6008. Although this embodiment is shown in the above-referenced figures, in some embodiments, theplug6008 may be located on the top downconnector6010 and thedisposable housing assembly6000 may include aplug receiver6068, or anexit6028, as referred to in various other embodiments described herein.
In various embodiments, theplug6008 may be any embodiment of aplug6008 described herein. For example, in some embodiments, theplug6008 may include a radial seal.
In various embodiments of this embodiment of the top downconnector6010, thedisposable housing assembly6000 may include atab6030 wherein a portion of the tab includes a cut-out portion for receiving the top downconnector6010. In various embodiments of this embodiment, when the top downconnector6010 is connected to thedisposable housing assembly6000, thetab6030 and the top downconnector6010 may be flush with one another.
In various embodiments of the top downconnector6010, the top downconnector6010 may include anindent6040, as described in various embodiments of connectors herein. However, in some embodiments of the top downconnector6010, anindent6040 may not be included. In those embodiments including anindent6040, the size and shape of the indent may vary and be any size and/or shape.
The top downconnector6010 may be any shape and size, however, in some embodiments, the top downconnector6010 includes agrip tab6070 which may be sized and shaped to accommodate a “pinch grip” from a user, i.e., a grip using the thumb and index finger. In various embodiments, the size and shape of thegrip tab6070 may vary. In some embodiments, thegrip tab6070 may include an overmold and in some embodiments, the overmold may be a flexible overmold. This may be beneficial for many reasons, including, but not limited to, the overmold and/or flexible overmold may be preferable for wearing against the skin of a user, for example, the overmold and/or flexible overmold may be more comfortable against a user's skin.
In some embodiments, the size and shape of thetab portion6030 of thedisposable housing assembly6000 may vary. Additionally, in embodiments where there is a cut-out portion of thetab portion6030 of thedisposable housing assembly6000, the size and shape of the cut-out portion may vary and may be any size and/or shape.
As discussed above, in various embodiments, thedisposable housing assembly6000 may include theplug6008 and the top downconnector6010 may include aplug receiver6068. This embodiment may be included in any one or more of the various embodiments ofconnectors6010 described herein and is not limited to the top downconnector6010. In these embodiments, theplug6008 and theplug receiver6068 may include any of the various embodiments of theplug6008 and plugreceiver6068 described herein.
In some embodiments of the top downconnector6010, the top down connector may include male interlock features6016 on both ends of the top downconnector6010. These male interlock features6016 are configured to be received by female interlock features6020 on thedisposable housing assembly6000tab6030. Once the male interlock features6016 are placed within the female interlock features6020, the top downconnector6010 is secured onto thedisposable housing assembly6000. In some embodiment, the top downconnector6010 may not include interlock features and may be secured by other means. In various embodiments, the top downconnector6010 is removably attached to thedisposable housing assembly6000, however, in some embodiments; theconnector6010 is non-removably attached to thedisposable housing assembly6000 by various means, some which are discussed herein. In some embodiments, once the male interlock features6016 are received by the female interlock features6020, a “click” and or a tactile feedback may result. This may be beneficial for many reasons, including, but not limited to, providing an indication to the user that the top downconnector6010 is connected to thedisposable housing assembly6000.
In some embodiments, thetab portion6030 may include a side-cut for accommodation of thegrip tab6070. In some embodiments, the side-cut may be made on the cut-out portion of thetab6030. In some embodiments, the side-cut accommodates thegrip tab6070 such that, when the top downconnector6010 is attached to thedisposable housing assembly6000, thegrip tab6070 does not overlap with thetab6030 on thedisposable housing assembly6000. This may be beneficial for many reasons, including, but not limited to, the ease of connection of the top downconnector6010 to thedisposable housing assembly6000 by pinch gripping thegrip tab6070.
In various embodiments of the top downconnector6010, once the top downconnector6010 is connected to thedisposable housing assembly6000, thereusable housing assembly6004 may be connected/attached to thedisposable housing assembly6000 by being rotated about thedisposable housing assembly6000. As thereusable housing assembly6004 is rotatably connected to thedisposable housing assembly6000, the locking ring and/ornub808, having a spring actuatedtab2980, on thereusable housing assembly6004 may interact with the top downconnector6010, such that the rotation of thereusable housing assembly6004 about thedisposable housing assembly6000 prevents the top downconnector6010 from being removed from thedisposable housing assembly6000. In some embodiments, once thereusable housing assembly6004 is attached to thedisposable housing assembly6000, the spring plunger/tab in thenub808 may be released, making a “click” sound. The “click” may also produce a tactile feedback that may be perceived by the user/patient. This tactile and audio feedback is indicative to the user that thereusable housing assembly6004 is fully connected to thedisposable housing assembly6000, and, that the top downconnector6010 is connected such that it will be maintained connected to thedisposable housing assembly6000 until and unless the user wishes to remove the top downconnector6010. In some embodiments, thenub808, having a spring actuatedtab2980, presses downward on the top downconnector6010, maintaining the connector in an attached position. In some embodiments, features in the locking ring interact with the top downconnector6010 and maintain the top downconnector6010 in position with respect to thedisposable housing assembly6000. In some embodiments, the top downconnector6010 may include anindent portion6040 which may be configured to interact with thenub808 and/or spring plunger/tab of the locking ring assembly of thereusable housing assembly6004. In some embodiments, once thereusable housing assembly6004 is attached to thedisposable housing assembly6000, the top downconnector6010 may not be removed from thedisposable housing assembly6000. Rather, in these embodiments, thereusable housing assembly6004 must first be detached from thedisposable housing assembly6000 before the top downconnector6010 may be removed from thedisposable housing assembly6000. In some embodiments, once the top down connector60010 is attached to thedisposable housing assembly6000, it may not be removed.
In some embodiments of the top downconnector6010, thetab6030 of thedisposable housing assembly6000 may include a post and the top downconnector6010 may include an opening for receiving the post. Placing the top downconnector6010 onto thedisposable housing assembly6000 also places theplug6008 into theplug receiver6068 as well as the post into the opening for receiving the post. In some embodiments, the post and plug6008 together may provide lateral stability to the top down connector while attached to the disposable housing assembly. In some embodiments, the top downconnector6010 may include a post and thedisposable housing connector6000 may include an opening for receiving the post.
Referring now also toFIGS. 233A-233G, another embodiment of aconnector6010 is shown. Theconnector6010 may include a body portion/tab6018, apost6054, and aplug receiver6068. In some embodiments, thebody portion6018 of theconnector6010 may include mating locking features that interact with thetab portion6030 of thedisposable housing assembly6000. In some embodiments, thebody portion6018 may include features that interact with other portions of thedisposable housing assembly6000. As shown, in some embodiments, theconnector6010 may include apost6054 on the end of thebody portion6018 of theconnector6010. In some embodiments, thepost6054 may be a removably secure fit, and/or a snap fit and/or a loose snap fit and may include features such that thepost6054 portion of theconnector6010 snaps and/or rests onto the opening on thedisposable housing assembly6000. In various other embodiments, the shape and size of theconnector6010 may vary, and/or, in various other embodiments, other types of features such as mating locking features may be used, which include, but are not limited to, latches, catches, snap fits, adhesives, and other mechanisms for securing a connector to the tab of thedisposable housing assembly6000.
In some embodiments, theconnector6010 may include alocking ring feature6072 on the underside. The lockingring feature6072 in some embodiments may be tapered and/or in some embodiments, the lockingring feature6072 may be at least slightly curved. In some embodiments, the lockingring feature6072 may interact with the locking ring of thereusable housing assembly6004 and may act together with the locking ring to secure theconnector6010 to thedisposable housing assembly6000.
As discussed above, in various embodiments, theplug6008 of thedisposable housing assembly6000 is inserted into theplug receiver6068 of theconnector6010 with thebody portion6018 pointing in the general upward direction. Once theplug6008 is inside theconnector6010, thebody portion6018 of theconnector6010 may be rotated to rest adjacent to thetab portion6030 of the disposable housing portion. In some embodiments, mating locking features (for example, in some embodiments, a catch feature6014) may be included on thebody portion6018 of theconnector6010 and thedisposable housing assembly6000 such that theconnector6010 is held in place before thereusable housing assembly6004 is attached to thedisposable housing assembly6000. In some embodiments, the mating locking features may include, but are not limited to, post and opening, snap, buttons and/or catch features6014. In some embodiments, a hook or other feature may be located on the opposite end of thebody portion6018 of theconnector6010 such that it loops over the end of thetab portion6030 of thedisposable housing assembly6000 and maintains the position of theconnector6010. In the embodiment shown inFIGS. 233A-233G, the mating locking features include apost6054 on theconnector6010 and anopening6064 on thedisposable housing assembly6000.
In various embodiments, once theconnector6010 is attached to thedisposable housing assembly6000, theconnector6010 may only be removed when intended, i.e., theconnector6010 is maintained on thedisposable housing assembly6000 unless and until a user desires to remove theconnector6010. As discussed above, in some embodiments, theconnector6010 may be non-removably attached, however, in some embodiments; theconnector6010 may be removably attached.
While theconnector6010 is being attached to thedisposable housing assembly6000, thepost6054 on theconnector6010 rests on theopening6064. In some embodiments, thepost6054 andopening6010 may work together to further stabilize the connection of theconnector6010 to thedisposable housing assembly6000. Additionally, in various embodiments, thepost6054 and opening may contribute to maintaining theplug6008 in theplug receiver6068. Thus, in some embodiments, thepost6054 and opening may contribute to maintaining and/or enforcing both the insertion of theplug6008 into the opening and/or maintaining and/or enforcing the position of theconnector6010 such that after theplug6008 is inserted into theplug receiver6068, theplug6008 is maintained in theplug receiver6068 unless and until a user desires to remove theplug6008 from theplug receiver6068. Additionally, once thepost6054 andopening6064 are mated, theplug6008 is fully inserted and therefore, may, in some embodiments, serve as an indication that theplug6008 has been fully inserted into theplug receiver6068.
As shown in, for example,FIGS. 233A and 233B, in some embodiments, thedisposable housing assembly6000 may include aplug6008. In some embodiments, as shown in the embodiments inFIGS. 233A and 233B, theplug6008 may be positioned such that theconnector6010 approaches theplug6008 from the side (rather than the top, as shown in the top down connector embodiments). Also, in some embodiments, thetab6030 of thedisposable housing assembly6000 may be shaped as shown inFIGS. 233A and 233B. In some embodiments, theconnector6010, once attached to thedisposable housing assembly6000, may extend thetab portion6030 of thedisposable housing assembly6000. In some embodiments, once theconnector6010 is attached to thedisposable housing assembly6000, theconnector6010 andtab6030 may be flush and continuous.
In some embodiments, theconnector6010 may include anindent6040, as shown. Theindent6040 may be shaped as shown or, in various embodiments, may be shaped and sized differently.
In various embodiments, theopening6064 on thedisposable housing assembly6000 may be located adjacent to thetab portion6030. In some embodiments, for example, as shown inFIGS. 233A and 233B, theopening6064 may be configured such that it receives thepost6054 on theconnector6010 from the top. Some embodiments may not include apost6054 andopening6064. In some embodiments, the location and/or orientation of theopening6064 may vary. In some embodiments, the location and/or orientation of thepost6054 may vary.
In some embodiments, theconnector6010 may be made from rigid plastic. In some embodiments, the locking ring feature and/or the post may be overmolded with a thin layer of compliant materials. In some embodiments, as discussed above, theplug6008 may include an overmold of compliant material and/or be made from compliant material. In some embodiments, the locking ring feature and/or thepost6054 may be made from compliant material. In embodiments where thepost6054 includes compliant material, use of compliant material may increase the “squish” between thepost6054 and theopening6064 and therefore, resulting in a highly compressed and/or tight fit between thepost6054 and theopening6064.
Referring now also toFIG. 136, in some embodiments, theconnector6010 may include icons that indicate “locked” and “unlocked”, similar to those shown and described above with respect toFIG. 136. Thus, in some embodiments, the “locked” and “unlocked” position may also be visually indicated to a user/patient using icons that may be molded, silk-screened, pad printed, injection molded, etched, printed and/or cut-out, e.g., translucent cut-outs of icons, on the connector. In some embodiments using translucent cut-outs, thetab portion6030 of thedisposable housing assembly6000 may be a contrasting color to the connector for visually viewing thetab portion6030 color through the cut-outs. Thus, the icons may indicate whether thereusable housing assembly6004 is in a locked or unlocked relationship with thedisposable housing assembly6000. In various embodiments, the icons may be any form that may indicate “locked” and “unlocked”, or a similar indication, to aid in the user/patient's understanding of the orientation/position between thereusable housing assembly6004 and thedisposable housing assembly6000. In some embodiments, an arrow icon may also appear between the “locked” and “unlocked” icons.
Theplug6008 may include any embodiment described herein, however, in some embodiments; theplug6008 may be tapered and may either be rigid with an overmold of elastomeric/compliant material or be made from elastomeric/compliant material. In some embodiments, thetubing6002 attaches to theconnector6010 as described above. In some embodiments, thetubing6002 may attach to theconnector6010 and there may be a rigid plastic channel within theconnector6010 and through theplug6008. In some embodiments, thetubing6002 may extend into theconnector6010 and in some embodiments; thetubing6002 may extend all the way through theconnector6010 and through theplug6008. In some embodiments, thetubing6002 may extend past the end of theplug6008.
In these various embodiments, there is maintained a continuous flow lumen from theexit6028 to thecannula6026. This may be desirable and/or beneficial for many reasons, including, but not limited to, minimizing and/or eliminating dead volume, minimizing priming volume and/or prevention of or minimizing the occurrence of air traps.
Some embodiments of theconnector6010 may also include a catchingfeature6014 on the opposite side as thepost6054. The catchingfeature6014, when theconnector6010 is connected to thedisposable housing assembly6000, interferes with thedisposable housing assembly6000 and prevents theconnector6000 from rotating further. Thus, in some embodiments, theconnector6010 and thedisposable housing assembly6000 form an interference fit in at least one location. Together with thepost6054 andopening6064 feature, in some embodiments, once theconnector6010 is attached, theconnector6010 may be held in place by these mating features.
Theconnector body portion6018 may include gripping features, however, in the some embodiments; theconnector6010 is sized such that a user may grip theconnector6010 for insertion/attachment with thedisposable housing assembly6000. In some embodiments including grip features which, in various embodiments, may include, but are not limited to, one or more of the following: a textured surface, bumps, lumps, protrusions or indentations in any size, shape and/or number.
In various embodiments of theconnector6010, once theconnector6010 is connected to thedisposable housing assembly6000, thereusable housing assembly6004 may be connected/attached to thedisposable housing assembly6000 by being rotated about thedisposable housing assembly6000. As thereusable housing assembly6004 is rotatably connected to thedisposable housing assembly6000, the locking ring and/ornub808, having a spring actuatedtab2980, on thereusable housing assembly6004 may interact with theconnector6010, such that the rotation of thereusable housing assembly6004 about thedisposable housing assembly6000 prevents theconnector6010 from being removed from thedisposable housing assembly6000. In some embodiments, once thereusable housing assembly6004 is attached to thedisposable housing assembly6000, the spring plunger/tab in thenub808 may be released, making a “click” sound. The “click” may also produce a tactile feedback that may be perceived by the user/patient. This tactile and audio feedback is indicative to the user that thereusable housing assembly6004 is fully connected to thedisposable housing assembly6000, and, that theconnector6010 is connected such that it will be maintained connected to thedisposable housing assembly6000 until and unless the user wishes to remove theconnector6010. In some embodiments, thenub808, having a spring actuatedtab2980, presses downward on theconnector6010, maintaining theconnector6010 in an attached position. In some embodiments, features in the locking ring interact with the locking ring feature on theconnector6010 and contribute to maintain theconnector6010 in position with respect to thedisposable housing assembly6000. In some embodiments, thebody portion6018 of theconnector6010 may include anindent portion6040 which may be configured to interact with thenub808 and/or spring plunger/tab of the locking ring assembly of thereusable housing assembly6004. In some embodiments, once thereusable housing assembly6004 is attached to thedisposable housing assembly6000, theconnector6010 may not be removed from thedisposable housing assembly6000. Rather, in these embodiments, thereusable housing assembly6004 must first be detached from thedisposable housing assembly6000 before theconnector6010 may be removed from thedisposable housing assembly6000. In some embodiments, once theconnector6010 is attached to thedisposable housing assembly6000, it may not be removed.
In the embodiment shown inFIGS. 233A-233G, theconnector6010 connects to thedisposable housing assembly6000 by theconnector6010 being rotated clockwise with respect to thedisposable housing assembly6000. In other embodiments, the various features described may be configured differently and theconnector6010 may be connected to thedisposable housing assembly6000 by theconnector6010 being rotated counter-clockwise with respect to thedisposable housing assembly6000.
In some embodiments, the disposable housing assembly may include a plug according to the various embodiment described herein, however, in some embodiments, the plug may be located in a different location and/or orientation than is shown herein. In various embodiments, the disposable housing assembly may include one or more mating features that correspond to one or more mating features on a connector. In some embodiments, these mating features may be located and/or orientated differently than is shown herein.
Referring now also toFIGS. 234A-234G, another embodiment of aconnector6010 is shown. Theconnector6010 may include abody portion6018, acatch feature6014, alatching feature6016, and aplug6008. In some embodiments, thebody portion6018 of theconnector6010 may include mating locking features that interact with corresponding features in the disposable housing assembly. In some embodiments, thebody portion6018 may include features that interact with other portions of thedisposable housing assembly6000. As shown, in some embodiments, theconnector6010 may include amale latching feature6016 on the end of thebody portion6018 of theconnector6010. In some embodiments, thelatching feature6016 may mate with a corresponding latching feature (a female latching feature6020) on thedisposable housing assembly6000. In some embodiments, the latch may be a removably secure fit, and/or a snap fit and/or a loose snap fit and in some embodiments may include a spring latch portion. In various other embodiments, the shape and size of theconnector6010 may vary, and/or, in various other embodiments, other types of features such as mating locking features may be used, which include, but are not limited to, latches, catches, snap fits, adhesives, and other mechanisms for securing aconnector6010 to the tab of thedisposable housing assembly6000.
In some embodiments, theconnector6010 may include a locking ring feature on the underside. The locking ring feature in some embodiments may be tapered and/or in some embodiments, the locking ring feature may be at least slightly curved. In some embodiments, the locking ring feature may interact with the locking ring of the reusable housing assembly and may act together with the locking ring to secure the connector to the disposable housing assembly.
As discussed above, in various embodiments, theplug6008 of theconnector6010 is inserted into theexit6028 of thedisposable housing portion6000 with thebody portion6018 pointing in the general upward direction. Once theplug6008 is inside the exit, thebody portion6018 of theconnector6010 may be rotated to rest adjacent to the tab portion of thedisposable housing portion6000. In some embodiments, mating locking features may be included on thebody portion6018 of theconnector6010 and thedisposable housing assembly6000 such that theconnector6010 is held in place before thereusable housing assembly6004 is attached to thedisposable housing assembly6000. In some embodiments, the mating locking features may include, but are not limited to, post and opening, snap, buttons, latch features and/or catch features. In some embodiments, a hook or other feature may be located on the opposite end of the body portion of the connector such that it loops over the end of the tab portion of the disposable housing assembly and maintains the position of the connector. In the embodiment shown inFIGS. 234A-234F, the mating locking features include amale latching feature6016 on theconnector6010 and afemale latching feature6020 on thedisposable housing assembly6000.
In various embodiments, once theconnector6010 is attached to thedisposable housing assembly6000, theconnector6010 may only be removed when intended, i.e., theconnector6010 is maintained on thedisposable housing assembly6000 unless and until a user desires to remove theconnector6010. As discussed above, in some embodiments, theconnector6010 may be non-removably attached, however, in some embodiments; theconnector6010 may be removably attached.
While theconnector6010 is being attached to thedisposable housing assembly6000, themale latching feature6016 is mated with thefemale latching feature6020. In some embodiments, male and female latching features6016,6020 may work together to further stabilize the connection of theconnector6010 to thedisposable housing assembly6000. Additionally, in various embodiments, the male and female latching features6016,6020 may contribute to maintaining theplug6008 in theexit6028. Thus, in some embodiments, the male and female latching features6016,6020 may contribute to maintaining and/or enforcing both the insertion of theplug6008 into theexit6028 and/or maintaining and/or enforcing the position of theconnector6010 such that after theplug6008 is inserted into theexit6028, theplug6008 is maintained in theexit6028 unless and until a user desires to remove theplug6008 from theexit6028. Additionally, once the male and female latching features6016,6020 are mated, theplug6008 is fully inserted and therefore, may, in some embodiments, serve as an indication that theplug6008 has been fully inserted into theexit6028.
As shown inFIGS. 234A and 234B, in some embodiments, theconnector6010 may include aplug6008. In some embodiments, as shown in the embodiments inFIGS. 234A and 234B, theplug6008 may be positioned such that theconnector6010 approaches thedisposable housing assembly6000exit6028 from the side. Also, in some embodiments, thetab6030 of thedisposable housing portion6000 may be shaped as shown inFIGS. 234A and 234B. In some embodiments, theconnector6010, once attached to thedisposable housing assembly6000, may extend thetab portion6030 of thedisposable housing assembly6000. In some embodiments, once theconnector6010 is attached to thedisposable housing assembly6000, theconnector6010 andtab6030 may be flush and continuous.
In some embodiments, theconnector6010 may include anindent6040, as shown. Theindent6040 may be shaped as shown or, in various embodiments, may be shaped and sized differently.
In various embodiments, thefemale latching feature6020 on thedisposable housing assembly6000 may be located adjacent to thetab portion6030. In some embodiments, for example, as shown inFIGS. 234A-234D, thefemale latching feature6020 may be configured such that it receives themale latching feature6016 on theconnector6010 from the top. Some embodiments may not include mating latching features6016. In some embodiments, the location and/or orientation of thefemale latching feature6020 may vary. In some embodiments, the location and/or orientation of themale latching feature6016 may vary.
In some embodiments, theconnector6010 may be made from rigid plastic. In some embodiments, the locking ring feature and/or the latching features may be overmolded with a thin layer of compliant materials. In some embodiments, as discussed above, theplug6008 may include an overmold of compliant material and/or be made from compliant material. In some embodiments, the locking ring feature and/or the latching feature may be made from compliant material. In embodiments where the male or female latching features6016,6020 include compliant material, use of compliant material may increase the “squish” between themale latching feature6016 and thefemale latching feature6020 and therefore, resulting in a highly compressed and/or tight fit between the male and female latching features6016,6020.
Referring now also toFIG. 136, in some embodiments, theconnector6010 may include icons that indicate “locked” and “unlocked”, similar to those shown and described above with respect toFIG. 136. Thus, in some embodiments, the “locked” and “unlocked” position may also be visually indicated to a user/patient using icons that may be molded, silk-screened, pad printed, injection molded, etched, printed and/or cut-out, e.g., translucent cut-outs of icons, on theconnector6010. In some embodiments using translucent cut-outs, thetab portion6030 of thedisposable housing assembly6000 may be a contrasting color to theconnector6010 for visually viewing thetab portion6030 color through the cut-outs. Thus, the icons may indicate whether thereusable housing assembly6004 is in a locked or unlocked relationship with thedisposable housing assembly6000. In various embodiments, the icons may be any form that may indicate “locked” and “unlocked”, or a similar indication, to aid in the user/patient's understanding of the orientation/position between thereusable housing assembly6004 and thedisposable housing assembly6000. In some embodiments, an arrow icon may also appear between the “locked” and “unlocked” icons.
Theplug6008 may include any embodiment described herein, however, in some embodiments; theplug6008 may be tapered and may either be rigid with an overmold of elastomeric/compliant material or be made from elastomeric/compliant material. In various embodiments, theplug6008 may include a seal, for example, in some embodiments, theplug6008 may include a radial seal.
In some embodiments, thetubing6002 attaches to theconnector6010 as described above. In some embodiments, thetubing6002 may attach to theconnector6010 and there may be a rigid plastic channel within theconnector6010 and through theplug6008. In some embodiments, thetubing6002 may extend into theconnector6010 and in some embodiments; thetubing6002 may extend all the way through theconnector6010 and through theplug6008. In some embodiments, thetubing6002 may extend past the end of theplug6008.
In these various embodiments, there is maintained a continuous flow lumen from the exit to thecannula6026. This may be desirable and/or beneficial for many reasons, including, but not limited to, minimizing and/or eliminating dead volume, minimizing priming volume and/or prevention of or minimizing the occurrence of air traps.
Some embodiments of theconnector6010 may also include a catch/catchingfeature6014 on the opposite side as themale latching feature6016. Thecatch feature6014, when theconnector6010 is connected to thedisposable housing assembly6000, interferes with thedisposable housing assembly6000 and prevents theconnector6010 from rotating further. Thus, in some embodiments, theconnector6010 and thedisposable housing assembly6000 form an interference fit in at least one location. Together with the male and female latching features6016,6020, in some embodiments, once theconnector6010 is attached, theconnector6010 may be held in place by these mating features6016,6020.
Theconnector body portion6018 may include gripping features, however, in the some embodiments; theconnector6010 is sized such that a user may grip theconnector6010 for insertion/attachment with thedisposable housing assembly6000. In some embodiments including grip features which, in various embodiments, may include, but are not limited to, one or more of the following: a textured surface, bumps, lumps, protrusions or indentations in any size, shape and/or number.
In various embodiments of theconnector6010, once theconnector6010 is connected to thedisposable housing assembly6000, thereusable housing assembly6004 may be connected/attached to thedisposable housing assembly6000 by being rotated about thedisposable housing assembly6000. As the reusable housing assembly is rotatably connected to thedisposable housing assembly6000, the locking ring and/ornub808, having a spring actuatedtab2980, on thereusable housing assembly6004 may interact with theconnector6010, such that the rotation of thereusable housing assembly6004 about thedisposable housing assembly6000 prevents theconnector6010 from being removed from thedisposable housing assembly6000. In some embodiments, once thereusable housing assembly6004 is attached to thedisposable housing assembly6000, the spring plunger/tab in thenub808 may be released, making a “click” sound. The “click” may also produce a tactile feedback that may be perceived by the user/patient. This tactile and audio feedback is indicative to the user that thereusable housing assembly6004 is fully connected to thedisposable housing assembly6000, and, that theconnector6010 is connected such that it will be maintained connected to thedisposable housing assembly6000 until and unless the user wishes to remove theconnector6010. In some embodiments, thenub808, having a spring actuatedtab2980, presses downward on theconnector6010, maintaining theconnector6010 in an attached position. In some embodiments, features in the locking ring interact with a locking ring feature on theconnector6010 and contribute to maintain theconnector6010 in position with respect to thedisposable housing assembly6000. In some embodiments, thebody portion6018 of theconnector6010 may include an indent portion which may be configured to interact with thenub808 and/or spring plunger/tab of the locking ring assembly of thereusable housing assembly6004. In some embodiments, once thereusable housing assembly6004 is attached to thedisposable housing assembly6000, theconnector6010 may not be removed from thedisposable housing assembly6000. Rather, in these embodiments, thereusable housing assembly6004 must first be detached from thedisposable housing assembly6000 before theconnector6010 may be removed from thedisposable housing assembly6000. In some embodiments, once theconnector6010 is attached to thedisposable housing assembly6000, it may not be removed.
In the embodiment shown inFIGS. 234A-234G, theconnector6010 connects to thedisposable housing assembly6000 by theconnector6010 being rotated clockwise with respect to thedisposable housing assembly6000. In other embodiments, the various features described may be configured differently and theconnector6010 may be connected to thedisposable housing assembly6000 by theconnector6010 being rotated counter-clockwise with respect to thedisposable housing assembly6000.
In some embodiments, thedisposable housing assembly6000 may include aplug6008 and theconnector6010 may include aplug receiver6068 according to the various embodiment described herein. In some embodiments, theplug6008 may be located in a different location and/or orientation than is shown herein. In various embodiments, thedisposable housing assembly6000 may include one or more mating features that correspond to one or more mating features on aconnector6010. In some embodiments, these mating features may be located and/or orientated differently than is shown herein.
Referring now also toFIGS. 235A-235E, another embodiment of aconnector6010 and adisposable housing assembly6000 are shown. Theconnector6010 may include abody portion6018, a catch feature6015, alatching feature6016, and aplug6008. In some embodiments, thebody portion6018 of theconnector6010 may include mating locking features that interact with corresponding features in thedisposable housing assembly6000. In some embodiments, thebody portion6018 may include features that interact with other portions of thedisposable housing assembly6000. As shown, in some embodiments, theconnector6010 may include amale latching feature6016 on the end of thebody portion6018 of theconnector6010. In some embodiments, themale latching feature6016 may mate with a correspondingfemale latching feature6020 on thedisposable housing assembly6000. In some embodiments, the latch may be a removably secure fit, and/or a snap fit and/or a loose snap fit and in some embodiments may include a spring latch portion. In various other embodiments, the shape and size of theconnector6010 may vary, and/or, in various other embodiments, other types of features such as mating locking features may be used, which include, but are not limited to, latches, catches, snap fits, adhesives, and other mechanisms for securing a connector to the tab of thedisposable housing assembly6000.
In some embodiments, theconnector6010 may include a locking ring feature on the underside. The locking ring feature in some embodiments may be tapered and/or in some embodiments, the locking ring feature may be at least slightly curved. In some embodiments, the locking ring feature may interact with the locking ring of thereusable housing assembly6004 and may act together with the locking ring to secure the connector to thedisposable housing assembly6000.
As discussed above, in various embodiments, theplug6008 of theconnector6010 is inserted into theexit6028 of thedisposable housing assembly6000 with thebody portion6018 pointing in the general upward direction. Once theplug6008 is inside theexit6028, thebody portion6018 of theconnector6010 may be rotated to rest adjacent to thetab portion6030 of thedisposable housing portion6000. In some embodiments, mating locking features may be included on thebody portion6018 of theconnector6010 and thedisposable housing assembly6000 such that theconnector6010 is held in place before thereusable housing assembly6004 is attached to thedisposable housing assembly6000. In some embodiments, the mating locking features may include, but are not limited to, post and opening, snap, buttons, latch features and/or catch features. In some embodiments, a hook or other feature may be located on the opposite end of thebody portion6018 of theconnector6010 such that it loops over the end of thetab portion6030 of thedisposable housing assembly6000 and maintains the position of theconnector6010. In the embodiment shown inFIGS. 235A-235E, the mating locking features include amale latching feature6016 on theconnector6010 and afemale latching feature6020 on thedisposable housing assembly6000. Themale latching feature6016 is a bump and thefemale latching feature6020 is an opening that accommodates the bump.
In various embodiments, once theconnector6010 is attached to thedisposable housing assembly6000, theconnector6010 may only be removed when intended, i.e., theconnector6010 is maintained on thedisposable housing assembly6000 unless and until a user desires to remove theconnector6010. As discussed above, in some embodiments, theconnector6010 may be non-removably attached, however, in some embodiments; theconnector6010 may be removably attached.
While theconnector6010 is being attached to thedisposable housing assembly6000, themale latching feature6016 is mated with thefemale latching feature6020. In some embodiments, male and female latching features6016,6020 may work together to further stabilize the connection of theconnector6010 to thedisposable housing assembly6000. Additionally, in various embodiments, the male and female latching features6016,6020 may contribute to maintaining theplug6008 in theexit6028. Thus, in some embodiments, the male and female latching features6016,6020 may contribute to maintaining and/or enforcing both the insertion of theplug6008 into theexit6028 and/or maintaining and/or enforcing the position of theconnector6010 such that after theplug6008 is inserted into theexit6028, theplug6008 is maintained in theexit6028 unless and until a user desires to remove theplug6008 from theexit6028. Additionally, once the male and female latching features6016,6020 are mated, theplug6008 is fully inserted and therefore, may, in some embodiments, serve as an indication that theplug6008 has been fully inserted into theexit6028.
As shown inFIGS. 235A-235C, in some embodiments, theconnector6010 may include aplug6008. In some embodiments, as shown in the embodiments inFIGS. 235A-235C, theplug6008 may be positioned such that theconnector6010 approaches thedisposable housing assembly6000exit6028 from the side. Also, in some embodiments, thetab6030 of thedisposable housing portion6000 may be shaped as shown inFIGS. 235D and 235E. In some embodiments, theconnector6010, once attached to thedisposable housing assembly6000, may extend thetab portion6030 of thedisposable housing assembly6000. In some embodiments, once theconnector6010 is attached to thedisposable housing assembly6000, theconnector6010 andtab6030 may be flush and continuous.
In some embodiments, theconnector6010 may include anindent6040, as shown. Theindent6040 may be shaped as shown or, in various embodiments, may be shaped and sized differently.
In various embodiments, thefemale latching feature6020 on thedisposable housing assembly6000 may be located adjacent to thetab portion6030. In some embodiments, for example, as shown inFIGS. 235D-235E, thefemale latching feature6020 may be configured such that it receives themale latching feature6016 on theconnector6010 from the top. Some embodiments may not include mating latching features6016,6020. In some embodiments, the location and/or orientation of thefemale latching feature6020 may vary. In some embodiments, the location and/or orientation of themale latching feature6016 may vary.
In some embodiments, theconnector6010 may be made from rigid plastic. In some embodiments, the locking ring feature and/or the latching features may be overmolded with a thin layer of compliant materials. In some embodiments, as discussed above, theplug6008 may include an overmold of compliant material and/or be made from compliant material. In some embodiments, the locking ring feature and/or the latching feature may be made from compliant material. In embodiments where the male orfemale latching feature6016,6020 includes compliant material, use of compliant material may increase the “squish” between themale latching feature6016 and thefemale latching feature6020 and therefore, resulting in a highly compressed and/or tight fit between the male and female latching features6016,6020.
Referring now also toFIG. 136, in some embodiments, theconnector6010 may include icons that indicate “locked” and “unlocked”, similar to those shown and described above with respect toFIG. 136. Thus, in some embodiments, the “locked” and “unlocked” position may also be visually indicated to a user/patient using icons that may be molded, silk-screened, pad printed, injection molded, etched, printed and/or cut-out, e.g., translucent cut-outs of icons, on theconnector6010. In some embodiments using translucent cut-outs, thetab portion6030 of thedisposable housing assembly6000 may be a contrasting color to theconnector6010 for visually viewing thetab portion6030 color through the cut-outs. Thus, the icons may indicate whether thereusable housing assembly6004 is in a locked or unlocked relationship with thedisposable housing assembly6000. In various embodiments, the icons may be any form that may indicate “locked” and “unlocked”, or a similar indication, to aid in the user/patient's understanding of the orientation/position between thereusable housing assembly6004 and thedisposable housing assembly6000. In some embodiments, an arrow icon may also appear between the “locked” and “unlocked” icons.
Theplug6008 may include any embodiment described herein, however, in some embodiments; theplug6008 may be tapered and may either be rigid with an overmold of elastomeric/compliant material or be made from elastomeric/compliant material. In various embodiments, theplug6008 may include a seal, for example, in some embodiments; theplug6008 may include a radial seal.
In some embodiments, thetubing6002 attaches to theconnector6010 as described above. In some embodiments, thetubing6002 may attach to theconnector6010 and there may be a rigid plastic channel within theconnector6010 and through theplug6008. In some embodiments, thetubing6002 may extend into theconnector6010 and in some embodiments; thetubing6002 may extend all the way through theconnector6010 and through theplug6008. In some embodiments, thetubing6002 may extend past the end of theplug6008.
In these various embodiments, there is maintained a continuous flow lumen from theexit6028 to thecannula6026. This may be desirable and/or beneficial for many reasons, including, but not limited to, minimizing and/or eliminating dead volume, minimizing priming volume and/or prevention of or minimizing the occurrence of air traps.
Some embodiments of theconnector6010 may also include acatch feature6014 on the opposite side as themale latching feature6016. Thecatch feature6014, when theconnector6010 is connected to thedisposable housing assembly6000, interferes with thedisposable housing assembly6000 and prevents theconnector6010 from rotating further. Thus, in some embodiments, theconnector6010 and thedisposable housing assembly6000 form an interference fit in at least one location. Together with the male and female latching features6016,6020, in some embodiments, once theconnector6010 is attached, theconnector6010 may be held in place by these mating features. In some embodiments, thecatch feature6014 may be ramped and therefore, may, in some embodiments, aid in the attaching of theconnector6014 to thedisposable housing assembly6000.
Theconnector body portion6018 may include gripping features, however, in the some embodiments; the connector is sized such that a user may grip theconnector6010 for insertion/attachment with thedisposable housing assembly6000. In some embodiments including grip features which, in various embodiments, may include, but are not limited to, one or more of the following: a textured surface, bumps, lumps, protrusions or indentations in any size, shape and/or number.
In various embodiments of theconnector6010, once theconnector6010 is connected to thedisposable housing assembly6000, thereusable housing assembly6004 may be connected/attached to thedisposable housing assembly6000 by being rotated about thedisposable housing assembly6000. As thereusable housing assembly6004 is rotatably connected to thedisposable housing assembly6000, the locking ring and/ornub808, having a spring actuatedtab2980, on thereusable housing assembly6004 may interact with theconnector6010, such that the rotation of thereusable housing assembly6004 about thedisposable housing assembly6000 prevents theconnector6010 from being removed from thedisposable housing assembly6000. In some embodiments, once thereusable housing assembly6004 is attached to thedisposable housing assembly6000, the spring plunger/tab in thenub808 may be released, making a “click” sound. The “click” may also produce a tactile feedback that may be perceived by the user/patient. This tactile and audio feedback is indicative to the user that thereusable housing assembly6004 is fully connected to thedisposable housing assembly6000, and, that theconnector6010 is connected such that it will be maintained connected to thedisposable housing assembly6000 until and unless the user wishes to remove theconnector6010. In some embodiments, thenub808, having a spring actuatedtab2980, presses downward on the connector, maintaining theconnector6010 in an attached position. In some embodiments, features in the locking ring interact with a locking ring feature on theconnector6010 and contribute to maintain theconnector6010 in position with respect to thedisposable housing assembly6000. In some embodiments, thebody portion6018 of theconnector6010 may include anindent portion6040 which may be configured to interact with thenub808 and/or spring plunger/tab of the locking ring assembly of thereusable housing assembly6004. In some embodiments, once thereusable housing assembly6004 is attached to thedisposable housing assembly6000, theconnector6010 may not be removed from thedisposable housing assembly6000. Rather, in these embodiments, thereusable housing assembly6004 must first be detached from thedisposable housing assembly6000 before theconnector6010 may be removed from thedisposable housing assembly6000. In some embodiments, once theconnector6010 is attached to thedisposable housing assembly6000, it may not be removed.
In the embodiment shown inFIGS. 235A-235E, theconnector6010 connects to thedisposable housing assembly6000 by theconnector6010 being rotated clockwise with respect to thedisposable housing assembly6000. In other embodiments, the various features described may be configured differently and the connector may be connected to thedisposable housing assembly6000 by theconnector6010 being rotated counter-clockwise with respect to thedisposable housing assembly6000.
In some embodiments, thedisposable housing assembly6000 may include aplug6008 and theconnector6010 may include aplug receiver6068 according to the various embodiment described herein. In some embodiments, theplug6008 may be located in a different location and/or orientation than is shown herein. In various embodiments, thedisposable housing assembly6000 may include one or more mating features that correspond to one or more mating features on aconnector6010. In some embodiments, these mating features may be located and/or orientated differently than is shown herein.
In various embodiments, thetubing6002, whether connected to aconnector6010 or directly to thedisposable housing assembly6000, may connect to acannula assembly6026 on the opposite end. Thecannula assembly6026 may be anycannula assembly6026 known in the art and may include a cannula, whether plastic or metal, and/or an interface between thetubing6002 and a cannula which, in some embodiments, may include a septum or a needle interface. In some embodiments, thecannula assembly6026 includes all of these elements.
Referring now also toFIGS. 236A-236X, together withFIG. 238, another embodiment of aconnector6010 and adisposable housing assembly6000 are shown. Theconnector6010 may include abody portion6018, acatch feature6014, amale latching feature6016, and aplug6008. In some embodiments, thebody portion6018 of theconnector6010 may include one or more mating locking features that interact with corresponding features in thedisposable housing assembly6000. In some embodiments, thebody portion6018 may include features that interact with other portions of thedisposable housing assembly6000. As shown, in some embodiments, theconnector6010 may include amale latching feature6016 on the end of thebody portion6018 of theconnector6010. In some embodiments, themale latching feature6016 may mate with a corresponding latching feature, for example, in some embodiments, the corresponding latching feature may be afemale latching feature6020, on thedisposable housing assembly6000. In some embodiments, the latch may be a removably secure fit, and/or a snap fit and/or a loose snap fit and in some embodiments may include a spring latch portion. In various other embodiments, the shape and size of theconnector6010 may vary, and/or, in various other embodiments, other types of features such as mating locking features may be used, which include, but are not limited to, latches, catches, snap fits, adhesives, and other mechanisms for securing a connector to the tab of the disposable housing assembly.
In some embodiments, theconnector6010 may include a locking ring feature on the underside. The locking ring feature in some embodiments may be tapered and/or in some embodiments, the locking ring feature may be at least slightly curved. In some embodiments, the locking ring feature may interact with the locking ring of thereusable housing assembly6004 and may act together with the locking ring to secure theconnector6010 to thedisposable housing assembly6000.
In some embodiments, theconnector6010 may include icons that indicate “locked”6076 and “unlocked”6078. Thus, in some embodiments, the “locked” and “unlocked” position may also be visually indicated to a user/patient using icons6076,6078 that may be molded, silk-screened, pad printed, injection molded, etched, printed and/or cut-out, e.g., translucent cut-outs of icons, on the connector. In some embodiments using translucent cut-outs, thetab portion6030 of thedisposable housing assembly6000, or another portion of thedisposable housing assembly6000, may be a contrasting color to theconnector6010 for visually viewing thetab6030 portion color through the cut-outs. Thus, theicons6076,6078 may indicate whether thereusable housing assembly6004 is in a locked or unlocked relationship with thedisposable housing assembly6000. In various embodiments, the icons may be any form that may indicate “locked” and “unlocked”, or a similar indication, to aid in the user/patient's understanding of the orientation/position between thereusable housing assembly6004 and thedisposable housing assembly6000. In some embodiments, anarrow icon6080 may also appear between the “locked” and “unlocked” icons.
In various embodiments, theconnector6010 is attached to a length oftubing6002. In some embodiments, thetubing6002 attaches to theconnector6010 through thetubing opening6082. In some embodiments, thetubing opening6082 may be a tapered opening which may be larger on the outside. This may be beneficial for many reasons, including, but not limited to, gluing thetubing6002 into thetubing opening6002. The larger opening on the outside may maintain or aid to maintain the glue at the outer portion of thetubing opening6082 such that the amount of glue is reduced, minimized and/or prevented from wicking up along thetubing6002 inside the tubing opening6-82. This is beneficial for many reasons, including, but not limited to, preventing or reduction of the potential for glue to induce a kink in thetubing6002.
As discussed above, in various embodiments, theplug6008 of theconnector6010 is inserted into theexit6028 of thedisposable housing portion6000 with thebody portion6018 pointing in the general upward direction. Once theplug6008 is inside theexit6028, thebody portion6010 of theconnector6010 may be rotated to rest adjacent to thetab portion6030 of thedisposable housing portion6000. In some embodiments, mating locking features may be included on thebody portion6018 of theconnector6010 and thedisposable housing assembly6000 such that theconnector6010 is held in place before thereusable housing assembly6004 is attached to thedisposable housing assembly6000. In some embodiments, the mating locking features may include, but are not limited to, post and opening, snap, buttons, latch features and/or catch features. In some embodiments, a hook or other feature may be located on the opposite end from the post of the body portion of the connector such that it loops over the end of the tab portion of thedisposable housing assembly6000 and maintains the position of theconnector6010. In the embodiment shown inFIGS. 236A-236D andFIGS. 236I-236M, the mating locking features include amale latching feature6016 on theconnector6010 and afemale latching feature6020 on thedisposable housing assembly6000.
In various embodiments, once theconnector6010 is attached to thedisposable housing assembly6000, theconnector6010 may only be removed when intended, i.e., theconnector6010 is maintained on thedisposable housing assembly6000 unless and until a user desires to remove theconnector6000. As discussed above, in some embodiments, theconnector6010 may be non-removably attached, however, in some embodiments; theconnector6010 may be removably attached. In some embodiments, one or more mating locking features may include one or more frangible portions such that once theconnector6010 is connected to thedisposable housing assembly6000, if theconnector6010 is removed, one or more frangible portions will break and prevent reuse.
While theconnector6010 is being attached to thedisposable housing assembly6000, themale latching feature6016 is mated with thefemale latching feature6020. In some embodiments, male and female latching features6016,6020 may work together to further stabilize the connection of theconnector6010 to thedisposable housing assembly6000. Additionally, in various embodiments, the male and female latching features6016,6020 may contribute to maintaining theplug6008 in theexit6028. Thus, in some embodiments, the male and female latching features6016,6020 may contribute to maintaining and/or enforcing both the insertion of theplug6008 into theexit6028 and/or maintaining and/or enforcing the position of theconnector6010 such that after theplug6008 is inserted into theexit6028, theplug6008 is maintained in theexit6028 unless and until a user desires to remove theplug6008 from theexit6028. Additionally, once the male and female latching features6016,6020 are mated, theplug6008 is fully inserted and therefore, may, in some embodiments, serve as an indication that theplug6008 has been fully inserted into theexit6028.
As shown inFIGS. 236A and 236B, in some embodiments, theconnector6010 may include aplug6008. In some embodiments, as shown in the embodiments inFIGS. 236A and 236B, theplug6008 may be positioned such that theconnector6010 approaches thedisposable housing assembly6000 exit from the side. Also, in some embodiments, thetab6030 of thedisposable housing assembly6000 may be shaped as shown inFIGS. 236A and 236C. In some embodiments, theconnector6010, once attached to thedisposable housing assembly6000, may extend thetab portion6030 of thedisposable housing assembly6000. In some embodiments, once theconnector6010 is attached to thedisposable housing assembly6000, theconnector6010 andtab6030 may be flush and continuous.
In some embodiments, theconnector6010 may include anindent6040, as shown. Theindent6040 may be shaped as shown or, in various embodiments, may be shaped and sized differently. As shown in the embodiments inFIGS. 236A-236E, theindent6040, in some embodiments, may include one or more icons. In some embodiments theconnector6010 may include at least oneindent6040, and in some embodiments, theconnector6010 may include greater than oneindent6040. In some embodiments, theconnector6010 may include at least oneindent6040 and/or at least one feature including, but not limited to, an indent, bump, rib, textured surface, lumps, protrusions or indentations in any size, shape and/or number.
In various embodiments, thefemale latching feature6020 on thedisposable housing assembly6000 may be located adjacent to thetab portion6030. In some embodiments, for example, as shown inFIGS. 236C-236D andFIGS. 236I-236L, thefemale latching feature6020 may be configured such that it receives themale latching feature6016 on theconnector6010 from the top. Some embodiments may not include mating latching features. In some embodiments, the location and/or orientation of the female latching feature may vary. In some embodiments, the location and/or orientation of the male latching feature may vary. In some embodiments, the male latching feature may interlock with the female latching feature such that a portion of the male latching feature clips under the female latching feature.
In some embodiments, theconnector6010 may be made from rigid plastic and in some embodiments, theconnector6010 may be made from TERLUX, however, in various other embodiments, theconnector6010 may be made from other materials, including, but not limited to, polycarbonate, TOPAS or other various plastics. In some embodiments, the locking ring feature and/or the latching features may be overmolded with a thin layer of compliant materials. In some embodiments, as discussed above, theplug6008 may include an overmold of compliant material and/or be made from compliant material. In some embodiments, the locking ring feature and/or the latching feature may be made from compliant material. In embodiments where the male or female latching feature includes compliant material, use of compliant material may increase the “squish” between the male latching feature and the female latching feature and therefore, resulting in a highly compressed and/or tight fit between the male and female latching features.
Theplug6008 may include any embodiment described herein, however, in some embodiments; theplug6008 may be tapered and may either be rigid with an overmold of elastomeric/compliant material or be made from elastomeric/compliant material. In various embodiments, theplug6008 may include a seal, for example, in some embodiments; the plug may include a radial seal. In some embodiments, the seal may be made from medical grade silicone.
In some embodiments, thetubing6002 attaches to theconnector6010 as described above. In some embodiments, thetubing6002 may attach to theconnector6010 and there may be a rigid plastic channel within theconnector6010 and through theplug6008. In some embodiments, thetubing6002 may extend into theconnector6010 and in some embodiments; thetubing6002 may extend all the way through theconnector6010 and through theplug6008. In some embodiments, thetubing6002 may extend past the end of theplug6008.
In these various embodiments, there is maintained a continuous flow lumen from theexit6028 to thecannula assembly6026. This may be desirable and/or beneficial for many reasons, including, but not limited to, minimizing and/or eliminating dead volume, minimizing priming volume and/or prevention of or minimizing the occurrence of air traps.
Referring now still toFIGS. 236A-236H and 236L-236T, some embodiments of theconnector6010 may also include acatch feature6014 on the opposite side as themale latching feature6016. Thecatch feature6014, when theconnector6010 is connected to thedisposable housing assembly6000, interferes with thedisposable housing assembly6000 and prevents theconnector6010 from rotating further. Thus, in some embodiments, theconnector6010 and thedisposable housing assembly6000 form an interference fit in at least one location. Together with the male and female latching features6016,6020, in some embodiments, once theconnector6010 is attached, theconnector6010 may be held in place by these mating features. In some embodiments, thecatch feature6014 may include aramp6084 and therefore, may, in some embodiments, aid in the attaching of theconnector6010 to thedisposable housing assembly6000. Referring now toFIG. 236Q andFIG. 236R, in some embodiments, thecatch6014 of theconnector6010 may interfere with a disposable housingassembly interference feature6086. As shown, if theplug6008 is not mostly inserted into theexit6028, thecatch6014 and the disposable housingassembly interference feature6086 meet and this prevents theconnector6010 from being fully connected to thedisposable housing assembly6000. This configuration additionally prevents thereusable housing assembly6004 from attaching to thedisposable housing assembly6000. This may be beneficial for many reasons, including, but not limited to, ensuring that theplug6008 is fully inserted into theexit6028 before thereusable housing assembly6004 is attached and before any delivery by the pump begins. Additionally, theramp6084 of thecatch6014 aids in ensuring that theplug6008 is fully inserted. In some embodiments, where theplug6008 is mostly inserted into theexit6028, but not completely inserted, when thereusable housing assembly6004 is attached to thedisposable housing assembly6000, pressure from thereusable housing assembly6004, together with theramp6084 of thecatch6014, inserts theplug6008 fully. Thus, while theplug6008 is almost fully inserted, theplug6008 may be fully inserted by the motion of thereusable housing assembly6004 being attached to thedisposable housing assembly6000 due, in part, to theramp6084 of the catch6014 (which acts as a cam). Thus, if a user inserts theplug6008 of theconnector6010, even if theplug6008 is not fully seeded in theexit6028, once thereusable housing assembly6004 is attached, theplug6008 will be pushed into theexit6028 and fully seeded. This is beneficial for many reasons, including, but not limited to, preventing or decreasing the incidences of leakage due to a less than fully sealed interface between theconnector6010 and theexit6028.
Theconnector body portion6018 may include gripping features, however, in the some embodiments; theconnector6010 is sized such that a user may grip theconnector6010 for insertion/attachment with thedisposable housing assembly6000. In some embodiments including grip features which, in various embodiments, may include, but are not limited to, one or more of the following: a textured surface, bumps, lumps, protrusions or indentations in any size, shape and/or number.
In various embodiments of theconnector6010, once theconnector6010 is connected to thedisposable housing assembly6000, thereusable housing assembly6004 may be connected/attached to thedisposable housing assembly6000 by being rotated about thedisposable housing assembly6000. As thereusable housing assembly6004 is rotatably connected to thedisposable housing assembly6000, the locking ring and/ornub808, having a spring actuatedtab2980, on thereusable housing assembly6004 may interact with theconnector6010, such that the rotation of thereusable housing assembly6004 about thedisposable housing assembly6000 prevents theconnector6010 from being removed from thedisposable housing assembly6000. In some embodiments, once thereusable housing assembly6004 is attached to thedisposable housing assembly6000, the spring plunger/tab in thenub808 may be released, making a “click” sound. The “click” may also produce a tactile feedback that may be perceived by the user/patient. This tactile and audio feedback is indicative to the user that thereusable housing assembly6004 is fully connected to thedisposable housing assembly6000, and, that theconnector6010 is connected such that it will be maintained connected to thedisposable housing assembly6000 until and unless the user wishes to remove theconnector6010. In some embodiments, thenub808, having a spring actuatedtab2980, presses downward on theconnector6010, maintaining theconnector6010 in an attached position. In some embodiments, features in the locking ring interact with a locking ring feature on theconnector6010 and contribute to maintain theconnector6010 in position with respect to thedisposable housing assembly6000. In some embodiments, thebody portion6018 of theconnector6018 may include anindent portion6040 which may be configured to interact with thenub808 and/or spring plunger/tab of the locking ring assembly of thereusable housing assembly6004. In some embodiments, once thereusable housing assembly6004 is attached to thedisposable housing assembly6000, theconnector6010 may not be removed from thedisposable housing assembly6000. Rather, in these embodiments, thereusable housing assembly6004 must first be detached from thedisposable housing assembly6000 before theconnector6010 may be removed from thedisposable housing assembly6000. In some embodiments, once theconnector6010 is attached to thedisposable housing assembly6000, it may not be removed.
In some embodiments, for example, referring toFIG. 36, the tactile and audio feedback from the “click”, referenced above, may be sensed using the AVS. In some embodiments, as described above, the lockingring assembly806 may include a sensing component (e.g., magnet844) that may interact with a component of reusable housing assembly802 (e.g., a Hall Effect sensor) to provide an indication of whetherreusable housing assembly802 is properly engaged with the mating component. The Hall Effect sensor may detect when the locking ring has been rotated to a closed position. Thus, the Hall Effect sensor together withmagnet844 may provide a system for determining whether the locking ring has been rotated to a closed position.
In some embodiments, once the system determines that the sensing component has come into proximate contact with the Hall Effect sensor, the system may turn on the AVS microphone to listen for the “click” sounds from the indent. In some embodiments, the AVS microphone may be turned on for a predetermined period of time, for example, 20 seconds, to listen for the “click”. Thus, the system detects that a rotation is occurring before the “click” occurs and may turn on the AVS microphone to listen for a predetermined audio fingerprint. In some embodiments, the system may recognize the “click” sounds based on one or more, but not limited to, the following: frequency, amplitude, duration, and/or width. Once the system determines that the “click” sound has been made, the reusable housing assembly/pump and/or the remote control assembly may beep or otherwise indicate to the user that a successful attachment of thedisposable housing assembly6000 to thereusable housing assembly6004 has been made. In some embodiments, where the “click” has not been recognized by the system, thereusable housing assembly6004/pump and/or remote control assembly may alert and/or alarm. In some embodiments, where the “click” is not heard, thereusable housing assembly6004/pump may not begin basal or other delivery programs.
In some embodiments, once the attachment has been successfully made, the infusion pump system may start a timer from when the reusable housing assembly/pump/system recognizes that thedisposable housing assembly6000 is attached to thereusable house assembly6004 and could notify the user in a predetermined period of time, for example, 3 days, that thedisposable housing assembly6000 should be changed.
In some embodiments, theconnector6010 could include one or more indents or bumps or other types of texture that, when heard by the AVS microphone, may indicate a code to tell the system various pieces of information, for example, but not limited to, that theconnector6010 is different from theconnector6010 previously used, and or other information about the connector, for example, the lot number, etc. In some embodiments, eachconnector6010 may include a unique identification indicator that may be heard by the AVS microphone when thedisposable housing assembly6000 andreusable housing assembly6004 are attached. This may be beneficial for many reasons, including, but not limited to, the system may be able to differentiate betweenconnectors6010 and may determine not to pump/deliver if, for example, a new/different connector6010 is not connected to adisposable housing assembly6000, e.g., 3 days after aconnector6010 is connected to adisposable housing assembly6000. In some embodiments, the system may recognize whether aconnector6010 is being reused and inform the user/patient that theconnector6010 was previously used and/or prevent theconnector6010 from being reused by alerting/alarming and not beginning delivery until and unless anew connector6010 is connected. Also, in some embodiments, this may be beneficial to track the manufacturing lot and/or the expiration date of theconnector6010 to inform the user/patient that a recalled and/or expired connector has been attached to the disposable housing assembly6000. In some embodiments, the system may prevent a recalled and/or expired and/or previously usedconnector6010 from being used for patient/user safety.
In the embodiment shown inFIGS. 236A-236T, theconnector6010 connects to thedisposable housing assembly6000 by theconnector6010 being rotated clockwise with respect to thedisposable housing assembly6000. In other embodiments, the various features described may be configured differently and theconnector6010 may be connected to thedisposable housing assembly6000 by theconnector6010 being rotated counter-clockwise with respect to thedisposable housing assembly6000.
In some embodiments, thedisposable housing assembly6000 may include aplug6008 and theconnector6010 may include aplug receiver6068 according to the various embodiment described herein. In some embodiments, theplug6008 may be located in a different location and/or orientation than is shown herein. In various embodiments, thedisposable housing assembly6000 may include one or more mating features that correspond to one or more mating features on aconnector6010. In some embodiments, these mating features may be located and/or orientated differently than is shown herein.
In various embodiments, thetubing6002, whether connected to aconnector6010 or directly to thedisposable housing assembly6000, may connect to acannula assembly6026 on the opposite end. Thecannula assembly6026 may be any cannula assembly known in the art and may include a cannula, whether plastic or metal, and/or an interface between thetubing6002 and a cannula which, in some embodiments, may include a septum or a needle interface. In some embodiments, thecannula assembly6026 includes all of these elements.
Referring now toFIG. 237, in some embodiments, theconnector6010 may include a “core”6090 on the bottom. Thecore6090 may be an opening in theconnector6010. In some embodiments, anidentification tag6092 may be located in thecore6090, however, in various other embodiments, theidentification tag6092 may be located in another location on the connector6010 (and in some embodiments, theidentification tag6092 may be located on thedisposable housing assembly6000 and/or on the cannula assembly6026). In some embodiments it may be desired to include a method of the system identifying the connector6010 (and/ordisposable housing assembly6000 and/or cannula assembly6026) and/or a device for the system to identify theconnector6010. In some embodiments, theidentification tag6092 may be an RFID tag. In some embodiments, theidentification tag6092 may be a near-field communication (“NFC”) readable RFID tag. In some embodiments, theidentification tag6092 may be a 2D or 3D bar code. In some embodiments, theidentification tag6092 may be a QR code.
In various embodiments, either before theconnector6010 is connected to thedisposable housing assembly6000 or after thereusable housing assembly6004 has been connected to thedisposable housing assembly6000, thereusable housing assembly6004 and/or the remote control unit may read theidentification tag6092. Theidentification tag6092 may include various information, including, but not limited to, one or more of the following: unique identification number, date of manufacture, date of expiration, part number, lot number, and/or date of sale. Once the system reads theidentification tag6092, the system may recognize theconnector6010 by its unique identification number or other, and thus, be able to recognize that theconnector6010 is either anew connector6010, i.e., has not been used previously, or is anold connector6010, i.e., theconnector6010 has been used previously. In some embodiments, once theconnector6010 is attached, the system may start a timer and the infusion pump may alert/alarm and/or turn off after a predetermined period of time where theconnector6010 has been used by the system. In some embodiments, this predetermined time may be the maximum time that the manufacturer recommends using theconnector6010 and/orcannula assembly6026 attached to theconnector6010. In some embodiments, this predetermined time may be the maximum time that the manufacturer recommends using thedisposable housing assembly6000.
In some embodiments, the information conveyed by theidentification tag6092 may include information to authenticate theconnector6010, i.e., to ensure that theconnector6010 is not a counterfeit part. In some embodiments, the remote control unit and/orreusable housing assembly6004/pump may include a listing of authentic identification information such that the system may “authenticate” theconnector6010 based on information received from the manufacturer.
In various embodiments, theidentification tag6092 may be a “peel and stick” RFID tag, which may be attached to theconnector6010, for example, in thecore6090 area of theconnector6010. In some embodiments, theidentification tag6092 may be glued and/or potted and/or another part may be pressed over theidentification tag6092 to sandwich theidentification tag6092. In some embodiments, theidentification tag6092 may be taped to theconnector6010. In some embodiments, where theidentification tag6092 is a bar code and/or QR code, theidentification tag6092 may be embossed, printed and/or molded onto theconnector6010.
In some embodiments, theidentification tag6092 may be an RFID tag. In some embodiments, the RFID tag may be a tag that includes an antenna and chip. In some embodiments, theconnector6010 may be manufactured with a conductive ring and a chip could be electrically connected to the conductive ring. In some embodiments, the RFID tag could be on the label which could include additional information, for example, but not limited to, text, for example, part number, label, instructions, expiration date.
In some embodiments, thereusable housing assembly6004 may include hardware to read theidentification tag6092, which may include an RFID chip and/or a bar code, for example, 2D or 3D, or a QR code. For example, in some embodiments, the hardware may be an antenna which may be a copper trace on a board. In some embodiments the hardware may include a camera and/or a bar code scanner. In some embodiments, the remote control until may include hardware to read theidentification tag6092, for example, in some embodiments, the remote control until may include an RFID transceiver and/or a near-field communication transceiver which may read the identification tag in those embodiments where the identification tag is an RFID tag. In some embodiments, the RFID tag may be one that may be read by an NFC transceiver. In some embodiments the remote control until may include a camera and/or a bar code scanner.
In some embodiments, using NFC may be desirable for many reasons, including, but not limited to, thereusable housing assembly6004 and the remote control unit could both include NFC transceivers and thereusable housing assembly6004 and the remote control unit may be paired in this fashion. This provides that thereusable housing assembly6004 and the remote control unit come into physical contact with one another. This may be beneficial for many reasons including, but not limited to, the devices being paired are both in control of the user/patient and therefore, this may provide additional localized security when pairing the devices, i.e., to ensure that a non-intended device is not paired with either the remote control unit or the reusable housing assembly.
In some embodiments, thecannula assembly6026,connector6010 and/or thedisposable housing assembly6000 may includeidentification tags6092 and may include one or more of the features discussed above with respect toidentification tags6092 and/or may be used in one or more of the methods discussed above.
In various embodiments, thereusable housing assembly6004 may begin pumping fluid only after either thereusable housing assembly6004 or the remote control unit has received the information from the one ormore identification tags6092 in the system (e.g.,disposable housing assembly6000,cannula assembly6026 and/or connector6010) and has determined that the information received is acceptable. For example, in some embodiments, if the information received does not convey to the system that a “new” and/or “acceptable” (i.e., is not expired, has not been recalled)connector6010 and/ordisposable housing assembly6000 and/or cannulaassembly6026 is being connected to the system, then the system may not pump fluid and or may alert/alarm.
Various embodiments of theconnector6010 may be made from any color desired. In some embodiments, theconnector6010 may be made from a different color than thedisposable housing assembly6000. In some embodiments, theconnector6010 may be made from the same color as thedisposable housing assembly6000.
In some embodiments theconnector6010, after being connected/attached to thedisposable housing assembly6000, may not be removed from thedisposable housing assembly6000. In some embodiments, once connected/attached to thedisposable housing assembly6000, it may be difficult for a user to remove theconnector6010 from thedisposable housing assembly6000. In some embodiments, this may be beneficial and/or desirable for once the tubing has been primed; thetubing6002 is full of fluid, which, in some embodiments, may include a therapeutic fluid. If theconnector6010 were removed from thedisposable housing assembly6000, and acannula assembly6026, in fluid communication with theconnector6010, was already inserted into a user, and if theconnector6010 were to be elevated such that it was higher than thecannula assembly6026, the fluid in thetubing6002 may be delivered through thecannula assembly6026 to the user. In some circumstances, this may not be desirable for many reasons, including, but not limited to, unintentional delivery of a volume of fluid. Therefore, prevention of this circumstance may be desirable.
In some embodiments, thedisposable housing assembly6000 may include fluid membranes that are not over molded, but rather molded separately then attached between the two layers of thedisposable housing assembly6000 and the layers may retain the membranes by affecting a seal through laser welding, however, in some embodiments, we may affect the seal through other processes, which may include, but are not limited to, one or more of the following: ultrasonic welding, heat staking, gluing, bonding or other processes.
Referring now also toFIGS. 191, 192, 193A and 193B, in some embodiments, an alternative to having the locking ring on thereusable housing assembly5010/pump housing, as described herein, is to move the locking ring to the disposable housing assembly. In some embodiments this may be desirable for many reasons, including, but not limited to, preventing potential build up of dirt and debris in the interface; allowing the charger to seat further into the reusable housing assembly, protecting the charger pins; removing significant volume since the ring makes up approximately 10% volume; allows for the housing to be used as a big button by using compliant material around its base and a magnet and sensor to detect its displacement, both angular and y axis (pressing down). For example, as shown inFIG. 191, in some embodiments, the locking ring on thedisposable housing assembly5006 may be asliding interface5008. Acharger5012, shown inFIG. 192, may include an interlocking interface with thedisposable housing assembly5006sliding interface5008. As shown inFIG. 193A-193B, in some embodiments, thereusable housing assembly5010 may include amagnet5012 that may be sensed by asensor5014 that may sense proximity and/or angle, on thedisposable housing assembly5006. In some embodiments, thelocking ring5008 may be made from a compliant material and in some embodiments, this allows for twisting and depressing of thereusable housing assembly5010 with respect to thedisposable housing assembly5006 when being attached.
In some embodiments, rather than a sliding screw style latch, the locking ring may use a spring latch, for example, as shown inFIG. 194. In some embodiments, the spring latch requires that the disposable housing assembly and the reusable housing assembly be aligned and pressed together with a spring, circular in shape, to be compressed while engaging and that snaps to lock in place as shown by the arrows inFIG. 194.
Referring now also toFIG. 195, regardingdisposable housing assembly5018 detection, in some embodiments, aflexible strip5016 may be used which changes its resistance based on the amount it is bent to determine if theAVS module5022 has been displaced by an installed/attacheddisposable housing assembly5018.
Referring now also toFIG. 196, it is desirable to measure theinitial reservoir5028 volume of thedisposable housing assembly5018 after fill. One method to measure this volume, in some embodiments, includes the use of aflat plate5026 on the top of thereservoir5028 with a flexible membrane around the edges. Once filled, theflat plate5026 distance may be measured at a number of points, for example, in some embodiments; the number of points may be from one to three points, using an optical sensor or, in some embodiments, using a magnetic sensor on a spring loaded protrusion from the pump. To measure 20 units, for example, in some embodiments, may require approximately 0.01 mm to 0.25 mm resolution in height. In some embodiments, standard triangulation may be used to estimate the distance using a linear array and LED, for example. Additionally, aflat plate5026 may be beneficial for thereservoir5028 to start with no air.
Referring now also toFIG. 197, in some embodiments, a serpentine reservoir, such as the one shown, may be used. In some embodiments, the serpentine reservoir shown may be a tube-like structure with ahydrophobic filter5030 on the end. The passages, in some embodiments, may be rounded or square and, in some embodiments, constructed of welded TOPAS or polycarbonate plastic. In some embodiments, the reservoir may be filled from one end through aseptum5032. As fluid is drawn out of the reservoir by the pump, aid is drawn in through thefilter5030. Thefilter5030 may be configured to allow the passage of air but inhibit the passage of fluid or water vapor (in some embodiments, the filter may be a polypropylene filter and/or a filter made from PTFE). In various embodiments, it is desirable to prevent water vapor from passing through the filter/membrane5030 to avoid concentrating the fluid through evaporation. In various embodiments, the fluid in the passage may be kept in place by the reservoir valve on one end and by surface tension on the other end. In various embodiments, the small diameter of the passage and surface tension at one end may prevent the fluid from “sloshing” which may degrade the fluid, for example, where the fluid is insulin or another therapeutic fluid.
In some embodiments of the various embodiments of the infusion pump assembly described herein, the pump chamber inlet valve may be an active valve, for example, actuated using shape-memory allow or other actuated.
Alarm and Alerts
In various embodiments, the remote control assembly and/or the infusion pump assembly and/or both may include at least one speaker and in some embodiments, the remote control assembly and/or the infusion pump assembly and/or both may include at least one graphical user interface and/or indicator lights. In some embodiments, the remote control assembly and/or the infusion pump assembly and/or both may include reminders and/or alarms and/or alerts to signal to the user either a critical or non-critical condition. The critical or non-critical condition may include, but is not limited to, an occlusion, low battery, low reservoir, change cannula reminder, reminder to check blood glucose, reminder to change glucose and/or interstitial sensor. Therefore, some reminders and/or alarms and/or alerts to signal to the user that a critical, i.e., therapeutically critical, situation is occurring that requires immediate action and/or a situation is occurring that requires the user to be immediately informed. In some embodiments, there situations are those that may or have the ability to immediately cause a negative outcome, medically, to the user. However, some reminders and/or alarms and/or alerts to signal to the user that a non-critical, i.e., therapeutically non-critical, situation is occurring that does not require immediate action and/or a situation is occurring that does not require the user to be immediately informed. In some embodiments, these situations are those that may not or may not have the ability to immediately cause a negative outcome, medically, to the user.
Thus, in some embodiments, for reminders and/or alarms and/or alerts that signal to the user that a non-critical situation is occurring, the user may program and/or select the mode of notification. In some embodiments, depending on the non-critical situation, a different mode of notification may be used. In some embodiments, all non-critical situations may include the same mode of notification. Thus, in some embodiments, user may select, but are not limited to, one or more of the following modes for one or more of non-critical situations giving rise to notifications:
1) “turn on mode” where the graphical user interface lights up and displays a message for a predetermined and/or preselected and/or preprogrammed duration or until the user confirms (e.g., user presses a button or other to indicate they confirm); 2) vibration only mode (vibration for a predetermined and/or preselected and/or preprogrammed duration or until the user confirms (e.g., user presses a button or other to indicate they confirm); 3) vibration then alarm mode (vibrate for a duration and if no confirmation (e.g., user presses a button or other to indicate they confirm), then alarm until confirmation by the user and/or alarm for a predetermined and/or preselected and/or preprogrammed duration); 4) alarm only (alarm for a predetermined and/or preselected and/or preprogrammed duration or until user confirms (e.g., user presses a button or other to indicate they confirm) in some embodiments, after confirmation but no further action, the sequence may repeat; 5) silent until turn on (no indication until the user wakes up the device and then the device indicates, for example, on the graphical user interface, the condition/situation); 6) vibrate only (vibrate for a predetermined and/or preselected and/or preprogrammed duration or until user confirms (e.g., user presses a button or other to indicate they confirm), in some embodiments, after confirmation but no further action, the sequence may repeat; 7) wake up/turn on (i.e., graphical interface/screen lights up/turns on and displays the situation/alarm/alert/reminder) until confirmation, then silent/sleep and/or may repeat sequence if anticipated action not taken in predetermined/preprogrammed/preselected duration). In some embodiments, a silent until wake up may refer to where there is a non-critical condition, the system may not remind and/or alarm and/or alert until the user wakes up the graphical user interface and/or device and, in some embodiments, upon first “wake up” the screen displays the reminder and/or alarm and/or alert.
In some embodiments, it may be desirable for the user to have the option to preselect/preprogram/predetermine when a non-critical reminder/alarm/alert is given, regardless of the type of reminder/alarm/alert. For example, in some embodiments, the user may request that no non-critical reminder/alarm/alert be given between 11 pm and 6 am, i.e., while the user is sleeping. In some embodiments, this may be termed a timeout. In some embodiments, the user may request a “temporary” timeout for non-critical reminders/alarms/alerts, for example, between 6 pm-8 pm, while, for example, attending a quiet event. Thus, in some embodiments, for non-critical reminder/alarms/alerts the user may do one or more, but not limited to, the following: preselect/predetermine/preprogram the duration of the reminder/alarm/alert; reselect/predetermine/preprogram the type of the reminder/alarm/alert; reselect/predetermine/preprogram timeout or quiet times where no reminder/alarm/alert is given (and in some embodiments, where this is selected by the user, upon wake up, the device may display the reminder/alarm/alert, and/or in some embodiments, at the end of the preselected/predetermined/preprogrammed time-out, any reminder/alarm/alert may be given).
In some embodiments where, for example, the system may remind the user to change their cannula, for example, 3 days after filling the cannula. The user may request, for these reminders, that for this reminder, a reminder timeout between 10 pm and 6 am. Thus, the user will not be awoken to remind them to change the cannula. In some embodiments, when the user wakes up the device, for example, at 7 am, the reminder, if applicable, may be indicated, which, in some embodiments, may be indicated by the method preselected/preprogrammed/predetermined by the user.
Referring now also toFIGS. 239 and 240, another embodiment of theAVS assembly7000 is shown. With respect toFIG. 240, theAVS assembly7000 includes aspeaker7002 and two microphones, one shown as7008. TheAVS assembly7000 includes a “figure eight”seal7010. TheAVS assembly7000 includes atop housing7004 and abottom housing7006.
Referring now also toFIG. 239, theAVS membrane7012, which, in the exemplary embodiment, is located in thedisposable housing assembly6000, and anacoustic seal7014 is shown. In some embodiments, the acoustic seal is overmolded onto thereusable housing assembly6004 portion and is therefore located between thedisposable housing assembly6000 and thereusable housing assembly6004. When thereusable housing assembly6004 is engaged with thedisposable housing assembly6000, theacoustic seal7014 comes into contact with surfaces on thedisposable housing assembly6000 and a seal is made.
In this embodiment of the AVS assembly, a spring is not included; however, in various other embodiments of this embodiment of the AVS assembly, a spring may be included. In the embodiments without a spring, theAVS membrane7012 may be made from SEBS and may include properties that are desirable for theAVS membrane7012.
The membrane in thedisposable housing assembly6000 may be made from plastic and in some embodiments, more than one type of plastic. For example, in some embodiments, the membrane may be made from SEBS and SANTOPRENE. In some embodiments, theAVS membrane7012 is made from SEBS and the remainder of the membranes is made from SANTOPRENE. In various embodiments of the membrane, the membrane may be at least partially coated with parylene, and in some embodiments, the entire membrane is coated with parylene.
Referring now also toFIGS. 244A and 244B, another embodiment of thedisposable housing assembly7000 is shown. Thedisposable housing assembly7000 includes atubing7034 and acannula assembly7026, similar to those describe above. With respect to thedisposable housing assembly7000, in some embodiments, thedisposable housing assembly7000 includes afluid path7038 that may, in some embodiments, include achevron path7040. This may be desirable/beneficial for many reasons, including, but not limited to, minimizing the amount of air that may become trapped in thefluid path7038.
Referring now also toFIGS. 245A and 245B, in some embodiments of thedisposable housing assembly7000, thepump chamber membrane7042 may be shaped as a pre-formed dome like structure. In some embodiments this may be beneficial/desirable for many reasons, including, but not limited to, providing a higher vacuum force on the reservoir to pump greater volumes of fluid per pump stroke and moving more fluid from the reservoir to the pump chamber with less displacement. In some embodiments, and as shown inFIG. 245B, thepump plunger7044 may be pre-engaged with thepump chamber membrane7042. Thus, as thepump plunger7044 is actuated by the actuator assembly, thepump plunger7044, already engaged with thepump chamber member7042, may travel less distance to pump fluid from thereservoir908. This may be beneficial for many reasons, including, but not limited to, exerting less wear and tear on the shape memory alloy and therefore, increasing the longevity of the shape memory alloy. Thus, the pump may move more fluid using less force, i.e., the pump is more efficient.
Referring now also toFIGS. 246A and 246B, in some embodiments, thecover7046 of the reusable housing assembly, which may include at least some of the features described above with respect to the reusable housing assembly, may include aspeaker7048. Thespeaker7048 may be heat staked in thecover7036. A printed circuit board (“PCB”)7050 may also be located adjacent to thespeaker7048, in some embodiments, which may include, in some embodiments, spring loadedcontacts7052 such that thespeaker7048 may be connected to the PCB through spring loaded electrical contracts. Placement of thespeaker7048 in thecover7046 of the reusable housing assembly may be desirable/beneficial for many reasons, including, but not limited to, providing louder/better sound quality to the user by placement of thespeaker7048 closer to the “outside” of the infusion pump system.
Clip Assembly
In various embodiments, a clip assembly may be attached to one of the various embodiments of the infusion pump assembly described herein. In various embodiments, the reusable housing assembly, attached to the disposable housing assembly and connector, may be inserted into a clip assembly.
Referring now also to an embodiment of the clip assembly inFIGS. 247A-247C. Theclip assembly8000 includes aclip housing portion8002 and aclip portion8004. In various embodiment, theclip housing portion8002 may be made from plastic, but in various embodiments, theclip housing portion8002 may be made from any material, including, but not limited to, one or more of the following: metal, plastic, metal-plastic combinations. In various embodiments, theclip housing portion8002 may includefinger tabs8006,8008 which may be beneficial and/or used to aid in the removal of the infusion pump assembly from theclip housing portion8002. In various embodiments, thefinger tabs8006,8008 may be shaped differently than shown.
In various embodiments, theclip housing portion8002 includes retainingribs8010,8012,8014,8016 that are attached to cliphousing portion sections8020,8022,8024,8026. In various embodiments, the cliphousing portion sections8020,8022,8024,8026 may be separated by slots. In various embodiments, the cliphousing portion sections8020,8022,8024,8026 and slots may be beneficial/desirable for many reasons, including, but not limited to, providing appropriate flexibility to provide a desirable amount of spring to theclip housing portion8002 for attachment to, and removal from, the infusion housing assembly. Thus, in various embodiments, that cliphousing portion sections8020,8022,8024,8026 may expand, allowing for the capture of the infusion pump assembly, and then contract to hold the infusion pump assembly inside theclip housing portion8002.
The retainingribs8010,8012,8014,8016 hold the infusion pump assembly by interacting with the groove where the reusable housing assembly and disposable housing assembly meet when attached.
As shown in this embodiment of theclip assembly8000, theclip housing portion8002 includes an opening to accommodate the connector/tab portion of the disposable housing assembly (not shown).
In various embodiments, theclip housing portion8002 includes a recessedarea8028 to accommodate a hook or loop surface, described in more detail above, that, in some embodiments, may be attached to the bottom of the disposable housing assembly.
In various embodiments, theclip portion8004 is attached to the back portion of theclip housing portion8002. In various embodiments, theclip portion8004 may be removable attached to the back portion of theclip housing portion8002 by clipping into clip features8032. In various embodiments, the clip features8032 are features which hold theclip portion8004 onto the back of theclip housing portion8002.
In various embodiments, the clip features8032 hold theclip portion8004 such that theclip portion8004 may rotate about theclip housing portion8002. In various embodiments, the back of theclip housing portion8002 may include features, such asprotrusions8030, and in various embodiments, a plurality of protrusions, which interact with theclip portion8004, such that when theclip portion8004 rotates with respect to theclip housing portion8002, theclip portion8004 may be captured between two of theprotrusions8030. Theprotrusion8030 andclip8004 arrangement may be desirable for many reasons, including, but not limited to, the ability to provide both audio and tactile feedback to a user who is turning theclip housing portion8002 about theclip portion8004, such that a “click” sound may be heard as theclip portion8004 advances fromprotrusion8030 to the next protrusion. This system also may be beneficial for providing an ability to rotate theclip housing portion8002 without rotating or moving theclip portion8004
In various embodiments, different protrusion may be used, and in some embodiments, theclip portion8004 may include protrusions and theclip housing portion8002 may include indentations to provide for tactile feedback as the protrusions on theclip portion8004 rotate from one groove to the next.
Referring now also toFIGS. 249A-249D, an embodiment of theclip portion8004 is shown. In various embodiments, theclip portion8004 may be made from any materials, including, but not limited to, plastic and/or metal. In various embodiments, theclip portion8004 may be overmolded with powder coat, or other materials, which may be desirable/beneficial for many reasons, including, but not limited to, maintaining the temperature of theclip portion8004 such that, for example, in embodiments where theclip portion8004 is metal, theclip portion8004 is not cold to the touch against the user's skin.
Theclip portion8004 includes a roundedportion8034 that clips into theclip feature8032. Therounded portion8034 also allows for theclip portion8004 to rotate within the clip features8032 with respect to theclip housing portion8002. In various embodiments, the shape of theclip portion8004 may vary.
Referring now also toFIGS. 264A-264B, another embodiment of the clip assembly is shown. Theclip assembly26400 includes aclip housing portion26402 and aclip portion26404. In various embodiment, theclip housing portion26402 may be made from plastic, but in various embodiments, theclip housing portion26402 may be made from any material, including, but not limited to, one or more of the following: metal, plastic, metal-plastic combinations. In various embodiments, theclip housing portion26402 may includefinger tabs26406,26408 which may be beneficial and/or used to aid in the removal of the infusion pump assembly from theclip housing portion26402. In various embodiments, thefinger tabs26406,26408 may be shaped differently than shown.
In various embodiments, theclip housing portion26402 includes retaining ribs, similar to those shown and described above with respect toFIGS. 247A-247C that are attached to clip housing portion sections (as describe above with respect toFIGS. 247A-247C). In various embodiments, the clip housing portion sections may be separated by slots. In various embodiments, the clip housing portion sections and slots may be beneficial/desirable for many reasons, including, but not limited to, providing appropriate flexibility to provide a desirable amount of spring to theclip housing portion26402 for attachment to, and removal from, the infusion housing assembly. Thus, in various embodiments, that clip housing portion sections may expand, allowing for the capture of the infusion pump assembly, and then contract to hold the infusion pump assembly inside theclip housing portion26402.
The retaining ribs hold the infusion pump assembly by interacting with the groove where the reusable housing assembly and disposable housing assembly meet when attached.
As shown in this embodiment of theclip assembly26400, theclip housing portion26402 includes an opening to accommodate the connector/tab portion of the disposable housing assembly (not shown).
In various embodiments, theclip housing portion26402 includes a recessedarea26410 to accommodate a hook or loop surface, described in more detail above, that, in some embodiments, may be attached to the bottom of the disposable housing assembly.
In various embodiments, theclip portion26404 is attached to the back portion of theclip housing portion26402. In various embodiments, theclip portion26404 may be removably attached to the back portion of theclip housing portion26402 by clipping intoclip feature26412. In various embodiments, theclip feature26412 is a feature which holds theclip portion26404 onto the back of theclip housing portion26402.
In various embodiments, the clip features26412 hold theclip portion26404 such that theclip portion26404 may rotate about theclip housing portion26402. In various embodiments, the back of theclip housing portion26402 may include features, such as indentations and ordimples26414, and in various embodiments, a plurality of dimples (shown), which interact with theclip portion26404, such that when theclip portion26404 rotates with respect to theclip housing portion26402, theclip portion26404 may be captured between two of thedimples26414. Thedimples26414 andclip26404 arrangement may be desirable for many reasons, including, but not limited to, the ability to provide both audio and tactile feedback to a user who is turning theclip housing portion26402 about theclip portion26404, such that a “click” sound may be heard as theclip portion26404 advances fromdimple26414 to the next dimple. This system also may be beneficial for providing an ability to rotate theclip housing portion26402 without rotating or moving theclip portion26404
In various embodiments, different dimples or features may be used, and in some embodiments, theclip portion26404 may include dimples and theclip housing portion26402 may include protrusions to provide for tactile feedback as the protrusions on theclip portion26404 rotate from one groove to the next.
Still referring toFIGS. 264A-264B, an embodiment of theclip portion26404 is shown. In various embodiments, theclip portion26404 may be made from any materials, including, but not limited to, plastic and/or metal. In various embodiments, theclip portion26404 may be overmolded with powder coat, or other materials, which may be desirable/beneficial for many reasons, including, but not limited to, maintaining the temperature of theclip portion26404 such that, for example, in embodiments where theclip portion26404 is metal, theclip portion26404 is not cold to the touch against the user's skin. In various embodiments, the shape of theclip portion26404 may vary.
Referring now also toFIG. 265, another embodiment of the clip assembly is shown. Theclip assembly26500 includes aclip housing portion26502 and aclip portion26504. In various embodiment, theclip housing portion26502 may be made from plastic, but in various embodiments, theclip housing portion26502 may be made from any material, including, but not limited to, one or more of the following: metal, plastic, metal-plastic combinations. In various embodiments, theclip housing portion26502 includes retainingribs26506,26508,26510, similar to those shown and described above with respect toFIGS. 247A-247C that are attached to theclip housing portion26502. The retainingribs26506,26508,26510 hold the infusion pump assembly by interacting with the groove where the reusable housing assembly and disposable housing assembly meet when attached.
An various embodiments, theclip assembly portion26502 includes an opening to accommodate the connector/tab portion of the disposable housing assembly (not shown).
In various embodiments, theclip housing portion26502 may include a recessed area to accommodate a hook or loop surface, described in more detail above, that, in some embodiments, may be attached to the bottom of the disposable housing assembly.
Still referring toFIG. 265, an embodiment of theclip portion26504 is shown. In various embodiments, theclip portion26504 may be made from any materials, including, but not limited to, plastic and/or metal. In various embodiments, theclip portion26504 may be overmolded with powder coat, or other materials, which may be desirable/beneficial for many reasons, including, but not limited to, maintaining the temperature of theclip portion26504 such that, for example, in embodiments where theclip portion26504 is metal, theclip portion26504 is not cold to the touch against the user's skin. In various embodiments, the shape of theclip portion26504 may vary.
Referring now also toFIGS. 250 and 251, in some embodiments of thedisposable housing assembly8040, the valve areas may includeclearance areas8042,8044,8046 to decrease or eliminate interference between the reusable housing portion and the membrane assembly of thedisposable housing assembly8040.
Referring now also toFIGS. 252 and 253, in some embodiments, ahole8048 may be included in thedisposable housing assembly8040. This may be beneficial/desirable for many reasons, including, but not limited to, preventing the membrane assembly material from extruding into the exit of the reservoir and restriction flow of fluid from the reservoir to the fluid line.
Referring now also toFIGS. 254 and 255, in various embodiments of thedisposable housing assembly8040, aseal bead8050 may be included about the valves and pumping chamber. In various embodiments, this may be beneficial/desirable for many reasons, including, but not limited to, creating a tortuous path. The seal bead also presents a more robust seal for the disposable housing assembly.
As discussed above, the various embodiments of the connector (or fluid connector, said terms may be used interchangeably) may include a plug (or post, namely which may be used interchangeably throughout this specification) that may include one or more features. In various embodiments, the plug may connect to the disposable housing assembly through a luer connection. Referring now toFIGS. 256A-256C, in various embodiments, any one or more embodiments of theplug25600 may include (either in addition to one or more features described above or instead of one or more features described above) one more tab features25602,25604. In some embodiments, for example, as shown inFIGS. 256C-256C, various embodiments of theplug25600 may include two tab features25606,25608 on either side of theplug25600. In various embodiments, the tab features24602,25604,25606,25608 may take up “play” or “wiggle” between theplug25600 and the disposable housing assembly exit. In various embodiments, and referring also toFIG. 256D, thedisposable housing assembly25610 may includeslots25612,25614 at theexit25616 to accommodate the tab features24602,25604,25606,25608. In some embodiments, theslots25612,25614 may be ramped, which may be desirable/beneficial for many reasons, including, but not limited to, the rampedslots25612,25614 may assist in theplug25600 moving further into thedisposable housing assembly25610. Once inside thedisposable housing assembly25610, the tabs with bend such that theplug25600 and theexit25616 form a luer connection. In some embodiments the tab features24602,25604,25606,25608 therefore may drive theplug25600 as far into theexit25616 as it may go. In some embodiments, the tab features24602,25604,25606,25608 are angled with respect to theplug25600 such that the angle is smaller than 180 degrees, upon entry into theexit25616. As theplug25600 enters further into theexit25616, the tab features24602,25604,25606,25608 move such that they are flattened against theplug25600. This may be desirable/beneficial for many reasons, including, but not limited to, theplug25600 may only rotate with respect to thedisposable housing assembly25610 when the tab features24602,25604,25606,25608 are flattened, thus ensuring that theplug25600 is all the way inside theexit25616 of thedisposable housing assembly25610 before the connector is locked to thedisposable housing assembly25610. This may be desirable/beneficial for many reasons, including, but not limited to, preventing leaks. In various embodiments of this embodiment of theplug25600, theplug25600 may be rigid, i.e. not include an elastomer, and the tab features24602,25604,25606,25608 may be made from a rigid material that is thin enough to bend as described above. However, in various other embodiments, theplug25600 may be made from any one or more of the various materials described herein with respect to the various embodiments of the plug. In some embodiments, theplug25600 may be made from TERLUX® and/or another ABS material.
Referring now also toFIGS. 257A-257B, in various embodiments, theconnector25700 may include aplug25700 that may include one or more seals. In some embodiments, as discussed above, the seals may be any type of seal, including, but not limited to, a face seal and or a radial seal. In some embodiments, such as those shown inFIGS. 257A-257B, theplug25700 may include aradial seal25702 and aface seal25706. Thus, in some embodiments, theplug25700 may include two seals, one having a larger diameter than the other.
Referring now also toFIGS. 258A-258B, in various embodiments, theconnector25800 may include aplug25800 that includes asingle elastomer seal25804 including aradial seal portion25806 and aface seal portion25810 separated by an elastomer portion. These embodiment may be beneficial/desirable for many reasons, including, but not limited to, this embodiment allows for the removal of all parting lines on theplug25802 and theelastomer seal25804. This may be beneficial/desirable for many reasons, including, but not limited to, removing the leak paths that may be present due to parting lines.
Referring now toFIGS. 259A-259C, in various embodiments, theconnector25900 may include aplug25902 that includes aseal25904 that may be an elastomer and includes tworings25906,25908 separated by an elastomer section. Various embodiments of the plug may include a double seal. Theplug25902 is shown without the seal inFIG. 259C. In this embodiment of theplug25902, there are no parting lines on the surface of the plug2590. This may be beneficial/desirable for many reasons, including, but not limited to, removing the leak paths that may be present due to parting lines.
Referring now also toFIGS. 260A-260G, some embodiments of theconnector26000 include aplug26002 that is rigid and forms a luer connection with the exit of the disposable housing assembly. In various embodiments, theplug26002 may be tapered, and the percentage of tapering may vary. In some embodiments, the taper may be 6%, however, in various other embodiments, the taper may be greater or less than 6%. In some embodiments, including the one shown inFIGS. 260A-260G, theplug26002 is removably attached to theconnector26000 and, in addition, is slidably connected to theconnector26000. Thus, as shown inFIGS. 260B and 260C, theplug26002 may slide from an initial position, shown inFIG. 260B, to a final position, shown inFIG. 260D with respect to the tab portion of theconnector26008. In various embodiments, the tab portion has a first side or reservoir side and a second side or tubing side and the plug may slide in the direction of the tubing side. In various embodiments, theplug26002 is configured such that it includes at least one stop feature wherein theexit end portion26004 of theplug26002 includes a first stop feature, for example, a lip, that limits the travel of theplug26004 in one direction. Theplug26002tubing end portion26006 in various embodiments also includes a second stop feature, for example, a lip, that limits the travel of theplug26002 in the other direction. In various embodiments, theplug26002 may be made from any material, for example, but not limited to, TERLUX® and/or another ABS material. Although not shown in the embodiments shown inFIGS. 260A-260D, theplug26002 includes a length of tubing attached to thetubing end portion26006, which tubing and attachment may be any one or more of the various embodiments described in more detail above with respect to various embodiments of the plug and the connector. The length of tubing may be any length desired, including, but not limited to, any length between 1 inch and 10 feet, and in some embodiments may be either 4 inches or 23 inches, however, in various embodiments, the length may be greater or less than 4 inches or 23 inches.
In various embodiments, theconnector26000 includes atab portion26008 including amating locking feature26010, which may be, in various embodiments, the mating locking feature described above with respect to various other embodiments of theconnector26000. In various embodiments, themating locking feature26010 is configured to mate with a corresponding feature on thedisposable housing assembly26012.
In various embodiments, theplug26002 of theconnector26000 is inserted into thedisposable housing assembly26012 with the tab portion26008 (or body portion, which may be used interchangeably with the term tab portion) pointing upward. Once theplug26002 portion is inside thedisposable housing assembly26012, thetab portion26008 may be rotated about theplug26002 to rest above thedisposable housing assembly26012 adjacent to the exit (i.e., adjacent to thetab portion26016 on the disposable housing assembly). In some embodiments, mating locking features26010,26014 may be included on thetab portion26008 of theconnector26000 and thedisposable housing assembly26012 such that theconnector26000 is held in place before the reusable housing assembly (not shown, shown and described as6004 above) is attached to thedisposable housing assembly26012. In some embodiments, the mating locking features26010,26014 may include, but are not limited to, snap buttons and/or catch features. In some embodiments, a hook or other feature may be located on the opposite end of thetab26008 portion of theconnector26000 such that it loops over the end of thetab portion26016 of thedisposable housing assembly26012 and maintains the position of theconnector26000.
Still referring also toFIGS. 260A-260G, another embodiment of aconnector26000 is shown. Theconnector26000 may include atab portion26008, acatch feature26018, alatching feature26010, and aplug26002. In some embodiments, thetab portion26008 of theconnector26000 may include mating locking features that interact with corresponding features in thedisposable housing assembly26012. In some embodiments, thetab portion26008 may include features that interact with other portions of thedisposable housing assembly26012. As shown, in some embodiments, theconnector26000 may include amale latching feature26010 on the end of thetab portion26008 of theconnector26000. In some embodiments, the latchingfeature26010 may mate with a corresponding latching feature (a female latching feature26014) on thedisposable housing assembly26012. In some embodiments, the latch may be a removably secure fit and/or a snap fit and/or a loose snap fit and in some embodiments may include a spring latch portion. In various other embodiments, the shape and size of theconnector26000 may vary and/or in various other embodiments, other types of features such as mating locking features may be used, which include, but are not limited to, latches, catches, snap fits, adhesives, and other mechanisms for securing aconnector26000 to thetab26016 of thedisposable housing assembly26012.
In some embodiments, theconnector26000 may include a locking ring feature on the underside. The locking ring feature in some embodiments may be tapered and/or in some embodiments, the locking ring feature may be at least slightly curved. In some embodiments, the locking ring feature may interact with the locking ring of the reusable housing assembly and may act together with the locking ring to secure the connector to the disposable housing assembly.
As discussed above, in various embodiments, theplug26002 of theconnector26000 is inserted into the exit of thedisposable housing assembly26012 with thetab portion26008 pointing in the general upward direction. Once theplug26002 is inside the exit, thetab portion26008 of theconnector26000 may be rotated to rest adjacent to thetab portion26016 of thedisposable housing assembly26012. In some embodiments, mating locking features may be included on thetab portion26008 of theconnector26000 and thedisposable housing assembly26012 such that theconnector26000 is held in place before the reusable housing assembly is attached to thedisposable housing assembly26012. In some embodiments, the mating locking features may include, but are not limited to, post and opening, snap, buttons, latch features and/or catch features. In some embodiments, a hook or other feature may be located on the opposite end of thetab portion26008 of theconnector26000 such that it loops over the end of thetab portion26016 of thedisposable housing assembly26012 and maintains the position of theconnector26000. In the embodiment shown inFIGS. 260A-260G, the mating locking features include amale latching feature26010 on theconnector26000 and afemale latching feature26014 on thedisposable housing assembly26012.
In various embodiments, once theconnector26000 is attached to thedisposable housing assembly26012, theconnector26000 may only be removed when intended, i.e., theconnector26000 is maintained on thedisposable housing assembly26012 unless and until a user desires to remove theconnector26000. As discussed above, in some embodiments, theconnector26000 may be non-removably attached, however, in some embodiments; theconnector26000 may be removably attached.
While theconnector26000 is being attached to thedisposable housing assembly26012, themale latching feature26010 is mated with thefemale latching feature26014. In some embodiments, male and female latching features26010,26014 may work together to further stabilize the connection of theconnector26000 to thedisposable housing assembly26012. Additionally, in various embodiments, the male and female latching features26010,26014 may contribute to maintaining theplug26002 in the exit of thedisposable housing assembly26012. Thus, in some embodiments, the male and female latching features26010,26014 may contribute to maintaining and/or enforcing both the insertion of theplug26002 into the exit and/or maintaining and/or enforcing the position of theconnector26000 such that after theplug26002 is inserted into the exit, theplug26002 is maintained in the exit unless and until a user desires to remove theplug26002 from the exit. Additionally, once the male and female latching features26010,26014 are mated, theplug26002 is fully inserted and therefore, may, in some embodiments, serve as an indication that theplug26002 has been fully inserted into the exit.
As discussed above, in the embodiment shown inFIGS. 260A-260G, theplug26002 in theconnector26000 is slidably attached to theconnector26000 such that theplug26002 may move forward or back and theconnector tab portion26008 may move independent from theplug26002. This may be beneficial/desirable for many reasons, including, but not limited to, the mating of the luer (i.e., mating between theplug26002 and the exit of the disposable housing assembly26012) may be completed before thetab portion26008 of theconnector26000 is rotated and attached to thedisposable housing assembly26012. Thus, the rotation of thetab portion26008 about theplug26002 is to connect thetab portion26008 to thedisposable housing assembly26012, but the luer connection of theplug26002 to the exit is completed by pushing theplug26002 into the exit of thedisposable housing assembly26012. Theplug26002 being slidable within thetab portion26008 of theconnector26000 is beneficial/desirable for many reasons, including, but not limited to, the depth in which theplug26002 travels within the exit of thedisposable housing assembly26012 to form a luer connection may vary due to variances, for example, tolerances due to manufacturing. Thus, theplug26002 may move deeper into the exit if the plug is smaller in comparison with the exit, or the exit is larger in comparison with theplug26002; and theplug26002 may form a connection shallower in the exit if theplug26002 is large in comparison with the exit or the exit is smaller in comparison with theplug26002. Thus, variances in tolerances will not prevent a luer connection from being made between theplug26002 and the exit/disposable housing assembly26012.
In some embodiments, thetab portion26016 of thedisposable housing portion26012 may be shaped as shown inFIGS. 260E-260G. In some embodiments, theconnector26000, once attached to thedisposable housing assembly26012, may extend thetab portion26016 of thedisposable housing assembly26012. In some embodiments, once theconnector26000 is attached to thedisposable housing assembly26012, theconnector26000 andtab portion26016 may be flush and continuous.
In some embodiments, theconnector26000 may include anindent26020, as shown. Theindent26020 may be shaped as shown or, in various embodiments, may be shaped and sized differently.
In various embodiments, thefemale latching feature26014 on thedisposable housing assembly26012 may be located adjacent to thetab portion26016. In some embodiments, for example, as shown inFIGS. 260E-260G, thefemale latching feature26014 may be configured such that it receives themale latching feature26010 on theconnector26000 from the top. Some embodiments may not include mating latching features26010,26014. In some embodiments, the location and/or orientation of thefemale latching feature26014 may vary. In some embodiments, the location and/or orientation of themale latching feature26010 may vary.
In some embodiments, theconnector26000 may be made from rigid plastic. In some embodiments, the locking ring feature and/or the latching features may be overmolded with a thin layer of compliant materials. In some embodiments, as discussed above, theplug26002 may include an overmold of compliant material and/or be made from compliant material. In some embodiments, the locking ring feature and/or the latching feature may be made from compliant material. In embodiments where the male or female latching features26010,26014 include compliant material, use of compliant material may increase the “squish” between themale latching feature26010 and thefemale latching feature26014 and therefore, resulting in a highly compressed and/or tight fit between the male and female latching features26010,26014.
Referring now also toFIG. 136, in some embodiments, theconnector26000 may include icons that indicate “locked” and “unlocked”, similar to those shown and described above with respect toFIG. 136. Thus, in some embodiments, the “locked” and “unlocked” position may also be visually indicated to a user/patient using icons that may be molded, silk-screened, pad printed, injection molded, etched, printed and/or cut-out, e.g., translucent cut-outs of icons, on theconnector26000. In some embodiments using translucent cut-outs, thetab portion26016 of thedisposable housing assembly26012 may be a contrasting color to theconnector26000 for visually viewing thetab portion26016 of thedisposable housing assembly26012 color through the cut-outs. Thus, the icons may indicate whether the reusable housing assembly is in a locked or unlocked relationship with thedisposable housing assembly26012. In various embodiments, the icons may be any form that may indicate “locked” and “unlocked”, or a similar indication, to aid in the user/patient's understanding of the orientation/position between the reusable housing assembly and thedisposable housing assembly26012. In some embodiments, an arrow icon may also appear between the “locked” and “unlocked” icons.
Although not shown inFIGS. 260A-260G, in various embodiments, the reusable housing assembly may be any one or more of the various embodiments of the reusable housing assembly described herein, including, but not limited to, the reusable housing assembly shown and described above as6004.
Theplug26002 may include any embodiment described herein, however, in some embodiments; theplug26002 may be tapered and may either be rigid without any overmolding, be rigid with an overmold of elastomeric/compliant material or be made from elastomeric/compliant material. In various embodiments, theplug26002 may include a seal, for example, in some embodiments; theplug26002 may include one or more of: a radial seal and/or a face seal and/or both.
In some embodiments, tubing attaches to theconnector26000 as described above. In some embodiments, the tubing may attach to theconnector26000 and there may be a rigid plastic channel within theconnector26000 and through theplug26002. In some embodiments, the tubing may extend into theconnector26000 and in some embodiments; the tubing may extend all the way through theconnector26000 and through theplug26002. In some embodiments, the tubing may extend past the end of theplug26002. Although not shown inFIGS. 260A-260G, the various embodiments of the connector may include any of the embodiments of the tubing and tubing connection as shown and described above with respect to various other embodiments of the connector.
In various embodiments, there is maintained a continuous flow lumen from the exit to the cannula (not shown). This may be desirable and/or beneficial for many reasons, including, but not limited to, minimizing and/or eliminating dead volume, minimizing priming volume and/or prevention of or minimizing the occurrence of air traps.
Some embodiments of theconnector26000 may also include a catch/catchingfeature26018 on the opposite side as themale latching feature26010. Thecatch feature26018, when theconnector26000 is connected to thedisposable housing assembly26012, interferes with thedisposable housing assembly26012 and prevents theconnector26000 from rotating further. Thus, in some embodiments, theconnector26000 and thedisposable housing assembly26012 form an interference fit in at least one location. Together with the male and female latching features26010,26014, in some embodiments, once theconnector26000 is attached, theconnector26002 may be held in place by these mating features26010,26014.
Theconnector tab portion26008 may include gripping features, however, in the some embodiments; theconnector26000 is sized such that a user may grip theconnector26000 for insertion/attachment with thedisposable housing assembly26012. Some embodiments including grip features, may include, but are not limited to, one or more of the following: a textured surface, bumps, lumps, protrusions or indentations in any size, shape and/or number.
In various embodiments of theconnector26000, once theconnector26000 is connected to thedisposable housing assembly26012, the reusable housing assembly6004 (which may also be one or more of the various reusable housing assemblies described herein or incorporated herein by reference) may be connected/attached to thedisposable housing assembly26012 by being rotated about thedisposable housing assembly26012. As the reusable housing assembly is rotatably connected to thedisposable housing assembly26012, the locking ring and/ornub808, having a spring actuatedtab2980, on thereusable housing assembly6004 may interact with theconnector26000, such that the rotation of thereusable housing assembly6004 about thedisposable housing assembly26012 prevents theconnector26000 from being removed from thedisposable housing assembly26012. In some embodiments, once thereusable housing assembly6004 is attached to thedisposable housing assembly26012, the spring plunger/tab in thenub808 may be released, making a “click” sound. The “click” may also produce a tactile feedback that may be perceived by the user/patient. This tactile and audio feedback is indicative to the user that thereusable housing assembly6004 is fully connected to thedisposable housing assembly26012, and, that theconnector26000 is connected such that it will be maintained connected to thedisposable housing assembly26012 until and unless the user wishes to remove theconnector26000. In some embodiments, thenub808, having a spring actuatedtab2980, presses downward on theconnector26000, maintaining theconnector26000 in an attached position. In some embodiments, features in the locking ring interact with a locking ring feature on theconnector26000 and contribute to maintain theconnector26000 in position with respect to thedisposable housing assembly26012. In some embodiments, thetab portion26008 of theconnector26000 may include anindent portion26020 which may be configured to interact with thenub808 and/or spring plunger/tab of the locking ring assembly of thereusable housing assembly6004. In some embodiments, once thereusable housing assembly6004 is attached to thedisposable housing assembly26012, theconnector26000 may not be removed from thedisposable housing assembly26012. Rather, in these embodiments, thereusable housing assembly6004 must first be detached from thedisposable housing assembly26012 before theconnector26000 may be removed from thedisposable housing assembly26012. In some embodiments, once theconnector26000 is attached to thedisposable housing assembly26012, it may not be removed.
In the embodiment shown inFIGS. 260A-260G, theconnector26000 connects to thedisposable housing assembly26012 by theconnector26000 being rotated clockwise with respect to thedisposable housing assembly26012. In other embodiments, the various features described may be configured differently and theconnector26000 may be connected to thedisposable housing assembly26012 by theconnector26000 being rotated counter-clockwise with respect to thedisposable housing assembly26012.
In some embodiments, thedisposable housing assembly26012 may include a plug and theconnector26000 may include a plug receiver according to the various embodiment described herein. In some embodiments, theplug26002 on theconnector26000 may be located in a different location and/or orientation than is shown herein. In various embodiments, thedisposable housing assembly26012 may include one or more mating features that correspond to one or more mating features on aconnector26000. In some embodiments, these mating features may be located and/or orientated differently than is shown herein.
The embodiment of theconnector26000 shown inFIGS. 260A-260G may vary in various embodiments and may include one or more features from any one or more embodiments of the connector and/or disposable housing assembly shown herein.
Referring now also toFIGS. 261A-263I, some embodiments of theconnector26100 include aplug26102 that is rigid and forms a luer connection with the exit of thedisposable housing assembly26112. In various embodiments, theplug26102 may be tapered, and the percentage of tapering may vary. In some embodiments, the taper may be 6%, however, in various other embodiments; the taper may be greater or less than 6%. In some embodiments, including the one shown inFIGS. 261A-261K, theplug26102 is removably attached to theconnector26100 and, in addition, is slidably connected to theconnector26100. Additionally, in some embodiments, theplug26102 may include adisc26118 that, together with aslot26120 control the movement of theplug26102 with respect to thetab portion26108 of theconnector26100. Thus, as shown inFIGS. 262A through 262J, theplug26102 may slide from an initial position, shown inFIGS. 262A-262B andFIG. 263G, to a second position, shown in FIGS.262C-262E andFIG. 263H, to a third position, shown inFIGS. 262F-262H, to a final position, shown inFIGS. 262I-262K andFIG. 263I. As may be seen fromFIGS. 263G-263I, in the various positions of the plug as the plug moves from the initial position to the final position, theplug26102 occupies less of theexit region26138 of thedisposable housing assembly26112. As discussed above, this is due to the tolerance variations of the plug and/or the disposable housingassembly exit region26138 or both. In various embodiments, the disc and slot may be configured wherein twice the force required to complete the luer connection is required to unseat the disc from the slot. This may be beneficial/desirable for many reasons, including, but not limited to, in various embodiments, if the disc is unseated from the slot, this ensures the luer connection has been made.
In various embodiments, theplug26102 is configured such that it includes at least one stop feature wherein theexit end portion26104 of theplug26102 includes a first stop feature, for example, a lip, that limits the travel of theplug26104 in one direction. Theplug26102tubing end portion26106 in various embodiments also includes a second stop feature, for example, a lip, that limits the travel of theplug26102 in the other direction. In various embodiments, theplug26102 may be made from any material, for example, but not limited to, TERLUX® and/or another ABS material. Although not shown in the embodiments shown inFIGS. 261A-263I, theplug26102 includes a length of tubing attached to thetubing end portion26106, which tubing and attachment may be any one or more of the various embodiments described in more detail above with respect to various embodiments of the plug and the connector. The length of tubing may be any length desired, including, but not limited to, any length between 1 inch and 10 feet, and in some embodiments may be either 4 inches or 23 inches, however, in various embodiments, the length may be greater or less than 4 inches or 23 inches.
In various embodiments, theconnector26100 includes atab portion26108 including amating locking feature26110, which may be, in various embodiments, the mating locking feature described above with respect to various other embodiments of the connector. In various embodiments, themating locking feature26110 is configured to mate with a correspondingmating locking feature26114 on thedisposable housing assembly26112. In various embodiments, themating locking feature26110 on theconnector26100 including a hook that latches to the correspondingmating locking feature26114 on thedisposable housing assembly26112.
In various embodiments, theplug26102 of theconnector26100 is inserted into thedisposable housing assembly26112 with thetab26108 portion pointing upward. Once theplug26102 portion is inside thedisposable housing assembly26112, thetab26108 portion may be rotated about theplug26102 to rest above thedisposable housing assembly26112 adjacent to the exit (i.e., rest on thetab portion26116 on the disposable housing assembly26112). In some embodiments, mating locking features26110,26114 may be included on thetab portion26108 of theconnector26100 and thedisposable housing assembly26112, respectively, such that theconnector26100 is held in place before thereusable housing assembly6004 is attached to thedisposable housing assembly26112. In some embodiments, the mating locking features26110,26114 may include, but are not limited to, snap buttons and/or catch features. In some embodiments, a hook or other feature may be located on the opposite end of thetab26108 portion of theconnector26100 such that it loops over the end of thetab portion26116 of thedisposable housing assembly26112 and maintains the position of theconnector26100.
Still referring also toFIGS. 261A-263I, theconnector26100 may include atab portion26108, acatch feature26118, alatching feature26110, and aplug26102. In some embodiments, thetab portion26108 of theconnector26100 may include mating locking features that interact with corresponding features in thedisposable housing assembly26112. In some embodiments, thetab portion26108 may include features that interact with other portions of thedisposable housing assembly26112. As shown, in some embodiments, theconnector26100 may include amale latching feature26110 on the end of thetab portion26108 of theconnector26100. In some embodiments, the latchingfeature26110 may mate with a corresponding latching feature (a female latching feature26114) on thedisposable housing assembly26112. In some embodiments, the latch may be a removably secure fit, and/or a snap fit and/or a loose snap fit and in some embodiments may include a spring latch portion. In various other embodiments, the shape and size of theconnector26100 may vary, and/or, in various other embodiments, other types of features such as mating locking features may be used, which include, but are not limited to, latches, catches, snap fits, adhesives, and other mechanisms for securing aconnector26100 to thetab26116 of thedisposable housing assembly26112.
In some embodiments, theconnector26100 may include a locking ring feature on the underside. The locking ring feature in some embodiments may be tapered and/or in some embodiments, the locking ring feature may be at least slightly curved. In some embodiments, the locking ring feature may interact with the locking ring of the reusable housing assembly and may act together with the locking ring to secure the connector to the disposable housing assembly.
As discussed above, in various embodiments, theplug26102 of theconnector26100 is inserted into the exit of thedisposable housing assembly26112 with thetab portion26108 pointing in the general upward direction. Once theplug26102 is inside the exit, thetab portion26108 of theconnector26100 may be rotated to rest adjacent to thetab portion26116 of thedisposable housing assembly26112. In some embodiments, mating locking features may be included on thetab portion26108 of theconnector26100 and thedisposable housing assembly26112 such that theconnector26100 is held in place before the reusable housing assembly is attached to thedisposable housing assembly26112. In some embodiments, the mating locking features may include, but are not limited to, post and opening, snap, buttons, latch features and/or catch features. In some embodiments, a hook or other feature may be located on the opposite end of thetab portion26108 of theconnector26100 such that it loops over the end of thetab portion26116 of thedisposable housing assembly26112 and maintains the position of theconnector26100. In the embodiment shown inFIGS. 261A-263I, the mating locking features include amale latching feature26110 on theconnector26100 and afemale latching feature26114 on thedisposable housing assembly26112.
In various embodiments, once theconnector26100 is attached to thedisposable housing assembly26112, theconnector26100 may only be removed when intended, i.e., theconnector26100 is maintained on thedisposable housing assembly26112 unless and until a user desires to remove theconnector26100. As discussed above, in some embodiments, theconnector26100 may be non-removably attached, however, in some embodiments; theconnector26100 may be removably attached.
While theconnector26100 is being attached to thedisposable housing assembly26112, themale latching feature26110 is mated with thefemale latching feature26114. In some embodiments, male and female latching features26110,26114 may work together to further stabilize the connection of theconnector26100 to thedisposable housing assembly26112. Additionally, in various embodiments, the male and female latching features26110,26114 may contribute to maintaining theplug26102 in the exit of thedisposable housing assembly26112. Thus, in some embodiments, the male and female latching features26110,26114 may contribute to maintaining and/or enforcing both the insertion of theplug26102 into the exit and/or maintaining and/or enforcing the position of theconnector26100 such that after theplug26102 is inserted into the exit, theplug26102 is maintained in the exit unless and until a user desires to remove theplug26102 from the exit. Additionally, once the male and female latching features26110,26114 are mated, theplug26102 is fully inserted and therefore, may, in some embodiments, serve as an indication that theplug26102 has been fully inserted into the exit.
As discussed above, in the embodiment shown inFIGS. 261A-263I, theplug26102 in theconnector26100 is slidably attached to theconnector26100 such that theplug26102 may move forward or back and theconnector tab portion26108 may move independent from theplug26002. In addition, in this embodiments of the slidably attachedconnector plug26102, theplug26102 is biased forward with respect to thetab portion26108 of theconnector26100. This may be beneficial/desirable for many reasons, including, but not limited to, the mating of the luer (i.e., mating between thepost26002 and the exit of the disposable housing assembly26012) may be completed before thetab portion26008 of theconnector26000 is rotated and attached to thedisposable housing assembly26012. Thus, the rotation of thetab portion26008 about theplug26002 is to connect thetab portion26008 to thedisposable housing assembly26012, but the luer connection of theplug26002 to the exit is completed by pushing theplug26002 into the exit of thedisposable housing assembly26012. Theplug26002 being slidable within thetab portion26008 of theconnector26000 is beneficial/desirable for many reasons, including, but not limited to, the depth in which theplug26002 travels within the exit of thedisposable housing assembly26012 to form a luer connection may vary due to variances, for example, tolerances due to manufacturing. Thus, theplug26002 may move deeper into the exit if the plug is smaller in comparison with the exit, or the exit is large in comparison with theplug26002 and theplug26002 may form a connection shallower in the exit if theplug26002 is large in comparison with the exit or the exit is smaller in comparison with theplug26002. Thus, variances in tolerances will not prevent a luer connection from being made between theplug26002 and the exit/disposable housing assembly26012. Also, the embodiment shown inFIGS. 261A-263I may be beneficial/desirable for many reasons, including, but not limited to, ensuring that the luer connection is successful between theplug26102 and thedisposable housing assembly26112 and that theplug26102 is prevented from moving away from thedisposable housing assembly26112 unless tolerances dictate that theplug26102 moves away from thedisposable housing assembly26112 in order to form the luer connection. Thus, thedisc26122, in the initial position with respect to the tab portion26108 (shown, for example, inFIGS. 261D-261H) is in theslot26120 and is therefore prevented from sliding either backwards (away from the disposable housing assembly26112) with respect to thetab portion26108 unless tolerances between theplug26102 and the exit portion of the disposable housing assembly are such that the disc moves away from the disposable housing assembly.
Thus, still referring toFIGS. 261A-263I, theplug26102 is inserted into the exit portion of the disposable housing assembly and if, due to tolerances, theplug26102 is not fully inside the exit, additional force applied to the plug26102 (via thetab portion26108 of the connector26100) bends thedisc26122 such that theplug26102 moves away from thedisposable housing assembly26112. This moves theplug26102 from the initial position to a second position. The second position may be seen inFIGS. 262A-262C. If theplug26102 is still not fully inside the exit, additional force applied to theplug26102 detaches thedisc26122 from theslot26120 and theplug26102 slides further away from thedisposable housing assembly26112. This moves theplug26102 from the second position to the third position. The third position may be seen inFIGS. 262G-262I. If theplug26102 is still not fully inside the exit, additional force applied to theplug26102 causes theplug26102 to slide further away from thedisposable housing assembly26112. This moves theplug26102 from the third position to the final position. The final position may be seen inFIGS. 262J-262K. As may be seen inFIGS. 262J-262K, theexit end portion26104 of theplug26102 includes a feature, for example, a lip, that limits the travel of theplug26102 in the direction moving away from thedisposable housing assembly26112. As may be seen inFIGS. 262J-262K, once theexit end portion26104 reaches thetab portion26108 of theconnector26100, theplug26102 is prevented from moving further away from thedisposable housing assembly26112 and is in the final position with respect to thetab potion26108 of theconnector26100.
Referring now also toFIGS. 261A-263I, in some embodiments, thetab portion26116 of thedisposable housing portion26112 may be shaped as shown. In some embodiments, theconnector26100, once attached to thedisposable housing assembly26112, may extend thetab portion26116 of thedisposable housing assembly26112. In some embodiments, once theconnector26100 is attached to thedisposable housing assembly26112, theconnector26100 andtab portion26116 may be flush and continuous.
In some embodiments, theconnector26100 may include anindent26124, as shown. Theindent26124 may be shaped as shown or, in various embodiments, may be shaped and sized differently.
In various embodiments, thefemale latching feature26114 on thedisposable housing assembly26112 may be located adjacent to thetab portion26116. In some embodiments, for example, as shown inFIGS. 263A-263C, thefemale latching feature26114 may be configured such that it receives themale latching feature26110 on theconnector26100 from the top. Some embodiments may not include mating latching features26110,26114. In some embodiments, the location and/or orientation of thefemale latching feature26114 may vary. In some embodiments, the location and/or orientation of themale latching feature26110 may vary.
In some embodiments, theconnector26100 may be made from rigid plastic. In some embodiments, the locking ring feature and/or the latching features may be overmolded with a thin layer of compliant materials. In some embodiments, as discussed above, theplug26102 may include an overmold of compliant material and/or be made from compliant material. In some embodiments, the locking ring feature and/or the latching feature may be made from compliant material. In embodiments where the male or female latching features26110,26114 include compliant material, use of compliant material may increase the “squish” between themale latching feature26110 and thefemale latching feature26114 and therefore, resulting in a highly compressed and/or tight fit between the male and female latching features26110,26114.
Referring now also toFIGS. 261A-263I andFIG. 136, in some embodiments, theconnector26100 may includeicons26126,26128 that indicate “locked” (26126) and “unlocked” (26128), similar to those shown and described above with respect toFIG. 136. Thus, in some embodiments, the “locked” and “unlocked” position may also be visually indicated to a user/patient using icons26126,26128 that may be molded, silk-screened, pad printed, injection molded, etched, printed and/or cut-out, e.g., translucent cut-outs of icons, on theconnector26000. In some embodiments using translucent cut-outs, thetab portion26116 of thedisposable housing assembly26112 may be a contrasting color to theconnector26100 for visually viewing thetab portion26116 of thedisposable housing assembly26112 color through the cut-outs. Thus, theicons26126,26128 may indicate whether thereusable housing assembly6004 is in a locked or unlocked relationship with thedisposable housing assembly26112. In various embodiments, theicons26126,26128 may be any form that may indicate “locked” and “unlocked”, or a similar indication, to aid in the user/patient's understanding of the orientation/position between thereusable housing assembly6004 and thedisposable housing assembly26012. In some embodiments, anarrow icon26130 may also appear between the lockedicon26126 andunlocked icon26128.
Although not shown inFIGS. 261A-263I, in various embodiments, the reusable housing assembly may be any one or more of the various embodiments of the reusable housing assembly described herein, including, but not limited to, the reusable housing assembly described above as6004.
Theplug26102 may include any embodiment described herein, however, in some embodiments; theplug26102 may be tapered and may either be rigid without any overmolding, be rigid with an overmold of elastomeric/compliant material or be made from elastomeric/compliant material. In various embodiments, theplug26102 may include a seal, for example, in some embodiments, theplug26102 may include a radial seal, and in some embodiments, theplug26102 may include a face seal and in some embodiments, theplug26102 may include a radial and a face seal. In some embodiments, theplug26102 may include one or more seals, including, but not limited to, a face seal and/or a radial seal.
In some embodiments,tubing26134 attaches to theconnector26100 as described above and as shown inFIG. 261G. In some embodiments, thetubing26134 may attach to theconnector26100 and there may be a rigidplastic channel26132 within theconnector26100 and through theplug26102. In some embodiments, thetubing26134 may extend into theconnector26100 and in some embodiments; thetubing26134 may extend all the way through the connector26200 and through theplug26202. In some embodiments, thetubing26134 may extend past the end of theplug26102. Although not shown inFIGS. 261A-263I, the various embodiments of theconnector26100 may include any of the embodiments of the tubing and tubing connection as shown and described above with respect to various other embodiments of the connector.
In various embodiments, there is maintained a continuous flow lumen from the exit of the disposable housing assembly to the cannula (not shown). This may be desirable and/or beneficial for many reasons, including, but not limited to, minimizing and/or eliminating dead volume, minimizing priming volume and/or prevention of or minimizing the occurrence of air traps. As may be seen inFIGS. 263G-263I, once theplug26102 is connected to thedisposable housing assembly26112, and a luer connection is made between theplug26102 and the exit of thedisposable housing assembly26112, thefluid line26136 within thedisposable housing assembly26102 is in fluid and continuous connection with the rigidplastic channel26132 in theplug26102. Where tubing is attached to theplug26102, thefluid line26136 within thedisposable housing assembly26102 is in fluid and continuous connection with the rigidplastic channel26132 in theplug26102 and the tubing.
Referring still also to FIGS.261A0263I, some embodiments of theconnector26100 may also include a catch/catchingfeature26118 on the opposite side as themale latching feature26110. Thecatch feature26118, when theconnector26100 is connected to thedisposable housing assembly26112, interferes with thedisposable housing assembly26112 and prevents theconnector26100 from rotating further. Thus, in some embodiments, theconnector26100 and thedisposable housing assembly26112 form an interference fit in at least one location. Together with the male and female latching features26110,26114, in some embodiments, once theconnector26100 is attached, theconnector26102 may be held in place by these mating features26110,26114. Thecatch feature26118 in various embodiments also aids in catching the disposable housing assembly and the ramp portion of thecatch feature26118 assists in pulling theconnector26100 towards thedisposable housing assembly26112.
Theconnector tab portion26108 may include gripping features, however, in the some embodiments; theconnector26100 is sized such that a user may grip theconnector26100 for insertion/attachment with thedisposable housing assembly26112. Some embodiments including grip features, may include, but are not limited to, one or more of the following: a textured surface, bumps, lumps, protrusions or indentations in any size, shape and/or number.
In various embodiments of theconnector26100, once theconnector26100 is connected to thedisposable housing assembly26112, the reusable housing assembly6004 (which may also be one or more of the various reusable housing assemblies described herein or incorporated herein by reference) may be connected/attached to thedisposable housing assembly26112 by being rotated about thedisposable housing assembly26112. As the reusable housing assembly is rotatably connected to thedisposable housing assembly26112, the locking ring and/ornub808, having a spring actuatedtab2980, on thereusable housing assembly6004 may interact with theconnector26100, such that the rotation of thereusable housing assembly6004 about thedisposable housing assembly26112 prevents theconnector26100 from being removed from thedisposable housing assembly26112. In some embodiments, once thereusable housing assembly6004 is attached to thedisposable housing assembly26112, the spring plunger/tab in thenub808 may be released, making a “click” sound. The “click” may also produce a tactile feedback that may be perceived by the user/patient. This tactile and audio feedback is indicative to the user that thereusable housing assembly6004 is fully connected to thedisposable housing assembly26112, and, that theconnector26100 is connected such that it will be maintained connected to thedisposable housing assembly26112 until and unless the user wishes to remove theconnector26100. In some embodiments, thenub808, having a spring actuatedtab2980, presses downward on theconnector26100, maintaining theconnector26100 in an attached position. In some embodiments, features in the locking ring interact with a locking ring feature on theconnector26100 and contribute to maintain theconnector26100 in position with respect to thedisposable housing assembly26112. In some embodiments, thetab portion26108 of theconnector26100 may include anindent portion26124 which may be configured to interact with thenub808 and/or spring plunger/tab of the locking ring assembly of thereusable housing assembly6004. In some embodiments, once thereusable housing assembly6004 is attached to thedisposable housing assembly26112, theconnector26100 may not be removed from thedisposable housing assembly26112. Rather, in these embodiments, thereusable housing assembly6004 must first be detached from thedisposable housing assembly26112 before theconnector26100 may be removed from thedisposable housing assembly26112. In some embodiments, once theconnector26100 is attached to thedisposable housing assembly26112, it may not be removed.
In the embodiment shown inFIGS. 261A-263I, theconnector26100 connects to thedisposable housing assembly26112 by theconnector26100 being rotated clockwise with respect to thedisposable housing assembly26112. In other embodiments, the various features described may be configured differently and theconnector26100 may be connected to thedisposable housing assembly26112 by theconnector26100 being rotated counter-clockwise with respect to thedisposable housing assembly26112. In various embodiments, theplug26102 remains stationary as theconnector tab portion26102 is rotated about theplug26102. However, in some embodiments, theplug26102 may be rotated together with theconnector26100.
In some embodiments, the disposable housing assembly may include a plug and the connector may include a plug receiver according to the various embodiment described herein. In some embodiments, theplug26102 on theconnector26100 may be located in a different location and/or orientation than is shown herein. In various embodiments, thedisposable housing assembly26112 may include one or more mating features that correspond to one or more mating features on aconnector26100. In some embodiments, these mating features may be located and/or orientated differently than is shown herein.
The embodiment of theconnector26100 shown inFIGS. 261A-263I may vary in various embodiments and may include one or more features from any one or more embodiments of the connector and/or disposable housing assembly shown herein.
Referring now also toFIGS. 260A-262I, in various embodiments, as described herein, the plug may form a luer connection with the exit of the disposable housing assembly. In various embodiments, the luer connection may be formed between the plug and disposable housing assembly by the plug being inserted into the exit of the disposable housing assembly and in some embodiments, the luer connection is formed between the plug being inserted in the exit of the disposable housing assembly and upon connection of the tab portion of the connector to the disposable housing assembly. As discussed above, in some embodiments the catch feature aids in completing the seal between the plug and the disposable housing assembly by pushing the plug further into the exit of the disposable housing assembly. Therefore, the luer connection may be formed without any rotation of the plug within the disposable housing assembly/exit of the disposable housing assembly. In various embodiments, therefore, the luer connection may be formed between the plug and disposable housing assembly before the tab portion of the connector is rotated about the plug and connected to the disposable housing assembly. This may be beneficial/desirable for many reasons, including but not limited to, forming a luer connection without rotation and then independently rotating a portion attached to the plug prevents the plug from breaking, which would likely occur if the plug were rotated together with the tab portion of the connector. This is beneficial/desirable for many reasons, including but not limited to, forming a luer connection without rotation allows for movement of other portions of an assembly that are not involved in the luer connection whilst the luer connection is maintained. Therefore, in some embodiments, the connector shown and described in, for example,FIGS. 260A-262I, is an assembly including a luer connection between one or more first portions and a second portion that may rotate independent of the luer connection first portion(s). This is beneficial/desirable for many reasons, including, but not limited to, where the tab portion of the connector could not rotate independent of the plug, once the luer binds, the motion of the tab portion would have to stop and would not rotate sufficiently for the latching features to meet and the connector to attach to the disposable housing assembly. Where the connector is not rotated sufficiently, the reusable housing assembly would not be able to be attached to the disposable housing assembly. The embodiments described with respect to, for example,FIGS. 260A-262I, may also be beneficial/desirable for many reasons, including but not limited to, the plug and the tab portion of the connector may be made from different materials as they are separate parts and the absence of o-rings, radial seals, facial seals, etc. is beneficial/desirable for many reasons, including, but not limited to, seals may have parting lines and other manufacturing introduced features that may degrade the seal, and luer connections are more reliable seals.
Still referring toFIGS. 260A-263I, in various embodiments, the connector may be connected to tubing (for example, as shown inFIG. 261G) and the tubing may be connected to a cannula assembly, such as one described above and shown in, for example,FIGS. 236G and 236H, however, various embodiments of a cannula assembly may be used together with the connectors described herein.
Still referring also toFIGS. 260A-263I andFIG. 237, in some embodiments, the connector may include a “core”26040 on the bottom. Thecore26040 may be an opening in the connector. In some embodiments, an identification tag (similar to one shown inFIG. 237) may be located in thecore26040, however, in various other embodiments, the identification tag may be located in another location on the connector (and in some embodiments, the identification tag may be located on the disposable housing assembly and/or on the cannula assembly). In some embodiments it may be desired to include a method of the system identifying the connector (and/or disposable housing assembly and/or cannula assembly) and/or a device for the system to identify the connector. In some embodiments, the identification tag may be an RFID tag. In some embodiments, the identification tag may be a near-field communication (“NFC”) readable RFID tag. In some embodiments, the identification tag may be a 2D or 3D bar code. In some embodiments, the identification tag may be a QR code.
In various embodiments, either before the connector is connected to the disposable housing assembly or after the reusable housing assembly has been connected to the disposable housing assembly, thereusable housing assembly6004 and/or the remote control unit may read the identification tag. Theidentification tag6092 may include various information, including, but not limited to, one or more of the following: unique identification number, date of manufacture, date of expiration, part number, lot number, and/or date of sale. Once the system reads the identification tag, the system may recognize the connector by its unique identification number or other, and thus, be able to recognize that the connector is either anew connector6010, i.e., has not been used previously, or is an old connector, i.e., the connector has been used previously. In some embodiments, once the connector is attached, the system may start a timer and the infusion pump may alert/alarm and/or turn off after a predetermined period of time where the connector has been used by the system. In some embodiments, this predetermined time may be the maximum time that the manufacturer recommends using the connector and/or cannula assembly attached to the connector. In some embodiments, this predetermined time may be the maximum time that the manufacturer recommends using the disposable housing assembly.
In some embodiments, the information conveyed by the identification tag may include information to authenticate the connector, i.e., to ensure that the connector is not a counterfeit part. In some embodiments, the remote control unit and/or reusable housing assembly/pump may include a listing of authentic identification information such that the system may “authenticate” the connector based on information received from the manufacturer.
In various embodiments, the identification tag may be a “peel and stick” RFID tag, which may be attached to the connector, for example, in thecore26040 area of the connector. In some embodiments, the identification tag may be glued and/or potted and/or another part may be pressed over the identification tag to sandwich the identification tag. In some embodiments, the identification tag may be taped to the connector. In some embodiments, where the identification tag is a bar code and/or QR code, the identification tag may be embossed, printed and/or molded onto the connector.
In some embodiments, the identification tag may be an RFID tag. In some embodiments, the RFID tag may be a tag that includes an antenna and chip. In some embodiments, the connector may be manufactured with a conductive ring and a chip could be electrically connected to the conductive ring. In some embodiments, the RFID tag could be on the label which could include additional information, for example, but not limited to, text, for example, part number, label, instructions, expiration date.
In some embodiments, the reusable housing assembly may include hardware to read the identification tag, which may include an RFID chip and/or a bar code, for example, 2D or 3D, or a QR code. For example, in some embodiments, the hardware may be an antenna which may be a copper trace on a board. In some embodiments the hardware may include a camera and/or a bar code scanner. In some embodiments, the remote control until may include hardware to read the identification tag, for example, in some embodiments, the remote control until may include an RFID transceiver and/or a near-field communication transceiver which may read the identification tag in those embodiments where the identification tag is an RFID tag. In some embodiments, the RFID tag may be one that may be read by an NFC transceiver. In some embodiments the remote control until may include a camera and/or a bar code scanner.
In some embodiments, using NFC may be desirable for many reasons, including, but not limited to, the reusable housing assembly and the remote control unit could both include NFC transceivers and the reusable housing assembly and the remote control unit may be paired in this fashion. This provides that the reusable housing assembly and the remote control unit come into physical contact with one another. This may be beneficial for many reasons including, but not limited to, the devices being paired are both in control of the user/patient and therefore, this may provide additional localized security when pairing the devices, i.e., to ensure that a non-intended device is not paired with either the remote control unit or the reusable housing assembly.
In some embodiments, the cannula assembly, connector and/or the disposable housing assembly may include identification tags and may include one or more of the features discussed above with respect to identification tags and/or may be used in one or more of the methods discussed above.
In various embodiments, the reusable housing assembly may begin pumping fluid only after either the reusable housing assembly or the remote control unit has received the information from the one or more identification tags in the system (e.g., disposable housing assembly, cannula assembly and/or connector) and has determined that the information received is acceptable. For example, in some embodiments, if the information received does not convey to the system that a “new” and/or “acceptable” (i.e., is not expired, has not been recalled) connector and/or disposable housing assembly and/or cannula assembly is being connected to the system, then the system may not pump fluid and or may alert/alarm.
Various embodiments of the connector may be made from any color desired. In some embodiments, the connector may be made from a different color than the disposable housing assembly. In some embodiments, the connector may be made from the same color as the disposable housing assembly.
In some embodiments the connector, after being connected/attached to the disposable housing assembly, may not be removed from the disposable housing assembly. In some embodiments, once connected/attached to the disposable housing assembly, it may be difficult for a user to remove the connector from the disposable housing assembly. In some embodiments, this may be beneficial and/or desirable for once the tubing has been primed; the tubing is full of fluid, which, in some embodiments, may include a therapeutic fluid. If the connector were removed from the disposable housing assembly, and a cannula assembly, in fluid communication with the connector, was already inserted into a user, and if the connector were to be elevated such that it was higher than the cannula assembly, the fluid in the tubing may be delivered through the cannula assembly to the user. In some circumstances, this may not be desirable for many reasons, including, but not limited to, unintentional delivery of a volume of fluid. Therefore, prevention of this circumstance may be desirable.
In various embodiments, these methods may be used with respect to any device and/or medical device and/or any controller and/or remote controller for any device and/or medical device and/or any device used in conjunction with or in association with any device and/or medical device.
A number of embodiments have been described. Nevertheless, it will be understood that various modifications may be made. Accordingly, other embodiments are within the scope of the following claims.
While the principles of the invention have been described herein, it is to be understood by those skilled in the art that this description is made only by way of example and not as a limitation as to the scope of the invention. Other embodiments are contemplated within the scope of the present invention in addition to the exemplary embodiments shown and described herein. Modifications and substitutions by one of ordinary skill in the art are considered to be within the scope of the present invention.

Claims (12)

What is claimed is:
1. An infusion pump system comprising:
a reusable housing assembly comprising:
a pump actuator assembly; and
a locking ring assembly;
a disposable housing assembly comprising:
a reservoir;
a tab portion, the tab portion comprising a female latching feature; and
an exit, the exit fluidly connected to the reservoir; and
a fluid connector comprising:
a body portion comprising a slot;
a plug portion slidably connected to the body portion, the plug portion comprising a fluid path and a disc, the disc configured to seat within the slot;
a catch feature located on a first end of the body portion and configured to interact with the disposable housing assembly;
a male latching feature located on a second end of the body portion, the male latching feature configured to interact and lock onto the female latching feature; and
a tubing, a first end of the tubing fluidly connected to the plug fluid path;
wherein the locking ring assembly further comprising a nub comprising a spring actuated tab, the spring actuated tab interacts with an indent of the connector when the reusable housing assembly and disposable housing assembly are rotatably attached;
wherein force applied to the plug portion overcomes a threshold force and unseats the disc from the slot wherein the plug portion moves with respect to the body portion,
wherein the plug of the connector forms a luer connection with the exit of the disposable housing assembly and provides a fluid connection between the reservoir and the tubing,
wherein the reusable housing assembly configured to be attached to the disposable housing assembly, and
wherein the pump actuator assembly pumps fluid from the reservoir to the tubing.
2. The infusion pump system ofclaim 1, wherein the reusable housing assembly further comprising a volume sensor assembly.
3. The infusion pump system ofclaim 1, wherein the second end of the tubing is connected to a cannula assembly.
4. The infusion pump system ofclaim 1, wherein the indent is located on the body portion, wherein the indent configured to interact with a reusable portion of an infusion pump.
5. The infusion pump system ofclaim 1, wherein the spring actuated tab of the nub interacts with the connector exerting compression onto the connector attachment to the exit of the disposable housing assembly.
6. The infusion pump system ofclaim 1, wherein the body portion further comprising rib features.
7. The infusion pump system ofclaim 1, wherein the catch feature comprising a ramp.
8. The infusion pump system ofclaim 1, wherein the underside of the body portion comprising a core.
9. The infusion pump system ofclaim 8, wherein the core comprising an identification tag.
10. The infusion pump system ofclaim 1, wherein the body portion comprising an identification tag.
11. The infusion pump system ofclaim 10, wherein the identification tag is an RFID tag.
12. The infusion pump system ofclaim 10, wherein the identification tag is a near-field communication readable RFID.
US14/323,5712006-02-092014-07-03Infusion pump assemblyActive2028-09-26US9907943B2 (en)

Priority Applications (7)

Application NumberPriority DateFiling DateTitle
US14/323,571US9907943B2 (en)2006-02-092014-07-03Infusion pump assembly
EP22172392.7AEP4059545A1 (en)2014-07-032015-07-02Infusion pump assembly
PCT/US2015/039026WO2016004329A1 (en)2014-07-032015-07-02Infusion pump assembly
EP15745615.3AEP3164171B1 (en)2014-07-032015-07-02Infusion pump assembly
CA3197410ACA3197410A1 (en)2014-07-032015-07-02Infusion pump assembly
CA2956895ACA2956895C (en)2014-07-032015-07-02Infusion pump assembly
US15/912,011US20180193629A1 (en)2006-02-092018-03-05Infusion Pump Assembly

Applications Claiming Priority (30)

Application NumberPriority DateFiling DateTitle
US77231306P2006-02-092006-02-09
US78924306P2006-04-052006-04-05
US79318806P2006-04-192006-04-19
US88900707P2007-02-092007-02-09
US11/704,899US8414522B2 (en)2006-02-092007-02-09Fluid delivery systems and methods
US11/704,896US8585377B2 (en)2006-02-092007-02-09Pumping fluid delivery systems and methods using force application assembly
US11/704,886US8545445B2 (en)2006-02-092007-02-09Patch-sized fluid delivery systems and methods
US11/704,897US8113244B2 (en)2006-02-092007-02-09Adhesive and peripheral systems and methods for medical devices
US1800207P2007-12-312007-12-31
US1798907P2007-12-312007-12-31
US1833907P2007-12-312007-12-31
US1805407P2007-12-312007-12-31
US1804207P2007-12-312007-12-31
US2364508P2008-01-252008-01-25
US10110508P2008-09-292008-09-29
US10105308P2008-09-292008-09-29
US10107708P2008-09-292008-09-29
US10111508P2008-09-292008-09-29
US12/347,981US8496646B2 (en)2007-02-092008-12-31Infusion pump assembly
US29164109P2009-12-312009-12-31
US29173309P2009-12-312009-12-31
US12/981,283US8579884B2 (en)2006-02-092010-12-29Infusion pump assembly
US201261607863P2012-03-072012-03-07
US201261667765P2012-07-032012-07-03
US201261668760P2012-07-062012-07-06
US201261736358P2012-12-122012-12-12
US201261737520P2012-12-142012-12-14
US13/788,260US11478623B2 (en)2006-02-092013-03-07Infusion pump assembly
US201361842449P2013-07-032013-07-03
US14/323,571US9907943B2 (en)2006-02-092014-07-03Infusion pump assembly

Related Parent Applications (1)

Application NumberTitlePriority DateFiling Date
US13/788,260Continuation-In-PartUS11478623B2 (en)2006-02-092013-03-07Infusion pump assembly

Related Child Applications (1)

Application NumberTitlePriority DateFiling Date
US15/912,011ContinuationUS20180193629A1 (en)2006-02-092018-03-05Infusion Pump Assembly

Publications (2)

Publication NumberPublication Date
US20150165114A1 US20150165114A1 (en)2015-06-18
US9907943B2true US9907943B2 (en)2018-03-06

Family

ID=53367135

Family Applications (2)

Application NumberTitlePriority DateFiling Date
US14/323,571Active2028-09-26US9907943B2 (en)2006-02-092014-07-03Infusion pump assembly
US15/912,011AbandonedUS20180193629A1 (en)2006-02-092018-03-05Infusion Pump Assembly

Family Applications After (1)

Application NumberTitlePriority DateFiling Date
US15/912,011AbandonedUS20180193629A1 (en)2006-02-092018-03-05Infusion Pump Assembly

Country Status (1)

CountryLink
US (2)US9907943B2 (en)

Cited By (8)

* Cited by examiner, † Cited by third party
Publication numberPriority datePublication dateAssigneeTitle
US20170224975A1 (en)*2016-02-092017-08-10Oridion Medical 1987 Ltd.Luer connector with on-board connection indicator
US20180259075A1 (en)*2017-03-092018-09-13Vat Holding AgVacuum valve with optical sensor
US20190287355A1 (en)*2016-12-072019-09-19Roche Diabetes Care, Inc.Acoustic user interface
USD872260S1 (en)*2017-12-112020-01-07Deka Products Limited PartnershipReservoir
US11167081B2 (en)2016-06-162021-11-09Smiths Medical Asd, Inc.Assemblies and methods for infusion pump system administration sets
US11424029B2 (en)2010-01-222022-08-23Deka Products Limited PartnershipSystem, method and apparatus for electronic patient care
US11801342B2 (en)2017-07-192023-10-31Smiths Medical Asd, Inc.Housing arrangements for infusion pumps
US12340888B2 (en)2019-04-172025-06-24Icu Medical, Inc.Medical intravenous fluid delivery and disposal devices

Families Citing this family (17)

* Cited by examiner, † Cited by third party
Publication numberPriority datePublication dateAssigneeTitle
US10041481B2 (en)*2016-01-222018-08-07Marotta Controls, Inc.Actuation mechanism and associated methods
US10118696B1 (en)2016-03-312018-11-06Steven M. HoffbergSteerable rotating projectile
DE102016205971B4 (en)*2016-04-112021-11-18Hawe Hydraulik Se Hydraulic system, method for parameterizing control electronics of a hydraulic component and computing unit for compiling program code for operating a hydraulic system
US10518039B2 (en)2016-04-292019-12-31Verily Life Sciences LlcApparatus and methods for tracking administering of medication by medication injection devices
US10953155B2 (en)2016-04-292021-03-23Verily Life Sciences LlcPressure sensor in plunger head to wake up electronics
US10688255B2 (en)*2016-04-292020-06-23Verily Life Sciences LlcAir shot detection
US20180165422A1 (en)*2016-12-082018-06-14Verily Life Sciences LlcSystems and methods for controlling the operational state of a medical device
US20210393478A1 (en)*2017-10-182021-12-23Raja BhattiHand-attached controlled eccentric vibration device
US20190110949A1 (en)*2017-10-182019-04-18Raja BhattiHand-attached controlled pulsed vibration device
WO2019145318A1 (en)*2018-01-262019-08-01SanofiContainer for an injectable medicament
US11712637B1 (en)2018-03-232023-08-01Steven M. HoffbergSteerable disk or ball
MX2021008593A (en)*2019-02-042021-08-11Becton Dickinson Co SYSTEM, METHOD, AND PRODUCT FOR SURVEILLANCE OF EVENTS.
US11246199B2 (en)*2019-05-092022-02-08Xiamen Eco Lighting Co. Ltd.Lighting apparatus
EP3771451B1 (en)*2019-08-022025-10-08Bionime CorporationA container for carrying a sensor
CN114267932B (en)*2020-09-162024-08-30广州极飞科技股份有限公司Antenna assembly and remote controller
US20230256165A1 (en)*2022-02-162023-08-17Medtronic, Inc.Optionally pulsatile flow generating implantable pump
US20250135109A1 (en)*2023-10-262025-05-01Luna Health, Inc.Medication fluid delivery device component and method of use

Citations (5)

* Cited by examiner, † Cited by third party
Publication numberPriority datePublication dateAssigneeTitle
US5066278A (en)*1989-08-091991-11-19Siemens AktiengesellschaftImplantable injection body
US20020040208A1 (en)*2000-10-042002-04-04Flaherty J. ChristopherData collection assembly for patient infusion system
US6537268B1 (en)*1998-06-182003-03-25Medtronic Minimed, Inc.Medical infusion device with a source of controlled compliance
US20050283118A1 (en)*2003-12-192005-12-22Joshua UthImplantable medical device with simulataneous attachment mechanism and method
US20090134997A1 (en)*2007-11-282009-05-28Cardinal Health 303, Inc.Active-tag based dispensing

Patent Citations (5)

* Cited by examiner, † Cited by third party
Publication numberPriority datePublication dateAssigneeTitle
US5066278A (en)*1989-08-091991-11-19Siemens AktiengesellschaftImplantable injection body
US6537268B1 (en)*1998-06-182003-03-25Medtronic Minimed, Inc.Medical infusion device with a source of controlled compliance
US20020040208A1 (en)*2000-10-042002-04-04Flaherty J. ChristopherData collection assembly for patient infusion system
US20050283118A1 (en)*2003-12-192005-12-22Joshua UthImplantable medical device with simulataneous attachment mechanism and method
US20090134997A1 (en)*2007-11-282009-05-28Cardinal Health 303, Inc.Active-tag based dispensing

Non-Patent Citations (1)

* Cited by examiner, † Cited by third party
Title
disk. (n.d.). Dictionary.com Unabridged. Retrieved Mar. 15, 2017 from Dictionary.com website http://www.dictionary.com/browse/disk.*

Cited By (14)

* Cited by examiner, † Cited by third party
Publication numberPriority datePublication dateAssigneeTitle
US11424029B2 (en)2010-01-222022-08-23Deka Products Limited PartnershipSystem, method and apparatus for electronic patient care
US20170224975A1 (en)*2016-02-092017-08-10Oridion Medical 1987 Ltd.Luer connector with on-board connection indicator
US11819651B2 (en)*2016-02-092023-11-21Covidien LpLuer connector with on-board connection indicator
US20210252268A1 (en)*2016-02-092021-08-19Oridion Medical 1987 Ltd.Luer connector with on-board connection indicator
US10994115B2 (en)*2016-02-092021-05-04Oridion Medical 1987 Ltd.Luer connector with on-board connection indicator
US11167081B2 (en)2016-06-162021-11-09Smiths Medical Asd, Inc.Assemblies and methods for infusion pump system administration sets
US10922932B2 (en)*2016-12-072021-02-16Roche Diabetes Care, Inc.Acoustic user interface
US20190287355A1 (en)*2016-12-072019-09-19Roche Diabetes Care, Inc.Acoustic user interface
US10520109B2 (en)*2017-03-092019-12-31Vat Holding AgVacuum valve with optical sensor
US20180259075A1 (en)*2017-03-092018-09-13Vat Holding AgVacuum valve with optical sensor
US11801342B2 (en)2017-07-192023-10-31Smiths Medical Asd, Inc.Housing arrangements for infusion pumps
USD892314S1 (en)*2017-12-112020-08-04Deka Products Limited PartnershipReservoir
USD872260S1 (en)*2017-12-112020-01-07Deka Products Limited PartnershipReservoir
US12340888B2 (en)2019-04-172025-06-24Icu Medical, Inc.Medical intravenous fluid delivery and disposal devices

Also Published As

Publication numberPublication date
US20150165114A1 (en)2015-06-18
US20180193629A1 (en)2018-07-12

Similar Documents

PublicationPublication DateTitle
US12268841B2 (en)Infusion pump assembly
US20210393939A1 (en)Infusion Pump Assembly
US12178989B2 (en)Infusion pump assembly
US9907943B2 (en)Infusion pump assembly
US11478623B2 (en)Infusion pump assembly
US11964126B2 (en)Infusion pump assembly
US9649433B2 (en)Infusion pump assembly
CA2956895C (en)Infusion pump assembly

Legal Events

DateCodeTitleDescription
ASAssignment

Owner name:DEKA PRODUCTS LIMITED PARTNERSHIP, NEW HAMPSHIRE

Free format text:ASSIGNMENT OF ASSIGNORS INTEREST;ASSIGNOR:LANIER, GREGORY R., JR;REEL/FRAME:036602/0779

Effective date:20141024

Owner name:DEKA PRODUCTS LIMITED PARTNERSHIP, NEW HAMPSHIRE

Free format text:ASSIGNMENT OF ASSIGNORS INTEREST;ASSIGNORS:GRANT, KEVIN L.;DEMERS, JASON A.;TRACEY, BRIAN D.;AND OTHERS;SIGNING DATES FROM 20140815 TO 20141229;REEL/FRAME:036602/0843

STCFInformation on status: patent grant

Free format text:PATENTED CASE

MAFPMaintenance fee payment

Free format text:PAYMENT OF MAINTENANCE FEE, 4TH YEAR, LARGE ENTITY (ORIGINAL EVENT CODE: M1551); ENTITY STATUS OF PATENT OWNER: LARGE ENTITY

Year of fee payment:4

MAFPMaintenance fee payment

Free format text:PAYMENT OF MAINTENANCE FEE, 8TH YEAR, LARGE ENTITY (ORIGINAL EVENT CODE: M1552); ENTITY STATUS OF PATENT OWNER: LARGE ENTITY

Year of fee payment:8


[8]ページ先頭

©2009-2025 Movatter.jp