Movatterモバイル変換


[0]ホーム

URL:


US9713852B2 - Welding training systems and devices - Google Patents

Welding training systems and devices
Download PDF

Info

Publication number
US9713852B2
US9713852B2US13/838,019US201313838019AUS9713852B2US 9713852 B2US9713852 B2US 9713852B2US 201313838019 AUS201313838019 AUS 201313838019AUS 9713852 B2US9713852 B2US 9713852B2
Authority
US
United States
Prior art keywords
welding
training
physical mark
torch
welding rod
Prior art date
Legal status (The legal status is an assumption and is not a legal conclusion. Google has not performed a legal analysis and makes no representation as to the accuracy of the status listed.)
Active, expires
Application number
US13/838,019
Other versions
US20140263224A1 (en
Inventor
William J. Becker
Richard Beeson
David P. Marcusen
Current Assignee (The listed assignees may be inaccurate. Google has not performed a legal analysis and makes no representation or warranty as to the accuracy of the list.)
Illinois Tool Works Inc
Original Assignee
Illinois Tool Works Inc
Priority date (The priority date is an assumption and is not a legal conclusion. Google has not performed a legal analysis and makes no representation as to the accuracy of the date listed.)
Filing date
Publication date
Application filed by Illinois Tool Works IncfiledCriticalIllinois Tool Works Inc
Priority to US13/838,019priorityCriticalpatent/US9713852B2/en
Assigned to ILLINOIS TOOL WORKS INC.reassignmentILLINOIS TOOL WORKS INC.ASSIGNMENT OF ASSIGNORS INTEREST (SEE DOCUMENT FOR DETAILS).Assignors: MARCUSEN, DAVID P., BECKER, WILLIAM J, BEESON, RICHARD
Priority to CN201480015931.7Aprioritypatent/CN105144267B/en
Priority to PCT/US2014/018109prioritypatent/WO2014149400A1/en
Priority to BR112015019539Aprioritypatent/BR112015019539A2/en
Priority to EP14708770.4Aprioritypatent/EP2973505B1/en
Priority to CN201711385481.2Aprioritypatent/CN108274141A/en
Priority to CA2897102Aprioritypatent/CA2897102C/en
Priority to MX2015008616Aprioritypatent/MX350859B/en
Publication of US20140263224A1publicationCriticalpatent/US20140263224A1/en
Publication of US9713852B2publicationCriticalpatent/US9713852B2/en
Application grantedgrantedCritical
Activelegal-statusCriticalCurrent
Adjusted expirationlegal-statusCritical

Links

Images

Classifications

Definitions

Landscapes

Abstract

A welding tool includes a first handle and a second handle. The welding tool also includes a torch nozzle holder configured to hold a nozzle of a welding torch therein, and to block the nozzle from extending therethrough. The welding tool includes a blade assembly positioned a predetermined distance from the torch nozzle holder. The blade assembly is configured to cut welding wire extending through the blade assembly to calibrate wire stickout from the welding torch to the predetermined distance.

Description

BACKGROUND
The invention relates generally to welding and, more particularly, to a welding training system.
Welding is a process that has increasingly become utilized in various industries and applications. Such processes may be automated in certain contexts, although a large number of applications continue to exist for manual welding operations. In both cases, such welding operations rely on a variety of types of equipment to ensure the supply of welding consumables (e.g., wire feed, shielding gas, etc.) is provided to the weld in appropriate amounts at the desired time.
In preparation for performing manual welding operations, welding operators may be trained using a welding training system. The welding training system may be designed to train welding operators with the proper techniques for performing various welding operations. Certain welding training systems may use various training methods. As may be appreciated, these training systems may be expensive to acquire and operate. Accordingly, welding training institutions may only acquire a limited number of such training systems. Furthermore, certain welding training systems may not adequately train welding operators to perform high quality welds.
BRIEF DESCRIPTION
In one embodiment, a welding tool includes a first handle and a second handle. The welding tool also includes a torch nozzle holder configured to hold a nozzle of a welding torch therein, and to block the nozzle from extending therethrough. The welding tool includes a blade assembly positioned a predetermined distance from the torch nozzle holder. The blade assembly is configured to cut welding wire extending through the blade assembly to calibrate wire stickout from the welding torch to the predetermined distance.
In another embodiment, a method for calibrating wire stickout from a welding torch includes adjusting a welding wire stickout calibration tool for a selected welding wire length. The method also includes inserting a welding torch into the welding wire stickout calibration tool, such that a nozzle of the welding torch abuts a torch nozzle holder of the welding wire stickout calibration tool. The method includes actuating a trigger of the welding torch to extend a welding wire from the welding torch through a blade assembly of the welding wire stickout calibration tool. The method also includes compressing handles of the welding wire stickout calibration tool to cut the welding wire extending through the blade assembly in the welding wire stickout calibration tool.
In another embodiment, a welding consumable includes a first physical mark indicating a first location on the welding consumable. The welding consumable also includes a second physical mark indicating a second location on the welding consumable. The first physical mark and the second physical mark are configured to be detected by a camera-based detection system to determine a remaining length of the welding consumable, a consumed length of the welding consumable, a rate of use of the welding consumable, a dipping rate of the welding consumable, or some combination thereof.
In a further embodiment, a welding training system includes a camera-based detection system and a welding consumable. The welding consumable includes a first physical mark indicating a first location on the welding consumable and a second physical mark indicating a second location on the welding consumable. The first physical mark and the second physical mark are configured to be detected by the camera-based detection system to determine a remaining length of the welding consumable, a consumed length of the welding consumable, a rate of use of the welding consumable, a dipping rate of the welding consumable, or some combination thereof.
In a further embodiment, a welding training system includes a welding surface and a sensor configured to sense a position of a welding torch, an orientation of the welding torch, or some combination thereof. The welding training system also includes a first arm coupled to the welding surface, and extending vertically from the welding surface. The welding training system includes a pivot assembly coupled to the first arm and to the sensor. The pivot assembly enables adjustment of an angle between the first arm and the sensor.
DRAWINGS
These and other features, aspects, and advantages of the present invention will become better understood when the following detailed description is read with reference to the accompanying drawings in which like characters represent like parts throughout the drawings, wherein:
FIG. 1 is a block diagram of an embodiment of a welding training system in accordance with aspects of the present disclosure;
FIG. 2 is a block diagram of an embodiment of portions of the welding training system ofFIG. 1 in accordance with aspects of the present disclosure;
FIG. 2A is a schematic diagram of an embodiment of circuitry of the welding torch ofFIG. 1 in accordance with aspects of the present disclosure;
FIG. 3 is a perspective view of an embodiment of the welding torch ofFIG. 1 in accordance with aspects of the present disclosure;
FIG. 4 is a perspective view of an embodiment of the training stand ofFIG. 1 in accordance with aspects of the present disclosure;
FIG. 5 is a perspective view of an embodiment of a calibration device in accordance with aspects of the present disclosure;
FIG. 6 is a perspective view of an embodiment of a fixture assembly in accordance with aspects of the present disclosure;
FIG. 7 is a perspective view of a welding wire stickout calibration tool in accordance with aspects of the present disclosure;
FIG. 8 is a top view of the welding wire stickout calibration tool ofFIG. 7 in accordance with aspects of the present disclosure;
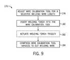
FIG. 9 is an embodiment of a method for calibrating wire stickout from a welding torch in accordance with aspects of the present disclosure;
FIG. 10 is a perspective view of an embodiment of a welding consumable having physical marks in accordance with aspects of the present disclosure;
FIG. 11 is a perspective view of an embodiment of welding wire having physical marks in accordance with aspects of the present disclosure;
FIG. 12 is a perspective view of an embodiment of a vertical arm assembly of the training stand ofFIG. 1 in accordance with aspects of the present disclosure;
FIG. 13 is a perspective view of an embodiment of an overhead welding arm assembly in accordance with aspects of the present disclosure;
FIG. 14 is a block diagram of an embodiment of welding training software having multiple training modes in accordance with aspects of the present disclosure;
FIG. 15 is a block diagram of an embodiment of a virtually reality mode of welding training software in accordance with aspects of the present disclosure;
FIG. 16 is an embodiment of a method for integrating training results data in accordance with aspects of the present disclosure;
FIG. 17 is an embodiment of a chart illustrating multiple sets of welding training data for a welding operator in accordance with aspects of the present disclosure;
FIG. 18 is an embodiment of a chart illustrating welding training data for a welder compared to welding training data for a class in accordance with aspects of the present disclosure;
FIG. 19 is a block diagram of an embodiment of a data storage system for storing certification status data in accordance with aspects of the present disclosure;
FIG. 20 is an embodiment of a screen illustrating data corresponding to a training weld in accordance with aspects of the present disclosure;
FIG. 21 is an embodiment of a screen illustrating a discontinuity analysis of a training weld in accordance with aspects of the present disclosure;
FIG. 22 is a block diagram of an embodiment of a welding instructor screen of welding training software in accordance with aspects of the present disclosure;
FIG. 23 is an embodiment of a method for weld training using augmented reality in accordance with aspects of the present disclosure; and
FIG. 24 is an embodiment of another method for weld training using augmented reality in accordance with aspects of the present disclosure.
DETAILED DESCRIPTION
FIG. 1 is a block diagram of an embodiment of awelding training system10. Thewelding training system10 includes atraining stand12 for providing support for various training devices. For example, thetraining stand12 may be configured to support a welding surface, a workpiece, a fixture, one or more training arms, and so forth. Thewelding training system10 also includes awelding torch14 that may be used by a welding operator (e.g., welding student) to perform training operations. As described in greater detail below, thewelding torch14 may be configured with a user interface configured to receive inputs from the welding operator, control circuitry configured to process the inputs, and a communication interface configured to provide the inputs to another device. Furthermore, thewelding torch14 may include one or more display and/or indicators to provide data to the welding operator. Moreover, thewelding training system10 includes a sensing device16 (e.g., sensor, sensing assembly, and so forth) used to sense a position of one or more welding devices and/or to sense an orientation of one or more welding devices. For example, thesensing device16 may be used to sense a position and/or an orientation of thetraining stand12, thewelding torch14, a welding surface, a workpiece, a fixture, one or more training arms, and so forth. Thesensing device16 may include any suitable sensing device, such as a motion sensing device or a motion tracking device. Furthermore, thesensing device16 may include one or more cameras, such as one or more infrared cameras, one or more visible spectrum cameras, one or more high dynamic range (HDR) cameras, and so forth.
Thesensing device16 is communicatively coupled to acomputer18. Thesensing device16 is configured to provide data (e.g., image data, sensed data, six degrees of freedom (6DOF) data, etc.) to thecomputer18. Furthermore, thesensing device16 may be configured to receive data (e.g., configuration data, setup data, commands, register settings, etc.) from thecomputer18. Thecomputer18 includes one ormore processors20,memory devices22, andstorage devices24. The processor(s)20 may be used to execute software, such as welding training software, image processing software, sensing device software, and so forth. Moreover, the processor(s)20 may include one or more microprocessors, such as one or more “general-purpose” microprocessors, one or more special-purpose microprocessors and/or application specific integrated circuits (ASICS), or some combination thereof. For example, the processor(s)20 may include one or more reduced instruction set (RISC) processors.
The storage device(s)24 (e.g., nonvolatile storage) may include ROM, flash memory, a hard drive, or any other suitable optical, magnetic, or solid-state storage medium, or a combination thereof. The storage device(s)24 may store data (e.g., data corresponding to a training operation, video and/or parameter data corresponding to a training operation, etc.), instructions (e.g., software or firmware for the welding training system, thesensing device16, etc.), and any other suitable data. As will be appreciated, data that corresponds to a training operation may include a video recording of the training operation, a simulated video, an orientation of thewelding torch14, a position of thewelding torch14, a work angle, a travel angle, a distance between a contact tip of thewelding torch14 and a workpiece, a travel speed, a proximity, a voltage, a current, a traversed path, a discontinuity analysis, welding device settings, and so forth.
The memory device(s)22 may include a volatile memory, such as random access memory (RAM), and/or a nonvolatile memory, such as read-only memory (ROM). The memory device(s)22 may store a variety of information and may be used for various purposes. For example, the memory device(s)22 may store processor-executable instructions (e.g., firmware or software) for the processor(s)20 to execute, such as instructions for a welding training simulation and/or for thesensing device16. In addition, a variety of control regimes for various welding processes, along with associated settings and parameters may be stored in the storage device(s)24 and/or memory device(s)22, along with code configured to provide a specific output (e.g., initiate wire feed, enable gas flow, capture welding current data, detect short circuit parameters, determine amount of spatter, etc.) during operation.
As illustrated, thewelding training system10 includes adata reporting device26; however, other embodiments may not include thedata reporting device26. Thedata reporting device26 is configured to facilitate electronic communication between thecomputer18, thewelding torch14, awelding power supply28, and/or awire feeder30. For example, thedata reporting device26 may be configured to receive torch data from thewelding torch14, provide torch data to thecomputer18, provide data to thewelding torch14, receive arc data from thewire feeder30, provide arc data to thecomputer18, and so forth. Furthermore, thedata reporting device26 may be configured to electronically communicate (e.g., either wired or wirelessly) with a device external to thewelding training system10. Thewelding power supply28 may be used to provide welding power to a live-arc welding operation, and thewire feeder30 may be used to provide welding wire to the live-arc welding operation.
Thewelding training system10 includes adisplay32 for displaying data and/or screens associated with welding training (e.g., to display data corresponding to a welding training software). For example, thedisplay32 may provide a graphical user interface to a welding operator (e.g., welding instructor, welding student). The graphical user interface may provide various screens to enable the welding instructor to organize a class, provide assignments to the class, analyze assignments performed by the class, provide assignments to an individual, analyze assignments performed by the individual, add, change, and/or delete parameters for a welding assignment, and so forth. Furthermore, the graphical user interface may provide various screens to enable a welding operator (e.g., welding student) to perform a welding training assignment, view results from prior welding assignments, and so forth. In certain embodiments, thedisplay32 may be a touch screen display configured to receive touch inputs, and to provide data corresponding to the touch inputs to thecomputer18.
Anexternal display34 is coupled to thecomputer18 to enable an individual located remotely from thewelding training system10 to view data corresponding to thewelding training system10. Furthermore, anetwork device36 is coupled to thecomputer18 to enable thecomputer18 to communicate with other devices connected to the Internet or another network38 (e.g., for providing test results to another device and/or for receiving test results from another device). For example, thenetwork device36 may enable thecomputer18 to communicate with an externalwelding training system40, aproduction welding system42, and/or aremote computer44. As may be appreciated, thewelding training system10 described herein may be used to train welding students in a cost effective manner. Furthermore, thewelding training system10 is configured to integrate real welding with simulated welding in a manner that prepares welding students for high quality production welding.
Welding Torch
FIG. 2 is a block diagram of an embodiment of portions of thewelding training system10 ofFIG. 1. As illustrated, thedata reporting device26 includescontrol circuitry46 configured to provide data to and/or to receive data from thewire feeder30, thewelding power supply28, thewelding torch14, and thecomputer18. Thecontrol circuitry46 is also configured to provide power to one or more devices, such as thewelding torch14. Thedata reporting device26 also includes a communication port47 (e.g., universal serial bus (USB) port, a high speed serial bus port, etc.) and light emitting diodes (LEDs)48 that may be used to indicate a status of thedata reporting device26, for example. Thedata reporting device26 includes anetwork interface49 to facilitate communication between thedata reporting device26 and an external device, such as thecomputer18. Thenetwork interface49 may be any suitable device that facilitates wired and/or wireless communication between thedata reporting device26 and the external device. Thedata reporting device26 also includes acommunication interface50 to facilitate communication between thedata reporting device26 and thewelding torch14. In certain embodiments, thecommunication interface50 may include an RS-232 driver.
Thewelding torch14 includes control circuitry52 configured to control the operation of thewelding torch14. In the illustrated embodiment, the control circuitry52 includes one ormore processors54,memory devices56, andstorage devices58. In other embodiments, the control circuitry52 may not include theprocessors54, thememory devices56, and/or thestorage devices58. The processor(s)54 may be used to execute software, such as welding torch software. Moreover, the processor(s)54 may be similar to the processor(s)20 described previously. Furthermore, the memory device(s)56 may be similar to the memory device(s)22, and the storage device(s)58 may be similar to the storage device(s)24.
Thewelding torch14 includes auser interface60 to enable a welding operator (e.g., welding student, welding instructor, etc.) to interact with thewelding torch14 and/or to provide inputs to thewelding torch14. For example, theuser interface60 may include buttons, switches, touch screens, touchpads, and so forth. The inputs provided to thewelding torch14 by the welding operator may be provided to thecomputer18. For example, the inputs provided to thewelding torch14 may be used to control welding training software being executed by thecomputer18. As such, the welding operator may use theuser interface60 on thewelding torch14 to navigate the welding training software screens, setup procedures, data analysis, welding courses, make selections within the welding training software, configure the welding training software, and so forth. Thus, the welding operator can use thewelding torch14 to control the welding training software (e.g., the welding operator does not have to put down thewelding torch14 to use a different input device). Thewelding torch14 also includesvisual indicators61, such as adisplay62 andLEDs64. Thevisual indicators61 may be configured to indicate or display data and/or images corresponding to a weld, welding training, and/or welding training software. For example, thevisual indicators61 may be configured to indicate a welding torch orientation, a welding torch travel speed, a welding torch position, a contact tip to workpiece distance, a proximity of thewelding torch14 in relation to the workpiece, an aim of the welding torch14 (e.g., at what point thewelding torch14 is directed), training information for the welding operator, and so forth. Moreover, thevisual indicators61 may be configured to provide visual indications before a weld, during a weld, and/or after a weld. In certain embodiments, theLEDs64 may illuminate to facilitate their detection by thesensing device16. In such embodiments, theLEDs64 may be positioned to enable thesensing device16 to determine a position and/or an orientation of thewelding torch14 based on a spatial position of theLEDs64.
In certain embodiments, thewelding torch14 includespower conversion circuitry66 configured to receive power from the data reporting device26 (e.g., or another device), and to convert the received power for powering thewelding torch14. In certain embodiments, thewelding torch14 may receive power that is already converted and/or does not utilize power conversion. Moreover, in some embodiments, thewelding torch14 may be powered by a battery or any suitable powering mechanism. Thewelding torch14 also includes a communication interface68 (e.g., RS-232 driver) to facilitate communication between thewelding torch14 and the data reporting device26 (or another device). In the illustrated embodiment, thewelding torch14 may communicate with thecomputer18 by providing data to thedata reporting device26 using the communication interfaces50 and68, then thedata reporting device26 communicates the data to thecomputer18. Accordingly, inputs provided to thewelding torch14 may be provided to thecomputer18. In certain embodiments, thewelding torch14 may provide inputs to thecomputer18 by communicating directly with thecomputer18.
Thewelding torch14 includes atrigger70 configured to mechanically actuate atrigger switch72 between an open position (as illustrated) and a closed position. Thetrigger70 provides aconductor71 to carry a signal to the control circuitry52 to indicate whether thetrigger switch72 is in the open position or the closed position. Thewire feeder30, thewelding power supply28, thecomputer18, and/or thedata reporting device26 may determine whether there is continuity through thewelding torch14 across afirst trigger conductor74 and asecond trigger conductor76. Thetrigger switch72 is electrically coupled between thefirst trigger conductor74 and thesecond trigger conductor76. Continuity across thefirst trigger conductor74 and thesecond trigger conductor76 may be determined by applying a voltage across theconductors74 and76, applying a current across theconductors74 and76, measuring a resistance across theconductors74 and76, and so forth. In certain embodiments, portions of thefirst trigger conductor74 and/or portions of thesecond trigger conductor76 may be disposed within a connector of thewelding torch14. Furthermore, in certain embodiments, the arrangement of switches and/or conductors within thewelding torch14 may be different than illustrated inFIG. 2.
Thewelding power supply28 may determine whether to enable welding power to flow through thewelding torch14 based on whether there is continuity across theconductors74 and76. For example, thewelding power supply28 may enable welding power to flow through thewelding torch14 while there is continuity across theconductors74 and76, and thewelding power supply28 may block welding power from flowing through thewelding torch14 while there is an open circuit across theconductors74 and76. Furthermore, thewire feeder30 may provide welding wire to thewelding torch14 while there is continuity across theconductors74 and76, and may block welding wire from being provided to thewelding torch14 while there is an open circuit across theconductors74 and76. Moreover, thecomputer18 may use the continuity across theconductors74 and76 and/or the position of thetrigger70 or triggerswitch72 to start and/or stop a welding training operation, a welding training simulation, data recording, and so forth.
With thetrigger switch72 in the open position, there is an open circuit across theconductors74 and76, thus, the open position of thetrigger switch72 blocks electron flow between theconductors74 and76. Accordingly, thewelding power supply28 may block welding power from flowing through thewelding torch14 and thewire feeder30 may block welding wire from being provided to thewelding torch14. Pressing thetrigger70 directs thetrigger switch72 to the closed position where thetrigger switch72 remains as long as thetrigger70 is pressed. With thetrigger switch72 in the closed position, there is continuity between thefirst trigger conductor74 and a conductor77 electrically connected to thetrigger switch72 and atraining switch78.
Thetraining switch78 is electrically coupled between thefirst trigger conductor74 and thesecond trigger conductor76. Moreover, thetraining switch78 is electrically controlled by the control circuitry52 to an open position or to a closed position. In certain embodiments, thetraining switch78 may be any suitable electrically controlled switch, such as a transistor, relay, etc. The control circuitry52 may selectively control thetraining switch78 to the open position or to the closed position. For example, while welding training software of thewelding training system10 is operating in a live-arc mode, the control circuitry52 may be configured to control thetraining switch78 to the closed position to enable a live welding arc while thetrigger70 is pressed. In contrast, while welding training software of thewelding training system10 is operating in any mode other than the live-arc mode (e.g., simulation, virtual reality, augmented reality, etc.), the control circuitry52 may be configured to control thetraining switch78 to the open position to block a live welding arc (by blocking electron flow between theconductors74 and76).
In certain embodiments, thetraining switch78 may default to the open position, thereby establishing an open circuit across theconductors74 and76. As may be appreciated, while thetraining switch78 is in the open position, there will be an open circuit across theconductors74 and76 regardless of the position of the trigger switch72 (e.g., electron flow between theconductors74 and76 is blocked by the open position of the training switch78). However, while thetraining switch78 is controlled to the closed position, and thetrigger switch72 is in the closed position, conductivity is established between theconductors74 and76 (e.g., electron flow between theconductors74 and76 is enabled). Accordingly, thewelding power supply28 may enable welding power to flow through thewelding torch14 only while thetraining switch78 is in the closed position and while thetrigger switch72 is in the closed position. For example, welding power may flow from thewelding power supply28, through aweld cable80, thewelding torch14, aworkpiece82, and return to thewelding power supply28 via a work cable84 (e.g., electrode-negative, or straight polarity). Conversely, welding power may flow from thewelding power supply28, through thework cable84, theworkpiece82, thewelding torch14, and return to thewelding power supply28 via the weld cable80 (e.g., electrode-positive, or reverse polarity).
As may be appreciated, thetraining switch78 may be physically located in any suitable portion of thewelding training system10, such as thedata reporting device26, thecomputer18, and so forth. Furthermore, in certain embodiments, the functionality of thetraining switch78 may be replaced by any suitable hardware and/or software in thewelding training system10.
FIG. 2A is a schematic diagram of an embodiment of circuitry of thewelding torch14 ofFIG. 1. In the illustrated embodiment, thetrigger switch72 selectively connects a power supplying conductor (e.g., voltage source, etc.) to theconductor71. Accordingly, while thetrigger switch72 is open, no voltage is applied to theconductor71, and while thetrigger switch72 is closed, voltage from the power supplying conductor is supplied to theconductor71. A trigger enable signal (e.g., TRIGGER_EN) may be provided by the control circuitry52 to selectively control thetraining switch78, and thereby control a feeder enableswitch85. For example, when the trigger enable signal controls thetraining switch78 to an open position, no voltage is applied to the feeder enable switch85 (e.g., via the FEEDER_EN connection), thereby maintaining the feeder enableswitch85 in the open position. Conversely, when the trigger enable signal controls thetraining switch78 to a closed position, voltage is applied to the feeder enableswitch85, thereby controlling the feeder enableswitch85 to the closed position. With the feeder enableswitch85 in the closed position, conductivity between theconductors74 and76 is established. While one example ofwelding torch14 circuitry is provided, any suitable circuitry may be used may be used within thewelding torch14.
FIG. 3 is a perspective view of an embodiment of thewelding torch14 ofFIGS. 1 and 2. As illustrated, theuser interface60 includesmultiple buttons86 which may be used to provide inputs to thewelding torch14. For example, thebuttons86 may enable a welding operator to navigate through welding training software. Furthermore, thewelding torch14 includes thedisplay62 which may show the welding operator data corresponding to the welding training software, data corresponding to a welding operation, and so forth. As illustrated, theLEDs64 may be positioned at various locations on thewelding torch14. Accordingly, theLEDs64 may be illuminated to facilitate detection by thesensing device16.
Calibration Techniques
FIG. 4 is a perspective view of an embodiment of the training stand12 ofFIG. 1. The training stand12 includes awelding surface88 on which live welds (e.g., real welds, actual welds) and/or simulated welds may be performed.Legs90 provide support to thewelding surface88. Thewelding surface88 includesslots91 that may aid a welding operator in positioning and orienting theworkpiece84. In certain embodiments, the position and orientation of theworkpiece84 may be provided to welding training software of thewelding training system10 to calibrate thewelding training system10. For example, a welding operator may provide an indication to the welding training software identifying whichslot91 of thewelding surface88 theworkpiece84 is aligned with. Furthermore, a predefined welding training assignment may direct the welding operator to align theworkpiece84 with aparticular slot91. In certain embodiments, theworkpiece84 may include anextension92 configured to extend into one or more of theslots91 for alignment of theworkpiece84 with the one ormore slots91. As may be appreciated, each of theslots91 may be positioned at a location corresponding to a respective location defined in the welding training software.
Thewelding surface88 includes afirst aperture93 and asecond aperture94. The first andsecond apertures93 and94 may be used together to determine a position and/or an orientation of thewelding surface88. As may be appreciated, at least two apertures are used to determine the position and/or the orientation of thewelding surface88. In certain embodiments, more than two apertures may be used to determine the position and/or the orientation of thewelding surface88. The first andsecond apertures93 and94 may be positioned at any suitable location on thewelding surface88, and may be any suitable size. In certain embodiments, the position and/or orientation of thewelding surface88 relative to thesensing device16 may be calibrated using the first andsecond apertures93 and94. For example, as described in greater detail below, a calibration device configured to be sensed by thesensing device16 may be inserted into thefirst aperture93, or touched to thefirst aperture93. While the calibration device is inserted into, or touching, thefirst aperture93, a user input provided to the welding training software (or other calibration software) may indicate that the calibration device is inserted into thefirst aperture93. As a result, the welding training software may establish a correlation between a first data set (e.g., calibration data) received from the sensing device16 (e.g., position and/or orientation data) at a first time and the location offirst aperture93. The calibration device may next be inserted into thesecond aperture94, or touched to thesecond aperture94. While the calibration device is inserted into, or touching, thesecond aperture94, a user input provided to the welding training software may indicate that the calibration device is inserted into thesecond aperture94. As a result, the welding training software may establish a correlation between a second data set (e.g., calibration data) received from thesensing device16 at a second time and the location ofsecond aperture94. Thus, the welding training software may be able to calibrate the position and/or orientation of thewelding surface88 relative to thesensing device16 using the first data set received at the first time and the second data set received at the second time.
Thewelding surface88 also includes afirst marker95 and asecond marker96. The first andsecond markers95 and96 may be used together to determine a position and/or an orientation of thewelding surface88. As may be appreciated, at least two markers are used to determine the position and/or the orientation of thewelding surface88. In certain embodiments, more than two markers may be used to determine the position and/or the orientation of thewelding surface88. The first andsecond markers95 and96 may be formed from any suitable material. Moreover, in certain embodiments, the first andsecond markers95 and96 may be built into thewelding surface88, while in other embodiments, the first andsecond markers95 and96 may be attached to thewelding surface88. For example, the first andsecond markers95 and96 may be attached to thewelding surface88 using an adhesive and/or the first andsecond markers95 and96 may be stickers. The first andsecond markers95 and96 may have any suitable shape, size, and/or color. Furthermore, in certain embodiments, the first andsecond markers95 and96 may be a reflector formed from a reflective material. The first andsecond markers95 and96 may be used by thewelding training system10 to calibrate the position and/or orientation of thewelding surface88 relative to thesensing device16 without a separate calibration device. Accordingly, the first andsecond markers95 and96 are configured to be detected by thesensing device16. In certain embodiments, the first andsecond markers95 and96 may be positioned at predetermined locations on thewelding surface88. Furthermore, the welding training software may be programmed to use the predetermined locations to determine the position and/or the orientation of thewelding surface88. In other embodiments, the location of the first andsecond markers95 and96 may be provided to the welding training software during calibration. With the first andsecond markers95 and96 on thewelding surface88, thesensing device16 may sense the position and/or orientation of the first andsecond markers95 and96 relative to thesensing device16. Using this sensed data in conjunction with the location of the first andsecond markers95 and96 on thewelding surface88, the welding training software may be able to calibrate the position and/or orientation of thewelding surface88 relative to thesensing device16.
In the illustrated embodiment, theworkpiece84 includes afirst marker98 and asecond marker99. The first andsecond markers98 and99 may be used together to determine a position and/or an orientation of theworkpiece84. As may be appreciated, at least two markers are used to determine the position and/or the orientation of theworkpiece84. In certain embodiments, more than two markers may be used to determine the position and/or the orientation of theworkpiece84. The first andsecond markers98 and99 may be formed from any suitable material. Moreover, in certain embodiments, the first andsecond markers98 and99 may be built into theworkpiece84, while in other embodiments, the first andsecond markers98 and99 may be attached to theworkpiece84. For example, the first andsecond markers98 and99 may be attached to theworkpiece84 using an adhesive and/or the first andsecond markers98 and99 may be stickers. The first andsecond markers98 and99 may have any suitable shape, size, and/or color. Furthermore, in certain embodiments, the first andsecond markers98 and99 may be a reflector formed from a reflective material. The first andsecond markers98 and99 may be used by thewelding training system10 to calibrate the position and/or orientation of theworkpiece84 relative to thesensing device16 without a separate calibration device. Accordingly, the first andsecond markers98 and99 are configured to be detected by thesensing device16. In certain embodiments, the first andsecond markers98 and99 may be positioned at predetermined locations on theworkpiece84. Furthermore, the welding training software may be programmed to use the predetermined locations to determine the position and/or the orientation of theworkpiece84. In other embodiments, the location of the first andsecond markers98 and99 may be provided to the welding training software during calibration. With the first andsecond markers98 and99 on theworkpiece84, thesensing device16 may sense the position and/or orientation of the first andsecond markers98 and99 relative to thesensing device16. Using this sensed data in conjunction with the location of the first andsecond markers98 and99 on theworkpiece84, the welding training software may be able to calibrate the position and/or orientation of theworkpiece84 relative to thesensing device16. While themarkers95,96,98, and99 have been described herein as being detected by thesensing device16, in certain embodiments, themarkers95,96,98, and99 may indicate locations where a calibration device is to be touched for calibration using the calibration device, as described previously.
The training stand12 includes afirst arm100 extending vertically from thewelding surface88 and configured to provide support for thesensing device16 and thedisplay32. Aknob101 is attached to thefirst arm100 and may be used to adjust an orientation of thesensing device16 relative to thefirst arm100. For example, as theknob101 is adjusted, mechanical components extending through thefirst arm100 may adjust an angle of thesensing device16. Thedisplay32 includes acover102 to protect thedisplay32 from welding emissions that may occur during a live welding operation. Thecover102 may be made from any suitable material, such as a transparent material, a polymer, and so forth. By using a transparent material, a welding operator may view thedisplay32 while thecover102 is positioned in front of thedisplay32, such as before, during, and/or after a welding operation. Acamera104 may be coupled to thefirst arm100 for recording welding operations. In certain embodiments, thecamera104 may be a high dynamic range (HDR) camera. Furthermore, anemitter105 may be coupled to thefirst arm100. Theemitter105 may be used to calibrate the position and/or orientation of thewelding surface88 relative to thesensing device16. For example, theemitter105 may be configured to emit a visible pattern onto thewelding surface88. The visible pattern may be shown onto thewelding surface88. Furthermore, the visible pattern may be detected by thesensing device16 to calibrate the position and/or the orientation of thewelding surface88 relative to thesensing device16. For example, based on particular features of the visible pattern alignments and/or orientations may be determined by thesensing device16 and/or the welding training software. Moreover, the visible pattern emitted by theemitter105 may be used to facilitate positioning of theworkpiece84 on thewelding surface88.
The training stand12 also includes asecond arm106 extending vertically from thewelding surface88 and configured to provide support for anoverhead welding plate108. Thesecond arm106 may be adjustable to facilitate overhead welding at different heights. Moreover, thesecond arm106 may be manufactured in a number of different ways to facilitate overhead welding at different heights. Theoverhead welding plate108 is coupled to thesecond arm106 using a mountingassembly110. The mountingassembly110 facilitates rotation of theoverhead welding plate108 as illustrated byarrow111. For example, theoverhead welding plate108 may be rotated from extending generally in the horizontal plane (e.g., for overhead welding), as illustrated, to extend generally in the vertical plane (e.g., for vertical welding). Theoverhead welding plate108 includes awelding surface112. Thewelding surface112 includesslots114 that may aid a welding operator in positioning theworkpiece84 on thewelding surface112, similar to theslots91 on thewelding surface88. In certain embodiments, the position of theworkpiece84 may be provided to welding training software of thewelding training system10 to calibrate thewelding training system10. For example, a welding operator may provide an indication to the welding training software identifying whichslot114 of thewelding surface112 theworkpiece84 is aligned with. Furthermore, a predefined welding training assignment may direct the welding operator to align theworkpiece84 with aparticular slot114. In certain embodiments, theworkpiece84 may include an extension configured to extend into one or more of theslots114 for alignment of theworkpiece84 with the one ormore slots114. As may be appreciated, each of theslots114 may be positioned at a location corresponding to a respective location defined in the welding training software.
Thewelding surface112 also includes afirst marker116 and asecond marker118. The first andsecond markers116 and118 may be used together to determine a position and/or an orientation of thewelding surface112. As may be appreciated, at least two markers are used to determine the position and/or the orientation of thewelding surface112. In certain embodiments, more than two markers may be used to determine the position and/or the orientation of thewelding surface112. The first andsecond markers116 and118 may be formed from any suitable material. Moreover, in certain embodiments, the first andsecond markers116 and118 may be built into the welding surface112 (or another part of the overhead welding plate108), while in other embodiments, the first andsecond markers116 and118 may be attached to the welding surface112 (or another part of the overhead welding plate108). For example, the first andsecond markers116 and118 may be attached to thewelding surface112 using an adhesive and/or the first andsecond markers116 and118 may be stickers. The first andsecond markers116 and118 may have any suitable shape, size, and/or color. Furthermore, in certain embodiments, the first andsecond markers116 and118 may be a reflector formed from a reflective material. The first andsecond markers116 and118 may be used by thewelding training system10 to calibrate the position and/or orientation of thewelding surface112 relative to thesensing device16 without a separate calibration device. Accordingly, the first andsecond markers116 and118 are configured to be detected by thesensing device16. In certain embodiments, the first andsecond markers116 and118 may be positioned at predetermined locations on thewelding surface112. Furthermore, the welding training software may be programmed to use the predetermined locations to determine the position and/or the orientation of thewelding surface112. In other embodiments, the location of the first andsecond markers116 and118 may be provided to the welding training software during calibration. With the first andsecond markers116 and118 on thewelding surface112, thesensing device16 may sense the position and/or orientation of the first andsecond markers116 and118 relative to thesensing device16. Using this sensed data in conjunction with the location of the first andsecond markers116 and118 on thewelding surface112, the welding training software may be able to calibrate the position and/or orientation of thewelding surface112 relative to thesensing device16. Furthermore, thesensing device16 may sense and/or track the first andsecond markers116 and118 during a weld to account for any movement of theoverhead welding plate108 that may occur during the weld. While themarkers116 and118 have been described herein as being detected by thesensing device16, in certain embodiments, themarkers116 and118 may indicate locations where a calibration device is to be touched or inserted for calibration using the calibration device, as described previously.
FIG. 5 is a perspective view of an embodiment of acalibration device120. Thecalibration device120 is shaped like a torch and may be used for calibrating the position and/or orientation of the welding surfaces88 and112 relative to thesensing device16, as described in greater detail above. Thecalibration device120 includes ahandle122 and anozzle124. Thenozzle124 includes apointed end126 that may be used to touch a location for calibration and/or to be inserted into an aperture for calibration. Thecalibration device120 also includes auser interface128 that enables the welding operator to provide input corresponding to a time that thecalibration device120 is touching a location for calibration and/or is being inserted into an aperture for calibration. Moreover, in certain embodiments, thecalibration device120 includesmarkers130 configured to be sensed by thesensing device16. As illustrate, themarkers130 extend from thecalibration device120. However, in other embodiments, themarkers130 may not extend from thecalibration device120. Themarkers130 may be any suitable marker configured to be detected by thesensing device16. Moreover, themarkers130 may be any suitable size, shape, and/or color.
During calibration, thesensing device16 may sense a position of thecalibration device120 and/or an orientation of thecalibration device120. The position and/or orientation of thecalibration device120 may be used by the welding training software to determine a position and/or orientation of one or more of the welding surfaces88 and112 relative to thesensing device16, a position and/or orientation of theworkpiece84 relative to thesensing device16, a position and/or orientation of a fixture relative to thesensing device16, and so forth. Thus, thecalibration device120 may facilitate calibration of thewelding training system10.
FIG. 6 is a perspective view of an embodiment of afixture assembly132. Thefixture assembly132 may be positioned on thewelding surface88 and/or thewelding surface112, and may secure theworkpiece84 thereon. In certain embodiments, thefixture assembly132 may be configured to align with one or more of theslots92 and114. In other embodiments, thefixture assembly132 may be placed at any location on thewelding surface88 and/or thewelding surface122. Thefixture assembly132 also includes afirst marker134 and asecond marker136. The first andsecond markers134 and136 may be used together to determine a position and/or an orientation of thefixture assembly132. As may be appreciated, at least two markers are used to determine the position and/or the orientation of thefixture assembly132. The first andsecond markers134 and136 may be formed from any suitable material. Moreover, in certain embodiments, the first andsecond markers134 and136 may be built into thefixture assembly132, while in other embodiments, the first andsecond markers134 and136 may be attached to thefixture assembly132. For example, the first andsecond markers134 and136 may be attached to thefixture assembly132 using an adhesive and/or the first andsecond markers134 and136 may be stickers. The first andsecond markers134 and136 may have any suitable shape, size, and/or color. Furthermore, in certain embodiments, the first andsecond markers134 and136 may be a reflector formed from a reflective material. The first andsecond markers134 and136 may be used by thewelding training system10 to calibrate the position and/or orientation of thefixture assembly132 relative to thesensing device16 without a separate calibration device. Accordingly, the first andsecond markers134 and136 are configured to be detected by thesensing device16. In certain embodiments, the first andsecond markers134 and136 may be positioned at predetermined locations on thefixture assembly132. Furthermore, the welding training software may be programmed to use the predetermined locations to determine the position and/or the orientation of thefixture assembly132. In other embodiments, the location of the first andsecond markers134 and136 may be provided to the welding training software during calibration. With the first andsecond markers134 and136 on thefixture assembly132, thesensing device16 may sense the position and/or orientation of the first andsecond markers134 and136 relative to thesensing device16. Using this sensed data in conjunction with the location of the first andsecond markers134 and136 on thefixture assembly132, the welding training software may be able to calibrate the position and/or orientation of thefixture assembly132 relative to thesensing device16. While the first andsecond markers134 and136 have been described herein as being detected by thesensing device16, in certain embodiments, the first andsecond markers134 and136 may indicate locations where a calibration device is to be touched or inserted for calibration using thecalibration device120, as described previously.
In the illustrated embodiment, thefixture assembly132 is configured to secure alower portion138 of theworkpiece84 to anupper portion140 of theworkpiece84 for performing a lap weld. In other embodiments, thefixture assembly132 may be configured to secure portions of theworkpiece84 for performing a butt weld, a fillet weld, and so forth, to aid a welding operator in performing a weld. Thefixture assembly132 includesvertical arms142 extending from abase143. Across bar144 extends between thevertical arms142, and is secured to thevertical arms142. Adjustment mechanisms146 (e.g., knobs) may be adjusted to direct lockingdevices148 toward theworkpiece84 for securing theworkpiece84 between the lockingdevices148 and thebase143 of thefixture assembly132. Conversely, theadjustment mechanisms146 may be adjusted to direct thelocking devices148 away from theworkpiece84 for removing the workpiece84 from being between the lockingdevices148 and thebase143. Accordingly, theworkpiece84 may be selectively secured to thefixture assembly132.
Welding Training System Devices
FIG. 7 is a perspective view of a welding wirestickout calibration tool150. Thetool150 is configured to calibrate a length of welding wire extending out of a torch nozzle to a selectable length. Accordingly, thetool150 includes afirst handle152 and asecond handle154. Thetool150 also includes atorch nozzle holder156 attached to acentral portion157 of thetool150 and extending outward from the central portion157 a selected distance. In the illustrated embodiment, thetorch nozzle holder156 has a generally cylindrical body158 (e.g., cup shape); however, in other embodiments, thebody158 of thetorch nozzle holder156 may have any suitable shape. Moreover, thetorch nozzle holder156 is configured to receive the torch nozzle through anozzle inlet160 such that the torch nozzle extends into thebody158. Furthermore, thetorch nozzle holder156 includes anopening162 configured to enable welding wire to extend out the end of thetorch nozzle holder156, and to block the torch nozzle from extending through theopening162. As the torch nozzle extends into thetorch nozzle holder156, the welding wire extends out of theopening162 of thetorch nozzle holder156 toward ablade assembly164 of thetool150. Theblade assembly164 includes one ormore sides165 and166 configured to contact the welding wire. In certain embodiments, both ofsides165 and166 include blades to cut opposing sides of the welding wire, while in other embodiments, only one of thesides165 and166 includes a blade to cut one side of the welding wire and the other side includes a surface to which the blade is directed toward. For calibrating the length of the welding wire, the welding wire may extend through theopening162 and into theblade assembly164. The welding wire may be cut to a selectable length by pressing thefirst handle152 and thesecond handle154 toward one another, thereby calibrating the length of wire extending from the torch nozzle. The calibration length may be selected using anadjustment mechanism167 to adjust adistance168 between theblade assembly164 and theopening162 of thetorch nozzle holder156. Thus, using thetool150, the length of wire extending from the torch nozzle may be calibrated.
FIG. 8 is a top view of the welding wirestickout calibration tool150 ofFIG. 7. As illustrated, thewelding torch14 may be used with thetool150. Specifically, anozzle170 of thewelding torch14 may be inserted into thetorch nozzle holder156 in adirection172.Welding wire174 extending from thewelding torch14 is directed through thenozzle inlet160, theopening162, and theblade assembly164. Accordingly, the first andsecond handles152 and154 may be pressed together to cut thewelding wire174 to the distance168 (e.g., the calibration length) set by theadjustment mechanism167.
FIG. 9 is an embodiment of amethod176 for calibrating wire stickout from thewelding torch14. Thetool150 may be used to calibrate the length ofwelding wire174 extending from thenozzle170 using a variety of methods. In themethod176, theadjustment mechanism167 of the welding wirestickout calibration tool150 may be adjusted for a selectedwelding wire174 length (block178). For example, thedistance168 of thetorch nozzle holder156 from thetool150 may be set to a range of between approximately 0.5 to 2.0 cm, 1.0 to 3.0 cm, and so forth. Thewelding torch14 may be inserted into thetorch nozzle holder156 of thetool150, such that thenozzle170 of thewelding torch14 abuts thetorch nozzle holder156, and that thewelding wire174 extends through theopening162 of the torch nozzle holder156 (block180). In certain embodiments, thewelding wire174 may be long enough to extend through theblade assembly164. However, if thewelding wire174 does not extend through theblade assembly164, a welding operator may actuate thetrigger70 of thewelding torch14 to feedwelding wire174 such that thewelding wire174 extends through the blade assembly164 (block182). Accordingly, the welding operator may compresshandles152 and154 of thetool150 to cut thewelding wire174 extending through theblade assembly164 and thereby calibrate the length of the welding wire174 (block184).
FIG. 10 is a perspective view of an embodiment of awelding consumable186 having physical marks. Thewelding consumable186 may be any suitable welding consumable, such as a welding stick, welding rod, or a welding electrode. Thewelding consumable186 includesphysical marks188,190,192,194,196,198,200,202, and204. Thephysical marks188,190,192,194,196,198,200,202, and204 may be any suitable physical mark. For example, thephysical marks188,190,192,194,196,198,200,202, and204 may include a bar code, an image, a shape, a color, text, a set of data, and so forth. In certain embodiments, thephysical marks188,190,192,194,196,198,200,202, and204 may be laser etched. Furthermore, in certain embodiments, thephysical marks188,190,192,194,196,198,200,202, and204 may be visible with the natural eye (e.g., within the visible spectrum), while in other embodiments thephysical marks188,190,192,194,196,198,200,202, and204 may not be visible with the natural eye (e.g., not within the visible spectrum).
Each of thephysical marks188,190,192,194,196,198,200,202, and204 indicates a location on thewelding consumable186 relative to either afirst end206, or asecond end208 of thewelding consumable186. For example, thephysical mark188 may indicate a distance from thefirst end206, a distance from thesecond end208, or some other location relative to thewelding consumable186. In certain embodiments, thephysical marks188,190,192,194,196,198,200,202, and204 may indicate a number that corresponds to thefirst end206 and/or thesecond end208. For example, thephysical mark188 may indicate a number “1” indicating that it is the first physical mark from thefirst end206 and/or thephysical mark188 may indicate a number “9” indicating that it is the ninth physical mark from thesecond end208. A processing device may use a lookup table to determine a distance from thefirst end206 or thesecond end208 based on the number indicated by the physical mark.
A camera-based detection system, which may include thesensing device16, or another type of system is configured to detect thephysical marks188,190,192,194,196,198,200,202, and204 during live arc welding or a welding simulation. Moreover, the camera-based detection system is configured to determine a remaining length of thewelding consumable186, a consumed length of thewelding consumable186, a rate of use of thewelding consumable186, a dipping rate of thewelding consumable186, and so forth, based on the detected physical marks. Accordingly, data corresponding to use of thewelding consumable186 may be tracked by thewelding training system10 for training and/or analysis.
FIG. 11 is a perspective view of an embodiment ofwelding wire210 havingphysical marks212,214,216, and218. Thephysical marks212,214,216, and218 may be any suitable physical mark. For example, thephysical marks212,214,216, and218 may include a bar code, an image, a shape, text, a set of data, and so forth. In certain embodiments, thephysical marks212,214,216, and218 may be laser etched. Furthermore, in certain embodiments, thephysical marks212,214,216, and218 may be visible with the natural eye (e.g., within the visible spectrum), while in other embodiments thephysical marks212,214,216, and218 may not be visible with the natural eye (e.g., not within the visible spectrum).
Each of thephysical marks212,214,216, and218 indicates a location on thewelding wire210 relative to either afirst end220, or asecond end222 of thewelding wire210. For example, thephysical mark212 may indicate a distance from thefirst end220, a distance from thesecond end222, or some other location relative to thewelding wire210. In certain embodiments, thephysical marks212,214,216, and218 may indicate a number that corresponds to thefirst end220 and/or thesecond end222. For example, thephysical mark212 may indicate a number “1” indicating that it is the first physical mark from thefirst end220 and/or thephysical mark212 may indicate a number “4” indicating that it is the fourth physical mark from thesecond end222. A processing device may use a lookup table to determine a distance from thefirst end220 or thesecond end222 based on the number indicated by the physical mark.
A camera-based detection system, which may include thesensing device16, or another type of system is configured to detect thephysical marks212,214,216, and218 during live arc welding or a welding simulation. Moreover, the camera-based detection system is configured to determine a remaining length of thewelding wire210, a consumed length of thewelding wire210, a rate of use of thewelding wire210, a dipping rate of thewelding wire210, and so forth, based on the detected physical marks. Accordingly, data corresponding to use of thewelding wire210 may be tracked by thewelding training system10 for training and/or analysis.
FIG. 12 is a perspective view of an embodiment of avertical arm assembly223 of the training stand12 ofFIG. 4. As illustrated, thesensing device16 is attached to thefirst arm100. Furthermore, thesensing device16 includescameras224, and aninfrared emitter226. However, in other embodiments, thesensing device16 may include any suitable number of cameras, emitters, and/or other sensing devices. Apivot assembly228 is coupled to thefirst arm100 and to thesensing device16, and enables an angle of thesensing device16 to be adjusted while thesensing device16 rotates as illustrated byarrow229. As may be appreciated, adjusting the angle of thesensing device16 relative to thefirst arm100 changes the field of view of the sensing device16 (e.g., to change the portion of thewelding surface88 and/or thewelding surface112 sensed by the sensing device16).
Acord230 extends between theknob101 and thesensing device16. Thecord230 is routed through apulley232 to facilitate rotation of thesensing device16. Thus, a welding operator may rotate theknob101 to manually adjust the angle of thesensing device16. As may be appreciated, the combination of thecord230 and thepulley232 is one example of a system for rotating thesensing device16. It should be noted that any suitable system may be used to facilitate rotation of thesensing device16. While one embodiment of aknob101 is illustrated, it may be appreciated that any suitable knob may be used to adjust the angle of thesensing device16. Furthermore, the angle of thesensing device16 may be adjusted using amotor234 coupled to thecord230. Accordingly, a welding operator may operate themotor234 to adjust the angle of thesensing device16. Moreover, in certain embodiments, control circuitry may be coupled to themotor234 and may control the angle of thesensing device16 based on a desired field of view of thesensing device16 and/or based on tracking of an object within the field of view of thesensing device16.
FIG. 13 is a perspective view of an embodiment of an overheadwelding arm assembly235. The overheadwelding arm assembly235 illustrates one embodiment of a manufacturing design that enables thesecond arm106 to have an adjustable height. Accordingly, as may be appreciated, thesecond arm106 may be manufactured to have an adjustable height in a number of ways. As illustrated, theoverhead welding assembly235 includeshandles236 used to vertically raise and/or lower thesecond arm106 as illustrated byarrows238. The overheadwelding arm assembly235 includes alocking device240 to lock thesecond arm106 at a desired height. For example, thelocking device240 may include a button that is pressed to disengage a latch configured to extend intoopenings242, thus unlocking thesecond arm106 from being secured to side rails243. With thesecond arm106 unlocked from the side rails243, thehandles236 may be vertically adjusted to a desired height, thereby adjusting theplate112 to a desired height. As may be appreciated, releasing the button may result in the latch extending into theopenings242 and locking thesecond arm106 to the side rails243. As may be appreciated, thelocking device240 may operate manually as described and/or thelocking device240 may be controlled by a control system (e.g., automatically controlled). Furthermore, thesecond arm106 may be vertically raised and/or lowered using the control system. For example, in certain embodiments, the welding training software may control thesecond arm106 to move to a desired position automatically. Thus, theplate112 may be adjusted to a desired height for overhead welding.
Multi-Mode Welding Training Software
FIG. 14 is a block diagram of an embodiment ofwelding training software244 of thewelding training system10 having multiple training modes. As illustrated, thewelding training software244 may include one or more of a live-arc mode246 configured to enable training using a live (e.g., actual) welding arc, asimulation mode248 configured to enable training using a welding simulation, a virtual reality (VR)mode250 configured to enable training using a VR simulation, and/or anaugmented reality mode252 configured to enable training using augmented reality simulation.
Thewelding training software244 may receive signals from anaudio input254. Theaudio input254 may be configured to enable a welding operator to operate thewelding training software244 using audible commands (e.g., voice activation). Furthermore, thewelding training software244 may be configured to provide anaudio output256 and/or avideo output258. For example, thewelding training software244 may provide audible information to a welding operator using theaudio output256. Such audible information may include instructions for configuring (e.g., setting up) thewelding training system10, real-time feedback provided to a welding operator during a welding operation, instructions to a welding operator before performing a welding operation, instructions to a welding operator after performing a welding operation, warnings, and so forth.
FIG. 15 is a block diagram of an embodiment of theVR mode250 of thewelding training software244. TheVR mode250 is configured to provide a welding operator with aVR simulation260. TheVR simulation260 may be displayed to a welding operator through a VR headset, VR glasses, a VR display, or any suitable VR device. TheVR simulation260 may be configured to include a variety of virtual objects, such as the objects illustrated inFIG. 15, that enable interaction between a welding operator and a selected virtual object of the variety of virtual objects within theVR simulation260. For example, virtual objects may include avirtual workpiece262, avirtual welding stand264, avirtual welding torch266,virtual wire cutters268,virtual software configuration270, virtual training data results272, and/or avirtual glove274.
In certain embodiments, the welding operator may interact with the virtual objects without touching a physical object. For example, thesensing device16 may detect movement of the welding operator and may result in similar movements occurring in theVR simulation260 based on the welder operator's movements in the real world. In other embodiments, the welding operator may use a glove or thewelding torch14 to interact with the virtual objects. For example, the glove or thewelding torch14 may be detected by thesensing device16, and/or the glove or thewelding torch14 may correspond to a virtual object in theVR simulation260. Furthermore, the welding operator may be able to operate thewelding training software244 within theVR simulation260 using thevirtual software configuration270 and/or the virtual training data results272. For example, the welding operator may use their hand, the glove, or thewelding torch14 to select items within thewelding training software244 that are displayed virtually within theVR simulation260. Moreover, the welding operator may perform other actions such as picking up wire cutters and cutting virtual welding wire extending from thevirtual torch266, all within theVR simulation260.
FIG. 16 is an embodiment of amethod276 for integrating training results data. Themethod276 includes thewelding training software244 of thecomputer18 receiving a first set of welding training data from a storage device (e.g., storage device24) (block278). The first set of welding training data may include welding training data corresponding to a first welding training assignment. Themethod276 also includes thewelding training software244 receiving a second set of welding training data from the storage device (block280). In certain embodiments, the first set and/or second set of welding training data may be received from a network storage device. The network storage device may be configured to receive welding training data from and/or to provide welding training data to thewelding training system10 and/or the externalwelding training system40. Thewelding training software244 may integrate the first and second sets of welding training data into a chart to enable a visual comparison of the first set of welding training data with the second set of welding training data (block282). As may be appreciated, the chart may be a bar chart, a pie chart, a line chart, a histogram, and so forth. In certain embodiments, integrating the first set of welding training data with the second set of welding training data includes filtering the first set of welding training data and the second set of welding training data to display a subset of the first set of welding training data and a subset of the second set of welding training data. Thewelding training software244 may provide the chart to a display device (e.g., the display32) (block284). In certain embodiments, providing the chart to the display device includes providing selectable elements on the chart that when selected display data corresponding to a respective selected element of the selectable elements (e.g., selecting wire speed from the chart may change the screen to display the wire speed history for a particular welding training assignment).
The first set of welding training data and/or the second set of welding training data may include a welding torch orientation, a welding torch travel speed, a welding torch position, a contact tip to workpiece distance, a proximity of the welding torch in relation to the workpiece, an aim of the welding torch, a welding score, a welding grade, and so forth. Moreover, the first set of welding training data and the second set of welding training data may correspond to training performed by one welding operator and/or by a class of welding operators. Furthermore, the first welding training assignment and the second welding training assignment may correspond to training performed by one welding operator and/or by a class of welding operators. In certain embodiments, the first welding training assignment may correspond to training performed by a first welding operator, and the second welding training assignment may correspond to welding performed by a second welding operator. Moreover, the first training assignment and the second training assignment may correspond to the same welding training scenario.
FIG. 17 is an embodiment of achart285 illustrating multiple sets of welding training data for a welding operator. Thechart285 may be produced by thewelding training software244 and may be provided to thedisplay32 to be used by a welding instructor to review welding training operators performed by a welding student, and/or may be provided to thedisplay32 to be used by a welding student to review welding training operations performed by that welding student. Thechart285 illustrates a bar graph comparison between different training assignments of a first set of welding training assignments performed by a welding operator. The first set of welding training assignments includesassignments286,288,290,292, and294. Thechart285 also illustrates a bar graph comparison between different training assignments of a second set of welding training assignments performed by the welding operator. The second set of welding training assignments includesassignments296,298,300,302, and304. Accordingly, welding training assignments may be compared to one another for analysis, instruction, certification, and/or training purposes. As illustrated, the welding training assignments may be compared to one another using one of any number of criteria, such as a total score, a work angle, a travel angle, a travel speed, a contact to work distance, a proximity, a mode (e.g., live-arc mode, simulation mode, etc.), a completion status (e.g., complete, incomplete, partially complete, etc.), a joint type (e.g., fillet, butt, T, lap, etc.), a welding position (e.g., flat, vertical, overhead, etc.), a type of metal used, a type of filler metal, and so forth.
FIG. 18 is an embodiment of achart305 illustrating welding training data for a welder compared to welding training data for a class. For example, thechart305 illustrates ascore306 of a welding operator compared to a score308 (e.g., average, median, or some other score) of a class for a first assignment. Furthermore, ascore310 of the welding operator is compared to a score312 (e.g., average, median, or some other score) of the class for a second assignment. Moreover, a score314 of the welding operator is compared to a score316 (e.g., average, median, or some other score) of the class for a third assignment. As may be appreciated, scores from one or more welding operators may be compared to scores of the entire class. Such a comparison enables a welding instructor to assess the progress of individual welding students as compared to the class of welding students. Furthermore, scores from one or more welding operators may be compared to scores of one or more other welding operators. In certain embodiments, scores from one class may be compared to scores of another class. Moreover, scores from the first assignment, the second assignment, and/or the third assignment may be selected for comparison.
Data Storage and Analysis
FIG. 19 is a block diagram of an embodiment of adata storage system318 for storing certification status data. The certification status data may be produced as a welding operator completes various assignments in thewelding training system10. For example, a predetermined set of assignments may certify a welding operator for a particular welding device and/or welding process. Thedata storage system318 includescontrol circuitry320, one ormore memory devices322, and one ormore storage devices324. Thecontrol circuitry320 may include one or more processors, which may be similar to the processor(s)20. Furthermore, the memory device(s)322 may be similar to the memory device(s)22, and the storage device(s)324 may be similar to the storage device(s)24. The memory device(s)322 and/or the storage device(s)324 may be configured to storecertification status data326 corresponding to a welding training certification of a welding operator.
The certification status data326 may include welding training data of the welding operator (e.g., any data that is related to the assignments to certify the welding operator), any data related to an actual certification (e.g., certified, not certified, qualified, not qualified, etc.), a quantity of one or more welds performed by the welding operator, a timestamp for one or more welds performed by the welding operator, welding parameter data for one or more welds performed by the welding operator, a quality ranking of the welding operator, a quality level of the welding operator, a history of training welds performed by the welding operator, a history of production welds performed by the welding operator, a first welding process (e.g., a metal inert gas (MIG) welding process, a tungsten inert gas (TIG) welding process, a stick welding process, etc.) certification status (e.g., the welding operator is certified for the first welding process, the welding operator is not certified for the first welding process), a second welding process certification status (e.g., the welding operator is certified for the second welding process, the welding operator is not certified for the second welding process), a first welding device (e.g., a wire feeder, a power supply, a model number, etc.) certification status (e.g., the welding operator is certified for the first welding device, the welding operator is not certified for the first welding device), and/or a second welding device certification status (e.g., the welding operator is certified for the second welding device, the welding operator is not certified for the second welding device).
Thecontrol circuitry320 may be configured to receive a request for the first welding process certification status, the second welding process certification status, the first welding device certification status, and/or the second welding device certification status of the welding operator. Furthermore, thecontrol circuitry320 may be configured to provide a response to the request. The response to the request may include the first welding process certification status, the second welding process certification status, the first welding device certification status, and/or the second welding device certification status of the welding operator. In certain embodiments, the welding operator may be authorized to use a first welding process, a second welding process, a first welding device, and/or a second welding device based at least partly on the response. Furthermore, in some embodiments, the first welding process, the second welding process, the first welding device, and/or the second welding device of a welding system may be enabled or disabled based at least partly on the response. Moreover, in certain embodiments, the first welding process, the second welding process, the first welding device, and/or the second welding device of a welding system may be enabled or disabled automatically. Thus, a welding operator's certification data may be used to enable and/or disable that welding operator's ability to use a particular welding system, welding device, and/or welding process. For example, a welding operator may have a certification for a first welding process, but not for a second welding process. Accordingly, in certain embodiments, a welding operator may verify their identity at a welding system (e.g., by logging in or some other form of authentication). After the identity of the welding operator is verified, the welding system may check the welding operator's certification status. The welding system may enable the welding operator to perform operations using the first welding process based on the welding operator's certification status, but may block the welding operator from performing the second welding process based on the welding operator's certification status.
FIG. 20 is an embodiment of ascreen327 illustrating data corresponding to a training weld. Thescreen327 may be produced by thewelding training software244 and may be displayed on thedisplay32. Thescreen327 illustrates parameters that may be graphically displayed to a welding operator before, during, and/or after performing a welding operation. For example, the parameters may include awork angle328, atravel angle330, a contact tip toworkpiece distance332, a weldingtorch travel speed334, a proximity of the welding torch in relation to theworkpiece336, awelding voltage337, a welding current338, a welding torch orientation, a welding torch position, an aim of the welding torch, and so forth.
As illustrated, graphically illustrated parameters may include anindication339 of a current value of a parameter (e.g., while performing a welding assignment). Furthermore, agraph340 may show a history of the value of the parameter, and ascore341 may show an overall percentage that corresponds to how much time during the welding assignment that the welding operator was within a range of acceptable values. In certain embodiments, avideo replay342 of a welding assignment may be provided on thescreen327. Thevideo replay342 may show live video of a welding operator performing a real weld, live video of the welding operator performing a simulated weld, live video of the welding operator performing a virtual reality weld, live video of the welding operator performing an augmented reality weld, live video of a welding arc, live video of a weld puddle, and/or simulated video of a welding operation.
In certain embodiments, thewelding training system10 may capture video data during a welding assignment, and store the video data on thestorage device24. Moreover, thewelding training software244 may be configured to retrieve the video data from thestorage device24, to retrieve welding parameter data from thestorage device24, to synchronize the video data with the welding parameter data, and to provide the synchronized video and welding parameter data to thedisplay32.
Thewelding training software244 may analyze welding parameter data to determine a traversedpath344 that may be shown on thedisplay32. In some embodiments, atime346 during a weld may be selected by a welding operator. By selecting thetime346, the welding operator may view thevideo replay342 and/or the traversedpath344 in conjunction with the welding parameters as they were at the selectedtime346 in order to establish a correlation between the welding parameters, thevideo replay342, and/or the traversedpath344. Thewelding training software244 may be configured to recreate welding training data based at least partly on welding parameter data, to synchronize thevideo replay342 with the recreated welding training data, and to provide thesynchronized video replay342 and recreated welding training data to thedisplay32. In certain embodiments, the recreated welding training data may be weld puddle data and/or a simulated weld.
In certain embodiments, thestorage device24 may be configured to store a first data set corresponding to multiple training welds performed by a welding operator, and to store a second data set corresponding to multiple non-training welds performed by the welding operator. Furthermore, thecontrol circuitry320 may be configured to retrieve at least part of the first data set from thestorage device24, to retrieve at least part of the second data set from thestorage device24, to synchronize the at least part of the first data set with the at least part of the second data set, and to provide the synchronized at least part of the first data set and at least part of the second data set to thedisplay32.
FIG. 21 is an embodiment of ascreen347 illustrating adiscontinuity analysis348 of a training weld. Thediscontinuity analysis348 includes alisting350 that may itemize potential issues with a welding operation. Thediscontinuity analysis348 provides feedback to the welding operator regarding time periods within the welding operation in which the weld does not meet a predetermined quality threshold. For example, betweentimes352 and354, there is a high discontinuity (e.g., the welding quality is poor, the weld has a high probability of failure, the weld is defective). Furthermore, betweentimes356 and358, there is a medium discontinuity (e.g., the welding quality is average, the weld has a medium probability of failure, the weld is partially defective). Moreover, between times360 and362, there is a high discontinuity, and betweentimes364 and366, there is a low discontinuity (e.g., the welding quality is good, the weld has a low probability of failure, the weld is not defective). With this information a welding operator may be able to quickly analyze the quality of a welding operation.
FIG. 22 is a block diagram of an embodiment of awelding instructor screen368 of thewelding training software244. Thewelding training software244 is configured to provide training simulations for many different welding configurations. For example, the welding configurations may include aMIG welding process370, aTIG welding process372, astick welding process374, the live-arc welding mode346, thesimulation welding mode248, the virtualreality welding mode250, and/or the augmentedreality welding mode252.
Thewelding instructor screen368 may be configured to enable a welding instructor to restrict training of a welding operator376 (e.g., to one or more selected welding configurations), to restrict training of a class of welding operators378 (e.g., to one or more selected welding configurations), and/or to restrict training of a portion of a class of welding operators380 (e.g., to one or more selected welding configurations). Moreover, thewelding instructor screen368 may be configured to enable the welding instructor to assign selected training assignments to thewelding operator382, to assign selected training assignments to a class ofwelding operators384, and/or to assign selected training assignments to a portion of a class ofwelding operators386. Furthermore, thewelding instructor screen368 may be configured to enable the welding instructor to automatically advance the welding operator (or a class of welding operators) from a first training assignment to asecond training assignment388. For example, the welding operator may advance from a first training assignment to a second training assignment based at least partly on a quality of performing the first training assignment.
FIG. 23 is an embodiment of amethod389 for weld training using augmented reality. A welding operator may select a training mode of the welding training software244 (block390). Thewelding training software244 determines whether theaugmented reality mode252 has been selected (block392). If theaugmented reality mode252 has been selected, thewelding training software244 executes an augmented reality simulation. It should be noted that the welding operator may be wearing a welding helmet and/or some other headgear configured to position a display device in front of the welding operator's view. Furthermore, the display device may generally be transparent to enable the welding operator to view actual objects; however, a virtual welding environment may be portrayed on portions of the display device. As part of this augmented reality simulation, thewelding training software244 receives a position and/or an orientation of thewelding torch14, such as from the sensing device16 (block394). Thewelding training software244 integrates the virtual welding environment with the position and/or the orientation of the welding torch14 (block396). Moreover, thewelding training software244 provides the integrated virtual welding environment to the display device (block398). For example, thewelding training software244 may determine where a weld bead should be positioned within the welding operator's field of view, and thewelding training software244 may display the weld bead on the display device such that the weld bead appears to be on a workpiece. After completion of the weld, the augmented reality simulation may enable the welding operator to erase a portion of the virtual welding environment (e.g., the weld bead) (block400), and thewelding training software244 returns to block390.
If theaugmented realty mode252 has not been selected, thewelding training software244 determines whether the live-arc mode246 has been selected (block402). If the live-arc mode246 has been selected, thewelding training software244 enters the live-arc mode246 and the welding operator may perform the live-arc weld (block404). If the live-arc mode246 has not been selected and/or after executingblock404, thewelding training software244 returns to block390. Accordingly, thewelding training software244 is configured to enable a welding operator to practice a weld in theaugmented reality mode252, to erase at least a portion of the virtual welding environment from the practice weld, and to perform a live weld in the live-arc mode246. In certain embodiments, the welding operator may practice the weld in theaugmented reality mode252 consecutively a multiple number of times.
FIG. 24 is an embodiment of anothermethod406 for weld training using augmented reality. A welding operator may select a training mode of the welding training software244 (block408). Thewelding training software244 determines whether theaugmented reality mode252 has been selected (block410). If theaugmented reality mode252 has been selected, thewelding training software244 executes an augmented reality simulation. It should be noted that the welding operator may be wearing a welding helmet and/or some other headgear configured to position a display device in front of the welding operator's view. Furthermore, the display device may completely block the welding operator's field of vision such that images observed by the welding operator have been captured by a camera and displayed on the display device. As part of this augmented reality simulation, thewelding training software244 receives an image of thewelding torch14, such as from the sensing device16 (block412). Thewelding training software244 integrates the virtual welding environment with the image of the welding torch14 (block414). Moreover, thewelding training software244 provides the integrated virtual welding environment with the image of thewelding torch14 to the display device (block416). For example, thewelding training software244 may determine where a weld bead should be positioned within the welding operator's field of view and thewelding training software244 displays the weld bead on the display device with the image of thewelding torch14 and other objects in the welding environment. After completion of the weld, the augmented reality simulation may enable the welding operator to erase a portion of the virtual welding environment (e.g., the weld bead) (block418), and thewelding training software244 returns to block408.
If theaugmented realty mode252 has not been selected, thewelding training software244 determines whether the live-arc mode246 has been selected (block420). If the live-arc mode246 has been selected, thewelding training software244 enters the live-arc mode246 and the welding operator may perform the live-arc weld (block422). If the live-arc mode246 has not been selected and/or after executingblock422, thewelding training software244 returns to block408. Accordingly, thewelding training software244 is configured to enable a welding operator to practice a weld in theaugmented reality mode252, to erase at least a portion of the virtual welding environment from the practice weld, and to perform a live weld in the live-arc mode246. In certain embodiments, the welding operator may practice the weld in theaugmented reality mode252 consecutively a multiple number of times.
As may be appreciated, using the systems, devices, and techniques described herein, awelding training system10 may be provided for training welding operators. Thewelding training system10 may be cost efficient and may enable welding students to receive high quality hands on training.
While only certain features of the invention have been illustrated and described herein, many modifications and changes will occur to those skilled in the art. It is, therefore, to be understood that the appended claims are intended to cover all such modifications and changes as fall within the true spirit of the invention.

Claims (12)

The invention claimed is:
1. A welding consumable comprising:
a welding rod configured for a stick welding process, the welding rod comprising:
a first physical mark indicating a first location on the welding rod proximate to a first end of the welding rod; and
a second physical mark indicating a second location on the welding rod proximate to a second end of the welding rod;
wherein the first physical mark and the second physical mark are configured to be detected by a camera-based detection system to determine a remaining length of the welding rod, a consumed length of the welding rod, a rate of use of the welding rod, a dipping rate of the welding rod, or some combination thereof.
2. The welding consumable ofclaim 1, wherein the first physical mark and the second physical mark are laser etched.
3. The welding consumable ofclaim 1, wherein the first physical mark and the second physical mark are not within a visible spectrum.
4. The welding consumable ofclaim 1, wherein the first physical mark comprises a first bar code, and the second physical mark comprises a second bar code different from the first bar code.
5. The welding consumable ofclaim 1, comprising a third physical mark indicating a third location on the welding rod.
6. The welding consumable ofclaim 1, wherein the first physical mark comprises a first set of data corresponding to a first distance between the first physical mark and an end of the welding rod, and the second physical mark comprises a second set of data corresponding to a second distance between the second physical mark and the end of the welding rod.
7. A welding training system comprising:
a camera-based detection system; and
a welding rod configured for a stick welding process, the welding rod comprising:
a first physical mark indicating a first location on the welding rod offset by a first distance from a first end of the welding rod; and
a second physical mark indicating a second location on the welding rod offset by a second distance from a second end of the welding rod;
wherein the first physical mark and the second physical mark are configured to be detected by the camera-based detection system to determine a remaining length of the welding rod, a consumed length of the welding rod, a rate of use of the welding rod, a dipping rate of the welding rod, or some combination thereof.
8. A welding training system comprising:
a welding surface, wherein the welding surface is configured for live welds or simulated welds to be performed on the welding surface;
a sensor configured to sense a position of a welding torch, an orientation of the welding torch, or some combination thereof;
a first arm coupled to the welding surface, and extending vertically from the welding surface; and
a pivot assembly directly coupled to the first arm and directly coupled to the sensor, wherein the pivot assembly is disposed between the first arm and the sensor, and the pivot assembly enables adjustment of an angle between the first arm and the sensor.
9. The welding training system ofclaim 8, wherein the angle between the first arm and the sensor is manually adjusted to change a portion of the welding surface sensed by the sensor.
10. The welding training system ofclaim 8, comprising a control system configured to adjust the angle between the first arm and the sensor to change a portion of the welding surface sensed by the sensor.
11. The welding training system ofclaim 8, comprising a second arm coupled to the welding surface, and a rotatable bracket coupled to the second arm, wherein the second arm extends vertically from the welding surface.
12. The welding training system ofclaim 11, wherein the rotatable bracket is rotatable between a vertical position for vertical welding, and a horizontal position for overhead welding.
US13/838,0192013-03-152013-03-15Welding training systems and devicesActive2034-11-16US9713852B2 (en)

Priority Applications (8)

Application NumberPriority DateFiling DateTitle
US13/838,019US9713852B2 (en)2013-03-152013-03-15Welding training systems and devices
EP14708770.4AEP2973505B1 (en)2013-03-152014-02-24Welding training systems and devices
PCT/US2014/018109WO2014149400A1 (en)2013-03-152014-02-24Welding training systems and devices
BR112015019539ABR112015019539A2 (en)2013-03-152014-02-24 welding training devices and systems
CN201480015931.7ACN105144267B (en)2013-03-152014-02-24 Welding training systems and devices
CN201711385481.2ACN108274141A (en)2013-03-152014-02-24Weld training system and device
CA2897102ACA2897102C (en)2013-03-152014-02-24Welding training systems and devices
MX2015008616AMX350859B (en)2013-03-152014-02-24Welding training systems and devices.

Applications Claiming Priority (1)

Application NumberPriority DateFiling DateTitle
US13/838,019US9713852B2 (en)2013-03-152013-03-15Welding training systems and devices

Publications (2)

Publication NumberPublication Date
US20140263224A1 US20140263224A1 (en)2014-09-18
US9713852B2true US9713852B2 (en)2017-07-25

Family

ID=50238507

Family Applications (1)

Application NumberTitlePriority DateFiling Date
US13/838,019Active2034-11-16US9713852B2 (en)2013-03-152013-03-15Welding training systems and devices

Country Status (7)

CountryLink
US (1)US9713852B2 (en)
EP (1)EP2973505B1 (en)
CN (2)CN108274141A (en)
BR (1)BR112015019539A2 (en)
CA (1)CA2897102C (en)
MX (1)MX350859B (en)
WO (1)WO2014149400A1 (en)

Cited By (6)

* Cited by examiner, † Cited by third party
Publication numberPriority datePublication dateAssigneeTitle
US20160132227A1 (en)*2014-11-072016-05-12The Esab Group, Inc.Techniques for controlling a portable welding system
EP3549706A1 (en)*2018-04-062019-10-09The Esab Group, Inc.Automatic identification of components for welding and cutting torches
US11267069B2 (en)2018-04-062022-03-08The Esab Group Inc.Recognition of components for welding and cutting torches
US11285557B2 (en)2019-02-052022-03-29Lincoln Global, Inc.Dual wire welding or additive manufacturing system
US11311958B1 (en)*2019-05-132022-04-26Airgas, Inc.Digital welding and cutting efficiency analysis, process evaluation and response feedback system for process optimization
US12423537B2 (en)2021-09-102025-09-23Esab AbMarked consumable reading

Families Citing this family (106)

* Cited by examiner, † Cited by third party
Publication numberPriority datePublication dateAssigneeTitle
US9104195B2 (en)2006-12-202015-08-11Lincoln Global, Inc.Welding job sequencer
US10994358B2 (en)2006-12-202021-05-04Lincoln Global, Inc.System and method for creating or modifying a welding sequence based on non-real world weld data
US9937577B2 (en)2006-12-202018-04-10Lincoln Global, Inc.System for a welding sequencer
WO2009146359A1 (en)2008-05-282009-12-03Illinois Tool Works Inc.Welding training system
US9483959B2 (en)2008-08-212016-11-01Lincoln Global, Inc.Welding simulator
US9280913B2 (en)2009-07-102016-03-08Lincoln Global, Inc.Systems and methods providing enhanced education and training in a virtual reality environment
US8851896B2 (en)2008-08-212014-10-07Lincoln Global, Inc.Virtual reality GTAW and pipe welding simulator and setup
US9330575B2 (en)2008-08-212016-05-03Lincoln Global, Inc.Tablet-based welding simulator
US9318026B2 (en)2008-08-212016-04-19Lincoln Global, Inc.Systems and methods providing an enhanced user experience in a real-time simulated virtual reality welding environment
US9196169B2 (en)2008-08-212015-11-24Lincoln Global, Inc.Importing and analyzing external data using a virtual reality welding system
US8274013B2 (en)2009-03-092012-09-25Lincoln Global, Inc.System for tracking and analyzing welding activity
US9773429B2 (en)2009-07-082017-09-26Lincoln Global, Inc.System and method for manual welder training
US9230449B2 (en)2009-07-082016-01-05Lincoln Global, Inc.Welding training system
US9221117B2 (en)2009-07-082015-12-29Lincoln Global, Inc.System for characterizing manual welding operations
US9011154B2 (en)2009-07-102015-04-21Lincoln Global, Inc.Virtual welding system
US10748447B2 (en)2013-05-242020-08-18Lincoln Global, Inc.Systems and methods providing a computerized eyewear device to aid in welding
US8569655B2 (en)2009-10-132013-10-29Lincoln Global, Inc.Welding helmet with integral user interface
US9468988B2 (en)2009-11-132016-10-18Lincoln Global, Inc.Systems, methods, and apparatuses for monitoring weld quality
US9993891B2 (en)2010-07-142018-06-12Illinois Tool Works Inc.Welding parameter control via welder motion or position monitoring
US9101994B2 (en)2011-08-102015-08-11Illinois Tool Works Inc.System and device for welding training
US9573215B2 (en)2012-02-102017-02-21Illinois Tool Works Inc.Sound-based weld travel speed sensing system and method
ES2438440B1 (en)*2012-06-132014-07-30Seabery Soluciones, S.L. ADVANCED DEVICE FOR SIMULATION-BASED WELDING TRAINING WITH INCREASED REALITY AND REMOTE UPDATE
US20160093233A1 (en)2012-07-062016-03-31Lincoln Global, Inc.System for characterizing manual welding operations on pipe and other curved structures
US9767712B2 (en)2012-07-102017-09-19Lincoln Global, Inc.Virtual reality pipe welding simulator and setup
US9583014B2 (en)2012-11-092017-02-28Illinois Tool Works Inc.System and device for welding training
US9368045B2 (en)2012-11-092016-06-14Illinois Tool Works Inc.System and device for welding training
US9666100B2 (en)2013-03-152017-05-30Illinois Tool Works Inc.Calibration devices for a welding training system
US9713852B2 (en)2013-03-152017-07-25Illinois Tool Works Inc.Welding training systems and devices
US9728103B2 (en)2013-03-152017-08-08Illinois Tool Works Inc.Data storage and analysis for a welding training system
US9583023B2 (en)2013-03-152017-02-28Illinois Tool Works Inc.Welding torch for a welding training system
US9672757B2 (en)2013-03-152017-06-06Illinois Tool Works Inc.Multi-mode software and method for a welding training system
CN105190705B (en)*2013-04-242019-05-10川崎重工业株式会社 Workpiece machining operation support system and workpiece machining method
US10930174B2 (en)2013-05-242021-02-23Lincoln Global, Inc.Systems and methods providing a computerized eyewear device to aid in welding
US11090753B2 (en)2013-06-212021-08-17Illinois Tool Works Inc.System and method for determining weld travel speed
US20150072323A1 (en)2013-09-112015-03-12Lincoln Global, Inc.Learning management system for a real-time simulated virtual reality welding training environment
US10083627B2 (en)2013-11-052018-09-25Lincoln Global, Inc.Virtual reality and real welding training system and method
US10056010B2 (en)2013-12-032018-08-21Illinois Tool Works Inc.Systems and methods for a weld training system
US9757819B2 (en)2014-01-072017-09-12Illinois Tool Works Inc.Calibration tool and method for a welding system
US9589481B2 (en)2014-01-072017-03-07Illinois Tool Works Inc.Welding software for detection and control of devices and for analysis of data
US9751149B2 (en)2014-01-072017-09-05Illinois Tool Works Inc.Welding stand for a welding system
US9724788B2 (en)2014-01-072017-08-08Illinois Tool Works Inc.Electrical assemblies for a welding system
US10170019B2 (en)2014-01-072019-01-01Illinois Tool Works Inc.Feedback from a welding torch of a welding system
US10105782B2 (en)2014-01-072018-10-23Illinois Tool Works Inc.Feedback from a welding torch of a welding system
US9836987B2 (en)2014-02-142017-12-05Lincoln Global, Inc.Virtual reality pipe welding simulator and setup
EP3111440A1 (en)2014-06-022017-01-04Lincoln Global, Inc.System and method for manual welder training
US9937578B2 (en)2014-06-272018-04-10Illinois Tool Works Inc.System and method for remote welding training
US9862049B2 (en)2014-06-272018-01-09Illinois Tool Works Inc.System and method of welding system operator identification
US10665128B2 (en)*2014-06-272020-05-26Illinois Tool Works Inc.System and method of monitoring welding information
US10307853B2 (en)2014-06-272019-06-04Illinois Tool Works Inc.System and method for managing welding data
US9724787B2 (en)2014-08-072017-08-08Illinois Tool Works Inc.System and method of monitoring a welding environment
US11014183B2 (en)2014-08-072021-05-25Illinois Tool Works Inc.System and method of marking a welding workpiece
US9875665B2 (en)2014-08-182018-01-23Illinois Tool Works Inc.Weld training system and method
US10643495B2 (en)*2014-09-192020-05-05Realityworks, Inc.Welding speed pacing device
US10446057B2 (en)2014-09-192019-10-15Realityworks, Inc.Welding speed sensor
US10987762B2 (en)2014-09-302021-04-27Illinois Tool Works Inc.Armband based systems and methods for controlling welding equipment using gestures and like motions
US10201868B2 (en)2014-09-302019-02-12Illinois Tool Works Inc.Systems and methods for gesture control of a welding system
US11247289B2 (en)2014-10-162022-02-15Illinois Tool Works Inc.Remote power supply parameter adjustment
US10239147B2 (en)2014-10-162019-03-26Illinois Tool Works Inc.Sensor-based power controls for a welding system
US10402959B2 (en)2014-11-052019-09-03Illinois Tool Works Inc.System and method of active torch marker control
US10373304B2 (en)*2014-11-052019-08-06Illinois Tool Works Inc.System and method of arranging welding device markers
US10204406B2 (en)*2014-11-052019-02-12Illinois Tool Works Inc.System and method of controlling welding system camera exposure and marker illumination
US10417934B2 (en)2014-11-052019-09-17Illinois Tool Works Inc.System and method of reviewing weld data
US10210773B2 (en)2014-11-052019-02-19Illinois Tool Works Inc.System and method for welding torch display
US10490098B2 (en)2014-11-052019-11-26Illinois Tool Works Inc.System and method of recording multi-run data
US9975196B2 (en)2015-01-052018-05-22University Of Kentucky Research FoundationMeasurement of three-dimensional welding torch orientation for manual arc welding process
US10773329B2 (en)2015-01-202020-09-15Illinois Tool Works Inc.Multiple input welding vision system
US12168270B2 (en)2015-01-222024-12-17Illinois Tool Works Inc.Manual tool tracking and guidance with inertial measurement unit
US10918924B2 (en)2015-02-022021-02-16RLT IP Ltd.Frameworks, devices and methodologies configured to enable delivery of interactive skills training content, including content with multiple selectable expert knowledge variations
US10406638B2 (en)2015-02-272019-09-10Illinois Tool Works Inc.Augmented vision system with active welder guidance
WO2016144741A1 (en)2015-03-062016-09-15Illinois Tool Works Inc.Sensor assisted head mounted displays for welding
WO2016144744A1 (en)2015-03-092016-09-15Illinois Tool Works Inc.Methods and apparatus to provide visual information associated with welding operations
US9977242B2 (en)2015-03-262018-05-22Illinois Tool Works Inc.Control of mediated reality welding system based on lighting conditions
US9666160B2 (en)2015-03-262017-05-30Illinois Tool Works Inc.Control of mediated reality welding system based on lighting conditions
US10427239B2 (en)2015-04-022019-10-01Illinois Tool Works Inc.Systems and methods for tracking weld training arc parameters
KR20180015648A (en)2015-05-082018-02-13지엔 아이피 피티와이 엘티디 Structure, apparatus and method configured to enable media data retrieval based on user performance characteristics obtained from automated classification and / or performance sensor units
US10363632B2 (en)2015-06-242019-07-30Illinois Tool Works Inc.Time of flight camera for welding machine vision
US10593230B2 (en)2015-08-122020-03-17Illinois Tool Works Inc.Stick welding electrode holder systems and methods
US10438505B2 (en)2015-08-122019-10-08Illinois Tool WorksWelding training system interface
US10657839B2 (en)2015-08-122020-05-19Illinois Tool Works Inc.Stick welding electrode holders with real-time feedback features
US10373517B2 (en)2015-08-122019-08-06Illinois Tool Works Inc.Simulation stick welding electrode holder systems and methods
US11074826B2 (en)2015-12-102021-07-27Rlt Ip LtdFrameworks and methodologies configured to enable real-time adaptive delivery of skills training data based on monitoring of user performance via performance monitoring hardware
CA3010814A1 (en)2016-01-082017-07-13Illinois Tool Works Inc.Systems and methods to provide weld training
CA3011154A1 (en)2016-01-082017-07-13Illinois Tool Works Inc.Systems and methods to provide weld training
US10839717B2 (en)2016-01-112020-11-17Illinois Tool Works Inc.Weld training systems to synchronize weld data for presentation
EP3319066A1 (en)2016-11-042018-05-09Lincoln Global, Inc.Magnetic frequency selection for electromagnetic position tracking
US10913125B2 (en)2016-11-072021-02-09Lincoln Global, Inc.Welding system providing visual and audio cues to a welding helmet with a display
US10878591B2 (en)2016-11-072020-12-29Lincoln Global, Inc.Welding trainer utilizing a head up display to display simulated and real-world objects
CN106735769A (en)*2016-12-202017-05-31唐山松下产业机器有限公司The testing agency and welder of welding wire usage amount and surplus
JP6517871B2 (en)*2017-04-252019-05-22ファナック株式会社 Teaching system and method for welding robot
US10997872B2 (en)2017-06-012021-05-04Lincoln Global, Inc.Spring-loaded tip assembly to support simulated shielded metal arc welding
US11557223B2 (en)2018-04-192023-01-17Lincoln Global, Inc.Modular and reconfigurable chassis for simulated welding training
US11475792B2 (en)2018-04-192022-10-18Lincoln Global, Inc.Welding simulator with dual-user configuration
US11450233B2 (en)2019-02-192022-09-20Illinois Tool Works Inc.Systems for simulating joining operations using mobile devices
US11817006B2 (en)2019-02-192023-11-14Ilinois Tool Works Inc. AssigneeWeld modules for weld training systems
US11521512B2 (en)2019-02-192022-12-06Illinois Tool Works Inc.Systems for simulating joining operations using mobile devices
US11288978B2 (en)2019-07-222022-03-29Illinois Tool Works Inc.Gas tungsten arc welding training systems
US11776423B2 (en)2019-07-222023-10-03Illinois Tool Works Inc.Connection boxes for gas tungsten arc welding training systems
US11664971B2 (en)*2019-11-132023-05-30The Esab Group Inc.Encrypted communication between components of welding and cutting systems
US11322037B2 (en)2019-11-252022-05-03Illinois Tool Works Inc.Weld training simulations using mobile devices, modular workpieces, and simulated welding equipment
US12198568B2 (en)2019-11-252025-01-14Illinois Tool Works Inc.Weld training simulations using mobile devices, modular workpieces, and simulated welding equipment
US11721231B2 (en)2019-11-252023-08-08Illinois Tool Works Inc.Weld training simulations using mobile devices, modular workpieces, and simulated welding equipment
CN110930787A (en)*2019-12-262020-03-27中船舰客教育科技(北京)有限公司Virtual reality-based welding teaching system and method
US12279993B2 (en)2020-07-312025-04-22Illinois Tool Works Inc.Smart welding helmet modules with adaptable helmet devices
US12433792B2 (en)2020-12-142025-10-07Illinois Tool Works Inc.Smart welding helmets with arc time tracking verification and lens maintenance detection
CN113739884A (en)*2021-08-272021-12-03徐工集团工程机械股份有限公司建设机械分公司Wire reel and method for calculating using weight of welding wire
US11875705B1 (en)2022-11-222024-01-16Hyundai Mobis Co., Ltd.Apparatus and method for supporting equipment manufacturing process

Citations (418)

* Cited by examiner, † Cited by third party
Publication numberPriority datePublication dateAssigneeTitle
US1340270A (en)1920-03-111920-05-18Jahoda EmilSafety electric welding-torch
US2045802A (en)1935-06-191936-06-30Smith Corp A OArc welding shield
US2045800A (en)1934-06-081936-06-30Smith Corp A OArc length indicator
US2045801A (en)1935-06-191936-06-30Smith Corp A OVoltage indicator
US2333192A (en)1942-10-291943-11-02Carl E MobergWelder's training device
US2351910A (en)1940-05-311944-06-20Westinghouse Electric & Mfg CoArc voltage or arc length indicator
FR1456780A (en)1965-09-031966-07-08 Learning station and installation for teaching tool handling
US3391691A (en)1967-05-161968-07-09Richard W. YoungBlood pressure gauge
US3679865A (en)1969-04-151972-07-25Redemat SaApparatus for controlling electric welding processes
US3867769A (en)1973-08-061975-02-25Harvey B SchowArc welding simulator trainer
US4028522A (en)1975-04-291977-06-07Martin Marietta CorporationMulti-mode structural weld monitor on a time base
US4041615A (en)1976-08-031977-08-16Joseph WhitehillSmall-motion test device
US4044377A (en)1976-04-281977-08-23Gte Laboratories IncorporatedVideo target locator
US4124944A (en)1977-07-081978-11-14Lenco, Inc.Device for teaching and evaluating a person's skill as a welder
US4132014A (en)1977-06-201979-01-02Schow Harvey BWelding simulator spot designator system
US4144766A (en)1977-05-021979-03-20The Babcock & Wilcox CompanyApparatus for the in-situ detection and location of flaws in welds
US4224501A (en)1978-02-271980-09-23Unimation, Inc.Teaching arrangement for programmable manipulator
US4253648A (en)1979-11-231981-03-03Meeks Charles HAdjustable off-set spring loaded clamp and stand
US4294440A (en)1979-10-091981-10-13Severt WHolding device
SU972552A1 (en)1981-02-021982-11-07Киевский Ордена Ленина Политехнический Институт Им.50-Летия Великой Октябрьской Социалистической РеволюцииWelding rectifier simulator
US4375026A (en)1981-05-291983-02-22The United States Of America As Represented By The Secretary Of The ArmyWeld quality monitor
US4375165A (en)1979-06-261983-03-01Rontgen Technische Dienst B.V.System for inspecting welded joints in pipe lines by means of ultrasonic waves
US4389561A (en)1980-07-031983-06-21Esab AktiebolagSelf-positioning welding or cutting torch
US4396945A (en)1981-08-191983-08-02Solid Photography Inc.Method of sensing the position and orientation of elements in space
US4412121A (en)1981-08-281983-10-25S R I InternationalImplement positioning apparatus and process
US4452589A (en)1981-08-141984-06-05Denison Tom GArc welding simulator
US4459114A (en)1982-10-251984-07-10Barwick John HSimulation system trainer
US4471207A (en)1983-05-101984-09-11Deep Ocean Engineering IncorporatedApparatus and method for providing useful audio feedback to users of arc welding equipment
US4484059A (en)1982-04-261984-11-20General Electric CompanyInfrared sensor for arc welding
US4518361A (en)1982-08-051985-05-21Conway Malcolm JMethod and apparatus for effecting and evaluating action upon visual imaging
US4541055A (en)1982-09-011985-09-10Westinghouse Electric Corp.Laser machining system
US4555614A (en)1984-12-241985-11-26The United States Of America As Represented By The Secretary Of The NavyWeld metal cooling rate indicator system
US4577499A (en)1982-11-181986-03-25Cyclomatic Industries, Inc.Slope-speed sensor for seam welding apparatus
US4590356A (en)1985-07-121986-05-20General Electric CompanyRobot navigation method for joint following
US4591689A (en)1985-02-251986-05-27Caterpillar Tractor Co.Adaptive welding guidance apparatus
US4594497A (en)1984-05-231986-06-10Hitachi, Ltd.Image processing welding control method
US4595368A (en)1985-07-291986-06-17Cole Edgar CInstructional apparatus for underwater welding
US4595186A (en)1984-12-201986-06-17Reed Richard ARotating welding fixture
US4595820A (en)1982-10-221986-06-17The Ohio State UniversityApparatus and methods for controlling a welding process
US4609806A (en)1985-09-231986-09-02General Electric CompanyMethod and apparatus for determining weld quality in percussion welding
US4628176A (en)1984-09-191986-12-09Kabushiki Kaisha TetrakApparatus for setting schedules of a resistance welding machine
US4638146A (en)1984-10-161987-01-20Nagase Sangyo Kabushiki KaishaMethod of protecting eyes from welding rays in arc welding and apparatus therefor
US4677277A (en)1985-11-081987-06-30Cook Marvin DArc welding instruction monitor
US4680014A (en)1985-11-211987-07-14Institute Problem Modelirovania V Energetike A An UssrWelder's trainer
US4689021A (en)1986-10-141987-08-25Institute Problem Modelirovaniya V Energetike An Ukr.SsrSpark trainer for welders
SU1354234A1 (en)1985-11-291987-11-23Предприятие П/Я М-5049Electric welding trainer
US4716273A (en)1985-12-301987-12-29Institute Problem Modelirovania V Energetike Akademii Nauk Ukrainskoi SSRElectric-arc trainer for welders
US4721947A (en)1985-03-191988-01-26The Welding InstituteWelding monitor
US4728768A (en)1987-06-191988-03-01General Electric CompanyPercussion weld monitoring
US4739404A (en)1982-10-221988-04-19The Ohio State UniversityApparatus and methods for controlling a welding process
US4767109A (en)1987-03-261988-08-30Raketich Milton FPositioning apparatus
US4829365A (en)1986-03-071989-05-09Dimension Technologies, Inc.Autostereoscopic display with illuminating lines, light valve and mask
US4830261A (en)1987-10-291989-05-16Laser Limited, Inc.Eddy current tool positioning system
SU1489933A1 (en)1987-10-231989-06-30Мвту Им. Н.Э.БауманаMethod of training welders
EP0323277A2 (en)1987-12-311989-07-05Westinghouse Electric CorporationParametric path modeling for an optical automatic seam tracker and real time robotic control system
US4868649A (en)1987-06-011989-09-19FramatomeApparatus for the televisual monitoring of an arc welding operation
US4867685A (en)1987-09-241989-09-19The Trustees Of The College Of AeronauticsAudio visual instructional system
US4877940A (en)1987-06-301989-10-31Iit Research InstituteUsing infrared imaging to monitor and control welding
US4881678A (en)1987-01-201989-11-21FramatomeProcess for the remote-controlled semi-automatic welding of two rotationally symmetrical components
US4920249A (en)1989-05-081990-04-24General Electric CompanyWeld bead wetting angle detection and control
US4931018A (en)1987-12-211990-06-05Lenco, Inc.Device for training welders
US4937427A (en)1989-03-231990-06-26Mcvicker NoelApparatus and method for automatically welding a T-junction connector to a main pipe
US4943702A (en)1982-10-221990-07-24The Ohio State UniversityApparatus and methods for controlling a welding process
US4954690A (en)1989-04-031990-09-04Kensrue Milo MModular welding gun
US4992881A (en)1989-04-141991-02-12Honeywell Inc.Protective cover for flight instrument filter glass
US4996409A (en)1989-06-291991-02-26Paton Boris EArc-welding monitor
SU1638145A1 (en)1988-11-241991-03-30Мгту Им.Н.Э.БауманаWelding trainer
US5061841A (en)1982-10-221991-10-29The Ohio State UniversityApparatus and methods for controlling a welding process
US5103376A (en)1991-02-191992-04-07At&T Bell LaboratoriesDual position computer arrangement
US5185561A (en)1991-07-231993-02-09Digital Equipment CorporationTorque motor as a tactile feedback device in a computer system
US5208436A (en)1991-04-121993-05-04The Lincoln Electric CompanyPlasma torch with identification circuit
US5211564A (en)1989-07-191993-05-18Educational Testing ServiceComputerized figural response testing system and method
US5231928A (en)1990-08-241993-08-03Talley Defense Systems, Inc.Munition release system
US5243265A (en)1989-12-191993-09-07Fanuc LtdNon-contact tracing control apparatus
US5283418A (en)1992-02-271994-02-01Westinghouse Electric Corp.Automated rotor welding processes using neural networks
US5302799A (en)1991-12-091994-04-12Applied Research, Inc.Weld analysis and control system
US5304774A (en)1993-05-171994-04-19Caterpillar, Inc.Method and apparatus for monitoring weld quality
US5306893A (en)1992-07-311994-04-26The United States Of America As Represented By The Secretary Of The NavyWeld acoustic monitor
US5320538A (en)1992-09-231994-06-14Hughes Training, Inc.Interactive aircraft training system and method
US5343011A (en)1992-07-311994-08-30Matsushita Electric Industrial Co., Ltd.Resistance welding monitor
US5380978A (en)1991-07-121995-01-10Pryor; Timothy R.Method and apparatus for assembly of car bodies and other 3-dimensional objects
US5397872A (en)1993-12-131995-03-14Par Industries Inc.Weld monitor system
US5404181A (en)1993-08-251995-04-04Hung; Chin-LungMonitor filter
US5426732A (en)1992-04-171995-06-20International Business Machines CorporationMethod and apparatus for user control by deriving next states of a process from a current state and by providing a visual presentation of the derived next states
US5448405A (en)1994-05-131995-09-05Allsop, Inc.Glare filter
US5464957A (en)1993-01-271995-11-07The Babcock & Wilcox CompanyManual arc welding speed pacer
US5508757A (en)1994-10-171996-04-16Horng Technical Enterprise Co., Ltd.Foldable screen protector
US5514846A (en)1991-05-291996-05-07Cecil; Dimitrios G.Automatic welder control system
US5517420A (en)1993-10-221996-05-14Powerlasers Ltd.Method and apparatus for real-time control of laser processing of materials
US5521843A (en)1992-01-301996-05-28Fujitsu LimitedSystem for and method of recognizing and tracking target mark
US5533146A (en)1991-09-111996-07-02Toyota Jidosha Kabushiki KaishaWeld bead quality determining apparatus
US5543863A (en)1995-01-201996-08-06Three Soma Technology Co., Ltd.Eye protecting mask of computer video display
US5546476A (en)1993-05-261996-08-13Matsushita Electric Works, Ltd.Shape recognition process
US5571431A (en)1995-03-311996-11-05Mk Products, Inc.Method and apparatus for controlling and simultaneously displaying arc welding process parameters
US5592241A (en)1994-04-181997-01-07Sony CorporationAttachable protective screen for image display device and installation method therefor
US5668612A (en)1995-06-061997-09-16Hung; Wang-HoPivotable protective screen structure which is height-adjustable and forward/backward shiftable
US5675229A (en)1994-09-211997-10-07Abb Robotics Inc.Apparatus and method for adjusting robot positioning
US5674415A (en)1996-01-221997-10-07The University Of ChicagoMethod and apparatus for real time weld monitoring
US5681490A (en)1995-09-181997-10-28Chang; Dale U.Laser weld quality monitoring system
US5708253A (en)1995-06-071998-01-13Hill Technical Services, Inc.Apparatus and method for computerized interactive control, measurement and documentation of arc welding
US5709219A (en)1994-01-271998-01-20Microsoft CorporationMethod and apparatus to create a complex tactile sensation
US5747042A (en)1996-09-261998-05-05Choquet; ClaudeMethod for producing carbon dioxide, fungicidal compounds and thermal energy
US5823785A (en)1997-10-271998-10-20Matherne, Jr.; LeeSimulator for pipe welding
US5832139A (en)1996-07-311998-11-03Omniplanar, Inc.Method and apparatus for determining degrees of freedom of a camera
EP0878263A1 (en)1997-05-161998-11-18Illinois Tool Works Inc.Welding machine
US5845053A (en)1994-10-251998-12-01Fanuc Ltd.Method for teaching welding torch orientation
US5856844A (en)1995-09-211999-01-05Omniplanar, Inc.Method and apparatus for determining position and orientation
JPH11146387A (en)1997-11-041999-05-28Kawasaki Heavy Ind Ltd Welding status remote monitoring device and welding status remote monitoring method
US5930093A (en)1996-08-171999-07-27Chrysler CorporationMethod and apparatus for limiting fault current
US5961859A (en)1997-10-231999-10-05Trw Inc.Method and apparatus for monitoring laser weld quality via plasma size measurements
US5973677A (en)1997-01-071999-10-26Telxon CorporationRechargeable, untethered electronic stylus for computer with interactive display screen
WO1999058286A1 (en)1998-05-131999-11-18Fronius Schweissmaschinen Produktion Gmbh & Co. KgMethod for controlling a welding apparatus and corresponding control device
US5999909A (en)1992-05-191999-12-07Medical Training And Services International, Inc.Methods for establishing certifiable informed consent for a procedure
US6003052A (en)1996-12-041999-12-14Nec CorporationPortable information instrument having a display cover protecting a display screen
EP0963744A1 (en)1998-06-121999-12-15La Soudure Autogene FrancaiseWelding helmet with information display
US6018729A (en)1997-09-172000-01-25Lockheed Martin Energy Research CorporationNeural network control of spot welding
US6019359A (en)1999-02-222000-02-01Fly; David E.Lightweight welding table
US6024273A (en)1998-12-042000-02-15Caterpillar Inc.Method and system for determining weld bead quality
US6033226A (en)1997-05-152000-03-07Northrop Grumman CorporationMachining tool operator training system
US6039494A (en)1998-06-082000-03-21Pearce; Jerry W.Casing board including clear overlay defining exterior pocket
US6046754A (en)1997-11-042000-04-04Gateway 2000, Inc.Display shutter device for view protection on a portable computer
US6049059A (en)1996-11-182000-04-11Samsung Electronics Co., Ltd.Vision processing method and device for welding line auto-tracking
US6051805A (en)1998-01-202000-04-18Air Liquide CanadaMethods and apparatus for welding performance measurement
US6101455A (en)1998-05-142000-08-08Davis; Michael S.Automatic calibration of cameras and structured light sources
US6107601A (en)1997-10-012000-08-22Matsushita Electric Industrial Co., Ltd.Apparatus and method for controlling an arc welding robot
EP1029306A1 (en)1997-10-222000-08-23Spectra Precision ABContactless measuring of position and orientation
US6130407A (en)1998-07-292000-10-10Tregaskiss, Ltd.Arc welding torch
JP2000298427A (en)1999-04-132000-10-24Morita Mfg Co Ltd Medical training device and method of evaluating medical training results
US6136946A (en)1998-06-252000-10-24Fuji Xerox Co., Ltd.Process for producing high-molecular-weight polycarbonate and electrophotographic photoreceptor using polycarbonate obtained by the process
US6153848A (en)1998-12-072000-11-28Mitsubishi Denki Kabushiki KaishaWelding quality decision apparatus and welding machine provided with the same
US6155475A (en)1995-12-222000-12-05Esab AbMethod for automatic multi-layer welding
US6163946A (en)1981-05-112000-12-26Great Lakes Intellectual PropertyVision target based assembly
US6226395B1 (en)1996-04-222001-05-01Malcolm T. GillilandMethod and apparatus for determining the configuration of a workpiece
US6236017B1 (en)1999-07-012001-05-22Bechtel Bwxt Idaho, LlcMethod and apparatus for assessing weld quality
US6242711B1 (en)1999-12-272001-06-05Accudata, Inc.Arc welding monitoring system
US6271500B1 (en)1997-08-082001-08-07Kabushiki Kaisha Yaskawa DenkiArc welding monitoring device
US6288359B1 (en)1997-10-172001-09-11Thyssen Krupp Stahl AgWelding device for two work pieces to be joined together by a weld seam which is closed in itself
US6290740B1 (en)1999-09-152001-09-18Sportsman, Inc.Large size clean air workstation
US20010026445A1 (en)1999-06-112001-10-04David NaghiApparatus for illuminating a portable electronic or computing device
US6301763B1 (en)1981-05-112001-10-16Great Lakes Intellectual Property Ltd.Determining position or orientation of object in three dimensions
US20010032508A1 (en)2000-01-202001-10-25Lemkin Mark A.Position sensing with improved linearity
US6315186B1 (en)1998-01-132001-11-13Fromius Schweissmaschinen Produktion Gmbh & Co. KgControl device for a welding apparatus
US6329635B1 (en)1998-10-302001-12-11The University Of ChicagoMethods for weld monitoring and laser heat treatment monitoring
CA2311685A1 (en)2000-06-222001-12-22Claude ChoquetElectronic virtual certification by data processing method via a communication network
CA2517874A1 (en)2000-06-222001-12-27Claude ChoquetElectronic virtual certification by data processing method via a communication network
US6337458B1 (en)1999-08-262002-01-08AroMethod for automatically selecting the welding sequence for manual welding electrode holders; manual welding electrode holder for implementing the method
US6371765B1 (en)1999-11-092002-04-16Mciworldcom, Inc.Interactive computer-based training system and method
US20020043607A1 (en)1997-08-042002-04-18Joseph W. RagusaPanel support structure, display panel supported by panel support structure, and image forming appparatus using display panel
US20020071550A1 (en)2000-12-122002-06-13Velimir PletikosaMobile device having a protective user interface cover
US6417894B1 (en)1997-05-162002-07-09Bausch & Lomb IncorporatedAdjustable magnifying apparatus and method for viewing video or computer screens
US20020105797A1 (en)2001-02-062002-08-08Technology Creations, Inc.Tool light and method of use
US20020114653A1 (en)2001-02-212002-08-22Gatta Raymond P.Positive piece engagement indicator for marking tool
US6441342B1 (en)2000-11-202002-08-27Lincoln Global, Inc.Monitor for electric arc welder
US6445964B1 (en)1997-08-042002-09-03Harris CorporationVirtual reality simulation-based training of telekinegenesis system for training sequential kinematic behavior of automated kinematic machine
US20020148745A1 (en)2001-04-172002-10-17Chang Tery Chih-HaoProtection device of personal digital assistant
US6469752B1 (en)1997-02-242002-10-22Sony CorporationAttachable protective screen for image display device and installation method therefor
US20020153354A1 (en)2000-08-182002-10-24Norby Robert V.Rail welderhead shear apparatus
US6476354B1 (en)1998-05-132002-11-05Fronius Schweissmaschinen Produktion Gmbh & Co., KgMethod for controlling a welding apparatus and corresponding control device
FR2827066A1 (en)2001-07-042003-01-10Ass Nationale Pour La FormatioSimulation and teaching by apprenticeship of a manual task such as arc welding, uses display on movable support to serve as simulated workpiece while computer processes movement of the simulated tool to determine display
US6506997B2 (en)2000-09-212003-01-14Massachusetts Institute Of TechnologySpot welding system and method for sensing welding conditions in real time
US20030011673A1 (en)2000-02-112003-01-16Ingemar ErikssonDevice for protecting a user's eyes in metal welding or cutting
WO2003019349A1 (en)2001-08-252003-03-06Si Han KimPortable multi-display device
US20030092496A1 (en)2001-11-022003-05-15Alsenz Richard H.Acceleration simulator
US6572379B1 (en)2001-05-032003-06-03Lincoln Global, Inc.Self instruction welding kit
US6583386B1 (en)2000-12-142003-06-24Impact Engineering, Inc.Method and system for weld monitoring and tracking
US6596972B1 (en)2001-07-172003-07-22Lincoln Global, Inc.Welding accessory arrangement
US6614002B2 (en)2000-12-042003-09-02Precitec KgLaser machining head
US6621049B2 (en)2001-04-262003-09-16Central Motor Wheel Co., Ltd.Welding stability assessment apparatus for pulsed arc welding
US6622906B1 (en)1999-06-232003-09-23Shinwa Kosan Co., Ltd.Welding method and welding device
US6647288B2 (en)2001-02-092003-11-11Peter V. MadillMethod and apparatus for designing a workstation
US6670574B1 (en)2002-07-312003-12-30Unitek Miyachi CorporationLaser weld monitor
US6697761B2 (en)2000-09-192004-02-24Olympus Optical Co., Ltd.Three-dimensional position/orientation sensing apparatus, information presenting system, and model error detecting system
US6703585B2 (en)2001-09-202004-03-09Central Motor Wheel Co., Ltd.Arc welding quality evaluation apparatus
US6710298B2 (en)2000-02-112004-03-23Ingemar ErikssonDevice for metal welding
US20040058703A1 (en)2002-03-212004-03-25Nokia CorporationMobile electronic device having pivotable display element
US20040068335A1 (en)2002-10-042004-04-08Comau S.P.A.System for programming robots or similar automatic apparatuses, comprising a portable programming terminal
US6728582B1 (en)2000-12-152004-04-27Cognex CorporationSystem and method for determining the position of an object in three dimensions using a machine vision system with two cameras
US6734393B1 (en)1999-08-132004-05-11Fronius International GmbhData display on a welding screen
US6744011B1 (en)2002-11-262004-06-01General Motors CorporationOnline monitoring system and method for a short-circuiting gas metal arc welding process
US6748249B1 (en)1999-05-032004-06-08Nokia Mobile Phones, Ltd.Electronic device with a sliding lid
US6750428B2 (en)1999-12-102004-06-15Kabushiki Kaisha Yaskawa DenkiAutomatic welding device and welding skill training device
US6753909B1 (en)1999-04-202004-06-22Sharp Laboratories Of America, Inc.Camera with spatially adjustable variable density optical filter and method for controlling the same
JP2004181493A (en)2002-12-042004-07-02Yaskawa Electric CorpWelding torch for arc welding robot
WO2004057554A2 (en)2002-12-192004-07-08Claude ChoquetVirtual simulator system and method for neuromuscular training and certification via a communication network
CA2549553A1 (en)2002-12-192004-07-08Claude ChoquetVirtual simulator method and system for neuromuscular training and certification via a communication network
US6768974B1 (en)1999-11-122004-07-27Caterpillar IncMethod for determining a model for a welding simulation and model thereof
US20040175684A1 (en)2001-07-112004-09-09Johannes KaasaSystem and methods for interactive training of procedures
US6795068B1 (en)2000-07-212004-09-21Sony Computer Entertainment Inc.Prop input device and method for mapping an object from a two-dimensional camera image to a three-dimensional space for controlling action in a game program
US20040223148A1 (en)2003-05-082004-11-11Mitutoyo CorporationCalibration method for surface texture measuring instrument, calibration program for surface texture measuring instrument, recording medium storing the calibration program and surface texture measuring instrument
US20040227730A1 (en)2003-04-102004-11-18Hirotoshi SugiharaInformation processing apparatus
US20040251910A1 (en)2003-06-132004-12-16Smith Alan F.Method and apparatus for detecting shorted rectifying control elements of an engine driven power source for a welding-type system
US6839049B1 (en)2000-11-172005-01-04Intel CorporationPhysically interacting with a processor-based display
US20050006363A1 (en)2003-07-092005-01-13Lincoln Global, Inc. A Corporation Of DelawareWelding wire positioning system
US20050012598A1 (en)2003-07-092005-01-20Berquist Steven EarlDynamic mobile advertising system
US20050016979A1 (en)2003-07-232005-01-27Stein Alan E.Method and apparatus to adaptively cool a welding-type system
US20050017152A1 (en)2003-07-232005-01-27Fergason John D.Remote control for auto-darkening lens systems and method
US6857553B1 (en)2002-04-172005-02-22The United States Of America As Represented By The United States Department Of EnergyMethod and apparatus for in-process sensing of manufacturing quality
US20050073506A1 (en)2003-10-052005-04-07Durso Nick P.C-frame slidable touch input apparatus for displays of computing devices
US20050127052A1 (en)2003-12-122005-06-16Spencer Mark S.Near real time arc welding monitor
US20050135682A1 (en)2003-12-172005-06-23Abrams Thomas A.Jr.Managing file stream generation
US20050133488A1 (en)2003-12-222005-06-23Lincoln Global, Inc.Quality control module for tandem arc welding
US6927360B2 (en)2000-04-052005-08-09Fronius International GmbhMethod for continuously regulating or tracking a position of a welding torch or a welding head
US20050179654A1 (en)2001-06-112005-08-18Hawkins Jeffrey C.Interface for processing of an alternate symbol in a computer device
US6937329B2 (en)2000-07-062005-08-30Aerospatiale Matra CcrMethod for detecting and identifying defects in a laser beam weld seam
US20050197115A1 (en)2001-09-252005-09-08Keith ClarkSystem and method to facilitate wireless wide area communication in a welding environment
US20050207102A1 (en)2004-03-192005-09-22Sony CorporationProtective cover for a computer
US20050227635A1 (en)2001-06-112005-10-13Hawkins Jeffrey CHand-held device
WO2005102230A1 (en)2004-04-272005-11-03Otostech Co., Ltd.Automatic digital welding helmet using camera
US20050256611A1 (en)2003-11-242005-11-17Abb Research LtdMethod and a system for programming an industrial robot
US6967635B2 (en)2003-04-252005-11-22Horng Technical Enterprise Co., Ltd.Computer monitor screen
WO2005110658A2 (en)2004-05-142005-11-24Fronius International GmbhMethod for operation of a welding unit welding unit and welding torch for such a welding unit
WO2006004427A1 (en)*2004-07-052006-01-12Norsk Elektro Optikk AsMarking and reading system
US20060010551A1 (en)2004-07-142006-01-19Bishop Timothy DWelding face covering
US6995536B2 (en)2003-04-072006-02-07The Boeing CompanyLow cost robot manipulator
US7015419B2 (en)2000-11-022006-03-21Fronius International GmbhDetecting element for a welding device
CA2554498A1 (en)2004-09-272006-04-06Claude ChoquetBody motion training and qualification system and method
WO2006034571A1 (en)2004-09-272006-04-06Claude ChoquetBody motion training and qualification system and method
US7025053B1 (en)2005-01-112006-04-11Silvano AltamiranoCutting table for large stone work pieces
US20060081740A1 (en)2004-10-152006-04-20Bob BellavanceCollapsible portable welding stand
US7032814B2 (en)*1999-06-212006-04-25Lincoln Global, Inc.Coded welding consumable
US7045742B2 (en)2000-12-112006-05-16Fronius International GmbhSystem for carrying out a welding process
US20060151446A1 (en)2005-01-032006-07-13Schneider Joseph CMethod and System of Conserving Plasma Torch Consumable
US7081888B2 (en)2003-04-242006-07-25Eastman Kodak CompanyFlexible resistive touch screen
US20060163228A1 (en)2005-01-252006-07-27Lincoln Global, Inc.Methods and apparatus for tactile communication in an arc processing system
US20060173619A1 (en)2005-02-032006-08-03Lincoln Global, Inc.Construction equipment discovery on a network
US20060212169A1 (en)2003-07-112006-09-21Colin LuthardtMethod for positioning a welding robot tool
US7120473B1 (en)2001-10-142006-10-10Palm, Inc.Method and apparatus for controlling a mobile device by using a pivoting input switch
US20060241432A1 (en)2005-02-152006-10-26Vanderbilt UniversityMethod and apparatus for calibration, tracking and volume construction data for use in image-guided procedures
US7132623B2 (en)2002-03-272006-11-07Praxair Technology, Inc.Luminescence sensing system for welding
US7132617B2 (en)2002-02-202006-11-07Daimlerchrysler CorporationMethod and system for assessing quality of spot welds
CN1866317A (en)2006-06-092006-11-22西安交通大学Simulative training device for manual arc welding operation
US7150047B2 (en)2003-07-022006-12-19Lightswitch Safety Systems, Inc.Indicator layout on an auto-darkening lens for use in welding
WO2007009131A1 (en)2005-07-152007-01-25Fronius International GmbhWelding method and welding system with determination of the position of the welding torch
JP2007021542A (en)2005-07-192007-02-01Daihen CorpArc welding torch
US7173215B1 (en)*2005-07-132007-02-06Lincoln Global, Inc.Method for evaluating and/or comparing welding consumables
US7181413B2 (en)2001-04-182007-02-20Capital Analytics, Inc.Performance-based training assessment
US20070051711A1 (en)2005-08-252007-03-08Lincoln Global, Inc.Torch for electric arc welding system
WO2007044135A1 (en)2005-10-072007-04-19Illinois Tool Works Inc.Wireless communication system for welding-type devices
US20070114215A1 (en)2005-11-212007-05-24Lincoln Global, Inc.Method of pacing travel speed
US20070115202A1 (en)2005-11-222007-05-24Kiesenhofer Josef RElectronic device with dual view displays
US7226176B1 (en)2006-06-092007-06-05Hony Glass Factory Co., Ltd.Detachable screen protector assembly with a fastening apparatus
US20070187378A1 (en)2004-10-132007-08-16Erdogan KarakasDevice for carrying out a joint, separation, or suface treatment process, particularly a welding process
US20070188606A1 (en)2006-02-162007-08-16Kevin AtkinsonVision-based position tracking system
US7261261B2 (en)2003-05-232007-08-28Peter LigertwoodStand of free standing or mobile type
US20070221636A1 (en)2006-03-232007-09-27Monzyk Doug JWelding flash protection apparatus
US20070247793A1 (en)2006-04-192007-10-25Carnevali Jeffrey DProtective cover for device having touch screen
US20070248261A1 (en)2005-12-312007-10-25Bracco Imaging, S.P.A.Systems and methods for collaborative interactive visualization of 3D data sets over a network ("DextroNet")
US20070264620A1 (en)2006-02-242007-11-15Toyota Motor Engineering & Manufacturing North America, Inc.Testing systems and methods using manufacturing simulations
US20070278196A1 (en)2006-06-052007-12-06Lincoln Global, Inc.Method for testing undercut on the inner diameter of pipe welds
EP1864744A1 (en)2006-06-052007-12-12Mar Lon ChenClamping device for weld seam-backing member
US20070291166A1 (en)2005-12-092007-12-20Fujifilm CorporationDisplay device
US20080030631A1 (en)2006-08-072008-02-07Michael GallagherApparatus for a rotatable computer screen guard having screen protector and document holder functionality
US20080061113A9 (en)2001-02-142008-03-13Honda Giken Kogyo Kabushiki KaishaWelding condition monitoring device
US20080077422A1 (en)2006-04-142008-03-27Christopher DooleyMotion Sensor Arrangement for Point of Purchase Device
US20080124698A1 (en)2006-11-282008-05-29Ebensberger Jason MVirtual coatings application system with structured training and remote instructor capabilities
US20080128395A1 (en)2004-12-152008-06-05Fronius International GmbhMethod and Device For Combined Laser-Arc Welding With Control of Laser Unit According To Welding Torch
US20080149602A1 (en)2006-12-222008-06-26Illinois Tool Works Inc.Welding and plasma cutting method and system
US20080149608A1 (en)2006-12-222008-06-26Bruce AlbrechtSystem and method for identifying welding consumable wear
US20080158502A1 (en)2006-12-272008-07-03Illinois Tool Works Inc.Voice control welding/cutting helmet functions and settings
US20080168290A1 (en)2007-01-062008-07-10Jobs Steven PPower-Off Methods for Portable Electronic Devices
US20080169277A1 (en)2007-01-162008-07-17Illinois Tool Works Inc.Lighted welding torch
US20080234960A1 (en)2007-03-212008-09-25Topy CorporationMethod and apparatus for inspecting and analyzing welded structures
US7465230B2 (en)2001-08-092008-12-16IgtVirtual cameras and 3-D gaming environments in a gaming machine
KR100876425B1 (en)2007-06-252008-12-31삼성중공업 주식회사 Welding simulator
US20090005728A1 (en)2007-06-272009-01-01Roche Diagnostics Operations, Inc.Therapy delivery system having an open architecture and a method thereof
US7474760B2 (en)1998-10-222009-01-06Trimble AbContactless measuring of position and orientation
CN201181527Y (en)2007-11-132009-01-14上海宝冶建设有限公司Full-station soldering training stand
WO2009022443A1 (en)2007-08-162009-02-19Shinkokiki Co., Ltd.Wire cutting tool for arc welding and arc welding method employing the wire cutting tool
US20090057286A1 (en)2007-03-192009-03-05Hideki IharaWelding device
US7523069B1 (en)1999-11-052009-04-21Fronium International GmbhAssessing and/or determining of user authorizations using a transponder, a finger print recognition routine or the like
WO2009053829A2 (en)2007-10-242009-04-30Lincoln Global, Inc.Display with replica welding helmet viewer
GB2454232A (en)2007-11-012009-05-06Validation CtWelding Support System
WO2009060231A1 (en)2007-11-052009-05-14The Validation Centre (Tvc) LimitedArc welding simulator
US20090146359A1 (en)2007-12-102009-06-11Canfield Daniel CLow profile clamp for use with apparatus for thermal control in the analysis of electronic devices
JP2009125790A (en)2007-11-272009-06-11Kobe Steel LtdMonitoring apparatus of arc welding
US20090152251A1 (en)2007-12-182009-06-18Illinois Tool Works Inc.Personalized interface for torch system and method
US20090161212A1 (en)2007-12-212009-06-25Gough Yuma EWeld viewing
US20090173726A1 (en)2008-01-092009-07-09Robert Raimund DavidsonAutomatic Weld Arc Monitoring System
US7564005B2 (en)2001-07-102009-07-21Doben LimitedResistance welding fastener electrode and monitor and method of using same
US20090189974A1 (en)2008-01-232009-07-30Deering Michael FSystems Using Eye Mounted Displays
WO2009092944A1 (en)2008-01-182009-07-30Renault S.A.S.Device for teaching a manual technique to an operator
US20090200282A1 (en)2008-02-082009-08-13Gm Global Technology Operations, Inc.Weld signature monitoring method and apparatus
US20090200281A1 (en)2008-02-082009-08-13Gm Global Technology Operations, Inc.Welding power supply with neural network controls
US7577285B2 (en)2001-11-152009-08-18Precitec Vision Gmbh & Co. KgMethod and device for evaluation of jointing regions on workpieces
US20090230107A1 (en)2008-03-142009-09-17Illinois Tool Works Inc.Positioning attachment for a welding torch
US20090231423A1 (en)2008-03-142009-09-17Illinois Tool Works Inc.Video recording device for a welder's helmet
US20090249606A1 (en)2008-04-032009-10-08Fernando Martinez DiezAutomated assembly and welding of structures
US20090283021A1 (en)2008-05-132009-11-19Harry WongMetal-top welding table
US20090298024A1 (en)2008-05-282009-12-03Todd BatzlerWelding training system
US20090323121A1 (en)2005-09-092009-12-31Robert Jan ValkenburgA 3D Scene Scanner and a Position and Orientation System
WO2010000003A2 (en)2008-07-042010-01-07Fronius International GmbhDevice and method for simulating a welding process
US20100020483A1 (en)2008-07-252010-01-28Hong Fu Jin Precision Industry(Shenzhen) Co., Ltd.Display apparatus
US20100048273A1 (en)2008-08-212010-02-25Lincoln Global, Inc.Welding simulator
WO2010020867A2 (en)2008-08-212010-02-25Lincoln Global, Inc.System and method providing arc welding training in a real-time simulated virtual reality environment using real-time weld puddle feedback
WO2010020870A2 (en)2008-08-212010-02-25Lincoln Global Inc.Virtual reality pipe welding simulator
US7698094B2 (en)2006-11-062010-04-13Canon Kabushiki KaishaPosition and orientation measurement method and apparatus
US20100088793A1 (en)2006-06-062010-04-15Livio GhisleniFace and antiglare protection device for persons working in sites involving hazardous, damaging or disturbing radiation, especially welders
USD614217S1 (en)2009-07-102010-04-20Lincoln Global, Inc.Simulator welding coupon stand
USD615573S1 (en)2009-07-102010-05-11Lincoln Global, Inc.Welding electrode holder
US20100123664A1 (en)2008-11-142010-05-20Samsung Electronics Co., Ltd.Method for operating user interface based on motion sensor and a mobile terminal having the user interface
US20100133247A1 (en)2008-11-212010-06-03Jyoti MazumderMonitoring of a welding process
US20100145520A1 (en)2008-12-052010-06-10Gian Paolo GerioRobot System
US7766213B2 (en)2002-04-052010-08-03Volvo Aero CorporationDevice and method for monitoring a welding area and an arrangement and a method for controlling a welding operation
US20100201803A1 (en)2009-02-092010-08-12Recognition RoboticsWork piece tracking system and method
US20100207620A1 (en)2006-10-172010-08-19Gies Paul DInspection apparatus and method
US7789811B2 (en)2008-01-242010-09-07Cooper Scott RMethod and apparatus for a mobile training device for simultaneous use by multiple users
US20100224610A1 (en)2009-03-092010-09-09Lincoln Global, Inc.System for tracking and analyzing welding activity
US20100238119A1 (en)2009-03-182010-09-23Zivthan DubrovskyTouchscreen Keyboard Overlay
US20100245273A1 (en)2009-03-272010-09-30Jeong-Ho HwangTouch screen module with protector window
WO2010111722A2 (en)2009-03-312010-10-07Fronius International GmbhMethod and apparatus for operating a power source connected to a manually actuated implement
DE202010011064U1 (en)2010-08-052010-10-21Hazet-Werk Hermann Zerver Gmbh & Co. Kg Rotatable display of a torque wrench
US7826984B2 (en)2007-02-062010-11-02Abb Research, Ltd.Method and a control system for monitoring the condition of an industrial robot
US7831098B2 (en)2006-11-072010-11-09Recognition RoboticsSystem and method for visual searching of objects using lines
US20100283588A1 (en)2004-09-242010-11-11Immersion CorporationSystems And Methods For Providing A Haptic Device
US20100291313A1 (en)2009-05-152010-11-18Peiching LingMethods and apparatus for forming uniform particle layers of phosphor material on a surface
US7839416B2 (en)2006-03-102010-11-23University Of Northern Iowa Research FoundationVirtual coatings application system
US7845560B2 (en)2004-12-142010-12-07Sky-Trax IncorporatedMethod and apparatus for determining position and rotational orientation of an object
US20100314362A1 (en)2009-06-112010-12-16Illinois Tool Works Inc.Weld defect detection systems and methods for laser hybrid welding
US20110000892A1 (en)2009-07-022011-01-06Soudronic AgMethod and welding device for the evaluation of the welding current intensity during the welding of container bodies
US20110006047A1 (en)2009-07-082011-01-13Victor Matthew PenrodMethod and system for monitoring and characterizing the creation of a manual weld
USD631074S1 (en)2009-07-102011-01-18Lincoln Global, Inc.Welding simulator console
US7899618B2 (en)2004-11-122011-03-01The Boeing CompanyOptical laser guidance system and method
US20110092828A1 (en)2004-04-162011-04-21Spohn Michael AFluid Delivery System, Fluid Path Set, and Pressure Isolation Mechanism with Hemodynamic Pressure Dampening Correction
CN102049595A (en)2009-11-062011-05-11株式会社神户制钢所Arc welding system, single arc welding system, and tandem arc welding system
US20110114615A1 (en)2009-11-132011-05-19Lincoln Global, Inc.Systems, methods, and apparatuses for monitoring weld quality
US20110117527A1 (en)2009-07-082011-05-19Edison Welding Institute, Inc.Welding training system
US20110176720A1 (en)2010-01-152011-07-21Robert Michael Van OstenDigital Image Transitions
US20110183304A1 (en)2009-07-102011-07-28Lincoln Global, Inc.Virtual testing and inspection of a virtual weldment
US8019144B2 (en)2008-02-252011-09-13Kabushiki Kaisha ToshibaPattern image correcting apparatus, pattern inspection apparatus, and pattern image correcting method
US20110220616A1 (en)2010-03-102011-09-15Illinois Tool Works Inc.Welding device with integral user interface
US20110220619A1 (en)2010-03-102011-09-15Illinois Tool Works Inc.Positional monitoring systems and methods for welding devices
US20110240605A1 (en)*2010-04-052011-10-06Fanuc CorporationSpot welding system and dressing determination method
US20110249090A1 (en)2010-04-122011-10-13Moore John SSystem and Method for Generating Three Dimensional Presentations
US8044942B1 (en)2011-01-182011-10-25Aevoe Inc.Touch screen protector
US8046178B2 (en)2005-06-132011-10-25Abb Research LtdDefect detection system for identifying defects in weld seams
US20110284508A1 (en)2010-05-212011-11-24Kabushiki Kaisha ToshibaWelding system and welding method
US20110286005A1 (en)2010-05-212011-11-24Kabushiki Kaisha ToshibaWelding inspection method and apparatus thereof
US20110290765A1 (en)2010-05-262011-12-01Illinois Tool Works Inc.Automatic and semi-automatic welding systems and methods
US20110313731A1 (en)1994-11-212011-12-22Nike, Inc.Pressure sensing systems for sports, and associated methods
US20120007748A1 (en)2008-07-252012-01-12Sylvain ForguesControlled electro-pneumatic power tools and interactive consumable
US8100694B2 (en)2007-06-112012-01-24The United States Of America As Represented By The Secretary Of The NavyInfrared aimpoint detection system
US8110774B2 (en)2004-07-082012-02-07Trumpf Laser Gmbh + Co. KgLaser welding method and apparatus
DE102010038902A1 (en)2010-08-042012-02-09SCHWEIßTECHNISCHE LEHR- UND VERSUCHSANSTALT HALLE GMBH Method and device for supporting the training of a hand welder
US20120048838A1 (en)2010-08-302012-03-01Suzuki Motor CorporationApparatus and Method for Determining Shape of End of Welding Bead
US20120072021A1 (en)2009-05-272012-03-22Leica Geosystems AgMethod and system for highly precisely positioning at least one object in an end position in space
US20120077174A1 (en)2010-09-292012-03-29Depaul WilliamCompetency assessment tool
US20120105476A1 (en)2010-11-022012-05-03Google Inc.Range of Focus in an Augmented Reality Application
US20120113512A1 (en)2010-02-012012-05-10Tihomir TsanevDetachable screen guard assembly and method for securing a screen protector
US20120122062A1 (en)2010-11-162012-05-17Electronics And Telecommunications Research InstituteReconfigurable platform management apparatus forvirtual reality-based training simulator
US20120175834A1 (en)2011-01-122012-07-12Emerson Electric Co.Grounding component for electric welding systems and methods
US20120180180A1 (en)2010-12-162012-07-19Mann SteveSeeing aid or other sensory aid or interface for activities such as electric arc welding
US20120189993A1 (en)2009-07-102012-07-26Lincoln Global, Inc.Virtual welding system
US20120188365A1 (en)2009-07-202012-07-26Precitec KgLaser processing head and method for compensating for the change in focus position in a laser processing head
US8235588B2 (en)2006-12-212012-08-07Thermosensorik GmbhMethod for automated testing of a material joint
US20120205359A1 (en)2009-11-132012-08-16Lincoln Global, Inc.Systems, methods, and apparatuses for monitoring weld quality
US20120231894A1 (en)2010-12-062012-09-13Full Swing GolfMethod and apparatus for simulated golf
US20120248080A1 (en)2011-03-292012-10-04Illinois Tool Works Inc.Welding electrode stickout monitoring and control
US20120248083A1 (en)2011-03-292012-10-04Illinois Tool Works Inc.Welding torch with wire feed speed control
WO2012137060A1 (en)2011-04-072012-10-11Lincoln Global, Inc.Virtual testing and inspection of a virtual weldment
US20120291172A1 (en)2011-05-162012-11-22Lincoln Global, Inc.Dual-spectrum digital imaging welding helmet
US20120298640A1 (en)2009-07-082012-11-29Edison Welding Institute, Inc.System for characterizing manual welding operations
US20120323496A1 (en)2011-02-172012-12-20Nike, Inc.Tracking of User Performance Metrics During a Workout Session
WO2013023012A1 (en)2011-08-102013-02-14Illinois Tool Works Inc.System for welding training with display, training workpiece with transparent weld joint and training torch with sensor
US8393519B2 (en)2009-03-262013-03-12EurocopterMethod of assembling metal parts by friction welding, with the welding temperature being controlled using thermally conductive elements
US8406682B2 (en)2010-04-302013-03-26Cloud Niners Information Systems LlcVirtual laboratory smart agent
US20130081293A1 (en)2011-09-202013-04-04Dritte Patentportfolio Beteiligungsgesellschaft Mbh & Co. KgMethod for determining a position change of a tool and the tool and the tool control unit
CN202877704U (en)2012-10-292013-04-17常州市海宝焊割有限公司Contact nozzle for gas shielded welding
US8432476B2 (en)2009-12-312013-04-30Sony Corporation Entertainment Europe LimitedMedia viewing
US20130182070A1 (en)2008-08-212013-07-18Carl PetersSystem and method providing combined virtual reality arc welding and three-dimensional (3d) viewing
US20130189658A1 (en)2009-07-102013-07-25Carl PetersSystems and methods providing enhanced education and training in a virtual reality environment
US20130189656A1 (en)2010-04-082013-07-25Vrsim, Inc.Simulator for skill-oriented training
US20130200882A1 (en)2012-02-032013-08-08Research In Motion LimitedMethods and devices for detecting magnetic interference affecting the operation of a magnetometer
US20130206741A1 (en)2012-02-102013-08-15Illinois Tool Works Inc.Helmet-integrated weld travel speed sensing system and method
US20130209976A1 (en)2008-08-212013-08-15Lincoln Global, Inc.Virtual reality pipe welding simulator and setup
US8541746B2 (en)2008-11-202013-09-24Benteler Automobiltechnik GmbhProcess and system for the nondestructive quality determination of a weld seam, and a welding device
WO2013138831A1 (en)2012-03-232013-09-26Fronius International GmbhWelding unit having a touchscreen
US20130262000A1 (en)2012-03-302013-10-03Illinois Tool Works Inc.Devices and methods for analyzing spatter generating events
US20130264315A1 (en)2012-04-062013-10-10Illinois Tool Works Inc.Welding torch with a temperature measurement device
US20130264322A1 (en)2012-04-062013-10-10Illinois Tool Works Inc.Welding systems having non-contact temperature measurement systems
US20130288211A1 (en)2012-04-272013-10-31Illinois Tool Works Inc.Systems and methods for training a welding operator
US20130326842A1 (en)2012-06-072013-12-12Karcher North America, Inc.Fluid Extraction Tool
WO2014007830A1 (en)2012-07-062014-01-09Edison Welding Institute, Inc.System for characterizing manual welding operations
US20140008088A1 (en)2011-03-312014-01-09Ingersoll-Rand CompanyDisplay Assemblies Having Integrated Display Covers and Light Pipes and Handheld Power Tools and Methods Including Same
ES2438440A1 (en)2012-06-132014-01-16Seabery Soluciones, S.L.Advanced device for welding training, based on augmented reality simulation, which can be updated remotely
US20140017642A1 (en)2012-07-102014-01-16Lincoln Global Inc.Virtual reality pipe welding simulator and setup
US20140042135A1 (en)2006-12-202014-02-13Lincoln Global, Inc.System and method of receiving or using data from external sources for a welding sequence
US20140042137A1 (en)2006-12-202014-02-13Lincoln Global, Inc.System and method of exporting or using welding sequencer data for external systems
US20140069899A1 (en)2012-09-072014-03-13Illinois Tool Works Inc.Welding system with multiple user interface modules
US8681178B1 (en)2010-11-022014-03-25Google Inc.Showing uncertainty in an augmented reality application
US8692157B2 (en)2005-09-152014-04-08Lincoln Global, Inc.Welding system sequence control apparatus
US20140134580A1 (en)2012-11-092014-05-15Illinois Tool Works Inc.System and device for welding training
WO2014074296A1 (en)2012-11-092014-05-15Illinois Tool Works Inc.Welding training system with position detecting system and markers on devices; method of training welders using such system
US20140131337A1 (en)2012-11-152014-05-15Donny R. WilliamsElectrode Holder with Automatic Power Cutoff
US20140184496A1 (en)2013-01-032014-07-03Meta CompanyExtramissive spatial imaging digital eye glass apparatuses, methods and systems for virtual or augmediated vision, manipulation, creation, or interaction with objects, materials, or other entities
US20140272837A1 (en)2013-03-152014-09-18Illinois Tool Works Inc.Multi-mode software and method for a welding training system
WO2014140719A1 (en)2013-03-112014-09-18Lincoln Global, Inc.Systems and methods providing an enhanced user experience in a real-time simulated virtual reality welding environment
US20140263224A1 (en)2013-03-152014-09-18Illinois Tool Works Inc.Welding training systems and devices
US20140272838A1 (en)2013-03-152014-09-18Illinois Tool Works Inc.Data storage and analysis for a welding training system
US20140263227A1 (en)2006-12-202014-09-18Lincoln Global, Inc.System and method of receiving or using data from external sources for a welding sequence
US20140272836A1 (en)2013-03-152014-09-18Illinois Tool Works Inc.Calibration devices for a welding training system
US20140272835A1 (en)2013-03-152014-09-18Illinois Tool Works Inc.Welding torch for a welding training system
US20140267773A1 (en)2013-03-152014-09-18Varian Medical Systems, Inc.Marker system with light source
US8851896B2 (en)2008-08-212014-10-07Lincoln Global, Inc.Virtual reality GTAW and pipe welding simulator and setup
US8860760B2 (en)2010-09-252014-10-14Teledyne Scientific & Imaging, LlcAugmented reality (AR) system and method for tracking parts and visually cueing a user to identify and locate parts in a scene
US20140315167A1 (en)2013-04-222014-10-23Fronius International GmbhMethod and device for simulating an electrode welding process
US20140346793A1 (en)2013-05-212014-11-27The Boeing CompanyAdjustable Compression, Adjustable Tension Rod Indicator, and Adjustable Extension Rod
US20140374396A1 (en)2013-06-212014-12-25Illinois Tool Works Inc.System and method for determining weld travel speed
US8953909B2 (en)2006-01-212015-02-10Elizabeth T. GuckenbergerSystem, method, and computer software code for mimic training
US8953033B2 (en)*2009-10-272015-02-10Keylex CorporationElectrode inspection apparatus for spot welding
US20150056584A1 (en)2009-07-082015-02-26Ewi, Inc.System and method for manual welder training
US20150056585A1 (en)2012-07-062015-02-26Ewi, Inc.System and method monitoring and characterizing manual welding operations
US8990842B2 (en)2011-02-082015-03-24Disney Enterprises, Inc.Presenting content and augmenting a broadcast
US20150209887A1 (en)2009-10-132015-07-30Lincoln Global, Inc.Welding helmet with heads up display
US9196169B2 (en)2008-08-212015-11-24Lincoln Global, Inc.Importing and analyzing external data using a virtual reality welding system
US9318026B2 (en)2008-08-212016-04-19Lincoln Global, Inc.Systems and methods providing an enhanced user experience in a real-time simulated virtual reality welding environment
US9330575B2 (en)2008-08-212016-05-03Lincoln Global, Inc.Tablet-based welding simulator
US20160203734A1 (en)2009-07-082016-07-14Lincoln Global, Inc.System for characterizing manual welding operations
US9402122B2 (en)2001-11-192016-07-26Otter Products, LlcProtective enclosure for electronic device

Family Cites Families (8)

* Cited by examiner, † Cited by third party
Publication numberPriority datePublication dateAssigneeTitle
CN201051321Y (en)*2007-06-142008-04-23中国石油天然气第一建设公司Welding training operation table
KR100967553B1 (en)*2008-04-282010-07-05주식회사 코리아일레콤 Position and posture detection system using infrared camera
CN201410611Y (en)*2009-02-182010-02-24张炳岭Multi-position welding platform
CN101745765B (en)*2009-12-152012-02-08哈尔滨工业大学 Method for man-machine cooperation sharing control remote welding
CN201685016U (en)*2010-03-112010-12-29崔家林Argon arc welding molten bath and tungsten rod image acquisition device
CN202200202U (en)*2011-08-182012-04-25郭建朋Special pincers for carbon dioxide gas shield welding
CN202281008U (en)*2011-09-302012-06-20长城汽车股份有限公司Movable type high-speed camera frame for automobile collision test
CN202741926U (en)*2012-08-292013-02-20中国石油天然气第一建设公司Welding operation simulation training equipment

Patent Citations (475)

* Cited by examiner, † Cited by third party
Publication numberPriority datePublication dateAssigneeTitle
US1340270A (en)1920-03-111920-05-18Jahoda EmilSafety electric welding-torch
US2045800A (en)1934-06-081936-06-30Smith Corp A OArc length indicator
US2045802A (en)1935-06-191936-06-30Smith Corp A OArc welding shield
US2045801A (en)1935-06-191936-06-30Smith Corp A OVoltage indicator
US2351910A (en)1940-05-311944-06-20Westinghouse Electric & Mfg CoArc voltage or arc length indicator
US2333192A (en)1942-10-291943-11-02Carl E MobergWelder's training device
FR1456780A (en)1965-09-031966-07-08 Learning station and installation for teaching tool handling
US3391691A (en)1967-05-161968-07-09Richard W. YoungBlood pressure gauge
US3679865A (en)1969-04-151972-07-25Redemat SaApparatus for controlling electric welding processes
US3867769A (en)1973-08-061975-02-25Harvey B SchowArc welding simulator trainer
US4028522A (en)1975-04-291977-06-07Martin Marietta CorporationMulti-mode structural weld monitor on a time base
US4044377A (en)1976-04-281977-08-23Gte Laboratories IncorporatedVideo target locator
US4041615A (en)1976-08-031977-08-16Joseph WhitehillSmall-motion test device
US4144766A (en)1977-05-021979-03-20The Babcock & Wilcox CompanyApparatus for the in-situ detection and location of flaws in welds
US4132014A (en)1977-06-201979-01-02Schow Harvey BWelding simulator spot designator system
US4124944A (en)1977-07-081978-11-14Lenco, Inc.Device for teaching and evaluating a person's skill as a welder
US4224501A (en)1978-02-271980-09-23Unimation, Inc.Teaching arrangement for programmable manipulator
US4375165A (en)1979-06-261983-03-01Rontgen Technische Dienst B.V.System for inspecting welded joints in pipe lines by means of ultrasonic waves
US4294440A (en)1979-10-091981-10-13Severt WHolding device
US4253648A (en)1979-11-231981-03-03Meeks Charles HAdjustable off-set spring loaded clamp and stand
US4389561A (en)1980-07-031983-06-21Esab AktiebolagSelf-positioning welding or cutting torch
SU972552A1 (en)1981-02-021982-11-07Киевский Ордена Ленина Политехнический Институт Им.50-Летия Великой Октябрьской Социалистической РеволюцииWelding rectifier simulator
US6301763B1 (en)1981-05-112001-10-16Great Lakes Intellectual Property Ltd.Determining position or orientation of object in three dimensions
US6163946A (en)1981-05-112000-12-26Great Lakes Intellectual PropertyVision target based assembly
US4375026A (en)1981-05-291983-02-22The United States Of America As Represented By The Secretary Of The ArmyWeld quality monitor
US4452589A (en)1981-08-141984-06-05Denison Tom GArc welding simulator
US4396945A (en)1981-08-191983-08-02Solid Photography Inc.Method of sensing the position and orientation of elements in space
US4412121A (en)1981-08-281983-10-25S R I InternationalImplement positioning apparatus and process
US4484059A (en)1982-04-261984-11-20General Electric CompanyInfrared sensor for arc welding
US4518361A (en)1982-08-051985-05-21Conway Malcolm JMethod and apparatus for effecting and evaluating action upon visual imaging
US4541055A (en)1982-09-011985-09-10Westinghouse Electric Corp.Laser machining system
US4943702A (en)1982-10-221990-07-24The Ohio State UniversityApparatus and methods for controlling a welding process
US4739404A (en)1982-10-221988-04-19The Ohio State UniversityApparatus and methods for controlling a welding process
US5061841A (en)1982-10-221991-10-29The Ohio State UniversityApparatus and methods for controlling a welding process
US4595820A (en)1982-10-221986-06-17The Ohio State UniversityApparatus and methods for controlling a welding process
US4459114A (en)1982-10-251984-07-10Barwick John HSimulation system trainer
US4577499A (en)1982-11-181986-03-25Cyclomatic Industries, Inc.Slope-speed sensor for seam welding apparatus
US4471207A (en)1983-05-101984-09-11Deep Ocean Engineering IncorporatedApparatus and method for providing useful audio feedback to users of arc welding equipment
US4594497A (en)1984-05-231986-06-10Hitachi, Ltd.Image processing welding control method
US4628176A (en)1984-09-191986-12-09Kabushiki Kaisha TetrakApparatus for setting schedules of a resistance welding machine
US4638146A (en)1984-10-161987-01-20Nagase Sangyo Kabushiki KaishaMethod of protecting eyes from welding rays in arc welding and apparatus therefor
US4595186A (en)1984-12-201986-06-17Reed Richard ARotating welding fixture
US4555614A (en)1984-12-241985-11-26The United States Of America As Represented By The Secretary Of The NavyWeld metal cooling rate indicator system
US4591689A (en)1985-02-251986-05-27Caterpillar Tractor Co.Adaptive welding guidance apparatus
US4591689B1 (en)1985-02-251992-04-21Caterpillar Inc
US4721947A (en)1985-03-191988-01-26The Welding InstituteWelding monitor
US4590356A (en)1985-07-121986-05-20General Electric CompanyRobot navigation method for joint following
US4595368A (en)1985-07-291986-06-17Cole Edgar CInstructional apparatus for underwater welding
US4609806A (en)1985-09-231986-09-02General Electric CompanyMethod and apparatus for determining weld quality in percussion welding
US4677277A (en)1985-11-081987-06-30Cook Marvin DArc welding instruction monitor
US4680014A (en)1985-11-211987-07-14Institute Problem Modelirovania V Energetike A An UssrWelder's trainer
SU1354234A1 (en)1985-11-291987-11-23Предприятие П/Я М-5049Electric welding trainer
US4716273A (en)1985-12-301987-12-29Institute Problem Modelirovania V Energetike Akademii Nauk Ukrainskoi SSRElectric-arc trainer for welders
US4829365A (en)1986-03-071989-05-09Dimension Technologies, Inc.Autostereoscopic display with illuminating lines, light valve and mask
US4689021A (en)1986-10-141987-08-25Institute Problem Modelirovaniya V Energetike An Ukr.SsrSpark trainer for welders
US4881678A (en)1987-01-201989-11-21FramatomeProcess for the remote-controlled semi-automatic welding of two rotationally symmetrical components
US4767109A (en)1987-03-261988-08-30Raketich Milton FPositioning apparatus
US4868649A (en)1987-06-011989-09-19FramatomeApparatus for the televisual monitoring of an arc welding operation
US4728768A (en)1987-06-191988-03-01General Electric CompanyPercussion weld monitoring
US4877940A (en)1987-06-301989-10-31Iit Research InstituteUsing infrared imaging to monitor and control welding
US4867685A (en)1987-09-241989-09-19The Trustees Of The College Of AeronauticsAudio visual instructional system
SU1489933A1 (en)1987-10-231989-06-30Мвту Им. Н.Э.БауманаMethod of training welders
US4830261A (en)1987-10-291989-05-16Laser Limited, Inc.Eddy current tool positioning system
US4931018A (en)1987-12-211990-06-05Lenco, Inc.Device for training welders
EP0323277A2 (en)1987-12-311989-07-05Westinghouse Electric CorporationParametric path modeling for an optical automatic seam tracker and real time robotic control system
SU1638145A1 (en)1988-11-241991-03-30Мгту Им.Н.Э.БауманаWelding trainer
US4937427A (en)1989-03-231990-06-26Mcvicker NoelApparatus and method for automatically welding a T-junction connector to a main pipe
US4954690A (en)1989-04-031990-09-04Kensrue Milo MModular welding gun
US4992881A (en)1989-04-141991-02-12Honeywell Inc.Protective cover for flight instrument filter glass
US4920249A (en)1989-05-081990-04-24General Electric CompanyWeld bead wetting angle detection and control
US4996409A (en)1989-06-291991-02-26Paton Boris EArc-welding monitor
US5211564A (en)1989-07-191993-05-18Educational Testing ServiceComputerized figural response testing system and method
US5243265A (en)1989-12-191993-09-07Fanuc LtdNon-contact tracing control apparatus
US5231928A (en)1990-08-241993-08-03Talley Defense Systems, Inc.Munition release system
US5103376A (en)1991-02-191992-04-07At&T Bell LaboratoriesDual position computer arrangement
US5208436A (en)1991-04-121993-05-04The Lincoln Electric CompanyPlasma torch with identification circuit
US5514846A (en)1991-05-291996-05-07Cecil; Dimitrios G.Automatic welder control system
US5380978A (en)1991-07-121995-01-10Pryor; Timothy R.Method and apparatus for assembly of car bodies and other 3-dimensional objects
US5185561A (en)1991-07-231993-02-09Digital Equipment CorporationTorque motor as a tactile feedback device in a computer system
US5533146A (en)1991-09-111996-07-02Toyota Jidosha Kabushiki KaishaWeld bead quality determining apparatus
US5302799A (en)1991-12-091994-04-12Applied Research, Inc.Weld analysis and control system
US5617335A (en)1992-01-301997-04-01Fujitsu LimitedSystem for and method of recognizating and tracking target mark
US5521843A (en)1992-01-301996-05-28Fujitsu LimitedSystem for and method of recognizing and tracking target mark
US5283418A (en)1992-02-271994-02-01Westinghouse Electric Corp.Automated rotor welding processes using neural networks
US5426732A (en)1992-04-171995-06-20International Business Machines CorporationMethod and apparatus for user control by deriving next states of a process from a current state and by providing a visual presentation of the derived next states
US5999909A (en)1992-05-191999-12-07Medical Training And Services International, Inc.Methods for establishing certifiable informed consent for a procedure
US6516300B1 (en)1992-05-192003-02-04Informedical, Inc.Computer accessible methods for establishing certifiable informed consent for a procedure
US5306893A (en)1992-07-311994-04-26The United States Of America As Represented By The Secretary Of The NavyWeld acoustic monitor
US5343011A (en)1992-07-311994-08-30Matsushita Electric Industrial Co., Ltd.Resistance welding monitor
US5320538A (en)1992-09-231994-06-14Hughes Training, Inc.Interactive aircraft training system and method
US5464957A (en)1993-01-271995-11-07The Babcock & Wilcox CompanyManual arc welding speed pacer
US5304774A (en)1993-05-171994-04-19Caterpillar, Inc.Method and apparatus for monitoring weld quality
US5546476A (en)1993-05-261996-08-13Matsushita Electric Works, Ltd.Shape recognition process
US5404181A (en)1993-08-251995-04-04Hung; Chin-LungMonitor filter
US5517420A (en)1993-10-221996-05-14Powerlasers Ltd.Method and apparatus for real-time control of laser processing of materials
US5659479A (en)1993-10-221997-08-19Powerlasers Ltd.Method and apparatus for real-time control of laser processing of materials
US5397872A (en)1993-12-131995-03-14Par Industries Inc.Weld monitor system
US5709219A (en)1994-01-271998-01-20Microsoft CorporationMethod and apparatus to create a complex tactile sensation
US5592241A (en)1994-04-181997-01-07Sony CorporationAttachable protective screen for image display device and installation method therefor
US5448405A (en)1994-05-131995-09-05Allsop, Inc.Glare filter
US5675229A (en)1994-09-211997-10-07Abb Robotics Inc.Apparatus and method for adjusting robot positioning
US5508757A (en)1994-10-171996-04-16Horng Technical Enterprise Co., Ltd.Foldable screen protector
US5845053A (en)1994-10-251998-12-01Fanuc Ltd.Method for teaching welding torch orientation
US20110313731A1 (en)1994-11-212011-12-22Nike, Inc.Pressure sensing systems for sports, and associated methods
US5543863A (en)1995-01-201996-08-06Three Soma Technology Co., Ltd.Eye protecting mask of computer video display
US5571431A (en)1995-03-311996-11-05Mk Products, Inc.Method and apparatus for controlling and simultaneously displaying arc welding process parameters
US5668612A (en)1995-06-061997-09-16Hung; Wang-HoPivotable protective screen structure which is height-adjustable and forward/backward shiftable
US5708253A (en)1995-06-071998-01-13Hill Technical Services, Inc.Apparatus and method for computerized interactive control, measurement and documentation of arc welding
US5681490A (en)1995-09-181997-10-28Chang; Dale U.Laser weld quality monitoring system
US5856844A (en)1995-09-211999-01-05Omniplanar, Inc.Method and apparatus for determining position and orientation
US6155475A (en)1995-12-222000-12-05Esab AbMethod for automatic multi-layer welding
US5674415A (en)1996-01-221997-10-07The University Of ChicagoMethod and apparatus for real time weld monitoring
US6226395B1 (en)1996-04-222001-05-01Malcolm T. GillilandMethod and apparatus for determining the configuration of a workpiece
US5832139A (en)1996-07-311998-11-03Omniplanar, Inc.Method and apparatus for determining degrees of freedom of a camera
US5930093A (en)1996-08-171999-07-27Chrysler CorporationMethod and apparatus for limiting fault current
US5747042A (en)1996-09-261998-05-05Choquet; ClaudeMethod for producing carbon dioxide, fungicidal compounds and thermal energy
US6049059A (en)1996-11-182000-04-11Samsung Electronics Co., Ltd.Vision processing method and device for welding line auto-tracking
US6003052A (en)1996-12-041999-12-14Nec CorporationPortable information instrument having a display cover protecting a display screen
US5973677A (en)1997-01-071999-10-26Telxon CorporationRechargeable, untethered electronic stylus for computer with interactive display screen
US6469752B1 (en)1997-02-242002-10-22Sony CorporationAttachable protective screen for image display device and installation method therefor
US6033226A (en)1997-05-152000-03-07Northrop Grumman CorporationMachining tool operator training system
EP0878263A1 (en)1997-05-161998-11-18Illinois Tool Works Inc.Welding machine
US6417894B1 (en)1997-05-162002-07-09Bausch & Lomb IncorporatedAdjustable magnifying apparatus and method for viewing video or computer screens
US20020043607A1 (en)1997-08-042002-04-18Joseph W. RagusaPanel support structure, display panel supported by panel support structure, and image forming appparatus using display panel
US6445964B1 (en)1997-08-042002-09-03Harris CorporationVirtual reality simulation-based training of telekinegenesis system for training sequential kinematic behavior of automated kinematic machine
US6271500B1 (en)1997-08-082001-08-07Kabushiki Kaisha Yaskawa DenkiArc welding monitoring device
US6018729A (en)1997-09-172000-01-25Lockheed Martin Energy Research CorporationNeural network control of spot welding
US6107601A (en)1997-10-012000-08-22Matsushita Electric Industrial Co., Ltd.Apparatus and method for controlling an arc welding robot
US6288359B1 (en)1997-10-172001-09-11Thyssen Krupp Stahl AgWelding device for two work pieces to be joined together by a weld seam which is closed in itself
EP1029306A1 (en)1997-10-222000-08-23Spectra Precision ABContactless measuring of position and orientation
US5961859A (en)1997-10-231999-10-05Trw Inc.Method and apparatus for monitoring laser weld quality via plasma size measurements
US5823785A (en)1997-10-271998-10-20Matherne, Jr.; LeeSimulator for pipe welding
JPH11146387A (en)1997-11-041999-05-28Kawasaki Heavy Ind Ltd Welding status remote monitoring device and welding status remote monitoring method
US6046754A (en)1997-11-042000-04-04Gateway 2000, Inc.Display shutter device for view protection on a portable computer
US6315186B1 (en)1998-01-132001-11-13Fromius Schweissmaschinen Produktion Gmbh & Co. KgControl device for a welding apparatus
US6051805A (en)1998-01-202000-04-18Air Liquide CanadaMethods and apparatus for welding performance measurement
WO1999058286A1 (en)1998-05-131999-11-18Fronius Schweissmaschinen Produktion Gmbh & Co. KgMethod for controlling a welding apparatus and corresponding control device
US6479793B1 (en)1998-05-132002-11-12Fronius Schweissmaschinen Produktion Gmbh & Co. KgMethod for controlling a welding apparatus and corresponding control device
US6476354B1 (en)1998-05-132002-11-05Fronius Schweissmaschinen Produktion Gmbh & Co., KgMethod for controlling a welding apparatus and corresponding control device
US6101455A (en)1998-05-142000-08-08Davis; Michael S.Automatic calibration of cameras and structured light sources
US6039494A (en)1998-06-082000-03-21Pearce; Jerry W.Casing board including clear overlay defining exterior pocket
EP0963744A1 (en)1998-06-121999-12-15La Soudure Autogene FrancaiseWelding helmet with information display
US6136946A (en)1998-06-252000-10-24Fuji Xerox Co., Ltd.Process for producing high-molecular-weight polycarbonate and electrophotographic photoreceptor using polycarbonate obtained by the process
US6130407A (en)1998-07-292000-10-10Tregaskiss, Ltd.Arc welding torch
US7474760B2 (en)1998-10-222009-01-06Trimble AbContactless measuring of position and orientation
US6329635B1 (en)1998-10-302001-12-11The University Of ChicagoMethods for weld monitoring and laser heat treatment monitoring
US6024273A (en)1998-12-042000-02-15Caterpillar Inc.Method and system for determining weld bead quality
US6153848A (en)1998-12-072000-11-28Mitsubishi Denki Kabushiki KaishaWelding quality decision apparatus and welding machine provided with the same
US6019359A (en)1999-02-222000-02-01Fly; David E.Lightweight welding table
JP2000298427A (en)1999-04-132000-10-24Morita Mfg Co Ltd Medical training device and method of evaluating medical training results
US6753909B1 (en)1999-04-202004-06-22Sharp Laboratories Of America, Inc.Camera with spatially adjustable variable density optical filter and method for controlling the same
US6748249B1 (en)1999-05-032004-06-08Nokia Mobile Phones, Ltd.Electronic device with a sliding lid
US20010026445A1 (en)1999-06-112001-10-04David NaghiApparatus for illuminating a portable electronic or computing device
US7032814B2 (en)*1999-06-212006-04-25Lincoln Global, Inc.Coded welding consumable
US6622906B1 (en)1999-06-232003-09-23Shinwa Kosan Co., Ltd.Welding method and welding device
US6236017B1 (en)1999-07-012001-05-22Bechtel Bwxt Idaho, LlcMethod and apparatus for assessing weld quality
US6734393B1 (en)1999-08-132004-05-11Fronius International GmbhData display on a welding screen
US6337458B1 (en)1999-08-262002-01-08AroMethod for automatically selecting the welding sequence for manual welding electrode holders; manual welding electrode holder for implementing the method
US6290740B1 (en)1999-09-152001-09-18Sportsman, Inc.Large size clean air workstation
US7523069B1 (en)1999-11-052009-04-21Fronium International GmbhAssessing and/or determining of user authorizations using a transponder, a finger print recognition routine or the like
US6371765B1 (en)1999-11-092002-04-16Mciworldcom, Inc.Interactive computer-based training system and method
US6768974B1 (en)1999-11-122004-07-27Caterpillar IncMethod for determining a model for a welding simulation and model thereof
US6750428B2 (en)1999-12-102004-06-15Kabushiki Kaisha Yaskawa DenkiAutomatic welding device and welding skill training device
US6242711B1 (en)1999-12-272001-06-05Accudata, Inc.Arc welding monitoring system
US20010032508A1 (en)2000-01-202001-10-25Lemkin Mark A.Position sensing with improved linearity
US6868726B2 (en)2000-01-202005-03-22Analog Devices Imi, Inc.Position sensing with improved linearity
US20030011673A1 (en)2000-02-112003-01-16Ingemar ErikssonDevice for protecting a user's eyes in metal welding or cutting
US6710298B2 (en)2000-02-112004-03-23Ingemar ErikssonDevice for metal welding
US6927360B2 (en)2000-04-052005-08-09Fronius International GmbhMethod for continuously regulating or tracking a position of a welding torch or a welding head
CA2311685A1 (en)2000-06-222001-12-22Claude ChoquetElectronic virtual certification by data processing method via a communication network
CA2517874A1 (en)2000-06-222001-12-27Claude ChoquetElectronic virtual certification by data processing method via a communication network
US20030172032A1 (en)2000-06-222003-09-11Claude ChoquetElectronic virtual certification by data processing method via a communication network
US6937329B2 (en)2000-07-062005-08-30Aerospatiale Matra CcrMethod for detecting and identifying defects in a laser beam weld seam
US6795068B1 (en)2000-07-212004-09-21Sony Computer Entertainment Inc.Prop input device and method for mapping an object from a two-dimensional camera image to a three-dimensional space for controlling action in a game program
US20020153354A1 (en)2000-08-182002-10-24Norby Robert V.Rail welderhead shear apparatus
US6697761B2 (en)2000-09-192004-02-24Olympus Optical Co., Ltd.Three-dimensional position/orientation sensing apparatus, information presenting system, and model error detecting system
US6506997B2 (en)2000-09-212003-01-14Massachusetts Institute Of TechnologySpot welding system and method for sensing welding conditions in real time
US7015419B2 (en)2000-11-022006-03-21Fronius International GmbhDetecting element for a welding device
US6839049B1 (en)2000-11-172005-01-04Intel CorporationPhysically interacting with a processor-based display
US6441342B1 (en)2000-11-202002-08-27Lincoln Global, Inc.Monitor for electric arc welder
US6614002B2 (en)2000-12-042003-09-02Precitec KgLaser machining head
US7045742B2 (en)2000-12-112006-05-16Fronius International GmbhSystem for carrying out a welding process
US20020071550A1 (en)2000-12-122002-06-13Velimir PletikosaMobile device having a protective user interface cover
US6583386B1 (en)2000-12-142003-06-24Impact Engineering, Inc.Method and system for weld monitoring and tracking
US6728582B1 (en)2000-12-152004-04-27Cognex CorporationSystem and method for determining the position of an object in three dimensions using a machine vision system with two cameras
US20020105797A1 (en)2001-02-062002-08-08Technology Creations, Inc.Tool light and method of use
US6647288B2 (en)2001-02-092003-11-11Peter V. MadillMethod and apparatus for designing a workstation
US20080061113A9 (en)2001-02-142008-03-13Honda Giken Kogyo Kabushiki KaishaWelding condition monitoring device
US20020114653A1 (en)2001-02-212002-08-22Gatta Raymond P.Positive piece engagement indicator for marking tool
US20020148745A1 (en)2001-04-172002-10-17Chang Tery Chih-HaoProtection device of personal digital assistant
US7181413B2 (en)2001-04-182007-02-20Capital Analytics, Inc.Performance-based training assessment
US6621049B2 (en)2001-04-262003-09-16Central Motor Wheel Co., Ltd.Welding stability assessment apparatus for pulsed arc welding
US6572379B1 (en)2001-05-032003-06-03Lincoln Global, Inc.Self instruction welding kit
US20050179654A1 (en)2001-06-112005-08-18Hawkins Jeffrey C.Interface for processing of an alternate symbol in a computer device
US20050227635A1 (en)2001-06-112005-10-13Hawkins Jeffrey CHand-held device
FR2827066A1 (en)2001-07-042003-01-10Ass Nationale Pour La FormatioSimulation and teaching by apprenticeship of a manual task such as arc welding, uses display on movable support to serve as simulated workpiece while computer processes movement of the simulated tool to determine display
US7564005B2 (en)2001-07-102009-07-21Doben LimitedResistance welding fastener electrode and monitor and method of using same
US20040175684A1 (en)2001-07-112004-09-09Johannes KaasaSystem and methods for interactive training of procedures
US6596972B1 (en)2001-07-172003-07-22Lincoln Global, Inc.Welding accessory arrangement
US7465230B2 (en)2001-08-092008-12-16IgtVirtual cameras and 3-D gaming environments in a gaming machine
WO2003019349A1 (en)2001-08-252003-03-06Si Han KimPortable multi-display device
US6703585B2 (en)2001-09-202004-03-09Central Motor Wheel Co., Ltd.Arc welding quality evaluation apparatus
US20050197115A1 (en)2001-09-252005-09-08Keith ClarkSystem and method to facilitate wireless wide area communication in a welding environment
US7574172B2 (en)2001-09-252009-08-11Lincoln GlobalSystem and method to facilitate wireless wide area communication in a welding environment
US7120473B1 (en)2001-10-142006-10-10Palm, Inc.Method and apparatus for controlling a mobile device by using a pivoting input switch
US6910971B2 (en)2001-11-022005-06-28Richard H. AlsenzAcceleration simulator
US20030092496A1 (en)2001-11-022003-05-15Alsenz Richard H.Acceleration simulator
US7577285B2 (en)2001-11-152009-08-18Precitec Vision Gmbh & Co. KgMethod and device for evaluation of jointing regions on workpieces
US9402122B2 (en)2001-11-192016-07-26Otter Products, LlcProtective enclosure for electronic device
US7132617B2 (en)2002-02-202006-11-07Daimlerchrysler CorporationMethod and system for assessing quality of spot welds
US20070038400A1 (en)2002-02-202007-02-15Hsu-Tung LeeMethod And System For Assessing Quality Of Spot Welds
US20040058703A1 (en)2002-03-212004-03-25Nokia CorporationMobile electronic device having pivotable display element
US7132623B2 (en)2002-03-272006-11-07Praxair Technology, Inc.Luminescence sensing system for welding
US7766213B2 (en)2002-04-052010-08-03Volvo Aero CorporationDevice and method for monitoring a welding area and an arrangement and a method for controlling a welding operation
US6857553B1 (en)2002-04-172005-02-22The United States Of America As Represented By The United States Department Of EnergyMethod and apparatus for in-process sensing of manufacturing quality
US20040069754A1 (en)2002-07-312004-04-15Gregory BatesLaser weld Monitor
US6670574B1 (en)2002-07-312003-12-30Unitek Miyachi CorporationLaser weld monitor
US20040068335A1 (en)2002-10-042004-04-08Comau S.P.A.System for programming robots or similar automatic apparatuses, comprising a portable programming terminal
US6744011B1 (en)2002-11-262004-06-01General Motors CorporationOnline monitoring system and method for a short-circuiting gas metal arc welding process
JP2004181493A (en)2002-12-042004-07-02Yaskawa Electric CorpWelding torch for arc welding robot
US9218745B2 (en)2002-12-192015-12-22123 Certification Inc.Virtual simulator method and system for neuromuscular training and certification via a communication network
WO2004057554A2 (en)2002-12-192004-07-08Claude ChoquetVirtual simulator system and method for neuromuscular training and certification via a communication network
CA2549553A1 (en)2002-12-192004-07-08Claude ChoquetVirtual simulator method and system for neuromuscular training and certification via a communication network
US20060136183A1 (en)2002-12-192006-06-22123Certification Inc.Virtual simulator method and system for neuromuscular training and certification via a communication network
US6995536B2 (en)2003-04-072006-02-07The Boeing CompanyLow cost robot manipulator
US20040227730A1 (en)2003-04-102004-11-18Hirotoshi SugiharaInformation processing apparatus
US7081888B2 (en)2003-04-242006-07-25Eastman Kodak CompanyFlexible resistive touch screen
US6967635B2 (en)2003-04-252005-11-22Horng Technical Enterprise Co., Ltd.Computer monitor screen
US20040223148A1 (en)2003-05-082004-11-11Mitutoyo CorporationCalibration method for surface texture measuring instrument, calibration program for surface texture measuring instrument, recording medium storing the calibration program and surface texture measuring instrument
US7261261B2 (en)2003-05-232007-08-28Peter LigertwoodStand of free standing or mobile type
US20040251910A1 (en)2003-06-132004-12-16Smith Alan F.Method and apparatus for detecting shorted rectifying control elements of an engine driven power source for a welding-type system
US7150047B2 (en)2003-07-022006-12-19Lightswitch Safety Systems, Inc.Indicator layout on an auto-darkening lens for use in welding
US20050012598A1 (en)2003-07-092005-01-20Berquist Steven EarlDynamic mobile advertising system
US20050006363A1 (en)2003-07-092005-01-13Lincoln Global, Inc. A Corporation Of DelawareWelding wire positioning system
US6977357B2 (en)2003-07-092005-12-20Lincoln Global, Inc.Welding wire positioning system
US20060212169A1 (en)2003-07-112006-09-21Colin LuthardtMethod for positioning a welding robot tool
US7342210B2 (en)2003-07-232008-03-11Lightswitch Safety Systems, Inc.Remote control for auto-darkening lens systems and method
US20050016979A1 (en)2003-07-232005-01-27Stein Alan E.Method and apparatus to adaptively cool a welding-type system
US20050017152A1 (en)2003-07-232005-01-27Fergason John D.Remote control for auto-darkening lens systems and method
US20050073506A1 (en)2003-10-052005-04-07Durso Nick P.C-frame slidable touch input apparatus for displays of computing devices
US20050256611A1 (en)2003-11-242005-11-17Abb Research LtdMethod and a system for programming an industrial robot
US20050127052A1 (en)2003-12-122005-06-16Spencer Mark S.Near real time arc welding monitor
US20050135682A1 (en)2003-12-172005-06-23Abrams Thomas A.Jr.Managing file stream generation
US20050133488A1 (en)2003-12-222005-06-23Lincoln Global, Inc.Quality control module for tandem arc welding
US20050207102A1 (en)2004-03-192005-09-22Sony CorporationProtective cover for a computer
US20110092828A1 (en)2004-04-162011-04-21Spohn Michael AFluid Delivery System, Fluid Path Set, and Pressure Isolation Mechanism with Hemodynamic Pressure Dampening Correction
WO2005102230A1 (en)2004-04-272005-11-03Otostech Co., Ltd.Automatic digital welding helmet using camera
US20070164006A1 (en)2004-05-142007-07-19Andreas BurgstallerMethod for operation of a welding unit welding unit and welding torch for such a welding unit
WO2005110658A2 (en)2004-05-142005-11-24Fronius International GmbhMethod for operation of a welding unit welding unit and welding torch for such a welding unit
WO2006004427A1 (en)*2004-07-052006-01-12Norsk Elektro Optikk AsMarking and reading system
US8110774B2 (en)2004-07-082012-02-07Trumpf Laser Gmbh + Co. KgLaser welding method and apparatus
US20060010551A1 (en)2004-07-142006-01-19Bishop Timothy DWelding face covering
US20100283588A1 (en)2004-09-242010-11-11Immersion CorporationSystems And Methods For Providing A Haptic Device
CA2554498A1 (en)2004-09-272006-04-06Claude ChoquetBody motion training and qualification system and method
US20080038702A1 (en)2004-09-272008-02-14Claude ChoquetBody Motion Training and Qualification System and Method
WO2006034571A1 (en)2004-09-272006-04-06Claude ChoquetBody motion training and qualification system and method
US8512043B2 (en)2004-09-272013-08-20123 Certification, Inc.Body motion training and qualification system and method
US20070187378A1 (en)2004-10-132007-08-16Erdogan KarakasDevice for carrying out a joint, separation, or suface treatment process, particularly a welding process
US20060081740A1 (en)2004-10-152006-04-20Bob BellavanceCollapsible portable welding stand
US7899618B2 (en)2004-11-122011-03-01The Boeing CompanyOptical laser guidance system and method
US7845560B2 (en)2004-12-142010-12-07Sky-Trax IncorporatedMethod and apparatus for determining position and rotational orientation of an object
US20080128395A1 (en)2004-12-152008-06-05Fronius International GmbhMethod and Device For Combined Laser-Arc Welding With Control of Laser Unit According To Welding Torch
US20060151446A1 (en)2005-01-032006-07-13Schneider Joseph CMethod and System of Conserving Plasma Torch Consumable
US7025053B1 (en)2005-01-112006-04-11Silvano AltamiranoCutting table for large stone work pieces
US7358458B2 (en)2005-01-252008-04-15Lincoln Global, Inc.Methods and apparatus for tactile communication in an arc processing system
US20060163228A1 (en)2005-01-252006-07-27Lincoln Global, Inc.Methods and apparatus for tactile communication in an arc processing system
US20060173619A1 (en)2005-02-032006-08-03Lincoln Global, Inc.Construction equipment discovery on a network
US20060241432A1 (en)2005-02-152006-10-26Vanderbilt UniversityMethod and apparatus for calibration, tracking and volume construction data for use in image-guided procedures
US8046178B2 (en)2005-06-132011-10-25Abb Research LtdDefect detection system for identifying defects in weld seams
US7173215B1 (en)*2005-07-132007-02-06Lincoln Global, Inc.Method for evaluating and/or comparing welding consumables
US20080314887A1 (en)2005-07-152008-12-25Markus StogerWelding Method and Welding System With Determination of the Position of the Welding Torch
WO2007009131A1 (en)2005-07-152007-01-25Fronius International GmbhWelding method and welding system with determination of the position of the welding torch
JP2007021542A (en)2005-07-192007-02-01Daihen CorpArc welding torch
US8431862B2 (en)2005-08-252013-04-30Lincoln Global, Inc.Torch for electric arc welding system
US20070051711A1 (en)2005-08-252007-03-08Lincoln Global, Inc.Torch for electric arc welding system
US20090323121A1 (en)2005-09-092009-12-31Robert Jan ValkenburgA 3D Scene Scanner and a Position and Orientation System
US8692157B2 (en)2005-09-152014-04-08Lincoln Global, Inc.Welding system sequence control apparatus
WO2007044135A1 (en)2005-10-072007-04-19Illinois Tool Works Inc.Wireless communication system for welding-type devices
US20070114215A1 (en)2005-11-212007-05-24Lincoln Global, Inc.Method of pacing travel speed
US20070115202A1 (en)2005-11-222007-05-24Kiesenhofer Josef RElectronic device with dual view displays
US20070291166A1 (en)2005-12-092007-12-20Fujifilm CorporationDisplay device
US20070248261A1 (en)2005-12-312007-10-25Bracco Imaging, S.P.A.Systems and methods for collaborative interactive visualization of 3D data sets over a network ("DextroNet")
US8953909B2 (en)2006-01-212015-02-10Elizabeth T. GuckenbergerSystem, method, and computer software code for mimic training
US20070188606A1 (en)2006-02-162007-08-16Kevin AtkinsonVision-based position tracking system
US20070264620A1 (en)2006-02-242007-11-15Toyota Motor Engineering & Manufacturing North America, Inc.Testing systems and methods using manufacturing simulations
US7839416B2 (en)2006-03-102010-11-23University Of Northern Iowa Research FoundationVirtual coatings application system
US20070221636A1 (en)2006-03-232007-09-27Monzyk Doug JWelding flash protection apparatus
US20080077422A1 (en)2006-04-142008-03-27Christopher DooleyMotion Sensor Arrangement for Point of Purchase Device
US20070247793A1 (en)2006-04-192007-10-25Carnevali Jeffrey DProtective cover for device having touch screen
US20070278196A1 (en)2006-06-052007-12-06Lincoln Global, Inc.Method for testing undercut on the inner diameter of pipe welds
EP1864744A1 (en)2006-06-052007-12-12Mar Lon ChenClamping device for weld seam-backing member
US20100088793A1 (en)2006-06-062010-04-15Livio GhisleniFace and antiglare protection device for persons working in sites involving hazardous, damaging or disturbing radiation, especially welders
CN1866317A (en)2006-06-092006-11-22西安交通大学Simulative training device for manual arc welding operation
US7226176B1 (en)2006-06-092007-06-05Hony Glass Factory Co., Ltd.Detachable screen protector assembly with a fastening apparatus
US20080030631A1 (en)2006-08-072008-02-07Michael GallagherApparatus for a rotatable computer screen guard having screen protector and document holder functionality
US20100207620A1 (en)2006-10-172010-08-19Gies Paul DInspection apparatus and method
US7698094B2 (en)2006-11-062010-04-13Canon Kabushiki KaishaPosition and orientation measurement method and apparatus
US7831098B2 (en)2006-11-072010-11-09Recognition RoboticsSystem and method for visual searching of objects using lines
US20080124698A1 (en)2006-11-282008-05-29Ebensberger Jason MVirtual coatings application system with structured training and remote instructor capabilities
US20140042135A1 (en)2006-12-202014-02-13Lincoln Global, Inc.System and method of receiving or using data from external sources for a welding sequence
US20140263227A1 (en)2006-12-202014-09-18Lincoln Global, Inc.System and method of receiving or using data from external sources for a welding sequence
US20140042137A1 (en)2006-12-202014-02-13Lincoln Global, Inc.System and method of exporting or using welding sequencer data for external systems
US8235588B2 (en)2006-12-212012-08-07Thermosensorik GmbhMethod for automated testing of a material joint
US20080149608A1 (en)2006-12-222008-06-26Bruce AlbrechtSystem and method for identifying welding consumable wear
US20080149602A1 (en)2006-12-222008-06-26Illinois Tool Works Inc.Welding and plasma cutting method and system
US20080158502A1 (en)2006-12-272008-07-03Illinois Tool Works Inc.Voice control welding/cutting helmet functions and settings
US20080168290A1 (en)2007-01-062008-07-10Jobs Steven PPower-Off Methods for Portable Electronic Devices
US20080169277A1 (en)2007-01-162008-07-17Illinois Tool Works Inc.Lighted welding torch
US7826984B2 (en)2007-02-062010-11-02Abb Research, Ltd.Method and a control system for monitoring the condition of an industrial robot
US20090057286A1 (en)2007-03-192009-03-05Hideki IharaWelding device
US20080234960A1 (en)2007-03-212008-09-25Topy CorporationMethod and apparatus for inspecting and analyzing welded structures
US8100694B2 (en)2007-06-112012-01-24The United States Of America As Represented By The Secretary Of The NavyInfrared aimpoint detection system
KR100876425B1 (en)2007-06-252008-12-31삼성중공업 주식회사 Welding simulator
US20090005728A1 (en)2007-06-272009-01-01Roche Diagnostics Operations, Inc.Therapy delivery system having an open architecture and a method thereof
WO2009022443A1 (en)2007-08-162009-02-19Shinkokiki Co., Ltd.Wire cutting tool for arc welding and arc welding method employing the wire cutting tool
US8248324B2 (en)2007-10-242012-08-21Lincoln Global, Inc.Display with replica welding helmet viewer
WO2009053829A2 (en)2007-10-242009-04-30Lincoln Global, Inc.Display with replica welding helmet viewer
US20090109128A1 (en)2007-10-242009-04-30Lincoln Global, Inc.Display with replica welding helmet viewer
GB2454232A (en)2007-11-012009-05-06Validation CtWelding Support System
WO2009060231A1 (en)2007-11-052009-05-14The Validation Centre (Tvc) LimitedArc welding simulator
CN201181527Y (en)2007-11-132009-01-14上海宝冶建设有限公司Full-station soldering training stand
JP2009125790A (en)2007-11-272009-06-11Kobe Steel LtdMonitoring apparatus of arc welding
US20090146359A1 (en)2007-12-102009-06-11Canfield Daniel CLow profile clamp for use with apparatus for thermal control in the analysis of electronic devices
US20090152251A1 (en)2007-12-182009-06-18Illinois Tool Works Inc.Personalized interface for torch system and method
US20090161212A1 (en)2007-12-212009-06-25Gough Yuma EWeld viewing
US20090173726A1 (en)2008-01-092009-07-09Robert Raimund DavidsonAutomatic Weld Arc Monitoring System
WO2009092944A1 (en)2008-01-182009-07-30Renault S.A.S.Device for teaching a manual technique to an operator
US20090189974A1 (en)2008-01-232009-07-30Deering Michael FSystems Using Eye Mounted Displays
US7789811B2 (en)2008-01-242010-09-07Cooper Scott RMethod and apparatus for a mobile training device for simultaneous use by multiple users
US20090200281A1 (en)2008-02-082009-08-13Gm Global Technology Operations, Inc.Welding power supply with neural network controls
US20090200282A1 (en)2008-02-082009-08-13Gm Global Technology Operations, Inc.Weld signature monitoring method and apparatus
US8019144B2 (en)2008-02-252011-09-13Kabushiki Kaisha ToshibaPattern image correcting apparatus, pattern inspection apparatus, and pattern image correcting method
US20090231423A1 (en)2008-03-142009-09-17Illinois Tool Works Inc.Video recording device for a welder's helmet
US20090230107A1 (en)2008-03-142009-09-17Illinois Tool Works Inc.Positioning attachment for a welding torch
US20090249606A1 (en)2008-04-032009-10-08Fernando Martinez DiezAutomated assembly and welding of structures
US20090283021A1 (en)2008-05-132009-11-19Harry WongMetal-top welding table
US20090298024A1 (en)2008-05-282009-12-03Todd BatzlerWelding training system
WO2009146359A1 (en)2008-05-282009-12-03Illinois Tool Works Inc.Welding training system
WO2010000003A2 (en)2008-07-042010-01-07Fronius International GmbhDevice and method for simulating a welding process
US20110091846A1 (en)2008-07-042011-04-21Fronius International GmbhDevice and method for simulating a welding process
US8777629B2 (en)2008-07-042014-07-15Fronius International GmbhDevice and method for simulating a welding process
US20120007748A1 (en)2008-07-252012-01-12Sylvain ForguesControlled electro-pneumatic power tools and interactive consumable
US20100020483A1 (en)2008-07-252010-01-28Hong Fu Jin Precision Industry(Shenzhen) Co., Ltd.Display apparatus
US9293056B2 (en)2008-08-212016-03-22Lincoln Global, Inc.Importing and analyzing external data using a virtual reality welding system
US9318026B2 (en)2008-08-212016-04-19Lincoln Global, Inc.Systems and methods providing an enhanced user experience in a real-time simulated virtual reality welding environment
WO2010020867A2 (en)2008-08-212010-02-25Lincoln Global, Inc.System and method providing arc welding training in a real-time simulated virtual reality environment using real-time weld puddle feedback
WO2010020870A2 (en)2008-08-212010-02-25Lincoln Global Inc.Virtual reality pipe welding simulator
US8747116B2 (en)2008-08-212014-06-10Lincoln Global, Inc.System and method providing arc welding training in a real-time simulated virtual reality environment using real-time weld puddle feedback
US8915740B2 (en)2008-08-212014-12-23Lincoln Global, Inc.Virtual reality pipe welding simulator
WO2010020869A2 (en)2008-08-212010-02-25Lincoln Global, Inc.Welding simulator
US20130209976A1 (en)2008-08-212013-08-15Lincoln Global, Inc.Virtual reality pipe welding simulator and setup
US20100062405A1 (en)2008-08-212010-03-11Lincoln Global, Inc.System and method providing arc welding training in a real-time simulated virtual reality environment using real-time weld puddle feedback
US20140220522A1 (en)2008-08-212014-08-07Lincoln Global, Inc.Systems and methods providing enhanced education and training in a virtual reality environment
US20130182070A1 (en)2008-08-212013-07-18Carl PetersSystem and method providing combined virtual reality arc welding and three-dimensional (3d) viewing
US20100062406A1 (en)2008-08-212010-03-11Lincoln Global, Inc.Virtual reality pipe welding simulator
US20140234813A1 (en)2008-08-212014-08-21Lincoln Global, Inc.Systems and methods providing enhanced education and training in a virtual reality environment
US9336686B2 (en)2008-08-212016-05-10Lincoln Global, Inc.Tablet-based welding simulator
US9330575B2 (en)2008-08-212016-05-03Lincoln Global, Inc.Tablet-based welding simulator
US8911237B2 (en)2008-08-212014-12-16Lincoln Global, Inc.Virtual reality pipe welding simulator and setup
US8834168B2 (en)2008-08-212014-09-16Lincoln Global, Inc.System and method providing combined virtual reality arc welding and three-dimensional (3D) viewing
US20100048273A1 (en)2008-08-212010-02-25Lincoln Global, Inc.Welding simulator
US9293057B2 (en)2008-08-212016-03-22Lincoln Global, Inc.Importing and analyzing external data using a virtual reality welding system
US8851896B2 (en)2008-08-212014-10-07Lincoln Global, Inc.Virtual reality GTAW and pipe welding simulator and setup
US20140322684A1 (en)2008-08-212014-10-30Lincoln Global, Inc.Virtual reality gtaw and pipe welding simulator and setup
US9196169B2 (en)2008-08-212015-11-24Lincoln Global, Inc.Importing and analyzing external data using a virtual reality welding system
US20100123664A1 (en)2008-11-142010-05-20Samsung Electronics Co., Ltd.Method for operating user interface based on motion sensor and a mobile terminal having the user interface
US8541746B2 (en)2008-11-202013-09-24Benteler Automobiltechnik GmbhProcess and system for the nondestructive quality determination of a weld seam, and a welding device
US20100133247A1 (en)2008-11-212010-06-03Jyoti MazumderMonitoring of a welding process
US20100145520A1 (en)2008-12-052010-06-10Gian Paolo GerioRobot System
US20100201803A1 (en)2009-02-092010-08-12Recognition RoboticsWork piece tracking system and method
US20100224610A1 (en)2009-03-092010-09-09Lincoln Global, Inc.System for tracking and analyzing welding activity
US8274013B2 (en)2009-03-092012-09-25Lincoln Global, Inc.System for tracking and analyzing welding activity
US20100238119A1 (en)2009-03-182010-09-23Zivthan DubrovskyTouchscreen Keyboard Overlay
US8393519B2 (en)2009-03-262013-03-12EurocopterMethod of assembling metal parts by friction welding, with the welding temperature being controlled using thermally conductive elements
US20100245273A1 (en)2009-03-272010-09-30Jeong-Ho HwangTouch screen module with protector window
WO2010111722A2 (en)2009-03-312010-10-07Fronius International GmbhMethod and apparatus for operating a power source connected to a manually actuated implement
US20100291313A1 (en)2009-05-152010-11-18Peiching LingMethods and apparatus for forming uniform particle layers of phosphor material on a surface
US20120072021A1 (en)2009-05-272012-03-22Leica Geosystems AgMethod and system for highly precisely positioning at least one object in an end position in space
US20100314362A1 (en)2009-06-112010-12-16Illinois Tool Works Inc.Weld defect detection systems and methods for laser hybrid welding
US20110000892A1 (en)2009-07-022011-01-06Soudronic AgMethod and welding device for the evaluation of the welding current intensity during the welding of container bodies
US20120298640A1 (en)2009-07-082012-11-29Edison Welding Institute, Inc.System for characterizing manual welding operations
US20110006047A1 (en)2009-07-082011-01-13Victor Matthew PenrodMethod and system for monitoring and characterizing the creation of a manual weld
US20110117527A1 (en)2009-07-082011-05-19Edison Welding Institute, Inc.Welding training system
US20160203735A1 (en)2009-07-082016-07-14Lincoln Global, Inc.System for characterizing manual welding operations
US20160203734A1 (en)2009-07-082016-07-14Lincoln Global, Inc.System for characterizing manual welding operations
US20150056584A1 (en)2009-07-082015-02-26Ewi, Inc.System and method for manual welder training
US20130189658A1 (en)2009-07-102013-07-25Carl PetersSystems and methods providing enhanced education and training in a virtual reality environment
US9011154B2 (en)2009-07-102015-04-21Lincoln Global, Inc.Virtual welding system
USD615573S1 (en)2009-07-102010-05-11Lincoln Global, Inc.Welding electrode holder
USD631074S1 (en)2009-07-102011-01-18Lincoln Global, Inc.Welding simulator console
USD614217S1 (en)2009-07-102010-04-20Lincoln Global, Inc.Simulator welding coupon stand
US8657605B2 (en)2009-07-102014-02-25Lincoln Global, Inc.Virtual testing and inspection of a virtual weldment
US20120189993A1 (en)2009-07-102012-07-26Lincoln Global, Inc.Virtual welding system
US20110183304A1 (en)2009-07-102011-07-28Lincoln Global, Inc.Virtual testing and inspection of a virtual weldment
US20120188365A1 (en)2009-07-202012-07-26Precitec KgLaser processing head and method for compensating for the change in focus position in a laser processing head
US20150209887A1 (en)2009-10-132015-07-30Lincoln Global, Inc.Welding helmet with heads up display
US8953033B2 (en)*2009-10-272015-02-10Keylex CorporationElectrode inspection apparatus for spot welding
CN102049595A (en)2009-11-062011-05-11株式会社神户制钢所Arc welding system, single arc welding system, and tandem arc welding system
US20120205359A1 (en)2009-11-132012-08-16Lincoln Global, Inc.Systems, methods, and apparatuses for monitoring weld quality
US9050678B2 (en)2009-11-132015-06-09Lincoln Global, Inc.Systems, methods, and apparatuses for monitoring weld quality
US9089921B2 (en)2009-11-132015-07-28Lincoln Global, Inc.Systems, methods, and apparatuses for monitoring weld quality
US20110114615A1 (en)2009-11-132011-05-19Lincoln Global, Inc.Systems, methods, and apparatuses for monitoring weld quality
US8987628B2 (en)2009-11-132015-03-24Lincoln Global, Inc.Systems, methods, and apparatuses for monitoring weld quality
US9050679B2 (en)2009-11-132015-06-09Lincoln Global, Inc.Systems, methods, and apparatuses for monitoring weld quality
US9012802B2 (en)2009-11-132015-04-21Lincoln Global, Inc.Systems, methods, and apparatuses for monitoring weld quality
US8432476B2 (en)2009-12-312013-04-30Sony Corporation Entertainment Europe LimitedMedia viewing
US8803908B2 (en)2010-01-152014-08-12Apple Inc.Digital image transitions
US20110176720A1 (en)2010-01-152011-07-21Robert Michael Van OstenDigital Image Transitions
US20120113512A1 (en)2010-02-012012-05-10Tihomir TsanevDetachable screen guard assembly and method for securing a screen protector
US20110220619A1 (en)2010-03-102011-09-15Illinois Tool Works Inc.Positional monitoring systems and methods for welding devices
US20110220616A1 (en)2010-03-102011-09-15Illinois Tool Works Inc.Welding device with integral user interface
WO2011112493A1 (en)2010-03-102011-09-15Illinois Tool Works Inc.Welding device with integral user interface
US20110240605A1 (en)*2010-04-052011-10-06Fanuc CorporationSpot welding system and dressing determination method
US20130189656A1 (en)2010-04-082013-07-25Vrsim, Inc.Simulator for skill-oriented training
US20110249090A1 (en)2010-04-122011-10-13Moore John SSystem and Method for Generating Three Dimensional Presentations
US8406682B2 (en)2010-04-302013-03-26Cloud Niners Information Systems LlcVirtual laboratory smart agent
US20110286005A1 (en)2010-05-212011-11-24Kabushiki Kaisha ToshibaWelding inspection method and apparatus thereof
US20110284508A1 (en)2010-05-212011-11-24Kabushiki Kaisha ToshibaWelding system and welding method
US20110290765A1 (en)2010-05-262011-12-01Illinois Tool Works Inc.Automatic and semi-automatic welding systems and methods
DE102010038902A1 (en)2010-08-042012-02-09SCHWEIßTECHNISCHE LEHR- UND VERSUCHSANSTALT HALLE GMBH Method and device for supporting the training of a hand welder
DE202010011064U1 (en)2010-08-052010-10-21Hazet-Werk Hermann Zerver Gmbh & Co. Kg Rotatable display of a torque wrench
US8946595B2 (en)2010-08-302015-02-03Suzuki Motor CorporationApparatus and method for determining shape of end of welding bead
US20120048838A1 (en)2010-08-302012-03-01Suzuki Motor CorporationApparatus and Method for Determining Shape of End of Welding Bead
US8860760B2 (en)2010-09-252014-10-14Teledyne Scientific & Imaging, LlcAugmented reality (AR) system and method for tracking parts and visually cueing a user to identify and locate parts in a scene
US20120077174A1 (en)2010-09-292012-03-29Depaul WilliamCompetency assessment tool
US8698843B2 (en)2010-11-022014-04-15Google Inc.Range of focus in an augmented reality application
US20120105476A1 (en)2010-11-022012-05-03Google Inc.Range of Focus in an Augmented Reality Application
US8681178B1 (en)2010-11-022014-03-25Google Inc.Showing uncertainty in an augmented reality application
US20120122062A1 (en)2010-11-162012-05-17Electronics And Telecommunications Research InstituteReconfigurable platform management apparatus forvirtual reality-based training simulator
US20120231894A1 (en)2010-12-062012-09-13Full Swing GolfMethod and apparatus for simulated golf
US9269279B2 (en)2010-12-132016-02-23Lincoln Global, Inc.Welding training system
US20120180180A1 (en)2010-12-162012-07-19Mann SteveSeeing aid or other sensory aid or interface for activities such as electric arc welding
US20120175834A1 (en)2011-01-122012-07-12Emerson Electric Co.Grounding component for electric welding systems and methods
US8044942B1 (en)2011-01-182011-10-25Aevoe Inc.Touch screen protector
US8990842B2 (en)2011-02-082015-03-24Disney Enterprises, Inc.Presenting content and augmenting a broadcast
US20120323496A1 (en)2011-02-172012-12-20Nike, Inc.Tracking of User Performance Metrics During a Workout Session
US20120248080A1 (en)2011-03-292012-10-04Illinois Tool Works Inc.Welding electrode stickout monitoring and control
US20120248083A1 (en)2011-03-292012-10-04Illinois Tool Works Inc.Welding torch with wire feed speed control
US20140008088A1 (en)2011-03-312014-01-09Ingersoll-Rand CompanyDisplay Assemblies Having Integrated Display Covers and Light Pipes and Handheld Power Tools and Methods Including Same
WO2012137060A1 (en)2011-04-072012-10-11Lincoln Global, Inc.Virtual testing and inspection of a virtual weldment
US20120291172A1 (en)2011-05-162012-11-22Lincoln Global, Inc.Dual-spectrum digital imaging welding helmet
US20130040270A1 (en)2011-08-102013-02-14IIlinois Tool Works Inc.System and device for welding training
WO2013023012A1 (en)2011-08-102013-02-14Illinois Tool Works Inc.System for welding training with display, training workpiece with transparent weld joint and training torch with sensor
US20150325153A1 (en)2011-08-102015-11-12Illinois Tool Works Inc.System and device for welding training
US20130081293A1 (en)2011-09-202013-04-04Dritte Patentportfolio Beteiligungsgesellschaft Mbh & Co. KgMethod for determining a position change of a tool and the tool and the tool control unit
US20130200882A1 (en)2012-02-032013-08-08Research In Motion LimitedMethods and devices for detecting magnetic interference affecting the operation of a magnetometer
US20130206741A1 (en)2012-02-102013-08-15Illinois Tool Works Inc.Helmet-integrated weld travel speed sensing system and method
WO2013138831A1 (en)2012-03-232013-09-26Fronius International GmbhWelding unit having a touchscreen
US20130262000A1 (en)2012-03-302013-10-03Illinois Tool Works Inc.Devices and methods for analyzing spatter generating events
US20130264322A1 (en)2012-04-062013-10-10Illinois Tool Works Inc.Welding systems having non-contact temperature measurement systems
US20130264315A1 (en)2012-04-062013-10-10Illinois Tool Works Inc.Welding torch with a temperature measurement device
US20130288211A1 (en)2012-04-272013-10-31Illinois Tool Works Inc.Systems and methods for training a welding operator
US20130326842A1 (en)2012-06-072013-12-12Karcher North America, Inc.Fluid Extraction Tool
US20150170539A1 (en)2012-06-132015-06-18Seabery Soluciones, S.L.Advanced device for welding training, based on augmented reality simulation, which can be updated remotely
ES2438440A1 (en)2012-06-132014-01-16Seabery Soluciones, S.L.Advanced device for welding training, based on augmented reality simulation, which can be updated remotely
US20150056585A1 (en)2012-07-062015-02-26Ewi, Inc.System and method monitoring and characterizing manual welding operations
WO2014007830A1 (en)2012-07-062014-01-09Edison Welding Institute, Inc.System for characterizing manual welding operations
US20140017642A1 (en)2012-07-102014-01-16Lincoln Global Inc.Virtual reality pipe welding simulator and setup
US20140069899A1 (en)2012-09-072014-03-13Illinois Tool Works Inc.Welding system with multiple user interface modules
CN202877704U (en)2012-10-292013-04-17常州市海宝焊割有限公司Contact nozzle for gas shielded welding
US20140134580A1 (en)2012-11-092014-05-15Illinois Tool Works Inc.System and device for welding training
US20140134579A1 (en)2012-11-092014-05-15Illinois Tool Works Inc.System and device for welding training
WO2014074296A1 (en)2012-11-092014-05-15Illinois Tool Works Inc.Welding training system with position detecting system and markers on devices; method of training welders using such system
US20140131337A1 (en)2012-11-152014-05-15Donny R. WilliamsElectrode Holder with Automatic Power Cutoff
US20140184496A1 (en)2013-01-032014-07-03Meta CompanyExtramissive spatial imaging digital eye glass apparatuses, methods and systems for virtual or augmediated vision, manipulation, creation, or interaction with objects, materials, or other entities
WO2014140719A1 (en)2013-03-112014-09-18Lincoln Global, Inc.Systems and methods providing an enhanced user experience in a real-time simulated virtual reality welding environment
US20140263224A1 (en)2013-03-152014-09-18Illinois Tool Works Inc.Welding training systems and devices
US20140272837A1 (en)2013-03-152014-09-18Illinois Tool Works Inc.Multi-mode software and method for a welding training system
US20140272838A1 (en)2013-03-152014-09-18Illinois Tool Works Inc.Data storage and analysis for a welding training system
US20140272836A1 (en)2013-03-152014-09-18Illinois Tool Works Inc.Calibration devices for a welding training system
US20140272835A1 (en)2013-03-152014-09-18Illinois Tool Works Inc.Welding torch for a welding training system
US20140267773A1 (en)2013-03-152014-09-18Varian Medical Systems, Inc.Marker system with light source
US20140315167A1 (en)2013-04-222014-10-23Fronius International GmbhMethod and device for simulating an electrode welding process
US20140346793A1 (en)2013-05-212014-11-27The Boeing CompanyAdjustable Compression, Adjustable Tension Rod Indicator, and Adjustable Extension Rod
US20140374396A1 (en)2013-06-212014-12-25Illinois Tool Works Inc.System and method for determining weld travel speed

Non-Patent Citations (129)

* Cited by examiner, † Cited by third party
Title
"Low Cost Virtual Reality Welding Training System," NSRP Joint Panel Meeting, Apr. 21, 2010, http://www.nsrp.org/6-Presentations/Joint/042110—Low—Cost—Virtual—Reality—Welder—Training—System—Fast.pdf.
"NJC Technology Displayed at ShipTech 2005", Welding Journal, vol. 84, No. 3, Mar. 2005, p. 54, https://app.aws.org/w/r/www/wj/2005/03/WJ—2005—03.pdf.
"Sheet Metal Conference XXII," Conference Program, American Welding Society, May 2006, Detroit.
"Soldamatic: Augmented Training Technology for Welding," Seabery Augmented Training Technology, Seabery Soluciones, 2011.
"Virtual Reality Program to Train Welders for Shipbuilding", American Welding Society, Navy Joining Center, https://app.aws.org/wj/2004/04/052/.
"Virtual Reality Welder Training Initiatives: Virtual Welding Lab Pilot," Paul D. Camp Community College, Advanced Science & Automation Corporation, Northrop Grumman Newport News, Nov. 22, 2006, http://www.nsrp.org/6-Presentations/WD/103106—Virtual—Reality—Welder.pdf.
"Virtual Welding: A Low Cost Virtual Reality Welder Training System," NSRP ASE, Feb. 19, 2009, http://www.nsrp.org/6-Presentations/WD/020409—Virtual—Welding—Wilbur.pdf.
"Virtual Welding—A Low Cost Virtual Reality Welder Training System", Interim Status Report # 4, Technology Investment Agreement 2008-600, Feb. 18, 2009, http://www.nsrp.org/3-Key—Deliverables/FY08—Low-Cost—Virtual—Reality—Welder—Trainer/FY08—Low-Cost—Virtual—Reality—Welder—Trainer-Interim2.pdf.
"Vision for Welding Industry," American Welding Society, Apr. 22, 1999, http://www.aws.org/library/doclib/vision.pdf.
"Welding in Defense Industy," American Welding Society conference schedule, 2004. https://app.aws.org/conferences/defense/live—index.html.
"Welding Technology Roadmap," prepared by Energetics, Inc., Columbia, MD, in cooperation with The American Welding Society and The Edison Welding Institute, Sep. 2000.
123arc.com—"Weld into the future"; 2000.
Advance Program of American Welding Society Programs and Events, Nov. 11-14, 2007, Chicago.
Aiteanu, Dorian, and Axel Graeser; "Generation and Rendering of a Virtual Welding Seam in an Augmented Reality Training Environment," Proceedings of the Sixth IASTED International Conference on Visualization, Imaging, and Image Processing, Aug. 28-30, 2006, Palma de Mallorca. Spain, Ed. J.J. Villaneuva. ACTA Press, 2006.
Aiteanu, Dorin, and Axel Graser, "Computer-Aided Manual Welding Using an Augmented Reality Supervisor," Sheet Metal Welding Conference XII, Livoinia, MI, May 9-12, 2006, pp. 1-14.
Aiteanu, Dorin, et al., "A Step Forward in Manual Welding: Demonstration of Augmented Reality Helmet," Institute of Automation, University of Bremen, Germany, 2003.
American Welding Society Forms: typical Procedure Qualification Record and Welding Procedure Specification forms.
American Welding Society's Virtual Welding Trailer to Debut at FABTECH Careers in Welding Trailer Appeals to New Generation of Welders, Miami, Fla., Nov. 3, 2011.
ArcSentry Weld Monitoring System, Version 3, Users Manual, Native American Technologies, Golden, CO, Dec. 10, 1999.
Arvika Forum Vorstellung Projeckt PAARA, BMW Group Virtual Reality Center, Nuernberg, 2003.
Ascension Technology Corporation: Tracking 3D Worlds: http://ascension-tech.com/, Dec. 1996.
Barckhoff, J.R.; "Total Welding Managemet," American Welding Society, 2005.
Bender Shipbuilding and Repair, Co., "Virtual Welding—A Low Cost Virtual Reality Welder Training System", Technical Proposal, Jan. 23, 2008.
Central Welding Supply http://www.welders-direct.com/ Feb. 29, 2000.
Choquet, Claude, ARC+® & ARC PC Welding Simulators: Teach Welders with Virtual Interactive 3D Technologies; Jul. 2010.
Choquet, Claude, ARC+®: Today's Virtual Reality Solution for Welders, Jun. 1, 2008.
Cybernetics: Enhancing Human Performance found in the DTIC Review dated Mar. 2001, p. 186/19. See http://www.dtic.mil/dtic/tr/fulltext/u2/a385219.pdf.
Echtler, Florian, Fabian Stuurm, Kay Kindermann, Gudrun Klinker, Joachim Stilla, Jorn Trilk, Hesam Najafi, "The Intelligent Welding Gun: Augmented Reality for Experimental Vehicle Construction," Virtual and Augmented Reality Applications in Manufacturing, Ong S.K and Nee A.Y.C., eds., Springer Verlag, 2003, pp. 1-27.
Evaluating Two Novel Tactile Feedback Devices, by Thomas Hulin, Phillipp Kremer, Robert Scheibe, Simon Schaetzle and Carsten Preusche presented at the 4th International Conference on Enactive Interfaces, Grenoble, France, Nov. 19-22, 2007.
Fast et al., Virtual Training for Welding, Proceedings of the Third IEEE and ACM International Symposium on Mixed and Augmented Reality (ISMAR 2004); 0-7695-2191-6/04; 2004.
Fast, Kenneth, Jerry Jones, and Valerie Rhoades; "Virtual Welding—A Cost Virtual Reality Welder Training System Phase II," National Shipbuilding Research Program (NSRP), NSRP ASE Technology Investment Agreement No. 2010-357, Feb. 29, 2012, http://www.nsrp.org/3-RA-Panel—Final—Reports/FY08—Virtual—Welder—Final—Report.pdf.
Fite-Georgel, Pierre; "Is there a Reality in Industrial Augmented Reality?" 10th IEEE International Symposium on Mixed and Augmented Reality (ISMAR), 2011.
Fridenfalk et al., Design and Validation of a Universal 6D Seam Tracking System in Robotic Welding Based on Laser Scanning, Industrial Robotics: Programming, Simulation and Applicationl, ISBN 3-86611-286-6, pp. 702, ARS/pIV, Germany, Dec. 2006, edited by Kin Huat.
Fronius "The Ghost": http://www.fronius.com/cps/rde/xchg/SID-3202EAB7-AE082518/fronius—international/hs.xsl/79—15490—ENG—HTML.htm; 2006.
Fronius International GmbH—Focus on welding—Fronius Virtual Welding; http://www.fronius.com/cps/rde/xchg/SID-99869147-0110E322/fronuis—international/hs.xsl/79—15490—ENG—HTML.htm; 2006.
Fronius Perfect Welding; 06,3082, EN v01 2010 aw05 ; Virtual Welding—The training method of the future; Feb. 20, 2012.
ftp://www.hitl.washington.edu/pub/scivw/publications/IDS-pdf/HAPTIC1.PDF, (University of Washington): Table 11, Tactile Feedback Actuator Technologies, p. 119, below the table is a. Based on Hasser (1995, 1996).
GAWDA—Welding & Gases Today Online | GAWDA Media Blog; Will Games Turn Welding into a Virtual Market? Friday, Dec. 2, 2011; http://www.weldingandgasestoday.org/blogs/Devin-OToole/index.php/ta . . . .
Gundersen, O., et al. "The Use of an Integrated Multiple Neural Network Structure for Simultaneous Prediction of Weld Shape, Mechanical Properties, and Distortion in 6063-T6 and 6082-T6 Aluminum Assemblies", Mathematical Modelling of Weld Phenomena, vol. 5, Maney Publishing, 2001.
Haptic Feedback for Virtual Reality by Grigore C. Burdea dated 1996.
Hashimoto, Nobuyoshi et al., "Training System for Manual Arc Welding by Using Mixed Reality: Reduction of Position-Perception Error of Electrode Tip," Journal of the Japan Society for Precision Engineering, vol. 72, pp. 249-253,2006.
Hemez, Francois M., Scott W. Doebling, "Uncertainty, Validation of Computer Models an the Myth of Numerical Predictability," Engineering Analysis Group (ESA-EA), Los Alamos National Laboratory, dated 2004.
Hillers, B, and Axel Graeser, "Direct welding arc observation withouth harsh flicker," FABTECH International and AWS Welding Show, 2007.
Hillers, B, and Axel Graeser, "Real time Arc-Welding Video Observation System," 62nd International Conference of IIW, Jul. 12-17, 2009, Singapore, 2009.
Hillers, B., et al.; "TEREBES: Welding Helmet with AR Capabilites," Institute of Automation, University of Bremen, and Institute of Industrial Engineering and Ergonomics, RWTH Aachen Universty, 2004.
Hillers, Bernd, Dorin Aiteanu, Axel Graser, "Augmented Reality—Helmet for the Manual Welding Process," Virtual and Augmented Reality Applications in Manufacturing, Institute of Automation, Universtity of Bremen, 2004.
Himperich, Frederick, "Applications in Augmented Reality in the Automotive Industry," Fachgebiet Augmented Reality, Department of Informatics, Jul. 4, 2007, p. 1-21.
Hodgson, et al. "Virtual Reality in the Wild: A Self-Contained and Wearable Simulation System." IEEE Virtual Reality, Mar. 4-8, 2012, Orange County, CA USA.
http://www.123arc.com Simulation and Certification; 2000.
Image from Sim Welder.com—R-V's Welder Training Goes Virtual, www.rvii.com/PDF/simwelder.pdf ; Jan. 2010.
Impact Spring 2012 vol. 12, No. 2, Undergraduate Research in Information Technology Engineering, University of Virginia School of Engineering & Applied Science.; 2012.
Impact Welding: miscellaneous examples from current and archived website, trade shows, etc. See, e.g., http://www.impactwelding.com.
Integrated Microelectromechanical Gyrosopes; Journal of Aerospace Engineering, Apr. 2003 pp. 65-75 (p. 65) by Huikai Xie and Garry K. Fedder.
International Search Report for PCT application No. PCT/US2009/045436, dated Nov. 9, 2009, 3 pgs.
International Search Report for PCT application No. PCT/US2012/050059 dated Nov. 27, 2012, 16 pgs.
International Search Report for PCT application No. PCT/US2013/038371 dated Jul. 31, 2013, 8 pgs.
International Search Report for PCT application No. PCT/US2013/066037 dated Mar. 11, 2014, 10 pgs.
International Search Report for PCT application No. PCT/US2013/066040 dated Mar. 11, 2014, 12 pgs.
International Search Report from PCT application No. PCT/US2014/018107, dated Jun. 2, 2014, 3 pgs.
International Search Report from PCT application No. PCT/US2014/018109, dated Jun. 2, 2014, 4 pgs.
International Search Report from PCT application No. PCT/US2014/018113, dated Jun. 2, 2014, 3pgs.
International Search Report from PCT application No. PCT/US2014/018114, dated Jun. 2, 2014, 4 pgs.
International Search Report from PCT application No. PCT/US2014/065498, dated May 11, 2015, 13 pgs.
International Search Report from PCT application No. PCT/US2014/065506, dated Jun. 26, 2015, 16 pgs.
International Search Report from PCT application No. PCT/US2014/065512, dated Jun. 8, 2015, 17 pgs.
International Search Report from PCT application No. PCT/US2014/065525, dated Jul. 23, 2015, 16 pgs.
International Search Report from PCT application No. PCT/US2015/037410, dated Nov. 6, 2015, 10 pgs.
International Search Report from PCT application No. PCT/US2015/037439, dated Nov. 3, 2015, 12 pgs.
International Search Report from PCT application No. PCT/US2015/037440, dated Nov. 3, 2015, 12 pgs.
International Search Report from PCT application No. PCT/US2015/039680, dated Sep. 23, 2015, 12 pgs.
International Search Report from PCT application No. PCT/US2015/043370, dated Dec. 4, 2015, 12 pgs.
International Search Report from PCT application No. PCT/US2015/058563, dated Jan. 29, 2016, 13 pgs.
International Search Report from PCT application No. PCT/US2015/058567, dated May 6, 2016, 15 pgs.
International Search Report from PCT application No. PCT/US2015/058569, dated Feb. 10, 2016, 12 pgs.
International Search Report from PCT application No. PCT/US2015/058660, dated Feb. 2, 2016, 14 pgs.
International Search Report from PCT application No. PCT/US2015/058664, dated Apr. 25, 2016, 17 pgs.
International Search Report from PCT application No. PCT/US2015/058666, dated Feb. 1, 2016, 11 pgs.
International Search Report from PCT application No. PCT/US2015/058667, dated Feb. 5, 2016, 14 pgs.
International Search Report from PCT application No. PCT/US2016/023612, dated Jul. 18, 2016, 11 pgs.
International Search Report from PCT No. PCT/US2014/067951, dated Feb. 24, 2015, 10 pgs.
Jo et al., Visualization of Virtual Weld Beads, VRST 2009, Kyoto, Japan, Nov. 18-20, 2009; Electronics and Telecommunications Research Institute (ETRI) ACM 978-1 60558-869-8/09/0011.
Kiwinakiful; Holographic TVcoming 2012 (as seen on BBC); http://www.youtube.com/watch?v=Ux6aD6vE9sk&feature=related, Jul. 2, 2011.
Kobayashi, Kazuhiko et al., "Modified Training System for Manual Arc Welding by Using Mixed Reality and Investigation of Its Effectiveness," Journal of the Japan Society for Precision Engineering, vol. 70, pp. 941-945, 2004.
Kobayashi, Kazuhiko et al., "Simulator of Manual Metal Arc Welding with Haptic Display," Chiba University, ICAT 2001, Dec. 2001.
Kobayashi, Kazuhiko et al., "Skill Training System of Manual Arc Welding by Means of Face-Shield HMD and Virtual Electrode," Chiba University, Japan, R. Nakatsu et al. (eds.), Entertainment Computing, Springer Science+Business Media, New York, 2003.
Kooima, Robert; Kinect +3D TV=Virtual Reality; http://www.youtube.com/watch?v=2MX1RinEXUM&feature=related, Feb. 26, 2011.
Leap Motion; https://www.leapmotion.com/, May 2012.
Lincoln Electric VRTEX® Virtual Reality Arc Welding Trainer; http://www.lincolnelectric.com/en-us/equipment/training-equipment/pages/vrtex360.aspx; ; 1999.
MacCormick, John; How does the Kinect work?; http://users.dickinson.edu/˜jmac/selected-talks/kinect.pdf , Dec. 1, 2011.
NAMeS, Native American Technologies Weld Measuring Software, Users Guide, 2000.
National Science Foundation—Where Discoveries Begin—Science and Engineering's Most Powerful Statements Are Not Made From Words Alone—Entry Details for NSF International Science & Engineering Visualization Challenge, Public Voting ended on Mar. 9, 2012; Velu the welder by Muralitharan Vengadasalam—Sep. 30, 2011; https://nsf-scivis.skild.com/skild2/NationalScienceFoundation/viewEntryDetail.action?pid . . . .
Native American Technologies, "ArcDirector Weld Controller" web page, http://web.archive.org/web/20020608125127/http://www.natech-inc.com/arcdirector/index.html, published Jun. 8, 2002.
Native American Technologies, "ArcSentry Weld Quality Monitoring System" web page, http://web.archive.org/web/20020608124903/http://www.natech-inc.com/arcsentry1/index.html, published Jun. 8, 2002.
Native American Technologies, "Official NAMeS Web Site" web page, http://web.archive.org/web/20020903210256/http://www.natech-inc.com/names/names.html, published Sep. 3, 2002.
Native American Technologies, "P/NA.3 Process Modelling and Optimization" web pages, http://web.archive.org/web/20020608125619/http://www.natech-inc.com/pna3/index.html, published Jun. 8, 2002.
Native American Technologies, "Process Improvement Products" web page, http://web.archive.org/web/20020608050736/http://www.natech-inc.com/products.html, published Jun. 8, 2002.
Natural Point, Trackir; http://www.naturalpoint.com/trackir/, Dec. 2003.
Numerical Simulation F Arc Welding Process and its Application Dissertation for Ohio State University by Min Hyun Cho, M.S. 2006: See Internet as this document is security protected) ohttps://etd.ohiolink.edu/ap:0:0:APPLICATION—PROCESS=DOWNLOAD—ETD—SUB—DOC—ACCNUM:::F1501—ID:osu1155741113, attachment.
NZ Manufacturer Game promotes welding trade careers; http://nzmanufacturer.co.nz/2011/11/game-promotes-welding-trade-careers/ . . . Competenz Industry Training; www.competenz.org.nz; Game promotes welding trade careers, Nov. 7, 2011.
OptiTrack: Motion Capture Systems: http://www.naturalpoint.com/optitrack/, Mar. 2005.
Penrod, Matt; "New Welder Training Tools," EWI PowerPoint presentation, 2008.
PhaseSpace: Optical Motion Capture: http://phasespace.com/, 2009.
Playstation; Move Motion Controller: http://us.playstation.com/ps3/playstation-move/, Mar. 2010.
Polhemus: Innovation in Motion: http://polhemus.com/?page=reseachandtechnology, 1992.
Porter et al., EWI—CRP Summary Report SR0512, Jul. 2005—Virtual Reality Welder Training.
Porter, Nancy C., Edison Welding Institute; J. Allan Cote, General Dynamics Electric Boat; Timothy D. Gifford, VRSim; and Wim Lam, FCS Controls—Virtual Reality Welder Training—Project No. S1051 Navy Man Tech Program; Project Review for Ship Tech 2005,—Mar. 1, 2005, Biloxi, MS.
Porter, Nancy C., Edison Welding Institute; J. Allan Cote, General Dynamics Electric Boat; Timothy D. Gifford, VRSim; and Wim Lam, FCS Controls—Virtual Reality Welder Training—Session 5: Joining Technologies for Naval Applications. 2007.
Quebec International, May 28, 2008 "Video Game" Technology to Fill Growing Need; http://www.mri.gouv.qc.ca/portail/—scripts/actualities/viewnew.asp?NewID=5516&strIdSit.
Ryu, Jonghyun, Jaehoon Jung, Seojoon Kim, and Seungmoon Choi, "Perceptually Transparent Vibration Rendering Using a Vibration Motor for Haptic Interaction," 16 IEEE International Conference on Robot & Human Interactive Communication, Jeju, Korea, Aug. 26-29, 2007.
Sandor, Christian, Gudrun Klinker, "PAARTI: Development of an Intelligent Welding Gun for BMW," PIA 2003, Tokyo, Japan, Technical University of Munich Department of Informatics, Oct. 7, 2003.
Sandor, Christian, Gudrun Klinker; "Lessons Learned in Designing Ubiquitous Augmented Reality User Interfaces," Emerging Technologies of Augmented Reality Interfaces, Eds. Haller, M, Billinghurst, M., and Thomas, B., Idea Group Inc., 2006.
ShotOfFuel; Wii Head Tracking for 3D, http://www.youtube.com/watch?v=1x5ffF-0Wr4, Mar. 19, 2008.
Stone, R. T., K. Watts, and P. Zhong, "Virtual Reality Integrated Welder Training, Welding Research," Welding Journal, vol. 90, Jul. 2011, pp. 136-s-141-s, https://app.aws.org/wj/supplement/wj201107—s136.pdf.
TCS News&Events: Press Release: TCS wins the "People Choice" award from National Science Foundaton, USA, pp. 1-6; Press Release May 21, 2012; http://www.tsc.com/news—events/press—releases/Pages/TCS—People—Choice—award—Natio . . . .
TeachWELD: Welding Simulator/Hands-On Learning for Welding: http://realityworks.com/products/teachweld-welding-simulator; 2012.
TEREBES; miscellaneous examples from http://www.terebes.uni-bremen.de.
The Rutgers Master II—New Design Force-Feedback Glove by Mourad Bouzit, Member, IEEE,Grigore Burdea, Senior Member, IEEE, George Popescu, Member, IEEE, and Rares Bolan, Student Member, found in IEEE/ASME Transactions on Mechatronics, vol. 7, No. 2, Jun. 2002.
thefabricator.com—Arc Welding Article; Heston, Tim, Virtual welding—Training in a virtual environment gives welding students a leg up—Mar. 11, 2008.
Tschurner, Petra, Hillers, Bernd, and Graeser, Axel; "A Concept for the Application of Augmented Realty in Manual Gas Metal Arc Welding," Proceedings of the International Symposium on Mixed and Augmented Reality, 2002.
U.S. Appl. No. 61/639,414 ; Apr. 27, 2012.
U.S. Appl. No. 61/724,321 ; Nov. 9, 2012.
U.S. Appl. No. 61724322 ; Nov. 9, 2012.
Vicon: Motion Capture Systems: http://vicon.com/, Dec. 1998.
Virtual Reality Training Manual Module 1—Training Overview—A Guide for Gas Metal Arc Welding—EWI 2006.
VRTEX 360 Operator's Manual, Lincoln Electric, Oct. 2012.
VRTEX 360, Lincoln Electric, Dec. 2009.
Weld Training Solutions, REALWELD, The Lincoln Electric Company, Jul. 2015.
Welding Journal, American Welding Society, Nov. 2007, https://app.aws.org/wj/2007/11/WJ—2007—11.pdf.
White, S., et al., "Low-Cost Simulated MIG Welding for Advancement in Technical Training," Virtual Reality, 15, 1, 69-81, Mar. 2011. ISSN:13594338 [Retrieved from EBSCOhost, Jun. 15, 2015].

Cited By (14)

* Cited by examiner, † Cited by third party
Publication numberPriority datePublication dateAssigneeTitle
US10983684B2 (en)2014-11-072021-04-20The Esab Group Inc.Techniques for controlling a portable welding system
US20160132227A1 (en)*2014-11-072016-05-12The Esab Group, Inc.Techniques for controlling a portable welding system
US10216396B2 (en)*2014-11-072019-02-26The Esab Group, Inc.Techniques for controlling a portable welding system
US10613730B2 (en)2014-11-072020-04-07The Esab Group Inc.Techniques for controlling a portable welding system
US11883896B2 (en)2018-04-062024-01-30The Esab Group, Inc.Recognition of components for welding and cutting torches
AU2019202346B2 (en)*2018-04-062021-01-21The Esab Group Inc.Automatic identification of components for welding and cutting torches
EP3928908A1 (en)*2018-04-062021-12-29The Esab Group, Inc.A plasma torch consumable component
US10625359B2 (en)2018-04-062020-04-21The Esab Group Inc.Automatic identification of components for welding and cutting torches
EP3549706A1 (en)*2018-04-062019-10-09The Esab Group, Inc.Automatic identification of components for welding and cutting torches
US11267069B2 (en)2018-04-062022-03-08The Esab Group Inc.Recognition of components for welding and cutting torches
AU2019202346C1 (en)*2018-04-062021-07-22The Esab Group Inc.Automatic identification of components for welding and cutting torches
US11285557B2 (en)2019-02-052022-03-29Lincoln Global, Inc.Dual wire welding or additive manufacturing system
US11311958B1 (en)*2019-05-132022-04-26Airgas, Inc.Digital welding and cutting efficiency analysis, process evaluation and response feedback system for process optimization
US12423537B2 (en)2021-09-102025-09-23Esab AbMarked consumable reading

Also Published As

Publication numberPublication date
CA2897102C (en)2019-07-30
EP2973505B1 (en)2020-01-08
US20140263224A1 (en)2014-09-18
CN108274141A (en)2018-07-13
CN105144267B (en)2018-01-19
CN105144267A (en)2015-12-09
EP2973505A1 (en)2016-01-20
MX2015008616A (en)2016-01-14
CA2897102A1 (en)2014-09-25
WO2014149400A1 (en)2014-09-25
MX350859B (en)2017-09-19
BR112015019539A2 (en)2017-07-18

Similar Documents

PublicationPublication DateTitle
US10482788B2 (en)Welding torch for a welding training system
US9713852B2 (en)Welding training systems and devices
US9728103B2 (en)Data storage and analysis for a welding training system
US9672757B2 (en)Multi-mode software and method for a welding training system
US9666100B2 (en)Calibration devices for a welding training system
US11676509B2 (en)Feedback from a welding torch of a welding system
US20190076950A1 (en)Feedback from a welding torch of a welding system
EP3092632B1 (en)Welding software for detection and control of devices and for analysis of data
US9751149B2 (en)Welding stand for a welding system
US20150190888A1 (en)Electrical assemblies for a welding system
US20150190887A1 (en)Calibration tool and method for a welding system

Legal Events

DateCodeTitleDescription
ASAssignment

Owner name:ILLINOIS TOOL WORKS INC., ILLINOIS

Free format text:ASSIGNMENT OF ASSIGNORS INTEREST;ASSIGNORS:BECKER, WILLIAM J;BEESON, RICHARD;MARCUSEN, DAVID P.;SIGNING DATES FROM 20130621 TO 20130628;REEL/FRAME:030781/0726

FEPPFee payment procedure

Free format text:PAYOR NUMBER ASSIGNED (ORIGINAL EVENT CODE: ASPN); ENTITY STATUS OF PATENT OWNER: LARGE ENTITY

STCFInformation on status: patent grant

Free format text:PATENTED CASE

MAFPMaintenance fee payment

Free format text:PAYMENT OF MAINTENANCE FEE, 4TH YEAR, LARGE ENTITY (ORIGINAL EVENT CODE: M1551); ENTITY STATUS OF PATENT OWNER: LARGE ENTITY

Year of fee payment:4

MAFPMaintenance fee payment

Free format text:PAYMENT OF MAINTENANCE FEE, 8TH YEAR, LARGE ENTITY (ORIGINAL EVENT CODE: M1552); ENTITY STATUS OF PATENT OWNER: LARGE ENTITY

Year of fee payment:8


[8]ページ先頭

©2009-2025 Movatter.jp