Movatterモバイル変換


[0]ホーム

URL:


US9270722B2 - Method for concatenating frames in communication system - Google Patents

Method for concatenating frames in communication system
Download PDF

Info

Publication number
US9270722B2
US9270722B2US14/676,661US201514676661AUS9270722B2US 9270722 B2US9270722 B2US 9270722B2US 201514676661 AUS201514676661 AUS 201514676661AUS 9270722 B2US9270722 B2US 9270722B2
Authority
US
United States
Prior art keywords
samples
frame
frames
concealment
signal
Prior art date
Legal status (The legal status is an assumption and is not a legal conclusion. Google has not performed a legal analysis and makes no representation as to the accuracy of the status listed.)
Expired - Fee Related
Application number
US14/676,661
Other versions
US20150207842A1 (en
Inventor
Soren Andersen
Current Assignee (The listed assignees may be inaccurate. Google has not performed a legal analysis and makes no representation or warranty as to the accuracy of the list.)
Microsoft Technology Licensing LLC
Original Assignee
Skype Ltd Ireland
Priority date (The priority date is an assumption and is not a legal conclusion. Google has not performed a legal analysis and makes no representation as to the accuracy of the date listed.)
Filing date
Publication date
Family has litigation
First worldwide family litigation filedlitigationCriticalhttps://patents.darts-ip.com/?family=59285473&utm_source=google_patent&utm_medium=platform_link&utm_campaign=public_patent_search&patent=US9270722(B2)"Global patent litigation dataset” by Darts-ip is licensed under a Creative Commons Attribution 4.0 International License.
Application filed by Skype Ltd IrelandfiledCriticalSkype Ltd Ireland
Priority to US14/676,661priorityCriticalpatent/US9270722B2/en
Assigned to SONORIT APSreassignmentSONORIT APSASSIGNMENT OF ASSIGNORS INTEREST (SEE DOCUMENT FOR DETAILS).Assignors: ANDERSEN, SOREN
Assigned to SKYPE LIMITEDreassignmentSKYPE LIMITEDASSIGNMENT OF ASSIGNORS INTEREST (SEE DOCUMENT FOR DETAILS).Assignors: SONORIT APS
Assigned to SKYPEreassignmentSKYPECHANGE OF NAME (SEE DOCUMENT FOR DETAILS).Assignors: SKYPE LIMITED
Publication of US20150207842A1publicationCriticalpatent/US20150207842A1/en
Application grantedgrantedCritical
Publication of US9270722B2publicationCriticalpatent/US9270722B2/en
Assigned to MICROSOFT TECHNOLOGY LICENSING, LLCreassignmentMICROSOFT TECHNOLOGY LICENSING, LLCASSIGNMENT OF ASSIGNORS INTEREST (SEE DOCUMENT FOR DETAILS).Assignors: SKYPE
Expired - Fee Relatedlegal-statusCriticalCurrent
Anticipated expirationlegal-statusCritical

Links

Images

Classifications

Definitions

Landscapes

Abstract

A method for concatenating a first frame of samples and a subsequent second frame of samples, the method comprising applying a phase filter adapted to minimizing a discontinuity at a boundary between the first and second frames of samples.

Description

PRIORITY
This application is a continuation of and claims priority to U.S. patent application Ser. No. 11/883,440 entitled “METHOD FOR CONCATENATING FRAMES IN COMMUNICATION SYSTEM” and filed Mar. 7, 2008, which is a National Stage Entry and claims priority to PCT Application No. PCT/DK2006/000055, entitled “METHOD FOR CONCATENATING FRAMES IN COMMUNICATION SYSTEM”, filed Jan. 31, 2006, which claims priority under 35 USC 119 or 365 to Denmark Application No. PA 2005 00146 filed Jan. 31, 2005, the disclosures of which are incorporated by reference herein in their entirety.
FIELD OF THE INVENTION
The present invention relates to the telecommunication systems. More particularly, the present invention relates to a method, a device, and an arrangement that mitigates discontinuities that occur when frames relating to non-consecutive frames in an original audio signal, or when one or both frames relate to a concealment method, are concatenated. This happens in particular in connection with loss and/or delay jitter and/or clock skew of signal packets. The invention improves the quality of signal transmission over wireless telecommunication systems and packet switched networks.
BACKGROUND OF THE INVENTION
Modern telecommunications are based on digital transmission of signals. For example, inFIG. 1, atransmitter200 collects a sound signal from asource100. This source can be the result of one or more persons speaking and other acoustic wave sources collected by a microphone, or it can be a sound signal storage or generation system such as a text-to-speech synthesis or dialog system. If the source signal is analog it is converted to a digital representation by means of an analog-to-digital converter. The digital representation is subsequently encoded and placed in packets following a format suitable for thedigital channel300. The packets are transmitted over the digital channel. The digital channel typically comprises multiple layers of abstraction.
At the layer of abstraction inFIG. 1, the digital channel takes a sequence of packets as input and delivers a sequence of packets as output. Due to degradations in the channel, typically caused in noise, imperfections, and overload in the channel, the output packet sequence is typically contaminated with loss of some of the packets and arrival time delay and delay jitter for other packets. Furthermore, difference in clock of the transmitter and the receiver can result in clock skew. It is the task of thereceiver400 to decode the received data packets and to convert the decoded digital representations from the packet stream and decode this into digital signal representations and further convert these representations into a decoded sound signal in a format suitable for output to thesignal sink500. This signal sink can be one or more persons who are presented the decoded sound signal by means of, e.g., one or more loudspeakers. Alternatively, the signal sink can be a speech or audio storage system or a speech or audio dialog system or recognizer.
It is the task of the receiver to accurately reproduce a signal that can be presented to the sink. When the sink directly or indirectly comprises human listeners, an object of the receiver is to obtain a representation of the sound signal that, when presented to the human listeners, accurately reproduces the humanly perceived impression and information of the acoustic signal from the source or sources. To secure this task in the common case where the channel degrades the received sequence of packets with loss, delay, delay jitter, and clock skew may furthermore be present, an efficient concealment is necessary as part of the receiver subsystem.
As an example, one possible implementation of a receiver subsystem to accomplish this task is illustrated inFIG. 2. As indicated in this figure, incoming packets are stored in ajitter buffer410 from where a decoding andconcealment unit420 acquires received encoded signal representations, and decodes and conceals these encoded signal representations to obtain signal representations suitable for storage in aplayout buffer430 and subsequent playout. The control of when to initiate concealment and what specific parameters of this concealment, such as length of the concealed signal, can, as an example, be carried out by acontrol unit440, which monitors the contents of the jitter buffer and the playout buffer and controls the action of the decoding andconcealment unit420.
Concealment can also be accomplished as part of a channel subsystem.FIG. 3 illustrates one example of a channel subsystem in which packets are forwarded from achannel310 to achannel330 via asubsystem320, which we for later reference term the relay. In practical systems the relay function may be accomplished by units, which may take a variety of context dependent names, such as diverse types of routers, proxy servers, edge servers, network access controllers, wireless local area network controllers, Voice-over-IP gateways, media gateways, unlicensed network controllers, and other names. In the present context all these as examples of relay systems.
One example of a relay system that is able to do audio concealment is illustrated inFIG. 4. As illustrated in this figure, packets are forwarded from aninput buffer310 to anoutput buffer360 viapacket switching subsystems320 and350. Thecontrol unit370 monitors the input and output buffers, and as a result of this monitoring, makes decisions if transcoding and concealment is necessary. If this is the case, the switches direct the packets via the transcoding andconcealment unit330. If this is not the case, the switches directs the packets via the minimalprotocol action subsystem340, which will make a minimum of operations on the packet headers to remain compliant with applied protocols. This can comprise steps of altering sequence number and time-stamp of the packets.
In a transmission of audio signals using systems exemplified by, but not limited to, the above descriptions, there is the need for concealment of loss, delay, delay jitter, and/or clock skew in signals representative, or partially representative, of the sound signal.
Pitch repetition methods, sometimes embodied in the oscillator model, are based in an estimate of the pitch period in voiced speech, or alternatively in the estimation of the corresponding fundamental frequency of the voiced speech signal. Given the pitch period, a concealment frame is obtained by repeated readout of the last pitch period. Discontinuities at the beginning and end of the conce3alment frame and between each repetition of the pitch period can be smoothed using a windowed overlap-add procedure. See patent number WO 0148736 and International Telecommunications Union recommendation ITU-T G.711Appendix 1 for examples of the pitch repetition method. Prior art systems integrate pitch repetition based concealment with decoders based in the linear predictive coding principle. In these systems the pitch repetition is typically accomplished in the linear predictive excitation domain by a read out from the long-term predictor or adaptive codebook loop. See patent number U.S. Pat. No. 5,699,481, International Telecommunications Union recommendation ITU-T G.729, and Internet Engineering Task Force Request For Comments 3951 as examples of pitch repetition based concealment in the linear predictive excitation domain. The above methods apply for concealing a loss or an increasing delay, i.e., a positive delay jitter, and situations of input or jitter buffer underflow or near underflow e.g. due to clock skew. To conceal a decreasing delay, a negative delay jitter, or an input or jitter buffer overflow or near overflow, the generation of a shortened concealment signal is needed. Pitch based methods accomplish this by an overlap add procedure between a pitch period and an earlier pitch period. See patent number WO 0148736 for an example of this method. Again this can be accomplished while exploiting facilities present in linear predictive decoders. As an example, patent number U.S. Pat. No. 5,699,481 discloses a method by which fixed codebook contribution vectors are simply discarded from the reproduction signal, relying on the state of the adaptive codebook to secure pitch periodicity in the reproduced signal. In connection with pitch repetition methods one object is a seamless signal continuation from the concealment frame to the next frame. Patent no. WO 0148736 discloses a method to achieve this object. By the invention disclosed in WO 0148736 this object is achieved by means of concealment frames of time carrying and possibly signal dependent length. Whereas this efficiently can secure seamless signal continuation in connection with concealment of delay jitter and clock skew, this solution introduce a deficiency in connection with systems of the type depicted inFIG. 4: Following this type of concealment an encoding of the concealment into frames of fixed preset length that connects seamlessly with the already encoded frames that are preferably relayed via theminimal protocol action340, cannot be guaranteed.
Therefore, an important object is to obtain concealment frames of preset length equal to the length of regular signal frames. One method of concealment with preset length is to accomplish a smooth overlap add between samples that surpass the preset frame length times the number of concealment frames with a tailing subset of samples from the frame following the concealment frames. This method is well known from the state of the art and used e.g. in International Telecommunications Union recommendation ITU-T G.711Appendix 1. In principle, this method could also be applied when concatenation a frame with another frame, where the two frames relate to non-consecutive frames in the original audio signal. Thus, a person skilled in the art may accomplish this by obtaining a concealment frame as a continuation of the first frame and enter this concealment frame into the overlap-add procedure with the second frame, thereby partially reducing the discontinuities that originates at the boundary between the last sample of the first frame and the first sample of the second frame.
The above solutions to these scenarios are problematic. This is because of, depending on the actual waveform shape of the two signals that enter into this overlap-add procedure, a noticeable discontinuity will remain in the resulting audio signal. This discontinuity is observed by the human listener as a “bump” or a “fade” in the signal.
In the first scenario, where one or more concealment frames are involved, a re-sampling of these concealment frames have been proposed in the literature, See e.g. Valenzuela and Animalu, “A new voice-packet reconstruction technique”, IEEE, 1989, for one such method. This method does not provide a solution when the objective is concatenation of two existing frames rather than concatenation with a concealment frame, further, for the concatenation of a concealment frame and a following frame, this method is still problematic. This is because a needed re-sampling to mitigate the discontinuity as perceived by a human listener may instead introduce a significant frequency distortion, i.e., a frequency shift, which is also perceived by the human listener as an annoying artifact.
SUMMARY OF THE INVENTION
The disclosed invention, or rather embodiments thereof, effectively mitigates the above-identified limitations in known solutions, as well as other unspecified deficiencies in the known solutions. According to the present invention these objects are achieved by a method, a program storage device, and an arrangement, all of which are different aspects of the present invention, having the features as defined in the appended claims.
Specifically comparing with known pitch-repetition-based methods, the disclosed invention provides techniques to concatenate signal frames, with inherent discontinuity at the frame boundaries, with significantly less perceivable artifact than what is known from the state of the art. Thereby the disclosed invention alleviates a limitation of state-of-the-art systems with directly improved perceived sound quality as a result.
The following definitions will be used throughout the present disclosure. By a “sample” is understood a sample originating from a digitized audio signal or from a signal derived thereof or coefficients or parameters representative of such signals, these coefficients or parameters being scalar or vector valued. By a “frame” is understood a set of consecutive samples, using the definition of sample above. By “subsequence” is understood a set of two or more consecutive samples, using the above definition of sample. In case of use of e.g. overlap-add, two consecutive subsequences may include overlapping samples. Depending on the choice of frames, a subsequence may extend between two consecutive frames.
The invention provides in a first aspect, a method for concatenating a first frame of samples and a subsequent second frame of samples, the method comprising applying a phase filter adapted to minimizing a discontinuity at a boundary between the first and second frames of samples.
Preferably, the phase filter is applied to at least part of samples in at least two consecutive frames. The at least two consecutive frames may be said first and second subsequent frames.
The phase filter may be applied to at least part of samples in at least the second frame and to at least part of samples in at least one frame consecutive to the second frame. The phase filter may be applied to at least part of samples in at least the second frame and to at least part of samples in at least two frames consecutive to the second frame.
The phase filter may be applied to at least part of samples in at least the first frame and to at least part of samples in at least one frame preceding the first frame. The phase filter may be applied to at least part of samples in at least the first frame and to at least part of samples in at least two frames preceding the first frame.
Preferably, the phase filter includes an all pass filter section, in simple preferred embodiments the phase filter is an all pass filter. The all pass filter section may be a parametric all pass filter section. The parametric all pass filter section preferably includes between 1 and 20 non-zero coefficients.
The phase filter may include modifying a phase of a subsequence of at least one sample by a radian phase value of pi.
In preferred embodiments, the phase filter is time-varying. The phase filter is preferably time-varying such that a response of the phase filter approximates a zero phase at a finite number of samples away from the boundary between the first and second frames, such as a finite number of samples after the boundary between the first and second frame. Preferably, the phase filter preferably has an initially selected phase response at a starting time. Said number of samples away from the boundary may depend on the initially selected phase response of the phase filter. The point in time where the response of the phase filter approximates zero phase may be within at least one of the first and second frames. Alternatively, the point in time where the response of the phase filter approximates zero phase is within a frame being at least one frame preceding the first frame. More alternatively, the point in time where the response of the phase filter approximates zero phase is within a frame being at least one frame following the second frame.
Said number of samples away from the boundary may depend on a characteristics of a subsequence of samples in the second frame or in a frame following after the second frame. E.g. in case input samples represent a speech signal, and the characteristics of such samples that may be used is to detect whether the samples represent voiced or unvoiced speech.
Said number of samples away from the boundary may depend on a characteristics of a subsequence of samples in the first frame or a frame preceding the first frame. The phase filter may include a poly phase structure. The phase filtering may comprise an up-sampling procedure.
The method includes applying a weighted overlap-add procedure, such as a weighted overlap-add procedure including a matched filter. One part of the samples resulting from this weighted overlap add procedure is advantageously used to initialize the state of the phase filter, if another part of resulting samples from the overlap add procedure remains after this initialization, these samples are advantageously used as the first input samples of the phase filter.
At least one of the first and second frames includes one or more concealment samples may be generated by a concealment method. The concealment method may be a method that includes generating two consecutive subsequences of concealment samples based on two consecutive subsequences of buffered samples in reverse time order.
The phase filter may be based on concealment samples generated from the second frame backwards in time. An initial state of the phase filter may be based on said concealment samples. A number of samples may be included from at least one of said concealment samples is selected such as to maximize a matching measure. Said matching measure may include a correlation, such as a normalized correlation.
The method according to any of the preceding claims, wherein the sample in the first and second frames represent a digitized audio signal, such as an audio signal including a speech signal.
In advantageous embodiments of this invention, an all-pass filter, such as a parametric all-pass filter is used for phase filtering. The phase filter is made time-varying such that the further away from the frame boundary, its response is gradually closer to a zero phase. At the point where zero phase is reached, the filter is disconnected from the signal path. This point can be in a same frame where a frame boundary discontinuity was mitigated by this method, or this point can advantageously be one or several frames away from the point where the frame boundary discontinuity was mitigated. In further advantageous embodiments of this invention, the initial phase filter, the initial state of this filter, and the input to this filter are determined such as to minimize the discontinuity between last samples of a first frame and first samples of a second frame, and this minimization is accomplished by maximizing a similarity measure between a smooth continuation of said last samples in said first frame, obtained by a concealment method, and an initial part of the input, state, or output from the phase filtering of samples in said second frame. Further, in advantageous embodiments, samples representative of time before the first sample of said second frame are obtained by a concealment method working backwards in time, with the purpose to estimate input, state, and/or output from the phase filter from the first sample of the second frame and onward. In further advantageous embodiments, a weighted overlap-add procedure, and preferably a matched-filter weighted overlap-add procedure is applied between the concealment samples from said first frame and the input, state, or output from the phase filter.
In a second aspect, the invention provides a computer executable program code adapted to perform the method according to the first aspect. Such program code may be written in a machine dependent or machine independent form and in any programming language such as machine code or higher level programming language.
In a third aspect, the invention provides a program storage device comprising a sequence of instructions for a microprocessor, such as a general-purpose microprocessor, for performing the method of the first aspect. The storage device may be any type of data storage means such as disks, memory cards or memory sticks, harddisks etc.
In a fourth aspect, the invention provides an arrangement, e.g. a device or apparatus, for receiving a digitized audio signal, the arrangement including:
memory means for storing samples representative of a received digitized audio signal, and
processor means for performing the method of the first aspect.
Implementing this invention with adequate means, such as the ones described for the preferred embodiments below, enables a decoder and concealment system and/or a transcoder and concealment system to efficiently conceal sequences of lost or delayed packets without introducing perceptually annoying artifacts. Thereby our invention enables high quality two-way communication of audio in situations with severe clock skew, channel loss, and/or delay jitter.
BRIEF DESCRIPTION OF THE DRAWINGS
In the following the invention is described in more details with reference to the accompanying figures, of which
FIG. 1 is a block diagram illustrating a known end-to-end packet-switched sound transmission system subject to the effects of loss, delay, delay jitter, and/or clock skew;
FIG. 2 is an exemplifying receiver subsystem accomplishing jitter-buffering, decoding and concealment and play-out buffering under the control of a control unit;
FIG. 3 is a block diagram illustrating a relay subsystem of a packet-switched channel, subject to the effects of clock skew, loss, delay, and delay jitter;
FIG. 4 is an exemplifying relay subsystem accomplishing input-buffering, output-buffering, and when necessary transcoding and concealment under the control of a control unit;
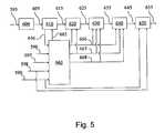
FIG. 5 is a block diagram illustrating a set of preferred embodiments of the present invention;
FIG. 5A is an illustrating sketch of subsequences in concealment frames starting with subsequences being based on the last buffered subsequences of in reverse time order;
FIG. 5B illustrates another example of a larger sequence of subsequences in concealment frames starting with the last two buffered subsequences in reverse time order, and where consecutive subsequences are based on buffered subsequences further back in time;
FIG. 5C illustrates the sample count indexes in an indexing pattern formatted by step backs and read lengths;
FIG. 6 is an illustrating sketch of signals involved in the indexing and interpolation function;
FIG. 7 is a flow chart illustrating one possible way to implement a decision-logic for stopping criteria;
FIG. 8 is a flow chart illustrating one possible way to accomplish an iterative joint optimization of smoothing and equalization, stopping criteria and the number of allowed repetitions,
FIG. 9 illustrates the use of circular shift and overlap-add in connection with initializing and feeding a phase adjusting filter, and
FIG. 10 illustrates one embodiment of the disclosed weighted overlap-add procedure.
While the invention is susceptible to various modifications and alternative forms, specific embodiments have been shown by way of example in the drawings and will be described in detail herein. It should be understood, however, that the invention is not intended to be limited to the particular forms disclosed. Rather, the invention is to cover all modifications, equivalents, and alternatives falling within the spirit and scope of the invention as defined by the appended claims.
DESCRIPTION OF PREFERRED EMBODIMENTS
In the following, the invention is described in combination with concatenating a concealment frame and a subsequent frame. However, as will be understood from the scope of the claims, the inventive concatenation method has a much wider range of applications than that.
The inventive method is activated in the decoding andconcealment unit420 of a receiver such as the one inFIG. 2 or it is activated in the transcoding andconcealment unit330 of a relay such as the one inFIG. 4 or at any other location in a communication system where its action is adequate. At these locations a number of buffered signal frames are available and a number of concealment frames are wanted. The available signal frames and wanted concealment frames can consist of time-domain samples of an audio signal, e.g. a speech signal, or they can consist of samples derived thereof, such as linear prediction excitation samples, or they can consist of other coefficients derived from the audio signal and fully or partially representative of frames of sound signal. Examples of such coefficients are frequency domain coefficients, sinusoidal model coefficients, linear predictive coding coefficients, waveform interpolation coefficients, and other sets of coefficients that fully or partially are representative of the audio signal samples.
FIG. 5 illustrates a preferred embodiment of the invention. FollowingFIG. 5 the available signal frames595, which can be received and decoded or transcoded signal frames or concealment frames from earlier operation of this or other methods to generate concealment frames or a combination of the above-mentioned types of signal frames, are stored in aframe buffer600. The signal in the frame buffer is analyzed by anindex pattern generator660. The index pattern generator can advantageously make use of estimates ofsignal pitch596 and voicing597. Depending on the overall system design these estimates can be available for input from other processes such as an encoding, decoding, or transcoding process or they are calculated by other means preferably using state of the art methods for signal analysis. Moreover, the index pattern generator takes as input thenumber598 of concealment signal frames to generate andpointers599 to the beginning and end of the particular signal frames in the frame buffer that the concealment frame or frames are replacement for. As an example, if these buffers point to the end of the frame buffer, then this means that the concealment frame or frames should be made adequate to follow the signal stored in the frame buffer. As another example, if these pointers point out a non-empty subset of consecutive frames in the frame buffer, then this means that the concealment frame or frames should be made to replace these frames in the frame sequence representative or partially representative of the sound signal.
To illustrate this further, assume that theframe buffer600 contains signal frames A, B, C, D, E, and that the number of concealment frames598 is two. Then, if the pointers to frames to replace599 points to the end of the frame buffer, this means that two concealment signal frames should be made to follow in sequence after signal frame E. Conversely, if thepointers599 point out signal frames B, C, D, the two concealment frames should be made to replace signal frames B, C, D and to follow in sequence after signal frame A and to be followed in sequence by signal frame E.
Concerning methods to determine the number of concealment frames598 and the subset of frames that the concealment frames should eventually replace, i.e., thepointers599, state of the art methods should preferably be used. Thus thedata596,597,598, and599 together with the signal frames595 constitute inputs to the method device and arrangement of the present invention.
In certain overall system designs the length or dimension of a signal frame is advantageously kept as a constant during execution of the concealment unit. Among other scenarios, this is typically the case when the concealment unit is integrated in a relay system where the result of the concealment should be put into packets representative of sound signal within a time interval of preset length, this preset length being determined elsewhere. As an example, this preset length may be determined during the protocol negotiations during a call set-up in a Voice over IP system, and may be altered during the conversation in response to e.g. network congestion control mechanisms. Some embodiments of the present invention, as will become clear later, meet this requirement of working with a preset length of a signal frame in an advantageous way. However, the innovation as such is not limited to these system requirements; other embodiments of the present innovation can work with concealments that are a non-integer number of frames, and concealment frames that have time-varying lengths, and where these lengths can be functions of the specific content in the frame buffer, possibly in combination with other factors.
Embodiments of the present invention can advantageously make use of a smoothing andequalization operation610 operating on thesignal605 from the frame buffer. This smoothing and equalization generates asignal615 in which frames earlier in time than the concealment frame or frames have an increased similarity with the signal frame or frames that the concealment frame or frames substitute or a frame immediately before that. Alternatively, if the concealment frame or frames are inserted in sequence with the existing frames without substitution, similarity is with the frame or frames immediately before the intended position of the concealment frame or frames. For later reference, we simply term both of these cases as similarity. Similarity is as interpreted by a human listener. The smoothing and equalization obtains a signal with increased similarity, while at the same time preserving a naturally sounding evolution of thesignal615. Examples of similarity increasing operations that are advantageously performed by the smoothing andequalization610 include increased smoothness and similarity in parameters such as energy envelope, pitch contour, voicing grade, voicing cutoff, and spectral envelope, and other perceptually important parameters.
Concerning each of these parameters, abrupt transients in evolution of the parameter within the frames to be smoothed and equalized are filtered out and the average level of the parameter in these frames is smoothly modified to become more similar in the meaning of similar defined above. Advantageously, similarity is only introduced to an extent, which still preserves a naturally sounding evolution of the signal. Under the control of theindex pattern generator660 the smoothing and equalization can advantageously mitigate transients and discontinuities that may otherwise occur in the following indexing andinterpolation operation620. Moreover, the smoothing and equalization of pitch contour can advantageously be controlled by theindex pattern generator660 in such a way as to minimize the distortion, which is eventually otherwise introduced in the concealment frames later by thephase filter650. The smoothing and equalization operation can advantageously make use of signal or parameter substitution, mixing, interpolation and/or merging with signal frames (or parameters derived thereof) found further back in time in theframe buffer600. The smoothing andequalization operation610 can be left out from the system without diverging from the general scope of the present invention. In this case the signal61S equates the signal60S and thesignal input666 and control output66S of theindex pattern generator660 can in that case be de omitted from the system design.
The indexing andinterpolation operation620 takes as input the, possibly smoothed and equalized, signal61S, and anindex pattern666. Furthermore, in some advantageous embodiments of the present invention the indexing and interpolation operation takes amatching quality indicator667 as input. The matching quality indicator can be a scalar value per time instant or it can be a function of both time and frequency. The purpose of the matching quality indicator will become apparent later in this description. Theindex pattern666 parameterizes the operation of the indexing and interpolation function.
FIG. 5A illustrates an example of how an index pattern may index subsequences in the buffered samples, BS1, BS2, BS3, BS4, gradually backwards in time in the synthesis of one or more concealment frames. In the shown example, consecutive subsequences CS1, CS2, CS3, CS, CS5, CS6, CS7 in the concealment frames CF1, CF2, CF3 are based on buffered subsequences BS1, BS2, BS3 and BS4 of samples in frames BF1, BF2. As seen, the concealment subsequences CS1-CS7 are indexed from the buffered subsequences BS1-BS4 with a location pointer that moves gradually backwards and then gradually forwards in time as expressed by the functional notation CS1(BS4), CS2(BS3), CS3(BS2), meaning that CS1 is based on BS4, and so on. Thus,FIG. 5A serves as one example of illustrating how consecutive subsequences in concealment frames may follow each other, based on consecutive buffered subsequences but reordered in time. As seen, the first four concealment subsequences CS1(BS4), CS2(BS3), CS3(BS2) and CS4(BS1) are chosen to be based on the last four subsequences of buffered samples BS1, BS2, BS3, BS4, in consecutive order but in reverse time order, thus starting with the last buffered subsequence BS1. After the first four subsequences in reverse time order, three subsequences CS5, CS6, CS7 follow that are all based on consecutive buffered subsequences in time order, namely BS2, BS3 and BS4, respectively. The preferred index pattern is a result of theindex pattern generator660 and may vary largely withinputs656,596,597,598, and599 to this block.FIG. 5B gives, following the notation fromFIG. 5A, another illustrative example of how concealment subsequences CS1-CS11 may be based on buffered subsequences BS1-BS4 in time reordering. As seen, later concealment subsequences are gradually based on buffered subsequences further back in time. E.g. the first two consecutive concealment subsequences CS1 and CS2 are based on the last two buffered subsequences BS3,8BS4, in reverse time order, whereas a later concealment subsequence e.g. C510 is based on BS1, i.e. a buffered subsequence further back in time than those used to calculate CS1 and CS2. Thus,FIG. 5B serves to illustrate that consecutive concealment subsequences are based on buffered subsequences indexed forwards and backwards in time in a manner so that the indexing gradually evolves backwards in time.
In advantageous embodiments of the present invention, this gradual evolution backwards in time is formalized as a sequence of what we for the purpose of this description term step backs and a sequence of what we for the purpose of this description term read lengths. In simple embodiments of this format of the index pattern, a pointer to signal samples, or parameters or coefficients representative thereof, is moved backwards by an amount equal to a first step back after which an amount of samples, or parameters or coefficients representative thereof, are inserted in the concealment frame, this amount being equal to a first read length. Thereafter the pointer is moved backwards with an amount equal to a second step back and an amount of samples, or parameters or coefficients representative thereof, equal to a second read length is read out, and so forth.
FIG. 5C illustrates an example of this process by reordering a first enumeration of indexed samples. This first enumeration is listed on the signal time axis while the enumeration list on the concealment time axis ofFIG. 5C corresponds to the reordering of the original samples as they are placed in the concealment frame. For this illustrating example the first, second, and third step backs were arbitrarily chosen as 5, 6, 5, respectively, and the first, second, and third read lengths were likewise arbitrarily chosen as 3, 4, 3, respectively. In this example, the subsequences with time index sets {6,7,8}, {3,4,5,6}, and {2,3,4}, respectively, are subsequences that evolve gradually backwards in time. The 20 sequences of step backs and read lengths are here chosen purely for the purpose of illustration. With speech residual samples sampled at 16 kHz as an example, typical values of step backs are in the range 40 to 240, but is not limited to this range, and typical values for the read lengths are in the range of 5 to 1000 samples but is not limited to this range. In more advanced embodiments of this format, the transition from a forward directed sequence (e.g. original time or an indexed subsequence back in time) to another forward directed sequence, one step further back in time, is made gradually by a gradually shifting interpolation.
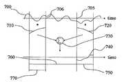
FIG. 6 illustrates the operation of a simple embodiment of the indexing and interpolation function in response to one step back and a corresponding read length and matching quality indicator. For the purpose of illustration only, signal frames here consist of time domain audio samples. The gradually shifting interpolation applies on the general definition of “sample” used in this description, i.e. including scalar or vector valued coefficients or parameters representative of the time domain audio samples, in a similar and thereby straightforward manner. In thisFIG. 700 illustrates a segment of thesignal615. Thepointer705 is the sample time instant following the sample time instant of the last generated sample in the indexing andinterpolation output signal625. Thetime interval750 has a length equal to the read length. Thetime interval770 also has a length equal to the read length. Thetime interval760 has a length equal to the step back. The signal samples in700 starting fromtime705 and read length forward in time are one by one multiplied with awindowing function720. Also the signal samples in700 starting at a location one sample after step back before thelocation706 and read length samples ahead from there are one by one multiplied with awindowing function710. The resulting samples from multiplying withwindow710 and withwindow720 are added one by one730 to result in thesamples740 that constitute a new batch of samples for theoutput625 from the indexing and interpolation operation. Upon completion of this operation thepointer705 moves to thelocation706.
In simple embodiments of the present invention the window functions710 and720 are simple functions of theread length750. One such simple function is to choose thewindow710 and thewindow720 as the first and second half, respectively, of a Hanning window of length two times read length. Whereas a wide range of functions can be chosen here, observe that for such functions to be meaningful in the context of the present invention, they must accomplish a weighted interpolation between the samples in the segment indicated by750 and the samples indicated by770 in such a way that we gradually, but not necessarily monotonically, move from a high weight on the segment indicated by750 to a high weight on the segment indicated by770.
In other embodiments of the present invention the window functions710 and720 are functions of the matching quality indicator. A simple example of such a function is that, depending on a threshold on normalized correlation on the segments of thesignal700 indicated bytime intervals750 and770, an interpolation operation is chosen to either sum to unity in amplitudes or in powers. Another example of such function avoids the constraint to sum up amplitudes or powers to one, but instead optimize window weights as a function of the matching measure only. Further refinement of this method takes the actual value of the normalized correlation and optimizes the interpolation operation in response to it, e.g. using classical linear estimation methods. However, examples of preferred methods are described in the following. In these examples the threshold, respectively the actual value of normalized correlation give examples of advantageous information conveyed by the matchingquality indicator667. According to preferred embodiments described in the following, the interpolation operation can be made to implement different weightings at different frequencies. In this case the matchingquality indicator667 can advantageously convey measures of matching as a function of frequency. In advantageous embodiments this weighting as a function of frequency is implemented as a tapped delay line or other parametric filter form that can be optimized to maximize the matching criterion.
InFIG. 6 an illustration is given of the operation of indexing and interpolation when the signal615 (and therefore the signal segment700) contain samples that are representative of time-domain samples of a sound signal or of a time-domain signal derived thereof. As mentioned above, samples inframes595 and thereby insignals605 and615 can advantageously be such that each sample is a vector (vector valued samples) where such a vector contains coefficients or parameters, which are representative or partially representative of the sound signal. Examples of such coefficients are line spectral frequencies, frequency domain coefficients, or coefficients defining a sinusoidal signal model, such as sets of amplitudes, frequencies, and phases. With a basis in this detailed description of preferred embodiments of the present invention, the design of interpolation operations that are advantageously applied to vector valued samples is feasible to a person skilled in the art, as the remaining details can be found described in the general literature for each of the specific cases of such vector valued samples.
It is advantageous for the understanding of the present invention to observe that when the indexing and interpolation operation is applied repeatedly with a read length that is smaller than the step back, then the result will be that the samples in thesignal625 become representative of signal samples that are gradually further and further back in thesignal615. When then the step back and or read length is changed such that the read length becomes larger than the step back, then this process will turn and samples in thesignal625 now becomes representative of signal samples that are gradually further and further forward in thesignal615. By advantageous choice of the sequence of step backs and the sequence of read lengths a long concealment signal with rich and natural variation can be obtained without calling for samples ahead in time from the latest received signal frame in theframe buffer600 or even without calling for samples ahead of another preset time instant, which can be located earlier than the latest sample in the latest received frame in theframe buffer600. Thereby concealment of delay spikes in a system with low-delay playout or output-buffer scheduling becomes possible with the present invention. In the formulation of the present description the simple strict backwards temporal evolution of the signal, which can be useful to think of as an element in a simple embodiment of the present invention, is realized by repeated use of a read length of one sample, a step back of two samples and awindow720 comprising of a single sample of value 0 and awindow710 comprising of a single sample of value 1.0.
The primary object of theindex pattern generator660 is to control the action of the indexing andinterpolation operation620. In a set of preferred embodiments this control is formalized in andindexing pattern666, which can consist of a sequence of step backs and a sequence of read lengths. This control can be further augmented with a sequence of matching quality indications, which in turn each can be functions e.g. of frequency. An additional feature, which can be output from the index pattern generator, and which use will become clear later in this description is arepetition count668. The meaning of repetition count is the number of times that an evolution backwards in time is initiated in the construction of the concealment frame or frames. The index pattern generator obtains these sequences from a basis in information, which can comprise the smoothed and equalizedsignal656 output from the smoothing andequalization operation610; a pitch estimate596 a voicing estimate597 anumber598 of concealment frames to generate andpointers599 to the frames to replace. In one embodiment of the index pattern generator it will enter different modes depending on the voicing indicator. Such modes are exemplified below.
As an example advantageously used in the linear predictive excitation domain, if the voicing indicator robustly indicates that the signal is unvoiced speech or that no active speech is present in the signal, i.e., the signal consists of background noise, the index pattern generator can enter a mode in which a simple reversion of the temporal evolution of the signal samples is initiated. As described earlier this can be accomplished e.g. by submitting a sequence of step back values equal to two and a sequence of read length values equal to one (this description is based in the design choice that the indexing and interpolation operation will itself identify these values and apply the adequate windowing function as described above). In some cases this sequence can continue until a reverse temporal evolution of the signal has been implemented for half of the number of new samples needed in the concealment frame or frames, after which the values in the step back sequence can change to 0, whereby a forward temporal evolution of the signal is commenced, and continue until thepointer706 is effectively back at the point of departure for thepointer705 in the first application of the step back. However, this simple procedure will not always be sufficient for high quality concealment frames. An important task of the index pattern generator is the monitoring of adequate stopping criteria. In the above example, the reverse temporal evolution may bring thepointer706 back to a position in the signal at which the sound, as interpreted by a human listener, is significantly different from the starting point. Before this occurs the temporal evolution should be turned.
Preferred embodiments of the present invention can apply a set of stopping criteria based in a set of measures. The following exemplifies a few of these measures and stopping criteria. If the voicing indicates that the signal at thepointer706 is voiced, then in the above example starting from unvoiced, the temporal evolution direction can advantageously be turned, also if the signal energy in an area round thepointer706 is different (as determined by an absolute or relative threshold) from the signal energy at the point of departure for thepointer705, the temporal evolution direction can advantageously be turned. As a third example the spectral difference between a region around the point of departure for thepointer705 and the current position of thepointer706 may exceed a threshold and the temporal evolution direction should be turned.
A second example of a mode can be evoked when the signal cannot robustly be determined as unvoiced or containing no active speech. In this mode thepitch estimate596 constitutes a basis for determining the index pattern. One procedure to do this is that each step back is searched to give a maximized normalized correlation between the signal frompointer705 and one pitch cycle ahead in time and the signal from a point that is step back earlier than thepointer705 and one pitch cycle ahead. The search for potential values of step back can advantageously be constrained to a region. This region can advantageously be set to plus minus 10 percent round the previously found step back or the pitch lag if no previous step back has been found. Once the step back has been determined the value of read length will determine if the temporal signal evolution should evolve backwards or forwards in time, and how fast this evolution should take place. A slow evolution is obtained by a choice of read length close to the identified value of step back. A fast evolution is obtained by a choice of read length that is much smaller or much larger than the step back in the case of backwards and forwards evolution, respectively. An objective of the index pattern generator is to select the read length to optimize the sound quality as interpreted by a human listener. Selecting the read length too close to the step back can in some signals, such as signals that are not sufficiently periodic, result in perceptually annoying artefacts such as string sounds. Selecting the read length too far from the step back, implies that a larger time interval in the frame buffer is ultimately swept through during the temporal evolution of the concealment frame or frames, alternatively that the direction of temporal evolution has to be turned more times before sufficient amount of samples for the concealment frame or frames have been generated.
The first case can in some signals, such as signals that are not sufficiently stationary (alternatively not sufficiently smooth and equalized), result in a kind of perceptually annoying artefacts that has certain resemblance with a stuttering in the sound of the concealment frame or frames. In the second case string-sound-like artefacts may occur. A feature of advantageous embodiments of the present invention is that the read length can be determined as a function of the step back and the normalized correlation, which is optimized in the search for the optimum step back. One simple, yet advantageous, choice of this function in embodiments of the present invention working on speech signals and when signal frames contain 20 ms of linear predictive excitation signal sampled at 16 kHz, is as an example given by the following function
Readlength=[(0.2+NormalizedCorrelation/3)*StepBack]
Where square brackets [ ] are used to indicate rounding to nearest integer and where symbols Readlength, NormalizedCorrelation, and StepBack are used to denote the read length the normalized correlation obtained for the optimum step back and the corresponding step back, respectively. The above function is included only as an example to convey one advantageous choice in some embodiments of the present invention. Any choice of read length including any functional relation to obtain this read length are possible without diverging from the spirit of the present invention. In particular, advantageous methods to select the read length include the use ofcontrol665 to parameterize the smoothing andequalization operation610 such as to reach a joint minimization of stutter-like and string sound-like artefacts in anintermediate concealment frame625. This explains why theindex pattern generator660 takes theintermediate signal656 as input rather than theoutput615 from the smoothing and equalization operation: thesignal656 represents potential versions of thefinal signal615 under thecontrol665, and enables the index pattern generator to approach the optimization task by means of iterations. As is the case for the unvoiced and non-active speech mode above, the stopping criteria are essential in this mode too. All the examples of stopping criteria put forward in the mode above apply to this mode as well. Additionally, in this mode stopping criteria from measuring on the pitch and normalized correlation can advantageously be part of embodiments of the present invention.FIG. 7 illustrates, as an example, an advantageous decision logic for a combination of stopping criteria. InFIG. 7, the reference signs indicate the following:
    • 800: Identify if signal is high correlation type, low correlation type or none of these. Determine initial energy level
    • 801: Determine next step back and normalized correlation and read length
    • 802: Determine if signal has entered low correlation type
    • 803: Determine if signal has entered high correlation type
    • 804: Is signal high correlation type?
    • 805: Is signal low correlation type?
    • 806: Is energy below relative minimum threshold or above relative maximum threshold?
    • 807: Is normalized correlation below threshold for high correlation type?
    • 808: Is normalized correlation above threshold for low correlation type?
    • 809: Has enough samples been generated?
In the case of operation in the linear predictive excitation domain of speech sampled at 16 kHz. The thresholds addressed inFIG. 7 can advantageously be chosen as follows: high correlation type can be entered when a normalized correlation greater than 0.8 is encountered; a threshold for remaining in high correlation type can be set to 0.5 in normalized correlation; low correlation type can be entered when a normalized correlation lower than 0.5 is encountered; a threshold for remaining in low correlation type can be set to 0.8 in normalized correlation; a minimum relative energy can be set to 0.3; and a maximum relative energy can be set to 3.0. Furthermore, other logics can be used and other stopping criteria can be used in the context of the present invention without diverging from the spirit and scope of the present invention.
The application of stopping criteria means that a single evolution, backwards in time until either enough samples are generated or a stopping criterion is met and then forward in time again, is not guaranteed to give the needed number of samples for the concealment frames. Therefore, more evolutions, backwards and forwards in time, can be applied by the index pattern generator. However, too many evolutions back and forth may in some signals create string-sound-like artefacts. Therefore, preferable embodiments of the present invention can jointly optimize the stopping criteria, the function applied in calculation of the read lengths, the smoothing andequalization control665, and the number of evolutions back and forth, i.e., therepetition count668, and if enabled by the pointers to the frames to replace599, also the number of samples that we evolve forward in time before each new evolution backwards in time is initiated. To this end, the smoothing and equalization operation can also advantageously be controlled so as to slightly modify the pitch contour of the signal. Furthermore, the joint optimization can take into account the operation of thephase filter650, and make slight changes to the pitch contour such as to result in an index pattern that minimize the distortion introduced in the phase filter jointly with the other parameters mentioned above. With a basis in the description of preferred embodiments for the present invention, a person skilled in the art understands that a variety of general optimization tools apply to this task, these tools include Iterative optimization, Markov decision processes, Viterbi methods, and others. Any of which are applicable to this task without diverging from the scope of the present invention.
FIG. 8 illustrates by means of a flow graph one example of an iterative procedure to accomplish a simple, yet efficient, optimization of these parameters. InFIG. 8, the reference signs indicate the following:
    • 820: Initiate controls for smoothing andequalization665
    • 821: Obtain newsmooth signal656
    • 822: Initiate stopping criteria
    • 823: Initiate the allowed number of repetitions
    • 824: Identify the index pattern for a sequence of backwards and forwards evolutions evenly distributed over the available frames indicated bypointers599 or if pointing to end of available frames, evolutions backwards following directly after evolutions forwards
    • 825: Is the sufficient amount of samples for the number of concealment frames598 generated?
    • 826: Is the maximum number of repetitions reached?
    • 827: Augment allowed number of repetitions
    • 828: Is the loosest threshold for stopping criteria reached?
    • 829: Loosen the thresholds for stopping criteria
    • 830: Change controls to increase the impact of smoothing and equalization
Note that one evolution backwards and forwards in time and a following evolution backwards and forwards in time, in the case enough signal had not been synthesized in the previous evolution or evolutions backwards and forwards in time, can advantageously differ. As examples, the sequences of step backs, read lengths, and interpolation functions, and also the end location pointer after evolution backwards and forwards in time should be devised such as to minimize periodicity artefacts otherwise resulting from a repetition of similar index patterns. With voiced speech residual domain samples at 16 kHz as an example, one evolution backwards and forwards in time, generating approximately, say, 320 samples, can preferably end approximately 100 samples further back in the signal than an earlier evolution backwards and forwards in time.
The disclosed embodiments up to this point efficiently mitigates the problems of artificially 5 sounding string sounds known from prior art methods, while at the same time enable efficient concealment of abrupt delay jitter spikes and abruptly occurring repeated packet losses. However, in adverse network conditions, as encountered e.g. in some wireless systems and wireless ad hoc networks and best effort networks and other transmission scenarios, even the disclosed method may in some cases introduce slight components of tonality in the concealment frames. A minornoise mixing operation630 and agraceful attenuation filter640 can therefore advantageously be applied in some embodiments of the present invention. The general techniques of noise mixing and attenuation are well known to a person skilled in the art. This includes the advantageous use of frequency dependent temporal evolution of the power of the noise component and frequency dependent temporal evolution of the attenuation function. A feature specific to the use of noise mixing and attenuation in the context of the present invention is the explicit use of theindex pattern666, the matchingquality measure667 and/or therepetition count668 for adaptive parameterization of the noise mixing and attenuation operations. Specifically, the indexing pattern indexes where unaltered signal samples are placed in the concealment frame and where the samples of the concealment frame is a result of an interpolation operation. Moreover, the ratio of step back relative to read length in combination with the matching quality measure are indicative of the perceptual quality resulting from the interpolation operation. Thus little or no noise can advantageously be mixed into the original samples, more noise can advantageously be mixed into the samples that are results of an interpolation process and the amount of noise mixed into these samples can advantageously be a function of the matching quality measure, advantageously in a frequency differentiated manner. Furthermore, the value of the read length relative to the step back is also indicative of the amount of periodicity that may occur, the noise mixing can advantageously include this measure in the determination of amount of noise to mix into the concealment signal. The same principle applies to the attenuation; a graceful attenuation is advantageously used, but less attenuation can be introduced for samples that are representative of original signal samples and more attenuation can be introduced for samples that result from the interpolation operation. Furthermore, the amount of attenuation in these samples can advantageously be a function of the matching quality indication and advantageously in a frequency differentiated manner. Again, the value of the read length relative to the step back is indicative of the amount of periodicity that may occur; the attenuation operation can advantageously include this measure in the design of the attenuation.
As addressed in the background for the present invention, an important object of a subset of embodiments of the present invention obtains concealment frames of preset length equal to the length of regular signal frames. When this is wanted from a system perspective, the means to this end can advantageously be aphase filter650. A computationally simple, approximate but often sufficient operation of this block is to accomplish a smooth overlap add between samples that surpass the preset frame length times the number of concealment frames with a tailing subset of samples from the frame following the concealment frames. Seen isolated, this method is well known from the state of the art and used e.g. in International Telecommunications Union recommendation ITU-T G.711Appendix 1. When practical from a system perspective the simple overlap-add procedure can be improved by a multiplication of subsequent frames with −1 whenever this augments the correlation in the overlap-add region. However, other methods can advantageously be used, e.g. in the transition between voiced signal frames, to mitigate further the effect of discontinuities at the frame boundaries. One such method is a re-sampling of the concealment frames. Seen as an isolated method, this too is well known from the state of the art. See e.g. Valenzuela and Animalu, “A new voice-packet reconstruction technique”, IEEE, 1989. Thus, mitigating discontinuities at frame boundaries may be performed by a person skilled in the art. However, in preferred embodiments of the invention disclosed herewith, the re-sampling can advantageously be continued into the frames following the last concealment frame. Hereby the slope of temporal change and thereby the frequency shift, which is a consequence of the re-sampling technique, can be made imperceptible when interpreted by a human listener. Further, rather than resampling, the use of time-varying all-pass filters to mitigate discontinuities at frame boundaries is disclosed with the present invention. One embodiment of this, is as given by the filter equation
HL(z,t)=(alpha1(t)+alpha2(t)*z^(−L))/(alpha)2(t)+alpha1(t)*z^(−L))
The function of which is explained as follows. Suppose that a sweep from a delay of L samples to a delay of 0 samples is wanted over a sweep interval, which can include all or part of the samples in all or part of the concealment frames; in frames before the concealment frames; and in frames after the concealment frames. Then in the beginning of the sweep interval alpha1(t) is set to zero and alpha2(t) it set to 1.0 so as to implement a delay of L samples. As the sweep overt starts, alpha1(t) should gradually increase towards 0.5 and alpha2(t) should gradually decrease towards 0.5. When, in the end of the sweep interval alpha1(t) equates alpha2(t) the filter H_L(z,t) introduce a delay of zero. Conversely if a sweep from a delay of zero samples to a delay of L samples is wanted over a sweep interval, which can include all or part of the samples in all or part of the concealment frames; in frames before the concealment frames; and in frames after the concealment frames. Then in the beginning of the sweep interval alpha1(t) is set to 0.5 and alpha2(t) it set to 0.5 so as to implement a delay of 0 samples. As the sweep overt starts, alpha1(t) should gradually decrease towards 0 and alpha2(t) should gradually increase towards 1.0. When, in the end of the sweep interval alpha1(t) equates 0 and alpha2(t) equates 1.0 the filter H_L(z,t) introduce a delay of L samples.
The above filtering is computationally simple, however it has a non-linear phase response. For perceptual reasons, this non-linear phase limits its use to relatively small L. Advantageously L<10 for speech at a sample rate of 16 kHz. One method to accomplish the filtering for larger values of initial L is to initiate several filters for smaller L values that sums up to the desiredtotal 1 value, these several filters can advantageously be initiated at different instants of time and sweep their range of alpha's over different intervals of time. One other method to increase the range of L in which this filter is applicable is disclosed in the following. A structure that implements a functionally same filtering as the one above is to divide the signal into L poly-phases and conduct the following filtering in each of these poly-phases
H1(z,t)=(alpha1(t)+alpha2(t)*z^(−1))/(alpha2(t)+alpha1(t)*z^(−1))
By the present invention the poly-phase filtering is advantageously implemented by use of up-sampling. One way to do this advantageously is to up-sample each poly-phase with a factor K and conduct the filtering H1(z,t) K times in each up-sampled poly phase before down-sampling with a factor K and reconstruction of the phase modified signal from the poly-phases. The factor K can advantageously be chosen as K=2. By the up-sampling procedure, a phase response, which is closer to linear, is obtained. Hereby the perceived quality as interpreted by a human listener is improved.
The above described phase adjustment over multiple frames is applicable when concealment frames are inserted in a sequence of received frames without loss. It is also applicable when frames are taken out of the signal sequence in order to reduce playback delay of subsequent frames. And it is applicable when frames are lost and zero or more concealment frames are inserted between the received frames before and the received frames after the loss. In these cases, an advantageous method to get the input signal for this filter and find the delay L is as follows:
    • 1) on the frames earlier in time than the discontinuity point, a concealment method, the one disclosed herewith or any other, is continued or initiated.
    • 2) on the frames later in time than the discontinuity a number L_test samples are inserted in the frame start by a concealment method, the one disclosed herewith or any other, but with an reversed indexing of the time samples.
    • 3) a matching measure, such as normalized correlation, is applied between the concealment frame or frames form 1) and the frame or frames from 2) including the heading L_test samples.
    • 4) the L_test that maximizes the matching measure is selected as L.
    • 5) the concealment frame or frames from 2) and the frame or frames from 3) are now added together using a weighted overlap-add procedure. Whereas this weighted overlap-add can be performed as known by a person skilled in the art, it can preferably be optimized in as disclosed later in this description.
    • 6) the resulting frame or frames are used as input to the above described phase fitting filtering, initiated with the determined value L. If L is larger than a threshold, then several filters are initiated and coefficient swept at different time instants and time intervals, with their L-values summing up to the determined value L.
Advantageously, in speech or speech residual sampled at 8 or 16 kHz, the above threshold can be chosen to a value in the range 5 to 50. Further advantageously, in voiced speech or voiced speech residual, the concealment samples L_test and its continuation into the following frame are obtained by circular shifting the samples of the first pitch period of the frame. Thereby a correlation measure without normalization, correlating the full pitch period, can advantageously be used as matching measure to find the preferred circular shift L.
FIG. 9 illustrates one embodiment of such method. In this figure, the phase adjustment creates a smooth transition between asignal frame900 and the following frames. This is accomplished as follows: From thesignal frame900 and earlier frames, aconcealment signal910 is generated. This concealment signal can be generated using the methods disclosed herewith, or by using other methods that are well known from the state of the art. The concealment signal is multiplied with awindow920 and added 925 with anotherwindow930, which is multiplied with a signal generated as follows: Aconcealment signal940 is generated, from followingsamples950 and possibly960, by effectively applying a concealment method such as the ones disclosed herewith, or using other methods that are well known from the state of the art, and concatenated with the followingsamples950. The number of samples in theconcealment940 is optimized such as to maximize the matching between theconcealment910 and the concatenation of940 and the followingsamples950.
Advantageously, normalized correlation can be used as a measure of this matching. Further, to reduce computational complexity, the matching can for voiced speech or voiced speech residual be limited to comprise one pitch period. In this case theconcealment samples940 can be obtained as a first part of a circular shift of one pitch period, and the correlation measure over one pitch period now need not be normalized. Hereby computations for calculation of the normalization factor are avoided. As for the indexing and interpolation operation described earlier in this detailed description of preferred embodiments, the windows can again advantageously be a function of a matching quality indicator and/or a function of frequency and advantageously implemented as a tapped delay line. The operation of thefilter970 is as follows. The first L samples resulting from the overlap-add procedure are passed directly to its output, and used to set up the initial state of the filter. Thereafter the filter coefficients are initialized as described above, and as the filter filters from sample L+1 and forwards these coefficients are adjusted gradually, such as to gradually remove the L samples of delay, as disclosed above.
Again, in the above described procedure, the method of optimizing the weights of the windows according to maximizing the matching criterion, as described above, applies, and also the generalization of the window functions to frequency dependent weights and to matched filters in the form of tapped delay lines or other parametric filter forms. In advantageous embodiments the temporal evolution of the frequency dependent filter weight is obtained by a sequence of three overlap-add sequences, first fades down the concealment frame or frames from earlier frames, second fades up a filtered version of these with a filter such as to match the concealment frames from later frames obtained in reverse indexed time, then fades this down again, third fades up the frame or frames later in time. In another set of advantageous embodiments the temporal evolution of the frequency dependent filter weight is obtained by a sequence of four overlap-add sequences, first fades down the concealment frame or frames from earlier frames, second fades up a filtered version of these with a filter such as to match the concealment frames from later frames obtained in reverse indexed time, then fades this down again, third fades up a filtered version of the frames later in time, such as to further improve this match, and fades that down again, and finally fourth window fades up the frame or frames later in time. Further advantageous embodiments of weighted overlap-add methods are disclosed later in this description.
Concerning the smoothing andequalization operation610 in embodiments where residual-domain samples are used as a part of the information representative for the speech signal, smoothing and equalization can advantageously be applied on this residual signal using pitch adapted filtering, such as a comb filter or a periodic notch filter. Furthermore, Wiener or Kalman filtering with a long-term correlation filter plus noise as a model for the unfiltered residual can advantageously be applied. In this way of applying the Wiener or Kalman filter, the variance of the noise in the model applies to adjust the amount of smoothing and equalization. This is a somewhat counterintuitive use, as this component is traditionally in Wiener and Kalman filtering theory applied to model the existence of an unwanted noise component. When applied in the present innovation the purpose is to set the level of smoothing and equalization. As an alternative to pitch adapted comb or notch filtering and Wiener or Kalman type filtering, a third method is advantageously applied for smoothing and equalization of residual signals in the context of the present innovation. By this third method, either sample amplitudes, as advantageously applied e.g. for unvoiced speech, or consecutive vectors of samples, as advantageously applied e.g. for voiced speech, are made increasingly similar. Possible procedures for accomplishing this are outlined below for vectors of voiced speech and samples of unvoiced speech, respectively.
For voiced speech, consecutive samples of speech or residual are gathered in vectors with a number of samples in each vector equal to one pitch period. For convenience of description we here denote this vector as v(k). Now, the method obtains a remainder vector r(k) as a component of v(k) that could not by some means be found in surrounding vectors v(k−L1), v(k−L1+1), . . . , v(k−1) and v(k+1), v(k+2), . . . . , v(k+L2). For convenience of description, the component found in surrounding vectors is denoted a(k). The remainder vector r(k) is subsequently manipulated in some linear or non-linear manner so as to reduce its audibility, while preserving naturalness of the resulting reconstructed vector, which is obtained by reinserting the component a(k) in the manipulated version of r(k).
This leads to the smoothed and equalized version of voiced speech or voiced residual speech. One simple embodiment of the above described principle, using for convenience matrix-vector notation and for simplicity of example the notion of linear combining and least-squares to define a(k) is given below. This merely serves as one example of a single simple embodiment of the above general principle for smoothing and equalization.
For the purpose of this example, let the matrix M(k) be defined as
M(k)=[v(k−L1)v(k−L1+1) . . .v(k−1)v(k+1)v(k+2) . . .V(k+L2)]
From which a(k) can be calculated e.g. as the least-squares estimate of v(k) given M(k)
a(k)=M(k)inv(trans(M(k))M(k))v(k)
where inv( ) denotes matrix inversion or pseudo inversion and trans( ) denotes matrix transposition. Now the remainder r(k) can be calculated e.g. by subtraction.
r(k)=v(k)−a(k)
One example of manipulating r(k) is by clipping away peaks in this vector, e.g., such as to limit the maximum absolute value of a sample to a level equal to the maximum amplitude of the r(k) vector closest to the starting point of the backward-forward concealment procedure, or to some factor times the amplitude of the sample at the same position in vector but in the vector closest to the starting point of the backward-forward concealment procedure. The manipulated remainder rm(k) is subsequently combined with the a(k) vector to reconstruct the equalized version of v(k), for convenience here denoted by ve(k). This combination can as one example be accomplished by simple addition:
ve(k)=alpha*rm(k)+a(k)
The parameter alpha in this example can be set to 1.0 or can advantageously be selected to be smaller than 1.0, one advantageous choice for alpha is 0.8.
For unvoiced speech, another smoothing and equalization method can with advantage be used. One example of smoothing and equalization for unvoiced speech calculates a polynomial fit to amplitudes of residual signal in logarithmic domain. As an example, a second order polynomial and in log 10 domain can be used. After converting the polynomial fit from logarithmic domain back to linear domain, the fitting curve is advantageously normalized to 1.0 at the point that corresponds to the starting point for the backward-forward procedure. Subsequently, the fitting curve is lower-limited, e.g., to 0.5, where after the amplitudes of the residual signal can be divided with the fitting curve such as to smoothly equalize out the variations in amplitude of the unvoiced residual signal.
Concerning weighted overlap-add procedures, some but not all applications of which are disclosed earlier in this description, i.e., the indexing andinterpolation operation620 and the method to initiate the input signal for thephase adjustment filtering970, procedures may be performed as known by a person skilled in the art. However, in preferred embodiments of weighted overlap-add procedures, the methods disclosed in the following may advantageously used.
In a simple embodiment of a weighted overlap-add procedure modified in response to a matching quality indicator, we consider a first window multiplied with a first subsequence and a second window multiplied with a second subsequence, and these two products enter into an overlap-add operation. Now, as an example, we let the first window be a taper-down window, such as a monotonically decreasing function, and we let the second window be a taper-up window, such as a monotonically increasing function. Secondly, for the purpose of a simple example, we let the second window be parameterized by a basic window shape times a scalar multiplier. We now define: target as said first subsequence; w_target as said first subsequence sample-by-sample multiplied with said taper-down window; w_regressor as said second subsequence sample-by-sample multiplied with said basic window shape for the taper-up window; and coef as said scalar multiplier. Now the scalar multiplier component of the second window can be optimized such as to minimize a summed squared error between target and the result of the overlap-add operation. Using for convenience a matrix-vector notation, the problem can be formulated as minimizing the summed-squared difference between target and the quantity
w_target+w_regressor*coef
Defining from here vectors T and H as
T=target−w_target
H=w_regressor
The solution to this optimization is given as
coef=inv(trans(H)*H)*trans(H)*T
In which inv( ) denotes scalar or matrix inversion, trans( ) denotes the transpose of a matrix or vector and * is matrix or vector multiplication. Now, as central components in the inventions disclosed herewith, this method can be expanded to optimize the actual shape of a window. One way to obtain this is as follows. We define a set of shapes for which the wanted window is obtained as a linear combination of elements in this set. We now define H such that each column of H is a shape from this set sample by sample multiplied with said second subsequence, and we define coef as a column vector containing the unknown weights of these shapes in the optimized window function. With these definitions, the above equations formulating the problem and its solution, now applies to solving for a more general window shape. Naturally, the role of the first and the second window can be interchanged in the above, such that it is now the first window for which optimization takes place.
A more advanced embodiment of the present invention jointly optimizes both window shapes. This is made by defining a second set of basic window shapes, possibly equivalent with the first set of window shapes, and advantageously selected as a time reversed indexing of the samples in each of the window shapes in the first set of window shapes. Now define the w_target as a matrix in which each column is a basic window shape from said second set of window shapes sample by sample multiplied with the first subsequence and define coef as a column vector containing first the weights for the first window and second the weights for the second window. Then the more general problem can be formulated as minimizing the summed-squared difference between the target and the quantity
[w_targetw_regressor]*coef
where square brackets [ ] are used to form a matrix from sub-matrices or vectors. Now, defining from here vectors T and H as
T=target
H=[w_targetw_regressor]
The solution to this optimization is given as
coef=inv(trans(H)*H)*trans(H)*T
Further, a more advanced embodiment of the present invention optimizes not only instantaneous window shapes but windows with an optimized frequency dependent weighting. One embodiment of this invention applies the form of a tapped delay line, though the general invention is by no means limited to this form. One way to accomplish this generalization is to replace, in the definition of w_target and w_regressor above, each column with a number of columns each sample by sample multiplying with the basic window shape corresponding to the column they replace but where this basic window shape is now sample by sample multiplied with the relevant subsequence delayed corresponding to a specific position in a tapped delay line.
Advantageously, optimizations of coefficients in these methods take into account a weighting, constraint, or sequential calculation of the coefficients without deferring from the invention disclosed herewith. Such weightings may advantageously include weighting towards more weight on coefficients corresponding to low absolute delay values. Such sequential calculation may advantageously calculate coefficients for low absolute delay values first, such as to minimize the sum of squared error using those coefficients only, and then subsequently repeating this process for increasing delay values but only on the remaining error from the earlier steps in this process.
In general, embodiments of this invention take several subsequences as targets of the optimization. The optimization in general terms minimize a distortion function, which is a function of these target subsequences and the output from the weighted overlap-add system. This optimization may without diverging from the present invention, apply various constraints on the selection of basic shapes and delays and their weighting in the overall overlap-add. Depending on the exact selection of shapes, the effect of the overlap-add is advantageously faded out gradually from subsequences following the overlap-add region in time.
FIG. 10 illustrates one embodiment of the disclosed overlap-add method. This figure is only for the purpose of illustrating one embodiment of this invention, as the invention is not limited to the exact structure in this figure. InFIG. 10, onesubsequence1000 enters the time and frequency shape optimized overlap-add with anothersubsequence1010. Each of these subsequences enters a separate delay line, where in the figure, z designates a time advance of one sample and z−1 designates a time delay of one sample, and where the selected delays of 1, −1, and 0 are purely for the purpose of illustration: other, more and less, delays can advantageously be used in connection with the present invention. Each delayed version of each subsequence is now multiplied with a number of base window shapes, and the result of each of these are multiplied with a coefficient to be found jointly with the other coefficients in the course of the optimization. After multiplication with these coefficients the resulting subsequences are summed to yield theoutput1020 from the time and frequency shape optimized overlap-add. Theoptimization1030 of coefficients takes, in the example ofFIG. 10,subsequences1040 and1050 as input, and minimize a distortion function, which is a function of1040 and1050 and theoutput1020.
In the claims reference signs to the figures are included for clarity reasons only. These references to exemplary embodiments in the figures should not in any way be construed as limiting the scope of the claims.

Claims (20)

What is claimed is:
1. A system for concatenating a first frame of samples and a subsequent second frame of samples in a digitized audio signal in a receiver, the system comprising:
one or more processor; and
one or more computer-readable memories, coupled to the one or more processors, comprising instructions executable by the one or more processors to configure the system to:
generate concealment samples from the subsequent second frame of samples of the digitized audio signal;
place the concealment samples in the signal such that the second frame follows the concealment samples;
initialize a parametric all pass filter in the receiver based on said concealment samples, thereby initializing filter coefficients of the parametric all pass filter; and
concurrently apply the parametric all pass filter to at least part of samples in at least two consecutive frames, so as to minimize a discontinuity at a boundary between the first and second frames of samples.
2. The system ofclaim 1, wherein the at least two consecutive frames are said first and second subsequent frames.
3. The system ofclaim 1, wherein the parametric all pass filter is applied to at least part of the samples in at least the second frame and to at least part of samples in at least one frame consecutive to the second frame.
4. The system ofclaim 2, wherein the parametric all pass filter is applied to at least part of the samples in at least the second frame and to at least part of samples in at least two frames consecutive to the second frame.
5. The system ofclaim 1, wherein the parametric all pass filter is applied to at least part of the samples in at least the first frame and to at least part of samples in at least one frame preceding the first frame.
6. The system ofclaim 5, wherein the parametric all pass filter is applied to at least part of the samples in at least the first frame and to at least part of samples in at least two frames preceding the first frame.
7. The system ofclaim 1, wherein the parametric all pass filter includes modifying a phase of a subsequence of at least one sample by a radian phase value of pi.
8. The system ofclaim 1, wherein the parametric all pass filter includes between 1 and 20 non-zero coefficients.
9. The system ofclaim 1, wherein the parametric all pass filter is time-varying wherein the parametric all pass filter is time-varying such that a response of the parametric all pass filter approximates a zero phase at a finite number of samples away from the boundary between the first and second frames.
10. The system ofclaim 1, wherein a number of samples included from at least one of said concealment samples is selected to maximize a matching measure, wherein the matching measure includes a correlation.
11. The system ofclaim 10, wherein the correlation is a normalized correlation.
12. The system ofclaim 1, wherein for the generation concealment samples, the system is further configured to:
determine a mode based on a voicing indicator.
13. The system ofclaim 12, the system is further configured to:
based on the mode, initiate a reversion of a temporal evolution of the signal samples.
14. The system ofclaim 13, wherein the system is further configured to determine a criteria that is usable to determine to stop the reversion of the temporal evolution.
15. A receiver device for concatenating a first frame of samples and a subsequent second frame of samples in a digitized audio signal comprising:
a processor;
one or more memories, coupled to the processor, comprising instructions executable by the processor to perform operations comprising:
receiving the signal comprising the first frame of samples and the subsequent second frame of samples;
generating concealment samples from the subsequent second frame of samples of the digitized audio signal;
placing the concealment samples in the signal such that the second frame follows the concealment samples;
initializing a parametric all pass filter in the receiver based on said concealment samples, thereby initializing filter coefficients of the parametric all pass filter; and
concurrently applying the parametric all pass filter to at least part of samples in at least two consecutive frames, so as to minimize a discontinuity at a boundary between the first and second frames of samples.
16. The device ofclaim 15, wherein the at least two consecutive frames are said first and second subsequent frames.
17. The device ofclaim 15, wherein the parametric all pass filter is applied to at least part of the samples in at least the second frame and to at least part of samples in at least one frame consecutive to the second frame.
18. A method for concatenating a first frame of samples and a subsequent second frame of samples in a digitized audio signal in a receiver, the method comprising:
generating concealment samples from the subsequent second frame of samples of the digitized audio signal;
placing the concealment samples in the signal such that the second frame follows the concealment samples;
initializing a parametric all pass filter in the receiver based on said concealment samples, thereby initializing filter coefficients of the parametric all pass filter; and
concurrently applying the parametric all pass filter to at least part of samples in at least two consecutive frames, so as to minimize a discontinuity at a boundary between the first and second frames of samples.
19. The method ofclaim 18, wherein the at least two consecutive frames are said first and second subsequent frames.
20. The method ofclaim 18, wherein the parametric all pass filter is applied to at least part of the samples in at least the second frame and to at least part of samples in at least one frame consecutive to the second frame.
US14/676,6612005-01-312015-04-01Method for concatenating frames in communication systemExpired - Fee RelatedUS9270722B2 (en)

Priority Applications (1)

Application NumberPriority DateFiling DateTitle
US14/676,661US9270722B2 (en)2005-01-312015-04-01Method for concatenating frames in communication system

Applications Claiming Priority (6)

Application NumberPriority DateFiling DateTitle
DKPA2005001462005-01-31
DK2005001462005-01-31
DKPA2005001462005-01-31
PCT/DK2006/000055WO2006079350A1 (en)2005-01-312006-01-31Method for concatenating frames in communication system
US88344008A2008-03-072008-03-07
US14/676,661US9270722B2 (en)2005-01-312015-04-01Method for concatenating frames in communication system

Related Parent Applications (2)

Application NumberTitlePriority DateFiling Date
US11/883,440ContinuationUS9047860B2 (en)2005-01-312006-01-31Method for concatenating frames in communication system
PCT/DK2006/000055ContinuationWO2006079350A1 (en)2005-01-312006-01-31Method for concatenating frames in communication system

Publications (2)

Publication NumberPublication Date
US20150207842A1 US20150207842A1 (en)2015-07-23
US9270722B2true US9270722B2 (en)2016-02-23

Family

ID=59285473

Family Applications (5)

Application NumberTitlePriority DateFiling Date
US11/883,427Expired - Fee RelatedUS8068926B2 (en)2005-01-312006-01-31Method for generating concealment frames in communication system
US11/883,430Active2030-04-16US8918196B2 (en)2005-01-312006-01-31Method for weighted overlap-add
US11/883,440Expired - Fee RelatedUS9047860B2 (en)2005-01-312006-01-31Method for concatenating frames in communication system
US13/279,061AbandonedUS20120158163A1 (en)2005-01-312011-10-21Method For Generating Concealment Frames In Communication System
US14/676,661Expired - Fee RelatedUS9270722B2 (en)2005-01-312015-04-01Method for concatenating frames in communication system

Family Applications Before (4)

Application NumberTitlePriority DateFiling Date
US11/883,427Expired - Fee RelatedUS8068926B2 (en)2005-01-312006-01-31Method for generating concealment frames in communication system
US11/883,430Active2030-04-16US8918196B2 (en)2005-01-312006-01-31Method for weighted overlap-add
US11/883,440Expired - Fee RelatedUS9047860B2 (en)2005-01-312006-01-31Method for concatenating frames in communication system
US13/279,061AbandonedUS20120158163A1 (en)2005-01-312011-10-21Method For Generating Concealment Frames In Communication System

Country Status (14)

CountryLink
US (5)US8068926B2 (en)
EP (3)EP1849156B1 (en)
JP (4)JP5202960B2 (en)
KR (3)KR101237546B1 (en)
CN (3)CN101120399B (en)
AU (3)AU2006208528C1 (en)
BR (3)BRPI0607251A2 (en)
CA (3)CA2596341C (en)
ES (1)ES2625952T3 (en)
IL (3)IL184864A (en)
NO (3)NO338702B1 (en)
RU (3)RU2407071C2 (en)
WO (3)WO2006079349A1 (en)
ZA (3)ZA200706261B (en)

Families Citing this family (63)

* Cited by examiner, † Cited by third party
Publication numberPriority datePublication dateAssigneeTitle
CN101120399B (en)2005-01-312011-07-06斯凯普有限公司Method for weighted overlap-add
TWI285568B (en)*2005-02-022007-08-21Dowa Mining CoPowder of silver particles and process
WO2007086380A1 (en)*2006-01-262007-08-02Pioneer CorporationSound-quality enhancing device and method, and computer program
JP2007316254A (en)*2006-05-242007-12-06Sony CorpAudio signal interpolation method and audio signal interpolation device
BRPI0718423B1 (en)*2006-10-202020-03-10France Telecom METHOD FOR SYNTHESIZING A DIGITAL AUDIO SIGNAL, DIGITAL AUDIO SIGNAL SYNTHESIS DEVICE, DEVICE FOR RECEIVING A DIGITAL AUDIO SIGNAL, AND MEMORY OF A DIGITAL AUDIO SIGNAL SYNTHESIS DEVICE
JP4504389B2 (en)*2007-02-222010-07-14富士通株式会社 Concealment signal generation apparatus, concealment signal generation method, and concealment signal generation program
US8280539B2 (en)*2007-04-062012-10-02The Echo Nest CorporationMethod and apparatus for automatically segueing between audio tracks
CN101207665B (en)*2007-11-052010-12-08华为技术有限公司 A method for obtaining attenuation factor
CN100550712C (en)*2007-11-052009-10-14华为技术有限公司A kind of signal processing method and processing unit
CN101437009B (en)*2007-11-152011-02-02华为技术有限公司Method for hiding loss package and system thereof
CN102789785B (en)*2008-03-102016-08-17弗劳恩霍夫应用研究促进协会The method and apparatus handling the audio signal with transient event
FR2929466A1 (en)*2008-03-282009-10-02France Telecom DISSIMULATION OF TRANSMISSION ERROR IN A DIGITAL SIGNAL IN A HIERARCHICAL DECODING STRUCTURE
BRPI0915358B1 (en)*2008-06-132020-04-22Nokia Corp method and apparatus for hiding frame error in encoded audio data using extension encoding
KR101827528B1 (en)2009-02-262018-02-09존슨 컨트롤스 테크놀러지 컴퍼니Battery electrode and method for manufacturing same
US8660246B1 (en)2009-04-062014-02-25Wendell BrownMethod and apparatus for content presentation in association with a telephone call
US8620660B2 (en)*2010-10-292013-12-31The United States Of America, As Represented By The Secretary Of The NavyVery low bit rate signal coder and decoder
JP5664291B2 (en)*2011-02-012015-02-04沖電気工業株式会社 Voice quality observation apparatus, method and program
EP2676268B1 (en)2011-02-142014-12-03Fraunhofer-Gesellschaft zur Förderung der angewandten Forschung e.V.Apparatus and method for processing a decoded audio signal in a spectral domain
PL3471092T3 (en)2011-02-142020-12-28Fraunhofer-Gesellschaft zur Förderung der angewandten Forschung e.V.Decoding of pulse positions of tracks of an audio signal
CA2920964C (en)2011-02-142017-08-29Christian HelmrichApparatus and method for coding a portion of an audio signal using a transient detection and a quality result
KR101551046B1 (en)2011-02-142015-09-07프라운호퍼 게젤샤프트 쭈르 푀르데룽 데어 안겐반텐 포르슝 에. 베.Apparatus and method for error concealment in low-delay unified speech and audio coding
TWI488176B (en)2011-02-142015-06-11Fraunhofer Ges ForschungEncoding and decoding of pulse positions of tracks of an audio signal
SG192748A1 (en)2011-02-142013-09-30Fraunhofer Ges ForschungLinear prediction based coding scheme using spectral domain noise shaping
CN103477386B (en)*2011-02-142016-06-01弗劳恩霍夫应用研究促进协会 Noise Generation in Audio Codecs
TWI564882B (en)2011-02-142017-01-01弗勞恩霍夫爾協會Information signal representation using lapped transform
KR101613673B1 (en)2011-02-142016-04-29프라운호퍼 게젤샤프트 쭈르 푀르데룽 데어 안겐반텐 포르슝 에. 베.Audio codec using noise synthesis during inactive phases
AR085221A1 (en)2011-02-142013-09-18Fraunhofer Ges Forschung APPARATUS AND METHOD FOR CODING AND DECODING AN AUDIO SIGNAL USING AN ADVANCED DRESSED PORTION
US8938312B2 (en)*2011-04-182015-01-20Sonos, Inc.Smart line-in processing
US9008170B2 (en)*2011-05-102015-04-14Qualcomm IncorporatedOffset type and coefficients signaling method for sample adaptive offset
FR2977439A1 (en)*2011-06-282013-01-04France Telecom WINDOW WINDOWS IN ENCODING / DECODING BY TRANSFORMATION WITH RECOVERY, OPTIMIZED IN DELAY.
US8935308B2 (en)*2012-01-202015-01-13Mitsubishi Electric Research Laboratories, Inc.Method for recovering low-rank matrices and subspaces from data in high-dimensional matrices
US9129600B2 (en)*2012-09-262015-09-08Google Technology Holdings LLCMethod and apparatus for encoding an audio signal
ES3026208T3 (en)2012-11-152025-06-10Ntt Docomo IncAudio coding device
CN103888630A (en)*2012-12-202014-06-25杜比实验室特许公司Method used for controlling acoustic echo cancellation, and audio processing device
CA2898572C (en)2013-01-292019-07-02Martin DietzConcept for coding mode switching compensation
KR101897092B1 (en)2013-01-292018-09-11프라운호퍼 게젤샤프트 쭈르 푀르데룽 데어 안겐반텐 포르슝 에.베.Noise Filling Concept
MX344550B (en)2013-02-052016-12-20Ericsson Telefon Ab L MMethod and apparatus for controlling audio frame loss concealment.
EP2954516A1 (en)2013-02-052015-12-16Telefonaktiebolaget LM Ericsson (PUBL)Enhanced audio frame loss concealment
HUE045991T2 (en)2013-02-052020-01-28Ericsson Telefon Ab L M Hide Audio Frame Loss
FR3004876A1 (en)*2013-04-182014-10-24France Telecom FRAME LOSS CORRECTION BY INJECTION OF WEIGHTED NOISE.
US9406308B1 (en)2013-08-052016-08-02Google Inc.Echo cancellation via frequency domain modulation
US10728298B2 (en)*2013-09-122020-07-28Qualcomm IncorporatedMethod for compressed sensing of streaming data and apparatus for performing the same
FR3015754A1 (en)*2013-12-202015-06-26Orange RE-SAMPLING A CADENCE AUDIO SIGNAL AT A VARIABLE SAMPLING FREQUENCY ACCORDING TO THE FRAME
CN104751851B (en)*2013-12-302018-04-27联芯科技有限公司It is a kind of based on the front and rear frame losing error concealment method and system to Combined estimator
EP3090574B1 (en)*2014-01-032019-06-26Samsung Electronics Co., Ltd.Method and apparatus for improved ambisonic decoding
KR101862356B1 (en)2014-01-032018-06-29삼성전자주식회사Method and apparatus for improved ambisonic decoding
US10157620B2 (en)2014-03-042018-12-18Interactive Intelligence Group, Inc.System and method to correct for packet loss in automatic speech recognition systems utilizing linear interpolation
EP2922055A1 (en)2014-03-192015-09-23Fraunhofer-Gesellschaft zur Förderung der angewandten Forschung e.V.Apparatus, method and corresponding computer program for generating an error concealment signal using individual replacement LPC representations for individual codebook information
EP2922056A1 (en)2014-03-192015-09-23Fraunhofer-Gesellschaft zur Förderung der angewandten Forschung e.V.Apparatus, method and corresponding computer program for generating an error concealment signal using power compensation
EP2922054A1 (en)2014-03-192015-09-23Fraunhofer-Gesellschaft zur Förderung der angewandten Forschung e.V.Apparatus, method and corresponding computer program for generating an error concealment signal using an adaptive noise estimation
NO2780522T3 (en)*2014-05-152018-06-09
FR3023646A1 (en)*2014-07-112016-01-15Orange UPDATING STATES FROM POST-PROCESSING TO A VARIABLE SAMPLING FREQUENCY ACCORDING TO THE FRAMEWORK
GB2547877B (en)*2015-12-212019-08-14Graham Craven PeterLossless bandsplitting and bandjoining using allpass filters
MX384925B (en)*2016-03-072025-03-11Fraunhofer Ges Forschung ERROR CONCEALMENT UNIT, AUDIO DECODER AND RELATED METHOD AND COMPUTER PROGRAM THAT DISAPPEARS A CONCEALED AUDIO FRAME ACCORDING TO DIFFERENT DAMPING FACTORS FOR DIFFERENT FREQUENCY BANDS.
WO2017153300A1 (en)2016-03-072017-09-14Fraunhofer-Gesellschaft zur Förderung der angewandten Forschung e.V.Error concealment unit, audio decoder, and related method and computer program using characteristics of a decoded representation of a properly decoded audio frame
US9679578B1 (en)2016-08-312017-06-13Sorenson Ip Holdings, LlcSignal clipping compensation
JP6652469B2 (en)*2016-09-072020-02-26日本電信電話株式会社 Decoding device, decoding method, and program
US9934785B1 (en)2016-11-302018-04-03Spotify AbIdentification of taste attributes from an audio signal
CN108922551B (en)*2017-05-162021-02-05博通集成电路(上海)股份有限公司Circuit and method for compensating lost frame
CN120148527A (en)*2019-06-132025-06-13瑞典爱立信有限公司 Method and apparatus for time-reversed audio subframe error concealment
EP3901950A1 (en)*2020-04-212021-10-27Dolby International ABMethods, apparatus and systems for low latency audio discontinuity fade out
JP7524678B2 (en)2020-08-282024-07-30沖電気工業株式会社 Signal processing device, signal processing method, and program for the signal processing method
GB2639877A (en)*2024-03-262025-10-08Sony Group CorpA device, computer program and method

Citations (64)

* Cited by examiner, † Cited by third party
Publication numberPriority datePublication dateAssigneeTitle
US4516259A (en)1981-05-111985-05-07Kokusai Denshin Denwa Co., Ltd.Speech analysis-synthesis system
US4591909A (en)1983-04-201986-05-27Nippon Telegraph & Telephone Public Corp.Interframe coding method and apparatus therefor
US4811361A (en)1986-10-301989-03-07Bull, S.A.Method and apparatus for transmission of digital data
US5007094A (en)1989-04-071991-04-09Gte Products CorporationMultipulse excited pole-zero filtering approach for noise reduction
US5371853A (en)1991-10-281994-12-06University Of Maryland At College ParkMethod and system for CELP speech coding and codebook for use therewith
WO1994029850A1 (en)1993-06-111994-12-22Telefonaktiebolaget Lm EricssonLost frame concealment
US5581652A (en)1992-10-051996-12-03Nippon Telegraph And Telephone CorporationReconstruction of wideband speech from narrowband speech using codebooks
US5602959A (en)1994-12-051997-02-11Motorola, Inc.Method and apparatus for characterization and reconstruction of speech excitation waveforms
US5699481A (en)1995-05-181997-12-16Rockwell International CorporationTiming recovery scheme for packet speech in multiplexing environment of voice with data applications
US5757858A (en)1994-12-231998-05-26Qualcomm IncorporatedDual-mode digital FM communication system
JPH10209977A (en)1997-01-241998-08-07Mitsubishi Electric Corp Receive data decompression device
US5806037A (en)1994-03-291998-09-08Yamaha CorporationVoice synthesis system utilizing a transfer function
US5890108A (en)1995-09-131999-03-30Voxware, Inc.Low bit-rate speech coding system and method using voicing probability determination
US5909663A (en)1996-09-181999-06-01Sony CorporationSpeech decoding method and apparatus for selecting random noise codevectors as excitation signals for an unvoiced speech frame
US6028890A (en)1996-06-042000-02-22International Business Machines CorporationBaud-rate-independent ASVD transmission built around G.729 speech-coding standard
WO2000063881A1 (en)1999-04-192000-10-26At & T Corp.Method and apparatus for performing packet loss or frame erasure concealment
WO2001037265A1 (en)1999-11-152001-05-25Nokia CorporationNoise suppression
JP2001142477A (en)1999-11-122001-05-25Matsushita Electric Ind Co Ltd Voiced sound formation device and speech recognition device using it
WO2001048736A1 (en)1999-12-282001-07-05Global Ip Sound AbMethod and arrangement in a communication system
US6292454B1 (en)1998-10-082001-09-18Sony CorporationApparatus and method for implementing a variable-speed audio data playback system
US20010023396A1 (en)1997-08-292001-09-20Allen GershoMethod and apparatus for hybrid coding of speech at 4kbps
US6311153B1 (en)1997-10-032001-10-30Matsushita Electric Industrial Co., Ltd.Speech recognition method and apparatus using frequency warping of linear prediction coefficients
US6415253B1 (en)1998-02-202002-07-02Meta-C CorporationMethod and apparatus for enhancing noise-corrupted speech
US6418408B1 (en)1999-04-052002-07-09Hughes Electronics CorporationFrequency domain interpolative speech codec system
WO2002071389A1 (en)2001-03-062002-09-12Ntt Docomo, Inc.Audio data interpolation apparatus and method, audio data-related information creation apparatus and method, audio data interpolation information transmission apparatus and method, program and recording medium thereof
US20020133764A1 (en)2001-01-242002-09-19Ye WangSystem and method for concealment of data loss in digital audio transmission
US6456964B2 (en)1998-12-212002-09-24Qualcomm, IncorporatedEncoding of periodic speech using prototype waveforms
US20020143526A1 (en)2000-09-152002-10-03Geert CoormanFast waveform synchronization for concentration and time-scale modification of speech
JP2002328691A (en)2000-12-192002-11-15Koninkl Philips Electronics NvApparatus comprising receiving device for receiving data organized in frame and method of reconstructing lacking information
US20020173949A1 (en)2001-04-092002-11-21Gigi Ercan FeritSpeech coding system
US6487535B1 (en)1995-12-012002-11-26Digital Theater Systems, Inc.Multi-channel audio encoder
WO2002095731A1 (en)2001-05-222002-11-28Fujitsu LimitedVoice signal processor
EP1278353A2 (en)2001-07-172003-01-22Avaya, Inc.Dynamic jitter buffering for voice-over-ip and other packet-based communication systems
EP1288916A2 (en)2001-08-172003-03-05Broadcom CorporationMethod and system for frame erasure concealment for predictive speech coding based on extrapolation of speech waveform
US20030078769A1 (en)2001-08-172003-04-24Broadcom CorporationFrame erasure concealment for predictive speech coding based on extrapolation of speech waveform
US20030202528A1 (en)2002-04-302003-10-30Eckberg Adrian EmmanuelTechniques for jitter buffer delay management
JP2003316670A (en)2002-04-192003-11-07Japan Science & Technology Corp Error concealment method, error concealment program, and error concealment device
US6661842B1 (en)2000-09-222003-12-09General Dynamics Decision Systems, Inc.Methods and apparatus for error-resilient video coding
US6661843B2 (en)1996-09-102003-12-09Sony CorporationMoving picture compression/expansion apparatus
WO2003102921A1 (en)2002-05-312003-12-11Voiceage CorporationMethod and device for efficient frame erasure concealment in linear predictive based speech codecs
US20040002856A1 (en)2002-03-082004-01-01Udaya BhaskarMulti-rate frequency domain interpolative speech CODEC system
JP2004501391A (en)2000-04-242004-01-15クゥアルコム・インコーポレイテッド Frame Erasure Compensation Method for Variable Rate Speech Encoder
US6691082B1 (en)1999-08-032004-02-10Lucent Technologies IncMethod and system for sub-band hybrid coding
JP2004077961A (en)2002-08-212004-03-11Oki Electric Ind Co LtdVoice decoding device
US20040064307A1 (en)2001-01-302004-04-01Pascal ScalartNoise reduction method and device
US20040122662A1 (en)2002-02-122004-06-24Crockett Brett GrehamHigh quality time-scaling and pitch-scaling of audio signals
US20040136448A1 (en)1993-03-172004-07-15Miller William J.Method and apparatus for signal transmission and reception
US6766300B1 (en)1996-11-072004-07-20Creative Technology Ltd.Method and apparatus for transient detection and non-distortion time scaling
WO2004102531A1 (en)2003-05-142004-11-25Oki Electric Industry Co., Ltd.Apparatus and method for concealing erased periodic signal data
US20050007952A1 (en)1999-10-292005-01-13Mark ScottMethod, system, and computer program product for managing jitter
JP2005012350A (en)2003-06-172005-01-13Nippon Telegr & Teleph Corp <Ntt> Voice / acoustic signal reproduction adjustment method, apparatus, voice / acoustic signal reproduction adjustment program, and recording medium recording the program
US20050031097A1 (en)1999-04-132005-02-10Broadcom CorporationGateway with voice
US6895375B2 (en)2001-10-042005-05-17At&T Corp.System for bandwidth extension of Narrow-band speech
US6931370B1 (en)1999-11-022005-08-16Digital Theater Systems, Inc.System and method for providing interactive audio in a multi-channel audio environment
JP2005315973A (en)2004-04-272005-11-10Seiko Epson Corp Semiconductor integrated circuit
US20060047521A1 (en)2004-09-012006-03-02Via Technologies Inc.Method and apparatus for MP3 decoding
US20060093038A1 (en)2002-12-042006-05-04Boyce Jill MEncoding of video cross-fades using weighted prediction
US20060149532A1 (en)2004-12-312006-07-06Boillot Marc AMethod and apparatus for enhancing loudness of a speech signal
US20060153286A1 (en)2001-12-042006-07-13Andersen Soren VLow bit rate codec
WO2006079349A1 (en)2005-01-312006-08-03Sonorit ApsMethod for weighted overlap-add
US20060171373A1 (en)*2005-02-022006-08-03Dunling LiPacket loss concealment for voice over packet networks
US7117156B1 (en)1999-04-192006-10-03At&T Corp.Method and apparatus for performing packet loss or frame erasure concealment
US7356748B2 (en)2003-12-192008-04-08Telefonaktiebolaget Lm Ericsson (Publ)Partial spectral loss concealment in transform codecs
US20150098535A1 (en)*2013-10-082015-04-09Blackberry LimitedPhase noise mitigation for wireless communications

Family Cites Families (10)

* Cited by examiner, † Cited by third party
Publication numberPriority datePublication dateAssigneeTitle
US5434947A (en)*1993-02-231995-07-18MotorolaMethod for generating a spectral noise weighting filter for use in a speech coder
FI980132A7 (en)*1998-01-211999-07-22Nokia Mobile Phones Ltd Adaptive post-filter
SE513520C2 (en)*1998-05-142000-09-25Ericsson Telefon Ab L M Method and apparatus for masking delayed packages
US6324503B1 (en)*1999-07-192001-11-27Qualcomm IncorporatedMethod and apparatus for providing feedback from decoder to encoder to improve performance in a predictive speech coder under frame erasure conditions
RU2000102555A (en)*2000-02-022002-01-10Войсковая часть 45185 VIDEO MASKING METHOD
US6757654B1 (en)*2000-05-112004-06-29Telefonaktiebolaget Lm EricssonForward error correction in speech coding
US7031926B2 (en)*2000-10-232006-04-18Nokia CorporationSpectral parameter substitution for the frame error concealment in a speech decoder
US6968309B1 (en)*2000-10-312005-11-22Nokia Mobile Phones Ltd.Method and system for speech frame error concealment in speech decoding
FI20011392A7 (en)*2001-06-282002-12-29Nokia Corp Mechanism for multicast distribution in a telecommunications system
US6681842B2 (en)*2001-12-032004-01-27Agilent Technologies, Inc.Cooling apparatus

Patent Citations (84)

* Cited by examiner, † Cited by third party
Publication numberPriority datePublication dateAssigneeTitle
US4516259A (en)1981-05-111985-05-07Kokusai Denshin Denwa Co., Ltd.Speech analysis-synthesis system
US4591909A (en)1983-04-201986-05-27Nippon Telegraph & Telephone Public Corp.Interframe coding method and apparatus therefor
US4811361A (en)1986-10-301989-03-07Bull, S.A.Method and apparatus for transmission of digital data
US5007094A (en)1989-04-071991-04-09Gte Products CorporationMultipulse excited pole-zero filtering approach for noise reduction
US5371853A (en)1991-10-281994-12-06University Of Maryland At College ParkMethod and system for CELP speech coding and codebook for use therewith
US5581652A (en)1992-10-051996-12-03Nippon Telegraph And Telephone CorporationReconstruction of wideband speech from narrowband speech using codebooks
US20040136448A1 (en)1993-03-172004-07-15Miller William J.Method and apparatus for signal transmission and reception
WO1994029850A1 (en)1993-06-111994-12-22Telefonaktiebolaget Lm EricssonLost frame concealment
US5806037A (en)1994-03-291998-09-08Yamaha CorporationVoice synthesis system utilizing a transfer function
US5602959A (en)1994-12-051997-02-11Motorola, Inc.Method and apparatus for characterization and reconstruction of speech excitation waveforms
US5757858A (en)1994-12-231998-05-26Qualcomm IncorporatedDual-mode digital FM communication system
US5699481A (en)1995-05-181997-12-16Rockwell International CorporationTiming recovery scheme for packet speech in multiplexing environment of voice with data applications
US5890108A (en)1995-09-131999-03-30Voxware, Inc.Low bit-rate speech coding system and method using voicing probability determination
US6487535B1 (en)1995-12-012002-11-26Digital Theater Systems, Inc.Multi-channel audio encoder
US6028890A (en)1996-06-042000-02-22International Business Machines CorporationBaud-rate-independent ASVD transmission built around G.729 speech-coding standard
US6661843B2 (en)1996-09-102003-12-09Sony CorporationMoving picture compression/expansion apparatus
US5909663A (en)1996-09-181999-06-01Sony CorporationSpeech decoding method and apparatus for selecting random noise codevectors as excitation signals for an unvoiced speech frame
US6766300B1 (en)1996-11-072004-07-20Creative Technology Ltd.Method and apparatus for transient detection and non-distortion time scaling
JPH10209977A (en)1997-01-241998-08-07Mitsubishi Electric Corp Receive data decompression device
US20010023396A1 (en)1997-08-292001-09-20Allen GershoMethod and apparatus for hybrid coding of speech at 4kbps
US6311153B1 (en)1997-10-032001-10-30Matsushita Electric Industrial Co., Ltd.Speech recognition method and apparatus using frequency warping of linear prediction coefficients
US6415253B1 (en)1998-02-202002-07-02Meta-C CorporationMethod and apparatus for enhancing noise-corrupted speech
US6292454B1 (en)1998-10-082001-09-18Sony CorporationApparatus and method for implementing a variable-speed audio data playback system
US6456964B2 (en)1998-12-212002-09-24Qualcomm, IncorporatedEncoding of periodic speech using prototype waveforms
US6418408B1 (en)1999-04-052002-07-09Hughes Electronics CorporationFrequency domain interpolative speech codec system
US20050031097A1 (en)1999-04-132005-02-10Broadcom CorporationGateway with voice
WO2000063885A1 (en)1999-04-192000-10-26At & T Corp.Method and apparatus for performing packet loss or frame erasure concealment
JP2002542517A (en)1999-04-192002-12-10エイ・ティ・アンド・ティ・コーポレーション Method and apparatus for performing packet loss or frame erasure concealment
WO2000063881A1 (en)1999-04-192000-10-26At & T Corp.Method and apparatus for performing packet loss or frame erasure concealment
US7117156B1 (en)1999-04-192006-10-03At&T Corp.Method and apparatus for performing packet loss or frame erasure concealment
JP2002542521A (en)1999-04-192002-12-10エイ・ティ・アンド・ティ・コーポレーション Method and apparatus for performing packet loss or frame erasure concealment
US6691082B1 (en)1999-08-032004-02-10Lucent Technologies IncMethod and system for sub-band hybrid coding
US20050007952A1 (en)1999-10-292005-01-13Mark ScottMethod, system, and computer program product for managing jitter
US6931370B1 (en)1999-11-022005-08-16Digital Theater Systems, Inc.System and method for providing interactive audio in a multi-channel audio environment
JP2001142477A (en)1999-11-122001-05-25Matsushita Electric Ind Co Ltd Voiced sound formation device and speech recognition device using it
WO2001037265A1 (en)1999-11-152001-05-25Nokia CorporationNoise suppression
JP2003514473A (en)1999-11-152003-04-15ノキア コーポレイション Noise suppression
WO2001048736A1 (en)1999-12-282001-07-05Global Ip Sound AbMethod and arrangement in a communication system
US20030167170A1 (en)1999-12-282003-09-04Andrsen Soren V.Method and arrangement in a communication system
JP2004501391A (en)2000-04-242004-01-15クゥアルコム・インコーポレイテッド Frame Erasure Compensation Method for Variable Rate Speech Encoder
US20020143526A1 (en)2000-09-152002-10-03Geert CoormanFast waveform synchronization for concentration and time-scale modification of speech
US6661842B1 (en)2000-09-222003-12-09General Dynamics Decision Systems, Inc.Methods and apparatus for error-resilient video coding
JP2002328691A (en)2000-12-192002-11-15Koninkl Philips Electronics NvApparatus comprising receiving device for receiving data organized in frame and method of reconstructing lacking information
US20020133764A1 (en)2001-01-242002-09-19Ye WangSystem and method for concealment of data loss in digital audio transmission
US20040064307A1 (en)2001-01-302004-04-01Pascal ScalartNoise reduction method and device
WO2002071389A1 (en)2001-03-062002-09-12Ntt Docomo, Inc.Audio data interpolation apparatus and method, audio data-related information creation apparatus and method, audio data interpolation information transmission apparatus and method, program and recording medium thereof
US20020173949A1 (en)2001-04-092002-11-21Gigi Ercan FeritSpeech coding system
WO2002095731A1 (en)2001-05-222002-11-28Fujitsu LimitedVoice signal processor
EP1278353A2 (en)2001-07-172003-01-22Avaya, Inc.Dynamic jitter buffering for voice-over-ip and other packet-based communication systems
US7590525B2 (en)2001-08-172009-09-15Broadcom CorporationFrame erasure concealment for predictive speech coding based on extrapolation of speech waveform
US7711563B2 (en)2001-08-172010-05-04Broadcom CorporationMethod and system for frame erasure concealment for predictive speech coding based on extrapolation of speech waveform
US20030078769A1 (en)2001-08-172003-04-24Broadcom CorporationFrame erasure concealment for predictive speech coding based on extrapolation of speech waveform
EP1288916A2 (en)2001-08-172003-03-05Broadcom CorporationMethod and system for frame erasure concealment for predictive speech coding based on extrapolation of speech waveform
US20050187759A1 (en)2001-10-042005-08-25At&T Corp.System for bandwidth extension of narrow-band speech
US6895375B2 (en)2001-10-042005-05-17At&T Corp.System for bandwidth extension of Narrow-band speech
US7895046B2 (en)2001-12-042011-02-22Global Ip Solutions, Inc.Low bit rate codec
US20060153286A1 (en)2001-12-042006-07-13Andersen Soren VLow bit rate codec
US20040122662A1 (en)2002-02-122004-06-24Crockett Brett GrehamHigh quality time-scaling and pitch-scaling of audio signals
US20040002856A1 (en)2002-03-082004-01-01Udaya BhaskarMulti-rate frequency domain interpolative speech CODEC system
JP2003316670A (en)2002-04-192003-11-07Japan Science & Technology Corp Error concealment method, error concealment program, and error concealment device
US20030202528A1 (en)2002-04-302003-10-30Eckberg Adrian EmmanuelTechniques for jitter buffer delay management
US20050154584A1 (en)2002-05-312005-07-14Milan JelinekMethod and device for efficient frame erasure concealment in linear predictive based speech codecs
WO2003102921A1 (en)2002-05-312003-12-11Voiceage CorporationMethod and device for efficient frame erasure concealment in linear predictive based speech codecs
JP2004077961A (en)2002-08-212004-03-11Oki Electric Ind Co LtdVoice decoding device
US20060093038A1 (en)2002-12-042006-05-04Boyce Jill MEncoding of video cross-fades using weighted prediction
WO2004102531A1 (en)2003-05-142004-11-25Oki Electric Industry Co., Ltd.Apparatus and method for concealing erased periodic signal data
JP2005012350A (en)2003-06-172005-01-13Nippon Telegr & Teleph Corp <Ntt> Voice / acoustic signal reproduction adjustment method, apparatus, voice / acoustic signal reproduction adjustment program, and recording medium recording the program
US7356748B2 (en)2003-12-192008-04-08Telefonaktiebolaget Lm Ericsson (Publ)Partial spectral loss concealment in transform codecs
JP2005315973A (en)2004-04-272005-11-10Seiko Epson Corp Semiconductor integrated circuit
US20060047521A1 (en)2004-09-012006-03-02Via Technologies Inc.Method and apparatus for MP3 decoding
US20060149532A1 (en)2004-12-312006-07-06Boillot Marc AMethod and apparatus for enhancing loudness of a speech signal
US20100161086A1 (en)2005-01-312010-06-24Soren AndersenMethod for Generating Concealment Frames in Communication System
US20080154584A1 (en)2005-01-312008-06-26Soren AndersenMethod for Concatenating Frames in Communication System
US20080275580A1 (en)2005-01-312008-11-06Soren AndersenMethod for Weighted Overlap-Add
WO2006079348A1 (en)2005-01-312006-08-03Sonorit ApsMethod for generating concealment frames in communication system
WO2006079349A1 (en)2005-01-312006-08-03Sonorit ApsMethod for weighted overlap-add
WO2006079350A1 (en)2005-01-312006-08-03Sonorit ApsMethod for concatenating frames in communication system
US8068926B2 (en)2005-01-312011-11-29Skype LimitedMethod for generating concealment frames in communication system
US20120158163A1 (en)2005-01-312012-06-21Skype LimitedMethod For Generating Concealment Frames In Communication System
JP5420175B2 (en)2005-01-312014-02-19スカイプ Method for generating concealment frame in communication system
US8918196B2 (en)2005-01-312014-12-23SkypeMethod for weighted overlap-add
US9047860B2 (en)2005-01-312015-06-02SkypeMethod for concatenating frames in communication system
US20060171373A1 (en)*2005-02-022006-08-03Dunling LiPacket loss concealment for voice over packet networks
US20150098535A1 (en)*2013-10-082015-04-09Blackberry LimitedPhase noise mitigation for wireless communications

Non-Patent Citations (56)

* Cited by examiner, † Cited by third party
Title
"A high quality low-complexity algorithm for packet loss concealment with G.711", ITU-T Recommendation G.711-Appendix 1, Sep. 1999, 24 pages.
"Advisory Action", U.S. Appl. No. 11/883,430, Jan. 18, 2012, 3 pages.
"Coding of speech at 8 kbit/s using conjugate-structure algebraic-code-excited linear prediction", ITU-T Recommendation G.729 (CS-ACELP), Mar. 1996, 38 pages.
"Decision on Grant", Application No. 2007132735/09, Oct. 11, 2010, 13 pages.
"Final Office Action", U.S. Appl. No. 11/883,430, Nov. 2, 2011, 11 pages.
"Final Office Action", U.S. Appl. No. 11/883,440, Aug. 1, 2014, 18 pages.
"Final Office Action", U.S. Appl. No. 11/883,440, Oct. 25, 2011, 26 pages.
"First Examination Report", IN Application No. 6014/DEL/2007, Nov. 25, 2014, 2 pages.
"First Examination Report", IN Application No. 6015/DELNP/2007, Nov. 24, 2014, 2 pages.
"Foreign Notice of Allowance", CA Application No. 2596337, Apr. 14, 2014, 1 page.
"Foreign Notice of Allowance", CA Application No. 2596338, Feb. 12, 2014, 1 page.
"Foreign Notice of Allowance", CN Application No. 200680003571.4, Nov. 28, 2012, 3 pages.
"Foreign Notice of Allowance", JP Application No. 2007-552505, Oct. 22, 2013, 6 pages.
"Foreign Office Action", AU Application No. 2006208530, Oct. 18, 2010, 3 pages.
"Foreign Office Action", CA Application No. 2,596,337, Dec. 5, 2011, 4 pages.
"Foreign Office Action", CA Application No. 2,596,337, Oct. 15, 2012, 2 pages.
"Foreign Office Action", CA Application No. 2,596,341, Jun. 18, 2012, 3 pages.
"Foreign Office Action", EP Application No. 06704595.5, Sep. 16, 2014, 3 pages.
"Foreign Office Action", IL Application No. 184927, Nov. 25, 2013, 6 pages.
"Foreign Office Action", IL Application No. 184927, Sep. 16, 2014, 6 pages.
"Foreign Office Action", JP Application No. 2007-552505, May 22, 2012, 5 pages.
"Foreign Office Action", JP Application No. 2007-552505, Oct. 16, 2012, 6 pages.
"Foreign Office Action", JP Application No. 2013-198241, Jul. 15, 2014, 6 pages.
"Foreign Office Action", JP Application No. 2013-198241, Jun. 9, 2015, 4 pages.
"Foreign Office Action", KR Application No. 10-2007-7020042, Apr. 24, 2012, 6 pages.
"Foreign Office Action", KR Application No. 10-2007-7020043, Mar. 29, 2012, 10 pages.
"Foreign Office Action", KR Application No. 10-2007-7020044, Apr. 25, 2012, 10 pages.
"International Preliminary Report on Patentability", Application No. PCT/DK2006/000055, Apr. 3, 2007, 10 pages.
"International Preliminary Report on Patentability", Application No. PCT/DK2006/00053, May 21, 2007, 11 pages.
"International Search Report and Written Opinion", Application No. PCT/DK2006/000055, May 4, 2006, 9 pages.
"International Search Report", Application No. PCT/DK2006/000053, May 4, 2006, 3 pages.
"International Search Report", Application No. PCT/DK2006/000054, May 4, 2006, 3 pages.
"Non-Final Office Action", U.S. Appl. No. 11/883,427, Feb. 7, 2011, 5 pages.
"Non-Final Office Action", U.S. Appl. No. 11/883,430, Dec. 17, 2013, 12 pages.
"Non-Final Office Action", U.S. Appl. No. 11/883,430, Mar. 30, 2011, 10 pages.
"Non-Final Office Action", U.S. Appl. No. 11/883,440, Apr. 18, 2011, 19 pages.
"Non-Final Office Action", U.S. Appl. No. 11/883,440, Feb. 10, 2014, 24 pages.
"Non-Final Office Action", U.S. Appl. No. 13/279,061, Oct. 29, 2013, 4 pages.
"Notice of Allowance", U.S. Appl. No. 11/883,427, Jul. 21, 2011, 5 pages.
"Notice of Allowance", U.S. Appl. No. 11/883,430, Aug. 27, 2014, 4 pages.
"Notice of Allowance", U.S. Appl. No. 11/883,430, Jun. 17, 2014, 4 pages.
"Notice of Allowance", U.S. Appl. No. 11/883,440, Dec. 19, 2014, 12 pages.
"Office Action and Search Report Issued in Norway Patent Application No. 20074348", Mailed Date: Dec. 10, 2015, 5 pages.
"Office Action and Search Report Issued in Norway Patent Application No. 20074349", Mailed Date: Nov. 25, 2015, 5 pages.
"Supplemental Notice of Allowance", U.S. Appl. No. 11/883,430, Nov. 21, 2014, 2 pages.
"Written Opinion", Application No. PCT/DK2006/000053, May 4, 2006, 6 pages.
"Written Opinion", Application No. PCT/DK2006/000054, Jul. 31, 2007, 5 pages.
Andersen, et al., "Internet Engineering Task Force Request for Comments 3951", The Internet Society, Dec. 2004, 160 pages.
Andrianov, "English Abstract of a Method for Concealing a Video Signal", Application No. RU 2000102555, 2000, 4 Pages.
Brennan, et al., "An ultra low-power DSP system with flexible filterbank", vol. 1 of 2. Conference 35, Nov. 4, 2001, pp. 809-813.
Elsabrouty, et al., "Receiver-based packet loss concealment for pulse code modulation (PCM G.711) coder", Signal Proc., vol. 84, 2004, pp. 663-667.
Goodman, et al., "Waveform Substitution Techniques for Recovering Missing Speech Segments in Packet Voice Communications", IEEE Trans. On Acoustics, Speech & Signal Proc., vol. ASSP-34, No. 6, Dec. 1986, pp. 1440-1448.
Liang, et al., "Adaptive Playout Scheduling and Loss Concealment for Voice Communication over IP Networks", IEEE transactions on multimedia, vol. 5, No. 4, Dec. 2003, pp. 1-12.
Radatz, "IEEE Standard Dictionary of Electrical and Electronic Terms", IEEE. 1996. Sixth Edition, 1996, p. 24.
Rodbro, et al., "Time Scaling of Sinusoids for Intelligent Jitter Buffer in Packet Based Telephony", IEEE Proc. Workshop on Speech Coding, 2002, pp. 71-73.
Valenzuela, et al., "A New Voice-Packet Reconstruction Technique", IEEE, 1989, pp. 1334-1336.

Also Published As

Publication numberPublication date
JP2008529072A (en)2008-07-31
JP2008529074A (en)2008-07-31
EP1846921A1 (en)2007-10-24
IL184864A (en)2011-01-31
JP2014038347A (en)2014-02-27
EP1846920A1 (en)2007-10-24
EP1849156B1 (en)2012-08-01
EP1846921B1 (en)2017-10-04
JP2008529073A (en)2008-07-31
RU2007132729A (en)2009-03-10
BRPI0607247A2 (en)2010-03-23
CA2596341C (en)2013-12-03
NO20074348L (en)2007-10-21
CN101120398A (en)2008-02-06
BRPI0607246A2 (en)2010-03-23
US20150207842A1 (en)2015-07-23
BRPI0607246B1 (en)2019-12-03
US20080275580A1 (en)2008-11-06
JP5420175B2 (en)2014-02-19
RU2407071C2 (en)2010-12-20
IL184948A (en)2012-07-31
BRPI0607251A2 (en)2017-06-13
ZA200706261B (en)2009-09-30
KR20080001708A (en)2008-01-03
RU2417457C2 (en)2011-04-27
RU2405217C2 (en)2010-11-27
HK1108760A1 (en)2008-05-16
CN101120398B (en)2012-05-23
CA2596338A1 (en)2006-08-03
CA2596341A1 (en)2006-08-03
RU2007132728A (en)2009-03-10
IL184927A0 (en)2007-12-03
CA2596337A1 (en)2006-08-03
JP5202960B2 (en)2013-06-05
AU2006208529B2 (en)2010-10-28
JP5925742B2 (en)2016-05-25
AU2006208530A1 (en)2006-08-03
IL184864A0 (en)2007-12-03
CN101120400B (en)2013-03-27
AU2006208528C1 (en)2012-03-01
ZA200706307B (en)2008-06-25
US8068926B2 (en)2011-11-29
BRPI0607247B1 (en)2019-10-29
CA2596338C (en)2014-05-13
ZA200706534B (en)2008-07-30
CN101120399B (en)2011-07-06
RU2007132735A (en)2009-03-10
WO2006079349A1 (en)2006-08-03
NO20074418L (en)2007-08-29
KR101203348B1 (en)2012-11-20
EP1849156A1 (en)2007-10-31
US20080154584A1 (en)2008-06-26
US20100161086A1 (en)2010-06-24
US8918196B2 (en)2014-12-23
US9047860B2 (en)2015-06-02
WO2006079348A1 (en)2006-08-03
AU2006208528B2 (en)2011-08-18
CN101120399A (en)2008-02-06
KR20080002757A (en)2008-01-04
KR20080002756A (en)2008-01-04
NO338798B1 (en)2016-10-24
KR101237546B1 (en)2013-02-26
EP1846920B1 (en)2017-04-19
WO2006079350A1 (en)2006-08-03
IL184948A0 (en)2007-12-03
AU2006208528A1 (en)2006-08-03
CN101120400A (en)2008-02-06
CA2596337C (en)2014-08-19
NO338702B1 (en)2016-10-03
AU2006208529A1 (en)2006-08-03
NO340871B1 (en)2017-07-03
US20120158163A1 (en)2012-06-21
IL184927A (en)2016-06-30
AU2006208530B2 (en)2010-10-28
NO20074349L (en)2007-10-18
ES2625952T3 (en)2017-07-21
KR101203244B1 (en)2012-11-20

Similar Documents

PublicationPublication DateTitle
US9270722B2 (en)Method for concatenating frames in communication system
HK1108760B (en)Method for weighted overlap-add

Legal Events

DateCodeTitleDescription
ASAssignment

Owner name:SKYPE LIMITED, IRELAND

Free format text:ASSIGNMENT OF ASSIGNORS INTEREST;ASSIGNOR:SONORIT APS;REEL/FRAME:035370/0147

Effective date:20091116

Owner name:SONORIT APS, DENMARK

Free format text:ASSIGNMENT OF ASSIGNORS INTEREST;ASSIGNOR:ANDERSEN, SOREN;REEL/FRAME:035370/0125

Effective date:20071010

Owner name:SKYPE, IRELAND

Free format text:CHANGE OF NAME;ASSIGNOR:SKYPE LIMITED;REEL/FRAME:035389/0786

Effective date:20111115

ZAAANotice of allowance and fees due

Free format text:ORIGINAL CODE: NOA

ZAABNotice of allowance mailed

Free format text:ORIGINAL CODE: MN/=.

ZAAANotice of allowance and fees due

Free format text:ORIGINAL CODE: NOA

STCFInformation on status: patent grant

Free format text:PATENTED CASE

MAFPMaintenance fee payment

Free format text:PAYMENT OF MAINTENANCE FEE, 4TH YEAR, LARGE ENTITY (ORIGINAL EVENT CODE: M1551); ENTITY STATUS OF PATENT OWNER: LARGE ENTITY

Year of fee payment:4

ASAssignment

Owner name:MICROSOFT TECHNOLOGY LICENSING, LLC, WASHINGTON

Free format text:ASSIGNMENT OF ASSIGNORS INTEREST;ASSIGNOR:SKYPE;REEL/FRAME:054586/0001

Effective date:20200309

FEPPFee payment procedure

Free format text:MAINTENANCE FEE REMINDER MAILED (ORIGINAL EVENT CODE: REM.); ENTITY STATUS OF PATENT OWNER: LARGE ENTITY

LAPSLapse for failure to pay maintenance fees

Free format text:PATENT EXPIRED FOR FAILURE TO PAY MAINTENANCE FEES (ORIGINAL EVENT CODE: EXP.); ENTITY STATUS OF PATENT OWNER: LARGE ENTITY

STCHInformation on status: patent discontinuation

Free format text:PATENT EXPIRED DUE TO NONPAYMENT OF MAINTENANCE FEES UNDER 37 CFR 1.362

FPLapsed due to failure to pay maintenance fee

Effective date:20240223


[8]ページ先頭

©2009-2025 Movatter.jp